Главная // Актуальные документы // Актуальные документы (обновление 2025.07.05-2025.08.02) // Заявка (форма)СПРАВКА
Источник публикации
Екатеринбург: ТД "УралЮрИздат", 2023
Примечание к документу
Документ
введен в действие с 01.09.2023.
Взамен СТО РЖД 13.003-2012.
Название документа
"СТО РЖД 13.003-2023. Стандарт ОАО "РЖД". Общие требования к сварочным и наплавочным работам при ремонте подвижного состава"
(утв. и введен в действие Распоряжением ОАО "РЖД" от 18.05.2023 N 1206/р)
"СТО РЖД 13.003-2023. Стандарт ОАО "РЖД". Общие требования к сварочным и наплавочным работам при ремонте подвижного состава"
(утв. и введен в действие Распоряжением ОАО "РЖД" от 18.05.2023 N 1206/р)
Утвержден и введен в действие
от 18 мая 2023 г. N 1206/р
СТАНДАРТ ОАО "РЖД"
ОБЩИЕ ТРЕБОВАНИЯ К СВАРОЧНЫМ И НАПЛАВОЧНЫМ РАБОТАМ
ПРИ РЕМОНТЕ ПОДВИЖНОГО СОСТАВА
СТО РЖД 13.003-2023
Дата введения
1 сентября 2023 года
1 РАЗРАБОТАН Акционерным обществом "Научно-исследовательский институт железнодорожного транспорта" (АО "ВНИИЖТ")
2 ВНЕСЕН Департаментом технической политики ОАО "РЖД"
3 УТВЕРЖДЕН И ВВЕДЕН В ДЕЙСТВИЕ
Распоряжением ОАО "РЖД" N 1206/р от 18 мая 2023 г.
4 ВЗАМЕН СТО РЖД 13.003-2012
Настоящий стандарт устанавливает общие требования к сварочным и наплавочным работам при всех видах ремонта железнодорожного подвижного состава, эксплуатируемого на железных дорогах колеи 1520 мм.
Настоящий стандарт не распространяется на сварочные и наплавочные работы при ремонте котлов цистерн и контейнеров, предназначенных для перевозки опасных грузов, надзор за которыми осуществляет Федеральная служба по экологическому, технологическому и атомному надзору.
Настоящий стандарт предназначен для применения подразделениями аппарата управления ОАО "РЖД", филиалами, структурными подразделениями ОАО "РЖД".
Применение настоящего стандарта сторонними организациями оговаривается в договорах (соглашениях) с ОАО "РЖД".
В настоящем стандарте использованы ссылки на следующие стандарты и своды правил:
ГОСТ 3.1105 Единая система технологической документации. Формы и правила оформления документов общего назначения
ГОСТ 3.1109 Единая система технологической документации. Термины и определения основных понятий
ГОСТ 5.917 Горелки ручные для аргонодуговой сварки типов РГА-150 и РГА-400. Требования к качеству аттестованной продукции
ГОСТ 9.010 Единая система защиты от коррозии и старения. Воздух сжатый для распыления лакокрасочных материалов. Технические требования и методы контроля
ГОСТ 9.402 Единая система защиты от коррозии и старения. Покрытия лакокрасочные. Подготовка металлических поверхностей к окрашиванию
ГОСТ 12.1.007 Система стандартов безопасности труда. Вредные вещества. Классификация и общие требования безопасности
ГОСТ 12.2.007.0 Система стандартов безопасности труда. Изделия электротехнические. Общие требования безопасности
ГОСТ 12.2.008-75 Система стандартов безопасности труда. Оборудование и аппаратура для газопламенной обработки металлов и термического напыления покрытий. Требования безопасности
ГОСТ 12.3.003 Система стандартов безопасности труда. Работы электросварочные. Требования безопасности
ГОСТ 12.3.036 Система стандартов безопасности труда. Газопламенная обработка металлов. Требования безопасности
ГОСТ 12.3.039 Система стандартов безопасности труда. Плазменная обработка металлов. Требования безопасности
ГОСТ 12.4.021 Система стандартов безопасности труда. Системы вентиляционные. Общие требования
ГОСТ 12.4.026 Система стандартов безопасности труда. Цвета сигнальные, знаки безопасности и разметка сигнальная. Назначение и правила применения. Общие технические требования и характеристики. Методы испытаний
ГОСТ 12.4.028 Система стандартов безопасности труда. Респираторы ШБ-1 "Лепесток". Технические условия
ГОСТ 12.4.103 Система стандартов безопасности труда. Одежда специальная защитная, средства индивидуальной защиты ног и рук. Классификация
ГОСТ 12.4.123 Система стандартов безопасности труда. Средства коллективной защиты от инфракрасных излучений. Общие технические требования
ГОСТ 12.4.253 Система стандартов безопасности труда. Средства индивидуальной защиты глаз. Общие технические требования
ГОСТ 12.4.254 Система стандартов безопасности труда. Средства индивидуальной защиты глаз и лица при сварке и аналогичных процессах. Общие технические условия
ГОСТ 95 Трансформаторы однофазные однопостовые для ручной дуговой сварки. Общие технические условия
ГОСТ 304 Генераторы сварочные. Общие технические условия
ГОСТ 380 Сталь углеродистая обыкновенного качества. Марки
ГОСТ 492 Никель, сплавы никелевые и медно-никелевые, обрабатываемые давлением. Марки
ГОСТ 949 Баллоны стальные малого и среднего объема для газов на P
р <= 19,6 МПа (200 кгс/см
2). Технические условия
ГОСТ 977 Отливки стальные. Общие технические условия
ГОСТ 1012 Бензины авиационные. Технические условия
ГОСТ 1050 Металлопродукция из нелегированных конструкционных качественных и специальных сталей. Общие технические условия
ГОСТ 1173 Фольга, ленты, листы и плиты медные. Технические условия
ГОСТ 1412 Чугун с пластинчатым графитом для отливок. Марки
ГОСТ 1460 Карбид кальция. Технические условия
ГОСТ 1561 Резервуары воздушные для автотормозов вагонов железных дорог. Технические условия
ГОСТ 1583 Сплавы алюминиевые литейные. Технические условия
ГОСТ 2179 Проволока из никеля и кремнистого никеля. Технические условия
ГОСТ 2246 Проволока стальная сварочная. Технические условия
ГОСТ 2310 Молотки слесарные стальные. Технические условия
ГОСТ 2402 Агрегаты сварочные с двигателями внутреннего сгорания. Общие технические условия
ГОСТ 2768 Ацетон технический. Технические условия
ГОСТ 2789 Шероховатость поверхности. Параметры и характеристики
ГОСТ 2999 Металлы и сплавы. Метод определения твердости по Виккерсу
ГОСТ 3242 Соединения сварные. Методы контроля качества
ГОСТ 4543 Металлопродукция из конструкционной легированной стали. Технические условия
ГОСТ 4728 Заготовки осевые для железнодорожного подвижного состава. Технические условия
ГОСТ 4784 Алюминий и сплавы алюминиевые деформируемые. Марки
ГОСТ 5017 Бронзы оловянные, обрабатываемые давлением. Марки
ГОСТ 5191 Резаки инжекторные для ручной кислородной резки. Типы, основные параметры и общие технические требования
ГОСТ 5264 Ручная дуговая сварка. Соединения сварные. Основные типы, конструктивные элементы и размеры
ГОСТ 5457 Ацетилен растворенный и газообразный технический. Технические условия
ГОСТ 5542 Газы горючие природные промышленного и коммунально-бытового назначения. Технические условия
ГОСТ 5583 Кислород газообразный технический и медицинский. Технические условия
ГОСТ 5632 Легированные нержавеющие стали и сплавы коррозионно-стойкие, жаростойкие и жаропрочные. Марки
ГОСТ 6102 Ткани асбестовые. Общие технические требования
ГОСТ 6713 Прокат низколегированный конструкционный для мостостроения. Технические условия
ГОСТ 6996-66 Сварные соединения. Методы определения механических свойств
ГОСТ 7012 Трансформаторы однофазные однопостовые для автоматической дуговой сварки под флюсом. Общие технические условия
ГОСТ 7211 Зубила слесарные. Технические условия
ГОСТ 7212 Крейцмейсели слесарные. Технические условия
ГОСТ 7219 Электропаяльники бытовые. Общие технические условия
ГОСТ 7237 Преобразователи сварочные. Общие технические условия
ГОСТ 7293 Чугун с шаровидным графитом для отливок. Марки
ГОСТ 7512 Контроль неразрушающий. Соединения сварные. Радиографический метод
ГОСТ 7871 Проволока сварочная из алюминия и алюминиевых сплавов. Технические условия
ГОСТ 8050 Двуокись углерода газообразная и жидкая. Технические условия
ГОСТ 8213 Автоматы для дуговой сварки плавящимся электродом. Общие технические условия
ГОСТ 8713 Сварка под флюсом. Соединения сварные. Основные типы, конструктивные элементы и размеры
ГОСТ 9012 Металлы. Метод измерения твердости по Бринеллю
ГОСТ 9013 Металлы. Метод измерения твердости по Роквеллу
ГОСТ 9087 Флюсы сварочные плавленые. Технические условия
ГОСТ 9293 Азот газообразный и жидкий. Технические условия
ГОСТ 9356 Рукава резиновые для газовой сварки и резки металлов. Технические условия
ГОСТ 9466 Электроды покрытые металлические для ручной дуговой сварки сталей и наплавки. Классификация и общие технические условия
ГОСТ 9467 Электроды покрытые металлические для ручной дуговой сварки конструкционных и теплоустойчивых сталей. Типы
ГОСТ 10025 Прутки оловянно-фосфористой бронзы. Технические условия
ГОСТ 10052 Электроды покрытые металлические для ручной дуговой сварки высоколегированных сталей с особыми свойствами. Типы
ГОСТ 10157 Аргон газообразный и жидкий. Технические условия
ГОСТ 10543 Проволока стальная наплавочная. Технические условия
ГОСТ 10796 Резаки ручные воздушно-дуговые. Типы и основные параметры
ГОСТ 10885 Сталь листовая горячекатаная двухслойная коррозионно-стойкая. Технические условия
ГОСТ 11401 Инструмент кузнечный для ручных и молотовых работ. Кувалды кузнечные тупоносые. Конструкция и размеры
ГОСТ 11533 Автоматическая и полуавтоматическая дуговая сварка под флюсом. Соединения сварные под острыми и тупыми углами. Основные типы, конструктивные элементы и размеры
ГОСТ 11534 Ручная дуговая сварка. Соединения сварные под острыми и тупыми углами. Основные типы, конструктивные элементы и размеры
ГОСТ 11964 Дробь чугунная и стальная техническая. Общие технические условия
ГОСТ 11969-79 Сварка плавлением. Основные положения и их обозначения
ГОСТ 12221 Аппаратура для плазменно-дуговой резки металлов. Типы и основные параметры
ГОСТ 13821 Выпрямители однопостовые с падающими внешними характеристиками для дуговой сварки. Общие технические условия
ГОСТ 13861 Редукторы для газопламенной обработки. Общие технические условия
ГОСТ 14651 Электрододержатели для ручной дуговой сварки. Технические условия
ГОСТ 14771 Дуговая сварка в защитном газе. Соединения сварные. Основные типы, конструктивные элементы и размеры
ГОСТ 14776 Дуговая сварка. Соединения сварные точечные. Основные типы, конструктивные элементы и размеры
ГОСТ 14806 Дуговая сварка алюминия и алюминиевых сплавов в инертных газах. Соединения сварные. Основные типы, конструктивные элементы и размеры
ГОСТ 15040 Трубы из бескислородной меди. Технические условия
ГОСТ 15150 Машины, приборы и другие технические изделия. Исполнения для различных климатических районов. Категории, условия эксплуатации, хранения и транспортирования в части воздействия климатических факторов внешней среды
ГОСТ 15527 Сплавы медно-цинковые (латуни), обрабатываемые давлением. Марки
ГОСТ 15860 Баллоны стальные сварные для сжиженных углеводородных газов на давление до 1,6 МПа. Технические условия
ГОСТ 15878 Контактная сварка. Соединения сварные. Конструктивные элементы и размеры
ГОСТ 16038 Сварка дуговая. Соединения сварные трубопроводов из меди и медно-никелевого сплава. Основные типы, конструктивные элементы и размеры
ГОСТ 16098 Соединения сварные из двухслойной коррозионно-стойкой стали. Основные типы, конструктивные элементы и размеры
ГОСТ 16130 Проволока и прутки из меди и сплавов на медной основе сварочные. Технические условия
ГОСТ 17433 Промышленная чистота. Сжатый воздух. Классы загрязненности
ГОСТ 18130 Полуавтоматы для дуговой сварки плавящимся электродом. Общие технические условия
ГОСТ 18322 Система технического обслуживания и ремонта техники. Термины и определения
ГОСТ 18442 Контроль неразрушающий. Капиллярные методы. Общие требования
ГОСТ 18895 Сталь. Метод фотоэлектрического спектрального анализа
ГОСТ 19140 Вращатели сварочные горизонтальные двухстоечные. Типы, основные параметры и размеры
ГОСТ 19141 Вращатели сварочные вертикальные. Типы, основные параметры и размеры
ГОСТ 19143 Вращатели сварочные универсальные. Типы, основные параметры и размеры
ГОСТ 19249 Соединения паяные. Основные типы и параметры
ГОСТ 19281 Прокат повышенной прочности. Общие технические условия
ГОСТ 20448 Газы углеводородные сжиженные топливные для коммунально-бытового потребления. Технические условия
ГОСТ 21694 Оборудование сварочное механическое. Общие технические условия
ГОСТ 21931 Припои оловянно-свинцовые в изделиях. Технические условия
ГОСТ 22161 Машины, механизмы, паровые котлы, сосуды и аппараты судовые. Нормы и правила гидравлических и воздушных испытаний
ГОСТ 22703 Детали литые сцепных и автосцепных устройств железнодорожного подвижного состава. Общие технические условия
ГОСТ 22917 Соединители кабеля для дуговой сварки. Технические условия
ГОСТ 23178 Флюсы паяльные высокотемпературные фторборатно- и боридно-галогенидные. Технические условия
ГОСТ 23518 Дуговая сварка в защитных газах. Соединения сварные под острыми и тупыми углами. Основные типы, конструктивные элементы и размеры
ГОСТ 23792 Соединения контактные электрические сварные. Основные типы, конструктивные элементы и размеры
ГОСТ 23949 Электроды вольфрамовые сварочные неплавящиеся. Технические условия
ГОСТ 24297 Верификация закупленной продукции. Организация проведения и методы контроля
ГОСТ 24715 Соединения паяные. Методы контроля качества
ГОСТ 25225 Контроль неразрушающий. Швы сварных соединений трубопроводов. Магнитографический метод
ГОСТ 25445 Барабаны, катушки и сердечники для сварочной проволоки. Основные размеры
ГОСТ 25616-83 Источники питания для дуговой сварки. Методы испытания сварочных свойств
ГОСТ 26056 Роботы промышленные для дуговой сварки. Общие технические условия
ГОСТ 26126 Контроль неразрушающий. Соединения паяные. Ультразвуковые методы контроля качества
ГОСТ 26182 Контроль неразрушающий. Люминесцентный метод течеискания
ГОСТ 26408 Колонны для сварочных полуавтоматов. Типы, основные параметры и размеры
ГОСТ 27580 Дуговая сварка алюминия и алюминиевых сплавов в инертных газах. Соединения сварные под острыми и тупыми углами. Основные типы, конструктивные элементы и размеры
ГОСТ 28076 Газотермическое напыление. Термины и определения
ГОСТ 28920 Вращатели сварочные роликовые. Типы, основные параметры и размеры
ГОСТ 28944 Оборудование сварочное механическое. Методы испытаний
ГОСТ 29091 Горелки ручные газовоздушные инжекторные. Технические требования и методы испытаний
ГОСТ 30260 Оборудование для наплавки поверхностей тел вращения. Типы, основные параметры и размеры
ГОСТ 30261 Оборудование для сварки кольцевых швов. Типы, основные параметры и размеры
ГОСТ 30295 Кантователи сварочные. Типы, основные параметры и размеры
ГОСТ 30430-96 Сварка дуговая конструкционных чугунов. Требования к технологическому процессу
ГОСТ 31596 Герметичность оборудования и аппаратуры для газовой сварки, резки и аналогичных процессов. Допустимые скорости внешней утечки газа и метод их измерения
ГОСТ 32400 Рама боковая и балка надрессорная литые тележек железнодорожных грузовых вагонов. Технические условия
ГОСТ 32884 Эксплуатация, техническое обслуживание и ремонт железнодорожного подвижного состава. Термины и определения
ГОСТ 34513 Система неразрушающего контроля продукции железнодорожного назначения. Основные положения
ГОСТ ISO/TR 15608 Сварка. Руководство по системе группирования металлических материалов
ГОСТ IEC 60245-6 Кабели с резиновой изоляцией на номинальное напряжение до 450/750 В включительно. Кабели для электродной дуговой сварки
ГОСТ Р 50402 Оборудование для газовой сварки, резки и родственных процессов. Устройства предохранительные для горючих газов и кислорода или сжатого воздуха. Технические требования и испытания
ГОСТ Р 51752 Чистота промышленная. Обеспечение и контроль при разработке, производстве и эксплуатации продукции
ГОСТ Р 52381 Материалы абразивные. Зернистость и зерновой состав шлифовальных порошков. Контроль зернового состава
ГОСТ Р 52400 Резервуары воздушные для тормозов вагонов железных дорог. Общие технические условия
ГОСТ Р 54153 Сталь. Метод атомно-эмиссионного спектрального анализа
ГОСТ Р 55724 Контроль неразрушающий. Соединения сварные. Методы ультразвуковые
ГОСТ Р 56512 Контроль неразрушающий. Магнитопорошковый метод. Типовые технологические процессы
ГОСТ Р 57180 Соединения сварные. Методы определения механических свойств, макроструктуры и микроструктуры
ГОСТ Р 58904 Сварка и родственные процессы. Словарь. Часть 1. Общие термины
ГОСТ Р 58905 Сварка и родственные процессы. Словарь. Часть 3. Сварочные процессы
ГОСТ Р 58906 Сварка и родственные процессы. Словарь. Часть 4. Дуговая сварка
ГОСТ Р ИСО 857-2 Сварка и родственные процессы. Словарь. Часть 2. Процессы пайки. Термины и определения
ГОСТ Р ИСО 4063 Сварка и родственные процессы. Перечень и условные обозначения процессов
ГОСТ Р ИСО 5817 Сварка. Сварные соединения из стали, никеля, титана и их сплавов, полученные сваркой плавлением (исключая лучевые способы сварки). Уровни качества
ГОСТ Р ИСО 6520-1 Сварка и родственные процессы. Классификация дефектов геометрии и сплошности в металлических материалах. Часть 1. Сварка плавлением
ГОСТ Р ИСО 6520-2 Сварка и родственные процессы. Классификация дефектов геометрии и сплошности в металлических материалах. Часть 2. Сварка давлением
ГОСТ Р ИСО 8206 Приемочные испытания машин для кислородной резки. Воспроизводимая точность. Эксплуатационные характеристики
ГОСТ Р ИСО 10042 Сварка. Сварные соединения из алюминия и его сплавов, полученные дуговой сваркой. Уровни качества
ГОСТ Р ИСО 14732 Персонал, выполняющий сварку. Аттестационные испытания сварщиков-операторов и наладчиков для полностью механизированной и автоматической сварки металлических материалов
ГОСТ Р ИСО 15609-1 Технические требования и аттестация процедур сварки металлических материалов. Технические требования к процедуре сварки. Часть 1. Дуговая сварка
ГОСТ Р ИСО 15609-2 Технические требования и аттестация процедур сварки металлических материалов. Технические требования к процедуре сварки. Часть 2. Газовая сварка
ГОСТ Р ИСО 15609-5 Технические требования и аттестация процедур сварки металлических материалов. Технические требования к процедуре сварки. Часть 5. Контактная сварка
ГОСТ Р ИСО 17637 Контроль неразрушающий. Визуальный контроль соединений, выполненных сваркой плавлением
ГОСТ Р ЕН 379 Система стандартов безопасности труда. Средства индивидуальной защиты глаз и лица при сварке и аналогичных процессах. Автоматические сварочные светофильтры. Общие технические условия
ГОСТ Р ЕН 12083 Система стандартов безопасности труда. Средства индивидуальной защиты органов дыхания. Фильтры противоаэрозольные, противогазовые и комбинированные с соединительными шлангами. Требования, испытания, маркировка
ГОСТ Р ЕН 13479-2010 Материалы сварочные. Общие требования к присадочным материалам и флюсам для сварки металлов плавлением
СП 7.13130 Отопление, вентиляция и кондиционирование. Требования пожарной безопасности
СП 12.13130 Свод правил. Определение категорий помещений, зданий и наружных установок по взрывопожарной и пожарной опасности
СП 52.13330 Естественное и искусственное освещение. Актуализированная редакция СНиП 23-05-95
Примечание - При пользовании настоящим стандартом целесообразно проверить действие ссылочных документов в информационной системе общего пользования - на официальном сайте Федерального агентства по техническому регулированию и метрологии в сети Интернет или по ежегодно издаваемому информационному указателю "Национальные стандарты", который опубликован по состоянию на 1 января текущего года, и по соответствующим ежемесячно издаваемым информационным указателям, опубликованным в текущем году, а также по единой информационной базе ОАО "РЖД". Если ссылочный документ заменен (изменен), то при пользовании настоящим стандартом следует руководствоваться замененным (измененным) документом. Если ссылочный документ отменен без замены, то положение, в котором дана ссылка на него, применяется в части, не затрагивающей эту ссылку.
В настоящем стандарте применены термины по
ГОСТ 3.1109,
ГОСТ 18322,
ГОСТ 28076,
ГОСТ 32884,
ГОСТ Р 58904,
ГОСТ Р 58905,
ГОСТ Р 58906,
ГОСТ Р ИСО 857-2,
ГОСТ Р ИСО 6520-1,
ГОСТ Р ИСО 17659, а также следующие термины с соответствующими определениями:
3.1 аттестация технологии сварки: Подтверждение соответствия качества соединения, полученного сваркой, наплавкой и другой родственной технологией, требованиям нормативной документации на ремонтируемое изделие и настоящего стандарта.
3.2 зона термического влияния: Участок сварного соединения, состоящий из нерасплавленного основного металла, подверженный структурным изменениям вследствие воздействия термического цикла сварки.
3.3 конструкции сварные несущие: Конструкции подвижного состава, которые передают силы, возникающие при движении и маневрах, воспринимают силы от действия груза, подвесного оборудования, тормозной системы, установленных механизмов, служат опорой на ходовые части.
Примечание - Сварные несущие конструкции включают:
- рамы тележек, надрессорные (люлечные) брусья и поддоны, траверсы, подвески и опоры тяговых двигателей и тягового привода, подвески подвагонных генераторов и редукторно-карданных приводов, корпусы редукторов;
- несущие элементы рам кузова (хребтовые, продольные боковые, основные поперечные и шкворневые балки, стяжные ящики);
- основные элементы каркаса цельнонесущих кузовов (для пассажирских вагонов только нижняя продольная обвязка и противоударные концевые стойки);
- несущие элементы тормозной рычажной передачи и рессорного подвешивания;
- элементы опор кузова на тележки и опор главных трансформаторов.
3.4 координатор сварки: Квалифицированное лицо, ответственное за координацию в сварке.
3.5 координация в сварке: Координация производственных операций для всех способов сварки и связанных со сваркой работ.
3.6 левый способ сварки: Газовая сварка, при которой присадочный пруток подают впереди горелки.
3.7 металл шва: Участок сварного соединения, состоящий из закристаллизовавшегося металла.
3.8 наплавочные работы: Вид технологических операций по созданию сваркой или родственным процессом слоя металла на детали.
3.9 основной металл: Металл детали или заготовки, подлежащих сварке или наплавке.
3.10 отчет об аттестации технологии сварки: Протокол, содержащий результаты испытаний контрольного сварного соединения с целью аттестации технологии.
3.11 проект технологической карты сварки: Документ, содержащий параметры выполнения контрольного сварного соединения (включая сварочный(ые) процесс(ы), применяемые материалы, сварочные материалы, подготовку кромок, предварительный подогрев (если требуется), метод и объем контроля сварки и термической обработки после сварки (при необходимости), надлежащее оборудование) которое подлежит испытанию с целью аттестации.
3.12 ремонтное предприятие: Организация, выполняющая техническое обслуживание или ремонт железнодорожного подвижного состава.
3.13 сварочные работы: Вид технологических операций по соединению сваркой или родственным процессом элементов металлических конструкций и заварке в них дефектов.
3.14 сварочный материал: Материал, используемый при выполнении сварного шва.
Примечание - Этот термин включает в себя присадочный материал и вспомогательный материал.
3.15 сварщик: Лицо, которое держит в руке и манипулирует держателем электрода, сварочной горелкой или газовой горелкой во время сварки.
3.16 сварщик-оператор: Лицо, которое контролирует или регулирует любой сварочный параметр при полностью механизированной или автоматической сварке.
3.17 система координации в сварке: Часть общей системы менеджмента, которая направлена на управление, мониторинг, анализ, поддержку и постоянное улучшение сварочного производства предприятия.
3.18 стандартная технология сварки: Технология сварки, параметры режимов которой изложены в нормативной документации, утвержденной установленным порядком, или аттестована в соответствии с настоящим стандартом.
3.19 термическая резка: Технологический процесс разделения металла на части или удаления дефектного места посредством концентрированного нагрева, создаваемого различными источниками теплоты.
3.20 технологическая карта сварки: Документ, содержащий параметры аттестованной технологии сварки.
3.21 технологический процесс: Часть производственного процесса, содержащая целенаправленные действия по изменению и (или) определению состояния предмета труда.
Примечания
1 Технологический процесс может быть отнесен к изделию, его составной части или к методам обработки, формообразования и сборки.
2 К предметам труда относятся заготовки и изделия.
4 Обозначения и сокращения
Для систематизации подходов в оформлении технологических карт сварки, результатов аттестации сварщиков, удобства составления таблиц в настоящем стандарте применены следующие сокращения:
111 - сварка ручная дуговая плавящимся электродом (сварка дуговая плавящимся покрытым электродом);
114 - сварка дуговая порошковой самозащитной проволокой;
121 - сварка дуговая под флюсом сплошной проволокой;
125 - сварка дуговая под флюсом порошковой проволокой;
13 - сварка дуговая плавящимся электродом в защитном газе;
131 - сварка дуговая сплошной проволокой в инертном газе;
135 - сварка дуговая сплошной проволокой в активном газе;
136 - сварка дуговая порошковой проволокой с флюсовым наполнителем в активном газе;
14 - сварка дуговая вольфрамовым электродом в защитном газе;
141 - сварка дуговая вольфрамовым электродом в инертном газе с присадочным сплошным материалом (проволокой или стержнем);
151 - сварка плазменная плавящимся электродом в инертном газе;
21 - сварка контактная точечная;
22 - сварка контактная шовная;
24 - сварка контактная стыковая оплавлением;
25 - сварка контактная стыковая сопротивлением;
3 - сварка газовая;
311 - сварка ацетиленокислородная;
91 - пайка высокотемпературная с местным нагревом;
94 - пайка низкотемпературная с местным нагревом;
971 - сваркопайка газовая;
ГПН - газопорошковая наплавка;
ГПНА - газопорошковая наплавка на ацетилене;
ГПНП - газопорошковая наплавка на пропане;
ГПНО - газопламенное напыление с оплавлением;
ИМС - индукционно-металлургический способ наплавки;
КСС - контрольное сварное соединение;
ОТК - отдел технического контроля;
ППН - плазменная порошковая наплавка;
ЭДМ - электродуговая металлизация;
ЭКНП - электроконтактная наварка проволокой;
пТКС - проект технологической карты сварки (pWPS);
ОАТС - отчет об аттестации технологии сварки (WPQR);
ТКС - технологическая карта сварки (WPS).
5.1 Требования к сварочному производству
5.1.1 Предприятие, выполняющее ремонт железнодорожного подвижного состава сваркой или наплавкой, должно иметь документальные подтверждения своей способности выполнять требования настоящего стандарта и функционирования системы координации в сварке.
Подтверждение способности выполнять требования настоящего стандарта должно быть выполнено в виде сертификации в системе добровольной сертификации.
5.1.2 Координацию сварочных работ должен осуществлять ответственный координатор сварки, назначаемый распорядительным документом руководителя ремонтного предприятия.
Задачи и обязанности координатора сварки, установленные
ГОСТ Р ИСО 14731, могут быть распределены между работниками ремонтного предприятия (координаторами сварки) с оформлением матрицы ответственности, согласованной ответственным координатором сварки.
5.1.3 Ответственный за координацию работ по сварке должен иметь высшее или среднее профессиональное образование в области сварочного производства и стаж работы по ремонту сваркой подвижного состава не менее двух лет; или высшее техническое образование и стаж работы по ремонту сваркой подвижного состава не менее трех лет.
Ответственный координатор сварки обязан знать положения настоящего стандарта и требования действующей нормативной документации по ремонту подвижного состава сваркой.
5.1.4 Сварочные и наплавочные работы должны выполняться сварщиками и операторами соответствующей квалификации. Сварщики должны быть аттестованы по
правилам аттестации сварщиков
[1], сварщики-операторы - по
ГОСТ Р ИСО 14732.
5.1.5 На деталях и конструкциях железнодорожного подвижного состава, отремонтированных сваркой или наплавкой, подлежащих испытанию на растяжение или неразрушающему контролю, а также по указанию ремонтной документации, должны быть поставлены личные клейма сварщиков после приемки деталей в местах, предусмотренных ремонтной документацией.
На всех усиливающих планках или накладках, приваренных к хребтовым, концевым, шкворневым, продольным, поперечным балкам рам и стойкам вагонов, на рамах и брусьях тележек в обязательном порядке следует ставить клейма сварщика. Клейма набивают на зачищенных поверхностях.
Выдачу и регистрацию номеров клейм сварщиков осуществляет ремонтное предприятие.
Присвоенный сварщику номер следует указывать на клейме арабской цифрой высотой не менее 5 мм. Клеймо сварщика должно быть дополнено клеймом ремонтного предприятия и размещено над клеймом ремонтного предприятия на площадке размером от 12 x 12 мм до 16 x 16 мм (см.
рисунок 1, а). Допускается клеймо сварщика и клеймо ремонтного предприятия совмещать в едином клейме, содержащем рамку размером от 12 x 12 мм до 16 x 16 мм (см.
рисунок 1, б).
Рисунок 1 - Образец нанесения клейма сварщика
5.1.6 Требования к ремонту сваркой и наплавкой конкретных деталей и узлов (или их групп), параметры технологических режимов процесса сварки или наплавки (технологии сварки) должны быть указаны в комплектах технологической документации, оформленной по
ГОСТ 3.1105.
5.1.7 Применяемые ремонтным предприятием технологии сварки (наплавки) должны быть аттестованы в соответствии с
приложением А.
5.1.8 Основные и сварочные материалы, используемые при ремонте, должны иметь сертификаты. Основные материалы следует хранить в условиях, ограждающих их от коррозии, загрязнения и механических повреждений.
Примечание - Основным материалом является прокат листовой, сортовой, фасонный, трубопрокат, в том числе заготовки из него, детали из отливок, подлежащие сварке или наплавке.
5.1.9 Сварочные и основные материалы подлежат верификации координатором сварки ремонтного предприятия, ответственным за сварочный и основной материалы, в соответствии с
ГОСТ 24297.
Упаковка, маркировка и этикетка должны соответствовать ГОСТ Р ЕН 13479-2010
(раздел 8).
Сварочные материалы должны храниться на поддонах в закрытых помещениях при температуре не ниже 15 °C с относительной влажностью не более 70% без нарушения упаковки предприятия-изготовителя.
Перед применением покрытые электроды, порошковую проволоку и флюсы следует прокалить. Режимы прокалки должны соответствовать требованиям условий применения нормативной документации на конкретные материалы.
Перед применением стальную сварочную проволоку сплошного сечения, имеющую следы масла, грязи, ржавчины и технологической смазки, следует очистить. Герметично упакованная сварочная проволока, поставляемая в проволочных кассетах, дополнительной подготовке не подлежит.
5.1.10 Сварочное и наплавочное оборудование на ремонтных предприятиях следует размещать в производственных помещениях, отвечающих
СП 52.13330,
правилам технической эксплуатации электроустановок потребителей
[2],
правилам устройства электроустановок
[3],
правилам по охране труда
[4].
5.1.11 Сварочные и наплавочные работы следует производить в помещениях, чистота которых по ГОСТ Р 51752 соответствует нормам промышленной чистоты для групп однородной продукции: стальных и чугунных деталей; деталей из цветных металлов и сплавов. Температура внутри производственных помещений должна быть не ниже 5 °C.
5.1.12 При выполнении сварочных работ на открытом воздухе следует выполнять следующие требования:
- сварщик и место сварки должны быть защищены от ветра и осадков;
- перед сваркой место сварки должно быть очищено от влаги;
- сварку необходимо выполнять в течение 30 мин после устранения дефекта.
При выполнении сварочных работ при температуре ниже 5 °C следует выполнять следующие требования:
- перед сваркой детали должны быть очищены от льда и снега;
- править узлы и детали вагонов можно только с предварительным подогревом участка правки до температуры от 200 °C до 250 °C;
- сварку электродами с фтористо-кальциевым покрытием следует выполнять на постоянном токе обратной полярности предельно короткой дугой на максимальных паспортных режимах;
- прихватки следует выполнять двумя валиками, накладываемыми один на другой в виде двухслойного шва (второй валик служит в качестве отжигающего и должен быть уже (от 15 до 20 мм) и короче (от 3 до 6 мм) первого, и не выходить на основной металл);
- у рабочего места рекомендуется располагать устройства для обогрева рук;
- для работы при температуре ниже минус 30 °C сварщикам целесообразно под основной костюм спецодежды поддевать жилет с искусственным подогревом;
- периоды работы на открытом воздухе следует чередовать с периодами отдыха сварщиков в отапливаемом помещении.
5.1.13 Электрические проводки установок и аппаратов, предназначенных для электродуговой сварки, должны быть выполнены проводами с медными жилами по
правилам устройства электроустановок
[3].
| | ИС МЕГАНОРМ: примечание. Текст дан в соответствии с официальным текстом документа. | |
5.1.14 При выполнении сварочных работ на подвижном составе обратный провод от источника питания присоединяют на минимальном расстоянии от места сварки, но не более на 10 м от сварочной дуги. Место присоединения обратного провода к детали должно быть предварительно зачищено до чистого металла, а сам провод надежно и плотно присоединен при помощи зажима или другого специального приспособления заводского изготовления. Подвод сварочного тока осуществляют по двухпроводной сварочной цепи. Для обеспечения устойчивого режима сварки сечение сварочных проводов следует выбирать с учетом величины силы сварочного тока.
Для проверки возбуждения дуги или установленного режима сварки (наплавки) следует использовать инвентарные пластины из материала, близкого по химическому составу к свариваемым деталям. Размеры пластин должны быть выбраны по ГОСТ 25616-83 (
таблицы 1 -
2).
5.1.15 При выполнении сварочных работ на подвижном составе запрещается:
- проводить сварочные работы на подвижном составе, находящемся на приемоотправочных и сортировочных путях станций, кроме специализированных путей, оборудованных для проведения сварочных работ;
- использовать рельсы в качестве обратного провода;
- проверять возбуждение дуги касанием электрода или электрододержателя к любой части вагона, локомотива, моторвагонного подвижного состава;
- замыкать сварочную цепь через детали буксового узла, автосцепку, редукторы и другие разъемные соединения;
- выполнять сварочные работы на корпусах редукторов подвагонных генераторов или букс с роликовыми подшипниками без демонтажа ремонтируемых сборочных единиц;
- допускать к выполнению сварочных работ сварщиков, своевременно не аттестованных или не имеющих соответствующей квалификации.
5.1.16 Порядок эксплуатации, технического обслуживания и ремонта сварочно-наплавочного оборудования в соответствии с руководящим документом
[5].
5.1.17 Сварочно-наплавочное оборудование для ремонта подвижного состава должно соответствовать требованиям
5.8.
5.2 Ремонт стальных сварных конструкций и деталей
5.2.1 Эксплуатационные дефекты, устраняемые сваркой или наплавкой
Ремонту сваркой (наплавкой) подлежат сборочные единицы и детали с выявленными дефектами:
- трещинами в сварных соединениях;
- трещинами в основном металле и изломами отдельных элементов конструкции;
- пробоинами, забоинами и другими механическими повреждениями;
- износами сопрягаемых поверхностей;
- коррозионными повреждениями.
5.2.2 Подготовка деталей и сборочных единиц к сварке и наплавке
5.2.2.1 Места, подлежащие сварке или наплавке, должны быть очищены от грязи, краски, ржавчины, окалины до чистого металла.
5.2.2.2 Для разделки кромок под заварку трещин, удаления некондиционных деталей или их элементов и выполнения скосов кромок под приварку новых элементов следует использовать:
- на деталях из нелегированных и легированных сталей: кислородную, электродуговую (специальными электродами), воздушно-плазменную резку или механические способы;
- на деталях из нержавеющих сталей: электродуговую, плазменную резку с последующей зачисткой поверхности разделки механическим способом до чистого металла.
Поверхности разделок под сварку, выполненных кислородной, электродуговой, воздушно-плазменной резкой, должны быть очищены от грата, шлака, натеков и капель металла.
Допускается воздушно-дуговая резка (строжка) с последующей механической обработкой поверхности разделки до чистого металла.
5.2.2.3 При термических способах резки используют следующие материалы:
а) при кислородной резке:
1) кислород технический первого и второго сорта с объемной долей кислорода не менее 99,5% по
ГОСТ 5583;
2) технический растворенный ацетилен марки Б по
ГОСТ 5457;
5) керосин осветительный;
б) при электродуговой резке покрытыми электродами: электроды марки ОЗР-1 или другие с аналогичными основными характеристиками;
в) при воздушно-дуговой резке:
1) сжатый воздух;
2) омедненные угольные электроды марки ВДК.
5.2.2.4 Варианты форм разделки трещин механическим и термическим способами приведены на
рисунке 2.
Рисунок 2 - Формы разделки трещин
Трещины должны быть разделаны на глубину их залегания по всей длине. Перед разделкой трещины механическим способом концы трещины должны быть рассверлены с последующим зенкованием. При использовании термических методов разделки (кислородной, электродуговой или воздушно-дуговой резки) допускается концы трещин не рассверливать. Концы разделки должны иметь плавный выход на поверхность. Стенки разделки несквозных трещин должны иметь плавный переход к основанию.
5.2.2.5 Не подлежащие сварке кромки элементов несущих конструкций должны быть скругленными, не иметь выступов и неровностей.
5.2.2.6 Элементы конструкции в местах, подлежащих ремонту, а также металлический прокат для изготовления отдельных элементов конструкции, имеющие деформации (прогибы, вмятины, искривления и др.), предельные отклонения которых превышают допустимые стандартами на соответствующие виды металлопроката, должны быть предварительно выправлены. Правку следует выполнять на прессах, вальцах или устройствах, обеспечивающих плавное приложение нагрузок. Отдельные неровности и искривления на листах толщиной до 3 мм допускается править вручную на ровных чугунных плитах.
При правке не допускаются трещины и надрывы. При горячей правке не допускаются пережоги металла. Допускается правка металла при местном нагреве отдельных участков. Температурный режим горячей правки и метод контроля температуры должны быть указаны в технологическом процессе ремонтного предприятия.
5.2.2.7 Вырывы, надрывы и другие дефекты, появившиеся в результате обработки, необходимо устранить, соблюдая плавность перехода от обработанного места к необработанному.
5.2.2.8 Вновь устанавливаемые элементы конструкции (вставки, накладки, ребра) должны быть изготовлены из сталей марок, предусмотренных ремонтной документацией на изделие.
Кромки накладок и вставок, вырезанных термической резкой, должны быть зачищены от грата и шлака.
5.2.2.9 Конструктивные элементы и размеры подготовленных кромок ремонтируемых и свариваемых новых деталей и элементов конструкций, размеры и допускаемые отклонения выполненных швов должны соответствовать:
- при ручной дуговой сварке:
ГОСТ 5264 для стыковых соединений и соединений, выполненных под прямым углом,
ГОСТ 11534 для соединений, выполненных под острым или тупым углом;
- при дуговой сварке в защитных газах:
ГОСТ 14771 для стыковых соединений и соединений, выполненных под прямым углом,
ГОСТ 23518 для соединений, выполненных под острым или тупым углом;
- при дуговой сварке под флюсом:
ГОСТ 8713 для стыковых соединений и соединений, выполненных под прямым углом,
ГОСТ 11533 для соединений, выполненных под острым или тупым углом;
5.2.2.10 В местах, подлежащих сварке, после разделки трещин и подготовки кромок обязательна зачистка основного металла на расстоянии не менее 20 мм по обе стороны от границ разделанных кромок. Края подготавливаемых накладок, косынок, вставок, ребер и выводных планок также должны быть зачищены до чистого металла.
5.2.2.11 Прихватки под сварку следует выполнять с использованием сварочных материалов, аналогичных применяемым при сварке конструкций. Поперечные размеры прихватки должны составлять от 15% до 30% площади поперечного сечения (от 40% до 60% величины катета) сварного шва. Длина прихватки должна составлять от 3 до 4 толщин соединяемых элементов, но не более 100 мм. Расстояние между прихватками должно составлять от 30 до 40 толщин соединяемых элементов, но не более 500 мм. При малых размерах привариваемых элементов размеры прихваток и расстояние между ними может быть уменьшено. Прихватки должны быть очищены от шлака и брызг.
5.2.2.12 Разделка под заварку трещин и сборка под приварку новых элементов должны быть проверены контролером или мастером ремонтного предприятия.
5.2.3 Ремонт сварных конструкций из нелегированных и легированных сталей
5.2.3.1 В зависимости от размеров, места расположения и повторяемости эксплуатационных дефектов применяют следующие процессы сварки и наплавки:
- сварка ручная дуговая плавящимся электродом (сварка дуговая плавящимся покрытым электродом);
- сварка дуговая под флюсом сплошной проволокой;
- сварка дуговая сплошной проволокой в активном газе;
- сварка газовая.
5.2.3.2 Материалы для дуговой сварки и наплавки конструкций, пораженных коррозией, из нелегированных и легированных сталей приведены в
таблице 1.
Таблица 1
Материалы для дуговой сварки и наплавки конструкций
из нелегированных и легированных сталей
Марка стали | | | Защитный газ | |
для сварки под флюсом | для сварки в защитных газах |
19Г, 14Г2 09Г2, 09Г2Д 09Г2С, 09Г2СД 10ХНДП | | АН-348-А ОСЦ-45 | СВ-08ГА Св-10ГА СВ-10Г2 Св-10НМА | СВ-08Г2С | | Э50А |
25Л, 35Л 20ФЛ, 20ГЛ 20Г1ФЛ, 32Х06Л | |
12Г2ФД | | АН-348-А АН-47 |
10Г2Б, 10Г2БД 10ХСНД, 15ХСНД | |
Ст3сл | | АН-348-А ОСЦ-45 | Св-08ГА Св-08А | Э42А, Э46 |
15, 20 | |
15Л, 20Л | |
16Д | |
Примечание - Для сварки несущих конструкций из стали марки Ст3сп применяют электроды типа Э42А или Э50А. |
5.2.3.3 Рекомендуемые режимы дуговой сварки (наплавки) конструкций из нелегированных и легированных сталей в нижнем положении приведены в
таблице 2.
Таблица 2
Рекомендуемые режимы дуговой сварки конструкций
из углеродистых и низколегированных сталей
Параметры сварного соединения, мм | | Диаметр электрода (проволоки), мм | Сила сварочного тока, А | Напряжение на дуге, В | Расстояние от мундштука до изделия, мм | Удельный расход защитного газа, л/мин | Скорость сварки, м/ч |
Толщина металла, глубина разделки | Катет углового шва |
1,0 - 2,0 | 2,0 - 3,0 | 111 | 2,0 | 40 - 80 | - | - | - | - |
2,0 - 3,0 | 2,0 - 3,0 | 2,5 | 50 - 100 |
3,0 - 4,0 | 3,0 - 4,0 | 3,0 | 80 - 130 |
4,0 - 5,0 | 4,0 - 5,0 | 4,0 | 130 - 220 |
Св. 5,0 | Св. 4,0 | 5,0 | 180 - 260 |
1,0 - 1,5 | 2,0 - 3,0 | 135-G | 0,8 | 70 - 120 | 18 - 21 | 8 - 10 | 8 - 10 |
1,5 - 3,0 | 3,0 - 4,0 | 1,0 | 100 - 180 | 18 - 24 | 10 - 12 | 8 - 10 |
3,0 - 4,0 | 3,5 - 5,0 | 1,2 | 140 - 250 | 20 - 26 | 12 - 18 | 10 - 12 |
3,5 - 5,0 | 4,0 - 5,0 | 1,4 | 180 - 310 | 22 - 28 | 18 - 23 | 12 - 16 |
Св. 4,0 | Св. 4,0 | 1,6 | 200 - 360 | 26 - 33 | 23 - 28 | 16 - 18 |
1,0 - 2,5 | 2,0 - 3,0 | 135-P | 1,0 | 50 - 80 | 18 - 21 | 10 - 12 | 10 - 12 |
2,5 - 4,0 | 3,0 - 4,0 | 1,2 | 80 - 120 | 19 - 23 | 12 - 18 | 12 - 14 |
Св. 4,0 | Св. 4,0 | 135-S | 1,2 | 260 - 300 | 28 - 31 | 18 - 20 | 15 - 18 |
1,6 | 300 - 360 | 31 - 32 | 20 - 25 | 18 - 20 |
2,5 - 3,0 Односторонний шов | - | 121 | 2,0 | 300 - 320 | 28 - 30 | 25 - 30 | - | 40 - 42 |
8,0 Двусторонний шов | 4,0 | 550 - 600 | 30 - 32 | 30 - 35 | 34 - 36 |
10,0 Двусторонний шов | 4,0 | 650 - 700 | 32 - 34 | 35 - 40 | 30 - 32 |
5.2.3.4 Ремонт сваркой и наплавкой следует производить, по возможности, в нижнем положении. В вертикальном, горизонтальном и потолочном положении допускается сварка покрытыми электродами диаметром не более 4,0 мм и сварка в защитных газах проволокой диаметром не более 1,4 мм на токе обратной полярности. При этом сварочный ток должен быть на (15 +/- 5)% менее, чем при сварке в нижнем положении. Сварку следует выполнять предельно короткой дугой.
5.2.3.5 Заварку трещин в сварных швах следует выполнять до полного заполнения разделки. Излишек наплавленного металла должен быть удален зачисткой механическим способом до заданной поверхности шва. Начало и окончание сварки на основном металле не допускается.
5.2.3.6 Заварку трещин в сварных швах и основном металле при глубине разделки более 5 мм производят не менее чем в два слоя. После наложения каждого валика следует производить зачистку шва от шлака и брызг.
Кратеры должны быть выведены на металл шва и заварены. При сварке в несколько проходов кратеры не должны быть сосредоточены в одном месте.
5.2.3.7 При заварке сквозной трещины или излома детали корневой проход и подварочный валик рекомендуется выполнять электродом диаметром 3,0 мм, последующие слои - электродами диаметром 4,0 или 5,0 мм.
5.2.3.8 Для обеспечения полного проплавления по толщине детали заварку сквозных трещин и изломов рекомендуется производить на съемной подкладке с последующей расчисткой корня от шлака и натеков металла и наложением подварочного валика. Допускается заварку сквозных трещин и изломов выполнять на остающейся подкладке с обеспечением полного проплавления корня шва.
5.2.3.9 Места заварки сквозных трещин и изломов, в которых подварка корня или установка остающейся подкладки невозможна, подлежат усилению накладками.
5.2.3.10 Усиливающие накладки должны быть изготовлены из стали класса прочности не ниже предусмотренного ремонтной документацией на ремонтируемую деталь. Толщина односторонней накладки должна быть от 0,8 до 1,0 толщины детали, двусторонней - не менее 0,5 толщины. При приварке двухсторонних накладок необходимо, чтобы противоположные швы были смещены относительно друг друга не менее чем на 30 мм. Накладки могут быть плоскими, угловыми или повторять профиль восстанавливаемого элемента.
5.2.3.11 Накладка должна перекрывать заваренную трещину не менее чем на 50 мм в каждую сторону.
5.2.3.12 Поверхность сварных швов перед установкой накладок следует зачистить до уровня основного металла. Зазоры в нахлесточных соединениях не должны превышать значений, допустимых
ГОСТ 5264 - для ручной дуговой сварки,
ГОСТ 14771 - для дуговой сварки в защитном газе.
5.2.3.13 Накладки должны быть приварены по контуру сплошным угловым швом с катетом, равным от 0,7 до 0,8 толщины накладки. Допускается приварку накладок по контуру комбинировать с точечными сварными соединениями по
ГОСТ 14776.
5.2.3.14 Исправление сквозных механических повреждений и ремонт вваркой вставок следует производить с учетом требований
5.2.3.7 и
5.2.3.8.
5.2.3.15 Места механического и коррозионного износов конструкций из углеродистых и низколегированных сталей восстанавливают наплавкой.
5.2.3.16 При проведении испытаний с целью аттестации технологии сварки механические свойства металла сварных соединений, определенные при испытаниях образцов по
ГОСТ 6996, должны соответствовать следующим значениям:
- временное сопротивление металла сварного соединения и предел текучести металла шва - не ниже требований, предъявляемых к основному металлу;
- относительное удлинение металла шва стыковых соединений из сталей с пределом текучести до 345 МПа должно быть не менее 18%, из сталей с пределом текучести от 375 до 390 МПа - не менее 16%;
- угол статического изгиба сварного соединения с поперечным стыком должен быть не менее 120°;
- ударная вязкость на образцах KCU должна быть не менее 29 Дж/см
2 при температуре испытаний: минус 60 °C для исполнения УХЛ по
ГОСТ 15150 и минус 50 °C для исполнения У по
ГОСТ 15150;
- при наличии требований к ударной вязкости основного металла на образцах KCV, ударная вязкость KCV должна быть не менее 20 Дж/см
2 при температуре испытаний: минус 60 °C для исполнения УХЛ по
ГОСТ 15150 и минус 50 °C для исполнения У по
ГОСТ 15150;
- твердость металла шва и зоны термического влияния должна быть не более 350 HV
10 по
ГОСТ 2999.
5.2.3.17 Механические свойства металла сварных соединений резервуаров воздушных для тормозов электропоездов и дизель-поездов должны соответствовать требованиям
ГОСТ 1561, грузовых и пассажирских вагонов -
ГОСТ Р 52400.
5.2.3.18 Газовую сварку следует применять для ремонта сборочных единиц с тонкостенными элементами из углеродистых сталей в случаях, когда применение дуговых способов сварки затруднено.
Для газовой сварки следует использовать:
- сварочную проволоку марок Св-08А, Св-08ГА, Св-10Г2 (для нелегированных сталей), Св-18ХГС, Св-06Н3 (для легированных сталей) по
ГОСТ 2246;
- технический растворенный ацетилен марки Б по
ГОСТ 5457 или ацетилен, вырабатываемый в ацетиленовых генераторах из карбида кальция по
ГОСТ 1460;
- кислород технический первого и второго сорта (с объемной долей кислорода не менее 99,5%) по
ГОСТ 5583.
Сварку выполняют нормальным пламенем с углом наклона горелки к поверхности изделия от 10° до 20° для указанных в
таблице 3 диапазона толщин и рекомендуемых режимов газовой сварки. При сварке более толстого металла угол наклона должен быть увеличен.
Таблица 3
Рекомендуемые режимы газовой сварки углеродистых сталей
Толщина металла, мм | Диаметр присадочной проволоки, мм | N наконечника | Давление ацетилена, кгс/см2 | Расход ацетилена, л/ч | Давление кислорода, кгс/см2 | Расход кислорода, л/ч |
От 0,5 до 1,0 включ. | 2,0 | 1 | 0,7 | 75 | 3,0 - 4,0 | 85 |
Св. 1,0 до 2,0 включ. | Св. 2,0 до 2,5 включ. | 2 - 3 | 150 - 200 | 165 - 220 |
5.2.4 Ремонт сварных конструкций из коррозионно-стойких, разнородных и двухслойных сталей
5.2.4.1 Для ремонта сварных конструкций из коррозионно-стойких, разнородных и двухслойных сталей применяют следующие процессы сварки:
- сварка ручная дуговая плавящимся электродом;
- сварка дуговая под флюсом сплошной проволокой;
- сварка дуговая плавящимся электродом в активном газе;
- сварка дуговая вольфрамовым электродом в инертном газе с присадочным сплошным материалом (проволокой или стержнем);
- сварка плазменная плавящимся электродом в инертном газе.
5.2.4.2 Материалы для дуговой и плазменной сварки (наплавки) конструкций из коррозионно-стойких сталей марок 07Х14Г18Д, 08Х13М, а также марок 08Х18Н10Т, 12Х18Н10Т, 12Х18Н9, 08Х22Н6Т, 08Х21Н6М2Т, 10Х17Н13М2Т, 10Х14Г14Н4Т, 10Х14Г14Н3, 08Х18Г8Н2Т, 10Х13Г18Д, 06ХН28МДТ по
ГОСТ 5632 приведены в
таблице 4.
5.2.4.3 Для сварки конструкций из разнородных сталей, марки которых указаны в
5.2.4.2 и
таблице 1, необходимо применять электроды и проволоки, приведенные в
таблице 4.
Таблица 4
Материалы для сварки (неплавки) конструкций
из коррозионно-стойких и разнородных сталей
Свариваемые стали | Сварка плавящимся электродом | Сварка вольфрамовым электродом |
| | Защитный газ (варианты) | | | | Защитный (плазмообразующий) газ |
под флюсом | в защитном газе |
Коррозионно-стойкие стали, указанные в 5.2.4.2 | АН-26С | СВ-06Х19Н9Т Св-05Х20Н9ФБС Св-07Х18Н9ТЮ Св-08Х20Н9Г7Т | Св-04Х19Н11М3 Св-06Х19Н9Т Св-06Х20Н11М3ТБ Св-07Х18Н9ТЮ Св-08Х20Н9Г7Т Св-05Х20Н9ФБС | Смесь: аргон + (1 - 5)% двуокиси углерода Смесь: аргон + (1 - 3)% кислорода | Э-04Х20Н9 (0ЗЛ-36) Э-07Х19Н10Г2М2Б (НЖ-13) Э-08Х20Н9Г2Б (ЦЛ-11, ОЗЛ-7) Э-08Х19Н10Г2Б (ЦТ-15) Э-08Х17Н8М2 (НИАТ-1) | Св-06Х19Н9Т Св-07Х18Н9ТЮ Св-08Х20Н9Г7Т | ЭВЛ | |
Коррозионно-стойкие стали, указанные в 5.2.4.2 с углеродистыми и низколегированными сталями, указанными в таблице 1 | Св-06Х25Н12ТЮ Св-07Х25Н13 Св-07Х25Н12Г2Т Св-08Х25Н13БТЮ | Св-06Х25Н12ТЮ Св-07Х25Н12Г2Т Св-08Х25Н13БТЮ Св-10Х16Н25АМ6 | Э-10Х25Н13Г2 (ОЗЛ-6, ЗИО-8) Э-11Х15Н25М6АГ2 (ЭА-395/9, НИАТ-5) | - |
5.2.4.4 Сварку плавящимся электродом следует выполнять постоянным током обратной полярности, сварку неплавящимся электродом (аргонодуговую и плазменную) - постоянным током прямой полярности.
5.2.4.5 При сварке разнородных сталей следует ограничивать долю участия в сварном шве низколегированного и углеродистого металла с целью предотвращения образования закалочных структур.
5.2.4.6 Для обеспечения требуемой коррозионной стойкости и предупреждения образования горячих трещин сварку коррозионно-стойких сталей следует выполнять на режимах с минимальной погонной энергией, узкими валиками без поперечных колебаний конца электрода, с обязательным охлаждением перед наложением очередного валика многослойного шва.
Слой шва, поверхность которого при эксплуатации подвергается воздействию агрессивной среды, выполняют в последнюю очередь.
5.2.4.7 Рекомендуемые режимы сварки конструкций из коррозионно-стойких и разнородных сталей приведены в
таблицах 5 и
6.
Таблица 5
Рекомендуемые режимы дуговой сварки плавящимся электродом
конструкций из коррозионно-стойких и разнородных сталей
Толщина металла (глубина разделки), мм | Катет углового шва, мм | | Диаметр электрода (проволоки), мм | Сила сварочного тока, А |
1,0 - 2,0 | 2,0 - 3,0 | 111 | 2,0 | 40 - 55 |
2,0 - 3,0 | 2,0 - 3,0 | 2,5 | 55 - 65 |
3,0 - 4,0 | 3,0 - 4,0 | 3,0 | 80 - 100 |
4,0 - 5,0 | 4,0 - 5,0 | 4,0 | 120 - 150 |
Св. 5,0 | Св. 5,0 | 5,0 | 150 - 180 |
1,0 - 2,5 | 2,0 - 3,0 | 135 (в смеси аргона и от 1% до 5% двуокиси углерода или от 1% до 3% кислорода) | 1,0 | 60 - 230 |
2,5 - 4,0 | 3,0 - 4,0 | 1,2 | 80 - 260 |
3,5 - 5,0 | 4,0 - 5,0 | 1,4 | 100 - 280 |
Св. 4,0 | Св. 4,0 | 1,6 | 130 - 300 |
1,0 - 2,5 | 2,0 - 3,0 | 135 (в двуокиси углерода) | 1,0 | 80 - 160 |
2,5 - 4,0 | 3,0 - 4,0 | 1,2 | 120 - 200 |
3,5 - 5,0 | 4,0 - 5,0 | 1,4 | 200 - 280 |
Св. 4,0 | Св. 4,0 | 1,6 | 220 - 320 |
2,5 - 3,0 Односторонний шов | - | 121 | 2,0 | 280 - 300 |
8,0 Двусторонний шов | 3,0 | 400 - 460 |
10,0 Двусторонний шов | 3,0 | 420 - 480 |
Продолжение таблицы 5
Толщина металла (глубина разделки), мм | Напряжение на дуге, В | Вылет электрода, мм | Удельный расход защитного газа, л/мин | Скорость сварки, м/ч |
1,0 - 2,0 | - | - | | - |
2,0 - 3,0 |
3,0 - 4,0 |
4,0 - 5,0 |
Св. 5,0 |
1,0 - 2,5 | 18 - 31 | 10 - 12 | 10 - 12 |
2,5 - 4,0 | 20 - 32 | 12 - 15 | 12 - 14 |
3,5 - 5,0 | 22 - 33 | 15 - 18 | 14 - 16 |
Св. 4,0 | 24 - 34 | 18 - 23 | 16 - 20 |
1,0 - 2,5 | 18 - 24 | 10 - 12 | 8 - 10 |
2,5 - 4,0 | 21 - 26 | 15 - 20 | 10 - 12 |
3,5 - 5,0 | 22 - 30 | 20 - 25 | 12 - 16 |
Св. 4,0 | 24 - 34 | 20 - 25 | 16 - 18 |
2,5 - 3,0 Односторонний шов | 28 - 30 | 25 - 30 | - | 40 - 45 |
8,0 Двусторонний шов | 31 - 33 | 30 - 35 | 30 - 40 |
10,0 Двусторонний шов | 32 - 35 | 30 - 35 | 28 - 35 |
Таблица 6
Рекомендуемые режимы сварки конструкций
из коррозионно-стойких сталей
| Толщина металла, мм | Диаметр электрода, мм | Диаметр сопла, мм | Диаметр присадочной проволоки, мм | Сила сварочного тока А | Расход газа, л/мин |
Защитный | Плазмообразующий |
141 | 1,0 | 2,0 - 3,0 | - | 1,0 - 1,2 | 30 - 45 | 6,0 - 8,0 | - |
1,5 | 1,0 - 1,6 | 45 - 80 |
2,0 | 60 - 100 |
3,0 | 3,0 | 1,6 | 90 - 130 | 8,0 - 10,0 |
3,5 | 3,0 - 4,0 | 90 - 220 |
151 | 1,0 | 2,0 | 2,0 | 1,0 - 1,2 | 50 - 55 | 3,0 - 3,5 | 0,7 |
1,5 | 1,0 - 1,6 | 60 - 65 | 0,8 |
2,0 | 1,2 - 1,6 | 65 - 70 | 3,5 - 4,0 |
3,0 | 2,0 - 3,0 | 1,6 | 80 - 100 | 4,0 - 4,5 | 1,0 |
4,0 | 3,0 | 3,0 | 100 - 140 | 4,0 - 5,0 | 1,2 |
5,0 | 170 - 180 | 5,0 - 7,0 | 1,4 |
Примечание - Допускается сварка соединений с отбортовкой кромок и нахлесточных соединений без присадочной проволоки. |
5.2.4.8 При исправлении сквозных трещин и вварке вставок форма разделки кромок должна соответствовать типу соединения С7 по
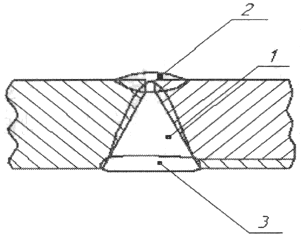
ГОСТ 16098. Допускаются типы соединений С4, С6 и С17 по
ГОСТ 16098. Схемы заварки сквозных дефектов представлены на
рисунке 3.
| |
а) вварка вставки из двухслойной стали | б) вварка вставки из коррозионно-стойкой стали |
Рисунок 3 - Форма разделки кромок и схемы заварки
сквозных дефектов
5.2.4.9 Технологию ремонта сваркой и наплавкой котлов цистерн из двухслойных сталей по
ГОСТ 10885 следует назначать в зависимости от характера и места расположения дефекта с учетом требований
5.2.4.10 и
5.2.4.11.
5.2.4.10 Исправление несквозных трещин, механических и коррозионных повреждений в основном слое из низколегированной или углеродистой стали производят с использованием сварочных материалов, приведенных в
таблице 1.
5.2.4.11 Несквозные дефекты со стороны плакирующего слоя (трещины, отсутствие или отслоение плакирующего слоя, механические повреждения) исправляют сваркой и наплавкой в два слоя:
- переходный слой с использованием сварочных материалов, приведенных в
таблице 4 и соответствующих сварке разнородных сталей;
- коррозионно-стойкий слой с использованием материалов, приведенных в
таблице 4 и соответствующих сварке коррозионно-стойких сталей.
5.2.5 Ремонт деталей, изготовленных прокаткой, ковкой и штамповкой
5.2.5.1 При ремонте деталей, изготовленных обработкой давлением из сталей, марки которых указаны в
таблице 7, следует применять следующие процессы сварки и наплавки:
- сварка ручная дуговая плавящимся электродом;
- сварка дуговая порошковой самозащитной проволокой;
- сварка дуговая под флюсом сплошной проволокой;
- сварка дуговая под флюсом порошковой проволокой;
- сварка дуговая сплошной проволокой в активном газе;
- сварка дуговая порошковой проволокой с флюсовым наполнителем в активном газе;
- ГПН;
- ГПНО;
- ЭДМ;
- ЭКНП.
Таблица 7
Сварочные материалы и температура предварительного подогрева
для деталей, изготовленных прокаткой, ковкой и штамповкой
Марки стали | Температура подогрева перед наплавкой, ° | Сварочные (наплавочные) материалы для процессов сварки, обозначенных по ГОСТ Р ИСО 4063 |
111 | 121, 125 | 135, 136 | 141 |
Электроды | Марка проволоки | Марка флюса | Марка проволоки | Марка проволоки |
| Не требуется | Тип Э42А, Э50А -------------- | ---------------------- Св-08ХГ2СМФ, Св-10ХГ2СМФ по [7], ПП-АН180МН по [8] | АН-348-А, | Св-08Г2С ------------------ | --------------- |
| Тип Э50А --------------- |
40Х, 45Х, 38ХС, 20ХН3А, 30ХГСА, 30ХН3А, 30ХНМА | от 250 до 300 |
| Не требуется | | | | - | - |
Примечание - В числителе приведены сварочные материалы для восстановления геометрических характеристик детали без требований к износостойкости, в знаменателе - сварочные материалы для восстановления геометрических характеристик детали с увеличенной износостойкостью. |
Способ сварки или наплавки следует выбирать в зависимости от наличия технологической документации, технической оснащенности предприятия, объемов работ.
5.2.5.2 Сварочные материалы и температура предварительного подогрева, применяемые при сварке и наплавке, в зависимости от марки стали и требований к наплавленному металлу по износостойкости, указаны в
таблице 7.
5.2.5.3 Для восстановления изношенных деталей подвижного состава из стали марок 38ХН3МА по
ГОСТ 4543, 45Х14Н14В2М по
ГОСТ 5632, а также из стали марок, указанных в
таблице 7, применяют технологии ГПН, ГПНО и ЭДМ в соответствии с
5.6.3.
5.2.5.4 Подготовку поверхностей деталей проводят в соответствии с
5.2.2.
Подготовку поверхности деталей типа "вал" под наплавку рекомендуется производить токарной обработкой для придания изношенной поверхности цилиндрической формы.
5.2.5.5 Детали, имеющие твердость поверхностного слоя более 35 HRC, перед наплавкой должны быть подвергнуты отжигу или механической обработке на глубину не менее 0,5 мм для удаления металла, имеющего наклеп.
5.2.5.6 Режимы дуговой наплавки стальных деталей, изготовленных прокаткой, ковкой и штамповкой, приведены в
таблице 8.
Таблица 8
Рекомендуемые режимы дуговой наплавки стальных деталей,
изготовленных прокаткой, ковкой и штамповкой
| Сварочный материал | | Параметры режима наплавки |
Марка | Диаметр, мм | Сила сварочного тока, А | Напряжение, В | Расстояние между мундштуком и изделием, мм | Расход защитного газа, л/мин |
136 | ПП-АН180МН | 2,0 | PA | 330 - 380 | 27 - 28 | 25 - 30 | 14 - 16 |
PC, PF | 250 - 280 | 26 - 27 | 25 - 30 | 8 - 10 |
135 | Св-10ХГ2СМФ, Св-08Г2С | 1,6 | PA | 320 - 360 | 31 - 33 | 20 - 25 | 18 - 20 |
PC, PF | 250 - 270 | 27 - 30 | 25 - 30 | 16 - 18 |
1,2 | PA | 180 - 250 | 22 - 26 | 12 - 18 | 10 - 12 |
PC, PF | 140 - 210 | 20 - 24 | 12 - 18 | 10 - 12 |
121 | Св-10ХГ2СМФ, ПП-АН180МН, Св-08ГА, Св-08Г2С | 2,0 | PA | 300 - 350 | 30 - 32 | 25 - 30 | - |
PC, PF | 280 - 320 | 30 - 32 | 25 - 30 | - |
111 | ЭЖТ-1 | 3,0 | PA | 120 - 160 | - | - | - |
4,0 | 180 - 220 |
5,0 | 260 - 280 |
114 | ППНЖ-300С | 2,0 | PA | 240 - 300 | 24 - 28 | 25 - 30 | - |
5.2.6 Ремонт литых деталей
5.2.6.1 Подготовку литых деталей к ремонту сваркой и наплавкой следует проводить в соответствии с
5.2.2.1 -
5.2.2.12.
5.2.6.2 Заварку трещин и приварку отколовшихся элементов следует выполнять ручной дуговой сваркой плавящимся электродом или дуговой сваркой сплошной проволокой в активном газе с использованием сварочных материалов, режимов сварки и соблюдением технических требований, изложенных в
5.2.3.
5.2.6.3 Заварку трещин производят с предварительным подогревом до следующих температур:
- от 250 °C до 300 °C - для стали марок 32Х06Л, 30ГСЛ, 30Л, 35Л по
ГОСТ 977.
Места заварки трещин необходимо зачистить до уровня поверхности основного металла.
5.2.6.4 Для восстановления изношенных поверхностей литых стальных деталей следует применять дуговую наплавку одним из следующих процессов:
- сварка ручная дуговая плавящимся электродом;
- сварка дуговая порошковой самозащитной проволокой;
- сварка дуговая под флюсом сплошной проволокой;
- сварка дуговая под флюсом порошковой проволокой;
- сварка дуговая сплошной проволокой в активном газе;
- сварка дуговая порошковой проволокой с флюсовым наполнителем в активном газе.
5.2.6.5 В зависимости от требований к механическим свойствам наплавленного металла необходимо применять сварочные материалы в соответствии с
таблицей 9.
Таблица 9
Материалы для наплавки стальных литых деталей
| Требования к металлу наплавки | Сварочные (наплавочные) материалы для процессов сварки, обозначенных по ГОСТ Р ИСО 4063 |
121, 125 | 135, 136 | 114 | 111 |
Марка флюса | Марка проволоки | Марка проволоки | Защитный газ | Марка проволоки | Электроды |
15Л 20Л 25Л 20ГЛ 20Г1ФЛ 20ФЛ 30Л 35Л 30ГСЛ 32Х06Л 25ЛК20 А2 | С восстановлением механических свойств основного металла | | Св-08А, Св-08ГА, 10Г2 | | | - | Тип Э50А |
С увеличенной износостойкостью (твердость от 240 до 300 HB) | | | | |
5.2.6.6 Режимы дуговой наплавки стальных литых деталей указаны в
таблице 8.
5.2.6.7 Наплавку деталей из стали марок 32Х06Л, 30ГСЛ, 30Л, 35Л по
ГОСТ 977 следует проводить с предварительным подогревом до температуры от 250 °C до 300 °C.
5.2.6.8 При проведении испытаний КСС с целью аттестации технологии сварки механические свойства наплавленного металла, определенные при испытаниях образцов по
ГОСТ 6996, должны соответствовать следующим значениям:
- временное сопротивление и предел текучести наплавленного металла - не ниже требований, предъявляемых к основному металлу;
- относительное удлинение металла, наплавленного на сталь с пределом текучести до 375 МПа должно быть не менее 18%, на сталь с пределом текучести 375 МПа включительно и более - не менее 16%;
- угол статического изгиба сварного соединения с поперечным стыком должен быть не менее 120°;
- ударная вязкость на образцах KCU должна быть не менее 29 Дж/см
2 при температуре испытаний: минус 60 °C для климатического исполнения УХЛ по
ГОСТ 15150 и минус 50 °C для климатического исполнения У по
ГОСТ 15150;
- твердость металла зоны термического влияния должна быть не более 350 HV
10 по
ГОСТ 2999.
5.3 Ремонт чугунных деталей
5.3.1 Процессы сварки (наплавки)
Для ремонта чугунных деталей применяют следующие процессы сварки (наплавки):
- сварка ручная дуговая плавящимся электродом;
- сварка дуговая порошковой самозащитной проволокой;
- сварка дуговая сплошной проволокой в инертном газе;
- сварка дуговая сплошной проволокой в активном газе;
- сварка газовая;
- сваркопайка газовая.
5.3.2.1 Сварке (наплавке) подлежат детали из серых чугунов (с пластинчатой формой графита) всех марок по
ГОСТ 1412 (группа 71 по ГОСТ ISO/TR 15608) и высокопрочных чугунов (с шаровидным или вермикулярным графитом) всех марок по
ГОСТ 7293 (группа 72 по ГОСТ ISO/TR 15608).
5.3.2.2 Ремонту сваркой (наплавкой) подлежат чугунные детали с выявленными при дефектации:
- трещинами в основном металле и изломами отдельных элементов;
- пробоинами, забоинами, и другими механическими повреждениями;
- износами сопрягаемых поверхностей.
5.3.3.1 Технологический процесс газовой сварки чугунов должен обеспечивать равнопрочность сварного соединения и основного металла, отсутствие трещин, пор, хрупких структур в металле шва и зоне термического влияния. Допускается ухудшение до 25% механических свойств сварных соединений в сравнении с механическими свойствами основного металла.
5.3.3.2 При подготовке деталей с трещинами под сварку концы трещин следует рассверливать с последующим зенкованием.
Выявление траектории трещин следует проводить неразрушающими методами контроля:
Допускается выявление траектории трещин проводить нагревом металла в зоне дефекта газовой горелкой до температуры от 120 °C до 150 °C.
5.3.3.3 Разделку трещин, раковин, отбитых частей и других дефектов следует производить механическим или термическим способами. При термическом способе разделки дефектов перерыв перед сваркой не допускается.
5.3.3.4 При разделке дефектов под сварку на деталях с толщиной стенки более 4 мм скос кромок необходимо делать односторонний (V-образный), с углом раскрытия от 70° до 80°.
5.3.3.5 При газовой сварке толстостенных деталей и деталей, расположенных в жестком контуре, следует применять предварительный местный или полный подогрев до температуры от 300 °C до 400 °C. При заварке дефектов в деталях с толщиной стенки менее 50 мм следует применять предварительный подогрев до температуры от 150 °C до 200 °C.
5.3.3.6 При заварке дефектов в деталях сложной конфигурации и деталях с толщиной стенки более 50 мм следует применять горячую газовую сварку с общим предварительным или сопутствующим (действующим при сварке) подогревом при температуре от 500 °C до 700 °C.
5.3.3.7 При необходимости, для предупреждения вытекания жидкого металла сварочной ванны и придания необходимой формы шву, следует применять формовку свариваемого участка угольными или графитовыми пластинами, плитками из огнеупорных материалов, огнеупорной формовочной смесью, состав которой должен соответствовать ГОСТ 30430-96
(пункт 5.1.2).
5.3.3.8 Для газовой сварки серого чугуна необходимо использовать чугунные прутки диаметром от 6 до 12 мм, химический состав которых приведен в
таблицах 10 и
11.
Таблица 10
Химический состав низколегированных чугунных присадочных
прутков для сварки
В процентах
Марка прутка | Массовая доля элементов |
C | Si | Mn | S | P | Cr | Ni | Ti | Cu | Sn |
Не более |
I | 3,3 - 3,5 | 3,4 - 37 | 0,5 - 07 | 0,04 | 0,15 | 0,10 | 0,1 | 0,10 | - | 0,3 - 0,5 |
II | 0,5 - 3,7 | 0,6 | 2,0 - 2,5 | - |
Таблица 11
Химический состав чугунных присадочных прутков для сварки
В процентах
Марка прутка | Массовая доля элементов |
C | Si | S | P | Mn | Cr | Ni |
А | 3,0 - 3,5 | 3,0 - 3,4 | 0,08 | 0,2 - 0,4 | 0,5 - 0,8 | 0,05 | 0,3 |
Б | 3,5 - 4,0 | 0,3 - 0,5 |
5.3.3.9 Для газовой сварки высокопрочного чугуна следует использовать прутки, химический состав которых приведен в
таблице 12.
Таблица 12
Химический состав прутков
В процентах
Массовая доля элементов |
C | Mn | Si | S | P | Cr | Ni | Mo | Mg | |
3,4 - 3,8 | <= 0,45 | 1,8 - 2,6 | <= 0,015 | <= 0,03 | <= 0,1 | 0,9 - 1,4 | 0,3 - 0,6 | 0,05 - 0,10 | 0,1 - 0,2 |
<1> Группа редкоземельных металлов. |
5.3.3.10 В качестве присадочного материала разрешается использовать прутки, изготовленные из отбракованных чугунных деталей того же состава, что и восстанавливаемые детали.
5.3.3.11 В зависимости от площади устраняемого дефекта следует применять наконечник горелки и пруток в соответствии с данными
таблицы 13.
Таблица 13
Номер наконечника горелки и диаметр прутка
Технические характеристики | Площадь дефекта, см2 |
до 5 | от 5 до 20 | от 20 до 30 | более 30 |
Номер наконечника грелки | 5 | 6 | 6 | 7 |
Диаметр присадочного прутка, мм | 6 | 6 - 8 | 8 - 10 | 12 |
5.3.3.12 Газовую сварку чугуна производят ацетилено-кислородным пламенем. Разрешается применять газы - заменители ацетилена.
Применяемые газы должны удовлетворять требованиям:
- кислород технический первого и второго сорта с объемной долей кислорода не менее 99,5% по
ГОСТ 5583;
- технический растворенный ацетилен марки Б по
ГОСТ 5457;
5.3.3.13 При газовой сварке чугуна необходимо применять порошковые флюсы, указанные в
таблице 14, для защиты кромок металла от окисления и удаления из расплавленного металла оксидов и неметаллических включений.
Таблица 14
Порошковые флюсы для сварки чугуна
В процентах
Номер флюса | Состав | Массовая доля компонентов |
1 | Плавленая бура | 100 |
2 | Прокаленная бура |
3 | Техническая бура |
4 | Прокаленная бура | 56 |
Углекислый натрий | 22 |
Углекислый калий | 22 |
5 | Техническая бура | 50 |
Двууглекислый натрий | 50 |
6 | Плавленая бура | 23 |
Углекислый натрий | 27 |
Натриевая селитра (азотнокислый натрий) | 50 |
7 | Прокаленная бура | 50 |
Натриевая селитра | 50 |
Керосин (сверх 100%) | 4 |
5.3.3.14 В случае выявления трещины на кромке канавки под сварку допускается ее устранение выплавкой газовым резаком с последующей заваркой образовавшейся канавки и продолжением работ по заварке подготовленной разделки.
5.3.3.15 Сварку чугуна следует выполнять в нижнем положении с предварительным равномерным подогревом кромок дефекта до расплавления и одновременным нанесением флюса присадочным прутком. Сварку следует выполнять отдельными сварочными ваннами длиной от 20 до 50 мм, заполняя разделку расплавленным прутком. Неметаллические включения необходимо удалять из сварочной ванны с помощью флюсования жидкого металла и интенсивного его перемешивания присадочным прутком.
5.3.2.16 Для исключения перегрева сварочной ванны (пузырения) во время сварки следует корректировать мощность пламени горелки.
5.3.3.17 После завершения сварки необходимо медленно отводить горелку от поверхности сварочной ванны на расстояние от 50 до 100 мм и выдерживать наплавленный металл под воздействием пламени от 0,5 до 1,5 мин.
5.3.3.18 В течение 5 мин после сварки восстановленную деталь следует поместить в разогретый горн или печь для последующего охлаждения или охлаждать, закрыв асбестовым полотном по
ГОСТ 6102.
5.3.3.19 Восстановленные детали следует подвергать отжигу по режиму: нагрев со скоростью не более 100 °C/ч до температуры от 850 °C до 900 °C, выдержка в течение от 0,5 до 1,5 ч и охлаждение с печью до 200 °C. Скорость охлаждения в интервале температур от 650 °C до 200 °C должна быть не более 40 °C/ч. Охлаждение ниже 200 °C допускается выполнять на воздухе в защищенном от сквозняков месте.
5.3.3.20 Сварку крупногабаритных деталей из чугуна, подогрев которых затруднен, разрешается выполнять без предварительного подогрева с присадкой (например, проволока марки МН25 по
ГОСТ 492, марки ПАНЧ-11 по
ГОСТ 2179), обеспечивающей получение в металле шва пластичного сплава.
5.3.3.21 Режимы газовой сварки чугуна приведены в
таблице 15.
Таблица 15
Рекомендуемые режимы газовой сварки чугуна
Толщина металла, мм | Диаметр присадочной проволоки, мм | N наконечника | Давление ацетилена, кгс/см2 | Расход ацетилена, л/ч | Давление кислорода, кгс/см2 | Расход кислорода, л/ч |
6 | 3 - 4 | 5 | 0,7 | 450 - 600 | 3,0 - 4,0 | 500 - 660 |
9 | 4 - 5 | 6 | 675 - 900 | 750 - 1000 |
12 | 6 - 8 | 7 | 900 - 1200 | 1000 - 1300 |
5.3.4 Сваркопайка газовая
5.3.4.1 Технологический процесс сваркопайки чугуна следует применять при устранении мелких дефектов, обнаруженных на последних стадиях механической обработки (при незначительных припусках на обработку) без расплавления основного металла.
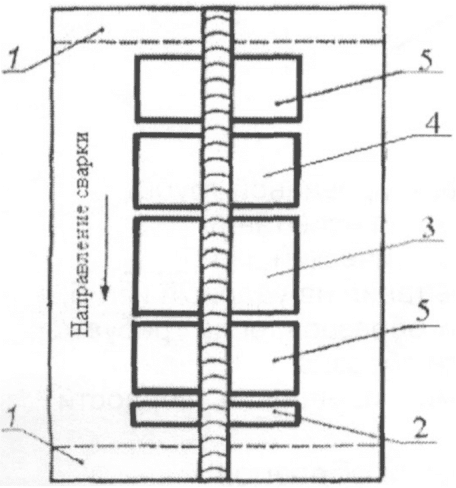
5.3.4.2 Профили разделки несквозного и сквозного дефектов под газовую сваркопайку, представленные на
рисунке 4, следует выполнять механической обработкой. Заварку сквозного дефекта следует осуществлять на остающейся подкладке. На поверхности кромок не допускается грязь и окалина. Следы жиров следует удалять ацетоном по
ГОСТ 2768, бензином по
ГОСТ 1012.
Рисунок 4 - Профили разделки дефекта под сваркопайку
5.3.4.3 При сваркопайке чугуна чугунными присадочными прутками, указанными в
таблице 16, следует применять местный предварительный подогрев зоны дефекта до температуры от 800 °C до 900 °C. После подачи в разделку флюса (состав флюсов приведен в
таблице 17) следует расплавлять и вводить в сварочную ванну присадочные прутки, покрытые соответствующим флюсом.
Таблица 16
Химический состав присадочных чугунных прутков
для низкотемпературной сваркопайки
В процентах |
Марка прутка | Массовая доля элементов |
C | Si | Mn | P | Ni | Ti | Cu | S |
НЧ-2 | 3,0 - 3,5 | 3,5 - 4,0 | 0,6 - 0,7 | 0,2 - 0,4 | 0,4 - 0,6 | 0,15 - 0,20 | 0,1 | <= 0,05 |
УНЧ-2 | 3,4 - 3,7 | 3,5 - 3,8 |
Таблица 17
Флюсы для сваркопайки чугуна чугунными прутками
В процентах |
Марка флюса | Состав флюса | Массовая доля компонента |
ФСЧ-1 | Плавленая бура | 23,0 |
Кальцинированная сода | 27,0 |
Натриевая селитра | 50,0 |
ФСЧ-2 | Плавленая бура | 18,0 |
Кальцинированная сода | 25,0 |
Натриевая селитра | 56,5 |
Углекислый литий | 0,5 |
МАФ-1 | Плавленая бура | 33,0 |
Кальцинированная сода | 12,0 |
Натриевая селитра | 27,0 |
Оксид кобальта | 7,0 |
Фтористый натрий | 12,5 |
Фторцирконистый калий | 8,5 |
5.3.4.4 При газовой сваркопайке чугуна латунными припоями следует применять поверхностно-активные флюсы, указанные в
таблице 18.
Таблица 18
Флюсы для низкотемпературной сваркопайки чугуна латунными
припоями
В процентах |
Марка флюса | Массовая доля компонентов во флюсе | Марки припоя |
ФПСН-1 | углекислого лития; | 25 | Л63, ЛОК 59-1-0,3 |
кальцинированной соды; | 25 |
борной кислоты | 50 |
ФПСН-2 | углекислого лития; | 22,5 | ЛОМНА 49-0,5-10-4-0,4 |
кальцинированной соды; | 22,5 |
борной кислоты; | 45 |
солевой плавленой лигатуры (72,5% NaCl и 27,5% NaF) | 10 |
Местный предварительный подогрев кромок разделки дефекта производить до температуры от 700 °C до 750 °C.
5.3.4.5 В качестве припоев следует использовать проволоку или прутки из латуни марок Л63 и ЛОК 59-1-0,3 по
ГОСТ 16130, или припой ЛОМНА 49-0,5-10-4-0,4, с характеристиками, приведенными в
таблице 19.
Таблица 19
Латунные припои для низкотемпературной сваркопайки чугуна
Марки припоя | Массовая доля элементов <1>, % | Температура плавления, °C | Твердость шва по Бринеллю | Цвет |
Cu | Sn | Si | Mn | Ni | Al |
Л63 | 62 - 65 | - | - | - | - | - | 906 | 150 - 160 | Желтый |
ЛОК59-1-0,3 | 58 - 60 | 0,7 - 1,1 | 0,2 - 0,4 | - | 905 | 80 - 100 | Желтый |
ЛОМНА 49-0,5-10-4-0,4 | 48 - 50 | 0,9 - 1,0 | - | 9,5 - 10,5 | 3,5 - 4,5 | 0,2 - 0,6 | 835 | 180 - 200 | Белый |
|
5.3.4.6 Режимы газовой сваркопайки следует назначать согласно
таблице 15.
5.3.4.7 По окончании сваркопайки наплавленный металл при температуре от 600 °C до 700 °C проковать.
Дуговую сварку чугунных деталей (процессы сварки - 111, 114, 131, 135) выполняют по
ГОСТ 30430.
5.4 Ремонт сварных конструкций и деталей из алюминия
и алюминиевых сплавов
5.4.1.1 Ремонту сваркой и наплавкой подлежат:
- сварные узлы и детали, изготовленные из деформируемых сплавов по
ГОСТ 4784, не упрочняемые термообработкой;
- детали из деформируемых сплавов по
ГОСТ 4784, упрочняемые термообработкой;
5.4.1.2 Марки и система группирования свариваемых, деформируемых алюминиевых сплавов, применяемых для изготовления деталей и конструкций подвижного состава, указаны в
таблице 20, литых алюминиевых сплавов - в
таблице 21.
Таблица 20
Марки деформируемых алюминиевых сплавов по ГОСТ 4784
Марка сплава | Группа | Подгруппа | Система легирования |
ГОСТ ISO/TR 15608 |
АД0 | 21 | - | Al |
АД1 |
АМц | 22 | 22.1 | Al-Mn |
АМцС |
АМг3 | 22.3 | Al-Mg-Mn |
АМг5 | 22.4 |
АМг6 |
АД31 | 23 | 23.1 | Al-Mg-Si |
АД33 | 24 | - | Al-Mg-Si-Cu |
Примечание - Сплавы марок АД31, АД33 термически упрочняемые. |
Таблица 21
Марки термически упрочняемых литейных алюминиевых сплавов
Марка сплава | Группа | Подгруппа | Система легирования |
ГОСТ ISO/TR 15608 |
АК12 (АЛ2) | 24 | 24.1 | Al-Si |
АК9ч (АЛ4) | 24.2 | Al-Si-Mg |
АК7 |
АК7ч (АЛ9) |
АК5М (АЛ5) | 25 | | Al-Si-Cu |
АМ5 (АЛ19) | 26 | - | Al-Cu |
5.4.1.3 Основными видами эксплуатационных дефектов на деталях из алюминиевых сплавов являются трещины, механические повреждения и износы поверхностей.
5.4.1.4 При выполнении испытаний КСС с целью аттестации технологии сварки механические свойства металла сварных соединений, определенные при испытаниях образцов по
ГОСТ 6996, должны удовлетворять следующим требованиям:
- временное сопротивление разрыву металла сварного соединения должно быть не менее

(временного сопротивления основного металла);
- предел текучести металла шва должен быть не менее

(предела текучести основного металла);
- относительное удлинение металла шва стыковых соединений

должно быть не менее 10%;
- угол статического изгиба сварного соединения с поперечным стыком должен быть: для марок АД0, АД1, АМц, АМцС - не менее 120°; для марки АМг3 - не менее 60°; для марок АМг5 и АМгб - не менее 45°;
- ударная вязкость сварных соединений, определенная на образцах KCU, при температуре испытания 20 °C должна быть не менее 32 Дж/см2 (3,2 кгс·м/см2);
- ударная вязкость сварных соединений, определенная на образцах KCU, при температуре испытания минус 60 °C должна быть не менее 12 Дж/см2 (1,2 кгс·м/см2).
5.4.2 Процессы сварки (наплавки) и сварочные материалы
5.4.2.1 В зависимости от химического состава алюминиевого сплава, толщины металла, степени ответственности конструкции и объемов ремонта следует применять следующие процессы сварки:
- сварка ручная дуговая плавящимся электродом;
- сварка дуговая под флюсом сплошной проволокой;
- сварка дуговая сплошной проволокой в инертном газе;
- сварка дуговая вольфрамовым электродом в инертном газе с присадочным сплошным материалом (проволокой или стержнем);
- сварка ацетиленокислородная.
5.4.2.2 Марки сварочной (присадочной) проволоки по
ГОСТ 7871, приведенные в
таблице 22, для сварки алюминия и его сплавов следует выбирать в строгом соответствии с химическим составом основного материала. Стержни покрытых электродов должны быть изготовлены из проволоки, по химическому составу соответствующей свариваемому сплаву.
Таблица 22
Сварочные материалы для дуговой сварки (наплавки) алюминия
и его сплавов
Марка сплава | | |
311 | 121 | 141 | 131 | 111 |
АД0 | СвА97, СвА99 | Флюс АФ-4А | Флюс АН-4А, УФОК-А1; сварочная проволока в соответствии со свариваемым сплавом | гелий газообразный высокой чистоты, переменный ток, присадочная проволока в соответствии со свариваемым сплавом | Сварочная проволока в соответствии со свариваемым сплавом; аргон ГОСТ 10157; полярность обратная | Металлические стержни электродов из проволок в соответствии со свариваемым сплавом, покрытые флюсом АФ-4А |
АД1 | СвА85Т, СвА5 |
АМц | СвАМц |
АМцС |
АМ5 (АЛ19) | СвАМг3, СвАМг5 | Не применяется | ОЗА-2 ОЗАНА-2 |
АК7ч (АЛ9) | Св1201 |
АК9ч (АЛ4) | СвАК5 |
АД31 | СвАК10 | Не применяется | Не применяется |
АД33 |
АК12 (АЛ2) | СвАК10 |
АК5М (АЛ5) | СвАК5 |
АМг3 | Св1201 |
АМг5 | СвАК5 |
АМг6 | СвАМг3, СвАМг5 |
АК7 | СвАМг5, СвАМг6 | Флюс АФ-4А |
Примечания 1 Прихватку и сварку плавящимися электродами производят на постоянном токе обратной полярности. 2 Сварку ручную дуговую плавящимся электродом (111) сплавов АД0, АД1 выполнять электродами ОЗА-1, ОЗАНА-2. 3 Сварку дуговую под флюсом сплошной проволокой (121) сплавов АД0, АД1 выполнять с применением флюса АН-А1. |
5.4.2.3 Для сварки неплавящимся электродом в защитных инертных газах необходимо применять вольфрамовые электроды по
ГОСТ 23949.
5.4.2.4 Для дуговой сварки следует применять инертные газы:
- гелий газообразный высокой чистоты по техническим условиям.
5.4.2.5 Газы, применяемые для газовой сварки и наплавки алюминия и его сплавов, должны удовлетворять требованиям:
- кислород технический первого и второго сорта с объемной долей кислорода не менее 99,5% по
ГОСТ 5583;
- технический растворенный ацетилен марки Б по
ГОСТ 5457.
5.4.2.6 Для сварки алюминия и его сплавов следует применять флюсы, состав которых указан в
таблице 23:
- для газовой сварки следует применять флюс АФ-4А;
- для сварки технического алюминия по слою флюса следует применять флюс АН-А1;
- для сварки по слою флюса технического алюминия и сплава АМц следует применять флюс АН-4А или флюс УФОК-А1.
Таблица 23
Флюсы для сварки алюминия и его сплавов
В процентах |
Химическая формула компонентов флюса | Массовый состав флюсов для марок |
АФ-4А | АН-А1 | АН-4А | УФОК-А1 |
NaCl | 28 | 20 | - | 30 |
KCl | 50 | 50 | 50 | 40 |
LiCl | 14 | - | 20 | - |
NaF | 8 | - | - | - |
Na3AlF6 | - | 30 | 30 | 30 |
5.4.3 Подготовка материалов
5.4.3.1 С целью удаления тугоплавкой оксидной пленки и предупреждения возникновения в швах сварных соединений дефектов перед сваркой необходимо выполнять:
- химическую очистку сварочной проволоки, малогабаритных заготовок и деталей;
- механическую очистку и последующее обезжиривание свариваемых кромок крупных деталей.
5.4.3.2 Перед травлением деталей и сварочной проволоки необходимо удалить с них краску, жировые пятна и другие загрязнения чистой обтирочной ветошью, смоченной одним из следующих растворителей: бензином по
ГОСТ 1012, уайт-спиритом по
ГОСТ 3134, ацетоном по
ГОСТ 2768.
5.4.3.3 Механическую очистку подлежащих сварке деталей следует выполнять щетками с ворсом из коррозионно-стойкой стали (диаметр ворса не более 0,1 мм, длина ворса не менее 10,0 мм). Щетки должны быть чистыми и обезжиренными. Зачищать поверхности под сварку абразивами, пескоструйной и дробеструйной обработкой, шлифовальной шкуркой не допускается из-за недостаточной чистоты подготовленной указанными способами поверхности. Кромки и прилегающие к ним поверхности должны быть зачищены с двух сторон на ширину не менее 20 мм.
5.4.3.4 Химическую очистку поверхности сварочной проволоки, прутков, деталей следует осуществлять следующим образом:
- обезжиривание и травление в 5%-ном водном растворе едкого натрия (NaOH) при температуре от 60 °C до 80 °C в течение 2 мин;
- промывание в теплой проточной воде при температуре 45 °C;
- осветление в водном растворе азотной кислоты (HNO3) концентрации от 15% до 18% при температуре (62,5 +/- 2,5) °C в течение от 2 до 5 мин;
- промывание в проточной холодной воде;
- сушка до полного удаления влаги.
5.4.3.5 Для снижения пористости и количества оксидных включений в швах сварочную проволоку после химического травления следует подвергать электрохимическому полированию (травлению) в трехкомпонентном фосфорнокислом электролите, состав которого указан в
таблице 24.
Таблица 24
Состав электролита для электрохимического полирования
алюминия и его сплавов
В процентах |
Компонент электролита | Химическая формула | Массовая доля компонента в электролите |
Фосфорная кислота | H3PO4 | 40 - 50 |
Серная кислота | H2SO4 | 35 - 40 |
Хромовый ангидрид | CrO3 | 5 - 6 |
Вода | H2O | 10 - 14 |
Электрохимическое полирование следует производить при температуре от 65 °C до 75 °C и анодной плотности тока от 25 до 50 А/дм2 в течение от 5 до 10 мин.
5.4.3.6 Запрещается применять для сварки проволоку, хранившуюся на воздухе после химической обработки более 10 ч или в герметически закрывающихся сосудах и ящиках более 36 ч.
Если сварочная проволока, подготовленная травлением, не использована в течение указанного времени, то она должна быть повторно подготовлена без предварительного обезжиривания.
5.4.3.7 Перед проведением сварочных операций для более полного удаления оксидной пленки свариваемые кромки и прилегающие к ним поверхности на участках шириной не менее ширины шва с обеих сторон следует подвергнуть местной зачистке шабером с последующим обезжириванием. Обезжиривание бензином по
ГОСТ 1012, уайт-спиритом по
ГОСТ 3134, ацетоном по
ГОСТ 2768 производят протирочным материалом из хлопчатобумажной ткани, не оставляющей ворса.
5.4.3.8 Зачистку ранее химически травленой поверхности кромок рекомендуется производить шабером (до блеска). При этом промежуток времени от конца химического травления до зачистки не регламентируется, но сварку следует провести не позднее 16 ч с момента зачистки.
5.4.3.9 Удаление швов с дефектами, разделку трещин, подготовку кромок на узлах и деталях из алюминия и алюминиевых сплавов следует выполнять механическим способом.
5.4.3.10 Сборка деталей под сварку в инертных газах должна соответствовать требованиям
ГОСТ 14806 - для стыковых сварных соединений и соединений, выполненных под прямым углом,
ГОСТ 27580 - для сварных соединений, выполненных под острым и тупым углом.
5.4.3.11 Прихватки под сварку покрытыми электродами следует выполнять электродами той же марки, которыми производится сварка. Шлак удаляют промывкой швов прихваток горячей водой и очисткой щетками, требования к которым указаны в
5.4.3.3.
5.4.3.12 Прихватки сборочных единиц из алюминиевых сплавов следует выполнять с использованием сварочных материалов согласно
таблице 22.
5.4.3.13 Размеры катета прихваток должны составлять от 0,4 до 0,6 размера катета шва, но не более 6 мм.
5.4.3.14 При выполнении протяженных швов расстояние между прихватками должно быть от 30 до 40 раз более толщины прихватываемого элемента, но не более 200 мм; длина каждой прихватки должна быть от 4 до 5 раз более толщины прихватываемого элемента, но не более 100 мм. Прихватки должны быть очищены от шлака и брызг.
5.4.3.15 Если прихватки являются составляющими сварного соединения, к ним предъявляют те же требования, что к сварному соединению. При последующей сварке они должны быть полностью переплавлены. Удаление прихваток следует выполнять механическим способом.
5.4.3.16 Перед сваркой изделия необходимо подогревать до температуры от 100 °C до 350 °C в зависимости от толщины и марки сплава в соответствии с
таблицей 25. При сварке по слою флюса подогрев не требуется.
Таблица 25
Максимальная температура подогрева алюминия и его сплавов
Марка сплава | Толщина металла, мм | Максимальная температура подогрева, °C | Продолжительность нагрева, мин |
АД0, АД1 | Любая | 350 | 60 |
АМц | Любая | 250 | 60 |
АМг3, АМг5, АМг6 | <= 12 | 100 | 30 |
> 12 | 150 | 10 |
АД31, АД33 | <= 12 | 180 | 60 |
> 12 | 200 | 30 |
5.4.4.1 Ацетиленокислородную сварку (процесс сварки - 311) следует применять только при ремонте деталей, выполненных методом литья.
5.4.4.2 Газовую сварку необходимо выполнять ацетиленокислородным пламенем при отношении ацетилена к кислороду 0,9, используя присадочный пруток или проволоку.
5.4.4.3 Удельный расход ацетилена на 1 мм толщины металла должен соответствовать 75 л/ч, а кислорода от 80 до 85 л/ч.
5.4.4.4 Диаметр присадочной проволоки при газовой сварке, в зависимости от толщины свариваемых деталей, должен составлять, мм:
от 1,0 до 1,5 ...................... при толщине деталей до 2 мм;
от 1,5 до 3,0 ................................... " от 2 до 5 мм;
от 3,0 до 4,0 ................................... " св. 5 мм.
5.4.4.5 Ручную дуговую сварку плавящимся электродом (процесс сварки - 111) из-за невозможности удаления затекающего в зазоры шлака, вызывающего коррозию соединения, допускается применять для неответственных конструкций с толщиной металла более 4 мм. Режимы дуговой сварки покрытыми электродами указаны в
таблице 26.
Таблица 26
ручной дуговой сварки покрытыми электродами
Форма подготовленных кромок | Тип соединения | Толщина свариваемого металла, мм | Диаметр электрода, мм | Сварочный ток, А |
Без скоса кромок | Двухсторонний | 6,0 | 5,0 | 280 - 300 |
8,0 | 6,0 | 300 - 320 |
20,0 | 8,0 | 450 - 550 |
25,0 | 8,0 | 500 - 550 |
5.4.4.6 При дуговой сварке под флюсом сплошной проволокой (процесс сварки - 121) проката из алюминиевых сплавов марок АД0 и АД1 толщиной от 10 до 30 мм следует применять формирующие подкладки.
5.4.4.7 Дуговую сварку сплошной проволокой в инертном газе и дуговую сварку вольфрамовым электродом в инертном газе (процессы сварки - 131, 141) следует применять для выполнения ответственных соединений. Сварочные материалы указаны в
таблице 22.
5.4.4.8 Рекомендуемые режимы сварки вольфрамовым электродом и сплошной проволокой в среде аргона приведены в
таблицах 27 и
28 соответственно.
Таблица 27
Рекомендуемые режимы дуговой сварки вольфрамовым электродом
в инертных газах
| Толщина свариваемого металла, мм | Диаметр электрода, мм | Диаметр присадочной проволоки, мм | Расход аргона, л/мин | Сила сварочного тока, А | Число проходов |
С1 | 1,5 | 1,0 | 1,0 | 5 - 6 | 60 - 90 | 1 |
С5 | 2,0 | 3,0; 4,0 | 2,0 - 2,5 | 5 - 6 | 80 - 100 | 1 |
3,0 - 4,0 | 4,0 | 3,0 | 7 - 8 | 150 - 170 | 1 |
5,0 - 12,0 | 4,0; 5,0 | 3,0 | 7 - 8 | 180 - 200 | 1 - 4 |
Т1, Т3 | 1,5 - 20,0 | 5,0 | 4,0 | 8 - 10 | 180 - 260 | 1 - 5 |
Н1, Н2 | 1,5 - 20,0 | 4,0 | 3,0 - 5,0 | 8 - 10 | 140 - 150 | 1 - 5 |
5,0 | 10 - 12 | 180 - 220 |
Таблица 28
Рекомендуемые режимы дуговой сварки сплошной проволокой
в инертном газе
| Толщина свариваемого металла, мм | Диаметр сварочной проволоки, мм | Сила сварочного тока, А | Скорость подачи проволоки, м/ч | Напряжение на дуге, В | Расход аргона, л/мин | Количество проходов |
С5 | 4,0 | 1,2 - 1,4 | 120 - 160 | 150 - 170 | 25 | 10 - 12 | 1 |
6,0 | 1,4 - 1,6 | 220 - 260 | 200 - 220 | 25 | 12 - 14 | 1 |
ТЗ | 10,0 | 2,0 | 300 - 320 | 260 - 290 | 28 - 29 | 12 - 14 | 1 проход с каждой стороны |
Н1, Н2 | 20,0 | 2,0 | 300 - 320 | 260 - 290 | 28 - 29 | 14 - 16 | 6 |
Примечания 1 Сварку стыкового соединения выполнять на подкладке во избежание прожогов. 2 Катет шва таврового соединения от 3 до 6 мм. |
5.4.4.9 При сварке вольфрамовым электродом рекомендуется выдерживать следующие параметры, мм:
диаметр электрода 2; 3 ................... диаметр сопла от 10 до 12;
" 4 .................................................. " от 12 до 16;
" 5 .................................................. " от 14 до 18;
вылет электрода ........................................ от 8 до 12;
расстояние от мундштука до изделия при сварке
стыковых соединений .................................... от 1,0 до 1,5;
расстояние от мундштука до изделия при сварке
тавровых и угловых соединений .......................... от 4,0 до 8,0;
длина дуги (визуально) ................................. от 1,5 до 3,0.
5.4.4.10 При сварке плавящимся электродом рекомендуется выдерживать
следующие параметры, мм:
диаметр электродной проволоки .......................... от 1 до 3;
диаметр сопел горелок .................................. от 18 до 22;
выпуск плавящегося электрода............................ от 7 до 20;
вылет электрода ........................................ от 8 до 30;
длина дуги ............................................. от 2 до 6.
5.4.5.1 Газовую сварку выполняют левым способом. Присадочная проволока должна находиться перед пламенем, которое направляют на свариваемые кромки. Конец присадочной проволоки должен находиться в восстановительной зоне пламени.
5.4.5.2 Сваркой дуговой неплавящимся вольфрамовым электродом в защитном газе выполняют стыковые, угловые, тавровые, нахлесточные соединения, а также стыковые соединения с отбортовкой кромок.
5.4.5.3 Сварку конструкции толщиной до 10 мм следует выполнять углом вперед, толщиной более 10 мм - углом назад. Угол между присадочной проволокой и горелкой должен составлять 90°. Проволоку необходимо подавать короткими возвратно-поступательными движениями. Поперечные колебания электрода не допускаются.
5.4.5.4 Изделия толщиной до 4 мм включительно сваривают процессом сварки 141 за один проход на стальной подкладке. При толщине изделия от 4 до 6 мм сварку выполняют с двух сторон, при толщине от 6 до 12 мм подготавливают кромки с разделкой по
ГОСТ 14806.
5.4.5.5 Время подачи защитного газа до возбуждения дуги при процессах сварки 141, 131 зависит от длины шлангов подачи газа в горелку и составляет от 1 до 5 с.
Время подачи защитного газа после окончания сварки зависит от величины силы сварочного тока и составляет, с:
6 ........................................................ при 50 А;
13 ........................................................ при 300 А.
Для уменьшения окисления металла шва необходимо выдерживать минимальные размеры сварочной ванны.
5.4.5.6 Дугу при дуговой сварке сплошной проволокой в инертном газе следует зажигать на выводных планках. Допускается зажигать дугу касанием сварочной проволокой об изделие.
5.4.5.7 Сварку дуговую сплошной проволокой в инертном газе стыковых соединений без разделки кромок в нижнем и вертикальном положениях следует выполнять без поперечных колебаний электрода. При наличии разделки кромок первый проход выполняют без поперечных колебаний, а последующие - с амплитудой до 5 мм.
5.4.5.8 При сварке угловых швов в нижнем положении угол наклона горелки относительно вертикальной стенки должен составлять от 30° до 45°. Угловой шов, выполняемый на вертикальном положении, накладывают снизу вверх углом вперед. Однопроходную сварку необходимо выполнять с поперечными перемещениями конца электрода относительно соединяемых кромок. При толщине металла более 6 мм сварку угловых швов в вертикальном положении следует выполнять многопроходными за счет последовательного наложения узких валиков, аналогично следует выполнять стыковые швы в горизонтальном положении.
5.4.5.9 При сварке алюминия и его сплавов, при необходимости, разрешается применять подкладки, изготовленные из меди, нержавеющей стали, графита или керамики.
5.4.5.10 При сварке толстостенных деталей, толщиной более 4 мм, для предотвращения образования пор в шве из-за быстрого остывания сварочной ванны, следует применять шаговую сварку с возвратно-поступательным перемещением горелки. Каждый шаг вперед на расстояние от 3 до 6 мм сопровождают перемещением горелки назад на расстояние от 1,5 до 3 мм.
5.4.5.11 Для уменьшения деформаций при сварке длинномерных конструкций (при длине шва более 500 мм) следует применять обратноступенчатую сварку.
5.4.5.12 Для заварки кратера при сварке плавящимся электродом в защитных газах следует сварочный цикл заканчивать плавным снижением скорости подачи проволочного электрода.
5.5 Ремонт деталей из меди и медных сплавов
5.5.1.1 Сварке и наплавке подлежат детали и узлы подвижного состава (электрооборудование, тепловые и холодильные установки, топливные системы) из меди и медных сплавов, марки которых приведены в
таблице 29.
Таблица 29
Медь и медные сплавы, подлежащие сварке и наплавке
Материал | Химический состав и марки | Группа | Подгруппа | Система легирования | Марки материалов |
ГОСТ ISO/TR 15608 |
Медь | | 31 | - | Медь | М0б, М1, М1р, М2, М2р, М3, М3р |
Латунь | | 32 | 32.1 | Сплав меди и цинка, двойной сплав | Л60, Л63, Л68 |
32.2 | Сплав меди и цинка, многокомпонентный сплав | ЛС 59-1 |
Бронза | | 33 | - | Сплав меди и олова | БрОФ6,5-0,4 БрОЦ4-3 БрОЦС4-4-4 |
При ремонте следует применять листовые медные материалы по
ГОСТ 1173, медные трубы по
ГОСТ 15040.
5.5.2 Сварочные материалы
5.5.2.1 Электроды плавящиеся покрытые должны соответствовать указанным в
таблице 30.
Таблица 30
Электроды для ручной дуговой сварки меди и медных сплавов
Марка электрода | Положение сварки | Диаметр, мм | Рекомендуемая сила тока при сварке в нижнем положении, А | Электропроводимость металла шва, % | Основное назначение |
Комсомолец-100 | Нижнее, наклонное | 3,0 | 90 - 110 | Не более 20 | Сварка и наплавка изделий из технической меди |
4,0 | 120 - 140 |
5,0 | 170 - 190 |
АНЦ/ОЗМ-2 | | 4,0 | 220 - 290 | Не менее 60 | Сварка и наплавка изделий из технически чистой меди, содержащей не более 0,01% кислорода |
5,0 | 350 - 400 |
6,0 | 420 - 500 |
АНЦ/ОЗМ-3 | 4,0 | 220 - 300 |
5,0 | 350 - 400 |
6,0 | 420 - 520 |
АНЦ/ОЗМ-4 | 4,0 | 220 - 300 | Не менее 50 |
5,0 | 350 - 400 |
6,0 | 450 - 520 |
АНЦ-3 | Нижнее | 5,0 | 340 - 400 | 30 - 60 | Сварка изделий из технической меди и хромовой бронзы толщиной более 15 мм |
6,0 | 425 - 500 |
4,0 | 510 - 600 |
ОЗБ-2М | Любое, кроме потолочного | 3,0 | 100 - 120 | - | Сварка и наплавка оловянно-фосфористых бронз и латуни, заварка дефектов литья |
4,0 | 140 - 160 |
ЛКЗ-АБ (АМц 9-2) | Нижнее | 4,0 | 180 - 210 | - | Сварка и заварка дефектов латуни, литых и термически упрочняемых бронз |
5,0 | 220 - 240 |
6,0 | 250 - 270 |
ЛКЗ-АБ (АНМцЖ 8-3-4-1) | Нижнее | 5,0 | 220 - 240 | - |
6,0 | 250 - 270 |
5.5.2.2 Газы сварочные защитные:
- азот газообразный особой чистоты по
ГОСТ 9293;
- гелий газообразный высокой чистоты (сжатый);
- смеси гелия, азота с аргоном (содержащие от 50% до 80% аргона).
5.5.2.3 Газы горючие (в сочетании с кислородом техническим первого и второго сорта с объемной долей кислорода не менее 99,5% по
ГОСТ 5583):
- технический растворенный ацетилен марки Б по
ГОСТ 5457.
5.5.2.4 Электроды сварочные неплавящиеся вольфрамовые по
ГОСТ 23949.
Рабочий конец вольфрамового электрода должен быть заточен на конус с притуплением от 0,5 до 0,8 мм.
Длина затачиваемого конца должна быть от 2 до 3 диаметров электрода.
5.5.2.5 Флюсы сварочные для газовой сварки должны соответствовать указанным в
таблице 31.
Таблица 31
Состав флюсов для газовой сварки меди и латуни
В процентах |
Компоненты флюсов | Массовая доля компонента для номеров флюса |
Наименование | Химическая формула | 1 | 2 | 3 | 4 | 5 | 6 | 7 |
Борная кислота | H3BO3 | 100 | - | 50 | 25 | 35 | - | 10 |
Бура безводная | Na2B4O7 | - | 100 | 50 | 75 | 50 | 56 | 70 |
Бифосфат натрия | Na2HPO4 | - | - | - | 15 | - | - |
Поташ безводный | K2CO3 | - | 22 |
Хлористый натрий | NaCl | 12 | 20 |
5.5.2.6 Проволока и прутки сварочные из меди и сплавов на медной основе по
ГОСТ 16130. Допускается применять присадочные прутки из меди по
ГОСТ 1535, из оловянно-фосфористой бронзы по
ГОСТ 10025.
5.5.3 Общие требования к сварке меди и медных сплавов
5.5.3.1 Подготовка деталей под сварку и наплавку включает разделку кромок и очистку поверхностей деталей перед сваркой.
5.5.3.2 Подготовку кромок под сварку следует производить механическим способом. Наличие заусенцев после механической обработки не допускается. Сварку деталей толщиной до 5 мм допускается производить без разделки кромок. При толщинах свариваемых деталей от 5 до 10 мм необходимо производить V-образную разделку под углом от 60° до 70°, при больших толщинах - X-образную разделку, с притуплением кромок до 5 мм. При сварке деталей толщиной до 20 мм зазор между свариваемыми кромками не должен превышать 5 мм, при сварке деталей толщиной более 20 мм - 8 мм.
5.5.3.3 Поверхность основных и присадочных материалов перед сваркой подвергают очистке от загрязнений и оксидной пленки. Очистку следует производить механическим или химическим способом.
Механическую очистку производят шабером, щеткой, требования к которой указаны в
5.4.3.3, до металлического блеска с последующим обезжириванием. Обезжиривание бензином по
ГОСТ 1012, уайт-спиритом по
ГОСТ 3134, ацетоном по
ГОСТ 2768 производят протирочным материалом из хлопчатобумажной ткани, не оставляющей ворса.
Химическую очистку (травление) производят в растворах, составы которых приведены в
таблице 32, с последующей промывкой в холодной воде, затем рекомендуется пассивирование в водном растворе хромового ангидрида (100 г/л) и серной кислоты (2 мг/л) при температуре от 15 °C до 20 °C, после чего снова промывка в проточной воде. После промывки присадочные материалы сушат горячим воздухом.
Следует очищать поверхности деталей, удаленные не менее чем на 20 мм от свариваемых кромок.
Таблица 32
Состав растворов для травления сварочных материалов
Компоненты раствора | Содержание компонентов в 1 л раствора, мл |
Наименование | Химическая формула | Раствор 1 | Раствор 2 |
Азотная кислота | HNO3 | 75 | - |
Серная кислота | H2SO4 | 100 | 100 - 120 |
Соляная кислота | HCl | 1 | - |
Дистиллированная вода | H2O | остальное | остальное |
Хромовый ангидрид | CrO3 | - | 20 |
5.5.3.4 Сварные соединения труб из меди с трубами из меди, с арматурой из латуни и бронзы следует выполнять по
ГОСТ 16038.
5.5.3.5 Сварные контактные соединения электрических проводников из меди следует выполнять по
ГОСТ 23792.
5.5.3.6 Сварку следует вести в жестком или скользящем закреплении, или по прихваткам. Прихватка должна обеспечивать провар корня стыкового и углового соединения.
Сборочно-сварочная оснастка должна быть рассчитана на сварку и наплавку в нижнем положении. Сварку вести в нижнем положении.
Прихватки должны соответствовать требованиям
5.2.2.11.
Прихватки не вырубают и во время сварки полностью переваривают сварным швом. Перед сваркой прихватки следует очистить способами, указанными в
5.5.3.3.
Начинать сварку на прихватке не допускается.
5.5.3.7 Сварку дуговыми способами следует вести без остановки, короткой дугой при быстром поступательном движении.
Сварку деталей из меди с толщиной стенки более 5 мм и из латуни - более 12 мм производить с предварительным подогревом до температуры от 200 °C до 500 °C в зависимости от толщины свариваемого изделия и способа сварки.
Предварительный подогрев свариваемых деталей следует выполнять газокислородным пламенем или в печи.
5.5.3.8 При сварке многослойных швов выполнение каждого последующего прохода следует производить после механической зачистки шва предыдущего прохода в соответствии с требованиями
5.5.3.3. После зачистки следует провести обезжиривание сварного соединения. Применение абразивных инструментов из-за недостаточной чистоты зачищенной поверхности не допускается. Во избежание появления пор в швах сварное соединение должно быть выполнено с наименьшим числом проходов. Сварку следует вести по возможности без перерыва, с перекрытием ранее наложенных швов не менее чем на 1/3 ширины шва. При перекрытии шва обеспечивать расплавление кромок.
5.5.3.9 Сварку стыковых и угловых соединений толщиной до 6 мм следует вести без поперечных колебаний, при толщине более 6 мм - с небольшими поперечными колебаниями электрода (горелки). При сварке деталей разной толщины угол наклона электрода (горелки) выбирают таким, чтобы большая часть дуги переходила на более толстую деталь.
5.5.3.10 Сварные швы должны быть, по возможности, стыковыми двусторонними или односторонними со сквозным проплавлением свариваемых кромок. Сварной шов должен иметь плавный переход к основному металлу. Резкие переходы в сварных швах не допускаются. Швы по ширине должны перекрывать разделку от 1 до 2 мм на сторону, выпуклость швов должна быть от 2 до 5 мм в зависимости от толщины свариваемых соединений.
5.5.3.11 Угловые и тавровые соединения следует заваривать при положении "в лодочку" в соответствии с ГОСТ 11969-79
(пункт 3).
5.5.3.12 Сварку следует начинать и заканчивать на заходных и выводных подкладках, которые должны быть установлены в одной плоскости со свариваемыми деталями и плотно без зазоров прижаты к их кромкам. Допуски на точность установки выводных планок такие же, как и при сборке элементов под сварку. В целях предотвращения вытекания жидкого металла при сварке в начале и конце шва, при отсутствии выводных планок следует устанавливать графитовые пластины.
5.5.3.13 Следует избегать обрыва дуги. Участок шва с кратером, образовавшимся при случайном обрыве дуги, необходимо удалить механическим способом, обезжирить в соответствии с
5.5.3.3, а затем продолжить сварку.
5.5.3.14 Во избежание прожогов при сварке стыковых соединений рекомендуется применять съемные подкладки - медные водоохлаждаемые, флюсовые, графитовые.
5.5.3.15 Изделия из латуни с толщиной стенки более 3 мм рекомендуется после сварки подвергать термообработке - нагреву до температуры от 750 °C до 800 °C с медленным охлаждением.
Детали из оловянно-цинковой бронзы после сварки рекомендуется подвергать отжигу при температуре 650 °C с последующим охлаждением в воде.
5.5.3.16 В целях предотвращения приваривания брызг электродного металла к свариваемым деталям на них рекомендуется наносить защитное покрытие, в состав которого входят компоненты, следующего массового содержания в покрытии, %:
30 .................. криолит

;
10 .................. жидкое натриевое стекло с модулем от 2,6 до 3,0;
60 .................. вода дистиллированная.
Изготовленное в виде смеси покрытие следует хранить в герметичной таре и перед нанесением тщательно перемешать. Покрытие наносят на поверхность деталей кистью или пульверизатором, на холодную поверхность - в один слой, на подогретую - в два слоя. Время высыхания покрытия от 8 до 12 мин.
Удаление покрытия с металла производят после сварки без предварительного подогрева - мокрой ветошью или металлической щеткой или с применением предварительного подогрева - металлической щеткой.
5.5.4 Сварка ручная дуговая плавящимся электродом
5.5.4.1 При выборе типа покрытых электродов для сварки меди и медных сплавов следует руководствоваться данными
таблицы 30.
5.5.4.2 Сварку выполняют на постоянном токе обратной полярности.
5.5.4.3 Для обеспечения глубокого провара при отсутствии разделки кромок сварку ведут короткой дугой.
При заварке дефектных участков шириной более 15 мм валики наплавляют с поперечными колебаниями и кратковременной задержкой дуги на боковых кромках основного металла.
5.5.5 Сварка дуговая вольфрамовым электродом в защитном газе
5.5.5.1 Сварку меди и ее сплавов вольфрамовым электродом в инертном газе следует вести на постоянном токе прямой полярности или переменным током.
5.5.5.2 Рекомендуемые режимы ручной дуговой сварки вольфрамовым электродом в инертном газе стыковых соединений меди указаны в
таблице 33.
Таблица 33
Режимы дуговой сварки вольфрамовым электродом в инертном
газе стыковых соединений меди
Толщина, мм | Разделка кромок | Число проходов | Проходы | Диаметр присадочного прутка, мм | Сила сварочного тока, А | Расход аргона, л/мин |
1,0 | Без скоса кромок | 1 | - | 1,2 | 40 - 100 | 4 - 5 |
1,5 | 1 | 2,0 | 50 - 120 | 4 - 5 |
2,0 | 1 | 2,0 | 110 - 140 | 4 - 5 |
3,0 | 1 | 3,0 | 170 - 220 | 5 - 6 |
4,0 | 2 | 3,0 | 200 - 250 | 5 - 6 |
5,0 | Со скосом кромок | 2 | 1 | 4,0 | 300 - 350 | 5 - 6 |
6,0 | - | 1 | 3,0 | 300 - 350 | 6 - 7 |
2 | 4,0 | 300 - 350 | 6 - 7 |
подварочный шов | 4,0 | 300 - 350 | 6 - 7 |
10,0 | 4 | 1 | 3,0 | 300 - 350 | 7 - 8 |
2 | 5,0 | 300 - 350 | 7 - 8 |
3 | 6,0 | 300 - 400 | 7 - 8 |
подварочный шов | 3,0 | 300 - 350 | 7 - 8 |
12,0 | 5 | 1 | 3,0 | 250 - 350 | 8 - 10 |
2 | 5,0 | 300 - 400 | 8 - 10 |
3 | 6,0 | 350 - 450 | 8 - 10 |
4 | 6,0 | 350 - 450 | 8 - 10 |
подварочный шов | 3,0 | 300 - 350 | 8 - 10 |
20 | | 6 | 1,2 | 3,0 | 300 - 400 | 10 - 12 |
3,4 | 5,0 | 300 - 450 | 10 - 12 |
5,6 | 6,0 | 300 - 350 | 10 - 12 |
25 | | 8 | 1,2 | 3,0 | 300 - 400 | 12 - 14 |
3,4 | 5,0 | 350 - 450 | 12 - 14 |
5,6 | 6,0 | 400 - 550 | 12 - 14 |
7,8 | 6,0 | 450 - 600 | 12 - 14 |
5.5.5.3 Для сварки меди необходимо применять проволоки из меди марок М1, М2 и сплавов марок МНЖКТ 5-1-0,2-0,2 и БрКМц-3-1 по
ГОСТ 16130. Для сварки латуни в качестве присадки рекомендуется использовать металл того же состава или из сплавов марок БрКМц-3-1, БрОЦ-4-3 по
ГОСТ 16130. В случае отсутствия специальных требований допускается применение проволоки марки МНЖКТ 5-1,0-0,2-0,2 по
ГОСТ 16130. При сварке цинковых латуней, если требуется иметь максимальное содержание цинка в металле шва, следует применять проволоку марки ЛК-62-0,5 по
ГОСТ 16130.
5.5.5.4 Сварку выполняют углом вперед с наклоном оси мундштука горелки к изделию от 60° до 80°. Угол между осью мундштука горелки и присадочной проволокой должен составлять от 80° до 90°.
5.5.5.5 В качестве защитных газов следует применять газы, указанные в
5.5.2.2.
5.5.5.6 В качестве присадочных материалов рекомендуется применять проволоку и прутки, указанные в
5.5.2.6.
5.5.6.1 Сварку следует выполнять ацетиленокислородным нормальным пламенем с отношением кислорода и ацетилена от 1,05 до 1,10 для меди и от 1,3 до 1,4 для латуни. Для уменьшения теплоотвода сварку выполняют на теплоизоляционной подкладке, например, из асбестовой ткани по
ГОСТ 6102, кремнеземной или огнеупорной ткани.
5.5.6.2 Сварку следует проводить восстановительной зоной пламени, выдерживая расстояние от конца ядра до поверхности сварочной ванны в пределах от 3 до 6 мм. В процессе сварки нагретый металл должен быть все время защищен пламенем. Сварку рекомендуется выполнять левым способом. Сварку ведут с максимальной скоростью без перерывов и за один проход. Кромки и присадочную проволоку следует расплавлять одновременно: кромки до густого состояния, присадочную проволоку - до жидкого. По окончании сварки пламя необходимо поддерживать над металлом сварочной ванны, постепенно удаляя горелку, до полного его затвердевания.
5.5.6.3 При сварке меди рекомендуется свариваемые изделия устанавливать под углом до 10° к горизонтальной плоскости. Сварку ведут на подъем. Угол наклона мундштука горелки к свариваемому изделию задают от 40° до 50°, а присадочной проволоки - от 30° до 40°.
При сварке вертикальных швов угол наклона мундштука горелки должен составлять 30°. Сварку следует вести снизу вверх.
5.5.6.4 При газовой сварке меди не рекомендуется скреплять детали прихватками. Длинные швы сваривают в свободном состоянии обратноступенчатой сваркой.
5.5.6.5 При газовой сварке меди, бронзовых и латунных деталей следует применять предварительный подогрев от 350 °C до 400 °C с сопутствующим подогревом, обеспечивающим постоянную температуру детали. Детали сложной формы с тонкими стенками перед нагревом необходимо заполнить сухим горячим песком. Допускается сварка мелких деталей без подогрева.
При толщине изделия более 10 мм сварку производят двумя горелками: одна - для подогрева, второй - ведут сварку. При двусторонней сварке двумя горелками дополнительный подогрев не требуется.
5.5.6.6 При сварке изделия из чистой меди толщиной до 4 мм следует применять проволоку марок М1 или М2 по
ГОСТ 16130 или прутки из меди марок М1 или М2
ГОСТ 1535. Для сварки деталей из меди толщиной более 4 мм рекомендуется применять присадочную проволоку, легированную до 0,2% фосфором и до 0,3% кремнием. Состав присадочной проволоки для сварки медных сплавов должен совпадать с составом основного металла. Допускается в качестве присадочного металла при сварке латуни применять проволоку марки ЛК62-0.5 или самофлюсующийся сплав марки ЛКБО62-0,2-0,04-0,5 по
ГОСТ 16130, при сварке бронз - проволоку из сплава марки БрОФ6,5-0,4 по
ГОСТ 5017 и БрОФ6,5-0,15 по
ГОСТ 16130, а также прутки по
ГОСТ 10025.
5.5.6.7 В качестве флюса следует применять обезвоженную буру (Na
2B
4O
7), которую в виде пасты наносят на сварочные прутки и свариваемые кромки, а также флюсы, состав которых указан в
таблице 31. Флюсы наносить на зачищенные и обезжиренные свариваемые кромки от 10 до 12 мм на сторону. Дополнительно их можно вносить с помощью присадочного металла, на который наносить покрытие из компонентов флюса и жидкого натриевого стекла с добавками древесного угля (от 10% до 20%). Во время сварки в ванну следует непрерывно вводить флюс.
5.5.6.8 Режим газовой сварки в зависимости от толщины свариваемого металла необходимо назначать согласно данным, указанным в
таблице 34.
Таблица 34
Рекомендуемые режимы газовой сварки меди и медных сплавов
Толщина свариваемого металла, мм | Диаметр сварочной проволоки, мм | Номер наконечника горелки | Расход ацетилена, л/м |
2 | 2 | 2 | 300 - 400 |
4 | 4 | 3 | 300 - 500 |
6 | 5 | 3 | 750 - 1200 |
8 | 6 | 5 | 750 - 1200 |
10 | 6 | 6 | 1700 - 2500 |
12 | 8 | 6 | 1700 - 2500 |
14 | 8 | 6 | 1700 - 2500 |
16 | 10 | 7 | 1700 - 2500 |
18 | 12 | 7 | 1700 - 2500 |
20 | 12 | 7 | 1700 - 2500 |
5.5.6.9 Сварку бронзы следует вести восстановительным пламенем с обязательным применением флюса. Ядро пламени не должно касаться основного металла и прутка. Температуру детали в процессе сварки необходимо поддерживать постоянной.
5.6 Ремонт деталей пайкой и нанесением покрытий
5.6.1 Индукционная наплавка
5.6.1.1 Для наплавки износостойкого слоя на поверхности стальных деталей подвижного состава применяют способ наплавки ИМС.
5.6.1.2 Перед ИМС наплавкой поверхности деталей и прилегающие к ним участки на ширину не менее 10 мм должны быть зачищены от окалины, ржавчины, масла и других поверхностных загрязнений, а также заусенцев.
5.6.1.3 Очистка поверхностей должна производиться механизированными способами с применением специального инструмента, армированных абразивных кругов, стальных проволочных щеток, устройств ударного типа и других инструментов.
5.6.1.4 Допускается газопламенная очистка поверхностей. Остатки окислов и сгоревшей краски после газопламенной очистки должны быть удалены.
5.6.1.5 Поверхности деталей должны быть подвергнуты визуальному или неразрушающему контролю на предмет отсутствия трещин.
5.6.1.6 Подготовленные для наплавки ИМС поверхности деталей не должны иметь газотермических, гальванических и других покрытий (например, цементацию, азотирование, хромирование и др. виды химико-термической обработки) или других упрочняющих наплавок, если они закалены, то их необходимо отжечь.
5.6.1.7 При необходимости на поверхности детали снимают фаску или делают выточку (канавку). При снятии фасок для индукционной наплавки на кромках нельзя делать выточку или снимать фаску под углом 45°.
5.6.1.8 С целью придания изношенным участкам правильной геометрической формы, устранения дефектов, образовавшихся в процессе эксплуатации, и обеспечения требуемой толщины наплавленного слоя перед наплавкой ИМС поверхность деталей предварительно механически обрабатывают. При выполнении предварительной механической обработки должны быть обеспечены плавные переходы от одного размера к другому за счет выполнения радиусов, притупления острых кромок. Раковины, трещины и другие поверхностные дефекты должны быть предварительно разделаны таким образом, чтобы наносимый материал заполнил углубления без образования пустот.
5.6.1.9 Механическую обработку поверхностей деталей для наплавки ИМС выполняют на токарном, фрезерном, строгальном, заточном и других станках. Для материалов твердостью менее 300 HB допускается обработка поверхности крупнозернистым абразивным кругом.
5.6.1.10 Подготовленная поверхность для наплавки ИМС и прилегающая к ней поверхность должна иметь шероховатость в пределах Rz от 40 мкм до 100 мкм по
ГОСТ 2789.
5.6.1.11 При ширине наплавляемой поверхности более ширины индуктора ее необходимо наплавлять за два и более проходов с перекрытием ранее наплавленного слоя на 5 мм.
5.6.1.12 При локальном износе поверхности детали с ранее наплавленным слоем ИМС выполняют полное удаление всего ранее наплавленного слоя абразивным инструментом или газокислородным пламенем. После удаления наплавленного слоя ИМС газокислородным пламенем подготовку детали под повторную наплавку ИМС геометрические размеры поверхности детали восстанавливают дуговой наплавкой материалами, приведенными в
таблице 9.
Любая наплавка по слою, наплавленному наплавкой ИМС, не допускается ввиду опасности образования трещин.
5.6.2.1 При ремонте подвижного состава разрешается пайка меди и ее сплавов, углеродистых и легированных сталей, алюминия и его сплавов всеми промышленными способами пайки, классификация которых приведена в
ГОСТ 17349.
5.6.2.2 При разработке процесса пайки следует предусматривать:
- подготовку деталей;
- сборку деталей с фиксацией требуемого зазора;
- флюсование соединяемых поверхностей и нанесение припоя;
- пайку;
- обработку соединения после пайки;
- контроль паяных соединений.
Механическую очистку производят шабером, наждачной бумагой, стальной нержавеющей щеткой до чистого металла. При необходимости проводят травление и обезжиривание.
Травление сталей следует производить водным раствором соляной, или серной, или ортофосфорной кислоты с концентрацией от 10% до 20% при температуре от 30 °C до 50 °C в течение от 10 до 20 мин. Для травления алюминия и его сплавов применяют водные растворы едкого натра от 50 до 160 г/л, меди и ее сплавов - водный раствор смеси азотной 180 г/л и соляной 10 г/л кислот.
После травления детали необходимо промыть в воде и обезжирить. Обезжиривание производить бензином по
ГОСТ 1012, уайт-спиритом по
ГОСТ 3134, ацетоном по
ГОСТ 2768 или другими химическими растворителями и щелочными растворами, используя протирочный материал из хлопчатобумажной ткани, не оставляющей ворса.
Детали перед пайкой необходимо надежно зафиксировать. При назначении сборочного зазора необходимо учитывать его изменение при нагреве.
Основные типы паяных соединений, конструктивные элементы паяных швов и величины сборочных зазоров при различных сочетаниях "паяемый металл - припой" по
ГОСТ 19249.
5.6.2.3 Классификация и обозначения припоев по
ГОСТ 19248.
Рекомендации по выбору припоя в зависимости от способа пайки и вида паяемого материала указаны в
таблице 35.
Таблица 35
Выбор припоя в зависимости от способа пайки
Паяемые металлы | Способы пайки и состав припоев |
Газопламенный | Паяльником |
Медь и ее сплавы | Оловянно-свинцовые | Оловянно-свинцовые, медно-цинковые, медно-фосфористые |
Углеродистые и легированные стали | Оловянно-свинцовые, на основе цинка, кадмия, висмута | Оловянно-свинцовые, медь, медно-цинковые, серебряные, никелевые |
Алюминий и его сплавы | На цинковых, оловянных и кадмиевых основах | На цинковых и алюминиевых основах |
Марки, область применения и сортамент припоев оловянно-свинцовых по
ГОСТ 21931.
Марки, область применения припоев серебряных по
ГОСТ 19738.
Марки и область применения припоев медно-цинковых по
ГОСТ 23137.
В качестве припоев для пайки соединений из меди и латуни следует применять припои марок, указанных в
таблице 36.
Таблица 36
Марка | Сортамент | Температура расплавления, °C |
ПМФ-9 | Пруток | 800 |
ПМФ-7 | - | 850 |
ПФОЦ-3-2 | - | 890 |
Примечания 1 Припои обладают самофлюсующимися свойствами. 2 Применять в ответственных соединениях не допускается из-за охрупчивания шва. |
5.6.2.4 Классификация флюсов паяльных по
ГОСТ 19250.
Пайку рекомендуется производить с использованием флюсов, состав и область применения которых указаны в
таблице 37.
Таблица 37
Компоненты флюса | Состав флюса, % | Рекомендуемая область применения | Примечания |
1 | 2 | 3 | 4 |
Канифоль | 100 | Для пайки электротехнических и радиотехнических приборов и устройств | Не содержат кислоты, промывка не требуется |
Канифоль | 40 |
Бензин | 50 |
Керосин | 10 |
Канифоль | 97 |
Анилин солянокислый | 2 |
Глицерин | 1 |
Канифоль | 26 | Для пайки меди и ее сплавов, чугуна, стали, и оцинкованного железа |
Аммоний хлористый | 3 |
Цинк хлористый (раствор) | 71 |
Триэтаноламин | 82 | Для пайки алюминия и его сплавов |
Цинк борфтористый | 10 |
Аммоний борфтористый | 8 |
Цинк хлористый | 25 | Для лайки углеродистых и коррозионно-стойких сталей, меди и ее сплавов |
Кислота соляная | 25 |
Вода | 50 |
Бура | 100 | Для пайки углеродистых сталей, меди и их сплавов с медно-цинковыми припоями | Для пайки высокотемпературными припоями |
При низкотемпературной пайке применяют канифоль сосновую, которая имеет температуру плавления от 70 °C до 100 °C или ее раствор в спирте или органических растворителях, а также хлористый цинк, соляную кислоту, хлористый аммоний.
При высокотемпературной пайке используют прокаленную буру в виде порошка или пасты, замешанной на ацетоне с добавками вазелина в сочетании с медными, серебряными и железными припоями.
Для прокалки наполняют фарфоровый или шамотный тигель бурой (1/3 по высоте) и помещают в печь, нагретую до температуры от 400 °C до 500 °C. Бура считается прокаленной только после выпучивания и последующего оседания на дно тигля.
Марки и область применения флюсов паяльных высокотемпературных фторборатно- и боридно-галогенидных по
ГОСТ 23178.
При использовании активных паяльных флюсов необходимо удалять их остатки из-за высокого коррозионного воздействия на основной металл и шов тщательной промывкой в воде или растворителях.
Алюминий и его сплавы следует паять с применением реактивных флюсов на основе хлористых солей цинка, олова, аммония и фтористых солей натрия, калия, лития, а также органических флюсов на основе фторборатов кадмия, цинка, аммония. Пайку алюминия допускается выполнять без флюса.
Порошковые флюсы следует хранить в герметичной таре.
5.6.2.5 При газопламенном способе пайки следует использовать:
- кислород технический первого и второго сорта с объемной долей кислорода не менее 99,5% по
ГОСТ 5583;
- технический растворенный ацетилен марки Б по
ГОСТ 5457.
Газы следует хранить и транспортировать в баллонах, соответствующих требованиям
ГОСТ 15860 для пропана,
ГОСТ 949 для ацетилена и кислорода.
5.6.2.6 Оборудование для газопламенной пайки должно соответствовать требованиям
5.8.3.
5.6.2.7 При пайке электрифицированными способами следует использовать электропаяльники по ГОСТ 7219, паяльные станции, паяльные ванны, электропечи.
5.6.3 Газопламенное и плазменное нанесение покрытий, электродуговая металлизация
5.6.3.1 Газопламенному и плазменному нанесению покрытий, ЭДМ подлежат стальные детали подвижного состава цилиндрической, плоской и сложной геометрической формы. Детали, имеющие широкие поля допусков сопряжения, допускается восстанавливать и упрочнять способами ГПН (ГПНА и ГПНП) и ГПНО без последующей механической обработки, если после обработки указанными способами упрочненная деталь имеет ровную поверхность.
5.6.3.2 Восстановлению подлежат детали, имеющие равномерный или местный износ, а также детали с задирами, смятием, рисками или вырывами металла.
5.6.3.3 Технология газопламенного и плазменного нанесения покрытий должна предусматривать:
- подготовку детали;
- подготовку напыляемого материала;
- нанесение покрытия;
- оплавление покрытия (при ГПН и ГПНО);
- механическую обработку (при необходимости).
5.6.3.4 Подготовка деталей к газопламенному и плазменному нанесению покрытий должна включать:
- механическую обработку поверхности для устранения дефектов и придания изношенной поверхности правильной геометрической формы, и для активации и формирования шероховатости поверхности струйно-абразивной обработкой или зачисткой ручным шлифовальным инструментом;
- обезжиривание для удаления масел и жировых загрязнений, которое осуществляют моющими средствами, щелочными растворами и различными эмульсиями по
ГОСТ 9.402 с последующей промывкой деталей водой и сушкой в сушильных шкафах при температуре от 60 °C до 150 °C или обдувкой сжатым воздухом по
ГОСТ 9.010.
Детали с твердостью поверхности более 35 HRC по
ГОСТ 9013 перед механической или струйно-абразивной обработкой необходимо подвергать отжигу.
Струйно-абразивную обработку допускается производить сжатым воздухом 5 класса чистоты по
ГОСТ 17433. Расстояние от среза сопла пистолета до поверхности детали должно составлять от 100 до 150 мм. Угол наклона сопла к поверхности детали от 60° до 90°. В качестве материалов для струйно-абразивной обработки следует использовать электрокорунд с зернистостью F24, F30 по
ГОСТ Р 52381 или металлическую дробь ДЧК, ДСК номеров 01, 02, 03, 05 по
ГОСТ 11964. Металлический абразив не должен иметь следов ржавчины. Металлическая дробь без следов грязи и масла рекомендуется для обработки материалов с твердостью до 50 HRC.
Перерыв между операциями активации поверхности и нанесения покрытия должен быть не более 2 ч.
5.6.3.5 Материал покрытия детали при ГПН, ППН и ГПНО выбирают с учетом условий ее работы и необходимой твердости по техническим условиям
[10].
5.6.3.6 Влажность порошка для нанесения покрытия определяют визуально перед наплавкой. Наличие на внутренних стенках банки с порошком росы, корки слипшегося порошка на поверхности или комков порошковых частиц в массе порошка, а также изменение его цвета с серого на темно-серый или черный свидетельствуют о повышенной влажности наплавочного материала. В этом случае порошок следует просушить при температуре от 120 °C до 150 °C в течение от 1 до 2 ч.
5.6.3.7 Нанесение материала покрытия осуществляют с применением технологического оборудования, требования к которому указаны в
5.8.
5.6.3.8 Газопламенное напыление порошковых материалов производят с применением специальных горелок для газопламенной обработки.
5.6.3.9 В качестве рабочих газов при напылении следует применять:
- кислород технический первого и второго сорта с объемной долей кислорода не менее 99,5% по
ГОСТ 5583;
В качестве транспортирующего газа следует использовать воздух по
ГОСТ 17433 или аргон газообразный высшего и первого сорта по
ГОСТ 10157.
5.6.3.10 При ППН в качестве плазмообразующих газов следует применять аргон газообразный высшего сорта по
ГОСТ 10157, азот газообразный особой чистоты по
ГОСТ 9293 или их смеси.
5.6.3.11 ППН производят на стационарных плазменных установках.
5.6.3.12 ЭДМ производят проволочными материалами диаметром до 2,0 мм марок Нп-50, Нп-65Г, Нп-30ХГСА, НП-Х20Н80Т, Нп-Х15Н69 по
ГОСТ 10543, Св-08Г2С, Св-06Х19Н9Т по
ГОСТ 2246.
5.6.3.13 При нанесении покрытия способом ЭДМ необходимо использовать сжатый воздух 5 класса чистоты по
ГОСТ 17433.
5.6.3.14 Для ЭДМ следует использовать стационарные и ручные металлизаторы.
5.6.3.15 Для питания электрической дуги ЭДМ использует источник питания постоянного тока с жесткой вольт-амперной характеристикой и номинальной силой сварочного тока 500 А.
5.6.3.16 При восстановлении деталей газопламенным, плазменным способами или ЭДМ для обеспечения их требуемой формы и размеров следует применять резцы или фрезы с пластинами из твердого сплава при твердости покрытия до 40 HRC. При твердости более 40 HRC допускается только шлифовка карборундовым или алмазным инструментом с охлаждением смазочно-охлаждающей жидкостью.
5.6.3.17 Газопламенные и плазменные способы, ЭДМ рекомендуют применять там, где требуется нанесение тонкого (до 2 мм) износостойкого и коррозионно-стойкого слоя металла.
Если восстанавливаемая деталь имеет износ более 2 мм, то перед ГПН следует наплавить слой металла дуговой наплавкой с использованием сварочных материалов с увеличенной износостойкостью, указанных в
таблице 9, с последующей механической обработкой.
Выполнять дуговую наплавку по ранее наплавленному слою ГПН запрещено. Слой, наплавленный ГПН, следует удалить абразивным способом или газокислородным пламенем.
5.7.1 При ремонте подвижного состава применяют контактную сварку сталей, алюминия, алюминиевых сплавов, меди и сплавов на основе меди. Применяют следующие процессы сварки:
- сварка контактная точечная;
- сварка контактная шовная;
- сварка контактная стыковая оплавлением;
- сварка контактная стыковая сопротивлением.
5.7.2 Контактная точечная, рельефная и шовная сварка
5.7.2.1 Основные параметры режима точечной сварки:
- сварочный ток, А;
- плотность тока, А/мм2;
- длительность включения тока, с;
- усилие сжатия, МПа;
- диаметр контактной поверхности электрода, мм.
5.7.2.2 Силу сварочного тока устанавливают в зависимости от толщины свариваемых изделий. При сварке малоуглеродистых сталей силу сварочного тока Iсв, А, определяют по формуле

(5.1)
где

- толщина более тонкого листа, мм.
Для сварки алюминиевых сплавов силу сварочного тока Iсв, А, определяют по формуле

(5.2)
5.7.2.3 Длительность включения тока, с, для малоуглеродистых и низколегированных сталей принимают равной от 0,2 до 0,4 толщины деталей, для коррозионно-стойких сталей - от 0,10 до 0,15, для алюминиевых сплавов типа АМг и АМц - от 0,15 до 0,2.
5.7.2.4 Усилие сжатия электродов Pэл, Н, определяют по формуле
Pэл = p x S, (5.3)
где p - удельное давление, МПа;
S - площадь контакта "электрод-деталь", см2.
Для углеродистых и легированных сталей удельное давление должно быть в пределах от 49 до 118 МПа (от 4,9 до 11,8 кгс/мм2) и от 88 до 176 МПа (от 8,8 до 17,6 кгс/мм2) соответственно.
5.7.2.5 Детали разной толщины сваривают при соотношении толщин не более чем один к трем, а параметры режима определяют по более тонкой детали. Режимы контактной точечной сварки углеродистой и легированной стали приведены в
таблице 38.
Таблица 38
Режимы контактной точечной сварки стали
Толщина детали, мм | Диаметр рабочей поверхности электрода, мм | Сварочный ток, кА | Время импульса тока, с | Усилие на электродах, Н | Минимальный диаметр литого ядра точки, мм | Минимальное разрушающее усилие при срезе на одну точку, Н |
0,6 | 4,0 | 6,0 | 0,10 | 100 | 3,0 | 200 |
0,8 | 4,5 | 8,5 | 0,12 | 125 | 3,5 | 350 |
1,0 | 5,0 | 9,5 | 0,20 | 150 | 4,0 | 400 |
1,2 | 6,0 | 10,0 | 0,26 | 180 | 4,5 | 550 |
1,5 | 6,5 | 11,0 | 0,34 | 230 | 5,0 | 750 |
1,8 | 6,5 | 12,5 | 0,40 | 300 | 5,5 | 900 |
2,0 | 7,5 | 12,5 | 0,48 | 350 | 6,0 | 1100 |
2,5 | 8,0 | 13,5 | 0,60 | 350 | 7,0 | 1500 |
5.7.2.6 Конструктивные элементы сварных соединений, выполняемых контактной точечной, рельефной и шовной сваркой, должны соответствовать требованиям
ГОСТ 15878.
5.7.3 Контактная стыковая сварка
5.7.3.1 Стыковая сварка может быть выполнена одним из методов: сопротивлением или оплавлением.
Сварку сопротивлением рекомендуется применять для получения неответственных соединений: тонких стержней, толстостенных трубок малых диаметров и других деталей с небольшой площадью сечения.
Контактной стыковой сваркой сопротивлением следует сваривать цветные и разнородные металлы.
Основные параметры режима контактной сварки сопротивлением:
- плотность тока, А/мм2;
- время нагрева, с;
- давление осадки, МПа;
- установочная длина концов деталей, мм.
Режимы контактной сварки сопротивлением стали приведены в
таблице 39.
Таблица 39
Режимы контактной сварки сопротивлением стали
Площадь поперечного сечения свариваемой детали, мм2 | Установочная длина, мм | Припуск на осадку, мм | Плотность тока, А/мм2 | Удельное давление осадки, МПа | Время сварки, с |
25 | 6 | 1.6 | 200 | 20 - 46 | 0,6 |
25 - 50 | 8 | 1,4 | 160 | 10 - 30 | 0,8 |
50 - 100 | 10 | 1,5 | 140 | 10 - 30 | 1,0 |
100 - 250 | 12 | 2,8 | 900 | 10 - 30 | 1.5 |
Давление осадки для цветных металлов устанавливают от 3 до 15 МПа, для легированных сталей - от 100 до 150 МПа.
5.7.3.2 Контактную сварку оплавлением выполняют непрерывным оплавлением или с прерывистым подогревом импульсами тока.
Основные параметры контактной сварки оплавлением:
- установочная длина оплавляемых торцов, мм;
- время оплавления, с;
- скорость оплавления, мм/с;
- скорость осадки, мм/с;
- величина осадки, мм.
Установочная длина (l
1 + l
2) при стыковой сварке оплавлением приведена на
рисунке 5.
Рисунок 5 - Схема стыковой сварки оплавлением
При сварке стальных полос установочная длина должна составлять от 4 до 5 толщин полос или от 0,75 до 1,0 диаметра стержней. Режимы сварки устанавливают в зависимости от материала, профиля и размеров.
Режимы контактной сварки оплавлением приведены в
таблице 40.
Таблица 40
Режимы контактной сварки оплавлением
Материал | Скорость оплавления, мм/с | Скорость осадки, мм/с | Плотность тока при оплавлении, А/мм2 | Плотность тока при осадке, А/мм2 | Давление осадки, МПа |
Средняя | Перед осадкой | Средняя | Максимальная | Непрерывное оплавление | Оплавление с подогревом |
Нелегированная сталь | 0,5 - 1,5 | 2 - 5 | 15 - 20 | 5 - 15 | 20 - 30 | 40 - 60 | 60 - 80 | 40 - 60 |
Легированная сталь | 1,5 - 2,0 | 4 - 5 | 20 - 30 | 5 - 15 | 20 - 30 | 40 - 60 | 100 - 110 | 40 - 60 |
Нержавеющая сталь | 2,5 - 3,5 | 5 - 7 | 30 - 50 | 10 - 20 | 25 - 35 | 35 - 50 | 150 - 220 | 100 - 140 |
Легкие сплавы | 3,0 - 7,0 | 8 - 15 | 100 - 200 | 10 - 15 | 40 - 60 | 70 - 150 | 120 - 180 | - |
5.8 Оборудование для сварки (наплавки)
5.8.1 Источники питания дуги
5.8.1.1 Оборудование для дуговой сварки и наплавки, используемое при ремонте подвижного состава, следует укомплектовывать источниками питания - сварочными выпрямителями, удовлетворяющими требованиям
ГОСТ 13821. В качестве источников питания разрешается применение генераторов сварочных по
ГОСТ 304 или преобразователей сварочных по
ГОСТ 7237.
5.8.1.2 Для сварочных и наплавочных работ при ремонте подвижного состава в отсутствие централизованного электроснабжения следует применять агрегаты сварочные с двигателями внутреннего сгорания, отвечающие требованиям
ГОСТ 2402.
5.8.1.3 Сварочные трансформаторы не следует применять для сварки (наплавки) ответственных узлов и деталей подвижного состава (несущих сварных конструкций), в остальных случаях применения они должны отвечать требованиям
ГОСТ 95.
5.8.1.4 При механизированной сварке (наплавке) под флюсом допускается применение в качестве источников питания однофазных трансформаторов, технические характеристики которых соответствуют требованиям ГОСТ 7012.
5.8.1.5 Источники питания для дуговой сварки должны соответствовать требованиям
ГОСТ Р МЭК 60974-1. Они должны иметь защиту от поражения электрическим током, быть оснащенными защитой от перегрева, иметь ограничение по напряжению в сварочной цепи и, при необходимости, например, при работе сварщика в металлических резервуарах или цистернах, быть снабжены устройствами, снижающими уровень опасности поражения электрическим током.
5.8.1.6 Оценка показателей сварочных свойств источников питания для дуговой сварки (наплавки) плавящимся покрытым электродом и дуговой сварки (наплавки) в защитном газе плавящимся электродом, испытанных в соответствии с
ГОСТ 25616, должна составлять не менее 4 баллов.
5.8.2 Оборудование для дуговой сварки
5.8.2.1 При частично механизированной дуговой сварке и наплавке проволоками сплошного сечения или порошковыми проволоками основное технологическое оборудование должно обеспечивать стабильную подачу электродной проволоки в зону сварки со скоростью ее плавления и поддержание на заданном уровне параметров режима сварки в соответствии с
ГОСТ 18130.
5.8.2.2 При полностью механизированной дуговой сварке (наплавке), наряду со стабильной подачей проволочного электрода, должна быть обеспечена стабильная скорость сварки за счет выполнения требований к оборудованию по
ГОСТ 8213.
5.8.2.3 Детали с кольцевыми швами сваривают на специализированном оборудовании, которое должно соответствовать
ГОСТ 30261. Детали с поверхностями тел вращения наплавляют на специализированном оборудовании, которое должно соответствовать
ГОСТ 30260.
5.8.2.4 Для повышения эффективности сварочных и наплавочных работ при ремонте подвижного состава с применением механизированных технологических процессов сварочные полуавтоматы рекомендуется объединять совместно с колоннами, изготовленными по
ГОСТ 26408.
5.8.2.5 При ремонте подвижного состава с восстановлением сварочно-наплавочными технологиями массовых деталей тележек вагонов, а также других массовых деталей допускается применение роботов промышленных для дуговой сварки, отвечающих требованиям
ГОСТ 26056.
5.8.3 Оборудование для газовой и плазменной сварки, резки
5.8.3.1 Раскрой металла, подготовку кромок заготовок свариваемых деталей необходимо выполнять на переносных и стационарных машинах, использующих следующие способы резки:
- кислородные;
- плазменные;
- лазерные.
Основные параметры переносных и стационарных машин должны соответствовать
ГОСТ Р ИСО 8206.
5.8.3.2 Баллоны для хранения и транспортировки кислорода, горючих газов, защитных газов и их смесей должны соответствовать
ГОСТ 949.
5.8.3.3 При питании постов и установок газовой сварки, пайки, наплавки, нагрева и других процессов газопламенной обработки следует применять газовые редукторы, отвечающие требованиям
ГОСТ 13861.
5.8.3.4 Горелки ручные для пайки твердыми и мягкими припоями, подогрева, в которых используется горючий газ и всасываемый из атмосферы воздух (горелки инжекторного типа), должны соответствовать
ГОСТ 29091.
5.8.3.5 Резаки инжекторные для ручной кислородной резки должны соответствовать типам, основным параметрам, установленным в
ГОСТ 5191.
5.8.3.6 Устройства предохранительные в оборудовании для газопламенной обработки должны соответствовать
ГОСТ Р 50402.
5.8.3.7 Рукава для газовой сварки, резки, пайки, наплавки, подогрева и других процессов газопламенной обработки должны соответствовать
ГОСТ 9356.
5.8.3.8 Герметичность оборудования и аппаратуры для газовой сварки, резки и аналогичных процессов необходимо контролировать измерением допустимых скоростей внешней утечки газа по
ГОСТ 31596.
5.8.3.9 Типы и основные параметры аппаратуры для ручной, механизированной и автоматической плазменно-дуговой резки металлов, применяемой при ремонте подвижного состава, должны соответствовать ГОСТ 12221.
5.8.3.10 Типы и основные параметры резаков ручных воздушно-дуговых должны соответствовать
ГОСТ 10796.
5.8.4 Оборудование для индукционной наплавки
5.8.4.1 Для наплавки ИМС следует применять специализированные генераторы и промышленные высокочастотные установки мощностью от 60 до 160 кВт, частотой тока от 66 до 440 кГц.
5.8.4.2 Индуктор должен быть оборудован проточной системой охлаждения или системой охлаждения замкнутого типа.
5.8.5 Механическое оборудование
5.8.5.1 Механическое оборудование, предназначенное для ремонта колесных пар вагонов и центров колесных пар локомотивов наплавкой или нанесением покрытия с вращением цилиндрических деталей, должно отвечать требованиям
ГОСТ 28920.
5.8.5.2 Механическое оборудование, предназначенное для ремонта деталей подвижного состава больших габаритов и массы с поворотом вокруг горизонтальной оси в удобное для сварки (наплавки) положение, должно отвечать требованиям
ГОСТ 30295.
5.8.5.3 Механическое оборудование, предназначенное для вращения при автоматической, механизированной и ручной сварке (наплавке) деталей и узлов подвижного состава, должно соответствовать требованиям
ГОСТ 19141,
ГОСТ 19143.
5.8.5.4 Механическое оборудование, в виде вращателей сварочных горизонтальных двухстоечных, предназначенное для сварки (наплавки) деталей и узлов подвижного состава, должно соответствовать требованиям
ГОСТ 19140.
5.8.5.5 Применяемое при ремонте подвижного состава механическое сварочное оборудование должно быть проверено согласно требованиям ГОСТ 28944 для подтверждения основных функциональных характеристик и показателей надежности. Периодичность проверки устанавливает рабочая методика испытаний оборудования конкретного назначения.
5.8.5.6 Для уменьшения деформаций свариваемых деталей следует применять кондукторы, стапели и другие специальные технологические приспособления.
5.8.6 Сварочный инструмент и аксессуары
5.8.6.1 Кабели для электродуговой сварки должны соответствовать
ГОСТ IEC 60245-6.
5.8.6.2 Соединители кабеля сварочного должны соответствовать
ГОСТ 22917.
5.8.6.3 Электрододержатели сварочные должны соответствовать
ГОСТ 14651.
5.8.6.4 Горелки ручные для дуговой сварки неплавящимся вольфрамовым электродом в защитном газе должны отвечать требованиям
ГОСТ 5.917.
5.8.6.5 Барабаны и катушки для сварочной проволоки должны соответствовать ГОСТ 25445.
5.8.6.6 Щитки и маски для защиты электросварщика должны отвечать требованиям
ГОСТ Р ЕН 379.
5.8.6.7 Для газопорошковой наплавки следует использовать специальные горелки, например, марок ГН-2, ГН-5П, Duraloy Plus, SuperJet Eutalloy.
5.8.6.8 Печи для сушки сварочных материалов (сушильные шкафы) должны иметь регуляторы температуры и термометры или термопары с индикацией текущей температуры внутри печи. Рекомендуется применение специализированных печей для прокалки с программируемым режимом прокалки.
5.8.6.9 Для хранения электродов на рабочих местах используют специализированные термопеналы (в том числе с автоматическим поддержанием температуры), герметичные пеналы с крышкой с резиновым уплотнителем или сушильные шкафы.
5.8.6.10 Для хранения порошковой проволоки и сварочного флюса после прокалки следует использовать контейнеры, закрываемые крышками с резиновым уплотнением, или сушильные шкафы.
5.8.7 Оборудование для контактной сварки
5.8.7.1 Технические характеристики сварочных машин для контактной стыковой и точечной сварки приведены в
таблицах 41 и
42. Допускается применение других машин контактной сварки, технические характеристики которого соответствуют
таблицам 41 и
42.
Таблица 41
Технические характеристики сварочных машин
для контактной стыковочной сварки
Техническая характеристика | Модель сварочной машины |
МСС-901 | МСС-1901 | МСО-201 | МСО-606 | МС-2008 | К-617М |
Номинальный длительный вторичный ток, А | 450 | 1400 | 8000 | 9000 | 10000 | 18000 |
Мощность, кВА | 7,0 | 12,2 | 310 | 425 | 125 | 96 |
Номинальное усилие осадки, Н (кгс) | 160 (16) | 630 (63) | 20000 (2000) | 63000 (6300) | 63000 (630) | 160000 (16000) |
Номинальное усилие зажатия, Н (кгс) | 1000 (100) | 3000 (300) | 40000 (4000) | 100000 (10000) | 100000 (10000) | 320000 (32000) |
Номинальное свариваемое сечение, мм2 | Диаметр проволок из стали 0,5 - 0,7; из меди 0,4 - 5,0; из алюминия 0,5 - 6,0 | Из стали 80; из меди 50; из алюминия 64 | до 1400 | Нелегированная сталь до 2000; Легированная сталь - до 1250 | до 2000 | Нелегированная сталь до 5000 |
Производительность, сварок/ч | 300 | 2000 | 160 | 200 | 80 | 100 |
Таблица 42
Технические характеристики сварочных машин
для точечной сварки
Техническая характеристика | Модель сварочной машины |
МТР-1201 | МТР-1701 | МТР-2401 | МТ-2201 |
Номинальный длительный вторичный ток, А | 2900 | 3200 | 5000 | 9000 |
Номинальное усилие сжатия, даН | 200 | 500 | 630 | 630 |
Номинальный вылет, мм | 250 | 400 | 500 | 500 |
Рекомендуемый диапазон толщин свариваемых деталей, мм | от 0,2 до 3,0 | от 0,5 до 5,0 | от 0,5 до 6,0 | Нелегированная сталь до 5,0; коррозионно-стойкая сталь до 1,0; алюминий до 0,6 |
Производительность, сварок/ч | 320 | 260 | 260 | 300 |
6.1 Контроль качества сварочных и наплавочных работ осуществляют систематически в течение всего производственного цикла, на всех этапах ремонта. Организацию работ по контролю качества осуществляет ответственный координатор сварки.
6.2 Контролю при ремонте подвижного состава сваркой и наплавкой подлежат:
- наличие документации на технологический процесс ремонта сваркой и наплавкой;
- квалификационный уровень сварщиков, его соответствие роду выполняемых работ и условиям аттестации;
- наличие сертификатов на сварочные и наплавочные материалы и их соответствие требованиям нормативной документации на конкретный материал;
- техническое состояние оборудования, его комплектность, наличие эксплуатационной документации, наличие действующих документов об метрологическом обеспечении, своевременность метрологического обслуживания электроизмерительных приборов, средств технического оснащения;
- качество разделки дефектов и подготовки деталей под сварку или наплавку;
- режимы прокаливания сварочных материалов;
- соответствие режимов сварки, наплавки, предварительного подогрева и последующей термической обработки требованиям технологического процесса;
- наличие на деталях и конструкциях клейм сварщика в установленных ремонтной документацией местах;
- качество выполненных сварочных и наплавочных работ.
6.3 При контроле следует использовать классификацию, обозначения и определения (описания) дефектов соединений при сварке металлов плавлением по
ГОСТ Р ИСО 6520-1, при сварке давлением - по
ГОСТ Р ИСО 6520-2.
Контролю подлежат, в зависимости от ответственности изделий в эксплуатации, участки от 10% до 100% общей длины сварных швов. Места контроля должны быть указаны в ремонтной документации на подвижной состав.
6.4 Контроль сварных соединений осуществляют, в зависимости от характеристик дефектов и области применения соединения, согласно
ГОСТ 34513 одним или несколькими видами контроля:
- оптическим;
- проникающими веществами;
- радиационным;
- ультразвуковым;
- магнитным;
- вихретоковым.
6.5 Осмотру с целью выявления внешних дефектов подвергают все сварные швы независимо от применения других методов контроля. Перед осмотром сварные швы и прилегающие к нему поверхности должны быть очищены от шлака, брызг и других загрязнений, затрудняющих осмотр, на ширину не менее 20 мм по обе стороны шва. Внешний осмотр сварных швов производят по всей их протяженности с двух сторон, за исключением мест, недоступных для осмотра. Наличие дефектов проверяют невооруженным глазом или с применением лупы с не менее чем четырехкратным увеличением.
Контроль сварных швов, недоступных для осмотра после окончательной сварки конструкции, следует выполнять до установки деталей, закрывающих эти швы.
6.6 При контроле швов измерением должно быть установлено соответствие размеров сварных швов требованиям чертежа. Проверку соответствия конструкторской и ремонтной документации размеров сварного шва, и отклонений размеров выявляемых дефектов от допустимых следует выполнять измерительным инструментом с погрешностью измерения +/- 0,1 мм или специальными шаблонами.
Схемы измерения отдельных размеров подготовки деталей под сборку и сборки соединений под сварку с помощью шаблона универсального типа УШС-3 приведены на
рисунке 6.
а - общий вид шаблона УШС-3; б - измерение угла скоса
разделки; в - измерение размера притупления кромки;
г - измерение зазора в соединении;
д - измерение смещения наружных кромок деталей
Рисунок 6 - Контроль универсальным шаблоном сварщика УШС-3
Допускается применение шаблонов конструкций В.Э. Ушерова-Маршака и А.И. Красовского (см.
рисунки 7 и
8).
а - общий вид шаблона; б - измерение угла скоса разделки
кромок; в - измерение высоты катета углового шва;
г - измерение высоты валика, усиления и выпуклости корня
шва стыкового сварного соединения; д - измерение зазора
в соединении при подготовке деталей к сварке
Рисунок 7 - Контроль шаблоном конструкции
В.Э. Ушерова-Маршака
а - общий вид шаблона;
б, в - контроль тавровых и нахлесточных сварных соединений;
г - контроль стыковых сварных соединений;
д - измерение зазора между кромками
Рисунок 8 - Контроль шаблоном конструкции А.И. Красовского
В угловых швах катет шва следует определять как катет наибольшего прямоугольного треугольника, вписанного во внешнюю часть шва. При ремонте сваркой отклонение в размерах швов в сторону увеличения или в сторону уменьшения должно быть не более, чем установлено для сварных соединений в соответствии с
5.2.2.9.
Допускается применение шаблонов и измерительного инструмента, применяемого в процессе контроля нового изделия на предприятиях изготовителей подвижного состава.
6.7 Контроль качества наплавки и обработки наплавленной поверхности проводят внешним осмотром и измерениями контролируемых размеров и твердости поверхности по
ГОСТ 9012,
ГОСТ 9013 средствами измерения согласно нормативным документам и технической документации на конкретный технологический процесс. Допускается измерение твердости наплавленного слоя выполнять ультразвуковыми или динамическими твердомерами, включенными в Реестр средств измерений, испытательного оборудования и методик (методов) измерений, применяемых в ОАО "РЖД" в соответствии с Порядком
[11].
Измерение твердости слоя, наплавленного процессами ИМС и ГПН, следует проводить на КСС, при верификации партии порошковой смеси.
6.8 Контролю проникающими веществами подвергают замкнутые системы (сосуды, резервуары, трубопроводы, гидравлические системы и т.п.), работающие под давлением. Гидравлические испытания швов сварных соединений проводят согласно
ГОСТ 22161.
Допускается гидравлические испытания производить по технологии и инструкциям, применяемым в процессе контроля нового изделия на предприятиях изготовителей подвижного состава.
6.9 Контролю наливом воды подвергают открытые изделия - баки, емкости, цистерны. Контроль проводят при температуре воздуха не менее 0 °C и воды не менее 5 °C согласно
ГОСТ 22161.
6.10 Капиллярные методы контроля по
ГОСТ 18442, люминесцентный метод течеискания по
ГОСТ 26182, смачивание керосином по
ГОСТ 3242 применяют в порядке исключения для контроля герметичности сварных соединений резервуаров, цистерн и других изделий.
6.11 Радиографический контроль сварных соединений проводят согласно
ГОСТ 7512.
6.12 Контроль сварных соединений магнитными методами проводят согласно
ГОСТ 25225 - магнитографическим методом,
ГОСТ Р 55680 - феррозондовым методом,
ГОСТ Р 56512 - магнитопорошковым методом.
6.13 Контроль сварных соединений ультразвуковым методом проводят согласно
ГОСТ Р 55724.
6.14 При всех видах ремонта в сварных швах и наплавленном слое не допускается наличие следующих дефектов:
- трещин, несплавлений по кромкам, наплывов, прожогов, незаплавленных кратеров, свищей;
- подрезов в сварных соединениях тележек и других несущих сварных конструкциях подвижного состава;
- подрезов на остальных узлах более 10% толщины металла или свыше 0,5 мм;
- непроваров в стыковых поперечных и косых швах по отношению к действующей силе;
- непроваров в стыковых соединениях с продольно действующими усилиями или в соединениях таврового и углового типов со скосом кромок, при невозможности подварки этих швов, размерами более 15% толщины наиболее тонкого элемента, но не более 2 мм;
- единичных пор или шлаковых включений диаметром более 1,0 мм для металла толщиной до 20 мм и более 5% толщины для металла толщиной более 20 мм, в количестве более двух дефектов на участке шва длиной 200 мм при расстоянии между дефектами менее 50 мм в стыковых и угловых швах, работающих на растяжение или на отрыв;
- единичных пор или шлаковых включений диаметром более 2 мм в количестве более шести на участке шва длиной 400 мм, при расстоянии между дефектами не менее 10 мм в стыковых и угловых швах, работающих на сжатие;
- поверхностных пор и шлаковых включений, сгруппированных на длине более 10 мм с расстоянием между дефектными участками менее 500 мм;
- единичных пор или шлаковых включений диаметром более 1,5 мм в наплавленном слое;
- местных занижений поверхности (черноты) в местах наплавки после механической обработки общей площадью более 15% площади наплавки при условии, что их глубина не выводит геометрические размеры за допустимые пределы;
- вмятин на поверхности шва, возникающих при удалении с него шлаковой корки механизированным инструментом или зубилом с радиусом рабочей кромки менее 2 мм;
- ожогов от замыкания электродом на поверхности деталей;
- волнистости шва более 1,5 мм или наличия резких переходов от одного сечения шва к другому;
- смещения оси шва при выполнении корневых швов и валиков при однопроходной сварке более чем на 1,5 мм относительно оси симметрии сварного соединения.
Вмятины поверхности шва, получающиеся при удалении с него шлаковой корки механизированным инструментом или зубилом с радиусом рабочей кромки не менее 2 мм, браковочным признаком не считаются.
Допускаемый объем дефектов в сварных соединениях может быть установлен в зависимости от уровня качества сварного соединения в соответствии с
ГОСТ Р ИСО 5817.
Визуальный контроль и измерения качества сварочных и наплавочных работ, выполненных дуговой сваркой плавлением, следует выполнять с соблюдением требований
ГОСТ Р ИСО 17637 и пункта 7
правил [12].
Выбор методов контроля следует определять по степени ответственности в эксплуатации сварной конструкции и
ГОСТ 3242.
6.15 Исправление дефектных мест в сварных швах проводят повторной заваркой дефектного участка. Заварка допускается лишь после удаления дефектного участка шва и подготовки мест под сварку. При заварке исправляемого участка должны быть выполнены требования, установленные для сварки этого шва.
Исправление участков шва с единичными недопустимыми порами или шлаковыми включениями допускается выполнять рассверловкой или вырубкой дефектов. Если в каком-либо из вырубленных или рассверленных мест обнаружатся дефекты, то около этих мест дополнительно следует рассверлить дефектный участок или сделать по две вырубки на каждое рассверленное или вырубленное место. При обнаружении в дополнительных вырубках или рассверленных отверстиях недопустимых дефектов дефектный участок шва должен быть полностью удален, а место, где он находится, повторно заварено. Все рассверленные или вырубленные углубления должны быть заварены.
Участки сварных швов с внутренними дефектами, выявленными неразрушающими методами контроля, должны быть удалены, а места, где они находились, вновь заварены и подвергнуты повторному контролю.
Подрезы должны быть устранены зачисткой и заваркой, или аргонодуговой обработкой. Исправление только зачисткой разрешается, если глубина подреза не превышает 8% толщины металла, но не более 1,0 мм для толщины от 6 мм до 20 мм и не более 1,5 мм для больших толщин. На металле толщиной менее 6 мм исправление подрезов допускается выполнять заваркой или оплавлением с последующей зачисткой.
Ожоги от замыкания электродов на деталях толщиной более 5 мм должны быть удалены зачисткой механическим способом на глубину не менее 0,3 мм от поверхности.
Не допускается исправление дефектного участка более двух раз.
6.16 При наплавке деталей способами ИМС, ГПН (ГПНП, ГПНА), ППН и нанесении покрытий способами ГПНО, ЭДМ не допускаются следующие дефекты:
- волнистость и наплывы высотой более 1 мм и шагом волны более 10 мм;
- трещины и поры;
- растрескивание и отслоение нанесенного слоя.
6.17 Устранение дефектов в слое, нанесенном способами ИМС, ГПН, ППН, ГПНО, ЭДМ, в виде трещин, пор, растрескивания, отслоения производят полным удалением всего слоя механической обработкой и повторным нанесением покрытия. Допускается производить удаление нанесенного слоя с деталей (кроме деталей, изготовленных из стали марок, указанных в
5.2.5.3) термическими способами с последующей электродуговой наплавкой.
- непропаи;
- трещины;
- поры;
- раковины;
- шлаковые включения.
7 Требования безопасности и охраны окружающей среды
7.1 Требования безопасности при сварочных
и наплавочных работах
7.1.1 Ремонт подвижного состава сваркой и наплавкой следует производить с соблюдением
правил по охране труда
[4],
правил противопожарного режима
[13].
Для безопасной эксплуатации оборудования следует соблюдать требования электробезопасности по
ГОСТ 12.2.007.0, требования к механическому оборудованию по
ГОСТ 21694.
Для обеспечения безопасности производственных процессов следует соблюдать требования к газопламенной обработке металлов по
ГОСТ 12.3.036, к плазменной обработке металлов по
ГОСТ 12.3.039.
7.1.2 Санитарно-гигиенические условия на участках дуговой сварки и термической резки в части требований к производственным помещениям, оборудованию, приспособлениям, отоплению, вентиляции и освещению должны удовлетворять гигиеническим
нормативам [14].
7.1.3 При выполнении сварочных и наплавочных работ при ремонте железнодорожного подвижного состава для защиты от воздействия опасных и вредных производственных факторов работники должны соблюдать
правила [4].
Для защиты от опасных и вредных производственных факторов работникам необходимо выдавать средства коллективной и индивидуальной защиты в соответствии с типовыми
нормами [15].
7.1.4 Для защиты глаз и лица от излучения сварочной дуги сварщик должен использовать шлем-маску или щиток со светофильтрами разной прозрачности в зависимости от величины сварочного тока по
ГОСТ 12.4.254 или шлем-маску со светофильтрами по
ГОСТ Р ЕН 379.
Для предохранения тела от ожогов каплями расплавленного металла или воздействия лучей сварочной дуги применяют спецодежду с огнестойкой пропиткой, руки сварщика должны быть защищены специальными рукавицами.
Средства индивидуальной защиты сварщика должны соответствовать
ГОСТ 12.4.103.
7.1.5 Для предупреждения воздействия лучей дуги на персонал других рабочих мест сварочные посты должны быть ограждены светонепроницаемыми ширмами, щитками высотой не менее 2 м, которые окрашивают в светлые цвета (серый, голубой, желтый) с добавлением в краску оксида цинка с целью уменьшения отражения ультрафиолетовых лучей дуги в соответствии с ГОСТ 12.4.123.
7.1.6 Для снижения запыленности и загазованности помещений необходимо применять общеобменную вентиляцию согласно
ГОСТ 12.4.021.
7.1.7 Для удаления токсичных сварочных аэрозолей у места их образования необходимо применять местную вентиляцию и адсорбционное улавливание вредных газов. В качестве местной вентиляции необходимо использовать переносные пылегазоприемники, имеющие адсорбционную очистку, или встроенные в сварочное оборудование вытяжные устройства. Воздух от вытяжных устройств сварочного оборудования следует направлять на газоочистку.
7.1.8 Оценку состояния воздуха рабочей зоны в помещениях следует проводить согласно
ГОСТ 12.1.007. Санитарный контроль содержания вредных веществ в воздухе рабочей зоны проводят периодически согласно графику контроля воздушной среды в цехах предприятий, согласованному с органами санитарного надзора.
7.1.9 К работе на сварочном оборудовании допускаются лица, которые прошли медицинский осмотр, инструктажи и обучение по охране труда, обучение мерам пожарной безопасности согласно
порядку [16], имеющие группу по электробезопасности не ниже II и имеющие соответствующие удостоверения.
7.1.10 Инструкции по охране труда для работников должны быть разработаны в соответствии с правилами
[17].
7.1.11 Освещенность рабочего места при проведении сварочных (наплавочных) работ, а также при контроле качества сварных соединений (наплавленного металла) должна соответствовать требованиям
правил по охране труда при выполнении электросварочных и газосварочных работ
[4].
7.1.12 Сварочные посты должны быть оборудованы столами и сиденьями для сварщиков, а также подъемными устройствами для перемещения деталей, масса которых более 15 кг.
7.1.13 Запрещается проводить сварку сосудов, находящихся под давлением газа, пара, воздуха или жидкости.
7.1.14 Очистку сварного шва от шлака сварщик должен производить в защитных очках по
ГОСТ 12.4.253.
7.1.15 При сборке и просеивании флюса сварщик должен надеть респиратор по
ГОСТ 12.4.028 и рукавицы по
ГОСТ 12.4.103, соответствующего типа. Просеивать флюс в открытых ситах запрещается.
7.1.16 Места проведения сварочных и наплавочных работ должны быть оборудованы, а также оснащены первичными средствами пожаротушения в соответствии с требованиями
правил противопожарного режима
[13].
7.1.17 В целях предотвращения несчастных случаев, снижения травматизма и профессиональных заболеваний, устранения опасности для жизни, вреда для здоровья людей, опасности возникновения пожаров или аварий производственные помещения ремонтных предприятий и места проведения сварочных и наплавочных работ должны быть оборудованы аварийной сигнализацией, знаками безопасности и сигнальной разметкой в соответствии с требованиями
ГОСТ 12.4.026.
7.2 Требования безопасности при подготовке деталей
к сварочным и наплавочным работам
7.2.1 При разделке трещин, удалении шлаковых включений, подготовке под сварку, а также при производстве поверхностного наклепа сварных швов и околошовной зоны необходимо соблюдать требования
правил по охране труда при выполнении сварочных работ
[4] и
правил по охране труда при работе с инструментом и приспособлениями
[18].
7.2.2 Электрифицированный ручной инструмент (электродрели, шлифовальные машинки и т.п.) должен соответствовать требованиям
ГОСТ 12.2.007.0.
7.2.3 Пневматические молотки должны быть снабжены приспособлениями, не допускающими вылета бойка.
7.2.4 Зубило должно быть длиной не менее 150 мм, а оттянутая часть зубила - от 60 до 70 мм.
7.2.5 При работе зубилом, крейцмейселем и другим инструментом рабочий должен использовать защитные очки по
ГОСТ 12.4.253. Места проведения работ должны быть ограждены защитными ширмами высотой не менее 2 м.
7.2.6 Ударный инструмент (зубила по
ГОСТ 7211, крейцмейсели по
ГОСТ 7212) не должен иметь отколов, трещин, заусенцев и наклепа. Слесарные молотки по
ГОСТ 2310 и кувалды по
ГОСТ 11401 должны иметь слегка выпуклую, без трещин и наклепа поверхность бойка, и быть надежно укреплены на ручках путем расклинивания металлическими клиньями.
7.2.7 При выполнении химической очистки поверхности сварочной проволоки, прутков, деталей из алюминия и его сплавов, а также меди и ее сплавов должны быть соблюдены требования санитарных
правил и норм [14] и
правил по охране труда при нанесении металлопокрытий
[19].
7.2.8 Обращение с химически опасными производственными объектами при выполнении химической очистки, травлении и электролитическом полировании сварочной проволоки, прутков, деталей из алюминия и его сплавов, а также меди и ее сплавов должно выполняться с учетом требований федеральных
норм и правил [20].
7.3 Требования электробезопасности
7.3.1 Эксплуатация электросварочного оборудования должна отвечать требованиям
правил технической эксплуатации электроустановок потребителей
[2],
правил по охране труда
[21], а также требованиям при выполнении электросварочных работ согласно
ГОСТ 12.3.003.
7.3.2 Корпуса и кожухи сварочных машин, а также шкафы и аппаратные ящики сварочного оборудования должны быть надежно заземлены. Все электросварочные установки с источниками переменного и постоянного тока, предназначенные для работы в помещениях с повышенной опасностью, должны быть оснащены устройствами автоматического отключения напряжения холостого хода или его ограничения. Запрещается использовать для заземления проводники, не предназначенные для этого, а также присоединять заземление с помощью скручивания проводников. Заземление осуществляют через специальный болт, который должен быть на корпусе установки.
7.3.3 Сварочные провода должны иметь исправную изоляцию. При сварочных и наплавочных работах следует использовать электрододержатели в соответствии с
5.8.5.3.
7.3.4 Во всех случаях повреждения сварочного оборудования необходимо немедленно выключить напряжение.
7.3.5 Конструкции и расположение сварочного оборудования, ограждения и блокировки должны обеспечивать невозможность механического повреждения оборудования, а также случайного прикосновения персонала к вращающимся частям или элементам, находящимся под напряжением.
7.3.6 Размещение оборудования сварочных установок, его узлов, механизмов и органов управления должно обеспечивать свободный, удобный и безопасный доступ к ним и возможность быстрого выключения оборудования.
7.3.7 Для определения величины сварочного тока источник ручной дуговой сварки должен иметь контрольный измерительный прибор (амперметр) или шкалу измерения на регуляторе согласно конструкции источника.
7.3.8 Не разрешается размещать сварочные посты в пожаро- и взрывоопасных помещениях.
7.3.9 Осматривать и чистить сварочные установки и ее пусковую аппаратуру необходимо не реже одного раза в месяц с записью в журнале осмотра.
7.3.10 Сопротивление изоляции обмоток относительно корпуса, сопротивление изоляции между первичной цепью и корпусом, между вторичной цепью и корпусом и между первичной и вторичной цепями трансформатора должны соответствовать требованиям
ГОСТ 95, преобразователя тока -
ГОСТ 7237. Сопротивление изоляции измеряют не реже одного раза в шесть месяцев с записью в журнале измерения сопротивления изоляции.
7.3.11 Соединение отдельных элементов, которые применяются как обратный провод, следует выполнять болтами, струбцинами заводского изготовления.
7.3.12 Передвижные источники сварочного тока на время их передвижения должны быть отключены от электрической сети.
7.3.13 При уходе с рабочего места сварщик должен отключить сварочный аппарат.
7.3.14 Ремонт сварочных установок следует выполнять только после отключения напряжения. Присоединение и отсоединение от сети электросварочных установок, а также наблюдение за их исправным состоянием в процессе эксплуатации должен выполнять электротехнический персонал с группой по электробезопасности не ниже III.
7.4 Требования безопасности при работе в резервуарах
7.4.1 При работе внутри металлического резервуара (котла цистерны, бака из-под нефтепродуктов и т.п.) в целях обеспечения изоляции тела от соприкосновения со стенками, сварщик должен использовать сухую обувь, сухие брезентовые рукавицы и диэлектрический резиновый коврик.
7.4.2 Работы внутри металлического резервуара, бака из-под нефтепродуктов проводят после удаления из них газов и паров вредных веществ, остатков нефтепродуктов и горючих веществ, а внутри котла цистерны - дополнительно промывки, пропарки и дегазации, проведения анализа воздушной среды внутри котла газоанализатором и оформления руководителем работ наряда-допуска на проведение работ повышенной опасности.
7.4.3 Для работы в котлах цистерн назначают не менее трех работников, которые должны быть проинструктированы о порядке проведения работ и возможных опасностях. Один работник выполняет электросварочные работы внутри котла, второй - подстраховывает первого с помощью спасательного каната, третий (наблюдатель) - следит за работой первого работника и оказывает ему помощь при передаче необходимого инструмента и материалов. Работник, который находится внутри котла, должен быть обеспечен предохранительным поясом с канатом, конец которого должен находиться у наблюдателя (третьего) работника. Предохранительный пояс должен иметь паспорт и бирку с отметкой о дате следующего испытания.
Наблюдатели не имеют права отходить от люка резервуара, пока там находится первый работник.
7.4.4 Запрещается одновременно выполнять электросварочные и газорезательные работы внутри резервуара или колодца.
7.4.5 Для работы в котлах цистерн для защиты органов дыхания сварщиков следует применять изолирующие противогазоаэрозольные устройства подачи очищенного воздуха, отвечающие требованиям
ГОСТ Р ЕН 12083.
7.5 Требования безопасности при газовой сварке и резке
7.5.1 При выполнении газосварочных работ необходимо соблюдать требования, предусмотренные
правилами по охране труда при выполнении электросварочных и газосварочных работ
[4], федеральными
нормами и правилами [22],
правилами противопожарного режима в Российской Федерации
[13].
7.5.2 При эксплуатации газового оборудования необходимо соблюдать требования, предусмотренные
правилами по охране труда при выполнении электросварочных и газосварочных работ
[4].
7.5.3 Газосварщик или газорезчик должен работать в защитных очках, имея при себе набор необходимых ключей и ведро с водой.
7.5.4 При воспламенении шлангов, особенно кислородного, запрещается перегибать шланг, следует закрыть доступ газа из водяного затвора и баллона.
7.5.5 При работе с керосинорезом необходимо следить за давлением в кислородном баллоне и в бачке с керосином по показаниям манометров. Давление кислорода на входе в керосинорез должно быть от 0,40 до 0,70 МПа, давление воздуха в бачке должно быть от 0,15 до 0,30 МПа.
Все соединения и каналы керосинорезов, включая их устройства, должны быть герметичными при давлении на входе в керосинорез, равном 1,5 наибольшего рабочего, но не менее 0,29 МПа (3 кгс/см
2) согласно ГОСТ 12.2.008-75
(пункт 3.3).
Бачок для керосина должен быть оснащен манометром, а также предохранительным клапаном, не допускающим повышения давления в бачке более 0,49 МПа (5 кгс/см2).
7.5.6 При загорании газа в местах утечки его из вентиля баллона, шлангов или газопровода следует тушить пламя песком или огнетушителем, преграждая доступ воздуха к огню. Тушить пламя водой запрещается. Струю огнетушителя следует направлять вдоль пламени, а не навстречу ему.
Для тушения загоревшегося газа необходимо использовать углекислотные или порошковые огнетушители.
7.5.7 Складские помещения для хранения баллонов с кислородом и горючими газами должны быть оборудованы принудительной приточно-вытяжной вентиляцией и освещением во взрывобезопасном исполнении в соответствии с требованиями
правил по охране труда при выполнении электросварочных и газосварочных работ
[4].
Противопожарные требования должны соответствовать
СП 7.13130. Категории помещений по взрывопожарной и пожарной опасности должны быть определены по
СП 12.13130.
7.6 Требования безопасности при пайке и лужении
При выполнении пайки и лужении следует руководствоваться межотраслевыми типовыми
инструкциями [23].
7.7 Требования безопасности при работе на высоте
7.7.1 При ремонте подвижного состава сваркой и наплавкой на высоте следует соблюдать
правила [24].
7.7.2 При проведении работ на высоте работодатель обязан определить границы опасных зон исходя из действующих норм и правил с учетом наибольшего габарита перемещаемого груза, расстояния разлета предметов или раскаленных частиц металла (например, при сварочных работах), размеров движущихся частей машин и оборудования и обеспечить наличие требуемых защитных, страховочных и сигнальных ограждений. Место установки ограждений и знаков безопасности указывается в технологических картах на проведение работ или в плане проведения работ на высоте в соответствии с действующими техническими регламентами, нормами и правилами.
7.7.3 Запрещается использовать для выполнения работ на высоте ненадежные случайные опоры.
7.7.4 При работе на высоте необходимо пользоваться специальной сумкой для электродов и металлическим огнеупорным ящиком для сбора огарков.
7.8 Требования к охране окружающей среды
7.8.1 При ремонте сваркой и наплавкой следует применять пылегазозащитное оборудование, а также устройства улавливания вредных газов.
7.8.2 При использовании воды для очистки деталей и пола помещений загрязненную сточную воду необходимо направлять в систему оборотного водоснабжения.
7.8.3 В соответствии с Федеральным
законом [25] отходы, образующиеся при выполнении сварочных и наплавочных работ и эксплуатации газоочистного оборудования, следует собирать в герметичные металлические контейнеры и по мере накопления передавать по договору специализированным организациям, имеющим лицензию на размещение и обезвреживание отходов I - IV классов опасности по Федеральному классификационному каталогу отходов
[26].
Отходами производства сварочных и паяльных работ являются:
- шлак сварочный;
- остатки и огарки стальных сварочных электродов;
- флюсы;
- остатки стальной проволоки;
- продукты разложения карбида кальция.
Для учета и обращения с отходами ремонтным предприятием должны быть разработаны инструкции по обращению с отходами с указанием мест временного накопления отходов, класса опасности отходов, а также назначены ответственные за организацию и содержание в надлежащем состоянии мест временного накопления отходов.
7.8.4 На ремонтных предприятиях при выполнении сварочных работ должны соблюдаться требования Федерального
закона [27] в части воздействия на атмосферный воздух.
(обязательное)
ПРАВИЛА ИСПЫТАНИЯ И АТТЕСТАЦИИ ТЕХНОЛОГИИ СВАРКИ
А.1.1 Аттестация технологий сварки должна быть проведена до начала ее применения при ремонте подвижного состава.
А.1.2 Блок-схема разработки, испытания и аттестации технологии сварки приведена на
рисунке А.1.
Рисунок А.1 - Блок-схема аттестации технологии сварки
А.1.3 Аттестацию технологии сварки проводят:
- на основании результатов испытания КСС типовой формы;
- на основании результатов испытания КСС в виде натурных деталей;
- на основании применения стандартной технологии сварки.
А.1.4 В случаях, когда типовая форма и размеры КСС не адекватны реальной конструкции, аттестацию технологии сварки проводят с изготовлением специальных образцов или на натурных деталях.
А.1.5 Аттестацию технологии сварки на основании результатов испытаний КСС начинают с разработки пТКС.
Рекомендуемая форма пТКС приведена в
приложении Б. Допускается оформление пТКС выполнять для технологии дуговой сварки в соответствии с
ГОСТ Р ИСО 15609-1, для технологии газовой сварки в соответствии с
ГОСТ Р ИСО 15609-2, для технологии контактной сварки в соответствии с ГОСТ Р ИСО 15609-5.
Примечание - В зависимости от применяемой на ремонтном предприятии системы менеджмента качества проект технологической карты сварки может называться предварительными техническими требованиями к процедуре сварки.
А.2 Испытания и аттестация технологии дуговой и газовой сварки на типовых контрольных соединениях
А.2.1 При испытании и аттестации технологий дуговой и газовой сварки должны быть изготовлены КСС с размерами и формами, соответствующими:
- для тавровых и угловых соединений с полным проплавлением -
рисунку А.2, б;
- для тавровых и угловых соединений с угловыми швами -
рисунку А.2, б;
| |
|
| |
a - минимальное значение 150 мм; D - натурный диаметр трубы, мм; a - минимальное значение 150 мм | D1 - натурный диаметр основной трубы, мм; D2 - натурный диаметр патрубка;  - угол соединения патрубка с трубой |
t, t1, t2 - толщины листов и труб;  , 1 - подготовка кромок и сборка под сварку согласно пТКС |
Рисунок А.2 - Размеры КСС при аттестации технологии сварки
1 - слой наплавки промежуточного металла
(при необходимости); 2 - количество слоев в соответствии
с пТКС; t - толщина основного металла КСС
Рисунок А.3 - Размеры КСС при аттестации технологии
наплавки на пластину
1 - слой наплавки промежуточного металла
(при необходимости); 2 - направление сварки;
3 - количество слоев в соответствии с пТКС;
D - наружный диаметр КСС; d - внутренний диаметр КСС;
t - толщина основного металла КСС
Рисунок А.4 - Размеры КСС при наплавке на трубу или цилиндр
Подготовку кромок, сборку, наложение прихваток и сварку КСС следует проводить в соответствии с проектом технологической карты сварки.
А.2.2 При контроле и испытании КСС следует использовать неразрушающие и разрушающие методы в соответствии с
таблицами А.1 и
А.2.
Таблица А.1
Тип КСС | Методы контроля и виды испытаний | Объем контроля и испытаний | Примечание |
| Внешний осмотр и измерение | 100% | |
Рентгенографическая или ультразвуковая дефектоскопия | 100% | Ультразвуковая дефектоскопия применяется для толщин более 8,0 мм |
| | |
- на статическое растяжение в поперечном направлении; | 2 образца | |
- на статический изгиб в поперечном направлении; | 4 образца | |
- на статическое растяжение в продольном направлении (металл сварного шва); | 2 образца | При толщине металла не менее 5,0 мм |
- на ударный изгиб в поперечном направлении (KCU-60); | 3 образца из металла сварного шва, 3 образца из металла зоны термического влияния | Вершина надреза на расстоянии от 0 до 0,5 мм от границы шва |
- измерение твердости <1>. Металлографическое исследование | | 1 макрошлиф | |
| Внешний осмотр и измерение | 100% | Ультразвуковая дефектоскопия применяется для толщин более 8,0 мм |
Рентгенографическая или ультразвуковая дефектоскопия | 100% | |
| | |
- на статическое растяжение в продольном направлении (металл сварного шва); | 2 образца | При толщине более тонкой детали не менее 5,0 мм |
- измерение твердости <1>. Металлографическое исследование | | 2 макрошлифа | |
Тавровое, угловое, нахлесточное сварное соединение с угловым швом (швами) ( рисунок А.2, б и в) | Внешний осмотр и измерение. Испытание механических свойств по ГОСТ 6996: | 100% | |
- на статическое растяжение металла шва; | 2 образца | При толщине сварного шва не менее 4,0 мм |
- измерение твердости <1>. Металлографическое исследование | | 2 макрошлифа | |
| Внешний осмотр и измерение. Металлографическое исследование | 100% | |
| 2 макрошлифа |
| Внешний осмотр и измерение. Металлографическое исследование | 100% | |
| 2 макрошлифа |
| Внешний осмотр и измерение. Металлографическое исследование | 100% | |
| 2 макрошлифа |
<1> Кроме конструкционных углеродистых сталей с пределом текучести менее 275 МПа, коррозионно-стойких сталей аустенитного класса, меди, алюминия и сплавов на их основе. |
Таблица А.2
Метод контроля и вид испытаний | ГОСТ, ГОСТ Р, СТО РЖД | Объем контроля и испытаний |
Внешний осмотр и измерение | | 100% |
Ультразвуковой контроль <1> | | 100% |
Металлографическое исследование | | 2 макрошлифа |
| | 2 макрошлифа |
Анализ химического состава наплавленного металла | | 1 образец |
<1> Ультразвуковой контроль может быть заменен на металлографическое исследование. <2> Кроме конструкционных углеродистых сталей с пределом текучести менее 275 МПа, коррозионно-стойких сталей аустенитного класса, меди и ее сплавов, алюминия и его сплавов. |
А.2.3 Вырезку образцов для испытаний из КСС, подвергнутых неразрушающему контролю, производят согласно
рисунку А.5 (
а - для стыковых соединений,
б - для тавровых и угловых соединений,
в - для нахлесточных соединений,
г - для точечных соединений),
рисунку А.6 для стыковых соединений труб,
рисунку А.7 - для соединения патрубка с трубой,
рисунку А.8 - для наплавки на пластину,
рисунку А.9 - для наплавки на трубу или цилиндр.
а) - стыковое сварное соединение;
б) - тавровое сварное соединение;
в) - нахлесточное сварное соединение;
г) - точечное сварное соединение
1 - нерассматриваемые участки по 25 мм; 2 - участок вырезки
темплетов для измерения твердости и металлографии;
3 - участок вырезки образцов для испытания на статическое
растяжение металла шва; 4 - участок вырезки образцов
для испытания на ударный изгиб; 5 - участок вырезки образцов
для испытаний на статический изгиб и статическое растяжение
Рисунок А.5 - Схема вырезки образцов для испытаний
сварных соединений пластин
1 - высшая точка неподвижно зафиксированной трубы;
2 - участок вырезки образцов для испытания на статическое
растяжение и статический изгиб; 3 - участок вырезки образцов
для испытания на ударный изгиб; 4 - участок для вырезки
дополнительных образцов, если требуется;
5 - участок для вырезки образца для металлографических
исследований и измерения твердости
Рисунок А.6 - Схема вырезки образцов для испытаний
стыковых соединений труб

- угол соединения патрубка с трубой;
A - участок вырезки образцов для макроскопического
исследования; A и A1, B и B1 - участки вырезки образцов
для микроскопических исследований и измерения твердости
Рисунок А.7 - Схема вырезки образцов для испытаний
из сварного соединения патрубка с трубой
1 - неиспользуемый участок, не менее 25 мм от края
наплавленного металла; 2, 4 - участки вырезки образцов
для металлографического исследования; 3 - участок вырезки
образцов для определения химического состава и твердости
Рисунок А.8 - Схема вырезки образцов
при наплавке на пластину
1 - неиспользуемый участок, не менее 25 мм от края
наплавленного металла; 2, 4 - участки вырезки образцов
для металлографического исследования; 3 - участок вырезки
образцов для определения химического состава и твердости
Рисунок А.9 - Схема вырезки образцов при наплавке
на трубу или цилиндр
А.2.4 Условиями признания технологии сварки аттестованной являются:
- соответствие КСС по наличию дефектов требованиям уровня качества B по
ГОСТ Р ИСО 5817 для стали,
ГОСТ Р ИСО 10042 для алюминия, меди и сплавов на их основе, за исключением следующих дефектов:
- превышение выпуклости толщины шва, избыточное проплавление, подрезы, которые следует оценивать по уровню качества C по
ГОСТ Р ИСО 5817 для стали,
ГОСТ Р ИСО 10042 для алюминия, меди и сплавов на их основе.
Твердость различных участков наплавки с шагом между точками измерения не более 2 мм должна быть измерена согласно
ГОСТ 2999. При этом измерение твердости металла зоны термического влияния следует выполнять на расстоянии не более 0,5 мм от границы сплавления, количество измерений в одном сечении (дорожке) - не менее трех.
При проведении испытаний КСС при наплавке натурных деталей метод измерения, объем и схема измерения твердости могут быть установлены чертежом или ремонтной документацией на деталь.
А.2.5 При несоответствии КСС требованиям, указанным в
А.2.4, может быть изготовлено дополнительное КСС. При неудовлетворительных результатах испытаний технологию сварки считают не аттестованной.
В случае неудовлетворительных результатов испытаний механических свойств должны быть проведены дополнительные испытания удвоенного количества образцов.
А.2.6 Область распространения аттестации технологии сварки зависит от сочетания следующих параметров:
- химического состава и класса прочности свариваемого материала;
- процесса сварки;
- толщины деталей;
- типа сварного соединения согласно
А.2.1;
- положения сварки.
А.2.7 Области распространения аттестации технологии сварки для сталей представлены в
таблице А.3, для алюминиевых сплавов в
таблице А.4, для медных сплавов в
таблице А.5.
Таблица А.3
Область распространения аттестации
для групп и подгрупп сталей
Группы материалов КСС <1> | Марки сталей или их характерные признаки | Область распространения аттестации |
1.1 1.2 1.4 | 1.3 | 2 | 3 | 4 | 5 | 6 | 7 | 8 | 9.1 | 9.2 9.3 | 10 | 11 |
1 | 2 | 3 | 4 | 5 | 6 | 7 | 8 | 9 | 10 | 11 | 12 | 13 | 14 | 15 |
1 | 1.1 | Ст3сп, Ст3, 15Л, 20Л, 15, 20, 16Д; | | | | | | | | | | | | | |
1.2 | 09Г2, 09Г2Д, 09Г2С, 09Г2СД, 15ХСНД, 20ГЛ, 20ФЛ, 20Г1ФЛ; |
1.4 | 10ХНДП |
1.3 | 10Г2Б, 10Г2БД, 10ХСНД, 15ХСНД, 12Г2Б, 12Г2ФД | X | | X | X | | | | | | X | | | X |
2 | Стали <2> мелкозернистые, термомеханически обработанные и литейные | X | X | | X | | | | | | | | | X |
3 | Стали <3> мелкозернистые, улучшенные закалкой и отпуском, и дисперсионно-твердеющие | X | X | X | | | | | | | | | | X |
4 | Стали <4> системы легирования Cr-Mo-(Ni) низколегированные ванадием | X | X | X | X | | X | X | X | | X | | | X |
5 | Стали <5> системы легирования Cr-Mo | X | X | X | X | X | | X | X | | X | | | X |
6 | Стали <6> системы легирования Cr-Mo-(Ni) высоколегированные ванадием | X | X | X | X | X | X | | X | | X | | | X |
7 | 08Х13М | X | X | X | X | X | X | X | | | X | | | X |
8 | 08Х18Н10Т, 12Х18Н9, 10Х17Н13М2Т, 08Х22К6Т, 10Х14Г14Н4Т | | | | | | | | | | | X | X | |
9 | 9.1 | 20ХН3А, 30ХН3А, 30ХНМА | X | X | X | X | | | | | | | | | X |
9.2, 9.3 | Стали <7>, легированные никелем | X | | | | | | | | | | | | |
10 | Стали <8> аустенитно-ферритные (дуплексные) | | | | | | | | | X | | X | | |
11 | 25Л, 30Л, 30ГСЛ, 32Х06Л, Ст5, 35, 40, 45, 35Л, 40Х, 45Х, 38ХС | X | X | | | | | | | | | | | |
<1> Группы материалов согласно ГОСТ ISO/TR 15608. <2> С установленным минимальным пределом текучести от 360 до 460 МПа. <3> С установленным минимальным пределом текучести от 360 до 690 МПа. <4> С содержанием Cr <= 0,3%, Mo <= 0,7%, Ni <= 0,7% и V <= 0,1% (группа 4.1); Cr <= 0,7%, Mo <= 0,7%, Ni <= 1,5% и V <= 0,1% (группа 4.2). <5> С содержанием C <= 0,35%, 0,75% <= Cr <= 1,5%, Mo <= 0,7% (группа 5.1); C <= 0,35%, 1,50% < Cr <= 3,5%, 0,7% < Mo <= 1,2% (группа 5.2); C <= 0,35%, 3,50% < Cr <= 7,0%, 0,4% < Mo <= 0,7% (группа 5.3); C <= 0,35%, 7,0% < Cr <= 10,0%, 0,7% < Mo <= 1,2% (группа 5.4). <6> С содержанием 0,30% <= Cr <= 0,75%, Mo <= 0,7% и V <= 0,35% (группа 6.1); 0,75% < Cr <= 3,50%, 0,7% < Mo <= 1,2% и V <= 0,35% (группа 6.2); 3,50% < Cr <= 7,00%, Mo <= 0,7% и 0,45% <= V <= 0,55% (группа 6.3); 7,00% < Cr <= 12,5%, 0,7% < Mo <= 1,2% и V <= 0,35% (группа 6.4). <7> С содержанием 3,0% < Ni <= 8,0% (группа 9.2); 8,0% < Ni <= 10,0% (группа 9.3). <8> С содержанием Cr <= 24,0% (группа 10.1); Cr > 24,0% (группа 10.2). Примечания 1 "  " - сталь из той группы сталей, из которой сварено КСС. 2 "X" - группа сталей, на сварку которой распространяется аттестация технологии сварки. 3 "  " - группа сталей, на сварку которой аттестация не распространяется. |
Таблица А.4
Область распространения аттестации
для алюминия и алюминиевых сплавов
Группы материалов КСС <1> | Марка металла | Область распространения аттестации |
21 | 22 | 23 | 24 | 25 | 26 |
21 | АД0, АД1 | | X | | | | |
22 | АМц, АМцС, АМг1 - АМг6 | X | | | | | |
23 | АД31 | X | X | | | | |
24 | АД33, АЛ2, АЛ4, АК7, АЛ9 | | | | | X | |
25 | АЛ5, АЛ25 | | | | X | | |
26 | АЛ19, ВАЛ10 | | | | X | X | |
<1> Группы материалов согласно ГОСТ ISO/TR 15608. Примечания 1 "  " - сплав алюминия из той группы сплавов алюминия, из которой сварено КСС. 2 "X" - группы алюминиевых сплавов, на сварку которых аттестация распространяется. 3 "  " - группы алюминиевых сплавов, на сварку которых аттестация не распространяется. |
Таблица А.5
Область распространения аттестации
для меди и медных сплавов
Группы материалов КСС <1> | Марка металла | Область распространения аттестации |
31 | 32 | 33 |
31 | М0б, М1, М1р, М2р, М3, М3р | | | X |
32 | Л60, Л63, Л68 | | | |
33 | БрОФ6,5-04, БрОЦ4-3, БрОЦС4-4-4 | | | |
<1> Группы материалов согласно ГОСТ ISO/TR 15608. Примечания 1 "  " - сплав меди из той группы сплавов меди, из которой КСС. 2 "X" - группы медных сплавов, на которые распространяется аттестация. 3 "  " - группы медных сплавов, на которые не распространяется аттестация. |
А.2.8 Аттестацию технологии сварки проводят отдельно для каждого процесса сварки.
А.2.9 Аттестация технологии сварки распространяется на положение сварки по
ГОСТ Р ИСО 6947, в котором было изготовлено КСС.
А.2.10 Области распространения аттестации технологий для стыковых соединений по толщине основного металла приведены в
таблицах А.6 и
А.8.
Таблица А.6
Области распространения аттестации технологий сварки
для стыковых соединений стали по толщине основного металла
В миллиметрах |
Толщина металла КСС | Область распространения аттестации |
один проход | несколько проходов |
t <= 3 | от 0,7t до 1,3t | от 0,7t до 1,3t |
3 < t <= 12 | от 0,5t (3 min) до 1,3t | от 3,0 до 2,0t |
t > 12 | от 0,5t до 1,1t | от 0,5t до 2,0t |
А.2.11 Области распространения аттестации технологий для тавровых и угловых соединений с полным проплавлением по толщине шва
s и для тавровых, угловых и нахлесточных соединений по толщине углового шва
a приведены в
таблицах А.7 и
А.9.
Таблица А.7
Области распространения аттестации технологий сварки стали
для тавровых и угловых соединений с полным проплавлением
по толщине шва s и по толщине углового шва a
В миллиметрах
| Область распространения аттестации |
По толщине металла | По толщине сварного шва |
один проход | несколько проходов |
t1 <= 3 | от 0,7t2 до 2,0t1 | s = t2 от 0,75a до 1,50a | s = t2 без ограничений |
3 < t1 <= 30 | от 0,5t2 (3 min) до 1,2t1 | s = t2 | s = t2 без ограничений |
<1> Толщина шва a = 0,5t 2, t 1 >= t 2. <2> При t 1 >= 3t 2 требуется аттестация технологии каждого сочетания толщин t 1 и t 2. |
Таблица А.8
Область распространения аттестации технологий сварки
стыковых сварных соединений пластин и труб для алюминия,
меди и их сплавов по толщине основного металла
В миллиметрах |
Толщина КСС | Область распространения |
t <= 3 | От 0,5·t до 2,0·t включ. |
3 < t <= 20 | От 3,0 до 2,0·t включ. |
t > 20 | >= 0,8·t |
Таблица А.9
Область распространения аттестации технологий сварки труб
и пластин из алюминиевых и медных сплавов по толщине
угловых швов
В миллиметрах |
Толщина углового КСС | Область распространения |
a < 10 мм | От 0,75·a до 1,5·a включ. |
a >= 10 мм | >= 7,5 |
А.2.12 Область распространения аттестации технологии сварки стыковых соединений с неполным проплавлением распространяется на величину проплавления (расчетную толщину шва), указанную в проекте технологической карты сварки.
В случаях, когда угловой шов оценивают по результатам испытаний стыковых соединений, область распространения по толщине угловых швов должна соответствовать
таблицам А.6 и
А.8.
А.2.13 Область распространения аттестации технологии сварки труб и отводов в зависимости от диаметра КСС указана в
таблице А.10.
Таблица А.10
Область распространения аттестации технологий сварки
соединений труб и патрубков (отводов) из стали,
алюминия и алюминиевых сплавов по диаметру
В миллиметрах |
| Область распространения |
D <= 25 | От 0,5·D до 2·D включ. |
D > 25 | >= 0,5·D (не менее 25 мм) |
<1> Наружный диаметр труб или отводов. Примечание - Для полых строительных профилей D - размер меньшей стороны. |
А.2.14 Область распространения аттестации технологии сварки угловых соединений труб (отводов) под углом

включает технологию сварки угловых соединений труб (отводов) с углом отвода в диапазоне от

до 90°.
А.2.15 При аттестации технологии сварки с предварительным подогревом за нижний предел области распространения аттестации следует принимать номинальную температуру предварительного подогрева, примененную для аттестованной технологии сварки.
А.2.16 Если температура между проходами установлена в проекте технологической карты сварки, то в качестве верхнего предела области распространения аттестации следует принимать максимальную температуру между проходами, зафиксированную для аттестованной технологии сварки.
А.2.17 Добавление или отмена, а также изменение режимов термической обработки после сварки без проведения испытания технологии сварки не допускается.
Областью распространения температурного диапазона термической обработки сварного соединения является температура термической обработки КСС +/- 20 °C.
А.2.18 По результатам испытаний КСС ремонтное предприятие должно составить ОАТС, включающий:
- область распространения аттестации;
- проект технологической карты с подписью специалиста, осуществлявшего техническое сопровождение изготовления КСС;
- протокол сварки КСС;
- результаты исследований и протоколы механических испытаний;
- заключение о соответствии качества сварного соединения и содержания технологической карты сварки требованиям настоящего стандарта и ремонтной документации.
Примечание - В зависимости от применяемой на ремонтном предприятии системы менеджмента качества отчет об аттестации технологии сварки может называться протоколом об аттестации процедуры сварки.
А.2.19 Допускается испытание и аттестацию технологии сварки выполнять в головной организации по сварке и родственным процессам в холдинге "РЖД". В таком случае ОАТС оформляет головная организация по сварке и родственным процессам в холдинге "РЖД" в двух экземплярах с внесением его в реестр, находящийся в открытом доступе сети интернет. При этом ремонтное предприятие несет ответственность за достоверность данных об изготовлении КСС в соответствии с пТКС.
Примечание - Головная организация по сварке и родственным процессам в холдинге "РЖД": Организация, выполняющая оценку возможности применения сварочных материалов, сварочного оборудования, технологий сварки и родственных процессов при изготовлении и ремонте объектов железнодорожного транспорта, назначаемая распоряжением заместителя генерального директора - главного инженера ОАО "РЖД".
Форма заявки на аттестацию технологии сварки в головной организации по сварке и родственным процессам в холдинге "РЖД" приведена в
приложении Г.
А.2.20 Допускается при аттестации технологии сварки принимать протоколы испытаний КСС, полученные при аттестации сварщика по
правилам [1]. В таком случае ОАТС должен быть дополнен копией свидетельства аттестации сварщика и всех приложений к нему.
А.2.21 Ремонтное предприятие оформляет ТКС в рамках области распространения аттестации технологии сварки, указанной в ОАТС. Форма ТКС соответствует форме пТКС, в поле "ОАТС" вводят номер ОАТС, подтверждающего аттестацию технологии сварки.
Примечание - В зависимости от применяемой на ремонтном предприятии системы менеджмента качества технологическая карта сварки может называться техническими требованиями к процедуре сварки.
А.3 Испытание и аттестация технологий контактной сварки
А.3.1 Испытание и аттестацию технологий контактной точечной, рельефной, шовной, стыковой сварки следует выполнять путем сварки и испытаний КСС с оценкой соответствия требованиям настоящего стандарта и ремонтной документации.
А.3.2 КСС следует подвергать испытанию в следующем объеме:
- внешний осмотр и измерение;
- испытание на статическое растяжение на образцах по
ГОСТ 6996;
- измерение твердости зон сварного соединения;
- макроскопический анализ.
Примечание - При шовной и рельефной сварке макроскопический анализ проводят вдоль и поперек оси сварного шва.
В соответствии с ремонтной документацией могут быть проведены дополнительные испытания.
А.3.3 Аттестацию технологии контактной сварки проводят для каждого параметра:
- основной материал детали;
- толщина свариваемой детали;
- модель сварочного оборудования;
- параметр режима сварки;
- режим последующей термической обработки (при наличии).
А.4 Испытание и аттестация технологий сварки чугуна
А.4.1 Аттестацию технологии сварки чугуна следует выполнять путем сварки и испытания КСС с разделкой кромок, согласно
рисунку А.10.
1 - неиспользуемый участок;
a - от 5 до 15 мм или

- угол скоса кромки от 5° до 20°,
согласно пТКС; t - толщина пластины КСС
Рисунок А.10 - Размеры КСС при сварке чугуна
А.4.2 Схема вырезки образцов для испытания из КСС приведена на
рисунке А.5.
А.4.3 КСС при аттестации технологии сварки чугуна подвергают:
- внешнему осмотру и измерению;
- неразрушающему контролю или металлографическому исследованию.
А.5 Испытание и аттестация технологий сварки на контрольных сварных соединениях в виде натурных деталей
В случае, если на КСС типовой формы невозможно воспроизвести условия сварки, а также при аттестации технологий наплавки, напыления и других способов нанесения покрытий, выполняемых на специализированном оборудовании, аттестацию технологии допускается проводить на КСС в виде натурной детали. Программа и методика проведения испытаний технологии сварки на натурных деталях должна быть согласована с ОАО "РЖД" и головной организацией по сварке и родственным процессам в ОАО "РЖД".
А.6 Аттестация технологий сварки на основании применения стандартной технологии сварки
А.6.1 Для применения единой технологии на предприятиях внутри одного холдинга может быть применена стандартная технология сварки.
А.6.2 Аттестация технологии сварки на основании применения стандартной технологии сварки на каждом ремонтном предприятии не требует проведения повторных испытаний. При этом должны быть соблюдены все требования, изложенные в стандартной технологии сварки.
А.6.3 В область распространения технологии сварки, аттестованной на основании применения стандартной технологии сварки, входят параметры сварки, изложенные в ОАТС.
А.6.4 При оформлении ТКС в поле "ОАТС" указывают номер документа, утвержденного установленным порядком или ОАТС.
А.6.5 Ремонтное предприятие, выполняющее сварку на основании стандартной технологии сварки, должно иметь копию ОАТС данной технологии сварки или актуализированную редакцию документа на стандартную технологию сварки.
(рекомендуемое)
ФОРМА ТЕХНОЛОГИЧЕСКОЙ КАРТЫ СВАРКИ
Технологическая карта сварки (проект) пТКС N ________________ |
(наименование предприятия) | УТВЕРЖДАЮ "_______________" ______________ /________________/ "__" __________ 20__ г. |
Чертеж | N _______ | ОАТС | N _______ |
Сведения о сварном соединении |
Конструктивные элементы подготовки кромок | Конструктивные размеры шва сварного соединения |
| |
S = S1 = 16,0 мм b = 0+1,0 мм c = 0+1,0 мм  <*> | Проход | Требования |
| e = 18,0 +/- 2,0 мм,  |
| e1 = 8,0+/- 2,0 мм g1 = 2,0+/- 1,0 мм |
| |
Дополнительная информация: Разделку свариваемых кромок выполнять электродуговым и газокислородным способом, с последующей зачисткой механическим способом. Сварку выполнять на выводных планках. |
Сведения о материале деталей |
Деталь | Группа ГОСТ ИСО/TR 15608 | Марка металла | Сертификат, производитель | Размеры, мм |
N 1 | 1.2 | 25Л по | - | 16 x 150 x 350 |
N 2 | 1.2 | 25Л по | - | 16 x 150 x 350 |
| | | | |
Подкладка | - | - | - | - |
Выводные планки | - | 09Г2С | - | 16 x 40 x 80 |
Дополнительная информация: Выводные планки должны иметь форму разделки кромок, идентичную свариваемым деталям. |
Сведения о сварочных материалах |
Проход | Сертификат, производитель | Марка | Классификация, тип | Диаметр, мм | Режим прокалки | Условия хранения |
1 - 2 | - | УОНИИ-13/55 | Э50А по | 3,0 | 350 +/- 25 °C, 1 ч | В термопенале |
3 - 10 | - | УОНИИ-13/55 | Э50А по | 4,0 | 350 +/- 25 °C, 1 ч | В термопенале |
Дополнительная информация: |
Сведения о технологии сварки |
Проход | Угол наклона горелки, ° | Диаметр сопла горелки, мм | Вылет электрода, мм | Максимальная ширина валиков, мм | Поперечные колебания |
Амплитуда, мм | Частота, с-1 | Время задержки, с |
1 - 2 | - | - | - | 12 | - | - | - |
3 - 10 | - | - | - | 12 | - | - | - |
Проход | Температура деталей перед сваркой, °C | Межваликовая температура, °C | Термообработка после сварки |
Продолжительность хранения до термической обработки, ч | Температура нагрева, °C | Скорость нагрева, °C/сек | Время выдержки, ч | Скорость охлаждения, °C/сек |
1 | 250 min | - | - | - | - | - | - |
2 - 10 | - | 200 - 250 | - | - | - | - | - |
Режимы сварки |
Проход | Процесс сварки | Степень механизации | Сварочный ток, А | Напряжение на дуге, В | Скорость сварки, см/мин |
1 | | Ручная сварка | 100 +/- 20 | - | - |
2 - 10 | | Ручная сварка | 180 +/- 20 | - | - |
Проход | Род тока | Полярность | Расход газа, л/мин | Положение сварки |
Защитный | Поддув |
1 | DC сварочный ток - постоянный | + на электроде | - | - | PF |
2 - 10 | DC сварочный ток - постоянный | + на электроде | | | PA |
Дополнительная информация: PF - положение сварки вертикальное снизу-вверх, PA - нижнее в соответствии с ГОСТ Р ИСО 6947. Процесс сварки 111 по ГОСТ Р ИСО 4063 - сварка ручная дуговая плавящимся покрытым электродом. |
| Координатор сварки ________________ /_____________/ "__" ___________ 20__ г. |
(рекомендуемое)
ФОРМА ОТЧЕТА ОБ АТТЕСТАЦИИ ТЕХНОЛОГИИ СВАРКИ
Отчет об аттестации технологии сварки ОАТС N ______ |
| Главный инженер _______________ _________ ______ /________/ (подпись) (дата) (Ф.И.О.) |
пТКС N | |
Наименование предприятия: | |
Адрес: | |
Требования по нормативному документу: | |
Дата сварки: | |
Объем испытаний: | |
Область распространения аттестации |
Сварочный процесс и тип перехода капель электродного металла в шов: | |
Тип стыка/тип шва: | |
Группа основного металла и подгруппа: | |
Толщина основного металла (мм): | |
Толщина наплавленного металла (мм): | |
Толщина углового шва (мм): | |
Наружный диаметр трубы (мм): | |
Однопроходный/многопроходный: | |
Односторонний/двухсторонний: | |
Обозначение/наименование присадочного материала: | |
Диаметр присадочного материала: | |
Защитный газ/флюс: | |
Вид сварочного тока/полярность: | |
Обозначение газа для защиты корня: | |
Положение при сварке: | |
Погонная энергия (кДж/мм): | |
Температура подогрева, °C: | |
Температура промежуточных слоев, °C: | |
Термообработка и/или упрочнение: | |
Отжиг для удаления водорода: | |
Прочая информация: | |
Настоящим подтверждаем, что контрольное сварное соединение подготовлено, сварено и проверено в соответствии с требованиями нормативных документов, указанных выше. |
Должность | | | |
Ф.И.О. | | | |
Подпись | | | |
Дата | | | |
| ОАТС N | Страница 1 из 3 |
Протокол сварки контрольного сварного соединения |
Место проведения: | |
Наименование предприятия: | |
пТКС N: | |
Фамилия сварщика: | |
Свидетельство (сертификат) сварщика: | |
Тип соединения и вид шва: | |
Группа материала/марка основного металла: | |
Толщина детали (мм): | |
Наружный диаметр трубы (мм): | |
Метод подготовки и очистки: | |
Положение сварки: | |
Сварочный процесс и тип переноса металла: | |
Подробности выполнения сварного шва (эскиз) <*>: |
Конструкция соединения | Последовательность сварки |
| |
Режимы сварки |
Номер прохода | Процесс сварки | Диаметр присадки/электрода, мм | Ток, А | Напряжение, В | Род тока, полярность | Скорость подачи проволоки, м/мин | Скорость сварки, м/ч | Погонная энергия, кДж/мм |
| | | | | | | | |
| | | | | | | | |
| | | | | | | | |
Обозначение и марка присадки/электрода: | |
Режим прокалки или сушки | | Дополнительная информация <*>, например: |
Защитный газ/сварочный флюс: | | Колебания (макс. ширина валика) | |
Расход защитного газа, л/мин: | | Осцилляция (амплитуда, частота, время задержки) | |
Тип/диаметр вольфрамового электрода: | | Угол наклона электрода/горелки | |
Подробности зачистки (корня шва): | | Вылет электродной проволоки | |
Температура предварительного подогрева/ | | Подробности для импульсной сварки | |
температура между проходами: | |
Термообработка после сварки | | Прочая информация: | |
| | |
| | |
| | |
Должность | | | |
Ф.И.О. | | | |
Подпись | | | |
Дата | | | |
| ОАТС N | Страница 2 из 3 |
Результаты испытаний контрольного сварного соединения пТКС N ________________________ |
Внешний осмотр и измерение | | Радиографический контроль | |
Капиллярный контроль | | Ультразвуковой контроль | |
Магнитопорошковый контроль | | Температура | |
Результаты измерения |
Катет углового шва, мм | Высота выпуклости шва, мм | Ширина шва, мм | Высота выпуклости корня шва, мм | Ширина выпуклости корня шва, мм | Примечания |
| | | | | |
| | | | | |
Результаты измерения механических свойств по ГОСТ 6996 контрольных образцов |
Испытание на статическое растяжение сварного соединения и металла шва по ГОСТ 6996 |
Тип образца | Диаметр/размеры (bxa) образца, мм |  МПа |  МПа |  % |  , % | Место разрушения (металл шва/основной металл) | Примечания |
| | | | | | | |
| | | | | | | |
| | | | | | | |
| | | | | | | |
|
Тип образца | Положение зоны растяжения | Размеры образца (bxa), мм | Диаметр оправки D, мм | D/a | Угол изгиба, град | Примечания |
| | | | | | |
| | | | | | |
| | | | | | |
|
Расположение надреза | Температура испытания, °C | Значения, Дж/см2 | Среднее значение, Дж/см2 | Примечания |
| | | | |
| | | | |
| | | | |
| | | | |
Измерение твердости металла различных участков сварного соединения по ГОСТ 6996 |
Схема измерения твердости (эскиз) | Метод измерения (вид/нагрузка) |
| Основной металл | |
Зона термического влияния | |
Металл шва | |
Оценка макроструктуры: удовл. | Оценка микроструктуры: |
Другие испытания | |
Примечания | |
Номера протоколов лаборатории |
Результаты испытаний: | Положительные | |
(ненужное зачеркнуть) |
Должность | | | | |
Ф.И.О. | | | | |
Подпись | | | | |
Дата | | | | |
| ОАТС N | Страница 3 из 3 |
(обязательное)
ФОРМА ЗАЯВКИ НА ПРОВЕДЕНИЕ АТТЕСТАЦИИ ТЕХНОЛОГИИ СВАРКИ
ЗАЯВКА
на проведение аттестации технологии сварки в соответствии
с СТО РЖД 13.003-2023
Сведения о заявителе
Заявитель | |
ИНН | |
Адрес места нахождения | |
Телефон | |
Факс | |
E-mail | |
Заявляемая область распространения аттестации:
Тип КСС | Типовой образец | Натурная деталь |
Процесс сварки | | |
Тип сварного соединения/эскиз | | |
Группа(ы) материалов | | |
Сварочные материалы | | |
Защитный газ/флюс | | |
Толщина КСС, мм | | |
Внешний диаметр трубы, мм | | |
Положение при сварке | | |
Данные о шве/толщина слоя, мм | | |
Приложения:
1. пТКС;
2. Протокол сварки контрольного сварного соединения (при наличии);
3. Протоколы об испытании КСС и неразрушающего контроля (при наличии);
4. Карточка предприятия заявителя.
Руководитель организации ___________ _________________________
(подпись) М.П. (ФИО)
Координатор сварки ___________ _________________________
(подпись) (ФИО)
| | Правила аттестации сварщиков на железнодорожном транспорте государств - участников Содружества. Утверждены Советом по железнодорожному транспорту государств - участников Содружества (протокол от 16 - 17 октября 2012 г., N 57) в актуализированной редакции с изменениями и дополнениями, утвержденными Советом по железнодорожному транспорту государств - участников Содружества (протокол от 19 - 20 октября 2017 г., N 67) |
| Правила технической эксплуатации электроустановок потребителей. Утверждены приказом Минэнерго России от 12 августа 2022 г. N 811 |
| Правила устройства электроустановок. Утверждены приказом Минэнерго России от 08 июля 2002 г., N 204 |
| Правила по охране труда при выполнении электросварочных и газосварочных работ. Утверждены приказом Минтруда России от 11 декабря 2020 г., N 884н |
| РД 32 ЦВ 004-90 | Техническое обслуживание сварочного оборудования на вагоноремонтных предприятиях железных дорог МПС. Утверждена МПС СССР 16 - 17 января 1990 г. |
| ТУ 25.93.15.120-002-01124323-2022 | Электроды покрытые для ручной дуговой износостойкой наплавки нелегированных и легированных сталей. Технические условия. Утверждены распоряжением ОАО "РЖД" от 02 августа 2022 г., N 1998/р |
| ТУ 25.93.15.110-003-01124323-2022 | Проволока сварочная сплошного сечения для дуговой износостойкой наплавки нелегированных и легированных сталей. Технические условия. Утверждены распоряжением ОАО "РЖД" от 02 августа 2022 г., N 1998/р |
| ТУ 25.93.15.130-002-01124323-2022 | Порошковая проволока для дуговой износостойкой наплавки нелегированных и легированных сталей. Технические условия. Утверждены распоряжением ОАО "РЖД" от 02 августа 2022 г., N 1998/р |
| ТУ 20.59.56.120-002-01124323-2022 | Флюс агломерированный для дуговой наплавки нелегированных и легированных сталей. Технические условия. Утверждены распоряжением ОАО "РЖД" от 02 августа 2022 г., N 1998/р |
| ТУ 24.45.30.390-001-01124323-2022 | Смесь порошковая самофлюсующая для газопорошковой наплавки нелегированных и легированных сталей. Технические условия. Утверждены распоряжением ОАО "РЖД" от 02 августа 2022 г., N 1998/р |
| Порядок ведения Реестра средств измерений, испытательного оборудования и методик (методов) измерений, применяемых в ОАО "РЖД". Утвержден распоряжением ОАО "РЖД" от 20 декабря 2021 г., N 2899/р |
| | Правила неразрушающего контроля сварных соединений при ремонте вагонов. Специальные требования. Утверждены Советом по железнодорожному транспорту государств - участников Содружества (протокол от 19 - 20 ноября 2013 г., N 59) с учетом внесенных изменений и дополнений, утвержденных Советом по железнодорожному транспорту государств - участников Содружества (протокол от 4 - 5 ноября 2015 г. N 63) |
| Правила противопожарного режима в Российской Федерации. Утверждены постановлением Правительства Российской Федерации от 16 сентября 2020 г., N 1479 |
| | Гигиенические нормативы и требования к обеспечению безопасности и (или) безвредности для человека факторов среды обитания. Утверждены постановлением Главного государственного санитарного врача Российской Федерации от 28 января 2021 г., N 2 |
| Типовые нормы бесплатной выдачи сертифицированных специальной одежды, специальной обуви и других средств индивидуальной защиты работникам железнодорожного транспорта Российской Федерации, занятым на работах с вредными и (или) опасными условиями труда, а также на работах, выполняемых в особых температурных условиях или связанных с загрязнением. Утверждены приказом Минздравсоцразвития России от 22 октября 2008 г., N 582н |
| Порядок, виды, сроки обучения лиц, осуществляющих трудовую или служебную деятельность в организациях, по программам противопожарного инструктажа. Утвержден Приказом МЧС России от 18 ноября 2021 года N 806 |
| Правила разработки, построения, оформления и обозначения нормативных документов по охране труда. Утверждены распоряжением ОАО "РЖД" от 21 ноября 2016 г., N 2355р |
| Правила по охране труда при работе с инструментом и приспособлениями. Утверждены приказом Минтруда России от 27 ноября 2020 г., N 835н |
| Правила по охране труда при нанесении металлопокрытий. Утверждены приказом Минтруда России от 12 ноября 2020 г., N 776н |
| Федеральные нормы и правила в области промышленной безопасности "Правила безопасности химически опасных производственных объектов". Утверждены приказом Ростехнадзора России от 7 декабря 2020 г., N 500 |
| Правила по охране труда при эксплуатации электроустановок. Утверждены приказом Минтруда России от 15 декабря 2020 г., N 903н |
| Федеральные нормы и правила в области промышленной безопасности "Правила промышленной безопасности при использовании оборудования, работающего под избыточным давлением". Утверждены приказом Ростехнадзора России от 15 декабря 2020 г., N 536 |
| Межотраслевые типовые инструкции по охране труда для работников, занятых проведением работ по пайке и лужению изделий. Утверждены постановлением Минтруда России от 17 июля 2003 года N 55 |
| Правила по охране труда при работе на высоте. Утверждены приказом Минтруда России от 16 ноября 2020 г., N 782н |
| Федеральный закон от 24 июня 1998 г. N 89-ФЗ "Об отходах производства и потребления" |
| Федеральный классификационный каталог отходов. Утвержден приказом Росприроднадзора России от 22 мая 2017 г., N 242 (с изменениями от 29 марта 2021 г. N 149) |
| Федеральный закон от 4 мая 1999 г. N 96-ФЗ "Об охране атмосферного воздуха" |
от 18 мая 2023 г. N 1206/р
ПЛАН
ОРГАНИЗАЦИОННО-ТЕХНИЧЕСКИХ МЕРОПРИЯТИЙ ПО ВНЕДРЕНИЮ
СТО РЖД 13.003-2023 "ОБЩИЕ ТРЕБОВАНИЯ К СВАРОЧНЫМ
И НАПЛАВОЧНЫМ РАБОТАМ ПРИ РЕМОНТЕ ПОДВИЖНОГО СОСТАВА"
И КОНТРОЛЮ СОБЛЮДЕНИЯ ЕГО ТРЕБОВАНИЙ <*>
--------------------------------
<*> Не приводится. Примечание Издательства.