Главная // Актуальные документы // ГОСТ Р (Государственный стандарт)СПРАВКА
Источник публикации
М.: Стандартинформ, 2020
Примечание к документу
Документ
введен в действие с 01.10.2020.
Название документа
"ГОСТ Р 58904-2020/ISO/TR 25901-1:2016. Национальный стандарт Российской Федерации. Сварка и родственные процессы. Словарь. Часть 1. Общие термины"
(утв. и введен в действие Приказом Росстандарта от 30.06.2020 N 317-ст)
"ГОСТ Р 58904-2020/ISO/TR 25901-1:2016. Национальный стандарт Российской Федерации. Сварка и родственные процессы. Словарь. Часть 1. Общие термины"
(утв. и введен в действие Приказом Росстандарта от 30.06.2020 N 317-ст)
Утвержден и введен в действие
агентства по техническому
регулированию и метрологии
от 30 июня 2020 г. N 317-ст
НАЦИОНАЛЬНЫЙ СТАНДАРТ РОССИЙСКОЙ ФЕДЕРАЦИИ
СВАРКА И РОДСТВЕННЫЕ ПРОЦЕССЫ
СЛОВАРЬ
ЧАСТЬ 1
ОБЩИЕ ТЕРМИНЫ
Welding and allied processes. Vocabulary. Part 1.
General terms
(ISO/TR 25901-1:2016, IDT)
ГОСТ Р 58904-2020/ISO/TR 25901-1:2016
Дата введения
1 октября 2020 года
1 ПОДГОТОВЛЕН Саморегулируемой организацией Ассоциацией "Национальное Агентство Контроля Сварки" (СРО Ассоциация "НАКС") на основе собственного перевода на русский язык англоязычной версии документа, указанного в
пункте 4
2 ВНЕСЕН Техническим комитетом по стандартизации ТК 364 "Сварка и родственные процессы"
3 УТВЕРЖДЕН И ВВЕДЕН В ДЕЙСТВИЕ
Приказом Федерального агентства по техническому регулированию и метрологии от 30 июня 2020 г. N 317-ст
4 Настоящий стандарт идентичен международному документу ISO/TR 25901-1:2016 "Сварка и родственные процессы. Словарь. Часть 1. Общие термины" (ISO/TR 25901-1:2016 "Welding and allied processes - Vocabulary - Part 1: General terms", IDT).
Международный документ разработан Техническим комитетом ISO/TC 44 "Сварка и родственные процессы", подкомитетом SC 7 "Обозначения и термины"
5 ВВЕДЕН ВПЕРВЫЕ
Правила применения настоящего стандарта установлены в статье 26 Федерального закона от 29 июня 2015 г. N 162-ФЗ "О стандартизации в Российской Федерации". Информация об изменениях к настоящему стандарту публикуется в ежегодном (по состоянию на 1 января текущего года) информационном указателе "Национальные стандарты", а официальный текст изменений и поправок - в ежемесячном информационном указателе "Национальные стандарты". В случае пересмотра (замены) или отмены настоящего стандарта соответствующее уведомление будет опубликовано в ближайшем выпуске ежемесячного информационного указателя "Национальные стандарты". Соответствующая информация, уведомление и тексты размещаются также в информационной системе общего пользования - на официальном сайте Федерального агентства по техническому регулированию и метрологии в сети Интернет (www.gost.ru)
Серия документов ISO/TR 25901 под общим наименованием "Сварка и родственные процессы. Словарь" включает в себя следующие части:
- часть 1. Общие термины;
- часть 3. Сварочные процессы;
- часть 4. Дуговая сварка.
Настоящий стандарт содержит термины и определения, относящиеся к сварке и родственным процессам.
Он не содержит термины и определения, относящиеся к специальным процессам или к особенностям сварки и родственных процессов, которые рассматриваются в других частях или в других стандартах.
В настоящем стандарте термины систематизированы.
Приложение A содержит указатель со всеми терминами, приведенными в алфавитном порядке с ссылочными номерами. Приведен перевод терминов на французский язык, тем самым охватывая три официальных языка ИСО (английский, французский и русский). Немецкий перевод представлен для информации и под ответственность органа - члена Германии (DIN).
Примечание 1 - Термины на официальных языках (английском, французском и русском) являются терминами и определениями ИСО.
Примечание 2 - Все термины доступны на платформе ISO Online Browsing Platform (OBP): https://www.iso.org/obp/ui/.
В настоящем стандарте применены следующие термины с соответствующими определениями:
2.1 Сварка и родственные процессы
2.1.1 Основные термины
2.1.1.1
сварка (welding): Процесс соединения двух деталей и более, в результате которого получают неразъемное соединение материала(ов) заготовок, с помощью нагрева и (или) давления с применением или без применения присадочного материала
(2.1.10.4).
Примечание 1 - Сварочные процессы могут быть использованы для наплавки
(2.1.9.1) и переплавки.
2.1.1.2
сварка плавлением (fusion welding): Сварка
(2.1.1.1) местным сплавлением сопрягаемой(ых) поверхности(ей) без приложения внешнего давления с присадочным или без присадочного материала
(2.1.10.4).
2.1.1.3
сварной шов (шов) (weld): Результат сварки
(2.1.1.1).
Примечание 1 - Сварной шов включает в себя металл шва
(2.1.2.1) и зону термического влияния
(2.1.2.2).
2.1.1.4
сварной узел (weldment): Узел, включающий одно сварное соединение
(2.1.4.2) или более.
2.1.1.5
основной материал (parent material, base material): Материал, подлежащий соединению сваркой
(2.1.1.1), сваркопайкой или пайкой.
2.1.1.6
толщина основного материала (parent material thickness, material thickness): Номинальная толщина
(2.1.7.7) материалов, подлежащих сварке.
2.1.1.7
основной металл (parent metal, base metal): Основной металлический материал
(2.1.1.5).
2.1.1.8
ручная сварка (manual welding): Сварка
(2.1.1.1), при которой держатель электрода
(2.3.8), сварочный пистолет, сварочная горелка
(2.3.9) или газовая горелка управляются вручную.
2.1.1.9
частично механизированная сварка (partly mechanized welding, semiautomatic welding): Ручная сварка
(2.1.1.8), при которой подача проволоки механизирована.
2.1.1.10
полностью механизированная сварка (mechanized welding, fully mechanized welding): Сварка
(2.1.1.1), при которой требуемые сварочные параметры
(2.4.1) поддерживаются механическими или электронными средствами.
Примечание 1 - В процессе сварки возможна ручная регулировка сварочных параметров сварщиком-оператором
(2.5.25).
2.1.1.11
автоматическая сварка (automatic welding): Сварка
(2.1.1.1), при которой все операции выполняются без вмешательства в сварочный процесс сварщика-оператора
(2.5.25).
Примечание 1 - В процессе сварки невозможна ручная регулировка сварочных параметров
(2.4.1) сварщиком-оператором
(2.5.25).
2.1.1.12
роботизированная сварка (robotic welding): Сварка
(2.1.1.1), которая выполняется и управляется роботизированным оборудованием.
2.1.1.13
строжка (gouging): Разновидность термической резки, при которой формируется канавка за счет плавления и горения.
2.1.1.14
дуговая строжка (arc gouging): Строжка
(2.1.1.13) с использованием дуговой резки.
2.1.1.15
воздушно-дуговая строжка (air-arc gouging): Строжка
(2.1.1.13) с использованием угольного электрода
(2.3.8) и сжатого воздуха.
2.1.2 Характеристики сварных швов
2.1.2.1
металл шва (weld metal): Весь металл, расплавленный во время сварки
(2.1.1.1) и оставшийся в сварном шве
(2.1.1.3).
2.1.2.2
зона термического влияния; ЗТВ (heat-affected zone, HAZ): Участок нерасплавленного основного металла
(2.1.1.7), микроструктура которого изменилась.
2.1.2.3
зона шва (weld zone): Зона, включающая металл шва
(2.1.2.1) и зону термического влияния
(2.1.2.2).
2.1.2.4
наплавленный металл (deposited metal): Присадочный металл, добавленный при сварке
(2.1.1.1).
2.1.2.5
линия сплавления (fusion line): Граница между металлом шва
(2.1.2.1) и нерасплавленным основным металлом
(2.1.1.7), определяемая на поперечном сечении сварного шва
(2.1.1.3).
2.1.2.6
зона сплавления (fusion zone): Расплавленная часть основного металла
(2.1.1.7) в металле шва
(2.1.2.1), определяемая на поперечном сечении сварного шва
(2.1.1.3).
2.1.2.7
наплавленный металл шва (all-weld metal): Металл шва
(2.1.2.1), состоящий из наплавленного металла
(2.1.2.4) без перемешивания
(2.1.2.12).
2.1.2.8
сварочная ванна (weld pool, molten pool): Ванна из жидкого металла, образующаяся в процессе сварки плавлением
(2.1.1.2).
Примечание 1 - При электрошлаковой сварке термин включает в себя шлаковую ванну.
2.1.2.9
состояние после сварки (as welded): Состояние сварного шва
(2.1.1.3) после сварки
(2.1.1.1) до любой термической, механической или химической обработки.
Примечание 1 - Для сплавов, подверженных старению (например, для некоторых алюминиевых сплавов), состояние после сварки ограничено.
2.1.2.10
ферритное число; FN (ferrite number, FN): Условная величина, характеризующая содержание ферритной фазы в металле шва
(2.1.2.1) коррозионно-стойкой стали аустенитного или аустенитно-ферритного типа, основанное на его магнитных свойствах.
2.1.2.11
металлургические отклонения (metallurgical deviation): Изменения механических свойств и (или) металлургической структуры металла шва
(2.1.2.1) или зоны термического влияния
(2.1.2.2) относительно свойств основного металла
(2.1.1.7).
2.1.2.12
перемешивание (dilution): Смешение расплавленного основного металла
(2.1.1.7) и наплавленного металла
(2.1.2.4) может быть выражено как отношение расплавленного основного металла к массе всего расплавленного металла.
2.1.2.13
степень перемешивания (dilution rate): Перемешивание
(2.1.2.12), выраженное в процентах.
2.1.2.14
остаточное сварочное напряжение (residual welding stress): Напряжение, возникающее после сварки
(2.1.1.1) в металлической конструкции или в ее детали.
2.1.2.15
прочный шов (strength weld): Сварной шов
(2.1.1.3), способный выдержать расчетную нагрузку.
2.1.2.16
эффективность соединения (joint efficiency): Отношение прочности соединения
(2.1.4.1) к прочности основного металла
(2.1.1.7), выраженное в процентах.
2.1.3 Дефекты
2.1.3.1
дефект (imperfection): Несплошность в сварном шве
(2.1.1.3) или отклонение от заданной геометрии.
Примечание 1 - Дефектами являются трещины, непровары, несплавления, поры, включения шлака
(2.1.10.9).
2.1.3.2
внутренний дефект (internal imperfection): Дефект
(2.1.3.1), который не выходит на поверхность и непосредственно недоступен.
2.1.3.3
систематические дефекты (systematic imperfection): Дефекты
(2.1.3.1), повторяющиеся по длине исследуемого сварного шва
(2.1.1.3).
2.1.3.4
площадь проекции (projected area): Площадь, на которую проецируются объемно распределенные дефекты
(2.1.3.1) исследуемого сварного шва
(2.1.1.3).
2.1.3.5
горячая(ие) трещина(ы) [hot crack(s)]: Нарушения сплошности материала, происходящие при высокой температуре вдоль границ зерен (границ дендридов), когда уровень деформации или скорость деформации превышает определенный уровень.
Примечание 1 - Малые трещины, видимые только при увеличении более чем в 50 раз, называют микротрещинами.
2.1.3.6
кристаллизационная трещина (solidification crack): Горячая трещина
(2.1.3.5), образующаяся при кристаллизации жидкой фазы металла шва
(2.1.2.1).
Примечание 1 - Как правило, трещина выходит на поверхность металла шва, но иногда может быть расположена и под поверхностью.
2.1.3.7
ликвационная трещина (liquation crack): Горячая трещина
(2.1.3.5), образующаяся при расплавлении ликвирующих элементов в зоне термического влияния
(2.1.2.2) основного материала
(2.1.1.5) или в многопроходных швах, в которых металл шва
(2.1.2.1) повторно нагревался при последующих проходах
(2.1.8.4).
2.1.3.8
трещина, вызванная падением пластичности (ductility dip crack): Горячая трещина
(2.1.3.5), образующаяся при сварке
(2.1.1.1) из-за снижения высокотемпературной пластичности.
Примечание 1 - Как и ликвационная трещина
(2.1.3.7), трещина данного вида может возникать в зоне термического влияния
(2.1.2.2) основного материала
(2.1.1.5) или в многопроходных швах.
2.1.3.9
холодная(ые) трещина(ы) [cold crack(s)]: Локальное разрушение (внутризеренное или межзеренное) сварного шва
(2.1.1.3), возникающее в результате критической комбинации микроструктуры, напряжения и содержания водорода.
2.1.4 Типы соединений
2.1.4.1
соединение (joint): Соединение деталей или кромок деталей, которые должны быть соединены или уже соединены.
2.1.4.2
сварное соединение (welded joint): Соединение двух деталей или более, выполненное сваркой
(2.1.1.1).
2.1.4.3
соединение нескольких деталей (multiple joint): Тип соединения
(2.1.4.1), при котором три детали или более примыкают друг к другу под заданными углами.
2.1.4.4
параллельное соединение (parallel joint): Тип соединения
(2.1.4.1), в котором детали параллельны друг другу.
Пример - Плакирование взрывом.
2.1.4.5
стыковое соединение (butt joint): Тип соединения
(2.1.4.1), при котором детали лежат приблизительно в одной плоскости друг напротив друга под углом от 135° до 180°.
2.1.4.6
тавровое соединение (T-joint): Угловое соединение
(2.1.4.8), при котором детали создают Т-образную форму.
2.1.4.7
нахлесточное соединение (lap joint): Тип соединения
(2.1.4.1), при котором детали практически параллельны друг к другу (лежат под углом от 0° до 5°) и перекрывают друг друга.
2.1.4.8
тавровое соединение под острым углом (angle joint): Тип соединения
(2.1.4.1), при котором одна деталь примыкает к другой под острым углом от 5° до 90°.
Примечание 1 - Для углового шва
(2.1.6.11) угол от 5° до 45°.
Примечание 2 - Для стыкового шва
(2.1.6.3) угол от 45° до 90° включительно.
2.1.4.9
угловое соединение (corner joint): Тип соединения
(2.1.4.1), при котором угол между поверхностями двух деталей в месте примыкания кромок составляет от 30° до 135°.
2.1.4.10
торцевое соединение (edge joint): Тип соединения
(2.1.4.1), при котором угол между поверхностями двух деталей в месте примыкания кромок составляет от 0° до 30°.
2.1.4.11
перекрестное соединение (cross joint): Тип соединения
(2.1.4.1), при котором две детали лежат друг на друге пересекаясь.
Пример - Прутки, которые пересекают друг друга.
2.1.4.12
крестообразное соединение (cruciform joint): Тип соединения
(2.1.4.1), при котором две детали, лежащие в одной плоскости, примыкают под прямым углом к третьей детали, находящейся между ними.
2.1.4.13
однородное соединение (homogeneous joint): Сварное соединение
(2.1.4.2), при котором металл шва
(2.1.2.1) и основной материал
(2.1.1.5) не имеют значительных различий механических свойств и (или) химического состава.
Примечание 1 - Сварное соединение
(2.1.4.2), выполненное из однородных основных материалов
(2.1.1.5) без присадочного металла, считается однородным.
2.1.4.14
неоднородное соединение (heterogeneous joint): Сварное соединение
(2.1.4.2), при котором механические свойства и химический состав металла шва
(2.1.2.1) и основного материала
(2.1.1.5) имеют значительное различие механических свойств и (или) химического состава.
2.1.4.15
разнородное соединение (dissimilar material joint): Сварное соединение
(2.1.4.2), при котором основные материалы
(2.1.1.5) имеют значительное различие механических свойств и (или) химического состава.
2.1.5 Подготовка соединений
2.1.5.1
подготовка кромок (edge preparation): Подготовка поверхности кромок детали к сварке.
2.1.5.2
подготовка соединения под сварку (joint preparation, weld preparation): Соответствующая подготовка конфигурации отдельных деталей, подлежащих соединению, и их сборка.
2.1.5.3
расплавляемая поверхность (fusion face): Поверхность основного металла
(2.1.1.7), расплавляемая в процессе сварки
(2.1.1.1).
2.1.5.4
заостренная кромка (feather edge): Отсутствие притупления кромки
(2.1.5.10).
2.1.5.5
зазор (gap, air gap): Расстояние в любом поперечном сечении между соединяемыми кромками, торцами или поверхностями.
2.1.5.6
расстояние до кромки (edge distance): Расстояние между центром сварного шва
(2.1.1.3) и ближайшей кромкой заготовки.
2.1.5.7
корень (root): Зона на стороне, противоположной той, на которой выполнялась сварка
(2.1.1.1).
Не рекомендуемый - корень шва.
2.1.5.9
радиус разделки (root radius): Радиус криволинейной части расплавляемой поверхности
(2.1.5.3) кромки при односторонней и двусторонней разделке J- или U-образной формы.
2.1.5.10
поверхность притупления (root face): Часть расплавляемой поверхности кромки
(2.1.5.3), которая не скошена и не имеет канавок.
2.1.5.11
выступ кромки (land): Часть расплавляемой поверхности
(2.1.5.3), которая поддерживает сварочную ванну
(2.1.2.8).
Примечание 1 - Примером является область между поверхностью притупления
(2.1.5.10) и криволинейной частью J- и U-образной разделки.
2.1.5.12
угол скоса кромки (bevel angle): Угол между скошенной поверхностью соединения
(2.1.4.1) и плоскостью, перпендикулярной к поверхности соединения.
2.1.5.13
угол разделки кромок (included angle, groove angle): Угол между плоскостями расплавляемых поверхностей кромок
(2.1.5.3).
2.1.6 Типы швов
2.1.6.1
шов с полным проплавлением (full penetration weld): Сварной шов
(2.1.1.3) с полной глубиной проплавления
(2.1.7.3).
2.1.6.2
шов с частичным проплавлением (partial penetration weld): Сварной шов
(2.1.1.3), глубина проплавления
(2.1.7.3) которого заведомо не является полной.
2.1.6.3
стыковой шов (butt weld, groove weld): Сварной шов
(2.1.1.3), отличный от углового шва
(2.1.6.11), выполненный со скосом или без скоса кромок.
2.1.6.4
стыковой шов с односторонней J-образной разделкой одной кромки (single-J butt weld): Стыковой шов
(2.1.6.3) с односторонней подготовкой J-образной разделки одной кромки.
2.1.6.5
стыковой шов с двусторонней J-образной разделкой одной кромки (double-J butt weld): Стыковой шов
(2.1.6.3) с подготовкой двусторонней J-образной разделки одной кромки.
2.1.6.6
стыковой шов с односторонней U-образной разделкой двух кромок (single-U butt weld): Стыковой шов
(2.1.6.3) с подготовкой односторонней U-образной разделки двух кромок.
2.1.6.7
стыковой шов с двусторонней U-образной разделкой двух кромок (double-U butt weld): Стыковой шов
(2.1.6.3) с подготовкой двусторонней U-образной разделки двух кромок.
2.1.6.8
стыковой шов с односторонней V-образной разделкой двух кромок (single-V butt weld): Стыковой шов
(2.1.6.3) с подготовкой односторонней V-образной разделки двух кромок.
2.1.6.9
стыковой шов с двусторонней V-образной разделкой двух кромок (double-V butt weld): Стыковой шов
(2.1.6.3) с подготовкой двусторонней V-образной (X-образной) разделки двух кромок.
2.1.6.10
стыковой шов без скоса кромок (square butt weld): Стыковой шов
(2.1.6.3), подготовленный без скоса кромок.
2.1.6.11
угловой шов (fillet weld): Сварной шов
(2.1.1.3) треугольного сечения между двумя деталями и более в тавровом
(2.1.4.6), в угловом
(2.1.4.9) или в нахлесточном соединении
(2.1.4.7).
2.1.6.12
пробочный шов (plug weld): Сварной шов
(2.1.1.3), который выполняется заполнением присадочным металлом всего круглого или продолговатого отверстия на одной детали таким образом, чтобы соединить ее через отверстие с другой деталью.
2.1.6.13
уплотняющий шов (seal weld): Сварной шов
(2.1.1.3), предназначенный в основном для обеспечения герметичности с целью предотвращения утечки газа и жидкости.
2.1.6.14
прорезной шов (slot weld): Сварной шов
(2.1.1.3) между двумя расположенными внахлест деталями в виде углового шва
(2.1.6.11), выполненный по контуру отверстия в одной детали таким образом, чтобы соединить ее с поверхностью другой детали.
2.1.6.15
прерывистый шов (intermittent weld): Ряд участков сварного шва, выполненных с промежутками по длине соединения
(2.1.4.1).
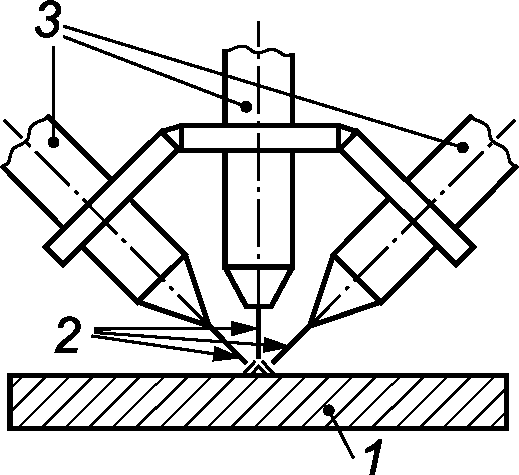
2.1.6.16
шахматный прерывистый шов (staggered intermittent weld): Двусторонний прерывистый шов
(2.1.6.15), у которого заваренные с одной стороны участки находятся против незаверенных участков с другой стороны вдоль соединения
(2.1.4.1).
Примечание 2 - Шахматный прерывистый шов показан на рисунке 1.
1 - шов; 2 - заготовка
Рисунок 1 - Шахматный прерывистый шов
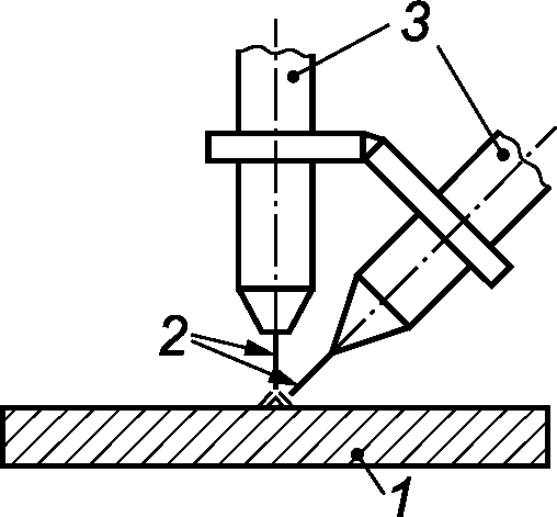
2.1.6.17
цепной прерывистый шов (chain intermittent weld): Двусторонний прерывистый шов
(2.1.6.15), у которого заваренные (незаваренные) участки с обеих сторон расположены друг против друга вдоль соединения
(2.1.4.1).
Примечание 2 - Цепной прерывистый шов показан на рисунке 2.
1 - шов; 2 - заготовка
Рисунок 2 - Цепной прерывистый шов
2.1.6.18
шов между закругленной и плоской деталями (flare-bevel weld): Стыковой шов
(2.1.6.3) между двумя деталями, у которых поверхность у одной закруглена, а у другой плоская.
2.1.6.19
шов между двумя закругленными деталями (flare-
V weld): Стыковой шов
(2.1.6.3) между двумя деталями с закругленными поверхностями.
2.1.7 Размеры шва
2.1.7.1
ширина шва (weld width): Наименьшее расстояние между линиями сплавления на лицевой стороне сварного шва
(2.1.1.3).
2.1.7.2
толщина шва (weld thickness): Толщина металла шва
(2.1.2.1), включая любую выпуклость.
2.1.7.3
глубина проплавления (fusion penetration): Глубина расплавляемой поверхности
(2.1.5.3) основного металла
(2.1.1.7).
2.1.7.4
толщина проплавления (penetration depth, deposit thickness): Толщина металла шва
(2.1.2.1), исключая любую выпуклость.
Не рекомендуемый - толщина сваренного металла.
2.1.7.5
катет углового шва (leg length): Расстояние от фактического или предполагаемого пересечения расплавляемых поверхностей
(2.1.5.3) до границы углового шва
(2.1.6.11) на расплавляемой поверхности.
2.1.7.6
толщина углового шва (throat thickness): Толщина углового шва
(2.1.6.11).
2.1.7.7
номинальная толщина (nominal thickness): Толщина, заданная в стандартах без допусков.
2.1.7.8
номинальная толщина углового шва (nominal throat thickness): Расчетное значение высоты наибольшего равнобедренного треугольника, который можно вписать в сечение углового шва
(2.1.6.11).
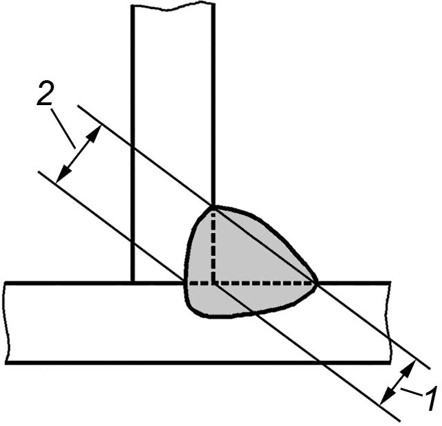
Примечание 1 - Номинальная толщина углового шва показана на рисунке 3, позиция 1.
1 - номинальная толщина углового шва;
2 - толщина углового шва с глубоким проплавлением
Рисунок 3 - Номинальная толщина углового шва
2.1.7.9
толщина углового шва с глубоким проплавлением (deep penetration throat thickness): Номинальная толщина углового шва
(2.1.7.8) или эффективная толщина углового шва
(2.1.7.10) с добавлением некоторой величины глубины проплавления
(2.1.7.3).
Примечание 1 - Толщина углового шва с глубоким проплавлением показана на
рисунках 3 и
4, позиция
2.
2.1.7.10
эффективная толщина углового шва (effective throat thickness): Расчетное значение высоты наибольшего треугольника, который можно вписать в сечение углового шва
(2.1.6.11).
Примечание 1 - Эффективная толщина углового шва показана на рисунке 4, позиция 1.
1 - эффективная толщина углового шва;
2 - толщина углового шва с глубоким проплавлением
Рисунок 4 - Эффективная толщина углового шва
2.1.7.11
теоретическая толщина углового шва (actual throat thickness): Толщина углового шва
(2.1.7.6) заданной окончательной формы сварного шва
(2.1.1.3).
Примечание 1 - Теоретическая толщина углового шва зависит от выбранной проектной толщины углового шва
(2.1.7.12).
2.1.7.12
проектная толщина углового шва (design throat thickness): Толщина углового шва
(2.1.7.6), заданная конструктором.
2.1.8 Выполнение сварки
2.1.8.1
сварочный процесс (welding process): Конкретный способ сварки
(2.1.1.1), основанный на определенных металлургических, электрических, физических, химических или механических принципах.
2.1.8.2
техника сварки (welding technique): Манипулирование электродом
(2.3.8), горелкой или другим аналогичным устройством.
2.1.8.3
техника "замочная скважина" (keyhole technique): Техника сварки
(2.1.8.2), при которой концентрированный источник теплоты проникает сквозь изделие, формируя отверстие ("замочную скважину") в передней части сварочной ванны
(2.1.2.8).
Примечание 1 - Отверстие движется вместе с источником теплоты.
2.1.8.4
проход, валик (run, pass, bead): Металл, переплавленный или наплавленный за однократное перемещение электрода
(2.3.8), сварочной горелки
(2.3.9) или газовой горелки.
Примечание 1 - Как правило, термин применяют в отношении сварки световым лучом.
2.1.8.5
узкий валик (stringer bead): Валик
(2.1.8.4), формирующийся без существенных поперечных колебаний.
2.1.8.6
отпускающий валик (temper bead): Валик, который нормализует нижние валики
(2.1.8.4) и создает предварительный подогрев
(2.4.13) для последующих валиков (при многопроходной сварке).
2.1.8.7
валик на пластине (bead on plate): Одиночный валик
(2.1.8.4), выполненный присадочным материалом
(2.1.10.4) на поверхности основного материала
(2.1.1.5).
2.1.8.8
переплавленный валик (melt run): Основной материал
(2.1.1.5), переплавленный при прохождении по поверхности материала сварочных источников теплоты, таких как пламя, дуга, электронный или лазерный луч.
Примечание 1 - Присадочный материал
(2.1.10.4) не используют.
2.1.8.9
скорость плавления (melting rate, burn-off rate): Масса или длина электрода
(2.3.8), расходуемая в единицу времени.
2.1.8.10
производительность наплавки (deposition rate): Масса металла, наплавленного в единицу времени.
2.1.8.11
облицовочный слой (capping run): Валик(и)
(2.1.8.4), видимый(ые) на поверхности шва(ов) после сварки
(2.1.1.1) при многослойной сварке.
2.1.8.12
косметический проход (cosmetic run, cosmetic pass): Валик
(2.1.8.4), выполняемый для поверхностного переплавления сварного шва
(2.1.1.3) с целью улучшения его внешнего вида.
2.1.8.13
слой (layer): Слой металла шва
(2.1.2.1), состоящий из одного валика
(2.1.8.4) или более.
2.1.8.14
финишная сварка (finishing welding): Производственная сварка
(2.5.15), выполняемая с целью удаления литейных дефектов и отверстий для обеспечения требуемого качества отливок.
2.1.8.15
перекрытие (overlap): Минимальное расстояние между кромками пластин (при нахлесточном соединении).
Примечание 1 - Определение термина "перекрытие" также приведено в
2.1.8.16.
2.1.8.16
перекрытие (overlap): Часть сварочного валика
(2.1.8.4), переплавляемого соседним валиком (при многопроходной сварке).
Примечание 1 - Определение термина "перекрытие" также приведено в
2.1.8.15.
2.1.8.17
граница наружной поверхности прохода (bead toe): Продольная граница между валиками
(2.1.8.4) или между валиком и основным материалом
(2.1.1.5).
2.1.8.18
граница наружной поверхности шва (weld toe): Граница между поверхностью сварного шва
(2.1.1.3) и основным металлом
(2.1.1.7).
2.1.8.19
корневой слой, корневой проход (root run, root pass): Первый валик
(2.1.8.4), накладываемый в корне
(2.1.5.7) при многослойном сварном шве
(2.1.1.3).
2.1.8.20
заполняющий слой (filling run): Валик(и)
(2.1.8.4), накладываемый(е) после корневого(ых) прохода(ов)
(2.1.8.19) и до завершающего(их) прохода(ов)
(2.1.8.11) (при многослойной сварке).
Не рекомендуемый - уплотняющий валик.
2.1.8.22
непрерывный шов (continuous weld): Сварной шов
(2.1.1.3), протяженный вдоль всей длины соединения
(2.1.4.1).
2.1.8.23
однопроходная сварка (single-run welding): Сварка
(2.1.1.1), при которой сварной шов
(2.1.1.3) выполняется за один проход
(2.1.8.4).
2.1.8.24
односторонняя сварка (single-side welding, one side welding): Сварка
(2.1.1.1), при которой сварной шов
(2.1.1.3) выполняется с одной стороны изделия.
2.1.8.25
двусторонняя сварка (both-side welding, double-side welding, two side welding): Сварка
(2.1.1.1), при которой сварной шов
(2.1.1.3) выполняется с двух сторон изделия.
2.1.8.26
двусторонняя однопроходная сварка (both-side single-run welding): Двусторонняя сварка
(2.1.8.25), при которой сварной шов
(2.1.1.3) выполняется за один проход
(2.1.8.4) с каждой стороны.
2.1.8.27
двусторонняя многопроходная сварка (both-side multirun welding, multirun welding from both sides): Двусторонняя сварка
(2.1.8.25), при которой сварной шов
(2.1.1.3) выполняется за несколько проходов с каждой стороны.
2.1.8.28
многопроходная сварка (multirun welding): Сварка
(2.1.1.1), при которой проход
(2.1.8.4) выполняется по предыдущему проходу.
2.1.8.29
обратноступенчатая последовательность (back-step sequence): Последовательность сварки
(2.1.8.36), при которой короткие отрезки валика
(2.1.8.4) наносят в направлении, противоположном общему направлению сварки
(2.1.1.1) соединения
(2.1.4.1).
Примечание 1 - В итоге короткие участки образуют непрерывный
(2.1.8.22) или прерывистый шов
(2.1.6.15).
2.1.8.30
обратноступенчатая сварка (back-step welding): Техника сварки
(2.1.8.36), при которой короткие отрезки шва
(2.1.8.4) наносят в направлении, противоположном общему направлению сварки
(2.1.1.1) соединения
(2.1.4.1) таким образом, что конец одного участка перекрывает начало предыдущего участка.
2.1.8.31
прихватка (tack weld): Сварной шов
(2.1.1.3) для фиксации правильного положения подлежащих сварке
(2.1.1.1) деталей и узлов.
2.1.8.32
сварка прихваточными швами (tack welding): Выполнение прихваток
(2.1.8.31).
2.1.8.33
прихваточный валик (tacking run, tacking pass): Валик
(2.1.8.4) для удержания свариваемых деталей в правильном положении до выполнения последующих сварных швов
(2.1.1.3).
2.1.8.34
цикл сварки (welding cycle): Полная совокупность процессов, необходимых для выполнения сварного шва.
2.1.8.35
рабочее место (workplace): Зона, в которой осуществляется деятельность работника.
2.1.8.36
последовательность наложения швов (weld sequence): Порядок наложения сварных швов
(2.1.1.3) на изделии.
2.1.8.37
последовательность выполнения проходов (weld run sequence): Порядок выполнения проходов
(2.1.8.4) сварного шва
(2.1.1.3).
2.1.8.38
временный шов (temporary weld): Сварной шов
(2.1.1.3) для крепления детали(ей) к сварному узлу
(2.1.1.4) для временного использования при перемещении, перевозке или работе на сварном узле.
2.1.8.39
приварка шпилек (stud welding): Присоединение металлических шпилек и аналогичных деталей к изделию.
Примечание 1 - Сварка
(2.1.1.1) может быть дуговой, сопротивлением, трением или другим процессом с использованием или без использования внешней газовой защиты.
2.1.8.40
монтажный шов (field weld, site weld): Сварной шов
(2.1.1.3), выполняемый за пределами цеха, как правило, на месте монтажа конструкции.
2.1.9 Наплавка
2.1.9.1
наплавка (surfacing): Наплавка материала на поверхность для получения необходимых свойств и (или) размеров.
2.1.9.2
наплавка сваркой (overlay welding): Наплавка
(2.1.9.1) с помощью сварки
(2.1.1.1).
2.1.9.3
теплостойкая наплавка сваркой (heat resistant overlay welding): Наплавка сваркой
(2.1.9.2), при которой плакирующий слой
(2.1.9.10) служит для улучшения теплостойкости.
2.1.9.4
коррозионно-стойкая наплавка сваркой (corrosion resistant overlay welding): Наплавка сваркой
(2.1.9.2), при которой плакирующий слой
(2.1.9.10) служит для улучшения коррозионной стойкости.
2.1.9.5
наплавка промежуточного металла на свариваемые кромки (buttering): Наплавка сваркой
(2.1.9.2) для получения специального перехода между основным материалом
(2.1.1.5) и последующими сварными швами
(2.1.1.3).
2.1.9.6
наплавка буферного слоя на свариваемые кромки (buffering): Наплавка промежуточного металла на свариваемые кромки
(2.1.9.5) перед сваркой
(2.1.1.1) разнородных материалов.
2.1.9.7
наварка (building up, build up): Наплавка сваркой
(2.1.9.2) для получения или восстановления требуемых размеров.
2.1.9.8
наплавка твердого слоя (hardfacing): Наплавка сваркой
(2.1.9.2) для увеличения износостойкости и (или) ударопрочности.
2.1.9.9
ленточная наплавка (strip surfacing, strip cladding): Наплавка сваркой
(2.1.9.2) ленточным электродом
(2.3.8).
2.1.9.10
плакирующий слой (cladding): Материал, наплавленный на основной материал
(2.1.1.5) для создания плакированного материала.
2.1.9.11
плакирование (cladding process): Наплавка
(2.1.9.1) для получения плакирующего слоя
(2.1.9.10).
Примечание 1 - Плакирование может быть наплавкой сваркой
(2.1.9.2), горячей прокаткой, сваркой взрывом и т.д.
2.1.10 Сварочные расходуемые материалы
2.1.10.1
сварочный материал (welding consumable): Материал, используемый при выполнении сварного шва
(2.1.1.3).
Примечание 1 - Этот термин включает в себя присадочный материал
(2.1.10.4) и вспомогательный материал
(2.1.11.1).
2.1.10.3
плавящийся электрод (consumable electrode): Электрод
(2.3.8), плавящийся в процессе сварки
(2.1.1.1) и формирующий часть сварного шва
(2.1.1.3).
2.1.10.4
присадочный материал (filler material): Сварочный материал
(2.1.10.1), добавляемый в процессе сварки
(2.1.1.1) для формирования сварного шва
(2.1.1.3).
2.1.10.5
присадочный пруток, сварочный пруток (filler rod, rod, welding rod): Присадочный материал
(2.1.10.4) в форме стержня, который может быть частью сварочной цепи.
2.1.10.6
сплошной пруток (solid rod): Сплошной присадочный пруток
(2.1.10.5) твердый, не являющийся частью сварочной цепи.
2.1.10.7
присадочная проволока (filler wire): Присадочный материал
(2.1.10.4) в виде проволоки, который может быть частью сварочной цепи.
2.1.10.8
флюс (flux, welding flux): В основном неметаллический вспомогательный материал
(2.1.11.1), применяемый для химической очистки поверхностей соединения
(2.1.4.1), предотвращения атмосферного окисления, уменьшения количества включений или удаления примесей в виде шлака (2.1.10.9) на поверхности.
2.1.10.9
шлак (slag): Неметаллическое вещество, образующееся в результате плавления покрытия электрода
(2.3.8) или флюса
(2.1.10.8), которое частично или полностью покрывает металл шва
(2.1.2.1) после его затвердевания.
2.1.10.10
защитный газ (shielding gas): Газ, используемый для предотвращения или уменьшения вредного влияния окружающего воздуха.
2.1.10.11
плакированная сталь (clad steel): Неразъемное соединение двух металлов или более, полученных плакированием
(2.1.9.11).
Примечание 1 - Основным металлом
(2.1.1.7) всегда является сталь.
2.1.10.12
прокаливание (baking): Нагрев сварочных материалов
(2.1.10.1) для получения определенного уровня диффузионного водорода в металле сварного шва
(2.1.2.1).
Примечание 1 - Как правило, прокаливание выполняется производителем материалов.
2.1.10.13
сушка (drying): Нагрев сварочных материалов
(2.1.10.1) для удаления влаги.
2.1.10.14
сушильная печь (drying oven): Нагретая камера, в которой сушатся сварочные материалы
(2.1.10.1) для удаления влаги или предохранения от влаги.
2.1.11 Сварочные материалы
2.1.11.1
вспомогательный материал (auxiliary material): Сварочный материал
(2.1.10.1), не являющийся частью готового сварного шва
(2.1.1.3).
2.1.11.2
газовая защита (gas shield): Газовая среда вокруг зоны шва
(2.1.2.3) для защиты сварочной ванны
(2.1.2.8) от вредного влияния окружающего воздуха.
2.1.11.3
последующая газовая защита (trailing gas shield): Дополнительная подача защитного газа
(2.1.10.10) для защиты сварного шва
(2.1.1.3) и зоны сварки во время охлаждения.
2.1.11.4
газ-носитель (carrier gas): Газ, используемый для подачи металлического порошка в сварочную ванну
(2.1.2.8).
Примечание 1 - Типичными газами-носителями являются азот, гелий и аргон.
2.1.11.5
подкладка (backing): Металл, флюс
(2.1.10.8) или газ, контактирующий с обратной стороной соединения, подготовленного под сварку
(2.1.5.2).
2.1.11.6
газ, защищающий обратную сторону шва (backing gas, root gas): Газ, используемый для газовой подкладки
(2.1.11.7).
2.1.11.7
газовая подкладка (gas backing): Подкладка
(2.1.11.5) с использованием газа, применяемая в основном для предотвращения окисления.
2.1.11.8
защитный газ поддувки (purging gas): Газ для удаления воздуха из полой области с его последующим использованием в качестве газовой подкладки
(2.1.11.7).
2.1.11.9
флюс для подкладки (backing flux): Флюс
(2.1.10.8), используемый для флюсовой подкладки
(2.1.11.10).
2.1.11.10
флюсовая подкладка (flux backing): Подкладка
(2.1.11.5) с использованием флюса
(2.1.10.8) в основном для предотвращения окисления.
Примечание 1 - В сварке под флюсом флюсовая подкладка позволяет уменьшить риск вытекания сварочной ванны
(2.1.2.8).
2.1.11.11
металлическая подкладка (material backing): Подкладка
(2.1.11.5) с использованием материала для удержания расплавленного металла шва
(2.1.2.1).
2.1.11.12
остающаяся подкладка (permanent backing): Металлическая подкладка
(2.1.11.11), которая не удаляется после сварки
(2.1.1.1).
Примечание 1 - Может частично расплавляться или не расплавляться.
2.1.11.13
удаляемая подкладка (temporary backing): Металлическая подкладка
(2.1.11.11), которая удаляется после сварки
(2.1.1.1).
2.1.11.14
вводная планка (run-on plate): Металлическая деталь, стыкуемая в начале соединения деталей
(2.1.4.1), для получения полного сечения сварного шва
(2.1.1.3) в начале соединения.
2.1.11.15
выводная планка (run-off plate): Металлическая деталь, стыкуемая в конце соединения деталей
(2.1.4.1), для получения полного сечения сварного шва
(2.1.1.3) в конце соединения.
2.2.1 Основные испытания
2.2.1.1
исследования макроструктуры (macroscopic examination): Исследование образца для испытаний
(2.2.1.6) невооруженным глазом или при малом увеличении (в основном ниже 50
x) с травлением или без травления образца.
2.2.1.2
исследование микроструктуры (microscopic examination): Исследование образца для испытаний
(2.2.1.6) с помощью микроскопа, при увеличении в основном от 50
x до 500
x с травлением или без травления образца.
2.2.1.3
испытание наплавленного металла (all-weld metal test): Испытание для определения свойств наплавленного металла
(2.1.2.7).
2.2.1.4
образец наплавленного металла (all-weld metal test specimen): Образец для испытаний
(2.2.1.6) с наплавленным металлом шва
(2.2.1.7) на испытуемом участке.
2.2.1.5
испытательный образец (test piece): Сварное соединение, предназначенное для испытаний.
2.2.1.6
образец для испытаний (test specimen): Деталь или участок, вырезанная(ый) из испытательного образца
(2.2.1.5) для конкретного разрушающего испытания
(2.2.3.1).
2.2.1.7
испытательная организация (testing organization): Собственная или сторонняя организация, проводящая разрушающие испытания
(2.2.3.1) или неразрушающий контроль
(2.2.4.1).
2.2.2 Испытания на свариваемость
2.2.2.1
испытание на склонность к образованию трещин (cracking test): Испытание на склонность металла шва
(2.1.2.1) или основного металла
(2.1.1.7) к образованию трещин.
2.2.2.2
испытание на склонность к образованию холодных трещин (cold cracking test): Испытание на склонность к образованию трещин
(2.2.2.1) с целью определения склонности сварного соединения
(2.1.4.2) к образованию холодных трещин.
2.2.2.3
испытание на склонность к образованию горячих трещин (hot cracking test): Испытание на склонность к образованию трещин
(2.2.2.1) с целью определения склонности сварного соединения
(2.1.4.2) к образованию горячих трещин.
2.2.2.4
испытанный сварочный материал (tested welding consumable): Сварочный материал
(2.1.10.1) или комбинация сварочных материалов, испытанных в соответствии со стандартами на испытания сварочных материалов.
2.2.3 Механические испытания
2.2.3.1
разрушающие испытания (destructive testing): Испытания, проводимые для обнаружения внутренних или поверхностных дефектов
(2.1.3.1) или оценки механических или металлургических свойств механическим способом, который приводит к разрушению материала.
2.2.3.2
испытание на загиб лицевой стороны шва (face bend test): Испытание на загиб, при котором лицевая сторона сварного шва
(2.1.1.3) растянута.
2.2.3.3
образец для испытания на загиб лицевой стороны шва (face bend test specimen): Образец для испытаний
(2.2.1.6), используемый для испытания на загиб лицевой стороны шва
(2.2.3.2).
2.2.3.4
испытание на загиб корня (root bend test): Испытание на загиб, при котором корень
(2.1.5.7) сварного шва
(2.1.1.3) растянут.
2.2.3.5
образец для испытания на загиб корня (root bend test specimen): Образец для испытаний
(2.2.1.6), предназначенный для испытания на загиб корня
(2.2.3.4).
2.2.3.6
испытание на боковой загиб (side bend test): Испытание на загиб, при котором поверхность поперечного сечения сварного шва
(2.1.1.3) растянута.
2.2.3.7
образец для испытания на боковой загиб (side bend test specimen): Образец для испытаний
(2.2.1.6), используемый для испытания на боковой загиб
(2.2.3.6).
2.2.3.8
продольный образец для испытания на загиб (longitudinal bend test specimen): Образец для испытаний
(2.2.1.6) на загиб, который делится продольным сварным швом
(2.1.1.3) пополам.
2.2.3.9
поперечный образец для испытания на загиб (transverse bend test specimen): Образец для испытаний
(2.2.1.6) на загиб, который делится поперечным сварным швом
(2.1.1.3) пополам.
2.2.4 Неразрушающий контроль
2.2.4.1
неразрушающий контроль (non-destructive testing): Определение соответствия материала или детали их назначению методами, не оказывающими влияния на работоспособность.
2.2.4.2
индикация (indication): Отображение или сигнал от несплошности (для неразрушающего контроля).
2.2.4.3
линейная индикация (linear indication): Индикация
(2.2.4.2), длина которой больше трехкратной ширины (для неразрушающего контроля).
2.2.4.4
нелинейная индикация (non-linear indication): Индикация
(2.2.4.2), длина которой не больше трехкратной ширины (для неразрушающего контроля).
2.2.4.5
уровень контроля (testing level): Степень тщательности и полноты выбора параметров неразрушающего контроля
(2.2.4.1).
2.2.4.6
уровень оценки (evaluation level): Уровень контроля, выше которого оценивается индикация
(2.2.4.2).
2.2.4.7
уровень регистрации (recording level): Уровень оценки
(2.2.4.6), начиная с которого регистрируется индикация
(2.2.4.2) (для неразрушающего контроля).
2.3 Сварочное оборудование
2.3.1
сварочное оборудование (welding equipment): Оборудование, используемое в сварке
(2.1.1.1).
Пример - Источник питания, подающий механизм и т.д.
2.3.2
сварочный модуль (welding unit): Сварочная установка
(2.3.3), включающая вспомогательную аппаратуру.
Пример - Кондукторы, зажимные приспособления, робот(ы), манипуляторы (2.3.4) и вращающиеся механизмы.
2.3.3
сварочная установка (welding installation): Комплект оборудования, используемый для сварки
(2.1.1.1) и состоящий из сварочного оборудования
(2.3.1) и принадлежностей для сварки
(2.3.5).
2.3.4
манипулятор (manipulator): Устройство для крепления, наклона и вращения заготовки в нужном положении.
2.3.5
принадлежности для сварки (welding accessories): Вспомогательные изделия, используемые для сварки
(2.1.1.1).
Пример - Сварочные пистолеты, сварочные головки, газовые баллоны, кабели, сварочные горелки (2.3.9), аппаратура, обеспечивающая безопасность работы, и т.д.
2.3.6
сварочный генератор переменного тока (a.c. welding generator): Сварочный генератор, вырабатывающий переменный ток.
2.3.7
сварочный генератор постоянного тока (d.c. welding generator): Сварочный генератор, вырабатывающий постоянный ток.
2.3.8
электрод (electrode): Деталь, передающая энергию металлу для формирования сварного шва
(2.1.1.3) или выполнения реза.
2.3.9
сварочная горелка (torch): Устройство передачи дуге всех средств, необходимых для выполнения сварки
(2.1.1.1), резки и родственных процессов.
Пример - Ток, газ, охлаждающая жидкость или проволочный электрод (2.3.8).
2.4.1
параметры сварки (welding parameters): Данные, необходимые для выполнения сварки
(2.1.1.1) согласно определенной процедуре сварки
(2.5.3).
Примечание 1 - Примерами параметров сварки являются: сварочные материалы
(2.1.10.1), сварочный ток, сварочное напряжение, скорость перемещения
(2.4.7), время, температура до и после подогрева, межслойная температура
(2.4.12) и последовательность наложения швов
(2.1.8.36).
2.4.2
параметр сварки (welding variable): Параметр, влияющий на характеристики сварного соединения
(2.1.4.2).
2.4.3
сварочные данные (welding data): Численные значения параметров сварки
(2.4.2).
2.4.4
основной параметр (essential variable): Сварочный параметр
(2.4.1), требующий аттестации.
2.4.5
вспомогательный параметр (non-essential variable): Сварочный параметр
(2.4.1), включенный в технические требования к процедуре сварки
(2.5.4), но не требующий аттестации.
2.4.6
скорость сварки (welding speed): Длина однопроходного или многопроходного сварного шва
(2.1.1.3), выполняемого в единицу времени (для сварки плавлением).
2.4.7
скорость перемещения (travel speed): Скорость перемещения источника теплоты относительно изделия(ий).
2.4.8
время сварки (welding time): Время, требуемое для выполнения сварного шва
(2.1.1.3), за исключением подготовительных и заключительных операций.
2.4.9
время задержки (dwell time): Время, в течение которого источник энергии задерживается на месте на каждом колебании (для сварки плавлением).
2.4.10
погонная энергия (heat input): Энергия, введенная в зону шва во время сварки
(2.1.1.1).
Примечание 1 - Как правило, погонная энергия относится к единице длины.
2.4.11
время нагрева (heat time): Продолжительность каждого импульса тока.
2.4.12
межслойная температура (interpass temperature): Температура последнего валика
(2.1.8.4) многослойного сварного шва
(2.1.1.3) и прилегающей зоны основного металла
(2.1.1.7), измеренная непосредственно перед выполнением следующего валика.
Примечание 1 - Как правило, устанавливают максимальное значение этой температуры.
2.4.13
предварительный подогрев (preheating): Подогрев соответствующей зоны заготовки перед сваркой
(2.1.1.1) до температуры предварительного подогрева (2.4.14).
2.4.14
температура предварительного подогрева (preheat temperature, preheating temperature): Температура заготовки в зоне шва
(2.1.2.3) непосредственно перед операцией сварки
(2.1.1.1).
2.4.15
поддерживаемая температура предварительного подогрева (preheat maintenance temperature): Минимальная температура в зоне шва
(2.1.2.3), которая должна поддерживаться в случае прерывания сварки
(2.1.1.1).
2.4.16
термическая обработка после сварки (post-weld heat treatment): Нагрев собранного узла после сварки
(2.1.1.1) и пайки или нагрев деталей после термического напыления или резки.
Примечание 1 - Термическую обработку после сварки применяют для снятия напряжений.
2.5 Руководство сваркой, персонал и организация
2.5.1
координация в сварке (welding coordination): Координация производственных операций для всех способов сварки
(2.1.1.1) и связанных со сваркой работ.
2.5.2
контроль сварки (welding inspection): Оценка соответствия параметров сварки
(2.4.2) путем наблюдения и экспертизы, сопровождаемых измерениями или испытаниями.
Примечание 1 - Контроль сварки является частью координации в сварке
(2.5.1).
2.5.3
процедура сварки (welding procedure): Заданный порядок действий при выполнении сварного шва
(2.1.1.3), включая сварочный(ые) процесс(ы)
(2.1.8.1), применяемые материалы, сварочные материалы
(2.1.10.1), подготовку кромок, предварительный подогрев
(2.4.13) (если требуется), метод и контроль сварки
(2.1.1.1) и термической обработки после сварки
(2.4.16) при необходимости, надлежащее оборудование.
2.5.4
технические требования к процедуре сварки; WPS [welding procedure specification (WPS)]: Задокументированные требования, которые были аттестованы и содержат необходимые параметры процедуры сварки
(2.5.3), обеспечивающие повторяемость ее выполнения во время производственной сварки
(2.5.15).
2.5.5
технические требования к стандартной процедуре сварки (standard welding procedure specification): Технические требования к процедуре сварки
(2.5.4), аттестованные экспертом
(2.5.29) или экспертным органом
(2.5.30) путем испытаний процедуры сварки
(2.5.7), не связанных с производителем.
Примечание 1 - Стандартная процедура сварки может быть доступна любому производителю.
2.5.6
предварительные технические требования к процедуре сварки; pWPS (preliminary welding procedure specification, pWPS): Документ, содержащий параметры процедуры сварки
(2.5.3), которая должна быть аттестована.
2.5.7
испытания процедуры сварки (welding procedure test): Сварка
(2.1.1.1) и испытание стандартного испытательного образца
(2.2.1.5) в соответствии с предварительными техническими требованиями, предъявляемыми к процедуре сварки
(2.5.6), с целью аттестации процедуры сварки
(2.5.3).
2.5.8
допроизводственное испытание сварки (pre-production welding test): Испытание на свариваемость, имеющее то же назначение, что и испытание процедуры сварки
(2.5.7), но основанное на нестандартном испытательном образце
(2.2.1.5), характерном для производственных условий.
2.5.9
функциональное испытание (function test): Испытание сварочного модуля
(2.3.2), проводимое в соответствии с техническими требованиями к процедуре сварки
(2.5.4).
2.5.10
испытания производственного образца (production sample testing): Испытание сварных изделий, отобранных из непрерывного производства.
2.5.11
производственное испытание (production test): Сварочное испытание, проводимое до производства или во время прерывания производства, в производственных условиях с помощью сварочного модуля
(2.3.2) на реальной продукции или на упрощенных испытательных образцах
(2.2.1.5).
2.5.12
протокол аттестации процедуры сварки; WPQR [welding procedure qualification record (WPQR)]: Протокол, содержащий все необходимые данные для аттестации предварительных технических требований к процедуре сварки
(2.5.6).
2.5.13
накопленный сварочный опыт (previous welding experience): Опыт, подтвержденный данными испытаний, которые показывают, что установленные процедуры сварки
(2.5.3) в условиях производственной сварки
(2.5.15) дают возможность последовательно получать швы требуемого качества в течение определенного периода времени.
2.5.14
условия сварки (welding conditions): Условия, при которых выполняются сварные швы.
Примечание 1 - Условия сварки могут включать в себя факторы окружающей среды (например, погоду), стресс и эргономические факторы (например, шум, жару, стесненные условия работы) и факторы, относящиеся к заготовкам [например, основной металл
(2.1.1.7), подготовку соединения под сварку
(2.1.5.2) и процедуру сварки
(2.5.3)].
2.5.15
производственная сварка (production welding): Сварка
(2.1.1.1), выполняемая при изготовлении конструкции до ее окончательной сдачи конечному потребителю.
2.5.16
рабочая инструкция (work instruction): Упрощенные технические требования к процедуре сварки
(2.5.3) для непосредственного применения на производстве.
2.5.17
уровень качества (quality level): Описание качества сварного шва
(2.1.1.3) на основе типа, размера и количества установленных дефектов
(2.1.3.1).
2.5.18
область аттестации (range of qualification): Интервал аттестации для основных параметров
(2.4.4).
2.5.19
пригодность к применению (fitness-for-purpose): Способность продукта, процесса или услуги служить определенной цели в конкретных условиях.
2.5.20
серия (batch): Набор из одной или нескольких единиц продукции, изготовленных за один производственный цикл.
2.5.21
серия сварных швов (weld batch): Несколько швов, выполненных одним и тем же сварщиком
(2.5.24) или сварщиком-оператором
(2.5.25) с применением одной и той же процедуры сварки
(2.5.3).
2.5.22
квалифицированное лицо (qualified person): Лицо, компетенции и знания которого получены в результате образования, обучения и (или) соответствующего практического опыта.
Примечание 1 - Для демонстрации уровня компетенции и знаний может потребоваться аттестационное испытание.
2.5.23
координатор сварки (welding coordinator): Квалифицированное лицо
(2.5.22), ответственное за координацию в сварке
(2.5.1).
2.5.24
сварщик (welder): Лицо, которое держит в руке и манипулирует держателем электрода
(2.3.8), сварочной горелкой
(2.3.9) или газовой горелкой во время сварки
(2.1.1.1).
2.5.25
сварщик-оператор (welding operator): Лицо, которое контролирует или регулирует любой сварочный параметр
(2.4.1) при полностью механизированной
(2.1.1.10) или автоматической сварке
(2.1.1.11).
2.5.26
наладчик сварочного оборудования (weld setter): Лицо, которое устанавливает сварочное оборудование
(2.3.1) для полностью механизированной
(2.1.1.10) или автоматической сварки
(2.1.1.11).
2.5.27
производственная организация (manufacturing organization): Сварочный цех и (или) площадка, который(ая) находится под единым техническим управлением и управлением качеством.
2.5.28
сварочный контролер (welding inspector): Квалифицированное лицо
(2.5.22), ответственное за контроль сварки
(2.5.2).
2.5.29
эксперт (examiner): Лицо, назначенное для проверки соответствия применяемому стандарту.
Примечание 1 - В определенных случаях может привлекаться внешний независимый эксперт.
2.5.30
экспертный орган (examining body): Организация, назначенная для проверки соответствия применяемому стандарту.
Примечание 1 - В определенных случаях может привлекаться внешний независимый экспертный орган.
(справочное)
АЛФАВИТНЫЙ УКАЗАТЕЛЬ ТЕРМИНОВ НА АНГЛИЙСКОМ ЯЗЫКЕ
С ПЕРЕВОДОМ НА ФРАНЦУЗСКИЙ И НЕМЕЦКИЙ ЯЗЫКИ
Английский термин | Номер пункта | Французский перевод | Немецкий перевод |
A |
A.c. welding generator | |  de soudage c.a. | |
Actual throat thickness | | Gorge  |  Nahtdicke; Istnahtdicke |
Air gap | |
Air-arc gouging | | Gougeage air-arc | Lichtbogenfugen mit Druckluft |
All-weld metal | |  fondu hors dilution | reines  |
All-weld metal test | | Essai du  fondu hors dilution | Versuch an reinem  |
All-weld metal test specimen | |  d'essai du  fondu hors dilution | |
Angle join | | Assemblage en angle | |
Arc gouging | | Gougeage  l'arc | Lichtbogenfugen |
As welded | | Brut de soudage | im  |
Automatic welding | | Soudage automatique | automatisches  |
Auxiliary material | | Produit consommable auxiliaire | Hilfsstoff |
B |
Back run | | Reprise  l'envers | Kapplage |
Backing | | Dispositif envers | |
Backing flux | | Flux envers | Pulver zur  |
Backing gas | | Gaz envers | Wurzelschutzgas |
Back-step sequence | | | Pilgerschrittfolge |
Back-step welding | | Soudage  pas de  | |
Baking | | | |
Base material | |
Base metal | |
Batch | | Lot | Los |
Bead | |
Bead on plate | | Passe  | aufgetragene  |
Bead toe | | Raccordement | |
Bevel angle | | Angle du chanfrein | Flankenwinkel |
Both-side multirun welding | | Soudage multipasse des deux  | beidseitiges mehrlagiges  |
Both-side single-run welding | | Soudage monopasse des deux  |  in Lage und Gegenlage |
Both-side welding | | Soudage des deux  | beidseitiges  |
Buffering | |  d'une couche tampon | Puffern |
Build up | |
Building up | | Soudage de reconstitution | Auftragung |
Burn-off rate | |
Butt joint | | Assemblage bout  bout | |
Butt weld | | Soudure bout  bout | Stumpfnaht |
Buttering | | Beurrage | Puffern |
C |
Capping run | | Passe terminale | Decklage |
Carrier gas | | Gaz vecteur | |
Chain intermittent weld | | Soudures discontinues  | Symmetrische, unterbrochene  |
Clad steel | | Acier  | Plattierter Stahl |
Cladding | | Placage | Plattieren |
Cladding process | |  de placage | Plattierprozess |
Cold crack(s) | | Fissure(s)  froid | Kaltriss(e) |
Cold cracking test | | Essai de fissuration  froid | |
Consumable electrode | |  fusible;  consommable | abschmelzende Elektrode |
Consumable insert | | Insert consommable; insert fusible | |
Continuous weld | | Soudure continue | nicht unterbrochene Naht |
Corner joint | | Assemblage en angle  | |
Corrosion resistant overlay welding | | Rechargement anticorrosion | |
Cosmetic pass | |
Cosmetic run | | Passe de lissage | Kosmetiklage |
Cracking test | | Essai de fissuration | |
Cross joint | | Assemblage de fils (ou de ronds) en croix | |
Cruciform joint | | Assemblage en croix | |
D |
D.c. welding generator | |  de soudage c.c. | |
Deep penetration throat thickness | | Gorge  profonde | Nahtdicke mit tiefem Einbrand |
Deposit thickness | |
Deposited metal | | | reines  |
Deposition rate | | Vitesse de  | Abschmelzleistung |
Design throat thickness | | Gorge  | Sollnahtdicke |
Destructive testing | | Essai destructif | |
Dilution | | Dilution | Aufmischung |
Dilution rate | | Taux de dilution | Aufschmelzgrad |
Dissimilar material joint | | Assemblage mixte; assemblage de  dissemblables | Mischverbindung |
Double-J butt weld | | Soudure en double J | Doppel-HU-Naht; Doppel-J-Naht |
Double-side welding | |
Double-U butt weld | | Soudure en double U | Doppel-U-Naht |
Double-V butt weld | | Soudure en X | Doppel-V-Naht |
Drying | | | |
Drying oven | | Four de  | Trockenofen |
Ductility dip crack | | Fissure par manque de  ; fissure due  une baisse de  | Riss durch Verformbarkeitsabfall |
Dwell time | | Temps de maintien | Verweilzeit |
E |
Edge distance | | Distance au bord (de la  ) | Randabstand |
Edge joint | | Assemblage sur chant | |
Edge preparation | |  des bords | Fugenvorbereitung |
Effective throat thickness | | Gorge efficace | wirksame Nahtdicke |
Electrode | | | Elektrode |
Essential variable | | Variable essentielle | wesentliche  |
Evaluation level | | Niveau  | Beobachtungsschwelle |
Examiner | | Examinateur | |
Examining body | | Organisme d'examen | |
F |
Face bend test | | Essai de pliage endroit | oberseitige  |
Face bend test specimen | |  de pliage endroit | oberseitige Stumpfnaht-Biegeprobe |
Feather edge | |  vive du chanfrein | scharfe  |
Ferrite number | | Indice de ferrite; FN | Ferritzahl |
Field weld | | Soudure sur chantier; soudure sur site | Baustellennaht |
Filler material | | Produit d'apport;  d'apport | |
Filler rod | | Baguette d'apport |  ; Stabelektrode |
Filler wire | | Fil d'apport |  ; Drahtelektrode |
Fillet weld | | Soudure d'angle | Kehlnaht |
Filling run | | Passe de remplissage | |
Finishing welding | | Soudage de finition | |
Fitness-for-purpose | | Aptitude  l'emploi | Gebrauchstauglichkeit |
Flare-bevel weld | | Soudure en demi-v  bord  ; soudure  chanfrein | aufgeweitete HY-Naht |
Flare-V weld | | Soudure en v  bords  ; soudure  en v | aufgeweitete Y-Naht |
Flux | | Flux | |
Flux backing | | Protection envers par flux | |
FN | |
Full penetration weld | | Soudure  pleine  |  Naht |
Fully mechanized welding | |
Function test | | Essai de fonctionnement | |
Fusible insert | |
Fusion face | | Face  souder | Kehlflanke; Fugenflanke;  |
Fusion line | | Zone de liaison | Schmelzlinie |
Fusion penetration | | | Einbrand |
Fusion welding | | Soudage par fusion | |
Fusion zone | | Zone de dilution | aufgeschmolzener Grundwerkstoff |
G |
Gap | |  des bords; jeu | Luftspalt; Spalt |
Gas backing | | Protection gazeuse envers | Gaswurzelschutz |
Gas shield | | Protection gazeuse | Gasschutz |
Gouging | | Gougeage | Fugen |
Groove angle | |
Groove weld | |
H |
Hardfacing | | Rechargement dur | |
HAZ | |
Heat input | | Apport de chaleur | |
Heat resistant overlay welding | | Rechargement  | |
Heat time | | Temps chaud | Stromimpulszeit |
Heat-affected zone | | Zone  thermiquement; ZAT |  ; WEZ |
Heterogeneous joint | | Assemblage  | heterogene Verbindung |
Homogeneous joint | | Assemblage  | homogene Verbindung |
Hot crack(s) | | Fissure(s)  chaud | |
Hot cracking test | | Essai de fissuration  chaud | |
I |
Imperfection | | | |
Included angle | | Angle d'ouverture | |
Indication | | Indication | Anzeige |
Intermittent weld | | Soudure discontinue | unterbrochene Naht |
Internal imperfection | |  interne | innere  |
Interpass temperature | |  entre passes | Zwischenlagentemperatur |
J |
Joint | | Assemblage; joint | |
Joint efficiency | | Coefficient de joint | Ausnutzungsgrad der Verbindung |
Joint preparation | |  de joint | |
K |
Keyhole technique | | Soudage en trou de serrure; soudage en mode keyhole | Stichlochtechnik |
L |
Land | | | Lippe |
Lap joint | | Assemblage  recouvrement | |
Layer | | Couche | Lage |
Leg length | | | |
Linear indication | | Indication  | linienartige Anzeige |
Liquation crack | | Fissure par liquation | Wiederaufschmelzungsriss |
Longitudinal bend test specimen | |  de pliage longitudinal | |
M |
Macroscopic examination | | Examen macroscopique | makroskopische Untersuchung |
Manipulator | | Manipulateur | Dreh-Kipp-Tisch |
Manual welding | | Soudage manuel | |
Manufacturing organization | | Constructeur ou fabricant | Herstellungsorganisation |
Material backing | | Support envers | |
Material thickness | |
Mechanized welding | | Soudage  ; soudage totalement  | mechanisches  |
Melt run | | Ligne de fusion | Blindraupe ohne Zusatzwerkstoff |
Melting rate | | Vitesse de fusion | Abschmelzgeschwindigkeit |
Metallurgical deviation | | | metallurgische Abweichung |
Microscopic examination | | Examen microscopique | mikroskopische Untersuchung |
Molten pool | |
Multiple joint | | Assemblage  joints multiples | |
Multirun welding | | Soudage multipasse | |
Multirun welding from both sides | |
N |
Nominal thickness | |  nominale | Nenndicke |
Nominal throat thickness | | Gorge nominale | Nahtdicke |
Non-destructive testing | |  non destructif | |
Non-essential variable | | Variable non-essentielle | unwesentliche  |
Nonlinear indication | | Indication non  | nichtlinienartige Anzeige |
O |
One side welding | |
Overlap | | Recouvrement | |
Overlay welding | | Rechargement par soudage | |
P |
Parallel joint | | Assemblage  recouvrement total | |
Parent material | |  de base | Grundwerkstoff |
Parent material thickness | |  du  de base | Dicke des Grundwerkstoffes |
Parent metal | |  de base | metallischer Grundwerkstoff |
Partial penetration weld | | Soudure  partielle | nicht  Naht |
Partly mechanized welding | | Soudage semi-automatique; soudage partiellement  | teilmechanisches  |
Pass | |
Penetration depth | | Profondeur de  | Nahtdicke |
Permanent backing | | Support envers subsistant | Beilage |
Plug weld | | Soudure en bouchon | Lochnaht |
Post-weld heat treatment | | Traitement thermique  soudage | |
Preheat maintenance temperature | |  de maintien du  | Haltetemperatur |
Preheat temperature | |  de  | |
Preheating | | | |
Preheating temperature | |
Preliminary welding procedure specification | | Descriptif d'un mode  de soudage  ; dmos-p |  ; pWPS |
Pre-production welding test | |  de soudage de  | vorgezogene  |
Previous welding experience | |  en soudage | vorliegende  Erfahrung |
Production sample testing | | Essai sur  de production | |
Production test | | Essai de production | |
Production welding | | Soudage de production |  in der Fertigung |
Projected area | | Surface  | projizierte  |
Purging gas | | Gaz de purge | |
pWPS | См. preliminary welding procedure specification (2.5.6) |
Q |
Qualified person | | Personne  | qualifizierte Person |
Quality level | | Niveau de  | Bewertungsgruppe |
R |
Range of qualification | | Domaine de  | Geltungsbereich |
Recording level | | Niveau de notation | Registrierschwelle |
Residual welding stress | | Contrainte  de soudage | |
Robotic welding | | Soudage  | |
Rod | |
Root | | Racine | Nahtwurzel |
Root bend test | | Essai de pliage envers | wurzelseitige  |
Root bend test specimen | |  de pliage envers | wurzelseitige Stumpfnaht-Biegeprobe |
Root face | | | Steg; Stegflanke |
Root gap | |  la racine | Stegabstand |
Root gas | |
Root of weld | |
Root pass | |
Root radius | | Rayon  fond de chanfrein | Fugenradius |
Root run | | Passe de fond | Wurzellage |
Run | | Passe; cordon de soudure | |
Run-off plate | | Appendice de fin de cordon | |
Run-on plate | | Appendice de  de cordon | |
S |
Seal weld | | Soudure  | Dichtnaht |
Sealing run | |
Semiautomatic welding | |
Shielding gas | | Gaz de protection | Schutzgas |
Side bend test | | Essai de pliage  | |
Side bend test specimen | |  de pliage  | Seitenbiegeprobe einer Stumpfnaht |
Single-J butt weld | | Soudure en j; soudure en demi u | HU-Naht; J-Naht |
Single-run welding | | Soudage monopasse | |
Single-side welding | | Soudage d'un seul  | einseitiges  |
Single-U butt weld | | Soudure en U | U-Naht |
Single-V butt weld | | Soudure en V | V-Naht |
Site weld | |
Slag | | Laitier | Schlacke |
Slot weld | | Soudure sur entaille | |
Solid rod | | Baguette pleine | Massivstab |
Solidification crack | | Fissure de solidification | Erstarrungsriss |
Square butt weld | | Soudure bout  bout sur bords droits | l-Naht |
Staggered intermittent weld | | Soudure discontinue  | versetzte, unterbrochene  |
Standard welding procedure specification | | Descriptif d'un mode  de soudage standard | |
Strength weld | | Soudure  | Festigkeitsnaht |
Stringer bead | | Passe  | Strichraupe |
Strip cladding | |
Strip surfacing | | Placage avec  en feuillard | Bandplattieren |
Stud welding | | Soudage de goujon | |
Surfacing | | Rechargement | Beschichten |
Systematic imperfection | | | systematische  |
T |
Tack weld | | Soudure de pointage | |
Tack welding | | Pointage | |
Tacking pass | |
Tacking run | | Passe de pointage | Heftlage |
Temper bead | | Passe d'autorevenu | |
Temporary backing | | Support envers temporaire | Unterlage |
Temporary weld | | Soudure provisoire | |
Test piece | | Assemblage de qualification | |
Test specimen | | | Probe |
Tested welding consumable | | Produit consommable de soudage soumis  essai | |
Testing level | | Niveau d'examen | |
Testing organization | | Organisme de  | |
Throat thickness | | Gorge | Kehlnahtdicke |
T-joint | | Assemblage en T | |
Torch | | Torche | Brenner |
Trailing gas shield | | Protection gazeuse  ; trainard |  Gasschutz |
Transverse bend test specimen | |  de pliage transversal | Querbiegeprobe |
Travel speed | | Vitesse d'avance | Vorschubgeschwindigkeit |
Two side welding | |
W |
Weld | | Soudure | |
Weld batch | | Lot de soudures | |
Weld metal | |  fondu | |
Weld metal thickness | |
Weld pool | | Bain de fusion | |
Weld preparation | |
Weld run sequence | |  des passes de soudage | |
Weld sequence | |  de soudage | |
Weld setter | |  en soudage | Einrichter |
Weld thickness | |  de la soudure | |
Weld toe | | Pied de cordon | |
Weld width | | Largeur de la soudure | Nahtbreite |
Weld zone | | Zone fondue | |
Welded joint | | Assemblage  |  Verbindung |
Welder | | Soudeur | |
Welding | | Soudage | |
Welding accessories | | Accessoires de soudage | |
Welding conditions | | Conditions de soudage | |
Welding consumable | | Produit consommable de soudage | |
Welding coordination | | Coordination en soudage | Koordinierungsaufgaben |
Welding coordinator | | Coordinateur en soudage | |
Welding cycle | | Cycle de soudage | |
Welding data | |  de soudage |  ;  |
Welding equipment | |  de soudage | |
Welding flux | |
Welding inspection | | Inspection en soudage | |
Welding inspector | | Inspecteur en soudage | |
Welding installation | | Installation de soudage | |
Welding operator | |  soudeur | Bediener von  |
Welding parameters | |  de soudage | |
Welding plant | |
Welding procedure | | Mode  de soudage | |
Welding procedure qualification record | |  de qualification d'un mode  de soudage; PV-QMOS | Bericht  die Qualifizierung des  ; WPQR |
Welding procedure specification | | Descriptif de mode  de soudage; DMOS |  ; WPS |
Welding procedure test | |  de qualification d'un Mode  de soudage | |
Welding process | |  de soudage | |
Welding rod | |
Welding speed | | Vitesse de soudage | |
Welding technique | | Technique de soudage | Arbeitstechnik beim  |
Welding time | | Temps de soudage | |
Welding unit | |  de soudage | |
Welding variable | | Variable de soudage | |
Weldment | | Construction  | |
Work instruction | | Instructions de travail | Arbeitsanweisung |
Workplace | | Poste de travail | Arbeitsplatz |
WPQR | См. welding procedure qualification record (2.5.12) |
WPS | См. welding procedure specification (2.5.4) |
(справочное)
АЛФАВИТНЫЙ УКАЗАТЕЛЬ ТЕРМИНОВ, ОТНОСЯЩИХСЯ К ДУГОВОЙ СВАРКЕ
И ОПРЕДЕЛЕННЫХ В ИСО 857-1:1998 И ISO/TR 25901:2007,
НО НЕ ВКЛЮЧЕННЫХ В НАСТОЯЩИЙ СТАНДАРТ
Термины, приведенные в ISO/TR 25901:2007 и ИСО 857-1:1998 и не включенные в настоящий стандарт, перечислены ниже, если они устарели, сокращены или вошли в другие части ISO/TR 25901.
Термин | Определение | Источник | Номер подпункта |
Б |
Буферный слой | Слой на основном металле для создания нужного металлургического перехода к финальному слою | ISO/TR 25901:2007 | 2.50 |
В |
Время нагрева | Время нагрева между двумя установленными температурами, обычно определяемое для металла шва или зоны термического влияния. Пример - t5/8 обозначает время нагрева от 500 °C до 800 °C | ИСО 857-1:1998 | 5.2.14 |
Время обслуживания | Время для выполнения задач, связанных со сваркой (например, замена электродов, удаление шлака) | ИСО 857-1:1998 | 5.2.17 |
Время охлаждения | Время охлаждения между двумя установленными температурами, как правило, определяемое для шва и зоны термического влияния. Пример - t8/5 - время охлаждения от 800 °C до 500 °C | ИСО 857-1:1998 | 5.2.12 |
Время плавления | Время, в течение которого плавится присадочный металл | ИСО 857-1:1998 | 5.2.13 |
Г |
Глубина проникновения | Толщина материала, на которую проникает луч (радиография) | ISO/TR 25901:2007 | 2.266 |
Д |
Двумерный тепловой поток | Тепловой поток при сварке, имеющий составляющие, параллельные поверхности пластины | ИСО 857-1:1998 | 5.2.26 |
Двусторонняя однопроходная сварка | Сварка, при которой шов выполняется с обеих сторон заготовки за один проход и каждый проход состоит только из одного валика | ИСО 857-1:1998 | 5.1.6 |
Двухпроходная сварка | Сварка, при которой выполняют шов или наплавляют слой за два прохода | ИСО 857-1:1998 | 5.1.2 |
З |
Зона сварки | Зона детали или деталей, где сварка выполняется или выполнена | ИСО 857-1:1998 | 5.3.9 |
К |
Кислородно-дуговая резка | Процесс термической резки с использованием теплоты дуги и режущего кислорода | ISO/TR 25901:2007 | 2.255 |
Конец шва | Точка на изделии, где шов прерывается или был прерван | ИСО 857-1:1998 | 5.3.8 |
М |
Максимальная толщина шва | Расстояние от самой глубокой точки проплавления в угловом шве или от корневого прохода в стыковом шве до самой высокой точки металла шва (обычно измеряется по поперечному шлифу) | ISO/TR 25901:2007 | 2.224 |
Место возобновления шва | Точка на изделии, где сварка возобновляется | ИСО 857-1:1998 | 5.3.7 |
Местоположение прихватки | Место на изделии, где прихватка выполняется или выполнена | ИСО 857-1:1998 | 5.3.3 |
Н |
Наклон | Угол между линией корня и положительной осью X, расположенной на горизонтальной плоскости, в прямолинейных швах (геометрия сварки). Примечание 1 - Наклон измеряют против часовой стрелки. | ISO/TR 25901:2007 | 2.335 |
Направление сварки | Направление, в котором выполняют сварку. Примечание 1 - Направление сварки определяется направлением выполнения валика. | ИСО 857-1:1998 | 5.2.8 |
Начало шва | Точка на изделии, где шов начинается или начинался | ИСО 857-1:1998 | 5.3.1 |
О |
Образец для испытания на боковой изгиб плакирующего слоя без стыкового шва | Образец, используемый при испытании на боковой изгиб плакирующего слоя без стыкового шва | ISO/TR 25901:2007 | 2.327 |
Образец для испытания на боковой изгиб плакирующего слоя со стыковым швом | Образец, используемый при испытании на боковой изгиб плакирующего слоя со стыковым швом | ISO/TR 25901:2007 | 2.326 |
Образец для испытания на боковой изгиб стыкового шва | Образец, используемый при испытании на боковой изгиб стыкового шва | ISO/TR 25901:2007 | 2.325 |
Образец для испытания на изгиб корня стыкового шва | Образец, используемый при испытании на изгиб корня стыкового шва | ISO/TR 25901:2007 | 2.305 |
Образец для испытания на изгиб плакирующего слоя без стыкового шва | Образец, используемый при испытании на изгиб плакирующего слоя без стыкового шва, причем слой подвергается растяжению с лицевой стороны | ISO/TR 25901:2007 | 2.124 |
Образец для испытания на изгиб плакирующего слоя со стыковым швом | Образец, используемый при испытании на изгиб плакирующего слоя со стыковым швом, причем слой подвергается растяжению с лицевой стороны | ISO/TR 25901:2007 | 2.123 |
Общий припуск | При подготовке к сварке припуск на размеры, учитывающий общее укорочение обеих деталей в результате всех операций при выполнении шва (сварка давлением, сопротивлением, оплавлением или трением) | ISO/TR 25901:2007 | 2.388 |
Одновременная двусторонняя сварка | Сварка, при которой шов выполняют одновременно с двух сторон заготовки | ИСО 857-1:1998 | 5.1.7 |
Относительный эффективный КПД процесса нагрева |  - отношение эффективного КПД процесса нагрева при любом способе сварки  к таковому при сварке под флюсом  : | ИСО 857-1:1998 | 5.2.24 |
Отношение длин валика и присадки | Отношение длины валика к длине расходуемого присадочного прутка | ИСО 857-1:1998 | 5.2.31 |
П |
Пакетная резка | Термическая резка пакета пластин, как правило, вместе сжатых | ISO/TR 25901:2007 | 2.352 |
Персонал, координирующий сварку | Персонал, который несет ответственность за работу сварочного производства или родственного сварочному производству и компетенции и знания которого подтверждены обучением, образованием или соответствующим производственным опытом | ISO/TR 25901:2007 | 2.438 |
Плазменная резка | Процесс дуговой резки, при котором используют сжатую дугу и удаляют расплавленный металл высокоскоростной струей ионизированного газа, исходящей из плазмообразующего канала | ISO/TR 25901:2007 | 2.272 |
Поверхность контакта между свариваемыми деталями | Поверхность контакта после приложения сварочного усилия | ISO/TR 25901:2007 | 2.414 |
Поворот | Угол между осью шва и положительной осью Y или линией, параллельной оси Y, при измерении против часовой стрелки в поперечной плоскости сечения шва (геометрия сварки) | ISO/TR 25901:2007 | 2.311 |
Поддерживающая подкладка или накладка | Кусок металла или другого вспомогательного материала, помещенный на верхней или нижней поверхности соединения для удержания расплавленного металла шва | ISO/TR 25901:2007 | 2.24 |
Подъем | Расстояние между концом шпильки и поверхностью изделия при подъеме шпильки и активации процесса (приварка шпилек) | ISO/TR 25901:2007 | 2.212 |
Последовательность сварки прихватками | Порядок, в котором выполняются прихватки | ИСО 857-1:1998 | 5.4.2 |
Программа последовательности сварки | Программа, устанавливающая порядок и направление выполнения швов на изделии | ИСО 857-1:1998 | 5.4.3 |
Программа сварки | Программа, устанавливающая всю технологию сварки (например, последовательность сварки, условия сварки, параметры сварки) | ИСО 857-1:1998 | 5.4.6 |
Программа сварки прихватками | Программа, устанавливающая местоположение и размеры прихваток и последовательность их выполнения | ИСО 857-1:1998 | 5.4.1 |
Производительное время сварки | Время, в течение которого осуществляют операцию сварки | ИСО 857-1:1998 | 5.2.16 |
Производительность наплавки | Масса металла шва, наплавленного в разделку за единицу производительного времени сварки | ИСО 857-1:1998 | 5.2.32 |
Промежуточная толщина | dt - толщина пластины, при которой тепловой поток является промежуточным между трехмерным и двумерным потоками. Примечание 1 - dt зависит от погонной энергии. | ИСО 857-1:1998 | 5.2.27 |
Р |
Размер источника | Размер источника излучения (радиография) | ISO/TR 25901:2007 | 2.346 |
Расстояние от источника до объекта | Расстояние от источника излучения до поверхности объекта, измеренное вдоль центральной оси луча (радиография) | ISO/TR 25901:2007 | 2.348 |
Расстояние от источника до пленки | Расстояние от источника излучения до пленки, измеренное вдоль луча (радиография) | ISO/TR 25901:2007 | 2.347 |
Расстояние от объекта до пленки | Расстояние между стороной облучения объекта испытания и поверхностью пленки, измеренное по центральной оси луча (радиография) | ISO/TR 25901:2007 | 2.246 |
Рез | Зазор, остающийся после удаления металла при термической резке | ISO/TR 25901:2007 | 2.204 |
С |
Сварка двумя головками | См. ИСО 857-1:1998, таблица 2 (количество сварочных головок - две) 1 - заготовка; 2 - присадочный металл; 3 - сварочная головка | ИСО 857-1:1998 | 7.2 |
Сварка несколькими головками | См. ИСО 857-1:1998, таблица 2 (количество сварочных головок - больше трех) | ИСО 857-1:1998 | 7.4 |
Сварка одной головкой | См. ИСО 857-1:1998, таблица 2 (количество сварочных головок - одна) 1 - заготовка; 2 - присадочный металл; 3 - сварочная головка | ИСО 857-1:1998 | 7.1 |
Сварка тремя головками | См. ИСО 857-1:1998, таблица 2 (количество сварочных головок - три) 1 - заготовка; 2 - присадочный металл; 3 - сварочная головка | ИСО 857-1:1998 | 7.3 |
Сварочная операция | Операция, при которой детали соединяют с помощью сварки. Примечание 1 - При дуговой сварке, например, сварочная операция совпадает со временем горения дуги. | ИСО 857-1:1998 | 5.2.1 |
Скорость подачи присадочного металла | Скорость, с которой подают присадочный металл. Примечание 1 - Скорость подачи определяют как длину присадочного металла, подаваемого в единицу времени. | ИСО 857-1:1998 | 5.2.10 |
Соединение (сваркой) | Создание сваркой непрерывной связи двух или более деталей. Примечание 1 - Термин введен, чтобы различать цели сварки и наплавки. | ИСО 857-1:1998 | 3.1.4 |
Соединительная сварка | Производственная сварка для общего соединения деталей | ISO/TR 25901:2007 | 2.203 |
Сопрягаемая поверхность | Поверхность одной детали, которая предназначена для соединения с поверхностью другой детали для формирования соединения | ISO/TR 25901:2007 | 2.125 |
Стандартный материал | Материал, изготовленный и поставляемый в соответствии со стандартом или техническими условиями | ISO/TR 25901:2007 | 2.353 |
Т |
Термошкаф | Нагретый контейнер, в котором выдерживают сварочные материалы для предотвращения повторной абсорбции влаги, например при температуре от 100 °C до 200 °C | ISO/TR 25901:2007 | 2.185 |
Трехмерный тепловой поток | Тепловой поток при сварке, имеющий составляющие, параллельные поверхности пластины и перпендикулярные к ней | ИСО 857-1:1998 | 5.2.25 |
У |
Угол наклона шва | Угол между линией корня (или касательной к линии корня в случае криволинейных швов) и положительной осью X, расположенной на горизонтальной плоскости отсчета, причем угол измеряют в математически положительном направлении (против часовой стрелки). Примечание 1 - Координатная система построена таким образом, чтобы линия корня находилась в вертикальной плоскости (т.е. в плоскости - XZ) и оси были направлены наружу из начала координат. | ISO/TR 25901:2007 | 2.422 |
Угол поворота шва | Угол между плоскостью симметрии шва (линией, соединяющей центры корня шва и последнего слоя) и положительной осью y или линией, параллельной оси y, причем угол измеряют в математически положительном направлении (против часовой стрелки) в поперечном сечении рассматриваемого шва | ISO/TR 25901:2007 | 2.419 |
[1] | ISO 6520-1 | Welding and allied processes - Classification of geometric imperfections in metallic materials - Part 1: Fusion welding (Сварка и родственные процессы. Классификация дефектов геометрии и сплошности в металлических материалах. Часть 1. Сварка плавлением) |
[2] | ISO 6520-2 | Welding and allied processes - Classification of geometric imperfections in metallic materials - Part 2: Welding with pressure (Сварка и родственные процессы. Классификация дефектов геометрии и сплошности в металлических материалах. Часть 2. Сварка давлением) |
[3] | ISO 14917 | Thermal spraying - Terminology, classification (Термическое напыление. Термины, классификация) |
[4] | ISO 15296 | Gas welding equipment - Vocabulary - Terms used for gas welding equipment (Оборудование для газовой сварки. Словарь. Термины, применяемые для оборудования для газовой сварки) |
[5] | ISO 17658 | Welding - Imperfections in oxyfuel flame cuts, laser beam cuts and plasma cuts - Terminology (Сварка. Дефекты реза при кислородной, лазерной и плазменной резке. Термины) |
[6] | ISO 17677-1 | Resistance welding - Vocabulary - Part 1: Spot, projection and seam welding (Контактная сварка. Словарь. Часть 1. Точечная, рельефная и шовная сварка) |
[7] | ISO 25239-1 | Friction stir welding - Aluminium - Part 1: Vocabulary (Сварка трением с перемешиванием. Алюминий. Часть 1. Словарь) |
[8] | IEC 60050-851 | International electrotechnical vocabulary - Part 851: Electric welding (Международный электротехнический словарь. Часть 851. Электросварка) |
УДК 621.791:006.354 | | IDT |
Ключевые слова: сварка, термины, словарь |