Тип соединения | Форма подготовленных кромок | Характер выполненного шва | Форма поперечного сечения | Способ сварки | Толщина верхней детали, мм | Материал свариваемых деталей | Обозначение сварного соединения | |
подготовленных кромок | выполненного шва | |||||||
Нахлесточное | Без подготовки кромок | Односторонний | ![]() | ![]() | Ф | 0,8 - 5,0 | Углеродистая или низколегированная сталь | Н1 |
УП | 0,8 - 6,6 | |||||||
УПм | 6,0 - 16,0 | |||||||
УН | 0,4 - 3,3 | |||||||
ИН | Легированная сталь и сплавы: медные, алюминиевые и никелевые | |||||||
ИП | 0,8 - 6,6 | |||||||
ПП | 0,8 - 1,5 | Верхней детали - оцинкованная углеродистая сталь; нижней детали - углеродистая или низколегированная сталь | ||||||
1,5 - 2,5 | Верхней детали - нержавеющая хромоникелевая аустенитная сталь; нижней детали - углеродистая или низколегированная сталь | |||||||
3,0 - 12,0 | Углеродистая или низколегированная сталь | |||||||
![]() | ![]() | ПП | 3,0 - 5,0 | Углеродистая или низколегированная сталь | Н1 | |||
Двусторонний | ![]() | ![]() | ПП | 4,0 - 6,0 | Н2 | |||
Односторонний на съемной плоской подкладке | ![]() | ![]() | ППп | Н3 | ||||
![]() | ![]() | ИПп | 0,9 - 3,0 | Алюминий и его сплавы | ||||
Односторонний на съемной фигурной подкладке | ![]() | ![]() | ППс | 4,0 - 18,0 | Углеродистая или низколегированная сталь | Н4 | ||
УПмс | 6,0 - 16,0 | |||||||
С круглым отверстием в верхней детали | Односторонний | ![]() | ![]() | ИП | 4,5 - 15,0 | Легированная сталь и сплавы: медные, алюминиевые и никелевые | Н5 | |
Ф | 3,5 - 14,0 | Углеродистая или низколегированная сталь | ||||||
УП | 4,5 - 30,0 | |||||||
С накладной шайбой | ![]() | ![]() | ПП | 1,5 - 4,0 | Накладной шайбы - хромистая сталь; средней детали - хромистая ферритная нержавеющая сталь; нижней детали - углеродистая или низколегированная сталь | Н6 | ||


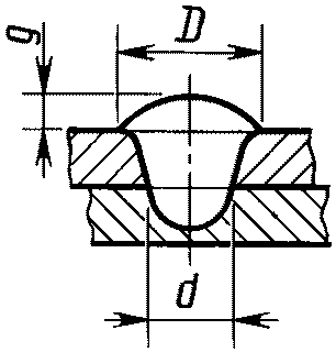
Обозначение сварного соединения | Конструктивные элементы | Способ сварки | Материал свариваемых деталей | s | s1, не менее | b | d | D | g, не более | ||||
номин. | пред. откл. | номин. | пред. откл. | номин. | пред. откл. | ||||||||
подготовленных кромок свариваемых деталей | сварного шва | ||||||||||||
Н1 | ![]() | ![]() | Ф | Углеродистая или низколегированная сталь | От 0,8 до 1,1 | 0,8 | 0 | +0,2 | 5 | +/- 1,0 | 11 | +/- 2 | 1,5 |
Св. 1,1 до 1,5 | 1,1 | 6 | 13 | 2,0 | |||||||||
Св. 1,5 до 2,0 | 1,5 | +0,5 | 7 | 15 | 2,5 | ||||||||
Св. 2,0 до 2,5 | 2,2 | 8 | 17 | ||||||||||
Св. 2,5 до 3,1 | 2,5 | 9 | +/- 1,5 | 19 | 3,5 | ||||||||
Св. 3,1 до 3,6 | 3,1 | 10 | 20 | +/- 3 | |||||||||
Св. 3,6 до 4,2 | 3,6 | +0,8 | 11 | 21 | |||||||||
Св. 4,2 до 5,0 | 4,2 | 12 | 23 | ||||||||||
УП | От 0,8 до 1,1 | 0,8 | +0,2 | 4 | +/- 1,0 | 11 | +/- 2 | 1,5 | |||||
1,4 | 5 | 14 | |||||||||||
Св. 1,1 до 1,4 | 1,1 | 15 | |||||||||||
Св. 1,4 до 1,7 | 1,4 | +0,5 | 6 | 17 | 2,0 | ||||||||
Св. 1,7 до 2,1 | 1,7 | 7 | 18 | 2,5 | |||||||||
Св. 2,1 до 2,6 | 2,1 | 19 | 3,0 | ||||||||||
Св. 2,6 до 3,3 | 2,6 | 8 | 21 | 3,5 | |||||||||
Св. 3,3 до 4,2 | 3,3 | +0,8 | 9 | +/- 1,5 | 23 | +/- 3 | 4,0 | ||||||
Св. 4,2 до 5,3 | 4,2 | +1,0 | 10 | 24 | |||||||||
Св. 5,3 до 6,6 | 5,3 | 11 | 25 | ||||||||||
Обозначение сварного соединения | Конструктивные элементы | Способ сварки | Материал свариваемых деталей | s | s1, не менее | b | d | D | g, не более | ||||
номин. | пред. откл. | номин. | пред. откл. | номин. | пред. откл. | ||||||||
подготовленных кромок свариваемых деталей | сварного шва | ||||||||||||
Н1 | ![]() | ![]() | УН | Углеродистая или низколегированная сталь | От 0,4 до 0,6 | 0,4 | 0 | +0,2 | 4 | +/- 1 | 6 | +/- 1 | +/- 0,1 |
Св. 0,6 до 0,9 | 0,6 | 5 | 8 | ||||||||||
Св. 0,9 до 1,2 | 0,9 | 6 | 9 | +/- 0,2 | |||||||||
Св. 1,2 до 1,7 | 1,2 | 7 | 10 | ||||||||||
УПм | Св. 1,7 до 2,2 | 1,7 | +0,5 | 8 | 11 | +/- 0,3 | |||||||
Св. 2,2 до 2,7 | 2,2 | 9 | +/- 2 | 13 | +/- 2 | +/- 0,4 | |||||||
Св. 2,7 до 3,3 | 2,7 | 10 | 14 | +/- 0,5 | |||||||||
От 6,0 до 8,0 | 6,0 | +1,0 | 14 | 32 | +/- 4 | 4,0 | |||||||
Св. 8,0 до 10,0 | 8,0 | 16 | 34 | +/- 4 | |||||||||
Св. 10,0 до 13,0 | 10,0 | 18 | 36 | 5,0 | |||||||||
Св. 13,0 до 16,0 | 12,0 | 20 | 40 | ||||||||||
ИН | Легированная сталь и сплавы: медные, алюминиевые и никелевые | От 0,4 до 0,6 | 0,4 | +0,2 | 4 | +/- 1 | 6 | +/- 1 | +/- 0,1 | ||||
Св. 0,6 до 0,9 | 0,6 | 5 | 8 | ||||||||||
Св. 0,9 до 1,2 | 0,9 | 6 | 9 | +/- 0,2 | |||||||||
Св. 1,2 до 1,7 | 1,2 | 7 | 10 | ||||||||||
Св. 1,7 до 2,2 | 1,7 | +0,5 | 8 | 11 | +/- 0,3 | ||||||||
Св. 2,2 до 2,7 | 2,2 | 9 | +/- 2 | 13 | +/- 2 | +/- 0,4 | |||||||
Св. 2,7 до 3,3 | 2,7 | 10 | 14 | +/- 0,5 | |||||||||
Обозначение сварного соединения | Конструктивные элементы | Способ сварки | Материал свариваемых деталей | s | s1, не менее | b | d | D | g, не более | ||||
номин. | пред. откл. | номин. | пред. откл. | номин. | пред. откл. | ||||||||
подготовленных кромок свариваемых деталей | сварного шва | ||||||||||||
Н1 | ![]() | ![]() | ИП | Легированная сталь и сплавы: медные, алюминиевые и никелевые | От 0,8 до 1,1 | 0,8 | 0 | +0,2 | 4 | +/- 1 | 11 | +/- 2 | 2,0 |
1,4 | 5 | 13 | |||||||||||
5,0 | +1,0 | 9 | +/- 2 | 18 | 2,5 | ||||||||
Св. 1,1 до 1,4 | 1,1 | +0,3 | 5 | +/- 1 | 15 | 2,0 | |||||||
Св. 1,4 до 1,7 | 1,4 | +0,5 | 6 | 17 | |||||||||
5,0 | +0,8 | 10 | +/- 2 | 18 | 2,5 | ||||||||
Св. 1,7 до 2,1 | 1,7 | +0,5 | 6 | +/- 1 | |||||||||
Св. 2,1 до 2,6 | 2,1 | 7 | 19 | ||||||||||
Св. 2,6 до 3,3 | 2,6 | 3,0 | |||||||||||
5,0 | +1,0 | 11 | +/- 2 | ||||||||||
Св. 3,3 до 4,2 | 3,3 | +0,8 | 9 | 21 | 3,5 | ||||||||
Св. 4,2 до 5,3 | 4,2 | +1,0 | 10 | 23 | +/- 3 | 4,0 | |||||||
Св. 5,3 до 6,6 | 5,3 | 11 | 25 | ||||||||||
ПП | Верхней детали - оцинкованная углеродистая сталь; нижней детали - углеродистая или низколегированная сталь | От 0,8 до 1,1 | 3,0 | +0,5 | 10 | +2 -1 | 20 | +/- 1 | |||||
Св. 1,1 до 1,5 | 4,0 | +1,0 | 20 | +/- 2 | 25 | 5,0 | |||||||
Верхней детали - нержавеющая хромоникелевая аустенитная сталь; нижней детали - углеродистая или низколегированная сталь | Св. 1,5 до 2,5 | +1,5 | 24 | +2 -4 | 33 | 6,0 | |||||||
Углеродистая или низколегированная сталь | От 3,0 до 5,0 | 5,0 | +2,0 | 16 | 34 | +2 -3 | 3,0 | ||||||
Св. 5,0 до 12,0 | s | 28 | +/- 2 | 50 | +/- 1 | 7,0 | |||||||
Обозначение сварного соединения | Конструктивные элементы | Способ сварки | Материал свариваемых деталей | s | s1, не менее | ds | b | d | D | g, не более | ||||
номин. | пред. откл. | номин. | пред. откл. | номин. | пред. откл. | |||||||||
подготовленных кромок свариваемых деталей | сварного шва | |||||||||||||
Н5 | ![]() | ![]() | ИП | Легированная сталь и сплавы: медные, алюминиевые и никелевые | От 4,5 до 5,5 | 4,5 | 12 | 0 | +1,0 | 13 | +1,0 -0,5 | 22 | +/- 3 | 3,0 |
Св. 5,5 до 7,0 | 5,5 | 14 | 15 | 26 | 3,5 | |||||||||
Св. 7,0 до 9,5 | 7,0 | 16 | +1,5 | 18 | +2,0 -1,0 | 27 | 4,0 | |||||||
Св. 9,5 до 12,0 | 9,0 | 18 | 20 | 28 | ||||||||||
Св. 12,0 до 15,0 | 12,0 | 20 | 22 | 30 | 4,5 | |||||||||
Ф | Углеродистая или низколегированная сталь | От 3,5 до 4,0 | 3,5 | 9 | +0,8 | 10 | +1,0 -0,5 | 19 | 2,5 | |||||
Св. 4,0 до 5,0 | 4,0 | 10 | +1,0 | 11 | 20 | 3,0 | ||||||||
Св. 5,0 до 6,5 | 5,0 | 11 | 12 | 21 | ||||||||||
Св. 6,5 до 8,0 | 6,5 | 13 | +1,5 | 15 | +2,0 -1,0 | 23 | 4,0 | |||||||
Св. 8,0 до 11,0 | 8,0 | 15 | 17 | 25 | ||||||||||
Св. 11,0 до 14,0 | 11,0 | 18 | 20 | 28 | ||||||||||
УП | От 4,5 до 5,5 | 4,5 | 12 | +1,0 | 13 | +1,0 -0,5 | 22 | 3,0 | ||||||
Св. 5,5 до 7,0 | 5,5 | 14 | 15 | 26 | 3,5 | |||||||||
Св. 7,0 до 9,5 | 7,0 | 16 | +1,5 | 18 | +2,0 -1,0 | 27 | 4,0 | |||||||
Св. 9,5 до 12,0 | 9,0 | 18 | 20 | 28 | 4,5 | |||||||||
Св. 12,0 до 15,0 | 12,0 | 20 | 22 | 30 | ||||||||||
Св. 15,0 до 18,0 | 14,0 | 22 | 24 | 33 | +/- 4 | |||||||||
Св. 18,0 до 22,0 | 16,0 | 24 | 26 | 35 | 5,0 | |||||||||
Св. 22,0 до 26,0 | 18,0 | 26 | 28 | 37 | 6,0 | |||||||||
Св. 26,0 до 30,0 | 22,0 | 28 | 30 | 40 | 7,0 | |||||||||
Обозначение сварного соединения | Конструктивные элементы | Способ сварки | Материал свариваемых деталей | s | s1, не менее | s2 | b | b1 | d | D | g, не более | |||||
номин. | пред. откл. | номин. | пред. откл. | номин. | пред. откл. | номин. | пред. откл. | |||||||||
подготовленных кромок свариваемых деталей | сварного шва | |||||||||||||||
Н1 | ![]() | ![]() | ПП | Углеродистая или низколегированная сталь | От 3,0 до 5,0 | 5,0 | От 3 до 5 | 0 | +2 | 0 | +2,0 | 16 | +/- 3 | 34 | +/- 3 | 3 |
Н3 | ![]() | ППп | От 4,0 до 6,0 | s | От 8 до 10 | +1 | +1,0 | 15 | +/- 2 | 35 | +/- 1 | 5 | ||||
Н2 | ![]() | ![]() | ПП | |||||||||||||
Н6 | ![]() | ![]() | Накладной шайбы - хромистая сталь; средней детали - хромистая ферритная нержавеющая сталь; нижней детали - углеродистая или низколегированная сталь | От 1,5 до 4,0 | Не менее 8 | +0,5 | 12 | +/- 1 | 25 | 6 | ||||||
Обозначение сварного соединения | Конструктивные элементы | Способ сварки | Материал свариваемых деталей | s | s1 | b | d | D | D1 | g, не более | g1, не более | |||||
номин. | пред. откл. | номин. | пред. откл. | номин. | пред. откл. | номин. | пред. откл. | |||||||||
подготовленных кромок свариваемых деталей | сварного шва | |||||||||||||||
Н4 | ![]() | ![]() | УПмс | Углеродистая или низколегированная сталь | От 6,0 до 12,0 | От 6 до 12 | 0 | +1 | 20 | +/- 2 | 38 | +/- 3 | 30 | +/- 5 | 3,0 | 8 |
Св. 12,0 до 16,0 | Св. 12 до 16 | 24 | +/- 3 | 45 | 32 | 4,0 | ||||||||||
ППС | От 4,0 до 13,0 | От 4 до 13 | +3 | 40 | +/- 2 | 50 | +/- 1 | 35 | -1 | 7,0 | ||||||
Св. 13,0 до 18,0 | Св. 13 до 18 | 35 | ||||||||||||||
Н3 | ![]() | ![]() | ИПп | Алюминий и его сплавы | От 0,9 до 1,6 | От 1 до 4 | +1 | 9 | 18 | +/- 2 | - | - | 2,5 | - | ||
Св. 1,6 до 2,3 | 10 | |||||||||||||||
Св. 2,3 до 3,0 | 11 | |||||||||||||||
Термин | Определение |
Сварка в углекислом газе с наложением продольного магнитного поля | Сварка в углекислом газе, при которой в начале процесса получения точечного шва без предварительной подготовки отверстия создается магнитное поле определенной величины, действующее в течение времени, необходимого для достижения требуемой глубины проплавления |
Дуговая сварка плавящимся покрытым электродом с принудительным проплавлением и формованием | Дуговая сварка, при которой элементы, соединяемые точечным швом без предварительной подготовки отверстия, проплавляются на заданную глубину и производится формование верхнего усиления |
Дуговая сварка плавящимся покрытием электродом с принудительным сквозным проплавлением и формованием | Дуговая сварка, при которой элементы, соединяемые точечным швом без предварительной подготовки отверстия, проплавляются с выходом дуги на наружную поверхность нижнего элемента и производится формование верхнего усиления и нижнего технологического прилива |
Принудительное проплавление | Проплавление на определенную глубину свариваемого элемента дугой, горящей между элементом и торцом покрытого электрода, по оси которого приложена внешняя нагрузка |
Принудительное формование | Придание определенной формы и размеров усилению и технологическому приливу точечного сварного шва при помощи специальных устройств |
Технологический прилив | Закристаллизовавшийся металл сварного точечного шва, расположенный на наружной поверхности нижнего соединяемого элемента и не имеющего металлической связи за пределами стержня сварного шва |