Главная // Актуальные документы // ИнструкцияСПРАВКА
Источник публикации
Киев, 1983
Примечание к документу
Название документа
"Инструкция по химико-техническому контролю и учету сахарного производства"
(утв. Минпищепромом СССР 27.07.1981)
"Инструкция по химико-техническому контролю и учету сахарного производства"
(утв. Минпищепромом СССР 27.07.1981)
Утверждаю
Заместитель Министра
пищевой промышленности СССР
Ф.С.КОЛОМИЕЦ
27 июля 1981 года
ИНСТРУКЦИЯ
ПО ХИМИКО-ТЕХНИЧЕСКОМУ КОНТРОЛЮ И УЧЕТУ
САХАРНОГО ПРОИЗВОДСТВА
Настоящая Инструкция издается спустя более 10 лет после выхода в свет действующей "Инструкции по химико-техническому контролю и учету сахарного производства". За это время введены в строй новые сахарные заводы, в том числе и большой мощности. Заводские лаборатории пополнены более совершенными приборами и лабораторным оборудованием, изготовленным опытной механической мастерской НПО "Сахар". Разработаны новые и усовершенствованы существующие методики анализов. В свеклосахарном производстве получили распространение новые схемы очистки диффузионного сока, варки и кристаллизации утфелей. На рафинадных заводах продолжалось внедрение новых способов очистки сиропов при помощи активных гранулированных углей и анионитов.
В основу настоящего издания положена "Инструкция по химико-техническому контролю и учету сахарного производства", 1970 г., существенно переработанная и дополненная по всем разделам, с учетом работ ВНИИСП, КТИПП, МТИПП за последние годы и предложений работников промышленности.
Лаборатория контроля и учета производства ВНИИСП путем предварительного опроса получила 479 предложений от работников сахарных заводов, производственно-аграрных и производственных объединений сахарной промышленности, технологических лабораторий ВНИИСП, научно-исследовательских и учебных институтов, а также других организаций. Они были тщательно проанализированы и учтены. В частности, много предложений внесли сотрудники Винницкого, Кировоградского, Сумского, Тернопольского, Черкасского ПАО сахарной промышленности, Северо-Кавказского ПО сахарной промышленности, Рамонской групповой лаборатории и Каиндинского сахарного завода, сектора химико-технических анализов и экспериментальных работ ВНИИСП.
Кроме того, в новой Инструкции описан ряд методик, установок и устройств, разработанных лабораторией контроля и учета производства ВНИИСП и принятых ведомственными комиссиями.
По предложению ведомственной комиссии в настоящую Инструкцию включены методики определения: активности извести в известковом молоке, балласта, поступающего вместе со свеклой на автоматические весы, свободных сульфитов в продуктах сахарного производства, а также упрощенные формулы для расчета количества продуктов сахарного производства.
Инструкцию составили и подготовили к печати сотрудники ВНИИСП доктор технических наук А.Я. Загорулько и заведующая группой химико-технического контроля и учета производства Е.С. Бойко. Приведенные в Инструкции таблицы проверены и уточнены к.т.н. Л.А. Коробейниковой. В экспериментальной проверке отдельных предложений принимали участие: к.т.н. А.А. Петренко, старший научный сотрудник А.И. Левицкая, младший научный сотрудник Т.Ф. Бурляй. Рисунки, приведенные в Инструкции, выполнены инженером Н.С. Кочубей.
В Инструкцию не включен раздел по микробиологическому контролю производства, учитывая, что "Руководство по микробиологическому контролю сахарного производства" выпущено отдельным изданием (М., ЦИНТИПищепром, 1968).
Директор ВНИИСП
П.В.ПОЛТОРАК.
В настоящее время Советский Союз занимает первое место в мире по производству сахара. Наряду с увеличением выпуска сахара из свеклы, в сахарной промышленности совершенствуются техника и технология производства сахара-песка и сахара-рафинада. Главная задача сахарной промышленности нашей страны - улучшение технико-экономических показателей производства сахара-песка и сахара-рафинада и повышение качества готовой продукции.
Известно, что технико-экономические показатели работы сахарной промышленности в первую очередь определяются выходом сахара из свеклы и сахара-сырца, а также сахара-рафинада из сахара-песка или из сахара-сырца. Поэтому переработка свеклы и сахара-сырца с максимальным выходом и минимальными потерями сахара является главным резервом снижения себестоимости продукции. Максимальный выход готовой продукции высокого качества и низкие потери сахара могут быть достигнуты только при правильной постановке химико-технического контроля и учета производства.
Под контролем производства понимают систему методов и приемов исследования, выполняемых с помощью приборов, а также вспомогательного лабораторного оборудования, позволяющих устанавливать оптимальные параметры и определять фактические показатели на всех стадиях технологического процесса.
Учет производства - это составление баланса и вычисление количества сырья, сахарозы и других веществ на отдельных участках верстата и по заводу в целом.
С целью достижения единообразных методов исследования еще в 30-годах было признано необходимым выполнять контроль и учет производства по единой инструкции.
Такие инструкции, как правило, разрабатывал Всесоюзный (Центральный) научно-исследовательский институт сахарной промышленности и утверждал Главсахар и Минпищепром СССР.
В настоящую Инструкцию, разработанную на основе "Инструкции по химико-техническому контролю и учету сахарного производства", включено описание приборов, лабораторного оборудования, методов выполнения анализов и учета продуктов сахарного производства, а также методов установления оптимального технологического режима, соответствующих современному уровню аналитической техники.
При осуществлении химико-технического контроля и учета свеклосахарного и сахарорафинадного производств надлежит:
- все анализы и определения выполнять в соответствии с настоящей Инструкцией;
- результаты анализов и определений немедленно доводить до сведения персонала технологических служб;
- для правильного ведения технологии производства систематически устанавливать оптимальный технологический режим при изменении качества свеклы, сахара-сырца и сахара-песка (на рафинадных заводах) и осуществлять постоянный контроль за правильностью его выполнения;
- обеспечить объективность контроля и учета производства. Объективный контроль и учет производства - залог достижения минимальных потерь сахара в производстве и высокого качества готовой продукции;
- для получения полной картины потерь сахара в производстве производить расшифровку неучтенных потерь сахара по методам, рекомендованным ВНИИСПом и включенным в настоящую Инструкцию;
- постепенно внедрять автоматические и полуавтоматические методы контроля и учета производства.
Полная эффективность контроля и учета производства будет достигнута в том случае, если результаты исследований, анализов и определений будут использоваться персоналом завода для руководства технологическим процессом. При любом отклонении от заданного оптимального технологического режима, установленных нормативов потерь сахара и качества готовой продукции персонал технологических служб должен принимать меры для устранения замеченных ненормальностей. Если для устранения ненормальностей, которые приводят к нарушению оптимального технологического режима и повышению потерь сахара сверх установленных нормативов, требуется модернизация существующего или установка нового оборудования, устройств, приспособлений и это не может быть выполнено во время производства, следует зафиксировать все замеченные недостатки в соответствующих журналах и необходимые мероприятия осуществить в следующем ремонтном периоде.
1. ЛАБОРАТОРНЫЕ КОНТРОЛЬНО-ИЗМЕРИТЕЛЬНЫЕ ПРИБОРЫ,
ОБОРУДОВАНИЕ И ХИМИЧЕСКАЯ ПОСУДА
1.1. САХАРИМЕТР УНИВЕРСАЛЬНЫЙ СУ-3
Сахариметр универсальный СУ-3 предназначен для определения концентрации сахарозы в растворах по углу вращения плоскости поляризации.
1.1.1. Техническая характеристика
Пределы измерения сахариметра в международных сахарных градусах (°S) при длине волны 589,3 нм |  (от минус 40 до плюс 100) |
Цена деления отсчетного устройства, °S, | 0,1 |
Предел допускаемой основной погрешности, °S | +/- 0,1 |
Температура градуировки шкалы сахариметра, °C | 20 +/- 0,5 |
1.1.2. Условия эксплуатации
Температура окружающего воздуха, °C | |
Относительная влажность воздуха при плюс 20 +/- 5 °C, %, не более | 80 |
Источник света | электролампа А 12 - 15 (12 В, 15 Вт) |
Источник питания | переменный ток 22 220 +/- 33 В, 50 +/- 1 Гц |
Габаритные размеры, мм, не более | 800x190x370 |
Масса прибора, кг, не более | 9 |
1.1.3. Принцип действия прибора
Свет представляет собой электромагнитные волновые колебания, распространяющиеся от источника возбуждения во все стороны по прямой линии. Направление колебаний перпендикулярно направлению луча. Колебания происходят не в одной плоскости, но может быть и такой свет, у которого все волновые колебания расположены в одной плоскости. В таком случае свет называют поляризованным. Его можно получить, если луч света пропустить через поляризационные призмы. Поляризационная призма пропускает лишь световые колебания, лежащие в одной определенной плоскости. Поэтому, если свет проходит через две поляризационные призмы, расположенные одна за другой, то могут наблюдаться различные явления, зависящие от взаимного расположения этих призм. Если поляризационные призмы поставлены так, что плоскость колебаний пропускаемых лучей первой призмы совпадает с плоскостью колебаний пропускаемых лучей второй призмы, то лучи пройдут беспрепятственно через обе призмы. Если вторую поляризационную призму повернуть на 90° относительно первой, то свет потухнет, ибо вторая призма его не пропустит. Таким образом, вторая поляризационная призма позволяет выяснить, в каком направлении поляризован падающий на нее свет. Первая, ближайшая к источнику света, поляризационная призма носит название поляризатора, а вторая призма - анализатора. В зависимости от вращательной способности исследуемого сахарного раствора в слое определенной толщины возможно определение концентрации сахара.
1.1.4. Оптическая схема
Световой поток, идущий от электролампы
6 (рис. 1.1.) через светофильтр
8 или матовое стекло
7 и конденсор
9, проходит через полутеневую поляризационную призму-поляризатор
10, которая преобразует его в поляризованный поток света, разделенный на две половины линией раздела. При этом поляризатор установлен так, что плоскости поляризации обеих половин светового потока составляют одинаковые углы с плоскостью поляризации анализатора
16. Поэтому анализатор пропускает равные по светосиле обе половины потока, и в поле зрения зрительной трубы, состоящей из объектива
17 и окуляра
18, установленной после анализатора, наблюдаются две равноосвещенные половины поля, разделенные тонкой линией.
Рис. 1.1. Оптическая схема сахариметра СУ-3
При установке кюветы с раствором между поляризатором и анализатором, закрытыми защитными стеклами 11 и 12, нарушается равенство освещенности половин поля зрения. Это происходит по причине того, что исследуемый раствор поворачивает плоскость поляризации.
Для уравнивания освещенности обеих половин поля зрения в сахариметре применен клиновой компенсатор, состоящий из большого кварцевого клина левого вращения 13, контрклина 14 и малого кварцевого клина правого вращения 15. Перемещением большого клина относительно малого подбирают требуемую толщину кварцевой пластинки для компенсации угла поворота плоскости поляризации раствора. При этом происходит уравнивание освещенности половин поля зрения. Одновременно с большим клином перемещается шкала 3.
По нулевому делению нониуса 2 фиксируют значение шкалы, соответствующее состоянию одинаковой освещенности обеих половин поля зрения. Шкала и нониус наблюдаются через лупу 1 и освещаются электролампой через отражательную призму 5 и светофильтр 4.
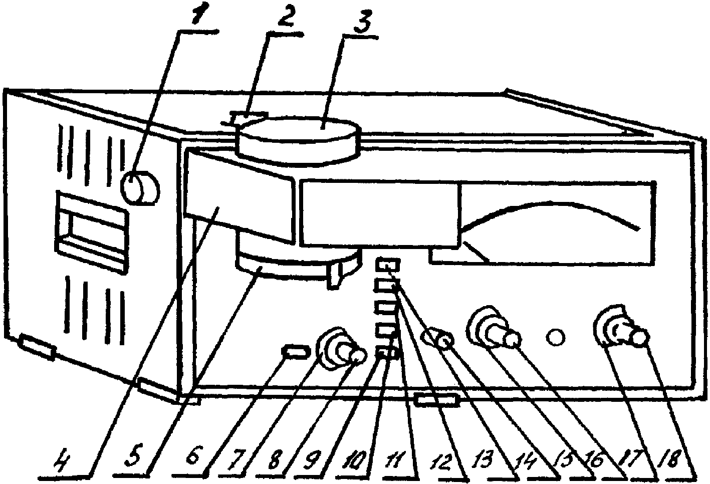
1.1.5. Устройство прибора
Основными частями прибора
(рис. 1.2) являются: узел измерительной головки
2 и осветительный узел
8, соединенные между собой траверсой
10, на которой укреплены камера
5 для поляриметрических кювет и оправа
6 с поляризатором.
Рис. 1.2. Сахариметр универсальный СУ-3
С лицевой стороны измерительной головки прибора имеются лупа 1 в оправе для отсчета показаний по шкале и зрительная труба 16. В зрительной трубе находится гильза 15 с анализатором, снимающаяся при установке поля зрения на однородность. С тыльной стороны измерительной головки находится винт 3 для установки шкалы прибора на нуль с помощью съемного ключа 4.
В нижней части измерительной головки расположена рукоятка 14 кремальерной передачи для перемещения подвижного кварцевого клина и связанной с ним шкалы.
В осветительный узел входят: патрон с лампой, установка которого производится тремя винтами 9, и поворотная обойма 7 со светофильтром, матовым стеклом и диафрагмой.
Траверса 10 крепится болтом к основанию 13 с вмонтированным внутрь него понижающим трансформатором.
На передней части основания находится тумблер, с низа основания - предохранитель, с тыльной стороны основания - вилка разъема 11 для подключения электролампы к трансформатору и винт заземления 12.
1.1.6. Подготовка к работе и меры безопасности
Прибор должен быть установлен на столе в поляриметрической комнате или будке, т.е. в темном помещении с окрашенными в черный цвет стенами для повышения чувствительности глаза наблюдателя.
Прибор рассчитан для работы в сухих, чистых помещениях (лабораториях) с сухими, плохо токопроводящими полами - деревянными, асфальтовыми и т.п., где заземления не требуется.
При работе с прибором в производственных помещениях, в которых возможно одновременное прикосновение к нему и к имеющим соединение с землей металлоконструкциям, его необходимо заземлить.
Окуляр зрительной трубы и лупу шкалы устанавливают (при помощи вращения их оправ) на максимальную резкость изображения так, чтобы вертикальная линия, разделяющая поле зрения на две половины, была четко и ясно видна, а в поле зрения лупы четко и ясно были видны штрихи и цифры шкалы и нониуса.
Перед началом измерений прибор необходимо установить на нуль.
Для этого (при отсутствии в камере поляриметрической кюветы) вращением рукоятки кремальерной передачи добиваются полной однородности обеих половинок поля зрения - при этом нулевые деления шкалы и нониуса
(рис. 1.3) должны совпасть. В противном случае с помощью ключа перемещают нониус до совмещения его нулевого деления с нулевым делением шкалы, после чего непосредственно приступают к измерениям. В камеру прибора вкладывают поляриметрическую кювету с испытуемым раствором. При этом изменяется однородность обеих половинок поля зрения. Вращением рукоятки кремальерной передачи уравнивают их освещенность.
Рис. 1.3. Шкала и нониус сахариметра СУ-3
Затем при помощи нониуса производят отсчет показаний с точностью до 0,1 °S. Повторяют уравнивание освещенностей обеих половин поля зрения и снова производят отсчет показаний. И так - пять раз. Среднеарифметическое пяти измерений принимают за результат.
Отсчет показаний при помощи нониуса поясняется
рис. 1.4. На
рис. 1.4а показано положение шкалы и нониуса, соответствующее отсчету "+ 11,8 °S" (нуль нониуса расположен правее нуля шкалы на 11 полных делений, и в правой части нониуса с одним из делений шкалы совмещается его восьмое деление).
Рис. 1.4. Отсчет показаний при помощи нониуса
На
рис. 1.4б показано положение шкалы и нониуса, соответствующее отсчету "минус 3,2 °S" (нуль нониуса расположен левее нуля шкалы на три полных деления, и в левой части нониуса с одним из делений шкалы совмещается его второе деление).
В сахариметре применена международная сахарная шкала. 100 °S этой шкалы соответствуют 34,616° угловым. Сахариметр показывает 100 °S, когда в нем измеряют при 20 °C в поляриметрической кювете длиной 200 мм вращательную способность раствора, содержащего при 20 °C в 100 мл 26 г химически чистой сухой сахарозы, взвешенной латунными гирями (нормальная навеска).
Определить по шкале прибора непосредственно содержание сахарозы, %, в исследуемом веществе можно, если взята его нормальная навеска, раствор доведен до 100 см3, а измерение вращательной способности произведено в кювете длиной 200 мм. Если же производить непосредственно измерение вращательной способности сахарного раствора, т.е. кювету длиной 200 мм наполнить исследуемым раствором, то для определения содержания сахарозы, %, необходимо отсчитанные по шкале сахариметра градусы умножить на переводной коэффициент 0,260 и разделить на плотность исследуемого раствора. Если при исследовании бесцветных или слабоокрашенных растворов не наблюдается различия в оттенках окраски обеих половин поля зрения, то поворотную обойму узла осветителя ставят в положение, соответствующее обозначению "М". При этом положении в оптическую систему вводится матовое стекло.
Если при измерении вращательной способности бесцветных или слабоокрашенных сахарных растворов наблюдается некоторое различие в оттенках окраски обеих половинок поля зрения (слегка желтоватый или голубоватый оттенки), затрудняющее приведение поля зрения к однородности, то поворотную обойму ставят в положение, соответствующее обозначению "С". При этом положении в оптическую систему вводится светофильтр.
В случае работы с темноокрашенными растворами обойму ставят в положение без обозначения, что соответствует максимальной интенсивности освещения поля зрения.
1.1.8. Техническое обслуживание
В правильно отрегулированном приборе поле зрения при одинаковой освещенности его половинок должно быть совершенно однородным. Если невозможно добиться однородности поля зрения вращением рукоятки кремальерной передачи, то необходимо воспользоваться анализатором, повернув его вокруг своей оси в ту или иную сторону.
- отвинчивают зрительную трубу 1 поля зрения и, сняв гильзу 2, снова ввинчивают трубу на место;
- вращая в ту или другую сторону рукоятку кремальерной передачи, добиваются такого положения, при котором, разница в освещенности и окраске двух половинок поля зрения будет минимальной;
- с помощью прилагаемой к прибору отвертки отпускают винт 4;
- наблюдая за полем зрения, медленно перемещают винт с шайбой 3 вправо или влево вдоль паза, в зависимости от того, какое направление вращения ведет к уравниванию окрашенности обеих половинок поля зрения;
- в установленном положении шайбу придерживают пальцами левой руки и затягивают винт, не прерывая наблюдения за полем зрения;
- ключом устанавливают нониус на нуль (как правило, регулировка производится на нулевом делении шкалы без поляриметрической кюветы, в камере);
- отвинчивают зрительную трубу;
- надевают гильзу и снова ввинчивают трубу на место.
Рис. 1.5. Регулировка сахариметра
Если при данном положении рукоятки не удается достигнуть однородности поля зрения, то необходимо найти другое положение рукоятки, т.е. клин передвинуть в ту или другую сторону на 1 - 2 деления шкалы и повторить регулировку. В каждом приборе есть такое положение анализатора, при котором поле зрения будет совершенно однородным.
1.1.9. Установка электролампы
Перегоревшую лампу заменяют новой таким образом:
- отключают прибор от сети;
- освобождают регулировочные винты, вынимают патрон и заменяют электролампу;
- устанавливают патрон и закрепляют его винтами;
- подключают прибор к источнику питания;
- устанавливают обойму в положение, соответствующее максимальной интенсивности освещения поля зрения;
- открывают крышку камеры для поляриметрических кювет, вращением регулировочных винтов добиваются такого положения светящейся нити накала электролампы, при котором интенсивность освещения поля зрения была бы максимальной и при вращении обоймы в положение, соответствующее обозначению "М" и "С", однородность половинок поля зрения не изменилась бы.
Отрегулированный осветитель должен обеспечивать равномерное освещение поля зрения прибора, а также тонкую и четкую линию раздела поля зрения.
После использования ламп, находящихся в ЗИП, при необходимости замены, покупная лампа типа А12-15 должна быть заматирована.
| | ИС МЕГАНОРМ: примечание. Взамен ГОСТ 5009-75 Постановлением Госстандарта СССР от 18.02.1982 N 735 с 01.01.1983 введен в действие ГОСТ 5009-82. | |
Лампа матируется шлифовальной шкуркой N 80, ГОСТ 5009-75.
1.1.10. Пользование поляриметрическими кюветами
Измерения производят, помещая в камеру сахариметра поляриметрические кюветы, наполненные исследуемым раствором. Вращением кюветы устанавливают в такое положение, чтобы линия раздела делила поле зрения прибора примерно на две равные половины. Кюветы закрывают с обоих концов поляриметрическими стеклами, которые прижимают к торцам кюветы с помощью гаек. Для эластичности между стеклом и гайкой вкладывают резиновое кольцо.
Перед наполнением кювету промывают испытуемым раствором 2 - 3 раза. В кювету, закрытую с одной стороны стеклом и гайкой, наливают столько жидкости, чтобы она выступила поверх краев кюветы. Выждав некоторое время, пока пузырьки газа, содержащегося в жидкости, поднимутся наверх, закрывают кювету сверху стеклом (предварительно вымытым и вытертым насухо), надвигая его на торец кюветы со стороны, как бы срезая выступающую жидкость.
Закрывать кювету надо быстро и аккуратно, чтобы под стеклом не оставалось воздушного пузырька. Если же это сделать сразу не удается, то, вытерев насухо стекло и долив кювету, повторяют закрывание.
Не следует сильно прижимать поляриметрические стекла, так как в результате может возникнуть дополнительное вращение плоскости поляризации, что влияет на точность результатов измерений.
Проточную поляриметрическую кювету наполняют исследуемым раствором через воронку, причем наливать раствор следует медленно, чтобы избежать образования воздушных пузырьков, которые потоком жидкости могут быть вовлечены внутрь кюветы и затруднить проведение измерений
При инверсионной поляриметрии через кожух инверсионной поляриметрической кюветы пропускают воду необходимой температуры от термостатирующей установки. Вода подводится и отводится при помощи резиновых трубок, одетых на штуцеры инверсионной кюветы. Перед употреблением кюветы должны быть вымыты, вытерты с помощью деревянного шомпола, которым проталкивают неплотный комок фильтровальной бумаги через кювету, а затем высушены.
Поляриметрические кюветы подлежат ежегодной проверке, так как износ торцов и изгиб кювет влияют на точность измерений.
Пределы минимальных размеров поляриметрических кювет по длине следующие:
для кювет с номинальной длиной 100 мм | - 99,95 мм; |
для кювет с номинальной длиной 200 мм | - 199,95 мм; |
для кювет с номинальной длиной 400 мм | - 399,90 мм. |
Поляриметрические кюветы, длина которых выходит за указанные пределы, не пригодны к употреблению.
Измерять длину необходимо микрометром с соответствующими пределами измерений в четырех направлениях.
Кроме того, каждая поляриметрическая кювета должна быть проверена на отсутствие в поляриметрическом стекле натяжений. Для этого кювету заполняют дистиллированной водой и вкладывают в камеру сахариметра, настроенного на полную однородность поля зрения.
Если при вращении поляриметрической кюветы вокруг своей оси не происходит заметного изменения однородности поля зрения, то кювета считается годной.
Хранить поляриметрические кюветы следует в условиях, исключающих их прогиб, т.е. на подставках с опорами под трубки кювет.
Категорически запрещается использовать случайные поляриметрические стекла.
1.1.11. Методика проверки прибора
Для проверки правильности показаний сахариметра служат контрольные трубки с кварцевыми пластинами.
Контрольная трубка с нормальной кварцевой пластиной является устройством для определения угла вращения плоскости поляризации и применяется при проверке правильности показания сахариметров. Принцип работы контрольной трубки основан на свойстве кварцевой пластины вращать плоскость поляризации соответственно своей толщине.
Контрольная трубка состоит из следующих основных частей: тщательно отполированной и строго определенной толщины нормальной кварцевой пластины, штуцера, гайки и трубки с кольцами. На контрольной трубке нанесено номинальное вращение плоскости поляризации данной пластины при температуре 20 °C. Перед пользованием как трубку, так и камеру проверяемого прибора, следует тщательно протереть мягкой неворсистой тканью.
Установив нулевое положение в проверяемом сахариметре, вкладывают контрольную трубку в камеру сахариметра. Однородность половинок поля зрения, которая была при нулевом положении, исчезает. Придав вращением рукоятки однородность окраски половинкам поля зрения сахариметра, отсчитывают показания шкалы и нониуса.
Расхождения в показаниях проверяемого прибора и параметра контрольной трубки с кварцевой пластиной при выверенной нулевой точке являются погрешностью данного прибора.
Проверку показаний сахариметра при помощи контрольных трубок с кварцевыми пластинами необходимо производить при установившейся температуре 20 °C. Если проверка прибора производится при иной температуре, то необходимо сделать пересчет по формуле:
Lt = L20 [1 + 0,000143(t - 20)],
где L20 - вращательная способность кварцевой пластины, выраженная в международных сахарных градусах при 20 °C (надпись на штуцере);
Lt - вращательная способность кварцевой пластины в международных сахарных градусах при температуре измерения t °C.
Погрешность не должна превышать пределов, указанных в
п. 1.1.1. Отклонение на

величину свидетельствует о неисправности прибора, и его необходимо направить на ремонт.
1.1.12. Уход и хранение
После окончания работы прибор и принадлежности следует тщательно протереть мягкой неворсистой салфеткой, на прибор надеть чехол, а принадлежности уложить в футляр.
Хранить прибор нужно в сухом и чистом помещении при температуре воздуха от +1 до +40 °C и относительной влажности 80% при температуре 20 +/- 5 °C.
В воздухе помещения не должно быть вредных примесей.
Не допускается разбирать прибор и чистить оптические детали, находящиеся внутри прибора.
Защитные стекла прибора чистят при помощи деревянной палочки с намотанным на нее тонким слоем гигроскопической ваты, соблюдая осторожность, чтобы не поцарапать полированную поверхность стекол.
1.2. САХАРИМЕТР УНИВЕРСАЛЬНЫЙ СУ-4
1.2.1. Техническая характеристика
Пределы измерения сахариметра в международных сахарных градусах, °S, от минус 40 до плюс 120 | |
Цена деления отсчетного устройства, °S | 0,05 |
Порог чувствительности, °S, не более | 0,05 |
Предел допускаемой основной погрешности, °S | +/- 0,05 |
Сходимость показания, °S, не более | 0,05 |
Температура градуировки шкалы сахариметра, °C | +20 +/- 0,1 |
Электрическое питание сахариметра должно осуществляться переменным однофазным током с напряжением 220 В при отклонении от минус 15 до плюс 10% и частотой 50 Гц с отклонением от минус 2 до плюс 2% | |
Потребляемая мощность сахариметра, Вт, не более | 25 |
Температура окружающего воздуха, °C | +10 до +35 |
Относительная влажность воздуха при плюс 20 °C, % не более | 80 |
Барометрическое давление, кПа (мм рт. ст.) | |
Габаритные размеры сахариметра, мм, не более: | |
длина | 870 | |
ширина | 200 | |
высота | 400 | |
Масса прибора, кг, не более | 10 | |
1.2.2. Конструкция сахариметра
Основными частями сахариметра
(рис. 1.6) являются: узел измерительной головки
2 и осветительный узел
9, соединенные между собой траверсой
6. Траверса крепится через стойку
17 к основанию
18. На траверсе укреплены кюветное отделение
5 для поляриметрических кювет и оправа
7 с поляризатором и полутеневой пластиной.
Рис. 1.6. Сахариметр универсальный СУ-4
С лицевой стороны измерительной головки расположены лупа 1 для отсчета показаний по шкале и зрительная труба 20. С тыльной стороны измерительной головки находится винт механизма установки нониуса 3, служащий для совмещения нулевого деления нониуса с нулевым делением шкалы с помощью съемного ключа 4.
В нижней части измерительной головки расположена рукоятка клинового компенсатора 19, вращением которой перемещают подвижной кварцевый клин и связанную с ним шкалу.
В осветительный узел входят патрон с лампой, установка которого производится тремя винтами 10, и поворотная обойма 8 со светофильтром и диафрагмой.
На основании установлены кнопка 15 для включения осветителя и ручка резистора 16 для регулирования яркости поля зрения.
Внутри основания вмонтирован понижающий трансформатор. На тыльной стороне основания находятся винт заземления 11, вилка разъема 12 для подключения осветителя сахариметра к трансформатору и предохранитель 13.
1.2.3. Электрическая схема сахариметра
Питание лампы осветителя Л
(рис. 1.7) осуществляется от сети переменного тока 220
В, 50
Гц через понижающий трансформатор Тр. С помощью переменного резистора R напряжение на осветителе может быть уменьшено.
Рис. 1.7. Электрическая схема сахариметра СУ-4
1.2.4. Порядок работы на приборе
Вращательную способность испытуемых растворов измеряют в такой же последовательности, как и на сахариметре СУ-3
(п. 1.1.7).
Нониус прибора СУ-4 имеет цену деления 0,05 °S.
Отсчет показаний при помощи нониуса поясняется
рис. 1.8.
Рис. 1.8. Шкала и нониус сахариметра СУ-4
На
рис. 1.8а показано положение нониуса и шкалы, соответствующее отсчету "+ 11,85 °S" (нуль нониуса расположен правее нуля шкалы на 11 полных делений, и в правой части нониуса с одним из делений шкалы совмещается его семнадцатое деление).
На
рис. 1.8б показано положение шкалы нониуса, соответствующее отсчету "минус 3,25 °S" (нуль нониуса расположен левее нуля шкалы на три полных деления, и в левой части нониуса с одним из делений шкалы совмещается его пятое деление).
1.3. РЕФРАКТОМЕТР ПИЩЕВОЙ ЛАБОРАТОРНЫЙ РПЛ-3
Рефрактометр пищевой лабораторный РПЛ-3 предназначен для определения показателя преломления жидкости и содержания сухих веществ по сахарозе.
Величина показателя преломления раствора, определяемая рефрактометрическим методом, зависит от количества растворенного вещества, т.е. от концентрации раствора и температуры. Чем выше концентрация раствора (при одной и той же температуре), тем больше показатель преломления.
Такая зависимость не для всех веществ строго одинакова. Для сахарных растворов существует зависимость между показателем преломления и количеством растворенного сахара. Эта зависимость, обозначенная на шкале прибора в виде оцифрованных значений коэффициента преломления и содержания сахарозы в процентах, дает возможность определить концентрацию сахара в растворе по показателю преломления. Отсчетом по шкале можно получить содержание сухих веществ, % к массе раствора.
Рефрактометр дает точные показания по шкале содержания сухих веществ для чистых сахарных растворов при температуре 20 °C.
Показатель преломления других веществ, присутствующих в растворе наряду с сахарозой, часто приравнивается к показателю преломления сахарозы. Таким образом, определяется общее содержание сухих веществ исследуемого раствора. Если же основным веществом в растворе является не сахароза, а какое-либо другое вещество, необходимо учесть разницу между показанием рефрактометра и содержанием сухих веществ подобного раствора, которое определено каким-либо другим методом (высушиванием, при помощи пикнометра).
1.3.1. Техническая характеристика
Пределы измерения показателя преломления nд | от 1,3000 до 1,5400 |
Пределы измерения содержания сухих веществ (по сахарозе), % | от 0 до 95 |
Цена деления шкалы показателей преломления nд | 1.10-3 |
Цена деления шкалы содержания сухих веществ (по сахарозе), % | |
| | ИС МЕГАНОРМ: примечание. В официальном тексте документа, видимо, допущена опечатка: одна и та же строка таблицы приведена дважды. | |
|
Цена деления шкалы содержания сухих веществ (по сахарозе), % |
от 0 до 50% | 0,2 |
от 50 до 95% | 0,1 |
Допустимая погрешность по шкале показателей преломления nд при многократных замерах | +/- 2.10-4 |
Допустимая погрешность по шкале содержания сухих веществ (по сахарозе), %: | |
от 5 до 50% | +/- 0,2 |
от 50 до 95% | +/- 0,1 |
Температура градуировки прибора, °C | 20 +/- 0,5 |
Электропитание | | переменный ток 127 или 220 В, 50 Гц, через понижающий трансформатор |
Источник света | | специальный осветитель с лампочкой 6,3 В, 0,28 А или естественный свет |
Габариты прибора, мм, не более: | |
длина | 180 |
ширина | 180 |
высота | 370 (без термометра) |
Масса прибора, кг, не более | 5,5 |
1.3.2. Принцип действия
В основу конструкции прибора положен метод определения показателя преломления исследуемого раствора по предельному углу преломления или углу полного внутреннего отражения.
Определение показателя преломления на приборе можно производить в проходящем или отраженном свете.
Оптическая схема прибора показана на
рис. 1.9.
Рис. 1.9. Оптическая схема рефрактометра РПЛ-3
Исследуемый раствор помещают между двух призм - осветительной 3 и измерительной 4.
От источника 1 конденсором 2 луч света направляют на входную грань осветительной призмы. Затем луч проходит тонкий слой исследуемого раствора и плоскость измерительной призмы.
Если обозначить:
n - показатель преломления исследуемого раствора,
N - показатель преломления измерительной призмы,
l - предельный угол отклонения луча,
то на основании закона преломления получим:
n = N·sinl.
На границе двух сред, из которых одна должна быть более плотной, чем вторая, происходит явление предельного преломления, или полного внутреннего отражения.
Луч проходит призму прямого зрения 5, объектив 6, призму 7, сетку 8, шкалу 9 и через окуляры 10, 11 попадает в глаз наблюдателя.
Призма прямого зрения предназначена для устранения спектральной окраски границы светотени.
Визирную линию сетки совмещают с границей светотени и по шкале производят отсчет показателя преломления и содержания сухих веществ, % к массе исследуемой жидкости.
1.3.3. Конструкция рефрактометра
Прибор
(рис. 1.10) имеет: корпус
6, колонку
5 и основание
4.
Рис. 1.10. Рефрактометр пищевой лабораторный РПЛ-3
К корпусу прибора крепятся камеры: верхняя 12 и нижняя 9.
Нижняя камера с измерительной призмой жестко закреплена на корпусе, верхняя камера с осветительной призмой соединена шарниром 11 с нижней камерой и может перемещаться относительно верхней.
В нижней и верхней камерах находятся окна, которые закрываются пробкой 18 и ширмой 2.
На нижней камере подвижно укреплен осветитель 10, свет от которого можно направить в одно из окон камер.
Верхняя и нижняя камеры оборудованы каждая двумя штуцерами, совмещенными с каналами, которые располагаются внутри камеры и предназначены для подвода термостатирующей жидкости (воды) при помощи резиновых трубок, соединения каналов камер между собой и вывода термостатирующей жидкости. Для контроля температуры служит термометр 17, укрепленный на штуцере нижней камеры.
На передней крышке прибора размещены шкала 14 и рукоятка 15 с окуляром 16, предназначенная для совмещения визирной линии сетки с границей светотени.
На оси с рукояткой находится шкала 7 с винтом 8 для поворота призмы прямого зрения внутри прибора с целью устранения спектральной окраски границы светотени. Винт фиксирует шкалу в установленном положении.
На корпусе прибора находится пробка 13, которая закрывает отверстие, предназначенное для ввода ключа и установки нуль-пункта. В штепсельной вилке 3 размещен понижающий трансформатор.
Винт, находящийся на корпусе прибора со стороны камеры, служит для регулировки плавности хода рукоятки вдоль шкалы.
1.3.4. Подготовка прибора к работе
Термометр в оправе устанавливают при помощи накидной гайки на штуцере нижней камеры прибора. Штуцеры верхней и нижней камер соединяют резиновыми трубками, штуцеры 19 - трубкой длиной 0,36
м (рис. 1.10). Светофильтр
1 прилагается к прибору.
Трубку, соединяющую штуцеры 19, надевают таким образом, чтобы не было помех при открывании верхней камеры.
Вода от термостатирующей установки поступает в верхнюю камеру и выходит после термометра из нижней камеры.
Для обеспечения температуры 20 °C воду пропускают от термостатирующей установки в течение

.
Осветитель устанавливают таким образом, чтобы свет был направлен в окно верхней камеры (при работе в проходящем свете) или в окно нижней камеры (при работе в отраженном свете).
Если свет направляют в окно верхней камеры, ширма 2 должна быть снята, и окно нижней камеры закрыто пробкой. При направлении света в окно нижней камеры пробку 18 вынимают, а окно верхней камеры закрывают ширмой.
Рекомендуется штепсельную вилку включать в розетку, расположенную горизонтально.
1.3.5. Заземление
Прибор предназначен для работы в сухих и чистых помещениях (лабораториях) с плохо проводящими электричество полами (деревянными, асфальтовыми и т.п.), где заземление не требуется.
В отдельных случаях, при работе с прибором в производственных помещениях, где возможно одновременное прикосновение к соединенным с землей металлоконструкциям, необходимо заземлить прибор.
1.3.6. Установка нуль-пункта прибора
Проверку прибора, установку нуль-пункта и измерения производят при установившейся температуре 20 +/- 0,5 °C. Перед началом работы, а в ответственных случаях перед каждым измерением, проверяют нуль-пункт прибора, открывают верхнюю камеру, плоскости верхней и нижней камер промывают дистиллированной водой (периодически спиртом-ректификатом) и досуха протирают мягкой (стираной) льняной салфеткой (категорически запрещается протирать призмы фильтровальной бумагой). Оплавленным концом стеклянной палочки на плоскость измерительной призмы наносят одну-две капли дистиллированной воды и закрывают верхнюю камеру.
Рукоятку с окуляром опускают в нижнее положение и перемещают до тех пор, пока в поле зрения не появится граница светотени. При наблюдении за полем зрения гайку окуляра вращают до появления четко и ясно видимых делений шкалы и визирной линии сетки. Смещая осветитель вверх и вниз, добиваются наиболее контрастной освещенности поля зрения, а поворотом шкал устраняют окраску границы светотени.
Затем рукояткой окуляра визирную линию сетки совмещают с границей светотени и по шкале производят отсчет.
При правильной установке прибора на нуль-пункт граница светотени при 20 °C должна быть совмещена с нулевым делением шкалы содержания сухих веществ и делением nд = 1,33299 шкалы показателей преломления.
В случае отклонения от этих значений прибор ключом устанавливают на нуль, для чего выкручивают пробку на корпусе прибора, вставляют ключ через отверстие в корпусе на квадрат винта, вращением ключа в одну или другую сторону совмещают линию границы светотени с делением nд = 1,33299, нулевым делением шкалы содержания сухих веществ и визирной линией сетки.
Правильность произведенной установки в вышеуказанной последовательности проверяют два-три раза.
1.3.7. Контрольная проверка шкалы прибора
Один раз в декаду проверяют правильность юстировки рефрактометра при помощи прилагаемой пластинки из оптического стекла с известным показателем преломления nд.
Полированные плоскости измерительной призмы и пластинки тщательно промывают и вытирают. Затем на большую полированную плоскость пластинки наносят одну-две капли монобромнафталина и устанавливают на плоскость измерительной призмы, чтобы монобромнафталин распределился равномерным слоем по всей соприкасающейся плоскости и не выступал за край меньшей полированной поверхности пластинки, обращенной к осветителю.
При невыполнении этого условия может быть нарушено положение границы светотени. О правильной установке пластинки судят по наличию в слое монобромнафталина интерференционных полос, которые видны через матовую поверхность и расположены параллельно большой стороне пластинки. Наличия интерференционных полос достигают изменением давления на пластинку.
Смещая осветитель и одновременно наблюдая в окуляр за границей светотени, добиваются несмещающейся резкой границы светотени, а затем производят три отсчета показаний. Среднее арифметическое из трех отсчетов показаний преломлений не должно отличаться от значения, обозначенного на пластинке, более чем на 2.10-4.
Отклонение на

величину свидетельствует о неисправности прибора и необходимости ремонта.
1.3.8. Проведение измерений
При проведении измерений открывают верхнюю камеру, промывают и вытирают досуха соприкасающиеся плоскости камер и наносят на поверхность измерительной призмы стеклянной палочкой с оплавленным концом одну-две капли исследуемого раствора. Верхнюю камеру плавно закрывают. Глядя в окуляр, устанавливают его и вводят в поле зрения границу светотени перемещением рукоятки.
Освещением добиваются наибольшей контрастности поля зрения, устраняют окрашенность границы светотени шкалы
(рис. 1.10) и, совместив визирную линию сетки с границей светотени, отсчитывают показания по шкале. Отсчет производят после закрытия верхней призмы, по истечении нескольких минут, с целью уравновешивания температур.
При часто повторяющихся измерениях одинаковых растворов шкалу 7 можно зафиксировать в наилучшем положении винтом.
Для запоминания положения шкалы 7 при повторных установках на шкале нанесены деления с оцифровкой.
Измерения продуктов сахарного производства можно производить и при температуре в интервале 10 - 30 °C.
Если измерения производили при температуре, отличной от 20 °C, производят пересчет показаний на 20 °C с учетом поправки на температуру по
табл. 5 (раздел 17).
Например, измерения производили при температуре 17 °C, отсчет по шкале равен 37,8% сухих веществ. По
табл. 5 (раздел 17) находим поправку, равную 0,22. Показание рефрактометра, % сухих веществ будет равно:
37,8 - 0,22 = 37,58.
После проведения измерений необходимо открыть верхнюю камеру, промыть, досуха вытереть плоскости верхней и нижней камер и плавно опустить верхнюю камеру прибора.
1.3.9. Исследование невязких темных растворов
Исследование невязких темных растворов можно производить в проходящем свете (свет направляется в окно верхней камеры) или в отраженном (свет направляется в окно нижней камеры), что определяется опытным путем при исследовании (в зависимости от свойств испытуемого раствора).
При работе в проходящем свете на осветителе устанавливают светофильтр
1 (рис. 1.10), который прилагается к прибору. В отраженном свете светораспределение поля зрения будет обратным к светораспределению в проходящем свете, темная часть будет более светлой, контрастность полей меньше, но граница светотени достаточно резкая для проведения отсчета.
1.3.10. Исследование вязких темных растворов
При рефрактометрировании темноокрашенных продуктов, особенно без разбавления, рекомендуется для получения более четкой линии раздела "тень-свет" применять призму Германчука
(рис. 1.11).
Рис. 1.11. Схематическое изображение призмы Германчука
Основные размеры призмы (
мм) и величина рабочего угла (66°) показаны на
рис. 1.11. Она выполнена из белого стекла ТК-2. Все грани, кроме рабочих (образующих угол 66°), покрыты светонепроницаемой краской. На малой рабочей грани наклеено красное тонкое покровное стекло, изготовленное из стекла КС-2.
При работе с этой призмой отводят в сторону осветительную призму рефрактометра, а на измерительную призму помещают каплю раствора или продукта и накрывают большой гранью призмы Германчука, чтобы малая рабочая грань была обращена к источнику света.
Отсчет производят по резкой линии раздела "тень-свет".
1.4. РЕФРАКТОМЕТР УНИВЕРСАЛЬНЫЙ ЛАБОРАТОРНЫЙ УРЛ
1.4.1. Техническая характеристика
Пределы измерения: | |
- по шкале показателей преломления nд | от 1,2 до 2,1 |
- по шкале содержания сухих веществ, по сахарозе, % | от 0 до 95 |
Предел допускаемой погрешности измерений: | |
- по шкале показателей преломления, nд | +/- 1.10-4 |
- по шкале содержания сухих веществ, по сахарозе, % | +/- 0,1 |
Сходимость показаний: | |
- по шкале показателей преломления nд | 1,10-4 |
- по шкале содержания сухих веществ, по сахарозе, % | 0,1 |
Расход раствора (жидкости) на одно измерение, мл | 0,2 |
Питание прибора от сети переменного тока напряжением, В | |
частотой, Гц | 50 +/- 2 |
Потребляемая мощность, Вт, не более | 25 |
Условия эксплуатации: | |
- температура окружающей среды, °C | от +10 до +35 |
- относительная влажность при 20 °C, %, не более | 80 |
- температура проверки и установки нуль-пункта, °C | 20 +/- 0,1 |
Габариты, мм, не более | 400x180x260 |
Масса, кг, не более | 7,5 |
1.4.2. Конструкция рефрактометра
Прибор состоит из двух основных частей
(рис. 1.12): верхней - корпуса
2, нижней - основания
1.
Рис. 1.12. Рефрактометр универсальный лабораторный УРЛ
К корпусу прибора крепятся камеры: верхняя 6 и нижняя 3. Нижняя камера, заключающая в себе измерительную призму, жестко закреплена на корпусе, верхняя камера, заключающая в себе осветительную призму, соединена шарниром с нижней и может поворачиваться относительно нее.
Нижняя и верхняя камеры имеют окна, закрывающиеся пробкой.
На штуцере нижней камеры подвижно укреплен осветитель 4, свет от которого может быть направлен в одно из окон камер.
Каждая камера оборудована двумя штуцерами, соединенными с каналами, расположенными внутри нее. Штуцеры предназначены для подвода и вывода термостатирующей жидкости (воды).
Каналы камер соединяются между собой при помощи резиновых трубок, надеваемых на штуцеры.
Для контроля температуры исследуемого раствора служит термометр 5, укрепленный на штуцере нижней камеры с помощью накидной гайки. На передней крышке корпуса видна шкала рефрактометра 9.
На оси прибора укреплены:
- рукоятка 11 с окуляром 10 для наблюдения границы светотени и совмещения ее с перекрестием сетки;
- лимб дисперсии 7 для устранения наблюдаемой в окуляр окрашенности границы светотени;
- механизм наведения, находящийся внутри корпуса, который вместе с рукояткой может поворачиваться на оси вдоль шкалы.
На корпусе расположено отверстие, закрытое пробкой 8, служащее для ввода ключа 13 и установки нуль-пункта.
Внутри основания рефрактометра расположен понижающий трансформатор, предохранитель и весь электрический монтаж.
На передней стенке основания расположен переключатель для включения осветителя.
На боковой стенке укреплен шнур с вилкой 12 для подводки питания от сети.
Доступ к предохранителю осуществляется со стороны дна основания.
1.5. РЕФРАКТОМЕТР ПРЕЦИЗИОННЫЙ РПЛ
1.5.1. Техническая характеристика
Пределы измерения по содержанию сухих веществ (сахарозе), % | от 0 до 30 |
Предел допускаемой погрешности измерений по содержанию сухих веществ (сахарозе), % | +/- 0,04 |
Сходимость показаний по содержанию сухих веществ (сахарозе), % | 0,04 |
Условия эксплуатации: | |
- температура окружающей среды, °C | |
- относительная влажность при 20 °C, не более, % | 80 |
- температура проверки и установки нуль-пункта, °C | 20 +/- 0,1 |
Расход раствора (жидкости) на одно измерение, мл | 0,2 |
Питание прибора через трансформатор от сети переменного тока: | |
- напряжение, В | |
- частота, Гц | 50 +/- 2 |
Габариты, мм, не более | 375x300x390 |
Масса, кг, не более | 7,1 |
1.5.2. Конструкция прибора
Принцип действия рефрактометра РПЛ основан на определении коэффициента преломления по предельному углу преломления или полного внутреннего отражения луча в пределах по nд от 1,333 до 1,3810. Прибор применяется главным образом в аналитических лабораториях для определения содержания сухих веществ в растворе, % к его массе.
Прибор состоит из следующих основных частей
(рис. 1.13): камеры с измерительной призмой
1 и термометром
2, камеры с осветительной призмой
4, наружного вращающегося кольца компенсатора
5, отсчетного лимба
6, окуляра поля зрения
7 с диафрагмой, рукоятки зажима
8, колонки
9, стоящей на подставке
10, осветителя
3.
Рис. 1.13. Рефрактометр прецизионный РПЛ
1.5.3. Температурный режим
Исследование производят при температуре 20 °C, которая достигается пропусканием воды через камеру в течение не менее 20 - 30 мин. Если исследование производят при другой температуре в интервале от

, то пользуются таблицей поправок на температуру
(табл. 7, раздел 17).
Из
табл. 7 температурных поправок видно, что температурные колебания оказывают большое влияние на правильность отсчета показаний прибора. Поэтому при работе с прецизионным рефрактометром следует обращать внимание на отклонение температуры уже 0,2 °C и вводить соответствующие поправки.
Наиболее правильно работать с прибором в помещении со строго поддерживаемой температурой в 20 °C.
Если же надо работать при температуре, которая имеется в комнате, где установлен прибор, то следует обязательно вводить температурную поправку.
Ни в коем случае нельзя вести работу на приборе в помещении с неравномерной температурой воздуха и с испарениями (проходная комната, сквозняки и т.п.). Если температура призм отличается от температуры раствора, то на выходной грани измерительной призмы образуется налет влаги, и линия раздела становится расплывчатой и нечеткой. Кроме того, в этом случае будут несходящиеся между собой показания прибора.
С целью обеспечения ровной и устойчивой температуры призм необходимо через камеры призм пропускать слегка продезинфицированную воду из ультратермостата.
Во время работы с прибором вода должна проходить через камеры призм небольшой струей.
1.5.4. Установка нуль-пункта прибора
Отпустив рукоятку зажима
8 (рис. 1.13), приводят прибор в положение, при котором плоскость измерительной призмы
1 займет горизонтальное положение. Пользуясь отсветом лампы на полированной плоскости измерительной призмы, тщательно проверяют ее чистоту, а также чистоту матовой поверхности осветительной призмы
4. На середину полированной плоскости измерительной призмы
1 стеклянной палочкой с оплавленным концом наносят 1 - 2 капли свежей дистиллированной воды. После этого створки камеры закрывают, пользуясь рукояткой зажима
8, устанавливают прибор в удобное для наблюдений положение и регулируют положение заслонки, освещающей призмы, до получения резкой границы светотени. Установив отсчетный лимб
6 на нуль, наблюдают поле зрения.
Вращая кольцо компенсатора 5, находят такое положение его, при котором горизонтальная линия раздела между темной и светлой частями поля зрения не имеет никакой окраски.
При температуре прибора 20 °C линия раздела должна проходить через нулевое деление шкалы, причем отсчетный лимб также должен быть обязательно установлен на нуль.
В случае, если при нулевом положении отсчетного лимба линия раздела проходит выше или ниже нулевого деления шкалы, установку на нуль проводят следующим образом:
- вращая кольцо 13 в ту или другую сторону, совмещают линию раздела с нулевым делением шкалы.
Рис. 1.14. Отсчетный лимб прецизионного рефрактометра
Нулевое деление отсчетного лимба 12 совмещают с указательной чертой, находящейся на кольце 13.
Найденные положения фиксируют винтом 11, закручивая его до упора.
1.5.5. Проведение измерений
После введения между измерительной и осветительной призмами 1 - 2 капель исследуемой жидкости вращением кольца компенсатора уничтожают окраску линий раздела, устанавливают отсчетный лимб на нуль и наблюдают положение линии раздела на шкале.
Если линия раздела находится между двумя какими-либо делениями шкалы, то передвижением отсчетного барабана доводят линию раздела до ближайшего нижнего деления. После этого отсчитывают число делений шкалы от нуля до деления, по которому проходит линия раздела включительно. Полученный по шкале отсчет записывают как целые единицы и прибавляют к нему как десятые число делений, стоящее на отсчетном лимбе против указательной черты.
Пример. Линия раздела проходит между 16 и 17 делениями шкалы.
Вращением кольца 13 точно совмещают линию раздела с 16 делением. Против указательной черты на отсчетном лимбе стоит четвертое деление (от нуля). Показание прибора в этом случае следует записать 16,4. По
табл. 6 находят, что показанию рефрактометра 16,4 соответствует 5,57% сухих веществ.
Показания прибора следует брать как среднее двух-трех наблюдений одной и той же жидкости (раствора).
В случае, если температура была выше или ниже +20 °C, следует внести поправку в показания прибора, пользуясь
табл. 7 поправок к показаниям прецизионного рефрактометра.
Пример. Нулевая точка была установлена при 20 °C, а наблюдение и отсчет 15,4 произведен при температуре 24,6 °C. Поправка по
таблице для данного деления шкалы при температуре 24 °C будет 0,85, а при температуре 25 °C будет 1,1.
Разница в поправке между 25° и 24 °C равна 1,1 - 0,85 = 0,25; для одной десятой градуса она составит: 0,025, а для 0,6 будет 0,025 x 6 = 0,15.
Таким образом, поправка для температуры 24,6 °C составит 0,85 + 0,15 = 1,0. Отсчет показаний прибора с температурной поправкой будет 15,4 + 1,0 = 16,4. В переводе на содержание сухих веществ, %, это показание (по
табл. 6 раздела 17) составит 5,57%.
Если нет возможности провести установку нуля при 20 °C, а только, например, при 24,6, то, пользуясь
таблицей температурных поправок, находят положение для линии раздела следующим образом:
По
таблице 7 температурная поправка для деления шкалы рефрактометра, аналогично предыдущему примеру, будет:
| 0,1° = 0,015 0,6° = 0,015 x 6 = 0,09 |
Таким образом, общая поправка составит:
0,75 + 0,09 = 0,84, т.е. линия раздела при установке на нуль в условиях температуры 24,6 °C будет проходить не через нулевое деление, а на 0,84 деления шкалы ниже.
Отвинтив винт
11 (рис. 1.14) на один оборот, вращая кольцо
13, совмещают линию раздела с первым делением шкалы ниже нуля. Против указательной черты кольца
13 устанавливают 1,6 деления отсчетного лимба (10 - 8,4 = 1,6) и фиксируют положение винтом
11. При установке кольца
13 на нулевое деление отсчетного барабана линия раздела пройдет ниже нулевого деления шкалы на 0,84 деления. Установку следует проверить 2 - 3 раза. Подобной установкой нулевое положение линии раздела приводят к 20 °C, и потому при дальнейшей работе необходимо также вводить температурную поправку.
Капли испытуемой жидкости на середину полированной поверхности измерительной призмы следует наносить стеклянной палочкой с оплавленным концом, чтобы не поцарапать полированной поверхности призмы. Поцарапанная поверхность измерительной призмы обуславливает нечеткую расплывчатую линию раздела.
Плохо видимая линия раздела будет также при неплотно закрытых или перекошенных створках камер.
При работе на приборе следует пользоваться только чистыми фильтрованными растворами. Растворы, содержащие коллоидные частицы, рассеивают свет, в результате чего граница светотени становится нечеткой (особенно при исследовании темных растворов).
Наличие в исследуемых растворах кристаллов влечет за собой порчу полированной поверхности измерительной призмы. Всякий раз после проведения анализа призмы и шарнир камер следует тщательно промыть чистой водой, температура которой не должна отличаться от температуры призмы. Обмытые призмы следует досуха вытереть мягкой (стираной) льняной салфеткой.
Если рефрактометром не пользуются, между камерами кладут прокладку из папиросной бумаги.
1.6. ПРИБОР ДЛЯ ОПРЕДЕЛЕНИЯ СОДЕРЖАНИЯ ВЛАГИ
В СЫРОМ И СУШЕНОМ ЖОМЕ (ВЧМ)
1.6.1. Принцип работы прибора
Принцип работы прибора ВЧМ состоит в прогревании исследуемого материала в тонком слое термоизлучением из прилегающих к нему с обеих сторон пластин, нагреваемых электротоком.
1.6.2. Техническая характеристика
Отклонение температуры плит блока высушивания образцов от заданной рабочей температуры (160 °C) по термометру в верхнем нагревательном блоке прибора, °C, - не более +/- 5.
Время нагрева блока высушивания образцов до установившейся рабочей температуры в режиме холостого нагрева, мин., - не более 35.
Зазор между соприкасающимися рабочими поверхностями плит блока высушивания образцов, мм, - не более 0,2.
Источник питания - однофазная сеть переменного тока:
напряжение, В | |
частота, Гц | 50 +/- 1 |
Потребляемая мощность, Вт, не более | 900 |
Габаритные размеры, мм, не более: | |
блока высушивания образцов | 545x218x140 |
блока управления | 160x140x115 |
Масса, кг, не более: | |
блока высушивания образцов | 14 |
блока управления | 2 |
Прибор предназначен для работы во невзрывоопасных помещениях лабораторий, при температуре окружающего воздуха от 10 до 35 °C и относительной влажности 80% при 25 °C. Воздух помещений лабораторий не должен содержать абразивных и агрессивных примесей, вызывающих коррозию металлов.
1.6.3. Конструкция прибора
Прибор ВЧМ
(рис. 1.15) состоит из блока высушивания образцов
7 и блока управления
2.
Рис. 1.15. Прибор ВЧМ для определения содержания влаги
в жоме
Блок высушивания образцов имеет два нагревательных блока: верхний 21 и нижний 20, которые соединены между собой регулируемыми шарнирами. Верхний нагревательный блок с помощью ручки можно открывать при закладке пакетов с образцами.
Конструктивно каждый нагревательный блок представляет собой металлическую плиту 6, в канавке которой расположен электронагревательный элемент 4, закрепленный асбестовой прокладкой 5 и прижимным диском 8. Нагревательные блоки закрыты крышками 9 и 19, свободные полости которых заполнены теплоизоляционным материалом.
В плите верхнего блока в оправе 11 установлен термометр 13. В плите нижнего блока в оправе 12 установлен электроконтактный термометр 14, который с помощью блока управления автоматически поддерживает заданную температуру плит прибора. Соединение электроконтактного термометра с блоком управления осуществляется проводом 15, являющимся продолжением несъемного кабеля 3, и разъемом 1.
1.6.4. Подготовка прибора к работе, порядок работы
и техническое обслуживание
Подготовку прибора к работе производят в следующей последовательности:
- неокрашенные поверхности прибора очищают от антикоррозионной смазки;
- производят внешний осмотр прибора, проверяют комплектность;
- на нижнем нагревательном блоке прибора с помощью имеющихся винтов закрепляют фарфоровые ножки;
- устанавливают прибор на лабораторном столе, обеспечивают свободный доступ к нему и достаточную освещенность рабочего места и прибора;
- снимают ручку на оправе термометра 13 (Б-4) и крышку 16 на оправе электроконтактного термометра 14 (ТЭК-II-100) (t = 160 °C);
- термометр 13 устанавливают в оправу 11 верхнего блока, уплотняют отрезками абсолютного шнура 19 и устанавливают ручку;
- электроконтактный термометр 14 устанавливают в оправу 12 нижнего блока, уплотняют отрезками асбестового шнура 10 и вкладывают резиновую прокладку 17;
- концы провода 15, предварительно пропущенного через отверстие крышки 16, присоединяют к зажимам электроконтактного термометра, исключая возможность замыкания на корпус, затем устанавливают крышку 16;
- блок высушивания образцов и блок управления заземляют в соответствии с "
Правилами устройства электроустановок" (ПУЭ) в местах, указанных знаком

под нижним нагревательным блоком и на верхней панели блока управления;
- разъем 1 на соединительном проводе блока высушивания вставляют в соответствующую часть разъема на блоке управления;
- штепсельную вилку блока управления включают в штепсельную розетку однофазной сети 220 В, 50 Гц. При этом свечение зеленой лампы на блоке управления сигнализирует о включении прибора. Переключение зеленой и оранжевой лампы через 25 - 35 мин. после включения прибора в сеть сигнализирует о готовности прибора к высушиванию образцов жома, достижении заданной рабочей температуры (160 +/- 5 °C), которую контролируют по термометру 13 в верхнем блоке.
При проведении анализов должны соблюдаться следующие правила пользования прибором:
- при закладке пакетов с образцами жома угол открытия верхнего нагревательного блока не должен превышать 45 °C;
- зазор между плитами прибора необходимо отрегулировать в соответствии с толщиной пакетов с помощью специальных шарниров;
- рабочие поверхности плит верхнего и нижнего блоков необходимо периодически очищать от следов присохшего жома;
- рабочее место и прибор необходимо содержать в чистоте;
- блок управления должен быть расположен не ближе 15 - 20 см от блока высушивания образцов;
- температура окружающего воздуха помещений лабораторий, где эксплуатируется прибор, должна быть в пределах от 10 до 35 °C, относительная влажность - не более 80% (при 25 °C);
- в окружающем воздухе не должно быть примесей агрессивных паров и газов;
- на месте установки должны практически отсутствовать механические воздействия на прибор;
- лица, выполняющие анализы на приборе, должны знать правила техники безопасности при работе с электронагревательными приборами.
1.7. КОЛОРИМЕТР САХАРНЫЙ МОДЕРНИЗИРОВАННЫЙ КСМ
1.7.1. Техническая характеристика
Высота столба сравнения, мм | 200 |
Цена наименьшего деления шкалы, мм | 1 |
Увеличение окуляра поля зрения | 7 |
Диаметр видимого поля зрения, мм | 30 |
Световой диаметр светопровода, мм | 10 |
Допустимая погрешность определения цветности сахара и продуктов сахарного производства, % | +/- 10 |
Рабочая вместимость кюветы, мл | 200 |
Габаритные размеры, мм, не более: | |
длина | 300 |
ширина | 466 |
высота | 654 |
Масса, кг, не более | 11 |
1.7.2. Принцип работы и описание прибора
Сущность определения цветности сахарных растворов прибором КСМ заключается в установлении высоты столба исследуемого раствора, при котором его светопоглощение совпадает со светопоглощением цветного стекла сравнения (эталоном).
Прибор состоит из следующих основных частей
(рис. 1.16): основания
5, колонки со шкалой
4, фрикционного механизма
3, окулярной головки
1, револьверной головки с цветными стеклами сравнения
2, погружательной трубки
12, кюветы
11, направляющей трубки
9, подвижной трубки
10, экрана отражателя
7, лампы дневного света
8 и дросселя с пускателем
6.
Рис. 1.16. Колориметр КСМ
Свет, излучаемый лампой дневного света 8, отражается от экрана 7 и проходит по левому и правому светопроводу прибора. В правой части прибора находится кювета 11 для исследуемого сахарного раствора. В верхней части прибора находится револьверная головка 2 с комплектом цветных стекол сравнения (1Н; 0,5Н; 0,25Н).
Поворотом револьверной головки в оптическую систему прибора вводят необходимое цветное стекло сравнения. Положение диска револьверной головки устанавливают при помощи фиксатора. О том, какое цветное стекло сравнения введено в оптическую систему, указывает надпись в верхней части револьверной головки. Свет от двух светопроводов попадает в окулярную головку 1. Отражаясь от двух отражательных призм, два световых потока сводятся к одной оси при помощи гексапризмы и рассматриваются через окуляр.
С помощью фрикционного механизма 3 можно перемещать окулярную головку 1 с прикрепленной к ней погружательной трубкой 12 и подвижной трубкой 10, изменяя тем самым высоту столба исследуемого раствора в кювете 11. Через выходное отверстие окуляра окулярной головки 1 наблюдают за изменением освещенности половинок поля зрения.
1.7.3. Пользование прибором
Проверка состояния прибора перед пользованием состоит в следующем:
- необходимо проверить чистоту белого экрана (отражателя), находящегося в нижней части, прибора. На матовой поверхности экрана легко задерживается пыль и грязь, поэтому периодически его следует мыть водой с мылом и щеткой.
Стекла кюветы для жидкости и направляющей трубки должны быть чисто вымыты и досуха вытерты мягкой, многократно стиранной салфеткой, слегка смоченной спиртом. Наличие царапин и грязи на стеклах, и особенно на стекле трубки, приводит к затемнению одной половины поля зрения, и таким образом, к невозможности установки его на однородность по цветности;
- штрих указателя шкалы должен совпадать с нулевым делением шкалы;
- в поле зрения не должно быть видно следов пыли и грязи.
Контур поля зрения должен быть резко очерчен и иметь форму правильного круга. Линия раздела должна быть прямой, тонкой, вертикальной и делить поле зрения на две равные по величине половинки;
- фрикционный механизм должен работать плавно и без толчков. Недопустимо его самоопускание.
Цветные стекла сравнения проверяют в лаборатории ВНИИСПа по образцовым стеклам завода "Аналитприбор".
Источником света служит люминесцентная лампа дневного света (ДС) 8, прикрепленная на кронштейне к основанию прибора. Люминесцентную лампу включают через дроссель 6 в сеть переменного тока напряжением 127 В. Если напряжение в сети 220 В, нужно поставить трансформатор, понижающий напряжение с 220 до 127 В. Включение и выключение осветителя производят с помощью выключателя, смонтированного на крышке дросселя 6.
Перед началом работы проверяют установку прибора на нуль. Для этого в кювету наливают 15 - 25 мл слабого раствора перманганата калия (3 - 5 кристаллов KMnO4 на 250 мл воды) и опускают погружательную трубку до контакта с защитным стеклом кюветы. В этом положении при отсутствии в оптической системе цветных стекол сравнения поле зрения должно быть бесцветным.
В случае необходимости фотометрическое равенство полуполей достигается за счет поворота лампы дневного света в горизонтальной плоскости. Интенсивность освещения поля зрения регулируют поворотом отражателя 7, который при работе должен быть закрыт фильтровальной бумагой.
При контакте защитных стекол погружательной трубки и кюветы нулевое деление шкалы должно совпадать со штрихом указателя шкалы. Если этого нет, то, опустив винт, крепящий указатель шкалы, совмещают последний с нулевым делением шкалы и фиксируют установленное положение винтом.
При отсутствии контакта между стеклами фотометрического равенства получить нельзя, и прибор подлежит ремонту.
За единицу цветности принимают цветность такого раствора сахара, 100 мм столба которого дает окрашивание такой же интенсивности, какую имеет эталонное нормальное стекло. Эта единица названа условной единицей цветности.
Так как цветность находится в обратнопропорциональном отношении к высоте этого столба, то высота столба любого исследуемого в колориметре сахарного раствора, дающая окрашивание, равное интенсивности окрашивания нормального стекла, будет во столько раз меньше (или больше) 100 мм, во сколько раз цветность этого раствора будет больше (или меньше) этой единицы. Из этого следует, что цветность, выраженная в условных единицах, равна частному от деления 100 на высоту столба жидкости, дающего окрашивание, по интенсивности равное окрашиванию нормального стекла.
Для возможности сравнения степени окрашивания растворов различной плотности цветность, выраженную в условных единицах, пересчитывают на 100 частей сухих веществ исследуемого продукта. Поскольку окрашенность раствора зависит от концентрации красящих веществ (г/100 мл), в знаменатель вводят плотность исследуемого раствора.
В зависимости от степени окрашивания раствора можно пользоваться стеклами с уменьшенной в сравнении с 1,0-нормальным стеклом, окраской, а именно 0,5-нормальным, 0,25-нормальным стеклом, окраска которых соответственно равна окраске столба раствора в 50 и 25 мм с цветностью 1,0.
Для получения правильных показаний колориметра при пользовании им надо соблюдать следующие условия.
После проверки, правильно ли установлен прибор на нуль, фрикционным механизмом 3 поднимают погружательную трубку 12, снимают кювету 11 и наполняют ее исследуемым раствором. При этом следует обращать внимание на то, чтобы не налить слишком много жидкости, ибо это может привести к ее переливанию из кюветы и загрязнению прибора.
Наполненную кювету устанавливают на основание прибора до упора ее буртика в буртик неподвижной трубки. Поворотом револьверной головки вводят в оптическую систему нужное цветное стекло сравнения.
При помощи фрикционного механизма изменяют высоту столба исследуемого раствора до тех пор, пока окрашенность обеих половин поля зрения не уравняется.
В этом случае обе половины поля зрения станут однородными. При необходимости фотометрическое равенство полуполей достигается путем поворота лампы дневного света в горизонтальной плоскости.
После этого производят отсчет по шкале. Для определения результата наблюдений следует произвести не менее пяти отсчетов по шкале и, как результат, принимать среднее арифметическое этих измерений. Цветность продуктов сахарного производства выражают в единицах цветности на 100 частей сухого вещества и вычисляют по формулам, которые помещены в следующих разделах настоящей Инструкции.
Следует обратить особое внимание на то, чтобы исследуемый раствор был прозрачным и не содержал мути, иначе он в колориметре изменит окрашенность поля зрения. Сравнение такого раствора с окраской цветного стекла будет затруднено, а это может привести к значительному искажению результатов исследования.
Обычно исследуемый раствор подвергают фильтрованию через фильтровальную бумагу. Если же обычное фильтрование не очищает раствор, его обрабатывают кизельгуром (0,25 г высушенного и просеянного кизельгура на 100 мл раствора) и снова фильтруют.
После каждого определения следует тщательно промывать кювету и погружательную трубку дистиллированной водой. Стекла протирают мягкой неворсистой салфеткой.
В случае загрязнения защитных стекол и линзы окуляра их осторожно очищают ватой, навернутой на деревянную палочку.
Если пружины фрикционного механизма ослабнут, и ролик начнет проскальзывать в пазу колонки, то следует при помощи отвертки подтянуть два винта, находящиеся на фрикционном механизме и прижимающие ролик к колонке.
1.8. ФОТОЭЛЕКТРИЧЕСКИЙ ЦВЕТОМЕР А1-ЕЦ2-С
1.8.1. Техническая характеристика
Диапазон измерения: | |
по светопропусканию, % | от 5 до 100 |
по оптической плотности, ед. | от 1,3 до 0 |
Предел основной допускаемой погрешности, % светопропускания | +/- 1,0 |
Сходимость измерений (вариация) от предела основной допускаемой погрешности, не более | 0,3 |
Чувствительность на 1% светопропускания по шкале нуль-индикатора, делений, не менее | 2 |
Базовая длина измерительных прямоугольных плоскопараллельных кювет, мм | 10, 20, 30, 50 |
Длины воли интерференционных светофильтров в максимуме пропускания  , нм: N 1 - 400 +/- 5; N 2 - 420 +/- 5; N 3 - 440 +/- 5; N 4 - 490 +/- 5; N 5 - 506 +/- 5; N 6 - 540 +/- 5; N 7 - 560 +/- 5; N 8 - 600 +/- 5; N 9 - 650 +/- 5; N 10 - 690 +/- 5; N 11 - 720 +/- 5 | |
Питание прибора от сети переменного тока напряжением, В | 220 +/- 10% |
частотой, Гц | 50 +/- 2 |
Потребляемая мощность, Вт, не более | 50 |
Условия эксплуатации: | |
температура окружающей среды, °C | 20 +/- 5 |
относительная влажность при 20 °C, %, не более | 80 |
Габариты, мм, не более | 420x280x336 |
Масса, кг, не более | 22 |
1.8.2. Описание и принцип действия прибора
Фотоэлектрический цветомер А1-ЕЦ2-С предназначен для объективного определения цветности сахара и продуктов сахарного производства в единицах оптической плотности.
На цветомере А1-ЕЦ2-С измеряют оптическую плотность (или светопропускание) исследуемого раствора относительно эталонного, оптическая плотность которого принимается за нуль (светопропускание 100%).
На
рис. 1.17. представлена принципиальная оптическая схема прибора.
Рис. 1.17. Оптическая схема прибора А1-ЕЦ2-С
Световой поток от источника света 1 направляется конденсором 2 через диафрагму 3, светофильтр 4, кюветы 5 или 6 на фотоэлементы 8 или 9. На пути монохроматического светового потока поочередно устанавливают кювету с эталонным раствором и кювету с исследуемым раствором. По изменению фототока на шкале пропускания отсчетного реохорда определяют отношение светового потока, прошедшего через исследуемый раствор, к световому потоку, прошедшему через эталон. Шторка (заслонка) 7 предназначена для перекрывания световых лучей, поступающих в камеру фотоэлементов.
Все узлы прибора смонтированы в едином корпусе. На жестких опорах укреплен оптический блок, на шасси которого размещены: осветитель, блок диафрагмы с конденсором, держатель светофильтров, кюветное отделение, блок фотоэлементов. Кюветы с исследуемым и эталонным растворами устанавливают в пазах подвижной каретки. Передняя панель цветомера показана на
рис. 1.18.
Рис. 1.18. Внешний вид и передняя панель фотоэлектрического
цветомера А1-ЕЦ2-С
Держатель с кюветами перемещают рукояткой 6, выведенной на верхнюю лицевую панель прибора.
При работе на приборе отсек с кюветами закрывают крышкой. Фотоэлементы помещены в герметизированном корпусе, и переключение их производят рукояткой 7.
В одном из крайних положений рукоятки (рукоятка не выдвинута) на пути луча установлен фотоэлемент Ф-4, в другом (рукоятка выдвинута) - Ф-5.
Для предохранения баллонов фотоэлементов от влаги в корпусе их помещен осушитель.
Для прерывания светового луча перед фотоэлементом стоит заслонка-переключатель, которая перемещается рукояткой 8.
В верхней крышке корпуса имеются два люка: над камерой для кювет и над держателем светофильтров. Люк для кювет закрывается крышкой 5.
Лицевая панель прибора с электроблоком сделана выдвижной.
Питание прибора осуществляется двухполюсной вилкой, установленной на задней стенке прибора.
1.8.3. Порядок измерения
1. Установить прибор на столе.
2. Проверить механический нуль микроамперметра 12, стрелка которого должна стоять на нуле.
3. Подключить прибор к сети, для чего шнур с вилкой, идущий от прибора, включить в сеть переменного тока напряжением 220 В. Тумблер 9 для включения прибора должен стоять в положении "Выкл."
4. Фотоэлементы закрыть заслонкой, для чего ось рукоятки для открывания и закрывания заслонки фотоэлемента 8 утопить.
5. Установить в люк 4 светофильтр нужной длины волны.
6. Рукояткой для переключения фотоэлементов 7 установить фотоэлемент Ф-4 или Ф-5 в зависимости от примененного светофильтра. При выдвижении ручки на себя до упора включен фотоэлемент Ф-5, при утопленной оси рукоятки включен элемент Ф-4.
7. Тщательно промыть и высушить кюветы, заполнить их исследуемым раствором и эталоном. Под эталоном понимают вещество, светопропускание которого принимается за 100%, а оптическая плотность - равной нулю. Затем осторожно, не касаясь стекол, перемешивают содержимое кюветы с исследуемым раствором тонкой стеклянной палочкой до исчезновения концентрационных волн.
8. Установить тумблер для включения прибора в положение "Включено", что приведет к освещению глазка 1.
9. Через 20 - 30 мин. после включения питания начинать измерение.
10. Рукоятками грубой настройки 11 и плавной настройки 13 установить потенциометры в среднее положение.
11. Рукояткой темнового тока 10 привести стрелку микроамперметра в нулевое положение.
12. Установить в кюветное отделение кюветы с исследуемым и эталонным растворами так, чтобы в одном положении каретки луч проходил через эталон, а в другом - через образец. При этом поверхности кювет следует перед каждым измерением тщательно протирать, а при установке кювет в кюветодержатель нельзя касаться пальцами рабочих поверхностей (т.е. поверхностей, через которые проходит луч света).
13. Закрыть крышку люка кюветного отделения 5.
14. Установить каретку рукояткой 6 в положение, при котором луч проходит через эталон.
15. Реохордом 15 установить по отсчетной шкале 14 нуль оптической плотности (100% светопропускания).
16. Установить заслонку-переключатель в положение "Открыто", для чего рукоятку заслонки 8 выдвинуть на себя до упора.
17. Привести стрелку микроамперметра в нулевое положение изменением величины диафрагмы рукояткой 2 и более точно - рукоятками настройки 11 и 13.
18. На пути светового потока, выдвигая рукоятку кюветного отделения 6 на себя, установить кювету с испытуемым раствором.
19. Вращением рукоятки отсчетного реохорда 15 установить стрелку микроамперметра в нулевое положение.
20. Снять отсчет по шкале 14: по нижней шкале - светопропускание в %, по верхней - оптическую плотность.
21. Установить заслонку в положение "Закрыто", для чего ось рукоятки 8 утопить до предела.
Цветомер периодически проверяют при помощи набора нейтральных светофильтров НС-8 и НС-6, которые приложены к прибору. Проверку производят в таком же порядке, как и при измерении цветности растворов, но вместо эталонного раствора служит воздух, а вместо исследуемого раствора в камеру 1 устанавливают нейтральный светофильтр. Производят не менее трех измерений и берут среднее отклонение значения светопропускания от номинальной величины, которое не должно превышать +/- 1%.
Измерение считается правильным, если стрелка гальванометра возвращается в нулевое положение, в противном случае измерение следует повторить.
1.9. ФОТОМЕТР ЛАБОРАТОРНЫЙ МАЛОГАБАРИТНЫЙ ЛМФ-72М
Фотометр лабораторный ЛМФ-72М предназначен для измерения коэффициента светопропускания и оптической плотности растворов при определении цветности сахара и продуктов сахарного производства.
1.9.1. Техническая характеристика
Пределы измерения по коэффициенту светопропускания (% Т) | 0 - 100 |
Пределы измерения по оптической плотности (Д) | 0... 0,5 и 0... 1,0 |
Спектральный диапазон, нм | 365 ... 750 |
Узкие спектральные полосы в указанном спектральном диапазоне выделяются с помощью абсорбционных светофильтров со следующими значениями длины волн и максимуме пропускания, нм:
N 1 - 365 +/- 10; N 2 - 400 +/- 5; N 3 - 420 +/- 2; N 4 - 490 +/- 5;
N 5 - 540 +/- 5; N 6 - 560 +/- 2; N 7 - 600 +/- 5; N 8 - 620 +/- 5;
N 9 - 670 +/- 5; N 10 - 720 +/- 5; N 11 - 750 +/- 5; N 12 - 790 +/- 10.
Предел допускаемого значения основной погрешности по пропусканию +/- 1% Т.
Предел допускаемого значения основной погрешности по оптической плотности определяется с помощью формулы:

,
где Т - значение коэффициента пропускания в данной точке шкалы.
Максимальная оптическая плотность сравнительного раствора не менее 1Д.
Базовая длина плоскопараллельных измерительных кювет, мм | 5, 10, 20, 30, 50 |
Электрическое питание - сеть переменного однофазного тока с напряжением 220 +/- В и частотой 50 +/- 1 Гц. |
Потребляемая мощность, ВА, не более | 100 |
Время предварительного нагрева, мин. | 30 |
Время непрерывной работы, ч, в сутки | 23 |
Габаритные размеры, мм, не более: | |
длина | 485 |
ширина | 500 |
высота | 260 |
Масса, кг, не более | 20 |
1.9.2. Устройство и принцип работы
Фотометр выполнен по однолучевой двухканальной оптической схеме с модуляцией светового потока. Оптическая схема фотометра представлена на
рис. 1.19. Световой поток от лампы накаливания
1 типа КГМ 6,3-15 формируется с помощью конденсора
2 и объектива
3 и направляется через переменную щелевую диафрагму
4 на модулятор
5. Промодулированный световой поток, пройдя через сменный интерференционный светофильтр
6, тепловой светофильтр
7 и одну из двух кювет
8, измерительную или сравнительную, попадает на фотоумножитель
11 абсорбциометрического канала.
Рис. 1.19. Оптическая схема прибора ЛМФ-72М
Общий вид фотометра ЛМФ-72М приведен на
рис. 1.20.
Рис. 1.20. Фотометр лабораторный малогабаритный ЛМФ-72М
Измерительная камера вынесена из корпуса фотометра и размещена в левом верхнем углу лицевой панели.
В измерительной камере имеется кюветный отсек, представляющий собой цилиндрическую полость, на дне которой установлен поворотный столик. На поворотный столик устанавливаются держатели плоскопараллельных кювет.
Поворотный столик имеет 3 фиксированных положения (положения кюветодержателя): положение 100, при котором в оптическом канале устанавливается сравнительная кювета, положение 0, при котором оптический канал перекрыт, и положение диаметрально противоположно положению 100, при котором в оптическом канале устанавливается рабочая кювета (положение "И").
Поворот столика осуществляется с помощью ручки, выведенной снизу измерительной камеры (ручка кюветодержателя).
При проверках на место держателей плоскопараллельных кювет устанавливается держатель нейтральных светофильтров.
За кюветным отсеком в измерительной камере установлены два светоприемника: один - по оптической оси, а другой - под углом 90° к оптической оси.
1.9.3. Порядок работы
При работе на фотометре запрещается:
- производить смену цветных (интерференционных) светофильтров при открытом оптическом канале. Перед сменой светофильтров необходимо установить кюветодержатель в положение "О";
- выполнять измерения при открытом кюветном отсеке.
Время непрерывной работы фотометра - 23 ч. в сутки. После 23 ч. непрерывной работы выключить фотометр. Повторное включение разрешается не ранее чем через 1 ч.
Работу на фотометре осуществляют в такой последовательности
(рис. 1.20):
1. Установить органы управления и регулирования в исходное положение.
Данную операцию производят перед включением фотометра.
Допускается не выполнять данную операцию при повторном включении фотометра после перерыва в работе.
К органам управления относятся кнопки "Вкл.", "Ф", "Р", "У", "0,5Д", "1Д" и кюветодержатель.
К органам регулирования относятся ручки "О" - грубо", "О" - точно", "100" - грубо", "100" - точно", "ОД", "0,5Д", "1Д" и ручка диафрагмы.
Порядок выполнения операций: - органы управления, кроме кюветодержателя, установить в исходное положение, кюветодержатель 5 - в положение "0";
- ручку "О" - грубо" 7 установить в крайнее по ходу часовой стрелки положение;
- ручку "100" - грубо" 17 - в крайнее против хода часовой стрелки положение;
- ручки "О" - точно" 8, "100" - точно" 18, "ОД" 14, "0,5Д" 16, "1Д" 15 и ручку диафрагмы 1 - в среднее положение.
Данную операцию производят непосредственно перед началом работы на фотометре.
Содержание операции:
вставить вилку сетевого шнура в розетку, нажать кнопку "Вкл." 6.
3. Установить нуль на шкале "Т".
Данная операция является первой по градуировке шкал фотометра и выполняется через 30 мин. после включения прибора.
Содержание операции: - ручкой "0 - точно" 8 совместить стрелку показывающего прибора с отметкой "0" шкалы.
4. Провести калибровку шкалы "Т".
Данная операция производится обычно после операции по
п. 3 при наличии в световом канале кюветы со сравнительным раствором (эталоном), а при поверках и проверке технического состояния и работоспособности - без кюветы.
Порядок выполнения операций: установить кюветодержатель 5 в положение "100"; ручкой диафрагмы 1 установить стрелку показывающего прибора вблизи отметки "100" шкалы; ручкой "100 - точно" 18 совместить стрелку показывающего прибора с отметкой "100" шкалы.
5. Провести градуировку шкалы Т.
Данная операция содержит операции по
п. 3 и
4, которые должны быть выполнены непосредственно одна за другой.
6. Установить нуль по шкале 1Д (0,5Д).
Данная операция проводится перед измерением оптической плотности раствора и является одной из операций согласования шкалы оптической плотности (шкалы Д) со шкалой коэффициента пропускания (шкалой Т) и выполняется обычно после операции по
п. 3.
Содержание операции: нажать кнопку 1Д 10 (0,5Д) 9; ручкой "ОД" 14 совместить стрелку показывающего прибора с отметкой "0" шкалы.
7. Произвести калибровку шкалы 1Д.
Данная операция обычно производится после операции по
п. 6.
Нажать кнопку "У" 11 и, не отпуская ее, ручкой "1Д" 15 совместить стрелку показывающего прибора с отметкой "100" шкалы. При этом цена деления шкалы составит 0,01Д.
8. Провести калибровку шкалы 0,5Д.
Данная операция выполняется после операции по
п. 7.
Нажать кнопку 0,5Д 9, нажать кнопку "У" 11 и, не отпуская ее, совместить стрелку показывающего прибора с отметкой "100" шкалы.
При этом цена деления шкалы составит 0,005Д.
9. Произвести согласование шкал 1Д и 0,5Д со шкалой "Т". Данная операция содержит операции по
п.п. 6;
7 и
8, выполняемые последовательно.
10. Произвести полную градуировку шкал фотометра.
Данная операция содержит операции по
п. 3;
4;
6;
7;
8, выполняемые одна за другой.
11. Заполнить кюветы эталонным, а также исследуемым растворами и установить их в кюветодержатель.
Порядок выполнения операций:
- опорожнить кюветы (при необходимости);
- промыть кюветы растворами, которыми они должны быть заполнены;
- заполнить кюветы растворами до уровня, установленного риской на стенках кювет;
- протереть кюветы мягкой тканью (батистом);
- открыть крышку кюветного отсека и установить кюветы. Кювету, заполненную эталонным раствором, устанавливают справа, если кюветодержатель установлен в положение "0"; заполненную исследуемым раствором - в противоположное. Закрыть крышку кюветного отсека.
12. Установить в держатель нейтральный светофильтр.
Данную операцию проводят при поверках фотометра и проверке его работоспособности.
Необходимо открыть крышку кюветного отсека, установить в держатель светофильтр, закрыть крышку кюветного отсека.
13. Извлечь из держателя светофильтр.
Для этого открыть крышку кюветного отсека, извлечь из держателя светофильтр, закрыть крышку кюветного отсека.
14. Выполнить измерение по выбранной шкале.
Порядок выполнения операций: установить (при необходимости) органы управления в положение, соответствующее выбранной шкале (для шкалы Т - кнопки "Ф", "О", "У", "0,5Д" и "1Д" должны находиться в нормальном состоянии; для шкал "0,5Д" и "1Д" нажать кнопку "0,5Д" или "1Д"); снять отсчет показания по шкале показывающего прибора фотометра в делениях шкалы; вычислить значение определяемого параметра (произведение цены деления на показание фотометра в делениях).
Цена деления составляет:
для шкалы Т -

для шкалы 0,5Д -

для шкалы 1Д -

15. Выключить фотометр.
Данную операцию производят в порядке, обратном проведению операции
п. 2.
1.10. КОЛОРИМЕТР-НЕФЕЛОМЕТР ФОТОЭЛЕКТРИЧЕСКИЙ ФЭК-60
1.10.1 Техническая характеристика
Диапазон измерения: | |
по светопропусканию, % | от 100 до 5 |
по оптической плотности, Д | от 0 до 3 единиц |
Предел основной допускаемой погрешности по коэффициенту светопропускания, % | +/- 1 |
Сходимость показаний (вариация) прибора, % (абсолютных) | - 0,3 |
Интервал длин волн, нм | 360 - 1000 |
Наиболее чувствительная область, нм | 400 - 950 |
Прибор снабжен набором кювет с различным объемом в пределах, мл | 0,5 - 50 (по длине до 100 мм) |
Прибор снабжен 9 парами светофильтров с длинами волн в максимуме пропускания, нм:
N 1 - 364 | N 2 - 390 | N 3 - 450 | N 4 - 520 | N 5 - 590 |
N 6 - 670 | N 7 - 750 | N 8 - 870 | N 9 - 980 | |
Светофильтры N 1 и N 2 - стеклянные, остальные - интерференционные.
Дополнительно, по требованию заказчика, могут поставляться светофильтры с длинами волн:
N 10 - 420; N 11 - 480; N 12 - 560; N 13 - 620; N 14 - 720; N 15 - 800; N 16 - 930;
отклонение от номинальной длины волны, нм:
стеклянного +/- 7; интерференционного +/- 5 нм.
Примечание: При использовании прибора ФЭК-60 в сахарной промышленности он должен комплектоваться интерференционными светофильтрами с длинами волн 420 +/- 2; 560 +/- 2 и 720 +/- 2 нм.
Питание прибора от сети переменного тока:
напряжение, В - 220 +/- 22;
частота, Гц - 50 +/- 2.
1.10.2. Оптическая схема прибора
Нить лампы 1 с помощью двух конденсоров 2 и 18 и двух зеркал 4 и 16 отображается на линзах 7 и 14. Эти изображения нити лампы проектируются линзами 8 и 13, сводятся зеркалами 9 и 12 и призмой 11 в полость фотокатода фотоэлемента 10.
Рис. 1.21. Оптическая схема фотоэлектрического
колориметра-нефелометра ФЭК-60
Модулятор 5, помещенный за конденсорами, модулирует световые потоки, правый и левый, в противофазе. Модулированные световые потоки, пройдя светофильтры и кюветы, попадают на фотокатод и возбуждают переменный электрический ток, пропорциональный разности световых потоков левой и правой ветви прибора.
В правый световой поток включается то одна, то другая кювета (с раствором или растворителем).
Для уменьшения чувствительности прибора в оба плеча включаются нейтральные светофильтры из прилагаемого комплекта. В этом случае поглотитель в оправе надевается на оправу линз 7 и 14.
Щелевая диафрагма 3, расположенная в правом пучке (измерительном), при вращении связанного с ней барабана изменяет свою площадь и тем самым изменяет интенсивность правого светового потока, падающего на фотоэлемент. Щелевая диафрагма 17, расположенная в левом пучке, служит для ослабления интенсивности левого светового потока, падающего на тот же фотоэлемент.
1.10.3. Конструкция прибора
Все основные узлы прибора смонтированы на основании нижнего корпуса: осветитель, мотор с модулятором, опорный фотоэлемент, светофильтры, кюветодержатели, диафрагмы, усилитель, фотоэлементы. К нижнему корпусу винтами крепится верхний корпус.
Осветитель
(рис. 1.22) состоит из корпуса, патрона и лампы накаливания. Осветитель крепится к отливке
1 с помощью трех винтов. Конструкция его обеспечивает продольное перемещение лампы и наклон ее в двух взаимноперпендикулярных плоскостях при помощи винтов
3 и
5. После регулировки осветитель закрепляется двумя винтами
2 и
4. Цанговый зажим исключает возможность качки лампы в патроне.
Рис. 1.22. Вид прибора ФЭК-60 сзади без крышки
Мотор Г-31АУ4 крепится к отливке 1 с внутренней стороны. На оси мотора закреплен модулятор, выполненный в виде цилиндра с семью прорезями. Промежуток между прорезями равен размеру прорези.
Светофильтры располагаются в двух барабанах
4 и
5 (рис. 1.23), связанных между собой цилиндрической зубчатой передачей. Вращение барабанов производится от рукоятки
2. В барабаны установлены по 9 светофильтров, которые поочередно могут быть включены в ход световых пучков прибора.
Рис. 1.23. Вид прибора ФЭК-60 спереди без крышки
Рабочее положение каждого светофильтра фиксируется. Цифры

на рукоятке
2 показывают номер включенного светофильтра. При необходимости смены светофильтра из комплекта открывают крышку
1 и с помощью прилагаемого к прибору ключа заменяют светофильтр.
Кюветодержатели - правый и левый - расположены в кюветной камере. В правом кюветодержателе устанавливаются две кюветы, в левом - одна. Переключение кювет в правом световом пучке производится поворотом рукоятки
3 (рис. 1.24) до упора.
Рис. 1.24. Общий вид фотоэлектрического
колориметра-нефелометра ФЭК-60
К прибору прилагается четыре комплекта стеклянных кювет. Каждый комплект состоит из 8 кювет с толщиной рабочего слоя 1, 3, 5, 10, 20, 30, 50, 100 мм.
Диафрагмы - измерительная (правая) и компенсационная (левая) - представляют собой прямоугольники, две боковые грани которых при вращении рукоятки могут перемещаться навстречу друг другу, при этом ширина щели изменяется от максимального значения до нуля.
С измерительной (правой) диафрагмой связан отсчетный барабан, на котором нанесены две шкалы: коэффициентов пропускания (черная) и оптической плотности (красная). Связь между делениями обеих шкал определяется формулой:

,
где Д - оптическая плотность;

- коэффициент пропускания (%).
Шкала нанесена таким образом, что максимальное раскрытие щелевой диафрагмы соответствует 100% пропускания, а полное ее закрытие - 0%.
Шкала пропускания равномерная, так как мощность пучка лучей, проходящего через диафрагму, пропорциональна ширине щели. Деления шкалы коэффициента пропускания

связаны с углом поворота барабана

соотношением:

.
Компенсационная диафрагма шкалы не имеет.
При вращении рукоятки
3 (рис. 1.23) происходит открытие щелевой диафрагмы.
Усилитель изготовлен в виде отдельного блока, в котором расположена вся его электрическая часть.
Фотоэлементы СЦВ-4 и ЦВ-4 устанавливаются в один корпус и разделяются шторкой. Переключение фотоэлементов производится рукояткой
1 (рис. 1.24) на передней стенке прибора:
Л6 - включение фотоэлемента СЦВ-4 (360 - 620 нм);
Л7 - включение фотоэлемента ЦВ-4 (620 - 1000 нм).
Микроамперметр типа М-2001 класса точности 2,5, шкала 50-0-50 предназначен для определения состояния фотометрического и электрического баланса в фотоэлектроколориметре. Он закреплен в кюветном отделении под крышкой
6 (рис. 1.23). С целью защиты микроамперметра от перегрузок он зашунтирован диодами. На переднюю панель выведена ручка
2 (рис. 1.24) потенциометра R
20 регулировки чувствительности прибора.
Питающее устройство
(рис. 1.25), прилагаемое к прибору, обеспечивает достаточное постоянство напряжения питания фотометрической лампы и усилителя.
Рис. 1.25. Питающее устройство прибора ФЭК-60
При изменении напряжения в сети в пределах 198 - 242 В и неизменной частоте 50 Гц точность стабилизации напряжения на выходе питающего устройства составляет +/- 0,5%.
Все основные узлы питающего устройства смонтированы на основании 2 и сверху закрыты кожухом 1, на боковых стенках которого имеются вентиляционные окна для охлаждения рабочих частей питающего устройства. Питание на прибор подается через разъем.
1.10.4. Измерение оптической плотности или коэффициента
светопропускания раствора
Измерение можно производить двумя методами - как описано ниже. В том и другом случае измеряется величина пропускания или величина оптической плотности раствора относительно растворителя или контрольного раствора.
Перед измерением необходимо периодически проверять "электрический нуль". Эта проверка осуществляется следующим образом:
устанавливают ручку шторки, выведенную на переднюю стенку прибора, в положение "ЗАКРЫТО". Стрелка микроамперметра должна установиться на нуль. Если этого нет, то вращением в ту или другую сторону рукоятки потенциометра
7 (рис. 1.23) добиваются нулевого положения стрелки.
Измерения по первому методу производят в следующем порядке:
правый (измерительный) барабан устанавливают на деление 100 по шкале пропусканий, а кювету с исследуемым раствором помещают в правый пучок света (левое плечо прибора остается свободным). Вращением левого барабана устанавливают стрелку микроамперметра на нуль. Затем в правый пучок света вместо кюветы с раствором вводят кювету с растворителем и восстанавливают нарушенное фотометрическое равновесие вращением правого барабана. Величину пропускания или оптической плотности раствора отсчитывают по измерительному барабану.
Для снижения случайных погрешностей измерений рекомендуется каждый отсчет брать как среднее из 5 измерений.
При работе другим методом процесс измерений состоит в следующем:
в правый или левый пучок света прибора помещают одинаковые кюветы с растворителем. Барабан измерительной диафрагмы устанавливают на отсчет 100, левым барабаном производят уравнивание обоих световых потоков. Затем в левое плечо прибора вместо кюветы с растворителем помещают кювету с раствором; при этом стрелка микроамперметра отклоняется от нулевого положения. Вращением правого измерительного барабана вновь устанавливают стрелку микроамперметра на нуль.
Величину пропускания или оптической плотности раствора по отношению к величине пропускания или оптической плотности растворителя отсчитывают по измерительному барабану.
Положительной особенностью этого метода является его более высокая производительность, так как начальную установку прибора на 100 делений шкалы пропускания (с растворителем) можно производить один раз для партии исследуемых растворов.
Для большей точности измерений необходимо периодически проверять начальную установку прибора на 100 делений шкалы пропускания.
Примечание. Если при установке цветных светофильтров из дополнительного комплекта на отсчете "100" измерительного барабана при полном раскрытии левой диафрагмы стрелка микроамперметра не устанавливается на нуль, необходимо поменять местами цветные светофильтры.
Относительная погрешность измерений на приборе различна на разных участках шкалы прибора. Большая чувствительность прибора позволяет измерять в области спектра от 400 до 950 нм плотные растворы (до плотности 3, а с некоторыми светофильтрами - растворы и с большей плотностью) относительным методом, т.е. относительно контрольного раствора, плотность которого может быть измерена на этом же приборе в средней части шкалы прибора.
1.11. pH-МЕТР-МИЛЛИВОЛЬТМЕТР pH-340
1.11.1. Техническая характеристика
Пределы измерения величины pH - от -1 до 14 с диапазонами:
Основная погрешность: | |
при диапазоне измерения 3 единицы pH | +/- 0,05 |
при диапазоне измерения от -1 до 14 | +/- 0,5 |
Стабильность прибора, ед. pH, не более | +/- 0,05 за 8 часов |
Температурная компенсация ручная и автоматическая, °C | от 0 до 100 |
Питание: | |
напряжение, В | 220 +/- 10% |
частота, Гц | 50 +/- 2% или 60 +/- 2% |
Условия эксплуатации: | |
температура воздуха, °C | |
относительная влажность (при температуре 20 °C), %, не более | 80 |
потребляемая мощность, ВА, не более | 40 |
габаритные размеры прибора, мм | 337x292x164 |
масса прибора, кг, около | 10 |
габаритные размеры датчика ДЛ-02, мм | 230x240x490 |
масса датчика, кг, около | 2 |
1.11.2. Конструкция прибора pH-340
pH-340 с датчиком ДЛ-02 представляет собой настольный многопредельный прибор. Все органы управления выведены на наклонную лицевую панель.
Шкала оцифрована в единицах pH и милливольтах.
На задней стенке расположены элементы для подключения блока автоматического титрования, регистрирующего прибора, термокомпенсатора, предохранитель и сетевой шнур
(рис. 1.26).
Рис. 1.26. Вид сзади на прибор pH-340
В правой нижней части лицевой панели находится светофильтр
5 (рис. 1.27) контрольной лампочки, сигнализирующей о том, что прибор включен. Включение прибора производится ручкой
9.
Рис. 1.27. Общий вид прибора pH-340
В правой части лицевой панели установлены два переключателя 3 и 2, предназначенные для включения прибора на требуемый предел измерения и род работ.
Переменные резисторы "Еи" (плавная настройка по буферному раствору) 11, "S" (регулировка размаха шкалы, соответствующего крутизне электродной системы) 10, "НИ" (установка "0" при использовании прибора в качестве нуль-индикатора) 9, переключатель "размах" 8 для измерения на узком и широком диапазонах размещены в нижней части лицевой панели.
Оси резистора "Еи" и "S" закрыты колпачками, которые предупреждают случайное изменение настройки прибора при работе с ним.
В приборе pH-340 предусмотрена возможность ручной и автоматической термокомпенсации изменения характеристик электродной системы при изменении температуры контролируемого раствора.
Ручная термокомпенсация осуществлена переменным сопротивлением 4. На передней панели прибора нанесена шкала температуры от 0 до 100 °C с ценой деления 2 °C. Для автоматической температурной компенсации применяется специальный термокомпенсатор, входящий в комплект лабораторного датчика ДЛ-02.
На задней стенке прибора расположены гнезда
5 (рис. 1.26) для подключения регистрирующего прибора, в качестве которого может быть использован стандартный автоматический потенциометр (например, ЭПП-09, ЭПД и др.) с пределом измерения 0 - 20
мВ, гнезда
4 для подключения блока автоматического титрования, например, БАТ-12ЛМ, гнезда для подключения измерительного
13 и вспомогательного
12 электродов, держатель предохранителя
10 и сетевой шнур.
Кроме того, на заднюю стенку прибора выведены зафиксированные цанговыми зажимами оси переменных резисторов "Еи грубо" 1, ("pH грубо" 6 и "pHи" 7), с помощью которых осуществляется настройка прибора по буферным растворам при использовании различных электродных систем.
В специальный отсек 8 выведены оси переменных резисторов, предназначенных для градуировки прибора при настройке его на заводе и после ремонта.
Корпус прибора
(рис. 1.27) выполнен из стали и состоит из двух разъемных частей: основания
12 и крышки
6, которые соединяются с помощью четырех винтов
7.
На дне основания укреплена скоба 13 для изменения угла наклона прибора и два винта 14 для крепления переходной коробки.
1.11.3. Лабораторный датчик ДЛ-02
Датчик ДЛ-02
(рис. 1.28) предназначен для крепления электродов и установки сосуда с контролируемым раствором при измерении величины pH.
Датчик ДЛ-02 рассчитан на применение измерительных стеклянных электродов типа ЭСЛ и проточного хлор-серебряного электрода сравнения.
В контролируемый раствор вместе с электродами может погружаться ртутный термометр 3, по которому с помощью ручной температурной компенсации корректируются показания прибора.
В комплект датчика входит также термокомпенсатор 10, применяемый для автоматической температурной компенсации.
Все элементы датчика собраны на настольном вертикальном штативе. В верхней части штатива установлен проточный вспомогательный электрод сравнения 1.
Наконечник электролитического ключа 8, стеклянный и платиновый измерительные электроды, а также термокомпенсатор устанавливаются в специальный держатель 7. На кронштейне 5 расположены клеммы, к которым подключаются электроды. Верхняя клемма "Всп." предназначена для подключения электрода сравнения, нижняя "Изм." - для измерительного. Клеммы соединены с коаксиальным кабелем, проходящим внутри трубы штатива.
К верхней клемме "Всп." подключается оплетка коаксиального кабеля, к нижней "Изм." - центральная жила кабеля. Кабель заканчивается штеккером 16, с помощью которого датчик подключается к прибору pH-340.
Вместе с коаксиальным кабелем от датчика к прибору идет провод 14, соединяющий штатив датчика с корпусом прибора (провод заземления датчика).
Для защиты электродов от электрических помех кронштейн датчика с двух сторон закрыт экранами 4, на одном из которых закреплена скоба, предназначенная для установки ртутного термометра 3.
Под электродами на штативе с помощью двух резьбовых втулок закреплен поворотный столик 12, на который ставится стакан с контролируемым раствором.
С помощью зажимного устройства 13 столик можно устанавливать на нужной высоте. Столик может поворачиваться на угол 90° вправо или влево, в зависимости от установки стопора, либо фиксироваться в любом положении. Круглый резиновый коврик 11 может быть легко снят со столика для промывки.
Труба штатива закреплена в основании 17 стопорным винтом.
1.11.4. Включение прибора
Подключить датчик к прибору, для чего штеккер
16 (рис. 1.28), которым оканчивается коаксиальный кабель датчика, включить в гнездо "Изм." на задней стенке прибора
(рис. 1.27).
Соединить провод заземления
14 (рис. 1.28) датчика с клеммой "

" на приборе и линией заземления.
Установить механический нуль показывающего прибора, для чего, поворачивая отверткой корректор нуля, установить стрелку на нулевую (начальную) отметку шкалы.
Ручки переключателей "род работы" и "размах" установить соответственно в положения "pH" и "15 pH".
Измерительный и вспомогательный электроды должны быть подключены в соответствии с выбранной схемой измерения.
Подключить прибор к сети 220
В, 50
Гц с помощью сетевого шнура. Включить прибор, для чего повернуть ручку
9 (рис. 1.27) по часовой стрелке. При наличии напряжения питания на передней панели прибора загорается контрольная лампочка.
Отсчет показаний на широком диапазоне измерения

необходимо производить по нижней шкале показывающего прибора, оцифрованной от -1 до 14 pH, при установке переключателя "размах" в положении "15 pH".
Отсчет показаний на любом из узких диапазонов (

;

;

;

;

) необходимо производить по верхней шкале показывающего прибора, руководствуясь оцифровкой верхней шкалы и положением переключателя "пределы измерения". Переключатель "размах" устанавливается в положение "3 pH". Рекомендуется следующее правило отсчета показаний:
Измеряемая величина | = | Начальное значение pH для данного диапазона (нижний предел измерения) | + | Показание, отсчитанное по верхней шкале показывающего прибора |
Примеры:
1. Переключатель диапазонов установлен в положении

, а стрелка показывающего прибора установилась на значении 1,25. Измеряемая величина = 11 + 1,25 = 12,25 pH.
2. Переключатель диапазонов установлен в положении

, а стрелка показывающего прибора установилась на значении 1,25. Измеряемая величина = -1 + 1,25 = 0,25 pH.
1.11.6. Настройка прибора по двум буферным растворам
Настройка должна производиться по двум стандартным буферным растворам. Рекомендуется пользоваться растворами 1,68 pH и 9,22 pH. Переключатель "размах" установить в положение "15 pH".
1. Электроды поместить в стандартный буферный раствор 1,68 pH. Переключатель пределов измерения установить в положение -

. Указатель температурного корректора установить на отметку, соответствующую температуре буферного раствора (при ручной температурной компенсации).
Переключатель "размах" установить в положение "3 pH".
Потенциометрами "Еи" и "Еи грубо" установить стрелку показывающего прибора на отметку 1,68 pH.
2. Проверить показания прибора по раствору 9,22 pH (на диапазоне измерения

).
Если ошибка измерения превышает 0,05 pH, необходимо ослабить цанговый зажим потенциометра "S" и установить его ось в такое положение, чтобы показания прибора соответствовали 9,22 pH.
3. Проверить показания прибора по раствору 1,68 pH и в случае необходимости ручкой "Еи" установить стрелку показывающего прибора на отметку 1,68 pH.
4. Повторно проверить показания прибора по раствору 9,22 pH (на диапазоне измерения

).
1.11.7. Измерение величины pH
Поместить электроды в стаканчик с контролируемым раствором, переключатель "пределы измерения" поставить в положение, соответствующее диапазону pH измеряемого раствора, и произвести отсчет показаний в соответствии с указаниями
п. 1.11.5.
1.12. ЛАБОРАТОРНЫЙ pH-МЕТР pH-121
1.12.1. Техническая характеристика
Диапазоны измерения величины pH преобразователем: | |
| |
Основная абсолютная погрешность: | |
при диапазоне измерений 5 ед. pH | +/- 0,04 |
при диапазоне измерений от -1 до 14 | +/- 0,4 |
Основная абсолютная погрешность pH-метра в диапазонах 5 pH не должна превышать +/- 0,05 pH. | |
Потребляемая мощность с мешалкой, ВА, не более | 50 |
Габаритные размеры преобразователя pH-121, мм, не более | 365x230x260 |
Габаритные размеры подставки, мм, не более | 180x150x500 |
Масса, кг, не более | 15 |
1.12.2. Конструкция pH-метра pH-121
Общий вид прибора и детали его конструкции показаны на
рис. 1.29 и
1.30.
Вид со снятой нижней планкой
Вид со снятой пломбировочной планкой
Рис. 1.29. Общий вид прибора pH-121
Рис. 1.30. Вид на прибор pH-121 с развернутым шасси
На шкале показывающего прибора имеются следующие оцифровки:

- используется при измерении на широком диапазоне;

,

,

- при измерении на соответствующем узком диапазоне;

- для установки ручного термокомпенсатора ("температура раствора") в положение, соответствующее температуре контролируемого раствора.
К органам оперативного управления относятся: ручки переменных резисторов "калибровка", "pH", "крутизна", "НИ" (при нажатой кнопке "0; t" и отжатой кнопке "НИ" устанавливают ручку "температура раствора" в положение, соответствующее температуре контролируемого раствора, а при нажатой кнопке "НИ" ручкой "НИ" устанавливают нуль нуль-индикатора) и ручка "температура раствора"; 4 кнопки выбора рода работы "pH", "+mV", "-mV", "0; t", кнопка выбора подключения высокоомного гнезда "ИЗМ. 1" или "ИЗМ. 2" -

; 5 кнопок выбора диапазона измерения: "НИ",

,

,

,

, корректор показывающего прибора 4; ось переменного резистора R25 - "Е
и грубо", которая расположена под нижней планкой.
Резисторы "Еи грубо", "калибровка", "крутизна", "pHи" служат для настройки прибора на данную электродную систему.
Резистор R9 "НИ" служит для настройки прибора при использовании его в качестве нуль-индикатора.
Элементы подключения внешних соединений расположены на задней панели
1 (рис. 1.30).
При эксплуатации в розетку 8 "Потенциометр" устанавливается перемычка 9, которая снимается только при работе прибора в качестве нуль-индикатора.
Для доступа внутрь прибора необходимо снять заднюю стенку, отвернув 3 винта.
После снятия задней стенки и отвинчивания невыпадающего винта
15 шасси
14 может свободно поворачиваться вокруг вертикальной оси. Расположение отдельных узлов прибора на шасси показано на
рис. 1.30.
Подставка. Предназначена для крепления электродов и установки сосудов с контролируемым раствором. На подставке закрепляются два кронштейна, высота их установки может регулироваться в зависимости от вида измерений.
1.12.3. Подготовка прибора к работе
Проверить механический нуль показывающего прибора. При необходимости корректором показывающего прибора с помощью отвертки установить стрелку на начальную отметку.
Присоединить провод заземления к зажиму заземления
(рис. 1.30).
Установить перемычку 9 в розетку "ПОТЕНЦИОМЕТР".
Перевести переключатель рода термокомпенсации в положение "РУЧ.".
Нажать кнопку "0; t" и кнопку любого диапазона измерения.
Включить прибор в сеть 220 В, 50 Гц.
Прогреть прибор в течение не менее 30 мин. Прибор готов к работе.
1.12.4. Порядок работы
Электроды перед погружением в буферный или контрольный раствор необходимо тщательно промывать дистиллированной водой, остатки воды с электродов удалять фильтровальной бумагой.
Прежде чем производить корректировку показаний прибора с помощью ручки "калибровка", необходимо убедиться в том, что погрешность измерения вызвана изменением настройки прибора, а не изменением pH буферного или контрольного раствора.
Изменение настройки прибора может быть обнаружено проверкой по свежеприготовленному буферному или контрольному раствору.
По окончании работы с прибором электроды для измерения pH должны оставаться погруженными в воду или в 0,1М раствор соляной кислоты.
При измерениях pH сахарных растворов, соков, сиропов и других продуктов сахарного производства рекомендуется применять автоматическую температурную компенсацию.
В этом случае переключатель рода термокомпенсации установить в положение "авт", в держатель установить автоматический термокомпенсатор, который подключить в розетку "термокомпенсатор".
Отсчет по шкале показывающего прибора следует производить после того, как показания примут установившееся значение.
Обычно время установления показаний не превышает 3 минут.
При замене контролируемого раствора и по окончании измерения должна быть нажата кнопка "0; t".
При ненадежном срабатывании любой из кнопок П2К (переключатели рода работ и диапазона измерений) рекомендуется для контактирования этих кнопок производить их 3 - 4-кратное включение - переключение.
Отсчет показаний при измерении pH. При работе на одном из узких диапазонов (

;

;

) отсчет показаний необходимо производить по верхней шкале показывающего прибора, руководствуясь оцифровкой, соответствующей выбранному диапазону измерения и определяемой положением кнопок выбора диапазона. При нажатии кнопки

отсчет показаний необходимо производить по нижней шкале прибора.
1.13. ГАЗОАНАЛИЗАТОР ГХП-3М
Газоанализатор ГХП-3М предназначен для определения содержания отдельных компонентов: двуокиси углерода, кислорода и окиси углерода в газовой смеси.
Принцип действия газоанализатора основан на избирательном поглощении отдельных компонентов соответствующими поглотительными растворами.
1.13.1. Техническая характеристика
Вместимость измерительной бюретки, мл | 100 |
Предел допустимой погрешности вместимости измерительной бюретки, мл | +/- 0,2 |
Цена деления измерительной бюретки, мл | 0,2 |
Габаритные размеры, мм | 510x335x160 |
Масса, кг, не более | 4,5 |
1.13.2. Конструкция газоанализатора
Газоанализатор ГХП-3М
(рис. 1.31) состоит из стеклянного цилиндра, внутри которого находится измерительная бюретка
3.
Рис. 1.31. Газоанализатор ГХП-3М
Нижний конец бюретки резиновой трубкой с зажимом соединен с напорным сосудом 7. В этот сосуд наливают подкрашенную насыщенную CO2 воду. В верхней части бюретка при помощи стеклянной трубки и трехходового крана 1 сообщается с воздухом или источником газа. На стеклянной трубке имеется три отростка с кранами 2, соединяющие аппарат с тремя поглотительными сосудами 4. В поглотительных сосудах находятся: в первом - раствор едкого калия для поглощения CO2; во втором - раствор пирогаллола для поглощения O2; в третьем - аммиачный раствор хлористой меди для поглощения CO.
Прибор заключен в деревянный футляр 5.
1.13.3. Порядок работы
Перед началом работы бюретка должна быть тщательно промыта хромовой смесью, а краны и соединения проверены на герметичность путем установления уровней реактивов в поглотительных сосудах на метках под кранами и уровня воды в бюретке на верхней отметке. При нижнем положении напорного сосуда 7 указанные уровни реактивов и воды в бюретке должны оставаться постоянными.
Для определения процентного содержания CO2 газоизмерительную бюретку 3 наполняют подкрашенной и насыщенной углекислым газом водой, для чего поднимают напорный сосуд 7 при открытом кране 1. Как только вода достигает отметки, находящейся выше расширенной части измерительной трубки, закрывают зажим 6 на каучуковой трубке напорного сосуда. Затем открывают кран на газовом трубопроводе и выпускают застоявшийся в ней газ. После этого газовый трубопровод соединяют с аппаратом и засасывают газ в измерительную бюретку, опуская напорный сосуд при открытом зажиме 6.
Отобранная таким образом проба газа содержит воздух, находившийся в частях аппарата. Этот воздух надо удалить. Для этого трехходовой кран 1 поворачивают так, чтобы измерительная бюретка была соединена с атмосферой, и вытесняют из аппарата газ, поднимая для этого напорный сосуд.
Подобное наполнение и вытеснение газа повторяют 3 раза, и лишь четвертое наполнение считается окончательным. При этом наполнении необходимо отобрать точно 100 мл газа при нормальном давлении. Для этого при открытом зажиме на каучуковой трубке напорного сосуда набирают в бюретку столько газа, чтобы уровень жидкости в ней установился несколько ниже нуля, и закрывают доступ газа поворотом крана 1. Затем закрывают зажим 6, поднимают напорный сосуд так, чтобы уровень жидкости в нем находился в одной горизонтальной плоскости с нулевым делением бюретки. При помощи трехходового крана соединяют бюретку с наружным воздухом и, осторожно приоткрывая зажим 6, выпускают из нее лишний газ, пока уровень жидкости не поднимется до нуля. После этого закрывают зажим и трехходовой кран.
Для проверки снова устанавливают уровень жидкости в напорном сосуде в одной плоскости с уровнем жидкости в бюретке, т.е. с нулевым делением, и открывают зажим 6. Если при этом не произойдет смещения уровня жидкости в бюретке с деления "нуль", то это значит, что отбор газа произведен правильно.
Находящийся в измерительной бюретке газ пропускают несколько раз через поглотительный сосуд с едким калием, открывая для этого входной кран 2 этого сосуда и поднимая и опуская пять-шесть раз напорный сосуд. Газ следует прогонять через поглотительный сосуд до тех пор, пока объем его не перестанет уменьшаться. Затем газ перегоняют в измерительную бюретку, причем уровень жидкости в поглотительном сосуде должен быть доведен до верхней отметки. Затем закрывают входной кран поглотительного сосуда.
Установив после этого поверхности жидкости напорного и измерительного сосудов при открытом зажиме 6 на одном уровне, отсчитывают на шкале бюретки объем жидкости, показывающий количество миллилитров поглощенного едким калием CO2 из 100 мл взятого газа, т.е. процентное содержание CO2. Точно так же во втором и третьем сосудах определяют содержание O2 и CO. Заменять в приборе раствор едкого калия раствором едкого натрия не рекомендуется, потому что при насыщении раствора едкого натрия углекислым газом образуется осадок соды, забивающий узкие трубки поглотительной пипетки.
1.14. РАЗМЕЛЬЧИТЕЛЬ ТКАНЕЙ СВЕКЛЫ РТС-2М
Размельчитель тканей свеклы РТС-2М предназначен для измельчения и дигерирования стружки или кашки при определении сахаристости методом холодной водной дигестии.
Прибор предназначен для работы в помещении при температуре окружающей среды от +10 до +35 °C и относительной влажности не выше 85%.
1.14.1. Техническая характеристика
Производительность, анализов в час | 4 |
Частота вращения рабочего вала с ножами, об/мин | 14000 +/- 1000 |
Масса пробы, г | 52 +/- 4 |
Количество реагента (раствора свинцового уксуса), мл | 356,4 +/- 27,4 |
Питание прибора осуществляется от сети переменного тока частотой 50 Гц, напряжением 220 В |
Тип двигателя - УВ-051-ПС | |
Габаритные размеры прибора, мм | 275x264x687 |
Масса прибора, кг | 27,1 |
1.14.2. Принцип работы
На приборе РТС-2М производится измельчение свекловичной ткани в жидком реагенте (растворе свинцового уксуса) при помощи ножей размельчителя, укрепленных на валу.
Принцип работы размельчителя тканей свеклы заключается в том, что свекловичная кашка или стружка, находясь во взвешенном состоянии в специальном сосуде, заполненном реагентом (раствором свинцового уксуса), подвергается многократному измельчению ножами прибора, насаженными на рабочий вал. Специальная конструкция сосуда в виде розетки, состоящей из четырех полуокружностей, не дает содержимому приобрести инерционное движение вместе с ножами, а также служит для создания потоков суспензии, направленных в сферу действия ножей.
1.14.3. Конструкция прибора
Прибор РТС-2М
(рис. 1.32) состоит из алюминиевого корпуса
8, в который вмонтирован электродвигатель
7, имеющий на валу муфту
6 для соединения с валом размельчителя
4.
Рис. 1.32. Размельчитель тканей свеклы РТС-2М
Вал размельчителя 4 вращается в шариковых подшипниках, установленных в подшипниковой коробке 5.
Подшипниковая коробка 5 присоединяется при помощи винтов к эластичной резиновой шайбе 12, которая в свою очередь через другую резиновую шайбу 11 крепится к корпусу размельчителя 8 таким образом, чтобы ось вала размельчителя являлась продолжением оси вала электродвигателя.
Корпус размельчителя крепится к ползуну 9 штатива 10. Корпус вместе с ползуном при помощи конической пары шестерен и винта 14 перемещается вверх на 200 мм. На конце вала размельчителя при помощи гайки закреплены два ножа 2: прямой (режущий) и изогнутый (перемешивающий). Для обеспечения герметичности сосуда служит прокладка 13. Прибор комплектуется сосудом 3, оборудованным кожухом для охлаждения содержимого в процессе измельчения стружки или кашки. При работе сосуд устанавливают в гнездо штатива 1.
1.14.4. Подготовка прибора к работе и порядок работы
Установить прибор на столе и заземлить его. Для снижения уровня шума на стол, под РТС-2М, помещают резиновую пластину толщиной 20 мм.
При подключении прибора к автотрансформатору убедиться в исправности последнего.
Убедиться в правильности подключения прибора к автотрансформатору - провод от прибора должен подключаться к клеммам "нагрузка", а к сети от трансформатора - к клеммам "220 В".
Включение размельчителя в работу производят в следующем порядке:
- устанавливают ручку автотрансформатора в нулевое положение;
- сосуд заполняют содержимым и устанавливают вертикально между штифтами в гнездо плиты штатива 1;
- включают воду для охлаждения кожуха сосуда;
- поворотом рукоятки опускают корпус размельчителя на сосуд таким образом, чтобы обеспечить плотность прилегания фланца с резиновой прокладкой без перекоса;
- включают автотрансформатор в электросеть с напряжением 220 В;
- плавным поворотом ручки автотрансформатора пускают в ход электродвигатель и доводят напряжение до 130 В, а затем, по истечении 1 мин., - до 220 В;
- после окончания операции измельчения и дигерирования (3 мин.) автотрансформатор плавным поворотом выводят в нулевое положение;
- выключают вилку автотрансформатора из розетки;
- поворотом ручки поднимают корпус РТС-2М и вынимают сосуд из гнезда;
- ножи размельчителя и сосуд после освобождения от содержимого промывают и вытирают досуха.
Если кашка мелкая, пуск РТС-2М осуществляют плавным поворотом ручки автотрансформатора до 220 В. Длительность процесса измельчения в этом случае составляет 3 мин.
Ножи размельчителя по мере затупления затачивают. При интенсивной работе подшипники размельчителя необходимо смазывать не реже 1 раза в сутки маслом 1 - 13 с помощью пресс-масленки.
1.15. МЯСОРУБКА БЫТОВАЯ ТИП 1
1.15.1. Технические данные
Производительность, кг/ч, не менее | - 20 |
Диаметр отверстий в решетках, мм | - 5 и 7 |
Масса, кг, не более | - 2,5 |
1.15.2. Устройство и принцип работы
Мясорубка бытовая
(рис. 1.33) состоит из корпуса, шнека, рукоятки, решетки, ножа и крепежного устройства, обеспечивающего надежное крепление мясорубки к доске стола, исключает ее перемещение при приложении рабочего усилия к рукоятке.
Рис. 1.33. Мясорубка бытовая
При вращении шнека с приложенным усилием к рукоятке не более 5 кгс должен обеспечиваться захват им продуктов через загрузочную горловину корпуса мясорубки.
Продукты перемещаются вдоль шнека и измельчаются при помощи ножа.
1.15.3. Подготовка и порядок работы
Все детали тщательно очистить от заводской смазки, промыть горячей водой и вытереть насухо.
Сборку производить в следующей последовательности: вставить шнек в корпус, надеть на палец шнека (лезвиями к решетке) нож и одну из решеток.
Установленные нож и решетку прижать нажимной гайкой.
Промывка мясорубки в щелочных растворах запрещается.
1.16. АППАРАТ ДЛЯ ОПРЕДЕЛЕНИЯ ЩЕЛОЧНОСТИ ПРОДУКТОВ
САХАРНОГО ПРОИЗВОДСТВА
Аппарат предназначен для определения щелочности продуктов сахарного производства в процентах или долях процента CaO. Поэтому диаметр бюретки и шкалу прибора подбирают с таким расчетом, чтобы 1 мл раствора кислоты известной нормальности соответствовал 2,8 делениям шкалы аппарата. Цена деления в г CaO: для 0,1 н. раствора кислоты - 0,001 г; для 1 н. раствора кислоты - 0,01 г.
С помощью резинового баллона
9 и стеклянного цилиндра
11 в бюретку
17 нагнетается 0,1 н. раствор соляной или серной кислоты
(рис. 1.34).
Рис. 1.34. Аппарат для определения щелочности продуктов
Определенное количество продукта титруют кислотой с применением индикатора. По количеству кислоты, израсходованной на титрование исследуемого продукта, определяют содержание CaO, % к его массе или объему.
Этот прибор представляет собой некоторое видоизменение обычной бюретки, поэтому и проверять его следует, как бюретку.
Перед проверкой бюретка аппарата должна быть тщательно промыта хромовой смесью, а затем несколько раз дистиллированной водой. Изнутри она должна по всей длине равномерно смачиваться водой. Стеклянный сосуд прибора также должен быть абсолютно чистым.
Бюретку аппарата проверяют в точках 0-го и 14-го делений шкалы. Для этого заполняют бюретку аппарата дистиллированной водой, температура которой известна, до нулевого деления шкалы. Затем в предварительно взвешенную с точностью до 0,001 г бюксу вливают воду до 7-го деления шкалы, закрывают бюксу крышкой и взвешивают.
Одно деление шкалы аппарата равно 0,357 мл, а 7 делений
0,357·7 = 2,5 мл.
По полученной массе воды и плотности ее
(раздел 17, табл. 2) находят фактический объем данной части бюретки.
Затем взвешивают воду, помещающуюся в бюретке в пределах от 0-го до 14-го делений шкалы. Разделив результат взвешивания на массу 1 мл воды при температуре опыта, находят фактическую емкость 14 делений бюретки, выраженную в миллилитрах. Она должна соответствовать 5 мл.
Сравнивая найденную емкость бюретки с номинальной, определяют ее пригодность для применения.
Аппарат считается годным для применений, если фактическая емкость бюретки отличается от номинальной не больше чем на +/- 0,25 мл.
1.17. ВИСКОЗИМЕТР СО СКОЛЬЗЯЩИМ ШАРИКОМ (ГЕППЛЕРА)
Вискозиметр предназначен для определения динамической вязкости путем определения времени падения шарика в наклонной относительно вертикали на 10° цилиндрической трубке, которая заполнена испытуемой жидкостью.
1.17.1. Техническая характеристика
Диапазон измерений динамической вязкости, Па, с | |
Время падения, с | |
Предел погрешности (в зависимости от диаметра шарика), % | |
Диапазон температур, °C | |
Участок для измерений, мм | 100 |
Количество шаров в комплекте, шт. | 6 |
1.17.2. Описание прибора
Вискозиметр Гепплера
(рис. 1.35) состоит из стойки
12 и собственно вискозиметра
8. В стойке находятся три винта
11 для установки прибора в горизонтальное положение при помощи уровня
7. Вискозиметр имеет наклон 10° по отношению к вертикали. Он может поворачиваться вокруг направляющей цапфы, расположенной в стойке. В положении измерения вискозиметр фиксируется при помощи храпового механизма. Дефиксация происходит путем оттяжки фиксатора
10. При поворачивании вискозиметра из положения возвратного движения шарика в положение измерения происходит автоматическая фиксация храпового механизма.
Рис. 1.35. Вискозиметр Гепплера
Опускная труба 21 в вискозиметре окружена водяной рубашкой 19, закрепленной между верхней и нижней плитами 4 и 18. Течь термостатирующей жидкости предотвращается уплотнениями 5.
В целях возможности замены водяная рубашка скрепляется разъемными соединениями, состоящими из гайки со стержнем 17, соединительного стержня 20, колпачковой гайки 26 и прокладок 25.
Сочленение опускной трубы в верхней и нижней плитах осуществляется при помощи уплотнений 22 и винтовых соединений 23.
К вискозиметру прилагается комплект, состоящий из запорной пробки 6 и крышки запорной пробки 28 для верхнего отверстия опускной трубы, а также из запорной пробки 13 для нижнего отверстия опускной трубы. Запорная капиллярная пробка 6 предназначается для того, чтобы во время измерения опускная труба была свободна от воздушных пузырьков. Запорные капсули 1 навинчиваются с легким нажимом на них. После этого спускная труба герметически уплотняется с помощью прокладочных колец 14.
На нижней плите находятся короткий подводящий патрубок и длинный спускной патрубок, снабженные гибкими насадками 16 и предназначенные для подвода и спуска термостатирующей жидкости. Уплотнение этих насадок осуществляется тонкими прокладками 15.
Контрольный термометр закреплен винтом с помощью винтового соединения 27 в верхней плите вискозиметра. Прокладочное кольцо 24 препятствует вытеканию термостатирующей жидкости.
Вискозиметр комплектуется шестью шариками разного диаметра и материала
(табл. 1.1).
Шарики чистят салфеткой из оленьей замши, имеющейся в комплекте, и удаляют с них пыль и волокна кисточкой с помощью круглого пинцета.
Для введения шарика в опускную трубу применяется шаровой пинцет.
Технические данные комплекта шариков вискозиметра Гепплера
Таблица 1.1.
Шарик | Диаметр, мм | Константа K, Па·с·см3/г·с | Минимальное время падения, с | Диапазон измерения, Па·с, при макс. времени падения 300 с | Предел погрешности измерений, % |
1 | 15,805 | ~ 0,009 | 60 | | +/- 2 |
2 | 15,630 | ~ 0,07 | 30 | | +/- 0,5 |
3 | 15,560 | ~ 0,13 | 30 | | +/- 0,5 |
4 | 15,000 | ~ 1,2 | 30 | | +/- 1 |
5 | 13,500 | ~ 10,5 | 30 | | +/- 1 |
6 | 10,000 | ~ 40 | 30 | | +/- 1,5 |
1.17.3. Порядок работы
Опускная труба, запорные пробки и шарики должны быть тщательно очищены перед измерением. Высушивание трубы после ее очистки производят диэтиловым эфиром с

или эфиром для наркоза.
В случае водных растворов для обезжиривания пользуются горячим раствором соды с 5%-ным аммиаком. В этом случае высушивания проводить не нужно. Промывают только дистиллированной водой. Вода должна стекать по всей внутренней поверхности стенки опускной трубы.
Перед началом работы (за 30 мин.) вискозиметр подключают к термостату и обеспечивают непрерывную циркуляцию воды в течение проведения измерений. Температуру воды следует поддерживать с отклонениями +/- 0,1 °C.
Для наполнения опускной трубы следует закрыть ее внизу при помощи запорной пробки 13. Жидкости низкой вязкости следует фильтровать в опускную трубу через стеклянный фильтр. Наполняют опускную трубу до уровня примерно 25 мм и вводят шарик при помощи шарового пинцета. Если под шариком находятся пузырьки воздуха, то следует надавить на шарик стеклянной палочкой. Закрывать опускную трубу следует запорной пробкой 6 и крышкой 28, на которую навинчивается, с легким надавливанием, запорный капсуль затвора 1.
Исследуемые жидкости не должны содержать газов, т.к. при повышении температуры они образовывают пузырьки. Для того, чтобы предотвратить такое явление, достаточно кратковременно подогреть исследуемую жидкость на 10 °C сверх наивысшей температуры измерения и влить ее вовнутрь в нагретом состоянии. Если и после этого под шариком будут находиться пузырьки газа, то их следует удалить осторожными легкими ударами по верхнему запорному капсулю, прежде чем шарик приблизится к первой кольцевой отметке. Тогда пузырьки исчезают через капилляр верхней запорной пробки.
После выполнения указанных операций вискозиметр подготовлен к измерениям.
Для измерения динамической вязкости исследуемой жидкости вискозиметр поворачивают вокруг цапфы.
При прохождении шарика через первую отметку опускной трубы, что фиксируют визуально, включают секундомер. При прохождении шарика через вторую отметку на опускной трубе секундомер останавливают.
Рекомендуется выполнять нечетное число измерений (3 - 5). В качестве расчетного значения времени прохождения шарика между двумя отметками (времени падения шарика) принимают среднее арифметическое 3 - 5 измерений.
1.17.4. Расчет динамической вязкости по времени
падения шарика
Расчет динамической вязкости по времени падения шарика производят с помощью формулы:

,
где

- динамическая вязкость, Па·с;
t - время падения шарика, с;

- плотность шарика,

;

- плотность жидкости при температуре измерения,

;
K - константа шарика,

.
Значение K для шариков различных размеров приведено в
табл. 1.1.
1.18. ВИСКОЗИМЕТР ШТЕЙНЕРА
Вискозиметр Штейнера в принципе не отличается от вискозиметра Гепплера. Только фиксируют не время падения шарика, а время всплывания пузырька воздуха в трубке, наполненной исследуемой жидкостью, причем трубку устанавливают вертикально.
1.18.1. Конструкция вискозиметра и порядок работы
Вискозиметр
(рис. 1.36) состоит из стеклянной трубки длиной 175
мм и внутренним диаметром 7 - 8
мм, с обоих концов закрытой резиновыми пробками. В одну из пробок вставляется стеклянная трубка диаметром около 1
мм, выступающая из-под пробки на 10
мм внутрь широкой трубки.
Рис. 1.36. Вискозиметр Штейнера
Внешний конец тонкой трубки закрывается резиновой пробкой. Широкая трубка имеет отметки a, b, c. Нижняя пробка вставляется таким образом, чтобы ее торец был на уровне отметки "c". Трубка наполняется исследуемой мелассой при комнатной температуре до отметки "b". Верхняя пробка вставляется до отметки "a". Тонкая трубка - закрыта. Затем трубку помещают в штатив и вместе с ним погружают в водный термостат. Лучше для термостатирования предусмотреть трубку с кожухом.
Измерение вязкости производят следующим образом.
После заполнения трубки мелассой и термостатирования закрывают тонкую стеклянную трубку, быстро переворачивают на 180°, одновременно пускают в ход секундомер и измеряют время подъема пузырька воздуха от отметки "b" до "c". Опыт повторяют 4 - 5 раз, причем каждый раз измеряют время передвижения пузырька от "b" до "c", а не наоборот.
Динамическую вязкость определяют по формуле:

,
где K' - константа вискозиметрической трубки;
Z' - время всплывания пузырька воздуха, с.
Константу K
' вычисляют с использованием указанной
формулы путем определения времени всплывания пузырька в мелассе с известной вязкостью (динамическую вязкость меласс, которые применяют в качестве эталонных растворов, определяют с помощью вискозиметра Гепплера).
Вискозиметр Штейнера может применяться только для оперативного контроля, так как позволяет определять вязкость меласс с малой точностью (погрешность определения +/- 5%).
Влагомер Бонвеча
(рис. 1.37) применяется для ориентировочного определения содержания влаги в рафинадной кашке, сыром и сухом рафинаде. Метод определения основан на взаимодействии карбида кальция с влагой исследуемого продукта и измерении объема, выделяющегося при этой реакции ацетилена.
Рис. 1.37. Влагомер Бонвеча
Прибор состоит из бюретки 8 и сосуда 9 с закрашенной водой, укрепленных на одном штативе. Сосуд 9 соединен резиновой трубкой 7 с нижним концом бюретки 8.
Этот конец бюретки может передвигаться в соответствующем вырезе штатива для установки уровня воды в бюретке на желаемой высоте.
Верх бюретки при помощи стеклянной трубки 1 и резиновой трубки 2 соединен с банкой 5, которая плотно закрывается резиновой пробкой 4. На пробке укреплена небольшая ложечка 6. Банку лучше сделать металлической с закругленным днищем. В трубку вставлен краник 3, при помощи которого пространство банки и верхней части бюретки может быть сообщено с атмосферой.
На бюретке нанесена шкала из 20 делений, каждое из которых разделено еще на 10. При навеске вещества в 10 г каждое из крупных делений соответствует 0,1% влаги, каждое малое - 0,01%.
Содержание влаги определяют следующим образом. Поднимая и опуская сосуд 9, устанавливают уровень воды в бюретке точно на нулевой черте, краник 3 при этом открыт.
10 г исследуемого вещества в сыпучем или измельченном виде, взвешенного на технических весах с точностью до 0,01 г, помещают в баночку 5, предварительно вытертую досуха. Укрепленную на пробке 4 ложечку 6 наполняют тонко измельченным карбидом кальция, причем уровень карбида должен быть ниже верхней кромки ложечки на 1 мм во избежание просыпания его в банку. Затем банку 5 плотно закрывают пробкой 4, закрывают краник 3 и, держа банку за горлышко, начинают покачивать ее, стараясь возможно тщательнее смешать карбид кальция с исследуемым веществом.
Для лучшего смешивания в банку одновременно с пробой исследуемого продукта помещают 7 - 10 свинцовых (или стальных) шариков диаметром 10 - 12 мм. Одновременно с понижением уровня воды в бюретке 8 плавно передвигают вниз сосуд 9 и таким образом поддерживают в бюретке атмосферное давление.
Эти манипуляции производят до тех пор, пока уровень воды в бюретке не перестанет понижаться, после чего уровни воды в сосуде 9 и в бюретке 8 устанавливают на одинаковой высоте и производят отсчет по шкале.
Во время перемешивания карбида с исследуемым веществом нужно следить за тем, чтобы не забилось отверстие в пробке 4. Во избежание этого рекомендуется не встряхивать банку в вертикальном направлении.
Перед определением следует проверить плотность соединений прибора. Для этого закрывают банку 5 пробкой 4, закрывают краник 3 и устанавливают некоторую разность уровней в сосуде 9 и бюретке 8. Заметив высоту уровня в бюретке 8, оставляют прибор стоять спокойно 10 - 15 мин. Если за это время уровень в бюретке не изменится, соединения прибора герметичны. Пользоваться прибором можно только при полной его герметичности.
В связи с возможностью значительных ошибок при применении низкокачественного карбида качество последнего следует проверять путем периодического сравнения показаний прибора с результатами определений содержания влаги высушиванием.
В случае, если содержание влаги в продуктах велико (на бюретке нанесены деления от 0 до 2%), можно брать меньшую навеску, например, 5 г, и результат умножать на 2.
Если влажность меньше 0,5%, следует (для большей точности) брать навеску в 20 г и показание прибора делить на 2.
1.20. ПРЕСС БОНВЕЧА ДЛЯ ОПРЕДЕЛЕНИЯ КРЕПОСТИ САХАРА-РАФИНАДА
1.20.1. Техническая характеристика
Наибольшее рабочее усилие пресса, кг | 700 - 800 |
Максимальное давление, кг/см2 (МПа) | 30 - 35 (3,0 - 3,5) |
Рабочее допустимое давление, кг/см2 (МПа) | 16 (1,6) |
Класс точности манометра | 1,5 |
Габаритные размеры, мм, | длина | 820 |
ширина | 380 |
высота | 400 |
Масса (без масла), кг | 40 |
1.20.2. Конструкция и принцип работы
Пресс для определения крепости рафинада
(рис. 1.38) состоит двух основных узлов:
- рабочего пресса (I);
- масляного пресса (II).
Рабочий пресс состоит из цилиндра, поршня, тарелок 2, двух колонок 3, траверсы 6, винта 4 и маховика 5.
Назначение винта 4 - точно устанавливать испытуемый образец и воспринимать давление, передаваемое сопротивляющимися пробами сахара-рафинада.
Масляный пресс состоит из цилиндра, в котором помещен поршень, получающий возвратно-поступательное движение от винтового штока при помощи маховика 10.
Давление масляного пресса II передается рабочему прессу I через трубку 15.
На цилиндре масляного пресса имеется три кронштейна с игольчатыми вентилями, имеющими маховики (12, 13, 14).
На одном из кронштейнов укреплен манометр 7, на втором - воронка 8 для заполнения системы маслом. Третий кронштейн служит запасным для установки контрольного манометра 9 (при необходимости проверки точности показаний прибора).
1.20.3. Подготовка прибора к работе
Прибор должен быть чист.
Заполнение цилиндра должно быть произведено чистым вазелиновым, касторовым или другим маслом через воронку 8 при неустановленном манометре и открытых вентилях.
Примечание: Требование к характеристике масла в основном сводится к вязкости, обеспечивающей отсутствие утечки через поршень при наибольшем рабочем давлении.
Последовательность работы при заливке масла
Открывают спускное отверстие для воздуха в корпусе рабочего цилиндра путем вывинчивания болта.
Открывают все вентили.
Заливают масло постепенно, до появления его в спускном отверстии. Устанавливают болт на место. Продолжая заливать масло, наблюдают за его появлением в правом вентиле, после чего вентиль закрывают.
Вращая рукоятку вправо, отводят винт до предела.
Путем неоднократного движения винта освобождают цилиндр от воздуха. Закрывают вентиль заливной воронки. В гидросистеме после заполнения маслом не должно быть остатка воздуха.
После заполнения гидросистемы устанавливают манометр.
1.20.4. Порядок работы на прессе Бонвеча
Работа на приборе заключается в следующем.
Поршень рабочего пресса смещают на 5 - 10 мм от нижнего крайнего положения. На нижнюю тарелку помещают испытываемый образец сахара-рафинада и при помощи маховика 5 приближают верхнюю тарелку до соприкосновения с испытываемым образцом. Для большей равномерности передачи давления между образцом сахара и сжимающими его поверхностями пресса прокладывают кусочки картона толщиной 0,1 см.
Медленно вращая маховичок масляного пресса (с частотой 3 об/с) по часовой стрелке, одновременно наблюдают за показаниями манометра до тех пор, пока испытываемый образец не раздробится. Показания манометра в момент раздробления записывают, после чего производят вычисления по формуле:

,
где x - искомая величина временного сопротивления раздробляющему усилию (крепость рафинада), кг/см2 (МПа);
P - показания манометра на прессе, кг/см2 (МПа);
S - площадь поршня, см2;
l - длина кусочка рафинада, см;
b - ширина кусочка рафинада, см.
За результат принимают среднее арифметическое пяти измерений крепости образцов сахара-рафинада.
Приборы применяют для измерения абсолютной и относительной влажности воздуха.
Психрометр Августа
(рис. 1.39) состоит из двух расположенных рядом ртутных термометров: сухого и мокрого.
Рис. 1.39. Психрометр Августа
Сухой термометр показывает температуру окружающего воздуха.
Ртутный шарик мокрого термометра обернут кусочком марли, конец которой погружен в воду стаканчика, установленного под мокрым термометром. Вода, впитываясь марлей, испаряется и мокрый термометр охлаждается.
Когда температура установится на определенном делении, отмечают показания обоих термометров. Вычитая из показания сухого термометра показания мокрого, определяют разность температур и по ней, пользуясь
табл. 27 (раздел 17), находят относительную влажность.
Если наблюдения проводятся зимой во время морозов, то воде в стаканчике под мокрым термометром дают замерзнуть (ускоряя замерзание легким прикосновением стеклянной палочки) и через 10 - 15 мин отсчитывают показания термометров.
Определение разности температур сухого и мокрого термометров производят так же, как и в первом случае.
Пример. Температура воздуха по показанию сухого термометра 17°, мокрый термометр показывает 15°. По
табл. 27 (раздел 17) находят, что относительная влажность воздуха равна 80%.
Психрометр аспирационный МВ-4М имеет, кроме двух термометров, заводной механизм с вентилятором, протягивающим воздух около резервуаров термометров. Вращением вентилятора в прибор всасывается воздух, который, обтекая резервуары термометров с определенной скоростью (2 м/с на 4-й мин. и не менее 1,7 м/с на 6-й мин. работы вентилятора), проходит по воздуховодной трубке, расположенной между термометрами, к вентилятору и выбрасывается им наружу через специальные прорези.
При использовании психрометра МВ-4М относительная влажность определяется при помощи специальных психрометрических таблиц или номограмм, которые приложены к инструкции по эксплуатации прибора.
1.22. ГИГРОМЕТР ВОЛОСНОЙ МЕТЕОРОЛОГИЧЕСКИЙ М-19 (МВ-1)
Гигрометр волосной метеорологический М-19 (МВ-1) предназначен для определения относительной влажности воздуха.
1.22.1. Техническая характеристика
Диапазон измерения относительной влажности воздуха гигрометром - от 39 до 100%, при температуре от минус 35 до плюс 45 °C.
Основная погрешность гигрометра не превышает 15% относительной влажности в диапазоне 30 - 90% и 5% относительной влажности на точке 100%.
Отклонение диапазона измерения при изменении относительной влажности от 30 до 100% - не более 10 и не менее 5% относительной влажности, по сравнению с тем же диапазоном, измеренным образцовым прибором (психрометром).
Средняя чувствительность гигрометра в диапазоне от 90 до 100% относительной влажности - не менее 0,5%.
Изменение показаний гигрометра на одних и тех же точках при понижении и повышении влажности не превышает 2% относительной влажности на точке 100% и 5% на всех остальных равномерных точках.
Габаритные размеры гигрометра, мм, не более | 20x158x290 |
Масса гигрометра, кг, не более | 0,25 |
1.22.2. Устройство и работа прибора
Принцип работы гигрометра основан на свойстве обезжиренного человеческого волоса изменять свою длину в зависимости от изменения относительной влажности воздуха.
датчика влажности 4 - специально обработанного человеческого волоса;
рамы 5 со шкалой 6;
стрелки 7 с осью 10;
установочного устройства, служащего для перемещения конца стрелки относительно шкалы.
Рис. 1.40. Гигрометр волосной метеорологический М-19 (МВ-1)
Верхний конец волоса 4 закреплен в ходовом винте 1 установочного устройства, нижний конец его - в полукольце 9, жестко связанном с осью стрелки 10.
Крепление волоса осуществляется посредством штифтов с заливкой мест крепления цапон-лаком, шеллаком или клеем, обеспечивающим прочность соединения. Полукольцо висит на стерженьке, имеющем на конце грузик 8, натягивающий волос.
На раме 5 укреплена шкала 6, вдоль которой перемещается конец стрелки 7. При помощи ходового винта 1 можно установить стрелку на любом делении шкалы, для чего необходимо освободить гайку 2 и переместить, вращая ее, ходовой винт 1.
В рабочем состоянии гигрометра ходовой винт 1 должен быть закреплен гайкой 2. Изменение длины волоса передается стрелке 7, которая, перемещаясь вдоль шкалы 6, указывает относительную влажность воздуха, %.
Гигрометр устанавливают в психрометрической жалюзийной будке на специальном штативе.
При установке в помещении гигрометр необходимо повесить на стене, вдали от отопительных систем и источников тепла.
Снимать и переносить гигрометр следует очень осторожно, чтобы не оборвать волос или не задеть чем-либо за стрелку и не сместить ее вправо, что повлечет за собой обрыв или растяжение волоса. Необходимо заранее отвести стрелку влево и заложить ее под шкалу.
1.23. ВЕСЫ ЛАБОРАТОРНЫЕ РАВНОПЛЕЧИЕ 2 КЛАССА,
МОДЕЛИ ВЛР-200г
Весы лабораторные равноплечие 2 класса, модели ВЛР-200г предназначены для точного определения массы вещества при производстве лабораторных анализов в различных отраслях народного хозяйства.
1.23.1. Техническая характеристика
Наибольший предел взвешивания, г | 200 |
Цена деления шкалы, мг | 1 |
Цена деления делительного устройства, мг | 0,05 |
Диапазон измерения массы по шкале, мг | 0 - 100 |
Погрешность измерения массы по шкале, мг, не более | +/- 0,15 |
Вариация показаний весов из 5 измерений, мг, не более | 0,15 |
Погрешность от неравноплечности коромысла, мг, не более | 2 |
Погрешность включений встроенных гирь, мг, не более | +/- 0,12 |
Допускаемая погрешность взвешивания, мг: | |
до 50 г | +/- 0,5 |
от 50 до 200 г | +/- 1,0 |
Время успокоения колебаний коромысла, с, не более | 25 |
Диапазон измерения массы с помощью гиревого механизма, мг | 100 - 900 |
Напряжение питания весов переменным током: | |
напряжением, В | |
частотой, Гц | 50 +/- 1 |
Габаритные размеры весов, мм, не более: | |
длина | 405 |
ширина | 310 |
высота | 445 |
Масса весов, кг, не более | 12 |
1.23.2. Устройство и принцип работы
Весы модели ВЛР-200г являются равноплечими весами с именованной шкалой и встроенными гирями на неполную нагрузку.
Работа на весах производится с применением методов точного взвешивания.
основания 1
коромысла 9 со стрелкой 19
серег 7 с подвесками 3
успокоителей колебаний коромысла 4
гиревого механизма
изолира
оптического устройства
делительного устройства
кожуха 13
выносного трансформатора
Рис. 1.41. Весы лабораторные ВЛР-200 г (аналитические)
Корпус состоит из основания 1, платы, стоек, соединяющих основание и плату, задней металлической стенки, переднего и боковых стекол.
На основании весов закреплена прямоугольная полая стойка 12, проходящая через отверстие в плате; в верхней части стойки крепится кронштейн с рычагами изолира 6 и опорная подушка.
Между платой и основанием стойка закрыта коробчатым кожухом.
На основании закреплены также части изолира и оптического устройства.
Под основанием по центру весов выведена ручка 22, которая предназначена для настройки четкости изображения шкалы.
На плате установлены: гиревой механизм, делительное устройство, детали оптического устройства, нижние корпусы успокоителей колебаний коромысла.
Снизу в основание ввернуты три установочные ножки 18, две из которых регулируются.
Коромысло 9 выполнено из алюминиевого сплава.
На полотне коромысла закреплена опорная призма 11, седла с грузоприемными призмами и стрелка 19.
Для регулирования положения равновесия коромысла справа и слева в коромысло ввернуты винты с тарировочными гайками 8.
Для регулировки положения центра тяжести в верхней части коромысла имеется винт с регулировочными гайками 10.
На нижнем конце стрелки закреплена оптическая шкала 21.
На грузоприемные призмы опираются подушками серьги 7; на нижних крючках серег подвешены стаканы успокоителей колебаний, на верхние крючки навешивается дужка с подвеской 3.
Воздушные успокоители колебаний коромысла 4 состоят из двух корпусов - верхнего, (стакана) и нижнего. Нижний корпус, закрепленный на плате весов, имеет двойные стенки.
При помощи гиревого механизма, ручкой 14, производится наложение (или снятие) встроенных гирь на планку правой серьги.
При повороте ручки в левом окне экрана появляются цифры, указывающие массу навешанных встроенных гирь (в сотнях миллиграммов).
Механизм изолира состоит из валика с эксцентриками, штанги изолира, рычагов с подхватами 6, арретиров 2 и двух ручек 17.
Включение весов производится поворотом любой из ручек в верхнее положение.
При повороте ручек в нижнее положение происходит изолирование коромысла и серег, одновременно пружинные арретиры касаются чашек.
Оптическое устройство предназначено для проецирования изображения шкалы на экран. Оно состоит из осветителя 24, конденсора 23, объектива 20, трех зеркал и экрана 16.
Для снятия отсчета по шкале на экране имеется отсчетная отметка в виде двух параллельных штрихов.
Регулирование нулевого положения шкалы производится ручкой 5.
Делительное устройство позволяет снимать отсчет на весах с точностью до 0,05 мг; отсчет снимается в правом окне экрана.
Диск делительного устройства разделен на 20 частей, которые обозначены оцифровкой от "00" до "95" через 5 единиц; полный оборот диска соответствует изменению отсчета по шкале на одно деление (1 мг). Установка отсчета производится ручкой 15.
На экране снимаются отсчеты по лимбу гиревого механизма, по шкале и по диску делительного устройства.
Схема расположения показаний на экране приведена на
рис. 1.42.
Рис. 1.42. Схема расположения показаний на экране весов
ВЛР-200г
Если, например, в левом окне экрана установилась цифра 6 диска гиревого механизма, в центральном окне - отметка числа 25 шкалы и число 35 в окне делительного устройства, то суммарный отсчет на экране будет равен 625,35 мг (или 0,62535 г).
Сверху весы закрыты кожухом.
Установка весов по уровню производится вращением регулировочных ножек в основании весов.
Питание весов осуществляется от сети переменного тока напряжением 220 В через выносной трансформатор.
Включение (или выключение) подсветки шкалы производится микровыключателем при включении (или выключении) весов ручками 17.
1.23.3. Порядок работы
Перед началом работы включить трансформатор в сеть. Затем ручкой 15 установить на отметку "00" диск делительного устройства и ручкой 5 ввести нулевую отметку шкалы в отсчетную отметку экрана.
При работе на весах могут применяться методы прямого и точного взвешивания.
При прямом взвешивании, в изолированном положении весов, поместить взвешиваемый груз на левую чашку весов и уравновесить его накладными гирями из набора Г2-210 и встроенными гирями, навешивая их ручкой 14 на правое плечо коромысла.
Поворотом ручки 17 ввести весы в рабочее положение.
Если после включения весов изображение шкалы не попадает на экран, то дополнительно накладывая (или снимая) накладные гири и навешивая (или снимая) гиревым механизмом встроенные гири, вывести изображение шкалы на экран.
При отсутствии необходимости в высокой точности результата взвешивания делительным устройством можно не пользоваться, снимая отсчет на экране только по лимбу гиревого механизма и по шкале.
Наложение и снятие накладных и встроенных гирь производить только в изолированном положении весов.
Введение весов в рабочее положение, во избежание раскачивания подвесок, производить плавным поворотом ручки 17, при этом дверцы витрин должны быть закрыты.
1.23.4. Аналитические разновесы
К весам ВЛР-200г поставляются три набора разновесов Г2-210.
Разновесы должны храниться в футляре. Пользоваться гирьками надо осторожно. Не допускается брать гирьки руками. Для захватывания гирек служат пинцеты или особая деревянная вилка. По окончании взвешивания гирьки нужно помещать в соответствующие гнезда футляра. Для предохранения гирь от пыли футляр должен быть закрыт.
Пыль, осевшую на гирьки, снимают специальной мягкой кистью. Если поверхность гирек окислилась, их следует изъять из употребления и передать в ремонт. Нужно следить за тем, чтобы гирьки одного разновеса не перемешивались с гирьками других разновесов.
Мелкими миллиграммовыми гирьками следует пользоваться с особой осторожностью, чтобы не отломить загнутые края.
Аналитические разновесы следует поверять в сроки, установленные для поверки аналитических весов. Каждый аналитический разновес должен иметь свидетельство о поверке с указанием погрешности гирек.
При точных взвешиваниях следует вводить поправку на погрешность гирек согласно указаниям в свидетельстве о поверке.
Нормальный разновес состоит из гирь в 13,000; 26,000 и 52,000 г того же класса, что и гирьки аналитических разновесов.
Нормальный разновес следует поверять в сроки, установленные для поверки аналитического разновеса.
1.24. ВЕСЫ ТЕХНИЧЕСКИЕ РАВНОПЛЕЧИЕ ВТОРОГО КЛАССА
Весы технические равноплечие второго класса
(рис. 1.43) предназначены для взвешивания веществ при технических анализах обычной степени точности.
Рис. 1.43. Весы технические
1.24.1. Техническая характеристика весов
грузоподъемностью 200 г
Наибольший предел взвешивания, г | 200 |
Цена деления отсчетной шкалы, мг, не более | 50 |
Допустимая погрешность взвешивания: | |
при 10%-ной нагрузке, мг | 15 |
при 100%-ной нагрузке, мг | 50 |
Габаритные размеры, мм | 325x120x360 |
Масса, кг | 1 |
1.24.2. Техническая характеристика весов
грузоподъемностью 1000 г
Наибольший предел взвешивания, кг | 1 |
Цена деления отсчетной шкалы, мг, не более | 100 |
Допустимая погрешность взвешивания: | |
при 10%-ной нагрузке, мг | 60 |
при 100%-ной нагрузке, мг | 100 |
Габаритные размеры, мм | 500x175x450 |
Масса, кг | 3,2 |
1.24.3. Устройство весов
Весы
(рис. 1.43) представляют собой равноплечий рычаг первого рода. Равноплечее коромысло
5 с одной опорой
4 и двумя грузоприемными призмами
6 покоится острием опорной призмы на подушке
3, укрепленной на верхнем конце стержня арретира
2. Стержень арретира располагается внутри колонки
1 и имеет вертикальное перемещение от эксцентрикового механизма. На острия грузоприемных призм подвешены серьги
9 с дужками
10 и находящимися на них съемными чашками
13.
Весы снабжены регулятором равновесия 7, стрелкой 11 и шкалой 12, определяющей равновесие и чувствительность весов. Отвес 15 и указатель отвеса 16 определяют горизонтальное положение весов. Кронштейн 8 служит для поддержания коромысла в нерабочем состоянии при опущенном арретире, а ручка арретира 17 - для плавной нагрузки весов и разгрузки призм в нерабочем состоянии.
Весы монтируются на подставке 14.
1.25. ВЕСЫ ЛАБОРАТОРНЫЕ КВАДРАНТНЫЕ 4 КЛАССА,
МОДЕЛИ ВЛК-500г
1.25.1. Техническая характеристика
Наибольший предел взвешивания, г | 500 |
Цена деления шкалы, мг | 100 |
Цена деления нониуса, мг | 10 |
Диапазон измерения массы по шкале, г | 0 - 100 |
Допустимая погрешность взвешивания, мг | +/- 30 |
Погрешность измерения массы по шкале, мг, не более | +/- 20 |
Время успокоения колебаний квадранта, с, не более | 10 |
Габаритные размеры, мм, не более | 370x210x320 |
Масса весов, кг, не более | 9 |
Напряжение питания переменным током частотой 50 +/- 1 Гц, В | |
1.25.2. Принцип и порядок работы
Принцип взвешивания на весах основан на уравновешивании момента, создаваемого взвешиваемым грузом, моментом, создаваемым отклонением квадранта и встроенными гирями.
Рис. 1.44. Весы лабораторные квадрантные ВЛК-500г
Проверить установку весов по уровню, при необходимости подрегулировать установочными ножками.
Включить весы в сеть, включить тумблер.
Проверить положение нулевой отметки, при необходимости подрегулировать ручкой 16 и ручкой 24.
Положить взвешиваемый груз на чашку весов и снять отсчет, который складывается из:
- показания, получаемого в окне отсчетного устройства (при пользовании гиревым механизмом);
- показания, получаемого непосредственно по шкале экрана;
- показаний нониуса.
При взвешивании сыпучего вещества положить тару, в которой будет производиться взвешивание, на чашку и поворотом ручки 16 против часовой стрелки совместить нулевые отметки шкалы и нониуса.
Затем, поместив в тару взвешиваемый груз, снять отсчет.
Полученные показания соответствуют значению массы взвешенного груза без учета массы тары, в которой производилось взвешивание.
Закончив взвешивание, снять груз (и тару) с чашки; поворотом ручки 25 установить гиревой механизм в начальное положение (если ранее им пользовались).
Установить шкалу в начальное положение вращением ручки 16 по часовой стрелке.
Выключить тумблер и отключить весы от сети.
Регулировку четкости изображения шкалы производить микрообъективом.
Сняв кожух и включив весы, поворачивать микрообъектив в стойке или передвигать его в горизонтальной плоскости до получения четкого изображения шкалы на экране.
Несовпадение нулевых отметок шкалы и нониуса более чем на 2 деления надо устранять регулировкой квадранта тарировочными гайками.
Для этого надо снять кожух и, придерживая квадрант, повернуть тарировочные гайки вправо или влево, проверяя по экрану совпадение нулевых отметок.
Погрешность измерения массы по шкале следует регулировать гайками центра тяжести.
Если при наложении встроенной гири массой 100 г погрешность превысила верхний предел, то, придерживая квадрант, надо отвернуть гайку на пол-оборота - оборот против часовой стрелки и проверить изменение показания по шкале.
1.26. ВЕСЫ ТОРГОВЫЕ ЦИФЕРБЛАТНЫЕ МАРКИ ВТЦ-10, ТИПА ВНЦ
1.26.1. Техническая характеристика
Пределы взвешивания | от 100 г до 10 кг |
Пределы измерения по шкале циферблата, г | до 1000 |
Цена одного деления, г | 5 |
Габаритные размеры весов, мм: | |
длина | 580 |
ширина | 280 |
высота | 680 |
Масса, кг | 20,9 |
Рекомендуемый комплект гирь, кг | 1; 2; 2,5 |
1.26.2. Устройство весов
Весы
(рис. 1.45) состоят из грузоприемного устройства с двумя площадками - малой (гиревой)
11 и большой (грузовой)
5; рычажной системы, состоящей из главного рычага
8, на который опирается гиревой рычаг
13, несущий площадку
11, и грузовой рычаг
2 с площадкой
5 (от опрокидывания рычаги
13 и
2 удерживаются струнками
14, расположенными в верхней части корпуса весов); отсчетного устройства в виде квадранта
12 с двумя стрелками
3, перемещающимися параллельно шкалам двух секторных циферблатов
1. Отсчетное устройство связано с рычажной системой при помощи тяги
4.
Под гиревой площадкой 11 имеется камера, служащая для приведения в равновесие нагруженных весов (тарирования).
Тарирование осуществляется путем изменения (увеличения или уменьшения) количества кусочков металла, находящегося в тарировочной камере. Весы снабжены жидкостным успокоителем колебаний, наполненным одним из следующих видов индустриальных масел:
приборным МВП (ГОСТ 1805-51);
трансформаторным (ГОСТ 982-56).
В цилиндре 6 перемещается поршень, связанный с грузовым рычагом 2.
Действие успокоителя колебаний регулируется поворотом стакана, выступающего под плитой основания.
Для предохранения механизма весов от повреждения при транспортировке служит стопор рычагов 7. Механизм весов закрыт металлическим футляром. Циферблатная часть футляра весов застеклена.
В нижней части щитки корпуса стянуты контрольным винтом и гайкой. В винте имеется отверстие, в которое вставляется проволочка пломбы. Клеймо госповерителя ставится на пломбе.
Для правильной установки весы снабжены жидкостным уровнем 9, укрепленным на станине. Установка весов по уровню производится четырьмя винтовыми ножками 10.
1.26.3. Порядок работы
Перед началом работы необходимо убедиться, что весы установлены по уровню, стрелка находится в начальном положении "0" и возвращается к нему после выведения весов из этого положения.
Гири и взвешиваемый объект укладывают на площадки весов осторожно, без толчков и ударов. После окончания взвешивания гири с площадки весов следует снимать. Для уравновешивания тары, сосудов и т.д. необходимо класть на гиревую площадку специальную тарную гирю.
Отсчет делений при взвешивании до 1000 г производят непосредственно по показаниям стрелок на циферблатах. Взвешивание груза свыше 1000 г осуществляют помещением на площадку гирь массой 1, 2, 2,5 кг и т.д. Так, например, для взвешивания объекта массой 1320 г следует положить на гиревую площадку 1 кг, а 320 г читать на циферблате весов.
1.27. УЛЬТРАТЕРМОСТАТ УТ-15
Ультратермостат УТ-15 предназначен для получения стабильной температуры при исследовании физических, химических, биологических и других процессов.
Температура окружающего воздуха при работе ультратермостата - от +15 до +35 °C, относительная влажность при +20 °C - до 80%.
1.27.1. Техническая характеристика
Режим работы ультратермостата - автоматический.
Мощность, потребляемая ультратермостатом, не превышает 1500 ВА.
Ультратермостат работает от однофазной сети переменного тока с частотой 50 Гц, номинальным напряжением 220 В, при допустимых отклонениях напряжения сети +/- 10% от номинального значения.
Масса ультратермостата - не более 60 кг.
Габаритные размеры ультратермостата:
длина, мм, не более | 470 |
ширина, мм, не более | 430 |
высота (без термометра), мм, не более | 630 |
Габаритные размеры охладителя:
длина, мм, не более | 430 |
ширина, мм, не более | 400 |
высота, мм, не более | 395 |
Объем рабочего сосуда ультратермостата - не менее 15 л.
Объем рабочего сосуда охладителя - не менее 15 л.
Диапазон рабочих температур ультратермостата - в пределах от 0 до +150 °C.
Погрешность стабилизации температуры в опорной точке рабочего сосуда ультратермостата в установившемся режиме не выходит за пределы, °C:
+/- 0,5 - в интервале от 0 °C до температуры окружающего воздуха;
+/- 0,05 - в интервале от температуры окружающего воздуха до +45 °C;
+/- 0,02 - в интервале от +45 до +60 °C;
+/- 0,1 - в интервале от +60 до +100 °C;
+/- 0,5 - в интервале от +100 до +150 °C.
Предельное отклонение температуры в контрольных точках рабочего сосуда от температуры в опорной точке в установившемся режиме не выходит за пределы +/- 0,5 °C.
Время достижения установившегося режима в опорной точке при температуре +150 °C - не более 8 ч с момента включения ультратермостата.
Время разогрева рабочего сосуда ультратермостата до температуры в опорной точке +150 °C - не более 4 ч с момента включения ультратермостата.
Превышение температуры наружных поверхностей ультратермостата, доступных прикосновению (кроме металлических и других деталей, соприкасающихся с рабочим сосудом), над температурой окружающей среды, равной +25 °C, - не более +60 °C.
Температура органов управления (тумблеров включения электронагревателей, тумблера включения насосов, тумблера сети, кнопки ускоренного разогрева) - не более +50 °C.
Производительность насосов, не менее:
200 мл/с - нагнетательного;
170 мл/с - всасывающего.
Уровень шума, создаваемого при работе ультратермостата, не превышает 65 дБA на расстоянии 1 м.
1.27.2. Устройство ультратермостата
Ультратермостат
(рис. 1.46) состоит из следующих основных частей: корпусов
1 и
2, панели
14, блока управления
23, узла насосов
7, термометров
9 и
10.
Кроме того, в комплект ультратермостата входит специальное устройство-охладитель и три стойки.
Рис. 1.46. Ультратермостат УТ-15
Корпус 2 представляет собой рабочий сосуд емкостью 15 л, укрепленный в стальном корпусе 1. Пространство между обоими корпусами заполнено теплоизоляционным материалом - ватой стеклянной 3.
На боковую поверхность наружного корпуса выведен кран для слива рабочей жидкости и указатель уровня.
Сверху тремя винтами 13 к корпусу крепится панель 14.
На панели установлены узел насосов, нагреватели НЭ1, НЭ2 и НЭ3, патрубки 22 для присоединения ультратермостата к водопроводной сети. Здесь же имеются отверстия для установки термометров и горловина диаметром 160 мм с набором крышек, дающая возможность помещать в термостат предметы различных размеров. В этой же горловине при необходимости устанавливается сосуд 20 для сухих бань.
Блок управления, расположенный на боковой поверхности ультратермостата, с помощью гибких проводов и штепсельных разъемов соединен с клеммной колодкой 11 на панели.
Узел насосов ультратермостата УТ-15 представляет собой два центробежных насоса, смонтированных на одном валу.
Электроконтактный термометр (
рис. 1.46, поз. 10) предназначен для настройки ультратермостата на нужную температуру и поддержания ее с допускаемой погрешностью стабилизации в рабочем сосуде.
1.27.3. Порядок работы
Включить ультратермостат пакетным выключателем, повернув его ручку в положение "СЕТЬ".
При использовании в качестве рабочей жидкости глицерина прежде чем включать насосы необходимо разогреть рабочую жидкость до температуры 40 - 45 °C.
Включить электродвигатель М с помощью тумблера 21, установив его ручку в положение "НАСОС ВКЛ.".
Включить нагреватели НЭ1, НЭ2 и НЭ3 соответствующими тумблерами 6, 5, 4. При этом включаются соответствующие индикаторы Л1, Л2 и Л4.
При автоматическом регулировании температуры рекомендуется следующий порядок подбора мощности нагревателей:
в диапазоне температур от 0 до +50 °C - нагреватель 200 Вт;
в диапазоне температур от +50 до +80 °C - нагреватель 400 Вт;
в диапазоне температур от +80 до +120 °C - нагреватели 200 Вт + 400 Вт;
в диапазоне температур от +120 до +150 °C - нагреватели 200 Вт + 400 Вт + 500 Вт.
Примечание. Рекомендуемый набор мощности указан для температуры окружающего воздуха +20 +/- 5 °C.
Необходимо учесть, что погрешность стабилизации температур, определяемая по показаниям контрольного термометра, всецело зависит, при прочих равных условиях, от мощности нагревателей, используемых при автоматическом регулировании.
Погрешность стабилизации в каждом температурном интервале контролируется лабораторными термометрами, с соответствующими пределами измерения.
Для ускоренного разогрева рабочей жидкости следует нажать кнопку 24. При этом подключаются все нагреватели.
По достижении заданной температуры о нормальной работе терморегулирующего устройства сигнализируют поочередно включающиеся индикаторы Л3, "НАГРЕВ ОТКЛ." и Л1, Л2, Л4 в наборе, соответствующем выбранному режиму работы.
По окончании работы слить рабочую жидкость из ультратермостата с помощью сливного крана и удалить хладоноситель из охладителя через патрубок.
После слива рабочей жидкости и хладоносителя протереть насухо мягкой ветошью или тканью все влажные составные части.
1.28. МЕШАЛКА-ТЕРМОСТАТ ДЛЯ ОПРЕДЕЛЕНИЯ ПРЕДЕЛА
ИСТОЩЕНИЯ МЕЛАССЫ
Мешалка-термостат предназначена для определения предела истощения мелассы.
Мешалка-термостат
(рис. 1.47) состоит из ванны
2, в которой находится вращающаяся рамка
4, предназначенная для закрепления в ней сосудов
3 с исследуемой мелассой. Корпус мешалки снаружи покрыт слоем изолирующего материала.
Рис. 1.47. Термостат-мешалка для определения предела
истощения мелассы
Вращающаяся рамка 4 приводится в движение от электродвигателя 1 через редуктор. Скорость вращения выходного вала редуктора - 0,5 об/мин.
Необходимую температуру внутри ванны поддерживают с помощью двух нагревательных элементов: 1,2 кВт (N 1) и 0,8 кВт (N 2), реле и контактного термометра 5 с магнитной регулировкой.
Элементы для подогревания воды вмонтированы в металлические трубки 6.
При работе разрешается включать в работу только один нагреватель. Второй нагреватель является запасным.
Наливают в ванну столько воды, чтобы она покрыла нагревательные элементы. Рамка и вставленные в нее сосуды не должны касаться воды; они вращаются в воздушно-паровой среде, температура которой поддерживается контактным термометром. Это исключает возможность проникновения воды в сосуды и порчи проб.
1.28.1. Порядок работы
Для работы в мешалке-термостате применяется комплект стаканов в количестве 6 штук.
Перед началом работы мешалку-термостат включают в сеть переменного тока напряжением 220 В.
Включают один из нагревателей.
Контактный термометр 5 настраивают на необходимую температуру (40 °C).
После нагрева жидкости в термостате до температуры ~ 40 °C регулируют контактный термометр по контрольному с таким расчетом, чтобы температура в термостате-мешалке поддерживалась на уровне 40 +/- 1 °C.
Открывают крышку термостата-мешалки, включают электродвигатель и, когда плоскость вращающейся рамки с вырезами повернется вверх, выключают электродвигатель, закрывают стаканы крышками и вставляют в гнезда рамки, накладывают скобы и зажимают крышки стаканов вращением маховичков скоб. Захваты скоб вставляют в вырезы, имеющиеся во вращающейся рамке.
Закрывают крышку термостата, переключают тумблер электродвигателя в положение "вкл" и ведут процесс истощения мелассы в течение 3 суток.
По истечении трех суток открывают крышку термостата, переключают тумблер в положение "выкл" в тот момент, когда плоскость рамки с закрепленными скобами сосудов повернется вверх. После этого вынимают сосуды, откручивая маховички скоб, и тщательно вытирают их наружную поверхность. Затем удаляют воду из термостата через сливной краник и закрывают крышку термостата.
Шкаф сушильный электрический круглый 2В-151 предназначен для сушки и стерилизации лабораторной посуды, а также для определения влажности материалов. Работа проводится при температуре окружающей среды от 15 до 35 °C и относительной влажности до 80% (при температуре 25 °C).
1.29.1. Техническая характеристика
Диапазон температур в рабочей камере, °C | от 40 +/- 5 до 200 |
Основная погрешность стабилизации температуры в опорной точке при установившемся режиме, колебаниях напряжения сети в пределах +/- 2% и колебаниях температуры окружающего воздуха в пределах +/- 5 °C, °C. | +/- 1 |
Время разогрева шкафа до температуры 200 °C в опорной точке при номинальном напряжении в сети и температуре окружающего воздуха 20 +/- 5 °C, мин, не более | 100 |
Род тока | переменный с частотой 50 Гц, однофазный |
Номинальное напряжение питающей сети, В | 220 |
Допускаемые отклонения от номинального значения напряжения в сети, % | +/- 10 |
Мощность, потребляемая шкафом при номинальном напряжении в сети, ВА, не более | 560 |
Время достижения установившегося режима при номинальном напряжении сети и температуре окружающего воздуха 20 +/- 5 °C с момента включения шкафа, ч., не более | 4 |
Габаритные размеры шкафа, мм, не более: | |
длина | 410 |
ширина | 480 |
высота (без термометра) | 615 |
Внутренние размеры рабочей камеры, мм, не менее: | |
диаметр | 355 |
глубина (при закрытой двери) | 269 |
Масса, кг, не более | 25 |
1.29.2. Устройство и принцип работы
Сушильный шкаф
(рис. 1.48) состоит из корпуса с подставкой
1, рабочей камеры, двери
5, блока управления и терморегулятора.
Рис. 1.48. Сушильный шкаф 2В-151
Корпус с подставкой выполнен из тонколистового металла и служит для размещения всех основных узлов и деталей шкафа.
В верхней части корпуса установлен контрольный термометр 4, защищенный оправой 3. В основании оправы имеются отверстия для вентиляции, перекрываемые поворотным кольцом 2.
На передней стенке подставки расположены:
- индикатор 7;
- тумблер 9;
- предохранители 8;
- ручка 10.
Здесь же (на передней стенке) нанесена шкала, служащая для предварительной настройки шкафа на нужную температуру. В процессе работы при настроенном терморегуляторе можно установить, какой отметке шкалы соответствует та или иная температура в рабочей камере.
Индикатор 7 сигнализирует о работе шкафа: он включается при его нагреве и отключается при охлаждении.
Рабочая камера представляет собой цилиндрический сосуд, выполненный из тонколистового металла, с плоским дном.
Внутри камеры на специальных направляющих уголках расположены: полка и два ящика с перегородками - верхний и нижний, в которые помещается стерилизуемая посуда.
Камера обогревается основным нагревательным элементом, намотанным по ее наружной поверхности на изолирующей прокладке из асбестовой бумаги.
На задней стенке камеры, в лодочке, расположен дополнительный нагревательный элемент, служащий для нагрева дилатометрического датчика терморегулятора. Благодаря последовательному соединению основной и дополнительный нагревательные элементы находятся в одном токовом режиме, что необходимо для синхронизаций обогрева датчика и камеры.
В нижней части камеры расположена трубка, служащая для притока свежего воздуха.
Пространство между наружной поверхностью шкафа и камерой заполнено теплоизоляционным материалом - стеклянной ватой.
Дверь выполнена из тонколистового металла и закрывает камеру с лицевой стороны. На внутренней части двери расположены прокладки из асбестового картона. Дверь снабжена экраном и поворотной защелкой.
Блок управления расположен в подставке и предназначен для автоматического поддержания температуры в камере в процессе работы. На шасси блока размещены исполнительный орган - реле и другие элементы.
Терморегулятор расположен в подставке и при помощи скобы крепится к лодочке камеры.
1.29.3. Подготовка сушильного шкафа к работе
Установить полку и ящики с перегородками на свои места в рабочей камере;
ввернуть оправу термометра и вставить в нее термометр.
Перед включением в сеть:
- убедиться в том, что напряжение электросети соответствует указанному в паспорте;
- установить и присоединить к электросети и контуру заземления соответствующие контакты розетки, имеющейся в комплекте шкафа.
1.29.4. Порядок работы
После подготовительных работ проверку работоспособности и включение шкафа на нагрев производить в следующем порядке:
- установить ручку терморегулятора до совмещения ее указателя с начальной отметкой шкалы;
- включить шкаф в сеть с соблюдением общих правил электробезопасности и установить ручку тумблера 9 в положение "Сеть". При этом должен включиться индикатор 7;
- проверить работоспособность терморегулятора по всей шкале настройки. Для этого медленно, с остановками на каждой отметке шкалы на 2 - 3 с, вращать ручку 10 по часовой стрелке. Индикатор не должен отключаться;
- повернуть ручку терморегулятора на нулевую отметку шкалы и прогреть шкаф в течение часа. В опорной точке камеры 15 должна установиться температура 40 +/- 5 °C;
- установить ручку терморегулятора на соответствующую отметку шкалы для получения требуемой температуры.
1.30. ВАКУУМНЫЙ СУШИЛЬНЫЙ ШКАФ СНВС-4,5.3,4/3-И1
Электрошкаф вакуумный сушильный СНВС-4,5.3,4/3-И1 предназначен для сушки и нагревания различных материалов в воздушной среде и вакууме до температуры 300 °C.
1.30.1. Техническая характеристика
1. Мощность нагревательной камеры, кВт | 2,7 |
2. Напряжение питающей сети, В | 380 |
3. Частота, Гц | 50 |
4. Число фаз | 3 |
5. Номинальная рабочая температура, °C | 300 |
6. Диапазон автоматического регулирования температуры, °C | от 40 до 300 |
7. Точность автоматического регулирования температуры, °C | +/- 3 |
8. Остаточное давление в рабочей камере, мм рт. ст. (кПа) | 10 (1,33) |
9. Время разогрева до максимальной рабочей температуры, мин | 120 |
10. Размеры рабочего пространства, мм: | |
ширина | 450 |
глубина | 300 |
высота | 400 |
11. Габаритные размеры электрошкафа (с вакуумным блоком), мм: | |
ширина | 600 |
глубина | 355 |
высота | 1440 |
12. Масса насоса (с вакуумным блоком), кг | 165 |
1.30.2. Устройство и принцип работы
Состоит
(рис. 1.49) из сушильного шкафа
16, установленного на вакуумном блоке
10.
Рис. 1.49. Вакуум-сушильный шкаф СНВС-4,5.3,4/3-И1
Сушильный шкаф представляет собой прямоугольный корпус из тонколистовой стали, в котором размещены камера нагрева и блок управления 13. Камера нагрева герметически закрывается дверкой 15.
Камера нагрева выполнена из тонколистовой стали, имеет патрубок отсоса газов, патрубок для ввода контрольной термопары 1, гнездо для вводя регулирующей термопары, уплотнитель дверки и трубку водяного охлаждения уплотнителя.
Внутри камеры нагрева размещены три съемные полки
2. Нагреватель шкафа выполнен из константановой проволоки

. Пространство между корпусом и камерой нагрева заполнено теплоизоляционным материалом
3.
Блок управления шкафа служит для автоматического поддержания заданной температуры с точностью, указанной в технической характеристике. Элементы блока управления - регулирующий милливольтметр 14 с термопарой ТХК, электронная приставка, тиристор, сигнальная лампа 6, предохранитель 4 и выключатель 5 расположены на передней панели блока управления, которая крепится четырьмя винтами.
Вакуумный блок служит подставкой шкафа и для создания разрежения в рабочей камере шкафа. В вакуумном блоке размещены блок управления системой 12 и вакуумный насос.
Блок управления вакуумной системы состоит из масляной ловушки, впускного крана 7, крана, перекрывающего пневмосистему 8, вакуумметра 11 и автоматического выключателя 9, смонтированных на одной панели.
Внутри корпуса вакуумного блока смонтирован клеммник для присоединения электрошкафа к сети с током частотой 50 Гц, напряжением 380 В, с нулевым проводом.
1.30.3. Порядок работы
Материал, предназначенный для сушки, уложить на полки рабочей камеры и закрыть дверку шкафа.
Перекрыть впускной кран 7, открыть кран 8 и, включив вакуумный насос, выключателем 9 создать разрежение внутри рабочей камеры 10 мм рт. ст. (1,33 кПа).
Если сушка материалов производится при температуре выше 100 °C, пустить воду в трубку охлаждения вакуумного уплотнителя. Расход воды должен быть

при рабочей температуре от 100 до 200 °C и

при температуре от 200 до 300 °C. Увеличение расхода воды пропорционально возрастанию требуемой рабочей температуры.
Установить милливольтметр на шкале прибора против требуемой рабочей температуры.
При откачке из камеры шкафа конденсирующихся паров необходимо, приоткрывая впускной кран 7, обеспечить соотношение парциального давления пара к давлению воздуха откачиваемой смеси 1:4.
Включить сушильный шкаф.
Откачку парогазовых смесей (например, с содержанием паров воды) во избежание порчи вакуумного насоса производить следующим образом:
в рабочую камеру насоса через впускной кран добавить неконденсирующийся (балластный) газ в таком количестве, чтобы соотношение в парогазовой смеси парциального давления несконденсировавшегося газа к давлению пара составило 4:1. При этом величина полного давления на входе насоса не должна превышать 100 мм рт. ст. (13,3 кПа).
Заданное соотношение устанавливается в такой последовательности: в закрытой системе на шланге отсоса паров из рабочей камеры шкафа, т.е. при отсутствии парогазовой смеси, с помощью впускного крана давление на входе насоса устанавливается не более 80 мм рт. ст. (10,6 кПа) по вакуумметру. После этого с помощью ослабления увеличивают входное давление на 0,25 установленного открывания вентиля 8, принимая эту величину за давление конденсируемых паров, и ведут откачку.
Аналогично описанному должно подбираться соотношение для различных значений парциального давления паров воды, но не более 20 мм рт. ст. (2,7 кПа).
Процесс сушки в вакууме материалов с незначительным влагосодержанием (скорость влаговыделения менее 1,5 г воды/час) не требует подачи балластного газа.
По окончании процесса высушивания необходимо выключить вакуумный насос и открыть впускной кран. После заполнения воздухом рабочей камеры открыть дверцу и вынуть высушенный материал.
Если работа с использованием электрошкафа производиться не будет, выключить сушильный шкаф и выключатель на силовом щите.
Комплектующее оборудование электрошкафа эксплуатируется согласно инструкции предприятия-изготовителя.
1.31. МЕШАЛКА МАГНИТНАЯ ММ 3М
Мешалка магнитная ММ 3М предназначена для перемешивания и подогрева жидкостей.
1.31.1. Техническая характеристика
Мешалка работает от сети переменного тока напряжением  , частотой 50 +/- 1 Гц. | |
Потребляемая мощность (при работе с включенной электроплиткой), ВА, не более | 200 |
Мощность электроплитки, ВА | 150 |
Регулирование скорости перемешивания жидкости - плавное | |
Максимальное количество перемешиваемой жидкости, л | 1,5 |
Масса мешалки, кг, не более | 3,5 |
Габаритные размеры мешалки, мм: | |
- без штанги - 164x195x130; | |
- со штангой - 164x195x480. | |
1.31.2. Конструкция
Конструкция мешалки представлена на
рис. 1.50. На основании
1 мешалки установлен электродвигатель, на валу которого укреплен постоянный магнит и крыльчатка для охлаждения электродвигателя. Шасси накрыто корпусом
2. На верхней части корпуса расположена электроплитка, закрытая кожухом
3.
Рис. 1.50. Магнитная мешалка ММ-3М
На передней стенке мешалки расположены:
- тумблер 4 для включения электродвигателя;
- ручка 5 для регулирования скорости вращения вала двигателя с магнитом;
- тумблер 6 для включения электроплитки.
На задней стенке расположены:
- шнур питания с вилкой;
- держатель с предохранителем;
- клемма для подсоединения провода заземления.
1.31.3. Порядок работы
Мешалка в процессе эксплуатации не требует специального технического обслуживающего персонала.
Перед началом работы необходимо произвести следующие действия:
установить на крышке корпуса мешалки штангу;
заземлить мешалку;
установить тумблеры 4 и 6 в положение "Выкл", ручку 5 - в крайнее левое положение;
снять стальной диск с электроплитки;
установить на электроплитку сосуд с жидкостью и погрузить в нее перемешивающий стержень;
шнур питания подключить к сети переменного тока напряжением 220 В;
включить электродвигатель, установив тумблер 4 в положение "Вкл.".
Поворотом ручки 5 подобрать оптимальный режим перемешивания. При вращении ручки по часовой стрелке скорость вращения ротора возрастает. Для подогрева жидкости установить тумблер 6 в положение "Вкл.". Если произойдет срыв вращения стержня в сосуде, необходимо уменьшить скорость вращения двигателя, повернув ручку 5 в крайнее левое положение, а затем, когда стержень начнет плавно вращаться, постепенно увеличить обороты до нормального вращения. После окончания работы выключить плитку и электродвигатель, а ручку 5 вывести в крайнее левое положение.
1.32. НАБОР СИТ С МЕХАНИЧЕСКИМ ПРИВОДОМ
Набор сит для просеивания кристаллов сахара при определении гранулометрического состава состоит из 11 номеров с размером ячеек 0,2; 0,5; 0,8; 1,0; 1,2; 1,5; 2,0; 2,5; 3,0; 3,5; 4,0 мм. Диаметр сит - 200 мм. Сита бывают плетеные проволочные или штампованные с круглыми отверстиями. Сита штампованные дают лучшее разделение кристаллов, хотя и требуют более длительного встряхивания, так как их живое сечение меньше. Сита вставляют одно в другое, образуя колонку. Исследуемый сахар помещают в сито с наиболее крупными ячейками, набор закрывают крышкой и приводят в движение механической трясучкой. Число колебаний сит - около 200 в мин. Продолжительность просеивания - 10 мин.
1.33. УСТАНОВКА ДЛЯ УСКОРЕННОГО АНАЛИЗА ГУСТЫХ ПРОДУКТОВ
САХАРНОГО ПРОИЗВОДСТВА
Установка для ускоренного анализа густых продуктов сахарного производства имеет следующий вид
(рис. 1.51):
на лабораторном столе установлены лабораторные технические весы 4-го класса 1. На втором (вспомогательном) столе последовательно установлены: две магнитные мешалки 8 с водяными банями 2, оснащенными трубчатыми нагревателями (ТЭНами) мощностью 300 Вт каждый, и двумя магнитными мешалками 6 с холодильниками 4, к которым подведена проточная вода.
Рис. 1.51. Установка для ускоренного анализа густых
продуктов сахарного производства
На лабораторном столе помещены штативы 7 с воронками 3 для фильтрования, а также лабораторный рефрактометр РПЛ-3 (поз. 5). Установка также комплектуется 10-ю специальными сосудами 9 для разбавления продуктов водой в отношении 1:1, колбами вместимостью 100 или 200 мл и нейзильберовой чашкой.
1.34. УСТАНОВКА ДЛЯ ОПРЕДЕЛЕНИЯ ЭКСПРЕСС-МЕТОДОМ СОДЕРЖАНИЯ
САХАРА ПО ДИГЕСТИИ В СВЕКЛОВИЧНОЙ СТРУЖКЕ
И В ПРЕССОВАННОМ ЖОМЕ
Схема установки для определения экспресс-методом содержания сахара по дигестии в свекловичной стружке и прессованном жоме приведена на
рис. 1.52.
Рис. 1.52. Установка для определения содержания сахара
по дигестии в свекловичной стружке и прессованном жоме
экспресс-методом
Установка состоит из подставки 7, на которой помещен резервуар 12 емкостью 10 - 30 л, предназначенный для раствора свинцового уксуса. Между опорами подставки вмонтирована раковина 11, оборудованная двумя кранами 10 холодной воды. С правой стороны подставки 7 укреплен металлический стол 18, на котором установлено весовое дозирующее устройство ЕВД или ЕДО 14 для дозирования раствора свинцового уксуса по объему, эквивалентному произвольной навеске свекловичной стружки, свекловичной кашки или прессованного жома. Блок питания 19 прибора ЕВД или ЕДО размещен на нижней полке стола 18. От резервуара 12 к прибору 14 подведена резиновая трубка 13.
С левой стороны подставки 7 размещен металлический стол 5, на котором установлен размельчитель тканей свеклы РТС-2М (поз. 2), предназначенный для измельчения свекловичной стружки при определении ее сахаристости. Рубашка (кожух) сосуда 3 размельчителя тканей свеклы 2 сдвоенным шлангом 8 соединена с краном 10 и раковиной 11 для подвода и удаления охлаждающей воды. К внутренней полости корпуса размельчителя тканей свеклы 2 от трубопровода с краном 6 посредством резинового шланга 1 подведен сжатый воздух, который используется для охлаждения электродвигателя прибора. На металлическом рабочем столе установлен автотрансформатор 9 для питания и плавного включения прибора РТС-2М, штатив с воронкой 4 для фильтрования суспензии. Кроме того, имеется запасной штатив для фильтрования. Для уменьшения вибрации металлический стол покрыт листовой резиной толщиной 20 - 22 мм.
Справа от металлического стола 18, на котором установлен прибор ЕВД или ЕДО (14), размещается металлический стол 26. На нем установлен размельчитель тканей свеклы РТС-2М (поз. 20). Рубашка (кожух) сосуда 25 РТС-2М (поз. 20) сдвоенным шлангом 22 соединена с краном 15 и раковиной 16 для подвода и удаления охлаждающей воды. К внутренней полости корпуса размельчителя тканей свеклы 20 от трубопровода с краном 24 посредством резинового шланга 23 подведен сжатый воздух, который используется для охлаждения прибора. На металлическом рабочем столе установлены: автотрансформатор 27 для питания и плавного включения прибора РТС-2М и штатив с воронкой 21 для фильтрования суспензии. Кроме того, имеется запасной штатив для фильтрования.
Установка комплектуется вспомогательным оборудованием: контейнерами для отбора проб свекловичной стружки и прессованного жома, просечками и поршеньками для выталкивания высеченных образцов.
Дигестионный сосуд предназначен для проведения горячего водного дигерирования сахара из кашки при определении содержания сахара в свекле и свекловичной стружке методом горячей водной дигестии.
Сосуд
(рис. 1.53) представляет собой полый цилиндр размерами 90x71x180
мм, вместимостью 420
мл, массой 0,9
кг. В верхней части сосуда имеется сужение и специальный выступ по окружности, который служит для закрепления съемной скобы. Для закрывания сосуда имеется металлическая крышка с резиновой прокладкой. Сосуд изготовляется из нержавеющей стали.
В комплект дигестионного сосуда входит также лодочка для взвешивания свекловичной кашки и тара к ней. Лодочка - штампованная из листа нержавеющей стали толщиной 0,5 мм.
Рис. 1.53. Дигестионный сосуд
1.36. КОЛОРИМЕТРИЧЕСКИЕ КАРТЫ
Колориметрические карты представляют собой коробку
1 (рис. 1.54), в которой помещены: три эталона
6,
7,
8, пипетка
2 вместимостью 10
мл с делениями, пипетка
3 вместимостью
2 мл с делениями, палочка стеклянная
4 длиной 250
мм и диаметром 3,5
мм,
3 палетки (лодочки) фарфоровые
5, цилиндр измерительный
9 с носиком. Между эталонами помещены поролоновые прокладки.
Рис. 1.54. Колориметрические карты.
Эталон представляет собой набор окрашенных полосок, закрепленных на листе мелованной бумаги, который вмонтирован в оправу из органического стекла и снабжен защитным стеклом с целью предохранения от неблагоприятных воздействий.
Цвет полосок отвечает цвету помещенных в палетку окрашенных жидкостей, которые получаются в результате реакции между сахарозой и различными реактивами. Так как колориметрические карты применяются для определения малых количеств сахара на основе нескольких реакций, в комплект прибора включено три эталона:
- эталон N 1, применяемый для определения малых количеств сахара в отходящих и сточных водах сахарных заводов (в пределах 0,02 - 0,50% к массе испытуемой воды) на основе получения молибденовой сини. Эталон имеет синий оттенок;
- эталон N 2, применяемый для определения следов сахара в отходящих и сточных водах сахарных заводов (0,002 - 0,05% к массе испытуемой воды) на основе получения молибденовой сини. Эталон N 2 имеет зеленоватый оттенок;
- эталон N 3, применяемый для определения малых количеств сахара (0,002% - 0,10% к массе испытуемой воды) на основе реакции с камфорой и серной кислотой. Эталон N 3 имеет красноватый оттенок.
Полученную в результате цветной реакции жидкость помещают в палетку и производят сравнение окрашенных жидкостей.
1.37. СОСУД ДЛЯ РАЗБАВЛЕНИЯ ПРОДУКТОВ 1:1
Сосуд для разбавления сахарных продуктов 1 : 1
(рис. 1.55) применяется при определении содержания в них сухих веществ.
Рис. 1.55. Сосуд для разбавления продуктов 1:1
Вместимость сосуда, мл | - 170 |
Габаритные размеры, мм | - 80x69x115 |
Масса сосуда, кг | - 0,250 |
Цилиндрические сосуды - наружный и внутренний - по массе равные. В том случае, если масса сосудов разная, их уравновешивают.
Затем меньший (внутренний) сосуд с крышкой вставляется в больший (наружный), уплотняется резиновой прокладкой и прижимается скобой и винтом. К прибору поставляется специальный грузик массой 0,007 кг для перемешивания содержимого в сосудах.
1.38. НЕЙЗИЛЬБЕРОВЫЕ ЧАШКИ
Нейзильберовые чашки представляют собой тонкостенные сосуды с вытянутым носиком из некорродирующего металла (медно-никелевого проката) типа нейзильбер или мельхиор
(рис. 1.56). Они служат для отвешивания и перевода в колбы навесок жидких, густых и сыпучих продуктов сахарного производства при выполнении различных лабораторных анализов. Опытная механическая мастерская НПО "Сахар" выпускает два типоразмера таких чашек.
Рис. 1.56. Нейзильберовая чашка.
Вместимость нейзильберовой чашки N 1, мл. | 215 |
Габаритные размеры, мм | 81x110x70 |
Масса чашки, кг | 0,095 |
Вместимость нейзильберовой чашки N 2, мл. | 150 |
Габаритные размеры, мм | 81x105x54 |
Масса чашки N 2, кг | 0,075 |
1.39. ЦИЛИНДР МЕРНЫЙ ДЛЯ ОТБОРА ПРОБ СОКА
Мерный цилиндр
(рис. 1.57) представляет собой полый сосуд цилиндрической формы и предназначен для отбора проб сока при ведении лабораторных анализов сахарных продуктов.
Рис. 1.57. Цилиндр мерный для отбора сока
Вместимость, мл | 10 |
Габаритные размеры, мм | 35x45x54 |
Масса, кг | 0,035 |
В лабораториях сахарных заводов применяется мерная химическая посуда, а также посуда общего и специального назначения.
1.40.1. Посуда общего назначения
К посуде общего назначения относятся: пробирки, воронки (простые, химические, делительные, капельные), химические стаканы, плоскодонные колбы, промывалки, колбы конические, колбы для отсасывания, кристаллизаторы, холодильники (прямые, обратные, шариковые), сифоны, тройники, краны.
1.40.2. Посуда специального назначения
К посуде специального назначения относятся: колбы круглодонные, колбы Кьельдаля, колбы для дистилляции, эксикаторы, аллонжи, дефлегматоры (насадки), склянки (Вульфа, Тищенко, Дрекселя), аппарат Киппа, капельницы, хлоркальциевые трубки.
1.40.3. Мерная посуда
Для измерения объема жидкости применяется мерная посуда с отметками, указывающими номинальную вместимость.
Вся лабораторная мерная посуда (колбы, бюретки, пипетки) должны иметь клеймо ОТК завода или органов Государственного комитета стандартов, мер и измерительных приборов при Совете Министров СССР.
Использовать в лаборатории мерную стеклянную посуду без указанного выше клейма запрещается.
1.40.3.1. Колбы. Цилиндры. Мензурки
Чистая (в случае надобности, обработанная хромовой смесью) хорошо вымытая и высушенная горячим воздухом колба после охлаждения до температуры помещения тарируется на технических весах с точностью до 0,01 г. После этого в нее вливают почти до отметки дистиллированную воду, имеющую температуру, близкую к температуре помещения. Колбу с водой оставляют стоять в лаборатории до тех пор, пока температура воды и помещения не сравняется, затем доливают ее точно до отметки (по нижнему краю мениска) и взвешивают.
При всех этих манипуляциях колбу следует брать за горлышко только двумя пальцами.
Разница между массой наполненной и пустой колбы дает количество содержавшейся в ней до отметки воды. При 20 °C колба вместимостью 100 мл должна содержать 99,820 г дистиллированной воды.
Пример. Проверку колбы вместимостью 100 мл проводят при температуре 15 °C. Предварительно вымытую, высушенную и взвешенную колбу наливают водой и снова взвешивают. Взвешивание производят с такой точностью, чтобы ошибка не превышала 0,1% от массы воды в объеме колбы.
Находят массу воды - 99,85 г, как разность между массой колбы с водой и колбой. Для того, чтобы определить объем, соответствующий этому количеству воды, нужно знать плотность ее при температуре опыта, т.е. при 15 °C, или же удельный объем воды при той же температуре.
В первом случае найденную массу делят на плотность, а во втором массу умножают на удельный объем.
Таким образом, вместимость колбы определяют как результат умножения:
99,85 x 1,0009 = 99,94 мл.
Следовательно, фактический объем воды в колбе вместимостью 100
мл отличается от номинального на 100 - 99,94 = 0,06
мл, т.е. находится в пределах допустимых отклонений
(табл. 1.2.).
Мерные сосуды калибруют наливанием или выливанием определенного объема жидкости. В зависимости от величины допустимого отклонения от номинальной вместимости мерные емкости подразделяются на два класса. Для колб, цилиндров и мензурок
ГОСТ 1770-74 допускает следующие отклонения (в
мл):
Номинальная вместимость, мл | Колбы 1-го класса | Колбы 2-го класса | Цилиндры | Мензурки отливные |
наливные | отливные | наливные | отливные | наливные | отливные |
5 | 0,025 | 0,05 | 0,05 | - | 0,10 | 0,20 | - |
10 | 0,025 | 0,05 | 0,05 | - | 0,10 | 0,20 | - |
25 | 0,03 | 0,06 | 0,06 | 0,12 | 0,25 | 0,50 | - |
50 | 0,05 | 0,10 | 0,10 | 0,20 | 0,25 | 0,50 | 2,50 |
100 | 0,10 | 0,20 | 0,20 | 0,40 | 0,50 | 1,00 | 5,00 |
200 | 0,15 | 0,30 | 0,30 | 0,60 | - | - | - |
250 | 0,15 | 0,30 | 0,30 | 0,60 | 1,25 | 2,50 | 5,00 |
500 | 0,20 | 0,40 | 0,40 | 0,80 | 2,50 | 5,00 | 12,50 |
1000 | 0,30 | 0,60 | 0,60 | 1,20 | 5,00 | 10,00 | 25,00 |
2000 | 0,50 | 1,00 | 1,00 | 2,00 | 10,00 | 20,00 | - |
1.40.3.2. Бюретки и пипетки
Для проверки тщательно вымытую пипетку наполняют до отметки дистиллированной водой, затем выливают воду в заранее взвешенный на технических весах сосуд. Взвешивание проводят с точностью, соответствующей вместимости пипетки так, чтобы ошибка при взвешивании не превышала 0,1% от массы воды в объеме пипетки.
Проверка пипетки должна проводиться при той же температуре, которая указана на пипетке. Если же этого достичь нельзя, вносят поправку на температуру воды.
Допустимые отклонения для бюреток и градуированных пипеток 1 класса равны половине цены деления шкалы, 2-го класса - цене деления шкалы.
Пример. Проверку градуированной пипетки вместимостью 10 мл с ценой деления шкалы 0,1 мл проводят три 15 °C. Объем воды в пипетке (до отметки) имеет массу 9,93 г. Для того, чтобы определить объем, соответствующий этому количеству воды, нужно знать плотность ее при температуре опыта, т.е. при 15 °C, или же знать удельный объем воды при той же температуре. В первом случае найденную массу делят на плотность, а во втором - умножают на удельный объем. По
табл. 2 (раздел 17) устанавливают, что удельный объем воды при 15 °C равен 1,00090 мл/г.
Таким образом, вместимость измеряемой градуированной пипетки определяют как результат умножения:
9,93 x 1,0009 = 9,94 мл.
Следовательно, фактический объем воды, отбираемый пипеткой, отличается от номинального на
10,00 - 9,94 = 0,06 мл.
Таким образом, пипетки следует отнести ко 2 классу.
Если погрешность выходит за пределы ошибок, допустимых при химических анализах, необходимо сделать поправку, которую можно произвести двумя способами:
- зная истинный объем жидкости, отбираемый в пипетку, вводят эту величину в расчеты при всех анализах, когда приходится работать с данной пипеткой, т.е. в приведенном случае принимают объем отобранной жидкости равным не 10,00, а 9,94 мл. Конечно, все расчеты при этом усложняются;
- на пипетке наносят отметку на такой высоте, чтобы при наборе жидкости вместимость ее была равна точно 10,00 мл.
Место новой отметки можно найти путем расчета, зная диаметр трубки пипетки.
Недостающий до 10,00 мл объем жидкости находят по формуле:

,
где d - диаметр трубки, мм;
h - высота добавляемого столбика жидкости, мм.
В приведенном случае, когда диаметр трубки пипетки равен 4 мм:

,
откуда
h = 5 мм.
Таким образом, отметку нужно поставить на 5 мм выше имеющейся.
Нанести новую отметку можно также следующим образом. Делают немного выше имеющейся отметки на пипетке наклейку из бумаги, на которой нанесены тонкие черные линии; далее путем многократного взвешивания воды, наливаемой до различных уровней (линий на бумаге), подбирают нужный объем. На найденном уровне делают новую отметку напильником или фтористоводородной кислотой.
Несколько сложнее проверка бюреток: у них вначале проверяют весь объем вмещаемой жидкости - от 0 до 25 или 50 мл (в зависимости от вместимости бюретки). После этого объем проверяют или через каждый миллилитр, или через 5 мл. Поскольку чаще всего при титровании из бюретки выливается объем раствора от 15 до 25 мл, можно рекомендовать проверять у бюретки первые 5 мл, а затем следующие 5, 3, 2, 2, 2, 2, 2, 2, 2, 2, 3, 3, 5, 10 мл. Для точной калибровки лучше проверять каждый миллилитр.
Руководствуясь таблицами плотности воды, определяют точный объем воды для каждого деления. Так как сделать перекалибровку бюретки самому трудно, нужно составить таблицу поправок и при титровании пользоваться ею.
Хотя калибровка бюреток хлопотливое дело, но ее необходимо провести. В начале работы в лаборатории это дает определенные навыки и приучает к точности - залогу успеха в химической работе.
1.40.3.3. Пипетка для отмеривания жидкости при определении
процентного содержания сахара в свекле
Пипетку вместимостью 178,2 мл проверяют точно таким же способом, как и другие. Пипетка считается годной для работы, если разность между номинальной вместимостью и найденной не превышает +/- 0,2 мл.
Пример. Проверку вместимости пипетки, применяемой при определении содержания сахара в свекле и свекловичной стружке, производят следующим образом:
вымытую, высушенную пипетку набирают водой, сливают воду в предварительно взвешенный сосуд и взвешивают на технических весах с точностью 0,01 г.
Полученную массу воды - 177,73 г умножают на удельный объем воды при температуре проверки 23 °C
(табл. 2 раздела 17) и получают объем пипетки, т.е. 177,73 г x 1,00247 мл/г = 178,17 мл.
При проверке этих пипеток следует обращать внимание на то, чтобы носики их были либо полностью заполнены водой, либо полностью свободны от нее.
В зависимости от того, наполнен или нет носик пипетки при проверке, устанавливается правило пользования ею. Если пипетку проверяли и она признана правильной при заполненном носике, то во всех случаях при пользовании ею, носик также должен быть наполнен раствором свинцового уксуса. Если при проверке пипетки носик не был заполнен жидкостью, то и при пользовании ею следят за тем, чтобы носик оставался свободным.
Вместимость пипетки может изменяться при нарастании на ее внутренних стенках осадка карбоната свинца. Во избежание этого рекомендуется систематически промывать пипетку 10%-ным раствором уксусной (или соляной) кислоты и чистой дистиллированной водой с помощью специального устройства
(рис. 1.58.).
Рис. 1.58. Устройство для промывки пипетки для отмеривания
жидкости при определении процентного содержания сахара
в свекле.
После промывания пипетки дистиллированной водой ее наполняют разбавленным раствором свинцового уксуса и этот раствор выливают.
1.41. ТЕРМОМЕТРЫ И МЕТОДЫ ИХ ПРОВЕРКИ
Для контроля за технологическим процессом в лаборатории завода применяются, главным образом, ртутные и жидкостные термометры.
Измерение температуры ртутным термометром основано на наблюдении видимого изменения объема ртути в капилляре. Кроме ртутных термометров, употребляют термометры, наполненные спиртом, керосином или толуолом. Шкалы химических и технических термометров имеют деления в градусах Цельсия. Технические и некоторые химические термометры имеют деления с точностью до 1°. Для особо точных работ применяются термометры, обычно изготовляющиеся наборами, где каждый из них имеет свои пределы температур. Такие термометры изготовляются с делениями в 0,2 или 0,1°. Для очень точных измерений применяют термометры Бекмана, имеющие значительную длину и разделенные всего на 5 - 6°. На них нанесены деления с точностью до 0,01°, а точность измерения может быть доведена до 0,001°.
В ртутном и жидкостном термометрах основными точками являются:
- температура таяния льда, обозначаемая 0°;
- температура паров кипящей при нормальном давлении воды, обозначаемая 100°.
Расстояние между этими точками разделено на 100 равных частей (шкала Цельсия), причем эти деления могут быть продолжены ниже 0 и выше 100°.
Шкала не отличается абсолютной точностью. Наиболее существенные ошибки, являющиеся следствием нецилиндричности канала трубки, смещения постоянных точек, влияния резких изменений температуры и пр., могут быть выявлены при проверке термометров.
Основные точки шкалы термометра проверяют следующим образом:
создают температуру, равную 0 °C. Для этого рекомендуется применять тающий лед, полученный из свежей дистиллированной воды, по возможности освобожденной от воздуха (лучше брать для замораживания прокипяченную перед этим воду или же выдержанную в течение некоторого времени в вакуум-эксикаторе).
Замораживать воду лучше всего в фарфоровой чашке, пользуясь охлаждающими смесями. После замерзания воды чашку немного нагревают, опустив ее на полминуты в теплую воду, затем лед вынимают и разбивают чистым ножом или молотком.
Разбитый на куски величиной с горошину чистый лед кладут в стакан и обливают дистиллированной водой; воды берут столько, чтобы вытеснить воздух и получить густую кашицу; в нее опускают резервуар термометра так, чтобы он не касался стенок и отмечают положение мениска ртути или другой жидкости (керосина, толуола и т.д.). Если в течение нескольких минут показания термометра не изменяются, эту температуру записывают.
Для определения температуры кипения воды (100 °C) применяют металлический сосуд
(рис. 1.59), верхняя часть которого имеет двойные стенки. На верхней плоскости сосуда имеется отверстие, через которое наливают воду и вставляют термометр с пробкой. Нижняя, более широкая часть, служит для нагревания воды.
Рис. 1.59. Устройство для проверки термометров
Термометр помещают в сосуд так, чтобы он:
- не касался воды, а был бы лишь в парах ее;
- из прибора выступал настолько, чтобы точка 95 °C находилась на уровне пробки.
Наличие двойных стенок предохраняет пар от охлаждения. Через несколько минут после начала кипения воды в приборе устанавливается постоянная температура, равная температуре кипения воды при данном атмосферном давлении, тогда отмечают то показание термометра, на котором установился уровень ртутного столбика или уровень столбика другой жидкости (керосина, толуола и т.д.). Одновременно записывают показание барометра и по таблицам находят температуру кипения воды при данном давлении.
Таким образом проверяют правильность показаний термометра или вводят поправки на его показания, которые учитывают при дальнейших работах.
1.42. КОНТАКТНЫЕ ТЕРМОМЕТРЫ С МАГНИТНОЙ РЕГУЛИРОВКОЙ
Контактные термометры типа ТК-6 с магнитной регулировкой контакта предназначены для автоматического регулирования или сигнализации температуры в пределах от 0 до 300° с установкой контакта на любое деление в пределах всей шкалы прибора.
Контактный термометр снабжен двумя шкалами: верхней и нижней. Верхняя шкала служит для установки контакта на заданное значение сигнализируемой или регулируемой температуры, нижняя - для измерения температуры.
В качестве рабочего контакта этого термометра применяется тонкая вольфрамовая проволока, расположенная внутри капилляра. Контакт перемещается при помощи передвигающейся по винту овальной гайки, заключенной в овальную трубку. Вращение винта производится подковообразным постоянным магнитом, который устанавливается на колпачке в верхней части термометра.
В качестве термометрической жидкости применяется ртуть.
Установку контактного термометра на требуемую температуру производят по контрольному термометру.
Контактные термометры с магнитной регулировкой контакта классифицируются по трем признакам: пределам показаний шкалы, форме погружной части и ее длине.
Классификация контактных термометров с магнитной регулировкой контакта по пределам показаний шкалы и длине погружной части приведена в
табл. 1.3.
Обозначение контактного термометра | Пределы показаний, °C | Цена деления, °C |
от | до |
1 | 0 | 50 | 1 |
2 | 0 | 100 | 2 |
3 | 50 | 150 | 2 |
4 | 100 | 200 | 2 |
5 | 200 | 300 | 2 |
Контактные термометры выпускаются с погружной частью разной длины: 85, 130, 180 и 230 мм.
В
табл. 1.4. приведены основные допустимые погрешности контактных термометров с магнитной регулировкой переменного контакта.
Пределы показаний, °C | Цена деления, °C |
1 | 2 |
от | до | основные допустимые погрешности, °C |
0 | 100 | +/- 1 | +/- 2 |
101 | 200 | +/- 2 | +/- 2 |
201 | 300 | +/- 3 | +/- 4 |
По форме погружной части контактные термометры подразделяются на прямые и изогнутые под углом 90°.
1.43. ПРАВИЛА ПРОВЕРКИ КОНТРОЛЬНО-ИЗМЕРИТЕЛЬНЫХ ПРИБОРОВ
1.43.1. Контроль за состоянием средств измерений
Контроль за состоянием средств измерений и их применением осуществляется органами Государственного комитета СССР по стандартам (Госстандартом).
Поверка производится Государственными контрольными лабораториями средств измерений, которые имеются в каждом областном и краевом центре.
| | ИС МЕГАНОРМ: примечание. В официальном тексте документа, видимо, допущена опечатка: имеется в виду ГОСТ 8.002-71, а не ГОСТ 8.002-78. | |
Согласно ГОСТ 8.002-78 предприятия, учреждения и организации представляют меры и измерительные приборы в соответствующие органы для поверки в сроки, установленные самими предприятиями, с расчетом обеспечения постоянной верности и исправности мер и приборов, но не реже, чем в следующие сроки (в годах):
1. Сахариметры СУ-3 и СУ-4 | 1 |
2. Рефрактометр пищевой лабораторный РПЛ-3 | 1 |
3. Рефрактометр универсальный лабораторный УРЛ | 1 |
4. Рефрактометр прецизионный лабораторный | 1 |
5. Прибор для определения влажности в сыром и сушеном жоме (ВЧМ) | 1 |
6. Колориметр сахарный модернизированный КСМ | 1 |
7. Цветомер фотоэлектрический А1-ЕЦ2-С | 1 |
8. Фотометр лабораторный ЛМФ-72М | 1 |
9. Колориметр-нефелометр фотоэлектрический ФЭК-60 | 1 |
10. pH-метр-милливольтметр pH-340 | 1 |
11. Лабораторный pH-метр-милливольтметр pH-121 | 1 |
12. Газоанализатор ГХП-3М | 2 |
13. Вискозиметр со скользящим шариком | 1 |
14. Вискозиметр Штейнера | 1 |
15. Психрометр Августа | 1 |
16. Психрометр аспирационный | 1 |
17. Гигрометр волосной | 1 |
18. Весы лабораторные равноплечие ВЛР | 1 |
19. Весы технические и гири к ним | 1 |
20. Гири аналитические | 1 |
21. Весы технические квадрантные ВЛК-500 | 1 |
22. Весы ВНЦ | 1 |
23. Контактные термометры с магнитной регулировкой | 1 |
24. Термометры | 1 |
25. Химическая мерная посуда | при выпуске из производства |
26. Поляриметрические кюветы | при выпуске из производства |
27. Поляриметрические стекла | при выпуске из производства |
Для поверки значения К стекол колориметр КСМ следует отправлять во ВНИИСП, в сектор химико-технического обслуживания и экспериментальных работ, комплектно, не допуская выемки стекол из прибора, так как при этом нарушается юстировка прибора.
Результаты поверки мер и измерительных приборов оформляются органами Госстандарта путем отметок в паспортах этих мер и приборов или выдачей аттестатов.
1.43.2. Получение, хранение, упаковка и отправка
в ремонт приборов
Все вновь поступающие и прибывающие из ремонта лабораторные контрольно-измерительные приборы должны быть осмотрены и проверены в срок, не превышающий 3 дней со дня их поступления.
Как правило, проверке должен предшествовать осмотр тары и упаковки, в которой прибыли приборы.
Перед вскрытием ящика с прибывшим прибором следует убедиться в целости ящика и отсутствии щелей между досками. Вынимая гвозди из крышки, надо избегать сильных и резких ударов, а также грубой переброски ящика.
С освобожденного от упаковочного материала прибора в светлом и чистом помещении снимают мягкой беличьей кистью оставшиеся пылинки, приступают к наружному осмотру и проверке прибора.
Все поступающие в лабораторию контрольно-измерительные приборы должны быть приняты по акту.
Замечания, возникшие в отношении тары и упаковки, обязательно вносятся в акт приемки прибора лабораторией.
Если прибор из-за каких-либо дефектов не может быть принят для работы, в акте обязательно должны быть указаны эти дефекты.
Если брак допущен по вине отправителя, то ему высылают акт приемки с предложением заменить дефектный прибор.
Прибор не следует оставлять на рабочем месте, если им не предполагают пользоваться в течение более или менее продолжительного времени.
В этих случаях приборы следует держать в закрытом шкафу или в специальном футляре. Во избежание порчи нельзя хранить прибор в сыром или подверженном нагреванию месте, а равно в местах, где возможны резкие колебания температуры, испарения кислот и присутствие газов, которые могут вызвать коррозию металлических деталей.
Перед отправкой приборов в ремонт нужно их проверить и составить в двух экземплярах акт проверки. В акте проверки следует детально указать все дефекты прибора. Один экземпляр акта отправляют с прибором, другой хранят в лаборатории.
Прибор, подлежащий отправке в ремонт, должен быть очищен от пыли, все винты подтянуты, а окуляры вдвинуты. Его отвинчивают от подставки или от треноги и аккуратно заворачивают в мягкую, неворсистую, чистую бумагу. Поверх мягкой бумаги плотно заворачивают в несколько слоев газетной или оберточной бумаги и перевязывают шпагатом. Желательно, чтобы один слой бумаги был водонепроницаемым (калька, пергамент).
С аналитических весов снимают коромысло, серьги, чашки, которые заворачивают в мягкую бумагу, перекладывают ватой и упаковывают в витрине весов. Стекла витрины защищают фанерой.
Отправлять контрольно-измерительные приборы почтой запрещается.
2. КОНТРОЛЬ СВЕКЛОПЕРЕРАБАТЫВАЮЩЕГО ОТДЕЛЕНИЯ
2.1. ТРАНСПОРТЕРНО-МОЕЧНАЯ ВОДА
2.1.1. Определение потерь сахара
в транспортерно-моечной воде
Эти потери определяют как произведение содержания сахара в воде на количество воды, выраженное в долях единицы к массе свеклы.
В зависимости от схем водоиспользования и местных условий возможны различные варианты мест отбора проб, анализов и расчетов:
а) при возврате транспортерно-моечной воды:
- в том случае, если содержание сахара в транспортерно-моечной и осветленной воде одинаково, потери сахара в транспортерно-моечной воде определяют по формуле:
П1 = a1·Сх1,
где П1 - потери сахара в транспортерно-моечной воде, % к массе свеклы;
a1 - количество разжиженного осадка, сбрасываемого на поля фильтрации, доли единицы к массе свеклы;
Сх1 - содержание сахара в транспортерно-моечной воде, % к массе воды.
Пробы транспортерно-моечной воды для исследования на содержание сахара отбирают 2 раза в смену из канала транспортерно-моечной воды.
Количество разжиженного осадка определяют расходомером или по разности между количеством транспортерно-моечной воды a2 и количеством осветленной транспортерно-моечной воды a3:
a1 = a2 - a3.
В том случае, если содержание сахара в транспортерно-моечной и осветленной воде различно, потери сахара в транспортерно-моечной воде определяют по формуле:
П2 = a2Сх2 - a3Сх3,
где П2 - потери сахара в транспортерно-моечной воде, % к массе свеклы;
a2 - количество транспортерно-моечной воды, доли единицы к массе свеклы;
Сх2 - содержание сахара в транспортерно-моечной воде, % к массе воды;
a3 - количество осветленной транспортерно-моечной воды, доли единицы к массе свеклы;
Сх3 - содержание сахара в осветленной транспортерно-моечной воде, % к массе воды.
Пробы осветленной транспортерно-моечной воды отбирают 2 раза в смену из лотка после отстойника.
Количество транспортерно-моечной воды определяют при помощи расходомеров.
Допускается определение количества воды по скорости движения поплавков и сечению канала.
Количество осветленной транспортерно-моечной воды определяют расходомером либо как разность между количеством транспортерно-моечной воды a2 и количеством разжиженного осадка a1:
a3 = a2 - a1;
б) при работе без возврата транспортерно-моечной воды потери сахара определяют по формуле:
П3 = a4Сх4,
где П3 - потери сахара в транспортерно-моечной воде, % к массе свеклы;
a4 - количество транспортерно-моечной воды, доли единицы к массе свеклы;
Сх4 - содержание сахара в транспортерно-моечной воде, % к массе воды.
Пробы воды для исследования отбирают 2 раза в смену из канала транспортерно-моечной воды.
Методики определения содержания сахара в транспортерно-моечной и осветленной транспортерно-моечной воде изложены в
п. 10.1.3. Перед определением транспортерно-моечную и осветленную транспортерно-моечную воду необходимо профильтровать через бумажный фильтр.
2.1.2. Определение pH20 транспортерно-моечной воды
Значение pH20 транспортерно-моечной воды определяют один раз в смену при помощи pH-метра.
2.2. КАЧЕСТВО СВЕКЛЫ, ПОСТУПАЮЩЕЙ В ПЕРЕРАБОТКУ
2.2.1. Отбор проб
Для определения качества перерабатываемой свеклы пробу стружки отбирают 6 раз в смену и исследуют: 6 раз содержание сахара и 2 раза - качество стружки.
По усмотрению главного технолога завода количество определений содержания сахара в свекловичной стружке может быть увеличено до восьми в смену.
Рекомендуется производить фитопатологическое обследование перерабатываемой свеклы, а также определение содержания редуцирующих веществ один раз в смену или чаще (по усмотрению главного технолога завода). Методика этих определений приведена в
п.п. 12.1. -
12.21.
При определении содержания сахара в свекловичной стружке по дигестии способом холодного водного дигерирования пробу стружки отбирают в цилиндрическое ведро емкостью 6 - 8 л, диаметром 220 мм и высотой 250 мм, изготовленное из оцинкованного железа или нержавеющей стали. На внутренней поверхности днища приклеена резиновая прокладка толщиной 5 мм. Ведро снабжено ручкой и крышкой. Пробу стружки отбирают в количестве, составляющем 0,5 - 0,75 емкости ведра.
При непрерывно действующих диффузионных аппаратах пробу стружки отбирают с ленточного транспортера перед поступлением ее в диффузионную установку. Если на заводе установлена диффузионная батарея, то пробу стружки отбирают при ее падении в диффузор, для чего под падающую стружку подставляют ведро.
Наполненное стружкой ведро закрывают крышкой и передают в лабораторию для анализа.
В момент отбора пробы стружки поступление пара в свеклорезку или воды на транспортер для стружки должно быть прекращено.
При наличии на заводе нескольких диффузионных аппаратов непрерывного действия или нескольких диффузионных батарей отбирают среднюю от всех аппаратов и батарей пробу свекловичной стружки.
2.2.2. Определение содержания сахара в свекловичной стружке
по дигестии способом холодного водного дигерирования
Не перемешивая стружку в ведре, из всего объема просечкой высекают 12 - 15 образцов (кернов), которые выталкивают поршнем в специальный сосуд, перемешивают и направляют на анализ. Просечка представляет собой трубку из нержавеющей стали диаметром 33 мм и длиной 300 мм, один конец которой заострен. Поршень для выталкивания образцов изготовлен из дерева и состоит из рукоятки и цилиндрической части. Диаметр цилиндрической части поршня на 1 мм меньше внутреннего диаметра просечки.
52 г стружки, полученной при высекании просечкой, взвешивают на листке кальки размером 13x13 см на лабораторных весах 4-го класса (технических) и переносят в предварительно вымытый, высушенный или тщательно-вытертый сосуд размельчителя тканей свеклы РТС-2М. Листок кальки разрывают на мелкие кусочки и также помещают в сосуд. Затем из пипетки для отмеривания жидкости при определении содержания сахара в свекле в сосуд добавляют два раза по 178,2 мл раствора свинцового уксуса.
Сосуд устанавливают в гнездо размельчителя тканей свеклы, опускают корпус размельчителя тканей свеклы таким образом, чтобы фланец с резиновым уплотнением стал на кромку сосуда и закрыл ее без перекоса.
Далее включают воду на охлаждение сосуда с таким расчетом, чтобы по окончании работы размельчителя температура содержимого сосуда составляла 19 - 21 °C.
Подготовленный к работе размельчитель тканей свеклы включают в сеть и плавным поворотом ручки автотрансформатора доводят напряжение до 130 В для предварительного измельчения стружки. Через 1 мин. поворотом ручки автотрансформатора доводят напряжение до 220 В. По истечении 3 мин. ручку автотрансформатора выводят в нулевое положение, выключают прибор из сети и поднимают корпус размельчителя.
Содержимое сосуда фильтруют через бумажный фильтр. Воронка и стакан для фильтрации должны быть сухими. Верхняя кромка фильтра не должна подниматься выше борта воронки, которую на время фильтрации закрывают стеклом. Первые порции фильтрата удаляют, полученный фильтрат заливают в поляриметрическую кювету длиной 400 мм. Поляриметрическая кювета должна быть чистой и сухой. Ее обязательно ополаскивают дигератом, наполняют им, завинчивают (не очень плотно) муфтой с резиновой прокладкой и измеряют вращением плоскости поляризации на сахариметре. Показание сахариметра дает содержание сахара в свекловичной стружке по дигестии, % к массе свеклы.
При наличии в лаборатории установки для определения содержания сахара в свекловичной стружке и прессованном жоме экспресс-методом
(п. 1.34) анализ выполняют в следующем порядке.
Около 52 г стружки, полученной при высекании просечкой, переносят на листок кальки, который помещают на грузовую чашку прибора ЕВД или ЕДО. Масса стружки должна колебаться в пределах 51 - 53 г или в пределах, указанных на индикаторе ЕДО. Так как листки кальки одинаковые, листок тарируется один раз в смену.
После успокоения весов прибора ЕВД или ЕДО и установки под сливной штуцер сосуда размельчителя тканей свеклы РТС-2М нажимают кнопку и включают процесс дозирования. Затем снимают с весов навеску стружки и переносят ее в сосуд РТС-2М. Листок кальки разрывают на мелкие кусочки и также вбрасывают в сосуд. После слива порции раствора свинцового уксуса сосуд вынимают из гнезда прибора ЕВД или ЕДО, переносят и устанавливают в гнездо прибора РТС-2М. Дальнейшие операции выполняют в последовательности, описанной выше.
После окончания размельчения и дигерирования стружки содержимое сосуда РТС-2М выливают на бумажный фильтр, помещенный в коническую воронку с ребристой поверхностью. После окончания прохождения мутных порций фильтрата воронку переносят в другой штатив, где помещен стакан для сбора дигерата. По истечении 2 мин. воронку переносят в запасной штатив, а дигерат заливают в поляриметрическую кювету с предосторожностями, указанными выше, и определяют вращение плоскости поляризации на сахариметре. Показание сахариметра дает содержание сахара в свекловичной стружке по дигестии, % к массе свеклы.
2.2.3. Определение содержания сахара в свекловичной стружке
по дигестии способом горячего водного дигерирования
После отбора пробы стружку быстро перемешивают и затем измельчают. Перед измельчением стружки в кашку машинку для измельчения моют и сушат. Кашку принимают в емкость с крышкой и тщательно перемешивают. Полученную кашку помещают в фарфоровую чашку, накрывают стеклом и передают для определения содержания сахара.
26
г кашки отвешивают на технических весах в лодочке из нержавеющей стали и вместе с лодочкой помещают в дигестионный сосуд
(п. 1.35.).
Из пипетки для отмеривания жидкости при определении содержания сахара в свекле прибавляют 178,2 мл раствора свинцового уксуса, закрывают крышкой с резиновой прокладкой и плотно завинчивают. Взболтав горизонтальным движением, сосуд ставят в термостат или в водяную баню, нагретую до 82 - 83°, на 30 мин., поддерживая в течение этого времени температуру в термостате 80 °C, а в водяной бане - в пределах 75 - 80 °C.
Уровень воды в термостате или водяной бане должен быть таким, чтобы вся цилиндрическая часть дигестионного сосуда была погружена в воду.
За период нахождения в термостате или водяной бане сосуд дважды, примерно через равные промежутки времени, взбалтывают горизонтальными движениями (не менее 8 - 10 движений). Опрокидывание и вертикальное встряхивание сосуда не разрешаются.
По истечении 30 мин. сосуд переносят на 20 мин. в термостат-холодильник с температурой 20 °C.
Если в лаборатории нет термостата-холодильника, дигестионный сосуд охлаждают в холодильнике проточной водой из водопровода, поддерживая в нем температуру 19 - 21 °C.
Охлажденный сосуд вынимают, вытирают насухо, энергично (не менее 15 движений) взбалтывают вертикальными движениями и содержимое фильтруют.
При фильтровании соблюдают предосторожности, изложенные в
п. 2.2.2.
Полученный фильтрат заливают в поляриметрическую кювету длиной 400
мм по прописи, приведенной в
п. 2.2.2, и измеряют вращательную способность сахариметром.
Показание сахариметра дает содержание сахара в свекловичной стружке по дигестии, % к массе свеклы.
В случае переработки порченой свеклы горячую водную дигестию следует проводить при температуре 75 - 76 °C.
2.2.4. Определение содержания сахара в свекле по дигестии
при получении мутных дигератов
При анализе порченой свеклы иногда получают мутные фильтраты. В этом случае 50 мл фильтрата переводят в колбу вместимостью 100 мл, осветляют реактивом Герлеса по 10 мл в несколько приемов, доводят дистиллированной водой до отметки и после перемешивания фильтруют. Фильтрат заливают в поляриметрическую кювету длиной 400 мм. Удвоенное показание поляриметра дает содержание сахара в свекловичной стружке по дигестии, % к массе свеклы.
2.2.5. Определение содержания оптически активных веществ
в свекле, разлагающихся под влиянием извести при нагревании
Пробу свекловичной стружки измельчают в кашку на мясорубке. Полученную кашку перемешивают и разделяют на две порции. В одной порции определяют сахаристость свекловичной стружки по дигестии методом горячего или холодного водного дигерирования с помощью размельчителя тканей свеклы РТС-2М; из другой порции кашки на прессе отжимают свекловичный сок.
В две колбы вместимостью 100
мл I класса по
ГОСТ 1770-74, установленные на чашке технических весов, после тарирования помещают при помощи пипетки по 25
мл свекловичного сока. Путем добавления нескольких капель сока добиваются уравновешивания весов. Количество сока в обеих колбах должно быть одинаковым. После этого в каждую колбу добавляют по 20
мл дистиллированной воды и перемешивают содержимое.
Затем в одну из колб добавляют 40 мл 35%-ного раствора уксуснокислого свинца, 7 мл 15%-ного известкового молока, разрушают пену эфиром, доводят до отметки, фильтруют, измеряют вращательную способность фильтрата на сахариметре в кювете длиной 200 или 400 мм и получают значение P0.
В другую колбу добавляют 7 мл 15%-ного известкового молока, перемешивают содержимое горизонтальными движениями и погружают колбу в кипящую водяную баню на 10 мин. После охлаждения до 20 °C добавляют 40 мл 35%-ного раствора уксуснокислого свинца, разрушают пену 1 - 2 каплями эфира, доводят до отметки дистиллированной водой, перемешивают, фильтруют, измеряют вращательную способность фильтрата на сахариметре в кювете длиной 200 или 400 мм и получают значение P1.
Содержание оптически активных веществ, разлагающихся под влиянием извести при нагревании, вычисляют по формуле:

,
где

- содержание оптических активных веществ, разлагающихся под влиянием извести при нагревании, % к массе переработанной свеклы;
С0 - сахаристость пробы свекловичной стружки по дигестии, %;
P0 - вращательная способность фильтрата пробы свекловичного сока, не подвергнутой воздействию извести при нагревании, °S;
P1 - вращательная способность фильтрата пробы свекловичного сока после воздействия извести при нагревании, °S.
2.2.6. Определение качества свекловичного сока
В свекловичном соке, полученном по методике, изложенной в
п. 2.2.5, и профильтрованном через металлическое сито с ячейками 0,5
мм, один раз в смену определяют содержание сухих веществ, сахара, доброкачественность, соковой коэффициент, а также значение pH.
Содержание сухих веществ после освобождения от пузырьков воздуха путем отстаивания в течение 3 мин. и удаления пены ложкой измеряют лабораторным рефрактометром.
Для определения содержания сахара одну нормальную навеску сока количественно переводят в колбу вместимостью 100 мл, прибавляют 3 - 5 мл свинцового уксуса, перемешивают содержимое круговыми движениями, доводят до отметки дистиллированной водой, перемешивают и фильтруют. Полученный фильтрат заливают в поляриметрическую кювету длиной 400 мм и измеряют вращение плоскости поляризации сахариметром. Показание сахариметра, поделенное на 2, дает значение содержания сахара в свекловичном соке.
Исходя из содержания сахара и сухих веществ, вычисляют доброкачественность свекловичного сока.
Соковой коэффициент свеклы

вычисляют по формуле:

,
где

- плотность свекловичного сока,
г/см3 (по значению содержания сухих веществ согласно
табл. 8, раздел 17).
Значение pH20 измеряют pH-метром.
2.2.7. Определение качества стружки
50 г стружки взвешивают на технических весах, раскладывают, не разделяя на желобчатую и пластинчатую, по длине рядами в 1 м, пользуясь для этого рифлеными досками. Затем подсчитывают общую длину стружки. Результат пересчитывают на 100 г стружки.
Перед раскладкой каждый кусочек стружки должен быть освобожден от приставшего брака.
Не входит в общую длину стружки и считается браком:
а) стружка короче 1 см;
б) стружка тонкая, просвечивающаяся (независимо от ее длины);
в) пластинки гребешков и пластины, от которых оторвана стружка длиннее 1 см.
Брак взвешивают и количество его выражают в процентах.
2.2.8. Определение фактора стружки
100 г стружки взвешивают на технических весах. Отбирают стружку, длина которой 5 см и более, и отдельно стружку короче 1 см. Взвешивают и вычисляют отношение первой массы ко второй.
Пробы диффузионного сока отбирают каждый час из краника, установленного на трубопроводе сока после мезголовушки, или из краника, установленного на нагнетательном трубопроводе на подогреватель.
В ежечасно отбираемых пробах определяют содержание сухих веществ. В пробах, отобранных за четвертый час смены, определяют также содержание сахара и доброкачественность. Значение pH20 и содержание мезги в диффузионном соке определяют один раз в смену. При переработке свеклы ухудшенного качества количество определений pH диффузионного сока по указанию главного технолога может быть увеличено до 4 раз в смену.
Содержание коллоидов и редуцирующих веществ определяют по указанию главного технолога.
2.3.2. Определение содержания сухих веществ
Содержание сухих веществ определяют лабораторным рефрактометром после освобождения пробы сока от пузырьков воздуха путем отстаивания в течение 3 мин. и удаления пены ложкой.
2.3.3. Определение содержания сахара
Две нормальные навески сока переводят без потерь в колбу вместимостью 100 мл, прибавляют 4 - 5 мл свинцового уксуса, доливают до отметки дистиллированной водой, перемешивают, фильтруют, фильтрат заливают в поляриметрическую кювету 400 мм и определяют вращательную способность сахариметром.
Содержание сахара равно показанию сахариметра, поделенному на 4.
2.3.4. Определение pH20 диффузионного сока
в диффузионной установке
Не реже одного раза в смену отбирают в чистые кружки по 300 - 400 мл сока. Отбор проб сока производят в 7 - 9 точках непрерывно действующего аппарата, а на батарее Роберта - через один диффузор, после продувки воздушных кранов. Пробы охлаждают до 20 °C и в них pH-метром определяют pH. Если pH по аппарату изменяется таким образом, что имеется минимум, то немедленно принимают соответствующие меры с целью предотвращения микробиологической деятельности внутри аппарата.
2.3.5. Определение содержания мезги
1 раз в смену из каждой пульполовушки отбирают пробу диффузионного сока в количестве 1
л, который пропускают через металлический фильтр. Верхний диаметр фильтра - 70
мм, а нижний - 40
мм; нижний обрез затянут ситом с отверстиями

. Фильтр должен быть предварительно смочен водой и взвешен. Оставшуюся на фильтре мезгу промывают 200
мл дистиллированной воды, дают воде стечь, после чего фильтр с мезгой взвешивают. Масса мезги - это разность между массой фильтра с мезгой и массой пустого смоченного фильтра. Содержание мезги в диффузионном соке выражают в
г/л.
2.3.6. Определение pH20 диффузионного сока
Определение проводят в отдельно взятой пробе. pH20 диффузионного сока определяют лабораторным pH-метром.
2.3.7. Определение содержания коллоидов и ВМС
в диффузионном соке
Содержание коллоидов и ВМС определяют по методике, изложенной в
п. 12.22.1.
2.3.8. Определение содержания редуцирующих веществ
в диффузионном соке
2.4. ЖОМ И ДИФФУЗИОННАЯ ВОДА
2.4.1. Отбор проб
Из непрерывно действующих диффузионных аппаратов пробы жома отбирают ежечасно в следующих местах:
- ротационный диффузионный аппарат - при выгрузке из аппарата;
- колонный диффузионный аппарат типа КДА - из выгрузочных окон;
- наклонный диффузионный аппарат - из желоба после выгрузочного колеса или шнека;
- колонный диффузионный аппарат БМА - после выгрузочного шнека;
- диффузионные аппараты Олье и I - после шнека для транспортировки жома.
Для отбора проб жома и диффузионной воды при работе на диффузионной батарее под каждый выгружаемый диффузор подставляют железный черпак, укрепленный на длинной деревянной ручке. Из черпака пробу жома в количестве примерно 0,5 кг переводят в специальное ведро емкостью около 10 л. Ведро для отбора проб жома из всех видов диффузионных аппаратов должно иметь 2 дна, верхнее из которых - ситчатое, и хорошо закрывающуюся крышку. Ситчатое дно должно быть установлено на 0,25 высоты ведра от сплошного дна, а отверстие с краником для спуска отделившейся от жома диффузионной воды - расположено под ситчатым дном.
Пробы жома и диффузионной воды из каждого выгружаемого диффузора отбирает работник лаборатории.
Средние пробы жома и диффузионной воды, отобранные из каждого диффузора, анализируют один раз в час.
На заводах, где жом удаляется шнеком, производится дополнительный отбор проб со шнека по усмотрению главного технолога завода.
2.4.2. Определение содержания сахара в жоме способом
отжима сока
Пробу жома тщательно перемешивают в ведре и измельчают. Полученную кашку завертывают в чистую сухую салфетку из фильтровальной ткани и тщательно отжимают под прессом.
Измельчают такое количество жома, чтобы получить примерно 150 мл отжатого сока.
50 мл отжатого сока наливают до первой метки в колбу с двумя отметками 50 - 55 мл. При наличии пены ее удаляют 1 - 2 каплями эфира. приливают 1 - 2 мл свинцового уксуса, доливают до второй отметки водой, взбалтывают, фильтруют, заливают в поляриметрическую кювету длиной 200 мм и измеряют вращение плоскости поляризации.
При переработке порченой свеклы и плохом фильтровании исследуемого раствора следует предварительно его подогреть до 70 - 80 °C с последующим охлаждением. Если подогрев не помогает, то применяют осветление реактивом Герлеса, постепенно добавляя его по 1 мл, и доводят при необходимости количество реактивов до 2 - 3 мл каждого.
2.4.3. Определение содержания сахара в жоме
дигестионным способом
Содержание сахара в жоме дигестионным способом определяют по методике, применяемой для анализа свекловичной стружки на сахаристость методом холодного водного дигерирования с помощью размельчителя тканей свеклы РТС-2М
(п. 2.2.2.).
Показание сахариметра дает содержание сахара в жоме, % к его массе.
При переработке порченой свеклы и получении мутных дигератов к полученному фильтрату добавляют несколько капель раствора уксусной кислоты (1:1) для осветления.
2.4.4. Определение содержания сахара в диффузионной воде
Пробу диффузионной воды перемешивают и определяют в ней содержание сахара по методике, приведенной в
п. 2.4.2. Свинцового уксуса в этом случае следует брать примерно в 2 раза меньше.
2.4.5. Определение содержания сахара в жоме и диффузионной
воде с помощью сухого осветлителя
При исследовании жома и диффузионной воды для осветления можно пользоваться сухим осветлителем, при работе с которым исключается потребность в мерной стеклянной посуде.
При использовании сухого осветлителя отжатый жомовой сок наливают в металлический стаканчик, имеющий внутри отметку, соответствующую объему 100 мл (диаметр стаканчика - 50 мм, высота - 100 мм), при помощи специальной мерочки добавляют 0,7 г сухого осветлителя (при насыпной массе его 1,6 г/мл объем мерочки должен составлять 0,44 мл), затем закрывают сосуд пробкой и тщательно взбалтывают. После растворения сухого осветлителя раствор фильтруют и определяют вращательную способность фильтрата на сахариметре в кювете 200 мм.
Таким же образом определяют процентное содержание сахара в диффузионной воде, но для осветления прибавляют 0,35 г сухого осветлителя, пользуясь мерочкой объемом 0,22 мл.
Прессованный жом отбирают ежечасно в равных количествах, около 1,5 - 2 кг, с ленточного транспортера после последнего жомоотжимного пресса.
Если прессованный жом транспортируется шнеком или грабельным транспортером, то его отбирают из специального снабженного шибером окна, вырезанного в днище транспортирующего средства.
2.5.2. Определение содержания сахара в прессованном жоме
Содержание сахара определяют в средней, тщательно перемешанной пробе прессованного жома, собранной за 2 часа, при помощи холодного или горячего водного дигерирования. Среднюю пробу прессованного жома хранят в стеклянной банке с притертой пробкой.
Определение содержания сахара в прессованном жоме способом холодной водной дигестии производят по методике, применяемой для определения содержания сахара в свекловичной стружке по дигестии с помощью размельчителя тканей свеклы РТС-2М или установки для определения содержания сахара в свекловичной стружке и прессованном жоме экспресс-методом
(п. 2.2.2.).
При измерении вращения плоскости поляризации сахариметром в кювете длиной 400 мм получают содержание сахара в прессованном жоме, % к его массе.
Определение содержания сахара в прессованном жоме способом горячего водного дигерирования выполняют по методике, которая применяется при определении содержания сахара в свекловичной стружке по дигестии, изложенной в
п. 2.2.3, только для анализа берут 59,2
г измельченного прессованного жома и добавляют 178,2
мл раствора свинцового уксуса.
Измерение вращательной способности фильтрата производят в кювете длиной 200 мм. Показание сахариметра дает содержание сахара в прессованном жоме, % к его массе.
2.5.3. Определение содержания сухих веществ
в прессованном жоме
В том случае, если содержание сахара в прессованном жоме определяют способом горячей водной дигестии, составляют среднюю пробу кашки прессованного жома, используемой в процессе анализа, отбирая каждый раз по 50 г кашки в закрывающийся крышкой сосуд. Перед определением содержания сухих веществ кашку тщательно перемешивают.
Если для определения содержания сахара в прессованном жоме применяют способ холодного водного дигерирования, составляют среднюю пробу, отсыпая ежечасно в закрывающийся крышкой сосуд по 100 г жома. Перед определением содержания сухих веществ пробу прессованного жома перемешивают и измельчают.
В средней пробе за смену определяют содержание сухих веществ в прессованном жоме.
На аналитических весах отвешивают 10 г кашки и высушивают в сушильном шкафу при температуре 100 - 105 °C до постоянной массы.
Содержание сухих веществ в процентах (X) вычисляют по формуле:

,
где q1 - масса бюксы с навеской жома до высушивания, г;
q2 - масса бюксы с навеской жома после высушивания, г;
q - масса бюксы, г.
2.5.4. Экспресс-метод определения содержания сухих веществ
в жоме
Этим методом определяют содержание сухих веществ в сыром, прессованном и сушеном жоме.
Предварительно заготовляют бумажные пакеты из фильтровальной бумаги. Для этого квадратный лист со стороной 145 мм перегибают по диагонали и в полученном треугольнике катеты загибают на 10 мм. Пустые пакеты высушивают в приборе ВЧМ при 150 °C в течение 3 мин. и хранят в эксикаторе.
Навеску около 3 г жома помещают в высушенный пакет и взвешивают на аналитических весах с точностью до 0,0001 г.
Рекомендуется определение проводить в параллельных пробах. В прибор ВЧМ помещают два пакета с навесками.
Высушивание ведут: при СВ до 10% - 10 мин., при СВ в прессованном жоме выше 10% - 15 мин. и для сушеного жома - 20 мин. при температуре 140 - 145 °C. После высушивания пакеты охлаждают в эксикаторе и взвешивают. Потерю в массе относят к первоначальной массе жома и выражают в процентах, т.е. определяют содержание влаги как среднее из 2 проб.
Содержание сухих веществ, %, - это разность между 100 и содержанием влаги.
Пробы жомопрессовой воды отбирают из краника на трубопроводе перед поступлением в диффузионную установку 1 раз в 2 ч.
Анализ производят 4 раза в смену.
2.6.2. Определение содержания сахара и значения pH20
жомопрессовой воды
Содержание сахара определяют по методике, применяемой при анализе диффузионной воды
(п. 2.4.4.).
При переработке порченой свеклы и плохом фильтровании суспензии, получающейся после осветления жомопрессовой воды свинцовым уксусом, применяют осветление воды реактивами Герлеса по 0,5 - 1,0 мл и подогрев перед фильтрованием.
При возврате жомопрессовой воды на диффузионную установку в ней лабораторным pH-метром определяют pH непосредственно после отбора пробы.
С целью контроля работы установки по очистке жомопрессовой воды определяют pH:
- в пробе, отобранной из краника на трубопроводе неочищенной воды после жомоотжимных прессов;
- в пробе, отобранной из краника на трубопроводе очищенной воды перед поступлением ее в диффузионный аппарат.
3. КОНТРОЛЬ СОКООЧИСТИТЕЛЬНОГО ОТДЕЛЕНИЯ
Пробы известкового молока отбирают из дозатора или из крана на нагнетательном трубопроводе.
Плотность известкового молока определяют каждый час. Известь - свободную, активную и общую - определяют 2 - 3 раза в декаду по усмотрению главного технолога.
В известковом отделении рабочий этого отделения определяет плотность известкового молока в мешалках не реже одного раза в час.
3.1.2. Определение плотности известкового молока
Пробу известкового молока тщательно перемешивают и заливают в стеклянный цилиндр вместимостью 1 л до верхней отметки или в металлический цилиндр (также вместимостью 1 л) - до верхнего края и взвешивают на циферблатных весах ВТЦ-10. Для каждого цилиндра должна быть предусмотрена тара, которую перед взвешиванием помещают на левую чашку весов. На левую чашку весов также помещают гирю массой 1 кг.
Плотность известкового молока, г/см3, равна массе известкового молока в цилиндре, выраженной в граммах, деленной на 1000.
С целью оперативного контроля допускается определение плотности известкового молока денсиметром.
3.1.3. Определение общего содержания извести
Из хорошо перемешанной пробы известкового молока берут на технических весах навеску около 5 г в химический стакан или коническую колбу вместимостью 150 мл, прибавляют 50 мл 1 н. раствора HCl, накрывают часовым стеклом и кипятят 1 - 2 мин., охлаждают и оттитровывают 1 н. раствором NaOH при индикаторе метиловом оранжевом до перехода красной окраски в оранжево-желтую. Содержание общей извести, % CaO к массе известкового молока, (A1), вычисляют по формуле:

,
где У - навеска известкового молока, г;
Х - количество I н. NaOH, израсходованное на титрование, мл.
3.1.4. Определение содержания свободной извести
Из хорошо перемешанной пробы известкового молока берут навеску около 5 г в небольшую фарфоровую ступку, тщательно растирают пестиком крупинки извести и оттитровывают содержимое 1 н. раствором HCl при индикаторе фенолфталеине до полного и устойчивого исчезновения розовой окраски. Титрование надо выполнять медленно, при интенсивном перемешивании раствора и растирании пестиком крупинок извести.
Содержание свободной извести, % CaO к массе известкового молока, (A2), вычисляют по формуле:

,
где Х - количество 1 н. раствора HCl, израсходованного на титрование, мл;
У - навеска известкового молока, г;
Разность между количествами общей и свободной извести, помноженная на

, дает содержание CaCO
3 (недопала) в известковом молоке.
3.1.5. Определение содержания активной извести
в известковом молоке
После тщательного перемешивания пробы известкового молока в тарированный химический стакан отбирают для анализа навеску массой 150 - 300 г и взвешивают на технических весах грузоподъемностью 1 кг.
Полученную навеску известкового молока фильтруют в предварительно взвешенный сосуд через сито с ячейками 1,2
мм и промывают дистиллированной водой. Фильтрат с промоями взвешивают на технических весах грузоподъемностью 1
кг и определяют в нем содержание свободной извести по методике, изложенной в
п. 3.1.4.
Содержание активной извести в известковом молоке вычисляют по формуле:

,
где X - содержание активной извести в известковом молоке, % к его массе;
G0 - масса известкового молока (фильтрата) с промоями, г;
b - количество I н. раствора HCl, израсходованного на титрование навески известкового молока, мл;
g - навеска фильтрата известкового молока, взятого для титрования, г;
G1 - масса известкового молока, взятого на анализ, г.
Массу G1 вычисляют по формуле:
G1 = G'1 - G"1,
где G'1 - масса взятой на анализ навески известкового молока с химическим стаканом, г;
G"1 - масса химического стакана, г.
Активность извести в известковом молоке вычисляют по формуле:

,
где

- активность извести в известковом молоке, % к массе общей извести;
X0 - общее содержание извести в известковом молоке, % к его массе.
3.2. СОК ПРЕДВАРИТЕЛЬНОЙ ДЕФЕКАЦИИ
Пробы нефильтрованного сока отбирают 1 раз в час из краника на трубе, отводящей сок из переливной коробки предварительного дефекатора. pH20 определяют два раза в смену, а общее содержание извести и щелочность профильтрованного сока - ежечасно.
При прогрессивной преддефекации для контроля pH20 сока производят отбор проб по зонам.
3.2.2. Определение значения pH20
Значения pH20 сока предварительной дефекации определяют лабораторным pH-метром.
3.2.3. Определение общего содержания извести
Отобранную пробу нефильтрованного сока сразу анализируют. С помощью цилиндра вместимостью 10 мл быстро отмеривают 10 мл предварительно размешанного сока в фарфоровую чашку или коническую колбу вместимостью 250 мл, добавляют избыток 1 н. раствора H2SO4 (или 1 н. раствора HCl) из аппарата для определения щелочности продуктов сахарного производства (25 - 40 делений) и 7 - 10 капель смешанного индикатора. Титруемая масса приобретает красный цвет.
Затем титруют 1 н. раствором NaOH из аппарата для определения щелочности продуктов сахарного производства до появления зеленой окраски.
Общее содержание извести C равно:
C = 0,1 (А - Б),
где C - общее содержание извести, % к объему сока;
А - количество 1 н. раствора H2SO4 (или 1 н. раствора HCl), добавленного к испытуемому соку, делений бюретки аппарата;
Б - количество 1 н. раствора NaOH, израсходованного на титрование, делений бюретки аппарата.
3.2.4. Определение щелочности
10 мл предварительно размешанного сока титруют 0,1 н. раствором серной или соляной кислоты из аппарата для определения щелочности продуктов сахарного производства при индикаторе фенолфталеине до обесцвечивания. Одно деление бюретки аппарата соответствует 0,01% CaO.
Пробы дефекованного сока отбирают 1 раз в час из крана на трубопроводе между дефекатором и сатуратором. В отобранной пробе сразу же определяют щелочность и общее содержание извести.
3.3.2. Определение общего содержания извести
После тщательного перемешивания отобранной пробы быстро отмеривают с помощью цилиндра с ручкой 10 мл дефекованного сока в фарфоровую чашку или коническую колбу вместимостью 250 мл, добавляют избыток 1 н. раствора H2SO4 (или HCl) из аппарата для определения щелочности продуктов сахарного производства (25 - 40 делений) и 7 - 10 капель смешанного индикатора. Титруемая масса приобретает красный цвет. Затем титруют 1 н. раствором NaOH из аппарата для определения щелочности продуктов сахарного производства до появления зеленой окраски.
Общее содержание извести Cд равно:
Cд = 0,1 (A - B),
где Cд - общее содержание извести в дефекованном соке, % к объему сока;
A - количество 1 н. раствора H2SO4 (или 1 н. HCl), добавленного к испытуемому соку, делений бюретки аппарата;
B - количество 1 н. раствора NaOH, израсходованного на титрование, делений бюретки аппарата.
3.3.3. Определение щелочности
10 мл предварительно размешанного сока разбавляют водой, нейтральной на фенолфталеин, добавляют 2 - 3 капли 1%-ного раствора фенолфталеина и титруют 1 н. раствором серной или соляной кислоты из аппарата для определения щелочности продуктов сахарного производства до обесцвечивания.
Одно деление бюретки аппарата при титровании 1 н. раствором кислоты соответствует 0,1% CaO.
Пробу сатурационного газа отбирают непосредственно из главного газового трубопровода через краник или из ответвления от главного трубопровода в лабораторию. В последнем случае перед анализом следует выпустить газ, находящийся во вспомогательном трубопроводе.
Содержание CO2 в сатурационном газе определяют не реже 2 раз в смену. По усмотрению главного технолога завода частота анализов может быть увеличена.
Содержание O2 и CO определяют по мере надобности.
3.4.2. Определение содержания CO2, O2 и CO
Методика определений изложена при описании прибора ГХП-3М
(п. 1.13).
Для оперативного контроля за щелочностью соков I и II сатураций в заводе вблизи рабочего места сатуратчика устанавливают два pH-метра. При помощи одного производится непрерывное определение и запись на диаграмму pH сока I сатурации, а при помощи второго - pH сока II сатурации.
Диаграммы pH сока за смену поступают к сменному технологу.
Один раз в смену контролируют лабораторным pH-метром заданное pH сока I и II сатурации при щелочности, установленной по технологическому режиму и при температуре в сатураторах.
Пробы сока I сатурации отбирают 1 раз в час из краника на трубопроводе, по которому сок поступает во II сатуратор. Сок II сатурации отбирают 1 раз в час из краника на трубопроводе, подающем сок на выпарку (при отсутствии сульфитатора), и из краника на трубопроводе, подающем сок в сульфитатор (при его наличии). При отсутствии краника на трубопроводе пробы отбирают из контрольных фильтров сока II сатурации.
Из часовых проб отмеривают по 50 мл и составляют среднюю пробу сока за смену, которую сливают в банку с притертой пробкой. Перед исследованием средней пробы содержимое банки тщательно перемешивают. Все вышесказанное в равной мере относится к отбору и хранению средних проб всех соков и сиропов.
Пробы суспензии сока I сатурации отбирают ежечасно из корыт вакуум-фильтров.
3.5.2. Определение качественных показателей сока I сатурации
В часовой пробе сока I сатурации определяют содержание сухих веществ, щелочность и прозрачность. Значение pH20 определяют не менее двух раз в смену.
Содержание сухих веществ измеряют лабораторным рефрактометром. Перед измерением пробу сока охлаждают до температуры 20 °C.
Определение щелочности выполняют в следующем порядке:
10 мл фильтрованного сока I сатурации переводят в фарфоровую чашку, добавляют 2 - 3 капли 1%-ного раствора фенолфталеина и титруют 0,1 н. раствором H2SO4 (или HCl) из аппарата для определения щелочности продуктов сахарного производства. Одно деление бюретки аппарата соответствует 0,01% CaO.
Прозрачность определяют визуально, заливая испытуемый сок в плоскую рюмку.
Значение pH20 измеряют лабораторным pH-метром.
Плотность суспензии сока I сатурации определяют денсиметром ежечасно.
3.5.3. Определение качественных показателей сока
II сатурации
В часовой пробе сока II сатурации определяют содержание сухих веществ, щелочность и прозрачность. Значение pH20 определяют не менее двух раз в смену.
При работе без сульфитации сока в банку с притертой пробкой ежечасно отмеривают 50 мл сока II сатурации для составления средней пробы за смену. В средней пробе определяют содержание сухих веществ, сахара, солей кальция и цветность.
При работе с сульфитацией сока в часовых пробах сока II сатурации определяют только содержание сухих веществ, щелочность и прозрачность.
Содержание сухих веществ измеряют лабораторным рефрактометром. Перед измерением пробу сока охлаждают до 20 °C.
Щелочность определяют по методике, изложенной в
п. 3.5.2.
Прозрачность определяют визуально, заливая испытуемый сок в плоскую рюмку.
Значение pH
20 измеряют по методике, изложенной в
п. 3.5.2.
3.6. СУЛЬФИТИРОВАННЫЙ СОК
Пробы сульфитированного сока отбирают из краника на трубопроводе, подающем сок на выпарную установку, а при отсутствии краника - из фильтров. При отсутствии фильтров - из контрольного ящика сульфитатора.
В часовой пробе сульфитированного сока определяют:
- прозрачность - визуально;
- щелочность - по методике для сока I сатурации
(п. 3.5.2.), но при индикаторе крезол-красном;
- pH - не менее двух раз в смену.
В средней пробе за смену определяют: содержание сухих веществ, сахара, цветность, содержание солей кальция.
3.6.2. Определение содержания сухих веществ
Содержание сухих веществ определяют лабораторным рефрактометром. Перед измерением сок охлаждают до 20 °C.
3.6.3. Определение содержания сахара
Две нормальные навески охлажденного до 20 °C сока отвешивают в нейзильберовой чашке, переводят в колбу на 100 мл, добавляют 1 - 2 капли фенолфталеина и несколько капель разбавленной 1:1 уксусной кислоты до исчезновения розовой окраски при вращении колбочки между ладонями. Затем добавляют 2 - 4 мл свинцового уксуса и дистиллированной воды до отметки. Содержимое энергично взбалтывают, фильтруют, измеряют вращение плоскости поляризации фильтрата на сахариметре в кювете длиной 400 мм. Содержание сахара находят делением показания сахариметра на 4.
3.6.4. Определение цветности
Цветность, в условных единицах, определяют с помощью колориметра КСМ. При применении в колориметре 1,0-нормального стекла цветность (Ц) вычисляют по следующей формуле:
При пользовании 0,5-нормальным стеклом цветность вычисляют по формуле:

,
где M - высота столба сока в трубе прибора, при которой достигается одинаковое окрашивание правой и левой половин поля зрения, мм (число делений, отсчитанных по шкале колориметра, - среднее арифметическое из пяти отсчетов);
СВ - содержание сухих веществ по рефрактометру, %;
d - плотность сока, г/см3;
К1 и К2 - поправочные коэффициенты колориметрических стекол.
При определении цветности все растворы тщательно фильтруют.
Цветность сульфитированного сока в единицах оптической плотности определяют ускоренным методом ВНИИСП при помощи фотоэлектрических колориметров АI-ЕЦ2-С, ЛМФ-72М или ФЭК-60 в следующем порядке.
В специальную воронку, изготовленную из нержавеющей стали
(рис. 3.1.), помещают целлюлозную (фильтрационную) пробку, завернутую в 2 - 3 слоя батиста.
Рис. 3.1. Воронка для фильтрования растворов при определении
цветности.
Воронку с насаженной пробкой вставляют в сухую колбу для фильтрования под вакуумом. Затем в воронку наливают испытуемый сок и колбу подключают к разрежению, осторожно открывая воздушный вентиль или кран. Первые порции фильтрата после ополаскивания ими колбы выливают. Процесс фильтрования сока заканчивается через 20 - 30 с.
Фильтрационная (целлюлозная) пробка может быть использована только для одного анализа. Батистовые салфетки после фильтрования стирают, многократно ополаскивают дистиллированной водой и просушивают в помещении, где нет пыли. Батистовые салфетки для фильтрования растворов светлых продуктов (сахара-песка и т.д.) и темных продуктов (соков, сиропов, клеровок, утфелей, мелассы) следует хранить раздельно в закрытых сосудах.
Полученный фильтрат доводят до pH = 7,0 +/- 0,2 при помощи 0,1 н. растворов NaOH или HCl. Длину кюветы выбирают с таким расчетом, чтобы показания на шкале прибора находились в пределах 10 - 90% светопропускания. Перед заливанием раствора кюветы должны быть тщательно вымыты и вытерты батистовой салфеткой. В случае необходимости рабочие поверхности кювет следует промыть 96%-ным этиловым спиртом.
Оптическую плотность испытуемого сока измеряют при длине волны 560 нм. В качестве эталона используют свежую дистиллированную воду, полученную на дистилляторе с поверхностью охлаждения из стекла или нержавеющей стали.
Результаты подсчитывают по формуле:

,
где Цос - цветность сульфитированного сока, единиц оптической плотности;
Д560 - оптическая плотность испытуемого сока при длине волны 560 нм;
СВс - содержание сухих веществ в соке, %;
dс - плотность испытуемого сока, г/см3;
в - длина кюветы, см.
Для ускорения расчетов цветности сока следует пользоваться
табл. 12 (раздел 17), где приведены произведения СВ·d.
3.6.5. Определение содержания кальциевых солей
10 г фильтрованного сока помещают в коническую колбу вместимостью 250 мл, добавляют 100 мл дистиллированной воды, 5 мл аммиачного буферного раствора, 1 мл 2%-ного раствора сульфида натрия (Na2S) и 7 - 8 капель индикатора (индикатор обязательно добавляют последним) и титруют 0,0357 н. раствором трилона Б до перехода окраски от винно-красной до синей.
В качестве индикатора применяют спиртовый раствор кислотного хрома темно-синего. Индикатор можно также применять в твердом состоянии. В смеси с NaCl (соотношение 1 : 100) его берут специальной меркой, в которую помещается 0,2 г реактива.
Содержание кальция и магния в 100 мл дистиллированной воды определяют предварительно так же, как и в сульфитированном соке (глухой опыт).
Содержание CaO в испытуемом соке вычисляют по формуле:

,
где X - содержание кальция и магния (в пересчете на CaO) в сульфитированном соке, % к его массе;
a - количество 0,0357 н. раствора трилона Б, израсходованное на титрование навески сока, мл;
a1 - количество 0,0357 н. раствора трилона Б, израсходованное на титрование 100 мл дистиллированной воды, мл;
C - навеска сока, г.
При анализе соков, содержащих мало кальциевых солей, навеску сока увеличивают до 50 г.
3.6.6. Определение других качественных показателей соков
На заводах, работающих на непрерывных фильтрах, дополнительно определяют:
- плотность сгущенной суспензии - при помощи денсиметра. Пробу отбирают каждый час из крана на трубопроводе, подающем суспензию в корыта вакуум-фильтров;
- скорость осаждения осадка в соке I сатурации. Анализ выполняют по методике, описанной в
п. 11.1.5., в средней пробе, собранной в течение получаса при затруднениях в работе отстойников.
Для оперативного контроля ограничиваются определением скорости осаждения (в см/мин.) за первые 5 и 10 мин. от начала осаждения. Фиксируют также объем осадка через 25 мин. от начала осаждения (в % к общему объему жидкости);
- скорость фильтрования. При затрудненном фильтровании определение выполняют по методикам, изложенным в
п. 11.1.6.,
п. 11.1.7.
Пробу сульфитационного газа отбирают из краника на трубопроводе поступления газа в сульфитатор. Так как краник на трубопроводе сульфитационного газа часто засоряется, лучше вставить в трубопровод резиновую пробку со стеклянной трубкой, на конец которой надета резиновая трубка с зажимом.
При работе сернистых печей под разрежением пробу сульфитационного газа отбирают после вентилятора, а при отсутствии его засасывают при помощи разрежения.
3.7.2. Определение содержания SO2 в сульфитационном газе
Содержание SO2 определяют по указанию главного технолога аппаратом ГХП-3М. Определение основано на реакции окисления сернистого газа йодом по уравнению:
SO2 + H2O + I2 = 2HI + SO3
Для определения один из поглотительных сосудов аппарата наполняют 0,1 н. раствором йода, к которому добавляют несколько капель раствора крахмала, чтобы установить необходимость замены раствора йода.
Напорный сосуд наполняют парафиновым маслом или водой, насыщенной SO2.
Для очистки сульфитационного газа от посторонних примесей газ перед поступлением в поглотительный сосуд предварительно пропускают через U-образную трубку, наполненную стеклянной ватой.
Определение производят согласно
п. 3.4.2.
3.8. ФИЛЬТРАЦИОННЫЕ ОСАДКИ И ПРОМОИ ПРИ ФИЛЬТРОВАНИИ
Для определения потерь сахара в фильтрационном осадке каждые полчаса отбирают пробы разжиженного осадка из краника на трубопроводе, отводящем осадок из мешалки, или непосредственно из мешалки.
При дисковых фильтрах отбор проб производят спустя 7 мин. после поступления осадка в мешалку. Емкость мешалки разжиженного фильтрационного осадка должна быть не менее 7 м3.
При наличии фильтрпрессов отбор проб производят во время выгрузки фильтрационного осадка.
Среднюю за два часа пробу исследуют на содержание сахара (четыре анализа за смену).
При повышенных потерях сахара в разжиженном фильтрационном осадке производят анализы неразжиженного (густого) фильтрационного осадка.
Если потери сахара в разжиженном фильтрационном осадке равны или меньше установленного норматива, анализ густого фильтрационного осадка не производят.
На вакуум-фильтрах пробу фильтрационного осадка отбирают в месте схода его с ножа. Пробу отбирают из четырех-пяти мест по длине ножа.
При дисковых фильтрах анализ неразжиженного фильтрационного осадка не производят.
Пробу неразжиженного (густого) фильтрационного осадка отбирают специальным пробоотборником (цилиндр с поршнем) из трех-четырех рам в фильтрпрессе, причем в каждой раме пробу отбирают в пяти местах: в центре и по диагонали в четырех углах.
Пробы промоя отбирают ежечасно из краника на трубопроводе, подающем промой в известковое отделение, а при отсутствии краника - из сборника промоев.
При использовании диффузионной или других сладких вод для разбавления осадка, пробу этой воды отбирают каждые полчаса.
В средней за 2 часа пробе определяют содержание сахара (четыре раза за смену).
3.8.2. Определение содержания сахара в разжиженном
фильтрационном осадке
Среднюю пробу тщательно перемешанного (желательно на электромагнитной мешалке) осадка наливают в колбу с двумя отметками 200 - 220 мл - до первой отметки. Массу чистой сухой колбы определяют заранее. Колбу с осадком взвешивают с точностью до 0,1 г. Для разрушения сахаратов в колбу вливают 10 - 12 мл 50%-го раствора азотнокислого аммония, доводят до отметки 220 мл свинцовым уксусом, взбалтывают, фильтруют и измеряют вращение плоскости поляризации на сахариметре в кювете длиной 200 мм.
По массе разжиженного осадка в объеме 200
мл и показанию сахариметра находят по
табл. 19 (разд. 17) содержание сахара в процентах к массе неразжиженного фильтрационного осадка.
Точность анализа зависит от коэффициента разжижения осадка К, на который умножают показание сахариметра. В
табл. 19 коэффициент К можно найти в
графе 11 (при показаниях сахариметра 1,0).
Наиболее точные данные получают при коэффициенте К в пределах от 1 до 2 ед., что соответствует массе 200 мл разжиженного фильтрационного осадка от 208 до 216 г.
3.8.3. Определение содержания сахара в фильтрационном осадке
при разбавлении его диффузионной водой
При разбавлении фильтрационного осадка диффузионной или другой водой, содержащей сахар, среднюю пробу воды, отобранную за 2 часа, наливают в колбу на 100 - 110 мл до отметки 100 мл, добавляют 1 - 2 мл свинцового уксуса и дистиллированной воды до отметки 110 мл, тщательно взбалтывают, фильтруют и определяют вращение плоскости поляризации на сахариметре в кювете длиной 200 мм.
Для подсчета содержания сахара в разжиженном фильтрационном осадке из показания сахариметра, полученного при анализе разжиженного осадка, нужно вычесть показание сахариметра, полученное при анализе добавляемой на разжижение воды. По полученному после вычитания результату находят в
табл. 19 (раздел 17) содержание сахара в процентах к массе неразжиженного фильтрационного осадка.
3.8.4. Определение содержания сахара в неразжиженном осадке
из вакуум-фильтров и фильтрпрессов
Отобранную пробу осадка тщательно перемешивают. Непосредственно в фарфоровой ступке отвешивают 55 г осадка, приливают 178,2 мл 10%-ного раствора азотнокислого аммония и 7 мл свинцового уксуса, перемешивают, фильтруют и измеряют вращение плоскости поляризации на сахариметре в кювете длиной 200 мм. Показание сахариметра дает содержание сахара в осадке.
При отсутствии азотнокислого аммония или при темных фильтратах метод с азотнокислым аммонием заменяют методом с уксусной кислотой, для чего 50 г осадка растирают с 50 мл воды в однородную кашицу, нейтрализуют уксусной кислотой, разбавленной 1:1, при индикаторе фенолфталеине, переводят в колбу вместимостью 200 мл, осветляют 1 - 2 мл свинцового уксуса, доливают водой до отметки, взбалтывают, фильтруют и измеряют вращение плоскости поляризации фильтрата сахариметром в кювете длиной 200 мм. Показание сахариметра дает содержание сахара в неразжиженном фильтрационном осадке.
При определениях содержания сахара в фильтрационном осадке рекомендуется применять стеклянные поляриметрические кюветы с пластмассовыми ниппелями и гайками.
3.8.5. Определение содержания сухих веществ в промое
При исследовании работы дисковых фильтров и фильтрпрессов, в которых осадок обессахаривается промыванием водой, в последних порциях промоя определяют содержание сухих веществ рефрактометром. На основании этих определений устанавливают момент прекращения промывки дисковых фильтров и фильтрпрессов. При наличии ступенчатой промывки содержание сухих веществ определяют и в промежуточных порциях промоев.
Пробы сиропа отбирают каждый час из краника на трубопроводе, подающем сироп на сульфитацию.
В часовых пробах определяют содержание сухих веществ, щелочность и прозрачность. Не менее двух раз в смену измеряют значение pH20. Для составления средней пробы за смену сливают по 50 мл продукта в банку с крышкой.
В средней пробе определяют содержание сухих веществ, сахара, доброкачественность, цветность и содержание кальциевых солей (последние - только в сиропе).
Для контроля работы выпарной установки периодически отбирают пробы сиропа из краников на переходных трубопроводах каждого выпарного аппарата или из краников у сокомерных стекол и в них определяют содержание сухих веществ, цветность.
3.9.2. Определение содержания сухих веществ в сиропе
Содержание сухих веществ определяют лабораторным рефрактометром без разбавления сиропа.
3.9.3. Определение содержания сахара в сиропе
Отвешивают нормальную навеску сиропа (26,00 г), количественно переводят ее в колбу на 100 мл, разбавляя дистиллированной водой, добавляют 1 каплю 1%-ного раствора фенолфталеина и разбавленную (1:1) уксусную кислоту - осторожно по каплям, до обесцвечивания, после чего добавляют 1 - 2 мл свинцового уксуса и дистиллированной воды до отметки, взбалтывают и фильтруют, фильтрат заливают в поляриметрическую кювету длиной 200 мм, предварительно ополоснув 2 - 3 раза, и измеряют вращательную способность сахариметром. Показание сахариметра дает содержание сахара, % к массе сиропа.
3.9.4. Определение pH20 сиропа
pH20 определяют лабораторным pH-метром в неразбавленном сиропе.
3.9.5. Определение щелочности сиропа
10 мл сиропа, отмеренного цилиндром с ручкой, разбавляют в фарфоровой чашке нейтральной (по индикатору крезоловый красный) водой до получения достаточно светлого раствора, затем прибавляют несколько капель раствора индикатора крезолового красного и титруют 0,1 н. раствором кислоты (H2SO4 или HCl) из аппарата для определения щелочности продуктов сахарного производства. Одно деление бюретки аппарата соответствует 0,01% CaO.
3.9.6. Определение содержания кальциевых солей
Навеску сиропа 3 - 5
г переводят в колбу вместимостью 250
мл и ведут определение, как в сульфитированном соке
(п. 3.6.5.).
При повышенном содержании кальциевых солей берут навеску 2 г.
3.9.7. Определение цветности сиропа
Цветность (в условных единицах) определяют колориметром КСМ. Для этого 50 мл сиропа переводят в колбу вместимостью 200 мл, доводят водой до отметки, фильтруют и определяют высоту столба жидкости по шкале прибора при нормальном стекле. Цветность (Ц) выражают на 100 частей сухих веществ сиропа и (при пользовании 1,0-нормальным стеклом) вычисляют ее по формуле:
При пользовании 0,5-нормальным стеклом значение цветности (Ц) выразится формулой:

,
где M - высота столба раствора сиропа, мм (число делений, отсчитанных по шкале колориметра, среднее арифметическое из пяти отсчетов);
СВ - содержание сухих веществ в исследуемом растворе сиропа (по рефрактометру), %;
d - плотность раствора сиропа, г/см3;
К1 и К2 - поправочные коэффициенты колориметрических стекол.
Цветность (в единицах оптической плотности) определяют ускоренным методом ВНИИСП с помощью фотоэлектрических цветомеров АI-ЕЦ2-С, ЛМФ-72М или ФЭК-60 в такой последовательности.
Сироп разбавляют горячей дистиллированной водой до содержания сухих веществ 15 +/- 0,5% по рефрактометру, фильтруют под вакуумом через целлюлозную (фильтрационную) пробку и выполняют все последующие операции по методике, применяемой при определении цветности сульфитированного сока
(п. 3.6.4.).
Цветность сиропа вычисляют по формуле:

,
где Цos - цветность сиропа, единиц оптической плотности;
Д560 - оптическая плотность раствора сиропа при длине волны 560 нм;
СВs - содержание сухих веществ в растворе сиропа, %;
d
s - плотность раствора сиропа,
г/см3, по
табл. 9 раздела 17 согласно значению содержания сухих веществ);
в - длина кюветы, см.
Для ускорения расчетов величины цветности следует пользоваться
табл. 11 (раздел 17), где приведены произведения СВ·d.
3.10. ВЫВАРКА ВЫПАРНОЙ УСТАНОВКИ
3.10.1. Отбор проб
При выварке выпарных аппаратов определяют щелочность и кислотность заливаемых в них растворов соды и кислоты. В процессе вываривания каждые 15 мин. отбирают из каждого аппарата пробу раствора соды или кислоты из краников, установленных над трубной решеткой выпарного аппарата на расстоянии 150 - 200 мм и определяют кислотность или щелочность, а также наличие железа или меди.
Если анализ показывает, что в процессе выварки раствор кислоты в каком-нибудь аппарате полностью нейтрализовался, в него следует добавить кислоту до требуемой концентрации, сохранив при этом установленный уровень раствора в аппарате.
3.10.2. Определение щелочности раствора, получаемого
при выварке выпарной установки
К 10 мл раствора добавляют 2 - 3 капли фенолфталеина и титруют 0,1 н. раствором кислоты из обычной бюретки.
Содержание Na2CO3 в растворе вычисляют по формуле:
y = 0,053X,
где y - содержание Na2CO3 в растворе, % к его объему;
X - количество 0,1 н. раствора HCl, израсходованное на титрование, мл.
3.10.3. Определение содержания HCl в растворе кислоты
К 10 мл раствора кислоты добавляют 2 - 3 капли фенолфталеина и титруют 0,1 н. раствором щелочи из обычной бюретки.
Содержание HCl в растворе кислоты вычисляют по формуле:
Z = 0,0365X1,
где Z - содержание HCl в растворе кислоты, % к его объему;
X1 - количество 0,1 н. раствора щелочи, израсходованное на титрование, мл.
Окончание вываривания выпарного аппарата раствором соды или кислоты определяется положением, при котором щелочность или кислотность отобранной пробы раствора не изменяется при постоянном уровне жидкости в корпусах выпарной установки.
Определение наличия железа и меди
Наличие меди и железа в жидкости определяют только при вываривании выпарных аппаратов кислотой.
В химический стакан вместимостью 100 - 250 мл наливают 10 мл жидкости, 50 мл дистиллированной воды и при нагревании добавляют до слабощелочной реакции аммиак. В присутствии железа выделится объемистый бурый осадок. При наличии меди при добавлении избытка аммиака жидкость окрасится в синий цвет.
Проба на железо и медь в заливаемой в выпарные аппараты разбавленной кислоте служит эталоном для сравнения с последующими пробами и установления начавшегося процесса разъедания трубок кислотой.
4. КОНТРОЛЬ ПРОДУКТОВОГО ОТДЕЛЕНИЯ
4.1. УТФЕЛЬ I КРИСТАЛЛИЗАЦИИ
Пробу утфеля около 1 кг отбирают через одну варь (но не менее 3 раз в смену) из-под шибера в момент, когда спущена половина вари. На сахарных заводах производительностью 5000 т свеклы в сутки и более анализ утфелей проводят из каждой второй вари, но не более 4-х в смену. Из части пробы отделяют межкристальный раствор с помощью лабораторной центрифуги или сосуда с ситчатым дном и кожухом для обогрева, или цилиндрика с впаянным ситом и др.
В пробе утфеля определяют содержание сухих веществ, сахара и значение pH.
4.1.2. Определение содержания сухих веществ
Для определения содержания сухих веществ рефрактометром утфель разбавляют водой в отношении 1:1.
Для этого могут быть использованы специальные сосуды, обеспечивающие полное растворение продукта и получение однородного раствора.
Конструкция сосудов описана в
п. 1.37.
Порядок работы следующий:
на чашки технических весов помещают внутренний и наружный сосуды. В том случае, если их масса разная, уравновешивают сосуды специальным грузиком. Сосуды и грузики должны быть пронумерованы. Затем во внутренний сосуд помещают произвольное количество утфеля (около 50 г), устанавливают на чашку весов и добавляют воду в наружный сосуд до тех пор, пока не будет достигнуто равновесие. После этого снимают сосуды с чашек весов и опускают в наружный сосуд грузик для перемешивания. Затем внутренний сосуд осторожно опускают в наружный, герметически завинчивают крышку, и прибор в собранном виде помещают в водяную баню, нагретую до 80 °C. Прибор периодически встряхивают для полного растворения содержимого и равномерного перемешивания.
Затем сосуд с раствором утфеля охлаждают в воде до 20 °C и определяют рефрактометром содержание сухих веществ. Удвоенное показание рефрактометра дает содержание видимых сухих веществ в процентах к массе утфеля.
При наличии на заводе установки для анализа густых продуктов ускоренным методом ВНИИСП-ВНИИЭКИПродмаш определение содержания сухих веществ выполняют в такой последовательности.
На лабораторных весах 4-го класса (технических) тарируют наружный и внутренний сосуды. Затем в наружный сосуд помещают 40 - 50 г испытуемого продукта, а во внутренний - примерно такое же количество дистиллированной воды. После этого оба сосуда помещают на грузовые чашки технических весов. Путем отбора и добавления пипеткой воды во внутреннем сосуде приводят весы с установленными на них сосудами в равновесное состояние. Далее опускают в наружный сосуд перемешивающий грузик, осторожно переливают воду из внутреннего сосуда в наружный, вставляют сосуд во внутренний, накладывают скобу и прижимают винтом фланец внутреннего сосуда к фланцу наружного.
В собранном виде сосуд встряхивают горизонтальными движениями и помещают в одну из кипящих водяных бань, установленных на магнитных мешалках. Регулятор скорости на магнитной мешалке устанавливают в среднее положение, а через 1 мин. - в крайнее положение, соответствующее максимальной скорости вращения. Через 3 мин. сосуд переносят в один из холодильников с проточной водой, установленных на магнитной мешалке. Регулятор скорости магнитной мешалки устанавливают в среднее положение, а через 3 - 4 с - в крайнее положение, обеспечивающее максимальную скорость вращения магнитов.
Через 1,5 мин. сосуд вынимают из холодильника и перемешивают его содержимое 8 - 10 раз для получения однородного раствора, поскольку некоторая часть влаги оседает в верхней части сосуда.
Затем сосуд вновь помещают в холодильник и через 1,5 мин. вынимают (общее время охлаждения сосуда 1:1 должно составлять 3 мин.), вытирают наружную поверхность сухой салфеткой, отворачивают винт, снимают скобу, вынимают внутренний сосуд и определяют содержание сухих веществ в полученном растворе лабораторным рефрактометром. Умножая показание рефрактометра на 2, получают содержание сухих веществ в испытуемом продукте.
4.1.3. Определение содержания сахара
Содержание сахара в утфеле весовым методом определяют по следующей методике.
Двойную нормальную навеску (52 г) раствора 1:1 переводят в колбу вместимостью 100 мл, добавляют 2 - 4 мл свинцового уксуса, дополняют водой до отметки при температуре 20 °C, взбалтывают, фильтруют и измеряют вращательную способность фильтрата сахариметром в кювете 200 мм. Показание сахариметра дает содержание сахара в процентах к массе утфеля.
В случае применения объемного метода (метода КТИПП) содержание сахара определяют таким образом.
50 мл раствора 1:1 переводят в колбу на 100 мл, добавляют 4 - 5 мл свинцового уксуса, доводят дистиллированной водой до отметки при 20 °C, взбалтывают, фильтруют и определяют вращательную способность фильтрата в кювете длиной 200 мм. Содержание сахара находят по таблицам для определения результатов анализа продуктов сахарного производства методом разбавления 1:1 по массе (Н.А. Архипович) или вычисляют по формуле:

,
где P - показание сахариметра;
d - плотность раствора, г/см3.
4.1.4. Определение pH20 утфеля
Измерение pH20 производят в утфелях, разбавленных нейтральной водой 1:1, лабораторным pH-метром.
4.2. МЕЖКРИСТАЛЬНЫЙ РАСТВОР УТФЕЛЯ I КРИСТАЛЛИЗАЦИИ
4.2.1. Определение содержания сухих веществ
Содержание сухих веществ определяют рефрактометром так же, как и в утфеле.
4.2.2. Определение содержания сахара
а) при весовом методе нормальную навеску (26,00 г) раствора 1:1 или 0,5-нормальной навески (13,00 г) неразбавленного межкристального раствора переводят в колбу вместимостью 100 мл, добавляют 2 - 3 мл свинцового уксуса и воды до отметки (при температуре 20 °C), перемешивают, фильтруют и измеряют вращательную способность фильтрата сахариметром в кювете 200 мм. Показание сахариметра удваивают;
б) при объемном методе определяют содержание сахара так же, как и в утфеле
(п. 4.1.3.).
4.2.3. Определение содержания кристаллов в утфеле
На основании средних анализов утфелей и межкристальных растворов за сутки подсчитывают процент кристаллов в утфеле
(п. 13.19).
Пробы сахара-песка отбирают:
на сушке - от каждой вари;
в упаковочной - среднюю от упакованного за смену сахара.
Пробу в упаковочной отбирают каждые полчаса из бункера, меркой вместимостью 50 мл, при поступлении сахара в мешок. Отобранные пробы сохраняют в жестяной банке с плотно пригнанной крышкой. Из средних проб, отобранных в упаковочной за смену, составляют среднюю декадную пробу сахара.
4.3.2. Определение качественных показателей сахара-песка
Содержание влаги определяют согласно ГОСТ 12570-67.
| | ИС МЕГАНОРМ: примечание. Постановлением Госстандарта России от 05.04.1999 N 108 с 01.01.2000 введен в действие ГОСТ 12571-98. | |
Содержание сахарозы определяют согласно ГОСТ 12571-67.
Цветность определяют согласно ГОСТ 12572-67.
Содержание золы определяют согласно ГОСТ 12574-67.
Содержание редуцирующих веществ определяют согласно ГОСТ 12575-67.
| | ИС МЕГАНОРМ: примечание. Взамен ГОСТ 12576-67 Постановлением Госстандарта СССР от 24.07.1989 N 2427 с 01.01.1990 введен в действие ГОСТ 12576-89. | |
Внешний вид, привкус, запах и чистоту раствора определяют согласно ГОСТ 12576-67.
Пробы отбирают ежечасно из краника на трубопроводе, по которому жидкий сахар поступает в резервуары на хранение или непосредственно на отгрузку в цистерны.
В пробах определяют содержание сухих веществ и сахара. Значение pH определяют 2 раза в смену.
4.4.2. Определение содержания сухих веществ
Содержание сухих веществ определяют лабораторным рефрактометром без разбавления жидкого сахара.
4.4.3. Определение содержания сахара
Отвешивают нормальную навеску жидкого сахара (26,00 г), количественно переводят ее в колбу вместимостью 100 мл. После перевода навески жидкого сахара в колбу добавляют примерно до 0,8 объема воды, перемешивают содержимое горизонтальными движениями, после чего доливают водой почти до отметки и ставят на 30 мин. в ультратермостат или водяную баню, имеющую температуру 20 +/- 0,1 °C. Затем содержимое колбы доводят несколькими каплями воды точно до отметки, многократно взбалтывают и фильтруют. При фильтровании воронку покрывают часовым стеклом во избежание испарения воды. Первые порции фильтрата удаляют.
Фильтрат заливают в поляриметрическую кювету длиной 200 мм с кожухом для термостатирования, помещают в кюветную камеру сахариметра и подключают к ультратермостату, в котором поддерживают температуру 20 +/- 0,1 °C, и измеряют вращательную способность фильтрата. Показание сахариметра дает содержание сахара, % к его массе.
4.4.4. Определение значения pH20
Значение pH20 измеряют лабораторным pH-метром в неразбавленном жидком сахаре.
4.5. ОТТЕКИ УТФЕЛЯ I КРИСТАЛЛИЗАЦИИ
Пробы оттеков отбирают в середине цикла центрифугирования, при поступлении их в сборники перед вакуум-аппаратами, с периодичностью, приведенной в
п. 4.1.1.
Пробы оттеков должны соответствовать анализируемой вари. В отобранных пробах определяют содержание сухих веществ и сахара.
4.5.2. Определение содержания сухих веществ и сахара
Содержание сухих веществ определяют рефрактометром, методом разбавления 1:1, описанным при исследовании утфеля I кристаллизации
(п. 4.1.2.).
Содержание сахара определяют методом, описанным при исследовании межкристального раствора утфеля I кристаллизации
(п. 4.2.2.).
4.6. УТФЕЛЬ II КРИСТАЛЛИЗАЦИИ ПРИ ТРЕХПРОДУКТОВОЙ СХЕМЕ
Пробу утфеля отбирают при спуске вари, из-под шибера, трубы или из желоба, в момент, когда спущена половина вари.
Содержание сухих веществ и сахара определяют в утфеле через одну варь.
4.6.2. Определение содержания сухих веществ сахара
и значения pH20
4.7. ОТТЕКИ УТФЕЛЯ II КРИСТАЛЛИЗАЦИИ
Отбор проб и методы исследования такие же, как и для оттеков утфеля I кристаллизации (
п. 4.5.1,
п. 4.5.2).
4.8. УТФЕЛЬ ПОСЛЕДНЕЙ КРИСТАЛЛИЗАЦИИ
Для определения содержания сухих веществ и сахара в утфеле и его межкристальном растворе пробы утфеля отбирают из-под шибера аппарата после спуска половины вари. Содержание сухих веществ и сахара определяют в пробах утфеля каждой вари. Для определения доброкачественности межкристального раствора при центрифугировании пробу отбирают из мешалок: при периодической кристаллизации - из каждой мешалки перед центрифугированием, а при непрерывной кристаллизации - 2 раза в смену, из последней мешалки.
Один раз в начале смены определяют содержание сухих веществ межкристальных растворов в утфеле из всех мешалок непосредственным рефрактометрированием (при помощи призмы Германчука). Температуру утфеля в каждой мешалке определяют два раза в смену.
Отделение межкристального раствора следует производить немедленно после отбора проб, не допуская охлаждения утфеля.
4.8.2. Определение содержания сухих веществ и сахара
Содержание сухих веществ в утфеле последней кристаллизации и в межкристальном растворе определяют так же, как и в утфеле I кристаллизации (
п. 4.1.2,
п. 4.2.1).
Содержание сахара в утфеле определяют по методу, описанному при исследовании утфеля I кристаллизации
(п. 4.1.3.), но для осветления добавляют 6 - 7
мл свинцового уксуса. Если продукты сильно окрашены, взвешивают только одну нормальную навеску раствора 1:1, переводят в колбу вместимостью 100
мл, осветляют реактивом Герлеса (4 - 6
мл), фильтруют и заливают в кювету 200
мм. Показания сахариметра удваивают.
4.8.3. Определение содержания сахара в межкристальном
растворе
Отвешивают нормальную навеску раствора 1:1, приготовленного для рефрактометрирования, переводят его в колбу вместимостью 100 мл, добавляют по 7 - 10 мл растворов Герлеса, доводят водой до отметки, взбалтывают, фильтруют и измеряют вращательную способность фильтрата сахариметром в кювете длиной 200 мм. Удвоенное показание сахариметра дает содержание сахара в продукте. Для лучшего эффекта осветляющие реактивы следует задавать по частям - в 3 - 4 приема, с интервалами 1 - 2 мин.
При осветлении свинцовым уксусом его добавляют в количестве 6 - 10 мл.
pH
20 определяют так же, как и в утфеле I кристаллизации
(п. 4.1.4.).
4.8.5. Определение температуры утфеля
Температуру утфеля при спуске определяют в пробах массой 3 - 5 кг, не отходя от места отбора, непосредственно после взятия пробы.
4.8.6. Определение содержания сухих веществ в межкристальном
растворе перед разогревом утфеля
Небольшое количество отобранного из мешалки утфеля помещают на сухой чистый холст, отжимают каплю межкристального раствора на призму рефрактометра и с применением призмы Германчука (или без нее) определяют содержание сухих веществ без разбавления.
Желтый сахар анализируют как при направлении его на клерование, так и при выводе из производства.
Пробу желтого сахара отбирают при поступлении его в клеровочную мешалку или из центрифуги после ее остановки.
В средней пробе определяют содержание сухих веществ, сахара, доброкачественность, цветность и pH.
4.9.2. Определение содержания сухих веществ и сахара
Содержание сухих веществ определяют методом, описанным при исследовании утфеля I кристаллизации
(п. 4.1.2.).
Содержание сахара определяют по методу, описанному при исследовании утфеля I кристаллизации, но для осветления добавляют 2
мл свинцового уксуса
(п. 4.1.3.).
4.9.3. Определение цветности
С помощью колориметра КСМ цветность определяют в такой последовательности:
25 г желтого сахара растворяют горячей водой и переводят в колбу вместимостью 200 мл, охлаждают до температуры 20 °C и доводят дистиллированной водой до отметки. В профильтрованном растворе цветность определяют колориметром КСМ, используя 1 н. колориметрическое стекло.
Цветность вычисляют по формуле:

,
где Ц1 - цветность сахара, условных единиц;
M - высота столба раствора сахара, мм (число делений, отсчитанных по шкале колориметра, среднее арифметическое из пяти отсчетов);
СВ - содержание сухих веществ по рефрактометру, %;
d - плотность раствора сахара, г/см3;
К1 - поправочный коэффициент 1 н. стекла.
При определении цветности желтого сахара (в единицах оптической плотности) ускоренным методом ВНИИСП, с помощью фотоэлектрических цветомеров АI-ЕЦ2-С, ЛМФ-72М или ФЭК-60 поступают следующим образом:
пробу желтого сахара разбавляют горячей дистиллированной водой до содержания сухих веществ 15 +/- 0,5% по рефрактометру. Все дальнейшие операции, начиная с фильтрования полученного раствора и кончая измерением его оптической плотности, выполняют по методике для определения цветности сульфитированного сока
(п. 3.6.4.).
Цветность желтого сахара подсчитывают по формуле:

,
где Цожс - цветность желтого сахара, единиц оптической плотности;
Д560 - оптическая плотность испытуемого раствора при длине волны 560 нм;
dжс - плотность испытуемого раствора, г/см3;
СВжс - содержание сухих веществ в растворе желтого сахара, %;
в - длина кюветы, см.
Для ускорения расчетов цветности желтого сахара целесообразно пользоваться
табл. 11 (раздел 17), где приведены произведения СВ·d.
pH определяют по методу, описанному при исследовании утфеля I кристаллизации
(п. 4.1.4.).
4.10. АФФИНАЦИОННЫЙ УТФЕЛЬ
Пробу утфеля из аффинационной мешалки отбирают 1 - 2 раза в смену.
В пробе утфеля определяют температуру, содержание сухих веществ, сахара и доброкачественность.
4.10.2. Определение содержания сухих веществ и сахара
4.11. АФФИНАЦИОННЫЙ ОТТЕК
Пробу аффинационного оттека отбирают каждые 2 часа из сборника перед вакуум-аппаратами.
В средней пробе за смену определяют содержание сухих веществ, сахара и доброкачественность.
4.11.2. Определение содержания сухих веществ и сахара
Содержание сухих веществ определяют так же, как и в утфеле I кристаллизации
(п. 4.1.2.). Содержание сахара определяют так же, как и в межкристальном растворе утфеля I кристаллизации
(п. 4.2.2.), но с добавлением 5 - 7
мл свинцового уксуса.
Пробу клеровки отбирают не менее одного раза в час из краника на нагнетательном трубопроводе. Содержание сухих веществ в ней определяют 1 раз в час.
Дважды в смену определяют pH20.
В средних пробах 1 раз за смену определяют: содержание сухих веществ, сахара, доброкачественность и цветность.
4.12.2. Определение содержания сухих веществ, сахара,
цветности и значения pH20
Все анализы клеровки проводят так же, как и соответствующие анализы сиропа (
п. 3.9.2,
п. 3.9.3,
п. 3.9.4,
п. 3.9.7.). При очень темных клеровках в процессе определения содержания сухих веществ рекомендуется применять призму Германчука.
4.13.1. Сироп с клеровкой отбирают один раз в час из сборников перед вакуум-аппаратами.
В отобранных пробах 1 раз в час определяют щелочность и прозрачность.
Дважды в смену определяют значение pH20.
В средних пробах, отливаемых в банку ежечасно, 1 раз в смену определяют содержание сухих веществ, сахара, доброкачественность и цветность.
4.13.2. Определение щелочности, содержания сухих веществ,
сахара, доброкачественности, цветности и значения pH20
| | ИС МЕГАНОРМ: примечание. Здесь и далее в официальном тексте документа, видимо, допущена опечатка: п. 3.9.8. отсутствует. | |
4.13.3. ОПРЕДЕЛЕНИЕ ПРОЗРАЧНОСТИ
Ежечасно с помощью плоской рюмки определяют прозрачность фильтрованного сиропа с клеровкой, органолептически по шкале: прозрачный, слегка мутный, мутный.
Мелассу отбирают при каждом взвешивании (из ящика на весах) для составления средней пробы. 2 раза в смену определяют содержание сухих веществ, сахара, доброкачественность и 1 раз в смену pH20. Из среднесуточных проб составляют декадные пробы, которые хранят в закупоренных банках. В них определяют цветность, содержание редуцирующих веществ, нормальную доброкачественность.
Из средних декадных проб составляют средние пробы за производственный сезон раздельно по полугодиям. Средние пробы за полугодие направляют в групповые лаборатории для проведения исследований. Остаток в количестве около 3 л хранится в лаборатории до следующего сезона.
При необходимости контроля за состоянием сит центрифуг не менее 2 раз в смену отбирают пробы мелассы из-под каждой центрифуги в начальный период центрифугирования. В пробах проверяют наличие кристаллов сахара, рассматривая их на стекле с помощью лупы.
4.14.2. Определение содержания сухих веществ
Содержание сухих веществ определяют методам, описанным при исследовании утфеля I кристаллизации
(п. 4.1.2.).
4.14.3. Определение содержания сахара
Отвешивают нормальную навеску раствора, приготовленного для рефрактометрирования, или полунормальную навеску мелассы, переводят ее в колбу на 100 мл, охлаждают и осветляют растворами Герлеса - 7 - 10 мл каждого (по частям - в 3 - 4 приема).
Процесс осветления осуществляют следующим образом. В колбу с раствором мелассы прибавляют 2 - 3 мл раствора азотнокислого свинца и через 15 - 20 с 2 - 3 мл раствора едкого натра, смесь перемешивают легким вращением колбы в течение 1,5 - 2 мин, затем опять в указанном порядке задают осветлители.
При осветлении свинцовым уксусом добавляют его 6 - 9 мл. При сильно щелочных мелассах следует предварительно нейтрализовать раствор мелассы уксусной кислотой, разбавленной 1:3, в присутствии фенолфталеина.
Колбу доливают дистиллированной водой почти до отметки, удаляют пену каплей эфира и доливают водой до отметки при температуре 20 °C, взбалтывают и после 2 - 5-минутного стояния фильтруют, первые порции фильтрата выливают. Вращательную способность фильтрата измеряют сахариметром в поляриметрических кюветах длиной 100 или 200 мм. При измерении в кювете 200 мм содержание сахара в процентах к массе мелассы равно удвоенному показанию сахариметра; при измерении в кювете 100 мм содержание сахара в процентах к массе мелассы равно показанию сахариметра, умноженному на четыре.
При темных фильтратах применяют дополнительное осветление однозамещенным фосфатом аммония и обесцвечивание гидросульфитом или бисульфитом натрия по следующей методике.
Предварительно удаляют избыток ионов свинца. Для этого к фильтрату, полученному после осветления мелассы свинцовыми солями, прибавляют сухой измельченный порошок однозамещенного фосфата аммония (NH4H2PO4) из расчета 0,9 г на 100 мл фильтрата. Для полного растворения жидкость энергично взбалтывают или помешивают стеклянной палочкой. Затем прибавляют на каждые 100 мл фильтрата 0,2 г гидросульфита натрия.
Осветление темноокрашенных растворов мелассы, а также утфелей I, II, III кристаллизаций, их межкристальных растворов и оттеков, когда их фильтраты оказываются очень темными, наиболее эффективно достигается по следующей методике, предложенной ВНИИСП:
26 г раствора (1:1) исследуемой мелассы или продукта количественно переводят в колбу вместимостью 100 мл, добавляют дистиллированную воду до 0,75 объема и осветляют свинцовым уксусом в количестве, указанном выше (для других продуктов - в количествах, приведенных в соответствующих пунктах Инструкции), доводят дистиллированной водой до отметки и тщательно перемешивают. Суспензию выливают в сухой чистый химический стакан вместимостью 150 мл и меркой добавляют около 6 г карборафина (глюконата IV, норита, карбополя), перемешивают стеклянной палочкой в течение 30 с и фильтруют через двойной бумажный фильтр. К полученному фильтрату добавляют 3 г карборафина, перемешивают стеклянной палочкой в течение 30 с и затем фильтруют через двойной бумажный фильтр. Практически бесцветный фильтрат заливают в кювету длиной 400 мм (или 200 мм) и измеряют вращательную способность на сахариметре.
При пользовании кюветой 400 мм показание сахариметра дает содержание сахара в мелассе (или соответственно в продукте). В случае применения кюветы длиной 200 мм показание сахариметра умножают на два.
4.14.4. Определение значения pH20
Значение pH20 измеряют лабораторным pH-метром, предварительно разбавив исследуемую мелассу водой с pH = 7,0 в отношении 1:1.
4.14.5. Определение цветности
Мелассу разбавляют до содержания сухих веществ 1% следующим образом: сначала приготавливают раствор мелассы с содержанием сухих веществ 15%, а затем разбавляют его точно в 15 раз путем смешивания 1 части 15%-ного раствора и 14 частей воды.
Анализ и подсчет цветности производят так же, как и сульфитированного сока
(п. 3.6.4.).
4.14.6. Определение содержания редуцирующих веществ
5. КОНТРОЛЬ РАФИНАДНОГО ПРОИЗВОДСТВА
НА САХАРОРАФИНАДНОМ ЗАВОДЕ
5.1. ОТБОР ПРОБ ОСНОВНЫХ ПРОДУКТОВ ПРОИЗВОДСТВА
5.1.1. Пробы сахара-песка при приемке
Пробы сахара-песка при приемке отбирают так же, как и при отгрузке, - согласно ГОСТ 12569-67.
Пробы вместе с актом в тот же день доставляют в лабораторию завода, где в результате тщательного наружного осмотра их разбивают на две группы:
- безусловно кондиционный сахар-песок;
- сахар-песок, вызывающий сомнение в кондиционности.
Из равного количества повагонных проб кондиционного сахара-песка по каждому заводу-поставщику составляют средние месячные пробы, в которых определяют содержание влаги, сахарозы, цветность и доброкачественность. Эти пробы следует хранить в посуде с хорошо пригнанными пробками.
Повагонные пробы, вызывающие сомнение в соответствии сахара-песка требованиям ГОСТ 12569-67, не смешивают. В каждой из них определяют: содержание влаги, цветность, содержание сахарозы и редуцирующих веществ.
Результаты анализа, а для нестандартного сахара-песка также и размер скидки с цены, лаборатория отмечает в актах.
Непосредственная передача сахара-песка из вагонов в роспуск запрещается.
5.1.2. Отбор проб сахара-песка при длительном его хранении
При длительном хранении сахара-песка в складах каждые 2 декады отбирают поверочные пробы сахара из одних и тех же мешков в разных местах склада. Пробы подвергают наружному осмотру, а затем определяют в них содержание влаги и редуцирующих веществ.
5.1.3. Отбор проб сахара при поступлении в роспуск
Во время производства независимо от отбора проб сахара-песка, поступающего на завод, каждые 4 часа отбирают пробы сахара-песка, поступающего в клеровочные мешалки, отдельно - для приготовления рафинадного сиропа и клерса.
При поступлении в роспуск сахара-песка пониженного качества, направляемого в последующие клеровки (например, в I рафинадный сироп при технологической схеме с 0-рафинадным утфелем, во II рафинадный сироп при технологической схеме с двумя утфелями и т.д.), отбирают и анализируют отдельные пробы этого сахара.
Из проб, отбираемых каждые 4 часа, составляют средние сменные пробы, а из последних - средние декадные.
5.1.4. Отбор проб кашки и сырого пробеленного рафинада
Пробы кашки, поступающей для прессования, отбирают 4 раза в смену деревянной лопаткой, на ленте, перед поступлением ее в бункер пресса или на трясучке под центрифугами. В случае нарушения технологического режима пробы отбирают из-под отдельных центрифуг при выгрузке кашки на транспортер.
При всех способах производства кускового рафинада пробы для определения содержания влаги сырого пробеленного рафинада отбирают не менее 4 раз в смену и анализируют при помощи прибора Бонвеча.
Для определения средней массы сырого прессованного рафинада находят общую массу всех брусков или кусочков отдельно по каждой из четырех матриц пресса и вычисляют среднюю массу бруска или кусочка, полученного из данной матрицы.
При работе по головному способу 1 раз в смену проверяют величину носка при передаче на сушку пробеленного рафинада, для чего выталкивают по 5 - 6 голов из партии.
Один раз в декаду отбирают форму, которая по своим размерам, величине недолива и качеству сподка может характеризовать данную партию. По всей длине головки, вытолкнутой из этой формы, вырезают приспособлением из поперечной пилы пробную часть
(рис. 5.1.).
Рис. 5.1. Рафинадная головка с вырезанной частью
для определения содержания влаги в ней
При отсутствии поперечной пилы можно пользоваться столярной пилой. В этом случае для облегчения работы по выпиливанию пробной части рекомендуется после нанесения на "рубашку" головы соответствующей метки разрезать головку перпендикулярно оси на 2 части и выпиливать пробы из каждой части отдельно.
Эту часть быстро измельчают в большой фарфоровой ступке, тщательно перемешивают и отбирают среднюю пробу, в которой высушиванием определяют содержание влаги.
5.1.5. Отбор проб сухого рафинада
Если рафинад высушивают на планках, то для определения содержания влаги в сухом рафинаде отбирают 5 - 6 брусков из разных мест по высоте, длине и ширине одного из вагонов при выходе из сушилки.
Определение делают каждые 2 часа.
При сушке без планок отбирают 2 - 3 бруска или 10 кусков из разных мест по ширине транспортера.
Четвертушки отобранных брусков или все кусочки помещают в специальный сосуд
(рис. 5.2.), измельчают и направляют на анализ.
Рис. 5.2. Сосуд для измельчения сахара-рафинада
Для других анализов пробы сухого рафинада отбирают с учетом местных условий, по указанию главного технолога.
Для измельчения проб рафинада перед определением содержания влаги, сахарозы и других составных частей применяют специальный сосуд
(рис. 5.2.).
Он состоит из нижнего сосуда 7, который сочленяется при помощи резьбы с верхним сосудом 5, имеющим нижнее перфорированное днище с отверстиями диаметром 2 мм. В верхний сосуд 5 помещают металлический шар 6 диаметром 30 - 33 мм. Верхний сосуд 5 закрывают крышкой 3 и скобой 2 с винтом 1.
Уплотнения крышки с фланцем сосуда 5 достигают посредством резиновой прокладки 4.
Подлежащий размельчению рафинад помещают в верхний сосуд 5, опускают металлический шар 6, на фланец сосуда 5 помещают резиновую прокладку 4, закрывают крышкой 3, которую прижимают скобой 2 и винтом 1.
При встряхивании сосуда с содержимым (движения вверх-вниз) происходит измельчение рафинада. Измельченные частицы проходят через перфорированное днище 8 сосуда 5 и собираются в нижней части сосуда 7.
5.1.6. Отбор проб рафинада, поступающего в упаковку
Пробы для определения содержания влаги отбирают каждый час на конвейере-сите или на транспортере.
Содержание влаги определяют прибором Бонвеча. Через каждые 2 часа из часовых проб отбирают в банку с притертой пробкой равные количества кусочков для образования средней сменной пробы. В ней содержание влаги определяют высушиванием после измельчения рафинада с помощью специального сосуда
(рис. 5.2.).
Содержание мелочи и пудры определяют в пробах из 2 - 3 мест (в мешках, ящиках, коробах) один раз в смену. В них же определяют наличие производственного брака, металлических вкраплений, исследуют внешний вид, вкус, запах и чистоту раствора.
5.1.7. Отбор проб сиропов
Пробы клерованных сиропов отбирают из сборников необесцвеченных сиропов, а при отсутствии их - непосредственно из клеровочных мешалок. Пробы обесцвеченных сиропов отбирают из сборников. Пробу обесцвеченного клерса отбирают из сборника перед добавлением ультрамарина.
Пробы клерса и всех рафинадных сиропов отбирают 4 раза в смену, а пробы продуктовых сиропов - 2 раза. Из единичных проб вышеуказанных сиропов готовят средние пробы и анализируют 1 раз в смену. Содержание сухих веществ в пробах клерса и рафинадных сиропов определяют непосредственно в единичных пробах до их смешивания.
Кроме того, пробы обесцвеченных сиропов в равных количествах сливают в стаканы или цилиндры из бесцветного стекла для визуального контроля за степенью окрашенности и мутности.
При каждом отборе проб необесцвеченных сиропов измеряют их температуру.
Доброкачественность рафинадных сиропов и содержание редуцирующих веществ в них, как и в остальных продуктах, определяют не менее 3 раз в декаду, каждый раз в одной из сменных проб.
Для контроля работы мешочных и патронных фильтров пробы фильтрованных сиропов отбирают не менее одного раза в смену и определяют прозрачность.
5.1.8. Отбор проб утфелей и оттеков
Для контроля уваривания пробы рафинадных утфелей отбирают после спуска половины вари.
Пробы продуктовых утфелей отбирают из утфелемешалки после перемешивания массы, через 0,5 часа после спуска вари.
Пробы оттеков рафинадных и продуктовых утфелей отбирают из соответствующих сборников под центрифугами, после выработки половины содержимого мешалки.
5.1.9. Отбор проб продуктовых сахаров
Пробы сахаров - белых (I и II продуктов) и желтых (III и IV продуктов) - отбирают из соответствующих закромов во время выработки каждой вари, а при отсутствии их - на транспортном приспособлении (при выгрузке со шнека или из элеватора).
При специальных наблюдениях, например, при определении выхода сахара из утфеля, когда пробы сахара приходится отбирать из отдельных центрифуг, вся масса сахара, полученная в центрифуге перед отбором пробы, должна быть тщательно перемешана.
5.1.10. Отбор проб рафинадной патоки
Пробы рафинадной патоки отбирают из сборника на весах при каждом взвешивании.
В отобранных пробах рафинадной патоки определяют содержание сухих веществ, доброкачественность и цветность. Из этих проб составляют среднюю месячную пробу, в которой определяют содержание золы.
5.1.11. Отбор проб возвратов
К возвратам относятся: пропарка рафинадных вакуум-аппаратов, счистки с вагончиков, отходы при прессовании, разделке и пр.
Пробы сухих возвратов отбирают ежесменно при спуске содержимого соответствующих клеровочных мешалок, а сырых - при поступлении возвратов в мешалки.
5.1.12. Отбор проб промоев и спускной воды из адсорберов
При промывании адсорберов периодически определяют содержание сухих веществ промоев рефрактометром. Если показания последнего оказываются ниже 1% (при определении в горячих промоях), пробы исследуют в лаборатории на содержание сахара. Дальнейшие пробы отбирает лаборатория до тех пор, пока содержание сахара в промоях не снизится до нормы, предусмотренной технологическим режимом.
Примечание. В спускных приспособлениях адсорберов во избежание недосмотра и злоупотреблений, ведущих к потерям сахара, следует предусмотреть следующее:
- спускные вентили или краны во время работы адсорберов должны быть закрыты; ключи следует хранить у цехового мастера;
- свертка, ближайшая к спускному вентилю или крану, во время работы адсорбера должна быть заглушена. Глушку устанавливают перед наполнением адсорбера сиропом и вынимают по окончании промывки;
- спускной канал оборудован контрольным сборником или колодцем, откуда воду удаляют лишь после того, как лаборатория определит содержание в ней сахара. Контрольный сборник должен вмещать все количество воды, выпускаемое из адсорбера.
5.1.13. Отбор проб отработанного угля
Пробы влажного угля отбирают из разных мест каждого адсорбера по мере его выгрузки. В пробе угля определяют содержание сахара.
5.1.14. Отбор проб регенерированного угля
Средние пробы прокаленного активного гранулированного угля отбирают из каждой печи при ее выгрузке. Из вращающейся печи пробы отбирают каждый час и в течение смены составляют 2 средние пробы.
В средней пробе определяют содержание мелочи в угле. Из этих проб составляют средние пробы за 5 дней и в них определяют обесцвечивающую способность.
5.1.15. Отбор проб анионита
Отбор проб производят через верхний люк реактора, из слоя анионита, покрытого водой до уровня его поверхности.
5.2. ИССЛЕДОВАНИЕ ПРОДУКТОВ РАФИНАДНОГО ПРОИЗВОДСТВА
| | ИС МЕГАНОРМ: примечание. Постановлением Госстандарта России от 05.04.1999 N 108 с 01.01.2000 введен в действие ГОСТ 12571-98. | |
| | ИС МЕГАНОРМ: примечание. Взамен ГОСТ 12576-67 Постановлением Госстандарта СССР от 24.07.1989 N 2427 с 01.01.1990 введен в действие ГОСТ 12576-89. | |
Определение качества сахара-песка производят по методикам, изложенным в ГОСТ 12570-67, ГОСТ 12571-67, ГОСТ 12572-67, ГОСТ 12574-67, ГОСТ 12575-67, ГОСТ 12576-67.
5.2.2. Сиропы, утфели, оттеки и продуктовые сахара
5.2.2.1. Определение содержания сухих веществ
Для определения содержания сухих веществ рефрактометром утфели, оттеки и продуктовые сахара разбавляют водой в отношении 1:1, как при исследовании утфеля 1 кристаллизации
(п. 4.1.2.). Содержание сухих веществ в обесцвеченных сиропах определяют непосредственным рефрактометрированием.
5.2.2.2. Определение содержания сахара
Содержание сахара в продуктах определяют по методу, описанному при исследовании сиропов, утфелей, оттеков и желтого сахара свеклосахарного производства (
разделы 3 и
4). Свинцовый уксус для осветления растворов прибавляют в количествах, приведенных в
табл. 5.1.
Наименование продуктов | Количество свинцового уксуса, мл |
Клерс, сиропы 0; I и II рафинада, утфели 0; I и II рафинада, оттеки 0 и I рафинада, сахар I и II продуктовых утфелей | 1 - 2 |
Сироп I продуктового утфеля, утфель I продукта, сахар III продуктового утфеля | 2 - 4 |
Оттеки I и II продуктовых утфелей, сиропы II и III продуктов, утфели II и III продуктов | 4 - 6 |
Рафинадная патока | 6 - 10 |
Примечание. Обесцвеченные сиропы 0 и I рафинадов, утфель 0 и I рафинадов, сахар I продуктового утфеля и клерс при хорошем качестве сахара-песка можно исследовать без осветления.
5.2.2.3. Определение цветности
Продуктовые утфели, оттеки, сахара и сиропы перед определением цветности разбавляют точно так же, как сироп и желтый сахар свеклосахарного производства (
п. 3.9.7 и
п. 4.9.3). В подготовленных растворах цветность определяют цветомером КСМ (в условных единицах) или в единицах оптической плотности ускоренным методом ВНИИСП с помощью фотоэлектрических цветомеров А1-ЕЦ2-С, ЛМФ-72М, ФЭК-60.
Цветность продуктов рафинадного цикла (сиропов, утфелей, оттеков 0; 1 и II рафинада, кроме первого зеленого оттека II рафинада) определяют в единицах оптической плотности ускоренным методом ВНИИСП в такой последовательности:
испытуемые продукты (сиропы, утфели, оттеки) разбавляют дистиллированной водой до содержания сухих веществ 50 +/- 0,5% и фильтруют через модифицированный бумажно-батистовый фильтр (целлюлозную пробку, завернутую в 2 - 3 слоя батиста) по методике, изложенной в
п. 3.6.4.
После этого фильтрованный раствор заливают в кювету длиной 50 мм (5 см), осторожно перемешивают палочкой с оплавленным концом, не касаясь поверхности кюветы, и измеряют оптическую плотность при длине волны 420 и 720 нм на фотоэлектрическом цветомере А1-ЕЦ2-С, ЛМФ-72М или ФЭК-60. В качестве эталона используют свежую дистиллированную воду.
Подсчет результатов выполняют по формуле:

,
где Ц0 - цветность продукта, единиц оптической плотности;
Д420 - оптическая плотность раствора при длине волны 420 нм;
СВ - содержание сухих веществ в растворе, % (по рефрактометру);
d - плотность раствора, г/см3;
в - длина кюветы, см.
Как правило, оптическая плотность растворов продуктов рафинадного цикла после фильтрования через модифицированный бумажно-батистовый фильтр при длине волны 720 нм равна нулю, что свидетельствует об отсутствии в них мути.
В тех случаях, когда оптическая плотность фильтрованных растворов продуктов рафинадного цикла при 720 нм не равна нулю, но не превышает 0,020, истинную оптическую плотность раствора при длине волны 420 нм вычисляют по формуле:
Д420 = Д'420 - 1,81·Д720,
где Д420 - истинная оптическая плотность раствора при длине волны 420 нм;
Д'420 - оптическая плотность испытуемого раствора при длине волны 420 нм, измеренная на фотоэлектрическом цветомере;
Д720 - оптическая плотность испытуемого раствора при длине волны 720 нм;
1,81 - коэффициент, показывающий зависимость между оптической плотностью растворов при длинах волн 420 нм и 720 нм (определен опытным путем).
5.2.2.4. Определение реакции
Реакцию определяют лабораторным pH-метром: в сиропах, клеровках и оттеках без разбавления, а в кристаллических продуктах после предварительного их разбавления 1 : 1 дистиллированной водой с pH = 7,0.
5.2.2.5. Определение содержания редуцирующих веществ
Содержание редуцирующих веществ определяют с применением реактива Мюллера или с помощью 3,5-динитросалициловой кислоты (
п. 12.21,
п. 12.21.6.1.).
5.2.2.6. Определение содержания золы
Содержание золы определяют по методике, описанной в
п. 12.23.1.
Содержание влаги определяют по
ГОСТ 12570-67. Сахар-рафинад рекомендуется измельчать в специальном сосуде
(п. 5.1.5).
| | ИС МЕГАНОРМ: примечание. Постановлением Госстандарта России от 05.04.1999 N 108 с 01.01.2000 введен в действие ГОСТ 12571-98. | |
Содержание сахарозы определяют согласно ГОСТ 12571-67.
Содержание золы определяют согласно ГОСТ 12574-67.
Содержание редуцирующих веществ определяют согласно ГОСТ 12575-67.
| | ИС МЕГАНОРМ: примечание. Взамен ГОСТ 12576-67 Постановлением Госстандарта СССР от 24.07.1989 N 2427 с 01.01.1990 введен в действие ГОСТ 12576-89. | |
Внешний вид, чистоту, запах и привкус раствора определяют согласно ГОСТ 12576-67.
Крепость и продолжительность растворения определяют согласно
ГОСТ 12577-67.
Гранулометрический состав (для рафинированного сахара-песка) определяют согласно
ГОСТ 12579-67.
5.2.3.1. Определение числа кусков в 1 кг, максимальной массы
кусков производственного брака, металлических вкраплений
Отобранную пробу рафинада (5 кг) взвешивают, после чего подсчитывают в ней число кусков (массой не менее 5 г каждый). Затем из колотого рафинада отделяют куски массой более 40 г и общую массу их выражают в процентах к массе пробы, отмечая также максимальную массу отдельных кусков.
Кроме того, в рафинаде, упакованном в пачки, проверяют массу пачек и товарный вид его.
В отобранной пробе куски рафинада подвергают тщательному осмотру, выделяя рыхлые (сподок), с желтизной (недобел), со скоплением ультрамарина, с загрязненной поверхностью, с металлическими вкраплениями и прочие, и указывают процент каждого вида брака по отношению к общей массе пробы.
Металлические вкрапления обусловливаются большей частью отслаиванием цинкового покрытия форм. Содержание их определяют путем соскабливания ножом, затем помещают в пробирку и обливают несколькими каплями разбавленной соляной кислоты. Выделение пузырьков газа (водорода) указывает на происхождение этих примесей.
5.2.3.2. Определение объемной массы кусочка рафинада
Объемная масса рафинада, получаемого в виде брусков при прессовании, может быть найдена как частное от деления массы кубика на его объем. Последний определяют точным обмером с помощью штангенциркуля. Результаты получаются тем точнее, чем правильнее форма взятых образцов (целость ребер, отсутствие заметных неровностей граней).
Содержание сахара в промоях определяют следующим образом: воду фильтруют через бумажный фильтр, охлаждают до 20 °C, заливают в поляриметрическую кювету длиной 200 мм и определяют вращательную способность сахариметром.
5.2.5. Регенерированный уголь
5.2.5.1. Определение содержания сахара в отработанном угле
100 г отработанного, промытого в адсорбере влажного угля помещают в тарированную чашку или в колбу, прибавляют 100 мл дистиллированной воды, смесь нагревают до кипения и кипятят еще 5 мин. Затем в смесь добавляют воду до первоначальной массы (200 г), раствор фильтруют и измеряют вращательную способность фильтрата в поляриметрической кювете длиной 400 мм.
По
табл. 24 находят содержание сахара в угле, % к его массе (считая на сухой уголь).
5.2.5.2. Определение содержания мелочи в активном угле
100 г угля просеивают на сите с диаметром отверстий 2 мм. Количество мелочи - это масса просеянной фракции, отнесенная к массе угля.
5.2.6. Химический контроль регенерации анионита
Контроль промывки реакторов перед регенерацией ведут по методике, изложенной в
п. 5.1.12. и
п. 5.2.4.
Контроль промывки реакторов после регенерации ведут с помощью качественной реакции на ион хлора в промоях по следующей методике:
в пробирку наливают 2 - 3 мл испытуемого промоя и добавляют 2 - 3 капли азотной кислоты, разбавленной водой в отношении 1 : 1, 2 - 3 капли 0,5%-ного раствора AgNO3. В присутствии иона хлора образуется белый осадок или белая муть.
6. КОНТРОЛЬ РАФИНАДНОГО ПРОИЗВОДСТВА НА СВЕКЛОСАХАРНОМ
ЗАВОДЕ С РАФИНАДНЫМ ОТДЕЛЕНИЕМ
6.1.1. Отбор проб сахара-песка
Пробы сахара-песка, поступающего на клеровку в рафинадное отделение, отбирают ежечасно на шнеке под центрифугами 1 продукта или при поступлении в клеровочные мешалки. В средней пробе за смену определяют цветность и трижды в декаду - содержание редуцирующих веществ.
Содержание сахарозы и доброкачественность определяют в средней декадной пробе.
6.1.2. Необеспеченный сироп 1 и 2 рафинада
Пробы сиропа 1 и 2 рафинада отбирают ежечасно на выходе из клеровочной мешалки или из карборафиновых смесителей. Определяют содержание сухих веществ, а в средней пробе за смену - содержание сухих веществ, сахара, доброкачественность, значение pH и цветность.
6.1.3. Обесцвеченный сироп 1 и 2 рафинада
Пробы сиропа отбирают ежечасно после контрольных фильтров. Определяют содержание сухих веществ, а в средней пробе за смену - содержание сухих веществ, сахара, доброкачественность, цветность и значение pH.
Пробы клерса отбирают ежечасно из сборника перед центрифугами и определяют содержание сухих веществ. В средней пробе за смену определяют содержание сухих веществ, сахара, доброкачественность, прозрачность и цветность.
Пробы I и II рафинадных утфелей отбирают при спуске из вакуум-аппаратов через каждые 2 вари; определяют содержание сухих веществ, цветность и pH. Пробы оттеков отбирают из каждой вари, определяют в них цветность, содержание сухих веществ, сахара и доброкачественность. Периодичность анализов указана в
п. 15.2.3.
Пробы отбирают деревянной лопаткой ежечасно на трясучке под центрифугами или на ленте над прессами. Определяют содержание влаги прибором Бонвеча и доброкачественность раствора.
Пробы сахара-рафинада отбирают каждые 2 часа из вагонеток перед подачей их на фасовку или на ленточном транспортере под колочными станками. Определяют содержание влаги, крепость, скорость таяния, а в средней пробе за смену - органолептические показатели и содержание мелочи. В средней пробе за декаду определяют все показатели, изложенные в
п. 5.2.3.
6.1.8. Сахар-песок рафинированный
Отбор проб и анализы производят так же, как и для сахара-песка (
п. 4.3.1,
п. 4.3.2).
Контроль производства производят теми же методами, как и на сахарорафинадном заводе
(раздел 5).
7. КОНТРОЛЬ ПРОИЗВОДСТВА ПРИ ПЕРЕРАБОТКЕ ТРОСТНИКОВОГО
САХАРА-СЫРЦА
При бестарных перевозках сахара-сырца приемку груза производят путем взвешивания на железнодорожных весах.
Сахар-сырец, затаренный в тканевые мешки, принимают в соответствии с правилами перевозки грузов, действующими на железнодорожном транспорте. При наличии рваных мешков или мешков с нарушенной зашивкой приемку всего вагона производят с перевеской.
7.1. КОНТРОЛЬ ПРИЕМКИ И ХРАНЕНИЯ САХАРА-СЫРЦА
Сахар-сырец предъявляется к приемке партиями.
Партией считается количество однородного по показателям качества сахара-сырца массой не более 350 т в одном или нескольких одновременно отгруженных в один адрес вагонов.
Каждая партия сахара-сырца (при отгрузке ж/д транспортом каждый вагон, входящий в партию) должна сопровождаться документом о качестве установленной формы.
От каждой прибывшей партии отбирают среднюю пробу массой 1,8 кг. При бестарных перевозках сахара-сырца специальной меркой отбирают первичные пробы массой по 100 г на каждые 5 т сахара по мере разгрузки вагона и ссыпают их в чистую сухую металлическую банку с крышкой. Емкость банки должна быть на 0,3 больше объема, занимаемого пробой. При транспортировке сахара-сырца в мешках той же меркой отбирают первичные пробы массой 150 г от 2% мешков, после их расшивки. Отобранные первичные пробы ссыпают в чистую сухую металлическую или полиэтиленовую банку с крышкой.
Пробы сахара-сырца от каждого вагона партии тщательно перемешивают, отбирают равные порции проб для составления средней пробы партии в количестве 1,8 кг. Последнюю делят на три одинаковые пробы. Первую направляют на анализ в сырьевую лабораторию, вторую и третью помещают в чистые сухие бутылки емкостью 0,75 - 1 л или в полиэтиленовые пакеты, плотно закрывают (запаивают в случае полиэтиленовых пакетов) и опечатывают. Одну из опечатанных проб хранят в сырьевой лаборатории в течение 3-х месяцев, а вторую направляют на контрольный анализ по указанию производственно-аграрного (производственного) объединения.
На бутылку или полиэтиленовый пакет наклеивают этикетку, в которой приводят следующие сведения:
- наименование продукта;
- номер железнодорожного вагона, номер железнодорожной накладной;
- дата поступления сахара-сырца;
- общая масса сахара-сырца в вагоне;
- результаты анализа (содержание влаги, сахара, цветность, содержание редуцирующих веществ), подсчитывают фактор безопасности при хранении;
- подпись лица, отобравшего пробу;
- подпись заведующего сырьевой лабораторией (химика по сырью).
Записи показаний приборов ведут в специальном журнале контроля хранения сахара. Регулирование вентилирования складов ведется так же, как и при хранении сахара-песка
(п. 9.1.2).
7.1.2. Определение содержания влаги
Около 5 г сахара-сырца помещают в чистую, высушенную, оттарированную на аналитических весах бюксу с палочкой (по размеру бюксы) и притертой крышкой. Бюксу закрывают и взвешивают на аналитических весах. Затем открытую бюксу вместе с палочкой и крышкой помещают в вакуум - сушильный шкаф и высушивают в течение 1,5 - 3 ч до постоянной массы при температуре 100 °C и разрежении 93 кПа (700 мм рт. ст.).
При отсутствии вакуум-сушильного шкафа высушивание производят в сушильном шкафу при температуре 105 °C. Высушивание начинают при 50 °C и постепенно, в течение 0,5 ч, повышают температуру до указанных пределов.
Первое взвешивание при высушивании в вакуум-сушильном шкафу производят через 1,5 ч после достижения 100 °C, а при высушивании в сушильном шкафу - через 3 ч. После каждого взвешивания содержимое бюксы перемешивают стеклянной палочкой. Последующие взвешивания производят через час.
Перед каждым взвешиванием бюксу охлаждают в эксикаторе до температуры помещения. Разница между двумя последними взвешиваниями не должна превышать 1 мг.
Содержание влаги вычисляют по формуле:
где X - содержание влаги в сахаре-сырце, % к его массе;
G1 - масса бюксы с навеской сахара-сырца до высушивания, г;
G2 - масса бюксы с навеской сахара-сырца после высушивания, г;
G - масса бюксы, г.
7.1.3. Определение содержания сухих веществ
Содержание сухих веществ определяют методом, описанным при исследовании утфеля
1 кристаллизации
(п. 4.1.2).
7.1.4. Определение содержания сахара
Нормальную навеску раствора 1 : 1 количественно переводят в колбу вместимостью 100 мл, добавляют 2 - 4 мл свинцового уксуса, перемешивают круговыми движениями, доводят водой до отметки при 20 °C, взбалтывают и фильтруют. Воронку во время фильтрования накрывают покровным стеклом. Первые порции фильтрата выбрасывают. Как только профильтруется достаточное количество фильтрата, его заливают в поляриметрическую кювету длиной 200 или 400 мм, предварительно два раза ополоснув ее исследуемым фильтратом. Вращательную способность фильтрата измеряют сахариметром. Отсчет по сахариметру при измерении в кювете 400 мм дает содержание сахара в сахаре-сырце. При измерении вращательной способности фильтрата в кювете длиной 200 мм удвоенное показание сахариметра дает содержание сахара в сахаре-сырце.
7.1.5. Определение фактора безопасности
Фактор безопасности подсчитывают по формуле:
где W - содержание влаги в сахаре-сырце, %;
Сх - содержание сахара в сырце по прямой поляриметрии, %.
7.2. КОНТРОЛЬ ПРИ ПЕРЕРАБОТКЕ САХАРА-СЫРЦА
7.2.1. Отбор проб сахара-сырца
Пробы сахара-сырца отбирают в жестяную банку с плотно закрывающейся крышкой специальной мерочкой, примерно на 100 г сахара, каждые полчаса, перед поступлением его в клеровочную или в аффинационную мешалку.
В средней пробе за 4 часа определяют содержание сахара, сухих веществ, цветность, pH20. Содержание редуцирующих веществ определяют в средней пробе за смену.
7.2.2. Определение содержания сухих веществ в сахаре-сырце
Содержание сухих веществ в сахаре-сырце определяют методом, описанным при исследовании утфеля 1 кристаллизации
(п. 4.1.2).
7.2.3. Определение содержания сахара в сахаре-сырце
Содержание сахара в сахаре-сырце определяют по методике, изложенной в
п. 7.1.4.
7.2.4. Определение цветности и значения pH20 сахара-сырца
Цветность и значение pH
20 определяют так же, как в желтом сахаре (
п. 4.9.3,
п. 4.9.4).
7.2.5. Определение содержания редуцирующих веществ
в сахаре-сырце
7.2.6. Отбор проб клеровки сахара-сырца, дефекованной
клеровки, клеровки I сатурации, клеровки перед II
сатурацией, клеровки II сатурации, сульфитированной клеровки
Пробы клеровки сахара-сырца (или сахара-аффинада) отбирают ежечасно из клеровочной мешалки. Одновременно составляют среднюю пробу, отливая в банку с крышкой или притертой пробкой по 100 мл клеровки, отбираемой 1 раз в час. В часовых пробах определяют содержание сухих веществ. В средней пробе определяют: содержание сухих веществ, сахара, доброкачественность, цветность. Два раза в смену определяют значение pH20. Пробы дефекованной клеровки отбирают через каждые 30 мин. из краника на трубопроводе между дефекатором и сатуратором. 1 раз в 30 мин. определяют щелочность клеровки.
Клеровку I сатурации отбирают один раз в 30 мин. из контрольного ящика I сатурации. 1 раз в полчаса определяют щелочность.
Пробы клеровки перед II сатурацией отбирают каждые 30 мин. из крана на трубопроводе, подводящем ее во II сатуратор. 1 раз в полчаса определяют общее содержание извести.
Пробы клеровки II сатурации отбирают два раза в час из контрольного ящика II сатурации. 1 раз в полчаса определяют щелочность фильтрованной клеровки.
Пробы сульфитированной клеровки отбирают каждые 30 мин. из контрольных фильтров. Составляют среднюю пробу сульфитированной клеровки, отливая в банку с крышкой по 50 мл продукта, отбираемого каждые 30 мин.
1 раз в 30 мин. определяют щелочность. 1 раз в час определяют содержание сухих веществ и прозрачность. В средней пробе определяют содержание сухих веществ, сахара, доброкачественность, цветность. Не менее двух раз в смену определяют pH20.
7.2.7. Анализ клеровки сахара-сырца
Содержание сухих веществ, сахара, доброкачественность, цветность и значение pH
20 клеровки сахара-сырца (или сахара-аффинада) определяют по методикам, применяемым при анализе сиропа свеклосахарного производства (
п. 3.9.2,
п. 3.9.3,
п. 3.9.7,
п. 3.9.4).
7.2.8. Определение щелочности дефекованной клеровки
Пробу дефекованной клеровки тщательно перемешивают, отмеривают 10 мл, добавляют 3 - 5 капель 1%-ного раствора фенолфталеина и титруют I н. раствором серной кислоты из аппарата для определения щелочности продуктов сахарного производства. Одно деление бюретки аппарата соответствует 0,1% CaO.
7.2.9. Определение щелочности клеровок I и II сатураций
Пробу фильтруют через бумажный фильтр. Отмеривают 10 мл фильтрата, добавляют 2 - 3 капли 1%-ного раствора фенолфталеина и титруют 0,1 н. раствором серной кислоты из аппарата для определения щелочности продуктов сахарного производства. Одно деление бюретки аппарата соответствует 0,01% CaO.
7.2.10. Определение общего содержания извести в клеровке
перед II сатурацией
Пробу тщательно перемешивают, отмеривают 10 мл, из аппарата для определения щелочности продуктов сахарного производства добавляют избыток 1 н. раствора серной кислоты (25 - 40 делений), 7 - 10 капель смешанного индикатора. Раствор окрашивается в красный цвет. Затем из аппарата для определения щелочности продуктов сахарного производства титруют 1 н. раствором NaOH до появления зеленой окраски.
Содержание общей извести вычисляют по формуле:
Xи = 0,1 (А - Б),
где Xи - содержание общей извести, % CaO к объему сока;
А - количество 1 н. раствора H2SO4, добавленное к испытуемой пробе при титровании, делений бюретки аппарата;
Б - количество 1 н. раствора NaOH, израсходованное на обратное титрование, делений бюретки аппарата.
7.2.11. Анализ сульфитированной клеровки
Для определения щелочности отмеривают 10 мл клеровки, разбавляют ее свежеприготовленной нейтральной на крезоловый красный водой до получения достаточно светлого раствора. После этого прибавляют 2 - 3 капли раствора крезолового красного и титруют 0,1 н. раствором серной кислоты из аппарата для определения щелочности продуктов сахарного производства до перехода окраски из красной в светло-желтую. Одно деление бюретки аппарата для определения щелочности продуктов сахарного производства соответствует 0,01% CaO.
Содержание сухих веществ, сахара, доброкачественность, цветность, прозрачность и значение pH
20 определяют по методикам, применяемым при анализе сиропа свеклосахарного производства (
п. 3.9.2,
п. 3.9.3,
п. 3.9.7, п. 3.9.8,
п. 3.9.4).
7.2.12. Отбор проб и анализ известкового молока,
сатурационного газа, фильтрационных осадков и промоев
Отбор проб и анализ известкового молока, сатурационного газа, фильтрационных осадков и промоев производят по методикам, изложенным в
п. 3.1.1,
п. 3.1.2,
п. 3.1.3,
п. 3.1.4,
п. 3.1.5,
п. 3.4.1,
п. 3.4.2,
п. 3.8.1,
п. 3.8.2,
п. 3.8.4,
п. 3.8.5.
7.2.13. Отбор проб и анализ промоя, воды, поступающих
на клерование сахара-сырца или аффинада
Промой или воду, поступающие на клеровку, 2 раза в смену отбирают из краника на трубопроводе. В воде лабораторным pH-метром определяют значение pH20.
7.2.14. Отбор проб и анализ утфелей, межкристальных
растворов, оттеков, желтых сахаров, клеровок
Место и порядок отбора проб приведены в
разделе 15.
Исследования проводят по методикам, применяемым при анализе аналогичных продуктов свеклосахарного производства
(раздел 4).
Содержание редуцирующих веществ во всех продуктах определяют один раз в 5 дней по методикам, изложенным в
п. 12.21,
п. 12.21.6.1, а pH
20 - не менее двух раз в смену лабораторным pH-метром.
7.2.15. Отбор проб, анализ сахара-песка и мелассы
Место и порядок отбора проб приведены в
п. 15.2.4.
Исследования проводят по методикам, применяемым при анализе аналогичных продуктов свеклосахарного производства
(раздел 4).
Контроль жомосушения включает определение содержания влаги (или сухих веществ) и сахара в сыром, прессованном и сушеном жоме, а также содержания сырого протеина и механических примесей в сушеном жоме.
8.1.1. Отбор проб
Пробы жома отбирают каждые 2 часа, равными порциями, после водоотделителя (до поступления жома на прессы) в банку с притертой пробкой. В одноразовой пробе определяют содержание сахара. В средней пробе за смену определяют содержание влаги или сухих веществ.
8.1.2. Определение содержания сахара и влаги
8.2.1. Отбор проб
Пробы жома отбирают по методике, описанной в
п. 2.5.1.
8.2.2. Определение содержания сахара и влаги
8.3.1. Отбор проб
Пробы сушеного жома отбирают в месте поступления его на весы равными порциями, каждые 2 часа, в банку с притертой пробкой. В средней пробе за смену определяют содержание сахара, влаги и периодически - механические примеси, (унос, металлические и другие примеси).
8.3.2. Определение содержания сахара
Содержание сахара определяют следующим образом.
11,7
г измельченного сушеного жома помещают в дигестионный сосуд, приливают 178,2
мл раствора свинцового уксуса. Определение ведут так же, как и содержания сахара по дигестии свекловичной стружки
(п. 2.2.3).
Вращательную способность фильтрата измеряют в поляриметрической кювете длиной 400 мм.
Удвоенное показание сахариметра дает содержание сахара в сушеном жоме.
8.3.3. Содержание влаги
Содержание влаги (или сухих веществ) определяют по методике, изложенной в
п. 2.5.3,
п. 2.5.4.
8.3.4. Определение содержания механических примесей
Из средней пробы сушеного жома отвешивают навеску 100 г и просеивают через сито с отверстиями 0,5 мм. Пользуясь пинцетом и лупой, внимательно рассматривают всю пробу и отсев, отбирая кусочки уноса, золы, окалины и другие посторонние предметы.
Механические примеси взвешивают на технических весах. Масса их в граммах соответствует процентному содержанию примесей.
8.3.5. Определение содержания окалины
Из средней пробы сушеного жома отвешивают навеску 100 г. Окалину извлекают магнитом через тонкую бумагу и взвешивают. Масса окалины в граммах выражает содержание ферромагнитных примесей в процентах.
8.3.6. Отбор проб и анализ сушеного жома с мелассой
Сушеный жом с мелассой отбирают и анализируют по методикам, применяемым для исследования сушеного жома.
8.3.7. Определение содержания сырого протеина
Содержание сырого протеина находят путем умножения содержания общего азота на 6,25 (в отличие от содержания протеина как произведения белкового азота на 6,25).
Для определения содержания общего азота в сушеном жоме взвешивают на аналитических весах навеску около 1
г на беззольном фильтре, переносят ее в колбу Кьельдаля, добавляют 15
мл концентрированной серной кислоты и 0,5
г селена, а при его отсутствии 0,5
г CuO и 3 - 4
г кристаллического сернокислого калия. Далее ведут определение таким же образом, как и при определениях в свекле
(п. 12.20.1).
9. КОНТРОЛЬ ГОТОВОЙ ПРОДУКЦИИ ПРИ ХРАНЕНИИ И ОТГРУЗКЕ
Контроль за качеством сахара-песка должен осуществляться:
- при передаче из завода в склад на хранение;
- при хранении в складе;
- при отгрузке потребителям.
9.1.1. Контроль передачи сахара-песка из завода
в сахарный склад
При передаче сахара-песка из упаковочной или передаточной секции завода на хранение в склад лаборатория обязана проверять температуру сахара в мешках.
Для этого в наполненный и взвешенный мешок с сахаром перед зашивкой наискось по диагонали погружают электрод термометра сопротивления с соответствующим электронным прибором. Термометр держат в сахаре до прекращения изменения его показания. Применять стеклянные термометры для измерения температуры сахара-песка запрещается.
9.1.2. Контроль хранения сахара в складах
При хранении сахара в складах контроль заключается в:
- регулярных определениях температуры и влажности воздуха в помещении склада и снаружи;
- периодических выборочных определениях влажности хранящегося сахара.
В складе сахара на каждые 1000 т хранящегося продукта устанавливают один психрометр или гигрометр. Снаружи, на двух противоположных стенах склада, вывешивают по одному из этих приборов.
Определение относительной влажности производят 2 раза в неделю в установленные часы.
Записи показаний приборов ведут в специальном журнале контроля хранения сахара.
Полученные данные используют для регулирования вентиляции складов.
При этом руководствуются следующим:
- относительная влажность поступающего воздуха при соприкосновении с сахаром должна быть ниже предела, при котором наступает отсыревание сахара (для сахара-песка 70%, для сахара-рафинада 85%);
- вводимый в склад воздух не должен снижать температуру воздуха в складе.
Поэтому не следует вентилировать неотапливаемые склады в зимние месяцы. Вентилировать склады можно лишь тогда, когда вводимый воздух при соприкосновении с более холодным сахаром будет иметь относительную влажность ниже предельной. Заключение о целесообразности вентилирования складов делают на основании температуры и относительной влажности наружного воздуха, пользуясь
табл. 25,
26 (раздел 17). По этим таблицам устанавливают также предельно опасную температуру для отсыревания сахара при соприкосновении с наружным воздухом.
Если по таблицам находят, что относительная влажность наружного воздуха ниже предельно допустимой, а температура вводимого воздуха выше температуры воздуха в складе, то склады можно вентилировать.
Для наблюдения за состоянием сахара-песка при хранении его в складах один раз в месяц, начиная с февраля, отбирают контрольные пробы в сухие металлические банки с пригнанными крышками, желательно из одних и тех же намеченных мешков, расположенных в разных местах склада. После тщательного перемешивания проб определяют содержание влаги в них. Общая масса пробы - не менее 0,5 кг. Результаты ежемесячных определений сопоставляют.
| | ИС МЕГАНОРМ: примечание. В официальном тексте документа, видимо, допущена опечатка: имеется в виду ГОСТ 12570-67, а не ГОСТ 12570-81. | |
Определение содержания влаги в сахаре производят по ГОСТ 12570-81.
| | ИС МЕГАНОРМ: примечание. Здесь и далее в официальном тексте документа, видимо, допущена опечатка: имеется в виду ГОСТ 12575-67, а не ГОСТ 12575-81. | |
В сахаре с влажностью больше 0,14% дополнительно определяют содержание редуцирующих веществ по методике, изложенной в ГОСТ 12575-81.
9.1.3. Контроль отгрузки сахара
При отгрузке сахара-песка потребителям упаковка и маркировка должны соответствовать требованиям ГОСТ 21-78. Тара должна быть целой, чистой, сухой, без постороннего запаха, способного передаваться сахару, а надпись на бирке - четкой и нанесена непахнущей, непачкающей краской.
От каждого вагона отбирают среднюю пробу массой 0,8 - 1,3 кг. Отбор проб и анализ можно производить за 1 - 3 дня до отгрузки сахара с завода. Для этого намечают 5% из отгружаемых мешков и из каждого с помощью щупа отбирают специальной мерочкой по 30 - 40 г сахару в чистую металлическую банку с пригнанной крышкой. Емкость банки должна быть на 30% больше объема пробы. Сахар в закрытой банке перемешивают и высыпают поровну в две сухие полулитровые бутылки или в двойные полиэтиленовые мешочки. Бутылки плотно закрывают пробками, и одну из них опечатывают. Полиэтиленовые мешочки заваривают, и один из них опечатывают.
На каждой пробе должна быть этикетка, где записывают: наименование завода-изготовителя, номер пробы, дату отбора, номер вагона, номер железнодорожной накладной, станцию назначения, массу партии сахара, от которой отобрана проба, подпись лица, отбиравшего пробу, и подпись главного технолога.
Одну бутылку с пробой сахара направляют для анализа, а вторую, опечатанную, хранят в лаборатории в течение 3 месяцев на случай арбитражного анализа.
| | ИС МЕГАНОРМ: примечание. Постановлением Госстандарта России от 05.04.1999 N 108 с 01.01.2000 введен в действие ГОСТ 12571-98. | |
В отобранной пробе отгруженного сахара определяют влажность, цветность, содержание сахарозы и ферропримесей по методикам, изложенным в
ГОСТ 12570-67,
ГОСТ 12572-67, ГОСТ 12571-67,
ГОСТ 12573-67.
| | ИС МЕГАНОРМ: примечание. Взамен ГОСТ 12576-67 Постановлением Госстандарта СССР от 24.07.1989 N 2427 с 01.01.1990 введен в действие ГОСТ 12576-89. | |
В отдельных случаях определяют вкус, запах, прозрачность раствора, гранулометрический состав по методикам, изложенным в ГОСТ 12576-67,
ГОСТ 12579-67, а также содержание редуцирующих веществ и золы по методикам, изложенным в ГОСТ 12575-67,
ГОСТ 12574-67.
9.1.4. Контроль сахара-песка, направляемого в силосы
на хранение
При направлении сахара-песка из завода в силос сахар должен быть высушен до влажности не выше 0,03%, иметь температуру во время загрузки 20 - 22 °C и цветность не выше 0,8 усл. ед. Недопустимо наличие друз, жучков и частиц размером менее 0,2 мм. Различные по фракционному составу сорта сахара следует направлять на хранение в отдельные силосы, соблюдая однородность по качеству.
Если рассев сахара по величине кристаллов не производят, рекомендуется направлять в силосы сахар со средним размером кристаллов; при этом 90% сахара должно иметь размер частиц больше 0,4 мм.
В пробах из каждого аппарата, отобранных после рассева или сушильного барабана, качество сахара определяют визуально и соответственно решают вопрос о возможности направления его в силос. Температуру сахара, подаваемого в силос, замеряют ежечасно.
Для определения температуры пробу сахара отбирают на ленте транспортера, непосредственно в месте засыпки в силос, в небьющуюся тару емкостью 2 - 3 кг, переносят на стол оператора, который должен быть расположен недалеко от места отбора проб. Замер температуры производят термометром сопротивления с соответствующим электронным прибором.
Для определения качественных показателей сахара пробы отбирают каждые полчаса в герметически закрывающиеся металлические банки. В средних пробах за смену определяют цветность и содержание влаги, а в среднесуточных пробах - гранулометрический состав и золу, как указано выше.
9.1.5. Контроль хранения сахара-песка в силосе и отгрузки
его потребителям
В силосах необходимо поддерживать температурно-влажностный режим воздушной среды, соответствующий оптимальным условиям хранения продукта.
Для контроля относительной влажности и температуры воздуха во всех вспомогательных помещениях силосов устанавливают термометры и гигрометры. Количество точек замера определяют из расчета: галереи, соединяющие силосы (по подсилосным или надсилосным помещениям), - одна точка замера на галерею; галереи, соединяющие сушильное отделение производственного корпуса и центральную элеваторную башню, - одна точка замера на 30 - 35 м; подсилосные и надсилосные помещения - две точки замера на каждое помещение на противоположных стенах; все другие вспомогательные помещения силосов - одна точка замера на помещение.
Параметры воздуха непосредственно в самом хранилище определяют либо отбором воздуха из хранилища путем отвода потока его во вспомогательное помещение (отсос), либо непосредственно в хранилище термометрами сопротивления и гигрометрами. Периодичность замеров при установившейся погоде - один замер в 2 часа, при неустановившейся - ежечасно. Показания приборов фиксируют в специальном журнале. Полученные при этом данные используют для регулирования работы отопительно-вентиляционных агрегатов и систем.
Контроль за обработкой и подготовкой воздуха в установках кондиционирования должен осуществляться средствами автоматики и контроля, установленными на кондиционерах.
Для наблюдения за состоянием хранящегося продукта следует один раз в 10 - 15 дней последовательно открывать все течки на 10 - 15 мин. и вести наблюдение за характером истечения сахара. При этом замеряют температуру разгружаемого продукта и отбирают пробы для анализов:
- на содержание влаги - одна проба из каждой течки;
- на цветность - средняя проба из 5 - 10 течек;
- для микробиологического контроля - средняя проба по всем течкам, открытым в течение смены.
Контроль при опорожнении силоса и отгрузке сахара потребителям такой же, как и при отгрузке его из сахарных складов.
Категорически запрещается применять какие-либо стеклянные, фарфоровые и другие бьющиеся приборы и посуду в помещении силосов.
9.1.6. Контроль запыленности воздуха
9.1.6.1. Способ определения запыленности воздуха
Силосы и вспомогательные помещения относят к категории взрывоопасных помещений в связи с тем, что при работе загрузочно-разгрузочного оборудования выделяется значительное количество сахарной пыли, которая является взрывоопасной.
Предельно допустимая концентрация сахарной пыли по взрывоопасности составляет 17,5 - 20 г/м3. При большой сухости воздуха и сахарной пыли, наличии избытка кислорода в воздухе эта концентрация может понижаться. Поэтому контроль запыленности должен осуществляться одновременно с замерами параметров воздушной среды соответствующих мест помещений.
Контроль осуществляется оператором визуально (с начала разгрузки силоса) и заводской лабораторией при помощи установки (
рис. 9.1 или
рис. 9.2) 1 раз в сутки.
В случае повышения концентрации сахарной пыли до предела взрывоопасности загрузка сахара в силосах должна быть приостановлена, и осевшую пыль следует убрать немедленно. Убирать пыль следует систематически, в случае малой запыленности - не реже 1 раза в смену.
Концентрацию сахарной пыли в воздухе определяют на лабораторной установке
(рис. 9.1), которая состоит из стеклянного аллонжа
2, закрепленного на штативе
1, жидкостного реометра-расходомера
3 с нижней поворотной диафрагмой
4.
Рис. 9.1. Установка для определения запыленности воздуха
сахарной пылью.
При работе прибор подключают через гибкий шланг 5 к штуцеру на трубопроводе разрежения.
Трубопровод разрежения следует подвести в сушильное отделение и вспомогательные помещения силосной башни.
Аллонж представляет собой стеклянный цилиндр

, длиной 100
мм, заполненный по длине на 30 - 40
мм фильтрующим слоем минеральной или стеклянной ваты.
На один конец аллонжа

надета резиновая трубка, которая соединяется с левым штуцером реометра
3.
Другой (открытый) конец аллонжа большого диаметра служит для забора запыленного воздуха. Жидкостный реометр-расходомер 3 - это жидкостный дифманометр с вертикальной неподвижной шкалой, в которой разность давлений на уровне жидкости в чашке и в трубке зависит от сопротивления поворотной нижней диафрагмы.
Чем больше расход воздуха, тем больше скорость и потери давления в диафрагме и тем выше разрежение в трубке реометра.
Градуированная шкала реометра имеет длину 160 мм. Деления шкалы, мм, показывают расход воздуха, л/мин, с учетом положения (номера) поворотной диафрагмы.
В реометре имеется 5 номеров диафрагм, выполненных в виде цилиндрических отверстий в поворотной пробке камеры. При работе на первой диафрагме расход воздуха по шкале соответствует диапазону от 1 до 9 л/мин, на второй - от 2 до 16 л/мин, на третьей - от 14 до 28 л/мин, на четвертой - от 25 до 65 л/мин, на пятой диафрагме - от 60 до 90 л/мин. Номера диафрагм проставлены на крышке камеры около поворотной пробки с защелкой. Потери давления в реометре при расходе воздуха 80 л/мин не превышают 150 мм водяного столба. Погрешность реометра +/- 7% от верхнего предела измерений.
Дистиллированную воду заливают в реометр через отверстие верхнего баллончика, которое плотно закрывают пробкой. Для удобства настройки нуля шкала реометра может перемещаться в вертикальном направлении до 8 мм. Пробку поворотных диафрагм периодически, раз в 2 месяца, смазывают солидолом. Для этого снимают верхнюю защелку, отвертывают центральный винт с нижней стороны подставки реометра и вынимают пробку.
9.1.6.2. Методика определений
Аллонж 2 заполняют сухой стеклянной ватой или предварительно высушенной минеральной ватой массой 0,8 г. Во избежание уноса частиц ваты со стороны отсоса в аллонж вставляют кусочек ситовой шелковой ткани или ткани из стеклянного волокна. До взвешивания и замеров аллонж продувают с максимальной скоростью с целью уноса мельчайших частиц ваты и проверки плотности набивки на сопротивление. Сопротивление аллонжа должно быть не менее 400 кг/м2 при расходе воздуха 10 л/мин. Во избежание попадания пыли внутрь аллонжа до начала опыта отверстия следует закрывать притертыми пробками.
Перед взвешиванием и началом опытов аллонж высушивают до постоянной массы в сушильном шкафу при температуре 100 - 105 °C в течение 30 мин со стеклянной ватой и 4 - 6 ч с минеральной ватой, затем охлаждают в эксикаторе в течение 40 мин и взвешивают на аналитических весах. После установки аллонжа на штативе в определенном месте рабочего помещения и просасывания через него определенного количества воздуха аллонж снова высушивают, охлаждают и взвешивают.
Запыленность воздуха определяют по формуле:

, (9.1)
где З - запыленность воздуха, г/м3;
g1 - масса чистого аллонжа до опыта, г;
g2 - масса аллонжа с пылью после опыта, г;
T - время отсоса запыленного воздуха через аллонж, мин. (принимают в зависимости от запыленности таким, чтобы привес аллонжа был не менее 0,5% от первоначальной массы);
Q - расход воздуха, л/мин. (принимают по показанию шкалы реометра и тарировочному графику).
Если параметры воздуха, в котором замеряется запыленность, отличаются от нормальных, то производят перерасчет концентрации на нормальное состояние воздуха по формуле:

, (9.2)
где З - запыленность воздуха при рабочих параметрах воздуха, установленная по вышеприведенной формуле, г/м3;
Зн - запыленность воздуха при нормальном состоянии воздуха, г/м3;
T - абсолютная температура воздуха при испытаниях (T = 273 + t), °К;
P - давление измеряемого воздуха, кПа или мм рт. ст.;
Pн - 101 кПа = 760 мм рт. ст. - нормальное давление воздуха.
Расход воздуха и средняя скорость при измерениях также зависят от температуры, давления и влажности. Перерасчет расхода воздуха Q м3/ч и средней скорости V м/с, замеренных при рабочих условиях, на нормальные условия расхода Qн м3/ч и средней скорости Vн м/с производят по формулам:
Вместо аллонжей с ватными фильтрами можно применять фильтры из синтетического материала АФА-В-18 или АФА-В-10.
Методика определений и расчетов такая же, как и при схеме аллонжа с ватными фильтрами.
Расход воздуха на фильтр АФА-В-18 может быть доведен до 100
л/мин. Его регулируют нижней поворотной диафрагмой
4 (рис. 9.1). Вместо аллонжа на штативе закрепляют патрон с фильтром. Минимальную продолжительность отбора пробы (T
min) рассчитывают по формуле:

.
Минимально необходимая привеска фильтра при погрешности определения +/- 10% равна 1 мг. При предполагаемой запыленности воздуха, например, при З = 20 мг/м3 и расходе воздуха Q = 20 л/мин, минимальная продолжительность отбора проб составит:

.
Максимальная привеска пыли в фильтре АФА-В-18 должна быть не более 50 мг, а в фильтре АФА-В-10 - 25 мг. Максимальная продолжительность отбора пробы для этих же условий:

.
По окончании отбора пробы фильтр осторожно вынимают из патрона, складывают пополам пылью внутрь и помещают в пакет, в котором он находился до взятия пробы.
Концентрацию пыли в воздухе (запыленность) подсчитывают по
формуле 9.1, где вместо масс аллонжа g
1 и g
2 подставляют массу фильтра. Пересчет концентрации на нормальное состояние воздуха производят по
формуле 9.2. Иногда пылесос и реометр заменяют аспиратором конструкции Главмединструмента, в одном ящике которого размещены параллельно четыре реометра-расходомера и отсасывающий центробежный компрессор. Общий вид этого прибора со шлангом
2 и конической воронкой
1 для фильтра показан на
рис. 9.2. Шланг от конической воронки до прибора должен быть такой длины, чтобы прибор находился вне складского помещения.
Рис. 9.2. Установка для определения запыленности воздуха
сахарной пылью с аспиратором конструкции Главмединструмента.
9.2.1. Контроль хранения сахара-рафинада в складах
При хранении сахара-рафинада в складах контроль состоит в регулярном наблюдении за температурой и влажностью воздуха, периодическом наружном осмотре сахара и (в некоторых случаях) в определении содержания влаги и редуцирующих веществ.
Наблюдение за температурой и влажностью воздуха на складах сахара-рафинада осуществляется так же, как и на складах сахара-песка
(п. 9.1.2).
9.2.2. Контроль содержания влаги в сахаре-рафинаде
при хранении
9.2.2.1. Отбор проб
Для наблюдения за состоянием сахара-рафинада при хранении его в складах один раз в месяц отбирают контрольные пробы в сухие металлические банки с пригнанными крышками из одних и тех же намеченных мешков, расположенных в разных местах склада. Общая масса пробы - не менее 0,5 кг. Пробы подвергают наружному осмотру и определяют содержание влаги, если оно превышает 0,5%, - то и содержание редуцирующих веществ.
Результаты ежемесячных определений сопоставляют.
9.2.2.2. Определение содержания влаги в сахаре-рафинаде
Отобранную пробу измельчают в специальном сосуде
(п. 5.1.5). Содержание влаги определяют по
ГОСТ 12570-67.
9.2.2.3. Определение содержания влаги в рафинированном
сахаре-песке и рафинадной пудре
Анализ выполняют по методике, изложенной в ГОСТ 12570-67.
9.2.2.4. Определение содержания редуцирующих веществ
Содержание редуцирующих веществ определяют по ГОСТ 12575-67.
9.2.3. Контроль отгрузки сахара-рафинада потребителям
При отгрузке сахара-рафинада потребителям:
| | ИС МЕГАНОРМ: примечание. Постановлением Госстандарта СССР от 17.12.1991 N 1970 с 01.01.1993 введен в действие ГОСТ 13511-91. | |
| | ИС МЕГАНОРМ: примечание. Постановлением Госстандарта России от 08.11.1994 N 269 с 01.07.1995 введен в действие ГОСТ 10131-93. | |
- контролируют соответствие упаковки и маркировки ГОСТ 8516-78, ГОСТ 13511-79 или ГОСТ 13360-79;
- производят отбор проб по ГОСТ 12569-67.
В отобранных пробах определяют:
- содержание влаги (согласно ГОСТ 12570-67);
| | ИС МЕГАНОРМ: примечание. Постановлением Госстандарта России от 05.04.1999 N 108 с 01.01.2000 введен в действие ГОСТ 12571-98. | |
- содержание сахарозы (согласно ГОСТ 12571-67);
| | ИС МЕГАНОРМ: примечание. Взамен ГОСТ 12576-67 Постановлением Госстандарта СССР от 24.07.1989 N 2427 с 01.01.1990 введен в действие ГОСТ 12576-89. | |
- внешний вид, привкус, запах и чистоту раствора (согласно ГОСТ 12576-67);
- крепость и продолжительность растворения в воде (согласно
ГОСТ 12577-67);
- содержание редуцирующих веществ (согласно ГОСТ 12575-67);
- содержание золы (согласно ГОСТ 12574-67).
9.3.1. Отбор проб
Отбор проб жома, отпускаемого потребителям, производит сырьевая лаборатория.
Пробы жома отбирают совком или щупом в ведро вместимостью 12 л с крышкой. Их берут из 4 - 6 мест (по длине, ширине и глубине) из 3 автомашин, по 1 кг из каждой, при взвешивании машин на автомобильных весах. В течение дня составляют 3 средние пробы.
Для удобства отбора проб у весовой будки следует соорудить помост на всю длину автомашины с учетом правил техники безопасности.
В составленных пробах определяют содержание сухих веществ.
9.3.2. Определение содержания сухих веществ
Средние пробы тщательно перемешивают и определяют содержание сухих веществ путем высушивания в сушильном шкафу или прибором ВЧМ по методикам, изложенным в
п. 2.5.3,
п. 2.5.4. Полученные данные анализов 3 проб усредняют. Средняя величина считается исходной для расчета содержания сухих веществ для отпускаемого в течение следующих суток жома.
9.4.1. Отбор проб
При отгрузке потребителям рассыпного сушеного и мелассированного жома отбирают пробу из каждого вагона или из партии менее вагона из 10 мест. Общая масса отобранной для анализа пробы должна быть около 1 кг. Пробу отбирают в чистую сухую металлическую банку с плотно пригнанной крышкой. Для составления пробы брикеты жома дробят на мелкие куски, перемешивают и по способу квартования составляют одну пробу массой около 1 кг. Отобранную среднюю пробу сушеного жома перемешивают и делят на 3 части, из которых одну передают приемщику, вторую оставляют у поставщика, третью хранят в течение 3 месяцев как арбитражную. В отобранной пробе сушеного жома определяют содержание сухих веществ, сахара, протеина и механических примесей.
9.4.2. Определение содержания сухих веществ, сахара,
протеина и механических примесей
Определение содержания сухих веществ производят при помощи прибора ВЧМ или высушиванием навески жома около 5
г в сушильном шкафу при 105 °C до постоянной массы (
п. 2.5.3,
п. 2.5.4).
Методики определений содержания сахара, сырого протеина и механических примесей изложены в
п. 8.3.2,
п. 8.3.7,
п. 8.3.4.
Пробы мелассы при отгрузке авто- или железнодорожными цистернами отбирают во время налива ее в цистерну. На нагнетательном трубопроводе устанавливают специальный краник, из которого мелассу отбирают непрерывно, в течение всего времени наполнения цистерн, в количестве 1 л на 10 т отгруженной мелассы.
Из отдельных проб составляют одну общую пробу на цистерну, независимо от ее грузоподъемности.
В случае отгрузки в течение одних суток в один и тот же адрес нескольких цистерн с мелассой допускается составление одной средней пробы из нескольких цистерн. Среднюю пробу составляют пропорционально грузоподъемности цистерн.
Отобранную пробу мелассы тщательно перемешивают и разливают в три полулитровые бутылки. На каждую бутылку наклеивают этикетку с указанием на ней завода-отправителя, завода-получателя, даты отбора пробы, номера железнодорожной накладной и цистерны или номера автоцистерны, подписи работника лаборатории, отбиравшего пробу мелассы.
Одну бутылку с пробой мелассы передают в заводскую лабораторию для анализа. Две другие плотно закрывают, опечатывают и хранят 2 месяца, учитывая возможные разногласия в анализах с заводом-получателем. В этом случае одну бутылку мелассы используют для арбитражного анализа, а вторая может быть использована для контрольного анализа заводской лабораторией.
В отобранной пробе определяют содержание сухих веществ, сахара по прямой поляриметрии и pH
20. Методики исследований изложены в
п. 4.14.2,
п. 4.14.3,
п. 4.14.4.
Сумму сбраживаемых сахаров в отгружаемой мелассе определяют согласно "
Инструкции по хранению, транспортированию и приемке мелассы на предприятиях Министерства пищевой промышленности СССР", Москва, 1975 г.
10. ХИМИЧЕСКИЙ КОНТРОЛЬ ВОДНОГО ХОЗЯЙСТВА
Основной целью химического контроля водного хозяйства сахарного завода является контроль содержания сахара в водах.
10.1. ТЕКУЩИЙ ПРОИЗВОДСТВЕННЫЙ КОНТРОЛЬ
Для текущего производственного контроля конденсатов достаточно отбирать воду из сборника аммиачных вод.
В случае обнаружения сахара в одном из этих сборников необходимо исследовать воду из соответствующих водоотводчиков для определения неплотностей поверхностей нагрева, через которые сахар попадает в воду.
Для этого удобно сгруппировать в одном месте трубопроводы от водоотводчиков к сборнику и снабдить их краниками. Если в трубопроводе давление ниже атмосферного, пробу можно отбирать из водоуказателя конденсатоотводчика. Для этого водомер должен быть снабжен четырьмя краниками - два для отделения водоуказателя от автомата, один для сообщения водоуказателя с атмосферой и один для спуска пробы из водомерного стекла. Манипулируя этими краниками, первые порции выливают, а затем отбирают пробу для исследования.
Если предполагают неисправность поверхности нагрева вакуум-аппарата (периодически появляются следы сахара в питательных сборниках), пробы воды отбирают из пробных краников или из автоматов непосредственно после спуска вари, одновременно с открыванием паровых вентилей. При внезапной остановке воздушного насоса и падении разрежения необходимо исследовать воду из паровых камер вакуум-аппаратов, отбирая пробы непосредственно после ввода пара.
Для проверки исправности поверхностей нагрева непрерывно действующих аппаратов (или сборников сиропов, оттеков и мелассы, в которых пар всегда открыт) при отборе конденсата на некоторое время закрывают пар. Образующееся вследствие этого в паровой камере разрежение способствует переходу в паровую камеру раствора сахара через неплотности в поверхности нагрева. После этого пар открывают и одновременно берут пробу воды.
При неисправности поверхности нагрева калоризаторов диффузионной батареи, обогреваемых соковым паром (следы сахара в воде автомата-водоотводчика калоризаторов), пробы воды отбирают по очереди из каждого калоризатора, лучше в то время, когда через него проходит сок наибольшей концентрации (т.е. во время поступления сока из данного диффузора на мерник), при открытом вентиле на паровом трубопроводе.
Из камер быстротечных подогревателей, обогреваемых паром низкого потенциала, в которых давление со стороны сока больше, чем со стороны пара, конденсат отбирают при открытом паровом вентиле во время прохождения сока через подогреватель.
Для непрерывного контроля барометрической и аммиачной вод на сахар и для учета потерь сахара от перебросов и течей поверхностей нагрева в лабораторию завода проводят трубопровод диаметром 9 - 12 мм от насоса барометрической воды на диффузионную установку и аммиачной воды от сборника аммиачной воды.
В лаборатории завода на видном месте, на особой полке, устанавливают две литровые склянки для отбора средних часовых проб аммиачной и барометрической вод и две трехлитровые проточные склянки для контроля на сахар, по окраске с

, протекающих аммиачной и барометрической вод
(рис. 10.1).
Рис. 10.1. Лабораторная установка для непрерывного отбора
барометрической и аммиачной вод.
Пробу барометрической воды конденсатора вакуум-фильтров отбирают из краника на барометрическом ящике каждый час.
Пробы промышленных сточных вод III категории отбирают из краника на насосе каждый час.
Пробы транспортерно-моечной воды отбирают каждый час и измеряют ее температуру.
Пробы сточных вод из колодцев отбирают каждый час.
На каждом заводе следует иметь ежегодно проверяемую схему отвода конденсатов и сбросов их в канал, схему всех сточных и ирригационных вод, удаляемых из завода, и план сточных каналов с указанием мест отбора проб.
Не реже 4 раз в смену проверяют воду из всех возможных в заводе сбросов конденсата и других вод в канал.
10.1.2. Качественная проба на сахар
По первой методике к 1
мл охлажденной исследуемой воды в пробирке прибавляют 2 капли 5%-ного раствора

, содержимое встряхивают, после чего медленно, по стенке наклонно установленной пробирки каплями приливают 1
мл крепкой серной кислоты (плотность - 1,835
г/см3).
При наличии сахара в воде в месте раздела слоев жидкостей в вертикально установленной пробирке образуется фиолетово-красное кольцо. На выполнение анализа по этому способу затрачивается значительное количество серной кислоты.
По второй методике пробирку промывают исследуемой водой, оставляя несколько капель жидкости, которая должна занимать только вогнутую часть пробирки. К жидкости добавляют 1 - 2 капли 5%-ного раствора

, после чего приливают приблизительно равный или несколько больший объем концентрированной серной кислоты и пробирку встряхивают для смешения кислоты с жидкостью. В присутствии сахара жидкость окрашивается в розовый, фиолетовый или синий цвет.
10.1.3. Определение содержания сахара в воде
колориметрическим методом
При незначительном содержании сахара в воде (менее 0,1%) анализ выполняют с помощью колориметрических карт.
Определение содержания сахара в воде на основе реакции с камфорой и серной кислотой выполняют в такой последовательности.
В пробирку отмеривают 2 мл испытуемой воды и 4 мл свежеприготовленного раствора камфоры в серной кислоте, встряхивают или перемешивают стеклянной палочкой в течение 30 - 35 с.
После этого реакционную смесь охлаждают в пробирке холодной проточной водой (из крана) в течение 1 мин, при непрерывном перемешивании. После охлаждения до 20 °C отмеривают цилиндром 2 мл смеси, выливают в палетку размерами 20x40 мм и сравнивают со шкалой эталонов N 3, которая имеет красноватый оттенок. В случае, если содержание сахара более 0,04%, берут не 2 мл, а 1 мл испытуемой воды и 1 мл дистиллированной воды, и результаты сравнения со шкалой эталонов N 3 умножают на 2. С целью обеспечения техники безопасности раствор камфоры в серной кислоте отмеривают из бюретки со стеклянным краником. Для отмеривания анализируемых вод используют пипетки вместимостью 1, 2 и 10 мл, а для отмеривания жидкостей, полученных в результате реакций, применяют только мерный цилиндр вместимостью 10 мл с ценой деления шкалы 0,1 мл.
Содержание сахара в воде на основе получения молибденовой сини определяют следующим образом:
в химический стакан из термостойкого стекла вместимостью 100 мл берут 1 мл испытуемой воды, добавляют 9 мл дистиллированной воды и 1 мл молибденового реактива. С целью обеспечения техники безопасности молибденовый реактив отмеривают из бюретки со стеклянным краном. Перемешав содержимое стаканчика, ставят его на заранее включенную электроплитку, нагревают до кипения и кипятят 2 мин. После охлаждения содержимого стакана до 20 °C переливают его в цилиндр вместимостью 10 мл и доводят объем жидкости до 7 - 8 мл путем добавления дистиллированной воды. Затем отмеривают цилиндром 2 мл жидкости, выливают ее в палетку размерами 20x40 мм и сравнивают со шкалой эталонов N 1, имеющей синий оттенок. В случае содержания сахара ниже 0,02% для определения берут не 1 мл, а 10 мл испытуемой жидкости и сравнивают со шкалой эталонов N 2, имеющей зеленоватый оттенок.
Метод не пригоден для определения содержания сахара в аммиачной воде ввиду наличия в ней редуцирующих веществ, образующих с молибденовым реактивом молибденовую синь.
10.1.4. Определение содержания сахара в воде
поляриметрическим методом
При значительном содержании сахара в воде (0,1% и более) определение производят с помощью поляриметрического метода.
Пробу отфильтрованной или декантированной воды заливают в колбу вместимостью 100 - 110 мл до отметки 100 мл. Затем удаляют пену 1 - 2 каплями эфира и добавляют 0,5 - 1 мл свинцового уксуса, дистиллированной водой доливают до отметки 110 мл, взбалтывают, фильтруют и измеряют вращательную способность фильтрата в поляриметрической кювете длиной 400 мм.
Содержание сахара, соответствующее показанию сахариметра, находят по
табл. 13.
11. МЕТОДЫ ОПРЕДЕЛЕНИЯ ОПТИМАЛЬНОГО ТЕХНОЛОГИЧЕСКОГО РЕЖИМА
И УГЛУБЛЕННОГО ИССЛЕДОВАНИЯ НЕКОТОРЫХ ПРОЦЕССОВ ПРОИЗВОДСТВА
Качество сырья, поступающего на сахарный завод для переработки, - свекла, сахар-песок, тростниковый сахар-сырец и желтый сахар прошлого производства - весьма разнообразно как по физическим свойствам, так и по содержанию в нем сахарозы, редуцирующих веществ, азота, золы, а также цветности, доброкачественности и реакции.
Перед лабораториями сахарных заводов стоит задача путем исследований и экспериментов в лаборатории и на заводском оборудовании найти оптимальный режим работы, обеспечивающий получение возможно более высокого выхода сахара стандартного качества из данного сырья.
Оптимальный технологический режим следует устанавливать по указаниям главного технолога. Основанием для этих указаний должны быть лабораторные исследования и анализы соответствующих технологических показателей.
Лабораторные эксперименты дают возможность изучать различные варианты процесса и устанавливать оптимальный режим на отдельных участках при изменении качества сырья.
При проведении лабораторных экспериментов требуется соблюдение условий, близких к заводским. При этом из различных вариантов работы следует испытывать только те, которые можно осуществить на заводе при существующей аппаратуре.
11.1. СВЕКЛОСАХАРНОЕ ПРОИЗВОДСТВО
11.1.1. Упрощенная лабораторная переработка свеклы
Путем упрощенной лабораторной переработки свеклы можно установить предполагаемый выход сахара, его потери, выход условной мелассы, содержание сахара в нормальной мелассе.
Для этого необходимо располагать соответствующим лабораторным оборудованием, которое может быть использовано также и для установления других показателей оптимального технологического режима.
Можно рекомендовать следующий минимум лабораторного оборудования: диффузионный аппарат, аппарат для дефекации и сатурации, вакуум-аппарат, утфелемешалка, центрифуга, мешалка-термостат для истощения оттеков.
Лабораторный диффузионный аппарат представляет собой ящик, изготовленный из латуни, с размерами: длина - 980
мм, ширина - 150
мм, высота - 220
мм (рис. 11.1). Ящик разделен перегородками на 10 ячеек. Из них 7 ячеек опоясаны пароводяным кожухом, внутри которого помещен паровой барботер в виде трубки с отверстиями. Сверху к кожуху припаяны 3 патрубка: для подвода пара, воды и установки термометра. Перегородки ячеек попеременно не достигают на 30
мм то до дна ящика, то до верхней кромки его. Образующиеся проемы служат для перехода сока из одной ячейки в другую.
Рис. 11.1. Лабораторный диффузионный аппарат.
В ящик вставляют изготовленные из латуни диффузоры в виде прямоугольных сосудов с дужками и ситчатыми днищами. Размеры сосудов,
мм: 80x80, высота - 115,

отверстий сит - 2 - 2,5
мм.
В конце ящика (корпуса) вверху имеется переливной патрубок, а внизу - кран для спуска сока (откачки). Необходим бачок емкостью около 20 л с барботером для подогрева воды.
Работу на лабораторном диффузионном аппарате осуществляют следующим образом:
наполняют пароводяной кожух водой, включают пар и доводят температуру воды до 82 - 85 °C. Воду в бачке нагревают паром через барботер до 65 - 68 °C. Наполняют один диффузор стружкой и устанавливают его в крайнюю ячейку хвостовой части аппарата (в той части, где отсутствует кожух). Свекловичную стружку при отсутствии лабораторной свеклорезки можно получать вручную на набранной диффузионными ножами заводской ножевой раме.
В диффузор пропускают из бачка воду и, спустя 7 мин после набора его, устанавливают в соседнюю ячейку второй диффузор, наполненный стружкой. Затем пропускают в первый диффузор воду, которая вытесняет сок из первого во второй диффузор. Спустя 7 мин после наполнения соком второго диффузора устанавливают третий диффузор со стружкой и так поступают до заполнения всех десяти диффузоров.
Температура воды в кожухе должна поддерживаться в соответствии с заданным технологическим режимом в зависимости от качества свеклы (для свежей здоровой свеклы - 80 - 82 °C, для свеклы длительного хранения - 76 - 78 °C и т.д.).
После набора 10-го (головного) диффузора соком из 9-го диффузора спускают объем сока, соответствующий установленной откачке.
Затем все диффузоры вынимают из ячеек и устанавливают на верхние кромки их для вытекания сока через ситчатые днища диффузоров в ячейки, а диффузор, в который поступала вода (хвостовой), отключают, опорожняют и заполняют свежей стружкой. Все диффузоры перемещают на одну ячейку ближе к хвосту, а в освободившуюся 10-ю ячейку у противоположного конца аппарата устанавливают диффузор со свежей стружкой и набирают его соком из предыдущего диффузора. После 5-минутного диффундирования снова отбирают объем сока, соответствующий величине откачки, отключают хвостовой диффузор и так далее.
Аппарат для дефекации и сатурации
(рис. 11.2) представляет собой цилиндрический сосуд вместимостью 3 - 3,5
л с мешательным прибором, подводом сатурационного газа или CO
2 из баллона и кожухом для подогрева сока. Основной особенностью аппарата является безбарботерный подвод газа с последующим распылением его при помощи вращающейся сетки. Газ поступает по трубе
1 в две трубки
3, расположенные в конусной части аппарата. На концах трубок имеются штуцера
2, снабженные колпачками на резьбе для прочистки сопла в конце трубок. Отверстия в соплах делаются

. Над трубками, подводящими газ, расположена вращающаяся сетка
5, которая служит распылителем газа. Над сеткой и под ней на вал насажены мешательные лопасти
4, способствующие перемешиванию сока. Для спуска сока в конической части аппарата предусмотрен штуцер
7 с краником

.
Рис. 11.2. Лабораторный аппарат для дефекации и сатурации
Для подогрева сока аппарат снабжен паровой рубашкой 6. Мешалка в аппарате приводится в движение от индивидуального электродвигателя через редуктор.
На описанном аппарате можно осуществить почти все варианты схемы очистки сока.
Лабораторный вакуум-аппарат емкостью 2,5 - 3
л изготовляют из латуни или красной меди по образцу обычного заводского вакуум-аппарата со змеевиковой поверхностью нагрева
(рис. 11.3).
Рис. 11.3. Установка с лабораторным вакуум-аппаратом
Аппарат соединен с лабораторным поверхностным конденсатором. К нему подведен пар, трубопроводы от системы разрежения и отвода конденсата. Вверху аппарата имеется кран для впуска воздуха и штуцер для подсоединения мановакуумметра, а внизу - кран для спуска уваренного сиропа или утфеля. Аппарат удобнее использовать для уваривания сиропа, а кристаллизацию проводить в мешалке.
Фильтрованный сок II сатурации уваривают до содержания сухих веществ 86,0% (рефрактометрически, без разбавления). Отбирают пробу для определения содержания сухих веществ, сахара и доброкачественности, а остальной сироп помещают в мешалку с паровым кожухом
(рис. 11.4).
Рис. 11.4. Лабораторная утфелемешалка с паровым кожухом
Примерные размеры мешалки 150x100x150
мм, число оборотов вала - 0,5 - 2
об/мин. К сиропу прибавляют в качестве затравки около 10
г кристаллического сахара и после 2-часового перемешивания при температуре 40 °C отделяют кристаллы от межкристального раствора на лабораторной центрифуге. Общий вид лабораторной центрифуги показан на
рис. 11.5.
Рис. 11.5. Лабораторная центрифуга
Лабораторная центрифуга оборудована нижним приводом и перфорированным барабаном, на который укладывается центрифужное сито.
Оттек снова уваривают в вакуум-аппарате до содержания сухих веществ 86% и кристаллизуют с затравкой при 40 °C в течение одних суток в стаканах мешалки-термостата. После отделения кристаллов сахара определяют доброкачественность оттека; если доброкачественность превышает 66 - 67 ед., оттек после уваривания до содержания сухих веществ 86% подвергают третьей кристаллизации. Процесс выполняют так же, как и при второй кристаллизации.
Оттек используют для определения нормальной доброкачественности мелассы
(п. 11.1.12).
На основании анализов сиропа и нормальной мелассы, а также содержания сахара в свекловичной стружке и нормативных потерь сахара, подсчитывают предполагаемые показатели переработки свеклы.
Неучтенные потери сахара до сиропа условно принимают равными 67% от нормативных неучтенных потерь. Содержание сахара в мелассе Пм, % к массе свеклы, вычисляют по формуле:

,
где Со - сахаристость свекловичной стружки, % (при гидравлической транспортировке свеклы в завод принимают ниже сахаристости свеклы по сдаче в переработку на 0,5%);
Пд - учтенные потери сахара на диффузионных установках, % к массе свеклы;
Пф - учтенные потери сахара в фильтрационном осадке, % к массе свеклы;
Пн - неучтенные потери сахара, % к массе свеклы;
Выход условной мелассы вычисляют по формуле:

,
где aм - выход условной мелассы, % к массе свеклы;
СХм - содержание сахара в условной мелассе (при пересчете на содержание сухих веществ, равное 85).
Выход сахара вычисляют по формуле:
асх = Со - П - Пм,
где aсх - выход сахара, % к массе свеклы;
П - потери сахара в производстве, % к массе свеклы.
11.1.2. Определение оптимального значения pH и щелочности
сока предварительной дефекации
Оптимальную щелочность сока предварительной дефекации определяют один раз в декаду и при изменении качества свеклы.
При возврате сока I сатурации или суспензии на преддефекацию оптимальную щелочность устанавливают путем лабораторной переработки свеклы при различных количествах возвращаемого сока, которое колеблется в пределах 30 - 100%, и суспензии (10 - 20% к массе свеклы). Критерием при оценке служат скорость отстаивания преддефекованного сока.
11.1.3. Определение рационального расхода извести
на основную дефекацию
Это определение выполняют по усмотрению главного технолога при изменении качества свеклы.
Пробу диффузионного сока (около 8 - 10 л) тщательно перемешивают и отвешивают на тарелочных весах 5 порций сока, массу которых в граммах g определяют из расчета g = 10·адс, где адс - откачка диффузионного сока, % к массе свеклы.
К порциям сока прибавляют известковое молоко до pH 11,0. Необходимое количество известкового молока определяют предварительно на меньшей порции диффузионного сока.
Затем к каждой порции сока прибавляют различные количества извести: равное фактическому расходу, % к массе свеклы, а также увеличенное и уменьшенное на 0,25% и 0,5%. Массу извести в граммах определяют из расчета g1 = 10·ап, где ап - расход извести, % к массе свеклы.
Известь добавляют в виде известкового молока плотностью 1,16 - 1,19 г/см3.
Все порции сока обрабатывают в одинаковых условиях оптимального технологического режима соответственно технологической схеме завода, вплоть до получения фильтрованного сока II сатурации. В соке I сатурации определяют скорость осаждения и скорость фильтрования, а в соке II сатурации - доброкачественность, цветность и содержание кальциевых солей. По результатам анализов подбирают рациональный расход извести. Определяют активность извести и подсчитывают расход извести с учетом ее активности.
11.1.4. Определение оптимальной щелочности сока I сатурации
Оптимальной щелочностью сока I сатурации считается максимально высокая щелочность этого сока, при которой работа фильтрационного отделения протекает нормально. Эту щелочность устанавливают экспериментально на заводском оборудовании один раз в декаду и при изменении качества свеклы, поступающей в переработку.
При наличии автоматического регулирования оптимальное значение pH определяют путем измерения лабораторным pH-метром фактического pH сока I сатурации с оптимальной щелочностью.
11.1.5. Определение скорости осаждения осадка сока
I сатурации
Этот анализ выполняют по указанию главного технолога.
Анализ выполняют в стеклянном цилиндре со стеклянным кожухом, через который пропускают воду из термостата для поддержания постоянной температуры сока. Цилиндр, в который заливают исследуемый сатурационный сок,

, высотой 350
мм. На кожух цилиндра наклеивают вертикально полоску миллиметровой бумаги с делениями 350 - 0
мм.
Из термостата в кожух цилиндра пропускают воду, подогретую до 80 °C, и помещают в него стакан с исследуемым соком для доведения его до той же температуры. Затем сок хорошо перемешивают, быстро вливают в цилиндр до отметки 350 мм на шкале и включают секундомер. Через 1, 2, 3, 4, 5, 7, 10, 15, 20 и 25 мин. отмечают границу раздела сока и осадка (жидкой и твердой фаз).
Полученные данные выражают в виде графика, на оси ординат которого нанесена высота слоя осадка, на оси абсцисс - время оседания в минутах. Кривые осаждения разделяются на две части: фазу осаждения и фазу уплотнения осадка.
Для оценки седиментационной способности сока служат:
- средняя скорость осаждения за 10 мин. S, выраженная в см/мин. При нормальной работе S = 2 - 2,5 см/мин.;
- объем осадка V через 25 мин. после начала отстаивания, выраженный в процентах к общему объему сока. При нормальной работе V = 15 - 20%.
Для оперативного заводского контроля можно ограничиться определением скорости осаждения за первые 5 или 10 мин. и объема осадка через 25 мин., без построения диаграммы.
При отсутствии термостата или цилиндра с кожухом эти определения можно производить в обычном стеклянном цилиндре высотой 350 - 400 мм с нанесенной на нем миллиметровой шкалой. При этом скорость осаждения получается несколько меньше, а объем осадка больше, чем при исследовании того же сока при постоянной температуре.
11.1.6. Определение фильтрационных показателей сока
I сатурации под давлением
Фильтрационные показатели сока I сатурации определяют в случаях затруднений при фильтровании.
При определении фильтрационных показателей должны соблюдаться те же условия, что и при фильтровании на заводском оборудовании (температура, давление, ткань, толщина лепешки и т.д.)
Для определения фильтрационных показателей сока I сатурации под давлением следует применять установку, схема которой показана на
рис. 11.6.
Рис. 11.6. Схема установки для определения фильтрационных
показателей сока I сатурации
Установка состоит из сборника нефильтрованного сока 3, воздушного насоса 1, манометра 2, лабораторного фильтра 4, мерного цилиндра 5 и термостата 6.
Сборник емкостью 1 - 1,2 л оборудуют мешалкой и хвостовиком для термометра. Вокруг сборника наварена рубашка, служащая для термостатирования сока.
Устройство и размеры лабораторного фильтра приведены на
рис. 11.7.
Рис. 11.7. Устройство лабораторного фильтра для определения
фильтрационных показателей сока I сатурации под давлением
Решетка лабораторного фильтра приведена на
рис. 11.8.
Рис. 11.8. Решетка лабораторного фильтра для определения
фильтрационных показателей сока I сатурации под давлением
Требуется строго выдержать диаметр фильтра (50 мм), а также размеры и расстояния между ребрами решетки.
Давление создают с помощью насоса. Постоянную температуру в фильтре и сборнике поддерживают термостатом.
После нагрева сока в сборнике до 85 °C заряжают фильтр холстом, предварительно прокипяченным в воде. При помощи насоса в сборнике создают давление, равное 1 ати (0,1 МПа), и открывают кран подачи сока на фильтр. По секундомеру отмечают время, требуемое для фильтрования 250 мл сока. При таком количестве фильтрата толщина лепешки на фильтре составляет 12 - 18 мм.
Время, затраченное на получение 250 мл фильтрата при давлении 1 ати (0,1 МПа) и температуре 85 °C, характеризует фильтрационную способность исследуемого сока.
При продолжительности процесса до 3 мин. фильтрование считается хорошим, от 3 до 8 мин. - удовлетворительным, свыше 8 мин. - затрудненным.
Для оперативной проверки фильтрационной способности сока I сатурации лабораторный фильтр можно установить в заводе на нагнетательном трубопроводе сока перед фильтрами, поставив между ними вентиль. Если рядом на трубопроводе установить манометр и термометр, то определение скорости фильтрования со всеми подготовительными операциями займет не более 5 - 10 мин.
11.1.7. Определение фильтрационного коэффициента сока
I сатурации под разрежением
Это определение проводят при наличии вакуум-фильтров в случаях затрудненного фильтрования.
На заводах, применяющих вакуум-фильтрование, фильтрационную способность сока I сатурации оценивают коэффициентом Fк, который характеризует фильтрационное сопротивление отложившегося на фильтре осадка. Эта величина обратна фильтрационной способности сока. Значение Fк определяют на приборе ПФК-1.
Прибор ПФК-1 для определения фильтрационного коэффициента
(рис. 11.9) состоит из блока фильтрования
5 и буферной емкости
10, выполненной в виде призматического сосуда с наклонной панелью.
Рис. 11.9. Прибор ПФК-1 для определения фильтрационного
коэффициента
На передней панели буферной емкости 10 размещены: вакуум-метр (индикатор) 11, тумблер 13 для включения и выключения разрежения от насоса и тумблер 14 для включения разрежения на блок фильтрования 5 и сообщения блока фильтрования с атмосферой. Для подключения вакуума к буферной емкости 10 установлены входной ниппель 12 и выходной ниппель 15.
Блок фильтрования 5 состоит из магнитной мешалки 1, расположенной на стойке 2, которой (при помощи пружинного замка 4) фиксируется ферма 7. На ферме 7 укреплена головка микрофильтра 3, бюретка для измерения количества профильтрованного сока 6 и штуцер 8 для присоединения вакуумного шланга.
Блок фильтрования 5 и буферная емкость 10 соединены вакуумным шлангом 9, буферная емкость 10 подключается к вакуум-насосу при помощи вакуумного шланга.
Значение Fк на приборе ПФК-1 определяют в такой последовательности.
300 - 500 мл исследуемого сока с температурой 75 °C наливают в химический стакан вместимостью 750 мл, опускают в стакан стальной стержень и помещают на магнитную мешалку 1, с предварительно включенным обогревом. После этого включают магнит, регулируя скорость его вращения таким образом, чтобы осадок в стакане находился во взвешенном состоянии, а температуру доводят до 65 °C.
Затем, сжимая пружинный замок 4, опускают ферму 7 с заряженной головкой микрофильтра 3 в стакан с соком. После этого включают тумблер 13 и по индикатору доводят разрежение до 400 мм рт. ст. (53,33 КПа).
По достижении разрежения 400 мм рт. ст. выключают тумблер 13, включают тумблер 14 и наблюдают за бюреткой 6. После появления жидкости у отметки 2 мл включают первый секундомер и выключают его, когда жидкость достигнет отметки 4 мл. Затем включают второй секундомер при достижении жидкостью отметки 6 мл и выключают его, когда жидкость достигнет отметки 8 мл. После этого немедленно переключают тумблер 14 в положение "атм", сообщая бюретку с атмосферой. Подсчет Fк производят по формуле, приведенной ниже.
При отсутствии прибора ПФК-1 значение F
к определяют с помощью установки, схематически показанной на
рис. 11.10.
Рис. 11.10. Схема установки для определения фильтрационного
коэффициента
Микрофильтр 5 с поверхностью фильтрования 2 см2 соединен резиновой трубкой со стеклянной бюреткой 4 вместимостью 10 мл, имеющей шкалу с делениями 2 мл и укрепленной на штативе. Бюретка, в свою очередь, соединена вакуумными резиновыми трубками через трехходовый кран 3 с буферной емкостью 2, служащей для поддержания постоянного разрежения, которое создается с помощью насоса и измеряется мановакуумметром 1.
300 - 500 мл исследуемого сатурационного сока с температурой около 75 °C наливают в стеклянный стакан 6, который устанавливают на магнитную мешалку 7, не допускающую оседания осадка. В стакане поддерживают постоянную температуру посредством электроподогрева.
Рис. 11.11. Устройство микрофильтра
Диаметр фильтра - 15,96 мм, т.е. поверхность фильтрования составляет 2 см2.
Фильтрование производят через плотную фильтровальную бумагу, которую укладывают между чашкой и сеточкой фильтра из мелкого центрифужного сита.
Фильтрование проводят при температуре 65 °C и разрежении 400 мм рт. ст.
Коэффициент Fк вычисляют по следующей методике.
Отмечают продолжительность прохождения фильтрата в бюретке, секунд, между отметками 2 - 4 и 6 - 8
мл, обозначая его соответственно через

и

. Искомый фильтрационный коэффициент будет:
При Fк менее 3 обеспечивается хорошее фильтрование на вакуум-фильтрах, от 3 до 6 - удовлетворительное, а при F больше 6 фильтрование считается плохим.
11.1.8. Определение коэффициента использования CO2
При определении коэффициента использования CO2 в сатурационном газе пробы газа отбирают: входящего - из специального краника при входе в сатурационный аппарат, выходящего - из отверстия на выходной трубе, пользуясь аспиратором.
Определение содержания CO2 в газе производят с применением аппарата ГХП-3М.
Коэффициент использования газа К высчитывают по формуле:

,
где Х - содержание CO2 во входящем газе, %;
У - содержание CO2 в выходящем газе, %.
При отборе проб газа аспиратором вода в нем должна быть предварительно насыщена углекислотой.
11.1.9. Определение теоретической натуральной щелочности
50 мл фильтрованного сока I сатурации с pH = 11,0 титруют 0,1 н. раствором серной или соляной кислоты из аппарата для определения щелочности продуктов сахарного производства при индикаторе фенолфталеине.
Щелочность сока I сатурации выражают в процентах CaO. Затем определяют содержание солей кальция в 10
мл сока комплексометрическим методом
(п. 3.6.5) и выражают в процентах CaO. Разность между общей щелочностью и содержанием солей кальция, % CaO, и составляет теоретическую натуральную щелочность.
11.1.10. Определение оптимального pH и щелочности сока
II сатурации
Оптимальную щелочность сока II сатурации и pH определяют не реже 1 раза в пятидневку.
При отсутствии на сахарном заводе расшифровки неучтенных потерь сахара оптимальное значение pH и щелочность сока II сатурации определяют методом постепенного газования или расчетным путем.
С помощью метода постепенного газования оптимальные pH и щелочность сока II сатурации могут быть определены по следующей методике.
Отбирают 1 л фильтрованного сока I сатурации, помещают в горячую водяную баню с температурой 80 - 85 °C и обрабатывают сатурационным газом до разных щелочностей.
По ходу сатурирования из общей массы обрабатываемого сока отбирают 8 - 10 проб. Пробы сразу же фильтруют, определяют в них pH
20, pH
80, содержание сухих веществ, содержание солей кальция
(п. 3.6.5.).
Так как при обработке пробы сока I сатурации содержание сухих веществ в ней изменяется, содержание солей кальция выражают в % к массе сухих веществ.
Затем строят график зависимости содержания кальциевых солей от щелочности или pH. Оптимальным pH или щелочностью сока II сатурации считают показатель, соответствующий минимуму содержания кальциевых солей.
При определении оптимального значения pH сока II сатурации расчетным путем следует учитывать оптимальное значение pH сиропа по следующей методике.
Значение pH, которое должен иметь сироп из выпарки, вычисляют по уравнению:

,
где pH20СВ - значение pH20 сиропа из выпарки;
pH20СК - значение pH20 сиропа с клеровкой;

- снижение pH сиропа при сульфитации до заданного содержания свободных сульфитов.
Значение pH20СК вычисляют по уравнению:
pH20СК = 7,0 + [К1(pH20СК - 7) + К2]·(t - 20),
где К1, К2 - коэффициенты для сульфитированного сока, определяемые экспериментально;
К
1 - коэффициент, равный tg угла наклона к абсциссе прямой, выражающей зависимость

от pH
20;
К
2 - коэффициент, равный участку на ординате, отсекаемому прямой, выражающей зависимость

от pH
20;
t - температура варки утфеля 1 продукта в вакуум-аппарате, °C.
При этом содержание солей кальция в соке II сатурации не рекомендуется превышать более чем на 30% по сравнению с оптимальным значением, определяемым методом постепенного газования.
При наличии на сахарном заводе расшифровки неучтенных потерь сахара оптимальное значение pH и оптимальную щелочность сока II сатурации определяют как показатели, обеспечивающие получение сиропа из выпарки с оптимальным значением pH, соответствующим минимуму неучтенных потерь сахара на выпарной установке.
С целью определения оптимального значения pH и щелочности сока II сатурации сопоставляют значение pH сиропа из выпарки и неучтенные потери сахара на выпарной установке, которые определяют по методике, изложенной в
п. 12.15. Значение pH сиропа из выпарки, соответствующее минимуму неучтенных потерь сахара на выпарной установке, является оптимальным.
Значение pH и щелочность сока II сатурации, при котором получают сироп из выпарки с оптимальным pH, является оптимальным.
11.1.11. Определение оптимальной конечной температуры
кристаллизации утфеля последнего продукта
Оптимальную конечную температуру кристаллизации утфеля последнего продукта устанавливают на основании анализов насыщенных меласс с различным содержанием сухих веществ при определенной температуре. Эти анализы известны при определении нормальной доброкачественности мелассы
(п. 11.1.12). При этом, кроме графика зависимости содержания сухих веществ от доброкачественности при температуре исследования, строят аналогичные графики для температур 30, 35, 40, 45, 50 °C. Координаты точек для этих графиков находят путем пересчета, исходя из того, что соотношение

и коэффициент насыщения сахарозы с изменением температуры остаются постоянными, а изменяется лишь растворимость сахарозы.
Пример. По известным анализам насыщенной мелассы при 40 °C СВ40 и Дб40 найти СВ и Дб мелассы, насыщенной при 30 °C.
По анализу мелассы, насыщенной при 40 °C, находят количество частей сухих веществ, сахара и несахара на одну часть воды. Если обозначить эти количества соответственно через СВ40, СХ40, НСХ40, то
При этом индексы без штриха означают соответствующее содержание компонентов, % к массе мелассы.
Затем находят коэффициент насыщения при 40 °C, СВ и Дб при 30 °C.

,
где

- коэффициент насыщения;
Вд - содержание воды в продукте, % к его массе.
Подобным образом производят пересчеты трех образцов насыщенных меласс с различным содержанием сухих веществ и строят график зависимости СВ от Дб при 30 °C.
Затем по графикам зависимости вязкости от содержания сухих веществ определяют СВ, соответствующее вязкости 4,4 Па·с для центрифуг и 7,1 Па·с для быстроходных центрифуг. Вязкость при других температурах и СВ устанавливают по номограмме вязкости Силина.
При отсутствии вискозиметров нормальное содержание сухих веществ при различных температурах для обычных центрифуг принимают по Силину, а для быстроходных - на единицу СВ выше.
По графикам зависимости СВ от Дб находят доброкачественность, соответствующую нормальному содержанию сухих веществ.
Температура, при которой доброкачественность минимальна, соответствует оптимальной температуре центрифугирования.
При наличии на заводе устройства для подогрева утфеля перед центрифугированием оптимальную конечную температуру кристаллизации устанавливают на 6 - 8 °C ниже температуры центрифугирования.
При разработке технологического режима устанавливают конечную температуру кристаллизации, достижимую в условиях данного завода, наиболее близкую к оптимальной.
11.1.12. Определение разности между доброкачественностью
заводской мелассы и ее нормальной доброкачественностью
Такое определение производят один раз в декаду в средней за декаду пробе мелассы свеклосахарного производства и полученной при переработке сахара-сырца, а также в средней за декаду пробе рафинадной патоки.
Одну порцию исследуемой мелассы в количестве 100 - 120 г помещают в закрытый металлический сосуд (можно использовать сосуд для разбавления 1 : 1 или дигестионный) и нагревают на водяной бане при температуре 70 - 80 °C в течение 30 мин., периодически перемешивая мелассу путем многократного опрокидывания и энергичного встряхивания до полного растворения мелких кристаллов сахара.
Затем сосуд с содержимым охлаждают до 20 °C, энергично встряхивают, открывают и анализируют мелассу на содержание сухих веществ и сахара. Содержание сухих веществ определяют без разбавления (при помощи призмы Германчука) и при разбавлении 1 : 1.
Доброкачественность заводской мелассы определяют также двумя способами - без разбавления и разбавлением 1 : 1.
Другую порцию исследуемой мелассы (400 - 450
г) выпаривают в большой фарфоровой чашке

на пароводяной бане до содержания сухих веществ приблизительно 84%, рефрактометрирование производят без разбавления. Выпаривание продолжают 40 - 45 мин. при непрерывном перемешивании столовой ложкой.
Сгущение можно производить и в лабораторном вакуум-аппарате.
Отбирают три пробы сгущенной мелассы по 100 г, одну из них разбавляют до содержания сухих веществ 82%, другую - до содержания сухих веществ 80% (рефрактометрирование без разбавления, при помощи призмы Германчука), третью - не разбавляют.
Пример расчета количества добавляемой воды.
Для получения мелассы с содержанием сухих веществ 82% к 100 г мелассы с содержанием сухих веществ 84,4% необходимо добавить воды:

.
По 100
г проб мелассы с содержанием сухих веществ 84, 82 и 80% помещают в 3 сосуда, имеющиеся при термостате для истощения мелассы, и прибавляют по 45
г мелкого сахара-песка, прошедшего через сито с отверстиями

и задержанного ситом с отверстиями

. Сосуды вставляют в рамки термостата и герметически закрывают крышками. Кристаллизацию в термостате проводят в течение 3 суток при температуре 40 °C.
Затем из содержимого каждого сосуда отделяют межкристальный оттек - на медицинской центрифуге или путем отжатия через двойную тонкую хлопчатобумажную ткань.
Достаточно отделить 20 - 25 г оттека. Отсутствие в оттеке мелкого кристаллического сахара контролируют под микроскопом или лупой.
В оттеках определяют содержание сухих веществ - методом разбавления водой 1 : 1, и содержание сахара - взвешиванием 13 г раствора 1 : 1 в колбу вместимостью 50 мл.
Результаты анализов наносят на диаграмму, откладывая на оси абсцисс показатели доброкачественности, а на оси ординат - содержание сухих веществ мелассы, определенное методом разбавления 1 : 1.
Соединив полученные 3 точки пересечения абсцисс и ординат между собой, получают кривую, обычно близкую к прямой, выражающую зависимость между содержанием сухих веществ насыщенной мелассы и ее доброкачественностью. По диаграмме можно найти, какая доброкачественность будет соответствовать содержанию сухих веществ

.
Значение

определяют по формуле:

,
где СВ1:1 - содержание сухих веществ в исходной мелассе, % к ее массе, определенное методом разбавления 1 : 1;
СВнеп - содержание сухих веществ в исходной мелассе, % к ее массе, определенное непосредственно с помощью призмы Германчука.
Если учитывать вязкость мелассы, то по графику следует искать доброкачественность, соответствующую нормальному содержанию сухих веществ, когда вязкость при 40 °C и работе на обычных центрифугах соответствует 4,4 Па·с, а при работе на быстроходных центрифугах - 7,1 Па·с. Нормальное содержание сухих веществ находят на номограмме вязкости Силина по данным измерений вязкости одной из насыщенных проб мелассы. Если монограмм Силина не имеется, то требуется измерить вязкость трех насыщенных проб меласс при различном содержании сухих веществ и 40 °C. Затем строят график линейной зависимости между вязкостью и содержанием сухих веществ насыщенной мелассы. Нормальное содержание сухих веществ находят по графику как соответствующее вязкости 4,4 Па·с. или 7,1 Па·с.
Затем по нормальному содержанию сухих веществ и зависимости Дб от СВ находят нормальную доброкачественность мелассы.
Найденную доброкачественность сопоставляют с доброкачественностью исходной заводской мелассы и находят разность между доброкачественностью заводской мелассы и ее нормальной доброкачественностью. Этот показатель является критерием работы продуктового отделения.
Нормальной считают доброкачественность, соответствующую содержанию сухих веществ

(при определении методом разбавления 1 : 1).
Исследование полученных при переработке тростникового сахара-сырца меласс, а также рафинадных паток выполняют так же, но без данных о вязкости.
11.1.13. Технологический режим для сушки сахара
Технологический режим для сушки сахара устанавливают на основании данных о температуре сахара, анализов проб до и после сушилок, перед и после силосной башни.
Пробу отбирают 1 раз в смену, среднюю пробу за 3 смены анализируют 1 раз в сутки. Определяют влажность, гранулометрический состав и их изменения. Кроме того, при установлении режима руководствуются также данными температуры, относительной влажности воздуха, подаваемого и удаляемого из сушилки.
11.2. Сахарорафинадное производство
В настоящее время сахарорафинадные заводы перерабатывают как сахар-песок, отвечающий требованиям ГОСТ 21-78, так и нестандартный сахар-песок.
Нестандартный сахар-песок в зависимости от его качества требует частичного изменения технологического режима рафинадного завода.
При этом могут подвергаться изменению следующие элементы технологического режима:
а) в клеровочном отделении:
- pH;
- температура;
- направление сырья (на тот или другой сироп);
б) в отделении обесцвечивания:
- количество адсорбента;
- продолжительность и другие условия взаимодействия сиропа с адсорбентом;
в) в варочно-кристаллизационном отделении:
- количество ультрамарина.
В связи с этим лаборатория должна иметь возможность дополнительно определять:
- влияние длительности и температуры нагрева на цветность, содержание редуцирующих веществ и pH раствора сахара-песка;
- эффект механической очистки клеровки при применении того или иного количества коагулянта;
- эффект обесцвечивания клеровки различными количествами адсорбента в зависимости также и от длительности их взаимодействия с раствором;
- влияние на качественные показатели сахара (цветность, содержание редуцирующих веществ) длительного пребывания при той или иной температуре утфеля, приготовленного из раствора испытываемого сахара;
- внешний вид рафинада (его белизну и оттенок) из утфеля, уваренного из очищенного раствора сахара с применением различных количеств ультрамарина разных партий.
11.2.1. Определение значения pH клеровки и применение
реагентов
Стандартный сахар-песок, полученный в обычных условиях работы свеклосахарного завода и подвергавшийся хранению в благоприятных условиях (без отсыревания и без развития жизнедеятельности микроорганизмов), имеет слабощелочную реакцию, вполне приемлемую для нормальной работы рафинадного завода. В связи с этим обычный технологический режим не предусматривает прибавления щелочи на клеровке.
Нестандартный сахар-песок подвергают анализу на pH.
Если значение pH раствора этого сахара менее 7,0, следует установить количество соды или известкового отстоя с определенным содержанием Ca(OH)2, которое требуется добавить в клеровку.
Предварительно проверяют реакцию воды (конденсата), применяемой для клерования сахара, и вносят соответствующую поправку.
11.2.2. Определение температуры клеровки
Сиропы из стандартного сахара-песка могут длительное время находиться на верстате завода при начальной температуре 85 °C. При соблюдении оптимального значения pH происходит относительно небольшое изменение их качества. Нестандартный сахар-песок менее стоек в отношении действия высоких температур и потому может требовать иного температурного режима.
Для установления этого режима сахар-песок цветностью выше 1,5 усл. ед. или с содержанием редуцирующих веществ более 0,05% необходимо:
- приготовить из такого сахара-песка сироп с содержанием сухих веществ 70%;
- если реакция этого сиропа отличается от оптимальной, довести ее до 7 - 7,5 pH;
- отобрать 6 проб по 250 мл сиропа каждая и подвергнуть их в закрытых металлических банках с плотными крышками или каучуковыми пробками 3-часовому нагреванию на водяной бане: две - при 85 °C, две - при 80 °C, две - при 75 °C. Отсчет времени начинать после того, как сироп в банках путем быстрого предварительного нагрева будет доведен до требуемой температуры, для чего водяная баня перед погружением в нее банок должна быть нагрета почти до кипения.
Нагреванию в таких же условиях подвергают сироп из стандартного свекловичного песка.
По истечении указанного времени банки с сиропом быстро охлаждают водой. В полученных сиропах определяют содержание редуцирующих веществ и цветность.
Результаты анализа дадут возможность решить вопрос о том, какая температура клеровки является оптимальной для данного сахара-песка.
11.2.3. Направление перерабатываемого сахара-песка
в клеровку
Направление перерабатываемого сахара-песка на ту или иную клеровку должно проводиться на основании результатов обычного анализа сахара-песка.
Для решения вопроса о направлении нестандартного сахара-песка на тот или другой сироп достаточно определить цветность этого сахара-песка и содержание в нем редуцирующих веществ.
11.2.4. Определение количества порошкообразного адсорбента
(активного угля)
Методика определения количества угля, необходимого для обесцвечивания, следующая:
разные по объему пробы сиропа, приготовленного из испытываемого сахара-песка (СВ = 70%, температура - оптимальная, в зависимости от его качества), смешивают с различными количествами угля (0,3; 0,4; 0,5; 0,6% сухого угля к массе сахара) и помещают в сосуды, которые вращаются в мешалке-термостате при температуре сиропа в течение 10 мин. По истечении 10 мин. пробы сиропа из банок отделяют от угля фильтрованием под разрежением и анализируют. Проверяют содержание сухих веществ сиропов и определяют их цветность.
Эффект обесцвечивания вычисляют по формуле:

,
где E0 - эффект обесцвечивания сиропа, %;
Цв1 - цветность сиропа до обработки углем, усл. ед. или ед. оптической плотности;
Цв2 - конечная цветность сиропа после обработки и отделения от угля, усл. ед. или ед. оптической плотности.
Хотя увеличение расхода адсорбента почти всегда сопровождается дальнейшим увеличением эффекта обесцвечивания, однако полученные данные о степени возрастания этого эффекта покажут рациональный предел добавления активного угля.
Необходимое количество реагента, по данным проведенных анализов, можно определять также без вычисления эффекта обесцвечивания, ориентируясь лишь на конечную цветность обесцвеченного сиропа.
11.2.5. Определение количества ультрамарина
Обычно в заводских условиях количество ультрамарина, вводимого в вакуум-аппарат, изменяется при изменении качества сиропов или ультрамарина.
Для определения необходимой дозы ультрамарина в лабораторном вакуум-аппарате производят уваривание утфельной массы из испытуемого сырья с переменным количеством ультрамарина и последующее пробеливание этого утфеля.
Оптимальное количество ультрамарина устанавливают на основании сопоставления внешнего вида полученных образцов рафинада.
12.1. Фитопатологическое исследование качества свеклы,
поступающей в переработку
Анализ проводят ежесменно с участием представителя отдела сырья.
Подставляя ведро под желоб, подающий свеклу из мойки на элеватор, или под желоб из элеватора на весы, или из весов в свеклорезку (в зависимости от местных условий), отбирают 4 пробы свеклы по 20 - 30 корнеплодов (через равные промежутки времени).
Отобранные корнеплоды просматривают и распределяют на группы в зависимости от их состояния: здоровые, вялые, сильно механически поврежденные, подмороженные, оттаявшие, почерневшие, загнившие, пораженные слизистым бактериозом. К пораженным слизистым бактериозом относят корнеплоды, которые при сжатии после разрезывания выделяют слизь. Классификацию корнеплодов производят в соответствии с "Инструкцией по приемке, хранению и учету сахарной свеклы", Москва, 1978.
Массу каждой группы корнеплодов выражают в процентах к массе пробы.
Для определения количества загнившей ткани подгнившие корнеплоды разрезают, вырезают гнилую массу, взвешивают ее с точностью до 1 г и выражают в процентах. Не следует смешивать потемневшую ткань (или даже почерневшую) оттаявших корнеплодов с гнилой массой. Потемнение вызывается окислительными ферментами и не влияет (до загнивания) на изменение содержания сахара. Количество почерневших корнеплодов указывают отдельно.
12.2. Определение балласта, поступающего со свеклой
на автоматические весы
12.2.1. Определение зеленой массы и прилипшей земли
Пробу свеклы массой 8 - 12 кг помещают в сухой тарированный таз, взвешивают с точностью до 10 г и определяют массу брутто.
Отделяют прилипшую к корнеплодам землю тупой стороной ножа.
Обрезают черешки листьев, ростки и выбирают ботву, сорняки, которые относят к зеленой массе.
Полученные количества неотмытой земли и зеленой массы раздельно взвешивают на весах ВТЦ в отдельном тарированном тазике и выражают в процентах к массе свеклы, взятой для определения балласта.
12.2.2. Определение увеличения массы свекловичных корней
за счет прилипшей и впитанной воды
Отбирают пробу свеклы, поступающей в переработку. Пробу очищают от грязи, каждый в отдельности корнеплод вытирают мешковиной, удаляют черешки и ботву.
Пробу отбирают таким образом, чтобы в различных опытах средняя масса корнеплода колебалась в пределах 150 - 700 г. В тарированную сетку из капроновой нити диаметром 1 мм помещают очищенную от грязи пробу свеклы массой 7500 - 8500 г, взвешивают на весах с допустимой погрешностью +/- 1 г и подсчитывают количество корнеплодов.
Затем сетку вместе со свеклой помещают в воду на время, соответствующее длительности пребывания свеклы в гидротранспортере и свекломойке. По истечении вышеуказанного времени сетку со свеклой вынимают из воды и через 40 с взвешивают на весах.
Выдержку 40 с перед взвешиванием для стекания воды принимают из расчета, что это время примерно соответствует продолжительности перемещения свеклы от места отделения воды (на водоотделительном шнеке, дисковом водоотделителе) до поступления ее на автоматические весы.
Значение

вычисляют, пользуясь следующими формулами:
G'0 = G"0 - g0; G'1 = G"1 - g1,
где G'0 - масса пробы нетто до проведения опыта, г;
G"0 - масса пробы брутто (с сеткой) до проведения опыта, г;
g0 - масса капроновой сетки до опыта (сухой), г;
G'1 - масса пробы свеклы нетто после опыта, г;
G"1 - масса пробы свеклы брутто (с сеткой) после опыта, г;
g1 - масса капроновой сетки после опыта (мокрой), г;

,
где

- коэффициент увеличения массы корнеплода (прилипшей и впитанной воды), доли единицы к массе свеклы.
12.3. Определение доброкачественности сиропа, полученного
при выпаривании очищенного свекловичного сока
Доброкачественность очищенного свекловичного сока определяют за 2 - 3 дня до начала переработки свеклы и во всех случаях резкого изменения качества свеклы, поступающей в переработку.
Доброкачественность очищенного сока свеклы обычно совпадает с доброкачественностью заводского сока II сатурации.
Определение производят следующим образом. На лабораторном прессе, применяемом при анализе жома, отжимают сок из средней пробы свекловичной кашки. 100 мл отжатого сока нагревают до 90 °C и прибавляют к нему пипеткой 2 раза по 10 мл известкового молока, содержащего 5 г CaO в 100 мл. Первые 10 мл известкового молока выливают из пипетки медленно (по каплям) в течение 3 мин. при энергичном перемешивании; вторые 10 мл - быстро при перемешивании. Во избежание забивания капилляра применяют пипетку с широким отверстием носика. Затем сок вновь подогревают до 90 °C и фильтруют через складчатый фильтр. Фильтрат насыщают углекислым газом из баллона, аппарата Киппа или из трубопровода сатурационного газа до нейтральной реакции на фенолфталеин (pH = 8) (капля сока на фенолфталеиновой бумажке не должна давать красной окраски), затем кипятят 5 мин для разложения бикарбоната кальция и вторично фильтруют. Фильтрат выпаривают под разрежением до содержания сухих веществ 55 - 60%.
В упаренном фильтрате (сиропе) определяют содержание сухих веществ, сахара и доброкачественность по методике, изложенной в
п. 3.6.2,
п. 3.6.3.
Доброкачественность сиропа, полученного выпариванием очищенного свекловичного сока, дает приблизительное представление о количестве оставшегося неудаляемого несахара, от которого в первую очередь зависит содержание сахара в мелассе.
12.4. Определение содержания сахара в свекловичной стружке
методом спиртовой экстракции
Анализ проводят по указанию главного технолога завода.
Отвешивают на технических весах в нейзильберовой чашке 52
г свекловичной кашки, добавляют 6
мл свинцового уксуса и перемешивают стеклянной палочкой, добавляя около 20
мл 90%-ного этилового спирта. Затем содержимое чашки переводят количественно в аппарат для экстракции
(рис. 12.1), постепенно добавляя спирт; предварительно закрывают вход в сифонную трубку из экстрактора тампоном из стеклянной ваты, чтобы сифон не забивался свекловичной кашкой. Чашку и стеклянную палочку ополаскивают спиртом. Кашку в экстракторе слегка утрамбовывают, чтобы верхний ее уровень был ниже верхнего перегиба сифонной трубки. Затем в экстрактор постепенно наливают такое количество спирта, чтобы общее его количество вместе со спиртом, израсходованным на размешивание и перемещение кашки в экстрактор, составило 200
мл. После этого прибор собирают и нижнюю колбу ставят в кипящую водяную баню. Приемную колбу перед анализом следует тщательно промыть с песком. Это позволяет сократить процесс экстрагирования сахара с 10 - 11 часов до 6 - 8.

Рис. 12.1 Аппарат для экстракции
В полноте экстрагирования сахара убеждаются по пробе на

. Для этого осторожно разъединяют колбу и экстрактор, берут 1
мл спирта, стекающего из сифона, сливают его в пробирку, смешивают с 2 - 3 каплями 5%-ного раствора

и осторожно по стенке прибавляют 1
мл концентрированной серной кислоты. При наличии сахара в экстракте на границе раздела экстракта и кислоты образуется фиолетовое кольцо.
Если экстракция закончена, избыток спирта выпаривают из колбы-приемника в экстрактор (2 раза), осторожно сливают из экстрактора в склянку с отработанным спиртом, а колбу, если она мерная (200 мл), охлаждают до 20 °C, доводят спиртом точно до отметки, перемешивая содержимое горизонтальными движениями по мере добавления спирта, взбалтывают и фильтруют, закрывая воронку стеклом, чтобы избежать потери спирта от испарения. Измеряют вращательную способность фильтрата сахариметром в кювете длиной 400 мм и результат делят на 2. Если раствор темный, измеряют вращательную способность фильтрата в кювете длиной 200 мм, показание сахариметра дает содержание сахара в свекловичной стружке, % к массе свеклы. Если колба-приемник не мерная, то по окончании экстракции количественно переводят ее содержимое в обычную мерную колбу, ополаскивая экстракционную колбу 90%-ным спиртом, охлаждают до 20 °C и затем доводят до отметки, перемешивая горизонтальными движениями по мере добавления спирта.
12.5. Определение содержания раффинозы в свекле, мелассе
и других продуктах сахарного производства
Анализ проводят по указанию главного технолога завода.
Для определения содержания раффинозы в свекле из кашки отжимают свекловичный сок. При этом определяют содержание сахара в свекле методом холодного водного дигерирования
(п. 2.2.2.) и содержание сахара в свекловичном соке по методике, изложенной в
п. 2.2.5.
Затем 50 г свекловичного сока переводят в колбу, добавляют 50 мл 96%-ного этилового спирта, снабжают колбу обратным холодильником и помещают ее в кипящую водяную баню на 15 мин. Затем содержимое колбы фильтруют через бумажный фильтр в горячем состоянии, фильтрат переводят в колбу вместимостью 100 мл, охлаждают до 20 °C и доводят 96%-ным этиловым спиртом до отметки.
50 мл фильтрата выпаривают досуха в фарфоровой чашке на кипящей водяной бане, заполненной дистиллированной водой. Предварительно фарфоровую чашку высушивают в вакуум-сушильном шкафу (температура - 60 °C, разрежение - 730 мм рт. ст.) и после охлаждения в эксикаторе взвешивают на аналитических весах.
Сухой остаток в фарфоровой чашке высушивают при температуре 60 °C и разрежении 730 мм рт. ст. После охлаждения в эксикаторе фарфоровую чашку с сухим остатком взвешивают на аналитических весах. Количество сухого остатка вычисляют по формуле:
gсо = g1 - g0,
где gсо - масса сухого остатка, г;
g1 - масса фарфоровой чашки с сухим остатком, г;
g0 - масса фарфоровой чашки, г.
Взвешивают 1 г сухого остатка, растворяют в 25 мл 96%-ного этилового спирта и фильтруют через бумажный фильтр. Фильтрат выпаривают в фарфоровой чашке на водяной бане досуха. Сухой остаток растворяют в 2 мл дистиллированной воды и используют для хроматографии.
При анализе продуктов и отходов сахарного производства приготовляют растворы по следующей методике: 5 г мелассы, 30 г сиропа и соответствующее количество других продуктов переводят в колбу вместимостью 100 мл и доводят до отметки.
Для выполнения анализов приготовляют пластины, применяемые при тонкослойной хроматографии.
В ступке тщательно перемешивают 50 г гипса с 70 г дистиллированной воды и наносят на 5 стеклянных пластин размером 20x20 см. Пластины с нанесенным слоем гипса оставляют стоять на открытом воздухе в течение 15 мин, а затем высушивают в сушильном шкафу при температуре 85 °C в течение 1 ч. Пластины хранят в эксикаторе, заполненном силикагелем. К обычным стеклянным пластинам гипс пристает недостаточно прочно и поэтому с ними нужно обращаться очень осторожно. Хорошая схватываемость гипса достигается при применении матированных стеклянных пластин.
Определение содержания раффинозы осуществляется в такой последовательности.
На стартовую линию (1 см от края пластины) с помощью микропипетки наносят в четвертую точку 0,001 - 0,01 мл испытуемого раствора с таким расчетом, чтобы в одном пятне было не более 1 мкг раффинозы.
На остальные 5 точек наносят при помощи микропипетки стандартные растворы раффинозы с нарастающей концентрацией. Объемы наносимых на каждую точку растворов должны быть такими же, как и при нанесении испытуемого раствора.
Концентрация растворов раффинозы должна быть такой, чтобы содержание ее в испытуемом растворе было между конечными концентрациями применяемых стандартных растворов.
После высушивания феном и охлаждения до комнатной температуры пластины помещают в плотно закрытую хроматографическую камеру, на дно которой наливают ацетон-водяную смесь (9 частей ацетона и 1 часть дистиллированной воды).
Когда фронт растворителя поднялся от края пластины на 12 - 15 см (на что требуется от 60 до 90 мин), пластину вынимают из хроматографической камеры, высушивают на воздухе (можно применять вентилятор), равномерно опрыскивают проявляющим раствором и нагревают в сушильном шкафу.
После охлаждения визуально сравнивают окраску пятен испытуемого, а также стандартных растворов и определяют содержание раффинозы в анализируемом продукте.
В качестве проявителей используют:
- раствор

. 0,25
г 
(ч.д.а.) растворяют в 100
мл 96%-ного этилового спирта; к раствору при охлаждении добавляют 10
мл концентрированной серной кислоты. Опрысканные пластины нагревают в сушильном шкафу 15
мин при температуре 85 °C;
- раствор нафторезорцина. 0,1 г нафторезорцина (ч.д.а.) растворяют в 100 мл 96%-ного этилового спирта. К раствору при охлаждении добавляют 10 мл концентрированной серной кислоты. Опрысканные пластины нагревают в сушильном шкафу 15 мин при температуре 100 °C.
Содержание раффинозы в анализируемом продукте вычисляют по следующим формулам:
в свекле или свекловичной стружке:

,
где Xр - содержание раффинозы в свекле или свекловичной стружке, % к ее массе;
Zо - содержание сахара в свекловичном соке, % к его массе;
Cо - содержание сахара в свекле или свекловичной стружке, % к ее массе;
Gр - навеска раффинозы, г на 100 мл раствора, окраска пятна которого на хроматограмме соответствует окраске пятна раствора сухого остатка, полученного из свекловичного сока;
в мелассе или других продуктах сахарного производства

,
где X'р - содержание раффинозы в мелассе или другом продукте сахарного производства, % к его массе;
Gо - количество испытуемого продукта, г, в 100 г раствора.
12.6. Определение содержания мякоти в свекле
Анализ проводят по указанию главного технолога завода. 5 г свекловичной кашки переводят в стакан с отметкой 400 мл. В стакан наливают до отметки кипящую дистиллированную воду и оставляют в покое в течение 2 мин. По истечении этого времени отсасывают воду при помощи колбы для фильтрования под вакуумом, боковой тубус которой присоединен к системе разрежения. Через пробку склянки проходит стеклянная трубка, соединенная резиновой трубкой с отсасывающей воронкой. Воронку затягивают плотной материей, лучше всего фланелью.
Для отсасывания воды из стакана опускают трубку с воронкой в стакан с кашкой и включают разрежение. Из стакана отсасывают всю жидкость. Осторожно, прижимая воронку к кашке, находящейся на дне стакана, удаляют остатки жидкости. Приставшую к материи кашку смывают в стакан при последующей заливке кипящей водой. Такое обессахаривание проводят 4 раза.
После последнего обессахаривания жидкость не отсасывают, а фильтруют вместе с мякотью через предварительно высушенный и взвешенный бумажный фильтр. Мякоть на фильтре промывают небольшим количеством спирта и высушивают при 100 - 105 °C до постоянной массы. Содержание мякоти выражают в процентах к массе свеклы путем умножения полученного количества мякоти на 20.
12.7. Определение содержания воднорастворимой мякоти
При определениях содержания воднорастворимой мякоти предварительно заготовляют обессахаренную мякоть, увеличив количество свекловичной кашки при определениях мякоти в свекле до 25 г, а количество кипящей дистиллированной воды, добавляемой каждый раз для обессахаривания кашки, до 2 л.
Полученную мякоть переводят при помощи 100 мл дистиллированной воды в круглодонную колбу вместимостью 200 мл, закрывают пробкой с вертикальным холодильником и погружают в кипящую баню, где нагревают в течение часа.
Полученный дигерат отделяют от нерастворимой мякоти сперва декантацией через воронку с фильтрующей пористой стеклянной пластинкой N 2 под разрежением, а затем растворимую часть мякоти отмывают четырехкратным промыванием горячей водой (по 25 мл) при тщательном встряхивании в течение одной минуты и декантируют через ту же воронку.
Оставшуюся мякоть переводят на фильтр такими же порциями воды, отсасывая промывную воду и слегка прижимая палочкой остаток на фильтре.
Собранную на фильтре мякоть промывают еще 2 раза горячей водой по 25 мл, прижимая остаток палочкой и тщательно отсасывая воду.
Фильтрат со всеми промывными водами (жидкость не должна содержать взвешенных частиц) постепенно выпаривают на кипящей водяной бане, заполненной дистиллированной водой, в предварительно высушенной и взвешенной чашке. Остаток дополнительно высушивают до постоянной массы при 100 °C в сушильном шкафу.
Содержание растворимой мякоти вычисляют по формулам:
m = 4qx,
qx = q1 - q0,
где m - содержание воднорастворимой мякоти, % к массе свеклы;
qx - масса сухого остатка, г;
q1 - масса сухого остатка с чашкой, г;
q0 - масса чашки, г.
12.8. Определение неучтенных потерь сахара на диффузионной
установке ускоренным методом ВНИИСП
Неучтенные потери сахара на диффузионной установке определяют по увеличению количества редуцирующих веществ, а также по количеству кислот в пересчете на молочную, образовавшихся при микробиологическом и энзиматическом разложении сахарозы.
Содержание редуцирующих веществ в свекле и диффузионном соке определяют по методикам, изложенным в
п. 12.21.1,
п. 12.21.2. Содержание редуцирующих веществ в жоме определяют по методике, применяемой при анализе свеклы.
Для повышения оперативности расшифровки неучтенных потерь сахара на диффузионных установках рекомендуется определять содержание редуцирующих веществ в свекловичной стружке, диффузионном соке и жоме ускоренным методом ВНИИСП с помощью 3,5-динитросалициловой кислоты (
п. 12.21.6.1,
п. 12.21.6.2).
Количество кислот в пересчете на молочную, образовавшихся при микробиологическом разложении сахарозы, определяют путем пропускания соответствующих количеств свекловичного сока, диффузионного сока, отжатого сока жома, диффузионной воды (в случае диффузионной батареи) и барометрической воды через ионитные колонки, заполненные катионитом КУ-2 в H+ форме. В колонках осуществляется количественное превращение солей в кислоты. Выделение из катионита оставшихся кислот производится промывкой его дистиллированной водой. Количество кислот, образовавшихся при пропускании продукта через катионит, определяют титрованием 0,1 н. раствором NaOH.
Необходимая аппаратура и реактивы:
- ионообменные колонки - 5 шт. Внешний вид колонки показан на
рис. 12.2;
- конические колбы вместимостью 750 мл - 5 шт;
- катионит КУ-2 - 0,5 кг;
- раствор NaOH - 0,1 н. титрованный;
- раствор HCl - 10 - 12%-ный (1:2);
- фенолфталеин;
- дистиллированная вода.
Рис. 12.2. Ионообменная колонка для определения неучтенных
потерь сахара на отдельных участках технологического потока.
Зарядку колонок выполняют в следующем порядке:
на перфорированную стеклянную перегородку
2 (рис. 12.2) укладывают слой стеклянной ваты
3 толщиной 5 - 8
мм. На слой ваты помещают предварительно замоченный в дистиллированной воде за 1 - 2 часа до загрузки катионит КУ-2 (позиция 4) с таким расчетом, чтобы общая высота слоя составляла 300
мм. Колонку, загруженную катионитом, промывают дистиллированной водой и регенерируют 10 - 12%-ным раствором HCl по методике, описанной ниже.
12.8.1. Выполнение анализа
При закрытом зажиме (кранике) 1 в каждую колонку добавляют дистиллированную воду до высоты примерно 5 - 6 мм над слоем катионита. Затем в первую колонку переводят взвешенные в нейзильберовой чашке 10 г свекловичного сока, во вторую - 10 г диффузионного сока, в третью 10 г отжатого сока жома, а в четвертую 10 г барометрической воды.
Все продукты переводят количественно, смывая содержимое нейзильберовой чашки дистиллированной водой, и доводят общий объем жидкости в колонках до воронкообразного расширения. После перевода продуктов в колонки открывают зажимы с таким расчетом, чтобы за 1 с из носика вытекало 1 - 2 капли, а вся жидкость выходила за 10 мин.
После прохождения всей жидкости (10 мин) проводят промывку катионита. Для этого, ополаскивая стенки, наливают в каждую колонку дистиллированную воду до воронкообразного расширения и скорость истечения жидкости увеличивают в два раза (т.е. чтобы промывная вода прошла за 5 мин). Эту операцию производят 3 - 4 раза. Следующую порцию дистиллированной воды в колонки наливают только после того, как пройдет предыдущая. Промывку ведут до полного удаления следов кислоты в последних порциях промоя.
Контроль промывки осуществляют следующим образом: 10 мл промоя помещают в фарфоровую чашку, добавляют 2 - 3 капли 1%-ного раствора фенолфталеина и 1 каплю 0,1 н. раствора NaOH. Малиновая окраска 10 мл промоя свидетельствует о достаточной промывке катионита.
Пропущенные через катионит соки, воды и промои собирают в конические колбы и оттитровывают 0,1 н. раствором NaOH при индикаторе фенолфталеине до появления слаборозовой окраски.
Пропускание жидкости через колонки, включая промывку, следует производить таким образом, чтобы исключить попадание воздуха в катионит.
12.8.2. Регенерация катионита
С целью восстановления поглотительной способности катионита КУ-2 последний после каждого цикла определения неучтенных потерь сахара регенерируют.
Для регенерации применяют 10 - 12%-ный раствор HCl, который получают разбавлением технической или концентрированной соляной кислоты дистиллированной водой в отношении 1:2.
В каждую колонку заливают до воронкообразного расширения 10 - 12%-ный раствор HCl. Скорость пропускания раствора кислоты - 1 - 2 капли за 1 с. Общее время пропускания кислоты должно составлять 10 мин. Обработку катионита вышеуказанным способом повторяют 3 - 4 раза. Общий расход 10 - 12%-ного раствора HCl на регенерацию катионита в каждой колонке составляет 200 мл.
Затем колонки промывают дистиллированной водой до полного удаления следов соляной кислоты (одна капля 0,1 н. раствора NaOH, добавленная к 10 мл промоя при индикаторе фенолфталеине, должна давать малиновое окрашивание). После этого колонка вновь готова к работе.
12.8.3. Подсчет неучтенных потерь сахара на диффузионной
установке
Неучтенные потери сахара на диффузионных установках подсчитывают по формулам:
Пн = Пк + Пi;

;
Пi = 0,95 (a3i3 + qi4 - i1);

;

,
где Пн - неучтенные потери сахара на диффузионных установках, % к массе свеклы;
Пк - неучтенные потери сахара на диффузионных установках за счет кислотообразования, % к массе свеклы;
Пi - неучтенные потери сахара на диффузионных установках за счет инвертирования, % к массе свеклы;
С'о - сахаристость свекловичной стружки по дигестии, %;

- учтенные потери сахара на диффузионных установках, % к массе свеклы;
Сs - содержание сахара в диффузионном соке, % к массе сока;
b1, b2, b3, b4 - количество мл 0,1 н. раствора NaOH, израсходованное на титрование катионированных:
- 10 г свекловичного сока и промоев (b1);
- 10 г барометрической воды и промоев (b2);
- 10 г диффузионного сока и промоев (b3);
- 10 г отжатого сока жома и промоев (b4);
q - выход жома, доли единицы к массе свеклы;

- плотность свекловичного сока,
г/см3 (по значению содержания сухих веществ согласно
табл. 9 раздела 17);
i1 - содержание редуцирующих веществ в свекловичной стружке, % к массе свеклы;
i3 - содержание редуцирующих веществ в диффузионном соке, % к его массе;
i4 - содержание редуцирующих веществ в жоме, % к массе жома.
Для анализа отбирают разовые пробы:
- свекловичной стружки;
- диффузионного сока (через 5 - 10 мин после отбора пробы стружки);
- жома (через 60 мин после отбора пробы стружки);
- барометрической воды (одновременно с отбором пробы свекловичной стружки).
12.9. Определение содержания свободной извести
в печной извести
Под названием свободная известь понимают содержание в печной извести CaO.
Для исследования отбирают среднюю пробу извести массой около 2
кг из разных мест партии. Пробу тщательно измельчают, перемешивают и по методу квартования сокращают до массы 0,3 - 0,4
кг. После перемешивания отбирают около 30 - 40
г и быстро растирают в фарфоровой ступке в тонкий порошок. Затем снова тщательно перемешивают, отвешивают на аналитических весах около 1
г, прибавляют 10
мл дистиллированной воды и определяют свободную известь по методике, применяемой для известкового молока
(п. 3.1.4.). Содержание свободной извести выражают в % к массе навески.
12.10. Определение содержания активной извести
Под активной известью понимают ту часть свободной извести, которая реагирует с водой в обычных условиях гашения (без предварительного размола).
Среднюю пробу извести отбирают так же, как и при определении свободной извести, измельчая ее до размеров кусков 5 - 7 мм без растирания в ступке.
Из средней пробы отбирают 30 - 50 г, гасят и разбавляют водой (4 - 5-кратное количество) при интенсивном перемешивании в металлическом сосуде в течение 20 мин. Начальная температура воды должна составлять 80 °C.
Полученное известковое молоко фильтруют в предварительно взвешенный сосуд через сито с ячейками 1,2
мм и промывают водой. Фильтрат с промоями взвешивают на технических весах грузоподъемностью 1
кг и определяют в нем содержание свободной извести по методике, изложенной в
п. 3.1.4.
Пример. Навеска извести 30 г. Масса известкового молока с промоями 165,4 г. При титровании 5,18 г известкового молока израсходовано 26,2 мл 1 н. раствора HCl.

,
где X - содержание активной извести.
12.11. Определение продолжительности гашения извести
и максимальной температуры при гашении
В термос вместимостью 250 мл, внутренним диаметром 69 мм и внутренней высотой 119 мм отмеривают 170 мл дистиллированной воды при температуре 20 °C.
Высыпают туда 50 г испытуемой измельченной извести (фракция 0,33 - 1,0 мм).
Смесь осторожно перемешивают термометром или механической мешалкой и каждую минуту записывают ее температуру, измеряемую на уровне 2 см ниже поверхности суспензии. При измерении температуры нельзя опускать термометр до дна термоса и измерять температуру разгашивающейся извести. За 10 с перед отсчетом перемешивание термометром прекращают.
Когда температура смеси достигла максимума и остается на этом уровне, отсчеты не приостанавливают и проводят их еще 5 мин.
12.12. Определение содержания сахара в песке, удаляемом
при продувке дефекаторов, сатураторов, и в известковых
отходах
Отвешивают на технических весах 26 г песка или известковых отходов и дигерируют их водой четыре раза по 20 мл с подкислением уксусной кислотой 1:1 до исчезновения щелочной реакции на фенолфталеин.
Дигераты один за другим фильтруют через бумажный фильтр в колбу 100 мл. После окончания фильтрования последнего дигерата содержимое колбы осторожно подкисляют уксусной кислотой до исчезновения реакции на фенолфталеин.
Затем добавляют 0,1 - 0,5 мл свинцового уксуса, доливают дистиллированной водой до отметки, фильтруют и измеряют вращательную способность фильтрата в кювете 200 мм. Показание сахариметра дает содержание сахара в песке или известковых отходах.
12.13. Определение содержания осадка в сатурационном соке
В тарированную фарфоровую чашку наливают около 10 мл суспензии и взвешивают на технических весах. В этой же чашке суспензию титруют 1 н. раствором кислоты из аппарата для определения щелочности продуктов сахарного производства в присутствии фенолфталеина (к суспензии добавляют 2 капли 1%-ного раствора фенолфталеина). При этом происходит нейтрализация гидратов окисей щелочных металлов и Ca(OH)2.
Затем бюретку аппарата вновь заполняют до нуля, к суспензии в чашке добавляют при перемешивании 7 - 10 капель раствора смешанного индикатора и избыток 1 н. H2SO4 (25 - 40 мл). Раствор приобретает красный цвет.
Затем при перемешивании оттитровывают содержимое 1 н. раствором NaOH до появления зеленой окраски.
Содержание CaO в виде карбоната (осадка) составит:

,
где в - содержание твердой фазы, % к массе суспензии;
А - количество 1 н. раствора H2SO4, делений бюретки аппарата;
Б - количество 1 н. раствора NaOH, израсходованного на обратное титрование, делений бюретки аппарата;
g - масса суспензии, г.
12.14. Определение неучтенных потерь сахара на участках
сокоочистительного отделения (преддефекация, I сатурация,
II сатурация, отстойники сока I сатурации, фильтрование)
Неучтенные потери сахара Пс на отдельных участках сокоочистительного отделения, % к массе свеклы подсчитывают по формуле:

,
где Пх - количество сахарозы, подвергшейся распаду за 1 ч, в зависимости от температуры и pH сока, % к массе сахарозы в соке;
Сz - содержание сахарозы в соке, % к массе сока;
аz - количество исследуемого сока, доли единицы к массе свеклы;

- время пребывания сока на верстате исследуемого участка,
ч.
Значение П
х в зависимости от температуры и pH сока представлены в
табл. 12.1.
Таблица 12.1
Количество сахарозы Пх, подвергшейся распаду за 1 ч,
в зависимости от температуры и значения pH сока,
% к массе сахарозы
Температура сока, °C | Значение pH сока, определенное при 20 °C |
8 | 8,5 | 9,0 | 9,5 | 10,0 | 10,5 | 11,0 | 11,5 | 12,0 |
70 | 0,03 | 0,02 | 0,01 | 0,01 | 0,02 | 0,02 | 0,03 | 0,03 | 0,04 |
75 | 0,04 | 0,03 | 0,02 | 0,03 | 0,03 | 0,03 | 0,04 | 0,05 | 0,06 |
80 | 0,05 | 0,04 | 0,03 | 0,03 | 0,04 | 0,04 | 0,05 | 0,06 | 0,08 |
85 | 0,07 | 0,06 | 0,05 | 0,05 | 0,06 | 0,07 | 0,08 | 0,10 | 0,13 |
90 | 0,11 | 0,09 | 0,07 | 0,07 | 0,08 | 0,08 | 0,09 | 0,14 | 0,18 |
95 | 0,15 | 0,13 | 0,11 | 0,12 | 0,13 | 0,14 | 0,15 | 0,22 | 0,28 |
100 | 0,21 | 0,18 | 0,15 | 0,16 | 0,18 | 0,19 | 0,20 | 0,29 | 0,38 |
Неучтенные потери сахара в сокоочистительном отделении подсчитывают по формуле:
Пс = Ппд + Пд + Пс1 + Пс2 + Пф1 + Пф2,
где Пс - неучтенные потери сахара в сокоочистительном отделении (за исключением отстойников сока I сатурации), % к массе свеклы;
Ппд - неучтенные потери сахара на преддефекации, % к массе свеклы;
Пд - неучтенные потери сахара на дефекации, % к массе свеклы;
Пс1 - неучтенные потери сахара в процессе I сатурации;
Пс2 - неучтенные потери сахара в процессе II сатурации;
Пф1 - неучтенные потери сахара в процессе фильтрования сока I сатурации;
Пф2 - неучтенные потери сахара в процессе фильтрования сока II сатурации.
Неучтенные потери сахара в отстойниках сока I сатурации подсчитывают отдельно по
формуле, приведенной в начале п. 12.14.
12.15. Определение неучтенных потерь сахара на выпарной
установке ускоренным методом ВНИИСП
Метод заключается в определении нарастания количества редуцирующих веществ и кислотных радикалов (с пересчетом на молочную кислоту) в продуктах после выпарной установки.
Для определения неучтенных потерь сахара на выпарной установке сравнивают количество вышеуказанных компонентов в сульфитированном соке (соке перед выпаркой), а также в сиропе и аммиачной воде.
Редуцирующие вещества в соке и сиропе определяют по методу, изложенному в
п. 12.21.3.
Для повышения оперативности расшифровки неучтенных потерь сахара на выпарке рекомендуется определять содержание редуцирующих веществ в сиропе и соке перед выпаркой ускоренным методом ВНИИСП с помощью 3,5-динитросалициловой кислоты (ДНСК), приведенным в
п. 12.21.6.1.
Количество кислотных радикалов определяют путем пропускания соответствующих продуктов через катионитные колонки. Методика выполнения анализа аналогична определению количества кислотных радикалов в продуктах диффузионных установок
(п. 12.8.).
Навески продуктов:
- сульфитированный сок (сок перед выпаркой) - 10 г;
- сироп после выпарки - 5 г;
- аммиачная вода - 10 г.
Перед проведением анализа сок следует фильтровать, сироп не фильтруют. Сироп перед переводом в колонку разбавляют горячей дистиллированной водой (t = 70 - 80 °C). После охлаждения полученный раствор переводят в колонку.
Для анализа используют средние за смену пробы сока и сиропа. Собираемые пробы все время должны находиться в холодильнике. Если холодильника нет, на анализ отбирают "летучие" пробы сока и сиропа. Пробу аммиачной воды отбирают перед проведением анализа.
Неучтенные потери сахара на выпарной установке подсчитывают по формулам:
Пв = Пвк + Пвi,

;
Пв = 0,95 (a'c ic - as is);

;

,
где Пв - неучтенные потери сахара на выпарной установке, % к массе свеклы;
Пвк - неучтенные потери сахара на выпарной установке за счет кислотообразования, % к массе свеклы;
Пвi - неучтенные потери сахара на выпарной установке за счет инвертирования, % к массе свеклы;
Со - сахаристость свекловичной стружки, % к массе свеклы;
Vд - учтенные потери сахара на диффузионной установке, % к массе свеклы;
Vf - учтенные потери сахара в фильтрационном осадке, % к массе свеклы;
Пн - неучтенные потери сахара на диффузионной установке, % к массе свеклы;
z2 - содержание сахара в сульфитированном соке (соке перед выпаркой), % к массе сока;
z3 - содержание сахара в сиропе после выпарки, % к массе сиропа;
c1, c2, cк - количество 0,1 н. раствора NaOH, мл, израсходованное на титрование:
- 5 г катионированного сиропа и промоев (c1);
- 10 г катионированного сока и промоев (c2);
- 10 г катионированной аммиачной воды и промоев (cк);
iс - содержание редуцирующих веществ в сиропе, % к массе сиропа;
is - содержание редуцирующих веществ в сульфитированном соке (соке перед выпаркой), % к массе сока.
12.16. Определение мутности продуктов сахарного производства
Мутность продуктов сахарного производства в единицах оптической плотности определяют фотоэлектроколориметром А1-ЕЦ2-С по разности коэффициентов погашения нефильтрованных и фильтрованных растворов.
Расчеты производят по формулам:
- для сахара-песка

;
- для темных растворов

,
где Д"420, Д"560 - оптические плотности нефильтрованных растворов соответственно при длине волны 420 и 560 нм;
Д'420, Д'560 - оптические плотности фильтрованных растворов соответственно при длине волны 420 и 560 нм;
Мс - мутность сахара-песка, единиц оптической плотности;
Мт.р. - мутность темных растворов, единиц оптической плотности.
12.17. Определение общего содержания сульфитов в продуктах
сахарного производства
В коническую колбу вместимостью 200 мл переводят 50 г фильтрованного сока или 25 г сиропа, 20 - 25 мл дистиллированной воды, прибавляют 25 мл 1 н. раствора едкого калия или едкого натрия. После этого колбу закрывают пробкой, содержимое взбалтывают и оставляют на 15 мин. Затем приливают 10 мл серной кислоты (1:3), 1 мл раствора крахмала и титруют 0,02 н. раствором йода до появления синего окрашивания, неисчезающего при взбалтывании. Расчет производят по формуле:

,
где X - общее содержание SO2 в исследуемом продукте, %;
в - количество 0,02 н. раствора йода, израсходованное при титровании, мл;
g - навеска продукта, г.
12.18. Определение содержания свободных сульфитов
в продуктах сахарного производства
Определение ведут по методике, изложенной в
п. 12.17, но без добавления 25
мл 1 н. раствора KOH или NaOH и без выдерживания в течение 15
мин.
Расчет производят по формуле:

,
где у - содержание свободных сульфитов в пересчете на SO2 в исследуемом продукте, %;
в - количество 0,02 н. раствора йода, израсходованное при титровании, мл;
g - навеска продукта, г.
12.19. Ускоренный метод определения неучтенных потерь сахара
в продуктовом отделении
В результате разложения сахарозы на верстате продуктового отделения свеклосахарного завода происходит изменение количества инвертного сахара, кислотных радикалов и красящих веществ. Эти изменения можно установить при сопоставлении количества продуктов разложения сахарозы в сиропе и конечных продуктах производства - мелассе и сахаре-песке. По выходам сиропа, сахара-песка и мелассы, содержанию в них продуктов разложения сахарозы, коэффициентам перехода к сахарозе можно определить количество разложившейся сахарозы и, следовательно, неучтенные потери сахара в продуктовом отделении.
Количество кислотных радикалов (в пересчете на молочную кислоту) находят пропусканием разбавленных в дистиллированной воде 5
г сиропа. 10
г сахара-песка, 2
г мелассы и 10
г конденсата паров вакуум-аппаратов, поступающих на конденсатор, через ионитные колонки, заполненные катионитом КУ-2 в H+-форме и титрования растворов с промоями 0,1 н. раствором NaOH. Методика выполнения анализа аналогична определению количества кислотных радикалов в продуктах диффузионных установок
(п. 12.8.).
Отбор проб конденсата вакуум-аппаратов осуществляют с помощью устройства, установленного на паровом трубопроводе перед конденсаторами
(рис. 12.3.).
Рис. 12.3. Устройство для отбора проб конденсата паров
вакуум-аппаратов
Устройство выполнено в виде цилиндрического сосуда 3 емкостью 10 л, оборудованного коническим днищем и двумя кранами - 2 и 4.
Устройство подключается к паровому трубопроводу 1, по которому на конденсатор через ловушку поступают пары вакуум-аппаратов.
Кран 4 предназначен для спуска уловленного конденсата.
Указанное устройство функционирует следующим образом:
для улавливания и сбора конденсата закрывают кран 4 и открывают кран 2. Примерно за 4 - 8 ч набирается полный сборник 3. После этого закрывают кран 2, открывают кран 4 и выпускают содержимое сосуда 3 в специальную емкость, перемешивают и направляют на анализ.
Содержание редуцирующих веществ в продуктах определяют согласно
п. 12.21.
Количество красящих веществ в сиропе и мелассе определяют по группам.
Красящие вещества сахара-песка не определяют, т.к. их количество ничтожно мало.
20 г сиропа и 5 г мелассы переводят в 2 колбы вместимостью по 100 мл, доводят до отметки и получают растворы.
По 20 мл полученных растворов наливают в 2 колбы вместимостью 300 мл, доливают дистиллированной водой до отметки и получают первоначальные растворы. Их доводят до pH = 7,0 +/- 0,2 0,1 н. раствором NaOH или 0,1 н. раствором HCl, фильтруют через бумажно-батистовый фильтр и определяют оптическую плотность в кювете длиной 50 мм при длине волны 420 нм на фотоэлектрическом цветомере А1-ЕЦ2-С (или другого типа с аналогичными техническими характеристиками).
20 мл исходных растворов переводят в ионитные колонки, заполненные анионитом АВ-16ГС в Cl'-форме. Высота слоя анионита в колонке - 80 мм, общая высота колонки - 200 мм, диаметр - 23 - 25 мм. После этого открывают зажимы колонок и регулируют скорость истечения жидкости в пределах 6 - 8 мл/мин. После прохождения испытуемых растворов через колонки (10 мин) элюируют последовательно водой, 2%-ным раствором NaCl и 0,5 н. раствором HCl. Длительность элюирования каждым реактивом - 10 мин.
Элюаты собирают отдельно в колбы вместимостью 300 мл и доводят дистиллированной водой до отметки. Растворы доводят до pH 7,0 +/- 0,2 0,1 н. раствором NaOH или 0,1 н. раствором HCl. Ввиду того, что последний элюат получают пропусканием 0,5 н. раствора HCl перед доведением до отметки добавляют 9,6 мл 40%-ного раствора NaOH из бюретки. После добавления 40%-ного раствора NaOH и доливания воды почти до отметки доводят pH раствора до 7,0 +/- 0,2 обычным методом (0,1 н. раствором NaOH или 0,1 н. раствором HCl).
Растворы фильтруют через бумажно-батистовый фильтр и определяют оптическую плотность раствора на фотоэлектрическом цветомере А1-ЕЦ2-С, ЛМФ-72М или ФЭК-60 в кювете длиной 5 см при длине волны 420 нм. В качестве эталона применяют дистиллированную воду.
По калибровочной
таблице 31 (раздел 17) находят количество красящих веществ по группам, считая, что водой вымываются карамели, 2%-ным раствором NaCl - продукты щелочного распада сахарозы и 0,5 н. раствором HCl - меланоидины.
По отношению суммы оптических плотностей элюатов и оптической плотности первоначальных растворов находят коэффициенты десорбции (

и

):
где Дк1, Дк2, Дк3 - оптические плотности элюатов мелассы, полученных при элюировании: водой (Дк1), 2%-ным раствором NaCl (Дк2), 0,5 н. раствором HCl (Дк3);
Дс1, Дс2, Дс3 - оптические плотности элюатов сиропа, полученных при элюировании: водой (Дс1), 2%-ным раствором NaCl (Дс2), 0,5 н. раствором HCl (Дс3);
Дк, Дс - оптические плотности первоначальных растворов: мелассы (Дк), сиропа (Дс),
Неучтенные потери сахара в продуктовом отделении свеклосахарного завода подсчитывают по формулам:

;

,
где Пп - неучтенные потери сахара в продуктовом отделении, % к массе свеклы;
ac, az, ak - выход, долей единицы к массе свеклы, соответственно сиропа, сахара-песка и мелассы;
aу - выход условной мелассы, долей единицы к массе свеклы;
свk - содержание сухих веществ в заводской мелассе, %;
Со - сахаристость свекловичной стружки, %;
Vd - учтенные потери сахара на диффузионной установке, % к массе свеклы;
Vf - учтенные потери сахара в фильтрационном осадке, % к массе свеклы;
Пн - неучтенные потери сахара на диффузионной установке, % к массе свеклы;
Пв - неучтенные потери сахара на выпарке, % к массе свеклы;
z3 - содержание сахара в сиропе, % к массе продукта;
вc вz вk вp - количество миллилитров 0,1 н. NaON, израсходованное на титрование катионированных продуктов с промоями, 5 г сиропа (вc), 10 г сахара-песка (вz), 2 г мелассы (вk), 10 г конденсата паров вакуум-аппаратов, поступающих на конденсатор (вp);
ic iz ik - содержание редуцирующих веществ, % к массе продуктов, в сиропе, сахаре-песке и мелассе;
xc xk - количество продуктов щелочного распада сахарозы в 4 г сиропа (xc), 1 г мелассы (xk), мг;
yc yk - количество карамелей в 4 г сиропа (yc), 1 г мелассы (yk), мг;
zc zk - количество меланоидинов в 4 г сиропа (zc), 1 г мелассы (zk), мг;

- коэффициент десорбции для мелассы

, для сиропа

.
Для регенерации анионита пропускают через каждую колонку по 150 мл 2%-ного раствора NaOH (это количество должно пройти за 10 мин), отмывают дистиллированной водой до pH 9,5, затем пропускают по 150 мл 1,5%-ного раствора NH4Cl с той же скоростью и промывают водой до тех пор, пока 10 мл промоя с 1 каплей 1%-ного раствора фенолфталеина и 1 каплей 0,1 н. раствора NaOH не дадут розового окрашивания.
Регенерацию катионита проводят согласно
п. 12.8.2.
Регенерацию колонок производят после каждого опыта.
12.20. АЗОТИСТЫЕ ВЕЩЕСТВА
Определение проводят по указанию главного технолога завода.
12.20.1. Определение содержания общего азота в свекле
10 г свекловичной кашки переводят в колбу Кьельдаля, прибавляют около 0,01 г металлического селена или ~ 0,5 г CuO, 30 мл концентрированной серной кислоты (плотность 1,835 г/см3) и около 10 г K2SO4. Смесь в колбе осторожно нагревают на сетке над огнем.
Масса начинает обугливаться и вспучиваться выделяющимися газами. В этот период внимательно следят, чтобы ее не выбросило из колбы. По прекращении вспучивания нагрев усиливают так, чтобы серная кислота была в состоянии непрерывного кипения. Колбу ставят в наклонное положение, чтобы ее длинное горло не нагревалось. Кипение не должно быть слишком бурным, чтобы пары кислоты успевали сконденсироваться в горле колбы. Сжигание проводят в вытяжном шкафу с опущенными стеклами. Кипячение продолжают до тех пор, пока жидкость в колбе не станет совершенно прозрачной и светло-зеленой.
Частицы обуглившейся массы, прилипшие к стенкам колбы выше уровня серной кислоты, смывают жидкостью, снимая колбу с огня и ополаскивая содержимым ее стенки. Кроме того, время от времени колбу поворачивают, чтобы кипящая кислота омывала последовательно все ее части. Обычно сжигание заканчивается в течение 1 - 2 часов.
По окончании сжигания колбе дают остыть и содержимое ее количественно переводят в перегонную колбу на 1 л. Внутреннюю поверхность колбы Кьельдаля ополаскивают водой и ополоски также переводят в перегонную колбу. Всего прибавляют 200 мл воды. Затем раствор нейтрализуют 40%-ным раствором едкого натрия. Нейтрализацию ведут при максимально возможном охлаждении, для чего колбу помещают в сосуд с холодной водой. Признаком нейтрализации жидкости служит ее посинение или выпадение зеленовато-сероватого осадка гидроокиси меди, а при сжигании с селеном - покраснение жидкости при прибавлении нескольких капель раствора фенолфталеина. После нейтрализации прибавляют еще 10 - 15 мл едкого натрия и кусочки цинка.
После этого немедленно, во избежание потерь аммиака, присоединяют колбу к холодильнику и начинают перегонку аммиака. Пары из колбы поступают сначала в каплеулавливатель, так как попадание малейших брызг сильно щелочной кипящей в колбе жидкости сделало бы результаты анализа совершенно непригодными.
Присоединенная к холодильнику отводная трубка должна быть опущена нижним концом в коническую колбу на 250 мл, куда наливают 25 - 30 мл 0,1 н. раствора серной или соляной кислоты. На отводной трубке должно быть расширение, чтобы предупредить переброс титрованной кислоты в холодильник и в перегонную колбу.
Перегоняющийся вместе с водой аммиак поглощается титрованной кислотой в приемнике, частично нейтрализуя ее. Перегонку можно считать оконченной, когда перегнано около 100 мл воды. Чтобы убедиться, что аммиак выделен полностью, каплю погона из-под отводной трубки помещают на красную лакмусовую бумажку, которая не должна синеть. Под конец отгонки отводную трубку держат не в титрованной кислоте, а над ней (приподнимают трубку или опускают приемник), чтобы порции погона обмыли внутреннюю часть отводной трубки; снаружи ее обмывают водой из промывалки.
Избыток кислоты оттитровывают в присутствии метилового красного 0,1 н. щелочью. 1 мл 0,1 н. кислоты, затраченной на поглощение аммиака, соответствует 0,0014 г азота.
Содержание общего азота определяют по формуле:

,
где Xа - содержание общего азота, % к массе свеклы;
a - количество 0,1 н. раствора кислоты, взятое для поглощения аммиака, мл;
в - количество 0,1 н. раствора щелочи, израсходованное на нейтрализацию остатка кислоты по окончании перегонки, мл;
g - навеска свекловичной кашки, г.
12.20.2. Определение содержания небелкового аммиачного
и амидного азота в свекле
Навеску 100 г свекловичной кашки переводят в колбу вместимостью 503 мл с расширенным горлом. Если нет колбы такой емкости, можно применить колбу другой емкости, например, 2 колбы по 300 мл, произведя соответствующий перерасчет навески и реактивов.
Например, на колбу в 300 мл берут навеску:

.
В колбу доливают дистиллированной воды приблизительно до 0,7 объема, нагревают в течение 30 мин при температуре 85 °C, добавляют по 50 мл раствора сернокислой меди (60 г в 1 л) и едкого натрия (12,5 г в 1 л), а также 10 мл насыщенного на холоду раствора алюмокалиевых квасцов. Затем доливают до отметки дистиллированной водой, перемешивают и продолжают нагревать еще 30 мин при прежней температуре, охлаждают, доводят до отметки и фильтруют через сухой складчатый фильтр.
100 мл прозрачного синего фильтрата, соответствующего 20 г свеклы, переводят в колбу Кьельдаля для определения небелкового азота.
Раствор подкисляют несколькими каплями концентрированной серной кислоты, присоединяют колбу к системе разрежения и выпаривают на водяной бане до концентрации сиропа. При отсутствии разрежения фильтрат можно сгустить кипячением, установив колбу на толстом куске асбестового картона, в котором вырезано круглое отверстие диаметром, несколько меньшим диаметра колбы. Колбу можно нагревать на электрической плитке или газовой горелке.
По окончании упаривания в колбу прибавляют 30 - 40 мл концентрированной серной кислоты, 10 - 15 мг селена и 8 - 10 г K2SO4. При отсутствии селена добавляют ~ 0,5 г окиси меди. Сжигание ведут сначала осторожно на малом огне, а после прекращения вспучивания постепенно увеличивают нагрев.
Когда основной процесс сжигания закончен, приставшие к стенкам горлышка колбы обуглившиеся частицы смывают сконденсировавшейся в горлышке концентрированной серной кислотой. Затем поступают так же, как при определении содержания общего азота в свекле
(п. 12.20.1.).
Для определения амидноаммиачного азота 100 мл исходного фильтрата переводят в полулитровую колбу и прибавляют к нему 1 мл концентрированной серной кислоты. Раствор кипятят в течение 2 ч с обратным холодильником, охлаждают, после чего прибавляют несколько капель фенолфталеина, нейтрализуют магнезией до явно щелочной реакции. Затем отгоняют аммиак в коническую колбу с 20 мл децинормальной серной кислоты. Избыток кислоты оттитровывают в присутствии метилового красного децинормальной щелочью.
Содержание небелкового и амидноаммиачного азота вычисляют по той же формуле, что и при определении содержания общего азота в свекле.
Разность обоих определений (небелкового и амидноаммиачного азота) дает содержание вредного азота в свекле, % к ее массе.
При определении содержания небелкового, амидноаммиачного азота в диффузионном соке берут 60 г сока в колбу вместимостью 300 мл.
12.20.3. Определение содержания азотистых веществ в мелассе
В стаканчике с носиком отвешивают на аналитических весах некоторое количество мелассы. Из стаканчика осторожно переносят примерно 2 - 2,5 г мелассы в сухую колбу Кьельдаля вместимостью 300 мл, стараясь, чтобы вещество не пристало к шейке колбы. Точную массу взятой навески мелассы устанавливают по разности массы стаканчика с мелассой до и после переноса мелассы в колбу Кьельдаля. Мелассу можно также отвесить в бумажной гильзе. В колбу добавляют 30 мл концентрированной серной кислоты, 10 - 15 мг селена и 12 - 15 г сернокислого калия.
При отсутствии селена к серной кислоте добавляют 12 - 15 г (сернокислого калия, небольшое количество окиси меди (около 0,5 г) и несколько капель перекиси водорода (для ускорения процесса сжигания). После этого колбу накрывают стеклянным баллончиком, ставят наклонно на сетку в вытяжном шкафу и осторожно нагревают. Когда пенение значительно слабеет, пламя усиливают, чтобы кислота кипела. Нагрев ведут до тех пор, пока жидкость в колбе станет прозрачной и примет светло-зеленый цвет. Затем колбу охлаждают, приливают 100 мл воды, взбалтывают и переводят в колбу для отгонки вместимостью 500 - 750 мл. Колбу Кьельдаля ополаскивают водой 3 - 4 раза и промои сливают в колбу для отгонки. Туда же добавляют 40%-ный раствор едкого натрия при непрерывном охлаждении. Момент нейтрализации характеризуется посинением раствора и появлением осадка гидроокиси меди. Перед началом отгонки аммиака добавляют избыток раствора едкого натрия (15 - 20 мл).
В приемную колбу наливают 50 мл 0,1 н. раствора серной кислоты.
Во избежание толчков и для обеспечения равномерного кипения при перегонке в колбу добавляют несколько кусочков цинка (при отсутствии цинка добавляют тонкие стеклянные капилляры). Перегонку кончают в том случае, когда проба отгона на лакмус не даст щелочной реакции и количество дистиллята достигает удвоенного количества кислоты, взятой в приемник.
Затем внутреннюю трубку холодильника обмывают водой и оставшуюся свободную серную кислоту титруют 0,1 н. раствором щелочи в присутствии индикатора метилового красного.
Если серная кислота точно децинормальна, то 1 мл ее соответствует 0,0014 г азота. Пересчет ведут по формуле:

,
где X'а - содержание азота, % к массе мелассы;
а - количество 0,1 н. серной кислоты, взятой в приемник, мл;
в - количество 0,1 н. щелочи, израсходованное на нейтрализацию избытка кислоты в приемнике, мл;
gм - навеска мелассы, г.
12.21. РЕДУЦИРУЮЩИЕ ВЕЩЕСТВА
12.21.1. Определение содержания редуцирующих веществ
в свекле классическим методом
Навеску свекловичной кашки 51,23 г помещают в колбу вместимостью 200 мл, осветляют 8 - 10 мл нейтрального раствора уксусно-кислого свинца, доливают до отметки и помещают в водяную баню на полчаса при температуре 75 °C. После охлаждения и доведения до отметки фильтруют.
100 мл фильтрата помещают в колбу вместимостью 200 мл и, добавив 2 - 3 капли раствора фенолфталеина, удаляют избыток свинца 10%-ным раствором Na2CO3 (до появления слабо-розовой окраски). Затем доливают до отметки водой, хорошо взбалтывают и фильтруют. Из фильтрата отбирают 50 мл, соответствующих 6,5 г свеклы, помещают в коническую колбу на 300 мл, нейтрализуют разбавленной уксусной кислотой до обесцвечивания фенолфталеина, дистиллированной водой доводят объем до 100 мл, добавляют 10 мл реактива Мюллера и помещают колбу на 10 мин в кипящую водяную баню. Баня должна иметь такие размеры и вода в ней должна так кипеть, чтобы кипение не прерывалось при помещении в нее колбы. Последнюю погружают в кипящую воду таким образом, чтобы находящийся в колбе раствор был на 2 - 3 см ниже уровня воды в бане. Колбу помещают на подставку, чтобы она не касалась дна бани. После кипячения раствор должен иметь голубую или зеленоватую окраску. В противном случае анализ считается испорченным и его повторяют с меньшим количеством фильтрата (20, 10 мл и т.д.).
Затем колбу охлаждают под струей холодной воды до комнатной температуры, не взбалтывая содержимого, и добавляют 5 мл раствора уксусной или винной кислоты, 20 мл 0,0333 н. раствора йода (или более, так, чтобы он был в избытке), перемешивают вращательным движением колбы, закрывают пробкой и выдерживают 2 мин. Затем прибавляют 5 мл раствора крахмала и оттитровывают избыток йода 0,0333 н. раствором гипосульфита.
Аналогичное титрование выполняют с 50 мл фильтрата без предварительного нагревания - на холоду (глухой опыт).
Количество израсходованного гипосульфита вычитают из прибавленного количества йода и таким образом определяют количество йодного раствора, вступившего в реакцию. Из этого количества вычитают 0,2 мл как поправку на восстановление, производимое 10 мл реактива Мюллера, по 0,2 мл на каждый грамм присутствующей в навеске сахарозы, и количество мл йодного раствора, пошедшего на глухой опыт.
Поправку на восстановление, производимое 10 мл реактива Мюллера, следует проверить после его изготовления один раз на глухом опыте, производимом точно так, как описано выше, но на чистой воде.
Содержание редуцирующих веществ определяют из расчета, что 1 мл 0,0333 н. йода соответствует 1 мг редуцирующих веществ,
Пример. На оттитровывание избытка йода израсходовано 12,4 мл раствора гипосульфита. Расход йодного раствора, вступившего в реакцию, равен 20 - 12,4 = 7,6 мл. Количество сахарозы в 6,5 г свеклы при сахаристости свеклы 18,5% составляет

.
Поправка на редуцирующую способность 10 мл реактива Мюллера равна 0,2 мл раствора йода, на глухой опыт - 0,2 мл.
Следовательно, окончательный расход йодного раствора будет равен: 7,6 - 0,2 - 0,2 - 0,2 = 7,0 мл,
или

,
где РВ - содержание редуцирующих веществ, % к массе свеклы.
12.21.2. Определение содержания редуцирующих веществ
в диффузионном соке классическим методом
Навеску 50 г диффузионного сока помещают в колбу вместимостью 250 мл, осветляют 6 мл раствора нейтрального уксуснокислого свинца, доливают водой до отметки, взбалтывают и фильтруют. Из фильтрата отбирают пипеткой 100 мл в колбу на 200 мл, удаляют избыток ионов свинца раствором соды (до слабо-розового окрашивания на фенолфталеин), доливают до отметки, взбалтывают и фильтруют.
Из фильтрата отбирают 50 мл, соответствующих 5 г сока, в коническую колбу. Дальнейшее определение ведут так же, как и редуцирующих веществ в свекле.
При большом содержании редуцирующих веществ берут меньше фильтрата, и воды прибавляют столько, чтобы общий объем составлял 50 мл.
12.21.3. Определение содержания редуцирующих веществ в соке
II сатурации и сиропе классическим методом
Определение ведут так же, как и при определении редуцирующих веществ в диффузионном соке. Навеска сока II сатурации должна составлять 100 г, а сиропа - 50 г.
12.21.4. Определение содержания редуцирующих веществ
в сахаре-песке и сахаре-рафинаде
Содержание редуцирующих веществ в сахаре-песке и сахаре-рафинаде определяют согласно ГОСТ 12575-81.
12.21.5. Определение содержания редуцирующих веществ
в полупродуктах, мелассе и рафинадной патоке
классическим методом
10 г мелассы переводят в колбу на 100 мл, осветляют 10 мл нейтрального уксуснокислого свинца (250 г в 1 л), доливают до отметки, взбалтывают и после двух-трехминутного стояния фильтруют. Отбирают 50 мл фильтрата в колбу вместимостью 100 мл, прибавляют несколько капель раствора фенолфталеина и 10%-ного раствора соды до щелочной реакции, доливают до отметки водой, перемешивают и фильтруют. Из фильтрата отбирают 20 мл, соответствующих 1 г мелассы, помещают в коническую колбу с плоским дном вместимостью 300 мл; содержимое колбы нейтрализуют разбавленной уксусной кислотой (при индикаторе фенолфталеине), доводят дистиллированной водой до 100 мл и, добавив 10 мл реактива Мюллера, помещают колбу на 10 мин в кипящую водяную баню. При этом должны быть соблюдены условия, указанные при определении редуцирующих веществ в свекле.
После десятиминутного кипячения колбу вынимают из бани и, не взбалтывая, быстро охлаждают до комнатной температуры под струей холодной воды.
Раствор должен иметь голубоватую или зеленоватую окраску. Наличие желтой окраски раствора свидетельствует о недостаточном количестве реактива Мюллера. Опыт повторяют с меньшим количеством фильтрата. После охлаждения добавляют 5 мл раствора уксусной или винной кислоты и избыток 0,0333 н. раствора йода (20 - 40 мл, смотря по количеству выделившегося Cu2O). После этого колбу закрывают, содержимое ее время от времени перемешивают вращательным движением. Через 2 мин прибавляют 5 мл раствора крахмала и титруют 0,0333 н. раствором гипосульфита.
Аналогично, но без подогрева, титруют 20 мл фильтрата, добавив воду и реактивы (глухой опыт).
Количество израсходованного гипосульфита вычитают из прибавленного количества йода и, таким образом, определяют количество йодного раствора, вступившего в реакцию. Из этого количества вычитают 0,2 мл как поправку на восстановление, произведенное 1 г сахарозы, содержащейся в 2 г мелассы, 0,2 мл на редуцирующую способность 10 мл реактива Мюллера (эту величину следует проверить один раз, как описано выше, но на чистой воде) и поправку на глухой опыт.
После внесения этих поправок 1 мл израсходованного йода соответствует 1 мг редуцирующих веществ. Содержание редуцирующих веществ выражают в процентах к массе мелассы.
Редуцирующие вещества в полупродуктах свеклосахарного производства определяют по такой же методике.
При определении редуцирующих веществ в рафинадной патоке отвешивают 5 г патоки, переводят в колбу 500 мл, осветляют 10 мл нейтрального уксусного свинца, доливают водой до отметки, взбалтывают и фильтруют. Затем поступают так же, как и при определении редуцирующих веществ в мелассе.
12.21.6 Определение содержания редуцирующих веществ
в свекле, сахаре и других продуктах сахарного производства
ускоренным методом ВНИИСП с помощью 3,5-динитросалициловой
кислоты (ДНСК)
12.21.6.1. Определение содержания редуцирующих веществ
в продуктах сахарного производства
Для проведения анализа взвешивают на лабораторных весах 3-го или 4-го класса (технических) 2 г мелассы, 10 г сиропа, 50 г сока II сатурации или других продуктов, навеску количественно переводят в мерную колбу вместимостью 100 мл, добавляют 9 мл смешанного свинцового осветлителя (свинцового уксуса и 25%-ного раствора нейтрального уксусного свинца в отношении 5:4 по объему) и доводят дистиллированной водой до отметки. Содержимое колбы хорошо перемешивают, выливают в сухой чистый химический стакан вместимостью 150 мл и при помощи мерки диаметром 20 мм и высотой 22 мм добавляют промытый карборафин (карбополь, глюконат-IV, норит). Содержимое стакана перемешивают в течение 20 с стеклянной палочкой и фильтруют через двойной бумажный фильтр.
В две пробирки с притертыми стеклянными пробками при помощи пипетки переводят по 2 мл фильтрата, добавляют в каждую по 2 мл 1%-ного раствора ДНСК (3,5-динитросалициловой кислоты), тщательно перемешивают горизонтальными встряхиваниями. Пробирки помещают в кипящую водяную баню с ложным дном.
Одновременно приготавливают эталонный раствор, для чего в пробирку с притертой пробкой при помощи пипетки переводят 2 мл дистиллированной воды и 2 мл 1%-ного раствора ДНСК, взбалтывают горизонтальными движениями и одновременно вместе с двумя пробирками, в которых находится испытуемый раствор, помещают в кипящую водяную баню с ложным дном.
По истечении 5 мин. все три пробирки вынимают из кипящей водяной бани, помещают в холодильник с проточной водой при t = 20 °C. Во избежание присасывания стеклянных пробок их приоткрывают 2 - 3 раза в течение охлаждения. После охлаждения пробирки вынимают из холодильника, вытирают полотенцем наружную поверхность и в каждую добавляют пипеткой по 20 мл дистиллированной воды. Пробирки вновь закрывают каждую своей пробкой и тщательно перемешивают содержимое, переворачивая в вертикальном направлении.
Измерение оптической плотности полученных окрашенных растворов производят на фотоэлектрическом цветомере марки А1-ЕЦ2-С (или фотоэлектрическом колориметре другого типа с аналогичными техническими данными) в кювете длиной 10 мм при монохроматическом свете с длиной волны 490 нм (светофильтр N 4 фотоэлектрического цветомера А1-ЕЦ2-С).
Для получения расчетной оптической плотности Др пользуются формулой:
Др = Д1 - 0,022,
где Д1 - оптическая плотность, полученная при измерении на цветомере А1-ЕЦ2-С (или приборе аналогичного класса) при длине волны 490 нм.
Затем по калибровочной кривой определяют содержание редуцирующих веществ, мг/мл.
Содержание редуцирующих веществ (РВ), % к массе продукта, вычисляют по формуле:

,
где а - количество редуцирующих веществ в растворе, мг/мл, определенное по калибровочной кривой;
g - навеска продукта, г.
12.21.6.2. Определение содержания редуцирующих веществ
в свекле и свекловичной стружке
Содержание редуцирующих веществ в свекле и свекловичной стружке определяют следующим образом. На тарированном листке кальки взвешивают 52
г свекловичной кашки или стружки, переносят ее в сосуд размельчителя тканей свеклы (РТС-2М), добавляют пипеткой для отмеривания жидкости при определении содержания сахара в свекле 356,4
мл (два объема по 178,2
мл) смешанного свинцового осветлителя (25
мл на 1000
мл) и разрывают листок кальки на мелкие кусочки. Сосуд с содержимым устанавливают в гнездо РТС-2М и дигерируют кашку по методике, описанной в
п. 2.2.2. После окончания дигерирования суспензию фильтруют.
Затем отбирают 2 мл фильтрата в пробирку с притертой пробкой и ведут определение содержания редуцирующих веществ по вышеописанной методике.
Расчетную оптическую плотность раствора подсчитывают по формуле:
Др = Д1 - 0,022,
а содержание РВс в свекле, % к ее массе, определяют по уравнению:
РВс = 0,769·в,
где в - количество редуцирующих веществ в фильтрате, мг/мл, определенное по калибровочной кривой.
12.21.6.3. Построение калибровочной кривой
Определение содержания редуцирующих веществ в продуктах сахарного производства основано на применении фотоколориметрического метода. Поэтому необходимо построить калибровочную кривую.
При накоплении исходных данных для калибровочной кривой используют 0,1%-ный нейтральный раствор инвертного сахара.
Рабочие растворы инвертного сахара, непосредственно используемые для получения окрашенных растворов по методу, описанному в
п. 12.21.6.1., приготавливают путем смешивания 0,8 - 6
мл 0,1%-ного раствора инвертного сахара и дистиллированной воды с таким расчетом, чтобы общий объем жидкости составлял 10
мл (табл. 12.2).
Таблица 12.2
Расчетная таблица для приготовления рабочих растворов
инвертного сахара
Количество 0,1%-ного раствора инвертного сахара, мл | Количество дистиллированной воды, мл | Содержание инвертного сахара в полученном рабочем растворе, мг/мл |
1 | 2 | 3 |
0,8 | 9,2 | 0,08 |
1,0 | 9,0 | 0,10 |
1,5 | 8,5 | 0,15 |
2,0 | 8,0 | 0,20 |
2,5 | 7,5 | 0,25 |
3,0 | 7,0 | 0,30 |
3,5 | 6,5 | 0,35 |
4,0 | 6,0 | 0,40 |
4,5 | 5,5 | 0,45 |
5,0 | 5,0 | 0,50 |
5,5 | 4,5 | 0,55 |
6,0 | 4,0 | 0,60 |
Для получения рабочего раствора в сухую чистую пробирку отмеривают 0,1%-ный раствор инвертного сахара в количестве, указанном в
графе 1 табл. 12.2., добавляют дистиллированную воду в количестве, приведенном в
графе 2 табл. 12.2., и содержимое тщательно перемешивают сухой стеклянной палочкой.
Окрашенные растворы получают по методике, описанной в
п. 12.21.6.1.
Оптическую плотность окрашенного раствора измеряют на фотоэлектрическом фотометре в кювете 10 мм при длине волны 490 нм.
Затем на миллиметровой бумаге строят калибровочную кривую, где на оси абсцисс откладывают содержание инвертного сахара в рабочем растворе, мг/мл, а на оси ординат - оптическую плотность окрашенного раствора. Полученные точки соединяют и получают калибровочную кривую.
12.21.6.4. Приготовление 0,5%-ного и 0,1%-ного растворов
инвертного сахара
1,0%-ный раствор инвертного сахара приготавливают по следующей методике:
9,5 г высококачественного рафинированного сахара-песка (содержание золы - 0,001%, содержание редуцирующих веществ - 0,000%, влажность - 0,00%) переводят с помощью 70 мл дистиллированной воды в мерную колбу вместимостью 100 мл, приливают 5 мл х.ч. HCl (плотность 1,19 г/см3), помещают внутрь колбы химический термометр и выдерживают 5 мин в водяной бане при температуре 67 - 70 °C. Затем раствор охлаждают до 20 °C, ополаскивают термометр дистиллированной водой, направляя ополоски в колбу. После этого содержимое колбы 100 мл переводят в колбу вместимостью 1000 мл, доводят водой до отметки и перемешивают. Полученный 1%-ный кислый раствор инвертного сахара может сохраняться в холодильнике без изменения 12 месяцев.
Для получения нейтрального 0,5%-ного раствора инвертного сахара 100 мл кислого 1%-ного раствора переводят в мерную колбу вместимостью 200 мл, добавляют две капли 1%-ного раствора фенолфталеина, 10%-ного раствора Na2CO3 до появления розовой окраски и доводят водой до отметки. Раствор хранят в холодильнике.
Аналогично получают 0,1%-ный раствор инвертного сахара.
12.22. ВЫСОКОМОЛЕКУЛЯРНЫЕ СОЕДИНЕНИЯ (ВМС) И КОЛЛОИДЫ
12.22.1. Определение содержания ВМС и коллоидов
в диффузионном соке
Содержание ВМС и коллоидов в диффузионном соке определяют по указанию главного технолога.
Диффузионный сок фильтруют через вату. 5 г профильтрованного сока помещают в коническую колбу вместимостью 150 мл, добавляют 50 мл 96%-ного этилового спирта, закрывают колбу пробкой с обратным холодильником и нагревают ее в течение 15 мин на кипящей водяной бане.
Полученную суспензию фильтруют через предварительно высушенный в бюксе до постоянной массы беззольный фильтр (синяя лента) и промывают осадок 100 мл 90%-ного этилового спирта.
Промытый осадок вместе с фильтром переносят в бюксу и высушивают при температуре 100 °C до постоянной массы, охлаждают в эксикаторе и взвешивают на аналитических весах.
Содержание ВМС и коллоидов в диффузионном соке вычисляют по формулам:
K1 = 20g;

;

;
g = g1 - g0,
где K1, K2, K3 - содержание ВМС и коллоидов в диффузионном соке: % к его массе (K1); % к массе свеклы (K2); % к массе сухих веществ (K3);
g - масса осадка, г;
g1 - масса бюксы с фильтром и осадком, г;
g0 - масса бюксы с фильтром, г;

- откачка диффузионного сока, % к массе свеклы;
СВд.с. - содержание сухих веществ в диффузионном соке, % к его массе.
12.22.2. Определение содержания ВМС и коллоидов в соке
II сатурации
Профильтрованный свежеотобранный сок II сатурации следует довести до нейтральной реакции на фенолфталеин. К 100 мл нейтрального сока добавляют 5 мл 0,1 н. раствора соляной кислоты. Этот сок разбавляют до содержания сухих веществ около 12% и определяют содержание сухих веществ рефрактометром. Затем 10 мл сока переводят в коническую колбу вместимостью 250 мл, добавляют 100 мл 96%-ного этилового спирта и 5 мл этилового эфира. Колбу закрывают пробкой с обратным холодильником и нагревают 2 - 3 мин в водяной бане при температуре 90 - 95 °C. Осадок отфильтровывают через высушенный до постоянной массы беззольный фильтр (синяя лента) или тигель с пористой стеклянной пластинкой N 4 и промывают 100 мл смеси спирта, эфира и воды. Смесь составляют из расчета: 100 мл 96%-ного этилового спирта на 5 мл эфира и 10 мл дистиллированной воды. Промытый осадок высушивают при температуре 100 °C до постоянной массы, охлаждают в эксикаторе и взвешивают. Масса осадка соответствует содержанию коллоидов в 10 мл взятого сока. Для определения содержания коллоидов в 100 частях сухих веществ пользуются формулами:
g = g1 - g0;

,
где K - содержание коллоидов в соке, % к массе сухих веществ;
g - масса полученного осадка коллоидов, г;
СВ - содержание сухих веществ в соке II сатурации после разбавления по рефрактометру, %;
g1 - масса бюксы с фильтром и осадком (масса тигля с пористой стеклянной пластинкой и осадком), г;
g0 - масса бюксы с фильтром (масса тигля с пористой стеклянной пластинкой), г.
12.22.3. Определение содержания ВМС и коллоидов в сиропе
и мелассе
Продукты предварительно разбавляют до содержания сухих веществ около 15%. Для этого на каждый грамм мелассы или сиропа следует добавить:

воды,
где СВ - содержание сухих веществ в сиропе или мелассе, %.
Полученный раствор анализируют так же, как и сок II сатурации при определении в нем коллоидов.
12.23.1. Определение содержания золы в свекле, утфелях
и мелассе сульфатным методом
К навеске 2 г исследуемого продукта, взвешенной на аналитических весах, прибавляют 1 мл концентрированной серной кислоты плотностью 1,835 г/см3, перемешивают платиновой проволокой (если это утфель или меласса); проволоку вытирают маленьким кусочком беззольной фильтровальной бумаги, которую тоже опускают в платиновую чашечку. Нагревают сначала осторожно, чтобы массу не выбросило из платиновой чашечки (или фарфорового тигля), затем нагрев усиливают и, наконец, вздувшийся уголь окончательно сжигают или на горелке, или в муфельной печи при температуре около 800° (белое каление). Зола должна быть белой или розовой, без черных частиц.
Сжигание заканчивают в течение 1 - 2 часов. Полученное содержание сернокислой золы умножают на 0,9 для пересчета на углекислую золу.
Пример. При сжигании 2 г свекловичной кашки получилось 0,0126 г сернокислой золы.
Содержание углекислой золы составляет:

.
12.24.1. Определение выхода непробеленного сахара из утфеля
Выход сахара из утфеля, находящегося в утфелемешалке, определяют с помощью лабораторной центрифуги путем непосредственного взвешивания утфеля и сахара.
При отсутствии лабораторной центрифуги пробное центрифугирование производят на заводской центрифуге без пробеливания.
В случае затруднений при взвешивании утфеля и сахара отбирают и анализируют средние пробы утфеля, сахара и оттека.
По данным анализа вычисляют выход непробеленного сахара по формуле:

,
где a - выход непробеленного сахара, в % к массе утфеля;
СВу, СВс - содержание сухих веществ в утфеле и непробеленном сахаре, %;
ДБу, ДБо, ДБс - доброкачественность утфеля, оттека и непробеленного сахара, %.
12.24.2. Определение вязкости мелассы
Вязкость меласс определяют вискозиметром со скользящим шариком при температуре 40 °C и содержании сухих веществ по рефрактометру (без разбавления) 82%. Для этого, в случае необходимости, мелассу предварительно выпаривают на водяной бане или разбавляют водой.
Вязкость меласс можно определить при комнатной температуре и любом содержании сухих веществ, а затем произвести перерасчет по номограммам.
В этом случае перед определением мелассу следует нагревать в течение часа на водяной бане при 80 °C в герметически закрытой каучуковой пробкой баночке, временами перемешивая содержимое путем опрокидывания баночки для растворения кристаллов (муки).
Рекомендуется проводить обеспенивание проб исследуемых меласс в делительных воронках, заполняя их на 0,75 высоты, с погружением в воду и разогревом до 80 - 90 °C до получения четкой границы раздела мелассы и пены.
Мелассу в горячем состоянии сливают осторожно по стенке в стакан (кроме первых порций и отделенной пены). Стакан накрывают стеклом. Перед заливкой в вискозиметр верхний слой охлажденной мелассы осторожно снимают.
Определение вязкости вискозиметром со скользящим шариком сводится к наблюдению времени падения шарика от одной метки на трубке до другой (измерение секундомером).
12.24.3. Определение кристаллоструктуры рафинадного утфеля
Рафинадный утфель в вакуум-аппарате состоит из отдельных, не связанных между собой кристаллов, взвешенных в межкристальном растворе. Чтобы судить о величине и степени однородности размера кристаллов в момент спуска утфеля в мешалку или разливки в формы, необходимо быстро отделить кристаллы друг от друга, не допуская срастания их при охлаждении.
Для этого при спуске отбирают у вакуум-аппарата пробу утфеля. 12 г утфеля быстро вносят в баночку вместимостью 200 - 250 мл, в которую предварительно налито 100 мл 85%-ного этилового спирта, и энергично размешивают в нем утфель, не допуская образования комочков. Закрыв баночку пробкой, сильно встряхивают и отфильтровывают разъединенные кристаллы через фильтровальную бумагу на ситчатой воронке при разрежении. Промывают кристаллы в воронке насыщенным сахаром и спиртом раствором, переносят их на фильтровальную бумагу и высушивают на воздухе при легком помешивании стеклянной палочкой, не допуская образования слитков.
При каждом определении следует брать новую порцию 85%-ного спирта для промывки утфеля. Для промывки кристаллов в воронке можно пользоваться одной и той же порцией спирта несколько раз.
Высушенные кристаллы утфеля просеивают через набор сит с отверстиями 1; 0,5 и 0,20 мм при помощи механической трясучки или вручную, затем каждую фракцию взвешивают.
Содержание фракций подсчитывают по формуле:

;

;

,
где x, y, z - содержание фракций, %, с размерами кристаллов 1,0; 0,5; 0,2 мм соответственно;
а, в, с - масса фракций, г, которые прошли через сита с размерами ячеек 1 мм - 0,5 мм - 0,2 мм.
12.24.4. Определение кристаллоструктуры рафинадного утфеля
экспресс-методом
О кристаллоструктуре рафинадного утфеля можно судить по гранулометрическому составу сахара или кашки.
Кашку или сахар, если он влажный, предварительно подсушивают при осторожном перелопачивании и просеивают через сито с отверстиями 1,0; 0,5 и 0,20 мм с помощью механической трясучки или вручную.
Содержание фракций подсчитывают по формулам, приведенным в
п. 12.24.3.
12.25. Методы расшифровки расхода и потерь извести
в производстве
Для расшифровки расхода и потерь извести в производстве выполняют следующие анализы и расчеты:
- определяют массу известнякового камня, поступающего в обжигательную печь, взвешивая его на автомобильных весах. Количество известнякового камня выражают в т и % к массе свеклы или сахара-сырца;
- определяют массу отходов известнякового камня после сортировки, взвешивания их на автомобильных весах. Количество отходов известнякового камня выражают в т и % к массе свеклы или сахара-сырца;
- определяют массу известнякового камня, введенного в производство, вычитая из массы поступающего известнякового камня массу взвешенных отходов после сортировки. Количество введенного в производство известнякового камня выражают в т и % к массе свеклы или сахара-сырца;
- определяют содержание CaO + MgO в известняковом камне (в пересчете на CaO), % к массе известнякового камня, согласно методик, изложенных в книге "Методы исследования материалов в сахарном производстве", Москва, 1975, с. 152 - 157.
С этой целью один раз в сутки отбирают пробу известнякового камня, поступающего на известняково-обжигательную печь, и методом квартования составляют пробу за пятидневку. Масса пробы - 2 - 3 кг;
- определяют массу введенного в производство CaO + MgO (в пересчете на CaO). Для этого массу введенного в производство известнякового камня умножают на содержание CaO + MgO (в пересчете на CaO) и делят на 100. Количество введенного в производство CaO + MgO выражают в т и % к массе свеклы или сахара-сырца;
- определяют массу отходов извести, удаленных из производства, путем взвешивания их на автомобильных весах. Количество удаленных отходов извести выражают в т и % к массе свеклы или сахара-сырца;
- определяют содержание CaO + MgO (в пересчете на CaO) в товарной извести, % к ее массе, согласно методик, изложенных в книге; "Методы исследования материалов в сахарном производстве", Москва, 1975, с. 152 - 157.
Пробы товарной извести отбирают 1 раз в сутки и составляют пробу за пятидневку. Масса пробы - 2 - 3 кг:
- подсчитывают потери в производстве CaO + MgO (в пересчете на CaO) по разности между количеством CaO + MgO (в пересчете на CaO), введенном в производство, и суммой расхода CaO на производство и выведенного в виде товарной извести (% к массе свеклы или сахара-сырца).
Для расшифровки потерь CaO + MgO выполняют следующие определения и расчеты:
- определяют массу известковых отходов известняково-обжигательной печи путем взвешивания их на автомобильных весах. Количество известковых отходов выражают в т и % к массе свеклы или сахара-сырца;
- определяют содержание в известковых отходах CaO + MgO (в пересчете на CaO) по методике, изложенной в книге "Методы исследования материалов в сахарном производстве", Москва, 1975, с. 152 - 157.
Пробы известковых отходов отбирают 1 раз в сутки и методом квартования составляют пробу за пятидневку. Масса пробы 2 - 3 кг:
- определяют потери CaO + MgO в известковых отходах (в пересчете на CaO), % к массе свеклы или сахара-сырца, умножением количества их (% к массе свеклы или сахара-сырца) на содержание CaO + MgO и делением полученного произведения на 100;
- определяют неучтенные потери CaO + MgO по разности между потерями в производстве CaO + MgO (в пересчете на CaO) и потерями CaO + MgO (в пересчете на CaO) в известковых отходах.
12.26. Определение нерастворимых примесей в сахаре-сырце
На технических весах взвешивают в зависимости от предполагаемого количества нерастворимых примесей

сахара-сырца, который растворяют в

дистиллированной воды и фильтруют через предварительно высушенный вместе с бюксой до постоянной массы беззольный фильтр (синяя лента).
Нерастворимые примеси промывают на фильтре дистиллированной водой до исчезновения в промоях реакции на сахарозу по

.
После этого промытый фильтр с нерастворимыми примесями переносят в бюксу и высушивают в сушильном шкафу при температуре 105 °C до постоянной массы.
Содержание нерастворимых примесей в сахаре-сырце подсчитывают по формуле:

,
где X - содержание нерастворимых примесей в сахаре-сырце, % к его массе;
g2 - масса фильтра с нерастворимыми примесями и бюксой, г;
g1 - масса фильтра с бюксой, г;
g0 - масса сахара-сырца, г.
Отбор проб кизельгура производят по методике, изложенной в ОСТ 18-169-74 (п. 3.2 - 3.9).
В отобранной пробе определяют:
- объемную массу - по ОСТ 18-169-74 (п. 3.15);
- pH водной вытяжки - по ОСТ 18-169-74 (п. 3.17);
- скорость фильтрования воды - по ОСТ 18-169-74 (п. 3.19). Измерение производят на установке, описанной в
п. 11.1.6 настоящей инструкции;
- дисперсность - по ОСТ 18-169-74 (п. 3.20).
12.28. АКТИВНЫЙ ГРАНУЛИРОВАННЫЙ УГОЛЬ
12.28.1. Отбор проб
От партии активного гранулированного угля отбирают средние пробы из отдельных упаковок. Количество отобранных проб должно быть равно 10% от количества предъявленных упаковок, но не менее 3-х проб от партии.
Отбор средней пробы от упаковки производят пятикратным внесением металлического совка в струю зерен при пересыпании угля из полной упаковки в порожнюю. Допускается производить отбор проб щупом, погружая его на 0,75 высоты упаковки. Каждую пробу тщательно перемешивают и методом квартования сокращают объем до 1 л (средняя проба).
Среднюю пробу помещают в плотно закрывающуюся тару и передают на анализ (ГОСТ 16189-70).
В отобранных пробах определяют:
- зернение (по ГОСТ 16188-70);
- водородный показатель;
- обесцвечивающую способность (по рафинадной патоке).
12.28.2. Определение водородного показателя активного
гранулированного угля
10 г испытуемого угля (в пересчете на сухой уголь) взвешивают на технических весах, помещают в колбу вместимостью 250 мл, добавляют 100 мл дистиллированной воды и кипятят в течение 3 мин, закрыв колбу пробкой со вставленным в нее обратным холодильником. Затем содержимое колбы фильтруют через беззольный фильтр (белая лента), отбросив первые порции фильтрата. После охлаждения фильтрата до комнатной температуры в нем определяют значение pH лабораторным pH-метром.
12.28.3. Определение обесцвечивающей способности активного
гранулированного угля
Для определения обесцвечивающей способности активного гранулированного угля приготавливают водный раствор рафинадной патоки с оптической плотностью 1,0 - 1,1, определенной в кювете длиной 10 мм на фотоэлектроколориметре ФЭК-М с синим светофильтром или на фотоэлектрическом колориметре ФЭК-56 со светофильтром N 4.
Найденную опытным путем в зависимости от ее цветности навеску рафинадной патоки переводят в колбу, объем раствора доводят дистиллированной водой до 1 л, взбалтывают с 1 г кизельгура и растертого в порошок силикагеля.
Раствор фильтруют через складчатый бумажный фильтр.
Для испытания употребляют свежеприготовленный прозрачный раствор.
Затем на технических весах с погрешностью 0,01 г берут навеску угля, массу которой определяют умножением плотности на 0,022 (масса 22 см3 угля). Навеску переносят в плоскодонную колбу вместимостью 500 мл, приливают 200 мл приготовленного раствора рафинадной патоки.
Содержимое вместе с колбой взвешивают на технических весах.
После этого колбу с укрепленным воздушным или обратным водяным холодильником устанавливают на нагревательный прибор. Содержимое колбы нагревают до кипения и выдерживают при умеренном кипении в течение 1 ч. Затем колбу снимают, охлаждают, взвешивают и доводят до первоначальной массы дистиллированной водой.
Содержимое колбы перемешивают, фильтруют через складчатый фильтр и определяют оптическую плотность по методике, применяемой при анализе исходного раствора.
Обесцвечивающую способность вычисляют по формуле:

,
где ОС - осветляющая способность угля, %;
Д1 - оптическая плотность исходного раствора патоки;
Д2 - оптическая плотность раствора патоки после обработки его углем.
12.29.1. Отбор проб высокоосновного анионита АВ-17-2П
Пробы отбирают от каждого мешка.
Отбор проб проводят при помощи щупа длиной около 1000 мм и диаметром 20 - 25 мм, погружая его до дна мешка по вертикальной оси.
Отобранные пробы соединяют вместе, тщательно перемешивают и среднюю пробу в количестве не менее 1 кг помещают в чистую сухую стеклянную банку с притертой или плотно пригнанной пробкой.
В отобранной пробе определяют:
- содержание влаги (по ГОСТ 10898-74);
- фракционный состав (по ГОСТ 10900-74);
- содержание рабочей фракции (по ГОСТ 10900-74);
- обесцвечивающую способность в статических условиях.
12.29.2. Определение обесцвечивающей способности анионита
в статических условиях
Для получения красящих веществ берут 200 г глюкозы и 75 г едкого натрия, растворяют в 500 мл дистиллированной воды. Смесь нагревают в колбе с обратным холодильником на кипящей водяной бане в течение 2 ч. Затем колбу с содержимым охлаждают до 20 °C и нейтрализуют соляной кислотой до pH = 7,0.
Полученный раствор красящих веществ после фильтрования через бумажный фильтр используют для приготовления рабочего раствора.
Для этого в раствор, содержащий 60% сахарозы, добавляют раствор красящих веществ до цветности 20 условных единиц.
В исходном растворе измеряют оптическую плотность на фотоэлектрическом колориметре в кювете длиной 10 мм. при длине волны 510 - 560 нм. В качестве эталона применяют 60%-ный раствор сахарозы. В колбу вместимостью 500 мл помещают 100 мл набухшего анионита в Cl-форме и заливают 200 мл рабочего раствора, нагретого до 80 °C. Испытание проводят при постоянном перемешивании раствора с помощью механической мешалки (60 - 80 об/мин) в течение 4 ч при температуре 80 °C.
После этого часть раствора отфильтровывают от частиц смолы, доводят до pH = 7,0 (при помощи растворов HCl или NaOH) и измеряют оптическую плотность в кювете длиной 10 мм при длине волны, применяемой для измерения оптической плотности исходного раствора.
В качестве эталона применяют 60%-ный раствор сахарозы.
Обесцвечивающую способность анионита вычисляют по формуле:

,
где ОС - осветляющая способность анионита, %;
Дисх - оптическая плотность исходного раствора;
Доб - оптическая плотность раствора, обработанного анионитом.
12.30. Определение остаточных количеств формальдегида
в продуктах сахарного производства
Анализ выполняют по указанию главного технолога.
Берут навеску 30 - 50 г сахара, мелассы, жома или диффузионного сока, добавляют 80 - 100 мл дистиллированной воды, 5 - 10 мл и 5%-ной трихлоруксусной кислоты, взбалтывают в течение 15 мин и с помощью водяного пара отгоняют формальдегид. К 80 мл полученного дистиллята прибавляют 3 мл стандартного спиртового раствора димедона, нагревают в течение 10 мин на кипящей водяной бане с обратным холодильником или оставляют при комнатной температуре на 24 ч.
Раствор охлаждают и переносят в делительную воронку, добавляют 15 мл хлороформа и встряхивают в течение 5 - 10 мин. После расслоения фаз из водяной фазы дважды проводят экстракцию формальдимедона, добавляя по 10 мл хлороформа. Хлороформенные экстракты объединяют, пропускают через слой безводного сернокислого натрия и упаривают до объема 0,1 - 0,2 мл.
Примечание: В случае анализа мелассы водные растворы формальдимедона до проведения экстракции очищают от красящих и других коэкстрактивных веществ на колонке с активированным углем (карболом).
Остаток в колбе после отгонки растворителя наносят на тонкий слой силикагеля с помощью микрокапилляра в одну точку, на расстоянии 1,5 см от нижнего края и боковой стороны хроматографической пластинки. Нанесение проводят так, чтобы диаметр полученного пятна не превышал 8 - 10 мм.
Справа и слева от пробы, на расстоянии 1,5 - 2 см, наносят растворы "свидетелей" - стандартные растворы формальдимедона различной концентрации.
Пластинку с нанесенными растворами пробы и стандартов помещают в камеру для хроматографирования, в которую за 15 - 20 мин до начала анализа налита на высоту 0,5 см подвижная фаза - хлороформ.
После подъема растворителя на высоту 10 см пластинку вынимают и сушат на воздухе до полного исчезновения запаха растворителя.
Для обнаружения препарата пластинку опрыскивают проявляющим раствором (0,5%-ным раствором йода в хлороформе). Формальдимедон на хроматограмме обнаруживается в виде серо-коричневых пятен на белом фоне.
Количественное определение формальдегида производят путем визуального сравнения площади и интенсивности пятен проб в стандартных растворах.
Содержание формальдегида в пробе X, мг/кг, рассчитывают по формуле:

,
где A - количество формальдимедона, найденное путем визуального сравнения со стандартным раствором, мкг;
B - навеска пробы, г;
9,7 - фактор пересчета формальдимедона на формальдегид.
13. НЕКОТОРЫЕ СПЕЦИАЛЬНЫЕ РАСЧЕТЫ
13.1. Определение продолжительности оборота
диффузионной батареи
Продолжительность оборота батареи в минутах определяют по формуле:

,
где n0 - число диффузоров в батарее;

- длительность фактического сокодобывания, суток (длительность производства за вычетом времени, когда диффузия была высоложена);
N - число загруженных стружкой диффузоров за расчетный период.
По этой формуле продолжительность оборота определяют для каждой батареи отдельно.
Если в знаменателе поставлено общее число диффузоров нескольких батарей, то числитель следует умножить на количество диффузионных батарей.
13.2. Определение продолжительности диффундирования
13.2.1. Определение продолжительности диффундирования
при работе непрерывно действующих диффузионных аппаратов
Для ротационного диффузионного аппарата.

,
где

- продолжительность диффундирования,
мин;

- время пребывания свекловичной стружки в ошпаривателе,
мин;
m - число камер;
n - число оборотов барабана в час.
Для колонного диффузионного аппарата.

,
где

- продолжительность диффундирования,
мин;
V - активный объем аппарата (объем колонны от горизонтального сита до уровня воды за вычетом объема вала с лопастями), м3;
q - удельная нагрузка аппарата, т/м3, принимают равной 0,7;
A - производительность диффузионного аппарата по свекле, т/сутки;

- время пребывания свекловичной стружки в ошпаривателе,
мин. Определяют для каждого аппарата путем запуска меченой стружки.
Для наклонного диффузионного аппарата

,
где V1 - объем аппарата, м3;

- коэффициент заполнения диффузионного аппарата сокостружечной смесью по всей его длине, доли единицы;
q - удельная нагрузка аппарата, т/м3, принимают равной 0,6;
A - производительность диффузионного аппарата, т/сутки.
Для j-диффузионной установки и диффузионного аппарата Олье

,
где L - длина смоченной части транспортного органа, м;
V - скорость движения транспортного органа, м/мин.
13.2.2. Определение продолжительности диффундирования
при работе на диффузионной батарее
Продолжительность диффундирования

определяют по формуле:

,
где

- продолжительность оборота батареи,
мин;
n0 - число диффузоров в батарее;
(n0 - x) - число активных диффузоров, заполненных стружкой и соком. Обычно при нормальной работе x = 2. При работе на укороченной батарее берут фактическое число активных диффузоров.
13.3. Расчет количества воды на питание непрерывно
действующих диффузионных аппаратов
Расчет производят по уравнению материального баланса:
1 + x = aдс + aж; x = aдс + aж - 1,
где x - количество воды на питание диффузионного аппарата, доли единицы к массе свеклы;
aдс - откачка диффузионного сока, доли единицы к массе свеклы;
aж - выход сырого жома при работе без возврата жомопрессовой воды. Выход прессованного жома при возврате жомопрессовой воды, доли единицы к массе свеклы.
13.4. Определение расхода сырого жома на жомосушение
Количество сырого жома, переданного на сушение, определяют по массе сушеного жома и содержанию сухих веществ в нем, а также содержанию сухих веществ в исходном свежем жоме с учетом потерь при отжиме, прессовании и сушении. Потери при отжиме и прессовании принимают согласно
табл. 16 (раздел 17), а при сушении - 3% к массе сухих веществ, содержащихся в свежем жоме.
Пример. Взвешено 100 т сушеного жома с содержанием сухих веществ 88,0%. Количество свежего жома с содержанием сухих веществ 15%, израсходованное на выработку этого жома, составляет:

,
где 14,23 - потери сухих веществ при отжиме, % (по
табл. 16 при СВ свекловичного жома 15%);
3,0 - потери сухих веществ при сушении жома, %.
6,5 - содержание сухих веществ в неотжатом жоме, %.
13.5. Расчет количества продуктов в непрерывно действующем
диффузионном аппарате
Условные обозначения:
СВ - содержание истинных сухих веществ свеклы, % к массе свеклы;
СВ.с. - содержание сухих веществ диффузионного сока, %;
С'о - содержание сахара по дигестии в свекловичной стружке, %;
СХд.с. - содержание сахара в диффузионном соке, %;
СВп. - содержание сухих веществ прессованного жома, %;
СВс.ж. - содержание сухих веществ сырого жома, %;
СВж. - содержание сухих веществ жомопрессовой воды, %;
СХп.ж. - содержание сахара в прессованном жоме, %.
Выход прессованного жома, % к массе свеклы:
Потери сахара на диффузионной установке, % к массе свеклы:
Откачка сока на диффузии, % к массе свеклы:
Количество сырого жома, % к массе свеклы:
Количество жомопрессовой воды, % к массе свеклы:
Пример:
СВи = 25,0% СХд.с = 14,0% СВд.с. = 16,0% | С'о = 18,0% СВп.ж. = 14,0% СХп.ж. = 1,2% |
Выход прессованного жома будет равен:

к массе свеклы.
Потери сахара на диффузионной установке составят:

к массе свеклы.
13.6. Определение количества возвращаемого сока I сатурации
(на преддефекацию)
Количество возвращаемого сока I сатурации, % по объему диффузионного сока, вычисляют по формуле:

,
где А - общее содержание Ca(OH)2 и CaCO3 в преддефекованном соке в пересчете на % CaO;
Б - то же в возвращаемом нефильтрованном сатурационном соке;
С - щелочность диффузионного сока (при титровании с индикатором метилоранж диффузионный сок имеет щелочную реакцию).
Содержание CaCO3 и Ca(OH)2 в сатурационном и преддефекованном соках находят путем титрования пробы нефильтрованного сока 1 н. соляной или серной кислотой в присутствии смешанного индикатора.
Щелочность диффузионного сока можно принимать равной в среднем 0,06% CaO.
При добавлении к возвращаемому на преддефекацию соку I сатурации дефекованного сока или известкового молока определение выполняют в такой последовательности.
Закрывают поступление дефекованного сока или известкового молока на подщелачивание на 30 мин, не допускают никаких других возвратов на преддефекацию, кроме сока I сатурации, отбирают пробы соков, выполняют анализы и подсчет.
13.7. Определение расхода CaO на очистку диффузионного сока
при возврате на преддефекацию нефильтрованного сока
I сатурации или работе без возврата сока I сатурации
Расход CaO определяют по формуле:

,
где X - расход CaO, % к массе свеклы;
B - содержание CaO в известковом молоке, %. Определяют по
табл. 17 в зависимости от плотности известкового молока
(раздел 17);
aдс - откачка диффузионного сока, % к массе свеклы;
C - общее содержание извести в дефекованном или нефильтрованном сатурационном соке, % к массе сока.
При титровании пробы дефекованного или нефильтрованного сока I сатурации получают общее содержание CaO, % к объему испытуемого сока. Для пересчета на общее содержание CaO, % к массе сока, пользуются формулой:

,
где Cоб - общее содержание извести, % к объему сока;
1,07 - плотность дефекованного сока, г/см3.
При работе в I полугодии или при переработке свеклы ухудшенного качества в связи с появлением значительного количества органических кислот в диффузионном соке расход CaO подсчитывают по формуле ВНИИСП:

;

,
где aв - количество мл 1 н. раствора HCl, израсходованное на титрование 10 г водного раствора извести;
aо - количество мл 1 н. раствора HCl, израсходованное на титрование 10 г диффузионного сока, обработанного CaO.
Методика определения aв и aо состоит в следующем.
В двух химических стаканах со стеклянными палочками отвешивают на технических весах по 10 г химически чистой CaO.
В один из стаканов добавляют 300 г диффузионного сока, а в другой - 300 г дистиллированной воды. Стаканы вместе с содержимым взвешивают на технических весах.
Смесь извести и диффузионного сока нагревают на водяной бане до 70 - 80 °C в течение 10 мин при перемешивании, охлаждают до 20 °C и доводят дистиллированной водой до первоначальной массы.
После тщательного перемешивания отбирают 10 г суспензии, переносят ее в химический стакан вместимостью 150 мл, разбавляют 10 мл нейтральной воды, титруют 1 н. раствором HCl при индикаторе метиловый оранжевый и получают значение aо.
Затем после тщательного перемешивания 10 г водной суспензии CaO переводят в химический стакан вместимостью 150 мл, разбавляют 10 мл нейтральной воды, титруют 1 н. раствором HCl при индикаторе метиловый оранжевый и получают значение aв
В обоих случаях для разбавления проб применяют воду, нейтральную на метиловый оранжевый.
13.8. Определение расхода CaO на очистку диффузионного сока
при возврате на преддефекацию сгущенной суспензии
При возврате на преддефекацию грязевой суспензии расход CaO подсчитывают по формуле:

,

,
где Z - расход извести, % к массе свеклы;
aдс - откачка диффузионного сока, % к массе свеклы;
в - количество возвращаемой суспензии на преддефекацию, % к массе свеклы;
C1 си - общее содержание CaO в соке I сатурации по смешанному индикатору, % к его объему;
Cвси - общее содержание CaO в возвращаемой суспензии по смешанному индикатору, % к ее объему;
Cпси - общее содержание CaO в преддефекованном соке по смешанному индикатору, % к его объему;
Cпф - общее содержание CaO в преддефекованном соке по фенолфталеину, % к его объему;
d1 - плотность сока I сатурации, г/см3;
dв - плотность возвращаемой суспензии, г/см3.
13.9 Определение расхода CaO на II сатурацию
при выводе осадка
При даче извести на II сатурацию расход CaO вычисляют по формуле:

,
где X2 - расход CaO на II сатурации, % к массе свеклы;
a2 - количество сока II сатурации, % к массе свеклы;
d
2 - плотность сока II сатурации,
г/см3 (по
табл. 9, раздел 17, исходя из содержания сухих веществ);
C2 - общее содержание извести в нефильтрованном соке II сатурации по смешанному индикатору, % к его объему;
a1 - количество сока I сатурации, % к массе свеклы;
Щ1 - щелочность фильтрованного сока I сатурации по фенолфталеину, % к его объему;
d
1 - плотность фильтрованного сока I сатурации (по
табл. 9, раздел 17, исходя из содержания сухих веществ).
13.10. Определение расхода CaO при переработке сахара-сырца
Расход извести при переработке сахара-сырца вычисляют по формулам:

,

,
где y - расход извести, % к массе сахара-сырца;
B - содержание CaO в известковом молоке, %;
aк - выход клеровки, % к массе сахара-сырца;
Cк - общее содержание извести в клеровке перед II сатурацией, % к ее массе;
СВс - содержание сухих веществ в сахаре-сырце, %;
СВк - содержание сухих веществ в клеровке, %.
При титровании получают щелочность дефекованной клеровки, % к ее объему. Для пересчета на щелочность, % к массе клеровки, применяют формулу:

,
где Cк - общее содержание извести в клеровке перед II сатурацией, % к ее массе;
C'к - общее содержание извести в клеровке перед II сатурацией, % к ее объему;
d
к - плотность клеровки,
г/см3, определяемая по содержанию сухих веществ согласно
табл. 9 (раздел 17).
13.11. Определение эффекта очистки на дефекосатурации
Эффект очистки на дефекосатурации вычисляют по формуле:

,
K2 - то же для доброкачественности сока II сатурации.
13.12. Определение количества воды, подлежащей выпариванию
Количество воды (W), подлежащей выпариванию в выпарной установке, определяют по формуле:

,
где aос - количество сока, поступающего на выпарную установку;
СВ1 - содержание сухих веществ в соке, %;
СВ2 - содержание сухих веществ в сиропе, %
13.13. Определение изменения щелочности
на выпарной установке
Для определения изменения щелочности на выпарке необходимо пересчитать щелочность сока и сиропа на 100% сухих веществ. При этом необходимо учесть, что щелочность сока и сиропа определяют в процентах к объему сока и сиропа.
Поэтому пересчет производят по следующим формулам:
для сока

,
для сиропа

,
где Щ1, Щ2 - щелочность в пересчете на 100% сухих веществ: Щ1 - сока; Щ2 - сиропа;
СВсок, СВ - содержание сухих веществ, %: СВсок - в соке; СВсир - в сиропе;
dсок, dсир - плотность, г/см3: dсок - сока; dсир - сиропа;
Щсок, Щсир - щелочность сока и сиропа, % к их объему.
При определении щелочности сока и сиропа следует применять один и тот же индикатор. Если щелочность сока больше щелочности сиропа, в пересчете на 100% сухих веществ, то имеется падение щелочности на выпарке. Если наоборот, то происходит нарастание щелочности.
И ту и другую величину, в % к щелочности, вычисляют по формуле:

,
где P - изменение щелочности на выпарке, % к щелочности сока;
Положительная величина P показывает на падение, а отрицательная - на нарастание щелочности на выпарке.
13.14. Определение нарастания цветности на верстате
Нарастание цветности сока в процессе II сатурации, в процентах к цветности сока I сатурации, вычисляют следующим образом: из цветности сока II сатурации вычитают цветность сока I сатурации, разность умножают на 100 и делят на цветность сока I сатурации. Имеется в виду, что все цветности пересчитаны на 100% сухих веществ.
Аналогичное вычисление проводят и для последующих станций.
13.15. Определение продолжительности уваривания утфелей
в вакуум-аппаратах
Продолжительность уваривания утфелей I, II и III кристаллизаций в вакуум-аппаратах включает цикл операций: набор, уваривание, спуск, пропарку.
Время, в течение которого аппарат простаивает в процессе набора из-за отсутствия сиропов или оттеков, в длительность уваривания не включается.
13.16. Расчет длительности кристаллизации утфеля последнего
продукта
Длительность кристаллизации утфеля последнего продукта, в часах, определяют по формуле:

,
где A - фактическое среднее наполнение всех мешалок как среднее количество утфеля в мешалках на конец смен, т;

- время отчетного периода, суток;
Q - количество утфеля последней кристаллизации, сваренного за отчетный период, т.
Примечание. При наличии устройства для подогрева утфеля перед фуговкой емкость мешалки, в которой утфель подогревают, исключают.
13.17. Определение продолжительности оборота центрифуги
В продолжительность оборота центрифуги входит длительность следующих операций: включение центрифуги, фуговка, пробеливание, торможение, выгрузка. Определяется один раз в декаду хронометрированием (не менее пяти центрифуг подряд).
13.18. Определение фактора разделения центрифуги
Основной характеристикой, определяющей эффективность работы центрифуг, является фактор разделения (безразмерная величина), представляющий отношение центростремительного ускорения к ускорению силы тяжести:

,
где R - радиус ротора центрифуги, м;
g - ускорение силы тяжести, м/с2, g = 9,8;

- угловая скорость,
рад/с;

,
n - частота вращения, об/мин.
После подстановки значений указанных величин в формулу для вычисления фактора разделения:

,
где Д - внутренний диаметр ротора, м.
Фактор разделения показывает, во сколько раз действие центробежной силы ускоряет отделение межкристального раствора от кристаллов сахара по сравнению с действием силы тяжести.
13.19. Определение содержания кристаллов в утфеле
На основании анализов утфеля и межкристального раствора содержание кристалла в утфеле вычисляют по формуле:

,
где m - содержание кристалла в утфеле, %;
СХу - содержание сахара в утфеле, %;
СХр - содержание сахара в межкристальном растворе утфеля, %.
13.20. Определение видимого коэффициента пересыщения

,
где К - видимый коэффициент пересыщения;
СХр - содержание сахара в межкристальном растворе, %;
Рс - растворимость сахара для данной температуры в чистой воде;
СВ - содержание сухих веществ в межкристальном растворе, %.
Пример. Содержание сухих веществ в межкристальном растворе 85,4%, сахара 56,1%, температура 58 °C.
Растворимость сахара при температуре 58 °C равна 2,847. Следовательно, видимый коэффициент пересыщения:
13.21 Определение содержания сахара в мелассе в пересчете
на нормальную мелассу
Пересчет фактического содержания сахара в мелассе, % к массе свеклы, на нормальную производят по формуле:
П
нм = (0,85·a
зм - П
зм) К
нм или

где Пнм - содержание сахара в мелассе, % к массе свеклы в пересчете на нормальную мелассу;
aзм - выход заводской мелассы, % к массе свеклы;
Пзм - фактическое содержание сахара в заводской мелассе, % к массе свеклы;
Кнм - мелассообразующий коэффициент нормальной мелассы;
Кзм - мелассообразующий коэффициент заводской мелассы.
Дополнительный выход сахара при доведении заводской мелассы до нормальной определяется по следующим формулам:
Xм = СХзм - НСХзм·Кнм, % к массе мелассы;
X
с = П
зм - П
нм или

, % к массе свеклы;
где Xс - дополнительный выход сахара, % к массе свеклы;
Xм - дополнительный выход сахара, % к массе мелассы;
СХзм - содержание сахара в мелассе, %;
НСХзм - содержание несахара в мелассе, %;
Кнм - мелассообразующий коэффициент нормальной мелассы;
Пзм - фактическое содержание сахара в заводской мелассе, % к массе свеклы;
Пнм - содержание сахара в мелассе, % к массе свеклы в пересчете на нормальную мелассу.
13.22. Определение расхода известняка
Расход известняка определяют в зависимости от расхода извести на заводе. Так как из 100 частей CaCO3 получают 56 частей CaO, то расход CaCO3 к массе CaO составляет:
При содержании в известняке 95% CaCO3 расход его составит:
Если расход извести в процентах к массе свеклы обозначить через R, то расход известняка i в процентах к массе свеклы составляет:
В этом расчете не принято во внимание количество недопала. При наличии его следует внести соответствующую поправку.
13.23. Расчет количества продуктов сахарного производства
13.23.1. Расчет количества соков
13.23.1.1. Свекловичный сок

,
где

- количество свекловичного сока, % к массе свеклы;

- плотность свекловичного сока,
г/см3 (по значению содержания сухих веществ согласно
табл. 9, раздел 17)
13.23.1.2. Диффузионный сок

,
где

- количество диффузионного сока, % к массе свеклы;
С'0 - сахаристость свекловичной стружки по дигестии, %;
VD - учтенные потери сахара на диффузионных установках, % к массе свеклы;
П
н - неучтенные потери сахара на диффузионных установках, % к массе свеклы (при отсутствии расшифровки неучтенных потерь сахара принимают

, где П - общие неучтенные потери сахара в производстве).
13.23.1.3. Очищенный сок (сок II сатурации)

,
где Со - сахаристость свекловичной стружки, %;
VF - потери сахара в фильтрационном осадке, % к массе свеклы;
ПВ - неучтенные потери сахара на выпарке, % к массе свеклы;
СХос - содержание сахара в очищенном соке, % к его массе.
Примечание. При отсутствии расшифровки неучтенных потерь сахара П
н + П
в принимают равным

.
13.23.2. Расчет количества продуктов при работе
по двухпродуктовой схеме
13.23.2.1. Желтый сахар

,
где

- количество желтого сахара, % к массе свеклы;

- количество мелассы, % к массе свеклы;
СВм - содержание сухих веществ в мелассе, % к ее массе;
Дб"у - доброкачественность утфеля II кристаллизации, %;
Дбм - доброкачественность мелассы, %;
СВ"жс - содержание сухих веществ в желтом сахаре, % к его массе;
Дб"жс - доброкачественность желтого сахара, %;
13.23.2.2. Меласса

,
где

- количество мелассы, % к массе свеклы;

- количество условной мелассы, % к массе свеклы;
СХму - содержание сахара в условной мелассе, % к ее массе;
СХм - содержание сахара в мелассе, % к ее массе.
13.23.2.3. Утфель аффинационный

,
где

- количество аффинационного утфеля, % к массе свеклы;

- количество желтого сахара, % к массе свеклы;
СВзо - содержание сухих веществ в зеленом оттеке, % к его массе;
СВ"уа - содержание сухих веществ в аффинационном утфеле.
13.23.2.4. Желтый сахар аффинированный

,
где

- количество аффинированного желтого сахара, % к массе свеклы;
СВ"оа - содержание сухих веществ в аффинационном оттеке, % к его массе;
СВ"жса - содержание сухих веществ в аффинированном желтом сахаре, % к его массе.
13.23.2.5. Оттек аффинационный

,
где a"оа - количество аффинационного оттека, % к массе свеклы.
13.23.2.6. Клеровка

,
где

- количество клеровки, % к массе свеклы;
СВос - содержание сухих веществ в очищенном соке (соке II сатурации, сульфитированном соке), поступающем на клерование желтого сахара, % к его массе;
СВ"кл - содержание сухих веществ в клеровке, % к ее массе.
13.23.2.7. Очищенный сок на выпарку
a'ос = aос - (a"кл - a"жса),
где a'ос - количество очищенного сока, поступающего на выпарку, % к массе свеклы.
13.23.2.8. Сироп из выпарки

,
где aсир - количество сиропа, % к массе свеклы;
СВсир - содержание сухих веществ в сиропе, % к его массе.
12.23.2.9. Утфель II кристаллизации раскачанный
a"ур = a"жс + aм,
где a"ур - количество раскачанного утфеля II кристаллизации, % к массе свеклы.
13.23.2.10. Утфель II кристаллизации сваренный

,
где a"у - количество сваренного утфеля II кристаллизации, % к массе свеклы;
СВ"у - содержание сухих веществ в сваренном утфеле II кристаллизации, % к его массе;
СВ"ур - содержание сухих веществ в раскачанном утфеле II кристаллизации, % к его массе.
13.23.2.11. Зеленый оттек утфеля I кристаллизации

,
где a'зо - количество зеленого оттека утфеля I кристаллизации, % к массе свеклы;
СВ'зо - содержание сухих веществ в зеленом оттеке утфеля I кристаллизации, % к его массе;
a"жспа - количество желтого сахара II продукта, поступающего на аффинацию, % к массе свеклы;
Если аффинация желтого сахара II продукта отсутствует, то:
a"жспа = 0; a"уа = 0; a"оа = 0;
Если имеется аффинация желтого сахара II продукта,
то a"жспа = a"хс.
13.23.2.12. Белый оттек утфеля I кристаллизации
где a'бо - количество белого оттека утфеля I кристаллизации, % к массе свеклы;
Вс - выход сахара, % к массе свеклы;
Дбсп - доброкачественность сахара-песка, %;
Дб'у - доброкачественность утфеля I кристаллизации, %;
Дб'зо - доброкачественность зеленого оттека утфеля I кристаллизации, %;
СВ'бо - содержание сухих веществ в белом оттеке утфеля I кристаллизации, % к его массе;
Дб'бо - доброкачественность белого оттека утфеля I кристаллизации, %.
13.23.2.13. Утфель I кристаллизации

,
где a'у - количество утфеля I кристаллизации, % к массе свеклы;
СВ'у - содержание сухих веществ в утфеле I кристаллизации, % к его массе.
13.23.3. Расчет количества продуктов при работе
по трехпродуктовой схеме
13.23.3.1. Желтый сахар III кристаллизации

,
где a'''жс - количество желтого сахара III кристаллизации, % к массе свеклы;
Дб'''у - доброкачественность утфеля III кристаллизации, %;
СВ'''жс - содержание сухих веществ в желтом сахаре III кристаллизации;
Дб'''жс - доброкачественность желтого сахара III кристаллизации, %.
13.23.3.2. Утфель III кристаллизации раскачанный
a'''ур = a'''жс + aм,
где a'''ур - количество раскачанного утфеля III кристаллизации, % к массе свеклы.
13.23.3.3. Утфель III кристаллизации сваренный

,
где a'''у - количество сваренного утфеля III кристаллизации, % к массе свеклы;
СВ'''ур - содержание сухих веществ в раскачанном утфеле III кристаллизации, % к его массе;
СВ'''у - содержание сухих веществ в сваренном утфеле III кристаллизации, % к его массе.
13.23.3.4. Утфель аффинационный

,
где a'''уа - количество аффинационного утфеля, % к массе свеклы;
СВ'зо - содержание сухих веществ в зеленом оттеке утфеля I кристаллизации;
СВ'''уа - содержание сухих веществ в аффинационном утфеле, % к его массе.
13.23.3.5. Желтый сахар аффинированный

,
где a'''жса - количество аффинированного желтого сахара, % к массе свеклы;
СВ'''оа - содержание сухих веществ в аффинационном оттеке, % к его массе;
СВ'''жса - содержание сухих веществ в аффинированном желтом сахаре, % к его массе.
| | ИС МЕГАНОРМ: примечание. Нумерация пунктов дана в соответствии с официальным текстом документа. | |
13.23.3.7. Зеленый оттек утфеля I кристаллизации

,
где a'зо - количество зеленого оттека утфеля I кристаллизации, % к массе свеклы;
Вс - выход сахара (сахарозы), % к массе свеклы;
СВ'бо - содержание сухих веществ в белом оттеке утфеля I кристаллизации, % к его массе;
Дбсп - доброкачественность сахара-песка, %;
СВ'у - содержание сухих веществ в утфеле I кристаллизации, % к его массе;
Дб'бо - доброкачественность белого оттека утфеля I кристаллизации, %;
Дб'у - доброкачественность утфеля I кристаллизации, %;
СВ'зо - содержание сухих веществ в зеленом оттеке утфеля I кристаллизации;
Дб'зо - доброкачественность зеленого оттека утфеля I кристаллизации, %;
a'у - количество утфеля I кристаллизации, % к массе свеклы.
13.23.3.8. Белый оттек утфеля I кристаллизации
Для вычисления количества белого оттека применяется формула, приведенная в
п. 13.23.2.12.
13.23.3.9. Утфель I кристаллизации

,
где a'у - количество утфеля I кристаллизации, % к массе свеклы;
СВ'у - содержание сухих веществ в утфеле I кристаллизации, % к его массе;
СВск - содержание сухих веществ в сиропе с клеровкой, % к ее массе.
13.23.3.10. Желтый сахар II кристаллизации

,
где a"у - количество утфеля II кристаллизации, % к массе свеклы;
СВ"у - содержание сухих веществ в утфеле II кристаллизации, % к его массе;
a"бо - количество белого оттека утфеля II кристаллизации, % к массе свеклы;
СВ"бо - содержание сухих веществ в белом оттеке утфеля II кристаллизации;
a"зо - количество зеленого оттека утфеля II кристаллизации, % к его массе;
СВ"зо - содержание сухих веществ в зеленом оттеке утфеля II кристаллизации;
СВ"жс - содержание сухих веществ в желтом сахаре II кристаллизации;
a"жс - количество желтого сахара II кристаллизации, % к массе свеклы.
13.23.3.11. Зеленый оттек утфеля II кристаллизации

,
где a'''у - количество утфеля III кристаллизации, % к массе свеклы;
a"зо - количество зеленого оттека утфеля II кристаллизации, % к массе свеклы;
СВ'''у - содержание сухих веществ в утфеле III кристаллизации, % к его массе;
Дб"бо - доброкачественность белого оттека утфеля II кристаллизации, %;
Дб'''у - доброкачественность утфеля III кристаллизации, %;
aоа - количество аффинационного оттека, % к массе свеклы;
СВ'''оа - содержание сухих веществ в аффинационном оттеке, % к его массе;
Дб'''оа - доброкачественность аффинационного оттека, %;
СВ"зо - содержание сухих веществ в зеленом оттеке утфеля II кристаллизации;
Дб"зо - доброкачественность зеленого оттека утфеля II кристаллизации, %.
13.23.3.12. Белый оттек утфеля II кристаллизации

,
где a"бо - количество белого оттека утфеля II кристаллизации, % к массе свеклы;
СВ'''у - содержание сухих веществ в сваренном утфеле III кристаллизации, % к его массе;
a"зо - количество зеленого оттека утфеля II кристаллизации, % к массе свеклы;
СВ"зо - содержание сухих веществ в зеленом оттеке утфеля II кристаллизации, % к его массе;
a'''оа - количество аффинационного оттека, % к массе свеклы;
СВ'''оа - содержание сухих веществ в аффинационном оттеке, % к его массе;
СВ"бо - содержание сухих веществ в белом оттеке утфеля II кристаллизации, % к его массе;
a'''у - количество сваренного утфеля III кристаллизации, % к массе свеклы.
13.23.3.13. Утфель II кристаллизации

,
где a"у - количество утфеля II кристаллизации, % к массе свеклы;
СВ"у - содержание сухих веществ в утфеле II кристаллизации, % к его массе;
a'бо - количество белого оттека утфеля I кристаллизации, % к массе свеклы.
aкл = a"кл + a'''кла,
где aкл - количество клеровки, % к массе свеклы;
a"кл - количество клеровки желтого сахара II кристаллизации, % к массе свеклы;
a'''кла - количество клеровки аффинированного желтого сахара, % к массе свеклы.
13.23.3.15. Клеровка желтого сахара II кристаллизации

,
где СВ"жс - содержание сухих веществ в желтом сахаре II кристаллизации, % к его массе;
СВ"кл - содержание сухих веществ в клеровке желтого сахара II кристаллизации, % к ее массе;
СВос - содержание сухих веществ в очищенном соке (соке II сатурации, сульфитированном соке), поступающем на клеровку, % к его массе.
13.23.3.16. Клеровка аффинированного желтого сахара

,
где СВ'''кла - содержание сухих веществ в клеровке аффинированного желтого сахара, % к ее массе.
13.23.3.17. Очищенный сок на клеровку
a'ос = (a"кл - a"жс) + (a'''кла - a'''жса),
где a'ос - количество очищенного сока (сока II сатурации, сульфитированного сока), поступающего на клеровку, % к массе свеклы.
13.23.3.18. Очищенный сок на выпарку
a"ос = aос - a'ос,
где a"ос - количество очищенного сока, поступающего на выпарку, % к массе свеклы.
13.23.3.19. Сироп из выпарки

,
где aсир - количество сиропа из выпарки, % к массе свеклы;
СВсир - содержание сухих веществ в сиропе, % к его массе.
13.23.3.20. Сироп с клеровкой
aск = aсир + aкл,
где aск - количество сиропа с клеровкой, % к массе свеклы.
Примечание:
1. Формулы для расчета продуктов сахарного производства выведены в соответствии с технологическими схемами, приведенными в "Инструкции по ведению технологического процесса свеклосахарного производства" Москва, 1969. При других схемах работы в продуктовом отделении необходимо выводить специальные формулы.
2. Расчеты количества продуктов по приведенным формулам дают приблизительные результаты, так как по принятым методам исследования получаются не истинные, а видимые содержания сухих веществ и доброкачественности продуктов.
В основе химико-технического учета сахарного производства лежит сопоставление количества сахарозы, введенной в производство, и сахарозы, полученной в учтенной готовой продукции, мелассе или рафинадной патоке, в оставшихся продуктах незавершенного производства. По этим данным определяют общие потери сахара.
Потери сахара в свеклосахарном производстве выражают в % к массе переработанной свеклы; в сахарорафинадном производстве - в % к массе сахарозы, введенной в производство; при переработке сахара-сырца - в % к массе переработанного сахара-сырца.
Химико-технический учет сахарного производства должен быть согласован с данными заводской бухгалтерии в отношении количества переработанного сырья, учтенной готовой продукции и отходов (меласса, рафинадная патока), промежуточных продуктов, введенных и выведенных из производства.
14.1. СВЕКЛОСАХАРНОЕ ПРОИЗВОДСТВО
14.1.1. Свекла
Основанием для химико-технического учета свеклосахарного производства являются количество переработанной свеклы и содержание в ней сахара. Достаточно точный учет массы переработанной свеклы можно получить только непосредственным взвешиванием на автоматических весах.
Во избежание посторонних воздействий весы должны быть ограждены решеткой с дверью, ключ от которой должен храниться в лаборатории завода.
Для контроля исправности работы счетчика перевеса автоматических весов надлежит каждую смену вычислять процент перевеса.
Весы проверяются ежесуточно методом уравновешивания ковша со свеклой и гиредержателя с обязательной проверкой тары весов, как это принято поверителями Государственного комитета стандартов, мер и измерительных приборов СССР.
Для этого отключают механизм автоматического взвешивания и приводят коромысло в состояние равновесия добавлением разновесов к гиредержателю или ковшу.
Поправочный коэффициент выводится по результатам 10 определений. При превышении средней погрешности 10 взвешиваний на весах ДС-500 1,5 кг и на весах ДС-800 - 2,4 кг необходимо произвести соответствующую регулировку весов с последующей проверкой.
Поправочный коэффициент вычисляют до трех знаков после запятой.
Масса свеклы по счетчику, умноженная на поправочный коэффициент, дает количество переработанной свеклы за смену. Эта величина, выраженная в тоннах с точностью до десятых долей, записывается в журнале сменных технологов и принимается для всех дальнейших расчетов.
Тару проверяют следующим образом: отключают механизм автоматического взвешивания, вынимают из гиредержателя гири и уравновешивают его с ковшом соответствующим количеством балласта. Затем укладывают гири с балластом и пломбируют дверцу гиредержателя. В акте проверки тары весов должно быть указано количество мест груза (балласта) и их масса.
В случае поломки весов при работе на непрерывно действующем диффузионном аппарате учет количества переработанной свеклы ведут по ленточным весам.
Эти весы заблаговременно должны быть доведены до номинальной точности и ежедневно проверяться путем определения поправочного коэффициента по инструкции, приложенной к весам, а также сопоставлением их показаний с показаниями автоматических весов для свеклы в период их работы.
Если ленточные весы отсутствуют, то переработку подсчитывают по среднечасовой переработке свеклы за предыдущие 5 суток работы этой смены.
В случае поломки весов при работе на диффузионной батарее количество переработанной свеклы за период времени их поломки высчитывают по нагрузке диффузоров, средней за предыдущие 5 суток работы этой смены.
При неисправности счетчика перевесов автоматических весов и отсутствии его показания в течение нескольких часов (менее одной смены) перевес высчитывают по фактическому процентному перевесу за предыдущую смену.
Пример. Отношение показаний счетчика перевесов к показаниям счетчика опрокидываний за предыдущую смену 3,21%. Поправочный коэффициент 1,007.
Показания счетчика опрокидываний за данную смену 430,0 т.
Перевес по счетчику принимается:

.
Переработано свеклы за смену:
(430,0 + 13,8) 1,007 = 446,9 т.
При неисправности счетчика основных отвесов в течение нескольких часов (менее одной смены) переработка свеклы может быть подсчитана по фактическому процентному перевесу за предыдущую смену.
Пример. Отношение показания счетчика перевесов к показаниям счетчика опрокидываний за предыдущую смену 3,14%.
Поправочный коэффициент 1,003.
Показания счетчика перевесов за смену 14,351 т.
Показания счетчика опрокидываний принимается, исходя из следующих подсчетов:

.
Так как количество опрокидываний должно быть целым числом, то при грузоподъемности весов 0,8 т это значение равно

.
Следовательно, показание счетчика опрокидываний составило
571·0,8 = 456,8 т.
Переработано свеклы за смену
(456,8 + 14,351) 1,003 = 472,6 т.
Проверку автоматических весов оформляют актом или записью в специальном журнале. В проверке должен участвовать представитель отдела сырья.
Во всех случаях учета свеклы не по автоматическим весам (неисправность весов) акты составляются сменным технологом или главным технологом, начальником смены и представителем отдела сырья за каждую смену.
Актируют также (или записывают в книге проверки) показания счетчиков весов в начале и в конце производства, в случае изменения показаний счетчиков при ремонте весов и при перерывах в сокодобывании свыше 4-х часов - показания счетчиков весов в начале и в конце простоя.
Во время работы завода при неисправных автоматических весах со стороны лаборатории завода должен быть обеспечен контроль за исправностью работы ленточных весов (при работе непрерывно действующих диффузионных аппаратов) и за нагрузкой диффузоров (при работе батарей Роберта).
Руководство завода обязано принять меры для скорейшего исправления весов.
К началу производства автоматические весы должны быть отремонтированы и подготовлены к клеймению госповерителем.
Клеймение должно быть произведено в течение первой декады производства.
Технический надзор за весами систематически осуществляет весовой мастер завода.
Количество сырого жома при непрерывно действующей диффузионной установке определяется по формуле
(п. 13.5.).
Выход жома, % к массе свеклы, проще определять по содержанию сухих веществ в нем (прибором ВЧМ или высушиванием в сушильном шкафу) и содержанию мякоти в свекле.
В зависимости от того, работает завод без возврата или с возвратом жомопрессовых вод, выход отжатого жома, % к массе свеклы, находят по содержанию сухих веществ в нем, пользуясь соответственно
табл. 15 (раздел 17). Ориентировочно выход сырого жома, % к массе свеклы, на непрерывно действующих диффузионных установках примерно следующий: колонная диффузия - 70%, ротационная - 80%, системы Олье - 80%, наклонная двухшнековая, за исключением аппаратов АI-ПДС-20 и АI-ПДС-30 - 90%, диффузионные аппараты АI-ПДС-20 и АI-ПДС-30 - 80%, диффузионная установка типа J - 80%.
Количество сырого жома при работе диффузионной батареи принимают равным 90% к массе свеклы.
14.1.3. Диффузионная вода
Количество диффузионной воды при работе диффузионной батареи принимают равным 120% к массе свеклы.
14.1.4. Фильтрационный осадок
Количество фильтрационного осадка принимают равным четырехкратному количеству расходуемой на дефекацию извести. Количество расходуемой извести подсчитывают по формулам, приведенным в
п. 13.7.,
13.8.,
13.9.
14.1.5. Количество сиропа, утфелей и оттеков
на заводском верстате
Количество сиропа, утфелей и оттеков, находящихся на верстате завода в момент учета, определяют по измеренному объему этих продуктов. Для этого измеряют объем всех емкостей и аппаратуры продуктового отделения. По данным замера составляют калибровочные таблицы объемов мешалок и сборников по их недоливу.
Количество мелассы, выкачиваемой в резервуар, определяют взвешиванием на автоматических или обычных весах. Лицо, обслуживающее обычные весы (весовщик), подчиняется главному технологу завода. Количество взвешенной мелассы записывают в специальном журнале.
Для взвешивания мелассы следует устанавливать весы грузоподъемностью 10 - 30 т.
От весов в лабораторию завода рекомендуется провести простейшую автоматическую сигнализацию о наполнении ящика весов мелассой. Весы для взвешивания мелассы проверяют контрольными гирями не реже одного раза в декаду.
Масса контрольных гирь для проверки весов при взвешивании мелассы должна соответствовать грузоподъемности весов с учетом кратности взвешивания и тары ящика.
Наложение контрольных гирь при проверке весов производят в ящик или на ящик в зависимости от местных условий.
Не допускается возможность попадания мелассы в резервуар, минуя весы. Во избежание таких явлений для подачи мелассы в резервуар должен быть установлен отдельный насос. Нагнетательный вентиль насоса на период простоя завода закрывают на замок, ключ от которого должен находиться в лаборатории завода.
После взвешивания, перед поступлением в резервуары, мелассу часто приходится подогревать паром, а трубопровод пропаривать, особенно в зимнее время, поэтому абсолютное количество резервуарной мелассы может быть несколько больше взвешенной, а плотность ее соответственно меньше.
Вследствие этого необходимо каждую декаду и по окончании производства производить сверку количества резервуарной и взвешенной мелассы по массе, сухим веществам и по сахару в мелассе.
Все резервуары должны быть прокалиброваны заранее.
Во избежание отпуска мелассы из наполняемого резервуара на заводе должно быть установлено не менее двух резервуаров. До начала производства главный технолог должен проверить состояние резервуаров: они должны быть промыты и продезинфицированы известковым молоком.
Для определения высоты слоя мелассы с учетом количества, которое находится в виде пены, должна быть установлена открытая труба снаружи или внутри резервуара. Диаметр наружной трубы 80 - 100 мм, а высота равна высоте резервуара. Труба имеет два крана - у нижнего края ее и на патрубке, соединяющем трубу с резервуаром. Для определения объема мелассы в резервуаре открывают кран на соединяющем патрубке при закрытом кране у нижнего края трубы до уравновешивания уровня мелассы в резервуаре и в трубе. После замера высоты слоя в трубе кран на патрубке, соединяющем трубу с резервуаром, закрывают, открывают кран у нижнего конца трубы, спускают всю мелассу в подставленную емкость и определяют ее плотность при температуре хранения. Произведение объема мелассы на ее плотность дает массу мелассы.
Труба, установленная внутри резервуара, должна быть диаметром около 150 мм и не доходить до дна примерно на 200 мм. Массу мелассы определяют как произведение ее объема на плотность. Плотность определяют в пробе, отобранной из нижнего слоя мелассы в резервуаре. Для этого мелассу наливают в точно выверенный сосуд вместимостью 5 л или другую емкость при той температуре, при которой ее замеряют в резервуаре, и взвешивают на весах типа ВНЦ-10. Для отбора средней пробы, характеризующей качество мелассы по высоте резервуара, через каждый метр должны быть установлены краны диаметром 25 мм (в местах, удобных для отбора проб). Резервуары мелассы должны быть оборудованы лестницами и площадками, соответствующими правилам по технике безопасности.
Измерение высоты перелива или недолива мелассы производят градуированной рейкой, которую для удобства делают из 2 - 3-х свинчивающихся частей.
Чтобы избежать образования пены, труба, подающая мелассу в резервуар, должна быть загнута открытым концом к стенке резервуара и располагаться на противоположной стороне от замерной трубы.
Для того, чтобы избежать попадания пены и осадков в трубу перед поступлением мелассы в резервуар, низ внутренней трубы обертывают бумагой в 2 - 3 слоя, а сверху трубу закрывают деревянной пробкой. Когда высота уровня мелассы в резервуаре достигнет примерно 1 метра, пробку вынимают, пробивают рейкой бумагу и оставляют рейку в трубе, закрывая трубу деревянной пробкой с соответствующим вырезом для рейки. Если, несмотря на принятые предосторожности, в трубу, служащую для измерения слоя мелассы, попало некоторое количество пены, ее вычерпывают перед замером. Если уровень мелассы ниже нижнего края трубы, определяют сумму массы мелассы и пены по высоте слоя и их плотности.
Расхождение между количеством сахара в мелассе по данным весов и количеством сахара по данным обмера в резервуаре (с учетом расхода и отгрузки) допускается в пределах +/- 1,0% к количеству сахара во взвешенной мелассе от начала производства.
Баланс мелассы, сухих веществ и сахара в ней при сопоставлении резервуарной мелассы со взвешенной составляется примерно по следующей форме:
| Масса мелассы, т | Анализ | Масса сухих веществ мелассы, т | Масса сахара мелассы, т |
содержание сухих веществ, % | содержание сахара, % | доброкачественность, ед. |
1 | 2 | 3 | 4 | 5 | 6 | 7 |
Остаток мелассы на начало производственного периода, т | | | | | | |
Взвешено мелассы от начала производства, т | | | | | | |
Дооприходовано от начала производства, т | | | | | | |
Итого приход | | | | | | |
Отпущено мелассы от начала производства, т | | | | | | |
Итого числится мелассы, т | | | | | | |
Найдено мелассы в резервуарах обмером, т | | | | | | |
Разница, т | | | | | | |
Разница в пересчете на взвешенную мелассу, т | | | | | | |
Недостачу или излишек мелассы пересчитывают на взвешенную мелассу по формуле:

,
где qz - излишек или недостача сахара по балансу, т;
СХвзв - содержание сахара во взвешенной мелассе, % к ее массе;
Qz - недостача или излишек мелассы, т, в переводе на взвешенную.
Аналогичные пересчеты производят и по сухим веществам.
В случае расхождения в количестве сахара в резервуарной и взвешенной мелассе, превышающего допуск, нужно выяснить причину этого, принять меры для устранения ненормальности, а излишек мелассы сверх допуска дооприходовать как полученную с производства на основании акта замера по массе, сахару и сухим веществам.
В случае разжижения мелассы при выкачке в резервуары или хранении разницу в массе следует оприходовать.
В начале производства перед поступлением мелассы в резервуары должны быть подведены окончательные результаты хранения и транспортировки мелассы за предыдущее производство.
При наличии в резервуарах остатка мелассы предыдущего производства должна быть проведена инвентаризация ее перед поступлением мелассы нового производства, и в балансах оставшейся и полученной мелассы должен быть отражен фактический остаток согласно акту инвентаризации с участием бухгалтерии.
14.1.7. Количество продуктов на верстате до сиропных
сборников ("соковый верстат")
Количество соков и сиропа на верстате завода до сиропных сборников выражают условно в тоннах утфеля. Оно может быть определено с достаточной точностью в начале производства, а также после простоев с полным высолаживанием непрерывно действующего диффузионного аппарата или диффузионной батареи. Для этого в начале производства необходимо заметить, сколько переработано свеклы в момент после спуска в мешалку первой вари утфеля I кристаллизации.
По количеству переработанной свеклы, т, ее сахаристости и потерям до мелассы определяют количество сахара, т, находящееся на заводском верстате и в продуктах.
Исходя из найденного количества сахара, вычисляют вместимость заводского верстата, выраженную в тоннах утфеля I кристаллизации. С этой целью делят массу сахара на содержание сахара в утфеле, %, и умножают частное на 100. От найденного количества утфеля отнимают утфель в мешалке и вакуум-аппаратах, а также сироп в сборниках (в переводе на утфель). Остаток и есть соковый верстат, выраженный в тоннах утфеля.
Расчет сокового верстата оформляют ежегодно актом с утверждением его главным инженером завода.
Пример расчета сокового верстата. Пусть на момент спуска первой вари утфеля I кристаллизации переработано 600 т свеклы с сахаристостью 18,7%. Потери сахара в жоме, разжиженном фильтрационном осадке за последнюю смену и 66% неучтенных потерь за прошлое производство (а после простоя - за предыдущую декаду) составляют 0,7%. Содержание сахара в утфеле 84,0%.
Тогда всего в продуктах и на соковом верстате находится утфеля

.
Поступило утфеля в мешалку 43,0 т, найдено в вакуум-аппарате и сборнике сиропа продуктов в переводе на утфель 15,7 т, всего утфеля в продуктах 58,7 т.
Утфеля в соках и сиропах (соковый верстат)
128,6 - 58,7 = 69,9 т.
Это количество утфеля можно выразить в тоннах свеклы, необходимой для заполнения сокового верстата:

.
Зная количество свеклы, требуемое для заполнения сокового верстата, можно учитывать изменение последнего в зависимости от сахаристости свеклы и фактических потерь сахара.
Верстат следует уточнять при каждом простое (например, при выварке выпарки) по количеству утфеля, сваренному из сиропов сокового верстата.
Если такое наблюдение производить несколько лет подряд, то можно близко подойти к истинному количеству свеклы, переработка которой необходима для заполнения заводского верстата до сборников сиропа перед вакуум-аппаратами I кристаллизации.
При учете верстата обращают внимание на степень наполнения бункера свеклой после весов, нагрузку непрерывно действующего диффузионного аппарата или число наполненных диффузоров, а также степень наполнения выпарной установки.
14.1.8. Сироп, оттеки и клеровка
Все сборники сиропов, клеровок и оттеков до производства должны быть обмерены и снабжены шкалами с градуировкой в м3. По измеренному объему сиропа (оттека, клеровки) и его плотности находят его массу. Чтобы перевести массу сиропа (оттека, клеровки) в утфель, нужно его количество умножить на содержание сухих веществ в нем и разделить на содержание сухих веществ в утфеле.
Пример. Учтено 10
м3 сиропа с содержанием сухих веществ 63,3%, содержание сухих веществ утфеля I кристаллизации 92,7%. В табл. 28 против
строки 63 и
столбца 92 находят приближенный коэффициент 0,879. В столбце поправок для содержания сухих веществ 0,3 сиропа находят поправку плюс 0,005, а для содержания сухих веществ утфеля 0,7 поправку минус 0,006. Коэффициент перевода сиропа в утфель равен 0,879 + 0,005 - 0,006 = 0,878. Следовательно, 10
м3 сиропа эквивалентно 10,0 x 0,878
т утфеля I кристаллизации.
14.1.9. Утфель I кристаллизации
Перед производством путем точного обмера вакуум-аппарата рассчитывают для него шкалу, градуированную в м3.
Шкалу наносят на рейку, которую укрепляют вдоль зрительных стекол вакуум-аппарата.
Наличие утфеля I кристаллизации в мешалках и утфелераспределителе определяют по таблицам недоливов; в центрифугах - по их числу и объему и в вакуум-аппаратах - по шкале.
В момент определения наличия утфелей в работающих аппаратах на несколько секунд прикрывают вентиль разрежения, чтобы объем массы в аппарате был определен в спокойном (не кипящем) состоянии.
Для определения массы найденные объемы утфеля умножают на его плотность.
Общее количество утфеля I кристаллизации в момент учета складывается из утфеля на соковом верстате, утфеля из сиропа, II оттека и клеровки, утфеля в вакуум-аппаратах, в мешалках, в утфеле-распределителях и центрифугах.
14.1.10. Утфель II и III кристаллизации
Наличие утфеля II и III кристаллизации определяют точно так же, как и наличие утфеля I кристаллизации, т.е. по недоливу залитых мешалок, уровню утфеля в вакуум-аппарате и по количеству I оттека (пересчитанного по содержанию сухих веществ на утфель II и III кристаллизации).
14.1.11. Сахар-песок
При учете весь сахар, находящийся в бункерах, должен быть взвешен и упакован.
При невыполнении этого требования определение выхода сахара и неучтенных потерь не производят во избежание искажения учета. Об этом главный технолог завода должен по телеграфу сообщить вышестоящей организации.
Одновременная упаковка и вывозка в сахарный склад сахара из упаковочной, состоящей из одного отделения, запрещается, за исключением тех заводов, где сахар из упаковочной транспортируется конвейером. На заводах бесконвейерной транспортировки сахара упаковочная должна состоять из трех отделений: упаковочного и двух холодильников. Дверь холодильника, ведущая в упаковочную, на время вывозки сахара должна быть запломбирована.
При конвейерном способе транспортировки сахара в склад должны быть установлены автоматические счетчики. Конвейер должен состоять, по крайней мере, из двух транспортеров: первый, до счетчика, с меньшей скоростью, второй, сразу после счетчика, с большей скоростью. При таком устройстве мешки, ящики, даже уложенные рядом, перед счетчиком отделяются друг от друга и учитываются раздельно.
Показания счетчика должны дублироваться в упаковочной и складе. Учитывая особую важность точного учета сахара, обязательна установка не менее двух счетчиков.
Запись показаний счетчиков один раз в сутки должна производить комиссия в составе: главного технолога или его заместителя, главного бухгалтера или его заместителя, заведующего упаковочной, заведующего сахарным складом и представителем отдела КИП по обслуживанию счетчиков (при необходимости производят сброс показаний счетчиков).
Рекомендуется работу упаковочной организовать таким образом, чтобы упаковка заканчивалась к моменту учета (22 и 24 часа, в зависимости от местных условий).
Взвешенный (упакованный) сахар учитывается заведующим упаковочной.
Количество упакованного сахара проверяют следующим образом.
На заводах, где отсутствует транспортировка сахара конвейером, после окончания упаковки комиссия в составе: главного бухгалтера (председатель), главного технолога (или лица, им уполномоченного, - помощника главного технолога, сменного технолога) и заведующего упаковочной, проверяет количество упакованного сахара и фиксирует его в особом журнале. За транспортировкой сахара из упаковочной в сахарный склад должны следить два человека: представитель упаковочной и представитель сахарного склада.
На многих сахаро-песочных заводах сахар-песок взвешивают на полуавтоматических весах ДСП-100 различных модификаций.
Это стационарные подвесные весы. Масса порции составляет 50 - 100 кг. Погрешность взвешивания сахара определяется паспортом весов.
Перед началом работы производят тарирование весов. Для этого надо закрыть заслонку, регулятор при этом должен быть выключен. Гирю устройства для учета массы мешка устанавливают на нуль и убеждаются в равновесии весов. Если равновесия нет и оно не устанавливается от прибавления на гиредержатель или выпускную воронку грузика допуска в 20 г, то следует его добиться добавлением в полость гиредержателя или изъятием из нее дополнительного тарировочного груза. Затем помещают в гиредержатель гири соответственно массе отвешиваемой порции, подвешивают мешок и открывают заслонку.
Точность работы весов ДСП-100 определяется следующим образом.
После произведенного отвеса устанавливается погрешность в массе порции добавлением на гиредержатель или на выпускную воронку гирек до прихода коромысла в положение равновесия.
Если весы дают перевесы, которые не устраняются передвижением гири регулятора влево, то следует уменьшить ширину засыпной щели; если это не помогает, надо уменьшить зазор между головкой спускного болта и концом спускного рычага. При недовесах поступают наоборот.
Весы можно отрегулировать на постоянные недовесы порядка 50 - 200 г, которые досыпают вручную, не снимая мешка.
Регулировка весов ДСП-100 производится весовым мастером. Подробную инструкцию по уходу за весами, их регулировке с описанием устройства прилагают к каждому комплекту весов.
Правильность взвешивания сахара-песка и сахара-рафинада при упаковке проверяют главный технолог и главный бухгалтер или их заместители не реже 2 - 3 раз в 5 дней путем повторного взвешивания на выдержку с помощью отдельных контрольных весов в упаковочной или в складе в количестве 10 мешков сахара.
Кроме того, один раз в смену правильность взвешивания проверяет сменный технолог в присутствии заведующего упаковочной, а 2 раза в смену - заведующий упаковочной.
Если каждое из десяти взвешиваний дает отклонение в одну сторону (только плюс или только минус), это значит, что взвешивание производится неправильно.
Массу тары определяют предварительным взвешиванием мешков комиссией в составе: главного технолога или его заместителя, заведующего упаковочной и заведующего материальным складом. Результаты взвешиваний записывают в актовую книгу для контрольного взвешивания тары с указанием количества взвешенных мешков, общей и средней массы одного мешка, кг.
При определении средней массы одного мешка, кг, с точностью до второго знака после запятой следует руководствоваться общепринятыми правилами.
При учете рафинада, выпускаемого в обертке или коробке, масса бумаги, картона и шпагата проверяется не реже одного раза в смену. Проверка наличия сахара в упаковочной и складах и сверка с данными бухгалтерского учета производятся главным бухгалтером и главным технологом не реже одного раза в месяц.
14.1.12. Учет выпущенных и введенных в завод продуктов
незавершенного производства
Комиссия в составе: главного инженера, главного технолога и бригадира продуктового отделения взвешивает и определяет количество продуктов, оставшихся после производства, независимо от того, хранятся ли они в заводе или в складе.
Количество сухих и сыпучих продуктов определяют непосредственно взвешиванием, а жидких и полужидких - точным измерением объема и плотности.
Кроме массы, в акте указывают рандеман сахарозы и условной мелассы или рафинадной патоки в процентах и в абсолютных количествах (на основе анализов).
Аналогично поступают при вводе в переработку продуктов незавершенного производства прошлых лет или продуктов, поступивших из других заводов. Если в составе этих продуктов за время их хранения произошли изменения, это отмечают в акте с указанием причин, вызвавших эти изменения.
Вычисленное количество сахарозы в указанных продуктах считают полностью сданным в роспуск в том случае, если продукты хранились внутри завода. В противном случае списание производят по мере их доставки в завод.
14.1.13. Составление баланса сахара
Для определения выхода сахарозы к массе свеклы вычисляют количество сахарозы, которое получится из каждого учтенного продукта в результате окончательной его переработки в условиях производства данного завода, не считая сахарозы, оставшейся в мелассе.
Для этого вычисляют рандеман продукта, пользуясь формулой:
Кс = СХ - НСХ·К,
где Кс - рандеман, %;
СХ - содержание сахарозы в продукте, % к его массе;
НСХ - содержание несахара в продукте, % к его массе;
К - мелассообразующий коэффициент для данного завода по среднему анализу мелассы за последнюю декаду.
Для вычисления рандемана пользуются анализом утфеля I кристаллизации за последнюю смену и средним анализом утфеля последней кристаллизации из всех мешалок.
В начале производства при отсутствии мелассы исходят из анализа мелассы за соответствующий период предыдущего производственного сезона.
В конце производства для расчета принимают анализ мелассы за последнюю декаду.
Мелассообразующий коэффициент несахара (отношение

) К вычисляют по анализу мелассы с точностью до 0,001 либо находят по
табл. 29 (раздел 17).
Допустим, что получен следующий анализ мелассы: содержание сухих веществ 81,0%, содержание сахара 46,7%, содержание несахара 34,3%, доброкачественность 57,7 ед.

.
Коэффициент К также может быть найден по доброкачественности мелассы:

.
При определении рандемана, а также мелассообразующих коэффициентов можно пользоваться таблицами И.Н. Акиндинова. (И.Н. Акиндинов "Вспомогательные таблицы производственно-технического учета на свеклосахарных заводах").
Для примера найдем рандеман утфеля I кристаллизации. Состав утфеля: содержание сахара 85,10%, содержание несахара 7,96%, К = 1,364.
Подставив эти данные в формулу, получим рандеман Кс = 85,10 - 7,96·1,364 = 85,10 - 10,86 = 74,2%.
Рандеман вычисляют с точностью до 0,1%. Так же находят рандеман и для других сахарсодержащих продуктов.
Зная количество продуктов и их рандеманы, можно определить выход сахарозы в процентах к массе свеклы.
Пример. Переработано 9875,1 т свеклы. Учтено сахара-песка 1270,8 т и продуктов на верстате: в пересчете на утфель I кристаллизации - до сиропных сборников - 74,0 т, в продуктовом отделении - 113,8 т; в пересчете на утфель II кристаллизации - 343,2 т. Введено желтого сахара прошлого производства - 22,0 т. Рандеманы: утфеля I - 74,2%, утфеля II - 41,2%, желтого сахара прошлого производства - 86,9%. Среднее содержание сахарозы в сахаре-песке 99,75%.
Учтено сахарозы: |
в сахаре-песке | 1270,8 x 0,9975 = 1267,6 т |
на верстате до сиропных сборников | 74,0 x 0,742 = 54,9 т |
в утфеле I кристаллизации | 113,8 x 0,742 = 84,4 т |
в утфеле II кристаллизации | 343,2 x 0,412 = 141,4 т |
Итого | 1548,3 т |
Введено с желтым сахаром прошлого производства | 22,0 x 0,869 = -19,1 т |
Всего | 1529,2 т |
Выход сахара, % к массе свеклы составляет:

.
Общее количество мелассы, полученной при переработке свеклы, состоит из взвешенной мелассы и мелассы, оставшейся в невыработанных продуктах.
Всю учтенную мелассу приводят к условному содержанию сухих веществ по рефрактометру - 85% (условная меласса).
Пересчет взвешенной мелассы в условную производят либо путем деления на 85 массы сухих веществ во взвешенной мелассе по данным журнала среднединамических подсчетов и последующим умножением частного на 100 или делением на 85 произведения количества взвешенной мелассы на содержание в ней сухих веществ, либо путем умножения количества взвешенной мелассы на коэффициент, найденный по
табл. 30 (раздел 17).
Для определения количества условной мелассы, которое может быть получено из данного продукта, количество продукта умножают на мелассный коэффициент. Для вычисления мелассного коэффициента Км нужно из процентного содержания сахара в данном продукте вычесть рандеман, полученную разность умножить на 100 и разделить на процентное содержание сахара в условной мелассе:

,
где Км - коэффициент выхода мелассы (мелассный коэффициент), %;
СХу - содержание сахара в условной мелассе, %.
Пример. Количество утфеля I кристаллизации 113,8 т, содержание сахара в нем 85,1%, рандеман утфеля 74,2%.
Содержание сахара в условной мелассе за последнюю декаду 48,45%. Искомый коэффициент выхода мелассы равен:

к массе утфеля.
Количество условной мелассы в утфеле I кристаллизации составит:

.
Таким же образом определяют количество условной мелассы, которое может быть получено из всех продуктов.
Общее количество мелассы вычисляют следующим образом:
Взвешено мелассы с содержанием сухих веществ 80% - 78,9 т.
По
табл. 30 коэффициент пересчета на условную мелассу - 0,9412.
Учтено мелассы в пересчете на условную
78,9 x 0,9412 = 74,3 т.
Осталось в продуктах | 313,2 т |
Итого | 387,5 т |
Исключают мелассу, введенную с желтым сахаром прошлого производства, 1,4 т.
Всего получено мелассы из свеклы текущего производства
387,5 - 1,4 = 386,1 т.
Переработано свеклы за отчетный период - 9875,1 т.
Выход условной мелассы, % к массе свеклы, будет:

.
Производственные потери сахара разделяют на учтенные и неучтенные.
В условиях свеклосахарного производства с достаточной степенью точности можно учитывать потери в жоме, диффузионной воде, разжиженном фильтрационном осадке и содержание сахара в мелассе. Остальные потери в условиях обычного химико-технического учета непосредственному определению не поддаются. Величина их находится по разности между общими и учтенными потерями сахара.
Таким образом, под неучтенными потерями в учете свеклосахарного производства следует понимать всю совокупность потерь, обусловленных химическими, биохимическими и механическими факторами.
В настоящее время лабораторией контроля и учета производства ВНИИСП разработаны методы расшифровки неучтенных потерь сахара в производстве (на диффузионной установке, выпарке, продуктовом отделении, отходящих водах: барометрических, аммиачных, сточных и т.д.), которые изложены в
разделе 12.
Потери сахара в жоме, диффузионной воде и разжиженном фильтрационном осадке, в % к массе переработанной свеклы, вычисляют следующим образом.
Если при работе на непрерывно действующей диффузионной установке по анализу в прессованном жоме установлено 0,9% сахара при его выходе 31,7%, в разжиженном фильтрационном осадке - 1,5%, то потери, в % к массе свеклы, с учетом массы отходов составляют:
в жоме

;
в фильтрационном осадке (по разжиженному в пересчете на густой)

,
где 2,25 - расход извести на очистку сока, % CaO к массе свеклы.
Таким образом, учтенные потери сахара будут равны
0,29 + 0,14 = 0,43%.
Для определения содержания сахара в мелассе, % к массе свеклы, выход условной мелассы в процентах (3,91) умножают на содержание в ней сахара, определенное по анализам (48,45%) и делят на 100.

.
Сахаристость свеклы в среднем за декаду равна 18,28%, а выход сахара к массе свеклы 15,48%. Разность составляет 18,28 - 15,48 = 2,80%.
Неучтенные потери сахара составят 2,80 - 1,89 - 0,43 = 0,48% к массе свеклы.
Этим заканчивается составление баланса сахарозы за первый отчетный период.
При составлении отчетов за второй, третий и следующие периоды сначала составляют отчет "От начала производства", а данные для графы "За отчетный период" находят вычитанием соответствующих количественных величин отчета предыдущего периода из величин "От начала производства" составляемого отчета и производят соответствующие расчеты относительных величин.
Составляют отчеты декадные, месячные и окончательные по полугодиям, за производство и за календарный год. Отчеты за календарный год составляют путем суммирования отчетных данных за два полугодия.
При вводе в производство полупродуктов других заводов (вбросы) мелассообразующий коэффициент определяют по анализу мелассы завода-получателя за декаду, когда "вбросы" перерабатывают.
При расшифровке неучтенных потерь сахара по источникам их происхождения должно быть обеспечено объективное отражение учтенных потерь сахара на диффузионной установке, в фильтрационном осадке и содержания сахара в мелассе. Систематически следует производить дополнительные исследования по определению содержания оптически активных веществ, разлагающихся под влиянием извести при нагревании, неучтенных потерь сахара на диффузионной установке, выпарной установке, в продуктовом отделении и тщательный учет всех механических потерь (в отходящих водах и т.д.).
Массу переработанной свеклы и взвешенного сахара учитывают и показывают в отчетах с точностью до 0,1 т, содержание сахара в полупродуктах - с точностью до 0,01%.
Допустимая погрешность в определении потерь сахара в производстве (до мелассы): за декаду +/- 0,12%; за месяц +/- 0,05%; за полугодие +/- 0,02%, за производственный год +/- 0,01% к массе свеклы.
Погрешность определения содержания сахара в мелассе: за декаду +/- 0,05%, за месяц +/- 0,02%; за полугодие +/- 0,01%, за производственный год +/- 0,01% к массе свеклы.
14.2. САХАРОРАФИНАДНОЕ ПРОИЗВОДСТВО
14.2.1. Свекловичный сахар-песок
Сахар, прибывший в исправных вагонах с ненарушенными пломбами и в исправной таре, принимают по данным железнодорожных накладных.
При отсутствии пломбы или нарушении ее, при технической неисправности вагона или при обнаружении в вагоне рваных мешков с сахаром весь сахар такого вагона обязательно взвешивают.
Полностью взвешивают также сахар, поступающий на завод автотранспортом.
Сахар-песок, поступающий в роспуск (в бункеры при клеровочном отделении) из склада, подвергается сплошному взвешиванию.
Главный технолог или его заместитель, весовой мастер и бригадир систематически проверяют чувствительность весов и точность взвешивания на них.
Количество сахара-песка, поступившего в роспуск за отчетный период, определяют следующим образом. К концу отчетного периода тщательно разравнивают остаток песка в бункерах при клеровочном отделении и определяют обмером занимаемый им объем. Массу сахара-песка в бункерах на конец отчетного периода Q2 находят, принимая массу 1 м3 сахара-песка равной 0,8 т. Если наличие сахара-песка в бункерах к началу отчетного периода Q1 и количество поданного в бункеры за отчетный период Q0, то количество сахара-песка, поступившего в роспуск, Q3 будет:
Q3 = Q1 + Q0 - Q2.
Один раз в месяц при участии главного технолога и главного бухгалтера проверяют наличие сахара-песка в складах и по результатам проверки составляют акт. Для обеспечения возможности такой проверки сахар должен быть уложен в штабели правильными рядами.
При поступлении сахара-песка повышенной влажности часть сахара в виде сиропа и прилипших кристаллов не поддается удалению механической очисткой и остается на ткани мешка. Поэтому массу нетто сахара-песка, поступающего в роспуск, определяют как разность массы брутто и фактической массы тары. В этих случаях порожние мешки, тщательно очищенные механическим путем, направляют на мешкомойку. Определяют объем сладких вод и в них - содержание сахара. Количество сахара, содержащегося в сладких водах, в переводе на сахар-песок списывают со склада и считают переданным в производство по акту, в составлении которого обязательно участие главного технолога завода.
14.2.2. Определение наличия сахара в заводе
(продуктовый верстат)
| | ИС МЕГАНОРМ: примечание. Нумерация пунктов дана в соответствии с официальным текстом документа. | |
12.2.2.1. Определение количества наличных продуктов
Массу сухого рафинада определяют подсчетом количества планок или вагончиков, заполненных сухим рафинадом. Полученное число умножают на среднюю массу рафинада на одной планке или вагончике. Так же поступают и в отношении сырого прессованного рафинада.
Количество сыпучих продуктов (белых, желтых песков, рафинадного брака и т.д.) подсчитывают по объему, определенному после придания им правильной формы и умноженному на среднюю плотность.
Для определения количества продуктов полужидких и жидких, например, сиропов, оттеков, утфелей в вакуум-аппаратах и в мешалках, отбора промоев адсорберов, требуется, чтобы были:
- описания емкостей для всех указанных продуктов с обозначением размеров и вместимости;
- таблицы к этому описанию, вместимость наполненной части емкостей (соответственно каждому сантиметру налива) в единицах объема и массы.
Для определения количества сиропов и промоев, содержащихся в адсорберах, отмечают, сколько адсорберов заполнено сиропом к концу отчетного периода. Особо отмечают адсорберы, находящиеся в стадии отбора и промывки. Объемное количество сиропа или воды, которое может содержаться в нагруженном адсорбере, зависит как от степени заполнения его активным гранулированным углем, так и от размера его зерен. Поэтому для определения содержания сиропа в адсорберах поступают так.
При загрузке адсорбера активным гранулированным углем наполняют им тарированный сосуд (например, декалитр) и взвешивают. Находят массу сухого угля G0. На второй или третий день работы адсорбера его открывают, удаляют верхний слой угля и наполняют тот же сосуд (декалитр) углем из последующего слоя, пропитанного сиропом.
Наполнив сосуд этим гранулированным углем, медленно заполняют этим же сиропом промежутки между частицами угля до краев сосуда. При этом, по мере наполнения сиропом, сосуд встряхивают для удаления пузырьков воздуха, которые могли бы задержаться между частицами угля. Сосуд с гранулированным углем и сиропом взвешивают и находят массу смеси (гранулированный уголь + сироп) G
с. Величина

выражает отношение массы сиропа, впитанного углем и заполнившего промежутки между его частицами, к массе этого угля, %.
Зная массу угля, вмещающегося в фильтре, Gу, находят количество сиропа, заполняющего часть фильтра, занятую гранулированным углем, по формуле:

.
Пример. При пробном взвешивании масса сухого угля в сосуде 9,5 кг. Масса угля с сиропом в том же сосуде - 16,7 кг.

.
Если в адсорбер вмещается 6,0 т такого угля при заполнении его до конуса горловины, то сиропа в адсорбере будет:

.
Если адсорбер находится в стадии отбора, то из краника на колонке или из соответствующего сборника берут пробу сиропа, выходящего из адсорбера. Смешав равные объемы сиропа и угля, определяют содержание сухих веществ в отборе и по
табл. 8 (см. раздел 17) соответствующую ему плотность d
2. Количество отбора G
от определяют по формуле:

,
где Gу и К имеют те же значения, что и в предыдущей формуле;
d1 - плотность сиропа, содержание которого в угле было определено опытным путем, г/см3.
d2 - средняя плотность отбора из адсорбера в момент взятия проб, г/см3.
Средняя плотность промоев, содержащихся в промываемом адсорбере, равна приблизительно половине плотности промоев, выходящих из адсорбера. В этом случае d
2 представляет собой среднюю плотность промоев, соответствующую

. Количество промоев в адсорбере определяют по предыдущей формуле.
Наиболее трудно поддается определению количество сахара в трубопроводах, желобах и т.д. Измерение емкости всех сиропных и других трубопроводов, заполненных сахаросодержащими жидкостями, желобов, насосов и т.п. рекомендуется производить ежегодно.
Каждый завод на оснований опытных данных и наблюдений за предыдущие годы (в зависимости от длины и сечения труб, расположения аппаратуры, степени использования технической мощности и пр.) должен выработать для себя соответствующие величины.
14.2.3. Пересчет наличных продуктов на сахарозу и условную
рафинадную патоку
Все наличные на заводе продукты пересчитывают по мелассообразующему коэффициенту (отношение

) на сахарозу и рафинадную патоку.
Подсчет производят так же, как и для свеклосахарного производства (см.
п. 14.1.13), считая при этом условной патоку с содержанием 80% сухих веществ по рефрактометру.
Учет сахарозы в готовой продукции, сахарозы и рафинадной патоки в продуктах незавершенного производства производится по найденным рандеманам и коэффициентам выхода патоки из продукта (Кс и Кп) так же, как и при учете свеклосахарного производства.
Коэффициент выхода патоки из продукта вычисляют по анализу рафинадной патоки за последний месяц производства.
14.2.4. Потери сахара
Как и в свеклосахарном производстве, при выработке рафинада различают потери учтенные и неучтенные, определяемые по разности между общими потерями сахара и учтенными потерями. К учтенным относят:
- потери в отработанном активном гранулированном угле, выгружаемом из адсорберов, или в промытом активном угле;
- потери в спускаемых из адсорберов промывных водах.
К неучтенным потерям относят все механические, химические и биологические потери.
14.2.5. Определение потерь сахара в активном
гранулированном угле
Зная среднюю нагрузку каждого адсорбера сухим углем и число адсорберов, промытых за отчетный период, определяют массу промытого сухого угля G, т. Если по данным лабораторных определений в среднем за отчетный период содержание сахара в отработанном гранулированном угле, % к массе сухого угля, составляет Сх, то общие потери сахара, т, в отработанном активном гранулированном угле за этот период составят:

.
Потери сахара, % к массе сахарозы, введенной за отчетный период в производство, составят:

,
где A - количество введенной сахарозы за отчетный период, т.
14.2.6. Определение потерь сахара в спускных промоях
Количество спускных промоев при нормальной загрузке адсорберов активным гранулированным углем находится в зависимости от степени измельчения угля.
Поэтому должен быть установлен контрольный сборник, вмещающий все количество воды из одного адсорбера. После спуска воды из адсорбера в предварительно опорожненный сборник лаборатория определяет количество промоев. Затем перемешав их, отбирают среднюю пробу для анализа.
14.2.7. Определение выхода рафинадной патоки и содержания
сахарозы в ней
Учет ведется в пересчете на условную рафинадную патоку. Выход патоки выражают в процентах к массе введенной сахарозы. Условной считают патоку с содержанием 80% сухих веществ.
Количество условной рафинадной патоки подсчитывают так же, как и в свеклосахарном производстве (см.
п. 14.1.6. и
п. 14.1.13).
Количество сахара, содержащееся в полученной патоке, определяется путем умножения количества условной патоки на процентное содержание сахара в ней и деления на 100.
Эту величину относят к массе сахарозы, введенной в производство за отчетный период, и выражают в процентах.
14.2.8. Составление баланса сахарозы и рафинадной патоки
При составлении баланса сахара и рафинадной патоки количество сахарозы, введенной в производство, находят как сумму сахарозы, введенной с сахаром-песком при его роспуске (произведение количества сахара-песка и содержания в нем сахарозы, %, деленное на 100) и сахарозы во введенных продуктах прошлого производства по рандеманам.
Количество сахарозы, полученное в производстве, слагается из количества ее в учтенном рафинаде и сахарозы, которую можно получить из продуктов на верстате (не считая сахарозы в продуктах верстата, остающейся в рафинадной патоке).
Разность между количествами сахарозы, введенной в производство и полученной из производства, дает величину общих потерь ее.
Разница между величинами общих и учтенных потерь составляет неучтенные потери сахарозы.
Все потери выражают в процентах к массе сахарозы, введенной в производство.
Пример составления баланса сахарозы за первый отчетный период.
Введено в производство 14800,0 т сахара-песка с содержанием сахарозы 99,66% и продуктов предыдущего производства, из которых по рандеману ожидают получить сахарозы 200,0 т и условной рафинадной патоки 90,0 т.
Всего введено сахарозы с сахаром-песком и продуктами:

.
Учтено рафинада 13010,7 т со средним содержанием сахарозы 99,8%.
Выкачано в резервуар рафинадной патоки 107,7 т со средними показателями: содержание сухих веществ - 78,0% и Дб - 71,0%. Найдено на верстате в продуктах и сахаре-песке в пересчете на сахарозу - 1850,0 т и условной рафинадной патоки 116,0 т с содержанием сухих веществ 80,0% и Дб = 71,0%.
Всего получено сахарозы:

.
Общие потери сахарозы составляют:
14949,7 - 14834,7 = 115,0
т или

к массе
введенной сахарозы.
Получено рафинадной патоки

.
Сахара в рафинадной патоке содержится

.
Содержание сахара в рафинадной патоке, % к массе введенной сахарозы

.
Если потери сахара в промоях и активном гранулированном угле равны 0,07%, то неучтенные потери сахара составляют:
0,77 - 0,50 - 0,07 = 0,20%.
Этим заканчивается составление баланса сахарозы за первый отчетный период.
При составлении отчетов за второй, третий и следующие периоды поступают так же, как и в учете свеклосахарного производства. Сначала составляют отчет "от начала производства", а количественные величины для графы "за отчетный период" находят вычитанием соответствующих величин отчета предыдущего периода из величин "от начала производства" составляемого отчета.
14.2.9. Определение выхода рафинада из утфеля
Объем утфеля, залитого в мешалку, определяют путем замера недолива сразу после спуска содержимого аппарата.
Плотность утфеля находят как среднее из нескольких определений с помощью декалитра или другой посуды с определенным объемом, заполненным утфелем после его спуска.
Из общего количества сваренного рафинадного утфеля вычитают утфель, находящийся в кристаллизаторах и в утфелераспределителе, а к учтенному рафинаду прибавляют весь неучтенный, сырой и сухой рафинад (находящийся возле прессов, в сушилках, в холодильнике и в разделочно-упаковочном цехе), за вычетом отходов, получаемых при его сушке, колке и упаковке.
Количество этого рафинада выражают в процентах к массе утфеля.
Данные для определения выхода рафинада из утфеля за отчетный период находят по разности между соответствующими величинами к концу и началу отчетного периода.
14.2.10. Определение количества рафинадного брака и отходов
Количество брака и отходов определяют по количеству клеровки, полученной из сухих возвратов. Это количество выражают в % к массе сваренного утфеля.
14.3. ПРОИЗВОДСТВО РАФИНАДА В РАФИНАДНОМ ОТДЕЛЕНИИ
ПРИ СВЕКЛОСАХАРНОМ ЗАВОДЕ
При составлении отчета о работе сдвоенного песочно-рафинадного (свеклорафинадного) завода сперва составляют краткий упрощенный отчет о производстве в отчетном периоде сахара-рафинада. При этом принимают, что фактические потери при рафинировании равны плановым потерям в производстве и в рафинадной патоке.
По количеству выработанного рафинада, т, и содержанию в нем сахарозы, %, находят количество сахарозы в выработанном рафинаде, т. Разделив это количество на плановый выход сахарозы (100 минус плановые потери в производстве и в рафинадной патоке) и умножив на 100, находят количество сахарозы в распущенном сахаре-песке.
Количество сахара-песка, поступившего в роспуск, определяют путем деления количества сахарозы в распущенном сахаре-песке на содержание сахарозы в стандартном сахаре-песке (99,61%) и умножением на 100. Полученное количество сахара-песка считается выработанным и переданным в рафинадное отделение. Оно приводится в отчетах песочного завода в графе "взвешено сахара-песка" и в отчетах рафинадного цеха в графе "принято заводом и поступило в роспуск". При этом содержание влаги и содержание сахарозы в сахаре-песке указывают соответственно стандарту - 0,14% и 99,61%.
Если песочный завод вывозит часть сахара-песка, минуя рафинадный цех, то к найденному расчетному количеству сахара-песка добавляют в графе "Взвешено сахара-песка" количество сахара-песка, выпущенного в виде готовой продукции, со средним динамическим анализом.
Если рафинадное отделение вводит в роспуск посторонний сахар-песок, то в графе "принято заводом" к найденному расчетному количеству песков добавляют количество постороннего сахара-песка со средним динамическим анализом.
При составлении баланса по сахаропесочному производству рафинадный верстат пересчитывают на сахар-песок путем деления количества сахарозы рафинадного верстата на содержание сахарозы в сахаре-песке и умножения на коэффициент, учитывающий общие потери в рафинадном отделении:
Из полученных потерь сахарозы до мелассы и в мелассе по балансу песочного производства снимают соответственно плановые потери сахарозы рафинадного цеха и потери сахарозы в рафинадной патоке.
14.4. Переработка тростникового сахара-сырца
Бестарный сахар-сырец взвешивают на весах и передают в производство по фактической массе.
В роспуск сахар-сырец, затаренный в мешки, передают по массе брутто.
Порожние мешки, тщательно очищенные механическим путем, перед сдачей в материальный склад взвешивают. По результатам взвешивания составляют акт.
Массу сахара-сырца нетто, поступающего в роспуск, определяют как разность массы брутто и фактической массы тары.
Главный технолог или его заместитель, весовой мастер и весовщик ежесуточно проверяют чувствительность весов и точность их взвешивания. Количество сахара-сырца, направленное в переработку, определяют согласно данным взвешивания, зафиксированным в специально прошнурованном, пронумерованном и скрепленном печатью журнале.
Полученная разность в массе сахара-сырца при приемке и переработке, в пересчете на первоначальное содержание влаги, составляет потери сахара-сырца от приемки до переработки.
14.4.1. Баланс сахара и мелассы
Баланс сахара и мелассы составляют так же, как и для свеклосахарного производства. Потери сахара до мелассы, содержание сахара в мелассе, выход сахара выражают в процентах к массе переработанного сахара-сырца.
К учтенным потерям относят потери сахара в фильтрационном осадке. Разница в величинах общих и учтенных потерь составляет неучтенные потери сахара.
На момент учета (22 и 24 ч) определяют количество продуктов на верстате завода, начиная от клеровочной мешалки в растворном отделении и кончая утфелями и оттеками в продуктовом отделении.
С целью определения количества продуктов, находящихся в трубопроводах и аппаратах сокоочистительного отделения до сборников сиропа перед вакуум-аппаратами, следует в начале производственного периода определить количество сахара-сырца, необходимое для заполнения трубопроводов и аппаратов, согласно взвешиванию на весах с обязательным составлением акта и последующим его утверждением главным инженером завода.
15. ОРГАНИЗАЦИЯ РАБОТЫ ЛАБОРАТОРИИ
15.1. ПОДГОТОВКА ЛАБОРАТОРИИ К ПРОИЗВОДСТВУ
Для обеспечения нормальной работы лаборатория сахарного завода должна быть тщательно подготовлена к производству в межсезонный период.
Основные реактивы должны быть подготовлены до начала производства из расчета на 100 суток. При длительности производства более 100 суток реактивы заготовляют еще один раз в середине производства, за исключением реактивов, заготовляемых на более короткие сроки.
Жестяную посуду для отбора проб, ведра для жома следует изготовить до начала производства в количестве, необходимом на все производство.
Фенолфталеиновые, тимолфталеиновые и другие индикаторные бумажки заготавливают на пятидневку.
Все приборы, посуду, реактивы надо ставить в определенное место и располагать так, чтобы работник тратил возможно меньше времени при пользовании ими.
Так, над столом, где анализируют жом, следует разместить бутылки с дистиллированной водой и свинцовым уксусом. То же над столом, где выполняют анализы остальных продуктов.
Бюретки для титрования должны иметь приспособления для автоматического наполнения до отметки "0".
Для взвешивания на технических весах следует заготовить тару для каждой чашки или лодочки, служащих для взвешивания; чашки и тара должны быть пронумерованы.
Жестяную посуду после отбора проб нужно ставить в определенное место.
Водяные бани, водяные холодильники, вытяжные шкафы, горелки должны содержаться в порядке и работать безукоризненно.
Каждый работник должен иметь все необходимые приборы и посуду. Так, работник на анализах жома должен иметь отдельную дробилку и пресс, отдельные колбочки для осветления жомового сока и диффузионной воды (если на заводе еще работает диффузионная батарея), две воронки и два стаканчика для фильтрования, две поляриметрические кюветы и т.д.
Продукты производства, пробы которых отбирают ежечасно, а анализ производят 1 раз в смену из средней пробы, должны храниться в банках с плотно закрывающимися пробками (без добавления антисептиков).
Каждый работник лаборатории должен иметь полотенце, халат и место в шкафчике для их хранения.
Основные журналы для контроля производства должны быть пронумерованы, прошнурованы, опечатаны сургучной печатью завода с указанием количества листов и заверены подписью главного бухгалтера завода. В них не допускаются неоговоренные поправки, подчистки и т.д. Основными журналами считаются следующие:
- технологических показателей работы завода (сменных технологов);
- среднединамических величин;
- проверки автоматических весов для свеклы;
- взвешивания мелассы или рафинадной патоки;
- отгрузки мелассы или рафинадной патоки и их анализов;
- отгрузки сахара и его качества;
- начальников смен;
- жомосушки.
Кроме того, ведутся вспомогательные журналы:
- декадный химико-технический;
- уваривания, кристаллизации и фуговки утфелей;
- анализов вспомогательных материалов и по установлению технологического режима;
- контроля хранения сахара в сахарных складах.
Все неисправные приборы должны быть отремонтированы возможно быстрее после производства (ремонт на месте или в специальных мастерских).
Все приборы, требующие поверки представителями Комитета стандартов, мер и измерительных приборов, должны быть своевременно поверены в установленные сроки (с получением документа о поверке).
15.2. ПРИМЕРНЫЕ ПЛАНЫ РАБОТЫ ЛАБОРАТОРИЙ
Примерные планы работы лабораторий сахарных заводов
в зависимости от местных условий в отдельных случаях могут
быть изменены главным технологом завода.
15.2.1. СВЕКЛОСАХАРНОЕ ПРОИЗВОДСТВО
Раздел, пункт инструкции | Наименование продукта | Место и порядок отбора проб | Что определяют в продукте | Число анализов в смену | Время выполнения анализов (часы смены) |
1 | 2 | 3 | 4 | 5 | 6 |
| Транспортерно-моечная вода | Из канала транспортерно-моечной воды | - Содержание сахара | 2 | 3; 7 |
- pH | 1 | 3 |
| Осветленная транспортерно-моечная вода | Из лотка после отстойника (Если содержание сахара не равно содержанию сахара в транспортерно-моечной воде) | - Содержание сахара | 2 | 3; 7 |
| Свекловичная стружка | Перед поступлением в диффузионную установку или из желоба при падении в диффузор | - Содержание сахара | 6 | 1; 2; 3; 4; 5; 6 |
- Длина 100 г стружки, % брака и мезги | 2 | 3; 6 |
- Фактор стружки | 2 | 3; 6 |
| Свекловичный сок | Разовая проба свекловичной стружки перед поступлением в диффузионную установку, измельчение на дробилке, прессование кашки на ручном прессе в салфетке | - pH | 1 | 2 |
- Содержание оптически активных веществ | y | 2 |
- СВ, СХ, Дб | 1 | |
- Соковый коэффициент | 1 | |
| Диффузионный сок | Из краника на нагнетательном трубопроводе перед подогревателем | - СВ | 8 | ежечасно |
- СВ, СХ, Дб | 2 | не реже 1 раза |
- Содержание мезги | 1 | 1 |
- Содержание редуцирующих веществ | - | по указанию главного технолога |
- Содержание ВМС и коллоидов | | по указанию главного технолога |
| | В 7 - 9 точках диффузионного аппарата или через один диффузор на батарее Роберта | - pH | 1 | 4 |
| Жом и диффузионная вода | Пробы жома отбирают ежечасно при работе непрерывно действующих аппаратов и из каждого диффузора при работе батарей Роберта | - СХ | 8 | ежечасно |
| Прессованный жом | При выходе жома из шнека после прессования или на ленточном транспортере ежечасно | - СХ | 4 | каждые 2 часа |
- СВ | 1 | 7 из средней пробы |
| Жомопрессовая вода | Из краника на трубопроводе перед поступлением в диффузионный аппарат | - СХ | 4 | 1; 3; 5; 7 |
- pH в разовой пробе | 1 | 3 |
| Известковое молоко | Из мерника известкового молока | - Плотность | 8 | ежечасно |
| Преддефекованный сок | Из пробного краника на трубопроводе сока на основную дефекацию | - Общее содержание CaO, % к объему сока, и щелочность фильтрованного сока; | 8 | ежечасно |
- При отсутствии возврата сока I сатурации щелочность профильтрованного сока | 8 | ежечасно |
- pH | 2 | 3; 6 |
| Дефекованный сок | Из краника на трубопроводе сока между дефекатором и сатуратором | - Общее содержание CaO, % к объему сока, и щелочность, % CaO | 8 | ежечасно |
- При отсутствии возврата сока I сатурации щелочность, % CaO | 8 | ежечасно |
| Сатурационный газ | Из крана в лаборатории на трубопроводе газа | - % CO2 - газоанализатором | 2 | 1; 5 |
| Сок I сатурации фильтрованный | Из краника на нагнетательном трубопроводе, по которому сок поступает во II сатуратор (при отсутствии краника - из контрольных фильтров сока I сатурации) | - Щелочность, % CaO, и прозрачность | 8 | ежечасно |
- pH | 2 | не менее 2-х раз |
| Суспензия сока I сатурации | Из корыт вакуум-фильтров | - Плотность денсиметром | 8 | ежечасно |
| Сок II сатурации | Из краника на трубопроводе, подающем сок в сульфитатор | - Щелочность, % CaO, и прозрачность | 8 | ежечасно |
- pH | 2 | не менее 2-х раз |
- СВ, СХ, Дб, цветность, содержание кальциевых солей из средней пробы | 1 | 8 |
| Сульфитированный сок | Из краника на трубопроводе, подающем сок на выпарную установку (или из контрольных фильтров) | - Щелочность, % CaO, и прозрачность | 8 | ежечасно |
- pH | 2 | не менее 2-х раз |
- СВ, СХ, Дб, цветность, содержание кальциевых солей из средней пробы | 1 | 8 |
| Сульфитационный газ | Из трубопровода поступления газа в сульфитатор | - % SO2 | 1 | 2 |
| Разжиженный фильтрационный осадок | Из мешалки разжиженного осадка каждые полчаса составляют средние пробы за 2 часа | - СХ из средних проб | 4 | 1; 3; 5; 7 |
| Густой фильтрационный осадок | Из отдельных вакуум-фильтров (или фильтрпрессов) | | 2 | 3; 7 |
| Промои при фильтровании | Из краника на трубопроводе, подающем промои на гашение извести | - СВ | 8 | ежечасно |
| Сироп из выпарной установки | Из пробного краника на нагнетательном трубопроводе в сульфитатор | - СВ | 8 | ежечасно |
- Щелочность с индикатором крезоловым красным, % CaO | 8 | ежечасно |
- pH | 2 | 4; 6 |
| - То же из средней пробы, отливаемой ежечасно в банку | - СВ, СХ, Дб | 1 | 8 |
- Цветность | 1 | 8 |
- Содержание кальциевых солей | 1 | 8 |
| Сироп с клеровкой после сульфитации | - Из сборников перед вакуум-аппаратами | - Щелочность, % CaO, прозрачность | 8 | ежечасно |
- pH | 2 | 3; 7 |
- То же из средней пробы, отливаемой в банку ежечасно | - СВ, СХ, цветность | 1 | 8 |
| Сахар-песок | - На сушке | - Цветность | Из каждой вари |
- Содержание влаги, % | | |
- Сыпучесть, блеск, наличие друз - органолептически | | |
- В средней пробе за смену, отобранной в упаковочной | - Цветность | 1 | 7 |
- Содержание влаги, % | 1 | 7 |
- При упаковке в упаковочной | - Температура, °C | 1 | 4 |
- В средней пробе за декаду | - Содержание: сахарозы; - редуцирующих веществ; - золы; - ферропримесей, - Гранулометрический состав (при необходимости) | | |
| Жидкий сахар | Из краника на трубопроводе, по которому жидкий сахар поступает в резервуары или непосредственно на отгрузку в цистерны | - СВ, СХ из средней пробы | 1 | 7 |
- pH | 2 | |
| Меласса | Из ящика при каждом взвешивании | - СВ, СХ, Дб | 2 | 4, 8 |
- В средней пробе за декаду | - pH | 1 | 8 |
- Цветность, содержание редуцирующих веществ, нормальная доброкачественность | | |
15.2.1.1. ПРИ СХЕМЕ С ДВУМЯ УТФЕЛЯМИ И АФФИНАЦИЕЙ ЖЕЛТОГО САХАРА |
| Утфель I кристаллизации | При спуске вари | - СВ, СХ, Дб | | через одну варь |
- pH из одной вари в смену | 1 | |
| Межкристальный раствор утфеля I кристаллизации | При спуске вари | - СВ, СХ, Дб | | через одну варь |
| Оттеки утфеля I кристаллизации | В середине фуговки из трубопроводов перед поступлением в сборники перед вакуум-аппаратами | - СВ, СХ, Дб | | через одну варь |
| Утфель II кристаллизации | При спуске каждой вари | - СВ, СХ, Дб | | из каждой вари |
- pH из одной вари в смену | 1 | |
| Межкристальный раствор утфеля II кристаллизации при спуске | При спуске каждой вари | - СВ, СХ, Дб | | из каждой вари |
| Межкристальный раствор утфеля II кристаллизации при фуговке | При фуговке при непрерывной кристаллизации | - Дб | 2 | 3; 7 |
При периодической кристаллизации из каждой утфелемешалки перед фуговкой | - Дб | | |
Из всех утфелемешалок в начале смены | - Температура | 2 | 1; 5 |
- СВ без разбавления | 1 | 1 |
| Желтый сахар при работе без аффинации) | Из шнека или из 2 - 3 центрифуг через каждые 2 часа, с составлением средней пробы | - СВ, СХ, Дб, цветность, pH в средней пробе | 1 | 7 |
| Аффинационный утфель | Из аффинационной мешалки каждые 2 часа, с составлением средней пробы | - СВ, СХ, Дб в средней пробе | 1 | 8 |
| Аффинационный оттек | Из сборника перед вакуум-аппаратами каждые 2 часа, с составлением средней пробы | - СВ, СХ, Дб в средней пробе | 1 | 8 |
| Клеровка | Из краника на нагнетательном трубопроводе | - СВ | 8 | ежечасно |
- pH из разовой пробы | 2 | 3; 7 |
То же, из средней пробы, отливаемой в банку ежечасно | - СВ, СХ, Дб, цветность | 1 | 7 |
При схеме с тремя продуктами и аффинацией желтого сахара III продукта |
| Утфель I кристаллизации | При спуске вари | - СВ, СХ, Дб | | через одну варь |
- pH из одной вари в смену | 1 | |
| Межкристальный раствор утфеля I кристаллизации | При спуске вари | - СВ, СХ, Дб | | через одну варь |
| Оттеки I и II утфеля I кристаллизации | В середине фуговки, из трубопроводов перед поступлением в сборники перед вакуум-аппаратами | - СВ, СХ, Дб | | через одну варь |
| Утфель II кристаллизации | При спуске через одну варь | - СВ, СХ, Дб | | через одну варь |
- pH из одной вари в смену | 1 | |
| Межкристальный раствор утфеля II кристаллизации при спуске | При спуске вари | - СВ, СХ, Дб | | через одну варь |
| Оттеки I и II утфеля II кристаллизации | В середине фуговки вари, из трубопроводов при поступлении в сборники перед вакуум-аппаратами | - СВ, СХ, Дб | | через одну варь |
| Утфель III кристаллизации | При спуске вари | - СВ, СХ, Дб - pH из одной вари | | из каждой вари |
| Межкристальный раствор утфеля III кристаллизации | При спуске вари | - СВ, СХ, Дб | | из каждой вари |
| Межкристальный раствор утфеля III кристаллизации при фуговке | Из мешалки при фуговке: при непрерывной кристаллизации | - СВ, СХ, Дб | 2 | 3; 7 |
при периодической кристаллизации из каждой мешалки перед фуговкой | - СВ, СХ, Дб | | |
Из всех утфелемешалок в начале смены, в конце охлаждения и после подогрева | - Температура | 2 | 1; 5 |
- СВ без разбавления | | |
| Аффинационный утфель | - Из аффинационной мешалки каждые 2 часа, с составлением средней пробы за смену | - СВ, СХ, Дб | 1 | 8 |
- Температура | 1 | из одноразовой пробы |
| Аффинационный оттек | - Из сборника перед вакуум-аппаратами каждые 2 часа, с составлением средней пробы за смену | - СВ, СХ, Дб | 1 | 8 |
| Желтый сахар | - Из шнека или из 2 - 3 центрифуг через каждые 2 часа, с составлением средней пробы за смену | - СВ, СХ, Дб | 1 | 7 |
- Цветность | 1 | 7 |
- pH | 1 | 7 |
| Клеровка | - Из краника на нагнетательном трубопроводе | - СВ | 8 | ежечасно |
- pH | 2 | 3; 7 |
- То же, из средней пробы, отливаемой в банку ежечасно | - СВ, СХ, Дб | 1 | 8 |
- Цветность | 1 | 8 |
| Барометрическая вода конденсатора выпарки и вакуум-аппаратов | - Непрерывно из краника на трубопроводе | - Качественная реакция на сахар с  | 8 | ежечасно |
- Содержание сахара колориметрическим методом | | В случае положительной реакции с  |
- pH до и после сульфитации воды, поступающей на диффузионную установку | 2 | 1; 6 |
Барометрическая вода, питающая диффузионную установку | По термометру, установленному на нагнетательном трубопроводе поступления барометрической воды на диффузионные установки, производят запись показания | - Температура, °C | 8 | ежечасно |
| Барометрическая вода конденсатора вакуум-фильтров | Из краника на барометрическом ящике | - Качественная реакция на сахар с  | 8 | ежечасно |
- Содержание сахара колориметрическим методом | | В случае положительной реакции с  |
| Аммиачные воды | Непрерывно из краников, установленных в лаборатории завода на трубопроводах, связанных с нагнетательными трубопроводами аммиачных вод (кроме тех, которые анализируются в ТЭЦ) | То же | 8 | То же |
| Сточные воды | Из сточного канала | То же | 8 | То же |
| Ирригационная вода | Из краника на нагнетательном трубопроводе ирригационного насоса или из краника на ирригационной мешалке | Содержание сахара | 8 | ежечасно |
Контроль температурного режима на подогревателях диффузионного сока, соков I и II сатурации, перед выпаркой, а также на диффузионной установке производят ежечасно с соответствующими записями показаний термометров в журнал (при отсутствии самопишущих регистрирующих приборов или автоматического контроля). |
--------------------------------
<*> Определение потерь сахара в густом фильтрационном осадке производят в том случае, если потери сахара в разжиженном фильтрационном осадке превышают норму.
15.2.2. САХАРОРАФИНАДНОЕ ПРОИЗВОДСТВО
NN раздела, пункта инструкции | Наименование продукта | Что определяют в продукте | Число анализов в смену | Определения, периодически распределяемые между сменами | Число их в декаду | Примечание |
1 | 2 | 3 | 4 | 5 | 6 | 7 |
| Свекловичный сахар-песок, поступающий в роспуск (отдельно для рафинадного сиропа и для клерса) | Содержание сахарозы | 1 раз в сутки | Содержание влаги | 1 | Если сахар-песок из-за низкого качества направляют на последующие клеровки, то его пробы анализируют отдельно |
Цветность | 1 | Содержание редуцирующих веществ | 1 |
Содержание влаги | 1 |
Содержание редуцирующих веществ | При нестандартных песках | Механические примеси | 3 |
pH | | |
| Сырой пробеленный рафинад: | | |
| - кашка, поступающая на прессы | Содержание влаги прибором Бонвеча | 4 | | | |
То же, высушиванием | 1 |
Кристаллоструктура | 1 |
| - сырой прессованный рафинад | Средняя масса бруска или кусочка | 1 | | |
| - для головного способа | Величина носка | 1 | Содержание влаги | 1 |
| - для кусковых и марсельских способов | Содержание влаги | 4 | | |
| Высушенный рафинад | Содержание влаги | 4 | Крепость | 5 |
Продолжительность растворения | 5 |
| Рафинад, поступающий в упаковку | Температура, содержание влаги (высушиванием, прибором Бонвеча), внешний вид, чистота раствора | | | | |
1 |
| Не менее 4 |
Наличие производственного брака, содержание мелочи | Не менее 4 |
--------------------------------
<*> Число замеров температуры здесь и во всех других точках указано лишь для случаев отсутствия возможности организации непрерывной автоматической записи температур и их автоматического регулирования.
1 | 2 | 3 | 4 | 5 | 6 | 7 |
| Сиропы до фильтрации и до обработки адсорбентом | | | | | |
| Клерс | Температура | 4 | | | |
Содержание сухих веществ | 4 |
Цветность | 1 |
pH | 2 |
| Рафинадные сиропы | Температура при отборе | 2 | Доброкачественность | | Каждый раз в одной сменной пробе |
Содержание сухих веществ | 2 | Содержание редуцирующих веществ | 3 | |
Цветность | 1 |
pH | 2 |
| Продуктовые сиропы | Температура | 1 | Содержание редуцирующих веществ | 3 | Каждый раз в одной сменной пробе |
Содержание сухих веществ | 1 |
Доброкачественность | 1 |
Цветность | 1 |
pH | 2 |
Прозрачность | |
| Сиропы после фильтров и после обработки адсорбентом | Степень прозрачности | 1 | | | |
| Клерс | Содержание сухих веществ | 4 | Редуцирующие вещества | 3 | Каждый раз в одной сменной пробе |
Цветность | 1 |
pH | 2 |
Температура | 4 |
| Рафинадные сиропы | Содержание сухих веществ | 4 | Доброкачественность Редуцирующие вещества | | 3 | |
Цветность | 1 |
pH | 2 | | |
| Продуктовые сиропы | Содержание сухих веществ | 1 | Редуцирующие вещества | 3 | |
Доброкачественность | 1 |
Цветность | 1 |
pH | 2 |
| Рафинадные утфели | Температура спуска | Через 2 вари | Доброкачественность Содержание редуцирующих веществ Цветность Содержание кристаллов | | 3 | Каждый раз в одной сменной пробе |
Содержание сухих веществ | Через 2 вари |
Кристаллоструктура перед пробеливанием | 1 |
Температура при пробеливании | 3 - 4 | | |
| I и II продуктовые утфели при спуске | Температура Содержание сухих веществ Доброкачественность | | из каждой вари | Содержание редуцирующих веществ | 3 | |
Реакция среды | 3 |
Доброкачественность межкристального раствора | 1 раз в смену | Содержание кристаллов Коэффициент пересыщения межкристального раствора Цветность | | Периодически | |
| III и IV продуктовые утфели при спуске | То же | из каждой вари | Цветность | 3 | |
Реакция среды | 3 |
Содержание редуцирующих веществ | 3 |
Процент кристаллов | Периодически |
Коэффициент пересыщения межкристального раствора | |
| Продуктовые утфели при фуговке | Содержание сухих веществ Доброкачественность межкристального раствора Температура к началу фуговки | | из каждой вари | Цветность | 3 | |
Коэффициент пересыщения межкристального раствора | Периодически |
| Оттеки рафинадных утфелей | Содержание сухих веществ | 1 | Доброкачественность | 3 | Кроме средних проб оттеков, периодически определяют цветность оттеков отдельных центрифуг |
Реакция среды |
Цветность | 1 | Содержание редуцирующих веществ | 3 |
| Оттеки I и II продуктовых утфелей и желтые продуктовые сахара | Содержание сухих веществ | | Содержание редуцирующих веществ | 1 | |
Доброкачественность Цветность pH | | При выработке каждой мешалки <*> | | | |
--------------------------------
<*> Для заводов I группы 4 определения в смену.
1 | 2 | 3 | 4 | 5 | | 7 |
| Оттеки низших продуктовых утфелей (III и IV) | Содержание сухих веществ Доброкачественность pH | | То же | Содержание редуцирующих веществ | 1 | |
Цветность | 1 | |
| Пробеленный продуктовый сахар | Цветность | 1 раз в смену | Содержание влаги | 1 | |
Содержание редуцирующих веществ | 1 | |
Реакция среды | 1 | |
| Рафинадная патока: - Необесцвеченная | Содержание сухих веществ Доброкачественность Цветность | | из каждой вари | Зола | 1 раз в месяц | |
| - Уваренная | То же | То же | | То же | |
| Пропарка рафинадных вакуум-аппаратов | Содержание сухих веществ | 2 | | | |
| Клеровка возвратов | Температура | | То же, из средних декадных проб | 3 | Каждая смена по 1 разу в декаду |
Содержание сухих веществ Цветность pH Содержание редуцирующих веществ | | Периодически |
| Раствор из выварочного котла | Содержание сухих веществ | 1 | Содержание редуцирующих веществ | 3 | Каждая смена по 1 разу в декаду |
Доброкачественность | 1 |
Реакция среды | 1 |
| Отбросы из выварочного котла | Сахар | Перед удалением из завода | | | |
| Промои: - при промывке адсорберов | Температура Сахар | Несколько проб, до установления конца промывки <*> | | | |
--------------------------------
<*> При отсутствии автоматического контроля.
1 | 2 | 3 | 4 | 5 | 6 | 7 |
| - из сборников промоев | Температура при отборе | 1 | | | |
Содержание сухих веществ | 1 |
Реакция среды | 1 |
| Вода для промывки адсорбента | Температура | 2 - 3 | | | |
Степень прозрачности | Периодически | | | |
| Спускная вода адсорберов (из контрольного сборника) | Сахар | Периодически, при спуске каждого сборника | | | |
| Отработанный адсорбент (активный гранулированный уголь) | Сахар | Из каждого выгружаемого адсорбера | | | |
| | ИС МЕГАНОРМ: примечание. В официальном тексте документа, видимо, допущена опечатка: п. 12.26.3. отсутствует. | |
|
12.26.3. | Регенерированный адсорбент | Содержание мелочи | 1 раз в смену | Обесцвечивающая способность | | Два раза в каждой смене. 1 раз в месяц отдельно в рафинадном и продуктовом угле |
| Барометрическая вода | Сахар | 2 | | | |
| Ирригационные воды | Сахар | 1 |
| Мешкомоечная вода | Сахар | 1 |
| Бумага для упаковки рафинада | Плотность, г/м2 | 1 | - | - | При упаковке сахара |
Содержание влаги | От каждого вида упаковки | | | |
15.2.3. Рафинадное отделение свеклосахарного завода |
| Сахар-песок | Цветность | 1 | Содержание редуцирующих веществ | 3 | |
Содержание сахарозы | 1 раз в декаду из средних проб | |
| Необесцвеченный сироп I и II рафинадов | СВ | 8 | Содержание редуцирующих веществ | 3 | |
СВ | 1 |
СХ | 1 |
Дб | 1 |
pH | 1 |
Цветность | 1 |
| Обесцвеченный сироп I и II рафинадов | СВ | 8 | Содержание редуцирующих веществ | 3 | |
СВ | 1 |
СХ | 1 |
Дб | 1 |
Цветность | 1 |
| Клерс | СВ | 8 | | | |
СВ | 1 |
Дб | 1 |
Прозрачность | 1 |
Цветность | 1 |
pH | 2 |
| Утфели I и II рафинада | СВ | через 2 вари | Содержание редуцирующих веществ | 3 | |
Дб |
Цветность |
pH |
| Оттеки утфелей I и II рафинада | СВ | 1 | Содержание редуцирующих веществ | 3 | |
Дб | 1 |
Цветность | 1 |
| Рафинадная кашка | Содержание влаги | 8 | | | |
Чистота раствора | 8 |
| Сахар-рафинад | Содержание влаги | 4 | Содержание редуцирующих веществ | 3 | |
Внешний вид | 4 |
Чистота раствора | 4 | Крепость | 5 |
Содержание мелочи | 4 | Продолжительность растворения | 5 |
Температура (рафинада, поступающего в упаковку) | 2 |
| Сахар-песок рафинированный | Цветность | 1 | Содержание редуцирующих веществ | 3 | |
Содержание влаги | 1 |
Гранулометрический состав | 1 |
Органолептические показатели | 1 |
15.2.4. ПЕРЕРАБОТКА ТРОСТНИКОВОГО САХАРА-СЫРЦА
15.2.4.1. Переработка сахара-сырца на сахар-песок
при 3-продуктовой схеме
N разделов, пунктов инструкции | Название продукта | Место и порядок отбора проб | Что определяют в продукте | Число анализов в смену | Время выполнения анализов (часы смены) |
1 | 2 | 3 | 4 | 5 | 6 |
| Сахар-сырец при приемке | Из 2% мешков каждого вагона, а при бестарных перевозках и при механизированной разгрузке по 100 г на каждые 5 тонн сахара | Содержание влаги и сахара | | |
| Сахар-сырец при переработке | С транспортера при поступлении в аффинационную мешалку или на клеровку, через каждые 30 мин по 100 г ссыпают в банку с хорошо пригнанной крышкой | СВ, Дб, Цв содержание редуцирующих веществ | | 1 | 7 |
СХ | 2 | 3; 7 |
| Аффинационный утфель | При выходе из утфелемешалки | СВ | 8 | ежечасно |
| Клеровка аффинационного сахара | Из краника на трубопроводе перед подогревателем или из клеровочных мешалок | СВ, СХ, Дб, Цв | 1 | 7 |
| I оттек аффинационного утфеля | Из желоба под центрифугами | СВ, Дб | 1 | 7 |
| II оттек аффинационного утфеля | Из желоба под центрифугами | СВ, Дб | 8 | ежечасно |
| Клеровка сахара-аффинада и сахара утфеля III кристаллизации | Из клеровочной мешалки | СВ | 8 | ежечасно |
То же, из средней пробы, отливаемой в банку ежечасно | СВ, Дб, Цв | 1 | 7 |
| Дефекованная клеровка | Из пробного крана на трубопроводе поступления в I сатуратор | Щелочность. % CaO | 8 | ежечасно |
| Сатурированная клеровка | Из контрольных фильтров | Щелочность титрованием, % CaO | 16 | 2 раза в час |
| Сульфитированная клеровка | Из фильтров | Щелочность титрованием, % CaO | 16 | то же |
То же, из средней пробы, отливаемой в банку ежечасно | СВ, Дб, Цв | 1 | 7 |
| Фильтрационный осадок | Разжиженный осадок - каждые 0,5 часа из мешалки | Содержание сахара | 4 | 1; 3; 5; 7 |
Густой фильтрационный осадок при работе вакуум-фильтра или во время выгрузки из фильтрпресса | То же | 2 В случае превышения норм потерь сахара в разжиженном осадке | |
| Известковое молоко | Из мерника известкового молока | Плотность | 8 | ежечасно |
| Сатурационный газ | Из нагнетательного трубопровода | % CO2 | 4 | 1; 3; 5; 7; |
| Промои при фильтровании | Из краника на трубопроводе, подающем промои на гашение извести | СВ | 8 | ежечасно |
| Утфель I и II кристаллизации | При спуске вари | СВ, СХ, Дб | | через одну варь |
| Утфель последней кристаллизации | При спуске вари | СВ, СХ, Дб | | из каждой вари |
pH | | из одной вари |
| Межкристальный раствор утфелей I и II кристаллизаций | | СВ, СХ, Дб | | через одну варь |
| Межкристальный раствор утфеля последнего продукта после кристаллизации | | СВ, СХ, Дб | | из каждой вари |
| Оттеки утфелей I и II продуктов | В середине фуговки вари из трубопроводов при поступлении в сборники перед вакуум-аппаратами | СВ, Дб | | через одну варь |
| Сахар-песок | На сушке, из каждой вари | Цветность, влажность, сыпучесть, блеск, наличие, друз - органолептически | | из каждой вари |
В средней пробе за смену, отобранной в упаковочной | Цветность | 1 | 8 |
Содержание влаги | 1 | 8 |
В декадной пробе | Содержание сахарозы, редуцирующих веществ, ферропримесей и золы | 1 раз в декаду | |
| Клеровка желтого сахара II кристаллизации | Из пробного краника на нагнетательном трубопроводе в сульфитатор или из клеровочной мешалки | СВ | 8 | ежечасно |
То же в средней пробе | СВ, Дб, Цв, pH | 1 | 7 |
| Межкристальный раствор утфеля III кристаллизации перед фуговкой | Из каждой вари перед фуговкой | Дб, СВ | - | - |
| Клеровка желтого сахара III кристаллизации | Из пробного краника на трубопроводе клеровки | СВ | 8 | ежечасно |
То же в средней пробе | СВ, Дб, Цв, pH | 1 | 7 |
| Меласса | При каждом взвешивании, из ящика на весах и составляют среднюю пробу за 4 часа | СВ, СХ, Дб | 2 | 4; 8 |
pH | 1 | 8 |
| Вода на клеровку | Из краника на трубопроводе | pH | 2 | 3; 7 |
| Вода барометрическая | Непрерывно из краника на трубопроводе | Сахар с  (при необходимости содержание сахара колориметрическим методом) | 8 | ежечасно |
| Сточные воды | Из сточной канавы | То же | 8 | ежечасно |
Примечание. Один раз в пятидневку определяют содержание редуцирующих веществ и один раз в сутки pH во всех продуктах производства. |
Контроль температурного режима в заводе |
| II аффинационный оттек, поступающий на аффинационную мешалку | В промежуточном сборнике | температуру | 8 | ежечасно |
| Клеровка в мешалках | По термометру, установленному на клеровочной мешалке | " | 8 | ежечасно |
| Клеровка на дефекацию | По термометру, установленному на дефекаторе | " | 8 | ежечасно |
| Клеровка перед I фильтрацией | На подогревателе перед I фильтрованием | температуру | 8 | ежечасно |
| Клеровка после сульфитации | На подогревателе сиропа | | 8 | ежечасно |
| Вода подщелачиваемая | На подогревателе | | 8 | ежечасно |
| Клеровка перед вакуум-аппаратами и оттеки | По термометру, установленному на сборниках | | 8 | ежечасно |
| Ретурный пар | По термометру, установленному на трубопроводе поступления ретурного пара на I корпус выпарки | | 8 | ежечасно |
| Мешалки утфеля III кристаллизации | Во всех мешалках, а также в конце охлаждения и перед фуговкой | | 2 | 4; 8 |
15.3. Инструкция по технике безопасности и производственной
санитарии для работников заводской лаборатории
Утверждена начальником Главного управления сахарной
промышленности 22 августа 1966 г. и согласована с ЦК
профсоюза рабочих пищевой промышленности 18 июля 1966 года.
15.3.1. Общие положения
15.3.1.1. За невыполнение требований, содержащихся в инструкции, Вы несете ответственность.
15.3.1.2. Выполняйте только порученную Вам работу. Не приступайте к работе без инструктажа на рабочем месте.
15.3.1.3. Не пользуйтесь реактивами, если на них нет соответствующих этикеток.
15.3.1.4. Обо всех ненормальностях в работе, поломке приборов немедленно сообщите главному технологу или помощнику главного технолога.
15.3.1.5. При получении травмы немедленно обратитесь в медпункт и сообщите администрации об этом.
15.3.1.6. Увидев, что товарищу грозит опасность, предупредите его. Пострадавшему на производстве окажите посильную помощь и сообщите об этом администрации.
15.3.2. Рабочее место
15.3.2.1. Поддерживайте порядок на рабочем месте. Не загромождайте проходы.
15.3.2.2. Следите, чтобы пол в лаборатории был сухим и чистым. Содержите рабочий стол, посуду, приспособления и приборы в чистоте.
15.3.2.3. Не допускайте на свое рабочее место посторонних лиц и не разрешайте пользоваться вашими приборами, приспособлениями и др.
15.3.3. Защитные приспособления и одежда
15.3.3.1. При работе с ядами, кислотами, щелочами пользуйтесь защитными очками, резиновыми перчатками, прорезиненным фартуком.
15.3.3.2. Работайте в чистом халате с застегнутыми обшлагами на рукавах. Волосы уберите под головной убор.
15.3.3.3. Не работайте без обуви.
15.3.4. Меры первой помощи при отравлении
химическими веществами
(Раздел составлен Киевским научно-исследовательским
институтом гигиены труда и профзаболеваний)
Лабораторные исследования связаны с применением едких кислот и щелочей, метилового спирта и солей тяжелых металлов.
15.3.4.1. Серная, соляная и азотная кислоты. Оказывают сильное раздражающее действие на слизистые оболочки глаз, носа и дыхательных путей; вызывают кашель, чихание, затруднение дыхания, спазмы голосовой щели, жжение в глазах, воспаление оболочек глаз. При попадании кислот на кожу возникают тяжелые ожоги. Азотная кислота, кроме того, вызывает разрушение зубов, поражение роговицы. Разбавленные растворы азотной кислоты могут быть причиной экземы.
Первая помощь. При попадании паров кислот через органы дыхания необходимы следующие процедуры: вдыхание паров спирта, ингаляции содового раствора, покой, тепло. При попадании на кожу или слизистые оболочки глаз - обильное промывание водой с дальнейшим применением примочек и повязок с 2 - 3% раствором питьевой соды. При попадании кислот в желудок необходимо полоскать рот водой или 5% раствором питьевой соды, пить молоко, суспензию окиси магния (10 г) в воде (150 г), известковую воду, жидкое мучное тесто.
15.3.4.2. Едкое кали и едкий натр. Оказывают прижигающее действие на кожу и слизистые оболочки. При постоянной работе с раствором едкого натра часты различные хронические поражения кожи, экземы, растрескивание ногтей. Попадание даже самых малых количеств щелочи в глаза чрезвычайно опасно, так как исходом может быть слепота.
Первая помощь. При попадании на кожу - обильное промывание водой с последующим применением примочек из 5% раствора уксусной, соляной или лимонной кислот. При попадании в глаза для промывания применять 2% раствор борной кислоты.
15.3.4.3. Свинцовый глет, уксуснокислый свинец. При попадании в желудок (в больших количествах) вызывают головную боль, тошноту, рвоту, боли в животе.
Первая помощь. Промывание желудка, прием внутрь большого количества сернокислого магния.
15.3.4.4. Аммиак. Обладает резким раздражающим действием на слизистые оболочки глаз и дыхательных путей. Вызывает головную боль, тошноту, потливость, боль в груди.
Первая помощь. При попадании через дыхательные пути - свежий воздух, вдыхание теплых водяных паров; при удушье - кислород. При попадании водных растворов аммиака в желудок - прием большого количества воды с добавлением уксуса или лимонного сока, вызвать рвоту. Показан прием теплого молока с "Боржоми" или содой. При попадании растворов аммиака в глаза - обильное промывание водой; на кожу - промывание водой и наложение повязок с 5% раствором уксусной, лимонной или соляной кислоты.
15.3.4.5. Метиловый спирт. При попадании в желудок уже в небольших количествах вызывает тошноту, рвоту, головную боль, мелькание перед глазами, нарушение зрения. Прием 30 мл метилового спирта вызывает смерть. При длительном вдыхании паров метилового спирта отмечается головокружение, головная боль, бессонница, нарушение зрения. Действие через кожу - слабое.
Первая помощь. Немедленное удаление метилового спирта из организма, промывание желудка и пр., а также показаны сердечные, общеукрепляющие и другие средства.
ПОМНИ! ВО ВСЕХ СЛУЧАЯХ ПРИ ВОЗНИКНОВЕНИИ ОТРАВЛЕНИЯ ХИМИЧЕСКИМИ ВЕЩЕСТВАМИ НЕОБХОДИМО СРОЧНО ОБРАТИТЬСЯ К ВРАЧУ.
15.3.5. Меры предосторожности при работе с химическими
веществами и при отборе проб
15.3.5.1. Хорошо изучите правила обращения с ядами, кислотами, щелочами и газами.
15.3.5.2. Все работы, сопровождающиеся выделением вредных паров и газов, производите в вытяжном шкафу.
15.3.5.3. Не всасывайте ртом кислоты, щелочи, растворы ядов, концентрированный аммиак и др.
Пользуйтесь бюретками и пипетками, снабженными грушами.
15.3.5.4. Не лейте воду в концентрированную серную (азотную) кислоту. Серную (азотную) кислоту следует добавлять в воду по стенке сосуда небольшими порциями, охлаждая сосуд в холодной воде.
15.3.5.5. Работайте с соляной концентрированной кислотой в вытяжном шкафу.
15.3.5.6. Все работы с горелками (сжигание, подогрев и пр.) производите только на столе из несгораемых материалов или защищенном от загорания.
15.3.5.7. Дробление и измельчение кусочков кристаллического едкого натрия производите под вытяжкой в закрытой ступке, путем растирания кусочков щелочи пестиком. Надевайте очки.
15.3.5.8. Ядовитые вещества взвешивайте только в посуде. Реактивы берите ложечкой или пинцетом.
15.3.5.9. Посуду, в которой находились кислоты, щелочи и другие химические вещества, необходимо тщательно промывать во избежание ядовитых испарений. Попавшую на пол ртуть соберите пипеткой с грушей.
15.3.5.10. Запрещается принимать пищу в помещении лаборатории, где производятся работы с ядовитыми веществами.
15.3.5.11. Попавшую на кожу кислоту или щелочь следует смыть большим количеством воды.
15.3.5.12. Отбор пробы жома из диффузора производите кружкой с длинной ручкой, находясь в стороне от противовеса нижней крышки выгружаемого диффузора.
15.3.5.13. Отбор проб соков и сиропа производите из краников на коммуникациях в кружки с длинными ручками; краны открывайте медленно.
15.3.5.14. Отбор проб утфеля, сиропа, клерса производите кружкой с длинной ручкой; отбор проб рафинада на колочных станках производите осторожно.
15.3.5.15. Во время пропарки вакуум-аппаратов запрещается находиться на площадке утфелемешалок.
15.3.5.16. При отборе проб сока будьте осторожны, так как можно получить ожог.
15.3.5.17. Отбор проб конденсата производите в кружку с длинной ручкой, при плавном открывании вентиля.
15.3.5.18. При проверке наличия сахара в конденсатах кислоту к охлажденной пробе добавляйте по каплям по стенке пробирки.
15.3.5.19. Отбор проб разжиженного фильтрационного осадка производите у свободного слива ирригационной мешалки; во избежание захвата лопастями не отбирайте пробы непосредственно из мешалки.
15.3.5.20. Ядохимикаты храните в соответствии с требованием специальной инструкции по хранению ядохимикатов.
16. ПРИГОТОВЛЕНИЕ РЕАКТИВОВ И ТИТРОВАННЫХ РАСТВОРОВ
16.1. РЕАКТИВЫ ДЛЯ ОСВЕТЛЕНИЯ
16.1.1. Свинцовый уксус
600 г уксуснокислого свинца (свинцового сахара) Pb (CH3COO)2·3H2O растирают в фарфоровой ступке с 200 г свинцового глета (PbO) в присутствии 100 мл воды. Фарфоровую ступку со смесью помещают на кипящую водяную баню и нагревают при перемешивании до тех пор, пока первоначально желтая масса не приобретет белый или розово-белый цвет. При этом образуется основная уксусносвинцовая соль 2Pb (CH3COO)2·PbO.
Затем при перемешивании добавляют частями 1900 мл горячей воды и переводят смесь в бутыль. Операцию повторяют несколько раз в зависимости от вместимости сосуда. После заполнения бутыли ее оставляют в теплом месте на 3 - 5 дней, изредка перемешивая содержимое деревянной палочкой.
По осветлении раствор фильтруют или декантируют. Фильтрат или декантат хранят в плотно закупоренных бутылках. Иногда исключают нагрев на водяной бане и ограничиваются тщательным растиранием смеси солей и переводом ее горячей водой в бутыль.
Раствор свинцового уксуса должен иметь сильнощелочную реакцию на лакмус и слабощелочную на фенолфталеин.
Плотность 1,235 - 1,240 г/см3.
16.1.2. 25%-ный раствор уксуснокислого свинца (нейтральный
раствор уксуснокислого свинца)
250 г уксуснокислого свинца Pb (CH3COO)2·3H2O растворяют в дистиллированной воде в литровой колбе, доводят водой до отметки и фильтруют.
16.1.3. Сухой осветлитель
Сухой осветлитель готовят следующим образом:
а) нагревают 600 г уксуснокислого свинца в фарфоровой чашке или ступке на водяной бане, пока вся соль полностью не расплавится. Если кристаллы соли сильно выветрились, прибавляют 15 - 25 мл воды. После расплавления соли прибавляют при постоянном перемешивании 200 г свинцового глета в виде порошка, не содержащего комков. После добавления глета масса быстро густеет.
Эту массу при периодическом размешивании нагревают до тех пор, пока она не превратится в отдельные комочки. Полученные комочки для обеспечения дальнейшего измельчения необходимо высушить. Это делается на водяной бане или в сушильном шкафу при температуре не выше 100 °C. Высушивают до тех пор, пока комочки при раздавливании не будут содержать в середине влажной мажущейся массы.
После высушивания сухой осветлитель тщательно измельчают в фарфоровой ступке и просеивают через мелкое сито;
б) измельчают отдельно в мелкий порошок уксуснокислый свинец и свинцовый глет, которые затем тщательно перемешивают и нагревают в течение 3 - 4 часов на водяной бане. Во время нагревания глет должен полностью обесцветиться.
Препарат после нагревания должен иметь белый или слабо розовый цвет. Полученный в виде комочков сухой осветлитель измельчают и просеивают.
Плотность сухого осветлителя 1,5 - 1,7 г/см3; 1 мл обычного свинцового уксуса соответствует 0,35 г сухого осветлителя. Исходя из этих данных, вычисляют количество сухого осветлителя, необходимое для замены определенного объема свинцового уксуса и объем мерочек.
При изготовлении мерочек требуется проверять правильность их путем взвешивания сухого осветлителя.
Сухой осветлитель нужно тщательно измельчать, не допуская применения грубо измельченного препарата, не полностью растворяющегося в исследуемых продуктах.
16.1.4. Реактив Герлеса
Реактив Герлеса состоит из двух растворов:
- 340 г азотнокислого свинца Pb (NO3)2 растворяют в дистиллированной воде в литровой колбе. После растворения доводят водой до отметки;
- 32 г едкого NaOH растворяют в дистиллированной воде в литровой колбе. После охлаждения раствора доливают колбу до отметки дистиллированной водой.
Оба раствора хранят в отдельных банках.
16.2. ТИТРОВАННЫЕ РАСТВОРЫ ЩЕЛОЧЕЙ И КИСЛОТ
Для приготовления растворов исходных веществ точной концентрации, используемых для проверки нормальности рабочих растворов, рекомендуется пользоваться фиксаналами, выпускаемыми промышленностью в широком ассортименте.
Фиксаналы представляют собой запаянные стеклянные ампулы, вмещающие точно отмеренное количество реактива, необходимое для приготовления 1 л титрованного раствора без поправочных коэффициентов. Если необходима другая концентрация, то содержимое ампулы переносят в мерную колбу иной вместимости.
Для приготовления раствора фиксанала в мерную колбу вместимостью 1 л (или другого объема, в зависимости от заданной концентрации) вставляют воронку со стеклянным бойком, вложенным острым концом вверх, затем разбивают ампулу о стеклянный боек. Ампула должна упасть так, чтобы ударом о конец бойка разбилось тонкое дно ампулы. После этого другим бойком пробивают боковое или верхнее углубление ампулы, чтобы полностью вышло содержимое, ополаскивают тщательно изнутри дистиллированной водой при помощи промывалки. Во избежание повреждения колбы воронку помещают в кольцо штатива Бунзена. Колбу доливают водой до отметки и тщательно перемешивают раствор. Хранят растворы в склянках с притертыми пробками.
Фиксаналы кислот и щелочей готовят с таким расчетом, чтобы при растворении 1 ампулы в 1 л получать точно 0,1 н. раствор. При растворении такой ампулы в другом объеме можно получить растворы другой концентрации, например, в 500 мл - 0,2 н.; в 200 мл - 0,5 н. и т.д.
Если нет фиксаналов, в качестве исходного вещества чаще всего применяют химически чистый препарат щавелевой кислоты (C2H2O4·2H2O), который готовят путем перекристаллизации. Перекристаллизацию выполняют следующим образом:
в фарфоровой чашке растворяют 500 г чистой щавелевой кислоты в 500 мл кипящего раствора химически чистой соляной кислоты плотностью 1,075. Раствор фильтруют через воронку, обогреваемую горячей водой; фильтрат собирают в фарфоровую чашку, которую затем ставят на лед и быстро охлаждают при перемешивании. Полученную таким образом кристаллическую муку переносят на воронку Бюхнера с предварительно наложенным кружком фильтровальной бумаги, полностью отсасывают маточный раствор, дважды промывают, обливая кристаллы на воронке небольшим количеством холодной дистиллированной воды. Подобным же образом щавелевую кислоту кристаллизуют еще 3 раза из горячей дистиллированной воды. Очищенную щавелевую кислоту испытывают на чистоту: 2 г щавелевой кислоты, растворенные в разбавленной (1:3) химически чистой азотной кислоте (свободной от хлора), не должны давать с раствором азотнокислого серебра реакции на хлор.
После очистки щавелевую кислоту помещают между сложенными листами фильтровальной бумаги и оставляют сушиться на воздухе в течение нескольких дней, а затем в эксикаторе с кристаллическим хлористым кальцием. Чистый препарат хранят в банке с хорошо притертой пробкой. Со временем препарат способен терять кристаллизационную воду.
1 н. раствор щавелевой кислоты готовят растворением в литровой колбе навески 63,033 г чистого кристаллического препарата.
Для приготовления 0,1 н. раствора щавелевой кислоты в литровой колбе растворяют навеску 6,3033 г.
16.2.1. Приготовление 1 н. и 0,1 н. растворов NaOH
1 н. раствор NaOH. Отвешивают на технических весах в химическом стакане 45 г NaOH, быстро ополаскивают его в стакане дистиллированной водой для удаления поверхностного слоя углекислого натрия, растворяют в этом же стакане в 600 - 700 мл свежепрокипяченной дистиллированной воды, охлаждают до 20 °C, переводят в литровую колбу, доводят водой до отметки и фильтруют через стеклянную вату.
Приготовленный таким образом раствор обычно крепче нормального. Титр этого раствора проверяют 1 н. раствором HCl или H2SO4, приготовленным из фиксанала, или свежеприготовленным раствором 1 н. щавелевой кислоты. Титрование производят следующим образом: к 25 мл приготовленного раствора NaOH в фарфоровой чашке прибавляют две капли фенолфталеина и титруют 1 н. растворами HCl, H2SO4 или щавелевой кислоты до обесцвечивания раствора, нагревают содержимое фарфоровой чашки на кипящей водяной бане почти до кипения (при этом может появиться снова красная окраска), охлаждают, помещая дно чашки в холодную воду, дотитровывают по каплям 1 н. щавелевой кислоты до обесцвечивания. Эту операцию повторяют до тех пор, пока не прекратится появление розовой окраски при следующем нагревании.
Пример N 1. На титрование 25 мл приготовленного раствора NaOH пошло 26,2 мл 1 н. раствора HCl или 26,2 мл 1 н. раствора щавелевой кислоты. Щелочь крепче 1 н. раствора и ее необходимо разбавить водой в количестве:
на каждые 25 мл NaOH нужно добавить 26,2 - 25 = 1,2 мл воды, а к 1000 мл:

.
Таким образом, к каждому литру приготовленной щелочи прибавляют по 48 мл воды, тщательно перемешивают и снова проверяют титр; при каждой проверке производят не меньше двух-трех титрований и из близко совпадающих результатов берут средний.
При необходимости определить поправочный коэффициент нормальности для имеющегося раствора его вычисляют следующим образом: если на титрование 25 мл имеющегося раствора NaOH пошло 26,2 мл раствора 1 н. раствора HCl, или H2SO4, или щавелевой кислоты, то поправочный коэффициент Кщ равен:

.
На этот коэффициент и умножают количество израсходованных на титрование миллилитров имеющегося раствора NaOH, чтобы найти расход миллилитров точного 1 н. раствора.
0,1 н. раствор NaOH готовят из имеющегося 1 н. раствора NaOH. 100 мл 1 н. раствора NaOH разбавляют водой в литровой колбе и доводят до метки при 20 °C. Титр проверяют по 0,1 н. раствору HCl или H2SO4, приготовленным из фиксанала, или по свежеприготовленному 0,1 н. раствору щавелевой кислоты. При этом поступают точно так же, как это указано при проверке титра 1 н. NaOH.
Пример 2. Надо приготовить 1 л 0,1 н. раствора NaOH из концентрированного раствора, плотность которого 1,345 г/см3.
Грамм-эквивалент NaOH равен 40. Чтобы получить 0,1 н. раствор, следует растворить 0,1 г-экв в 1 л, то есть 4 г.
По таблице зависимости плотности и концентрации NaOH
(табл. 34, раздел 17) 1
л раствора NaOH плотностью 1,345
г/см3 содержит 425,2
г NaOH.
Количество концентрированного раствора NaOH, которое необходимо взять, равно 4,0 : 425,2 = 0,0094 л, или 9,4 мл.
Концентрированный раствор NaOH плотностью 1,345
г/см3 имеет нормальность 10,63 (по той же
таблице).
Чтобы получить 0,1 н. раствор, следует к 1 л воды добавить:
Общее количество раствора составит 1009,4 мл.
16.2.2. Приготовление 1 н. раствора H2SO4
1 н. раствор серной кислоты готовят из концентрированного раствора серной кислоты.
Объем концентрированного раствора кислоты, который необходимо прибавить к определенному объему воды, чтобы получить раствор кислоты требуемой нормальности, определяют по формуле:

,
где V - искомый объем концентрированного раствора кислоты, мл;
W - взятый объем дистиллированной воды, мл;
N - нормальность концентрированного раствора кислоты, определяемая по плотности раствора (согласно
табл. 32, раздел 17);
n - нормальность приготовляемого раствора.
Раствор кислоты, приготовленный этим способом, будет приблизительный. Нормальность раствора кислоты проверяется по титрованному 1 н. раствору едкого натра. В коническую колбу помещают, например, 25 мл 1 н. раствора едкого натра, поправочный коэффициент которого известен, прибавляют 2 - 3 капли раствора фенолфталеина и титруют испытуемым раствором кислоты. Титрование производят не менее двух раз. Принимают среднее арифметическое количество миллилитров кислоты, израсходованной на титрование.
Поправочный коэффициент кислоты (Кк) определяют по формуле (если взяли для титрования 25 мл раствора щелочи).

,
где Кщ - поправочный коэффициент раствора щелочи;
A - количество раствора кислоты, израсходованной на титрование щелочи, мл.
Добавлением воды или кислоты следует приготовить точно 1 н. раствор кислоты.
Если раствор оказался слабее, чем 1 н. (К < 1), следует добавить концентрированной кислоты (расчет не приводится из-за его сложности и неудобства. Проще добавить некоторое количество крепкой кислоты на глаз и получить более концентрированный раствор). Если раствор получится более крепкий (К > 1), количество воды, которое необходимо прибавить для получения точного раствора, определяется по формуле:
W = V (К - 1),
где W - искомый объем воды, при добавлении которого раствор будет иметь точно заданную нормальность, мл;
V - объем имеющегося раствора, подлежащего разбавлению, мл;
К - поправочный коэффициент.
Полученный раствор необходимо подвергнуть проверке по 1 н. раствору щелочи.
Пример. Найдем объем концентрированной кислоты плотностью 1,835
г/см3, который необходимо прибавить к 20
л воды, чтобы получить 1 н. раствор кислоты. По
табл. 32 (раздел 17) находим, что плотности 1,835
г/см3 соответствует 35,82 н. раствор кислоты:

.
Для проверки нормальности кислоты взято 25 мл 1 н. раствора щелочи, поправочный коэффициент которого 0,982. На титрование щелочи пошло 25,2 мл кислоты (среднее из трех определений).
Поправочный коэффициент нашего раствора кислоты:

.
После прибавки концентрированного раствора кислоты, при последующем титровании, поправочный коэффициент раствора кислоты оказался 1,004. Необходимо добавить воды в количестве (на 20,4 л раствора):
W = 20,4 (1,004 - 1) = 0,0816 л = 82 мл.
При последующей проверке нормальности поправочный коэффициент раствора кислоты оказался равным 1,000.
16.2.3. Приготовление 0,1 н. раствора серной кислоты
Раствор готовится из концентрированного раствора серной кислоты. Для расчета объема концентрированной серной кислоты, который необходимо добавить к известному объему воды, чтобы получить 0,1 н. раствор, следует пользоваться формулой, приведенной в
п. 16.2.2 настоящего раздела.
16.2.4. Приготовление 0,0357 н. раствора серной кислоты
Раствор можно приготовлять из концентрированной серной кислоты, пользуясь формулой для разбавления
(п. 16.2.2). Можно также приготовить раствор из нормальной серной кислоты, для чего 35,7
мл 1 н. серной кислоты переводят в литровую колбу и доводят до отметки водой.
Проверка нормальности раствора производится 0,1 н. раствором едкого натра
(п. 16.2.2.).
Если 0,0357 н. раствор серной кислоты приготовлен правильно, то на титрование 25 мл 0,1 н. NaOH должно пойти 70 мл приготовленного 0,0357 н. раствора H2SO4. В противном случае его разбавляют водой (если раствор кислоты крепче), рассчитывая так, как это указано при приготовлении раствора 1 н. серной кислоты.
Пример. Надо приготовить 10 л 0,357 н. раствора серной кислоты из концентрированного раствора, плотность которого равна 1,835 г/см3.
Грамм-эквивалент H2SO4 равен 49 г. Чтобы получить 0,357 н., раствор необходимо растворить 0,357 г-экв. в 1 л, то есть в 10 л - 175 г.
По
табл. 32 зависимости плотности от концентрации серной кислоты 1
л раствора плотностью 1,835
г/см3 содержит 1757
г H
2SO
4.
Количество концентрированного раствора, которое необходимо взять для разбавления водой до 10 л, равно:
175 : 1757 = 0,0996 л или 99,6 мл.
Концентрированный раствор серной кислоты плотностью 1,835
г/см3 имеет нормальность (по той же
таблице) 35,82. Чтобы получить 0,357 н. раствор, к 1
л воды необходимо прибавить:

,
или к 10 л воды - 100,7 мл концентрированной кислоты (общее количество раствора составит 10100,7 мл).
Пусть после прибавки концентрированного раствора кислоты, при последующем титровании, поправочный коэффициент раствора кислоты оказался 1,004. Следует добавить воды на 10,1007 л в количестве:
W = 10,1007 (1,004 - 1) = 0,0404 л = 40,4 мл.
16.2.5. Приготовление 1 н. раствора соляной кислоты
82 мл химически чистой соляной кислоты (плотностью 1,19 г/см3) растворяют в воде в литровой колбе и доводят водой до отметки при 20 °C. Титр проверяют точно так же, как это указано при проверке раствора 1 н. серной кислоты.
16.2.6. Приготовление 0,1 н. раствора соляной кислоты
100 мл 1 н. раствора соляной кислоты доводят водой в литре до отметки при 20 °C. Титр проверяют так же, как и 0,1 н. раствора H2SO4.
16.3. РАСЧЕТЫ ПРИ СМЕШИВАНИИ РАСТВОРОВ РАЗЛИЧНЫХ
КОНЦЕНТРАЦИЙ
При вычислении весовых отношений между смешиваемыми растворами различной концентрации используют графический прием - правило креста.
Пусть раствор с B1 = 90% нужно разбавить раствором с B2 = 60% до концентрации смеси B3 = 82%. Располагают эти данные и производят подсчеты по следующей схеме:
Количество первого компонента должно составить 82 - 60 = 22 весовых частей; количество второго 90 - 82 = 8 весовых частей.
Если первого раствора было, например, 220 г, то второго следует взять:

.
Следует иметь в виду, что сумма величин с правой стороны схемы (22 + 8) равна разности величин с левой стороны ее (90 - 60).
16.4. РЕАКТИВЫ ДЛЯ ОПРЕДЕЛЕНИЯ РЕАКЦИИ СРЕДЫ
(ИНДИКАТОРЫ) <*> И БУФЕРНЫЕ РАСТВОРЫ
--------------------------------
<*> Данные об индикаторах, необходимых для общехимического анализа, приведены в
табл. 37 (раздел 17).
16.4.1. Раствор фенолфталеина (1%-ный раствор)
1 г фенолфталеина растворяют в 100 мл 90%-ного спирта.
16.4.2. Фенолфталеиновые бумажки
Фенолфталеиновые бумажки применяют сатуратчики для поддержания pH, соответствующего щелочности сока I и II сатурации в заданных пределах.
Для приготовления фенолфталеиновых бумажек, соответствующих щелочности 0,07% CaO, взвешивают 3,5 г лимонной кислоты и 1,5 г фенолфталеина, переводят в литровую колбу и растворяют в 50%-ном этиловом спирте, доведя им до отметки.
Этим раствором пропитывают фильтровальную бумагу путем смачивания на стекле, сушат ее на воздухе и режут на полоски.
Правильность показания этой бумажки проверяют раствором едкого калия, эквивалентным 0,08 или 0,06% CaO; причем от первого раствора бумажка сильно окрашивается, а от второго не окрашивается.
Раствор едкого калия, соответствующий 0,08 и 0,06 г CaO в 100 мл, получается растворением 0,016 и 0,012 г KOH в 100 мл воды.
Для приготовления бумажки, соответствующей щелочности 0,005% CaO, взвешивают 0,25 г лимонной кислоты и 1 г фенолфталеина растворяют в литровой колбе в 50%-ном спирте. Для всяких других пределов щелочности бумажки приготавливают согласно вышеописанному методу, причем за основу берут бумажку для щелочности 0,07 г CaO.
При отсутствии лимонной кислоты она может быть заменена 0,1 н. раствором серной кислоты.
Для получения бумажек, соответствующих различной щелочности сатурационного сока, поступают следующим образом:
В мерную колбу наливают 0,1 н раствор серной кислоты в указанном ниже количестве, прибавляют 80 мл раствора фенолфталеина (1 : 100) и доливают спиртом до отметки:
Щелочность сатурационного сока, % CaO | К-во миллилитров 0,1 н. раствора кислоты |
0,10 | 360 |
0,09 | 325 |
0,08 | 290 |
0,07 | 250 |
0,06 | 215 |
0,05 | 180 |
0,04 | 145 |
0,03 | 110 |
0,02 | 75 |
Перед употреблением бумажки обязательно следует проверить и внести соответствующие коррективы, так как бумажки реагируют не на щелочность, а на pH. Зависимость между pH и щелочностью определяется составом несахаров сока. Кроме того, щелочность, соответствующая изменению окраски бумаги, может изменяться в широких пределах в зависимости от сорта бумаги. Поэтому все индикаторные бумажки следует приготавливать из бумаги одного сорта.
Не следует готовить бумажки погружением в раствор фенолфталеина, так как бумага адсорбирует индикатор, вследствие чего состав раствора меняется.
Фенолфталеиновые бумажки хранят в чистых сухих банках с притертыми стеклянными пробками.
16.4.3. Раствор метилового оранжевого
0,1 г метилового оранжевого растворяют в 100 мл дистиллированной воды.
16.4.4. Раствор крезолового красного
0,2 г крезолового красного растворяют в 100 мл 70%-ного этилового спирта (для получения 70%-ного спирта к 100 мл 96%-ного спирта добавляют 40 мл воды или к 100 мл 90%-ного спирта добавляют 31 мл воды).
16.4.5. Раствор смешанного индикатора
0,02 г метилового красного и 0,10 г бромкрезолового зеленого растворяют в 100 мл 96%-ного этилового спирта.
16.4.6. Раствор метилового красного
0,1 г метилового красного растворяют в 100 мл 20%-ного этилового спирта (для получения 20%-ного этилового спирта к 26 мл 96%-ного спирта добавляют 70 мл дистиллированной воды).
16.4.7. Крезоловокрасные бумажки
Применяют для определения реакции сульфитированных соков и сиропов у контрольного ящика котла сульфитации.
Каждые 10 мл спиртового раствора крезолового красного разбавляют водой до 100 мл. Полоски фильтровальной бумаги смачивают полученным индикаторным раствором крезолового красного и затем высушивают на воздухе.
Бумажки необходимо проверить на сиропах с определенным pH.
Приготовленные индикаторные бумажки хранят в герметически закрытых стеклянных банках.
16.4.8. Тимолфталеиновые бумажки
Применяют сатуратчики на I сатурации. Надежнее пользоваться тимолфталеиновыми бумажками централизованного (заводского) изготовления. Тимолфталеиновые бумажки местного изготовления следует применять только в крайнем случае, если нет бумажек фабричного изготовления. В этом случае для изготовления бумажек следует пользоваться всегда одним и тем же сортом фильтровальной бумаги, отобрав для этой цели в начале производства нужное количество одинаковой фильтровальной бумаги. В зависимости от сорта бумаги и состава несахаров, определяющих соотношение pH и щелочности, изменение окраски бумажек, так же как и фенолфталеиновых, в зависимости от щелочности сока может меняться в широких пределах.
Индикаторные бумажки применяют в форме полосок длиной около 30 мм и шириной 5 - 7 мм. Необходимый раствор готовят следующим образом: 0,5 г индикатора тимолфталеина растворяют в 100 мл 90%-ного этилового спирта. К раствору индикатора прибавляют около 4 мл 0,1 н. раствора едкого калия или едкого натрия до фиолетовой окраски. Полоски бумаги смачивают фиолетовым индикаторным раствором, высушивают на воздухе, хранят в стеклянных банках с притертыми пробками.
16.4.9. Раствор бромтимолового синего
Индикатор бромтимоловый синий выпускают двух видов: обычный и воднорастворимый.
а) Приготовление раствора индикатора, растворимого в спирте (без отметки "воднорастворимый"):
0,1 г индикатора растворяют в 200 мл 20%-ного этилового спирта (для приготовления 20%-ного по объему спирта берут 1 объем 90%-ного спирта и 3,6 объема воды или 1 объем 96%-ного спирта и 3,8 объема воды);
б) Приготовление раствора индикатора бромтимолового синего воднорастворимого: 0,1 г индикатора растворяют в 200 мл дистиллированной воды.
16.4.10. Вода нейтральная к индикаторам
При разбавлении темных продуктов для титрования или испытания тем или иным индикатором (фенолфталеин, крезоловый красный, бромтимоловый синий) применяют нейтральную на данный индикатор воду.
Для приготовления такой воды на каждые 100 мл дистиллированной прокипяченной воды добавляют 2 - 3 капли индикатора и по каплям раствор щелочи (около 0,01 н.) до появления слабо щелочной реакции (слаборозовой окраски для фенолфталеина, слаборозовато-красной для крезолового красного и бледно-синей для бромтимолового синего).
Нейтральная к индикаторам вода не сохраняется и должна готовиться перед употреблением.
16.4.11. Аммиачный буферный раствор
В литровой колбе 100 мл 20%-ного раствора химически чистого хлористого аммония (NH4Cl) смешивают со 100 мл 20%-ного раствора химически чистого аммиака (NH3). Объем смеси доводят до отметки дистиллированной водой.
16.4.12. Боратный буферный раствор
40 г химически чистого тетраборнокислого натрия (буры) Na2B4O7·10H2O растворяют в 800 мл дистиллированной воды. Отдельно растворяют 10 г химически чистого едкого натра в 100 мл дистиллированной воды. После охлаждения оба раствора смешивают в литровой колбе и объем раствора дистиллированной водой доводят до отметки. Боратный буферный раствор надо хранить в парафинированной внутри склянке, плотно закрытой резиновой пробкой.
16.4.13. Буферный раствор pH 6,8
Контрольный буферный раствор получают смешиванием равных объемов двух растворов. Первый готовится растворением 9,08 г однозамещенного фосфата калия KH2PO4 в литре раствора, второй - растворением 11,88 г двузамещенного фосфата натрия Na2HPO4·2H2O также в литре раствора.
16.4.14. Буферный раствор pH 9,24
0,05 М раствор химически чистой безводной буры отвечает pH 9,24.
16.4.15. Буферный раствор pH 11,04
К 50 мл 0,1 М раствора Na2CO3 прибавляют 3 мл 0,1 н. раствора HCl, дистиллированной водой доводят до объема 100 мл. Хорошо смешивают. Смесь имеет pH 11,04.
16.5. ХИМИЧЕСКИ ЧИСТЫЕ РЕАКТИВЫ ДЛЯ БУФЕРНЫХ РАСТВОРОВ
16.5.1. Борная кислота (H3BO3)
Для получения препарата квалификации химически чистого, к раствору 100 г H3BO3 (ч) в 1600 мл бидистиллированной воды добавляют 4 мл HNO3 (х.ч.) и упаривают до кристаллизации. Выпавшие при охлаждении кристаллы отсасывают, промывают до отрицательной реакции на NO3 - (с дифениламином и H2SO4) и высушивают между листами фильтровальной бумаги при комнатной температуре или в сушильном шкафу при нагревании не выше 70 °C.
16.5.2. Бура безводная (Na2B4O7)
Для получения препарата квалификации х.ч. растворяют 140 - 150 г кристаллической буры (Na2B4O7·10H2O) при нагревании не выше 60 °C в 300 мл воды и полученный раствор фильтруют через складчатый фильтр в фарфоровую чашку, охлаждаемую льдом. Непрерывно помешивают фильтрат стеклянной палочкой и получают препарат в виде тонкой кристаллической муки. Отсасывая воду от кристаллов, промывают небольшим количеством воды и повторяют перекристаллизацию, после чего высушивают на воздухе в течение 2 - 3 дней. Полученный препарат отвечает формуле Na2B4O7·10H2O. Безводную буру получают прокаливанием х.ч. кристаллической буры при 500 - 600 °C.
Полная потеря кристаллизационной воды происходит при 450 °C.
16.5.3. Натрий фосфорнокислый двузамещенный (Na2HPO4·2H2O)
100 г обычной соли Na2HPO4·2H2O растворяют в 150 мл горячей воды (температура 70 - 80 °C), фильтруют, фильтрат упаривают до кристаллизации и охлаждают. Кристаллы помещают на воронку и после того, как стечет жидкость, отжимают между листами фильтровальной бумаги при комнатной температуре.
Затем реактив высушивают в тонком слое при температуре 36 °C в термостате в течение 2-х суток.
16.5.4. Калий фосфорнокислый однозамещенный (KH2PO4)
Перекристаллизацию препарата производят следующим образом: 100 г KH2PO4 растворяют в 150 мл горячей воды (температура 75 - 80 °C), фильтруют, упаривают до плотности раствора 1,82 г/см3, охлаждают, кристаллы отсасывают и сушат при температуре не выше 70 - 80 °C.
16.5.5. Сода безводная (Na2CO3)
Кристаллическую соду квалификации х.ч. (Na2CO3·10H2O) прокаливают до постоянной массы. Температура плавления безводной соды - 852 - 856 °C.
16.6. РАСТВОРЫ ДЛЯ ОПРЕДЕЛЕНИЯ СОДЕРЖАНИЯ СОЛЕЙ КАЛЬЦИЯ
16.6.1. 0,0357 н. раствор трилона Б
Около 6,7 г трилона Б (двунатриевая соль этилендиаминотетрауксусной кислоты, которая кристаллизуется с двумя молекулами воды, молекулярная масса 372,254, эквивалентная масса по реакции с Ca++ и Mg++ - 186,127) переводят дистиллированной водой в литровую колбу, охлаждают до 20 °C и доводят до отметки водой, тщательно перемешивают и устанавливают титр по фиксаналу MgSO4·7H2O или по CaCO3.
Химически чистый CaCO3 высушивают при 110 °C, отвешивают 1,79 г, переводят в литровую колбу с малым количеством воды, прибавляют 2 мл концентрированной соляной кислоты и дальше по каплям той же кислоты до прекращения выделения пузырьков CO2 и полного растворения CaCO3. Затем доливают дистиллированной водой до отметки. Полученный 0,0357 н. раствор CaCl2 титруют раствором трилона Б и устанавливают его титр.
16.6.2. 0,1 н. раствор трилона Б
Около 19 г трилона Б переводят дистиллированной водой в литровую колбу, охлаждают до 20 °C, доводят до отметки водой и тщательно перемешивают.
Растворы трилона Б достаточно устойчивы при хранении и не требуют защиты от доступа углекислоты воздуха.
Если раствор получается мутным, его фильтруют.
Нормальность раствора трилона Б проверяют по раствору MgSO4 или по CaCO3.
16.6.3. 0,01 н. раствор сернокислого магния MgSO4
Раствор готовится из фиксанала в литровой колбе доведением объема раствора до отметки или растворением 1,2325
г химически чистого сернокислого магния MgSO
4·7H
2O тоже в литровой колбе (
примечание к описанию приготовления 0,1 н. раствора сернокислого магния, п. 16.6.5).
Объем жидкости доводят дистиллированной водой до отметки и хорошо перемешивают.
В коническую колбу вместимостью 300 мл пипеткой отбирают 100 мл приготовленного раствора сернокислого магния, затем добавляют 5 мл аммиачного буферного раствора и 5 - 7 капель индикатора кислотного хрома темно-синего или 0,2 г смеси индикатора с NaCl (1 : 100) и, интенсивно перемешивая, медленно титруют 0,0357 н. раствором трилона Б до изменения цвета жидкости. На 100 мл 0,01 н. раствора сернокислого магния должно пойти 28 мл 0,0357 н. раствора трилона Б.
Поправочный коэффициент 0,0357 н. раствора трилона Б определяется по формуле:

,
где A - количество миллилитров приготовленного 0,0357 н. раствора трилона Б, которое израсходовано на титрование 100 мл 0,01 н. раствора сернокислого магния.
16.6.4. 0,0357 н. раствор сернокислого магния
4,4018 г химически чистого сернокислого магния MgSO4·7H2O растворяют в литровой колбе. После растворения реактива и охлаждения до 20 °C объем раствора доводят водой до отметки.
16.6.5. 0,1 н. раствор сернокислого магния
12,324 г MgSO4·7H2O растворяют в 1 л дистиллированной воды.
Примечание. Так как сернокислый магний (MgSO
4·7H
2O) при хранении может терять кристаллизационную воду, то его перед приготовлением раствора сернокислого магния следует обезводить (для внесения поправки на воду). Для этого навеску в 12,324
г химически чистого сернокислого магния, взятую в фарфоровом или платиновом тигле с крышкой (тигель взвешивают вместе с крышкой), прокаливают в муфеле при температуре 400 °C в течение 40 - 60
мин. Температуру в муфеле до 400 °C надо поднимать постепенно. После прокаливания тигель с сернокислым магнием (не снимая крышки) охлаждают в эксикаторе и взвешивают.
Содержимое тигля смывают в мерную литровую колбу бидистиллированной водой и после растворения сернокислого магния раствор в колбе доводят до отметки той же водой.
Поправочный коэффициент 0,1 н. раствора сернокислого магния вычисляют по формуле:

,
где A - масса сернокислого магния после прокаливания, г;
6,0183 - теоретическая масса MgSO4 во взятой навеске.
Пример. Масса сернокислого магния после прокаливания 6,045 г. Поправочный коэффициент для 0,1 н. раствора сернокислого магния (MgSO4) будет:

.
16.6.6. Раствор индикатора кислотного хрома темно-синего
Раствор индикатора кислотного хрома темно-синего приготавливают следующим образом: 0,5 г индикатора растворяют в 10 мл аммиачного буферного раствора до полного растворения крупинок, переводят в колбу вместимостью 100 мл, доводят до отметки 96%-ным этиловым спиртом. В сухом виде индикатор готовят смешиванием его с тщательно размельченной поваренной солью в соотношении 1 : 100.
16.6.7. 2%-ный раствор сульфида натрия
В литровой колбе 20 г сульфида натрия Na2S растворяют в дистиллированной воде и доводят объем раствора до отметки. Раствор применяют при комплексометрическом методе определения кальций- и магний-ионов в присутствии ионов меди и железа.
16.7. РЕАКТИВЫ ДЛЯ АНАЛИЗА ФИЛЬТРАЦИОННОГО ОСАДКА
16.7.1. 50%-ный раствор азотнокислого аммония (по объему)
500 г азотнокислого аммония переводят в колбу вместимостью 1 л, растворяют в дистиллированной воде, термостатируют при 20 °C и доводят водой до отметки.
16.7.2. 10%-ный раствор азотнокислого аммония
100 г азотнокислого аммония переводят в колбу вместимостью 1 л, растворяют в дистиллированной воде, термостатируют при 20 °C и доводят водой до отметки.
16.8. РЕАКТИВЫ ДЛЯ ОПРЕДЕЛЕНИЯ СОДЕРЖАНИЯ РЕДУЦИРУЮЩИХ
ВЕЩЕСТВ В ПРОДУКТАХ
16.8.1. Реактив Мюллера
В литровой колбе растворяют 35 г медного купороса в 400 мл кипящей воды. Одновременно в другом сосуде растворяют в 500 мл кипящей воды 173 г сегнетовой соли и 68 г безводной соды Na2CO3. После растворения и охлаждения второй раствор приливают в колбу к первому и доливают до отметки.
Полученную смесь хорошо взбалтывают с активированным углем (1 - 2 чайные ложечки), и отстоявшийся в течение нескольких часов раствор профильтровывают. Хранят раствор в склянке из темного стекла.
Если с течением времени в растворе образуется незначительный осадок меди, количество раствора, потребное для анализа, нужно профильтровать.
Применяемая для приготовления реактива Мюллера сернокислая медь не должна быть загрязнена соединениями железа.
Если содержание железа (по паспорту реактива) составляет не более 0,01% (реактив ч.д.а.), то реактив пригоден для работы без очистки.
В случае загрязнения реактива соединениями железа более чем на 0,01% или, если реактив не имеет паспортных данных, его следует перекристаллизовать. Реактив на присутствие в нем железа испытывается следующим образом. К раствору реактива прибавляют избыток аммиака до полного растворения выпадающего Cu(OH)2. Полученный интенсивно-синий раствор фильтруют.
Фильтр тщательно промывают слабым раствором аммиака. При наличии железа на фильтре будет ясно замечен бурый налет Fe(OH)3.
16.8.2. Раствор гипосульфита 0,0333 н.
Основной раствор гипосульфита готовят в 5 раз более крепким по сравнению с рабочим раствором. Для этого 41,4 г химически чистого гипосульфита переводят в мерную колбу вместимостью 1 л. Раствор готовят на свежепрокипяченной и охлажденной дистиллированной воде. Для большей устойчивости к раствору добавляют 0,2 г безводного углекислого натрия или 1 мл 1 н. раствора щелочи. Приготовленный раствор хранят в склянке, обернутой черной бумагой, или в склянке из темного стекла.
Из основного раствора готовят по мере надобности рабочий раствор гипосульфита следующим образом:
В мерную колбу вместимостью 500 мл отмеривают пипеткой точно 100 мл основного раствора и доливают дистиллированной водой до отметки. Рабочий раствор защищают от разложения так же, как и основной раствор.
Титр рабочего раствора проверяют по фиксаналам гипосульфита, йода или посредством двухромовокислого калия.
Точный 0,1 н. раствор двухромовокислого калия готовят из фиксанала или растворением 4,903 г химически чистого препарата в 1 л воды. В случае отсутствия фиксанала химически чистый препарат бихромата калия получают перекристаллизацией его из воды и высушиванием в сушильном шкафу при 130 °C.
Для этого берут 15 мл 0,1 н. раствора двухромовокислого калия в коническую колбу вместимостью 250 мл, прибавляют 1 г химически чистого йодистого калия (KJ), добавляют около 15 мл ~ 2 н. соляной кислоты (82 мл концентрированной кислоты доводят до объема 500 мл), хорошо перемешивают, накрывают часовым стеклом и дают постоять в темноте 5 мин. После этого оттитровывают бурый раствор до светло-желтого (соломенного) цвета, добавляют 5 мл 0,5%-ного раствора крахмала и дотитровывают до исчезновения светло-синей окраски соединения йода с крахмалом и перехода ее в зеленую окраску трехвалентного хрома.
На титрование 15 мл 0,1 н. раствора двухромовокислого калия должно пойти 45 мл 0,0333 н. раствора гипосульфита.
Если приготовленный рабочий раствор гипосульфита оказался не точно 0,0333 н., то вычисляют поправочный коэффициент по формуле:

,
где A - количество миллилитров раствора гипосульфита, израсходованное на титрование 15 мл 0,1 н. раствора двухромовокислого калия.
На этот коэффициент умножают количество миллилитров гипосульфита, израсходованное на титрование при определении содержания редуцирующих веществ в продуктах.
16.8.3. Раствор гипосульфита 0,0333 н. (из фиксанала)
Кристаллический гипосульфит, 0,1 грамм-эквивалент, из ампулы переводят в мерную литровую колбу, растворяют его, доводят до отметки водой и сливают в 3-литровую сухую чистую бутыль. Затем этой же мерной колбой туда доливают 2 л дистиллированной воды (объем полученного раствора - 3 л).
16.8.4. Раствор йода 0,0333 н.
4,231 г химически чистого йода и около 7 г химически чистого (не содержащего окислов йода) йодистого калия растворяют в малом количестве дистиллированной воды и доводят объем до 1 л. Хранят в темной склянке.
Нормальность раствора йода проверяют по титрованному раствору гипосульфита. Для проверки титра йода в коническую колбу вместимостью 250 мл помещают, например, 30 мл раствора йода и титруют рабочим раствором гипосульфита от первоначального бурого цвета до соломенно-желтого. Затем прибавляют 5 мл 0,5%-ного раствора крахмала и дотитровывают до обесцвечивания. Поправочный коэффициент Кй раствора йода вычисляют по формуле (если брать 30 мл раствора йода):

,
где A - количество гипосульфита, израсходованное на титрование 30 мл раствора йода, мл;
16.8.5. Раствор йода 0,0333 н. (из фиксанала)
Содержимое ампулы, 0,05 грамм-эквивалента йода, переводят в мерную колбу вместимостью 500 мл, доводят до отметки водой и сливают в 2-литровую сухую чистую бутыль. Затем этой же мерной колбой добавляют 1 л дистиллированной воды (объем полученного раствора 1,5 л).
16.8.6. Раствор уксусной или винной кислоты
приблизительно 5 н.
300 г безводной (ледяной) уксусной кислоты или 375 г винной кислоты разбавляют водой в мерной колбе вместимостью 1 л и доводят до отметки при 20 °C.
16.8.7. Раствор 0,5%-ного крахмала (как индикатор)
2,5 г растворимого крахмала растворяют в фарфоровой ступке в небольшом количестве воды и вливают при помешивании палочкой в 500 мл кипящей воды.
16.8.8. 10%-ный раствор Na2CO3 (по объему)
100 г Na2CO3 переводят в колбу вместимостью 1 л, растворяют в дистиллированной воде и доводят водой до отметки. Раствор применяют для удаления избытка свинца из анализируемого раствора при определении редуцирующих веществ.
16.8.9. 1%-ный раствор ДНСК
На аналитических весах взвешивают 1 г 3,5-динитросалициловой кислоты (ДНСК) и количественно переводят 50 мл воды в колбу вместимостью 100 мл. К раствору добавляют 20 мл 2 н. раствора NaOH и 30 г калий-натрий виннокислого (сегнетовой соли), раствор доводят дистиллированной водой до отметки, хорошо взбалтывают. Хранят в темном месте. Перед анализом раствор фильтруют.
16.8.10. Приготовление карборафина
300 г карборафина помещают в химический стакан вместимостью 2 л, заливают дистиллированной водой, примерно на 10 мм выше слоя карборафина и кипятят в течение 20 мин. Полученную суспензию фильтруют через бумажный фильтр под разрежением и 7 раз промывают кипящей водой порциями по 400 мл.
Промытый карборафин просушивают при температуре 60 °C и досушивают на открытом воздухе при перемешивании.
16.8.11. Смешанный свинцовый осветлитель
К свинцовому уксусу добавляют 25%-ный раствор нейтрального уксусного свинца в отношении 5 : 4 по объему.
16.9. РЕАКТИВЫ ДЛЯ ОПРЕДЕЛЕНИЯ АЗОТА
16.9.1. 40%-ный (по объему) раствор едкого натра
400 г едкого натра растворяют в фарфоровой чашке в 500 мл воды. После растворения раствор переводят в колбу вместимостью 1 л и доливают водой до отметки. Если раствор не прозрачен, то его фильтруют через стеклянную вату или асбест на бюхнеровской воронке.
16.9.2. 0,1 н. раствор соляной или серной кислоты
и 0,1 н. раствор едкого натра
16.9.3. Раствор едкого натра для определения
небелкового азота
12,5 г едкого натра растворяют в литровой колбе. После охлаждения доводят до отметки.
16.9.4. Раствор сернокислой меди для определения
небелкового азота
60 г химически чистой CuSO4·5H2O растворяют в литровой колбе в небольшом количестве воды. После растворения доводят водой до отметки.
16.9.5. Раствор алюмокалиевых квасцов, насыщенный на холоду,
для определения небелкового азота
Растворяют около 11,5 AlK(SO4)2·12H2O в 100 мл теплой воды и охлаждают до 20 °C. Растворимость квасцов резко изменяется с изменением температуры.
16.10. РЕАКТИВЫ ДЛЯ ОПРЕДЕЛЕНИЯ СОДЕРЖАНИЯ САХАРА В ВОДЕ
16.10.1. Раствор
(5%-ный раствор)
5
г 
растворяют в 100
мл 90%-ного спирта и хранят в склянке из темного стекла с притертой пробкой.
16.10.2. Реактив для определения малых количеств сахара
в водах с помощью молибденовой сини
35 г молибденовокислого аммония растворяют в 150 мл дистиллированной воды в течение 1,5 - 2 час. Затем отфильтровывают осадок через фильтр с пористой стеклянной пластинкой. Из фильтрата берут 150 мл раствора и добавляют при охлаждении 40 мл концентрированной серной кислоты, хорошо перемешивают, приливают 200 мл воды и еще раз перемешивают.
Раствор должен быть прозрачным. Реактив хранить в темной склянке и в прохладном месте.
16.10.3. Раствор камфоры в серной кислоте для определения
малых количеств сахара в водах
1 г камфоры растворяют в 99 г (53,8 мл) химически чистой серной кислоты плотностью 1,84 г/см3. Раствор может храниться не более 36 часов.
16.11. РАСТВОРЫ ДЛЯ ГАЗОАНАЛИЗАТОРА
16.11.1. Раствор щелочи
25 г едкого калия растворяют в воде в колбе вместимостью 100 мл и доводят водой до отметки. Не рекомендуется заменять едкий калий едким натрием, так как в процессе работы образуется малорастворимый в крепком растворе едкого натрия углекислый натрий, который кристаллизуется и забивает узкие проходы поглотительного сосуда.
16.11.2. Раствор пирогаллола
27 г пирогаллола (пирогалловой кислоты 1,2,3-триоксибензола C6H6O3) растворяют в 60 мл горячей воды, фильтруют и охлажденный раствор смешивают со 105 мл раствора едкого калия плотностью 1,26 - 1,28 г/см3 (25 г едкого калия растворяют в колбе вместимостью 100 мл, объем раствора доводят до отметки).
Хранят раствор в склянке из темного стекла с плотной пробкой.
Для определения кислорода применяют также так называемый пирогаллол А (триуксусный эфир 1,2,4-триоксибензола - C12H12O6). На одну зарядку газоанализатора требуется около 175 мл рабочего раствора. Для этого 24 г пирогаллола А помещают в коническую колбу вместимостью 300 мл, добавляют 160 мл 21%-ного раствора едкого калия плотностью 1,19 г/см3, колбу плотно закрывают корковой пробкой и взбалтывают до полного растворения пирогаллола А. Растворение сопровождается разогреванием до 60 °C и заканчивается через 10 - 12 мин. Полученный темно-коричневый раствор заливают в поглотительный сосуд. Раствор хранят в склянке из оранжевого стекла с плотной пробкой.
16.11.3. Раствор для определения окиси углерода
53 г хлорной меди и 25 г медной стружки обливают 300 мл концентрированной соляной кислоты и оставляют в течение суток в закрытом сосуде. Полученный раствор хлористой меди разбавляют 150 мл дистиллированной воды и сохраняют в хорошо закрытых склянках.
16.12. РЕАКТИВ ДЛЯ ОПРЕДЕЛЕНИЯ КРИСТАЛЛОСТРУКТУРЫ УТФЕЛЯ
Используют насыщенный сахаром этиловый спирт. Насыщение этилового спирта сахаром при температуре помещения производится путем взбалтывания его с мелко истертым рафинадом, взятым в таком количестве, чтобы после продолжительного взбалтывания часть сахара оставалась нерастворенной.
Нерастворившимся кристаллам дают осесть, прозрачный раствор декантируют (лучше на следующий день) и сохраняют в плотно закрытой склянке.
16.13.1. 0,1 н. раствор соды
Отвешивают 5,3 г химически чистой безводной соды (Na2CO3) и растворяют в литровой колбе. Затем раствор охлаждают до 20 °C и объем его доводят до отметки.
16.13.2. 0,1 н. раствор перманганата калия
3,20 г перманганата калия (химически чистого) переводят в чистую литровую колбу, наливают около 500 мл дистиллированной воды и часто взбалтывают без нагревания до полного растворения соли. Затем объем доводят до отметки, хорошо перемешанную жидкость сливают в коричневую склянку со стеклянной пробкой, дают постоять ей несколько дней, чтобы следы окисляющих веществ, содержащихся в воде, разрушились (поэтому берут небольшой избыток навески по сравнению с теоретической массой).

.
Титр устанавливают по 0,1 н. раствору щавелевой кислоты.
16.13.3. 0,01 н. раствор перманганата калия
Раствор готовят в 10 раз слабее предыдущего. Посуда (колбы, стаканы, бюретки, пипетки), соприкасающаяся с раствором, должна быть чистой, тогда раствор сохранится длительное время, иначе он изменит свой титр и его затем нужно снова устанавливать указанным способом перед каждым применением. Раствор не должен соприкасаться с резиной, поэтому бюретки должны иметь стеклянные краны.
16.13.4. Раствор свинцового уксуса для определения
сахаристости свеклы по дигестии
25 мл свинцового уксуса переводят в литровую колбу, доводят водой до отметки и тщательно перемешивают.
16.13.5. Раствор смешанного свинцового осветлителя
для определения содержания редуцирующих веществ в свекле
и жоме
25
мл смешанного свинцового осветлителя (см.
п. 16.8.11) переводят в литровую колбу, доводят водой до отметки и тщательно перемешивают.
16.14. РЕАКТИВЫ ДЛЯ ОПРЕДЕЛЕНИЯ ФОРМАЛЬДЕГИДА
16.14.1. Раствор формальдимедона
К 30 г 40%-ного формалина прибавляют 308 г димедона (5,5-диметилгидрорезорцин) и доводят этиловым спиртом до объема 1 л. Полученную смесь нагревают на кипящей водяной бане в течение 30 - 45 мин. Смесь охлаждают и продукт взаимодействия (формальдимедон) отфильтровывают через бумажный фильтр, промывают горячей водой и перекристаллизовывают из диметилформамида.
16.14.2. Проявляющий реактив
0,5 г йода растворяют в 95 мл хлороформа.
16.15. РЕАКТИВЫ ДЛЯ ПРОВЕДЕНИЯ РАСШИФРОВКИ НЕУЧТЕННЫХ ПОТЕРЬ
САХАРА
16.15.1. 10 - 12%-ный раствор соляной кислоты
10 - 12%-ный раствор соляной кислоты готовят путем смешивания воды и технической соляной кислоты в соотношении 2 : 1, т.е. к 2 л воды доливают 1 л кислоты.
16.15.2. 2%-ный (по объему) раствор хлористого натрия
20 г NaCl растворяют в воде и раствор доводят до объема 1 л.
16.15.3. 1,5%-ный (по объему) раствор хлористого аммония
15 г NH4Cl растворяют в воде и раствор доводят до объема 1 л.
16.15.4. 0,5 н. раствор соляной кислоты
Раствор готовят из концентрированной соляной кислоты плотностью 1,19 г/см3, что соответствует 12,5 н.
Количество 12,5 н. кислоты, которое необходимо взять для приготовления 1 л раствора 0,5 н. HCl, будет:

.
16.16. РЕАКТИВЫ ДЛЯ ОПРЕДЕЛЕНИЯ СОДЕРЖАНИЯ ОПТИЧЕСКИ
АКТИВНЫХ ВЕЩЕСТВ, РАЗЛАГАЮЩИХСЯ ПОД ВЛИЯНИЕМ ИЗВЕСТИ
ПРИ НАГРЕВАНИИ
16.16.1. 35%-ный раствор уксуснокислого свинца
350 г уксуснокислого свинца переводят в литровую колбу, растворяют в дистиллированной воде, доводят до отметки водой и перемешивают.
16.16.2. 15%-ное известковое молоко
В ступку переносят 150 г извести (CaO), постепенно добавляют дистиллированную воду, перемешивая пестиком содержимое до получения густой кашицы. После охлаждения содержимое ступки переводят в литровую колбу, ополаскивая стенки ступки и пестик дистиллированной водой, доводят до отметки, тщательно перемешивают и выливают в банку для хранения реактива.
16.17. РАСТВОРЫ ДЛЯ МЫТЬЯ ПОСУДЫ
Для удаления из посуды смолистых и других органических веществ, которые не растворяются в воде, применяют органические растворители. К ним относятся: ацетон, спирты, бензин, скипидар, четыреххлористый углерод и др.
Для мытья посуды пользуются 10%-ным раствором тринатрийфосфата.
К химическим методам очистки посуды относят мытье хромовой смесью. Для этого в концентрированную серную кислоту добавляют около 5% (от массы серной кислоты) размельченного в порошок кристаллического двухромовокислого калия и осторожно нагревают в фарфоровой чашке на водяной бане до растворения его.
Для приготовления хромовой смеси можно применять также двухромовокислый натрий, который растворяют в воде, а затем в раствор осторожно добавляют серную кислоту.
Смесь готовят из расчета:
Вода | 100 мл |
Двухромовокислый натрий | 6 г |
Серная кислота плотностью 1,835 | 100 мл |
При мытье хромовой смесью посуду ополаскивают сначала водой, а затем наливают слегка подогретую хромовую смесь до 25 - 30% объема сосуда, осторожно и медленно смачивая внутренние стенки его. После этого хромовую смесь выливают обратно в тот же сосуд, в котором она хранилась. Слив всю жидкость, посуду оставляют постоять несколько минут, затем ее моют водопроводной водой (лучше теплой), а потом дистиллированной.
17.1. СПИСОК РЕАКТИВОВ, НЕОБХОДИМЫХ НА 150 ДНЕЙ
СВЕКЛОСАХАРНОГО ПРОИЗВОДСТВА И НА 300 ДНЕЙ
САХАРОРАФИНАДНОГО ПРОИЗВОДСТВА
Реактивы и их квалификация | ГОСТ или МРТУ | Количество реактивов, кг, потребляемое в |
свеклосахарном производстве | сахарорафинадном производстве | химводоочистке |
1 | 2 | 3 | 4 | 5 |
| | ИС МЕГАНОРМ: примечание. Взамен ГОСТ 4461-67 Постановлением Госстандарта СССР от 22.12.1977 N 2995 с 01.01.1979 введен в действие ГОСТ 4461-77. | |
|
Азотная кислота | х.ч. | 4461-67 | 0,5 | - | 10,0 |
Алюмокалиевые квасцы | ч.д.а. | | 0,50 | 0,5 | - |
| | ИС МЕГАНОРМ: примечание. Взамен ГОСТ 3760-64 Постановлением Госстандарта СССР от 18.07.1979 N 2607 с 01.07.1980 введен в действие ГОСТ 3760-79. | |
|
Аммиак водный 25% | ч.д.а. | 3760-64 | 1,0 | 0,5 | 5,5 |
Аммоний азотнокислый | ч. | 5.1624-72 | 35,0 | - | - |
Аммоний азотнокислый | х.ч. | 5.1624-72 | 1,0 | 1,0 | - |
| | ИС МЕГАНОРМ: примечание. Взамен ГОСТ 3765-72 Постановлением Госстандарта СССР от 22.03.1978 N 754 с 01.01.1979 введен в действие ГОСТ 3765-78. | |
|
Аммоний молибденовокислый | х.ч. | 3765-72 | 3,0 | 2,0 | 0,4 |
Аммоний хлористый | х.ч. | | 5,0 | 5,0 | 0,5 |
Аммоний фосфорнокислый однозамещенный | х.ч. | 3771-74 | 0,5 | 0,5 | - |
Аммоний щавелевокислый | х.ч. | 5.1750-72 | 0,5 | 0,5 | - |
Анионит АВ-16ГС | | 20301-74 | 1,0 | 1,0 | - |
Барий азотнокислый | х.ч. | 3777-69 | 0,05 | 0,05 | - |
Барий хлористый | х.ч. | | 0,1 | 0,1 | 0,1 |
Борная кислота | | | 0,1 | 0,1 | 0,1 |
Бромтимоловый синий | инд. | МРТУ 6-09-1483-64 | 0,1 | 0,1 | 0,01 |
Бромкрезоловый зеленый | инд. | РТУ 108-62 | 0,2 | 0,2 | - |
| | ИС МЕГАНОРМ: примечание. Взамен ГОСТ 5456-65 Постановлением Госстандарта СССР от 30.05.1979 N 1981 с 01.07.1980 введен в действие ГОСТ 5456-79. | |
|
Гидроксиламин солянокислый | ч.д.а. | 5456-65 | 0,05 | 0,05 | 0,05 |
Гидросульфит натрия | х.ч. | 246-76 | 0,2 | 0,2 | - |
3,5-динитросалициловая кислота | ч. | ТУ 6-09-16-1001-76 | 0,2 | 0,2 | - |
Известь натронная | | 4455-48 | 0,5 | 0,5 | 0,5 |
Индигокармин | инд. | МРТУ 6-09-2003-64 | - | - | 0,01 |
| | ИС МЕГАНОРМ: примечание. Взамен ГОСТ 4159-64 Постановлением Госстандарта СССР от 22.06.1979 N 2215 с 01.07.1980 введен в действие ГОСТ 4159-79. | |
|
Йод металлический (кристаллический) | ч.д.а | 4159-64 | 0,5 | 0,5 | 0,1 |
Калий едкий | ч. | 4203-65 | 10,0 | 8,0 | 1,0 |
Калий едкий | х.ч. | 4203-65 | 2,0 | 1,0 | 0,5 |
Калий бромистый | х.ч. | | 0,2 | 0,2 | 0,1 |
Калий бромноватокислый | х.ч. | | 0,2 | 0,1 | - |
Калий йодистый | х.ч. | | 1,0 | 1,0 | 0,2 |
Калий-натрий виннокислый (сегнетовая соль) | х.ч. | 5845-70 | 8,0 | 8,0 | 0,2 |
Калий сернокислый | х.ч. | | 0,5 | - | - |
Калий фосфорнокислый однозамещенный | х.ч. | | 0,5 | 0,5 | 0,1 |
| | ИС МЕГАНОРМ: примечание. Взамен ГОСТ 4234-69 Постановлением Госстандарта СССР от 28.12.1977 N 3095 с 01.01.1979 введен в действие ГОСТ 4234-77. | |
|
Калий хлористый | х.ч. | 4234-69 | 10,0 | 10,0 | 6,5 |
Калий хромовокислый | х.ч. | | 0,1 | 0,1 | 0,4 |
Калий щавелевокислый | х.ч. | 5868-68 | 0,5 | - | - |
Кальций углекислый | ч.д.а. | | 0,2 | 0,2 | - |
Кальций хлористый кристаллический | ч. | 4460-77 | 2,0 | 2,0 | 0,2 |
Кальций углекислый | ч.д.а. | | 0,2 | 0,2 | - |
Кальций окись | ч.д.а. | | 2,0 | - | - |
Карборафин | | | 6,0 | 6,0 | - |
Крахмал растворимый | ч. | | 0,5 | 0,5 | 0,1 |
Крезоловый красный | инд. | 5849-74 | 0,07 | 0,05 | - |
Катионит КУ-1 | | | - | - | 0,5 |
Катионит КУ-2 | | | 5,0 | 5,0 | 0,5 |
Лимонная кислота | х.ч. | | 2,0 | - | - |
Магний окись | ч.д.а. | | 0,2 | - | - |
| | ИС МЕГАНОРМ: примечание. Взамен ГОСТ 4523-67 Постановлением Госстандарта СССР от 23.11.1977 N 2743 с 01.01.1979 введен в действие ГОСТ 4523-77. | |
|
Магний сернокислый | х.ч. | 4523-67 | 0,75 | 0,75 | 0,5 |
Марганец хлористый | ч.д.а. | | - | - | 0,2 |
| | ИС МЕГАНОРМ: примечание. Взамен ГОСТ 4165-68 Постановлением Госстандарта СССР от 23.02.1978 N 530 с 01.01.1979 введен в действие ГОСТ 4165-78. | |
|
Медь сернокислая | х.ч. | 4165-68 | 2,0 | 2,0 | 0,5 |
Медь хлорная | ч.д.а. | | 0,1 | - | - |
Метиловый голубой | инд. | ТУ 6-09-29-76 | 0,02 | 0,01 | 0,005 |
Метиловый красный | инд. | МРТУ 6-09-6539-70 | 0,01 | 0,01 | 0,01 |
| | ИС МЕГАНОРМ: примечание. ГОСТ 10816-64 утратил силу с 01.01.1985 (ИУС "Государственные стандарты", N 5, 1988). | |
|
Метиловый оранжевый | инд. | 10816-64 | 0,15 | 0,15 | 0,05 |
Набор для определения жесткости воды | | МРТУ 6-09-6251-69 | 1 | 2 | 2 |
| | ИС МЕГАНОРМ: примечание. Взамен ГОСТ 4201-66 Постановлением Госстандарта СССР от 26.01.1979 N 246 с 01.01.1980 введен в действие ГОСТ 4201-79. | |
|
Натрий двууглекислый | х.ч | 4201-66 | 0,5 | 0,5 | 1,10 |
Натрий едкий | х.ч. | 5.830-71 | 7,0 | 6,0 | 0,5 |
Натрий сернистый (натрий сульфид) | ч.д.а. | | 0,2 | 0,2 | 0,1 |
Натрий серноватистокислый (гипосульфит) | ч.д.а. | | 0,5 | 0,8 | 0,2 |
Натрий тетраборнокислый (бура кристаллическая) | х.ч. | | 0,5 | 0,5 | 0,1 |
| | ИС МЕГАНОРМ: примечание. Взамен ГОСТ 83-63 Постановлением Госстандарта СССР от 26.01.1979 N 246 с 01.01.1980 введен в действие ГОСТ 83-79. | |
|
Натрий углекислый безводный | х.ч. | 83-63 | 1,0 | 0,5 | 0,1 |
Натрий углекислый кристаллический | х.ч. | | 1,5 | 1,5 | 0,1 |
Натрий фосфорнокислый двузамещенный | х.ч. | | 2,0 | 0,5 | 0,2 |
Натрий хлористый | ч.д.а. | | 10,0 | 10,0 | 0,5 |
| ч.д.а. | 5338-70 | 0,5 | 0,5 | 0,5 |
Олеиновая кислота | | 10475-75 | 0,5 | 0,5 | 0,5 |
Пикриновая кислота | | ОСТ 3515 | - | - | 0,01 |
Ртуть металлическая | | | 30,0 | 30,0 | - |
| | ИС МЕГАНОРМ: примечание. Взамен ГОСТ 4236-67 Постановлением Госстандарта СССР от 29.11.1977 N 2780 с 01.01.1979 введен в действие ГОСТ 4236-77. | |
|
Свинец азотнокислый | ч. | 4236-67 | 10,0 | 10,0 | - |
Свинец окись (свинцовый глет) | | 9199-68 | 30,0 | 20,0 | - |
Свинец уксуснокислый (свинцовый сахар) | ч. | | 90,0 | 60,0 | - |
Серебро азотнокислое | ч.д.а. | | 0,02 | 0,02 | 0,04 |
Серная кислота плотностью 1,835 - 1,840 | | | 100,0 | 30,0 | 250,0 |
| | ИС МЕГАНОРМ: примечание. Взамен ГОСТ 3118-67 Постановлением Госстандарта СССР от 22.12.1977 N 2994 с 01.01.1979 введен в действие ГОСТ 3118-77. | |
|
Соляная кислота плотностью 1,174 - 1,185 | | 3118-67 | 35,0 | 30,0 | 5,0 |
Соляная кислота техническая | | 1382-69 | 100,0 | 50,0 | - |
Спирт этиловый, л | ректиф. | | 50,0 | 20,0 | 15,0 |
Сульфоуголь мелкий | | | | | |
I сорт (СМ-1) | | 5696-74 | - | - | 0,5 |
II сорт (СМ-2) | | 5696-74 | - | - | 0,5 |
Сульфоуголь крупный | | | | | |
I сорт (СК-1) | | 5696-74 | - | - | 0,5 |
II сорт (СК-2) | | 5696-74 | - | - | 0,5 |
Танин | | | 0,5 | 0,5 | - |
Трилон Б | | | 0,5 | 0,5 | 1,0 |
Тимолфталеин | инд. | МРТУ 6-09-2724-65 | 0,08 | 0,02 | - |
Уксусная кислота | х.ч. | | 3,0 | 3,0 | 1,0 |
Фенолфталеин | инд. | 5850-72 | 0,2 | 0,3 | 0,1 |
Фильтры беззольные (белая, синяя лента) диаметр в см | 7 | | 2 пач. | 2 пач. | 2 пач. |
9 | | 5 пач. | 5 пач. | 5 пач. |
12 | | 5 пач. | 5 пач. | 5 пач. |
Хром темно-синий | инд. | | 0,2 | 0,2 | 0,4 |
Цинк металлический гранулированный (для лабораторных целей) | | 989-75 | 0,5 | 0,2 | 0,2 |
Щавелевая кислота | х.ч. | | 0,5 | 0,5 | 0,2 |
Этиловый эфир (серный эфир) | | | 5,0 | 5,0 | 1,0 |
Эспатит 1 | | | - | - | 0,5 |
17.1.1. ФИКСАНАЛЫ
Фиксаналы | ГОСТ или МРТУ | Количество коробок, шт. |
производство | химводоочистка |
свеклосахарное | сахарорафинадное |
1 | 2 | 3 | 4 | 5 |
Йод | 0,05 г-экв | МРТУ 6-09-1678-64 | 10 | 10 | 1 |
Калий двухромовокислый | 0,1 г-экв | | 1 | 1 | 1 |
Калий марганцевокислый | 0,1 г-экв | | - | - | 1 |
Натрий едкий | 0,1 г-экв | 4328-66 | 10 | 2 | 5 |
| | ИС МЕГАНОРМ: примечание. ГОСТ 4215-66 утратил силу с 01.01.1978 (ИУС "Государственные стандарты", N 3, 1977). | |
|
Натрий серноватистокислый | 0,1 г-экв | 4215-66 | 10 | 10 | 1 |
| | ИС МЕГАНОРМ: примечание. Взамен ГОСТ 14262-69 Постановлением Госстандарта СССР от 16.01.1978 N 80 с 01.01.1979 введен в действие ГОСТ 14262-78. | |
|
Серная кислота | 0,1 г-экв | 14262-69 | 10 | 10 | 10 |
| | ИС МЕГАНОРМ: примечание. Взамен ГОСТ 14261-69 Постановлением Госстандарта СССР от 26.05.1977 N 1347 с 01.07.1978 введен в действие ГОСТ 14261-77. | |
|
Соляная кислота | 0,1 г-экв | 14261-69 | 10 | 10 | 20 |
| | ИС МЕГАНОРМ: примечание. Взамен ГОСТ 5.1173-71 Постановлением Госстандарта СССР от 29.09.1976 N 2243 с 01.07.1977 введен в действие ГОСТ 22180-76. | |
|
Щавелевая кислота | 0,1 г-экв | 5.1173-71 | 1 | 1 | 1 |
17.2. РЕАКТИВЫ, ПРИМЕНЯЕМЫЕ ДЛЯ НЕКОТОРЫХ ОПРЕДЕЛЕНИЙ
ПО ТЕХНИЧЕСКОМУ АНАЛИЗУ
Реактивы и их квалификация | ГОСТ или МРТУ | Количество, кг |
1 | 2 | 3 |
| | ИС МЕГАНОРМ: примечание. Взамен ГОСТ 4461-67 Постановлением Госстандарта СССР от 22.12.1977 N 2995 с 01.01.1979 введен в действие ГОСТ 4461-77. | |
|
Азотная кислота плотностью 1,372 - 1,405 | х.ч. | 4461-67 | 5,0 |
Алюминий сернокислый | ч.д.а. | | 0,1 |
Аммоний надсернокислый (аммоний персульфат) | ч.д.а. | | 0,1 |
Аммоний полисульфид | ч. | МРТУ 6-09-2569-65 | 0,1 |
Аммоний роданистый | х.ч. | 3768-64 | 0,1 |
Аммоний углекислый | х.ч. | | 0,5 |
| | ИС МЕГАНОРМ: примечание. Взамен ГОСТ 3117-68 Постановлением Госстандарта СССР от 10.02.1978 N 421 с 01.01.1979 введен в действие ГОСТ 3117-78. | |
|
Аммоний уксуснокислый | ч.д.а. | 3117-68 | 0,1 |
Ауринтрикарбоновой кислоты аммонийная соль (алюминон) | ч.д.а. | 9859-74 | 0,1 |
| | ИС МЕГАНОРМ: примечание. Взамен ГОСТ 4107-69 Постановлением Госстандарта СССР от 27.01.1978 N 239 с 01.01.1979 введен в действие ГОСТ 4107-78. | |
|
Барий гидрат окиси | х.ч. | 4107-69 | 0,2 |
Винная (виннокаменная) кислота | | 5817-69 | 0,2 |
Диэтиланилин | ч.д.а. | 10162-75 | 0,2 |
Железо азотнокислое | х.ч. | 4111-74 | 0,2 |
Железо-аммиачные квасцы | х.ч. | 4205-68 | 0,3 |
Железо хлорное кристаллическое | ч.д.а. | | 0,2 |
Индигокармин | инд. | МРТУ 6-09-2003-64 | 0,025 |
| | ИС МЕГАНОРМ: примечание. Взамен ГОСТ 4217-73 Постановлением Госстандарта СССР от 13.06.1977 N 1470 с 01.01.1979 введен в действие ГОСТ 4217-77. | |
|
Калий азотнокислый | х.ч. | 4217-73 | 0,2 |
Калий двухромовокислый | х.ч. | | 0,5 |
Калий железосинеродистый | х.ч. | | 0,5 |
Калий марганцевокислый | х.ч. | | 0,5 |
Калий надсернокислый (персульфат калия) | ч.д.а. | | 0,2 |
Кальций гидрат окиси | ч.д.а. | | 0,2 |
Магний хлористый | х.ч. | | 0,1 |
Марганец сернокислый | ч.д.а. | | 0,2 |
Марганец хлористый | ч.д.а. | | 0,1 |
Натрий азотнокислый | ч.д.а. | | 0,2 |
| | ИС МЕГАНОРМ: примечание. Взамен ГОСТ 4170-68 Постановлением Госстандарта СССР от 01.06.1978 N 1485 с 01.07.1979 введен в действие ГОСТ 4170-78. | |
|
Натрий-аммоний фосфорнокислый двухзамещенный | х.ч. | 4170-68 | 0,1 |
Натрий салициловокислый | ч. | 17628-72 | 0,2 |
| | ИС МЕГАНОРМ: примечание. Взамен ГОСТ 199-68 Постановлением Госстандарта СССР от 09.02.1978 N 415 с 01.01.1978 введен в действие ГОСТ 199-78. | |
|
Натрий уксуснокислый | ч.д.а. | 199-68 | 0,2 |
| | ИС МЕГАНОРМ: примечание. Постановлением Госстандарта СССР от 08.04.1977 N 882 с 01.01.1978 введен в действие ГОСТ 4233-77. | |
|
Натрий хлористый | х.ч. | 4233-74 | 0,2 |
Натрий щавелевокислый | х.ч. | | 0,2 |
 солянокислый | ч. | 7727-74 | 0,1 |
| | ИС МЕГАНОРМ: примечание. Постановлением Госстандарта СССР от 29.06.1988 N 2417 с 01.07.1989 введен в действие ГОСТ 177-88. | |
|
Пергидроль (30% раствор перекиси водорода) | | 177-71 | 0,5 |
Реактив Грисса | | МРТУ 6-09-3085-66 | 0,1 |
Реактив Несслера | | МРТУ 6-09-468-63 | 0,1 |
| | ИС МЕГАНОРМ: примечание. Взамен ГОСТ 4521-68 Постановлением Госстандарта СССР от 02.02.1978 N 347 с 01.01.1979 введен в действие ГОСТ 4521-78. | |
|
Ртуть азотнокислая закисная | х.ч. | 4521-68 | 0,1 |
Салициловая кислота | фарм. | 624-70 | 0,1 |
Серебро сернокислое | ч. | | 0,05 |
Смесь Эшка | ч. | 5144-69 | 0,2 |
| | ИС МЕГАНОРМ: примечание. Взамен ГОСТ 5821-69 Постановлением Госстандарта СССР от 03.02.1978 N 363 с 01.01.1979 введен в действие ГОСТ 5821-78. | |
|
Сульфаниловая кислота | ч. | 5821-69 | 0,1 |
| | ИС МЕГАНОРМ: примечание. Взамен ГОСТ 4478-68 Постановлением Госстандарта СССР от 27.01.1978 N 238 с 01.01.1979 введен в действие ГОСТ 4478-78. | |
|
Сульфосалициловая кислота | ч.д.а. | 4478-68 | 0,1 |
Фенол | ч. | 17-72 | 0,1 |
| | ИС МЕГАНОРМ: примечание. Взамен ГОСТ 1625-75 Постановлением Госстандарта СССР от 13.12.1989 N 3704 с 01.01.1991 введен в действие ГОСТ 1625-89. | |
|
Формалин (40% раствор формальдегида) | ч. | 1625-75 | 5,0 |
Хромовые квасцы (хромовокалиевые квасцы) | ч.д.а. | 4162-71 | 0,1 |
Хлороформ | х.ч. | 3160-64 | 100,0 |
| | ИС МЕГАНОРМ: примечание. В официальном тексте документа, видимо, допущена опечатка: стандарт имеет номер ГОСТ 4166-76, а не ГОСТ 4166-75. | |
|
Натрий сернокислый безводный | ч.д.а. | | 5 |
| | ИС МЕГАНОРМ: примечание. В официальном тексте документа, видимо, допущена опечатка: стандарт имеет номер ГОСТ 6622-73, а не ГОСТ 6622-63. | |
|
Димедон (5,5-диметилгидрорезорцин) | | 6622-63 | 1,5 |
| | ИС МЕГАНОРМ: примечание. Взамен ГОСТ 6552-58 Постановлением Госстандарта СССР от 03.01.1980 N 26 с 01.01.1982 введен в действие ГОСТ 6552-80. | |
|
Фосфорная кислота (орто) | | 6552-58 | 1,0 |
Дихлоруксусная кислота | | МРТУ 6-09-2299-65 | 1,0 |
Соль динатриевая этилендиамин N, N, N', N'-тетрауксусной кислоты (трилон Б) | ч.д.а. | | 0,5 |
Камфора | | 1123-72 | 0,5 |
Пирогаллол А | | 6408-75 | 3,0 |
| | ИС МЕГАНОРМ: примечание. Взамен ГОСТ 1692-58 Постановлением Госстандарта СССР от 30.10.1985 N 3506 с 01.01.1987 введен в действие ГОСТ 1692-85. | |
|
Известь хлорная | | 1692-58 | 20,0 |
Сода кальцинированная | техн. | 10689-75 | 20,0 |
Спирт нашатырный | медиц. | 786-68 | 5,0 |
Спирт этиловый (гидролизный) | | 131-67 | 20,0 |
Хромотроповая кислота | | | 0,5 |
Фосфорная кислота | | | 1,0 |
Карболен (акт. уголь) | медиц. | | 20,0 |
Трихлоруксусная кислота | | МРТУ 6-09-2299-65 | 5,0 |
Бромфеноловый синий | | ТУ 6-09-311-70 | 0,1 |
| | ИС МЕГАНОРМ: примечание. ГОСТ 10816-64 утратил силу с 01.01.1985 (ИУС "Государственные стандарты", N 5, 1988). | |
|
Бромкрезоловый пурпурный | | 10816-64 | 0,1 |
Розоловая кислота | | ТУМХП 2688-51 | 0,1 |
Феноловый красный | | 4599-61 | 0,1 |
| | 5838-70 | 0,1 |
Тимоловый синий | | МРТУ 6-09-617-63 | 0,1 |
Бромтимоловая зеленая (бумага) | | ТУГСР 806-62 | 10 пач. |
17.2.1. ФИКСАНАЛЫ
Наименование фиксаналов | ГОСТ или МРТУ | Количество коробок, шт. |
| | ИС МЕГАНОРМ: примечание. В официальном тексте документа, видимо, допущена опечатка: стандарт имеет номер ГОСТ 11125-73, а не ГОСТ 1125-73. | |
|
| | ИС МЕГАНОРМ: примечание. Постановлением Госстандарта СССР от 18.12.1984 N 4502 с 01.01.1986 введен в действие ГОСТ 11125-84. | |
|
Азотная кислота | 0,1 г-экв | 1125-73 | 1 |
Аммоний роданистый | 0,1 г-экв | | 1 |
Аммоний щавелевокислый | 0,1 г-экв | 5.1750-72 | 1 |
Калий хромовокислый | 0,1 г-экв | | 1 |
Калий щавелевокислый | 0,1 г-экв | 5868-68 | 1 |
| | ИС МЕГАНОРМ: примечание. Взамен ГОСТ 4199-66 Постановлением Госстандарта СССР от 26.10.1976 N 2396 с 01.01.1978 введен в действие ГОСТ 4199-76. | |
|
Натрий тетраборнокислый (бура) | 0,1 г-экв | 4199-66 | 1 |
Серебро азотнокислое | 0,1 г-экв | | 1 |
Фиксаналы для приготовления образцовых буферных растворов для pH-метрии | | 6-09-289-64 | 4 |
17.3. ТИПОВОЙ НАБОР ЛАБОРАТОРНЫХ ПРИБОРОВ, ОБОРУДОВАНИЯ,
ПРИНАДЛЕЖНОСТЕЙ И ПОСУДЫ
17.3.1. ЛАБОРАТОРНЫЕ ПРИБОРЫ
Наименование | Марка | ГОСТ или ТУ | Количество, шт. |
производство | химводоочистка |
свеклосахарное | сахарорафинадное |
1 | 2 | 3 | 4 | 5 | 6 |
Аппарат для определения щелочности продуктов сахарного производства | | 7662-73 | 8 | 2 | - |
Барометр-анероид | М-110 | ТУ 25-04-1799-72 | 1 | 1 | - |
Вакуум-аппарат лабораторный | | | 1 | 1 | - |
Весы технические 1-го класса равноплечие | ВЛТ-1 кг-1 | ТУ 25-06-385-75 | 3 | 3 | 2 |
Весы лабораторные квадрантные с выборкой массы тары | ВЛКТ-500 г | ТУ 25-06-1101-76 | 1 | 1 | - |
Весы лабораторные технические | ВЛТ-200 г (Т-200) | | 3 | 3 | 1 |
ВЛТ-1 кг (1 - 1000) | | | | |
ВЛКТ-5 кг | ТУ 25-06-1317-76 | 1 | 1 | - |
Весы лабораторные равноплечие 2-го класса (аналитические) | ВЛР-200 г | ТУ 25-06-1131-75 | 2 | 2 | 1 |
Весы циферблатные | ВТЦ-10 | 7327-55 | 1 | 1 | - |
Весы шкальные почтовые | РН50-Ш13П-1 | ТУ 25-06-663-70 | 1 | 1 | - |
Весы лабораторные квадрантные без механизма выборки тары | ВЛК-500/10 | ТУ 25-06-1101-76 | 2 | 2 | 1 |
|
|
Набор гирь | МГ-2-1100-10 | 7328-73 | 5 | 5 | 5 |
Набор гирь | МГ-2-1100-1 | " | 5 | 5 | 5 |
Набор гирь | Г-2-210 | " | 2 | 2 | 1 |
Набор гирь | Г-4-210 | " | 4 | 4 | 1 |
Набор гирь | Г-4-1110 | " | 6 | 6 | 3 |
Набор гирь | КГ-2-20 | " | 2 | 2 | - |
Комплект гирь | Г-3-11111,10 | " | 2 | 2 | 1 |
Вискозиметр со скользящим шариком (Гепплера) | | | 1 | 1 | - |
Влагомер Бонвеча | | | - | 1 | - |
Газоанализатор | ГХП-100 | 6329-74 | 4 | 2 | 1 |
ГХ-5 | ТУ 12-24-3-74 | 1 | 1 | - |
Запасные части к нему: | | | 4 | 2 | 1 |
поглотительные сосуды гребенки | | | 4 | 2 | 1 |
бюретки с кожухом | | | 2 | 1 | 1 |
склянки с тубусом | | | 2 | 1 | 1 |
Гигрометр волосяной метеорологический | МВ-1 | | 8 | 10 | - |
Психрометр | М-68 | ТУ 25-11-1333-77 | 8 | 10 | - |
Дробилки лабораторные (мельницы) | | | 1 | 1 | 1 |
Дистиллятор | АД-10 | ТУ 25-11-1055-75 | 1 | 1 | 1 |
Д-4 | ТУ 64-1-1640-72 | 1 | 1 | 1 |
Колориметр | КСМ | МРТУ 25-5 | 2 | 2 | - |
Трубки поляриметрические латунные | | | | | |
100 мм | | | 10 | 10 | - |
200 мм | | | 20 | 20 | - |
400 мм | | | 10 | 10 | - |
Трубки поляриметрические с кожухом | | | | | |
200 мм | | | 3 | 3 | - |
400 мм | | | 1 | 1 | - |
Кюветы поляриметрические стеклянные | | | | | |
100 мм | | | 5 | 5 | - |
200 мм | | | 10 | 10 | - |
Контрольные трубки | | | в комплекте сахариметром |
Сахариметр универсальный | СУ-3 | ТУ 25-05-2007-76 | 2 | 2 | - |
СУ-4 | ТУ 25-05-2417-78 | 2 | 2 | - |
Лабораторный pH-метр | pH-121 | ТУ 25-05-1689-74 | 2 | 2 | 1 |
pH-340 | ТУ 25-07-698-70 | 2 | 2 | 1 |
Магнитная мешалка | ММ-3М | ТУ 25-11-834-73 | 2 | 2 | 2 |
Машинка для измельчения стружки и жома (мясорубка ручная) | | | 5 | - | - |
Микроскоп биологический универсальный | МБИ-6 | МРТУ 3-438-68 | 1 | 1 | - |
Цветомер фотоэлектрический | А1-ЕЦ2-С | ТУ 25-05-1409-73 | 1 | 1 | - |
ЛМФ-72М | | 1 | 1 | - |
pH-метр прецизионный лабораторный | Н-262 | ТУ 25-07-699-70 | 1 | 1 | 1 |
Набор сит для рассева сахара с механическим приводом | | ТУ 46-47-885-73 | 1 | 1 | - |
Набор сит для рассева извести с механическим приводом | | | 1 | - | - |
Насос воздушный двойного действия (разрежение и нагнетание) | | | 1 | 1 | - |
Прибор для определения крепости рафинада (пресс Бонвеча) | | | - | 1 | - |
Прибор для измельчения рафинада | | | - | 1 | - |
Прибор ВЧМ | | | 2 | - | - |
Размельчитель тканей свеклы | РТС-2М | | 3 | - | - |
Рефрактометр | УРЛ | ТУ 25-05-1540-74 | 2 | 2 | - |
РПЛ-3 | ТУ-25-07-720-70 | 2 | 2 | - |
Рефрактометр прецизионный | | | 1 | 1 | - |
Термостат для истощения мелассы | | | 1 | 1 | - |
Ультратермостат | УТ-15 | ТУ 15-00-00-000 ПС | 3 | 3 | 3 |
Вакуум-сушильный шкаф | СНВС-4.5.3,4/3-И1 | ТУ 16-531-545-75 | 1 | 1 | 1 |
Сушильный электрический шкаф общелабораторного назначения | 2В-151 | ТУ 64-1-1411-76Е | 2 | 2 | 1 |
Секундомер 2-стрелочный | СДСпр | -4б- | 5072-72 | 2 | 2 | 2 |
2 |
Дигестионные сосуды | | ТУ 18-1-05-72 | 5 | - | - |
Чашки нейзильберовые | N 1 | ТУ 0200000 | 3 | 3 | - |
N 2 | 2 | 2 | - |
N 3 | 1 | 1 | - |
Сосуды для определения содержания сухих веществ методом разбавления 1:1 | | ТУ 0500000 | 10 | 8 | - |
Центрифуга лабораторная малогабаритная с электроприводом | ЦЛН-2 | ТУ 5-37-5-4171-73 | 1 | 1 | - |
Муфельная печь | ПП-2УМ | ТУ 16-531-098-68 | 1 | 1 | 1 |
Камера хроматографическая | | | 2 | - | - |
17.3.2. ЛАБОРАТОРНОЕ ОБОРУДОВАНИЕ И ПРИНАДЛЕЖНОСТИ
Аспираторы двойные металлические емк. 10 л | | | 1 | 1 | 1 |
Бани водяные на несколько гнезд с электроподогревом | | | 2 | 2 | - |
Баня водяная на одно гнездо | | | 2 | 2 | 1 |
Баня песочная с электроподогревом | | | 1 | 1 | 1 |
Вата стеклянная для фильтрования, кг | | | 1 | 1 | 1 |
Декалитр для определения плотности мелассы | | | 1 | 1 | - |
Картон асбестовый толщиной 2 мм, листов | | | 1 | 1 | 1 |
Кисточки волосяные для весов | | | 3 | 2 | 1 |
Колбонагреватели | | | 3 | 3 | 2 |
Кружки для отбора проб | | | 30 | 40 | 5 |
Лампы спиртовые с колпаком емк. 180 мл | | | 2 | 2 | 1 |
Ложки никелированные со шпателем длиной, см 12 | | | 10 | 5 | 2 |
18 | | | 3 | 3 | 2 |
Ложки роговые длиной, см 11,5 | | | 5 | 5 | 1 |
18,0 | | | 5 | 5 | 1 |
Лупа | | | 3 | 2 | - |
Магниты статические, наборов | | | 1 | 1 | 1 |
Ножницы для бумаги | | | 1 | 1 | 1 |
Пинцет металлический | | | 3 | 5 | 1 |
Плиты электрические | | | 6 | 6 | 2 |
17.3.3. ЛАБОРАТОРНАЯ ПОСУДА
Наименование посуды | Марка | ГОСТ или МРТУ | Количество, шт. |
производство | химводоочистка |
свеклосахарное | сахарорафинадное |
1 | 2 | 3 | 4 | 5 | 6 |
Склянки с нижним тубусом, л | СТРП | 10238-74 | | | |
1 | | | 5 | 5 | 5 |
2 | | | 10 | 10 | 10 |
3 | | | 10 | 10 | 10 |
5 | | | 5 | 5 | 5 |
10 | | | 5 | 5 | 5 |
Склянки и банки для химических реактивов из темного и бесцветного стекла вместимостью, мл | | | | | |
25 | | ТУ 6-19-6-70 | 10 | 10 | 5 |
50 | | | 10 | 10 | 5 |
75 | | | 10 | 10 | 5 |
100 | | | 20 | 20 | 10 |
150 | | | 20 | 20 | 10 |
200 | | | 30 | 30 | 10 |
250 | | | 30 | 30 | 10 |
400 | | | 20 | 20 | 10 |
500 | | | 20 | 20 | 10 |
750 | | | 20 | 20 | 10 |
1000 | | | 20 | 20 | 10 |
2000 | | | 10 | 10 | 5 |
3000 | | | 10 | 10 | 5 |
5000 | | | 5 | 5 | 5 |
Бюретки | 1а без крана | | | | |
25 мл 0,1 | | | 3 | 5 | 3 |
50 мл 0,1 | | | 3 | 5 | 3 |
100 мл 0,2 | | | 5 | 5 | 5 |
Бюретки | 11а с краном | | | | |
25 мл 0,1 | | | 3 | 5 | 3 |
50 мл 0,1 | | | 10 | 10 | - |
100 мл 0,2 | | | 4 | 4 | - |
Бюретки | IV с краном | | | | |
25 мл | | | 3 | 5 | 3 |
50 мл | | | 3 | 5 | 3 |
100 мл | | | 8 | 3 | 3 |
Микробюретка 2 мл | | | 5 | 5 | 6 |
Микропипетка 0,1 мл | | | 20 | 20 | 20 |
Микрокапилляры | | | 10 | 10 | 10 |
Стакан высокий (бюкса) | СВ | 7148-70 | | | |
H = 45 мм, Д = 30 мм | | | 20 | 20 | 10 |
H = 60 мм, Д = 40 мм | | | 20 | 20 | 10 |
Стакан низкий (бюкса), размеры, мм | СН | 7148-70 | | | |
H = 30, Д = 43 | | | 40 | 40 | 20 |
H = 30, Д = 58 | | | 40 | 40 | 20 |
H = 30, Д = 82 | | | 40 | 40 | 20 |
Пипетки объемом, мл | | | | | |
1 | | | 10 | 10 | 10 |
2 | | | 10 | 10 | 10 |
5 | | | 10 | 10 | 10 |
10 | | | 10 | 10 | 10 |
15 | | | 15 | 15 | 15 |
20 | | | 15 | 15 | 15 |
25 | | | 15 | 15 | 15 |
50 | | | 20 | 20 | 20 |
100 | | | 10 | 10 | 10 |
Пипетки капиллярные, мл | | | | | |
0,1 | | | 5 | 5 | 2 |
0,2 | | | 5 | 5 | 2 |
Пипетка для отмеривания жидкости при определении процентного содержания сахара в свекле (178,2 мл) | | | 6 | - | - |
Воронки стеклянные, диаметр, мм | 1а | 8613-75 | | | |
35 | | | 5 | 5 | 2 |
56 | | | 20 | 20 | 5 |
75 | | | 15 | 15 | 12 |
100 | | | 15 | 15 | 5 |
150 | | | 10 | 10 | 10 |
250 | | | 6 | 6 | 3 |
Воронки стеклянные | V | 8613-75 | 10 | 10 | - |
Воронки делительные цилиндрические, мл | | | | | |
250 | VIII | 8613-75 | 5 | 2 | 2 |
500 | | | 3 | 2 | 1 |
1000 | | | 2 | 1 | - |
Воронки делительные грушевидные | | | | | |
2000 мл | | 8613-75 | 2 | 1 | - |
Воронки для фильтрования с шаром, диаметр, мм | | | | | |
75 | II | 8613-75 | 5 | 5 | - |
112 | | | 3 | 3 | - |
Денсиметры стеклянные общего назначения плотностью от 0,700 - 1,840 | IIа | ТУ 25-11-1363-77 | | | |
0,7 - 1,000 | | | 3 | 3 | 5 |
1,000 - 1,080 | | | 3 | 15 | 2 |
1,080 - 1,160 | | | 10 | 10 | 2 |
1,160 - 1,240 | | | 20 | 20 | 2 |
1,240 - 1,320 | | | 3 | 10 | 2 |
1,780 - 1,840 | | | 2 | 2 | 2 |
Денсиметр 1,000 - 1,500 | IIIб | ТУ 25-11-1363-77 | 5 | 5 | 1 |
Денсиметр 1,000 - 1,4000 | IVа | ТУ 25-11-1363-77 | 5 | 5 | 2 |
Денсиметры аккумуляторные | | | | | |
1,100 - 1,300 | А | ТУ 25-11-1041-75 | 5 | 5 | 1 |
1,200 - 1,400 | | | | | |
Капельницы для однократной дозировки с колпачком | II | 9876-73 | 20 | 10 | 3 |
Капельница с клювиком | Iб | ТУ 25-11-1126-75 | 10 | 10 | 3 |
Колбы для фракционной перегонки, мл | | 17004-71 | | | |
100 | | | 3 | 2 | - |
250 | | | 3 | 2 | - |
500 | | | 3 | 2 | - |
Колбы Вюрца | КП | 10394-72 | 5 | 5 | - |
Колбы Кьельдаля, мл | | 10394-72 | | | |
50 | | | 5 | - | - |
100 | | | 5 | - | - |
250 | | | 5 | - | - |
500 | | | 5 | - | - |
1000 | | | 5 | - | - |
Колба для фильтрования под вакуумом с тубусом, мл | | 6514-75 | | | |
250 | | | 5 | - | - |
500 | | | 5 | 10 | - |
1000 | | | 3 | 2 | - |
2000 | | | 1 | 1 | - |
Колба для фильтрования с пришлифованной воронкой | | | | | |
500 мл | | ТУ 25.11.1057-75 | 5 | 5 | - |
Колбы для смешения 750 мл | | ТУ 25-11-676-72 | 20 | 10 | - |
Колбы конические узкогорлые, мл: | Кн | 10394-72 | | | |
25 | | | 5 | - | - |
50 | | | 5 | 5 | 5 |
100 | | | 10 | 10 | 5 |
250 | | | 20 | 20 | 15 |
500 | | | 5 | 5 | 2 |
1000 | | | 5 | - | - |
Колбы конические широкогорлые, мл | | 10394-72 | | | |
100 | | | 10 | 5 | 5 |
250 | | | 20 | 20 | 20 |
500 | | | 10 | 15 | 10 |
1000 | | | 5 | 5 | 2 |
Колбы плоскодонные узкогорлые, мл | | 10394-72 | | | |
250 | | | 10 | - | - |
500 | | | 10 | - | - |
1000 | | | 4 | - | - |
1500 | | | 3 | - | - |
Колбы мерные с одной отметкой, мл | Исп. 1 | | | | |
25 | | | 5 | - | - |
50 | | | 5 | - | - |
100 | | | 5 | - | - |
200 | | | 5 | 5 | - |
250 | | | 5 | 10 | - |
500 | | | 5 | 5 | 3 |
1000 | | | 5 | 5 | 3 |
2000 | | | 3 | 2 | 1 |
Колбы мерные с двумя отметками, мл | Исп 3 | | | | |
50 - 55 | | | 70 | 70 | - |
100 - 110 | | | 50 | 50 | 10 |
200 - 220 | | | 25 | - | - |
Колбы мерные с одной отметкой и притертой пробкой, мл | Исп 2 | | | | |
50 | | | 5 | 5 | 5 |
100 | | | 5 | 5 | 5 |
200 | | | 5 | 5 | 5 |
250 | | | 5 | 5 | 5 |
500 | | | 5 | 5 | 5 |
1000 | | | 5 | 5 | 5 |
2000 | | | 5 | 5 | 5 |
Колбы мерные с двумя отметками и притертой пробкой, мл | Исп 4 | | | | |
50 - 55 | | | 5 | 5 | 5 |
100 - 110 | | | 5 | 5 | 5 |
200 - 220 | | | 5 | 5 | 5 |
Цилиндры с носиком, мл | Исп 1 | | | | |
5 | | | 5 | 5 | 5 |
10 | | | 5 | 5 | 5 |
25 | | | 10 | 5 | 2 |
50 | | | 10 | 5 | 1 |
100 | | | 10 | 5 | 2 |
250 | | | 10 | 25 | 5 |
500 | | | 10 | 10 | 5 |
1000 | | | 10 | 3 | 2 |
2000 | | | 5 | 2 | 1 |
Цилиндры стеклянные для ареометров | II | 9545-73 | 5 | 5 | 5 |
III | 5 | 5 | 5 |
IV | 5 | 5 | 5 |
Стаканы высокие с носиком, мл | ВН | ТУ 25-11-1063-75 | | | |
50 | | | 10 | 10 | - |
100 | | | 20 | 20 | 15 |
250 | | | 60 | 60 | 30 |
400 | | | 20 | 10 | 10 |
600 | | | 10 | 10 | 10 |
1000 | | | 5 | 5 | 3 |
2000 | | | 5 | 3 | 2 |
Стаканы с отметкой, мл | ВНи | 10394-72 | | | |
НН | ТУ 25-11-944-74 | | | |
50 | | | 10 | 10 | 5 |
200 | | | 10 | 10 | 5 |
250 | | | 10 | 10 | 5 |
400 | | | 10 | 10 | 5 |
600 | | | 10 | 10 | 5 |
1000 | | | 10 | 10 | 5 |
Стаканы низкие с носиком, мл | НН | ТУ 25-11-1063-75 | | | |
50 | | | 10 | 10 | 5 |
100 | | | 10 | 10 | 5 |
250 | | | 50 | 50 | 20 |
400 | | | 10 | 10 | 10 |
600 | | | 10 | 10 | 10 |
1000 | | | 10 | 10 | 10 |
2000 | | | 10 | 10 | 10 |
Колпак для насоса с кнопкой и рантом Д = 200 мм, H = 250 мм | А | ТУ 25-11-1022-75 | 1 | 1 | - |
| | ИС МЕГАНОРМ: примечание. Взамен ГОСТ 7995-68 в части основных параметров и размеров Постановлением Госстандарта СССР от 02.09.1980 N 4521 с 01.01.1982 введен в действие ГОСТ 7995-80. | |
|
Краны соединительные одноходовые, диаметр, мм | К1ХА | 7995-68 | | | |
4 | | | 6 | 5 | - |
6 | | | 6 | 5 | - |
двухходовые | К2ХА | 7995-68 | | | |
4 | | | 5 | 5 | - |
6 | | | 5 | 5 | - |
трехходовые | К3ХА | " | | | |
4 | | | 5 | 5 | - |
6 | | | 5 | 5 | - |
Чашки кристаллизационные, диаметр, мм 180, 240, 310, 350, 400 | ЧКТ | ТУ 25-11-1024-75 | 10 | 12 | - |
Чашки кристаллизационные конические с обручами, диаметр: 125 мм, 190 мм, 250 мм | ЧКО | ТУ 25-11-427-70 | 5 | 5 | 2 |
Пробирки химические, диаметр: | | | | | |
15 мм, H = 150 мм | ПХ | 10515-75 | 150 | 150 | 20 |
20 мм, H = 200 мм | | | 100 | 100 | 20 |
Промывалки, объем: 500 мл | | ТУ 64-1-596-71 | 3 | 2 | 1 |
1000 мл | | 3 | 2 | 1 |
Пробирки градуированные со шлифом, 25 мл | ПГКШ | 10515-75 | 50 | 40 | - |
Пульверизаторы | | | 2 | - | - |
Рюмка плоская V = 100 мл | | ТУ 25-11-433-60 | 40 | 100 | 5 |
Спиртомер стеклянный от 0 до 100° | | 3637-75 | 2 | 1 | 2 |
Термометры химические со шкалой: | | | | | |
0 - 100° | ТЛ-2 | 215-73 | 10 | 10 | 2 |
0 - 150 | | | 5 | 5 | 1 |
0 - 250 | | | 5 | - | 1 |
Термометры палочные | | | | | |
0 - 360° | ТЛ-3 | 215-73 | 5 | 5 | 5 |
Термометры лабораторные | | | | | |
0 - 55° | ТЛ-4 | 215-73 | 5 | 5 | 2 |
Термометры технические ртутные | | | | | |
| | ИС МЕГАНОРМ: примечание. ГОСТ 2823-73 утратил силу с 01.04.1989. Действовал ГОСТ 27544-87 ("ИУС", N 4, 1989). Взамен ГОСТ 27544-87 Постановлением Госстандарта СССР от 30.03.1990 N 691 с 01.01.1991 введен в действие ГОСТ 28498-90. | |
|
- 30 - 50° | П1 | 2823-73 | 12 | 12 | 10 |
0 - 100 | | | 12 | 12 | 10 |
Термометры комнатные | | | 2 | 2 | 1 |
Термометры наружные | | | 2 | 2 | 1 |
Термометры жидкостные | А, Б, В | 9177-74 | 15 | 15 | 15 |
| | ИС МЕГАНОРМ: примечание. Взамен ГОСТ 9871-61 Постановлением Госстандарта СССР от 26.12.1975 N 4031 с 01.01.1978 введен в действие ГОСТ 9871-75. | |
|
Термометры контактные с магнитной регулировкой 0 - 100° | ТПК | 9871-61 | 5 | 5 | - |
Термометры контрольные, набор | | | 1 | 1 | - |
Трубка соединительная Т-образная | ТС | 9964-71 | 15 | 15 | 5 |
Трубка соединительная И-образная | ТС | 9964-71 | 5 | 5 | 2 |
Трубка соединительная прямая разного диаметра | ТС | 9964-71 | 6 | 6 | 6 |
Трубка хлоркальциевая дугообразная | | | 10 | 10 | 3 |
Холодильники с прямой трубкой | | 9499-70 | | | |
без шлифа | ХПТ | | 3 | 2 | 1 |
со шлифом | ХПТ-КШ | | 3 | 2 | 1 |
Шариковые без шлифа | ХШ | | 3 | 2 | 1 |
со шлифом | | | | | |
Каплеулавливатели с отводной трубкой | ОТ-60КШ | 10359-75 | 10 | 10 | 2 |
Дефлегматоры елочные со шлифом | | 20-789-75 | 3 | 2 | - |
Часы песочные от 1 до 10 мин. | | 10576-74 | 10 | 10 | 10 |
Эксикаторы с краном, диаметр, мм: | | | | | |
140 | | 6371-73 | 4 | 4 | - |
240 | | | 4 | 4 | - |
без крана 240 | | | 4 | 4 | - |
Экстракционная установка | | | 2 | 1 | - |
Вставки для эксикаторов | | 9147-73 | 5 | 5 | - |
Трубка хлоркальциевая с конусным шлифом | ТХ ПКШ | 9964-71 | 5 | 5 | - |
17.3.4. ФАРФОРОВАЯ ПОСУДА
Наименование фарфоровой посуды | Марка | ГОСТ или МРТУ | Количество, шт. |
производство | химводоочистка |
свеклосахарное | сахарорафинадное |
1 | 2 | 3 | 4 | 5 | 6 |
Воронки Бюхнера для фильтрации под вакуумом, диаметр, мм: | N 1 - 6 | 9147-73 | | | |
100 | | | 2 | 1 | - |
200 | | | 2 | 1 | - |
Треугольники для тиглей | N 1 - 4 | ТУ 25-11-995-75 | 5 | 5 | - |
Лодочки для сжигания органических веществ | N 1 - 4 | 6675-73 | 10 | 10 | 5 |
Лодочки для определения зольности | N 1 - 4 | 6675-73 | 5 | 5 | - |
Ложки | N 1 - 4 | 9147-73 | 15 | 15 | 5 |
Шпатели | N 1 - 4 | 9147-73 | 10 | 10 | 3 |
Кастрюли с ручкой | N 1 - 4 | 9147-73 | 2 | 2 | 1 |
Чашки выпарные | N 1 - 9 | 9147-73 | 20 | 20 | 5 |
Чашки с носиком | ЧН | 861-55 | 5 | 5 | 5 |
Ступки фарфоровые с пестиком диаметром, мм: | N 1 - 7 | 9147-73 | | | |
70 | | | 2 | 2 | 1 |
120 | | | 2 | 3 | 1 |
145 | | | 1 | 4 | 1 |
Стаканы | N 1 - 9 | 9147-73 | 5 | 5 | 3 |
Кружки с носиком | N 1 - 5 | 9147-73 | 5 | 5 | - |
Тигли низкие | N 1 - 6 | 9147-73 | 10 | 10 | - |
высокие | N 1 - 5 | | 5 | 5 | - |
Крышки к тиглям | N 1 - 6 | | 5 | 5 | - |
17.3.5. ПОСУДА ПЛАСТМАССОВАЯ
Наименование пластмассовой посуды | Марка | ГОСТ или МРТУ | Количество, шт. |
производство | химводоочистка |
свеклосахарное | сахарорафинадное |
1 | 2 | 3 | 4 | 5 | 6 |
Воронки для жидких и сыпучих материалов | | ТУ 25-05-1173-71 | 50 | 50 | 10 |
Промывалки, объем, мл: | | | | | |
500 | | ТУ 64-1-596-71 | 5 | 5 | 5 |
1000 | | | 3 | 3 | 3 |
17.3.6. ВСПОМОГАТЕЛЬНЫЕ ПРИСПОСОБЛЕНИЯ
Наименование вспомогательных приспособлений | Марка | ГОСТ или МРТУ | Количество, шт. |
производство | химводоочистка |
свеклосахарное | сахарорафинадное |
1 | 2 | 3 | 4 | 5 | 6 |
Штативы лабораторные, высота, см: | ШЛ | ТУ 64-1-707-76Е | | | |
45 | | | 10 | 10 | 5 |
75 | | | 3 | 7 | 3 |
Штативы для пробирок | | ТУ 64-1-2669-73 | 2 | 3 | 3 |
Штативы для пипеток | Ш-1 | ТУ 64-1-360-74 | 3 | 3 | 2 |
17.3.7. ИНСТРУМЕНТЫ И ПРИСПОСОБЛЕНИЯ
Наименование инструментов и приспособлений | Марка | ГОСТ или МРТУ | Количество, шт. или кг |
производство | химводоочистка |
свеклосахарное | сахарорафинадное |
1 | 2 | 3 | 4 | 5 | 6 |
Щипцы тигельные | ЩТ | ТУ 25-05-769-75Е | 2 | 2 | 2 |
Зажимы для резиновых трубок: | | | | | |
пружинный (Мора) | За | ТУ 64-1-964-75 | 25 | 25 | 10 |
винтовой | За | ТУ 64-1-964-75 | 20 | 20 | 10 |
Зажим пробирочный | ЗП | ТУ 79 РСФСР 83-71 | 5 | 5 | 5 |
Шпатели пластмассовые для препаративных работ | N 1 - 2 | МРТУ 64-2-5848-66 | 10 | 10 | 10 |
Пинцет дюралюминиевый для разновесов | | ТУ 2-31-32-73 | 5 | 5 | 5 |
Набор сверл пробочных | НСП | ТУ 79 РСФСР 143-71 | 2 | 2 | 1 |
Пресс для просечки отверстий в резиновых пробках | ППО | ТУ 64-1-1143-73 | 2 | 2 | 1 |
Нож для точки сверл | НТС | ТУ 79 РСФСР 160-71 | 2 | 2 | 1 |
Приспособление для вырезки фильтров | ПМФ-1 | ТУ 46-13-940-74 | 2 | 2 | 1 |
Сетки асбестометаллические | N 1 - 3 | | 50 | 50 | 50 |
| | ИС МЕГАНОРМ: примечание. Взамен ГОСТ 1465-69 Постановлением Госстандарта СССР от 25.01.1980 N 354 с 01.01.1981 введен в действие ГОСТ 1465-80. | |
|
Напильники плоские | А | 1465-69 | 3 | 3 | 1 |
квадратные | В | | 3 | 3 | 1 |
Карандаши по стеклу (набор) | | ТУ 46-22-904-73 | 2 | 2 | 2 |
Пробки резиновые | N 5 - 100 | 7852-76 | 6 | 6 | 2 |
Пробки корковые | N 0 - 7 | 5541-76 | 1 | 1 | 0,5 |
Трубка резиновая техническая, диаметр, мм: | | 5496-67 | | | |
4,5 | | | 4 | 4 | 4 |
6,5 | | | 4 | 4 | 4 |
8,0 | | | 8 | 8 | 8 |
Трубка вакуумная | | ТУ 38-105881-75 | 10 | 10 | 10 |
Трубка медицинская соединительная | | | 5 | 5 | 5 |
Бумага фильтровальная | | | | | |
| ФО | | | | |
ФН | ТУ 81-04-42-77 | 300 | 300 | 50 |
Стеклянные пластинки (9x12 см) | | | 20 | - | - |
Хроматографические пластинки ИУ-250 "Силуфол" | | | 100 | 100 | - |
Таблица 1
Атомные массы важнейших элементов
Порядковый номер элемента по таблице Менделеева | Название элемента | Символ | Атомная масса |
1 | 2 | 3 | 4 |
7 | Азот | N | 14,007 |
13 | Алюминий | Al | 26,981 |
56 | Барий | Ba | 137,34 |
5 | Бор | B | 10,81 |
35 | Бром | Br | 79,904 |
83 | Висмут | Bi | 208,98 |
1 | Водород | H | 1,0079 |
74 | Вольфрам | W | 183,85 |
26 | Железо | Fe | 55,847 |
79 | Золото | Au | 196,967 |
53 | Йод | J | 126,90 |
48 | Кадмий | Cd | 112,40 |
19 | Калий | K | 39,10 |
20 | Кальций | Ca | 40,08 |
8 | Кислород | O | 15,999 |
29 | Кобальт | Co | 58,933 |
14 | Кремний | Si | 28,08 |
3 | Литий | Li | 6,939 |
12 | Магний | Mg | 24,305 |
25 | Марганец | Mn | 54,938 |
29 | Медь | Cu | 63,546 |
42 | Молибден | Mo | 95,94 |
33 | Мышьяк | As | 74,92 |
11 | Натрий | Na | 22,988 |
28 | Никель | Ni | 58,71 |
50 | Олово | Sn | 118,69 |
78 | Платина | Pt | 195,09 |
80 | Ртуть | Hg | 200,59 |
82 | Свинец | Pb | 207,19 |
34 | Селен | Se | 78,96 |
16 | Сера | S | 32,064 |
47 | Серебро | Ag | 107,868 |
38 | Стронций | Sr | 87,62 |
51 | Сурьма | Sb | 121,75 |
52 | Теллур | Te | 127,60 |
22 | Титан | Ti | 47,90 |
6 | Углерод | C | 12,011 |
92 | Уран | U | 238,03 |
15 | Фосфор | P | 30,974 |
9 | Фтор | F | 18,998 |
17 | Хлор | Cl | 35,453 |
24 | Хром | Cr | 51,996 |
30 | Цинк | Zn | 65,37 |
Таблица 2
ПЛОТНОСТЬ И УДЕЛЬНЫЙ ОБЪЕМ ВОДЫ
Температура, °C | Плотность воды, d, г/см3 | Удельным объем воды, V, см3/г |
+10 | 0,99970 | 1,00030 |
11 | 0,99960 | 1,00040 |
12 | 0,99949 | 1,00051 |
13 | 0,99937 | 1,00063 |
14 | 0,99924 | 1,00076 |
15 | 0,99910 | 1,00090 |
16 | 0,99894 | 1,00106 |
17 | 0,99877 | 1,00123 |
18 | 0,99859 | 1,00141 |
19 | 0,99840 | 1,00160 |
20 | 0,99820 | 1,00180 |
21 | 0,99799 | 1,00201 |
22 | 0,99777 | 1,00224 |
23 | 0,99753 | 1,00247 |
24 | 0,99729 | 1,00271 |
25 | 0,99704 | 1,00297 |
26 | 0,99678 | 1,00323 |
27 | 0,99651 | 1,00350 |
28 | 0,99623 | 1,00378 |
29 | 0,99594 | 1,00408 |
30 | 0,99564 | 1,00438 |
Таблица 3
Поправка на температуру при определении вращательной
способности растворов сахара
Показания сахариметра, °S | Температура, °C |
15 | 16 | 17 | 18 | 19 | 21 | 22 | 23 | 24 | 25 | 26 | 27 | 28 |
от показания сахариметра отнять, °S | к показанию сахариметра прибавить, °S |
80 | 0,12 | 0,10 | 0,07 | 0,05 | 0,02 | 0,02 | 0,05 | 0,07 | 0,10 | 0,12 | 0,14 | 0,17 | 0,19 |
81 | 0,12 | 0,10 | 0,07 | 0,05 | 0,02 | 0,02 | 0,05 | 0,07 | 0,10 | 0,12 | 0,15 | 0,17 | 0,19 |
82 | 0,12 | 0,10 | 0,07 | 0,05 | 0,02 | 0,02 | 0,05 | 0,07 | 0,10 | 0,12 | 0,15 | 0,17 | 0,20 |
83 | 0,12 | 0,10 | 0,07 | 0,05 | 0,02 | 0,02 | 0,05 | 0,07 | 0,10 | 0,12 | 0,15 | 0,17 | 0,20 |
84 | 0,13 | 0,10 | 0,08 | 0,05 | 0,03 | 0,03 | 0,05 | 0,08 | 0,10 | 0,13 | 0,15 | 0,18 | 0,20 |
85 | 0,13 | 0,10 | 0,08 | 0,05 | 0,03 | 0,03 | 0,05 | 0,08 | 0,10 | 0,13 | 0,15 | 0,18 | 0,20 |
86 | 0,13 | 0,10 | 0,08 | 0,05 | 0,03 | 0,03 | 0,05 | 0,08 | 0,10 | 0,13 | 0,15 | 0,18 | 0,21 |
87 | 0,13 | 0,10 | 0,08 | 0,05 | 0,03 | 0,03 | 0,05 | 0,08 | 0,10 | 0,13 | 0,16 | 0,18 | 0,21 |
88 | 0,13 | 0,11 | 0,08 | 0,05 | 0,03 | 0,03 | 0,05 | 0,08 | 0,11 | 0,13 | 0,16 | 0,18 | 0,21 |
89 | 0,13 | 0,11 | 0,08 | 0,05 | 0,03 | 0,03 | 0,05 | 0,08 | 0,11 | 0,13 | 0,16 | 0,19 | 0,21 |
90 | 0,14 | 0,11 | 0,08 | 0,05 | 0,03 | 0,03 | 0,05 | 0,08 | 0,11 | 0,13 | 0,16 | 0,19 | 0,22 |
91 | 0,14 | 0,11 | 0,08 | 0,05 | 0,03 | 0,03 | 0,05 | 0,08 | 0,11 | 0,14 | 0,16 | 0,19 | 0,22 |
92 | 0,14 | 0,11 | 0,08 | 0,06 | 0,03 | 0,03 | 0,06 | 0,08 | 0,11 | 0,14 | 0,17 | 0,20 | 0,22 |
93 | 0,14 | 0,11 | 0,08 | 0,06 | 0,03 | 0,03 | 0,06 | 0,08 | 0,11 | 0,14 | 0,17 | 0,20 | 0,22 |
94 | 0,14 | 0,11 | 0,08 | 0,06 | 0,03 | 0,03 | 0,06 | 0,08 | 0,11 | 0,14 | 0,17 | 0,20 | 0,23 |
95 | 0,14 | 0,11 | 0,09 | 0,06 | 0,03 | 0,03 | 0,06 | 0,09 | 0,11 | 0,14 | 0,17 | 0,20 | 0,23 |
96 | 0,14 | 0,12 | 0,09 | 0,06 | 0,03 | 0,03 | 0,06 | 0,09 | 0,12 | 0,14 | 0,17 | 0,20 | 0,23 |
97 | 0,15 | 0,12 | 0,09 | 0,06 | 0,03 | 0,03 | 0,06 | 0,09 | 0,12 | 0,15 | 0,17 | 0,20 | 0,23 |
98 | 0,15 | 0,12 | 0,09 | 0,06 | 0,03 | 0,03 | 0,06 | 0,09 | 0,12 | 0,15 | 0,18 | 0,21 | 0,24 |
99 | 0,15 | 0,12 | 0,09 | 0,06 | 0,03 | 0,03 | 0,06 | 0,09 | 0,12 | 0,15 | 0,18 | 0,21 | 0,24 |
100 | 0,15 | 0,12 | 0,09 | 0,06 | 0,03 | 0,03 | 0,06 | 0,09 | 0,12 | 0,15 | 0,18 | 0,21 | 0,24 |
Таблица 4
Международная шкала показателей преломления растворов
сахарозы при 20 °C
Содержание сахарозы, % | | Содержание сахарозы, % | | Содержание сахарозы, % | |
1 | 2 | 3 | 4 | 5 | 6 |
0 | 1,33299 | 5,1 | 1,34042 | 10,2 | 1,34814 |
0,1 | 1,33313 | 5,2 | 1,34057 | 10,3 | 1,34829 |
0,2 | 1,33328 | 5,3 | 1,34072 | 10,4 | 1,34845 |
0,3 | 1,33342 | 5,4 | 1,34087 | 10,5 | 1,34860 |
0,4 | 1,33357 | 5,5 | 1,34101 | 10,6 | 1,34875 |
0,5 | 1,33371 | 5,6 | 1,34116 | 10,7 | 1,34891 |
0,6 | 1,33385 | 5,7 | 1,34131 | 10,8 | 1,34906 |
0,7 | 1,33400 | 5,8 | 1,34146 | 10,9 | 1,34922 |
0,8 | 1,33414 | 5,9 | 1,34161 | 11,0 | 1,34937 |
0,9 | 1,33429 | 6,0 | 1,34176 | 11,1 | 1,34953 |
1,0 | 1,33443 | 6,1 | 1,34191 | 11,2 | 1,34968 |
1,1 | 1,33457 | 6,2 | 1,34206 | 11,3 | 1,34984 |
1,2 | 1,33472 | 6,3 | 1,34221 | 11,4 | 1,34999 |
1,3 | 1,33487 | 6,4 | 1,34236 | 11,5 | 1,35015 |
1,4 | 1,33501 | 6,5 | 1,34251 | 11,6 | 1,35031 |
1,5 | 1,33515 | 6,6 | 1,34266 | 11,7 | 1,35046 |
1,6 | 1,33530 | 6,7 | 1,34281 | 11,8 | 1,35062 |
1,7 | 1,33545 | 6,8 | 1,34296 | 11,9 | 1,35077 |
1,8 | 1,33559 | 6,9 | 1,34311 | 12,0 | 1,35093 |
1,9 | 1,33573 | 7,0 | 1,34326 | 12,1 | 1,35109 |
2,0 | 1,33588 | 7,1 | 1,34341 | 12,2 | 1,35124 |
2,1 | 1,33603 | 7,2 | 1,34356 | 12,3 | 1,35140 |
2,2 | 1,33617 | 7,3 | 1,34371 | 12,4 | 1,35156 |
2,3 | 1,33631 | 7,4 | 1,34386 | 12,5 | 1,35171 |
2,4 | 1,33646 | 7,5 | 1,34401 | 12,6 | 1,35187 |
2,5 | 1,33661 | 7,6 | 1,34417 | 12,7 | 1,35203 |
2,6 | 1,33675 | 7,7 | 1,34432 | 12,8 | 1,35219 |
2,7 | 1,33689 | 7,8 | 1,34447 | 12,9 | 1,35232 |
2,8 | 1,33704 | 7,9 | 1,34462 | 13,0 | 1,35250 |
2,9 | 1,33719 | 8,0 | 1,34477 | 13,1 | 1,35266 |
3,0 | 1,33733 | 8,1 | 1,34492 | 13,2 | 1,35282 |
3,1 | 1,33748 | 8,2 | 1,34507 | 13,3 | 1,35297 |
3,2 | 1,33762 | 8,3 | 1,34523 | 13,4 | 1,35313 |
3,3 | 1,33777 | 8,4 | 1,34538 | 13,5 | 1,35329 |
3,4 | 1,33792 | 8,5 | 1,34553 | 13,6 | 1,35345 |
3,5 | 1,33807 | 8,6 | 1,34568 | 13,7 | 1,35361 |
3,6 | 1,33821 | 8,7 | 1,34583 | 13,8 | 1,35376 |
3,7 | 1,33836 | 8,8 | 1,34599 | 13,9 | 1,35392 |
3,8 | 1,33851 | 8,9 | 1,34614 | 14,0 | 1,35408 |
3,9 | 1,33865 | 9,0 | 1,34629 | 14,1 | 1,35424 |
4,0 | 1,33880 | 9,1 | 1,34644 | 14,2 | 1,35440 |
4,1 | 1,33895 | 9,2 | 1,34660 | 14,3 | 1,35456 |
4,2 | 1,33909 | 9,3 | 1,34675 | 14,4 | 1,35472 |
4,3 | 1,33924 | 9,4 | 1,34691 | 14,5 | 1,35487 |
4,4 | 1,33939 | 9,5 | 1,34706 | 14,6 | 1,35503 |
4,5 | 1,33953 | 9,6 | 1,34721 | 14,7 | 1,35519 |
4,6 | 1,33968 | 9,7 | 1,34738 | 14,8 | 1,35535 |
4,7 | 1,33983 | 9,8 | 1,34752 | 14,9 | 1,35551 |
4,8 | 1,33998 | 9,9 | 1,34768 | 15,0 | 1,35567 |
4,9 | 1,34012 | 10,0 | 1,34783 | 15,1 | 1,35583 |
5,0 | 1,34027 | 10,1 | 1,34798 | 15,2 | 1,35599 |
Продолжение табл. 4
1 | 2 | 3 | 4 | 5 | 6 |
15,3 | 1,35615 | 20,9 | 1,36534 | 26,5 | 1,3749 |
15,4 | 1,35631 | 21,0 | 1,36551 | 26,6 | 1,3751 |
15,5 | 1,35647 | 21,1 | 1,36568 | 26,7 | 1,3753 |
15,6 | 1,35664 | 21,2 | 1,36585 | 26,8 | 1,3754 |
15,7 | 1,35680 | 21,3 | 1,36601 | 26,9 | 1,3756 |
15,8 | 1,35696 | 21,4 | 1,36618 | 27,0 | 1,3758 |
15,9 | 1,35712 | 21,5 | 1,36635 | 27,1 | 1,3760 |
16,0 | 1,35728 | 21,6 | 1,36652 | 27,2 | 1,3761 |
16,1 | 1,35744 | 21,7 | 1,36669 | 27,3 | 1,3763 |
16,2 | 1,35760 | 21,8 | 1,36685 | 27,4 | 1,3764 |
16,3 | 1,35777 | 21,9 | 1,36702 | 27,5 | 1,3767 |
16,4 | 1,35793 | 22,0 | 1,36719 | 27,6 | 1,3768 |
16,5 | 1,35809 | 22,1 | 1,36736 | 27,7 | 1,3770 |
16,6 | 1,35825 | 22,2 | 1,36753 | 27,8 | 1,3772 |
16,7 | 1,35841 | 22,3 | 1,36770 | 27,9 | 1,3773 |
16,8 | 1,35858 | 22,4 | 1,36787 | 28,0 | 1,3775 |
16,9 | 1,35874 | 22,5 | 1,36803 | 28,1 | 1,3777 |
17,0 | 1,35890 | 22,6 | 1,36820 | 28,2 | 1,3779 |
17,1 | 1,35906 | 22,7 | 1,36837 | 28,3 | 1,3780 |
17,2 | 1,35923 | 22,8 | 1,36854 | 28,4 | 1,3782 |
17,3 | 1,35939 | 22,9 | 1,36871 | 28,5 | 1,3784 |
17,4 | 1,35955 | 23,0 | 1,36888 | 28,6 | 1,3786 |
17,5 | 1,35971 | 23,1 | 1,36905 | 28,7 | 1,3788 |
17,6 | 1,35988 | 23,2 | 1,36922 | 28,8 | 1,3789 |
17,7 | 1,36004 | 23,3 | 1,36939 | 28,9 | 1,3791 |
17,8 | 1,36020 | 23,4 | 1,36956 | 29,0 | 1,3793 |
17,9 | 1,36037 | 23,5 | 1,36973 | 29,1 | 1,3795 |
18,0 | 1,36053 | 23,6 | 1,36991 | 29,2 | 1,3797 |
18,1 | 1,36069 | 23,7 | 1,37008 | 29,3 | 1,3798 |
18,2 | 1,36086 | 23,8 | 1,37025 | 29,4 | 1,3800 |
18,3 | 1,36103 | 23,9 | 1,37042 | 29,5 | 1,3802 |
18,4 | 1,36119 | 24,0 | 1,37059 | 29,6 | 1,3804 |
18,5 | 1,36135 | 24,1 | 1,3708 | 29,7 | 1,3806 |
18,6 | 1,36152 | 24,2 | 1,3709 | 29,8 | 1,3807 |
18,7 | 1,36169 | 24,3 | 1,3711 | 29,9 | 1,3809 |
18,8 | 1,36185 | 24,4 | 1,3713 | 30,0 | 1,3811 |
18,9 | 1,36201 | 24,5 | 1,3715 | 30,1 | 1,3813 |
19,0 | 1,36218 | 24,6 | 1,3716 | 30,2 | 1,3815 |
19,1 | 1,36235 | 24,7 | 1,3718 | 30,3 | 1,3816 |
19,2 | 1,36251 | 24,8 | 1,3720 | 30,4 | 1,3818 |
19,3 | 1,36268 | 24,9 | 1,3721 | 30,5 | 1,3820 |
19,4 | 1,36284 | 25,0 | 1,3723 | 30,6 | 1,3822 |
19,5 | 1,36301 | 25,1 | 1,3725 | 30,7 | 1,3824 |
19,6 | 1,36318 | 25,2 | 1,3726 | 30,8 | 1,3825 |
19,7 | 1,36334 | 25,3 | 1,3728 | 30,9 | 1,3827 |
19,8 | 1,36351 | 25,4 | 1,3730 | 31,0 | 1,3829 |
19,9 | 1,36367 | 25,5 | 1,3731 | 31,1 | 1,3831 |
20,0 | 1,36384 | 25,6 | 1,3733 | 31,2 | 1,3833 |
20,1 | 1,36401 | 25,7 | 1,3735 | 31,3 | 1,3834 |
20,2 | 1,36417 | 25,8 | 1,3737 | 31,4 | 1,3836 |
20,3 | 1,36434 | 25,9 | 1,3738 | 31,5 | 1,3838 |
20,4 | 1,36451 | 26,0 | 1,3740 | 31,6 | 1,3840 |
20,5 | 1,36467 | 26,1 | 1,3742 | 31,7 | 1,3842 |
20,6 | 1,36484 | 26,2 | 1,3744 | 31,8 | 1,3843 |
20,7 | 1,36501 | 26,3 | 1,3745 | 31,9 | 1,3845 |
20,8 | 1,36518 | 26,4 | 1,3747 | 32,0 | 1,3847 |
Продолжение табл. 4
1 | 2 | 3 | 4 | 5 | 6 |
32,1 | 1,3849 | 37,7 | 1,3952 | 43,3 | 1,4062 |
32,2 | 1,3851 | 37,8 | 1,3954 | 43,4 | 1,4064 |
32,3 | 1,3852 | 37,9 | 1,3956 | 43,5 | 1,4066 |
32,4 | 1,3854 | 38,0 | 1,3958 | 43,6 | 1,4068 |
32,5 | 1,3856 | 38,1 | 1,3960 | 43,7 | 1,4070 |
32,6 | 1,3858 | 38,2 | 1,3962 | 43,8 | 1,4072 |
32,7 | 1,3860 | 38,3 | 1,3964 | 43,9 | 1,4074 |
32,8 | 1,3861 | 38,4 | 1,3966 | 44,0 | 1,4076 |
32,9 | 1,3863 | 38,5 | 1,3968 | 44,1 | 1,4078 |
33,0 | 1,3865 | 38,6 | 1,3970 | 44,2 | 1,4080 |
33,1 | 1,3867 | 38,7 | 1,3972 | 44,3 | 1,4082 |
33,2 | 1,3869 | 38,8 | 1,3974 | 44,4 | 1,4084 |
33,3 | 1,3870 | 38,9 | 1,3976 | 44,5 | 1,4086 |
33,4 | 1,3872 | 39,0 | 1,3978 | 44,6 | 1,4088 |
33,5 | 1,3874 | 39,1 | 1,3980 | 44,7 | 1,4090 |
33,6 | 1,3876 | 39,2 | 1,3982 | 44,8 | 1,4092 |
33,7 | 1,3878 | 39,3 | 1,3984 | 44,9 | 1,4094 |
33,8 | 1,3879 | 39,4 | 1,3986 | 45,0 | 1,4096 |
33,9 | 1,3881 | 39,5 | 1,3987 | 45,1 | 1,4098 |
34,0 | 1,3883 | 39,6 | 1,3989 | 45,2 | 1,4100 |
34,1 | 1,3885 | 39,7 | 1,3991 | 45,3 | 1,4102 |
34,2 | 1,3887 | 39,8 | 1,3993 | 45,4 | 1,4104 |
34,3 | 1,3889 | 39,9 | 1,3995 | 45,5 | 1,4107 |
34,4 | 1,3891 | 40,0 | 1,3997 | 45,6 | 1,4109 |
34,5 | 1,3893 | 40,1 | 1,3999 | 45,7 | 1,4111 |
34,6 | 1,3894 | 40,2 | 1,4001 | 45,8 | 1,4113 |
34,7 | 1,3896 | 40,3 | 1,4003 | 45,9 | 1,4115 |
34,8 | 1,3898 | 40,4 | 1,4005 | 46,0 | 1,4117 |
34,9 | 1,3900 | 40,5 | 1,4007 | 46,1 | 1,4119 |
35,0 | 1,3902 | 40,6 | 1,4008 | 46,2 | 1,4121 |
35,1 | 1,3904 | 40,7 | 1,4010 | 46,3 | 1,4123 |
35,2 | 1,3906 | 40,8 | 1,4012 | 46,4 | 1,4125 |
35,3 | 1,3907 | 40,9 | 1,4014 | 46,5 | 1,4127 |
35,4 | 1,3909 | 41,0 | 1,4016 | 46,6 | 1,4129 |
35,5 | 1,3911 | 41,1 | 1,4018 | 46,7 | 1,4131 |
35,6 | 1,3913 | 41,2 | 1,4020 | 46,8 | 1,4133 |
35,7 | 1,3915 | 41,3 | 1,4022 | 46,9 | 1,4135 |
35,8 | 1,3916 | 41,4 | 1,4024 | 47,0 | 1,4137 |
35,9 | 1,3918 | 41,5 | 1,4026 | 47,1 | 1,4139 |
36,0 | 1,3920 | 41,6 | 1,4028 | 47,2 | 1,4141 |
36,1 | 1,3922 | 41,7 | 1,4030 | 47,3 | 1,4143 |
36,2 | 1,3924 | 41,8 | 1,4032 | 47,4 | 1,4145 |
36,3 | 1,3926 | 41,9 | 1,4034 | 47,5 | 1,4147 |
36,4 | 1,3928 | 42,0 | 1,4036 | 47,6 | 1,4150 |
36,5 | 1,3929 | 42,1 | 1,4038 | 47,7 | 1,4152 |
36,6 | 1,3931 | 42,2 | 1,4040 | 47,8 | 1,4154 |
36,7 | 1,3933 | 42,3 | 1,4042 | 47,9 | 1,4156 |
36,8 | 1,3935 | 42,4 | 1,4044 | 48,0 | 1,4158 |
36,9 | 1,3937 | 42,5 | 1,4046 | 48,1 | 1,4160 |
37,0 | 1,3939 | 42,6 | 1,4048 | 48,2 | 1,4162 |
37,1 | 1,3941 | 42,7 | 1,4050 | 48,3 | 1,4164 |
37,2 | 1,3943 | 42,8 | 1,4052 | 48,4 | 1,4166 |
37,3 | 1,3945 | 42,9 | 1,4054 | 48,5 | 1,4169 |
37,4 | 1,3947 | 43,0 | 1,4056 | 48,6 | 1,4171 |
37,5 | 1,3949 | 43,1 | 1,4058 | 48,7 | 1,4173 |
37,6 | 1,3950 | 43,2 | 1,4060 | 48,8 | 1,4175 |
Продолжение табл. 4
1 | 2 | 3 | 4 | 5 | 6 |
48,9 | 1,4177 | 54,5 | 1,42971 | 60,1 | 1,44215 |
49,0 | 1,4179 | 54,6 | 1,42993 | 60,2 | 1,44238 |
49,1 | 1,4181 | 54,7 | 1,43015 | 60,3 | 1,44260 |
49,2 | 1,4183 | 54,8 | 1,43036 | 60,4 | 1,44283 |
49,3 | 1,4185 | 54,9 | 1,43058 | 60,5 | 1,44306 |
49,4 | 1,4187 | 55,0 | 1,43080 | 60,6 | 1,44328 |
49,5 | 1,4189 | 55,1 | 1,43102 | 60,7 | 1,44351 |
49,6 | 1,4192 | 55,2 | 1,43124 | 60,8 | 1,44374 |
49,7 | 1,4194 | 55,3 | 1,43146 | 60,9 | 1,44397 |
49,8 | 1,4196 | 55,4 | 1,43168 | 61,0 | 1,44420 |
49,9 | 1,4198 | 55,5 | 1,43189 | 61,1 | 1,44442 |
50,0 | 1,42008 | 55,6 | 1,43211 | 61,2 | 1,44465 |
50,1 | 1,42029 | 55,7 | 1,43233 | 61,3 | 1,44488 |
50,2 | 1,42050 | 55,8 | 1,43255 | 61,4 | 1,44511 |
50,3 | 1,42071 | 55,9 | 1,43277 | 61,5 | 1,44534 |
50,4 | 1,42092 | 56,0 | 1,43299 | 61,6 | 1,44557 |
50,5 | 1,42113 | 56,1 | 1,43321 | 61,7 | 1,44580 |
50,6 | 1,42135 | 56,2 | 1,43343 | 61,8 | 1,44603 |
50,7 | 1,42156 | 56,3 | 1,43365 | 61,9 | 1,44626 |
50,8 | 1,42177 | 56,4 | 1,43387 | 62,0 | 1,44649 |
50,9 | 1,42198 | 56,5 | 1,43410 | 62,1 | 1,44672 |
51,0 | 1,42219 | 56,6 | 1,43432 | 62,2 | 1,44695 |
51,1 | 1,42240 | 56,7 | 1,43454 | 62,3 | 1,44718 |
51,2 | 1,42261 | 56,8 | 1,43476 | 62,4 | 1,44741 |
51,3 | 1,42283 | 56,9 | 1,43498 | 62,5 | 1,44764 |
51,4 | 1,42304 | 57,0 | 1,43520 | 62,6 | 1,44787 |
51,5 | 1,42325 | 57,1 | 1,43542 | 62,7 | 1,44810 |
51,6 | 1,42347 | 57,2 | 1,43564 | 62,8 | 1,44833 |
51,7 | 1,42368 | 57,3 | 1,43587 | 62,9 | 1,44856 |
51,8 | 1,42389 | 57,4 | 1,43609 | 63,0 | 1,44879 |
51,9 | 1,42411 | 57,5 | 1,43631 | 63,1 | 1,44903 |
52,0 | 1,42432 | 57,6 | 1,43653 | 63,2 | 1,44926 |
52,1 | 1,42453 | 57,7 | 1,43675 | 63,3 | 1,44949 |
52,2 | 1,42475 | 57,8 | 1,43698 | 63,4 | 1,44972 |
52,3 | 1,42496 | 57,9 | 1,43720 | 63,5 | 1,44995 |
52,4 | 1,42517 | 58,0 | 1,43742 | 63,6 | 1,45019 |
52,5 | 1,42539 | 58,1 | 1,43765 | 63,7 | 1,45042 |
52,6 | 1,42560 | 58,2 | 1,43787 | 63,8 | 1,45065 |
52,7 | 1,42582 | 58,3 | 1,43809 | 63,9 | 1,45088 |
52,8 | 1,42603 | 58,4 | 1,43832 | 64,0 | 1,45112 |
52,9 | 1,42625 | 58,5 | 1,43854 | 64,1 | 1,45135 |
53,0 | 1,42646 | 58,6 | 1,43877 | 64,2 | 1,45158 |
53,1 | 1,42668 | 58,7 | 1,43899 | 64,3 | 1,45182 |
53,2 | 1,42689 | 58,8 | 1,43922 | 64,4 | 1,45205 |
53,3 | 1,42711 | 58,9 | 1,43944 | 64,5 | 1,45229 |
53,4 | 1,42733 | 59,0 | 1,43966 | 64,6 | 1,45252 |
53,5 | 1,42754 | 59,1 | 1,43989 | 64,7 | 1,45275 |
53,6 | 1,42776 | 59,2 | 1,44011 | 64,8 | 1,45299 |
53,7 | 1,42797 | 59,3 | 1,44034 | 64,9 | 1,45322 |
53,8 | 1,42819 | 59,4 | 1,44057 | 65,0 | 1,45346 |
53,9 | 1,42841 | 59,5 | 1,44079 | 65,1 | 1,45369 |
54,0 | 1,42862 | 59,6 | 1,44102 | 65,2 | 1,45393 |
54,1 | 1,42884 | 59,7 | 1,44124 | 65,3 | 1,45416 |
54,2 | 1,42906 | 59,8 | 1,44147 | 65,4 | 1,45440 |
54,3 | 1,42928 | 59,9 | 1,44170 | 65,5 | 1,45463 |
54,4 | 1,42949 | 60,0 | 1,44192 | 65,6 | 1,45487 |
Продолжение табл. 4
1 | 2 | 3 | 4 | 5 | 6 |
65,7 | 1,45511 | 71,3 | 1,46859 | 76,9 | 1,48262 |
65,8 | 1,45534 | 71,4 | 1,46884 | 77,0 | 1,48288 |
65,9 | 1,45558 | 71,5 | 1,46908 | 77,1 | 1,48314 |
66,0 | 1,45581 | 71,6 | 1,46933 | 77,2 | 1,48339 |
66,1 | 1,45605 | 71,7 | 1,46958 | 77,3 | 1,48365 |
66,2 | 1,45629 | 71,8 | 1,46982 | 77,4 | 1,48390 |
66,3 | 1,45653 | 71,9 | 1,47007 | 77,5 | 1,48416 |
66,4 | 1,45676 | 72,0 | 1,47032 | 77,6 | 1,48442 |
66,5 | 1,45700 | 72,1 | 1,47056 | 77,7 | 1,48468 |
66,6 | 1,45724 | 72,2 | 1,47081 | 77,8 | 1,48493 |
66,7 | 1,45748 | 72,3 | 1,47106 | 77,9 | 1,48519 |
66,8 | 1,45771 | 72,4 | 1,47131 | 78,0 | 1,48544 |
66,9 | 1,45795 | 72,5 | 1,47155 | 78,1 | 1,48570 |
67,0 | 1,45819 | 72,6 | 1,47180 | 78,2 | 1,48596 |
67,1 | 1,45843 | 72,7 | 1,47205 | 78,3 | 1,48622 |
67,2 | 1,45867 | 72,8 | 1,47230 | 78,4 | 1,48648 |
67,3 | 1,45890 | 72,9 | 1,47255 | 78,5 | 1,48673 |
67,4 | 1,45914 | 73,0 | 1,47279 | 78,6 | 1,48699 |
67,5 | 1,45938 | 73,1 | 1,47304 | 78,7 | 1,48725 |
67,6 | 1,45962 | 73,2 | 1,47329 | 78,8 | 1,48751 |
67,7 | 1,45986 | 73,3 | 1,47354 | 78,9 | 1,48777 |
67,8 | 1,46010 | 73,4 | 1,47379 | 79,0 | 1,48803 |
67,9 | 1,46034 | 73,5 | 1,47404 | 79,1 | 1,48829 |
68,0 | 1,46058 | 73,6 | 1,47429 | 79,2 | 1,48855 |
68,1 | 1,46082 | 73,7 | 1,47454 | 79,3 | 1,48881 |
68,2 | 1,46106 | 73,8 | 1,47479 | 79,4 | 1,48907 |
68,3 | 1,46130 | 73,9 | 1,47504 | 79,5 | 1,48933 |
68,4 | 1,46154 | 74,0 | 1,47529 | 79,6 | 1,48959 |
68,5 | 1,46178 | 74,1 | 1,47554 | 79,7 | 1,48985 |
68,6 | 1,46202 | 74,2 | 1,37579 | 79,8 | 1,49011 |
68,7 | 1,46226 | 74,3 | 1,47604 | 79,9 | 1,49037 |
68,8 | 1,46251 | 74,4 | 1,47629 | 80,0 | 1,49063 |
68,9 | 1,46275 | 74,5 | 1,47654 | 80,1 | 1,49089 |
69,0 | 1,46299 | 74,6 | 1,47679 | 80,2 | 1,49115 |
69,1 | 1,46323 | 74,7 | 1,47705 | 80,3 | 1,49141 |
69,2 | 1,46347 | 74,8 | 1,47730 | 80,4 | 1,49167 |
69,3 | 1,46371 | 74,9 | 1,47755 | 80,5 | 1,49194 |
69,4 | 1,46396 | 75,0 | 1,47780 | 80,6 | 1,49220 |
69,5 | 1,46420 | 75,1 | 1,47805 | 80,7 | 1,49246 |
69,6 | 1,46444 | 75,2 | 1,47831 | 80,8 | 1,49272 |
69,7 | 1,46468 | 75,3 | 1,47856 | 80,9 | 1,49299 |
69,8 | 1,46493 | 75,4 | 1,47881 | 81,0 | 1,49325 |
69,9 | 1,46517 | 75,5 | 1,47906 | 81,1 | 1,49351 |
70,0 | 1,46541 | 75,6 | 1,47932 | 81,2 | 1,49377 |
70,1 | 1,46566 | 75,7 | 1,47957 | 81,3 | 1,49404 |
70,2 | 1,46590 | 75,8 | 1,47982 | 81,4 | 1,49430 |
70,3 | 1,46615 | 75,9 | 1,48008 | 81,5 | 1,49456 |
70,4 | 1,46639 | 76,0 | 1,48033 | 81,6 | 1,49483 |
70,5 | 1,46663 | 76,1 | 1,48057 | 81,7 | 1,49509 |
70,6 | 1,46688 | 76,2 | 1,48084 | 81,8 | 1,49536 |
70,7 | 1,46712 | 76,3 | 1,48109 | 81,9 | 1,49562 |
70,8 | 1,46737 | 76,4 | 1,48135 | 82,0 | 1,49589 |
70,9 | 1,46761 | 76,5 | 1,48160 | 82,1 | 1,49615 |
71,0 | 1,46786 | 76,6 | 1,48186 | 82,2 | 1,49641 |
71,1 | 1,46810 | 76,7 | 1,48211 | 82,3 | 1,49668 |
71,2 | 1,46835 | 76,8 | 1,48237 | 82,4 | 1,49695 |
Продолжение табл. 4
1 | 2 | 3 | 4 | 5 | 6 |
82,5 | 1,49721 | 83,4 | 1,49961 | 84,3 | 1,50202 |
82,6 | 1,49748 | 83,5 | 1,49987 | 84,4 | 1,50229 |
82,7 | 1,49774 | 83,6 | 1,50014 | 84,5 | 1,50256 |
82,8 | 1,49801 | 83,7 | 1,50041 | 84,6 | 1,50283 |
82,9 | 1,49827 | 83,8 | 1,50068 | 84,7 | 1,50310 |
83,0 | 1,49854 | 83,9 | 1,50095 | 84,8 | 1,50337 |
83,1 | 1,49881 | 84,0 | 1,50121 | 84,9 | 1,50364 |
83,2 | 1,49907 | 84,1 | 1,50148 | 85,0 | 1,50391 |
83,3 | 1,49934 | 84,2 | 1,50175 | |
Таблица 5
Поправки на температуру при определении процентного
содержания сухих веществ лабораторным рефрактометром
Температура, °C | Содержание сухих веществ в продукте, % | Температура, °C |
0 | 5 | 10 | 15 | 20 | 25 | 30 | 35 | 40 | 45 | 50 | 55 | 60 | 65 | 70 |
От найденного содержания сухих веществ нужно отнять |
10 | 0,50 | 0,54 | 0,58 | 0,61 | 0,64 | 0,66 | 0,68 | 0,70 | 0,72 | 0,73 | 0,74 | 0,75 | 0,76 | 0,78 | 0,79 | 10 |
11 | 0,46 | 0,49 | 0,53 | 0,55 | 0,58 | 0,60 | 0,62 | 0,64 | 0,65 | 0,66 | 0,67 | 0,68 | 0,69 | 0,70 | 0,71 | 11 |
12 | 0,42 | 0,45 | 0,48 | 0,50 | 0,52 | 0,54 | 0,56 | 0,57 | 0,58 | 0,59 | 0,60 | 0,61 | 0,61 | 0,63 | 0,63 | 12 |
13 | 0,37 | 0,40 | 0,42 | 0,41 | 0,46 | 0,48 | 0,49 | 0,50 | 0,51 | 0,52 | 0,53 | 0,54 | 0,54 | 0,55 | 0,55 | 13 |
14 | 0,33 | 0,35 | 0,37 | 0,39 | 0,40 | 0,44 | 0,42 | 0,43 | 0,44 | 0,45 | 0,45 | 0,46 | 0,46 | 0,47 | 0,48 | 14 |
15 | 0,27 | 0,29 | 0,31 | 0,33 | 0,34 | 0,34 | 0,35 | 0,36 | 0,37 | 0,37 | 0,38 | 0,39 | 0,39 | 0,40 | 0,40 | 15 |
16 | 0,22 | 0,24 | 0,25 | 0,26 | 0,27 | 0,28 | 0,28 | 0,29 | 0,30 | 0,30 | 0,30 | 0,31 | 0,31 | 0,32 | 0,32 | 16 |
17 | 0,17 | 0,18 | 0,19 | 0,20 | 0,21 | 0,21 | 0,21 | 0,22 | 0,22 | 0,23 | 0,23 | 0,23 | 0,23 | 0,24 | 0,24 | 17 |
18 | 0,12 | 0,13 | 0,14 | 0,13 | 0,14 | 0,14 | 0,14 | 0,15 | 0,15 | 0,15 | 0,15 | 0,16 | 0,16 | 0,16 | 0,16 | 18 |
19 | 0,06 | 0,06 | 0,06 | 0,07 | 0,07 | 0,07 | 0,07 | 0,08 | 0,08 | 0,08 | 0,08 | 0,08 | 0,08 | 0,08 | 0,08 | 19 |
К найденному содержанию сухих веществ нужно прибавить |
21 | 0,06 | 0,07 | 0,07 | 0,07 | 0,07 | 0,08 | 0,08 | 0,08 | 0,08 | 0,08 | 0,08 | 0,08 | 0,08 | 0,08 | 0,08 | 21 |
22 | 0,13 | 0,13 | 0,14 | 0,14 | 0,15 | 0,15 | 0,15 | 0,15 | 0,15 | 0,16 | 0,16 | 0,16 | 0,16 | 0,16 | 0,16 | 22 |
23 | 0,19 | 0,20 | 0,21 | 0,22 | 0,22 | 0,23 | 0,23 | 0,23 | 0,23 | 0,24 | 0,24 | 0,24 | 0,24 | 0,24 | 0,24 | 23 |
24 | 0,26 | 0,27 | 0,28 | 0,29 | 0,30 | 0,30 | 0,31 | 0,31 | 0,31 | 0,31 | 0,31 | 0,32 | 0,32 | 0,32 | 0,32 | 24 |
25 | 0,33 | 0,35 | 0,36 | 0,37 | 0,38 | 0,38 | 0,39 | 0,40 | 0,40 | 0,40 | 0,40 | 0,40 | 0,40 | 0,40 | 0,40 | 25 |
26 | 0,40 | 0,42 | 0,43 | 0,44 | 0,45 | 0,46 | 0,47 | 0,48 | 0,48 | 0,48 | 0,48 | 0,48 | 0,48 | 0,48 | 0,48 | 26 |
27 | 0,48 | 0,50 | 0,52 | 0,53 | 0,54 | 0,55 | 0,55 | 0,56 | 0,56 | 0,56 | 0,56 | 0,56 | 0,56 | 0,56 | 0,56 | 27 |
28 | 0,56 | 0,57 | 0,60 | 0,61 | 0,62 | 0,63 | 0,63 | 0,64 | 0,64 | 0,64 | 0,64 | 0,64 | 0,64 | 0,64 | 0,64 | 28 |
29 | 0,64 | 0,66 | 0,68 | 0,69 | 0,71 | 0,72 | 0,73 | 0,73 | 0,73 | 0,73 | 0,73 | 0,73 | 0,73 | 0,73 | 0,73 | 29 |
30 | 0,72 | 0,74 | 0,77 | 0,78 | 0,79 | 0,80 | 0,80 | 0,81 | 0,81 | 0,81 | 0,81 | 0,81 | 0,81 | 0,81 | 0,81 | 30 |
Таблица 6
Перевод показаний прецизионного рефрактометра на содержание
сухих веществ (по сахарозе), %
Отсчет по рефрактометру | ,0 | ,1 | ,2 | ,3 | ,4 | ,5 | ,6 | ,7 | ,8 | ,9 |
1 | 2 | 3 | 4 | 5 | 6 | 7 | 8 | 9 | 10 | 11 |
0 | 0,00 | 0,04 | 0,07 | 0,11 | 0,14 | 0,18 | 0,21 | 0,25 | 0,28 | 0,32 |
1 | 0,35 | 0,39 | 0,42 | 0,46 | 0,49 | 0,53 | 0,56 | 0,60 | 0,63 | 0,66 |
2 | 0,70 | 0,73 | 0,77 | 0,80 | 0,84 | 0,87 | 0,90 | 0,94 | 0,97 | 1,00 |
3 | 1,04 | 1,07 | 1,11 | 1,14 | 1,18 | 1,21 | 1,24 | 1,28 | 1,31 | 1,35 |
4 | 1,37 | 1,42 | 1,45 | 1,49 | 1,52 | 1,56 | 1,59 | 1,63 | 1,66 | 1,70 |
5 | 1,73 | 1,76 | 1,80 | 1,83 | 1,87 | 1,90 | 1,93 | 1,97 | 2,00 | 2,03 |
6 | 2,07 | 2,10 | 2,14 | 2,17 | 2,21 | 2,24 | 2,27 | 2,31 | 2,34 | 2,38 |
7 | 2,41 | 2,44 | 2,48 | 2,51 | 2,55 | 2,58 | 2,61 | 2,65 | 2,68 | 2,72 |
8 | 2,75 | 2,78 | 2,82 | 2,85 | 2,89 | 2,92 | 2,95 | 2,99 | 3,02 | 3,06 |
9 | 3,09 | 3,12 | 3,16 | 3,19 | 3,22 | 3,26 | 3,29 | 3,33 | 3,36 | 3,40 |
10 | 3,43 | 3,46 | 3,50 | 3,53 | 3,57 | 3,60 | 3,63 | 3,67 | 3,70 | 3,74 |
11 | 3,77 | 3,80 | 3,84 | 3,87 | 3,91 | 3,94 | 3,97 | 4,01 | 4,04 | 4,08 |
12 | 4,11 | 4,14 | 4,18 | 4,21 | 4,24 | 4,27 | 4,31 | 4,34 | 4,37 | 4,41 |
13 | 4,44 | 4,46 | 4,51 | 4,54 | 4,57 | 4,61 | 4,64 | 4,67 | 4,70 | 4,74 |
14 | 4,77 | 4,80 | 4,84 | 4,87 | 4,91 | 4,94 | 4,97 | 5,01 | 5,04 | 5,08 |
15 | 5,11 | 5,14 | 5,18 | 5,21 | 5,24 | 5,28 | 5,31 | 5,34 | 5,37 | 5,41 |
16 | 5,44 | 5,47 | 5,51 | 5,54 | 5,57 | 5,61 | 5,64 | 5,67 | 5,70 | 5,73 |
17 | 5,77 | 5,80 | 5,83 | 5,87 | 5,90 | 5,93 | 5,96 | 5,99 | 6,03 | 6,06 |
18 | 6,09 | 6,12 | 6,16 | 6,19 | 6,22 | 6,26 | 6,29 | 6,32 | 6,35 | 6,39 |
19 | 6,42 | 6,45 | 6,48 | 6,52 | 6,55 | 6,58 | 6,61 | 6,64 | 6,68 | 6,71 |
20 | 6,74 | 6,77 | 6,81 | 6,84 | 6,87 | 6,91 | 6,94 | 6,97 | 7,00 | 7,04 |
21 | 7,07 | 7,10 | 7,14 | 7,17 | 7,20 | 7,24 | 7,27 | 7,30 | 7,33 | 7,37 |
22 | 7,40 | 7,43 | 7,47 | 7,50 | 7,53 | 7,56 | 7,60 | 7,63 | 7,66 | 7,70 |
23 | 7,73 | 7,75 | 7,79 | 7,83 | 7,86 | 7,89 | 7,92 | 7,95 | 7,99 | 8,02 |
24 | 8,05 | 8,08 | 8,11 | 8,15 | 8,18 | 8,21 | 8,24 | 8,27 | 8,31 | 8,34 |
25 | 8,37 | 8,40 | 8,43 | 8,47 | 8,50 | 8,53 | 8,56 | 8,59 | 8,63 | 8,66 |
26 | 8,69 | 8,72 | 8,75 | 8,78 | 8,81 | 8,85 | 8,88 | 8,91 | 8,94 | 8,97 |
27 | 9,00 | 9,03 | 9,06 | 9,09 | 9,12 | 9,16 | 9,19 | 9,22 | 9,25 | 9,28 |
28 | 9,31 | 9,34 | 9,37 | 9,41 | 9,44 | 9,47 | 9,51 | 9,53 | 9,57 | 9,60 |
29 | 9,63 | 9,66 | 9,69 | 9,72 | 9,76 | 9,79 | 9,82 | 9,85 | 9,88 | 9,91 |
30 | 9,94 | 9,97 | 10,00 | 10,03 | 10,06 | 10,10 | 10,13 | 10,16 | 10,19 | 10,22 |
31 | 10,25 | 10,28 | 10,31 | 10,34 | 10,37 | 10,41 | 10,44 | 10,47 | 10,50 | 10,53 |
32 | 10,56 | 10,59 | 10,62 | 10,65 | 10,68 | 10,72 | 10,75 | 10,78 | 10,81 | 10,84 |
33 | 10,87 | 10,90 | 10,93 | 10,96 | 10,99 | 11,03 | 11,06 | 11,09 | 11,12 | 11,15 |
34 | 11,18 | 11,21 | 11,24 | 11,27 | 11,30 | 11,34 | 11,37 | 11,40 | 11,43 | 11,46 |
35 | 11,49 | 11,52 | 11,55 | 11,58 | 11,61 | 11,65 | 11,68 | 11,72 | 11,74 | 11,77 |
36 | 11,80 | 11,83 | 11,86 | 11,89 | 11,92 | 11,96 | 11,99 | 12,02 | 12,05 | 12,08 |
37 | 12,11 | 12,14 | 12,17 | 12,20 | 12,23 | 12,26 | 12,29 | 12,32 | 12,35 | 12,38 |
38 | 12,41 | 12,44 | 12,47 | 12,50 | 12,53 | 12,57 | 12,60 | 12,63 | 12,66 | 12,69 |
39 | 12,72 | 12,75 | 12,78 | 12,81 | 12,84 | 12,87 | 12,90 | 12,93 | 12,96 | 12,99 |
40 | 13,02 | 13,06 | 13,08 | 13,11 | 13,14 | 13,17 | 13,20 | 13,23 | 13,26 | 13,29 |
41 | 13,32 | 13,35 | 13,38 | 13,41 | 13,44 | 13,47 | 13,50 | 13,53 | 13,56 | 13,59 |
42 | 13,62 | 13,65 | 13,68 | 13,71 | 13,74 | 13,77 | 13,80 | 13,83 | 13,86 | 13,89 |
43 | 13,92 | 13,95 | 13,98 | 14,01 | 14,04 | 14,08 | 14,11 | 14,14 | 14,17 | 14,20 |
44 | 14,23 | 14,26 | 14,29 | 14,32 | 14,35 | 14,38 | 14,40 | 14,43 | 14,46 | 14,49 |
45 | 14,52 | 14,55 | 14,58 | 14,61 | 14,64 | 14,67 | 14,70 | 14,73 | 14,76 | 14,79 |
46 | 14,82 | 14,85 | 14,88 | 14,91 | 14,94 | 14,97 | 15,00 | 15,03 | 15,06 | 15,09 |
47 | 15,12 | 15,15 | 15,18 | 15,21 | 15,24 | 15,27 | 15,29 | 15,32 | 15,35 | 15,38 |
48 | 15,41 | 15,44 | 15,47 | 15,50 | 15,53 | 15,56 | 15,59 | 15,62 | 15,65 | 15,68 |
49 | 15,71 | 15,74 | 15,77 | 15,80 | 15,83 | 15,86 | 15,88 | 15,91 | 15,94 | 15,97 |
50 | 16,00 | 16,02 | 16,06 | 16,09 | 16,12 | 16,15 | 16,17 | 16,20 | 16,23 | 16,26 |
51 | 16,29 | 16,32 | 16,35 | 16,38 | 16,41 | 16,44 | 16,46 | 16,49 | 16,52 | 16,55 |
52 | 16,58 | 16,61 | 16,64 | 16,67 | 16,70 | 16,73 | 16,75 | 16,78 | 16,81 | 16,84 |
53 | 16,87 | 16,90 | 16,93 | 16,96 | 16,99 | 17,02 | 17,04 | 17,07 | 17,10 | 17,13 |
54 | 17,16 | 17,19 | 17,22 | 17,24 | 17,27 | 17,30 | 17,33 | 17,36 | 17,38 | 17,41 |
55 | 17,44 | 17,47 | 17,50 | 17,53 | 17,56 | 17,59 | 17,61 | 17,64 | 17,67 | 17,70 |
56 | 17,73 | 17,76 | 17,79 | 17,81 | 17,84 | 17,87 | 17,90 | 17,93 | 17,95 | 17,98 |
57 | 18,01 | 18,04 | 18,07 | 18,10 | 18,13 | 18,16 | 18,18 | 18,21 | 18,24 | 18,27 |
58 | 18,30 | 18,33 | 18,36 | 18,39 | 18,44 | 18,44 | 18,47 | 18,50 | 18,52 | 18,55 |
59 | 18,58 | 18,61 | 18,64 | 18,66 | 18,69 | 18,72 | 18,75 | 18,78 | 18,80 | 18,83 |
60 | 18,86 | 18,89 | 18,92 | 18,95 | 18,98 | 19,01 | 19,03 | 19,06 | 19,09 | 19,12 |
61 | 19,15 | 19,18 | 19,21 | 19,23 | 19,26 | 19,29 | 19,32 | 19,35 | 19,37 | 19,40 |
62 | 19,43 | 19,46 | 19,49 | 19,51 | 19,54 | 19,57 | 19,60 | 19,63 | 19,65 | 19,68 |
63 | 19,71 | 19,74 | 19,77 | 19,79 | 19,82 | 19,85 | 19,88 | 19,91 | 19,93 | 19,96 |
64 | 19,99 | 20,02 | 20,04 | 20,07 | 20,10 | 20,13 | 20,15 | 20,18 | 20,21 | 20,23 |
65 | 20,26 | 20,29 | 20,32 | 20,34 | 20,37 | 20,40 | 20,43 | 20,46 | 20,48 | 20,51 |
66 | 20,54 | 20,57 | 20,59 | 20,62 | 20,65 | 20,68 | 20,70 | 20,73 | 20,76 | 20,78 |
67 | 20,81 | 20,84 | 20,87 | 20,89 | 20,92 | 20,95 | 20,98 | 21,01 | 21,03 | 21,06 |
68 | 21,09 | 21,12 | 21,14 | 21,17 | 21,20 | 21,23 | 21,25 | 21,28 | 21,31 | 21,33 |
69 | 21,36 | 21,39 | 21,42 | 21,44 | 21,47 | 21,50 | 21,53 | 21,56 | 21,58 | 21,61 |
70 | 21,64 | 21,67 | 21,69 | 21,72 | 21,75 | 21,78 | 21,80 | 21,84 | 21,86 | 21,88 |
71 | 21,91 | 21,94 | 21,97 | 21,99 | 22,02 | 22,05 | 22,08 | 22,11 | 22,13 | 22,16 |
72 | 22,19 | 22,22 | 22,24 | 22,27 | 22,30 | 22,33 | 22,35 | 22,38 | 22,41 | 22,43 |
73 | 22,46 | 22,49 | 22,51 | 22,54 | 22,57 | 22,60 | 22,62 | 22,65 | 22,68 | 22,70 |
74 | 22,73 | 22,76 | 22,78 | 22,81 | 22,84 | 22,87 | 22,89 | 22,92 | 22,95 | 22,97 |
75 | 23,00 | 23,03 | 23,05 | 23,08 | 23,11 | 23,14 | 23,16 | 23,18 | 23,22 | 23,24 |
76 | 23,27 | 23,30 | 23,32 | 23,35 | 23,38 | 23,41 | 23,43 | 23,46 | 23,49 | 23,51 |
77 | 23,54 | 23,57 | 23,60 | 23,62 | 23,65 | 23,68 | 23,71 | 23,74 | 23,76 | 23,79 |
78 | 23,82 | 23,85 | 23,87 | 23,90 | 23,93 | 23,96 | 23,98 | 24,01 | 24,04 | 24,06 |
79 | 24,09 | 24,12 | 24,14 | 24,17 | 24,20 | 24,23 | 24,25 | 24,28 | 24,31 | 24,33 |
80 | 24,36 | 24,39 | 24,41 | 24,44 | 24,47 | 24,50 | 24,52 | 24,55 | 24,58 | 24,60 |
81 | 24,63 | 24,66 | 24,68 | 24,71 | 24,74 | 24,77 | 24,79 | 24,82 | 24,85 | 24,87 |
82 | 24,90 | 24,93 | 24,95 | 24,98 | 25,01 | 25,04 | 25,06 | 25,09 | 25,12 | 25,14 |
83 | 25,17 | 25,20 | 25,22 | 25,25 | 25,28 | 25,31 | 25,33 | 25,36 | 25,39 | 25,41 |
84 | 25,44 | 25,47 | 25,49 | 25,52 | 25,54 | 25,57 | 25,60 | 25,62 | 25,65 | 25,67 |
85 | 25,70 | 25,73 | 25,75 | 25,78 | 25,81 | 25,84 | 25,86 | 25,89 | 25,92 | 25,94 |
86 | 25,97 | 26,00 | 26,02 | 26,05 | 26,07 | 26,10 | 26,13 | 26,15 | 26,18 | 26,20 |
87 | 26,23 | 26,26 | 26,28 | 26,31 | 26,33 | 26,36 | 26,38 | 26,41 | 26,43 | 26,46 |
88 | 26,48 | 26,51 | 26,53 | 26,56 | 26,58 | 26,61 | 26,64 | 26,66 | 26,69 | 26,71 |
89 | 26,74 | 26,77 | 26,79 | 26,82 | 26,84 | 26,87 | 26,89 | 26,92 | 26,94 | 26,97 |
90 | 26,99 | 27,02 | 27,04 | 27,07 | 27,09 | 27,12 | 27,15 | 27,17 | 27,20 | 27,22 |
91 | 27,25 | 27,28 | 27,30 | 27,33 | 27,35 | 27,38 | 27,41 | 27,43 | 27,46 | 27,48 |
92 | 27,51 | 27,54 | 27,56 | 27,59 | 27,61 | 27,64 | 27,67 | 27,69 | 27,72 | 27,74 |
93 | 27,77 | 27,80 | 27,82 | 27,85 | 27,87 | 27,90 | 27,93 | 27,95 | 27,98 | 28,00 |
94 | 28,03 | 28,06 | 28,08 | 28,11 | 28,13 | 28,16 | 28,18 | 28,21 | 28,23 | 28,26 |
95 | 28,28 | 28,31 | 28,33 | 28,36 | 28,38 | 28,41 | 28,44 | 28,46 | 28,49 | 28,51 |
96 | 28,54 | 28,57 | 28,59 | 28,62 | 28,64 | 28,67 | 28,69 | 28,72 | 28,74 | 28,77 |
97 | 28,79 | 28,82 | 28,84 | 28,87 | 28,89 | 28,92 | 28,94 | 28,97 | 28,99 | 29,02 |
98 | 29,04 | 29,06 | 29,09 | 29,11 | 29,14 | 29,16 | 29,18 | 29,21 | 29,23 | 29,26 |
99 | 29,28 | 29,31 | 29,33 | 29,36 | 29,38 | 29,41 | 29,43 | 29,46 | 29,48 | 29,51 |
100 | 29,53 | 29,55 | 29,58 | 29,60 | 29,63 | 29,65 | 29,67 | 29,70 | 29,72 | 29,75 |
101 | 29,77 | 29,80 | 29,82 | 29,85 | 29,87 | 29,90 | 29,92 | 29,95 | 29,97 | 30,00 |
102 | 30,02 | 30,04 | 30,07 | 30,09 | 30,12 | 30,14 | 30,16 | 30,19 | 30,21 | 30,24 |
Таблица 7
Поправки к показаниям прецизионного рефрактометра
при отступлении от температуры 20 °C
Температура, °C | Деление шкалы рефрактометра |
0 | 10 | 20 | 30 | 40 | 50 | 60 | 70 | 80 | 90 | 100 |
1 | 2 | 3 | 4 | 5 | 6 | 7 | 8 | 9 | 10 | 11 | 12 |
Отнять от найденных показаний прибора |
10 | 1,4 | 1,6 | 1,7 | 1,9 | 2,0 | 2,15 | 2,3 | 2,4 | 2,5 | 2,65 | 2,8 |
11 | 1,3 | 1,4 | 1,55 | 1,7 | 1,8 | 1,95 | 2,1 | 2,2 | 2,3 | 2,4 | 2,55 |
12 | 1,2 | 1,3 | 1,4 | 1,55 | 1,65 | 1,75 | 1,9 | 2,0 | 2,05 | 2,2 | 2,3 |
13 | 1,05 | 1,15 | 1,25 | 1,35 | 1,45 | 1,55 | 1,65 | 1,75 | 1,8 | 1,9 | 2,0 |
14 | 0,9 | 1,0 | 1,1 | 1,2 | 1,3 | 1,4 | 1,45 | 1,5 | 1,55 | 1,65 | 1,7 |
15 | 0,8 | 0,85 | 0,9 | 1,0 | 1,1 | 1,15 | 1,2 | 1,3 | 1,3 | 1,4 | 1,45 |
16 | 0,6 | 0,7 | 0,75 | 0,8 | 0,85 | 0,9 | 0,95 | 1,0 | 1,05 | 1,1 | 1,15 |
17 | 0,5 | 0,5 | 0,55 | 0,6 | 0,65 | 0,7 | 0,75 | 0,8 | 0,8 | 0,85 | 0,85 |
18 | 0,35 | 0,35 | 0,4 | 0,4 | 0,45 | 0,5 | 0,5 | 0,50 | 0,55 | 0,55 | 0,6 |
19 | 0,15 | 0,2 | 0,2 | 0,2 | 0,20 | 0,25 | 0,25 | 0,25 | 0,3 | 0,3 | 0,3 |
Прибавить к найденным показаниям прибора |
20 | 0 | 0 | 0 | 0 | 0 | 0 | 0 | 0 | 0 | 0 | 0 |
21 | 0,2 | 0,2 | 0,2 | 0,2 | 0,2 | 0,25 | 0,25 | 0,3 | 0,3 | 0,3 | 0,3 |
22 | 0,35 | 0,4 | 0,4 | 0,45 | 0,5 | 0,5 | 0,52 | 0,55 | 0,6 | 0,6 | 0,6 |
23 | 0,55 | 0,6 | 0,6 | 0,7 | 0,7 | 0,8 | 0,8 | 0,85 | 0,85 | 0,9 | 0,95 |
24 | 0,75 | 0,8 | 0,85 | 0,9 | 0,95 | 1,0 | 1,05 | 1,1 | 1,15 | 1,2 | 1,25 |
25 | 0,9 | 1,0 | 1,1 | 1,15 | 1,2 | 1,3 | 1,35 | 1,4 | 1,45 | 1,5 | 1,6 |
26 | 1,1 | 1,15 | 1,2 | 1,4 | 1,45 | 1,55 | 1,65 | 1,7 | 1,75 | 1,85 | 1,95 |
27 | 1,4 | 1,45 | 1,6 | 1,7 | 1,75 | 1,85 | 1,95 | 2,0 | 2,05 | 2,1 | 2,2 |
28 | 1,6 | 1,7 | 1,8 | 1,95 | 2,0 | 2,1 | 2,25 | 2,3 | 2,4 | 2,5 | 2,6 |
29 | 1,8 | 1,95 | 2,05 | 2,2 | 2,3 | 2,4 | 2,55 | 2,65 | 2,75 | 2,85 | 3,0 |
30 | 2,1 | 2,2 | 2,3 | 2,5 | 2,6 | 2,75 | 2,85 | 2,95 | 3,05 | 3,2 | 3,35 |
Таблица 8
Зависимость видимой плотности, г/см3, от содержания сахарозы
в чистых растворах при 20/20 °C
Содержание сахарозы, % к массе раствора | Десятые доли процента |
,0 | ,1 | ,2 | ,3 | ,4 | ,5 | ,6 | ,7 | ,8 | ,9 |
1 | 2 | 3 | 4 | 5 | 6 | 7 | 8 | 9 | 10 | 11 |
0 | 1,00000 | 1,00039 | 1,00078 | 1,00117 | 1,00156 | 1,00194 | 1,00233 | 1,00272 | 1,00312 | 1,00351 |
1 | 1,00390 | 1,00429 | 1,00468 | 1,00507 | 1,00546 | 1,00585 | 1,00624 | 1,00663 | 1,00702 | 1,00741 |
2 | 1,00780 | 1,00819 | 1,00859 | 1,00898 | 1,00937 | 1,00977 | 1,01016 | 1,01055 | 1,01094 | 1,01134 |
3 | 1,01173 | 1,01213 | 1,01252 | 1,01292 | 1,01331 | 1,01371 | 1,01410 | 1,01450 | 1,01490 | 1,01529 |
4 | 1,01569 | 1,01609 | 1,01649 | 1,01688 | 1,01728 | 1,01768 | 1,01808 | 1,01848 | 1,01888 | 1,01928 |
5 | 1,01968 | 1,02008 | 1,02048 | 1,02088 | 1,02128 | 1,02168 | 1,02208 | 1,02248 | 1,02289 | 1,02329 |
6 | 1,02369 | 1,02409 | 1,02450 | 1,02490 | 1,02530 | 1,02571 | 1,02611 | 1,02690 | 1,02692 | 1,02733 |
7 | 1,02773 | 1,02814 | 1,02854 | 1,02895 | 1,02936 | 1,02976 | 1,03017 | 1,03058 | 1,03098 | 1,03139 |
8 | 1,03180 | 1,03221 | 1,03262 | 1,03303 | 1,03344 | 1,03385 | 1,03426 | 1,03467 | 1,03508 | 1,03549 |
9 | 1,03590 | 1,03631 | 1,03672 | 1,03713 | 1,03755 | 1,03796 | 1,03837 | 1,03879 | 1,03920 | 1,03961 |
10 | 1,04003 | 1,04044 | 1,04086 | 1,04127 | 1,04169 | 1,04210 | 1,04252 | 1,04293 | 1,04335 | 1,04377 |
11 | 1,04418 | 1,04460 | 1,04502 | 1,04544 | 1,04585 | 1,04627 | 1,04669 | 1,04711 | 1,04753 | 1,04795 |
12 | 1,04837 | 1,04879 | 1,04921 | 1,04963 | 1,05005 | 1,05047 | 1,05090 | 1,05132 | 1,05174 | 1,05216 |
13 | 1,05259 | 1,05301 | 1,05343 | 1,05386 | 1,05428 | 1,05470 | 1,05513 | 1,05556 | 1,05598 | 1,05641 |
14 | 1,05683 | 1,05726 | 1,05769 | 1,05811 | 1,05854 | 1,05897 | 1,05940 | 1,05982 | 1,06028 | 1,06068 |
15 | 1,06111 | 1,06154 | 1,06197 | 1,06240 | 1,06283 | 1,06326 | 1,06369 | 1,06412 | 1,06455 | 1,06499 |
16 | 1,06542 | 1,06585 | 1,06629 | 1,06672 | 1,06715 | 1,06759 | 1,06802 | 1,06845 | 1,06889 | 1,06933 |
17 | 1,06976 | 1,07020 | 1,07076 | 1,07107 | 1,07151 | 1,07194 | 1,07238 | 1,07282 | 1,07325 | 1,07369 |
18 | 1,07413 | 1,07457 | 1,07501 | 1,07545 | 1,07589 | 1,07633 | 1,07677 | 1,07721 | 1,07765 | 1,07809 |
19 | 1,07853 | 1,07898 | 1,07942 | 1,07986 | 1,08030 | 1,08075 | 1,08119 | 1,08164 | 1,08208 | 1,08252 |
20 | 1,08297 | 1,08342 | 1,08386 | 1,08431 | 1,08475 | 1,08520 | 1,08565 | 1,08609 | 1,08654 | 1,08699 |
21 | 1,08744 | 1,08789 | 1,08834 | 1,08879 | 1,08923 | 1,08968 | 1,09013 | 1,09058 | 1,09103 | 1,09149 |
22 | 1,09194 | 1,09239 | 1,09284 | 1,09329 | 1,09375 | 1,09420 | 1,09465 | 1,09511 | 1,09556 | 1,09602 |
23 | 1,09647 | 1,09693 | 1,09738 | 1,09784 | 1,09829 | 1,09875 | 1,09921 | 1,09966 | 1,10012 | 1,10058 |
24 | 1,10104 | 1,10149 | 1,10195 | 1,10241 | 1,10287 | 1,10333 | 1,10379 | 1,10425 | 1,10471 | 1,10517 |
25 | 1,10564 | 1,10610 | 1,10656 | 1,10702 | 1,10748 | 1,10795 | 1,10841 | 1,10887 | 1,10934 | 1,10980 |
26 | 1,11027 | 1,11073 | 1,11120 | 1,11166 | 1,11213 | 1,11260 | 1,11306 | 1,11353 | 1,11400 | 1,11447 |
27 | 1,11493 | 1,11540 | 1,11587 | 1,11634 | 1,11681 | 1,11728 | 1,11775 | 1,11822 | 1,11869 | 1,11916 |
28 | 1,11963 | 1,12010 | 1,12058 | 1,12105 | 1,12152 | 1,12199 | 1,12247 | 1,12294 | 1,12341 | 1,12389 |
29 | 1,12436 | 1,12484 | 1,12532 | 1,12579 | 1,12627 | 1,12674 | 1,12722 | 1,12770 | 1,12817 | 1,12865 |
30 | 1,12913 | 1,12961 | 1,13009 | 1,13057 | 1,13105 | 1,13153 | 1,13201 | 1,13249 | 1,13297 | 1,13345 |
31 | 1,13394 | 1,13442 | 1,13490 | 1,13538 | 1,13587 | 1,13635 | 1,13683 | 1,13732 | 1,13780 | 1,13829 |
32 | 1,13877 | 1,13926 | 1,13974 | 1,14023 | 1,14072 | 1,14120 | 1,14169 | 1,14218 | 1,14267 | 1,14316 |
33 | 1,14364 | 1,14413 | 1,14462 | 1,14511 | 1,14560 | 1,14609 | 1,14658 | 1,14708 | 1,14757 | 1,14806 |
34 | 1,14855 | 1,14904 | 1,14954 | 1,15003 | 1,15052 | 1,15102 | 1,15151 | 1,15201 | 1,15250 | 1,15300 |
35 | 1,15350 | 1,15399 | 1,15449 | 1,15498 | 1,15548 | 1,15598 | 1,15648 | 1,15698 | 1,15747 | 1,15797 |
36 | 1,15847 | 1,15897 | 1,15947 | 1,15997 | 1,16047 | 1,16098 | 1,16148 | 1,16198 | 1,16248 | 1,16298 |
37 | 1,16349 | 1,16399 | 1,16449 | 1,16500 | 1,16550 | 1,16601 | 1,16651 | 1,16702 | 1,16752 | 1,16803 |
38 | 1,16853 | 1,16904 | 1,16955 | 1,17006 | 1,17056 | 1,17107 | 1,17158 | 1,17209 | 1,17260 | 1,17311 |
39 | 1,17362 | 1,17413 | 1,17464 | 1,17515 | 1,17566 | 1,17618 | 1,17669 | 1,17720 | 1,17772 | 1,17823 |
40 | 1,17874 | 1,17926 | 1,17977 | 1,18029 | 1,18080 | 1,18132 | 1,18183 | 1,18235 | 1,18287 | 1,18339 |
41 | 1,18390 | 1,18442 | 1,18494 | 1,18546 | 1,18598 | 1,18650 | 1,18702 | 1,18754 | 1,18806 | 1,18858 |
42 | 1,18910 | 1,18962 | 1,19014 | 1,19062 | 1,19119 | 1,19177 | 1,19224 | 1,19276 | 1,19329 | 1,19381 |
43 | 1,19434 | 1,19486 | 1,19539 | 1,19591 | 1,19644 | 1,19697 | 1,19749 | 1,19802 | 1,19855 | 1,19908 |
44 | 1,19961 | 1,20013 | 1,20066 | 1,20119 | 1,20172 | 1,20226 | 1,20279 | 1,20332 | 1,20385 | 1,20438 |
45 | 1,20491 | 1,20545 | 1,20598 | 1,20651 | 1,20705 | 1,20758 | 1,20812 | 1,20865 | 1,20919 | 1,20972 |
46 | 1,21026 | 1,21080 | 1,21133 | 1,21187 | 1,21241 | 1,21295 | 1,21349 | 1,21402 | 1,21456 | 1,21510 |
47 | 1,21564 | 1,21618 | 1,21673 | 1,21727 | 1,21781 | 1,21835 | 1,21889 | 1,21943 | 1,21998 | 1,22052 |
48 | 1,22106 | 1,22161 | 1,22215 | 1,22270 | 1,22324 | 1,22379 | 1,22413 | 1,22488 | 1,22543 | 1,22598 |
49 | 1,22652 | 1,22707 | 1,22762 | 1,22817 | 1,22872 | 1,22927 | 1,22982 | 1,23037 | 1,23092 | 1,23147 |
50 | 1,23202 | 1,23257 | 1,23313 | 1,23368 | 1,23423 | 1,23478 | 1,23534 | 1,23589 | 1,23645 | 1,23700 |
51 | 1,23756 | 1,23811 | 1,23867 | 1,23922 | 1,23978 | 1,24034 | 1,24089 | 1,24145 | 1,24201 | 1,24257 |
52 | 1,24313 | 1,24369 | 1,24425 | 1,24481 | 1,24537 | 1,24593 | 1,24649 | 1,24705 | 1,24761 | 1,24818 |
53 | 1,24874 | 1,24930 | 1,24987 | 1,25043 | 1,25099 | 1,25156 | 1,25212 | 1,25269 | 1,25325 | 1,25382 |
54 | 1,25439 | 1,25495 | 1,25552 | 1,25609 | 1,25666 | 1,25723 | 1,25780 | 1,25836 | 1,25893 | 1,25950 |
55 | 1,26007 | 1,26064 | 1,26122 | 1,26179 | 1,26236 | 1,26293 | 1,26350 | 1,26408 | 1,26465 | 1,26522 |
56 | 1,26580 | 1,26637 | 1,26695 | 1,26752 | 1,26810 | 1,26868 | 1,26925 | 1,26983 | 1,27041 | 1,27098 |
57 | 1,27156 | 1,27214 | 1,27272 | 1,27330 | 1,27388 | 1,28446 | 1,27504 | 1,27562 | 1,27620 | 1,27678 |
58 | 1,27736 | 1,27794 | 1,27853 | 1,27911 | 1,27969 | 1,28028 | 1,28086 | 1,27145 | 1,28203 | 1,28262 |
59 | 1,28320 | 1,28379 | 1,28437 | 1,28497 | 1,28556 | 1,28614 | 1,28672 | 1,28731 | 1,28789 | 1,28849 |
60 | 1,28908 | 1,28966 | 1,29025 | 1,29084 | 1,29143 | 1,29203 | 1,29262 | 1,29321 | 1,29380 | 1,29439 |
61 | 1,29498 | 1,29559 | 1,29618 | 1,29677 | 1,29736 | 1,29796 | 1,29855 | 1,29915 | 1,29975 | 1,30034 |
62 | 1,30093 | 1,30153 | 1,30212 | 1,30273 | 1,30334 | 1,30393 | 1,30453 | 1,30513 | 1,30573 | 1,30633 |
63 | 1,30694 | 1,30754 | 1,30815 | 1,30875 | 1,30936 | 1,30994 | 1,31055 | 1,31117 | 1,31177 | 1,31237 |
64 | 1,31297 | 1,31359 | 1,31418 | 1,31479 | 1,31540 | 1,31600 | 1,31661 | 1,31723 | 1,31784 | 1,31845 |
65 | 1,31905 | 1,31966 | 1,32028 | 1,32089 | 1,32150 | 1,32210 | 1,32271 | 1,32332 | 1,32393 | 1,32455 |
66 | 1,32516 | 1,32577 | 1,32638 | 1,32699 | 1,32759 | 1,32820 | 1,32884 | 1,32945 | 1,33007 | 1,33068 |
67 | 1,33129 | 1,33192 | 1,33254 | 1,33315 | 1,33377 | 1,33438 | 1,33500 | 1,33562 | 1,33625 | 1,33686 |
68 | 1,33748 | 1,33810 | 1,33872 | 1,33915 | 1,33997 | 1,34059 | 1,34121 | 1,34183 | 1,34245 | 1,34309 |
69 | 1,34371 | 1,34433 | 1,34495 | 1,34558 | 1,34621 | 1,34684 | 1,34746 | 1,34809 | 1,34871 | 1,34934 |
70 | 1,34997 | 1,35060 | 1,35123 | 1,35186 | 1,35248 | 1,35311 | 1,35375 | 1,35438 | 1,35501 | 1,35564 |
71 | 1,35627 | 1,35691 | 1,35754 | 1,35818 | 1,35881 | 1,35944 | 1,36008 | 1,36072 | 1,36135 | 1,36198 |
72 | 1,36261 | 1,36324 | 1,36389 | 1,36452 | 1,36516 | 1,36579 | 1,36643 | 1,36707 | 1,36771 | 1,36836 |
73 | 1,36900 | 1,36964 | 1,37028 | 1,37092 | 1,37156 | 1,37220 | 1,37283 | 1,37347 | 1,37411 | 1,37476 |
74 | 1,37541 | 1,37605 | 1,37669 | 1,37733 | 1,37798 | 1,37864 | 1,37928 | 1,37993 | 1,38057 | 1,38122 |
75 | 1,38187 | 1,38252 | 1,38316 | 1,38381 | 1,38445 | 1,38510 | 1,38575 | 1,38640 | 1,38705 | 1,38770 |
76 | 1,38835 | 1,38902 | 1,38967 | 1,39032 | 1,39097 | 1,39162 | 1,39228 | 1,39293 | 1,39358 | 1,39423 |
77 | 1,39489 | 1,39544 | 1,39619 | 1,39685 | 1,39750 | 1,39816 | 1,39882 | 1,39949 | 1,40014 | 1,40080 |
78 | 1,40146 | 1,40211 | 1,40277 | 1,40344 | 1,40409 | 1,40475 | 1,40541 | 1,40607 | 1,40674 | 1,40740 |
79 | 1,40806 | 1,40872 | 1,40938 | 1,41005 | 1,41072 | 1,41138 | 1,41204 | 1,41270 | 1,41337 | 1,41404 |
80 | 1,41471 | 1,41537 | 1,41603 | 1,41670 | 1,41737 | 1,41804 | 1,41872 | 1,41937 | 1,42004 | 1,42072 |
81 | 1,42138 | 1,42205 | 1,42272 | 1,42339 | 1,42406 | 1,42474 | 1,42541 | 1,42608 | 1,42675 | 1,42742 |
82 | 1,42810 | 1,42878 | 1,42946 | 1,43013 | 1,43080 | 1,43148 | 1,43214 | 1,43282 | 1,43350 | 1,43417 |
83 | 1,43486 | 1,43553 | 1,43621 | 1,43688 | 1,43756 | 1,43824 | 1,43894 | 1,43961 | 1,44029 | 1,44097 |
84 | 1,44165 | 1,44234 | 1,44302 | 1,44370 | 1,44438 | 1,44507 | 1,44575 | 1,44643 | 1,44712 | 1,44780 |
85 | 1,44848 | 1,44917 | 1,44985 | 1,45054 | 1,45123 | 1,45191 | 1,45260 | 1,45329 | 1,45397 | 1,45466 |
86 | 1,45535 | 1,45604 | 1,45673 | 1,45741 | 1,45810 | 1,45879 | 1,45949 | 1,46018 | 1,46087 | 1,46156 |
87 | 1,46225 | 1,46294 | 1,46364 | 1,46433 | 1,46502 | 1,46572 | 1,46641 | 1,46710 | 1,46780 | 1,46849 |
88 | 1,46919 | 1,45989 | 1,47058 | 1,47128 | 1,47198 | 1,47267 | 1,47337 | 1,47407 | 1,47477 | 1,47547 |
89 | 1,47616 | 1,47686 | 1,47756 | 1,47826 | 1,47897 | 1,47967 | 1,48038 | 1,48107 | 1,48177 | 1,48247 |
90 | 1,48317 | 1,48388 | 1,48458 | 1,48529 | 1,48599 | 1,48669 | 1,48740 | 1,48810 | 1,48881 | 1,48951 |
91 | 1,49022 | 1,49093 | 1,49164 | 1,49234 | 1,49305 | 1,49376 | 1,49447 | 1,49518 | 1,49588 | 1,49659 |
92 | 1,49730 | 1,49801 | 1,49872 | 1,49944 | 1,50015 | 1,50086 | 1,50157 | 1,50228 | 1,50299 | 1,50371 |
93 | 1,50442 | 1,50513 | 1,50585 | 1,50656 | 1,50728 | 1,50799 | 1,50871 | 1,50942 | 1,51014 | 1,51086 |
Таблица 9
Зависимость истинной плотности, г/см3, от содержания
сахарозы в чистых растворах при 20/4 °C
Содержание сахарозы, % к массе раствора | Десятые доли процента |
,0 | ,1 | ,2 | ,3 | ,4 | ,5 | ,6 | ,7 | ,8 | ,9 |
1 | 2 | 3 | 4 | 5 | 6 | 7 | 8 | 9 | 10 | 11 |
0 | 0,99823 | 0,99862 | 0,99901 | 0,99940 | 0,99979 | 1,00017 | 1,00056 | 1,00095 | 1,00134 | 1,00173 |
1 | 1,00212 | 1,00251 | 1,00290 | 1,00329 | 1,00367 | 1,00406 | 1,00445 | 1,00484 | 1,00523 | 1,00564 |
2 | 1,00601 | 1,00641 | 1,00680 | 1,00719 | 1,00758 | 1,00797 | 1,00836 | 1,00876 | 1,00915 | 1,00954 |
3 | 1,00993 | 1,01033 | 1,01072 | 1,01112 | 1,01151 | 1,01190 | 1,01230 | 1,01269 | 1,01309 | 1,01349 |
4 | 1,01388 | 1,01428 | 1,01467 | 1,01507 | 1,01547 | 1,01586 | 1,01626 | 1,01666 | 1,01706 | 1,01746 |
5 | 1,01785 | 1,01825 | 1,01865 | 1,01905 | 1,01945 | 1,01985 | 1,02025 | 1,02065 | 1,02105 | 1,02145 |
6 | 1,02186 | 1,02226 | 1,02266 | 1,02306 | 1,02346 | 1,02387 | 1,02427 | 1,02467 | 1,02508 | 1,02548 |
7 | 1,02588 | 1,02629 | 1,02669 | 1,02710 | 1,02750 | 1,02791 | 1,02832 | 1,02872 | 1,02912 | 1,02953 |
8 | 1,02994 | 1,03035 | 1,03076 | 1,03116 | 1,03157 | 1,03198 | 1,03239 | 1,03280 | 1,03321 | 1,03362 |
9 | 1,03403 | 1,03444 | 1,03485 | 1,03526 | 1,03567 | 1,03608 | 1,03649 | 1,03691 | 1,03732 | 1,03773 |
10 | 1,03814 | 1,03856 | 1,03897 | 1,03938 | 1,03980 | 1,04021 | 1,04063 | 1,04104 | 1,04146 | 1,04187 |
11 | 1,04229 | 1,04270 | 1,04312 | 1,04354 | 1,04395 | 1,04437 | 1,04479 | 1,04521 | 1,04562 | 1,04604 |
12 | 1,04646 | 1,04688 | 1,04730 | 1,04772 | 1,04814 | 1,04856 | 1,04898 | 1,04940 | 1,04982 | 1,05024 |
13 | 1,05066 | 1,05109 | 1,05151 | 1,05193 | 1,05236 | 1,05278 | 1,05320 | 1,05363 | 1,05405 | 1,05447 |
14 | 1,05490 | 1,05532 | 1,05575 | 1,05618 | 1,05660 | 1,05703 | 1,05746 | 1,05788 | 1,05831 | 1,05874 |
15 | 1,05916 | 1,05959 | 1,06002 | 1,06045 | 1,06088 | 1,06131 | 1,06174 | 1,06217 | 1,06260 | 1,06303 |
16 | 1,06346 | 1,06389 | 1,06432 | 1,06476 | 1,06519 | 1,06562 | 1,06605 | 1,06649 | 1,06692 | 1,06735 |
17 | 1,06779 | 1,06822 | 1,06866 | 1,06909 | 1,06953 | 1,06996 | 1,07040 | 1,07084 | 1,07127 | 1,07171 |
18 | 1,07215 | 1,07258 | 1,07302 | 1,07346 | 1,07390 | 1,07434 | 1,07478 | 1,07522 | 1,07566 | 1,07610 |
19 | 1,07654 | 1,07698 | 1,07742 | 1,07786 | 1,07830 | 1,07874 | 1,07919 | 1,07963 | 1,08007 | 1,08052 |
20 | 1,08096 | 1,08140 | 1,08185 | 1,08229 | 1,08274 | 1,08318 | 1,08363 | 1,08407 | 1,08452 | 1,08497 |
21 | 1,08541 | 1,08586 | 1,08631 | 1,08676 | 1,08720 | 1,08765 | 1,08810 | 1,08855 | 1,08900 | 1,08945 |
22 | 1,08990 | 1,09035 | 1,09080 | 1,09125 | 1,09170 | 1,09216 | 1,09261 | 1,09306 | 1,09351 | 1,09397 |
23 | 1,09442 | 1,09487 | 1,09533 | 1,09578 | 1,09624 | 1,09669 | 1,09715 | 1,09760 | 1,09806 | 1,09851 |
24 | 1,09897 | 1,09943 | 1,09989 | 1,10034 | 1,10080 | 1,10126 | 1,10172 | 1,10218 | 1,10264 | 1,10310 |
25 | 1,10356 | 1,10402 | 1,10448 | 1,10494 | 1,10540 | 1,10586 | 1,10632 | 1,10679 | 1,10725 | 1,10771 |
26 | 1,10818 | 1,10864 | 1,10910 | 1,10957 | 1,11003 | 1,11050 | 1,11096 | 1,11143 | 1,11189 | 1,11236 |
27 | 1,11283 | 1,11329 | 1,11386 | 1,11423 | 1,11470 | 1,11517 | 1,11564 | 1,11610 | 1,11657 | 1,11704 |
28 | 1,11751 | 1,11798 | 1,11845 | 1,11892 | 1,11939 | 1,11987 | 1,12034 | 1,12081 | 1,12128 | 1,12176 |
29 | 1,12223 | 1,12271 | 1,12318 | 1,12365 | 1,12413 | 1,12460 | 1,12508 | 1,12556 | 1,12603 | 1,12651 |
30 | 1,12698 | 1,12746 | 1,12794 | 1,12842 | 1,12890 | 1,12937 | 1,12985 | 1,13033 | 1,13081 | 1,13129 |
31 | 1,13177 | 1,13225 | 1,13274 | 1,13322 | 1,13370 | 1,13418 | 1,13466 | 1,13515 | 1,13563 | 1,13611 |
32 | 1,13660 | 1,13708 | 1,13756 | 1,13805 | 1,13853 | 1,13902 | 1,13951 | 1,13999 | 1,14048 | 1,14097 |
33 | 1,14145 | 1,14194 | 1,14243 | 1,14292 | 1,14341 | 1,14389 | 1,14438 | 1,14487 | 1,14536 | 1,14585 |
34 | 1,14635 | 1,14684 | 1,14733 | 1,14782 | 1,14831 | 1,14880 | 1,14930 | 1,14979 | 1,15029 | 1,15078 |
35 | 1,15128 | 1,15177 | 1,15226 | 1,15276 | 1,15326 | 1,15375 | 1,15425 | 1,15475 | 1,15524 | 1,15574 |
36 | 1,15624 | 1,15674 | 1,15723 | 1,15778 | 1,15823 | 1,15873 | 1,15923 | 1,15973 | 1,16023 | 1,16073 |
37 | 1,16124 | 1,16174 | 1,16224 | 1,16274 | 1,16324 | 1,16375 | 1,16425 | 1,16476 | 1,16526 | 1,16576 |
38 | 1,16627 | 1,16677 | 1,16728 | 1,16779 | 1,16829 | 1,16880 | 1,16931 | 1,16982 | 1,17032 | 1,17083 |
39 | 1,17134 | 1,17185 | 1,17236 | 1,17287 | 1,17338 | 1,17389 | 1,17440 | 1,17491 | 1,17542 | 1,17594 |
40 | 1,17645 | 1,17696 | 1,17747 | 1,17799 | 1,17850 | 1,17901 | 1,17953 | 1,18004 | 1,18056 | 1,18108 |
41 | 1,18159 | 1,18211 | 1,18262 | 1,18314 | 1,18366 | 118418 | 1,18470 | 1,18521 | 1,18573 | 1,18625 |
42 | 1,18677 | 1,18729 | 1,18781 | 1,18834 | 1,18886 | 1,18938 | 1,18990 | 1,19042 | 1,19095 | 1,19147 |
43 | 1,19199 | 1,19252 | 1,19304 | 1,19356 | 1,19409 | 1,19462 | 1,19514 | 1,19567 | 1,19619 | 1,19672 |
44 | 1,19725 | 1,19778 | 1,19830 | 1,19883 | 1,19936 | 1,19989 | 1,20042 | 1,20095 | 1,20148 | 1,20201 |
45 | 1,20254 | 1,20307 | 1,20360 | 1,20414 | 1,20467 | 1,20520 | 1,20573 | 1,20627 | 1,20680 | 1,20734 |
46 | 1,20787 | 1,20840 | 1,20894 | 1,20948 | 1,21001 | 1,21055 | 1,21109 | 1,21162 | 1,21216 | 1,21270 |
47 | 1,21324 | 1,21378 | 1,21432 | 1,21486 | 1,21540 | 1,21594 | 1,21648 | 1,21702 | 1,21756 | 1,21810 |
48 | 1,21864 | 1,21918 | 1,21973 | 1,22027 | 1,22082 | 1,22136 | 1,22190 | 1,22245 | 1,22299 | 1,22354 |
49 | 1,22409 | 1,22463 | 1,22518 | 1,22573 | 1,22627 | 1,22682 | 1,22737 | 1,22792 | 1,22847 | 1,22902 |
50 | 1,22957 | 1,23012 | 1,23067 | 1,23122 | 1,23177 | 1,23232 | 1,23287 | 1,23343 | 1,23398 | 1,23453 |
51 | 1,23508 | 1,23564 | 1,23619 | 1,23675 | 1,23730 | 1,23786 | 1,23841 | 1,23897 | 1,23953 | 1,24008 |
52 | 1,24064 | 1,24120 | 1,24176 | 1,24231 | 1,24287 | 1,24343 | 1,24399 | 1,24455 | 1,24511 | 1,24567 |
53 | 1,24623 | 1,24680 | 1,24736 | 1,24792 | 1,24848 | 1,24905 | 1,24961 | 1,25017 | 1,25074 | 1,25130 |
54 | 1,25187 | 1,25243 | 1,25300 | 1,25356 | 1,25413 | 1,25470 | 1,25526 | 1,25583 | 1,25640 | 1,25697 |
55 | 1,25753 | 1,25810 | 1,25867 | 1,25924 | 1,25981 | 1,26038 | 1,26096 | 1,26153 | 1,26210 | 1,26267 |
56 | 1,26324 | 1,26382 | 1,26439 | 1,26496 | 1,26554 | 1,26611 | 1,26669 | 1,26726 | 1,26784 | 1,26841 |
57 | 1,26899 | 1,26956 | 1,27014 | 1,27072 | 1,27130 | 1,27188 | 1,27246 | 1,27304 | 1,27361 | 1,27419 |
58 | 1,27477 | 1,27535 | 1,27594 | 1,27652 | 1,27710 | 1,27768 | 1,27826 | 1,27884 | 1,27943 | 1,28001 |
59 | 1,28060 | 1,28118 | 1,28176 | 1,28235 | 1,28293 | 1,28352 | 1,28411 | 1,28469 | 1,28528 | 1,28587 |
60 | 1,28646 | 1,28704 | 1,28763 | 1,28822 | 1,28881 | 1,28940 | 1,28999 | 1,29058 | 1,29117 | 1,29176 |
61 | 1,29235 | 1,29295 | 1,29354 | 1,29413 | 1,29473 | 1,29532 | 1,29591 | 1,29651 | 1,29710 | 1,29770 |
62 | 1,29829 | 1,29889 | 1,29948 | 1,30008 | 1,30068 | 1,30127 | 1,30187 | 1,30247 | 1,30307 | 1,30367 |
63 | 1,30427 | 1,30487 | 1,30547 | 1,30607 | 1,30667 | 1,30727 | 1,30787 | 1,30848 | 1,30908 | 1,30968 |
64 | 1,31028 | 1,31088 | 1,31149 | 1,31209 | 1,31270 | 1,31330 | 1,31391 | 1,31452 | 1,31512 | 1,31573 |
65 | 1,31633 | 1,31694 | 1,31755 | 1,31816 | 1,31877 | 1,31937 | 1,31998 | 1,32059 | 1,32120 | 1,32181 |
66 | 1,32243 | 1,32304 | 1,32365 | 1,32426 | 1,32487 | 1,32548 | 1,32610 | 1,32671 | 1,32732 | 1,32794 |
67 | 1,32855 | 1,32917 | 1,32978 | 1,33040 | 1,33102 | 1,33163 | 1,33225 | 1,33287 | 1,33348 | 1,33410 |
68 | 1,33472 | 1,33534 | 1,33596 | 1,33658 | 1,33720 | 1,33782 | 1,33844 | 1,33906 | 1,33968 | 1,34031 |
69 | 1,34093 | 1,34155 | 1,34217 | 1,34280 | 1,34342 | 1,34405 | 1,34467 | 1,34530 | 1,34592 | 1,34655 |
70 | 1,34717 | 1,34780 | 1,34843 | 1,34906 | 1,34968 | 1,35031 | 1,35094 | 1,35157 | 1,35220 | 1,35283 |
71 | 1,35346 | 1,35409 | 1,35472 | 1,35535 | 1,35598 | 1,35661 | 1,35724 | 1,35788 | 1,35851 | 1,35914 |
72 | 1,35978 | 1,36041 | 1,36105 | 1,36168 | 1,36232 | 1,36295 | 1,36359 | 1,36423 | 1,36486 | 1,36550 |
73 | 1,36614 | 1,36678 | 1,36741 | 1,36805 | 1,36869 | 1,36933 | 1,36997 | 1,37061 | 1,37125 | 1,37189 |
74 | 1,37254 | 1,37318 | 1,37382 | 1,37446 | 1,37510 | 1,37575 | 1,37639 | 1,37704 | 1,37768 | 1,37833 |
75 | 1,37897 | 1,37962 | 1,38026 | 1,38091 | 1,39156 | 1,38220 | 1,38285 | 1,38350 | 1,38415 | 1,38480 |
76 | 1,38545 | 1,38610 | 1,38674 | 1,38740 | 1,38804 | 1,38870 | 1,38935 | 1,39000 | 1,39065 | 1,39130 |
77 | 1,39196 | 1,39261 | 1,39326 | 1,39392 | 1,39457 | 1,39523 | 1,39588 | 1,39654 | 1,39719 | 1,39785 |
78 | 1,39850 | 1,39916 | 1,39982 | 1,40048 | 1,40113 | 1,40179 | 1,40245 | 1,40311 | 1,40377 | 1,40443 |
79 | 1,40509 | 1,40575 | 1,40641 | 1,40707 | 1,40773 | 1,40840 | 1,40906 | 1,40972 | 1,41039 | 1,41105 |
80 | 1,41171 | 1,41238 | 1,41304 | 1,41371 | 1,41437 | 1,41504 | 1,41571 | 1,41637 | 1,41704 | 1,41771 |
81 | 1,41837 | 1,41904 | 1,41971 | 1,42038 | 1,42105 | 1,42172 | 1,42289 | 1,42306 | 1,42373 | 1,42440 |
82 | 1,42507 | 1,42574 | 1,42642 | 1,42709 | 1,42776 | 1,42844 | 1,42911 | 1,42978 | 1,43046 | 1,43113 |
83 | 1,43181 | 1,43248 | 1,43316 | 1,43383 | 1,43451 | 1,43519 | 1,43587 | 1,43654 | 1,43722 | 1,43790 |
84 | 1,43858 | 1,43926 | 1,43994 | 1,44062 | 1,44130 | 1,44198 | 1,44266 | 1,44334 | 1,44402 | 1,44471 |
85 | 1,44539 | 1,44607 | 1,44675 | 1,44744 | 1,44812 | 1,44881 | 1,44949 | 1,45018 | 1,45086 | 1,45154 |
86 | 1,45223 | 1,45292 | 1,45360 | 1,45429 | 1,45498 | 1,45567 | 1,45636 | 1,45704 | 1,45774 | 1,45842 |
87 | 1,45911 | 1,45980 | 1,46049 | 1,46119 | 1,46188 | 1,46257 | 1,46326 | 1,46395 | 1,46465 | 1,46534 |
88 | 1,46603 | 1,46673 | 1,46742 | 1,46811 | 1,46881 | 1,46950 | 1,47020 | 1,47090 | 1,47159 | 1,47229 |
89 | 1,47299 | 1,47368 | 1,47438 | 1,47508 | 1,47578 | 1,47648 | 1,47718 | 1,47788 | 1,47857 | 1,47928 |
90 | 1,47998 | 1,48068 | 1,48138 | 1,48208 | 1,48278 | 1,48348 | 1,48419 | 1,48489 | 1,48559 | 1,48630 |
91 | 1,48700 | 1,48771 | 1,48841 | 1,48912 | 1,48982 | 1,49053 | 1,49123 | 1,49194 | 1,49265 | 1,49335 |
92 | 1,49406 | 1,49477 | 1,49548 | 1,49619 | 1,49690 | 1,49761 | 1,49832 | 1,49903 | 1,49974 | 1,50045 |
93 | 1,50116 | 1,50187 | 1,50258 | 1,50329 | 1,50401 | 1,50472 | 1,50543 | 1,50615 | 1,50686 | 1,50757 |
94 | 1,50829 | 1,50900 | 1,50972 | 1,51043 | 1,51115 | 1,51187 | 1,51258 | 1,51330 | 1,51402 | 1,51474 |
95 | 1,51545 | 1,5162 | 1,5169 | 1,5176 | 1,5183 | 1,5190 | 1,5199 | 1,5205 | 1,5212 | 1,5219 |
96 | 1,5227 | 1,5234 | 1,5441 | 1,5248 | 1,5255 | 1,5263 | 1,5270 | 1,5277 | 1,5284 | 1,5292 |
97 | 1,5299 | 1,5306 | 1,5313 | 1,5321 | 1,5328 | 1,5335 | 1,5342 | 1,5350 | 1,5357 | 1,5364 |
98 | 1,5372 | 1,5380 | 1,5386 | 1,5394 | 1,5401 | 1,5408 | 1,5415 | 1,5423 | 1,5430 | 1,5437 |
99 | 1,5445 | 1,5452 | 1,5459 | 1,5467 | 1,5473 | 1,5481 | 1,5489 | 1,5496 | 1,5503 | 1,5511 |
100 | 1,5518 | | | | | | | | | |
Таблица 10
Плотность чистых сахарных растворов при различных
температурах, г/см3
Содержание сухих веществ, % к массе раствора | Температура, °C |
20 | 25 | 30 | 35 | 40 | 45 | 50 | 55 | 60 | 65 | 70 | 75 | 80 | 85 | 90 | 95 |
15 | 1,059 | 1,058 | 1,056 | 1,054 | 1,052 | 1,050 | 1,048 | 1,045 | 1,042 | 1,040 | 1,037 | 1,034 | 1,031 | 1,027 | 1,024 | 1,020 |
20 | 1,081 | 1,079 | 1,078 | 1,076 | 1,074 | 1,071 | 1,069 | 1,066 | 1,064 | 1,061 | 1,058 | 1,055 | 1,052 | 1,048 | 1,045 | 1,041 |
25 | 1,103 | 1,102 | 1,100 | 1,098 | 1,096 | 1,093 | 1,091 | 1,088 | 1,086 | 1,083 | 1,080 | 1,077 | 1,073 | 1,070 | 1,067 | 1,063 |
30 | 1,127 | 1,125 | 1,123 | 1,121 | 1,119 | 1,116 | 1,114 | 1,111 | 1,108 | 1,105 | 1,103 | 1,099 | 1,096 | 1,093 | 1,089 | 1,086 |
35 | 1,151 | 1,149 | 1,147 | 1,145 | 1,143 | 1,140 | 1,138 | 1,135 | 1,132 | 1,129 | 1,126 | 1,123 | 1,120 | 1,116 | 1,113 | 1,109 |
40 | 1,176 | 1,174 | 1,172 | 1,170 | 1,167 | 1,165 | 1,162 | 1,160 | 1,157 | 1,154 | 1,151 | 1,147 | 1,144 | 1,141 | 1,137 | 1,134 |
45 | 1,202 | 1,200 | 1,198 | 1,196 | 1,193 | 1,191 | 1,188 | 1,185 | 1,182 | 1,179 | 1,176 | 1,173 | 1,170 | 1,166 | 1,163 | 1,159 |
50 | 1,229 | 1,227 | 1,225 | 1,222 | 1,220 | 1,217 | 1,214 | 1,212 | 1,209 | 1,206 | 1,203 | 1,199 | 1,196 | 1,193 | 1,189 | 1,186 |
55 | 1,257 | 1,255 | 1,253 | 1,250 | 1,247 | 1,245 | 1,242 | 1,239 | 1,236 | 1,233 | 1,230 | 1,227 | 1,223 | 1,220 | 1,217 | 1,213 |
60 | 1,286 | 1,284 | 1,281 | 1,279 | 1,276 | 1,273 | 1,270 | 1,268 | 1,265 | 1,261 | 1,258 | 1,255 | 1,252 | 1,248 | 1,245 | 1,241 |
65 | 1,316 | 1,314 | 1,311 | 1,308 | 1,306 | 1,303 | 1,300 | 1,297 | 1,294 | 1,291 | 1,288 | 1,284 | 1,281 | 1,278 | 1,275 | 1,271 |
70 | 1,347 | 1,345 | 1,343 | 1,341 | 1,338 | 1,335 | 1,332 | 1,329 | 1,327 | 1,323 | 1,320 | 1,317 | 1,314 | 1,311 | 1,308 | 1,304 |
75 | 1,379 | 1,377 | 1,375 | 1,373 | 1,370 | 1,367 | 1,364 | 1,361 | 1,358 | 1,355 | 1,352 | 1,349 | 1,346 | 1,343 | 1,340 | 1,336 |
80 | 1,412 | 1,409 | 1,407 | 1,404 | 1,402 | 1,399 | 1,396 | 1,393 | 1,390 | 1,387 | 1,384 | 1,381 | 1,378 | 1,374 | 1,371 | 1,368 |
85 | 1,445 | 1,443 | 1,440 | 1,438 | 1,435 | 1,432 | 1,429 | 1,426 | 1,423 | 1,420 | 1,417 | 1,414 | 1,411 | 1,408 | 1,405 | 1,401 |
90 | 1,480 | 1,477 | 1,475 | 1,473 | 1,470 | 1,467 | 1,464 | 1,461 | 1,458 | 1,455 | 1,451 | 1,448 | 1,446 | 1,443 | 1,439 | 1,435 |
95 | 1,515 | 1,512 | 1,510 | 1,508 | 1,505 | 1,502 | 1,499 | 1,496 | 1,493 | 1,490 | 1,486 | 1,483 | 1,481 | 1,477 | 1,474 | 1,470 |
Таблица 11
Произведение содержания сухих веществ, % к массе раствора,
на его истинную плотность, г/см3 (d20/4 °C)
Содержание сухих веществ, % к массе раствора | Десятые доли процента |
,0 | ,1 | ,2 | ,3 | ,4 | ,5 | ,6 | ,7 | ,8 | ,9 |
1 | 2 | 3 | 4 | 5 | 6 | 7 | 8 | 9 | 10 | 11 |
0 | 0,000 | 0,100 | 0,200 | 0,300 | 0,400 | 0,500 | 0,600 | 0,701 | 0,801 | 0,902 |
1 | 1,002 | 1,103 | 1,203 | 1,304 | 1,405 | 1,506 | 1,607 | 1,708 | 1,809 | 1,911 |
2 | 2,012 | 2,113 | 2,215 | 2,317 | 2,418 | 2,520 | 2,622 | 2,724 | 2,826 | 2,928 |
3 | 3,030 | 3,132 | 3,234 | 3,337 | 3,439 | 3,542 | 3,644 | 3,747 | 3,850 | 3,953 |
4 | 4,056 | 4,159 | 4,262 | 4,365 | 4,468 | 4,571 | 4,675 | 4,778 | 4,882 | 4,986 |
5 | 5,089 | 5,193 | 5,297 | 5,401 | 5,506 | 5,609 | 5,713 | 5,818 | 5,922 | 6,027 |
6 | 6,131 | 6,236 | 6,340 | 6,445 | 6,550 | 6,655 | 6,760 | 6,865 | 6,971 | 7,076 |
7 | 7,181 | 7,287 | 7,392 | 7,498 | 7,604 | 7,709 | 7,815 | 7,921 | 8,027 | 8,133 |
8 | 8,240 | 8,346 | 8,452 | 8,559 | 8,665 | 8,772 | 8,879 | 8,985 | 9,092 | 9,199 |
9 | 9,306 | 9,413 | 9,521 | 9,628 | 9,735 | 9,843 | 9,950 | 10,058 | 10,166 | 10,274 |
10 | 10,381 | 10,489 | 10,597 | 10,706 | 10,814 | 10,922 | 11,031 | 11,139 | 11,248 | 11,356 |
11 | 11,465 | 11,574 | 11,683 | 11,792 | 11,901 | 12,010 | 12,120 | 12,229 | 12,338 | 12,448 |
12 | 12,558 | 12,667 | 12,777 | 12,887 | 12,997 | 13,107 | 13,217 | 13,327 | 13,438 | 13,548 |
13 | 13,659 | 13,769 | 13,880 | 13,991 | 14,102 | 14,213 | 14,324 | 14,435 | 14,546 | 14,657 |
14 | 14,769 | 14,880 | 14,992 | 15,103 | 15,215 | 15,327 | 15,439 | 15,551 | 15,663 | 15,775 |
15 | 15,887 | 16,000 | 16,112 | 16,225 | 16,338 | 16,450 | 16,563 | 16,676 | 16,789 | 16,902 |
16 | 17,015 | 17,129 | 17,242 | 17,356 | 17,469 | 17,583 | 17,697 | 17,810 | 17,924 | 18,038 |
17 | 18,152 | 18,267 | 18,381 | 18,495 | 18,610 | 18,724 | 18,839 | 18,954 | 19,069 | 19,184 |
18 | 19,299 | 19,414 | 19,529 | 19,644 | 19,760 | 19,875 | 19,991 | 20,107 | 20,222 | 20,338 |
19 | 20,454 | 20,570 | 20,686 | 20,803 | 20,919 | 21,036 | 21,152 | 21,269 | 21,385 | 21,502 |
20 | 21,619 | 21,736 | 21,853 | 21,971 | 22,088 | 22,205 | 22,323 | 22,440 | 22,558 | 22,676 |
21 | 22,790 | 22,912 | 23,030 | 23,148 | 23,266 | 23,385 | 23,503 | 23,622 | 23,740 | 23,859 |
22 | 23,978 | 24,097 | 24,216 | 24,335 | 24,454 | 24,573 | 24,693 | 24,812 | 24,932 | 25,052 |
23 | 25,172 | 25,292 | 25,412 | 25,532 | 25,652 | 25,772 | 25,893 | 26,013 | 26,134 | 26,255 |
24 | 26,375 | 26,496 | 26,617 | 26,738 | 26,860 | 26,981 | 27,102 | 27,224 | 27,345 | 27,467 |
25 | 27,589 | 27,710 | 27,833 | 27,955 | 28,077 | 28,199 | 28,322 | 28,444 | 28,567 | 28,690 |
26 | 28,813 | 28,935 | 29,059 | 29,182 | 29,305 | 29,428 | 29,552 | 29,675 | 29,799 | 29,923 |
27 | 30,046 | 30,170 | 30,294 | 30,418 | 30,543 | 30,667 | 30,792 | 30,916 | 31,041 | 31,165 |
28 | 31,290 | 31,415 | 31,540 | 31,666 | 31,791 | 31,916 | 32,042 | 32,167 | 32,293 | 32,419 |
29 | 32,543 | 32,671 | 32,797 | 32,923 | 33,049 | 33,176 | 33,302 | 33,429 | 33,556 | 33,683 |
30 | 33,810 | 33,937 | 34,064 | 34,191 | 34,318 | 34,446 | 34,574 | 34,701 | 34,829 | 34,957 |
31 | 35,085 | 35,213 | 35,341 | 35,470 | 35,598 | 35,727 | 35,855 | 35,984 | 36,113 | 36,242 |
32 | 36,371 | 36,500 | 36,630 | 36,759 | 36,889 | 37,018 | 37,148 | 37,278 | 37,408 | 37,538 |
33 | 37,668 | 37,798 | 37,929 | 38,059 | 38,190 | 38,320 | 38,451 | 38,582 | 38,713 | 38,844 |
34 | 38,976 | 39,107 | 39,239 | 39,370 | 39,502 | 39,634 | 39,767 | 39,898 | 40,030 | 40,162 |
35 | 40,295 | 40,427 | 40,560 | 40,692 | 40,825 | 40,958 | 41,091 | 41,224 | 41,358 | 41,491 |
36 | 41,625 | 41,758 | 41,892 | 42,026 | 42,160 | 42,294 | 42,428 | 42,562 | 42,697 | 42,831 |
37 | 42,966 | 43,100 | 43,235 | 43,376 | 43,500 | 43,645 | 43,771 | 43,911 | 44,047 | 44,182 |
38 | 44,318 | 44,454 | 44,590 | 44,726 | 44,862 | 44,999 | 45,135 | 45,272 | 45,408 | 45,545 |
39 | 45,682 | 45,819 | 45,956 | 46,094 | 46,231 | 46,369 | 46,506 | 46,644 | 46,782 | 46,920 |
40 | 47,058 | 47,196 | 47,334 | 47,473 | 47,611 | 47,750 | 47,889 | 48,028 | 48,167 | 48,306 |
41 | 48,445 | 48,585 | 48,724 | 48,864 | 49,004 | 49,143 | 49,283 | 49,424 | 49,564 | 49,704 |
42 | 49,845 | 49,985 | 50,126 | 50,267 | 50,408 | 50,549 | 50,690 | 50,831 | 50,973 | 51,114 |
43 | 51,256 | 51,398 | 51,539 | 51,681 | 51,824 | 51,966 | 52,108 | 52,251 | 52,393 | 52,536 |
44 | 52,679 | 52,822 | 52,965 | 53,108 | 53,252 | 53,395 | 53,539 | 53,683 | 53,826 | 53,970 |
45 | 54,114 | 54,259 | 54,403 | 54,547 | 54,692 | 54,837 | 54,981 | 55,126 | 55,272 | 55,417 |
46 | 55,562 | 55,708 | 55,853 | 55,999 | 56,145 | 56,291 | 56,437 | 56,583 | 56,728 | 56,876 |
47 | 57,022 | 57,169 | 57,316 | 57,463 | 57,610 | 57,757 | 57,904 | 58,052 | 58,199 | 58,347 |
48 | 58,495 | 58,643 | 58,791 | 58,939 | 59,087 | 59,236 | 59,385 | 59,533 | 59,682 | 59,831 |
49 | 59,980 | 60,129 | 60,279 | 60,428 | 60,578 | 60,728 | 60,878 | 61,028 | 61,178 | 61,328 |
50 | 61,478 | 61,629 | 61,780 | 61,930 | 62,081 | 62,232 | 62,383 | 62,535 | 62,686 | 62,838 |
51 | 62,989 | 63,141 | 63,293 | 63,445 | 63,597 | 63,750 | 63,902 | 64,055 | 64,208 | 64,360 |
52 | 64,513 | 64,666 | 64,820 | 64,973 | 65,127 | 65,280 | 65,433 | 65,588 | 65,742 | 65,896 |
53 | 66,050 | 66,205 | 66,359 | 66,514 | 66,669 | 66,824 | 66,979 | 67,134 | 67,290 | 67,445 |
54 | 67,601 | 67,757 | 67,912 | 68,069 | 68,225 | 68,381 | 68,537 | 68,694 | 68,851 | 69,008 |
55 | 69,164 | 69,322 | 69,479 | 69,636 | 69,794 | 69,951 | 70,109 | 70,267 | 70,425 | 70,583 |
56 | 70,742 | 70,900 | 71,059 | 71,217 | 71,376 | 71,535 | 71,694 | 71,854 | 72,013 | 72,173 |
57 | 72,332 | 72,492 | 72,652 | 72,812 | 72,973 | 73,133 | 73,293 | 73,454 | 73,615 | 73,776 |
58 | 73,937 | 74,098 | 74,260 | 74,421 | 74,583 | 74,744 | 74,906 | 75,068 | 75,230 | 75,395 |
59 | 75,555 | 75,718 | 75,880 | 76,043 | 76,207 | 76,369 | 76,533 | 76,696 | 76,860 | 77,024 |
60 | 77,188 | 77,351 | 77,515 | 77,680 | 77,844 | 78,009 | 78,173 | 78,338 | 78,503 | 78,668 |
61 | 78,833 | 78,999 | 79,165 | 79,330 | 79,496 | 79,662 | 79,828 | 79,995 | 80,161 | 80,328 |
62 | 80,494 | 80,661 | 80,828 | 80,995 | 81,163 | 81,329 | 81,497 | 81,665 | 81,833 | 82,001 |
63 | 82,169 | 82,337 | 82,506 | 82,674 | 82,843 | 83,012 | 83,180 | 83,350 | 83,590 | 83,688 |
64 | 83,858 | 84,028 | 84,198 | 84,367 | 84,538 | 84,708 | 84,879 | 85,049 | 85,220 | 85,391 |
65 | 85,561 | 85,733 | 85,904 | 86,076 | 86,248 | 86,419 | 86,591 | 86,763 | 86,935 | 87,107 |
66 | 87,280 | 87,453 | 87,626 | 87,798 | 87,971 | 88,142 | 88,318 | 88,492 | 88,666 | 88,839 |
67 | 89,012 | 89,187 | 89,361 | 89,536 | 89,711 | 89,885 | 90,060 | 90,235 | 90,411 | 90,585 |
68 | 90,761 | 90,937 | 91,112 | 91,288 | 91,464 | 91,641 | 91,817 | 91,993 | 92,169 | 92,347 |
69 | 92,524 | 92,701 | 92,878 | 93,056 | 93,233 | 93,411 | 93,589 | 93,767 | 93,945 | 94,123 |
70 | 94,302 | 94,481 | 94,660 | 94,839 | 95,017 | 95,197 | 95,376 | 95,556 | 95,736 | 95,916 |
71 | 96,096 | 96,276 | 96,456 | 96,636 | 96,817 | 96,998 | 97,179 | 97,360 | 97,541 | 97,722 |
72 | 97,904 | 98,085 | 98,268 | 98,449 | 98,632 | 98,814 | 98,997 | 99,179 | 99,362 | 99,545 |
73 | 99,728 | 99,912 | 100,095 | 100,278 | 100,462 | 100,646 | 100,827 | 101,014 | 101,198 | 101,383 |
74 | 101,568 | 101,753 | 101,937 | 102,122 | 102,308 | 102,493 | 102,679 | 102,865 | 103,050 | 103,237 |
75 | 103,423 | 103,609 | 103,796 | 103,865 | 104,170 | 104,356 | 104,543 | 104,731 | 104,919 | 105,106 |
76 | 105,294 | 105,482 | 105,670 | 105,850 | 106,047 | 106,236 | 106,424 | 106,613 | 106,802 | 106,991 |
77 | 107,181 | 107,370 | 107,560 | 107,750 | 107,940 | 108,130 | 108,320 | 108,511 | 108,701 | 108,892 |
78 | 109,084 | 109,274 | 109,466 | 109,657 | 109,848 | 110,041 | 110,232 | 110,425 | 110,617 | 110,809 |
79 | 111,002 | 111,195 | 111,388 | 111,581 | 111,775 | 111,968 | 112,161 | 112,354 | 112,549 | 112,743 |
80 | 112,938 | 113,131 | 113,326 | 113,521 | 113,715 | 113,911 | 114,106 | 114,301 | 114,497 | 114,692 |
81 | 114,888 | 115,084 | 115,280 | 115,477 | 115,673 | 115,870 | 116,067 | 116,264 | 116,461 | 116,658 |
82 | 116,856 | 117,053 | 117,252 | 117,449 | 117,647 | 117,845 | 118,004 | 118,243 | 118,442 | 118,641 |
83 | 118,840 | 119,039 | 119,239 | 119,438 | 119,638 | 119,838 | 120,039 | 120,239 | 120,439 | 120,640 |
84 | 120,841 | 121,042 | 121,243 | 121,444 | 121,646 | 121,847 | 122,049 | 122,251 | 122,453 | 122,655 |
85 | 122,858 | 123,061 | 123,263 | 123,466 | 123,760 | 123,873 | 124,076 | 124,280 | 124,484 | 124,688 |
86 | 124,892 | 125,096 | 125,301 | 125,505 | 125,710 | 125,915 | 126,121 | 126,326 | 126,531 | 126,737 |
87 | 126,943 | 127,149 | 127,355 | 127,562 | 127,768 | 127,975 | 128,182 | 128,389 | 128,596 | 128,803 |
88 | 129,011 | 129,219 | 129,426 | 129,635 | 129,843 | 130,051 | 130,260 | 130,468 | 130,677 | 130,886 |
89 | 131,096 | 131,305 | 131,515 | 131,725 | 131,935 | 132,145 | 132,355 | 132,565 | 132,776 | 132,987 |
90 | 133,198 | 133,409 | 133,620 | 133,832 | 134,043 | 134,255 | 134,467 | 134,680 | 134,892 | 135,104 |
91 | 135,317 | 135,530 | 135,743 | 135,956 | 136,170 | 136,383 | 136,597 | 136,811 | 137,025 | 137,239 |
92 | 137,456 | 137,668 | 137,883 | 138,098 | 138,313 | 138,529 | 138,744 | 138,960 | 139,176 | 139,392 |
93 | 139,608 | 139,824 | 140,041 | 140,257 | 140,474 | 140,691 | 140,908 | 141,126 | 141,343 | 141,561 |
94 | 141,779 | 141,997 | 142,216 | 142,434 | 142,653 | 142,872 | 143,091 | 143,310 | 143,529 | 143,749 |
95 | 143,968 | | | | | | | | | |
Таблица 12
Расчетная таблица цветности сахара в единицах оптической
плотности и условных единицах (Ц0 - цветность в единицах
оптической плотности; Ц - цветность в условных единицах,
СВ - содержание сухих веществ, % к массе раствора
Оптическая плотность раствора Д420 при длине волны 420 нм и длине кюветы 5 см | СВ = 49,4 | СВ = 49,6 | СВ = 49,8 | СВ = 50,0 | СВ = 50,2 | СВ = 50,4 | СВ = 50,6 |
Цо | Ц | Цо | Ц | Цо | Ц | Цо | Ц | Цо | Ц | Цо | Ц | Цо | Ц |
1 | 2 | 3 | 4 | 5 | 6 | 7 | 8 | 9 | 10 | 11 | 12 | 13 | 14 | 15 |
0,020 | 6,60 | 0,06 | 6,57 | 0,06 | 6,54 | 0,06 | 6,51 | 0,06 | 6,47 | 0,06 | 6,44 | 0,06 | 6,41 | 0,05 |
0,025 | 8,25 | 0,07 | 8,21 | 0,07 | 8,17 | 0,07 | 8,13 | 0,07 | 8,09 | 0,07 | 8,05 | 0,07 | 8,01 | 0,07 |
0,030 | 9,90 | 0,09 | 9,85 | 0,08 | 9,81 | 0,08 | 9,76 | 0,08 | 9,71 | 0,08 | 9,66 | 0,08 | 9,62 | 0,08 |
0,035 | 11,55 | 0,10 | 11,50 | 0,10 | 11,44 | 0,10 | 11,38 | 0,10 | 11,33 | 0,10 | 11,27 | 0,10 | 11,22 | 0,10 |
0,040 | 13,20 | 0,11 | 13,14 | 0,11 | 13,08 | 0,11 | 13,01 | 0,11 | 12,95 | 0,11 | 12,89 | 0,11 | 12,82 | 0,11 |
0,045 | 14,86 | 0,13 | 14,78 | 0,13 | 14,71 | 0,13 | 14,64 | 0,13 | 14,57 | 0,13 | 14,50 | 0,13 | 14,43 | 0,12 |
0,050 | 16,51 | 0,14 | 16,42 | 0,14 | 16,34 | 0,14 | 16,26 | 0,14 | 16,19 | 0,14 | 16,11 | 0,14 | 16,03 | 0,14 |
0,055 | 18,16 | 0,16 | 18,07 | 0,16 | 17,98 | 0,16 | 17,89 | 0,15 | 17,80 | 0,15 | 17,72 | 0,15 | 17,63 | 0,15 |
0,060 | 19,81 | 0,17 | 19,71 | 0,17 | 19,61 | 0,17 | 19,52 | 0,17 | 19,42 | 0,17 | 19,33 | 0,17 | 19,24 | 0,17 |
0,065 | 21,46 | 0,19 | 21,35 | 0,18 | 21,25 | 0,18 | 21,14 | 0,18 | 21,04 | 0,18 | 20,94 | 0,18 | 20,84 | 0,18 |
0,070 | 23,11 | 0,20 | 23,00 | 0,20 | 22,88 | 0,20 | 22,77 | 0,20 | 22,66 | 0,20 | 22,55 | 0,20 | 22,44 | 0,19 |
0,075 | 24,76 | 0,21 | 24,63 | 0,21 | 24,52 | 0,21 | 24,40 | 0,21 | 24,28 | 0,21 | 24,16 | 0,21 | 24,05 | 0,21 |
0,080 | 26,41 | 0,23 | 26,28 | 0,23 | 26,15 | 0,23 | 26,02 | 0,23 | 25,90 | 0,22 | 25,77 | 0,22 | 25,65 | 0,22 |
0,085 | 28,06 | 0,24 | 27,92 | 0,24 | 27,79 | 0,24 | 27,65 | 0,24 | 27,52 | 0,24 | 27,38 | 0,24 | 27,25 | 0,24 |
0,090 | 29,71 | 0,26 | 29,57 | 0,26 | 29,42 | 0,25 | 29,28 | 0,25 | 29,13 | 0,25 | 28,99 | 0,25 | 28,85 | 0,25 |
0,095 | 31,36 | 0,27 | 31,21 | 0,27 | 31,05 | 0,27 | 30,90 | 0,27 | 30,75 | 0,27 | 30,60 | 0,27 | 30,46 | 0,26 |
0,100 | 33,01 | 0,29 | 32,85 | 0,28 | 32,69 | 0,28 | 32,53 | 0,28 | 32,37 | 0,28 | 32,22 | 0,28 | 32,06 | 0,28 |
0,105 | 34,66 | 0,30 | 34,49 | 0,30 | 34,32 | 0,30 | 34,16 | 0,30 | 33,99 | 0,29 | 33,83 | 0,29 | 33,66 | 0,29 |
0,110 | 36,31 | 0,31 | 36,14 | 0,31 | 35,96 | 0,31 | 35,78 | 0,31 | 35,61 | 0,31 | 35,44 | 0,31 | 35,27 | 0,31 |
0,115 | 37,96 | 0,33 | 37,78 | 0,33 | 37,59 | 0,33 | 37,41 | 0,32 | 37,23 | 0,32 | 37,05 | 0,32 | 36,87 | 0,32 |
0,120 | 39,62 | 0,34 | 39,42 | 0,34 | 39,23 | 0,34 | 39,04 | 0,34 | 38,85 | 0,34 | 38,66 | 0,34 | 38,47 | 0,33 |
0,125 | 41,27 | 0,36 | 41,06 | 0,36 | 40,86 | 0,35 | 40,66 | 0,35 | 40,47 | 0,35 | 40,27 | 0,35 | 40,08 | 0,35 |
0,130 | 42,92 | 0,37 | 42,71 | 0,37 | 42,50 | 0,37 | 42,29 | 0,37 | 42,08 | 0,36 | 41,88 | 0,36 | 41,68 | 0,36 |
0,135 | 44,57 | 0,39 | 44,35 | 0,38 | 44,13 | 0,38 | 43,92 | 0,38 | 43,70 | 0,38 | 43,49 | 0,38 | 43,28 | 0,38 |
0,140 | 46,22 | 0,40 | 45,99 | 0,40 | 45,78 | 0,40 | 45,54 | 0,40 | 45,32 | 0,39 | 45,10 | 0,39 | 44,88 | 0,39 |
0,145 | 47,87 | 0,42 | 47,63 | 0,41 | 47,40 | 0,41 | 47,17 | 0,41 | 46,94 | 0,41 | 46,71 | 0,41 | 46,49 | 0,40 |
0,150 | 49,52 | 0,43 | 49,28 | 0,43 | 49,03 | 0,43 | 48,79 | 0,42 | 48,56 | 0,42 | 48,32 | 0,42 | 48,09 | 0,42 |
0,155 | 51,17 | 0,44 | 50,92 | 0,44 | 50,67 | 0,44 | 50,42 | 0,44 | 50,18 | 0,44 | 49,93 | 0,43 | 49,69 | 0,43 |
0,160 | 52,82 | 0,46 | 52,56 | 0,46 | 52,30 | 0,45 | 52,05 | 0,45 | 51,80 | 0,45 | 51,55 | 0,45 | 51,30 | 0,45 |
0,165 | 54,47 | 0,47 | 54,20 | 0,47 | 53,94 | 0,47 | 53,67 | 0,47 | 53,41 | 0,46 | 53,16 | 0,46 | 52,90 | 0,46 |
0,170 | 56,12 | 0,49 | 55,85 | 0,48 | 55,57 | 0,48 | 55,30 | 0,48 | 55,03 | 0,48 | 54,77 | 0,48 | 54,50 | 0,47 |
0,175 | 57,77 | 0,50 | 57,49 | 0,50 | 57,21 | 0,50 | 56,93 | 0,49 | 56,65 | 0,49 | 56,38 | 0,49 | 56,11 | 0,49 |
0,180 | 59,42 | 0,52 | 59,13 | 0,51 | 58,84 | 0,51 | 58,55 | 0,51 | 58,27 | 0,51 | 57,99 | 0,50 | 57,71 | 0,50 |
0,185 | 61,07 | 0,53 | 60,77 | 0,53 | 60,48 | 0,52 | 60,18 | 0,52 | 59,89 | 0,52 | 59,60 | 0,52 | 59,31 | 0,51 |
0,190 | 62,73 | 0,54 | 62,42 | 0,54 | 62,11 | 0,54 | 61,81 | 0,54 | 61,51 | 0,53 | 61,21 | 0,53 | 60,92 | 0,53 |
0,195 | 64,38 | 0,56 | 64,06 | 0,56 | 63,75 | 0,55 | 63,43 | 0,55 | 63,13 | 0,55 | 62,82 | 0,55 | 62,52 | 0,54 |
0,200 | 66,03 | 0,57 | 65,70 | 0,57 | 65,38 | 0,57 | 65,06 | 0,56 | 64,74 | 0,56 | 64,43 | 0,56 | 64,12 | 0,56 |
0,205 | 67,68 | 0,59 | 67,34 | 0,58 | 67,01 | 0,58 | 66,69 | 0,58 | 66,36 | 0,58 | 66,04 | 0,57 | 65,73 | 0,57 |
0,210 | 69,33 | 0,60 | 68,99 | 0,60 | 68,65 | 0,60 | 68,31 | 0,59 | 67,98 | 0,59 | 67,65 | 0,59 | 67,33 | 0,58 |
0,215 | 70,98 | 0,62 | 70,63 | 0,61 | 70,28 | 0,61 | 69,94 | 0,61 | 69,60 | 0,60 | 69,26 | 0,60 | 68,93 | 0,60 |
0,220 | 72,63 | 0,63 | 72,27 | 0,63 | 71,92 | 0,62 | 71,57 | 0,62 | 71,22 | 0,62 | 70,88 | 0,62 | 70,53 | 0,61 |
0,225 | 74,28 | 0,64 | 73,91 | 0,64 | 73,55 | 0,64 | 73,19 | 0,64 | 72,84 | 0,63 | 72,49 | 0,63 | 72,14 | 0,63 |
0,230 | 75,93 | 0,66 | 75,56 | 0,66 | 75,19 | 0,65 | 74,82 | 0,65 | 74,46 | 0,65 | 74,10 | 0,64 | 73,74 | 0,64 |
0,235 | 77,58 | 0,67 | 77,20 | 0,67 | 76,82 | 0,67 | 76,44 | 0,66 | 76,08 | 0,66 | 75,71 | 0,66 | 75,34 | 0,65 |
0,240 | 79,23 | 0,69 | 78,84 | 0,68 | 78,46 | 0,68 | 78,07 | 0,68 | 77,69 | 0,67 | 77,32 | 0,67 | 76,95 | 0,67 |
0,245 | 80,88 | 0,70 | 80,49 | 0,70 | 80,09 | 0,70 | 79,70 | 0,69 | 79,31 | 0,69 | 78,93 | 0,69 | 78,55 | 0,68 |
0,250 | 82,67 | 0,72 | 82,13 | 0,71 | 81,73 | 0,71 | 81,33 | 0,71 | 80,93 | 0,70 | 80,54 | 0,70 | 80,15 | 0,70 |
0,255 | 84,19 | 0,73 | 83,77 | 0,73 | 83,36 | 0,72 | 82,95 | 0,72 | 82,55 | 0,72 | 82,15 | 0,71 | 81,76 | 0,71 |
0,260 | 85,84 | 0,75 | 85,41 | 0,74 | 84,99 | 0,74 | 84,58 | 0,73 | 84,17 | 0,73 | 83,76 | 0,73 | 83,36 | 0,72 |
0,265 | 87,49 | 0,76 | 87,06 | 0,76 | 86,63 | 0,75 | 86,20 | 0,75 | 85,79 | 0,75 | 85,37 | 0,74 | 84,96 | 0,74 |
0,270 | 89,14 | 0,77 | 88,70 | 0,77 | 88,26 | 0,77 | 87,83 | 0,76 | 87,41 | 0,76 | 86,98 | 0,76 | 86,57 | 0,75 |
0,275 | 90,79 | 0,79 | 90,34 | 0,78 | 89,90 | 0,78 | 89,46 | 0,78 | 89,02 | 0,77 | 88,59 | 0,77 | 88,17 | 0,77 |
0,280 | 92,44 | 0,80 | 91,98 | 0,80 | 91,53 | 0,79 | 91,09 | 0,79 | 90,64 | 0,79 | 90,21 | 0,78 | 89,77 | 0,78 |
0,285 | 94,09 | 0,82 | 93,63 | 0,81 | 93,17 | 0,81 | 92,71 | 0,81 | 92,26 | 0,80 | 91,82 | 0,80 | 91,37 | 0,79 |
0,290 | 95,74 | 0,83 | 95,27 | 0,83 | 94,80 | 0,82 | 94,34 | 0,82 | 93,88 | 0,82 | 93,43 | 0,81 | 92,98 | 0,81 |
0,295 | 97,39 | 0,85 | 96,91 | 0,84 | 96,44 | 0,84 | 95,97 | 0,83 | 95,50 | 0,83 | 95,04 | 0,83 | 94,58 | 0,82 |
0,300 | 99,04 | 0,86 | 98,55 | 0,86 | 98,07 | 0,85 | 97,59 | 0,85 | 97,12 | 0,84 | 96,65 | 0,84 | 96,18 | 0,84 |
0,305 | 100,69 | 0,87 | 100,20 | 0,87 | 99,70 | 0,87 | 99,22 | 0,86 | 98,74 | 0,86 | 98,26 | 0,85 | 97,79 | 0,85 |
0,310 | 102,34 | 0,89 | 101,84 | 0,88 | 101,34 | 0,88 | 100,84 | 0,88 | 100,36 | 0,87 | 99,87 | 0,87 | 99,39 | 0,86 |
0,315 | 103,99 | 0,90 | 103,48 | 0,90 | 102,97 | 0,89 | 102,47 | 0,89 | 101,97 | 0,89 | 101,48 | 0,88 | 100,99 | 0,88 |
0,320 | 105,64 | 0,92 | 105,12 | 0,91 | 104,61 | 0,91 | 104,10 | 0,90 | 103,59 | 0,90 | 103,09 | 0,90 | 102,60 | 0,89 |
0,325 | 107,30 | 0,93 | 106,77 | 0,93 | 106,24 | 0,92 | 105,72 | 0,92 | 105,21 | 0,91 | 104,70 | 0,91 | 104,20 | 0,91 |
0,330 | 108,95 | 0,95 | 108,41 | 0,94 | 107,88 | 0,94 | 107,35 | 0,93 | 106,83 | 0,93 | 106,31 | 0,92 | 105,80 | 0,92 |
0,335 | 110,60 | 0,96 | 110,05 | 0,96 | 109,51 | 0,95 | 108,98 | 0,95 | 108,45 | 0,94 | 107,92 | 0,94 | 106,92 | 0,93 |
0,340 | 112,25 | 0,98 | 111,69 | 0,97 | 111,15 | 0,97 | 110,60 | 0,96 | 110,07 | 0,96 | 109,54 | 0,95 | 109,01 | 0,95 |
0,345 | 113,90 | 0,99 | 113,34 | 0,98 | 112,78 | 0,98 | 112,23 | 0,97 | 111,69 | 0,97 | 111,15 | 0,97 | 110,61 | 0,96 |
0,350 | 115,55 | 1,00 | 114,98 | 1,00 | 114,42 | 0,99 | 113,86 | 0,99 | 113,30 | 0,98 | 112,76 | 0,98 | 112,21 | 0,97 |
0,355 | 117,20 | 1,02 | 116,62 | 1,01 | 116,05 | 1,01 | 115,49 | 1,00 | 114,92 | 1,00 | 114,37 | 0,99 | 113,82 | 0,99 |
0,360 | 118,85 | 1,03 | 118,26 | 1,03 | 117,68 | 1,02 | 117,11 | 1,02 | 116,54 | 1,01 | 115,98 | 1,01 | 115,42 | 1,00 |
0,365 | 120,50 | 1,05 | 119,91 | 1,04 | 119,32 | 1,04 | 118,74 | 1,03 | 118,16 | 1,03 | 117,59 | 1,02 | 117,02 | 1,02 |
0,370 | 122,15 | 1,06 | 121,55 | 1,06 | 120,95 | 1,05 | 120,36 | 1,05 | 119,78 | 1,04 | 119,20 | 1,04 | 118,63 | 1,03 |
0,375 | 123,80 | 1,08 | 123,19 | 1,07 | 122,59 | 1,07 | 121,99 | 1,06 | 121,39 | 1,05 | 120,81 | 1,05 | 120,23 | 1,04 |
0,380 | 125,45 | 1,09 | 124,83 | 1,08 | 124,22 | 1,08 | 123,62 | 1,07 | 123,02 | 1,07 | 122,42 | 1,06 | 121,83 | 1,06 |
0,385 | 127,10 | 1,10 | 126,48 | 1,10 | 125,86 | 1,09 | 125,24 | 1,09 | 124,63 | 1,08 | 124,03 | 1,08 | 123,43 | 1,07 |
0,390 | 128,75 | 1,12 | 128,12 | 1,11 | 127,49 | 1,11 | 126,87 | 1,10 | 126,25 | 1,10 | 125,64 | 1,09 | 125,04 | 1,09 |
0,395 | 130,41 | 1,13 | 129,76 | 1,13 | 129,13 | 1,12 | 128,50 | 1,12 | 127,87 | 1,11 | 127,25 | 1,11 | 126,64 | 1,10 |
0,400 | 132,06 | 1,15 | 131,41 | 1,14 | 130,76 | 1,14 | 130,12 | 1,13 | 129,49 | 1,13 | 128,86 | 1,12 | 128,25 | 1,11 |
0,405 | 133,71 | 1,16 | 133,05 | 1,16 | 132,40 | 1,15 | 131,75 | 1,14 | 131,11 | 1,14 | 130,48 | 1,13 | 129,85 | 1,13 |
0,410 | 135,36 | 1,18 | 134,69 | 1,17 | 134,03 | 1,16 | 133,38 | 1,16 | 132,73 | 1,15 | 132,09 | 1,15 | 131,45 | 1,14 |
0,415 | 137,01 | 1,19 | 136,33 | 1,18 | 135,66 | 1,18 | 135,00 | 1,17 | 134,35 | 1,17 | 133,70 | 1,16 | 133,05 | 1,16 |
0,420 | 138,66 | 1,20 | 137,98 | 1,20 | 137,30 | 1,19 | 136,63 | 1,19 | 135,97 | 1,18 | 135,31 | 1,18 | 134,66 | 1,17 |
0,425 | 140,31 | 1,22 | 139,62 | 1,21 | 138,93 | 1,21 | 138,25 | 1,20 | 137,58 | 1,19 | 136,92 | 1,19 | 136,26 | 1,18 |
0,430 | 141,96 | 1,23 | 141,26 | 1,23 | 140,57 | 1,22 | 139,88 | 1,22 | 139,20 | 1,21 | 138,53 | 1,20 | 137,86 | 1,20 |
0,435 | 143,61 | 1,25 | 142,90 | 1,24 | 142,20 | 1,24 | 141,51 | 1,23 | 140,82 | 1,22 | 140,14 | 1,22 | 139,47 | 1,21 |
0,440 | 145,26 | 1,26 | 144,55 | 1,26 | 143,84 | 1,25 | 143,13 | 1,24 | 142,44 | 1,24 | 141,75 | 1,23 | 141,07 | 1,23 |
0,445 | 146,91 | 1,28 | 146,19 | 1,27 | 145,47 | 1,26 | 144,76 | 1,26 | 144,06 | 1,25 | 143,36 | 1,25 | 142,67 | 1,24 |
0,450 | 148,56 | 1,29 | 147,83 | 1,28 | 147,11 | 1,28 | 146,39 | 1,27 | 145,68 | 1,27 | 144,97 | 1,26 | 144,28 | 1,25 |
0,455 | 150,21 | 1,31 | 149,47 | 1,30 | 148,74 | 1,29 | 148,01 | 1,29 | 147,30 | 1,28 | 146,58 | 1,27 | 145,88 | 1,27 |
0,460 | 151,86 | 1,32 | 151,12 | 1,31 | 150,37 | 1,31 | 149,64 | 1,30 | 148,91 | 1,29 | 148,19 | 1,29 | 147,48 | 1,28 |
0,465 | 153,52 | 1,33 | 152,76 | 1,33 | 152,01 | 1,32 | 151,27 | 1,31 | 150,53 | 1,31 | 149,81 | 1,30 | 149,09 | 1,30 |
0,470 | 155,16 | 1,35 | 154,40 | 1,34 | 153,64 | 1,33 | 152,89 | 1,33 | 152,12 | 1,32 | 151,42 | 1,32 | 150,69 | 1,31 |
0,475 | 156,82 | 1,36 | 156,04 | 1,35 | 155,28 | 1,35 | 154,52 | 1,34 | 153,77 | 1,34 | 153,03 | 1,33 | 152,29 | 1,32 |
0,480 | 158,47 | 1,38 | 157,69 | 1,37 | 156,91 | 1,36 | 156,15 | 1,36 | 155,39 | 1,35 | 154,64 | 1,34 | 153,89 | 1,34 |
0,485 | 160,12 | 1,39 | 159,33 | 1,38 | 158,55 | 1,38 | 157,77 | 1,37 | 157,01 | 1,36 | 156,25 | 1,36 | 155,50 | 1,35 |
0,490 | 161,77 | 1,41 | 160,97 | 1,40 | 160,18 | 1,39 | 159,40 | 1,39 | 158,63 | 1,38 | 157,86 | 1,37 | 157,10 | 1,37 |
0,495 | 163,42 | 1,42 | 162,61 | 1,41 | 161,82 | 1,41 | 161,03 | 1,40 | 160,25 | 1,39 | 159,47 | 1,39 | 158,70 | 1,38 |
0,500 | 165,07 | 1,43 | 164,26 | 1,43 | 163,45 | 1,42 | 162,65 | 1,41 | 161,86 | 1,41 | 161,08 | 1,40 | 160,31 | 1,39 |
0,505 | 166,72 | 1,45 | 165,90 | 1,44 | 165,09 | 1,43 | 164,28 | 1,43 | 163,48 | 1,42 | 162,69 | 1,41 | 161,91 | 1,41 |
0,510 | 168,37 | 1,46 | 167,54 | 1,45 | 166,72 | 1,45 | 165,91 | 1,44 | 165,10 | 1,43 | 164,30 | 1,43 | 163,51 | 1,42 |
0,515 | 170,02 | 1,48 | 169,18 | 1,47 | 168,35 | 1,46 | 167,53 | 1,46 | 166,72 | 1,45 | 165,91 | 1,44 | 165,12 | 1,43 |
0,520 | 171,67 | 1,49 | 170,83 | 1,48 | 169,99 | 1,48 | 169,16 | 1,47 | 168,34 | 1,46 | 167,52 | 1,46 | 166,72 | 1,45 |
0,525 | 173,32 | 1,51 | 172,47 | 1,50 | 171,62 | 1,49 | 170,78 | 1,48 | 169,95 | 1,48 | 169,13 | 1,47 | 168,32 | 1,46 |
0,530 | 174,97 | 1,52 | 174,11 | 1,51 | 173,26 | 1,50 | 172,41 | 1,50 | 171,58 | 1,49 | 170,75 | 1,48 | 169,93 | 1,48 |
0,535 | 176,62 | 1,53 | 175,75 | 1,53 | 174,89 | 1,52 | 174,04 | 1,51 | 173,19 | 1,51 | 172,36 | 1,50 | 171,53 | 1,49 |
0,540 | 178,27 | 1,55 | 177,40 | 1,54 | 176,53 | 1,53 | 175,67 | 1,53 | 174,81 | 1,52 | 173,97 | 1,51 | 173,13 | 1,50 |
0,545 | 179,93 | 1,56 | 179,04 | 1,55 | 178,16 | 1,55 | 177,29 | 1,54 | 176,43 | 1,53 | 175,58 | 1,53 | 174,73 | 1,52 |
0,550 | 181,58 | 1,58 | 180,68 | 1,57 | 179,80 | 1,56 | 178,92 | 1,56 | 178,05 | 1,55 | 177,19 | 1,54 | 176,34 | 1,53 |
0,555 | 183,23 | 1,59 | 182,32 | 1,58 | 181,43 | 1,58 | 180,54 | 1,57 | 179,67 | 1,56 | 178,80 | 1,55 | 177,94 | 1,55 |
0,560 | 184,88 | 1,61 | 183,97 | 1,60 | 183,07 | 1,59 | 182,17 | 1,58 | 181,29 | 1,58 | 180,41 | 1,57 | 179,54 | 1,56 |
0,565 | 186,53 | 1,62 | 185,61 | 1,61 | 184,70 | 1,61 | 183,80 | 1,60 | 182,91 | 1,59 | 182,02 | 1,58 | 181,15 | 1,57 |
0,570 | 188,18 | 1,63 | 187,25 | 1,63 | 186,33 | 1,62 | 185,42 | 1,61 | 184,52 | 1,60 | 183,63 | 1,60 | 182,75 | 1,59 |
0,575 | 189,83 | 1,65 | 188,89 | 1,64 | 187,97 | 1,63 | 187,05 | 1,63 | 186,14 | 1,62 | 185,24 | 1,61 | 184,35 | 1,60 |
0,580 | 191,48 | 1,66 | 190,53 | 1,65 | 189,60 | 1,65 | 188,68 | 1,64 | 187,76 | 1,63 | 186,85 | 1,62 | 185,96 | 1,62 |
0,585 | 193,13 | 1,68 | 192,18 | 1,67 | 191,24 | 1,66 | 190,30 | 1,65 | 189,38 | 1,65 | 188,46 | 1,64 | 187,56 | 1,63 |
0,590 | 194,78 | 1,69 | 193,82 | 1,68 | 192,87 | 1,68 | 191,93 | 1,67 | 191,00 | 1,66 | 190,07 | 1,65 | 189,16 | 1,64 |
0,595 | 196,43 | 1,71 | 195,46 | 1,70 | 194,51 | 1,69 | 193,55 | 1,68 | 192,62 | 1,67 | 191,69 | 1,67 | 190,76 | 1,66 |
0,600 | 198,08 | 1,72 | 197,11 | 1,71 | 196,14 | 1,70 | 195,18 | 1,70 | 194,23 | 1,69 | 193,29 | 1,68 | 192,37 | 1,67 |
0,605 | 199,73 | 1,74 | 198,75 | 1,73 | 197,77 | 1,72 | 196,81 | 1,71 | 195,85 | 1,70 | 194,91 | 1,69 | 193,97 | 1,68 |
0,610 | 201,38 | 1,75 | 200,39 | 1,74 | 199,41 | 1,73 | 198,44 | 1,72 | 197,47 | 1,72 | 196,52 | 1,71 | 195,57 | 1,70 |
0,615 | 203,04 | 1,76 | 202,03 | 1,75 | 201,05 | 1,75 | 200,06 | 1,74 | 199,09 | 1,73 | 198,13 | 1,72 | 197,18 | 1,71 |
0,620 | 204,69 | 1,78 | 203,68 | 1,77 | 202,68 | 1,76 | 201,69 | 1,75 | 200,71 | 1,74 | 199,74 | 1,73 | 198,78 | 1,73 |
0,625 | 206,34 | 1,79 | 205,32 | 1,78 | 204,31 | 1,77 | 203,32 | 1,77 | 202,33 | 1,76 | 201,35 | 1,75 | 200,38 | 1,74 |
0,630 | 207,99 | 1,80 | 206,96 | 1,80 | 205,95 | 1,79 | 204,94 | 1,78 | 203,95 | 1,77 | 202,96 | 1,76 | 201,99 | 1,75 |
0,635 | 209,64 | 1,82 | 208,61 | 1,81 | 207,58 | 1,80 | 206,57 | 1,79 | 205,57 | 1,79 | 204,57 | 1,78 | 203,59 | 1,77 |
0,640 | 211,29 | 1,84 | 210,25 | 1,83 | 209,22 | 1,82 | 208,20 | 1,81 | 207,18 | 1,80 | 206,18 | 1,79 | 205,19 | 1,78 |
0,645 | 212,94 | 1,85 | 211,89 | 1,84 | 210,85 | 1,83 | 209,82 | 1,82 | 208,80 | 1,81 | 207,79 | 1,80 | 206,80 | 1,80 |
0,650 | 214,59 | 1,87 | 213,53 | 1,85 | 212,49 | 1,85 | 211,45 | 1,84 | 210,42 | 1,83 | 209,41 | 1,82 | 208,40 | 1,81 |
0,655 | 216,24 | 1,88 | 215,18 | 1,87 | 214,12 | 1,86 | 213,08 | 1,85 | 212,04 | 1,84 | 211,02 | 1,83 | 210,00 | 1,82 |
0,660 | 217,89 | 1,89 | 216,82 | 1,88 | 215,75 | 1,87 | 214,70 | 1,86 | 213,66 | 1,86 | 212,63 | 1,85 | 211,61 | 1,84 |
0,665 | 219,54 | 1,91 | 218,46 | 1,90 | 217,39 | 1,89 | 216,33 | 1,88 | 215,28 | 1,87 | 214,24 | 1,86 | 213,21 | 1,85 |
0,670 | 221,19 | 1,92 | 220,10 | 1,91 | 219,02 | 1,90 | 217,96 | 1,89 | 216,90 | 1,88 | 215,85 | 1,87 | 214,81 | 1,87 |
0,675 | 222,84 | 1,94 | 221,75 | 1,93 | 220,66 | 1,92 | 219,58 | 1,91 | 218,52 | 1,90 | 217,46 | 1,89 | 216,41 | 1,88 |
0,680 | 224,49 | 1,95 | 223,39 | 1,94 | 222,29 | 1,93 | 221,21 | 1,92 | 220,13 | 1,91 | 219,07 | 1,90 | 218,02 | 1,89 |
0,685 | 226,15 | 1,97 | 225,03 | 1,95 | 223,93 | 1,95 | 222,84 | 1,94 | 221,75 | 1,93 | 220,68 | 1,92 | 219,62 | 1,91 |
0,690 | 227,80 | 1,98 | 226,67 | 1,97 | 225,56 | 1,96 | 224,46 | 1,95 | 223,37 | 1,94 | 222,29 | 1,93 | 221,22 | 1,92 |
0,695 | 229,45 | 1,99 | 228,32 | 1,98 | 227,20 | 1,97 | 226,09 | 1,96 | 224,99 | 1,95 | 223,90 | 1,94 | 222,83 | 1,94 |
0,700 | 231,10 | 2,01 | 229,96 | 2,00 | 228,83 | 1,99 | 227,71 | 1,98 | 226,61 | 1,97 | 225,51 | 1,96 | 224,43 | 1,95 |
0,705 | 232,75 | 2,02 | 231,60 | 2,01 | 230,47 | 2,00 | 229,34 | 1,99 | 228,23 | 1,98 | 227,12 | 1,97 | 226,03 | 1,96 |
0,710 | 234,40 | 2,04 | 233,24 | 2,03 | 232,10 | 2,02 | 230,97 | 2,01 | 229,85 | 2,00 | 228,74 | 1,99 | 227,64 | 1,98 |
0,715 | 236,05 | 2,05 | 234,89 | 2,04 | 233,73 | 2,03 | 232,59 | 2,02 | 231,46 | 2,01 | 230,35 | 2,00 | 229,24 | 1,99 |
0,720 | 237,70 | 2,06 | 236,53 | 2,06 | 235,37 | 2,05 | 234,22 | 2,04 | 233,08 | 2,03 | 231,96 | 2,02 | 230,84 | 2,01 |
0,725 | 239,35 | 2,08 | 238,17 | 2,07 | 237,00 | 2,06 | 235,85 | 2,05 | 234,70 | 2,04 | 233,57 | 2,03 | 232,44 | 2,02 |
0,730 | 241,00 | 2,09 | 239,81 | 2,08 | 238,64 | 2,07 | 237,47 | 2,06 | 236,32 | 2,05 | 235,18 | 2,04 | 234,05 | 2,03 |
0,735 | 242,65 | 2,11 | 241,46 | 2,10 | 240,27 | 2,09 | 239,10 | 2,08 | 237,94 | 2,07 | 236,79 | 2,06 | 235,65 | 2,05 |
0,740 | 244,30 | 2,12 | 243,10 | 2,11 | 241,91 | 2,10 | 240,73 | 2,09 | 239,56 | 2,08 | 238,40 | 2,07 | 237,25 | 2,06 |
0,745 | 245,95 | 2,14 | 244,74 | 2,13 | 243,54 | 2,12 | 242,35 | 2,11 | 241,17 | 2,10 | 240,01 | 2,09 | 238,86 | 2,08 |
0,750 | 247,60 | 2,15 | 246,38 | 2,14 | 245,18 | 2,13 | 243,98 | 2,12 | 242,79 | 2,11 | 241,62 | 2,10 | 240,46 | 2,09 |
0,755 | 249,25 | 2,16 | 248,03 | 2,16 | 246,81 | 2,15 | 245,61 | 2,14 | 244,41 | 2,12 | 243,23 | 2,11 | 242,06 | 2,10 |
0,760 | 250,91 | 2,18 | 249,67 | 2,17 | 248,45 | 2,16 | 247,23 | 2,15 | 246,03 | 2,14 | 244,84 | 2,13 | 243,66 | 2,12 |
0,765 | 252,56 | 2,19 | 251,31 | 2,18 | 250,08 | 2,17 | 248,86 | 2,16 | 247,65 | 2,15 | 246,45 | 2,14 | 245,27 | 2,13 |
0,770 | 254,21 | 2,21 | 252,95 | 2,20 | 251,71 | 2,19 | 250,48 | 2,18 | 249,27 | 2,17 | 248,06 | 2,16 | 246,87 | 2,15 |
0,775 | 255,86 | 2,22 | 254,60 | 2,21 | 253,35 | 2,20 | 252,11 | 2,19 | 250,89 | 2,18 | 249,67 | 2,17 | 248,48 | 2,16 |
0,780 | 257,51 | 2,24 | 256,24 | 2,23 | 254,98 | 2,22 | 253,74 | 2,21 | 252,51 | 2,20 | 251,29 | 2,18 | 250,08 | 2,17 |
0,785 | 259,16 | 2,25 | 257,88 | 2,24 | 256,62 | 2,23 | 255,36 | 2,22 | 254,12 | 2,21 | 252,90 | 2,20 | 251,68 | 2,19 |
0,790 | 260,81 | 2,27 | 259,52 | 2,26 | 258,25 | 2,25 | 256,99 | 2,23 | 255,74 | 2,22 | 254,51 | 2,21 | 253,28 | 2,20 |
0,795 | 262,46 | 2,28 | 261,17 | 2,27 | 259,89 | 2,26 | 258,62 | 2,25 | 257,36 | 2,24 | 256,12 | 2,23 | 254,89 | 2,22 |
0,800 | 264,11 | 2,29 | 262,81 | 2,28 | 261,52 | 2,27 | 260,25 | 2,26 | 258,98 | 2,25 | 257,73 | 2,24 | 256,49 | 2,23 |
0,805 | 265,76 | 2,31 | 264,45 | 2,30 | 263,16 | 2,29 | 261,87 | 2,28 | 260,60 | 2,27 | 259,34 | 2,25 | 258,09 | 2,24 |
0,810 | 267,41 | 2,32 | 266,10 | 2,31 | 264,79 | 2,30 | 263,50 | 2,29 | 262,22 | 2,28 | 260,95 | 2,27 | 259,70 | 2,26 |
0,815 | 269,06 | 2,34 | 267,74 | 2,33 | 266,42 | 2,32 | 265,12 | 2,30 | 263,84 | 2,29 | 262,56 | 2,28 | 261,30 | 2,27 |
0,820 | 270,71 | 2,35 | 269,38 | 2,34 | 268,06 | 2,33 | 266,75 | 2,32 | 265,46 | 2,31 | 264,17 | 2,30 | 262,90 | 2,29 |
0,825 | 272,36 | 2,37 | 271,02 | 2,36 | 269,69 | 2,34 | 268,38 | 2,33 | 267,07 | 2,32 | 265,78 | 2,31 | 264,41 | 2,30 |
0,830 | 274,01 | 2,38 | 272,66 | 2,37 | 271,33 | 2,36 | 270,00 | 2,35 | 268,69 | 2,34 | 267,39 | 2,32 | 266,11 | 2,31 |
0,835 | 275,67 | 2,40 | 274,31 | 2,39 | 272,96 | 2,37 | 271,63 | 2,36 | 270,31 | 2,35 | 269,01 | 2,34 | 267,71 | 2,33 |
0,840 | 277,32 | 2,41 | 275,95 | 2,40 | 274,60 | 2,39 | 273,26 | 2,38 | 271,93 | 2,36 | 270,62 | 2,35 | 269,75 | 2,35 |
0,845 | 278,97 | 2,43 | 277,59 | 2,41 | 276,23 | 2,40 | 274,88 | 2,39 | 273,55 | 2,38 | 272,23 | 2,37 | 270,92 | 2,36 |
0,850 | 280,62 | 2,44 | 279,24 | 2,43 | 277,87 | 2,42 | 276,51 | 2,40 | 275,17 | 2,39 | 273,84 | 2,38 | 272,52 | 2,37 |
0,855 | 282,27 | 2,45 | 280,88 | 2,44 | 279,50 | 2,43 | 278,14 | 2,42 | 276,79 | 2,41 | 275,45 | 2,39 | 274,13 | 2,38 |
0,860 | 283,92 | 2,47 | 282,52 | 2,46 | 281,14 | 2,44 | 279,76 | 2,43 | 278,41 | 2,42 | 277,06 | 2,41 | 275,73 | 2,40 |
0,865 | 285,57 | 2,48 | 284,16 | 2,47 | 282,77 | 2,46 | 281,39 | 2,45 | 280,02 | 2,43 | 278,67 | 2,42 | 277,33 | 2,41 |
0,870 | 287,22 | 2,50 | 285,81 | 2,49 | 284,40 | 2,47 | 283,02 | 2,46 | 281,64 | 2,45 | 280,28 | 2,44 | 278,93 | 2,43 |
0,875 | 288,87 | 2,51 | 287,45 | 2,50 | 286,04 | 2,49 | 284,64 | 2,47 | 283,26 | 2,46 | 281,89 | 2,45 | 280,54 | 2,44 |
0,880 | 290,52 | 2,53 | 289,09 | 2,51 | 287,67 | 2,50 | 286,27 | 2,49 | 284,88 | 2,48 | 283,50 | 2,46 | 282,14 | 2,45 |
0,885 | 292,17 | 2,54 | 290,73 | 2,53 | 289,31 | 2,52 | 287,90 | 2,50 | 286,50 | 2,49 | 285,11 | 2,48 | 283,73 | 2,47 |
0,890 | 293,82 | 2,55 | 292,38 | 2,54 | 290,94 | 2,53 | 289,52 | 2,52 | 288,12 | 2,51 | 286,73 | 2,49 | 285,35 | 2,48 |
0,895 | 295,47 | 2,57 | 294,02 | 2,56 | 292,58 | 2,54 | 291,15 | 2,53 | 289,74 | 2,52 | 288,34 | 2,51 | 286,95 | 2,49 |
0,900 | 297,13 | 2,58 | 295,66 | 2,57 | 294,21 | 2,56 | 292,78 | 2,55 | 291,35 | 2,53 | 289,95 | 2,52 | 288,55 | 2,51 |
0,905 | 298,78 | 2,60 | 297,30 | 2,58 | 295,84 | 2,57 | 294,40 | 2,56 | 292,97 | 2,55 | 291,56 | 2,53 | 290,16 | 2,52 |
0,910 | 300,43 | 2,61 | 298,95 | 2,60 | 297,48 | 2,59 | 296,03 | 2,57 | 294,59 | 2,56 | 293,17 | 2,55 | 291,76 | 2,54 |
0,915 | 302,08 | 2,63 | 300,59 | 2,61 | 299,12 | 2,60 | 297,66 | 2,59 | 296,21 | 2,58 | 294,78 | 2,56 | 293,36 | 2,55 |
0,920 | 303,73 | 2,64 | 302,23 | 2,63 | 300,75 | 2,61 | 299,28 | 2,60 | 297,83 | 2,59 | 296,39 | 2,58 | 294,97 | 2,56 |
0,925 | 305,38 | 2,66 | 303,87 | 2,64 | 302,38 | 2,63 | 300,91 | 2,62 | 299,45 | 2,60 | 298,00 | 2,59 | 296,57 | 2,58 |
Таблица 13
Определение содержания сахара в жоме и диффузионной воде
при 10%-ном разбавлении свинцовым уксусом
Показания сахариметра, °S | Содержание сахара, %, при измерении в кювете длиной |
200 мм | 400 мм |
0,1 | 0,03 | 0,015 |
0,2 | 0,06 | 0,030 |
0,3 | 0,09 | 0,045 |
0,4 | 0,11 | 0,055 |
0,5 | 0,14 | 0,070 |
0,6 | 0,17 | 0,085 |
0,7 | 0,20 | 0,100 |
0,8 | 0,23 | 0,115 |
0,9 | 0,26 | 0,130 |
1,0 | 0,29 | 0,145 |
1,1 | 0,31 | 0,155 |
1,2 | 0,34 | 0,170 |
1,3 | 0,37 | 0,185 |
1,4 | 0,40 | 0,200 |
1,5 | 0,43 | 0,215 |
1,6 | 0,46 | 0,230 |
1,7 | 0,49 | 0,245 |
1,8 | 0,51 | 0,255 |
1,9 | 0,54 | 0,270 |
2,0 | 0,57 | 0,285 |
2,1 | 0,60 | 0,300 |
2,2 | 0,63 | 0,315 |
2,3 | 0,66 | 0,330 |
2,4 | 0,69 | 0,345 |
2,5 | 0,71 | 0,355 |
2,6 | 0,74 | 0,370 |
2,7 | 0,77 | 0,385 |
2,8 | 0,80 | 0,400 |
2,9 | 0,83 | 0,415 |
3,0 | 0,86 | 0,430 |
3,1 | 0,89 | 0,445 |
3,2 | 0,91 | 0,455 |
3,3 | 0,94 | 0,470 |
3,4 | 0,97 | 0,485 |
3,5 | 1,00 | 0,500 |
3,6 | 1,03 | 0,515 |
3,7 | 1,06 | 0,530 |
3,8 | 1,09 | 0,545 |
3,9 | 1,11 | 0,555 |
4,0 | 1,14 | 0,570 |
4,1 | 1,17 | 0,585 |
4,2 | 1,20 | 0,600 |
4,3 | 1,23 | 0,615 |
4,4 | 1,26 | 0,630 |
4,5 | 1,29 | 0,645 |
4,6 | 1,31 | 0,655 |
4,7 | 1,34 | 0,670 |
4,8 | 1,37 | 0,685 |
4,9 | 1,40 | 0,700 |
5,0 | 1,43 | 0,715 |
Таблица 14
Определение содержания сахара в жоме и диффузионной воде
при пользовании сухим осветлителем
Показания сахариметра, °S | Содержание сахара, %, при измерении в кювете длиной |
200 мм | 400 мм |
1 | 2 | 3 |
0,1 | 0,03 | 0,015 |
0,2 | 0,05 | 0,025 |
0,3 | 0,08 | 0,040 |
0,4 | 0,10 | 0,050 |
0,5 | 0,13 | 0,065 |
0,6 | 0,16 | 0,080 |
0,7 | 0,18 | 0,090 |
0,8 | 0,21 | 0,105 |
0,9 | 0,23 | 0,115 |
1,0 | 0,26 | 0,130 |
1,1 | 0,28 | 0,140 |
1,2 | 0,31 | 0,155 |
1,3 | 0,34 | 0,170 |
1,4 | 0,36 | 0,180 |
1,5 | 0,39 | 0,195 |
1,6 | 0,42 | 0,210 |
1,7 | 0,44 | 0,220 |
1,8 | 0,47 | 0,235 |
1,9 | 0,49 | 0,245 |
2,0 | 0,52 | 0,260 |
2,1 | 0,55 | 0,275 |
2,2 | 0,57 | 0,285 |
2,3 | 0,60 | 0,300 |
2,4 | 0,62 | 0,310 |
2,5 | 0,65 | 0,325 |
2,6 | 0,68 | 0,340 |
2,7 | 0,70 | 0,350 |
2,8 | 0,73 | 0,365 |
2,9 | 0,75 | 0,375 |
3,0 | 0,78 | 0,390 |
3,1 | 0,81 | 0,405 |
3,2 | 0,83 | 0,415 |
3,3 | 0,86 | 0,430 |
3,4 | 0,88 | 0,440 |
3,5 | 0,91 | 0,455 |
3,6 | 0,94 | 0,470 |
3,7 | 0,96 | 0,480 |
3,8 | 0,99 | 0,495 |
3,9 | 1,01 | 0,505 |
4,0 | 1,04 | 0,520 |
4,1 | 1,07 | 0,535 |
4,2 | 1,09 | 0,545 |
4,3 | 1,12 | 0,560 |
4,4 | 1,14 | 0,570 |
4,5 | 1,17 | 0,585 |
4,6 | 1,20 | 0,600 |
4,7 | 1,22 | 0,610 |
4,8 | 1,25 | 0,625 |
4,9 | 1,27 | 0,635 |
5,0 | 1,30 | 0,650 |
Таблица 15
Выход прессованного жома, % к массе свеклы, без учета потерь
при прессовании (при возврате жомопрессовой воды)
Содержание сахара в прессованном жоме, % | Содержание мякоти в свекле, % | Содержание сухих веществ в прессованном жоме, % |
8 | 9 | 10 | 11 | 12 | 13 | 14 | 15 | 16 | 17 | 18 | 19 | 20 | 21 | 22 | 23 | 24 | 25 |
1 | 2 | 3 | 4 | 5 | 6 | 7 | 8 | 9 | 10 | 11 | 12 | 13 | 14 | 15 | 16 | 17 | 18 | 19 | 20 |
1,5 | 3,5 | 59,5 | 50,9 | 44,4 | 39,4 | 35,4 | 32,2 | 29,5 | 27,2 | 25,2 | 23,5 | 22,0 | 20,7 | 19,6 | 18,5 | 17,6 | 16,8 | 15,9 | 15,3 |
4,0 | 68,0 | 58,1 | 50,8 | 45,0 | 40,5 | 36,8 | 33,7 | 31,1 | 28,8 | 26,9 | 25,2 | 23,7 | 22,4 | 21,2 | 20,1 | 19,2 | 18,3 | 17,5 |
4,5 | 76,5 | 65,4 | 57,1 | 50,7 | 45,6 | 41,4 | 37,9 | 34,9 | 32,4 | 30,2 | 28,3 | 26,7 | 25,2 | 23,8 | 22,6 | 21,5 | 20,6 | 19,7 |
5,0 | 85,0 | 72,7 | 63,5 | 56,3 | 50,6 | 46,0 | 42,1 | 38,8 | 36,0 | 33,6 | 31,5 | 29,6 | 28,0 | 26,5 | 25,2 | 23,9 | 22,8 | 21,9 |
5,5 | 93,5 | 79,9 | 69,8 | 61,9 | 55,7 | 50,6 | 46,3 | 42,7 | 39,6 | 37,0 | 34,6 | 32,6 | 30,8 | 29,1 | 27,7 | 26,3 | 25,1 | 24,0 |
1,4 | 3,5 | 58,2 | 49,9 | 43,7 | 38,8 | 35,0 | 31,8 | 29,1 | 26,9 | 25,0 | 23,3 | 21,9 | 20,6 | 19,4 | 18,4 | 17,5 | 16,6 | 15,9 | 15,2 |
4,0 | 66,6 | 57,1 | 49,9 | 44,4 | 40,0 | 36,3 | 33,3 | 30,7 | 28,6 | 26,6 | 25,0 | 23,5 | 22,2 | 21,0 | 20,0 | 19,0 | 18,2 | 17,4 |
4,5 | 74,9 | 64,2 | 56,2 | 49,9 | 45,0 | 40,9 | 37,5 | 34,6 | 32,1 | 30,0 | 28,1 | 26,5 | 25,0 | 23,7 | 22,5 | 21,4 | 20,4 | 19,6 |
5,0 | 83,2 | 71,3 | 62,4 | 55,5 | 50,0 | 45,4 | 41,6 | 38,4 | 35,7 | 33,3 | 31,2 | 29,4 | 27,8 | 26,3 | 25,0 | 23,8 | 22,7 | 21,7 |
5,5 | 91,5 | 78,5 | 68,7 | 61,0 | 55,0 | 50,0 | 45,8 | 42,3 | 39,3 | 36,6 | 34,4 | 32,3 | 30,5 | 28,9 | 27,5 | 26,2 | 25,0 | 23,9 |
1,3 | 3,5 | 57,1 | 49,1 | 43,1 | 38,3 | 34,6 | 31,5 | 28,9 | 26,7 | 24,8 | 23,1 | 21,7 | 20,5 | 19,3 | 18,3 | 17,4 | 16,6 | 15,8 | 15,1 |
4,0 | 65,3 | 56,1 | 49,2 | 43,8 | 39,5 | 35,9 | 33,0 | 30,5 | 28,3 | 26,4 | 24,8 | 23,4 | 22,1 | 20,9 | 19,9 | 18,9 | 18,1 | 17,3 |
4,5 | 73,4 | 63,1 | 55,4 | 49,3 | 44,4 | 40,4 | 37,1 | 34,3 | 31,8 | 29,7 | 27,9 | 26,3 | 24,8 | 23,5 | 22,4 | 21,3 | 20,3 | 19,5 |
5,0 | 81,6 | 70,1 | 61,5 | 54,8 | 49,4 | 44,9 | 41,2 | 38,1 | 35,4 | 33,0 | 31,0 | 29,2 | 27,6 | 26,1 | 24,8 | 23,7 | 22,6 | 21,6 |
5,5 | 89,7 | 77,1 | 67,7 | 60,2 | 54,3 | 49,4 | 45,3 | 41,9 | 38,9 | 36,4 | 34,1 | 32,1 | 30,3 | 28,8 | 27,3 | 26,0 | 24,8 | 23,8 |
1,2 | 3,5 | 56,0 | 48,3 | 42,4 | 37,8 | 34,1 | 31,1 | 28,6 | 26,4 | 24,6 | 22,9 | 21,5 | 20,3 | 19,2 | 18,2 | 17,3 | 16,4 | 15,7 | 15,0 |
4,0 | 64,0 | 55,2 | 48,5 | 43,2 | 39,0 | 35,6 | 32,6 | 30,2 | 28,1 | 26,2 | 24,6 | 23,2 | 21,9 | 20,8 | 19,7 | 18,8 | 17,9 | 17,2 |
4,5 | 72,0 | 62,1 | 54,6 | 48,7 | 43,9 | 40,0 | 36,7 | 33,9 | 31,6 | 29,5 | 27,7 | 26,1 | 24,6 | 23,4 | 22,2 | 21,1 | 20,2 | 19,3 |
5,0 | 80,0 | 69,0 | 60,6 | 54,1 | 48,8 | 44,4 | 40,8 | 37,7 | 35,1 | 32,8 | 30,8 | 29,0 | 27,4 | 26,0 | 24,7 | 23,5 | 22,4 | 21,5 |
5,5 | 88,0 | 75,9 | 66,7 | 59,5 | 53,7 | 48,9 | 44,9 | 41,5 | 38,6 | 36,0 | 33,8 | 31,9 | 30,1 | 28,6 | 27,1 | 25,8 | 24,7 | 23,6 |
1,1 | 3,5 | 54,8 | 47,4 | 41,7 | 37,3 | 33,7 | 30,7 | 28,3 | 26,1 | 24,3 | 22,7 | 21,4 | 20,1 | 19,0 | 18,0 | 17,2 | 16,4 | 15,6 | 14,9 |
4,0 | 62,6 | 54,1 | 47,7 | 42,6 | 38,5 | 35,1 | 32,3 | 29,9 | 27,8 | 26,0 | 24,4 | 23,0 | 21,8 | 20,6 | 19,6 | 18,7 | 17,9 | 17,1 |
4,5 | 70,4 | 60,9 | 53,6 | 47,9 | 43,3 | 39,5 | 36,3 | 33,6 | 31,3 | 29,2 | 27,5 | 25,9 | 24,5 | 23,2 | 22,1 | 21,0 | 20,1 | 19,2 |
5,0 | 78,3 | 67,7 | 59,6 | 53,3 | 48,1 | 43,9 | 40,4 | 37,3 | 34,7 | 32,5 | 30,5 | 28,8 | 27,2 | 25,8 | 24,5 | 23,4 | 22,3 | 21,4 |
5,5 | 86,1 | 74,4 | 65,6 | 58,6 | 52,9 | 48,3 | 44,4 | 41,1 | 38,2 | 35,7 | 33,6 | 31,6 | 29,9 | 28,4 | 27,0 | 25,7 | 24,6 | 23,5 |
1,0 | 3,5 | 53,7 | 46,5 | 41,1 | 36,8 | 33,3 | 30,4 | 27,9 | 25,9 | 24,1 | 22,6 | 21,2 | 20,0 | 18,9 | 17,9 | 17,1 | 16,3 | 15,6 | 14,9 |
4,0 | 61,4 | 53,2 | 47,0 | 42,0 | 38,0 | 34,7 | 31,9 | 29,6 | 27,5 | 25,8 | 24,2 | 22,8 | 21,6 | 20,5 | 19,5 | 18,6 | 17,8 | 17,0 |
4,5 | 69,0 | 59,8 | 52,8 | 47,3 | 42,8 | 39,1 | 35,9 | 33,3 | 31,0 | 29,0 | 27,2 | 25,7 | 24,3 | 23,1 | 21,9 | 20,9 | 20,0 | 19,1 |
5,0 | 76,7 | 66,5 | 58,7 | 52,5 | 47,5 | 43,4 | 39,9 | 37,0 | 34,4 | 32,2 | 30,3 | 28,5 | 27,0 | 25,6 | 24,4 | 23,3 | 22,2 | 21,2 |
5,5 | 84,4 | 73,1 | 64,6 | 57,8 | 52,3 | 47,7 | 43,9 | 40,7 | 37,9 | 35,4 | 33,3 | 31,4 | 29,7 | 28,2 | 26,8 | 25,6 | 24,5 | 23,4 |
0,9 | 3,5 | 52,7 | 45,8 | 40,5 | 36,3 | 32,9 | 30,1 | 27,7 | 25,6 | 23,9 | 22,4 | 21,0 | 19,8 | 18,8 | 17,8 | 17,0 | 16,2 | 15,4 | 14,8 |
4,0 | 60,2 | 52,4 | 46,3 | 41,5 | 37,6 | 34,4 | 31,6 | 29,3 | 27,3 | 25,6 | 24,0 | 22,7 | 21,5 | 20,4 | 19,4 | 18,4 | 17,6 | 16,9 |
4,5 | 67,8 | 58,9 | 52,1 | 46,7 | 42,3 | 38,7 | 35,6 | 33,0 | 30,7 | 28,8 | 27,0 | 25,5 | 24,1 | 22,9 | 21,8 | 20,8 | 19,8 | 19,0 |
5,0 | 75,3 | 65,5 | 57,9 | 51,9 | 47,0 | 43,0 | 39,6 | 36,7 | 34,2 | 32,0 | 30,0 | 28,3 | 26,8 | 25,5 | 24,2 | 23,1 | 22,1 | 21,2 |
5,5 | 82,8 | 72,0 | 63,7 | 57,1 | 51,7 | 47,3 | 43,5 | 40,3 | 37,6 | 35,2 | 33,1 | 31,2 | 29,5 | 28,0 | 26,6 | 25,4 | 24,2 | 23,2 |
0,8 | 3,5 | 51,7 | 45,6 | 39,9 | 35,8 | 32,5 | 29,7 | 27,4 | 25,4 | 23,7 | 22,2 | 20,9 | 19,7 | 18,6 | 17,7 | 16,9 | 16,1 | 15,4 | 14,7 |
4,0 | 59,1 | 51,5 | 45,6 | 40,9 | 37,1 | 34,0 | 31,3 | 29,0 | 27,1 | 25,4 | 23,9 | 22,5 | 21,3 | 20,2 | 19,3 | 18,4 | 17,6 | 16,8 |
4,5 | 66,5 | 57,9 | 51,3 | 46,1 | 41,8 | 38,2 | 35,2 | 32,7 | 30,5 | 28,5 | 26,8 | 25,3 | 24,0 | 22,8 | 21,7 | 20,7 | 19,8 | 18,9 |
5,0 | 73,9 | 64,4 | 57,0 | 51,2 | 46,4 | 42,5 | 39,2 | 36,3 | 33,9 | 31,7 | 29,8 | 28,1 | 26,6 | 25,3 | 24,1 | 22,9 | 21,9 | 21,0 |
5,5 | 81,2 | 70,8 | 62,7 | 56,3 | 51,1 | 46,7 | 43,1 | 39,9 | 37,2 | 34,9 | 32,8 | 31,0 | 29,3 | 27,8 | 26,5 | 25,3 | 24,2 | 23,1 |
0,7 | 3,5 | 50,8 | 44,3 | 39,3 | 35,3 | 32,1 | 29,4 | 27,2 | 25,2 | 23,5 | 22,0 | 20,7 | 19,6 | 18,5 | 17,6 | 16,7 | 16,0 | 15,2 | 14,6 |
4,0 | 58,1 | 50,7 | 45,0 | 40,4 | 36,7 | 33,6 | 31,3 | 28,8 | 26,8 | 25,2 | 23,7 | 22,3 | 21,2 | 20,1 | 19,1 | 18,2 | 17,5 | 16,7 |
4,5 | 65,3 | 57,0 | 50,6 | 45,5 | 41,3 | 37,8 | 34,9 | 32,4 | 30,2 | 28,3 | 26,6 | 25,1 | 23,8 | 22,6 | 21,5 | 20,6 | 19,7 | 18,8 |
5,0 | 72,6 | 63,4 | 56,2 | 50,6 | 45,9 | 42,1 | 38,8 | 36,0 | 33,6 | 31,4 | 29,6 | 27,9 | 26,5 | 25,1 | 23,9 | 22,8. | 21,8 | 20,9 |
5,5 | 79,8 | 69,7 | 61,9 | 55,6 | 50,5 | 46,3 | 42,6 | 39,6 | 36,9 | 34,6 | 32,6 | 30,7 | 29,1 | 27,6 | 26,3 | 25,1 | 24,0 | 23,0 |
0,6 | 3,5 | 49,9 | 43,6 | 38,8 | 34,9 | 31,8 | 29,1 | 26,9 | 25,0 | 23,3 | 21,8 | 20,5 | 19,4 | 18,4 | 17,5 | 16,6 | 15,9 | 15,2 | 14,6 |
4,0 | 57,0 | 49,9 | 44,4 | 40,0 | 36,3 | 33,3 | 30,7 | 28,5 | 26,6 | 25,0 | 23,5 | 22,2 | 21,0 | 20,0 | 19,0 | 18,2 | 17,5 | 16,7 |
4,5 | 64,2 | 56,2 | 49,9 | 44,9 | 40,8 | 37,4 | 34,6 | 32,1 | 30,0 | 28,1 | 26,4 | 25,0 | 23,7 | 22,5 | 21,4 | 20,4 | 19,6 | 18,7 |
5,0 | 71,3 | 62,3 | 55,4 | 49,9 | 45,4 | 41,6 | 38,4 | 35,7 | 33,3 | 31,2 | 29,4 | 27,7 | 26,3 | 25,0 | 23,8 | 22,7 | 21,8 | 20,8 |
5,5 | 78,4 | 68,6 | 61,0 | 54,9 | 49,9 | 45,8 | 42,2 | 39,2 | 36,6 | 34,3 | 32,3 | 30,5 | 28,9 | 27,5 | 26,2 | 25,0 | 23,9 | 22,9 |
0,5 | 3,5 | 48,9 | 42,9 | 38,2 | 34,4 | 31,4 | 28,8 | 26,6 | 24,7 | 23,1 | 21,7 | 20,3 | 19,3 | 18,3 | 17,4 | 16,5 | 15,8 | 15,1 | 14,5 |
4,0 | 55,9 | 49,0 | 43,7 | 39,4 | 35,8 | 32,9 | 30,4 | 28,2 | 26,4 | 24,8 | 23,3 | 22,0 | 20,9 | 19,9 | 18,9 | 18,1 | 17,3 | 16,6 |
4,5 | 62,8 | 55,2 | 49,1 | 44,3 | 40,4 | 37,0 | 34,2 | 31,8 | 29,7 | 27,8 | 26,2 | 24,8 | 23,5 | 22,3 | 21,3 | 20,3 | 19,4 | 18,6 |
5,0 | 69,8 | 61,4 | 54,6 | 49,2 | 44,8 | 41,1 | 38,0 | 35,3 | 33,0 | 31,0 | 29,2 | 27,5 | 26,1 | 24,8 | 23,6 | 22,6 | 21,6 | 20,7 |
5,5 | 76,8 | 67,5 | 60,0 | 54,2 | 49,3 | 45,3 | 41,8 | 38,9 | 36,3 | 34,0 | 32,1 | 30,3 | 28,7 | 27,3 | 26,0 | 24,8 | 23,7 | 22,8 |
0,4 | 3,5 | 48,1 | 42,3 | 37,7 | 34,0 | 31,0 | 28,5 | 26,3 | 24,5 | 22,9 | 21,5 | 20,2 | 19,1 | 18,1 | 17,2 | 16,4 | 15,7 | 15,0 | 14,4 |
4,0 | 55,0 | 48,3 | 43,1 | 38,9 | 35,5 | 32,6 | 30,1 | 28,0 | 26,2 | 24,6 | 23,1 | 21,9 | 20,7 | 19,7 | 18,8 | 17,9 | 17,2 | 16,5 |
4,5 | 61,8 | 54,3 | 48,5 | 43,8 | 39,9 | 36,6 | 33,9 | 31,5 | 29,5 | 27,6 | 26,0 | 24,6 | 23,3 | 22,2 | 21,1 | 20,2 | 19,3 | 18,5 |
5,0 | 68,7 | 60,4 | 53,9 | 48,6 | 44,3 | 40,7 | 37,7 | 35,0 | 32,7 | 30,7 | 28,9 | 27,4 | 25,9 | 24,7 | 23,5 | 22,4 | 21,5 | 20,6 |
5,5 | 75,5 | 66,4 | 59,3 | 53,5 | 48,7 | 44,8 | 41,4 | 38,5 | 36,0 | 33,8 | 31,8 | 30,1 | 28,5 | 27,1 | 25,8 | 24,7 | 23,6 | 22,6 |
0,3 | 3,5 | 47,3 | 41,6 | 37,2 | 33,6 | 30,7 | 28,2 | 26,1 | 24,3 | 22,7 | 21,3 | 20,1 | 19,0 | 18,0 | 17,1 | 16,3 | 15,6 | 14,9 | 14,3 |
4,0 | 54,1 | 47,6 | 42,6 | 38,5 | 35,1 | 32,3 | 29,9 | 27,8 | 26,0 | 24,4 | 23,0 | 21,7 | 20,6 | 19,6 | 18,7 | 17,9 | 17,1 | 16,4 |
4,5 | 60,8 | 53,6 | 47,9 | 43,3 | 39,5 | 36,3 | 33,6 | 31,3 | 29,2 | 27,4 | 25,9 | 24,5 | 23,2 | 22,1 | 21,0 | 20,1 | 19,2 | 18,4 |
5,0 | 67,6 | 59,5 | 53,2 | 48,1 | 43,9 | 40,3 | 37,3 | 34,7 | 32,5 | 30,5 | 28,7 | 27,2 | 25,8 | 24,5 | 23,4 | 22,3 | 21,4 | 20,5 |
5,5 | 74,3 | 65,5 | 58,5 | 52,9 | 48,2 | 43,3 | 41,0 | 38,2 | 35,7 | 33,5 | 31,6 | 29,9 | 28,4 | 27,0 | 25,7 | 24,6 | 23,5 | 22,5 |
Таблица 16
Выход жома, % к массе свеклы, с учетом потерь при отжиме
и прессовании
Содержание сухих веществ (СВ) в свекловичном жоме, % к массе жома | Норма потерь СВ при отжиме (% от начального содержания СВ в жоме) | СВ в жоме, полученном из 100 кг свеклы с учетом потерь при отжиме, кг | Выход жома, % к массе свеклы (с учетом потерь при отжиме) |
по фактическому содержанию СВ в жоме | при перерасчете на 6,5% СВ в жоме (для оприходования и бухгалтерского учета) |
6,5 | - | 5,395 | 83,0 | 83,0 |
7,0 | 0,71 | 5,357 | 76,5 | 82,4 |
8,0 | 1,45 | 5,317 | 66,5 | 81,8 |
9,0 | 2,43 | 5,264 | 58,5 | 81,0 |
10,0 | 3,81 | 5,190 | 51,9 | 79,8 |
11,0 | 5,62 | 5,092 | 46,3 | 78,3 |
12,0 | 7,68 | 4,981 | 41,5 | 76,6 |
13,0 | 9,78 | 4,867 | 37,4 | 74,8 |
14,0 | 11,93 | 4,751 | 33,9 | 73,2 |
15,0 | 14,23 | 4,627 | 30,8 | 71,1 |
16,0 | 16,23 | 4,519 | 28,2 | 69,4 |
17,0 | 17,73 | 4,439 | 26,1 | 68,3 |
18,0 | 18,83 | 4,380 | 24,3 | 67,3 |
19,0 | 19,83 | 4,325 | 22,7 | 66,3 |
20,0 | 20,73 | 4,277 | 21,4 | 65,8 |
21,0 | 21,52 | 4,243 | 20,2 | 64,9 |
22,0 | 22,04 | 4,196 | 19,1 | 64,6 |
23,0 | 22,65 | 4,174 | 18,1 | 64,0 |
24,0 | 23,30 | 4,138 | 17,2 | 63,5 |
25,0 | 23,73 | 4,115 | 16,4 | 63,1 |
--------------------------------
<*> Таблицу применяют при оприходовании жома из производства.
Таблица 17
Содержание CaO в известковом молоке в зависимости
от его плотности
Плотность известкового молока, г/см3 | Содержание CaO в 1 л известкового молока, г | Содержание CaO, % к массе известкового молока | Плотность известкового молока, г/см3 | Содержание CaO в 1 л известкового молока, г | Содержание CaO, % к массе известкового молока |
1 | 2 | 3 | 4 | 5 | 6 |
1,0085 | 10 | 0,990 | 1,0345 | 44 | 4,252 |
1,0102 | 12 | 1,184 | 1,0360 | 46 | 4,438 |
1,0119 | 14 | 1,378 | 1,0375 | 48 | 4,624 |
1,0136 | 16 | 1,572 | 1,0390 | 50 | 4,810 |
1,0153 | 18 | 1,766 | 1,0404 | 52 | 4,996 |
1,0170 | 20 | 1,960 | 1,0418 | 54 | 5,182 |
1,0185 | 22 | 2,155 | 1,0432 | 56 | 5,368 |
1,0200 | 24 | 2,350 | 1,0446 | 58 | 5,554 |
1,0215 | 26 | 2,545 | 1,0460 | 60 | 5,740 |
1,0230 | 28 | 2,740 | 1,0475 | 62 | 5,922 |
1,0245 | 30 | 2,935 | 1,0490 | 64 | 6,104 |
1,0259 | 32 | 3,124 | 1,0505 | 66 | 6,286 |
1,0273 | 34 | 3,313 | 1,0520 | 68 | 6,468 |
1,0287 | 36 | 3,502 | 1,0535 | 70 | 6,650 |
1,0301 | 38 | 3,691 | 1,0549 | 72 | 6,828 |
1,0315 | 40 | 3,880 | 1,0563 | 74 | 7,006 |
1,0330 | 42 | 4,066 | 1,0577 | 76 | 7,184 |
Продолжение табл. 17
1 | 2 | 3 | 4 | 5 | 6 |
1,0591 | 78 | 7,362 | 1,1400 | 190 | 16,670 |
1,0605 | 80 | 7,540 | 1,1415 | 192 | 16,822 |
1,0619 | 82 | 7,718 | 1,1430 | 194 | 16,974 |
1,0633 | 84 | 7,896 | 1,1445 | 196 | 17,126 |
1,0647 | 86 | 8,074 | 1,1460 | 198 | 17,278 |
1,0661 | 88 | 8,252 | 1,1475 | 200 | 17,430 |
1,0675 | 90 | 8,430 | 1,1489 | 202 | 17,582 |
1,0690 | 92 | 8,604 | 1,1503 | 204 | 17,734 |
1,0705 | 94 | 8,778 | 1,1517 | 206 | 17,886 |
1,0720 | 96 | 8,952 | 1,1531 | 208 | 18,038 |
1,0735 | 98 | 9,126 | 1,1545 | 210 | 18,190 |
1,0750 | 100 | 9,300 | 1,1559 | 212 | 18,340 |
1,0765 | 102 | 9,472 | 1,1573 | 214 | 18,490 |
1,0780 | 104 | 9,644 | 1,1587 | 216 | 18,640 |
1,0795 | 106 | 9,816 | 1,1601 | 218 | 18,790 |
1,0810 | 108 | 9,988 | 1,1615 | 220 | 18,940 |
1,0825 | 110 | 10,160 | 1,1629 | 222 | 19,088 |
1,0839 | 112 | 10,330 | 1,1643 | 224 | 19,236 |
1,0853 | 114 | 10,500 | 1,1657 | 226 | 19,384 |
1,0867 | 116 | 10,670 | 1,1671 | 228 | 19,532 |
1,0881 | 118 | 10,840 | 1,1685 | 230 | 19,680 |
1,0895 | 120 | 11,010 | 1,1700 | 232 | 19,826 |
1,0909 | 122 | 11,180 | 1,1715 | 234 | 19,972 |
1,0923 | 124 | 11,350 | 1,1730 | 236 | 20,118 |
1,0937 | 126 | 11,520 | 1,1745 | 238 | 20,264 |
1,0951 | 128 | 11,690 | 1,1760 | 240 | 20,410 |
1,0965 | 130 | 11,860 | 1,1775 | 242 | 20,552 |
1,0980 | 132 | 12,024 | 1,1790 | 244 | 20,694 |
1,0995 | 134 | 12,188 | 1,1805 | 246 | 20,836 |
1,1010 | 136 | 12,352 | 1,1820 | 248 | 20,978 |
1,1025 | 138 | 12,516 | 1,1835 | 250 | 21,120 |
1,1040 | 140 | 12,680 | 1,1849 | 252 | 21,264 |
1,1054 | 142 | 12,844 | 1,1863 | 254 | 21,408 |
1,1068 | 144 | 13,008 | 1,1877 | 256 | 21,552 |
1,1082 | 146 | 13,172 | 1,1891 | 258 | 21,696 |
1,1096 | 148 | 13,336 | 1,1905 | 260 | 21,840 |
1,1110 | 150 | 13,500 | 1,1919 | 262 | 21,982 |
1,1125 | 152 | 13,660 | 1,1933 | 264 | 22,124 |
1,1140 | 154 | 13,820 | 1,1947 | 266 | 22,266 |
1,1155 | 156 | 13,980 | 1,1961 | 268 | 22,408 |
1,1170 | 158 | 14,140 | 1,1975 | 270 | 22,550 |
1,1185 | 160 | 14,300 | 1,1990 | 272 | 22,688 |
1,1199 | 162 | 14,460 | 1,2005 | 274 | 22,826 |
1,1213 | 164 | 14,620 | 1,2020 | 276 | 22,964 |
1,1227 | 166 | 14,780 | 1,2035 | 278 | 23,102 |
1,1241 | 168 | 14,940 | 1,2050 | 280 | 23,240 |
1,1255 | 170 | 15,100 | 1,2065 | 282 | 23,376 |
1,1269 | 172 | 15,258 | 1,2080 | 284 | 23,512 |
1,1283 | 174 | 15,416 | 1,2095 | 286 | 23,650 |
1,1297 | 176 | 15,574 | 1,2110 | 288 | 23,788 |
1,1311 | 178 | 15,732 | 1,2125 | 290 | 23,924 |
1,1325 | 180 | 15,890 | 1,2139 | 292 | 24,059 |
1,1340 | 182 | 16,046 | 1,2153 | 294 | 24,194 |
1,1355 | 184 | 16,202 | 1,2167 | 296 | 24,329 |
1,1370 | 186 | 16,358 | 1,2181 | 298 | 24,464 |
1,1385 | 188 | 16,514 | 1,2195 | 300 | 24,599 |
Таблица 18
Расход известкового молока на 1 т свеклы в зависимости
от его плотности и применяемого расхода извести на очистку
диффузионного сока
Плотность известкового молока, г/см3 | Количество известкового молока, л, на 1 т свеклы при расходе извести, % к массе свеклы |
1,5 | 2,0 | 2,5 | 3,0 | 3,5 |
1,008 | 1500,0 | 2000,0 | 2500,0 | 3000,0 | 3500,0 |
1,017 | 750,0 | 1000,0 | 1250,0 | 1500,0 | 1750,0 |
1,025 | 500,0 | 666,7 | 833,3 | 1000,0 | 1166,7 |
1,031 | 375,0 | 500,0 | 625,0 | 750,0 | 875,0 |
1,039 | 300,0 | 400,0 | 500,0 | 600,0 | 700,0 |
1,046 | 250,0 | 333,3 | 416,7 | 500,0 | 583,3 |
1,053 | 214,3 | 285,7 | 357,1 | 428,6 | 500,0 |
1,060 | 187,5 | 250,0 | 312,5 | 375,0 | 437,5 |
1,067 | 166,7 | 222,2 | 277,8 | 333,3 | 388,9 |
1,075 | 150,0 | 200,0 | 250,0 | 300,0 | 350,0 |
1,082 | 136,4 | 181,8 | 227,3 | 272,7 | 318,2 |
1,089 | 125,0 | 166,7 | 208,3 | 250,0 | 291,7 |
1,096 | 115,4 | 153,8 | 192,3 | 230,8 | 269,3 |
1,104 | 107,1 | 142,9 | 178,6 | 214,3 | 250,0 |
1,111 | 100,0 | 133,3 | 166,7 | 200,0 | 233,3 |
1,118 | 93,7 | 125,0 | 156,3 | 187,5 | 218,7 |
1,125 | 88,2 | 117,6 | 147,1 | 176,5 | 205,8 |
1,132 | 83,3 | 111,1 | 138,9 | 166,7 | 194,4 |
1,140 | 78,9 | 105,3 | 131,6 | 157,9 | 184,2 |
1,147 | 75,0 | 100,0 | 125,0 | 150,0 | 175,0 |
1,154 | 71,4 | 95,2 | 119,0 | 142,9 | 166,6 |
1,161 | 68,2 | 90,9 | 113,6 | 136,4 | 159,1 |
1,168 | 65,2 | 87,0 | 108,7 | 130,4 | 152,2 |
1,176 | 62,5 | 83,3 | 104,2 | 125,0 | 145,8 |
1,183 | 60,0 | 80,0 | 100,0 | 120,0 | 140,0 |
1,190 | 57,7 | 76,9 | 96,2 | 115,4 | 134,6 |
1,197 | 55,6 | 74,1 | 92,6 | 111,1 | 129,7 |
1,205 | 53,6 | 71,4 | 89,3 | 107,1 | 125,0 |
1,212 | 51,7 | 69,0 | 86,2 | 103,4 | 120,7 |
1,229 | 50,0 | 66,7 | 83,3 | 100,0 | 116,7 |
Таблица 19
Содержание сахара в разжиженном фильтрационном осадке,
% к массе густого осадка
Масса 200 мл разжиженного осадка, г | Показание сахариметра, °S |
0,1 | 0,2 | 0,3 | 0,4 | 0,5 | 0,6 | 0,7 | 0,8 | 0,9 | |
1 | 2 | 3 | 4 | 5 | 6 | 7 | 8 | 9 | 10 | |
203,7 | 0,40 | 0,79 | 1,19 | 1,59 | 1,99 | 2,39 | 2,79 | 3,18 | 3,58 | 3,98 |
203,8 | 0,39 | 0,78 | 1,17 | 1,56 | 1,95 | 2,34 | 2,73 | 3,12 | 3,51 | 3,90 |
203,9 | 0,38 | 0,76 | 1,14 | 1,52 | 1,90 | 2,28 | 2,66 | 3,04 | 3,42 | 3,80 |
204,0 | 0,37 | 0,74 | 1,12 | 1,49 | 1,86 | 2,23 | 2,60 | 2,98 | 3,35 | 3,72 |
204,1 | 0,36 | 0,73 | 1,09 | 1,45 | 1,81 | 2,18 | 2,54 | 2,90 | 3,27 | 3,63 |
204,2 | 0,35 | 0,71 | 1,07 | 1,42 | 1,77 | 2,13 | 2,48 | 2,84 | 3,19 | 3,55 |
204,3 | 0,35 | 0,69 | 1,04 | 1,39 | 1,73 | 2,08 | 2,43 | 2,78 | 3,12 | 3,47 |
204,4 | 0,34 | 0,68 | 1,02 | 1,36 | 1,70 | 2,05 | 2,39 | 2,73 | 3,07 | 3,41 |
204,5 | 0,33 | 0,67 | 1,00 | 1,34 | 1,67 | 2,00 | 2,34 | 2,67 | 3,01 | 3,34 |
204,6 | 0,33 | 0,66 | 0,98 | 1,31 | 1,64 | 1,97 | 2,30 | 2,62 | 2,95 | 3,28 |
204,7 | 0,32 | 0,64 | 0,97 | 1,29 | 1,61 | 1,93 | 2,25 | 2,58 | 2,90 | 3,22 |
204,8 | 0,32 | 0,63 | 0,95 | 1,26 | 1,58 | 1,90 | 2,21 | 2,53 | 2,84 | 3,16 |
204,9 | 0,31 | 0,62 | 0,93 | 1,24 | 1,55 | 1,86 | 2,17 | 2,48 | 2,79 | 3,10 |
205,0 | 0,30 | 0,61 | 0,91 | 1,22 | 1,52 | 1,82 | 2,13 | 2,43 | 2,74 | 3,04 |
205,2 | 0,29 | 0,59 | 0,88 | 1,18 | 1,47 | 1,76 | 2,06 | 2,35 | 2,65 | 2,94 |
205,4 | 0,28 | 0,57 | 0,85 | 1,14 | 1,42 | 1,70 | 1,99 | 2,27 | 2,56 | 2,84 |
205,6 | 0,27 | 0,55 | 0,82 | 1,10 | 1,37 | 1,64 | 1,92 | 2,19 | 2,47 | 2,74 |
205,8 | 0,27 | 0,53 | 0,80 | 1,06 | 1,33 | 1,60 | 1,86 | 2,13 | 2,39 | 2,66 |
206,0 | 0,26 | 0,51 | 0,77 | 1,02 | 1,28 | 1,54 | 1,79 | 2,05 | 2,30 | 2,56 |
206,2 | 0,25 | 0,50 | 0,75 | 1,00 | 1,25 | 1,50 | 1,75 | 2,00 | 2,25 | 2,50 |
206,4 | 0,24 | 0,48 | 0,73 | 0,97 | 1,21 | 1,45 | 1,69 | 1,94 | 2,18 | 2,42 |
206,6 | 0,24 | 0,47 | 0,71 | 0,94 | 1,18 | 1,41 | 1,65 | 1,88 | 2,12 | 2,35 |
206,8 | 0,23 | 0,46 | 0,69 | 0,92 | 1,14 | 1,37 | 1,60 | 1,83 | 2,06 | 2,29 |
207,0 | 0,22 | 0,45 | 0,67 | 0,90 | 1,12 | 1,34 | 1,57 | 1,79 | 2,02 | 2,24 |
207,5 | 0,21 | 0,42 | 0,63 | 0,84 | 1,04 | 1,25 | 1,46 | 1,67 | 1,88 | 2,09 |
208,0 | 0,19 | 0,39 | 0,58 | 0,78 | 0,98 | 1,17 | 1,36 | 1,56 | 1,76 | 1,95 |
208,5 | 0,18 | 0,37 | 0,55 | 0,74 | 0,92 | 1,11 | 1,29 | 1,48 | 1,66 | 1,85 |
209,0 | 0,17 | 0,35 | 0,52 | 0,70 | 0,87 | 1,05 | 1,22 | 1,40 | 1,57 | 1,75 |
209,5 | 0,17 | 0,33 | 0,50 | 0,66 | 0,83 | 1,00 | 1,16 | 1,33 | 1,49 | 1,66 |
210,0 | 0,16 | 0,32 | 0,47 | 0,63 | 0,79 | 0,95 | 1,11 | 1,26 | 1,42 | 1,58 |
210,5 | 0,15 | 0,30 | 0,45 | 0,60 | 0,75 | 0,91 | 1,06 | 1,21 | 1,36 | 1,51 |
211,0 | 0,14 | 0,29 | 0,43 | 0,58 | 0,72 | 0,86 | 1,01 | 1,15 | 1,30 | 1,44 |
211,5 | 0,14 | 0,28 | 0,41 | 0,55 | 0,69 | 0,83 | 0,97 | 1,10 | 1,24 | 1,38 |
212,0 | 0,13 | 0,26 | 0,40 | 0,53 | 0,66 | 0,79 | 0,92 | 1,06 | 1,19 | 1,32 |
212,5 | 0,13 | 0,25 | 0,38 | 0,51 | 0,63 | 0,76 | 0,89 | 1,02 | 1,14 | 1,27 |
213,0 | 0,12 | 0,24 | 0,37 | 0,49 | 0,61 | 0,73 | 0,85 | 0,98 | 1,10 | 1,22 |
213,5 | 0,12 | 0,23 | 0,35 | 0,47 | 0,58 | 0,70 | 0,82 | 0,94 | 1,05 | 1,17 |
214,0 | 0,11 | 0,23 | 0,34 | 0,45 | 0,56 | 0,68 | 0,79 | 0,90 | 1,02 | 1,13 |
214,5 | 0,11 | 0,22 | 0,33 | 0,44 | 0,54 | 0,65 | 0,76 | 0,87 | 0,98 | 1,09 |
215,0 | 0,11 | 0,21 | 0,32 | 0,42 | 0,53 | 0,64 | 0,74 | 0,85 | 0,95 | 1,06 |
216,0 | 0,10 | 0,20 | 0,30 | 0,40 | 0,49 | 0,59 | 0,69 | 0,79 | 0,89 | 0,99 |
217,0 | 0,09 | 0,19 | 0,28 | 0,37 | 0,46 | 0,56 | 0,65 | 0,74 | 0,84 | 0,93 |
218,0 | 0,09 | 0,18 | 0,26 | 0,35 | 0,44 | 0,53 | 0,62 | 0,70 | 0,79 | 0,88 |
219,0 | 0,08 | 0,17 | 0,25 | 0,33 | 0,41 | 0,50 | 0,58 | 0,66 | 0,75 | 0,83 |
220,0 | 0,08 | 0,16 | 0,24 | 0,32 | 0,39 | 0,47 | 0,55 | 0,63 | 0,71 | 0,79 |
221,0 | 0,07 | 0,15 | 0,22 | 0,30 | 0,37 | 0,45 | 0,52 | 0,60 | 0,67 | 0,75 |
222,0 | 0,07 | 0,14 | 0,21 | 0,28 | 0,35 | 0,43 | 0,50 | 0,57 | 0,64 | 0,71 |
223,0 | 0,07 | 0,14 | 0,20 | 0,27 | 0,34 | 0,41 | 0,48 | 0,54 | 0,61 | 0,68 |
224,0 | 0,06 | 0,13 | 0,19 | 0,26 | 0,32 | 0,39 | 0,45 | 0,52 | 0,58 | 0,65 |
225,0 | 0,06 | 0,12 | 0,19 | 0,25 | 0,31 | 0,37 | 0,43 | 0,50 | 0,56 | 0,62 |
226,0 | 0,06 | 0,12 | 0,18 | 0,24 | 0,30 | 0,36 | 0,42 | 0,48 | 0,54 | 0,60 |
227,0 | 0,06 | 0,11 | 0,17 | 0,23 | 0,28 | 0,34 | 0,40 | 0,46 | 0,51 | 0,57 |
228,0 | 0,05 | 0,11 | 0,16 | 0,22 | 0,27 | 0,33 | 0,38 | 0,44 | 0,49 | 0,55 |
229,0 | 0,05 | 0,11 | 0,16 | 0,21 | 0,26 | 0,32 | 0,37 | 0,42 | 0,48 | 0,53 |
230,0 | 0,05 | 0,10 | 0,15 | 0,20 | 0,25 | 0,31 | 0,36 | 0,41 | 0,46 | 0,51 |
232,0 | 0,05 | 0,10 | 0,14 | 0,19 | 0,24 | 0,29 | 0,34 | 0,38 | 0,43 | 0,48 |
234,0 | 0,04 | 0,09 | 0,13 | 0,18 | 0,22 | 0,27 | 0,31 | 0,36 | 0,40 | 0,45 |
236,0 | 0,04 | 0,08 | 0,13 | 0,17 | 0,21 | 0,25 | 0,29 | 0,34 | 0,38 | 0,42 |
238,0 | 0,04 | 0,08 | 0,12 | 0,16 | 0,19 | 0,23 | 0,27 | 0,31 | 0,35 | 0,39 |
240,0 | 0,04 | 0,07 | 0,11 | 0,15 | 0,18 | 0,22 | 0,26 | 0,30 | 0,33 | 0,37 |
242,0 | 0,03 | 0,07 | 0,10 | 0,14 | 0,17 | 0,21 | 0,24 | 0,28 | 0,31 | 0,35 |
244,0 | 0,03 | 0,07 | 0,10 | 0,13 | 0,16 | 0,20 | 0,23 | 0,26 | 0,30 | 0,33 |
--------------------------------
<*> Данные
графы "Показание сахариметра, °S 1,0 являются коэффициентами, на которые умножается показание сахариметра для вычисления потерь сахара в пересчете на густой фильтрационный осадок.
Таблица 20
Эффекты очистки на дефекосатурации

Доброкачественность диффузионного сока, % | Доброкачественность сока I сатурации, % |
78,8 | 79,0 | 79,2 | 79,4 | 79,6 | 79,8 | 80,0 | 80,2 | 80,4 | 80,6 | 80,8 | 81,0 | 81,2 | 81,4 | 81,6 | 81,8 | 82,0 | 82,2 | 82,4 | 82,6 | 82,8 |
76,0 | 14,8 | 15,8 | 16,8 | 17,8 | 18,8 | 19,8 | 20,8 | 21,8 | 22,8 | 23,8 | 24,7 | 25,7 | 26,7 | 27,6 | 28,6 | 29,5 | 30,5 | 31,4 | 32,4 | 33,3 | 34,2 |
76,2 | | 14,9 | 15,9 | 16,9 | 18,0 | 19,0 | 20,0 | 21,0 | 22,0 | 22,9 | 23,9 | 24,9 | 25,8 | 26,8 | 27,8 | 28,8 | 29,7 | 30,7 | 31,6 | 32,6 | 33,5 |
76,4 | | | 15,0 | 16,0 | 17,0 | 18,0 | 19,1 | 20,1 | 21,1 | 22,1 | 23,1 | 24,1 | 25,1 | 26,0 | 27,0 | 28,0 | 29,0 | 29,9 | 30,9 | 31,8 | 32,8 |
76,6 | | | | 15,1 | 16,1 | 17,1 | 18,2 | 19,2 | 20,2 | 21,2 | 22,2 | 23,2 | 24,2 | 25,2 | 26,2 | 27,2 | 28,1 | 29,1 | 30,1 | 31,0 | 32,0 |
76,8 | | | | | 15,2 | 16,2 | 17,2 | 18,3 | 19,3 | 20,3 | 21,3 | 22,4 | 23,4 | 24,4 | 24,4 | 26,4 | 27,4 | 28,3 | 29,3 | 30,3 | 31,3 |
77,0 | | | | | | 15,3 | 16,3 | 17,4 | 18,4 | 19,4 | 20,4 | 21,5 | 22,5 | 23,5 | 24,5 | 25,5 | 26,5 | 27,5 | 28,5 | 29,5 | 30,5 |
77,2 | | | | | | | 15,4 | 16,4 | 17,4 | 18,5 | 19,5 | 20,6 | 21,6 | 22,6 | 23,7 | 24,7 | 25,7 | 26,7 | 27,7 | 28,7 | 29,7 |
77,4 | | | | | | | | 15,5 | 16,5 | 17,6 | 18,6 | 19,7 | 20,7 | 21,7 | 22,8 | 23,8 | 24,8 | 25,8 | 26,9 | 27,9 | 28,9 |
77,6 | | | | | | | | 14,5 | 15,6 | 16,6 | 17,7 | 18,7 | 19,8 | 20,8 | 21,8 | 22,9 | 24,0 | 25,0 | 26,0 | 27,0 | 28,1 |
77,8 | | | | | | | | | 14,6 | 15,7 | 16,7 | 17,8 | 18,9 | 19,9 | 21,0 | 22,0 | 23,1 | 24,1 | 25,1 | 26,2 | 27,2 |
78,0 | | | | | | | | | | 14,7 | 15,8 | 16,9 | 17,9 | 19,0 | 20,0 | 21,1 | 22,2 | 23,2 | 24,3 | 25,3 | 26,4 |
78,2 | | | | | | | | | | | 14,8 | 15,9 | 17,0 | 18,0 | 19,1 | 20,2 | 21,3 | 22,3 | 23,4 | 24,4 | 25,5 |
78,4 | | | | | | | | | | | | 14,9 | 16,0 | 17,1 | 18,2 | 19,2 | 20,3 | 21,4 | 22,5 | 23,5 | 24,6 |
78,6 | | | | | | | | | | | | | 15,0 | 16,1 | 17,2 | 18,3 | 19,4 | 20,5 | 21,6 | 22,6 | 23,7 |
78,8 | | | | | | | | | | | | | | 15,1 | 16,2 | 17,3 | 18,4 | 19,5 | 20,6 | 21,7 | 22,8 |
79,0 | | | | | | | | | | | | | | | 15,2 | 16,3 | 17,4 | 18,5 | 19,6 | 20,8 | 21,9 |
79,2 | | | | | | | | | | | | | | | | 15,3 | 16,4 | 17,5 | 18,7 | 19,8 | 20,9 |
79,4 | | | | | | | | | | | | | | | | | 15,4 | 16,6 | 17,7 | 18,8 | 19,9 |
Продолжение таблицы 20
Доброкачественность диффузионного сока, % | Доброкачественность сока II сатурации, % |
83,0 | 83,2 | 83,4 | 83,6 | 83,8 | 84,0 | 84,2 | 84,4 | 84,6 | 84,8 | 85,0 | 85,2 | 85,4 | 85,6 | 85,8 | 86,0 | 86,2 | 86,4 | 86,6 | 86,8 | 87,0 | 87,2 |
76,0 | 35,1 | 36,1 | 37,0 | 37,9 | 38,8 | 39,7 | 40,6 | | | | | | | | | | | | | | | |
76,2 | 34,4 | 35,3 | 36,3 | 37,2 | 38,1 | 39,0 | 39,9 | 40,8 | | | | | | | | | | | | | | |
76,4 | 33,7 | 34,6 | 35,6 | 36,5 | 37,4 | 38,3 | 39,3 | 40,2 | | | | | | | | | | | | | | |
76,6 | 32,9 | 33,9 | 34,8 | 35,8 | 36,7 | 37,6 | 38,6 | 39,5 | 40,4 | | | | | | | | | | | | | |
76,8 | 32,2 | 33,2 | 34,1 | 35,1 | 36,1 | 37,0 | 37,9 | 38,8 | 39,8 | 40,7 | | | | | | | | | | | | |
77,0 | 31,4 | 32,4 | 33,4 | 34,3 | 35,3 | 36,2 | 37,2 | 38,1 | 39,1 | 40,0 | | | | | | | | | | | | |
77,2 | 30,7 | 31,6 | 32,6 | 33,6 | 34,6 | 35,5 | 36,5 | 37,4 | 38,4 | 39,3 | 40,3 | | | | | | | | | | | |
77,4 | 29,9 | 30,8 | 31,8 | 32,8 | 33,8 | 34,8 | 35,7 | 36,7 | 37,7 | 38,6 | 39,6 | 40,5 | | | | | | | | | | |
77,6 | 29,1 | 30,1 | 31,1 | 32,1 | 33,0 | 34,0 | 35,0 | 36,0 | 37,0 | 37,9 | 38,9 | 39,8 | 40,8 | | | | | | | | | |
77,8 | 28,2 | 29,2 | 30,2 | 31,3 | 32,3 | 33,2 | 34,2 | 35,2 | 36,2 | 37,2 | 38,2 | 39,1 | 40,1 | | | | | | | | | |
78,0 | 27,4 | 28,4 | 29,4 | 30,5 | 31,5 | 32,5 | 33,5 | 34,5 | 36,5 | 36,5 | 37,5 | 38,4 | 39,4 | 40,4 | | | | | | | | |
78,2 | 26,5 | 27,6 | 28,6 | 29,6 | 30,7 | 31,7 | 32,7 | 33,7 | 34,7 | 35,7 | 36,7 | 37,7 | 38,7 | 39,7 | 40,6 | | | | | | | |
78,4 | 25,7 | 26,7 | 27,8 | 28,8 | 29,8 | 30,9 | 31,9 | 32,9 | 33,9 | 35,0 | 36,0 | 37,0 | 37,9 | 38,9 | 40,0 | | | | | | | |
78,6 | 24,8 | 25,8 | 26,9 | 28,0 | 29,0 | 30,0 | 31,1 | 32,1 | 33,2 | 34,2 | 35,2 | 36,2 | 37,2 | 38,2 | 39,2 | 40,2 | | | | | | |
78,8 | 23,9 | 25,0 | 26,0 | 27,1 | 28,2 | 29,2 | 30,3 | 31,3 | 32,4 | 33,4 | 34,4 | 35,5 | 36,5 | 37,5 | 38,5 | 39,5 | 40,5 | | | | | |
79,0 | 22,9 | 24,0 | 25,1 | 26,2 | 27,3 | 28,4 | 29,4 | 30,5 | 31,5 | 32,6 | 33,6 | 34,7 | 35,7 | 36,7 | 37,7 | 38,8 | 39,8 | 40,8 | | | | |
79,2 | 22,0 | 23,1 | 24,2 | 25,3 | 26,4 | 27,5 | 28,6 | 29,6 | 30,7 | 31,8 | 32,8 | 33,9 | 34,9 | 35,9 | 37,0 | 38,0 | 39,0 | 40,1 | | | | |
79,4 | 21,1 | 22,2 | 23,3 | 24,4 | 25,5 | 26,6 | 27,7 | 28,8 | 29,9 | 30,9 | 32,0 | 33,1 | 34,1 | 35,2 | 36,2 | 37,3 | 38,3 | 39,3 | 40,4 | | | |
79,6 | 20,1 | 21,2 | 22,3 | 23,4 | 24,6 | 25,7 | 26,8 | 27,9 | 29,0 | 30,1 | 31,2 | 32,2 | 33,3 | 34,4 | 35,4 | 36,5 | 37,5 | 38,6 | 39,6 | 40,7 | | |
79,8 | 19,1 | 20,2 | 21,4 | 22,5 | 23,6 | 24,7 | 25,9 | 27,0 | 28,1 | 29,2 | 30,3 | 31,4 | 32,5 | 33,6 | 34,6 | 35,7 | 36,8 | 37,8 | 38,9 | 39,9 | 41,0 | |
80,0 | 18,1 | 19,2 | 20,4 | 21,5 | 22,7 | 23,8 | 24,9 | 26,1 | 27,2 | 28,3 | 29,4 | 30,5 | 31,6 | 32,7 | 33,8 | 34,9 | 36,0 | 37,0 | 38,1 | 39,2 | 40,2 | |
80,2 | 17,0 | 18,2 | 19,4 | 20,5 | 21,7 | 22,8 | 24,0 | 25,1 | 26,3 | 27,4 | 28,5 | 29,7 | 30,8 | 31,9 | 33,0 | 34,1 | 35,2 | 36,3 | 37,3 | 38,4 | 39,5 | 40,6 |
Продолжение таблицы 20
| | ИС МЕГАНОРМ: примечание. Значения в шапке пятнадцатой и шестнадцатой граф приведены в соответствии с официальным текстом документа. | |
|
Доброкачественность диффузионного сока, % | Доброкачественность сока II сатурации, % |
83,8 | 84,0 | 84,2 | 84,4 | 84,6 | 84,8 | 85,0 | 85,2 | 85,4 | 85,6 | 85,8 | 86,0 | 86,2 | 86, | 86 | 86,8 | 87,0 |
80,4 | 20,7 | 21,9 | 23,0 | 24,2 | 25,3 | 26,5 | 27,7 | 28,8 | 29,9 | 31,0 | 32,2 | 33,3 | 34,4 | 35,5 | 36,6 | 37,7 | 38,8 |
80,6 | 19,7 | 20,9 | 22,0 | 23,2 | 24,4 | 25,5 | 26,7 | 27,8 | 29,0 | 30,1 | 31,2 | 32,4 | 33,5 | 34,6 | 35,7 | 36,8 | 37,9 |
80,8 | 18,7 | 19,8 | 21,0 | 22,2 | 23,4 | 24,6 | 25,7 | 26,9 | 28,1 | 29,2 | 30,4 | 31,5 | 32,6 | 33,8 | 34,9 | 36,0 | 37,1 |
81,0 | 17,6 | 18,8 | 20,0 | 21,2 | 22,4 | 23,6 | 24,8 | 25,9 | 27,1 | 28,3 | 29,4 | 30,6 | 31,8 | 32,9 | 34,0 | 35,2 | 36,3 |
81,2 | 16,5 | 17,7 | 19,0 | 20,2 | 21,4 | 22,6 | 23,8 | 25,0 | 26,2 | 27,3 | 28,5 | 29,7 | 30,9 | 32,0 | 33,2 | 34,3 | 35,5 |
81,4 | 15,4 | 16,7 | 17,9 | 19,1 | 20,3 | 21,6 | 22,8 | 24,0 | 25,2 | 26,4 | 27,6 | 28,8 | 30,0 | 31,1 | 32,3 | 33,5 | 34,6 |
81,6 | | 15,6 | 16,8 | 18,0 | 19,3 | 20,5 | 21,7 | 23,0 | 24,2 | 25,4 | 26,6 | 27,8 | 29,0 | 30,2 | 31,4 | 32,6 | 33,7 |
81,8 | | 14,4 | 15,7 | 16,9 | 18,2 | 19,4 | 20,7 | 21,9 | 23,2 | 24,4 | 25,6 | 26,8 | 28,0 | 29,3 | 30,5 | 31,7 | 32,8 |
82,0 | | | 14,5 | 15,8 | 17,1 | 18,3 | 19,6 | 20,9 | 22,1 | 23,4 | 24,6 | 25,8 | 27,1 | 28,3 | 29,5 | 30,7 | 31,9 |
82,2 | | | | 14,6 | 15,9 | 17,2 | 18,5 | 19,8 | 21,0 | 22,3 | 23,6 | 24,8 | 26,1 | 27,3 | 28,5 | 29,8 | 31,0 |
82,4 | | | | | 14,8 | 16,1 | 17,4 | 18,7 | 20,0 | 21,2 | 22,5 | 23,8 | 25,0 | 26,3 | 27,6 | 28,8 | 30,0 |
82,6 | | | | | | 14,9 | 16,2 | 17,5 | 18,8 | 20,1 | 21,4 | 22,7 | 24,0 | 25,3 | 26,6 | 27,8 | 29,1 |
82,8 | | | | | | | 15,0 | 16,4 | 17,7 | 19,0 | 20,3 | 21,6 | 22,9 | 24,2 | 25,5 | 26,8 | 28,1 |
83,0 | | | | | | | | 15,2 | 16,6 | 17,9 | 19,2 | 20,6 | 21,8 | 23,2 | 24,4 | 25,8 | 27,0 |
83,2 | | | | | | | | | 15,3 | 16,7 | 18,0 | 19,4 | 20,7 | 22,0 | 23,4 | 24,7 | 26,0 |
83,4 | | | | | | | | | | 15,5 | 16,8 | 18,2 | 19,6 | 20,9 | 22,3 | 23,6 | 24,9 |
83,6 | | | | | | | | | | 14,2 | 15,6 | 17,0 | 18,4 | 19,7 | 21,1 | 22,5 | 23,8 |
83,8 | | | | | | | | | | | 14,4 | 15,6 | 17,2 | 18,6 | 20,0 | 21,3 | 22,7 |
84,0 | | | | | | | | | | | | 14,5 | 15,9 | 17,4 | 18,8 | 20,1 | 21,5 |
84,2 | | | | | | | | | | | | | 14,7 | 16,1 | 17,5 | 19,0 | 20,1 |
84,4 | | | | | | | | | | | | | | 14,8 | 16,3 | 17,7 | 18,4 |
84,6 | | | | | | | | | | | | | | | 15,0 | 16,4 | 17,9 |
84,8 | | | | | | | | | | | | | | | | 15,2 | 16,6 |
Продолжение таблицы 20
Доброкачественность диффузионного сока, % | Доброкачественность сока II сатурации, % |
87,2 | 87,4 | 87,6 | 87,8 | 88,0 | 88,2 | 88,4 | 88,6 | 88,8 | 89,0 | 89,2 | 89,4 | 89,6 | 89,8 | 90,0 | 90,2 | 90,4 |
80,4 | 39,8 | 40,9 | | | | | | | | | | | | | | | |
80,6 | 39,0 | 40,1 | | | | | | | | | | | | | | | |
80,8 | 38,2 | 39,3 | 40,5 | | | | | | | | | | | | | | |
81,0 | 37,4 | 38,6 | 39,7 | 40,8 | | | | | | | | | | | | | |
81,2 | 36,6 | 37,8 | 38,9 | 40,0 | | | | | | | | | | | | | |
81,4 | 35,8 | 36,9 | 38,1 | 39,2 | 40,3 | | | | | | | | | | | | |
81,6 | 34,9 | 36,1 | 37,2 | 38,4 | 39,5 | 40,7 | | | | | | | | | | | |
81,8 | 34,0 | 35,2 | 36,4 | 37,6 | 38,7 | 39,9 | 41,0 | | | | | | | | | | |
82,0 | 33,1 | 34,3 | 35,5 | 36,7 | 37,9 | 39,1 | 40,2 | 41,4 | | | | | | | | | |
82,2 | 32,2 | 33,4 | 34,6 | 35,8 | 37,0 | 38,2 | 39,4 | 40,6 | 41,4 | | | | | | | | |
82,4 | 31,3 | 32,5 | 33,7 | 34,9 | 36,1 | 37,4 | 38,6 | 39,8 | 41,0 | | | | | | | | |
82,6 | 30,3 | 31,6 | 32,8 | 34,0 | 35,3 | 36,5 | 37,7 | 38,9 | 40,1 | 41,3 | | | | | | | |
82,8 | 29,3 | 30,6 | 31,8 | 33,1 | 34,3 | 35,6 | 36,8 | 38,1 | 39,3 | 40,5 | 41,7 | | | | | | |
83,0 | 28,3 | 29,6 | 30,9 | 32,2 | 33,4 | 34,7 | 35,9 | 37,2 | 38,4 | 39,7 | 40,9 | | | | | | |
83,2 | 27,3 | 28,6 | 29,9 | 31,2 | 32,5 | 33,7 | 35,0 | 36,3 | 37,5 | 38,8 | 40,0 | 41,3 | | | | | |
83,4 | 26,2 | 27,6 | 28,9 | 30,2 | 31,5 | 32,8 | 34,1 | 35,4 | 36,6 | 37,9 | 39,2 | 40,4 | | | | | |
83,6 | 25,2 | 26,5 | 27,8 | 29,2 | 30,5 | 31,8 | 33,1 | 34,4 | 35,7 | 37,0 | 38,3 | 39,6 | 40,8 | | | | |
83,8 | 24,1 | 25,4 | 26,8 | 28,1 | 29,5 | 30,8 | 32,1 | 33,4 | 34,8 | 36,1 | 37,4 | 38,7 | 40,0 | 41,2 | | | |
84,0 | 22,9 | 24,3 | 25,7 | 27,0 | 28,4 | 29,8 | 31,1 | 32,4 | 33,8 | 35,1 | 36,4 | 37,8 | 39,1 | 40,4 | 41,7 | | |
84,2 | 21,8 | 23,2 | 24,6 | 26,0 | 27,3 | 28,7 | 30,1 | 31,4 | 32,8 | 34,1 | 35,5 | 36,8 | 38,1 | 39,5 | 40,8 | | |
84,4 | 20,6 | 22,0 | 23,4 | 24,8 | 26,2 | 27,6 | 29,0 | 30,4 | 31,8 | 33,1 | 34,5 | 35,9 | 37,2 | 38,6 | 39,9 | 41,2 | |
84,6 | 19,9 | 20,8 | 22,2 | 23,7 | 25,1 | 26,5 | 27,9 | 29,3 | 30,7 | 32,1 | 33,5 | 34,9 | 36,2 | 37,6 | 39,0 | 40,3 | 41,7 |
84,8 | 18,1 | 19,6 | 21,0 | 22,5 | 23,9 | 25,4 | 26,8 | 28,2 | 29,6 | 31,0 | 32,4 | 33,9 | 35,2 | 36,6 | 38,0 | 39,4 | 40,8 |
Продолжение таблицы 20
Доброкачественность диффузионного сока, % | Доброкачественность сока II сатурации, % |
87,0 | 87,2 | 87,4 | 87,6 | 87,8 | 88,0 | 88,2 | 88,4 | 88,6 | 88,8 | 89,0 | 89,2 | 89,4 | 89,6 | 88,8 | 90,0 | 90,2 |
85,0 | 15,3 | 16,8 | 18,3 | 19,8 | 21,3 | 22,7 | 24,2 | 25,6 | 27,1 | 28,5 | 30,0 | 31,4 | 32,8 | 34,2 | 35,6 | 37,0 | 38,4 |
85,2 | | 15,5 | 17,0 | 18,5 | 20,0 | 21,5 | 23,0 | 24,5 | 25,9 | 27,4 | 28,8 | 30,3 | 31,7 | 33,2 | 34,6 | 36,0 | 37,4 |
85,4 | | 14,1 | 15,7 | 17,2 | 18,7 | 20,2 | 21,7 | 23,2 | 24,7 | 26,2 | 27,7 | 29,2 | 30,6 | 32,1 | 33,6 | 35,0 | 36,4 |
85,6 | | | 14,3 | 15,9 | 17,4 | 18,9 | 20,5 | 22,0 | 23,5 | 25,0 | 26,5 | 28,0 | 29,5 | 31,0 | 32,6 | 34,0 | 35,4 |
85,8 | | | | 14,4 | 16,0 | 17,6 | 19,2 | 20,7 | 22,2 | 23,8 | 25,3 | 26,8 | 28,4 | 29,9 | 31,4 | 32,9 | 34,3 |
86,0 | | | | | 14,6 | 16,2 | 17,8 | 19,4 | 21,0 | 22,5 | 24,1 | 25,6 | 27,2 | 28,7 | 30,2 | 31,8 | 33,3 |
86,2 | | | | | | 14,8 | 16,4 | 18,0 | 19,6 | 21,2 | 22,8 | 24,4 | 25,9 | 27,5 | 29,1 | 30,6 | 32,1 |
86,4 | | | | | | | 15,0 | 16,6 | 18,3 | 19,9 | 21,5 | 23,1 | 24,7 | 26,3 | 27,8 | 29,4 | 31,0 |
86,6 | | | | | | | | 15,2 | 16,8 | 18,5 | 20,1 | 21,8 | 23,4 | 25,0 | 26,6 | 28,2 | 29,8 |
86,8 | | | | | | | | | 15,4 | 17,1 | 18,7 | 20,4 | 22,0 | 23,7 | 25,3 | 26,9 | 28,6 |
87,0 | | | | | | | | | | 15,6 | 17,3 | 19,0 | 20,7 | 22,3 | 24,0 | 25,6 | 27,3 |
87,2 | | | | | | | | | | 14,1 | 15,8 | 17,5 | 19,2 | 20,9 | 22,6 | 24,3 | 26,0 |
87,4 | | | | | | | | | | | 14,3 | 16,0 | 17,8 | 19,5 | 21,2 | 22,9 | 24,6 |
87,6 | | | | | | | | | | | | 14,5 | 16,2 | 18,0 | 19,8 | 21,5 | 23,3 |
87,8 | | | | | | | | | | | | | 14,7 | 16,5 | 18,3 | 20,0 | 21,8 |
88,0 | | | | | | | | | | | | | | 14,9 | 16,7 | 18,5 | 20,3 |
88,2 | | | | | | | | | | | | | | | 15,1 | 17,0 | 18,8 |
88,4 | | | | | | | | | | | | | | | | 15,3 | 17,2 |
88,6 | | | | | | | | | | | | | | | | | 15,6 |
88,8 | | | | | | | | | | | | | | | | | 13,8 |
89,0 | | | | | | | | | | | | | | | | | |
89,2 | | | | | | | | | | | | | | | | | |
89,4 | | | | | | | | | | | | | | | | | |
89,6 | | | | | | | | | | | | | | | | | |
Продолжение таблицы 20
Доброкачественность диффузионного сока, % | Доброкачественность сока II сатурации, % |
90,4 | 90,6 | 90,8 | 91,0 | 91,2 | 91,4 | 91,6 | 91,8 | 92,0 | 92,2 | 92,4 | 92,6 | 92,8 | 93,0 | 93,2 | 93,4 | 93,6 |
85,0 | 39,8 | 41,2 | | | | | | | | | | | | | | | |
85,2 | 38,9 | 40,3 | | | | | | | | | | | | | | | |
85,4 | 37,9 | 39,3 | 40,7 | | | | | | | | | | | | | | |
85,6 | 36,9 | 38,3 | 39,8 | 41,2 | | | | | | | | | | | | | |
85,8 | 35,8 | 37,3 | 38,8 | 40,2 | | | | | | | | | | | | | |
86,0 | 34,8 | 36,3 | 37,8 | 39,2 | 40,7 | | | | | | | | | | | | |
86,2 | 33,7 | 35,2 | 36,7 | 38,2 | 39,7 | 41,2 | | | | | | | | | | | |
86,4 | 32,5 | 34,1 | 35,6 | 37,2 | 38,7 | 40,2 | | | | | | | | | | | |
86,6 | 31,4 | 33,0 | 34,6 | 36,1 | 37,6 | 39,2 | 40,7 | | | | | | | | | | |
86,8 | 30,2 | 31,8 | 33,4 | 35,0 | 36,5 | 38,1 | 39,7 | 41,3 | | | | | | | | | |
87,0 | 28,9 | 30,6 | 32,3 | 33,8 | 35,4 | 37,0 | 38,6 | 40,2 | 41,8 | | | | | | | | |
87,2 | 27,7 | 29,3 | 31,0 | 32,6 | 34,3 | 35,9 | 37,5 | 39,2 | 40,8 | | | | | | | | |
87,4 | 26,3 | 28,0 | 29,7 | 31,4 | 33,1 | 34,7 | 36,4 | 38,0 | 39,7 | 41,3 | | | | | | | |
87,6 | 25,0 | 26,7 | 28,4 | 30,1 | 31,8 | 33,5 | 35,2 | 36,9 | 38,6 | 40,2 | 41,9 | | | | | | |
87,8 | 23,6 | 25,3 | 27,1 | 28,8 | 30,6 | 32,3 | 34,0 | 35,7 | 37,4 | 39,1 | 40,8 | | | | | | |
88,0 | 22,1 | 23,9 | 25,7 | 27,5 | 29,2 | 31,0 | 32,8 | 34,5 | 36,2 | 38,0 | 39,7 | 41,4 | | | | | |
88,2 | 20,6 | 22,4 | 24,3 | 26,1 | 27,9 | 29,7 | 31,5 | 33,2 | 35,0 | 36,8 | 38,5 | 40,3 | 42,0 | | | | |
88,4 | 19,1 | 20,9 | 22,8 | 24,6 | 26,5 | 28,3 | 30,1 | 31,9 | 33,7 | 35,5 | 37,3 | 39,1 | 40,9 | | | | |
88,6 | 17,5 | 19,4 | 21,3 | 23,1 | 25,0 | 26,9 | 28,7 | 30,6 | 32,4 | 34,3 | 36,1 | 37,9 | 39,7 | 41,5 | | | |
88,8 | 15,8 | 17,7 | 19,7 | 21,6 | 23,5 | 25,4 | 26,3 | 29,2 | 31,1 | 32,9 | 34,8 | 36,6 | 38,5 | 40,3 | | | |
89,0 | 14,1 | 16,1 | 18,0 | 20,0 | 21,9 | 23,9 | 25,8 | 27,7 | 29,6 | 31,6 | 33,5 | 35,3 | 37,3 | 39,1 | 41,4 | | |
89,2 | | 14,3 | 16,3 | 18,3 | 20,3 | 22,3 | 24,3 | 26,2 | 28,1 | 30,1 | 32,1 | 34,0 | 36,0 | 37,8 | 39,9 | 41,6 | |
89,4 | | | 14,5 | 16,7 | 18,5 | 20,6 | 22,7 | 24,7 | 26,7 | 28,7 | 30,6 | 32,6 | 34,6 | 36,5 | 38,6 | 40,4 | |
89,6 | | | | 14,8 | 16,9 | 18,9 | 21,0 | 23,1 | 25,1 | 27,1 | 29,1 | 31,2 | 33,2 | 35,2 | 37,3 | 39,1 | 41,1 |
Продолжение таблицы 20
Доброкачественность диффузионного сока, % | Доброкачественность сока II сатурации, % |
91,2 | 91,4 | 91,6 | 91,8 | 92,0 | 92,2 | 92,4 | 92,6 | 92,8 | 93,0 | 93,2 | 93,4 | 93,6 | 93,8 | 94,0 | 94,2 | 94,4 | 94,6 |
89,8 | 15,1 | 17,2 | 19,3 | 21,4 | 23,4 | 25,5 | 27,6 | 29,6 | 31,7 | 33,7 | 35,8 | 37,8 | 39,8 | 41,8 | | | | |
90,0 | | 15,3 | 17,5 | 19,6 | 21,7 | 23,9 | 26,0 | 28,1 | 30,2 | 32,3 | 34,3 | 36,4 | 38,5 | 40,5 | | | | |
90,2 | | | 15,6 | 17,8 | 20,0 | 22,1 | 24,3 | 26,5 | 28,6 | 30,7 | 32,8 | 35,0 | 37,1 | 39,2 | 41,2 | | | |
90,4 | | | | 15,9 | 18,1 | 20,3 | 22,5 | 24,7 | 26,9 | 29,1 | 31,3 | 33,5 | 35,6 | 37,8 | 39,9 | 42,0 | | |
90,6 | | | | | 16,2 | 18,5 | 20,7 | 23,0 | 25,2 | 27,5 | 29,7 | 31,9 | 34,1 | 36,3 | 38,5 | 40,1 | | |
90,8 | | | | | 14,2 | 16,5 | 18,8 | 21,1 | 23,4 | 25,7 | 28,0 | 30,2 | 32,5 | 34,8 | 37,0 | 39,2 | 41,4 | |
91,0 | | | | | | 14,5 | 16,8 | 19,2 | 21,6 | 23,9 | 26,2 | 28,5 | 30,9 | 33,2 | 35,5 | 37,7 | 40,0 | |
91,2 | | | | | | | 14,8 | 17,2 | 19,6 | 22,0 | 24,4 | 26,8 | 29,1 | 31,5 | 33,8 | 36,2 | 38,5 | 40,8 |
91,4 | | | | | | | | 15,1 | 17,5 | 20,0 | 22,5 | 24,9 | 27,3 | 29,7 | 32,2 | 34,6 | 36,9 | 39,3 |
91,6 | | | | | | | | | 15,4 | 17,9 | 20,4 | 22,9 | 25,4 | 27,9 | 30,4 | 32,9 | 35,3 | 37,7 |
91,8 | | | | | | | | | | 15,7 | 18,3 | 20,9 | 23,5 | 26,0 | 28,5 | 31,1 | 33,6 | 36,1 |
92,0 | | | | | | | | | | 13,4 | 16,1 | 18,7 | 21,4 | 24,0 | 26,6 | 29,2 | 31,8 | 34,4 |
92,2 | | | | | | | | | | | 13,9 | 16,5 | 19,2 | 21,9 | 24,5 | 27,2 | 29,9 | 32,5 |
92,4 | | | | | | | | | | | | 14,1 | 16,9 | 19,6 | 22,4 | 25,1 | 27,9 | 30,6 |
92,6 | | | | | | | | | | | | | 14,4 | 17,3 | 20,1 | 22,9 | 25,8 | 28,6 |
92,8 | | | | | | | | | | | | | | 14,8 | 17,7 | 20,6 | 23,5 | 26,4 |
93,0 | | | | | | | | | | | | | | | 15,2 | 18,2 | 21,2 | 24,2 |
Таблица 21
Растворимость сахарозы в воде при различных температурах
Температура, °C | Содержание воды в растворе, % | Содержание сахара в растворе, % | На 100 частей воды приходится частей сахара | Температура, °C | Содержание воды в растворе, % | Содержание сахара в растворе, % | На 100 частей воды приходится частей сахара |
1 | 2 | 3 | 4 | 5 | 6 | 7 | 8 |
-13,9 | 36,28 | 63,72 | 175,63 | -10 | 36,13 | 63,87 | 176,77 |
-13 | 36,25 | 63,75 | 175,86 | -9 | 36,08 | 63,92 | 177,16 |
-12 | 36.21 | 63.79 | 176,16 | -8 | 36,03 | 63,97 | 177,54 |
-11 | 36,17 | 63,83 | 176,47 | -7 | 35,98 | 64,02 | 177,99 |
Продолжение таблицы 21
1 | 2 | 3 | 4 | 5 | 6 | 7 | 8 |
-6 | 35,93 | 64,07 | 178,31 | 22 | 33,09 | 66,91 | 202,20 |
-5 | 35,87 | 64,13 | 178,78 | 23 | 32,94 | 67,06 | 203,58 |
-4 | 35,81 | 64,19 | 179,25 | 24 | 32,79 | 67,21 | 204,97 |
-3 | 35,74 | 64,26 | 179,79 | 25 | 32,64 | 67,36 | 206,37 |
| | ИС МЕГАНОРМ: примечание. Значение в 1-й графе приведено в соответствии с официальным текстом документа. | |
|
2 | 35,67 | 64,33 | 180,34 | 26 | 32,48 | 67,52 | 207,88 |
-1 | 35,60 | 64,40 | 180,89 | 27 | 32,32 | 67,68 | 209,40 |
0 | 35,53 | 64,47 | 181,45 | 28 | 32,16 | 67,84 | 210,94 |
1 | 35,45 | 64,55 | 182,08 | 29 | 31,99 | 68,01 | 212,59 |
2 | 35,37 | 64,63 | 182,72 | 30 | 31,82 | 68,18 | 214,26 |
3 | 35,29 | 64,71 | 183,35 | 31 | 31,65 | 68,35 | 215,95 |
4 | 35,20 | 64,80 | 184,09 | 32 | 31,47 | 68,53 | 217,76 |
5 | 35,11 | 64,89 | 184,81 | 33 | 31,29 | 68,71 | 219,59 |
6 | 35,02 | 64,98 | 185,55 | 34 | 31,11 | 68,89 | 221,44 |
7 | 34,92 | 65,08 | 186,36 | 35 | 30,92 | 69,08 | 223,41 |
8 | 34,82 | 65,18 | 187,19 | 36 | 30,72 | 69,27 | 225,48 |
9 | 34,72 | 65,28 | 188,01 | 37 | 30,54 | 69,46 | 227,43 |
10 | 34,61 | 65,39 | 188,93 | 38 | 30,34 | 69,66 | 229,59 |
11 | 34,50 | 65,50 | 189,85 | 39 | 30,14 | 69,86 | 231,78 |
12 | 34,39 | 65,61 | 190,78 | 40 | 29,94 | 70,06 | 234,00 |
13 | 34,27 | 65,73 | 191,80 | 41 | 29,73 | 70,27 | 236,36 |
14 | 34,15 | 65,85 | 192,82 | 42 | 29,53 | 70,47 | 238,63 |
15 | 34,03 | 65,97 | 193,85 | 43 | 29,32 | 70,68 | 241,06 |
16 | 33,91 | 66,09 | 194,89 | 44 | 29,11 | 70,89 | 243,52 |
17 | 33,78 | 66,22 | 196,03 | 45 | 28,90 | 71,10 | 246,02 |
18 | 33,65 | 66,35 | 197,17 | 46 | 28,70 | 71,30 | 248,43 |
19 | 33,51 | 66,49 | 198,41 | 47 | 28,50 | 71,50 | 250,87 |
20 | 33,38 | 66,62 | 199,58 | 48 | 28,29 | 71,71 | 253,48 |
21 | 33,24 | 66,76 | 200,84 | 49 | 28,08 | 71,92 | 256,12 |
Продолжение таблицы 21
1 | 2 | 3 | 4 | 5 | 6 | 7 | 8 |
50 | 27,88 | 72,12 | 258,68 | 76 | 22,22 | 77,78 | 350,04 |
51 | 27,67 | 72,33 | 261,40 | 77 | 21,99 | 78,01 | 354,75 |
52 | 27,46 | 72,54 | 264,16 | 78 | 21,76 | 78,24 | 359,55 |
53 | 27,25 | 72,75 | 266,97 | 79 | 21,54 | 78,46 | 364,25 |
54 | 27,04 | 72,96 | 269,82 | 80 | 21,31 | 78,69 | 369,26 |
55 | 26,83 | 73,17 | 272,71 | 81 | 21,08 | 78,92 | 374,38 |
56 | 26,61 | 73,39 | 275,79 | 82 | 20,84 | 79,16 | 379,84 |
57 | 26,40 | 73,60 | 278,78 | 83 | 20,61 | 79,39 | 385,20 |
58 | 26,19 | 73,81 | 281,82 | 84 | 20,38 | 79,62 | 390,67 |
59 | 25,97 | 74,03 | 285,05 | 85 | 20,15 | 79,85 | 396,27 |
60 | 25,76 | 74,24 | 288,19 | 86 | 19,91 | 80,09 | 402,26 |
61 | 25,54 | 74,46 | 291,54 | 87 | 19,68 | 80,32 | 408,13 |
62 | 25,33 | 74,67 | 294,78 | 88 | 19,44 | 80,56 | 414,40 |
63 | 25,11 | 74,89 | 298,24 | 89 | 19,20 | 80,80 | 420,83 |
64 | 24,89 | 75,11 | 301,76 | 90 | 19,01 | 80,99 | 426,03 |
65 | 24,67 | 75,33 | 305,35 | 91 | 18,83 | 81,17 | 431,06 |
66 | 24,45 | 75,55 | 308,99 | 92 | 18,64 | 81,36 | 436,48 |
67 | 24,23 | 75,77 | 312,71 | 93 | 18,45 | 81,55 | 442,00 |
68 | 24,01 | 75,99 | 316,49 | 94 | 18,27 | 81,73 | 447,34 |
69 | 23,79 | 76,21 | 320,34 | 95 | 18,08 | 81,92 | 453,09 |
70 | 23,57 | 76,43 | 324,26 | 96 | 17,89 | 82,11 | 458,97 |
71 | 23,35 | 76,65 | 328,26 | 97 | 17,70 | 82,30 | 464,97 |
72 | 23,12 | 76,88 | 332,52 | 98 | 17,51 | 82,49 | 471,10 |
73 | 22,90 | 77,10 | 336,68 | 99 | 17,32 | 82,68 | 477,36 |
74 | 22,67 | 77,33 | 341,11 | 100 | 17,12 | 82,88 | 484,11 |
75 | 22,45 | 77,55 | 345,43 | |
Таблица 22
Повышение точки кипения для чистых и нечистых
сахарных растворов
Содержание сухих веществ, % | При атмосферном давлении | При разрежении 82,26 кПа |
доброкачественность раствора, % |
100 | 90 | 80 | 100 | 90 | 80 |
5 | 0,07 | 0,06 | 0,07 | 0,05 | 0,05 | 0,06 |
10 | 0,16 | 0,12 | 0,14 | 0,10 | 0,10 | 0,12 |
15 | 0,25 | 0,20 | 0,24 | 0,18 | 0,18 | 0,22 |
20 | 0,37 | 0,30 | 0,35 | 0,27 | 0,27 | 0,32 |
25 | 0,51 | 0,48 | 0,50 | 0,40 | 0,41 | 0,44 |
30 | 0,67 | 0,65 | 0,70 | 0,54 | 0,54 | 0,62 |
35 | 0,88 | 0,85 | 1,00 | 0,71 | 0,74 | 0,89 |
40 | 1,12 | 1,10 | 1,35 | 0,85 | 0,92 | 1,15 |
45 | 1,36 | 1,55 | 1,75 | 1,10 | 1,21 | 1,43 |
50 | 1,81 | 2,00 | 2,25 | 1,40 | 1,60 | 1,85 |
55 | 2,33 | 2,50 | 3,00 | 1,82 | 1,98 | 2,48 |
60 | 3,01 | 3,30 | 3,80 | 2,45 | 2,70 | 3,20 |
65 | 3,94 | 4,30 | 4,80 | 3,00 | 3,36 | 3,92 |
70 | 5,24 | 5,30 | 6,30 | 3,90 | 4,30 | 5,30 |
75 | 7,00 | 7,40 | 8,70 | 5,40 | 5,80 | 7,10 |
80 | 9,41 | 10,00 | 11,70 | 7,30 | 8,00 | 9,70 |
85 | 15,00 | 13,50 | 16,1 | 10,00 | - | - |
90 | 19,60 | 21,10 | 22,1 | - | - | - |
Таблица 23
Зависимость давления насыщенных водяных паров от температуры
Температура, °C | Давление, кПа |
0 | 0,611 |
5 | 0,872 |
10 | 1,227 |
15 | 1,704 |
20 | 2,337 |
25 | 3,166 |
30 | 4,241 |
35 | 5,622 |
40 | 7,375 |
45 | 9,582 |
50 | 12,335 |
55 | 15,740 |
60 | 19,917 |
65 | 25,007 |
70 | 31,166 |
75 | 38,550 |
80 | 47,356 |
85 | 57,804 |
90 | 70,108 |
95 | 84,524 |
100 | 101,322 |
105 | 120,798 |
110 | 143,265 |
115 | 169,057 |
120 | 198,536 |
125 | 232,084 |
130 | 270,114 |
135 | 313,028 |
140 | 361,375 |
145 | 415,508 |
150 | 476,015 |
Таблица 24
Определение содержания сахара в промоях адсорберов,
гранулированном угле
Показания сахариметра, °S | Содержание сахара, %, при измерении в кювете длиной 400 мм |
десятые доли |
0,0 | 0,1 | 0,2 | 0,3 | 0,4 | 0,5 | 0,6 | 0,7 | 0,8 | 0,9 |
0 | 0,00 | 0,01 | 0,03 | 0,04 | 0,05 | 0,07 | 0,08 | 0,09 | 0,10 | 0,12 |
1 | 0,13 | 0,14 | 0,16 | 0,17 | 0,18 | 0,20 | 0,21 | 0,22 | 0,23 | 0,25 |
2 | 0,26 | 0,27 | 0,29 | 0,30 | 0,31 | 0,33 | 0,34 | 0,35 | 0,36 | 0,38 |
3 | 0,39 | 0,40 | 0,42 | 0,43 | 0,44 | 0,46 | 0,47 | 0,48 | 0,49 | 0,51 |
4 | 0,52 | 0,53 | 0,55 | 0,56 | 0,57 | 0,59 | 0,60 | 0,61 | 0,62 | 0,64 |
Показания сахариметра, °S | Содержание сахара, %, при измерении в кювете длиной 200 мм |
десятые доли |
0 | 0,1 | 0,2 | 0,3 | 0,4 | 0,5 | 0,6 | 0,7 | 0,8 | 0,9 |
0 | 0,00 | 0,03 | 0,05 | 0,08 | 0,10 | 0,13 | 0,16 | 0,18 | 0,21 | 0,23 |
1 | 0,26 | 0,29 | 0,31 | 0,34 | 0,36 | 0,39 | 0,42 | 0,44 | 0,47 | 0,49 |
2 | 0,52 | 0,55 | 0,57 | 0,60 | 0,62 | 0,65 | 0,68 | 0,70 | 0,73 | 0,75 |
3 | 0,78 | 0,81 | 0,83 | 0,86 | 0,88 | 0,91 | 0,94 | 0,96 | 0,99 | 1,01 |
4 | 1,04 | 1,07 | 1,09 | 1,12 | 1,14 | 1,17 | 1,20 | 1,22 | 1,25 | 1,27 |
Таблица 25
Определение температуры отсыревания сахара-песка
t° - показания сухого термометра, °C
r - относительная влажность, %
tp - температура, предельно опасная для отсыревания сахара-песка, °C
t° | Относительная влажность и температура, предельно опасная для отсыревания сахара-песка при психрометрической разности | t° |
1° | 2° | 3° | 4° | 5° | 6° |
1 | 2 | 3 | 4 | 5 | 6 | 7 | 8 | 9 | 10 | 11 | 12 | 13 | 14 |
-15 | 51 | -18,3 | | | | | | | | | | | -15 |
-14 | 54 | -16,8 | | | | | | | | | | | -14 |
-13 | 58 | -15,1 | | | | | | | | | | | -13 |
-12 | 61 | -13,6 | | | | | | | | | | | -12 |
-11 | 63 | -12,1 | | | | | | | | | | | -11 |
-10 | 66 | -10,7 | 32 | -18,3 | | | | | | | | | -10 |
-9 | 68 | -9,2 | 37 | -16,2 | | | | | | | | | -9 |
-8 | 70 | | 41 | -14,0 | | | | | | | | | -8 |
-7 | | 44 | -11,1 | | | | | | | | | -7 |
-6 | 48 | -10,4 | | | | | | | | | -6 |
-5 | 51 | -8,6 | 27 | -15,7 | | | | | | | -5 |
-4 | 54 | -7,1 | 32 | -13,1 | | | | | | | -4 |
-3 | 56 | -5,5 | 35 | -10,9 | | | | | | | -3 |
-2 | 59 | -4,0 | 39 | -8,7 | | | | | | | -2 |
-1 | 61 | -2,7 | 42 | -6,9 | 24 | -13,3 | | | | | -1 |
0 | 63 | -1,3 | 45 | -5,2 | 28 | -10,7 | | | | | 0 |
1 | 65 | +0,1 | 48 | -3,6 | 32 | -8,3 | | | | | 1 |
2 | 68 | 1,5 | 51 | -2,0 | 35 | -6,2 | | | | | 2 |
3 | 69 | 2,9 | 54 | -0,5 | 39 | -4,4 | 24 | -9,9 | | | 3 |
4 | 70 | | 56 | +0,9 | 42 | -2,6 | 28 | -7,3 | | | 4 |
5 | | 58 | 2,3 | 45 | -1,1 | 32 | -5,1 | | | 5 |
6 | 60 | 3,7 | 47 | +0,4 | 35 | -3,3 | 23 | -8,3 | 6 |
7 | 61 | 5,1 | 49 | 2,0 | 37 | -1,7 | 26 | -6,0 | 7 |
8 | 63 | 6,4 | 51 | 3,5 | 40 | 0 | 29 | -4,0 | 8 |
9 | 64 | 7,7 | 53 | 4,9 | 42 | +1,6 | 31 | -2,1 | 9 |
10 | 65 | 8,9 | 54 | 6,3 | 44 | 3,2 | 34 | -0,4 | 10 |
11 | 66 | 10,2 | 56 | 7,7 | 46 | 4,8 | 36 | +1,3 | 11 |
12 | 68 | 11,5 | 57 | 9,0 | 48 | 6,3 | 38 | 3,1 | 12 |
13 | 69 | 12,7 | 59 | 10,3 | 49 | 7,8 | 40 | 4,8 | 13 |
14 | 70 | | 60 | 11,7 | 51 | 9,2 | 42 | 6,4 | 14 |
15 | | 61 | 13,0 | 52 | 10,6 | 44 | 8,0 | 15 |
16 | 62 | 14,2 | 54 | 12,0 | 46 | 9,4 | 16 |
17 | Относительная влажность выше 70% | Вводить в неотапливаемый склад такой воздух нельзя | Относительная влажность выше 70% | Вводить в неотапливаемый склад такой воздух нельзя | Относительная влажность выше 70% | Вводить в неотапливаемый склад такой воздух нельзя | 63 | 15,4 | 55 | 13,3 | 47 | 10,8 | 17 |
18 | 54 | 16,6 | 56 | 14,6 | 49 | 12,3 | 18 |
19 | 65 | 17,9 | 58 | 15,9 | 50 | 13,5 | 19 |
20 | 66 | 19,1 | 59 | 17,2 | 51 | 15,1 | 20 |
21 | 67 | 20,3 | 60 | 18,4 | 52 | 16,4 | 21 |
22 | 68 | 21,5 | 61 | 19,7 | 54 | 17,7 | 22 |
23 | 69 | 22,7 | 61 | 20,9 | 55 | 19,0 | 23 |
24 | 69 | 23,8 | 62 | 22,1 | 56 | 20,3 | 24 |
25 | 70 | Вводить в неотапливаемый склад такой воздух нельзя. | 63 | 23,3 | 57 | 21,5 | 25 |
26 | Относительная влажность выше 70% | 64 | 24,6 | 58 | 22,8 | 26 |
27 | 65 | 25,7 | 59 | 24,0 | 27 |
28 | 65 | 26,9 | 59 | 25,2 | 28 |
29 | 66 | 28,0 | 60 | 26,4 | 29 |
30 | 67 | 29,2 | 61 | 27,6 | 30 |
Таблица 26
Определение температуры отсыревания сахара-рафинада
t° - показания сухого термометра, °C.
r - относительная влажность, %.
tp - температура, предельно опасная для отсыревания рафинада, °C.
t° | Относительная влажность и температура, предельно опасная для отсыревания сахара-рафинада при психрометрической разности | t° |
1° | 2° | 3° | 4° | 5° | 6° |
1 | 2 | 3 | 4 | 5 | 6 | 7 | 8 | 9 | 10 | 11 | 12 | 13 | 14 |
-15 | 51 | -20,3 | | | | | | | | | | | -15 |
-14 | 54 | -18,8 | | | | | | | | | | | -14 |
-13 | 58 | -17,7 | | | | | | | | | | | -13 |
-12 | 61 | -15,6 | | | | | | | | | | | -12 |
-11 | 63 | -14,3 | | | | | | | | | | | -11 |
-10 | 66 | -12,9 | 32 | -20,4 | | | | | | | | | -10 |
-9 | 68 | -11,5 | 37 | -18,2 | | | | | | | | | -9 |
-8 | 70 | -10,2 | 41 | -16,1 | | | | | | | | | -8 |
-7 | 72 | -9,5 | 44 | -14,3 | | | | | | | | | -7 |
-6 | 74 | -7,7 | 48 | -12,6 | | | | | | | | | -6 |
-5 | 75 | -6,5 | 51 | -10,9 | 27 | -17,7 | | | | | | | -5 |
-4 | 77 | -5,2 | 54 | -9,4 | 32 | -15,2 | | | | | | | -4 |
-3 | 78 | -4,0 | 56 | -7,7 | 35 | -13,1 | | | | | | | -3 |
-2 | 79 | -2,9 | 59 | -6,3 | 39 | -11,0 | | | | | | | -2 |
-1 | 80 | -1,7 | 61 | -4,9 | 42 | -9,2 | 24 | -15,4 | | | | | -1 |
0 | 81 | -0,5 | 63 | -3,6 | 45 | -7,4 | 28 | -12,9 | | | | | 0 |
1 | 83 | + 0,7 | 65 | -2,3 | 48 | -5,9 | 32 | -10,6 | | | | | 1 |
2 | 84 | 1,9 | 68 | -1,0 | 51 | -4,3 | 35 | -8,6 | | | | | 2 |
3 | 84 | 2,9 | 69 | +0,2 | 54 | -2,8 | 39 | -6,9 | 24 | -12,0 | | | 3 |
4 | 85 | | 70 | 1,3 | 56 | -1,5 | 42 | -4,9 | 28 | -9,6 | | | 4 |
5 | | 72 | 2,6 | 58 | -0,3 | 45 | -3,5 | 32 | -7,3 | | | 5 |
6 | 73 | 3,8 | 60 | +1,0 | 47 | -2,1 | 35 | -5,6 | | | 6 |
7 | 74 | 5,0 | 61 | 2,3 | 49 | -0,7 | 37 | - 4,0 | 26 | -10,1 | 7 |
8 | 75 | 6,3 | 63 | 3,7 | 51 | +0,7 | 40 | -2,4 | 29 | -6,3 | 8 |
9 | 76 | 7,3 | 64 | 4,9 | 53 | 2,2 | 42 | -0,9 | 31 | -4,4 | 9 |
10 | 76 | 8,5 | 65 | 6,2 | 54 | 3,6 | 44 | -0,5 | 34 | -2,8 | 10 |
11 | 77 | 9,6 | 66 | 7,4, | 56 | 4,9 | 46 | +2,1 | 36 | -1,1 | 11 |
12 | 78 | 10,7 | 68 | 8,6 | 57 | 6,3 | 48 | 3,6 | 38 | +0,4 | 12 |
13 | 79 | 11,8 | 69 | 9,8 | 59 | 7,6 | 49 | 5,0 | 40 | 2,1 | 13 |
14 | 79 | 13,0 | 70 | 11,0 | 60 | 8,8 | 51 | 6,4 | 42 | 3,7 | 14 |
15 | 80 | 14,1 | 71 | 12,3 | 61 | 10,0 | 52 | 7,7 | 44 | 5,1 | 15 |
16 | 81 | 15,2 | 71 | 13,4 | 62 | 11,3 | 54 | 9,0 | 46 | 6,6 | 16 |
17 | 81 | 16,3 | 72 | 14,5 | 63 | 12,5 | 55 | 10,4 | 47 | 8,0 | 17 |
18 | 82 | 17,4 | 73 | 15,6 | 64 | 13,7 | 56 | 11,6 | 49 | 9,4 | 18 |
19 | 82 | 18,5 | 74 | 16,7 | 65 | 14,9 | 58 | 12,9 | 50 | 10,8 | 19 |
20 | 83 | 19,5 | 74 | 17,8 | 66 | 16,1 | 59 | 14,2 | 51 | 12,1 | 20 |
21 | 83 | 20,6 | 75 | 19,0 | 67 | 17,2 | 60 | 15,4 | 52 | 13,4 | 21 |
22 | 83 | 21,7 | 76 | 20,1 | 68 | 18,4 | 61 | 16,6 | 54 | 14,7 | 22 |
23 | 84 | 22,7 | 76 | 21,2 | 69 | 19,5 | 61 | 17,8 | 55 | 15,9 | 23 |
24 | 84 | 23,8 | 77 | 22,3 | 69 | 20,7 | 62 | 19,0 | 56 | 17,2 | 24 |
25 | Относительная влажность, %, выше 85 | Вводить в неотапливаемый склад такой воздух нельзя | 84 | Вводить в неотапливаемый склад такой воздух нельзя | 77 | 23,4 | 70 | 21,8 | 63 | 20,1 | 57 | 18,4 | 25 |
26 | 85 | 78 | 24,5 | 71 | 22,9 | 64 | 21,3 | 58 | 19,6 | 26 |
27 | Относительная влажность, %, выше 85 | 78 | 25,6 | 71 | 24,0 | 65 | 22,4 | 59 | 20,8 | 27 |
28 | 78 | 26,6 | 72 | 25,2 | 65 | 23,6 | 59 | 22,0 | 28 |
29 | 79 | 27,8 | 72 | 26,3 | 66 | 24,8 | 60 | 23,1 | 29 |
30 | 79 | 28,8 | 73 | 27,4 | 67 | 25,9 | 61 | 24,3 | 30 |
Таблица 27
ПСИХРОМЕТРИЧЕСКАЯ ТАБЛИЦА ДЛЯ ОПРЕДЕЛЕНИЯ ОТНОСИТЕЛЬНОЙ
ВЛАЖНОСТИ ВОЗДУХА, %
Показания влажного термометра, °C | Показания сухого термометра, °C |
40 | 39 | 38 | 37 | 36 | 35 | 34 | 33 | 32 | 31 | 30 | 29 | 28 | 27 | 26 | 25 | 24 | 23 | 22 | 21 | 20 | 19 | 18 |
37 | 82 | 87 | | | | | | | | | | | | | | | | | | | | | |
36 | 76 | 81 | 87 | | | | | | | | | | | | | | | | | | | | |
35 | 71 | 76 | 81 | 87 | | | | | | | | | | | | | | | | | | | |
34 | 65 | 70 | 75 | 81 | 87 | | | | | | | | | | | | | | | | | | |
33 | 60 | 65 | 70 | 75 | 80 | 87 | 93 | | | | | | | | | | | | | | | | |
32 | 56 | 60 | 64 | 69 | 75 | 80 | 86 | 93 | | | | | | | | | | | | | | | |
31 | 51 | 55 | 59 | 64 | 69 | 74 | 80 | 86 | 93 | | | | | | | | | | | | | | |
30 | 46 | 50 | 54 | 58 | 63 | 68 | 73 | 80 | 86 | 93 | | | | | | | | | | | | | |
29 | 42 | 45 | 49 | 53 | 58 | 62 | 67 | 73 | 79 | 86 | 92 | 100 | | | | | | | | | | | |
28 | 38 | 41 | 45 | 48 | 53 | 57 | 62 | 67 | 73 | 79 | 85 | 92 | 100 | | | | | | | | | | |
27 | 34 | 37 | 40 | 44 | 48 | 52 | 56 | 61 | 66 | 72 | 78 | 85 | 92 | 100 | | | | | | | | | |
26 | 30 | 33 | 36 | 39 | 43 | 47 | 51 | 55 | 60 | 66 | 71 | 78 | 85 | 92 | 100 | | | | | | | | |
25 | 26 | 29 | 32 | 35 | 38 | 42 | 46 | 50 | 55 | 60 | 65 | 71 | 77 | 84 | 92 | 100 | | | | | | | |
24 | 23 | 25 | 28 | 31 | 34 | 37 | 41 | 45 | 49 | 54 | 59 | 64 | 70 | 77 | 84 | 91 | 100 | | | | | | |
23 | 19 | 21 | 24 | 27 | 29 | 33 | 36 | 40 | 44 | 48 | 53 | 58 | 63 | 70 | 76 | 84 | 92 | 100 | | | | | |
22 | 16 | 18 | 20 | 23 | 25 | 28 | 31 | 35 | 39 | 43 | 47 | 52 | 57 | 63 | 69 | 76 | 83 | 91 | 100 | | | | |
21 | | 15 | 17 | 19 | 21 | 24 | 27 | 30 | 33 | 37 | 41 | 46 | 51 | 56 | 62 | 68 | 75 | 83 | 91 | 100 | | | |
20 | | | 13 | 15 | 18 | 20 | 23 | 25 | 29 | 32 | 36 | 40 | 45 | 50 | 55 | 61 | 67 | 74 | 82 | 91 | 100 | | |
19 | | | | 12 | 14 | 16 | 18 | 21 | 24 | 27 | 31 | 34 | 39 | 44 | 49 | 54 | 60 | 67 | 74 | 82 | 90 | 100 | |
18 | | | | | | 12 | 14 | 17 | 20 | 22 | 26 | 29 | 33 | 37 | 42 | 47 | 53 | 59 | 66 | 73 | 81 | 90 | 100 |
Продолжение табл. 27
Показания влажного термометра, °C | Показания сухого термометра, °C |
34 | 33 | 32 | 31 | 30 | 29 | 28 | 27 | 26 | 25 | 24 | 23 | 22 | 21 | 20 | 19 | 18 | 17 | 16 | 15 | 14 | 13 | 12 | 11 | 10 | 9 |
17 | 11 | 13 | 15 | 18 | 21 | 24 | 28 | 32 | 36 | 41 | 46 | 52 | 58 | 65 | 72 | 80 | 90 | 100 | | | | | | | | |
16 | | 9 | 11 | 13 | 16 | 19 | 22 | 26 | 30 | 34 | 39 | 44 | 50 | 57 | 64 | 71 | 81 | 90 | 100 | | | | | | | |
15 | | | 7 | 9 | 12 | 14 | 17 | 21 | 24 | 28 | 33 | 38 | 43 | 49 | 56 | 63 | 71 | 79 | 89 | 100 | | | | | | |
14 | | | | | 7 | 10 | 12 | 15 | 19 | 22 | 27 | 31 | 36 | 41 | 47 | 54 | 62 | 70 | 79 | 89 | 100 | | | | | |
13 | | | | | | 5 | 8 | 10 | 13 | 17 | 20 | 25 | 29 | 34 | 40 | 46 | 53 | 60 | 69 | 79 | 89 | 100 | | | | |
12 | | | | | | | | 5 | 8 | 11 | 14 | 19 | 23 | 27 | 32 | 38 | 45 | 52 | 59 | 68 | 78 | 88 | 100 | | | |
11 | | | | | | | | | | 6 | 9 | 12 | 16 | 20 | 25 | 30 | 36 | 43 | 50 | 58 | 67 | 77 | 88 | 100 | | |
10 | | | | | | | | | | | | 6 | 10 | 14 | 18 | 23 | 28 | 34 | 41 | 49 | 57 | 66 | 76 | 88 | 100 | |
9 | | | | | | | | | | | | | | 7 | 11 | 15 | 20 | 26 | 32 | 39 | 47 | 55 | 65 | 76 | 87 | 100 |
8 | | | | | | | | | | | | | | | 5 | 9 | 13 | 18 | 24 | 30 | 37 | 45 | 54 | 63 | 74 | 86 |
7 | | | | | | | | | | | | | | | | | 6 | 10 | 15 | 21 | 28 | 35 | 43 | 52 | 62 | 73 |
6 | | | | | | | | | | | | | | | | | | | 7 | 12 | 18 | 25 | 32 | 40 | 50 | 60 |
5 | | | | | | | | | | | | | | | | | | | | 4 | 9 | 15 | 22 | 30 | 38 | 48 |
4 | | | | | | | | | | | | | | | | | | | | | | 6 | 12 | 19 | 27 | 36 |
3 | | | | | | | | | | | | | | | | | | | | | | | | | 16 | 24 |
2 | | | | | | | | | | | | | | | | | | | | | | | | | 6 | 11 |
Продолжение табл. 27
Показания влажного термометра, °C | Показания сухого термометра, °C |
8 | 7 | 6 | 5 | 4 | 3 | 2 | 1 | 0 | -1 | -2 | -3 | -4 | -5 | -6 | -7 | -8 | -9 | -10 |
8 | 100 | | | | | | | | | | | | | | | | | | |
7 | 86 | 100 | | | | | | | | | | | | | | | | | |
6 | 72 | 85 | 100 | | | | | | | | | | | | | | | | |
5 | 59 | 71 | 85 | 100 | | | | | | | | | | | | | | | |
4 | 46 | 57 | 70 | 84 | 100 | | | | | | | | | | | | | | |
3 | 34 | 44 | 55 | 69 | 83 | 100 | | | | | | | | | | | | | |
2 | 21 | 31 | 41 | 53 | 67 | 83 | 100 | | | | | | | | | | | | |
1 | 9 | 18 | 28 | 39 | 51 | 66 | 82 | 100 | | | | | | | | | | | |
0 | | 5 | 14 | 24 | 36 | 49 | 64 | 79 | 100 | | | | | | | | | | |
- 1 | | | | 10 | 21 | 33 | 47 | 62 | 80 | 100 | | | | | | | | | |
- 2 | | | | | 6 | 17 | 30 | 44 | 60 | 79 | 100 | | | | | | | | |
- 3 | | | | | | | 17 | 26 | 41 | 58 | 78 | 100 | | | | | | | |
- 4 | | | | | | | | 9 | 23 | 38 | 56 | 77 | 100 | | | | | | |
- 5 | | | | | | | | | 4 | 18 | 35 | 54 | 75 | 100 | | | | | |
- 6 | | | | | | | | | | | 14 | 31 | 51 | 74 | 100 | | | | |
- 7 | | | | | | | | | | | | 9 | 28 | 48 | 72 | 100 | | | |
- 8 | | | | | | | | | | | | | 4 | 24 | 45 | 71 | 100 | | |
- 9 | | | | | | | | | | | | | | | 19 | 42 | 69 | 100 | |
- 10 | | | | | | | | | | | | | | | | 14 | 39 | 67 | 100 |
Таблица 28
Коэффициенты для перевода объемного количества сиропа
и оттеков в эквивалентное количество утфелей
(температура сиропа и оттеков принята 60 °C;
СВ - содержание сухих веществ, %)
Содержание сухих веществ продукта, % к его массе | Содержание сухих веществ утфеля, % к его массе | Десятые доли СВ | Поправки на 0,1 СВ |
90 | 91 | | 93 | 94 | 95 | продукта | утфеля |
48 | 0,636 | 0,632 | 0,626 | 0,619 | 0,613 | 0,606 | 1 | 0,002 | 0,001 |
49 | 0,652 | 0,648 | 0,642 | 0,635 | 0,628 | 0,622 | 2 | 3 | 2 |
50 | 0,670 | 0,664 | 0,656 | 0,650 | 0,644 | 0,636 | 3 | 5 | 2 |
51 | 0,684 | 0,678 | 0,670 | 0,665 | 0,658 | 0,650 | 4 | 7 | 3 |
52 | 0,701 | 0,697 | 0,691 | 0,683 | 0,676 | 0,668 | 5 | 8 | 3 |
53 | 0,718 | 0,713 | 0,707 | 0,699 | 0,692 | 0,684 | 6 | 10 | 4 |
54 | 0,735 | 0,730 | 0,723 | 0,715 | 0,708 | 0,701 | 7 | 12 | 4 |
55 | 0,753 | 0,748 | 0,740 | 0,732 | 0,723 | 0,717 | 8 | 13 | 5 |
56 | 0,769 | 0,763 | 0,757 | 0,748 | 0,741 | 0,733 | 9 | 15 | 6 |
57 | 0,785 | 0,781 | 0,775 | 0,766 | 0,757 | 0,749 | | | |
58 | 0,803 | 0,798 | 0,790 | 0,783 | 0,774 | 0,769 | 1 | 0,002 | 0,001 |
59 | 0,822 | 0,816 | 0,807 | 0,799 | 0,791 | 0,781 | 2 | 4 | 2 |
60 | 0,839 | 0,834 | 0,825 | 0,816 | 0,807 | 0,800 | 3 | 5 | 3 |
61 | 0,856 | 0,851 | 0,843 | 0,836 | 0,825 | 0,816 | 4 | 7 | 4 |
62 | 0,876 | 0,870 | 0,862 | 0,853 | 0,844 | 0,835 | 5 | 9 | 4 |
| 0,893 | 0,888 | 0,879 | 0,869 | 0,860 | 0,852 | 6 | 11 | 5 |
64 | 0,912 | 0,907 | 0,897 | 0,887 | 0,878 | 0,869 | 7 | 13 | 6 |
65 | 0,930 | 0,925 | 0,916 | 0,907 | 0,897 | 0,886 | 8 | 14 | 7 |
66 | 0,949 | 0,943 | 0,933 | 0,924 | 0,914 | 0,905 | 9 | 16 | 8 |
67 | 0,968 | 0,962 | 0,951 | 0,941 | 0,932 | 0,922 | | | |
68 | 0,987 | 0,982 | 0,972 | 0,961 | 0,950 | 0,942 | 1 | 0,002 | 0,001 |
69 | 1,006 | 1,001 | 0,991 | 0,980 | 0,969 | 0,958 | 2 | 2 | 2 |
70 | 1,024 | 1,020 | 1,009 | 0,999 | 0,988 | 0,978 | 3 | 6 | 3 |
71 | 1,045 | 1,039 | 1,028 | 1,018 | 1,006 | 0,996 | 4 | 8 | 4 |
72 | 1,066 | 1,060 | 1,049 | 1,037 | 1,026 | 1,015 | 5 | 10 | 5 |
73 | 1,089 | 1,079 | 1,066 | 1,055 | 1,045 | 1,032 | 6 | 12 | 6 |
74 | 1,108 | 1,098 | 1,087 | 1,075 | 1,064 | 1,053 | 7 | 14 | 7 |
75 | 1,128 | 1,119 | 1,107 | 1,095 | 1,084 | 1,072 | 8 | 16 | 8 |
76 | 1,151 | 1,142 | 1,135 | 1,117 | 1,106 | 1,094 | 9 | 18 | 9 |
77 | 1,169 | 1,161 | 1,149 | 1,137 | 1,124 | 1,113 | | | |
78 | 1,189 | 1,182 | 1,169 | 1,157 | 1,144 | 1,132 | 1 | 0,002 | 0,001 |
79 | 1,212 | 1,203 | 1,191 | 1,177 | 1,164 | 1,153 | 2 | 4 | 2 |
80 | 1,232 | 1,225 | 1,213 | 1,198 | 1,186 | 1,173 | 3 | 6 | 3 |
81 | 1,254 | 1,246 | 1,233 | 1,219 | 1,207 | 1,194 | 4 | 8 | 5 |
82 | 1,277 | 1,268 | 1,254 | 1,241 | 1,227 | 1,215 | 5 | 11 | 6 |
83 | 1,298 | 1,290 | 1,276 | 1,261 | 1,248 | 1,237 | 6 | 13 | 7 |
84 | 1,320 | 1,311 | 1,297 | 1,282 | 1,269 | 1,256 | 7 | 15 | 8 |
85 | 1,342 | 1,334 | 1,319 | 1,305 | 1,294 | 1,278 | 8 | 17 | 9 |
86 | 1,368 | 1,356 | 1,342 | 1,327 | 1,314 | 1,299 | 9 | 19 | 10 |
87 | 1,390 | 1,379 | 1,365 | 1,348 | 1,336 | 1,321 | | | |
88 | 1,412 | 1,402 | 1,387 | 1,371 | 1,357 | 1,342 | | | |
Таблица 29
Отношение СХ/НСХ при различных доброкачественностях
продуктов сахарного производства (Дб - доброкачественность,
%; СХ - содержание сахара в продукте, %;
НСХ - содержание несахара в продукте, %)
Дб | СХ/НСХ | Дб | СХ/НСХ | Дб | СХ/НСХ |
1 | 2 | 3 | 4 | 5 | 6 |
48,0 | 0,923 | 8 | 1,075 | 6 | 1,252 |
1 | 0,927 | 9 | 1,079 | 7 | 1,257 |
2 | 0,931 | 52,0 | 1,083 | 8 | 1,262 |
3 | 0,934 | 1 | 1,088 | 9 | 1,268 |
4 | 0,938 | 2 | 1,092 | 56,0 | 1,273 |
5 | 0,942 | 3 | 1,096 | 1 | 1,278 |
6 | 0,946 | 4 | 1,101 | 2 | 1,283 |
7 | 0,949 | 5 | 1,105 | 3 | 1,288 |
8 | 0,953 | 6 | 1,110 | 4 | 1,294 |
9 | 0,957 | 7 | 1,114 | 5 | 1,299 |
49,0 | 0,961 | 8 | 1,119 | 6 | 1,304 |
1 | 0,965 | 9 | 1,123 | 7 | 1,309 |
2 | 0,969 | 53,0 | 1,128 | 8 | 1,315 |
3 | 0,972 | 1 | 1,132 | 9 | 1,320 |
4 | 0,976 | 2 | 1,137 | 57,0 | 1,326 |
5 | 0,980 | 3 | 1,141 | 1 | 1,331 |
6 | 0,984 | 4 | 1,146 | 2 | 1,336 |
7 | 0,988 | 5 | 1,151 | 3 | 1,342 |
8 | 0,992 | 6 | 1,155 | 4 | 1,347 |
9 | 0,996 | 7 | 1,160 | 5 | 1,353 |
50,0 | 1,000 | 8 | 1,165 | 6 | 1,358 |
1 | 1,004 | 9 | 1,169 | 7 | 1,364 |
2 | 1,008 | 54,0 | 1,174 | 8 | 1,370 |
3 | 1,012 | 1 | 1,179 | 9 | 1,375 |
4 | 1,016 | 2 | 1,183 | 58,0 | 1,381 |
5 | 1,020 | 3 | 1,188 | 1 | 1,387 |
6 | 1,024 | 4 | 1,193 | 2 | 1,392 |
7 | 1,028 | 5 | 1,198 | 3 | 1,398 |
8 | 1,032 | 6 | 1,203 | 4 | 1,404 |
9 | 1,037 | 7 | 1,208 | 5 | 1,410 |
51,0 | 1,041 | 8 | 1,212 | 6 | 1,415 |
1 | 1,045 | 9 | 1,217 | 7 | 1,421 |
2 | 1,049 | 55,0 | 1,222 | 8 | 1,427 |
3 | 1,053 | 1 | 1,227 | 9 | 1,433 |
4 | 1,058 | 2 | 1,232 | 59,0 | 1,439 |
5 | 1,062 | 3 | 1,237 | 1 | 1,445 |
6 | 1,066 | 4 | 1,242 | 2 | 1,451 |
7 | 1,070 | 5 | 1,247 | 3 | 1,457 |
Продолжение табл. 29
1 | 2 | 3 | 4 | 5 | 6 |
4 | 1,463 | 8 | 1,762 | 2 | 2,145 |
5 | 1,469 | 9 | 1,770 | 3 | 2,155 |
6 | 1,475 | 64,0 | 1,778 | 4 | 2,165 |
7 | 1,481 | 1 | 1,785 | 5 | 2,175 |
8 | 1,488 | 2 | 1,793 | 6 | 2,185 |
9 | 1,494 | 3 | 1,801 | 7 | 2,195 |
60,0 | 1,500 | 4 | 1,809 | 8 | 2,205 |
1 | 1,506 | 5 | 1,817 | 9 | 2,215 |
2 | 1,513 | 6 | 1,825 | 69,0 | 2,226 |
3 | 1,519 | 7 | 1,833 | 1 | 2,236 |
4 | 1,525 | 8 | 1,841 | 2 | 2,247 |
5 | 1,532 | 9 | 1,849 | 3 | 2,257 |
6 | 1,538 | 65,0 | 1,857 | 4 | 2,268 |
7 | 1,545 | 1 | 1,865 | 5 | 2,279 |
8 | 1,551 | 2 | 1,874 | 6 | 2,289 |
9 | 1,558 | 3 | 1,882 | 7 | 2,300 |
61,0 | 1,564 | 4 | 1,890 | 8 | 2,311 |
1 | 1,571 | 5 | 1,899 | 9 | 2,322 |
2 | 1,577 | 6 | 1,907 | 70,0 | 2,333 |
3 | 1,584 | 7 | 1,915 | 1 | 2,344 |
4 | 1,591 | 8 | 1,924 | 2 | 2,356 |
5 | 1,597 | 9 | 1,933 | 3 | 2,367 |
6 | 1,604 | 66,0 | 1,941 | 4 | 2,378 |
7 | 1,611 | 1 | 1,950 | 5 | 2,390 |
8 | 1,618 | 2 | 1,959 | 6 | 2,401 |
9 | 1,625 | 3 | 1,967 | 7 | 2,413 |
62,0 | 1,632 | 4 | 1,976 | 8 | 2,425 |
1 | 1,639 | 5 | 1,985 | 9 | 2,436 |
2 | 1,645 | 6 | 1,994 | 71,0 | 2,448 |
3 | 1,653 | 7 | 2,003 | 1 | 2,460 |
4 | 1,660 | 8 | 2,012 | 2 | 2,472 |
5 | 1,667 | 9 | 2,021 | 3 | 2,484 |
6 | 1,674 | 67,0 | 2,030 | 4 | 2,497 |
7 | 1,681 | 1 | 2,040 | 5 | 2,509 |
8 | 1,688 | 2 | 2,049 | 6 | 2,521 |
9 | 1,695 | 3 | 2,058 | 7 | 2,534 |
63,0 | 1,703 | 4 | 2,067 | 8 | 2,546 |
1 | 1,710 | 5 | 2,077 | 9 | 2,559 |
2 | 1,718 | 6 | 2,086 | 72,0 | 2,571 |
3 | 1,725 | 7 | 2,096 | 1 | 2,584 |
4 | 1,732 | 8 | 2,106 | 2 | 2,597 |
5 | 1,740 | 9 | 2,115 | 3 | 2,610 |
6 | 1,747 | 68,0 | 2,125 | 4 | 2,623 |
7 | 1,755 | 1 | 2,135 | 5 | 2,636 |
Продолжение табл. 29
1 | 2 | 3 | 4 | 5 | 6 |
6 | 2,650 | 1 | 3,367 | 6 | 4,435 |
7 | 2,663 | 2 | 3,386 | 7 | 4,464 |
8 | 2,676 | 3 | 3,405 | 8 | 4,495 |
9 | 2,690 | 4 | 3,425 | 9 | 4,525 |
73,0 | 2,704 | 5 | 3,444 | 82,0 | 4,556 |
1 | 2,718 | 6 | 3,464 | 1 | 4,587 |
2 | 2,731 | 7 | 3,484 | 2 | 4,618 |
3 | 2,745 | 8 | 3,505 | 3 | 4,650 |
4 | 2,760 | 9 | 3,525 | 4 | 4,682 |
5 | 2,774 | 78,0 | 3,545 | 5 | 4,714 |
6 | 2,788 | 1 | 3,566 | 6 | 4,747 |
7 | 2,802 | 2 | 3,587 | 7 | 4,780 |
8 | 2,817 | 3 | 3,608 | 8 | 4,814 |
9 | 2,831 | 4 | 3,630 | 9 | 4,848 |
74,0 | 2,846 | 5 | 3,651 | 83,0 | 4,882 |
1 | 2,861 | 6 | 3,673 | 1 | 4,917 |
2 | 2,876 | 7 | 3,695 | 2 | 4,952 |
3 | 2,891 | 8 | 3,717 | 3 | 4,988 |
4 | 2,906 | 9 | 3,739 | 4 | 5,024 |
5 | 2,922 | 79,0 | 3,762 | 5 | 5,061 |
6 | 2,937 | 1 | 3,785 | 6 | 5,098 |
7 | 2,953 | 2 | 3,808 | 7 | 5,135 |
8 | 2,968 | 3 | 3,831 | 8 | 5,173 |
9 | 2,984 | 4 | 3,854 | 9 | 5,211 |
75,0 | 3,000 | 5 | 3,878 | 84,0 | 5,250 |
1 | 3,016 | 6 | 3,902 | 1 | 5,289 |
2 | 3,032 | 7 | 3,926 | 2 | 5,329 |
3 | 3,049 | 8 | 3,950 | 3 | 5,369 |
4 | 3,065 | 9 | 3,975 | 4 | 5,410 |
5 | 3,082 | 80,0 | 4,000 | 5 | 5,452 |
6 | 3,098 | 1 | 4,025 | 6 | 5,494 |
7 | 3,115 | 2 | 4,051 | 7 | 5,536 |
8 | 3,132 | 3 | 4,076 | 8 | 5,579 |
9 | 3,149 | 4 | 4,102 | 9 | 5,623 |
76,0 | 3,167 | 5 | 4,128 | 85,0 | 5,667 |
1 | 3,184 | 6 | 4,155 | 1 | 5,711 |
2 | 3,202 | 7 | 4,181 | 2 | 5,757 |
3 | 3,219 | 8 | 4,208 | 3 | 5,803 |
4 | 3,237 | 9 | 4,236 | 4 | 5,849 |
5 | 3,255 | 81,0 | 4,263 | 5 | 5,897 |
6 | 3,274 | 1 | 4,291 | 6 | 5,944 |
7 | 3,292 | 2 | 4,319 | 7 | 5,993 |
8 | 3,310 | 3 | 4,348 | 8 | 6,042 |
9 | 3,329 | 4 | 4,376 | 9 | 6,092 |
77,0 | 3,348 | 5 | 4,405 | 86,0 | 6,143 |
Продолжение табл. 29
1 | 2 | 3 | 4 | 5 | 6 |
1 | 6,194 | 1 | 9,101 | 1 | 15,949 |
2 | 6,246 | 2 | 9,204 | 2 | 16,241 |
3 | 6,299 | 3 | 9,309 | 3 | 16,544 |
4 | 6,353 | 4 | 9,417 | 4 | 16,857 |
5 | 6,407 | 5 | 9,526 | 5 | 17,182 |
6 | 6,463 | 6 | 9,638 | 6 | 17,519 |
7 | 6,519 | 7 | 9,753 | 7 | 17,868 |
8 | 6,576 | 8 | 9,870 | 8 | 18,231 |
9 | 6,634 | 9 | 9,989 | 9 | 18,608 |
87,0 | 6,692 | 91,0 | 10,111 | 95,0 | 19,000 |
1 | 6,752 | 1 | 10,236 | 1 | 19,408 |
2 | 6,812 | 2 | 10,364 | 2 | 19,833 |
3 | 6,874 | 3 | 10,494 | 3 | 20,277 |
4 | 6,937 | 4 | 10,628 | 4 | 20,739 |
5 | 7,000 | 5 | 10,765 | 5 | 21,222 |
6 | 7,064 | 6 | 10,905 | 6 | 21,727 |
7 | 7,130 | 7 | 11,048 | 7 | 22,023 |
8 | 7,197 | 8 | 11,195 | 8 | 22,810 |
9 | 7,264 | 9 | 11,346 | 9 | 23,390 |
88,0 | 7,333 | 92,0 | 11,500 | 96,0 | 24,000 |
1 | 7,403 | 1 | 11,658 | 1 | 24,641 |
2 | 7,475 | 2 | 11,821 | 2 | 25,316 |
3 | 7,547 | 3 | 11,987 | 3 | 26,027 |
4 | 7,621 | 4 | 12,158 | 4 | 26,777 |
5 | 7,696 | 5 | 12,333 | 5 | 27,571 |
6 | 7,772 | 6 | 12,514 | 6 | 28,412 |
7 | 7,850 | 7 | 12,699 | 7 | 29,303 |
8 | 7,929 | 8 | 12,889 | 8 | 30,250 |
9 | 8,009 | 9 | 13,084 | 9 | 31,258 |
89,0 | 8,091 | 93,0 | 13,286 | 97,0 | 32,333 |
1 | 8,174 | 1 | 13,493 | 1 | 33,483 |
2 | 8,259 | 2 | 13,706 | 2 | 34,714 |
3 | 8,346 | 3 | 13,925 | 3 | 36,037 |
4 | 8,434 | 4 | 14,152 | 4 | 37,461 |
5 | 8,525 | 5 | 14,385 | 5 | 39,000 |
6 | 8,615 | 6 | 14,625 | 6 | 40,666 |
7 | 8,709 | 7 | 14,873 | 7 | 42,478 |
8 | 8,804 | 8 | 15,129 | 8 | 44,454 |
9 | 8,901 | 9 | 15,395 | 9 | 46,619 |
90,0 | 9,000 | 94,0 | 15,667 | | |
Таблица 30
Коэффициенты для перевода взвешенной мелассы в условную
Содержание сухих веществ в мелассе, % | ,0 | ,1 | ,2 | ,3 | ,4 | ,5 | ,6 | ,7 | ,8 | ,9 |
75 | 0,8824 | 0,8835 | 0,8847 | 0,8859 | 0,8871 | 0,8882 | 0,8894 | 0,8906 | 0,8918 | 0,8929 |
76 | 8941 | 8953 | 8965 | 8976 | 8988 | 9000 | 9012 | 9024 | 9035 | 9047 |
77 | 9059 | 9071 | 9082 | 9094 | 9106 | 9118 | 9129 | 9141 | 9153 | 9165 |
78 | 9176 | 9188 | 9200 | 9212 | 9224 | 9235 | 9247 | 9259 | 9271 | 9282 |
79 | 9294 | 9306 | 9318 | 9329 | 9341 | 9353 | 9365 | 9376 | 9388 | 9400 |
80 | 9412 | 9424 | 9435 | 9447 | 9459 | 9471 | 9482 | 9494 | 9506 | 9518 |
81 | 9529 | 9541 | 9553 | 9565 | 9576 | 9588 | 9600 | 9612 | 9624 | 9635 |
82 | 9647 | 9659 | 9671 | 9682 | 9694 | 9706 | 9718 | 9729 | 9741 | 9753 |
83 | 9765 | 9776 | 9788 | 9800 | 9812 | 9824 | 9835 | 9847 | 9859 | 9871 |
84 | 9882 | 9894 | 9906 | 9918 | 9929 | 9941 | 9953 | 9965 | 9976 | 9988 |
85 | 1,000 | 1,0012 | 1,0024 | 1,0035 | 1,0047 | 1,0059 | 1,0071 | 1,0082 | 1,0094 | 1,0106 |
86 | 1,0118 | 1,0129 | 1,0141 | 1,0153 | 1,0165 | 1,0176 | 1,0188 | 1,0200 | 1,0212 | 1,0224 |
Таблица 31
Калибровочная таблица красящих веществ по группам
1. Карамели 
в = 5 см
Оптическая плотность | Количество, мг | Оптическая плотность | Количество, мг | Оптическая плотность | Количество, мг | Оптическая плотность | Количество, мг |
1 | 2 | 3 | 4 | 5 | 6 | 7 | 8 |
0,009 | 0,60 | 0,058 | 3,91 | 0,107 | 7,42 | 0,156 | 11,27 |
0,010 | 0,66 | 0,059 | 3,98 | 0,108 | 7,50 | 0,157 | 11,35 |
0,011 | 0,72 | 0,060 | 4,05 | 0,109 | 7,57 | 0,158 | 11,43 |
0,012 | 0,78 | 0,061 | 4,12 | 0,110 | 7,65 | 0,159 | 11,51 |
0,013 | 0,84 | 0,062 | 4,19 | 0,111 | 7,72 | 0,160 | 11,59 |
0,014 | 0,90 | 0,063 | 4,26 | 0,112 | 7,80 | 0,161 | 11,68 |
0,015 | 0,96 | 0,064 | 4,33 | 0,113 | 7,87 | 0,162 | 11,76 |
0,016 | 1,02 | 0,065 | 4,40 | 0,114 | 7,95 | 0,163 | 11,84 |
0,017 | 1,08 | 0,066 | 4,47 | 0,115 | 8,02 | 0,164 | 11,92 |
0,018 | 1,14 | 0,067 | 4,53 | 0,116 | 8,10 | 0,165 | 12,00 |
0,019 | 1,20 | 0,068 | 4,60 | 0,117 | 8,17 | 0,166 | 12,07 |
0,020 | 1,29 | 0,069 | 4,67 | 0,118 | 8,25 | 0,167 | 12,14 |
0,021 | 1,37 | 0,070 | 4,74 | 0,119 | 8,32 | 0,168 | 12,21 |
0,022 | 1,46 | 0,071 | 4,81 | 0,120 | 8,40 | 0,169 | 12,29 |
0,023 | 1,54 | 0,072 | 4,88 | 0,121 | 8,47 | 0,170 | 12,36 |
0,024 | 1,63 | 0,073 | 4,95 | 0,122 | 8,55 | 0,171 | 12,43 |
0,025 | 1,71 | 0,074 | 5,02 | 0,123 | 8,62 | 0,172 | 12,50 |
0,026 | 1,80 | 0,075 | 5,09 | 0,124 | 8,70 | 0,173 | 12,57 |
0,027 | 1,85 | 0,076 | 5,16 | 0,125 | 8,77 | 0,174 | 12,64 |
0,028 | 1,90 | 0,077 | 5,23 | 0,126 | 8,85 | 0,175 | 12,71 |
0,029 | 1,95 | 0,078 | 5,30 | 0,127 | 8,92 | 0,176 | 12,79 |
0,030 | 2,00 | 0,079 | 5,37 | 0,128 | 9,00 | 0,177 | 12,86 |
0,031 | 2,05 | 0,080 | 5,44 | 0,129 | 9,08 | 0,178 | 12,93 |
0,032 | 2,10 | 0,081 | 5,51 | 0,130 | 9,16 | 0,179 | 13,00 |
0,033 | 2,15 | 0,082 | 5,58 | 0,131 | 9,24 | 0,180 | 13,07 |
0,034 | 2,20 | 0,083 | 5,65 | 0,132 | 9,32 | 0,181 | 13,14 |
0,035 | 2,25 | 0,084 | 5,72 | 0,133 | 9,41 | 0,182 | 13,21 |
0,036 | 2,30 | 0,085 | 5,79 | 0,134 | 9,49 | 0,183 | 13,29 |
0,037 | 2,35 | 0,086 | 5,86 | 0,135 | 9,57 | 0,184 | 13,36 |
0,038 | 2,40 | 0,087 | 5,93 | 0,136 | 9,65 | 0,185 | 13,43 |
0,039 | 2,49 | 0,088 | 6,00 | 0,137 | 9,73 | 0,186 | 13,50 |
0,040 | 2,57 | 0,089 | 6,07 | 0,138 | 9,81 | 0,187 | 13,57 |
0,041 | 2,66 | 0,090 | 6,15 | 0,139 | 9,89 | 0,188 | 13,64 |
0,042 | 2,74 | 0,091 | 6,22 | 0,140 | 9,97 | 0,189 | 13,71 |
0,043 | 2,83 | 0,092 | 6,30 | 0,141 | 10,05 | 0,190 | 13,79 |
0,044 | 2,91 | 0,093 | 6,37 | 0,142 | 10,14 | 0,191 | 13,86 |
0,045 | 3,00 | 0,094 | 6,45 | 0,143 | 10,22 | 0,192 | 13,93 |
0,046 | 3,07 | 0,095 | 6,52 | 0,144 | 10,30 | 0,193 | 14,00 |
0,047 | 3,14 | 0,096 | 6,60 | 0,145 | 10,38 | 0,194 | 14,07 |
0,048 | 3,21 | 0,097 | 6,67 | 0,146 | 10,46 | 0,195 | 14,14 |
0,049 | 3,28 | 0,098 | 6,75 | 0,147 | 10,54 | 0,196 | 14,21 |
0,050 | 3,35 | 0,099 | 6,82 | 0,148 | 10,62 | 0,197 | 14,29 |
0,051 | 3,42 | 0,100 | 6,90 | 0,149 | 10,70 | 0,198 | 14,36 |
0,052 | 3,49 | 0,101 | 6,97 | 0,150 | 10,78 | 0,199 | 14,43 |
0,053 | 3,56 | 0,102 | 7,05 | 0,151 | 10,86 | 0,200 | 14,50 |
0,054 | 3,63 | 0,103 | 7,12 | 0,152 | 10,95 | 0,201 | 14,57 |
0,055 | 3,70 | 0,104 | 7,20 | 0,153 | 11,03 | 0,202 | 14,64 |
0,056 | 3,77 | 0,105 | 7,27 | 0,154 | 11,11 | 0,203 | 14,71 |
0,057 | 3,84 | 0,106 | 7,35 | 0,155 | 11,19 | 0,204 | 14,79 |
Продолжение таблицы 31
1 | 2 | 3 | 4 | 5 | 6 | 7 | 8 |
0,205 | 14,86 | 0,225 | 16,42 | 0,245 | 18,00 | 0,265 | 19,67 |
0,206 | 14,93 | 0,226 | 16,50 | 0,246 | 18,08 | 0,266 | 19,75 |
0,207 | 15,00 | 0,227 | 16,58 | 0,247 | 18,17 | 0,267 | 19,83 |
0,208 | 15,08 | 0,228 | 16,66 | 0,248 | 18,25 | 0,268 | 19,91 |
0,209 | 15,16 | 0,229 | 16,74 | 0,249 | 18,33 | 0,269 | 20,00 |
0,210 | 15,24 | 0,230 | 16,82 | 0,250 | 18,42 | 0,270 | 20,08 |
0,211 | 15,32 | 0,231 | 16,89 | 0,251 | 18,50 | 0,271 | 20,17 |
0,212 | 15,39 | 0,232 | 16,97 | 0,252 | 18,58 | 0,272 | 20,25 |
0,213 | 15,47 | 0,233 | 17,05 | 0,253 | 18,67 | 0,273 | 20,33 |
0,214 | 15,55 | 0,234 | 17,13 | 0,254 | 18,75 | 0,274 | 20,42 |
0,215 | 15,63 | 0,235 | 17,21 | 0,255 | 18,83 | 0,275 | 20,50 |
0,216 | 15,71 | 0,236 | 17,29 | 0,256 | 18,92 | 0,276 | 20,58 |
0,217 | 15,79 | 0,237 | 17,37 | 0,257 | 19,00 | 0,277 | 20,67 |
0,218 | 15,87 | 0,238 | 17,45 | 0,258 | 19,08 | 0,278 | 20,75 |
0,219 | 15,95 | 0,239 | 17,53 | 0,259 | 19,17 | 0,279 | 20,83 |
0,220 | 16,03 | 0,240 | 17,61 | 0,260 | 19,25 | 0,280 | 20,92 |
0,221 | 16,11 | 0,241 | 17,68 | 0,261 | 19,33 | 0,281 | 21,00 |
0,222 | 16,18 | 0,242 | 17,76 | 0,262 | 19,42 | |
0,223 | 16,26 | 0,243 | 17,84 | 0,263 | 19,50 |
0,224 | 16,34 | 0,244 | 17,92 | 0,264 | 19,58 |
2. Продукты щелочного распада инвертного сахара
в = 5 см
0,016 | 1,20 | 0,046 | 3,58 | 0,077 | 6,21 | 0,108 | 9,48 |
0,017 | 1,25 | 0,047 | 3,67 | 0,078 | 6,32 | 0,109 | 9,58 |
0,018 | 1,31 | 0,048 | 3,75 | 0,079 | 6,43 | 0,110 | 9,68 |
0,019 | 1,36 | 0,049 | 3,83 | 0,080 | 6,54 | 0,111 | 9,77 |
0,020 | 1,42 | 0,050 | 3,92 | 0,081 | 6,64 | 0,112 | 9,87 |
0,020 | 1,42 | 0,051 | 4,00 | 0,082 | 6,75 | 0,113 | 9,97 |
0,021 | 1,47 | 0,052 | 4,08 | 0,083 | 6,86 | 0,114 | 10,06 |
0,022 | 1,53 | 0,053 | 4,17 | 0,084 | 6,96 | 0,115 | 10,16 |
0,023 | 1,58 | 0,054 | 4,25 | 0,085 | 7,07 | 0,116 | 10,26 |
0,024 | 1,64 | 0,055 | 4,33 | 0,086 | 7,18 | 0,117 | 10,35 |
0,025 | 1,69 | 0,056 | 4,42 | 0,087 | 7,29 | 0,118 | 10,45 |
0,026 | 1,75 | 0,057 | 4,50 | 0,088 | 7,39 | 0,119 | 10,55 |
0,027 | 1,80 | 0,058 | 4,58 | 0,089 | 7,50 | 0,120 | 10,65 |
0,028 | 1,90 | 0,059 | 4,67 | 0,090 | 7,61 | 0,121 | 10,74 |
0,029 | 2,00 | 0,060 | 4,75 | 0,091 | 7,71 | 0,122 | 10,84 |
0,030 | 2,10 | 0,061 | 4,83 | 0,092 | 7,82 | 0,123 | 10,94 |
0,031 | 2,20 | 0,062 | 4,92 | 0,093 | 7,93 | 0,124 | 11,03 |
0,032 | 2,30 | 0,063 | 5,00 | 0,094 | 8,04 | 0,125 | 11,13 |
0,033 | 2,40 | 0,064 | 5,08 | 0,095 | 8,14 | 0,126 | 11,23 |
0,034 | 2,50 | 0,065 | 5,17 | 0,096 | 8,25 | 0,127 | 11,32 |
0,035 | 2,60 | 0,066 | 5,25 | 0,097 | 8,36 | 0,128 | 11,42 |
0,036 | 2,70 | 0,067 | 5,33 | 0,098 | 8,46 | 0,129 | 11,52 |
0,037 | 2,80 | 0,068 | 5,42 | 0,099 | 8,57 | 0,130 | 11,61 |
0,038 | 2,90 | 0,069 | 5,50 | 0,100 | 8,68 | 0,131 | 11,71 |
0,039 | 3,00 | 0,070 | 5,58 | 0,101 | 8,79 | 0,132 | 11,81 |
0,040 | 3,08 | 0,071 | 5,67 | 0,102 | 8,89 | 0,133 | 11,90 |
0,041 | 3,17 | 0,072 | 5,75 | 0,103 | 9,00 | 0,134 | 12,00 |
0,042 | 3,25 | 0,073 | 5,83 | 0,104 | 9,10 | 0,135 | 12,08 |
0,043 | 3,33 | 0,074 | 5,92 | 0,105 | 9,19 | 0,136 | 12,17 |
0,044 | 3,42 | 0,075 | 6,00 | 0,106 | 9,29 | 0,137 | 12,25 |
0,045 | 3,50 | 0,076 | 6,11 | 0,107 | 9,39 | 0,138 | 12,33 |
Продолжение таблицы 31
1 | 2 | 3 | 4 | 5 | 6 | 7 | 8 |
0,139 | 12,42 | 0,194 | 17,67 | 0,249 | 22,50 | 0,304 | 30,44 |
0,140 | 12,50 | 0,195 | 17,78 | 0,250 | 22,58 | 0,305 | 30,56 |
0,141 | 12,58 | 0,196 | 17,89 | 0,251 | 22,66 | 0,306 | 30,67 |
0,142 | 12,67 | 0,197 | 18,00 | 0,252 | 22,74 | 0,307 | 30,78 |
0,143 | 12,75 | 0,198 | 18,09 | 0,253 | 22,82 | 0,308 | 30,89 |
0,144 | 12,83 | 0,199 | 18,18 | 0,254 | 22,89 | 0,309 | 31,00 |
0,145 | 12,92 | 0,200 | 18,27 | 0,255 | 22,97 | 0,310 | 31,11 |
0,146 | 13,00 | 0,201 | 18,36 | 0,256 | 23,05 | 0,311 | 31,22 |
0,147 | 13,08 | 0,202 | 18,45 | 0,257 | 23,13 | 0,312 | 31,33 |
0,148 | 13,17 | 0,203 | 18,54 | 0,258 | 23,21 | 0,313 | 31,44 |
0,149 | 13,25 | 0,204 | 18,64 | 0,259 | 23,29 | 0,314 | 31,56 |
0,150 | 13,33 | 0,205 | 18,73 | 0,260 | 23,37 | 0,315 | 31,67 |
0,151 | 13,42 | 0,206 | 18,82 | 0,261 | 23,45 | 0,316 | 31,78 |
0,152 | 13,50 | 0,207 | 18,91 | 0,262 | 23,53 | 0,317 | 31,89 |
0,153 | 13,58 | 0,208 | 19,00 | 0,263 | 23,61 | 0,318 | 32,00 |
0,154 | 13,67 | 0,209 | 19,09 | 0,264 | 23,68 | 0,319 | 32,11 |
0,155 | 13,75 | 0,210 | 19,18 | 0,265 | 23,76 | 0,320 | 32,22 |
0,156 | 13,83 | 0,211 | 19,27 | 0,266 | 23,84 | 0,321 | 32,33 |
0,157 | 13,92 | 0,212 | 19,36 | 0,267 | 23,92 | 0,322 | 32,44 |
0,158 | 14,00 | 0,213 | 19,45 | 0,268 | 24,00 | 0,323 | 32,56 |
0,159 | 14,08 | 0,214 | 19,54 | 0,269 | 24,18 | 0,324 | 32,67 |
0,160 | 14,17 | 0,215 | 19,64 | 0,270 | 24,35 | 0,325 | 32,78 |
0,161 | 14,25 | 0,216 | 19,73 | 0,271 | 24,53 | 0,326 | 32,89 |
0,162 | 14,33 | 0,217 | 19,82 | 0,272 | 24,71 | 0,327 | 33,00 |
0,163 | 14,42 | 0,218 | 19,91 | 0,273 | 24,88 | 0,328 | 33,09 |
0,164 | 14,50 | 0,219 | 20,00 | 0,274 | 25,06 | 0,329 | 33,18 |
0,165 | 14,58 | 0,220 | 20,09 | 0,275 | 25,24 | 0,330 | 33,27 |
0,166 | 14,67 | 0,221 | 20,18 | 0,276 | 25,41 | 0,331 | 33,36 |
0,167 | 14,75 | 0,222 | 20,27 | 0,277 | 25,59 | 0,332 | 33,45 |
0,168 | 14,83 | 0,223 | 20,36 | 0,278 | 25,76 | 0,333 | 33,55 |
0,169 | 14,92 | 0,224 | 20,45 | 0,279 | 25,94 | 0,334 | 33,64 |
0,170 | 15,00 | 0,225 | 20,55 | 0,280 | 26,12 | 0,335 | 33,73 |
0,171 | 15,11 | 0,226 | 20,64 | 0,281 | 26,29 | 0,336 | 33,82 |
0,172 | 15,22 | 0,227 | 20,73 | 0,282 | 26,47 | 0,337 | 33,91 |
0,173 | 15,33 | 0,228 | 20,82 | 0,283 | 26,65 | 0,338 | 34,00 |
0,174 | 15,44 | 0,229 | 20,91 | 0,284 | 26,82 | 0,339 | 34,09 |
0,175 | 15,56 | 0,230 | 21,00 | 0,285 | 27,00 | 0,340 | 34,18 |
0,176 | 15,67 | 0,231 | 21,08 | 0,286 | 27,20 | 0,341 | 34,27 |
0,177 | 15,78 | 0,232 | 21,16 | 0,287 | 27,40 | 0,342 | 34,36 |
0,178 | 15,89 | 0,233 | 21,24 | 0,288 | 27,60 | 0,343 | 34,45 |
0,179 | 16,00 | 0,234 | 21,32 | 0,289 | 27,80 | 0,344 | 34,55 |
0,180 | 16,11 | 0,235 | 21,39 | 0,290 | 28,00 | 0,345 | 34,64 |
0,181 | 16,22 | 0,236 | 21,47 | 0,291 | 28,20 | 0,346 | 34,73 |
0,182 | 16,33 | 0,237 | 21,55 | 0,292 | 28,40 | 0,347 | 34,82 |
0,183 | 16,44 | 0,238 | 21,63 | 0,293 | 28,60 | 0,348 | 34,91 |
0,184 | 16,56 | 0,239 | 21,71 | 0,294 | 28,80 | 0,349 | 35,00 |
0,185 | 16,67 | 0,240 | 21,79 | 0,295 | 29,00 | 0,350 | 35,09 |
0,186 | 16,78 | 0,241 | 21,87 | 0,296 | 29,20 | 0,351 | 35,18 |
0,187 | 16,89 | 0,242 | 21,95 | 0,297 | 29,40 | 0,352 | 35,27 |
0,188 | 17,00 | 0,243 | 22,03 | 0,298 | 29,60 | 0,353 | 35,36 |
0,189 | 17,11 | 0,244 | 22,11 | 0,299 | 29,80 | 0,354 | 35,45 |
0,190 | 17,22 | 0,245 | 22,18 | 0,300 | 30,00 | 0,355 | 35,55 |
0,191 | 17,33 | 0,246 | 22,26 | 0,301 | 30,11 | 0,356 | 35,64 |
0,192 | 17,44 | 0,247 | 22,34 | 0,302 | 30,22 | 0,357 | 35,73 |
0,193 | 17,56 | 0,248 | 22,42 | 0,303 | 30,33 | 0,358 | 35,82 |
Продолжение таблицы 31
1 | 2 | 3 | 4 | 5 | 6 | 7 | 8 |
0,359 | 35,91 | 0,382 | 38,64 | 0,405 | 40,82 | 0,428 | 42,94 |
0,360 | 36,00 | 0,383 | 38,76 | 0,406 | 40,91 | 0,429 | 43,03 |
0,361 | 36,12 | 0,384 | 38,88 | 0,407 | 41,00 | 0,430 | 43,12 |
0,362 | 36,24 | 0,385 | 39,00 | 0,408 | 41,09 | 0,431 | 43,22 |
0,363 | 36,36 | 0,386 | 39,09 | 0,409 | 41,18 | 0,432 | 43,31 |
0,364 | 36,48 | 0,387 | 39,18 | 0,410 | 41,27 | 0,433 | 43,41 |
0,365 | 36,60 | 0,388 | 39,27 | 0,411 | 41,36 | 0,434 | 43,50 |
0,366 | 36,72 | 0,389 | 39,36 | 0,412 | 41,45 | 0,435 | 43,59 |
0,367 | 36,84 | 0,390 | 39,45 | 0,413 | 41,55 | 0,436 | 43,69 |
0,368 | 36,96 | 0,391 | 39,55 | 0,414 | 41,64 | 0,437 | 43,78 |
0,369 | 37,08 | 0,392 | 39,64 | 0,415 | 41,73 | 0,438 | 43,87 |
0,370 | 37,20 | 0,393 | 39,73 | 0,416 | 41,82 | 0,439 | 43,97 |
0,371 | 37,32 | 0,394 | 39,82 | 0,417 | 41,91 | 0,440 | 44,06 |
0,372 | 37,44 | 0,395 | 39,91 | 0,418 | 42,00 | 0,441 | 44,16 |
0,373 | 37,56 | 0,396 | 40,00 | 0,419 | 42,09 | 0,442 | 44,25 |
0,374 | 37,68 | 0,397 | 40,09 | 0,420 | 42,19 | 0,443 | 44,34 |
0,375 | 37,80 | 0,398 | 40,18 | 0,421 | 42,28 | 0,444 | 44,44 |
0,376 | 37,92 | 0,399 | 40,27 | 0,422 | 42,38 | 0,445 | 44,53 |
0,377 | 38,04 | 0,400 | 40,36 | 0,423 | 42,47 | 0,446 | 44,62 |
0,378 | 38,16 | 0,401 | 40,45 | 0,424 | 42,56 | 0,447 | 44,72 |
0,379 | 38,28 | 0,402 | 40,55 | 0,425 | 42,66 | 0,448 | 44,81 |
0,380 | 38,40 | 0,403 | 40,64 | 0,426 | 42,75 | 0,449 | 44,91 |
0,381 | 38,52 | 0,404 | 40,73 | 0,427 | 42,84 | 0,450 | 45,00 |
3. Меланоидины
в = 5 см
0,022 | 0,72 | 0,050 | 2,02 | 0,078 | 3,17 | 0,106 | 4,18 |
0,023 | 0,78 | 0,051 | 2,07 | 0,079 | 3,20 | 0,107 | 4,21 |
0,024 | 0,84 | 0,052 | 2,11 | 0,080 | 3,24 | 0,108 | 4,25 |
0,025 | 0,90 | 0,053 | 2,15 | 0,081 | 3,27 | 0,109 | 4,28 |
0,026 | 0,96 | 0,054 | 2,19 | 0,082 | 3,31 | 0,110 | 4,32 |
0,027 | 1,02 | 0,055 | 2,24 | 0,083 | 3,35 | 0,111 | 4,36 |
0,028 | 1,08 | 0,056 | 2,28 | 0,084 | 3,39 | 0,112 | 4,40 |
0,029 | 1,12 | 0,057 | 2,32 | 0,085 | 3,42 | 0,113 | 4,43 |
0,030 | 1,17 | 0,058 | 2,37 | 0,086 | 3,45 | 0,114 | 4,47 |
0,031 | 1,21 | 0,059 | 2,41 | 0,087 | 3,49 | 0,115 | 4,51 |
0,032 | 1,25 | 0,060 | 2,45 | 0,088 | 3,53 | 0,116 | 4,55 |
0,033 | 1,29 | 0,061 | 2,49 | 0,089 | 3,56 | 0,117 | 4,59 |
0,034 | 1,34 | 0,062 | 2,54 | 0,090 | 3,60 | 0,118 | 4,62 |
0,035 | 1,38 | 0,063 | 2,58 | 0,091 | 3,64 | 0,119 | 4,66 |
0,036 | 1,42 | 0,064 | 2,62 | 0,092 | 3,67 | 0,120 | 4,70 |
0,037 | 1,47 | 0,065 | 2,67 | 0,093 | 3,71 | 0,121 | 4,74 |
0,038 | 1,51 | 0,066 | 2,71 | 0,094 | 3,74 | 0,122 | 4,77 |
0,039 | 1,55 | 0,067 | 2,75 | 0,095 | 3,78 | 0,123 | 4,81 |
0,040 | 1,59 | 0,068 | 2,79 | 0,096 | 3,81 | 0,124 | 4,85 |
0,041 | 1,64 | 0,069 | 2,84 | 0,097 | 3,85 | 0,125 | 4,89 |
0,042 | 1,68 | 0,070 | 2,88 | 0,098 | 3,89 | 0,126 | 4,93 |
0,043 | 1,72 | 0,071 | 2,92 | 0,099 | 3,92 | 0,127 | 4,96 |
0,044 | 1,77 | 0,072 | 2,95 | 0,100 | 3,96 | 0,128 | 5,00 |
0,045 | 1,81 | 0,073 | 2,99 | 0,101 | 3,99 | 0,129 | 5,04 |
0,046 | 1,85 | 0,074 | 3,02 | 0,102 | 4,03 | 0,130 | 5,08 |
0,047 | 1,89 | 0,075 | 3,06 | 0,103 | 4,07 | 0,131 | 5,12 |
0,048 | 1,94 | 0,076 | 3,09 | 0,104 | 4,10 | 0,132 | 5,15 |
0,049 | 1,98 | 0,077 | 3,13 | 0,105 | 4,14 | 0,133 | 5,19 |
Продолжение таблицы 31
1 | 2 | 3 | 4 | 5 | 6 | 7 | 8 |
0,134 | 5,23 | 0,189 | 7,49 | 0,244 | 9,85 | 0,299 | 12,12 |
0,135 | 5,27 | 0,190 | 7,53 | 0,245 | 9,90 | 0,300 | 12,16 |
0,136 | 5,31 | 0,191 | 7,57 | 0,246 | 9,94 | 0,301 | 12,20 |
0,137 | 5,34 | 0,192 | 7,61 | 0,247 | 9,99 | 0,302 | 12,24 |
0,138 | 5,38 | 0,193 | 7,65 | 0,248 | 10,03 | 0,303 | 12,28 |
0,139 | 5,42 | 0,194 | 7,69 | 0,249 | 10,08 | 0,304 | 12,32 |
0,140 | 5,46 | 0,195 | 7,73 | 0,250 | 10,12 | 0,305 | 12,36 |
0,141 | 5,49 | 0,196 | 7,78 | 0,251 | 10,17 | 0,306 | 12,39 |
0,142 | 5,53 | 0,197 | 7,82 | 0,252 | 10,21 | 0,307 | 12,43 |
0,143 | 5,57 | 0,198 | 7,86 | 0,253 | 10,26 | 0,308 | 12,47 |
0,144 | 5,61 | 0,199 | 7,90 | 0,254 | 10,30 | 0,309 | 12,51 |
0,145 | 5,65 | 0,200 | 7,94 | 0,255 | 10,35 | 0,310 | 12,54 |
0,146 | 5,68 | 0,201 | 7,98 | 0,256 | 10,39 | 0,311 | 12,58 |
0,147 | 5,72 | 0,202 | 8,02 | 0,257 | 10,44 | 0,312 | 12,62 |
0,148 | 5,76 | 0,203 | 8,06 | 0,258 | 10,48 | 0,313 | 12,66 |
0,149 | 5,80 | 0,204 | 8,11 | 0,259 | 10,52 | 0,314 | 12,69 |
0,150 | 5,84 | 0,205 | 8,15 | 0,260 | 10,56 | 0,315 | 12,73 |
0,151 | 5,89 | 0,206 | 8,19 | 0,261 | 10,60 | 0,316 | 12,77 |
0,152 | 5,93 | 0,207 | 8,23 | 0,262 | 10,64 | 0,317 | 12,81 |
0,153 | 5,97 | 0,208 | 8,27 | 0,263 | 10,68 | 0,318 | 12,85 |
0,154 | 6,01 | 0,209 | 8,31 | 0,264 | 10,72 | 0,319 | 12,88 |
0,155 | 6,06 | 0,210 | 8,35 | 0,265 | 10,76 | 0,320 | 12,92 |
0,156 | 6,10 | 0,211 | 8,39 | 0,266 | 10,80 | 0,321 | 12,96 |
0,157 | 6,14 | 0,212 | 8,43 | 0,267 | 10,84 | 0,322 | 13,00 |
0,158 | 6,18 | 0,213 | 8,48 | 0,268 | 10,88 | 0,323 | 13,04 |
0,159 | 6,23 | 0,214 | 8,52 | 0,269 | 10,92 | 0,324 | 13,07 |
0,160 | 6,27 | 0,215 | 8,56 | 0,270 | 10,96 | 0,325 | 13,11 |
0,161 | 6,31 | 0,216 | 8,60 | 0,271 | 11,00 | 0,326 | 13,15 |
0,162 | 6,35 | 0,217 | 8,64 | 0,272 | 11,04 | 0,327 | 13,19 |
0,163 | 6,40 | 0,218 | 8,68 | 0,273 | 11,08 | 0,328 | 13,23 |
0,164 | 6,44 | 0,219 | 8,73 | 0,274 | 11,12 | 0,329 | 13,26 |
0,165 | 6,48 | 0,220 | 8,77 | 0,275 | 11,16 | 0,330 | 13,30 |
0,166 | 6,52 | 0,221 | 8,82 | 0,276 | 11,20 | 0,331 | 13,34 |
0,167 | 6,56 | 0,222 | 8,86 | 0,277 | 11,24 | 0,332 | 13,38 |
0,168 | 6,61 | 0,223 | 8,91 | 0,278 | 11,28 | 0,333 | 13,41 |
0,169 | 6,65 | 0,224 | 8,95 | 0,279 | 11,32 | 0,334 | 13,45 |
0,170 | 6,69 | 0,225 | 9,00 | 0,280 | 11,36 | 0,335 | 13,49 |
0,171 | 6,73 | 0,226 | 9,04 | 0,281 | 11,40 | 0,336 | 13,53 |
0,172 | 6,78 | 0,227 | 9,09 | 0,282 | 11,44 | 0,337 | 13,57 |
0,173 | 6,82 | 0,228 | 9,13 | 0,283 | 11,48 | 0,338 | 13,60 |
0,174 | 6,86 | 0,229 | 9,18 | 0,284 | 11,52 | 0,339 | 13,64 |
0,175 | 6,90 | 0,230 | 9,22 | 0,285 | 11,56 | 0,340 | 13,68 |
0,176 | 6,95 | 0,231 | 9,27 | 0,286 | 11,60 | 0,341 | 13,74 |
0,177 | 6,99 | 0,232 | 9,31 | 0,287 | 11,64 | 0,342 | 13,80 |
0,178 | 7,03 | 0,233 | 9,36 | 0,288 | 11,68 | 0,343 | 13,85 |
0,179 | 7,07 | 0,234 | 9,40 | 0,289 | 11,72 | 0,344 | 13,91 |
0,180 | 7,12 | 0,235 | 9,45 | 0,290 | 11,76 | 0,345 | 13,97 |
0,181 | 7,16 | 0,236 | 9,49 | 0,291 | 11,80 | 0,346 | 14,03 |
0,182 | 7,20 | 0,237 | 9,54 | 0,292 | 11,84 | 0,347 | 14,08 |
0,183 | 7,24 | 0,238 | 9,58 | 0,293 | 11,88 | 0,348 | 14,14 |
0,184 | 7,28 | 0,239 | 9,63 | 0,294 | 11,92 | 0,349 | 14,20 |
0,185 | 7,32 | 0,240 | 9,67 | 0,295 | 11,96 | 0,350 | 14,26 |
0,186 | 7,36 | 0,241 | 9,72 | 0,296 | 12,00 | 0,351 | 14,31 |
0,187 | 7,41 | 0,242 | 9,76 | 0,297 | 12,04 | 0,352 | 14,37 |
0,188 | 7,45 | 0,243 | 9,81 | 0,298 | 12,08 | 0,353 | 14,43 |
Продолжение таблицы 31
1 | 2 | 3 | 4 | 5 | 6 | 7 | 8 |
0,354 | 14,49 | 0,409 | 18,36 | 0,464 | 20,02 | 0,519 | 20,94 |
0,355 | 14,54 | 0,410 | 18,41 | 0,465 | 20,03 | 0,520 | 20,99 |
0,356 | 14,60 | 0,411 | 18,47 | 0,466 | 20,05 | 0,521 | 21,05 |
0,357 | 14,66 | 0,412 | 18,53 | 0,467 | 20,06 | 0,522 | 21,10 |
0,358 | 14,72 | 0,413 | 18,58 | 0,468 | 20,08 | 0,523 | 21,16 |
0,359 | 14,77 | 0,414 | 18,64 | 0,469 | 20,10 | 0,524 | 21,22 |
0,360 | 14,83 | 0,415 | 18,70 | 0,470 | 20,11 | 0,525 | 21,27 |
0,361 | 14,89 | 0,416 | 18,76 | 0,471 | 20,13 | 0,526 | 21,33 |
0,362 | 14,95 | 0,417 | 18,81 | 0,472 | 20,14 | 0,527 | 21,39 |
0,363 | 15,00 | 0,418 | 18,87 | 0,473 | 20,16 | 0,528 | 21,44 |
0,364 | 15,06 | 0,419 | 18,93 | 0,474 | 20,18 | 0,529 | 21,50 |
0,365 | 15,12 | 0,420 | 18,98 | 0,475 | 20,19 | 0,530 | 21,56 |
0,366 | 15,16 | 0,421 | 19,04 | 0,476 | 20,21 | 0,531 | 21,61 |
0,367 | 15,20 | 0,422 | 19,10 | 0,477 | 20,22 | 0,532 | 21,67 |
0,368 | 15,24 | 0,423 | 19,16 | 0,478 | 20,24 | 0,533 | 21,72 |
0,369 | 15,28 | 0,424 | 19,21 | 0,479 | 20,26 | 0,534 | 21,78 |
0,370 | 15,31 | 0,425 | 19,27 | 0,480 | 20,27 | 0,535 | 21,84 |
0,371 | 15,35 | 0,426 | 19,33 | 0,481 | 20,29 | 0,536 | 21,89 |
0,372 | 15,39 | 0,427 | 19,38 | 0,482 | 20,30 | 0,537 | 21,95 |
0,373 | 15,43 | 0,428 | 19,44 | 0,483 | 20,32 | 0,538 | 22,00 |
0,374 | 15,47 | 0,429 | 19,46 | 0,484 | 20,34 | 0,539 | 22,06 |
0,375 | 15,51 | 0,430 | 19,47 | 0,485 | 20,35 | 0,540 | 22,12 |
0,376 | 15,55 | 0,431 | 19,49 | 0,486 | 20,37 | 0,541 | 22,17 |
0,377 | 15,59 | 0,432 | 19,50 | 0,487 | 20,38 | 0,542 | 22,23 |
0,378 | 15,63 | 0,433 | 19,52 | 0,488 | 20,40 | 0,543 | 22,29 |
0,379 | 15,66 | 0,434 | 19,54 | 0,489 | 20,42 | 0,544 | 22,34 |
0,380 | 15,70 | 0,435 | 19,55 | 0,490 | 20,43 | 0,545 | 22,40 |
0,381 | 15,74 | 0,436 | 19,57 | 0,491 | 20,45 | 0,546 | 22,46 |
0,382 | 15,78 | 0,437 | 19,58 | 0,492 | 20,46 | 0,547 | 22,51 |
0,383 | 15,82 | 0,438 | 19,60 | 0,493 | 20,48 | 0,548 | 22,57 |
0,384 | 15,86 | 0,439 | 19,62 | 0,494 | 20,50 | 0,549 | 22,62 |
0,385 | 15,90 | 0,440 | 19,63 | 0,495 | 20,51 | 0,550 | 22,68 |
0,386 | 15,94 | 0,441 | 19,65 | 0,496 | 20,53 | 0,551 | 22,75 |
0,387 | 15,98 | 0,442 | 19,66 | 0,497 | 20,54 | 0,552 | 22,81 |
0,388 | 16,02 | 0,443 | 19,68 | 0,498 | 20,56 | 0,553 | 22,88 |
0,389 | 16,05 | 0,444 | 19,70 | 0,499 | 20,58 | 0,554 | 22,94 |
0,390 | 16,09 | 0,445 | 19,71 | 0,500 | 20,59 | 0,555 | 23,01 |
0,391 | 16,13 | 0,446 | 19,73 | 0,501 | 20,61 | 0,556 | 23,07 |
0,392 | 16,17 | 0,447 | 19,74 | 0,502 | 20,62 | 0,557 | 23,14 |
0,393 | 16,21 | 0,448 | 19,76 | 0,503 | 20,64 | 0,558 | 23,20 |
0,394 | 16,25 | 0,449 | 19,78 | 0,504 | 20,66 | 0,559 | 23,27 |
0,395 | 16,29 | 0,450 | 19,79 | 0,505 | 20,67 | 0,560 | 23,33 |
0,396 | 16,33 | 0,451 | 19,81 | 0,506 | 20,69 | 0,561 | 23,40 |
0,397 | 16,37 | 0,452 | 19,82 | 0,507 | 20,70 | 0,562 | 23,47 |
0,398 | 16,40 | 0,453 | 19,84 | 0,508 | 20,72 | 0,563 | 23,53 |
0,399 | 16,44 | 0,454 | 19,86 | 0,509 | 20,74 | 0,564 | 23,60 |
0,400 | 16,48 | 0,455 | 19,87 | 0,510 | 20,75 | 0,565 | 23,66 |
0,401 | 16,52 | 0,456 | 19,89 | 0,511 | 20,77 | 0,566 | 23,73 |
0,402 | 16,56 | 0,457 | 19,90 | 0,512 | 20,78 | 0,567 | 23,79 |
0,403 | 16,85 | 0,458 | 19,92 | 0,513 | 20,80 | 0,568 | 23,86 |
0,404 | 17,14 | 0,459 | 19,94 | 0,514 | 20,82 | 0,569 | 23,92 |
0,405 | 17,43 | 0,460 | 19,95 | 0,515 | 20,83 | 0,570 | 23,99 |
0,406 | 17,72 | 0,461 | 19,97 | 0,516 | 20,85 | 0,571 | 24,05 |
0,407 | 18,01 | 0,462 | 19,98 | 0,517 | 20,86 | 0,572 | 24,12 |
0,408 | 18,30 | 0,463 | 20,00 | 0,518 | 20,88 | 0,573 | 24,14 |
Продолжение таблицы 31
1 | 2 | 3 | 4 | 5 | 6 | 7 | 8 |
0,574 | 24,17 | 0,578 | 24,27 | 0,582 | 24,37 | 0,586 | 24,47 |
0,575 | 24,19 | 0,579 | 24,29 | 0,583 | 24,39 | 0,587 | 24,49 |
0,576 | 24,22 | 0,580 | 24,32 | 0,584 | 24,42 | 0,588 | 24,52 |
0,577 | 24,24 | 0,581 | 24,34 | 0,585 | 24,44 | 0,589 | 24,54 |
Таблица 32
Плотность и концентрация растворов серной кислоты при 20 °C
Плотность, г/см3 | Содержание H2SO4 | Нормальность раствора | Плотность, г/см3 | Содержание H2SO4 | Нормальность раствора |
г/100 г раствора | г/л | г/100 г раствора | г/л |
1 | 2 | 3 | 4 | 5 | 6 | 7 | 8 |
1,000 | 0,261 | 2,608 | 0,0532 | 1,195 | 27,10 | 323,9 | 6,604 |
1,005 | 0,982 | 9,906 | 0,2020 | 1,200 | 27,72 | 332,6 | 6,782 |
1,010 | 1,731 | 17,49 | 0,3566 | 1,205 | 28,33 | 341,4 | 6,962 |
1,015 | 2,485 | 25,45 | 0,5190 | 1,210 | 28,95 | 350,3 | 7,144 |
1,020 | 3,242 | 33,07 | 0,6744 | 1,215 | 29,57 | 359,3 | 7,326 |
1,025 | 4,000 | 41,99 | 0,8360 | 1,220 | 30,18 | 368,2 | 7,508 |
1,030 | 4,746 | 48,87 | 0,9966 | 1,225 | 30,79 | 377,2 | 7,692 |
1,035 | 5,493 | 56,85 | 1,1592 | 1,230 | 31,40 | 386,2 | 7,876 |
1,040 | 6,237 | 64,86 | 1,3226 | 1,235 | 32,01 | 395,4 | 8,062 |
1,045 | 6,956 | 72,69 | 1,4822 | 1,240 | 32,61 | 404,4 | 8,246 |
1,050 | 7,704 | 80,92 | 1,6500 | 1,245 | 33,22 | 413,5 | 8,432 |
1,055 | 8,415 | 88,80 | 1,8108 | 1,250 | 33,82 | 422,7 | 8,620 |
1,060 | 9,129 | 96,67 | 1,9712 | 1,255 | 34,42 | 431,8 | 8,808 |
1,065 | 9,843 | 104,6 | 2,132 | 1,260 | 35,01 | 441,2 | 8,996 |
1,070 | 10,56 | 113,0 | 2,304 | 1,265 | 35,60 | 450,4 | 9,184 |
1,075 | 11,26 | 121,1 | 2,470 | 1,270 | 36,19 | 459,6 | 9,372 |
1,080 | 11,96 | 129,2 | 2,634 | 1,275 | 36,78 | 468,9 | 9,562 |
1,085 | 12,66 | 137,4 | 2,802 | 1,280 | 37,36 | 478,2 | 9,752 |
1,090 | 13,36 | 145,6 | 2,968 | 1,285 | 37,95 | 487,6 | 9,944 |
1,095 | 14,04 | 153,7 | 3,134 | 1,290 | 38,53 | 497,1 | 10,136 |
1,100 | 14,73 | 162,0 | 3,304 | 1,295 | 39,10 | 506,4 | 10,326 |
1,105 | 15,41 | 170,2 | 3,470 | 1,300 | 39,68 | 515,8 | 10,518 |
1,110 | 16,08 | 178,5 | 3,640 | 1,305 | 40,25 | 525,3 | 10,712 |
1,115 | 16,76 | 186,8 | 3,810 | 1,310 | 40,82 | 534,7 | 10,904 |
1,120 | 17,43 | 195,2 | 3,980 | 1,315 | 41,39 | 544,2 | 11,098 |
1,125 | 18,09 | 203,5 | 4,150 | 1,320 | 41,95 | 553,8 | 11,292 |
1,130 | 18,76 | 211,9 | 4,322 | 1,325 | 42,51 | 563,3 | 11,486 |
1,135 | 19,42 | 220,4 | 4,494 | 1,330 | 43,07 | 572,8 | 11,680 |
1,140 | 20,08 | 228,9 | 4,668 | 1,335 | 43,62 | 582,4 | 11,876 |
1,145 | 20,73 | 237,3 | 4,840 | 1,340 | 44,17 | 591,9 | 12,070 |
1,150 | 21,33 | 245,9 | 5,014 | 1,345 | 44,72 | 601,4 | 12,264 |
1,155 | 22,03 | 254,4 | 5,188 | 1,350 | 45,26 | 610,9 | 12,458 |
1,160 | 22,67 | 263,0 | 5,362 | 1,355 | 45,80 | 620,6 | 12,654 |
1,165 | 23,31 | 271,6 | 5,536 | 1,360 | 46,33 | 630,1 | 12,848 |
1,170 | 23,95 | 280,2 | 5,714 | 1,365 | 46,86 | 639,7 | 13,044 |
1,175 | 24,58 | 288,8 | 5,890 | 1,370 | 47,39 | 649,3 | 13,240 |
1,180 | 25,21 | 297,5 | 6,066 | 1,375 | 47,92 | 658,9 | 13,436 |
1,185 | 25,84 | 306,2 | 6,244 | 1,380 | 48,45 | 668,6 | 13,634 |
1,190 | 26,47 | 314,9 | 6,422 | 1,385 | 48,97 | 678,2 | 13,830 |
Продолжение таблицы 32
1 | 2 | 3 | 4 | 5 | 6 | 7 | 8 |
1,390 | 49,48 | 687,7 | 14,024 | 1,645 | 72,95 | 1200 | 24,48 |
1,395 | 49,99 | 697,3 | 14,220 | 1,650 | 73,37 | 1210 | 24,68 |
1,400 | 50,50 | 707,0 | 14,416 | 1,655 | 73,80 | 1221 | 24,90 |
1,405 | 51,01 | 716,7 | 14,614 | 1,660 | 74,22 | 1232 | 25,12 |
1,410 | 51,52 | 726,4 | 14,812 | 1,665 | 74,64 | 1243 | 25,34 |
1,415 | 52,02 | 736,1 | 15,010 | 1,670 | 75,07 | 1253 | 25,56 |
1,420 | 52,51 | 745,7 | 15,206 | 1,675 | 75,49 | 1264 | 25,78 |
1,425 | 53,01 | 755,4 | 15,404 | 1,680 | 75,92 | 1275 | 26,00 |
1,430 | 53,50 | 765,1 | 15,602 | 1,685 | 76,34 | 1287 | 26,24 |
1,435 | 54,00 | 774,9 | 15,802 | 1,690 | 76,77 | 1298 | 26,46 |
1,440 | 54,49 | 784,6 | 16,000 | 1,695 | 77,20 | 1308 | 26,68 |
1,445 | 54,97 | 794,3 | 16,198 | 1,700 | 77,63 | 1320 | 26,92 |
1,450 | 55,45 | 804,1 | 16,396 | 1,705 | 78,06 | 1331 | 27,14 |
1,455 | 55,93 | 813,8 | 16,594 | 1,710 | 78,49 | 1343 | 27,38 |
1,460 | 56,41 | 823,6 | 16,794 | 1,715 | 78,93 | 1354 | 27,60 |
1,465 | 56,89 | 833,4 | 16,994 | 1,720 | 79,37 | 1365 | 27,84 |
1,470 | 57,36 | 843,3 | 17,196 | 1,725 | 79,81 | 1377 | 28,08 |
1,475 | 57,84 | 853,2 | 17,398 | 1,730 | 80,25 | 1389 | 28,32 |
1,480 | 58,31 | 863,0 | 17,598 | 1,735 | 80,70 | 1401 | 28,56 |
1,485 | 58,78 | 872,8 | 17,798 | 1,740 | 81,16 | 1412 | 28,80 |
1,490 | 59,24 | 882,7 | 18,000 | 1,745 | 81,62 | 1424 | 29,04 |
1,495 | 59,70 | 892,5 | 18,200 | 1,750 | 82,09 | 1437 | 29,30 |
1,500 | 60,17 | 902,5 | 18,404 | 1,755 | 82,57 | 1450 | 29,56 |
1,505 | 60,62 | 912,4 | 18,606 | 1,760 | 83,06 | 1461 | 29,80 |
1,510 | 61,08 | 922,3 | 18,808 | 1,765 | 83,57 | 1469 | 29,96 |
1,515 | 61,54 | 932,3 | 19,012 | 1,770 | 84,08 | 1488 | 30,34 |
1,520 | 62,00 | 942,4 | 19,216 | 1,775 | 84,61 | 1502 | 30,62 |
1,525 | 62,45 | 952,5 | 19,422 | 1,780 | 85,16 | 1516 | 30,92 |
1,530 | 62,91 | 962,5 | 19,626 | 1,785 | 85,74 | 1531 | 31,22 |
1,535 | 63,36 | 972,6 | 19,832 | 1,790 | 86,35 | 1546 | 31,52 |
1,540 | 63,81 | 982,8 | 20,040 | 1,795 | 86,99 | 1561 | 31,84 |
1,545 | 64,26 | 992,6 | 20,24 | 1,800 | 87,69 | 1578 | 32,18 |
1,550 | 64,26 | 1003,0 | 20,46 | 1,805 | 88,43 | 1596 | 32,54 |
1,555 | 65,15 | 1013,0 | 20,66 | 1,810 | 89,23 | 1615 | 32,94 |
1,560 | 65,59 | 1023 | 20,86 | 1,815 | 90,12 | 1636 | 33,36 |
1,565 | 66,03 | 1034 | 21,08 | 1,820 | 91,11 | 1659 | 33,82 |
1,570 | 66,47 | 1044 | 21,28 | 1,821 | 91,33 | 1663 | 33,92 |
1,575 | 66,91 | 1053 | 21,48 | 1,822 | 91,56 | 1668 | 34,02 |
1,580 | 67,35 | 1064 | 21,70 | 1,823 | 91,78 | 1673 | 34,12 |
1,585 | 67,79 | 1075 | 21,92 | 1,824 | 92,00 | 1678 | 34,22 |
1,590 | 68,23 | 1085 | 22,12 | 1,825 | 92,25 | 1684 | 34,34 |
1,595 | 68,66 | 1095 | 22,32 | 1,826 | 92,51 | 1689 | 34,44 |
1,600 | 69,09 | 1105 | 22,54 | 1,827 | 92,77 | 1695 | 34,56 |
1,605 | 69,53 | 1116 | 22,76 | 1,828 | 93,03 | 1701 | 34,68 |
1,610 | 69,96 | 1126 | 22,96 | 1,829 | 93,33 | 1707 | 34,80 |
1,615 | 70,39 | 1136 | 23,18 | 1,830 | 93,64 | 1713 | 34,94 |
1,620 | 70,82 | 1148 | 23,40 | 1,831 | 93,94 | 1720 | 35,08 |
1,625 | 71,25 | 1157 | 23,60 | 1,832 | 94,32 | 1728 | 35,24 |
1,630 | 71,76 | 1168 | 23,82 | 1,833 | 94,72 | 1736 | 35,40 |
1,635 | 72,09 | 1179 | 24,04 | 1,834 | 95,12 | 1745 | 35,58 |
1,640 | 72,52 | 1190 | 24,26 | 1,835 | 95,72 | 1757 | 35,82 |
Таблица 33
Плотность и концентрация растворов соляной кислоты при 20 °C
Плотность, г/см3 | Содержание HCl | Нормальность раствора |
г/100 г раствора | г/л |
1,000 | 0,360 | 3,599 | 0,0987 |
1,005 | 1,360 | 13,65 | 0,3745 |
1,010 | 2,364 | 23,87 | 0,6547 |
1,015 | 3,374 | 34,24 | 0,939 |
1,020 | 4,388 | 44,74 | 1,227 |
1,025 | 5,408 | 55,42 | 1,520 |
1,030 | 6,433 | 66,25 | 1,817 |
1,035 | 7,464 | 77,22 | 2,118 |
1,040 | 8,490 | 88,27 | 2,421 |
1,045 | 9,510 | 99,35 | 2,725 |
1,050 | 10,52 | 110,4 | 3,029 |
1,055 | 11,52 | 121,5 | 3,333 |
1,060 | 12,51 | 132,6 | 3,638 |
1,065 | 13,50 | 143,8 | 3,944 |
1,070 | 14,49 | 155,1 | 4,253 |
1,075 | 15,48 | 166,4 | 4,565 |
1,080 | 16,47 | 177,8 | 4,878 |
1,085 | 17,45 | 189,3 | 5,192 |
1,090 | 18,43 | 200,9 | 5,509 |
1,095 | 19,41 | 212,5 | 5,829 |
1,100 | 20,39 | 224,2 | 6,150 |
1,105 | 21,36 | 236,0 | 6,472 |
1,110 | 22,33 | 247,8 | 6,796 |
1,115 | 23,29 | 259,7 | 7,122 |
1,120 | 24,25 | 271,6 | 7,449 |
1,125 | 25,22 | 283,7 | 7,782 |
1,130 | 26,20 | 296,0 | 8,118 |
1,135 | 27,18 | 308,4 | 8,459 |
1,140 | 28,18 | 321,2 | 8,809 |
1,145 | 29,17 | 333,9 | 9,159 |
1,150 | 30,14 | 346,6 | 9,505 |
1,155 | 31,14 | 359,6 | 9,863 |
1,160 | 32,14 | 372,8 | 10,22 |
1,165 | 33,16 | 386,3 | 10,59 |
1,170 | 34,18 | 399,9 | 10,97 |
1,180 | 36,23 | 427,7 | 11,73 |
1,190 | 38,32 | 455,8 | 12,50 |
1,198 | 40,00 | 479,1 | 13,14 |
Таблица 34
Плотность и концентрация растворов едкого натра при 20 °C
Плотность, г/см3 | Содержание NaOH | Нормальность раствора | Плотность, г/см3 | Содержание NaOH | Нормальность раствора |
г/100 г раствора | г/л | г/100 г раствора | г/л |
1 | 2 | 3 | 4 | 5 | 6 | 7 | 8 |
1,000 | 0,159 | 1,592 | 0,0398 | 1,230 | 20,98 | 258,0 | 6,451 |
1,005 | 0,602 | 6,040 | 0,151 | 1,235 | 21,44 | 264,8 | 6,619 |
1,010 | 1,04 | 10,56 | 0,264 | 1,240 | 21,90 | 271,5 | 6,788 |
1,015 | 1,49 | 15,12 | 0,378 | 1,245 | 22,36 | 278,3 | 6,958 |
1,020 | 1,94 | 19,76 | 0,494 | 1,250 | 22,82 | 285,2 | 7,129 |
1,025 | 2,39 | 24,44 | 0,611 | 1,255 | 23,27 | 292,1 | 7,302 |
1,030 | 2,84 | 29,24 | 0,731 | 1,260 | 23,73 | 299,0 | 7,475 |
1,035 | 3,29 | 34,04 | 0,851 | 1,265 | 24,19 | 306,0 | 7,650 |
1,040 | 3,74 | 38,84 | 0,971 | 1,270 | 24,64 | 313,0 | 7,824 |
1,045 | 4,20 | 43,88 | 1,097 | 1,275 | 25,10 | 320,0 | 8,000 |
1,050 | 4,65 | 48,88 | 1,222 | 1,280 | 25,56 | 327,1 | 8,178 |
1,055 | 5,11 | 53,88 | 1,347 | 1,285 | 26,02 | 334,3 | 8,387 |
1,060 | 5,56 | 58,96 | 1,474 | 1,290 | 26,48 | 341,6 | 8,539 |
1,065 | 6,02 | 64,08 | 1,602 | 1,295 | 26,94 | 348,9 | 8,722 |
1,070 | 6,47 | 69,24 | 1,731 | 1,300 | 27,41 | 356,2 | 8,906 |
1,075 | 6,93 | 74,48 | 1,862 | 1,305 | 27,87 | 363,7 | 9,092 |
1,080 | 7,38 | 79,68 | 1,992 | 1,310 | 28,33 | 371,1 | 9,278 |
1,085 | 7,83 | 84,92 | 2,123 | 1,315 | 28,80 | 378,6 | 9,466 |
1,090 | 8,28 | 90,28 | 2,257 | 1,320 | 29,26 | 386,2 | 9,656 |
1,095 | 8,74 | 95,64 | 2,391 | 1,325 | 29,73 | 393,9 | 9,847 |
1,100 | 9,19 | 101,1 | 2,527 | 1,330 | 30,20 | 401,6 | 10,04 |
1,105 | 9,64 | 106,6 | 2,664 | 1,335 | 30,67 | 409,2 | 10,23 |
1,110 | 10,10 | 112,1 | 2,802 | 1,340 | 31,14 | 417,2 | 10,43 |
1,115 | 10,55 | 117,7 | 2,942 | 1,345 | 31,62 | 425,2 | 10,63 |
1,120 | 11,01 | 123,3 | 3,082 | 1,350 | 32,10 | 433,2 | 10,83 |
1,125 | 11,46 | 129,0 | 3,224 | 1,355 | 32,58 | 441,2 | 11,03 |
1,130 | 11,92 | 134,7 | 3,367 | 1,360 | 33,06 | 449,6 | 11,24 |
1,135 | 12,37 | 140,4 | 3,510 | 1,365 | 33,54 | 458,0 | 11,45 |
1,140 | 12,83 | 146,2 | 3,655 | 1,370 | 34,03 | 466,0 | 11,65 |
1,145 | 13,28 | 152,0 | 3,801 | 1,375 | 34,52 | 474,4 | 11,86 |
1,150 | 13,73 | 157,9 | 3,947 | 1,380 | 35,01 | 483,2 | 12,08 |
1,155 | 14,18 | 163,8 | 4,095 | 1,385 | 35,50 | 491,6 | 12,29 |
1,160 | 14,64 | 169,8 | 4,244 | 1,390 | 36,00 | 500,4 | 12,51 |
1,165 | 15,09 | 175,8 | 4,395 | 1,395 | 36,49 | 509,2 | 12,73 |
1,170 | 15,54 | 181,8 | 4,545 | 1,400 | 36,99 | 518,0 | 12,95 |
1,175 | 15,99 | 187,9 | 4,697 | 1,405 | 37,49 | 526,8 | 13,17 |
1,180 | 16,44 | 194,0 | 4,850 | 1,410 | 37,99 | 535,6 | 13,39 |
1,185 | 16,89 | 200,2 | 5,004 | 1,415 | 38,49 | 544,4 | 13,61 |
1,190 | 17,34 | 206,4 | 5,160 | 1,420 | 38,99 | 553,6 | 13,84 |
1,195 | 17,80 | 212,7 | 5,317 | 1,425 | 39,49 | 562,8 | 14,07 |
1,200 | 18,25 | 219,0 | 5,476 | 1,430 | 40,00 | 572,0 | 14,30 |
1,205 | 18,71 | 225,4 | 5,636 | 1,435 | 40,51 | 581,2 | 14,53 |
1,210 | 19,16 | 231,8 | 5,796 | 1,440 | 41,03 | 590,8 | 14,77 |
1,215 | 19,62 | 238,3 | 5,958 | 1,445 | 41,55 | 600,4 | 15,01 |
1,220 | 20,07 | 244,9 | 6,122 | 1,450 | 42,07 | 610,0 | 15,25 |
1,225 | 20,53 | 251,4 | 6,286 | 1,455 | 42,59 | 619,6 | 15,49 |
Продолжение табл. 34.
1 | 2 | 3 | 4 | 5 | 6 | 7 | 8 |
1,460 | 43,12 | 629,6 | 15,74 | 1,500 | 47,33 | 710,0 | 17,75 |
1,465 | 43,64 | 639,2 | 15,98 | 1,505 | 47,85 | 720,0 | 18,00 |
1,470 | 44,17 | 649,2 | 16,28 | 1,510 | 48,38 | 730,4 | 18,26 |
1,475 | 44,69 | 659,2 | 16,48 | 1,515 | 48,90 | 740,8 | 18,52 |
1,480 | 45,22 | 669,2 | 16,73 | 1,520 | 49,44 | 751,2 | 18,78 |
1,485 | 45,75 | 679,2 | 16,98 | 1,525 | 49,97 | 762,0 | 19,05 |
1,490 | 46,27 | 689,2 | 17,23 | 1,530 | 50,50 | 772,4 | 19,31 |
1,495 | 46,80 | 699,6 | 17,49 | |
Таблица 35
Плотность и концентрация растворов едкого калия при 20 °C
Плотность г/см3 | Содержание KOH | Нормальность раствора | Плотность г/см3 | Содержание KOH | Нормальность раствора |
г/100 г раствора | г/л | г/100 г раствора | г/л |
1 | 2 | 3 | 4 | 5 | 6 | 7 | 8 |
1,000 | 0,197 | 1,964 | 0,035 | 1,140 | 15,22 | 173,4 | 3,09 |
1,005 | 0,743 | 7,463 | 0,133 | 1,145 | 15,74 | 180,1 | 3,21 |
1,010 | 1,295 | 13,07 | 0,233 | 1,150 | 16,26 | 186,8 | 3,33 |
1,015 | 1,84 | 18,68 | 0,333 | 1,155 | 16,78 | 193,6 | 3,45 |
1,020 | 2,38 | 24,30 | 0,433 | 1,160 | 17,29 | 200,9 | 3,58 |
1,025 | 2,93 | 30,07 | 0,536 | 1,165 | 17,81 | 207,6 | 3,70 |
1,030 | 3,48 | 35,85 | 0,639 | 1,170 | 18,32 | 214,3 | 3,82 |
1,035 | 4,03 | 41,75 | 0,744 | 1,175 | 18,84 | 221,1 | 3,94 |
1,040 | 4,58 | 47,58 | 0,848 | 1,180 | 19,35 | 228,4 | 4,07 |
1,045 | 5,12 | 53,53 | 0,954 | 1,185 | 19,86 | 235,1 | 4,19 |
1,050 | 5,66 | 59,48 | 1,06 | 1,190 | 20,37 | 242,4 | 4,32 |
1,055 | 6,20 | 65,65 | 1,17 | 1,195 | 20,88 | 249,7 | 4,45 |
1,060 | 6,74 | 71,26 | 1,27 | 1,200 | 21,38 | 256,4 | 4,57 |
1,065 | 7,28 | 77,43 | 1,38 | 1,205 | 21,88 | 263,7 | 4,70 |
1,070 | 7,82 | 83,60 | 1,49 | 1,210 | 22,38 | 271,0 | 4,83 |
1,075 | 8,36 | 89,78 | 1,60 | 1,215 | 22,88 | 277,7 | 4,95 |
1,080 | 8,89 | 95,95 | 1,71 | 1,220 | 23,38 | 285,0 | 5,08 |
1,085 | 9,43 | 102,1 | 1,82 | 1,225 | 23,87 | 292,3 | 5,21 |
1,090 | 9,96 | 108,9 | 1,94 | 1,230 | 24,37 | 299,6 | 5,34 |
1,095 | 10,49 | 115,0 | 2,05 | 1,235 | 24,86 | 306,9 | 5,47 |
1,100 | 11,03 | 121,2 | 2,16 | 1,240 | 25,36 | 314,2 | 5,60 |
1,105 | 11,56 | 127,9 | 2,28 | 1,245 | 25,85 | 322,1 | 5,74 |
1,110 | 12,08 | 134,1 | 2,39 | 1,250 | 26,34 | 329,4 | 5,87 |
1,115 | 12,61 | 140,8 | 2,51 | 1,255 | 26,83 | 336,7 | 6,00 |
1,120 | 13,14 | 147,0 | 2,62 | 1,260 | 27,32 | 344,0 | 6,13 |
1,125 | 13,66 | 153,7 | 2,74 | 1,265 | 27,80 | 351,8 | 6,27 |
1,130 | 14,19 | 160,5 | 2,86 | 1,270 | 28,29 | 359,1 | 6,40 |
1,135 | 14,70 | 166,6 | 2,97 | 1,275 | 28,77 | 367,0 | 6,54 |
Продолжение табл. 35
1 | 2 | 3 | 4 | 5 | 6 | 7 | 8 |
1,280 | 29,25 | 374,3 | 6,67 | 1,410 | 41,26 | 581,9 | 10,37 |
1,285 | 29,73 | 382,1 | 6,81 | 1,415 | 41,71 | 590,3 | 10,52 |
1,290 | 30,21 | 390,0 | 6,95 | 1,420 | 42,15 | 598,7 | 10,67 |
1,295 | 30,68 | 397,3 | 7,08 | 1,425 | 42,60 | 607,1 | 10,82 |
1,300 | 31,15 | 405,1 | 7,22 | 1,430 | 43,04 | 615,5 | 10,97 |
1,305 | 31,62 | 413,0 | 7,36 | 1,435 | 43,48 | 623,9 | 11,12 |
1,310 | 32,09 | 420,3 | 7,49 | 1,440 | 43,92 | 632,9 | 11,28 |
1,315 | 32,56 | 428,1 | 7,63 | 1,445 | 44,36 | 640,8 | 11,42 |
1,320 | 33,03 | 436,0 | 7,77 | 1,450 | 44,79 | 649,7 | 11,58 |
1,325 | 33,50 | 443,8 | 7,91 | 1,455 | 45,23 | 658,2 | 11,73 |
1,330 | 33,97 | 451,7 | 8,05 | 1,460 | 45,66 | 666,6 | 11,88 |
1,335 | 34,43 | 459,5 | 8,19 | 1,465 | 46,09 | 675,6 | 12,04 |
1,340 | 34,90 | 467,7 | 8,33 | 1,470 | 46,53 | 684,0 | 12,19 |
1,345 | 35,36 | 475,8 | 8,48 | 1,475 | 46,96 | 693,0 | 12,35 |
1,350 | 35,82 | 483,7 | 8,62 | 1,480 | 47,39 | 701,4 | 12,50 |
1,355 | 36,28 | 491,5 | 8,76 | 1,485 | 47,82 | 710,4 | 12,66 |
1,360 | 36,73 | 499,4 | 8,90 | 1,490 | 48,25 | 719,3 | 12,82 |
1,365 | 37,19 | 507,8 | 9,05 | 1,495 | 48,67 | 727,7 | 12,97 |
1,370 | 37,65 | 515,7 | 9,19 | 1,500 | 49,10 | 736,7 | 13,13 |
1,375 | 38,10 | 524,1 | 9,34 | 1,505 | 49,53 | 745,7 | 13,29 |
1,380 | 38,56 | 531,9 | 9,48 | 1,510 | 49,95 | 754,7 | 13,45 |
1,385 | 39,01 | 540,3 | 9,63 | 1,515 | 50,38 | 763,1 | 13,60 |
1,390 | 39,46 | 548,8 | 9,78 | 1,520 | 50,80 | 772,1 | 13,76 |
1,395 | 39,92 | 557,2 | 9,93 | 1,525 | 51,22 | 781,1 | 13,92 |
1,400 | 40,37 | 565,0 | 10,07 | 1,530 | 51,64 | 790,0 | 14,08 |
1,405 | 40,82 | 573,4 | 10,22 | 1,535 | 52,05 | 799,0 | 14,24 |
Буферные фосфатные смеси
15,87 г Na2HPO4·2H2O в одном литре
9,78 г KH2PO4 в одном литре
Таблица 36
Раствор Na2HPO4·2H2O, мл | Раствор KH2PO4, мл | pH |
9,0 | 1,0 | 7,73 |
8,0 | 2,0 | 7,38 |
7,0 | 3,0 | 7,17 |
6,0 | 4,0 | 6,98 |
5,0 | 5,0 | 6,81 |
4,0 | 6,0 | 6,64 |
3,0 | 7,0 | 6,47 |
2,0 | 8,0 | 6,24 |
1,0 | 9,0 | 5,91 |
0,5 | 9,5 | 5,59 |
Таблица 37
Наименование индикатора | Интервал перехода pH и окраска индикатора | Концентрация индикатора и растворитель |
Бромфеноловый синий | Желтая 3,0 - 4,6 синяя | 0,1% индикатора в 20%-ном этаноле |
Метиловый оранжевый | Красная 3,1 - 4,4 оранжевая | 0,1% индикатора в воде |
Метиловый красный | Красная 4,2 - 6,3 желтая | 0,1% индикатора в 20%-ном этаноле |
Лакмус (азолитмин) | Красная 5,0 - 8,0 синяя | 0,1% индикатора в воде |
Бромкрезоловый пурпурный | Желтая 5,2 - 6,8 пурпурная | 0,1% индикатора в 20%-ном этаноле |
Бромтимоловый синий | Желтая 6,0 - 7,6 синяя | 0,05% индикатора в 20%-ном этаноле |
Розоловая кислота | Желтая 6,2 - 8,0 пурпурная | 0,5% индикатора в 50%-ном этаноле |
Феноловый красный | Желтая 6,8 - 8,4 красная | 0,1% индикатора в 20%-ном этаноле |
Крезоловый красный | Желтая 7,2 - 8,8 красная | 0,1% индикатора в 50%-ном этаноле |
| Розовая 7,3 - 8,7 зеленая | 0,1% индикатора в 50%-ном этаноле |
Тимоловый синий | Желтая 8,0 - 9,6 синяя | 0,1% индикатора в 20%-ном этаноле |
Фенолфталеин | Бесцветная 8,2 - 10,0 пурпурно-красная | 1,0 или 0,1% индикатора в 60%-ном эталоне |
Тимолфталеин | Бесцветная 9,3 - 10,5 синяя | 0,1% индикатора в 90%-ном этаноле |
Бромкрезоловый зеленый (бромкрезоловый синий) | Желтая 3,8 - 5,4 синяя | 0,1% индикатора в 90%-ном этаноле |
Перевод часов и минут в сутки
Таблица 38
Часы | Минуты |
0 | 5 | 10 | 15 | 20 | 25 | 30 | 35 | 40 | 45 | 50 | 55 |
1 | 2 | 3 | 4 | 5 | 6 | 7 | 8 | 9 | 10 | 11 | 12 | 13 |
0 | - | 0,003 | 0,007 | 0,010 | 0,014 | 0,017 | 0,021 | 0,024 | 0,028 | 0,031 | 0,035 | 0,038 |
1 | 0,042 | 0,045 | 0,049 | 0,052 | 0,056 | 0,059 | 0,062 | 0,066 | 0,069 | 0,073 | 0,076 | 0,080 |
2 | 0,083 | 0,087 | 0,090 | 0,094 | 0,097 | 0,101 | 0,104 | 0,108 | 0,111 | 0,115 | 0,118 | 0,122 |
3 | 0,125 | 0,128 | 0,132 | 0,135 | 0,139 | 0,142 | 0,146 | 0,149 | 0,153 | 0,156 | 0,160 | 0,163 |
4 | 0,167 | 0,170 | 0,174 | 0,177 | 0,181 | 0,184 | 0,187 | 0,191 | 0,194 | 0,198 | 0,201 | 0,205 |
5 | 0,208 | 0,212 | 0,215 | 0,219 | 0,222 | 0,226 | 0,229 | 0,233 | 0,236 | 0,240 | 0,243 | 0,247 |
6 | 0,250 | 0,253 | 0,257 | 0,260 | 0,264 | 0,267 | 0,271 | 0,274 | 0,278 | 0,281 | 0,285 | 0,288 |
7 | 0,292 | 0,295 | 0,299 | 0,302 | 0,306 | 0,309 | 0,312 | 0,316 | 0,319 | 0,323 | 0,326 | 0,330 |
8 | 0,333 | 0,337 | 0,340 | 0,344 | 0,347 | 0,351 | 0,354 | 0,358 | 0,361 | 0,365 | 0,368 | 0,372 |
9 | 0,375 | 0,378 | 0,382 | 0,385 | 0,389 | 0,392 | 0,396 | 0,399 | 0,403 | 0,406 | 0,410 | 0,413 |
10 | 0,417 | 0,420 | 0,424 | 0,427 | 0,431 | 0,434 | 0,438 | 0,441 | 0,444 | 0,448 | 0,451 | 0,455 |
11 | 0,458 | 0,462 | 0,465 | 0,469 | 0,472 | 0,476 | 0,479 | 0,483 | 0,486 | 0,490 | 0,493 | 0,497 |
12 | 0,500 | 0,503 | 0,507 | 0,510 | 0,514 | 0,517 | 0,521 | 0,524 | 0,528 | 0,531 | 0,535 | 0,538 |
13 | 0,542 | 0,545 | 0,549 | 0,552 | 0,556 | 0,559 | 0,562 | 0,566 | 0,569 | 0,573 | 0,576 | 0,580 |
14 | 0,583 | 0,587 | 0,590 | 0,594 | 0,597 | 0,601 | 0,604 | 0,608 | 0,611 | 0,615 | 0,618 | 0,622 |
15 | 0,625 | 0,628 | 0,632 | 0,635 | 0,639 | 0,642 | 0,646 | 0,649 | 0,653 | 0,656 | 0,660 | 0,663 |
16 | 0,667 | 0,670 | 0,674 | 0,677 | 0,681 | 0,684 | 0,687 | 0,691 | 0,694 | 0,698 | 0,701 | 0,705 |
17 | 0,708 | 0,712 | 0,715 | 0,719 | 0,722 | 0,726 | 0,729 | 0,733 | 0,736 | 0,740 | 0,743 | 0,747 |
18 | 0,750 | 0,753 | 0,757 | 0,760 | 0,764 | 0,767 | 0,771 | 0,774 | 0,778 | 0,781 | 0,785 | 0,788 |
19 | 0,792 | 0,795 | 0,799 | 0,802 | 0,805 | 0,809 | 0,812 | 0,816 | 0,819 | 0,823 | 0,826 | 0,830 |
20 | 0,833 | 0,837 | 0,840 | 0,844 | 0,847 | 0,851 | 0,854 | 0,858 | 0,861 | 0,865 | 0,868 | 0,872 |
21 | 0,875 | 0,878 | 0,882 | 0,885 | 0,889 | 0,892 | 0,896 | 0,899 | 0,903 | 0,906 | 0,910 | 0,913 |
22 | 0,917 | 0,920 | 0,924 | 0,927 | 0,931 | 0,934 | 0,937 | 0,941 | 0,944 | 0,948 | 0,951 | 0,955 |
23 | 0,958 | 0,962 | 0,965 | 0,969 | 0,972 | 0,976 | 0,979 | 0,983 | 0,986 | 0,990 | 0,993 | 0,997 |
Таблица 39
Объемная и насыпная масса продуктов и материалов
NN пп | Продукты и материалы | Плотность, т/м3 |
1. | Свекла |
немытая, в зависимости от загрязнения | 0,65 - 0,75 |
мытая | 0,57 - 0,65 |
2. | Свекловичная стружка | 0,45 - 0,56 |
3. | Жом свежий |
непрессованный | 0,70 - 0,80 |
слегка отжатый | 0,60 - 0,70 |
прессованный | 0,50 - 0,60 |
4. | Жом полукислый | 0,80 |
5. | Жом кислый из ям | 0,85 - 0,90 |
6. | Жом сушеный |
насыпью | 0,20 - 0,25 |
долголежалый | до 0,50 |
в брикетах навалом | 0,60 |
7. | Сахар-песок |
насыпью | 0,85 - 0,90 |
в мешках | 0,70 |
8. | Сахар желтый после кристаллизации |
насыпью | 0,78 - 0,80 |
в мешках | 0,80 - 0,85 |
9. | Сахар-сырец |
насыпью | 0,82 - 0,87 |
долголежалый | 0,95 - 1,00 |
в мешках | 0,68 - 0,69 |
10. | Сахарная пудра | 0,60 - 0,67 |
11. | Известняк | 1,5 - 2,0 |
12. | Известь обожженная в кусках | 1,4 - 1,6 |
13. | Известь гашеная | 1,35 |
14. | Фильтрационный осадок 50% влажности | 1,20 |
15. | Подсохший фильтрационный осадок из отвалов | 0,70 - 0,80 |
16. | Сера комовая | 0,70 - 0,80 |
17. | Кизельгур | 0,30 - 0,32 |
18. | Утфель в горячем состоянии |
I кристаллизации | 1,45 - 1,47 |
II кристаллизации | 1,45 |
III кристаллизации | 1,40 |
19. | Каменный уголь | 1,2 |
20. | Антрацит | 1,5 |
21. | Бурый уголь навалом | 0,6 |
22. | Песок из карьеров |
сухой | 1,60 |
мокрый | 1,8 |
23. | Цемент в порошке | 1,9 |
24. | Щебенка строительная | 1,8 |
25. | Глина сухая | 1,8 |
26. | Земля (грунт) |
сырая | 2,0 |
сухая | 1,8 |
Таблица 40
Определение объема жидкости в горизонтальных
цилиндрах-резервуарах
Д - диаметр горизонтального цилиндра, м;
H - высота слоя жидкости в цилиндре по вертикальному диаметру сечения, м;
Q - объем жидкости в цилиндре, м3;
V - общий объем цилиндра, м3.
Пример пользования таблицей
Д = 0,6 м; H = 0,24 м (по замеру);
Длина цилиндра l = 2,4 м.

.
При отношении

по табл. 40 находим значение

.
Общий объем цилиндра

.
Объем жидкости в цилиндре Q = 0,3735·0,678 = 0,253 м3.
| |
0,01 | 0,0017 |
0,02 | 0,0048 |
0,03 | 0,0087 |
0,04 | 0,0134 |
0,05 | 0,0187 |
0,06 | 0,0245 |
0,07 | 0,0308 |
0,08 | 0,0375 |
0,09 | 0,0446 |
0,10 | 0,0520 |
0,11 | 0,0599 |
0,12 | 0,0680 |
0,13 | 0,0764 |
0,14 | 0,0851 |
0,15 | 0,0941 |
0,16 | 0,1033 |
0,17 | 0,1124 |
0,18 | 0,1224 |
0,19 | 0,1323 |
0,20 | 0,1424 |
0,21 | 0,1527 |
0,22 | 0,1631 |
0,23 | 0,1738 |
0,24 | 0,1845 |
0,25 | 0,1955 |
0,26 | 0,2066 |
0,27 | 0,2178 |
0,28 | 0,2292 |
0,29 | 0,2407 |
0,30 | 0,2523 |
0,31 | 0,2640 |
0,32 | 0,2759 |
0,33 | 0,2878 |
0,34 | 0,2998 |
0,35 | 0,3119 |
0,36 | 0,3241 |
0,37 | 0,3364 |
0,38 | 0,3487 |
0,39 | 0,3611 |
0,40 | 0,3735 |
0,41 | 0,3860 |
0,42 | 0,3986 |
0,43 | 0,4112 |
0,44 | 0,4238 |
0,45 | 0,4364 |
0,46 | 0,4491 |
0,47 | 0,4618 |
0,48 | 0,4745 |
0,49 | 0,4873 |
0,50 | 0,5000 |
0,51 | 0,5127 |
0,52 | 0,5255 |
0,53 | 0,5382 |
0,54 | 0,5509 |
0,55 | 0,5627 |
0,56 | 0,5762 |
0,57 | 0,5888 |
0,58 | 0,6014 |
0,59 | 0,6140 |
0,60 | 0,6265 |
0,61 | 0,6389 |
0,62 | 0,6513 |
0,63 | 0,6636 |
0,64 | 0,6759 |
0,65 | 0,6881 |
0,66 | 0,7002 |
0,67 | 0,7122 |
0,68 | 0,7241 |
0,69 | 0,7360 |
0,70 | 0,7477 |
0,71 | 0,7593 |
0,72 | 0,7708 |
0,73 | 0,7822 |
0,74 | 0,7934 |
0,75 | 0,8045 |
0,76 | 0,8155 |
0,77 | 0,8262 |
0,78 | 0,8369 |
0,79 | 0,8473 |
0,80 | 0,8576 |
0,81 | 0,8677 |
0,82 | 0,8776 |
0,83 | 0,8823 |
0,84 | 0,8967 |
0,85 | 0,9059 |
0,86 | 0,9149 |
0,87 | 0,9236 |
0,88 | 0,9320 |
0,89 | 0,9402 |
0,90 | 0,9480 |
0,91 | 0,9554 |
0,92 | 0,9625 |
0,93 | 0,9692 |
0,94 | 0,9755 |
0,95 | 0,9813 |
0,96 | 0,9866 |
0,97 | 0,9913 |
0,98 | 0,9952 |
0,99 | 0,9983 |
1,00 | 1,0000 |