Главная // Актуальные документы // ГОСТ (Государственный стандарт)
СПРАВКА
Источник публикации
М.: Издательство стандартов, 1988
Примечание к документу
Документ утратил силу с 1 января 1994 года в связи с изданием Постановлений Госстандарта СССР от 16.12.1991 N 1952, от 27.12.1991 N 2234, от 29.12.1991 N 2344. Взамен введены в действие ГОСТ 29169-91, ГОСТ 29227-91, ГОСТ 29228-91, ГОСТ 29229-91, ГОСТ 29251-91, ГОСТ 29252-91, ГОСТ 29253-91 соответственно.

Документ введен в действие с 1 января 1976 года.
Название документа
"ГОСТ 20292-74* (СТ СЭВ 1247-78, СТ СЭВ 4020-83). Государственный стандарт Союза ССР. Приборы мерные лабораторные стеклянные. Бюретки, пипетки. Технические условия"
(введен в действие Постановлением Госстандарта СССР от 18.11.1974 N 2546)
(ред. от 01.07.1985)

"ГОСТ 20292-74* (СТ СЭВ 1247-78, СТ СЭВ 4020-83). Государственный стандарт Союза ССР. Приборы мерные лабораторные стеклянные. Бюретки, пипетки. Технические условия"
(введен в действие Постановлением Госстандарта СССР от 18.11.1974 N 2546)
(ред. от 01.07.1985)


Содержание


Введен в действие
Постановлением Государственного
комитета стандартов
Совета Министров СССР
от 18 ноября 1974 г. N 2546
ГОСУДАРСТВЕННЫЙ СТАНДАРТ СОЮЗА ССР
ПРИБОРЫ МЕРНЫЕ ЛАБОРАТОРНЫЕ СТЕКЛЯННЫЕ
БЮРЕТКИ, ПИПЕТКИ
ТЕХНИЧЕСКИЕ УСЛОВИЯ
Laboratory volumetric glassware. Burettes, pipettes.
Specifications
ГОСТ 20292-74*
(СТ СЭВ 1247-78, СТ СЭВ 4020-83)
E
Список изменяющих документов
(в ред. Изменения N 1, утв. в июле 1977 г.,
Изменения N 2, утв. в январе 1979 г.,
Изменения N 3, утв. в сентябре 1979 г.,
Изменения N 4, утв. в ноябре 1980 г.,
Изменения N 5, утв. Постановлением
Госстандарта СССР от 09.04.1984 N 1241,
Изменения N 6, утв. в июле 1985 г.)
Группа П66
Постановлением Государственного комитета стандартов Совета Министров СССР от 18 ноября 1974 г. N 2546 срок введения установлен
с 1 января 1976 года
Проверен в 1985 г. Постановлением Госстандарта от 18.07.85 N 2270 срок действия продлен
до 1 января 1991 года
Переиздание (август 1987 г.) с Изменениями N 1, 2, 3, 4, 5, 6, утвержденными в июле 1977 г., январе 1979 г., сентябре 1979 г., ноябре 1980 г., апреле 1984 г.; Пост. N 1241 от 09.04.84, в июле 1985 г. (ИУС 7-77, 2-79, 10-79, 1-81, 7-84, 10-85).
Настоящий стандарт распространяется на мерные лабораторные стеклянные приборы: бюретки и пипетки, изготовляемые для нужд народного хозяйства и экспорта.
Настоящий стандарт соответствует СТ СЭВ 4020-83 в части бюреток. В стандарте учтены требования рекомендаций по стандартизации СЭВ: РС 2210-69, РС 2220-69, РС 2224-69, рекомендации ИСО МС 385-84 и международных стандартов ИСО 835-81 и ИСО 648-77.
Информационные данные о соответствии настоящего стандарта требованиям СТ СЭВ 1247-78 приведены в справочном приложении 2 и требованиям СТ СЭВ 4020-83 - в справочном приложении 3.
(Измененная редакция, Изм. N 3, 4, 5, 6).
1. ИСПОЛНЕНИЯ, ОСНОВНЫЕ ПАРАМЕТРЫ И РАЗМЕРЫ
1.1а. Бюретки должны изготовляться двух типов:
тип 1 - без времени ожидания;
тип 2 - со временем ожидания.
(Введен дополнительно, Изм. N 5).
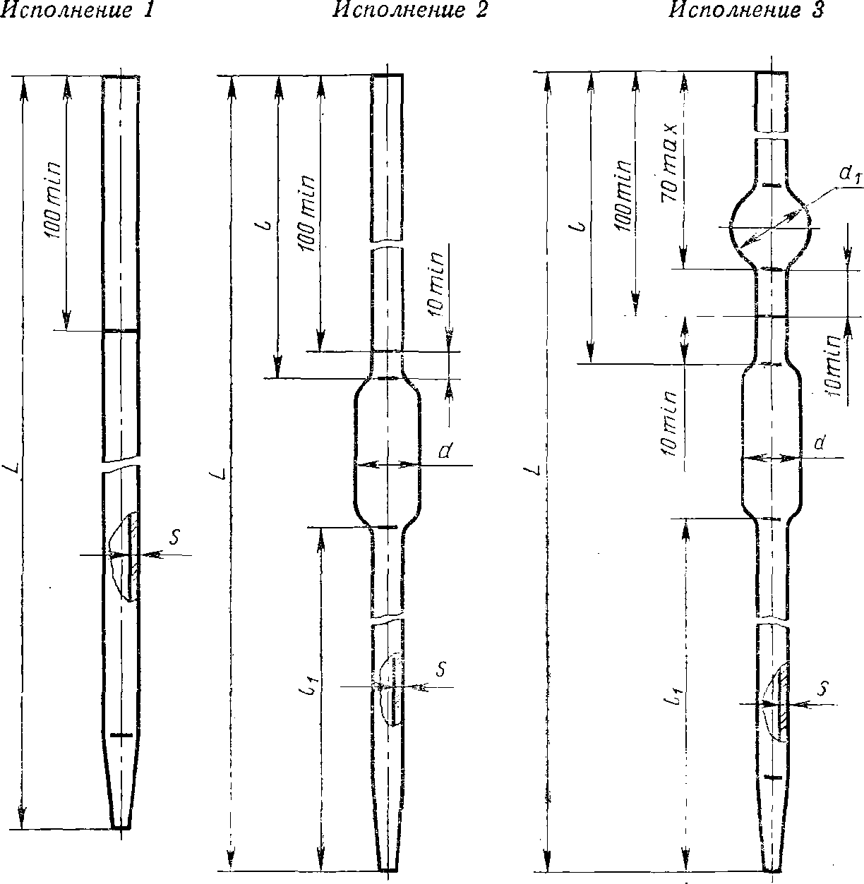
1.1. Бюретки должны изготовляться 1 и 2-го классов точности следующих исполнений:
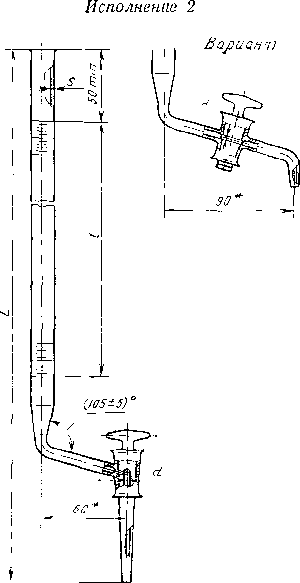
1 - с одноходовым краном (черт. 1, табл. 1);
2 - с боковым краном (черт. 1, табл. 1);
3 - без крана, 2-го класса точности (черт. 3, табл. 1);
4 - с двухходовым краном (черт. 4, табл. 2);
5 - с двухходовым краном и с автоматическим нулем (черт. 5, табл. 3);
6 - с запасным резервуаром (черт. 6, табл. 4);
7 - с автоматическим нулем и склянкой (черт. 7, табл. 5).
1.2. Пипетки должны изготовляться 1 и 2-го классов точности следующих исполнений:
1 - без делений прямые (черт. 8, табл. 6);
2 - то же, с расширением в виде баллончика или шара (черт. 8, табл. 6);
3 - без делений с расширением и запасным резервуаром (черт. 8, табл. 6);
4 - с делениями прямые на полный слив (черт. 9, табл. 7);
5 - то же, на частичный слив (черт. 9, табл. 7);
6 - то же, с расширением на полный слив (черт. 9, табл. 7);
7 - то же, на частичный слив (черт. 9, табл. 7);
8 - то же, капиллярные, 2-го класса точности (черт. 10, табл. 8);
9 - пипетки для отмеривания жидкости при определении процентного содержания сахара в свекле, 2-го класса точности (черт. 11, табл. 8а).
(Измененная редакция, Изм. N 1, 5).
1.3. Основные параметры и размеры бюреток и пипеток должны соответствовать указанным на черт. 1 - 11 и в табл. 1 - .
Бюретки
Черт. 1
Черт. 2
--------------------------------
<*> Размеры для справок.
Черт. 3
Таблица 1
Бюретки исполнений 1, 2 и 3
Размеры, мм
Номинальная вместимость, мл
Цена деления, мл
L, не более
l, не более
S
d
Номин.
Пред. откл.
Номин.
Пред. откл.
1
0,01
575
200
1,5
+/- 0,5
1,5
+/- 0,3
2
0,01
650
250
5
0,02
800
600
10
0,05
620
350
1,3
+/- 0,3
25
0,05
820
600
2,5
+/- 0,5
0,10
620
400
50
0,10
820
600
100
0,20
870
650
Пример условного обозначения бюретки исполнения 1, 2-го класса точности, вместимостью 25 мл, с ценой деления 0,10 мл:
Бюретка 1-2-25-0,1 ГОСТ 20292-74
Черт. 4
Таблица 2
ИС МЕГАНОРМ: примечание.
Текст дан в соответствии с официальным текстом документа.
Бюретки исполнения
Размеры, мм
Номинальная вместимость бюреток, мл
Цена деления, мл
L, не более
l, не более
d
(пред. откл. +/- 0,5)
25
0,1
620
400
2,5
50
820
600
100
0,2
870
650
Пример условного обозначения бюретки исполнения 4, 1-го класса точности, вместимостью 50 мл:
Бюретка 4-1-50 ГОСТ 20292-74
Черт. 5
Таблица 3
Бюретки исполнения 5
Размеры, мм
Номинальная вместимость бюреток, мл
Цена деления, мл
L, не более
l, не более
d
(пред. откл.
+/- 0,5)
25
0,1
620
400
2,5
50
820
600
100
0,2
870
650
Пример условного обозначения бюретки исполнения 5, 1-го класса точности, вместимостью 50 мл:
Бюретка 5-1-50 ГОСТ 20292-74
--------------------------------
<*> Размеры для справок.
Черт. 6
Таблица 4
Бюретки исполнения 6
Размеры, мм
Номинальная вместимость бюреток, мл
Цена деления, мл
L, не более
l, не более
1
0,01
575
200
2
650
250
5
0,02
800
600
Пример условного обозначения бюретки исполнения 6, 2-го класса точности, вместимостью 2 мл:
Бюретка 6-2-2 - ГОСТ 20292-74
--------------------------------
<*> Размеры для справок.
Черт. 7
Таблица 5
Бюретки исполнения 7
Размеры, мм
Номинальная вместимость бюреток, мл
Цена деления, мл
L, не более
l, не более
3
0,01
740
360
10
0,02
820
600
Пример условного обозначения бюретки исполнения 7, 2-го класса точности, вместимостью 10 мл:
Бюретка 7-2-10 ГОСТ 20292-74
Пипетки
Черт. 8
Таблица 6
Пипетки исполнений 1, 2 и 3
Размеры, мм
Номинальная вместимость пипеток, мл
Исполнения
L
l, не менее
l1, не менее
s, не менее
d, не более
d1, (пред. откл. +/- 1)
Номин.
Пред. откл.
0,50
1
260
+/- 20
-
-
1,0
-
-
1,00
2,00
1,00
2; 3
310
+/- 15
150
110
0,7 <*>
9
2,00
330
+/- 20
125
5,00
390
145
1,0 <*>
12
13
10,00
430
160
160
16
10,77
20,00
500
170
210
22
18
25,00
510
220
24
50,00
530
230
30
100,00
580
240
38
20
200,00
620
49
--------------------------------
<*> Для пипеток исполнения 2 и 3 допускается толщина стенки расширения пипетки не менее 0,4 мм. Для пипеток исполнения 1 вместимостью 1 и 2 мл допускается длина пипеток (305 +/- 65) мм.
Пример условного обозначения пипетки исполнения 3, 1-го класса точности вместимостью 50 мл:
Пипетка 3-1-50 ГОСТ 20292-74
Пипетки
Черт. 9
Таблица 7
Пипетки исполнений 4, 5, 6, 7
Размеры, мм
Номинальная вместимость пипеток, мл
Исполнение
Цена наименьшего деления, мл
l
l1
(пред. откл. +/- 5)
d
(пред. откл. +/- 1)
s,
не менее
для полного слива
для частичного слива
Номин.
Пред. откл.
Номин.
Пред. откл.
1
4; 5
0,01
170
+/- 30
190
+/- 30
20
7
2,0
2
0,02
1,5
5
6; 7
0,05
180
+/- 20
200
+/- 20
25
6
1,0
10
0,1
7
25
0,2
30
Пример условного обозначения пипетки исполнения 7, 1-го класса точности, вместимостью 5 мл:
Пипетка 7-1-5 ГОСТ 20292-74
Пипетка
Черт. 10
Таблица 8
Пипетка исполнения 8
мл
Номинальная вместимость пипеток
Цена наименьшего деления
0,1
0,001
0,2
0,002
Пример условного обозначения пипетки исполнения 8, 2-го класса точности вместимостью 0,1 мл:
Пипетка 8-2-0,1 ГОСТ 20292-74
Пипетка
ИС МЕГАНОРМ: примечание.
ГОСТ 7852-76 утратил силу с 1 января 1989 года (ИУС "Государственные стандарты", N 9, 1988).
1 - пипетка; 2 - пробка резиновая N 19 по ГОСТ 7852-76;
3 - колпачок
Черт. 11
Таблица 8а
Пипетка исполнения 9
Размеры, мм
Номинальная вместимость, мл
Допускаемые отклонения, мл
L
(пред. откл. +/- 20)
D
(пред. откл. +/- 2)
d
(пред. откл. +/- 0,5)
Время слива воды из пипеток, с, не более
44,55
+/- 0,16
260
32
2,5; 4,0
8
89,10
+/- 0,18
280
38
10
178,20
+/- 0,20
360
50
Пример условного обозначения пипетки исполнения 9, 2-го класса, точности, вместимостью 178,2 мл:
Пипетка 9-2-178,2 ГОСТ 20292-74
1.3. (Измененная редакция, Изм. N 1, 5, 6).
2. ТЕХНИЧЕСКИЕ ТРЕБОВАНИЯ
2.1. Приборы должны быть изготовлены из химико-лабораторного стекла ХС2 и ХС3 по ГОСТ 21400-75 или из стекла, соответствующего ХС2 и ХС3 по химической стойкости на воздействие дистиллированной воды при 98 °C по рабочим чертежам, утвержденным в установленном порядке.
(Измененная редакция, Изм. N 2, 6).
2.2. Приборы должны быть отожжены. Удельная разность хода не должна превышать 8 - 10 млн-1.
(Измененная редакция, Изм. N 6).
2.3. На поверхности и в толще стекла приборов не допускаются:
а) окалина, камни, а для приборов, предназначенных для экспорта, и другие инородные включения;
б) узлы размером более 2 мм, а для приборов, предназначенных для экспорта, более 1 мм и узлы, сопровождаемые внутренним напряжением, не соответствующим разности хода, указанной в п. 2.2;
в) свиль, сопровождаемая внутренними напряжениями, не соответствующими разности хода, указанной в п. 2.2 и нитевая свиль;
г) мошка в сосредоточенном виде;
д) пузыри, продавливаемые острием из материала одинаковой со стеклом твердости или менее твердым; пузыри, не продавливаемые острием размером более 4 мм в количестве более двух на изделие, а для приборов, предназначенных для экспорта, пузыри размером более 2 мм в количестве более двух на изделие;
е) капилляры шириной более 0,3 мм, а для приборов, предназначенных для экспорта, капилляры шириной более 0,2 мм;
ж) неоплавленные сколы; оплавленные сколы размером более 0,5 мм;
з) трещины.
На поверхности и в толще стекла приборов, занимаемых шкалой или отметками, не допускаются дефекты, мешающие отсчету.
(Измененная редакция, Изм. N 3, 5).
2.4. Допускаемые отклонения от номинальной вместимости приборов при температуре 20 °C не должны превышать указанных в табл. 9, кроме пипетки исполнения 9.
(Измененная редакция, Изм. N 5).
Таблица 9
мл
Номинальная вместимость
Допускаемые отклонения
Бюретки
Пипетки без делений
Пипетки с делениями
исполнений 1, 2, 4, 5
исполнения 3
исполнений 6, 7
исполнения 1
исполнения 2, 3
исполнения 4, 5
исполнений 6, 7
исполнения 8
1-го класса
2-го класса
2-го класса
1-го класса
2-го класса
1-го класса
2-го класса
1-го класса
2-го класса
1-го класса
2-го класса
1-го класса
2-го класса
2-го класса
0,1
-
-
-
-
-
-
-
-
-
-
-
-
+/- 0,001
0,2
-
-
-
-
-
-
-
-
-
-
-
-
-
+/- 0,002
0,5
-
-
-
-
-
+/- 0,005
+/- 0,01
-
-
-
-
-
-
-
1,0
+/- 0,006
+/- 0,01
+/- 0,01
+/- 0,005
+/- 0,01
+/- 0,005
+/- 0,01
+/- 0,007
+/- 0,015
+/- 0,006
+/- 0,01
-
-
-
2,0
+/- 0,01
+/- 0,02
+/- 0,02
+/- 0,005
+/- 0,01
-
+/- 0,01
+/- 0,01
+/- 0,02
+/- 0,01
+/- 0,02
-
-
-
3,0
-
-
-
+/- 0,005
+/- 0,01
-
-
-
-
-
-
-
-
-
5,0
+/- 0,01
+/- 0,02
+/- 0,02
+/- 0,01
+/- 0,02
-
-
+/- 0,01
+/- 0,02
-
-
+/- 0,03
+/- 0,05
-
10,0
+/- 0,02
+/- 0,05
+/- 0,05
+/- 0,01
+/- 0,02
-
-
+/- 0,02
+/- 0,04
-
-
+/- 0,05
+/- 0,1
-
10,77
-
-
-
-
-
-
-
+/- 0,02
+/- 0,04
-
-
-
-
-
20,0
-
-
-
-
-
-
-
+/- 0,03
+/- 0,06
-
-
-
-
-
25,0
+/- 0,03 <*>
+/- 0,05 <*>
+/- 0,05 <*>
-
-
-
-
+/- 0,03
+/- 0,06
-
-
+/- 0,1
+/- 0,2
-
+/- 0,05 <**>
+/- 0,1 <**>
+/- 0,1 <**>
50,0
+/- 0,05
+/- 0,1
+/- 0,1
-
-
-
-
+/- 0,05
+/- 0,1
-
-
-
-
-
100,0
+/- 0,1
+/- 0,2
+/- 0,2
-
-
-
-
+/- 0,08
+/- 0,16
-
-
-
-
-
200,0
-
-
-
-
-
-
-
+/- 0,1
+/- 0,2
-
-
-
-
-
--------------------------------
Примечание:
<*> +/- 0,03 и +/- 0,05 для бюреток с ценой наименьшего деления 0,05 мл;
<**> +/- 0,05 и +/- 0,1 для бюреток с ценой наименьшего деления 0,1 мл.
2.5. На оливы бюреток исполнений 3 и 7 должны быть надеты резиновые трубки по ГОСТ 5496-78.
Присоединительные размеры резиновых трубок должны быть на 2 - 3 мм меньше диаметра оливы.
Между оливой и стеклянным наконечником бюреток исполнения 3 должен быть стеклянный затвор, обеспечивающий постоянство уровня воды в бюретке, наполненной доверху.
2.6. Время слива должно соответствовать указанному в табл. 10. Конечная установка мениска или отсчет для бюреток типа 1 осуществляется и момента закрывания крана или затвора, для бюреток типа 2 - по истечении 30 с с момента закрывания крана или затвора. Капля, которая прилипла на сливающее отверстие, добавляется в емкость посредством контакта стенки емкости с отверстием бюретки.
Таблица 10
Номинальная вместимость, мл
Цена деления, мл
Время слива, с, для бюреток
типа 1
типа 2
класса 1
класса 2
класса 1
класса 2
1
0,01
От 35 до 45
От 20 до 45
От 20 до 40
От 10 до 30
2
0,01
От 50 до 70
От 25 до 70
От 25 до 45
3
0,01
5
0,02
От 75 до 95
От 40 до 95
От 40 до 60
10
0,02
0,05
25
0,05
От 70 до 100
От 35 до 100
От 35 до 55
От 20 до 50
0,1
От 45 до 75
От 25 до 75
От 25 до 45
50
0,1
От 60 до 100
От 30 до 100
От 30 до 50
От 35 до 65
100
0,2
От 40 до 70
Примечание. Время слива - время непрерывного вытекания жидкости из бюретки, необходимое для понижения мениска воды от нулевой отметки до самой нижней отметки шкалы.
2.7. Время слива воды из пипеток в зависимости от вместимости, исполнения и класса точности должно соответствовать указанному в табл. 12 <*>.
--------------------------------
<*> Табл. 11 (Исключена, Изм. N 5).
Таблица 12
Вместимость пипеток, мл
Время слива воды из пипеток, с
исполнений 1 - 3
исполнений 5, 7
исполнений 4, 6
1-го класса
2-го класса
1-го класса
2-го класса
1-го класса
2-го класса
от
до
от
до
от
до
от
до
от
до
от
до
0,5
10
20
7
20
-
-
-
-
-
-
-
-
1
10
25
7
30
25
50
10
30
20
40
8
25
2
10
25
7
30
5
15
30
10
30
10
15
40
10
40
10,77
-
-
-
-
-
-
-
-
20
25
50
20
50
-
-
-
-
-
-
-
-
25
25
50
10
30
20
40
8
25
50
30
60
20
60
-
-
-
-
-
-
-
-
100
40
60
30
60
-
-
-
-
-
-
-
-
200
50
70
40
70
-
-
-
-
-
-
-
-
Примечания:
1. По заказу потребителя пипетки исполнений 4 - 7 могут быть изготовлены с диаметром сливного конца не менее 2 мм.
2. (Исключено, Изм. N 6).
2.8. Сливной конец бюретки должен быть изготовлен из толстостенной трубки. Если сливной конец припаян к крану или клапану, он не должен содержать полостей, в которых могли бы задерживаться пузырьки воздуха.
Сливной конец приборов может изготовляться трех исполнений:
гладко отшлифованный и слегка скошенный на внешней кромке, отполированный огнем;
гладко отшлифованный и слегка скошенный на внешней кромке;
отрезанный и оплавленный.
2.6 - 2.8. (Измененная редакция, Изм. N 5).
2.9. В местах спая не должно быть наплывов.
2.10. На бюретках и пипетках с делениями должна быть нанесена шкала, соответствующая номинальной вместимости.
Оцифровка и нанесение отметок на шкалах, в зависимости от цены наименьшего деления, должны соответствовать указанным в приложении 1. Нулевая отметка и отметка номинальной вместимости должны быть оцифрованы.
Пипетки исполнений 4 и 6 могут быть изготовлены с отметкой номинальной вместимости наверху и с нулевой отметкой:
а) с отметкой номинальной вместимости наверху должны быть оцифрованы отметки, соответствующие следующим наименьшим объемам:
0,1 мл у пипеток номинальной вместимостью 1 мл,
0,2 мл у пипеток номинальной вместимостью 2 мл,
0,5 мл у пипеток номинальной вместимостью 5 мл,
1,0 мл у пипеток номинальной вместимостью 10 мл,
2,0 мл у пипеток номинальной вместимостью 20 мл;
б) с нулевой отметкой наверху должны быть оцифрованы отметки, соответствующие следующим объемам:
0,9 мл у пипеток номинальной вместимостью 1 мл,
1,8 мл у пипеток номинальной вместимостью 2 мл,
4,5 мл у пипеток номинальной вместимостью 5 мл,
9,0 мл у пипеток номинальной вместимостью 10 мл,
23,0 мл у пипеток номинальной вместимостью 25 мл.
2.11. Приборы должны быть градуированы по нижнему краю мениска.
2.12. Отметки шкал должны располагаться симметрично и перпендикулярно к продольной оси приборов и быть параллельны между собой. Не допускается более шести разрывов отметок шкалы длиной более 0,5 мм.
Для приборов, предназначенных для экспорта, отметки шкалы не должны иметь разрывов.
2.13. На пипетках без делений должны быть нанесены круговые риски в плоскости, перпендикулярной оси пипетки и соответствующие номинальной вместимости пипеток. Не допускается более трех разрывов отметок длиной более 0,5 мм.
Для приборов, предназначенных для экспорта, круговые риски не должны иметь разрывов.
2.12 и 2.13. (Измененная редакция, Изм. N 3, 6).
2.14. Ширина отметок шкалы и круговых рисок не должна быть более 0,3 мм.
2.15. Длина отметок шкалы для приборов 1-го класса точности не должна быть менее:
коротких отметок - 0,2 длины окружности трубки;
средних отметок - 0,6 длины окружности;
длинных отметок - 0,9 длины окружности.
Длина отметок шкалы для приборов 2-го класса точности не должна быть менее:
коротких отметок - 0,1 длины окружности трубки;
средних отметок - 1,5 значения длины коротких отметок;
длинных отметок - удвоенного значения длины коротких отметок.
2.16. На бюретках и пипетках исполнений 4 - 7 со стороны, противоположной лицевой по оси бюретки или пипетки, может быть нанесена цветная полоса.
2.17. Конусы бюреток исполнения 7 должны крепиться к горловине склянки пружинами разъемной скобы, изготовленной из стали по ГОСТ 5632-72.
(Измененная редакция, Изм. N 1).
2.18. Отметки, риски, цифры и надписи должны быть четкими и устойчивыми в условиях эксплуатации.
2.19. Бюретки исполнения 6 должны изготовляться с пластмассовой подставкой в соответствии с черт. 6 или без нее.
Подставка должна изготовляться из полиэтилена по ГОСТ 16337-77 или других полимерных материалов, стойких к воздействию агрессивных сред и обеспечивающих устойчивое вертикальное положение бюретки.
На поверхности подставки не должно быть следов литья. Подставка должна быть устойчивой и обеспечивать вертикальное положение бюретки.
(Измененная редакция, Изм. N 5).
2.20. Бюретки исполнения 7 должны изготовляться со склянкой и резиновым баллоном.
2.21. На всех бюретках, кроме бюреток исполнений 5 и 7, должна иметься нулевая отметка на верху шкалы.
Оцифровка шкалы бюреток исполнения 5 должна проводиться с 1 мл, исполнения 7 - с 0,1 и 0,2 мл.
Длина трубки под самой низкой делительной отметкой бюретки должна быть не менее 20 мм.
(Измененная редакция, Изм. N 5).
2.22. Конусы бюреток исполнения 7 - по ГОСТ 8682-70.
2.23. Форма и основные размеры пробок и муфт кранов бюреток и пипеток исполнения 9 и технические требования - по ГОСТ 7995-80.
(Измененная редакция, Изм. N 1).
2.24. Снижение уровня жидкости в бюретках не должно превышать:
для бюреток с краном и стеклянной пробкой:
1-го класса - 1/2 цены деления в течение 20 мин;
2-го класса - одного деления в течение 20 мин;
для бюреток с краном и пробкой из инертных пластических материалов или клапаном:
1-го класса - 1/2 деления в течение 50 мин;
2-го класса - одного деления в течение 50 мин.
(Введен дополнительно, Изм. N 5).
3. ПРАВИЛА ПРИЕМКИ
3.1. Приборы должны подвергаться государственным (приборы со шкалами), приемо-сдаточным и периодическим испытаниям.
3.2. Государственные испытания - по ГОСТ 8.001-80 и ГОСТ 8.383-80.
3.2. (Измененная редакция, Изм. N 6).
3.3. При приемо-сдаточных испытаниях следует проверять каждый прибор на соответствие требованиям пп. 1.1; 1.2; 2.3 а, г - з; 2.8; 2.10; 2.12 - 2.15; 2.17; 2.19.
10% приборов от партии, но не менее 15 шт. каждого исполнения следует проверять на соответствие требованиям пп. 2.2; 2.3 б, в; 2.4 - 2.7; 2.9; 2.11; 2.21 - 2.24. Результаты выборочной проверки распространяются на всю партию приборов, представленных к приемке.
Партией следует считать число приборов, предъявляемых к приемке по одному документу.
(Измененная редакция, Изм. N 1, 3, 4).
3.4. При периодических испытаниях, проводимых предприятием-изготовителем один раз в год, следует проверять не менее 20 приборов каждого исполнения на соответствие всем требованиям настоящего стандарта и не менее трех раз в год на соответствие требованиям пп. 2.1 и 2.18.
При неудовлетворительных результатах испытаний хотя бы по одному показателю испытаниям подвергается удвоенное количество изделий.
Результаты повторных испытаний являются окончательными.
(Измененная редакция, Изм. N 4).
4. МЕТОДЫ ИСПЫТАНИЙ
4.1. Исполнение, качество поверхности, характеристику шкалы, крепление горловины склянки (пп. 1.1; 1.2; 2.3 а, г; 2.8 - 2.10; 2.16; 2.17 и 2.19) следует проверять внешним осмотром на расстоянии около 50 см от глаза при рассеянном дневном свете или соответствующем ему искусственном освещении.
Размеры приборов, дефекты стекла, расположение отметок шкал и их размеры (пп. 2.3 б, д - ж; 2.12 - 2.15) следует проверять универсальным измерительным инструментом.
(Измененная редакция, Изм. N 5).
ИС МЕГАНОРМ: примечание.
Взамен ГОСТ 7329-74 Постановлением Госстандарта СССР от 07.08.1991 N 1323 с 1 января 1993 года введен в действие ГОСТ 7329-91.
4.2. Качество отжига (пп. 2.2; 2.3 б, в) следует проверить по ГОСТ 7329-74.
4.3. Вместимость приборов (пп. 2.4 и 2.11) следует проверять по ГОСТ 8.234-77.
(Измененная редакция, Изм. N 5).
4.4. Качество изготовления и сборки затвора бюреток (п. 2.5) следует проверять водой, наполненной до верха бюретки и выдерживанием в течение 6 ч. Вода не должна просачиваться через затвор.
4.5. Время слива воды (пп. 2.6 и 2.7) следует проверять путем отсчета времени слива воды из бюреток или пипеток, заполненных до отметки номинальной вместимости при полностью открытом кране бюреток и удаленном затворе.
4.6. Снижение уровня воды в бюретках (герметичность кранов) (п. 2.24) определяют по уменьшению объема жидкости в бюретках. Бюретки укрепляют в вертикальном положении. Кран должен быть обезжирен, муфта и пробка смочены дистиллированной водой по ГОСТ 6709-72. Бюретки наполняют дистиллированной водой до верхней отметки. После установления мениска определяют степень снижения уровня при закрытом кране или затворе.
Герметичность кранов пипеток исполнения 9 следует проверять по ГОСТ 7995-80.
4.7. Качество нанесения отметок, оцифровки и надписей проверяют, воздействуя 5%-ным раствором пирофосфорнокислого натрия (Na4P2O7) с добавлением 0,5%-ного раствора додецилбензолсульфата натрия (C18H29SO3Na) в течение 2 ч при температуре (80 +/- 2) °C или воздействуя раствором C (HCl) = 2 моль/л в течение 1 ч при температуре (20 +/- 5) °C. После испытаний цифры и надписи должны быть четко видны, чтобы их можно было свободно прочесть в обычных условиях применения.
4.6, 4.7. (Измененная редакция, Изм. N 5).
4.8. Качество конусов (п. 2.22) следует проверять по ГОСТ 8682-70.
(Измененная редакция, Изм. N 1).
5. МАРКИРОВКА, УПАКОВКА, ТРАНСПОРТИРОВАНИЕ И ХРАНЕНИЕ
5.1. На приборах должны быть нанесены:
а) товарный знак или наименование предприятия-изготовителя;
б) номинальная вместимость в мл (на пипетках без делений и пипетках с делениями на полный слив с нулевой отметкой наверху);
в) "мл";
г) класса точности;
д) 20 °C;
е) обозначение настоящего стандарта;
ж) буква О (отлив), для бюреток типа 2 должно быть указано: "0 + 30 с".
На пипетках исполнений 1 - 3 значение номинальной вместимости наносится в месте нанесения остальных надписей.
На приборах, предназначенных для экспорта, в соответствии с требованиями заказ-наряда внешнеторговой организации должна быть нанесена следующая маркировка:
надпись "Сделано в СССР" на русском языке или на иностранном языке, указанном в заказ-наряде внешнеторговой организации (допускается наносить на первичной упаковке);
товарный знак предприятия-изготовителя, зарегистрированный за границей в установленном порядке, или товарный знак внешнеторгового объединения.
(Измененная редакция, Изм. N 3).
5.2. Бюретки (кроме исполнений 6 и 7) и пипетки должны быть завернуты в бумагу по ГОСТ 8273-75 или в бумагу из алигнина.
ИС МЕГАНОРМ: примечание.
Взамен ГОСТ 7933-75 Постановлением Госстандарта СССР от 28.12.1989 N 4182 с 1 января 1991 года введен в действие ГОСТ 7933-89.
ИС МЕГАНОРМ: примечание.
Взамен ГОСТ 5679-85 Постановлением Госстандарта СССР от 06.06.1991 N 813 с 1 июля 1992 года введен в действие ГОСТ 5679-91.
Бюретки исполнений 6 и 7 с мягкой прокладкой по ГОСТ 5679-85 или завернутые в бумагу по ГОСТ 8273-75, или завернутые в бумагу из алигнина должны быть упакованы в коробки из картона по ГОСТ 7933-75. Бюретки других исполнений и пипетки могут быть упакованы в коробки так же, как бюретки исполнений 6 и 7.
ИС МЕГАНОРМ: примечание.
Взамен ГОСТ 16536-84 Постановлением Госстандарта СССР от 10.04.1990 N 841 с 1 января 1992 года введен в действие ГОСТ 16536-90.
ИС МЕГАНОРМ: примечание.
Взамен ГОСТ 15841-77 Постановлением Госстандарта СССР от 04.07.1988 N 2607 с 1 января 1990 года введен в действие ГОСТ 15841-88.
Завернутые в бумагу приборы должны быть упакованы с прокладкой древесной стружки по ГОСТ 5244-79 или другого упаковочного материала в дощатые ящики типов I, II, III по ГОСТ 2991-85. Размеры ящиков должны соответствовать ГОСТ 15841-77 или ГОСТ 16536-84. Уложенные в коробки приборы должны быть упакованы в ящики или должны транспортироваться контейнером.
Склянки и подставки должны быть упакованы в ящики с прокладкой упаковочным материалом.
Между пробкой и муфтой кранов бюреток и пипеток исполнения 9 должна быть проложена полоска бумаги.
ИС МЕГАНОРМ: примечание.
Взамен ГОСТ 9559-75 Постановлением Госстандарта СССР от 18.12.1989 N 3793 с 1 января 1991 года введен в действие ГОСТ 9559-89.
Приборы, предназначенные для экспорта, должны быть завернуты в бумагу марки А или Б по ГОСТ 8273-75 или в парафинированную бумагу по ГОСТ 9559-75 и упакованы с прокладкой из стружки марки П по ГОСТ 5244-79 в деревянные ящики по ГОСТ 24634-81.
Приборы для стран с тропическим климатом должны быть дополнительно упакованы в герметично заваренные мешки из полиэтиленовой пленки по ГОСТ 10354-82 или другого пленочного материала.
ИС МЕГАНОРМ: примечание.
Постановлением Госстандарта России от 12.08.1999 N 248-ст с 1 июля 2000 года введен в действие ГОСТ 15155-99.
Стружка, предназначенная для прокладки приборов для стран с тропическим климатом, должна иметь влажность не более 12%, по ГОСТ 5244-79 и в соответствии с заказ-нарядом внешнеторговой организации должна быть пропитана антисептиком по ГОСТ 15155-84.
Транспортирование должно осуществляться в чистых крытых транспортных средствах.
(Измененная редакция, Изм. N 1, 3, 5).
5.3. При транспортировании в контейнерах допускается другой вид тары, обеспечивающий сохранность изделий.
5.4. Масса ящика брутто не должна превышать 50 кг.
5.5. Каждый ящик должен иметь сопроводительную документацию с указанием:
а) товарного знака или наименования предприятия-изготовителя;
б) наименования, исполнения и количества изделий;
в) обозначения настоящего стандарта;
г) даты выпуска.
ИС МЕГАНОРМ: примечание.
ГОСТ 6.37-79 утратил силу с 1 января 1989 года (ИУС "Государственные стандарты", N 7, 1987).
5.5а. Товаросопроводительная документация для приборов, предназначенных для экспорта, должна соответствовать требованиям ГОСТ 6.37-79, составляться на русском языке и на иностранном языке, указанном в заказ-наряде внешнеторговой организации.
Товаросопроводительная документация должна быть завернута в бумагу марки А по ГОСТ 8273-75, вложена в герметично заваренный пакет из полиэтиленовой пленки по ГОСТ 10354-82 и уложена в ящик с упакованной продукцией.
Документация к приборам, предназначенным для стран с тропическим климатом, должна быть дополнительно вложена в герметично заваренный пакет из полиэтиленовой пленки по ГОСТ 10354-82.
ИС МЕГАНОРМ: примечание.
Взамен ГОСТ 8828-75 Постановлением Госстандарта СССР от 27.12.1989 N 4178 с 1 января 1991 года введен в действие ГОСТ 8828-89.
Для дополнительной защиты пакет должен быть завернут в водонепроницаемую бумагу по ГОСТ 8828-75, края которой склеиваются синтетическим клеем.
5.5б. Упаковочный лист для приборов, предназначенных для экспорта, должен быть вложен в пакет из водонепроницаемой бумаги или бумаги с полиэтиленовым покрытием и помещен в карман ящика.
Упаковочный лист к приборам, предназначенным для стран с тропическим климатом, должен быть дополнительно вложен в герметично заваренный пакет из полиэтиленовой пленки.
При упаковывании приборов в несколько ящиков карман укрепляют на ящике N 1.
5.5а и 5.5б. (Введены дополнительно, Изм. N 3).
5.6. Маркировка транспортной тары должна производиться в соответствии с ГОСТ 14192-77.
На каждом ящике должны быть нанесены манипуляционные знаки, соответствующие надписям: "Верх, не кантовать", "Осторожно, хрупкое" и надпись "Не бросать!".
Маркировка тары для приборов, предназначенных для экспорта, - по ГОСТ 14192-77, ГОСТ 24634-81 и в соответствии с требованиями заказ-наряда внешнеторговой организации.
5.7. Транспортирование и хранение приборов - по группе условий хранения 6 ГОСТ 15150-69.
5.6 и 5.7. (Измененная редакция, Изм. N 3, 4).
5.8. Приборы с резиновыми деталями следует хранить в помещении при температуре от 0 до +25 °C на расстоянии не менее 1 м от теплоизлучающих устройств.
Приборы должны быть защищены от воздействия прямых солнечных лучей, нефтепродуктов и других веществ, разрушающих резину.
Приложение 1
Справочное
ОЦИФРОВКА И НАНЕСЕНИЕ ОТМЕТОК НА ШКАЛАХ С ЦЕНОЙ ДЕЛЕНИЯ
Приложение 2
Справочное
ИНФОРМАЦИОННЫЕ ДАННЫЕ О СООТВЕТСТВИИ ГОСТ 20292-74
СТ СЭВ 1247-78
Пункт ГОСТ 20292-74
Пункт СТ СЭВ 1247-78
1.1
1.2.1
1.2.2
1.3.2; 1.3.3; 1.3.4
1.3.6
1.3.7
1.4.1
1.4.2
1.4.4
1.4.6 (1)
1.5.2; 1.5.3; 1.5.4; 1.5.5; 1.5.6
1.6.1
1.6.3
1.6.4
1.6.5
1.6.7; 1.6.8
1.6.9
1.6.11; 1.6.12
1.6.13; 1.6.14; 1.6.15
1.7.1
1.7.2
1.8.1; 1.8.3; 1.8.4; 1.8.5
3.1
3.4
Приложение 1 и 2
Приложение 2
(Введено дополнительно, Изм. N 4).
Приложение 3
Справочное
ИНФОРМАЦИОННЫЕ ДАННЫЕ О СООТВЕТСТВИИ ГОСТ 20292-74
И СТ СЭВ 4020-83
Пункт ГОСТ 20292-74
Пункт СТ СЭВ 4020-83
Вводная часть
2.7, 2.1
1.1
1.2; 1.3
1.4
3.4
1.2.2
2.2
2.3, табл. 2
2.4, табл. 3
2.6
2.5
2.8
3.1, 3.2, 3.3
3.6
3.5
4.1
4.2; 4.3
4.4
4.5; 4.6
(Введено дополнительно, Изм. N 5).