Главная // Актуальные документы // ГОСТ (Государственный стандарт)СПРАВКА
Источник публикации
М.: ИПК Издательство стандартов, 1997
Примечание к документу
Текст данного документа приведен с учетом
поправки, опубликованной в "ИУС", N 9, 2018.
С 1 июля 2003 года до вступления в силу технических регламентов акты федеральных органов исполнительной власти в сфере технического регулирования носят рекомендательный характер и подлежат обязательному исполнению только в части, соответствующей целям, указанным в
пункте 1 статьи 46 Федерального закона от 27.12.2002 N 184-ФЗ.
Документ
введен в действие с 1 января 1986 года.
Взамен ГОСТ 11125-78.
Название документа
"ГОСТ 11125-84. Государственный стандарт Союза ССР. Кислота азотная особой чистоты. Технические условия"
(утв. и введен в действие Постановлением Госстандарта СССР от 18.12.1984 N 4502)
(ред. от 01.06.1990)
"ГОСТ 11125-84. Государственный стандарт Союза ССР. Кислота азотная особой чистоты. Технические условия"
(утв. и введен в действие Постановлением Госстандарта СССР от 18.12.1984 N 4502)
(ред. от 01.06.1990)
Утвержден и введен в действие
Постановлением Государственного
комитета СССР по стандартам
от 18 декабря 1984 г. N 4502
ГОСУДАРСТВЕННЫЙ СТАНДАРТ СОЮЗА ССР
КИСЛОТА АЗОТНАЯ ОСОБОЙ ЧИСТОТЫ
ТЕХНИЧЕСКИЕ УСЛОВИЯ
Super pure nitric acid. Specifications
ГОСТ 11125-84
| | Список изменяющих документов (в ред. Изменения N 1, утв. в июне 1990 г.) | |
Группа Л54
Дата введения
1 января 1986 года
1. Разработан и внесен Министерством минеральных удобрений СССР.
Разработчики:
В.М. Олевский, д-р техн. наук; О.А. Добровольский, канд. техн. наук (руководитель темы); Л.В. Сараджев; М.А. Кузина; Л.А. Пихтовникова.
2. Утвержден и введен в действие Постановлением Государственного комитета СССР по стандартам от 18.12.84 N 4502.
3. Взамен ГОСТ 11125-78.
4. Ссылочные нормативно-технические документы:
Обозначение НТД, на который дана ссылка | Номер пункта, подпункта |
| |
|
|
ГОСТ 12.4.122-83 | |
| |
| |
| |
| |
| |
| |
| |
| |
| |
| |
| |
| |
| |
| |
| |
| |
| |
| |
| |
| |
ГОСТ 7328-82 | |
| |
ГОСТ 8321-74 | |
| |
| |
| |
| |
| |
| |
| |
| |
| |
| |
| |
| |
| |
| |
| |
| |
| |
| |
| |
| |
| |
| |
| |
ГОСТ 22516-77 | |
| |
ГОСТ 24104-88 | |
| |
| |
| |
| |
| |
| |
| |
| |
ТУ 6-09-07-1684-89 | |
ТУ 92-891-026-91 | |
5. Ограничение срока действия снято по Протоколу N 5-94 Межгосударственного Совета по стандартизации, метрологии и сертификации (ИУС 11-12-94).
6. Переиздание (октябрь 1997 г.) с Изменением N 1, утвержденным в июне 1990 г. (ИУС 9-90).
Настоящий стандарт распространяется на азотную кислоту особой чистоты.
Азотная кислота особой чистоты представляет собой бесцветную или слегка желтоватую прозрачную жидкость, предназначенную в основном для электронной и радиоэлектронной промышленности.
Формула

.
Молекулярная масса (по международным атомным массам 1971 г.) - 63,01.
(Измененная редакция, Изм. N 1).
1. ТЕХНИЧЕСКИЕ ТРЕБОВАНИЯ
1.1. Азотная кислота особой чистоты должна быть изготовлена в соответствии с требованиями настоящего стандарта по технологическому регламенту, утвержденному в установленном порядке.
1.2. По химическим показателям азотная кислота особой чистоты должна соответствовать нормам, указанным в табл. 1.
Наименование показателя | Норма для марки |
ОС.Ч. 18-4 ОКП 26 1211 0024 | ОС.Ч. 27-4 ОКП 26 1211 0034 | ОС.Ч. 27-5 ОКП 26 1211 0044 |
1. Массовая доля азотной кислоты  , не менее | 70 | 70 | 70 |
2. Массовая доля окислов азота  , не более | 0,1 | 0,1 | 0,1 |
3. Массовая доля алюминия (Al), %, не более | | | |
4. Массовая доля бора (B), %, не более | | | |
5. Массовая доля висмута (Bi), %, не более | Не нормируется | | |
6. Массовая доля железа (Fe), %, не более | | | |
7. Массовая доля золота (Au), %, не более | Не нормируется | | |
8. Массовая доля кадмия (Cd), %, не более | Не нормируется | | |
9. Массовая доля калия (K), %, не более | Не нормируется | | |
10. Массовая доля кальция (Ca), %, не более | Не нормируется | | |
11. Массовая доля кобальта (Co), %, не более | Не нормируется | | |
12. Массовая доля кремния (Si), %, не более | | | |
13. Массовая доля магния (Mg), %, не более | Не нормируется | | |
14. Массовая доля марганца (Mn), %, не более | | | |
15. Массовая доля меди (Cu), %, не более | | | |
16. Массовая доля натрия (Na), %, не более | Не нормируется | | |
17. Массовая доля никеля (Ni), %, не более | | | |
18. Массовая доля олова (Sn), %, не более | | | |
19. Массовая доля ртути (Hg), %, не более | | | |
20. Массовая доля свинца (Pb), %, не более | | | |
21. Массовая доля серебра (Ag), %, не более | | | |
22. Массовая доля сурьмы (Sb), %, не более | | | |
23. Массовая доля титана (Ti), %, не более | | | |
24. Массовая доля хрома (Cr), %, не более | | | |
25. Массовая доля цинка (Zn), %, не более | Не нормируется | | |
26. Массовая доля мышьяка (As), %, не более | | | |
27. Массовая доля сульфатов  , не более | | | |
28. Массовая доля фосфора (P), %, не более | | | |
28. Массовая доля хлоридов (Cl), %, не более | | | |
30. Массовая доля суммы тяжелых металлов (Ag, Ni, Bi, Cd, Pb, Cu, Hg, Co, Zn), %, не более | | - | - |
31. Массовая доля нелетучих веществ, %, не более | | | |
1.3. Массовую долю примесей - оксидов азота

, нелетучих веществ и суммы тяжелых металлов при подсчете числа и суммы примесей не учитывают.
1.4. Продукт с массовой долей азотной кислоты выше 75% изготовляют по согласованию с потребителем.
1.5. При массовой доле азотной кислоты от 75 до 98% массовая доля оксидов азота должна быть не более 0,4%; при массовой доле азотной кислоты свыше 98% массовая доля оксидов азота должна быть согласована с потребителем.
1.3 - 1.5. (Измененная редакция, Изм. N 1).
1.6. Массовую долю бора для марки ОС.Ч. 18-4 определяют только в азотной кислоте, предназначенной для производства полупроводниковых приборов.
1.7. Норма по массовой доле оксидов азота установлена на момент изготовления.
(Измененная редакция, Изм. N 1).
2. ТРЕБОВАНИЯ БЕЗОПАСНОСТИ
2.1. Азотная кислота токсична. Дым, содержащий оксид (II) азота

, оксид (V) азота

и туман азотной кислоты, при превышении предельно допустимой концентрации раздражает дыхательные пути и может вызвать разрушение зубов, конъюнктивиты и поражение роговицы глаза.
(Измененная редакция, Изм. N 1).
2.2. Азотная кислота - негорючая, пожароопасная жидкость. Сильный окислитель при контакте с многими горючими материалами вызывает их самовозгорание.
2.3. При работе с азотной кислотой необходимо соблюдать правила предосторожности и использовать индивидуальные средства защиты: фильтрующий противогаз марки В, защитные очки (ПО-1 с резиновой полумаской), наголовный щиток ЩН-7 с экраном из органического стекла, сапоги, перчатки и кислотозащитные рукавицы, специальную кислотозащитную одежду (из белой шерстяной или лавсановой ткани по
ГОСТ 27652 и
ГОСТ 27654).
2.4. При ожогах азотной кислотой необходимо сразу же обмыть пораженное место большим количеством воды, затем 2%-ным раствором питьевой соды (кислый углекислый натрий -

), смазать вазелином или специальной мазью от ожогов и перевязать. При отравлении газообразными оксидами азота или парами азотной кислоты пострадавшего нужно вывести на свежий воздух, напоить молоком и отправить в медпункт.
2.3, 2.4. (Измененная редакция, Изм. N 1).
2.5. Необходимо герметизировать оборудование, аппаратуру, процессы слива и налива для исключения попадания паров кислоты в воздушную среду производственного помещения.
2.6. Во всех отделениях производства должна быть предусмотрена механическая приточно-вытяжная вентиляция.
2.7. Предельно допустимая концентрация азотной кислоты и ее паров в воздухе рабочей зоны - 2 мг/м3 (в пересчете на

).
3.1. Азотная кислота является сильным окислителем. Животные и растительные ткани при воздействии азотной кислоты разрушаются.
В соответствии с
ГОСТ 12.1.007 азотная кислота относится к 3-му классу опасности.
Азотная кислота гигроскопична, неограниченно растворяется в воде с выделением тепла. Сильно дымит на воздухе, выделяя оксиды азота, которые образуют туман с влагой воздуха.
Пары азотной кислоты в 2,2 раза тяжелее воздуха.
3.2. Мерами защиты природной среды от вредных воздействий при получении азотной кислоты особой чистоты являются:
ведение процесса под вакуумом и исключение загазованности помещений и окружающей среды;
отсутствие вредных выбросов и кислых стоков за счет замыкания их в системе кислотоструйного вакуум-насоса;
применение на потребительской таре (горловине стеклянных и кварцевых бутылей) запорных устройств, обеспечивающих качество продукта, обезвреживание и отсутствие вредных паров азотной кислоты на складах, в железнодорожных вагонах у потребителя.
3.1, 3.2. (Измененная редакция, Изм. N 1).
3.3. Безотходная технология производства азотной кислоты особой чистоты удовлетворяет требованиям по рациональному использованию элементов природной среды.
3.4. При производстве азотной кислоты особой чистоты выбросы, загрязняющие природную среду, отсутствуют или не превышают ПДК.
(Измененная редакция, Изм. N 1).
В документе о качестве допускается указывать результаты проведенных анализов или подтверждение о соответствии качества продукта требованиям настоящего стандарта.
(Измененная редакция, Изм. N 1).
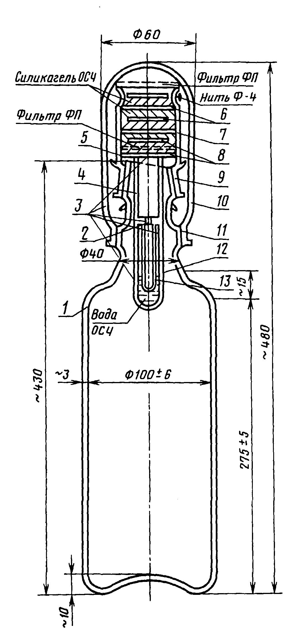
5.1. Отбор проб
Кварцевая емкость
1 - сосуд; 2, 5, 6 - перегородки; 3 - отверстия;
4, 7 - патрубки; 8 - гидрофобная пленка;
9 - конические фланцы; шлифы N 29Б; 10 - защитный колпак;
11 - конические фланцы; шлифы N 45Б;
12 - барботажная колонка; 13 - капилляр
Пробы допускается отбирать в стеклянные химически обработанные бутыли с пришлифованной стеклянной или фторопластовой пробкой.
5.1.2. Пробы отбирают с помощью бюретки
(черт. 2) или специального приспособления
(черт. 3). После отбора пробы, а также после использования кислоты, емкость должна быть сразу закрыта пробкой. В процессе отбора продукта в емкость должен подаваться воздух, очищенный в специальном патроне (см.
черт. 1).
Бюретка
1 - водяная рубашка; 2 - патрубок для залива воды;
3 - фторопластовая нить; 4 - пробка; 5 - химпоглотитель;
6 - патрубок для подсоединения вакуума и подачи воздуха;
7 - корпус
Приспособление для слива кислоты из бутылки
1 - бутыль с испытуемой кислотой;
2 - комбинированная пробка; 3 - аэрозольный фильтр ФП,
обвязанный фторопластовой нитью; 4 - сильфон;
5 - комбинированный кран; 6 - штуцер к вакуум-насосу;
7 - газовый штуцер; 8 - вакуум-насос;
9 - жидкостной штуцер; 10 - перегородка;
11 - гидрозатвор; 12 - бутыль-сборник; 13 - пробка;
14 - штуцер с конусом (шлиф N 29); 15 - муфта шлифа (N 29);
16 - вакуумный штуцер
5.1.3. Масса средней пробы должна быть не менее 3,5 кг.
5.1.4. На емкость с пробой наклеивают или, вложив в полиэтиленовый пакет, прикрепляют этикетку с наименованием продукта, даты отбора пробы, номера партии и обозначения настоящего стандарта.
Перед проведением анализа пробу в емкости перемешивают осторожным покачиванием.
5.2. Определение массовой доли азотной кислоты
5.2.1. Аппаратура и реактивы
Весы лабораторные аналитические с диапазоном взвешивания от 0,2 мг до 200 г типа АДВ, ВЛР 200.
Набор гирь Г-2-210 по
ГОСТ 7328, класс I, II.
Вода дистиллированная по
ГОСТ 6709 или паровой конденсат.
Метиловый красный (индикатор) или метиловый оранжевый (индикатор), готовят спиртовой раствор с массовой долей 0,2% по
ГОСТ 4919.1.
Натрия гидроокись по
ГОСТ 4328, х.ч. c (NaOH) = 1 моль/дм3 (1 н).
5.2.2. Проведение анализа
2,0000 г (около 1,5 см3) препарата быстро помещают в колбу с притертой пробкой, предварительно взвешенную с 15 см3 воды, перемешивают, колбу закрывают пробкой и снова взвешивают. По разности результатов взвешиваний определяют массу препарата, введенного в колбу. Содержимое колбы титруют раствором гидроокиси натрия в присутствии растворов метилового красного или метилового оранжевого.
Навеску препарата допускается взвешивать в ампуле или в пипетке Лунге.
5.2.1, 5.2.2. (Измененная редакция, Изм. N 1).
5.2.3. Обработка результатов
Массовую долю азотной кислоты (X) в процентах вычисляют по формуле
где V - объем раствора гидроокиси натрия концентрации точно 1 моль/дм3 (1 н), израсходованный на титрование, см3;
m - масса навески кислоты, г;
0,06301 - масса азотной кислоты, соответствующая 1 см3 раствора концентрации точно 1 моль/дм (1 н) гидроокиси натрия, г.
За результат анализа принимают среднее арифметическое двух параллельных определений, допускаемые расхождения между которыми не должны превышать 0,1% при доверительной вероятности P = 0,95.
5.3. Определение массовой доли оксидов азота
5.3.1. Аппаратура и реактивы
Вода дистиллированная по
ГОСТ 6709 или паровой конденсат.
Калий йодистый по
ГОСТ 4232, х.ч., раствор с массовой долей 15%.
Калий марганцовокислый по
ГОСТ 20490, х.ч.,

(0,1 н).
Крахмал растворимый по
ГОСТ 10163 ч., водный раствор с массовой долей 0,5%.
Кислота серная особой чистоты по
ГОСТ 14262, марки ОС.Ч. 12-4, раствор с массовой долей 25%.
Натрий серноватистокислый (тиосульфат натрия) по
ГОСТ 27068, ч.д.а.,

(0,1 н).
5.3.2. Проведение анализа
5,0 см3 азотной кислоты, взятой по объему, помещают в коническую колбу с притертой пробкой вместимостью 250 см3, содержащую 50 см3 воды и 20 см3 раствора марганцовокислого калия.
Колбу закрывают пробкой, помещают в темное место и выдерживают 30 мин, периодически встряхивая. Затем в колбу прибавляют 10 см3 раствора йодистого калия и выделившийся йод титруют раствором серноватистокислого натрия, прибавляя в конце титрования раствор крахмала.
Одновременно титруют контрольный раствор, содержащий те же количества реактивов с той разницей, что вместо азотной кислоты берут 10 см3 раствора серной кислоты, не содержащей оксидов азота, и вводят поправку в результат определения.
Контрольный раствор также выдерживают в темном месте в течение 30 мин.
5.3.3. Обработка результатов
Массовую долю оксидов азота

в процентах вычисляют по формуле
где

- объем раствора серноватистокислого натрия концентрации точно 0,1 моль/дм3 (0,1 н), израсходованный на титрование контрольного раствора;

- объем раствора серноватистокислого натрия концентрации точно 0,1 моль/дм3 (0,1 н), израсходованный на титрование анализируемого раствора кислоты;
0,0046 - масса оксида азота, соответствующая 1 см3 раствора марганцовокислого калия концентрации точно 0,1 моль/дм3 (0,1 н);
V - объем азотной кислоты, взятый для анализа, см3;

- плотность, г/см3.
За результат анализа принимают среднее арифметическое двух параллельных определений, допускаемые расхождения между которыми не должны превышать 0,01% при доверительной вероятности P = 0,95.
5.3 - 5.3.3. (Измененная редакция, Изм. N 1).
5.4. Определение массовой доли алюминия, бора, висмута, железа, золота, кадмия, кальция, кобальта, кремния, магния, марганца, меди, никеля, олова, свинца, серебра, сурьмы, титана, хрома, цинка
5.4.1. Аппаратура, материалы и реактивы
Весы лабораторные общего назначения по ГОСТ 24104 2-го класса точности с наибольшим пределом взвешивания 200 г и ценой наименьшего деления

или другие с техническими характеристиками не ниже указанных.
Набор гирь Г-2-210 по ГОСТ 7328.
Весы крутильные (торсионные) типа ВЛТ-200 по ГОСТ 24104 или весы другого типа с наибольшим пределом взвешивания 200 мг и ценой наименьшего деления 0,2 мг, или дозатор вместимостью 20 мг.
Весы лабораторные типа ВЛКТ-500-М по ГОСТ 24104 с ценой наименьшего деления 1 г, с набором гирь или другие весы с техническими характеристиками не ниже указанных.
Источник дуги постоянного тока, обеспечивающий получение дуги постоянного тока, при рабочем токе 10 - 15 А.
Выпрямитель ртутный типа ВАРЗ 120-130 или ВАРС 275-100.
Микрофотометр типа ИФО-460, МФ-2 или МД-100.
Лампа инфракрасная типа ЗС-1 или другого типа.
Спектрограф кварцевый средней дисперсии типов ИСП-28, ИСП-30 или СТЭ-1 с трехлинзовой конденсорной системой и трехступенчатым ослабителем.
Спектропроектор типов ОС ПС-18, СПП-1, СП-2.
Боксы из стекла лабораторного изготовления для подготовки проб к спектральному анализу и для химического обогащения проб.
Боксы из полиэтиленовой пленки или органического стекла для приготовления, взвешивания и хранения градуировочных смесей, для перенесения концентрата проб в электроды.
Устройство для упаривания проб азотной кислоты, исключающее попадание примесей в пробы из окружающей среды и вредных выбросов в атмосферу
(черт. 3а).
Устройство для упаривания проб
1 - инфракрасная лампа, водяная баня или закрытый
электрообогрев; 2 - чашки с анализируемой кислотой;
3 - отвод паров; 4 - конденсатор; 5 - приемник для
сконденсированных паров; 6 - водоструйный вакуум-насос;
7 - бокс; 8 - крышка
Приспособления для подготовки проб к спектральному анализу из органического стекла и фторопласта Ф-4, 1-й сорт по
ГОСТ 10007 (подставки, шпатели, коробки для размещения электродов).
Посуда из кварцевого, органического стекла или фторопласта Ф-4 по
ГОСТ 10007, первый сорт (чашки, шпатели, бюксы и др.).
Цилиндры из кварцевого стекла.
Секундомер по НТД, 2-й класс точности.
Ступка и пестик агатовые (или из яшмы).
Насос водоструйный лабораторный стеклянный по
ГОСТ 25336.
Фотопластинки спектральные тип II чувствительностью 13 - 17 единиц.
Электроды графитовые марки ОС.Ч. 7-3 для спектрального анализа диаметром 6 мм (верхние электроды заточены на конус, в нижних - высверлен цилиндрический кратер диаметром 4,5 мм, глубиной 4,0 мм).
Оксид алюминия (III), х.ч., для спектрального анализа.
Оксид висмута (III) марки ОС.Ч. 13-3.
Оксид железа (III) марки ОС.Ч. 2-4.
Оксид кадмия (II) марки ОС.Ч. 11-3.
Оксид кальция (II) марки ОС.Ч. 6-2.
Оксид кобальта (III) марки ОС.Ч. 9-2.
Оксид кремния (IV) марки ОС.Ч. 12-5.
Оксид магния (II) марки ОС.Ч. 11-2.
Оксид марганца (IV) марки ОС.Ч. 9-2.
Оксид меди (II) марки ОС.Ч. 9-2.
Оксид никеля (II) марки ОС.Ч. 10-2.
Оксид олова (IV) по ГОСТ 22516.
Оксид свинца (II) марки ОС.Ч. 5-3.
Оксид серебра (I), ч.
Оксид сурьмы (III), ч.д.а.
Оксид титана (IV) марки ОС.Ч. 5-2.
Оксид хрома (III), ч.д.а.
Золото хлорное, 2-водное, ч.
Кислота борная марки ОС.Ч. 14-3.
D-Маннит (манитол) по ГОСТ 8321, раствор с массовой долей 1%, готовят из перекристаллизованного маннита. Перекристаллизацию проводят следующим образом: 52 г маннита растворяют в 160 см3 воды в кварцевом стакане при слабом нагревании. Полученный раствор фильтруют через фильтрующий тигель в колбу с тубусом, пользуясь водоструйным насосом, затем фильтрат переносят в кварцевый стакан и охлаждают на льду. Раствор с выпавшими кристаллами снова фильтруют через фильтрующий тигель, полученные кристаллы магнита высушивают на бумажном фильтре.
Вода дистиллированная по ГОСТ 6702 или паровой конденсат, дважды перегнанный в кварцевой аппаратуре и содержащий регламентированных примесей не более указанных в табл. 1 для определяемой марки азотной кислоты особой чистоты.
Калий углекислый марки ОС.Ч. 15-2.
Натрий сернистокислый 7-водный.
Натрий серноватистокислый (тиосульфат натрия) по
ГОСТ 27068, ч.д.а.
Натрий фтористый марки ОС.Ч. 9-3.
Спирт этиловый ректификованный технический по
ГОСТ 18300, высший сорт.
Чистота применяемых графитовых электродов, графитового порошка, фтористого натрия и маннита проверяется в условиях проведения анализа. Массовые доли определяемых элементов должны быть не более указанных в
табл. 1.
(Измененная редакция, Изм. N 1).
5.4.2. Подготовка к анализу
5.4.2.1. Приготовление градуировочных смесей
5.4.2.1.1. Приготовление основной градуировочной смеси
Градуировочную смесь (основную) с массовой долей (из расчета на металл) каждого (кроме золота и бора) из анализируемых металлов 1% готовят растиранием в ступке смеси графитового порошка, предварительно проверенного на чистоту с окислами определяемых металлов (г):
Al O - 0,0190 Co O - 0,0140 SnO - 0,0130
2 3 2 3 2
Bi O - 0,0111 MgO - 0,0166 Ag O - 0,0110
2 3 2
Fe O - 0,0140 MnO - 0,0160 Sb O - 0,0120
2 3 2 2 3
CdO - 0,0110 CuO - 0,0125 TiO - 0,0170
2
CaO - 0,0100 NiO - 0,0130 Cr O - 0,0150
2 3
SiO - 0,0210 PbO - 0,0100 ZnO - 0,0124
2
Графитовый порошок - 0,7477.
Для анализа азотной кислоты марки ОС.Ч. 18-4 готовят градуировочную смесь только из нормируемых элементов и добавляют графитовый порошок до 1 г.
Время приготовления градуировочной смеси с любым содержанием металлов - 1 - 1,5 ч.
Для лучшего распределения примесей растирание следует проводить с 50 см3 перегнанного спирта.
Полученную смесь высушивают в боксе под инфракрасной лампой. Градуировочную смесь А с массовой долей примесей 0,1% готовят растиранием одной части основной градуировочной смеси с девятью частями графитового порошка. Последующие градуировочные смеси с массовой долей 0,05; 0,01; 0,005; 0,001; 0,0005% готовят последовательным разбавлением каждой предыдущей смеси графитовым порошком.
Для определения золота и бора в градуировочную смесь с массовой долей примесей 0,1% вводят золото и бор.
(Измененная редакция, Изм. N 1).
5.4.2.1.2. Приготовление градуировочных смесей, содержащих золото
Приготовление градуировочной смеси с массовой долей золота 0,1% заключается в растворении 0,1720 г

в 100 см3 воды, затем 1 г градуировочной смеси А помещают во фторопластовую чашку, смачивают ее водой, приливают 1 см3 приготовленного хлорида золота, после чего из полученной смеси выпаривают воду под инфракрасной лампой. Сухую смесь тщательно перемешивают в ступке.
Градуировочные смеси с массовой долей золота 0,01; 0,001; 0,0001% готовят последовательным растиранием одной части предыдущей градуировочной смеси с девятью частями графитового порошка. Одновременно готовят промежуточные градуировочные смеси с массовой долей примесей -

.
5.4.2.1.3. Приготовление градуировочных смесей, содержащих бор
Первоначально готовят раствор с массовой долей бора 0,1%.
1 г градуировочной смеси с массовой долей каждой определяемой примеси, включая золото 0,1%, помещают в чашку из фторопласта, вводят 0,5 см3 D-маннита и 1 см3 раствора борной кислоты с массовой долей 0,1%.
Полученную смесь выпаривают под инфракрасной лампой при (98 +/- 1) °C. Сухую смесь тщательно перемешивают в ступке.
Затем готовят раствор с массовой долей бора 0,01%. 1 г градуировочной смеси с массовой долей каждой определяемой примеси, включая золото 0,01%, помещают в чашку из фторопласта, вводят 0,5 см3 D-маннита и 1 см3 раствора бора с массовой долей 0,01%.
Таким же образом вводят бор во все последующие градуировочные смеси.
Приготовленные сухие градуировочные смеси, содержащие все определяемые примеси, хранят в стаканчиках из фторопласта или в полиэтиленовых пакетах.
Срок хранения - 6 мес.
Перед анализом к навеске градуировочной смеси прибавляют по 0,5 мг фторида натрия.
5.4.2.1.1 - 5.4.2.1.3. (Измененная редакция, Изм. N 1).
5.4.2.2. Приготовление растворов для обработки фотопластинок
Проявитель готовят смешением растворов А и Б в соотношении 1:1.
Раствор А готовят растворением в воде (до 0,5 дм3) 1 г метола, 12 г гидрохинона, 200 г кристаллического сульфата натрия.
Раствор Б готовят растворением в воде (до 0,5 дм3) 100 г углекислого калия и 1 г бромистого калия.
Фиксаж готовят растворением в воде (до 1 дм3) 300 г тиосульфата натрия и 20 г хлористого аммония.
5.4.2.3. Подготовка анализируемой пробы
В три чашки помещают по 20 мг графитового порошка и прибавляют в каждую из них по 0,5 см3 раствора D-маннита. Первая чашка - контрольный образец. В две другие чашки помещают параллельно пробы азотной кислоты, взятые по объему с погрешностью не более 0,1 см3, 10 г марки ОС.Ч. 18-4 и 50 г марок ОС.Ч. 27-4 и ОС.Ч. 27-5.
Все три чашки помещают в устройство для упаривания проб (см.
черт. 3а) и выпаривают при температуре на 2 - 7 °C ниже температуры кипения пробы до полного испарения ее.
К сухому остатку в чашках добавляют по 0,5 мг фтористого натрия, и смеси тщательно перемешивают. Графитовый концентрат собирают со стенок чашки тонким совком и переносят в кратер графитового электрода (анода), помещенного на подставку из органического стекла.
Подготовленные графитовые концентраты необходимо тотчас же подвергнуть спектральному анализу, так как продолжительный контакт проб с воздухом может вызвать дополнительные загрязнения.
Для определения пригодности воды берут навеску такую же, как и для соответствующих марок кислоты, далее поступают так же, как и при анализе кислоты, проводя с водой три параллельных определения.
5.4.3. Проведение анализа
Съемку спектрограмм проводят при ширине щели спектрографа - 0,015 мм, времени экспозиции - 30 с, высоте диафрагмы на среднем конденсоре - 5 мм, силе тока дуги 10 - 12 А, расстоянии между электродами - 2 мм.
Между вертикально поставленными электродами зажигают дугу, питаемую постоянным током. На одной пластинке в одних и тех же условиях фотографируют по 2 - 3 раза спектры проб, градуировочных смесей и контрольных образцов.
Щель открывают перед зажиганием дуги. По окончании фотографирования фотопластинки проявляют, промывают водой, фиксируют, тщательно промывают в проточной воде, ополаскивают дистиллированной водой и высушивают.
Перед проведением фотометрирования спектрограмму просматривают на экране спектропроектора. Находят нужные аналитические линии.
Аналитические линии (длина волн, нм)
Ag I 328,07 B I 249,77 Cd I 228,80 Cu I 327,40
Al I 308,22 Bi 306,8 Cd I 325,25 Cr II 283,56
Au I 267,59 Ca II 317,9 Co I 304,40 Fe I 248,33
Mg II 280,3 Sb I 259,81 Zn I 334,50 Fe II 259,99
Mn I 280,11 Si I 288,16 Zn I 213,9 Pb I 283,31
Ni I 305,08 Sn I 283,99 Cu II 324,75 Ti II 308,80
За 10 мин до начала проведения измерений почернений линий включают микрофотометр. Спектрограмму с отмеченными аналитическими линиями помещают на столик микрофотометра, укрепляют ее и проверяют фокусировку прибора. Устанавливают высоту и ширину щели прибора. При закрытом фотоэлементе совмещают указатель на матовом экране с началом отсчетной логарифмической шкалы почернений (с делением ~). При включенном фотоэлементе устанавливают нуль, совмещая указатель на матовом стекле с концом отсчетной шкалы при прохождении пучка света микрофотометра через прозрачное место фотопластинки. В спектрах фотометрируют аналитические линии определяемых элементов и близко расположенный к линии фон.
5.4.4. Обработка результатов
На основании результатов фотометрирования аналитических линий в спектрах градуировочных смесей строят градуировочный график для каждого определяемого элемента. На оси абсцисс откладывают значения логарифмов концентрации определяемого элемента

, на оси ординат - величины

, равные разности почернений аналитической линии и соседнего фона. По градуировочным графикам определяют массовую долю примесей в графитовом концентрате. На заводе-изготовителе допускается при контроле качества продукции применение твердого градуировочного графика.
Массовую долю примесей в анализируемой азотной кислоте

в процентах вычисляют по формуле
где m - масса навески кислоты, взятая для анализа, г;

- масса навески графитового концентрата, г;

- массовая доля примеси в графитовом концентрате, найденная по градуировочному графику, %;

- массовая доля примеси в графитовом концентрате контрольного образца, %.
За результат анализа принимают среднее арифметическое двух параллельных определений, допускаемые расхождения между которыми не должны превышать величин, указанных в табл. 2, при доверительной вероятности P = 0,95.
Таблица 2
Наименование элемента | Интервал (массовая доля), % | Допускаемые расхождения между двумя параллельными определениями, %, не более |
Алюминий | От  -  | |
Св.  -  | |
Бор | От  -  | |
Св.  -  | |
Висмут | От  -  | |
Железо | "  -  | |
Золото | "  -  | |
Кадмий | "  -  | |
Кальций | "  -  | |
Св.  -  | |
Кобальт | От  -  | |
Кремний | "  -  | |
Св.  -  | |
Магний | От  -  | |
Св.  -  | |
Марганец | От  -  | |
Св.  -  | |
Медь | От  -  | |
Никель | "  -  | |
Олово | "  -  | |
Св.  -  | |
Свинец | От  -  | |
Св.  -  | |
Серебро | От  -  | |
Сурьма | "  -  | |
Св.  -  | |
Титан | От  -  | |
Хром | "  -  | |
Св.  -  | |
Цинк | От  -  | |
| Св.  -  | |
5.4.2.3 - 5.4.4. (Измененная редакция, Изм. N 1).
5.5. Определение массовой доли калия и натрия
5.5.1. Аппаратура, материалы и реактивы
Фотометр пламенный типов ПАЖ, ПФМ.
Баня водяная.
Устройство для упаривания проб по
п. 5.4.1.
Воздух.
Пропан-бутан.
Калий хлористый марки ОС.Ч. 5-4.
Натрий хлористый марки ОС.Ч. 6-4.
Спирт этиловый ректификованный технический по
ГОСТ 18300, высший сорт, очищенный дистилляцией.
Раствор сравнения с массовой концентрацией калия 5 мг/дм3, готовят по
ГОСТ 4212.
Раствор сравнения с массовой концентрацией натрия 5 мг/дм3, готовят по
ГОСТ 4212.
Готовят серию градуировочных растворов:
с массовой концентрацией калия: 0; 0,1; 0,2; 0,3; 0,4; 0,5 мг/дм3 калия;
с массовой концентрацией натрия: 0; 0,1; 0,2; 0,3; 0,4; 0,5 мг/дм3 натрия.
Для этого в мерные колбы вместимостью 25 см3 вносят 0; 0,5; 1,0; 1,5; 2,0; 2,5 см3 раствора калия с массовой концентрацией 5 мг/дм3. Затем в каждую колбу приливают по 5 см3 этилового спирта, доводят объем раствора водой до метки и тщательно перемешивают.
В тех же условиях готовят серию градуировочных растворов натрия.
(Измененная редакция, Изм. N 1).
5.5.2. Подготовка к анализу
5.5.2.1. Подготовка прибора
Включение прибора осуществляют по инструкции, прилагаемой к нему, за 20 - 30 мин до проведения замеров. Работу осуществляют с использованием светофильтров для натрия и калия.
Условия работы прибора, при которых суммарная погрешность методики находится на уровне заданной, следующие:
давление 973 - 1026 ГПа;
температура окружающей среды - (20 +/- 5) °C;
относительная влажность воздуха - 45 - 80% (по объему).
Анализ проводят в пламени воздух - пропан - бутан при следующих рабочих условиях:
давление воздуха - 392,2 - 588 ГПа;
давление газа - 78,45 - 98,07 Па (8 - 10 мм вод. ст.).
5.5.3. Проведение анализа
250 см3 азотной кислоты, взятой с погрешностью не более 2,5 см3, помещают в кварцевую чашу и выпаривают на водяной бане в устройстве для упаривания проб до 1 см3.
Концентрат количественно переносят в мерную колбу вместимостью 25 см3, добавляют 5 см3 этилового спирта и полученный раствор доводят водой до метки.
Анализируемый раствор и градуировочные смеси фотометрируют в порядке возрастания массовой доли определяемой примеси поочередно на натрий и калий. Затем фотометрируют в обратной последовательности, начиная с образца с максимальной массовой долей, и вычисляют среднее арифметическое значение из этих показаний.
На основании результатов фотометрирования строят градуировочный график для каждого из определяемых элементов в координатах: показания прибора - массовой концентрации натрия, калия, мг/дм3.
(Измененная редакция, Изм. N 1).
5.5.4. Обработка результатов
Массовую долю натрия, калия

в процентах вычисляют по формуле
где

- массовая концентрация металла, найденная по графику, г/дм3;
K - коэффициент обогащения, равный отношению объема кислоты, взятой для выпаривания, к вместимости мерной колбы, в которую перенесен раствор после выпаривания (в условиях данной методики K = 10);

- плотность азотной кислоты, г/см3.
За результат анализа принимают среднее арифметическое двух параллельных определений, допускаемые расхождения между которыми не должны превышать для калия -

, для натрия -

при доверительной вероятности P = 0,95.
5.6. Определение массовой доли ртути
5.6.1. Аппаратура, материалы и реактивы
Весы полумикроаналитические типа ВЛР 20.
Полярографы типов ПУ-1, ППТ-1. Режим работы полярографа постояннотоковый или переменнотоковый.
Потенциометр электронный автоматический типа КСП-4 со шкалой 1 мВ, погрешность показания прибора +/- 0,5%.
Секундомер механический по НТД.
Электрод каломельный насыщенный
(черт. 4) или хлорсеребряный типа ЭВЛ-1МЗ, заливаемый насыщенным раствором азотнокислого калия.
Каломельный насыщенный электрод
1 - соединительный мостик; 2 - корпус;
3 - пробка на шлифе N 10Б; 4 - пружина; 5 - кристаллы KCl;
6 - насыщенный раствор KCl; 7 - паста каломели;
8 - ртуть; 9 - платиновая проволока диаметром 0,5,
длиной - 20 мм; 10 - серебряная проволока диаметром 0,3,
длиной - 150 мм; 11 - пробка из фильтровальной бумаги
Графитовый электрод
1 - графитовый стержень; 2 - эпоксидная смола;
3 - стеклянная трубка; 4 - ртуть или графитовый порошок;
5 - провод; 6 - шнур; 7 - пробка

,

и
l - в зависимости от размеров ячейки
Полярографическая ячейка
1 - корпус ячейки (стекло кварцевое или силикатное);
2 - азотоподводящая трубка; 3 - графитовый индикаторный
электрод; 4 - стеклянный мостик, заполненный насыщенным
раствором

; 5 - кварцевый стаканчик для
полярографирования; 6 - подставка из фторопласта-4;
7 - соединительный мостик каломельного электрода;
8 - насыщенный каломельный электрод; 9 - сосуд с
насыщенным раствором

; 10 - пробки из
фильтровальной бумаги
Аппарат для концентрирования примесей типа аппарата, показанного на
черт. 7.
Аппарат для концентрирования примесей
1 - корпус; 2 - трубка для отсоса газов; 3 - конденсатор;
4 - электроподогреватель; 5 - стаканчик; 6 - полка;
7 - крышка; 8 - кран для слива конденсата; 9 - керн шлифа;
10 - муфта шлифа; 11 - калиброванная бюретка
Аппарат для пропаривания стаканчиков и посуды водяным паром типа аппарата, показанного на
черт. 8.
Аппарат для пропаривания стаканчиков и
посуды перед полярографированием
1 - дно; 2 - корпус; 3 - электроспираль; 4 - трубка
для слива конденсата; 5 - нижняя крышка; 6 - трубки
для пара; 7 - верхняя крышка; 8 - штабики для упора;
9 - штуцер; 10 - колпак; 11 - стаканчики; 12 - фильтр;
13 - кран; 14 - трубка для залива аппарата;
15 - спиральный холодильник
Кварцевый стаканчик
Лента диаграммная складывающаяся по
ГОСТ 7826, шкала АФДБ.
Вода, приготовленная по
п. 5.4.1, с последующей перегонкой в кварцевом аппарате с добавлением 0,5 - 1 г/дм3 марганцовокислого калия.
Гелий марки ВЧ.
Графит марки ОС.Ч. 7-3.
Калий азотнокислый марки ОС.Ч. 7-4.
Калий бромистый марки ОС.Ч. 8-2, раствор с массовой долей 12% (1М).
Калий хлористый марки ОС.Ч. 23-3, насыщенный раствор.
Кислота серная особой чистоты по
ГОСТ 14262, марки ОС.Ч. 12-4.
Полиэтилен-полиамин.
Ртуть металлическая по ГОСТ
4658, РО.
Смола эпоксидная ЭД-6.
Термометр от 0 до 150 °C (+/- 2 °C) по
ГОСТ 28498.
Термометр от 0 до 500 °C (+/- 5 °C) по
ГОСТ 28498.
Манометры типов АМ, АМ13, МВ по ТУ 92-891-026.
(Измененная редакция, Изм. N 1).
5.6.2. Подготовка к анализу
5.6.2.1 Заполнение каломельного электрода
Заполнение каломельного электрода производят в следующем порядке:
свободный конец соединительного мостика закрывают пробкой из плотно свернутой фильтровальной бумаги;
электрод заполняют металлической ртутью на высоту (5 +/- 1) мм;
засыпают сухую пасту каломели слоем (1 +/- 0,5) мм;
осторожно по стенке заливают насыщенный раствор хлористого калия;
засыпают (1 +/- 0,5) мм кристаллического хлористого калия и электрод закрывают притертой пробкой.
После суточной выдержки электрод готов к работе.
5.6.2.2. Изготовление индикаторного электрода
В кварцевую пробирку помещают 10 см3 эпоксидной смолы, добавляют 1 см3 наполнителя - полиэтилен-полиамина, нагревают смесь на плитке до температуры (90 +/- 2) °C и помещают в нее графитовый стержень диаметром (4 +/- 1) мм и длиной (20 +/- 1) мм. Продолжая нагревать смесь, с помощью вакуума 13,3 кПа (100 мм рт. ст.) откачивают из пробирки воздух до прекращения выделения пузырьков газа. Затем горячую смесь выливают из пробирки на стекло, извлекают графитовый стержень и помещают его в сушильный шкаф. Сушат стержень при (200 +/- 1,5) °C в течение 3 ч. Затем температуру постепенно в течение 1 ч снижают до комнатной с помощью регулятора напряжения. Готовый стержень вставляют в стеклянную трубку и обмакивают в расплавленный полиэтилен.
Торец стержня очищают от полиэтилена, шлифуя его о матовое стекло и фильтровальную бумагу. В стеклянную трубку с графитовым стержнем наливают ртуть на высоту (3 +/- 1) мм и опускают медную проволоку - для осуществления электрического контакта.
Допускается использовать готовые графитовые электроды.
5.6.2.3. Приготовление градуировочных растворов и фона
Исходный градуировочный раствор ртути N 1 с массовой концентрацией

г/см3 готовят растворением 1 г металлической ртути в анализируемой марке азотной кислоты особой чистоты с массовой долей ее 12 - 25% в мерной колбе вместимостью 100 см3.
Для приготовления градуировочного раствора N 2 с массовой концентрацией ртути

г/см3 1 см3 раствора N 1 вносят пипеткой вместимостью 2 см3 в мерную колбу вместимостью 100 см3 и доводят водой до метки.
Для приготовления градуировочного раствора ртути N 3 с массовой концентрацией ртути

г/см3 10 см3 раствора ртути N 2 вносят пипеткой вместимостью 10 см3 в мерную колбу вместимостью 100 см3 и доводят водой до метки.
Для приготовления градуировочного раствора ртути N 4 массовой концентрации ртути

г/см3 10 см3 раствора ртути N 3 вносят пипеткой вместимостью 10 см3 в мерную колбу вместимостью 100 см3 и доводят до метки водой.
Для приготовления градуировочного раствора ртути N 5 массовой концентрации ртути

г/см3 10 см3 раствора ртути N 4 вносят пипеткой вместимостью 10 см3 в мерную колбу вместимостью 100 см3 и доводят до метки водой.
В качестве фонового раствора применяют водный раствор бромистого калия.
5.6.2.4. Очистка поверхности посуды, применяемой для анализа
Применяемые в анализе кварцевый стаканчик, мерные колбы и пипетки должны быть тщательно отмыты от примесей. Для этого их заполняют на 2 - 3 сут серной кислотой. По истечении этого срока всю посуду четыре раза ополаскивают, а стаканчики пропаривают водой в аппарате для пропаривания стаканчиков в течение 5 ч
(черт. 8) для марки ОС.Ч. 27-5, а для марок ОС.Ч. 27-4 и 18-4 достаточно прокалить стаканчик при температуре (500 +/- 5) °C в течение 15 мин.
Проверку на чистоту посуды проводят полярографированием фонового раствора. Для проверки мерных колб в тщательно промытую колбу заливают (5 +/- 1) см3 фонового раствора, ополаскивают им стенки колбы и сливают в кварцевый стаканчик, после чего фоновый раствор полярографируют. Если при снятии полярограммы высота пика не превысит 7 мм, то колбу считают чистой. Если же высота пика будет больше 7 мм, то операцию отмывки повторяют.
Для более быстрой отмывки в аппарат пропаривания стаканчиков можно заливать азотную кислоту особой чистоты с массовой долей 5%.
Применяемые для анализа пипетки хранят в индивидуальных полиэтиленовых пакетах, на которых делают соответствующие надписи.
Нельзя одной и той же пипеткой брать растворы одного и того же металла, но разной концентрации.
Раствор N 3 и пипетку для него хранят отдельно от остальных в боксе или под стеклянным колпаком.
5.6.2.2 - 5.6.2.4. (Измененная редакция, Изм. N 1).
5.6.2.5. Проверка атмосферы помещения, воды, гелия на отсутствие мешающих примесей
В чистый стаканчик наливают (5 +/- 1) см3 фонового раствора и снимают полярограмму. Если при этом нет пиков, то всю систему считают чистой и приступают к проведению анализа.
Проверка атмосферы помещения
После первого полярографирования вынимают стаканчик из ячейки и вместе с раствором оставляют его открытым на 1,5 ч. Если при повторном полярографировании раствора пики не увеличились или увеличились не более чем на 15%, тогда воздух в помещении считают чистым, а лабораторию пригодной для проведения полярографического анализа.
Проверка воды
Ополаскивают и заливают стаканчик водой почти доверху и устанавливают в аппарате для концентрирования примесей. Доливая воду по мере снижения уровня, выпаривают (25 +/- 1) см3 до влажного остатка. После выпаривания наливают в стаканчик (5 +/- 1) см3 фонового раствора, снимают полярограмму. Если не будет увеличения ранее зарегистрированных пиков или это увеличение не более чем на 15%, то воду считают чистой и пригодной для анализа.
Проверка гелия
После первоначального полярографирования отключают ячейку от полярографа и пропускают через раствор в стаканчике гелий в течение 25 мин. Если при повторном полярографировании этого раствора пики не увеличились, гелий считают чистым.
5.6.3. Проведение анализа
5 см3 анализируемой азотной кислоты вносят в чистый кварцевый стаканчик пипеткой вместимостью 5 см3 и упаривают ее при температуре (100 +/- 5) °C до влажного остатка в аппарате для концентрирования примесей
(черт. 7).
После упаривания в стаканчик прибавляют 5 см3 водного раствора бромистого калия с массовой долей 12% и помещают в полярографическую ячейку
(черт. 6). Затем подключают гелий и барботируют его через раствор в течение 5 мин при объемном расходе от 30 до 50 см3/мин, измеряемом реометром, для удаления растворенного кислорода. После этого подключают электрод к полярографу, устанавливают потенциал по вольтметру минус 1,00 В, при котором в течение 5 мин идет накопление примесей на электроде. Снижают потенциал до минус 0,30 В, включают мотор лентопротяжного механизма КСП-4 и регистрируют полярограмму. Подачу гелия при этом не прекращают. Анодный пик ртути равен минус 0,20 В, электролиз и съемку пиков повторяют не менее двух раз.
После снятия полярограммы в стаканчик добавляют градуировочные растворы ртути N 4 и 5, соответственно массовой доле ртути в азотной кислоте, и вновь полярографируют.
Анализ проводят для каждой марки азотной кислоты.
(Измененная редакция, Изм. N 1).
5.6.4. Обработка результатов
Массовую долю ртути

в процентах вычисляют по формуле
где C - концентрация градуировочного раствора, г/см3;

- объем добавленного градуировочного раствора, г/см3 ;

- объем кислоты, выпариваемой для анализа, см3;

- плотность кислоты, взятой для анализа, г/см3;

- высота пика элемента при полярографировании фонового раствора, мм;

- высота пика при полярографировании влажного остатка кислоты, мм;

- высота пика при полярографировании влажного остатка с добавкой градуировочного раствора, мм.
За результат анализа принимают среднее арифметическое двух параллельных определений, допускаемые расхождения между которыми при доверительной вероятности P = 0,95 не должны превышать при интервале концентраций от

до

величину

; при интервале концентраций от

до

величину

.
5.7. Определение массовой доли мышьяка
5.7.1. Аппаратура, материалы и реактивы
Прибор
(черт. 10), состоящий из кварцевого стаканчика вместимостью 10 см3, герметически закрывающегося полой притертой пробкой, прижимаемой к стаканчику резинками. В пробку впаяна трубка длиной 50 - 60 мм, внутренним диаметром 5 мм и внешним диаметром 6 - 7 мм. Трубку заполняют свернутым рулоном фильтровальной бумаги, сложенным так, чтобы фильтровальная бумага не создавала большого сопротивления, сверху закрывают кусочком ваты, пропитанной раствором уксуснокислого свинца. При появлении в нижней части бумаги или ваты слабого потемнения их следует заменить.
Прибор для определения мышьяка
1 - кварцевый стаканчик; 2 - притертая пробка;
3 - капиллярная трубка
К трубке на каучуке присоединяют капиллярную трубку длиной 50 мм, внутренним диаметром 0,5 мм и внешним диаметром 6 - 7 мм. Перед определением на верхний конец капиллярной трубки накладывают бромнортутную бумажку, тщательно прижимают к отверстию капилляра, сверху накрывают фильтровальной бумагой. Обе бумажки с помощью резинки плотно натягивают на трубку и закрепляют.
Бумагу, пропитанную раствором бромной ртути, готовят следующим образом: в профильтрованный спиртовой раствор бромной ртути с массовой долей 5% погружают нарезанные квадратами 2,5 x 2,5 см беззольные фильтры "синяя лента". Открытый сосуд с раствором бромной ртути и погруженными в него бумажками помещают в вакуум-эксикатор и отсасывают воздух водоструйным насосом в течение 2 мин. Перед применением бумажки вынимают из раствора и высушивают на воздухе, избегая прямого попадания солнечных лучей.
Раствор с погруженными бумажками сохраняют в темном месте не более 7 сут.
Бумагу, пропитанную раствором уксуснокислого свинца, готовят по
ГОСТ 4517.
Вату, пропитанную раствором уксуснокислого свинца, готовят по
ГОСТ 4517.
Вода, приготовленная по
п. 5.4.1, дополнительно перегнанная в кварцевом приборе с добавлением 0,5 г азотнокислого калия на 1 дм3 перегоняемой воды.
Калий азотнокислый марки ОС.Ч. 7-4.
Калий йодистый марки ОС.Ч. 3-4, раствор с массовой долей 10%.
Кислота соляная особой чистоты по
ГОСТ 14261, марки ОС.Ч. 21-4, очищенная следующим образом: 100 см3 кислоты смешивают в делительной воронке с 4 см3 раствора йодистого калия, приливают 15 см3 четыреххлористого углерода и тщательно взбалтывают в течение 3 - 4 мин. После отстаивания нижний слой растворителя отбрасывают, а соляную кислоту подвергают трехкратной экстракции. Полученная соляная кислота (может быть окрашена йодом) пригодна к применению в день очистки.
Натрий сернокислый безводный по
ГОСТ 4166, х.ч., раствор с массовой долей 1%.
Олово двухлористое, ч.д.а., раствор с массовой долей 10%, готовят растворением 10 г препарата в 12,5 см3 соляной кислоты (при необходимости подогревают), приливают 77,5 см3 воды и перемешивают.
Раствор, содержащий мышьяк, готовят по
ГОСТ 4212, разбавленный раствор, с концентрацией As 0,00001 мг в 1 см3, должен быть свежеприготовленным.
Ртуть бромная, ч.д.а., спиртовой раствор с массовой долей 5%, профильтрованный, готовят по
ГОСТ 4517.
Свинец уксуснокислый по
ГОСТ 1027, ч.д.а., раствор с массовой долей 5%.
Спирт этиловый ректификованный технический по
ГОСТ 18300, высший сорт.
Углерод четыреххлористый марки ОС.Ч. 18-4.
Цинк гранулированный, х.ч.
Лупа типа ЛИ с ценой деления шкалы 0,1 мм по
ГОСТ 25706.
Устройство для упаривания проб по
п. 5.4.1.
5.7.2. Проведение анализа
7 см3 (10,0 г) азотной кислоты анализируемой марки, взятой с погрешностью не более 0,1 см3, помещают в кварцевую чашу, приливают 0,2 см3 раствора сернокислого натрия и выпаривают на водяной бане досуха в устройстве для упаривания проб. Сухой остаток обрабатывают пять раз по 1 см3 воды, выпаривая каждый раз досуха, и переносят, добавляя в чашу 0,5 см3 соляной кислоты в два приема, и 5 см3 воды в три приема в прибор для определения мышьяка. Затем прибавляют 0,1 см3 раствора двухлористого олова и 1 г цинка (две гранулы одинаковой величины). Прибор закрывают пробкой и оставляют на 2 - 3 ч при 25 °C.
Азотную кислоту считают соответствующей требованиям настоящего стандарта, если окраска пятна на бромнортутной бумажке от анализируемого раствора будет не интенсивнее окраски пятна на бромнортутной бумажке от раствора сравнения, приготовленного одновременно в тех же условиях из 0,1 г анализируемой азотной кислоты и содержащего в том же объеме 1 см3 раствора мышьяка концентрации

мг/см3 As, 0,5 см3 соляной кислоты, 0,1 см3 раствора двухлористого олова, 0,2 см3 сернокислого натрия, 1 г цинка и воду. При этом окраска пятна на бромнортутной бумажке от раствора сравнения должна быть примерно в два раза (или более) интенсивнее окраски пятна на бромнортутной бумажке от контрольного раствора, приготовленного одновременно так же, как раствор сравнения, но без добавления мышьяка. При получении неудовлетворительного результата определение повторяют с увеличенной в 2 - 5 раз массой навески препарата и, соответственно, увеличенной в 2 - 5 раз концентрацией мышьяка в растворе сравнения

. Наблюдение окрасок на бромнортутной бумажке проводят сразу после снятия бумажек. При необходимости для лучшего наблюдения окрасок пятен пользуются лупой с дву- и более кратным увеличением.
5.8. Определение массовой доли сульфатов проводят по
ГОСТ 10671.5, при этом 14 см3 (20,0 г) азотной кислоты марки ОС.Ч. 18-4, взятой по объему с погрешностью не более 0,2 см3, или 35 см3 (50,0 г) азотной кислоты марок ОС.Ч. 27-4 и ОС.Ч. 27-5, взятых по объему с погрешностью не более 0,5 см3, помещают в фарфоровую или кварцевую чашку, добавляют 1 см3 раствора углекислого натрия
(ГОСТ 83), х.ч., раствор с массовой долей 1% и выпаривают на водяной бане досуха в устройстве для упаривания проб. Сухой остаток растворяют в 20 см3 воды и полученный раствор профильтровывают в пробирку для нефелометрирования из бесцветного стекла диаметром 20 мм, высотой 200 мм. Доводят объем раствора водой до 25 см3. Далее определение проводят визуально-нефелометрическим (способом I) методом.
5.7.1 - 5.8. (Измененная редакция, Изм. N 1).
5.9. Определение массовой доли фосфора
5.9.1. Аппаратура и растворы
Спектрофотометр типа СФ-16.
Кюветы кварцевые от спектрофотометра прямоугольные с толщиной поглощающего свет слоя 5 см.
Пробирки плоскодонные из бесцветного прозрачного стекла диаметром 10 мм и высотой 70 мм.
Аммоний молибденовокислый по
ГОСТ 3765, ч.д.а., раствор с массовой долей 3%, при приготовлении отфильтровывают, хранят в полиэтиленовой посуде в темном месте.
Вода, приготовленная по
п. 5.4.1, должна содержать примесей фосфора и мышьяка меньше, чем в анализируемой кислоте.
Калий сурьмяновиннокислый, х.ч., раствор с массовой долей 0,7%.
Кислота аскорбиновая, х.ч. раствор с массовой долей 5,4% (готовят в день проведения анализа).
Кислота серная особой чистоты по
ГОСТ 14262, марки ОС.Ч. 12-4,

(5 н).
Натрий сернокислый 10-водный по
ГОСТ 4171, х.ч., раствор с массовой долей 1%.
Раствор, концентрации 1 мг фосфора в 1 см3, готовят по
ГОСТ 4212; разбавленный раствор, концентрации 0,001 мг фосфора в 1 см3 должен быть свежеприготовленным.
Смесь реактивов готовят в день проведения анализа следующим образом: смешивают 5 см3 раствора серной кислоты, 2 см3 раствора молибденовокислого аммония, 2 см3 раствора аскорбиновой кислоты и 1 см3 раствора сурьмяновиннокислого калия.
Устройство для упаривания проб по
п. 5.4.1.
Баня водяная.
5.9.2. Проведение анализа
14 см3 (20,0 г) азотной кислоты анализируемой марки, взятой по объему с погрешностью не более 0,2 см3, помещают в кварцевую чашку, прибавляют 0,1 см3 раствора сернокислого натрия и выпаривают досуха в устройстве для упаривания проб на водяной бане.
Сухой остаток растворяют в чаше в 3,0 см3 воды, приготовленной по
п. 5.4.1, прибавляют 0,3 см3 смеси реактивов и перемешивают. Через 5 мин содержимое чашки переливают в кварцевую кювету и измеряют оптическую плотность раствора при длине волны

по отношению к воде.
Реактивы считают пригодными, если оптическая плотность контрольного раствора, измеренная по отношению к воде, будет не более 0,015 и оптическая плотность раствора сравнения будет больше оптической плотности контрольного раствора не менее, чем в два раза.
Допускается определение заканчивать визуально на фоне стекла молочного цвета в тех же кюветах, либо после перенесения анализируемого раствора и раствора сравнения, а также контрольного раствора в бесцветные плоскодонные пробирки при сопоставлении их окрасок по оси пробирок на белом фоне. При этом синяя окраска раствора сравнения не должна быть менее интенсивной, чем у одновременно приготовленного анализируемого раствора, и синяя окраска раствора сравнения должна быть примерно в два раза либо большее количество раз интенсивнее, чем у контрольного раствора, не содержащего фосфора.
При разногласиях в оценке массовой доли фосфора определение проводят спектрофотометрическим методом.
5.10. Определение массовой доли хлоридов
5.10.1. Аппаратура и реактивы
Пробирки для нефелометрирования из бесцветного стекла (диаметром 20 мм, высотой 200 мм).
Вода дистиллированная, приготовленная по
п. 5.4.1, должна содержать примесей хлоридов меньше, чем анализируемая азотная кислота.
Кислота азотная по настоящему стандарту, раствор с массовой долей 25%.
Раствор, содержащий Cl, готовят по
ГОСТ 4212, соответствующим разведением готовят раствор сравнения с концентрацией 0,002 мг Cl в 1 см3. Раствор должен быть свежеприготовленным.
Серебро азотнокислое по
ГОСТ 1277, х.ч., раствор концентрации

(0,1 н).
5.9.1 - 5.10.1. (Измененная редакция, Изм. N 1).
5.10.2. Проведение анализа
7 см3 (10,0 г) азотной кислоты марки ОС.Ч. 18-4 или 14 см3 (20,0 г) азотной кислоты марок ОС.Ч. 27-4 и ОС.Ч. 27-5, взятых по объему с погрешностью не более 0,1 см3, помещают в пробирки для нефелометрирования, разбавляют водой до 39 см3, прибавляют 1 см3 раствора азотной кислоты, 1 см3 раствора азотнокислого серебра и перемешивают.
Азотную кислоту считают соответствующей требованиям настоящего стандарта, если наблюдаемая через 20 мин на темном фоне опалесценция анализируемого раствора будет не интенсивнее опалесценции раствора сравнения, приготовленного одновременно с анализируемым и содержащего в таком же объеме 0,002 мг Cl, 1 см3 раствора азотной кислоты и 1 см3 раствора азотнокислого серебра, а интенсивность опалесценции раствора сравнения, содержащего 0,002 мг Cl, будет заметно большей, чем у контрольного раствора, не содержащего хлоридов, приготовленного одновременно и точно так же, как раствор сравнения, но без добавления хлора.
5.11 Определение массовой доли суммы тяжелых металлов
5.11.1. Аппаратура и реактивы
Электрофотоколориметр типа ФЭК-М, ФЭК-Н-57, либо спектрофотометр типа СФ-16 или другого типа.
Воронки кварцевые делительные по
ГОСТ 19908, вместимостью 500, 100, 50 см3.
Устройство для упаривания проб по
п. 5.4.1.
Баня водяная.
Бумага конго.
Аммиак водный марки ОС.Ч. 17-4, растворы с массовыми долями 2 и 5%.
Вода, приготовленная по
п. 5.4.1, должна содержать примесей тяжелых металлов меньше, чем анализируемая азотная кислота.
Дитизон (дифенилтиокарбазон) по ТУ 6-09-07-1684, ч.д.а., очищенный раствор дитизона готовят следующим образом: 0,05 г дитизона растворяют в 100 см3 четыреххлористого углерода при энергичном перемешивании. Полученный раствор переносят в делительную воронку вместимостью 200 - 500 см3, добавляют 20 см3 раствора аммиака с массовой долей 5% и энергично встряхивают в течение 2 мин. После расслоения фаз органическую (нижнюю) фазу отделяют, следя за тем, чтобы в водную фазу попало возможно меньше органической фазы. Встряхивание раствора дитизона с раствором аммиака с массовой долей 5% (порциями по 20 см3) повторяют, как указано выше, еще четыре раза, после чего органическую фазу отбрасывают. Объединенные водные вытяжки (экстракты) переносят в делительную воронку вместимостью 200 - 500 см3, промывают два раза по 2 см3 четыреххлористым углеродом. Затем добавляют 20 см3 четыреххлористого углерода, подкисляют раствором серной кислоты концентрацией

(2,5 н) до синей окраски конго и энергично встряхивают в течение 1 мин. При подкислении выделяется нерастворимый в воде (pH 7) дитизон и переходит в органическую фазу, окрашивая ее в зеленый цвет. Экстракцию дитизона из кислого раствора проводят 100 см3 четыреххлористого углерода (пять раз по 20 см3). Концентрированный очищенный раствор дитизона в четыреххлористом углероде хранят в кварцевой колбе с притертой пробкой под слоем раствора серной кислоты концентрацией

(2,5 н) в темном прохладном месте.
Разбавленный раствор дитизона готовят из полученного раствора дитизона соответствующим разбавлением его четыреххлористым углеродом примерно в 50 раз с таким расчетом, чтобы оптическая плотность приготовленного раствора реактива была равна 1,0, при измерении ее по отношению к четыреххлористому углероду на фотоколориметре в кюветах с толщиной поглощающего свет слоя 2 см при длине волны

или на спектрофотометре в кюветах с толщиной поглощающего свет слоя 1 см при длине волны

. Раствор дитизона концентрации

хранят в склянке из темного стекла. Раствор годен не более 2 сут.
Кислота лимонная марки ОС.Ч. 8-4, раствор с массовой долей 10%.
Кислота соляная по
ГОСТ 14261, марки ОС.Ч. 21-4, раствор с массовой долей 25%.
Кислота серная по
ГОСТ 14262, марки ОС.Ч. 12-4, растворы концентрации

и концентрации

(0,5 н).
Лимонно-аммиачный буферный раствор готовят следующим образом: раствор лимонной кислоты доводят раствором аммиака с массовой долей 25% до pH 8 и затем раствором аммиака с массовой долей 5% до pH 9 (по универсальной индикаторной бумажке), очищают от следов тяжелых металлов встряхиванием с очищенным раствором дитизона (на 300 см3 очищенного буферного раствора прибавляют порциями по 5 - 10 см3 очищенного дитизона до тех пор, пока окраска раствора дитизона перестанет менять свой цвет).
Растворившийся в лимонно-аммиачном растворе дитизон удаляют экстракцией четыреххлористым углеродом. Для этого к буферному раствору прибавляют 20 см3 четыреххлористого углерода, встряхивают, дают отстояться, затем органическую фазу отбрасывают. Эту операцию повторяют до тех пор, пока водная фаза станет бесцветной. Полученный очищенный буферный раствор фильтруют через беззольный фильтр "белая лента" и хранят в склянке из темного стекла.
Раствор, содержащий свинец, готовят по
ГОСТ 4212, разбавленный раствор с концентрацией 0,005 мг Pb в 1 см3 должен быть свежеприготовленным.
Углерод четыреххлористый, марки ОС.Ч. 18-4.
Ксантогенат калия этиловый, ч.д.а., свежеприготовленный водный раствор с массовой долей 0,1%.
Всю применяемую посуду очищают дополнительно от примесей тяжелых металлов, промывая раствором дитизона.
(Измененная редакция, Изм. N 1).
5.11.2. Подготовка к анализу
Построение градуировочного графика
Для построения градуировочного графика в четыре кварцевые делительные воронки вместимостью по 100 см3 помещают соответственно 0,003; 0,005; 0,007; 0,010 мг Pb, в пятую такую же воронку свинец не вводят. Затем в каждую воронку прибавляют по 5 см3 лимонно-аммиачного буферного раствора и по 12 см3 разбавленного раствора дитизона. Содержимое воронки встряхивают в течение 3 мин.
После расслоения фаз органическую фазу из каждой воронки фильтруют через слой гигроскопической ваты в кювету для фотометрирования и измеряют оптическую плотность раствора

по отношению к четыреххлористому углероду на фотоколориметре в кюветах с толщиной поглощающего свет слоя 2 см при длине волны

(светофильтр N 7) или на спектрофотометре в цилиндрической кювете с толщиной поглощающего свет слоя 1 см при длине волны

. Затем экстракт переносят во вторую делительную воронку, приливают 5 см3 раствора этилксантогената калия, встряхивают, прибавляют 0,1 см3 раствора серной кислоты концентрации 0,5 моль/дм3 (0,5 н) и встряхивают в течение 2 мин. После расслоения фаз органическую фазу фильтруют через слой гигроскопической ваты в такую же кювету для фотометрирования и при той же длине волны измеряют оптическую плотность экстракта

. Затем находят величину реверсии R, равную разности

. Из величины реверсии раствора сравнения вычитают реверсию

контрольного раствора.
После этого вычисляют среднее арифметическое трех параллельных определений и по полученным данным строят градуировочный график: откладывая по оси ординат - разность значений величин реверсий

; по оси абсцисс - массу свинца в сантиграмм-эквивалентах

.
5.11.3. Проведение анализа
14 см3 (20,0 г) азотной кислоты марки ОС.Ч. 18-4, взятой по объему с погрешностью не более 0,2 см3, выпаривают досуха в кварцевой чашке на водяной бане, помещенной в устройство для упаривания проб.
Сухой остаток растворяют в 0,1 см3 соляной кислоты и 3 см3 воды и упаривают досуха. Остаток растворяют в 10 см3 лимонно-аммиачного раствора (в два приема по 5 см3) и раствор количественно переносят в делительную воронку вместимостью 50 см3. К раствору прибавляют 12 см3 разбавленного раствора дитизона, содержимое воронки встряхивают в течение 3 мин и далее продолжают выполнение тех же операций, как и в случае построения градуировочного графика.
Одновременно с анализируемым раствором в тех же условиях готовят раствор сравнения, содержащий

свинца, и контрольный раствор, при приготовлении которого свинец не вводят, содержащие в том же объеме те же количества реактивов, прибавляемых в том же порядке.
Азотную кислоту считают соответствующей требованиям настоящего стандарта, если разность величин реверсий анализируемого раствора и контрольного раствора будет не больше, чем разность величин реверсий раствора сравнения и контрольного раствора, приготовленных одновременно с анализируемым.
Массу суммы примесей тяжелых металлов, выраженную в граммах, находят по градуировочному графику.
Допускается проводить определение тиоацетамидным методом по
ГОСТ 17319.
При разногласиях в оценке массовой доли суммы примесей тяжелых металлов анализ проводят по методике настоящего стандарта.
5.11.4. Обработка результатов
Массовую долю суммы примесей тяжелых металлов

, выраженную в процентах, вычисляют по формуле
где m - масса навески азотной кислоты, г;

- суммарная массовая доля примесей тяжелых металлов, найденная по градуировочному графику, г.
За результат анализа принимают среднее арифметическое двух параллельных определений, допускаемые расхождения между которыми не должны превышать

при доверительной вероятности P = 0,95.
5.11.3, 5.11.4. (Измененная редакция, Изм. N 1).
5.12. Определение массовой доли нелетучих веществ
5.12.1. Аппаратура, материалы и реактивы
Установка для определения нелетучего остатка
(черт. 11).
Установка для определения нелетучего остатка
1 - аппарат для определения нелетучего остатка;
2 - регулятор напряжения РНШ-55; 3 - термопары;
4 - потенциометр; 5 - кран; 6 - водоструйный насос;
7 - манометр; 8 - фильтр ФПФ или ФПП;
9 - очистные колонки
Аппарат для определения нелетучего остатка
(черт. 12) или на его основе многогнездовой аппарат.
Аппарат для определения нелетучего остатка
1 - корпус испарительной части аппарата; 2 - колокол;
3 - ампула; 4 - рожки; 5, 6 - фланцы; 7, 9 - термокарманы;
8 - вмятины; 10 - трубка для нагнетания воды;
11 - воронка; 12 - резиновая пробка; 13 - конденсатор;
14 - охлаждающая поверхность (емкость);
15 - кран для слива конденсата; 16 - отвод; 17 - штуцер
Весы полумикроаналитические с диапазоном взвешивания от 0,2 мг до 20 г типов ВЛР 20, ВМ 20.
Регулятор напряжения РНШ-55.
Набор гирь Г-2-210 и Г-2-21 по ГОСТ 7328.
Коробки от противогазов по ГОСТ 12.4.122 марок A, B, K, M.
Фильтр аэрозольный типов ФПП-Д, ЛФС-2, НЭЛ-3.
Эксикатор для охлаждения кварцевых ампул
1 - ампула; 2 - колокол; 3 - подставка; 4 - чаша;
5 - термокарман; 6 - аэрозольный фильтр;
7 - химпоглотитель (силикагель)
Вакуум-насос водоструйный лабораторный стеклянный по
ГОСТ 25336.
Вода, приготовленная по
5.4.1.
Кальций хлористый, прокаленный при 200 °C в течение 3 - 4 ч.
Силикагель марки ШСКГ по
ГОСТ 3956, размер зерен 1,0 - 3,6 мм.
Спирт этиловый ректификованный технический по
ГОСТ 18300, высший сорт, перегнанный в кварцевом приборе.
(Измененная редакция, Изм. N 1).
5.12.2. Подготовка к анализу
5.12.2.1. Подготовка ампул
В ампулу заливают соляную кислоту и кипятят ее в течение 15 мин. Затем соляную кислоту выливают из ампулы, промывают ее водой, ополаскивают перегнанным этиловым спиртом и сушат.
5.12.3. Проведение анализа
Устанавливают нулевую точку полумикроаналитических весов. Затем тщательно промытую, высушенную, прокаленную при 600 °C и охлажденную в эксикаторе ампулу взвешивают на полумикроаналитических весах.
В "рабочую" ампулу заливают из градуировочной бюретки
(черт. 2) с погрешностью не более 1 см3 65 - 70 см3 (100,0 г) анализируемой кислоты с известной плотностью.
При заливе ампулы азотной кислотой из бюретки, в последнюю через наружный канал пробки крана засасывают атмосферный воздух, предварительно очищенный силикагелем от химических загрязнений, пропущенный через фильтр ФПП-Д для удаления аэрозолей и промытый водой. На ампулу с навеской надевают колокол 2 с термокарманом 7
(черт. 12).
В колоколе имеются две несмыкающиеся по окружности вмятины 8, на которых с помощью рожек 4 закрепляют в вертикальном положении ампулу 3, и колокол с ампулой устанавливают в корпусе на пришлифованном фланце. Создают в системе водоструйным насосом 7
(черт. 11) необходимое разрежение (около 100 мм рт. ст.), регулируемое воздушным краном 6 по манометру 8.
Затем конденсатор 13
(черт. 12) заполняют хладагентом. Внутри конденсатора размещена емкость 14, заполняемая через воронку 11 хладагентом (жидкий азот, жидкий воздух и т.п.) или при его отсутствии водой, нагнетаемой по трубке 10, закрепленной в воронке 11 резиновой пробкой. Наружная стенка емкости 14 является охлаждающей поверхностью для конденсации паров. Газы или пары воды выводят из емкости 14 через штуцер 17.
Включив электрообогрев, выпаривают навеску кислоты при температуре на 5 - 10 °C ниже температуры ее кипения при данном давлении. Пары азотной кислоты, образующиеся при ее испарении и сконденсировавшиеся на поверхности конденсаторов, сливают через кран 15, а газовую фазу отсасывают водоструйным насосом через трубку 16.
После окончания выпаривания анализируемой кислоты, что устанавливают через прорезь в изоляции электрообмотки, увеличивают силу тока и прокаливают осадок в ампуле при 600 °C в течение часа.
Заданные температуры выпарки и прокаливания устанавливают регулятором напряжения 3 типа РНШ-55 и контролируют показаниями потенциометра 5, соединенного с термопарой 4
(черт. 11).
После окончания прокаливания отключают обогрев и подачу воды в вакуум-насосе. В систему подают воздух, предварительно очищенный пропусканием через пять последовательно соединенных коробок от противогазов 10, заполненных: A - активированным углем марки АГ-2 или СКТ; B - катализатором К-5 или УП-4 на активированных углях АГ-2, АГ-3 или СКТ; M - купрамитом; K - катализатором гопкалит; CO - осушителем карбогель и через фильтр ФПП-Д
(черт. 11).
Затем ампулы охлаждают в эксикаторе
(черт. 13) до температуры окружающей среды. В наружную кольцевую емкость эксикатора засыпают хлористый кальций или силикагель, поверхность которого покрывают фильтром ФПП-Д для предотвращения попадания в ампулу влаги и пыли. Ампулу охлаждают в эксикаторе до постоянной массы.
5.12.4. Обработка результатов
Массовую долю нелетучего остатка

в процентах вычисляют по формуле
где m - масса навески кислоты, взятая для определения, г;

- показания весов при взвешивании пустой ампулы;

- показания весов при взвешивании ампулы с осадком;
A - нулевая точка весов перед взвешиванием пустой ампулы;

- нулевая точка весов перед взвешиванием ампулы с осадком;
B - цена деления оптической шкалы полумикроаналитических весов.
За результат анализа принимают среднее арифметическое двух параллельных определений, допускаемые расхождения между которыми не должны превышать при доверительной вероятности P = 0,95 в интервале концентраций от

до

величину

, а в интервале концентраций от

до

величину

.
5.12.3, 5.12.4. (Измененная редакция, Изм. N 1).
5.13. Допускается применение других метрологических аттестованных методов анализа, обеспечивающих суммарную погрешность результата определения и допускаемые расхождения между результатами параллельных определений, установленные настоящим стандартом.
При разногласиях в оценке показателя качества анализ проводят методами, указанными в настоящем стандарте.
(Введен дополнительно, Изм. N 1).
6. УПАКОВКА, МАРКИРОВКА, ТРАНСПОРТИРОВАНИЕ И ХРАНЕНИЕ
6.1. Препарат упаковывают и маркируют в соответствии с
ГОСТ 3885.
Вид и тип тары: 8-4; 8-6, а также 8-4 из прозрачного кварцевого стекла.
Препарат разливают в новые или возвратные из-под азотной кислоты особой чистоты химически обработанные стеклянные бутыли.
После заполнения азотной кислотой особой чистоты емкости сразу же закрывают запорным устройством (выполненным по соответствующей НТД), уравновешивающим внутреннее и наружное давление.
Заполнение потребительской тары производят на 99,5% от вместимости тары, с учетом температурного расширения продукта при нагреве его до 50 °C.
Группа фасовки: VI, VII.
(Измененная редакция, Изм. N 1).
6.2. Потребитель должен оставлять в таре 50 - 100 см3 кислоты. После слива кислоты тару немедленно закрывают запорным устройством.
Для кварцевых емкостей горловину и запорное устройство обертывают пленкой из фторопласта-4 сорт I
(ГОСТ 10007) или полиэтиленовой пленкой
(ГОСТ 10354), обвязывают ниткой из фторопласта, фторопластовой (полиэтиленовой) лентой или хлорвиниловым шнуром, пломбируют и возвращают изготовителю.
6.3. На потребительскую тару наносят знаки опасности класса 8, подкласса 8.1 по
ГОСТ 19433 с нанесением предупредительной надписи: "Осторожно, берегись ожога!".
6.4. Деревянная транспортная тара для кварцевых емкостей должна быть пропитана насыщенным раствором хлористого кальция (магния) или сульфата аммония, а ее металлические части должны быть окрашены кислотостойкой краской (грунт ХС-010, лак ХВ-784 по
ГОСТ 7313 или эмаль ХС-710).
6.5. Транспортную маркировку производят по
ГОСТ 14192 с нанесением манипуляционного знака "Верх" и предупредительной надписи: "Осторожно, берегись ожога!" и нанесением знаков опасности по
ГОСТ 19433 (класс 8, подкласс 8.1, категория 8.1.5, классификационный шифр 8151, черт. N 8 и 5), серийного номера ООН 2031.
6.6. Азотную кислоту особой чистоты транспортируют всеми видами транспорта в соответствии с правилами перевозок грузов, действующими на транспорте данного вида.
При транспортировании воздушным транспортом масса одной упаковки - не более 5 кг.
Азотную кислоту особой чистоты в кварцевых емкостях до 10 дм3, а также азотную кислоту особой чистоты с массовой долей основного вещества более 75%, упакованную в соответствии с пунктом
6.1, транспортируют только автотранспортом.
6.7. Азотная кислота особой чистоты должна храниться в упаковке изготовителя в крытых складских темных помещениях, обособленно от других реактивов, при температуре не выше 30 °C.
6.5 - 6.7. (Измененная редакция, Изм. N 1).
7.1. Изготовитель гарантирует соответствие азотной кислоты особой чистоты требованиям настоящего стандарта при соблюдении условий транспортирования и хранения.
7.2. Гарантийный срок хранения азотной кислоты марки ОС.Ч. 18-4 с момента изготовления: в емкостях из кварцевого стекла - 6 мес, в стеклянных бутылях - 4 мес.
Для азотной кислоты марок ОС.Ч. 27-4 гарантийный срок хранения соответственно сокращается на 1 мес, а для ОС.Ч. 27-5 - на 2 мес.