Главная // Актуальные документы // ГОСТ (Государственный стандарт)СПРАВКА
Источник публикации
В данном виде документ опубликован не был.
Первоначальный текст документа опубликован в издании
М: ИПК Издательство стандартов, 2001
Информацию о публикации документов, создающих данную редакцию, см. в справке к этим документам.
Примечание к документу
Документ включен в
Перечень международных и региональных (межгосударственных) стандартов, а в случае их отсутствия - национальных (государственных) стандартов, в результате применения которых на добровольной основе обеспечивается соблюдение требований технического
регламента Евразийского экономического союза "О безопасности рыбы и рыбной продукции" (ТР ЕАЭС 040/2016) (
Решение Коллегии Евразийской экономической комиссии от 19.07.2022 N 107).
Документ включен в
Перечень стандартов, в результате применения которых на добровольной основе обеспечивается соблюдение требований технического
регламента Евразийского экономического союза "О безопасности рыбы и рыбной продукции" (ТР ЕАЭС 040/2016) (
Решение Коллегии Евразийской экономической комиссии от 29.08.2017 N 106).
С 1 июля 2003 года до вступления в силу технических регламентов акты федеральных органов исполнительной власти в сфере технического регулирования носят рекомендательный характер и подлежат обязательному исполнению только в части, соответствующей целям, указанным в
пункте 1 статьи 46 Федерального закона от 27.12.2002 N 184-ФЗ.
Название документа
"ГОСТ 14192-96. Межгосударственный стандарт. Маркировка грузов"
(введен в действие Постановлением Госстандарта России от 18.06.1997 N 219)
(ред. от 03.08.2012)
"ГОСТ 14192-96. Межгосударственный стандарт. Маркировка грузов"
(введен в действие Постановлением Госстандарта России от 18.06.1997 N 219)
(ред. от 03.08.2012)
Постановлением Госстандарта РФ
от 18 июня 1997 г. N 219
МЕЖГОСУДАРСТВЕННЫЙ СТАНДАРТ
МАРКИРОВКА ГРУЗОВ
Marking of cargoes
ГОСТ 14192-96
| | Список изменяющих документов (в ред. Изменения N 1, принятого в июне 2000 г., Приказом Ростехрегулирования от 14.08.2007 N 203-ст, Приказом Росстандарта от 03.08.2012 N 214-ст) | |
Дата введения
1 января 1998 года
1. Разработан Научно-исследовательским экспериментально-конструкторским институтом тары и упаковки (НИЭКИТУ), Межгосударственным техническим комитетом по стандартизации МТК 223 "Упаковка".
Внесен Госстандартом России.
2. Принят Межгосударственным советом по стандартизации, метрологии и сертификации (Протокол N 10 от 4 октября 1996 г.).
За принятие проголосовали:
Наименование государства | Наименование национального органа по стандартизации |
Азербайджанская Республика | Азгосстандарт |
Республика Армения | Армгосстандарт |
Республика Беларусь | Госстандарт Республики Беларусь |
Республика Казахстан | Госстандарт Республики Казахстан |
Кыргызская Республика | Кыргызстандарт |
Республика Молдова | Молдовастандарт |
Российская Федерация | Госстандарт России |
Республика Таджикистан | Таджикгосстандарт |
Туркменистан | Главгосинспекция "Туркменстандартлары" |
Республика Узбекистан | Узгосстандарт |
Украина | Госстандарт Украины |
Изменение N 1 принято Межгосударственным советом по стандартизации, метрологии и сертификации (Протокол N 17-2000 от 22 июня 2000 г.).
Рег. МГС N 3566.
За принятие проголосовали:
Наименование государства | Наименование национального органа по стандартизации |
Республика Армения | Армгосстандарт |
Республика Беларусь | Госстандарт Республики Беларусь |
Республика Казахстан | Госстандарт Республики Казахстан |
Кыргызская Республика | Кыргызстандарт |
Республика Молдова | Молдовастандарт |
Российская Федерация | Госстандарт России |
Республика Таджикистан | Таджикгосстандарт |
3. Постановлением Государственного комитета Российской Федерации по стандартизации, метрологии и сертификации от 18 июня 1997 г. N 219 межгосударственный стандарт ГОСТ 14192-96 введен в действие непосредственно в качестве государственного стандарта Российской Федерации с 1 января 1998 г.
5. Издание (декабрь 2000 г.) с Изменением N 1, принятым в июне 2000 г. (ИУС 11-2000).
Настоящий стандарт устанавливает общие правила маркировки грузов, в том числе поставляемых на экспорт, и предназначен для разработки нормативных документов на конкретные виды продукции.
Маркировка опасных грузов должна соответствовать требованиям
ГОСТ 19433, предупредительная маркировка химической продукции должна соответствовать требованиям
ГОСТ 31340, а также правилам маркировки опасных грузов, действующим на конкретном виде транспорта, и (или) типовым правилам ООН по перевозке опасных грузов.
(в ред.
Изменения N 3, введенного в действие Приказом Росстандарта от 03.08.2012 N 214-ст)
Стандарт не распространяется на маркировку, содержащую данные об упакованной продукции, требования к которой должны устанавливаться в нормативных документах на конкретные виды продукции, а также не распространяется на маркировку грузов, отправляемых специализированными транспортными средствами, почтовыми посылками насыпью или навалом и насыпью в транспортных средствах.
(Измененная редакция, Изм. N 1).
В настоящем стандарте использованы ссылки на следующие стандарты:
ГОСТ 9481-76. Ящики из гофрированного картона для химических нитей. Технические условия
| | ИС МЕГАНОРМ: примечание. ГОСТ ИСО/МЭК 16390-2005 утратил силу с 1 мая 2019 года в связи с введением в действие ГОСТ ISO/IEC 16390-2017 (Приказ Росстандарта от 27.02.2018 N 106-ст). | |
ГОСТ ИСО/МЭК 16390-2005 Автоматическая идентификация. Кодирование штриховое. Спецификации символики Interleaved 2 of 5 (2 из 5 чередующийся)
(ссылка введена
Изменением N 2, введенным в действие Приказом Ростехрегулирования от 14.08.2007 N 203-ст)
ГОСТ 30742-2001 (ИСО/МЭК 16388-99) Автоматическая идентификация. Кодирование штриховое. Спецификация символики Code 39 (Код 39)
(ссылка введена
Изменением N 2, введенным в действие Приказом Ростехрегулирования от 14.08.2007 N 203-ст)
ГОСТ 30743-2001 (ИСО/МЭК 15417-2000) Автоматическая идентификация. Кодирование штриховое. Спецификация символики Code 128 (Код 128)
(ссылка введена
Изменением N 2, введенным в действие Приказом Ростехрегулирования от 14.08.2007 N 203-ст)
| | ИС МЕГАНОРМ: примечание. ГОСТ ИСО/МЭК 15459-1-2008 утратил силу с 1 января 2018 года в связи с введением в действие ГОСТ ISO/IEC 15459-1-2016 (Приказ Росстандарта от 07.12.2016 N 1982-ст). | |
ГОСТ ИСО/МЭК 15459-1-2008 Автоматическая идентификация. Идентификаторы уникальные международные. Часть 1. Уникальные идентификаторы транспортируемых единиц
(ссылка введена
Изменением N 2, введенным в действие Приказом Ростехрегулирования от 14.08.2007 N 203-ст, в ред.
Изменения N 3, введенного в действие Приказом Росстандарта от 03.08.2012 N 214-ст)
| | ИС МЕГАНОРМ: примечание. ГОСТ ИСО/МЭК 15459-2-2008 утратил силу с 1 января 2018 года в связи с введением в действие ГОСТ ISO/IEC 15459-2-2016 (Приказ Росстандарта от 07.12.2016 N 1983-ст). | |
ГОСТ ИСО/МЭК 15459-2-2008 Автоматическая идентификация. Идентификаторы уникальные международные. Часть 2. Порядок регистрации
(ссылка введена
Изменением N 2, введенным в действие Приказом Ростехрегулирования от 14.08.2007 N 203-ст, в ред.
Изменения N 3, введенного в действие Приказом Росстандарта от 03.08.2012 N 214-ст)
ГОСТ 31016-2003 (ИСО/МЭК 15438:2001) Автоматическая идентификация. Кодирование штриховое. Спецификации символики РDF417 (ПДФ417)
(ссылка введена
Изменением N 2, введенным в действие Приказом Ростехрегулирования от 14.08.2007 N 203-ст)
ГОСТ 31340-2007 Предупредительная маркировка химической продукции. Общие требования
(ссылка введена
Изменением N 3, введенным в действие Приказом Росстандарта от 03.08.2012 N 214-ст)
Разд. 2. (Измененная редакция, Изм. N 1).
3.1. Транспортная маркировка должна содержать манипуляционные знаки, основные, дополнительные и информационные надписи.
3.2. Манипуляционные знаки - изображения, указывающие на способы обращения с грузом.
3.3. Основные надписи должны содержать:
- полное или условное зарегистрированное в установленном порядке наименование грузополучателя;
- наименование пункта назначения с указанием, при необходимости, станции или порта перегрузки. Если пунктом назначения является железнодорожная станция (порт), должно быть указано полное наименование станции (порта) и сокращенное наименование дороги (пароходства) назначения;
- количество грузовых мест в партии и порядковый номер места внутри партии указывают дробью: в числителе - порядковый номер места в партии, в знаменателе - количество мест в партии.
Количество грузовых мест и порядковый номер места следует указывать при перевозке следующих грузов:
- разнородных или разносортных грузов в однотипной таре (например, разные сорта хлопка в кипах);
- однородных грузов в разнотипной таре;
- однородных грузов, когда недопустимо смешение сортов в партии;
- комплектов оборудования;
- грузов в одном вагоне мелкими отправками.
(Измененная редакция, Изм. N 1).
3.4. Дополнительные надписи должны содержать:
- полное или условное зарегистрированное в установленном порядке наименование грузоотправителя;
- наименование пункта отправления с указанием железнодорожной станции отправления и сокращенное наименование дороги отправления;
- надписи транспортных организаций (содержание надписей и порядок нанесения устанавливаются правилами транспортных министерств).
3.5. Информационные надписи должны содержать:
- массы брутто и нетто грузового места в килограммах. Допускается вместо массы нетто указывать количество изделий в штуках, а также не наносить массу брутто и нетто или количество изделий в штуках, если они указаны в маркировке, характеризующей упакованную продукцию;
- габаритные размеры грузового места в сантиметрах (длина, ширина и высота или диаметр и высота).
Габаритные размеры не указывают, если ни один из габаритных размеров не превышает 1 м при транспортировании груза на открытом подвижном составе, 1,2 м - в крытом и 0,7 м при транспортировании воздушным транспортом.
3.6. При перевозке грузов транспортными пакетами на каждом из них должны быть нанесены основные, дополнительные и информационные надписи. При этом вместо порядкового номера места и количества грузовых мест в партии наносят:
в числителе - общее количество пакетов в партии;
в знаменателе - количество грузовых мест в пакете, в скобках порядковый номер пакета, например:

(2).
Основные, дополнительные и информационные надписи (кроме массы брутто и нетто) не наносят на отдельные грузовые места, из которых сформирован пакет.
На пакетах, сформированных из грузов, перевозимых без упаковки, необходимость нанесения общего количества пакетов в партии, количества грузовых мест в пакете и порядкового номера пакета устанавливают в нормативных документах на конкретные виды продукции.
(Измененная редакция, Изм. N 1).
3.7. По согласованию между торговыми партнерами и транспортными организациями на упаковку (транспортный пакет), груз может быть нанесена дополнительная маркировка с использованием машиночитаемых носителей данных (символов линейного штрихового кода, двумерных символов, а также радиочастотных меток).
Примечание. Указанная маркировка предназначена для автоматизации управленческих операций, связанных с процессами отгрузки, транспортирования и приемки грузов. Информация на машиночитаемом носителе данных служит ключом для доступа к соответствующей базе данных, содержащей детальную информацию о транспортируемой единице, включая информацию, передаваемую путем электронного обмена данными.
| | ИС МЕГАНОРМ: примечание. ГОСТ ИСО/МЭК 15459-1-2008 утратил силу с 1 января 2018 года в связи с введением в действие ГОСТ ISO/IEC 15459-1-2016 (Приказ Росстандарта от 07.12.2016 N 1982-ст). | |
| | ИС МЕГАНОРМ: примечание. ГОСТ ИСО/МЭК 15459-2-2008 утратил силу с 1 января 2018 года в связи с введением в действие ГОСТ ISO/IEC 15459-2-2016 (Приказ Росстандарта от 07.12.2016 N 1983-ст). | |
Каждой транспортируемой единице рекомендуется присваивать уникальный идентификатор транспортируемых единиц по ГОСТ ИСО/МЭК 15459-1. Порядок присвоения идентификатора должен соответствовать ГОСТ ИСО/МЭК 15459-2.
(п. 3.7 введен
Изменением N 2, введенным в действие Приказом Ростехрегулирования от 14.08.2007 N 203-ст, в ред.
Изменения N 3, введенного в действие Приказом Росстандарта от 03.08.2012 N 214-ст)
3.7.1. Общие требования к оформлению ярлыка (этикетки) для отправки, транспортирования и приемки грузов с линейными символами штрихового кода и двумерными символами устанавливают в национальной технической документации <*>.
--------------------------------
(п. 3.7.1 введен
Изменением N 2, введенным в действие Приказом Ростехрегулирования от 14.08.2007 N 203-ст)
4.1. Изображение, наименование и назначение манипуляционных знаков должны соответствовать указанным в таблице 1.
Номер и наименование знака | Изображение знака | Назначение знака |
Осторожно | Пример расположения | Хрупкость груза. Осторожное обращение с грузом |
2. Беречь от солнечных лучей | | Груз следует защищать от солнечных лучей |
| | Необходимость защиты груза от воздействия влаги |
4. Беречь от излучения | | Любой из видов излучения может влиять на свойства груза или изменять их (например непроявленные пленки) |
5. Пределы температуры | | Диапазон температур, при которых следует хранить груз или манипулировать им |
Примеры расположения ... °С |
(в ред. Изменения N 3, введенного в действие Приказом Росстандарта от 03.08.2012 N 214-ст) |
| | Груз при транспортировании и хранении не может находиться под влиянием высокой или низкой температуры, и для защиты груза требуются соответствующие мероприятия (искусственное охлаждение или нагревание, проветривание и др.). Знак наносят на грузы, которые транспортируют в соответствии с правилами перевозки скоропортящихся грузов, установленными транспортными министерствами |
7. Герметичная упаковка | | При транспортировании, перегрузке и хранении открывать упаковку запрещается |
8. Крюками не брать | | Запрещение применения крюков при поднятии груза |
| Пример расположения | Указывает место расположения канатов или цепей для подъема груза |
10. Здесь поднимать тележкой запрещается | | Указывает места, где нельзя применять тележку при подъеме груза |
| | Указывает правильное вертикальное положение груза |
Пример расположения |
| Пример расположения | Место центра тяжести груза. Примечание. Пример расположения знака указывает место центра тяжести груза. Знак наносят, если центр тяжести не совпадает с геометрическим центром тяжести |
| | Знак наносят на груз, когда повреждения упаковки при погрузочно-разгрузочных работах, транспортировании или хранении могут привести к порче груза вследствие неблагоприятного воздействия тропического климата. Обозначения: Т - знак тропической упаковки; 00-00 - месяц и год упаковывания |
14. Штабелировать запрещается | | Не допускается штабелировать груз. На груз с этим знаком при транспортировании и хранении не допускается класть другие грузы |
15. Поднимать непосредственно за груз | | Подъем осуществляется только непосредственно за груз, т.е. поднимать груз за упаковку запрещается |
16. Открывать здесь | | Упаковку открывают только в указанном месте |
17. Защищать от радиоактивных источников | | Проникание излучения может снизить или уничтожить ценность груза |
18. Не кантовать | | Транспортную упаковку нельзя кантовать |
(в ред. Изменения N 3, введенного в действие Приказом Росстандарта от 03.08.2012 N 214-ст) |
19. Предел штабелирования по массе | | Указывает максимальную нагрузку при штабелировании, допущенную для размещения на транспортной упаковке |
(в ред. Изменения N 3, введенного в действие Приказом Росстандарта от 03.08.2012 N 214-ст) |
20. Зажимать здесь | | Указывает места, где следует брать груз зажимами |
21. Не зажимать | | Упаковка не должна зажиматься по указанным сторонам груза |
22. Предел по количеству ярусов в штабеле | | Максимальное количество одинаковых грузов, которые можно штабелировать один на другой, где n - предельное количество |
23. Вилочные погрузчики не использовать | | Запрещено применение вилочных погрузчиков |
(Измененная редакция, Изм. N 1).
4.2. Допускается применять предупредительные надписи, если невозможно выразить манипуляционными знаками способ обращения с грузом.
4.3. В рекомендуемое обозначение манипуляционного знака входит номер (номера) знака или наименование знака по
таблице 1 и обозначение настоящего стандарта.
Пример: 2 ГОСТ 14192-96; "Беречь от солнечных лучей" ГОСТ 14192-96.
(Измененная редакция, Изм. N 1).
5. Место и способ нанесения транспортной маркировки
5.1. Порядок расположения транспортной маркировки приведен в
Приложении А.
Транспортная маркировка (основные, дополнительные, информационные надписи и манипуляционные знаки) должна быть нанесена на бумажные, картонные, фанерные, металлические и другие ярлыки или непосредственно на тару.
5.2. При транспортировании грузов на открытом подвижном составе, в смешанном железнодорожно-водном сообщении или водным транспортом, а также мелкими отправками, при хранении груза более одного года маркировка должна быть нанесена непосредственно на тару или ярлыки, которые должны быть прочно прикреплены и защищены или изготовлены из материалов, обеспечивающих сохранность маркировки.
5.3. Основные, дополнительные и информационные надписи располагают:
- на ящиках - на одной из боковых сторон. Для решетчатых ящиков и ящиков, имеющих наружные планки, должна быть обеспечена возможность размещения маркировки (прикрепление планок, закрытие просветов между дощечками и др.). При транспортировании на открытом железнодорожном подвижном составе мелкими отправками грузов, на которые нанесен знак, имеющий значение "Верх", транспортная маркировка (кроме наименования грузоотправителя и пункта отправления) должна быть нанесена дополнительно на верхней стороне (крышке) упаковки;
- на бочках и барабанах - на одном из днищ. Допускается наносить маркировку на корпусе;
- на мешках - в верхней части у шва;
- на тюках - на одной из боковых поверхностей;
- на кипах - на торцовой поверхности. Допускается наносить маркировку на боковую поверхность;
- на других видах тары и грузах, не упакованных в транспортную тару, - в наиболее удобных, хорошо просматриваемых местах.
При нанесении маркировки непосредственно на тару (
5.2), если размеры и конструкция тары не позволяют разместить необходимую маркировку на боковой стенке, допускается располагать маркировку на боковой, торцовой стенках и (или) на крышке.
5.1. - 5.3. (Измененная редакция, Изм. N 1).
5.4. Допускается на неупакованные изделия наносить маркировку непосредственно на изделие.
5.5. Манипуляционные знаки (предупредительные надписи) наносят на каждое грузовое место в левом верхнем углу на двух соседних стенках тары (см.
Приложения Б и
Д).
На бочках и барабанах знаки располагают на одном из днищ или на корпусах; на мешках - на одной из сторон.
5.5.1.
Знак N 9 наносят непосредственно на тару с двух противоположных сторон. Допускается на неупакованные грузы наносить знак N 9 на ярлыки или непосредственно на груз.
5.5.2.
Знак N 12 наносят на соседние боковую и торцовую поверхности упаковки на месте проекции фактического центра тяжести груза на эти поверхности.
На грузы, транспортируемые на открытом подвижном составе,
знак N 12 дополнительно наносят на верхней и нижней сторонах упаковки. (Измененная редакция, Изм. N 1).
5.6. На пакеты, сформированные без поддонов или на четырехзаходных поддонах, маркировку наносят на соседние боковую и торцовую поверхности.
На пакеты, сформированные на двухзаходных поддонах, маркировку наносят на двух захватных сторонах.
5.7. Маркировку наносят типографским, литографским, электролитическим способами, окраской по трафарету, штемпелеванием, штампованием, выжиганием, продавливанием, печатанием на машинке, маркировочными машинами.
Допускается на ярлыках четко и разборчиво наносить наименование грузополучателя и пункта назначения, а также на ярлыках и непосредственно на таре - количество грузовых мест и порядковый номер места в партии от руки при условии обеспечения сохранности надписей до получателя.
5.8. Ярлыки прикрепляют к упаковке (грузу) клеем, болтами, шурупами, проволокой, шпагатом и другими материалами, обеспечивающими сохранность груза и маркировки.
5.9. Краска, применяемая для маркировки, не должна быть липкой и стираемой, при необходимости краска должна быть водостойкой, светостойкой, солестойкой и стойкой к воздействию тропического климата, высоких и низких температур.
5.10. Манипуляционные знаки, надписи, экологические знаки должны быть черного цвета. Если цвет поверхности тары (упаковки) такой, что черный цвет не виден, целесообразно применять светлый фон, предпочтительно белый.
(в ред.
Изменения N 2, введенного в действие Приказом Ростехрегулирования от 14.08.2007 N 203-ст)
Не рекомендуется при маркировании использовать цвета, которые совпадают с цветами маркировки опасных грузов.
(абзац введен
Изменением N 2, введенным в действие Приказом Ростехрегулирования от 14.08.2007 N 203-ст)
Не рекомендуется применять красный, оранжевый и желтый цвета, кроме случаев, если их применение предусмотрено национальными нормативными или техническими документами.
(абзац введен
Изменением N 2, введенным в действие Приказом Ростехрегулирования от 14.08.2007 N 203-ст)
Знак N 1 допускается выполнять красного цвета на светлом фоне при транспортировании груза по железной дороге.
Знак N 6 выполняют голубым цветом на светлом фоне.
Допускается на
знаке N 3 не указывать символ дождевых капель. Допускается наносить манипуляционные знаки с просветами.
5.11. Необходимость нанесения манипуляционных знаков должна быть установлена в стандартах или других нормативных документах на продукцию.
5.12. Транспортная маркировка (основные, дополнительные и информационные надписи и манипуляционные знаки) должна быть нанесена на каждое грузовое место.
Допускается наносить основные, дополнительные и информационные надписи (кроме масс брутто и нетто) не на всех грузовых местах, но не менее чем на четырех, при перевозке однородных грузов в прямом железнодорожном сообщении повагонными отправками.
Допускается не наносить основные, дополнительные и информационные надписи (кроме масс брутто и нетто) при перевозке грузов автомобильным транспортом и в универсальных контейнерах, кроме автомобилей и контейнеров, загружаемых мелкими отправками.
(Измененная редакция, Изм. N 1).
6. Размеры маркировочных ярлыков,
манипуляционных знаков и надписей
6.1. Площадь маркировочного ярлыка должна быть достаточной для нанесения основных, дополнительных и информационных надписей. Рекомендуемое соотношение сторон 2:3.
(в ред.
Изменения N 2, введенного в действие Приказом Ростехрегулирования от 14.08.2007 N 203-ст)
6.2. Исключен с 1 января 2013 года. -
Изменение N 3, введенное в действие Приказом Росстандарта от 03.08.2012 N 214-ст.
6.3. Допускается увеличивать размеры ярлыка при совмещении на одном ярлыке нескольких манипуляционных знаков или надписей транспортной маркировки и манипуляционных знаков.
6.4. На ярлыках, изготовленных типографским способом, знак должен быть на расстоянии не менее 5 мм от края ярлыка.
6.5. Рекомендуемые размеры ярлыков манипуляционных знаков и их деталей, наносимых на ярлыки, непосредственно на тару или изделие, приведены в
Приложении В.
(в ред.
Изменения N 3, введенного в действие Приказом Росстандарта от 03.08.2012 N 214-ст)
6.6. Рекомендуемые высоты шрифта для нанесения маркировочных надписей: 3, 6, 8, 10, 15, 30, 50 и 100 мм.
Шрифты высотой 3 и 6 мм не допускается применять при нанесении надписей непосредственно на тару.
6.7. Рекомендуемая высота шрифта для основных надписей, а также надписей транспортных организаций, наносимых непосредственно на тару:
30 мм - при длине или ширине грузового места до 0,5 м включ.;
50 мм - при длине или ширине грузового места свыше 0,5 до 1,5 м включ.;
100 мм - при длине или ширине грузового места свыше 1,5 м.
6.8. Рекомендуемая высота шрифта для дополнительных и информационных надписей, наносимых непосредственно на тару:
10 мм - при длине или ширине грузового места до 0,5 м включ.;
15 мм - при длине или ширине грузового места свыше 0,5 до 1,5 м включ.;
30 мм - при длине или ширине грузового места свыше 1,5 м.
6.9. При невозможности размещения транспортной маркировки непосредственно на упаковке допускается уменьшать высоту надписей и размеры знака на 1 - 2 градации.
(Измененная редакция, Изм. N 1).
7. Дополнительные требования к маркировке грузов,
поставляемых на экспорт
7.1. Транспортная маркировка грузов, поставляемых на экспорт, должна соответствовать указанной в 7.2 -
7.4 с дополнениями или изменениями, установленными в заказе-наряде внешнеторгового объединения.
(Измененная редакция, Изм. N 1).
7.2. Основные надписи:
- номер контракта и (или) номер заказа иностранного покупателя;
- номер заказа-наряда;
- номер грузового места - указывается дробью: в числителе - порядковый номер места в партии, в знаменателе - количество мест в партии;
- полное наименование или условное обозначение иностранного грузополучателя;
- наименование пункта назначения с указанием станции или порта перегрузки;
- страна назначения груза <*>;
- станция и дорога назначения груза <*>;
- товарные знаки и марки грузоотправителя <*>.
--------------------------------
<*> Необходимость нанесения этих надписей предусматривается в заказе-наряде или других нормативных актах внешнеторгового объединения.
7.3. Дополнительные надписи:
- наименование экспортирующей организации - полное или условное;
- пункт отправления груза;
- станция и дорога отправления.
7.4. Информационные надписи:
- габаритные размеры грузового места в сантиметрах;
- массы нетто и брутто в килограммах;
- объем грузового места в кубических метрах;
- надписи "Экспорт", "Страна-изготовитель и (или) поставщик". Не указывают габаритные размеры и объем грузового места при длине, ширине или диаметре до 1 м.
| | ИС МЕГАНОРМ: примечание. ГОСТ ИСО/МЭК 15459-1-2008 утратил силу с 1 января 2018 года в связи с введением в действие ГОСТ ISO/IEC 15459-1-2016 (Приказ Росстандарта от 07.12.2016 N 1982-ст). | |
7.4.1. По согласованию с торговыми партнерами и транспортными организациями на каждое грузовое место (упаковку, груз) может быть нанесена машиночитаемая маркировка в соответствии с требованиями ГОСТ ИСО/МЭК 15459-1.
(п. 7.4.1 введен
Изменением N 2, введенным в действие Приказом Ростехрегулирования от 14.08.2007 N 203-ст, в ред.
Изменения N 3, введенного в действие Приказом Росстандарта от 03.08.2012 N 214-ст)
| | ИС МЕГАНОРМ: примечание. ГОСТ ИСО/МЭК 16390-2005 утратил силу с 1 мая 2019 года в связи с введением в действие ГОСТ ISO/IEC 16390-2017 (Приказ Росстандарта от 27.02.2018 N 106-ст). | |
7.4.2. Если машиночитаемая маркировка содержит символы линейного штрихового кода, то при разработке нормативного документа, устанавливающего требования к указанной маркировке, следует учитывать требования ГОСТ 30742,
ГОСТ 30743, ГОСТ 31016 и ГОСТ ИСО/МЭК 16390.
(п. 7.4.2 введен
Изменением N 2, введенным в действие Приказом Ростехрегулирования от 14.08.2007 N 203-ст)
7.5. При транспортировании грузов на открытом подвижном составе, в смешанном железнодорожно-водном сообщении или водным транспортом, а также при мелких отправках грузов маркировку наносят непосредственно на упаковку (тару), изделие или ярлыки, которые должны быть прочно прикреплены и защищены или изготовлены из материалов, обеспечивающих сохранность надписей при транспортировании и хранении.
(Измененная редакция, Изм. N 1).
7.6. Транспортную маркировку наносят на каждое грузовое место.
При транспортировании грузов в прямом железнодорожном сообщении повагонными отправками основные и дополнительные надписи наносят не на каждое грузовое место, но не менее чем на десять мест.
При транспортировании грузов автомобильным транспортом и в универсальных контейнерах, кроме автомобилей и контейнеров, загружаемых мелкими отправками, основные и дополнительные надписи не наносят.
7.7. При транспортировании водным транспортом грузов массой свыше 1000 кг дополнительно наносят массу брутто груза в верхнем правом углу на всех четырех сторонах ящика на расстоянии не более 10 см от верхней кромки.
7.8.
Знаки N 1 и
11 наносят в левом верхнем углу с четырех сторон.
7.9.
Знак N 12 наносят на шесть сторон упаковки на месте проекции фактического центра тяжести груза.
Если форма и размеры упаковки не позволяют нанести
знак N 12 на шесть сторон упаковки, допускается наносить знак на меньшее количество сторон, но не менее двух.
7.10. Транспортную маркировку наносят на государственном языке страны - изготовителя продукции и иностранном, указанном в заказе-наряде внешнеторгового объединения (см. пример в
Приложении Д). При длине или ширине тары до 1 м допускается маркировку наносить на одной из сторон на языке, указанном в заказе-наряде.
(в ред.
Изменения N 3, введенного в действие Приказом Росстандарта от 03.08.2012 N 214-ст)
7.11. На ящиках или другой таре, имеющей форму параллелепипеда, маркировку наносят на торцовую и боковую стенки.
На грузовых местах, имеющих форму цилиндра, маркировку наносят на основаниях.
Если размеры и конструкция тары не позволяют разместить необходимую маркировку на боковой и торцовой стенках, то маркировку располагают на торцовой и боковой стенках и на крышке.
8. Маркировка, характеризующая транспортную тару
8.1. Маркировку транспортной тары наносят непосредственно на тару или на ярлыки и этикетки с указанием:
наименования и назначения тары;
наименования страны-изготовителя;
наименования предприятия-изготовителя и его юридического адреса;
товарного знака (при наличии);
номера или обозначения тары по нормативному документу;
даты изготовления;
штрихового кода (при наличии);
экологического знака или информации о необходимости утилизации тары после ее использования.
Допускается по согласованию с потребителем наносить на тару сокращенную маркировку, содержащую:
наименование страны-изготовителя;
товарный знак и (или) наименование предприятия-изготовителя;
обозначение нормативного документа.
(п. 8.1 в ред.
Изменения N 3, введенного в действие Приказом Росстандарта от 03.08.2012 N 214-ст)
8.2. Маркировку, характеризующую тару, кроме мешков, наносит на тару ее изготовитель. Маркировку, характеризующую мешки, указывают на кипах или пачках, в которые упакованы мешки.
Допускается наносить маркировку, характеризующую тару, на ярлыки.
8.3. Маркировку, характеризующую тару, наносят:
- на ящики - в левом верхнем углу торцовой стенки, свободной от маркировки, характеризующей груз;
- на ящиках с обечайкой - на боковой стенке ящика;
- на бочках и барабанах - на одном из днищ, свободном от маркировки, характеризующей груз; допускается наносить маркировку на корпусе;
- на баллонах - на дне.
Место нанесения на канистрах, флягах и других видах транспортной тары устанавливают в нормативных документах на эти виды тары.
8.4. Способы нанесения маркировки тары:
- деревянной - окраской по трафарету, штемпелеванием, выжиганием;
- картонной - типографским способом, штемпелеванием;
- металлической - окраской по трафарету, выдавливанием;
- пластмассовой - маркировка выполняется на пресс-форме.
Маркировка, характеризующая тару, может наноситься специальными маркировочными машинами.
8.5. Высоту шрифта для нанесения маркировки, характеризующей тару, выбирают по
6.6.
(Измененная редакция, Изм. N 1).
8.6. На транспортную тару, предназначенную для упаковывания, транспортирования и хранения опасных грузов, должна быть нанесена маркировка по
ГОСТ 26319.
(Введен дополнительно, Изм. N 1).
8.7. На тару и упаковку, которые после использования могут быть подвергнуты вторичной переработке, наносят маркировку с применением знака - "лента Мебиуса" в соответствии с требованиями международных или национальных нормативных документов <*>.
(в ред.
Изменения N 3, введенного в действие Приказом Росстандарта от 03.08.2012 N 214-ст)
--------------------------------
Если тара изготовлена из упаковочных материалов с применением вторичного сырья, то внутри знака или под знаком указывают процентное содержание вторичного сырья (см.
Приложение Е).
(абзац введен
Изменением N 3, введенным в действие Приказом Росстандарта от 03.08.2012 N 214-ст)
Знак "лента Мебиуса" или другие знаки, указывающие на возможность утилизации или вторичной переработки упаковочных материалов, могут содержать информацию об идентификации этих материалов в виде числового обозначения или буквенной аббревиатуры, в соответствии с международными или национальными нормативными документами (см.
Приложение И).
(абзац введен
Изменением N 3, введенным в действие Приказом Росстандарта от 03.08.2012 N 214-ст)
Абзац исключен с 1 января 2013 года. -
Изменение N 3, введенное в действие Приказом Росстандарта от 03.08.2012 N 214-ст.
8.8. Допускается наносить на тару другую экологическую маркировку с применением знаков, соответствующих требованиям международных и национальных нормативных документов. Примеры приведены в
Приложении Ж.
(п. 8.8 в ред.
Изменения N 3, введенного в действие Приказом Росстандарта от 03.08.2012 N 214-ст)
(обязательное)
ПОРЯДОК РАСПОЛОЖЕНИЯ ТРАНСПОРТНОЙ МАРКИРОВКИ
1 - манипуляционные знаки (предупредительные надписи);
2 - допускаемые предупредительные надписи (см.
4.2);
3 - количество мест в партии, порядковый номер внутри
партии; 4 - наименование грузополучателя и пункта
назначения; 5 - наименование пункта перегрузки; 6 - надписи
транспортных организаций; 7 - объем грузового места <*>;
8 - габаритные размеры грузового места; 9 - масса брутто;
10 - масса нетто; 11 - страна-изготовитель и (или)
поставщик; 12 - наименование пункта отправления;
13 - наименование грузоотправителя
--------------------------------
<*> Для грузов, предназначенных для экспорта.

- обязательные надписи;

- допускаемые надписи
Приложение А. (Измененная редакция, Изм. N 1).
(справочное)
Расположение маркировочных ярлыков
Рисунок Б.1
Рисунок Б.2
Расположение маркировки на транспортном пакете
Рисунок Б.3
(рекомендуемое)
РАЗМЕРЫ ЯРЛЫКОВ МАНИПУЛЯЦИОННЫХ ЗНАКОВ И ИХ ДЕТАЛЕЙ
Приказом Росстандарта от 03.08.2012 N 214-ст)
Рекомендуемые размеры ярлыков для нанесения манипуляционных знаков приведены в
таблице В.0.
(в ред.
Изменения N 3, введенного в действие Приказом Росстандарта от 03.08.2012 N 214-ст)
Хрупкое. Осторожно
Беречь от солнечных лучей
Рисунок В.2
Приказом Росстандарта от 03.08.2012 N 214-ст)
В миллиметрах
Размер ярлыка (пред. откл. + 10 мм) | Размер грузового места (груза) |
Длина или ширина | Высота |
52 х 74 | До 1000 включ. | До 200 включ. |
74 х 105 | Св. 1000 до 1500 включ. | Св. 200 |
105 х 148 | Св. 1500 | - |
148 х 210 | - | - |
Примечание. Ярлыки размерами 37 х 52 мм, 26 х 37 мм рекомендуется применять в случае, если размеры грузового места не позволяют применять размеры ярлыков, указанные в таблице, при этом размеры манипуляционных знаков выбирают произвольно при соблюдении изображения знака. |
Размеры знаков и их деталей, приведенные в таблицах В.1 -
В.23 и на
рисунках В.1 -
В.23, установлены с учетом размеров ярлыков, указанных в таблице В.0.
(абзац введен
Изменением N 3, введенным в действие Приказом Росстандарта от 03.08.2012 N 214-ст)
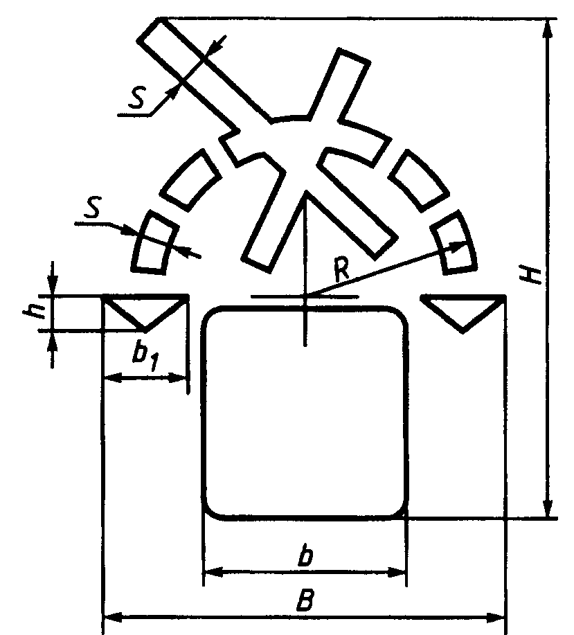
Таблица В.1
В миллиметрах
Размеры знака и его деталей |
B | b | H | h | r | S |
24 | 10 | 64 | 38 | 12 | 3 |
36 | 15 | 95 | 54 | 18 | 5 |
52 | 20 | 138 | 80 | 26 | 7 |
76 | 25 | 200 | 115 | 38 | 10 |
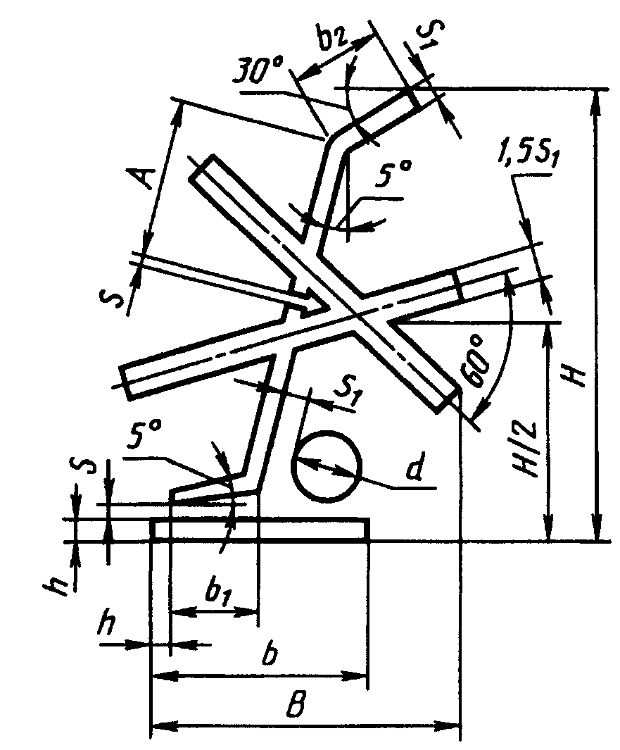
Таблица В.2
В миллиметрах
Размеры знака и его деталей |
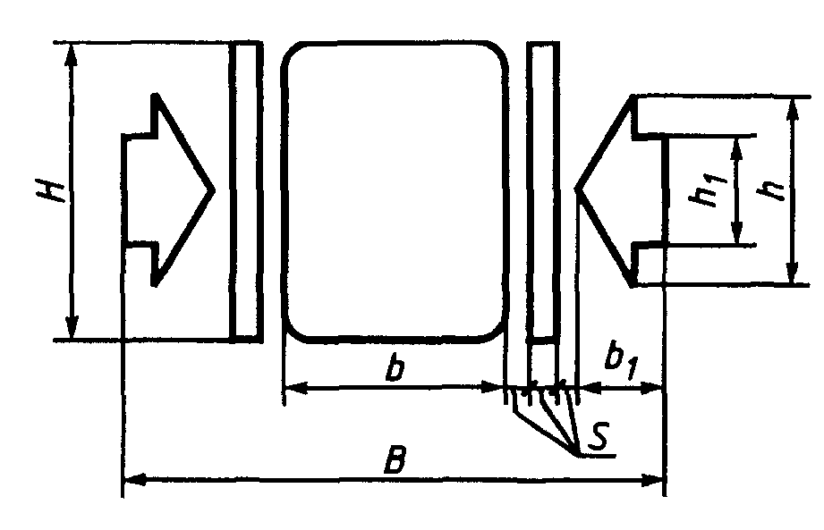
B | H | h | h1 | h2 | b | b1 | d | S | b2 |
40 | 56 | 42 | 16 | 11 | 16 | 16 | 8 | 2 | 8 |
60 | 80 | 60 | 20 | 15 | 20 | 20 | 12 | 3 | 10 |
92 | 115 | 85 | 28 | 21 | 28 | 28 | 16 | 4 | 14 |
135 | 165 | 120 | 40 | 30 | 40 | 40 | 24 | 6 | 20 |
Беречь от влаги
Рисунок В.3
Ограничение температуры
Рисунок В.4
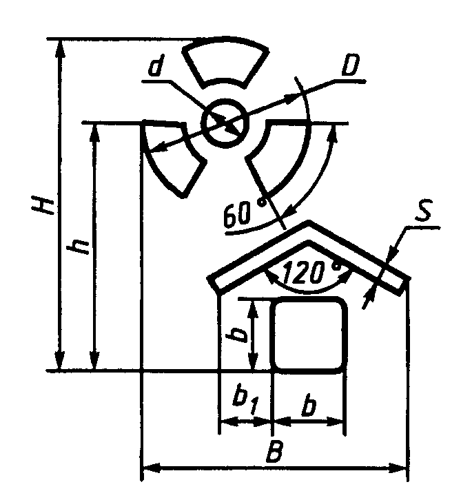
Таблица В.3
В миллиметрах
Размеры знака и его деталей |
B | H | h1 | h2 | h3 | R | r | S |
33 | 64 | 32 | 42 | 44 | 21 | 4 | 2 |
50 | 95 | 40 | 50 | 53 | 28 | 6 | 3 |
80 | 138 | 58 | 73 | 77 | 45 | 9 | 4 |
113 | 200 | 84 | 110 | 115 | 66 | 13 | 5 |
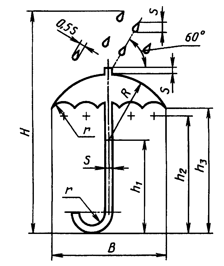
Таблица В.4
В миллиметрах
Размеры знака и его деталей |
C | H | C1 | b | b1 | b2 | b3 | b4 | b5 | b6 | S |
10 | 64 | 2,0 | 18 | 3,0 | 24 | 10 | 2,0 | 4,0 | 8,0 | 2,0 |
14 | 95 | 3,0 | 27 | 4,0 | 34 | 14 | 2,0 | 6,0 | 10,0 | 3,0 |
20 | 136 | 4,0 | 38 | 6,0 | 48 | 20 | 3,0 | 8,0 | 14,0 | 4,0 |
Беречь от излучения
Рисунок В.5
Таблица В.5
В миллиметрах
Размеры знака и его деталей |
B | H | h | h1 | S |
31 | 64 | 15 | 8 | 3 |
43 | 95 | 21 | 11 | 4 |
59 | 138 | 29 | 15 | 5 |
82 | 200 | 40 | 21 | 7 |
Скоропортящийся груз
Рисунок В.6
Таблица В.6
В миллиметрах
Размеры знака и его деталей |
B | b | b1 | H | h | a |
42 | 18 | 3 | 64 | 19 | 3 |
64 | 28 | 4 | 95 | 29 | 4 |
95 | 42 | 5 | 138 | 43 | 5 |
138 | 63 | 8 | 200 | 64 | 6 |
Герметичная упаковка
Рисунок В.7
Таблица В.7
В миллиметрах
Размеры знака и его деталей |
D | b | b1 | h | S | S1 |
42 | 10 | 2 | 12 | 3 | 1,0 |
64 | 20 | 2 | 28 | 4 | 1,5 |
94 | 28 | 3 | 40 | 5 | 2,0 |
138 | 38 | 4 | 54 | 8 | 2,0 |
Крюками не брать
Рисунок В.8
Таблица В.8
В миллиметрах
Размеры знака и его деталей |
B | H | A | r | r1 | S |
40 | 64 | 16 | 6 | 5 | 3 |
59 | 95 | 26 | 8 | 9 | 4 |
88 | 138 | 40 | 13 | 14 | 6 |
138 | 200 | 56 | 20 | 18 | 10 |
Место строповки
Рисунок В.9
Здесь поднимать тележкой запрещается
Рисунок В.10
Таблица В.9
В миллиметрах
Размеры знака и его деталей |
H | A | A1 | D | R | b | b1 | b2 | R1 | B |
60 | 12 | 12 | 21 | 3,0 | 2,0 | 2,0 | 3,0 | 4,0 | 18 |
95 | 18 | 16 | 30 | 4,0 | 2,0 | 3,0 | 4,0 | 6,0 | 26 |
125 | 26 | 24 | 44 | 6,0 | 2,0 | 5,0 | 6,0 | 9,0 | 36 |
200 | 38 | 36 | 62 | 9,0 | 3,0 | 7,0 | 8,0 | 13,0 | 50 |
Таблица В.10
В миллиметрах
Размеры знака и его деталей | Длина или ширина груза |
B | b | b1 | b2 | H | h | d | S | S1 | A |
74 | 60 | 21 | 17 | 125 | 5 | 8 | 2 | 6 | 31 | До 1000,0 |
105 | 84 | 28 | 24 | 175 | 7 | 16 | 3 | 7 | 43 | Св. 1000,0 |
Верх
Рисунок В.11
Таблица В.11
В миллиметрах
Размеры знака и его деталей |
B | b | H | h | h1 | h2 | S |
38 | 19 | 64 | 13 | 7 | 4 | 5 |
56 | 27 | 95 | 19 | 9 | 5 | 7 |
80 | 38 | 138 | 28 | 12 | 6 | 10 |
112 | 55 | 200 | 40 | 17 | 7 | 15 |
Центр тяжести
Рисунок В.12
Таблица В.12
В миллиметрах
Размеры знака и его деталей |
B | D | d | S |
42 | 20 | 12 | 4 |
64 | 28 | 16 | 6 |
94 | 36 | 20 | 8 |
138 | 54 | 30 | 12 |
Тропическая упаковка
Рисунок В.13
Таблица В.13
В миллиметрах
Размеры знака и его деталей |
D | D1 | S | b | b1 | h |
42 | 38 | 2 | 9 | 3 | 9 |
64 | 56 | 3 | 13 | 4 | 13 |
94 | 82 | 4 | 23 | 5 | 23 |
138 | 122 | 6 | 33 | 8 | 33 |
Штабелировать запрещается
Рисунок В. 14
Таблица В.14
В миллиметрах
Размеры знака и его деталей |
B | b | H | S | S1 |
42 | 30 | 64 | 2 | 4 |
64 | 43 | 95 | 3 | 6 |
95 | 63 | 138 | 4 | 8 |
138 | 92 | 200 | 6 | 10 |
Поднимать непосредственно за груз
Рисунок В. 15
Таблица В.15
В миллиметрах
Размеры знака и его деталей |
H | B | h | h1 | h2 | h3 | b | b1 | b2 | a | a1 | a2 | a3 | S | S1 | c | c1 |
33 | 60 | 25 | 21 | 17 | 4 | 42 | 8 | 13 | 10 | 3 | 9 | 7 | 2 | 1 | 5 | 1 |
51 | 92 | 39 | 33 | 26 | 6 | 64 | 12 | 20 | 15 | 5 | 14 | 11 | 3 | 11 | 8 | 2 |
77 | 134 | 57 | 48 | 39 | 9 | 94 | 18 | 29 | 22 | 7 | 20 | 16 | 5 | 2 | 11 | 3 |
112 | 198 | 88 | 73 | 56 | 14 | 138 | 25 | 42 | 33 | 12 | 30 | 24 | 6 | 2 | 17 | 4 |
Открывать здесь
Рисунок В.16
Таблица В.16
В миллиметрах
Размеры знака и его деталей |
H | B | h |
64 | 42 | 14 |
95 | 64 | 21 |
138 | 95 | 30 |
200 | 138 | 43 |
Защищать от радиоактивных источников
Рисунок В.17
Не катить
Рисунок В.18
Таблица В.17
В миллиметрах
Размеры знака и его деталей |
B | H | h | D | b | b1 | d | S |
42 | 64 | 49 | 21 | 14 | 14 | 8 | 3 |
64 | 95 | 75 | 33 | 20 | 21 | 10 | 5 |
95 | 138 | 108 | 47 | 35 | 30 | 15 | 7 |
138 | 200 | 155 | 69 | 50 | 44 | 22 | 10 |
Таблица В.18
В миллиметрах
Размеры знака и его деталей |
B | b | b1 | H | h | S | R |
42 | 20 | 10 | 64 | 5 | 3 | 18 |
64 | 30 | 15 | 85 | 10 | 5 | 27 |
95 | 40 | 20 | 125 | 15 | 8 | 40 |
138 | 70 | 30 | 170 | 20 | 10 | 60 |
Штабелирование ограничено
Рисунок В.19
Зажимать здесь
Рисунок В.20
Таблица В.19
В миллиметрах
Размеры знака и его деталей |
B | b | b1 | b2 | H | h | h1 | S |
32 | 24 | 12 | 6 | 64 | 10 | 10 | 4 |
47 | 40 | 20 | 10 | 95 | 18 | 15 | 5 |
68 | 52 | 26 | 13 | 138 | 26 | 20 | 8 |
100 | 80 | 40 | 20 | 200 | 40 | 30 | 10 |
Таблица В.20
В миллиметрах
Размеры знака и его деталей |
B | b | b1 | H | h | h1 | S |
64 | 32 | 10 | 42 | 25 | 14 | 2 |
95 | 39 | 16 | 57 | 35 | 20 | 4 |
140 | 60 | 22 | 95 | 50 | 25 | 6 |
200 | 90 | 31 | 138 | 70 | 40 | 8 |
Не зажимать
Рисунок В.21
Предел по количеству ярусов в штабеле
Рисунок В.22
Таблица В.21
В миллиметрах
Размеры знака и его деталей |
B | b | b1 | H | h | h1 | S | S1 |
64 | 26 | 10 | 42 | 25 | 14 | 3 | 4 |
95 | 39 | 16 | 64 | 35 | 20 | 4 | 5 |
138 | 50 | 23 | 95 | 50 | 25 | 7 | 9 |
200 | 68 | 33 | 138 | 70 | 40 | 11 | 11 |
Таблица В.22
В миллиметрах
Размеры знака и его деталей |
B | b | H | S | S1 |
35 | 19 | 64 | 2 | 4 |
50 | 28 | 96 | 3 | 5 |
60 | 36 | 138 | 6 | 9 |
100 | 55 | 200 | 10 | 11 |
Вилочные погрузчики не использовать
В миллиметрах
Размеры знака и его деталей |
B | b | b1 | b2 | H | h | S | S1 | d | d1 | C |
100 | 15 | 15 | 45 | 75 | 40 | 7 | 4 | 15 | 20 | 4 |
130 | 20 | 20 | 60 | 100 | 50 | 10 | 5 | 20 | 30 | 5 |
Приложение В. (Измененная редакция, Изм. N 1).
(рекомендуемое)
РЕКОМЕНДУЕМЫЕ ОЧЕРТАНИЯ ШРИФТА ДЛЯ НАНЕСЕНИЯ МАРКИРОВКИ
Рисунок Г.1
Рисунок Г.2
Рисунок Г.3
(справочное)
ПРИМЕРЫ РАСПОЛОЖЕНИЯ МАРКИРОВКИ НА ГРУЗАХ,
ПОСТАВЛЯЕМЫХ НА ЭКСПОРТ
--------------------------------
<*> Товарный знак объединения и место его расположения на таре или ярлыке.
(рекомендуемое)
ПРИМЕРЫ ИЗОБРАЖЕНИЯ ЗНАКА "ЛЕНТА МЕБИУСА"
Приказом Росстандарта от 03.08.2012 N 214-ст)
Рисунок Е.1. Примеры изображения знака "лента Мебиуса"
в заявлении о возможности вторичной переработки
тарных и упаковочных материалов
Рисунок Е.2. Примеры изображения знака "лента Мебиуса"
в информации о содержании вторичного сырья,
использованного при изготовлении упаковочного материала
(рекомендуемое)
Приказом Ростехрегулирования от 14.08.2007 N 203-ст)
Наименование знака | Изображение знака | Назначение знака |
1. Подлежит утилизации (подлежит вторичной переработке) | | Идентифицирует тару и упаковочные материалы, подвергающиеся утилизации (вторичной переработке) |
2. То же | | То же |
3. Беречь от загрязнений окружающую среду | | Указывает на необходимость защиты окружающей среды - не сорить, поддерживать чистоту и сдавать использованную тару для переработки |
(справочное)
Приказом Росстандарта от 03.08.2012 N 214-ст)
Для идентификации упаковочных материалов применяют следующие числовые обозначения:
полимеры 1 - 19;
бумага и картон 20 - 39;
металл 40 - 49;
древесина и древесные материалы 50 - 59;
текстильные материалы 60 - 69;
стекло 70 - 79;
комбинированные материалы 80 - 98.
При идентификации упаковочных материалов применяют нумерации и (или) аббревиатуры, принятые международными и национальными нормативными документами.