Главная // Актуальные документы СПРАВКА
Источник публикации
В данном виде документ опубликован не был.
Первоначальный текст документа опубликован в издании
Официальный сайт Совета по железнодорожному транспорту государств-участников Содружества http://www.sovetgt.org/.
Информацию о публикации документов, создающих данную редакцию, см. в справке к этим документам.
Примечание к документу
Название документа
"РД ВНИИЖТ 27.05.01-2017. Руководящий документ по ремонту и техническому обслуживанию колесных пар с буксовыми узлами грузовых вагонов магистральных железных дорог колеи 1520 (1524) мм"
(Вместе с "Техническими моющими средствами", <Видами неисправностей колесных пар и их элементов, подшипников и способами их устранения>, <Формой Листа регистрации изменений>)
(Утвержден в г. Риге 20.10.2017 на 67-ом заседании Совета по железнодорожному транспорту СНГ)
(ред. от 06.11.2024)
Договаривающиеся стороны
"РД ВНИИЖТ 27.05.01-2017. Руководящий документ по ремонту и техническому обслуживанию колесных пар с буксовыми узлами грузовых вагонов магистральных железных дорог колеи 1520 (1524) мм"
(Вместе с "Техническими моющими средствами", <Видами неисправностей колесных пар и их элементов, подшипников и способами их устранения>, <Формой Листа регистрации изменений>)
(Утвержден в г. Риге 20.10.2017 на 67-ом заседании Совета по железнодорожному транспорту СНГ)
(ред. от 06.11.2024)
Советом по железнодорожному транспорту
государств - участников Содружества
от 19 - 20 октября 2017 г. N 67
РУКОВОДЯЩИЙ ДОКУМЕНТ
ПО РЕМОНТУ И ТЕХНИЧЕСКОМУ ОБСЛУЖИВАНИЮ КОЛЕСНЫХ ПАР
С БУКСОВЫМИ УЗЛАМИ ГРУЗОВЫХ ВАГОНОВ МАГИСТРАЛЬНЫХ ЖЕЛЕЗНЫХ
ДОРОГ КОЛЕИ 1520 (1524) ММ <*>
РД ВНИИЖТ 27.05.01-2017
| | Список изменяющих документов | |
--------------------------------
<*> Рассылается железнодорожным администрациям, участвующим в финансировании
Разработано: Акционерным обществом "Научно-исследовательский институт железнодорожного транспорта" (АО "ВНИИЖТ").
Внесено: Акционерным обществом "Научно-исследовательский институт железнодорожного транспорта" (АО "ВНИИЖТ").
Согласовано: Комиссия вагонного хозяйства (протокол от "13 - 15" сентября 2017 года N 64).
Утверждено: Советом по железнодорожному транспорту государств - участников Содружества (
протокол от "19 - 20" октября 2017 года N 67).
Введено в действие: с 01 января 2018 года.
Взамен: Руководящего
документа по ремонту и техническому обслуживанию колесных пар с буксовыми узлами грузовых вагонов магистральных железных дорог колеи 1520 (1524) мм, утвержденного Советом по железнодорожному транспорту государств-участников Содружества (
протокол от "16 - 17 октября" 2012 г. N 57).
Внесение изменений и дополнений: производится АО "ВНИИЖТ" в соответствии с Р 50-92-88 "Рекомендации ЕСТД. Общие положения по внесению изменений,
ГОСТ 2.503-90 "Правила внесения изменений".
1.1 Настоящий Руководящий документ (далее - РД) предназначен для применения на ремонтных предприятиях государств-участников Содружества, Грузии, Латвийской Республики, Литовской Республики, Эстонской Республики (далее - государства-участники Содружества), осуществляющих ремонт и/или техническое обслуживание колесных пар с буксовыми узлами грузовых вагонов магистральных железных дорог колеи 1520 (1524) мм.
1.2 Настоящий РД разработан с учетом требований
ГОСТ 2.602,
ГОСТ 2.105 и распространяется на колесные пары по
ГОСТ 4835 и колесные пары с осями типа РУ1 (изготавливались по ГОСТ 22780, сняты с производства, но находятся в эксплуатации) с подшипниками качения грузовых вагонов магистральных железных дорог колеи 1520 (1524) мм.
1.3 Настоящий РД определяет основные положения, нормы, требования к ремонту и техническому обслуживанию колесных пар и буксовых узлов грузовых вагонов.
1.4 Ремонт колесных пар, включая техническое диагностирование и ремонт буксовых узлов, производят на ремонтных предприятиях, имеющих соответствующее оборудование, оснастку, приспособления, инструменты и средства измерений, а также Удостоверение установленной формы, которое выдается железнодорожной администрацией в соответствии с
Положением об аттестации колесно-роликовых участков.
1.5 Измерения колесных пар и их элементов выполняют согласно
РД 32 ЦВ 058-2019, буксовых узлов и их элементов - согласно РД 32 ЦВ 064-2020.
1.6 Вибродиагностический контроль буксовых узлов производят на установках, соответствующих требованиям N 741-2011 ПКБ ЦВ, по технологии в соответствии с
РД 32 ЦВ 109-2011.
1.7 Выполнение требований настоящего РД обязательно для всех работников, связанных с ремонтом и техническим обслуживанием колесных пар и буксовых узлов.
1.8 Железнодорожные администрации в соответствии с национальным законодательством могут устанавливать дополнительные, не противоречащие приведенным в настоящем РД требования к ремонту и техническому обслуживанию колесных пар и буксовых узлов.
1.9 В
разделах 6,
7,
8 и
10 настоящего РД размеры, приведенные на рисунках, носят справочный характер.
1.10 Изменения и (или) дополнения в настоящий РД вносит разработчик установленным порядком.
В настоящем РД использованы ссылки на следующие нормативные и технические документы:
ГОСТ 9.014-78 Единая система защиты от коррозии и старения. Временная противокоррозионная защита изделий. Общие требования
ГОСТ 12.1.005-88 ССБТ Общие санитарно-гигиенические требования к воздуху рабочей зоны
ГОСТ 12.1.007-76 (с изменениями 1, 2) ССБТ Вредные вещества. Классификация и общие требования безопасности
ГОСТ 12.1.019-79 (с изменением 1) ССБТ Электробезопасность. Общие требования и номенклатура видов защиты
ГОСТ 12.2.003-91 ССБТ. Оборудование производственное. Общие требования безопасности
ГОСТ 12.2.007.0-75 (с изменениями 1, 2, 3, 4) ССБТ Изделия электротехнические. Общие требования безопасности
ГОСТ 12.3.009-76 (с изменением 1) ССБТ Работы погрузочно-разгрузочные. Общие требования безопасности
ГОСТ 12.3.020-80 ССБТ Процессы перемещения грузов на предприятиях. Общие требования безопасности
ГОСТ 27.002-89 Надежность в технике. Основные понятия. Термины и определения
ГОСТ 792-67 Проволока низкоуглеродистая качественная. Технические условия
ГОСТ 982-80 Масла трансформаторные. Технические условия
ГОСТ 1510-84 Нефть и нефтепродукты. Маркировка, упаковка, транспортирование и хранение
ГОСТ 1759.0-87 (с изменением 1) Болты, винты, шпильки и гайки. Технические условия
ГОСТ 2405-88 Манометры, вакуумметры, мановакуумметры, напоромеры, тягомеры и тягонапоромеры. Общие технические условия
ГОСТ 2789-73 Шероховатость поверхности. Параметры и характеристики
ГОСТ 3282-74 Проволока стальная низкоуглеродистая общего назначения. Технические условия
ГОСТ 4835-2013 Колесные пары железнодорожных вагонов. Технические условия
ГОСТ 5791-81 (с изменениями 1, 2) Масло льняное техническое. Технические условия
ГОСТ 6456-82 Шкурка шлифовальная бумажная. Технические условия
ГОСТ 7798-70 Болты с шестигранной головкой класса точности B. Конструкция и размеры
ГОСТ 7805-70 Болты с шестигранной головкой класса точности A. Конструкция и размеры
ГОСТ 9378-93 Образцы шероховатости поверхности (сравнения). Общие технические условия
ГОСТ 15467-79 Управление качеством продукции. Основные понятия, термины и определения
ГОСТ 16504-81 Система государственных испытаний продукции. Испытания и контроль качества продукции. Основные термины и определения
ГОСТ 16523-97 Прокат тонколистовой из углеродистой стали качественной и обыкновенного качества общего назначения. Технические условия
ГОСТ 18322-78 Система технического обслуживания и ремонта техники. Термины и определения
ГОСТ 18572-2014 Подшипники качения. Подшипники буксовые роликовые цилиндрические железнодорожного подвижного состава. Технические условия.
ГОСТ 24297-2013 Верификация закупленной продукции. Организация проведения и методы контроля
ГОСТ 24955-81 Подшипники качения. Термины и определения
ГОСТ 32769-2014 Подшипники качения. Узлы подшипниковые конические букс железнодорожного подвижного состава. Технические условия
ГОСТ 33200-2014 Оси колесных пар железнодорожного подвижного состава. Общие технические условия
ОСТ 24.153.12-88 (с изменениями 1 - 3) Буксы для колесных пар тележек пассажирских и грузовых вагонов магистральных железных дорог колеи 1520 мм. Общие технические условия
ТУ 38-1011232-89 (с изменениями 1 - 3) Масла веретенные АУ
ТУ У 23.2-25404313-014:2005 Смазка железнодорожная универсальная ЗУМ. Технические условия
ТУ ВНИПП.048-1-00 Подшипники качения для железнодорожного подвижного состава. Подшипники шариковые, роликовые цилиндрические и сферические. Технические условия
ТУ ВНИПП.072-01 Подшипники качения для железнодорожного подвижного состава повышенного качества. Технические условия
ТУ БРЕНКО 840-462869-567-09 Подшипники двухрядные роликовые конические кассетного типа для железнодорожного подвижного состава. Технические условия
ТУ SKF.CTBU.001-2010 Узлы компактные конические буксовые подшипниковые SKF. Технические условия
ТУ 0253-010-25887352-2005 (с изменениями 1, 2) Препарат-модификатор эМПи-1 для буксовых узлов вагонов с цилиндрическими подшипниками. Технические условия
ТУ 0254-011-25887352-2007 Паста эМПи-4 для прессовой посадки подшипников буксовых узлов вагонов. Технические условия
ТУ 0254-013-00148820-99 (с изменениями 1 - 7) Смазка железнодорожная ЛЗ-ЦНИИ (У)
ТУ 0254-107-01124328-01 (с изменениями 1, 2) Смазка пластичная Буксол
ТУ 2500-295-00152106-93 Изделия резиновые технические для подвижного состава железных дорог и требования к резинам, применяемым для их изготовления. Технические условия
ТУ 3183-001-55207975-2013 Конический подшипниковый узел в габаритах 150 x 250 x 160 мм. Технические условия
ТУ 19.20.29-122-40065452-2020 Препарат-модификатор К-Букс. Технические условия
N 741-2011 ПКБ ЦВ Технические требования к комплексам вибродиагностики подшипников буксовых узлов колесных пар вагонов
РД 32 ЦВ 058-2019 Методика выполнения измерений при техническом обслуживании и ремонте колесных пар грузовых вагонов железных дорог колеи 1520 (1524) мм
РД 32 ЦВ 064-2020 Методика выполнения измерений при ремонте буксового узла колесных пар грузовых вагонов железных дорог колеи 1520 (1524) мм
РД 32 ЦВ 109-2011 Руководство по вибродиагностике подшипников буксовых узлов вагонных колесных пар
ПР НК В.1-2012 Правила по неразрушающему контролю вагонов, их деталей и составных частей при ремонте. Общие положения (Утверждены Советом по железнодорожному транспорту государств-участников Содружества. Протокол от 16 - 17 октября 2012 г. N 57)
ПР НК В.2-2013 Правила неразрушающего контроля деталей и составных частей колесных пар вагонов при ремонте. Специальные требования (Утверждены Советом по железнодорожному транспорту государств-участников Содружества.
Протокол от 19 - 20 ноября 2013 г. N 59)
Технологическая инструкция по упрочнению накатыванием роликами осей колесных пар вагонов. (Утверждена Комиссией Совета по железнодорожному транспорту полномочных специалистов вагонного хозяйства железнодорожных администраций. Протокол от 20 - 22 апреля 2011 г.)
Инструкция по сварке и наплавке при ремонте грузовых вагонов (Утверждена Советом по железнодорожному транспорту государств-участников Содружества. Протокол от 04 - 05 ноября 2015 г. N 63)
Инструктивные указания о порядке заполнения и кодирования формы "Технический паспорт колесной пары грузового вагона" (с изменениями) (Утверждены Комиссией Совета по железнодорожному транспорту полномочных специалистов вагонного хозяйства железнодорожных администраций. Протокол от 25 - 27 августа 2010 г. N 49)
Инструктивные указания о порядке заполнения и кодирования формы "Ремонтная карточка на колесную пару грузового вагона" (с изменениями). (Утверждены Комиссией Совета по железнодорожному транспорту полномочных специалистов вагонного хозяйства железнодорожных администраций. Протокол от 25 - 27 августа 2010 г. N 49)
КЖА 2105-06 Условные обозначения моделей тележек грузовых вагонов (Утвержден Комиссией Совета по информатизации железнодорожного транспорта. Протокол от 21 - 23 декабря 2005 г.)
Альбом-справочник 632-2011 ПКБ ЦВ Знаки и надписи на вагонах грузового парка железных дорог колеи 1520 мм (Утвержден Советом по железнодорожному транспорту государств-участников Содружества.
Протокол от 16 - 17 октября 2012 г. N 57)
НВПР.01-00.000ТУ Узел подшипниковый конический двухрядный TBU 150 x 250 x 160. Технические условия
Q/WZ.J141122-2022 Технические условия на конические двухрядные подшипники TBU 150 x 250 x 160 353130X2 для грузовых железнодорожных вагонов магистральных железных дорог колеи 1520 (1524) мм с нагрузкой на ось 25 тс
ТУ "SPZ-BEARINGS" 339.21-2569-22 Узлы подшипниковые конические двухрядные букс железнодорожного подвижного состава TBU 150 x 250 x 160, TBU 130 x 250 x 160, TBU 130 x 230 x 150. Технические условия
ТУ LYC "Технические условия на подшипники типа 350630/TL"
СТО 44918199-185-2023 Паста сборочная Rosneft Plastex RW Lithium EP 1 HD. Технические требования
ГОСТ 34385-2018 Буксы и адаптеры для колесных пар тележек грузовых вагонов. Общие технические условия"
ТУ ТКХ.TBU.100-2024 Узлы подшипниковые конические букс железнодорожного подвижного состава. Технические условия
При пользовании настоящего РД необходимо проверить действие приведенных ссылочных стандартов и нормативных документов.
Если ссылочный документ заменен (изменен), то при пользовании настоящим РД следует руководствоваться замененным (измененным) документом. Если ссылочный документ отменен без замены, то положение, в котором дана ссылка на него, применяется в части, не затрагивающей эту ссылку.
В настоящем РД используются следующие термины с соответствующими определениями:
3.1 грузовые вагоны: Вагоны, предназначенные для перевозки грузов, такие, как крытые вагоны, полувагоны, платформы, вагоны-цистерны, вагоны бункерного типа, изотермические вагоны, зерновозы, минераловозы, транспортеры, контейнеровозы, специальные вагоны грузового типа.
3.2 колесная пара: Элемент ходовой части (вагонной тележки) подвижного состава, состоящий из цельнокатаных колес, напрессованных в холодном состоянии на ось, и буксовых узлов, воспринимающий и передающий статическую и динамическую нагрузки от вагона на рельсы и служащий для направления его движения по рельсовому пути.
3.3 колесо цельнокатаное: Элемент колесной пары, состоящий из ступицы, диска и обода, передающий статические и динамические нагрузки от вагона на рельсы и обеспечивающий движение подвижного состава.
3.4 ступица колеса: Центральная часть цельнокатаного колеса с отверстием для установки его на оси.
3.5 диск колеса: Часть цельнокатаного колеса, соединяющая ступицу с ободом.
3.6 обод: Изнашиваемая часть цельнокатаного колеса, контактирующая с рельсом.
3.7 поверхность катания обода колеса: Поверхность специального профиля, обеспечивающая устойчивое положение колесной пары на рельсовой колее и определяющая направление движения подвижного состава.
3.8 гребень: Часть обода колеса, удерживающая колесную пару от схода с рельсовой колеи.
3.9 ось: Элемент колесной пары, представляющий собой стальной брус круглого поперечного сечения, имеющий разные диаметры по длине в зависимости от частей оси.
3.10 шейка оси: Часть оси, служащая для размещения на ней подшипников.
3.11 подступичная часть оси: Часть оси, на которую напрессовывают колесо.
3.12 предподступичная часть оси: Часть оси, служащая переходом от шейки к подступичной части оси.
3.13 отверстие в торце оси М20 (или М24): Резьбовое отверстие, обеспечивающее установку болтов М20 (или М24) торцевого крепления подшипников на шейке оси.
3.14 резьбовая часть оси М110: Резьбовая часть оси, предназначенная для установки гайки торцевой М110 торцевого крепления подшипников на шейке оси.
3.15 буксовый узел: Элемент колесной пары, предназначенный для передачи нагрузки от тележки на шейку оси, и состоящий из корпуса буксы или адаптера, подшипника или подшипников, элементов торцевого крепления, уплотнений и смазки.
3.16 корпус буксы: Деталь, предназначенная для размещения подшипника или подшипников и передачи нагрузок от тележки на колесную пару.
3.17 адаптер (полубукса): Деталь, входящая в конструкцию тележки и предназначенная для свободного размещения на наружном кольце подшипника кассетного типа и передачи нагрузок от тележки на колесную пару.
3.18 крышка крепительная: Элемент буксового узла, предназначенный для уплотнения корпуса буксы с размещенными в нем подшипниками, устанавливаемый в переднюю торцевую часть корпуса буксы и закрепляемый болтами М20.
3.19 крышка смотровая: Элемент буксового узла, предназначенный для обеспечения осмотра его передней части, устанавливается в торцевую часть крепительной крышки и закрепляется болтами М12.
3.20 прокладка и кольцо уплотнительное (резиновые уплотнительные элементы): Элементы буксового узла, устанавливаемые между крепительной и смотровой крышками (прокладка), а также между крепительной крышкой и корпусом буксы (кольцо уплотнительное) для предотвращения проникновения в корпус буксы воды, пыли и грязи.
3.21 лабиринтная часть корпуса буксы: Элемент уплотнения буксового узла, размещаемый в задней торцевой части корпуса буксы и предотвращающий проникновение в корпус буксы воды, пыли и грязи.
Примечание - Выполняется в двух вариантах - единое целое с корпусом буксы или отдельная (отъемная) деталь, впрессованная в корпус буксы.
3.22 кольцо лабиринтное: Элемент уплотнения буксового узла, размещаемый на предподступичной части оси и предотвращающий проникновение в корпус буксы воды, пыли и грязи.
3.23 подшипник качения: Подшипник, работающий по принципу трения качения. ГОСТ 24955.
3.24 наружное кольцо подшипника качения (наружное кольцо): Деталь подшипника качения, имеющая на внутренней поверхности дорожку качения. ГОСТ 24955.
3.25 внутреннее кольцо подшипника качения (внутреннее кольцо): Деталь подшипника качения с цилиндрическим отверстием, имеющая на наружной поверхности дорожку качения для тел качения (ролики). ГОСТ 24955.
3.26 ролик: Тело качения подшипника. ГОСТ 24955.
3.27 сепаратор подшипника качения: Составная часть подшипника качения, удерживающая тела качения на определенном расстоянии друг от друга. ГОСТ 24955.
3.28 дорожка качения: Поверхность кольца подшипника качения, по которой катятся тела качения. ГОСТ 24955.
3.29 торец подшипника качения: Внешняя поверхность кольца подшипника качения, перпендикулярная оси подшипника. ГОСТ 24955.
3.30 бортик кольца подшипника качения: Выступ на кольце подшипника качения, ограничивающий поверхность дорожки качения. ГОСТ 24955.
3.31 роликовый радиальный цилиндрический подшипник (подшипник роликовый цилиндрический): Подшипник качения с цилиндрическими роликами в качестве тел качения, предназначенный для восприятия в основном радиальной нагрузки.
ГОСТ 18572.
3.32 кольцо плоское упорное: Деталь роликового радиального цилиндрического подшипника, прилегающая к торцу внутреннего кольца и выполняющая функцию бортика.
3.33 сдвоенный буксовый роликовый цилиндрический подшипник (подшипник сдвоенный): Подшипник качения, состоящий из двух аналогичных подшипников, обеспечивающий получение заранее заданных характеристик.
ГОСТ 18572.
3.34 кольцо крепежное: Специальное кольцо, соединяющее бортовые внутренние кольца подшипника сдвоенного.
3.35 шайба защитная: Деталь подшипника сдвоенного, устанавливаемая с внешних сторон наружных колец и предотвращающая от вытекания смазки и проникновения внутрь подшипника воды, пыли и грязи.
3.36 конический подшипниковый узел (подшипник кассетного типа): Подшипниковый узел ресурсного смазывания, состоящий из базового подшипника, упорного кольца, уплотнений, полимерной прокладки, передней крышки, компенсационных колец, болтов торцевого крепления, стопорной шайбы и заглушки.
ГОСТ 32769.
Примечание - В зависимости от вариантов исполнения конический подшипниковый узел может не включать какие-либо составляющие: переднюю крышку, полимерную прокладку, компенсационные кольца, упорное кольцо, болты торцевого крепления, стопорную шайбу и заглушку.
3.37 уплотнение: Деталь подшипника кассетного типа, устанавливаемая в канавке с одной или двух сторон наружного кольца и предотвращающая от проникновения внутрь подшипника посторонних тел (вода, пыль и грязь).
3.38 кожух уплотнения: Деталь уплотнения подшипника кассетного типа, устанавливаемая в канавке наружного кольца и закрывающая внутренние элементы уплотнения.
3.39 кольцо компенсационное: Кольцо, сопряженное с уплотнением и установленное между крышкой передней и одним внутренним кольцом подшипника кассетного типа, а также между упорным кольцом и другим внутренним кольцом подшипника.
3.40 прокладка полимерная: Деталь подшипника кассетного типа, изолирующая внутреннее кольцо подшипника от кольца упорного заднего.
3.41 заглушка: Деталь подшипника кассетного типа, закрывающая центральное отверстие в передней крышке, служащее для доступа к центровым отверстиям оси колесной пары.
3.42 кольцо упорное заднее (стопор задний): Деталь крепления подшипника кассетного типа под адаптер, монтируемая на цилиндрическую поверхность предподступичной части оси колесной пары и фиксирующая подшипник в осевом направлении, предотвращая контакт внутреннего кольца подшипника с галтелью оси колесной пары.
3.43 шайба тарельчатая (крышка передняя или крышка торцевая): Элемент торцевого крепления подшипников на шейке оси, предназначенный для передачи усилия затяжки болтов М20 или М24 торцевого крепления на внутренние кольца подшипников.
Примечание - Крышка передняя или крышка торцевая по спецификации - элемент конструкции буксового узла с подшипником кассетного типа; шайба тарельчатая по спецификации - элемент конструкции буксового узла с двумя подшипниками роликовыми цилиндрическими и сдвоенным.
3.44 гайка торцевая М110: Гайка М110x4 специальной конструкции, предназначенная для торцевого крепления подшипников роликовых цилиндрических на шейке оси типа РУ1.
3.45 планка стопорная: Элемент, входящий в состав торцевого крепления гайкой торцевой М110 подшипников роликовых цилиндрических на шейке оси типа РУ1, и предназначенный для предохранения гайки от самоотворачивания.
3.46 болты М24 и М20 торцевого крепления: Элементы торцевого крепления подшипников на шейке оси для закрепления крышки передней (или шайбы тарельчатой) в осевом направлении.
3.47 шайба стопорная: Элемент торцевого крепления подшипников на шейке оси, предназначенный для стопорения болтов М20 или М24 торцевого крепления и предохранения их от самоотворачивания.
3.48 формирование колесной пары: Технологический процесс установки колес на ось методом прессовой посадки.
3.49 новое формирование колесной пары: формирование колесной пары из новых элементов.
3.50 ремонт: Комплекс операций по восстановлению исправности или работоспособности изделий и восстановлению ресурсов изделий или их составных частей.
ГОСТ 18322.
3.51 текущий ремонт колесных пар: Ремонт, выполняемый для обеспечения или восстановления работоспособности колесных пар и состоящий в замене и (или) восстановлении их отдельных частей и деталей.
3.52 средний ремонт колесных пар: Ремонт, выполняемый для восстановления исправности и частичного восстановления ресурса колесных пар. Производится с заменой или восстановлением составных частей колесных пар, в объеме, установленном в настоящем руководстве.
3.53 капитальный ремонт колесных пар: Ремонт, выполняемый для восстановления исправности, полного или близкого к полному восстановлению ресурса колесных пар с заменой или восстановлением их базовых частей.
3.54 техническое обслуживание: Комплекс операций или операция по поддержанию работоспособности или исправности изделия при использовании по назначению, ожидании, хранении и транспортировании.
ГОСТ 18322.
3.55 технический контроль: Проверка соответствия объекта установленным техническим требованиям.
ГОСТ 16504.
3.56 техническое диагностирование: Определение технического состояния объекта.
ГОСТ 20911.
3.57 неразрушающий контроль: Технический контроль, при котором не нарушается пригодность объекта к применению.
ГОСТ 16504.
3.58 метод неразрушающего контроля: Метод контроля, при котором не должна быть нарушена пригодность объекта к применению.
ГОСТ 16504.
3.59 органолептический метод: Метод контроля, основанный на анализе информации, воспринимаемой органами чувств (зрения, обоняния, осязания, слуха, вкуса) без применения технических измерительных или регистрационных средств.
3.60 дефект: Каждое отдельное несоответствие продукции установленным требованиям.
ГОСТ 15467.
3.61 брак: Продукция, передача которой потребителю не допускается из-за наличия дефектов.
ГОСТ 15467.
3.62 повреждение: Событие, заключающееся в нарушении исправного состояния объекта при сохранении работоспособного состояния.
ГОСТ 27.002.
3.63 модернизация железнодорожного подвижного состава с продлением срока службы: комплекс работ по улучшению технико-экономических характеристик существующего железнодорожного подвижного состава путем внесения в базовую конструкцию изменений с целью продления срока службы.
4 ОБОЗНАЧЕНИЯ И СОКРАЩЕНИЯ
В настоящем РД применены следующие обозначения и сокращения:
РД - руководящий документ;
ТУ - технические условия;
ВРЗ - вагоноремонтный завод;
ВКМ - вагоноколесные мастерские;
КРУ - колесно-роликовый участок или отделение по ремонту и техническому обслуживанию колесных пар;
ТР (ТР-1, ТР-2) - текущий отцепочный ремонт вагона;
ДР - деповской ремонт вагона;
КР - капитальный ремонт вагона;
КРП - капитальный ремонт с продлением срока службы вагонов;
НК - неразрушающий контроль;
УЗК - ультразвуковой контроль;
МПК - магнитопорошковый контроль;
ВТК - вихретоковый контроль;
СИ - средства измерений;
СДК - средства допускового контроля;
d - номинальный диаметр отверстия внутреннего кольца подшипника;
D - номинальный наружный диаметр наружного кольца подшипника;
d1 - номинальный диаметр посадочного отверстия кольца упорного заднего (или кольца лабиринтного);
C - номинальная ширина наружного кольца подшипника;
Ga - осевой внутренний зазор подшипника (в свободном состоянии);
Gr - радиальный внутренний зазор подшипника (в свободном состоянии).
5 ТРЕБОВАНИЯ БЕЗОПАСНОСТИ И ОХРАНЫ ОКРУЖАЮЩЕЙ СРЕДЫ
5.1 Безопасность при ремонте колесных пар обеспечивают соответствием:
- требований санитарной безопасности -
ГОСТ 12.1.003,
ГОСТ 12.1.005 и
ГОСТ 12.1.007, или документам с аналогичными требованиями, принятыми железнодорожными администрациями или законодательными актами.
5.2 На производственных участках должны находиться инструкции по охране труда, пожарной безопасности, выписки из технологических инструкций, утвержденные руководителем (главным инженером или другим уполномоченным лицом) ремонтного предприятия.
5.3 Конструкции колесных пар, буксовых узлов и применяемые в них материалы при соблюдении правил эксплуатации, обслуживания и ремонта не должны допускать загрязнения окружающей среды твердыми, жидкими и газообразными веществами.
5.4 Утилизацию деталей колесных пар и буксовых узлов проводят порядком, установленным законодательными актами, железнодорожной администрацией или принятым на ремонтном предприятии.
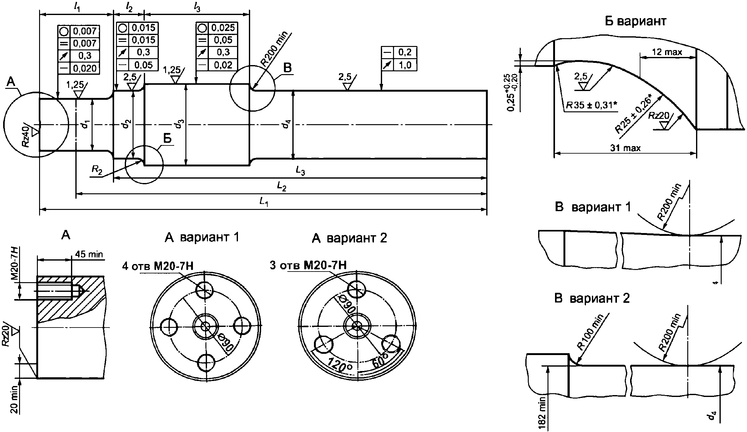
6 КОНСТРУКЦИИ, ТИПЫ И ОСНОВНЫЕ РАЗМЕРЫ НОВЫХ ОСЕЙ
6.1 Конструкция, размеры осей и технические требования к ним, а также область применения в зависимости от максимальной расчетной статической нагрузки от колесной пары на рельсы (далее - осевой нагрузки) должны соответствовать
ГОСТ 33200 или техническим условиям, согласованным и утвержденным порядком, установленным Советом по железнодорожному транспорту государств-участников Содружества.
6.2 Типы осей, применяемые для эксплуатации под грузовыми вагонами:
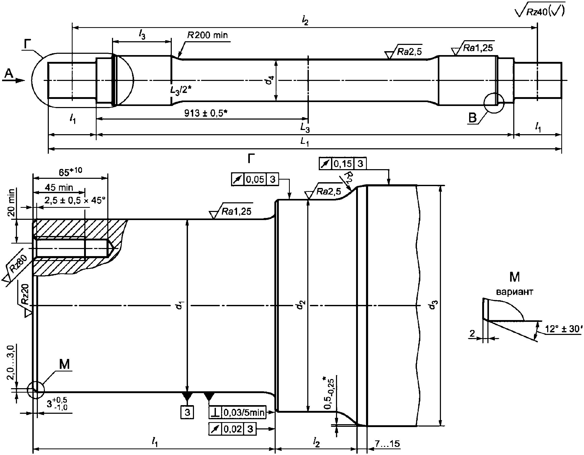
6.2.1 Ось РУ1Ш
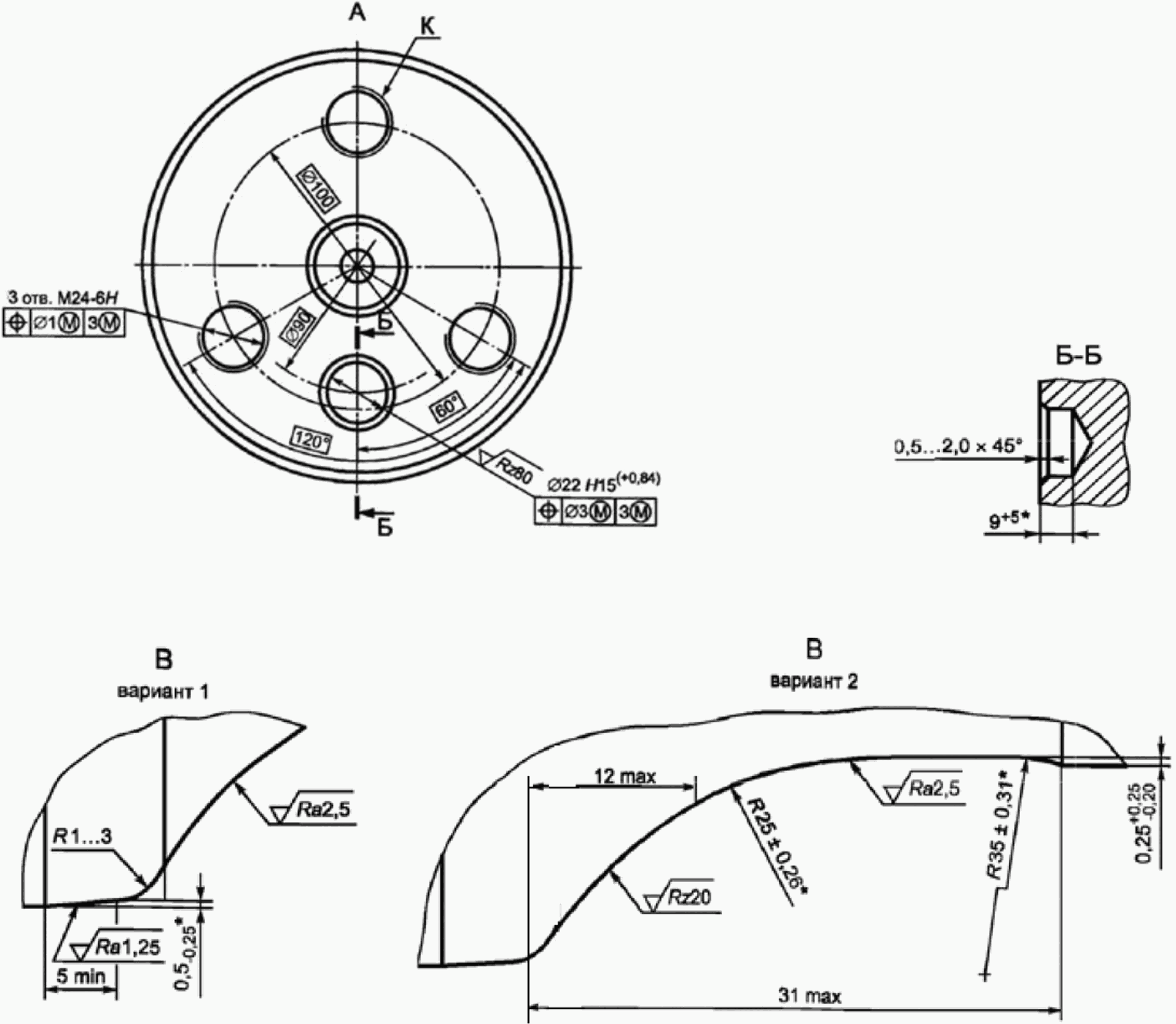
(рисунок 6.1). На торцах осей выполняются четыре резьбовых отверстия М20 (оси изготовления до 1983 года имели три отверстия М20). Используются под вагонами с осевой нагрузкой 230,5 кН (23,5 тс).
--------------------------------
<*> Размеры обеспечиваются инструментом
6.2.2 Ось РВ2Ш
(рисунок 6.2). На торцах осей выполняются три резьбовых отверстия М24 или четыре резьбовых отверстия М20. Используются под вагонами с осевой нагрузкой 245,0 кН (25,0 тс) и 265,0 кН (27,0 тс).
--------------------------------
<*> Размеры обеспечиваются инструментом
6.3 Основные размеры новых осей приведены в
таблице 6.1.
Основные размеры новых осей
В миллиметрах
Наименование показателя | Тип оси |
РУ1Ш | РВ2Ш |
номинальный размер | предельное отклонение | номинальный размер | предельное отклонение |
d1 | 130 | + 0,052 + 0,025 | 150 | + 0,090 + 0,065 |
d2 | 165 | + 0,20 + 0,12 | 185 | + 0,165 + 0,091 |
d3 | | + 2,0 - 0,5 | 210 | + 2,0 - 0,5 |
d4 | | + 3,0 | 180 | + 3,0 |
R2 | 25 | - | 25 | - |
l1 | | - | | - |
l2 | 76 | +/- 1,0 | 71 | + 0,5 - 1,5 |
l3 | 250 min | - | 250 min | - |
L1 | 2216 | + 1,0 - 3,0 | 2246 | + 1,0 - 3,0 |
L2 | 2036 | - | 2036 | - |
L3 | 1836 | +/- 1,0 | 1826 | +/- 1,0 |
<1> Допускается предельное отклонение; <2> d 4 = 165 +5,0 при исполнении узла В по вариантам 1 или 2 (рисунок 6.1); <4> Разность длин шеек l 1 на одной оси не должна превышать 2 мм Примечание - Допускается изготавливать по чертежам, согласованным с заказчиком: - оси типа РУ1Ш с цилиндрическим участком на средней части оси длиной от 130 до 150 мм с допуском симметрии относительно середины оси не более 10 мм и диаметром, равным диаметру d4; - оси типа РУ1Ш с удлиненными галтелями шеек; - оси типа РВ2Ш с диаметром d4 = 185 мм, четырьмя резьбовыми отверстиями М20, с поводковыми отверстиями диаметром 26 мм; - оси типов РУ1Ш и РВ2Ш с другой длиной подступичной части l3, с одним, двумя поводковыми отверстиями или без них. |
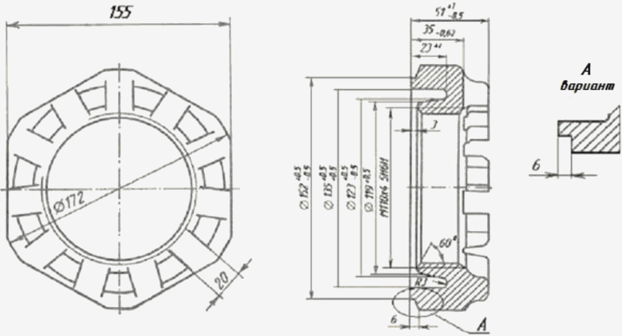
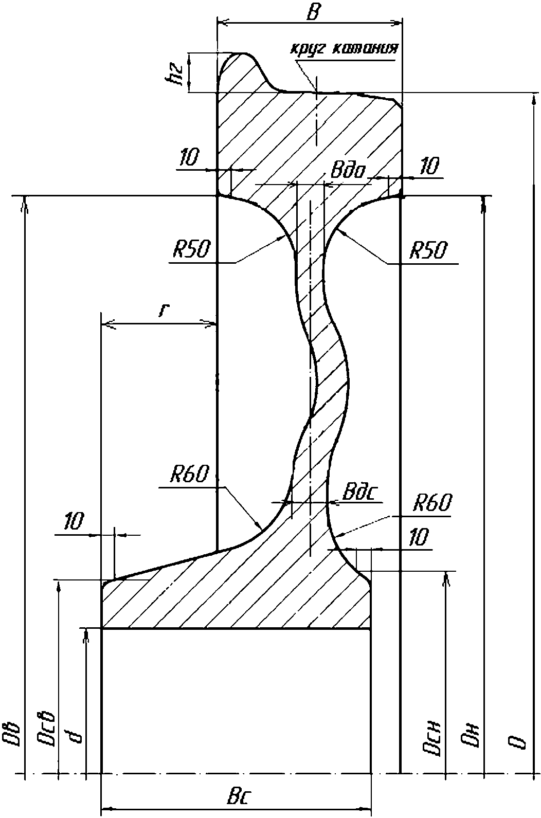
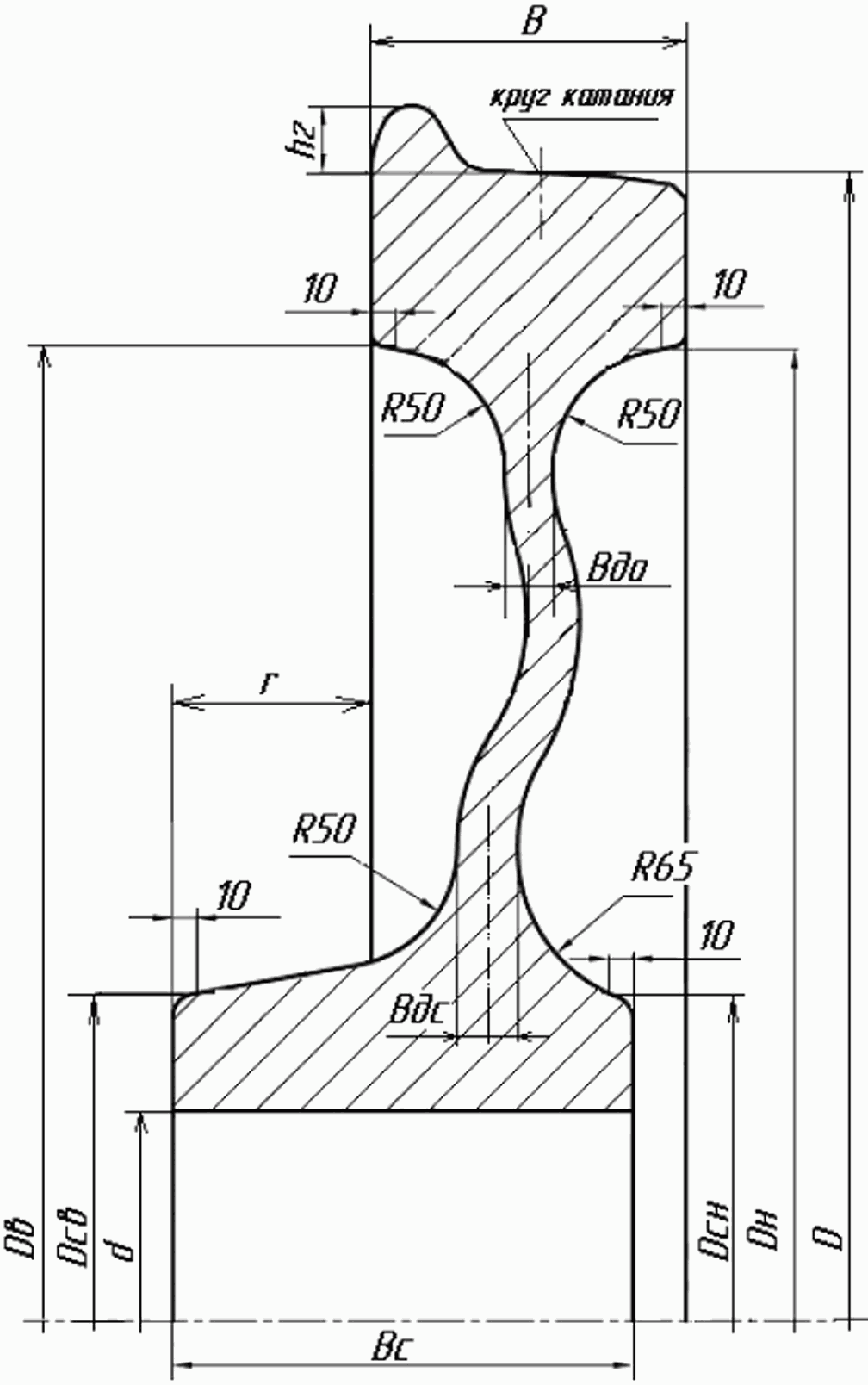
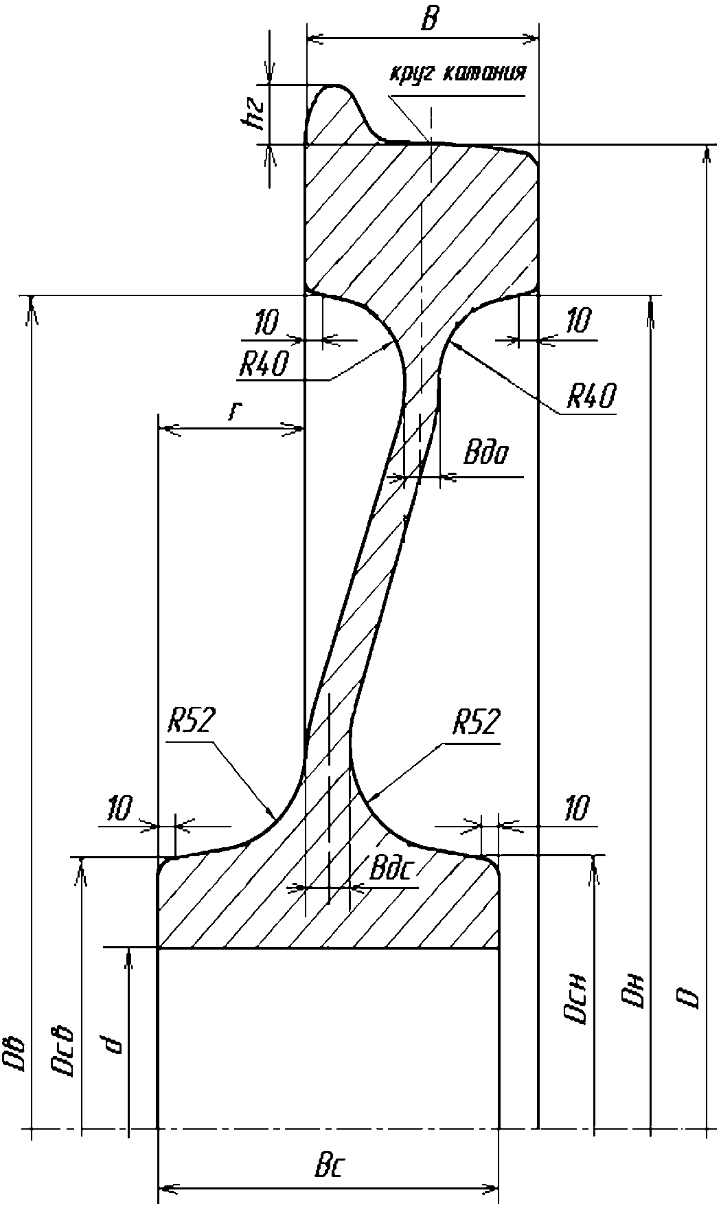
7 КОНСТРУКЦИИ И ОСНОВНЫЕ РАЗМЕРЫ НОВЫХ КОЛЕС ЦЕЛЬНОКАТАНЫХ
7.1 Конструкция, размеры колес цельнокатаных (далее колес) и технические требования к ним, а также область применения в зависимости от осевой нагрузки должны соответствовать
ГОСТ 10791 или техническим условиям, согласованным и утвержденным порядком, установленным Советом по железнодорожному транспорту государств-участников Содружества.
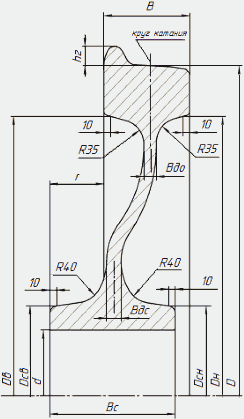
7.2 Колеса, применяемые для эксплуатации под грузовыми вагонами, изготавливаются из стали марок 2 или Т, и имеют плоскоконическую или криволинейную форму диска. Конструкции и основные размеры колес приведены на
рисунках 7.1 и
7.2.
| Наименование показателя | Номинальный размер, мм | Предельное отклонение, мм |
Диаметр по кругу катания, D | 957 | +/- 7 |
Диаметр внутренней поверхности обода с наружной стороны колеса, Dн | 810 | - 10 |
Диаметр внутренней поверхности обода с внутренней стороны колеса, Dв | 810 | - 10 |
Ширина обода колеса, B | 130 | + 3 |
Высота гребня, hг | 28 | - 1 |
Диаметр наружной поверхности ступицы с наружной стороны колеса, Dсн | 263 | +/- 3 |
Диаметр наружной поверхности ступицы с внутренней стороны колеса, Dсв | 263 | +/- 3 |
Диаметр отверстия ступицы колеса, d <*> | 175 | - 4 |
190 | - 4 |
Длина ступицы колеса, Bс | 190 | + 10 |
Расстояние от торцевой поверхности ступицы до боковой поверхности обода с внутренней стороны колеса, r | 82 | + 5 |
Толщина диска у обода колеса, Bдо <**> | 19 | + 4 |
Толщина диска у ступицы колеса, Bдс | 24 | + 4 |
--------------------------------
<*> размер выполняется по условиям заказа;
<**> для колес, изготовленных: с 1978 г. до 1990 г. - 17
+3 мм; с 1990 до 2012 г. - 19
+3 мм (допускается не менее 18 мм); с 2012 г. - 19
+4 мм.
Рисунок 7.1 - Конструкция и основные размеры колес
| Наименование показателя | Номинальный размер, мм | Предельное отклонение, мм |
Диаметр по кругу катания, D | 957 | +/- 7 |
Диаметр внутренней поверхности обода с наружной стороны колеса, Dн | 802 | + 8 - 2 |
Диаметр внутренней поверхности обода с внутренней стороны колеса, Dв | 802 | + 8 -2 |
Ширина обода колеса, B | 130 | + 3 |
Высота гребня, hг | 28 | - 1 |
Диаметр наружной поверхности ступицы с наружной стороны колеса, Dсн | 273 | +/- 3 |
Диаметр наружной поверхности ступицы с внутренней стороны колеса, Dсв | 273 | +/- 3 |
Диаметр отверстия ступицы колеса, d <*> | 190 | - 4 |
205 | - 4 |
Длина ступицы колеса, Bс | 190 | + 10 |
Расстояние от торцевой поверхности ступицы до боковой поверхности обода с внутренней стороны колеса, r | 82 | + 5 |
Толщина диска у обода колеса, Bдо | 20 | + 4 |
Толщина диска у ступицы колеса, Bдс | 25 | + 6 |
--------------------------------
<*> размер выполняется по условиям заказа;
Рисунок 7.2, лист 1 - Конструкция и основные размеры колес
| Наименование показателя | Номинальный размер, мм | Предельное отклонение, мм |
Диаметр по кругу катания, D | 957 | +/- 7 |
Диаметр внутренней поверхности обода с наружной стороны колеса, Dн | 802 | + 8 - 2 |
Диаметр внутренней поверхности обода с внутренней стороны колеса, Dв | 802 | + 8 - 2 |
Ширина обода колеса, B | 130 | + 3 |
Высота гребня, hг | 28 | - 1 |
Диаметр наружной поверхности ступицы с наружной стороны колеса, Dсн | 285 | + 5 |
Диаметр наружной поверхности ступицы с внутренней стороны колеса, Dсв | 273 | +/- 3 |
Диаметр отверстия ступицы колеса, d <*> | 190 | - 4 |
205 | - 4 |
Длина ступицы колеса, Bс | 190 | + 10 |
Расстояние от торцевой поверхности ступицы до боковой поверхности обода с внутренней стороны колеса, r | 82 | + 5 |
Толщина диска у обода колеса, Bдо | 19 | + 4 |
Толщина диска у ступицы колеса, Bдс | 25 | + 4 |
--------------------------------
<*> размер выполняется по условиям заказа;
Рисунок 7.2, лист 2 - Конструкция и основные размеры колес
| Наименование показателя | Номинальный размер, мм | Предельное отклонение, мм |
Диаметр по кругу катания, D | 957 | +/- 7 |
Диаметр внутренней поверхности обода с наружной стороны колеса, Dн | 810 | - 10 |
Диаметр внутренней поверхности обода с внутренней стороны колеса, Dв | 810 | - 10 |
Ширина обода колеса, B | 130 | + 3 |
Высота гребня, hг | 28 | - 1 |
Диаметр наружной поверхности ступицы с наружной стороны колеса, Dсн | 290 | +/- 3 |
Диаметр наружной поверхности ступицы с внутренней стороны колеса, Dсв | 273 | +/- 3 |
Диаметр отверстия ступицы колеса, d <*> | 190 | - 4 |
205 | - 4 |
Длина ступицы колеса, Bс | 190 | + 10 |
Расстояние от торцевой поверхности ступицы до боковой поверхности обода с внутренней стороны колеса, r | 82 | + 5 |
Толщина диска у обода колеса, Bдо | 22 | + 4 |
Толщина диска у ступицы колеса, Bдс | 25 | + 6 |
--------------------------------
<*> размер выполняется по условиям заказа;
Рисунок 7.2, лист 3 - Конструкция и основные размеры колес
| Наименование показателя | Номинальный размер, мм | Предельное отклонение, мм |
Диаметр по кругу катания, D | 957 | +/- 7 |
Диаметр внутренней поверхности обода с наружной стороны колеса, Dн | 810 | - 10 |
Диаметр внутренней поверхности обода с внутренней стороны колеса, Dв | 810 | - 10 |
Ширина обода колеса, B | 130 | + 3 |
Высота гребня, hг | 28 | - 1 |
Диаметр наружной поверхности ступицы с наружной стороны колеса, Dсн <*> | 260 | +/- 3 |
Диаметр наружной поверхности ступицы с внутренней стороны колеса, Dсв <*> | 260 | +/- 3 |
Диаметр отверстия ступицы колеса, d <*> | 175 | - 4 |
190 | - 4 |
Длина ступицы колеса, Bс | 190 | + 10 |
Расстояние от торцевой поверхности ступицы до боковой поверхности обода с внутренней стороны колеса, r | 82 | + 5 |
Толщина диска у обода колеса, Bдо <*> | 19 | + 3 |
Толщина диска у ступицы колеса, Bдс <*> | 22 | + 4 |
Рисунок 7.2, лист 4 - Конструкция и основные размеры колес
с криволинейным диском производства АО "ВМЗ" по черт.
13.45.1400-208
| Наименование показателя | Номинальный размер, мм | Предельное отклонение, мм |
Диаметр по кругу катания, D | 957 | +/- 7 |
Диаметр внутренней поверхности обода с наружной стороны колеса, Dн | 810 | - 10 |
Диаметр внутренней поверхности обода с внутренней стороны колеса, Dв | 810 | - 10 |
Ширина обода колеса, В | 130 | + 3 |
Высота гребня, hг | 28 | - 1 |
Диаметр наружной поверхности ступицы с наружной стороны колеса, Dсн <*> | 270 | +/- 3 |
Диаметр наружной поверхности ступицы с внутренней стороны колеса, Dсв <*> | 270 | +/- 3 |
Диаметр отверстия ступицы колеса, d <*> | 190 | - 4 |
205 | - 4 |
| Длина ступицы колеса, Вс | 190 | + 10 |
Расстояние от торцевой поверхности ступицы до боковой поверхности обода с внутренней стороны колеса, r | 82 | + 5 |
Толщина диска у обода колеса, Вдо <*> | 20 | + 4 |
Толщина диска у ступицы колеса, Вдс <*> | 23 | + 6 |
<*> размер выполняется по условиям заказа |
Рисунок 7.2, лист 5 - Конструкция и основные размеры колес
с криволинейным диском производства АО "ВМЗ"
по черт. 13.45.1399-207
(рисунок 7.2, лист 5 введен
Протоколом от 27.11.2020)
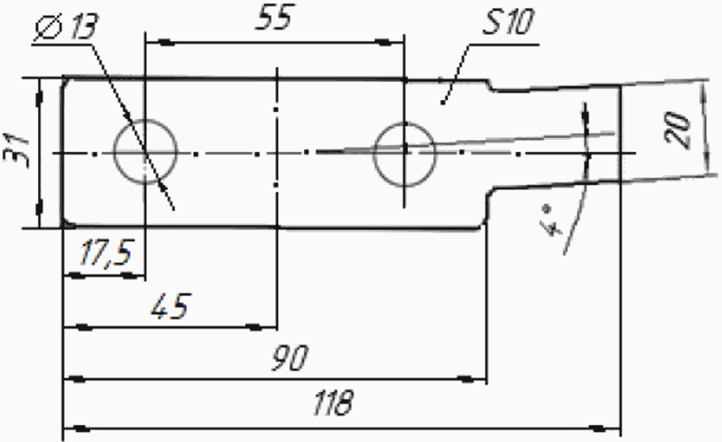
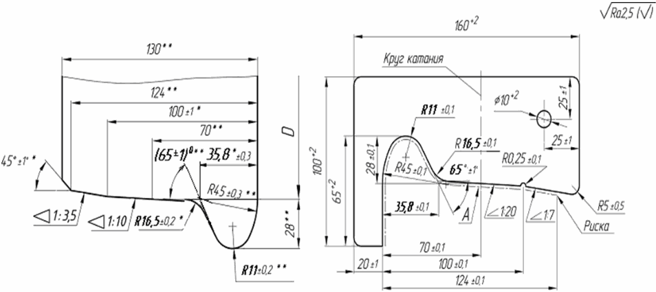
7.3 Профили поверхности катания колес и шаблоны для их проверки должны соответствовать требованиям
ГОСТ 10791 (рисунок 7.3).
7.4 При контроле профиля поверхности катания колеса шаблон свободно устанавливают на обод таким образом, чтобы ножка шаблона касалась точки перехода от гребня к боковой поверхности обода с внутренней стороны колеса, а рабочая поверхность шаблона касалась точки на поверхности катания обода. Величину отклонения поверхности катания и гребня от номинальной формы (зазор) контролируют при помощи щупов.
Отклонение профиля обода колеса от номинальной формы по вершине гребня должно быть не более 1,0 мм, по поверхности катания и гребня - не более 0,5 мм.
--------------------------------
<*> Размеры для справок;
<**> Размеры обеспечиваются инструментом.
Параметр шероховатости поверхности A - Ra <= 1,25 мкм
Рисунок 7.3 - Профиль поверхности катания колеса с исходной
толщиной гребня 33,0 мм по
ГОСТ 10791 и максимальный шаблон
для его проверки
8 ТИПЫ И ОСНОВНЫЕ РАЗМЕРЫ КОЛЕСНЫХ ПАР
8.1 Установлены три типа колесных пар, предназначенных для эксплуатации под грузовыми вагонами: РУ1Ш-957-Г, РВ2Ш-957-Г и РУ1-957-Г:
8.1.1 колесная пара типа РУ1Ш-957-Г
(рисунок 8.1) состоит из оси типа РУ1Ш по
ГОСТ 33200 с торцевым креплением подшипников шайбой тарельчатой (или крышкой передней) и четырьмя (или тремя) болтами М20 и колес по
ГОСТ 10791;
8.1.2 колесная пара типа РВ2Ш-957-Г
(рисунок 8.1) состоит из оси типа РВ2Ш по
ГОСТ 33200 с торцевым креплением подшипников крышкой передней и тремя болтами М24 (или четырьмя болтами М20) и колес по
ГОСТ 10791;
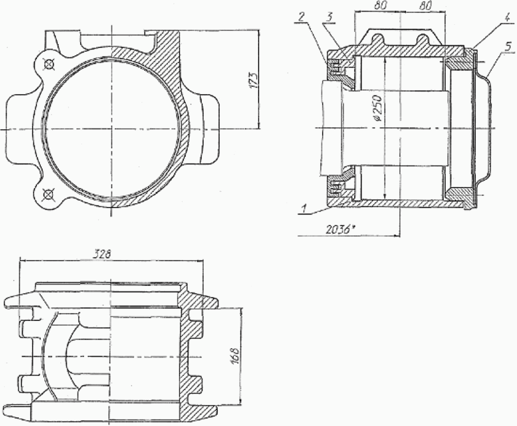
Рисунок 8.1 - Колесные пары типа РУ1Ш-957-Г или РВ2Ш-957-Г
без буксовых узлов
8.1.3 колесная пара типа РУ1-957-Г
(рисунок 8.2) состоит из оси типа РУ1 с торцевым креплением подшипников гайкой торцевой М110 и колес по
ГОСТ 10791.
Рисунок 8.2 - Колесная пара типа РУ1-957-Г
без буксовых узлов
8.3 Восстановление профиля поверхности катания новых колес обточкой после формирования колесной пары производят при превышении допустимой разницы диаметров колес.
Рисунок 8.3 - Колесные пары типа РУ1Ш-957-Г, РВ2Ш-957-Г или
РУ1-957-Г с подшипниками в корпусе буксы. Габаритные размеры
Рисунок 8.4 - Колесные пары типа РУ1Ш-957-Г и РВ2Ш-957-Г
с подшипниками под адаптер. Габаритные размеры
Основные параметры колесных пар, сформированных из новых
элементов (новые оси, новые колеса)
В миллиметрах
Тип колесной пары | Осевая нагрузка, кН (тс) | Расстояние между внутренними боковыми поверхностями ободьев колес (L) | Разность расстояний между внутренними боковыми поверхностями ободьев колес, не более | Разность диаметров колес по кругу катания (D), не более <*> | Разность расстояний от торцов предподступичных частей оси до внутренних боковых поверхностей ободьев колес (l) с одной и другой сторон колесной пары, не более | Отклонение от соосности круга катания колес относительно поверхности шейки или подступичной части оси, не более <*> | Нагружатель подшипника | Типы применяемых буксовых подшипников |
РУ1-957-Г | 230,5 (23,5) | | 1,5 | 1,0 | 3,0 | 1,0 | Корпус буксы | Роликовые цилиндрические 130 x 250 x 80 мм: 30-42726Е2М; 30-232726Е2М; 36-42726Е2М; 36-232726Е2М |
Корпус буксы | Сдвоенные 130 x 250 x 160 мм: Н6-882726Е2К1МУС44 Н6-882726Е2К2МУС44 46-882726Е2МС43 |
РУ1Ш-957-Г | 230,5 (23,5) | | 1,5 | 1,0 | 3,0 | 1,0 | Корпус буксы | Роликовые цилиндрические 130 x 250 x 80 мм: 30-42726Е2М; 30-232726Е2М; 36-42726Е2М; 36-232726Е2М |
Корпус буксы | Сдвоенные 130 x 250 x 160 мм: Н6-882726Е2К1МУС44 Н6-882726Е2К2МУС44 46-882726Е2МС43 |
Корпус буксы Адаптер | Кассетного типа в габаритах: 130 x 250 x 160 мм |
Адаптер | 130 x 230 x 150 мм |
РВ2Ш-957-Г | 245,0 (25,0) 265,0 (27,0) | | 1,5 | 1,0 | 3,0 | 1,0 | Адаптер | Кассетного типа в габаритах 150 x 250 x 160 мм |
--------------------------------
<*> При восстановлении профиля поверхности катания колес обточкой - не более 0,5 мм.
9 КОНСТРУКЦИИ И ТИПЫ БУКСОВЫХ УЗЛОВ
9.1 БУКСОВЫЙ УЗЕЛ С ПОДШИПНИКАМИ РОЛИКОВЫМИ ЦИЛИНДРИЧЕСКИМИ
9.1.1 Подшипники роликовые цилиндрические типов 36-232726Е2М, 36-42726Е2М, 30-232726Е2М, 30-42726Е2М в габаритных размерах 130 x 250 x 80 мм должны соответствовать
ГОСТ 520,
ГОСТ 18572, ТУ ВНИПП. 048-1 и ТУ ВНИПП. 072-01.
Подшипники устанавливают в корпус буксы. Крепление подшипников на оси колесной пары типа РУ1Ш-957-Г осуществляют при помощи шайбы тарельчатой и четырех (или трех) болтов М20
(рисунок 9.1), а на оси колесной пары типа РУ1-957-Г - гайки торцевой М110
(рисунок 9.2).
Рисунок 9.1 - Буксовый узел с двумя подшипниками роликовыми
цилиндрическими с торцевым креплением шайбой тарельчатой
и болтами М20
Рисунок 9.2 - Буксовый узел с двумя подшипниками роликовыми
цилиндрическими с торцевым креплением гайкой торцевой М110
9.1.2 Основные размеры подшипников роликовых цилиндрических приведены в
таблице 9.1.
Основные размеры подшипников роликовых цилиндрических
В миллиметрах
Габаритные размеры подшипника | Тип колесной пары | Тип нагружателя подшипника | Основные размеры | Ga | Gr |
d | D | C | d1 |
130 x 250 x 80 | РУ1-957-Г РУ1Ш-957-Г | Корпус буксы | 130 | 250 | 80 | 165 | 0,070...0,150 | 0,115...0,180 |
9.1.3 Маркировка
Маркировка подшипников роликовых цилиндрических нанесена на торцевых поверхностях наружных и внутренних колец с одной стороны.
Пример маркировки на наружном кольце:
30-42726Е2М RU ЕПК СПЗ 256 Э-А-Т
- 30-42726Е2М - условное обозначение подшипника (тип подшипника),
- RU - двухбуквенный код страны-изготовителя (может отсутствовать),
- ЕПК СПЗ - условное обозначение предприятия-изготовителя подшипника,
- 256 - порядковый номер подшипника,
- Э - условный знак года изготовления (или две последние цифры года изготовления),
- А - условный знак месяца изготовления (или порядковый номер месяца изготовления от 1 до 12),
- Т - признак изготовления подшипника по ТУ или ГОСТ.
9.2 БУКСОВЫЙ УЗЕЛ С ПОДШИПНИКОМ СДВОЕННЫМ
9.2.1 Подшипники сдвоенные в габаритных размерах 130 x 250 x 160 мм, должны соответствовать
ГОСТ 520,
ГОСТ 18572, ТУ ВНИПП.048-1-00 и ТУ ВНИПП.072-01.
9.2.2 Подшипники поставляют на ремонтные предприятия в виде изделий, готовых к монтажу методом прессовой посадки.
9.2.3 Подшипники сдвоенные типов Н6-882726Е2К1МУС44, Н6-882726Е2К2МУС44 и 46-882726Е2МС43 состоят из двух подшипников типа 36-42726Е2М (с бортовыми внутренними кольцами), соединенных между собой по внутренним кольцам специальным кольцом крепежным (при этом подшипник представляет собой единое целое). На внешних торцах наружных колец выполнены специальные проточки, в которые установлены защитные шайбы, предотвращающие вытекание смазки и попадание внутрь подшипника посторонних предметов. Подшипники заправлены смазкой и подобраны по радиальным и осевым зазорам, а также по диаметрам отверстий колец внутренних.
Подшипник сдвоенный устанавливают в корпус буксы
(рисунок 9.3) и вместе с корпусом буксы и кольцом лабиринтным запрессовывают на ось колесной пары. Крепление подшипника сдвоенного на шейке оси колесной пары типа РУ1Ш-957-Г осуществляют при помощи шайбы тарельчатой и четырех (или трех) болтов М20, а на оси колесной пары типа РУ1-957-Г - гайки торцевой М110. Корпус буксы закрывают крышками крепительной и смотровой.
Рисунок 9.3 - Буксовый узел с подшипником сдвоенным
9.2.4 Основные размеры подшипников сдвоенных приведены в
таблице 9.2.
Основные размеры подшипников сдвоенных
В миллиметрах
Габаритные размеры подшипника | Тип колесной пары | Тип нагружателя подшипника | Основные размеры подшипника | Ga | Gr |
d | D | C | d1 |
130 x 250 x 160 | РУ1-957-Г РУ1Ш-957-Г | Корпус буксы | 130 | 250 | 160 | 165 | 0,070...0,150 | 0,150...0,215 |
9.2.5 Маркировка
Маркировка подшипников сдвоенных нанесена на торцевой поверхности наружных и внутренних колец с одной стороны.
Пример маркировки на наружном кольце подшипника:
П 46-882726Е2МС43 RU ЕПК СПЗ 236 Э-А-Т
- П (или З) - передний (или задний) ряд подшипника,
- 46-882726Е2МС43 - условное обозначение подшипника (тип подшипника),
- RU - двухбуквенный код страны-изготовителя (может отсутствовать),
- ЕПК СПЗ - условное обозначение предприятия-изготовителя подшипника,
- 236 - порядковый номер подшипника,
- Э - условный знак года изготовления (или две последние цифры года изготовления),
- А - условный знак месяца изготовления (или порядковый номер месяца изготовления от 1 до 12),
- Т - признак изготовления подшипника по ТУ или ГОСТ.
Пример маркировки на внутреннем кольце:
П 236
- П (или З) - передний (или задний) ряд подшипника,
- 236 - порядковый номер подшипника.
9.2.6 Внешние отличительные признаки подшипников сдвоенных
(рисунок 9.4):
- на крышке смотровой буксового узла - надпись "СП" для подшипников производства АО "ХАРП" или "СПС" производства АО "ЕПК Саратов" и АО "ЕПК Степногорск", нанесенная белой краской и выполненная шрифтом N 4 согласно
Альбома-справочника 632-2011 ПКБ ЦВ;
- на бирке, установленной под левым верхним болтом М20 крышки крепительной буксового узла правой стороны колесной пары - клеймо "СП" или "СПС" высотой 10 мм и шириной 5 мм.
Рисунок 9.4 - Внешние отличительные признаки буксового узла
с подшипником сдвоенным
9.3 БУКСОВЫЙ УЗЕЛ С ПОДШИПНИКАМИ КАССЕТНОГО ТИПА
9.3.1 Подшипники кассетного типа торговой марки Бренко
9.3.1.1 Подшипники кассетного типа в габаритных размерах 130 x 250 x 160 мм, 130 x 230 x 150 мм и 150 x 250 x 160 мм должны соответствовать
ГОСТ 32769 и ТУ БРЕНКО 840-462869-567-09.
Подшипники поставляют на ремонтные предприятия в виде изделий, готовых к монтажу методом прессовой посадки.
Подшипники отрегулированы по осевым зазорам, диаметрам отверстий колец внутренних, заправлены смазкой и имеют встроенные уплотнения, предотвращающие проникновение внутрь подшипников воды, пыли, грязи.
9.3.1.2 Подшипник кассетного типа в габаритных размерах 130 x 250 x 160 мм устанавливают в серийный корпус буксы
(рисунок 9.5) и вместе с корпусом буксы и лабиринтом запрессовывают на шейку оси колесной пары типа РУ1Ш-957-Г. Крепление подшипника на оси осуществляют при помощи крышки передней и четырех болтов М20. Корпус буксы закрывают крышками крепительной и смотровой.
Рисунок 9.5 - Подшипник кассетного типа в габаритных
размерах 130 x 250 x 160 мм торговой марки Бренко
в корпусе буксы
9.3.1.3 Подшипники кассетного типа в габаритных размерах 130 x 230 x 150 мм и 130 x 250 x 160 мм под адаптер запрессовывают на шейку оси колесной пары типа РУ1Ш-957-Г, при этом крепление подшипников на оси осуществляют при помощи крышки передней и четырех болтов М20
(рисунок 9.6).
Подшипник в габаритных размерах 150 x 250 x 160 мм под адаптер запрессовывают на шейку оси колесной пары типа РВ2Ш-957-Г. Крепление подшипника на оси осуществляют при помощи крышки передней и трех болтов М24 или четырех болтов М20
(рисунок 9.6).
Рисунок 9.6 - Подшипники кассетного типа в габаритных
размерах 130 x 230 x 150 мм, 130 x 250 x 160 мм
и 150 x 250 x 160 мм торговой марки Бренко под адаптер
9.3.1.4 Основные размеры подшипников кассетного типа торговой марки Бренко приведены в
таблице 9.3
Основные размеры подшипников кассетного типа
торговой марки Бренко.
В миллиметрах
Габаритные размеры подшипника | Тип колесной пары | Тип нагружателя подшипника | Основные размеры подшипника | Ga |
d | D | C | d1 |
130 x 250 x 160 | РУ1Ш-957-Г | Корпус буксы, адаптер | 130 | 250 | 160 | 165 | 0,57...0,70 |
130 x 230 x 150 | РУ1Ш-957-Г | Адаптер | 130 | 230 | 150 | 165 | 0,57...0,70 |
150 x 250 x 160 | РВ2Ш-957-Г | Адаптер | 150 | 250 | 160 | 185 | 0,57...0,70 |
9.3.1.5 Маркировка
Маркировка подшипника кассетного типа торговой марки Бренко нанесена на цилиндрической поверхности наружного кольца.
Пример маркировки на наружном кольце нового подшипника:
BRENCO

RUM6L02-USA-H-08-00024
EPK-BRENCO

R UM6L02-H-08-00024-RUSSIA
EPK-BRENCO

RUM6L02-H-15-00024-RU1407
- BRENCO, EPK-BRENCO - завод-изготовитель наружного кольца подшипника,
- RUM6L02 - номер детали (M6L02 - код Компании для наружного кольца, соответствующий габаритам подшипника 130 x 250 x 160 мм),
- H-08, H-15 - код месяца и две последние цифры года выпуска наружного кольца подшипника (A - январь, B - февраль, C - март, D - апрель, E - май, F - июнь, G - июль, H - август, J - сентябрь, K - октябрь, L - ноябрь, M - декабрь),
- 00024 - порядковый номер наружного кольца подшипника (может содержать 5 или 6 цифр),
- USA, RUSSIA, RU - страна-изготовитель наружного кольца подшипника (RUSSIA - при изготовлении на заводе ООО "ЕПК-Бренко Подшипниковая компания", в России до 2015 года, RU - при изготовлении на заводе ООО "ЕПК-Бренко Подшипниковая компания", в России с 2015 года),
- 1407 - условный номер "ООО "ЕПК-Бренко Подшипниковая компания",
Дата изготовления подшипника указывается в паспорте на подшипник.
На отремонтированном подшипнике дополнительно к основной маркировке на цилиндрической поверхности наружного кольца нанесены знаки о проведенном ремонте.
Пример маркировки на наружном кольце отремонтированного подшипника:
EPK-BRENCO

RUM6L02-H-15-00024-RU1407 1407-P-10-15
- 1407 - условный номер ООО "ЕПК-Бренко Подшипниковая компания",
- Р - обозначение того, что подшипник прошел ремонт,
- 10-15 - месяц и две последние цифры года ремонта подшипника.
9.3.1.6 Внешние отличительные признаки подшипников:
а) в габаритных размерах 130 x 250 x 160 мм в корпусе буксы:
- наличие у основания кольца лабиринтного (лабиринта) кольцевого выступа
(рисунок 9.5) шириной 4 мм и наружным диаметром 185 мм;
- на крышке смотровой буксового узла - надпись "К-1"
(рисунок 9.7), нанесенная белой краской и выполненная шрифтом N 4, указанным в
Альбоме-справочнике 632-2011 ПКБ ЦВ;
- на бирке, установленной под левым верхним болтом М20 крышки крепительной буксового узла правой стороны колесной пары
(рисунок 9.7) - клеймо "К-1" высотой 10 мм и шириной 5 мм;
Рисунок 9.7 - Внешние отличительные признаки буксового узла
с подшипником кассетного типа в габаритных размерах
130 x 250 x 160 мм торговой марки Бренко
б) в габаритных размерах 130 x 230 x 150 мм, 130 x 250 x 160 мм и 150 x 250 x 160 мм под адаптер
(рисунок 9.8):
- отсутствие корпуса буксы, вместо которого используется адаптер, бирка при этом отсутствует;
- наименование торговой марки "BRENCO" на крышке передней подшипника.
Рисунок 9.8 - Внешние отличительные признаки подшипников
кассетного типа в габаритных размерах 130 x 230 x 150 мм,
130 x 250 x 160 мм и 150 x 250 x 160 мм под адаптер торговой
марки Бренко
(или ТЕК-КОМ)9.3.2 Подшипники кассетного типа торговой марки SKF (или ТЕК-КОМ)
9.3.2.1 Подшипники кассетного типа в габаритных размерах 130 x 250 x 160 мм, 130 x 230 x 150 мм и 150 x 250 x 160 мм должны соответствовать
ГОСТ 32769, ТУ SKF.CTBU.001-2010, ТУ ТКХ.TBU.100-2024.
Подшипники отрегулированы по осевым зазорам, диаметрам отверстий колец внутренних, заправлены смазкой и имеют встроенные уплотнения, предотвращающие проникновения внутрь подшипников воды, пыли, грязи.
Для предотвращения образования фретинг-коррозии между лабиринтом и кольцом внутренним заднего ряда подшипника используется прокладка полимерная.
9.3.2.2 Подшипник в габаритных размерах 130 x 250 x 160 мм устанавливают в серийный корпус буксы
(рисунок 9.9) и вместе с корпусом буксы и лабиринтом запрессовывают на шейку оси колесной пары типа РУ1Ш-957-Г. Крепление подшипника на оси колесной пары осуществляют при помощи крышки передней и четырех болтов М20. Корпус буксы закрывают крепительной и смотровой крышками.
Рисунок 9.9 - Подшипник кассетного типа в габаритных
размерах 130 x 250 x 160 мм торговой марки SKF (или ТЕК-КОМ)
в корпусе буксы
9.3.2.3 Подшипники кассетного типа в габаритных размерах 130 x 230 x 150 мм и 130 x 250 x 160 мм под адаптер запрессовывают на шейку оси колесной пары типа РУ1Ш-957-Г. Крепление подшипников на оси колесной пары осуществляют при помощи крышки передней и четырех болтов М20
(рисунок 9.10).
Подшипник в габаритных размерах 150 x 250 x 160 мм под адаптер запрессовывают на шейку оси колесной пары типа РВ2Ш-957-Г. Крепление подшипника на оси колесной пары осуществляют при помощи крышки передней и трех болтов М24 или четырех болтов М20
(рисунок 9.10).
Передача нагрузок от тележек на колесные пары и комплекты указанных типов подшипников осуществляется через адаптеры, свободно устанавливаемые на кольца наружные подшипников.
Рисунок 9.10 - Подшипники кассетного типа в габаритных
размерах 130 x 230 x 150 мм, 130 x 250 x 160 мм
и 150 x 250 x 160 мм торговой марки SKF (или ТЕК-КОМ)
под адаптер.
9.3.2.4 Основные размеры подшипников кассетного типа торговой марки SKF (или ТЕК-КОМ) приведены в
таблице 9.4
Основные размеры подшипников кассетного типа
торговой марки SKF (или ТЕК-КОМ)
В миллиметрах
Габаритные размеры подшипника | Тип колесной пары | Тип нагружателя подшипника | Основные размеры подшипника | Ga |
d | D | C | d1 |
130 x 250 x 160 | РУ1Ш-957-Г | Корпус буксы, адаптер | 130 | 250 | 160 | 165 | 0,58...0,68 |
130 x 230 x 150 | РУ1Ш-957-Г | Адаптер | 130 | 230 | 150 | 165 | 0,55...0,65 |
150 x 250 x 160 | РВ2Ш-957-Г | Адаптер | 150 | 250 | 160 | 185 | 0,65...0,75 |
9.3.2.5 Маркировка
Маркировка подшипника кассетного типа торговой марки SKF (или ТЕК-КОМ) нанесена на цилиндрической поверхности центральной выточки наружного кольца, на торцах внутренних колец и на кожухе уплотнения.
9.3.2.5.1 Маркировка подшипников, изготовленных по ТУ SKF.CTBU.001-2010
Пример маркировки на наружном кольце нового подшипника:
SKF OR-7030AA/VA3882 01-12 12345 E-0001 RUSSIA T G
Пример маркировки на внутреннем кольце нового подшипника:
SKFIR-7091/VA3882 01-12 12345 E-0001 RUSSIA T G
- SKF или ТЕК-КОМ - товарный знак";
- OR-7030AA/VA3882 - обозначение наружного кольца подшипника в габаритных размерах 150 x 250 x 160 мм (/VA3882 - может отсутствовать) (OR-7095 или OR-7095A - в габаритных размерах 130 x 250 x 160 мм, OR-7097B - в габаритных размерах 130 x 230 x 150 мм);
- IR-7091/VA3882 - обозначение внутреннего кольца подшипника в габаритных размерах 150 x 250 x 160 мм (/VA3882 - может отсутствовать) (IR-7095 или IR-7095A - в габаритных размерах 130 x 250 x 160 мм, IR-7097В - в габаритных размерах 130 x 230 x 150 мм);
- 01-12 - месяц и две последние цифры года изготовления;
- 12345 - порядковый (серийный) номер кольца. Номер наружного кольца считается порядковым (серийным) номером подшипника;
- Е-0001 - номер партии кольца (может отсутствовать);
- RUSSIA или ITALY - страна изготовитель подшипника;
- T - код предприятия ООО "СКФ" или ООО "ТЕК-КОМ Производство";
- G - код материала кольца (может отсутствовать).
Пример маркировки на уплотнении нового подшипника:
1440 23-01-12 CTBU 150 x 250 x 160 BT2-8720 BC-03
Порядок нанесения знаков маркировки может быть любым
- 1440 - условный номер ООО "СКФ" или ООО "ТЕК-КОМ Производство";
- 23-01-12 - число - месяц - две последние цифры года сборки подшипника (число может отсутствовать),
- CTBU 150 x 250 x 160 - наименование (габаритные размеры) подшипника;
- BT2-8720 BC-03 - обозначение подшипника по чертежу.
На отремонтированном подшипнике дополнительно к основной маркировке на наружном кольце нанесены знаки о проведенном ремонте.
Пример маркировки на наружном кольце отремонтированного подшипника:
SKF OR-7030AA / VA3882 01-12 12345 E-0001 RUSSIA T G
1440 01-12-15 REFT
- 1440 - условный номер ООО "СКФ" или ООО "ТЕК-КОМ Производство";
- 01-12-15 - число - месяц - две последние цифры года ремонта подшипника.
На одном из уплотнений отремонтированного подшипника нанесена маркировка о проведенном ремонте.
Пример маркировки на уплотнении отремонтированного подшипника:
1440 01-12-15 CTBU 150 x 250 x 160 BT2-8720 BC-03 REFT
- 1440 - условный номер ООО "СКФ" или ООО "ТЕК-КОМ Производство";
- 01-12-15 - число - месяц - две последние цифры года ремонта подшипника (число может отсутствовать);
- REFT - обозначение того, что подшипник прошел ремонт на ООО "СКФ" или REFT 0 - на ООО "ТЕК-КОМ Производство".
9.3.2.6 Внешние отличительные признаки подшипников:
а) в габаритных размерах 130 x 250 x 160 мм в корпусе буксы:
- наличие у основания кольца лабиринтного (лабиринта)
(рисунок 9.9) кольцевого выступа шириной 4 мм и наружным диаметром 185 мм;
- на крышке смотровой буксового узла - надпись "К"
(рисунок 9.11), нанесенная белой краской и выполненная шрифтом N 4, указанным в
Альбоме-справочнике 632-2011 ПКБ ЦВ;
- на бирке, установленной под левым верхним болтом М20 крышки крепительной буксового узла правой стороны колесной пары
(рисунок 9.11) - клеймо "К" высотой 10 мм и шириной 5 мм;
Рисунок 9.11 - Внешние отличительные признаки буксового узла
с подшипником кассетного типа в габаритных размерах
130 x 250 x 160 мм торговой марки SKF (или ТЕК-КОМ)
б) в габаритных размерах 130 x 230 x 150 мм, 130 x 250 x 160 мм и 150 x 250 x 160 мм под адаптер
(рисунок 9.12):
- отсутствие корпуса буксы, вместо которого используется адаптер, бирка при этом отсутствует;
- наименование торговой марки "SKF" на крышке передней подшипника.
Рисунок 9.12 - Внешние отличительные признаки подшипников
кассетного типа в габаритных размерах 130 x 230 x 150 мм,
130 x 250 x 160 мм и 150 x 250 x 160 мм торговой марки SKF
(или ТЕК-КОМ) под адаптер
9.3.2.5.2 Маркировка подшипников, изготовленных по ТУ ТКХ.TBU.100-2024
Пример маркировки на наружном кольце нового подшипника:
ТЕК-КОМ НК2-8250 01-24 12345 E-0001 RUSSIA T G
Порядок нанесения знаков маркировки может быть любым.
- ТЕК-КОМ - товарный знак;
- НК2-8250 - обозначение наружного кольца;
- 01-24 - месяц и две последние цифры года изготовления наружного кольца;
- 12345 - порядковый (серийный) номер подшипника (кольца);
- E-0001 - номер партии наружного кольца (может отсутствовать);
- RUSSIA - страна-изготовитель подшипника;
- T - код предприятия ООО "ТЕК-КОМ Производство" (может отсутствовать);
- G - код материала наружного кольца (может отсутствовать).
Пример маркировки на внутреннем кольце нового подшипника:
ТЕК-КОМ ВК1-8150 01-24 123456 I-0001 RUSSIA T G
Порядок нанесения знаков маркировки может быть любым.
- ТЕК-КОМ - товарный знак;
- ВК1-8150 - обозначение внутреннего кольца;
- 01-24 - месяц и две последние цифры года изготовления внутреннего кольца;
- 123456 - порядковый (серийный) номер кольца;
- I-0001 - номер партии внутреннего кольца (может отсутствовать);
- RUSSIA - страна-изготовитель подшипника;
- T - код предприятия ООО "ТЕК-КОМ Производство" (может отсутствовать);
- G - код материала наружного кольца (может отсутствовать).
Пример маркировки на уплотнении нового подшипника:
1440 30-01-24 TBU 150 x 250 x 160 TK2-8720-03
Порядок нанесения знаков маркировки может быть любым.
- 1440 - условный номер ООО "ТЕК-КОМ Производство";
- 30-01-24 - число - месяц - две последние цифры года сборки подшипника;
- TBU 150 x 250 x 160 - наименование (габаритные размеры) подшипника;
- TK2-8720-03 - обозначение подшипника по чертежу.
9.3.3 Подшипники кассетного типа торговой марки TIMKEN
9.3.3.1 Подшипники кассетного типа в габаритных размерах 150 x 250 x 160 мм должны соответствовать
ГОСТ 32769 и ТУ 3183-001-55207975-2013. Подшипники поставляются на ремонтные предприятия в виде изделий, готовых к монтажу методом прессовой посадки.
Подшипники отрегулированы по осевым зазорам, диаметрам отверстий колец внутренних, заправлены смазкой и имеют встроенные уплотнения, предотвращающие проникновение внутрь подшипников воды, пыли, грязи.
Подшипники в габаритах 150 x 250 x 160 мм запрессовываются на шейки оси колесной пары РВ2Ш-957-Г. Крепление подшипников на оси колесной пары осуществляется при помощи крышки передней и трех болтов М24 или четырех болтов М20
(рисунок 9.13).
Передача нагрузок от тележек на колесные пары и комплекты подшипников осуществляется через адаптеры, свободно устанавливаемые на кольца наружные подшипников.
На отремонтированном подшипнике дополнительно к основной маркировке на наружном кольце нанесены дополнительные знаки маркировки с информацией о выполненном ремонте.
Пример маркировки на наружном кольце отремонтированного подшипника:
ТЕК-КОМ НК2-8250 01-24 12345 E-0001 RUSSIA T G
1440 01-03-24 REFT
- 1440 - условный номер предприятия, выполнившего ремонт подшипника;
- 01-03-24 - число - месяц - две последние цифры года ремонта подшипника (число может отсутствовать);
- REFT - отметка о проведении ремонта подшипника на предприятии ООО "ТЕК-КОМ Производство".
Пример маркировки на уплотнении отремонтированного подшипника:
1440 01-03-24 TBU 150 x 250 x 160 TK2-8720-03 REFT
Порядок нанесения знаков маркировки может быть любым.
- 1440 - условный номер предприятия, выполнившего ремонт подшипника;
- 01-03-24 - число - месяц - две последние цифры года ремонта подшипника;
- TBU 150 x 250 x 160 - наименование (габаритные размеры) подшипника;
- TK2-8720-03 - обозначение подшипника по чертежу;
- REFT - отметка о проведении ремонта подшипника на предприятии ООО "ТЕК-КОМ Производство".
Рисунок 9.13 - Подшипник кассетного типа в габаритных
размерах 150 x 250 x 160 мм торговой марки TIMKEN
под адаптер
9.3.3.2 Основные размеры подшипников кассетного типа торговой марки TIMKEN приведены в
таблице 9.5.
Основные размеры подшипников кассетного типа торговой марки
TIMKEN
В миллиметрах
Габаритные размеры подшипника | Тип колесной пары | Тип нагружателя подшипника | Основные размеры подшипника | Ga |
d | D | C | d1 |
150 x 250 x 160 | РВ2Ш-957-Г | Адаптер | 150 | 250 | 160 | 185 | 0,55...0,68 |
9.3.3.3 Маркировка
Маркировка подшипника кассетного типа торговой марки TIMKEN нанесена на середине цилиндрической поверхности наружного кольца и на наружных торцевых поверхностях внутренних колец.
Пример маркировки на наружном кольце нового подшипника:
TIMKEN

NP335917-8*1C1 1115 124563A RU
Пример маркировки на внутреннем кольце нового подшипника:
TIMKEN

NP596043 1115 RU XXXX
- TIMKEN

- фирменный знак предприятия-изготовителя подшипника (компания The Timken Company (USA);
- NP335917 - обозначение наружного кольца подшипника в габаритных размерах 150 x 250 x 160 мм;
- NP596043 - обозначение внутреннего кольца подшипника в габаритных размерах 150 x 250 x 160 мм;
- 11 15 - месяц и две последние цифры года изготовления наружного или внутреннего колец подшипника;
- RU - страна предприятия-изготовителя наружного или внутреннего колец подшипника,
- XXXX - условный номер предприятия-изготовителя, осуществляющего сборку подшипника (на внутреннем кольце),
- 124563A - порядковый номер подшипника (на наружном кольце),
Примечание:
1. Буква "A" и т.д. в порядковом номере подшипника может присутствовать в случае дублирования номера.
2. На наружном кольце допускается наличие технологической маркировки (например, 8*1C1).
На отремонтированном подшипнике дополнительно к основной маркировке на наружном кольце нанесен знак о проведенном ремонте.
Пример маркировки на наружном кольце отремонтированного подшипника:
TIMKEN

NP335917-8*1C1 1115 124563A RU R
- R - обозначение того, что подшипник прошел ремонт.
9.3.3.4 Внешние отличительные признаки подшипников в габаритных размерах 150 x 250 x 160 мм под адаптер
(рисунок 9.14):
- отсутствие корпуса буксы, вместо которого используется адаптер, бирка при этом отсутствует;
- наименование торговой марки "TIMKEN" на крышке передней подшипника.
Рисунок 9.14 - Внешние отличительные признаки подшипников
кассетного типа в габаритных размерах 150 x 250 x 160 мм
под адаптер торговой марки TIMKEN
9.3.4 Подшипники кассетного типа торговой марки LYC
9.3.4.1 Подшипники кассетного типа в габаритных размерах 150 x 250 x 160 мм должны соответствовать
ГОСТ 32769, НВПР.01-00.000ТУ, ТУ LYC "Технические условия на подшипники типа 350630/TL". Подшипники поставляются на ремонтные предприятия в виде изделий, готовых к монтажу методом прессовой посадки.
Подшипники отрегулированы по осевым зазорам, диаметрам отверстий колец внутренних, заправлены смазкой и имеют встроенные уплотнения, предотвращающие проникновение внутрь подшипников воды, пыли, грязи.
Подшипники в габаритах 150 x 250 x 160 мм запрессовываются на шейки оси колесной пары РВ2Ш-957-Г. Крепление подшипников на оси колесной пары осуществляется при помощи крышки передней и трех болтов М24
(рисунок 9.15) или четырех болтов М20.
Передача нагрузок от тележек на колесные пары и комплекты подшипников осуществляется через адаптеры, свободно устанавливаемые на кольца наружные подшипников.
Рисунок 9.15 - Подшипник кассетного типа в габаритных
размерах 150 x 250 x 160 мм торговой марки LYC под адаптер
9.3.4.2 Основные размеры подшипников кассетного типа торговой марки LYC приведены в
таблице 9.6
Основные размеры подшипников кассетного типа
торговой марки LYC
В миллиметрах
Габаритные размеры подшипника | Тип колесной пары | Тип нагружателя подшипника | Основные размеры подшипника | Ga |
d | D | C | d1 |
150 x 250 x 160 | РВ2Ш-957-Г | Адаптер | 150 | 250 | 160 | 185 | 0,60...0,70 |
9.3.4.3 Маркировка
Маркировка подшипника кассетного типа торговой марки LYC нанесена по центру цилиндрической поверхности наружного кольца, на торцах внутренних колец и на кожухе уплотнения.
Пример маркировки на наружном кольце нового подшипника:
TBU 150 x 250 x 160 НВПР.02-00.000 LYC 000190 22-01
CN 350630/YA 6772

- TBU 150 x 250 x 160 НВПР.02-00.000 - условное обозначение подшипника;
- LYC - товарный знак предприятия-изготовителя наружного кольца и подшипника;
- 000190 - порядковый номер наружного кольца и подшипника;
- 22-01 - две последние цифры года и месяц изготовления наружного кольца;
- CN - страна-изготовитель наружного кольца и подшипника;
- 350630/YA - условное обозначения базового подшипника;
- 6772 - условный номер предприятия - изготовителя подшипника;
- EAC - единый знак обращения продукции на рынке государств - членов ЕАЭС (при наличии действующего сертификата соответствия ЕАЭС).
LYC 350630/TL CHINA 000201 05-22 6772
- LYC - товарный знак предприятия-изготовителя наружного кольца и подшипника;
- 350630/TL - условное обозначение подшипника (тип подшипника);
- CHINA - страна-изготовитель наружного кольца и подшипника;
- 000201 - заводской серийный номер наружного кольца и подшипника;
- 05-22 - месяц и две последние цифры года изготовления наружного кольца и подшипника;
- 6772 - условный номер предприятия - изготовителя подшипника.
На наружном кольце подшипника нанесен единый знак обращения продукции на рынке ЕАЭС -

.
Пример маркировки на внутреннем кольце нового подшипника:
350630/YA LYC CN 22-01
- 350630/YA - условное обозначения базового подшипника;
- LYC - товарный знак предприятия-изготовителя;
- CN - страна-изготовитель внутреннего кольца;
- 22-01 - две последние цифры года и месяц изготовления внутреннего кольца.
LYC 350630/TL 05-22 222 CHINA
- LYC - товарный знак предприятия-изготовителя внутреннего кольца;
- 350630/TL - условное обозначение подшипника (тип подшипника);
- 05-22 - месяц и две последние цифры года изготовления внутреннего кольца;
- 222 - номер партии;
- CHINA - страна-изготовитель внутреннего кольца;
Пример маркировки на кожухе уплотнения нового подшипника
TBU 150 x 250 x 160 НВПР.02-00.000 LYC 22.01.22 6772
- TBU 150 x 250 x 160 НВПР.02-00.000 - условное обозначение подшипника;
- LYC - товарный знак предприятия-изготовителя;
- 22.01.22 - число, месяц и две последние цифры года изготовления подшипника;
- 6772 - условный номер предприятия - изготовителя подшипника.
TBU 150 x 250 x 160 09-05-22 350630/TL
- TBU 150 x 250 x 160 - наименование (габаритные размеры) подшипника;
- 09-05-22 - число, месяц и две последние цифры года изготовления подшипника;
- 350630/TL - условное обозначение подшипника (тип подшипника).
(маркировка TBU 350630/TL введена
Протоколом от 08.12.2022)
9.3.4.4 Внешние отличительные признаки подшипников в габаритных размерах 150 x 250 x 160 мм под адаптер
(рисунок 9.16):
- отсутствие корпуса буксы, вместо которого используется адаптер, бирка при этом отсутствует;
- наименование торговой марки "LYC" на крышке торцевой подшипника;
- условное обозначение базового подшипника на крышке торцевой подшипника - 350630/YA или 350630/TL.
Рисунок 9.16 - Внешние отличительные признаки подшипников
кассетного типа в габаритных размерах 150 x 250 x 160 мм
под адаптер торговой марки LYC
9.3.5 Подшипники кассетного типа торговой марки ZWZ.
9.3.5.1 Подшипники кассетного типа в габаритных размерах 150 x 250 x 160 мм должны соответствовать
ГОСТ 32769 и техническим условиям Q/WZ.J141122-2022. Подшипники поставляются на ремонтные предприятия в виде изделий, готовых к монтажу методом прессовой посадки.
Подшипники отрегулированы по осевым зазорам, диаметрам отверстий колец внутренних, заправлены смазкой и имеют встроенные уплотнения, предотвращающие проникновение внутрь подшипников воды, пыли, грязи.
Подшипники в габаритах 150 x 250 x 160 мм запрессовываются на шейки оси колесной пары РВ2Ш-957-Г. Крепление подшипников на оси колесной пары осуществляется при помощи крышки передней и трех болтов М24
(рисунок 9.17) или четырех болтов М20.
Передача нагрузок от тележек на колесные пары и комплекты подшипников осуществляется через адаптеры, свободно устанавливаемые на кольца наружные подшипников.
Рисунок 9.17 - Подшипник кассетного типа в габаритных
размерах 150 x 250 x 160 мм торговой марки ZWZ под адаптер
9.3.5.2 Основные размеры подшипников кассетного типа торговой марки ZWZ приведены в
таблице 9.7
Основные размеры подшипников кассетного
типа торговой марки ZWZ
В миллиметрах
Габаритные размеры подшипника | Тип колесной пары | Тип нагружателя подшипника | Основные размеры подшипника | Ga |
d | D | C | d1 |
150 x 250 x 160 | РВ2Ш-957-Г | Адаптер | 150 | 250 | 160 | 185 | 0,60...0,70 |
9.3.5.3 Маркировка
Маркировка подшипника кассетного типа торговой марки ZWZ нанесена на середине цилиндрической поверхности наружного кольца, на торцах внутренних колец и на кожухе уплотнения.
Пример маркировки на наружном кольце нового подшипника:
6773 ZWZ CHN TBU 150 x 250 x 160 353130X2 2205 000007

Пример маркировки на внутреннем кольце нового подшипника:
ZWZ CHN TBU 150 x 250 x 160 353130X2 2205 010
Пример маркировки на уплотнении нового подшипника:
ZWZ CHN TBU 150 x 250 x 160 353130X2 22-05-13
- 6773 - условный номер предприятия - изготовителя, осуществляющего сборку подшипника (на наружном кольце);
- ZWZ - торговая марка изготовителя;
- CHN - код страны изготовителя подшипника;
- TBU - обозначение подшипника;
- 150 x 250 x 160 - габариты базового подшипника;
- 353130X2 - модель подшипника (номер конструкторской документации);
- 2205 000007 - индивидуальный (серийный) номер наружного кольца (подшипника в сборе), где
- 2205 - дата изготовления наружного кольца (две последние цифры года и месяц);
- 000007 - порядковый номер наружного кольца подшипника;
- EAC - единый знак обращения продукции на рынке государств - членов ЕАЭС (при наличии действующего сертификата соответствия ЕАЭС).
- 010 - номер партии стали, из которой изготовлено внутреннее кольцо;
- 22-05-13 - дата сборки подшипника на кожухе уплотнения (две последние цифры года-месяц-число).
На отремонтированном подшипнике дополнительно к основной маркировке на наружном кольце наносится знак о проведенном ремонте.
Пример маркировки на наружном кольце отремонтированного
подшипника:
6773 ZWZ CHN TBU 150 x 250 x 160 353130X2 2205 000007

R YYYY
- R - обозначение того, что подшипник прошел ремонт;
- YYYY - условный номер предприятия, производившего ремонт.
9.3.5.4 Внешние отличительные признаки подшипников в габаритных размерах 150 x 250 x 160 мм под адаптер
(рисунок 9.18):
- отсутствие корпуса буксы, вместо которого используется адаптер, бирка при этом отсутствует;
- наименование торговой марки "ZWZ" на крышке передней подшипника;
- номер модели (номер конструкторской документации) подшипника 353130X2 на крышке передней подшипника.
Рисунок 9.18 - Внешние отличительные признаки подшипников
кассетного типа в габаритных размерах 150 x 250 x 160 мм
под адаптер торговой марки ZWZ
9.3.6 Подшипники кассетного типа торговой марки SPZ-BEARINGS.
9.3.6.1 Подшипники кассетного типа в габаритных размерах 150 x 250 x 160 мм должны соответствовать
ГОСТ 32769 и техническим условиям ТУ "SPZ-BEARINGS" 339.21-2569-22. Подшипники поставляются на ремонтные предприятия в виде изделий, готовых к монтажу методом прессовой посадки.
Подшипники отрегулированы по осевым зазорам, диаметрам отверстий колец внутренних, заправлены смазкой и имеют встроенные уплотнения, предотвращающие проникновение внутрь подшипников воды, пыли, грязи.
Подшипники в габаритах 150 x 250 x 160 мм запрессовываются на шейки оси колесной пары РВ2Ш-957-Г. Крепление подшипников на оси колесной пары осуществляется при помощи крышки передней и трех болтов М24
(рисунок 9.19).
Передача нагрузок от тележек на колесные пары и комплекты подшипников осуществляется через адаптеры, свободно устанавливаемые на кольца наружные подшипников.
Рисунок 9.19 - Подшипник кассетного типа в габаритных
размерах 150 x 250 x 160 мм торговой марки SPZ-BEARINGS
под адаптер
9.3.6.2 Основные размеры подшипников кассетного типа торговой марки SPZ-BEARINGS приведены в
таблице 9.8.
Основные размеры подшипников кассетного типа торговой марки
SPZ-BEARINGS
В миллиметрах
Габаритные размеры подшипника | Тип колесной пары | Тип нагружателя подшипника | Основные размеры подшипника | Ga |
d | D | C | d1 |
150 x 250 x 160 | РВ2Ш-957-Г | Адаптер | 150 | 250 | 160 | 185 | 0,60...0,70 |
9.3.6.3 Маркировка
Маркировка подшипника кассетного типа торговой марки SPZ-BEARINGS нанесена по центру проточки цилиндрической поверхности наружного кольца, на широких торцах внутренних колец и на кожухе уплотнения.
Пример маркировки на наружном кольце нового подшипника:
TBU 150 x 250 x 160 153.21 SPZ 000900 UZ 09-22 2569 EAC,
где
TBU 150 x 250 x 160 - габаритные размеры базового подшипника;
153.21 - номер чертежа (вариант исполнения)
SPZ - фирменный знак предприятия-изготовителя подшипника;
000900 - порядковый номер подшипника;
UZ - страна предприятия-изготовителя;
09-22 - месяц и две последние цифры года изготовления;
2569 - условный номер предприятия-изготовителя подшипника;
EAC - единый знак обращения продукции на рынке государств - членов ЕАЭС (при наличии действующего сертификата соответствия ЕАЭС).
Пример маркировки на внутреннем кольце нового подшипника:
TBU 150 x 250 x 160 SPZ UZ 09-22 2569
где
TBU 150 x 250 x 160 - габаритные размеры базового подшипника;
SPZ - фирменный знак предприятия-изготовителя подшипника;
UZ - страна предприятия-изготовителя;
09-22 - месяц и две последние цифры года изготовления;
2569 - условный номер предприятия-изготовителя подшипника.
Пример маркировки на кожухе уплотнения нового подшипника:
TBU 150 x 250 x 160 SPZ UZ 09-22 2569
где
TBU 150 x 250 x 160 - габаритные размеры базового подшипника;
SPZ - фирменный знак предприятия-изготовителя подшипника;
UZ - страна предприятия-изготовителя;
09-22 - месяц и две последние цифры года изготовления;
2569 - условный номер предприятия-изготовителя подшипника.
9.3.6.4 Внешние отличительные признаки подшипников торговой марки SPZ-BEARINGS в габаритных размерах 150 x 250 x 160 мм под адаптер
(рисунок 9.20):
- отсутствие корпуса буксы, вместо которого используется адаптер, бирка при этом отсутствует;
- надпись SPZ на крышке передней подшипника.
Рисунок 9.20 - Внешние отличительные признаки подшипников
кассетного типа в габаритных размерах 150 x 250 x 160 мм
под адаптер торговой марки SPZ-BEARINGS
10 КОНСТРУКЦИИ ДЕТАЛЕЙ БУКСОВОГО УЗЛА
Размеры корпусов букс, адаптеров и деталей буксовых узлов и технические требования к ним должны соответствовать ОСТ 24.153.12,
ГОСТ 34385 или техническим условиям и конструкторской документации, согласованным и утвержденным порядком, установленным Советом по железнодорожному транспорту государств-участников Содружества.
10.1 КОРПУС БУКСЫ И АДАПТЕР
Корпус буксы приведен на
рисунках 10.1 и
10.2. Лабиринтная часть корпуса буксы может выполняться как единое целое с корпусом, так и отъемной частью, впрессованной в корпус.
--------------------------------
<*> расстояние между серединами шеек осей
1 - корпус буксы; 2 - кольцо лабиринтное;
3 - лабиринт отъемный;
4 - крышка крепительная;
5 - крышка смотровая
Рисунок 10.1 - Корпус буксы и детали буксового узла
--------------------------------
<*> Расстояние между серединами шеек осей
Рисунок 10.2 - Корпус буксы тележки пассажирского типа
изотермического вагона
Вариант конструкции адаптера приведен на
рисунке 10.3. В зависимости от типа тележки возможны другие варианты конструкций адаптеров.
10.2 КРЫШКИ КРЕПИТЕЛЬНАЯ И СМОТРОВАЯ
Рисунок 10.4 - Крышка крепительная
Рисунок 10.5 - Крышка смотровая
10.2.3 Болты крепления крышек крепительной и смотровой
Болты, применяемые для крепления крышек крепительной и смотровой к корпусу буксы, должны соответствовать требованиям
ГОСТ 7798 или
ГОСТ 7805 и использоваться:
- М12-6gx35.4.8 (М12-6gx35.5.6, М12-6gx35.5.8) - для крепления крышки смотровой;
- М20-6gx60.4.8 (М20-6gx60.5.6, М20-6gx60.5.8) - для крепления крышки крепительной.
Рисунок 10.6 - Кольцо лабиринтное
10.4 ДЕТАЛИ ТОРЦЕВОГО КРЕПЛЕНИЯ
10.4.1 Гайка торцевая М110x4 5Н6Н
Гайка торцевая М110x4 5Н6Н (далее - гайка торцевая М110) приведена на
рисунке 10.7.
Рисунок 10.7 - Гайка торцевая М110x4 5Н6Н
Рисунок 10.8 - Планка стопорная
10.4.3 Болты планки стопорной
Для крепления планки стопорной применяются болты М12-6gx35.4.8 (М12-6gx35.5.6, М12-6gx35.5.8), которые должны соответствовать требованиям
ГОСТ 7798 или
ГОСТ 7805.
10.4.4 Шайба тарельчатая (или крышка передняя)
Шайба тарельчатая - элемент торцевого крепления подшипников роликовых цилиндрических и сдвоенных на шейке оси
(рисунок 10.9).
Для крепления четырьмя болтами М20 на шейке оси типа РУ1Ш
Для крепления тремя болтами М20 на шейке оси типа РУ1Ш
Рисунок 10.9 - Шайба тарельчатая
Крышка передняя - элемент торцевого крепления подшипников кассетного типа на шейке оси, входит в комплект подшипника, поставляемого в виде изделия, готового к монтажу. В зависимости от конструкций подшипников крышки передние имеют разное конструктивное исполнение и не взаимозаменяемы.
| |
Для стопорения четырех болтов М20 | Для стопорения трех болтов М20 |
Рисунок 10.10 - Шайба стопорная
Шайбы стопорные, используемые в торцевом креплении подшипников кассетного типа в зависимости от конструкций подшипников имеют разное конструктивное исполнение и не взаимозаменяемы.
10.4.6 Болты торцевого крепления
Болты, применяемые для крепления подшипников на осях колесных пар, должны быть изготовлены по
ГОСТ 7798,
ГОСТ 1759.0 и
ГОСТ 24670 с исполнением головок болтов по варианту ("с ложной шайбой" на ее опорной поверхности). Резьба болтов должна быть изготовлена методом накатки.
10.4.6.1 Болты М20-6gx60.4.8 - для крепления шайбы тарельчатой (или крышки передней) торцевого крепления подшипников на осях типа РУ1Ш и РВ2Ш
(рисунок 10.11). Допускается использовать болты М20-6gx60.5.6 и М20-6gx60.5.8.
Рисунок 10.11 - Болт М20-6gx60.4.8 с резьбой, выполненной
методом накатки
10.4.6.2 Болты М24-6gx60.4.8, М24-6gx60.5.8, М24-6gx60.8.8, М24-6gx60.9.8 и М24-6gx60.10.9 - для крепления крышки передней подшипников кассетного типа на оси типа РВ2Ш.
10.4.6.3 На торцах головок болтов, впервые используемых при монтаже торцевого крепления, должны быть нанесены размером 6,00 x 2,25 мм две последние цифры года производства монтажа буксового узла.
10.4.6.4 Категорически запрещается использовать болты с отверстиями в их головках для торцевого крепления подшипников. Допускается болты М20 с отверстиями в их головках использовать для крепления крышек крепительных.
10.4.6.5 Срок службы болтов от момента их первого монтажа должен составлять не более 10 лет. Замена болтов с просроченным сроком службы производится при любом виде ремонта колесных пар. Допускается болты М20 со сроком службы более 10 лет использовать для крепления крышек крепительных.
10.4.6.6 Допускается применение болтов, получаемых в качестве комплектующих при поставке подшипников с деталями торцевого крепления.
10.4.7 Шайбы пружинные
Шайбы пружинные по
ГОСТ 6402 применяются для стопорения болтов М20 крышек крепительных и болтов М12 крышек смотровых буксовых узлов, а также болтов М12 планок стопорных.
10.4.8 Проволока
Проволока применяется для увязки головок болтов М12 планки стопорной от самоотворачивания и должна быть термически обработанной (отожженной) диаметром 1,5...2,0 мм по
ГОСТ 3282 или
ГОСТ 792.
10.5 РЕЗИНОВЫЕ УПЛОТНИТЕЛЬНЫЕ ЭЛЕМЕНТЫ
Резиновые уплотнительные элементы (кольцо уплотнительное -
рисунок 10.12 и прокладка -
рисунок 10.13) изготавливаются из резины 7-98-1 по ТУ 2500-295-00152106-93. Допускается изготовление по нормативной и конструкторской документации, утвержденной установленным порядком в соответствии с национальным законодательством.
Рисунок 10.12 - Кольцо уплотнительное
Рисунок 10.13 - Прокладка
Бирка, предназначенная для нанесения знаков и клейм о произведенном колесной паре ремонте, изготавливается из стального листа Б-1
ГОСТ 19903 толщиной 1,0...1,5 мм или ОК 360 В-1-IV
ГОСТ 16523 толщиной 0,8...1,0 мм. Форма и размеры бирки должны соответствовать
рисунку 10.14.
Рисунок 10.14 - Форма и размеры бирки
11.1 Каждая партия смазочных материалов при поступлении на ремонтные предприятия должна иметь документы о качестве (паспорт, сертификат качества) на соответствие ГОСТ или ТУ.
11.2 Упаковка, транспортирование и маркировка смазочных материалов должны соответствовать требованиям
ГОСТ 1510. Упаковку смазочных материалов и их маркировку проверяют внешним осмотром.
11.3 Смазочные материалы должны храниться в соответствии с рекомендациями предприятия-изготовителя, действующими стандартами или техническими условиями.
11.4 Каждая партия смазки дополнительно к документам о качестве должна иметь документ, подтверждающий проведение испытаний в специализированной организации по следующим показателям: внешний вид, вязкость, температура каплепадения, массовая доля свободной щелочи или свободных органических кислот, массовая доля механических примесей, пенетрация, массовая доля воды. При отсутствии указанного документа отбор пробы от каждой партии смазки, поступившей на ремонтное предприятие, и проведение ее анализа по указанным показателям в специализированной организации должны производиться ремонтным предприятием.
11.5 При прессовой посадке колес на оси, а также при хранении более одних суток новых и старогодных колес отверстия ступиц смазывают олифой натуральной по
ГОСТ 7931, или термообработанным маслом конопляным по
ГОСТ 8989, или льняным по
ГОСТ 5791, или подсолнечным по
ГОСТ 1129.
11.6 В буксовых узлах с подшипниками роликовыми цилиндрическими применяют смазки железнодорожные ЛЗ-ЦНИИ (У) по ТУ 0254-013-00148820-99, или Буксол по ТУ 0254-107-01124328-01, или ЗУМ по ТУ У 23.2-25404313-014:2005.
11.7 Подшипники сдвоенные и кассетного типа поступают на ремонтные предприятия заправленные специальной смазкой. Смазка закладывается предприятием-изготовителем на межремонтный период эксплуатации подшипников.
При установке подшипников сдвоенных и кассетного типа в корпус буксы в проточки лабиринтных колец закладывают смазки Буксол или ЗУМ. Допускается для подшипников сдвоенных применение другой смазки по согласованию с заводом-изготовителем подшипников.
11.8 При прессовой посадке подшипников на шейки осей и колец лабиринтных на предподступичные части осей используют пасту эМПи-4 по ТУ 0254-011-25887352-2007 или пасту Rosneft Plastex RW Lithium EP 1 HD.
11.9 При ремонте и хранении:
11.9.1 подшипников роликовых цилиндрических, установке подшипников всех типов в корпуса букс, корпусов букс (внутренние посадочные поверхности и детали буксовых узлов) более одних, но менее десяти суток применяют препарат-модификатор эМПи-1 по ТУ 0253-010-25887352-2005 или препарат-модификатор К-Букс по ТУ 19.20.29-122-40065452-2020.
11.9.2 подшипников роликовых цилиндрических, а также корпусов букс (внутренние посадочные поверхности и детали буксовых узлов) более десяти суток применяют масла трансформаторные по
ГОСТ 982 или веретенные АУ по ТУ 38-1011232-89;
11.9.3 колесных пар и их элементов более одних суток, но менее десяти суток применяют масла трансформаторные по
ГОСТ 982 или веретенные АУ по ТУ 38-1011232-89;
11.9.4 колесных пар и их элементов более десяти суток применяют масло консервационное марки К-17 по
ГОСТ 10877.
11.10 Подшипники, транспортируемые на другие ремонтные предприятия, консервируют с использованием масла консервационного марки К-17 по
ГОСТ 10877. После консервации обертывают в парафинированную бумагу и плотно укладывают в специальную тару с защитой от атмосферных воздействий. Допускается консервация подшипников с применением ингибированной пленки, обеспечивающей выполнение требований
ГОСТ 9.014.
11.11 Расконсервацию колесных пар и их элементов, подшипников роликовых цилиндрических производят в соответствии с требованиями
ГОСТ 9.014 путем их обмывки техническими моющими средствами. Если консервация выполнена с применением ингибированной пленки, расконсервацию производят удалением пленки без обмывки деталей.
11.12 Перед применением смазка ЛЗ-ЦНИИ (У) должна быть подвергнута гомогенизации (перемешиванию). Гомогенизации подвергают весь объем смазки из каждого тарного места (бидона, бочки и т.п.) для обеспечения однородности физико-химических свойств. Запрещается производить гомогенизацию смазок Буксол и ЗУМ.
11.13 Запрещается смешивать смазки ЛЗ-ЦНИИ (У), Буксол или ЗУМ.
11.14 Препарат-модификатор эМПи-1 перед применением необходимо взбалтывать до образования однородной смеси.
11.15 Для качественного нанесения на посадочные поверхности пасты эМПи-4 и пасты Rosneft Plastex RW Lithium EP 1 HD допускается их нагрев до температуры 35...45 °C.
11.16 Нормы расхода смазочных материалов приведены в
таблице 11.1.
Нормы расхода смазочных материалов
В килограммах
NN | Обрабатываемые детали | Смазочный материал | Норма расхода на один буксовый узел |
| Подшипники роликовые цилиндрические |
1.1 | Прессовая посадка подшипников на ось: |
1.1.1 | посадочная поверхность шейки и предподступичной части оси, поверхность отверстий колец внутренних, поверхность отверстия кольца лабиринтного. | эМПи-4 | 0,035 +/- 0,005 |
или |
Rosneft Plastex RW Lithium EP 1 HD |
|
1.2 | Монтаж буксового узла при заправке подшипников смазкой ЛЗ-ЦНИИ (У) или ЗУМ: |
1.2.1 | ролики, дорожки качения и бортики колец наружных | эМПи-1 | 0,080 +/- 0,010 |
или К-Букс | 0,025 +/- 0,005 |
1.2.2 | посадочная поверхность корпуса буксы, поверхность колец наружных | эМПи-1 или минеральное масло <2> или К-Букс | 0,030 +/- 0,005 |
0,030 +/- 0,005 |
0,010 +/- 0,005 |
1.2.3 | внутренняя поверхность крышки смотровой, цилиндрическая посадочная поверхность крышки крепительной и соответствующая ей поверхность корпуса буксы, болты М20 крепления крышки крепительной и болты М12 крышки смотровой или отверстия под них | эМПи-1 или минеральное масло <2> или К-Букс | 0,015 +/- 0,005 <1> |
1.2.4 | блоки подшипников и свободное пространство между задним подшипником и кольцом лабиринтным | ЛЗ-ЦНИИ (У), ЗУМ | 0,500...0,600 |
0,410 +/- 0,020 |
1.2.5 | проточки кольца лабиринтного | ЛЗ-ЦНИИ (У), ЗУМ | 0,100 +/- 0,010 |
1.2.6 | внешняя поверхность гайки торцевой М110 или шайбы тарельчатой (передняя часть буксы). | ЛЗ-ЦНИИ (У), ЗУМ | 0,150 +/- 0,010 |
1.2.7 | зазор между фланцевыми поверхностями корпуса буксы и крышки крепительной | ЛЗ-ЦНИИ (У), ЗУМ | 0,050 +/- 0,010 |
1.2.8 | болты М20 торцевого крепления и М12 планки стопорной или отверстия в оси под них | Минеральное масло <2> | 0,010 +/- 0,005 |
1.3 | Монтаж буксового узла при заправке подшипников смазкой Буксол: |
1.3.1 | ролики, дорожки качения и бортики колец наружных | эМПи-1 или К-Букс | 0,035 +/- 0,005 |
0,025 +/- 0,005 |
1.3.2 | посадочная поверхность корпуса буксы, поверхность колец наружных | эМПи-1 или минеральное масло <2> или К-Букс | 0,030 +/- 0,005 |
0,030 +/- 0,005 |
0,010 +/- 0,005 |
1.3.3 | болты М20 крепления крышки крепительной и болты М12 крышки смотровой или отверстия под них | эМПи-1 или минеральное масло <2> или К-Букс | 0,015 +/- 0,005 |
1.3.4 | блоки подшипников и свободное пространство между задним подшипником и кольцом лабиринтным | Буксол | 0,500 +/- 0,010 |
1.3.4.1 | дорожка качения кольца наружного <3> | Буксол | 0,100 +/- 0,005 |
1.3.4.2 | ролики и сепаратор блока подшипника в сборе, пространство между задним подшипником и кольцом лабиринтным <3> | Буксол | 0,400 +/- 0,005 |
1.3.5 | проточки кольца лабиринтного | Буксол | 0,100 +/- 0,010 |
1.3.6 | внешняя поверхность гайки торцевой М110 или шайбы тарельчатой (передняя часть буксы). | Буксол | 0,150 +/- 0,010 |
1.3.7 | зазор между фланцевыми поверхностями корпуса буксы и крышки крепительной | Буксол | 0,050 +/- 0,010 |
1.3.8 | фланцевая поверхность крышки крепительной, соединяемая с крышкой смотровой, внутренняя поверхность крышки смотровой | Буксол | 0,030 +/- 0,010 |
1.3.9 | цилиндрическая посадочная поверхность крышки крепительной и соответствующая ей поверхность корпуса буксы | Буксол | 0,030 +/- 0,010 |
1.3.10 | болты М20 торцевого крепления и М12 планки стопорной или отверстия в оси под них | Минеральное масло <2> | 0,010 +/- 0,005 |
| Подшипники сдвоенные и кассетного типа, устанавливаемые в корпус буксы |
2.1 | Прессовая посадка подшипников на ось: |
2.1.1 | посадочная поверхность шейки и предподступичной части оси, поверхность отверстий колец внутренних, поверхность отверстия кольца лабиринтного | эМПи-4 | 0,035 +/- 0,005 |
или |
Rosneft Plastex RW Lithium EP 1 HD |
|
2.2 | Монтаж буксового узла: |
2.2.1 | посадочная поверхность корпуса буксы, поверхность колец наружных | эМПи-1 | 0,030 +/- 0,005 |
2.2.2 | проточки колец лабиринтных | Буксол, ЗУМ <4> | 0,050 + 0,010 |
2.2.3 | внутренняя поверхность крышки смотровой, цилиндрическая посадочная поверхность крышки крепительной и соответствующая ей поверхность корпуса буксы, болты М20 крепления крышки крепительной, болты М12 крышки смотровой или отверстия под них | эМПи-1 или минеральное масло <2> или К-Букс | 0,015 +/- 0,005 <1> |
2.2.4 | болты М20 торцевого крепления и М12 стопорной планки или отверстия в оси под них | Минеральное масло <2> | 0,010 +/- 0,005 |
| Подшипники кассетного типа под адаптер |
3.1 | Прессовая посадка подшипников на ось: |
3.1.1 | посадочная поверхность шейки и предподступичной части оси, поверхности отверстий колец внутренних, поверхность отверстия кольца упорного заднего | эМПи-4 | 0,035 +/- 0,005 |
или |
Rosneft Plastex RW Lithium EP 1 HD |
|
3.2 | Монтаж торцевого крепления: |
3.2.1 | болты торцевого крепления М20 или М24 или отверстия в оси под них | Минеральное масло <2> | 0,010 + 0,005 |
|
11.17 Общее количество смазки закладываемой в буксовый узел с подшипниками роликовыми цилиндрическими составляет: ЛЗ-ЦНИИ (У) - 0,77...0,93 кг, Буксол - 0,80...0,92 кг, ЗУМ - 0,66...0,76 кг.
11.18 Развес смазки перед закладкой в буксовый узел должен производиться взвешиванием на весах с ценой деления не более 1,0 г, или с использованием мерных емкостей.
11.19 Тару со смазкой необходимо вскрывать, не допуская попадания в нее воды и механических примесей, при этом запрещается вырубка крышек. Выбирать смазку из тары необходимо пластиковой лопаткой или чистыми руками, для исключения ее загрязнения.
11.20 Внешние отличительные признаки буксовых узлов с подшипниками роликовыми цилиндрическими, заправленных смазкой Буксол или ЗУМ (рисунок 11.1):
- надпись "БУКСОЛ" или "ЗУМ", нанесенная на крышке смотровой корпуса буксы белой краской шрифтом N 7, указанным в
Альбоме-справочнике 632-2011 ПКБ ЦВ;
- маркировка "Б" или "З", выбитая на бирке, устанавливаемой под левый верхний болт крышки крепительной с правой стороны колесной пары.
Рисунок 11.1 - Отличительные признаки буксового узла
с подшипниками роликовыми цилиндрическими, заправленными
смазкой Буксол или ЗУМ
11.21 Ресурс работы смазок:
- ЛЗ-ЦНИИ (У) по ТУ 0254-013-00148820-99 - 5 лет или 450 тыс. км,
- Буксол по ТУ 0254-107-01124328-01 - 6 лет или 600 тыс. км,
- ЗУМ по ТУ У 23.2-25404313-014:2005 - 5 лет или 450 тыс. км.
12 ВИДЫ, ПОРЯДОК ОСМОТРА И РЕМОНТА КОЛЕСНЫХ ПАР
12.1 ПОРЯДОК ПРОВЕДЕНИЯ ОСМОТРА И РЕМОНТА КОЛЕСНЫХ ПАР
12.1.1 Для контроля технического состояния колесных пар с буксовыми узлами, подкатываемых под вагоны или находящихся под ними в эксплуатации, а также для восстановления исправного состояния колесных пар и буксовых узлов устанавливается система их осмотра и ремонта, предусматривающая:
12.1.1.1 техническое обслуживание (осмотр) колесных пар под вагонами;
12.1.1.2 текущий ремонт колесных пар;
12.1.1.3 средний ремонт колесных пар;
12.1.1.4 капитальный ремонт колесных пар.
12.1.2 Техническое обслуживание колесных пар под вагонами в эксплуатации выполняют осмотрщики вагонов, а при текущем отцепочном ремонте вагонов - мастера, бригадиры, осмотрщики вагонов, слесари по ремонту подвижного состава.
Работники, осуществляющие замену колесных пар при текущем отцепочном ремонте вагонов, должны ежегодно сдавать экзамены на знание настоящего РД в объеме своих должностных обязанностей. Порядок сдачи экзаменов, состав комиссии, круг работников, допускаемых к замене колесных пар, определяет эксплуатационное предприятие, которому присвоен условный номер, зарегистрированный в справочнике "Условные коды предприятий, осуществляющих изготовление, техническое обслуживание, ремонт подвижного состава и его составных частей". Осмотрщики вагонов должны сдавать экзамены в знании настоящего РД в объеме своих должностных обязанностей в сроки и в порядке, соответствующем требованиям
Инструкции по техническому обслуживанию вагонов в эксплуатации (далее - Инструкция осмотрщику вагонов).
12.1.3 Капитальный, средний и текущий ремонт колесных пар выполняют лица, сдавшие экзамены на знание настоящего РД и получившие право на выполнение этих работ с выдачей Удостоверения установленной формы.
12.1.4 Порядок проведения и сдачи экзаменов, состав комиссии, круг работников, допускаемых к сдаче экзаменов, а также порядок выдачи и форму Удостоверений на право производства капитального, среднего и текущего ремонтов колесных пар определяет ремонтное предприятие, получившее право на использование условного номера для клеймения ответственных узлов и деталей подвижного состава.
12.2 ТЕХНИЧЕСКОЕ ОБСЛУЖИВАНИЕ КОЛЕСНЫХ ПАР ПОД ВАГОНАМИ
12.2.1 Техническое обслуживание колесных пар и буксовых узлов, контроль параметров колесных пар под вагонами производят в соответствии с требованиями
Инструкции осмотрщику вагонов:
12.2.1.1 на станциях формирования и расформирования поездов, с ходу в момент прибытия, после прибытия и перед отправлением;
12.2.1.2 на станциях, где графиком движения поездов предусмотрена стоянка для технического осмотра вагонов;
12.2.1.3 в пунктах подготовки вагонов к перевозкам и перед постановкой в поезд;
12.2.1.4 после крушений, аварий поездов, столкновений подвижного состава;
12.2.1.5 при текущем отцепочном ремонте вагонов.
12.2.2 При техническом обслуживании колесных пар и буксовых узлов под вагонами производят:
12.2.2.1 технический контроль колесных пар и их элементов.
Допускаемые значения параметров колесных пар в эксплуатации:
- равномерный прокат колеса - не более 9 мм;
- толщина гребня колеса - 25...33 мм;
- толщина обода колеса - не менее 22 мм.
При наличии на поверхности катания колеса дефектов (выщербины, ползуны, неравномерный прокат), замер толщины обода производят в месте расположения дефекта;
- расстояние между внутренними боковыми поверхностями ободьев колес у колесных пар с осями:
РУ1 и РУ1Ш - 1437...1443 мм,
РВ2Ш - 1439...1443 мм.
Измерение расстояния между внутренними боковыми поверхностями ободьев колес производят только у освобожденной от нагрузки колесной пары.
Запрещается выпускать в эксплуатацию и допускать к следованию в составах поездов вагоны с дефектами и неисправностями элементов колесных пар:
- трещинами в любой части оси колесной пары;
- следами контакта с электродом или электросварочным проводом в любой части оси и/или колеса;
- трещинами в любой части колеса;
- сдвигом колеса на подступичной части оси;
- ослаблением посадки колеса на оси.
Признаком ослабления посадки колеса на оси является разрыв краски у ступицы по всему периметру соединения колеса с осью и появление коррозионной полосы (ржавчины) или масла из-под ступицы с внутренней стороны колеса;
- неравномерным прокатом (при обнаружении) - более 2 мм.
- вертикальным подрезом гребня колеса;
- остроконечным накатом гребня
Примечание:
Браковочным является остроконечный накат, находящийся в рабочей части гребня колеса в зоне по высоте 2 мм от вершины гребня и 13 мм от поверхности катания, которая определяется приспособлением для установления зоны браковки остроконечного наката гребня Т 1436.000. Не браковочным является остроконечный накат в вершинной (нерабочей) части гребня, не имеющего вертикального подреза.
- ползуном на поверхности катания колес глубиной более 1 мм;
- наваром на поверхности катания колеса высотой более 1 мм;
- выщербиной на поверхности катания колеса глубиной более 10 мм или длиной более 50 мм.
Колесные пары с выщербинами на поверхности катания колес глубиной до 1 мм не бракуются независимо от их длины. Трещина в выщербине или расслоение, идущее вглубь металла, не допускается;
- кольцевыми выработками на поверхности катания колес у основания гребня глубиной "А" более 1 мм, на конусности 1:3,5 "Б" более 2 мм или шириной "В" более 15 мм
(рисунок 12.1).
При наличии кольцевых выработок на других участках поверхности катания нормы их браковки такие же, как для кольцевых выработок, расположенных у гребня.
Не является кольцевой выработкой темная полоса в зоне радиусного перехода от поверхности катания к основанию гребня, являющаяся черновиной, оставшейся из-за отсутствия в этой зоне износа поверхности катания и гребня нового колеса после капитального ремонта или изготовления колесной пары.
Рисунок 12.1 - Кольцевые выработки на поверхности
катания колес
- местным уширением обода колеса более 5 мм;
- отколом наружной боковой поверхности обода колеса, включая откол кругового наплыва, глубиной (по радиусу колеса) более 10 мм, или если ширина оставшейся части обода в месте откола менее 120 мм или в поврежденном месте независимо от размеров откола имеется трещина, идущая вглубь металла.
12.2.2.2 технический контроль буксовых узлов
Контроль буксовых узлов в пути следования грузовых вагонов осуществляется:
- средствами диагностики на ходу поезда;
- работниками вагонных депо и пунктов технического обслуживания, осуществляющих эксплуатационную деятельность.
При встрече состава поезда с ходу выявляют внешние признаки ненормальной работы буксовых узлов: скрежет, пощелкивание, искрение, задымление, появление запаха, движение колесной пары юзом.
При осмотре буксовых узлов во время остановки (стоянки) поезда контролируют:
с подшипниками в корпусе буксы: сдвиг вдоль оси корпуса буксы и/или его перекос; трещины корпусов букс и крепительных крышек, трещины и деформацию смотровых крышек (например, "вздутая", а также имеющая протертости или пробоины от взаимодействия с элементами торцевого крепления и деталями подшипника); ослабление (или отсутствие) болтов М20 крепления крышек крепительных и/или болтов М12 крышек смотровых, обрыв (или ослабление) болтов М20 или срыв гайки торцевой М110 торцевого крепления подшипников (определяется путем остукивания смотровой крышки ниже ее центра), выброс смазки на диск и/или обод колеса, нагрев верхней части корпуса буксы.
При подозрении на ненормальную работу подшипников в корпусе буксы производят снятие крышек смотровых.
с подшипниками кассетного типа под адаптеры: смещение (перекос) адаптера относительно наружного кольца подшипника или боковой рамы тележки, сдвиг подшипника вдоль шейки оси колесной пары, отколы и/или разрушения адаптеров, отколы и/или трещины колец наружных, обрыв (или ослабление) болтов М20 или М24 торцевого крепления подшипников, нарушение целостности уплотнений, выброс смазки на диск и/или обод колеса и/или адаптер, нагрев верхней части адаптера.
Признаками ненормальной работы буксовых узлов, требующих отцепки вагона являются:
с подшипниками в корпусе буксы:
- сдвиг и/или перекос корпуса буксы;
- разрушение или трещины корпусов букс, крышек смотровых и крепительных;
- выброс смазки на диск и/или обод колеса, вызванный перегревом подшипника;
- нагрев верхней части корпуса буксы (свыше 60 °C - с подшипниками роликовыми цилиндрическими и сдвоенными, свыше 70 °C - с подшипниками кассетного типа относительно температуры окружающего воздуха), определяемый бесконтактным измерителем температуры в соответствии с требованиями
Инструкции осмотрщику вагонов.
После снятия крышек смотровых:
- обрыв (или ослабление) болтов М20, болтов М12 планки стопорной или срыв (или ослабление) гайки М110 торцевого крепления подшипников на оси;
- наличие воды в передней части корпуса буксы в свободном состоянии или в виде льда;
Примечание - Браковочным признаком не является:
1. Взвешенно-капельное состояние воды (конденсат).
2. Следы коррозии на крышках корпуса буксы, крышках и уплотнениях подшипников кассетного типа.
- выброс смазки с примесью металлических частиц в крышку смотровую или из-под шайбы защитной подшипника сдвоенного, а также на уплотнение подшипника кассетного типа.
Примечание - Не является браковочным признаком выделение смазки в виде равномерно распределенного валика на уплотнении подшипника кассетного типа, внутренней цилиндрической поверхности крышки крепительной, а также в виде отдельных капель, располагающихся в нижней части корпуса буксы (крышки крепительной).
с подшипниками кассетного типа под адаптеры:
- заклинивание подшипника;
- разрушение, отколы и трещины адаптеров;
- смещение (перекос) адаптера относительно наружного кольца подшипника или боковой рамы тележки;
- трещины и отколы наружных колец подшипников;
- сдвиг подшипника вдоль шейки оси колесной пары;
- обрыв (или отсутствие) болтов М20 или М24 торцевого крепления подшипников на оси;
- повреждение уплотнений подшипников;
- нагрев подшипника свыше 80 °C относительно температуры окружающего воздуха по показаниям средств диагностики на ходу поезда;
- нагрев верхней части адаптера свыше 70 °C относительно температуры окружающего воздуха, определяемый бесконтактным измерителем температуры в соответствии с требованиями
Инструкции осмотрщику вагонов;
- выброс смазки на диск и/или обод колеса и/или адаптер, вследствие перегрева подшипника, а также выброс смазки с примесью металлических частиц из-под уплотнения подшипника.
Примечание:
1. При отсутствии перегрева подшипника особое внимание обращается на состояние подшипника и его уплотнений, при наличии дефектов подшипник бракуют.
2. Не является браковочным признаком выделение смазки из-под уплотнения подшипника в виде равномерно распределенного валика.
Категорически запрещается производить демонтаж крышек крепительных корпусов букс, а также гаек торцевых М110 и болтов М20 или М24 торцевого крепления подшипников на оси.
12.3 ПОДГОТОВКА КОЛЕСНЫХ ПАР К РЕМОНТУ (ВХОДНОЙ КОНТРОЛЬ)
12.3.1 При подготовке колесных пар к ремонту производят:
12.3.1.1 сухую очистку от грязи, остатков наслоения краски и смазки элементов колесных пар;
12.3.1.2 визуальный осмотр и измерения геометрических параметров элементов колесных пар и корпусов букс на соответствие нормам, установленным настоящим РД;
12.3.1.3 определение ремонтопригодности и объемов работ.
12.3.2 При визуальном осмотре проверяют состояние элементов колесных пар, наличие бирок, знаков маркировки и клейм, предусмотренных настоящим РД, а также состояние буксовых узлов.
Выявленные трещины и другие подозрительные места выделяют с помощью несмываемых красителей (например, краска или маркеры).
Особое внимание должно быть обращено на места сопряжения подступичных частей оси и ступиц колес с целью выявления признаков ослабления прессовой посадки или сдвига колес на оси.
Характерные признаки ослабления и сдвига колеса на оси:
- разрыв краски у ступицы по всему периметру соединения колеса с осью и появление коррозионной полосы (ржавчины) или масла из-под ступицы с внутренней стороны колеса;
- среднее значение расстояния между внутренними боковыми поверхностями ободьев колес, определенное по измерениям в четырех точках, расположенных в двух взаимно перпендикулярных плоскостях, не соответствует установленной норме.
При наличии ослабления или сдвига колеса на оси колесной паре выполняют капитальный ремонт.
При сдвиге буксового узла вдоль шейки оси колесной пары, механических повреждениях корпуса буксы, наружных колец и уплотнений подшипников кассетного типа под адаптер (разрушение, следы ударов, отколы, трещины, деформации), наличии следов выброса смазки на диск и/или обод колеса через уплотнения корпуса буксы или уплотнения подшипника кассетного типа, колесной паре выполняют средний ремонт.
12.3.3 Колесным парам с буксовыми узлами, которым по результатам визуального осмотра и измерениям не требуется проведение среднего ремонта, выполняют входной вибродиагностический контроль буксовых узлов. При отрицательном результате вибродиагностического контроля (показатель - "брак") одного или двух буксовых узлов одной колесной пары, колесную пару направляют в средний ремонт. При положительном результате вибродиагностического контроля (показатель - "норма") колесную пару направляют в текущий ремонт. Результаты входного вибродиагностического контроля буксовых узлов за каждую смену оформляют документом (распечатка с электронного носителя в виде протокола, отчета и т.п.), в котором должны быть указаны: дата проведения диагностики буксовых узлов, номера колесных пар и результат диагностики ("брак" или "норма") каждой колесной пары. Документ подписывают специалист, произведший диагностику, и мастер (или другое уполномоченное лицо), и хранят на ремонтном предприятии не менее 8 лет.
При проведении вибродиагностического контроля температура буксовых узлов должна быть не ниже плюс 10 °C.
12.3.4 Колесные пары, требующие среднего или капитального ремонта, должны быть обмыты в соответствии с требованиями
18 и
30.1.
12.3.5 Результаты входного контроля колесных пар и требуемый вид ремонта фиксируют в натурных колесных листках формы ВУ-51, в журнале формы ВУ-53 и в "Ремонтной карточке на колесную пару грузового вагона" в соответствии с Инструктивными указаниями о порядке ее заполнения и кодирования с момента ввода в действие на национальном уровне автоматизированного банка данных колесных пар (АБД КПГВ).
12.4 ТЕКУЩИЙ РЕМОНТ КОЛЕСНЫХ ПАР
12.4.1 Текущий ремонт колесных пар выполняют:
12.4.1.1 при каждой подкатке колесных пар под вагоны, кроме колесных пар, указанных в
31.6.5.1.
Допускается при проведении вагону ТР подкатывать под него колесные пары без выполнения им текущего ремонта при условии их подкатки под вагон на том же участке ТР, где они были выкачены из-под другого вагона, или на другом участке ТР, входящем в структуру того же ремонтного или эксплуатационного предприятия. На подкатываемые колесные пары должны быть оформлены пересылочная ведомость
формы ВУ-50 и натурный колесный листок формы ВУ-51, при этом параметры колесных пар должны соответствовать требованиям
таблицы 22.1 и соблюдаться условия
22.1 и
22.5;
12.4.1.2 при восстановлении профиля поверхности катания колес без демонтажа буксовых узлов;
12.4.1.3 при проведении профилактических мероприятий по отдельным указаниям железнодорожных администраций или владельцев инфраструктуры;
12.4.1.4 при положительном результате входного вибродиагностического контроля (показатель - "норма") буксовых узлов колесных пар
(12.3.3);
12.4.1.5 при ослаблении (или отсутствии) болта М20 крышки крепительной и/или болтов М12 крышки смотровой буксового узла.
12.4.2 При текущем ремонте колесных пар выполняют:
12.4.2.1 Восстановление профиля поверхности катания колес (при необходимости) в соответствии с
19;
12.4.2.2 Техническое диагностирование буксовых узлов, при котором:
12.4.2.2.1 у буксовых узлов с подшипниками всех типов в корпусе буксы крышку смотровую снимают, место прилегания ее к крышке крепительной очищают и протирают насухо. Крышки смотровую и крепительную осматривают на соответствие требованиям
25.2.3, при браковке их заменяют новыми или исправными. Болты М12 и М20 крепления крышек, имеющие деформацию или с поврежденной резьбой, бракуют и заменяют новыми или исправными.
12.4.2.2.2 проверяют качество смазки в передней части корпуса буксы (только для подшипников роликовых цилиндрических). Обводнение, загрязнение смазки, наличие в ней металлических включений и механических примесей не допускается, при наличии хотя бы одного из перечисленных признаков колесной паре производят средний ремонт. Потемнение смазки не является браковочным признаком. Годную к эксплуатации смазку из передней части буксового узла перекладывают в смотровую крышку, которую помещают внутренней стороной вверх в закрываемую емкость. Состояние смазки определяют органолептическим методом после растирания небольшой порции смазки на тыльной стороне руки или суконном материале, или зеркале (при необходимости используют лупу с кратностью увеличения не менее 3-х).
Выброс смазки с примесью металлических частиц в крышку смотровую или из-под шайбы защитной подшипника сдвоенного и уплотнения подшипника кассетного типа является браковочным признаком, колесной паре производят средний ремонт.
12.4.2.2.3 проверяют визуально состояние видимых частей подшипника.
У подшипников всех типов трещины, изломы, отколы или разрушения видимых деталей не допускаются. При наличии повреждений колесной паре производят средний ремонт;
12.4.2.2.4 проверяют состояние торцевого крепления подшипников на шейках осей колесных пар:
а) подшипников роликовых цилиндрических и сдвоенных гайкой торцевой М110 на оси РУ1.
Надежность крепления гайки проверяют ударами слесарного молотка массой до 0,5 кг по оправке, упираемой в одну из граней коронки или в шлиц гайки. Проверку производят в обе стороны возможного вращения гайки. При отсутствии ослабления гайки торцевой М110, ее не демонтируют.
В случае ослабления гайки торцевой М110, деформации хвостовика планки стопорной гайку демонтируют. При этом снимают проволоку с болтов М12 планки стопорной, болты вывертывают, планку стопорную снимают. Гайку торцевую М110 отворачивают, кольцо плоское упорное переднего подшипника снимают и протирают насухо.
Осмотр и ремонт гайки производят в соответствии с требованиями
25.3.1, при браковке ее заменяют новой или исправной.
Планку стопорную и болты М12 ее крепления осматривают на соответствие требований
25.3.2 и
25.3.5, забракованные болты или планку заменяют новыми или исправными.
Контроль резьбы оси М110, резьбовых отверстий под болты М12 планки стопорной производят в соответствии с
3.10,
3.11,
3.12 таблицы Б.1.
Колесную пару с поврежденной резьбой оси М110, резьбы резьбовых отверстий М12 и с обрывом болтов М12 к дальнейшей эксплуатации не допускают, ось бракуют.
При необходимости обточки колесных пар при отсутствии ослабления гайки М110 снимают планку стопорную. Взамен снятой крышки смотровой устанавливают крышку защитную
(19.2).
б) подшипников роликовых цилиндрических и сдвоенных шайбой тарельчатой и четырьмя (тремя) болтами М20 на оси РУ1Ш.
Проверяют момент затяжки болтов М20 динамометрическим ключом, предварительно отогнув лепестки шайбы стопорной. Болты, имеющие затяжку крутящим моментом менее 225 Нм (23 кгс м), должны быть подтянуты до момента затяжки 225...245 Нм (23...25 кгс м). При наличии хотя бы одного из болтов М20 с крутящим моментом затяжки менее 100 Нм (10 кгс м), все болты данного буксового узла должны быть вывернуты.
Болты М20 осматривают согласно
25.3.5, шайбы стопорные -
25.3.4, забракованные болты заменяют новыми или исправными, шайбы стопорные - новыми. Шайбы тарельчатые осматривают на соответствие требованиям
25.3.3, забракованные заменяют новыми или исправными.
Применение резьбовых калибров для контроля резьбы в отверстиях осей, бывших в эксплуатации, не допускается.
При обрыве болта его резьбовая часть, оставшаяся в отверстии оси, должна быть вывернута из оси без ее повреждения. При механическом повреждении от 4 до 8 первых ниток резьбы оси, или при наличии следов герметика резьбовое отверстие исправляют метчиком.
в) подшипников кассетного типа крышкой передней и четырьмя (тремя) болтами М20 на осях РУ1Ш и РВ2Ш, тремя болтами М24 на осях РВ2Ш.
Производят контроль осевого зазора подшипников, который должен быть в диапазоне значений 0,01...0,40 мм. Для подшипников торговой марки LYC осевой зазор должен быть в диапазоне значений 0,05...0,45 мм, для подшипников торговой марки ZWZ - 0,01...0,50 мм, для подшипников торговой марки SPZ-BEARINGS - 0,03..0,40 мм. При несоответствии величины осевого зазора подшипников допускаемым значениям колесной паре производят средний ремонт. Измерение осевого зазора выполняют в соответствии с
29.24.
(абзац в ред. Протокола от 08.12.2022)
Проверяют затяжку болтов торцевого крепления подшипников путем их остукивания слесарным молотком массой 0,5 кг. При наличии звонкого звука ослабление затяжки болтов отсутствует.
Контролируют плотность прилегания лепестков шайбы стопорной к головкам болтов. Контроль выполняют измерением зазора между лепестками шайбы стопорной и гранями головок болтов с использованием пластинчатого щупа толщиной 0,2 мм, при этом зазор, измеренный на расстоянии 10,0 мм от верха головки болта, не должен превышать 0,2 мм.
При ослаблении затяжки болтов М20 или М24 или увеличении зазора между лепестками шайбы стопорной и гранями головок болтов, проверяют момент затяжки болтов динамометрическим ключом, предварительно отогнув лепестки шайбы стопорной.
Болты М20, имеющие затяжку крутящим моментом менее 225 Нм (23 кгс м), должны быть подтянуты до момента затяжки 225...245 Нм (23...25 кгс м). Болты М24, имеющие затяжку крутящим моментом менее 315 Нм (32 кгс м), также должны быть подтянуты до момента затяжки 315...355 Нм (32...36 кгс м);
При наличии хотя бы одного из болтов М20 или М24 с крутящим моментом менее 100 Нм (10 кгс м), все болты данного буксового узла должны быть вывернуты.
Болты М20 или М24 осматривают согласно
25.3.5, шайбы стопорные -
25.3.4, забракованные болты заменяют новыми или исправными, шайбы стопорные - новыми. Производят осмотр крышки передней на соответствие требованиям
25.3.3, забракованные заменяют новыми или исправными.
Применение резьбовых калибров для контроля резьбы в отверстиях осей, бывших в эксплуатации, не допускается.
При обрыве болта, его резьбовая часть, оставшаяся в отверстии оси, должна быть вывернута из оси без ее повреждения.
При механическом повреждении от 4 до 8 первых ниток резьбы оси или при наличии следов герметика резьбовое отверстие исправляют метчиком.
12.4.2.2.5 монтаж торцевого крепления подшипников на шейках осей колесных пар производят в следующем порядке:
а) типа РУ1-957-Г - гайкой торцевой М110.
Предварительно установленное на шейку оси колесной пары кольцо плоское упорное переднего подшипника должно быть обращено маркировкой к передней части корпуса буксы.
На резьбовую часть оси навинчивают гайку торцевую М110, предварительно подобранную по резьбе шейки оси для обеспечения наименьшего зазора в резьбовом соединении.
Постановка гаек без кольцевой выточки запрещается.
Гайку торцевую М110 затягивают до соприкосновения с кольцом упорным переднего подшипника и туго поджимают при применении специального стенда (гайковерта) или вручную гаечным ключом и молотком массой 3...5 кг двумя - четырьмя ударами, прилагаемыми на плече 0,5 м до получения металлического звука.
В паз на торце оси устанавливают планку стопорную таким образом, чтобы ее хвостовик не был введен в шлиц гайки. Вворачивают один болт М12 планки стопорной с установленной под него шайбой пружинной. Планка должна быть установлена в такое положение, чтобы при последующей затяжке гайки торцевой М110 для ввода хвостовика планки в шлиц, гайка повернулась бы от половины до одной коронки.
При применении гаечного ключа со стрелкой, после установки гайки вручную до соприкосновения с плоским упорным кольцом, ее предварительно затягивают одним ударом молотка массой 3...5 кг по рукоятке ключа. Затем, поддерживая одной рукой ключ, другой рукой на ключ устанавливают планку со стрелкой в резьбовые отверстия паза оси. Выставляя стрелку на ноль (риска на торце ключа) и ударяя по рукоятке ключа, затягивают гайку на угол 16° (риска на торце ключа). Сняв планку со стрелкой, в паз оси устанавливают планку стопорную, не вводя ее хвостовик в шлиц гайки. Вворачивают один болт М12 планки стопорной, окончательно затягивают гайку и вводят хвостовик планки в шлиц гайки, при этом, гайку затягивают на угол не менее 8°, равный половине коронки.
Затяжка гайки торцевой М110 должна производиться поворотом по часовой стрелке. Поворот гайки в обратном направлении запрещается.
При затяжке гайки буксу необходимо слегка поворачивать для того, чтобы убедиться в отсутствии заклинивания подшипников.
После затяжки гайки торцевой М110 устанавливают болты М12 планки стопорной с шайбами пружинными. Болты должны соответствовать требованиям
10.4.3. Перед установкой болты М12 или отверстия в оси под них смазывают минеральным маслом марки и в количестве, указанными в
таблице 11.1.
После обточки колесных пар без демонтажа гайки торцевой М110 снимают крышку защитную, устанавливают планку стопорную и закрепляют ее болтами М12.
Болты М12 увязывают новой мягкой (отожженной) проволокой, проходящей через раззенкованные отверстия в их головках. Проволока должна быть увязана по форме цифры "8".
б) типа РУ1Ш-957-Г и РВ2Ш-957-Г в зависимости от конструкции подшипника шайбой тарельчатой или крышкой передней подшипника: четырьмя (тремя) болтами М20 на осях РУ1Ш и РВ2Ш; тремя болтами М24 на осях РВ2Ш.
На шейку оси РУ1Ш колесной пары с двумя подшипниками роликовыми цилиндрическими предварительно устанавливают кольцо плоское упорное переднего подшипника маркировкой, обращенной к передней части корпуса буксы.
На торец оси в зависимости от конструкции подшипника устанавливают шайбу тарельчатую (роликовые цилиндрические и сдвоенные подшипники) или крышку переднюю (подшипники кассетного типа) с шайбой стопорной:
- с четырьмя (тремя) болтами М20 на оси РУ1Ш и РВ2Ш;
- с тремя болтами М24 на оси типа РВ2Ш.
Болты должны соответствовать требованиям
10.4.6.
Перед установкой болты или отверстия в оси под них смазывают минеральным маслом марки и в количестве, указанными в
таблице 11.1.
В случае использования:
- болтов М20 момент их затяжки должен составлять 225...245 Нм (23...25 кгс м) с обходом по периметру в следующем порядке 1-2-3-4-3-4-2-1, затяжку трех болтов производят дважды по периметру;
- болтов М24 момент их затяжки должен составлять 315...355 Нм (32...36 кгс м) с двойным обходом по периметру.
Затяжка болтов должна быть равномерной. Контроль момента затяжки производят динамометрическим ключом.
После затяжки болтов лепестки шайбы стопорной загибают на грань головки каждого болта с обеспечением плотного их прилегания к головке болта, в зазор между лепестком шайбы стопорной и гранью головки болта может войти пластина щупа толщиной 0,2 мм, при этом зазор, измеренный на расстоянии 10,0 мм от верха головки болта, не должен превышать 0,2 мм. При использовании новых болтов на торце их головок наносят размером 6 x 2,25 мм две последние цифры года монтажа торцевого крепления.
12.4.2.2.6 в переднюю часть буксового узла (только для подшипников роликовых цилиндрических) закладывают использованную ранее в данном буксовом узле
(12.4.2.2.2) или новую смазку ЛЗ-ЦНИИ (У) или Буксол или ЗУМ в количестве, указанном в
таблице 11.1. При недостаточном количестве использованной смазки добавляют новую смазку. Смазку в виде валика укладывают по всему периметру внешней поверхности гайки торцевой М110 или шайбы тарельчатой и передней видимой части подшипника, уплотняют пальцами рук так, чтобы она проникла между сепаратором и бортом наружного кольца переднего подшипника.
Закладка смазки в переднюю часть буксового узла с подшипниками сдвоенными и кассетного типа не производится.
12.4.2.2.7 производят сборку крышек крепительной и смотровой (при демонтаже крышки крепительной), при этом между ними устанавливают новую резиновую прокладку толщиной 3 мм.
Внутреннюю поверхность крышки смотровой, цилиндрическую посадочную поверхность крышки крепительной и соответствующую ей поверхность корпуса буксы, болты М20, М12 или отверстия под них смазывают тонким слоем препарата-модификатора эМПи-1 или препарата-модификатора К-Букс или минерального масла (рисунок 12.2), норма расхода которых приведена в
таблице 11.1. Допускается повторно использовать остатки смазочных материалов при соблюдении условия обязательного обеспечения их защиты от посторонних примесей, грязи и т.д. При заправке буксового узла смазкой Буксол, внутреннюю поверхность крышки смотровой, цилиндрическую посадочную поверхность крышки крепительной и соответствующую ей поверхность корпуса буксы обрабатывают только смазкой Буксол, норма расхода которой приведена в
таблице 11.1.
Рисунок 12.2 - Пример обработки болтов М20 и М12 крышек
крепительной и смотровой смазочными материалами
Крышки скрепляют между собой болтами М12 с установленными под них новыми шайбами пружинными. Затягивание болтов М12 должно быть равномерным. Момент затяжки болтов должен быть в диапазоне 20...25 Нм (2,0...2,6 кгс м). Контроль момента затяжки производят динамометрическим ключом.
Буксу закрывают крышкой крепительной в сборе с крышкой смотровой при помощи болтов М20 с установленными под них новыми шайбами пружинными. Момент затяжки болтов должен быть равен 186...206 Н·м (19...21 кгс·м). Между торцом корпуса буксы и фланцем крышки крепительной устанавливают новое резиновое кольцо диаметром сечения 4,4 мм. Фланцевую поверхность крышки крепительной смазывают смазкой ЛЗ-ЦНИИ (У) или Буксол или ЗУМ (которой заправлены подшипники) из расчета заполнения всего зазора между этой поверхностью и торцом корпуса буксы после затяжки болтов (количество смазки указано в
таблице 11.1). При использовании смазки Буксол дополнительно этой смазкой должна быть обработана фланцевая поверхность крышки крепительной, соединяемая с крышкой смотровой.
Затягивание болтов М20 должно быть равномерным. Для этого их затяжку производят по диагонали с последующей подтяжкой в обратном порядке. Контроль момента затяжки производят динамометрическим ключом.
Запрещается установка болтов с различными размерами головок.
При монтаже крышек крепительных буксовых узлов с подшипниками сдвоенными и кассетного типа закладка смазки между фланцевой поверхностью крышки и торцом корпуса буксы не производится.
12.4.2.2.8 установку крышки смотровой без демонтажа крышки крепительной производят аналогично
12.4.2.2.7.
12.4.2.3 Правильность сборки буксовых узлов с подшипниками всех типов контролируют в соответствии с
29.24.
12.4.2.4 НК элементов колесных пар производят в соответствии с требованиями
20.
12.4.2.5 Клейма и знаки маркировки, относящиеся к проведению текущего ремонта колесных пар, наносят в соответствии с требованиями
26.7. Надписи на крышке смотровой корпуса буксы наносят в соответствии с
26.8.
12.4.2.6 Геометрические параметры и величины износов элементов колесных пар должны соответствовать нормам, приведенным в
таблице 12.1.
12.4.2.7 Результаты выходного вибродиагностического контроля, оформляют аналогично
12.3.3.
12.4.2.8 Колесные пары после проведения текущего ремонта должны быть приняты должностным лицом, назначенным приказом по ремонтному предприятию и отвечающим за качество его проведения.
12.4.2.9 Данные о проведении текущего ремонта колесной пары заносят в журналы формы ВУ-53, ВУ-92 и в "Ремонтную карточку колесной пары грузового вагона" в соответствии с Инструктивными указаниями о порядке ее заполнения и кодирования с момента ввода в действие на национальном уровне автоматизированного банка данных колесных пар (АБД КПГВ).
12.5 СРЕДНИЙ РЕМОНТ КОЛЕСНЫХ ПАР
12.5.1 Средний ремонт колесным парам выполняют:
12.5.1.1 после крушений и аварий поездов всем колесным парам поврежденных вагонов;
12.5.1.2 после схода вагона с рельсов (колесным парам сошедшей тележки);
12.5.1.3 при повреждении вагона от динамических ударов падающего груза при погрузке или выгрузке (всем колесным парам вагона);
12.5.1.4 при отсутствии или невозможности прочтения знаков и клейм о проведении последнего среднего ремонта на торце шейки оси;
12.5.1.5 при отсутствии бирки на буксовом узле или невозможности прочтения на ней или на шайбе стопорной подшипников кассетного типа под адаптер знаков и клейм о проведении последнего среднего ремонта при ремонте или подкатке колесной пары под вагон;
12.5.1.6 через два восстановления профиля поверхности катания колес обточкой колесных пар с буксовыми узлами, оборудованными двумя подшипниками роликовыми цилиндрическими.
Количество обточек колесных пар с буксовыми узлами, оборудованными подшипниками сдвоенными или подшипниками кассетного типа, не регламентируется в течение межремонтного срока для подшипников;
С 01.01.2022 количество обточек колесных пар с буксовыми узлами, оборудованными подшипниками роликовыми цилиндрическими нового изготовления без их разукомплектования, не регламентируется в течение межремонтного срока.
12.5.1.7 Колесным парам с буксовыми узлами, оборудованными:
- двумя подшипниками роликовыми цилиндрическими и сдвоенными типа 46-882726Е2МС43, прошедшими последний средний ремонт пять и более лет назад или имеющими пробег 450 тыс. км и более;
- с 01.01.2022 двумя подшипниками роликовыми цилиндрическими нового изготовления, заправленными смазкой Буксол, прошедшими последний средний ремонт шесть и более лет назад или имеющими пробег 600 тыс. км и более;
- подшипниками кассетного типа и сдвоенными типов Н6-882726Е2К1МУС44 и Н6-882726Е2К2МУС44, прошедшими последний средний ремонт восемь и более лет назад или имеющими пробег 800 тыс. км и более.
12.5.1.8 при отрицательном результате входного вибродиагностического контроля (показатель - "брак") буксовых узлов колесных пар, указанных в
12.3.3;
12.5.1.9 при демонтаже буксовых узлов с последующим их ремонтом;
12.5.1.10 при сдвиге буксового узла вдоль шейки оси колесной пары;
12.5.1.11 при недопустимом нагреве буксового узла или повреждении буксового узла, требующего его демонтажа;
12.5.1.12 при повреждении наружных колец и уплотнений подшипников кассетного типа под адаптер;
12.5.1.13 при выбросе смазки на диск и/или обод колеса, и/или адаптер через уплотнения корпуса буксы или уплотнения подшипника кассетного типа.
(п. 12.5.1.13 в ред.
Протокола от 06.11.2024)
12.5.1.14 при выбросе смазки с примесью металлических частиц в крышку смотровую или из-под шайбы защитной подшипника сдвоенного и плотнения подшипника кассетного типа;
12.5.1.15 при наличии в передней части корпуса буксы воды или льда;
12.5.1.16 при наличии на поверхности катания колес колесных пар:
12.5.1.16.1 с буксовыми узлами, оборудованными подшипниками роликовыми цилиндрическими и сдвоенными:
а) неравномерного проката - 2,0 мм и более;
б) ползуна - глубиной 1,0 мм и более;
в) навара - высотой 1,0 мм и более;
12.5.1.16.2 с буксовыми узлами, оборудованными подшипниками кассетного типа:
а) неравномерного проката - 3,0 мм и более;
б) ползуна - глубиной 2,0 мм и более;
в) навара - высотой 2,0 мм и более.
Проверка неравномерного проката производится измерением его в сечении с максимальным износом и с каждой стороны от этого сечения на расстоянии 500,0 +/- 50,0 мм.
12.5.1.17 при несоответствии осевого зазора подшипников кассетного типа установленной величине, которая должна быть в диапазоне значений 0,01...0,40 мм. Для подшипников торговой марки LYC осевой зазор должен быть в диапазоне значений 0,05...0,45 мм, для подшипников торговой марки ZWZ - 0,01...0,50 мм, для подшипников торговой марки SPZ-BEARINGS - 0,03...0,40 мм;
(п. 12.5.1.17 в ред. Протокола от 08.12.2022)
12.5.1.18 колесным парам, указанным в
31.6.5.3;
12.5.1.19 при проведении сварочных работ на кузове вагона или тележке без соблюдения требований
30.4;
12.5.1.20 при КР и КРП вагонов.
12.5.2 При среднем ремонте колесных пар производят:
12.5.2.1 обмывку колесных пар, корпусов букс и их деталей, элементов торцевого крепления подшипников и демонтированных с оси подшипников роликовых цилиндрических в соответствии с
18;
12.5.2.2 демонтаж по 21 и монтаж по 24 буксовых узлов.
При неисправности одного буксового узла колесной пары в обязательном порядке производят демонтаж второго буксового узла.
12.5.2.3 ремонт подшипников роликовых цилиндрических по
25.1.
12.5.2.4 восстановление профиля поверхности катания колес (при необходимости) по
19;
12.5.2.5 НК элементов колесных пар и деталей подшипников в соответствии с
20;
12.5.2.6 выходной вибродиагностический контроль буксовых узлов, результаты которого оформляют аналогично
12.3.3.
12.5.3 Клейма и знаки маркировки, относящиеся к проведению среднего ремонта колесных пар, наносят в соответствии с требованиями
26.6. Надписи на крышке смотровой корпуса буксы наносят в соответствии с
26.8.
12.5.4 Геометрические параметры и величины износов элементов колесных пар должны соответствовать нормам, приведенным в
таблице 12.1.
12.5.5 Колесные пары после проведения среднего ремонта должны быть приняты должностным лицом, назначенным приказом по ремонтному предприятию и отвечающим за качество его проведения.
12.5.6 Данные о проведении среднего ремонта колесной пары заносят в журналы формы ВУ-53, ВУ-90 и в "Ремонтную карточку колесной пары грузового вагона" в соответствии с Инструктивными указаниями о порядке ее заполнения и кодирования с момента ввода в действие на национальном уровне автоматизированного банка данных колесных пар (АБД КПГВ).
Допускаемые размеры колесных пар при выпуске из текущего
и среднего ремонтов
В миллиметрах
N | Измеряемые параметры | Значения |
| Колесные пары |
| Расстояние между внутренними боковыми поверхностями ободьев колес колесных пар с осями типа: | |
РУ1 и РУ1Ш | |
РВ2Ш | |
| Разность расстояний между внутренними боковыми поверхностями ободьев колес, измеренных в четырех точках, расположенных в двух взаимно перпендикулярных плоскостях, не более | 2,0 |
| Разность расстояний между торцами предподступичной части оси и внутренними боковыми поверхностями ободьев колес с одной и другой стороны колесной пары, не более | 5,0 |
1.4 | Разность диаметров колес по кругу катания в одной колесной паре, не более: | |
- при восстановлении профиля поверхности катания колес | 0,5 |
- без восстановления профиля поверхности катания колес | 1,0 |
| Отклонение от соосности круга катания колес относительно поверхности шейки или подступичной части оси, не более: | |
- при восстановлении профиля поверхности катания колес | 0,5 |
- без восстановления профиля поверхности катания колес | 1,0 |
| Оси |
| Диаметр шейки осей типа: | |
РУ1 и РУ1Ш: | |
РВ2Ш | |
| Диаметр оси типа РУ1 в месте зарезьбовой канавки | 90-2,2 |
| Ширина зарезьбовой канавки оси типа РУ1 | 8+1,5 |
| Занижение (уменьшение) диаметра шейки у галтели (глубина на сторону) | |
| Расстояние от торца предподступичной части до начала занижения диаметра шейки у галтели осей типа: | |
РУ1 и РУ1Ш | |
РВ2Ш | |
| Конусообразность и овальность шейки, не более | 0,02 |
| Диаметр предподступичных частей осей типа: | |
РУ1 и РУ1Ш: | |
- при использовании подшипников кассетного типа | |
- при использовании сдвоенных и цилиндрических роликовых подшипников | |
РВ2Ш | |
| Овальность и конусообразность предподступичной части, не более | 0,05 |
| Диаметр подступичной части осей типа, не менее: | |
РУ1 и РУ1Ш | 182,0 |
РВ2Ш | 196,0 |
| Диаметр средней части осей типа, не менее: | |
РУ1 и РУ1Ш: | |
- с конусообразной средней частью | 160,0 |
- с цилиндрической средней частью | 167,0 |
РВ2Ш | 175,0 |
2.11 | Забоины и вмятины на средней части, не более | 2,0 |
2.12 | Протертости на средней части, не более | 2,5 |
| Наружный диаметр резьбы М110 оси типа РУ1 | 110-1,3 |
| Колеса |
3.1 | Овальность по кругу катания, не более: | |
- при восстановлении профиля поверхности катания колес | 0,5 |
- без восстановления профиля поверхности катания колес | 1,0 |
3.2 | Толщина обода, не менее: | 24 |
3.3 | Равномерный прокат: | |
- при восстановлении профиля поверхности катания колес | не допускается |
- без восстановления профиля поверхности катания колес, не более | 7,0 |
3.4 | Неравномерный прокат | не допускается |
3.5 | Ширина обода | |
3.6 | Толщина гребня: | |
- без восстановления профиля поверхности катания колес | 26,0...33,0 |
- при восстановлении профиля поверхности катания колес с исходной толщиной гребня 33,0 мм | 32,0...33,0 |
- при восстановлении профиля поверхности катания колес с исходной толщиной гребня 30,0 мм | 29,0...30,0 |
- при восстановлении профиля поверхности катания колес с исходной толщиной гребня 27,0 мм | 26,0...27,0 |
3.7 | Разность толщин гребней колес в одной колесной паре, не более | 3,0 |
3.8 | Кольцевые выработки на поверхности катания у основания гребня и на коничности 1:3,5: | |
- при восстановлении профиля поверхности катания колес | не допускаются |
- без восстановления профиля поверхности катания колес | допускаются шириной - не более 10,0 глубиной - не более 0,5 |
3.9 | Навар | не допускается |
3.10 | Выщербины без трещин, идущих вглубь обода колеса | |
- при восстановлении профиля поверхности катания колес | не допускаются |
- без восстановления профиля поверхности катания колес | допускаются длиной - не более 15,0 глубиной - не более 1,0 |
3.11 | Ползун | не допускается |
3.12 | Остроконечный накат гребня | не допускается |
<*> - измерения производят только у освобожденной от нагрузки колесной пары; <**> - при текущем ремонте колесной пары измерения не производятся. |
12.6 КАПИТАЛЬНЫЙ РЕМОНТ КОЛЕСНЫХ ПАР
12.6.1 Капитальный ремонт колесным парам выполняют:
12.6.1.1 при необходимости замены одного или двух колес или оси;
Примечание - Новое формирование колесной пары (новая ось и новые колеса - НОНК) производится в соответствии с
ГОСТ 4835 и конструкторской документацией ремонтного предприятия, утвержденной установленным порядком и прошедшей процедуру согласования в соответствии с "Единым порядком согласования конструкторской документации на изготовление и ремонт грузовых вагонов, в том числе с модернизацией, курсирующих в международном сообщении, а также их составных частей, узлов и деталей". Выпуск колесных пар нового формирования в эксплуатацию производится по результатам инспекторского контроля в соответствии с
ГОСТ 32894 (или в соответствии с национальным законодательством).
12.6.1.2 при признаке ослабления прессовой посадки и сдвига на оси одного или двух колес;
12.6.1.3 при несоответствии расстояния между внутренними боковыми поверхностями ободьев колес установленной величине;
12.6.1.4 при разности расстояний от торцов предподступичных частей оси до внутренних боковых поверхностей ободьев колес одной и другой сторон колесной пары более установленной величины;
12.6.1.5 при отсутствии или невозможности прочтения знаков и клейм на торцах осей, относящихся к их изготовлению и предыдущему капитальному ремонту (формированию) колесной пары.
12.6.1.6 при необходимости обточки на станке средней части оси.
12.6.2 При капитальном ремонте колесных пар производят:
12.6.2.1 обмывку колесных пар по
18;
12.6.2.2 распрессовку колес с осей по
13;
12.6.2.3 расточку отверстий ступиц колес по
14;
12.6.2.4 механическую обработку подступичных и при необходимости средних частей осей по
15 и по
16.2;
12.6.2.5 прессовую посадку новых или старогодных колес на старогодные оси (СОНК, СОСК) и старогодных колес на новые оси (НОСК) по
17;
12.6.2.6 НК элементов колесных пар производят в соответствии с требованиями
20.
12.6.3 Требования к колесным парам и их элементам при капитальном ремонте.
12.6.3.1 Новые колеса и новые оси, поступающие на ремонтные предприятия, должны иметь сертификаты соответствия (при условии обязательной сертификации), паспорт качества.
12.6.3.2 Новые колеса должны иметь знаки маркировки и клейма, относящиеся к их изготовлению, в соответствии с требованиями
ГОСТ 10791. Новые оси должны иметь знаки маркировки и клейма, относящиеся к их изготовлению, в соответствии с требованиями
ГОСТ 33200.
В случае отсутствия в маркировке колеса кода государства-собственника допускается наносить его на наружной боковой поверхности обода колеса механическим способом, при этом первое клеймо наносится на расстоянии 150...200 мм перед основной маркировкой, второе - с диаметрально противоположной стороны.
Оси и колеса с отсутствующими приемочными клеймами и клеймами ОТК завода-изготовителя, а также с отсутствующей или плохо различимой маркировкой бракуются.
12.6.3.3 Колесные пары с неясными или отсутствующими знаками и клеймами, относящимися к формированию колесной пары, должны быть расформированы, при этом старогодные оси и колеса могут быть использованы при ремонте колесных пар.
Старогодные оси с неясными или отсутствующими знаками и клеймами завода-изготовителя бракуются.
Старогодные колеса с неясной или срезанной маркировкой завода-изготовителя бракуются.
12.6.3.4 С 01.01.2017 года запрещено использовать при формировании колесных пар оси типа РУ 1.
Запрещается использовать при формировании колесных пар колеса, изготовленные до 01.01.1978 года.
12.6.3.5 В одной колесной паре должны устанавливаться колеса (как новые, так и старогодные) одной конструкции и изготовленные из одной марки стали, при этом колеса с криволинейным диском должны быть одного завода-изготовителя.
12.6.3.6 При прессовой посадке колес на оси может быть использована как система вала, так и система отверстия.
12.6.3.7 Значения шероховатости по
ГОСТ 2789 поверхностей новых и старогодных элементов колесных пар после механической обработки на станках должны соответствовать указанным в
таблице 12.2.
12.6.3.8 Геометрические параметры колесных пар и их элементов должны соответствовать нормам, приведенным в
таблице 12.3.
12.6.3.9 На торец оси наносят знаки и клейма, в соответствии с
26.5.
12.6.3.10 Колесные пары после проведения капитального ремонта должны быть приняты должностным лицом, назначенным приказом по ремонтному предприятию и отвечающим за качество его проведения.
12.6.4 Данные о проведении капитального ремонта колесной пары заносят в журнал формы ВУ-53 и в "Ремонтную карточку колесной пары грузового вагона" в соответствии с Инструктивными указаниями о порядке ее заполнения и кодирования с момента ввода в действие на национальном уровне автоматизированного банка данных колесных пар (АБД КПГВ).
12.6.5 Исключен. -
Протокол от 15.05.2019.
Значения шероховатости поверхностей новых и старогодных
элементов колесных пар
В микронах
N | Наименование элементов и частей колесных пар | Значение шероховатости, не более |
| Оси |
1.1 | Поверхность шейки, включая галтели: | |
- до упрочнения накатыванием роликами | Ra 12,5 |
- после упрочнения накатыванием роликами | Ra 1,25 |
1.2 | Предподступичная часть: | |
- до упрочнения накатыванием роликами | Ra 12,5 |
- после упрочнения накатыванием роликами | Ra 2,5 |
1.3 | Подступичная часть, включая заходный конус: | |
- до упрочнения накатыванием роликами | Ra 6,3 |
- после упрочнения накатыванием роликами | Ra 1,25 |
1.4 | Средняя часть | |
- до упрочнения накатыванием роликами | Ra 12,5 |
- после упрочнения накатыванием роликами | Ra 2,5 |
| Колеса |
2.1 | Отверстие ступицы после расточки перед прессовой посадкой колес на ось | Rz 20 20 < Rz <= 30 |
2.2 | Внутренний и наружный торец ступицы, внутренняя боковая поверхность обода, поверхность катания, наружная фаска поверхности катания, гребень | Rz 80 |
Допускаемые размеры колесных пар при выпуске
из капитального ремонта
В миллиметрах
N | Измеряемые параметры | Значения |
| Колесные пары |
1.1 | Расстояние между внутренними боковыми поверхностями ободьев колес | |
1.2 | Разность расстояний между внутренними боковыми поверхностями ободьев колес, измеренных в четырех точках, расположенных в двух взаимно перпендикулярных плоскостях, не более | 1,5 |
1.3 | Разность расстояний между торцами предподступичной части оси и внутренними боковыми поверхностями ободьев колес с одной и другой стороны колесной пары, не более | 3,0 |
1.4 | Разность диаметров колес по кругу катания в одной колесной паре, не более: | |
- при восстановлении профиля поверхности катания колес | 0,5 |
- без восстановления профиля поверхности катания колес | 1,0 |
1.5 | Отклонение от соосности круга катания колес относительно поверхности шейки или подступичной части оси, не более: | |
- при восстановлении профиля поверхности катания колес | 0,5 |
- без восстановления профиля поверхности катания колес | 1,0 |
| Оси |
2.1 | Диаметр шейки осей типа: | |
РУ1Ш: | |
РВ2Ш | |
2.2 | Занижение (уменьшение) диаметра шейки оси у галтели (глубина на сторону) | |
2.3 | Расстояние от торца предподступичной части до начала занижения диаметра шейки у галтели осей типа: | |
РУ1Ш | |
РВ2Ш | |
2.4 | Конусообразность и овальность шейки, не более | 0,02 |
2.5 | Радиальное биение шейки относительно оси центровых отверстий, не более | 0,3 |
2.6 | Диаметр предподступичных частей осей типа: | |
РУ1Ш: | |
- при использовании подшипников кассетного типа | |
- при использовании сдвоенных и цилиндрических роликовых подшипников | |
РВ2Ш | |
2.7 | Овальность и конусообразность предподступичной части, не более | 0,05 |
2.8 | Диаметр подступичной части осей типа, не менее: | |
РУ1Ш | 182,0 |
РВ2Ш | 196,0 |
2.9 | Длина подступичной части, не менее: | 250,0 |
2.10 | Непрямолинейность образующей подступичной части, не более | 0,02 |
2.11 | Конусообразность подступичной части при условии, что больший диаметр обращен к середине оси, не более | 0,05 |
2.12 | Овальность подступичной части, не более | 0,025 |
2.13 | Диаметр средней части осей типа, не менее: | |
РУ1Ш: | |
- с конусообразной средней частью | 160,0 |
- с цилиндрической средней частью | 167,0 |
РВ2Ш | 175,0 |
2.14 | Вмятины, забоины и протертости средней части оси | не допускаются |
| Колеса |
3.1 | Овальность по кругу катания, не более: | |
- при восстановлении профиля поверхности катания колес | 0,5 |
- без восстановления профиля поверхности катания колес | 1,0 |
3.2 | Толщина обода старогоднего колеса, не менее: | 35 |
3.3 | Равномерный прокат | не допускается |
3.4 | Неравномерный прокат | не допускается |
3.5 | Ширина обода колеса: | |
- нового изготовления | 130+3 |
- старогодного | |
3.6 | Толщина диска у обода колеса, не менее: | |
| 17,0 |
| 20,0 |
| 19,0 |
| 22,0 |
3.7 | Длина ступицы старогодного колеса | 185...200 |
3.8 | Толщина стенки ступицы (измеряется на расстоянии 170 мм от наружного торца ступицы), не менее | 31,0 |
3.9 | Разностенность ступицы, не более | 5,0 |
3.10 | Конусообразность отверстия ступицы при условии, что больший диаметр отверстия расположен с внутренней стороны ступицы, не более | 0,05 |
3.11 | Овальность отверстия ступицы, не более | 0,025 |
3.12 | Непрямолинейность образующей отверстия ступицы, не более | 0,02 |
3.13 | Толщина гребня: | |
- для новых колес | |
- для колес с восстановленным профилем поверхности катания | 26,0...33,0 |
3.14 | Разность толщин гребней колес в одной колесной паре, не более | 1,0 |
3.15 | Кольцевые выработки, навары, выщербины, ползуны и остроконечный накат гребня | не допускаются |
13 РАСПРЕССОВКА КОЛЕС С ОСЕЙ
13.1 Распрессовку колес с осей выполняют на гидравлических прессах, оборудованных рабочими манометрами, верхний предел измерения которых должен соответствовать давлению в гидросистеме пресса при максимальном усилии, предусмотренном паспортными данными.
13.2 При распрессовке колес на том же прессе, где производилась их запрессовка, самопишущий прибор и рабочий манометр пресса, предназначенные для контроля за усилиями при прессовой посадке, должны быть выключены. Усилие распрессовки колес с оси не контролируют.
13.3 Распрессовку колес производят с применением специальных приспособлений с их упором в торец предподступичной части оси, исключающих изгибы шеек осей и повреждение их образующих поверхностей и торцов, а также деформацию резьбы.
Категорически запрещается при распрессовке колес упирать плунжер пресса в торец оси.
13.4 При распрессовке одного забракованного колеса с оси колесной пары, второе колесо также распрессовывают.
Указанное требование не распространяется на колесные пары, у которых в процессе прессовой посадки колес на ось забраковано одно из прессовых соединений.
13.5 Колесные пары с признаками ослабления прессовой посадки и сдвига на оси одного или двух колес распрессовывают с последующим использованием годных элементов при ремонте.
14 РАСТОЧКА ОТВЕРСТИЙ СТУПИЦ КОЛЕС
14.1 Отверстие ступицы колеса растачивают на станке до размера подступичной части оси с учетом необходимого для прессовой посадки натяга.
14.2 Геометрические параметры колес, а также величины допускаемых отклонений при обработке поверхности отверстий ступиц должны соответствовать приведенным в
таблице 12.3.
14.3 Наружные и внутренние кромки отверстия ступицы колеса должны иметь закругления радиусом 4,0...5,0 мм для снижения концентрации напряжений в осях, а также во избежание задиров поверхностей подступичных частей оси при прессовой посадке и распрессовке колес. Переходы закруглений кромок к цилиндрической поверхности отверстия ступицы должны быть плавными, без уступов.
14.4 В местах сопряжения поверхности закругления кромки с поверхностью торца ступицы с обеих сторон колеса допускаются углубления от резца глубиной не более 2,0 мм.
14.5 Отверстие ступицы колеса должно быть цилиндрическим без забоин и вмятин, концентричным ободу, а ее ось перпендикулярна наружному торцу ступицы и внутренней боковой поверхности обода. Отклонения, возникающие при обработке поверхности отверстия ступицы, должны соответствовать требованиям, приведенным в
таблице 12.3.
14.6 Значения шероховатости по
ГОСТ 2789 поверхности отверстия ступицы после расточки должны соответствовать приведенным в
таблице 12.2.
15 ОБРАБОТКА ПОДСТУПИЧНЫХ ЧАСТЕЙ ОСЕЙ
15.1 Для обеспечения геометрических параметров подступичных частей осей и установленных значений их шероховатости, а также для удаления коррозии, задиров и рисок, образовавшихся при распрессовке колес, подступичные части осей механически обрабатывают (обтачивают) с последующим их упрочнением накаткой роликами в соответствии с требованиями Технологической инструкции по упрочнению накатыванием роликами осей колесных пар вагонов.
15.2 Размеры подступичных частей осей и их отклонения после механической обработки, должны соответствовать приведенным в
таблицах 12.3 и
22.2.
15.3 Разница в диаметрах подступичных частей с одной и другой стороны старогодной оси не регламентируется.
15.4 Подступичные части осей после механической обработки должны быть цилиндрическими без вмятин и забоин по всей длине.
15.5 Для обеспечения плавного захода оси в ступицу колеса при прессовой посадке, наружный пояс подступичной части оси обтачивается на конус длиной от 7,0 до 15,0 мм с разностью наибольшего и наименьшего диаметров не более 2,0 мм.
15.6 Переходы от заходного конуса к цилиндрической подступичной части оси и от подступичной части к средней должны выполняться плавными, без уступов.
16 ВОССТАНОВЛЕНИЕ РЕЗЬБЫ РЕЗЬБОВЫХ ОТВЕРСТИЙ, ЦЕНТРОВЫХ
ОТВЕРСТИЙ ШЕЕК ОСЕЙ И ОБРАБОТКА СРЕДНЕЙ ЧАСТИ ОСИ
16.1 Восстановление поврежденной резьбы резьбовых отверстий М20 и М24, а также центровых отверстий в торцах шеек осей РУ1Ш и РВ2Ш производят по технологиям, принятым железнодорожной администрацией установленным порядком.
16.2 Для удаления поверхностных дефектов средних частей осей производят их механическую обработку зачисткой или обточкой на станке с последующим упрочнением накаткой роликами обработанной поверхности (
3.2 и
3.3 таблицы Б.1). После механической обработки проводят МПК средних частей осей.
17 ПРЕССОВАЯ ПОСАДКА КОЛЕС НА ОСИ
17.1 Посадка колес на оси должна быть прессовой. Запрессовка колес на ось может производиться как односторонняя, так и двухсторонняя согласно технологическому процессу, разработанному ремонтным предприятием.
17.2 Посадочные поверхности ступиц колес и подступичные части осей перед запрессовкой должны быть тщательно очищены, насухо протерты и покрыты ровным слоем натуральной олифы по
ГОСТ 7931 или термообработанного растительного масла (конопляного по
ГОСТ 8989, льняного по
ГОСТ 5791 или подсолнечного по
ГОСТ 1129). При термообработке масло следует нагреть до температуры 140...150 °C, выдержать при этой температуре 2...3 часа, а затем после охлаждения дать отстояться не менее 48 часов. Осадок масла не должен использоваться при запрессовке. Масло должно храниться в чистой емкости с плотно закрывающейся крышкой и металлической сеткой, расположенной на некотором расстоянии от дна.
17.3 Соединяемые прессованием элементы колесных пар (колеса и ось) должны иметь одинаковую температуру. Допускается превышение температуры колеса над температурой оси не более 10 °C.
17.4 Перед прессовой посадкой колеса должны быть подобраны по размеру внутреннего диаметра ступицы, а ось - по диаметру подступичной части с учетом натяга.
17.5 Запрещается прессовая посадка на одну ось колес с разницей по толщине обода более 5,0 мм.
17.6 Скорость движения плунжера пресса при посадке колес на ось должна быть не более 3 мм/с.
17.7 Значения конечных усилий запрессовки на каждые 100 мм диаметра подступичной части оси и натягов при запрессовке колес должны быть в пределах, приведенных в
таблице 17.1.
Основные контролируемые параметры прессовой посадки колес
на оси
Шероховатость поверхности отверстия ступицы колеса по ГОСТ 2789 | Конечное усилие запрессовки на каждые 100 мм диаметра подступичной части оси (Рзк), кН (тс) | Натяг, мм | Длина сопряжения на диаграмме запрессовки (L), мм, не менее |
Rz <= 20 мкм | 383...569 кН (39...58 тс) | 0,10...0,25 | |
20 < Rz <= 30 мкм | 422...569 кН (43...58 тс) |
<*> i - передаточное число индикатора (масштаб диаграммы по длине) |
17.8 Запрессовка колес на ось может производиться:
- на гидравлических прессах с записью на ленте диаграммы запрессовки "давление-путь" самопишущим прибором или на компьютере;
- на автоматизированных прессах с записью диаграммы запрессовки "усилие-путь" на компьютере.
17.9 При запрессовке на гидравлических прессах с записью на ленте диаграммы "давление-путь", на ленте запись должна производиться самопишущим прибором, класс точности которого должен быть не ниже 1,5%, погрешность хода диаграммы - не более 2,5%, толщина линии записи - не более 0,6 мм по
ГОСТ 2405, ширина диаграммной ленты - не менее 100 мм, масштаб записи по длине должен быть не менее 1:2, а одно деление по высоте диаграммы, равное 1 мм, должно соответствовать усилию не более 24,5 кН (2,5 тс).
При этом составляется таблица усилий запрессовки для различных диаметров подступичных частей осей через 1 мм с учетом переводного коэффициента пресса из кгс/см2 в кН (тс). При составлении таблицы результаты подсчета округляют до целых значений 100 кПа (1,0 кгс/см2) в сторону повышения для нижнего и верхнего пределов. Таблица должна быть утверждена руководителем (главным инженером или другим уполномоченным лицом) ремонтного предприятия.
Если самопишущий прибор регистрирует усилие запрессовки, таблица перевода не составляется.
Требования к печатной форме диаграммы, полученной с помощью компьютера, и отображению ее на экране монитора аналогичны требованиям к самопишущим приборам с записью на ленте.
17.10 Определяется середина оси (при необходимости обозначается керном). Посадка колес на ось производится с применением втулки, исключающей изгиб и повреждение шеек оси, а также обеспечивающей соосность колес и оси.
17.11 Контроль качества прессовой посадки колес на ось производится проверкой расстояния между внутренними поверхностями ободьев колес в четырех точках во взаимно перпендикулярных плоскостях, измерением разности расстояний от торцов предподступичных частей оси до внутренних боковых поверхностей ободьев колес с одной и другой сторон колесной пары, а также по диаграмме запрессовки. Основными контролируемыми параметрами диаграммы являются: форма кривой, значение конечных усилий запрессовки Рзк, длина сопряжения L.
17.12 По форме нормальная диаграмма запрессовки "давление-путь" при записи самопишущим прибором должна иметь плавно нарастающую кривую по всей длине с начала до конца
(рисунок 17.1).
Рисунок 17.1 - Нормальная диаграмма запрессовки
17.13 Минимально допустимая длина сопряжения L, определяемая по диаграмме запрессовки
(рисунок 17.1) должна соответствовать нормам
таблицы 17.1.
17.14 При запрессовке на автоматизированных прессах с записью диаграммы запрессовки "усилие-путь" на компьютере, силовые устройства пресса должны быть снабжены датчиками давления и датчиками линейных перемещений (класс точности датчиков не ниже 1,0). Пресс должен быть снабжен устройством, обеспечивающим симметричную посадку колес относительно середины оси.
Диаграмма запрессовки должна строиться по данным усилий запрессовки, определяемым не более чем через каждые 1 мм длины перемещения колеса относительно оси.
По форме нормальная диаграмма запрессовки в координатах "усилие - путь" при записи на компьютере должна иметь вид в соответствии с
рисунком 17.2.
Рисунок 17.2 - Нормальная диаграмма запрессовки при записи
на компьютере
По оси ординат отображаются значения фактических усилий при запрессовке, по оси абсцисс отображается полное перемещение колеса, регистрируемое в ходе выполнения операции, состоящее из холостого хода и длины запрессовки.
Линия диаграммы имеет характерные участки:
- ОА - участок холостого хода (составляет от 14 до 20 мм);
- точка А соответствует началу фактического прессования, при этом начальное усилие запрессовки отсчитывается с момента преодоления силового порога, установленного в 29 кН (3 тс);
- АБ - участок плавного нарастания усилия при запрессовке;
- точка Б - окончание процесса запрессовки, ордината которой соответствует усилию при окончании процесса запрессовки с учетом усилия холостого хода. Конечное усилие запрессовки определяется как разность усилия в точке Б и усилия холостого хода - 29 кН (3 тс);
- СД - участок по линии абсцисс соответствует длине прессового сопряжения колеса с осью, определяется как разность полного перемещения СО за вычетом холостого хода ДО.
Полученные значения измерений при запрессовке выводятся на дисплей пресса и бумажный носитель, а также сохраняются в электронной базе данных.
17.15 В случае, если при запрессовке колеса на ось будет получена неудовлетворительная по форме и длине сопряжения диаграмма или конечное усилие запрессовки не будет соответствовать приведенным в
таблице 17.1 нормам, прессовое соединение бракуется и подлежит распрессовке.
17.16 Распрессованное колесо разрешается повторно прессовать на тот же или другой распрессованный конец оси или другую распрессованную ось без дополнительной механической обработки оси при условии, что на посадочных поверхностях подступичных частей оси и отверстии ступицы колеса нет задиров.
Перед повторным прессованием посадочные поверхности должны быть обработаны в соответствии с
17.2.
Не разрешается более двух раз перепрессовывать колесо на один и тот же конец оси без дополнительной механической обработки одной из сопрягаемых поверхностей.
При перепрессовках конечное усилие должно соответствовать норме, приведенной в
таблице 17.1 с увеличением нижнего предела на 15%.
Примечание:
1. Запрещается повторно прессовать соединения, диаграммы которых имеют резкие колебания давления
(рисунок 17.3).
2. Колесо или ось, подвергшиеся запрессовке и перепрессовке, разрешается использовать без дополнительной механической обработки для установки на новый конец оси или новое колесо. При этом конечное усилие запрессовки по
17.7.
Рисунок 17.3 - Диаграмма с резкими колебаниями давления
17.17 Для удаления забоин, вмятин, рисок и других дефектов, выявленных перед формированием или после распрессовки колесной пары, посадочные поверхности осей допускается подвергать дополнительной механической обработке и повторному упрочнению накатыванием роликами. При этом повторное дефектоскопирование не производится.
17.18 На бланке диаграммы, кроме кривой изменения давления или усилия должны быть записаны следующие данные: дата запрессовки, тип колесной пары, индивидуальный номер колесной пары, диаметры подступичной части оси и отверстия ступицы колеса (с точностью до 0,01 мм), длина ступицы колеса, величина натяга, конечное усилие запрессовки в кН (тс), номер колеса, год изготовления и условный номер предприятия-изготовителя колеса, код собственника колеса, сторона колесной пары (левая или правая). Допускается на бланке диаграммы указывать расстояние между внутренними боковыми поверхностями ободьев колес и диаметры колес по кругу катания.
На каждой диаграмме забракованного прессового соединения делается пометка "БРАК" с указанием причины.
Допускается данные диаграмм как годных, так и забракованных заносить в журнал формирования колесных пар свободной формы.
17.19 При формировании колесной пары на нее составляется Технический паспорт колесной пары грузового вагона, который заполняется в соответствии с требованиями Инструктивных указаний о порядке заполнения и кодирования формы "Технический паспорт колесной пары грузового вагона". К Техническому паспорту прилагаются диаграммы запрессовки колес.
17.20 Технический паспорт с диаграммами прессовых соединений после формирования колесных пар хранятся не менее 21 года. При этом к диаграммам годных прессовых соединений, полученным при перепрессовках элементов колесной пары, должны быть подшиты (подклеены) диаграммы забракованных прессовых соединений, полученные при предыдущих напрессовках этих элементов.
17.21 Колеса сформированной колесной пары допускается подвергать механической обработке по поверхности катания, по гребню и по внутренней боковой поверхности обода. При этом все размеры колес и колесной пары должны соответствовать приведенным в
таблице 12.3.
18 ОБМЫВКА КОЛЕСНЫХ ПАР, ПОДШИПНИКОВ РОЛИКОВЫХ
ЦИЛИНДРИЧЕСКИХ, КОРПУСОВ БУКС И ИХ ДЕТАЛЕЙ
18.1 Колесные пары, корпуса букс и их детали, детали торцевого крепления подшипников, подшипники роликовые цилиндрические обмывают в моечных машинах техническими моющими средствами (ТМС), допущенными к применению установленным порядком
(Приложение А), при этом температура моющих растворов должна соответствовать приведенной в ТУ на моющие средства. Допускается производить обмывку колесных пар, корпусов букс и их деталей с использованием установок высокого давления, а также установок обмывки шеек осей колесных пар.
Запрещается производить обмывку колесных пар с установленными на них буксовыми узлами.
18.2 Подшипники промывают в собранном состоянии. Промытые подшипники должны быть просушены. Для удаления влаги и ускорения сушки допускается обдув подшипников сухим нагретым сжатым воздухом или протирка хлопчатобумажным материалом. Сухие подшипники осматривают и смазывают в соответствии с требованиями
11.9.
Допускается производить обмывку блоков подшипников (кольца наружные, сепараторы с роликами) и колец внутренних раздельно, при этом для предотвращения выпадения роликов из гнезд сепараторов рекомендуется использоваться специальные втулки или другие приспособления в соответствии с технологическим процессом ремонтного предприятия.
18.3 В случаях, когда подшипники и их детали, работавшие с любой маркой смазки, невозможно обмыть в моечной машине, допускается их обмывка в емкостях объемом 10...15 л с использованием ТМС "ИЗОСЭЙВ" по ТУ 0257-065-54146467-16, "Техносол" по ТУ 0257-002-79686041-2009 или альтернативных ТМС средств, прошедших комплексную проверку и имеющих свидетельство о государственной регистрации, внесенное в Реестр свидетельств о государственной регистрации, а также применять в качестве моющего средства дизельное топливо или керосин технический. После обмывки подшипники и их детали должны быть протерты насухо хлопчатобумажным материалом.
18.4 После обмывки колесных пар шейки и предподступичные части осей, детали буксовых узлов и внутренние посадочные поверхности корпусов букс должны быть просушены путем обдува сухим нагретым сжатым воздухом или протиркой хлопчатобумажным материалом, осмотрены и смазаны в соответствии с требованиями
п. 11.9.
19 ВОССТАНОВЛЕНИЕ ПРОФИЛЯ ПОВЕРХНОСТИ КАТАНИЯ КОЛЕС
19.1 Восстановление профиля поверхности катания колеса производят методом механической обработки обода колеса - обточкой на колесотокарных станках.
19.2 Перед постановкой на станок колесных пар с подшипниками в корпусе буксы, взамен крышки смотровой корпуса буксы устанавливают крышку защитную с отверстием диаметром 55,0
+2,0 мм для прохода центра пиноли станка. После проведения обточки поверхности катания колес крышку защитную снимают, на ее место устанавливают крышку смотровую.
19.3 При обточке поверхности катания колес колесных пар типов РУ1Ш-957-Г и РВ2Ш-957-Г на колесотокарных станках используют пиноли с конусной частью центра
(рисунок 19.1).
Перед постановкой на станок колесных пар с подшипниками кассетного типа под адаптерами удаляют заглушки, предназначенные для защиты центра оси колесной пары. После проведения обточки поверхности катания колес заглушки устанавливают на место.
Рисунок 19.1 - Конусная часть центра пиноли
колесотокарного станка
19.4 Для восстановлении профиля поверхности катания колес производят механическую обработку:
- поверхности катания и гребня;
- фаски с наружной стороны обода;
- внутренней боковой поверхности обода (при необходимости).
19.5 Обточку внутренних боковых поверхностей ободьев колес производят в случае, когда разность расстояний между ними в одной колесной паре, измеренная в четырех точках, расположенных в двух взаимно перпендикулярных плоскостях более 2,0 мм.
19.6 Допускается обтачивать наружные боковые поверхности ободьев колес при условии, что при обточке не будут срезаны клейма завода-изготовителя колес и ширина ободьев колес будет не менее допускаемой.
19.7 Разрешается оставлять черновины на обточенных частях:
- внутренней и наружной поверхности гребня - глубиной не более 2,0 мм, расположенные от вершины гребня в пределах от 10,0 до 18,0 мм;
- поверхности катания колес - глубиной до 0,5 мм;
- внутренней боковой поверхности обода - глубиной не более 1,0 мм при условии, что расстояние между внутренними боковыми поверхностями ободьев колес в местах расположения черновин находится в пределах установленной нормы.
19.8 При обработке поверхности катания фаска наружной боковой поверхности обода колеса должна начинаться на расстоянии 124+1 мм от внутренней боковой поверхности обода и выполняться под углом 45°.
19.9 Разрешается устранять круговой наплыв металла на фаску (без трещин, идущих вглубь обода) восстановлением фаски без обточки всей поверхности катания колес.
19.10 Обточку поверхности катания колес производят по одному из профилей, приведенных на
рисунках 7.3,
19.2 и 19.3. После проведения обточки контролируют правильность выполнения профиля поверхности катания колеса по
7.4 соответствующими максимальными шаблонами, также приведенными на
рисунках 7.3,
19.2 и 19.3.
--------------------------------
<*> Размеры для справок;
<**> Размеры обеспечиваются инструментом.
Параметр шероховатости поверхности
A - Ra <= 1,25 мкм
Рисунок 19.2 - Профиль поверхности катания колеса ремонтный
с исходной толщиной гребня 30,0 мм и максимальный
шаблон для его проверки
19.11 Значения шероховатости по
ГОСТ 2789 поверхности катания колес после обточки должны соответствовать приведенным в
таблице 12.2.
19.12 Геометрические параметры колесных пар и колес после обточки должны отвечать требованиям соответствующего вида ремонта (
таблицы 12.1 и
12.3).
20 НЕРАЗРУШАЮЩИЙ КОНТРОЛЬ ЭЛЕМЕНТОВ КОЛЕСНЫХ ПАР И ДЕТАЛЕЙ
ПОДШИПНИКОВ РОЛИКОВЫХ ЦИЛИНДРИЧЕСКИХ
20.1 При всех видах ремонта колесных пар их элементы и детали подшипников роликовых цилиндрических подвергают неразрушающему контролю (НК) согласно действующим нормативным документам по НК.
20.2 Подразделения (лаборатории) НК должны быть аккредитованы или аттестованы в соответствии с требованиями
ПР НК В.1.
20.3 Общие требования к организации работ, квалификации персонала по НК, средствам НК, оборудованию рабочих мест, оценке и оформлению результатов НК устанавливаются в соответствии с требованиями
ПР НК В.1 и
ПР НК В.2.
20.4 Результаты НК оформляют в журналах НК узлов и деталей грузовых вагонов, дополнительно работник, проводивший оценку результатов НК, должен поставить свою подпись в журнале формы ВУ-53.
20.5 Перечень элементов колесных пар и деталей подшипников роликовых цилиндрических с указанием зон контроля, подлежащих НК при всех видах ремонта колесных пар, приведен в
таблице 20.1, зоны ВТК (МПК) колес цельнокатаных с плоскоконической и криволинейной формой диска - на
рисунках 20.1 и
20.2 соответственно.
20.6 Новые элементы колесных пар и детали подшипников роликовых цилиндрических, поставляемые на ремонтные предприятия с документами о качестве (паспорт, сертификат соответствия) НК не подлежат.
Методы НК и зоны контроля элементов колесных
пар и деталей подшипников роликовых цилиндрических
при проведении текущего, среднего и капитального
ремонтов колесных пар
Наименование детали | Вид ремонта колесных пар | Метод НК | Зоны контроля |
Колесо цельнокатаное с плоскоконической формой диска | Текущий ремонт | УЗК | Обод (основное сечение). Гребень. Поверхность катания после обточки. |
ВТК или МПК | Обод (внутренняя и наружная боковые поверхности, наружная боковая поверхность в зоне клеймения). Гребень после обточки. Приободная зона диска с внутренней стороны колеса (при толщине обода менее 40 мм). Переход от диска к ступице с наружной стороны колеса (при толщине обода менее 40 мм). Торцевая поверхность ступицы с внутренней стороны колеса. |
| Средний и капитальный ремонт | УЗК | Обод (основное сечение). Гребень. Поверхность катания после обточки. |
ВТК или МПК | Обод (внутренняя и наружная боковые поверхности, наружная боковая поверхность в зоне клеймения). Гребень после обточки. Приободная зона диска с внутренней стороны колеса (при толщине обода менее 40 мм). Переход от диска к ступице с наружной стороны колеса (при толщине обода менее 40 мм). Торцевая поверхность ступицы с внутренней стороны колеса. Торцевая поверхность ступицы с наружной стороны колеса (при снятых лабиринтных и внутренних кольцах подшипников). |
Колесо цельнокатаное с криволинейной формой диска | Текущий ремонт | УЗК | Обод (основное сечение). Гребень. Поверхность катания после обточки. |
ВТК или МПК | Обод (внутренняя и наружная боковые поверхности, наружная боковая поверхность в зоне клеймения). Гребень после обточки. Диск колеса в зоне центрального изгиба с внутренней и наружной стороны (при толщине обода менее 40 мм). Торцевая поверхность ступицы с внутренней стороны колеса. |
Средний и капитальный ремонт | УЗК | Обод (основное сечение). Гребень. Поверхность катания после обточки. |
ВТК или МПК | Обод (внутренняя и наружная боковые поверхности, наружная боковая поверхность в зоне клеймения). Гребень после обточки. Диск колеса в зоне центрального изгиба с внутренней и наружной стороны (при толщине обода менее 40 мм). Торцевая поверхность ступицы с внутренней стороны колеса. Торцевая поверхность ступицы с наружной стороны колеса (при снятых лабиринтных и внутренних кольцах подшипников). |
Ось РУ1, РУ1Ш, РВ2Ш колесной пары в сборе | | УЗК | Шейки. Предподступичные части. Подступичные части. |
МПК или | Средняя часть. Открытые участки подступичных частей. |
|
| Средний ремонт | УЗК | Шейки (при напрессованных внутренних кольцах подшипников). Предподступичные части (при напрессованных внутренних кольцах подшипников). Подступичные части. |
МПК или | Шейки (при снятых лабиринтных и внутренних кольцах подшипников). Предподступичные части (при снятых лабиринтных и внутренних кольцах подшипников). Средняя часть. Открытые участки подступичных частей. Галтели (при снятых лабиринтных и внутренних кольцах подшипников). |
Свободная ось РУ1Ш и РВ2Ш | Капитальный ремонт | УЗК | Шейка. Предподступичные части. Подступичные части. Средняя часть. Галтели. |
МПК или | Шейки. Предподступичные части. Подступичные части. Средняя часть. Галтели. |
Кольца внутренние подшипников, напрессованные на шейки оси (без демонтажа с оси) | Средний ремонт | МПК или | Рабочая наружная цилиндрическая поверхность. |
Кольца внутренние подшипников свободные | Средний ремонт | МПК или | Рабочая наружная и внутренняя цилиндрические поверхности. |
Кольца наружные подшипников свободные | Средний ремонт | МПК или | Рабочая наружная и внутренняя цилиндрические поверхности. |
Кольцо плоское упорное подшипников свободное | Текущий ремонт (при демонтаже торцевого крепления), средний ремонт | МПК или | Рабочая наружная и внутренняя поверхности. |
Ролики подшипников | Средний ремонт | или МПК | Цилиндрическая поверхность. |
--------------------------------
<*> При текущем ремонте колесных пар оси, независимо от даты изготовления, должны быть проверены методом УЗК (шейки, предподступичные и подступичные части), кроме колесных пар, прошедших последний средний ремонт не более шести месяцев назад.
При невозможности проверки методом УЗК шеек, предподступичных и подступичных частей оси с предподступичной части оси (отсутствие необходимых дефектоскопов и преобразователей), торцевое крепление подшипников на шейке оси демонтируют и УЗК проводят с торца оси.
Средние части осей колесных пар должны быть проверены методом МПК или ВТК (при наличии автоматизированных установок), кроме колесных пар, не бывших в эксплуатации после последнего среднего или текущего ремонта не более шести месяцев назад.
<**> ВТК применяют при наличии автоматизированных установок.
--------------------------------
<*> размеры с двух сторон
Рисунок 20.1 - Зоны вихретокового (магнитопорошкового)
контроля цельнокатаного колеса с плоскоконическим диском
| |
-------------------------------- <*> размеры с двух сторон | -------------------------------- <*> размеры с двух сторон |
|
Рисунок 20.2 - Зоны вихретокового (магнитопорошкового)
контроля цельнокатаного колеса с криволинейным диском
21 ДЕМОНТАЖ БУКСОВЫХ УЗЛОВ
21.1 ДЕМОНТАЖ БУКСОВЫХ УЗЛОВ С ПОДШИПНИКАМИ РОЛИКОВЫМИ ЦИЛИНДРИЧЕСКИМИ
21.1.1 Демонтаж буксовых узлов с подшипниками роликовыми цилиндрическими производят в следующем порядке:
21.1.1.1 отвинчивают болты М12 крышки смотровой и М20 крышки крепительной, крышки снимают и отделяют друг от друга, удаляют резиновую прокладку;
21.1.1.2 удаляют смазку с внутренних поверхностей крышек смотровой и крепительной, а также из передней части корпуса буксы;
21.1.1.3 у осей типа РУ1 удаляют проволоку из отверстий в головках болтов М12 планки стопорной, болты отвинчивают, снимают планку стопорную, отворачивают и снимают гайку торцевую М110, у осей типа РУ1Ш отгибают лепестки шайбы стопорной болтов М20, болты отвинчивают, снимают шайбу стопорную и шайбу тарельчатую;
21.1.1.4 снимают кольцо плоское упорное переднего подшипника;
21.1.1.5 корпус буксы с блоками переднего и заднего подшипников (наружные кольца с сепараторами и роликами) демонтируют с шейки оси колесной пары. Запрещается сбрасывать буксовые узлы с шеек осей;
21.1.1.6 блоки подшипников удаляют из корпуса буксы, при этом запрещается производить удаление подшипников ударным способом;
21.1.1.7 демонтаж колец внутренних и лабиринтных производят при помощи прессового оборудования. При этом снимают одновременно комплект колец - кольца внутренние подшипников и кольцо лабиринтное. Усилие распрессовки колец не контролируют.
21.1.2 При отсутствии или неисправности необходимого прессового оборудования допускается при демонтаже внутренних и лабиринтных колец использовать индукционные нагреватели. При этом кольца снимают поочередно в следующем порядке:
21.1.2.1 на кольцо внутреннее переднего подшипника вплотную к наружному торцу устанавливают индукционный нагреватель;
21.1.2.2 кольцо нагревают до температуры 100...120 °C (35...45 секунд при напряжении в сети 220 В). Ослабление кольца на шейке оси определяют покачиванием нагревателя относительно оси колесной пары. При ослаблении кольца индукционный нагреватель снимают вместе с кольцом, снимают напряжение, кольцо удаляют из нагревателя.
Во избежание нагрева шейки оси, запрещается отключать нагреватель до полного ослабления и снятия кольца с шейки оси.
Категорически запрещается нагревать кольцо более одной минуты.
Если время нагрева истекло (одна минута), а кольцо с шейки оси снять не удалось, необходимо съем кольца прекратить и возобновить его после остывания внутреннего кольца подшипника и шейки оси до температуры окружающей среды;
| | ИС МЕГАНОРМ: примечание. В тексте документа, видимо, допущена опечатка: вместо "22.1.2.1 и 22.1.2.2" следует читать "21.1.2.1 и 21.1.2.2". | |
21.1.2.3 кольцо внутреннее заднего подшипника и кольцо лабиринтное демонтируют с оси аналогично
22.1.2.1 и
22.1.2.2.
21.1.3 Допускается производить демонтаж буксовых узлов без снятия колец внутренних подшипников и колец лабиринтных. При этом кольца после обмывки колесной пары осматривают, НК колец внутренних производят в соответствии с требованиями
20. Плотность прилегания колец внутренних подшипников друг к другу и к кольцу лабиринтному контролируют щупом при соблюдении требований
24.1.2. Пластина толщиной не более 0,04 мм может войти в зазор между деталями на участке длиной не более 1/3 окружности. Плотность посадки внутренних колец проверяют приборами для определения натяга посадки колец внутренних или специальным приспособлением.
При неисправности одного из колец, нарушении плотности прилегания колец друг к другу (зазор между кольцами более 0,04 мм) или провороте одного из колец производят демонтаж с оси всего комплекта колец.
21.2 ДЕМОНТАЖ БУКСОВЫХ УЗЛОВ С ПОДШИПНИКАМИ СДВОЕННЫМИ
21.2.1 Демонтаж буксовых узлов с подшипниками сдвоенными в части крышек смотровых и крепительных производят аналогично
21.1.1.1, торцевого крепления подшипников на оси - аналогично
21.1.1.3.
21.2.2 Подшипники сдвоенные демонтируют с шеек осей колесных пар вместе с корпусом буксы при помощи прессового оборудования с приложением распрессовочного усилия к специальному полукольцу, которое устанавливают на предподступичную часть оси между кольцом лабиринтным и упорной плитой пресса. Усилие распрессовки не контролируют.
Запрещается прилагать распрессовочное усилие к корпусу буксы и непосредственно к кольцу лабиринтному.
21.2.3 Подшипники удаляют из корпуса буксы аналогично
21.1.1.6.
21.3 ДЕМОНТАЖ БУКСОВЫХ УЗЛОВ С ПОДШИПНИКАМИ КАССЕТНОГО ТИПА
21.3.1 Демонтаж буксовых узлов с подшипниками кассетного типа в корпусе буксы в части крышек смотровых и крепительных производят аналогично
21.1.1.1. Торцевое крепление подшипников на оси демонтируют следующим образом: отгибают лепестки шайбы стопорной, болты М20 или М24 отвинчивают, снимают шайбу стопорную и крышку переднюю.
21.3.2 Демонтаж подшипников кассетного типа в корпусе буксы и под адаптер с шеек осей выполняют аналогично
21.2.2. При этом распрессовочное усилие к подшипнику в корпусе буксы должно прилагаться к кольцевому выступу кольца лабиринтного (лабиринта), а к подшипнику под адаптер - к кольцу упорному заднему. Запрещается прилагать распрессовочное усилие непосредственно к кольцу лабиринтному (лабиринту) или к корпусу буксы, а также к кольцу наружному подшипника кассетного типа.
21.3.3 Подшипники удаляют из корпуса буксы аналогично
21.1.1.6.
22 ТРЕБОВАНИЯ К КОЛЕСНЫМ ПАРАМ И ИХ ЭЛЕМЕНТАМ ПРИ ВЫПУСКЕ
ВАГОНОВ ИЗ РЕМОНТА
22.1 При выпуске вагонов из всех видов ремонта запрещается подкатывать под них или оставлять под ними колесные пары:
22.1.1 с дефектами и неисправностями, не допускающими следование вагона в составе поезда;
22.1.2 с неясными или отсутствующими знаками и клеймами, относящимися к изготовлению оси и формированию колесной пары;
22.1.3 с отсутствующими (или изломанными) бирками, невозможности прочтения на них (или на шайбах стопорных подшипников кассетного типа под адаптер) знаков и клейм о проведенном колесным парам последнем среднем ремонте, а также с просроченным сроком проведения очередного среднего ремонта;
22.1.4 с разницей диаметров по кругу катания колес для тележек, внесенных в КЖА 2105-06:
22.1.4.1 у четырех- и шестиосных вагонов на тележках моделей - двухосных (18-100 и аналогичных ей) и трехосных (УВЗ-9М, 18-102, 18-522 и аналогичных им):
- в одной тележке - более 20,0 мм,
- в двух тележках - более 40,0 мм;
22.1.4.2 у четырехосных вагонов на тележках модели 18-578, 18-9810, 18-194-1, 18-7033, 18-9817, 18-9800, 18-9829, 18-9855 и 18-9836:
при выпуске вагона из капитального ремонта
- в одной тележке - более 6,0 мм,
- в двух тележках - более 12,0 мм.
при выпуске вагонов из деповского ремонта
- в одной тележке - более 12,0 мм,
- в двух тележках - более 24,0 мм.
при выпуске вагона из текущего отцепочного ремонта
- в одной тележке - более 20,0 мм,
- в двух тележках - более 40,0 мм;
22.1.4.3 у восьмиосных вагонов на тележках модели 18-101:
- в одной четырехосной тележке - более 20,0 мм,
- в двух четырехосных тележках - более 40,0 мм.
У восьмиосных вагонов колесные пары с меньшими диаметрами по кругу катания должны быть обращены внутрь тележек.
22.1.4.4 У четырехосных изотермических вагонов на тележках моделей ЦМВ-Дессау и КВЗ-И2:
- в одной тележке - более 10,0 мм,
- в двух тележках - более 20,0 мм.
22.2 Разрешается подкатывать или оставлять под вагонами колесные пары, бывшие в эксплуатации с неясной или срезанной маркировкой на колесах.
22.3 Перечень контролируемых параметров, а также геометрические параметры и величины износов колесных пар и их элементов при выпуске вагонов из всех видов ремонта должны соответствовать нормам, приведенным в
таблицах 22.1 и
22.2.
22.4 При выпуске вагонов из КР и КРП под них должны подкатываться колесные пары, прошедшие средний ремонт.
22.5 При выпуске вагонов из всех видов ремонта под них должны подкатываться колесные пары, срок очередного среднего ремонта которых не истекает в межремонтный период вагонов.
Допускаемые размеры колесных пар и их элементов при выпуске
грузовых вагонов из всех видов ремонта
В миллиметрах
NN п.п. | | Вид ремонта вагона |
КР и КРП | ДР | ТР |
| Колесные пары |
1.1 | Расстояние между внутренними боковыми поверхностями ободьев колес: | | | |
- с осями РУ1 и РУ1Ш | 1439...1442 | 1438...1443 | |
- с осями РВ2Ш | 1439...1442 | 1439...1443 | |
1.2 | Разность расстояний между внутренними боковыми поверхностями ободьев колес, измеренных в четырех точках, расположенных в двух взаимно перпендикулярных плоскостях, не более | 2,0 | 2,0 | |
1.3 | Разность диаметров колес по кругу катания в одной колесной паре, не более | | | |
| Колеса |
2.1 | Толщина обода колеса, не менее: для вагонов с установленным межремонтным нормативом <5> | | | |
- 110 тыс. км или 1; 2; 3 года | 30 | 27 | 24 |
- 150 тыс. км или 1,5; 2,5 года | 40 | 35 | |
- 160 тыс. км или 2; 3 года | 40 | 35 | |
- 210 тыс. км или 2; 3 года | 55 | 45 | |
2.2 | Толщина гребня колеса | 29,0...33,0 | 29,0...33,0 | 26,0...33,0 |
|
2.3 | Равномерный прокат, не более: | | | 7,0 |
2.4 | Неравномерный прокат колес, не более: | | | |
- колесных пар, подкатываемых под вагон | не допускается | не допускается | 1,0 |
- колесных пар, не выкатываемых из-под вагона | не допускается | не допускается | 1,5 |
2.5 | Кольцевые выработки шириной не более 10,0 мм и глубиной не более | не допускаются | 0,5 | 0,5 |
2.6 | Навар на поверхности катания колеса высотой, не более | не допускается | не допускается | 0,5 |
2.7 | Ползун на поверхности катания колеса глубиной, не более | не допускается | не допускается | 0,5 |
2.8 | Выщербины на поверхности катания колеса без трещин, идущих вглубь металла длиной не более 15,0 мм или глубиной, не более | не допускаются | не допускаются | 1,0 |
| Оси |
3.1 | Забоины и вмятины на средней части, не более | не допускается | не допускается | |
3.2 | Протертости на средней части, не более | не допускается | не допускается | |
<1> проверяется только у подкатываемых под вагон колесных пар; <3> для вагонов с оставшимся пробегом до очередного планового ремонта менее 80,0 тыс. км (или менее 1 года) допускается 24 мм; <4> требования к колесным парам, подкатываемым под вагоны, прошедшие модернизацию с продлением срока службы, устанавливаются конструкторской документацией. Данные требования распространяются на территории государств-участников Таможенного Союза. <5> межремонтные нормативы, установленные Положением о системе технического обслуживания и ремонта грузовых вагонов, допущенных в обращение на железнодорожные пути общего пользования в международном сообщении, утвержденным Советом по железнодорожному транспорту государств-участников Содружества, протокол от 16 - 17 октября 2012 г. N 57. |
Наименьшие допускаемые диаметры осей колесных пар
при выпуске вагонов из всех видов ремонта
В миллиметрах
N п.п. | Вагоны с нагрузкой от оси на рельсы кН (тс) | Наименьшие диаметры частей осей РУ1, РУ1Ш и РВ2Ш |
шейка | предподступичная | подступичная | средняя |
1 | 245 (25,0) | 150,045 | 185,066 | 196,0 | 175,0 |
2 | 223...228 (22,75...23,50) | 130,005 | и | 184,0 | и |
3 | 172...221 (17,5...22,5) | 182,0 |
<1> - при использовании подшипников кассетного типа; <2> - при использовании сдвоенных и цилиндрических роликовых подшипников; <3> - для осей с цилиндрической средней частью; <4> - для осей с конусообразной средней частью. |
23 КЛАССИФИКАЦИЯ НЕИСПРАВНОСТЕЙ КОЛЕСНЫХ ПАР, ПОДШИПНИКОВ
И ИХ ЭЛЕМЕНТОВ
23.1 Определение вида неисправностей и дефектов колесных пар и их элементов производят в соответствии с
таблицей Б.1 Приложения Б.
23.2 Определение вида неисправностей и дефектов подшипников и их элементов производят в соответствии с
таблицей В.1 Приложения В.
23.3 Нормирование и классификация предназначены для исключения разнообразия в наименовании одних и тех же неисправностей колесных пар, их элементов и подшипников, правильного ведения статистического учета изъятия колесных пар из эксплуатации и при поступлении в ремонт, а также для установления объема ремонтных работ, выполняемых на ремонтных предприятиях.
23.4 Для сохранения сведений о неисправностях ремонтируемых колесных пар, необходимых при статистическом анализе, устанавливается следующий порядок регистрации неисправных колесных пар и их элементов:
23.4.1 при оформлении натурного колесного листа формы ВУ-51 в графе "Неисправность" вместо записи вида неисправности проставляют соответствующий ей номер (в
таблице Б.1 указан в скобках после наименования неисправности/дефекта, например: "Сдвиг колеса на оси (331)");
23.4.2 при заполнении журнала формы ВУ-53 в графах "Выполненный ремонт" и Ремонтной карточки колесной пары грузового вагона отмечают причину браковки аналогично
п. 23.4.1;
23.4.3 в случае отправки забракованной колесной пары в ремонт на другое предприятие в графе 3 пересылочной ведомости
формы ВУ-50 и в формы ВУ-53, кроме требуемого ремонта, отмечают вид неисправности аналогично
п. 23.4.1;
23.4.4 при наличии в элементах колесной пары нескольких неисправностей указывают лишь те, для устранения которых требуется больший объем ремонтных работ.
23.5 Для сохранения сведений о неисправностях ремонтируемых подшипников, необходимых при статистическом анализе, устанавливается следующий порядок регистрации неисправных подшипников и их элементов:
23.5.1 при оформлении журнала формы ВУ-91 в графе "Вид неисправности" вместо записи вида неисправности проставляют соответствующий ей номер (номер пункта неисправности/дефекта в
таблице В.1, например: "1.1.01 Полное разрушение подшипника");
23.5.2 при заполнении журнала формы ВУ-93 в графе "Вид неисправности" отмечают причину браковки - номер дефекта аналогично
п. 23.5.1;
23.5.3 при наличии в подшипнике нескольких неисправностей указываются лишь те, для устранения которых требуется больший объем ремонтных работ.
24.1.1 Измерения подшипников роликовых цилиндрических и их деталей, монтаж буксовых узлов должны производиться в изолированных (защищенных от попадания паров, разъедающих химических веществ и пыли) чистых и светлых помещениях, оборудованных системой вентиляции и отопления, обеспечивающей равномерную температуру не ниже плюс 10 °C и состояние воздушной среды в соответствии с требованиями санитарных норм проектирования промышленных предприятий.
Стены в помещениях должны быть окрашены, облицованы плитками или другим отделочным материалом светлого тона. Для поддержания чистоты пол должен быть выложен метлахской плиткой или другим аналогичным материалом.
Помещения, где производят измерения, комплектацию и ремонт подшипников, должны быть оснащены стеллажами-накопителями, столами для осмотра, разборки и сборки подшипников, ремонта деталей подшипников, дефектоскопами для проведения НК деталей подшипников. Рабочие поверхности стеллажей и столов должны быть покрыты прочным материалом, обеспечивающим устойчивость к механическим повреждениям и легкость очищения от загрязнений (например, листовым оцинкованным железом, алюминием, пластиком, текстолитом). Для исключения сквозняков входные двери в помещения должны быть оборудованы доводчиками. В помещении должно быть исключено попадание прямого солнечного света.
Подшипники и их детали при монтаже запрещается брать руками, на которых содержатся частицы веществ, способных выполнить роль абразива (песок, земля, каменная пыль и т.д.) или способствовать развитию коррозии деталей подшипника (влага) и ухудшению свойств смазки. Протирку подшипников производят мягким, безворсовым обтирочным материалом.
24.1.2 СИ и СДК должны быть в исправном состоянии, храниться в помещениях, где производят измерения, содержаться в чистоте и подвергаться обязательной периодической поверке (калибровке) в соответствии с
29.2.
Для обеспечения необходимой точности измерений измеряемые детали, СИ и СДК должны иметь одинаковую температуру с окружающей средой, при этом разность температур между деталями, СИ и СДК и окружающей средой не должна быть более 3 °C. Время выдержки измеряемых деталей для выравнивания температуры после обмывки колесных пар и подшипников, а также после обработки на станках, в зависимости от применяемого оборудования и используемых технических моющих средств, устанавливает ремонтное предприятие и вносит его в действующий на предприятии технологический процесс.
24.1.3 Допускается формирование или ремонт колесных пар проводить на одном предприятии, а монтаж буксовых узлов - на другом.
При монтаже буксовых узлов на колесные пары, сформированные на другом предприятии с использованием новых элементов, НК проводят в соответствии с
20.6.
24.1.4 Допускается на предприятиях, находящихся на территории Российской Федерации, при выполнении планового ремонта вагона, на колесные пары монтировать подшипники кассетного типа для парка грузовых вагонов приписки Российской Федерации.
24.1.5 С 01.01.2022 на колесные пары, прошедшие капитальный ремонт, оборудованные подшипниками роликовыми цилиндрическими нового изготовления, без их разукомплектования и заправленные смазкой Буксол, распространяются требования
п. 12.5.1.6 и
п. 12.5.1.7.
24.2 ПОДГОТОВКА ДЕТАЛЕЙ ДЛЯ МОНТАЖА БУКСОВЫХ УЗЛОВ
24.2.1 Каждая колесная пара перед монтажом буксовых узлов должна пройти входной контроль на наличие маркировки по
ГОСТ 4835 и на соответствие ее геометрических параметров требованиям настоящего РД.
24.2.2 Каждая партия новых подшипников и их деталей перед монтажом должны подвергаться 100% входному контролю:
- на качество и комплектность упаковки, наличие паспорта (или карты качества);
- на соответствие
ГОСТ 520,
ГОСТ 18572, ТУ ВНИПП.048-1-00, ТУ ВНИПП.072-01 подшипников роликовых цилиндрических (наличие коррозии, трещин и других видимых дефектов и повреждений на деталях подшипников);
- на соответствие
ГОСТ 520,
ГОСТ 18572, ТУ ВНИПП.048-1-00, ТУ ВНИПП.072-01 подшипников сдвоенных (наличие коррозии, трещин и других видимых дефектов колец и шайб защитных);
- на соответствие ТУ БРЕНКО 840-462869-567-09, ТУ SKF.CTBU.001-2010, ТУ ТКХ.TBU.100-2024, ТУ 3183-001-55207975-2013, НВПР.01-00.000ТУ, Q/WZ.J141122-2022, ТУ "SPZ-BEARINGS" 339.21-2569-22", ТУ LYC "Технические условия на подшипники типа 350630/TL" подшипников кассетного типа (наличие коррозии, трещин и других видимых дефектов колец и уплотнений).
Кроме того, подшипники роликовые цилиндрические подвергают контролю на качество обработки колец, роликов и сепараторов, разноразмерность роликов по длине и диаметру, соответствие радиальных и осевых зазоров, диаметров отверстий колец внутренних при объеме партий:
- до восьми подшипников (или их деталей) - все подшипники (или их детали);
- от девяти до ста пятидесяти подшипников (или их деталей) включительно - 10,0% от партии;
- свыше ста пятидесяти подшипников (или их деталей) - 7,5% от партии.
Подшипники, не прошедшие входной контроль, а также с отсутствующей или нечеткой маркировкой, к монтажу не допускаются. На такие подшипники составляют Акты-рекламации установленной формы.
24.2.3 Все корпуса букс перед монтажом должны соответствовать ОСТ 24.153.12,
ГОСТ 34385, техническим условиям, согласованным и утвержденным установленным порядком, и на соответствие их геометрических параметров требованиям настоящего РД.
24.2.4 Перед монтажом буксовых узлов колесные пары, корпуса букс и их детали, а также подшипники роликовые цилиндрические должны быть обмыты и просушены
(18). Запрещается наличие смазки и загрязнений на деталях буксового узла.
Расконсервацию подшипников роликовых цилиндрических производят в соответствии с требованиями
11.11.
24.2.5 Подшипники сдвоенные и кассетного типа поставляются в готовом к монтажу виде. Распаковку подшипников производят непосредственно перед монтажом на ось. Подшипники с поврежденной или отсутствующей заводской упаковкой к монтажу не допускаются.
24.2.6 Не допускаются для монтажа буксовых узлов подшипники, имеющие коррозию, механические повреждения, загрязнения.
24.2.7 Расконсервированные и отремонтированные подшипники роликовые цилиндрические должны храниться на стеллажах в помещениях в условиях, указанных в
24.1.1.
24.2.8 Измерения подшипников роликовых цилиндрических производят при соблюдении требований
24.1.1 и
24.1.2.
Подшипники сдвоенные и кассетного типа поставляются с паспортом, в котором указаны их геометрические параметры. Измерение деталей данных подшипников не проводят, геометрические параметры принимают по паспорту.
24.2.9 При измерениях подшипников роликовых цилиндрических у каждого из них должны быть определены величины посадочных диаметров внутренних колец подшипников и радиальных зазоров или определены размерные группы подшипников, как по диаметру внутренних колец, так и по радиальным зазорам, а также наличие осевого зазора.
24.2.10 По результатам измерений диаметра отверстия кольца внутреннего подшипника роликового цилиндрического определяют его среднее значение или размерную группу. На торцовой поверхности, бортике или фаске (без выхода на дорожку качения) внутреннего кольца наносят цветным карандашом или фломастером по металлу номер размерной группы или отклонение среднего диаметра отверстия от номинального диаметра внутреннего кольца подшипника. Допускается наносить последние цифры фактических размеров (после запятой) диаметра внутреннего кольца.
При наличии заводской маркировки групп измерение диаметра внутренних колец допускается не производить. При делении подшипников на другие размерные группы, отличные от заводской маркировки, измерение диаметра отверстия внутреннего кольца обязательно.
При наличии автоматизированного комплекса допускается маркировку внутренних колец не производить.
24.2.11 Измерение радиального зазора подшипника роликового цилиндрического производят с учетом требований
24.1.1 и
24.1.2. По результатам измерений определяют средний радиальный зазор. Величины радиальных зазоров подшипников при монтаже буксовых узлов должны соответствовать приведенным в
таблице 24.1.
Величину радиального зазора наносят на торцовой поверхности наружного кольца или бортика или фаске (без выхода на дорожку качения) внутреннего кольца подшипника цветным карандашом или фломастером по металлу.
Допускается деление подшипников по радиальным зазорам на размерные группы. В этом случае на подшипник наносят номер размерной группы.
При наличии автоматизированного комплекса допускается маркировку колец не производить.
Измерение радиального зазора подшипников сдвоенных не производится, его величину принимают по паспорту на подшипник.
Величины радиальных зазоров фиксируют в журнале формы ВУ-90.
24.2.12 Осевой зазор в подшипниках роликовых цилиндрических должен соответствовать указанному в
таблице 24.1.
Измерение осевого зазора в подшипнике после демонтажа буксового узла и обмывки подшипников производят между торцом одного из роликов и бортиком кольца наружного с помощью щупа или на приборе и принимают наименьшее значение из трех измерений.
Измерение осевого зазора подшипников сдвоенных не производится, его величина приведена в паспорте на подшипник.
Измерение осевого зазора подшипников кассетного типа в свободном состоянии (поставки) не производится - его величина приведена в паспорте на подшипник.
Допускаемые значения радиальных и осевых зазоров подшипников
роликовых цилиндрических
В миллиметрах
NN п.п. | Замеряемые параметры | Допускаемые величины |
при новом изготовлении | после ремонта |
1 | Радиальный зазор подшипников в свободном состоянии | 0,115...0,180 | 0,090...0,250 |
2 | Радиальный зазор подшипников непосредственно на шейке оси, не менее | 0,040 |
3 | Разность радиальных зазоров подшипников, устанавливаемых на одну шейку оси, не более: | |
- в свободном состоянии при измерении радиального зазора со своими кольцами внутренними | 0,020 |
- в свободном состоянии при измерении радиального зазора с применением эталонного кольца | 0,010 |
- непосредственно на шейке оси с напрессованными кольцами внутренними | 0,020 |
4 | Осевой зазор в подшипнике | 0,070...0,150 | не менее 0,060 |
5 | Осевой разбег для двух подшипников роликовых цилиндрических | Обеспечивается конструкцией 0,680...1,380 |
24.2.13 Измерения диаметров шеек и предподступичных частей осей производят с учетом требований
24.1.1 и
24.1.2. По результатам измерений определяют средние диаметры шеек и предподступичных частей осей, а также посадочный диаметр колец лабиринтных или их размерные группы. Значения диаметров шеек и предподступичных частей осей должны соответствовать приведенным в
таблице 12.1, посадочного диаметра кольца лабиринтного - в
таблице 25.2. Результаты измерений фиксируют в журнале формы ВУ-90.
24.2.14 Подшипники роликовые цилиндрические, устанавливаемые на одну шейку оси колесной пары (парные подшипники), должны подбираться:
- по величине радиальных зазоров так, чтобы разность радиальных зазоров у двух подшипников не превышала 0,02 мм в случае, если измерение радиального зазора производилось со своим внутренним кольцом. При выполнении измерений с применением эталонного кольца разность радиальных зазоров не должна превышать 0,01 мм. При этом не регламентируется, у какого подшипника (заднего или переднего) радиальный зазор должен быть большим;
- по диаметру отверстий внутренних колец так, чтобы разность диаметров не превышала 0,008 мм.
Подбор подшипников сдвоенных и подшипников кассетного типа не производится. При этом действительные размеры диаметров отверстий внутренних и лабиринтных колец, лабиринтов и упорных колец подшипников выписывают из паспортов на подшипники и фиксируют в журнале формы ВУ-90.
24.2.15 Измерения посадочного диаметра и отклонений формы внутренней цилиндрической части корпуса буксы должны производиться с учетом требований
24.1.2. Значения измеряемых параметров должны соответствовать нормам, приведенным в
таблице 25.1, и фиксироваться в журнале формы ВУ-90.
24.3 ОБЩИЕ ТРЕБОВАНИЯ К МОНТАЖУ БУКСОВЫХ УЗЛОВ
24.3.1 К монтажу допускают подшипники, присоединенные к ним детали буксовых узлов (кольца лабиринтные (лабиринты) и кольца упорные задние) и колесные пары, имеющие одинаковую температуру с окружающей средой, допускается разность температур между ними не более 3 °C.
Учет монтажа буксовых узлов должен вестись в журнале формы ВУ-90.
24.3.2 Посадка подшипников и присоединенных к ним деталей буксовых узлов (колец лабиринтных (лабиринтов) и колец упорных задних) на оси должна быть прессовой и производиться на гидравлических прессах, обеспечивающих в соответствии с
ГОСТ 4835 скорость движения плунжера от 2,5 до 6,0 мм/с с конечным усилием запрессовки всего комплекта колец:
- 245...294 кН (25 - 30 тс) на оси типа РУ1 и РУ1Ш с диаметром шейки 130 мм;
- 343...392 кН (35 - 40 тс) на оси типа РВ2Ш с диаметром шейки 150 мм.
При этом конечное усилие следует выдержать не менее 3 (трех) секунд.
Примечание - В зависимости от конструкции пресса конечное усилие запрессовки фиксируется по манометру или автоматически ограничивается специальным устройством гидравлического пресса.
Допускается производить монтаж колец внутренних подшипников роликовых цилиндрических и колец лабиринтных методом тепловой посадки по
24.8.
| | ИС МЕГАНОРМ: примечание. Нумерация пунктов дана в соответствии с источником опубликования. | |
24.3.4 Независимо от конструкции и типоразмера подшипников и размеров элементов осей значения натягов должны составлять:
- внутренних колец подшипников на шейках осей - 0,045...0,110 мм;
- присоединенных деталей: колец лабиринтных (лабиринтов) и колец упорных задних на предподступичных частях осей - 0,020...0,186 мм.
Примечание - Для подшипников кассетного типа торговой марки Бренко допускаются значения натягов внутренних колец подшипников на шейках осей - 0,045...0,115 мм.
24.3.5 Посадочные поверхности шеек и предподступичных частей оси, внутренних колец подшипников и присоединенных деталей (колец лабиринтных (лабиринтов) и колец задних упорных) должны быть тщательно очищены, насухо протерты и покрыты ровным тонким слоем пасты эМПи-4 или Rosneft Plastex RW Lithium EP 1 HD
(таблица 11.1).
24.3.6 Запрессовка на ось внутренних колец подшипников роликовых цилиндрических, подшипников сдвоенных и кассетного типа, а также присоединенных к ним деталей буксовых узлов (всего комплекта) производится за один ход плунжера пресса.
Усилие запрессовки должно прикладываться только к внутреннему кольцу подшипника (или через кольцо компенсационное уплотнения подшипников кассетного типа торговой марки Бренко). Категорически запрещается прикладывать усилие к наружным кольцам подшипников.
При продвижении в процессе запрессовки отдельного подшипника или подшипника с корпусом буксы вдоль оси следует производить проворачивание его наружного кольца (отдельно или с корпусом буксы) на угол 45° в разные стороны. В ходе запрессовки подшипника вращение должно быть легким, без заеданий и посторонних шумов. В случае затрудненного вращения подшипников дальнейший монтаж прекращается, подшипник демонтируют.
Допускается производить повторную запрессовку внутренних колец подшипников роликовых цилиндрических, сдвоенных подшипников и подшипников кассетного типа на ту же шейку или на шейку оси любой другой колесной пары, но не более одного раза на каждую шейку. При этом допускается наличие продольных рисок, возникших при запрессовке и распрессовке колец, без зачисток шеек и предподступичных частей осей, глубина которых не определяется органолептическим методом (невозможно зацепить ногтем пальца руки).
24.3.7 Правильность сборки буксовых узлов с подшипниками всех типов выполняют в соответствии с
29.24.
24.3.8 В случае несоответствия буксовых узлов требованиям настоящего РД, производят их демонтаж. При повторном монтаже должны соблюдаться требования настоящего РД.
24.4 МОНТАЖ БУКСОВЫХ УЗЛОВ С ПОДШИПНИКАМИ РОЛИКОВЫМИ ЦИЛИНДРИЧЕСКИМИ
24.4.1 После запрессовки на ось комплекта колец (кольца внутренние переднего и заднего подшипников и кольцо лабиринтное), производят контроль плотности прилегания колец внутренних друг к другу и кольца внутреннего заднего подшипника к лабиринтному кольцу, при этом пластина щупа толщиной не более 0,04 мм может войти в зазор между деталями на участке длиной не более 1/3 окружности. При невыполнении этого условия (зазор между кольцами более 0,04 мм) демонтируют с оси весь комплект колец. Допускается производить монтаж отремонтированных подшипников без снятия при демонтаже с оси колец внутренних и лабиринтных, при этом должны выполняться требования 21.1.3.
24.4.2 Перед установкой в корпус буксы каждый скомплектованный блок подшипника (наружное кольцо с роликами и сепаратором) должен быть обработан препаратом-модификатором эМПи-1 или препаратом-модификатором К-Букс, норма расхода которых приведена в таблице 11.1 и зависит от марки смазки, закладываемой в подшипник. Рекомендуемый порядок обработки блока подшипника препаратом-модификатором эМПи-1 или препаратом-модификатором К-Букс приведен на рисунке 24.1.
Рисунок 24.1 - Порядок обработки деталей блока
подшипника препаратом-модификатором эМПи-1
или препаратом-модификатором К-Букс
Смазывание деталей блока подшипника производят на решетчатом поддоне, при этом рекомендуется блок подшипника устанавливать на специальное приспособление с двумя роликами, позволяющее свободно вращать его от руки (рисунок 24.2).
Рисунок 24.2 - Специальное приспособление для обработки
деталей блока подшипника препаратом-модификатором эМПи-1
или препаратом-модификатором К-Букс
Смазывание деталей блока подшипника производится в следующем порядке:
1. Блок подшипника в вертикальном положении устанавливают на специальное приспособление, а при его отсутствии на поверхность решетчатого поддона.
2. Нанесение препарата-модификатора эМПи-1 или препарата-модификатора К-Букс проводят методом полива на 3 - 4 ролика в нижней части блока подшипника, затем сепаратор с роликами поворачивают на 90°. Данную операцию выполняют на менее 3-х раз, до полного распределения препарата-модификатора по поверхностям деталей блока подшипника.
3. После завершения полива производят многократное прокручивание (5 - 6 раз) сепаратора с роликами и кольца наружного во встречных направлениях (например, наружное кольцо - по часовой стрелке, а сепаратор с роликами - против часовой стрелки). Встречное прокручивание проводят до полной обработки препаратом-модификатором всех контактирующих поверхностей деталей блока подшипника (дорожка качения и внутренняя поверхность бортиков наружного кольца, цилиндрические поверхности и торцы роликов) до полного его распределения.
Если подшипник будет заправляться смазкой Буксол, то после завершения обработки препаратом-модификатором эМПи-1 или препаратом-модификатором К-Букс блок подшипника должен быть установлен в вертикальное положение на наружную поверхность наружного кольца и выдержан в этом положении не менее 10 минут, с целью образования устойчивой связи с рабочими поверхностями деталей блока подшипника.
После обработки препаратом-модификатором блоки подшипников необходимо прокрутить (2 - 3 оборота) на внутренних кольцах, смонтированных на шейку оси, с целью распределения остатков препарата-модификатора на дорожках качения внутренних колец при подборе радиального зазора.
24.4.3 До установки блоков подшипников в корпус буксы посадочная поверхность корпуса буксы и поверхности колец наружных должны быть обработаны тонким слоем препарата-модификатора эМПи-1 или минерального масла или препарата-модификатора К-Букс (рисунок 24.3), норма расхода которых приведена в таблице 11.1.
Рисунок 24.3 - Пример обработки посадочной поверхности
корпуса буксы смазочными материалами
24.4.4 В корпус буксы последовательно устанавливают блок заднего подшипника так, чтобы торец его наружного кольца с маркировкой был обращен к лабиринтной части корпуса буксы, и блок переднего подшипника так, чтобы торец его наружного кольца с маркировкой был обращен к передней части корпуса буксы.
После установки блоков подшипников в корпус буксы, в соответствии с нормами таблицы 11.1 производят закладку смазки ЛЗ-ЦНИИ (У) или Буксол или ЗУМ. Смазку закладывают равномерно по всему периметру между роликами блоков подшипников, в проточки лабиринтного кольца, в пространство между лабиринтной частью корпуса буксы и задним блоком подшипника.
При использовании в подшипниках смазки Буксол, допускается до установки блоков парных подшипников в корпус буксы, закладывать часть смазки Буксол на дорожки качения колец наружных, при условии подбора величин радиальных зазоров парных подшипников с использованием автоматизированных приборов для измерения зазоров. Смазку Буксол на дорожку качения кольца наружного закладывают руками (шпателем) в количестве, приведенном в таблице 11.1, и равномерно распределяют по дорожке качения и бортам наружного кольца. Материал шпателя не должен повреждать поверхности деталей подшипника. Установка блоков подшипников в корпус буксы и последующая закладка смазки Буксол производится порядком, установленным настоящим пунктом.
Далее производится установка (надвижка) корпуса буксы с блоками подшипников на смонтированный на шейке оси комплект внутренних колец.
После этого на шейку оси устанавливают кольцо плоское упорное переднего подшипника маркировкой, обращенной к передней части корпуса буксы.
24.4.5 Торцевое крепление подшипников на оси производят аналогично 12.4.2.2.5.
24.4.6 Закладку смазки в переднюю часть буксового узла производят аналогично 12.4.2.2.6.
24.4.7 Сборку крышек крепительной и смотровой, их установку на корпус буксы производят аналогично 12.4.2.2.7.
24.4.8 На бирку, устанавливаемую под левый верхний болт крышки крепительной с правой стороны колесной пары (рисунок 26.6), дополнительно должна быть нанесена маркировка высотой 10 мм и шириной 5 мм о состоянии подшипников роликовых цилиндрических, устанавливаемых в буксовые узлы колесной пары, и марке смазки (Буксол или ЗУМ), которой заправлены эти подшипники:
- Н - в случае установки в буксовые узлы колесной пары только новых не разукомплектованных подшипников;
- Р - в случае установки в буксовые узлы колесной пары хотя бы одного отремонтированного подшипника;
- Б - в случае заправки подшипников смазкой Буксол;
- З - в случае заправки подшипников смазкой ЗУМ.
При заправке подшипников смазкой ЛЗ-ЦНИИ (У) маркировка о марке смазки не наносится.
24.4.9 Буксовые узлы одной колесной пары должны быть заправлены одной маркой смазки.
24.5 МОНТАЖ БУКСОВЫХ УЗЛОВ С ПОДШИПНИКАМИ СДВОЕННЫМИ
24.5.1 Подшипники сдвоенные запрессовывают на ось за один ход плунжера пресса вместе с корпусом буксы и установленным в него кольцом лабиринтным. При этом выпадение кольца лабиринтного из лабиринтной части корпуса буксы в процессе запрессовки не допускается.
24.5.2 До установки подшипников в корпус буксы ее посадочную поверхность и поверхность колец наружных смазывают препаратом-модификатором эМПи-1 (норма расхода приведена в
таблице 11.1). Проточки кольца лабиринтного по всему периметру должны быть заполнены смазкой Буксол или ЗУМ (или другой смазкой по согласованию с заводом-изготовителем подшипников) в соответствии с нормами
таблицы 11.1 (использование смазки ЛЗ-ЦНИИ (У) запрещается), а лабиринтное кольцо установлено в лабиринтную часть корпуса буксы.
24.5.3 Подшипник сдвоенный устанавливают в корпус буксы так, чтобы маркировка на наружном кольце с буквой "П" была обращена в сторону крепительной крышки.
24.5.4 Перед запрессовкой установленные в корпус буксы подшипники, при необходимости, фиксируют крепительной крышкой и двумя болтами М20, затянутыми предварительно и расположенными по диагонали.
24.5.5 Торцевое крепление подшипников на оси производят аналогично
12.4.2.2.5.
24.5.6 Закладка смазки в переднюю часть буксового узла не производится.
24.5.7 Сборку крышек крепительной и смотровой, их установку на корпус буксы производят аналогично
12.4.2.2.7. При этом в пространство между фланцевыми поверхностями крышки крепительной и корпуса буксы смазка не закладывается.
24.6 МОНТАЖ БУКСОВЫХ УЗЛОВ С ПОДШИПНИКАМИ КАССЕТНОГО ТИПА В КОРПУСЕ БУКСЫ
24.6.1 Монтаж буксовых узлов с подшипниками кассетного типа в корпусе буксы производится аналогично
24.5. При этом:
- установка подшипников в корпуса букс производится таким образом, чтобы маркировка на кольце наружном подшипника читалась со стороны крышки крепительной;
- полимерная прокладка подшипников кассетного типа торговой марки SKF (или ТЕК-КОМ) должна находиться в кольце лабиринтном (лабиринте).
24.6.2 Измерение осевого зазора подшипников кассетного типа в корпусе буксы выполняют в соответствии с
29.24.
24.7 МОНТАЖ БУКСОВЫХ УЗЛОВ С ПОДШИПНИКАМИ КАССЕТНОГО ТИПА ПОД АДАПТЕР
24.7.1 Запрессовка на ось подшипников кассетного типа под адаптер и присоединенных к ним деталей (колец упорных задних) производится за один ход плунжера пресса.
24.7.2 Торцевое крепление подшипников на оси производят аналогично
12.4.2.2.5.
24.7.3 Измерение осевого зазора подшипников кассетного типа под адаптер выполняют до или после монтажа торцевого крепления в соответствии с
29.24.
24.8 ТЕПЛОВАЯ ПОСАДКА КОЛЕЦ ЛАБИРИНТНЫХ И КОЛЕЦ ВНУТРЕННИХ ПОДШИПНИКОВ РОЛИКОВЫХ ЦИЛИНДРИЧЕСКИХ И НА ОСЬ
24.8.1 Посадочные поверхности шеек и предподступичных частей оси, колец внутренних и лабиринтных должны быть тщательно очищены и насухо протерты.
24.8.2 Величины натягов колец внутренних и лабиринтных на ось должны соответствовать указанным в
24.3.4.
24.8.3 Кольца лабиринтные перед установкой на предподступичную часть оси колесной пары нагревают до температуры 125...150 °C.
Нагрев может производиться в электропечи, с помощью индукционного нагревателя или в масляной ванне, где в качестве нагреваемой жидкости используют масло трансформаторное по
ГОСТ 982.
При нагреве лабиринтного кольца в электропечи или индукционным нагревателем предподступичную часть оси покрывают тонким слоем масла трансформаторного по
ГОСТ 982, индустриального по
ГОСТ 20799 или веретенного АУ по ТУ 38-1011232-89.
Установку нагретого кольца лабиринтного производят с помощью специальной монтажной втулки, торцом которой по мере его остывания наносят удары по лабиринтному кольцу до получения чистого металлического звука. При установке кольцо лабиринтное должно упереться в торец предподступичной части оси.
Отклонение от перпендикулярности заплечика торцевой поверхности кольца лабиринтного к посадочной поверхности шейки оси проверяют лекальным угольником в четырех диаметрально противоположных точках. Щупом измеряют зазор между торцевой поверхностью кольца лабиринтного и угольника. Пластина щупа толщиной 0,04 мм не должна проходить в зазор. Контроль производят после остывания кольца лабиринтного и шейки оси до температуры окружающей среды, при этом разность температур между кольцом лабиринтным и осью не должна превышать 3 °C.
24.8.4 Перед установкой на шейку оси внутренних колец подшипников их нагревают до температуры 100...120 °C.
Нагрев может производиться в электропечи, с помощью индукционного нагревателя или в масляной ванне, где в качестве нагреваемой жидкости используется масло трансформаторное по
ГОСТ 982. Перегрев колец не допускается. При нагреве в электропечи контроль температуры производят непосредственно в зоне размещения колец внутренних.
При нагреве колец внутренних в электропечи или индукционным нагревателем шейку оси покрывают тонким слоем масла трансформаторного по
ГОСТ 982, индустриального по
ГОСТ 20799 или веретенного АУ по ТУ 38-1011232-89.
Перед установкой колец внутренних к торцу оси прикрепляют специальный направляющий стакан, который в зависимости от конструкции оси либо навинчивается на резьбу М110, либо прикрепляется к торцу оси технологическими болтами М20.
Нагретые внутренние кольца устанавливают на шейку оси в последовательности: первым надевают кольцо заднего подшипника бортом вперед, вторым надевают кольцо переднего подшипника так, чтобы его сторона со скосом от дорожки качения была обращена к кольцу заднего подшипника.
После установки колец на шейку оси направляющий стакан снимают, надевают кольцо плоское упорное и производят поджатие колец внутренних:
- на оси типа РУ1Ш - шайбой тарельчатой и четырьмя (тремя) болтами М20 с моментом затяжки каждого болта 200...300 Нм (20...30 кгс м) по схеме 1-2-3-4-3-4-2-1 (для трех болтов - с обходом дважды по периметру). Допускается применение технологических шайб и болтов. По мере остывания колец болты подтягивают;
- на оси типа РУ1 - гайкой М110. Гайку затягивают и подтягивают по мере остывания колец внутренних инерционным ключом или гаечным ключом с применением ударного инструмента (молотка) массой от 3 до 5 кг.
Примечание:
1. Допускается для оси типа РУ1 одноразовое поджатие колец в горячем состоянии. Поджатие осуществляется гайкой М110 при помощи инерционного ключа или гаечного ключа с применением молотка массой 3...5 кг. Усилие затяжки должно обеспечивать плотное прилегание колец внутренних подшипников и кольца лабиринтного после их остывания. После остывания колец производится дополнительная затяжка гайки на угол не менее 8° (1/2 выступа коронки или шлица).
2. Допускается производить поджатие колец внутренних подшипников гидравлической прессовой установкой усилием не менее 200 кН (20 тс).
В поджатом состоянии внутренние кольца должны находиться до остывания колец и шейки оси до температуры окружающей среды. Контроль плотности прилегания колец внутренних друг к другу и кольца внутреннего заднего подшипника к лабиринтному кольцу производят согласно
24.4.1, при этом допускается разность температур между кольцами и окружающей средой не более 3 °C.
Плотность посадки колец внутренних проверяют прибором контроля натяга колец подшипников согласно инструкции по его эксплуатации.
Примечание:
1. Допускается принудительное охлаждение колец трансформаторным маслом, выдержанным в монтажном отделении, или другими способами, не вызывающими коррозии. Время выдержки устанавливается технологическим процессом.
2. Допускается плотность прилегания колец внутренних друг к другу и к кольцу лабиринтному контролировать при разности температур между кольцом и шейкой оси не более 3 °C, при условии обеспечения контроля разности температур колец и шейки на монтажных участках. Разность температур между кольцами и окружающей средой при этом не регламентируется.
25 РЕМОНТ ДЕТАЛЕЙ БУКСОВЫХ УЗЛОВ
25.1 РЕМОНТ ПОДШИПНИКОВ РОЛИКОВЫХ ЦИЛИНДРИЧЕСКИХ
25.1.1 Осмотр, ремонт и комплектацию подшипников производят после их обмывки и просушки при соблюдении требований
24.1.1 и
24.1.2.
25.1.2 Осмотр деталей подшипников, определение вида неисправностей и дефектов, способы их устранения и определение объема требуемого ремонта производят согласно
таблице В.1.
25.1.3 Осмотр блоков подшипников (кольца наружные, сепараторы с роликами) и отдельно колец внутренних, наружных и упорных, сепараторов и роликов производят с помощью лупы с кратностью увеличения не менее 3-х при рассеянном свете. Сведения о каждом осмотренном подшипнике с указанием его состояния должны быть занесены в журнал формы ВУ-91.
25.1.4 При ремонте подшипников забракованные детали заменяют годными из числа бывших в эксплуатации, удовлетворяющих требованиям настоящего РД, или новыми.
25.1.5 Объем ремонта подшипников определяется по результатам осмотра, измерений и проведения НК их деталей по
20.
При этом выполняются следующие работы:
- зачистка (шлифовка) дорожек качения и бортиков колец наружных и внутренних;
- зачистка (шлифовка) торцов роликов;
- замена отдельных деталей подшипников (кольца наружные и внутренние, кольца плоские упорные, ролики и сепараторы);
- комплектация подшипников с измерением роликов по диаметру, длине и величине бомбины (формирование комплекта роликов в подшипнике);
- определение зазоров радиальных и осевых.
25.1.6 После ремонта при комплектовании подшипников разность диаметров роликов в одном подшипнике должна быть не более 0,005 мм, а разность длин роликов - не более 0,012 мм. Ролики должны быть с рациональным контактом (бомбинированные) с величиной бомбины 0,008...0,014 мм.
25.1.7 При сборке блока подшипника торцы роликов, имеющие лунки или маркировку, должны быть обращены в сторону маркировки на наружном кольце. Маркировка сепаратора также должна быть обращена в сторону маркировки на наружном кольце.
В случае отсутствия на торцах роликов лунок или маркировки, на один из торцов наносится маркировка в виде знака "+", при этом для роликов, имеющих лунки на двух торцах, маркировку наносят механическим путем. У роликов с плоскими торцами, маркировку наносят с помощью кислоты, медного купороса или электрографом. Запрещается наносить знак "+" на рабочую часть ролика - этот знак должен быть нанесен только в центре торца ролика.
25.1.8 При ремонте подшипника дополнительно к основной маркировке на торце наружного кольца (со стороны основной маркировки) должны наноситься знаки о каждом проведенном ремонте.
Надпись на кольцах производится электрографом, при этом подшипник должен быть в разобранном состоянии для исключения прохождения электрического тока через ролики. При собранном подшипнике надпись наносится медным купоросом или кислотой, при этом остатки кислоты после маркировки тщательно нейтрализуются.
Примечание:
1. Состав кислоты: висмут азотнокислый - 5 г; никель азотнокислый - 95 г; азотная кислота - 370 см3; вода - 630 см3.
2. Через 3...5 минут после нанесения надписи для нейтрализации кислоты место надписи должно быть протерто мыльной пеной или любым машинным маслом.
Пример маркировки о проведенном ремонте: Р 375 01-16,
Р - обозначение того, что подшипник отремонтирован;
375 - условный номер предприятия, производившего ремонт;
01-16 - месяц и две последние цифры года проведения ремонта.
25.1.9 После ремонта у подшипников контролируются: разноразмерность роликов по диаметру и длине, наличие бомбины и ее величина, осевой и радиальный зазоры, маркировка подшипника и постановка знаков о проведенном ремонте. При измерении радиального зазора его значение должно составлять 0,090...0,250 мм, разность крайних значений радиального зазора при трех измерениях (через 120°) не должна превышать 0,02 мм.
При отсутствии на кольце наружном заводского номера подшипника оно подлежит браковке.
25.1.10 Данные о каждом отремонтированном подшипнике фиксируют в журнале формы ВУ-93.
25.1.11 При хранении отремонтированных подшипников и их деталей следует руководствоваться требованиями
11.9.1 и
11.9.2.
25.2 РЕМОНТ КОРПУСОВ БУКС И ИХ ДЕТАЛЕЙ
Корпуса букс, кольца лабиринтные, крышки крепительные и смотровые должны быть обмыты, протерты насухо и осмотрены.
25.2.1 Корпуса букс с трещинами и отколами бракуют. Внутренняя посадочная поверхность, торцы корпуса буксы, поверхности бортика упорного и лабиринта должны быть зачищены от коррозии, задиров, рисок и заусенцев. Зачищенные поверхности протирают безворсовым материалом, смоченным керосином, а затем сухим. Допускается производить после зачистки обмывку корпуса буксы в моечной машине.
На посадочной поверхности корпуса буксы после устранения коррозионных повреждений допускаются темные пятна. Не допускается зачистку поверхности доводить до металлического блеска.
Допускается производить зачистку внутренней посадочной поверхности корпуса буксы по иной технологии, согласованной установленным порядком.
Допускаемые размеры корпусов букс должны соответствовать указанным в
таблице 25.1
Ремонт корпусов букс производят в соответствии с
Инструкцией по сварке и наплавке при ремонте грузовых вагонов.
Корпуса букс, имеющие износ внутренней цилиндрической поверхности более допустимого, и с повреждениями лабиринтной части подлежат браковке, а при повреждении резьбовых отверстий и с оставшимися в буксе оборванными болтами М20 подлежат ремонту по технологиям, принятым на ремонтных предприятиях.
Допускаемые размеры корпусов букс
В миллиметрах
N. | Замеряемые параметры | Допускаемые значения |
при новом изготовлении | после ремонта |
1 | Диаметр внутренней цилиндрической поверхности корпуса буксы (посадочный диаметр) | | |
2 | Овальность внутренней цилиндрической поверхности корпуса буксы, не более | 0,024 | 0,200 |
3 | Конусообразность внутренней цилиндрической поверхности корпуса буксы | 0,024 | 0,100 |
4 | Ширина корпуса буксы по направляющим для боковой рамы тележки | |
5 | Расстояние от оси корпуса буксы до опорной горизонтальной поверхности буксы | 173 +/- 1 |
6 | Расстояние между направляющими буртами | |
7 | Неравномерный износ опорной поверхности, не более | - | |
8 | Разница в толщине стенок корпуса буксы, замеренная по направляющим, не более | 4,0 |
<*> Контролируются при подготовке колесных пар к ремонту (входной контроль) |
25.2.2 На посадочных поверхностях колец лабиринтных не допускаются механические повреждения в виде трещин, отколов, вмятин, забоин и заусенцев.
Размеры колец лабиринтных должны соответствовать приведенным в
таблице 25.2.
Допускаемые размеры колец лабиринтных.
В миллиметрах
N | Замеряемые параметры | Допускаемые значения |
при новом изготовлении | после ремонта |
1 | Диаметр внутренней цилиндрической поверхности (посадочный диаметр) | 165,00+0,08 | |
2 | Овальность отверстия по диаметру 165,0 мм, не более | 0,06 | 0,10 |
3 | Конусообразность отверстия по диаметру 165,0 мм, не более | 0,03 | 0,05 |
25.2.3 Крышки крепительные и смотровые осматривают. На крышках не допускаются механические повреждения в виде трещин, отколов, забоин, заусенцев и изгибов. При наличии повреждений крышки бракуются. Крышки крепительные с изношенными отверстиями под болты М20 и с изношенной резьбой под болты М12 крышки смотровой ремонтируют согласно
Инструкции по сварке и наплавке при ремонте грузовых вагонов. Деформацию крышки смотровой контролируют на слесарной (рихтовочной) плите, при этом пластина щупа толщиной 0,5 мм не должна проходить в зазор между плитой и торцевой поверхностью крышки смотровой по всему периметру. Толщина крышки смотровой должна быть 2,5...3,0 мм.
25.3 РЕМОНТ ДЕТАЛЕЙ ТОРЦЕВОГО КРЕПЛЕНИЯ ПОДШИПНИКОВ НА ОСИ
25.3.1 Гайки торцевые М110 с трещинами, сорванной или поврежденной резьбой, следами механического воздействия на шлицы, а также со следами коррозии витков резьбы бракуют. Запрещается растачивать резьбу гайки торцевой М110. Мелкие забоины, вмятины, задиры и заусенцы ремонтируют зачисткой напильником или шлифовальной машинкой, или шлифовальной бумагой зернистостью N 6 по
ГОСТ 6456 с минеральным маслом. Геометрические параметры кольцевой выточки гайки М110 контролируют специальным приспособлением.
25.3.2 Планки стопорные с трещинами и деформацией хвостовика, с механическими повреждениями в виде забоин, вмятин, задиров, заусенцев бракуют. Толщина планки стопорной должна быть не менее 9,0 мм. Геометрические параметры стопорной планки контролируют специализированным шаблоном.
25.3.3 Шайбы тарельчатые (или крышки передние) с трещинами, со смещенными отверстиями под болты торцевого крепления и деформированные бракуют.
Шайбы тарельчатые с механическими повреждениями в виде забоин, вмятин, задиров, заусенцев ремонтируют зачисткой напильником или шлифовальной машинкой, или шлифовальной бумагой зернистостью N 6 по
ГОСТ 6456 с минеральным маслом. Деформацию шайбы тарельчатой проверяют на контрольной плите. Шайбу торцевой конической поверхностью (к которой прилегают головки болтов М20 торцевого крепления подшипников) кладут на контрольную плиту и проверяют щупом зазор между этой поверхностью и плитой. Пластина щупа 0,4 мм должна проходить в зазор между плитой и торцевой конической поверхностью по всему периметру. При невыполнении этого условия шайбу бракуют.
Ремонт крышек передних в условиях ремонтного предприятия не производится
(30.1).
25.3.4 Шайбы стопорные с трещинами, надрывами, а также со следами механической деформации бракуют. Механические повреждения в виде вмятин на поверхностях шайбы, образующиеся при загибе ее лепестков на грани головок болтов не являются браковочными признаками.
25.3.5 Болты М12, М20 и М24 подлежат браковке при:
- наличии деформации стержня и резьбы;
- наличии задиров и трещин в любой части болта;
- обнаружении следов коррозии на резьбовой части стержней;
- наличии отверстий в головках болтов М20, допускается использование этих болтов для крепления крышки крепительной;
- отсутствии радиуса в месте перехода стержней болтов М20 и М24 к подголовнику;
- отсутствии на головках болтов М20 и М24 подголовников.
Категорически запрещается исправлять резьбу на стержнях болтов. Облой, образующийся на гранях головок болтов М20 и М24 со стороны подголовника при изготовлении, должен удаляться механическим способом (например, напильник или наждак).
Допускается использовать болты М12 с отверстиями в головках для крепления планки стопорной и крышки смотровой.
26 МАРКИРОВАНИЕ И КЛЕЙМЕНИЕ КОЛЕСНЫХ ПАР И ИХ ЭЛЕМЕНТОВ
26.1 Колесные пары и их элементы должны иметь знаки маркирования и клейма, относящиеся:
- к изготовлению осей, предусмотренные
ГОСТ 33200;
- к изготовлению колес, предусмотренные
ГОСТ 10791;
- к формированию колесных пар, предусмотренные
ГОСТ 4835;
- к проведению текущего, среднего ремонта колесных пар и восстановлению профиля поверхности катания колес, предусмотренные настоящим РД.
Каждая колесная пара имеет свой индивидуальный номер, которым является номер оси, включающий в себя: условный номер предприятия-изготовителя черновой оси - первые 4 знака; порядковый номер оси - до 6 знаков; две последние цифры года изготовления черновой оси. Правой стороной колесной пары считается та, на торце оси которой нанесены знаки маркировки об изготовлении оси.
26.2 Размеры клейм и знаков маркировки, наносимые в холодном состоянии на торцы осей колесных пар, приведены на
рисунке 26.1.
1, 2 - клеймо условного номера предприятия; 3 - знак
формирования колесной пары; 4 - знак монтажа буксовых узлов;
5 - знак государства-собственника.
Рисунок 26.1 - Основные размеры клейм и знаков маркировки
26.3 Клейма и знаки маркировки, относящиеся к изготовлению оси, нанесены на торце оси
(рисунок 26.2).
1 - приемочные клейма, 2 - условный номер
предприятия - изготовителя чистовой оси; 3 - номер оси,
включающий условный номер предприятия-изготовителя черновой
оси - 4 знака (если условный номер менее 4 знаков, его
дополняют нулями с левой стороны), порядковый номер черновой
оси - до 6 знаков, две последние цифры года изготовления
черновой оси - 2 знака; 4 - клеймо службы технического
контроля предприятия-изготовителя чистовой оси.
Рисунок 26.2 - Клейма и знаки маркировки, относящиеся
к изготовлению оси
26.4 Клейма и знаки маркировки, относящиеся к изготовлению колеса, нанесены на наружной боковой поверхности обода колеса
(рисунок 26.3).
1 - две последние цифры года изготовления колеса;
2 - марка стали; 3 - номер плавки; 4 - условный номер
предприятия-изготовителя колеса (номер или его торговая
марка); 5 - приемочные клейма; 6 - порядковый номер колеса
по системе нумерации предприятия-изготовителя; 7 - код
государства-собственника колеса, наносится в двух местах:
первое клеймо - на расстоянии 150...200 мм перед основной
маркировкой, второе - с диаметрально противоположной
стороны.
Рисунок 26.3 - Клейма и знаки маркировки, относящиеся
к изготовлению колеса
26.5 Клейма и знаки маркировки, относящиеся к формированию колесной пары, наносят на торце оси правой стороны колесной пары
(рисунок 26.4);
| |
ось типа РУ1 | ось типа РУ1Ш или РВ2Ш |
1 - "Ф" - знак формирования колесной пары; 2 - клеймо ОТК;
3 - приемочные клейма; 4 - условный номер предприятия,
которое произвело формирование колесной пары; 5 - дата
формирования колесной пары (месяц римскими цифрами и две
последние цифры года).
Рисунок 26.4 - Клейма и знаки маркировки на торце оси,
относящиеся к формированию колесной пары
26.6 Клейма и знаки маркировки, относящиеся к проведению среднего ремонта колесной пары, наносят:
| |
ось типа РУ1 | оси типа РУ1Ш или РВ2Ш |
1 - дата проведения среднего ремонта колесной пары (месяц
римскими цифрами и две последние цифры года); 2 - условный
номер ремонтного предприятия, которое произвело средний
ремонт колесной пары.
Рисунок 26.5 - Клейма и знаки маркировки на торце оси,
относящиеся к проведению среднего ремонта колесной пары
26.6.2 на бирке, устанавливаемой под левый верхний болт крышки крепительной с правой стороны колесной пары, оборудованной буксовыми узлами с подшипниками в корпусах букс
(рисунок 26.6);
1 - индивидуальный номер колесной пары; 2 - дата проведения
среднего ремонта колесной пары (месяц римскими цифрами
и две последние цифры года); 3 - условный номер ремонтного
предприятия, которое произвело средний ремонт колесной пары;
4 - код государства-собственника колесной пары;
5 - состояние подшипников роликовых цилиндрических
(Н - нового изготовления или Р - отремонтированные);
6 - марка смазки, закладываемой в подшипники роликовые
цилиндрические (Б - Буксол или З - Зум)
Рисунок 26.6 - Клейма и знаки маркировки,
относящиеся к проведению среднего ремонта колесной
пары, наносимые на бирке
(Рисунок 26.6 в ред.
Протокола от 23.06.2023)
При использовании в буксовых узлах подшипников кассетного типа или сдвоенных подшипников на бирку наносят дополнительную маркировку высотой 10 мм и шириной 5 мм:
- К - для подшипников кассетного типа торговой марки SKF (или ТЕК-КОМ);
- К-1 - для подшипников кассетного типа торговой марки БРЕНКО;
- К-2 - для подшипников кассетного типа торговой марки TIMKEN;
- СП - для подшипников сдвоенных производства ОАО "ХАРП";
- СПС - для подшипников сдвоенных производства ОАО "СПЗ" и АО "СПЗ".
26.6.3 на шайбе стопорной с левой стороны колесной пары, устанавливаемой под болты М20 торцевого крепления подшипников в корпусе буксы, и М20 или М24 крышки передней подшипника кассетного типа под адаптером
(рисунок 26.7);
1 - дата проведения среднего ремонта колесной пары (месяц
римскими цифрами и две последние цифры года); 2 - условный
номер ремонтного предприятия, которое произвело средний
ремонт колесной пары.
Рисунок 26.7 - Клейма и знаки маркировки, относящиеся
к проведению среднего ремонта колесной пары, на шайбе
стопорной с левой стороны колесной пары
26.6.4 на шайбе стопорной с правой стороны колесной пары, устанавливаемой под болты М20 торцевого крепления подшипников в корпусе буксы, и М20 или М24 крышки передней подшипника кассетного типа с адаптером наносят индивидуальный номер колесной пары
(рис. 26.8).
При монтаже буксовых узлов на том же ремонтном предприятии, где производилось формирование колесной пары, на шайбу стопорную дополнительно наносят знаки и клейма о выполненном формировании;
1 - "Ф" - знак формирования колесной пары, 2 - условный
номер предприятия, которое произвело формирование колесной
пары; 3 - дата проведения формирования колесной пары (месяц
римскими цифрами и две последние цифры года);
4 - индивидуальный номер колесной пары.
Рисунок 26.8 - Клейма и знаки маркировки, относящиеся
к формированию колесной пары, на шайбе стопорной с правой
стороны колесной пары
Допускается индивидуальный номер колесной пары набивать в два ряда: верхний ряд - условный номер предприятия-изготовителя черновой оси - 4 знака, нижний ряд - порядковый номер черновой оси - до 6 знаков и год изготовления черновой оси - 2 знака
(рисунок 26.9).
Рисунок 26.9 - Индивидуальный номер колесной пары,
нанесенный в два ряда на шайбе стопорной.
26.6.5 при монтаже буксовых узлов на ремонтных предприятиях, не производивших капитальный ремонт колесных пар, колесные пары маркируют аналогично
26.6.1,
26.6.2 и
26.6.3. При этом вместо знаков и клейм о проведении среднего ремонта наносят знаки и клейма о производстве монтажа буксовых узлов:
- "М" - знак монтажа;
- дату монтажа (месяц римскими цифрами и две последние цифры года);
- условный номер ремонтного предприятия, которое произвело монтаж буксовых узлов;
26.6.6 Исключен. -
Протокол от 23.06.2023.
26.7 Клейма и знаки маркировки, относящиеся к проведению текущего ремонта колесной пары, наносятся:
26.7.1 на бирке, устанавливаемой под правый верхний болт крышки крепительной с правой стороны колесной пары, оборудованной буксовыми узлами с подшипниками в корпусах букс
(рисунок 26.10);
1 - знак проведения текущего ремонта колесной пары;
2 - О1 или О2 - знак восстановления профиля поверхности
катания колес (если производилось); 3 - дата проведения
текущего ремонта и восстановления профиля поверхности
катания колес (месяц римскими цифрами и две последние
цифры года) 4 - условный номер ремонтного предприятия,
которое провело текущий ремонт и восстановления профиля
поверхности катания колес.
Рисунок 26.10 - Клейма и знаки маркировки, относящиеся
к проведению текущего ремонта колесной пары и восстановлению
профиля поверхности катания колес, наносимые на бирке
26.7.2 на шайбе стопорной с левой стороны колесной пары, устанавливаемой под болты М20 торцевого крепления подшипников роликовых цилиндрических и под болты М20 или М24 крышки передней подшипника кассетного типа под адаптером
(рисунок 26.11).
1 - знак проведения текущего ремонта колесной пары; 2 - О1
или О2 - знак восстановления профиля поверхности катания
колес (если производилось); 3 - дата проведения текущего
ремонта и восстановления профиля поверхности катания колес
(месяц римскими цифрами и две последние цифры года);
4 - условный номер ремонтного предприятия, которое провело
текущий ремонт и восстановления профиля поверхности
катания колес.
Рисунок 26.11 - Клейма и знаки маркировки, относящиеся
к проведению текущего ремонта колесной пары и восстановлению
профиля поверхности катания колес, наносимые на шайбе
стопорной с левой стороны колесной пары
26.7.3 При восстановлении профиля поверхности катания колес колесных пар с подшипниками сдвоенными и кассетного типа знак О1 (или О2) на бирке
(рисунок 26.10) и на шайбе стопорной
(рисунок 26.11) не наносят.
26.8 На крышке смотровой корпуса буксы в зависимости от типа и конструктивной компоновки подшипников, установленных в буксу, должна быть нанесена надпись:
- К - для подшипников кассетного типа торговой марки SKF (или ТЕК-КОМ);
- К-1 - для подшипников кассетного типа торговой марки Бренко;
- СП - для подшипников сдвоенных производства АО ХАРП;
- СПС - для подшипников сдвоенных производства ОАО "СПЗ" и АО "СПЗ";
- БУКСОЛ или ЗУМ - для подшипников роликовых цилиндрических, заправленных этими смазками.
26.9 Запрещается постановка знаков и клейм, относящихся к проведению текущего ремонта колесных пар и восстановлению профиля поверхности катания колес, на торцах шеек осей.
26.10 При отсутствии места для нанесения знаков и клейм на торцах оси, старые знаки и клейма должны быть зачеканены или заварены с последующей зачисткой.
Запрещается зачеканивать или заваривать знаки и клейма, относящиеся к изготовлению оси. Они должны быть сохранены на весь срок службы оси.
27.1 Колесные пары после проведения им капитального и среднего ремонтов окрашиваются краской черного цвета на олифе, лаком или эмалью марок, согласованных с железнодорожными администрациями или владельцами инфраструктуры установленным порядком.
Окраске подлежат:
а) наружные поверхности корпусов букс, крепительных и смотровых крышек. Допускается после среднего ремонта не производить окраску наружных поверхностей корпусов букс, крепительных и смотровых крышек с неповрежденным лакокрасочным покрытием. При локальном повреждении лакокрасочного покрытия производят окраску поврежденных поверхностей после их предварительной зачистки с последующим обезжириванием;
б) места соединения кольца лабиринтного с предподступичной частью оси;
в) места соединения ступицы колеса с подступичной частью оси с наружной и внутренней стороны колеса.
27.2 Категорически запрещается окрашивать подшипник кассетного типа и адаптер по поверхности, контактирующей с наружным кольцом подшипника.
28 ИСКЛЮЧЕНИЕ КОЛЕСНЫХ ПАР ИЗ ИНВЕНТАРЯ
28.1 Исключение из инвентаря колесных пар осуществляется порядком, установленным железнодорожной администрацией или владельцем инфраструктуры в соответствии с национальным законодательством, и оформляется актом формы ВУ-89 или свободной формы.
28.2 Колесные пары исключают при наличии дефектов и износов оси, не допускающих ее дальнейшую эксплуатацию и ремонт, по указаниям железнодорожных администраций или владельцев инфраструктуры, а также колесные пары с осями РУ-1 и не подлежащими ремонту колесами и в случаях наличия в колесных парах осей:
- польского производства (клеймо "6" в овале);
- румынского производства до 01.01.2004 г. изготовления;
- проходивших механическую обработку с переносом клейма на Харьковском ВРЗ (клеймо "91");
- проходивших механическую обработку на ВРЗ Попасная (клеймо "104") до 01.01.1991 г.;
- изготовленных Люблинским литейно-механическим заводом до 31.12.1983 г. и проходивших механическую обработку на ВРЗ Канаш и ВРЗ Баку;
- с отсутствующими, неясными и/или перебитыми знаками маркировки, клеймами, относящимися к изготовлению оси.
Примечание:
1. Неясные знаки маркировки или клейма - нанесенные на торец оси знак/знаки маркировки, клейма, относящиеся к изготовлению оси, не позволяющие однозначно трактовать номер оси.
2. Перебитые знаки маркировки или клейма - знак/знаки маркировки, клейма, относящиеся к изготовлению оси, нанесенные поверх старых или взамен зачищенных старых знаков маркировки или клейм.
28.3 При исключении колесной пары из инвентаря колеса, признанные годными, распрессовываются с оси и используются при капитальном ремонте колесных пар.
29 МЕТОДЫ КОНТРОЛЯ КОЛЕСНЫХ ПАР И БУКСОВЫХ УЗЛОВ
29.1 При ремонте колесных пар и буксовых узлов должны применяться СИ и СДК, приспособления и инструменты, обеспечивающие необходимую точность измерений.
29.2 СИ и СДК должны быть поверены (откалиброваны) в соответствии с законами об обеспечении единства измерений, действующих на территории железнодорожных администраций.
Поверка (калибровка) СИ и СДК должна проводиться в соответствии с "Методикой поверки", утвержденной Государственным сертификационным органом, и входящей в состав "Руководства по эксплуатации" или паспорта СИ и СДК.
Аттестация (калибровка) мер установочных и поверочных должна производиться в измерительных лабораториях, аккредитованных Государственным сертификационным органом.
Периодичность поверки (калибровки) должна быть не реже указанной в "Руководствах по эксплуатации" или паспортах СИ и СДК.
29.3 Контроль температуры деталей колесной пары и буксовых узлов производится универсальными термометрами или другими средствами, обеспечивающими стабильные результаты.
29.4 Разность расстояний между внутренними боковыми поверхностями ободьев колес в одной колесной паре должна быть определена как разность наибольшего и наименьшего расстояний, измеренных в четырех точках, расположенных в двух взаимно перпендикулярных плоскостях.
29.5 Отклонение от соосности кругов катания колес относительно шейки или подступичной части оси (базовой поверхности) определяют как полуразность наибольшего и наименьшего из радиальных измерений в одной плоскости при измерении от поверхностей шейки или подступичной части оси до круга катания колеса.
29.6 Входной контроль новых элементов колесных пар производят в соответствии с
ГОСТ 24297.
29.7 Шероховатость обработанных поверхностей осей и колес следует проверять визуально по образцам шероховатости по
ГОСТ 9378 или аттестованным образцам деталей, или с использованием электронных средств измерения шероховатости.
29.8 Отклонение от круглости (овальность) отверстия ступицы колеса определяют как полуразность наибольшего и наименьшего диаметров, расположенных во взаимно перпендикулярных направлениях.
Отклонение от профиля продольного сечения (конусообразность) отверстия ступицы колеса должно быть определено как полуразность наибольшего и наименьшего диаметров в одной плоскости при измерении в сечениях, отстоящих на 10...15 мм от торцов ступицы колеса.
Отклонение от формы поверхности отверстий ступиц колес следует определять средствами измерений, обеспечивающими необходимую точность измерения.
29.9 Скорость движения плунжеров прессов следует определять как частное от деления хода плунжера, измеренного линейкой, на время, измеренное секундомером. Измерения следует повторить три раза. За значение скорости принимают среднее значение результатов трех измерений.
29.10 При подсчете допускаемых значений конечных усилий запрессовки диаметр подступичной части оси должен быть взят с точностью до 1 мм, а результаты округлены в большую сторону до целых значений 10 кН (1,0 тс) для нижнего и верхнего пределов.
Значения конечных усилий запрессовки по диаграмме определяют для каждой колесной пары визуально. В случае разногласий в оценке значений, их необходимо определять с помощью линейки с учетом масштаба записи.
29.11 Натяг посадки колеса на ось определяется как разность между диаметрами оси и отверстия ступицы колеса. Измерения диаметров отверстий ступиц и посадочных поверхностей осей необходимо выполнять в двух взаимно перпендикулярных плоскостях по трем сечениям по длине отверстий ступицы колес и подступичных частей оси в местах посадки ступиц колес (по середине и на расстоянии от 70 до 80 мм по обеим сторонам от нее), за значение диаметра измеряемого элемента следует принимать среднее значение результатов шести измерений.
29.12 Величина конечного усилия Р
зк на диаграмме запрессовки
(17.12) определяется уровнем точки кривой, соответствующей концу процесса запрессовки
(рисунок 29.1). При расположении диаграммы выше или ниже
(рисунок 29.2) нулевой линии, а также при перекосе
(рисунок 29.3) запрессовка не бракуется, а конечные усилия должны определяться уровнем точки диаграммы, соответствующей концу запрессовки Р
к с учетом величины смещения Р
с от нулевой линии. При обнаружении смещенных диаграмм запрессовки должны быть приняты меры для ликвидации смещения.
Рисунок 29.1 - Конечное усилие Р
зк на диаграмме
Рисунок 29.2 - Расположение диаграммы выше и ниже
нулевой линии.
Рисунок 29.3 Расположение диаграммы с перекосом.
Не бракуются диаграммы, имеющие в начале запись холостого хода плунжера пресса
(рисунок 29.4). Величину конечного усилия запрессовки усилия в этом случае нужно определять уровнем точки кривой, соответствующей концу процесса запрессовки, с уменьшением на величину давления холостого хода (Р
зк = Р
к - Р
с).
Рисунок 29.4 Диаграмма с записью холостого хода
плунжера пресса
29.13 Длина сопряжения L на диаграмме запрессовки
(п. 17.12) определяется размером абсциссы активной ветви, т.е. расстоянием от начала ее подъема до точки перехода в горизонтальный или наклонный участок в конце
(рисунок 29.5). При отсутствии горизонтального или наклонного участка в конце длина сопряжения равна длине диаграммы
(рисунок 29.6).
Рисунок 29.5 - Длина сопряжения L на диаграмме
Рисунок 29.6 - Длина сопряжения L на диаграмме равна
длине диаграммы
Диаграмма запрессовки должна быть подписана исполнителем работ и должностным лицом, назначенным приказом по ремонтному предприятию и отвечающим за качество его проведения.
29.14 Порядок определения качества (пригодности) прессовых соединений, диаграммы которых имеют отклонения от нормальной формы
(17.12), указан в
таблице 29.1.
Оценка формы диаграммы запрессовки колес на ось
Форма диаграммы прессовой посадки колес на ось | Причина возникновения отклонения диаграммы | Оценка качества (пригодности) прессовой посадки колес на ось |
1 Резкие колебания давления в любой части диаграммы |
| Наличие на посадочной поверхности отверстия ступицы колеса или подступичной части оси резко выраженных неровностей. | Прессовое соединение бракуют. |
2 Плавные колебания давления на длине сопряжения |
| Наличие на посадочной поверхности отверстия ступицы колеса или подступичной части оси более длинных неровностей, чем в п. 1. | При постоянном повышении запрессовочного давления РзI, РзII, РзIII, когда каждое последующее значение выше предыдущего. Прессовое соединение не бракуют. |
| При падении запрессовочного давления РзI, РзII, РзIII, когда последующее значение ниже предыдущего или при наличии горизонтальных прямых. Прессовое соединение бракуют. |
| | На диаграмме имеется одна горизонтальная прямая длиной не более 5 мм при масштабе диаграммы по длине 1:2 или несколько прямых суммарной длиной не более 5 мм. Прессовое соединение не бракуют. При другом масштабе записи должен быть выполнен пересчет допускаемой длины горизонтальной прямой. При оценке длины сопряжения таких диаграмм измеренная длина должна быть уменьшена на величину горизонтальной прямой или их суммы. |
3 Скачок давления в конце линии прессования на диаграмме |
| Замедленное прекращение поступления масла в цилиндр пресса при окончании процесса прессовой посадки колеса на ось. | Величина конечного усилия определяется уровнем точки кривой, расположенной перед скачком. Прессовое соединение не бракуют. |
4 Резкий скачок давления в начале линии прессования на диаграмме |
| Скругление радиусом 5 мм кромки отверстия со стороны внутреннего торца ступицы колеса. | Направление линии начала прессования отклоняется от направления линии конца прессования менее чем на 5° в сторону диаграммы. Прессовое соединение бракуют. |
| | Прессовое соединение, у которого величина резкого скачка давления на диаграмме составляет 20,0 кН (2,0 тс) и менее, не бракуют. |
5 Вогнутость кривой линии прессования на диаграмме |
| Наличие попутных конусов или впадин на посадочных поверхностях оси и колеса. | Кривая располагается выше прямой, соединяющей начальную точку диаграммы с точкой, указывающей на данной диаграмме минимально допускаемое запрессовочное давление Рзк min для данного диаметра подступичной части оси. Прессовое соединение не бракуют. |
| | При применении более чувствительных приборов (класс точности 2% и менее) не бракуют прессовое соединение, у которого часть кривой диаграммы на расстоянии не более 15 мм от начала (при масштабе записи по длине 1:2) располагается ниже прямой, соединяющей начальную точку диаграммы с точкой, указывающей на данной диаграмме минимально допускаемое запрессовочное давление Рзк min для данного диаметра подступичной части оси. При несоблюдении указанных условий прессовое соединение бракуют. |
6 Колебания давления, или так называемый "стук" |
| Наличие воздуха в гидравлической системе пресса, разжижение масла, применяемого для смазки посадочных поверхностей. | Прессовое соединение бракуют. |
7 Местная вогнутость линии давления в первой половине диаграммы |
| Перекос ступицы колеса относительно подступичной части оси при прессовой посадке. | При наличии падения давления, т.е. когда последующее значение усилия запрессовки ниже предыдущего. Прессовое соединение бракуют. |
| При отсутствии падения давления оценка качества прессового соединения производится как в п. 5. |
| | |
8 Горизонтальная или наклонная линия в конце диаграммы |
| Наличие впадин на посадочных поверхностях с наружной стороны ступицы колеса или с внутренней стороны подступичной части оси. | Если длина сопряжения L на диаграмме менее установленной, прессовое соединение бракуют. |
|
29.15 Входной контроль колесных пар и корпусов букс производят визуально и необходимыми измерениями.
29.16 Входной контроль подшипников производят в соответствии с требованиями
24.2.2.
29.17 Измерение диаметра отверстия кольца внутреннего подшипника роликового цилиндрического производится СИ с ценой деления не более 0,002 мм в двух сечениях, расположенных на расстоянии 10 мм от торцов. В каждом сечении должны быть определены наименьший и наибольший размер. Среднее арифметическое четырех замеров (наибольшего и наименьшего в двух сечениях) считается средним значением диаметра отверстия внутреннего кольца. В процессе измерения кольцо должно поворачиваться на угол 180°.
СИ перед замером настраивается по установочной мере (эталону). Настройку средства измерения производят с учетом действительного размера, указанного на эталоне, троекратно.
29.18 Средний радиальный зазор определяется как среднее арифметическое трех замеров через 120° каждый, путем поворота наружного кольца с роликами относительно кольца внутреннего.
Примечания:
1 Допускается при замерах радиальных зазоров использовать эталонное внутреннее кольцо, имеющее наружный диаметр 158-0,02 мм.
2 В случае присутствия в заводской маркировке подшипника величины среднего радиального зазора, его замер допускается не производить при использовании подшипника со своим кольцом.
29.19 Минимальная величина осевого зазора в подшипнике роликовом цилиндрическом контролируется щупом, который вставляется между торцом одного из роликов и бортом наружного кольца после разборки блока подшипников. Контроль производят в трех местах при повороте наружного кольца на угол 120° вокруг оси. Щуп толщиной 0,06 мм (0,07 мм для новых подшипников) при этом должен проходить. Допускается контролировать осевой зазор в собранном подшипнике с использованием СИ в соответствии с принятым на ремонтном предприятии технологическим процессом, обеспечивающим необходимую точность измерения.
29.20 Диаметры шеек осей измеряют рычажной скобой или другими СИ, в соответствии с принятым на ремонтном предприятии технологическим процессом, обеспечивающим необходимую точность измерения, в двух сечениях, соответствующих серединам подшипников в двух взаимно перпендикулярных направлениях. За значение диаметра следует принимать среднее арифметическое значение измерений в каждом сечении.
29.21 Измерение диаметров предподступичных частей оси на расстоянии не более 20 мм от торца и отверстий лабиринтных колец следует производить в двух взаимно перпендикулярных сечениях.
Для определения среднего диаметра принимают среднее арифметическое значение двух измерений.
Предподступичные части осей и кольца лабиринтные измеряются измерительными приборами с ценой деления не более 0,01 мм.
29.22 Плотность прилегания внутренних колец подшипников роликовых цилиндрических друг к другу и к кольцу лабиринтному контролируется щупом. Пластина толщиной не более 0,04 мм может войти в зазор между деталями на участке длиной не более 1/3 окружности.
29.23 Величину затяжки болтов М20 и М24 торцового крепления и М20 крышки крепительной контролируют динамометрическими ключами или иным методом, согласованным установленным порядком.
29.24 Правильность сборки буксовых узлов с подшипниками всех типов контролируют по легкости вращения на шейке оси и результату вибродиагностического контроля.
Буксовые узлы должны свободно вращаться от усилия руки вправо-влево на 2 - 3 полных оборота. Не допускается наличие посторонних шумов, толчков, заеданий и затрудненного вращения. Звук, обусловленный перемещением роликов в подшипнике, не является браковочным признаком.
Проверку на наличие осевого смещения буксовых узлов с подшипниками роликовыми цилиндрическими и сдвоенными выполняют путем перемещения корпуса буксы вдоль оси колесной пары (на себя и от себя). Перемещение корпуса буксы должно быть свободным и находиться в пределах осевого разбега.
Контроль осевого зазора подшипников кассетного типа выполняют с помощью индикатора часового типа с ценой деления не более 0,01 мм, устанавливаемого в специальном приспособлении или на магнитной стойке. Измерение осевого зазора производят после проверки буксового узла на легкость вращения. Величина осевого зазора должна быть в диапазоне значений 0,01...0,40 мм. Для подшипников торговой марки LYC осевой зазор должен быть в диапазоне значений 0,05...0,45 мм, для подшипников торговой марки ZWZ - 0,01...0,50 мм, для подшипников торговой марки SPZ-BEARINGS - 0,03...0,40 мм.
(абзац в ред. Протокола от 08.12.2022)
Для подшипников кассетного типа в корпусе буксы осевой зазор измеряется перемещением корпуса буксы вместе с подшипником относительно оси колесной пары, до монтажа крышки смотровой при затянутых болтах крышки крепительной. Для подшипников кассетного типа под адаптер - перемещением наружного кольца относительно оси колесной пары.
Проверка осевого зазора может производиться различными способами в зависимости от применяемых приспособлений и используемых при измерениях базовых поверхностей:
1. Торец оси или внешний торец крышки передней, ступица, диск, обод колеса для базирования магнитной стойки или специального приспособления и индикатор, имеющий контакт с торцом кольца наружного или торцом крышки крепительной корпуса буксы.
2. Поверхность кольца наружного подшипника или корпуса буксы для базирования магнитной стойки и индикатор, имеющий контакт с торцом кольца внутреннего, торцом оси, внешним торцом крышки передней, торцом упорного кольца, торцом ступицы колеса или диском.
Для выполнения измерений наружное кольцо (корпус буксы) перемещают вручную вдоль оси от себя по направлению к колесу от одного крайнего положения до другого, при этом, поворачивая наружное кольцо (корпус буксы) вправо-влево, отметить показания индикатора (выставить на "0"), затем потянуть наружное кольцо (корпус буксы) на себя до крайнего положения также поворачивая наружное кольцо (корпус буксы) вправо-влево, снять показания индикатора. Разность между первым и вторым измерениями составляет значение осевого зазора подшипника. Запрещается использовать вспомогательные инструменты (рычаги) для создания дополнительного усилия при перемещении кольца наружного подшипника или корпуса буксы.
30.1 Запрещается в условиях ремонтных предприятий производить обмывку, разборку и ремонт подшипников сдвоенных и кассетного типа, а также деталей торцевого крепления подшипников кассетного типа. После демонтажа с шейки оси колесной пары они должны быть переданы в сервисные центры компаний-изготовителей подшипников или в аттестованные ими предприятия.
Допускается при всех видах ремонта колесных пар заменять установленные подшипники кассетного типа на подшипники роликовые цилиндрические.
Примечание исключено. -
Протокол от 27.11.2020.
30.2 При включении грузовых вагонов в пассажирские поезда колесные пары должны соответствовать требованиям, установленным для колесных пар пассажирских вагонов.
30.3 Под одним вагоном должны эксплуатироваться колесные пары, оборудованные буксовыми узлами с подшипниками одного типа: роликовые цилиндрические (включая сдвоенные) или кассетного типа. На одной колесной паре должны применяться подшипники одного конструктивного исполнения, при этом подшипники сдвоенные и кассетного типа должны быть одного производителя.
Допускается по согласованию с железнодорожными администрациями или соответствующими службами владельца инфраструктуры в процессе эксплуатации вагонов, при необходимости, подкатывать и эксплуатировать под одним вагоном колесные пары, оборудованные буксовыми узлами с подшипниками разных типов.
30.4 Подшипники колесных пар должны быть защищены от прохождения сварочного тока. Сварочные работы на вагонах и тележках должны выполняться так, чтобы подшипники не были включены в сварочную цепь, при этом запрещается использовать рельсы в качестве обратного провода. Подвод тока должен осуществляться по двухпроводной системе с присоединением обратного провода от источников питания дуги и непосредственно вблизи места сварки с обеспечением надежного контакта. Во всех случаях сварочные машины и трансформаторы должны быть тщательно изолированы от рельсовых путей. При нарушении вышеуказанных требований колесные пары выкатываются из-под вагона или тележки и им проводится средний ремонт (со снятием колец внутренних подшипников роликовых цилиндрических и колец лабиринтных).
30.5 Причастные работники должны незамедлительно сообщать в соответствующие службы железнодорожных администраций или владельцев инфраструктуры о всех случаях отцепок вагонов и выкатки колесных пар по причине неисправности осей, колес и буксовых узлов с подшипниками всех типов с оформлением Акта-рекламации
формы ВУ-41.
31 ТРАНСПОРТИРОВАНИЕ И ХРАНЕНИЕ
31.1 Колесные пары с подшипниками в цехах и колесных парках должны храниться на специально выделенных рельсовых путях с разделением на исправные и неисправные. Запрещается расположение "в замок" колесных пар без корпусов букс.
31.2 Состояние антикоррозионного покрытия при длительном хранении (свыше 6 месяцев) колесных пар контролируют визуально выборочно два раза в год (весной и осенью). Контролю подлежит 10% законсервированных колесных пар. При повреждении защитного слоя, но при отсутствии следов коррозии на поверхности металла на этот участок следует нанести дополнительный слой покрытия. При наличии следов коррозии колесные пары необходимо переконсервировать с удалением следов коррозии.
31.3 Запрещается хранение колесных пар с буксовыми узлами с отсутствующими или не закрытыми смотровыми или крепительными крышками, а также транспортирование колесных пар с лабиринтными или внутренними кольцами без буксовых узлов.
31.4 При транспортировке колесных пар с подшипниками необходимо защищать наружные кольца от повреждений. Допускается использование защитных приспособлений или кожухов.
31.5 Подшипники, демонтированные с шеек осей колесных пар для отправки в сервисные центры предприятий-производителей или на ремонтные предприятия, упаковываются и укладываются в тару, например в паллету или другую подходящую для транспортировки.
При упаковке нескольких подшипников в одну тару между подшипниками устанавливаются прокладки из мягкого материала (например, гофрированный картон) для исключения их соударения в процессе транспортировки.
Тара должна быть жесткой, т.е. не деформироваться под весом подшипников при транспортировке и погрузочно-разгрузочных работах.
31.6 Упаковка и условия хранения подшипников:
31.6.1 подшипники должны быть упакованы и защищены от ржавчины антикоррозионным покрытием и размещены внутри упаковки или специального поддона, защищающих их от атмосферного воздействия;
31.6.2 хранение подшипников на поддонах должно производиться при соблюдении следующих условий:
- температура в помещении склада должна быть постоянной и исключать образование конденсата на подшипниках,
- поддон с подшипниками должен быть закрыт от воздействия прямых солнечных лучей,
- не допускается хранение подшипников в помещениях с повышенной влажностью воздуха и вблизи систем отопления;
31.6.3 хранение подшипников вне поддонов должно производиться при соблюдении следующих условий:
- места хранения и складирования подшипников должны быть сухими, подшипники должны располагаться на подкладках (транспортировочных кольцах) из влагостойкого материала,
- запрещается хранить подшипники вместе с химическими веществами (кислоты, аммиаки, гидрохлориды, щелочи и т.п), а также на полу производственных помещений и в соприкосновении со стенами помещения,
- подшипники должны храниться в вертикальном положении (ось подшипника перпендикулярна плоскости хранения);
31.6.4 запрещается использовать подшипники сдвоенные и кассетного типа, находившиеся на хранении более 24 месяцев без монтажа (от даты изготовления или восстановления), по истечении этого срока подшипники направляются в специализированный сервисный центр для ремонта;
31.6.5 колесным парам с подшипниками всех типов, не бывшим в эксплуатации после проведения им последнего среднего или текущего ремонта (находящимся на хранении в цехах и колесных парках):
31.6.5.1 до шести месяцев - текущий ремонт не производится;
31.6.5.2 от шести до двадцати четырех месяцев - производится текущий ремонт;
31.6.5.3 более двадцати четырех месяцев - производится средний ремонт.
31.6.6 перед постановкой колесных пар в оборотный парк буксовые узлы необходимо провертывать на шейке оси не менее 15...20 оборотов;
31.6.7 буксовые узлы (подшипники), смонтированные на колесные пары, при их хранении необходимо прокручивать для перераспределения смазки внутри подшипника не менее 15...20 оборотов и не реже одного раза в три месяца. В случае, если колесные пары находятся под вагонами, выведенными для отстоя и находящимися без движения на путях общего или необщего пользования, необходимо обеспечить выполнение данного требования, например, за счет прокатки вагонов на расстояние не менее 60 м и не реже одного раза в три месяца;
31.7 Комплектация подшипников, отправляемых в сервисные центры предприятий-производителей должна соответствовать требованиям производителей:
- для подшипников кассетного типа торговой марки Бренко - подшипник, кольцо лабиринтное (лабиринт) или кольцо заднее упорное, крышка передняя и болты торцевого крепления;
- для подшипников кассетного типа торговой марки SKF (или ТЕК-КОМ) - подшипник, кольцо лабиринтное (лабиринт) или кольцо заднее упорное, прокладка полимерная;
- для подшипников кассетного типа торговой марки TIMKEN - подшипник, кольцо лабиринтное или кольцо заднее упорное, крышка передняя и болты торцевого крепления;
- для подшипников кассетного типа торговой марки LYC - подшипник, кольцо упорное, кольцо стопорное, крышка торцевая, болты торцевого крепления;
- для подшипников кассетного типа торговой марки ZWZ - подшипник, кольцо заднее упорное, кольцо соединительное, крышка передняя, болты торцевого крепления;
- для подшипников кассетного типа торговой марки SPZ-BEARINGS - подшипник, задний стопор, кольцо соединительное, крышка передняя, болты торцевого крепления;
- для подшипников сдвоенных - подшипник.
32 ГАРАНТИЙНЫЕ ОБЯЗАТЕЛЬСТВА
32.1 Ремонтное предприятие, производившее ремонт колесных пар, должно обеспечивать их соответствие требованиям настоящего РД при условии соблюдения потребителем правил эксплуатации (применения, транспортирования и хранения), установленных настоящим РД:
32.1.1 при капитальном ремонте колесных пар по прочности прессовых соединений колес с осями - 15 лет;
32.1.2 при среднем ремонте колесных пар - до следующего среднего ремонта.
При проведении в этот период текущего ремонта колесных пар, ответственность за выполнение работ, предусмотренных этим ремонтом, с ремонтных предприятий, производивших последний средний ремонт, снимается;
32.1.3 при текущем ремонте колесных пар за выполнение работ, произведенных при этом ремонте - до следующего среднего или текущего ремонта колесных пар;
32.1.4 по качеству монтажа буксовых узлов:
- с подшипниками роликовыми цилиндрическими и подшипниками сдвоенными типа 46-882726Е2МС43 - пять лет (или 450 тыс. км пробега с момента ввода в действие на национальном уровне автоматизированного банка данных колесных пар (АБД КПГВ)) или до следующего среднего ремонта;
- с подшипниками кассетного типа и подшипниками сдвоенными типов Н6-882726Е2К1МУС44 и Н6-882726Е2К2МУС44 - восемь лет (или 800 тыс. км пробега с момента ввода в действие на национальном уровне автоматизированного банка данных колесных пар (АБД КПГВ)) или до следующего среднего ремонта;
32.1.5 по качеству сборки торцевого крепления подшипников - до следующего среднего или текущего ремонта, но не менее сроков и пробегов, указанных в
32.1.4.
32.2 Гарантийный срок эксплуатации колес по
ГОСТ 10791: изготовитель гарантирует качество стали и отсутствие дефектов технологического происхождения на поверхности колес на весь срок службы колес со дня получения заказчиком. Изготовитель не несет ответственности за дефекты эксплуатационного происхождения на поверхности катания колес.
32.3 Гарантийный срок на новые подшипники - по ТУ ВНИПП.048-1-00, ТУ ВНИПП.072-01, ТУ БРЕНКО 840-462869-567-09, ТУ SKF.CTBU.001-2010, ТУ ТКХ.TBU.100-2024, ТУ 3183-001-55207975-2013, НВПР.01-00.000ТУ, Q/WZ.J141122-2022, ТУ "SPZ-BEARINGS" 339.21-2569-22, ТУ LYC "Технические условия на подшипники типа 350630/TL".
(справочное)
ТЕХНИЧЕСКИЕ МОЮЩИЕ СРЕДСТВА
| | Список изменяющих документов | |
Перечень и технические характеристики ТМС
Наименование ТМС | Форма выпуска (агрегатное состояние) | Плотность, г/см3 | Моющая способность, % | Пенообразующая способность | Значение pH (1%-ного раствора) |
ВУК-Ф | Порошок | 1,041 | 97,5 | Средняя | 12,9 |
Вега H | Порошок | 0,828 | 94,1 - 99,0 | Низкая | 11,3 +/- 0,1 |
Контраст-109 | Жидкость | 1,285 | 93,0 | Средняя | 12,6 |
Рысь ОМ | Порошок | 1,27 (50% р-ра) | 92,0 - 98,0 | Средняя | 12,9 |
ТехноЧист-Щ | Жидкость | 1,10 | 85,0 | Средняя | 10,5 +/- 1,4 |
ТехноЧист | Жидкость | 1,05 | 85,0 - 87,0 | Низкая | 12,5 +/- 0,2 |
Рейс-О | Жидкость | 1,281 | 95,0 | Средняя | 12,4 |
АКМ-Т90 | Жидкость | 1,331 | 83,0 - 99,0 | Средняя | 12,4 |
Юниклин 200 | Жидкость | 1,105 | 92,0 | Средняя | 11,1 |
Грин Юниклин 1223 (Green Unikleen 1223) | Жидкость | 1,027 | 93,0 - 98,0 | - | 8,0 |
Термит Фоам (Termit Foam) | Жидкость | 1,160 | 91,0 - 98,0 | Высокая | 12,2 |
БОК-3 | Порошок | 1,035 | 95,0 | Средняя | 11,0 +/- 0,5 |
Фора-Щ | Жидкость | 1,109 | 94,0 | Низкая | 9,3 |
Авант-Щ | Жидкость | 1,06 | 85,0 - 98,0 | Высокая | 11,46 +/- 0,50 |
ТМ-Унилан Х | Жидкость | 1,040 | 98,0 | Низкая | 11,9 +/- 0,1 |
ЭКОАКТИВ | Жидкость | 0,744 | 98,0 | - | 7,2 |
УПТС-Ралмикс | Жидкость | 1,02 | 90,0 - 99,0 | Высокая | 10,4 |
Локомит-Щ | Жидкость | 1,10 | 90,0 | Высокая | 11,0 +/- 0,5 |
ГПД-УНИ (GPD-UNI) | Жидкость | 1,045 | 91,0 - 98,0 | Средняя | 10,1 |
ЛК | Жидкость | 1,115 | 90,2 - 96,8 | Высокая | 12,1 |
Полимаш 4 | Жидкость | 1,148 | 91,0 - 97,0 | Средняя | 12,2 |
Проклин (Proclean) Юнитех | Жидкость | 1,010 | 89,0 - 96,0 | Средняя | 9,2 |
Агент E | Жидкость | 1,1 | 91,0 | Высокая | 11,5 |
Неолайт C (арт. 400) | Жидкость | 1,041 | 89,0 | Низкая | 12,5 |
Перечень предприятий - изготовителей, поставщиков ТМС
Наименование ТМС | Нормативная документация | Наименование и адрес предприятия |
ВУК-Ф | ТУ 2499-002-31559149-2007 с изм. N 1 | ООО Пермская производственная фирма "Фантом" Адрес: Ул. Кировоградская, д. 12, г. Пермь, Пермский край, 614101 Тел/факс: 252-61-52 |
Вега H | ТУ 2499-012-71462031-2007 | ООО "Шебекинская индустриальная химия" (ООО "ШИХ") Адрес: Ул. Ржевское шоссе, д. 16, этаж 3, г. Шебекино, Белгородская область, 309290 Тел./факс: (74248) 3-18-10, 3-91-91, 3-91-98 e-mail: shihsales@mail.ru |
Контраст-109 | ТУ 2389-002-71462031-2015 с изм. N 1 |
Рысь ОМ | ТУ 2381-001-91745728-2011 с изм. N 1 | ООО "ФИНЭКС" Адрес: Ул. Даргомыжского, д. 8А, г. Новосибирск, 630047 Тел./факс: (383) 363-05-56 e-mail: fineks2004@mail.ru |
ТехноЧист-Щ | ТУ 2381-003-37885217-2012 | ООО "Производственно-коммерческое предприятие "ПроТэк-Регион" (ООО "ПКП "ПроТэк-Регион") Адрес: Ул. Елькина, д 79, оф. 203, г. Челябинск, 454092 Тел: + 7(982) 3-777-888 |
ТехноЧист | ТУ 2381-001-37885217-2012 |
Рейс-О | ТУ 2499-001-54146467-2007 | ООО ОПК "Сибэкохим" Адрес: Ул. 17-я Рабочая, д. 30, г. Омск, 644079 тел: + 7(3812) 28-24-71 |
АКМ-Т90 | ТУ 2381-044-54146467-2012 |
Юниклин 200 | ТУ 2480-001-17109824-2015 | ООО "Айпекс" Адрес: Звездный бульвар, д. 21, стр. 1, офис 330, г. Москва, 129085 Тел./факс: + 7(499) 992-77-15 e-mail: director@ipax-russia.com |
Грин Юниклин 1223 (Green Unikleen 1223) | ТУ 20.41.32-007-17109824-2019 |
Термит Фоам (Termit Foam) | ТУ 20.41.32-007-17109824-2019 |
БОК-3 | ТУ 2149-056-41805307-2004 | ООО НПФ "РИВТ" Адрес: Ул. Торжковская, д. 5, лит. А, БЦ "Оптима" офис 5089, г. Санкт-Петербург, 197342 Тел./факс: (812) 347-79-39,740-79-58 |
Фора-Щ | ТУ 20.41.32-004-12100847-2017 | ООО НПО "Завод новых синтетических продуктов" (ООО НПО "ЗНСП") Адрес: Ул. Орская, д. 31В, оф. 10, г. Ростов-на-Дону, 344065 Тел/факс:8(863) 333-22-09, 333-23-79 e-mail: znsp161@mail.ru |
Авант-Щ | ТУ 2389-007-97808921-2012 с изм. 1 |
ТМ-Унилан X | ТУ 2383-004-53721969-00 с изм. N 1 | ООО "АСАНА ТМ" Адрес: Ул. Профсоюзная, д. 88/20, этаж А1, комн. 8, г. Москва, 117485 Тел./факс: (495) 335-73-22, (495) 336-07-66 e-mail: asana.corp@mail.ru |
ЭКОАКТИВ | ТУ 2381-001-27472201-2015 с изм. N 1 | ООО "ТЕХНОТРЕНД" Адрес: Выборгская наб., д. 33/17, лит. А, г. Санкт-Петербург, 194044 Тел.: + 7(911) 001-20-30, + 7(968) 190-28-28 e-mail: office@technotrend.spb.ru |
УПТС-Ралмикс | ТУ 2458-001-77831243-2008 с изм. N 1 | ООО "ЭКОТЕХНОЛОГИИ" Адрес: Ул. Революционная, с. Языково, д.41, Благоварский район, Республика Башкортостан, 452740 Тел./факс: (34747) 4-00-00 (917) 345-50-07 e-mail: upts@inbox.ru |
Локомит-Щ | ТУ 20.41.32-012-12404748-2017 | Производитель ООО "ВолгаСинтезОйл" Адрес: Зубчаниновское шоссе, пос. Зубчаниновка, д. 128/2, литера А-А116, комн. 52, г. Самара, Самарская область, 443109 Тел./факс: (846) 931-02-99, 931,00-90 e-mail: info@vsoil.ru Поставщик АО "МЕДХИМ" Адрес: Ул. Заводская, д. 5, г. Сызрань, Самарская область, 446021 Тел.: (8464) 91-12-45 e-mail: rudnik@medhim.net |
ГПД-УНИ (GPD-UNI) | ТУ 20.41.32-026-63538901-2018 с изм. N 1 | ООО "РНТ компани" Адрес: Лужнецкая набережная, д. 2/4, стр. 19, г. Москва, 119270 Тел.: (495) 781-76-05 e-mail: info@rnt-synergy.ru |
ЛК | ТУ 20.41.31-002-65252377-2018 | ООО "Атомэнергохимочистка (ООО АЭХО)" Адрес: Ул. Пятницкая, д. 33-35, стр. 2, этаж 1, пом. 21, г. Москва 119017 Тел./факс: (967) 015-17-37 e-mail: 959-40-42@mail.ru |
Полимаш 4 | ТУ 2381-006-66242621-2012 с изм. N 1 | ООО "Глобал Хими" Адрес: Ул. Хабарова, д. 2, офис 15/1/WP г. Москва, г. Московский, 108811 Тел.:+ 7(923) 614-00-58, + 7(923) 497-77-77, + 7(913) 376-27-73 e-mail: global-ximi@mail.ru |
Проклин (Proclean) Юнитех | | ООО "Сателлит" Адрес: Ул. Декабристов, д. 3, стр. 1, г. Ногинск, Московская область, 142400 Тел: + 7(495) 137-73-28 e-mail: kkr@dezr.ru |
Агент E | ТУ 2380-001-96294561-2008 с изм. N 3 | ООО "АиС" Адрес: Ул. Первомайская, д. 1, г. Долгопрудный, Московская обл., 141700 Тел/факс: 8(495) 579-97-33 e-mail: info@aischem.ru |
Неолайт C (арт. 400) | ТУ 2381-003-90275031-2011 с изм. N 1 | Индивидуальный предприниматель Никифоров Н.В. (ИП Никифоров Н.В.) Адрес: Ул. 1-я Производственная, д. 2, г. Омск, 644031 Тел: + 7 (3812) 36-75-05 e-mail: 367505@mail.ru |
А.1 Все ТМС должны иметь свидетельства о государственной регистрации, внесенные в Реестр свидетельств о государственной регистрации, и заключения по результатам испытаний ТМС по физико-химическим свойствам, влиянию на металлические поверхности и лакокрасочные покрытия, выданные аккредитованными организациями, находящимися на территории государств - участников Содружества, в соответствии с национальным законодательством. А.2 Допускается применять альтернативные ТМС, соответствующие требованиям п. А.1 и обеспечивающие технические и технологические показатели не хуже, чем у ТМС, указанных в таблице А.1. А.3 Обмывку колесных пар, работавших с подшипниками роликовыми цилиндрическими, заправленными смазкой ЛЗ-ЦНИИ (У), корпусов букс, смотровых и крепительных крышек, лабиринтных колец, гаек торцевых М110, стопорных планок и болтов в моечных машинах допускается осуществлять двумя моющими жидкостями при температуре не ниже 90 °C. При этом первая моющая жидкость должна содержать 2,0... 5,0% каустической соды, а вторая 8,0... 10,0% отработанной смазки ЛЗ-ЦНИИ (У) от объема воды в ваннах. Промывку подшипников роликовых цилиндрических, заправленных смазкой ЛЗ-ЦНИИ (У), после их демонтажа допускается производить подогретой паром до температуры 90... 95 °C моющей жидкостью, содержащей 8... 10% отработанной смазки ЛЗ-ЦНИИ (У) от объема воды в ваннах. Для промывки новых подшипников допускается применять моющую жидкость с содержанием 1,0 ... 1,5% смазки ЛЗ-ЦНИИ (У). Примечание - на железных дорогах Российской Федерации в соответствии с " Правилами по охране труда при техническом обслуживании и ремонте грузовых вагонов" запрещено использование каустической соды при обмывке деталей грузовых вагонов (Распоряжение ОАО "РЖД" от 17.01.2013 N 57р)." |
(обязательное)
ВИДЫ НЕИСПРАВНОСТЕЙ КОЛЕСНЫХ ПАР И ИХ ЭЛЕМЕНТОВ
И СПОСОБЫ ИХ УСТРАНЕНИЯ
| | Список изменяющих документов | |
Виды дефектов и неисправностей колесных пар и их элементов
Контролируемые параметры колесных пар и их элементов, вид и номер неисправностей и дефектов |
Способ выявления и характерные признаки | Способ устранения |
|
1.1 Сдвиг колеса на оси (331) - механическое повреждение, характеризующееся смещением колеса вдоль оси в результате нарушения прессового соединения колеса с осью. |
вид с внутренней стороны колеса | вид с наружной стороны колеса |
Визуальный контроль и замеры. Характерные признаки: - разрыв краски у ступицы колеса по всему периметру соединения колеса с осью; - появление коррозионной полосы (ржавчины) или масла из-под ступицы с внутренней стороны колеса; - среднее значение расстояния между внутренними боковыми поверхностями ободьев колес, определенное по измерениям в четырех точках, расположенных в двух взаимно перпендикулярных плоскостях не соответствует норме. | Колесную пару расформировывают. |
1.2 Изгиб оси колесной пары (332) - нарушение геометрии оси в результате ее деформации от механических повреждений при сходах подвижного состава. |
Схема изгиба оси колесной пары | |
Визуальный контроль и замеры. Разность расстояний между внутренними боковыми поверхностями ободьев колес колесной пары, определяемая как разность наибольшего и наименьшего расстояний, измеренных в четырех точках, расположенных в двух взаимно перпендикулярных плоскостях, составляет более допустимой величины или биение средней части оси, измеренное при вращении колесной пары на станке. | Ось бракуют. |
1.3 Расстояние между внутренними боковыми поверхностями ободьев колес не соответствует допустимым размерам (831) - нарушение размера вследствие механической обработки внутренних боковых поверхностей ободьев колес или неправильной прессовой посадки на ось. |
Замеры. Измерение расстояний между внутренними боковыми поверхностями ободьев колес (у свободных от нагрузки колесных пар) в четырех точках, расположенных в двух взаимно перпендикулярных плоскостях. | При расстоянии между внутренними боковыми поверхностями ободьев колес менее допустимого - производят обточку внутренних боковых поверхностей ободьев колес при условии, что ширина обода после обточки и разность расстояний между торцами предподступичной части оси и внутренними боковыми поверхностями ободьев колес с одной и другой стороны колесной пары будет не менее допускаемых размеров. При расстоянии между внутренними боковыми поверхностями ободьев колес более допустимого - колесную пару расформировывают. |
1.4 Разность расстояний между внутренними боковыми поверхностями ободьев колес более допустимых размеров (931) - нарушение геометрии колесной пары. |
Замеры. Разность расстояний между внутренними боковыми поверхностями ободьев колес (у свободных от нагрузки колесных пар) определяется как разность наибольшего и наименьшего расстояний, измеренных в четырех точках, расположенных в двух взаимно перпендикулярных плоскостях. | При превышении допустимых значений производят обточку внутренних боковых поверхностей ободьев колес. При наличии хотя бы в одной из плоскостей измерения расстояния между внутренними боковыми поверхностями ободьев колес более допустимого значения колесную пару расформировывают. В случае деформации оси или колес - колесную пару бракуют. |
1.5 Разность диаметров колес в колесной паре более допустимых размеров (932) - нарушение геометрии колес. |
Замеры. Измерение диаметров колес колесной пары. Вычисление разности замеров и сравнение ее с допустимым значением. | При превышении допустимого значения восстанавливают профиль поверхности катания колес. |
|
2.1 Равномерный прокат (111) - равномерный круговой предельный износ колеса в плоскости круга катания. |
Визуальный контроль и замеры. Измерение производят абсолютным шаблоном в плоскости круга катания на расстоянии 70 мм от внутренней боковой поверхности обода. При наличии ползуна его глубина входит в общую величину проката. При наличии на вершине гребня в месте проведения измерения остроконечного наката, его необходимо удалять механическим способом для обеспечения установки опоры абсолютного шаблона на вершину гребня. | При величине проката более допустимого значения восстанавливают профиль поверхности катания колес. |
2.2 Неравномерный прокат (112) - неравномерный по круговому периметру износ, когда изношенное колесо имеет в плоскости круга катания форму, отличную от круглой. Характеризуется неодинаковым прокатом в различных сечениях профиля по кругу катания. |
Визуальный контроль и замеры. Определяется разностью измерений в сечениях максимального износа и с каждой стороны от этого сечения на расстоянии 500,0 +/- 50,0 мм. Измерение производят абсолютным шаблоном. Характерные признаки: - неравномерный круговой наплыв металла на фаску; - местное уширение обода; - наличие закатывающихся ползунов и наваров; - трещины и выщербины в сочетании с местным уширением обода или раздавливанием обода. Наиболее часто возникает на колесах с тонким ободом в зоне нанесения заводских клейм на наружной поверхности обода. При наличии на вершине гребня в месте проведения измерения остроконечного наката, его необходимо удалять механическим способом для обеспечения установки опоры абсолютного шаблона на вершину гребня. | При неравномерном прокате более допустимого значения восстанавливают профиль поверхности катания колес. |
2.3 Износ гребня (113) - равномерный круговой износ наклонной поверхности гребня до предельно допустимых размеров. |
Визуальный контроль и замеры. Измерение производят абсолютным шаблоном на расстоянии 18 мм от вершины гребня. При наличии на вершине гребня в месте проведения измерения остроконечного наката, его необходимо удалять механическим способом для обеспечения установки опоры абсолютного шаблона на вершину гребня. | При предельном износе наклонной поверхности гребня колеса восстанавливают профиль поверхности катания колес. |
2.4 Вертикальный подрез гребня (114) - равномерный круговой износ, при котором угол наклона профиля наклонной поверхности гребня приближается к 90°, а радиус перехода от гребня к коничности 1:10 уменьшается до 8 - 12 мм. |
Визуальный контроль и замеры. Измерение производят специальным шаблоном для контроля вертикального подреза гребня колеса (ножки шаблона должны плотно прижиматься к внутренней поверхности обода колеса). | Восстанавливают профиль поверхности катания колес. |
2.5 Тонкий обод (115) - толщина обода колеса менее допускаемых размеров. |
Визуальный контроль и замеры. Измерение толщины обода производят толщиномером. При наличии на колесе ползуна или выщербины толщину обода определяют в месте расположения неисправности. | При толщине обода колеса менее допустимого значения колесную пару выкатывают из-под вагона. Если по толщине обода колеса колесную пару можно эксплуатировать под вагонами других типов, то ее используют при подкатке. При невозможности дальнейшего использования колеса бракуют. |
2.6 Ширина обода колеса менее допустимой величины (811) - изменение ширины обода в процессе ремонта и эксплуатации. |
Визуальный контроль и замеры. | При ширине обода менее допустимой колесо бракуют. |
2.7 Кольцевые выработки (116) - неравномерный по поверхности катания колеса круговой износ и деформация от взаимодействия с тормозной колодкой, при которых образуются местные углубления различной глубины и ширины. |
Визуальный контроль и замеры. Измерение глубины ("А" или "Б") и ширины ("В") производят с помощью глубиномера и линейки. | Восстанавливают профиль поверхности катания колес. |
2.8 Поражение колеса электрическим током (117): 2.8.1 Поражение поверхности катания колеса в виде рифления - механическое повреждение, характеризующееся ожогами поверхности металла в виде чередующихся участков чистого и пораженного металла вследствие прохождения электрического тока. |
Визуальный контроль. | Восстанавливают профиль поверхности катания колес. |
2.8.2 Поражение поверхности различных частей колеса в виде точечного ожога - термическое повреждение, характеризующееся одним или несколькими точечными поражениями поверхности металла вследствие прохождения электрического тока. |
Визуальный контроль. | Колесо бракуют |
2.9 Навар (211) - смещение металла на поверхности обода колеса, характеризующееся образованием чередующихся сдвигов металла U-образной формы. |
Визуальный контроль и замеры. Измерение высоты навара производят абсолютным шаблоном. Высота навара определяется как разность измерений проката в двух плоскостях - рядом с наваром и на наваре. В случае, когда навар смещен от круга катания, движок абсолютного шаблона смещается по специальной прорези до совпадения его с наваром. | Восстанавливают профиль поверхности катания колес. |
2.10 Ползун (212) - локальный износ колеса, характеризующийся образованием плоской площадки на поверхности катания. |
Визуальный контроль и замеры. Измерение глубины ползуна производят абсолютным шаблоном. Глубина ползуна определяется как разность измерений проката в двух плоскостях - рядом с ползуном и на ползуне. В случае, когда ползун смещен от круга катания, движок абсолютного шаблона смещается по специальной прорези до совпадения его с ползуном. | Восстанавливают профиль поверхности катания колес. |
2.11 Выщербины по светлым пятнам, ползунам, наварам (611) - местное разрушение в виде выкрашивания металла поверхности катания колеса. |
Визуальный контроль и замеры. Измерение глубины выщербины производят абсолютным шаблоном. Глубина выщербины определяется как разность измерений проката в двух плоскостях - рядом с выщербиной и на выщербине. В случае, когда выщербина смещена от круга катания, движок абсолютного шаблона смещается по специальной прорези до совпадения его с выщербиной. Длина выщербины на поверхности катания замеряется металлической линейкой ГОСТ 427-75. За длину выщербины принимается максимальное значение, измеренное между двумя точками по границам дефекта (независимо от направленности дефекта). | Восстанавливают профиль поверхности катания колес. |
|
2.12 Выщербины по усталостным трещинам (612) - местное разрушение в виде выкрашивания металла поверхности катания колеса. |
Визуальный контроль и замеры. Измерение глубины выщербины производят абсолютным шаблоном. Глубина выщербины определяется как разность измерений проката в двух плоскостях - рядом с выщербиной и на выщербине. В случае, когда выщербина смещена от круга катания, движок абсолютного шаблона смещается по специальной прорези до совпадения его с выщербиной. Длина выщербины на поверхности катания замеряется металлической линейкой ГОСТ 427-75. За длину выщербины принимается максимальное значение, измеренное между двумя точками по границам дефекта (независимо от направленности дефекта). | Восстанавливают профиль поверхности катания колес. |
|
2.13 Выщербины по термическим трещинам на поверхности катания обода колеса (613) - местное разрушение в виде выкрашивания металла поверхности катания колеса. |
Визуальный контроль и замеры. Измерение глубины выщербины производят абсолютным шаблоном. Глубина выщербины определяется как разность измерений проката в двух плоскостях - рядом с выщербиной и на выщербине. В случае, когда выщербина смещена от круга катания, движок абсолютного шаблона смещается по специальной прорези до совпадения его с выщербиной. Длина выщербины на поверхности катания замеряется металлической линейкой ГОСТ 427-75. За длину выщербины принимается максимальное значение, измеренное между двумя точками по границам дефекта (независимо от направленности дефекта). | Восстанавливают профиль поверхности катания колес. |
|
2.14 Остроконечный накат гребня (311) - выступ, образующийся в результате пластической деформации поверхностных слоев металла гребня в сторону его вершины. |
Визуальный контроль. Браковку колесной пары по остроконечному накату гребня производят с использованием приспособления Т 1436.000. | Восстанавливают профиль поверхности катания колес. |
2.15 Круговой наплыв на фаску (312) - допустимое в эксплуатации механическое повреждение, характеризующееся смещением металла обода в сторону фаски и образованием наплыва, возвышающегося над наружной поверхностью обода. |
Визуальный контроль. | Устраняют восстановлением фаски на колесотокарном станке, а при необходимости восстанавливают профиль поверхности катания колес. |
2.16 Местное уширение обода (313) - механическое повреждение, характеризующееся образованием местного наплыва в зоне фаски обода колеса. |
Визуальный контроль. За величину местного уширения обода принимается разность замеров ширины обода, измеренной в месте наибольшего уширения и в месте, не имеющего его. | Восстанавливают профиль поверхности катания колес. При наличии трещин или плен, идущих вглубь обода колесо бракуют. |
2.17 Трещина в диске около обода колеса (411) - нарушение сплошности металла из-за предельного накопления усталостных повреждений в диске колеса или наличия поверхностных и внутренних дефектов. |
Визуальный контроль и НК. | Колесо бракуют. |
2.18 Трещина в диске около ступицы колеса (515) - нарушение сплошности металла из-за накопления циклической усталости и несоблюдения технологии изготовления колес. |
Визуальный контроль и НК. | Колесо бракуют. |
2.19 Закат или складка металла в диске колеса (512) - нарушения сплошности металла из-за несоблюдения технологии изготовления колес. |
Визуальный контроль и НК. По внешнему виду дефект представляет собой тонкую извилистую трещину, распространяющуюся в окружном или радиальном направлениях по диску колеса. | Колесо бракуют. |
2.20 Радиальная трещина колеса (516) - нарушение сплошности металла в результате действия циклических нагрузок при наличии в ободе колеса дефектов металлургического происхождения. |
Визуальный контроль и НК. Трещина сквозная с внутренней и наружной сторон колеса с выходом и без выхода на поверхность катания. | Колесо бракуют. |
2.21 Трещина в ступице колеса (514) - нарушение сплошности металла из-за несоблюдения технологии изготовления колес. |
Визуальный контроль и НК торца ступицы. | Колесо бракуют. |
2.22 Термические трещины на поверхности катания обода колеса (412) - нарушение сплошности металла в виде параллельных наклонных трещин термоусталостного происхождения по периметру поверхности катания колеса. |
Визуальный контроль. | Восстанавливают профиль поверхности катания колес. |
2.23 Продольные трещины, закаты, плены, расслоения и неметаллические включения в ободе колеса (511) - нарушения сплошности металла из-за несоблюдения технологии изготовления колес. |
Визуальный контроль и НК. | Колесо бракуют. |
2.24 Поперечная трещина на поверхности катания обода колеса (513) - нарушение сплошности металла из-за несоблюдения технологии изготовления колес. |
Визуальный контроль и НК. | Колесо бракуют. |
2.25 Трещина гребня колеса (517) - нарушение сплошности металла из-за несоблюдения технологии изготовления или ремонта колес. |
Визуальный контроль и НК. | Колесо бракуют. |
2.26 Откол наружной боковой поверхности обода колеса (614) - местное разрушение в виде откола металла у наружной грани в районе фаски обода колеса, характеризующееся значительной глубиной и протяженностью. |
Визуальный контроль. Определение геометрических параметров откола. | Восстанавливают профиль поверхности катания колес. |
2.27 Откол кругового наплыва наружной боковой поверхности обода колеса (615) - разрушение металла в виде откола наплыва на отдельных участках, либо по всему периметру обода. |
Визуальный контроль. Определение геометрических параметров откола. | Восстанавливают профиль поверхности катания колес. |
2.28 Откол гребня колеса (616) - механическое повреждение, характеризующееся нарушением сплошности металла из-за дефектов металлургического происхождения. |
Визуальный контроль. | При полном ободе колеса и отсутствии трещин, идущих вглубь обода, восстанавливают профиль поверхности катания колес. При невозможности восстановления профиля поверхности катания - колесо бракуют. |
2.29 Овальность и отклонение от соосности поверхности катания колес более допустимых размеров (911) - изменение геометрических параметров колес. |
Замеры. | При превышении допустимых размеров восстанавливают профиль поверхности катания колес. |
2.30 Разность расстояний от торцов предподступичных частей оси до внутренних боковых поверхностей ободьев колес с одной и другой сторон колесной пары более допустимых значений (933) - нарушение геометрии колесной пары. |
Замеры. Замеряются расстояния от торцов предподступичных частей оси до внутренних боковых поверхностей ободьев колес с одной и другой сторон колесной пары. Вычисление разности замеров и сравнение ее с допустимым значением. | При превышении допустимых значений колесную пару расформировывают. |
2.31 Излом колеса по трещине у ступицы (711) - разрушение колеса в результате развития трещины в диске около ступицы. |
Визуальный контроль. | Колесо бракуют. |
2.32 Излом колеса по трещине у обода (712) - разрушение колеса в результате развития трещины в диске около обода. |
Визуальный контроль. | Колесо бракуют. |
2.33 Излом обода колеса в окружном направлении (713) - полный или частичный откол части обода в результате развития внутренней кольцевой трещины в окружном направлении обода колеса. |
Визуальный контроль. | Колесо бракуют. |
|
3.1 Сварочные ожоги (221) - термомеханическое повреждение в виде следов касания электродом или оголенным проводом поверхности оси. |
Визуальный контроль. | Ось бракуют. |
3.2 Протертость на средней части оси (123) - круговой неравномерный по профилю оси износ, характеризующийся местным углублением на средней части оси. |
Визуальный контроль и замеры. Измерение кронциркулем и линейкой глубины протертости. | Протертость глубиной не более 2,5 мм оставляют без устранения. Протертость глубиной более 2,5 мм устраняют обточкой на станке с последующим упрочнением накаткой роликами. Устранение дефекта производят с плавным переходом к необрабатываемым поверхностям при условии, что диаметр оси после ее обработки в протертом месте будет не менее допускаемого значения. При невыполнении этого условия ось бракуют. |
3.3 Забоины и вмятины более допустимых размеров (322) - механические повреждения, сопровождающиеся деформацией металла и характеризующиеся образованием на шейке, предподступичной или средней части оси местных углублений. |
Визуальный контроль и замеры. Измерение производят штангенциркулем или специальным микрометром. | На средней части оси: Забоины и вмятины глубиной не более 2,0 мм оставляют без устранения. Дефекты глубиной более 2,0 мм, но менее 5,0 мм устраняют зачисткой наждачным кругом с последующей доводкой шлифовальной шкуркой зернистостью N 6 и менее с минеральным маслом. Устранение дефектов производят вдоль оси с зачисткой выступающих краев и плавным переходом к необрабатываемым поверхностям при условии, что диаметр оси в месте дефекта после зачистки будет не менее допускаемого размера. При невыполнении этого условия ось бракуют. На шейках оси: Тупые забоины и вмятины глубиной не более 1,5 мм и площадью до 50,0 мм2 на расстоянии не ближе 50,0 мм от торца предподступичной части оси допускается оставлять без устранения. Выступающие края должны быть зачищены заподлицо с поверхностью шлифовальной шкуркой зернистостью N 6 и менее с минеральным маслом в направлении вдоль шейки оси. При наличии забоин и вмятин более допустимых размеров ось бракуют. |
| На предподступичных частях оси: Забоины и вмятины глубиной не более 2,0 мм допускается оставлять без устранения. Выступающие края должны быть зачищены заподлицо с поверхностью шлифовальной шкуркой зернистостью N 6 и менее с минеральным маслом в направлении вдоль предподступичной части оси. При наличии забоин и вмятин более допустимых размеров ось бракуют. |
3.4 Намин на шейке оси от внутреннего кольца подшипника (321) - допустимое в эксплуатации механическое образование, характеризующееся местным незначительным смятием поверхности шейки оси, создающим наклеп в местах смятия. |
Визуальный контроль. | Допускается устранять зачисткой шлифовальной бумагой с зернистостью N 6 и менее с минеральным маслом. |
3.5 Задиры и риски на подступичных частях оси (121) - продольный износ или выровы металла, характеризующиеся местными углублениями, образовавшимися в результате схватывания металла при распрессовке колес с оси. |
Визуальный контроль. | Задиры и риски на подступичных частях оси устраняются обточкой с последующим упрочнением накаткой роликами на станке при условии, что диаметр подступичной части оси будет не менее допустимого размера. При диаметре менее допустимого размера ось бракуют. |
3.6 Задиры и риски на шейках и предподступичных частях оси (122): - окружные неравномерные по поперечному профилю износы, характеризующиеся местными незначительными углублениями на поверхностях шеек или предподступичных частях оси; - продольные износы (царапины), характеризующиеся незначительными углублениями на поверхностях шеек или предподступичных частях оси. |
Визуальный контроль. | Задиры и риски на шейках глубиной не более 0,2 мм и предподступичных частях оси не более 2,0 мм допускается оставлять без устранения, при этом выступающие края должны быть зачищены в направлении вдоль оси заподлицо с поверхностью шлифовальной бумагой с зернистостью N 6 и менее с минеральным маслом. При наличии задиров и рисок более допустимых размеров ось бракуют. |
3.7 Коррозионные повреждения на шейках и галтелях оси (124) - окисленные участки поверхностей шеек и галтелей оси под воздействием воды и влаги, а также других химически активных веществ. |
Визуальный контроль. | Коррозионные повреждения на шейках и галтелях оси устраняются зачисткой шлифовальной бумагой с зернистостью N 6 и менее с минеральным маслом. Разрешается использовать оси после зачистки, если диаметры шеек и предподступичных частей не выходят за пределы допустимых размеров. |
3.8 Износ шейки оси из-за проворота внутреннего кольца (125) - круговой износ шейки оси под внутренними кольцами подшипников, вызванный потерей натяга посадки внутренних колец. |
Визуальный контроль. | Ось бракуют. |
3.9 Повреждение центрового отверстия (323) - искажение формы центрового отверстия оси. |
Схема повреждения центрового отверстия | |
Визуальный контроль. | Разрешается устранять заваркой с последующим восстановлением центрового отверстия до номинальных размеров по технологии, согласованной установленным порядком. |
3.10 Повреждение резьбы М110 осей РУ1 (324) - механическое повреждение, характеризующееся искажением профиля резьбы. |
Визуальный контроль и измерение. Деформация резьбы определяется с помощью шагомера. Наружный диаметр резьбы определяется штангенциркулем или специальным шаблоном. | Ось бракуют. |
3.11 Повреждение резьбы М12 осей РУ1, М20 осей РУ1Ш и РВ2Ш, М24 осей РВ2Ш (325) - механическое повреждение, характеризующееся искажением профиля резьбы в отверстиях торца шейки оси, или наличие следов герметика в резьбовых отверстиях. |
| | |
Механическое повреждение резьбы М12 осей РУ1 | Механическое повреждение резьбы М20 осей РУ1Ш и РВ2Ш, резьбы М24 осей РВ2Ш | Следы герметика в резьбовых отверстиях осей |
Визуальный контроль. | При механическом повреждении до трех первых ниток резьбы допускается оставлять без устранения. При механическом повреждении от 4 до 8 первых ниток резьбы или при наличии следов герметика резьбовое отверстие исправляют метчиком. Оси РУ1 с поврежденной резьбой М12 бракуют. |
3.12 Обрыв болтов М12 осей РУ1, М20 осей РУ1Ш и РВ2Ш, М24 осей РВ2Ш (326) - нарушение целостности болтов М12 и М20 в результате механического повреждения. |
Визуальный контроль. | При возможности стержни болтов М20 и М24 вывертывают из оси без ее повреждения, при невозможности - ось бракуют. Оси РУ1 с обрывом болтов М12 бракуют. |
3.13 Поперечные и наклонные (под углом более 30° к оси) трещины на средней части оси (521) - нарушение сплошности металла из-за накопления циклической усталости и несоблюдения технологии изготовления осей. |
Визуальный контроль и НК. | Ось бракуют. |
3.14 Продольные и наклонные (под углом к оси 30° и менее) трещины на средней части оси (522) - нарушение сплошности металла из-за несоблюдения технологии изготовления осей. |
Визуальный контроль и НК. | Ось бракуют. |
3.15 Трещины в подступичной части оси (421) - нарушение сплошности металла в виде поперечных усталостных трещин. |
Визуальный контроль и НК. | Ось бракуют. |
3.16 Трещины на шейках и предподступичных частях оси (422) - нарушение сплошности металла в виде усталостных трещин. |
Визуальный контроль и НК. | Ось бракуют. |
3.17 Трещины в галтелях шеек и предподступичных частей оси (423) - нарушение сплошности металла в виде усталостных трещин. |
Визуальный контроль и НК. | Ось бракуют. |
3.18 Разрушение напыленного слоя восстановленной шейки оси (621) - механическое разрушение, связанное с нарушением целостности напыленного слоя металла шейки оси. |
Визуальный контроль, остукивание оправкой или медным молотком. | Ось бракуют. |
3.19 Маломерность оси по диаметрам шейки, предподступичной, подступичной и средней частей (821) - уменьшение геометрических размеров частей оси вследствие механической обработки. |
Измерение геометрических параметров оси. | При диаметрах менее допустимых размеров ось бракуют. |
3.20 Нарушение геометрических параметров резьбовых отверстий М20 осей РУ1Ш и РВ2Ш, М24 осей РВ2Ш (822) - нарушение технологии изготовления оси. |
Измерение глубины отверстий и их смещения. | Допускаются к эксплуатации оси с глубиной засверловки отверстий под резьбу М20 и М24 до 90 мм. При глубине засверловки отверстия более 90 мм - ось бракуют. При смещении отверстий М20 и М24 ось бракуют. |
3.21 Овальность шейки и предподступичной части оси более допустимых размеров (921) - нарушение геометрии частей оси. |
Замеры. | При превышении допустимых размеров допускается шлифовка шлифовальной бумагой зернистостью N 6 и менее с минеральным маслом |
3.22 Конусообразность шейки оси более допустимых размеров (922) - нарушение геометрии шейки оси. |
Замеры. | При превышении допустимых размеров допускается шлифовка шлифовальной бумагой зернистостью N 6 и менее с минеральным маслом. |
3.23 Излом оси из-за развития трещины в шейке (721) - разрушение оси под действием циклических нагрузок. |
Визуальный контроль. | Ось бракуют. |
3.24 Излом оси из-за развития трещины в предподступичной части (722) - разрушение оси под действием циклических нагрузок. |
Визуальный контроль. | Ось бракуют. |
3.25 Излом оси из-за развития трещины в подступичной части (723) - разрушение оси под действием циклических нагрузок. |
Визуальный контроль. | Ось бракуют. |
3.26 Излом оси из-за развития трещины в средней части (724) - разрушение оси под действием циклических нагрузок. |
Визуальный контроль. | Ось бракуют. |
3.27 Излом шейки оси из-за перегрева буксового узла (725) - разрушение оси вследствие заклинивания подшипников буксового узла. |
Визуальный контроль. | Ось бракуют. |
(обязательное)
ВИДЫ НЕИСПРАВНОСТЕЙ ПОДШИПНИКОВ И СПОСОБЫ ИХ УСТРАНЕНИЯ
Дефекты и неисправности подшипников и их элементов.
Контролируемые параметры подшипников и их элементов, вид и номер неисправностей и дефектов |
Способ выявления и характерные признаки | Способ устранения |
1 Подшипники роликовые цилиндрические |
|
1.1.01 Полное разрушение подшипника - нарушение целостности всех деталей подшипника. |
Визуальный контроль, использование напольных средств автоматического контроля буксовых узлов в пути следования. При движении поезда искрение, выделение дыма, запах гари, движение колесной пары юзом. | Подшипник бракуют. |
|
1.2.01 Контактно-усталостное повреждение (раковина) на дорожке качения - выкрашивание дорожки качения, вызванное процессом естественной усталости металла под действием высоких контактных давлений, знакопеременных нагрузок после истечения определенного срока эксплуатации подшипника. |
Визуальный контроль. | Кольцо бракуют. |
1.2.02 Контактно-усталостное повреждение (шелушение) дорожки качения - выкрашивание металла дорожки качения, вызванное процессом естественной усталости металла под действием высоких контактных давлений, проскальзывания роликов, нарушения масляной пленки. |
Визуальный контроль. По внешнему виду отдельные элементы (точки) не блестящие, матового оттенка, при рассмотрении с использованием увеличительного стекла поверхность мелких выкрашиваний неровная с выровами. | Кольцо бракуют. |
1.2.03 Трещина на дорожке качения - нарушение целостности кольца, вызванное: перегрузками, создающими высокие напряжения и приводящими к растрескиванию и раскалыванию; наличием концентраторов напряжений, дефектов металла; несоблюдением технологии изготовления (главным образом термообработки) и монтажа и демонтажа подшипника. |
Визуальный контроль, НК. | Кольцо бракуют. |
1.2.04 Трещина бортика - нарушение целостности бортика кольца, вызванное: перегрузками, создающими высокие напряжения и приводящими к растрескиванию и раскалыванию; наличием концентраторов напряжений, дефектов металла; несоблюдением технологии изготовления (главным образом термообработки) и монтажа и демонтажа подшипника. |
Визуальный контроль, НК. | Кольцо бракуют. |
1.2.05 Скол бортика - нарушение целостности кольца, вызванное: перегрузками, создающими высокие напряжения в бортиках, приводящими к растрескиванию и раскалыванию; дефектами металла; нарушением технологии изготовления (главным образом термообработки) и несоответствием геометрии деталей и контактируемых поверхностей. |
Визуальный контроль. | Кольцо бракуют. |
1.2.06 Коррозионные пятна на дорожке качения - естественный процесс, приводящий к окислению поверхности дорожки качения при работе во влажной среде в присутствии паров кислотно-щелочных сред. |
Визуальный контроль. | Кольцо используют после удаления коррозионных пятен шлифовальной бумагой зернистостью N 6 с минеральным маслом. |
1.2.07 Коррозионные раковины на дорожке качения - естественный процесс, приводящий к окислению поверхности дорожки качения и отслаиванию металла при работе или хранении подшипника во влажной среде в присутствии паров кислотно-щелочных сред и в результате длительного отстоя подшипника. |
Визуальный контроль. | Кольцо бракуют. |
1.2.08 Поверхностная коррозия на дорожке качения - естественный процесс, приводящий к окислению поверхности дорожки качения при работе или хранении подшипника во влажной среде в присутствии паров кислотно-щелочных сред. |
Визуальный контроль. | Кольцо используют после удаления коррозионных пятен шлифовальной бумагой зернистостью N 6 с минеральным маслом. |
1.2.09 Точечная коррозия на дорожке качения - естественный процесс, приводящий к окислению поверхности дорожки качения в виде групп мелких пятен диаметром от 1,0 до 2,0 мм с размытыми краями при работе или хранении подшипника во влажной среде в присутствии паров кислотно-щелочных сред. |
Визуальный контроль. | Кольцо используют после зачистки коррозионных пятен шлифовальной бумагой зернистостью N 6 с минеральным маслом. |
1.2.10 Коррозия на посадочной поверхности (фретинг-коррозия) - естественный процесс, приводящий к окислению посадочной поверхности наружного кольца при его работе в условиях взаимного перемещения относительно корпуса буксы, как во влажной среде, так и при ее отсутствии. |
Визуальный контроль. | Кольцо используют после зачистки коррозионных пятен шлифовальной бумагой зернистостью N 6 с минеральным маслом. Допускается оставлять следы невыведенных коррозионных пятен. |
1.2.11 Коррозия на бортиках - естественный процесс, приводящий к окислению центрирующей поверхности бортиков кольца при работе или хранении подшипника во влажной среде в присутствии паров кислотно-щелочных сред. |
Визуальный контроль. | Кольцо используют после зачистки коррозионных пятен шлифовальной бумагой зернистостью N 6 с минеральным маслом. Допускается оставлять следы невыведенных коррозионных пятен. |
1.2.12 Вмятины (намины) на дорожке качения - отпечатки от вдавливания твердых частиц отслаивающегося металла в результате образования контактно усталостных повреждений или попадания в смазку подшипника инородных твердых тел. |
Визуальный контроль. По внешнему виду вмятины (намины) блестящие, при рассмотрении с использованием увеличительного стекла поверхность вмятины (намина) без шероховатости. | Кольцо используют, если число вмятин не превышает семи на всей дорожке качения. При большем количестве вмятин кольцо бракуют. |
1.2.13 Вмятины (ложное бринеллирование) на дорожке качения - результат длительного действия на подшипник, находящийся в состоянии покоя, нагрузок пульсирующего характера, приводящих к образованию на дорожке качения кольца отпечатков от роликов, называемых "ложным бринеллированием". |
Визуальный контроль. | Кольцо бракуют. |
1.2.14 Электроожоги (кратеры) на дорожке качения - повреждение кольца в виде одиночных или цепочки кратеров из-за прохождения отдельных разрядов электрического тока в течение короткого времени. |
Визуальный контроль. По внешнему виду дефект имеет вид кратера, при рассмотрении с использованием увеличительного стекла донышко кратера темного или серого цвета со следами оплавления. | Кольцо бракуют. |
1.2.15 Электроожоги (рифление) на дорожке качения - повреждение кольца в виде равномерно расположенных темных полос в результате длительного воздействия электрического тока с определенной частотой. |
Визуальный контроль. | Кольцо бракуют. |
1.2.16 Задиры на бортике (типа "елочка") - естественный процесс, приводящий к изменению поверхностных слоев бортика кольца под действием высоких контактных давлений при разрыве масляной пленки и проявляющийся в виде выровов металла как хаотично расположенных, так и в виде строго геометрического рисунка ("елочка"). |
Визуальный контроль. | Кольцо используют после зачистки задиров шлифовальной бумагой зернистостью N 6 с минеральным маслом. |
1.2.17 Цвета побежалости на дорожке качения - изменение окрашенности и структуры стали кольца в результате воздействия на него источника теплового излучения (повышенный нагрев). |
Визуальный контроль. | Кольцо бракуют. |
|
1.3.01 Контактно-усталостное повреждение (раковина) на дорожке качения - выкрашивание дорожки качения, вызванное процессом естественной усталости металла под действием высоких контактных давлений, знакопеременных нагрузок после истечения определенного срока эксплуатации подшипника. |
Визуальный контроль. | Кольцо бракуют. |
1.3.02 Контактно-усталостное повреждение (шелушение) дорожки качения - выкрашивание металла дорожки качения, вызванное процессом естественной усталости металла под действием высоких контактных давлений, проскальзывания роликов, нарушения масляной пленки. |
Визуальный контроль. По внешнему виду отдельные элементы (точки) не блестящие, матового оттенка, при рассмотрении с использованием увеличительного стекла поверхность мелких выкрашиваний неровная с выровами. | Кольцо бракуют. |
1.3.03 Разрыв кольца - нарушение целостности кольца, вызванное: перегрузками, создающими высокие напряжения и приводящими к появлению прямой стреловидной трещины, ориентированной параллельно оси; концентраторами напряжений; дефектами металла; несоблюдением технологии изготовления (главным образом термообработки) и монтажа и демонтажа подшипника. |
Визуальный контроль, НК. Отличительной особенностью трещины, приводящей к разрыву кольца является ее ориентация параллельно оси, незакатаные края и стреловидность. Дефект наиболее характерен для колец, изготовленных из насквозь каленой стали (ШХ15, ШХ15СГ и т.д.). | Кольцо бракуют. |
1.3.04 Трещина кольца - нарушение целостности кольца, вызванное: перегрузками, создающими высокие напряжения и приводящими к растрескиванию и раскалыванию; наличием концентраторов напряжений; следствием воздействия термических нагрузок. |
Визуальный контроль, НК. Отличительной особенностью трещины является ее ориентация под произвольными углами и отсутствие стреловидности. | Кольцо бракуют. |
1.3.05 Скол бортика - нарушение целостности бортика кольца, вызванное: перегрузками, создающими высокие напряжения, приводящими к растрескиванию и раскалыванию; дефектами металла; концентраторами напряжений; нарушением технологии изготовления и несоответствием геометрии деталей и контактируемых поверхностей. |
Визуальный контроль. Дефект наиболее характерен для колец, изготовленных из насквозь каленой стали (ШХ15, ШХ15СГ и т.д). | Кольцо бракуют. |
1.3.06 Коррозионные пятна (коррозионные раковины) на дорожке качения - естественный процесс, приводящий к окислению поверхности дорожки качения при работе во влажной среде в присутствии паров кислотно-щелочных сред. |
Визуальный контроль. | Кольцо используют после удаления коррозионных пятен шлифовальной бумагой зернистостью N 6 с минеральным маслом. |
1.3.07 Поверхностная коррозия на дорожке качения - естественный процесс, приводящий к окислению поверхности дорожки качения при работе или хранении подшипника во влажной среде в присутствии паров кислотно-щелочных сред. |
Визуальный контроль. | Кольцо используют после удаления коррозионных пятен шлифовальной бумагой зернистостью N 6 с минеральным маслом. |
1.3.08 Точечная коррозия на дорожке качения - естественный процесс, приводящий к окислению поверхности дорожки качения в виде групп мелких пятен диаметром от 1,0 до 2,0 мм с размытыми краями при работе или хранении подшипника во влажной среде в присутствии паров кислотно-щелочных сред. |
Визуальный контроль. Наиболее распространено скопление коррозионных точек в виде узкой полосы шириной до 3,0 мм у скоса внутреннего кольца, или у технологической галтели задних подшипников, или у торца внутреннего кольца переднего подшипника со стороны приставного упорного кольца. | Кольцо используют после удаления коррозионных пятен шлифовальной бумагой зернистостью N 6 с минеральным маслом. |
1.3.09 Кольцевые полосы на дорожке качения - естественный процесс (разновидность электрохимической коррозии), приводящий к потемнению поверхностных слоев дорожки качения при работе под нагрузкой в условиях окисления смазки. |
Визуальный контроль. | Кольцо используют после зачистки шлифовальной бумагой зернистостью N 6 с минеральным маслом. Допускается оставлять следы невыведенных кольцевых полос. |
1.3.10 Коррозия на посадочной поверхности (фретинг-коррозия) - естественный процесс, приводящий к окислению посадочной поверхности внутреннего кольца при его работе под нагрузкой в условиях взаимного перемещения относительно оси. |
Визуальный контроль. | Кольцо используют после зачистки коррозионных пятен шлифовальной бумагой зернистостью N 6 с минеральным маслом. |
1.3.11 Темные полосы на посадочной поверхности ("огранка") - разновидность фретинг-коррозии - естественный процесс, приводящий к окислению посадочной поверхности внутреннего кольца при его работе под нагрузкой в условиях взаимного перемещения относительно оси. |
Визуальный контроль. | Кольцо используют после удаления коррозионных пятен шлифовальной бумагой зернистостью N 6 с минеральным маслом. |
1.3.12 Коррозия на бортиках - естественный процесс, приводящий к окислению поверхности бортика кольца при работе или хранении подшипника во влажной среде в присутствии паров кислотно-щелочных сред. |
Визуальный контроль. | Кольцо используют после удаления коррозионных пятен шлифовальной бумагой зернистостью N 6 с минеральным маслом. |
1.3.13 Вмятины (намины, забоины) на дорожке качения - отпечатки от вдавливания: твердых частиц отслаивающегося металла в результате образования контактно усталостных повреждений; попадания в смазку подшипника инородных твердых тел; механического воздействия твердым телом. |
Визуальный контроль. По внешнему виду вмятины (намины, забоины) блестящие, при рассмотрении с использованием увеличительного стекла поверхность вмятины (намина, забоины) без шероховатости. | Кольцо используют, если число вмятин не превышает семи на всей дорожке качения. При большем количестве вмятин кольцо бракуют. |
1.3.14 Вмятины (ложное бринеллирование) на дорожке качения - результат длительного действия на подшипник, находящийся в состоянии покоя, нагрузок пульсирующего характера, приводящих к образованию на дорожке качения кольца отпечатков от роликов, называемых "ложным бринеллированием". |
Визуальный контроль. | Кольцо бракуют. |
1.3.15 Электроожоги (кратеры) на дорожке качения - повреждение кольца в виде одиночных или цепочки кратеров из-за прохождения отдельных разрядов электрического тока в течение короткого времени. |
Способ выявления и характерные признаки | Способ устранения |
Визуальный контроль. По внешнему виду дефект имеет вид кратера, при рассмотрении с использованием увеличительного стекла донышко кратера темного или серого цвета со следами оплавления. | Кольцо бракуют. |
1.3.16 Электроожоги (рифление) на дорожке качения - повреждение кольца в виде равномерно расположенных темных полос в результате длительного воздействия электрического тока с определенной частотой. |
Визуальный контроль. | Кольцо бракуют. |
1.3.17 Износ торцов (фретинг-коррозия) - естественный процесс, приводящий к окислению торцевых поверхностей внутреннего кольца при его работе под нагрузкой в условиях взаимного перемещения относительно внутреннего, лабиринтного и приставного упорного колец. |
Визуальный контроль. | Кольцо используют после зачистки коррозионных пятен шлифовальной бумагой зернистостью N 6 с минеральным маслом. Допускается оставлять следы невыведенных коррозионных пятен. |
1.3.18 Задиры на бортике (типа "елочка") - естественный процесс, приводящий к изменению поверхностных слоев бортика кольца под действием высоких контактных давлений при разрыве масляной пленки и проявляющийся в виде выровов металла как хаотично расположенных, так и в виде строго геометрического рисунка ("елочка"). |
Визуальный контроль. | Кольцо используют после зачистки задиров мкм шлифовальной бумагой зернистостью N 6 с минеральным маслом. Допускается оставлять следы невыведенных задиров. |
1.3.19 Задиры на посадочной поверхности - естественный процесс, приводящий к изменению поверхностных слоев посадочной поверхности кольца под действием высоких контактных давлений при разрыве масляной пленки и проявляющийся в виде выровов металла как хаотично расположенных, так и в виде строго геометрического рисунка ("елочка"). |
Визуальный контроль. Дефект наиболее характерен при прессовой (холодной) посадке колец на шейку оси. Возникновению способствуют недостаточное количество смазочного материала, его низкое качество и наличие воды и влаги. | Кольцо бракуют. |
1.3.20 Монтажные задиры на дорожке качения - процесс, приводящий к изменению поверхностного слоя кольца под действием высоких контактных давлений, возникающих при монтаже буксового узла. |
Визуальный контроль. | Кольцо бракуют. |
1.3.21 Проворачивание внутреннего кольца на шейке оси (потеря посадочного натяга) - ослабление прессового соединения внутреннего кольца с осью с последующим его круговым перемещением относительно шейки оси, лабиринтного, внутреннего и приставного упорного колец. |
Визуальный контроль, проверка с использованием специального приспособления. | Кольцо бракуют. |
1.3.22 Цвета побежалости на дорожке качения - изменение окрашенности и структуры стали кольца в результате воздействия на него источников теплового излучения. |
Визуальный контроль. | Кольцо бракуют. |
|
1.4.01 Контактно-усталостное повреждение (раковина) на цилиндрической поверхности - выкрашивание ролика, вызванное процессом естественной усталости металла под действием высоких контактных давлений, знакопеременных нагрузок после истечения определенного срока эксплуатации подшипника. |
Визуальный контроль. | Ролик бракуют. |
1.4.02 Контактно-усталостное повреждение (шелушение) на цилиндрической поверхности - выкрашивание, вызванное процессом естественной усталости металла под действием высоких контактных давлений, проскальзывания роликов, нарушения масляной пленки. |
Визуальный контроль. По внешнему виду отдельные элементы (точки) не блестящие, матового оттенка, при рассмотрении с использованием увеличительного стекла поверхность мелких выкрашиваний неровная с выровами. | Ролик бракуют. |
1.4.03 Трещина - нарушение целостности ролика, вызванное: перегрузками, создающими высокие напряжения и приводящими к появлению прямой стреловидной, винтообразной или окружной трещины; концентраторами напряжений; дефектами металла; несоблюдением технологии изготовления (главным образом термообработки). |
Визуальный контроль, НК. | Ролик бракуют. |
1.4.04 Волосовина - дефект производства роликов, характеризующийся расслоением поверхностных слоев металла. |
Визуальный контроль, НК. | Ролик бракуют. |
1.4.05 Скол торца - нарушение целостности ролика, вызванное: перегрузками, создающими высокие напряжения, приводящими к растрескиванию и раскалыванию; концентраторами напряжений; несоответствием геометрии деталей и контактируемых поверхностей. |
Визуальный контроль. | Ролик бракуют. |
1.4.06 Коррозионные пятна (коррозионные раковины) на цилиндрической поверхности и торцах - естественный процесс, приводящий к окислению поверхностей роликов при их работе и хранении во влажной среде в присутствии паров кислотно-щелочных сред. |
Визуальный контроль. | Ролик с коррозионными пятнами на цилиндрической поверхности бракуют. Ролик с коррозионными пятнами на торцах используют после удаления коррозионных пятен шлифовальной бумагой зернистостью N 6 с минеральным маслом. Снимать допускается с каждой стороны ролика слой глубиной не более 5,0 мкм. Глубину снятого слоя контролируют по высоте ролика. |
1.4.07 Поверхностная коррозия на торцах - естественный процесс, приводящий к окислению поверхностей роликов при хранении во влажной среде в присутствии паров кислотно-щелочных сред. |
Визуальный контроль. | Ролик используют после удаления коррозионных пятен шлифовальной бумагой зернистостью N 6 с минеральным маслом. Снимать допускается с каждой стороны ролика слой глубиной не более 5,0 мкм. Глубину снятого слоя контролируют по высоте ролика. |
1.4.08 Точечная коррозия на цилиндрической поверхности - естественный процесс, приводящий к окислению поверхности в виде групп мелких пятен диаметром от 1,0 до 2,0 мм с размытыми краями при работе или хранении подшипника во влажной среде в присутствии паров кислотно-щелочных сред. |
Визуальный контроль. | Ролик бракуют. |
1.4.09 Точечная коррозия на торцах - естественный процесс, приводящий к окислению поверхности в виде групп мелких пятен диаметром от 1,0 до 2,0 мм с размытыми краями при работе или хранении подшипника во влажной среде в присутствии паров кислотно-щелочных сред. |
Визуальный контроль. | Ролик используют после удаления коррозионных пятен шлифовальной бумагой зернистостью N 6 с минеральным маслом. Снимать допускается с каждой стороны ролика слой глубиной не более 5,0 мкм. Глубину снятого слоя контролируют по высоте ролика. |
1.4.10 Электрохимическая коррозия (потемнение ролика) - естественный процесс, приводящий к окислению поверхностей роликов при работе в присутствии кислотно-щелочных сред, выделяемых из смазки. |
Визуальный контроль. | Ролик бракуют. |
1.4.11 Вмятины (намины и забоины) на цилиндрической поверхности - отпечатки от вдавливания: твердых частиц отслаивающегося металла в результате образования контактно усталостных повреждений; попадания в смазку подшипника инородных твердых тел; механического воздействия твердым телом. |
| | |
Вмятины (намины) | Вмятины (забоина) |
Визуальный контроль. По внешнему виду вмятины (намины, забоины) блестящие, при рассмотрении с использованием увеличительного стекла поверхность вмятины (намина, забоины) без шероховатости. | Ролик используют, если число вмятин не превышает четырех на всей цилиндрической поверхности. При большем количестве вмятин - ролик бракуют. |
1.4.12 Электроожоги (кратеры) на цилиндрической поверхности - повреждение ролика в виде одиночных или цепочки кратеров из-за прохождения отдельных разрядов электрического тока в течение короткого времени. |
Визуальный контроль. По внешнему виду дефект имеет вид кратера, при рассмотрении с использованием увеличительного стекла донышко кратера темного или серого цвета со следами оплавления. | Ролик бракуют. |
1.4.13 Электроожог круговой на цилиндрической поверхности - повреждение ролика в виде темных полос в результате длительного воздействия электрического тока с определенной частотой. |
Визуальный контроль. Дефект аналогичен повреждениям наружного и внутреннего колец, называемого "рифлением", но при этом нет четко выраженных отдельных полос, так как за один оборот внутреннего кольца ролик совершает несколько оборотов, что приводит к получению сплошной темной полосы - электроожога. | Ролик бракуют. |
1.4.14 Задиры на торцах (типа "елочка") - естественный процесс, приводящий к изменению поверхностных слоев торца ролика под действием высоких контактных давлений при разрыве масляной пленки и проявляющийся в виде выровов металла как хаотично расположенных, так и в виде строго геометрического рисунка ("елочка"). |
Визуальный контроль. | Ролик используют после удаления задиров шлифовальной бумагой зернистостью N 6 с минеральным маслом. Снимать допускается с каждой стороны ролика слой глубиной не более 5,0 мкм. Глубину снятого слоя контролируют по высоте ролика. |
1.4.15 Ползуны на цилиндрической поверхности - повреждение поверхности роликов, вызванное их заклиниванием от действия инородных тел и отсутствия радиального зазора в подшипнике. |
Визуальный контроль. | Ролик бракуют. |
1.4.16 Ступенчатый износ торца - естественный износ, вызванный постоянно действующими силами в условиях достаточного смазывания. |
Визуальный контроль. | При износе торца ролика более 5,0 мкм ролик бракуют. |
1.4.17 Круговые полосы на цилиндрической поверхности - естественный износ или потемнение в результате воздействия смазки на металл ролика в контакте с дорожками |
Визуальный контроль. | Ролик, на поверхности которого круговые полосы ощущаются ногтем пальца руки, бракуют. |
1.4.18 Цвета побежалости на торцах и цилиндрической поверхности - изменение окрашенности и структуры стали роликов в результате воздействия на них источников теплового излучения с различными повышенными температурами нагрева. |
Визуальный контроль. | Ролик бракуют. |
1.5 Кольцо плоское упорное |
1.5.01 Излом - полное разрушение кольца от концентраторов напряжений в результате действия высоких контактных давлений при взаимодействии с роликами и элементами торцевого крепления. |
Визуальный контроль. | Кольцо бракуют. |
1.5.02 Трещина - нарушение целостности кольца, вызванное: перегрузками, создающими высокие напряжения и приводящими к растрескиванию и раскалыванию; наличием концентраторов напряжений, дефектов металла. |
Визуальный контроль, НК. | Кольцо бракуют. |
1.5.03 Сколы - нарушение целостности кольца вызванное: перегрузками, создающими высокие напряжения и приводящими к растрескиванию и раскалыванию при наличии концентраторов напряжений в виде дефектов металла. |
Визуальный контроль. | Кольцо бракуют. |
1.5.04 Задиры на торцевой поверхности (типа "елочка") - естественный процесс, приводящий к изменению поверхностных слоев кольца под действием высоких контактных давлений при разрыве масляной пленки и проявляющийся в виде выровов металла как хаотично расположенных, так и в виде строго геометрического рисунка ("елочка"). |
Визуальный контроль. | Кольцо бракуют. |
1.5.05 Круговые полосы на торцевых поверхностях - результат проворачивания кольца относительно торца внутреннего кольца переднего подшипника и элементов торцевого крепления при ослаблении усилия его затяжки. |
Визуальный контроль. | Кольцо бракуют. |
1.5.06 Износ торцевых поверхностей (фретинг-коррозия) - естественный процесс, приводящий к окислению торцевых поверхностей кольца при его работе в условиях взаимного перемещения относительно элементов торцевого крепления и внутреннего кольца переднего подшипника как во влажной среде, так и при ее отсутствии. |
Визуальный контроль. | Кольцо бракуют. |
|
1.6.01 Излом полиамидного сепаратора - полное разрушение сепаратора от концентраторов напряжений в результате действия перегрузок при взаимодействии с роликами, а также механических повреждений. |
Визуальный контроль. | Сепаратор бракуют. |
1.6.02 Трещина полиамидного сепаратора - нарушение целостности сепаратора, вызванное: перегрузками, создающими высокие напряжения и приводящими к растрескиванию и раскалыванию; наличием концентраторов напряжений; несоблюдением технологии изготовления и монтажа и демонтажа подшипника. |
Визуальный контроль. | Сепаратор бракуют. |
1.6.03 Сколы на полиамидном сепараторе - нарушение целостности сепаратора, вызванное: перегрузками, создающими высокие напряжения и приводящими к растрескиванию и раскалыванию; наличием концентраторов напряжений; несоблюдением технологии изготовления и монтажа и демонтажа подшипника, а также механическими повреждениями. |
Визуальный контроль. | Сепаратор бракуют. |
1.6.04 Механические повреждения (забоины) на полиамидном сепараторе - результат воздействия на сепаратор твердым телом при хранении, транспортировке, монтаже и демонтаже буксового узла. |
Визуальный контроль. | Сепаратор бракуют. |
2 Подшипник кассетного типа |
|
2.1.01 Полное разрушение подшипника |
Визуальный контроль, использование напольных средств автоматического контроля буксовых узлов в пути следования. При движении поезда искрение, выделение дыма, запах гари, движение колесной пары юзом. | Подшипник бракуют. |
|
2.2.01 Откол - механическое повреждение наружного кольца, вызванное: перегрузками, создающими высокие напряжения, приводящими к растрескиванию и раскалыванию; дефектами металла; концентраторами напряжений; нарушением технологии монтажа и демонтажа, транспортировки и хранения, а также изготовления и несоответствия геометрии деталей и контактируемых поверхностей. |
Визуальный контроль. | Подшипник бракуют. |
2.2.02 Фретинг-коррозия на наружной поверхности - естественный процесс, приводящий к окислению посадочной поверхности наружного кольца при его работе в условиях взаимного перемещения относительно корпуса буксы или адаптера как во влажной среде, так и при ее отсутствии. |
Визуальный контроль. | Подшипник используют без зачистки коррозионных пятен. |
2.2.03 Следы проворота (под адаптером) - естественный износ внешней поверхности наружного кольца в результате его проворачивания под адаптером. |
Визуальный контроль. | Подшипник используют без зачистки. |
|
2.3.01 Ослабление посадки - нарушение прессового соединения кожуха встроенного уплотнения в результате потери натяга посадки вследствие механического повреждения или нарушения сборки подшипника. |
Визуальный контроль. | Подшипник бракуют. |
2.3.02 Механическое повреждение - нарушение целостности кожуха от воздействия твердыми телами, нарушение технологии монтажа и демонтажа подшипника, транспортировки и хранения. |
Визуальный контроль. | Подшипник бракуют. |
|
2.4.01 Выделение смазки в зоне уплотнения - наличие валика смазки в зоне встроенного уплотнения в результате ее миграции из подшипника, как при нормальных условиях работы, так и при повышенном нагреве. |
Визуальный контроль. | При выделении смазки в виде валика ее удаляют ветошью, подшипник используют. При наличии дефектов уплотнения подшипник бракуют. |
Примечание - Цвета побежалости - изменение окрашенности и структуры стали деталей подшипников в результате воздействия на них источников теплового излучения с различными повышенными температурами нагрева.
Цвет побежалости | Температура нагрева (t °C) | Цвет побежалости | Температура нагрева (t °C) |
| Серый | 325 | | Красно-коричневый | 265 |
| Светло-синий | 310 | | Коричнево-желтый | 255 |
| Ярко-синий | 295 | | Соломенно-желтый | 240 |
| Фиолетовый | 285 | | Светло-желтый | 225 |
| Пурпурно-красный | 275 | | Светло-соломенный | 200 |
ЛИСТ РЕГИСТРАЦИИ ИЗМЕНЕНИЙ
Изм. | Номера листов (страниц) | Всего листов (страниц) в документе | N докум. | Входящий N сопроводительного документа и дата | Подпись | Дата |
измененных | замененных | новых | изъятых |
| | | | | | | | | |
| | | | | | | | | |
| | | | | | | | | |
| | | | | | | | | |
| | | | | | | | | |
| | | | | | | | | |
| | | | | | | | | |
| | | | | | | | | |
| | | | | | | | | |
| | | | | | | | | |
| | | | | | | | | |
| | | | | | | | | |
| | | | | | | | | |
| | | | | | | | | |
| | | | | | | | | |
| | | | | | | | | |
| | | | | | | | | |
| | | | | | | | | |
| | | | | | | | | |
| | | | | | | | | |
| | | | | | | | | |
| | | | | | | | | |
| | | | | | | | | |