Главная // Актуальные документы // ГОСТ (Государственный стандарт)СПРАВКА
Источник публикации
В данном виде документ опубликован не был.
Первоначальный текст документа опубликован в издании
М.: Стандартинформ, 2015.
Информацию о публикации документов, создающих данную редакцию, см. в справке к этим документам.
Примечание к документу
Документ включен в
Перечень стандартов, в результате применения которых на добровольной основе обеспечивается соблюдение требований технического
регламента Таможенного союза "О безопасности железнодорожного подвижного состава",
Перечень стандартов, содержащих правила и методы исследований (испытаний) измерений, в том числе правила отбора образцов, необходимые для применения и исполнения требований технического
регламента Таможенного союза "О безопасности железнодорожного подвижного состава" и осуществления оценки соответствия объектов технического регулирования,
Перечень стандартов, в результате применения которых на добровольной основе обеспечивается соблюдение требований технического
регламента Таможенного союза "О безопасности высокоскоростного железнодорожного транспорта", и
Перечень стандартов, содержащих правила и методы исследований (испытаний) измерений, в том числе правила отбора образцов, необходимые для применения и исполнения требований технического
регламента Таможенного союза "О безопасности высокоскоростного железнодорожного транспорта" и осуществления оценки соответствия объектов технического регулирования (
Решение Комиссии Таможенного союза от 15.07.2011 N 710).
Текст данного документа приведен с учетом поправок, опубликованных в "ИУС",
N 2, 2019;
N 3, 2019.
Название документа
"ГОСТ 32769-2014. Межгосударственный стандарт. Подшипники качения. Узлы подшипниковые конические букс железнодорожного подвижного состава. Технические условия"
(введен в действие Приказом Росстандарта от 09.07.2014 N 703-ст)
(ред. от 06.02.2017)
"ГОСТ 32769-2014. Межгосударственный стандарт. Подшипники качения. Узлы подшипниковые конические букс железнодорожного подвижного состава. Технические условия"
(введен в действие Приказом Росстандарта от 09.07.2014 N 703-ст)
(ред. от 06.02.2017)
по техническому регулированию
и метрологии
от 9 июля 2014 г. N 703-ст
МЕЖГОСУДАРСТВЕННЫЙ СТАНДАРТ
ПОДШИПНИКИ КАЧЕНИЯ
УЗЛЫ ПОДШИПНИКОВЫЕ КОНИЧЕСКИЕ БУКС
ЖЕЛЕЗНОДОРОЖНОГО ПОДВИЖНОГО СОСТАВА
ТЕХНИЧЕСКИЕ УСЛОВИЯ
Rolling bearings. Taper bearing unit
for rolling stock axle boxes. Specification
ГОСТ 32769-2014
| | Список изменяющих документов Росстандарта от 06.02.2017 N 32-ст) | |
Дата введения
1 июля 2015 года
Цели, основные принципы и основной порядок проведения работ по межгосударственной стандартизации установлены
ГОСТ 1.0-92 "Межгосударственная система стандартизации. Основные положения" и
ГОСТ 1.2-2009 "Межгосударственная система стандартизации. Стандарты межгосударственные, правила и рекомендации по межгосударственной стандартизации. Правила разработки, принятия, применения, обновления и отмены"
1 РАЗРАБОТАН Обществом с ограниченной ответственностью "Инжиниринговый центр ЕПК" (ООО "ИЦ ЕПК")
2 ВНЕСЕН Межгосударственным техническим комитетом по стандартизации МТК 307 "Подшипники качения"
3 ПРИНЯТ Межгосударственным советом по стандартизации, метрологии и сертификации по переписке (протокол от 30 мая 2014 г. N 67-П)
За принятие стандарта проголосовали:
Краткое наименование страны по МК (ИСО 3166) 004-97 | Код страны по МК (ИСО 3166) 004-97 | Сокращенное наименование национального Органа по стандартизации |
Армения | AM | Минэкономики Республики Армения |
Беларусь | BY | Госстандарт Республики Беларусь |
Казахстан | KZ | Госстандарт Республики Казахстан |
Киргизия | KG | Кыргызстандарт |
Россия | RU | Росстандарт |
Таджикистан | TJ | Таджикстандарт |
Узбекистан | UZ | Узстандарт |
4
Приказом Федерального агентства по техническому регулированию и метрологии от 09 июля 2014 г. N 703-ст межгосударственный стандарт ГОСТ 32769-2014 введен в действие в качестве национального стандарта Российской Федерации с 1 июля 2015 г.
5 ВВЕДЕН ВПЕРВЫЕ
Информация об изменениях к настоящему стандарту публикуется в ежегодном информационном указателе "Национальные стандарты", а текст изменений и поправок - в ежемесячном информационном указателе "Национальные стандарты". В случае пересмотра (замены) или отмены настоящего стандарта соответствующее уведомление будет опубликовано в ежемесячном информационном указателе "Национальные стандарты". Соответствующая информация, уведомление и тексты размещаются также в информационной системе общего пользования - на официальном сайте Федерального агентства по техническому регулированию и метрологии в сети Интернет
Настоящий стандарт распространяется на конические подшипниковые узлы, предназначенные для применения в буксовых узлах колесных пар железнодорожного подвижного состава.
В настоящем стандарте использованы ссылки на следующие межгосударственные стандарты и классификаторы:
ГОСТ 27.002-89 Надежность в технике. Основные понятия. Термины и определения
ГОСТ 2477-2014 Нефть и нефтепродукты. Метод определения содержания воды
(в ред.
Изменения N 1, введенного в действие Приказом Росстандарта от 06.02.2017 N 32-ст)
Ссылка исключена с 25.02.2017. -
Изменение N 1, введенное в действие Приказом Росстандарта от 06.02.2017 N 32-ст.
ГОСТ 6479-73 Смазки пластичные. Метод определения содержания механических примесей разложением соляной кислотой
ГОСТ 9013-59 (ИСО 6508-86) Металлы. Метод измерения твердости по Роквеллу
(в ред.
Изменения N 1, введенного в действие Приказом Росстандарта от 06.02.2017 N 32-ст)
ГОСТ 15150-69 Машины, приборы и другие технические изделия. Исполнения для различных климатических районов. Категории, условия эксплуатации, хранения и транспортирования в части воздействия климатических факторов внешней среды
(ссылка введена
Изменением N 1, введенным в действие Приказом Росстандарта от 06.02.2017 N 32-ст)
ГОСТ 18321-73 Статистический контроль качества. Методы случайного отбора выборок штучной продукции
ГОСТ 18854-2013 (ISO 76:2006) Подшипники качения. Статическая грузоподъемность
(в ред.
Изменения N 1, введенного в действие Приказом Росстандарта от 06.02.2017 N 32-ст)
ГОСТ 18855-2013 (ISO 281:2007) Подшипники качения. Динамическая грузоподъемность и номинальный ресурс
(в ред.
Изменения N 1, введенного в действие Приказом Росстандарта от 06.02.2017 N 32-ст)
ГОСТ 24297-2013 Верификация закупленной продукции. Организация проведения и методы контроля
ГОСТ 24955-81 Подшипники качения. Термины и определения
ГОСТ 25256-2013 Подшипники качения. Допуски. Термины и определения
МК (ИСО 3166) 004-97 Межгосударственный классификатор стран мира
Примечание - При пользовании настоящим стандартом целесообразно проверить действие ссылочных стандартов в информационной системе общего пользования - на официальном сайте Федерального агентства по техническому регулированию и метрологии в сети Интернет или по ежегодному информационному указателю "Национальные стандарты", который опубликован по состоянию на 1 января текущего года, и по выпускам ежемесячного информационного указателя "Национальные стандарты" за текущий год. Если ссылочный стандарт заменен (изменен), то при пользовании настоящим стандартом следует руководствоваться заменяющим (измененным) стандартом. Если ссылочный стандарт отменен без замены, то положение, в котором дана ссылка на него, применяется в части, не затрагивающей эту ссылку.
В настоящем стандарте применены термины по
ГОСТ 27.002, ГОСТ 24955 и ГОСТ 25256, а также следующие термины с соответствующими определениями:
3.1 железнодорожный подвижной состав (rolling stock): Транспортные средства, предназначенные для обеспечения железнодорожных грузовых и пассажирских перевозок и функционирования железнодорожной инфраструктуры.
Примечание - Железнодорожный подвижной состав включает в себя локомотивы, вагоны, моторвагонный подвижной состав и специальный железнодорожный подвижной состав.
3.2 буксовый узел (axlebox unit): Конструктивный узел колесной пары, включающий конический подшипниковый узел и служащий для передачи постоянных и переменных нагрузок.
Примечание - Буксовый узел может быть выполнен в виде закрытой буксы или в виде конического подшипникового узла с адаптером.
3.3 передняя крышка (end cap): Деталь крепления конического подшипникового узла на шейке оси колесной пары.
3.4 заглушка (plug): Деталь, закрывающая центральное отверстие в передней крышке, служащее для доступа к центровым отверстиям оси колесной пары.
3.5 болт торцевого крепления (cap screw): Деталь торцевого крепления передней крышки на шейке оси в осевом направлении.
3.6 стопорная шайба (locking plate): Деталь торцевого крепления конического подшипникового узла на шейке оси, предотвращающая самопроизвольное отвинчивание болтов торцевого крепления.
3.7 дистанционное кольцо (spacer ring): Плоское кольцо, специально подобранное по ширине и предназначенное для получения требуемого осевого внутреннего зазора в базовом подшипнике при его изготовлении.
3.8 внутренний подузел (cone assembly): Подузел базового подшипника, состоящий из внутреннего кольца подшипника с сепаратором и роликами, который может быть свободно отделен от базового подшипника.
3.9 осевой внутренний зазор (axial internal clearance): Среднеарифметическое расстояние в осевом направлении, на которое сомкнутые внутренние кольца базового подшипника могут быть смещены относительно наружного кольца из одного крайнего осевого положения в противоположное крайнее осевого положение без приложения внешней нагрузки.
Примечания
1 Осевой внутренний зазор определяют как среднеарифметическое относительных осевых расстояний при различных угловых положениях колец относительно друг друга и роликов в различных угловых положениях относительно колец.
2 При каждом предельном осевом положении колец относительно друг друга их относительное радиальное положение и положение роликов относительно дорожек качения должны быть такими, чтобы сомкнутые внутренние кольца действительно приняли крайнее осевое положение относительно наружного кольца.
3.10 базовый подшипник (basic bearing assembly): Роликовый конический двухрядный подшипник с отрегулированным осевым внутренним зазором, состоящий из наружного кольца с двумя дорожками качения, двух внутренних подузлов и дистанционного кольца.
3.11 уплотнение (seal assembly): Подузел конического подшипникового узла, устанавливаемый с двух сторон базового подшипника для удержания смазочного материала и препятствующий проникновению внутрь узла воды, пыли, грязи и других инородных частиц.
3.12 упорное кольцо (backing ring): Деталь крепления конического подшипникового узла, монтируемая на цилиндрическую поверхность предподступичной части оси колесной пары и фиксирующая конический подшипниковый узел в осевом направлении, предотвращая контакт внутреннего кольца базового подшипника с галтелью оси колесной пары.
3.13 лабиринтное кольцо (labyrinth ring): Упорное кольцо, имеющее элементы лабиринтного и канавочного уплотнений.
3.14 полимерная прокладка (polymer spacer): Деталь, изолирующая внутреннее кольцо базового подшипника от упорного кольца.
3.15 компенсационное кольцо (wear ring): Кольцо, сопряженное с уплотнением и установленное между передней крышкой и одним внутренним кольцом базового подшипника, а также между упорным кольцом и другим внутренним кольцом базового подшипника.
3.16 ресурсное смазывание (life-time lubrication): Одноразовое смазывание на срок службы или ресурс роликового подшипникового узла в процессе его сборки на предприятии-изготовителе.
3.17
конический подшипниковый узел <*> (taper bearing unit): Подшипниковый узел ресурсного смазывания, состоящий из базового подшипника, упорного кольца, уплотнений, полимерной прокладки, передней крышки, компенсационных колец, болтов торцевого крепления, стопорной шайбы и заглушки.
--------------------------------
<*> В ранее утвержденном нормативном документе применен термин "конический двухрядный подшипник кассетного типа".
Примечание - В зависимости от конструктивного исполнения конический подшипниковый узел может не включать какие-либо составляющие: переднюю крышку, полимерную прокладку, компенсационные кольца, упорное кольцо, болты торцевого крепления, стопорную шайбу и заглушку.
(в ред.
Изменения N 1, введенного в действие Приказом Росстандарта от 06.02.2017 N 32-ст)
3.18 профилированный ролик (profiled roller): Конический ролик, обеспечивающий рациональный контакт с дорожками качения.
Примечание - Наружная поверхность профилированного ролика имеет слегка выпуклый на всей длине ролика или на его части регламентированный профиль. Видами профилированных роликов могут быть бомбинированные ролики, ролики с логарифмическим профилем и пр.
3.19 производственный контроль (manufacturing supervision): Контроль, осуществляемый на стадии производства.
3.20 приемочный контроль (acceptance inspection): Контроль продукции, по результатам которого принимается решение о ее пригодности к поставкам и (или) использованию.
3.21 сплошной контроль (100% inspection): Контроль каждой единицы продукции в партии.
3.22 стендовые натурные испытания (rig performance test): Лабораторные испытания в условиях, соответствующих условиям использования по прямому назначению с непосредственным оцениванием или контролем определяемых характеристик свойств конического подшипникового узла.
3.23 суммарный условный пробег (rated cumulative distance), км: Произведение длины окружности обода соответствующего среднеизношенного колеса и числа оборотов, совершенных коническим подшипниковым узлом при стендовом испытании.
3.24 образец-свидетель (check test piece): Небольшой объект, пригодный для исследования, который испытывает воздействия и подвергается процессам, аналогичным реальному объекту по принципу подобия.
(п. 3.24 в ред.
Изменения N 1, введенного в действие Приказом Росстандарта от 06.02.2017 N 32-ст)
3.25 эксплуатационные испытания (field test): Испытания объекта, проводимые при эксплуатации.
3.26
отказ (failure): Событие, заключающееся в нарушении работоспособного состояния объекта. |
(п. 3.26 в ред.
Изменения N 1, введенного в действие Приказом Росстандарта от 06.02.2017 N 32-ст)
3.27
критерий отказа (failure criterion): Признак или совокупность признаков нарушения работоспособного состояния объекта, установленные в нормативно-технической и (или) конструкторской (проектной) документации. |
(п. 3.27 в ред.
Изменения N 1, введенного в действие Приказом Росстандарта от 06.02.2017 N 32-ст)
3.28 - 3.30 Исключены с 25.02.2017. -
Изменение N 1, введенное в действие Приказом Росстандарта от 06.02.2017 N 32-ст.
3.31 подтверждение соответствия (attestation): Документальное удостоверение соответствия продукции требованиям технических регламентов, положениям стандартов.
3.32 сертификация (certification): Действие третьей стороны по подтверждению соответствия продукции установленным требованиям.
3.33 сертификат о качестве (certificate of quality): Товаросопроводительный документ, удостоверяющий качество поставляемого товара.
В настоящем стандарте применены следующие обозначения:
C - номинальная ширина наружного кольца базового подшипника;
C0r - статическая радиальная грузоподъемность базового подшипника;
Cr - динамическая радиальная грузоподъемность базового подшипника;
D - номинальный наружный диаметр базового подшипника;
d - номинальный диаметр отверстия базового подшипника;
d1 - номинальный диаметр посадочного отверстия упорного кольца;
d2 - номинальный наружный диаметр упорного кольца;
d3 - номинальный диаметр окружности центров болтовых отверстий передней крышки;

- отклонение среднего наружного диаметра в единичной плоскости базового подшипника;

- отклонение среднего диаметра посадочного отверстия в единичной плоскости упорного кольца;

- отклонение среднего диаметра отверстия в единичной плоскости базового подшипника.
5.1 Система условных обозначений
5.1.1 Условное обозначение конического подшипникового узла состоит из основного и дополнительного обозначений.
5.1.2 Знаками основного условного обозначения являются:
- буквенные знаки "TBU";
- цифровые знаки, обозначающие габариты базового подшипника.
Примечание - TBU - аббревиатура английского названия конического подшипникового узла (см.
3.17).
Габариты базового подшипника обозначают цифровыми знаками, соответствующими габаритным размерам базового подшипника в миллиметрах, в последовательности: диаметр отверстия, наружный диаметр, ширина наружного кольца, - разделяя их знаком умножения. Допускается сокращенное обозначение габаритов с указанием диаметра отверстия и наружного диаметра или только диаметра отверстия при условии полной и однозначной идентификации конического подшипникового узла.
(в ред.
Изменения N 1, введенного в действие Приказом Росстандарта от 06.02.2017 N 32-ст)
Цифровые знаки должны быть расположены справа от буквенных знаков через пробел или без пробела.
5.1.3 Дополнительное обозначение, которое определяет конструктивное исполнение, устанавливают по соглашению между предприятием-производителем и предприятием-потребителем. В качестве дополнительного обозначения, как правило, применяют обозначение конструкторского документа или обозначение вида применения конического подшипникового узла.
(в ред.
Изменения N 1, введенного в действие Приказом Росстандарта от 06.02.2017 N 32-ст)
Дополнительное обозначение должно быть расположено справа от основного обозначения через пробел.
5.1.4 Схема условного обозначения конического подшипникового узла представлена на
рисунке 1.
Рисунок 1 - Схема условного обозначение
конического подшипникового узла
Полное условное обозначение конического подшипникового узла должно быть приведено в технических условиях предприятия-изготовителя по
6.1.2.1.
(абзац введен
Изменением N 1, введенным в действие Приказом Росстандарта от 06.02.2017 N 32-ст)
5.1.5 При заказе после условного обозначения конического подшипникового узла следует указывать обозначение настоящего стандарта с годом его принятия.
Пример - TBU 130x230x150 DP-201925-1A ГОСТ 32769-2014.
Допускается указание обозначения технических условий при их наличии.
(абзац введен
Изменением N 1, введенным в действие Приказом Росстандарта от 06.02.2017 N 32-ст)
5.2 Конструктивные исполнения
(в ред.
Изменения N 1, введенного в действие Приказом Росстандарта от 06.02.2017 N 32-ст)
Обязательными составными частями при любом конструктивном исполнении конического подшипникового узла являются базовый подшипник, смазочный материал и уплотнения.
(в ред.
Изменения N 1, введенного в действие Приказом Росстандарта от 06.02.2017 N 32-ст)
Конструктивные исполнения представлены на
рисунках 2 -
9. Рисунки поясняют главные особенности конструктивного исполнения и не определяют точную конструкцию конического подшипникового узла.
(в ред.
Изменения N 1, введенного в действие Приказом Росстандарта от 06.02.2017 N 32-ст)
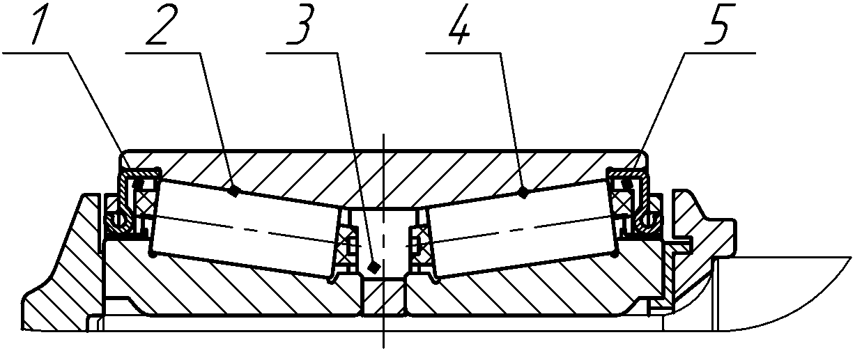
1 - базовый подшипник; 2 - компенсационное кольцо;
3 - упорное кольцо; 4 - уплотнение; 5 - передняя крышка;
6 - стопорная шайба; 7 - болт торцевого крепления;
8 - заглушка
Рисунок 2 - Конструктивное исполнение с передней крышкой,
с тремя болтами, с заглушкой
Росстандарта от 06.02.2017 N 32-ст)
1 - базовый подшипник; 2 - компенсационное кольцо;
3 - лабиринтное кольцо; 4 - уплотнение; 5 - передняя крышка;
6 - стопорная шайба; 7 - болт торцевого крепления
Рисунок 3 - Конструктивное исполнение с передней крышкой
без заглушки, с четырьмя болтами, с лабиринтным кольцом
Росстандарта от 06.02.2017 N 32-ст)
1 - базовый подшипник; 2 - компенсационное кольцо;
3 - упорное кольцо; 4 - уплотнение; 5 - передняя крышка;
6 - стопорная шайба; 7 - болт торцевого крепления
Рисунок 4 - Конструктивное исполнение с передней крышкой
без заглушки, с четырьмя болтами
Росстандарта от 06.02.2017 N 32-ст)
1 - базовый подшипник; 2 - полимерная прокладка; 3 - упорное
кольцо; 4 - уплотнение; 5 - передняя крышка; 6 - стопорная
шайба; 7 - болт торцевого крепления; 8 - заглушка
Рисунок 5 - Конструктивное исполнение с передней крышкой
с четырьмя болтами, с заглушкой
Росстандарта от 06.02.2017 N 32-ст)
1 - базовый подшипник; 2 - полимерная прокладка;
3 - упорное кольцо; 4 - уплотнение
Рисунок 6 - Конструктивное исполнение без передней крышки
Росстандарта от 06.02.2017 N 32-ст)
1 - базовый подшипник; 2 - полимерная прокладка;
3 - лабиринтное кольцо; 4 - уплотнение
Рисунок 7 - Конструктивное исполнение с лабиринтным кольцом
и полимерной прокладкой без передней крышки
Росстандарта от 06.02.2017 N 32-ст)
1 - базовый подшипник; 2 - упорное кольцо; 3 - уплотнение;
4 - передняя крышка; 5 - стопорная шайба;
6 - болт торцевого крепления; 7 - заглушка
Рисунок 8 - Конструктивное исполнение с передней крышкой
с четырьмя болтами, с заглушкой
Росстандарта от 06.02.2017 N 32-ст)
1 - базовый подшипник; 2 - лабиринтное кольцо;
3 - уплотнение
Рисунок 9 - Конструктивное исполнение с лабиринтным кольцом
без передней крышки
Росстандарта от 06.02.2017 N 32-ст)
Допускаются другие конструктивные исполнения. По согласованию с предприятием-потребителем допускается поставка конических подшипниковых узлов без деталей торцевого крепления, а также без упорных и лабиринтных колец.
(в ред.
Изменения N 1, введенного в действие Приказом Росстандарта от 06.02.2017 N 32-ст)
5.3 Размеры
Конические подшипниковые узлы изготавливают с установочными и присоединительными размерами, указанными в
таблице 1.
Установочные и присоединительные размеры и их предельные
отклонения
Приказом Росстандарта от 06.02.2017 N 32-ст)
Основное условное обозначение | d | | D | | | d1 | | | |
Предельное отклонение | Предельное отклонение | Предельное отклонение |
нижнее | верхнее | нижнее | верхнее | нижнее | верхнее |
TBU 130x210x132 | 130 | -0,033 | -0,021 | 210 | -0,130 | 0 | 132 | - | - | - | - | - |
TBU 130x230x150 | 130 | -0,058 | -0,040 | 230 | -0,100 | 0 | 150 | 165 | +0,014 | +0,054 | 206 | 90 |
TBU 130x230x150 | 130 | -0,058 | -0,040 | 230 | -0,100 | 0 | 150 | 165 | +0,014 | +0,054 | 214,4 | 90 |
TBU 130x230x160 | 130 | -0,025 | 0 | 230 | -0,130 | 0 | 160 | 160 | +0,053 | +0,093 | 209,5 | 104 |
TBU 130x250x160 | 130 | -0,058 | -0,040 | 250 | -0,100 | 0 | 160 | 165 | +0,014 | +0,054 | 206 | 90 |
TBU 130x250x160 | 130 | -0,058 | -0,040 | 250 | -0,100 | 0 | 160 | 165 | +0,014 | +0,054 | 238,4 | 90 |
TBU 130x250x160 | 130 | -0,058 | -0,040 | 250 | -0,100 | 0 | 160 | 165 | +0,014 | +0,054 | 225 | 90 |
TBU 150x250x160 | 150 | -0,018 | +0,007 | 250 | -0,100 | 0 | 160 | 185 | +0,015 | +0,061 | 227 | 100 |
TBU 150x250x160 | 150 | -0,018 | +0,007 | 250 | -0,100 | 0 | 160 | 185 | +0,015 | +0,061 | 227 | 90 |
TBU 150x250x160 | 150 | -0,025 | 0 | 250 | -0,100 | 0 | 160 | 185 | +0,015 | +0,061 | 225 | 100 |
TBU 150x250x160 | 150 | -0,025 | 0 | 250 | -0,100 | 0 | 160 | 185 | +0,015 | +0,061 | 225 | 90 |
<1> Контролируют до сборки базового подшипника и до нанесения защитного покрытия. <2> Поле допуска от минус 0,300 до плюс 0,050 мм. <3> Рекомендуемые значения, подлежащие окончательному согласованию при разработке конкретного исполнения буксового узла. |
6.1 Основные показатели
6.1.1 Назначение
6.1.1.1 Конические подшипниковые узлы предназначены для применения в буксовых узлах колесных пар железнодорожного подвижного состава для восприятия постоянных и переменных нагрузок и обеспечения вращения оси колесной пары.
6.1.1.2 Конические подшипниковые узлы должны быть в работоспособном состоянии в составе изделия при рабочих температурах воздуха по
ГОСТ 15150 для изделий исполнения УХЛ категории 1, а также должны выдерживать временный внешний нагрев до температуры плюс 80 °C.
(п. 6.1.1.2 в ред.
Изменения N 1, введенного в действие Приказом Росстандарта от 06.02.2017 N 32-ст)
6.1.2 Конструктивные требования
6.1.2.1 Конические подшипниковые узлы должны быть изготовлены в соответствии с требованиями настоящего стандарта по конструкторской документации, действующей на предприятии-изготовителе. Требования к коническим подшипниковым узлам, дополняющие требования настоящего стандарта, и обозначения конкретных подшипниковых узлов в виде списка устанавливают в технических условиях предприятия-изготовителя.
(в ред.
Изменения N 1, введенного в действие Приказом Росстандарта от 06.02.2017 N 32-ст)
6.1.2.2 Твердость поверхности наружных колец, внутренних колец и роликов базового подшипника должна быть от 57 до 66 HRC в зависимости от применяемой стали. Неоднородность твердости поверхности в пределах одного кольца, за исключением дистанционного кольца, должна быть не более 3 HRC.
(в ред.
Изменения N 1, введенного в действие Приказом Росстандарта от 06.02.2017 N 32-ст)
Глубина упрочненного слоя и твердость сердцевины в соответствии с документацией, действующей на предприятии-изготовителе.
(в ред.
Изменения N 1, введенного в действие Приказом Росстандарта от 06.02.2017 N 32-ст)
6.1.2.3 Прижоги на поверхностях колец и роликов не допускаются. На поверхностях колец и роликов, кроме поверхностей качения и торцов бортиков, контактирующих с роликами, допускаются трооститные пятна, а также штрихи вторичного отпуска в соответствии с документацией, действующей на предприятии-изготовителе.
6.1.2.4 Микроструктура колец и роликов базовых подшипников - в соответствии с документацией, действующей на предприятии-изготовителе.
6.1.2.5 Обезуглероженный слой на поверхностях качения колец и роликов, а также на торцах роликов и опорных торцах бортиков колец не допускается.
6.1.2.6 Трещины в кольцах и роликах не допускаются.
6.1.2.7 Исключен с 25.02.2017. -
Изменение N 1, введенное в действие Приказом Росстандарта от 06.02.2017 N 32-ст.
6.1.2.8 Установочные и присоединительные размеры конических подшипниковых узлов должны соответствовать размерам, приведенным в
таблице 1.
6.1.2.9 Отклонения среднего наружного диаметра в единичной плоскости базового подшипника, среднего диаметра отверстия в единичной плоскости базового подшипника, среднего диаметра посадочного отверстия в единичной плоскости упорного и лабиринтного колец - в соответствии с
таблицей 1.
Для базовых подшипников, вновь осваиваемых или изготавливаемых, но отсутствующих в
таблице 1, размеры и указанные отклонения устанавливают в технических условиях по
6.1.2.1.
(абзац введен
Изменением N 1, введенным в действие Приказом Росстандарта от 06.02.2017 N 32-ст)
6.1.2.10 Базовый подшипник должен соответствовать требованиям нормального класса точности по
ГОСТ 520 для конических подшипников по следующим показателям:
- непостоянство диаметра отверстия в единичной плоскости (для каждого из двух внутренних колец);
- непостоянство среднего диаметра отверстия (для каждого из двух внутренних колец);
- непостоянство наружного диаметра в единичной плоскости;
- непостоянство среднего наружного диаметра;
- перпендикулярность торца внутреннего кольца относительно отверстия (каждого из двух внутренних колец).
6.1.2.11 Осевой внутренний зазор конического подшипникового узла до закладки смазочного материала должен соответствовать значениям, указанным в конструкторской документации.
6.1.2.12 Базовый подшипник следует комплектовать коническими профилированными роликами.
6.1.2.13 Поверхности наружных и внутренних колец, кроме поверхностей дорожек качения, должны быть фосфатированы.
Допускается фосфатировать дорожки качения наружных и внутренних колец.
Защита от коррозии поверхностей упорного кольца, передней крышки и стопорной шайбы должна быть обеспечена фосфатированием или другим способом.
6.1.2.14 Марку и массу закладываемого смазочного материала указывают в конструкторской документации.
6.1.3 Требования надежности
6.1.3.1 Значения статической радиальной грузоподъемности по
ГОСТ 18854 и динамической радиальной грузоподъемности по
ГОСТ 18855 базового подшипника должны быть указаны в конструкторской документации, действующей на предприятии-изготовителе.
6.1.3.2 Коэффициент безопасности по ГОСТ 18854, рассчитанный исходя из максимальной постоянной радиальной нагрузки на один буксовый узел, должен быть не менее трех.
6.1.3.3 Максимальное превышение температуры нагрева конического подшипникового узла относительно температуры окружающей среды - не более 80 °C.
6.1.3.4 Не допускаются отказы в условиях стендовых натурных испытаний.
(в ред.
Изменения N 1, введенного в действие Приказом Росстандарта от 06.02.2017 N 32-ст)
6.1.3.5 Исключен с 25.02.2017. -
Изменение N 1, введенное в действие Приказом Росстандарта от 06.02.2017 N 32-ст.
6.1.3.6 Не допускаются отказы конических подшипниковых узлов в условиях эксплуатационных поездных испытаний, приведенных в приложении В. Испытаниям подлежат конические подшипниковые узлы ограниченного объема, который определяет приемочная комиссия в соответствии с системой разработки и постановки продукции на производство.
Сведения о результатах эксплуатационных поездных испытаний предоставляют квалификационной комиссии, а также органу по сертификации при первой повторной сертификации серийно выпускаемой продукции.
(п. 6.1.3.6 в ред.
Изменения N 1, введенного в действие Приказом Росстандарта от 06.02.2017 N 32-ст)
6.1.3.7 Критериями отказа конического подшипникового узла в условиях испытаний являются:
- заклинивание конического подшипникового узла;
- повреждение сепаратора (разрушение, трещины);
- наличие трещин или пластической деформации на кольцах и роликах;
- превышение температуры базового подшипника относительно температуры воздуха в соответствии с
таблицей А.2 (приложение А);
- наличие признаков контактной усталости на любом из колец или роликах в виде раковин и отслоений;
- наличие коррозии на поверхностях качения деталей базового подшипника;
- содержание массовой доли механических примесей в смазочном материале более 1%;
- содержание массовой доли воды в смазочном материале более 0,1%.
(п. 6.1.3.7 в ред.
Изменения N 1, введенного в действие Приказом Росстандарта от 06.02.2017 N 32-ст)
6.2 Требования к материалам
6.2.1 Наружные кольца, внутренние кольца и ролики базового подшипника изготавливают из объемно-закаливаемых сталей и/или сталей, подвергаемых поверхностной закалке.
6.2.2 Марка стали и других материалов, применяемых для изготовления деталей конических подшипниковых узлов, должна соответствовать указанным в конструкторской документации.
6.2.3 Марка и масса смазочного материала, применяемого для закладки в конические подшипниковые узлы, должны соответствовать указанной в конструкторской документации.
6.2.4 Входной контроль материалов осуществляют по сертификатам о качестве.
6.3 К каждому коническому подшипниковому узлу прикладывают паспорт, в котором указывают:
а) наименование или товарный знак предприятия-изготовителя;
б) условное обозначение конического подшипникового узла в соответствии с разделом 5;
в) обозначение настоящего стандарта с годом его принятия;
г) индивидуальный номер конического подшипникового узла;
д) условный знак даты сборки узла;
е) действительный средний диаметр отверстия внутреннего подузла базового подшипника со стороны упорного кольца;
ж) действительный средний диаметр отверстия внутреннего подузла базового подшипника со стороны передней крышки;
з) действительный средний диаметр отверстия упорного (лабиринтного) кольца;
и) действительный осевой внутренний зазор до закладки смазочного материала;
к) знак обращения продукции на рынке государств - членов Таможенного союза
<*>;
л) запись о проведенной сертификации: учетный номер бланка сертификата соответствия, его регистрационный номер, дата выдачи и срок действия
<*>.
--------------------------------
<*> Обязательно для государств - членов Таможенного союза.
(сноска введена
Изменением N 1, введенным в действие Приказом Росстандарта от 06.02.2017 N 32-ст)
Индивидуальный номер конического подшипникового узла не должен повторяться в течение календарного месяца.
(подраздел 6.3 в ред.
Изменения N 1, введенного в действие Приказом Росстандарта от 06.02.2017 N 32-ст)
6.4.1 Маркировку наносят по центру цилиндрической поверхности наружного кольца и на широкие торцы внутренних колец. При необходимости допускается нанесение маркировки на другие детали базового подшипника.
6.4.2 Маркировка на наружном кольце должна состоять из обозначения предприятия-изготовителя, условного знака даты изготовления наружного кольца и порядкового номера конического подшипникового узла.
Допускается обозначение условного знака года выпуска в виде двух последних цифр года изготовления, обозначение условного знака месяца выпуска порядковым номером от 1 до 12.
Допускается указывать дополнительную информацию, например условное обозначение кольца базового подшипника, обозначение конического подшипникового узла по конструкторской документации.
6.4.3 Конические подшипниковые узлы должны содержать маркировку страны-изготовителя на английском языке, например BELARUS, KAZAKHSTAN, RUSSIA, UKRAINE, UZBEKISTAN, или ее буквенного кода по МК (ИСО 3166) 004, например BY, KZ, RU, UA, UZ.
6.4.4 Маркирование допускается проводить любым способом, не снижающим коррозионную стойкость конических подшипниковых узлов.
6.4.5 Знаки маркировки должны быть выполнены четко и разборчиво и должны сохраняться весь срок эксплуатации конического подшипникового узла.
6.5 Упаковка
6.5.1 Упаковывание конических подшипниковых узлов проводят в соответствии с документацией, действующей на предприятии-изготовителе. При необходимости способ упаковывания конических подшипниковых узлов согласовывают с предприятием-потребителем.
6.5.2 На упаковке указывают:
- наименование или товарный знак предприятия-изготовителя;
- условное обозначение конического подшипникового узла;
- обозначение настоящего стандарта с годом его принятия;
- число конических подшипниковых узлов в данной упаковке;
- знак обращения продукции на рынке государств - членов Таможенного союза
<*>;
(перечисление введено
Изменением N 1, введенным в действие Приказом Росстандарта от 06.02.2017 N 32-ст)
- запись о проведенной сертификации: учетный номер бланка сертификата соответствия, его регистрационный номер, дата выдачи и срок действия
<*>.
(перечисление введено
Изменением N 1, введенным в действие Приказом Росстандарта от 06.02.2017 N 32-ст)
--------------------------------
<*> Обязательно для государств - членов Таможенного союза.
(сноска введена
Изменением N 1, введенным в действие Приказом Росстандарта от 06.02.2017 N 32-ст)
На упаковке могут быть указаны дополнительные знаки.
6.5.3 Упаковка должна обеспечивать сохранность и защиту конических подшипниковых узлов от механических повреждений и коррозии.
7.1 Приемочный контроль конических подшипниковых узлов осуществляют по результатам входного и производственного контроля.
7.2 Производственному контролю конические подшипниковые узлы подвергают на соответствие требованиям настоящего стандарта.
7.3 Сплошному контролю конические подшипниковые узлы в процессе производства подвергают по следующим геометрическим параметрам:
- отклонение среднего наружного диаметра в единичной плоскости наружного кольца базового подшипника;
- отклонение среднего диаметра отверстия в единичной плоскости внутреннего кольца базового подшипника;
- отклонение среднего диаметра посадочного отверстия в единичной плоскости упорного и лабиринтного кольца.
- непостоянство диаметра отверстия в единичной плоскости (для каждого из двух внутренних колец);
- непостоянство среднего диаметра отверстия (для каждого из двух внутренних колец);
- непостоянство наружного диаметра в единичной плоскости;
- непостоянство среднего наружного диаметра.
7.4 Кольца и ролики подвергают сплошному контролю на отсутствие трещин.
7.5 Перпендикулярность торца внутреннего кольца относительно отверстия контролируют выборочно. Объем выборочного контроля указанного геометрического параметра устанавливает предприятие-изготовитель.
7.6 Выборочному производственному контролю подвергают детали базового подшипника на соответствие требованиям твердости поверхности и отсутствие прижогов на кольцах и роликах в количестве, установленном в документации предприятия-изготовителя.
В случае обнаружения отступлений от требований конструкторской документации, действующей на предприятии-изготовителе, всю партию подвергают сплошному контролю по данному параметру.
7.7 Контроль глубины закаленного слоя поверхностно закаленных деталей проводят на деталях или образцах-свидетелях, взятых из одной садки в печь или партии термообработанных деталей. Число деталей для контроля устанавливают в документации, действующей на предприятии-изготовителе.
7.8 Базовые подшипники до закладки смазочного материала и монтажа уплотнений подвергают сплошному контролю по осевому внутреннему зазору.
7.8а Конические подшипниковые узлы подвергают сплошному производственному контролю по маркировке.
(п. 7.8а введен
Изменением N 1, введенным в действие Приказом Росстандарта от 06.02.2017 N 32-ст)
7.8б Конические подшипниковые узлы подвергают сплошному контролю в процессе производства по массе заложенного смазочного материала.
(п. 7.8б введен
Изменением N 1, введенным в действие Приказом Росстандарта от 06.02.2017 N 32-ст)
7.9 Закупаемые для производства комплектующие изделия (кольца, ролики, сепараторы) подвергают входному контролю на соответствие требованиям настоящего стандарта по планам входного контроля предприятия-изготовителя. Допускается проводить входной контроль комплектующих изделий по сертификатам о качестве.
7.10 При проведении входного контроля конических подшипниковых узлов предприятие-потребитель должно руководствоваться требованиями
ГОСТ 24297.
8 Требования безопасности
(в ред.
Изменения N 1, введенного в действие Приказом Росстандарта от 06.02.2017 N 32-ст)
8.1 Общие положения
(подраздел 8.1 в ред.
Изменения N 1, введенного в действие Приказом Росстандарта от 06.02.2017 N 32-ст)
Конические подшипниковые узлы, в отношении которых выполняют процедуры подтверждения соответствия техническому
регламенту [1], должны соответствовать настоящему стандарту, утвержденной конструкторской документации и другой документации по требованиям безопасности.
Требования безопасности конических подшипниковых узлов обеспечиваются путем соблюдения конструктивных требований, требований к материалам, к маркировке и требований надежности, указанных в
8.2. Методы контроля в соответствии с
разделом 9.
8.2 Показатели безопасности
(в ред.
Изменения N 1, введенного в действие Приказом Росстандарта от 06.02.2017 N 32-ст)
(п. 8.2.1 в ред.
Изменения N 1, введенного в действие Приказом Росстандарта от 06.02.2017 N 32-ст)
8.2.2 Марка стали - по
6.2.2.
8.2.3 Марка заложенного смазочного материала по -
6.2.3.
(в ред.
Изменения N 1, введенного в действие Приказом Росстандарта от 06.02.2017 N 32-ст)
8.2.4 Твердость поверхности наружных колец, внутренних колец и роликов, неоднородность по твердости в пределах одного кольца - по
6.1.2.2;
(в ред.
Изменения N 1, введенного в действие Приказом Росстандарта от 06.02.2017 N 32-ст)
8.2.5 Допуски установочных и присоединительных размеров, допуски взаимного положения поверхностей колец - по
6.1.2.9 и
6.1.2.10.
8.2.6, 8.2.7 Исключены с 25.02.2017. -
Изменение N 1, введенное в действие Приказом Росстандарта от 06.02.2017 N 32-ст.
8.2.8 Требования к нагреву конических подшипниковых узлов в условиях стендовых натурных испытаний - по
таблице А.2 (приложение А).
(п. 8.2.8 в ред.
Изменения N 1, введенного в действие Приказом Росстандарта от 06.02.2017 N 32-ст)
8.2.9 Отсутствие отказов в условиях стендовых натурных испытаний - по
6.1.3.4.
(в ред.
Изменения N 1, введенного в действие Приказом Росстандарта от 06.02.2017 N 32-ст)
8.2.10 Исключен с 25.02.2017. -
Изменение N 1, введенное в действие Приказом Росстандарта от 06.02.2017 N 32-ст.
8.2.11 Отсутствие отказов в условиях эксплуатационных поездных испытаний - по
6.1.3.6.
(в ред.
Изменения N 1, введенного в действие Приказом Росстандарта от 06.02.2017 N 32-ст)
8.3 Подтверждение соответствия
(подраздел 8.3 в ред.
Изменения N 1, введенного в действие Приказом Росстандарта от 06.02.2017 N 32-ст)
8.3.1 При обязательном подтверждении соответствия образцов конических подшипниковых узлов техническому
регламенту [1] используют показатели в соответствии с
приложением Д.
8.3.2 При первичной сертификации ограниченного объема конических подшипниковых узлов проводят испытание образцов конических подшипниковых узлов в соответствии с
Д.1 (приложение Д).
Сертификации подлежат конические подшипниковые узлы, конструкторская документация на которые имеет литеру не ниже O1.
Первичной сертификации подлежат конические подшипниковые узлы ограниченного объема, как правило, не более 32000 штук, который определяет приемочная комиссия в соответствии с системой разработки и постановки продукции на производство. В случае переноса производства конических подшипниковых узлов по конструкторской документации, имеющей литеру A, на другую производственную площадку предприятия в том же государстве ограничения объема производства не производят и первичную сертификацию осуществляют по
Д.1 (приложение Д).
8.3.3 При повторной сертификации конических подшипниковых узлов (рекомендуется схема 4c
[1]) проводят испытание образцов конических подшипниковых узлов в соответствии с
Д.2 (приложение Д).
8.3.4 В случае изменения технических характеристик или условий изготовления сертифицированных конических подшипниковых узлов без изменения их условного обозначения они подлежат дополнительному испытанию в соответствии с
приложением Е.
При изготовлении конических подшипниковых узлов из материалов одних и тех же марок, поставляемых различными предприятиями - изготовителями материалов, проведение каких-либо дополнительных испытаний не требуется. При выполнении по кооперации отдельных технологических операций по изготовлению конических подшипниковых узлов, а также при смене производителей этих технологических операций проведение каких-либо дополнительных испытаний не требуется.
8.4 Правила отбора образцов
8.4.1, 8.4.2 Исключены с 25.02.2017. -
Изменение N 1, введенное в действие Приказом Росстандарта от 06.02.2017 N 32-ст.
8.4.3 Отбор образцов конических подшипниковых узлов проводят на складе готовой продукции по
ГОСТ 18321. Для контроля образцов по
8.2.5 отбор трех наружных и шести внутренних колец проводят до нанесения на них защитного покрытия.
(п. 8.4.3 в ред.
Изменения N 1, введенного в действие Приказом Росстандарта от 06.02.2017 N 32-ст)
8.4.4 Отбор образцов конических подшипниковых узлов для испытаний по
8.2.1 -
8.2.5 осуществляют в количестве 3 шт.
Отбор образцов роликов осуществляют по 3 шт. от каждого ряда роликов каждого из отобранных образцов конических подшипниковых узлов.
(п. 8.4.4 в ред.
Изменения N 1, введенного в действие Приказом Росстандарта от 06.02.2017 N 32-ст)
9.1 Контроль параметров поверхностей, на которые должно быть нанесено антикоррозионное покрытие, проводят до нанесения покрытия.
9.2 Контроль присоединительных размеров и других геометрических параметров базового подшипника проводят в соответствии с ГОСТ 520
(раздел 9).
9.3 Диаметр посадочного отверстия упорного кольца (лабиринтного кольца) контролируют посредством измерений нескольких единичных диаметров. По результатам измерений вычисляют средний диаметр отверстия в единичной плоскости упорного или лабиринтного кольца как среднеарифметическое значение наибольшего и наименьшего единичных диаметров в единичной плоскости.
9.4 Исключен с 25.02.2017. -
Изменение N 1, введенное в действие Приказом Росстандарта от 06.02.2017 N 32-ст.
9.5 Осевой внутренний зазор конического подшипникового узла контролируют по методике предприятия-изготовителя.
9.6 Контроль внешнего вида колец, роликов и сепараторов, маркировки конического подшипникового узла осуществляют методом визуального контроля под рассеянным светом невооруженным глазом.
(в ред.
Изменения N 1, введенного в действие Приказом Росстандарта от 06.02.2017 N 32-ст)
При наличии видимых дефектов контроль состояния поверхности осуществляют путем сравнения с контрольным образцом, утвержденным предприятием-изготовителем.
9.7 Контроль внешнего вида дорожек качения колец и тел качения осуществляют методом визуального контроля. Контроль проводят при рассеянном свете невооруженным глазом путем сравнения с контрольными образцами или фотоэталонами, утвержденными предприятием-изготовителем.
9.8 Контроль деталей на отсутствие прижогов, трооститных пятен, штрихов вторичного отпуска проводят методом травления либо другим методом, обеспечивающим их выявление.
9.9 Контроль отсутствия трещин на деталях базовых подшипников осуществляют методами неразрушающего контроля.
9.10 Марку стали деталей базовых подшипников определяют по конструкторской документации и сертификату о качестве на сталь от поставщика.
9.11 Металлографический анализ осуществляют по документации, действующей на предприятии-изготовителе.
9.12 Твердость деталей базовых подшипников измеряют на торцевых поверхностях по
ГОСТ 9013 или сопоставимым методам. Арбитражный метод - контроль по
ГОСТ 9013. Глубину закаленного слоя поверхностно закаленных деталей допускается измерять на образцах-свидетелях.
(в ред.
Изменения N 1, введенного в действие Приказом Росстандарта от 06.02.2017 N 32-ст)
9.13 Марку смазочного материала контролируют по сертификату о качестве (паспорту).
Массу заложенного смазочного материала определяют по документации, действующей на предприятии-изготовителе.
(в ред.
Изменения N 1, введенного в действие Приказом Росстандарта от 06.02.2017 N 32-ст)
9.14 Содержание массовой доли механических примесей в смазочном материале определяют по
ГОСТ 6479.
9.15 Содержание массовой доли воды определяют по
ГОСТ 2477.
9.16 Отсутствие отказов, требования к нагреву конических подшипниковых узлов относительно температуры окружающего воздуха определяют по результатам стендовых натурных испытаний конических подшипниковых узлов в соответствии с
приложением А.
(п. 9.16 в ред.
Изменения N 1, введенного в действие Приказом Росстандарта от 06.02.2017 N 32-ст)
9.17 Исключен с 25.02.2017. -
Изменение N 1, введенное в действие Приказом Росстандарта от 06.02.2017 N 32-ст.
9.18 Эксплуатационные поездные испытания конических подшипниковых узлов проводят в соответствии с
приложением В.
9.19 Исключен с 25.02.2017. -
Изменение N 1, введенное в действие Приказом Росстандарта от 06.02.2017 N 32-ст.
10 Транспортирование и хранение
10.1 Транспортирование конических подшипниковых узлов следует проводить в закрытых транспортных средствах железнодорожным, автомобильным, водным или воздушным транспортом.
Допускается транспортировать конические подшипниковые узлы, пакетированные и уложенные по определенной схеме на поддоне или без него, обтянутые металлической лентой или другим материалом. Упаковка должна обеспечивать неизменность форм пакета и сохранность конических подшипниковых узлов при транспортировании.
10.2 Конические подшипниковые узлы следует хранить в закрытом, сухом, отапливаемом, вентилируемом помещении при температуре (20 +/- 5) °C, относительной влажности воздуха не более 60% при вертикальном положении оси вращения конического подшипникового узла.
10.3 Срок хранения конических подшипниковых узлов - 24 месяца при соблюдении условий транспортирования и хранения, установленных настоящим стандартом. Начало исчисления срока хранения со дня сборки (или месяца сборки, если указаны месяц и год).
11 Указания по монтажу и эксплуатации
11.1 Каждая колесная пара должна быть оснащена коническими подшипниковыми узлами одного производителя.
11.2 Монтаж осуществляют методом холодного прессования. Не допускается прилагать силу запрессовки к наружному кольцу.
Технологию монтажа, включающую конечную силу запрессовки и время его выдержки, согласовывают с предприятием-изготовителем.
11.3 Конический подшипниковый узел не следует красить. При покраске тележки необходимо предусмотреть защиту конического подшипникового узла от попадания краски. При распылении допускается небольшое попадание краски на переднюю крышку.
11.4 При мытье железнодорожного подвижного состава запрещается направлять на конический подшипниковый узел струю высокого давления.
11.5 Исключен с 25.02.2017. -
Изменение N 1, введенное в действие Приказом Росстандарта от 06.02.2017 N 32-ст.
11.6 Запрещается эксплуатация конических подшипниковых узлов, подвергшихся погружению в воду или воздействию высокой температуры и огня, а также имеющих видимое механическое повреждение.
11.7 Следы проворота на наружном кольце допускаются.
11.8 Не допускается прохождение через конический подшипниковый узел электрического тока, в том числе при проведении сварочных работ на железнодорожном подвижном составе.
Предприятия-изготовители конических подшипниковых узлов в соответствии с законодательством, действующем в каждом из государств-участников Соглашения, устанавливают гарантийные обязательства (в том числе конкретную продолжительность и порядок исчисления гарантийного срока) о соответствии выпускаемой ими продукции требованиям настоящего стандарта в технических условиях на эту продукцию, эксплуатационных документах к ней, в маркировке продукции или специально оговаривают в договорах (контрактах) на ее поставку.
Предприятие-изготовитель не несет гарантийных обязательств по коническим подшипниковым узлам после их первого демонтажа с оси колесной пары, бывшей в эксплуатации.
(абзац введен
Изменением N 1, введенным в действие Приказом Росстандарта от 06.02.2017 N 32-ст)
(обязательное)
СТЕНДОВЫЕ НАТУРНЫЕ ИСПЫТАНИЯ
Росстандарта от 06.02.2017 N 32-ст)
А.1 Стендовые натурные испытания конических подшипниковых узлов осуществляют в лабораторных условиях на стенде, принципиальная схема которого приведена на
рисунке А.1. Стенд позволяет одновременно испытывать два конических подшипниковых узла с воздействием на них повторяющихся циклов нагружения, рассчитанных в зависимости от условий эксплуатации конкретного типа железнодорожного подвижного состава.
1 - датчик для контроля температуры и скорости воздушного
потока; 2 - охлаждающие вентиляторы; 3 - знакопеременная
осевая нагрузка и датчик нагрузки; 4 - испытуемый буксовый
узел; 5 - постоянная вертикальная нагрузка и датчик
нагрузки; 6 - опорный подшипник; 7 - электродвигатель
переменного тока привода оси испытательного стенда
Рисунок А.1 - Схема испытательного стенда
А.2 Испытаниям подвергают два одинаковых по конструкции буксовых узла, которые оборудуют испытуемыми коническими подшипниковыми узлами и корпусами букс или адаптерами конкретного типа железнодорожного подвижного состава в соответствии с областью применения испытуемых конических подшипниковых узлов.
Отбор конических подшипниковых узлов производят таким образом, чтобы после монтажа на шейках стендовой оси значения их осевых внутренних зазоров были максимальными по значению в одном буксовом узле и - минимальными в другом из предъявленных на отбор конических подшипниковых узлов.
А.3 Для расчета параметров испытаний используют следующие исходные данные, зависящие от условий эксплуатации и согласованные с предприятием-потребителем:
- конструкционная скорость движения железнодорожного подвижного состава;
- диаметр средне изношенного колеса;
- максимальная расчетная статическая нагрузка от колесной пары на рельсы;
- масса колесной пары.
А.4 Номинальную частоту вращения стенда nn, мин-1, вычисляют по формуле

, (А.1)
где vk - конструкционная скорость движения железнодорожного подвижного состава, км/ч;
- диаметр среднеизношенного колеса, м.
Отклонение частоты вращения стенда в процессе испытаний в режиме движения с постоянной скоростью должно быть в пределах +/- 3% номинальной частоты вращения.
А.5 Номинальную радиальную нагрузку на буксовый узел Frn, Н, вычисляют по формуле
Frn = 0,6(F0 - m0g), (А.2)
где F0 - максимальная расчетная статическая нагрузка от колесной пары на рельсы, Н;
m0 - масса колесной пары, кг;
g - ускорение свободного падения, м·с-2 (g = 9,81 м·с-2).
Отклонение радиальной нагрузки в процессе испытаний должно быть в пределах +/- 3% номинальной радиальной нагрузки.
А.6 Номинальную амплитуду осевой знакопеременной нагрузки на каждый конический подшипниковый узел Fan, Н, вычисляют по формуле

, (А.3)
Отклонение амплитуды осевой нагрузки в процессе испытаний должно быть в пределах +/- 6% номинальной амплитуды осевой нагрузки. При частоте вращения менее 20% номинальной частоты вращения осевую нагрузку не прикладывают.
А.7 Исключен с 25.02.2017. -
Изменение N 1, введенное в действие Приказом Росстандарта от 06.02.2017 N 32-ст.
А.8 Натурные стендовые испытания проводят в два этапа: предварительные (приработочные) и основные, которые включают в себя одинаковые повторяющиеся циклы - единичные пробеги. Каждый цикл состоит из времени разгона, вращения оси стенда с постоянной частотой, замедления и остановки стенда. Графическое представление циклов испытаний указано на
рисунке А.2. Продолжительность цикла испытаний указана в
таблице А.1.
n - действительная частота вращения; Fa - действительная
осевая нагрузка; Fr - действительная радиальная нагрузка;
t - время; 1 - предварительные испытания; 2 - основные
испытания; 3 - цикл изменения скорости испытаний;
4 - цикл изменения осевой нагрузки.
Скорость движения, км/ч | t1 | t2 | t3 | t4 | t5 | t6 | t7 | t8 | |
мин | с |
- | +/- 1 | - | +/- 0,1 |
Не более 160 | 2 t2 | 2 t3 + t4 + t5 | 5 | 220 | 10 | t7 + t9 | 5 | 0,2 | От 0 до 5 включ. |
Более 160 | 10 | 90 |
<*> Продолжительность t9 выбирают в соответствии с условиями эксплуатации конкретного типа железнодорожного подвижного состава. |
А.9 Скорость воздушного охлаждающего потока должна быть от 8 до 10 м/с. Во время остановок воздушное охлаждение отключают. Температуру охлаждающего воздуха рекомендуется поддерживать от 15 °C до 25 °C.
А.10 Предварительные испытания проводят в четырех режимах, при которых значения частоты вращения и амплитуды осевой нагрузки увеличивают, устанавливая последовательно 25%, 50%, 75% и 100% от номинальных значений этих параметров. Каждый режим состоит как минимум из двух единичных пробегов, по одному пробегу в каждом направлении вращения. Допускается вращение оси стенда в одном направлении. Длительность каждого режима предварительно не устанавливают. Критерием его завершения является стабилизация температуры нагрева конических подшипниковых узлов в диапазоне шириной 5 °C в течение 2 ч.
Продолжительность предварительных испытаний не учитывают при назначении длительности основных испытаний.
А.11 Основные стендовые испытания состоят из одинаковых повторяющихся циклов, представленных на
рисунке А.2.
Приостановка испытаний допускается только в случаях ремонта стенда. В случае приостановки испытаний более чем на 5 суток продолжение испытаний допускается начинать с проведения предварительных испытаний.
Длительность основных испытаний ограничивают суммарным условным пробегом, назначаемым в зависимости от скорости движения железнодорожного подвижного состава:
- 400000 км для железнодорожного подвижного состава с конструкционной скоростью до 160 км/ч включительно;
- 600000 км для железнодорожного подвижного состава с конструкционной скоростью свыше 160 до 250 км/ч включительно;
- 800000 км для железнодорожного подвижного состава с конструкционной скоростью свыше 250 км/ч.
При незначительных изменениях условий эксплуатации и конструкции конических подшипниковых узлов (см.
приложение Е) допускается принимать суммарный пробег, равный 200000 км.
(в ред.
Изменения N 1, введенного в действие Приказом Росстандарта от 06.02.2017 N 32-ст)
А.12 В процессе испытаний регистрируют значения следующих параметров:
(в ред.
Изменения N 1, введенного в действие Приказом Росстандарта от 06.02.2017 N 32-ст)
- действительной частоты вращения стенда;
- действительной радиальной нагрузки на каждый буксовый узел;
- действительной осевой нагрузки на каждый буксовый узел с учетом направления нагрузки;
- температуры в верхней нагруженной зоне каждого буксового узла на поверхности наружного кольца над каждым рядом базового подшипника;
- скорости воздушного потока, измеряемой вблизи испытуемых буксовых узлов;
- температуры окружающего воздуха, измеряемой в воздушном потоке вблизи испытуемых буксовых узлов.
А.13 Критерий положительности результатов испытаний - отсутствие отказов.
(в ред.
Изменения N 1, введенного в действие Приказом Росстандарта от 06.02.2017 N 32-ст)
При появлении в процессе испытаний заклинивания и разрушения конического подшипникового узла, повреждения уплотнений, выброса смазочного материала из буксового узла или чрезмерного нагрева испытания приостанавливают, конические подшипниковые узлы осматривает комиссия. Требования к нагреву конических подшипниковых узлов в процессе испытаний указаны в
таблице А.2.
Наименование показателя | Значение показателя, °C, при скорости |
не более 160 км/ч | более 160 км/ч |
Максимальное превышение температуры в зоне нагружения относительно температуры окружающей среды в течение первых 20 единичных пробегов не более | 80 |
Максимальное превышение температуры в зоне нагружения относительно температуры окружающей среды в течение каждого единичного пробега, исключая первые 20 единичных пробегов, не более | |
Максимальная разность температур двух буксовых узлов, измеренная одновременно в зонах нагружения в процессе каждого единичного пробега, исключая первые 20 единичных пробегов, в момент достижения максимальной температуры наиболее нагретого узла не более | | |
Максимальная разность температур для каждого буксового узла, измеренная в зоне нагружения между двумя последовательными единичными пробегами, исключая первые 20 единичных пробегов, не более | |
<1> Допускается свыше 70 °C до 80 °C для не более 1% единичных пробегов. <2> Допускается свыше 15 °C до 25 °C для не более 2% единичных пробегов. <3> Допускается свыше 10 °C до 15 °C для не более 2% единичных пробегов. <4> Допускается свыше 20 °C до 25 °C для не более 2% единичных пробегов. |
После окончания испытаний при достижении суммарного условного пробега комиссия определяет наличие отказов. Осуществляют демонтаж конического подшипникового узла, его разборку, отбор проб смазочного материала из зон в соответствии с
рисунком А.3, промывку, осмотр и анализ технического состояния деталей на наличие признаков контактной усталости металла и коррозии на поверхностях качения, а также исследование смазочного материала на содержание механических примесей (содержание массовой доли воды в смазочном материале не определяют).
(в ред.
Изменения N 1, введенного в действие Приказом Росстандарта от 06.02.2017 N 32-ст)
1 - зона передних уплотнений; 2 - зона переднего ряда
роликов; 3 - зона между рядами роликов; 4 - зона заднего
ряда роликов; 5 - зона задних уплотнений
(обязательное)
МЕТОДИКА ПОЛИГОННЫХ ПРОБЕГОВЫХ ИСПЫТАНИЙ
КОНИЧЕСКИХ ПОДШИПНИКОВЫХ УЗЛОВ ГРУЗОВЫХ ВАГОНОВ
Приложение Б исключено с 25.02.2017. -
Изменение N 1, введенное в действие Приказом Росстандарта от 06.02.2017 N 32-ст.
(обязательное)
ЭКСПЛУАТАЦИОННЫЕ ПОЕЗДНЫЕ ИСПЫТАНИЯ
Росстандарта от 06.02.2017 N 32-ст)
В.1, В.2 Исключены с 25.02.2017. -
Изменение N 1, введенное в действие Приказом Росстандарта от 06.02.2017 N 32-ст.
В.3 Число испытуемых конических подшипниковых узлов каждой партии, отобранных по
ГОСТ 18321, определяют исходя из их потребности для оборудования буксовых узлов железнодорожного подвижного состава, но не менее, шт.:
(в ред.
Изменения N 1, введенного в действие Приказом Росстандарта от 06.02.2017 N 32-ст)
8 ....................... | для локомотивов и моторвагонного подвижного состава; |
80 ..................... | для пассажирских вагонов; |
160 .................. | для грузовых вагонов. |
Абзац исключен с 25.02.2017. -
Изменение N 1, введенное в действие Приказом Росстандарта от 06.02.2017 N 32-ст.
В.4 Испытания конических подшипниковых узлов проводят на конкретном типе железнодорожного подвижного состава в соответствии с областью их применения.
В процессе испытаний контроль технического состояния колесных пар с испытуемыми коническими подшипниковыми узлами и контроль температуры нагрева конических подшипниковых узлов проводят при помощи системы обнаружения перегретых букс.
(в ред.
Изменения N 1, введенного в действие Приказом Росстандарта от 06.02.2017 N 32-ст)
В.5 Испытания считают завершенными по истечении двух лет с момента начала эксплуатации железнодорожного подвижного состава или при достижении каждым испытуемым коническим подшипниковым узлом пробега не менее:
- 200000 км для магистральных грузовых и маневровых локомотивов, грузовых вагонов с конструктивной скоростью до 120 км/ч включительно;
- 300000 км для пассажирских локомотивов, моторвагонного подвижного состава и пассажирских вагонов с конструктивной скоростью до 200 км/ч включительно;
- 800000 км для моторвагонного подвижного состава с конструктивной скоростью свыше 200 км/ч.
Для конических подшипниковых узлов маневровых локомотивов продолжительность испытаний ограничивается только двумя годами эксплуатации.
При недостижении необходимого пробега железнодорожного подвижного состава после двух лет испытания конических подшипниковых узлов могут быть продолжены до достижения необходимого пробега.
(в ред.
Изменения N 1, введенного в действие Приказом Росстандарта от 06.02.2017 N 32-ст)
В.6 Критерий положительности результатов испытаний конических подшипниковых узлов - отсутствие отказов по
6.1.3.7, за исключением превышения температуры.
(в ред.
Изменения N 1, введенного в действие Приказом Росстандарта от 06.02.2017 N 32-ст)
В.7 При появлении в процессе испытаний заклинивания и разрушения конического подшипникового узла, повреждения уплотнений или чрезмерного нагрева конических подшипниковых узлов, характеризуемого выбросом смазочного материала из буксового узла на диск и обод колеса, испытания приостанавливают, конические подшипниковые узлы осматривает комиссия с участием представителей предприятия-изготовителя.
(в ред.
Изменения N 1, введенного в действие Приказом Росстандарта от 06.02.2017 N 32-ст)
При подтверждении отказов комиссией испытания прекращают, конические подшипниковые узлы из эксплуатации изымают.
Отказы конических подшипниковых узлов, возникшие в результате нарушения монтажа на вагоностроительных заводах и ремонтных предприятиях железных дорог и установленные комиссией, а также при обстоятельствах непреодолимой силы, таких как крушение поезда не по причине разрушения конических подшипниковых узлов, пожар, наводнение, землетрясение или каком-либо ином подобном обстоятельстве, при оценке надежности конических подшипниковых узлов не учитывают.
В.8 Наличие отказов определяет комиссия при проведении осмотра конических подшипниковых узлов после окончания испытаний.
Осмотру подвергают не менее восьми и не более 12 конических подшипниковых узлов железнодорожного подвижного состава, отобранных по
ГОСТ 18321.
(п. В.8 в ред.
Изменения N 1, введенного в действие Приказом Росстандарта от 06.02.2017 N 32-ст)
В.9 В процессе проведения инспекций (комиссионных осмотров) осуществляют демонтаж конических подшипниковых узлов с оси колесной пары, разборку, отбор проб смазочного материала из зон, указанных на
рисунке А.3, промывку конических подшипниковых узлов, осмотр и анализ технического состояния деталей конических подшипниковых узлов на наличие признаков контактной усталости металла и коррозии на поверхностях качения, а также исследование смазочного материала на содержание механических примесей и воды.
(обязательное)
МЕТОДИКА ОПРЕДЕЛЕНИЯ НАГРЕВА КОНИЧЕСКИХ ПОДШИПНИКОВЫХ УЗЛОВ
Приложение Г исключено с 25.02.2017. -
Изменение N 1, введенное в действие Приказом Росстандарта от 06.02.2017 N 32-ст.
(справочное)
ПОКАЗАТЕЛИ, ИСПОЛЬЗУЕМЫЕ ДЛЯ ПОДТВЕРЖДЕНИЯ СООТВЕТСТВИЯ
Приказом Росстандарта от 06.02.2017 N 32-ст)
Д.1 Первичная сертификация продукции
Соответствие требований безопасности продукции требованиям технического
регламента [1] при первичной сертификации приведено в таблице Д.1.
Таблица Д.1
| Наименование показателя | Пункт (раздел), определяющий показатель | Пункт (раздел), определяющий правила и методы испытаний (измерений) |
Статья 4, п. 4: Железнодорожный подвижной состав и его составные части по прочности и техническому состоянию должны обеспечивать безопасное движение поездов с наибольшими скоростями в пределах допустимых значений; п. 5 с): отсутствие пластических деформаций при приложении продольных и вертикальных расчетных динамических нагрузок; п. 5 т): сопротивление усталости при малоцикловых и многоцикловых режимах нагружения | Отсутствие отказов в условиях стендовых натурных испытаний | | |
Отсутствие отказов в условиях эксплуатационных поездных испытаний | | |
Статья 4, п. 5 б): выполнение условий эксплуатации с учетом внешних климатических и механических воздействий | Максимальная температура нагрева | | |
| Твердость поверхности наружных и внутренних колец и роликов, неоднородность по твердости в пределах одного кольца | | |
Марка стали | | |
Статья 4, п. 7: Выбранные проектировщиком (разработчиком) конструкции железнодорожного подвижного состава и его составных частей должны быть безопасны в течение назначенного срока службы и (или) ресурса, назначенного срока хранения, а также выдерживать воздействия и нагрузки, которым они могут подвергаться в процессе эксплуатации | Допуски установочных и присоединительных размеров, допуски взаимного положения поверхностей колец | | |
Марка заложенного смазочного материала | | |
Статья 4, п. 12: Железнодорожный подвижной состав и его составные части должны иметь хорошо различимую маркировку; п. 14: Составные части железнодорожного подвижного состава в соответствии с конструкторской документацией должны иметь маркировку, обеспечивающую идентификацию продукции независимо от года ее выпуска, в том числе: а) единый знак обращения продукции на рынке государств - членов Таможенного союза; б) наименование изготовителя или его товарный знак, наименование продукции; в) дата изготовления | Маркировка | | |
Статья 4, п. 99: Железнодорожный подвижной состав и его составные части, применяемые при их производстве материалы и вещества должны быть рассчитаны на возможность их безопасной переработки или утилизации по истечении назначенного срока службы | Переработка безопасна, утилизация по истечении назначенного срока службы не требуется | - | - |
Д.2 Повторная сертификация
Д.2.1 Соответствие требований безопасности продукции требованиям технического
регламента [1] при повторной сертификации приведено в таблице Д.2.
Таблица Д.2
| Наименование сертификационного показателя | Пункт (раздел), определяющий показатель | Пункт (раздел), определяющий правила и методы испытаний (измерений) |
Статья 4, п. 4: Железнодорожный подвижной состав и его составные части по техническому состоянию должны обеспечивать безопасное движение поездов с наибольшими скоростями в пределах допустимых значений; п. 5 с): отсутствие пластических деформаций при приложении продольных и вертикальных расчетных динамических нагрузок; п. 5 т): сопротивление усталости при малоцикловых и многоцикловых режимах нагружения | Отсутствие отказов в условиях стендовых натурных испытаний | | |
Статья 4, п. 5 б): выполнение условий эксплуатации с учетом внешних климатических и механических воздействий | Максимальная температура нагрева | | |
| Твердость поверхности наружных и внутренних колец и роликов, неоднородность по твердости в пределах одного кольца | | |
Марка стали | | |
Статья 4, п. 7: Выбранные проектировщиком (разработчиком) конструкции железнодорожного подвижного состава и его составных частей должны быть безопасны в течение назначенного срока службы и (или) ресурса, назначенного срока хранения, а также выдерживать воздействия и нагрузки, которым они могут подвергаться в процессе эксплуатации | Допуски установочных и присоединительных размеров, допуски взаимного положения поверхностей колец | | |
Марка заложенного смазочного материала | | |
Статья 4, п. 12: Железнодорожный подвижной состав и его составные части должны иметь хорошо различимую маркировку; п. 14: Составные части железнодорожного подвижного состава в соответствии с конструкторской документацией должны иметь маркировку, обеспечивающую идентификацию продукции независимо от года ее выпуска, в том числе: а) единый знак обращения продукции на рынке государств-членов Таможенного союза; б) наименование изготовителя или его товарный знак, наименование продукции; в) дата изготовления | Маркировка | | |
Статья 4, п. 99: Железнодорожный подвижной состав и его составные части, применяемые при их производстве материалы и вещества должны быть рассчитаны на возможность их безопасной переработки или утилизации по истечении назначенного срока службы | Переработка безопасна, утилизация по истечении назначенного срока службы не требуется | - | - |
(обязательное)
ДОПОЛНИТЕЛЬНЫЕ ИСПЫТАНИЯ КОНИЧЕСКИХ ПОДШИПНИКОВЫХ УЗЛОВ
ПРИ ИЗМЕНЕНИИ ТЕХНИЧЕСКИХ ХАРАКТЕРИСТИК ИЛИ УСЛОВИЙ
ИЗГОТОВЛЕНИЯ
Приказом Росстандарта от 06.02.2017 N 32-ст)
Е.1 Дополнительные испытания конических подшипниковых узлов при изменении технических характеристик или условий изготовления приведены в таблице Е.1.
Таблица Е.1
Изменяемая техническая характеристика или изменяемое условие изготовления без изменения обозначения конического подшипникового узла | Дополнительные испытания (пункт настоящего стандарта) |
Применение новой марки смазочного материала | |
Изменение массы заложенного смазочного материала более чем на 20% | 6.1.3.4 (суммарный условный пробег 200000 км) |
Изменение количества и/или размеров роликов | |
Изменение конструкции сепаратора и/или способа его центрирования | |
Применение новой марки стали внутренних и/или наружных колец и/или роликов | |
Применение новой марки материала сепаратора | |
Изменение способа термообработки внутренних и/или наружных колец и/или роликов | |
Изменение осевого внутреннего зазора | 6.1.3.4 (суммарный условный пробег 200000 км) |
Смена предприятия - изготовителя наружного кольца | |
Смена предприятия - изготовителя внутреннего кольца | |
Смена предприятия - изготовителя ролика | |
Смена предприятия - изготовителя сепаратора | 6.1.3.4 (суммарный условный пробег 200000 км) |
Увеличение значения произведения значений конструкционной скорости движения подвижного состава и максимальной постоянной радиальной нагрузки на один буксовый узел более чем на 10% | 6.1.3.4 (суммарный условный пробег 200000 км) |
Приказом Росстандарта от 06.02.2017 N 32-ст)
| Технический регламент Таможенного союза ТР ТС 001/2011 "О безопасности железнодорожного подвижного состава", утвержденный Решением Комиссии Таможенного союза от 15.07.2011 г. N 710 |
УДК 621.822.833:006.354 | |
Ключевые слова: подшипники качения, узлы конические подшипниковые, подшипники роликовые конические двухрядные, классификация, назначение, совместимость, надежность, требования к материалам, маркировка, упаковка, правила приемки, идентификация, методы контроля, транспортирование, хранение |