Главная // Актуальные документы // ГОСТ (Государственный стандарт)СПРАВКА
Источник публикации
М.: Стандартинформ, 2012
Примечание к документу
Текст данного документа приведен с учетом поправок, опубликованных в "ИУС",
N 3, 2013;
N 3, 2020.
Документ
введен в действие с 1 июля 2012 года.
Название документа
"ГОСТ 520-2011. Межгосударственный стандарт. Подшипники качения. Общие технические условия"
(введен в действие Приказом Росстандарта от 19.08.2011 N 232-ст)
"ГОСТ 520-2011. Межгосударственный стандарт. Подшипники качения. Общие технические условия"
(введен в действие Приказом Росстандарта от 19.08.2011 N 232-ст)
по техническому регулированию
и метрологии
от 19 августа 2011 г. N 232-ст
МЕЖГОСУДАРСТВЕННЫЙ СТАНДАРТ
ПОДШИПНИКИ КАЧЕНИЯ
ОБЩИЕ ТЕХНИЧЕСКИЕ УСЛОВИЯ
Rolling bearing. General specifications
ГОСТ 520-2011
(ISO 492:2002, NEQ
ISO 199:2005, NEQ)
ОКП 46 000
Дата введения
1 июля 2012 года
Цели, основные принципы и основной порядок проведения работ по межгосударственной стандартизации установлены
ГОСТ 1.0-92 "Межгосударственная система стандартизации. Основные положения" и
ГОСТ 1.2-2009 "Межгосударственная система стандартизации. Стандарты межгосударственные, правила и рекомендации по межгосударственной стандартизации. Правила разработки, принятия, применения, обновления и отмены".
1. Разработан Межгосударственным техническим комитетом по стандартизации МТК 307 "Подшипники качения", Обществом с ограниченной ответственностью "НИЦ ЕПК" (ООО "НИЦ ЕПК") на основе собственного аутентичного перевода на русский язык международных стандартов, указанных в
пункте 4.
2. Внесен Федеральным агентством по техническому регулированию и метрологии Российской Федерации.
3. Принят Межгосударственным советом по стандартизации, метрологии и сертификации (Протокол от 12 мая 2011 г. N 39-2011).
За принятие проголосовали:
Краткое наименование страны по МК (ИСО 3166) 004-97 | Код страны по МК (ИСО 3166) 004-97 | Сокращенное наименование национального органа по стандартизации |
Азербайджан | AZ | Азстандарт |
Армения | AM | Минэкономики Республики Армения |
Беларусь | BY | Госстандарт Республики Беларусь |
Киргизия | KG | Кыргызстандарт |
Молдова | MD | Молдова-Стандарт |
Российская Федерация | RU | Росстандарт |
Таджикистан | TJ | Таджикстандарт |
Узбекистан | UZ | Узстандарт |
4. В настоящем стандарте учтены основные нормативные положения следующих международных стандартов:
ИСО 492:2002 "Подшипники качения. Радиальные подшипники. Допуски" (ISO 492:2002 "Rolling bearings - Radial bearings - Tolerances");
ИСО 199:2005 "Подшипники качения. Упорные подшипники. Допуски (ISO 199:2005 "Rolling bearings - Thrust bearings - Tolerances").
Степень соответствия - неэквивалентная (NEQ).
5. Взамен
ГОСТ 520-2002 "Подшипники качения. Общие технические условия".
6.
Приказом Федерального агентства по техническому регулированию и метрологии от 19 августа 2011 г. N 232-ст межгосударственный стандарт ГОСТ 520-2011 введен в действие в качестве национального стандарта Российской Федерации с 1 июля 2012 г.
Информация о введении в действие (прекращении действия) настоящего стандарта публикуется в ежемесячно издаваемом указателе "Национальные стандарты".
Информация об изменениях к настоящему стандарту публикуется в ежемесячно издаваемом информационном указателе "Национальные стандарты", а текст изменений и поправок - в ежемесячно издаваемых информационных указателях "Национальные стандарты". В случае пересмотра или отмены настоящего стандарта соответствующая информация будет опубликована в ежемесячно издаваемом информационном указателе "Национальные стандарты".
| | ИС МЕГАНОРМ: примечание. ГОСТ 18572-81 утратил силу с 1 июля 2015 года в связи с введением в действие ГОСТ 18572-2014 (Приказ Росстандарта от 09.07.2014 N 704-ст). Приказом Росстандарта от 01.03.2016 N 101-ст срок действия ГОСТ 18572-81 восстановлен для добровольного применения на территории Российской Федерации с 1 марта 2016 в отношении продукции, поставляемой по Государственному оборонному заказу. | |
| | ИС МЕГАНОРМ: примечание. Взамен ГОСТ 3478-79 Приказом Росстандарта от 24.07.2012 N 202-ст с 01.01.2014 введен в действие ГОСТ 3478-2012. | |
| | ИС МЕГАНОРМ: примечание. Взамен ГОСТ 8882-75 Приказом Росстандарта от 13.01.2022 N 8-ст с 01.03.2022 введен в действие ГОСТ 8882-2021. | |
| | ИС МЕГАНОРМ: примечание. Взамен ГОСТ 4657-82 Приказом Росстандарта от 05.08.2022 N 739-ст с 01.11.2022 вводится в действие ГОСТ 4657-2022. | |
Настоящий стандарт распространяется на подшипники качения по
ГОСТ 831,
ГОСТ 832, ГОСТ 3478,
ГОСТ 4252, ГОСТ 4657,
ГОСТ 5377,
ГОСТ 5721, ГОСТ 6364,
ГОСТ 7242,
ГОСТ 7634,
ГОСТ 7872,
ГОСТ 8328,
ГОСТ 8338, ГОСТ 8419, ГОСТ 8545, ГОСТ 8882, ГОСТ 8995, ГОСТ 9592, ГОСТ 9942, ГОСТ 18572, ГОСТ 20531, ГОСТ 23179, ГОСТ 23526,
ГОСТ 24696, ГОСТ 24850, ГОСТ 27057,
ГОСТ 27365,
ГОСТ 28428.
Настоящий стандарт устанавливает допуски на основные размеры (за исключением размеров фасок), точность вращения подшипников и другие технические требования, приемку, методы контроля, маркировку, упаковку, транспортирование, хранение, указания по применению и эксплуатации, гарантии изготовителя.
Настоящий стандарт не распространяется на некоторые подшипники определенных конструктивных исполнений (например, игольчатые подшипники со штампованным наружным кольцом) и на подшипники специальных видов применения.
Предельные размеры фасок приведены в ГОСТ 3478.
В настоящем стандарте использованы нормативные ссылки на следующие стандарты:
ГОСТ 8.050-73 Государственная система обеспечения единства измерений. Нормальные условия выполнения линейных и угловых измерений
ГОСТ 515-77 Бумага упаковочная битумированная и дегтевая. Технические условия
ГОСТ 831-75 Подшипники шариковые радиально-упорные однорядные. Типы и основные размеры
ГОСТ 832-78 Подшипники шариковые радиально-упорные сдвоенные. Типы и основные размеры
ГОСТ 2789-73 Шероховатость поверхности. Параметры и характеристики
| | ИС МЕГАНОРМ: примечание. Взамен ГОСТ 2893-82 Приказом Росстандарта от 14.03.2022 N 131-ст с 01.05.2022 введен в действие ГОСТ 2893-2022. | |
ГОСТ 2893-82 Подшипники качения. Канавки под упорные пружинные кольца. Кольца упорные пружинные. Размеры
ГОСТ 2991-85 Ящики дощатые неразборные для грузов массой до 500 кг. Общие технические условия
ГОСТ 3189-89 Подшипники шариковые и роликовые. Система условных обозначений
ГОСТ 3325-85 Подшипники качения. Поля допусков и технические требования к посадочным поверхностям валов и корпусов. Посадки
ГОСТ 3395-89 Подшипники качения. Типы и конструктивные исполнения
| | ИС МЕГАНОРМ: примечание. Взамен ГОСТ 3478-79 Приказом Росстандарта от 24.07.2012 N 202-ст с 01.01.2014 введен в действие ГОСТ 3478-2012. | |
ГОСТ 3478-79 Подшипники качения. Основные размеры
ГОСТ 3722-81 Подшипники качения. Шарики. Технические условия
ГОСТ 4252-75 Подшипники шариковые радиально-упорные двухрядные. Основные размеры
| | ИС МЕГАНОРМ: примечание. Взамен ГОСТ 4657-82 Приказом Росстандарта от 05.08.2022 N 739-ст с 01.11.2022 вводится в действие ГОСТ 4657-2022. | |
ГОСТ 4657-82 Подшипники роликовые радиальные игольчатые однорядные. Основные размеры. Технические требования
ГОСТ 5377-79 Подшипники роликовые радиальные с короткими цилиндрическими роликами без внутреннего или наружного кольца. Типы и основные размеры
ГОСТ 5721-75 Подшипники роликовые радиальные сферические двухрядные. Типы и основные размеры
ГОСТ 6364-78 Подшипники роликовые конические двухрядные. Основные размеры
ГОСТ 6870-81 Подшипники качения. Ролики игольчатые. Технические условия
ГОСТ 7242-81 Подшипники шариковые радиальные однорядные с защитными шайбами. Технические условия
ГОСТ 7634-75 Подшипники радиальные роликовые многорядные с короткими цилиндрическими роликами. Типы и основные размеры
ГОСТ 7872-89 Подшипники упорные шариковые одинарные и двойные. Технические условия
ГОСТ 8328-75 Подшипники роликовые радиальные с короткими цилиндрическими роликами. Типы и основные размеры
ГОСТ 8338-75 Подшипники шариковые радиальные однорядные. Основные размеры
ГОСТ 8419-75 Подшипники роликовые конические четырехрядные. Основные размеры
ГОСТ 8530-90 (ИСО 2982-72, ИСО 2983-75) Подшипники качения. Гайки, шайбы и скобы для закрепительных и стяжных втулок. Технические условия
ГОСТ 8545-75 Подшипники шариковые и роликовые двухрядные с закрепительными втулками. Типы и основные размеры
| | ИС МЕГАНОРМ: примечание. Взамен ГОСТ 8882-75 Приказом Росстандарта от 13.01.2022 N 8-ст с 01.03.2022 введен в действие ГОСТ 8882-2021. | |
ГОСТ 8882-75 Подшипники шариковые радиальные однорядные с уплотнениями. Технические условия
ГОСТ 8995-75 Подшипники шариковые радиально-упорные однорядные с одним разъемным кольцом. Типы и основные размеры
ГОСТ 9142-90 Ящики из гофрированного картона. Общие технические условия
ГОСТ 9592-75 Подшипники шариковые радиальные с выступающим внутренним кольцом. Технические условия
ГОСТ 9942-90 Подшипники упорно-радиальные роликовые сферические одинарные. Технические условия
ГОСТ 13014-80 Втулки стяжные подшипников качения. Основные размеры
ГОСТ 16148-79 Ящики деревянные для подшипников качения. Технические условия
ГОСТ 16272-79 Пленка поливинилхлоридная пластифицированная техническая. Технические условия
ГОСТ 18242-72 Статистический приемочный контроль по альтернативному признаку. Планы контроля
ГОСТ 18321-73 Статистический контроль качества. Методы случайного отбора выборок штучной продукции
| | ИС МЕГАНОРМ: примечание. ГОСТ 18572-81 утратил силу с 1 июля 2015 года в связи с введением в действие ГОСТ 18572-2014 (Приказ Росстандарта от 09.07.2014 N 704-ст). Приказом Росстандарта от 01.03.2016 N 101-ст срок действия ГОСТ 18572-81 восстановлен для добровольного применения на территории Российской Федерации с 1 марта 2016 в отношении продукции, поставляемой по Государственному оборонному заказу. | |
ГОСТ 18572-81 Подшипники роликовые с цилиндрическими роликами для букс железнодорожного подвижного состава. Основные размеры
ГОСТ 18854-94 (ИСО 76-87) Подшипники качения. Статическая грузоподъемность
ГОСТ 18855-94 (ИСО 281-89) Подшипники качения. Динамическая расчетная грузоподъемность и расчетный ресурс (долговечность)
ГОСТ 20531-75 Подшипники роликовые игольчатые радиально-упорные комбинированные. Технические условия
ГОСТ 22696-77 Подшипники качения. Ролики цилиндрические короткие. Технические условия
ГОСТ 23179-78 Подшипники качения радиальные шариковые однорядные гибкие. Технические условия
ГОСТ 23526-79 Подшипники роликовые упорные с цилиндрическими роликами одинарные. Типы и основные размеры
ГОСТ 24208-80 Втулки закрепительные подшипников качения. Основные размеры
ГОСТ 24634-81 Ящики деревянные для продукции, поставляемой для экспорта. Общие технические условия
ГОСТ 24696-81 Подшипники роликовые радиальные сферические двухрядные с симметричными роликами. Основные размеры
ГОСТ 24810-81 Подшипники качения. Зазоры
ГОСТ 24850-81 Подшипники шариковые радиальные однорядные с двумя уплотнениями с широким внутренним кольцом и сферической наружной поверхностью наружного кольца. Основные размеры
ГОСТ 24955-81 Подшипники качения. Термины и определения
ГОСТ 25255-82 Подшипники качения. Ролики цилиндрические длинные. Технические условия
ГОСТ 25256-82 Подшипники качения. Допуски. Термины и определения
ГОСТ 25455-82 Подшипники качения. Втулки закрепительные и стяжные. Технические условия
ГОСТ 25548-82 Основные нормы взаимозаменяемости. Конусы и конические соединения. Термины и определения
ГОСТ 27057-86 Подшипники упорные роликовые конические одинарные. Основные размеры
ГОСТ 27365-87 Подшипники роликовые конические однорядные повышенной грузоподъемности. Основные размеры
ГОСТ 28428-90 Подшипники радиальные шариковые сферические двухрядные. Технические условия
Примечание. При пользовании настоящим стандартом целесообразно проверить действие ссылочных стандартов в информационной системе общего пользования - на официальном сайте Федерального агентства по техническому регулированию и метрологии в сети Интернет или по ежегодно издаваемому информационному указателю "Национальные стандарты", который опубликован по состоянию на 1 января текущего года, и по соответствующим ежемесячно издаваемым информационным указателям, опубликованным в текущем году. Если ссылочный стандарт заменен (изменен), то при пользовании настоящим стандартом следует руководствоваться заменяющим (измененным) стандартом. Если ссылочный стандарт отменен без замены, то положение, в котором дана ссылка на него, применяется в части, не затрагивающей эту ссылку.
В настоящем стандарте применены термины по ГОСТ 24955, ГОСТ 25256 и ГОСТ 25548, а также следующие термины с соответствующими определениями:
3.1. Самоустанавливающийся подшипник (self-aligning rolling bearing): подшипник качения, допускающий угловое смещение и угловое перемещение осей дорожек качения, так как одна из дорожек качения имеет сферическую форму.
3.2. Подшипник с самоустанавливающимся кольцом (external-aligning rolling bearing): подшипник качения, допускающий угловое смещение осей подшипника и корпуса благодаря сферической форме посадочной поверхности одного кольца радиального или упорного подшипника, которая сопрягается с соответствующей дополнительной посадочной поверхностью корпуса или самоустанавливающегося корпусного кольца, или самоустанавливающегося кольца упорного подшипника.
3.3. Открытый подшипник (open rolling bearing): подшипник качения без уплотнений и защитных шайб.
3.4. Закрытый подшипник (capped rolling bearing): подшипник качения с одним или двумя уплотнениями, с одной или двумя защитными шайбами или одним уплотнением и одной защитной шайбой.
3.5. Приборный подшипник (instrument precision rolling bearing): подшипник качения, по конструкции или исполнению предназначенный для применения в приборах.
3.6. Сдвоенный подшипник (paired mounting): два подшипника качения одного типоразмера, смонтированных рядом на одном валу таким образом, что они работают как один подшипник.
3.7. Комплект подшипников (stack mounting): три или более подшипников качения одного типоразмера, смонтированных рядом на одном валу таким образом, что они работают как один подшипник.
3.8. Комплектный подшипник (matched rolling bearing): подшипник качения, входящий в состав сдвоенного подшипника или в комплект подшипников.
3.9. Подузел (subunit): кольцо подшипника с телами качения или без них, или кольцо подшипника с сепаратором и телами качения, или тела качения в сборе с сепаратором, которые могут быть свободно отделены от подшипника.
3.10. Желобной подшипник (groove ball bearing): радиальный или радиально-упорный шариковый подшипник с дорожками качения в форме желоба, поперечное сечение которого представляет собой дугу окружности радиусом, превышающим половину диаметра шарика.
3.11. Базовый типоразмер (basic type): типоразмер подшипника, имеющий наиболее широко применяемую конструкцию.
Примечание. В условном обозначении подшипника базового типоразмера присутствуют основные знаки по ГОСТ 3189 либо основные и дополнительные знаки, если они характеризуют первоначальную конструкцию подшипника.
Примеры
1. 205.
2. 42726ЛМ.
3.12. Модификация базового типоразмера (modification of basic type): типоразмер подшипника, имеющий тип, конструктивную разновидность и габаритные размеры соответствующего базового типоразмера, но отличающийся особенностями внутренней конструкции, определяемыми в условном обозначении дополнительными знаками.
Примеры
1. 72-205Ш3.
2. 42726Л4М.
3.13. Съемное кольцо (separable bearing ring): кольцо подшипника, которое может быть независимо и свободно отделено от собранного подшипника качения.
3.14. Взаимозаменяемое кольцо (interchangeable bearing ring): съемное кольцо подшипника, которое можно заменить другим кольцом одноименного подшипника без ухудшения рабочих характеристик этого подшипника.
3.15. Номинальная ширина упорного борта

(nominal outer ring flange width): Расстояние между двумя теоретическими торцами упорного борта наружного кольца.
3.16. Единичная ширина упорного борта

(single outer ring flange width): расстояние между точками пересечения двух действительных торцов упорного борта наружного кольца с прямой, перпендикулярной к плоскости, касательной к опорному торцу упорного борта.
3.17. Номинальная монтажная высота внутреннего подузла

(nominal effective width of inner subunit): расстояние между широким теоретическим торцом внутреннего подузла и теоретическим базовым торцом образцового наружного кольца конического роликового подшипника.
3.18. Действительная монтажная высота внутреннего подузла

(actual effective width of inner subunit): расстояние между точками пересечения оси внутреннего подузла конического роликового подшипника с двумя плоскостями, одна из которых является касательной к действительному широкому торцу внутреннего подузла, а другая является касательной к базовому торцу образцового наружного кольца.
Примечание. Дорожки качения внутреннего кольца и образцового наружного кольца и упорный бортик широкого торца внутреннего кольца должны находиться в контакте со всеми роликами.
3.19. Номинальная монтажная высота наружного кольца

(nominal effective width of outer ring): расстояние между широким теоретическим торцом наружного кольца и теоретическим базовым торцом образцового внутреннего подузла конического роликового подшипника.
Примечание. Для однорядного конического роликового подшипника с упорным бортом на наружном кольце номинальная монтажная высота наружного кольца равна расстоянию между теоретическим опорным торцом упорного борта и теоретическим базовым торцом образцового внутреннего подузла.
3.20. Действительная монтажная высота наружного кольца

(actual effective width of outer ring): расстояние между точками пересечения оси наружного кольца конического роликового подшипника с двумя плоскостями, одна из которых является касательной к действительному широкому торцу наружного кольца, а другая является касательной к базовому торцу образцового внутреннего подузла.
Примечание. Для однорядного конического роликового подшипника с упорным бортом на наружном кольце действительная монтажная высота наружного кольца равна расстоянию между действительным опорным торцом упорного борта и базовым (широким) торцом образцового внутреннего подузла.
3.21. Единичный размер фаски

(single chamfer dimension): расстояние в осевом или радиальном направлении в единичной осевой плоскости между вершиной воображаемого угла кольца и пересечением поверхности фаски с сопрягаемой поверхностью.
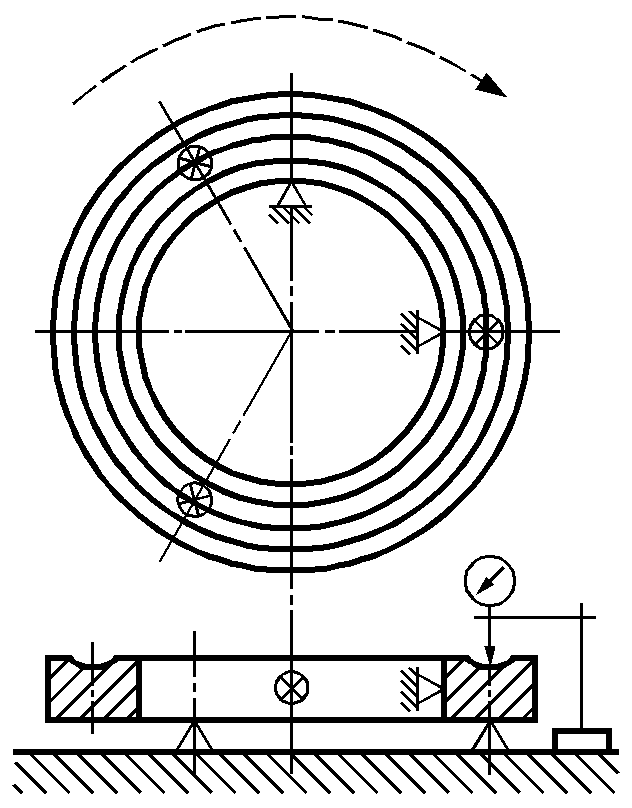
3.22. Параллельность дорожки качения (parallelism of ring raceway with respect to the face): разность между наибольшим и наименьшим расстояниями в осевом направлении от плоскости, касательной к базовому торцу, до середины дорожки качения.
3.23. Параллельность дорожки качения упорному борту

(parallelism of outer ring raceway having a flange with respect to the back face of the flange): Разность между наибольшим и наименьшим расстояниями в осевом направлении от плоскости, касательной к опорному торцу упорного борта, до середины дорожки качения наружного кольца.
3.24. Перпендикулярность торца (perpendicularity of ring face with respect to the bore): разность между наибольшим и наименьшим расстояниями в осевом направлении от плоскости, перпендикулярной к оси кольца, до базового торца кольца на расстоянии от оси в радиальном направлении, равном половине среднего диаметра торца.
3.25. Перпендикулярность наружной поверхности кольца

(perpendicularity of outer ring outside surface with respect to the face): полное изменение относительного положения в радиальном направлении, параллельном плоскости касательной к базовому торцу наружного кольца, точек одной образующей наружной поверхности, расположенных на расстоянии от торцов, равном 1,2 максимального осевого единичного размера фаски.
3.26. Перпендикулярность наружной поверхности кольца упорному борту

(perpendicularity of outer ring outside surface with respect to the flange back face): полное изменение относительного положения в радиальном направлении, параллельном плоскости касательной к опорному торцу упорного борта наружного кольца, точек одной образующей наружной поверхности кольца, расположенных на расстоянии от торцевой поверхности, равном 1,2 максимального осевого единичного размера фаски, и от опорного торца упорного борта, равном 1,2 номинального размера галтели.
3.27. Разностенность тугого кольца по дорожке качения

(variation in thickness between shaft washer raceway and back face): разность между наибольшим и наименьшим расстояниями в осевом направлении от широкого торца до середины дорожки качения на противоположной стороне тугого кольца.
3.28. Разностенность свободного кольца по дорожке качения

(variation in thickness between housing washer raceway and back face): разность между наибольшим и наименьшим расстояниями в осевом направлении от широкого торца до середины дорожки качения на противоположной стороне свободного кольца.
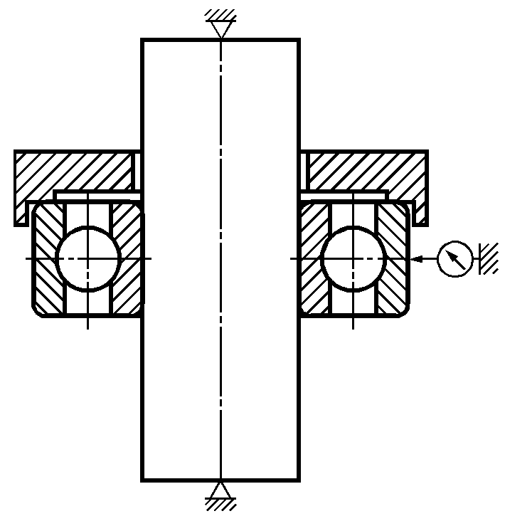
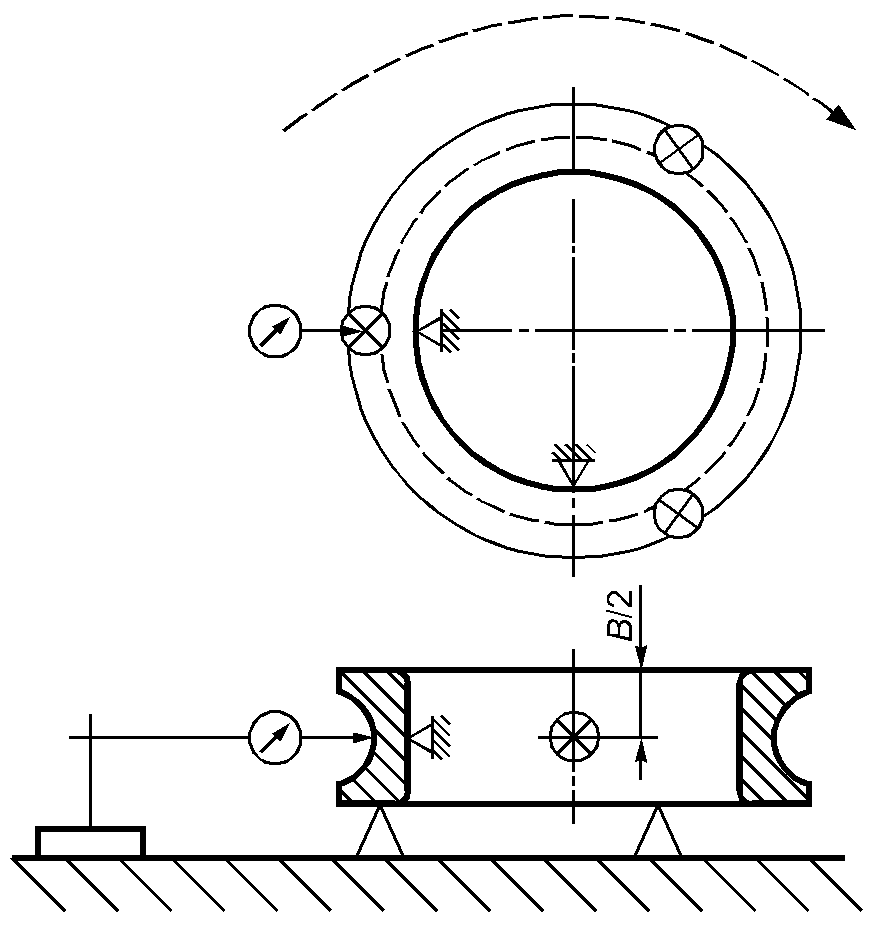
3.29. Радиальное биение внутреннего кольца собранного подшипника

(radial runout of inner ring of assembled bearing): разность между наибольшим и наименьшим расстояниями в радиальном направлении от неподвижной точки на наружной поверхности наружного кольца до поверхности отверстия в различных относительных угловых положениях внутреннего кольца.
Примечание. В направлении указанной неподвижной точки

качения должны находиться в контакте с дорожками качения наружного и внутреннего колец, а у конического подшипника - и с опорным торцом бортика широкого торца внутреннего кольца.
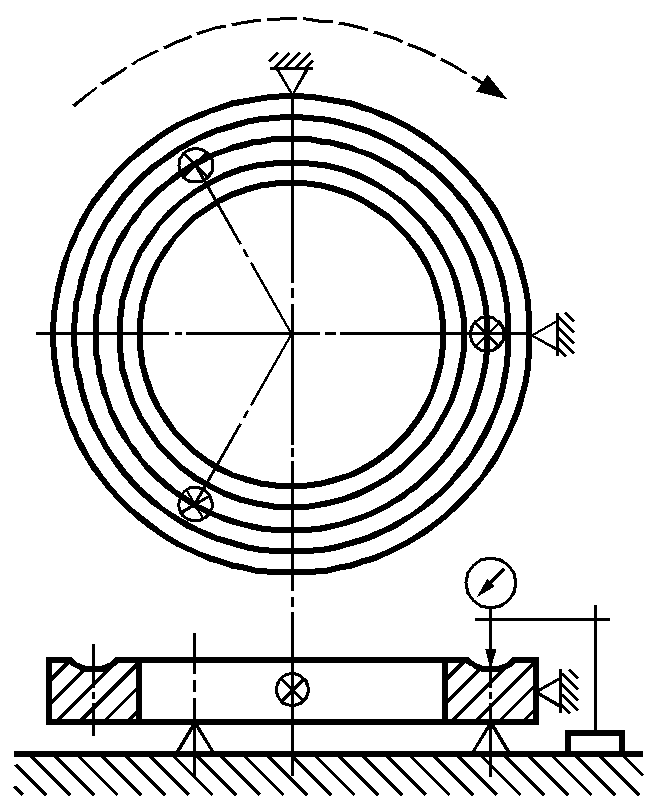
3.30. Радиальное биение наружного кольца собранного подшипника

(radial runout of outer ring of assembled bearing): разность между наибольшим и наименьшим расстояниями в радиальном направлении от неподвижной точки на поверхности отверстия внутреннего кольца до наружной поверхности наружного кольца в различных относительных угловых положениях этого кольца.
Примечание. В направлении указанной неподвижной точки

качения должны находиться в контакте с дорожками качения наружного и внутреннего колец, а у конического подшипника - и с опорным торцом бортика широкого торца внутреннего кольца.
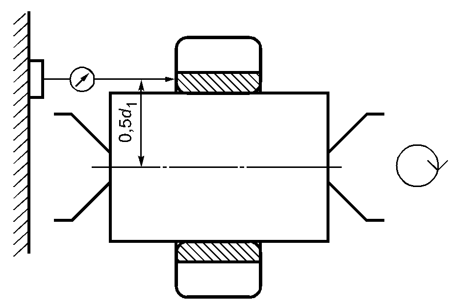
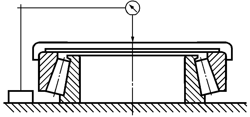
3.31. Осевое биение упорного борта собранного подшипника

(axial runout of outer ring flange back face of assembled bearing): разность между наибольшим и наименьшим расстояниями в осевом направлении между опорным торцом упорного борта наружного кольца, в различных угловых положениях этого кольца, на расстоянии в радиальном направлении от оси наружного кольца, равном половине среднего диаметра опорного торца упорного борта наружного кольца, и точкой, неподвижной относительно внутреннего кольца.
3.32. Гамма-процентный ресурс (gamma-percentile life): суммарная наработка, в течение которой объект не достигнет предельного состояния с вероятностью  , выраженной в процентах. |
|
3.33. Измерительное усилие (measuring force): сила, прилагаемая наконечником индикатора или самописца к измеряемой поверхности.
3.34. Измерительная нагрузка P (measuring load): внешняя сила, прилагаемая к испытуемому образцу для проведения измерения.
4.1. Обозначения относятся к номинальным размерам, если не указано иначе.
Подстрочные знаки в символах обозначают следующее:
- a - подшипник в сборе;
- e - наружное кольцо;
- i - внутреннее кольцо;
- m - среднее арифметическое значение измерений;
- p - плоскость, в которой проводят измерение;
- r - внутренний зазор в радиальном направлении;
- s - единичное или действительное измерение;
- w - тела качения;
- 1,2 - элемент детали, или подузел подшипника, или двойной упорный подшипник.
4.2. Обозначения основных размеров радиальных и радиально-упорных подшипников приведены на рисунке 1.
d - диаметр отверстия; D - наружный диаметр;

- диаметр упорного борта наружного кольца;

- наибольший теоретический диаметр конического
отверстия; B - ширина внутреннего кольца; C - ширина
наружного кольца;

- ширина упорного борта наружного
кольца;

- угол уклона (половина угла конуса)
отверстия внутреннего кольца; r - размер фаски
Рисунок 1. Обозначения основных размеров радиальных
и радиально-упорных подшипников
4.3. Обозначения размерных параметров радиальных и радиально-упорных подшипников:

- средняя ширина внутреннего кольца;

- единичная ширина внутреннего кольца;

- непостоянство ширины внутреннего кольца;

- отклонение единичной ширины внутреннего кольца;

- средняя ширина наружного кольца;

- единичная ширина наружного кольца;

- единичная ширина упорного борта наружного кольца;

- непостоянство ширины наружного кольца;

- отклонение единичной ширины наружного кольца;

- непостоянство ширины упорного борта наружного кольца;

- отклонение единичной ширины упорного борта наружного кольца;

- средний наружный диаметр;

- средний наружный диаметр в единичной плоскости;

- единичный наружный диаметр;

- единичный наружный диаметр в единичной плоскости;

- отклонение единичного наружного диаметра;

- непостоянство наружного диаметра;

- непостоянство наружного диаметра в единичной плоскости;

- непостоянство среднего наружного диаметра;

- отклонение среднего наружного диаметра;

- отклонение среднего наружного диаметра в единичной плоскости;

- отклонение единичного диаметра упорного борта наружного кольца;

- средний диаметр отверстия;

- средний диаметр отверстия в единичной плоскости;

- единичный диаметр отверстия;

- единичный диаметр отверстия в единичной плоскости;

- непостоянство диаметра отверстия;

- отклонение единичного диаметра отверстия;

- отклонение среднего диаметра отверстия;

- непостоянство среднего диаметра отверстия;

- отклонение среднего диаметра отверстия в единичной плоскости (для конического отверстия относится только к теоретическому малому основанию);

- непостоянство диаметра отверстия в единичной плоскости;

- отклонение среднего диаметра конического отверстия в единичной плоскости со стороны теоретического большого основания;

- разностенность по дорожке качения наружного кольца относительно наружной поверхности радиального и радиально-упорного подшипника;

- радиальное биение наружного кольца собранного подшипника;

- разностенность по дорожке качения внутреннего кольца относительно отверстия радиального и радиально-упорного подшипника;

- радиальное биение внутреннего кольца собранного подшипника;

- перпендикулярность наружной поверхности наружного кольца относительно торца;

- перпендикулярность наружной поверхности наружного кольца относительно опорного торца упорного борта;

- перпендикулярность торца внутреннего кольца относительно отверстия;

- параллельность дорожки качения наружного кольца относительно торца радиального и радиально-упорного шарикового желобного подшипника;

- параллельность дорожки качения наружного кольца с упорным бортом относительно опорного торца упорного борта радиального и радиально-упорного шарикового желобного подшипника;

- осевое биение наружного кольца собранного подшипника;

- осевое биение опорного торца упорного борта наружного кольца собранного подшипника;

- параллельность дорожки качения внутреннего кольца относительно торца радиального и радиально-упорного шарикового желобного подшипника;

- осевое биение внутреннего кольца собранного подшипника;

- единичный размер фаски;

- наименьший единичный размер фаски;

- наибольший единичный размер фаски.
4.4. Дополнительные обозначения основных размеров роликовых конических подшипников показаны на рисунке 2.
T - ширина (монтажная высота) роликового конического
подшипника;

- монтажная высота внутреннего подузла
роликового конического подшипника;

- монтажная
высота наружного кольца роликового
конического подшипника
Рисунок 2. Дополнительные обозначения основных
размеров роликовых конических подшипников
4.5. Дополнительные обозначения размерных параметров роликовых конических подшипников:

- действительная ширина (монтажная высота) роликового конического подшипника;

- действительная монтажная высота внутреннего подузла роликового конического подшипника;

- действительная монтажная высота наружного кольца роликового конического подшипника;

- отклонение действительной ширины (монтажной высоты) роликового конического подшипника;

- отклонение действительной монтажной высоты внутреннего подузла роликового конического подшипника;

- отклонение действительной монтажной высоты наружного кольца роликового конического подшипника.
4.6. Обозначения основных размеров упорных и упорно-радиальных подшипников показаны на рисунке 3.
d - диаметр отверстия тугого кольца одинарного
подшипника;

- диаметр отверстия среднего кольца
двойного подшипника; D - наружный диаметр свободного
кольца; T - высота одинарного подшипника;

- высота
двойного подшипника
Рисунок 3. Обозначения основных размеров упорных
и упорно-радиальных подшипников
4.7. Обозначения размерных параметров упорных и упорно-радиальных подшипников:

- разностенность по дорожке качения тугого кольца относительно широкого торца;

- непостоянство единичного наружного диаметра свободного кольца в единичной плоскости;

- непостоянство единичного диаметра отверстия тугого кольца одинарного подшипника в единичной плоскости;

- непостоянство диаметра отверстия среднего кольца двойного подшипника в единичной плоскости;

- отклонение среднего наружного диаметра свободного кольца в единичной плоскости;

- отклонение среднего диаметра отверстия тугого кольца одинарного подшипника в единичной плоскости;

- отклонение среднего диаметра отверстия среднего кольца двойного подшипника в единичной плоскости.
Примечание. Применяется только к упорным шариковым подшипникам и цилиндрическим роликовым упорным подшипникам с углом контакта 90°;

- разностенность по дорожке качения свободного кольца относительно широкого торца.
Примечание. Применяется только к упорным шариковым подшипникам и цилиндрическим роликовым упорным подшипникам с углом контакта 90°;

- отклонение действительной высоты одинарного подшипника;

- отклонение действительной высоты двойного подшипника.
| | ИС МЕГАНОРМ: примечание. Взамен ГОСТ 3478-79 Приказом Росстандарта от 24.07.2012 N 202-ст с 01.01.2014 введен в действие ГОСТ 3478-2012. | |
Основные размеры подшипников должны соответствовать ГОСТ 3478, стандартам на типы и размеры подшипников или конструкторской документации, в которой имеется ссылка на настоящий стандарт.
6.1. Классы точности подшипников
В зависимости от допустимых предельных отклонений размеров и допусков формы, взаимного положения поверхностей подшипников, точности вращения установлены следующие классы точности подшипников, указанные в порядке повышения точности:
- нормальный, 6, 5, 4, Т, 2 - для шариковых и роликовых радиальных и шариковых радиально-упорных подшипников;
- 0, нормальный, 6Х, 6, 5, 4, 2 - для роликовых конических подшипников;
- нормальный, 6, 5, 4, 2 - для упорных и упорно-радиальных подшипников.
Иллюстрация допусков на размер диаметров приведена в
Приложении А.
Соответствие классов точности шариковых и роликовых радиальных, радиально-упорных шариковых подшипников и роликовых конических подшипников настоящего стандарта классам точности ИСО 492
[1], ДИН 620
[2], AFBMA стандарт 20
[3], JISB B 1514
[4], AFBMA стандарт 19.1
[5], а также упорных и упорно-радиальных подшипников настоящего стандарта классам точности ИСО 199
[6] ДИН 620
[2] приведено в
Приложении Б.
6.2. Радиальные и радиально-упорные подшипники, кроме конических
6.2.1. Общие положения
Допуски размеров отверстий, приведенных в
6.2, действительны для подшипников с цилиндрическими отверстиями. Допуски размеров конических отверстий подшипников приведены в
6.5.
Допуски диаметра упорного борта наружных колец подшипников приведены в
6.4.
6.2.2. Нормальный класс точности (см. таблицы 1 и
2)
Таблица 1
Внутреннее кольцо нормального класса точности
Допуски в микрометрах
d, мм | | | | | | | |  , не более |
серии диаметров | подшипник |
0, 8, 9 | 1, 7 | 2, 3, 4, 5, 6 | любой | отдельный | |
верхн. | нижн. | не более | верхн. | нижн. |
| До | 0,6 | включ. | 0 | -8 | 10 | 8 | 6 | 6 | 10 | 20 | 24 | 0 | -40 | - | 12 |
Св. 0,6 | до | 2,5 | " | 0 | -8 | 10 | 8 | 6 | 6 | 10 | 20 | 24 | 0 | -40 | - | 12 |
" 2,5 | " | 10 | " | 0 | -8 | 10 | 8 | 6 | 6 | 10 | 20 | 24 | 0 | -120 | -250 | 15 |
" 10 | " | 18 | " | 0 | -8 | 10 | 8 | 6 | 6 | 10 | 20 | 24 | 0 | -120 | -250 | 20 |
" 18 | " | 30 | " | 0 | -10 | 13 | 10 | 8 | 8 | 13 | 20 | 24 | 0 | -120 | -250 | 20 |
| | | | | | | | | | | | | | | | |
" 30 | " | 50 | " | 0 | -12 | 15 | 12 | 9 | 9 | 15 | 20 | 24 | 0 | -120 | -250 | 20 |
" 50 | " | 80 | " | 0 | -15 | 19 | 19 | 11 | 11 | 20 | 25 | 30 | 0 | -150 | -380 | 25 |
" 80 | " | 120 | " | 0 | -20 | 25 | 25 | 15 | 15 | 25 | 25 | 30 | 0 | -200 | -380 | 25 |
" 120 | " | 180 | " | 0 | -25 | 31 | 31 | 19 | 19 | 30 | 30 | 35 | 0 | -250 | -500 | 30 |
" 180 | " | 250 | " | 0 | -30 | 38 | 38 | 23 | 23 | 40 | 30 | 35 | 0 | -300 | -500 | 30 |
| | | | | | | | | | | | | | | | |
" 250 | " | 315 | " | 0 | -35 | 44 | 44 | 26 | 26 | 50 | 35 | 42 | 0 | -350 | -500 | 35 |
" 315 | " | 400 | " | 0 | -40 | 50 | 50 | 30 | 30 | 60 | 40 | 48 | 0 | -400 | -630 | 40 |
" 400 | " | 500 | " | 0 | -45 | 56 | 56 | 34 | 34 | 65 | 45 | 54 | 0 | -450 | - | 50 |
" 500 | " | 630 | " | 0 | -50 | 63 | 63 | 38 | 38 | 70 | - | - | 0 | -500 | - | 60 |
" 630 | " | 800 | " | 0 | -75 | - | - | - | - | 80 | - | - | 0 | -750 | - | 70 |
" 800 | " | 1000 | " | 0 | -100 | - | - | - | - | 90 | - | - | 0 | -1000 | - | 80 |
" 1000 | " | 1250 | " | 0 | -125 | - | - | - | - | 100 | - | - | 0 | -1250 | - | 100 |
" 1250 | " | 1600 | " | 0 | -160 | - | - | - | - | 120 | - | - | 0 | -1600 | - | 120 |
" 1600 | " | 2000 | " | 0 | -200 | - | - | - | - | 140 | - | - | 0 | -2000 | - | 140 |
<1> Действительны только для желобных подшипников. |
<2> Действительны также для подшипников с коническим отверстием диаметром не менее 50 мм. |
Таблица 2
Наружное кольцо нормального класса точности
6.2.3. Класс точности 6 (см. таблицы 3 и 4)
Таблица 3
Внутреннее кольцо класса точности 6
Таблица 4
Наружное кольцо класса точности 6
6.2.4. Класс точности 5 (см. таблицы 5 и
6)
Таблица 5
Внутреннее кольцо класса точности 5
Допуски в микрометрах
d, мм | | | | | | | |  , не более |
серии диаметров | подшипник |
0, 8, 9 | 1, 2, 3, 4, 5, 6, 7 | любой | отдельный | |
верхн. | нижн. | не более | верхн. | нижн. |
| До | 0,6 | включ. | 0 | -5 | 5 | 4 | 3 | 4 | 7 | 7 | 0 | -40 | -250 | 5 |
Св. 0,6 | до | 2,5 | " | 0 | -5 | 5 | 4 | 3 | 4 | 7 | 7 | 0 | -40 | -250 | 5 |
" 2,5 | " | 10 | " | 0 | -5 | 5 | 4 | 3 | 4 | 7 | 7 | 0 | -40 | -250 | 5 |
" 10 | " | 18 | " | 0 | -5 | 5 | 4 | 3 | 4 | 7 | 7 | 0 | -80 | -250 | 5 |
" 18 | " | 30 | " | 0 | -6 | 6 | 5 | 3 | 4 | 8 | 8 | 0 | -120 | -250 | 5 |
| | | | | | | | | | | | | | | |
" 30 | " | 50 | " | 0 | -8 | 8 | 6 | 4 | 5 | 8 | 8 | 0 | -120 | -250 | 5 |
" 50 | " | 80 | " | 0 | -9 | 9 | 7 | 5 | 5 | 8 | 8 | 0 | -150 | -250 | 6 |
" 80 | " | 120 | " | 0 | -10 | 10 | 8 | 5 | 6 | 9 | 9 | 0 | -200 | -380 | 7 |
" 120 | " | 180 | " | 0 | -13 | 13 | 10 | 7 | 8 | 10 | 10 | 0 | -250 | -380 | 8 |
" 180 | " | 250 | " | 0 | -15 | 15 | 12 | 8 | 10 | 11 | 13 | 0 | -300 | -500 | 10 |
| | | | | | | | | | | | | | | |
" 250 | " | 315 | " | 0 | -18 | 18 | 14 | 9 | 13 | 13 | 15 | 0 | -350 | -500 | 13 |
" 315 | " | 400 | " | 0 | -23 | 23 | 18 | 12 | 15 | 15 | 20 | 0 | -400 | -630 | 15 |
<1> Действительны только для желобных подшипников. |
<2>Действительны также для подшипников с коническим отверстием диаметром не менее 50 мм. |
Таблица 6
Наружное кольцо класса точности 5
Допуски в микрометрах
D, мм | | | | | | | | | |
серии диаметров |
0, 8, 9 | 1, 2, 3, 4, 5, 6, 7 |
верхн. | нижн. | не более | верхн. | нижн. |
| | До | 2,5 | включ. | 0 | -5 | 5 | 4 | 3 | 5 | 8 | 8 | 11 | | | 5 |
Св. | 2,5 | до | 6 | " | 0 | -5 | 5 | 4 | 3 | 5 | 8 | 8 | 11 | | | 5 |
" | 6 | " | 18 | " | 0 | -5 | 5 | 4 | 3 | 5 | 8 | 8 | 11 | | | 5 |
" | 18 | " | 30 | " | 0 | -6 | 6 | 5 | 3 | 6 | 8 | 8 | 11 | | | 5 |
" | 30 | " | 50 | " | 0 | -7 | 7 | 5 | 4 | 7 | 8 | 8 | 11 | | | 5 |
| | | | | | | | | | | | | | | | |
" | 50 | " | 80 | " | 0 | -9 | 9 | 7 | 5 | 8 | 8 | 10 | 14 | | | 6 |
" | 80 | " | 120 | " | 0 | -10 | 10 | 8 | 5 | 10 | 9 | 11 | 16 | Равны  внутреннего кольца того же подшипника | 8 |
" | 120 | " | 150 | " | 0 | -11 | 11 | 8 | 6 | 11 | 10 | 13 | 18 | 8 |
" | 150 | " | 180 | " | 0 | -13 | 13 | 10 | 7 | 13 | 10 | 14 | 20 | 8 |
" | 180 | " | 250 | " | 0 | -15 | 15 | 11 | 8 | 15 | 11 | 15 | 21 | | | 10 |
| | | | | | | | | | | | | | | | |
" | 250 | " | 315 | " | 0 | -18 | 18 | 14 | 9 | 18 | 13 | 18 | 25 | | | 11 |
" | 315 | " | 400 | " | 0 | -20 | 20 | 15 | 10 | 20 | 13 | 20 | 28 | | | 13 |
" | 400 | " | 500 | " | 0 | -23 | 23 | 17 | 12 | 23 | 15 | 23 | 33 | | | 15 |
" | 500 | " | 630 | " | 0 | -28 | 28 | 21 | 14 | 25 | 18 | 25 | 35 | | | 18 |
" | 630 | " | 800 | " | 0 | -35 | 35 | 26 | 18 | 30 | 20 | 30 | 42 | | | 20 |
<1> Не действительны для подшипников с упорным бортом на наружном кольце. |
<2> Действительны только для желобных подшипников. |
Примечание. Допуск наружного диаметра упорного борта наружного кольца  приведен в таблице 33. |
6.2.5. Класс точности 4 (см. таблицы 7 и
8)
Таблица 7
Внутреннее кольцо класса точности 4
Допуски в микрометрах
d, мм | | | | | | | |  , не более |
серии диаметров | подшипник |
0, 8, 9 | 1, 2, 3, 4, 5, 6, 7 | любой | отдельный | комплектный |
верхн. | нижн. | не более | верхн. | нижн. |
| | До | 0,6 | включ. | 0 | -4 | 4 | 3 | 2 | 2,5 | 3 | 3 | 0 | -40 | -250 | 2,5 |
Св. | 0,6 | до | 2,5 | " | 0 | -4 | 4 | 3 | 2 | 2,5 | 3 | 3 | 0 | -40 | -250 | 2,5 |
" | 2,5 | " | 10 | " | 0 | -4 | 4 | 3 | 2 | 2,5 | 3 | 3 | 0 | -40 | -250 | 2,5 |
" | 10 | " | 18 | " | 0 | -4 | 4 | 3 | 2 | 2,5 | 3 | 3 | 0 | -80 | -250 | 2,5 |
" | 18 | " | 30 | " | 0 | -5 | 5 | 4 | 2,5 | 3 | 4 | 4 | 0 | -120 | -250 | 2,5 |
| | | | | | | | | | | | | | | | |
" | 30 | " | 50 | " | 0 | -6 | 6 | 5 | 3 | 4 | 4 | 4 | 0 | -120 | -250 | 3 |
" | 50 | " | 80 | " | 0 | -7 | 7 | 5 | 3,5 | 4 | 5 | 5 | 0 | -150 | -250 | 4 |
" | 80 | " | 120 | " | 0 | -8 | 8 | 6 | 4 | 5 | 5 | 5 | 0 | -200 | -380 | 4 |
" | 120 | " | 180 | " | 0 | -10 | 10 | 8 | 5 | 6 | 6 | 7 | 0 | -250 | -380 | 5 |
" | 180 | " | 250 | " | 0 | -12 | 12 | 9 | 6 | 8 | 7 | 8 | 0 | -300 | -500 | 6 |
<1> Действительны только для серий диаметров 1, 2, 3, 4, 5, 6 и 7. |
<2> Действительны только для желобных подшипников. |
Таблица 8
Наружное кольцо класса точности 4
Допуски в микрометрах
D, мм | | | | | | | | | |
серии диаметров |
0, 8, 9 | 1, 2, 3, 4, 5, 6, 7 |
верхн. | нижн. | не более | верхн. | нижн. |
| | До | 2,5 | включ. | 0 | -4 | 4 | 3 | 2 | 3 | 4 | 5 | 7 | | | 2,5 |
Св. | 2,5 | до | 6 | " | 0 | -4 | 4 | 3 | 2 | 3 | 4 | 5 | 7 | | | 2,5 |
" | 6 | " | 18 | " | 0 | -4 | 4 | 3 | 2 | 3 | 4 | 5 | 7 | | | 2,5 |
" | 18 | " | 30 | " | 0 | -5 | 5 | 4 | 2,5 | 4 | 4 | 5 | 7 | | | 2,5 |
" | 30 | " | 50 | " | 0 | -6 | 6 | 5 | 3 | 5 | 4 | 5 | 7 | | | 2,5 |
| | | | | | | | | | | | | | | | |
" | 50 | " | 80 | " | 0 | -7 | 7 | 5 | 3,5 | 5 | 4 | 5 | 7 | Равны  внутреннего кольца того же подшипника | 3 |
" | 80 | " | 120 | " | 0 | -8 | 8 | 6 | 4 | 6 | 5 | 6 | 8 | 4 |
" | 120 | " | 150 | " | 0 | -9 | 9 | 7 | 5 | 7 | 5 | 7 | 10 | 5 |
" | 150 | " | 180 | " | 0 | -10 | 10 | 8 | 5 | 8 | 5 | 8 | 11 | | | 5 |
" | 180 | " | 250 | " | 0 | -11 | 11 | 8 | 6 | 10 | 7 | 10 | 14 | | | 7 |
" | 250 | " | 315 | " | 0 | -13 | 13 | 10 | 7 | 11 | 8 | 10 | 14 | | | 7 |
" | 315 | " | 400 | " | 0 | -15 | 15 | 11 | 8 | 13 | 10 | 13 | 18 | | | 8 |
<1> Действительны только для серий диаметров 1, 2, 3, 4, 5, 6 и 7. |
<2> Не действительны для подшипников с упорным бортом на наружном кольце. |
<3> Действительны только для желобных подшипников. |
Примечание. Допуск наружного диаметра упорного борта наружного кольца  приведен в таблице 33. |
6.2.6. Класс точности T (см. таблицы 9 и
10)
Таблица 9
Внутреннее кольцо класса точности T
Допуски в микрометрах
d, мм | | | |  ,  | | | |  , не более |
верхн. | нижн. | не более | верхн. | нижн. |
| | До | 0,6 | включ. | 0 | -4 | 4 | 2,5 | 2 | 2 | 2 | 0 | -40 | 2 |
Св. | 0,6 | до | 2,5 | " | 0 | -4 | 4 | 2,5 | 2 | 2 | 2 | 0 | -40 | 2 |
" | 2,5 | " | 10 | " | 0 | -4 | 4 | 2,5 | 2 | 2 | 2 | 0 | -40 | 2 |
" | 10 | " | 18 | " | 0 | -4 | 4 | 2,5 | 2 | 2 | 2 | 0 | -80 | 2 |
" | 18 | " | 30 | " | 0 | -4 | 4 | 2,5 | 2,5 | 2 | 2,5 | 0 | -120 | 2 |
| | | | | | | | | | | | | | |
" | 30 | " | 50 | " | 0 | -4 | 4 | 2,5 | 2,5 | 2 | 2,5 | 0 | -120 | 2 |
" | 50 | " | 80 | " | 0 | -5 | 5 | 2,5 | 2,5 | 2 | 2,5 | 0 | -125 | 2 |
" | 80 | " | 120 | " | 0 | -5 | 5 | 2,5 | 2,5 | 2,5 | 2,5 | 0 | -125 | 2,5 |
" | 120 | " | 150 | " | 0 | -7 | 7 | 3,5 | 2,5 | 2,5 | 2,5 | 0 | -125 | 2,5 |
" | 150 | " | 180 | " | 0 | -7 | 7 | 3,5 | 5 | 4 | 5 | 0 | -125 | 4 |
| | | | | | | | | | | | | | |
" | 180 | " | 250 | " | 0 | -9 | 9 | 4,5 | 6 | 5 | 7 | 0 | -150 | 5 |
<1> Действительны только для серий диаметров 1, 2, 3, 4, 5, 6 и 7. |
<2> Действительны только для желобных подшипников. |
Таблица 10
Наружное кольцо класса точности T
Допуски в микрометрах
D, мм | | | |  ,  | | | | |
верхн. | нижн. | не более | верхн. | нижн. |
| | До | 2,5 | включ. | 0 | -3 | 3 | 2 | 2 | 2 | 2 | | | 1,5 |
Св. | 2,5 | до | 6 | " | 0 | -3 | 3 | 2 | 2 | 2 | 2 | | | 1,5 |
" | 6 | " | 18 | " | 0 | -3 | 3 | 2 | 2 | 2 | 2 | | | 1,5 |
" | 18 | " | 30 | " | 0 | -4 | 4 | 2 | 2,5 | 2 | 2,5 | | | 2 |
" | 30 | " | 50 | " | 0 | -4 | 4 | 2 | 2,5 | 2 | 2,5 | | 2 |
| | | | | | | | | | | | | |
" | 50 | " | 80 | " | 0 | -4 | 4 | 2 | 4 | 2 | 4 | Равны  внутреннего кольца того же подшипника | 2 |
" | 80 | " | 120 | " | 0 | -5 | 5 | 2,5 | 5 | 2,5 | 5 | 2,5 |
" | 120 | " | 150 | " | 0 | -5 | 5 | 2,5 | 5 | 2,5 | 5 | 2,5 |
" | 150 | " | 180 | " | 0 | -7 | 7 | 3,5 | 5 | 2,5 | 5 | 2,5 |
" | 180 | " | 250 | " | 0 | -8 | 8 | 4 | 7 | 4 | 7 | | | 4 |
| | | | | | | | | | | | | | |
" | 250 | " | 315 | " | 0 | -10 | 10 | 5 | 8 | 6 | 8 | | | 5 |
" | 315 | " | 400 | " | 0 | -12 | 12 | 6 | 10 | 7 | 10 | | | 6 |
<1> Действительны только для серий диаметров 1, 2, 3, 4, 5, 6 и 7. |
<2> Не действительны для подшипников с упорным бортом на наружном кольце. |
<3> Действительны только для желобных подшипников. |
Примечание. Допуск наружного диаметра упорного борта наружного кольца  приведен в таблице 33. |
6.2.7. Класс точности 2 (см. таблицы 11 и
12)
Таблица 11
Внутреннее кольцо класса точности 2
Допуски в микрометрах
d, мм | | | | | | | |  , не более |
подшипник |
каждый | отдельный | комплектный |
верхн. | нижн. | не более | верхн. | нижн. |
| | До | 0,6 | включ. | 0 | -2,5 | 2,5 | 1,5 | 1,5 | 1,5 | 1,5 | 0 | -40 | -250 | 1,5 |
Св. | 0,6 | до | 2,5 | " | 0 | -2,5 | 2,5 | 1,5 | 1,5 | 1,5 | 1,5 | 0 | -40 | -250 | 1,5 |
" | 2,5 | " | 10 | " | 0 | -2,5 | 2,5 | 1,5 | 1,5 | 1,5 | 1,5 | 0 | -40 | -250 | 1,5 |
" | 10 | " | 18 | " | 0 | -2,5 | 2,5 | 1,5 | 1,5 | 1,5 | 1,5 | 0 | -80 | -250 | 1,5 |
" | 18 | " | 30 | " | 0 | -2,5 | 2,5 | 1,5 | 2,5 | 1,5 | 2,5 | 0 | -120 | -250 | 1,5 |
| | | | | | | | | | | | | | | |
" | 30 | " | 50 | " | 0 | -2,5 | 2,5 | 1,5 | 2,5 | 1,5 | 2,5 | 0 | -120 | -250 | 1,5 |
" | 50 | " | 80 | " | 0 | -4 | 4 | 2 | 2,5 | 1,5 | 2,5 | 0 | -150 | -250 | 1,5 |
" | 80 | " | 120 | " | 0 | -5 | 5 | 2,5 | 2,5 | 2,5 | 2,5 | 0 | -200 | -380 | 2,5 |
" | 120 | " | 150 | " | 0 | -7 | 7 | 3,5 | 2,5 | 2,5 | 2,5 | 0 | -250 | -380 | 2,5 |
" | 150 | " | 180 | " | 0 | -7 | 7 | 3,5 | 5 | 4 | 5 | 0 | -250 | -380 | 4 |
| | | | | | | | | | | | | | | |
" | 180 | " | 250 | " | 0 | -8 | 8 | 4 | 5 | 5 | 5 | 0 | -300 | -500 | 5 |
<1> Действительны только для серий диаметров 1, 2, 3, 4, 5, 6 и 7. |
<2> Действительны только для желобных подшипников. |
Таблица 12
Наружное кольцо класса точности 2
Допуски в микрометрах
D, мм | | | | | | | | | |
верхн. | нижн. | не более | верхн. | нижн. |
| | До | 2,5 | включ. | 0 | -2,5 | 2,5 | 1,5 | 1,5 | 1,5 | 1,5 | 3 | | | 1,5 |
Св. | 2,5 | до | 6 | " | 0 | -2,5 | 2,5 | 1,5 | 1,5 | 1,5 | 1,5 | 3 | | | 1,5 |
" | 6 | " | 18 | " | 0 | -2,5 | 2,5 | 1,5 | 1,5 | 1,5 | 1,5 | 3 | | | 1,5 |
" | 18 | " | 30 | " | 0 | -4 | 4 | 2 | 2,5 | 1,5 | 2,5 | 4 | | | 1,5 |
" | 30 | " | 50 | " | 0 | -4 | 4 | 2 | 2,5 | 1,5 | 2,5 | 4 | | | 1,5 |
| | | | | | | | | | | | | | | |
" | 50 | " | 80 | " | 0 | -4 | 4 | 2 | 4 | 1,5 | 4 | 6 | Равны  внутреннего кольца того же подшипника | 1,5 |
" | 80 | " | 120 | " | 0 | -5 | 5 | 2,5 | 5 | 2,5 | 5 | 7 | 2,5 |
" | 120 | " | 150 | " | 0 | -5 | 5 | 2,5 | 5 | 2,5 | 5 | 7 | 2,5 |
" | 150 | " | 180 | " | 0 | -7 | 7 | 3,5 | 5 | 2,5 | 5 | 7 | | | 2,5 |
" | 180 | " | 250 | " | 0 | -8 | 8 | 4 | 7 | 4 | 7 | 10 | | | 4 |
| | | | | | | | | | | | | | | |
" | 250 | " | 315 | " | 0 | -8 | 8 | 4 | 7 | 5 | 7 | 10 | | | 5 |
" | 315 | " | 400 | " | 0 | -10 | 10 | 5 | 8 | 7 | 8 | 11 | | | 7 |
<1>Действительны только для серий диаметров 1, 2, 3, 4, 5, 6 и 7. |
<2> Не действительны для подшипников с упорным бортом на наружном кольце. |
<3> Действительны только для желобных подшипников. |
Примечание. Допуск наружного диаметра упорного борта наружного кольца  приведен в таблице 33. |
6.3. Роликовые конические подшипники
6.3.1. Общие положения
Предельные отклонения отверстия подшипников, приведенные в
6.3, действительны для подшипников с цилиндрическим отверстием. Предельные отклонения конического отверстия подшипников даны в
6.5.
Предельные отклонения наружного диаметра упорного борта наружного кольца подшипников даны в
6.4.
6.3.2. Класс точности 0 (см. таблицы 13 -
15)
Таблица 13
Внутреннее кольцо конического подшипника класса точности 0
Допуски в микрометрах
d, мм | | | |  ,  | |
верхн. | нижн. | не более |
От | 10 | до | 18 | включ. | 0 | -12 | 12 | 9 | 15 | 20 |
Св. | 18 | " | 30 | " | 0 | -12 | 12 | 9 | 18 | 20 |
" | 30 | " | 50 | " | 0 | -12 | 12 | 9 | 20 | 20 |
" | 50 | " | 80 | " | 0 | -15 | 15 | 11 | 25 | 25 |
" | 80 | " | 120 | " | 0 | -20 | 20 | 15 | 30 | 25 |
| | | | | | | | | | |
" | 120 | " | 180 | " | 0 | -25 | 25 | 19 | 35 | 30 |
" | 180 | " | 250 | " | 0 | -30 | 30 | 23 | 50 | 30 |
" | 250 | " | 315 | " | 0 | -35 | 35 | 26 | 60 | 35 |
" | 315 | " | 400 | " | 0 | -40 | 40 | 30 | 70 | 40 |
Таблица 14
Наружное кольцо конического подшипника класса точности 0
Допуски в микрометрах
D, мм | | | |  ,  |
верхн. | нижн. | не более |
От | 18 | до | 30 | включ. | 0 | -12 | 12 | 9 | 18 |
Св. | 30 | " | 50 | " | 0 | -14 | 14 | 11 | 20 |
" | 50 | " | 80 | " | 0 | -16 | 16 | 12 | 25 |
" | 80 | " | 120 | " | 0 | -18 | 18 | 14 | 35 |
" | 120 | " | 150 | " | 0 | -20 | 20 | 15 | 40 |
" | 150 | " | 180 | " | 0 | -25 | 25 | 19 | 45 |
" | 180 | " | 250 | " | 0 | -30 | 30 | 23 | 50 |
" | 250 | " | 315 | " | 0 | -35 | 35 | 26 | 60 |
" | 315 | " | 400 | " | 0 | -40 | 40 | 30 | 70 |
" | 400 | " | 500 | " | 0 | -45 | 45 | 34 | 80 |
| | | | | | | | | |
" | 500 | " | 630 | " | 0 | -50 | 50 | 38 | 100 |
Примечание. Допуск наружного диаметра упорного борта наружного кольца  приведен в таблице 33. |
Таблица 15
Ширина. Внутреннее и наружное кольца, однорядные
подшипники и однорядные подузлы класса точности 0
Допуски в микрометрах
d, мм | | | | | |
верхн. | нижн. | верхн. | нижн. | верхн. | нижн. | верхн. | нижн. | верхн. | нижн. |
От | 10 | до | 18 | включ. | 0 | -200 | 0 | -200 | +250 | -250 | + 125 | -125 | + 125 | -125 |
Св. | 18 | " | 30 | " | 0 | -200 | 0 | -200 | +250 | -250 | + 125 | -125 | +125 | -125 |
" | 30 | " | 50 | " | 0 | -240 | 0 | -240 | +250 | -250 | + 125 | -125 | +125 | -125 |
" | 50 | " | 80 | " | 0 | -300 | 0 | -300 | +250 | -250 | + 125 | -125 | +125 | -125 |
" | 80 | " | 120 | " | 0 | -400 | 0 | -400 | +500 | -500 | +250 | -250 | +250 | -250 |
| | | | | | | | | | | | | | |
" | 120 | " | 180 | " | 0 | -500 | 0 | -500 | +750 | -750 | +375 | -375 | +375 | -375 |
" | 180 | " | 250 | " | 0 | -600 | 0 | -600 | +750 | -750 | +375 | -375 | +375 | -375 |
" | 250 | " | 315 | " | 0 | -700 | 0 | -700 | +750 | -750 | +375 | -375 | +375 | -375 |
" | 315 | " | 400 | " | 0 | -800 | 0 | -800 | + 1000 | -1000 | +500 | -500 | +500 | -500 |
6.3.3. Нормальный класс точности (см. таблицы 16 -
18)
Таблица 16
Внутреннее кольцо конического подшипника нормального
класса точности
Допуски в микромерах
d, мм | | | |  ,  | |
верхн. | нижн. | не более |
| | До | 10 | включ. | 0 | -12 | 12 | 9 | 15 | 20 |
Св. | 10 | " | 18 | " | 0 | -12 | 12 | 9 | 15 | 20 |
" | 18 | " | 30 | " | 0 | -12 | 12 | 9 | 18 | 20 |
" | 30 | " | 50 | " | 0 | -12 | 12 | 9 | 20 | 20 |
" | 50 | " | 80 | " | 0 | -15 | 15 | 11 | 25 | 25 |
| | | | | | | | | | |
" | 80 | " | 120 | " | 0 | -20 | 20 | 15 | 30 | 25 |
" | 120 | " | 180 | " | 0 | -25 | 25 | 19 | 35 | 30 |
" | 180 | " | 250 | " | 0 | -30 | 30 | 23 | 50 | 30 |
" | 250 | " | 315 | " | 0 | -35 | 35 | 26 | 60 | 35 |
" | 315 | " | 400 | " | 0 | -40 | 40 | 30 | 70 | 40 |
| | | | | | | | | | |
" | 400 | " | 500 | " | 0 | -45 | 45 | 34 | 80 | - |
" | 500 | " | 630 | " | 0 | -60 | 60 | 40 | 90 | - |
" | 630 | " | 800 | " | 0 | -75 | 75 | 45 | 100 | - |
" | 800 | " | 1000 | " | 0 | -100 | 100 | 55 | 115 | - |
" | 1000 | " | 1250 | " | 0 | -125 | 125 | 65 | 130 | - |
| | | | | | | | | | |
" | 1250 | " | 1600 | " | 0 | -160 | 160 | 80 | 150 | - |
" | 1600 | " | 2000 | " | 0 | -200 | 200 | 100 | 170 | - |
<1> Действительны только по заказу потребителя. |
Таблица 17
Наружное кольцо конического подшипника нормального
класса точности
Допуски в микрометрах
D, мм | | | | |
верхн. | нижн. | не более |
| | До | 18 | включ. | 0 | -12 | 12 | 9 | 18 |
Св. | 18 | " | 30 | " | 0 | -12 | 12 | 9 | 18 |
" | 30 | " | 50 | " | 0 | -14 | 14 | 11 | 20 |
" | 50 | " | 80 | " | 0 | -16 | 16 | 12 | 25 |
" | 80 | " | 120 | " | 0 | -18 | 18 | 14 | 35 |
| | | | | | | | | |
" | 120 | " | 150 | " | 0 | -20 | 20 | 15 | 40 |
" | 150 | " | 180 | " | 0 | -25 | 25 | 19 | 45 |
" | 180 | " | 250 | " | 0 | -30 | 30 | 23 | 50 |
" | 250 | " | 315 | " | 0 | -35 | 35 | 26 | 60 |
" | 315 | " | 400 | " | 0 | -40 | 40 | 30 | 70 |
| | | | | | | | | |
" | 400 | " | 500 | " | 0 | -45 | 45 | 34 | 80 |
" | 500 | " | 630 | " | 0 | -50 | 50 | 38 | 100 |
" | 630 | " | 800 | " | 0 | -75 | 80 | 55 | 120 |
" | 800 | " | 1000 | " | 0 | -100 | 100 | 75 | 140 |
" | 1000 | " | 1250 | " | 0 | -125 | 130 | 90 | 160 |
| | | | | | | | | |
" | 1250 | " | 1600 | " | 0 | -160 | 170 | 100 | 180 |
" | 1600 | " | 2000 | " | 0 | -200 | 210 | 110 | 200 |
" | 2000 | " | 2500 | " | 0 | -250 | 265 | 120 | 220 |
Примечание. Допуск наружного диаметра упорного борта наружного кольца  приведен в таблице 33. |
Таблица 18
Ширина. Внутреннее и наружное кольца, однорядные
подшипники и однорядные подузлы нормального
класса точности
Допуски в микрометрах
d, мм | | | | | |
верхн. | нижн. | верхн. | нижн. | верхн. | нижн. | верхн. | нижн. | верхн. | нижн. |
| | До | 10 | включ. | 0 | -120 | 0 | -120 | +200 | 0 | + 100 | 0 | + 100 | 0 |
Св. | 10 | " | 18 | " | 0 | -120 | 0 | -120 | +200 | 0 | +100 | 0 | + 100 | 0 |
" | 18 | " | 30 | " | 0 | -120 | 0 | -120 | +200 | 0 | +100 | 0 | + 100 | 0 |
" | 30 | " | 50 | " | 0 | -120 | 0 | -120 | +200 | 0 | +100 | 0 | + 100 | 0 |
" | 50 | " | 80 | " | 0 | -150 | 0 | -150 | +200 | 0 | +100 | 0 | + 100 | 0 |
| | | | | | | | | | | | | | |
" | 80 | " | 120 | " | 0 | -200 | 0 | -200 | +200 | -200 | +100 | -100 | + 100 | -100 |
" | 120 | " | 180 | " | 0 | -250 | 0 | -250 | +350 | -250 | +150 | -150 | +200 | -100 |
" | 180 | " | 250 | " | 0 | -300 | 0 | -300 | +350 | -250 | +150 | -150 | +200 | -100 |
" | 250 | " | 315 | " | 0 | -350 | 0 | -350 | +350 | -250 | +150 | -150 | +200 | -100 |
" | 315 | " | 400 | " | 0 | -400 | 0 | -400 | +400 | -400 | +200 | -200 | +200 | -200 |
| | | | | | | | | | | | | | |
" | 400 | " | 500 | " | 0 | -450 | 0 | -450 | +450 | -450 | +225 | -225 | +225 | -225 |
" | 500 | " | 630 | " | 0 | -500 | 0 | -500 | +500 | -500 | - | - | - | - |
" | 630 | " | 800 | " | 0 | -750 | 0 | -750 | +600 | -600 | - | - | - | - |
" | 800 | " | 1000 | " | 0 | -1000 | 0 | -1000 | +750 | -750 | - | - | - | - |
" | 1000 | " | 1250 | " | 0 | -1250 | 0 | -1250 | +900 | -900 | - | - | - | - |
| | | | | | | | | | | | | | |
" | 1250 | " | 1600 | " | 0 | -1600 | 0 | -1600 | + 1050 | -1050 | - | - | - | - |
" | 1600 | " | 2000 | " | 0 | -2000 | 0 | -2000 | + 1200 | -1200 | - | - | - | - |
6.3.4. Класс точности 6Х
Допуски для внутреннего и наружного колец соответствуют приведенным в
таблицах 16 и
17 для нормального класса точности.
Допуски ширины колец приведены в таблице 19.
Таблица 19
Ширина. Внутреннее и наружное кольца, однорядные
подшипники и однорядные подузлы класса точности 6Х
Допуски в микрометрах
d, мм | | | | | |
верхн. | нижн. | верхн. | нижн. | верхн. | нижн. | верхн. | нижн. | верхн. | нижн. |
| | До | 10 | включ. | 0 | -50 | 0 | -100 | +100 | 0 | +50 | 0 | +50 | 0 |
Св. | 10 | " | 18 | " | 0 | -50 | 0 | -100 | +100 | 0 | +50 | 0 | +50 | 0 |
" | 18 | " | 30 | " | 0 | -50 | 0 | -100 | +100 | 0 | +50 | 0 | +50 | 0 |
" | 30 | " | 50 | " | 0 | -50 | 0 | -100 | +100 | 0 | +50 | 0 | +50 | 0 |
" | 50 | " | 80 | " | 0 | -50 | 0 | -100 | +100 | 0 | +50 | 0 | +50 | 0 |
| | | | | | | | | | | | | | |
" | 80 | " | 120 | " | 0 | -50 | 0 | -100 | +100 | 0 | +50 | 0 | +50 | 0 |
" | 120 | " | 180 | " | 0 | -50 | 0 | -100 | +150 | 0 | +50 | 0 | +100 | 0 |
" | 180 | " | 250 | " | 0 | -50 | 0 | -100 | +150 | 0 | +50 | 0 | +100 | 0 |
" | 250 | " | 315 | " | 0 | -50 | 0 | -100 | +200 | 0 | +100 | 0 | +100 | 0 |
" | 315 | " | 400 | " | 0 | -50 | 0 | -100 | +200 | 0 | +100 | 0 | +100 | 0 |
| | | | | | | | | | | | | | |
" | 400 | " | 500 | " | 0 | -50 | 0 | -100 | +200 | 0 | +100 | 0 | +100 | 0 |
6.3.5. Класс точности 6 (см. таблицы 20 -
22)
Таблица 20
Внутреннее кольцо конического подшипника класса точности 6
Допуски в микрометрах
d, мм | | | |  ,  | |
верхн. | нижн. | не более |
От | 10 | до | 18 | включ. | 0 | -7 | 7 | 5 | 7 | 10 |
Св. | 18 | " | 30 | " | 0 | -8 | 8 | 6 | 8 | 10 |
" | 30 | " | 50 | " | 0 | -10 | 10 | 8 | 10 | 10 |
" | 50 | " | 80 | " | 0 | -12 | 12 | 9 | 10 | 12 |
" | 80 | " | 120 | " | 0 | -15 | 15 | 11 | 13 | 12 |
| | | | | | | | | | |
" | 120 | " | 180 | " | 0 | -18 | 18 | 14 | 18 | 15 |
" | 180 | " | 250 | " | 0 | -22 | 22 | 16 | 20 | 15 |
" | 250 | " | 315 | " | 0 | -25 | - | - | 25 | 17 |
" | 315 | " | 400 | " | 0 | -30 | - | - | 30 | 20 |
Таблица 21
Наружное кольцо конического подшипника класса точности 6
Допуски в микрометрах
D, мм | | | |  ,  |
верхн. | нижн. | не более |
От | 18 | до | 30 | включ. | 0 | -8 | 8 | 6 | 9 |
Св. | 30 | " | 50 | " | 0 | -9 | 9 | 7 | 10 |
" | 50 | " | 80 | " | 0 | -11 | 11 | 8 | 13 |
" | 80 | " | 120 | " | 0 | -13 | 13 | 10 | 18 |
" | 120 | " | 150 | " | 0 | -15 | 15 | 11 | 20 |
| | | | | | | | | |
" | 150 | " | 180 | " | 0 | -18 | 18 | 14 | 23 |
" | 180 | " | 250 | " | 0 | -20 | 20 | 15 | 25 |
" | 250 | " | 315 | " | 0 | -25 | 25 | 19 | 30 |
" | 315 | " | 400 | " | 0 | -28 | 28 | 21 | 35 |
" | 400 | " | 500 | " | 0 | -33 | - | - | 40 |
| | | | | | | | | |
" | 500 | " | 630 | " | 0 | -38 | - | - | 50 |
Примечание. Допуск наружного диаметра упорного борта наружного кольца  приведен в таблице 33. |
Таблица 22
Ширина. Внутреннее и наружное кольца, однорядные
подшипники и однорядные подузлы класса точности 6
Допуски в микрометрах
d, мм | | | | | |
верхн. | нижн. | верхн. | нижн. | верхн. | нижн. | верхн. | нижн. | верхн. | нижн. |
От | 10 | до | 18 | включ. | 0 | -200 | 0 | -200 | +250 | -250 | +125 | -125 | +125 | -125 |
Св. | 18 | " | 30 | " | 0 | -200 | 0 | -200 | +250 | -250 | +125 | -125 | +125 | -125 |
" | 30 | " | 50 | " | 0 | -240 | 0 | -240 | +250 | -250 | +125 | -125 | +125 | -125 |
" | 50 | " | 80 | " | 0 | -300 | 0 | -300 | +250 | -250 | +125 | -125 | +125 | -125 |
" | 80 | " | 120 | " | 0 | -400 | 0 | -400 | +500 | -500 | +250 | -250 | +250 | -250 |
| | | | | | | | | | | | | | |
" | 120 | " | 180 | " | 0 | -500 | 0 | -500 | +750 | -750 | +375 | -375 | +375 | -375 |
" | 180 | " | 250 | " | 0 | -600 | 0 | -600 | +750 | -750 | +375 | -375 | +375 | -375 |
" | 250 | " | 315 | " | 0 | -700 | 0 | -700 | +750 | -750 | +375 | -375 | +375 | -375 |
" | 315 | " | 400 | " | 0 | -800 | 0 | -800 | +1000 | -1000 | +500 | -500 | +500 | -500 |
6.3.6. Класс точности 5 (см. таблицы 23 -
25)
Таблица 23
Внутреннее кольцо конического подшипника класса точности 5
Допуски в микрометрах
d, мм | | | | | |
верхн. | нижн. | не более |
| | До | 10 | включ. | 0 | -7 | 5 | 5 | 5 | 7 |
Св. | 10 | до | 18 | " | 0 | -7 | 5 | 5 | 5 | 7 |
" | 18 | " | 30 | " | 0 | -8 | 6 | 5 | 5 | 8 |
" | 30 | " | 50 | " | 0 | -10 | 8 | 5 | 6 | 8 |
" | 30 | " | 80 | " | 0 | -12 | 9 | 6 | 7 | 8 |
| | | | | | | | | | |
" | 80 | " | 120 | " | 0 | -15 | 11 | 8 | 8 | 9 |
" | 120 | " | 180 | " | 0 | -18 | 14 | 9 | 11 | 10 |
" | 180 | " | 250 | " | 0 | -22 | 17 | 11 | 13 | 11 |
" | 250 | " | 315 | " | 0 | -25 | 19 | 13 | 13 | 13 |
" | 315 | " | 400 | " | 0 | -30 | 23 | 15 | 15 | 15 |
| | | | | | | | | | |
" | 400 | " | 500 | " | 0 | -35 | 28 | 17 | 20 | 17 |
" | 500 | " | 630 | " | 0 | -40 | 35 | 20 | 25 | 20 |
" | 630 | " | 800 | " | 0 | -50 | 45 | 25 | 30 | 25 |
" | 800 | " | 1000 | " | 0 | -60 | 60 | 30 | 37 | 30 |
" | 1000 | " | 1250 | " | 0 | -75 | 75 | 37 | 45 | 40 |
| | | | | | | | | | |
" | 1250 | " | 1600 | " | 0 | -90 | 90 | 45 | 55 | 50 |
Таблица 24
Наружное кольцо конического подшипника
класса точности 5
Допуски в микрометрах
D, мм | | | | | |
верхн. | нижн. | не более |
| | До | 18 | включ. | 0 | -8 | 6 | 5 | 6 | 8 |
Св. | 18 | " | 30 | " | 0 | -8 | 6 | 5 | 6 | 8 |
" | 30 | " | 50 | " | 0 | -9 | 7 | 5 | 7 | 8 |
" | 50 | " | 80 | " | 0 | -11 | 8 | 6 | 8 | 8 |
" | 80 | " | 120 | " | 0 | -13 | 10 | 7 | 10 | 9 |
| | | | | | | | | | |
" | 120 | " | 150 | " | 0 | -15 | 11 | 8 | 11 | 10 |
" | 150 | " | 180 | " | 0 | -18 | 14 | 9 | 13 | 10 |
" | 180 | " | 250 | " | 0 | -20 | 15 | 10 | 15 | 11 |
" | 250 | " | 315 | " | 0 | -25 | 19 | 13 | 18 | 13 |
" | 315 | " | 400 | " | 0 | -28 | 22 | 14 | 20 | 13 |
| | | | | | | | | | |
" | 400 | " | 500 | " | 0 | -33 | 26 | 17 | 24 | 17 |
" | 500 | " | 630 | " | 0 | -38 | 30 | 20 | 30 | 20 |
" | 630 | " | 800 | " | 0 | -45 | 36 | 25 | 36 | 25 |
" | 800 | " | 1000 | " | 0 | -60 | 45 | 30 | 43 | 30 |
" | 1000 | " | 1250 | " | 0 | -80 | 65 | 38 | 52 | 38 |
| | | | | | | | | | |
" | 1250 | " | 1600 | " | 0 | -100 | 90 | 50 | 62 | 50 |
" | 1600 | " | 2000 | " | 0 | -125 | 120 | 65 | 73 | 65 |
<1> Не действительны для подшипников с упорным бортом на наружном кольце. |
Примечание. Допуск наружного диаметра упорного борта наружного кольца  приведен в таблице 33. |
Таблица 25
Ширина. Внутреннее и наружное кольца, однорядные
подшипники и однорядные подузлы класса точности 5
Допуски в микрометрах
d, мм | | | | | |
верхн. | нижн. | верхн. | нижн. | верхн. | нижн. | верхн. | нижн. | верхн. | нижн. |
| | До | 10 | включ. | 0 | -200 | 0 | -200 | +200 | -200 | +100 | -100 | +100 | -100 |
Св. | 10 | " | 18 | " | 0 | -200 | 0 | -200 | +200 | -200 | +100 | -100 | +100 | -100 |
" | 18 | " | 30 | " | 0 | -200 | 0 | -200 | +200 | -200 | +100 | -100 | +100 | -100 |
" | 30 | " | 50 | " | 0 | -240 | 0 | -240 | +200 | -200 | +100 | -100 | +100 | -100 |
" | 50 | " | 80 | " | 0 | -300 | 0 | -300 | +200 | -200 | +100 | -100 | +100 | -100 |
| | | | | | | | | | | | | | |
" | 80 | " | 120 | " | 0 | -400 | 0 | -400 | +200 | -200 | +100 | -100 | +100 | -100 |
" | 120 | " | 180 | " | 0 | -500 | 0 | -500 | +350 | -250 | +150 | -150 | +200 | -100 |
" | 180 | " | 250 | " | 0 | -600 | 0 | -600 | +350 | -250 | +150 | -150 | +200 | -100 |
" | 250 | " | 315 | " | 0 | -700 | 0 | -700 | +350 | -250 | +150 | -150 | +200 | -100 |
" | 315 | " | 400 | " | 0 | -800 | 0 | -800 | +400 | -400 | +200 | -200 | +200 | -200 |
| | | | | | | | | | | | | | |
" | 400 | " | 500 | " | 0 | -900 | 0 | -900 | +450 | -450 | +225 | -225 | +225 | -225 |
" | 500 | " | 630 | " | 0 | -1100 | 0 | -1100 | +500 | -500 | - | - | - | - |
" | 630 | " | 800 | " | 0 | -1600 | 0 | -1600 | +600 | -600 | - | - | - | - |
" | 800 | " | 1000 | " | 0 | -2000 | 0 | -2000 | +750 | -750 | - | - | - | - |
" | 1000 | " | 1250 | " | 0 | -2000 | 0 | -2000 | +750 | -750 | - | - | - | - |
| | | | | | | | | | | | | | |
" | 1250 | " | 1600 | " | 0 | -2000 | 0 | -2000 | +900 | -900 | - | - | - | - |
6.3.7. Класс точности 4 (см. таблицы 26 -
28)
Таблица 26
Внутреннее кольцо конического подшипника
класса точности 4
Допуски в микрометрах
d, мм |  ,  | | | | | |
верхн. | нижн. | не более |
| До | 10 | включ. | 0 | -5 | 4 | 4 | 3 | 3 | 3 |
Св. | 10 | до | 18 | " | 0 | -5 | 4 | 4 | 3 | 3 | 3 |
" | 18 | " | 30 | " | 0 | -6 | 5 | 4 | 3 | 4 | 4 |
" | 30 | " | 50 | " | 0 | -8 | 6 | 5 | 4 | 4 | 4 |
" | 50 | " | 80 | " | 0 | -9 | 7 | 5 | 4 | 5 | 4 |
| | | | | | | | | | | |
" | 80 | " | 120 | " | 0 | -10 | 8 | 5 | 5 | 5 | 5 |
" | 120 | " | 180 | " | 0 | -13 | 10 | 7 | 6 | 6 | 7 |
" | 180 | " | 250 | " | 0 | -15 | 11 | 8 | 8 | 7 | 8 |
" | 250 | " | 315 | " | 0 | -18 | 12 | 9 | 9 | 8 | 9 |
Таблица 27
Наружное кольцо конического подшипника
класса точности 4
Допуски в микрометрах
D, мм |  ,  | | | | | | |
верхн. | нижн. | не более |
| | До | 18 | включ. | 0 | -6 | 5 | 4 | 4 | 4 | 5 | 7 |
Св. | 18 | " | 30 | " | 0 | -6 | 5 | 4 | 4 | 4 | 5 | 7 |
" | 30 | " | 50 | " | 0 | -7 | 5 | 5 | 5 | 4 | 5 | 7 |
" | 50 | " | 80 | " | 0 | -9 | 7 | 5 | 5 | 4 | 5 | 7 |
" | 80 | " | 120 | " | 0 | -10 | 8 | 5 | 6 | 5 | 6 | 8 |
| | | | | | | | | | | | |
" | 120 | " | 150 | " | 0 | -11 | 8 | 6 | 7 | 5 | 7 | 10 |
" | 150 | " | 180 | " | 0 | -13 | 10 | 7 | 8 | 5 | 8 | 11 |
" | 180 | " | 250 | " | 0 | -15 | 11 | 8 | 10 | 7 | 10 | 14 |
" | 250 | " | 315 | " | 0 | -18 | 14 | 9 | 11 | 8 | 10 | 14 |
" | 315 | " | 400 | " | 0 | -20 | 15 | 10 | 13 | 10 | 13 | 18 |
<1> Не действительны для подшипников с упорным бортом на наружном кольце. |
Примечание. Допуск наружного диаметра упорного борта наружного кольца  приведен в таблице 33. |
Таблица 28
Ширина. Внутреннее и наружное кольца, однорядные
подшипники и однорядные подузлы класса точности 4
Допуски в микрометрах
d, мм | | | | | |
верхн. | нижн. | верхн. | нижн. | верхн. | нижн. | верхн. | нижн. | верхн. | нижн. |
| | До | 10 | включ. | 0 | -200 | 0 | -200 | +200 | -200 | +100 | -100 | +100 | -100 |
Св. | 10 | до | 18 | " | 0 | -200 | 0 | -200 | +200 | -200 | +100 | -100 | +100 | -100 |
" | 18 | " | 30 | " | 0 | -200 | 0 | -200 | +200 | -200 | +100 | -100 | +100 | -100 |
" | 30 | " | 50 | " | 0 | -240 | 0 | -240 | +200 | -200 | +100 | -100 | +100 | -100 |
" | 50 | " | 80 | " | 0 | -300 | 0 | -300 | +200 | -200 | +100 | -100 | +100 | -100 |
| | | | | | | | | | | | | | |
" | 80 | " | 120 | " | 0 | -400 | 0 | -400 | +200 | -200 | +100 | -100 | +100 | -100 |
" | 120 | " | 180 | " | 0 | -500 | 0 | -500 | +350 | -250 | +150 | -150 | +200 | -100 |
" | 180 | " | 250 | " | 0 | -600 | 0 | -600 | +350 | -250 | +150 | -150 | +200 | -100 |
" | 250 | " | 315 | " | 0 | -700 | 0 | -700 | +350 | -250 | +150 | -150 | +200 | -100 |
6.3.8. Класс точности 2 (см. таблицы 29 -
31)
Таблица 29
Внутреннее кольцо конического подшипника
класса точности 2
Предельные отклонения в микрометрах
d, мм |  ,  | | | | | |
верхн. | нижн. | не более |
| | До | 10 | включ. | 0 | -4 | 2,5 | 1,5 | 2 | 1,5 | 2 |
Св. | 10 | до | 18 | " | 0 | -4 | 2,5 | 1,5 | 2 | 1,5 | 2 |
" | 18 | " | 30 | " | 0 | -4 | 2,5 | 1,5 | 2,5 | 1,5 | 2,5 |
" | 30 | " | 50 | " | 0 | -5 | 3 | 2 | 2,5 | 2 | 2,5 |
" | 50 | " | 80 | " | 0 | -5 | 4 | 2 | 3 | 2 | 3 |
| | | | | | | | | | | |
" | 80 | " | 120 | " | 0 | -6 | 5 | 2,5 | 3 | 2,5 | 3 |
" | 120 | " | 180 | " | 0 | -7 | 7 | 3,5 | 4 | 3,5 | 4 |
" | 180 | " | 250 | " | 0 | -8 | 7 | 4 | 5 | 5 | 5 |
" | 250 | " | 315 | " | 0 | -8 | 8 | 5 | 6 | 5,5 | 6 |
Таблица 30
Наружное кольцо конического подшипника
класса точности 2
Допуски в микрометрах
D, мм |  ,  | | | | | | |
верхн. | нижн. | не более |
| | До | 18 | включ. | 0 | -5 | 4 | 2,5 | 2,5 | 1,5 | 2,5 | 4 |
Св. | 18 | " | 30 | " | 0 | -5 | 4 | 2,5 | 2,5 | 1,5 | 2,5 | 4 |
" | 30 | " | 50 | " | 0 | -5 | 4 | 2,5 | 2,5 | 2 | 2,5 | 4 |
" | 50 | " | 80 | " | 0 | -6 | 4 | 2,5 | 4 | 2,5 | 4 | 6 |
" | 80 | " | 120 | " | 0 | -6 | 5 | 3 | 5 | 3 | 5 | 7 |
| | | | | | | | | | | | |
" | 120 | " | 150 | " | 0 | -7 | 5 | 3,5 | 5 | 3,5 | 5 | 7 |
" | 150 | " | 180 | " | 0 | -7 | 7 | 4 | 5 | 4 | 5 | 7 |
" | 180 | " | 250 | " | 0 | -8 | 8 | 5 | 7 | 5 | 7 | 10 |
" | 250 | " | 315 | " | 0 | -9 | 8 | 5 | 7 | 6 | 7 | 10 |
" | 315 | " | 400 | " | 0 | -10 | 10 | 6 | 8 | 7 | 8 | 11 |
<1> Не действительны для подшипников с упорным бортом на наружном кольце. |
Примечание. Допуск наружного диаметра упорного борта наружного кольца  приведен в таблице 33. |
Таблица 31
Ширина. Внутреннее и наружное кольца, однорядные
подшипники и однорядные подузлы класса точности 2
Допуски в микрометрах
d, мм | | | | | |
верхн. | нижн. | верхн. | нижн. | верхн. | нижн. | верхн. | нижн. | верхн. | нижн. |
| | До | 10 | включ. | 0 | -200 | 0 | -200 | +200 | -200 | +100 | -100 | +100 | -100 |
Св. | 10 | до | 18 | " | 0 | -200 | 0 | -200 | +200 | -200 | +100 | -100 | +100 | -100 |
" | 18 | " | 30 | " | 0 | -200 | 0 | -200 | +200 | -200 | +100 | -100 | +100 | -100 |
" | 30 | " | 50 | " | 0 | -240 | 0 | -240 | +200 | -200 | +100 | -100 | +100 | -100 |
" | 50 | " | 80 | " | 0 | -300 | 0 | -300 | +200 | -200 | +100 | -100 | +100 | -100 |
| | | | | | | | | | | | | | |
" | 80 | " | 120 | " | 0 | -400 | 0 | -400 | +200 | -200 | +100 | -100 | +100 | -100 |
" | 120 | " | 180 | " | 0 | -500 | 0 | -500 | +200 | -250 | +100 | -100 | +100 | -150 |
" | 180 | " | 250 | " | 0 | -600 | 0 | -600 | +200 | -300 | +100 | -150 | +100 | -150 |
" | 250 | " | 315 | " | 0 | -700 | 0 | -700 | +200 | -300 | +100 | -150 | +100 | -150 |
6.3.9. Монтажная высота роликовых конических многорядных подшипников (см. таблицу 32)
Таблица 32
Монтажная высота
Допуски в микрометрах
d, мм | |
подшипник |
двухрядный | четырехрядный |
верхн. | нижн. | верхн. | нижн. |
От | 18 | до | 30 | включ. | +375 | -375 | - | - |
Св. | 30 | " | 50 | " | +375 | -375 | - | - |
" | 50 | " | 80 | " | +375 | -375 | - | - |
" | 80 | " | 120 | " | +750 | -750 | +1000 | -1000 |
" | 120 | " | 180 | " | +750 | -750 | +1000 | -1000 |
| | | | | | | | |
" | 180 | " | 250 | " | +1000 | -1000 | +1500 | -1500 |
" | 250 | " | 315 | " | +1000 | -1000 | +1500 | -1500 |
" | 315 | " | 400 | " | +1000 | -1000 | +1500 | -1500 |
" | 400 | " | 500 | " | +1000 | -1000 | +1500 | -1500 |
" | 500 | " | 630 | " | +1500 | -1500 | +2000 | -2000 |
| | | | | | | | |
" | 630 | " | 800 | " | +1500 | -1500 | +2000 | -2000 |
" | 800 | " | 1000 | " | +2000 | -2000 | - | - |
6.4. Упорный борт наружного кольца
Допуски наружного диаметра упорного борта радиальных шариковых и роликовых, радиально-упорных шариковых и роликовых конических подшипников всех классов точности приведены в таблице 33.
Таблица 33
Наружный диаметр упорного борта
Допуски в микрометрах
D, мм | |
Упорный борт с посадкой по наружному диаметру | Упорный борт без посадки по наружному диаметру |
верхн. | нижн. | верхн. | нижн. |
До 6 включ. | 0 | -36 | +220 | -36 |
Св. 6 до 10 " | 0 | -36 | +220 | -36 |
" 10 " 18 " | 0 | -43 | +270 | -43 |
" 18 " 30 " | 0 | -52 | +330 | -52 |
" 30 " 50 " | 0 | -62 | +390 | -62 |
| | | | |
" 50 " 80 " | 0 | -74 | +460 | -74 |
" 80 " 120 " | 0 | -87 | +540 | -87 |
" 120 " 180 " | 0 | -100 | +630 | -100 |
" 180 " 250 " | 0 | -115 | +720 | -115 |
" 250 " 315 " | 0 | -130 | +810 | -130 |
| | | | |
" 315 " 400 " | 0 | -140 | +890 | -140 |
" 400 " 500 " | 0 | -155 | +970 | -155 |
" 500 " 630 " | 0 | -175 | +1100 | -175 |
" 630 " 800 " | 0 | -200 | +1250 | -200 |
" 800 " 1000 " | 0 | -230 | +1400 | -230 |
| | | | |
" 1000 " 1250 " | 0 | -260 | +1650 | -260 |
" 1250 " 1600 " | 0 | -310 | +1950 | -310 |
" 1600 " 2000 " | 0 | -370 | +2300 | -370 |
" 2000 " 2500 " | 0 | -440 | +2800 | -440 |
6.5. Конические отверстия
6.5.1. Номинальные размеры конического отверстия показаны на рисунке 4. Действительное коническое отверстие, средние диаметры и отклонения размеров показаны на
рисунке 5.
Рисунок 4. Номинальное коническое отверстие
Рисунок 5. Действительное коническое отверстие
При конусности отверстия 1:12 угол уклона (половина угла конуса)

будет:
Диаметр теоретического большого основания конического отверстия вычисляют по формуле:
При конусности отверстия 1:30 угол уклона (половина угла конуса)

будет:
Диаметр теоретического большого основания конического отверстия вычисляют по формуле:
Для конического отверстия установлены следующие допуски:
- допуск среднего диаметра

, который задан предельными отклонениями среднего диаметра малого теоретического основания конического отверстия;
- допуск угла конуса

-

, который задан пределами разности отклонений средних диаметров оснований конического отверстия;
- допуск непостоянства диаметра

, который задан максимальным значением, применимым в каждой радиальной плоскости отверстия.
6.5.2. Значения допусков

,

-

,

даны в
таблицах 34 -
39. Предельные отклонения угла конуса конического отверстия

-

указаны для номинальной ширины кольца.
Таблица 34
Коническое отверстие, конусность 1:12,
нормальный класс точности
Допуски в микрометрах
d, мм | |  -  | |
верхн. | нижн. | верхн. | нижн. |
До 10 включ. | +22 | 0 | +15 | 0 | 9 |
Св. 10 " 18 " | +27 | 0 | + 18 | 0 | 11 |
" 18 " 30 " | +33 | 0 | +21 | 0 | 13 |
| | | | | |
" 30 " 50 " | +39 | 0 | +25 | 0 | 16 |
" 50 " 80 " | +46 | 0 | +30 | 0 | 19 |
" 80 " 120 " | +54 | 0 | +35 | 0 | 22 |
" 120 " 180 " | +63 | 0 | +40 | 0 | 40 |
" 180 " 250 " | +72 | 0 | +46 | 0 | 46 |
" 250 " 315 " | +81 | 0 | +52 | 0 | 52 |
| | | | | |
" 315 " 400 " | +89 | 0 | +57 | 0 | 57 |
" 400 " 500 " | +97 | 0 | +63 | 0 | 63 |
" 500 " 630 " | +110 | 0 | +70 | 0 | 70 |
| | | | | |
" 630 " 800 " | +125 | 0 | +80 | 0 | - |
" 800 " 1000 " | +140 | 0 | +90 | 0 | - |
" 1000 " 1250 " | +165 | 0 | +105 | 0 | - |
| | | | | |
" 1250 " 1600 " | +195 | 0 | +125 | 0 | - |
<1> Действительны в любой единичной радиальной плоскости отверстия. |
<2> Не действительны для серий диаметров 0 и 8. |
Таблица 35
Коническое отверстие, конусность 1:12, класс
точности 6
Допуски в микрометрах
d, мм | |  -  | |
верхн. | нижн. | верхн. | нижн. |
До 10 включ. | +15 | 0 | +9 | 0 | 9 |
Св. 10 " 18 " | +18 | 0 | +11 | 0 | 11 |
" 18 " 30 " | +21 | 0 | +13 | 0 | 13 |
| | | | | |
" 30 " 50 " | +25 | 0 | +16 | 0 | 16 |
" 50 " 80 " | +30 | 0 | +19 | 0 | 19 |
" 80 " 120 " | +35 | 0 | +22 | 0 | 25 |
| | | | | |
" 120 " 180 " | +40 | 0 | +25 | 0 | 31 |
" 180 " 250 " | +46 | 0 | +29 | 0 | 38 |
" 250 " 315 " | +52 | 0 | +32 | 0 | 44 |
| | | | | |
" 315 " 400 " | +57 | 0 | +36 | 0 | 50 |
" 400 " 500 " | +63 | 0 | +40 | 0 | 56 |
" 500 " 630 " | +70 | 0 | +43 | 0 | - |
<1> Действительны в любой единичной радиальной плоскости отверстия. |
<2> Не действительны для серий диаметров 0 и 8. |
Таблица 36
Коническое отверстие, конусность 1:12,
класс точности 5
Допуски в микрометрах
d, мм | |  -  | |
верхн. | нижн. | верхн. | нижн. |
До 10 включ. | +9 | 0 | +6 | 0 | 9 |
Св. 10 " 18 " | +11 | 0 | +8 | 0 | 11 |
" 18 " 30 " | +13 | 0 | +9 | 0 | 13 |
| | | | | |
" 30 " 50 " | +16 | 0 | +11 | 0 | 16 |
" 50 " 80 " | +19 | 0 | +13 | 0 | 19 |
" 80 " 120 " | +22 | 0 | +15 | 0 | 22 |
| | | | | |
" 120 " 180 " | +25 | 0 | +18 | 0 | 25 |
" 180 " 250 " | +29 | 0 | +20 | 0 | 29 |
" 250 " 315 " | +32 | 0 | +23 | 0 | 32 |
| | | | | |
" 315 " 400 " | +36 | 0 | +25 | 0 | 36 |
" 400 " 500 " | +40 | 0 | +27 | 0 | - |
<1> Действительны в любой единичной радиальной плоскости отверстия. |
<2> Не действительны для серий диаметров 0 и 8. |
Таблица 37
Коническое отверстие, конусность 1:12,
класс точности 4
Допуски в микрометрах
d, мм | |  -  | |
верхн. | нижн. | верхн. | нижн. |
От 18 до 30 включ. | +9 | 0 | +4 | 0 | 4 |
Св. 30 " 50 " | +11 | 0 | +6 | 0 | 6 |
" 50 " 80 " | +13 | 0 | +6 | 0 | 6 |
| | | | | |
" 80 " 120 " | +15 | 0 | +8 | 0 | 8 |
" 120 " 180 " | +18 | 0 | +8 | 0 | 8 |
" 180 " 250 " | +20 | 0 | +10 | 0 | 10 |
| | | | | |
" 250 " 315 " | +32 | 0 | +12 | 0 | 12 |
" 315 " 400 " | +36 | 0 | +12 | 0 | 12 |
" 400 " 500 " | +40 | 0 | +14 | 0 | - |
<1> Действительны в любой единичной радиальной плоскости отверстия. |
<2> Не действительны для серий диаметров 0 и 8. |
Таблица 38
Коническое отверстие, конусность 1:12,
класс точности 2
Допуски в микрометрах
d, мм | |  -  | |
верхн. | нижн. | верхн. | нижн. |
От 18 до 30 включ. | +6 | 0 | +2 | 0 | 2 |
Св. 30 " 50 " | +7 | 0 | +3 | 0 | 3 |
" 50 " 80 " | +8 | 0 | +3 | 0 | 3 |
| | | | | |
" 80 " 120 " | +10 | 0 | +4 | 0 | 4 |
" 120 " 180 " | +12 | 0 | +4 | 0 | 4 |
" 180 " 250 " | +14 | 0 | +5 | 0 | 5 |
<1> Действительны в любой единичной радиальной плоскости отверстия. |
<2> Не действительны для серий диаметров 0 и 8. |
Таблица 39
Коническое отверстие, конусность 1:30,
нормальный класс точности
Допуски в микрометрах
d, мм | |  -  | |
верхн. | нижн. | верхн. | нижн. |
До 50 включ. | +15 | 0 | +30 | 0 | 19 |
Св. 50 " 80 " | +15 | 0 | +30 | 0 | 19 |
" 80 " 120 " | +20 | 0 | +35 | 0 | 22 |
" 120 " 180 " | +25 | 0 | +40 | 0 | 40 |
| | | | | |
" 180 " 250 " | +30 | 0 | +46 | 0 | 46 |
" 250 " 315 " | +35 | 0 | +52 | 0 | 52 |
" 315 " 400 " | +40 | 0 | +57 | 0 | 57 |
" 400 " 500 " | +45 | 0 | +63 | 0 | 63 |
" 500 " 630 " | +50 | 0 | +70 | 0 | 70 |
<1> Действительны в любой единичной радиальной плоскости отверстия. |
<2> Не действительны для серий диаметров 0 и 8. |
6.6. Упорные и упорно-радиальные подшипники
6.6.1. Общие положения
Требования
6.6 распространяются на упорно-радиальные подшипники и одинарные упорные подшипники. Данные требования распространяются также на двойные упорные подшипники с внутренним диаметром среднего кольца не более 190 мм и с наружным диаметром свободного кольца не более 360 мм.
6.6.2. Нормальный класс точности (см. таблицы 40 и
41)
Таблица 40
Тугие и средние кольца, высота подшипника
нормального класса точности
Допуски в микрометрах
d,  мм |  ,  |  ,  | | | |
верхн. | нижн. | не более | верхн. | нижн. | верхн. | нижн. |
До 18 включ. | 0 | -8 | 6 | 10 | +20 | -250 | +150 | -400 |
Св. 18 " 30 " | 0 | -10 | 8 | 10 | +20 | -250 | +150 | -400 |
" 30 " 50 " | 0 | -12 | 9 | 10 | +20 | -250 | +150 | -400 |
| | | | | | | | |
" 50 " 80 " | 0 | -15 | 11 | 10 | +20 | -300 | +150 | -500 |
" 80 " 120 " | 0 | -20 | 15 | 15 | +25 | -300 | +200 | -500 |
" 120 " 180 " | 0 | -25 | 19 | 15 | +25 | -400 | +200 | -600 |
| | | | | | | | |
" 180 " 250 " | 0 | -30 | 23 | 20 | +30 | -400 | +250 | -600 |
" 250 " 315 " | 0 | -35 | 26 | 25 | +40 | -400 | - | - |
" 315 " 400 " | 0 | -40 | 30 | 30 | +40 | -500 | - | - |
| | | | | | | | |
" 400 " 500 " | 0 | -45 | 34 | 30 | +50 | -500 | - | - |
" 500 " 630 " | 0 | -50 | 38 | 35 | +60 | -600 | - | - |
" 630 " 800 " | 0 | -75 | 55 | 40 | +70 | -750 | - | - |
| | | | | | | | |
" 800 " 1000 " | 0 | -100 | 75 | 45 | +80 | -1000 | - | - |
" 1000 " 1250 " | 0 | -125 | 95 | 50 | +100 | -1400 | - | - |
" 1250 " 1600 " | 0 | -160 | 120 | 60 | +120 | -1600 | - | - |
| | | | | | | | |
" 1600 " 2000 " | 0 | -200 | 150 | 75 | +140 | -1900 | - | - |
" 2000 " 2500 " | 0 | -250 | 190 | 90 | +160 | -2300 | - | - |
Примечание. Для двойных подшипников приведенные допуски действительны с  до 190 мм включительно. |
Таблица 41
Свободное кольцо нормального класса точности
Допуски в микромерах
D, мм | | | |
верхн. | нижн. | не более |
От 10 до 18 включ. | 0 | -11 | 8 | |
Св. 18 " 30 " | 0 | -13 | 10 | |
" 30 " 50 " | 0 | -16 | 12 | |
| | | | |
" 50 " 80 " | 0 | -19 | 14 | |
" 80 " 120 " | 0 | -22 | 17 | |
" 120 " 180 " | 0 | -25 | 19 | |
| | | | |
" 180 " 250 " | 0 | -30 | 23 | Равно  тугого кольца того же подшипника |
" 250 " 315 " | 0 | -35 | 26 |
" 315 " 400 " | 0 | -40 | 30 |
| | | |
" 400 " 500 " | 0 | -45 | 34 | |
" 500 " 630 " | 0 | -50 | 38 | |
" 630 " 800 " | 0 | -75 | 55 | |
| | | | |
" 800 " 1000 " | 0 | -100 | 75 | |
" 1000 " 1250 " | 0 | -125 | 95 | |
" 1250 " 1600 " | 0 | -160 | 120 | |
| | | | |
" 1600 " 2000 " | 0 | -200 | 150 | |
" 2000 " 2500 " | 0 | -250 | 190 | |
" 2500 " 2850 " | 0 | -300 | 225 | |
Примечание. Для двойных подшипников приведенные допуски действительны с D до 360 мм включительно. |
6.6.3. Класс точности 6 (см. таблицы 42 и
43)
Таблица 42
Тугие и средние кольца, высота подшипника
класса точности 6
Допуски в микрометрах
d,  мм |  ,  |  ,  | | | |
верхн. | нижн. | не более | верхн. | нижн. | верхн. | нижн. |
До 18 включ. | 0 | -8 | 6 | 5 | +20 | -250 | +150 | -400 |
Св. 18 " 30 " | 0 | -10 | 8 | 5 | +20 | -250 | +150 | -400 |
" 30 " 50 " | 0 | -12 | 9 | 6 | +20 | -250 | +150 | -400 |
| | | | | | | | |
" 50 " 80 " | 0 | -15 | 11 | 7 | +20 | -300 | +150 | -500 |
" 80 " 120 " | 0 | -20 | 15 | 8 | +25 | -300 | +200 | -500 |
" 120 " 180 " | 0 | -25 | 19 | 9 | +25 | -400 | +200 | -600 |
| | | | | | | | |
" 180 " 250 " | 0 | -30 | 23 | 10 | +30 | -400 | +250 | -600 |
" 250 " 315 " | 0 | -35 | 26 | 13 | +40 | -400 | - | - |
" 315 " 400 " | 0 | -40 | 30 | 15 | +40 | -500 | - | - |
| | | | | | | | |
" 400 " 500 " | 0 | -45 | 34 | 18 | +50 | -500 | - | - |
" 500 " 630 " | 0 | -50 | 38 | 21 | +60 | -600 | - | - |
" 630 " 800 " | 0 | -75 | 55 | 25 | +70 | -750 | - | - |
| | | | | | | | |
" 800 " 1000 " | 0 | -100 | 75 | 30 | +80 | -1000 | - | - |
" 1000 " 1250 " | 0 | -125 | 95 | 35 | +100 | -1400 | - | - |
" 1250 " 1600 " | 0 | -160 | 120 | 40 | +120 | -1600 | - | - |
| | | | | | | | |
" 1600 " 2000 " | 0 | -200 | 150 | 45 | +140 | -1900 | - | - |
" 2000 " 2500 " | 0 | -250 | 190 | 50 | +160 | -2300 | - | - |
Примечание. Для двойных подшипников приведенные допуски действительны с  до 190 мм включительно. |
Таблица 43
Свободное кольцо класса точности 6
Допуски в микрометрах
D, мм | | | |
верхн. | нижн. | не более |
От 10 до 18 включ. | 0 | -11 | 8 | |
Св. 18 " 30 " | 0 | -13 | 10 | |
" 30 " 50 " | 0 | -16 | 12 | |
| | | | |
" 50 " 80 " | 0 | -19 | 14 | |
" 80 " 120 " | 0 | -22 | 17 | |
" 120 " 180 " | 0 | -25 | 19 | |
| | | | |
" 180 " 250 " | 0 | -30 | 23 | |
" 250 " 315 " | 0 | -35 | 26 | |
" 315 " 400 " | 0 | -40 | 30 | Равно  тугого кольца того же подшипника |
| | | |
" 400 " 500 " | 0 | -45 | 34 |
" 500 " 630 " | 0 | -50 | 38 |
" 630 " 800 " | 0 | -75 | 55 | |
| | | | |
" 800 " 1000 " | 0 | -100 | 75 | |
" 1000 " 1250 " | 0 | -125 | 95 | |
" 1250 " 1600 " | 0 | -160 | 120 | |
| | | | |
" 1600 " 2000 " | 0 | -200 | 150 | |
" 2000 " 2500 " | 0 | -250 | 190 | |
" 2500 " 2850 " | 0 | -300 | 225 | |
Примечание. Для двойных подшипников приведенные допуски действительны с D до 360 мм включительно. |
6.6.4. Класс точности 5 (см. таблицы 44 и
45)
Таблица 44
Тугие и средние кольца, высота подшипника
класса точности 5
Допуски в микрометрах
d,  , мм |  ,  |  ,  | | | |
верхн. | нижн. | не более | верхн. | нижн. | верхн. | нижн. |
До 18 включ. | 0 | -8 | 6 | 3 | +20 | -250 | +150 | -400 |
Св. 18 " 30 " | 0 | -10 | 8 | 3 | +20 | -250 | +150 | -400 |
" 30 " 50 " | 0 | -12 | 9 | 3 | +20 | -250 | +150 | -400 |
| | | | | | | | |
" 50 " 80 " | 0 | -15 | 11 | 4 | +20 | -300 | +150 | -500 |
" 80 " 120 " | 0 | -20 | 15 | 4 | +25 | -300 | +200 | -500 |
" 120 " 180 " | 0 | -25 | 19 | 5 | +25 | -400 | +200 | -600 |
| | | | | | | | |
" 180 " 250 " | 0 | -30 | 23 | 5 | +30 | -400 | +250 | -600 |
" 250 " 315 " | 0 | -35 | 26 | 7 | +40 | -400 | - | - |
" 315 " 400 " | 0 | -40 | 30 | 7 | +40 | -500 | - | - |
| | | | | | | | |
" 400 " 500 " | 0 | -45 | 34 | 9 | +50 | -500 | - | - |
" 500 " 630 " | 0 | -50 | 38 | 11 | +60 | -600 | - | - |
" 630 " 800 " | 0 | -75 | 55 | 13 | +70 | -750 | - | - |
| | | | | | | | |
" 800 " 1000 " | 0 | -100 | 75 | 15 | +80 | -1000 | - | - |
" 1000 " 1250 " | 0 | -125 | 95 | 18 | +100 | -1400 | - | - |
" 1250 " 1600 " | 0 | -160 | 120 | 25 | +120 | -1600 | - | - |
| | | | | | | | |
" 1600 " 2000 " | 0 | -200 | 150 | 30 | +140 | -1900 | - | - |
" 2000 " 2500 " | 0 | -250 | 190 | 40 | +160 | -2300 | - | - |
Примечание. Для двойных подшипников приведенные допуски действительны с  до 190 мм включительно. |
Таблица 45
Свободное кольцо класса точности 5
Допуски в микрометрах
D, мм | | | |
верхн. | нижн. | не более |
От 10 до 18 включ. | 0 | -11 | 8 | |
Св. 18 " 30 " | 0 | -13 | 10 | |
" 30 " 50 " | 0 | -16 | 12 | |
| | | | |
" 50 " 80 " | 0 | -19 | 14 | |
" 80 " 120 " | 0 | -22 | 17 | |
" 120 " 180 " | 0 | -25 | 19 | |
| | | | |
" 180 " 250 " | 0 | -30 | 23 | |
" 250 " 315 " | 0 | -35 | 26 | Равно  тугого кольца того же подшипника |
" 315 " 400 " | 0 | -40 | 30 |
| | | |
" 400 " 500 " | 0 | -45 | 34 |
" 500 " 630 " | 0 | -50 | 38 |
" 630 " 800 " | 0 | -75 | 55 |
| | | | |
" 800 " 1000 " | 0 | -100 | 75 | |
" 1000 " 1250 " | 0 | -125 | 95 | |
" 1250 " 1600 " | 0 | -160 | 120 | |
| | | | |
" 1600 "2000 " | 0 | -200 | 150 | |
" 2000 " 2500 " | 0 | -250 | 190 | |
" 2500 "2850 " | 0 | -300 | 225 | |
Примечание. Для двойных подшипников приведенные допуски действительны с D до 360 мм включительно. |
6.6.5 Класс точности 4 (см. таблицы 46 и
47)
Таблица 46
Тугие и средние кольца, высота подшипника
класса точности 4
Допуски в микрометрах
d,  , мм |  ,  |  ,  | | | |
верхн. | нижн. | не более | верхн. | нижн. | верхн. | нижн. |
До 18 включ. | 0 | -7 | 5 | 2 | +20 | -250 | +150 | -400 |
Св. 18 " 30 " | 0 | -8 | 6 | 2 | +20 | -250 | +150 | -400 |
" 30 "50 " | 0 | -10 | 8 | 2 | +20 | -250 | +150 | -400 |
| | | | | | | | |
" 50 " 80 " | 0 | -12 | 9 | 3 | +20 | -300 | +150 | -500 |
" 80 " 120 " | 0 | -15 | 11 | 3 | +25 | -300 | +200 | -500 |
" 120 " 180 " | 0 | -18 | 14 | 4 | +25 | -400 | +200 | -600 |
| | | | | | | | |
" 180 " 250 " | 0 | -22 | 17 | 4 | +30 | -400 | +250 | -600 |
" 250 " 315 " | 0 | -25 | 19 | 5 | +40 | -400 | - | - |
" 315 " 400 " | 0 | -30 | 23 | 5 | +40 | -500 | - | - |
| | | | | | | | |
" 400 " 500 " | 0 | -35 | 26 | 6 | +50 | -500 | - | - |
" 500 " 630 " | 0 | -40 | 30 | 7 | +60 | -600 | - | - |
" 630 " 800 " | 0 | -50 | 40 | 8 | +70 | -750 | - | - |
Примечание. Для двойных подшипников приведенные допуски действительны с  до 190 мм включительно. |
Таблица 47
Свободное кольцо класса точности 4
Допуски в микрометрах
D, мм | | | |
верхн. | нижн. | не более |
От 10 до 18 включ. | 0 | -7 | 5 | |
Св. 18 " 30 " | 0 | -8 | 6 | |
" 30 " 50 " | 0 | -9 | 7 | |
| | | | |
" 50 " 80 " | 0 | -11 | 8 | |
" 80 " 120 " | 0 | -13 | 10 | |
" 120 " 180 " | 0 | -15 | 11 | |
| | | | Равно  тугого кольца того же подшипника |
" 180 " 250 " | 0 | -20 | 15 |
" 250 " 315 " | 0 | -25 | 19 |
" 315 " 400 " | 0 | -28 | 21 |
| | | |
" 400 " 500 " | 0 | -33 | 25 | |
" 500 " 630 " | 0 | -38 | 29 | |
" 630 " 800 " | 0 | -45 | 34 | |
| | | | |
" 800 " 1000 " | 0 | -60 | 45 | |
Примечание. Для двойных подшипников приведенные допуски действительны с D до 360 мм включительно. |
6.6.6. Класс точности 2 (см. таблицы 48 и
49)
Таблица 48
Тугие и средние кольца класса точности 2
Допуски в микрометрах
d,  , мм |  ,  |  ,  | |
верхн. | нижн. | не более |
До 18 включ. | 0 | -7 | 5 | 1 |
Св. 18 " 30 " | 0 | -8 | 6 | 1,2 |
" 30 " 50 " | 0 | -10 | 8 | 1,5 |
| | | | |
" 50 " 80 " | 0 | -12 | 9 | 2 |
" 80 " 120 " | 0 | -15 | 11 | 2 |
" 120 " 180 " | 0 | -18 | 14 | 3 |
| | | | |
" 180 " 250 " | 0 | -22 | 17 | 3 |
" 250 "315 " | 0 | -25 | 19 | 4 |
" 315 " 400" | 0 | -30 | 23 | 4 |
| | | | |
" 400 " 500 " | 0 | -35 | 26 | - |
" 500 " 630 " | 0 | -40 | 30 | - |
" 630 "800 " | 0 | -50 | - | - |
<1> Действительны только для одинарного подшипника. Для двойного подшипника допускаемое значение  равно  соответствующего (той же серии диаметров и высот) одинарного подшипника. Соответствующие диаметры отверстия одинарного подшипника d приведены в ГОСТ 3478. |
Таблица 49
Свободное кольцо класса точности 2
Допуски в микрометрах
D, мм | | | |
верхн. | нижн. | не более |
От 10 до 18 включ. | 0 | -7 | 5 | |
Св. 18 " 30 " | 0 | -8 | 6 | |
" 30 "50 " | 0 | -9 | 7 | |
| | | | |
" 50 " 80 " | 0 | -11 | 8 | |
" 80 " 120 " | 0 | -13 | 10 | |
" 120 " 180 " | 0 | -15 | 11 | Равно  того же подшипника |
| | | |
" 180 " 250 " | 0 | -20 | 17 |
" 250 " 315 " | 0 | -25 | 19 | |
" 315 " 400 " | 0 | -28 | 21 | |
| | | | |
" 400 " 500 " | 0 | -33 | 25 | |
" 500 " 630 " | 0 | -38 | 29 | |
" 630 " 800 " | 0 | -45 | 34 | |
7. ТЕХНИЧЕСКИЕ ТРЕБОВАНИЯ
7.1. Шариковые и роликовые подшипники должны быть изготовлены в соответствии с требованиями настоящего стандарта по конструкторской документации, утвержденной в установленном порядке.
7.2. В зависимости от класса точности подшипника значения предельных отклонений размеров, формы, взаимного положения поверхностей подшипников и точности вращения должны соответствовать требованиям
раздела 6.
7.3. Марку стали, твердость, обозначение других материалов, применяемых для изготовления деталей подшипников, указывают в конструкторской документации.
7.4. Неоднородность по твердости в пределах одного кольца подшипника должна быть не более 3 HRC.
Твердость колец и роликов для подшипников, не имеющих в условном обозначении справа дополнительных знаков T,

, ...,

и изготовленных из наиболее часто применяемых марок сталей, приведена в таблице 50.
Таблица 50
Марка стали | Твердость колец и роликов при рабочей температуре до 120 °C, HRC |
Кольца с толщиной стенки до 35 мм и ролики диаметром до 55 мм | Кольца с толщиной стенки свыше 35 мм и ролики диаметром свыше 55 мм |
| 60 ... 63 |
ШХ15, ШХ15-Ш, ШХ15-В, ШХ15-ВД | 61 ... 65 | 58 ... 62 |
ШХ15СГ, ШХ15СГ-В, ШХ15СГ-Ш, ШХ15СГ-ВД | 60 ... 64 |
ШХ20СГ |
| 61 ... 65 |
| 58 ... 63 |
| 57 ... 61 |
<1> Твердость сердцевины 32 ... 44 HRC. |
<2> Глубина упрочненного слоя и твердость сердцевины должны соответствовать нормам, указанным в техническом документе, утвержденном в установленном порядке. |
7.5. Параметр шероховатости Ra, по
ГОСТ 2789, наружной поверхности, поверхностей отверстия и торцов колец подшипников не должен превышать значений, указанных в таблице 51.
Таблица 51
Параметр шероховатости
В микрометрах
Наименование поверхности | Класс точности подшипника | Номинальные диаметры d и D колец подшипников, мм |
До 80 | Свыше 80 до 250 | Свыше 500 до 2500 |
Поверхность отверстия | 0, нормальный | 1,25 | 1,25 | 2,5 | 2,5 |
подшипника | 6Х, 6, 5 | 0,63 | 1,25 | 1,25 | 2,5 |
| 4, Т, 2 | 0,32 | 0,63 | 0,63 | - |
| | | | | |
| 0, нормальный | 0,63 | 1,25 | 1,25 | 2,5 |
Наружная поверхность | 6Х, 6, 5 | 0,32 | 0,63 | 0,63 | 1,25 |
подшипника | 4, Т, 2 | 0,32 | 0,63 | 0,63 | - |
| | | | | |
| 0, нормальный | 2,5 | 2,5 | 2,5 | 2,5 |
Поверхность торцов | 6Х, 6, 5 | 1,25 | 1,25 | 2,5 | 2,5 |
колец подшипника | | 0,63 | 0,63 | 1,25 | - |
<1> Для упорных шариковых подшипников класса точности 2 параметр шероховатости Ra должен быть не более 0,32 мкм для колец подшипников номинальным диаметром отверстия тугого кольца до 80 мм и не более 0,63 мкм - для колец подшипников с номинальным диаметром отверстия тугого кольца свыше 80 мм. |
Примечание. При изготовлении подшипников из нержавеющих сталей и сплавов параметр шероховатости Ra устанавливают по технической документации, утвержденной в установленном порядке.
7.6. Допускается вместо радиального биения колец собранных подшипников

и

проводить измерение разностенности по дорожкам качения внутренних и наружных колец

и

для подшипников:
- классов точности 4, Т и 2;
- с отверстием диаметром до 3 мм включительно и свыше 180 мм и массой более 5 кг всех классов точности;
- разъемных шариковых радиально-упорных, роликовых радиальных с цилиндрическими роликами с прямолинейной и выпуклой образующей и роликовых конических с выпуклыми поверхностями качения всех классов точности.
Допускается проводить измерение параллельности дорожек качения внутреннего и наружного колец относительно торца

,

вместо осевого биения колец

,

и параллельности дорожки качения наружного кольца с упорным бортом относительно опорного торца упорного борта

вместо осевого биения опорного торца упорного борта наружного кольца

собранных радиальных и радиально-упорных желобных шариковых подшипников:
- классов точности 4, Т и 2;
- с отверстием диаметром до 10 мм включительно и свыше 180 мм и массой более 5 кг классов точности 5;
- разъемных шариковых радиально-упорных классов точности 5.
Для перечисленных подшипников с диаметром отверстия свыше 10 мм значения параметров

,

,

,

,

, если значения этих параметров не указаны в соответствующей таблице, не должны превышать уменьшенных на 15% предельных значений параметров

,

,

,

,

соответственно, указанных в
таблицах 1 -
8,
11,
12,
23,
24,
26,
27. Для подшипников с диаметром отверстия до 10 мм включительно значения параметров

,

и

не должны превышать предельных значений параметров

,

и

, указанных в
таблицах 5 -
12.
7.7. Предельные значения непостоянства ширины внутренних колец с коническим отверстием самоустанавливающихся подшипников и подшипников с самоустанавливающимся кольцом нормального и 6-го классов точности не установлены.
7.8. Зазоры подшипников - по ГОСТ 24810. В технически обоснованных случаях по согласованию с потребителем допускается изготовление подшипников с зазорами, значения которых регламентированы технической документацией, утвержденной в установленном порядке.
7.9. Наружные кольца и неразъемный подузел, состоящий из внутреннего кольца, сепаратора и шариков, разъемных радиально-упорных шариковых подшипников типа 6000, должны быть взаимозаменяемыми. По согласованию с потребителем допускается невзаимозаменяемость наружных колец неразъемного подузла этих подшипников классов точности 6, 5, 4, Т и 2.
Съемные кольца роликовых радиальных подшипников и подузел, состоящий из кольца, сепаратора и роликов, могут быть как взаимозаменяемыми, так и невзаимозаменяемыми.
Наружные кольца, а также подузел, состоящий из внутреннего кольца и сепаратора с комплектом тел качения, роликовых конических однорядных подшипников, должны быть взаимозаменяемыми.
7.10. Значения статической грузоподъемности базовых типоразмеров подшипников и их модификаций рассчитывают по ГОСТ 18854.
Изготовитель на основе проведения работ по совершенствованию конструкции подшипников, применяемых материалов и технологии производства после соответствующих испытаний может устанавливать и гарантировать значения статической грузоподъемности, превышающие значения, полученные в соответствии с расчетом, приведенным в ГОСТ 18854.
7.11. Значения динамической грузоподъемности базовых типоразмеров подшипников и их модификаций рассчитывают по ГОСТ 18855.
Девяностопроцентный ресурс подшипников, установленный по результатам стендовых испытаний, должен быть не менее скорректированного расчетного ресурса по ГОСТ 18855, рассчитанного по значениям динамической грузоподъемности, с учетом условий испытаний.
7.12. Подшипники должны быть размагничены. Допускаемые значения остаточной намагниченности - по технической документации, утвержденной в установленном порядке.
7.13. Подшипники должны вращаться легко, без заеданий. По заказу потребителя устанавливают допускаемые значения момента трения в подшипнике.
7.14. Подшипники не должны иметь коррозии.
| | ИС МЕГАНОРМ: примечание. Взамен ГОСТ 8882-75 Приказом Росстандарта от 13.01.2022 N 8-ст с 01.03.2022 введен в действие ГОСТ 8882-2021. | |
7.15. Подшипники с защитными шайбами должны соответствовать требованиям
ГОСТ 7242 и ГОСТ 9592, подшипники с уплотнениями должны соответствовать требованиям ГОСТ 8882, роликовые сферические подшипники с уплотнениями должны соответствовать технической документации, утвержденной в установленном порядке.
| | ИС МЕГАНОРМ: примечание. Взамен ГОСТ 3478-79 Приказом Росстандарта от 24.07.2012 N 202-ст с 01.01.2014 введен в действие ГОСТ 3478-2012. | |
7.16. Фаски должны соответствовать требованиям ГОСТ 3478.
На поверхностях монтажных фасок не допускаются грубые токарные риски. Не допускаются острые кромки в месте сопряжения поверхности фаски с поверхностью отверстия и наружной поверхностью.
| | ИС МЕГАНОРМ: примечание. Взамен ГОСТ 2893-82 Приказом Росстандарта от 14.03.2022 N 131-ст с 01.05.2022 введен в действие ГОСТ 2893-2022. | |
7.17. Размеры канавок под упорные пружинные кольца и размеры упорных пружинных колец по ГОСТ 2893.
7.18. Шарики должны соответствовать требованиям
ГОСТ 3722, игольчатые ролики - ГОСТ 6870, цилиндрические ролики с прямолинейной образующей - ГОСТ 22696, цилиндрические длинные ролики - ГОСТ 25255, ролики со скосами на краях, конические ролики с прямолинейной образующей, ролики с выпуклой образующей всех типов (выпуклые, бомбинированные) - технической документации, утвержденной в установленном порядке.
7.19. Специальные требования к подшипникам, применяемым в узлах авиационной техники, железнодорожного транспорта, автомобилестроения, станкостроения, приборостроения и др., отличающиеся от требований настоящего стандарта и дополняющие их, устанавливают в технических условиях на соответствующие подшипники.
7.20. По заказу потребителя на кольцах подшипников класса точности 5 и выше указывают место наибольшего биения.
7.21. На монтажных поверхностях подшипников не допускаются токарные и грубые шлифовальные риски, забоины, раковины, хромирование.
7.22. Прижоги (шлифовочные штрихи, полосы и пятна вторичной закалки и вторичного отпуска) на поверхностях качения деталей подшипников не допускаются. На остальных поверхностях колец и роликов и на поверхности шариков размер допустимых штрихов вторичного отпуска устанавливают контрольным образцом или фотоэталоном в соответствии с технической документацией, утвержденной в установленном порядке.
7.23. Допускаемую величину забоин на монтажных фасках и состояние поверхностей монтажных фасок после термообработки устанавливают контрольным образцом или фотоэталоном, утвержденным изготовителем.
7.24. Закрепительные и стяжные втулки должны соответствовать ГОСТ 13014, ГОСТ 24208 и ГОСТ 25455, гайки, шайбы и скобы для закрепительных и стяжных втулок - ГОСТ 8530.
Допускается изготовлять закрепительные втулки, гайки и стопорные шайбы по технической документации, утвержденной в установленном порядке.
7.25. Значения параметров вибрации подшипников, имеющих в условном обозначении символы вибрационных разрядов, должны быть не больше соответствующих данному разряду норм вибрации, установленных в технической документации, утвержденной в установленном порядке.
8.1. Подшипники подвергают контролю и испытаниям на соответствие требованиям настоящего стандарта. Контролируемые параметры, методы контроля и испытаний при изготовлении подшипников устанавливает изготовитель.
8.2. Подшипники, подлежащие подтверждению соответствия, подвергают:
- контролю норм точности по требованиям настоящего стандарта;
- стендовым испытаниям для подтверждения динамической грузоподъемности в соответствии с
8.3;
- контролю вытекания смазки в подшипниках с двумя защитными шайбами и двумя уплотнениями;
- контролю вибрации для подшипников, имеющих в обозначении индекс Ш.
8.3. Серийно выпускаемые подшипники стандартных конструкций изготовитель подвергает периодическим стендовым испытаниям для подтверждения динамической грузоподъемности на представителях отдельных испытательных групп подшипников. Испытаниям подлежат подшипники с диаметром отверстия от 3 до 130 мм следующих типов:
- шариковые радиальные однорядные;
- шариковые радиально-упорные однорядные;
- шариковые радиальные сферические двухрядные;
- шариковые упорные;
- роликовые радиальные с короткими цилиндрическими роликами;
- роликовые радиальные сферические двухрядные;
- роликовые конические однорядные.
К одной испытательной группе относят подшипники отдельных конструктивных разновидностей одного типа по ГОСТ 3395, входящие в одну размерную группу по таблице 52.
Таблица 52
Размерные группы
Обозначение размерной группы | Диаметр отверстия, мм |
1 | До 15 включ. |
2 | Св. 15 " 30 " |
3 | " 30 " 60 " |
4 | " 60 " 100 " |
5 | " 100 " 130 " |
8.3.1. В одну испытательную группу допускается включение подшипников разных конструктивных разновидностей, имеющих незначительные отличия, не влияющие на контактную усталость (например, шариковый радиальный однорядный подшипник с канавками на наружном кольце, шариковый радиальный однорядный подшипник с упорным бортом и т.д.; роликовый радиальный однорядный подшипник без бортиков на внутреннем кольце, роликовый радиальный однорядный подшипник с безбортовым внутренним и плоским упорным выступающим кольцом и т.д.; роликовый радиальный однорядный подшипник с однобортовым внутренним и фасонным упорным кольцом, роликовый радиальный однорядный подшипник с однобортовым внутренним кольцом и плоским упорным кольцом и т.д.; шариковый радиальный однорядный подшипник с двусторонним уплотнением, шариковый радиальный однорядный подшипник с двумя уплотнениями с широким внутренним кольцом сферической наружной поверхностью наружного кольца на закрепительной втулке и т.д.).
8.3.2. Результаты проведенных по установленной методике испытаний распространяют на все типоразмеры подшипников, относящихся к одной испытательной группе.
8.3.3. Периодичность и объем испытаний, средства и методы их проведения регламентируют в технической документации на испытания подшипников, утвержденной в установленном порядке.
8.3.4. Подшипники, не указанные в
8.3, по согласованию с потребителем могут быть подвергнуты эксплуатационным испытаниям в изделиях потребителя на соответствие ресурсу.
В случае невозможности проведения эксплуатационных испытаний на соответствие ресурсу указанные подшипники подвергают испытаниям в лабораториях или на производственных участках работниками лабораторий измерительными методами (метрологическими, металлографическими, виброакустическими и др.) по технической документации на методы контроля и испытаний, утвержденной в установленном порядке.
8.4. На предприятии-изготовителе подшипники подвергают приемочному контролю.
8.5. Подшипники предъявляют для контроля партиями. Партия подшипников - некоторое количество подшипников одного типа, размера, исполнения, класса точности, предъявляемых к приемке по одному документу.
8.6. При партии до 8 шт. включительно все подшипники подвергают контролю по тем параметрам, регламентируемым настоящим стандартом, контроль которых не приводит к разрушению подшипника или снижению его работоспособности.
8.7. По техническим параметрам подшипники подвергают статистическому контролю по альтернативному признаку в соответствии с требованиями
ГОСТ 18242 <*>) и технической документации на статистический приемочный контроль подшипников, утвержденной в установленном порядке.
--------------------------------
<*>) В Российской Федерации действует
ГОСТ Р ИСО 2859-1-2007 "Статистические методы. Процедуры выборочного контроля по альтернативному признаку. Часть 1. Планы выборочного контроля последовательных партий на основе приемлемого уровня качества".
8.8. Приемочный уровень дефектности <*> (по числу несоответствующих подшипников, отнесенному к числу проконтролированных) для подшипников с классом несоответствия C - AQL = 7,5%, для подшипников с классом несоответствия B - AQL = 2,5% по
ГОСТ 18242.
--------------------------------
<*> В
ГОСТ Р ИСО 2859-1-2007, принятом в Российской Федерации, вместо термина "приемочный уровень дефектности" применяется термин "приемлемый уровень качества".
Перечень несоответствий классов C и B устанавливают в технической документации на статистический контроль подшипников, утвержденной в установленном порядке.
8.9. Типы планов выборочного контроля при объемах партии от 9 до 150 шт. - одноступенчатые, при объемах партии свыше 150 шт. - двухступенчатые по
ГОСТ 18242 и технической документации на статистический контроль подшипников, утвержденной в установленном порядке.
8.10. Твердость проверяют по одноступенчатому плану при уровне контроля S-2 по
ГОСТ 18242.
8.11. Объемы выборок, приемочные числа Ac и браковочные числа Re в зависимости от объемов партии подшипников, виды контроля и приемлемый уровень качества - по
ГОСТ 18242 и технической документации на статистический контроль подшипников, утвержденной в установленном порядке.
8.13. При проведении входного контроля подшипников предприятие-потребитель руководствуется
ГОСТ 24297.
9.1. Контроль подшипников проводят при одинаковой температуре деталей подшипников и измерительных средств. Основные размеры подшипника или детали подшипника не должны иметь отклонения от номинального размера более чем на применяемый допуск при условии, если измерение проводят при нормальных условиях выполнения линейных и угловых измерений в соответствии с
ГОСТ 8.050 и детали подшипника полностью свободны от напряжений вследствие действий внешних сил, включая измерительные нагрузки и влияния силы собственного веса.
Исключением из этого правила являются не жесткие детали, где требуется ограничение их деформации во время проверки указанных размеров и допусков.
9.2. Твердость и состояние поверхностей деталей подшипников проверяют в соответствии с технической документацией, утвержденной в установленном порядке. Твердость крупногабаритных подшипников контролируют на торцах колец.
9.3. Шероховатость поверхностей подшипников контролируют методом сравнения с утвержденным образцом или на приборах для измерения шероховатости.
В случае разногласия решающим является измерение шероховатости поверхности на приборах.
9.4. Остаточную намагниченность подшипников контролируют на торцах наружных и внутренних колец измерительными средствами в соответствии с технической документацией, утвержденной в установленном порядке.
9.5. Легкость вращения подшипников контролируют путем относительного вращения колец подшипника. При необходимости устанавливают контрольный образец, утвержденный предприятием-изготовителем.
Момент трения подшипников, для которых он регламентирован, контролируют на измерительных устройствах по технической документации, утвержденной в установленном порядке.
9.6. Контроль подшипников и их деталей на отсутствие коррозии осуществляют под рассеянным светом невооруженным глазом. В случае разногласия решающим является контроль под рассеянным светом при восьмикратном увеличении.
9.7. Контроль внутренних зазоров закрытых подшипников проводят до закладки смазки и вставления защитных шайб или уплотнений.
9.8. Вибрацию подшипников контролируют в соответствии с технической документацией, утвержденной в установленном порядке <*>.
--------------------------------
<*> В Российской Федерации действует ГОСТ Р 52545.1-2006 "Подшипники качения. Методы измерения вибрации. Часть 1. Основные положения".
9.9. Ресурс подшипников по герметичности проверяют по технической документации, утвержденной в установленном порядке.
9.10. Приведенные в разделе схемы измерения размерных параметров применимы ко всем типам подшипников, на которые распространяется настоящий стандарт, кроме случаев, особо оговоренных в стандарте. Поверхность базирования при измерении может быть наклонной.
9.11. При подготовке подшипников к измерению любую смазку, в том числе антикоррозионную, нанесенную на подшипник, удаляют, если она влияет на результаты измерения. После завершения измерений подшипники покрывают антикоррозионной смазкой.
9.12. Максимальное измерительное усилие и минимальный радиус измерительного наконечника приведены в таблице 53.
Таблица 53
Диаметр | Номинальный диаметр, мм | Измерительное усилие <1>, Н, не более | Радиус измерительного наконечника <2>, мм, не менее |
Диаметр отверстия d | До 10 включ. | 1,5 | 0,8 |
Св. 10 | 1,5 | 2,5 |
Наружный диаметр D | Все диаметры | 1,5 | 2,5 |
<1> Максимальное измерительное усилие предназначено для получения повторяемости измерений без деформации образца. Если происходит деформация, может быть использовано более низкое усилие. |
<2> Меньшие радиусы допускается применять при уменьшении измерительного усилия. |
Во избежание прогиба тонких колец измерительные усилия должны быть минимальными. Если имеет место деформация, то вводят коэффициент деформации для корректировки измеренного значения до значения без нагружения.
9.13. Для удержания деталей собранных подшипников в их соответствующих относительных положениях, для методов, где это определено, должна применяться соосная измерительная нагрузка P, приведенная в
таблицах 54 и
55.
Таблица 54
Соосные измерительные нагрузки для радиальных
и радиально-упорных шариковых подшипников с углом
контакта не более 30°
Наружный диаметр, мм | Соосная нагрузка на подшипник, Н, не менее |
До 30 включ. | 5 |
Св. 30 до 50 " | 10 |
" 50 " 80 " | 20 |
" 80 "120 " | 35 |
" 120 " 180 " | 70 |
" 180 | 140 |
Таблица 55
Соосные измерительные нагрузки для конических роликовых
подшипников, радиально-упорных шариковых подшипников с углом
контакта более 30° и упорных подшипников
Наружный диаметр, мм | Соосная нагрузка на подшипник, Н, не менее |
До 30 включ. | 40 |
Св. 30 до 50 " | 80 |
" 50 " 80 " | 120 |
" 80 " 120 " | 150 |
" 120 | 150 |
9.14. Пределы отклонений диаметра отверстий или наружного диаметра применимы к измерениям в радиальных плоскостях, расположенных в зоне измерения на расстоянии, большем чем a, от торца кольца или торца упорного борта кольца. Значения a приведены в таблице 56.
Таблица 56
Пределы зоны измерений
Размеры в миллиметрах
9.15. Единичный диаметр отверстия внутренних, тугих и средних колец или собранных подшипников,

или

, измеряют универсальными измерительными средствами или на измерительных устройствах по схемам, приведенным на
рисунках 6 и
7.
Допускается базировать внутреннее (тугое и среднее) кольцо на три опоры.
Устанавливают индикатор на нуль для соответствующего размера, используя плоскопараллельные концевые меры длины или установочное кольцо. Измеряют и записывают минимальный и максимальный единичные диаметры отверстия,

и

, в нескольких угловых направлениях в единичной плоскости в пределах зоны измерения.
Повторяют измерения и записи в нескольких радиальных плоскостях для определения наибольшего

и наименьшего

единичных диаметров отверстия отдельного кольца.
По результатам измерения

и

рассчитывают:
- средний диаметр отверстия в единичной плоскости

;
- отклонение среднего диаметра отверстия в единичной плоскости

;
- непостоянство диаметра отверстия в единичной плоскости

;
- непостоянство среднего диаметра отверстия

.
По результатам измерения

и

рассчитывают:
- отклонение единичного диаметра отверстия

;
- непостоянство диаметра отверстия

,
- средний диаметр отверстия

.
- отклонение среднего диаметра отверстия

.
Диаметр отверстия колец подшипников менее 10 мм допускается контролировать предельными калибрами. Размеры калибров назначают, исходя из предельно допустимых отклонений среднего диаметра цилиндрического отверстия.
Отклонение угла конуса конического отверстия,

-

, определяют как разность между отклонениями средних (единичных) диаметров конического отверстия, измеренных в крайних плоскостях, или на измерительном устройстве по схеме, приведенной на
рисунке 8, при этом настройку индикатора проводят по установочной мере конуса конического отверстия. Упор и наконечник индикатора устанавливают на одной образующей конической поверхности в крайних плоскостях.
Кольцо поворачивают вокруг оси не менее чем на полный оборот или проводят измерение не менее чем в трех примерно равнорасположенных по окружности осевых плоскостях. За результат измерения принимают удвоенное среднее значение наибольшего и наименьшего показаний индикатора.
9.16. Единичный наружный диаметр наружных (свободных) колец или собранных подшипников,

или

, измеряют универсальными измерительными средствами или на измерительных устройствах по схемам, приведенным на
рисунках 9 и
10. Допускается базировать наружное (свободное) кольцо на три опоры.
Устанавливают индикатор на нуль для соответствующего размера, используя плоскопараллельные концевые меры длины или установочное кольцо. Измеряют и записывают минимальный

и максимальный

единичные наружные диаметры в нескольких угловых направлениях в единичной плоскости в пределах зоны измерения. Повторяют измерения и записи в нескольких радиальных плоскостях для определения наибольшего

и наименьшего

единичных наружных диаметров отдельного кольца.
По результатам измерения

и

рассчитывают:
- средний наружный диаметр в единичной плоскости

;
- отклонение среднего наружного диаметра в единичной плоскости

;
- непостоянство наружного диаметра в единичной плоскости

;
По результатам измерения

и

рассчитывают:
- отклонение единичного наружного диаметра

;
- непостоянство наружного диаметра

;
- средний наружный диаметр

;
- отклонение среднего наружного диаметра

.
9.17. Единичную ширину отдельных колец или колец собранных подшипников,

и

, измеряют универсальными измерительными средствами или на измерительных устройствах по схемам, приведенным на
рисунках 11 и
12.
Допускается базировать кольца на плоскость при измерении единичной ширины отдельных колец.
Устанавливают индикатор на нуль на соответствующей высоте от измерительной поверхности измерительного устройства, используя плоскопараллельные концевые меры длины или установочное кольцо.
Для определения наибольшей

и наименьшей

единичных ширин измеряемое кольцо поворачивают вокруг оси на полный оборот или измеряют ширину не менее чем в трех примерно равнорасположенных по окружности осевых плоскостях.
По результатам измерения

или

рассчитывают:
- отклонение ширины кольца

или

;
- непостоянство ширины кольца

или

;
- среднюю ширину кольца

или

.
9.18. Единичную ширину упорного борта наружного кольца подшипника

измеряют универсальными измерительными средствами или на измерительных устройствах по схеме, приведенной на рисунке 13.
Рисунок 13
Устанавливают индикатор на нуль на соответствующей высоте от измерительной поверхности измерительного устройства, используя плоскопараллельные концевые меры длины или установочную меру.
Для определения наибольшей и наименьшей единичных ширин упорного борта измеряемое кольцо поворачивают вокруг оси на полный оборот или измеряют ширину не менее чем в трех примерно равнорасположенных по окружности осевых плоскостях.
По результатам измерения

рассчитывают:
- отклонение единичной ширины упорного борта наружного кольца

;
- непостоянство ширины упорного борта наружного кольца

.
9.19. Действительную ширину (монтажную высоту) подшипника

измеряют на измерительных устройствах по схемам, приведенным на рисунках 14,
15.
Рисунок 14
Первый метод является основным методом, применяемым для измерения действительной ширины радиально-упорных или упорно-радиальных подшипников, в которых базовый торец внутреннего кольца и базовый торец наружного кольца ограничивают ширину подшипника.
Метод применим к коническим роликовым подшипникам, однорядным радиально-упорным сферическим роликовым и шариковым подшипникам, однорядным сферическим роликовым упорно-радиальным подшипникам. Данный метод измерения исключает влияние плоскостности поверхности торца кольца.
Устанавливают индикатор на нуль на соответствующей высоте от измерительной поверхности измерительного устройства, используя плоскопараллельные концевые меры длины или установочную меру. Производят несколько оборотов наружного кольца для достижения минимальной ширины и снимают показания индикатора. Для конических роликовых подшипников обеспечивают контакт роликов с опорным торцом бортика внутреннего кольца и дорожками качения. Действительная ширина (монтажная высота) подшипника

будет равна общей измеренной высоте за вычетом известной толщины плиты.
Второй метод является альтернативным методом для измерения действительной ширины (монтажной высоты) подшипника

. Для крупных подшипников стабилизирующее кольцо можно не использовать. Для конических роликовых подшипников обеспечивают контакт роликов с опорным торцом бортика внутреннего кольца и дорожками качения. Данный метод измерения включает в себя влияние плоскостности поверхности базового торца наружного кольца.
Устанавливают индикатор на нуль на соответствующей высоте от измерительной поверхности измерительного устройства, используя плоскопараллельные концевые меры длины или установочную меру. Помещают стабилизирующее кольцо на широком торце наружного кольца, прикладывают динамически постоянную соосную нагрузку. Помещают наконечник индикатора на широком торце наружного кольца и снимают показания индикатора. Повторяют снятие показаний индикатора в нескольких точках по окружности подшипника и в нескольких радиальных плоскостях для определения действительной ширины (монтажной высоты) подшипника

.
Действительная ширина (монтажная высота) подшипника определяется по среднему значению показаний, снятых непосредственно с индикатора. Отклонение действительной ширины подшипника

является разностью между действительной шириной подшипника

и номинальной шириной подшипника.
Действительную ширину (монтажную высоту) подшипников с отверстием не менее 180 мм допускается измерять на измерительных устройствах по схемам, приведенным на
рисунках 16,
17. При этом действительную ширину (монтажную высоту) определяют как среднеарифметическое значение результатов измерений не менее чем в трех примерно равнорасположенных по окружности осевых плоскостях.
Действительную ширину (монтажную высоту) двухрядных и четырехрядных конических подшипников определяют без дистанционных колец.
9.20. Действительную высоту упорных подшипников

измеряют на измерительных устройствах по схемам, приведенным на
рисунках 18,
19. Устанавливают индикатор на нуль на соответствующей высоте от измерительной поверхности измерительного устройства, используя плоскопараллельные концевые меры длины или установочную меру. Производят несколько оборотов колец для достижения минимальной высоты и снимают показания индикатора. Действительная высота подшипника

будет равна общей измеренной высоте за вычетом известной толщины плиты. Данный метод измерения исключает влияние отклонения от плоскостности поверхности кольца. Отклонение действительной высоты подшипника

определяют по результатам измерения

.

9.21. Действительную монтажную высоту внутреннего подузла конического подшипника

измеряют на измерительных устройствах по схеме, приведенной на
рисунке 20. Устанавливают индикатор на нуль на соответствующую высоту от измерительной поверхности измерительного устройства, используя плоскопараллельные концевые меры длины или установочную меру. Помещают наружное образцовое кольцо на внутренний подузел.
Производят несколько оборотов наружного образцового кольца для достижения минимальной высоты и снимают показания индикатора.
Действительная монтажная высота внутреннего подузла с образцовым наружным кольцом

равна общей измеренной высоте за вычетом известной толщины плиты.
9.22. Действительную монтажную высоту наружного кольца конического подшипника

измеряют на измерительных устройствах по схеме, приведенной на
рисунке 21. Устанавливают индикатор на нуль на соответствующую высоту от измерительной поверхности измерительного устройства, используя плоскопараллельные концевые меры длины или установочную меру.
Устанавливают образцовую калибр-пробку внутреннего подузла (или образцовый внутренний подузел) широким торцом на измерительную поверхность измерительного устройства и помещают наружное кольцо на калибр-пробку (подузел). Производят несколько оборотов наружного кольца для достижения минимальной ширины и снимают показания индикатора. Действительная монтажная высота наружного кольца

равна общей измеренной высоте за вычетом известной толщины плиты.
9.23. Перпендикулярность торца внутреннего кольца относительно отверстия

отдельных колец или колец собранных подшипников измеряют двумя альтернативными методами.
Метод 1. Измерение перпендикулярности торца внутреннего кольца относительно отверстия на измерительных устройствах по схеме, приведенной на рисунке 22.

- диаметр середины торца
Рисунок 22
Метод наиболее применим к подшипникам и их внутренним кольцам при отношении диаметра отверстия кольца к его ширине, меньшем четырех. Допускается вертикальное расположение оправки. При монтаже подшипника на оправке необходимо приложить достаточное, но не чрезмерное усилие для обеспечения центрирования кольца на оправке. Индикатор устанавливают на середине торца внутреннего кольца. Кольцо с оправкой поворачивают вокруг оси не менее чем на полный оборот.
Перпендикулярность торца внутреннего кольца относительно отверстия

принимают равной разности наибольшего и наименьшего показаний индикатора.
Метод 2. Измерение перпендикулярности отверстия внутреннего кольца относительно торца на измерительных устройствах по схеме, приведенной на
рисунке 23. Допускается кольцо базировать на три опоры. Данный метод, как правило, применяют для измерения больших колец, когда на измерения оказывает влияние вес подшипника, или для внутренних колец с отношением диаметра отверстия к ширине кольца не менее четырех. Упор и индикатор устанавливают на одной образующей поверхности отверстия внутреннего кольца в крайних плоскостях зоны измерения. Кольцо поворачивают вокруг оси не менее чем на полный оборот. Перпендикулярность отверстия внутреннего кольца относительно торца принимают равной разности наибольшего и наименьшего показаний индикатора, которая преобразуется в перпендикулярность базового торца внутреннего кольца относительно отверстия

, мкм, путем вычисления по формуле:
где

- разность между максимальным и минимальным показанием индикатора, мкм;

- диаметр середины торца, мм;

- расстояние между точками касания упора и измерительного наконечника с поверхностью отверстия, мм.
9.24. Перпендикулярность наружной поверхности наружного кольца относительно торца

отдельных колец или собранных подшипников измеряют на измерительных устройствах по схеме, приведенной на
рисунке 24. Упор и индикатор устанавливают на одной образующей наружной поверхности в крайних плоскостях зоны измерения. Наружное кольцо поворачивают вокруг оси не менее чем на полный оборот. Допускается базировать торец кольца на плоскость при измерении перпендикулярности наружной поверхности наружного кольца относительно торца отдельных колец. Параметр

принимают равным разности наибольшего и наименьшего показаний индикатора за один оборот кольца.

9.25. Перпендикулярность наружной поверхности наружного кольца относительно опорного торца упорного борта

отдельных колец или собранных подшипников измеряют на измерительных устройствах по схеме, приведенной на
рисунке 25. Упор и индикатор устанавливают на одной образующей наружной поверхности в крайних плоскостях зоны измерения. Устанавливают наружное кольцо опорным торцом упорного борта на торец кольцеобразной цилиндрической опоры, оставив внутреннее кольцо свободным, если подшипник собранный. Диаметр отверстия кольцеобразной опоры должен быть равен диаметру середины упорного борта.
1 - кольцеобразная цилиндрическая опора
а - предел зоны измерений
Для центрирования наружного кольца поверхность наружного диаметра устанавливают на два боковых упора, расположенных под углом 90° друг к другу. Прорези в кольцеобразной опоре должны обеспечивать доступ к боковым упорам. Наружное кольцо поворачивают вокруг оси не менее чем на полный оборот. Перпендикулярность наружной поверхности наружного кольца относительно опорного торца упорного борта

есть разность между наибольшим и наименьшим показаниями индикатора.
9.26. Радиальное биение внутреннего кольца собранного подшипника шариковых однорядных радиальных (кроме сферических) и радиально-упорных, шариковых подшипников с трехточечным или четырехточечным контактом и роликовых конических подшипников

измеряют на измерительных устройствах по схемам, приведенным на
рисунках 26 -
29. Наконечник индикатора устанавливают в плоскости середины дорожки качения. Внутреннее кольцо или внутреннее кольцо с оправкой поворачивают вокруг оси не менее чем на полный оборот, при этом наружное кольцо не должно вращаться.
Рисунок 28
Радиальное биение внутреннего кольца собранного подшипника

есть разность между наибольшим и наименьшим показаниями индикатора.
9.27. Радиальное биение внутреннего кольца

собранного роликового радиального подшипника измеряют на измерительных устройствах по схемам, приведенным на
рисунках 27,
30,
31, шариковых и роликовых сферических подшипников - по схемам, приведенным на
рисунках 30,
31.
Наконечник индикатора устанавливают в плоскости середины дорожки качения. Внутреннее кольцо или внутреннее кольцо с оправкой поворачивают вокруг оси не менее чем на полный оборот.
Радиальное биение внутреннего кольца собранного подшипника

есть разность между наибольшим и наименьшим показаниями индикатора.
9.28. Радиальное биение наружного кольца собранного подшипника

шариковых радиальных (кроме сферических) и радиально-упорных, шариковых подшипников с четырехточечным контактом и роликовых конических подшипников измеряют на измерительных устройствах по схемам, приведенным на
рисунках 26 (кроме радиально-упорных и конических),
32,
33. Наконечник индикатора и упоры устанавливают в плоскости середины дорожки качения. Измеряемое кольцо поворачивают вокруг оси не менее чем на полный оборот. Радиальное биение наружного кольца собранного подшипника

есть разность между наибольшим и наименьшим показаниями индикатора.

9.29. Радиальное биение наружного кольца собранного подшипника

шариковых радиальных подшипников измеряют на измерительных устройствах по схеме, приведенной на
рисунке 27, роликовых радиальных - по схемам, приведенным на
рисунках 27,
30,
31, шариковых и роликовых сферических - по схемам, приведенным на
рисунках 30,
31. Наконечник индикатора и упоры устанавливают в плоскости середины дорожки качения. Измеряемое кольцо поворачивают вокруг оси не менее чем на полный оборот. Радиальное биение наружного кольца собранного подшипника

есть разность между наибольшим и наименьшим показаниями индикатора.
9.30. Осевое биение внутреннего кольца собранного подшипника

шариковых однорядных радиальных и радиально-упорных подшипников, шариковых подшипников с четырехточечным контактом и конических роликовых подшипников измеряют на измерительных устройствах по схемам, приведенным на
рисунках 34,
35. Устанавливают наружное кольцо базовым торцом на поверочной плите с пояском для центрирования кольца по наружному диаметру. Прикладывают динамически постоянную соосную нагрузку к базовому торцу внутреннего кольца для создания контакта между телами и дорожками качения. Для конических роликовых подшипников обеспечивают контакт роликов с опорным торцом бортика внутреннего кольца и дорожками качения. Наконечник индикатора устанавливают на середине базового торца внутреннего кольца. Измеряемое кольцо поворачивают вокруг оси не менее чем на полный оборот. Осевое биение внутреннего кольца собранного подшипника

есть разность между наибольшим и наименьшим показаниями индикатора.

Осевое биение внутреннего кольца указанных собранных подшипников допускается измерять по схеме, приведенной на
рисунке 36. Для шариковых радиальных однорядных подшипников допускается установка груза сверху на противобазовый торец кольца с расположением индикатора снизу.
Оправку с внутренним кольцом поворачивают вокруг оси не менее чем на полный оборот.
Разность между наибольшим и наименьшим показаниями индикатора, при этой схеме измерения, не должна превышать установленное настоящим стандартом предельное значение осевого биения внутреннего кольца, умноженное на коэффициент 1,67.
9.31. Осевое биение наружного кольца собранного подшипника

шариковых радиальных и радиально-упорных однорядных подшипников, шариковых подшипников с четырехточечным контактом и конических роликовых подшипников измеряют на измерительных устройствах по схеме, приведенной на рисунке 37. Наконечник индикатора устанавливают на середине базового торца наружного кольца.
Рисунок 37
Для шариковых радиальных однорядных подшипников с узким торцом допускается установка груза сверху на противобазовый торец кольца с расположением наконечника индикатора снизу. Измеряемое кольцо поворачивают вокруг оси не менее чем на полный оборот. Осевое биение наружного кольца собранного подшипника

есть разность между наибольшим и наименьшим показаниями индикатора.
9.32. Осевое биение опорного торца упорного борта наружного кольца собранного подшипника

шариковых радиальных и радиально-упорных однорядных подшипников, шариковых подшипников с четырехточечным контактом и конических роликовых подшипников с упорными бортами на наружном кольце измеряют на измерительных устройствах по схемам, приведенным на рисунках 38,
39.
Рисунок 38
Устанавливают наконечник индикатора к опорному торцу упорного борта наружного кольца посередине упорного борта и снимают показания индикатора за один оборот наружного кольца. Осевое биение опорного торца упорного борта наружного кольца собранного подшипника

есть разность между наибольшим и наименьшим показаниями индикатора.
9.33. Разностенность по дорожке качения внутреннего кольца относительно отверстия и разностенность по дорожке качения наружного кольца относительно наружной поверхности

шариковых радиальных и радиально-упорных подшипников измеряют на измерительных устройствах по схемам, приведенным на
рисунках 40,
41. Допускается базирование измеряемого кольца на плоскость. Наконечник индикатора и упоры устанавливают в плоскости середины дорожки качения напротив одной из опор. Измеряемое кольцо поворачивают вокруг оси не менее чем на полный оборот. Разностенность по дорожке качения есть разность между наибольшим и наименьшим показаниями индикатора.
9.34. Разностенность по дорожке качения внутреннего кольца относительно отверстия

и разностенность по дорожке качения наружного кольца относительно наружной поверхности

роликовых подшипников измеряют на измерительных устройствах по схемам, приведенным на
рисунках 42,
43. Допускается базировать измеряемое кольцо на три опоры по торцу.
Наконечник индикатора и упоры устанавливают в крайних плоскостях дорожки качения. Крайняя плоскость дорожки качения - радиальная плоскость, отстоящая от борта или края поверхности качения (для безбортовых колец) кольца на расстоянии, равном удвоенному значению номинального размера галтели или размера фаски кольца.
Измеряемое кольцо поворачивают вокруг оси не менее чем на полный оборот. Разностенность по дорожке качения есть разность между наибольшим и наименьшим показаниями индикатора.
9.35. Разностенность по дорожке качения внутреннего кольца относительно отверстия

шариковых и роликовых подшипников допускается измерять на измерительных устройствах по схеме, приведенной на рисунке 44.
Рисунок 44
Допускается вертикальное расположение оправки. Оправку с кольцом поворачивают вокруг оси не менее чем на полный оборот. Разностенность по дорожке качения внутреннего кольца относительно отверстия

есть разность между наибольшим и наименьшим показаниями индикатора.
9.36. Разностенность по дорожке качения тугого

и свободного

колец относительно широкого торца упорного шарикового и цилиндрического роликового подшипников измеряют на измерительных устройствах по схемам, приведенным на
рисунке 45 - для тугих колец, на
рисунке 46 - для средних тугих колец, а на
рисунке 47 - для свободных колец.
Наконечник индикатора устанавливают на середине дорожки качения в одной осевой плоскости над одной из опор. Измеряемое кольцо поворачивают вокруг оси не менее чем на полный оборот. Разностенность по дорожке качения есть разность между наибольшим и наименьшим показаниями индикатора.
9.37. Параллельность дорожки качения внутреннего

и наружного

колец относительно торца радиального и радиально-упорного шариковых подшипников с желобом измеряют на измерительных устройствах по схемам, приведенным на
рисунках 48,
49.
Допускается базировать измеряемое кольцо на плоскость.
Параллельность дорожки качения внутреннего

и наружного

колец относительно торца радиального и радиально-упорного шариковых подшипников с желобом допускается измерять на приборах по схемам, приведенным на
рисунках 50,
51. Кольцо базируют по дорожке качения на трех опорах. Наконечник измерителя устанавливают на середине базового торца кольца. Измеряемое кольцо поворачивают вокруг оси не менее чем на полный оборот. Параллельность дорожки качения есть разность между наибольшим и наименьшим показаниями индикатора.
9.38 Конусность и радиальное биение оправок, применяемых при измерении подшипников, должны соответствовать значениям, указанным в таблице 57.
Таблица 57
Измерительные оправки
Допуски в микрометрах
Номинальный диаметр оправки, мм | Допускаемое биение оправки по всей длине | Конусность на длине 100 мм, +/- 1 |
Класс точности подшипников |
Нормальный, 0, 6X | 6 | 5 | 4 |
не более |
До 3 включ. | 2 | 1,5 | 1 | 0,7 | 8 |
Св. 3 " 30 " | 2 | 1,3 | 0,7 | 0,5 | 8 |
" 30 " 50 " | 2 | 1,5 | 1 | 0,7 | 10 |
| | | | | |
" 50 " 80 " | 3 | 2 | 1,5 | 1 | 13 |
" 80 | 4 | 2,5 | 1,5 | 1 | 15 |
9.39 Радиальный внутренний зазор измеряют в соответствии с технической документацией, утвержденной в установленном порядке, или на измерительных устройствах по схемам, приведенным на
рисунках 52 (метод А) или
53 (метод Б)
Метод А. Данный метод применим ко всем радиальным подшипникам.
Закрепляют внутреннее кольцо собранного подшипника на поверочной плите с прокладкой, вставленной между внутренним кольцом и поверочной плитой. В случае со сферическими подшипниками следует предотвратить опрокидывание наружного кольца. Устанавливают наконечник индикатора на наружной поверхности наружного кольца в плоскости середины дорожки качения. Удерживают наружное кольцо в контакте с подшипником в направлении A, не допуская поднятия противоположной стороны.
Неоднократно перемещают наружное кольцо в данной точке вверх и вниз по оси и производят колебание по окружности (с целью перемещения тел качения ко дну дорожки качения) до тех пор, пока индикатор не даст постоянное максимальное показание. Продолжая слегка удерживать наружное кольцо в контакте с подшипником в направлении A, перемещают наружное кольцо в этой точке сначала вверх, а затем вниз без перемещения по окружности. Когда тела качения будут проходить через дно дорожки качения, индикатор даст максимальное показание, которое записывают.
Не меняя основного положения наружного кольца, удерживают его в контакте с подшипником в направлении B, не допуская поднятия противоположной стороны. Неоднократно перемещают наружное кольцо по оси вверх и вниз и производят колебание по окружности (с целью перемещения тел качения ко дну дорожки качения) до тех пор, пока индикатор не даст постоянное минимальное показание.
Затем, продолжая слегка удерживать наружное кольцо в контакте с опорой подшипника в направлении B, перемещают наружное кольцо в этой точке сначала вверх, а затем вниз без перемещения по окружности. Когда тела качения переместятся ко дну дорожек качения, индикатор даст минимальное показание, которое записывают.
Скомпенсировать возможное отклонение от крутости наружного и внутреннего колец путем повторения одной и той же процедуры несколько раз в различных угловых положениях.
Разность между минимальным и максимальным показаниями индикатора есть измеренный радиальный внутренний зазор. Среднее значение нескольких измерений есть радиальный внутренний зазор подшипника

.
Предварительно смазанные подшипники и некоторые конструкции уплотнений или защитных шайб подшипников могут отрицательно повлиять на точность измерения.
Примечание. Если стрелка индикатора не переходит через наибольшее или наименьшее показания, то прокладка, вероятно, слишком тонка.
Метод Б. Данный метод применим к желобным шариковым подшипникам, радиальным цилиндрическим и сферическим роликовым подшипникам.
Помещают собранный подшипник на плотно подогнанную жесткую оправку. Устанавливают индикатор A по наружной поверхности наружного кольца в плоскости середины дорожки качения. Устанавливают индикатор B на поверхности отверстия внутреннего кольца в плоскости середины дорожки качения. Придают внутреннему кольцу, посредством оправки, угловые колебательные движения вокруг оси подшипника. Амплитуда этих колебаний не должна быть большой, чтобы края паза оправки не касались щупа индикатора B. Смещают наружное кольцо в радиальном направлении под измерительной нагрузкой, приблизительно составляющей 0,5% базовой статической грузоподъемности

, рассчитанной в соответствии с ГОСТ 18854. Рекомендуемые измерительные нагрузки приведены в
таблице 58. Записывают средние показания индикаторов A и B. Изменяют направление радиальной нагрузки и записывают следующие средние показания индикаторов A и B. Записывают разности

и

между двумя сериями показаний. Разность между

и

есть единичное измеренное значение радиального зазора. Повторяют измерения еще два раза после каждого поворота кольца на 120° (всего три измерения).
Таблица 58
Радиальная измерительная нагрузка
d, мм | Номинальная измерительная нагрузка <1>, Н |
Шариковые подшипники | Роликовые подшипники |
До 30 включ. | 25 | 50 |
Св. 30 " 50 " | 30 | 60 |
" 50 " 80 " | 35 | 70 |
" 80 " 120 " | 40 | 80 |
" 120 " 200 " | 50 | 100 |
<1> Номинальная измерительная нагрузка не должна быть более 0,005  , которая определяется в соответствии с ГОСТ 18854. |
Радиальный внутренний зазор подшипника

есть среднее из трех измерений. Предварительное смазывание подшипников и некоторые конструкции уплотнений или защитных шайб подшипников могут отрицательно повлиять на точность измерения.
Поскольку радиальный внутренний зазор задается без учета прикладываемой внешней нагрузки, измеренные значения следует корректировать для компенсации деформаций, которые могут возникнуть при измерении.
10.1. На подшипниках должна быть маркировка их условного обозначения в соответствии с ГОСТ 3189, условного обозначения предприятия-изготовителя и условного знака года выпуска.
При наличии в контракте на поставку подшипников требований по маркировке условного обозначения подшипников, не соответствующего ГОСТ 3189, допускается маркировать обозначение, оговоренное контрактом.
Допускаются изготовление и поставка подшипников в последнем квартале текущего года с маркировкой условного знака года выпуска следующего года. Допускаются изготовление и поставка подшипников в течение первого квартала текущего года с маркировкой условного знака года выпуска предыдущего года.
10.2. Для всех подшипников, кроме конических, для обозначения нормального класса точности применяют знак "0". Для конических подшипников для обозначения нулевого класса точности применяют знак "0", нормального класса точности применяют знак "N", класса точности 6Х применяют знак "X".
Знак "0" маркируют только в том случае, если слева от него имеется знак маркировки.
Примеры
1. 80-92518.
2. 30-3628.
Допускается уточнение условного обозначения подшипников путем исправления отдельных знаков маркировки.
Пример.

.
Допускается дополнительно маркировать на подшипниках или указывать на коробке, бандероли или в товаросопроводительной документации обозначение аналога.
Примечание. Аналогом подшипника является подшипник того же типа, имеющий те же основные размеры, класс точности и группу зазора, но выпускаемый с обозначением, отличным от обозначений по ГОСТ 3189.
10.3. Подшипники, направляемые на экспорт, должны содержать дополнительную маркировку страны-изготовителя на английском языке, например BELARUS, KAZAKHSTAN, RUSSIA, UKRAINE, UZBEKISTAN. Поставка с данной маркировкой допускается внутри страны-изготовителя.
В контракте на поставку подшипников на экспорт при наличии требований по маркировке условного обозначения подшипников, отличного от ГОСТ 3189, допускается маркировать обозначение, оговоренное контрактом.
Допускается нанесение двойного обозначения подшипника - обозначение по ГОСТ 3189 и обозначение аналога.
10.4. Маркировку наносят на любые поверхности подшипника, кроме поверхностей качения, однако маркировка не должна нарушать технические характеристики и показатели точности подшипника.
Для подшипников с торцевой площадкой шириной менее 2 мм:
- маркировку условного обозначения типоразмера, условного знака года выпуска и предприятия-изготовителя наносят на поверхность наружного диаметра или на упаковочную коробку;
- маркировку класса точности, отдельных технических требований, страны-изготовителя наносят на упаковочную коробку и (или) указывают в товаросопроводительной документации.
Для подшипников с защитными шайбами и уплотнениями маркировку страны-изготовителя допускается наносить на упаковочную коробку или на защитные шайбы и уплотнения.
10.5. Разъемные шариковые подшипники с невзаимозаменяемыми кольцами должны иметь маркировку, исключающую возможность перепутывания колец подшипников.
Разъемные шариковые и роликовые подшипники, кроме шариковых подшипников с отверстием диаметром не более 10 мм с невзаимозаменяемыми кольцами, должны иметь маркировку условного обозначения подшипников на каждом кольце. Допускается нанесение маркировки на одном из колец, при этом должна быть исключена возможность перепутывания колец подшипников.
Упорные шариковые подшипники с отверстием диаметром не более 10 мм и упорные шариковые подшипники классов точности 4 и 2 не маркируют. Допускается маркировку обозначения упорных шариковых подшипников с отверстием диаметром более 10 мм нормального класса точности наносить на одном из колец.
10.6. При применении одних и тех же колец для подшипников разных типоразмеров на этих кольцах допускается наносить следующую маркировку:
- для шариковых подшипников - условное обозначение подшипников через тире
Пример. Наружное кольцо общее для шариковых радиальных подшипников типов 25 и 34 маркируют: 25 - 34;
- для роликовых подшипников - условное обозначение типа основного подшипника
Примеры
1. Внутреннее кольцо роликового подшипника 7510 с коническими роликами применяют в двухрядном подшипнике 97510 и однорядном с бортом на наружном кольце 67510. В этом случае на внутреннее кольцо наносят условное обозначение 7510.
2. Двухбортовое наружное кольцо роликового подшипника с цилиндрическими роликами применяют в подшипниках типов 32210, 42210, 52210 и др. В этом случае на наружное кольцо наносят условное обозначение 32210.
Полную маркировку, характеризующую конструктивную особенность подшипника, наносят на одно из спаренных колец.
Для подшипника с односторонним уплотнением или с одной защитной шайбой допускается применение уплотнения или защитной шайбы с маркировкой от аналогичных подшипников с двумя уплотнениями или защитными шайбами. Для подшипника с двумя уплотнениями или защитными шайбами допускается применение уплотнения или защитной шайбы с маркировкой от аналогичных подшипников с односторонним уплотнением или с одной защитной шайбой.
При этом маркировку типа подшипника наносят на наружном кольце или в товаросопроводительной документации.
Для модификаций базового типоразмера подшипников закрытого типа допускается использовать уплотнения и шайбы базового типоразмера подшипника и подшипников других модификаций. При этом маркировку типа подшипника наносят на наружном кольце или в товаросопроводительной документации.
10.7. Нанесение маркировки проводят любым способом, не вызывающим коррозии подшипников.
При нанесении маркировки собранных подшипников электрографическим способом электрический ток не должен проходить через тела качения.
10.8. Знаки, нанесенные на подшипниках или упаковочных коробках, должны быть выполнены четко и разборчиво.
11. УПАКОВКА, ТРАНСПОРТИРОВАНИЕ И ХРАНЕНИЕ
11.1. Консервацию и упаковывание подшипников для защиты от коррозии проводят в соответствии с технической документацией на консервацию и упаковывание подшипников, утвержденной в установленном порядке. Гарантийный срок хранения определяют в зависимости от способа консервации и упаковывания.
В технически обоснованных случаях способ консервации должен быть согласован между предприятием-изготовителем и потребителем.
11.2. Подшипники должны быть извлечены потребителем из транспортной тары, храниться только в упаковке и временной противокоррозионной защите, выполненной изготовителем, в закрытом, отапливаемом, вентилируемом помещении при температуре (20 +/- 5) °C, относительной влажности воздуха не более 60% и, по возможности, на торцах.
В технически обоснованных случаях правила хранения и гарантийный срок хранения должны быть согласованы между предприятием-изготовителем и потребителем.
11.3. Подшипники наружным диаметром до 300 мм и массой до 8 кг классов точности 5, 4, Т и 2 должны быть упакованы в коробки.
Приборные подшипники наружным диаметром до 30 мм всех классов точности должны быть упакованы в коробки. При этом подшипники классов точности 6, 5, 4, Т и 2 предварительно упаковывают в пластмассовые пробирки или полиэтиленовые пакеты.
Допускается по заказу потребителя упаковывание подшипников другим способом, обеспечивающим защиту подшипников от коррозии.
11.4. Коробки после укладки в них подшипников могут быть оклеены бандеролью.
Подшипники во внутренней упаковке в соответствии с технической документацией, утвержденной в установленном порядке, или коробки с подшипниками для транспортирования упаковывают в ящики по
ГОСТ 2991,
ГОСТ 9142, ГОСТ 16148,
ГОСТ 24634.
Подшипники массой свыше 8 кг или диаметром свыше 300 мм упаковывают в ящики без коробки.
Ящики должны быть выстланы внутри битумной бумагой по
ГОСТ 515 или полимерной пленкой по
ГОСТ 10354,
ГОСТ 16272 или другими материалами, обеспечивающими сохранность подшипников.
11.5. Допускается применять другие виды транспортной тары, обеспечивающие сохранность подшипников, внутренней упаковки, не допускающие попадания внутрь капельножидкой влаги и не выделяющие коррозионно-активных веществ.
11.6. Допускается перевозка подшипников массовым потребителям (по согласованию с ними) в многооборотной таре, железнодорожных, автомобильных и речных контейнерах, в крытых железнодорожных вагонах в первичной упаковке (без упаковывания в ящиках). При вагонной отгрузке подшипники должны быть пакетированы.
11.7. При укладке подшипников в ящик или контейнер пустоты между коробками с подшипниками и стенками ящика должны быть заполнены вспомогательными материалами, не вызывающими коррозию и повреждение подшипников.
11.8. В каждый ящик или контейнер (при упаковывании подшипников без ящиков) должен быть вложен сопроводительный документ (паспорт).
11.9. Коробки или бандероли, сопроводительный документ (паспорт), вкладываемый в ящик, должны иметь надписи:
- наименование или товарный знак предприятия-изготовителя;
- условное обозначение подшипников;
- знаки дополнительных технических требований (при наличии);
- число подшипников;
- дату консервации (месяц и год);
- обозначение настоящего стандарта или обозначение технических условий по
7.19.
Примечание. Обозначение настоящего стандарта или обозначение технических условий по
7.19 указывают с годом их принятия.
11.10. Транспортную тару следует маркировать в соответствии с требованиями
ГОСТ 14192. Маркировку наносят на ярлык или непосредственно на ящик.
Дополнительно под основными надписями должно быть нанесено:
- наименование изделия;
- условное обозначение подшипников;
- обозначение настоящего стандарта или обозначение технических условий по
7.19;
- число подшипников;
- манипуляционные знаки по
ГОСТ 14192: "Хрупкое. Осторожно", "Беречь от влаги".
Допускается дополнительные информационные надписи при длине грузового места до 0,5 м включительно наносить шрифтом высотой знаков до 15 мм.
Примечание. Обозначение настоящего стандарта или обозначение технических условий по
7.19 указывают с годом их принятия.
11.11. Транспортирование подшипников следует проводить только в закрытых транспортных средствах (вагонах, автомашинах, трюмах, самолетах).
Крупногабаритные подшипники допускается транспортировать на открытых транспортных средствах при условии дополнительной защиты ящиков от попадания атмосферных осадков.
Допускается транспортировать подшипники в ящиках, пакетированных и уложенных по определенной схеме на поддоне или без него, обтянутых металлической лентой или другим материалом, обеспечивающим неизменность форм пакета и сохранность подшипников при транспортировании.
12. УКАЗАНИЯ ПО ПРИМЕНЕНИЮ И ЭКСПЛУАТАЦИИ
12.1. Применение и эксплуатация подшипника должны осуществляться в строгом соответствии с назначением и эксплуатационными показателями данного конструктивного исполнения, размера и класса точности подшипника.
12.2. В изделиях при применении и эксплуатации подшипников должны быть приняты необходимые меры для защиты подшипника от посторонних частиц, возникновения коррозии на деталях подшипников и для своевременного пополнения предусмотренным смазочным материалом.
| | ИС МЕГАНОРМ: примечание. Взамен ГОСТ 4657-82 Приказом Росстандарта от 05.08.2022 N 739-ст с 01.11.2022 вводится в действие ГОСТ 4657-2022. | |
12.3. Технические требования к посадочным поверхностям под подшипники - по ГОСТ 3325. Для роликовых игольчатых комбинированных подшипников дополнительные требования по ГОСТ 20531. Требования к поверхностям вала и корпуса, сопрягаемым с телами качения, в соответствии с ГОСТ 4657, ГОСТ 5377 и ГОСТ 20531.
12.4. Расконсервацию подшипников проводят в соответствии с технической документацией изготовителя на хранение, расконсервацию подшипников и обращение с ними, утвержденной в установленном порядке.
13. ГАРАНТИИ ИЗГОТОВИТЕЛЯ
13.1. Изготовитель гарантирует соответствие подшипников требованиям настоящего стандарта при соблюдении условий транспортирования, хранения, применения и эксплуатации, установленных настоящим стандартом.
13.2. Гарантийный срок эксплуатации подшипников в изделиях, кроме опытных изделий, должен быть не менее гарантийного срока эксплуатации изделий, подтвержденного эксплуатационными (натурными) испытаниями, и истекать одновременно с истечением гарантийного срока эксплуатации на это изделие при соблюдении условий монтажа, правил применения и эксплуатации.
13.3. Гарантийный срок хранения подшипников - 12 мес, а подшипников, упакованных в полиэтиленовую пленку, - 24 мес при соблюдении условий транспортирования и хранения, установленных настоящим стандартом. Начало исчисления гарантийного срока - со дня консервации (или с месяца консервации, если указаны только месяц и год).
(справочное)
ИЛЛЮСТРАЦИЯ ДОПУСКОВ НА РАЗМЕР ДИАМЕТРОВ
А.1.1. Единичный диаметр отверстия

или

Имеется m единичных плоскостей для отдельной детали и n единичных диаметров отверстия (измеряемые размеры) в единичной плоскости (
рисунок А.1,
таблица А.1).
Рисунок А.1. Единичные плоскости и единичные
диаметры отверстия
Таблица А.1
Единичные диаметры отверстия
Номер плоскости | Измеренный размер |
1 | |
2 | |
3 | |
..... | .............. |
i | |
..... | .............. |
m | |
Примечание.  обозначает некоторый единичный диаметр j в некоторой единичной плоскости i. |
А.1.2. Средний диаметр отверстия

Средний диаметр отдельной детали получают как среднеарифметическое значение наибольшего из максимальных и наименьшего из минимальных значений всех единичных диаметров отверстия, полученного для конкретной детали, как показано в уравнении (А.1).
Отдельная деталь имеет только одно значение

.
Примечание.

означает максимальное значение из

.

означает минимальное значение из

.
А.1.3. Средний диаметр отверстия в единичной плоскости

Средний диаметр отверстия детали в единичной плоскости представляет собой среднеарифметическое значение максимального и минимального диаметров в любой единичной плоскости, как показано в уравнениях, представленных в таблице А.2. Этот параметр в каждой единичной плоскости имеет одно значение.
Таблица А.2
Средние диаметры отверстия в единичной плоскости
Номер плоскости | | Уравнение |
1 | | |
2 | | |
3 | | |
...... | ...... | ............................................................... |
i | | |
...... | ...... | ............................................................... |
m | | |
А.1.4. Непостоянство среднего диаметра отверстия в единичной плоскости

Непостоянство среднего диаметра отверстия в единичной плоскости есть разность между максимальным и минимальным значениями средних диаметров отверстия в единичной плоскости для всех плоскостей отдельной детали. Этот параметр имеет одно значение для отдельной детали, вычисляется в соответствии с уравнением (А.2) и может означать показатель цилиндричности.
А.1.5. Непостоянство диаметра отверстия в единичной плоскости

Термин "непостоянство диаметра отверстия в единичной плоскости" указывает на разность между максимальным и минимальным значениями среди единичных диаметров отверстия, измеренных в единичной плоскости (см. таблицу А.3). Этот параметр имеет более одного значения для отдельной детали и может являться показателем круглости.
Таблица А.3
Непостоянство диаметров отверстия в единичной плоскости
Номер плоскости | | Уравнение |
1 | | |
2 | | |
3 | | |
...... | ...... | ...................................................... |
i | | |
...... | ...... | ...................................................... |
m | | |
А.1.6. Непостоянство диаметра отверстия

Непостоянство диаметра отверстия есть разность между максимальным и минимальным из всех единичных диаметров отверстия (измеряемые величины), полученных для отдельной детали. Отдельная деталь имеет только одно значение

, которое вычисляют по формуле (А.3).
А.2. Наружные диаметры
Допуски на размер наружного диаметра получены таким же образом, как и для диаметров отверстия в
А.1. Аналогичными параметрами наружного диаметра являются:
- единичный наружный диаметр

или

;
- средний наружный диаметр

;
- средний наружный диаметр в единичной плоскости

;
- непостоянство наружного диаметра в единичной плоскости

;
- непостоянство наружного диаметра

;
- непостоянство среднего наружного диаметра

.
(справочное)
СООТВЕТСТВИЕ КЛАССОВ ТОЧНОСТИ
Б.1. Соответствие классов точности подшипников по настоящему стандарту классам точности по международным стандартам и национальным стандартам приведено в
таблицах Б.1 -
Б.3.
Таблица Б.1
Шариковые и роликовые радиальные и радиально-упорные
шариковые подшипники
Класс точности по |
настоящему стандарту | | | | |
Нормальный | Нормальный | P0 | ABEC-1 | 0 |
RBEC-1 |
6 | 6 | P6 | ABEC-3 | 6 |
RBEC-3 |
5 | 5 | P5 | ABEC-5 | 5 |
RBEC-5 |
4 | 4 | P4 | ABEC-7 | 4 |
Т | - | - | - | - |
2 | 2 | P2 | ABEC-9 | 2 |
Таблица Б.2
Роликовые конические подшипники
Класс точности по |
настоящему стандарту | | | | |
0 | - | - | - | - |
Нормальный | Нормальный | P0 | K | 0 |
6X | 6X | P6X | N | 6X |
6 | - | - | - | 6 |
5 | 5 | P5 | C | 5 |
4 | 4 | P4 | B | 4 |
2 | 2 | - | A | - |
Таблица Б.3
Упорные и упорно-радиальные подшипники
Класс точности по |
настоящему стандарту | | |
Нормальный | Нормальный | P0 |
6 | 6 | P6 |
5 | 5 | P5 |
4 | 4 | P4 |
2 | - | - |
[1] ИСО 492:2002 Подшипники качения. Радиальные подшипники. Допуски (ISO 492:2002 "Rolling bearings - Radial bearings - Tolerances")
[2] ДИН 620-1988 Часть 2. Подшипники качения. Допуски для радиальных подшипников (DIN 620-1988 Teil 2

; Toleranzen

Radiallager)
[3] AFBMA Стандарт 20-1987 Подшипники радиальные шариковые, цилиндрические и сферические. Метрическая конструкция (AFBMA Standard 20-1987, Radial Bearings of Ball, Cylindrical roller and spherical)
[4] JISB B 1514 Допуски для подшипников качения (JIS B 1514, Tolerances for rolling bearings)
[5] AFBMA Стандарт 19.1-1987 Подшипники конические роликовые. Метрическая конструкция (AFBMA Standard 19.1-1987, Tapered roller bearings. Metric design)
[6] ИСО 199-2005 Подшипники качения. Упорные подшипники. Допуски (ISO 199:2005 "Rolling bearings - Thrust ball bearings - Tolerances").