Главная // Актуальные документы СПРАВКА
Источник публикации
Документ опубликован не был
Примечание к документу
В соответствии с
Протоколом от 16.10.2019 данный документ
введен в действие с 1 января 2020 года.
Название документа
"РД 32 ЦВ 058-2019. Методика выполнения измерений при техническом обслуживании и ремонте колесных пар грузовых вагонов железных дорог колеи 1520 (1524) мм
(Утверждена в г. Минске 16.10.2019 на 71-ом заседании Совета по железнодорожному транспорту СНГ)
Договаривающиеся стороны
"РД 32 ЦВ 058-2019. Методика выполнения измерений при техническом обслуживании и ремонте колесных пар грузовых вагонов железных дорог колеи 1520 (1524) мм
(Утверждена в г. Минске 16.10.2019 на 71-ом заседании Совета по железнодорожному транспорту СНГ)
Утверждена
на семьдесят первом заседании
Советом по железнодорожному транспорту
государств - участников Содружества
Протокол от 15 - 16 октября 2019 г. N 71
МЕТОДИКА
ВЫПОЛНЕНИЯ ИЗМЕРЕНИЙ ПРИ ТЕХНИЧЕСКОМ ОБСЛУЖИВАНИИ И РЕМОНТЕ
КОЛЕСНЫХ ПАР ГРУЗОВЫХ ВАГОНОВ ЖЕЛЕЗНЫХ ДОРОГ
КОЛЕИ 1520 (1524) мм
РД 32 ЦВ 058-2019
1 Разработана Проектно-конструкторским бюро вагонного хозяйства - филиалом ОАО "РЖД".
2 Внесена Проектно-конструкторским бюро вагонного хозяйства - филиалом ОАО "РЖД".
3 Согласована Комиссией вагонного хозяйства
(Протокол от "10 - 12" сентября 2019 г. N 68.
4 Введен взамен РД 32 ЦВ 058-97.
5 Введена в действие с 01.01.2020.
1.1 Настоящий документ устанавливает методики выполнения измерений элементов колесных пар грузовых вагонов при техническом обслуживании (осмотре) колесных пар под вагонами, при текущем ремонте, среднем ремонте и капитальном ремонте колесных пар и предназначен для производственных участков по ремонту колесных пар, цехов текущего отцепочного ремонта и пунктов технического обслуживания вагонов.
1.2 Документ разработан на основании Руководящего
документа по ремонту и техническому обслуживанию колесных пар с буксовыми узлами грузовых вагонов магистральных железных дорог колеи 1520 (1524) мм (далее по тексту - РД) РД ВНИИЖТ 27.05.01-2017, утвержденного Советом по железнодорожному транспорту государств-участников Содружества (протокол от "19 - 20" октября 2017 г. N 67).
ГОСТ 8.050-73 ГСИ. Нормальные условия выполнения линейных и угловых измерений;
ГОСТ 33200-2014 Оси колесных пар железнодорожного подвижного состава. Общие технические требования;
ПР 32 ЦВ 001-2008 - Методические указания. Калибровка средств измерений и контроль средств допускового контроля колесных пар вагонов <*>;
--------------------------------
<*> или другой нормативный документ, действующий на территории государств-участников Содружества.
Метрологическое
обеспечение средств допускового контроля в ОАО "РЖД", утвержденное распоряжением ОАО "РЖД" от 7 июля 2011 г. N 1478р <*>;
--------------------------------
<*> или другой нормативный документ, действующий на территории государств-участников Содружества.
Инструкция по техническому обслуживанию вагонов в эксплуатации (Инструкция осмотрщику вагонов) N 808-2017 ПКБ ЦВ, утвержденная Советом по железнодорожному транспорту государств-участников Содружества (протокол от 21 - 22 мая 2009 г. N 50);
Руководящий
документ по ремонту и техническому обслуживанию колесных пар с буксовыми узлами грузовых вагонов магистральных железных дорог колеи 1520 (1524) мм РД ВНИИЖТ 27.05.01-2017, утвержденный Советом по железнодорожному транспорту государств-участников Содружества (протокол от "19 - 20" октября 2017 г. N 67) (далее РД);
РД 32 ЦВ 064-2006 Методика выполнения измерений при новом формировании и ремонте буксового узла колесных пар грузовых вагонов;
РД 32 ЦВ 128-2012 Методика выполнения измерений прибором ЭК-М <*>;
--------------------------------
<*> или другой нормативный документ, действующий на территории государств-участников Содружества.
РД 32 ЦВ 162-2015 Методика установления зоны браковки остроконечного наката гребня колесных пар грузовых вагонов с помощью приспособления Т1436.000 <*>;
--------------------------------
<*> или другой нормативный документ, действующий на территории государств-участников Содружества.
ПОТ РЖД-4100612-ЦДИ-128-2018
Правила по охране труда при техническом обслуживании и ремонте грузовых вагонов, утвержденные распоряжением ОАО "РЖД" от 16.11.2018 N 2423р <*>.
--------------------------------
<*> или другой нормативный документ, действующий на территории государств-участников Содружества.
3 УСЛОВИЯ ВЫПОЛНЕНИЯ ИЗМЕРЕНИЙ
3.1 При техническом обслуживании (осмотре) колесных пар контроль колесных пар под вагонами производят в соответствии с требованиями
Инструкции осмотрщику вагонов:
- на станциях формирования и расформирования поездов, сходу в момент прибытия, после прибытия и перед отправлением;
- на станциях, где графиком движения поездов предусмотрена стоянка для технического осмотра вагонов;
- в пунктах подготовки вагонов к перевозкам и перед постановкой в поезд;
- после крушений, аварий поездов, столкновений подвижного состава.
Перед измерениями поверхности, подлежащие измерениям, должны быть очищены от грязи, смазки, следов коррозии.
Влиянием окружающей среды на погрешность измерений пренебрегаем.
3.2 При текущем, среднем и капитальном ремонте колесных пар измерения производятся на выкаченной из-под вагона колесной паре.
3.3 Перед измерениями поверхности, подлежащие измерениям, должны быть очищены и промыты от грязи, смазки, следов коррозии.
После обмывки колесных пар в моечной машине, а также после обработки на станках должна быть произведена выдержка для выравнивания их температуры с температурой в помещении. Отклонение температуры объекта измерения от температуры рабочего пространства должно быть не более +/- 3 °C. При отклонениях температуры поверхности измеряемых объектов, превышающих эти значения, время выдержки объектов должно быть увеличено.
Рекомендуемое время выдержки объектов перед измерениями:
колесных пар после промывки - не менее 12 часов;
шеек и предподступичных частей после обточки на станках - не менее 2-х часов;
шеек осей после накатки - не менее 2-х часов.
3.4 При проведении измерений допускается применение других средств измерений (СИ) и средств допускового контроля (СДК), не ухудшающих результаты и обеспечивающих необходимую точность измерений.
СИ и СДК, применяемые для проведения измерений, должны быть откалиброваны (поверены) в установленном порядке.
4 ОПЕРАЦИИ ИЗМЕРЕНИЙ И СРЕДСТВА ИЗМЕРЕНИЙ
4.1 Перечень измерительных операций при проведении технического обслуживания (осмотра) колесных пар с указанием применяемых средств измерений (СИ) и средств допускового контроля (СДК), а также значения контролируемых параметров приведены в
таблице 1.
4.2
Таблица 1 составлена на основании требований:
для технического обслуживания (осмотра) колесных пар согласно
п. 12.2 РД "Техническое обслуживание колесных пар под вагонами".
для текущего, среднего и капитального ремонта колесных пар согласно
п. 12.4 РД "Текущий ремонт колесных пар",
п. 12.5 РД "Средний ремонт колесных пар",
п. 12.6 РД "Капитальный ремонт колесных пар",
таблицы 12.1 РД "Допускаемые значения колесных пар при выпуске их из текущего и среднего ремонтов" и
таблицы 12.3 РД "Допускаемые значения колесных пар при выпуске их из капитального ремонта".
4.3 Согласно
п. 1.5 РД измерение параметров буксового узла производится в соответствии с методикой РД 32 ЦВ 064-2006.
Перечень измерительных операций и значений колесных пар
и их элементов
N пункта метод. | Наименование операции измерения | Средства измерения | Контролируемый параметр |
наименование | размер, мм |
Техническое обслуживание | Текущий ремонт | Средний ремонт | Капитальный ремонт |
1 | 2 | 3 | 4 | 5 | 6 | 7 | 8 |
| Колесо | | | | | | |
| Измерение величины проката по кругу катания | Шаблон абсолютный вагонный Т447.05.000 ТУ 32 ЦВ 1801-95 | Равномерный прокат колеса | не более 9,0 | - | - | - |
при восстановлении профиля поверхности катания колес | - | не допускается | не допускается | не допускается |
без восстановления профиля поверхности катания колес | - | не более 7,0 | не более 7,0 | не допускается |
Неравномерный прокат на поверхности катания колеса (при обнаружении) | не более 2,0 | не допускается | не допускается | не допускается |
| Измерение толщины гребня | Шаблон абсолютный вагонный Т447.05.000 ТУ 32 ЦВ 1801-95 | Толщина гребня на расстоянии 18 мм от вершины гребня | от 24,0 до 33,0 | | | |
без восстановления профиля поверхности катания колес | - | 26,0...33,0 | 26,0...33,0 | - |
при восстановлении профиля поверхности катания колес с исходной толщиной гребня 33,0 мм | - | 32,0...33,0 | 32,0...33,0 | - |
при восстановлении профиля поверхности катания колес с исходной толщиной гребня 30,0 мм | - | 29,0...30,0 | 29,0...30,0 | - |
при восстановлении профиля поверхности катания колес с исходной толщиной гребня 27,0 мм | - | 26,0...27,0 | 26,0...27,0 | - |
для новых колес | - | - | - | |
для колес с восстановленным профилем поверхности катания | - | - | - | 26,0...33,0 |
| Определение величины отклонения профиля поверхности катания и гребня колеса от номинальной формы | Шаблон максимальный Т447.003 Набор щупов N 4 ТУ 2-034-0221197-011-91 | Отклонение профиля поверхности катания и гребня колеса от номинальной формы (при восстановлении профиля поверхности катания колес): |
по вершине гребня | - | не более 1,0 | не более 1,0 | не более 1,0 |
по поверхности катания | - | не более 0,5 | не более 0,5 | не более 0,5 |
| Контроль вертикального подреза гребня | Шаблон ВПГ Т447.08.000 ТУ 32 ЦВ 1804-95 | Вертикальный подрез гребня на расстоянии 18 мм от основания гребня | Отсутствие зазора между шаблоном и гребнем на расстоянии 18 мм от основания гребня является браком | - | - | - |
| Измерение толщины обода колеса | Толщиномер цельнокатаных колес Т447.07.000 ТУ 32 ЦВ 1802-95 | Толщина обода колеса, в том числе и в месте расположения дефекта на поверхности катания (выщербины, ползуны, неравномерный прокат) | не менее 22,0 | не менее 24,0 | не менее 24,0 | - |
Толщины обода старогоднего колеса | - | - | - | не менее 35,0 |
| Измерение местного увеличения ширины (уширения) обода колеса | Кронциркуль Линейка-150 Штангенциркуль ШЦ-I-150-0,1 | Местное увеличение ширины обода цельнокатаного колеса | не более 5,0 | - | - | - |
| Измерение глубины ползуна (выбоины) и высоты "навара" на поверхности катания колеса | Шаблон абсолютный вагонный Т447.05.000 ТУ 32 ЦВ 1801-95 Штангенциркуль ШЦ-I-150-0,1 ТУ 32 ЦВ 1802-95 | Глубина ползуна (выбоины) на поверхности катания колес | не более 1,0 | не допускаются | не допускаются | не допускаются |
Высота навара на поверхности катания колес | не более 1,0 | не допускаются | не допускаются | не допускаются |
| Измерение выщербин на поверхности катания колес | Шаблон абсолютный вагонный Т447.05.000, ТУ 32 ЦВ 1801-95 или Штангенциркуль ШЦ-I-150-0,1 Линейка-150 | Глубина и длина выщербин на поверхности катания. Трещина в выщербине или расслоение, идущее вглубь металла, не допускается. Колесные пары с выщербинами на поверхности катания глубиной до 1,0 мм не бракуются независимо от их длины | глубина не более 10,0 длина не более 50,0 | - | - | не допускаются |
при восстановлении профиля поверхности катания колес | - | не допуск. | не допуск. |
без восстановления профиля поверхности катания колес | - | допускаются длиной не более 15,0 или глубиной не более 1,0 | Допускаются длиной не более 15,0 или глубиной не более 1,0 |
| Измерение кольцевых выработок на поверхности катания у основания гребня и на конусности 1:3,5 | Штангенциркуль ШЦ-I-150-0,1 Линейка-150 | Глубина и ширина кольцевых выработок на поверхности катания колес | Глубина "А" не более 1,0 у основания гребня и глубина "Б" не более 2,0 на конусности 1:3,5; | - | - | - |
при восстановлении профиля поверхности катания колес | - | не допуск. | не допуск. | не допуск. |
без восстановления профиля поверхности катания колес | - | при ширине не более 10,0 глубина не более 0,5 | при ширине не более 10,0 глубина не более 0,5 | - |
| Измерение глубины откола наружной боковой грани обода колеса и ширины оставшейся части обода в месте откола | Кронциркуль Линейка - 150 Штангенциркуль ШЦ-I-150-0,1 | Глубина поверхностного откола наружной грани обода колеса, включая откол кругового наплыва, и ширина оставшейся части обода в месте откола, при отсутствии трещин, распространяющихся вглубь металла | глубина (по радиусу колеса) не более 10,0 и ширина не менее 120,0 | - | - | - |
| Контроль остроконечного наката гребня | Приспособление Т1436.000 ТУ 32 ЦВ 2694-2015 | Остроконечный накат гребня | не допускается. Браковочным является остроконечный накат, находящийся в рабочей части гребня колеса в зоне по высоте 2 мм от вершины гребня и 13 мм от поверхности катания | не допускается Браковочным является остроконечный накат, находящийся в рабочей части гребня колеса в зоне по высоте 2 мм от вершины гребня и 13 мм от поверхности катания | не допускается Браковочным является остроконечный накат, находящийся в рабочей части гребня колеса в зоне по высоте 2 мм от вершины гребня и 13 мм от поверхности катания | не допускается Браковочным является остроконечный накат, находящийся в рабочей части гребня колеса в зоне по высоте 2 мм от вершины гребня и 13 мм от поверхности катания |
| Колесные пары | | | | | | |
| Измерение расстояния и разности расстояний между внутренними поверхностями ободьев колес | Штанген РВП-М Т1410.00.000 ТУ 32 ЦВ 2669-2012 | Расстояние между внутренними боковыми поверхностями ободьев колес |
колесных пар с осями типа: РУ1 и РУ1Ш | от 1437,0 до 1443,0 | | | |
РВ2Ш | от 1439,0 до 1443,0 | | | |
Разность расстояний между внутренними боковыми поверхностями ободьев цельнокатаных колес, измеренная в четырех противоположных точках, расположенных в двух взаимно перпендикулярных плоскостях | - | не более 2,0 | не более 2,0 | не более 1,5 |
| Определение разности расстояний от торцов предподступичных частей оси до внутренних боковых поверхностей ободьев колес с одной и другой сторон колесной пары | Прибор ЭК-М Т447.20.00.000 ТУ 32 ЦВ 2659-2011 | Разность расстояний между торцами предподступичной части оси и внутренними боковыми поверхностями ободьев колес с одной и другой стороны колесной пары | - | - | не более 5,0 | не более 3,0 |
| Определение разности диаметров по кругу катания колес в одной колесной паре | Скоба ДК Т447.01.000 ТУ 32 ЦВ 1779-95 | Разность диаметров по кругу катания колес в одной колесной паре: |
при восстановлении профиля поверхности катания колес; | - | не более 0,5 | не более 0,5 | не более 0,5 |
без восстановления профиля поверхности катания колес | - | не более 1,0 | не более 1,0 | не более 1,0 |
| Измерение отклонения от соосности круга катания колеса относительно поверхности шейки или подступичной части оси | Прибор ЭК-М Т447.20.00.000 ТУ 32 ЦВ 2659-2011 | Отклонение от соосности круга катания колеса относительно поверхности шейки или подступичной части оси: |
при восстановлении профиля поверхности катания колес | - | - | не более 0,5 | не более 0,5 |
без восстановления профиля поверхности катания колес | - | - | не более 1,0 | не более 1,0 |
| Ось | | | | | | |
| Измерение диаметра шейки оси | Скоба СР-150 ГОСТ 11098-75 Микрометр рычажный МРИ 200 | Диаметр шейки оси, типа: | | | | |
РУ1 | - | - | | - |
РУ1Ш | - | | | |
РВ2Ш | - | - | | |
| Измерение диаметра оси в месте зарезьбовой канавки у колесных пар с осями типа РУ1 | Калибр диаметра зарезьбовой канавки оси типа РУ1 КДЗК-РУ1 или Штангенциркуль ШЦ-I-150-0,1 | Диаметр оси в месте зарезьбовой канавки у колесных пар с осями типа РУ1 | - | - | 90-2,2 | - |
| Измерение ширины зарезьбовой канавки у колесных пар с осями типа РУ1 | Калибр ширины зарезьбовой канавки оси типа РУ1 КШЗК-РУ1 | Ширина зарезьбовой канавки колесных пар с осями типа РУ1 | - | - | 8+1,5 | - |
| Определение занижения (уменьшения) диаметра шейки оси у галтели | Скоба СР-150 ГОСТ 11098-75 Микрометр рычажный МРИ 200 | Занижение (уменьшение) диаметра шейки оси у галтели (глубина на сторону) | - | - | | |
| Измерение расстояния от торца предподступичной части до начала занижения диаметра на шейке оси | Кронциркуль Линейка - 150 | Расстояние от торца предподступичной части до начала занижения диаметра на шейке оси типа: |
РУ1 | - | - | | - |
РУ1Ш | - | - | | |
РВ2Ш | - | - | | |
| Измерение конусообразности и овальности шейки оси | Скоба СР-150 ГОСТ 11098-75 Микрометр рычажный МРИ 200 | Конусообразность и овальность шейки оси | - | - | не более 0,02 | не более 0,02 |
| Измерение радиального биения шейки оси | Индикатор часового типа ИЧ10 кл. 1 | Радиальное биение шейки оси | - | - | - | не более 0,3 |
| Измерение диаметра предподступичной части оси | Микрометр рычажный МРИ 200 | Диаметр предподступичной части оси типа: |
при использовании подшипников кассетного типа |
РУ1 | - | | | - |
РУ1Ш | - | | | |
при использовании сдвоенных и цилиндрических роликовых подшипников |
РУ1 | - | | | - |
РУ1Ш | - | | | |
Диаметр предподступичной части оси типа: |
РВ2Ш | - | | | |
| Измерение овальности и конусообразности предподступичной части оси | Микрометр рычажный МРИ 200 | Овальность и конусообразность предподступичной части оси | - | - | не более 0,05 | не более 0,05 |
| Измерение параметров подступичной и средней части оси | Микрометр рычажный МРИ 200 | Диаметр подступичной части оси типа: | | | | |
РУ1 | - | - | не менее 182,0 | - |
РУ1Ш | - | - | не менее 182,0 | не менее 182,0 |
РВ2Ш | - | - | не менее 196,0 | не менее 196,0 |
Диаметр средней части оси типа: | | | | |
с конусообразной средней частью: | | | | |
РУ1 | - | - | не менее 160,0 | - |
РУ1Ш | - | - | не менее 160,0 | не менее 160,0 |
с цилиндрической средней частью: | | - | | |
РУ1 | - | - | не менее 167,0 | - |
РУ1Ш | - | - | не менее 167,0 | не менее 167,0 |
Диаметр средней части оси типа: | | | | |
РВ2Ш | - | - | не менее 175,0 | не менее 175,0 |
Конусообразность подступичной части оси при условии, что больший диаметр обращен к середине оси | - | - | - | не более 0,05 |
Овальность подступичной части оси | - | - | - | не более 0,025 |
| Измерение длины подступичной части оси | Штангенциркуль ШЦ-II-250-0,1 | Длина подступичной части оси типа: | - | - | - | не менее 250,0 |
| Определение непрямолинейности образующей подступичной части оси | Линейка ЛД-1-320 Набор щупов N 2 ТУ 2-034-0221197-011-91 | Непрямолинейность образующей подступичной части оси | - | - | - | не более 0,02 |
| Определение вмятин, забоин и протертости средней части оси | Кронциркуль Линейка - 150 ШЦ-I-150-0,1 | Вмятины, забоины на средней части оси | - | не более 2,0 | не более 2,0 | не допускаются |
Протертости на средней части оси | - | не более 2,5 | не более 2,5 | не допускаются |
| Контроль наружного диаметра резьбы М110 оси типа РУ1 | Кольцо 8212-0259 6g ГОСТ 17765-72 Кольцо 8212-1259 6g ГОСТ 17766-72 | Наружный диаметр резьбы М110 | - | - | 110,0-1,3 | - |
| Колесо | | | | | | |
| Контроль овальности колеса по кругу катания | Скоба ДК Т447.01.000 ТУ 32 ЦВ 1799-95 | Овальность колеса по кругу катания: |
при восстановлении профиля поверхности катания колес | - | не более 0,5 | не более 0,5 | не более 0,5 |
без восстановлении профиля поверхности катания колес | - | не более 1,0 | не более 1,0 | не более 1,0 |
| Определение ширины обода колеса | Кронциркуль Линейка - 150 | Ширина обода колеса: | | | | |
старогоднего | - | | | |
нового изготовления | - | | | 130+3 |
| Измерение параметров ступицы колеса | Кронциркуль Линейка - 300 | Длина ступицы колеса | - | - | - | 185,0...200,0 |
Толщина стенки ступицы (измеряется на расстоянии 170 мм от наружного торца ступицы) | - | - | - | не менее 31,0 |
Разность толщин стенки ступицы в различных местах по окружности | - | - | - | не более 5,0 |
| Определение конусообразности и овальности отверстия ступицы колеса | Нутромер микрометрический НМ-200 | Конусообразность отверстия ступицы при условии, что больший диаметр отверстия расположен с внутренней стороны ступицы | - | - | - | не более 0,05 |
Овальность ступицы | - | - | - | не более 0,025 |
| Определение непрямолинейности образующей отверстия ступицы | Линейка ЛД-1-320 Набор щупов N 2 ТУ 2-034-0221197-011-91 | Непрямолинейность образующей отверстия ступицы | - | - | - | не более 0,02 |
| Определение разности толщин гребней колес в одной колесной паре | Шаблон абсолютный вагонный Т447.05.000 ТУ 32 ЦВ 1801-95 | Разность толщин гребней колес в одной колесной паре | - | не более 3,0 | не более 3,0 | не более 1,0 |
| Определение толщины диска у обода колеса | Толщиномер диска колеса Т857.00.000 ТУ 32 ЦВ 1802-95 | Толщина диска у обода колес: | | | | |
колеса с плоскоконическим диском | - | - | - | не менее 17,0 |
колеса с криволинейным диском | - | - | - | не менее 20,0 |
| - | - | - | не менее 19,0 |
колеса с криволинейным диском | - | - | - | не менее 22,0 |
5 МЕТОДЫ И ПОСЛЕДОВАТЕЛЬНОСТЬ ВЫПОЛНЕНИЯ ИЗМЕРЕНИЙ
5.1 Измерение величины проката по кругу катания колеса
5.1.1 Измерение величины проката по кругу катания колеса производится с помощью абсолютного шаблона Т447.05.000, как показано на
рисунке 1. Величина проката определяется с помощью вертикального движка поз. 1 шаблона, который устанавливается на расстоянии 70 мм от внутренней боковой поверхности обода, при этом риска на сухаре движка поз. 2 должна совпадать с контрольной риской на основании шаблона поз. 3.
1 - вертикальный движок; 2 - сухарь движка,
3 - основание шаблона, 4 - опорная ножка шаблона
При измерении шаблон устанавливается на поверхность катания обода цельнокатаного колеса так, чтобы его опорная поверхность плотно прилегала к внутренней грани колеса. При этом опорная ножка шаблона поз. 4 должна опираться на вершину гребня.
Затем вертикальный движок опускается до соприкосновения с поверхностью катания колеса и производится считывание показаний по шкале движка и нониусу. Принцип действия при отсчете показаний шаблона аналогичен принципу действия штангенинструмента.
5.1.2 Измерение проката производится в нескольких местах (не менее трех), равномерно расположенных по кругу катания.
5.1.3 Неравномерный прокат определяется разностью измерений в сечениях максимального износа и с каждой стороны от этого сечения на расстоянии до 500 мм.
При всех видах ремонта неравномерный прокат не допускается, при ТО неравномерный прокат (при обнаружении) должен быть не более 2,0 мм.
5.2 Измерение толщины гребня колеса
5.2.1 Измерение толщины гребня производится с помощью горизонтального движка поз. 3 абсолютного шаблона Т447.05.000 ТУ 32 ЦВ 1801-95, изображенного на
рисунке 2.
1 - опорная поверхность; 2 - опорная ножка;
3 - горизонтальный движок; 4 - планка
5.2.2 При измерении толщины гребня шаблон устанавливается на поверхность катания обода цельнокатаного колеса.
При этом опорная поверхность шаблона поз. 1 должна плотно прилегать к внутренней грани колеса, а опорная ножка поз. 2 шаблона должна опираться на вершину гребня.
Затем горизонтальный движок поз. 3 шаблона перемещается до соприкосновения с гребнем. По делениям шкалы на планке поз. 4 определяется толщина гребня колеса.
Измерения производятся в трех местах по длине окружности колеса. За действительную величину толщины гребня принимается минимальное значение.
5.3 Определение величины отклонения профиля поверхности
катания и гребня колеса от номинальной формы
При определении величины отклонения профиля поверхности катания и гребня колеса после обточки от номинальной формы используется максимальный шаблон Т447.003 ТУ 32 ЦВ 1804-95 и щупы 0,5 мм и 1,0 мм из набора щупов N 4.
При контроле профиля поверхности катания колеса шаблон свободно устанавливают на обод таким образом, чтобы ножка шаблона касалась точки перехода от гребня к боковой поверхности обода с внутренней стороны колеса, а рабочая поверхность шаблона касалась точки на поверхности катания обода. Величину отклонения поверхности катания и гребня от номинальной формы (зазор) контролируют при помощи щупов.
Отклонение профиля поверхности катания колеса от номинальной формы по вершине гребня должно быть не более 1,0 мм, по поверхности катания и гребня - не более 0,5 мм.
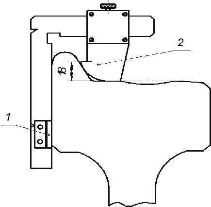
5.4 Контроль вертикального подреза гребня
5.4.1 Контроль вертикального подреза гребня колеса производится с помощью шаблона ВПГ Т447.08.000, изображенного на
рисунке 3.
1 - опорные ножки угольника; 2 - движок
5.4.2 При контроле вертикального подреза гребня шаблон опорными ножками угольника поз. 1 должен плотно прилегать к внутренней грани обода колеса. После этого движок поз. 2 вплотную подводится к гребню колеса до соприкосновения. Отсутствие зазора между шаблоном и гребнем на расстоянии 18 мм от основания гребня является браком, как показано на
рисунке 3.
Измерение вертикального подреза гребня производится в нескольких местах (не менее трех), равномерно расположенных по кругу катания.
5.5 Измерение толщины обода колеса
5.5.1 Измерение толщины обода колеса производится толщиномером цельнокатаных колес Т447.07.000, как показано на
рисунке 4.
1 - измерительная ножка; 2 - штанга; 3 - линейка
5.5.2 Толщина обода колеса измеряется в плоскости круга катания, поэтому измерительная ножка поз. 1 толщиномера устанавливается на расстоянии 70 мм от штанги поз. 2. Для этого риска на планке измерительной ножки должна совпадать с отметкой "70" на линейке поз. 3. При измерении штанга поз. 2 плотно прижимается к внутренней грани колеса, а выступ на штанге к внутренней поверхности обода. Затем измерительная ножка подводится до соприкосновения с поверхностью катания. По делениям шкалы штанги определяется размер толщины обода цельнокатаного колеса.
Измерения производятся в трех местах, равномерно расположенных по кругу катания.
5.6 Измерение местного увеличения ширины (уширения) обода
колеса
5.6.1 При контроле местного увеличения ширины обода колеса используют кронциркуль с переносом размера на металлическую измерительную линейку
ГОСТ 427-75, допускается применять штангенциркуль ЩЦ-I-150-0,1.
5.6.2 За величину местного уширения обода колеса принимается разность замеров ширины обода, измеренной в месте наибольшего уширения, и в месте, не имеющем его.
При контроле местного уширения используются кронциркуль и линейка.
5.7 Измерение глубины ползуна и высоты "навара"
на поверхности катания колеса
5.7.1 Измерения производятся в местах наличия дефекта.
5.7.2 При измерении высоты "навара" используется толщиномер цельнокатаных колес Т447.07.000. Измерения проводятся аналогично
п. 5.5, при этом измерительную ножку толщиномера сначала опускают на наиболее высокое место "навара" и производят отсчет показаний по шкале. Затем производят измерение рядом с дефектом вдоль поверхности катания колеса. Разность полученных значений определит высоту "навара".
5.7.3 Измерение глубины ползуна на поверхности катания колеса производится с помощью вертикального движка поз. 1 абсолютного шаблона Т447.05.000 аналогично измерению величины проката по кругу катания колеса согласно
п. 5.1 или с помощью штангенциркуля с глубиномером ШЦ-I-150-0,1
ГОСТ 166-89.
Вертикальный движок поз. 1 абсолютного шаблона опускают на самое глубокое место ползуна и производят отсчет показаний по шкале движка, затем, не изменяя положения вертикального движка, шаблон переносится в место, расположенное рядом с дефектом вдоль поверхности катания колеса, и производят измерения. Разность показаний определяет глубину ползуна.
5.7.4 Для случаев, когда ползун смещен от круга катания колеса, движок поз. 1 перемещается по пазу основания до совпадения с дефектом.
5.8 Измерение выщербин на поверхности катания
5.8.1 Измерение глубины выщербины производится с помощью вертикального движка поз. 1 абсолютного шаблона Т447.05.000 или с помощью штангенциркуля с глубиномером ШЦ-I-150-0,1
ГОСТ 166-89.
Шаблон устанавливается на поверхность катания колеса в месте дефекта, как описано в
п. 5.7.
5.8.2 При измерении глубины выщербин вертикальный движок поз. 1 шаблона опускают в месте наибольшей видимой глубины выщербины и производят отсчет показаний. Затем производят измерения по кругу катания рядом с дефектом. Разность показаний определит глубину выщербины. Длина выщербины на поверхности катания определяется металлической линейкой
ГОСТ 427-75. За длину выщербины принимается максимальное значение, измеренное между двумя точками по границам дефекта (независимо от направленности дефекта).
5.8.3 Выщербины глубиной до 1,0 мм не бракуются независимо от их длины.
5.9 Измерение кольцевых выработок на поверхности катания
у основания гребня и на конусности 1:3,5
5.9.1 Измерение глубины кольцевых выработок, изображенных на
рисунке 5, производится с помощью штангенциркуля с глубиномером ШЦ-I-150-0,1
ГОСТ 166-89.
5.9.2 При измерении глубины кольцевых выработок линейку глубиномера штангенциркуля опускают в месте наибольшей видимой глубины выработки и производят отсчет показаний по шкале и нониусу.
5.9.3 Измерения производятся не менее трех раз. За действительную величину принимается максимальное значение.
5.9.4 Ширина выработки на поверхности катания определяется металлической линейкой
ГОСТ 427-75.
5.10 Измерение глубины откола наружной боковой грани обода
колеса и ширины оставшейся части обода в месте откола
5.10.1 Откол наружной боковой грани обода колеса - это местное разрушение в виде откола металла у наружной грани в районе фаски обода колеса, характеризующееся значительной глубиной и протяженностью (
п. 2.26 таблицы Б.1 РД).
5.10.2 Глубина откола определяется с помощью линейки
ГОСТ 427-75 и штангенциркуля ШЦ-I-150-0,1
ГОСТ 166-89. На поверхность катания колеса в месте дефекта приложить линейку, глубиномером штангенциркуля произвести измерения от линейки до наибольшей глубины откола. Измерения производятся несколько раз. Максимальное значение принимается за действительную величину.
5.10.3 Ширина оставшейся части обода колеса в месте откола определяется с помощью штангенциркуля ШЦ-I-150-0,1
ГОСТ 166-89. Штангенциркуль прикладывается одной губкой к внутренней грани колеса, а другой к близлежащей границе откола. При этом обе губки штангенциркуля должны находиться в одной плоскости. Измерения производят не менее трех раз. За действительную величину принимают минимальное значение.
Допускается поверхностный откол наружной грани обода колеса, включая местный откол кругового наплыва, глубиной по радиусу колеса не более 10,0 мм при ширине оставшейся части обода колеса в месте откола не менее 120,0 мм и при отсутствии в поврежденном месте независимо от размеров откола трещины, распространяющейся вглубь металла.
5.11 Контроль остроконечного наката гребня колеса
5.11.1 Согласно
п. 2.14 таблицы Б.1 РД, остроконечный накат гребня - это выступ, образующийся в результате пластической деформации поверхностных слоев металла гребня в сторону его вершины.
5.11.2 Согласно
п. 12.2.2.1 РД запрещается выпускать в эксплуатацию и допускать к следованию в поездах колесные пары, имеющие остроконечный накат гребня, находящийся в рабочей части гребня колеса в зоне по высоте 2 мм от вершины гребня и 13 мм от поверхности катания.
На вершине или нерабочих частях гребня возможен дефект, который называется наплывом и не подлежит браковке.
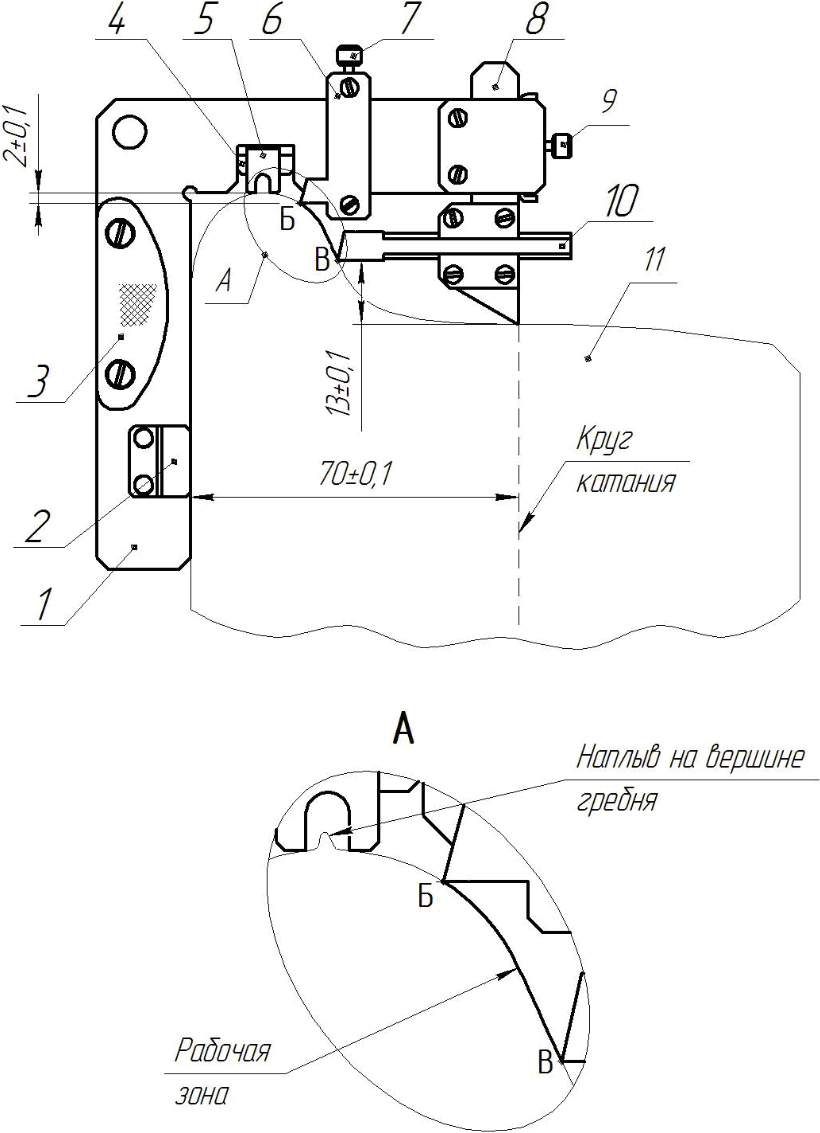
5.11.3 Установление зоны браковки наличия (отсутствия) остроконечного наката гребня колесных пар производится с помощью приспособления Т1436.000 ТУ 32 ЦВ 2694-2015 в соответствии РД 32 ЦВ 162-2015 "Методика установления зоны браковки остроконечного наката гребня колесных пар грузовых вагонов с помощью приспособления Т1436.000". Установка приспособления и зона браковки показаны на
рисунке 6.
1 - основание; 2 - ножка; 3 - ручка; 4 - планка упора;
5 - упор гребня; 6 - движок с упором; 7 - стопор;
8 - упор к поверхности катания; 9 - стопор;
10 - движок; 11 - колесо.
На контролируемой поверхности рабочей зоны гребня между точками "Б" и "В" не должно быть остроконечного наката.
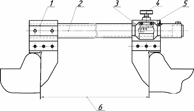
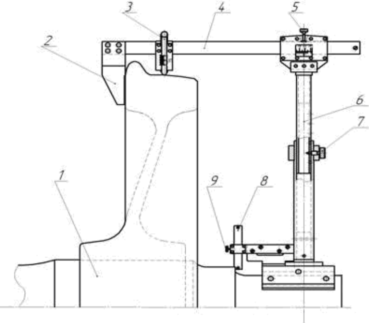
5.12 Измерение расстояния и разности расстояний
между внутренними боковыми поверхностями ободьев колес
5.12.1 Измерение расстояния между внутренними боковыми поверхностями ободьев колес (только у освобожденной от нагрузки колесной пары) в одной колесной паре производится штангеном РВП-М Т1410.00.00.000 ТУ 32 ЦВ 2669-2012, как показано на
рисунке 7.
1 - неподвижная губка; 2 - штанга; 3 - подвижная губка;
4 - стопорный винт; 5 - нониус; 6 - измеряемое расстояние
5.12.2 При измерении расстояния между внутренними боковыми поверхностями ободьев колес в одной колесной паре неподвижная губка поз. 1 штангена прижимается к внутренней грани одного колеса, а подвижная губка поз. 3 подводится к другому колесу, прижимается к его внутренней грани и стопорным винтом поз. 4 закрепляется на штанге поз. 2. По делениям шкал штанги поз. 2 и нониуса поз. 5 определяется расстояние между внутренними боковыми поверхностями ободьев колес поз. 6.
5.12.3 Разность расстояний между внутренними боковыми поверхностями ободьев колес в одной колесной паре определяется как разность наибольшего и наименьшего расстояний, измеренных в четырех точках, расположенных в двух взаимно перпендикулярных плоскостях.
5.13 Определение разности расстояний от торцов
предподступичных частей оси до внутренних боковых
поверхностей ободьев колес с одной и другой сторон
колесной пары
5.13.1 Измерение разности расстояний от торцов предподступичных частей оси до внутренних боковых поверхностей ободов колес с одной и другой сторон колесной пары производится прибором ЭК-М Т447.20.00.000 ТУ 32 ЦВ 2659-2011, в соответствии с п. 4.1 РД 32 ЦВ 128-2012 "Методика выполнения измерений прибором ЭК-М", как показано на
рисунке 8.
1 - колесная пара; 2 - наконечник; 3 - движок;
4 - измерительная линейка; 5 - стопорный винт;
6 - штанга верхняя; 7 - стопорный винт; 8 - фиксатор;
9 - стопорный винт
5.13.2 Разность показаний по шкале измерительной линейки поз. 4 определяет разность расстояний от торцов предподступичных частей оси до внутренних боковых поверхностей ободьев колес с одной и другой сторон колесной пары.
5.14 Определение разности диаметров по кругу катания колес
в одной колесной паре
5.14.1 Измерение разности диаметров по кругу катания колес насаженных на ось производится с помощью скобы ДК Т447.01.000 ТУ 32 ЦВ 1779-95, как показано на
рисунке 9.
1 - скоба; 2 - неподвижная бабка; 3 - подвижная бабка;
4 - стопорный винт; 5 - труба; 6 - шкала; 7 - наконечники
Скоба ДК состоит из скобы поз. 1, на которой установлены подвижная бабка поз. 3 и неподвижная бабка поз. 2 с наконечниками поз. 7. На подвижной бабке поз. 3 имеется окно с нониусом и стопорный винт поз. 4. На трубе поз. 5, по которой перемещается подвижная бабка, нанесена шкала поз. 6 с делениями и цифрами.
Измерения производятся на выкаченной колесной паре. Перед проведением измерений необходимо ослабить стопорный винт поз. 4, закрепляющий подвижную бабку поз. 3 и прижать скобу опорными поверхностями бабок к внутренней грани обода колеса. Наконечник поз. 7 неподвижной бабки поз. 2 подвести до соприкосновения с поверхностью катания колеса, а наконечник поз. 7 подвижной бабки переместить по трубе поз. 5 скобы до соприкосновения с поверхностью катания колеса. При этом линия измерения должна быть перпендикулярна к образующей поверхности катания и проходить через центр колеса.
В положении максимального размера диаметра колеса, подвижная бабка поз. 3 фиксируется на трубе поз. 5 стопорным винтом поз. 4 и производится считывания показания по основной шкале поз. 6 (на трубе) и нониусу. Отчет по нониусу сводится к определению совпадения одного из штрихов нониуса с любым штрихом основной шкалы. Десятичное значение определяется как произведение величины отсчета по нониусу 0,1 мм на количество делений нониуса до совпадающего штриха основной шкалы.
Измерение диаметров колес производится не менее трех раз с угловым смещением 60° для каждого колеса. За действительное значение диаметра колеса принимается среднеарифметическое трех измерений.
Разность диаметров колес по кругу катания определяется как разность полученных среднеарифметических значений диаметров колес колесной пары и сравнивается с допускаемой.
5.15 Измерение отклонения от соосности круга катания колеса
относительно поверхности шейки или подступичной части оси
5.15.1 Измерение отклонения от соосности кругов катания колес относительно оси базовой поверхности производится с помощью движка поз. 3 прибора ЭК-М Т447.20.00.000 ТУ 32 ЦВ 2659-2011 в соответствии с п. 4.2 РД 32 ЦВ 128-2012 "Методика выполнения измерений прибором ЭК-М", как показано на
рисунке 8.
5.15.2 Отклонение от соосности круга катания колеса относительно оси базовой поверхности определяется как полуразность между минимальным и максимальным значениями показаний движка поз. 3, измеренных в нескольких угловых координатах по кругу катания (не менее 3-х измерений).
5.16 Измерение диаметра шейки оси
5.16.1 Измерение диаметра шейки оси типа РУ1 и РУ1Ш производится скобой рычажной СР-150 методом сравнения с мерой. Скоба перед началом измерений настраивается по образцовому кольцу или по набору концевых мер длины с учетом действительного размера, указанного на эталоне (образцовом кольце) троекратно. Затем скоба снимается с эталона и устанавливается на шейку оси. Результат измерений будет равен сумме размера, указанного на эталоне, и показаний отсчетного устройства. Измерение диаметра шейки оси типа РВ2Ш производится микрометром рычажным МРИ 200, по микрометрическому винту определяется размер с точностью до сотых долей мм, затем по индикатору микрометра - размер уточняется до тысячных долей мм.
5.16.2 Измерение диаметра шейки оси производится двух сечениях, соответствующих серединам внутренних колес подшипников, в двух взаимно перпендикулярных направлениях. За величину диаметра шейки оси принимается среднее арифметическое значение измерений в каждом сечении.
5.17 Измерение диаметра оси в месте зарезьбовой канавки
у колесных пар с осями типа РУ1
5.17.1 Измерение диаметра оси в месте зарезьбовой канавки у колесных пар с осями типа РУ1 производится калибром диаметра зарезьбовой канавки КДЗК-РУ1, изображенным на
рисунке 10.
5.17.2 Калибр проходной частью устанавливается на ось в месте зарезьбовой канавки, непроходной - не устанавливается (не проходит).
5.17.3 При измерениях допускается применение штангенциркуля ШЦ-I-150-0,1
ГОСТ 166-89.
5.18 Измерение ширины зарезьбовой канавки у колесных пар
с осями типа РУ1
5.18.1 Измерение ширины зарезьбовой канавки у колесных пар с осями типа РУ1 производится калибром ширины зарезьбовой канавки КШЗК-РУ1, изображенным на
рисунке 11.
5.18.2 Калибр проходной частью входит в зарезьбовую канавку, непроходной - нет.
5.19 Определение занижения (уменьшения) диаметра шейки оси
у галтели
5.19.1 Измерение диаметра шейки оси у галтели производить аналогично
п. 5.16.
5.19.2 Разность размеров среднего диаметра оси и диаметра, измеренного у галтели, будет величиной занижения (уменьшения) диаметра шейки оси у галтели.
5.20 Измерение расстояния от торца предподступичной части
до начала занижения диаметра на шейке оси
При измерении расстояния от торца предподступичной части до начала занижения диаметра на шейке оси используют кронциркуль с переносом размера на металлическую измерительную линейку
ГОСТ 427-75.
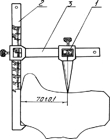
5.21 Измерение конусообразности и овальности шейки оси
5.21.1 Перед началом измерений скоба СР-150 настраивается по эталону аналогично
п. 5.16.1.
5.21.2 Конусообразность (или отклонение от профиля продольного сечения) шейки оси определяется как полуразность наибольшего и наименьшего диаметров в одной плоскости при измерении в сечениях, отстоящих на расстоянии от 10 до 15 мм с двух сторон шейки.
Рисунок 12
d1* и d2* - наибольший и наименьший диаметры, измеренные в одной плоскости;
d1** и d2** - наибольший и наименьший диаметры, измеренные в другой плоскости.
За конусообразность шейки принимается максимальное из двух полученных значений. Значение конусообразности сравнивается с допускаемой величиной.
5.21.3 Овальность (или отклонение от круглости) шейки оси определяется в каждом из двух сечений как полуразность диаметров, измеренных в двух взаимно перпендикулярных плоскостях.
Рисунок 13
d1* и d2* - наибольший и наименьший диаметры, измеренные в одной плоскости;
d1** и d2** - наибольший и наименьший диаметры, измеренные в другой плоскости.
За овальность шейки оси принимается максимальное из двух полученных значений. Значение овальности сравнивается с допускаемой величиной.
5.22 Измерение радиального биения шейки оси
5.22.1 Радиальное биение - это разность наибольшего и наименьшего расстояния от точек реального профиля поверхности вращения до базовой оси в сечении плоскостью, перпендикулярной к базовой оси.
5.22.2 Согласно
п. 8.4 ГОСТ 33200-2014 "Оси колесных пар железнодорожного подвижного состава. Общие технические требования" радиальное биение поверхности шейки проверяют относительно оси центровых отверстий на технологическом оборудовании с применением индикатора часового типа ИЧ10 кл. 1
ГОСТ 577-68 у одной оси не реже одного раза в месяц с каждого станка, выполняющего технологическую операцию, в соответствии с принятым на вагоноремонтном предприятии технологическим процессом, обеспечивающим необходимую точность измерений.
5.23 Измерение диаметра предподступичной части оси
5.23.1 Измерение диаметра предподступичной части оси производится рычажным микрометром МРИ 200 аналогично
п. 5.16.
5.23.2 В соответствии с
п. 29.21 РД измерение диаметров предподступичных частей оси производится на расстоянии не более 20 мм от торца и отверстий лабиринтных колец в двух взаимно перпендикулярных сечениях. За действительный размер диаметра предподступичной части оси принимается среднее арифметическое значение двух измерений.
5.24 Измерение овальности и конусообразности
предподступичной части оси
5.24.1 Измерение овальности и конусообразности предподступичной части оси производят в соответствии с
п. 3.21 и
п. 3.22 таблицы Б.1 РД.
5.24.2 Овальность и конусообразность предподступичной части оси определяются аналогично
п. 5.21.
5.25 Измерение параметров подступичной и средней части оси
5.25.1 При измерениях диаметра средней и подступичной части, а также конусообразности и овальности подступичной части оси используется микрометр рычажный МРИ 200
ГОСТ 4381-87.
5.25.2 Измерения диаметра средней части оси аналогичны измерениям, описанным выше в
п. 5.16, измерения конусообразности подступичной части оси - в
п. 5.21.2, овальности средней части оси - в
п. 5.21.3.
5.25.3 Измерения диаметра подступичной части оси необходимо вести в двух взаимно перпендикулярных плоскостях по трем сечениям по длине подступичных частей оси в местах посадки ступиц колес (по середине и на расстоянии от 70 до 80 мм по обеим сторонам от нее), за значение диаметра измеряемого элемента принимается среднее значение результатов шести измерений.
5.26 Измерение длины подступичной части оси
5.26.1 При измерениях длины подступичной части оси используется штангенциркуль ШЩ-II-250-0,1
ГОСТ 166-89 или линейка металлическая
ГОСТ 427-75.
5.26.2 Значение длины подступичной части оси сравнивается с допускаемой величиной.
5.27 Определение непрямолинейности образующей подступичной
части оси
5.27.1 При определении непрямолинейности образующей подступичной части оси линейку лекальную ЛД-1-320
ГОСТ 8026-92 приложить к поверхности подступичной части и с помощью щупов из набора N 2 оценить величину просвета.
5.27.2 Значение непрямолинейности образующей подступичной части оси сравнивается с допускаемой величиной.
5.28 Определение вмятин, забоин и протертости средней части
оси
5.28.1 Согласно
п. 3.2 таблицы Б.1 РД протертость на средней части оси - это круговой неравномерный по профилю оси износ, характеризующийся местным углублением на средней части оси. При определении величины протертости используется кронциркуль с последующим переносом размера на линейку-150
ГОСТ 427-75.
5.28.2 Согласно
п. 3.3 таблицы Б.1 РД забоины и вмятины - механические повреждения, сопровождающиеся деформацией металла и характеризующиеся образованием на средней части оси местных углублений. При измерениях глубины вмятин, забоин используется штангенциркуль с глубиномером ШЩ-I-150-0,1
ГОСТ 166-89.
5.28.3 Полученные при измерениях значения вмятин, забоин и протертости средней части оси сравниваются с допускаемыми величинами.
5.29 Контроль наружного диаметра резьбы М110 оси типа РУ1
5.29.1 В соответствии с
п. 3.10 таблицы Б.1 РД при деформации резьбы измеряется наружный диаметр резьбы штангенциркулем ШЦ-I-150-0,1
ГОСТ 166-89. Он должен быть - 110,0
-1,3.
5.29.2 Контроль резьбы M110x4 6h выполняется предельными калибрами-кольцами, проходным и непроходным. Резьба считается годной, если проходное кольцо свинчивается с резьбой оси по всей длине резьбы без усилия, а непроходное кольцо свинчивается с резьбой не более, чем на два витка.
5.30 Контроль овальности колеса по кругу катания
5.30.1 Измерение диаметра колеса по кругу катания производится с помощью скобы ДК Т447.01.000 ТУ 32 ЦВ 1779-95 аналогично
п. 5.14.
5.30.2 При определении овальности колеса по кругу катания измерения диаметра производятся в двух взаимно перпендикулярных плоскостях. Полуразность наибольшего и наименьшего диаметров колеса определяет его овальность. Полученные значения не должны превышать допустимые.
5.31 Определение ширины обода колеса
5.31.1 В соответствии с
п. 2.6 таблицы Б.1 РД при определении ширины обода колеса используется кронциркуль с последующим переносом размера на линейку, как показано на
рисунке 14.
5.31.2 Полученные значения не должны превышать допустимые.
5.32 Измерение параметров ступицы колеса
5.32.1 При измерении длины ступицы колеса, толщины стенки ступицы колеса и разницы толщин стенки ступицы колеса используется кронциркуль с последующим переносом размера на линейку.
5.32.2 Толщина стенки ступицы колеса измеряется на расстоянии 170 мм от наружного торца ступицы.
5.32.3 Разностенность или разность толщины стенки ступицы определяется как разность между наибольшим и наименьшим значениями толщины стенки, измеренными в одном поперечном сечении, перпендикулярном к оси.
5.33 Определение конусообразности и овальности отверстия
ступицы колеса
5.33.1 При определении конусообразности и овальности ступицы колеса используется микрометрический нутромер НМ-200
ГОСТ 10-88.
Допускается применение другого средства измерений, обеспечивающего необходимую точность измерений.
5.33.2 Конусообразность (отклонение от профиля продольного сечения) отверстия ступицы колеса определяется как полуразность наибольшего и наименьшего диаметров в одной плоскости при измерении в сечениях, отстоящих на расстоянии от 10 до 15 мм от торцов ступицы колеса. При этом больший диаметр отверстия должен быть расположен с внутренней стороны ступицы.
5.33.3 Овальность (отклонение от круглости) отверстия ступицы колеса определяется как полуразность наибольшего и наименьшего диаметров, расположенных во взаимно перпендикулярных направлениях.
5.33.4 Полученные значения конусообразности и овальности не должны превышать допустимые.
5.34 Определение непрямолинейности образующей отверстия
ступицы колеса
5.34.1 При определении непрямолинейности образующей отверстия ступицы колеса части линейку лекальную ЛД-1-320
ГОСТ 8026-92 приложить к поверхности образующей отверстия ступицы в нескольких местах и с помощью щупов из набора N 2 оценить величину просвета.
5.34.2 Полученные значения непрямолинейности не должны превышать допустимые.
5.35 Определение разности толщин гребней колес в одной
колесной паре
5.35.1 Измерение толщины гребня одного и другого колеса в одной колесной паре производится аналогично
п. 5.2.
5.35.2 Полученные значения разности толщин гребней колес в одной колесной паре не должны превышать допустимые.
5.36 Определение толщины диска у обода колеса
5.36.1 Измерения толщины диска у обода колес производятся толщиномером диска колеса Т857.00.000 ТУ 32 ЦВ 1802-95 в соответствии с
рисунком 15.
5.36.2 Полученные значения толщины не должны превышать допустимые.
ЛИСТ РЕГИСТРАЦИИ ИЗМЕНЕНИЙ
Изменение | Номера листов (страниц) | Всего листов (страниц) в докум. | Номер документа | Входящий номер сопроводительного докум. и дата | Подп. | Дата |
измененные | замененных | новых | аннулированных |
1 | 2 | 3 | 4 | 5 | 6 | 7 | 8 | 9 | 10 |
| | | | | | | | | |