Скачать ПО 1.3.2.13.1054-2015 Система управления обеспечением средствами индивидуальной защиты работников АО Концерн Росэнергоатом

Дата актуализации: 01.01.2021

ПО 1.3.2.13.1054-2015

Система управления обеспечением средствами индивидуальной защиты работников АО "Концерн Росэнергоатом"

Обозначение: ПО 1.3.2.13.1054-2015
Обозначение англ: 1.3.2.13.1054-2015
Статус:взамен
Название рус.:Система управления обеспечением средствами индивидуальной защиты работников АО "Концерн Росэнергоатом"
Дата добавления в базу:01.02.2020
Дата актуализации:01.01.2021
Дата введения:30.03.2016
Область применения:Положение устанавливает единый порядок организации обеспечения работников АЭС средствами индивидуальной защиты, включая планирование и закупку СИЗ, входной контроль СИЗ, списание СИЗ в соответствии с действующим законодательством и отраслевыми особенностями, устанавливает основные требования и процедуры обеспечения СИЗ работников АЭС.
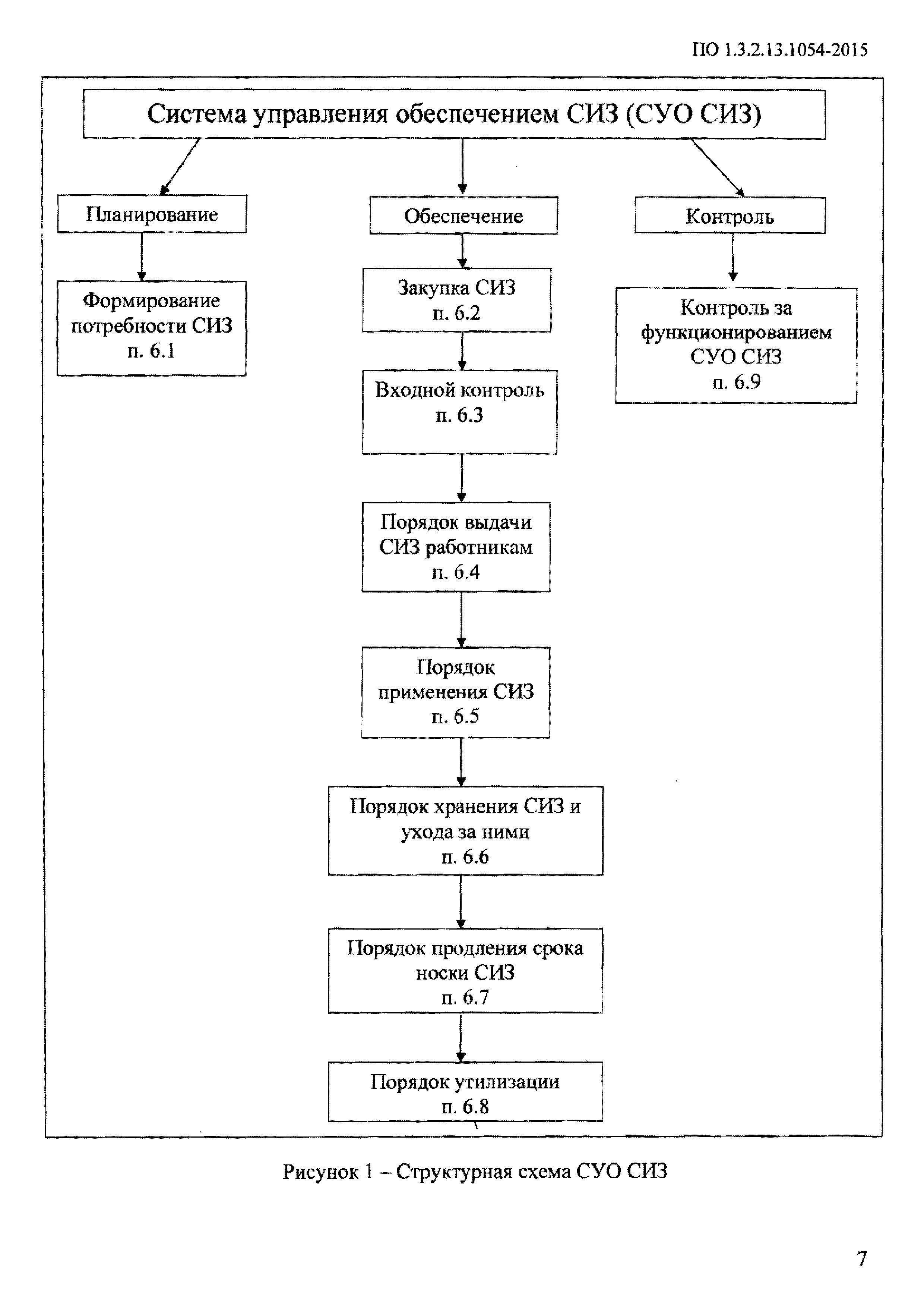
Оглавление:1 Область применения
2 Нормативные ссылки
3 Термины и определения
4 Сокращения
5 Общие положения
6 Управление процессом обеспечения работников СИЗ
   6.1 Формирование потребности в СИЗ
   6.2 Закупка СИЗ
   6.3 Входной контроль
   6.4 Порядок выдачи СИЗ работникам
   6.5 Порядок применения СИЗ
   6.6 Порядок хранения СИЗ и ухода за ними
   6.7 Порядок продления срока носки СИЗ
   6.8 Порядок утилизации СИЗ
   6.9 Контроль за функционированием СУО СИЗ
Приложение А (обязательное) Форма плановой заявки на обеспечение средств индивидуальной защиты
Приложение Б (обязательное) Форма сводной потребности на обеспечение средств индивидуальной защиты
Приложение В (обязательное) Перечень нормативной документации
Приложение Г (рекомендуемое) Форма протокола входного контроля
Приложение Д (обязательное) Форма акта приемки поставленной продукции
Приложение Е (обязательное) Форма личной карточки
Приложение. Ж (рекомендуемое) Форма акта продления срока эксплуатации СИЗ
Библиография
Разработан: ЗАО Восток-Сервис-Спецкомплект
Утверждён:15.12.2015 АО Концерн Росэнергоатом
Список изменений:
Заменяет собой:
  • «Положение о системе управления обеспечением средствами индивидуальной защиты работников ОАО "Концерн Росэнергоатом" в соответствии с требованиями государственного нормативного и технического регулирования»
Нормативные ссылки:
ПО 1.3.2.13.1054-2015ПО 1.3.2.13.1054-2015ПО 1.3.2.13.1054-2015ПО 1.3.2.13.1054-2015ПО 1.3.2.13.1054-2015ПО 1.3.2.13.1054-2015ПО 1.3.2.13.1054-2015ПО 1.3.2.13.1054-2015ПО 1.3.2.13.1054-2015ПО 1.3.2.13.1054-2015ПО 1.3.2.13.1054-2015ПО 1.3.2.13.1054-2015ПО 1.3.2.13.1054-2015ПО 1.3.2.13.1054-2015ПО 1.3.2.13.1054-2015ПО 1.3.2.13.1054-2015ПО 1.3.2.13.1054-2015ПО 1.3.2.13.1054-2015ПО 1.3.2.13.1054-2015ПО 1.3.2.13.1054-2015ПО 1.3.2.13.1054-2015ПО 1.3.2.13.1054-2015ПО 1.3.2.13.1054-2015ПО 1.3.2.13.1054-2015ПО 1.3.2.13.1054-2015ПО 1.3.2.13.1054-2015ПО 1.3.2.13.1054-2015ПО 1.3.2.13.1054-2015ПО 1.3.2.13.1054-2015ПО 1.3.2.13.1054-2015ПО 1.3.2.13.1054-2015ПО 1.3.2.13.1054-2015ПО 1.3.2.13.1054-2015ПО 1.3.2.13.1054-2015ПО 1.3.2.13.1054-2015ПО 1.3.2.13.1054-2015ПО 1.3.2.13.1054-2015ПО 1.3.2.13.1054-2015ПО 1.3.2.13.1054-2015ПО 1.3.2.13.1054-2015ПО 1.3.2.13.1054-2015ПО 1.3.2.13.1054-2015ПО 1.3.2.13.1054-2015ПО 1.3.2.13.1054-2015ПО 1.3.2.13.1054-2015ПО 1.3.2.13.1054-2015

Текстовое изменение № 1

№ 1№ 1