Occupational safety standards system. Personal protection eguipment against radioactive substances and ionizing radiation. Reguirements and test methods

ГОСТ 12.4.217-2001

МЕЖГОСУДАРСТВЕННЫЙ СТАНДАРТ

 

Система стандартов безопасности труда

СРЕДСТВА ИНДИВИДУАЛЬНОЙ ЗАЩИТЫ
ОТ РАДИОАКТИВНЫХ ВЕЩЕСТВ
И ИОНИЗИРУЮЩИХ ИЗЛУЧЕНИЙ

Требования и методы испытаний

 

 

 

МЕЖГОСУДАРСТВЕННЫЙ СОВЕТ
ПО СТАНДАРТИЗАЦИИ, МЕТРОЛОГИИ И СЕРТИФИКАЦИИ

Минск

 

 

Предисловие

1 РАЗРАБОТАН Государственным научным центром Российской Федерации - Институт биофизики

ВНЕСЕН Госстандартом России

2 ПРИНЯТ Межгосударственным Советом по стандартизации, метрологии и сертификации (протокол № 20 от 1 ноября 2001 г.)

За принятие проголосовали:

Наименование государства

Наименование национального органа по стандартизации

Азербайджанская Республика

Азгосстандарт

Армения

Армстандарт

Республика Беларусь

Госстандарт Республики Беларусь

Республика Казахстан

Госстандарт Республики Казахстан

Кыргызская Республика

Кыргызстандарт

Республика Молдова

Молдовастандарт

Российская Федерация

Госстандарт России

Республика Таджикистан

Таджикстандарт

Республика Узбекистан

Узгосстандарт

Украина

Госстандарт Украины

Поправка (ИУС № 9 2004 г.).

3 Постановлением Государственного комитета Российской Федерации по стандартизации и метрологии от 6 марта 2002 г. № 88-ст межгосударственный стандарт ГОСТ 12.4.217-2001 введен в действие непосредственно в качестве государственного стандарта Российской Федерации с 1 января 2003 г.

4 ВВЕДЕН ВПЕРВЫЕ

 

СОДЕРЖАНИЕ

1 Область применения. 2

2 Нормативные ссылки. 2

3 Определения. 4

4 Сокращения. 5

5 Технические требования. 5

6 Методы испытаний. 9

Приложение А Метод определения защитных свойств изолирующего костюма по аэрозолю хлористого натрия. 10

Приложение Б Метод определения коэффициента защиты материала для средств индивидуальной защиты от бета-излучения. 12

Приложение В Метод определения свинцового эквивалента материала для средств индивидуальной защиты от рентгеновского излучения. 13

Приложение Г Метод определения коэффициента защиты материала для средств индивидуальной защиты от мягкого фотонного излучения радионуклидов. 14

Приложение Д Метод определения устойчивости средств индивидуальной защиты к дезактивации. 15

Приложение Е Метод определения расхода воздуха, подаваемого в шланговые средства индивидуальной защиты.. 16

Приложение Ж Библиография. 19

 

МЕЖГОСУДАРСТВЕННЫЙ СТАНДАРТ

Система стандартов безопасности труда

СРЕДСТВА ИНДИВИДУАЛЬНОЙ ЗАЩИТЫ ОТ РАДИОАКТИВНЫХ ВЕЩЕСТВ И ИОНИЗИРУЮЩИХ ИЗЛУЧЕНИЙ

Требования и методы испытаний

Occupational safety standards system. Personal protection equipment against radioactive substances and ionizing radiation. Requirements and test methods

Дата введения 2003-01-01

1 Область применения

Настоящий стандарт устанавливает требования и методы испытаний средств индивидуальной защиты от радиоактивных веществ и ионизирующих излучений.

Стандарт распространяется на средства индивидуальной защиты персонала, выполняющего работы с радиоактивными веществами в открытом виде и источниками ионизирующего излучения, в том числе аварийные работы при ликвидации последствий радиационной аварии.

Стандарт не распространяется на защиту от фотонного излучения с энергией более 100 кэВ и нейтронного излучения.

2 Нормативные ссылки

В настоящем стандарте использованы ссылки на следующие стандарты:

ГОСТ 3-88 Перчатки хирургические резиновые. Технические условия

ГОСТ 8.010-90* Государственная система обеспечения единства измерений. Методики выполнения измерений

* В Российской Федерации действует ГОСТ Р 8.563-96.

ГОСТ 12.1.005-88 Система стандартов безопасности труда. Общие санитарно-гигиенические требования к воздуху рабочей зоны

ГОСТ 12.1.044-89 (ИСО 4589-84) Система стандартов безопасности труда. Пожаровзрывоопасность веществ и материалов. Номенклатура показателей и методы их определения

ГОСТ 12.4.013-85** Система стандартов безопасности труда. Очки защитные. Общие технические условия

** В Российской Федерации действует ГОСТ Р 12.4.013-97.

ГОСТ 12.4.023-84 Система стандартов безопасности труда. Щитки защитные лицевые. Общие технические требования и методы контроля

ГОСТ 12.4.028-76 Система стандартов безопасности труда. Респираторы ШБ-1 «Лепесток». Технические условия

ГОСТ 12.4.029-76 Фартуки специальные. Технические условия

ГОСТ 12.4.041-2001 Система стандартов безопасности труда. Средства индивидуальной защиты органов дыхания фильтрующие. Общие технические требования

ГОСТ 12.4.064-84*** Система стандартов безопасности труда. Костюмы изолирующие. Общие технические требования и методы испытания

*** В Российской Федерации действует ГОСТ Р 12.4.196-99.

ГОСТ 12.4.066-79 Система стандартов безопасности труда. Средства индивидуальной защиты рук от радиоактивных веществ. Общие требования и правила применения

ГОСТ 12.4.072-79 Система стандартов безопасности труда. Сапоги специальные резиновые формовые, защищающие от воды, нефтяных масел и механических воздействий. Технические условия

ГОСТ 12.4.119-82 Система стандартов безопасности труда. Средства индивидуальной защиты органов дыхания. Метод оценки защитных свойств по аэрозолям

ГОСТ 12.4.121-83 Система стандартов безопасности труда. Противогазы промышленные фильтрующие. Технические условия

ГОСТ 12.4.122-83 Система стандартов безопасности труда. Коробки фильтрующе-поглощающие для промышленных противогазов. Технические условия

ГОСТ 12.4.128-83 Система стандартов безопасности труда. Каски защитные. Общие технические требования и методы испытаний

ГОСТ 12.4.132-83 Система стандартов безопасности труда. Халаты мужские. Технические условия

ГОСТ 12.4.133-88* Система стандартов безопасности труда. Средства индивидуальной защиты рук. Перчатки камерные. Общие технические требования

* В Российской Федерации действует ГОСТ Р 12.4.204-99.

ГОСТ 12.4.134-83 Система стандартов безопасности труда. Плащи мужские для защиты от воды. Технические условия

ГОСТ 12.4.156-75 Система стандартов безопасности труда. Противогазы и респираторы промышленные фильтрующие. Нефелометрический метод определения коэффициента проницаемости фильтрующе-поглощающих коробок по масляному туману

ГОСТ 12.4.157-75 Система стандартов безопасности труда. Противогазы и респираторы промышленные фильтрующие. Нефелометрические методы определения коэффициента подсоса масляного тумана под лицевую часть

ГОСТ 12.4.158-90 Система стандартов безопасности труда. Средства индивидуальной защиты органов дыхания фильтрующие. Методы определения времени защитного действия фильтрующе-поглощающих коробок по парообразным вредным веществам.

ГОСТ 12.4.159-90 Система стандартов безопасности труда. Средства индивидуальной защиты органов дыхания фильтрующие. Методы определения времени защитного действия фильтрующе-поглощающих коробок по газообразным вредным веществам.

ГОСТ 12.4.160-90 Система стандартов безопасности труда. Средства индивидуальной защиты органов дыхания фильтрующие. Метод определения времени защитного действия фильтрующе-поглощающих коробок по окиси углерода

ГОСТ 12.4.161-75 Система стандартов безопасности труда. Противогазы и респираторы промышленные фильтрующие. Метод определения времени защитного действия фильтрующе-поглощающих коробок по парам ртути

ГОСТ 12.4.162-85 Система стандартов безопасности труда. Обувь специальная из полимерных материалов для защиты от механических воздействий. Общие технические требования и методы испытаний

ГОСТ 12.4.166-85 Система стандартов безопасности труда. Лицевая часть ШМП для промышленных противогазов. Технические условия

ГОСТ 12.4.183-91 Система стандартов безопасности труда. Материалы для средств защиты рук. Технические требования

ГОСТ 5336-80 Сетки стальные плетеные ординарные. Технические условия.

ГОСТ 5375-79 Сапоги резиновые формовые. Технические условия

ГОСТ 12265-78 Сапоги резиновые формовые, защищающие от нефти, нефтепродуктов и жиров. Технические условия

ГОСТ 17269-71 Респираторы фильтрующие газопылезащитные РУ-60 и РУ-60му. Технические условия

ГОСТ 20010-93 Перчатки резиновые технические. Технические условия

ГОСТ 27574-87 Костюмы женские для защиты от общих производственных загрязнений и механических воздействий. Технические условия

ГОСТ 27575-87 Костюмы мужские для защиты от общих производственных загрязнений и механических воздействий. Технические условия

ГОСТ 27643-88 Костюмы мужские для защиты от воды. Технические условия

ГОСТ 27651-88 Костюмы женские для защиты от механических воздействий, воды и щелочей. Технические условия

ГОСТ 27652-88 Костюмы мужские для защиты от кислот. Технические условия

ГОСТ 27653-88 Костюмы мужские для защиты от механических воздействий, воды и щелочей. Технические условия

ГОСТ 27708-88 Материалы и покрытия полимерные защитные дезактивируемые. Метод определения дезактивируемости

3 Определения

В настоящем стандарте используют следующие термины с соответствующими определениями:

3.1 средство индивидуальной защиты, СИЗ: Средство индивидуального применения, носимое человеком для предохранения от действия одного или нескольких опасных и/или вредных факторов внешней среды.

3.2 защитная эффективность СИЗ или их комплектующих элементов: Параметр, характеризующий защитные свойства изделия или его элементов. Численно выражается коэффициентом защиты от радиоактивных веществ или коэффициентом проникания.

3.3 коэффициент защиты от радиоактивных веществ: Отношение концентрации аэрозольных частиц, газов или паров в окружающей среде к концентрации аэрозольных частиц, газов или паров в подкостюмном (подмасочном) пространстве.

3.4 коэффициент защиты от бета-излучения: Отношение плотности потока бета-частиц на внешней стороне материала СИЗ к плотности потока бета-частиц на внутренней (прилегающей к телу) стороне материала СИЗ.

3.5 коэффициент защиты от мягкого фотонного излучения радионуклидов: Отношение мощности дозы мягкого фотонного излучения (с энергией около 60 кэВ) на внешней стороне материала СИЗ к мощности дозы на внутренней (прилегающей к телу) стороне материала СИЗ.

3.6 свинцовый эквивалент: Показатель защитной эффективности материала, равный толщине свинцовой пластины в миллиметрах, во столько же раз ослабляющий мощность дозы рентгеновского излучения, как и данный материал.

3.7 коэффициент проникания: Коэффициент, выраженный в процентах и показывающий отношение массовой концентрации вредного или опасного вещества, проникшего из окружающей среды в подкостюмное или подмасочное пространство СИЗ, к его массовой концентрации в окружающем пространстве.

3.8 тест-аэрозоль: Аэрозоль, применяемый для определения в стандартных условиях коэффициента проникания вредных и опасных веществ из окружающей среды в подкостюмное пространство ИК или подмасочное пространство СИЗ органов дыхания.

3.9 дезактивация поверхности: Удаление или снижение уровня радиоактивного загрязнения на какой-либо поверхности или из какой-либо среды.

3.10 коэффициент дезактивации: Отношение уровней радиоактивного загрязнения материала (изделия) до и после дезактивации.

3.11 устойчивость к дезактивации: Способность средства индивидуальной защиты или используемого для его изготовления материала сохранять установленные в стандартах и иных нормативных документах значения показателей качества после проведения его дезактивации в соответствии с нормативными документами.

3.12. нормальное падение бета-частиц или фотонов на поверхность материала: Направление движения первоначального потока бета-частиц или фотонов вдоль перпендикуляра к поверхности материала.

4 Сокращения

СИЗ - средство индивидуальной защиты;

СИЗОД - средство индивидуальной защиты органов дыхания;

ИК - изолирующий костюм.

5 Технические требования

5.1 СИЗ от радиоактивных веществ и ионизирующих излучений классифицируют на:

5.1.1 ИК, защищающие кожу и органы дыхания:

- шланговые;

- автономные.

5.1.2 СИЗОД:

- изолирующие:

шланговые (пневмокуртки, пневмошлемы, пневмомаски, пневмополумаски), автономные (СИЗОД на сжатом воздухе, на сжатом кислороде, на химически связанном кислороде);

- фильтрующие (пылезащитные, пылегазозащитные):

фильтрующие полумаски,

изолирующие полумаски с фильтрующими и фильтрующе-поглощающими патронами, полные лицевые части с фильтрующими и фильтрующе-поглощающими патронами, фильтрующие с принудительной подачей воздуха.

5.1.3 Спецодежду:

- основную:

комбинезоны,

полукомбинезоны,

куртки,

брюки,

костюмы,

халаты,

нательное белье (рубашка, кальсоны, майка, трусы),

носки (чулки);

- дополнительную из изолирующих материалов:

костюмы,

полукомбинезоны, полухалаты,

фартуки,

нарукавники,

плащи (дождевики);

- дополнительную для холодного времени года:

плащи утепленные,

полушубки,

тулупы,

чехлы на зимнюю одежду,

жилеты.

5.1.4 Спецобувь:

сапоги,

полусапоги,

ботинки,

полуботинки,

туфли,

галоши,

боты,

бахилы,

чехлы пластиковые,

чулки пластиковые,

следы,

тапочки.

5.1.5 Средства защиты рук:

перчатки (перчатки защитные, перчатки камерные),

рукавицы.

5.1.6 СИЗ лица, глаз и головы:

защитные маски,

защитные щитки,

защитные очки,

каски,

шлемы,

подшлемники,

шапки,

береты,

чепчики.

5.1.7 СИЗ от внешнего излучения:

от бета-излучения,

от рентгеновского излучения,

от мягкого (с энергией до 100 кэВ) фотонного излучения радионуклидов.

5.2 Общие технические требования к:

ИК по ГОСТ 12.4.064;

СИЗОД по ГОСТ 12.4.028, ГОСТ 12.4.041, ГОСТ 12.4.121, ГОСТ 12.4.122, ГОСТ 12.4.166, ГОСТ 17269;

спецодежде по ГОСТ 12.4.029, ГОСТ 12.4,132, ГОСТ 12.4.134, ГОСТ 27574, ГОСТ 27575, ГОСТ 27651, ГОСТ 27652, ГОСТ 27643, ГОСТ 27653;

СИЗ рук по ГОСТ 3, ГОСТ 12.4.066, ГОСТ 12.4.133, ГОСТ 12.4.183, ГОСТ 20010;

спецобуви по ГОСТ 12.4.072, ГОСТ 12.4.162, ГОСТ 5375, ГОСТ 12265;

СИЗ глаз, лица и головы по ГОСТ 12.4.013, ГОСТ 12.4.023, ГОСТ 12.4.128.

5.3 Требования назначения

5.3.1 Максимально допустимое среднее значение коэффициента проникания тест-аэрозоля в подкостюмное пространство и коэффициент защиты от радиоактивных веществ приведены в таблице 1.

Таблица 1

Класс ИК

Максимально допустимое среднее значение коэффициента проникания тест-аэрозоля в подкостюмное пространство, %, в течение

Коэффициент защиты от радиоактивных веществ

одного упражнения

всего цикла упражнений

Класс 5

0,004

0,002

³ 50000

Класс 4

0,01

0,005

³ 20000

Класс 3

0,02

0,01

³ 10000

Класс 2

0,04

0,02

³ 5000

Класс 1

0,10

0,05

³ 2000

5.3.2 Защитная эффективность СИЗОД для работ с радиоактивными веществами должна соответствовать требованиям ГОСТ 12.4.028, ГОСТ 12.4.041, ГОСТ 12.4.121, ГОСТ 12.4.122, ГОСТ 12.4.166, ГОСТ 17269.

Значения коэффициента защиты СИЗОД от радиоактивных веществ приведены в таблице 2.

Таблица 2

Вид СИЗОД

Коэффициент защиты от радиоактивных веществ, не менее

СИЗОД с фильтрующей или фильтрующе-поглощающей лицевой частью

20

СИЗОД с полумаской из изолирующих материалов

40

СИЗОД с маской или шлем-маской

1000

Значения коэффициента проникания тест-аэрозоля через фильтр (фильтрующую систему) СИЗОД в зависимости от его комплектации приведены в таблице 3.

Таблица 3

Комплектация СИЗОД

Коэффициент проникания тест-аэрозоля через фильтр (фильтрующую систему) СИЗОД, %, не менее

Противоаэрозольный фильтр (фильтрующая система) СИЗОД с лицевой частью в виде полумаски

0,5

Противоаэрозольный фильтр (фильтрующая система) СИЗОД с лицевой частью в виде маски или шлем-маски

0,05

Значения коэффициента подсоса тест-аэрозоля под лицевую часть СИЗОД приведены в таблице 4.

Таблица 4

Вид лицевой части

Коэффициент подсоса, %, не менее

Лицевая часть в виде полумаски

2,0

Лицевая часть в виде маски или шлем-маски

0,05

Защитная эффективность СИЗОД по отношению к радиоактивному йоду, гексафториду урана, тритию и другим газопарообразным радиоактивным веществам устанавливается в нормативных документах на конкретное изделие.

5.3.3 Материалы СИЗ от бета-излучения не должны содержать тяжелых химических элементов с атомным номером более 30. СИЗ от внешнего бета-излучения в зависимости от класса должны обеспечивать приведенные в таблице 5 значения коэффициента защиты при нормальном падении бета-частиц с граничной энергией бета-спектра 2,27 МэВ.

Таблица 5

Класс СИЗ

Коэффициент защиты

1

³ 3

2

³ 10

3

³ 30

4

³ 100

5.3.4 Материалы для защиты от мягкого фотонного излучения должны содержать элементы, эффективно поглощающие указанное излучение (свинец, лантаноиды, барий, кадмий, молибден, вольфрам и др.).

5.3.5 СИЗ от внешнего рентгеновского излучения в зависимости от класса должны обеспечивать приведенные в таблице 6 значения свинцового эквивалента при нормальном падении фотонов от источника рентгеновского излучения при напряжении на аноде 70 кВ.

Таблица 6

Класс СИЗ

Значение свинцового эквивалента, мм

1

³ 0,1

2

³ 0,2

3

³ 0,3

4

³ 0,4

5

³ 0,5

5.3.6 СИЗ для защиты от мягкого фотонного излучения радионуклидов должны обеспечивать приведенные в таблице 7 значения коэффициента защиты при нормальном падении фотонов (источник 241Аm, Еg = 59,5 кэВ) в зависимости от класса.

Таблица 7

Класс СИЗ

Коэффициент защиты

1

³ 3

2

³ 10

3

³ 30

4

³ 100

5.3.7 Материалы, используемые для изготовления СИЗ (за исключением СИЗ одноразового применения), должны обеспечивать приведенные в таблице 8 значения коэффициента дезактивации после четырех циклов загрязнение - дезактивация по ГОСТ 27708.

Таблица 8

Вид СИЗ и материал для их изготовления

Значение коэффициента дезактивации после четырех циклов загрязнение - дезактивация по ГОСТ 27708

Материалы наружной оболочки ИК:

с пластмассовым покрытием и пленочные

> 20

текстильные с эластомерным покрытием

> 10

Изолирующие материалы лицевых частей СИЗОД:

эластомерные

> 10

пластмассовые, металлические

> 20

Материалы спецодежды:

основной

> 10

дополнительной из изолирующих материалов, в т.ч. плащей и чехлов на зимнюю спецодежду1)

> 20

Материалы для СИЗ рук

> 10

Материалы для спецобуви:

основной

> 10

дополнительной

> 20

Материалы для СИЗ головы, лица и глаз

> 10

1) Дезактивируемостъ дополнительной спецодежды для холодного времени года не нормируется, поскольку при проведении работ в условиях радиоактивного загрязнения поверхностей и воздуха она должна применяться с чехлами на зимнюю спецодежду.

5.3.8 СИЗ (за исключением СИЗ одноразового применения и дополнительных утепленных СИЗ для холодного времени года) должны сохранять защитные и физико-механические свойства после пятикратной дезактивации в соответствии с Санитарными правилами по дезактивации [1] или в соответствии с инструкцией изготовителя.

5.4 Требования к конструкции

5.4.1 СИЗ от радиоактивных веществ должны легко сниматься и надеваться, что обеспечивает минимальный риск радиоактивного загрязнения.

5.4.2 СИЗ, применяемые при работах с радиоактивными веществами, должны иметь минимальное количество швов, карманов, застежек и других мест скопления загрязнений, которые затрудняют дезактивацию изделия.

5.4.3 Конструкция СИЗ и распределение массы не должны сокращать амплитуду движений работающего и частей его тела (рук, ног, головы), выполняемых практически без ощутимых усилий и чувства дискомфорта, более чем на 30 % относительно соответствующих движений работающего без использования СИЗ.

5.4.4 СИЗ могут состоять из одного или нескольких предметов. Они могут применяться как по отдельности, так и в комплекте, например СИЗ кожи в комплекте с СИЗОД и т.п.

5.4.5 Масса полного комплекта СИЗ должна быть не более 20 кг.

5.5 Требования к материалам

5.5.1 Все материалы и комплектующие должны иметь гигиеническое заключение, а подлежащие обязательной сертификации - сертификат соответствия.

5.5.2 Материалы для СИЗ должны быть пожаробезопасными в соответствии с ГОСТ 12.1.044 в условиях эксплуатации, предусмотренных нормативным документом на конкретное изделие.

5.5.3 Материалы для СИЗ и комплектующие должны быть стойкими к воздействию агрессивных сред, температуры и других факторов, характерных для условий эксплуатации, хранения и транспортировки.

5.6 Требования к системе подачи воздуха в шланговые СИЗ

5.6.1 Система подачи воздуха в шланговые СИЗ должна обеспечивать расход подаваемого воздуха не менее 150 л/мин и избыточное давление в подкостюмном (подмасочном) пространстве от 100 до 300 Па.

5.6.2 Воздух, подаваемый в шланговые СИЗ, должен соответствовать требованиям ГОСТ 12.1.005.

6 Методы испытаний

6.1 Защитную эффективность ИК определяют в соответствии с приложением А.

6.2 Защитную эффективность СИЗОД определяют в соответствии с ГОСТ 12.4.028, ГОСТ 12.4.156, ГОСТ 12.4.157, ГОСТ 12.4.158, ГОСТ 12.4.159, ГОСТ 12.4.160, ГОСТ 12.4.161 и нормативными документами на конкретную продукцию.

6.3 Коэффициент защиты материалов, предназначенных для изготовления СИЗ от бета-излучения, определяют в соответствии с приложением Б.

6.4 Свинцовый эквивалент материалов, предназначенных для защиты от рентгеновского излучения, определяют в соответствии с приложением В.

6.5 Коэффициент защиты материалов, предназначенных для защиты от мягкого фотонного излучения радионуклидов, определяют в соответствии с приложением Г.

6.6 Коэффициент дезактивации материалов, используемых для изготовления СИЗ, определяют по ГОСТ 27708, если в нормативных документах не предусмотрено использование других загрязняющих сред.

6.7 Устойчивость СИЗ к дезактивации определяют в соответствии с приложением Д.

6.8 Расход и избыточное давление воздуха, подаваемого в шланговые СИЗ, определяют в соответствии с приложением Е.

6.9 На основе методов, приведенных в приложениях Б, В, Г, в соответствии с ГОСТ 8.010 должны быть разработаны и аттестованы в установленном порядке методики выполнения измерений.

ПРИЛОЖЕНИЕ А

(обязательное)

Метод определения защитных свойств изолирующего костюма по аэрозолю хлористого натрия

А.1 Введение

А.1.1 Настоящий метод предусматривает количественное определение защитных свойств ИК по аэрозолю хлористого натрия, в том числе и при сертификационных испытаниях изделий, проводимых в камерах, аттестованных в установленном порядке.

А.1.2 Сущность метода заключается в определении отношения концентрации аэрозоля в камере, имитирующей загрязненную рабочую среду, к концентрации аэрозоля в лицевой части (в зоне дыхания) подкостюмного пространства при выполнении испытателем, находящимся в камере, определенных действий, имитирующих трудовую деятельность. По результатам измерений концентраций аэрозоля в камере и в подкостюмном пространстве рассчитывают коэффициенты защиты костюма и коэффициенты проникания тест-аэрозоля в подкостюмное пространство при выполнении определенных видов деятельности.

А.1.3 В качестве испытателей привлекают практически здоровых мужчин в возрасте от 20 до 50 лет, изучивших и усвоивших техническое описание и инструкцию по эксплуатации ИК, содержание и последовательность процедуры испытаний, включая действия в непредвиденных ситуациях, и обученных контролю своего функционального состояния в ходе испытаний.

А.1.4 Перед испытанием необходимо убедиться, что ИК находится в исправном состоянии и может быть использован без ущерба для здоровья испытателя. Размер испытуемого костюма должен соответствовать размерам испытателя. Система подачи воздуха должна обеспечивать подачу чистого воздуха в пределах заданных параметров.

А.1.5 Методика отбора и количество костюмов, отбираемых для испытаний, устанавливается в нормативных документах на конкретные изделия, но в любом случае испытывают не менее четырех костюмов различных размеров, не менее чем на двух испытателях.

А.2 Аппаратура

А.2.1 Камера, имитирующая рабочую среду, которая снабжена специальной вытяжной вентиляцией, штуцерами и трубопроводами для подвода чистого по ГОСТ 12.1.005 воздуха, аэрозоля хлористого натрия и для присоединения пробоотборников, зажим-воронки и других приборов для измерения концентрации аэрозоля. Размеры камеры должны позволять испытателю выполнять весь комплекс упражнений, предусмотренных программой испытаний. Часть камеры должна быть выполнена из прозрачного материала, позволяющего наблюдать за испытателем в ходе эксперимента.

А.2.2 Ультразвуковой генератор аэрозоля, обеспечивающий получение и поддержание в ходе всего эксперимента в атмосфере камеры концентрации аэрозоля 105 - 106 частиц/дм3 со среднегеометрическим диаметром от 0,3 до 1,0 мкм при стандартном геометрическом отклонении не более 1,5.

А.2.3 Источник избыточного давления воздуха (компрессор, стационарная воздушная сеть и др.), обеспечивающий объемную скорость подачи воздуха в подкостюмное пространство до 500 дм3/мин.

А.2.4 Фильтры очистки воздуха, подаваемого в подкостюмное пространство, способные обеспечить качество воздуха в соответствии с ГОСТ 12.1.005.

А.2.5 Приборы для измерения концентрации аэрозольных частиц диапазоном измерений диаметра частиц от 0,3 до 1,0 мкм и более, а концентрации частиц - от 0 до 5 × 107 частиц/дм3. Предел допустимой основной относительной погрешности измерения концентрации аэрозоля для прибора должен быть не более 30 %.

А.2.6 Расходомеры для воздушного потока объемным расходом до 6, 100, 600 дм3/мин с погрешностью измерения не более 2,5 %.

А.2.7 Психрометр диапазоном измерения 0 - 100 % с погрешностью не более 5 %.

А.2.8 Термометр диапазоном измерений 0 - 50 °С с погрешностью не более 0,25 °С.

А.2.9 Барометр для измерения давления воздуха с погрешностью не более 10 Па.

А.2.10 Манометр для измерения избыточного давления в линии подачи воздуха класса точности 2,5 с верхним пределом измерения 0,06 МПа.

А.2.11 Приборы, контролирующие концентрации вредных веществ в воздухе, подаваемом в подкостюмное пространство.

А.2.12 Вентилятор производительностью 150 дм3/мин и напряжением питания 12 В.

А.2.13 Бегущая дорожка, обеспечивающая скорость движения (5 ± 0,5) км/ч.

А.3 Подготовка к испытанию

А.3.1 Подготовка к испытанию включает:

- составление программы испытаний;

- назначение руководителя испытаний, испытателей, врача и других членов бригады по проведению испытаний;

- подготовку ИК, технических средств и приборов контроля;

- медицинский контроль испытателей, инструктаж, проверку знаний и практических навыков испытателей по выполнению своих обязанностей в ходе испытаний.

А.3.2 В программе испытаний должны быть указаны:

- тип (марка, модель) объекта испытаний и нормативный документ, которому он должен соответствовать;

- график процедуры испытаний;

- число испытателей и испытуемых объектов;

- регистрируемые показатели, методы их определения и измерительная аппаратура, с помощью которой значения показателей регистрируются;

- меры по обеспечению безопасности испытаний;

- действия руководителя испытаний и испытателя при возникновении опасных ситуаций.

А.3.3 К испытаниям с участием испытателя допускаются ИК, которые выдержали все другие испытания на соответствие требованиям нормативного документа.

А.4 Проведение испытаний

А.4.1 Проводят испытания в соответствии с таблицей А.1.

А.4.2 Результаты испытания заносят в протокол в соответствии с приложением 2 ГОСТ 12.4.119.

А.4.3 Полученные результаты подвергают статистической обработке в соответствии с приложением 3 ГОСТ 12.4.119.

Таблица А.1 - Порядок проведения испытания для определения коэффициента защиты

Упражнение

Продолжительность, мин

1 Испытатель надевает костюм

-

2 Испытатель надевает защитную обувь и защитные перчатки согласно инструкции изготовителя

-

3 Испытатель входит в испытательную камеру, подсоединяет к костюму шланг пробоотборника, аэрозоль хлористого натрия не подают

3

4 Регистрируют исходные значения измерительных приборов, испытатель стоит, аэрозоль хлористого натрия не подают

3

5 Начинают подавать аэрозоль хлористого натрия и дают возможность стабилизироваться концентрации аэрозоля в камере

3

6 Регистрируют концентрацию аэрозоля в подкостюмном пространстве, испытатель стоит

3

7 Включают бегущую дорожку

-

8 Ходьба со скоростью 5 км/ч

3

9 Регистрируют концентрацию аэрозоля в подкостюмном пространстве, испытатель идет со скоростью 5 км/ч

-

10 Выключают бегущую дорожку

-

11 Регистрируют концентрацию аэрозоля в подкостюмном пространстве, испытатель двигает руками снизу от бедер до верхней точки над головой и обратно, одновременно поднимая и опуская голову и сопровождая кисти рук взглядом

3

12 Регистрируют концентрацию аэрозоля в подкостюмном пространстве, испытатель непрерывно делает приседания

3

13 Прекращают подачу аэрозоля хлористого натрия и продувают камеру, испытатель стоит в испытательной камере

3

14 Отключают шланг пробоотборника от костюма, испытатель выходит из камеры и снимает костюм

-

Примечания

1 Порядок проведения испытания может изменяться.

2 Время каждого упражнения оценено из условия достижения установившейся концентрации аэрозолей.

3 Приседания делают плавно, каждое движение примерно за 3 с.

4 Результаты при выполнении каждого упражнения следует регистрировать примерно через 2 мин от его начала, чтобы избежать влияния предыдущего упражнения.

5 В ходе всего эксперимента регистрируют относительную влажность воздуха в камере, его температуру и барометрическое давление, расход воздуха, подаваемого в подкостюмное пространство, и избыточное давление в подкостюмном пространстве при выполнении каждого упражнения.

6 Испытания проводят при минимальном расходе воздуха, установленном в нормативных документах на конкретное изделие.

ПРИЛОЖЕНИЕ Б

(обязательное)

Метод определения коэффициента защиты материала для средств индивидуальной защиты от бета-излучения

Б.1 Сущность метода заключается в том, что исследуемый материал подвергают воздействию бета-частиц от источника на основе радионуклидов 90Sr + 90Y, и регистрируют плотность потока бета-частиц на поверхности материала со стороны источника и с противоположной стороны.

Б.2 Для проведения испытаний применяют источник бета-излучения 90Sr + 90Y активностью 105 - 107 Бк с площадью активной поверхности 4 - 10 см2.

Б.3 Для регистрации плотности потока бета-излучения используют радиометр бета-излучения, позволяющий измерить плотность потока бета-частиц в диапазоне от 10 до 105 бета-част./(см2×мин) с погрешностью не более 30 %.

Б.4 СИЗ может быть подвергнуто испытанию целиком или из него могут быть изготовлены образцы.

Б.5 Для испытаний используют штатив, позволяющий закрепить источник бета-излучения в горизонтальной плоскости активной поверхностью вниз. Ниже в другом зажиме штатива на расстоянии (100 ± 5) мм от активной поверхности источника бета-излучения закрепляют детектор бета-излучения чувствительной поверхностью вверх.

Б.6 Проводят калибровку измерительной установки в следующем порядке:

Б.6.1 Устанавливают источник и детектор согласно Б.5.

Б.6.2 В соответствии с руководством по эксплуатации радиометра измеряют плотность потока бета-частиц, испускаемых источником, Фист, част./(см2×мин).

Б.6.3 Вынимают источник из штатива и помещают его в защитный сейф, чтобы полностью исключить влияние источника на показание радиометра.

Б.6.4 Измеряют фоновое показание радиометра Ффон, част./(см2×мин).

Б.6.5 Снова устанавливают источник в штатив согласно Б.5 - установка готова к проведению испытания материала.

Б.7 Испытания материала проводят в следующем порядке:

Б.7.1 Пробы материала размером 10´10 см (не менее 5 шт.) или СИЗ целиком должны быть выдержаны в течение не менее 24 ч при температуре (23 ± 2) °С и относительной влажности воздуха (50 ± 5) %. Испытания материала следует начинать в течение 5 мин после извлечения проб из стандартных климатических условий.

Б.7.2 Пробу материала или испытуемый участок СИЗ накладывают сверху на чувствительную поверхность детектора так, чтобы она накрывала всю поверхность детектора.

Б.7.3 Регистрируют значение плотности потока бета-частиц, испускаемых источником и прошедших сквозь пробу, Фпр, част./(см2×мин).

Б.7.4 Повторяют операции Б.7.2 и Б.7.3, в итоге получают набор значений для других проб материалов или других участков СИЗ Фпр, част./(см2×мин).

Б.8 Обработка результатов измерений

Б.8.1 Для каждой пробы (каждого испытанного участка СИЗ) определяют коэффициент защиты от бета-излучения  согласно соотношению:

                                        (Б.1)

Б.8.2 За результат измерения принимают минимальный результат.

Б.9 Протокол испытаний должен содержать:

- наименование СИЗ или материала для изготовления СИЗ с указанием нормативного документа;

- информацию об изготовителе (поставщике);

- дату выпуска СИЗ или материала для изготовления СИЗ;

- указание на выполнение испытаний в соответствии с настоящим стандартом;

- тип, номер, активность, площадь активной поверхности и другие параметры источника бета-излучения;

- тип и технические характеристики радиометра бета-излучения;

- коэффициент защиты материала СИЗ по отношению к бета-излучению;

- дату испытания.

Б.10 Требования безопасности

Б.10.1 Все работы по калибровке измерительной установки и проведению испытаний выполняют с соблюдением требований нормативных документов, регламентирующих вопросы обеспечения радиационной безопасности при проведении работ с закрытыми источниками ионизирующего излучения.

Б.10.2 Для защиты оператора необходимо применять защитные экраны из полимерного материала (например из оргстекла) толщиной не менее 10 мм.

ПРИЛОЖЕНИЕ В

(обязательное)

Метод определения свинцового эквивалента материала для средств индивидуальной защиты от рентгеновского излучения

В.1 Сущность метода заключается в том, что облучение материала СИЗ проводят рентгеновскими лучами, а прошедшее через материал излучение регистрируют с помощью рентгеновской пленки.

В.2 Для проведения испытаний применяют источник рентгеновского излучения - рентгеновскую трубку. Для калибровки измерительной установки в единицах свинцового эквивалента используют калибровочный свинцовый клин, минимальная толщина которого составляет 0,05 мм, а максимальная - 0,5 мм.

В.3 СИЗ может быть подвергнуто испытанию целиком или из него могут быть изготовлены образцы.

В.4 Образец материала СИЗ помещают перпендикулярно к направлению излучения источника рентгеновского излучения. Вплотную к образцу со стороны, противоположной источнику излучения, помещают рентгеновскую пленку.

В.5 Измерение свинцового эквивалента проводят на разных участках радиационно-защитного слоя. Локализацию участков, подвергаемых испытанию, определяют в нормативных документах на СИЗ или по соглашению между потребителем и производителем.

В.6 Включают источник рентгеновского излучения при напряжении на рентгеновской трубке 70 кВ (или при ином значении напряжения в соответствии с нормативными документами на конкретные изделия) и выдерживают образец. Время выдержки образца и расстояние от источника до образца подбирают таким образом, чтобы изображение на пленке можно было анализировать.

В.7 Проводят калибровку измерительной установки в единицах свинцового эквивалента, для чего в условиях, полностью идентичных В.6, облучают калибровочный свинцовый клин, расположив рентгеновскую пленку вплотную к клину со стороны, противоположной источнику излучения.

В.8 Рентгеновскую пленку, облученную при калибровочном эксперименте и при испытании материала СИЗ, обрабатывают в идентичных условиях. На основе сравнения на денсиметре плотности ее почернения при измерении образца СИЗ и свинцового клина устанавливают свинцовый эквивалент материала СИЗ.

В.9 Протокол испытаний должен содержать:

- наименование СИЗ с указанием нормативного документа;

- дату выпуска СИЗ;

- указание на выполнение испытаний в соответствии с настоящим стандартом;

- используемую методику испытаний;

- напряжение на рентгеновской трубке и другие специальные условия испытания;

- результаты испытания свинцового эквивалента, мм;

- дату испытания.

В.10 Требования безопасности

В.10.1 Все работы по калибровке измерительной установки и проведению испытаний выполняют с соблюдением требований нормативных документов, регламентирующих вопросы обеспечения радиационной безопасности при проведении работ с закрытыми источниками ионизирующего излучения.

В.10.2. Для защиты оператора необходимо применять защитные экраны из тяжелых элементов (например, из свинца). Толщину экранов и их расположение определяют на стадии проектирования испытательной установки и согласовывают с органом Госсанэпиднадзора.

ПРИЛОЖЕНИЕ Г

(обязательное)

Метод определения коэффициента защиты материала для средств индивидуальной защиты от мягкого фотонного излучения радионуклидов

Г.1 Сущность метода заключается в том, что облучение материала СИЗ проводят источником фотонного излучения, помещенным с одной стороны материала СИЗ, а мощность дозы фотонного излучения с другой стороны материала СИЗ регистрируют с помощью дозиметра мягкого фотонного излучения с нижним порогом регистрации не более 10 кэВ.

Г.2 Для испытаний применяют коллимированный источник фотонного излучения 241Аm активностью 106 - 108 Бк. На расстоянии не менее 100 мм от источника располагают детектор дозиметра фотонного излучения таким образом, чтобы пучок излучения источника попадал в чувствительный объем детектора. Источник и детектор жестко закрепляют относительно друг друга.

Г.3 Проводят калибровку измерительной установки в следующем порядке:

Г.3.1 Устанавливают источник и детектор согласно Г.2.

Г.3.2 В соответствии с руководством по эксплуатации дозиметра измеряют мощность дозы фотонного излучения Рист, Зв/с.

Г.3.3 Вынимают источник из штатива и помещают его в защитный сейф, чтобы полностью исключить влияние источника на показание дозиметра.

Г.3.4 Измеряют фоновое показание дозиметра Рфон, Зв/с.

Г.3.5 Снова устанавливают источник в штатив согласно Г.2 - установка готова к проведению испытания материала.

Г.4 Для определения коэффициента защиты испытуемый образец материала СИЗ располагают между источником и детектором.

Г.5 Регистрируют показания дозиметра фотонного излучения Рпр, Зв/с.

Г.6 Повторяют операции Г.4 и Г.5, в итоге получают набор значений для других проб материалов или других участков СИЗ, , Зв/с.

Г.7 По результатам калибровочного измерения определяют коэффициент защиты данного участка материала СИЗ :

                                             (Г.1)

Г.8 За результат испытания берут минимальный результат.

Г.9 Протокол испытаний должен содержать:

- наименование СИЗ или материала СИЗ с указанием нормативного документа;

- дату выпуска СИЗ или материала СИЗ;

- указание на выполнение испытаний в соответствии с настоящим стандартом;

- характеристику источника фотонного излучения и тип дозиметра мягкого фотонного излучения;

- результаты определения коэффициента защиты;

- дату испытания.

Г.10 Требования безопасности

Г.10.1 Все работы по калибровке измерительной установки и проведению испытаний выполняют с соблюдением требований нормативных документов, регламентирующих вопросы обеспечения радиационной безопасности при проведении работ с закрытыми источниками ионизирующего излучения.

Г.10.2 Для защиты оператора необходимо применять защитные экраны из тяжелых элементов (например, из свинца). Толщину экранов и их расположение определяют на стадии проектирования испытательной установки и согласовывают с органом Госсанэпиднадзора.

ПРИЛОЖЕНИЕ Д

(обязательное)

Метод определения устойчивости средств индивидуальной защиты к дезактивации

Д.1 Сущность метода заключается в сравнении защитных и физико-механических свойств СИЗ до дезактивации и после дезактивации.

Д.2 Для испытания отбирают не менее трех образцов СИЗ.

Д.3 СИЗ должны быть выдержаны в течение не менее 24 ч при температуре (23 ± 2) °С и относительной влажности воздуха (50 ± 5) %. Испытания материала следует начинать в течение 5 мин после извлечения проб из стандартных климатических условий.

Д.4 Определяют исходные значения защитных и физико-механических свойств СИЗ до дезактивации. Перечень определяемых показателей и их предельные значения устанавливаются в нормативных документах на конкретный вид СИЗ или в техническом задании на проведение испытаний.

Д.5 Проводят дезактивацию СИЗ в соответствии с [1]. Процесс дезактивации осуществляют по одному из приведенных в них режимов в зависимости от свойств материала СИЗ и их назначения. После дезактивации СИЗ подвергают сушке в соответствии с [1].

Д.6 Процесс дезактивация - сушка повторяют пять раз.

Д.7 Определяют значения защитных и физико-механических свойств СИЗ после дезактивации.

Д.8 Сопоставляют полученные показатели защитных и физико-механических свойств СИЗ или материалов после дезактивации с предельными значениями, установленными в нормативных документах или в техническом задании на проведение испытаний.

Д.9 Если хотя бы один из показателей испытуемых образцов выходит за границы заданных предельных значений, СИЗ считают не обладающим устойчивостью к дезактивации.

ПРИЛОЖЕНИЕ Е

(обязательное)

Метод определения расхода воздуха, подаваемого в шланговые средства индивидуальной защиты

Е.1 Для измерения объемного расхода воздуха необходимо применять следующие аппаратуру и материалы:

Е.1.1 Ротаметр с допускаемой погрешностью ± 2,5 % верхнего предела измерения. Марку ротаметра выбирают в зависимости от требуемых пределов измерения.

Е.1.2 Манометр для измерения избыточного давления в линии подачи воздуха класса точности 2,5 с верхним пределом измерения 0,06 МПа.

Е.1.3 Метеорологический анероидный барометр с основной погрешностью измерения не более 10 Па.

Е.1.4 Термометр с диапазоном измерений 0 - 50 °С и погрешностью не более 0,25 °С.

Е.1.5 Входной и выходной рукава (шланги) для подачи воздуха внутренним диаметром 20 мм и длиной не более 2 м.

Е.1.6 Детали для установки ротаметра в технологическую линию:

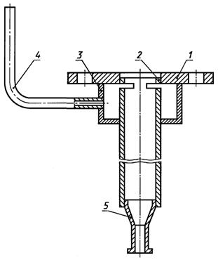
Е.1.6.1 Входной штуцер (рисунок Е.1) с прямым участком длиной не менее 400 мм;

1 - фланец; 2 - труба; 3 - камера; 4 - трубка; 5 - патрубок

Рисунок Е.1 - Схема входного штуцера

Е.1.6.2 Выходной штуцер с прямым участком не менее 200 мм, имеющий патрубок и стальной фланец, аналогичные патрубку и фланцу входного штуцера.

E.1.7 Стальная плетеная одинарная сетка с квадратными ячейками по ГОСТ 5336.

Е.1.8 Детали для установки термометра в технологическую линию (рисунок Е.2).

1 - тройник; 2 - термометр; 3 - кожух; 4 - гайка; 5 - кольцо; 6 - резиновое уплотнение; 7 - рукав

Рисунок Е.2 - Схема установки термометра в линию

Е.2 Воздух, поступающий в СИЗ, не должен содержать вредных примесей в концентрациях, превышающих предельно допустимые.

Е.3 Подготовка к измерению

Е.3.1 К нижнему фланцу ротаметра через резиновую прокладку с помощью болтов, гаек и шайб следует присоединить входной штуцер, а к верхнему фланцу ротаметра - выходной.

Е.3.2 Манометр для измерения избыточного давления должен быть присоединен к камере входного штуцера.

Е.3.3 Подготовленный к измерению ротаметр должен быть установлен в технологическую линию подачи воздуха от источника воздухоснабжения к СИЗ и защищен кожухом из стальной плетеной сетки. Ротаметр должен быть установлен так, чтобы было обеспечено удобство снятия с него показаний. На штуцеры должны быть надеты входной и выходной рукава.

Е.3.4 Термометр должен быть установлен вертикально в тройнике (рисунок Е.2) на линии входного рукава на уровне, удобном для наблюдения, и должен быть защищен металлическим кожухом с прорезью для снятия показаний. Тройник должен быть закреплен неподвижно.

Е.3.5 Подготовленное к измерению СИЗ надевают на человека или на манекен.

Е.3.6 Рукав входного штуцера должен быть подсоединен к раздаточному штуцеру источника воздухоснабжения, а рукав выходного штуцера - к шлангу от СИЗ.

Е.3.7 Подготовка к измерению должна включать медицинский осмотр испытателей и их инструктаж.

Е.4 Проведение измерений

Е.4.1 Показания ротаметра снимают по верхней плоскости поплавка при установившемся потоке. Для того чтобы получить правильные показания, человек, работающий в СИЗ, в момент измерения должен находиться в состоянии покоя.

Е.4.2 Измеряют температуру подаваемого воздуха, избыточное давление в технологической линии и атмосферное давление.

Е.4.3 Измерения по Д.4.1 и Д.4.2 проводят не менее трех раз.

Е.4.4 Значения объемного расхода воздуха, соответствующие показаниям ротаметра, определяют по градуировочной характеристике, приведенной в паспорте используемого ротаметра.

Е.4.5 Полученные значения пересчитывают, если расход воздуха был измерен при температуре и давлении, отличающихся от тех, при которых осуществлялась градуировка ротаметра.

Рассчитывают абсолютное давление воздуха, подаваемого в СИЗ в рабочих условиях, Р2, Па, равное

Р2 = Р2атм + Р2изб,                                                        (Е.1)

где Р2атм - атмосферное давление, Па (измеряют барометром);

Р2изб - избыточное давление в технологической линии, Па (измеряют манометром).

Расход воздуха, подаваемого в СИЗ в рабочих условиях, Q2, м3/ч, дм3/мин, вычисляют по формуле

                                                            (Е.2)

где Q1 - расход воздуха по градуировочной характеристике ротаметра, м3/ч (дм3/мин);

Т1 - температура воздуха при градуировке, К;

Т2 - температура воздуха, подаваемого в СИЗ в рабочих условиях, К;

Р1 - абсолютное давление воздуха при градуировке, Па (берут из паспорта).

Е.5 За объемный расход воздуха принимают среднеарифметическое полученных значений Q2.

ПРИЛОЖЕНИЕ Ж

(справочное)

Библиография

[1] Санитарные правила для промышленных и городских спецпрачечных по дезактивации спецодежды и других средств индивидуальной защиты № 5163-89

 

Ключевые слова: средства индивидуальной защиты, радиоактивные вещества, ионизирующее излучение, требования, методы испытаний, радиоактивные аэрозоли