Occupational safety standards system. Personal protective equipment against falls from a height. Belts and lanyards for work positioning and restraint. General technical requirements. Test methods

ФЕДЕРАЛЬНОЕ АГЕНТСТВО
ПО ТЕХНИЧЕСКОМУ РЕГУЛИРОВАНИЮ И МЕТРОЛОГИИ

НАЦИОНАЛЬНЫЙ
СТАНДАРТ
РОССИЙСКОЙ
ФЕДЕРАЦИИ

ГОСТ Р ЕН
358-2008

Система стандартов безопасности труда

СРЕДСТВА ИНДИВИДУАЛЬНОЙ ЗАЩИТЫ
ОТ ПАДЕНИЯ С ВЫСОТЫ.
ПРИВЯЗИ И СТРОПЫ ДЛЯ УДЕРЖАНИЯ
И ПОЗИЦИОНИРОВАНИЯ

Общие технические требования.
Методы испытаний

EN 358:1999
Personal protective equipment for work positioning and prevention of falls from a
height - Belts for work positioning and restraint and work positioning lanyards
(IDT)

Москва

Стандартинформ

2009

Предисловие

Цели и принципы стандартизации в Российской Федерации установлены Федеральным законом от 27 декабря 2002 г. № 184-ФЗ «О техническом регулировании», а правила применения национальных стандартов Российской Федерации - ГОСТ Р 1.0-2004 «Стандартизация в Российской Федерации. Основные положения»

Сведения о стандарте

1 ПОДГОТОВЛЕН рабочей группой подкомитета ПК 7 Технического комитета по стандартизации средств индивидуальной защиты ТК 320 «СИЗ» на основе собственного аутентичного перевода стандарта, указанного в пункте 4

2 ВНЕСЕН Техническим комитетом по стандартизации средств индивидуальной защиты ТК 320 «СИЗ»

3 УТВЕРЖДЕН И ВВЕДЕН В ДЕЙСТВИЕ Приказом Федерального агентства по техническому регулированию и метрологии от 18 декабря 2008 г. № 486-ст

4 Настоящий стандарт идентичен европейскому стандарту ЕН 358:1999 «Средства индивидуальной защиты для позиционирования на рабочем месте и предотвращения падения с высоты. Привязи для удержания и позиционирования на рабочем месте и стропы для рабочего позиционирования» (EN 358:1999 «Personal protective equipment for work positioning and prevention of falls from a height - Belts for work positioning and restraint and work positioning lanyards»).

При применении настоящего стандарта рекомендуется использовать вместо ссылочных европейских и международного стандартов соответствующие им национальные стандарты Российской Федерации, сведения о которых приведены в дополнительном приложении Б.

Наименование настоящего стандарта изменено относительно европейского стандарта для приведения в соответствие с ГОСТ Р 1.5-2004 (пункт 3.5)

5 ВЗАМЕН ГОСТ Р 12.4.205-99

Информация об изменениях к настоящему стандарту публикуется в ежегодно издаваемом информационном указателе «Национальные стандарты», а текст изменений и поправок - в ежемесячно издаваемых информационных указателях «Национальные стандарты». В случае пересмотра (замены) или отмены настоящего стандарта соответствующее уведомление будет опубликовано в ежемесячно издаваемом информационном указателе «Национальные стандарты». Соответствующая информация, уведомление и тексты размещаются также в информационной системе общего пользования - на официальном сайте Федерального агентства по техническому регулированию и метрологии в сети Интернет

СОДЕРЖАНИЕ

1 Область применения. 2

2 Нормативные ссылки. 3

3 Термины и определения. 3

4 Общие технические требования. 4

5 Испытания. 6

6 Информация, предоставляемая изготовителем, маркировка и упаковка. 9

Приложение ZA (справочное). Разделы настоящего национального стандарта, содержащие существенные требования или другие условия директив EEC.. 10

Приложение Б (обязательное). Сведения о соответствии национальных стандартов Российской Федерации ссылочным европейским и международному стандартам.. 10

ГОСТ Р ЕН 358-2008

НАЦИОНАЛЬНЫЙ СТАНДАРТ РОССИЙСКОЙ ФЕДЕРАЦИИ

Система стандартов безопасности труда

СРЕДСТВА ИНДИВИДУАЛЬНОЙ ЗАЩИТЫ ОТ ПАДЕНИЯ С ВЫСОТЫ.
ПРИВЯЗИ И СТРОПЫ ДЛЯ УДЕРЖАНИЯ И ПОЗИЦИОНИРОВАНИЯ

Общие технические требования. Методы испытаний

Occupational safety standards system. Personal protective equipment against falls from a height.
Belts and lanyards for work positioning and restraint. General technical requirements. Test methods

Дата введения - 2009-07-01

1 Область применения

Настоящий стандарт устанавливает общие технические требования, методы испытаний, маркировку и информацию, предоставляемую изготовителем для привязей и стропов, предназначенных для рабочего позиционирования и ограничения движения.

2 Нормативные ссылки

В настоящем стандарте использованы датированные и недатированные ссылки на международные и европейские стандарты. При датированных ссылках последующие редакции международных и европейских стандартов или изменения к ним действительны для настоящего стандарта только после введения изменений к настоящему стандарту или путем подготовки новой редакции настоящего стандарта. При недатированных ссылках действительно последнее издание стандарта (включая изменения).

ЕН 354 Индивидуальные средства защиты от падения с высоты. Стропы

ЕН 361 Индивидуальные средства защиты от падения с высоты. Система ремней безопасности для всего тела

ЕН 362 Индивидуальные средства защиты от падения с высоты. Соединительные элементы

ЕН 363 Индивидуальные средства защиты от падения с высоты. Страховочные системы

ЕН 364:1992 Индивидуальные средства защиты от падения с высоты. Методы испытаний

ЕН 365 Индивидуальные средства защиты от падения с высоты. Общие требования к инструкциям по эксплуатации и маркировке

ЕН 892 Снаряжение для альпинистов. Подъемные канаты. Требования техники безопасности и методы испытаний

ЕН 12277:1998 Снаряжение для альпинистов. Привязные ремни. Требования техники безопасности и методы испытаний

ИСО 9227 Испытания на коррозию в искусственной атмосфере. Испытания в соляном тумане

3 Термины и определения

В настоящем стандарте применены следующие термины с соответствующими определениями:

3.1 элемент крепления (attachment element): Воспринимающий нагрузку элемент, предназначенный для соединения других компонентов.

3.2 компонент (component): Часть системы, которая поставляется изготовителем в готовом для продажи виде с упаковкой, маркировкой и информацией, предоставляемой изготовителем.

Примечание - Привязи для удержания и позиционирования (включая поясные ремни) и стропы являются примерами компонентов систем. [ЕН 363:2002]

3.3 отдельная деталь (element): Часть компонента или подсистемы.

Примечание - Канаты, тканые ленты, элементы крепления, металлическая фурнитура и анкерные линии являются примерами элементов.

3.4 ограничение движений (удержание) (restraint): Способ, посредством которого человек предохраняется с помощью средств индивидуальной защиты от попадания в зоны, где существует риск падения с высоты.

3.5 поясной ремень (waist belt): Устройство для поддержки тела, которое охватывает тело за талию.

3.6 рабочее позиционирование (work positioning): Способ, который позволяет человеку работать с поддержкой при помощи индивидуального защитного средства, находящегося в натянутом состоянии, таким образом, при котором падение предотвращается.

3.7 строп для рабочего позиционирования (work positioning lanyard): Компонент, используемый для соединения поясного ремня с анкерной точкой или конструкцией, охватывая ее, как средство опоры.

4 Общие технические требования

4.1 Дизайн и конструкция

4.1.1 Поясной ремень

4.1.1.1 Поясной ремень должен быть сконструирован так, чтобы обеспечивать пользователю возможность выполнять его работу без ненадлежащего дискомфорта и защищать от опасности падения с высоты. Основные элементы крепления и регулировки должны оставаться доступными пользователю и работать эффективно при ручном манипулировании.

4.1.1.2 Поясной ремень должен иметь ширину не менее 43 мм и должен иметь возможность регулировки для подгонки по размеру пользователя. Поясной ремень должен иметь, по крайней мере, один присоединительный элемент, предназначенный для соединения с компонентами, воспринимающими нагрузку. Поясной ремень должен отвечать требованиям 4.2.

4.1.1.3 Элементы крепления и регулировки поясного ремня должны быть спроектированы и изготовлены так, чтобы при правильном закреплении не могло произойти произвольного освобождения или открытия элемента. Если элементы крепления или регулировки могут быть закреплены более чем одним способом, то поясной ремень должен соответствовать требованиям настоящего стандарта по работе при каждом возможном варианте закрепления.

4.1.1.4 Визуальная проверка поясного ремня и всех его соединений должна быть возможна даже тогда, когда ремень встроен в одежду или если он является компонентом страховочной привязи.

4.1.1.5 Поясной ремень, предназначенный для рабочего позиционирования и не имеющий спинной опоры, должен иметь ширину не менее 80 мм.

4.1.1.6 Спинная опора, если она есть на поясном ремне, должна быть сконструирована так, чтобы дать физическую опору пользователю без стеснения движений рук или ног. Минимальная длина спинной опоры должна быть на 50 мм больше половины окружности ремня, когда он отрегулирован на максимальную радиальную длину (размер талии), указанную изготовителем. Ширина спинной опоры должна быть не менее 100 мм на участке длиной 200 мм, центрированном на спине пользователя, и должна быть не менее 60 мм в остальных местах.

4.1.1.7 Если поясной ремень оснащен наплечными или ножными лямками, то они не должны ухудшать использование поясного ремня никаким образом. Никакие соединительные элементы не должны быть соединены с наплечной или ножной лямкой.

4.1.1.8 Если поясной ремень встроен в другое средство защиты, например, в страховочную привязь (ЕН 361), то поясной ремень должен соответствовать рабочим характеристикам, указанным в 4.2.

4.1.2 Строп для рабочего позиционирования

4.1.2.1 Строп для рабочего позиционирования фиксированной длины должен отвечать требованиям ЕН 354. Он должен быть предназначен для специальной цели, которая должна быть конкретизирована изготовителем. Длина такого стропа для рабочего позиционирования должна быть минимальной для достижения специальной цели.

4.1.2.2 Строп для рабочего позиционирования, оснащенный регулятором длины, должен быть способен к регулировке на минимальную длину, которая обеспечивает свободу работы и предохраняет пользователя от падения, когда строп объединен в систему рабочего позиционирования.

4.1.2.3 Каждый строп для рабочего позиционирования должен быть изготовлен так, чтобы не было возможным непроизвольное разъединение стропа, когда он соединен с поясным ремнем. Материал стропа для рабочего позиционирования должен иметь такой концевой ограничитель, чтобы регулятор длины, когда он установлен, не мог быть непреднамеренно отсоединен от стропа. Когда строп для рабочего позиционирования может быть присоединен более чем одним способом, тогда при каждом способе присоединения строп должен отвечать эксплуатационным требованиям.

4.1.2.4 Строп для рабочего позиционирования, оснащенный регулятором длины, должен быть:

a) постоянно подсоединен к поясному ремню одним концом и иметь соединительный элемент на другом конце, совместимый с элементом крепления, установленным на поясном ремне,

b) съемным, в данном случае должны быть соединительные элементы на каждом конце стропа, совместимые с элементом(ами) крепления поясного ремня,

или

c) съемным (и независимым), у которого, по крайней мере, один конец стропа для рабочего позиционирования должен иметь возможность присоединяться к подходящей анкерной точке. Регулятор длины стропа должен иметь возможность непосредственно или через съемный строп с максимальной длиной не более 0,5 м присоединяться к элементу крепления поясного ремня.

4.1.2.5 Стропы для рабочего позиционирования, описанные в 4.1.2.4, перечисления а) и b), должны иметь максимальную длину не более 2 м. Стропы для рабочего позиционирования, описанные в 4.1.2.4, перечисление с), должны иметь длину 2 м для целей испытания, но не должны иметь указанной максимальной длины, если предельный размер определен изготовителем.

4.1.2.6 Должно быть возможно выполнение визуальной проверки всех элементов, встроенных в строп для рабочего позиционирования.

4.1.2.7 Стропы для рабочего позиционирования должны соответствовать рабочим характеристикам 4.2, если их испытывают с поясным ремнем того типа, с которым их намерены использовать.

4.1.3 Материалы

4.1.3.1 Ткани и нити должны быть изготовлены из однородного волокна или многоволоконных синтетических нитей, пригодных для предполагаемого использования. Разрывная прочность синтетических волокон должна быть известна и должна быть не менее 0,6 Н/текс.

4.1.3.2 Нити, применяемые для сшивки, должны быть физически совместимы с тканой лентой и сопоставимы с ней по качеству. Они должны быть контрастирующего цвета или оттенка для того, чтобы обеспечивать визуальную проверку.

4.1.3.3 Когда строп для рабочего позиционирования предназначен для специального использования, тогда материал, пригодный для этого использования (например, цепь или проволочный канат), должен быть определен изготовителем.

4.1.3.4 Материал, использованный в производстве стропа для рабочего позиционирования, должен иметь разрывную нагрузку не менее 22 кН.

4.1.4 Соединительные элементы

Соединительные элементы должны соответствовать ЕН 362.

4.1.5 Термическая сопротивляемость

Средство защиты, которое заявлено как пригодное для использования в высокотемпературной среде (например, при тушении пожара), должно быть испытано в соответствии с ЕН 137, пункт 6.3.1.4, и не должно продолжать гореть более чем 5 с после извлечения из испытательного пламени.

4.2 Рабочие характеристики

4.2.1 Статическая прочность

4.2.1.1 Поясной ремень должен быть подвержен испытанию на статическую прочность в соответствии с 5.2.1 и выдерживать усилие 15 кН в течение 3 мин без высвобождения цилиндра.

4.2.1.2 Поясной ремень для рабочего позиционирования со встроенным стропом должен быть подвержен испытанию на статическую прочность в соответствии с 5.2.2 и выдерживать усилие 15 кН в течение 3 мин без высвобождения цилиндра.

4.2.1.3 Строп для рабочего позиционирования с регулятором длины должен быть подвергнут испытанию на статическую прочность в соответствии с 5.2.3 и выдерживать усилие 15 кН в течение 3 мин без разрушения.

4.2.2 Динамическая прочность

Поясной ремень и строп для рабочего позиционирования должны быть испытаны совместно в соответствии с 5.3 и не должны допускать падения манекена.

4.2.3 Коррозионная стойкость

При испытаниях в соответствии с 5.4 каждая металлическая деталь поясного ремня и стропа для рабочего позиционирования не должна проявлять признаков коррозии, которые могут повлиять на ее функционирование.

5 Испытания

5.1 Оборудование для испытания

5.1.1 Оборудование для испытания поясных ремней и стропов для рабочего позиционирования должно соответствовать требованиям ЕН 364 (подразделы 4.1 - 4.7), а также допускается использование альтернативного манекена (с талией) массой 100 кг в соответствии с ЕН 12277 (см. рисунок 2).

5.2 Методы испытаний на статическую прочность

5.2.1 Поясной ремень

5.2.1.1 Устанавливают поясной ремень и испытательный цилиндр в оборудование для испытания (см. рисунок 1). Прикладывают указанное испытательное усилие между испытательным цилиндром и элементом крепления поясного ремня. Поддерживают усилие в течение 3 мин и наблюдают, высвобождает ли поясной ремень цилиндр.

1 - элемент крепления; а - пряжка, которая не должна находиться в контакте с цилиндром

Рисунок 1 - Испытание поясного ремня на статическую прочность

5.2.1.2 Если элементы крепления поясного ремня отличаются по конструкции или по способу присоединения к ремню, то испытание повторяют для каждого типа крепления. Для каждого испытания используют новый поясной ремень.

5.2.2 Поясной ремень со встроенным стропом для рабочего позиционирования

Устанавливают поясной ремень со встроенным стропом для рабочего позиционирования и испытательный цилиндр в испытательное оборудование (см. рисунок 2). Убеждаются в том, что регулятор длины находится не менее чем в 300 мм от свободного конца стропа. Отмечают это положение. Прикладывают усилие 5 кН в течение 3 мин между испытательным цилиндром и соединительным элементом на свободном конце стропа для рабочего позиционирования. Записывают всякое перемещение (проскальзывание) материала стропа через регулятор длины. Любое перемещение (проскальзывание) через регулятор длины должно быть не более 50 мм. Снимают нагрузку и немедленно перемещают регулятор длины стропа для рабочего позиционирования к концевому ограничителю стропа. Прикладывают указанное испытательное усилие (15 кН) между испытательным цилиндром и соединительным элементом на свободном конце стропа для рабочего позиционирования. Поддерживают усилие в течение 3 мин и наблюдают, высвобождает ли цилиндр поясной ремень или строп для рабочего позиционирования.

1 - соединительный элемент; 2 - регулятор длины А - пряжка, которая не должна находиться в контакте с цилиндром

Рисунок 2 - Испытание на статическую прочность поясного ремня со встроенным стропом для рабочего позиционирования

5.2.3 Съемный строп для рабочего позиционирования с регулятором длины

Устанавливают строп для рабочего позиционирования (см. рисунок 3). Убеждаются в том, что регулятор длины находится не менее чем в 300 мм от свободного конца стропа. Отмечают его положение. Прикладывают усилие 5 кН в течение 3 мин между соединительным элементом в анкерной точке и регулятором длины. Записывают перемещение (проскальзывание) материала стропа через регулятор длины. Перемещение (проскальзывание) материала через регулятор длины должно быть не более 50 мм. Снимают нагрузку и немедленно перемещают регулятор длины стропа для рабочего позиционирования к концевому ограничителю стропа. Прикладывают указанное усилие (15 кН) между соединительным элементом в анкерной точке и регулятором длины. Поддерживают усилие в течение 3 мин и наблюдают, не разрушается ли строп для рабочего позиционирования.

1 - элемент регулирования длины

Рисунок 3 - Испытание статической прочности съемного стропа для рабочего позиционирования

5.3 Динамическая прочность

5.3.1 Общие сведения

5.3.1.1 Если необходимо испытать поясной ремень без сопутствующего стропа для рабочего позиционирования, то вместо стропа при испытании должна быть использована альпинистская веревка диаметром 11 мм, соответствующая требованиям стандарта ЕН 892 «одинарная веревка». Если требуется испытать поясной ремень со встроенным стропом для рабочего позиционирования, длина которого менее 1 м, то для целей испытания должен быть предоставлен строп длиной 1 м.

5.3.1.2 Если элементы крепления поясного ремня отличаются по конструкции или по способу присоединения к ремню, то испытание повторяют для каждого типа крепления. Для каждого испытания используют новый поясной ремень и строп для рабочего позиционирования.

5.3.1.3 Когда требуется испытать соединительный шнур для рабочего позиционирования без сопутствующего ему поясного ремня, тогда для испытания должен быть использован поясной ремень, отвечающий требованиям настоящего стандарта, соединенный с манекеном торса, или жестким стальным грузом массой 100 кг.

5.3.2 Метод испытания

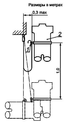
5.3.2.1 Прикрепляют поясной ремень к выбранному манекену. Присоединяют строп для рабочего позиционирования или альпинистскую веревку к элементу крепления поясного ремня. Устанавливают длину стропа для рабочего позиционирования или альпинистской веревки (1 ± 0,05) м. Прикрепляют соединительный элемент на свободном конце стропа для рабочего позиционирования к анкерной точке конструкции (см. рисунок 4).

1 - регулятор длины; 2 - манекен

Рисунок 4 - Испытания на динамическую прочность для поясного ремня и стропа для рабочего позиционирования

5.3.2.2 Подвешивают манекен за его верхний присоединительный элемент и поднимают его так, чтобы элемент крепления ремня был на уровне анкерной точки конструкции и так близко к ней, насколько это возможно (без риска контакта во время падения). Удерживают манекен торса с помощью устройства быстрого расцепления.

5.3.2.3 Отпускают манекен без начальной скорости ногами вперед для свободного падения примерно на 1 м прежде, чем строп для рабочего позиционирования получит натяжение. Наблюдают, будет ли манекен высвобожден поясным ремнем.

5.4 Сопротивление коррозии

5.4.1 Подвергают образец воздействию нейтрального солевого тумана в течении 24 ч и просушивают его 1 ч. Процедура испытания нейтральным солевым туманом должна соответствовать ИСО 9227.

5.4.2 При осмотре образца допустимо наличие белого налета или потускнения, если функционирование элемента или компонента не нарушено. Если необходимо получить визуальный доступ к внутренним частям компонента, разбирают устройство и осматривают, как описано.

6 Информация, предоставляемая изготовителем, маркировка и упаковка

6.1 Информация, предоставляемая изготовителем

Информация, предоставляемая изготовителем, должна отвечать соответствующим требованиям ЕН 365, когда это применимо, и дополнительно содержать:

a) подробности о размерах и указания, как достичь оптимальной подгонки;

b) способ правильного надевания поясного ремня;

c) информацию о существенной необходимости регулярной проверки закрепляющих и/или регулирующих элементов во время использования;

d) идентификацию элементов крепления, правильный способ присоединения к ним и ясное и недвусмысленное указание на назначение каждого элемента крепления;

e) указания назначения и ограничений по изделию;

f) предупреждение, что оборудование непригодно для целей остановки падения и могут быть необходимы для защиты от падений с высоты дополнительные комбинации систем для рабочего позиционирования и ограничения движения с коллективными средствами защиты (например, сетками безопасности) или с индивидуальными средствами (например, страховочными системами остановки падения в соответствии с ЕН 363);

g) указание по позиционированию и/или регулировке стропа для рабочего позиционирования таким образом, чтобы анкерная точка находилась на уровне талии или выше; строп должен находиться в натянутом состоянии; свободное передвижение ограничено не более чем до 0,6 м;

h) информацию о том, что использование средств защиты должно осуществляться должным образом обученным и компетентным персоналом или непосредственно находиться под компетентным надзором;

i) рекомендацию о том, что перед использованием средств защиты следует уделять внимание тому, как любое спасение может быть выполнено безопасно;

g) информацию о каких-либо ограничениях применительно к материалам изделия или опасностям, которые могут повлиять на работоспособность материалов, например температура, химические агенты, острые кромки, абразивное воздействие, надрезы, ультрафиолетовое излучение и т.п.;

k) рекомендации о чистке и дезинфекции изделия;

l) информацию об ожидаемом сроке службы средства защиты или рекомендации, как ее можно определить;

m) рекомендации о сохранности средства защиты во время транспортирования;

n) интерпретацию маркировки;

о) рекомендации о необходимости регулярных проверок поясного ремня и связанного с ним стропа(ов) на признаки износа или повреждения во время использования.

6.2 Маркировка

Маркировка поясных ремней и стропов для рабочего позиционирования должна соответствовать ЕН 365 и в дополнение включать обозначение изготовителем модели изделия или ссылку на номер настоящего стандарта.

6.3 Упаковка

Каждый поясной ремень и строп для рабочего позиционирования должны при поставке быть упакованы в подходящую влагонепроницаемую упаковку.

ПРИЛОЖЕНИЕ ZA
(справочное)

Разделы настоящего национального стандарта, содержащие существенные требования
или другие условия директив
EEC

Настоящий стандарт соответствует существенным требованиям директивы 89/686/ЕЕС.

ВНИМАНИЕ: другие требования и директивы Европейского союза могут быть применены к продукции, соответствующей данному стандарту.

Следующие разделы настоящего стандарта соответствуют требованиям директивы 89/686/ЕЕС, приложение II.

Выполнение требований настоящего национального стандарта обеспечивает один из путей приспособления к особым существенным требованиям директив, связанных с регулированием EFTA.

Таблица ZA.1

Директивы Европейского союза 89/686/ЕЕС, приложение II

Номер пункта настоящего стандарта

1.1 Принципы конструирования

1.1.1 Эргономика

4.1.1.1, 4.1.2.1

1.2 Безвредность СИЗ

1.2.1.3 Максимально допустимая помеха пользователю

4.1.1.1, 4.1.2.2

1.3 Комфорт и эффективность

1.3.1 Адаптация к морфологии пользователя

4.1.1.1 - 4.1.1.3

1.3.2 Легкость и прочность конструкции

4.1.1.1, 4.1.3, 4.1.5,4.2

1.3.3 Совместимость различных классов или типов СИЗ для одновременного использования

4.1, 6.1, перечисление f)

1.4 Информация, поставляемая изготовителем

6.1

2.1 СИЗ, включающее регулирующие системы

4.1.1.1 - 4.1.1.3, 4.1.2.2 - 4.1.2.4

2.4 СИЗ, подверженное старению

6.1, перечисления j), k), l)

2.9 СИЗ, включающее компоненты, которые могут быть отрегулированы или удалены пользователем

4.1.1.1 - 4.1.1.3, 4.1.2.2 - 4.1.2.4

2.10 СИЗ для подсоединения к другому внешнему дополнительному устройству

4.1.2.4, 6.1, перечисления f), g)

2.12 СИЗ с одним или несколькими идентификационными знаками, прямо или косвенно относящимися к здоровью и безопасности

6.1, перечисление n), 6.2

3.1.2.2 Предотвращение падения с высоты

6.1, перечисления f), g), j)

Приложение Б
(обязательное)

Сведения о соответствии национальных стандартов Российской Федерации
ссылочным европейским и международному стандартам

Таблица Б.1

Обозначение ссылочного международного стандарта

Обозначение и наименование соответствующего национального стандарта

ЕН 354

*

ЕН 361

ГОСТ Р ЕН 361-2008 Система стандартов безопасности труда. Средства индивидуальной защиты от падения с высоты. Страховочные привязи. Общие технические требования. Методы испытаний

ЕН 362

ГОСТ Р ЕН 362-2008 Система стандартов безопасности труда. Средства индивидуальной защиты от падения с высоты. Соединительные элементы. Общие технические требования. Методы испытаний

ЕН 363

ГОСТ Р ЕН 363-2007 Система стандартов безопасности труда. Средства индивидуальной защиты от падения с высоты. Страховочные системы. Общие технические требования

ЕН 364-1992

ГОСТ Р 12.4.206-99 Система стандартов безопасности труда. Средства индивидуальной защиты от падения с высоты. Методы испытаний

ЕН 365

*

ЕН 892

*

ЕН 12277-1998

*

ИСО 9227

*

* Соответствующий национальный стандарт отсутствует. До его утверждения рекомендуется использовать перевод на русский язык английской версии данного европейского стандарта. Перевод английской версии данного европейского стандарта находится в Федеральном информационном фонде технических регламентов и стандартов.

 

Ключевые слова: индивидуальные средства защиты, привязи для удержания, позиционирование, защита от падения, определения, методы испытания, динамические характеристики, технические требования, маркировка