Главная // Актуальные документы // ГОСТ (Государственный стандарт)СПРАВКА
Источник публикации
М.: Стандартинформ, 2017
Примечание к документу
Текст данного документа приведен с учетом
поправки, опубликованной в "ИУС", N 6, 2023.
Документ
введен в действие с 01.07.2017.
Название документа
"ГОСТ 475-2016. Межгосударственный стандарт. Блоки дверные деревянные и комбинированные. Общие технические условия"
(введен в действие Приказом Росстандарта от 22.11.2016 N 1734-ст)
"ГОСТ 475-2016. Межгосударственный стандарт. Блоки дверные деревянные и комбинированные. Общие технические условия"
(введен в действие Приказом Росстандарта от 22.11.2016 N 1734-ст)
агентства по техническому
регулированию и метрологии
от 22 ноября 2016 г. N 1734-ст
МЕЖГОСУДАРСТВЕННЫЙ СТАНДАРТ
БЛОКИ ДВЕРНЫЕ ДЕРЕВЯННЫЕ И КОМБИНИРОВАННЫЕ
ОБЩИЕ ТЕХНИЧЕСКИЕ УСЛОВИЯ
Wooden and composite doors. General specifications
(EN 14351-1:2006+A1:2010, NEQ)
(prEN 14351-2, NEQ)
(EN 1191:2012, NEQ)
(EN 1192:1999, NEQ)
(EN 12217:2003, NEQ)
(EN 12400:2002, NEQ)
(EN 12046-2:2000, NEQ)
ГОСТ 475-2016
Дата введения
1 июля 2017 года
Цели, основные принципы и основной порядок проведения работ по межгосударственной стандартизации установлены в
ГОСТ 1.0-2015 "Межгосударственная система стандартизации. Основные положения" и
ГОСТ 1.2-2015 "Межгосударственная система стандартизации. Стандарты межгосударственные, правила и рекомендации по межгосударственной стандартизации. Правила разработки, принятия, обновления и отмены"
1 РАЗРАБОТАН Национальной ассоциацией дверной индустрии (НАДИ) и Частным учреждением "Центр по сертификации оконной и дверной техники"
2 ВНЕСЕН Техническим комитетом по стандартизации ТК 465 "Строительство"
3 ПРИНЯТ Межгосударственным советом по стандартизации, метрологии и сертификации (протокол от 25 октября 2016 г. N 92-П)
За принятие проголосовали:
Краткое наименование страны по МК (ИСО 3166) 004-97 | Код страны по МК (ИСО 3166) 004-97 | Сокращенное наименование национального органа по стандартизации |
Армения | AM | Минэкономики Республики Армения |
Казахстан | KZ | Госстандарт Республики Казахстан |
Киргизия | KG | Кыргызстандарт |
Россия | RU | Росстандарт |
4
Приказом Федерального агентства по техническому регулированию и метрологии от 22 ноября 2016 г. N 1734-ст межгосударственный стандарт ГОСТ 475-2016 введен в действие в качестве национального стандарта Российской Федерации с 1 июля 2017 г.
5 Настоящий стандарт соответствует в части технических требований и методов испытаний следующим европейским стандартам:
- EN 14351-1:2006+A1:2010 "Окна и двери. Стандарт на продукцию, технические характеристики. Часть 1. Окна и наружные наземные дверные проемы без характеристик огнестойкости и/или дымопропускаемости" ("Windows and doors - Product standard, performance characteristics - Part 1: Windows and external pedestrian doorsets without resistance to fire and/or smoke leakage characteristics", NEQ);
- prEN 14351-2 "Окна и двери. Стандарт на продукцию. Технические характеристики. Часть 2. Внутренние дверные блоки без характеристик огнестойкости и/или дымопропускаемости" ("Windows and doors - Product standard, performance characteristics - Part 2: Internal pedestrian doorsets without resistance to fire and/or smoke leakage characteristics", NEQ);
- EN 1191:2012 "Окна и двери. Сопротивление повторному открыванию и закрыванию. Метод испытания" ("Windows and doors - Resistance to repeated opening and closing - Test method", NEQ);
- EN 1192:1999 "Двери. Классификация по требованиям к механической прочности" ("Doors - Classification of strength requirements", NEQ);
- EN 12217:2003 "Двери. Усилия при открывании и закрывании. Требования и классификация" ("Doors - Operating forces - Requirements and classification", NEQ);
- EN 12400:2002 "Окна и входные двери. Механическая прочность. Требования и классификация" ("Windows and pedestrian doors - Mechanical durability - Requirements and classification", NEQ);
- EN 12046-2:2000 "Усилия при открывании и закрывании. Метод испытания. Часть 2. Двери" ("Operating forces - Test method - Part 2: Doors", NEQ)
Информация об изменениях к настоящему стандарту публикуется в ежегодном информационном указателе "Национальные стандарты", а текст изменений и поправок - в ежемесячном информационном указателе "Национальные стандарты". В случае пересмотра (замены) или отмены настоящего стандарта соответствующее уведомление будет опубликовано в ежемесячном информационном указателе "Национальные стандарты". Соответствующая информация, уведомление и тексты размещаются также в информационной системе общего пользования - на официальном сайте Федерального агентства по техническому регулированию и метрологии в сети Интернет (www.gost.ru)
Настоящий стандарт распространяется на наружные и внутренние дверные блоки для зданий и сооружений различного назначения, изготовленные из древесных материалов, а также на комбинированные дверные блоки, в которых кроме древесных используются другие конструкционные материалы (металл, стекло, полимерные материалы и др.).
Настоящий стандарт устанавливает общие технические требования к дверям, в том числе механические и теплофизические характеристики, требования к материалам и комплектующим изделиям.
Настоящий стандарт не распространяется на специальные двери, на двери для уникальных и реставрируемых зданий и сооружений, а также на лазы для прохода на крышу и в помещения технического назначения, люки для прохода в подвалы, чердаки и на плоские крыши.
Настоящий стандарт может быть применен для целей сертификации изделий.
В настоящем стандарте использованы нормативные ссылки на следующие межгосударственные стандарты:
ГОСТ 9.031-74 Единая система защиты от коррозии и старения. Покрытия анодно-окисные полуфабрикатов из алюминия и его сплавов. Общие требования и методы контроля
ГОСТ 9.032-74 Единая система защиты от коррозии и старения. Покрытия лакокрасочные. Группы, технические требования и обозначения
ГОСТ 9.402-2004 Единая система защиты от коррозии и старения. Покрытия лакокрасочные. Подготовка металлических поверхностей к окрашиванию
ГОСТ 166-89 (ИСО 3599-76) Штангенциркули. Технические условия
ГОСТ 427-75 Линейки измерительные металлические. Технические условия
ГОСТ 538-2014 Изделия замочные и скобяные. Общие технические условия
ГОСТ 2140-81 Видимые пороки древесины. Классификация, термины и определения, способы измерения
ГОСТ 2695-83 Пиломатериалы лиственных пород. Технические условия
ГОСТ 3916.1-96 Фанера общего назначения с наружными слоями из шпона лиственных пород. Технические условия
ГОСТ 3916.2-96 Фанера общего назначения с наружными слоями из шпона хвойных пород. Технические условия
ГОСТ 5088-2005 Петли для оконных и дверных блоков. Технические условия
ГОСТ 5089-2011 Замки, защелки, механизмы цилиндровые. Технические условия
ГОСТ 7016-2013 Изделия из древесины и древесных материалов. Параметры шероховатости поверхности
ГОСТ 7502-98 Рулетки измерительные металлические. Технические условия
ГОСТ 8242-88 Детали профильные из древесины и древесных материалов для строительства. Технические условия
ГОСТ 8486-86 Пиломатериалы хвойных пород. Технические условия
ГОСТ 8904-2014 Плиты древесноволокнистые твердые с лакокрасочным покрытием. Технические условия
ГОСТ 9330-76 Основные соединения деталей из древесины и древесных материалов. Типы и размеры
ГОСТ 9825-73 Материалы лакокрасочные. Термины, определения и обозначения
ГОСТ 15150-69 Машины, приборы и другие технические изделия. Исполнения для различных климатических районов. Категории, условия эксплуатации, хранения и транспортирования в части воздействия климатических факторов внешней среды
ГОСТ 15867-79 Детали и изделия из древесины и древесных материалов. Метод определения прочности клеевого соединения на неравномерный отрыв облицовочных материалов
ГОСТ 19414-90 Древесина клееная массивная. Общие требования к зубчатым клеевым соединениям
ГОСТ 21778-81 Система обеспечения точности геометрических параметров в строительстве. Основные положения
ГОСТ 21779-82 Система обеспечения точности геометрических параметров в строительстве. Технологические допуски
ГОСТ 21780-2006 Система обеспечения точности геометрических параметров в строительстве. Расчет точности
ГОСТ 22233-2001 Профили прессованные из алюминиевых сплавов для светопрозрачных ограждающих конструкций. Технические условия
ГОСТ 24033-80 Окна и балконные двери деревянные. Методы механических испытаний
ГОСТ 24404-80 Изделия из древесины и древесных материалов. Покрытия лакокрасочные. Классификация и обозначения
ГОСТ 26433.0-85 Система обеспечения точности геометрических параметров в строительстве. Правила выполнения измерений. Общие положения
ГОСТ 26433.1-89 Система обеспечения точности геометрических параметров в строительстве. Правила выполнения измерений. Элементы заводского изготовления
ГОСТ 26602.1-99 Блоки оконные и дверные. Методы определения сопротивления теплопередаче
ГОСТ 26602.2-99 Блоки оконные и дверные. Методы определения воздухо- и водопроницаемости
ГОСТ 26602.5-2001 Блоки оконные и дверные. Методы определения сопротивления ветровой нагрузке
ГОСТ 26892-86 Двери деревянные. Метод испытания на сопротивление ударной нагрузке, действующей в направлении открывания
ГОСТ 27326-87 Детали и изделия из древесины и древесных материалов. Методы определения твердости защитно-декоративных покрытий царапанием
ГОСТ 27820-88 Детали и изделия из древесины и древесных материалов. Метод определения стойкости защитно-декоративных покрытий к истиранию
ГОСТ 28786-90 Двери деревянные. Метод определения сопротивления воздействию климатических факторов
ГОСТ 30777-2012 Устройства поворотные, откидные, поворотно-откидные, раздвижные для оконных и балконных дверных блоков. Технические условия
ГОСТ 30778-2001 Прокладки уплотняющие из эластомерных материалов для оконных и дверных блоков. Технические условия
ГОСТ 30972-2002 Заготовки и детали деревянные клееные для оконных и дверных блоков. Технические условия
ГОСТ 31149-2014 (ISO 2409:2013) Материалы лакокрасочные. Определение адгезии методом решетчатого надреза
ГОСТ 31471-2011 Устройства экстренного открывания дверей эвакуационных и аварийных выходов. Технические условия
ГОСТ 32289-2013 Плиты древесно-стружечные, облицованные пленками на основе термореактивных полимеров. Технические условия
ГОСТ 32399-2013 Плиты древесно-стружечные влагостойкие. Технические условия
ГОСТ 32687-2014 Плиты древесноволокнистые сухого способа производства, облицованные пленками на основе термореактивных полимеров. Технические условия
ГОСТ 32716-2014 Материал облицовочный на основе пропитанных бумаг с глубокой степенью отверждения смолы. Технические условия
ГОСТ 33120-2014 Конструкции деревянные клееные. Методы определения прочности клеевых соединений
ГОСТ 33121-2014 Конструкции деревянные клееные. Методы определения стойкости клеевых соединений к температурно-влажностным воздействиям
Примечание - При пользовании настоящим стандартом целесообразно проверить действие ссылочных стандартов в информационной системе общего пользования - на официальном сайте Федерального агентства по техническому регулированию и метрологии в сети Интернет или по ежегодному информационному указателю "Национальные стандарты", который опубликован по состоянию на 1 января текущего года, и по выпускам ежемесячного информационного указателя "Национальные стандарты" за текущий год. Если ссылочный стандарт заменен (изменен), то при пользовании настоящим стандартом следует руководствоваться заменяющим (измененным) стандартом. Если ссылочный стандарт отменен без замены, то положение, в котором дана ссылка на него, применяется в части, не затрагивающей эту ссылку.
В настоящем стандарте применены следующие термины с соответствующими определениями:
3.1 влагостойкость дверного блока: Способность дверного блока длительно сохранять свои эксплуатационные свойства в условиях интенсивного увлажнения.
3.2 внутренний дверной блок: Дверной блок, предназначенный для отделения внутренних помещений зданий и прохода из одного помещения в другое.
3.3 водонепроницаемость дверного блока: Способность дверного блока не пропускать через себя дождевую воду при определенной (критической) разности давления воздуха на наружных и внутренних поверхностях.
3.4 дверная коробка (рама): Сборочная единица дверного блока, предназначенная для навески полотна (полотен), жестко закрепляемая к откосам дверного проема.
3.5 дверное полотно: Сборочная единица дверного блока, соединенная с коробкой посредством подвижных связей (петель).
3.6 дверное полотно с фальцем: Полотно распашного дверного блока, имеющее по периметру паз, который закрывает стык между дверным полотном и дверной коробкой.
3.7 дверной блок: Конструкция, включающая коробку (раму), дверное полотно с запирающими устройствами.
Примечание - Дверной блок может включать ряд дополнительных элементов [устройство закрывания дверей (доводчик), ограничитель угла открывания, глазок и др.].
3.8 дверной проем: Проем в стене, предназначенный для монтажа дверного блока.
3.9 дверь: Элемент стеновой конструкции, предназначенный для заполнения дверных проемов и состоящий из дверного блока, крепления дверного блока к проему, монтажных швов, системы уплотнений и облицовки и обеспечивающий при закрытом положении дверного полотна защиту от климатических, шумовых и других воздействий, а также от несанкционированного прохода.
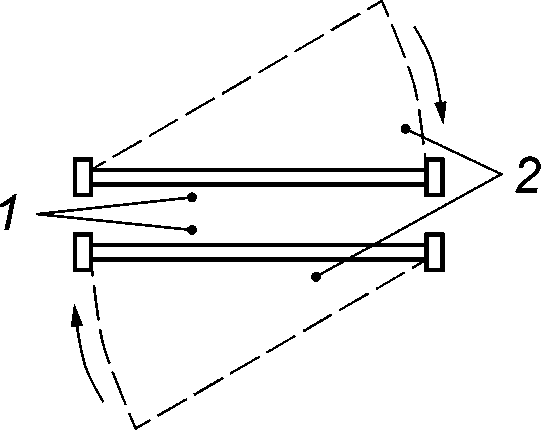
3.10 дверной блок правого (левого) открывания: Распашной дверной блок с расположением петель с правой или левой стороны при виде со стороны открывания полотна (рисунок 1).
Примечание - В двупольном дверном блоке правое или левое открывание определяют по расположению полотна, которое открывается первым.
Дверь правого открывания
Дверь левого открывания
1 - закрытое положение двери; 2 - открытое положение двери
Рисунок 1 - Двери правого и левого открывания
3.11 деревянный дверной блок: Дверной блок, изготовленный из массивной древесины, клееной массивной древесины, фанеры или плит на древесной основе, непрозрачный (глухой) или частично остекленный.
3.12 доборный элемент (добор): Декоративная панель облицовки дверного блока, закрывающая откосы дверного проема в случае, если толщина стены (глубина проема) больше ширины дверной коробки.
3.13 качающийся дверной блок: Дверной блок с поворотом полотна вокруг вертикальной оси без ограничения поворота притвором.
3.14 комбинированный дверной блок: Деревянный дверной блок, в конструкции которого использованы детали и сборочные единицы из других материалов (металла, полимерных материалов и др.) <1>.
--------------------------------
<1> Примеры комбинированных дверных блоков: дверной блок с полотном из древесины и металлической коробкой, деревянный дверной блок с металлическим усилением полотна.
3.15 монтаж дверного блока: Комплекс работ по заполнению дверного проема.
3.16 наличник: Профильный погонажный декоративный элемент облицовки дверного блока, обрамляющий дверной проем.
3.17 наружный дверной блок: Дверной блок, отделяющий внутренний климат помещений от наружного и служащий преимущественно для входа (выхода).
3.18 облицовка дверного блока: Декоративные элементы, закрывающие сопряжение дверного проема с коробкой.
3.19 предел водонепроницаемости: Наименьший перепад давления, при котором образуется сквозное проникновение воды через дверной блок.
3.20 притвор: Поверхность примыкания дверного полотна к дверной коробке.
3.21 раздвижной дверной блок: Дверной блок с горизонтальным перемещением полотна.
3.22 распашной дверной блок: Дверной блок с поворотом полотна вокруг вертикальной оси; поворот полотна ограничен притвором.
3.23 складной дверной блок: Дверной блок с двумя или более механически связанными между собой полотнами, которые при горизонтальном перемещении складываются по принципу "гармошки".
4. Классификация и условное обозначение
4.1 Дверные блоки классифицируют по следующим признакам:
- назначение;
- эксплуатационные характеристики;
- конструктивное исполнение.
4.2 По назначению дверные блоки подразделяют на следующие группы:
- Н - наружные входные в здание;
- В - внутренние входные в квартиры и помещения общественных, производственных и вспомогательных зданий и сооружений (офисы, кабинеты, номера отелей и т.д.);
- М - межкомнатные;
- С - санузлов.
Примечания
1 Классификация по назначению является условной, дающей возможность потребителю выбирать дверной блок внутри той или иной группы в зависимости от ожидаемых условий эксплуатации и конкретных требований.
2 Производитель, относя дверной блок к той или иной группе по назначению, обязан указать в обозначении дверного блока и/или сопроводительной документации характеристики, которые подтверждают его соответствие требованиям настоящего стандарта, предъявляемым к данной группе дверных блоков.
3 Дверной блок, заявленный (обозначенный) как относящийся к одной группе, может быть использован по другому назначению, если это не противоречит требованиям действующих строительных норм и правил и удовлетворяет требованиям заказчика (потребителя). Например, наружный входной блок может быть в конкретном случае использован как входной в квартиру и т.п.
4.3 По эксплуатационным характеристикам дверные блоки подразделяют на классы, приведенные в таблице 1.
Таблица 1
Классификация дверных блоков
по эксплуатационным характеристикам
Характеристика | Классы | Номер пункта требования |
Механическая прочность | Мд1 | Мд2 | Мд3 | Мд4 | |
Звукоизоляция | 31 | 32 | 33 | |
| Т1 | Т2 | Т3 | |
| В1 | В2 | В3 | |
Предел водонепроницаемости <**> | А | Б | В | Г | Д | |
Сопротивление ветровой нагрузке <**> | Согласно требованиям нормативных документов <1>, действующих на территории государства - участника соглашения, принявшего настоящий стандарт | |
<*> Для наружных и внутренних входных дверных блоков. <**> Только для наружных дверных блоков. |
--------------------------------
<1> В Российской Федерации класс сопротивления ветровой нагрузке принимают по
СП 20.13330.2011 "СНиП 2.01.07-88 Нагрузки и воздействия".
4.4 По конструктивному исполнению дверные блоки подразделяют на следующие группы:
- по направлению и способам открывания:
- распашные правые и левые,
- качающиеся,
- раздвижные,
- складные;
- по числу полотен (в том числе с полотнами разной ширины):
- однопольные,
- двупольные;
- по наличию остекления:
- глухие,
- остекленные;
- по наличию и типу порога:
- с порогом,
- с опускающимся порогом,
- без порога;
- по виду покрытия лицевых поверхностей <1>:
- с натуральным шпоном,
- отделочными материалами на бумажной основе,
- лакокрасочными материалами,
- декоративными отделочными полимерными пленками.
--------------------------------
<1> Поверхности сборочных единиц и деталей дверных блоков подразделяют на лицевые и нелицевые. К лицевым относят поверхности, видимые при эксплуатации дверного блока, установленного в проем. К нелицевым относят поверхности коробок, примыкающие к стенам, верхние и нижние кромки полотен, сопрягаемые поверхности составных коробок, фальцы под стекло, поверхности раскладок, нащельников, обшивок и др., соединяемые с другими деталями.
4.5 В конкретных видах дверных блоков могут сочетаться различные классификационные группы, при этом наружные входные дверные блоки и дверные блоки санузлов должны быть влагостойкими, дверные блоки для проемов шириной 1300 мм и более должны быть двупольными, качающиеся - остекленными.
4.6 Для дверных блоков принимают следующие обозначения:
- по назначению: |
ДН - дверной блок наружный входной в здание, |
ДВ - дверной блок внутренний входной в квартиры и в помещения общественных, производственных и вспомогательных зданий и сооружений, |
ДМ - дверной блок межкомнатный, |
ДС - дверной блок санузлов; |
- по направлению и способу открывания: |
Рп - дверной блок распашной правый, |
Рл - дверной блок распашной левый, |
К - дверной блок качающийся, |
Р - дверной блок раздвижной, |
Р2 - дверной блок раздвижной двупольный, |
С - дверной блок складной; |
- по числу полотен: |
1 - дверной блок распашной однопольный, |
2 - дверной блок распашной двупольный; |
- по наличию остекления: |
Г - дверной блок глухой, |
О - дверной блок остекленный; |
- по наличию и типу порога: |
ПрБ - дверной блок без порога; |
Пр - дверной блок с порогом; |
По - дверной блок с опускающимся порогом. |
4.7 Структура условного обозначения дверных блоков
Назначение дверного блока | Способ открывания | Высота дверного проема, дм | Ширина дверного проема, дм | Эксплуатационные характеристики | Конструкционные особенности | Обозначение настоящего стандарта | Дополнительные сведения (если необходимо) <*> |
<*> Материал облицовки, наличие фальца, материал коробки, специальные свойства и т.п. |
Примеры условного обозначения дверных блоков:
1 Дверной блок межкомнатный однопольный распашной левый, для проема высотой 21 дм и шириной 9 дм, глухой, без порога, класса прочности Мд1:
ДМ 1Рл 21 x 9 Г ПрБ Мд1 ГОСТ 475-2016.
2 Дверной блок наружный входной, двупольный распашной правый, для проема высотой 21 дм и шириной 10 дм, остекленный, с порогом, класса звукоизоляции 32, класса теплоизоляции Т3, класса прочности Мд4:
ДН 2Рп 21 x 10 О Пр 32 Т3 Мд4 ГОСТ 475-2016.
3 Дверной блок внутренний входной в помещение общественного здания, двупольный распашной, для проема высотой 24 дм и шириной 15 дм, остекленный, с опускающимся порогом, класса воздухопроницаемости В2, класса прочности Мд3:
ДВ 2 24 x 15 О ПО В2 Мд3 ГОСТ 475-2016.
4.8 При оформлении договора (заказа) на изготовление (поставку) дверных блоков кроме условного обозначения следует указывать:
- требования к внешнему виду;
- схему открывания;
- вид и цвет отделки;
- материал остекления и другие требования заказчика, согласованные с изготовителем.
5. Технические требования
5.1.1 Дверные блоки должны соответствовать требованиям настоящего стандарта, образцу-эталону и изготовляться по конструкторской и технологической документации предприятия-изготовителя.
5.1.2 Материалы, которые использованы при изготовлении дверных блоков, должны быть разрешены к применению органами и учреждениями государственной санитарно-эпидемиологической службы и должны обеспечивать отсутствие вредного воздействия на человека и окружающую среду.
5.1.3 Дверные блоки должны быть безопасными в эксплуатации. Условия безопасности применения дверных блоков различного назначения устанавливают в проектной документации.
5.1.4 Дверные блоки должны быть рассчитаны на эксплуатационные нагрузки в соответствии с действующими строительными нормами и правилами. При проектировании дверных блоков следует применять расчетные программы или расчетные методы определения характеристик изделий.
5.1.5 Конструкция дверных блоков должна обеспечивать их безотказное открывание и закрывание в течение всего срока эксплуатации. Количество циклов открывания и закрывания указывают в паспорте изделия.
5.1.6 При установке в проемах эвакуационных и аварийных выходов в соответствии с проектной документацией дверные блоки должны быть оснащены устройствами экстренного открывания по
ГОСТ 31471 и другими устройствами, позволяющими обеспечить быструю эвакуацию людей.
5.1.7 Высота и конфигурация порогов дверных блоков (если они предусмотрены) должны быть такими, чтобы вероятность наступления несчастных случаев и нанесения травм людям была минимальной. При необходимости устройства порогов их высота или перепад высот не должны превышать 0,014 м.
5.1.8 Требования настоящего раздела следует также выполнять для дверных блоков не указанного в
4.2 назначения наряду с предъявляемыми к ним специальными требованиями (с учетом специфики применения изделий).
5.1.9 При приемке дверных блоков и работ по монтажу дверных блоков, оснащенных запирающими устройствами, ключи следует передавать заказчику в запечатанной упаковке под его роспись о получении.
5.2. Требования к эксплуатационным характеристикам
5.2.1 Возникающие при нормальных условиях эксплуатации дверного блока механические нагрузки, в том числе случайные, статические или динамические, не должны повреждать изделие и влиять на его эксплуатационные характеристики.
Примечание - Нормальные условия эксплуатации - условия, при которых должен эксплуатироваться дверной блок в соответствии с его назначением, заданным в проектной документации.
5.2.2 Классы прочности дверных блоков характеризуются значениями прикладываемых к нему статических и ударных нагрузок, приведенных в таблице 2.
Таблица 2
Классы прочности дверных блоков и значения нагрузок
Испытание | Нагрузка | Значение нагрузки для класса прочности |
Мд1 | Мд2 | Мд3 | Мд4 |
1 | Статическая нагрузка, действующая в плоскости полотна, Н, не менее | 400 | 600 | 800 | 1 000 |
2 | Статическая нагрузка, действующая перпендикулярно плоскости полотна, Н, не менее | 200 | 250 | 300 | 350 |
3 | Удар мягким и тяжелым телом, Дж, не менее | 30 | 60 | 120 | 180 |
4 | Удар твердым телом, Дж, не менее | 1,5 | 3 | 5 | 8 |
Классы прочности дверных блоков определяются их назначением, ожидаемой интенсивностью, характером эксплуатации двери и указываются в проектной документации. Рекомендуемые классы прочности и безотказность дверных блоков в зависимости от интенсивности и характера эксплуатации приведены в
приложении А.
Дверные блоки ДН должны соответствовать классу прочности не ниже Мд4, дверные блоки ДВ - классу прочности не ниже Мд3, дверные блоки ДМ - классам прочности Мд1 или Мд2, дверные блоки ДС - классам прочности Мд1 или Мд2.
Класс прочности дверного блока должен быть указан в условном обозначении и/или в сопроводительной документации к дверному блоку.
5.2.3 Сопротивление теплопередаче дверных блоков ДН, устанавливаемых в наружных стенах отапливаемых зданий, должно быть не менее 0,6 значения требуемого сопротивления теплопередаче наружных стен, указанного в проектной документации и определяемого в соответствии с нормативными документами <1>, действующими на территории государства - участника соглашения, принявшего настоящий стандарт.
--------------------------------
<1> В Российской Федерации сопротивление теплопередаче наружных дверных блоков должно соответствовать требованиям
СП 50.13330.2012 "СНиП 23-02-2003 Тепловая защита зданий".
Необходимость применения теплоизоляционных дверных блоков устанавливают в проектной документации, исходя из их назначения.
Теплоизоляционные дверные блоки по показателю приведенного сопротивления теплопередаче должны соответствовать одному из трех классов:
Т1 - дверные блоки с приведенным сопротивлением теплопередаче 1,0 м2·°C/Вт и более;
Т2 - дверные блоки с приведенным сопротивлением теплопередаче от 0,83 до 0,99 м2·°C/Вт;
Т3 - дверные блоки с приведенным сопротивлением теплопередаче от 0,40 до 0,82 м2·°C/Вт.
Примечание - Дверные блоки с приведенным сопротивлением теплопередаче менее 0,40 м2·°C/Вт не относятся к теплоизоляционным.
Класс теплоизоляционного дверного блока должен быть указан в условном обозначении и/или в сопроводительной документации на дверной блок.
5.2.4 Сопротивление воздухопроницанию дверей ДН, устанавливаемых в наружных стенах отапливаемых зданий, должно соответствовать требованиям нормативных документов
<2>, действующих на территории государства - участника соглашения, принявшего настоящий стандарт. Необходимость применения воздухонепроницаемых дверных блоков устанавливают в проектной документации исходя из их назначения. Воздухонепроницаемые дверные блоки по показателю объемной воздухопроницаемости должны соответствовать одному из трех классов, приведенных в
таблице 3.
--------------------------------
<2> В Российской Федерации сопротивление воздухопроницанию дверей должно соответствовать требованиям
СП 50.13330.2012 "СНиП 23-02-2003 Тепловая защита зданий".
Класс | Объемная воздухопроницаемость при  , м 3/(ч·м 2) |
В1 | Менее 9 |
В2 | От 9 до 17 включ. |
В3 | Более 17 до 27 включ. |
Примечание - Дверные блоки с показателем объемной воздухопроницаемости более 27 м3/(ч·м2) не относятся к воздухонепроницаемым. |
Класс воздухонепроницаемого дверного блока должен быть указан в условном обозначении и/или в сопроводительной документации к дверному блоку.
5.2.5 Изоляция воздушного шума дверными блоками ДН и ДВ в закрытом состоянии должна обеспечивать в помещении уровень шума не выше нормативного, определяемого по нормативным документам <1>, действующим на территории государства - участника Соглашения, принявшего настоящий стандарт. Необходимость применения звукоизоляционных дверных блоков устанавливают в проектной документации, исходя из их назначения.
--------------------------------
<1> В Российской Федерации нормативный уровень шума принимают по
СП 51.13330.2011 "СНиП 23-03-2003 Защита от шума".
Звукоизоляционные дверные блоки по показателю звукоизоляции Rw должны соответствовать одному из трех классов:
- З1 - со снижением воздушного шума 32 дБ и более;
- З2 - со снижением воздушного шума 26 - 31 дБ;
- З3 - со снижением воздушного шума 20 - 25 дБ.
Примечание - Дверные блоки со снижением воздушного шума менее 20 дБ не относятся к звукоизоляционным.
Класс звукоизоляционного дверного блока должен быть указан в условном обозначении и/или в сопроводительной документации к дверному блоку.
5.2.6 Климатические факторы (переменная влажность и температура воздуха в соответствии с
ГОСТ 28786) не должны повреждать дверной блок и влиять на его эксплуатационные и геометрические характеристики.
5.2.7 Безотказность дверных блоков определяется их назначением, ожидаемой интенсивностью эксплуатации и характеризуется количеством циклов открывания и закрывания (см.
приложение А).
5.2.8 Требования к дверным блокам, приведенные в настоящем подразделе, распространяются также на требования к монтажу дверных блоков при заполнении дверных проемов.
5.3. Требования к размерам и предельным отклонениям
5.3.1 Конфигурация и размеры дверных блоков должны соответствовать дверным проемам, предусмотренным проектной и рабочей документацией на здания и сооружения. Габаритные размеры дверных проемов приведены в
приложении Б.
5.3.2 Требования к размерам дверных блоков и их предельным отклонениям устанавливают в конструкторской и технологической документации предприятия-изготовителя.
5.3.3 Предельные отклонения сборочных единиц и деталей дверных блоков не должны превышать значений, приведенных в таблице 4.
Таблица 4
Предельные отклонения номинальных размеров элементов
дверных блоков
В миллиметрах
Интервалы номинальных размеров | Предельные отклонения |
Внутренний размер коробок | Наружный размер полотен | Зазор под фальцем | Размеры расположения приборов, петель и другие размеры |
До 1000 включ. | +/- 1,0 | -1,0 | +1,5 | +/- 1,0 |
Св. 1000 до 2000 включ. | +2,0 | +/- 1,0 | +1,0 |
-1,0 | -0,5 |
Св. 2000 | +2,0 | +1,0 | +1,5 |
-1,0 | -2,0 | -0,5 |
Примечание - Значения предельных отклонений установлены для температурного интервала проведения измерения 16 - 24 °C. |
5.3.4 Дверные блоки, их сборочные единицы и детали должны иметь правильную геометрическую форму. Покоробленность изделий не должна превышать значений предельных отклонений номинальных размеров деталей, указанных в
таблице 4.
Отклонения от плоскостности и прямолинейности сторон дверных блоков и их сборочных единиц не должны превышать, мм, по высоте, ширине и диагонали элементов:
- до 1000 мм ..................................................... 1,0;
- св. 1000 до 1600 мм ............................................ 1,0;
- св. 1600 до 2500 мм ............................................ 2,0;
- св. 2500 мм .................................................... 3,0.
Разность длин диагоналей прямоугольных полотен площадью 1,5 м2 и менее не должна превышать 2,0 мм, площадью свыше 1,5 м2 - 3,0 мм.
5.3.5 Перепад лицевых поверхностей (провес) в соединениях коробок и полотен, установка которых предусмотрена в одной плоскости, не должен превышать 0,7 мм.
5.3.6 Точность геометрических параметров рассчитывают в соответствии с
ГОСТ 21778,
ГОСТ 21779,
ГОСТ 21780 с учетом особенностей конкретных конструкций и технологических условий изготовления и монтажа дверных блоков.
5.3.7 Зазоры в местах неподвижных соединений элементов дверных блоков не должны быть более 0,3 мм.
5.3.8 Предельные отклонения на разрезание профилей под углом 45° и 90° не должны превышать +/- 15' при длине разрезаемой стороны до 50 мм и +/- 20' - при длине разрезаемой стороны свыше 50 мм.
5.4. Требования к конструкции
5.4.1 Дверные блоки следует изготовлять в соответствии с требованиями настоящего стандарта по нормативным документам и рабочим чертежам в соответствии с образцами-эталонами, утвержденными руководителем предприятия-изготовителя.
5.4.2 Смонтированные дверные блоки независимо от числа полотен и способа открывания должны открываться и закрываться легко, без заеданий, а также фиксироваться в закрытом положении.
5.4.3 Соединения деталей дверных блоков, в том числе угловые, должны обеспечивать механическую прочность дверных блоков в соответствии с классом их прочности, указанным в паспорте на изделие.
5.4.4 Ширина деталей каркаса должна быть не менее одинарной - полуторной толщины полотна. В местах расположения петель, ручек и других приборов продольные детали каркаса должны иметь ширину не менее 100 мм на длине не менее 250 мм.
5.4.5 Щитовые полотна дверных блоков ДН и ДВ следует изготовлять со сплошным заполнением, щитовые полотна дверных блоков ДМ и ДС допускается изготовлять с мелкопустотным (решетчатым) и сплошным заполнением конструкционными материалами. Конструкция и материалы заполнения должны обеспечивать механическую прочность дверных блоков в соответствии с классом прочности, указанным в паспорте на изделие.
5.4.6 Щитовые полотна дверных блоков должны оклеиваться листовыми материалами - древесными плитами или фанерой. Прочность клеевых соединений листов с каркасом полотна на отрыв должна быть не менее 1,5 кН/м.
5.4.7 Материал и крепление филенок должны обеспечивать механическую прочность дверных блоков в соответствии с классом прочности, указанным в паспорте на изделие.
5.4.8 Установка и крепление наличников, доборных элементов, нащельников, обкладок, реек, раскладок и других элементов облицовки и отделки должны обеспечивать надежное соединение с сопрягаемыми элементами проема и конструкции дверного блока под действием нагрузок, возникающих при нормальных условиях эксплуатации.
Наличники и доборные элементы должны полностью перекрывать монтажные швы.
5.4.9 Шероховатость
Rm лицевых поверхностей дверных блоков, мкм, по
ГОСТ 7016 не должна быть более:
- под непрозрачное отделочное покрытие ........................... 200;
- под прозрачное отделочное покрытие .............................. 60.
Шероховатость нелицевых поверхностей не должна быть более 320 мкм.
Шероховатость нелицевых поверхностей коробок, шипов и проушин гнезд под приборы не нормируют.
Гнезда под приборы должны быть очищены от бахромы и заусенцев.
5.4.10 Способы врезки и крепления замочно-скобяных изделий не должны нарушать герметичности притворов. Глубина резьбы в стенках профилей для крепления замочно-скобяных изделий не должна быть менее 3 мм. При толщине стенок профилей менее 3 мм крепление замочно-скобяных изделий следует проводить с помощью вкладышей толщиной не менее 5 мм.
5.4.11 Уплотняющие прокладки должны быть надежно закреплены и не препятствовать закрыванию дверей. Прилегание уплотняющих прокладок должно быть плотным, без разрывов. Уплотняющие прокладки следует устанавливать непрерывно по всему периметру притвора. Зазоры в стыках прокладок не допускаются.
5.4.12 Конструкция остекленных дверных блоков должна обеспечивать невозможность повреждения остекления за счет собственных деформаций, возникающих при резком открывании или закрывании (хлопании) дверного полотна.
5.4.13 Конструкция остекленных дверных блоков должна обеспечивать безопасность их обслуживания, в том числе при очистке стекол.
5.4.14 Остекленные дверные полотна должны быть выполнены так, чтобы в случае разрушения не образовывались острые осколки, режущие кромки или другие опасные части.
5.4.15 Конструкция дверных блоков должна исключать возможность демонтажа полотен с наружной стороны.
5.4.16 Закрепление запирающих устройств должно исключать возможность их демонтажа с наружной стороны.
5.4.17 В полотнах дверных блоков ДН высокой интенсивности эксплуатации рекомендуется устанавливать защитные накладки на высоту не менее 150 мм от нижней грани полотна, предохраняющие полотно от преждевременного износа.
Пороги коробок дверных блоков ДН в случае, если они выполнены из древесины, должны быть облицованы металлическими накладками, предохраняющими пороги от преждевременного износа.
5.4.18 Испытания на соответствие всем указанным выше требованиям следует проводить при постановке дверных блоков на производство, изменении их конструкции, вида материалов и возникновении спорных вопросов.
5.5. Требования к материалам и комплектующим
5.5.1 Для изготовления дверных блоков следует применять материалы и комплектующие изделия, соответствующие требованиям стандартов и технических условий на эти материалы и изделия. Безопасность материалов и комплектующих изделий должна быть подтверждена сертификатом соответствия или декларацией о соответствии и протоколом испытаний.
5.5.2 Материалы, применяемые для изготовления дверных блоков, должны быть совместимы, взаимное влияние материалов не должно снижать эксплуатационных характеристик дверных блоков.
5.5.3 Для изготовления дверных блоков применяют натуральную древесину, в том числе клееную, древесные плиты, фанеру, древесно-полимерные композиты, полимерные материалы, металлический прокат и алюминиевые профили, клеевые и лакокрасочные материалы, стекло, дверные приборы, крепежные элементы и другие материалы и изделия.
5.5.4 При изготовлении деталей и сборочных единиц из древесины следует использовать хвойные породы - сосну, ель, пихту, лиственницу и кедр по
ГОСТ 8486.
Допускается использовать древесину лиственных пород по
ГОСТ 2695, не уступающих древесине хвойных пород по физико-механическим характеристикам, а также древесину ценных пород по нормативным документам поставщика.
Применение древесины разных пород в одной сборочной единице (полотне, коробке и т.д.) не допускается, за исключением сосны, ели, пихты и кедра под непрозрачное отделочное покрытие и для декоративной отделки полотен дверных блоков.
5.5.4.1 Деревянные детали дверных блоков рекомендуется изготовлять из клееных профилей по
ГОСТ 30972. Древесину по толщине и ширине следует склеивать на гладкую фугу по
ГОСТ 9330, по длине - на зубчатые шипы по
ГОСТ 19414 при количестве соединений по длине не более шести на 1 пог. м детали.
5.5.4.2 В древесине деталей дверных блоков под непрозрачное отделочное покрытие не допускаются пороки и дефекты обработки, по видам, размерам и количеству более указанных в
приложении В.
5.5.4.3 Пороки и дефекты должны быть заделаны пробками, лодочками или планками (на клею), изготовленными из древесины без пороков и дефектов обработки, одной породы с деталью и установленными плотно без зазоров, заподлицо с поверхностью детали. Направление волокон в древесине пробок, лодочек и планок должно соответствовать направлению волокон в древесине детали.
Размеры пробок не должны превышать размеров сучков, указанных в
1 а) таблицы В.1, приложение В, размеры планок, лодочек - 4 см
2 на кромке детали и 8 см
2 на пласти заделываемой детали. Количество пробок, лодочек и планок на любом погонном метре пласти или кромки детали не должно быть более шести.
Места заделки пороков и дефектов обработки древесины должны иметь ровную и гладкую поверхность без трещин.
5.5.4.4 В шиповых соединениях и местах расположения врезных приборов и крепежных деталей не допускаются сучки учитываемых размеров, смоляные кармашки, засмолок, трещины, пробки, лодочки и планки.
Требования к сучкам, находящимся в зоне установки приборов и на расстоянии 100 мм от них, приведены в
приложении В.
5.5.4.5 На лицевых поверхностях деталей дверных блоков под прозрачное отделочное покрытие не допускаются пороки и дефекты обработки древесины, за исключением завитков, свилеватости, крени, тяговой древесины, глазков, трещин шириной до 0,1 мм, а также наклон волокон и здоровых сросшихся и частично сросшихся сучков, допускаемых нормами ограничений, приведенных в
таблице В.1, приложение В.
Ожог и царапины на лицевых поверхностях деталей не допускаются.
Частично сросшиеся сучки и трещины должны быть зашпатлеваны. Пороки и дефекты обработки должны быть заделаны лодочками (на клею) в соответствии с
5.5.4.3.
На нелицевых поверхностях указанных деталей под прозрачное отделочное покрытие пороки и дефекты обработки не должны быть более указанных в
таблице В.1, приложение В.
5.5.5 Для изготовления деталей и сборочных единиц из фанеры применяют клееную фанеру по
ГОСТ 3916.1 и
ГОСТ 3916.2.
В деталях дверных блоков, имеющих лицевые поверхности с прозрачным отделочным покрытием, качество фанеры должно быть не ниже сорта II, III по
ГОСТ 3916.1 и IIx, IIIx по
ГОСТ 3916.2.
В деталях дверных блоков, имеющих лицевые поверхности с непрозрачным отделочным покрытием, качество фанеры должно быть не ниже сорта III по
ГОСТ 3916.1 и IIIx по
ГОСТ 3916.2.
5.5.6 Для изготовления деталей и сборочных единиц из древесных плит используют древесные моноструктурные плиты по
ГОСТ 32274, древесно-стружечные плиты по
ГОСТ 10632, влагостойкие древесно-стружечные плиты по
ГОСТ 32399, огнестойкие древесно-стружечные плиты по
ГОСТ 32398, древесно-стружечные плиты, облицованные пленками на основе термореактивных полимеров по
ГОСТ 32289, древесноволокнистые плиты по
ГОСТ 4598 и по технической документации производителей, включая плиты средней плотности (МДФ) и высокой плотности (ХДФ), твердые древесноволокнистые плиты с лакокрасочным покрытием по
ГОСТ 8904, древесноволокнистые плиты сухого способа производства, облицованные пленками на основе термореактивных полимеров, по
ГОСТ 32687. Допускается использование других видов древесных плит, соответствующих требованиям настоящего стандарта, а также требованиям нормативных документов, действующих на территории государства - участника соглашения, принявшего настоящий стандарт. Лицевые поверхности деталей дверных блоков из плитных материалов, включая кромки, а также верхние и нижние кромки полотен должны иметь защитные или защитно-декоративные покрытия.
5.5.7 Влажность деталей из массивной древесины не должна превышать 10%. Влажность элементов одного дверного блока при сборке не должна отличаться более чем на 3%.
Влажность древесины заделок (пробок, лодочек, планок) и нагелей должна быть на 2 - 3% меньше влажности древесины соответствующих деталей.
Влажность деталей из древесных материалов должна соответствовать указанной в нормативных документах на эти материалы.
5.5.8 Соединения деталей дверных блоков из древесных материалов должны быть выполнены в соответствии с требованиями
ГОСТ 9330.
Для клеевых соединений следует применять клеи группы по стойкости не ниже средней стойкости А по
ГОСТ 33121.
5.5.9 Профильные погонажные деревянные детали должны соответствовать
ГОСТ 8242.
5.5.10 Для изготовления деталей и сборочных единиц из алюминиевых сплавов (дверные коробки, окантовки коробок и полотен и т.п.) применяют прессованные профили по
ГОСТ 22233, другие профили, изготовленные по нормативной документации производителей.
Конструкция крепления алюминиевых профилей к деталям из древесных материалов должна обеспечивать возможность компенсации изменения их линейных размеров и деформаций от воздействия эксплуатационных температур.
5.5.11 Для изготовления деталей и сборочных единиц из стали (дверные коробки, окантовки коробок, порогов, полотен и т.п.) используют материалы в соответствии с требованиями
ГОСТ 31173.
5.5.12 Для изготовления остекленных полотен дверей следует использовать безопасное в эксплуатации многослойное стекло по
ГОСТ 30826, армированное стекло по
ГОСТ 7481, закаленное стекло по
ГОСТ 30698, стеклопакеты по
ГОСТ 24866. Допускается использовать другие виды стекол, обеспечивающие безопасность эксплуатации дверей.
5.5.13 Для уплотнения притворов применяют уплотняющие прокладки по
ГОСТ 30778.
5.6. Требования к отделке
5.6.1 Требования к отделке устанавливают в технической документации изготовителя. Допускается устанавливать требования к отделке по согласованию изготовителя дверных блоков с потребителем в договоре (заказе) на изготовление (поставку) дверных блоков. В этом случае оценку качества отделки проводят по образцам-эталонам, согласованным с заказчиком.
5.6.2 Отделочные материалы выбирают в зависимости от назначения дверных блоков в соответствии с
4.2.
5.6.3 В качестве отделочных материалов применяют лущеный шпон по
ГОСТ 99 и строганый по
ГОСТ 2977, материалы на основе пропитанных бумаг с глубокой степенью отверждения смолы по
ГОСТ 32716, отделочные материалы на бумажной основе по технической документации производителей, лакокрасочные материалы, декоративные отделочные полимерные пленки и другие материалы, удовлетворяющие требованиям настоящего стандарта, стандартов и технических условий на материалы конкретного вида.
5.6.4 Лицевые поверхности дверных блоков не должны иметь трещин, заусенцев, механических повреждений. Требования к лицевым поверхностям устанавливают в технической документации изготовителя и/или в договорах на поставку.
Нелицевые поверхности изделий могут иметь углубления, риски, волнистость и другие дефекты, не снижающие функциональных свойств и качества дверных блоков. Кромки отверстий не должны иметь заусенцев и неровностей.
5.6.5 Цвет (тон) и степень блеска (глянец, матовость) отделочного покрытия должны соответствовать образцам-эталонам, утвержденным руководителем предприятия-изготовителя и согласованным с заказчиком.
5.6.6 Лакокрасочные покрытия должны иметь прочность сцепления (адгезию) с отделываемой поверхностью не ниже балла 1 по
ГОСТ 31149.
5.6.6.1 Прозрачное отделочное покрытие применяют при изготовлении дверей из древесины твердых лиственных, хвойных и ценных пород, подобранных по качеству, цвету и текстуре, а также из фанеры. В качестве прозрачного отделочного покрытия применяют прозрачные лаки.
5.6.6.2 Непрозрачное отделочное покрытие выполняют масляными или синтетическими красками и эмалями, в том числе водоэмульсионными.
5.6.6.3 Влагостойкие и водонепроницаемые дверные блоки следует отделывать атмосферостойкими лакокрасочными материалами 1-й группы по
ГОСТ 9825.
Для остальных типов дверных блоков допускается применять лакокрасочные материалы 2-й группы по
ГОСТ 9825. Допускается применение атмосферостойких лакокрасочных материалов.
5.6.7 Клеевые материалы, применяемые при облицовке дверных блоков, должны обеспечивать достаточную прочность сцепления, при этом не допускаются непроклеенные участки, складки, волнистость и другие дефекты внешнего вида. Прочность сцепления декоративного отделочного покрытия с изделием должна быть не менее 2,5 Н/мм.
5.6.8 Качество лицевых поверхностей дверных блоков с отделочным покрытием должно быть не ниже класса III по
ГОСТ 24404.
На нелицевых поверхностях дефекты отделочных покрытий не ограничивают, за исключением пропусков лакокрасочного слоя.
5.6.9 Отделочные покрытия дверных блоков должны сохранять свои защитно-декоративные свойства (стойкость к истиранию, твердость) на протяжении всего срока их эксплуатации.
5.6.10 Алюминиевые элементы дверных блоков должны быть анодированы в соответствии с требованиями
ГОСТ 9.031 или окрашены.
5.6.11 Поверхности стальных деталей дверных блоков перед нанесением лакокрасочного и полимерного покрытий должны соответствовать
ГОСТ 9.402, класс покрытий - не ниже IV по
ГОСТ 9.032.
5.7. Требования к дверным приборам
5.7.1 Тип, число, расположение и способ крепления запирающих устройств, поворотных (петель), сдвижных и сдвижных складывающихся устройств открывания устанавливают в рабочей документации с учетом размера и массы открывающихся элементов, а также условий эксплуатации дверей.
Примечание - Применение более двух петель в распашных и качающихся дверных блоках должно быть рекомендовано производителями петель. Рекомендуемое расположение средней петли - на 150 - 200 мм ниже верхней.
5.7.2 При применении скрытых петель в дверных блоках ДН необходимо проводить дополнительные испытания по определению сопротивления теплопередаче для исключения промерзания в зоне петель.
5.7.3 Дверные блоки ДН и ДВ рекомендуется комплектовать замками не ниже 3-го класса по
ГОСТ 5089 и применять устройства открывания и закрывания, регулируемые в трех плоскостях.
В зависимости от назначения дверных блоков в проектной документации, а также при оформлении заказов следует предусматривать комплектацию дверных блоков устройствами закрывания (доводчиками), соответствующими требованиям нормативных документов <1>, действующих на территории государства - участника соглашения, принявшего настоящий стандарт, ограничителями угла открывания (упорами), глазками и т.д.
--------------------------------
<1> В Российской Федерации устройства закрывания дверей (доводчики) должны соответствовать требованиям
ГОСТ Р 56177-2014 "Устройства закрывания дверей (доводчики). Технические условия".
5.7.4 Запирающие устройства должны обеспечивать надежное запирание открывающихся элементов дверных блоков. Открывание и закрывание должно происходить легко, плавно, без заеданий.
5.7.5 Конструкции запирающих устройств и устройств закрывания дверных блоков (доводчиков) не должны препятствовать плотному и равномерному обжиму прокладок по всему контуру уплотнения в притворах.
5.7.6 Дверные приборы, крепежные детали должны соответствовать требованиям
ГОСТ 538, сдвижные и сдвижные складывающиеся устройства открывания -
ГОСТ 30777, петли -
ГОСТ 5088. Покрытие приборов для комплектации дверных блоков ДН и ДВ должно быть стойким к коррозии.
5.7.7 По требованию потребителей допускается изготовление дверных блоков без установки дверных приборов, при этом в деталях дверных блоков должны быть выполнены конструктивные элементы для последующей их установки и монтажа.
5.8. Требования к наружным входным дверным блокам
5.8.1 Наружные входные дверные блоки ДН должны соответствовать требованиям, приведенным в
5.1 -
5.7, и требованиям настоящего подраздела.
5.8.2 Дверные блоки ДН должны выдерживать ветровую нагрузку, указанную в проектной документации и определяемую по нормативным документам <2>, действующим на территории государства - участника соглашения, принявшего настоящий стандарт.
--------------------------------
<2> В Российской Федерации ветровую нагрузку определяют по
СП 20.13330.2011 "СНиП 2.01.07-85 Нагрузки и воздействия".
5.8.3 Дверные блоки ДН должны быть влагостойкими и водонепроницаемыми.
5.8.4 Дверные блоки ДН по пределу водонепроницаемости должны соответствовать одному из пяти классов:
- А - с пределом водонепроницаемости 600 Па;
- Б - с пределом водонепроницаемости 500 Па;
- В - с пределом водонепроницаемости 400 Па;
- Г - с пределом водонепроницаемости 300 Па;
- Д - с пределом водонепроницаемости 150 Па.
Примечание - Дверные блоки с пределом водонепроницаемости менее 150 Па не могут быть отнесены к дверям ДН <1>.
--------------------------------
<1> Если конструкцией входных дверных блоков предусмотрена защита от ливня, дверной блок с пределом водонепроницаемости 100 - 150 Па может рассматриваться как дверной блок ДН.
Класс водонепроницаемости дверного блока ДН должен быть указан в сопроводительной документации на изделие.
5.8.5 Дверные блоки ДН должны соответствовать классу прочности не ниже Мд4 согласно данным, приведенным в
таблице 2. К дверным блокам ДН допускается применять дополнительные требования по взломоустойчивости.
5.8.6 Металлические элементы, приборы и крепежные детали дверных блоков ДН должны иметь антикоррозийное покрытие, предусмотренное проектной и конструкторской документацией.
5.8.7 Сопротивление теплопередаче дверных блоков ДН должно соответствовать требованиям нормативных документов
<2>, действующих на территории государства - участника соглашения, принявшего настоящий стандарт. Значение приведенного сопротивления теплопередаче дверного блока должно быть указано в условном обозначении дверного блока и/или в сопроводительной документации к нему. Дверные блоки ДН не должны быть ниже класса Т2, указанного в
5.2.3.
--------------------------------
<2> В Российской Федерации сопротивление теплопередаче дверных блоков принимают по
СП 50.13330.2012 "СНиП 23-02-2003 Тепловая защита зданий".
Класс водонепроницаемости дверного блока ДН должен быть указан в сопроводительной документации к дверному блоку.
5.8.8 Воздухопроницаемость дверных блоков ДН должна соответствовать требованиям нормативных документов <3>, действующих на территории государства - участника соглашения, принявшего настоящий стандарт, и указываться в условном обозначении и/или в сопроводительной документации к дверному блоку.
--------------------------------
<3> В Российской Федерации класс воздухопроницаемости дверей принимают по
СП 50.13330.2012 "СНиП 23-02-2003 Тепловая защита зданий".
5.8.9 Дверные блоки ДН должны быть с порогом и с уплотнителями в притворах. Для повышения звукоизоляции и сопротивления теплопередаче рекомендуется устанавливать не менее двух контуров уплотняющих прокладок.
5.8.10 Уплотняющие прокладки для дверных блоков ДН должны быть стойкими к климатическим и атмосферным воздействиям и испытаны на долговечность в испытательных центрах, аккредитованных на право проведения таких испытаний.
5.8.11 Для защиты от механических повреждений и снижения теплопотерь дверные блоки ДН следует укомплектовывать устройствами закрывания (доводчиками), соответствующими требованиям нормативных документов <4>, действующих на территории государства - участника соглашения, принявшего настоящий стандарт, и дверными упорами. В двупольных дверных блоках следует устанавливать задвижки, шпингалеты или другие фиксаторы полотна.
--------------------------------
| | ИС МЕГАНОРМ: примечание. В официальном тексте документа, видимо, допущена опечатка: стандарт имеет номер ГОСТ Р 56177-2014, а не ГОСТ Р 50177-2013. | |
<4> В Российской Федерации устройства закрывания дверей (доводчики) - по
ГОСТ Р 50177-2013 "Устройства закрывания дверей (доводчики). Технические условия".
5.8.12 Безотказность открывания и закрывания полотен дверных блоков ДН определяют в соответствии с ГОСТ 5088
(5.4.1) в зависимости от характера и интенсивности эксплуатации двери. Безотказность открывания и закрывания полотен дверных блоков ДН должна быть не менее 100 000 циклов.
5.8.13 Усилие, необходимое для открывания и закрывания полотен дверных блоков ДН при ручном приведении в действие полотен, не должно превышать 75 Н.
5.8.14 К дверным блокам ДН в зависимости от места их установки и требований проектной документации согласно нормативным документам
<5>, действующим на территории государства - участника соглашения, принявшего настоящий стандарт, допускается предъявлять требования по звукоизоляции в соответствии с
5.2.5. В этом случае класс дверного блока ДН и значение показателя звукоизоляции
Rw указывают в условном обозначении дверного блока и/или в сопроводительной документации к дверному блоку.
--------------------------------
<5> В Российской Федерации действует
СП 51.13330.2011 "СНиП 23-03-2003 Защита от шума".
5.9. Требования к внутренним входным дверным блокам
5.9.1 Внутренние дверные блоки ДВ входные в квартиры и в помещения общественных, производственных и вспомогательных зданий и сооружений должны соответствовать требованиям, указанным в
5.1 -
5.7, и требованиям настоящего подраздела.
5.9.2 Сопротивление теплопередаче дверных блоков ДВ должно соответствовать требованиям нормативных документов <1>, действующих на территории государства - участника соглашения, принявшего настоящий стандарт. Значение приведенного сопротивления теплопередаче дверного блока, если такое требование содержится в проектной документации или в заказе, должно быть указано в условном обозначении и/или в сопроводительной документации к дверному блоку.
--------------------------------
<1> В Российской Федерации сопротивление теплопередаче дверных блоков принимают по
СП 50.13330.2012 "СНиП 23-02-2003 Тепловая защита зданий".
5.9.3 Воздухопроницаемость дверного блока ДВ должна соответствовать требованиям нормативных документов <2>, действующих на территории государства - участника соглашения, принявшего настоящий стандарт. Класс воздухопроницаемости дверного блока, если такое требование содержится в проектной документации или в заказе, должно быть указано в условном обозначении двери и/или в сопроводительной документации к дверному блоку.
--------------------------------
<2> В Российской Федерации класс воздухопроницаемости дверей принимают по
СП 50.13330.2012 "СНиП 23-02-2003 Тепловая защита зданий".
5.9.4 Дверные блоки ДВ должны соответствовать классу звукоизоляции З1, указанному в
5.2.5, согласно нормативным документам <3>, действующим на территории государства - участника соглашения, принявшего настоящий стандарт; класс дверного блока ДВ и значение показателя звукоизоляции
Rw указывают в условном обозначении дверного блока и/или в сопроводительной документации к дверному блоку.
--------------------------------
<3> В Российской Федерации класс звукоизоляции принимают по
СП 51.13330.2011 "СНиП 23-03-2003 Защита от шума".
5.9.5 Дверные блоки ДВ должны соответствовать классу прочности не ниже Мд3 согласно данным, приведенным в
таблице 2. К дверным блокам ДВ допускается применять дополнительные требования по взломоустойчивости.
5.9.6 Дверные блоки ДВ должны быть с порогом и с уплотнителями в притворах. Для повышения звукоизоляции и сопротивления теплопередаче рекомендуется устанавливать не менее двух контуров уплотняющих прокладок.
5.9.7 Безотказность открывания и закрывания полотен дверных блоков ДВ определяют в соответствии с ГОСТ 5088
(5.4.1) в зависимости от характера и интенсивности эксплуатации двери, и она должна быть:
- не менее 50 000 циклов для входных дверных блоков в квартиры;
- не менее 100 000 циклов для входных дверных блоков в помещения общественных и производственных зданий и сооружений.
5.9.8 Усилие, необходимое для открывания и закрывания полотен дверных блоков ДВ при ручном приведении в действие полотен, не должно превышать 50 Н.
5.9.9 При изготовлении дверных блоков ДВ не допускается использовать древесно-стружечные плиты класса эмиссии формальдегида Е2 по
ГОСТ 10632.
5.9.10 Дверные блоки ДВ, используемые в детских, дошкольных, школьных, лечебно-профилактических, санаторно-курортных учреждениях, должны обеспечивать возможность проведения влажной дезинфекции поверхностей полотен для исключения роста и развития микрофлоры (особенно патогенной).
После дезинфекции химическими реагентами не должно быть заметных изменений цвета и блеска поверхности дверного блока.
5.10. Требования к межкомнатным дверным блокам
5.10.1 Межкомнатные дверные блоки ДМ должны соответствовать требованиям, изложенным в
5.1 -
5.7, и требованиям настоящего подраздела.
5.10.2 Дверные блоки ДМ могут соответствовать классам прочности Мд1 - Мд3 согласно данным, приведенным в
таблице 2.
5.10.3 Безотказность открывания и закрывания полотен дверных блоков ДМ определяется в зависимости от характера и интенсивности эксплуатации двери и должна составлять не менее 20 000 циклов.
5.10.4 Усилие, необходимое для открывания и закрывания полотен дверных блоков ДМ при ручном приведении в действие полотен, не должно превышать 10 Н.
5.10.5 Дверные блоки ДМ могут быть с порогом и с уплотнителями в притворах.
5.10.6 К дверным блокам ДМ допускается предъявлять требования по воздухопроницаемости, звуко- и теплоизоляции в соответствии с
5.2.3 -
5.2.5.
5.10.7 При изготовлении дверных блоков ДМ не допускается применять древесно-стружечные плиты класса эмиссии формальдегида Е2 по
ГОСТ 10632.
5.10.8 Дверные блоки ДМ, используемые в детских, дошкольных, школьных, лечебно-профилактических, санаторно-курортных учреждениях, должны обеспечивать возможность проведения влажной дезинфекции поверхностей полотен для исключения роста и развития микрофлоры (особенно патогенной).
После дезинфекции химическими реагентами не должно быть заметных изменений цвета и блеска поверхности дверных блоков.
5.11. Требования к дверным блокам санузлов
5.11.1 Дверные блоки санузлов ДС должны соответствовать требованиям, указанным в
5.1 -
5.7, и требованиям настоящего подраздела.
5.11.2 Дверные блоки ДС должны быть влагостойкими.
5.11.3 Дверные блоки ДС могут соответствовать классам прочности Мд1 - Мд3 согласно данным, приведенным в
таблице 2.
5.11.4 Металлические элементы, приборы и крепежные детали дверных блоков ДС должны иметь антикоррозийное покрытие, предусмотренное проектной и конструкторской документацией.
5.11.5 Безотказность открывания и закрывания полотен дверных блоков ДС должна составлять не менее 20 000 циклов.
5.11.6 Усилие, необходимое для открывания и закрывания полотен дверных блоков ДС при ручном приведении в действие полотен, не должно превышать 10 Н.
5.11.7 При изготовлении дверных блоков ДС не рекомендуется применять древесно-стружечные плиты класса эмиссии формальдегида Е2 по
ГОСТ 10632.
5.11.8 Дверные блоки ДС, используемые в детских, дошкольных, школьных, лечебно-профилактических, санаторно-курортных учреждениях, должны обеспечивать возможность проведения влажной дезинфекции поверхностей полотен для исключения роста и развития микрофлоры (особенно патогенной).
После дезинфекции химическими реагентами не должно быть заметных изменений цвета и блеска поверхности дверных блоков.
6.1 Соответствие дверных блоков требованиям настоящего стандарта обеспечивают:
- входным контролем качества материалов и комплектующих;
- операционным производственным контролем;
- ежесменным приемочным контролем готовых изделий;
- контрольными приемо-сдаточными испытаниями каждой партии изделий, проводимыми службой технического контроля предприятия-изготовителя;
- периодическими и сертификационными испытаниями;
- квалификационными испытаниями.
6.2 Порядок проведения входного контроля качества материалов и комплектующих устанавливают в технологической документации предприятия-изготовителя.
При входном контроле материалов и комплектующих проверяют:
- наличие и содержание сопроводительных документов поставщика (производителя), подтверждающих качество и безопасность;
- маркировку (соответствие марки и наименования материалов и комплектующих договору поставки);
- внешний вид;
- наличие инструкции по использованию;
- условия хранения;
- срок годности;
- состояние транспортной упаковки;
- выполнение других условий, установленных в договорах на поставку.
При входном контроле материалов и комплектующих следует также проверять их соответствие требованиям
5.5 -
5.7 настоящего стандарта, требованиям стандартов и технических условий на материалы и комплектующие конкретных видов и договору поставки.
6.3 Порядок проведения операционного производственного контроля на рабочих местах устанавливают в технологической документации предприятия-изготовителя в соответствии с требованиями настоящего стандарта.
Операционный контроль проводят по каждой операции технологического процесса. В случае если предприятие-изготовитель использует комплектующие изделия собственного изготовления, они должны быть приняты и испытаны в соответствии с требованиями нормативных документов на эти изделия.
6.4 Ежесменный приемочный контроль каждой единицы готовых дверных блоков проводит служба технического контроля предприятия-изготовителя по технологической документации, утвержденной руководителем предприятия-изготовителя.
6.5 Контрольные приемо-сдаточные испытания партий готовых дверных блоков на соответствие требованиям настоящего стандарта, а также условиям, определенным в договоре на изготовление и поставку изделий, проводит служба технического контроля предприятия-изготовителя.
При приемке дверных блоков на предприятии-изготовителе за партию принимают изделия, изготовленные по одному договору поставки, для одного заказчика или в течение определенного срока и оформленные одним документом о качестве (паспортом).
6.6 Периодические испытания образцов дверных блоков проводят не реже одного раза в три года. Эксплуатационные характеристики (сопротивление ветровой нагрузке, воздействие климатических факторов, теплопередача, влагостойкость, звукоизоляция) определяют при постановке на производство.
Периодические испытания образцов дверных блоков проводят также при изменении технологии производства и/или при использовании новых материалов (комплектующих). В этом случае определяют только такие характеристики изделий, на которые могут оказать влияние новая технология и/или материалы и комплектующие.
Сертификационные испытания проводят в объеме периодических при сертификации продукции. Допускается совмещать периодические и сертификационные испытания.
Квалификационные испытания проводят по всем показателям при постановке продукции на производство.
Испытания проводят в испытательных центрах, аккредитованных на право их проведения.
6.7 Перечень характеристик, определяемых при ежесменном приемочном контроле, приемо-сдаточных и периодических испытаниях, приведен в таблице 5.
Таблица 5
Характеристики, определяемые при ежесменном приемочном
контроле, приемо-сдаточных и периодических испытаниях
Наименование характеристики | Номер пункта требований | Метод испытания | Вид контроля и испытания |
Ежесменный приемочный контроль | Приемо-сдаточные испытания | Периодические испытания |
Внешний вид (включая цвет) | | | + | + | - |
Работа петель и запирающих устройств | | | + | + | - |
Правильность установки уплотняющих прокладок | | | + | + | - |
Наличие защитной пленки | | | + | + | - |
Маркировка | | | + | + | - |
Предельное отклонение контролируемых номинальных размеров, прямолинейность кромок, разность длин диагоналей | | | - | + | - |
Механическая прочность (сопротивление статическим и ударным нагрузкам) дверных блоков: | | | | | |
- ДН | | | - | - | + |
- ДВ | | | - | - | + |
- ДМ | | | - | - | + |
- ДС | | | - | - | + |
Прочность клеевых соединений листовых материалов с каркасом полотна (для щитовых дверей) | | | - | - | + |
Прочность сцепления декоративного отделочного покрытия с изделием | | | - | - | + |
Стойкость декоративного отделочного покрытия к истиранию | | | - | - | + |
Твердость декоративного отделочного покрытия | | | - | - | + |
Безотказность дверных блоков: | | | | | |
- ДН | | | - | - | + |
- ДВ | | | - | - | + |
- ДМ | | | - | - | + |
- ДС | | | - | - | + |
Эргономические требования к дверным блокам: | | | | | |
- ДН | | | - | - | + |
- ДВ | | | - | - | + |
- ДМ | | | - | - | + |
- ДС | | | - | - | + |
Сопротивление ветровой нагрузке | | | - | - | При постановке на производство |
Предел водонепроницаемости | | | - | - | При постановке на производство |
Влагостойкость дверных блоков: | | | | | При постановке на производство |
- ДН | | | - | - |
- ДС | | | - | - |
Сопротивление воздействию климатических факторов | | | - | - | При постановке на производство |
Воздухопроницаемость дверных блоков: | | | | | При постановке на производство |
- ДН | | | - | - |
- ДВ | | | - | - |
Сопротивление теплопередаче дверных блоков: | | | | | При постановке на производство |
- ДН | | | - | - |
- ДВ | | | - | - |
Звукоизоляция дверных блоков: | | | | | При постановке на производство |
- ДН | | | - | - |
- ДВ | | | - | - |
6.8 Готовые дверные блоки, прошедшие приемочный контроль, маркируют. Изделия, не прошедшие приемочный контроль хотя бы по одному показателю, бракуют.
6.9 Для проведения контрольных приемо-сдаточных испытаний от партии дверных блоков методом случайного отбора отбирают образцы в количестве 3% объема партии, но не менее 3 шт. При этом неразрушающие испытания образцов должны предшествовать разрушающим.
В случае отрицательного результата испытаний хотя бы по одному показателю хотя бы одного образца проводят повторную проверку качества изделий на удвоенном числе образцов по показателю, имевшему отрицательный результат испытаний.
При повторном обнаружении несоответствия показателя установленным требованиям хотя бы на одном образце контролируемую и последующую партии дверных блоков подвергают сплошному контролю (разбраковке). При положительном результате сплошного контроля возвращаются к установленному порядку приемо-сдаточных испытаний.
6.10 Потребитель имеет право проводить контрольную проверку качества поставляемых ему дверных блоков, соблюдая при этом порядок отбора образцов и методы испытаний, приведенные в настоящем стандарте.
При приемке изделий потребителем партией считают число изделий, отгружаемых по конкретному заказу, но не более 500 шт., оформленных одним документом о качестве.
По договоренности сторон приемку дверных блоков потребителем допускается проводить на складе изготовителя, на складе потребителя или в ином, оговоренном в договоре на поставку, месте.
6.11 Каждая партия дверных блоков должна сопровождаться документом о качестве (паспортом). Пример паспорта изделия приведен в
приложении Г.
6.12 Приемка дверных блоков потребителем не освобождает изготовителя от ответственности при обнаружении скрытых дефектов, приведших к нарушению эксплуатационных характеристик дверных блоков в течение гарантийного срока.
6.13 Общие требования к проведению входного контроля при поставке дверных блоков на строительные объекты или частным потребителям
6.13.1 При поставке дверных блоков на объект производитель обязан подтвердить их соответствие действующим нормативным документам, а также требованиям проекта (при наличии). Указанное требование документально оформляют в виде пакета сопроводительной документации. Пакет сопроводительной документации должен включать:
- технические, инженерные расчеты (при их наличии), подтверждающие эксплуатационные характеристики в соответствии с
5.2;
- нормативный документ на монтаж изделий при условии заключения единого договора на изготовление и монтаж изделий.
6.13.2 При входном контроле поставляемых на объект дверных блоков или передаваемых в специализированные дилерские центры проверяют:
- количество изделий, установленных в заказе;
- тип изделия;
- наличие маркировки (в соответствии с
8.3,
8.4);
- габаритные размеры (выборочно);
- внешний вид (наличие дефектов);
- комплектность (в соответствии с заказом);
- наличие пакета сопроводительной документации.
6.13.3 По результатам входного контроля на объекте составляют акт приемки и сдачи дверных блоков.
Примечание - В случае если в результате хранения или после монтажа изделий обнаруживаются дефекты, не определенные при приемке изделий, изготовитель не несет за это ответственность.
7. Методы контроля и испытаний
7.1 При входном контроле, если необходимо, могут выполняться контрольные измерения, проверка и испытания для определения отдельных характеристик материалов и комплектующих в соответствии с требованиями
5.5 -
5.7 настоящего стандарта и соответствующих стандартов и технических условий.
7.2 Методы контроля и испытаний при операционном производственном контроле качества дверных блоков устанавливают в технологической документации изготовителя.
7.3 Методы определения показателей, контролируемых при ежесменном приемочном контроле и контрольных приемо-сдаточных испытаниях, приведены в 7.3.1 -
7.3.5.
7.3.1 Геометрические размеры элементов дверных блоков и прямолинейность кромок определяют с использованием методов, установленных
ГОСТ 26433.0 и
ГОСТ 26433.1.
Предельные отклонения от номинальных размеров элементов дверных блоков, разность длин диагоналей и другие размеры определяют с помощью рулетки по
ГОСТ 7502, штангенциркуля по
ГОСТ 166, щупов по нормативным документам.
Предельные отклонения от прямолинейности кромок определяют путем приложения поверочной линейки по
ГОСТ 8026 или строительного уровня с допуском плоскостности не менее 9-й степени точности по
ГОСТ 9416 к испытуемой детали и замером наибольшего зазора с помощью щупов.
Предельные отклонения номинальных размеров зазоров под фальцем проверяют с помощью набора щупов или металлической линейки по
ГОСТ 427.
Перепад (провес) лицевых поверхностей в соединениях коробок и полотен, установка которых предусмотрена в одной плоскости, определяют щупом как расстояние от ребра металлической линейки по
ГОСТ 427, приложенной к одной сопрягаемой поверхности, до другой сопрягаемой поверхности.
7.3.2 Измерения линейных размеров проводят при температуре окружающей среды (20 +/- 4) °C. В случае необходимости проведения измерений при других температурах (для наружных дверей) следует учитывать температурное изменение линейных размеров.
7.3.3 Внешний вид дверных блоков оценивают визуально путем сравнения с образцами-эталонами, утвержденными руководителем предприятия-изготовителя, при естественном или искусственном рассеянном освещении не менее 300 лк. Визуальную оценку проводят с расстояния 1,5 м от вертикально установленного дверного блока.
7.3.4 Правильность установки уплотняющих прокладок, дверных приборов, крепежных и других деталей, наличие защитной пленки, маркировку и упаковку проверяют визуально.
Для определения плотности прилегания уплотняющих прокладок сопоставляют размеры зазоров в притворах и степень сжатия прокладок, которая должна составлять не менее 1/5 высоты необжатой прокладки. Измерения проводят штангенциркулем по
ГОСТ 166.
Плотность прилегания уплотняющих прокладок при приемо-сдаточных испытаниях при закрытых полотнах допускается определять по наличию непрерывного следа, оставленного красящим веществом (например, цветным мелом), предварительно нанесенным на поверхность прокладок и легко удаляемым после проведения контроля. При периодических испытаниях указанный показатель определяют по значению воздухо- и водопроницаемости.
7.3.5 Работу дверных приборов, в том числе петель, проверяют пятикратным открыванием и закрыванием полотен дверного блока. В случае обнаружения отклонений в работе дверных приборов проводят их регулировку и повторную проверку.
7.4 Методы определения показателей, контролируемых при периодических испытаниях, приведены в 7.4.1 -
7.4.13.
7.4.1 Сопротивление статическим, динамическим и ударным нагрузкам определяют по нормативным документам на методы испытаний и методикам испытательных лабораторий.
Класс прочности дверных блоков по эксплуатационным характеристикам подтверждают положительными результатами определения всех характеристик, указанных в
таблице 1.
Сопротивление статическим нагрузкам (
таблица 2, испытания 1 и 2) определяют по
ГОСТ 24033. Значения прилагаемых нагрузок указаны в
таблице 2.
Сопротивление удару мягким и тяжелым телом (
таблица 2, испытание 3) определяют по
ГОСТ 26892. Значения прилагаемых нагрузок приведены в
таблице 2.
Испытание ударом твердым телом (
таблица 2, испытание 4) проводят для определения прочности конструкции дверного полотна. Испытанию подвергают дверные полотна с двух сторон нагрузками, указанными в
таблице 2. Испытания проводят трехразовым ударом грузом массой 2 кг в центр двери и при необходимости в угловые зоны. Пример расположения точек нанесения ударов показан на рисунке 2.
Рисунок 2 - Пример расположения точек нанесения ударов
на однопольном дверном блоке
Среднее значение диаметра повреждения от удара не должно превышать 2,0 мм, глубины - 1,5 мм.
Стойкость к ударной нагрузке остекленных дверных полотен определяют испытанием в соответствии с
приложением Д.
После проведения испытаний дверные блоки должны сохранить работоспособность и геометрические размеры в пределах допустимых отклонений, приведенных в
5.3.
7.4.2 Адгезию лакокрасочных покрытий определяют по
ГОСТ 31149.
7.4.3 Прочность клеевых соединений листов с каркасом полотна на отрыв определяют по
ГОСТ 33120.
7.4.4 Прочность сцепления декоративного отделочного покрытия с изделием определяют по
ГОСТ 15867.
7.4.5 Стойкость декоративного отделочного покрытия к истиранию определяют по
ГОСТ 27820, твердость - по
ГОСТ 27326.
7.4.8 Приведенное сопротивление теплопередаче определяют по
ГОСТ 26602.1.
Метод определения усилия открывания и закрывания полотен дверных блоков - по
приложению Е.
7.4.10 Сопротивление воздействию климатических факторов определяют испытаниями в соответствии с
ГОСТ 28786.
Для дверных блоков ДН применяют категорию климатической нагрузки IV, для дверей ДВ и ДС - категорию II и для дверей ДМ - категорию I по
ГОСТ 28786.
7.4.11 Стойкость к коррозии металлических деталей дверных блоков определяют по
ГОСТ 538 и нормативным документам на конкретные изделия.
7.4.13 Сопротивление ветровой нагрузке определяют испытанием по
ГОСТ 26602.5.
7.4.14 Предел водонепроницаемости определяют испытанием по
ГОСТ 26602.2.
8. Комплектность, маркировка и упаковка
8.1 Комплектность дверных блоков при их поставке потребителю должна соответствовать требованиям, установленным в заказе.
Дверные блоки полной заводской готовности должны иметь установленные приборы, уплотнительные прокладки и защитную пленку на лицевых поверхностях.
8.2 В комплект поставки должны входить документ о качестве (паспорт, приведенный в
приложении Г) и инструкция по эксплуатации дверных блоков, включающая рекомендации по монтажу.
8.3 Каждый дверной блок маркируют этикеткой с указанием наименования предприятия-изготовителя, марки, даты изготовления и/или номера заказа, знака (штампа), подтверждающего приемку изделия службой технического контроля. По согласованию изготовителя с потребителем допускается наносить маркировку на самоклеящуюся этикетку.
Не допускается наносить маркировку на защитную пленку.
8.4 Входящие в состав дверного блока дверные приборы, замочные изделия должны быть маркированы в соответствии с нормативным документом на эти изделия.
8.5 Упаковка дверных блоков должна обеспечивать их сохранность при хранении, погрузочно-разгрузочных работах и транспортировании.
Дверные блоки рекомендуется упаковывать в полиэтиленовую пленку по
ГОСТ 10354.
8.6 Не установленные на дверные блоки приборы или части приборов должны быть упакованы в полиэтиленовую пленку по
ГОСТ 10354 или другой упаковочный материал, обеспечивающий их сохранность, прочно перевязаны и поставлены комплектно с изделиями.
8.7 Открывающиеся полотна дверных блоков перед упаковкой должны быть закрыты на все запирающие устройства.
9. Транспортирование и хранение
9.1 Дверные блоки перевозят всеми видами транспорта в соответствии с правилами и условиями погрузки и крепления грузов, действующими на транспорте конкретного вида.
9.2 Условия хранения дверных блоков - группа 2 по
ГОСТ 15150.
9.3 Открывающиеся полотна дверных блоков перед транспортированием должны быть закрыты на все запирающие устройства.
10. Гарантии изготовителя
10.1 Предприятие-изготовитель гарантирует соответствие дверных блоков требованиям настоящего стандарта при условии соблюдения потребителем правил транспортирования, хранения, монтажа, эксплуатации, а также области применения, установленной в нормативных документах и проектной документации.
10.2 Гарантийный срок на дверные блоки устанавливают в договоре на поставку, исходя из интенсивности эксплуатации дверей:
- при низкой интенсивности - не менее трех лет со дня отгрузки изделий изготовителем;
- при средней и высокой интенсивности - не менее двух лет со дня отгрузки изделий изготовителем.
10.3 Гарантийный срок хранения дверных блоков - один год со дня отгрузки изделий изготовителем.
(рекомендуемое)
КЛАССЫ ПРОЧНОСТИ И БЕЗОТКАЗНОСТЬ ДВЕРНЫХ БЛОКОВ
В ЗАВИСИМОСТИ ОТ ИНТЕНСИВНОСТИ И ХАРАКТЕРА
ЭКСПЛУАТАЦИИ ДВЕРЕЙ
В проектной документации следует указывать требования к прочности и безотказности дверей. Если в документации такие требования не указаны, для определения класса прочности дверей и циклов их безотказной эксплуатации рекомендуется использовать данные таблицы А.1.
Таблица А.1
Классы прочности, безотказность, интенсивность и характер
эксплуатации дверных блоков
Интенсивность эксплуатации двери | Характер эксплуатации двери | Класс прочности дверного блока (по 5.2.2) | Число циклов безотказной эксплуатации, не менее | Назначение дверного блока |
Низкая | Бережное отношение, возможность неправильного обращения незначительна | Мд1 | 20 000 | Межкомнатные, санузлов в частных домах, квартирах |
Средняя | Нейтральное отношение | Мд2 | 50 000 | Межкомнатные в офисах |
Средняя | Безразличное отношение, существует вероятность неправильного обращения | Мд3 | 100 000 | Внутренние входные в медицинских учреждениях, учебных заведениях |
Высокая | Небрежное отношение, возможны удары и столкновения с тяжелыми предметами | Мд4 | 500 000 | Входные в общественных зданиях |
(справочное)
ГАБАРИТНЫЕ РАЗМЕРЫ ДВЕРНЫХ ПРОЕМОВ В СТЕНАХ
И ПЕРЕГОРОДКАХ ЗДАНИЙ И СООРУЖЕНИЙ
Примечание - Размеры проемов в скобках указаны для качающихся дверей.
Рисунок Б.1
(обязательное)
НОРМЫ ОГРАНИЧЕНИЯ ПОРОКОВ И ДЕФЕКТОВ ОБРАБОТКИ ДРЕВЕСИНЫ
Наименование пороков и дефектов обработки древесины по ГОСТ 2140 | Нормы ограничения пороков и дефектов обработки древесины в деталях |
раскладок, нащельников, обкладок | каркаса, полотен, коробок дверей повышенной прочности | коробок |
1 Сучки: а) здоровые сросшиеся и частично сросшиеся | Размером в долях ширины пласти (первое число) - кромки (второе число) |
1/4 - 1/3 | 1/3 - 1/2 | 1/2 - 2/3 |
Количество в шт. на любом погонном метре пласти или кромки |
2 | 3 | 4 На нелицевых поверхностях, примыкающих к проему, размеры и количество сучков не ограничиваются |
Сучки размерами до половины указанных не учитывают. Частично сросшиеся сучки, трещины в сучках и щели между сучками и окружающей древесиной должны быть зашпатлеваны |
б) несросшиеся, выпадающие, загнившие, гнилые и табачные, без признаков гнили в окружающей древесине | Не допускаются | Допускаются в общем числе здоровых сучков до половины их количества. Сучки диаметром до 7 мм должны быть зашпатлеваны, более 7 мм - вырезаны и заделаны пробками |
2 Грибные ядровые пятна (полосы), плесень, заболонные грибные окраски, побурение без признаков загнивания | Не допускаются | 30% | 50% |
площади стороны детали |
3 Трещины | Шириной до 0,1 мм не учитывают, а учитываемые боковые и торцовые |
Не допускаются | Шириной |
| 2 мм | 3 мм На нелицевых поверхностях, примыкающих к проему, - 4 мм |
| Глубиной в долях толщины или ширины детали |
| 1/4 | 1/3 |
Общей длиной в долях длины детали |
1/3 | 1/2 |
Учитываемые трещины должны быть зашпатлеваны |
4 Сердцевина и двойная сердцевина, засмолок | Не допускаются | Не допускаются на лицевых поверхностях |
5 Наклон волокон | От продольной оси детали, на участке длиной не менее двойной ее ширины, % |
3 | 7 | 12 |
6 Смоляные односторонние кармашки | Не допускаются | Количество на любом погонном метре пласти или кромки |
| 3 | 5 |
Шириной до 7 мм должны быть очищены от смолы и зашпатлеваны, более 7 мм - вырезаны и заделаны |
- | На нелицевых поверхностях, примыкающих к проему, допускаются без заделки |
7 Рак, прорость, тупой обзол | Не допускаются | Не допускаются на лицевых поверхностях. На нелицевых, примыкающих к проему - в долях ширины и длины стороны детали 1/4. Обзол должен быть очищен от коры и луба |
8 Механические повреждения: а) риски, волнистость, ворсистость, мшистость, бахрома, заусенец, непрофрезеровка, гребешок | Не допускаются на лицевых поверхностях |
б) заруб, запил, отщеп, скол, вырыв, задир, вмятины, выхват, выщербины | Не допускаются на лицевых поверхностях. На нелицевых поверхностях - глубиной, шириной и длиной в долях толщины, ширины стороны или длины детали |
1/20 | 1/20 | 1/10 |
Должны быть зашпатлеваны |
9 Гнили, сквозные смоляные кармашки, червоточины, пасынок, дупло, острый обзол | Не допускаются |
Примечания 1 Сучки измеряют по расстояниям между касательными к контуру сучков, проведенными параллельно оси детали, при этом размер сучка, разрезанного вдоль или под небольшим углом к его оси, не учитываемого на смежной стороне, принимают в два раза меньше его фактического размера. 2 На любой стороне детали длиной 200 мм сумма размеров всех сучков не должна превышать максимально допускаемого размера сучка. Не должно быть более двух учитываемых пороков, сучков, трещин, односторонних смоляных кармашков, пробок и планок в нормах их ограничения, указанных в настоящей таблице. 3 В деталях не допускаются сшивные, продолговатые, ребровые и разветвленные сучки, имеющие учитываемые размеры поперечных сечений. |
(рекомендуемое)
ПРИМЕР ПАСПОРТА ДВЕРНОГО БЛОКА
| | ИС МЕГАНОРМ: примечание. Обозначения пунктов в форме даны в соответствии с официальным текстом документа. | |
__________________________________________________________ (Наименование предприятия-изготовителя) __________________________________________________________ (Адрес, телефон, факс предприятия-изготовителя) |
Паспорт (документ о качестве) дверного блока, ГОСТ 475-2016 |
а) вид дверного блока - внутренний входной с опускающимся (гильотинным) порогом; |
в) конструкция коробки - металлическая; |
г) вид открывания и число полотен - левое, однопольный; |
д) габаритные размеры: высота 2100 мм, ширина 900 мм; |
е) тип отделочного покрытия - лакокрасочное покрытие |
Условное обозначение |
Сертификат соответствия _________________________ N |
Комплектность |
В комплект поставки дверного блока входят: фалевая ручка замка (2 шт.), дверной глазок, доводчик (устройство закрывания двери), ограничитель угла открывания, руководство по эксплуатации, инструкция по монтажу |
Основные технические характеристики, подтвержденные испытаниями: Приведенное сопротивление теплопередаче - 0,62 м2·°C/Вт. Воздухопроницаемость при  . Звукоизоляция - 32 дБ. Безотказность, циклы открывания и закрывания - 100 000. |
Гарантийный срок - 5 лет. Номер партии - +++. Номер заказа/позиция в заказе - ++. |
Приемщик ОТК _________ Дата изготовления "___" _________ 20__ г. (Подпись) |
(обязательное)
МЕТОД ОПРЕДЕЛЕНИЯ СТОЙКОСТИ К УДАРНОЙ НАГРУЗКЕ
ОСТЕКЛЕННЫХ ДВЕРНЫХ ПОЛОТЕН
Д.1 Для испытания отбирают три образца одного типа остекленных дверных полотен.
Д.2 Дверное полотно закрепляют в горизонтальном положении в опорном устройстве.
Д.3 Опорное устройство включает в себя жесткую раму для фиксации образца и приемник для ударного тела и осколков стекла испытуемого образца.
Опорное устройство должно:
- быть надежно жестким;
- иметь прочное соединение с основанием;
- быть укомплектовано плоскими и параллельными зажимами для крепления образца в горизонтальном положении.
Д.4 Ударное твердое тело должно быть в форме шара диаметром (100 +/- 0,2) мм и массой (4,11 +/- 0,06) кг. Шар должен быть изготовлен из полированной стали с твердостью по Роквеллу от 60 до 65 HRC по шкале C.
Д.5 Оборудование для проведения удара должно обеспечивать высоту падения ударного тела, равную (500 +/- 50) мм.
Механизм пуска не должен придавать ударному телу дополнительный импульс или вращение, а ускорение вертикального падения ударного тела должно происходить только за счет гравитационных сил.
Д.6 Для определения стойкости к воздействию удару остекленных полотен ударное тело (шар) опускают на каждый образец три раза с одной и той же высоты так, чтобы вокруг геометрического центра остекленного участка образца образовался рисунок равностороннего треугольника со стороной (130 +/- 20) мм. Одна сторона треугольника должна быть параллельна короткой стороне образца. Первый удар шара направляют в угол треугольника, который находится напротив данной стороны рисунка треугольника.
Частицы стекла образца, образовавшиеся после каждого удара, должны быть удалены.
Д.7 После каждого удара испытуемый образец проверяют на проникновение ударного тела. Образец считают пробитым, если ударное тело в течение 5 с после удара полностью проникает через образец.
Д.8 Испытание признают успешным, если все образцы окажутся не пробитыми.
Д.9 Протокол испытаний должен содержать следующую информацию:
- наименование испытательной лаборатории;
- номер протокола испытаний;
- дата испытания;
- ссылка на настоящий стандарт;
- обозначение (торговое наименование или обозначение типа) остекленного дверного полотна;
- наименование предприятия или органа, предоставившего образцы для испытания;
- описание изделия;
- результаты испытания и описание характера разрушения образца.
(обязательное)
МЕТОД ОПРЕДЕЛЕНИЯ УСИЛИЯ ОТКРЫВАНИЯ И ЗАКРЫВАНИЯ
ПОЛОТЕН ДВЕРНОГО БЛОКА
Е.1 Сущность метода заключается в измерении минимального усилия, необходимого для размыкания защелки запирающего устройства, начала открывания и завершения закрывания дверного полотна путем приведения защелки в фиксируемое положение или защелкивания предохранительного устройства.
Е.2 Испытательное оборудование должно включать:
- опорную раму, в которую устанавливают испытуемый образец с помощью фиксирующих систем и устройств, поставляемых или установленных производителем; конструкция и жесткость опорной рамы не должны оказывать влияния на результат испытаний;
- грузы и блоки (см. примеры на
рисунках Е.1,
Е.2) или силовой привод, отличный от пружинного механизма, с помощью которого обеспечивается возможность равномерного приложения необходимого усилия, исключая возможность толчков, с интервалом не более 1,0 Н;
- соответствующие измерительное и регистрирующее устройства, обеспечивающие измерение с точностью до +/- 5%.
R - жесткая опорная рама; F - дверная коробка; D - полотно
двери; H - ручка; C - шнур; P - блок; W - подвес
для груза и груз
Рисунок Е.1 - Схема испытания полотна
распашного дверного блока
R - жесткая опорная рама; F - дверная коробка; D - полотно
двери; H - ручка; C - шнур; P - блок; W - подвес
для груза и груз
Рисунок Е.2 - Схема испытания полотна раздвижного
или складного дверного блока
Е.3 Соединение между измерительным устройством и испытуемым образцом должно быть таким, чтобы исключить возможность повреждения испытуемого образца и воздействие на его характеристики.
Е.4 Способ фиксации испытуемого образца должен соответствовать правилам эксплуатации двери, без кручения или изгибов, которые могут оказать влияние на результаты испытания. Поставляют испытуемый образец полной заводской готовности.
Е.5 Перед испытанием образец необходимо выдержать в условиях проведения испытания до достижения им температуры окружающей среды.
Испытание проводят при температуре от 10 до 30 °C и относительной влажности от 25 до 75%.
Е.6 К испытаниям приступают после пятикратного приведения в действие всех полотен испытуемого образца вручную.
Е.7 Для определения усилия закрывания прикрепляют шнур к ручке. Шнур пропускают через блок и прикрепляют другой конец к грузу. Груз должен свободно свисать при закрытом положении подвижных частей испытуемого образца (см.
рисунки Е.1,
Е.2).
Полотно распашного дверного блока открывают на расстояние, при котором происходит подъем груза на 200 мм. Полотно раздвижного или складного дверного блока открывают на расстояние 100 мм без учета расстояния, необходимого для защелкивания индивидуального замкового устройства, при котором происходит подъем груза. Освобождают полотно из данного положения и определяют минимальное усилие, необходимое для защелкивания защелки или индивидуального замкового устройства.
Испытание проводят три раза. За окончательный результат принимают среднее значение полученных результатов.
Е.8 При определении усилия открывания полотна присоединяют силовой привод или систему блока с грузом к испытуемому образцу и измеряют усилие, необходимое для начала движения. Испытание проводят три раза, за окончательный результат принимают среднее значение полученных результатов.
Е.9 Протокол испытания должен содержать следующую информацию:
а) ссылка на настоящий стандарт;
б) наименование испытательной лаборатории;
в) наименование заказчика испытания;
г) данные, необходимые для полного описания испытуемого образца и его установки в испытательное устройство;
д) чертеж испытуемого образца с указанными размерами;
е) результаты испытания (указывают средний результат для каждого усилия);
ж) обозначение изделия, установленное производителем;
и) результаты осмотра состояния испытанного образца;
к) дата испытания;
л) дата составления протокола.