Главная // Актуальные документы // ГОСТ (Государственный стандарт)СПРАВКА
Источник публикации
М.: Стандартинформ, 2014
Примечание к документу
Документ утратил силу с 01.08.2024 в связи с изданием
Приказа Росстандарта от 28.12.2023 N 1702-ст. Взамен введен в действие
ГОСТ 30777-2023.
Документ
введен в действие с 01.01.2014.
Название документа
"ГОСТ 30777-2012. Межгосударственный стандарт. Устройства поворотные, откидные, поворотно-откидные, раздвижные для оконных и балконных дверных блоков. Технические условия"
(введен в действие Приказом Росстандарта от 27.12.2012 N 1980-ст)
"ГОСТ 30777-2012. Межгосударственный стандарт. Устройства поворотные, откидные, поворотно-откидные, раздвижные для оконных и балконных дверных блоков. Технические условия"
(введен в действие Приказом Росстандарта от 27.12.2012 N 1980-ст)
агентства по техническому
регулированию и метрологии
от 27 декабря 2012 г. N 1980-ст
МЕЖГОСУДАРСТВЕННЫЙ СТАНДАРТ
УСТРОЙСТВА ПОВОРОТНЫЕ, ОТКИДНЫЕ, ПОВОРОТНО-ОТКИДНЫЕ,
РАЗДВИЖНЫЕ ДЛЯ ОКОННЫХ И БАЛКОННЫХ ДВЕРНЫХ БЛОКОВ
ТЕХНИЧЕСКИЕ УСЛОВИЯ
Turning, reclining, turning-reclining, sliding hardware
for windows and balcony doors. Specifications
(EN 13126.1:2006, NEQ)
(EN 13126.7:2006, NEQ)
(EN 13126.8:2006, NEQ)
(EN 13126.15:2006, NEQ)
(EN 13126.16:2006, NEQ)
(EN 13126.17:2006, NEQ)
ГОСТ 30777-2012
Дата введения
1 января 2014 года
Цели, основные принципы и основной порядок проведения работ по межгосударственной стандартизации установлены
ГОСТ 1.0-92 "Межгосударственная система стандартизации. Основные положения" и
ГОСТ 1.2-2009 "Межгосударственная система стандартизации. Стандарты межгосударственные, правила и рекомендации по межгосударственной стандартизации. Правила разработки, принятия, применения, обновления и отмены".
1. Разработан Учреждением - Центр по сертификации оконной и дверной техники, Ассоциацией продавцов и производителей оконной и дверной фурнитуры.
2. Внесен Техническим комитетом по стандартизации ТК 465 "Строительство".
3. Принят Межгосударственной научно-технической комиссией по стандартизации, техническому нормированию и оценке соответствия в строительстве (МНТКС) (приложение Е к Протоколу от 18 декабря 2012 г. N 41).
За принятие проголосовали:
Краткое наименование страны по МК (ИСО 3166) 004-97 | Код страны по МК (ИСО 3166) 004-97 | Сокращенное наименование национального органа государственного управления строительством |
Армения | AM | Министерство градостроительства |
Киргизия | KG | Госстрой |
Молдова | MD | Министерство строительства и регионального развития |
Россия | RU | Министерство регионального развития |
Таджикистан | TJ | Агентство по строительству и архитектуре при Правительстве |
Узбекистан | UZ | Госархитектстрой |
4. В настоящем стандарте частично учтены основные нормативные положения в части технических требований и методов испытаний следующих европейских региональных стандартов:
EN 13126.1:2006. Building hardware - Hardware for windows and door height windows - Requirements and test methods - Part 1: Requirements common to all types of hardware (Строительная фурнитура. Требования и методы испытаний оконной фурнитуры и фурнитуры для балконных дверей. Часть 1. Общие требования для всех видов фурнитуры);
EN 13126.7:2006. Building hardware - Requirements and test methods for windows and door height windows - Part 7: Finger catches (Скобяные изделия строительные металлические. Оконная фурнитура и фурнитура для дверей с высокими окнами. Требования и методы испытаний. Часть 7. Пальчиковые защелки);
EN 13126.8:2006. Building hardware - Requirements and test methods for windows and doors height windows - Part 8: Tilt and Turn, Tilt-First and Turn-Only hardware (Скобяные изделия строительные металлические. Требования и методы испытаний оконной фурнитуры и фурнитуры для дверей с высокими окнами. Часть 8. Фурнитура откидная и поворотная, сначала откидная и только поворотная);
EN 13126.15:2006. Building hardware - Requirements and test methods for windows and doors height windows - Part 15: Rollers for horisontal siding and siding folding windows and doors (Скобяные строительные изделия. Фитинги для окон и застекленных дверей. Требования и методы испытаний. Часть 15. Ролики для горизонтальных задвижек и скользящих складывающихся окон и дверей);
EN 13126.16:2006. Building hardware - Requirements and test methods for windows and doors height windows - Part 16: Hardware for Lift and Side windows and doors (Скобяные изделия. Требования и методы испытаний фурнитуры дверей. Часть 16: Скобяные изделия для подъемных и скользящих окон и дверей);
EN 13126.17:2006. Building hardware - Requirements and test methods for windows and doors height windows - Part 17: Hardware for Tilt and Slide windows and doors (Скобяные строительные изделия. Фитинги для окон и застекленных дверей. Требования и методы испытаний. Часть 17. Скобяные изделия для навесных и скользящих окон и дверей).
Перевод с английского языка (en).
Степень соответствия - неэквивалентная (NEQ).
5.
Приказом Федерального агентства по техническому регулированию и метрологии от 27 декабря 2012 г. N 1980-ст межгосударственный стандарт ГОСТ 30777-2012 введен в действие в качестве национального стандарта Российской Федерации с 1 января 2014 г.
Информация об изменениях к настоящему стандарту публикуется в ежегодном информационном указателе "Национальные стандарты", а текст изменений и поправок - в ежемесячном информационном указателе "Национальные стандарты". В случае пересмотра (замены) или отмены настоящего стандарта соответствующее уведомление будет опубликовано в ежемесячном информационном указателе "Национальные стандарты". Соответствующая информация, уведомление и тексты размещаются также в информационной системе общего пользования - на официальном сайте Федерального агентства по техническому регулированию и метрологии в сети Интернет.
Настоящий стандарт распространяется на поворотные, откидные, поворотно-откидные, раздвижные, параллельно-выдвижные, сдвижные устройства (далее - устройства) для оконных и балконных дверных блоков, применяемых в жилых и общественных зданиях.
Устройства могут применяться в различных климатических зонах в соответствии с нормами строительной климатологии.
Настоящий стандарт может быть применен для сертификации изделий.
Настоящий стандарт не распространяется на изделия, устанавливаемые на оконные и балконные дверные блоки специального назначения (взломоустойчивые, противопожарные и др.).
Примечание. Требования к взломоустойчивым изделиям приведены в
ГОСТ 31462.
В настоящем стандарте использованы нормативные ссылки на следующие межгосударственные стандарты:
ГОСТ 9.032-74. Единая система защиты от коррозии и старения. Покрытия лакокрасочные. Группы, технические требования и обозначения
ГОСТ 9.104-79. Единая система защиты от коррозии и старения. Покрытия лакокрасочные. Группы условий эксплуатации
ГОСТ 9.301-86. Единая система защиты от коррозии и старения. Покрытия металлические и неметаллические неорганические. Общие требования
ГОСТ 9.303-84. Единая система защиты от коррозии и старения. Покрытия металлические и неметаллические неорганические. Общие требования к выбору
ГОСТ 9.308-85. Единая система защиты от коррозии и старения. Покрытия металлические и неметаллические неорганические. Методы ускоренных коррозионных испытаний
ГОСТ 9.401-91. Единая система защиты от коррозии и старения. Покрытия лакокрасочные. Общие требования и методы ускоренных испытаний на стойкость к воздействию климатических факторов
ГОСТ 9.402-2004. Единая система защиты от коррозии и старения. Покрытия лакокрасочные. Подготовка металлических поверхностей к окрашиванию
ГОСТ 538-2001. Изделия замочные и скобяные. Общие технические условия
ГОСТ 1050-88. Прокат сортовой, калиброванный, со специальной отделкой поверхности из углеродистой качественной конструкционной стали. Общие технические условия
ГОСТ 1583-93. Сплавы алюминиевые литейные. Технические условия
ГОСТ 5088-2005. Петли для оконных и дверных блоков. Технические условия
ГОСТ 5949-75. Сталь сортовая и калиброванная коррозионно-стойкая, жаростойкая и жаропрочная. Технические условия
ГОСТ 15140-78. Материалы лакокрасочные. Методы определения адгезии
ГОСТ 15150-69. Машины, приборы и другие технические изделия. Исполнения для различных климатических районов. Категории, условия эксплуатации, хранения и транспортирования в части воздействия климатических факторов внешней среды
ГОСТ 19424-74. Сплавы цинковые литейные в чушках. Технические условия
ГОСТ 19459-87. Сополимеры полиамида литьевые. Технические условия
ГОСТ 26602.2-99. Блоки оконные и дверные. Методы определения воздухо- и водопроницаемости
Примечание. При пользовании настоящим стандартом целесообразно проверить действие ссылочных стандартов на территории государства по соответствующему указателю стандартов, составленному по состоянию на 1 января текущего года, и по соответствующим информационным указателям, опубликованным в текущем году. Если ссылочный стандарт заменен (изменен), то при пользовании настоящим стандартом следует руководствоваться заменяющим (измененным) стандартом. Если ссылочный стандарт отменен без замены, то положение, в котором дана ссылка на него, применяется в части, не затрагивающей эту ссылку.
В настоящем стандарте использованы следующие термины с соответствующими определениями:
3.1. Устройство поворотное: устройство, обеспечивающее открывание и закрывание створки оконного блока (полотна балконного дверного блока) относительно вертикальной оси, а также ее (его) фиксацию в закрытом положении.
3.2. Устройство откидное: устройство, обеспечивающее откидывание в ограниченное ножницами положение (открывание) и закрывание створки (полотна) относительно нижней горизонтальной оси, а также ее (его) фиксацию в закрытом положении.
3.3. Устройство поворотно-откидное: устройство, обеспечивающее открывание и закрывание створки (полотна) относительно вертикальной оси и откидывание относительно нижней горизонтальной оси, а также ее (его) фиксацию в закрытом положении.
3.4. Устройство сдвижное: устройство, обеспечивающее перемещение створки (полотна) в горизонтальном направлении.
3.5. Устройство сдвижное (раздвижное) складывающееся: устройство, обеспечивающее перемещение створки (полотна) в горизонтальном направлении с последующим складыванием створки (полотна) по принципу "гармошки".
3.6. Устройство параллельно-сдвижное (с откидыванием и без него): устройство, обеспечивающее выдвижение створки из плоскости окна на определенное расстояние с последующим перемещением в горизонтальном направлении и фиксацией створки в закрытом положении.
3.7. Устройство подъемно-сдвижное (с откидыванием и без него): устройство, обеспечивающее подъем створки (полотна) на ролики с последующим перемещением в горизонтальном направлении и фиксацией створки (полотна) в закрытом положении.
3.8. Устройство фрамужное: устройство, обеспечивающее откидывание или открывание створки в недоступном для руки месте в ограниченное ножницами (фрамужным механизмом) положение относительно горизонтального импоста и фиксацию в открытом и закрытом положениях.
3.9. Устройство поворотно-откидное (откидное, поворотное) с функцией регулируемого проветривания: устройство, позволяющее дополнительно устанавливать и фиксировать створку (полотно) на различные углы для обеспечения различных режимов проветривания помещения.
3.10. Устройство откидное для оконных и балконных дверных блоков, открывающихся наружу: устройство, обеспечивающее открывание створки (полотна) в ограниченное ножницами положение и закрывание створки относительно верхней горизонтальной оси и фиксацию ее в открытом и закрытом положениях.
3.11. Устройство поворотно-откидное (откидное, поворотное) с функцией щелевого проветривания: устройство, позволяющее устанавливать и фиксировать створку (полотно) в положении щелевого проветривания (свободный зазор под наплавом - не более 10 мм), но не обеспечивающее регулирование угла открывания.
3.12. Цапфа (зацеп): подвижный элемент устройства, входящий в запорную планку при закрывании створки (полотна) и обеспечивающий прилегание створки (полотна) к раме и ее (его) фиксацию.
3.13. Планка запорно-откидная: планка, устанавливаемая на раме и работающая совместно с цапфой (зацепом) створки (полотна), и служащая в качестве нижней опоры для окна, открытого в режиме откидывания.
3.14. Планка запорная: планка, устанавливаемая на раме и предназначенная для надежной фиксации цапфы (зацепа) в закрытом положении створки (полотна).
3.15. Ножницы: механизм подвижной связи устройства, обеспечивающий откидывание створки на определенный угол и ее фиксацию в заданном положении, а также закрепление створки в открытом положении в верхней или боковой точке на раме.
3.16. Ролик: единичное колесо в роллере (каретке).
3.17. Привод: элемент, с помощью которого вращательное движение ручки преобразуется в возвратно-поступательное движение, передающееся на другие элементы изделия.
3.18. Передачи угловые: группа механизмов, передающих возвратно-поступательное движение через угол створки оконного блока.
3.19. Удлинители угловые (средний запор): элементы устройства, осуществляющие передачу движения для обеспечения прижима створки по петлевой или горизонтальной стороне.
3.20. Роллер (каретка): сборка из одного или нескольких роликов в один корпус, который поддерживает горизонтальные скользящие окна или сдвижные складывающиеся окна и застекленные двери.
3.21. Блокиратор ошибочного действия: устройство (механизм), предотвращающее одновременное открывание и откидывание створки, позволяющее правильно и последовательно менять способы открывания оконных блоков.
3.22. Комплект базовый: группа деталей, устанавливаемых на оконный или дверной балконный блок и образующих единый механизм, обеспечивающий выполнение основных функций.
3.23. Цикл испытания поворотного устройства: последовательность операций, включающих в себя перемещение ручки из положения "Закрыто" в положение "Открыто", открытие створки на угол не менее 60°, возвращение створки в исходное положение, перемещение ручки из положения "Открыто" в положение "Закрыто".
3.24. Цикл испытания откидного и фрамужного устройств: последовательность операций, включающих в себя перемещение ручки из положения "Закрыто" в положение "Открыто", откидывание створки на угол не менее 10°, возвращение створки в исходное положение, перемещение ручки из положения "Открыто" в положение "Закрыто".
3.25. Полный цикл испытания поворотно-откидного устройства: цикл, включающий в себя испытание поворотного устройства и испытание откидного устройства.
3.26. Цикл испытания сдвижного устройства: перемещение одной створки относительно другой до упора или перемещение створки относительно неподвижной (глухой части окна) до упора и возвращение в исходное (закрытое) положение.
3.27. Цикл испытания сдвижного (раздвижного) складывающегося устройства: перемещение створки в горизонтальном направлении в соответствии с заданной длиной рельсы (направляющей) с горизонтальным складыванием створок в исходное закрытое положение.
3.28. Цикл испытания параллельно-сдвижного устройства: последовательность действий (операций), включающих в себя выдвижение створки (полотна) из плоскости окна на определенное расстояние, перемещение створки параллельно вдоль плоскости окна до упора и возвращение в исходное (закрытое) положение.
3.29. Цикл испытания откидного устройства для окон, открывающихся наружу: последовательность операций, включающих в себя перемещение ручки из положения "Закрыто" в положение "Открыто", откидывание створки на угол не более 20°, возвращение створки в исходное положение, перемещение ручки из положения "Открыто" в положение "Закрыто".
4. Классификация, типы и условные обозначения
4.1. В зависимости от способа открывания устройства подразделяют на:
- поворотные - УП;
- откидные - УО;
- поворотно-откидные - УПО;
- сдвижные - УС;
- сдвижные (раздвижные) складывающиеся - УРСС;
- параллельно-сдвижные - УПС;
- подъемно-сдвижные - УПДС;
- фрамужные - УФ.
Схемы способов открывания устройств приведены в
Приложении А.
4.2. Устройства предназначены для оконных и дверных балконных блоков из следующих материалов:
- поливинилхлоридных профилей - ПВХ;
- деревянных - Д;
- алюмодеревянных - АД;
- алюминиевых профилей (сплавов) - А;
- стальных - Ст;
- стеклопластиковых - СП;
- деревоалюминиевых - ДА;
- деревополивинилхлоридных - ДП.
Примеры поворотных и поворотно-откидных устройств и их основные узлы и детали приведены в
Приложении Б.
4.3. В зависимости от массы открываемых створок (полотен) устройства подразделяют на классы, приведенные в таблице 1.
Таблица 1
Классы устройств в зависимости от массы створок
Масса створки (полотна), кг | Класс |
До 50 включ. | I |
От 51 до 80 " | II |
" 81 " 130 " | III |
" 131 " 200 " | IV |
Примечание. При определении классов устройств следует учитывать максимально возможные размеры створок (полотен) оконного (дверного балконного) блока. Для этой цели применяют диаграммы зависимости между допустимыми размерами (высота, ширина) и массой створок (полотен) со стеклопакетом (стеклом). Размеры (высота и ширина) и максимально допустимая масса створки (полотна) со стеклопакетом (стеклом) не должны превышать значений, указанных на диаграммах. |
4.4. Устройства по конструкции узла открывания (откидывания) подразделяют на устройства:
- без узла регулирования на заданный угол открывания (откидывания) - БР;
- со встроенным узлом регулирования на заданный угол открывания (откидывания) - Р;
- без узла регулирования на заданный угол открывания, но имеющие устройство для щелевого проветривания, - Щ.
4.5. В зависимости от направления открывания створки (полотна) оконного (балконного дверного) блока устройства могут быть левого (Л) или правого (П) исполнения. Устройствам (отдельным элементам устройств) универсального применения обозначение не присваивают.
4.6. Условное обозначение изделий должно включать в себя:
- обозначение способа открывания по
4.1;
- обозначение материала, из которого изготовляют оконные и балконные дверные блоки, по
4.2;
- исполнение изделия по
4.5;
- обозначение устройства регулирования на заданный угол открывания (откидывания) по
4.4;
- максимальные габариты открывающейся створки (полотна) (высота, ширина) в миллиметрах - по конструкторской документации;
- обозначение настоящего стандарта.
Пример условного обозначения поворотно-откидного устройства для оконного блока из поливинилхлоридного профиля, левого исполнения, с устройством регулирования угла открывания, для створки массой 80 кг, размерами 1300 x 1200 мм:
УПО-ПВХ-Л-Р-II-80-1300-1200 ГОСТ 30777.
Условные обозначения изделий, выпускаемых по индивидуальным заказам, допускается устанавливать в нормативных документах (НД) на устройства конкретного вида.
5. Технические требования
5.1. Общие требования
5.1.1. Изделия должны соответствовать требованиям настоящего стандарта,
ГОСТ 538 и изготовляться по конструкторской и технологической документации предприятия-изготовителя.
В состав поворотных (см.
рисунок А.1 Приложения А) и откидных (см.
рисунок А.2 Приложения А) устройств должны входить соответствующие узлы поворотно-откидных устройств.
5.1.2. Откидное устройство (см.
3.10) для оконных блоков из алюминиевого профиля, открывающихся наружу, состоит из основного механизма (привода) и фрикционных (стопорных) ножниц. Откидное устройство применяют в вертикально установленных оконных блоках, в жилых зданиях - преимущественно для окон, выходящих на балконы и лоджии. При использовании в светопрозрачных ограждающих конструкциях для обеспечения безопасности угол открывания откидного устройства ограничивается ножницами и должен быть не более 20°; используется только для проветривания помещения.
5.1.3. Поворотно-откидное устройство (см.
3.3) (см.
рисунок А.3 Приложения А) состоит из базового комплекта, включающего в себя:
- основной механизм, привод;
- угловые передачи;
- ножницы;
- блокиратор ошибочного действия;
- верхнюю и нижнюю петлевые группы (для закрепления створки на раме в верхней и нижней точках);
- запорную откидную планку;
- запорную ответную планку.
5.1.4. Сдвижное устройство (см.
3.4) состоит из основного базового комплекта, включающего в себя элементы, необходимые для выполнения функции сдвигания и, если необходимо, складывания створок (полотен), роликов, расположенных снизу и сверху, раздвижных створок и направляющих. Возможны комбинации с несдвигающимися (глухими) створками. Сдвижное устройство применяют в вертикально установленных оконных и балконных дверных блоках, а также для остекления балконов и лоджий (см.
рисунок А.5.3 Приложения А).
5.1.5. Сдвижное (раздвижное) складывающееся устройство (см.
3.5) состоит из базового комплекта, включающего в себя элементы для выполнения функций раздвижения и складывания створок (полотен) по принципу "гармошки", направляющих, роликов, специальных петель. С помощью откидного или поворотно-откидного устройства створки (полотна) устанавливают в положение проветривания. Складывание створок (полотен) может происходить относительно края створок (см.
рисунок А.5.1 Приложения А) или относительно центра створок (см.
рисунок А.5.2 Приложения А). Сдвижное (раздвижное) складывающееся устройство применяют в вертикально установленных оконных и дверных балконных блоках, для выходов на террасы или зимние сады, а также для комплектации перегородок внутри помещений.
5.1.6. Параллельно-сдвижное устройство (см.
3.6) состоит из базового комплекта, включающего в себя механизм параллельных выдвижения и сдвига створки (полотна). Дополнительно могут предусматриваться ножницы для откидывания створки (полотна), а также замки, запирающие сдвижную створку (полотно). Параллельно-сдвижное устройство применяют в вертикально установленных оконных и балконных дверных блоках, а также в светопрозрачных фасадных конструкциях для обеспечения проветривания. Могут комбинироваться с неоткрывающимися створками (полотнами).
5.1.7. Подъемно-сдвижное устройство (см.
3.7) состоит из механизмов, обеспечивающих подъем створки (полотна) и сдвига ее (его) в сторону по направляющим шинам. Дополнительно могут предусматриваться ножницы для откидывания створки (полотна) и замки, запирающие сдвижную створку (полотно). Подъемно-сдвижное устройство применяют в вертикально установленных оконных и балконных дверных блоках, а также в светопрозрачных фасадных конструкциях. Могут комбинироваться с неоткрывающимися створками.
5.1.8. Фрамужное устройство (см.
3.8 и
рисунок Б.13 Приложения Б) состоит из основного (базового) комплекта, включающего в себя элементы, необходимые для внутреннего откидывания нижнеопорной или внешнего откидывания верхнеподвесной створки в недоступном для руки месте, дополнительных ножниц, тяг различной длины, управляющих механизмов. Возможны варианты управления: одной ручкой несколькими створками, гибкими тягами, карданным приводом или электроприводом, в том числе с дистанционным управлением. Фрамужные устройства применяют в общественных зданиях: школах, медицинских учреждениях, учреждениях общественного питания и т.п. (см.
рисунок Б.13 Приложения Б).
5.1.9. Исполнение, категории, условия эксплуатации, хранения и транспортирования изделий в части воздействия климатических факторов должны соответствовать требованиям
ГОСТ 15150.
5.1.10. Требования к внешнему виду устройств - по
ГОСТ 538.
5.2. Размеры и предельные отклонения
5.2.1. Размеры устройств устанавливают в рабочих чертежах. Предельные отклонения сопрягаемых и несопрягаемых размеров - по
ГОСТ 538.
5.2.2. Контролируемые размеры деталей устройств устанавливают в технологической документации.
5.2.3. Для обеспечения плотного и равномерного прилегания створки (полотна) по
5.3.11 число точек запирания и расстояние между ними по периметру створки (полотна) устанавливают в зависимости от размеров створок (полотен), материала для изготовления оконных блоков и климатических условий эксплуатации, при этом расстояние от углов должно быть не более 300 мм при ширине створки 700 мм и более.
Примечание. При ширине створки (полотна) менее 700 мм число точек запирания и их расположение устанавливают в соответствии с рекомендациями производителя устройств.
5.2.4. Цапфы (зацепы) при фиксировании створки (полотна) в закрытом положении должны заходить в запорные (ответные) планки по высоте не менее чем на половину высоты цапфы (зацепа), а в направлении перемещения - не менее чем на полную ширину (диаметр) зацепа. Ригели шпингалетов должны заходить в запорные планки не менее чем на 8 мм по высоте.
5.3. Требования к конструкции
5.3.1. Конструкция цапф (зацепов) и запорных планок должна обеспечивать возможность регулировки прижима створки (полотна) к раме.
5.3.2. Подвижные детали устройств должны перемещаться без заеданий.
5.3.3. Конструкция разъемных соединений устройств должна исключать возможность их самопроизвольного разъединения после установки на оконный и дверной балконный блоки.
5.3.4. Конструкция устройств должна обеспечивать возможность их замены и регулировки в процессе эксплуатации.
5.3.5. Конструкция устройств должна обеспечивать надежную фиксацию створки (полотна) в режиме проветривания (открывание, откидывание на угол не более 10° - рекомендуемое значение), если это предусмотрено конструкцией. Конструкция откидного устройства должна предусматривать режим откидывания створки на угол не более 120° и ее фиксацию в этом положении для обеспечения свободного доступа из помещения к наружной стороне створки (в том числе для мытья стекол).
5.3.6. Конструкция ручки для поворотных, откидных, поворотно-откидных, сдвижных, параллельно-сдвижных устройств должна обеспечивать фиксацию ручки в положениях "Открыто", "Откинуто", "Закрыто", а также в положениях для проветривания.
5.3.7. Подвижный элемент угловой передачи должен состоять не менее чем из двух гибких пластин. Допускаются другие конструкции элемента, при этом его использование допускается только после испытаний на надежность и прочность.
5.3.8. Рекомендуется применение конструкций петель, обеспечивающих регулировку положения створки (полотна) по отношению к коробке (раме) в двух или трех плоскостях.
5.3.9. Конструкция поворотно-откидного устройства должна исключать возможность одновременного открывания и откидывания створки (полотна), обеспечиваемого блокиратором ошибочного действия.
5.3.10. Конструкция устройств должна обеспечивать надежное крепление деталей и узлов к створкам (полотнам) и коробкам в соответствии с рекомендациями производителя устройств.
5.3.11. Для обеспечения воздухо- и водопроницаемости оконных и балконных дверных блоков в соответствии с
ГОСТ 23166 конструкция поворотных, откидных и поворотно-откидных устройств должна обеспечивать плотность и равномерность прилегания створки (полотна) к раме в течение всего срока эксплуатации, исходя из рекомендаций производителей профильных систем, применения определенного вида уплотнителя и соблюдения значения зазора под уплотнениями.
5.3.12. Створки (полотна) оконных и балконных дверных блоков не должны произвольно и бесконтрольно открываться и закрываться под воздействием ветра.
Примечание. Во время сильного потока воздуха и атмосферных осадков створки (полотна) оконных и балконных дверных блоков должны быть закрыты и заблокированы. В случае если створки (полотна) во время сильного ветра и дождя находятся в открытом или откинутом состоянии, производитель устройств не несет ответственность за их неисправность.
5.4. Требования к надежности и сопротивлению нагрузкам
5.4.1. При испытании на безотказность (надежность) поворотно-откидные устройства должны выдерживать не менее (20000 + 1%) полных циклов (см.
3.25), поворотные устройства - (25000 + 1%) циклов; откидные и фрамужные устройства - (25000 + 1%) циклов; сдвижные (раздвижные) складывающиеся устройства - (25000 + 1%) циклов.
При испытаниях на безотказность сдвижных (раздвижных) складывающихся устройств проверяют износостойкость роликов и деформацию конструкции. Износостойкость роликов определяют по диаметру каждого ролика до и после испытаний. Диаметр каждого ролика после испытаний не должен отличаться от первоначального более чем на 5%.
Деформацию конструкции определяют как изменение расстояния между основанием стенда (местом закрепления рельсы) и корпусом роллера (см.
рисунок Е.1). Изменение расстояния не должно быть более 2 мм. После испытаний изделия должны сохранять работоспособность.
5.4.2. Устройства должны выдерживать статическую нагрузку P = 500 Н, прикладываемую поочередно к каждой точке запирания и петлям закрытой створки (полотна) перпендикулярно к плоскости створки в сторону ее (его) открывания в течение не менее 5 мин.
5.4.3. Поворотные и поворотно-откидные устройства должны выдерживать статическую нагрузку P = 1000 Н, приложенную к плоскости створки (полотна), открытой (повернутой) на угол 90°, в течение не менее 5 мин.
5.4.4. Откидные, поворотно-откидные и фрамужные устройства должны выдерживать статическую нагрузку P = 500 Н, приложенную вертикально вниз, к центру верхнего края створки (полотна), откинутой на максимальный угол, в течение не менее 5 мин.
5.4.5. Сдвижные (раздвижные) складывающиеся устройства должны выдерживать статическую нагрузку P = 1000 Н, приложенную вдоль плоскости, повернутой на 90° к створке, в течение не менее 5 мин (см.
рисунок Е.2 Приложения Е).
5.4.6. Сдвижные (раздвижные) складывающиеся устройства должны выдерживать статическую нагрузку P = 1000 Н, приложенную вдоль плоскости сложенной створки (полотна), в течение 5 мин (см.
рисунок Е.3 Приложения Е).
5.4.7. Устройства должны выдерживать крутящий момент

, приложенный к приводу в сторону закрывания в течение не менее 1 мин, при этом устройство должно находиться в положении "Закрыто".
5.4.8. Крепление зацепа должно быть прочным и выдерживать нагрузку P = 500 Н, приложенную к зацепу в течение не менее 1 мин (см.
рисунок Г.6 Приложения Г).
5.4.9. Петли поворотных и поворотно-откидных устройств должны выдерживать статические нагрузки в соответствии с требованиями, приведенными в
таблицах 2,
3, и согласно
рисункам Г.1,
Г.2 Приложения Г.
Примечание. Для поворотно-откидных устройств рекомендуется проводить испытания петель совместно с элементами ножниц.
Таблица 2
Статические нагрузки, прикладываемые
к верхней петле (ножницам)
Масса створки оконного блока размерами 1300 x 1200 мм, кг | Нагрузка, Н | Масса створки оконного блока размерами 1550 x 1400 мм, кг | Нагрузка, Н | Масса полотна балконного дверного блока размерами 900 x 2300 мм, кг | Нагрузка, Н |
До 60 включ. | 1650 | - | - | До 60 включ. | 600 |
" 70 " | 1900 | - | - | " 70 " | 700 |
" 80 " | 2200 | - | - | " 80 " | 800 |
" 90 " | 2450 | - | - | " 90 " | 900 |
" 100 " | 2700 | - | - | " 100 " | 1000 |
" 110 " | 3000 | - | - | " 110 " | 1100 |
" 120 " | 3250 | - | - | " 120 " | 1150 |
" 130 " | 3500 | - | - | " 130 " | 1250 |
- | - | До 140 включ. | 3900 | " 140 " | 1350 |
- | - | " 150 " | 4200 | " 150 " | 1450 |
- | - | " 160 " | 4400 | " 160 " | 1550 |
- | - | " 170 " | 4700 | " 170 " | 1650 |
- | - | " 180 " | 5000 | " 180 " | 1750 |
- | - | " 190 " | 5300 | " 190 " | 1850 |
- | - | " 200 " | 5500 | " 200 " | 1950 |
Таблица 3
Статические нагрузки, прикладываемые к нижней петле
Масса створки оконного блока размерами 1300 x 1200 мм, кг | Нагрузка, Н | Масса створки оконного блока размерами 1550 x 1400 мм, кг | Нагрузка, Н | Масса полотна балконного дверного блока размерами 900 x 2300 мм, кг | Нагрузка, Н |
До 60 включ. | 3400 | - | - | До 60 включ. | 3050 |
" 70 " | 4000 | - | - | " 70 " | 3550 |
" 80 " | 4550 | - | - | " 80 " | 4000 |
" 90 " | 5100 | - | - | " 90 " | 4550 |
" 100 " | 5700 | - | - | " 100 " | 5100 |
" 110 " | 6250 | - | - | " 110 " | 5600 |
" 120 " | 6800 | - | - | " 120 " | 6100 |
" 130 " | 7400 | - | - | " 130 " | 6600 |
- | - | До 140 включ. | 8000 | " 140 " | 8000 |
- | - | " 150 " | 8550 | " 150 " | 8550 |
- | - | " 160 " | 9150 | " 160 " | 9150 |
- | - | " 170 " | 9700 | " 170 " | 9700 |
- | - | " 180 " | 10300 | " 180 " | 10300 |
- | - | " 190 " | 10850 | " 190 " | 10850 |
- | - | " 200 " | 11450 | " 200 " | 11450 |
5.4.10. Петли крепят к створкам (полотнам) оконных блоков из поливинилхлоридных, алюминиевых и деревянных профилей шурупами, винтами, самонарезающими шурупами (винтами) с антикоррозионным покрытием. Петли из алюминиевых профилей крепят винтами, вворачиваемыми в специальные закладные элементы по ГОСТ 5088
(пункт 5.5.4).
5.4.11. Значения статических нагрузок, прикладываемых к роликам (роллерам) сдвижных и раздвижных устройств, приведены в
таблице 4. Нагрузку прикладывают к неподвижным створкам устройств в течение 240 ч при нормальной температуре окружающей среды. Диаметр роликов в заранее отмеченной точке соприкосновения с направляющей (рельсом) после снятия нагрузки не должен отличаться от первоначального диаметра роликов более чем на 0,5% (см.
рисунок Е.1 Приложения Е).
Таблица 4
Статические нагрузки, прикладываемые к роликам (роллерам)
сдвижных и раздвижных устройств
Масса створки сдвижного (раздвижного) блока (для одинарных роликовых опор), кг | Нагрузка, кН | Масса створки сдвижного (раздвижного) блока (для сдвоенных роликовых опор), кг | Нагрузка, кН (прикладывают равномерно на неподвижную створку в течение 240 ч) |
До 80 включ. | 0,8 | До 180 включ. | 1,8 |
5.4.12. Ручки базового комплекта поворотных и поворотно-откидных устройств должны выдерживать статическую нагрузку P = 500 Н, приложенную на расстоянии 100 мм от оси ручки перпендикулярно плоскости вращения ручки, в течение не менее 5 мин.
Крутящий момент для ручек поворотных и поворотно-откидных устройств должен быть не менее 10 Н·м. Крутящий момент для ручек сдвижных, раздвижных и параллельно-сдвижных устройств M, Н·м, рассчитывают по формуле
M = [(h - 20)·100], (1)
где h - общая длина ручки.
Полученное значение крутящего момента является максимальным для конкретного базового комплекта (см.
рисунок Д.1 Приложения Д). Расчетное значение должно быть подтверждено испытаниями.
5.4.13. Откидные, поворотно-откидные и фрамужные устройства должны выдерживать динамическую нагрузку от действия горизонтальной силы, приложенной в центре верхнего бруска (профиля) закрытой створки (ручка находится в положении "Откинуто"). Нагрузку создают свободно падающим грузом массой 10 кг (см.
рисунок Г.3 Приложения Г).
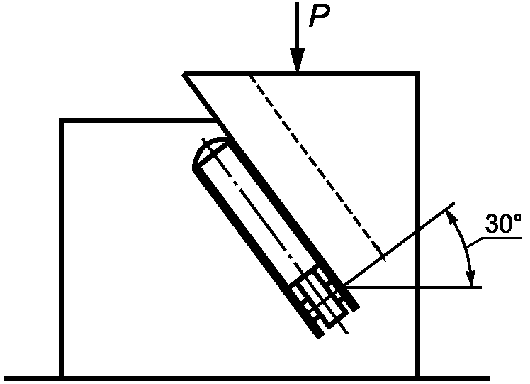
5.4.14. Поворотные и поворотно-откидные устройства должны выдерживать динамическую нагрузку, приложенную в месте расположения ручки и направленную в сторону закрывания створки. Нагрузку создают свободно падающим грузом массой 10 кг с высоты 200 мм (испытание с препятствием на фальце, см.
рисунок Г.4 Приложения Г).
5.4.15. Поворотные и поворотно-откидные устройства должны выдерживать динамическую нагрузку, приложенную в месте расположения ручки и направленную в сторону открывания створки. Нагрузку создают свободно падающим грузом массой 10 кг с высоты 450 мм (испытание устройства на откосе без ограничителя поворота, см.
рисунок Г.5 Приложения Г).
5.5. Эргономические показатели
5.5.1. Усилие, прикладываемое к ручке поворотного устройства для открывания и закрывания створки (полотна), не должно превышать 50 Н (75 Н - для балконного дверного блока).
Усилие, прикладываемое к ручке поворотно-откидного и фрамужного устройства, необходимое для открывания и закрывания створки (полотна), не должно превышать 100 Н.
5.5.2. Максимальный крутящий момент для поворотных, откидных и поворотно-откидных устройств, прикладываемый к ручке для перемещения тяг с запирающими элементами при запирании и отпирании окна, при изменении положения ручки из положения "Открыто" в положение "Закрыто" и наоборот не должен превышать 10 Н·м.
5.5.3. Максимальный крутящий момент для сдвижных (раздвижных) складывающихся и параллельно-сдвижных устройств, прикладываемый к ручке для перемещения тяг с запирающими элементами при запирании и отпирании окна (створки), при изменении положения ручки из положения "Открыто" в положение "Закрыто" и наоборот не должен превышать расчетного значения (см.
5.4.12).
5.6. Требования к материалам и комплектующим
5.6.1. Для изготовления деталей устройств должны применяться следующие материалы: алюминиевые сплавы по
ГОСТ 1583; цинковые сплавы по ГОСТ 19424,
ГОСТ 25140; латунь по
ГОСТ 17711; стали по
ГОСТ 5949,
ГОСТ 1050; литьевые сополимеры полиамида по ГОСТ 19459; полиэтилен низкого давления по
ГОСТ 16338.
Допускается использование других материалов по НД, утвержденным в установленном порядке, не уступающих указанным по механическим и антикоррозионным свойствам.
5.6.2. Детали устройств, изготовленные из не коррозионно-стойких материалов, должны иметь защитное, защитно-декоративное антикоррозионное покрытие в соответствии с
ГОСТ 538. Лицевые поверхности деталей устройств должны иметь защитно-декоративное металлическое, лакокрасочное или полимерное покрытие. Нелицевые поверхности могут иметь защитное покрытие.
5.6.3. Требования к поверхностям перед нанесением покрытий устанавливают в технической документации согласно требованиям
ГОСТ 9.301,
ГОСТ 9.402.
5.6.4. Выбор и технические требования к металлическим покрытиям - по
ГОСТ 9.303 для условий эксплуатации 2-й или 3-й группы. Рекомендуемая толщина защитно-декоративных покрытий должна быть не менее 12 мкм, защитных - не менее 9 мкм.
5.6.5. Выбор и технические требования к лакокрасочным покрытиям - по
ГОСТ 9.104,
ГОСТ 9.032. Толщину лакокрасочного покрытия и порядок контроля этого показателя устанавливают в технической документации на изготовление устройств.
5.6.6. Лакокрасочные покрытия должны иметь прочность сцепления (адгезию) с отделываемой поверхностью не ниже 2-го балла по методу решетчатых надрезов по
ГОСТ 15140.
5.6.7. Покрытия должны быть коррозионно-стойкими и соответствовать
ГОСТ 538. После испытаний в течение 240 ч в нейтральном соляном тумане на лицевой поверхности не должна появляться красная ржавчина. В случае эксплуатации изделий в условиях морского или влажного тропического климата (исполнения ТВ, ОМ по
ГОСТ 15150) на лицевой поверхности не должна появляться красная ржавчина в течение 360 ч. Минимальное время до образования белых пятен должно быть 72 ч.
5.6.8. Крепление элементов устройств к створкам (полотнам) и коробкам должно проводиться винтами, самонарезающими шурупами (винтами), имеющими антикоррозионное покрытие, в соответствии с рекомендациями производителей устройств.
5.7.1. Каждый комплект поворотных, откидных, поворотно-откидных, фрамужных, сдвижных, параллельно-сдвижных устройств должен содержать полный набор оригинальных от одного производителя или изготовленных по согласованию с производителем (заказчиком) элементов, необходимых для установки и эксплуатации устройств на оконном или дверном балконном блоке в соответствии с конструкторской документацией. Рекомендуется включать в комплект поставки по согласованию с заказчиком шаблоны для установки деталей устройств. Допускается раздельная поставка деталей и узлов изделий по согласованию с заказчиком.
5.7.2. К каждой партии устройств должна прикладываться инструкция по монтажу, эксплуатации, техническому обслуживанию и использованию, паспорт, документ о качестве (сертификат соответствия).
Примечание. При изготовлении устройств иностранным производителем вся сопроводительная документация, входящая в комплект поставки, должна быть на языке страны потребителя. При реализации изделий через розничную торговую сеть инструкция по монтажу, эксплуатации и техническому обслуживанию должна прикладываться к каждому комплекту устройств.
5.8. Маркировка и упаковка
5.8.1. Узлы устройств должны иметь на видимой при эксплуатации поверхности маркировку товарного знака изготовителя. Отдельные детали должны иметь маркировку согласно конструкторской документации. Маркировка должна сохраняться в течение всего срока эксплуатации устройства.
5.8.2. Маркировка упаковки должна быть на языке страны потребителя и содержать следующие сведения:
- наименование и адрес изготовителя;
- наименование, тип устройства (узла устройства), артикул;
- число изделий (артикулов) в упаковке;
- отметка службы технического контроля;
- документ о качестве (паспорт);
- дату упаковки (месяц, год).
5.8.3. Упаковка устройств должна обеспечивать их сохранность при транспортировании и хранении.
5.8.4. Требования к упаковке устройств - по
ГОСТ 538. Дополнительные требования к упаковке, если необходимо, могут быть установлены в договоре на поставку устройств.
6.1. Устройства должны быть приняты службой технического контроля предприятия-изготовителя.
6.2. Устройства принимают партиями. За партию принимают количество устройств, изготовленных в течение одной смены или в соответствии с заказом и оформленных одним документом о качестве.
6.3. Для проверки соответствия устройств требованиям настоящего стандарта и НД на устройства конкретных типов проводят:
- входной контроль материалов и комплектующих изделий;
- операционный контроль;
- приемочный контроль (приемо-сдаточные испытания);
- периодические испытания;
- сертификационные испытания;
- типовые испытания;
- квалификационные испытания.
6.4. Порядок проведения входного контроля материалов и комплектующих изделий и операционного контроля на рабочих местах должен быть установлен в технологической документации.
6.5. Приемочный контроль и периодические испытания устройств проводят в соответствии с таблицей 5.
Таблица 5
Показатели, контролируемые при приемочном контроле
и периодических испытаниях
Наименование показателя | Пункт стандарта | Вид испытаний | Периодичность испытаний |
Требование | Метод испытания | Испытания при приемочном контроле | Периодические испытания |
Внешний вид | | | + | - | Каждая партия |
Геометрические размеры, предельные отклонения геометрических размеров | | | + | - | То же |
Комплектность, маркировка, упаковка | | | + | - | Каждая партия |
Качество покрытия | | | + | + | То же |
+ | + | Один раз в три года |
Коррозионная стойкость покрытия | | | + | + | То же |
Конструктивные показатели | | | + | - | Каждая партия |
| | - | + | Один раз в три года |
Показатели безотказности и сопротивления нагрузкам | | | - | + | То же |
| + | - | " |
| - | + | " |
Эргономические показатели | | | - | + | " |
Плотность прилегания | | | + | + | Каждая партия |
Воздухо- и водопроницаемость | | | - | + | При постановке на производство и далее один раз в пять лет |
6.5.1. План контроля и порядок проведения приемочного контроля - по
ГОСТ 538.
6.5.2. Периодические испытания проводят один раз в три года. Испытания проводят на образцах устройств, прошедших приемочный контроль.
6.5.2.1. Испытания по показателям, приведенным в
5.4,
5.5, проводят не менее чем на трех образцах устройств, установленных в оконных или дверных балконных блоках.
6.5.2.2. Испытания на коррозионную стойкость (см.
5.6.2) проводят не менее чем на трех образцах устройств (узлах, деталях).
6.5.2.3. В случае отрицательного результата испытаний по одному показателю одного образца следует проводить повторные испытания удвоенного числа устройств по показателю, имевшему отрицательный результат. При неудовлетворительных результатах повторных испытаний устройства считают не выдержавшими периодические испытания.
6.5.2.4. По результатам испытаний оформляют протокол периодических испытаний.
6.6. Сертификационные испытания устройств рекомендуется проводить в объеме периодических испытаний. Допускается совмещать сертификационные и периодические испытания.
6.7. Типовые испытания
6.7.1. Типовые испытания устройств проводят после внесения изменений в конструкцию, материалы или технологию изготовления для оценки эффективности и целесообразности внесения изменений.
6.7.2. Объем типовых испытаний определяют характером внесенных изменений.
Типовым испытаниям подвергают устройства, прошедшие приемочный контроль.
6.8. Квалификационные испытания изделий проводят при постановке продукции на производство по всем показателям, установленным настоящим стандартом.
6.9. Сертификационные и периодические испытания проводят в испытательных центрах (лабораториях), аккредитованных на право проведения указанных испытаний. Образцы оконных и дверных балконных блоков с поворотными, откидными, поворотно-откидными, фрамужными, сдвижными, параллельно-сдвижными устройствами, представляемые для проведения испытаний, должны быть изготовлены в соответствии с требованиями
ГОСТ 23166 и НД на оконные и дверные балконные блоки конкретных видов.
Примечание. Образцы передают в испытательные центры с документом, подтверждающим их приемку службой технического контроля.
Рекомендуемые размеры образцов для испытаний поворотных, откидных и поворотно-откидных устройств:
- оконный блок (ширина x высота) - 1100 x 1200 мм;
- дверной балконный блок (ширина x высота) - 900 x 2100 мм.
Рекомендуемые размеры образцов для испытаний сдвижных (раздвижных) складных устройств (ширина x высота): 1200 x 2000 мм.
В случае невозможности проведения испытаний образца с указанными размерами допускается применять образцы меньшего размера с использованием соотношения высоты к ширине с коэффициентом, равным 1,67.
7.1. Соответствие материалов, комплектующих покупных изделий требованиям НД устанавливают сравнением данных сопроводительной документации с требованиями НД.
7.2. Размеры изделий на соответствие требованиям конструкторской документации проверяют универсальным инструментом или специальными приборами.
7.3. Внешний вид изделий, комплектность, маркировку, упаковку проверяют в соответствии с требованиями
ГОСТ 538.
7.4. Качество покрытий проверяют в соответствии с требованиями
ГОСТ 538; адгезию -
ГОСТ 15140; коррозионную стойкость покрытий -
ГОСТ 9.308,
ГОСТ 9.401 и по методикам испытательных лабораторий.
7.5. Для определения плотности и равномерности прилегания створки (полотна) к коробке окна (двери) на прокладки наносят красящее вещество (например, цветной мел), открывающиеся элементы изделия плотно закрывают. После раскрытия створки (полотна) визуально проверяют непрерывность оставленного следа. В случае прерывания следа результат считают неудовлетворительным.
7.6. Воздухо- и водопроницаемость оконных и балконных дверных блоков с устройствами определяют по
ГОСТ 26602.2, классы воздухо- и водопроницаемости определяют по ГОСТ 23166
(приложение Б) со следующим дополнением.
Образцы после испытания на воздухо- и водопроницаемость и присвоения класса воздухо- и водопроницаемости испытывают на безотказность (см.
5.4.1), после чего вновь испытывают на воздухо- и водопроницаемость. При этом класс воздухо- и водопроницаемости, присвоенный при первом испытании, не должен измениться.
7.7. Перемещение элементов изделий в пазах блоков, фиксацию ручки, регулировку петель проверяют вручную, выполняя пять раз цикл работы.
7.8. Испытания устройств на безотказность, сопротивление нагрузкам и соответствие эргономическим требованиям проводят на специальном оборудовании (стендах) по НД, программам и методикам испытательных лабораторий.
После проведения испытаний изделие должно сохранить работоспособность.
7.9. Допускается проводить испытания на безотказность устройств отдельными операциями, являющимися частью общего цикла работ.
8. Транспортирование и хранение
8.1. Изделия транспортируют всеми видами транспорта в крытых транспортных средствах в соответствии с правилами и условиями погрузки и крепления грузов, действующими на транспорте конкретного вида.
8.2. Условия хранения изделий - по группе 2
ГОСТ 15150.
9.1. При подборе устройств для монтажа следует учитывать типы, конструкции, размеры и массу оконного или балконного дверного блока, на который устанавливают изделия.
Оконные и дверные балконные блоки должны соответствовать
ГОСТ 23166.
9.2. Монтаж устройств следует проводить в соответствии с инструкцией по монтажу.
В инструкции по монтажу должны быть указаны допуски на размеры паза, вид крепежа и рекомендации по применению дополнительных элементов.
Монтаж следует проводить с применением специальных шаблонов.
9.3. Рекомендации по смазке и регулировке устройств в процессе эксплуатации должны быть приведены в инструкции по эксплуатации, входящей в комплект поставки устройств.
9.4. Инструкции по монтажу и эксплуатации должны содержать требования безопасности при монтаже и эксплуатации устройств.
10. Указания по техническому обслуживанию
Детали устройств должны проверяться один раз в год на прочность установки и контролироваться на износ. При необходимости следует подтянуть крепежные шурупы. Все подвижные детали и места запирания устройств должны смазываться и проверяться на правильность работы. Чистящие средства и средства по уходу за устройствами не должны приводить к повреждению антикоррозийного покрытия. При обработке поверхностей профилей окон, например при лакировании и глазировании, все детали устройств должны быть защищены от загрязнений. Все работы по техническому обслуживанию должны проводиться квалифицированным персоналом в соответствии с рекомендациями производителя.
11. Гарантии изготовителя
11.1. Предприятие-изготовитель гарантирует соответствие устройств требованиям настоящего стандарта при соблюдении условий транспортирования, хранения, монтажа и эксплуатации, а также при условии наличия единой маркировки товарного знака изготовителя на всех деталях устройств, поставляемых на рынок как целое изделие или как комплект отдельных деталей.
11.2. Гарантийный срок - не менее 36 мес со дня передачи устройств потребителю.
(рекомендуемое)
СПОСОБОВ ОТКРЫВАНИЯ УСТРОЙСТВ
Рисунок А.1. Поворотное устройство
Рисунок А.2. Откидное устройство
Рисунок А.3. Поворотно-откидное устройство
Рисунок А.4. Поворотное (откидное, поворотно-откидное)
устройство с функцией регулируемого проветривания
Рисунок А.5.1. Сдвижное (раздвижное) складывающееся
устройство (складывание относительно края створки)
Рисунок А.5.2. Сдвижное (раздвижное) складывающееся
устройство (складывание относительно центра створки)
Рисунок А.5.3. Сдвижное устройство
(справочное)
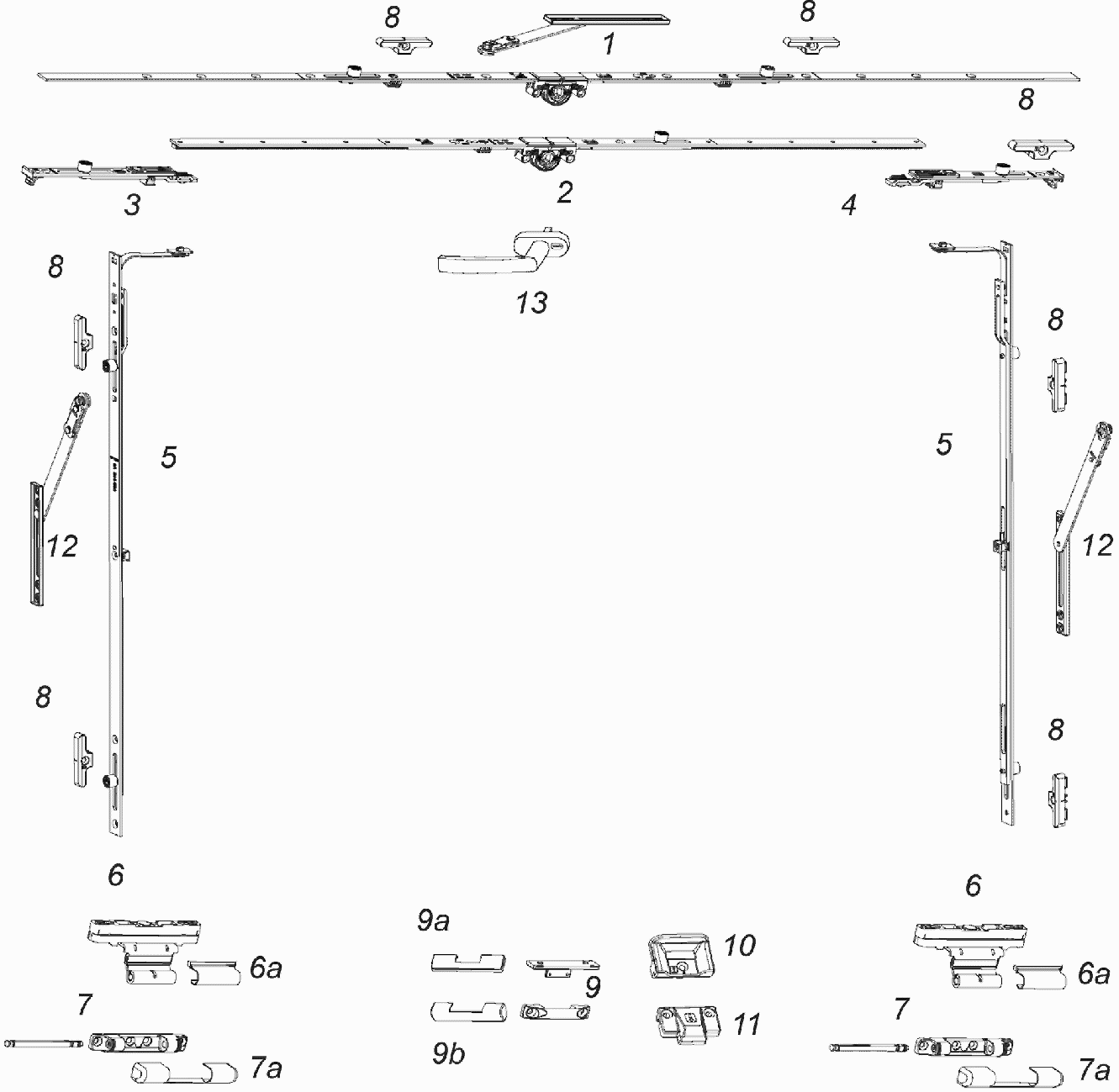
ПРИМЕРЫ ПОВОРОТНЫХ И ПОВОРОТНО-ОТКИДНЫХ УСТРОЙСТВ
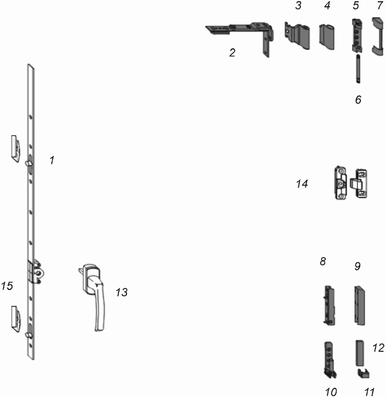
1 - поворотный механизм; 2 - концевой запор;
3 - средний запор; 4 - поворотная петля; 5 - петля-уголок;
6 - декоративный колпачок петли-уголка; 7 - верхняя петля
на коробке; 8 - штифт; 9 - декоративный колпачок верхней
петли на коробке; 10 - нижняя петля на створке;
11 - декоративный колпачок нижней петли на створке;
12 - нижняя петля на коробке; 13 - короткий декоративный
колпачок нижней петли на коробке; 14 - длинный декоративный
колпачок нижней петли на коробке; 15 - оконная ручка;
16 - средний прижим; 17 - запорная планка;
18 - поворотно-откидная запорная планка
Рисунок Б.1. Базовый комплект поворотных устройств
для поливинилхлоридного профиля при ширине створки
по фальцу более 700 мм
1 - запорный механизм; 2 - поворотная петля;
3 - петля-уголок; 4 - декоративный колпачок петли-уголка;
5 - верхняя петля на коробке; 6 - штифт; 7 - декоративный
колпачок верхней петли на коробке; 8 - нижняя петля
на створке; 9 - декоративный колпачок нижней петли
на створке; 10 - нижняя петля на коробке; 11 - короткий
декоративный колпачок нижней петли на коробке;
12 - длинный декоративный колпачок нижней петли
на коробке; 13 - оконная ручка; 14 - средний прижим;
15 - запорная планка
Рисунок Б.2. Базовый комплект поворотных устройств
для поливинилхлоридного профиля при ширине створки
по фальцу менее 700 мм
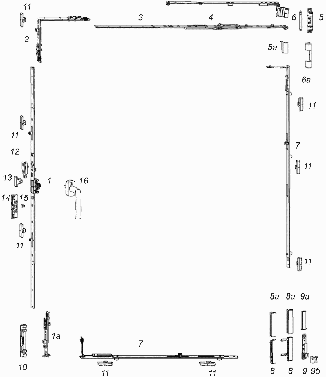
1 - ручка; 2 - запорно-откидное устройство;
3 - запорно-откидная пластина; 4 - угловой удлинитель;
5 - привод; 6 - угловая передача; 7 - ножницы;
8 - ножничная петля; 9 - опора ножничной петли; 10 - штифт
опоры ножничной петли; 11, 12, 16, 17, 18 - декоративная
накладка; 13 - врезная петля; 14 - опора нижней петли;
15 - приподниматель створки; 19 - запорная пластина;
20 - предохранитель ошибочного действия;
21 - промежуточная передача
Рисунок Б.3. Базовый комплект поворотно-откидных
устройств для поливинилхлоридного профиля
1 - поворотно-откидной механизм; 2 - угловая передача;
3 - петлевые ножницы; 4 - средний запор; 5 - петля-уголок;
6 - декоративный колпачок петли-уголка; 7 - верхняя петля
на коробке; 8 - штифт; 9 - декоративный колпачок
верхней петли на коробке; 10 - нижняя петля на створке;
11 - декоративный колпачок нижней петли на створке;
12 - нижняя петля на коробке; 13 - короткий декоративный
колпачок нижней петли на коробке; 14 - длинный декоративный
колпачок нижней петли на коробке; 15 - оконная ручка;
16 - соединительная пластина; 17 - запорная планка;
18 - планка приподнимателя блокиратора;
19 - поворотно-откидная запорная планка
Рисунок Б.3.1. Базовый комплект поворотно-откидных
устройств для деревянных окон
1 - запор основной поворотно-откидной;
1а - шпингалет основного запора нижний; 2 - переключатель
угловой; 3 - ножницы на створке; 4 - ножницы на раме;
5 - петля на раме верхняя; 5а - декоративная накладка;
6 - штифт петли; 7 - запор средний; 8 - нижняя петля;
8а - декоративная накладка; 9 - петля на раме:
9а, 9б - накладка декор; 10 - ответная поворотно-откидная
планка; 11 - ответная планка; 12 - блокиратор ошибочного
действия; 13 - упор блокиратора; 14 - балконная
защелка; 15 - цапфа балконной защелки; 16 - ручка
Рисунок Б.3.2. Базовый комплект
поворотно-откидных устройств для балконного блока
из поливинилхлоридного профиля
1 - ручка; 2 - штифт нижней петли; 3 - рамная часть
нижней петли; 4 - винт; 5 - створочная часть нижней петли;
6 - зажимная пластина; 7 - декоративная накладка;
8 - штифт верхней петли; 9 - рамная часть верхней петли;
10 - ножничная часть верхней петли; 11, 12 - винт;
13 - дополнительная опора петли; 14 - ножницы;
15 - запорная пластина ножниц; 16, 17 - угловая передача;
18 - запорная пластина под блокиратор; 19 - предохранитель
ошибочного действия; 20 - приемная деталь ручки;
21 - привод; 22 - винт; 23 - запорно-откидное устройство;
24 - запорная планка; 25 - приподниматель; 26 - откидная
опора; 27 - запорная пластина; 28 - удлинитель;
29 - угловая передача; 30 - дополнительные ножницы,
рамная часть; 31 - дополнительные ножницы, створочная
часть; 32 - опора ручки; 33, 34 - втулка
Рисунок Б.4. Базовый комплект поворотно-откидных устройств
для конструкции из алюминиевого профиля
1 - арочный комплект; 2 - поворотно-откидной основной
запор; 3 - соединитель для арочных окон; 4 - дополнительные
арочные ножницы; 5 - средний арочный запор; 6 - средний
арочный соединяемый запор; 7 - вертикальный соединитель
для арочных окон; 8 - горизонтальный соединитель
для арочных окон; 9 - угловой поворотно-откидной
переключатель; 10 - угловой арочный переключатель;
11 - верхняя регулируемая петля на раме; 12 - штифт;
13 - нижняя петля на створке; 14 - нижняя петля на раме;
15 - цапфа балконной защелки; 16 - блокировщик откидывания,
деталь на створке; 17 - блокировщик откидывания, деталь
на раме; 18 - поворотно-откидная ответная планка;
19 - ответная планка; 20 - балконная защелка; 21 - ручка
Рисунок Б.5. Базовый комплект устройств для арочных окон
1 - ножницы на створке; 2 - ножницы на раме косоугольных
окон; 3 - наконечник; 4 - поворотно-откидной основной
запор; 5 - соединитель для арочных окон; 6 - средний запор;
7 - удлинитель запора; 8 - поворотно-откидной угловой
переключатель; 9 - угловой арочный переключатель;
10 - угловой переключатель косоугольных окон; 11 - верхняя
петля на раме; 12 - штифт; 13 - нижняя петля на створке;
14 - нижняя петля на раме; 15 - цапфа балконной защелки;
16 - блокировщик откидывания, деталь на створке;
17 - блокировщик откидывания, деталь на раме;
18 - поворотно-откидная ответная планка; 19 - ответная
планка; 20 - балконная защелка; 21 - ручка
Рисунок Б.6. Базовый комплект устройств
для трапециевидных окон
1 - поворотно-откидной запор с фиксированной ручкой;
2 - поворотно-откидной запор с центральной ручкой;
3 - цапфа балконной защелки; 4 - угловой переключатель;
5 - поворотно-откидной угловой переключатель;
6 - укороченный угловой переключатель; 7 - ножницы;
8 - верхняя петля на створке; 9 - верхняя петля на раме;
10 - угловой переключатель ножниц; 11 - средний запор;
12 - нижняя петля на створке; 13 - нижняя петля на раме;
14 - блокировщик на створке; 15 - угловая вставка
поворотной петли; 16 - верхняя поворотная петля на створке;
17 - штульповый запор с фиксированной ручкой;
18 - штульповый запор с центральной ручкой; 19 - балконная
защелка; 20 - дополнительные ножницы; 21 - ответная часть
блокировщика; 22 - подпятник; 23 - средний прижим
на створке; 24, 25 - ответные планки; 26 - средний прижим
на раме; 27 - противовзломная ответная планка; 28 - оконная
ручка; 29 - подкладка для дополнительных ножниц
Рисунок Б.7. Базовый комплект устройств
для двустворчатого безымпостного окна
1 - основной поворотный средний запор; 2 - основной
поворотно-откидной средний запор; 3 - шпингалет основного
запора; 4 - шпингалет основного запора 90°; 5 - средний
запор; 6 - средняя регулируемая петля на створке;
6а - декоративная накладка верхней петли на створке;
7 - верхняя петля на раме со штифтом; 7а - декоративная
накладка верхней петли на раме; 8 - ответная планка;
9 - средний накладной прижим; 9а - декоративная створочная
накладка среднего прижима; 9б - декоративная рамная
накладка среднего прижима; 10 - средний скрытый прижим,
створочная часть; 11 - средний скрытый прижим, рамная
часть; 12 - фрамужные ножницы; 13 - ручка
Рисунок Б.8. Базовый комплект откидного устройства
1 - ручка; 2 - угловая передача; 3, 4 - тележка;
5 - ползунок; 6 - ключ (PORTAL); 7, 10, 12, 13, 14, 15, 20,
22, 23, 24 - декоративные накладки; 8 - соединительная
тяга; 9 - верхняя направляющая; 11 - нижняя направляющая;
16 - опора отбойника; 17 - отбойник; 18 - заглушка
отбойника; 19 - упор; 21 - ножницы; 25 - держатель;
26 - промежуточный соединитель; 27 - привод;
28 - удлинитель; 29 - запорная пластина;
30 - откидная опора
Рисунок Б.9. Базовый комплект параллельно-сдвижных устройств
1 - внутренняя ручка; 2 - внутренняя розетка;
3 - декоративная накладка; 4 - заглушка под ручку
для сдвижных дверей; 5 - угловая передача; 6 - тележка;
7 - верхняя запорная пластина; 8 - нижняя запорная
пластина; 9 - нижняя дистанционная вставка;
10 - дистанционный короткий вкладыш; 11 - соединительный
штифт; 12 - винт М5 x 13; 13 - винт М5 x 75 для ручки;
14 - заглушка; 15 - упор; 16 - уплотнительный вкладыш;
17 - уплотнитель для вкладыша; 18, 19, 20 - уплотнительные
пластины; 21 - отбойник; 22 - винт В4,8 x 70; 23 - нижняя
запорная пластина; 24 - винт М6 x 20; 25 - соединительная
тяга; 26 - накладная шина; 27 - порог; 28, 29 - направляющая
шина; 30 - зажимная опора; 31 - втулка; 32 - привод
Рисунок Б.10. Базовый комплект подъемно-сдвижных устройств
1 - 3 - петли; 4 - 5 - накладки петель;
6, 7, 8, 9 - тележки; 10 - 11 - декоративные накладки
тележек; 12 - 14 - держатель; 15 - уплотнитель;
16 - 21 - профильный набор; 23 - опора ножничной петли;
25 - ножничная петля; 26 - штифт опоры ножничной петли;
27 - 28 - скрытолежащий средний прижим; 29 - опора нижней
петли; 30 - фальцевая петля; 33 - штифт опоры нижней петли;
22, 24, 31, 32, 34, 35 - декоративные накладки;
36 - врезная петля; 37 - ножницы
Рисунок Б.11. Базовый комплект устройств для конструкций
со складывающимися створками
1 - взломостойкие ответные планки;
2 - взломостойкий горизонтальный откидной запор;
3 - взломостойкая угловая передача; 4 - средний запор;
5 - взломостойкий основной механизм без откидной опоры
Рисунок Б.12. Базовый комплект противовзломных
поворотно-откидных устройств
1 - ручка; 2 - соединительная тяга; 3 - декоративная
накладка тяги; 4 - направляющая откидная тяги; 5 - угловая
накладка; 6 - угловая цепная передача; 7 - направляющая
угловой передачи; 8 - ножницы; 9 - торцевые заглушки ножниц;
10 - торцевая заглушка накладки; 11 - высокий створчатый
кронштейн для поливинилхлоридных и алюминиевых профилей;
12 - плоский створчатый кронштейн для деревянных профилей;
13 - накладка кронштейна
Рисунок Б.13. Базовый комплект фрамужного устройства
(рекомендуемое)
ПРИМЕРЫ ДИАГРАММ ПРИМЕНЕНИЯ УСТРОЙСТВ
Массу наполнения рассчитывают с учетом массы стекла толщиной 1 мм и принимают равной 2,5 кг/м2.
Пример. При ширине створки по фальцу (ШСФ) 1100 мм и массе наполнения 80 кг/м2 максимальная высота створки по фальцу (ВСФ) равна 1520 мм.
Данные действительны только для створок внутреннего открывания.
Рисунок В.1. Диаграмма применения поворотных
и поворотно-откидных устройств для створок правого
и левого открывания массой 130 кг
Массу наполнения рассчитывают с учетом массы стекла толщиной 1 мм и принимают равной 2,5 кг/м2.
Данные действительны только для створок внутреннего открывания.
Рисунок В.2. Диаграмма применения
поворотно-откидных устройств для арочных створок
правого и левого открывания массой 80 кг
Массу наполнения рассчитывают с учетом массы стекла толщиной 1 мм и принимают равной 2,5 кг/м2.
Данные действительны только для створок внутреннего открывания.
Рисунок В.3. Диаграмма применения
поворотно-откидных устройств для трапециевидных створок
правого и левого открывания массой 80 кг
(максимальный угол открывания

)
Рисунок В.4. Диаграмма применения поворотно-откидных
устройств для алюминиевых окон
(рекомендуемое)
СХЕМЫ ПРИЛОЖЕНИЯ НАГРУЗОК
Рисунок Г.1. Схема приложения статической нагрузки
на верхнюю петлю
Рисунок Г.2. Схема приложения статической нагрузки
на нижнюю петлю
Примечание. Падение груза прекращают на расстоянии 20 мм от основания (например, с помощью прокладки). Длину троса определяют из условия касания грузом основания при максимальном раскрытии ножниц.
Рисунок Г.3. Динамические испытания откидных ножниц
и поворотно-откидных устройств (см.
5.4.13)
Примечание. Падение груза прекращают на расстоянии 20 мм от основания (например, с помощью прокладки). Длину троса определяют из условия одновременного касания грузом основания и створкой упора.
Рисунок Г.4. Динамические испытания с препятствием
поворотных и поворотно-откидных устройств на фальце
Примечание. Падение груза прекращают на расстоянии 20 мм от основания (например, с помощью прокладки). Длину троса определяют из условия одновременного касания грузом основания и створкой упора.
Рисунок Г.5. Динамические испытания поворотных
и поворотно-откидных устройств на откосе
без ограничителя поворота (см.
5.4.15)
Рисунок Г.6. Испытание крепления зацепа (см.
5.4.6)
(рекомендуемое)
СХЕМА
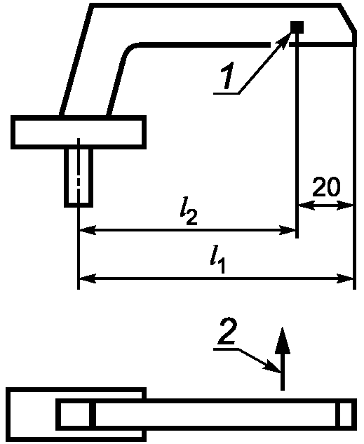
ИСПЫТАНИЯ РУЧЕК СТАТИЧЕСКОЙ НАГРУЗКОЙ
1 - место приложения силы; 2 - сила F (100 Н);

- длина ручки;

- рабочая длина
Рисунок Д.1. Схема испытания ручек статической нагрузкой
(рекомендуемое)
СХЕМЫ
ИСПЫТАНИЯ РОЛЛЕРОВ НА НАДЕЖНОСТЬ
1 - равномерная нагрузка; 2 - прогиб (не более 2 мм
после испытаний на безотказность
п. 5.4); 3 - роллер;
4 - направляющая (рельс); 5 - часть испытательного стенда
Рисунок Е.1. Схема испытания роллеров на надежность
1 - место приложения статической нагрузки;
2 - часть испытательного стенда
Рисунок Е.2. Статические испытания сдвижных (раздвижных)
складывающихся устройств вдоль плоскости створки (полотна),
повернутой на угол 90° (см.
5.4.5)
1 - створка; 2 - часть испытательного стенда;
3 - место приложения статический нагрузки
Рисунок Е.3. Статические испытания сдвижных (раздвижных)
складывающихся устройств вдоль плоскости створки (полотна)