Главная // Актуальные документы // ГОСТ (Государственный стандарт)СПРАВКА
Источник публикации
М.: ФГБУ "Институт стандартизации", 2024
Примечание к документу
Документ
введен в действие с 01.08.2024.
Название документа
"ГОСТ 30777-2023. Межгосударственный стандарт. Устройства открывания оконных и балконных блоков (фурнитура). Общие технические условия"
(введен в действие Приказом Росстандарта от 28.12.2023 N 1702-ст)
"ГОСТ 30777-2023. Межгосударственный стандарт. Устройства открывания оконных и балконных блоков (фурнитура). Общие технические условия"
(введен в действие Приказом Росстандарта от 28.12.2023 N 1702-ст)
Приказом Федерального
агентства по техническому
регулированию и метрологии
от 28 декабря 2023 г. N 1702-ст
МЕЖГОСУДАРСТВЕННЫЙ СТАНДАРТ
УСТРОЙСТВА ОТКРЫВАНИЯ
ОКОННЫХ И БАЛКОННЫХ БЛОКОВ (ФУРНИТУРА)
ОБЩИЕ ТЕХНИЧЕСКИЕ УСЛОВИЯ
Window and balcony door hardware (accessories).
General specifications
(EN 13126-1:2012, NEQ)
(EN 13126-7:2007, NEQ)
(EN 13126-8:2006, NEQ)
(EN 13126-15:2019, NEQ)
(EN 13126-16:2019, NEQ)
(EN 13126-17:2019, NEQ)
ГОСТ 30777-2023
Дата введения
1 августа 2024 года
Цели, основные принципы и общие правила проведения работ по межгосударственной стандартизации установлены
ГОСТ 1.0 "Межгосударственная система стандартизации. Основные положения" и
ГОСТ 1.2 "Межгосударственная система стандартизации. Стандарты межгосударственные, правила и рекомендации по межгосударственной стандартизации. Правила разработки, принятия, обновления и отмены"
1 РАЗРАБОТАН Частным учреждением - Центром по сертификации оконной и дверной техники (ЦС ОДТ), Ассоциацией продавцов и производителей оконной и дверной фурнитуры, Национальным исследовательским Московским государственным строительным университетом (НИУ МГСУ)
2 ВНЕСЕН Техническим комитетом по стандартизации ТК 465 "Строительство"
3 ПРИНЯТ Межгосударственным советом по стандартизации, метрологии и сертификации (протокол от 27 декабря 2023 г. N 168-П)
За принятие проголосовали:
Краткое наименование страны по МК (ИСО 3166) 004-97 | Код страны по МК (ИСО 3166) 004-97 | Сокращенное наименование национального органа по стандартизации |
Армения | AM | ЗАО "Национальный орган по стандартизации и метрологии" Республики Армения |
Беларусь | BY | Госстандарт Республики Беларусь |
Киргизия | KG | Кыргызстандарт |
Россия | RU | Росстандарт |
Узбекистан | UZ | Узстандарт |
4 Приказом Федерального агентства по техническому регулированию и метрологии от 28 декабря 2023 г. N 1702-ст межгосударственный стандарт ГОСТ 30777-2023 введен в действие в качестве национального стандарта Российской Федерации с 1 августа 2024 г.
5 В настоящем стандарте учтены основные нормативные положения следующих европейских стандартов:
- ЕН 13126-1:2012 "Скобяные изделия зданий. Скобяные изделия для окон, дверей и высоких окон. Требования и методы испытаний. Часть 1. Требования к скобяным изделиям общего типа" ("Building hardware - Hardware for windows and door height windows - Requirements and test methods - Part 1: Requirements common to all types of hardware", NEQ);
- ЕН 13126-7:2007 "Скобяные изделия строительные металлические. Оконная фурнитура и фурнитура для дверей с высокими окнами. Требования и методы испытаний. Часть 7. Пальчиковые защелки" ("Building hardware - Requirements and test methods for windows and door height windows - Part 7: Finger catches", NEQ);
- ЕН 13126-8:2006 "Скобяные изделия строительные металлические. Оконная фурнитура и фурнитура для дверей с высокими окнами. Требования и методы испытаний. Часть 8. Скобяные изделия откидные и поворотные, сначала откидные и только поворотные" ("Building hardware - Requirements and test methods for windows and doors height windows - Part 8: Tilt & Turn, Tilt-First and Turn-Only hardware", NEQ);
- ЕН 13126-15:2019 "Изделия скобяные строительные. Приборы для окон и застекленных дверей. Требования и методы испытаний. Часть 15. Ролики для раздвижных окон и приборов для раздвижных створчатых окон" ("Building hardware - Hardware for windows and door height windows - Requirements and test methods - Part 15: Rollers for horizontal sliding and hardware for sliding folding windows", NEQ),
- ЕН 13126-16:2019 "Изделия скобяные строительные. Приборы для окон и застекленных дверей. Требования и методы испытаний. Часть 16. Приборы для подъемных и раздвижных окон" ("Building hardware - Hardware for windows and door height windows - Requirements and test methods - Part 16: Hardware for Lift and Slide windows", NEQ);
- ЕН 13126-17:2019 "Изделия скобяные строительные. Приборы для окон и застекленных дверей. Требования и методы испытаний. Часть 17. Приборы для откидных и раздвижных окон" ("Building hardware - Hardware for windows and door height windows - Requirements and test methods - Part 17: Hardware for Tilt and Slide windows", NEQ)
Информация о введении в действие (прекращении действия) настоящего стандарта и изменений к нему на территории указанных выше государств публикуется в указателях национальных стандартов, издаваемых в этих государствах, а также в сети Интернет на сайтах соответствующих национальных органов по стандартизации.
В случае пересмотра, изменения или отмены настоящего стандарта соответствующая информация будет опубликована на официальном интернет-сайте Межгосударственного совета по стандартизации, метрологии и сертификации в каталоге "Межгосударственные стандарты"
Настоящий стандарт разработан на основании требований Федерального
закона N 384-ФЗ "Технический регламент о безопасности зданий и сооружений" и устанавливает требования к надежности и безопасности, прочности и функциональности устройств открывания оконных и балконных дверных блоков (фурнитуре), а также к методам их испытаний.
Устройства открывания (фурнитура) - неотъемлемый комплектующий элемент, определяющий функции открывания, закрывания, откидывания, сдвига, складывания и пр. оконной створки (полотна).
Прочностные, эргономические и функциональные характеристики устройств (фурнитуры) - определяющие при проектировании оконных изделий, должны быть сопоставимы с действующими на изделия эксплуатационными нагрузками, обеспечивая безопасную эксплуатацию окна.
К примеру, прочностные показатели петель устройств (сопротивление статическим и динамическим нагрузкам) должны обеспечивать стойкость к нагрузкам от собственного веса створки (полотна), ветровым нагрузкам, безотказность и надежность оконных изделий, обеспечивать необходимую плотность притвора и пр.
Фурнитурный комплект (модели фурнитуры) для оконных и балконных блоков выбирают в соответствии с технической документацией изготовителей фурнитуры и системодателей.
Для выбора фурнитурного комплекта наряду с расчетными данными используют диаграммы (графики, таблицы и пр.) применения устройств, по которым определяют допустимое соотношение сторон и массы створки для определенной модели фурнитуры, а также требования
ГОСТ 23166 по выбору изделий для обеспечения безопасной эксплуатации окна.
Настоящий стандарт распространяется на поворотные, откидные, поворотно-откидные, откидно-поворотные, сдвижные (раздвижные), складные, параллельно-выдвижные, параллельно-сдвижные, подъемно-сдвижные и фрамужные устройства для оконных и балконных блоков, остекления балконов и лоджий, применяемые в жилых и общественных зданиях различного назначения, (далее - изделия, устройства, фурнитура) и устанавливает общие требования к их изготовлению и применению.
В настоящем стандарте устройство открывания рассматривают как сборное изделие, поставляемое как отдельными составными частями, так и в комплекте в соответствии с
таблицей А.1.
Требования настоящего стандарта не распространяются на изделия, устанавливаемые на оконные и балконные блоки специального назначения (взрывобезопасные, противопожарные, пулестойкие и пр.).
В настоящем стандарте использованы нормативные ссылки на следующие межгосударственные стандарты:
ГОСТ 9.032 Единая система защиты от коррозии и старения. Покрытия лакокрасочные. Группы, технические требования и обозначения
ГОСТ 9.104 Единая система защиты от коррозии и старения. Покрытия лакокрасочные. Группы условий эксплуатации
ГОСТ 9.302 Единая система защиты от коррозии и старения. Покрытия металлические и неметаллические неорганические. Методы контроля
ГОСТ 9.303 Единая система защиты от коррозии и старения. Покрытия металлические и неметаллические неорганические. Общие требования к выбору
ГОСТ 9.308 Единая система защиты от коррозии и старения. Покрытия металлические и неметаллические неорганические. Методы ускоренных коррозионных испытаний
ГОСТ 15.309 Система разработки и постановки продукции на производство. Испытания и приемка выпускаемой продукции. Основные положения
ГОСТ 538-2014 Изделия замочные и скобяные. Общие технические условия
ГОСТ 1050 Металлопродукция из нелегированных конструкционных качественных и специальных сталей. Общие технические условия
ГОСТ 1583 Сплавы алюминиевые литейные. Технические условия
ГОСТ 5089 Замки, защелки, механизмы цилиндровые. Технические условия
ГОСТ 5949-2018 Металлопродукция из сталей нержавеющих и сплавов на железоникелевой основе коррозионно-стойких, жаростойких и жаропрочных. Технические условия
ГОСТ 8273 Бумага оберточная. Технические условия
ГОСТ 10354 Пленка полиэтиленовая. Технические условия
ГОСТ 14959 Металлопродукция из рессорно-пружинной нелегированной и легированной стали. Технические условия
ГОСТ 15150 Машины, приборы и другие технические изделия. Исполнения для различных климатических районов. Категории, условия эксплуатации, хранения и транспортирования в части воздействия климатических факторов внешней среды
ГОСТ 16338 Полиэтилен низкого давления. Технические условия
ГОСТ 17711 Сплавы медно-цинковые (латуни) литейные. Марки
ГОСТ 19424 Сплавы цинковые литейные в чушках. Технические условия
ГОСТ 19459 Сополимеры полиамида литьевые. Технические условия
ГОСТ 22233 Профили прессованные из алюминиевых сплавов для ограждающих конструкций. Технические условия
ГОСТ 23166-2021 Конструкции оконные и балконные светопрозрачные ограждающие. Общие технические условия
ГОСТ 25951 Пленка полиэтиленовая термоусадочная. Технические условия
ГОСТ 31149-2014 (ISO 2409:2013) Материалы лакокрасочные. Определение адгезии методом решетчатого надреза
ГОСТ 33781 Упаковка потребительская из картона, бумаги и комбинированных материалов. Общие технические условия
Примечание - При пользовании настоящим стандартом целесообразно проверить действие ссылочных стандартов и классификаторов на официальном интернет-сайте Межгосударственного совета по стандартизации, метрологии и сертификации (www.easc.by) или по указателям национальных стандартов, издаваемым в государствах, указанных в предисловии, или на официальных сайтах соответствующих национальных органов по стандартизации. Если на документ дана недатированная ссылка, то следует использовать документ, действующий на текущий момент, с учетом всех внесенных в него изменений. Если заменен ссылочный документ, на который дана датированная ссылка, то следует использовать указанную версию этого документа. Если после принятия настоящего стандарта в ссылочный документ, на который дана датированная ссылка, внесено изменение, затрагивающее положение, на которое дана ссылка, то это положение применяется без учета данного изменения. Если ссылочный документ отменен без замены, то положение, в котором дана ссылка на него, применяется в части, не затрагивающей эту ссылку.
В настоящем стандарте применены термины по
ГОСТ 23166,
ГОСТ 24033, а также следующие термины с соответствующими определениями:
3.1 базовый комплект: Группа деталей, механизмов и элементов, образующая единый механизм, обеспечивающий выполнение основных функций устройства (фурнитуры).
Примечание - В общем случае в состав базового комплекта входят: привод (основной механизм), угловая передача, ножницы, угловой удлинитель (средний запор), петлевая группа (верхние и нижние петли для поворотной или поворотно-откидной створки), ручка, запорные планки, запорно-откидные планки.
3.2 блокиратор ошибочного действия: Элемент фурнитуры (механизм), предотвращающий одновременное открывание и откидывание створки, но позволяющий в определенной последовательности менять способы открывания оконных (балконных дверных) блоков.
Примечание - Блокиратор ошибочного действия допускается совмещать с функцией защиты от провисания одним из необходимых элементов, обеспечивающих длительную безаварийную эксплуатацию оконных (балконных дверных) блоков.
3.3 запорно-откидная планка: Элемент фурнитуры, устанавливаемый на раме, работающий совместно с цапфой (зацепом) створки (полотна), нижней опорой для оконной створки (полотна) в режиме откидывания и для надежной фиксации цапфы (зацепа) в закрытом положении створки (полотна).
Примечание - Планка в комбинации с цапфой должна обеспечивать зазор между рамой и створкой в месте установки уплотнителя в соответствии с рекомендациями изготовителей профилей.
3.4 (ответная) запорная планка: Элемент фурнитуры, устанавливаемый на раме и предназначенный для надежной фиксации цапфы (зацепа) при закрытом положении створки (полотна).
3.5 ножницы: Механизм подвижной связи устройства, обеспечивающий откидывание створки на определенный угол и ее фиксацию в заданном положении, закрепление створки в открытом положении в верхней или боковой точке на раме.
3.6 (гибкий, жесткий) ограничитель открывания: Дополнительное приспособление к устройству открывания (фурнитуре) в виде гибкого троса либо накладной планки, установленное на створку и раму (импост) и препятствующее распашному открыванию створки.
3.7 петля (петлевая группа): Элемент фурнитуры цельной или разборной конструкции, служащий для соединения створок (полотна) оконных (балконных дверных) блоков, форточек, фрамуг с оконной (балконной дверной) коробкой, обеспечивающие выполнение функций поворота створки (полотна) относительно вертикальной оси и откидывания относительно нижней горизонтальной оси.
3.8 полный цикл испытаний: Цикл испытания фурнитуры с комбинированными функциями.
Примечание - Полный цикл испытания поворотно-откидных (откидно-поворотных) устройств включает испытания поворотного и откидного устройства, проводимых как раздельно, так и за один цикл.
3.9 привод (основной механизм): Элемент фурнитуры (механизм), с помощью которого вращательное движение ручки преобразуется в возвратно-поступательное движение других элементов фурнитуры.
Примечания
1 В общем случае состав привода (основного механизма) состоит из приводной штанги, несущей рейки, цапфы или иных запорных элементов, редукторного механизма, передающего вращательное движение ручки в поступательное движение приводной штанги с запорными элементами (цапфами).
2 Привод допускается оснащать клипсами для фиксации в фурнитурном пазу профиля (при монтаже оконных блоков), пазами для установки блокиратора ошибочного действия, защиты от провисания и других принадлежностей.
3.10 ролик: Единичное колесо в роллере (каретке), необходимое для перемещения (сдвига) створки.
3.11 угловая передача: Группа механизмов фурнитуры, передающих возвратно-поступательное движение через угол створки оконного блока (полотна).
3.12 ручка: Элемент фурнитуры, преобразующий вращательное движение оконной ручки в поступательное движение периметральной фурнитуры.
3.13 точки прижима: Места расположения на оконном (балконном дверном) блоке элементов фурнитуры, обеспечивающих прижим створки (полотна) к раме при запирании.
Примечание - Элементы фурнитуры, обеспечивающие прижим створки к раме: петли, цапфы в сочетании с ответными планками, основной запор или иное, предусмотренное изготовителем устройств.
3.14 угловой удлинитель (средний запор): Элемент устройства, обеспечивающий прижим створки (полотна) по петлевой и горизонтальной сторонам.
3.15 устройство открывания (фурнитура): Сборочное изделие, состоящее из отдельных конструктивных деталей и узлов.
Примечание - Устройство открывания (фурнитура) обеспечивает выполнение следующих функций:
- поворота - открывания и закрывания створки (полотна) оконного (балконного дверного) блока относительно вертикальной оси, ее (его) фиксации в закрытом положении;
- откидывания - откидывание в ограниченное ножницами положение (открывание), закрывание по нижней горизонтальной оси и фиксацию в закрытом положении створки (полотна). Откидное устройство допускается применять для алюминиевых оконных блоков, открывающихся наружу и преимущественно выходящих на балконы и лоджии;
- поворота - откидывания - закрывание и открывание створки (полотна) относительно вертикальной оси, откидывание относительно нижней горизонтальной оси и фиксацию в закрытом положении;
- откидывания - поворота - откидывание створки (полотна) относительно нижней горизонтальной оси, закрывание и открывание относительно вертикальной оси с фиксацией в закрытом положении;
- сдвига - перемещения створки (полотна) в горизонтальном направлении в плоскости коробки;
- сдвига (раздвижения) и складывания - перемещения створки (полотна) в горизонтальном направлении с последующим складыванием створки (полотна) по принципу "гармошки";
- параллельного выдвижения - параллельного выдвижения створки из плоскости окна на определенное расстояние и фиксацию створки в закрытом положении;
- подъема и сдвига (раздвижения) - подъема (приподнимание) створки (полотна) и перемещения в горизонтальном направлении с помощью роликов с последующей фиксацией в закрытом положении;
- закрывания (открывания) и откидывания фрамуги - обеспечивающее ручное или дистанционное откидывание створки, расположенной на недоступной для пользователя высоте, в ограниченное ножницами (фрамужным механизмом) положение относительно горизонтального импоста и фиксацию створки в открытом и закрытом положениях;
- регулируемого (щелевого) проветривания, позволяющего устанавливать режим дополнительного проветривания помещения за счет регулируемого угла откидывания или поворота створки на ширину в соответствии с техническими документами изготовителя фурнитуры и фиксировать створку в выбранном положении.
3.16 ходовой механизм (роллер, каретка, тележка): Один или несколько роликов, собранных в корпус, обеспечивающие горизонтальное скольжение створки (полотна) или сдвижных складывающихся створок (полотен) по направляющей (рельсу).
3.17 цапфа (зацеп): Подвижный элемент устройства, установленный на штанге привода, входящий при запирании в запорную и/или запорно-откидную планку и обеспечивающий вместе с планкой нормированный зазор между рамой и створкой в месте установки уплотнителя.
3.18 цикл испытаний: Серия рабочих действий с испытуемым образцом, повторяемых неоднократно в одной и той же последовательности.
4 Классификация, типы и условные обозначения
4.1 Устройства классифицируют по следующим признакам:
- по типу открывания;
- применению в зависимости от материала створки (полотна);
- конструкции узла открывания;
- направлению открывания створки (полотна);
- массе (весу) створки (полотна);
- коррозионной стойкости.
4.1.1 По типу открывания створки (полотна) устройства подразделяют:
- на поворотные (УП);
- откидные (УО), в том числе фрамужные (УФ);
- поворотно-откидные (УПО);
- откидно-поворотные (УОП);
- сдвижные (УС);
- сдвижные (раздвижные) складывающиеся (УРСС);
- параллельно-сдвижные (УПС);
- параллельно-выдвижные (УПВ);
- подъемно-сдвижные (УПдС).
4.1.2 По материалу изготовления оконных и балконных блоков (изделий) устройства подразделяют:
- для изделий из поливинилхлоридных профилей - ПВХ;
- деревянных - Д;
- алюмодеревянных - АД;
- алюминиевых профилей (сплавов) - А;
- стальных - Ст;
- стеклопластиковых - СП;
- деревоалюминиевых - ДА;
- деревополивинилхлоридных - ДП.
4.1.3 По конструкции узла открывания (откидывания) створки (полотна) подразделяют на устройства:
- без узла регулирования открывания (откидывания) - БР;
- со встроенным узлом регулирования на заданный угол открывания (откидывания) - Р;
- с устройством для щелевого проветривания - Щ;
- с ограничением открывания - ОГ.
4.1.4 По направлению открывания створки (полотна) подразделяют на устройства:
- левого исполнения (Л);
- правого исполнения (П);
- универсального исполнения.
Примечание - Устройствам универсального применения обозначение не присваивают.
4.1.5 В зависимости от массы открываемой створки (полотна) устройства подразделяют на классы, приведенные в таблице 1.
Таблица 1
Классы устройств в зависимости от массы створки (полотна)
Масса створки (полотна), кг | Класс |
До 60 включ. | I |
От 61 до 90 включ. | II |
От 91 до 130 включ. | III |
От 131 до 200 включ. | IV |
Примечание - Класс устройства учитывают при определении статических нагрузок на петли в соответствии с 5.5.8. |
4.1.6 По коррозионной стойкости покрытия устройства подразделяют на классы в соответствии с ГОСТ 538-2014
(пункт 5.7.9) с дополнением, приведенным в таблице 2.
Таблица 2
Дополнительная классификация покрытий
по коррозионной стойкости
Класс покрытия | Область применения изделия | Климатическое исполнение | Основной материал | Продолжительность испытаний, ч, не менее | Характер поражения | Оценка результатов |
3А | Для эксплуатации в условиях морского или влажного тропического климата | ТВ, ОМ | Сталь | 1000 | Красная ржавчина | Не допускается |
Алюминий, цинк и их сплавы | Белая ржавчина | Допускаются белые пятна на площади не более 50% площади изделия |
4.2 Условные обозначения
4.2.1 Структура условного обозначения устройств приведена в таблице 3.
Таблица 3
Структура условного обозначения устройств
Порядок изложения элементов условного обозначения | 1 | 2 | 3 | 4 | 5 | 6 | 7 |
Элемент условного обозначения | | | Конструкция узла открывания (4.1.3) | Направление открывания створки (4.1.4) | | Коррозионная стойкость, класс (4.1.6) | Обозначение настоящего стандарта |
Пример условного обозначения поворотно-откидного устройства для оконного блока из поливинилхлоридных профилей, левого исполнения, с устройством регулирования угла открывания, класса II по массе открываемой створки, класса 1 по коррозионной стойкости покрытия:
УПО-ПВХ-Л-Р-II-1 ГОСТ 30777-2023.
Условные обозначения изделий, выпускаемых по индивидуальным заказам, допускается устанавливать в нормативных документах (НД) на устройства конкретного вида.
5.1.1 Изделия должны соответствовать требованиям настоящего стандарта и их изготавливают в соответствии с технической документацией предприятия-изготовителя.
5.1.2 Устройства открывания (фурнитура) представляют собой совокупность отдельных элементов (механизмов), управляемых ручкой (ручкой-приводом). Работа механизмов открывания, закрывания и откидывания базируется на принципе преобразования вращательного движения ручки в возвратно-поступательное движение цапф, установленных на основном приводе и других элементах обвязки, а также на передающих шинах в точках прижима. Количество точек прижима и место расположения на оконном (балконном) блоке в сочетании с ответными планками обеспечивает плотное и равномерное прилегание створки (полотна) к раме, регулировку зазора между рамой и створкой, создавая необходимую плотность притвора в выполнение требований к воздухо- и водопроницаемости оконных (балконных) блоков.
5.1.3 Рекомендуемые составы (комплектность) устройств различных типов, применяемых в оконных и балконных блоках с различными способами открывания, приведены в
приложении А. Примеры схем открывания створки с помощью устройств приведены в
приложении Б. Основные элементы базового комплекта устройств приведены в
приложении В. Примеры базового комплекта устройств для различных типов оконных блоков приведены в
приложении Г.
5.1.4 Тип применяемого устройства выбирают при разработке конструкции оконного (балконного) блока в зависимости от материала профиля, габаритных размеров и массы створки в соответствии с рекомендациями изготовителей устройств, установленных в технической документации изготовителя фурнитуры в диаграммах применения. Пример диаграммы применения приведен в
приложении Д.
5.2 Требования к предельным отклонениям размеров и формы
5.2.1 Номинальные габаритные размеры устройств, их элементов и деталей устанавливают в рабочей документации предприятия-изготовителя.
5.2.2 Предельные отклонения сопрягаемых и несопрягаемых размеров деталей фурнитуры должны быть установлены в рабочих чертежах и не должны превышать значений, установленных в
ГОСТ 538.
5.2.3 Допуски на регулировку (диапазон регулировки) элементов фурнитуры должны соответствовать таблицам 4 и
5.
Таблица 4
Минимальные диапазоны регулировки элементов фурнитуры
для алюминиевых оконных (балконных) блоков
Элемент фурнитуры | Величина допуска, мм |
1 Стандартные петли поворотно-откидных устройств: | |
- по горизонту (ножницы на поворотно-откидной створке 90 - 160 кг) | -2,0/+0 |
- по горизонту (ножницы на поворотно-откидной створке 200 кг) | -1,0/+3,0 |
- по горизонту нижняя петля (90 - 160 кг) | -0,8/+0,8 |
- по вертикали нижняя петля (90 - 200 кг) | 0/+1,0 |
- цапфа регулируемая | -0,8/+0,8 |
- в ножницах по прижиму (плоскости стекла) | -1,0/+0 |
2 Скрытые петли | |
- по горизонту (ножницы на поворотно-откидной створке) | -1,5/+0 |
- нижняя петля по горизонту | -1,0/+1,0 |
- нижняя петля по высоте | -0/+1,5 |
Таблица 5
Минимальные диапазоны регулировки элементов фурнитуры
для деревянных оконных (балконных) блоков и из ПВХ-профилей
Элемент фурнитуры | Величина допуска, мм |
1 Нижние петли (стандартные): | |
- по высоте (дерево/ПВХ) | -2,0/+2,0 |
- по горизонтали | -2,0/+2,0 |
- прижим петли (опционально) | -0,5/+0,5 |
2 Нижние петли (скрытые): | |
- по высоте | -1,0/+2,0 |
- по горизонтали | -1,0/+2,0 |
- прижим петли | +0,5/-0,5 |
3 Петли повышенной несущей способности (200 кг поворотно-откидные/300 кг поворотные): | |
- по высоте (нижняя петля) | -2,0/+3,0 |
- по высоте (средняя петля, поворотная створка) | -2,0/+2,0 |
- по горизонту (нижняя петля) | -2,0/+2,0 |
- по горизонту (ножницы на створке) | -2,0/+2,0 |
- по горизонту (поворотная петля на створке) | -2,0/+2,0 |
- прижим в поворотной петле | -0,5/+0,5 |
- прижим в ножницах | -0,5/+0,5 |
4 Верхние петли (стандартные ножницы): | |
- по горизонту | -1,8/+2,0 |
- прижим в ножницах | -0,5/+0,5 |
5 Верхние петли (скрытые ножницы): | |
- по горизонту | -2,0/+1,0 |
- прижим в ножницах | -0,5/+0,5 |
6 Верхние поворотные петли (стандартные): | |
- по горизонту | -2,0/+3,0 |
- прижим | -0,5/+0,5 |
7 Верхние поворотные петли (скрытые): | |
- по горизонту | -2,0/+2,0 |
- прижим | -0,5/+0,5 |
8 Фрамужная петля: | |
- высота | -2,0/+2,0 |
- компенсация по ширине | -2,0/+2,0 |
9 Регулировка прижима стандартных запорных цапф | -0,75/+0,75 |
10 Регулировка прижима взломостойких цапф | -0,55/+0,55 |
11 Регулировка взломостойких цапф по вылету (опционально) | -0,8/+0,8 |
5.3 Требования к конструкции
5.3.1 Конструкция устройств должна обеспечивать выполнение требований к прочности и эксплуатационным характеристикам, установленным в
5.4 -
5.7.
5.3.2 Количество точек прижима в устройстве и расстояние между ними выбирают в зависимости от величины действующей ветровой нагрузки, габаритных размеров и массы створки (полотна), момента инерции профилей створки (полотна) с учетом требований
5.7.1 -
5.7.4, требований к воздухо- и водопроницаемости окна в соответствии с рекомендациями изготовителей профилей и фурнитуры. Пример расположения точек прижима и расстояния между ними приведен на
рисунке 1.
Примечание - При выборе количества точек прижима следует учитывать, что при их увеличении усилие на ручку (основной привод) при закрывании створки увеличится.
Количество точек прижима и расстояние между ними устанавливают в технической документации изготовителей оконных (балконных) блоков с учетом рекомендаций изготовителей профилей и фурнитуры.
Тип применяемого устройства (фурнитуры) выбирают при проектировании оконных (балконных) блоков в зависимости от их эксплуатационных показателей и в соответствии с рекомендациями изготовителей устройств. Пример применения диаграммы при выборе определенной модели устройства (фурнитуры) приведен в
приложении Д.
Рисунок 1 - Пример расположения точек прижима
и расстояния между ними по периметру створки
5.3.3 Конструкцией цапф (зацепов) и запорных планок устройств должна быть обеспечена возможность регулировки зазора между рамой и створкой в диапазоне допуска, рекомендованного изготовителем оконных профилей. Рекомендуемый диапазон регулировки цапф - в соответствии с
таблицами 4 и
5.
Цапфы (зацепы) при фиксировании створки (полотна) в закрытом положении должны заходить в запорные (ответные) планки по высоте не менее 2,5 мм, а в направлении перемещения не менее, чем на полную ширину (диаметр) зацепа.
Примечание - Величина захода цапфы в ответную планку может изменяться в зависимости от регулировки фурнитуры. Важно, чтобы линия контакта цапфы с ответной планкой проходила не по краю и не по основанию ответной планки.
5.3.4 Для ограниченного воздухообмена помещения конструкцией поворотно-откидных (откидно-поворотных) устройств должно быть предусмотрено наличие режима щелевого проветривания за счет откидывания створки на ширину в соответствии с техническими документами изготовителя фурнитуры или выдвижения створки от рамы на расстояние 6 - 10 мм при выдвижном открывании и фиксации в их положениях.
5.3.5 Конструкцией откидных устройств должен быть обеспечен свободный доступ из помещения к наружной стороне створки, в том числе для мытья стекол, за счет откидывания створки на угол не более 120° от горизонтали и фиксацию в этом положении.
5.3.6 Конструкцией поворотно-откидного устройства должно быть предусмотрено наличие блокираторов ошибочного действия для исключения возможности одновременного открывания и откидывания створки (полотна) и для защиты от провисания. Примеры элементов защиты от провисания приведены на
рисунках 2 -
4.
Элемент защиты от провисания допускается устанавливать на основном запоре или на вертикальном (горизонтальном) фальце створки в месте расположения ручки с ответной частью для обеспечения приподнимания створки при ее закрывании.
Элемент защиты от провисания препятствует провисанию створки в закрытом состоянии, обеспечивает мягкое закрывание створки и снятие нагрузки с петель, поскольку при закрывании защитный элемент приподнимает створку, соприкасаясь с ответной частью рамы.
5.3.6.1 Конструкция откидного устройства для фрамуг должна предусматривать наличие ограничителей открывания, устанавливаемых на боковых или горизонтальных профилях для исключения риска вырывания створки при резком открывании, т.е. при эффекте, имитирующем приложение динамической нагрузки по
5.6.1.
При весе створки 70 кг и более (при габаритных размерах створки, рекомендуемых системодателем фурнитуры) устанавливают два ограничителя. При весе створки 60 кг и менее возможна установка одного ограничителя.
Пример применения ограничителя открывания для фрамуг приведен в приложении Г
(рисунок Г.11).
Рисунок 2 - Элемент защиты от провисания на основном запоре
(может выполнять функцию защиты от ошибочного действия
при эксплуатации)
Рисунок 3 - Элемент защиты от провисания с регулировкой
по высоте, монтируемый снизу створки
Рисунок 4 - Элемент защиты от провисания без регулировки
по высоте и защитой от ошибочных действий при эксплуатации,
монтируемый снизу створки
5.3.6.2 Конструкцией комплекта фурнитуры поворотной створки должна быть предусмотрена возможность ограничения поворота ручки на 90°.
5.3.7 Конструкция подвижного элемента угловой передачи устройства должна содержать не менее двух гибких пластин и выдерживать не менее 20 000 циклов закрывания/открывания при максимально допустимом крутящем моменте на ручке, установленном при проведении испытаний.
Гибкие пластины рекомендуется изготовлять из нержавеющей пружинной стали по
ГОСТ 14959 толщиной не более 0,2 мм или других материалов, обеспечивающих выполнение установленных требований.
5.3.8 Подвижные детали устройств должны перемещаться плавно без заеданий.
5.3.9 Конструкцией ручки для поворотных, откидных, поворотно-откидных, сдвижных, параллельно-сдвижных устройств должна быть обеспечена возможность фиксации устройства в положениях "Открыто", "Откинуто", "Закрыто", "Сдвинуто", а также в положении для проветривания.
5.3.10 Конструкцией петель устройства (в том числе скрытых) должна быть обеспечена регулировка положения створки (полотна) по отношению к коробке (раме) в двух или трех плоскостях.
Конструкция петель в общем случае состоит из двух частей: одну часть крепят к раме, другую часть, ответную, крепят к створке. Петли подразделяют на петли верхние, нижние, средние (поворотные) и фрамужные.
Верхняя петля (для поворотно-откидного и поворотного устройств) представляет собой шарнир, состоящий из двух деталей (карт) для крепления к створке окна (двери), месту установки на раме (коробке) и соединительной оси (стержня). В картах предусматривают отверстия, штифты, кронштейны для крепежа: в отдельных типах петель - усилитель, который устанавливают на раму. Створочную часть верхней петли крепят к ножницам поворотно-откидного механизма или к кронштейну поворотного механизма. Верхняя петля обеспечивает вращение створки относительно вертикальной оси.
Нижняя петля представляет собой шарнир, состоящий из двух частей, одну из которых крепят на раме, ответную часть петли закрепляют на створке. Ось шарнира допускается поставлять отдельно или интегрированной в рамную часть петли. Нижняя петля обеспечивает вращение створки относительно вертикальной оси и/или нижней горизонтальной оси.
Средняя (поворотная) петля представляет собой шарнир, состоящий из двух деталей (карт) соединительной оси (стержня). В картах предусматривают отверстия, штифты, кронштейны для крепежа. Средняя (поворотная петля) обеспечивает поворот створки относительно вертикальной оси.
Фрамужная петля представляет собой шарнир, состоящий из двух деталей (карт) соединительной оси (стержня). В картах предусматривают отверстия, штифты, кронштейны для крепежа. Фрамужная петля обеспечивает поворот створки относительно горизонтальной оси.
5.3.11 Исполнение устройств в части воздействия климатических факторов должно соответствовать требованиям
ГОСТ 15150.
5.3.12 Требования к внешнему виду устройств должны соответствовать
ГОСТ 538.
5.3.13 Конструкцией устройств, установленных на оконные (балконные дверные) блоки, должна быть обеспечена возможность надежной фиксации створки (полотна) в закрытом положении и исключены произвольные и бесконтрольные открывания (закрывания) их под действием ветра.
5.3.14 Для исключения выхода створок из направляющих при раздвижном балконном остеклении необходимо предусматривать защиту от случайного схода створки с направляющей шины.
5.3.15 Для обеспечения стойкости к ветровым нагрузкам ролики, обеспечивающие передвижение створок балконного остекления при раздвижном и параллельно-сдвижном открывании, должны заходить в пазы направляющих профилей (рельс) на глубину, установленную изготовителем профиля.
5.3.16 Цилиндровые механизмы установленные в ручки противовзломных устройств должны быть подобраны в зависимости от класса устойчивости к взлому светопрозрачной конструкции (СПК).
5.3.17 Для запирания балконных дверей должны применяться узкопрофильные замки либо запирающие устройства, состоящие из основного привода, балконной защелки и дополнительных прижимных планок, управляемых ручкой. Размер дорнмасса замка выбирают исходя из геометрии профиля.
Для запирания балконных дверей в защитном (противовзломном) исполнении применяют узкопрофильные замки не ниже 2-го класса или замки 2-го класса с периметральной многоточечной системой запирания по
ГОСТ 5089.
Примечание - Размер дорнмасса определяют расстоянием от центра ключевого или цилиндрового отверстия замка до края торцевой планки.
5.3.18 Конструкцией устройств должна быть обеспечена возможность замены, регулировки элементов и обслуживания (смазка) в процессе эксплуатации.
При комплектации устройств дополнительными изделиями, обеспечивающими безопасную эксплуатацию, требования к ним должны соответствовать установленным в ГОСТ 23166-2021
(раздел 6).
5.3.19 При изготовлении оконных и дверных балконных блоков из алюминиевых профилей с фурнитурным пазом (по аналогии с ПВХ профилями) допускается использовать комплект фурнитуры для окон ПВХ в соответствии с приложением Г (
рисунки Г.1 и
Г.2) с учетом требований по коррозионной стойкости по
7.19.
5.4 Требования к надежности
5.4.1 Надежность устройства определяют как совокупный показатель, определяемый на основании требований к безотказности (количеству циклов открывание/закрывание), стойкости к статическим и динамическим нагрузкам и соответствия эргономическим требованиям.
Устройства должны обеспечивать требования надежности (безотказности) оконных (балконных дверных) блоков в соответствии
ГОСТ 23166 и выдерживать количество циклов испытаний в зависимости от типа устройства, не менее:
- 20 000 - поворотно-откидные;
- 25 000 - поворотные;
- 20 000 - откидные, фрамужные;
- 20 000 - сдвижные (раздвижные), складывающиеся;
Для балконного остекления (остекления лоджий):
- 20 000 - для поворотно-откидных;
- 20 000 - для поворотных;
- 20 000 - для сдвижных;
5.4.2 Ограничители открывания в виде гибких тросов или жестких планок (см. рисунки 5 и
6), установленные на створку и раму (импост), должны быть прочными и выдерживать усилие на разрыв не менее 1000 Н (100 кг).
Рисунок 5 - Пример ограничителя поворотного (распашного)
режима створки в виде жесткой планки
Рисунок 6 - Пример ограничителя поворотного (распашного)
режима в виде гибкого троса с замком
5.4.3 Запорный механизм (запирающее устройство) привода должен быть прочным и выдерживать крутящий момент, приложенный к закрытому (заблокированному) механизму,
Mкр = 25 Н·м в сторону закрывания.
5.5 Требования к сопротивлению статическим нагрузкам
5.5.1 Устройства должны выдерживать статическую нагрузку
P = 500 Н, прикладываемую поочередно в каждой точке запирания закрытой створки (полотна) перпендикулярно к плоскости створки в сторону ее (его) открывания.
5.5.2 Поворотные и поворотно-откидные устройства должны выдерживать статическую нагрузку P = 1000 Н, приложенную в плоскости створки (полотна), открытой (повернутой) на угол 90°.
5.5.3 Откидные, поворотно-откидные и фрамужные устройства должны выдерживать статическую нагрузку P = 500 Н, приложенную вертикально вниз к откинутой на максимальный угол створке.
5.5.4 Сдвижные (раздвижные) складывающиеся устройства должны выдерживать статическую нагрузку P = 1000 Н, приложенную вдоль плоскости створки, повернутой на 90°.
5.5.5 Сдвижные (раздвижные) складывающиеся устройства должны выдерживать статическую нагрузку
P = 1000 Н, приложенную вдоль плоскости сложенной створки (полотна).
5.5.6 Крепление зацепа (цапфы) должно быть прочным и выдерживать статическую нагрузку
P = 500 Н.
5.5.7 Ручки базового комплекта поворотных, поворотно-откидных и раздвижных устройств должны выдерживать статическую нагрузку
P = 500 Н.
5.5.8 Петли поворотных и поворотно-откидных устройств должны быть прочными и выдерживать статические нагрузки, установленные в таблицах 6 и
7 в зависимости от массы и габаритных размеров створки.
Таблица 6
Статические нагрузки, прикладываемые
к верхней петле и ножницам
Масса створки размерами (Ш x В) 1300 x 1200 мм, кг | Нагрузка, Н | Масса створки размерами (Ш x В) 1550 x 1400 мм, кг | Нагрузка, Н | Масса полотна размерами (Ш x В) 900 x 2300 мм, кг | Нагрузка, Н |
До 60 включ. | 1650 | - | - | До 60 включ. | 600 |
От 61 до 70 включ. | 1900 | - | - | От 61 до 70 включ. | 700 |
От 71 до 80 включ. | 2200 | - | - | От 71 до 80 включ. | 800 |
От 81 до 90 включ. | 2450 | - | - | От 81 до 90 включ. | 900 |
От 91 до 100 включ. | 2700 | - | - | От 91 до 100 включ. | 1000 |
От 101 до 110 включ. | 3000 | - | - | От 101 до 110 включ. | 1100 |
От 111 до 120 включ. | 3250 | - | - | От 111 до 120 включ. | 1150 |
От 121 до 130 включ. | 3500 | - | - | От 121 до 130 включ. | 1250 |
- | - | До 140 включ. | 3900 | До 140 включ. | 1350 |
- | - | От 141 до 150 включ. | 4200 | От 141 до 150 включ. | 1450 |
- | - | От 151 до 160 включ. | 4400 | От 151 до 160 включ. | 1550 |
- | - | От 161 до 170 включ. | 4700 | От 161 до 170 включ. | 1650 |
- | - | От 171 до 180 включ. | 5000 | От 171 до 180 включ. | 1750 |
- | - | От 181 до 190 включ. | 5300 | От 181 до 190 включ. | 1850 |
- | - | От 191 до 200 включ. | 5500 | От 191 до 200 включ. | 1950 |
Таблица 7
Статические нагрузки, прикладываемые к нижней петле
Масса створки размерами (Ш x В) 1300 x 1200 мм, кг | Нагрузка, Н | Масса створки размерами (Ш x В) 1550 x 1400 мм, кг | Нагрузка, Н | Масса полотна размерами (Ш x В) 900 x 2300 мм, кг | Нагрузка, Н |
До 60 включ. | 3400 | - | - | До 60 включ. | 3050 |
От 61 до 70 включ. | 4000 | - | - | От 61 до 70 включ. | 3550 |
От 71 до 80 включ. | 4550 | - | - | От 71 до 80 включ. | 4000 |
От 81 до 90 включ. | 5100 | - | - | От 81 до 90 включ. | 4550 |
От 91 до 100 включ. | 5700 | - | - | От 91 до 100 включ. | 5100 |
От 101 до 110 включ. | 6250 | - | - | От 101 до 110 включ. | 5600 |
От 111 до 120 включ. | 6800 | - | - | От 111 до 120 включ. | 6100 |
От 121 до 130 включ. | 7400 | - | - | От 121 до 130 включ. | 6600 |
- | - | До 140 включ. | 8000 | До 140 включ. | 8000 |
- | - | От 141 до 150 включ. | 8550 | От 141 до 150 включ. | 8550 |
- | - | От 151 до 160 включ. | 9150 | От 151 до 160 включ. | 9150 |
- | - | От 161 до 170 включ. | 9700 | От 161 до 170 включ. | 9700 |
- | - | От 171 до 180 включ. | 10300 | От 171 до 180 включ. | 10300 |
- | - | От 181 до 190 включ. | 10850 | От 181 до 190 включ. | 10850 |
- | - | От 191 до 200 включ. | 11450 | От 191 до 200 включ. | 11450 |
5.5.9 Сдвижные (раздвижные) и складывающиеся устройства должны выдерживать статические нагрузки, приведенные в таблице 8.
Таблица 8
Статические нагрузки, прикладываемые
к сдвижным (раздвижным) устройствам
Масса створки сдвижного (раздвижного) оконного блока, кг (для одинарных роликовых опор) | Нагрузка, кН | Масса створки сдвижного (раздвижного) оконного блока, кг (для сдвоенных роликовых опор) | Нагрузка, кН |
До 80 включ. | 0,8 | До 180 включ. | 1,8 |
5.5.10 Крепление петель устройств к профильным элементам створок (полотен) и рам должно быть прочным и выдерживать нагрузку, установленную в ГОСТ 24033-2018 (
таблицы Д.1 и
Д.2).
5.6 Требования к сопротивлению динамическим нагрузкам
5.6.1 Откидные, поворотно-откидные, откидно-поворотные и фрамужные устройства должны выдерживать динамическую нагрузку от действия горизонтальной силы, приложенной в центре верхнего бруска (профиля) створки и создаваемую свободно падающим грузом массой 10 кг.
Примечание - Требование имитирует стойкость оконного блока к действию сквозняка, создающему эффект "хлопка". Особенно актуально, если оконный блок оставлен открытым, поднялся сильный ветер (ураган) и при открывании двери создается "хлопок" в результате разницы давлений.
5.6.2 Поворотные, поворотно-откидные и откидно-поворотные устройства должны выдерживать динамическую нагрузку, создаваемую свободно падающим грузом массой 10 кг, действующую в сторону закрывания и имитирующую удар постороннего предмета, находящегося между рамой и створкой со стороны петель.
5.6.3 Поворотные, поворотно-откидные и откидно-поворотные устройства без ограничителя поворота должны выдерживать динамическую нагрузку, создаваемую свободным падением груза массой 10 кг и имитирующую удар об откос в сторону открывания.
5.6.4 Сдвижные (раздвижные) устройства должны выдерживать динамическую нагрузку, создаваемую свободным падением груза массой 20 кг и имитирующую удар об ограничитель открывания (угол откоса, дверной упор).
5.6.5 Противовзломные устройства должны выдерживать динамическую нагрузку от удара мягким и твердым телами в соответствии с
ГОСТ 31462.
5.6.6 Параллельно - выдвижные, складные устройства должны выдерживать динамическую нагрузку, создаваемую свободно падающим грузом массой 20 кг, приложенную в месте расположения ручки и направленную в сторону открывания створки.
5.7 Эргономические требования
5.7.1 Усилие, прикладываемое к ручке поворотно-откидного (откидно-поворотного) и фрамужного устройств для открывания и закрывания створки (полотна), не должно превышать 100 Н.
Примечание - Установленные усилия имитируют усилие пользователя, приложенное к ручке устройства либо непосредственно к створке (ручка в положении "открыто", повернута на 90°, пользователь тянет ручку на себя - усилие открывания, или толкает от себя - усилие закрывания). Прикладываемое усилие допускается изменять в зависимости от веса створки, соответственно, значения усилий установлены в настоящем пункте как "не более".
Усилие, прикладываемое к ручке поворотного устройства для открывания и закрывания створки (полотна), должно быть не более 50 Н (75 Н - для балконного дверного блока).
Усилие, прикладываемое к ручке поворотного устройства для людей с ограниченными возможностями должно быть не более 5 Н.
Примечание - Усилие на ручку устанавливают при определенном количестве точек прижима, рекомендованном изготовителями фурнитуры с учетом требований
5.3.2.
Усилие на ручку (при соблюдении основных размеров профильной системы) определяют с учетом упругой деформации уплотнителя и оно зависит от типа и жесткости материала уплотнителей, длины контура уплотнения и величины зазора в притворе окна. Чем больше габаритные размеры створки (длиннее уплотнение) и жестче материал уплотнения, тем выше крутящий момент на ручке - основной параметр, определяющий комфорт при эксплуатации окна.
5.7.2 Запорные механизмы притворов поворотных, откидных и поворотно-откидных (откидно-поворотных) устройств должны выдерживать усилие от крутящего момента
Mкр = 25 Н·м, необходимого для поворота ручки створки (полотна) из положения "Закрыто" в положение "Открыто" и наоборот.
5.7.3 Для поворотных, откидных и поворотно-откидных (откидно-поворотных) устройств максимальный крутящий момент, прикладываемый к ручке для перемещения тяг с запирающими элементами, при изменении положения ручки из положения "Открыто" в положение "Закрыто" и наоборот должен быть не более 10 Н·м.
Во избежание увеличения крутящего момента необходимо применять ручку с рычагом длиной 160 - 200 мм.
5.7.4 Максимальный крутящий момент для сдвижных (раздвижных), складывающихся и параллельно-сдвижных устройств, прикладываемый к ручке для перемещения тяг с запирающими элементами при запирании и отпирании окна (створки), при изменении положения ручки из положения "Открыто" в положение "Закрыто" и наоборот должен быть не более значения, Н·м, рассчитываемого по формуле
M = [(h - 20)·100], (1)
где h - общая длина ручки.
Расчетное значение крутящего момента, максимальное для конкретного базового комплекта, должно быть подтверждено испытаниями.
5.8 Требования к материалам изготовления устройств
5.8.1 Для изготовления деталей устройств следует применять материалы в соответствии с
ГОСТ 538, алюминиевые сплавы по
ГОСТ 1583, цинковые сплавы по
ГОСТ 19424,
ГОСТ 25140, латунь по
ГОСТ 17711; стали по
ГОСТ 5949,
ГОСТ 1050, литьевые сополимеры полиамида по
ГОСТ 19459, полиэтилен низкого давления по
ГОСТ 16338 и иные материалы, механические и антикоррозионные свойства которых не ниже перечисленных.
5.8.2 Устройства должны быть защищены от коррозии согласно требованиям нормативных документов <1>, действующих на территории стран - участников Соглашения, принявших настоящий стандарт. Покрытия должны быть коррозионно-стойкими и соответствовать требованиям
ГОСТ 538 и дополнительным требованиям, установленным в
4.1.6 (таблица 2).
--------------------------------
<1> В Российской Федерации действует
СП 28.13330.2017 "СНиП 2.03.11-85 Защита строительных конструкций от коррозии".
5.8.3 Адгезия лакокрасочного покрытия должна быть не более 2 баллов по
ГОСТ 31149.
5.8.4 Металлические покрытия деталей устройств должны соответствовать
ГОСТ 9.303 для условий эксплуатации 2-й или 3-й группы. Толщина защитно-декоративных покрытий должна быть не менее 12 мкм, защитных - не менее 9 мкм.
Лакокрасочные покрытия деталей устройств должны соответствовать
ГОСТ 9.104,
ГОСТ 9.032. Требования к толщине лакокрасочного покрытия устанавливают в рабочей документации на изделия в зависимости от конкретных условий эксплуатации.
Покрытие элементов устройств из алюминиевых сплавов должно быть анодно-окисным либо полимерным по
ГОСТ 22233.
5.8.5 Элементы устройств, соприкасающиеся со створкой (рамой) из профилей алюминиевых сплавов, должны быть изготовлены из нержавеющей стали, цинковых сплавов, латуни, стали с защитным металлическим покрытием либо из полимерных материалов для исключения возможности возникновения электрохимической коррозии.
Крепление стальных элементов фурнитуры с рамочными элементами окна (двери) из алюминиевых профилей следует выполнять крепежом из нержавеющей стали.
5.9 Комплектность при поставке
5.9.1 Комплектация изделий при их поставке потребителю должна соответствовать требованиям, установленным в технической документации предприятия-изготовителя, в заказе (договоре) и быть согласована с потребителем.
5.9.2 В комплект изделия должны входить элементы фурнитуры в соответствии с технической документацией изготовителя.
5.9.3 В комплект поставки должны входить: спецификация деталей, узлов и элементов комплекта, документ о качестве (паспорт), инструкция по эксплуатации изделий. Изготовитель предусматривает наличие шаблонов и другого инструмента для установки деталей фурнитуры. Поставку сборно-разборных изделий сопровождают инструкцией по их сборке.
5.9.4 Сопроводительные документы, входящие в комплект поставки, должны быть на языке страны потребителя. При реализации изделий через розничную торговую сеть инструкции по монтажу, эксплуатации и техническому обслуживанию должны сопровождать каждый комплект устройств.
5.10.1 Маркировка элементов базового комплекта фурнитуры должна быть с указанием товарного знака предприятия - изготовителя. Маркировку располагают на видимой при эксплуатации стороне детали. Отдельные детали (узлы) могут иметь собственную маркировку в соответствии с технической документацией предприятия-изготовителя. Маркировка должна сохраняться в течение всего срока эксплуатации устройства.
5.10.2 Маркировка упаковки устройства (фурнитуры) должна быть на языке страны потребителя и содержать следующие сведения:
- наименование (товарный знак) предприятия-изготовителя;
- условное обозначение изделия;
- число изделий в упаковке;
- дату изготовления и/или номер заказа;
- отметку службы технического контроля.
6.1 Приемку изготовленной продукции осуществляет служба контроля качества предприятия-изготовителя на основании приемо-сдаточных и периодических испытаний в соответствии с требованиями
ГОСТ 15.309.
6.2 Приемо-сдаточные и периодические испытания продукции проводят в объеме, с периодичностью и по номенклатуре показателей, установленных в таблице 9.
Таблица 9
Показатели, контролируемые при приемо-сдаточных
периодических испытаниях
Наименование показателя | Структурный элемент | Категория испытаний | Периодичность испытаний |
требования | метода испытаний | приемо-сдаточных | периодических |
1 Надежность (безотказность) устройств, циклы | | | - | + | Один раз в три года |
2 Прочность ограничителей открывания | | | - | + |
3 Прочность запорного механизма привода | | | - | + |
4 Сопротивление устройств статическим нагрузкам, Н | | | - | + |
5 Прочность крепления зацепа | | | - | + |
6 Сопротивление ручек базового комплекта статическим нагрузкам, Н | | | - | + |
7 Прочность петель | | | - | + |
8 Надежность (прочность) сдвижных (раздвижных) и складывающихся устройств (износостойкость роликов) | | | - | + |
9 Прочность крепления петель к профильным элементам | | | - | + |
10 Сопротивление динамическим нагрузкам, Н | | | - | + |
11 Соответствие эргономическим требованиям | | | - | + |
12 Коррозионная стойкость покрытия | | | - | + |
13 Герметичность оконных блоков (плотность прижима створки) | | | - | + |
14 Усилие открывания-закрывания створки (плотность прижима створки) | | | - | + |
15 Адгезия лакокрасочного покрытия | | | + | + | |
16 Толщина покрытия | | | + | + |
17 Внешний вид | | | + | - | Каждая партия |
18 Геометрические размеры | | | + | - |
19 Состав (комплектность) и сборка устройств | | | + | - |
20 Работоспособность (функциональность) устройств | | | + | - |
21 Комплектность при поставке, маркировка, упаковка | | | + | - |
Примечание - Толщину и адгезию покрытия контролируют при приемо-сдаточных испытаниях с периодичностью, установленной в технологической документации предприятия-изготовителя и периодических испытаниях с периодичностью один раз в пять лет. |
6.3 Испытание устройств каждого типа проводят на изделиях из числа единиц продукции, прошедшей приемо-сдаточный контроль. Требования к образцам для испытаний и выбору репрезентативных образцов установлены в
ГОСТ 24033.
Размеры испытуемых образцов поворотных, откидных, поворотно-откидных, сдвижных (раздвижных) складных устройств установлены в
ГОСТ 24033.
Примечание - В случае невозможности отбора образцов с требуемыми размерами допускается проводить испытания на образцах меньшего размера с коэффициентом отношения высоты к ширине равным 1,67.
6.4 Конструктивные детали и узлы устройств должны поставлять с документом о качестве (паспорт), подтверждающим их соответствие требованиям настоящего стандарта.
6.5 При приемке изделий (устройств) партией считают число изделий, отгружаемое по конкретному заказу. При приемке изделий допускается применять план одноступенчатого контроля качества изделий, приведенный в таблице 10.
Таблица 10
План одноступенчатого контроля качества изделий
Объем партии, шт. | Объем выборки, шт. | Приемочное число |
малозначительных дефектов | критических и значительных дефектов |
От 1 до 12 | Сплошной контроль | 3 | 0 |
13 - 24 | 5 | 3 | 0 |
25 и более | 8 | 4 | 1 |
Примечания 1 К значительным и критическим дефектам относят дефекты, неустранимые без замены части изделия. 2 К малозначительным дефектам относят устранимые дефекты, не влияющие на функциональные характеристики изделий. |
6.6 Каждая партия изделий (устройств) должна быть сопровождена паспортом, в котором указывают:
- наименование и адрес предприятия-изготовителя или его товарный знак;
- условное обозначение изделия;
- номер партии (заказа);
- число изделий в партии (шт.);
- спецификацию комплектующих элементов;
- дату отгрузки.
Паспорт изделия должен содержать знак (штамп), подтверждающий приемку партии изделий службой качества предприятия-изготовителя. В паспорте следует указывать основные технические и эксплуатационные характеристики изделий, гарантийные обязательства. Допускается применение паспорта изделия в электронном виде.
При экспортно-импортных операциях содержание сопроводительного документа о качестве устанавливают в договоре на поставку изделий.
6.7 Если условиями контрактов (договоров) между заказчиком (потребителем) и предприятием-изготовителем определено, что приемку продукции следует осуществлять представителю заказчика (потребителя), то приемку проводит представитель заказчика (потребителя) в присутствии службы качества предприятия-изготовителя в соответствии с
6.5 и требованиями
ГОСТ 15.309.
При проведении приемки изделий представителем заказчика (потребителя) необходимо соблюдать порядок отбора образцов и методы испытаний, установленные в настоящем стандарте либо в нормативных документах на конкретные виды изделий.
6.8 По договоренности сторон приемку изделий потребителем допускается проводить у изготовителя, на складе потребителя, у официального дилера или в ином, оговоренном в договоре на поставку, месте.
6.9 Приемка изделий потребителем не освобождает изготовителя от ответственности при обнаружении скрытых дефектов, приведших к нарушению эксплуатационных характеристик изделий в течение гарантийного срока.
7 Методы контроля (испытаний)
7.1 Методы контроля, установленные в настоящем стандарте, применимы для контроля изготовленной продукции в лабораторных условиях до ее отгрузки, передачи или продажи потребителю (заказчику).
Контроль (испытание) проводят в лабораторных условиях на образцах устройств, установленных на оконных (балконных) блоках, не смонтированных в проемы здания.
7.2 Испытание надежности (безотказности) поворотных, откидных, поворотно-откидных, откидно-поворотных устройств (см.
5.4.1) проводят методом по ГОСТ 24033-2018
(подраздел 7.5).
Примечания
1 При циклических испытаниях устройств цикл испытаний включает следующую последовательность действий:
- перемещение ручки поворотного устройства из положения "Закрыто" в положение "Открыто" для открывания створки на угол не менее 60°, закрывание створки и возвращение ручки из положения "Открыто" в положение "Закрыто" для возвращения створки в исходное положение;
- перемещение ручки откидного и фрамужного устройств из положения "Закрыто" в положение "Открыто" для откидывания створки на угол не менее 15°, закрывание створки и перемещение ручки из положения "Открыто" в положение "Закрыто" для возвращения створки в исходное положение;
- перемещение одной створки относительно другой либо относительно неподвижной (глухой части окна) до упора и возвращение ее в исходное (закрытое) положение для испытания сдвижного устройства;
- перемещение створки по рельсу (направляющей) заданной длины, складывание створки "в гармошку" и возвращение в исходное закрытое положение для испытания сдвижного (раздвижного) складывающегося устройства;
- выдвижение створки (полотна) из плоскости окна на определенное расстояние, перемещение створки параллельно вдоль плоскости окна до упора и возвращение в исходное (закрытое) положение для испытания параллельно-сдвижного устройства;
- выдвижение створки (полотна) из плоскости окна на определенное расстояние и возвращение в исходное (закрытое) положение для испытания параллельно-выдвижного устройства;
- перемещение ручки откидного устройства окон из положения "Закрыто" в положение "Открыто" для откидывания створки на угол не более 20°, перемещение ручки из положения "Открыто" в положение "Закрыто" для возвращения створки в исходное положение.
2 Циклические испытания поворотно-откидных (откидно-поворотных) устройств допускается проводить раздельно испытаниями поворотных и откидных устройств, являющимися частью полного цикла испытаний.
7.3 Прочность ограничителей открывания на разрыв (см.
5.4.2) проверяют на разрывной машине. Усилие разрыва доводят до значения 1000 Н и выдерживают в течение 5 мин. Изделие выдержало испытание, если трос (жесткая планка) не порвался, в планке отсутствуют деформационные изменения, крепежные изделия не вышли из профильных пазов створки (рамы).
7.4 Испытание надежности [прочности роликов (роллеров)] сдвижных (раздвижных) и складывающихся устройств
Сущность метода испытания заключается в определении прочности и износоустойчивости роликов (роллеров) устройств при действии статических нагрузок по
5.5.9 в течение 240 ч (схема приложения нагрузки приведена на
рисунке Е.1) и дальнейшего испытания этого же образца на безотказность (надежность) методом, установленным в ГОСТ 24033-2018
(подраздел 7.5).
Примечание - При крупноформатном размере образца значение испытательной нагрузки может соответствовать собственной максимальной массе створки.
7.4.1 Статические испытания прочности устройств
7.4.1.1 Обследуют поверхность роликов на наличие дефектов. Измеряют начальный диаметр каждого ролика в трех контрольных точках, равномерно распределенных по окружности, и записывают результаты измерений.
7.4.1.2 Устанавливают створку (полотно) оконного (дверного) блока с роллерами в испытательном стенде и проводят испытание статической нагрузкой по
5.5.9 или нагрузкой собственного веса в течение 240 ч.
7.4.1.3 После снятия нагрузки с роллеров измеряют конечный диаметр каждого ролика в отмеченных точках соприкосновения. Диаметр роликов в точках соприкосновения должен отличаться от начального диаметра не более чем на 0,5%.
В процессе испытания статической нагрузкой определяют значение прогиба роллера и нижнего профиля створки (полотна), величина которого после снятия нагрузки должна быть не более 2,0 мм.
7.4.2 Испытание образца под нагрузкой на безотказность (цикличность)
7.4.2.1 Измеряют и записывают начальную величину 2 в положении роллера под нагрузкой перед испытанием по 7.4.2.2 (см.
рисунок Е.1).
7.4.2.2 Проводят циклические испытания образца по методике ГОСТ 24033-2018
(подраздел 7.5).
7.4.2.3 Измеряют и записывают конечную величину 2 в положении роллера под нагрузкой.
7.4.2.4 Снимают нагрузку с роллера и измеряют конечный диаметр каждого ролика в намеченных трех контрольных точках.
7.4.3 Результаты испытания устройства считают положительными, если:
- диаметр роликов после испытаний статической нагрузкой отличается от начального диаметра не более чем на 0,5%;
- функция движения роллера (роликов) по направляющему рельсу осталась неизменной (без искажений);
- разность значений начального и конечного диаметров роликов в контрольных точках после испытаний на безотказность составляет не более 5%, что характеризует износостойкость материала роликов.
7.5 Испытание прочности запорного механизма привода (см.
5.4.3) крутящим моментом, приложенным к приводу в сторону закрывания, проводят по методике ГОСТ 24033-2018
(подпункт 8.5.3.6) в течение не менее 1 мин на устройстве, находящемся в положении "Закрыто". Испытание проводят на устройстве, смонтированном на оконном блоке или на отдельно закрепленном приводе устройства, например, на отрезке профиля в тисках.
7.6 Испытание устройств на сопротивление статическим нагрузкам (см.
5.5.1 -
5.5.5) проводят методом, установленным в ГОСТ 24033-2018
(подраздел 8.1).
7.7 Испытание прочности крепления зацепа (см.
5.5.6) проводят прикладыванием к нему статической нагрузки по схеме, приведенной на
рисунке Ж.4. Зацеп должен выдерживать контрольную нагрузку в течение 1 мин без деформационных изменений и разрушения.
7.8 Испытание ручек базового комплекта поворотных и поворотно-откидных устройств на сопротивление статическим нагрузкам (см.
5.5.7) проводят методом по ГОСТ 24033-2018 (
подпункты 8.5.3.3 и
8.5.3.4).
Ручки должны выдерживать статическую нагрузку 500 Н, приложенную на расстоянии 100 мм от оси ручки перпендикулярно к плоскости вращения ручки, в течение не менее 5 мин.
7.9 Испытание прочности петель поворотных и поворотно-откидных устройств (сопротивление статическим нагрузкам) проводят методом
7.9.1 -
7.9.3. Схемы приложения нагрузок на верхнюю (ножничную) и нижнюю петли приведены на
рисунках Ж.1 и
Ж.2.
Сущность метода испытаний заключается в приложении статических нагрузок по
5.5.8 на верхние (ножничные) и нижние петли.
Испытания проводят на испытательном стенде, предназначенном для испытаний на растяжение и сжатие (например, разрывная машина).
7.9.1 Определение прочности верхних петель (ножничных)
7.9.1.1 Порядок подготовки испытательных образцов
Образец верхней петли рамы с помощью шаблона устанавливают на металлической основе толщиной не менее 20 мм и закрепляют неподвижно винтами М4. С помощью петельной оси соединяют часть петли, установленной на створке, с частью верхней петли, установленной на ножницах.
7.9.1.2 Порядок проведения испытаний
Испытание проводят на трех одинаковых образцах. Схема приложения статической нагрузки приведена на
рисунке Ж.1. Величина испытательной нагрузки установлена в
таблице 6. Величину нагрузки измеряют динамометром.
Испытательную нагрузку прикладывают к верхней петле, установленной в испытательном стенде так, чтобы усилие растяжения действовало на петлю под углом 90°. Нагружение образца проводят равномерно со скоростью подачи примерно 10 мм/мин до достижения контрольного значения нагрузки. Образец выдерживают под нагрузкой не менее 5 с.
7.9.2 Определение прочности нижних петель
7.9.2.1 Порядок подготовки испытательных образцов
Образец нижней петли рамы с помощью шаблона устанавливают на металлической основе толщиной не менее 20 мм и закрепляют неподвижно винтами М4. С помощью петельной оси соединяют часть верхней петли, установленной на створке, с частью нижней петли створки.
7.9.2.2 Порядок проведения испытаний
Испытание проводят на трех одинаковых образцах. Схема приложения статической нагрузки приведена на
рисунке Ж.2. Величина испытательной нагрузки установлена в
таблице 4. Величину нагрузки измеряют динамометром.
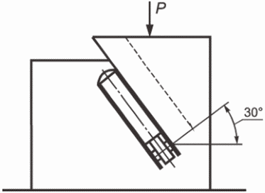
Испытательную нагрузку прикладывают к нижней петле, установленной в испытательном стенде так, чтобы усилие сжатия действовало на петлю под углом 30°. Нагружение образца проводят равномерно со скоростью подачи примерно 10 мм/мин до достижения контрольного значения нагрузки. Образец выдерживают под нагрузкой не менее 5 с.
7.9.3 Оценка результатов испытаний
Положительная оценка результата испытаний - способность петель выдерживать приложенные статические нагрузки без деформационных изменений, видимых повреждений и разрушения.
7.10 Испытание прочности крепления петель устройств к профильным элементам створки (рамы) (см.
5.5.10) проводят методами по ГОСТ 24033-2018
(раздел 9).
7.11 Испытание откидных, поворотно-откидных, откидно-поворотных и фрамужных устройств на сопротивление динамическим нагрузкам (см.
5.6.1) проводят по методике ГОСТ 24033-2018
(пункт 8.3.1). Устройства должны выдерживать динамическую нагрузку от действия горизонтальной силы, приложенной в центре верхнего бруска (профиля) закрытой створки (ручка находится в положении "Откинуто"), создаваемую свободно падающим грузом массой 10 кг (см.
рисунок Ж.3).
Примечание - Испытания проводят в следующем порядке:
- посередине верхнего бруска (профиля створки) откинутой створки (ручка находится в положении "откинуто") откидного, поворотно-откидного или фрамужного устройства прикрепляют трос диаметром 5 - 6 мм, перекинутый через блок, как показано на
рисунке Ж.3;
- второй конец троса прикрепляют к грузу, который лежит на прокладке из резины толщиной 20 мм; створка полностью откинута, трос натянут, груз лежит на прокладке на основании стенда или на полу;
- створку закрывают вручную, надавливая на верхний брусок в районе крепления троса, до положения "закрыто". Груз при этом поднимается на величину хода откидывания створки;
- створку опускают, падающий груз создает динамическую нагрузку на ножницы и верхнюю петлю.
После испытаний на изделии не должно быть деформаций, повреждений, разрушения. Устройство должно функционировать в установленном режиме.
7.12 Испытание поворотных, поворотно-откидных и откидно-поворотных устройств на сопротивление динамической нагрузке (см.
5.6.2) проводят по методике ГОСТ 24033-2018
(пункт 8.3.2). Устройства должны выдерживать динамическую нагрузку в сторону закрывания, имитирующую удар о посторонний предмет, находящийся между рамой и створкой со стороны петель, создаваемую свободно падающим грузом массой 10 кг с высоты 200 мм по ГОСТ 24033-2018
(рисунок В.4).
7.13 Испытание поворотных, поворотно-откидных и откидно-поворотных устройств без ограничителя поворота на сопротивление динамической нагрузке (см.
5.6.3) проводят по методике ГОСТ 24033-2018
(пункт 8.3.1). Устройства должны выдерживать динамическую нагрузку, имитирующую удар об откос в сторону открывания, создаваемую свободно падающим грузом массой 10 кг по ГОСТ 24033-2018
(рисунок В.1).
7.14 Испытание сдвижных, раздвижных устройств на сопротивление динамической нагрузке (см.
5.6.4) проводят по методике ГОСТ 24033-2018
(пункт 8.3.1). Устройства должны выдерживать динамическую нагрузку, имитирующую удар об ограничитель открывания (угол откоса, дверной упор), создаваемую свободно падающим грузом массой 20 кг по ГОСТ 24033-2018
(рисунок В.3).
7.15 Испытание противовзломных устройств (фурнитуры) на сопротивление динамической нагрузке ударом мягким и твердым телом (см.
5.6.5) проводят по методике ГОСТ 31462-2021
(пункт 8.10.5).
7.16 Испытание параллельно-выдвижных складных устройств на сопротивление динамической нагрузке (см.
5.6.6) проводят по методике ГОСТ 24033-2018
(пункт 8.3.1). Устройства должны выдерживать динамическую нагрузку, приложенную в месте расположения ручки и направленную в сторону открывания створки, создаваемую свободно падающим грузом массой 20 кг с высоты 200 мм по ГОСТ 24033-2018
(рисунок В.2).
7.18 Величину крутящего момента для сдвижных (раздвижных), складывающихся и параллельно-сдвижных устройств измеряют по методике ГОСТ 24033-2018
(пункт 8.5.3).
7.19 Коррозионную стойкость покрытия изделий проверяют методами, установленными в
ГОСТ 9.308. Коррозионную стойкость алюминиевых деталей изделий проверяют по
ГОСТ 22233.
Коррозионную стойкость устройств, соприкасающихся со створками и коробками из профилей алюминиевых сплавов, испытывают в зоне контакта испытуемого образца с алюминиевыми элементами.
Примечание - Образец для испытания на коррозионную стойкость изготавливают следующим образом: стальные детали фурнитуры прикрепляют к алюминиевому профилю крепежными изделиями в соответствии со спецификацией. Положительная оценка результата испытания - отсутствие красной ржавчины на деталях фурнитуры и крепежа.
7.20 Испытание герметичности оконных блоков по показателю воздухо- и водопроницаемости, достигаемой плотностью прижима уплотнителей к рамочным элементам окна, проводят в соответствии с
ГОСТ 23166.
Герметичность окна оценивают по изменению усилия "открывание - закрывание" в соответствии с
7.21.
Примечание - При оценке изменения усилия на ручку следует анализировать причину изменения в части возможного нарушения отдельных функций элементов фурнитуры [при провисании створки (полотна)], деформации профиля створки (полотна), целостности уплотнителя.
7.21 Усилие открывания и закрывания створки при проведении испытаний по
7.19 определяют по методике ГОСТ 24033-2018
(подраздел 8.5). Усилие, прикладываемое к ручке устройства после испытания, должно соответствовать усилию на ручке до испытания или отличаться от него не более чем на 20% в сторону увеличения и не более чем на 10% в сторону ослабления.
Примечание - При проведении первичных испытаний (при постановке продукции на производство) либо по требованию заказчика рекомендуется измерять усилия открывания и закрывания пооперационно, т.е. в процессе поворота, в процессе откидывания для последующего проведения оценки работоспособности по
7.26.
7.22 Прочность сцепления лакокрасочных покрытий с отделываемой поверхностью (адгезию) определяют методом решетчатых надрезов по
ГОСТ 31149.
7.23 Толщину металлических и лакокрасочных покрытий на металлических поверхностях изделий измеряют на отдельных элементах с помощью приборов - толщиномеров с областью измерения, установленной в
ГОСТ 9.302.
7.24 Внешний вид изделий, комплектность, сборку изделия, наличие крепежных и других деталей проверяют визуально на соответствие требованиям настоящего стандарта, конструкторской документации и образцам-эталонам (при наличии).
Маркировку и упаковку изделий проверяют визуально.
7.25 Геометрические размеры изделий определяют измерением с использованием методов, установленных в нормативных документах <1>, действующих на территории государства - участника Соглашения, принявшего настоящий стандарт.
--------------------------------
| | ИС МЕГАНОРМ: примечание. В официальном тексте документа, видимо, допущена опечатка: ГОСТ Р 58939-2020 имеет название "Система обеспечения точности геометрических параметров в строительстве. Правила выполнения измерений. Элементы заводского изготовления". | |
<1> В Российской Федерации в соответствии с
ГОСТ Р 58941-2020 "Система обеспечения точности геометрических параметров в строительстве. Правила выполнения измерений. Общие положения",
ГОСТ Р 58939-2020 "Система обеспечения точности геометрических параметров в строительстве. Элементы заводского изготовления".
Приборы (оборудование) для проведения измерений должны быть поверены в установленном порядке.
7.26 При проверке работоспособности (функциональности) изделия проверяют вручную правильность перемещения его элементов в пазах оконного блока, фиксацию ручки, регулировку петель, выполняя цикл работы не менее пяти раз.
8 Общие требования к безопасной эксплуатации и обслуживанию
8.1 Устройства должны быть безопасными при эксплуатации и обслуживании и соответствовать общим требованиям, предъявляемым к безопасности зданий в соответствии с нормативными правовыми документами <2>, действующими на территории государства - участника Соглашения, принявшего настоящий стандарт, ГОСТ 23166-2021 (
разделы 6 -
8).
--------------------------------
<2> В Российской Федерации - согласно федеральным законам от 30 декабря 2009 г.
N 384-ФЗ "Технический регламент о безопасности зданий и сооружений" и от 22 июля 2008 г.
N 123-ФЗ "Технический регламент о требованиях пожарной безопасности".
8.2 Устройства должны быть изготовлены с учетом предотвращения возможных рисков и несчастных случаев при обслуживании оконных (балконных, дверных) блоков.
8.3 Для обеспечения безопасной эксплуатации необходимо учитывать прочностные характеристики устройств, исходить из размеров рамочных элементов, массы их заполнения, способов открывания створки и выполнять требования системодателей фурнитуры и ГОСТ 23166-2021
(раздел 6).
8.4 Безопасность эксплуатации обеспечивают надежным креплением всех деталей устройства к створке (полотну), исключением одновременного выполнения разных операций (например, поворота и откидывания створки) и произвольного открывания - закрывания створки в процессе эксплуатации, применением откидно-поворотных устройств и пр.
Устройства рекомендуется комплектовать дополнительными элементами: детскими замками безопасности, съемными ручками, ручками с цилиндровым механизмом, механическими ограничителями открывания в виде откидных планок, гибких тросиков и пр. Механические ограничители открывания допускается комплектовать также детским замком безопасности.
Для исключения риска отрыва и выпадения фрамужной створки при эксплуатации следует в комплект устройств включать ограничители открывания створки по
5.3.6.1.
8.5 Требования к безопасной эксплуатации устройств должны быть установлены в проектной документации на их изготовление и отражены в паспорте изделия, инструкции по эксплуатации или иной документации, входящей в комплект поставки.
8.6 Правила эксплуатации должны содержать требования к поддержанию исправного технического состояния, проведению сервисного обслуживания, оценке износа деталей, надежности крепления, порядку смазки и регулировки подвижных деталей и мест запирания, применению чистящих (моющих) средств и т.д.
8.7 Правила эксплуатации также должны учитывать специфику изделий и условий их эксплуатации, например, специфику строительного объекта, климатических условий эксплуатации и пр.
При эксплуатации оконных блоков в климатических условиях с наружным воздухом температурой ниже минус 25 °C не рекомендуется применять длительное щелевое проветривание для исключения промерзания уплотнителя и механизма поворота ручки; также в этих условиях не допускается проводить мойку окна.
8.8 Средства для очистки поверхности фурнитуры должны быть нейтральными по составу. Не допускается применять моющие средства с щелочным, кислотным составом, а также с абразивным наполнителем.
8.9 Рекомендуемые сроки проведения сервисного обслуживания - не реже одного раза в год. Работы по техническому обслуживанию должны проводить профильные организации или изготовители устройств.
9 Упаковка, транспортирование и хранение
9.1 Упаковка изделий должна обеспечивать их сохранность при хранении, погрузочно-разгрузочных работах и транспортировании. Изделия одного вида должны быть упакованы в потребительскую, а затем в транспортную тару. Способом упаковки изделий должна быть исключена возможность их самопроизвольного перемещения и обеспечена сохранность изделий с их комплектующими и крепежными деталями.
9.2 В качестве потребительской тары рекомендуется использовать упаковку по
ГОСТ 33781, полиэтиленовую пленку по
ГОСТ 10354 или полиэтиленовую термоусадочную пленку по
ГОСТ 25951.
9.3 Неустановленные комплектующие и крепежные детали должны быть завернуты в бумагу по
ГОСТ 8273, полиэтиленовую пленку по
ГОСТ 10354 или другой упаковочный материал, прочно перевязаны и упакованы в пачки вместе с изделиями.
9.4 В каждую потребительскую тару вкладывают упаковочный лист, в котором указывают:
- наименование и условное обозначение изделия;
- число изделий (шт.);
- номер упаковщика;
- дату упаковки (месяц, год).
Допускается включать дополнительные сведения, не указанные в настоящем перечне.
9.5 Изделия транспортируют всеми видами транспорта в соответствии с правилами перевозки грузов, действующими на данном виде транспорта. Для перевозки изделий следует применять крытые транспортные средства в соответствии с правилами и условиями погрузки и крепления грузов, действующими на транспорте соответствующего вида.
9.6 При хранении и транспортировании изделий должна быть обеспечена их защита от механических повреждений, воздействия атмосферных осадков и прямых солнечных лучей.
9.7 Изделия хранят в контейнерах, ящиках или в упаковках на деревянных подкладках (поддонах) в крытых проветриваемых помещениях без непосредственного контакта с нагревательными приборами. Между упаковками изделий рекомендуется устанавливать разделительные прокладки из эластичных материалов.
Условия хранения изделий - по группе 2, условия транспортирования - по группе 5
ГОСТ 15150.
10 Общие требования к монтажу
10.1 Требования к монтажу устройств устанавливают в технической документации изготовителя оконных (балконных дверных) блоков на конкретные типы устройств с учетом способа открывания створки (полотна), массы, габаритных размеров и иных параметров оконных (дверных балконных) блоков, определяемых прочностными характеристиками устройств.
10.2 Монтаж изделий следует проводить с помощью шаблонов и крепежных элементов, рассчитанных на восприятие действующих нагрузок. Расположение точек крепления, вид крепежа, допуски на размеры паза и рекомендации по применению дополнительных элементов должны быть указаны в инструкции по монтажу и конструкторской документации предприятия-изготовителя оконных (дверных балконных) блоков.
10.3 По требованию заказчика (потребителя) изготовитель устройств должен предоставлять инструкцию по монтажу изделий, содержащую перечень комплектующих изделий, схемы монтажа, последовательность технологических операций по монтажу.
11.1 Изготовитель гарантирует соответствие изделий требованиям настоящего стандарта при условии соблюдения потребителем правил транспортирования, хранения, монтажа и эксплуатации, области применения изделий, а также при условии наличия единой маркировки товарного знака изготовителя на всех деталях устройств, поставляемых на рынок как целое изделие или как комплект отдельных деталей.
11.2 Гарантийный срок эксплуатации устройств - не менее трех лет со дня монтажа СПК.
11.3 В случае, если приемка изделий была проведена потребителем (заказчиком), изготовитель не освобождается от ответственности при обнаружении скрытых дефектов, приведших к нарушению эксплуатационных характеристик изделий в течение гарантийного срока службы.
11.4 Гарантийные обязательства выполняют при условии проведения сервисного обслуживания не реже одного раза в год.
11.5 Гарантийные обязательства не распространяются на случаи поломки устройств при эксплуатации окон с открытыми (незафиксированными в закрытом положении) створками во время дождя с сильными порывами ветра, ураганного ветра и иных стихийных природных явлений.
(справочное)
РЕКОМЕНДУЕМЫЙ СОСТАВ (КОМПЛЕКТНОСТЬ) РАЗЛИЧНЫХ ТИПОВ
УСТРОЙСТВ В ЗАВИСИМОСТИ ОТ СПОСОБА ОТКРЫВАНИЯ
ОКОННОГО (БАЛКОННОГО) БЛОКА
Таблица А.1
Рекомендуемый состав (комплектность) различных типов
устройств в зависимости от способа открывания
оконных (балконных) блоков
Тип устройства | Обозначение | Состав устройства | Схема открывания | Состав базового комплекта устройства | Область применения |
1 Поворотное | УП | Базовый комплект, петли, ручки, наконечники, запорные планки, защита от провисания | | | Блоки оконные, балконные дверные из различных материалов, остекление балконов (лоджий) |
2 Откидное, в том числе фрамужное | УО УФ | Базовый комплект, фрикционные (стопорные) петли, ручки, запорные планки, угловые передачи | | | Блоки оконные, балконные дверные из различных материалов; остекление балконов (лоджий); блоки оконные, выходящие на балкон (лоджию), открывающиеся наружу, в т.ч. с фрамугами |
3 Поворотно-откидное (откидно-поворотное) | УПО (УОП) | Базовый комплект, угловые передачи, ножницы, блокиратор ошибочного действия, защита от провисания, планка откидная запорная, петли верхняя и нижняя | | | Блоки оконные, балконные дверные, типа "французский балкон" из различных материалов; остекление балконов (лоджий), веранд, зимних садов, террас |
4 Сдвижное | УС | Базовый комплект, ручки, направляющие, ролики верхние и нижние, петли для закрепления устройства перемещения и фиксации створок | | - | Блоки оконные, балконные дверные для остекления террас, зимних садов, перегородок внутри помещений, остекления балконов (лоджий) |
5 Сдвижное (раздвижное) складывающееся | УРСС | Базовый комплект, ручки, направляющие, ролики верхние и нижние, петли для закрепления устройства перемещения и фиксации створок | | | Блоки оконные, балконные дверные для остекления террас, зимних садов, перегородок внутри помещений, остекления балконов (лоджий) |
6 Параллельно-сдвижное | УПС | Базовый комплект, механизмы выдвижения и перемещения створок, ролики, петли, специальные ручки, ограничители перемещения | - | | Блоки оконные, балконные дверные для остекления балконов (лоджий), открывающихся элементов светопрозрачных фасадных конструкций |
7 Параллельно-выдвижное | УПВ | Базовый комплект, механизм выдвижения и сдвига, направляющие, ролики (роллеры), ограничители перемещения, ручки | - | - | Блоки оконные, балконные дверные, типа "французский балкон", остекление балконов (лоджий), открывающиеся элементы светопрозрачных фасадных конструкций, террасы, зимние сады |
8 Подъемно-сдвижное (раздвижное) | УПдС | Базовый комплект, механизмы подъема и перемещения, специальные ролики | - | | Остекление балконов (лоджий), открывающиеся элементы светопрозрачных фасадных конструкций, террасы, внутренние перегородки |
Примечание - В соответствии с ГОСТ 23166-2021 (раздел 6) в состав устройств (фурнитуры) должны входить дополнительные устройства безопасности, установленные в заказе (проекте). |
(справочное)
ПРИМЕРЫ СХЕМ ОТКРЫВАНИЯ СТВОРКИ
Рисунок Б.1 - Схема поворотного открывания
Рисунок Б.2 - Схема открывания откидного открывания
Рисунок Б.3 - Схема поворотно-откидного открывания
Рисунок Б.4 - Схема поворотно-откидного открывания
с функцией щелевого
Рисунок Б.5 - Схема сдвижного (раздвижного)
складывающегося открывания
Рисунок Б.5.1 - Схема сдвижного (раздвижного)
складывающегося открывания (складывание по центру створки)
Рисунок Б.5.2 - Схема сдвижного открывания
(справочное)
ОСНОВНЫЕ ЭЛЕМЕНТЫ БАЗОВОГО КОМПЛЕКТА УСТРОЙСТВ
Рисунок В.1 - Угловая передача
Рисунок В.2 - Ручка
Рисунок В.3 - Запорная планка
Рисунок В.4 - Запорно-откидная планка
Рисунок В.5 - Нижняя петлевая группа
Рисунок В.6 - Верхняя петлевая группа
Рисунок В.7 - Ножницы
Рисунок В.8 - Гибкая пластина в угловом переключателе
Рисунок В.9 - Привод
(справочное)
ПРИМЕРЫ БАЗОВОГО КОМПЛЕКТА УСТРОЙСТВ
ДЛЯ РАЗЛИЧНЫХ ТИПОВ ОКОННЫХ БЛОКОВ
Дополнительные термины с соответствующими определениями, касающиеся специфики устройств (фурнитуры), приведены в
приложении И.
1 - привод (основной механизм); 2 - ручка;
3, 4 - приподниматель (микролифт); 5 - запорная
(ответная) планка; 6, 7 - поворотные ножницы;
8 - створочная часть верхней петли; 9 - рамная часть
верхней петли; 10 - ось верхней петли; 11 - створочная
часть нижней петли; 12 - рамная часть нижней петли;
13, 14 - дополнительный прижим
Рисунок Г.1 - Базовый комплект поворотных устройств для ПВХ
оконных блоков при ширине створки (по фальцу) менее 700 мм
1 - привод (основной механизм); 2 - ручка; 3 - запорная
(ответная) планка; 4 - угловая передача; 5 - угловой
удлинитель (средний запор); 6 - ножницы; 7 - створочная
часть верхней петли; 8 - рамная часть верхней петли;
9 - ось верхней петли; 10 - створочная часть нижней петли;
11 - рамная часть нижней петли; 12 - запорно-откидная
планка; 13 - блокиратор ошибочного действия с микролифтом
Рисунок Г.2 - Базовый комплект поворотно-откидных устройств
для ПВХ оконных блоков
1 - привод (основной механизм); 2 - ручка; 3 - запорная
(ответная) планка; 4, 5 - блокиратор ошибочного действия;
6 - нижняя угловая передача; 7 - запорно-откидная планка;
8 - средний запор; 9 - верхняя угловая передача;
10 - ножницы; 11 - угловой удлинитель (средний запор);
12 - створочная часть верхней петли; 13 - рамная часть
верхней петли; 14 - ось верхней петли; 15 - створочная
часть нижней петли; 16 - рамная часть нижней петли;
17 - ось нижней петли; 18 - опорный вкладыш нижней петли
Рисунок Г.3 - Базовый комплект поворотно-откидного
устройства для деревянных оконных блоков
1 - подпятник; 2 - запорно-откидная планка; 3 - защита
от вывешивания; 4 - откидной ригель; 5 - запорная (ответная)
планка; 6 - цапфа (зацеп); 7, 8 - приемник под ручку;
9 - опора под ручку; 10 - ручка-привод; 11 - угловая
передача с блокиратором откидывания; 12, 13 - ножницы;
14, 15 - угловая передача (дополнительный прижим);
16 - отборочная часть нижней петли; 17 - рамная часть
нижней петли; 18 - ограничитель поворота; 19 - тяга
Рисунок Г.4 - Базовый комплект поворотно-откидного
устройства для оконных блоков из алюминиевых профилей
1 - привод (основной механизм); 2 - ручка; 3 - запорная
(ответная) планка; 4 - запорно-откидная планка; 5 - угловая
передача арочного окна; 6 - угловая передача; 7 - блокиратор
ошибочного действия; 8 - микролифт; 9 - горизонтальный
соединитель для арочных и косоугольных окон;
10 - вертикальный соединитель для арочных и косоугольных
окон; 11 - арочный соединитель запора; 12 - дополнительные
арочные ножницы; 13 - угловой удлинитель (средний запор)
арочного окна; 14 - угловой удлинитель (средний запор)
арочного окна, соединяемый; 15 - комплект арочный;
16 - рамная часть верхней петли; 17 - ось верхней петли;
18 - створочная часть нижней петли;
19 - рамная часть нижней петли
Рисунок Г.5 - Состав комплекта устройства для арочных окон
1 - ручка; 2 - направляющая нижняя шина; 3 - ведущая
каретка; 4 - ведомая каретка; 5 - соединительная тяга;
6 - ножницы; 7 - направляющая верхняя шина
Рисунок Г.6 - Базовый комплект
параллельно-сдвижного устройства
1 - ручка в наборе; 2 - внешняя ручка; 3 - привод;
4 - запорная планка; 5 - направляющая верхняя шина;
6 - ведущая каретка; 7 - ведомая каретка; 8 - соединительная
тяга; 9 - направляющая нижняя шина в наборе
Рисунок Г.7 - Базовый комплект подъемно-сдвижного устройства
1 - ходовой механизм; 2 - навесы; 3 - ходовая шина;
4 - направляющая шина; 5 - опора петли на раме; 6 - подложка
под опору петли на раме; 7 - крепление петли; 8 - опора
петли на створке; 9 - петля; 10 - плоская/стандартная ручка;
11 - фиксатор створки/стопор створки
Рисунок Г.8 - Базовый комплект устройства
для конструкций со складывающимися створками
1 - запорная (ответная) планка; 2 - угловая передача;
3 - средний запор (удлинитель); 4 - привод (основной
механизм); 5 - ножницы; 6 - оконная ручка с ключом
или кнопкой; 7 - блокиратор ошибочного действия
с микролифтом
Рисунок Г.9 - Базовый комплект противовзломного
поворотно-откидного устройства [класса RC2 (ПВ2)]
1 - привод (основной механизм); 2 - угловая передача;
3 - средний запор; 4 - откидные ножницы (фрамужный
механизм); 5 - створочная часть петли; 6 - ось петли;
7 - рамная часть петли; 8 - запорная (ответная) планка
Рисунок Г.10 - Базовый комплект фрамужного устройства
1 - угловая передача; 2 - основание ножниц; 3 - ножницы;
4 - направляющая штанги; 5 - ручка; 6 - створочный упор;
7 - пластина крепления упора; 8 - держатель профиля;
9 - штанга
Рисунок Г.10.1 - Базовый комплект устройства
для открывания фрамужного устройства
Рисунок Г.11 - Пример применения ограничителя открывания
для верхнеподвесных и нижнеподвесных фрамуг
(рекомендуемое)
ПРИМЕР ДИАГРАММЫ ПРИМЕНЕНИЯ УСТРОЙСТВ
Диаграмма применения устройства определяет допустимое соотношение сторон и массы створки для определенной модели фурнитуры (см. рисунок Д.1).
Примечание - Данные на диаграмме применения устройства обозначают массу стеклопакета в кг/м2. Масса 1 м2 стекла при толщине 1,0 мм составляет 2,5 кг.
Условные обозначения:

- недопустимая область применения;

- допустимая область применения устройства при условии установки дополнительных ножниц;

- граничные области применения устройства, определяемые массой стеклопакета.
Рисунок Д.1 - Пример диаграммы применения устройств
(обязательное)
СХЕМЫ ИСПЫТАНИЯ РОЛЛЕРОВ НА НАДЕЖНОСТЬ
1 - нагрузка; 2 - прогиб; 3 - роллер;
4 - направляющая (рельс); 5 - часть испытательного стенда
Рисунок Е.1 - Схема испытания роликов
(роллера) на надежность
(обязательное)
СХЕМЫ ПРИЛОЖЕНИЯ СТАТИЧЕСКОЙ НАГРУЗКИ
Рисунок Ж.1 - Схема приложения статической нагрузки
на верхнюю петлю
Рисунок Ж.2 - Схема приложения статической нагрузки
на нижнюю петлю
Размеры в миллиметрах
Примечание - Падение груза прекращают на расстоянии 20 мм от основания (например, с помощью прокладки). Длину троса определяют из условия касания грузом основания при максимальном раскрытии ножниц.
Рисунок Ж.3 - Схема испытания откидных, поворотно-откидных,
откидно-поворотных и фрамужных устройств на сопротивление
динамической нагрузке
Рисунок Ж.4 - Схема приложения статической нагрузки
при испытании прочности крепления зацепа
(справочное)
ТЕРМИНЫ И ОПРЕДЕЛЕНИЯ, КАСАЮЩИЕСЯ
СПЕЦИФИКИ УСТРОЙСТВ (ФУРНИТУРЫ)
В настоящем приложении дополнительно приведены термины с соответствующими определениями, касающиеся специфики устройств (фурнитуры):
И.1 арочный комплект: Элемент фурнитуры, обеспечивающий поворот и откидывание створки вокруг оси в двух плоскостях.
И.2 держатель профиля: Элемент фурнитуры, предназначенный для крепления декоративного профиля.
И.3 дополнительный прижим: Неподвижный элемент устройства, входящий в ответную планку при закрывании створки (полотна) и обеспечивающий прилегание створки (полотна) к раме и ее (его) фиксацию.
И.4 защита от вывешивания: Элемент фурнитуры защищающий оконную створку от двойного раскрытия в откинутом положении.
И.5 крепление петли: Элемент фурнитуры, обеспечивающий крепление петли к складной створке.
И.6 микролифт: Элемент фурнитуры, обеспечивающий защиту от провисания створки.
И.7 навесы: Элементы фурнитуры, обеспечивающие крепление складной створки к ходовому механизму.
И.8 направляющая шина: Элемент фурнитуры, обеспечивающий прямолинейное движение и фиксацию направляющего ролика параллельно раме оконной конструкции.
И.9 опора петли на створке: Элемент фурнитуры, обеспечивающий шарнирное соединение и движение вокруг оси опоры петли и петли складной створки.
И.10 опора под ручку: Элемент фурнитуры, увеличивающий площадь крепления ручки-привода к оконному профилю.
И.11 откидной ригель: Элемент фурнитуры, обеспечивающий фиксацию створки в откинутом положении.
И.12 опора петли на раме: Элемент фурнитуры, обеспечивающий крепление складной створки к раме, шарнирно соединяемый с петлей.
И.13 приподниматель микролифт: Элемент фурнитуры, позиционирующий запорную сторону притворенной створки относительно нижнего горизонтального фальца рамы.
И.14 подпятник: Элемент фурнитуры улучшающий заход створки в проем, минимизирующий провисание и снимающий часть нагрузки на петлевую группу при закрытой створке.
И.15 приемник под ручку: Элемент фурнитуры, обеспечивающий связь оконной ручки-привода и периметрального комплекта фурнитуры.
И.16 подложка под опору петли на раме: Элемент фурнитуры, позволяющий дистанцировать опору петли на раме согласно системе профиля.
И.17 ручка-привод: Элемент фурнитуры, преобразующий вращательное движение оконной ручки в поступательное движение периметральной фурнитуры.
И.18 соединитель для арочных и косоугольных окон: Элемент фурнитуры, обеспечивающий передачу движения фурнитуры через угол створки с функцией блокирования двойного раскрытия створки в поворотном положении.
И.19 створочный упор: Конструктивный элемент, предназначенный для соединения механизма фрамужного открывателя и створки фрамуги.
И.20 тяга: Элемент фурнитуры, обеспечивающий передачу движения от ручки и перемещение запорных частей фурнитуры по периметру створки.
И.21 угловая передача с блокиратором откидывания: Элемент фурнитуры, обеспечивающий передачу движения фурнитуры через угол створки с функцией блокирования двойного раскрытия створки в поворотном положении.
И.22 ходовой механизм: Элемент фурнитуры, обеспечивающий движение складной створки относительно ходовой шины.
И.23 ходовая шина: Элемент фурнитуры, обеспечивающий прямолинейное движение и фиксацию ходового механизма параллельно раме оконной конструкции.
И.24 штанга: Конструктивный элемент, связывающий элементы фрамужного открывателя и передающий усилие с элементов управления на исполнительный механизм открывателя (ножницы).
И.25 фиксатор [стопор] створки: Элемент фурнитуры, обеспечивающий фиксацию створки в сложенном состоянии.
УДК 692.817.1+692.821:006.354 | | NEQ |
Ключевые слова: оконные блоки; балконные дверные блоки; устройства поворотные, поворотно-откидные, раздвижные, складные; базовый комплект; состав комплекта фурнитуры; технические требования; требования безопасности; правила приемки; методы контроля; методы испытаний; приемо-сдаточные испытания; упаковка, транспортирование и хранение; требования к монтажу |