Главная // Актуальные документы // ГОСТ (Государственный стандарт)
СПРАВКА
Источник публикации
М.: Стандартинформ, 2016
Примечание к документу
Отдельные положения данного документа включены в Перечень международных и региональных (межгосударственных) стандартов, а в случае их отсутствия - национальных (государственных) стандартов, в результате применения которых на добровольной основе обеспечивается соблюдение требований технического регламента Таможенного союза "О безопасности упаковки" (ТР ТС 005/2011) и в Перечень международных и региональных (межгосударственных) стандартов, а в случае их отсутствия - национальных (государственных) стандартов, содержащих правила и методы исследований (испытаний) и измерений, в том числе правила отбора образцов, необходимые для применения и исполнения требований технического регламента Таможенного союза "О безопасности упаковки" (ТР ТС 005/2011) и осуществления оценки соответствия объектов технического регулирования (Решение Коллегии Евразийской экономической комиссии от 29.01.2024 N 9).

Текст данного документа приведен с учетом поправки, введенной в действие с 23.08.2021, опубликованной в "ИУС", N 1, 2022.

Документ введен в действие с 01.05.2017.

Название документа
"ГОСТ 33781-2016. Межгосударственный стандарт. Упаковка потребительская из картона, бумаги и комбинированных материалов. Общие технические условия"
(введен в действие Приказом Росстандарта от 17.10.2016 N 1406-ст)

"ГОСТ 33781-2016. Межгосударственный стандарт. Упаковка потребительская из картона, бумаги и комбинированных материалов. Общие технические условия"
(введен в действие Приказом Росстандарта от 17.10.2016 N 1406-ст)


Содержание


Введен в действие
Приказом Федерального
агентства по техническому
регулированию и метрологии
от 17 октября 2016 г. N 1406-ст
МЕЖГОСУДАРСТВЕННЫЙ СТАНДАРТ
УПАКОВКА ПОТРЕБИТЕЛЬСКАЯ ИЗ КАРТОНА, БУМАГИ
И КОМБИНИРОВАННЫХ МАТЕРИАЛОВ
ОБЩИЕ ТЕХНИЧЕСКИЕ УСЛОВИЯ
Consumer package of paperboard, paper
and composite materials. General specifications
ГОСТ 33781-2016
МКС 55.160
Дата введения
1 мая 2017 года
Предисловие
Цели, основные принципы и основной порядок проведения работ по межгосударственной стандартизации установлены в ГОСТ 1.0-2015 "Межгосударственная система стандартизации. Основные положения" и ГОСТ 1.2-2015 "Межгосударственная система стандартизации. Стандарты межгосударственные, правила и рекомендации по межгосударственной стандартизации. Правила разработки, принятия, обновления и отмены"
Сведения о стандарте
1 РАЗРАБОТАН Межгосударственным техническим комитетом по стандартизации МТК 223 "Упаковка"
2 ВНЕСЕН Межгосударственным техническим комитетом по стандартизации МТК 223 "Упаковка"
3 ПРИНЯТ Межгосударственным советом по стандартизации, метрологии и сертификации (протокол от 27 июля 2016 г. N 89-П)
За принятие проголосовали:
Краткое наименование страны по МК (ИСО 3166) 004-97
Код страны по МК (ИСО 3166) 004-97
Сокращенное наименование национального органа по стандартизации
Азербайджан
AZ
Азстандарт
Армения
AM
Минэкономики Республики Армения
Грузия
GE
Грузстандарт
Киргизия
KG
Кыргызстандарт
Россия
RU
Росстандарт
4 Приказом Федерального агентства по техническому регулированию и метрологии от 17 октября 2016 г. N 1406-ст межгосударственный стандарт ГОСТ 33781-2016 введен в действие в качестве национального стандарта Российской Федерации с 1 мая 2017 г.
5 Настоящий стандарт разработан для обеспечения соблюдения требований Технического регламента Таможенного союза ТР ТС 005/2011 "О безопасности упаковки"
6 ВЗАМЕН ГОСТ 12301-2006 и ГОСТ 12303-80
Информация об изменениях к настоящему стандарту публикуется в ежегодном информационном указателе "Национальные стандарты", а текст изменений и поправок - в ежемесячном информационном указателе "Национальные стандарты". В случае пересмотра (замены) или отмены настоящего стандарта соответствующее уведомление будет опубликовано в ежемесячном информационном указателе "Национальные стандарты". Соответствующая информация, уведомление и тексты размещаются также в информационной системе общего пользования - на официальном сайте Федерального агентства по техническому регулированию и метрологии в сети Интернет (www.gost.ru)
1. Область применения
Настоящий стандарт распространяется на потребительскую упаковку из картона, бумаги и комбинированных материалов на основе бумаги и картона - коробки и пачки (далее - упаковка), предназначенные для упаковывания пищевой, промышленной продукции и непродовольственных товаров.
Стандарт применяют при разработке технической документации на упаковку для конкретных видов продукции.
2. Нормативные ссылки
В настоящем стандарте использованы нормативные ссылки на следующие межгосударственные стандарты:
ГОСТ 427-75 Линейки измерительные металлические. Технические условия
ГОСТ 2067-93 Клей костный. Технические условия
ГОСТ 2228-81 Бумага мешочная. Технические условия
ГОСТ 3282-74 Проволока стальная низкоуглеродистая общего назначения. Технические условия
ГОСТ 3749-77 Угольники поверочные 90°. Технические условия
ГОСТ 5202-78 Материал переплетный с крахмально-каолиновым покрытием. Технические условия
ГОСТ 6034-2014 Декстрины. Технические условия
ГОСТ 7247-2006 Бумага и комбинированные материалы на основе бумаги для упаковывания на автоматах пищевых продуктов, промышленной продукции и непродовольственных товаров. Общие технические условия
ГОСТ 7480-73 Проволока полиграфическая. Технические условия
ГОСТ 7502-98 Рулетки измерительные металлические. Технические условия
ГОСТ 7625-86 Бумага этикеточная. Технические условия
ГОСТ 7699-78 Крахмал картофельный. Технические условия <*>
--------------------------------
<*> В Российской Федерации действует ГОСТ Р 53876-2010 "Крахмал картофельный. Технические условия".
ГОСТ 8273-75 Бумага оберточная. Технические условия
ГОСТ 8589-75 Бумага для оклейки бумажно-беловых товаров и картонажной продукции. Технические условия
ГОСТ 8705-78 Материал переплетный с нитроцеллюлозным покрытием. Технические условия
ГОСТ 11808-88 Латекс синтетический БС-30. Технические условия
ГОСТ 13078-81 Стекло натриевое жидкое. Технические условия
ГОСТ 14192-96 Маркировка грузов
ГОСТ 17308-88 Шпагаты. Технические условия
ГОСТ 17527-2014 (ISO 21067:2007) Упаковка. Термины и определения
ГОСТ 18510-87 Бумага писчая. Технические условия
ГОСТ 18992-97 Дисперсия поливинилацетатная гомополимерная грубодисперсная. Технические условия <*>
--------------------------------
<*> В Российской Федерации действует ГОСТ 18992-80 "Дисперсия поливинилацетатная гомополимерная грубодисперсная. Технические условия".
ГОСТ 21140-88 Тара. Система размеров
ГОСТ 21798-76 Тара транспортная наполненная. Метод кондиционирования для испытаний
ГОСТ 26663-85 Пакеты транспортные. Формирование с применением средств пакетирования. Общие технические требования
ГОСТ 32096-2013 Картон тароупаковочный для пищевой продукции. Общие технические условия
Примечание - При пользовании настоящим стандартом целесообразно проверить действие ссылочных стандартов в информационной системе общего пользования - на официальном сайте Федерального агентства по техническому регулированию и метрологии в сети Интернет или по ежегодному информационному указателю "Национальные стандарты", который опубликован по состоянию на 1 января текущего года, и по выпускам ежемесячного информационного указателя "Национальные стандарты" за текущий год. Если ссылочный стандарт заменен (изменен), то при пользовании настоящим стандартом следует руководствоваться заменяющим (измененным) стандартом. Если ссылочный стандарт отменен без замены, то положение, в котором дана ссылка на него, применяется в части, не затрагивающей эту ссылку.
3. Термины и определения
В настоящем стандарте применены термины: коробка, пачка, вид и тип упаковки, вкладыш, амортизатор, решетка, прокладка, коррекс - по ГОСТ 17527, а также следующие термины с соответствующими определениями:
3.1 коробка со съемной ("телескопической") крышкой: Коробка, закрываемая крышкой, которая является самостоятельным элементом коробки, отделенным от корпуса.
3.2 коробка с крышкой, соединенной "шарнирно" с корпусом: Коробка, закрываемая крышкой, соединенной с корпусом подвижно.
3.3 коробка со съемной крышкой в форме обечайки (пенал): Коробка, закрываемая крышкой в форме обечайки.
3.4 элемент коробки: Составная конструктивная деталь коробки.
3.5 пачка с четырех- или трехклапанным дном и крышкой: Пачка, закрываемая четырех- или трехклапанной крышкой.
3.6 клапаны дна и крышки в форме замков-застежек: Пачка с различными запирающимися замками, предусмотренными конструкцией (кроем) пачки.
3.7 исполнение упаковки: Регламентированные требования к конструкции упаковки.
3.8 пакет-вкладыш: Вспомогательное упаковочное средство, помещаемое внутри упаковки, обеспечивающее сохранность и качество упаковываемой продукции, в том числе защиту от атмосферного воздействия.
3.9 комбинированный материал (на основе бумаги и картона): Двухслойный или многослойный материал, в котором бумага или картон прочно соединены склеиванием, припрессовкой или иными способами с полимерными пленками, алюминиевой фольгой или другими материалами в разных сочетаниях слоев, с дополнительной поверхностной обработкой слоев или без нее.
Примечание - Склеенные слои бумаги и картона не являются комбинированными материалами.
4. Классификация, основные параметры и размеры
Виды и исполнения упаковки приведены в приложениях А и Б.
По согласованию с заказчиком допускается изготовлять упаковку других конструкций с разными конструктивными элементами.
4.1 Упаковку в зависимости от способа скрепления элементов конструкции и способов сборки изготовляют следующих видов: складную, склеенную или сшитую.
4.2 Конструкция складной упаковки предусматривает наличие фиксирующихся язычков, ушек, запирающихся замков, не требует склеивания и скрепления скобами и позволяет преобразовывать заготовки в готовую к применению упаковку.
4.3 Упаковку изготовляют прямоугольного, круглого, эллипсоидного, многоугольного или других сечений.
4.4 Упаковка может изготовляться со вспомогательными упаковочными средствами (обечайками, вкладышами, амортизаторами, перегородками, решетками, прокладками, коррексами, пакетами-вкладышами и т.д.), с ручками, с демонстрационными открытыми окнами или окнами из неокрашенного полимерного материала.
4.5 Размеры упаковки устанавливают в технической документации на упаковку для конкретных видов продукции в зависимости от вида упаковываемой продукции с учетом размеров транспортной упаковки, транспортного и складского оборудования.
Для упаковки прямоугольного и круглого сечений предпочтительными являются размеры, установленные с учетом требований ГОСТ 21140.
Соотношение размеров сторон пачек рекомендуется принимать равным:
I-1, II
2:1:2
I-2, I-3, I-4, I-5, III-2, V
2:1:4
III-1, IV
4:1:2
IV-1
1:0,6:0,6
IV-2, IV-5
3:1:1
IV-3, IV-6
1,6:1:1,6
IV-4
1:1:0,4
IV-7
1,2:1:0,5
4.6 Предельные отклонения внутренних размеров коробок приведены в таблице 1.
Таблица 1
В миллиметрах
Внутренние размеры коробки (длина, ширина, высота)
Предельное отклонение, не более
До 250 включ.
-2
Св. 250 до 400 включ.
-3
Св. 400 до 600 включ.
-6
Св. 600 до 800 включ.
-9
Св. 800
-10
4.7 Внутренние размеры крышек коробок устанавливают с учетом наружных размеров коробок и величины зазора, необходимого для свободного надевания крышки.
4.8 Предельные отклонения внутренних размеров пачек допускаются со знаком минус и не должны превышать по длине и ширине 0,5 мм, по высоте - 2,0 мм. Допускаются для пачек размерами свыше 50 мм предельные отклонения со знаком минус не более 1% от соответствующего размера.
4.9 Условное обозначение упаковки устанавливают в технической документации на упаковку для конкретных видов продукции.
5. Технические требования
5.1 Упаковку изготовляют в соответствии с требованиями настоящего стандарта по технической документации, технологическим регламентам, рабочим чертежам на упаковку для конкретных видов продукции.
5.2 Характеристики
5.2.1 Линии сгиба упаковки наносят рилевкой, биговкой, рицовкой или перфорированием.
Способ нанесения линий сгиба устанавливают в зависимости от толщины материала в соответствии с приложением В.
Линии сгиба по всей длине упаковки должны быть нанесены четко, равномерно, без перекосов и обеспечивать формирование упаковки с заданными внутренними размерами.
Не допускаются разрывы материала при трехкратном сгибании деталей упаковки по линии сгиба на 90°.
5.2.2 Линии сгиба и отреза должны быть взаимно перпендикулярными. Отклонение от перпендикулярности линий не должно превышать 1,0 мм на каждые 100 мм длины.
5.2.3 В коробках вида II соединение крышки с корпусом коробки выполняют склеиванием, сшиванием или другими способами.
Соединение крышки и корпуса коробки должно выдерживать без повреждения 10 двойных перегибов на 180°.
5.2.4 Крышки коробки должны надеваться на корпус без деформации. Элементы корпуса коробки и крышки скрепляют путем склеивания, сшивания металлическими скобами, складывания или иными способами.
5.2.5 На поверхности упаковки не допускаются масляные пятна, расслоение материала, механические повреждения, следы клея.
Допускаются следы от перемычек штампа, не портящие поверхности упаковки. Края кромок должны иметь ровный обрез без разрывов и расслоения картона.
5.2.6 Для упаковки, сшитой металлическими скобами, расстояние от первой скобы до верхнего края должно быть не более 20 мм, до бокового края - (10 +/- 5) мм.
5.2.7 Количество скоб, их расположение и расстояние между ними устанавливают в технической документации или рабочих чертежах на упаковку для конкретных видов продукции.
5.2.8 Скрепляющиеся элементы складывающейся упаковки должны обеспечивать жесткую конструкцию упаковки в собранном виде, их размеры должны быть взаимоувязаны для обеспечения полного прилегания их друг к другу.
Языки замков должны точно входить в ответные отверстия и прочно фиксироваться.
5.2.9 Упаковка может изготовляться с печатным рисунком; с декоративной и защитной отделкой в виде: лакирования; припрессовки пленки (ламинирование); тиснения фольгой; отделки бумагой, тканью, полимерными пленочными и/или комбинированными материалами или другими отделочными материалами. Виды и способы отделки, художественное оформление упаковки предусматривают в технической документации на упаковку для конкретных видов продукции, согласовывают в виде образцов-эталонов.
5.2.10 На поверхности упаковки, оклеенной отделочным материалом, не должно быть морщин, складок, непроклеенных мест. В углах упаковки допускаются складки материала, не ухудшающие внешний вид упаковки.
5.2.11 Загиб отделочного материала по всему периметру корпуса и крышки упаковки должен быть одинаковым и должен быть не более 25 мм.
5.2.12 Покрытие, наносимое на поверхности упаковки, должно быть равномерным, без вздутий и отслоений.
Рисунок или текст, наносимые на поверхности упаковки различными способами (печатью, тиснением и др.), должны быть четкими, без искажений и пропусков.
5.2.13 Печать должна быть четкой, легко читаемой, не красящейся. Не допускаются загрязнения или пятна от печатной краски, затрудняющие чтение надписей, отслоение краски.
Цвет печати должен соответствовать утвержденному образцу-эталону. Допускается отклонение от цвета, но не более чем на тон по каталогу цветов.
Смещение печати относительно заданного на чертежах не должно превышать 5 мм.
5.2.14 Способы нанесения печати, требования к содержанию и качеству печати устанавливают в технической документации на упаковку для конкретных видов продукции по согласованию с заказчиком.
5.3 Требования к сырью и материалам
5.3.1 Для изготовления упаковки применяют следующие материалы:
- картон тароупаковочный для пищевой продукции по ГОСТ 32096;
- картон гофрированный по технической документации <*>;
- бумагу для упаковывания на автоматах (или иными способами) пищевых продуктов, промышленной продукции и непродовольственных товаров по ГОСТ 7247;
- картон с покрытием из парафина, микровоска, алюминиевой фольги по технической документации;
- комбинированные материалы на основе бумаги и картона по технической документации.
--------------------------------
<*> В Российской Федерации действует ГОСТ Р 52901-2007 "Картон гофрированный для упаковки продукции. Технические условия".
5.3.2 Для скрепления элементов упаковки применяют:
- декстрины по ГОСТ 6034;
- крахмал картофельный по ГОСТ 7699;
- клей костный по ГОСТ 2067;
- стекло натриевое жидкое по ГОСТ 13078;
- дисперсию поливинилацетатную гомополимерную грубодисперсную по ГОСТ 18992;
- латекс синтетический по ГОСТ 11808;
- проволоку стальную низкоуглеродистую общего назначения диаметром от 0,7 до 1,0 мм по ГОСТ 3282;
- проволоку полиграфическую диаметром от 0,36 до 1,0 мм по ГОСТ 7480.
5.3.3 Для оклеивания, обандероливания и художественного оформления упаковки применяют:
- бумагу этикеточную по ГОСТ 7625;
- бумагу писчую по ГОСТ 18510;
- бумагу мешочную по ГОСТ 2228;
- бумагу для оклейки бумажно-беловых товаров и картонажной продукции по ГОСТ 8589;
- материал переплетный с крахмально-каолиновым покрытием по ГОСТ 5202;
- материал переплетный с нитроцеллюлозным покрытием по ГОСТ 8705;
- ткани, полимерные пленочные и комбинированные материалы по технической документации;
- краски для флексографской, офсетной и трафаретной печати по технической документации.
5.3.4 Допускается применять указанные материалы по другой технической документации, а также другие аналогичные материалы.
5.3.5 Толщину картона, бумаги и комбинированных материалов выбирают в зависимости от вместимости упаковки или массы упаковываемой продукции. Рекомендуемая толщина картона приведена в приложении Г.
5.3.6 Санитарно-гигиенические показатели безопасности и нормативы веществ, выделяющихся из материалов, применяемых для изготовления упаковки, контактирующих с пищевой продукцией, должны соответствовать требованиям технического регламента [1].
Упаковка, предназначенная для упаковывания детского питания, парфюмерно-косметической продукции, игрушек, изделий детского ассортимента, имеющих непосредственный контакт со ртом ребенка, не должны выделять в контактирующие с ними модельные и воздушную среду вещества в количествах, вредных для здоровья человека, превышающих предельно допустимые количества миграции химических веществ по техническому регламенту [1].
5.4 Маркировка
5.4.1 На дно упаковки, на боковые или торцевые стороны (внутри или снаружи) наносят товарный знак и/или наименование предприятия-изготовителя, маркировку, содержащую символ возможности повторного использования или утилизации "Петля Мёбиуса" с указанием обозначения материала, из которого изготовлена упаковка по техническому регламенту [1]; на упаковку, контактирующую с пищевой продукцией, наносят символ "для пищевой продукции" по техническому регламенту [1].
По согласованию с заказчиком на упаковку наносят маркировку, характеризующую упаковываемую продукцию.
Способы, место нанесения и содержание маркировки устанавливают в технической документации на упаковку для конкретных видов продукции.
5.4.2 На каждую грузовую единицу наносят маркировку (или вкладывают ярлык), содержащую:
- наименование и назначение упаковки;
- наименование страны-изготовителя;
- наименование предприятия-изготовителя, его юридический адрес и контактные телефоны;
- наименование уполномоченного изготовителем лица, импортера (при наличии), его юридический адрес и контактные телефоны;
- товарный знак (при наличии);
- вид, исполнение, размеры упаковки; вспомогательные упаковочные средства (при наличии);
- количество, шт.;
- дату изготовления;
- обозначение настоящего стандарта;
- символ возможности повторного использования или утилизации "Петля Мёбиуса" с указанием материала, из которого изготовлена упаковка, в виде цифрового кода и/или аббревиатуры по техническому регламенту [1];
- символ "для пищевой продукции" для упаковки, контактирующей с пищевой продукцией, по техническому регламенту [1];
- штриховой код (при наличии).
Маркировку наносят на ярлык, который наклеивают или вкладывают в каждую кипу с упаковкой.
5.4.3 Транспортная маркировка - по ГОСТ 14192 с указанием манипуляционных знаков "Беречь от влаги" и "Крюками не брать".
Допускается совмещение транспортной маркировки и маркировки, характеризующей продукцию.
При транспортировании упаковки транспортными пакетами по согласованию с заказчиком транспортную маркировку наносят на одну из сторон транспортного пакета.
5.4.4 Маркировку наносят на русском языке и/или государственном языке страны - изготовителя упаковки с учетом соответствующих требований, установленных законодательством государства.
По согласованию с заказчиком маркировку наносят на другом языке.
5.4.5 Способы, место нанесения и содержание маркировки устанавливают в технической документации на упаковку для конкретных видов продукции, договорах, заказах на поставку с учетом требований и норм законодательства государства.
Маркировка должна быть четкой, стойкой к истиранию и легко читаемой.
5.5 Упаковка
5.5.1 Упаковку поставляют в собранном виде или в виде заготовок.
5.5.2 Заготовки упаковки или упаковку в собранном виде предварительно укладывают в стопы, ориентируют их по наружному контуру.
Стопы упаковки или заготовок формируют в кипы или укладывают в ящики из гофрированного картона. Допускаются другие виды упаковки (заготовок в собранном виде) по согласованию с заказчиком.
5.5.3 В одну кипу укладывают упаковку (вспомогательные упаковочные средства), изготовленную из одного материала, одного вида, одинаковой отделки и художественного оформления.
5.5.4 Заготовки упаковки, подготовленные по 5.5.2 и 5.5.3, упаковывают в один слой оберточной бумаги по ГОСТ 8273 массой площади 1 м2 от 100 до 120 г или в два слоя бумаги массой площади 1 м2 от 50 до 80 г и перевязывают шпагатом по ГОСТ 17308 или другим обвязочным материалом, обеспечивающим прочность обвязки. На кромках в местах перегиба под шпагат вкладывают прокладки из тароупаковочного картона по ГОСТ 32096 и других видов картона или отходов производства коробок.
5.5.5 Упаковку в собранном виде, подготовленную по 5.5.2 и 5.5.3, упаковывают в один слой оберточной бумаги по ГОСТ 8273 массой площади 1 м2 от 100 до 120 г или в два слоя бумаги массой площади 1 м2 от 50 до 80 г с последующей заклейкой кипы по торцам бумагой по ГОСТ 8273 или обвязывают крест-накрест шпагатом по ГОСТ 17308 или другими обвязочными материалами по технической документации.
При упаковывании упаковки, изготовленной из материала толщиной 1 мм, под шпагат вкладывают прокладки из тароупаковочного картона по ГОСТ 32096 и других видов картона или отходов производства упаковки.
5.5.6 По согласованию с заказчиком допускается упаковку в собранном виде упаковывать в бумагу. Упаковку обвязывают шпагатом или другим обвязочным материалом, обеспечивающим сохранность упаковки.
5.5.7 По согласованию с заказчиком допускается применять другие упаковочные материалы, обеспечивающие сохранность упаковки при транспортировании и хранении.
5.5.8 Предельная масса кипы упаковки не должна превышать 20 кг.
6. Требования безопасности
6.1 Упаковка из бумаги и картона нетоксична, в обращении безопасна. Упаковка является горючим материалом, пожароопасна.
При хранении упаковки следует соблюдать правила пожарной безопасности.
При загорании упаковку следует тушить любыми средствами пожаротушения.
6.2 Упаковку изготовляют в помещениях, оборудованных местной и общеобменной приточно-вытяжной вентиляцией.
Производство упаковки должно быть обеспечено техническими средствами контроля за воздушной средой в рабочей зоне.
6.3 При изготовлении упаковки выделяется бумажная пыль. Предельно допустимая концентрация бумажной пыли в воздухе рабочей зоны производственных помещений - 6,0 мг/м3.
Превышение предельно допустимой концентрации бумажной пыли оказывает раздражающее действие на слизистую оболочку дыхательных путей.
Бумажная пыль способна к возгоранию от источников открытого огня.
6.4 При использовании в производственных условиях (при высыхании) непластифицированной поливинилацетатной дисперсии происходит выделение в воздух винилацетата и уксусной кислоты. При использовании пластифицированной дисперсии дополнительно выделяется пластификатор дибутилфталат.
Превышение предельно допустимой концентрации вызывает раздражение слизистой оболочки верхних дыхательных путей и глаз. Винилацетат обладает общетоксическим действием.
6.5 Флексографские краски, используемые для печати на упаковке, являются слаботоксичным и пожароопасным продуктом из-за наличия в них диэтиленгликоля и аммиака.
Превышение предельно допустимой концентрации диэтиленгликоля и аммиака вызывает общетоксическое действие.
6.6 Предельно допустимые концентрации вредных веществ в рабочей зоне не должны превышать нормативов, установленных соответствующими службами государств, принявших настоящий стандарт.
7. Требования ресурсосбережения и экологии
7.1 В целях ресурсосбережения и исключения загрязнения окружающей среды отходы, образующиеся при изготовлении упаковки, а также упаковку, бывшую в употреблении, утилизируют и/или перерабатывают во вторичное сырье на специализированных предприятиях.
7.2 Упаковка, бывшая в употреблении и непригодная для переработки во вторичное сырье, должна быть подвергнута захоронению или утилизации в порядке, установленном законодательством государства, принявшего настоящий стандарт.
8. Правила приемки
8.1 Упаковку предъявляют к приемке партиями.
Партией считают количество упаковки одного вида, исполнения, размера, изготовленной из материала с одинаковыми качественными характеристиками, оформленное одним документом о качестве.
В партию могут быть включены упаковки с различным художественным оформлением, отделкой и вспомогательными упаковочными средствами.
Документ о качестве включает в себя:
- наименование и назначение упаковки;
- наименование страны-изготовителя;
- наименование предприятия-изготовителя (или товарный знак при наличии), его юридический адрес и контактные телефоны;
- вид, исполнение, размеры упаковки, вспомогательные упаковочные средства (при наличии);
- номер партии;
- количество упаковок в партии;
- дату изготовления;
- обозначение настоящего стандарта;
- результаты испытаний или подтверждение о соответствии качества упаковки требованиям настоящего стандарта;
- символ возможности повторного использования или утилизации "Петля Мёбиуса" с указанием материала, из которого изготовлена упаковка, в виде цифрового кода и/или аббревиатуры по техническому регламенту [1].
В документ о качестве допускается вносить другую информацию, касающуюся качества упаковки.
8.2 При контроле качества проводят приемо-сдаточные, периодические и типовые испытания упаковки в соответствии с таблицей 2.
Таблица 2
Контролируемый показатель
Количество испытуемых образцов
Вид испытаний
Номер подраздела, пункта
приемо-сдаточные
периодические
типовые
технических требований
методов контроля
Качество изготовления упаковки
Каждая единица выборки
+
-
+
Размеры
В соответствии с планом контроля
+
-
+
Прочность корпуса и крышки
В соответствии с планом контроля
-
+
+
Перпендикулярность линий сгиба и отреза
В соответствии с планом контроля
-
+
+
Прочность крышки, соединенной с корпусом "шарнирно"
В соответствии с планом контроля
-
+
+
Санитарно-гигиенические показатели (для изделий, контактирующих с пищевой продукцией)
В соответствии с планом контроля
-
+
+
По техническому регламенту [1]
Примечание - Знак "+" означает, что показатель проверяют; знак "-" - не проверяют.
8.3 Приемо-сдаточные испытания проводят для каждой контролируемой партии упаковки.
Типовые испытания проводят при постановке продукции на производство, при внедрении и применении новых материалов, изменении технологии производства упаковки, при разногласиях в оценке качества упаковки.
8.4 Периодические испытания упаковки проводят не реже одного раза в год на партиях упаковки, прошедших приемо-сдаточные испытания.
По согласованию с заказчиком допускается в технической документации на упаковку для конкретных видов продукции устанавливать другие сроки проведения периодических испытаний и перечень контролируемых показателей в зависимости от назначения упаковки.
8.5 Приемку партий упаковки проводят статистическим методом выборочного контроля качества.
План и процедуру выборочного контроля устанавливают в технической документации на упаковку для конкретных видов продукции в соответствии с требованиями нормативных документов на статистические методы и процедуры выборочного контроля, утвержденных в установленном порядке <*>.
--------------------------------
<*> В Российской Федерации действует ГОСТ Р ИСО 2859-1-2007 "Статистические методы. Процедуры выборочного контроля по альтернативному признаку. Часть 1. Планы выборочного контроля последовательных партий на основе приемлемого уровня качества".
8.6 Если в технической документации на упаковку для конкретных видов продукции не установлен план статистического приемочного контроля, то контроль качества упаковки проводят по двухступенчатому нормальному плану выборочного контроля при общем уровне контроля II по альтернативному признаку на основе предела приемлемого качества AQL, рекомендуемые значения которого приведены в таблице 3.
Таблица 3
Контролируемый показатель
Предел приемлемого качества AQL (процент несоответствующих единиц продукции или число несоответствий на 100 единиц продукции), %
Внешний вид
1,5 - 2,5
Размеры
1,5 - 2,5
Прочность корпуса упаковки и крышки
2,5
8.7 Для проведения контроля качества из разных мест партии случайным образом отбирают выборки в объемах, указанных в таблице 4.
В зависимости от объема партии упаковки, объема выборки и величины предела приемлемого качества (AQL, %) определяют приемочные и браковочные числа по таблице 4.
Таблица 4
Объем партии, шт.
Выборка
Объем выборки, шт.
Совокупный объем выборки, шт.
Предел приемлемого качества AQL (процент несоответствующих единиц продукции или число несоответствий на 100 единиц продукции), %, нормальный контроль
1,5
2,5
Ac
Re
Ac
Re
От 1200 до 3200 включ.
Первая
80
80
2
5
3
6
Вторая
80
160
6
7
9
10
Св. 3200 до 10000 включ.
Первая
125
125
3
6
5
9
Вторая
125
250
9
10
12
13
Св. 10000 до 35000 включ.
Первая
200
200
5
9
7
11
Вторая
200
400
12
13
18
19
Св. 35000
Первая
315
315
7
11
11
16
Вторая
315
630
18
19
26
27
Примечание - В настоящей таблице применены следующие обозначения: Ac - приемочное число; Re - браковочное число.
8.8 Если число несоответствующих единиц продукции в первой выборке менее приемочного числа первой ступени или равно ему, партию признают приемлемой. Если число несоответствующих единиц продукции, обнаруженных в первой выборке, превышает браковочное число первой ступени или равно ему, партию считают неприемлемой.
8.9 Если число несоответствующих единиц продукции первой выборки находится в интервале между приемочным и браковочным числами первой ступени, необходимо контролировать вторую выборку с объемом, заданным планом. Число несоответствующих единиц продукции, обнаруженных в первой и второй выборках, суммируют.
Если кумулятивное (суммарное) число несоответствующих единиц продукции менее приемочного числа второй ступени или равно ему, партию считают приемлемой. Если кумулятивное (суммарное) число несоответствующих единиц продукции превышает браковочное число второй ступени или равно ему, партию считают неприемлемой.
8.10 По согласованию с заказчиком допускается устанавливать другие планы контроля качества в технической документации на упаковку для конкретных видов продукции, технологических регламентах в зависимости от назначения упаковки и значимости несоответствий контролируемых показателей качества упаковки.
Примечание - Если уровень качества выражают процентом несоответствующих единиц продукции, значение AQL (%) не должно превышать 10%.
9. Методы контроля
9.1 Соответствие упаковки виду, исполнению, а также требованиям 5.2.2, 5.2.8, 5.2.9, 5.2.11, 5.4, 5.5 контролируют визуально.
9.2 Перед испытанием образцы упаковки кондиционируют. Если в технической документации на упаковку для конкретных видов продукции не оговорен режим кондиционирования, образцы кондиционируют по режиму 5, ГОСТ 21798, в течение 4 ч.
9.3 Внутренние размеры упаковки по 4.6 контролируют измерением расстояния между осями противоположных линий сгиба корпуса или крышки линейкой по ГОСТ 427 или рулеткой по ГОСТ 7502 с точностью до 1,0 мм.
За результат принимают среднеарифметическое значение измерений.
Отклонение внутренних размеров упаковки по 4.8 контролируют линейкой по ГОСТ 427.
9.4 Для определения прочности корпуса упаковки и крышки по линиям сгиба по 5.2.1 крышку перегибают по линиям сгиба три раза по всей длине на 90°.
Упаковку считают выдержавшей испытания, если по всей линии сгиба отсутствуют разрывы материала.
9.5 Отклонение от перпендикулярности линий сгиба и отреза по 5.2.2 контролируют угольником по ГОСТ 3749. Угольник прикладывают к контролируемой поверхности коробки и опорную поверхность угольника прижимают ко дну коробки. Металлической линейкой измеряют наибольшее расстояние от измерительной поверхности угольника до контролируемой поверхности коробки. Измеренное значение отклонения от перпендикулярности не должно превышать допускаемое значение, рассчитанное по 5.2.2. Измерение повторяют для каждой стороны коробки.
9.6 Для определения качества изготовления крышек по 5.2.4 крышку надевают на упаковку и снимают с упаковки не менее трех раз.
Упаковку считают выдержавшей испытания, если отсутствует деформация крышки и корпуса упаковки.
9.7 Для контроля прочности крышки, соединенной с корпусом "шарнирно" по 5.2.5, крышку открывают и закрывают 10 раз с перегибом на 180°.
Упаковку считают выдержавшей испытания, если после десятикратного открывания и закрывания на соединении отсутствуют повреждения.
9.8 Расстояние от первой скобы до верхнего края упаковки по 5.2.6 контролируют металлической линейкой по ГОСТ 427 или рулеткой по ГОСТ 7502 с точностью до 1 мм.
9.9 Загиб отделочного материала по 5.2.11 контролируют металлической линейкой по ГОСТ 427 или рулеткой по ГОСТ 7502 с точностью до 1 мм.
10. Транспортирование и хранение
10.1 Упаковку транспортируют всеми видами транспорта в крытых транспортных средствах в соответствии с правилами перевозки грузов, действующими на соответствующем виде транспорта.
10.2 При транспортировании кип упаковок, сформированных в транспортные пакеты, размеры и масса пакетов должны удовлетворять требованиям ГОСТ 26663 и правилам перевозки грузов, действующим на соответствующих видах транспорта.
10.3 Упаковки в кипах, ящиках и других видах упаковки хранят в штабеле высотой не более 3,0 м в крытых складских помещениях, защищенных от атмосферных осадков, почвенной влаги, на расстоянии не менее 1 м от отопительных приборов. Расстояние между штабелем и полом склада должно быть не менее 100 мм.
11. Гарантии изготовителя
11.1 Изготовитель гарантирует соответствие упаковки требованиям настоящего стандарта при соблюдении потребителем условий транспортирования, хранения и эксплуатации.
11.2 Гарантийный срок хранения упаковки устанавливают в технической документации на упаковку для конкретных видов продукции.
Рекомендуемый срок хранения упаковки из бумаги и картона - шесть месяцев, из комбинированных материалов - 12 месяцев.
По истечении гарантийного срока хранения допускается проводить контрольные испытания упаковки по основным показателям на соответствие требованиям настоящего стандарта.
При получении положительных результатов испытаний упаковка может быть использована по назначению.
Срок использования упаковки после контрольных испытаний устанавливают в технической документации на упаковку для конкретных видов продукции.
Приложение А
(рекомендуемое)
ВИДЫ И ИСПОЛНЕНИЯ КОРОБОК
Таблица А.1
Вид коробки
Исполнение
Развертка крышки и корпуса коробки
Коробка в собранном виде
I - со съемной "телескопической" крышкой
I-1
Рисунок А.1
I-2
Рисунок А.2
I-3
Рисунок А.3
I-4
Рисунок А.4
I-5а
Рисунок А.5
I-5б
Рисунок А.6
I-6
Рисунок А.7
I-7
Рисунок А.8
I-8
Рисунок А.9
I-9
Рисунок А.10
I-10
Рисунок А.11
I-11
Рисунок А.12
I-12
Рисунок А.13
I-13
Рисунок А.14
I-14
Рисунок А.15
I-15
Рисунок А.16
II - с крышкой, соединенной "шарнирно" с корпусом
II-1
Рисунок А.17
II-2
Рисунок А.18
II-3
Рисунок А.19
II-4
Рисунок А.20
III - со съемной крышкой в виде обечайки (пенал)
III-1
Рисунок А.21
III-2
Рисунок А.22
III-3
Рисунок А.23
Примечания
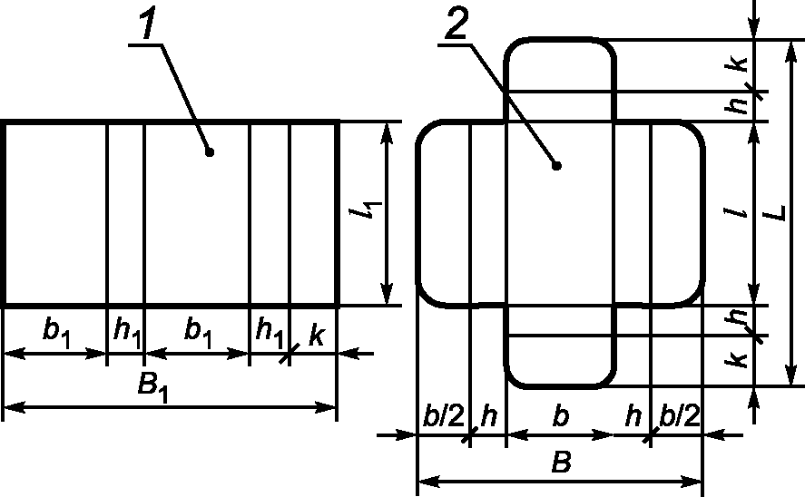
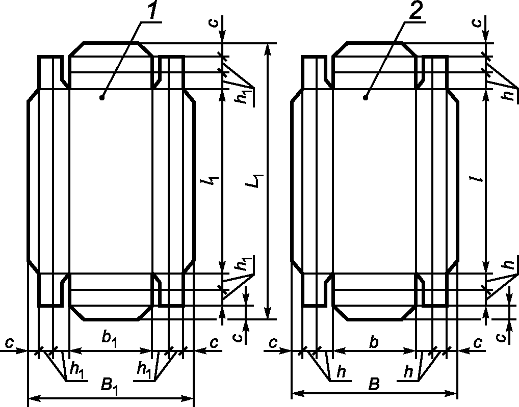
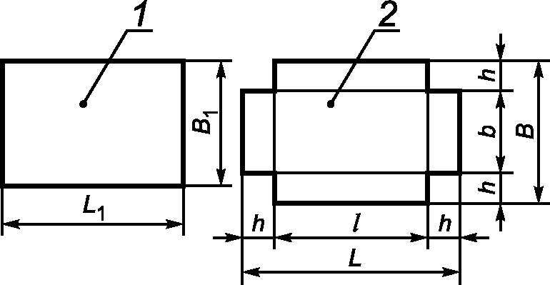
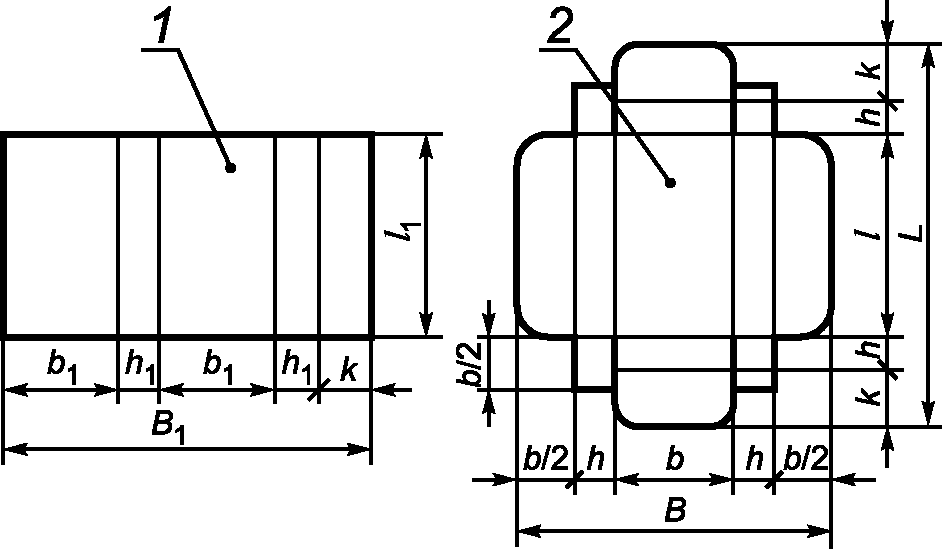
1 Условные обозначения деталей коробок на рисунках А.1 - А.23 настоящей таблицы: 1 - крышка; 2 - корпус; 3 - элемент корпуса.
2 Условные обозначения размеров на рисунках А.1 - А.23:
L - длина развертки корпуса;
b1 - ширина крышки;
B - ширина развертки корпуса;
h1 - высота крышки;
l - длина корпуса;
L2 - длина развертки элемента корпуса;
b - ширина корпуса;
l2 - длина элемента корпуса;
L1 - длина развертки крышки;
B2 - ширина элемента корпуса;
B1 - ширина развертки крышки;
H2 - высота элемента корпуса;
l1 - длина крышки;
k, c - размеры принимают конструктивно.
Приложение Б
(рекомендуемое)
ВИДЫ И ИСПОЛНЕНИЯ ПАЧЕК
Таблица Б.1
Вид пачки
Исполнение
Развертка пачки
Пачка в собранном виде
I - с четырехклапанным дном и крышкой
I-1
Рисунок Б.1
I-2
Рисунок Б.2
I-3
Рисунок Б.3
I-4
Рисунок Б.4
I-5
Рисунок Б.5
II - с трехклапанным дном и крышкой
II-1
Рисунок Б.6
II-2
Рисунок Б.7
II-3
Рисунок Б.8
III - с гладким дном и четырехклапанной крышкой
III-1
Рисунок Б.9
III-2
Рисунок Б.10
IV - с гладким дном и трехклапанной крышкой
IV-1
Рисунок Б.11
V - клапаны дна и крышки в форме замков-застежек
V-1
Рисунок Б.12
V-2
Рисунок Б.13
V-3
Рисунок Б.14
V-4
Рисунок Б.15
V-5
Рисунок Б.16
VI - с гладким дном и крышкой на шарнире
VI-1
Рисунок Б.17
VI-2
Рисунок Б.18
VI-3
Рисунок Б.19
VI-4
Рисунок Б.20
VI-5
Рисунок Б.21
VI-6
Рисунок Б.22
VI-7
Рисунок Б.23
Примечание - Условные обозначения размеров пачек на рисунках Б.1 - Б.23 настоящей таблицы: L - длина развертки; B - ширина развертки; l - длина пачки; b - ширина пачки; h - высота пачки; c - ширина соединительного клапана, равная 0,25 - 0,3b, но не более 30 мм; k - размер, принимаемый конструктивно; r - радиус, принимаемый конструктивно; a - размер, принимаемый в зависимости от размеров пачки и конструкции автомата до 66 мм; b1 - 0,5b; b2 - 0,8b; b3 - 0,4b.
Приложение В
(рекомендуемое)
СПОСОБЫ НАНЕСЕНИЯ ЛИНИЙ СГИБА ЭЛЕМЕНТОВ УПАКОВКИ
В ЗАВИСИМОСТИ ОТ ТОЛЩИНЫ МАТЕРИАЛА
Таблица В.1
Толщина материала, мм
Способ нанесения линий сгиба
Рилевка
Биговка
Рицовка
Перфорирование
От 0,30 до 0,70 включ.
+
+
-
+
Св. 0,70 до 0,90 включ.
+
+
+
-
Св. 0,90 до 1,50 включ.
+
-
+
-
Св. 1,50
+
-
+
-
Приложение Г
(рекомендуемое)
ТОЛЩИНА КАРТОНА УПАКОВКИ
Г.1 Толщина картона в зависимости от вместимости упаковки приведена в таблице Г.1.
Таблица Г.1
Вместимость упаковки, см3
Толщина, мм
Картон по ГОСТ 32096
Картон гофрированный по технической документации
хромовый; хром-эрзац
коробочный
хром-эрзац склеенный; коробочный склеенный
До 1000 включ.
0,30 - 0,40
0,30 - 0,60
-
-
Св. 1000 до 2000 включ.
0,40 - 0,50
0,60 - 0,70
-
-
Св. 2000 до 3000 включ.
0,50 - 0,60
0,60 - 0,70
-
-
Св. 3000 до 4000 включ.
0,60 - 0,70
0,70 - 0,80
-
-
Св. 4000 до 5000 включ.
0,70 - 0,80
0,80 - 0,90
-
-
Св. 5000 до 6000 включ.
0,80 - 0,90
0,90 - 1,00
1,00
-
Св. 6000 до 20000 включ.
0,90 - 1,00
1,00 - 1,50
1,00 - 1,50
-
Св. 20000 до 35000 включ.
1,00 - 1,50
1,50 - 2,00
1,50 - 2,00
-
Св. 35000
-
2,00 - 3,00
2,00 - 3,00
0,9 - 3,3
Г.2 Толщина картона в зависимости от массы упаковываемой продукции приведена в таблице Г.2.
Таблица Г.2
Масса упаковываемой продукции, кг
Толщина, мм
Картон гофрированный по технической документации
Картон по ГОСТ 32096
хромовый; хром-эрзац
коробочный
хром-эрзац склеенный; коробочный склеенный
До 0,5 включ.
0,30 - 0,40
0,30 - 0,60
-
-
Св. 0,5 до 1,0 включ.
0,40 - 0,50
0,60 - 0,70
-
-
Св. 1,0 до 1,5 включ.
0,50 - 0,60
0,60 - 0,70
-
-
Св. 1,5 до 2,0 включ.
0,60 - 0,70
0,70 - 0,80
-
-
Св. 2,0 до 4,0 включ.
0,70 - 0,80
0,80 - 0,90
-
-
Св. 4,0 до 6,0 включ.
0,80 - 0,90
0,90 - 1,00
1,00
-
Св. 6,0 до 7,5 включ.
0,90 - 1,00
1,00 - 1,50
1,00 - 1,50
-
Св. 7,5
1,00 - 1,50
1,50 - 2,00
1,50 - 2,00
0,9 - 3,3
БИБЛИОГРАФИЯ
[1]
Технический регламент Таможенного союза
О безопасности упаковки (принят решением Комиссии Таможенного союза от 16 августа 2011 г. N 769)