Главная // Актуальные документы // ГОСТ (Государственный стандарт)СПРАВКА
Источник публикации
М.: Стандартинформ, 2007
Примечание к документу
Документ утратил силу с 1 мая 2017 года в связи с изданием
Приказа Росстандарта от 17.10.2016 N 1406-ст. Взамен введен в действие
ГОСТ 33781-2016.
Документ
введен в действие с 1 января 2008 года.
Название документа
"ГОСТ 12301-2006. Коробки из картона, бумаги и комбинированных материалов. Общие технические условия"
(введен в действие Приказом Ростехрегулирования от 27.03.2007 N 42-ст)
"ГОСТ 12301-2006. Коробки из картона, бумаги и комбинированных материалов. Общие технические условия"
(введен в действие Приказом Ростехрегулирования от 27.03.2007 N 42-ст)
Приказом Ростехрегулирования
от 27 марта 2007 г. N 42-ст
МЕЖГОСУДАРСТВЕННЫЙ СТАНДАРТ
КОРОБКИ ИЗ КАРТОНА, БУМАГИ И КОМБИНИРОВАННЫХ МАТЕРИАЛОВ
ОБЩИЕ ТЕХНИЧЕСКИЕ УСЛОВИЯ
Cartons of paperboard, paper and composite materials.
General specifications
ГОСТ 12301-2006
Группа Д76
Дата введения
1 января 2008 года
Цели, основные принципы и основной порядок проведения работ по межгосударственной стандартизации установлены
ГОСТ 1.0-92 "Межгосударственная система стандартизации. Основные положения" и
ГОСТ 1.2-97 "Межгосударственная система стандартизации. Стандарты межгосударственные, правила и рекомендации по межгосударственной стандартизации. Порядок разработки, принятия, применения, обновления и отмены".
Сведения о стандарте
1. Разработан Межгосударственным техническим комитетом по стандартизации МТК 223 "Упаковка".
2. Внесен Федеральным агентством по техническому регулированию и метрологии Российской Федерации.
3. Принят Межгосударственным советом по стандартизации, метрологии и сертификации (Протокол N 29 от 24 июня 2006 г.).
За принятие стандарта проголосовали:
┌────────────────────┬────────────────────┬──────────────────────┐
│Краткое наименование│ Код страны по │ Сокращенное │
│ страны по │МК (ИСО 3166) 004-97│ наименование │
│МК (ИСО 3166) 004-97│ │ национального органа │
│ │ │ по стандартизации │
├────────────────────┼────────────────────┼──────────────────────┤
│Азербайджан │ AZ │Азстандарт │
│Армения │ AM │Минторгэкономразвития │
│Беларусь │ BY │Госстандарт │
│ │ │Республики Беларусь │
│Казахстан │ KZ │Госстандарт │
│ │ │Республики Казахстан │
│Кыргызстан │ KG │Кыргызстандарт │
│Молдова │ MD │Молдова-Стандарт │
│Российская Федерация│ RU │Федеральное агентство │
│ │ │по техническому │
│ │ │регулированию │
│ │ │и метрологии │
│Таджикистан │ TJ │Таджикстандарт │
│Узбекистан │ UZ │Узстандарт │
│Украина │ UA │Госпотребстандарт │
│ │ │Украины │
└────────────────────┴────────────────────┴──────────────────────┘
4. Приказом Федерального агентства по техническому регулированию и метрологии от 27 марта 2007 г. N 42-ст межгосударственный стандарт ГОСТ 12301-2006 введен в действие в качестве национального стандарта Российской Федерации с 1 января 2008 г.
Настоящий стандарт распространяется на коробки из картона, бумаги и комбинированных материалов на основе картона и бумаги, предназначенные для упаковывания пищевых продуктов, промышленной продукции и непродовольственных товаров.
В настоящем стандарте использованы нормативные ссылки на следующие межгосударственные стандарты:
ГОСТ 166-89 (ИСО 3599-76). Штангенциркули. Технические условия
ГОСТ 427-75. Линейки измерительные металлические. Технические условия
ГОСТ 2067-93. Клей костный. Технические условия
ГОСТ 3282-74. Проволока стальная низкоуглеродистая общего назначения. Технические условия
ГОСТ 5202-78. Материал переплетный с крахмально-каолиновым покрытием. Технические условия
ГОСТ 7247-90. Бумага для упаковывания пищевых продуктов на автоматах. Технические условия
ГОСТ 7376-89. Картон гофрированный. Общие технические условия
ГОСТ 7502-98. Рулетки измерительные металлические. Технические условия
ГОСТ 7697-82 <*>. Крахмал кукурузный. Технические условия
--------------------------------
ГОСТ 7933-89. Картон для потребительской тары. Общие технические условия
ГОСТ 8589-75. Бумага для склейки бумажно-беловых товаров и картонажной продукции. Технические условия
ГОСТ 8705-78. Материал переплетный с нитроцеллюлозным покрытием. Технические условия
ГОСТ 18992-80. Дисперсия поливинилацетатная гомополимерная грубодисперсная. Технические условия
ГОСТ 26663-85. Пакеты транспортные. Формирование с применением средств пакетирования. Общие технические требования.
Примечание. При пользовании настоящим стандартом целесообразно проверить действие ссылочных стандартов по указателю "Национальные стандарты", составленному по состоянию на 1 января текущего года, и по соответствующим информационным указателям, опубликованным в текущем году. Если ссылочный стандарт заменен (изменен), то при пользовании настоящим стандартом следует руководствоваться замененным (измененным) стандартом. Если ссылочный стандарт отменен без замены, то положение, в котором дана ссылка на него, применяется в части, не затрагивающей эту ссылку.
В настоящем стандарте применены следующие термины с соответствующими определениями:
3.1. Коробка со съемной ("телескопической") крышкой: коробка, закрываемая крышкой, которая является самостоятельным элементом коробки, отделенным от корпуса.
3.2. Коробка с крышкой, соединенной "шарнирно" с корпусом: коробка, закрываемая крышкой, соединенной с корпусом подвижно.
3.3. Коробка со съемной крышкой в форме обечайки (пенал): коробка, закрываемая крышкой в форме обечайки.
3.4. Исполнение коробки: регламентированные требования к конструкции коробки.
3.5. Элемент коробки: составная конструктивная деталь коробки.
3.6. Пакет-вкладыш: вспомогательное упаковочное средство, помещаемое внутри коробки, обеспечивающее дополнительную сохранность упакованной продукции и защиту от атмосферного влияния.
3.7. Комбинированный материал (на основе бумаги или картона): двухслойный или многослойный материал, в котором бумага или картон прочно соединены склеиванием, припрессовкой или иными способами с полимерными пленками, алюминиевой фольгой или другими материалами в различных сочетаниях слоев, с дополнительной поверхностной обработкой слоев или без нее.
Примечание. Склеенные слои бумаги и картона не являются комбинированными материалами.
3.8. Коробка, вкладыш, амортизатор, решетка, прокладка, коррекс: по
ГОСТ 17527.
4. Классификация, основные параметры и размеры
4.1. Коробки изготовляют следующих типов:
- I - со съемной "телескопической" крышкой;
- II - с крышкой, соединенной "шарнирно" с корпусом;
- III - со съемной крышкой в форме обечайки (пенал).
Исполнение коробок указанных типов и условные обозначения размеров приведены в
Приложении А.
4.2. Коробки в зависимости от способа скрепления элементов конструкции и способов сборки изготовляют следующих видов: складывающиеся, склеенные или сшитые.
4.3. Коробки изготовляют прямоугольного, круглого, эллипсоидного, многоугольного или других сечений.
4.4. Коробки могут изготовляться со вспомогательными упаковочными средствами (вкладышами, амортизаторами, решетками, прокладками, коррексами, пакетами-вкладышами и т.д.), с ручками, с демонстрационными окнами открытыми или из неокрашенного полимерного материала или другими дополнительными деталями.
4.5. Размеры коробок устанавливают в нормативных документах на коробки (группу коробок) для конкретных видов продукции в зависимости от вида упаковываемой продукции и с учетом размеров транспортной тары, транспортного и складского оборудования. Для коробок прямоугольного и круглого сечений предпочтительными являются размеры, установленные с учетом требований
ГОСТ 21140.
4.6. Предельные отклонения внутренних размеров коробок приведены в таблице 1.
Таблица 1
В миллиметрах
┌──────────────────────────────────────────┬─────────────────────┐
│ Внутренние размеры коробки │ Предельное │
│ (длина, ширина, высота) │отклонение, не более │
├──────────────────────────────────────────┼─────────────────────┤
│До 250 включ. │ -2 │
│Св. 250 до 400 включ. │ -3 │
│ " 400 " 600 " │ -6 │
│ " 600 " 800 " │ -9 │
│ " 800 │ -10 │
└──────────────────────────────────────────┴─────────────────────┘
4.7. Внутренние размеры крышек коробок устанавливают с учетом наружных размеров корпуса коробки и величины зазора, необходимого для свободного одевания крышки.
4.8. Условное обозначение коробок устанавливают в нормативных документах на коробки для конкретных видов продукции.
5. Технические требования
5.1. Коробки изготовляют в соответствии с требованиями настоящего стандарта и технической документации: технологического регламента, технологической карты, рабочих чертежей (далее - документация) на коробки для конкретных видов продукции.
5.2. Характеристики
5.2.1. Линии сгиба коробок наносят рилевкой, биговкой, рицовкой или перфорированием.
Способ нанесения линий сгиба устанавливают в зависимости от толщины материала в соответствии с
Приложением Б.
Линии сгиба по всей длине коробки должны быть нанесены четко, равномерно, без перекосов.
Не допускаются разрывы материала при трехкратном сгибании деталей коробки по линии сгиба на 90°.
5.2.2. В коробках типа II соединение крышки с корпусом коробки выполняют склеиванием, сшиванием или другими способами.
Соединение крышки и корпуса коробки должно выдерживать без повреждения 10 двойных перегибов на 180°.
5.2.3. Линии сгиба и отреза должны быть взаимно перпендикулярными. Отклонения от перпендикулярности линий не должны превышать 1,0 мм на каждые 100 мм длины.
5.2.4. На поверхности коробок не допускаются масляные пятна, расслаивание материала, механические повреждения, следы клея.
Допускаются следы от перемычек штампа, не портящие поверхности коробок. Края кромок должны иметь ровный обрез без разрывов и расслоения картона.
5.2.5. Крышки коробок должны надеваться на корпус без деформации. Элементы корпуса коробки и крышки скрепляют путем склеивания; сшивания металлическими скобами; складывания или иными способами.
5.2.6. Для коробок, сшитых металлическими скобами, расстояние от первой скобы до верхнего края коробки должно быть не более 20 мм, до бокового края коробки - (10 +/- 5) мм.
5.2.7. Коробки могут изготовляться с печатным рисунком; с покрытиями (отделкой) бумагой, тканью, полимерными пленочными и (или) комбинированными материалами или другими отделочными материалами. Виды и способы отделки, художественное оформление коробок предусматривают в нормативных документах на коробки для продукции конкретных видов, согласовывают в виде образцов-эталонов.
5.2.8. На поверхностях коробок, оклеенных отделочными материалами, не должно быть морщин, складок, непроклеенных мест. В углах коробок допускаются складки материала, не ухудшающие внешнего вида коробок.
5.2.9. Загиб отделочного материала по всему периметру корпуса и крышки коробки должен быть одинаковым и рекомендуется не более 25 мм.
5.2.10. Покрытие, нанесенное на поверхности коробки, должно быть равномерным, без вздутий и отслоений.
Рисунок или текст, нанесенные на поверхности коробок различными методами (печатью, тиснением и др.), должны быть четкими, без искажений и пропусков.
5.2.11. Скрепляющие элементы складывающихся коробок должны обеспечивать жесткую конструкцию коробок в собранном виде, их размеры должны быть взаимоувязаны для обеспечения плотного прилегания их друг к другу.
5.3. Требование к сырью и материалам
5.3.1. Для изготовления коробок применяют следующие материалы:
для изготовления корпуса и крышки:
- картон для потребительской тары по
ГОСТ 7933;
- картон гофрированный с гофром Е по
ГОСТ 7376;
- бумагу для упаковывания пищевых продуктов на автоматах марок А-I, А-II, Б-I и ПВ-260 по ГОСТ 7247;
- комбинированные материалы на основе бумаги и картона по нормативным документам;
для скрепления элементов коробок:
- крахмал кукурузный по ГОСТ 7697;
- клей костный по ГОСТ 2067;
- дисперсию поливинилацетатную гомополимерную грубодисперсную по
ГОСТ 18992;
- проволоку стальную низкоуглеродистую общего назначения диаметром от 0,7 до 1,0 мм по
ГОСТ 3282;
- для оклеивания, обандероливания и художественного оформления коробок:
- бумагу для оклейки бумажно-беловых товаров и картонажной продукции по ГОСТ 8589;
- переплетный материал с крахмально-каолиновым покрытием по
ГОСТ 5202;
- материал переплетный с нитроцеллюлозным покрытием по ГОСТ 8705;
- ткани, полимерные пленочные и комбинированные материалы по нормативным документам.
Допускается применять указанные материалы по другим нормативным документам, а также другие аналогичные материалы.
5.3.2. Толщину картона, бумаги, комбинированных материалов выбирают в зависимости от вместимости коробки или массы упаковываемой продукции. Толщина картона и бумаги приведена в
Приложении В.
5.3.3. Материалы для изготовления коробок и вспомогательных упаковочных средств, контактирующих с пищевой продукцией, лекарственными средствами, для игрушек, парфюмерно-косметической продукции, должны быть разрешены для использования в указанных целях национальными органами санитарно-эпидемиологического надзора.
5.4.1. На дно коробки, на боковые или торцовые стороны (внутри или снаружи) наносят товарный знак и/или наименование предприятия-изготовителя. Допускается не наносить маркировку на коробку или наносить маркировку, содержащую информацию о возможности повторного использования или утилизации тары, а также другую информацию. По согласованию с потребителем на коробки наносят маркировку, характеризующую упаковываемую продукцию.
Способы и место нанесения, содержание маркировки устанавливают в нормативных документах на коробки для конкретных видов продукции.
5.4.2. На каждую грузовую единицу коробок наносят маркировку (или вкладывают ярлык), содержащую:
- наименование продукции, торговую марку (при наличии);
- наименование страны-изготовителя и/или товарный знак;
- наименование предприятия-изготовителя и его юридический адрес;
- тип, вид, исполнение, размеры коробок;
- вспомогательные упаковочные средства (при наличии);
- количество коробок в упаковке;
- дату изготовления;
- номер партии;
- обозначение настоящего стандарта;
- манипуляционный знак "Беречь от влаги" по
ГОСТ 14192.
По заказу потребителя допускается на упаковке располагать ярлык с печатным изображением готовой продукции (коробки).
Допускается дополнять маркировку другими сведениями. Маркировку наносят на языке страны изготовителя. По согласованию с заказчиком маркировку выполняют на другом языке.
5.4.4. Национальный знак соответствия для сертифицированной продукции указывают в товаросопроводительной документации.
5.5.1. Коробки поставляют в собранном виде или в виде заготовок.
5.5.2. Заготовки коробок или коробки в собранном виде предварительно укладывают в стопы, ориентируют их по наружному контуру. Стопы коробок или заготовок формируют в кипы или укладывают в ящики из гофрированного картона. Допускаются другие виды упаковки коробок (заготовок и в собранном виде) по согласованию с заказчиком.
5.5.3. Заготовки коробок, подготовленные по 5.5.2, упаковывают в один слой оберточной бумаги по
ГОСТ 8273 массой площади 1 м2 от 100 до 120 г или в два слоя бумаги массой площади 1 м2 от 50 до 80 г и перевязывают шпагатом по
ГОСТ 17308 или другим обвязочным материалом, обеспечивающим прочность обвязки. На кромках в местах перегиба под шпагат вкладывают прокладки из картона для потребительской тары по
ГОСТ 7933, других видов картона или отходов производства коробок.
5.5.4. Коробки в собранном виде, подготовленные по
5.5.2, упаковывают в один слой оберточной бумаги по
ГОСТ 8273 массой площади 1 м2 от 100 до 120 г или в два слоя бумаги массой площади 1 м2 от 50 до 80 г с последующей заклейкой кипы по торцам бумагой по
ГОСТ 8273 или обвязывают крест-накрест шпагатом по
ГОСТ 17308 или другими обвязочными материалами по нормативным документам.
При упаковывании коробок, изготовленных из материала толщиной до 1 мм, под шпагат вкладывают прокладки из картона для потребительской тары по
ГОСТ 7933, других видов картона или отходов производства коробок.
5.5.5. По согласованию с заказчиком допускается коробки в собранном виде не упаковывать в бумагу. Коробки обвязывают шпагатом или другим обвязочным материалом, обеспечивающим сохранность коробок.
5.5.6. По согласованию с заказчиком допускается применять другие упаковочные материалы, обеспечивающие сохранность коробок при транспортировании и хранении.
5.5.7. Предельная масса кипы коробок не должна превышать 20 кг.
5.5.8. В одну кипу (пакет) упаковывают коробки, изготовленные из одного материала, одного типа, вида отделки, художественного оформления и упаковочных вспомогательных средств.
6.1. Коробки предъявляют к приемке партиями. Партией считают коробки одного типа, вида, исполнения, размера, изготовленные из материала одного вида с одинаковыми качественными характеристиками, оформленные одним документом о качестве.
В партию могут быть включены коробки с различным художественным оформлением, отделкой и вспомогательными упаковочными средствами.
Документ о качестве включает:
- наименование продукции, товарную марку (при наличии);
- наименование страны-изготовителя;
- наименование предприятия-изготовителя и его юридический адрес;
- товарный знак предприятия (при наличии);
- номер партии;
- дату изготовления;
- обозначение настоящего стандарта;
- результаты испытаний или подтверждение о соответствии качества коробок требованиям настоящего стандарта.
В документ о качестве коробок допускается вносить другую информацию, касающуюся качества коробок.
6.2. Для проведения испытаний от партии случайным образом отбирают 1% единиц упаковок коробок, но не менее одной единицы, от которой отбирают выборку - 1% коробок, но не менее десяти штук.
6.3. При получении неудовлетворительных результатов испытаний хотя бы по одному из показателей по нему проводят повторные испытания на удвоенной выборке, взятой от той же партии. Результаты повторных испытаний распространяют на всю партию.
6.4. За единицу упаковки принимают кипу, ящик и др.
7.2. Перед испытанием образцы коробок кондиционируют. Если в нормативных документах на коробки для конкретных видов продукции не оговорен режим кондиционирования, образцы кондиционируют по режиму 4
ГОСТ 21798.
7.3. Внутренние размеры коробок по
4.6 контролируют измерением расстояния между осями противоположных линий сгиба корпуса или крышки штангенциркулем по
ГОСТ 166 или линейкой по
ГОСТ 427 с точностью до 1 мм.
За результат принимают среднеарифметическое значение измерений.
7.4. Для определения прочности корпуса коробки и крышки по линиям сгиба по
5.2.1 крышку перегибают по линиям сгиба три раза по всей длине на 90°.
Коробки считают выдержавшими испытания, если по всей линии сгиба отсутствуют разрывы материала.
7.5. Перпендикулярность линий сгиба и отреза по
5.2.2 контролируют угольником по
ГОСТ 3749, для чего вершину прямого угла совмещают с точкой пересечения линий длины и ширины плоскости коробки, затем поочередно совмещают каждую из сторон угольника с линиями длины и ширины.
За результат испытаний принимают отклонения линий длины или ширины от стороны угольника на расстоянии 100 мм от точки пересечения.
7.6. Для определения качества изготовления крышек по
5.2.5 крышку надевают на коробку и снимают с коробки не менее трех раз.
Коробки считают выдержавшими испытания, если отсутствует деформация крышки и корпуса коробки.
7.7. Расстояние от первой скобы до верхнего края коробки по
5.2.7 контролируют штангенциркулем по
ГОСТ 166 или рулеткой по
ГОСТ 7502, или линейкой по
ГОСТ 427 с точностью до 1 мм.
7.8. Для контроля прочности крышки, соединенной с корпусом "шарнирно" по
5.2.6, крышку открывают и закрывают 10 раз с перегибом на 180°. Коробки считают выдержавшими испытания, если после десятикратного открывания и закрывания на соединении отсутствуют повреждения.
7.9. Загиб отделочного материала по
5.2.9 контролируют штангенциркулем по
ГОСТ 166 или рулеткой по
ГОСТ 7502, или линейкой по
ГОСТ 427 с точностью до 1 мм.
7.10. Порядок и методы контроля коробок на соответствие гигиеническим требованиям по
5.3.3 - в соответствии с нормативными документами и/или санитарными правилами национальных органов санитарно-эпидемиологического надзора <*>.
--------------------------------
| | ИС МЕГАНОРМ: примечание. В официальном тексте документа, видимо, допущена опечатка: имеется в виду ГН 2.3.3.972-00, а не ГН 2.2.3.972-2000. | |
<*> В Российской Федерации в соответствии с
Инструкцией МЗ России N 880-71 "Санитарно-химические исследования изделий, изготовленных из полимерных и других синтетических материалов, предназначенных для контакта с пищевыми продуктами"; гигиеническими нормативами ГН 2.2.3.972-2000 "Предельно допустимые количества химических веществ, выделяющихся из материалов, контактирующих с пищевыми продуктами".
8. Транспортирование и хранение
8.1. Коробки транспортируют всеми видами транспорта в чистых, сухих, крытых транспортных средствах в соответствии с правилами перевозки грузов, действующими на соответствующем виде транспорта. При транспортировании единиц упаковки с коробками, сформированных в транспортные пакеты, размеры и масса пакетов должны удовлетворять требованиям правил перевозки, действующих на соответствующих видах транспорта, и требованиям
ГОСТ 26663.
8.2. Коробки в кипах, ящиках и других видах упаковки хранят в штабеле высотой не более 3,0 м в крытых складских помещениях, защищенных от атмосферных осадков и почвенной влаги, на расстоянии не менее 1 м от отопительных приборов. Расстояние между штабелем и полом склада должно быть не менее 100 мм.
(рекомендуемое)
ТИПЫ И ИСПОЛНЕНИЯ КОРОБОК
Таблица А.1
Тип коробки | Исполнение | Развертка крышки и корпуса коробки | Коробка в собранном виде |
I - со съемной "телескопической" крышкой | | Рисунок 1 | |
I-2 | Рисунок 2 | |
I-3 | Рисунок 3 | |
| I-4 | Рисунок 4 | |
I-5а | Рисунок 5 | |
I-5б | Рисунок 6 | |
| I-6 | Рисунок 7 | |
I-7 | Рисунок 8 | |
I-8 | Рисунок 9 | |
I-9 | Рисунок 10 | |
| I-10 | Рисунок 11 | |
I-11 | Рисунок 12 | |
I-12 | Рисунок 13 | |
| I-13 | Рисунок 14 | |
I-14 | Рисунок 15 | |
I-15 | Рисунок 16 | |
II - с крышкой, соединенной "шарнирно" с корпусом | II-1 | Рисунок 17 | |
II-2 | Рисунок 18 | |
| II-3 | Рисунок 19 | |
II-4 | Рисунок 20 | |
III - со съемной крышкой в форме обечайки (пенал) | III-1 | Рисунок 21 | |
III-2 | Рисунок 22 | |
III-3 | Рисунок 23 | |
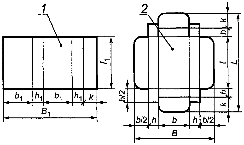
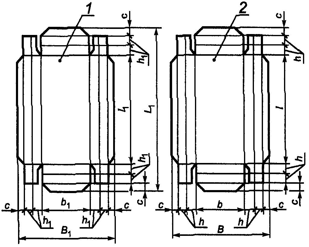
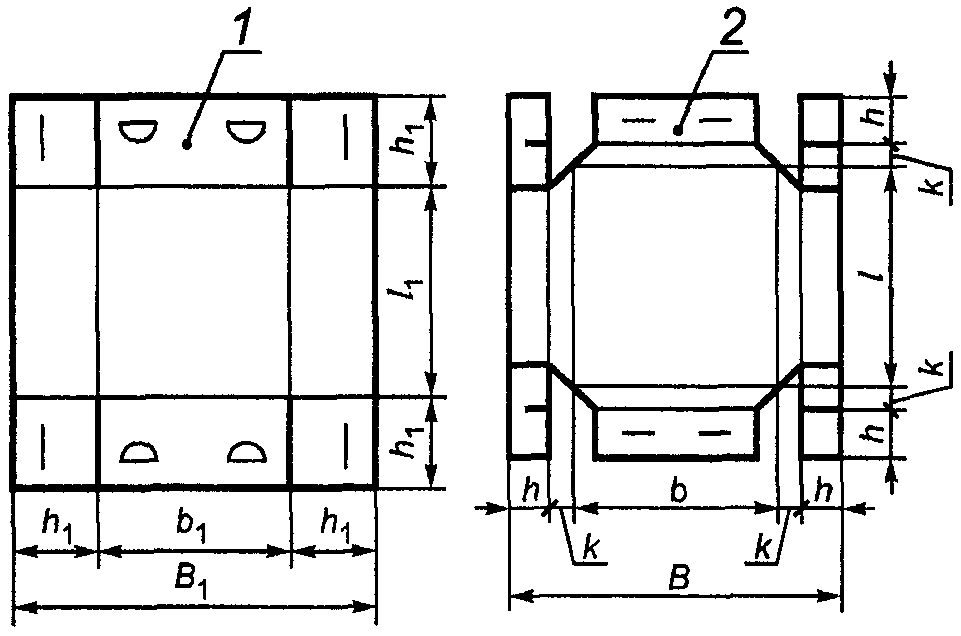
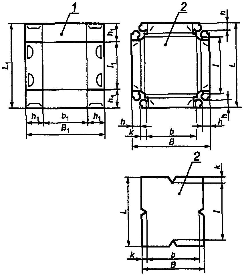
Примечания 1. Условные обозначения деталей коробок на рисунках 1 - 23, принятые в таблице А.1: 1 - крышка; 2 - корпус; 3 - элемент корпуса. 2. Условные обозначения размеров на рисунках 1 - 23: |
L - длина развертки корпуса; |  - ширина крышки; |
B - ширина развертки корпуса; |  - высота крышки; |
l - длина корпуса; |  - длина развертки элемента корпуса; |
b - ширина корпуса; |  - длина элемента корпуса; |
 - длина развертки крышки; |  - ширина элемента корпуса; |
 - ширина развертки крышки; |  - высота элемента корпуса; |
 - длина крышки; | k, c - размеры принимают конструктивно. |
(рекомендуемое)
СПОСОБЫ НАНЕСЕНИЯ ЛИНИЙ СГИБА КОРОБОК
В ЗАВИСИМОСТИ ОТ ТОЛЩИНЫ МАТЕРИАЛА
Таблица Б.1
┌───────────────────────┬────────────────────────────────────────┐
│ Толщина материала, мм │ Способ нанесения линий сгиба │
│ ├───────┬─────────┬───────┬──────────────┤
│ │Рилевка│ Биговка │Рицовка│Перфорирование│
├───────────────────────┼───────┼─────────┼───────┼──────────────┤
│От 0,30 до 0,70 включ. │ + │ + │ - │ + │
│ " 0,70 " 0,90 " │ + │ + │ + │ - │
│ " 0,90 " 1,50 " │ + │ - │ + │ - │
│Св. 1,50 │ + │ - │ + │ - │
└───────────────────────┴───────┴─────────┴───────┴──────────────┘
(рекомендуемое)
ТОЛЩИНА КАРТОНА И БУМАГИ В ЗАВИСИМОСТИ ОТ ВМЕСТИМОСТИ
КОРОБКИ И МАССЫ УПАКОВЫВАЕМОЙ ПРОДУКЦИИ
Таблица В.1
┌───────────────────────┬────────────────────────────────────────┐
│ Вместимость коробки, │ Толщина, мм │
│ см3 ├────────────────────┬─────────┬─────────┤
│ ├──────┬──────┬──────┤ГОСТ 7247│гофриро- │
│ │хромо-│коро- │хром- │марок: 0;│ванного │
│ │вого, │бочно-│эрзаца│ А-I; │типа Т │
│ │хром- │го │скле- │ А-II; │с гофром │
│ │эрзаца│ │енно- │ Б-I; │Е по │
│ │ │ │коро- │ │ │
│ │ │ │бочно-│ │ │
│ │ │ │го │ │ │
│ │ │ │скле- │ │ │
│ │ │ │енного│ │ │
├───────────────────────┼──────┼──────┼──────┼─────────┼─────────┤
│До 1000 включ. │0,30 -│0,30 -│ - │ 0,38 │ - │
│ │ 0,40│ 0,60│ │ │ │
│Св. 1000 до 2000 включ.│0,40 -│0,60 -│ - │ 0,40; │ - │
│ │ 0,50│ 0,70│ │ 0,42 │ │
│ " 2000 " 3000 " │0,50 -│0,60 -│ - │ 0,38 │ - │
│ │ 0,60│ 0,70│ │ │ │
│ " 3000 " 4000 " │0,60 -│0,70 -│ - │ 0,40; │ - │
│ │ 0,70│ 0,80│ │ 0,42 │ │
│ " 4000 " 5000 " │0,70 -│0,80 -│ - │ - │ - │
│ │ 0,80│ 0,90│ │ │ │
│ " 5000 " 6000 " │0,80 -│0,90 -│ 1,00 │ - │ - │
│ │ 0,90│ 1,00│ │ │ │
│ " 6000 " 20000 " │0,90 -│1,00 -│1,00 -│ - │ - │
│ │ 1,00│ 1,50│ 1,50│ │ │
│ " 20000 " 35000 " │1,00 -│1,50 -│1,50 -│ - │ - │
│ │ 1,50│ 2,00│ 2,00│ │ │
│ " 35000 │ - │2,00 -│2,00 -│ - │1,7 - 2,6│
│ │ │ 3,00│ 3,00│ │ │
└───────────────────────┴──────┴──────┴──────┴─────────┴─────────┘
Таблица В.2
┌─────────────────────┬──────────────────────────────────────────┐
│ Масса упаковываемой │ Толщина, мм │
│ продукции, кг ├──────────────────────┬─────────┬─────────┤
│ │ картона по
ГОСТ 7933 │бумаги по│картона │
│ ├───────┬───────┬──────┤ГОСТ 7247│гофриро- │
│ │хромо- │коро- │хром- │марок: 0;│ванного │
│ │вого, │бочно- │эрзаца│ А-I; │типа Т │
│ │хром- │го │скле- │ А-II; │с гофром │
│ │эрзаца │ │енно- │ Б-I; │Е по │
│ │ │ │коро- │ │ │
│ │ │ │бочно-│ │ │
│ │ │ │го │ │ │
│ │ │ │скле- │ │ │
│ │ │ │енного│ │ │
├─────────────────────┼───────┼───────┼──────┼─────────┼─────────┤
│До 0,5 включ. │0,30 - │0,30 - │ - │ 0,38 │ - │
│ │ 0,40│ 0,60│ │ │ │
│Св. 0,5 до 1,0 включ.│0,40 - │0,60 - │ - │ 0,40; │ - │
│ │ 0,50│ 0,70│ │ 0,42 │ │
│ " 1,0 " 1,5 " │0,50 - │0,60 - │ - │ 0,38 │ - │
│ │ 0,60│ 0,70│ │ │ │
│ " 1,5 " 2,0 " │0,60 - │0,70 - │ - │ 0,40; │ - │
│ │ 0,70│ 0,80│ │ 0,42 │ │
│ " 2,0 " 4,0 " │0,70 - │0,80 - │ - │ - │ - │
│ │ 0,80│ 0,90│ │ │ │
│ " 4,0 " 6,0 " │0,80 - │0,90 - │ 1,00 │ - │ - │
│ │ 0,90│ 1,00│ │ │ │
│ " 6,0 " 7,5 " │0,90 - │1,00 - │1,00 -│ - │ - │
│ │ 1,00│ 1,50│ 1,50│ │ │
│ " 7,5 │1,00 - │1,50 - │1,50 -│ - │1,7 - 2,6│
│ │ 1,50│ 2,00│ 3,00│ │ │
└─────────────────────┴───────┴───────┴──────┴─────────┴─────────┘