Главная // Актуальные документы // ГОСТ (Государственный стандарт)СПРАВКА
Источник публикации
В данном виде документ опубликован не был.
Первоначальный текст документа опубликован в издании
М.: Стандартинформ, 2015.
Информацию о публикации документов, создающих данную редакцию, см. в справке к этим документам.
Примечание к документу
Текст данного документа приведен с учетом
поправки, опубликованной в "ИУС", N 10, 2021.
Название документа
"ГОСТ 24866-2014. Межгосударственный стандарт. Стеклопакеты клееные. Технические условия"
(введен в действие Приказом Росстандарта от 15.05.2015 N 362-ст)
(ред. от 30.06.2020)
"ГОСТ 24866-2014. Межгосударственный стандарт. Стеклопакеты клееные. Технические условия"
(введен в действие Приказом Росстандарта от 15.05.2015 N 362-ст)
(ред. от 30.06.2020)
агентства по техническому
регулированию и метрологии
от 15 мая 2015 г. N 362-ст
МЕЖГОСУДАРСТВЕННЫЙ СТАНДАРТ
СТЕКЛОПАКЕТЫ КЛЕЕНЫЕ
ТЕХНИЧЕСКИЕ УСЛОВИЯ
Insulating glass units. Specifications
(EN 1279-1:2004, NEQ)
(EN 1279-2:2002, NEQ)
(EN 1279-3:2002, NEQ)
(EN 1279-4:2002, NEQ)
(EN 1279-6:2002, NEQ)
ГОСТ 24866-2014
| | Список изменяющих документов Приказом Росстандарта от 30.06.2020 N 333-ст) | |
МКС 81.040.30
Дата введения
1 апреля 2016 года
Цели, основные принципы и общие правила проведения работ по межгосударственной стандартизации установлены
ГОСТ 1.0 "Межгосударственная система стандартизации. Основные положения" и
ГОСТ 1.2 "Межгосударственная система стандартизации. Стандарты межгосударственные, правила и рекомендации по межгосударственной стандартизации. Правила разработки, принятия, обновления и отмены".
(в ред.
Изменения N 1, введенного в действие Приказом Росстандарта от 30.06.2020 N 333-ст)
1. Подготовлен Открытым акционерным обществом "Институт стекла" (ТК 41 "Стекло").
2. Внесен Федеральным агентством по техническому регулированию и метрологии (Росстандарт).
3. Принят Межгосударственным советом по стандартизации, метрологии и сертификации (Протокол от 20 октября 2014 г. N 71-П).
За принятие проголосовали
Краткое наименование страны по МК (ИСО 3166) 004-97 | Код страны по МК (ИСО 3166) 004-97 | Сокращенное наименование национального органа по стандартизации |
Армения | AM | ЗАО "Национальный орган по стандартизации и метрологии" Республики Армения |
Беларусь | BY | Госстандарт Республики Беларусь |
Киргизия | KG | Кыргызстандарт |
Молдова | MD | Молдова-Стандарт |
Россия | RU | Росстандарт |
Таджикистан | TJ | Таджикстандарт |
Узбекистан | UZ | Узстандарт |
4.
Приказом Федерального агентства по техническому регулированию и метрологии от 15 мая 2015 г. N 362-ст межгосударственный стандарт ГОСТ 24866-2014 введен в действие в качестве национального стандарта Российской Федерации с 1 апреля 2016 г.
5. В настоящем стандарте учтены основные нормативные положения следующих европейских стандартов:
- EN 1279-1:2004 Glass in building - Insulating glass units - Part 1: Generalities, dimensional tolerances and rules for the system description (Стекло в строительстве. Стеклопакеты. Часть 1. Общие положения, допуски на размеры и правила описания системы);
- EN 1279-2:2002 Glass in building - Insulating glass units - Part 2: Long term test method and requirements for moisture penetration (Стекло в строительстве. Стеклопакеты. Часть 2. Метод испытания на долговечность и требования к влагопроницаемости);
- EN 1279-3:2002 Glass in building - Insulating glass units - Part 3: Long term test method and requirements for gas leakage rate and for gas concentration tolerances (Стекло в строительстве. Стеклопакеты. Часть 3. Метод испытания на долговечность и требования к скорости утечки газа и допускаемым отклонениям концентрации газа);
- EN 1279-4:2002 Glass in building - Insulating glass units - Part 4: Method of test for the physical attributes of edge seals (Стекло в строительстве. Стеклопакеты. Часть 4. Метод испытания физических характеристик герметиков);
- EN 1279-6:2002 Glass in building - Insulating glass units - Part 6: Factory production control and periodic tests (Стекло в строительстве. Стеклопакеты. Часть 6. Заводской контроль качества продукции и периодические испытания).
Степень соответствия - неэквивалентная (NEQ).
6. Настоящий стандарт подготовлен на основе применения
ГОСТ Р 54175-2010.
Приказом Федерального агентства по техническому регулированию и метрологии от 15 мая 2015 г. N 362-ст стандарт ГОСТ Р 54175-2010 отменен с 1 апреля 2016 г.
Информация об изменениях к настоящему стандарту публикуется в ежегодном информационном указателе "Национальные стандарты", а текст изменений и поправок - в ежемесячном информационном указателе "Национальные стандарты". В случае пересмотра (замены) или отмены настоящего стандарта соответствующее уведомление будет опубликовано в ежемесячном информационном указателе "Национальные стандарты". Соответствующая информация, уведомление и тексты размещаются также в информационной системе общего пользования - на официальном сайте Федерального агентства по техническому регулированию и метрологии в сети Интернет
Настоящий стандарт распространяется на стеклопакеты клееные (далее - стеклопакеты), предназначенные для остекления светопрозрачных конструкций: оконных и дверных блоков, перегородок, зенитных фонарей, стеклянных крыш, фасадных систем и др. в зданиях и сооружениях различного назначения, а также для других целей.
Стандарт не распространяется на стеклопакеты с полимерными пленками в межстекольном пространстве (специальная полимерная пленка для образования замкнутых воздушных или газовых камер внутри стеклопакета).
Настоящий стандарт допускается применять при проведении сертификационных испытаний и для целей оценки соответствия.
В настоящем стандарте использованы нормативные ссылки на следующие межгосударственные стандарты:
ГОСТ 12.0.004-2015, Система стандартов безопасности труда. Организация обучения безопасности труда. Общие положения
(в ред.
Изменения N 1, введенного в действие Приказом Росстандарта от 30.06.2020 N 333-ст)
ГОСТ 12.1.004-91 Система стандартов безопасности труда. Пожарная безопасность. Общие требования
(в ред.
Изменения N 1, введенного в действие Приказом Росстандарта от 30.06.2020 N 333-ст)
ГОСТ 12.3.009-76 Система стандартов безопасности труда. Работы погрузочно-разгрузочные. Общие требования безопасности
ГОСТ 577-68 Индикаторы часового типа с ценой деления 0,01 мм. Технические условия
--------------------------------
ГОСТ 25336-82 Посуда и оборудование лабораторные стеклянные. Типы, основные параметры и размеры
ГОСТ 26302-93 Стекло. Методы определения коэффициентов направленного пропускания и отражения света
(в ред.
Изменения N 1, введенного в действие Приказом Росстандарта от 30.06.2020 N 333-ст)
--------------------------------
<2> Сноска исключена с 01.12.2020. -
Изменение N 1, введенное в действие Приказом Росстандарта от 30.06.2020 N 333-ст.
ГОСТ 28498-90 Термометры жидкостные стеклянные. Общие технические требования. Методы испытаний
ГОСТ 30733-2014 Стекло с низкоэмиссионным твердым покрытием. Технические условия
ГОСТ 31364-2014 Стекло с низкоэмиссионным мягким покрытием. Технические условия
ГОСТ 32530-2013 Стекло и изделия из него. Маркировка, упаковка, транспортирование и хранение
ГОСТ 32557-2013 Стекло и изделия из него. Методы контроля геометрических параметров и показателей внешнего вида
(ссылка введена
Изменением N 1, введенным в действие Приказом Росстандарта от 30.06.2020 N 333-ст)
ГОСТ 32997-2014 Стекло листовое, окрашенное в массе. Общие технические условия
ГОСТ 32998.4-2014 (EN 1279-4:2002) Стеклопакеты клееные. Методы определения физических характеристик герметизирующих слоев
ГОСТ 32998.6-2014 (EN 1279-6:2002) Стеклопакеты клееные. Правила и методы обеспечения качества продукции
ГОСТ 33003-2014 Стекло и изделия из него. Методы определения оптических искажений
ГОСТ 33004-2014 Стекло и изделия из него. Характеристики. Термины и определения
ГОСТ 33017-2014 Стекло с солнцезащитным или декоративным твердым покрытием. Технические условия
ГОСТ 33086-2014 Стекло с солнцезащитным или декоративным мягким покрытием. Технические условия
ГОСТ 33560-2015 Стекло и изделия из него. Требования безопасности при обращении со стеклом
(ссылка введена
Изменением N 1, введенным в действие Приказом Росстандарта от 30.06.2020 N 333-ст)
(ссылка введена
Изменением N 1, введенным в действие Приказом Росстандарта от 30.06.2020 N 333-ст)
ГОСТ EN 410-2014 Стекло и изделия из него. Методы определения оптических характеристик. Определение световых и солнечных характеристик
ГОСТ EN 675-2014 Стекло и изделия из него. Методы определения тепловых характеристик. Определение сопротивления теплопередаче методом измерения теплового потока.
Примечание. При пользовании настоящим стандартом целесообразно проверить действие ссылочных стандартов и классификаторов на официальном интернет-сайте Межгосударственного совета по стандартизации, метрологии и сертификации (www.easc.by) или по указателям национальных стандартов, издаваемым в государствах, указанных в предисловии, или на официальных сайтах соответствующих национальных органов по стандартизации. Если на документ дана недатированная ссылка, то следует использовать документ, действующий на текущий момент, с учетом всех внесенных в него изменений. Если заменен ссылочный документ, на который дана датированная ссылка, то следует использовать указанную версию этого документа. Если после принятия настоящего стандарта в ссылочный документ, на который дана датированная ссылка, внесено изменение, затрагивающее положение, на которое дана ссылка, то это положение применяется без учета данного изменения. Если ссылочный документ отменен без замены, то положение, в котором дана ссылка на него, применяется в части, не затрагивающей эту ссылку.
(в ред.
Изменения N 1, введенного в действие Приказом Росстандарта от 30.06.2020 N 333-ст)
3.1 моллированный стеклопакет: Стеклопакет, изготовленный с применением моллированного стекла и имеющий криволинейную поверхность.
3.2 дистанционная рамка: Материал, используемый для разделения стекол в стеклопакете и обеспечения заданного расстояния между стеклами.
3.3 межстекольное пространство: Промежуток между стеклами в стеклопакете.
3.4 влагопоглотитель: Вещество для понижения парциального давления водяного пара в межстекольном пространстве.
3.5 структурный стеклопакет: Стеклопакет, предназначенный для применения в системах структурного ("безрамного") остекления. Герметизирующие слои структурного стеклопакета не закрываются элементами рамы и не защищены от прямого воздействия ультрафиолетового излучения.
3.6 формула стеклопакета: Запись, в которой указывают виды (марки) стекол и их номинальной толщины, ширину дистанционной рамки, вид газа, заполняющего межстекольное пространство. Формула стеклопакета читается от наружного стекла к внутреннему.
(в ред.
Изменения N 1, введенного в действие Приказом Росстандарта от 30.06.2020 N 333-ст)
Примечание. Примеры написания формул стеклопакетов приведены в
4.14.
3.7 система: Стеклопакеты с одинаковым профилем герметизации, материалами и компонентами герметизации кромки, указанные в описании системы.
3.8 описание системы: Описание компонентов, материалов и герметизирующих слоев в стеклопакете в терминах, относящихся к идентификации, и в терминах, относящихся к характеристикам герметизации, например, показатель влагопроницаемости, уровень потери газа и т.д.
Примечание. Требования к описанию системы приведены в
Приложении А.
4. Классификация, основные параметры и/или размеры
4.1. Стеклопакеты изготавливают в соответствии с требованиями настоящего стандарта,
ГОСТ 32998.6 по конструкторской и технологической документациям, утвержденным в установленном порядке.
4.2. Стеклопакеты в зависимости от числа камер подразделяют на типы:
- СПО - однокамерные;
- СПД - двухкамерные.
Пример однокамерных и двухкамерных стеклопакетов (типы и конструкция стеклопакетов) показан на рисунке 1.
1 - стекло; 2 - дистанционная рамка; 3 - влагопоглотитель;
4 - нетвердеющий герметик (бутил); 5 - отверждающийся
герметик; 6 - межстекольное пространство (воздушная
прослойка); 7 - рекомендуемые варианты расположения
низкоэмиссионного покрытия в случае его применения;
8 - дегидрационные отверстия;

- номинальная толщина стекла;
h - номинальная толщина стеклопакета;
hc - расстояние между стеклами;
D - глубина герметизирующего слоя; N 1, N 2, N 3, N 4,
N 5, N 6 - нумерация поверхностей стекол
в конструкции стеклопакета
Росстандарта от 30.06.2020 N 333-ст)
Рисунок 1. Типы и конструкции стеклопакетов в общем виде
Камеры стеклопакетов могут быть заполнены:
- осушенным воздухом;
- инертным газом или их смесью (аргон Ar, криптон Kr и др.);
- другими газами по согласованию изготовителя и потребителя при выполнении требований настоящего стандарта к характеристикам стеклопакетов.
Допускается по согласованию изготовителя с потребителем изготавливать стеклопакеты из четырех листов стекла и более, устанавливать требования к ним. Допускается изготавливать стеклопакеты с декоративными рамками внутри стеклопакетов.
(в ред.
Изменения N 1, введенного в действие Приказом Росстандарта от 30.06.2020 N 333-ст)
4.3. Стеклопакеты могут быть:
- общего применения (в т.ч. с использованием моллированного стекла);
- для структурного остекления.
Требования, предъявляемые к стеклопакетам, дополняющие требования настоящего стандарта, должны быть изложены в нормативных документах <1>.
--------------------------------
<1> Здесь и далее нормативные документы - технические условия, стандарты организаций, договора на поставку и т.д.
Стеклопакеты, изготовленные с применением моллированного стекла, должны соответствовать требованиям настоящего стандарта по характеристикам (кроме оптических искажений) и требованиям нормативных документов по размерам и оптическим искажениям.
Стеклопакеты для структурного остекления должны соответствовать требованиям настоящего стандарта по характеристикам (
5.1.1 -
5.1.3,
5.1.5,
5.1.6 -
5.1.12,
5.1.4) и требованиям нормативных документов по размерам и используемым герметикам.
(в ред.
Изменения N 1, введенного в действие Приказом Росстандарта от 30.06.2020 N 333-ст)
4.4. Виды стекла, применяемые при изготовлении стеклопакетов, указаны в таблице 1.
Таблица 1
Виды стекла, применяемые при изготовлении стеклопакетов
Наименование вида стекла | Обозначение документа | Обозначение стекла (марка, класс защиты) |
Листовое бесцветное | | M0, M1 |
Узорчатое | | У |
Армированное | | А |
Армированное полированное | Нормативные документы | Ап |
Многослойное: | | |
- ударостойкое | P1A, P2A, P3A, P4A, P5A |
- взломостойкое | Р1В, Р2В, Р3В |
- пулестойкое | С1, Бр1 - Бр6 |
- взрывостойкое | SB7 - SB7, EXV45 - EXV10 |
- безопасное при эксплуатации | CM1, CM2, CM3, CM4 |
(в ред. Изменения N 1, введенного в действие Приказом Росстандарта от 30.06.2020 N 333-ст) |
Окрашенное в массе | | T0, T1 |
Огнестойкое | | E15 - E120, EW15 - EW120, EI15 - EI120 |
Моллированное | Нормативные документы | - |
Упрочненное: | | |
- химически упрочненное | Нормативные документы | |
- закаленное | | З |
- термоупрочненное | | ТП |
Солнцезащитное: | | |
- с твердым покрытием | | Ст |
- с мягким покрытием | | См |
Декоративное: | | |
- с твердым покрытием | | Дт |
- с мягким покрытием | | Дм |
Низкоэмиссионное: | | |
- с твердым покрытием | | К |
- с мягким покрытием | | И |
С полимерными пленками | | СМ1 - СМ4 Р1А - Р5А |
(позиция введена Изменением N 1, введенным в действие Приказом Росстандарта от 30.06.2020 N 333-ст) |
Примечание. Допускается изготавливать стеклопакеты с использованием других видов стекол, при этом изготовленные стеклопакеты должны соответствовать требованиям настоящего стандарта. |
4.5. Предельное отклонение номинальной толщины стеклопакетов: однокамерных - +/- 1,0 мм, двухкамерных - +/- 1,5 мм.
Рекомендуемая номинальная толщина стеклопакетов от 14 до 60 мм. Номинальную толщину стеклопакета указывают в договоре на изготовление (поставку).
(в ред.
Изменения N 1, введенного в действие Приказом Росстандарта от 30.06.2020 N 333-ст)
Стеклопакеты, предназначенные для наружного остекления, изготавливают с расстоянием между стеклами (ширина дистанционной рамки) от 8 до 36 мм, для внутреннего остекления - от 6 до 36 мм.
Примечание. Конструкцию стеклопакета (размеры, номинальную толщину стекла и ширину дистанционной рамки) выбирают с учетом отклонения стекла от плоскостности в зависимости от эксплуатационных нагрузок и климатических условий эксплуатации.
(в ред.
Изменения N 1, введенного в действие Приказом Росстандарта от 30.06.2020 N 333-ст)
В конструкциях стеклопакетов, изготовленных с применением многослойного, огнестойкого, закаленного, термоупрочненного стекол, допускается увеличение предельных отклонений по номинальной толщине до: для однокамерных стеклопакетов +/- 1,5 мм, двухкамерных - +/- 2,0 мм.
(в ред.
Изменения N 1, введенного в действие Приказом Росстандарта от 30.06.2020 N 333-ст)
4.6. Номинальные размеры стеклопакетов устанавливают в договоре на их изготовление (поставку).
Требования к стеклопакетам, имеющим размеры больше, чем 6000 x 3210 мм, а также требования к их конструкции согласовывают изготовитель с потребителем.
(в ред.
Изменения N 1, введенного в действие Приказом Росстандарта от 30.06.2020 N 333-ст)
Не рекомендуется изготовление стеклопакетов размерами менее 300 x 300 мм, а также с соотношением сторон более 3:1 без проведения прочностных расчетов.
Стеклопакеты непрямоугольной формы (например: круглые, овальные, треугольные и т.д.) изготавливают по рабочим чертежам или шаблонам, утвержденным в установленном порядке.
4.7. Предельные отклонения стеклопакетов по высоте (длине) и ширине должны соответствовать требованиям, указанным в таблице 2. При этом смещение стекол на опорной стороне (опорных сторонах) относительно друг друга не должно превышать 1,0 мм.
Таблица 2
Предельные отклонения по высоте (длине)
и ширине стеклопакетов
В миллиметрах
Номинальный размер по высоте (длине) или ширине | Однокамерный стеклопакет | Двухкамерный стеклопакет |
До 2000 включ. | +/- 2,0 | +/- 3,0 |
Св. 2000 " 3000 " | +/- 3,0 | +/- 4,0 |
" 3000 | +/- 4,0 | +/- 5,0 |
Смещение стекол в стеклопакетах непрямоугольной формы устанавливают в нормативных документах.
Допускается смещение стекол в стеклопакетах непрямоугольной формы устанавливать в чертеже.
4.8. Для стеклопакетов прямоугольной формы разность длин диагоналей не должна превышать значений, указанных в таблице 3.
Таблица 3
Разность длин диагоналей стеклопакетов
В миллиметрах
Длина диагоналей | Разность длин диагоналей, не более |
До 1500 включ. | 3 |
Св. 1500 " 2500 " | 4 |
" 2500 | 5 |
4.9. Отклонение от плоскостности листов стекла в стеклопакете не должно превышать 0,001 длины стороны стеклопакета, параллельно которой производится измерение, при использовании листового стекла по
ГОСТ 111. При использовании других видов стекол отклонение от плоскостности не должно превышать значений, установленных в нормативных документах на эти виды стекол (при отсутствии в нормативных документах требований к этому показателю значение отклонений от плоскостности допускается принимать 0,001 длины стороны стеклопакета, параллельно которой производится измерение).
4.10. Отклонение от прямолинейности кромок стеклопакета не должно превышать предельных отклонений по высоте и ширине, указанных в
таблице 2.
4.11. Для стеклопакетов, имеющих непрямоугольную форму, отклонения формы должны находиться в пределах полей допусков, которые устанавливают в чертежах (шаблонах) на их изготовление.
4.12. Глубина внутреннего (первичного) герметизирующего слоя (F - рисунок 2) на прямолинейных участках должна быть не менее 4 мм. Глубина наружного герметизирующего слоя (E - рисунок 2) по торцу стеклопакета должна быть не менее 3 мм, общая глубина герметизирующих слоев (D - рисунок 2) - не менее 9 мм. Номинальную толщину первичного герметизирующего слоя устанавливают в технологической документации в зависимости от вида применяемого герметика. Герметизирующие слои стеклопакета приведены на рисунке 2.
(в ред.
Изменения N 1, введенного в действие Приказом Росстандарта от 30.06.2020 N 333-ст)
D - общая глубина герметизирующих слоев; F - глубина
внутреннего (первичного) герметизирующего слоя; G - глубина
вторичного герметизирующего слоя; E - глубина наружного
герметизирующего слоя; H - номинальная толщина первичного
герметизирующего слоя
Росстандарта от 30.06.2020 N 333-ст)
Рисунок 2. Герметизирующие слои стеклопакета
Глубина наружного герметизирующего слоя при использовании силиконовых герметиков не должна быть менее 6 мм.
(абзац введен
Изменением N 1, введенным в действие Приказом Росстандарта от 30.06.2020 N 333-ст)
4.13. При использовании декоративной рамки внутри стеклопакета рекомендуется применять упругие прокладки в местах соединения элементов рамки между собой и с дистанционной рамкой, предусмотрев их надежную фиксацию. Расстояние между декоративной рамкой и поверхностью стекла должно быть не менее максимального прогиба стекла. Возможность установки декоративных рамок должна быть подтверждена тепловым и прочностным расчетами в конкретных условиях применения.
Требования к декоративным рамкам устанавливают в нормативных документах и/или договоре на поставку.
(п. 4.13 в ред.
Изменения N 1, введенного в действие Приказом Росстандарта от 30.06.2020 N 333-ст)
4.14. Условное обозначение стеклопакета должно состоять: из обозначения типа (СПО, СПД), характеристики применяемого стекла (вид стекла и его номинальная толщина), номинальной ширины дистанционной рамки, вида газонаполнения межстекольного пространства и обозначения настоящего стандарта.
Примеры условных обозначений:
- однокамерного стеклопакета, состоящего из двух листовых стекол номинальной толщиной по 4 мм марки М1, ширина дистанционной рамки 16 мм, межстекольное пространство заполнено криптоном:
(в ред.
Изменения N 1, введенного в действие Приказом Росстандарта от 30.06.2020 N 333-ст)
СПО 4М1-16Kr-4М1 ГОСТ 24866-2014.
Формула указанного стеклопакета - 4М1-16Kr-4М1;
- двухкамерного стеклопакета, состоящего из трех листовых стекол номинальной толщиной по 4 мм марки М1, ширина дистанционных рамок по 12 мм, межстекольное пространство заполнено воздухом:
(в ред.
Изменения N 1, введенного в действие Приказом Росстандарта от 30.06.2020 N 333-ст)
СПД 4М1-12-4М1-12-4М1 ГОСТ 24866-2014.
Формула указанного стеклопакета - 4М1-12-4М1-12-4М1;
- двухкамерного стеклопакета, состоящего из закаленного стекла номинальной толщиной 8 мм, обладающего свойствами как солнцезащитного, так и низкоэмиссионного стекла, ширина дистанционной рамки 12 мм, стекла закаленного листового номинальной толщиной 6 мм, ширина дистанционной рамки 12 мм и многослойного стекла, состоящего из стекла листового марки М1 номинальной толщиной 4 мм и стекла с низкоэмиссионным мягким покрытием номинальной толщиной 4 мм, соединенных двумя слоями полимерной пленки, межстекольное пространство заполнено аргоном:
(в ред.
Изменения N 1, введенного в действие Приказом Росстандарта от 30.06.2020 N 333-ст)
СПД 8(СИ)3-12Ar-6М13-12Ar-И4.4.2 ГОСТ 24866-2014.
Формула указанного стеклопакета - 8(СИ)3-12Ar-6М13-12Ar-И4.4.2.
(в ред.
Изменения N 1, введенного в действие Приказом Росстандарта от 30.06.2020 N 333-ст)
Примечание. Допускается в условном обозначении вместо обозначения стекла указывать конкретную марку (название) стекла.
5. Технические требования
5.1.1. По нормам ограничения пороков внешнего вида каждое стекло в стеклопакете должно соответствовать требованиям, указанным в нормативных документах на применяемые виды стекла.
5.1.2. Стеклопакеты должны иметь ровные кромки и целые углы. Щербление края стекла в стеклопакете, незашлифованные сколы, выступы края стекла, повреждение углов стекла не допускаются.
По согласованию изготовителя с потребителем в договоре устанавливают вид кромки (необработанная или обработанная). Рекомендуется использовать стекло с обработанной кромкой. При применении закаленного или термоупрочненного стекла кромку обрабатывают до его упрочнения.
5.1.3. Внутренние поверхности стекол в стеклопакетах должны быть чистыми, не допускаются загрязнения (следы пальцев рук, герметик, надписи, пыль, ворсинки, масляные пятна и т.д.). Допускаются точечные загрязнения, по своим размерам не превышающие допускаемые пороки внешнего вида для исходного стекла, при этом общее количество пороков стекла и загрязнений должно соответствовать требованиям нормативных документов на исходное стекло.
Дистанционные рамки в стеклопакетах должны быть чистыми. На нижней дистанционной рамке после монтажа стеклопакета в строительные конструкции допускается небольшое количество пылевидных частиц, не покрывающих сплошным слоем дистанционную рамку.
(абзац введен
Изменением N 1, введенным в действие Приказом Росстандарта от 30.06.2020 N 333-ст)
5.1.4. Требования к герметизации стеклопакетов
5.1.4.1. Каждый герметизирующий слой (первичный и/или вторичный) в стеклопакетах (в т.ч. в местах угловых соединений) должен быть сплошным, без разрывов и нарушений целостности. На границе первого и второго слоев герметизации не должно быть видно дистанционную рамку. Не допускаются наплывы герметика в наружном герметизирующем слое (превышающие допуск на размер стеклопакета).
Не допускается отслоение герметизирующих слоев от стекла и дистанционной рамки по всему периметру стеклопакета.
(абзац введен
Изменением N 1, введенным в действие Приказом Росстандарта от 30.06.2020 N 333-ст)
Допускается наличие видимых металлических (блестящих) участков дистанционной рамки (между первичным герметизирующим слоем и дистанционной рамкой) шириной не более 1 мм по периметру стеклопакета при условии выполнения требований
4.12 и
5.1.4.1 настоящего стандарта.
(абзац введен
Изменением N 1, введенным в действие Приказом Росстандарта от 30.06.2020 N 333-ст)
5.1.4.2. В стеклопакетах допускается выступание первичного (нетвердеющего) герметика (бутила) внутрь камеры стеклопакета не более 2 мм.
5.1.4.3. В двухкамерных стеклопакетах допускается смещение дистанционных рамок относительно друг друга. При этом допуск устанавливается в договоре поставки и не должен быть более 3 мм для стеклопакетов прямоугольной формы и не более 5 мм для стеклопакетов непрямоугольной формы.
5.1.5. Стеклопакеты должны быть герметичными.
5.1.6. Оптические искажения
5.1.6.1. Оптические искажения стеклопакетов (кроме стеклопакетов, изготовленных с применением узорчатого, армированного или моллированного стекла, стекла с коэффициентом пропускания света менее 30%) в проходящем свете при наблюдении экрана "кирпичная стена" под углом менее или равным 30° не допускаются.
Допускается по согласованию изготовителя с потребителем устанавливать требования к оптическим искажениям стеклопакетов (кроме стеклопакетов, изготовленных с применением узорчатого, армированного или моллированного стекла) в отраженном свете.
Допускается по согласованию изготовителя с потребителем требования по оптическим искажениям к стеклопакетам не устанавливать.
(абзац введен
Изменением N 1, введенным в действие Приказом Росстандарта от 30.06.2020 N 333-ст)
5.1.6.2. На стеклопакетах допускаются радужные полосы (явление интерференции полосы Брюстера), видимые под острым углом (менее 60°) к плоскости стеклопакета или в поляризационном свете.
(п. 5.1.6.2 в ред.
Изменения N 1, введенного в действие Приказом Росстандарта от 30.06.2020 N 333-ст)
5.1.7. Точка росы стеклопакетов должна быть не выше минус 45 °C. Для стеклопакетов морозостойкого исполнения точка росы должна быть не выше минус 55 °C.
5.1.8. Стеклопакеты должны быть долговечными (стойкими к длительным циклическим климатическим воздействиям). Долговечность стеклопакетов должна составлять не менее 20 условных лет эксплуатации.
5.1.9. Объем начального заполнения стеклопакета газом должен составлять не менее 90% объема межстекольного пространства стеклопакета.
5.1.10. Требования к звукоизоляции стеклопакета с учетом конкретных условий эксплуатации устанавливают при наличии требования потребителя.
5.1.11. Требования по сопротивлению теплопередаче стеклопакета с учетом конкретных условий эксплуатации устанавливают при наличии требования потребителя.
5.1.12. Требования к оптическим характеристикам стеклопакета (коэффициент направленного пропускания света, коэффициент пропускания солнечного излучения и т.д.) с учетом конкретных условий эксплуатации устанавливают при наличии требования потребителя.
5.2. Требования к материалам
5.2.1. Материалы и комплектующие детали, применяемые для изготовления стеклопакета, должны соответствовать требованиям настоящего стандарта и нормативным документам на исходные материалы и комплектующие изделия.
5.2.2. Для изготовления дистанционных рамок применяют готовые профили из алюминиевых, стальных нержавеющих сплавов, стеклопластиковые или металлопластиковые профили. Рекомендуется изготавливать дистанционные рамки методом гнутья, собранные на линейных соединителях (для обеспечения лучшей герметичности стеклопакета), а также применять рамки с терморазрывом. Количество и местоположение стыков не регламентируется.
(в ред.
Изменения N 1, введенного в действие Приказом Росстандарта от 30.06.2020 N 333-ст)
В случае изготовления дистанционной рамки методом сборки из прямолинейных элементов и уголков все стыки между элементами рамки должны быть тщательно заполнены нетвердеющим герметиком (бутилом).
Допускается изготавливать дистанционные рамки из других материалов при условии обеспечения выполнения требований к стеклопакетам, установленных в настоящем стандарте, и проверки возможности транспортирования, хранения и эксплуатации стеклопакетов с этими рамками в условиях и конструкциях, предусмотренных настоящим стандартом.
В дистанционных рамках, имеющих перфорированные (дегидрационные) отверстия со стороны межстекольного пространства, размер этих отверстий должен быть меньше диаметра гранул влагопоглотителя.
Допуски на геометрические размеры и отклонения от формы дистанционных рамок должны обеспечивать выполнение требований к размерам, форме и герметичности стеклопакетов.
Примеры конструкций дистанционных рамок показаны на
рисунке 3.
а) Дистанционная рамка; изготовлена методом
гнутья и замкнута на одном соединителе
(или нескольких соединителях)
б) Дистанционная рамка из прямолинейных деталей;
собрана на четырех соединительных уголках
Примечание. Вариант а) рекомендуемый, вариант б) допускаемый.
Рисунок 3. Примеры конструкций дистанционных рамок
(без герметиков)
5.2.3. При изготовлении стеклопакетов в качестве влагопоглотителя применяют синтетический гранулированный цеолит без связующих веществ (молекулярное сито), которым заполняют полости дистанционных рамок. Размеры гранул влагопоглотителя должны быть больше, чем дегидрационные отверстия в дистанционной рамке. При заполнении стеклопакета инертными газами размеры пор во влагопоглотителе должны быть менее 0,3 мкм.
Эффективность влагопоглотителя, определенная по методу повышения температуры, должна быть не менее 35 °C. В спорных вопросах проводят испытания по определению влагоемкости влагопоглотителя по методикам, утвержденным в установленном порядке.
(в ред.
Изменения N 1, введенного в действие Приказом Росстандарта от 30.06.2020 N 333-ст)
Порядок заполнения дистанционных рамок влагопоглотителем и его контроль устанавливают в технологической документации, в зависимости от размеров стеклопакетов и используемых герметиков. При этом заполнение влагопоглотителем должно быть не менее 50% объема дистанционных рамок.
При применении в стеклопакетах термопластичных рамок и дистанционных лент с внедренным в массу влагопоглотителем эффективность влагопоглотителя не контролируют.
5.2.4. Для первичного герметизирующего слоя применяют полиизобутиленовые герметики (бутилы). Для вторичного герметизирующего слоя применяют полисульфидные (тиоколовые), полиуретановые или силиконовые герметики. В стеклопакетах для структурного остекления в качестве наружного герметизирующего слоя применяют структурные силиконовые герметики, осуществляющие дополнительные несущие функции.
(в ред.
Изменения N 1, введенного в действие Приказом Росстандарта от 30.06.2020 N 333-ст)
Применяемые герметики должны соответствовать требованиям
ГОСТ 32998.4 по показателям, указанным в
ГОСТ 32998.6 для каждого герметизирующего слоя, и иметь адгезионную способность к стеклу и дистанционной рамке и прочность, обеспечивающие требуемые характеристики стеклопакетов в рабочем диапазоне температур. Применяемые герметики должны быть совместимы между собой и с герметиками, применяемыми при установке стеклопакетов в строительные конструкции. Не допускается взаимное проникновение герметиков и химические реакции между ними.
Для изготовления стеклопакетов должны применяться герметики, отвечающие гигиеническим требованиям, установленным в санитарных нормах и правилах, утвержденных в установленном порядке.
5.2.5. Для изготовления стеклопакетов применяют стекла толщиной не менее 4 мм с учетом требований
9.3,
9.4 настоящего стандарта.
(в ред.
Изменения N 1, введенного в действие Приказом Росстандарта от 30.06.2020 N 333-ст)
5.2.6. При применении стекла с мягким покрытием (не стойким к внешним воздействиям) кромка по всему периметру стекла должна быть очищена от покрытия на глубину герметизирующего слоя, но не менее 9 мм. В случае если очищенная от покрытия кромка по периметру стекла не закрывается рамами, то внешний вид согласовывается изготовителем с потребителем на образцах.
Допускается наличие видимых прозрачной или золотистой полосы вдоль дистанционной рамки шириной не более 2 мм, если иное не указано в договоре на изготовление стеклопакетов.
Допускается наличие следов от круга для снятия покрытия в виде полос в зоне герметизации стеклопакета.
Допускается не снимать покрытие по кромке стекла, если это указывается производителем стекла с покрытием.
(п. 5.2.6 в ред.
Изменения N 1, введенного в действие Приказом Росстандарта от 30.06.2020 N 333-ст)
5.2.7. В случаях, когда в стеклопакетах для наружного остекления применяют неупрочненное стекло (в том числе многослойное), его коэффициент поглощения солнечного излучения должен быть не более 30%. При коэффициенте поглощения солнечного излучения от 30% до 50% стекло рекомендуется подвергать упрочнению.
Допускается вместо коэффициента поглощения солнечного излучения использовать при проектировании стеклопакетов коэффициент поглощения света стеклом. Для неупрочненного стекла (в том числе многослойного) он должен быть не более 25%. В случае если один критерий выполняется, а другой нет, то применяется коэффициент поглощения солнечного излучения.
Стекло с более высоким коэффициентом поглощения света (или солнечного излучения) должно быть обязательно упрочненным.
(п. 5.2.7 в ред.
Изменения N 1, введенного в действие Приказом Росстандарта от 30.06.2020 N 333-ст)
5.2.8. Применяемые для изготовления стеклопакетов материалы должны быть проверены на совместимость и морозостойкость в процессе проведения испытания стеклопакетов на долговечность.
5.3. Маркировка, упаковка
5.3.1. Маркировку стеклопакетов производят в соответствии с требованиями
ГОСТ 32530.
В случае применения в стеклопакете многослойного, закаленного или термоупрочненного стекла маркировка на стеклопакете должна быть расположена так, чтобы была видна маркировка многослойного, закаленного или термоупрочненного стекла.
В маркировке допускается указывать дополнительную информацию по согласованию изготовителя с потребителем.
5.3.2. Маркировка транспортной тары - по
ГОСТ 32530.
5.3.3. Упаковку стеклопакетов производят в соответствии с требованиями
ГОСТ 32530.
5.3.4. При упаковке стеклопакеты должны быть разделены пробковыми или эластичными полимерными прокладками по углам стеклопакета. Номинальную толщину прокладок выбирают, исходя из размеров стеклопакета и возможных перепадов температуры и давления окружающего воздуха в процессе транспортирования и хранения стеклопакетов.
(в ред.
Изменения N 1, введенного в действие Приказом Росстандарта от 30.06.2020 N 333-ст)
5.4. Требования безопасности
5.4.1. Требования безопасности при производстве стеклопакетов устанавливают в соответствии с гигиеническими требованиями, правилами по электробезопасности, правилами противопожарной безопасности в соответствии с применяемым технологическим оборудованием и технологией производства.
5.4.2. Пожарная безопасность производства стеклопакетов должна обеспечиваться системами предотвращения пожара, противопожарной защиты, организационно-техническими мероприятиями по
ГОСТ 12.1.004. Не допускается в помещениях, где изготавливают и хранят стеклопакеты, использование открытого огня.
5.4.3. Лица, занятые на производстве стеклопакетов, должны быть обеспечены спецодеждой в соответствии с нормативными документами. В помещениях, где производятся стеклопакеты, должны быть вода и аптечка с медикаментами для оказания первой медицинской помощи при порезах и ушибах.
5.4.4. Все лица, занятые на производстве стеклопакетов, при приеме на работу и периодически должны проходить медицинский осмотр, инструктаж по охране труда и обучение согласно
ГОСТ 12.0.004.
(п. 5.4.4 в ред.
Изменения N 1, введенного в действие Приказом Росстандарта от 30.06.2020 N 333-ст)
5.4.5. При погрузочно-разгрузочных работах должны соблюдаться правила безопасности по
ГОСТ 12.3.009. Запрещается перемещать стекла и стеклопакеты над людьми.
5.4.6. При производстве стеклопакетов все операции, связанные с возможностью попадания вредных веществ в организм человека, следует выполнять в соответствии с инструкцией по обеспечению безопасности работ, утвержденной в установленном порядке. При этом должны соблюдаться требования санитарных правил организации технологических процессов, гигиенических требований к производственному оборудованию.
5.4.7. Требования безопасности при обращении со стеклопакетами устанавливают по
ГОСТ 33560.
(п. 5.4.7 введен
Изменением N 1, введенным в действие Приказом Росстандарта от 30.06.2020 N 333-ст)
5.5. Требования охраны окружающей среды
5.5.1. При изготовлении стеклопакетов должно быть обеспечено соблюдение природоохранных норм и требований.
5.5.2. Стеклопакеты при эксплуатации и хранении не должны оказывать вредного влияния на организм человека, что обеспечивается безопасностью применяемых герметиков, при соблюдении санитарно-эпидемиологических и гигиенических требований в соответствии с законодательством, действующим на территории государства, принявшего настоящий стандарт.
(п. 5.5.2 в ред.
Изменения N 1, введенного в действие Приказом Росстандарта от 30.06.2020 N 333-ст)
5.5.3. При изготовлении стеклопакетов в воздух рабочей зоны может выделяться пыль неорганическая с содержанием диоксида кремния свыше 70%, ПДКр.з. = 1 мг/м3, класс опасности 3.
5.5.4. ПДК по бутилу в воздухе рабочей зоны должна соответствовать требованиям санитарных норм и правил, утвержденных в установленном порядке.
5.5.5. Определение содержания ПДК опасных веществ в воздухе рабочей зоны проводят по методикам, санитарным нормам и правилам, утвержденным в установленном порядке.
5.5.6. При утилизации стеклопакетов они должны быть разобраны на комплектующие изделия. Утилизации подлежит каждый вид комплектующих изделий отдельно.
5.5.7. Разборка выполняется по технологической документации, в которой устанавливают требования к правилам выполнения работ, в том числе требования по технике безопасности.
5.5.8. Утилизация отходов стекла, не подлежащих промышленной переработке, производится на специализированных полигонах.
5.5.9. Утилизация выполняется через специализированные предприятия в соответствии с законодательством.
6.1. Приемку стеклопакетов производят в соответствии с требованиями
ГОСТ 32529 по показателям, указанным в таблице 4.
Таблица 4
Наименование показателя | Номер пункта требования | Номер пункта метода испытаний |
Отклонение номинальной толщины | | |
(в ред. Изменения N 1, введенного в действие Приказом Росстандарта от 30.06.2020 N 333-ст) |
Отклонение длины (высоты), ширины | | |
Разность длин диагоналей | | |
Отклонение от плоскостности | | |
Отклонение от прямолинейности кромок | | |
Внешний вид | | |
Требования к герметизации | | |
Герметичность | | |
Оптические искажения | | |
Точка росы | | |
Долговечность | | |
Объем заполнения межстекольного пространства газом | | |
Звукоизоляция | | |
Сопротивление теплопередаче | | |
Оптические характеристики | | |
Эффективность влагопоглотителя | | |
Маркировка | | |
Примечание. Показатели: звукоизоляция, сопротивление теплопередаче и оптические характеристики контролируют в случае, если эти требования указаны потребителем. |
6.2. При подтверждении соответствия требованиям настоящего стандарта испытания стеклопакетов проводят на типовых представителях согласно описанию системы.
7.1. Условия проведения испытаний
Испытания стеклопакетов (кроме долговечности) проводят при температуре окружающего воздуха (20 +/- 5) °C. Перед испытаниями стеклопакеты выдерживают в помещении для проведения испытаний при данной температуре не менее четырех часов, если нет других указаний изготовителя.
Наименьшее время между проведением испытаний и изготовлением стеклопакета устанавливают в технологической документации в зависимости от применяемых материалов.
7.2. Определение высоты (длины) и ширины
7.2.1. Контроль длины (высоты) и ширины стеклопакета проводят в соответствии с ГОСТ 32557
(раздел 9).
7.2.2. Оценка результатов
Стеклопакет считают выдержавшим испытание, если отклонение размеров по длине (высоте, ширине) соответствует
4.7.
Порядок и методику контроля размеров стеклопакетов с применением моллированного стекла, стеклопакетов непрямоугольной формы, а также стеклопакетов для структурного остекления устанавливают в технической документации.
7.3. Определение номинальной толщины
(в ред.
Изменения N 1, введенного в действие Приказом Росстандарта от 30.06.2020 N 333-ст)
7.3.1. Номинальную толщину стеклопакета измеряют в соответствии с ГОСТ 32557
(раздел 8).
(в ред.
Изменения N 1, введенного в действие Приказом Росстандарта от 30.06.2020 N 333-ст)
7.3.2. Оценка результатов
Стеклопакет считают выдержавшим испытание, если отклонение номинальной толщины соответствует требованиям
4.5 и результат каждого измерения находится в пределах допускаемых отклонений.
(в ред.
Изменения N 1, введенного в действие Приказом Росстандарта от 30.06.2020 N 333-ст)
7.4. Определение отклонения от плоскостности
7.4.1. Отклонение от плоскостности стеклопакета определяют в соответствии с ГОСТ 32557
(раздел 11).
7.4.2. Оценка результатов
Стеклопакет считают выдержавшим испытание, если щуп не входит в зазор.
7.5. Определение отклонения от прямолинейности кромок сторон стеклопакета
7.5.1. Отклонение от прямолинейности кромок стеклопакета определяют в соответствии с ГОСТ 32557
(раздел 12).
7.5.2. Оценка результатов
Стеклопакет считают выдержавшим испытание, если щуп не входит в зазор.
7.6. Определение разности длин диагоналей
7.6.1. Разность длин диагоналей стеклопакета определяют в соответствии с ГОСТ 32557
(раздел 10).
7.6.2. Оценка результатов
Стеклопакет считают выдержавшим испытание, если разность длин диагоналей соответствует требованиям
4.8.
7.7. Определение пороков внешнего вида
Пороки внешнего вида стекла в стеклопакетах определяют по нормативным документам на соответствующий вид используемого стекла.
Чистоту поверхностей стекол в стеклопакетах, щербление края стекла, сколы, выступы края стекла, повреждения углов, непрерывность герметизирующих слоев контролируют визуально при освещенности от 300 до 600 лк на расстоянии от 0,6 до 1,0 м.
7.8. Определение оптических искажений
7.8.1. Оптические искажения стеклопакетов в проходящем свете контролируют в соответствии с
ГОСТ 33003 с использованием экрана "кирпичная стена" со следующим дополнением: допускается при изготовлении стеклопакетов больших размеров контролировать оптические искажения на стеклопакетах размерами 400 x 400 мм, изготовленных вместе с основной партией.
7.8.2. Оценка результатов
Стеклопакеты считают выдержавшими испытание, если измеренные значения оптических искажений соответствуют
5.1.6.
7.8.3. Оптические искажения стеклопакетов в отраженном свете контролируют по
ГОСТ 33003.
7.9. Контроль герметизирующих слоев
7.9.1. Глубину герметизирующих слоев стеклопакета контролируют в соответствии с ГОСТ 32557
(раздел 15) со следующим дополнением:
- непрерывность герметизирующих слоев проверяют визуально при освещенности от 300 до 600 лк на расстоянии от 0,6 до 1,0 м.
7.9.2. Оценка результатов
Стеклопакет считают выдержавшим испытание, если измеренная глубина герметизирующих слоев соответствует требованиям
4.12.
7.10. Определение герметичности стеклопакетов
7.10.1. Сущность метода
Метод основан на определении изменения величины прогиба нагружаемого стекла в стеклопакете при изменении давления в его внутренней полости в случае негерметичности стеклопакета.
7.10.2. Отбор образцов
Испытания проводят на образцах стеклопакетов размерами не менее 350 x 350 мм.
Допускается проводить испытания на готовых стеклопакетах.
7.10.3. Испытательное оборудование и средства измерений
Стенд для проверки герметичности (схема стенда показана на рисунке 4).
1 - верхний нагрузочный винт; 2 - прокладка; 3 - пружина;
4 - индикатор часового типа; 5 - стеклопакет; 6 - раздвижные
опоры; 7 - нижний нагрузочный винт
Рисунок 4. Схема стенда для проверки герметичности
7.10.4. Проведение испытания
Герметичность стеклопакетов контролируют не ранее чем через сутки после их изготовления. Перед испытанием стеклопакеты выдерживают в помещении для испытания не менее 24 ч. Во время проведения испытания допускается изменение температуры в помещении не более чем на 1 °C.
Стеклопакет помещают на опоры 6 так, чтобы его геометрический центр (точка пересечения диагоналей) совпадал с осями нагрузочных винтов 1 и 7. Между пружиной 3 и стеклопакетом 5, а также между нагрузочным винтом 7 и стеклопакетом 5 помещают прокладки 2 (из органического стекла, текстолита и др.) диаметром (50 +/- 5) мм и номинальной толщиной 2 - 3 мм. Вращением шкалы верхнего индикатора 4 стрелку устанавливают на нулевое деление. При помощи нагрузочного винта 1 и пружины 3 нагружают верхнее стекло так, чтобы размер его прогиба L, определенный по индикатору 4, соответствовал значению L = 0,002a, где a - длина меньшей стороны стеклопакета в миллиметрах.
(в ред.
Изменения N 1, введенного в действие Приказом Росстандарта от 30.06.2020 N 333-ст)
Вращением шкалы нижнего индикатора 4 стрелку устанавливают на нулевое деление.
Нагрузочным винтом 7 нагружают нижнее стекло так, чтобы размер его прогиба соответствовал размеру прогиба верхнего стекла.
Стеклопакет выдерживают 3 - 4 мин для стабилизации показаний верхнего индикатора. Вновь устанавливают показания шкал верхнего и нижнего индикаторов на нулевое деление.
Стеклопакет выдерживают под нагрузкой (15 +/- 1) мин и определяют показания верхнего индикатора.
Если стеклопакет герметичен, показание верхнего индикатора должно быть не более 0,02 мм.
При испытании двухкамерного стеклопакета определение герметичности каждой камеры проводят отдельно. При этом для испытания второй камеры стеклопакет переворачивают на опорах 6 на 180° вокруг продольной оси.
7.10.5. Оценка результатов
Образцы считают выдержавшими испытание, если у всех образцов показания верхнего индикатора не превышают 0,02 мм.
7.10.6. Допускается проводить испытания на герметичность в соответствии с
Приложением Б.
7.11. Определение точки росы
7.11.1. Сущность метода
Метод основан на охлаждении участка стеклопакета и последующей проверке появления конденсата (инея) на внутренней поверхности стекла на этом участке.
7.11.2. Отбор образцов
Испытания проводят на образцах стеклопакетов размерами не менее 500 x 500 мм.
Допускается проводить испытания на готовых стеклопакетах.
7.11.3. Испытательное оборудование, средства измерений и расходные материалы
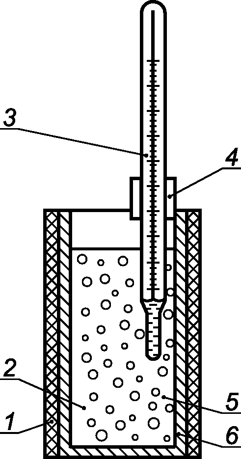
Точку росы контролируют, используя микрохолодильник, обеспечивающий заданный температурный режим испытаний, или прибор для контроля точки росы. Схема приборов для контроля точки росы показана на рисунках 5 и
6.
1 - теплоизоляция; 2 - ацетон или изопропиловый спирт;
3 - термометр; 4 - держатель; 5 - твердая двуокись
углерода; 6 - корпус
Рисунок 5. Схема прибора для контроля точки росы
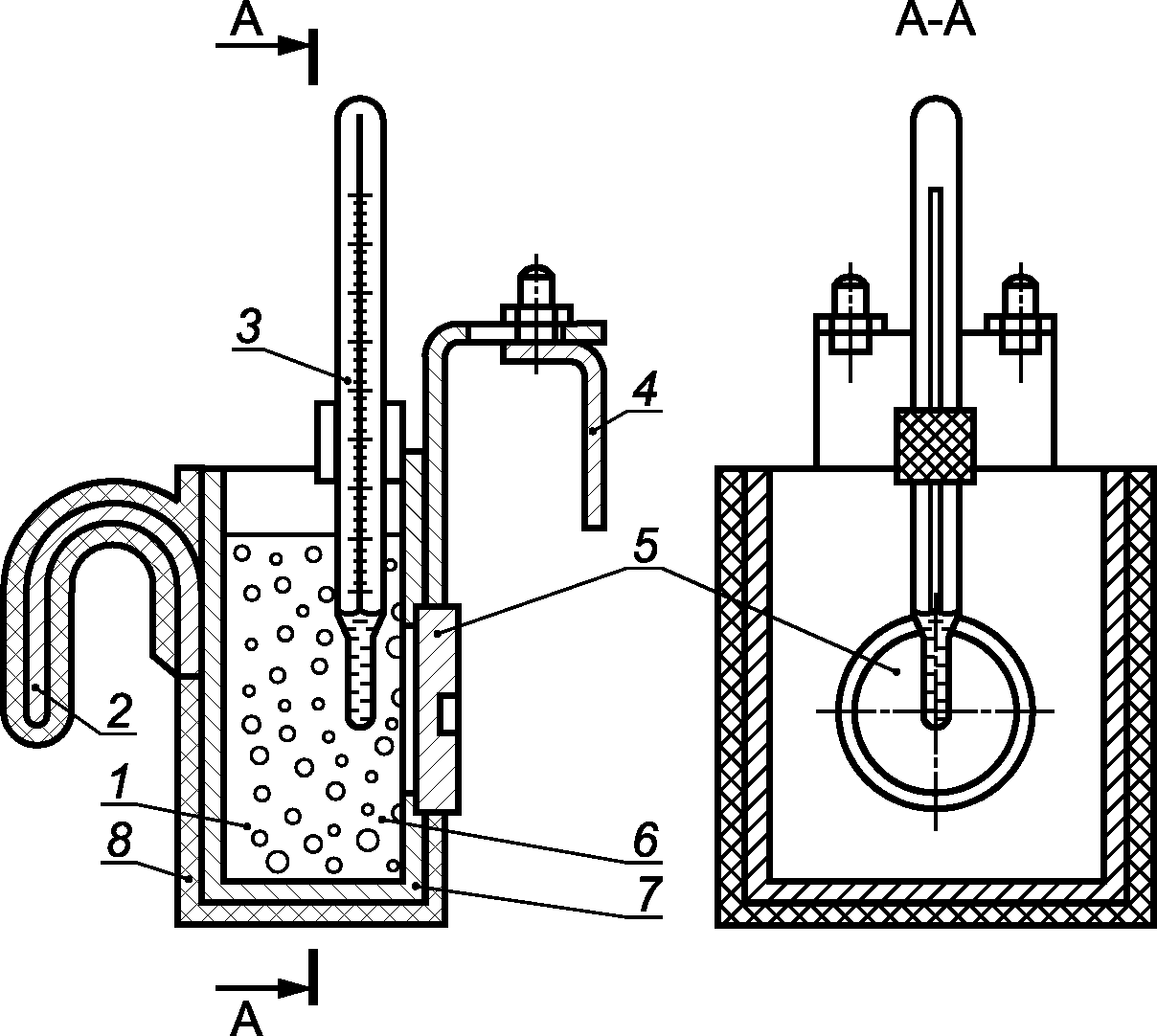
1 - ацетон или изопропиловый спирт; 2 - ручка;
3 - термометр; 4 - подвижная пластина узла подвески;
5 - контактная латунная пластина; 6 - твердая двуокись
углерода; 7 - корпус медный; 8 - теплоизоляция
Рисунок 6. Схема прибора с контактной латунной
пластиной для контроля точки росы
Для проведения испытаний с помощью прибора для контроля точки росы необходимы:
- термометр стеклянный по
ГОСТ 28498 с погрешностью измерения не более 2 °C или другой прибор измерения температуры с соответствующей настоящему стандарту погрешностью измерения, при условии, что он выдерживает воздействие агрессивных сред (ацетон);
- двуокись углерода твердая по
ГОСТ 12162 или сжиженный углекислый газ по нормативным документам;
- секундомер по нормативным документам;
- фонарь карманный или другой источник света напряжением не более 12 В.
7.11.4. Проведение испытания
Точку росы внутри стеклопакета контролируют не ранее чем через сутки после его изготовления.
7.11.4.1. Контроль точки росы с помощью микрохолодильника
При определении точки росы с помощью микрохолодильника испытания проводят в соответствии с Инструкцией по эксплуатации микрохолодильника.
Ацетоном очищают стекло в месте контроля на расстоянии не менее 100 мм от кромки стеклопакета. Очищенную поверхность стекла и контактную пластину микрохолодильника смачивают тампоном, пропитанным ацетоном. Прижимают микрохолодильник пластиной к смоченному участку так, чтобы он был неподвижен и обеспечен плотный контакт со стеклом. Температура микрохолодильника при испытании стеклопакетов должна быть минус (50 +/- 3) °C и минус (60 +/- 3) °C - для стеклопакетов морозостойкого исполнения. Время проведения испытания, в зависимости от номинальной толщины листа стекла в стеклопакете, должно соответствовать времени, указанному в таблице 5.
(в ред.
Изменения N 1, введенного в действие Приказом Росстандарта от 30.06.2020 N 333-ст)
Таблица 5
Время проведения испытания
Номинальная толщина листа стекла, мм | Время, не менее, мин |
До 5 включ. | 4 |
Св. 5 " 10 " | 6 |
" 10 | 10 |
(в ред.
Изменения N 1, введенного в действие Приказом Росстандарта от 30.06.2020 N 333-ст)
По истечении указанного времени микрохолодильник снимают. Охлажденный участок протирают тампоном, смоченным ацетоном. Включают источник света и визуально проверяют наличие конденсата (инея) на внутренней поверхности охлажденного участка стекла.
В двухкамерных стеклопакетах измерение точки росы проводят на обеих сторонах поверхности стеклопакета.
7.11.4.2. Определение точки росы с помощью прибора контроля точки росы
Стеклопакет располагают горизонтально, если используют прибор для контроля точки росы, как показано на
рисунке 5, или вертикально, если используют прибор для контроля точки росы, как показано на
рисунке 6.
Прибор заполняют ацетоном или изопропиловым спиртом с постепенным добавлением мелких кусочков двуокиси углерода. При использовании прибора, как показано на
рисунке 5, контактной пластиной является основание прибора. Уровень ацетона или изопропилового спирта должен быть выше верха контактной пластины не менее чем на 30 мм.
Температуру смеси измеряют термометром, конец которого должен быть удален от контактной пластины прибора не более чем на 10 мм.
Температура смеси при испытании стеклопакетов должна быть минус (50 +/- 3) °C и минус (60 +/- 3) °C - для стеклопакетов морозостойкого исполнения.
Ацетоном очищают стекло в месте контроля на расстоянии не менее 100 мм от кромки стеклопакета. Очищенную поверхность стекла и контактную пластину смачивают тампоном, пропитанным ацетоном. Прижимают прибор пластиной к смоченному участку так, чтобы был обеспечен плотный контакт. Время контакта прибора, в зависимости от номинальной толщины листов стекла в стеклопакете, должно соответствовать времени, указанному в
таблице 5.
(в ред.
Изменения N 1, введенного в действие Приказом Росстандарта от 30.06.2020 N 333-ст)
Во время проведения испытания указанную температуру жидкости в приборе поддерживают добавлением твердой двуокиси углерода или сжиженного газа.
По истечении указанного времени прибор снимают. Охлажденный участок протирают тампоном, смоченным ацетоном. Включают источник света и визуально проверяют наличие конденсата (инея) на внутренней поверхности охлажденного участка стекла.
В двухкамерных стеклопакетах измерение точки росы проводят на обеих сторонах поверхности стеклопакета.
7.11.5. Оценка результатов
Стеклопакет считают выдержавшим испытание, если на поверхности охлаждаемого участка внутри камеры стеклопакета не были обнаружены следы конденсата (инея).
(в ред.
Изменения N 1, введенного в действие Приказом Росстандарта от 30.06.2020 N 333-ст)
7.12. Определение долговечности
Долговечность стеклопакетов определяют по
ГОСТ 30779 со следующими дополнениями:
- 1,7 цикла испытаний приравнивают к одному условному году эксплуатации стеклопакетов;
- отрицательная температура при проведении испытаний стеклопакетов морозостойкого исполнения - не выше минус 60 °C.
Допускается распространять результаты испытаний на долговечность плоских стеклопакетов на моллированные стеклопакеты с такой же формулой, с радиусом изгиба более или равным 1 м.
Допускается распространять результаты испытаний на долговечность моллированных стеклопакетов с меньшим радиусом изгиба на стеклопакеты с большим радиусом изгиба с такой же формулой.
7.13. Определение объема заполнения камер газом
7.13.1. Сущность метода
Метод заключается в определении концентрации остаточного кислорода внутри стеклопакета.
7.13.2. Отбор образцов
Испытания проводят на готовых стеклопакетах, не ранее чем через 24 ч после их изготовления.
7.13.3. Испытательное оборудование
Газоанализатор по нормативным документам, с относительной погрешностью измерения содержания кислорода не более 1%.
7.13.4. Проведение испытания
Из стеклопакета, заполненного газом, в соответствии с инструкцией по эксплуатации газоанализатора, отбирают пробу, которую затем помещают в газоанализатор и определяют в ней содержание кислорода.
7.13.5. Стеклопакеты считают выдержавшими испытание, если содержание кислорода по объему в пробе не превышает 2%.
(п. 7.13.5 в ред.
Изменения N 1, введенного в действие Приказом Росстандарта от 30.06.2020 N 333-ст)
7.13.6. Допускается определять объем заполнения камер газом по методикам, утвержденным в установленном порядке.
7.14. Определение эффективности влагопоглотителя
7.14.1. Сущность метода
Метод заключается в определении величины повышения температуры влагопоглотителя при добавлении воды.
7.14.2. Испытательное оборудование, средства измерений и расходные материалы
7.14.3. Проведение испытания
В стакан вместимостью 100 мл наливают (20 +/- 1) см3 дистиллированной воды температурой 20 °C - 22 °C, записывают температуру T1. Взвешивают второй стакан, всыпают в него (20 +/- 1) г влагопоглотителя и измеряют его температуру. Разность между температурами воды и влагопоглотителя не должна превышать 2 °C. Пересыпают взвешенный влагопоглотитель в стакан с водой и плотно закрывают пробкой с установленным в ней термометром. При возрастании температуры записывают наивысшую отмеченную температуру T2.
7.14.4. Оценка результатов
Влагопоглотитель считают выдержавшим испытание, если разность между температурами T1 и T2 не менее 35 °C.
7.15. Определение звукоизоляции
7.15.1. Испытания проводят в соответствии с
ГОСТ 26602.3 на трех образцах стеклопакетов.
7.15.2. Оценка результатов
Образцы считаются выдержавшими испытания, если полученный результат соответствует
5.1.11.
7.16. Определение оптических характеристик
7.16.1. Испытания проводят в соответствии с требованиями
ГОСТ EN 410 на трех образцах стеклопакетов.
Допускается для определения оптических характеристик применять
ГОСТ 26302 или использовать расчетный метод, в зависимости от вида и номинальной толщины применяемых стекол, по утвержденным методикам.
(в ред.
Изменения N 1, введенного в действие Приказом Росстандарта от 30.06.2020 N 333-ст)
Размеры образцов устанавливают в соответствии с инструкцией по эксплуатации применяемого средства измерения.
7.17. Определение сопротивления теплопередаче
7.17.1. Сопротивление теплопередаче определяют по
ГОСТ EN 675.
7.18. Контроль маркировки
7.18.1. Наличие, место нанесения, а также содержание маркировки стеклопакетов контролируют по ГОСТ 32530
(раздел 4).
8. Транспортирование и хранение
8.1. Транспортирование и хранение стеклопакетов осуществляют в соответствии с требованиями
ГОСТ 32530 со следующими дополнениями:
- при транспортировании авиатранспортом стеклопакеты перевозят в герметизированных отсеках при нормальном давлении окружающего воздуха;
- при длительном транспортировании (в том числе при отрицательных температурах) условия транспортирования устанавливают в договоре на поставку стеклопакетов;
- в процессе транспортирования и хранения стеклопакетов не допускается воздействие на них прямых солнечных лучей, влаги, агрессивных веществ, механических ударов;
- не рекомендуется хранение стеклопакетов на открытых площадках (строительных, производственных и т.д.).
(абзац введен
Изменением N 1, введенным в действие Приказом Росстандарта от 30.06.2020 N 333-ст)
8.2. Стеклопакеты с огнестойкими стеклами, каждый стеклопакет отдельно или в упакованном виде, следует транспортировать и хранить в сухих условиях. Стеклопакеты с огнестойкими стеклами не должны подвергаться прямому воздействию на них солнечных лучей или других тепловых источников, в связи с чем рекомендуется использование деревянных ящиков. Необходимо осторожно ставить ящики один к одному, так как любые манипуляции с ящиком могут привести к самопроизвольному перемещению стеклопакетов внутри ящика.
8.3. Стеклопакеты должны храниться у изготовителя и потребителя в закрытых сухих отапливаемых помещениях в распакованном виде.
(п. 8.3 в ред.
Изменения N 1, введенного в действие Приказом Росстандарта от 30.06.2020 N 333-ст)
8.4 При хранении и транспортировании не допускается воздействие на вторичный герметизирующий слой материалов и веществ, которые могут привести к его разрушению (возможность химической реакции).
(п. 8.4 введен
Изменением N 1, введенным в действие Приказом Росстандарта от 30.06.2020 N 333-ст)
9. Рекомендации и требования по изготовлению,
проектированию, монтажу и эксплуатации
Приказом Росстандарта от 30.06.2020 N 333-ст)
9.1. Изготовление стеклопакетов должно проводиться в соответствии с требованиями настоящего стандарта, технологической документации и
ГОСТ 32998.6.
Эксплуатацию, проектирование и монтаж стеклопакетов проводят в соответствии с требованиями настоящего стандарта и
ГОСТ 33561.
(абзац введен
Изменением N 1, введенным в действие Приказом Росстандарта от 30.06.2020 N 333-ст)
9.2. При изготовлении стеклопакетов рекомендуемая температура воздуха в помещении - плюс (16 °C - 24 °C), а относительная влажность - не выше 80%.
9.3. Выбор конструкции стеклопакета осуществляется заказчиком (проектировщиком), исходя из расчетных значений эксплуатационных нагрузок.
Стеклопакеты проектируют с учетом требований действующих строительных норм по естественному освещению помещений, теплоизоляции, звукоизоляции и механической прочности конструкции. Конструкция стеклопакета должна быть спроектирована таким образом, чтобы при случайном или умышленном его разрушении в строительных конструкциях выпадающие осколки стекла не могли поранить находящихся рядом людей или повредить их имущество. Конструкцию стеклопакета выбирает заказчик.
При применении стеклопакетов в зенитных фонарях или стеклянных крышах необходимо учитывать снеговые нагрузки, в том числе возможность образования снеговых мешков и падения ледяных или снежных глыб с более высоких частей сооружения.
При проектировании стеклопакетов следует учитывать температурные напряжения, возникающие при эксплуатации стеклопакетов (в том числе за счет поглощения солнечного излучения), а также влияние отрицательных температур и перепадов давления на отклонение от плоскостности (линзообразование) стеклопакетов.
9.4. Стеклопакеты должны выдерживать эксплуатационные нагрузки, в том числе ветровые, температурные, перепады давления и другие, возникающие из-за условий эксплуатации в конкретных строительных конструкциях. При расчете стеклопакетов на прочность каждое стекло в стеклопакете рассчитывают отдельно, в зависимости от действующей на него нагрузки, с учетом герметичности стеклопакетов.
При проектировании (заказе) стеклопакетов проектировщик (заказчик) должен предусмотреть условия эксплуатации, учесть воздействующие на стеклопакеты эксплуатационные нагрузки и установить требования к прогибу стекол. При отсутствии в проектной документации согласованных требований к прогибу рекомендуется применять следующие нормы:
- при наиболее неблагоприятном сочетании всех воздействующих на стеклопакеты факторов (с учетом коэффициентов сочетаний) прогиб листовых стекол не должен превышать 1/100 наименьшей стороны или 1/2 ширины дистанционной рамки (применяется наименьшее из значений);
- при воздействии только постоянных или временных длительных нагрузок прогиб каждого стекла не должен превышать 1/250 короткой стороны, суммарный встречный прогиб соседних стекол не должен превышать 1/2 ширины дистанционной рамки.
В случае если по согласованию производителя и заказчика возможно снижение требований к долговечности, то допускается при этом снизить требования к прогибам.
Расчетное сопротивление листового стекла на растяжение при изгибе рекомендуется принимать по нормативным документам на конкретные виды стекол или 15 МПа (150 кг/см2).
Стойкость к эксплуатационным нагрузкам может быть подтверждена расчетами или испытаниями, с использованием расчетных методов, программ, методик, утвержденных в установленном порядке.
(п. 9.4 в ред.
Изменения N 1, введенного в действие Приказом Росстандарта от 30.06.2020 N 333-ст)
9.5. Установленные в настоящем стандарте требования к отклонениям от плоскостности листов стекла в стеклопакете действительны при температуре воздуха (газа) внутри стеклопакета (20 +/- 4) °C и атмосферном давлении воздуха 745 - 760 мм рт. ст. При необходимости расширения этого диапазона температур и давлений это должно быть учтено при расчете необходимой номинальной толщины стекол в стеклопакете.
(в ред.
Изменения N 1, введенного в действие Приказом Росстандарта от 30.06.2020 N 333-ст)
9.6. Монтаж и эксплуатацию стеклопакетов следует производить в соответствии с действующими строительными нормами, нормативными документами на строительные конструкции и проектной документацией.
9.7. Перед установкой в конструкции необходимо провести тщательный осмотр каждого стеклопакета. Не допускается применять стеклопакеты, имеющие загрязнения внутренних поверхностей стекол, дистанционных рамок, межстекольного пространства, трещины, посечки, незашлифованные сколы в торцах, отбитые углы, выступы стекла, отслоения герметика по периметру стеклопакета.
(п. 9.7 в ред.
Изменения N 1, введенного в действие Приказом Росстандарта от 30.06.2020 N 333-ст)
9.8. Монтаж стеклопакетов следует производить с помощью ручных вакуумных присосок или траверс, снабженных вакуум-присосками, или с помощью другого инструмента, обеспечивающего сохранность стеклопакетов.
Стеклопакеты необходимо переносить в вертикальном положении, углы и торцы следует оберегать от ударов. Запрещается опирать стеклопакеты на углы и ставить на жесткое основание.
При монтаже стеклопакетов не должна нарушаться ориентация стеклопакетов (наружная - внутренняя сторона, верх-низ), рекомендованная изготовителем.
9.9. При эксплуатации не допускается использование стеклопакетов без подкладок (прокладок) между строительными конструкциями и стеклопакетами, при этом стеклопакет должен опираться на подкладки (прокладки), ширина которых не менее номинальной толщины стеклопакета. Касание стеклопакетами поверхностей строительных конструкций не допускается. Схемы установки подкладок приводят в проектной документации и нормативных документах.
(в ред.
Изменения N 1, введенного в действие Приказом Росстандарта от 30.06.2020 N 333-ст)
9.10. Монтаж стеклопакетов допускается производить при температуре наружного воздуха не ниже минус 15 °C.
Температура в помещениях, остекленных стеклопакетами, в зимний период строительства должна быть не ниже 5 °C.
9.11. При установке стеклопакетов и их креплении не допускаются перекосы и чрезмерное "обжатие" стеклопакетов штапиками или накладками.
9.12. Работы по уплотнению и герметизации стыков между стеклопакетами и деталями конструкций следует производить непосредственно после их установки и крепления. Герметизируемые поверхности должны быть предварительно очищены, просушены и обезжирены.
Работы по уплотнению и герметизации стыков следует проводить при температуре наружного воздуха не ниже минус 5 °C (если нет других указаний) в условиях, исключающих увлажнение конструкций.
9.13. При проведении сварочных работ и резке металла стеклопакеты необходимо защищать от попадания на них раскаленных частиц металла.
9.14. При эксплуатации стеклопакетов температура воздуха внутри помещений рекомендуется не ниже 5 °C и не выше 30 °C и относительная влажность - не более 60%. При большей влажности в помещении, а также при пиковых отрицательных температурах наружного воздуха возможно образование конденсата на поверхности стеклопакета, обращенной внутрь помещения.
При большой влажности атмосферного воздуха допускается образование конденсата на наружной поверхности стеклопакета.
9.15. Монтажные герметики должны быть совместимы с герметиками для изготовления стеклопакетов.
9.16. При эксплуатации стеклопакетов, изготовленных из неупрочненного стекла, не допускается изменять их конструкцию, т.е. наклеивать пленки, наносить рисунки и т.д., изменяющие их оптические характеристики (коэффициенты направленного пропускания света, отражения света, солнечные характеристики и т.д.).
Допускается при эксплуатации стеклопакетов установка самоклеящихся пленок на неупрочненное стекло в стеклопакете при наличии разрешения изготовителя данного стеклопакета или при условии, что коэффициент поглощения солнечного излучения стекла с установленной на него пленкой, подтвержденный результатами испытаний, не превышает 50%.
9.17. При хранении и эксплуатации стеклопакетов не допускается:
- их взаимное касание и касание о твердые предметы;
- протирание твердыми материалами и материалами, содержащими царапающие включения;
- удары твердыми предметами;
- очистка сухого стекла жесткими щетками без подачи смывающей жидкости;
- длительное присутствие влаги и загрязнений на поверхности стекла и торцевой части стеклопакета;
(в ред.
Изменения N 1, введенного в действие Приказом Росстандарта от 30.06.2020 N 333-ст)
- резкие перепады температур;
- эксплуатация в агрессивной среде.
9.18. При эксплуатации стеклопакетов с огнестойкими стеклами их края должны быть плотно (без зазоров) закрыты штапиками, накладками или покрыты по периметру защитной пленкой, во избежание попадания влаги.
(в ред.
Изменения N 1, введенного в действие Приказом Росстандарта от 30.06.2020 N 333-ст)
9.19. При выполнении отделочных и других видов работ необходимо соблюдать меры по защите стеклопакетов от механических повреждений (ударов, вибрации и т.д.) и загрязнений (попадание на стекло строительных материалов: цементной пыли, строительных растворов, штукатурных смесей и т.д.) и других агрессивных веществ.
9.20. При эксплуатации стеклопакетов могут наблюдаться интерференционные полосы (полосы Брюстера), возникающие вследствие высокого качества стекла и параллельности стекол в стеклопакете.
9.21. При эксплуатации стеклопакетов не допускается соприкосновение стекол в стеклопакете, сопровождающееся возникновением цветных концентрических окружностей (колец Ньютона) с центром в точке соприкосновения.
9.22. При изменении условий эксплуатации стеклопакетов (изменение температуры и атмосферного давления) допускаются прогибы стекла в стеклопакете, не приводящие к его разрушению.
9.23. Стеклопакеты, устанавливаемые в окнах, рекомендуется располагать на высоте не менее 0,2 м от уровня пола.
9.24. Стеклопакеты рекомендуется располагать на расстоянии не менее 0,3 м от отопительных и нагревательных приборов.
9.25. При использовании стеклопакетов в местах, где они устанавливаются не на просвет (межэтажные перекрытия, строительные конструкции и т.д.), стекла в стеклопакете должны быть упрочнены, во избежание их разрушения.
9.26. При использовании стеклопакетов в системе структурного остекления, при их изготовлении применяют герметики, устойчивые к воздействию ультрафиолетового излучения.
(п. 9.26 введен
Изменением N 1, введенным в действие Приказом Росстандарта от 30.06.2020 N 333-ст)
9.27. При эксплуатации стеклопакетов не допускается механическое воздействие на стеклопакеты, например: удары, сверление отверстий в дистанционных рамках и т.д.
(п. 9.27 введен
Изменением N 1, введенным в действие Приказом Росстандарта от 30.06.2020 N 333-ст)
9.28. При наличии в стеклопакете хотя бы одного стекла закаленного эмалированного (стемалита) или стекла с частично нанесенной краской (стекло с шелкотрафаретной печатью) все стекла в стеклопакете должны быть упрочнены.
(п. 9.28 введен
Изменением N 1, введенным в действие Приказом Росстандарта от 30.06.2020 N 333-ст)
10. Гарантии изготовителя
10.1. Изготовитель гарантирует соответствие стеклопакетов требованиям настоящего стандарта при соблюдении требований упаковки, транспортирования, хранения, эксплуатации и монтажа, а также области их применения согласно действующим нормам.
10.2. Гарантийный срок хранения - не более одного года со дня отгрузки изделий изготовителем.
10.3. Гарантийный срок службы (эксплуатации) стеклопакетов устанавливают в технической документации, но не менее пяти лет со дня отгрузки.
(обязательное)
ТРЕБОВАНИЯ К ОПИСАНИЮ СИСТЕМЫ
А.1. Общее содержание описания системы
В описание системы входит как обязательный раздел, так и справочный, в случае если изготовитель стеклопакетов предполагает дальнейшее развитие производства. Ответственность за подготовку описания системы лежит на производителе стеклопакетов или его представителе.
А.2. Обязательный раздел описания системы
А.2.1. Разделы описания системы
Обязательный раздел описания системы содержит два подраздела:
- описание компонентов (применяемых материалов) (см.
А.2.2);
- описание герметизации стеклопакета (см.
А.2.3).
А.2.2. Описание компонентов
Описание компонентов может состоять из:
1) чертежа поперечного сечения герметизации стеклопакета в масштабе, где каждый компонент пронумерован. Когда на чертеже не отображаются все компоненты, следует сделать дополнительные чертежи;
2) указания по заполнению межстекольного пространства и вставок;
3) перечня с названиями компонентов в соответствии с номерами на подробном чертеже(ах) и в соответствии с соответствующим приложением
ГОСТ 32998.6.
Запись по каждому компоненту (на один компонент возможно внесение нескольких записей, например в случае, когда один компонент поставляется несколькими поставщиками) нумеруется в соответствии с подробным чертежом(ами). Каждая запись компонента содержит:
- номер и функциональное название компонента,
- название поставщика или производителя компонента,
- общее описание материала, используемого для компонента (например, "влагопоглотитель"), и, если возможно, дополненное некоторой более подробной информацией (например, "молекулярное сито

"),
- чертеж с необходимыми размерами, относящимися к преимущественной геометрии компонента, за исключением компонентов, относящихся к
пункту А.2.3, т.е. тех компонентов, которые получают форму в процессе герметизации (например: герметики, влагопоглотитель).
А.2.3. Описание герметизации стеклопакета
Описание может содержать:
1) Подробные чертежи соответствующих областей герметизирующих слоев, например:
- соответствующее сечение непрерывного герметизирующего слоя;
- соответствующее сечение герметизации в месте соединения частей дистанционной рамки;
- соответствующее сечение соединительного угла;
- обозначение процесса заполнения газом (например, описание положения и размеров отверстий для заполнения; оборудования для заполнения газом; метода запечатывания отверстий для заполнения, который включает в себя герметизацию, перечень используемых материалов и т.д.).
Указывают соответствующие размеры герметизации (включая, если используют, ширину удаляемого покрытия) и соответствующие количества тех компонентов, которые применяют в процессе герметизации, такие как герметики, газ и влагопоглотитель. Соответствующие размеры и количества должны быть пронумерованы.
- нумерацию согласно чертежу,
- средние значения и рабочий предел, на которых будет основываться производство стеклопакетов,
- абсолютные пределы, например, на метр или на стеклопакет, которые могут быть достигнуты в ходе производства без влияния на экономически оправданное время жизни. Среди прочих, они могут относиться:
- к воздушным включениям между внутренним и внешним слоями герметизации,
- длине непрерывного внутреннего герметика,
- если перечень не содержит абсолютных пределов, в качестве абсолютных пределов выступают предельные рабочие величины.
3) Перечень абсолютных пределов, который отмечает, какие из них возникают в сочетании с другими в стеклопакете.
С течением времени допускаемые отклонения рабочего предела и абсолютного предела в Руководстве по качеству могут быть строже, чем таковые в описании системы.
А.3. Справочная часть описания системы
Справочная часть может содержать всю информацию, которую посчитает необходимым в нее включить производитель. Информация может представлять собой описания материалов и компонентов, а также протоколы испытаний независимых испытательных лабораторий, касающиеся свойств материалов, таких как кривые нагрузки/напряжения для герметиков, величины проницаемости герметика для водяного пара и/или газа.
А.4. Образцы для испытаний, соответствующие описанию системы
Образцы для испытаний должны соответствовать описанию системы.
Примечание. Это означает, что те допустимые отклонения, которые предусмотрены описанием системы, должны быть отражены в образцах для испытаний. Если отклонения в описании системы не предусмотрены, то стеклопакеты с обнаруженными отклонениями не должны подлежать приемке.
(рекомендуемое)
ОПРЕДЕЛЕНИЕ ГЕРМЕТИЧНОСТИ СТЕКЛОПАКЕТОВ
Б.1. Сущность метода
Сущность метода заключается в определении герметичности стеклопакетов под гидростатическим давлением воды.
Б.2. Отбор образцов
Испытания проводят на трех образцах стеклопакетов размерами не менее 500 x 500 мм.
Б.3. Испытательное оборудование и средства измерений
Емкость с вакуумной присоской, заполненная водой; схема испытательного стенда приведена на рисунке Б.1.
1 - емкость с водой; 2 - образец стеклопакета;
3 - вакуумная присоска; 4 - вода
Рисунок Б.1. Схема испытательного стенда
Термометр по
ГОСТ 28498 с погрешностью измерения не более 2 °C.
Б.4. Проведение испытаний
Каждый образец стеклопакета поочередно помещают на (24 +/- 1) ч в емкость с водой, имеющей температуру (23 +/- 5) °C. Схема показана на
рисунке Б.1. Образец помещают таким образом, чтобы расстояние от стенки емкости до боковой грани стеклопакета было не менее 40 мм. Если стеклопакет содержит стекла разной номинальной толщины, его помещают вниз стеклом большей номинальной толщины.
(в ред.
Изменения N 1, введенного в действие Приказом Росстандарта от 30.06.2020 N 333-ст)
Уровень воды должен быть выше поверхности стеклопакета не менее чем на 400 мм.
После извлечения стеклопакета из воды его подвергают визуальному осмотру.
Допускается проводить испытания определения герметичности стеклопакетов, используя вместо вакуумной присоски другой способ закрепления стеклопакета, таким образом, чтобы торцы стеклопакетов не закрывались.
Б.5. Оценка результатов
Образцы считают выдержавшими испытание, если в них не обнаружены следы проникновения воды в камеры стеклопакета.