Главная // Актуальные документы // ГОСТ (Государственный стандарт)СПРАВКА
Источник публикации
В данном виде документ опубликован не был.
Первоначальный текст документа опубликован в издании
М.: Стандартинформ, 2015.
Информацию о публикации документов, создающих данную редакцию, см. в справке к этим документам.
Примечание к документу
Документ включен в
Перечень национальных стандартов, содержащих правила и методы исследований (испытаний) и измерений, в том числе правила отбора образцов, необходимых для применения и исполнения Федерального
закона от 22.07.2008 N 123-ФЗ "Технический регламент о требованиях пожарной безопасности" и осуществления оценки соответствия (
Распоряжение Правительства РФ от 10.03.2009 N 304-р).
Текст данного документа приведен с учетом
поправки, опубликованной в "ИУС", N 3, 2019.
Название документа
"ГОСТ 30826-2014. Межгосударственный стандарт. Стекло многослойное. Технические условия"
(введен в действие Приказом Росстандарта от 06.05.2015 N 330-ст)
(ред. от 30.09.2019)
"ГОСТ 30826-2014. Межгосударственный стандарт. Стекло многослойное. Технические условия"
(введен в действие Приказом Росстандарта от 06.05.2015 N 330-ст)
(ред. от 30.09.2019)
агентства по техническому
регулированию и метрологии
от 6 мая 2015 г. N 330-ст
МЕЖГОСУДАРСТВЕННЫЙ СТАНДАРТ
СТЕКЛО МНОГОСЛОЙНОЕ
ТЕХНИЧЕСКИЕ УСЛОВИЯ
Laminated glass. Specifications
(ISO 12543-5:2011, NEQ)
(ISO 12543-6:2011, NEQ)
ГОСТ 30826-2014
| | Список изменяющих документов Приказом Росстандарта от 30.09.2019 N 826-ст) | |
Дата введения
1 апреля 2016 года
Цели, основные принципы и основной порядок проведения работ по межгосударственной стандартизации установлены
ГОСТ 1.0-92 "Межгосударственная система стандартизации. Основные положения" и
ГОСТ 1.2-2009 "Межгосударственная система стандартизации. Стандарты межгосударственные, правила и рекомендации по межгосударственной стандартизации. Правила разработки, принятия, применения, обновления и отмены"
1 ПОДГОТОВЛЕН Открытым акционерным обществом "Институт стекла" (ТК 41 "Стекло")
2 ВНЕСЕН Федеральным агентством по техническому регулированию и метрологии (Росстандарт)
3 ПРИНЯТ Межгосударственным советом по стандартизации, метрологии и сертификации (протокол от 20 октября 2014 г. N 71-П)
За принятие проголосовали
Краткое наименование страны по МК (ИСО 3166) 004-97 | Код страны по МК (ИСО 3166) 004-97 | Сокращенное наименование национального органа по стандартизации |
Беларусь | BY | Госстандарт Республики Беларусь |
Казахстан | KZ | Госстандарт Республики Казахстан |
Киргизия | KG | Кыргызстандарт |
Молдова | MD | Молдова-Стандарт |
Россия | RU | Росстандарт |
Таджикистан | TJ | Таджикстандарт |
Узбекистан | UZ | Узстандарт |
Украина | UA | Минэкономразвития Украины |
4
Приказом Федерального агентства по техническому регулированию и метрологии от 6 мая 2015 г. N 330-ст межгосударственный стандарт ГОСТ 30826-2014 введен в действие в качестве национального стандарта Российской Федерации с 1 апреля 2016 г.
5 Настоящий стандарт соответствует международным стандартам:
- ISO 12543-5:2011 Glass in building - Laminated glass and laminated safety glass - Part 5: Dimensions and edge finishing (Стекло в строительстве. Многослойное и многослойное безопасное стекло. Часть 5. Размеры и обработка кромки) в части требований к обработке кромки;
- ISO 12543-6:2011 Glass in building - Laminated glass and laminated safety glass - Part 6: Appearance (Стекло в строительстве. Многослойное и многослойное безопасное стекло. Часть 6. Внешний вид) в части требований по количеству и размерам пороков внешнего вида.
Степень соответствия - неэквивалентная (NEQ)
--------------------------------
<*>
Приказом Федерального агентства по техническому регулированию и метрологии от 6 мая 2015 г. N 330-ст стандарты
ГОСТ Р 54171-2010 "Стекло многослойное. Технические условия" и
ГОСТ Р 51136-2008 "Стекла защитные многослойные. Общие технические условия" отменены с 1 апреля 2016 г.
Информация об изменениях к настоящему стандарту публикуется в ежегодном информационном указателе "Национальные стандарты", а текст изменений и поправок - в ежемесячном информационном указателе "Национальные стандарты". В случае пересмотра (замены) или отмены настоящего стандарта соответствующее уведомление будет опубликовано в ежемесячном информационном указателе "Национальные стандарты". Соответствующая информация, уведомление и тексты размещаются также в информационной системе общего пользования - на официальном сайте Федерального агентства по техническому регулированию и метрологии в сети Интернет
Настоящий стандарт распространяется на многослойное стекло (в том числе моллированное), предназначенное для безопасного остекления транспортных средств, светопрозрачных строительных конструкций с повышенными эксплуатационными характеристиками (стеклопакетов, структурного остекления, элементов наклонного и горизонтального остекления, оконных и дверных блоков, витрин, полов и т.д.), защиты жизни человека, обеспечения безопасности и надежности хранения и транспортирования материальных ценностей. Многослойное стекло применяют на транспортных средствах, в жилых, административных и общественных зданиях, где есть необходимость обеспечения безопасности и защиты жизни человека, материальных ценностей, а также может применяться для других целей в соответствии со своими техническими характеристиками.
Настоящий стандарт может быть также применен при проведении сертификационных испытаний и для целей оценки соответствия.
В настоящем стандарте использованы нормативные ссылки на следующие межгосударственные стандарты:
ГОСТ 12.0.004-2015 Система стандартов безопасности труда. Организация обучения безопасности труда. Общие требования
(в ред.
Изменения N 1, введенного в действие Приказом Росстандарта от 30.09.2019 N 826-ст)
ГОСТ 12.1.004-91 Система стандартов безопасности труда. Пожарная безопасность. Общие требования
(в ред.
Изменения N 1, введенного в действие Приказом Росстандарта от 30.09.2019 N 826-ст)
ГОСТ 12.3.009-76 Система стандартов безопасности труда. Работы погрузочно-разгрузочные. Общие требования безопасности
ГОСТ 12.4.011-89 Система стандартов безопасности труда. Средства защиты работающих. Общие требования и классификация
ГОСТ EN 410-2014 Стекло и изделия из него. Методы определения оптических характеристик. Определение световых и солнечных характеристик
ГОСТ 9438-85 Пленка поливинилбутиральная клеящая. Технические условия
ГОСТ EN 13541-2013 Стекло и изделия из него. Метод испытания на стойкость к воздействию взрыва
(в ред.
Изменения N 1, введенного в действие Приказом Росстандарта от 30.09.2019 N 826-ст)
Ссылка исключена с 1 февраля 2020 года. -
Изменение N 1, введенное в действие Приказом Росстандарта от 30.09.2019 N 831-ст.
ГОСТ 26302-93 Стекло. Методы определения коэффициентов направленного пропускания и отражения света
(в ред.
Изменения N 1, введенного в действие Приказом Росстандарта от 30.09.2019 N 826-ст)
--------------------------------
<*> В Российской Федерации действуют ГОСТ Р ИСО 10140-1-2012 - ГОСТ Р ИСО 10140-5-2012.
ГОСТ 30733-2014 Стекло с низкоэмиссионным твердым покрытием. Технические условия
ГОСТ 31364-2014 Стекло с низкоэмиссионным мягким покрытием. Технические условия
ГОСТ 32357-2013 Стекло и изделия из него. Метод испытания кипячением (температуростойкость)
ГОСТ 32530-2013 Стекло и изделия из него. Маркировка, упаковка, транспортирование и хранение
ГОСТ 32557-2013 Стекло и изделия из него. Методы контроля геометрических параметров и показателей внешнего вида
ГОСТ 32564.1-2013 (ISO 16936-1:2005) Стекло и изделия из него. Метод испытания на стойкость к удару шаром
ГОСТ 32564.2-2013 (ISO 16936-2:2005) Стекло и изделия из него. Метод испытания на стойкость к удару топором и молотком
(в ред.
Изменения N 1, введенного в действие Приказом Росстандарта от 30.09.2019 N 826-ст)
ГОСТ 32997-2014 Стекло листовое, окрашенное в массе. Общие технические условия
(в ред.
Изменения N 1, введенного в действие Приказом Росстандарта от 30.09.2019 N 826-ст)
ГОСТ 33003-2014 Стекло и изделия из него. Методы определения оптических искажений
(ссылка введена
Изменением N 1, введенным в действие Приказом Росстандарта от 30.09.2019 N 826-ст)
ГОСТ 33017-2014 Стекло с солнцезащитным или декоративным твердым покрытием. Технические условия
ГОСТ 33086-2014 Стекло с солнцезащитным или декоративным мягким покрытием. Технические условия
ГОСТ 33088-2014 Стекло и изделия из него. Метод испытания на влагостойкость
ГОСТ 33089-2014 Стекло и изделия из него. Метод испытания на стойкость к ультрафиолетовому излучению
ГОСТ 32996-2014 Стекло и изделия из него. Методы испытаний на стойкость к климатическим воздействиям. Испытание на морозостойкость
ГОСТ 33004-2014 Стекло и изделия из него. Характеристики. Термины и определения
ГОСТ 33090-2014 (ISO 16940-2008) Стекло и изделия из него. Метод определения звукоизолирующей способности
ГОСТ 33559-2015 Стекло и изделия из него. Метод испытания на стойкость к удару мягким телом
(ссылка введена
Изменением N 1, введенным в действие Приказом Росстандарта от 30.09.2019 N 826-ст)
ГОСТ 33560-2015 Стекло и изделия из него. Требования безопасности при обращении со стеклом
(ссылка введена
Изменением N 1, введенным в действие Приказом Росстандарта от 30.09.2019 N 826-ст)
ГОСТ EN 12600-2015 Стекло и изделия из него. Метод испытания на стойкость к удару двойной шиной
(ссылка введена
Изменением N 1, введенным в действие Приказом Росстандарта от 30.09.2019 N 826-ст)
Примечание - При пользовании настоящим стандартом целесообразно проверить действие ссылочных стандартов и классификаторов на официальном интернет-сайте Межгосударственного совета по стандартизации, метрологии и сертификации (www.easc.by) или по указателям национальных стандартов, издаваемым в государствах, указанных в предисловии, или на официальных сайтах соответствующих национальных органов по стандартизации. Если на документ дана недатированная ссылка, то следует использовать документ, действующий на текущий момент, с учетом всех внесенных в него изменений. Если заменен ссылочный документ, на который дана датированная ссылка, то следует использовать указанную версию этого документа. Если после принятия настоящего стандарта в ссылочный документ, на который дана датированная ссылка, внесено изменение, затрагивающее положение, на которое дана ссылка, то это положение применяется без учета данного изменения. Если ссылочный документ отменен без замены, то положение, в котором дана ссылка на него, применяется в части, не затрагивающей эту ссылку.
(в ред.
Изменения N 1, введенного в действие Приказом Росстандарта от 30.09.2019 N 826-ст)
3.1 защитное многослойное стекло: Многослойное стекло, обладающее хотя бы одной подтвержденной защитной функцией (классом защиты).
3.2 многослойное стекло, безопасное при эксплуатации: Стекло, обладающее свойствами выдерживать удар мягким телом, имитирующим механическое воздействие тела человека, движущегося с различной скоростью, при столкновении со стеклом.
3.3 многослойное шумозащитное стекло: Стекло, в состав которого входит специальный звукопоглощающий слой, обеспечивающий повышенные (по сравнению с прочими видами многослойного стекла) звукоизолирующие свойства.
3.4 многослойное морозостойкое стекло: Стекло, сохраняющее свои функции при эксплуатации при температуре стекла ниже минус 30 °C.
3.5 класс защиты стекла: Характеристика, показывающая способность стекла противостоять различным однотипным воздействиям на него.
3.6 краевая зона многослойного стекла: Часть поверхности стекла, закрываемая деталями строительных конструкций и невидимая при его эксплуатации.
3.7 рабочая зона многослойного стекла: Часть поверхности стекла, видимая при эксплуатации после установки в строительную конструкцию.
3.8 непрозрачные пятна: Видимые пороки в многослойном стекле - помутнения в промежуточном слое.
3.9 пузыри: Полость в стекле или и в промежуточном слое различных размеров и формы.
3.10 царапина: Механическое повреждение поверхности стекла или промежуточного материала в виде черты.
Примечание - В зависимости от ширины различают царапины грубые и волосные.
3.11 формула многослойного стекла: Запись, в которой указывают виды (марки) стекол и их толщины и толщины промежуточных слоев.
Примечание - Формула многослойного стекла читается от наружного при его эксплуатации стекла к внутреннему.
4. Классификация, основные параметры и размеры
4.1 Многослойное стекло изготавливают в соответствии с требованиями настоящего стандарта по конструкторской и технологической документации, утвержденной в установленном порядке.
4.2 Для изготовления многослойных стекол применяют стекла, указанные в таблице 1.
Наименование вида стекла | Нормативный документ | Марка стекла (буквенное обозначение) |
Листовое бесцветное | | М0, М1 |
Узорчатое | | У |
Армированное | | Ау, Ап |
Окрашенное в массе | | Т0, Т1 |
Стекло с лакокрасочным покрытием | | Л |
Упрочненное: химически упрочненное | Нормативные документы | - |
закаленное | | З |
термоупрочненное | | ТП |
Стекло с солнцезащитным: твердым покрытием | | Ст |
мягким покрытием | | См |
Стекло с низкоэмиссионным: твердым покрытием | | К |
мягким покрытием | | И |
Матированное | | МТ |
Примечания 1 Допускается по согласованию с потребителем применять другие виды листовых стекол, в том числе со специальными покрытиями, по нормативным документам при условии, что многослойное стекло, изготовленное с их применением, отвечает требованиям настоящего стандарта. 2 Нормативные документы (здесь и далее) - стандарты, технические условия, договора на поставку, утвержденные в установленном порядке. |
4.3 Защитное многослойное стекло должно обладать одной или несколькими защитными функциями или характеристиками, указанными в таблице 2.
Таблица 2
Защитные функции | Класс защиты/характеристика |
Безопасность при эксплуатации | СМ1 - СМ4 |
Ударостойкость | Р1А - Р5А |
Взломостойкость | Р1В-Р3В |
(в ред. Изменения N 1, введенного в действие Приказом Росстандарта от 30.09.2019 N 826-ст) |
Пулестойкость | С1, Бр1 - Бр6 |
Взрывостойкость | ER1 - ER4, (SB1 - SB7, EXV45 - EXV10) |
Огнестойкость (пожаростойкость) | R15 - R180, RE15 - RE180, REI15 - REI180, REW15 - REW180, E15 - E180, EI15 - EI180, EIW15 - EIW180 |
Звукоизоляция | Не менее 35 дБ (RАтран) |
4.4 Номинальную толщину многослойного стекла, расположение, толщину и вид составляющих листов стекла и промежуточных слоев устанавливают в конструкторской документации, договоре на их изготовление (поставку).
Предельные отклонения от номинальной толщины многослойного стекла не должны превышать значений, указанных в таблице 3.
Таблица 3
В миллиметрах
Номинальная толщина многослойного стекла | Предельные отклонения |
До 25,0 включ. | +/- 0,6 |
Св. 25,0 " 40,0 " | +1,5/-1,0 |
" 40,0 " 60,0 " | +2,0/-1,0 |
" 60 | +3,0/-1,0 |
4.5 Номинальные размеры многослойных стекол устанавливают в договоре на их изготовление (поставку). Многослойные стекла сложной конфигурации изготавливают по рабочим чертежам или шаблонам, утвержденным в установленном порядке.
Многослойные стекла, изготовленные с применением моллированного стекла (гнутого стекла), должны соответствовать требованиям настоящего стандарта - по характеристикам (кроме оптических искажений), а по основным параметрам, размерам и оптическим искажениям - требованиям нормативных документов на моллированное стекло.
4.6 Предельные отклонения многослойного стекла по длине и ширине не должны превышать значений, указанных в таблице 4.
В миллиметрах
Предельные отклонения размеров по длине (высоте) и ширине |
Номинальный размер по длине (высоте, ширине) | Номинальная толщина многослойного стекла <= 8 | Номинальная толщина многослойного стекла > 8 |
каждый из составляющих листов многослойного стекла номинальной толщиной < 10 | хотя бы один из составляющих листов многослойного стекла номинальной толщиной >= 10 |
До 1100 включ. | +2,0/-2,0 | +2,5/-2,0 | +3,5/-2,5 |
Св. 1100 " 2000 " | +3,0/-2,0 | +3,5/-2,0 | +5,0/-3,5 |
" 2000 " 3000 " | +4,5/-2,5 | +5,0/-3,0 | +6,0/-4,0 |
" 3000 | +5,0/-3,0 | +6,0/-4,0 | +7,0/-5,0 |
4.7 Смещения составляющих листов стекла в многослойном стекле
(рисунок 1) не должны превышать значений, указанных в
таблице 5.
B, H - длина и ширина многослойного стекла;
a - смещение листов стекла в многослойном стекле;

- допуск (предельное отклонение) на длину
и ширину многослойного стекла
Рисунок 1 - Смещение листов стекла в многослойном стекле
В миллиметрах
Номинальный размер по длине (высоте, ширине) | Максимально допустимое смещение (a), не более |
| |
До 1000 включ. | 1,0 | 2,0 |
От 1000 " 2000 " | 3,0 |
" 2000 " 4000 " | 4,0 |
" 4000 | 6,0 |
<*> Базовая сторона многослойного стекла - сторона, на которую оно опирается при закреплении и эксплуатации. Примечания 1 Смещения по длине (высоте) и ширине устанавливают отдельно. 2 Смещение не должно превышать предельные отклонения по длине (высоте) и ширине. 3 Для многослойных стекол, предназначенных для дальнейшей переработки (резки), допустимое смещение устанавливают по графе "другие стороны". |
4.8 Отклонение от плоскостности листов стекла в многослойном стекле не должно превышать 0,001 длины стороны многослойного стекла, параллельно которой производится измерение при использовании стекол по
ГОСТ 111,
ГОСТ 32997,
ГОСТ 33017,
ГОСТ 33086,
ГОСТ 30733,
ГОСТ 31364, не подвергавшихся термообработке.
При использовании других видов стекол отклонение от плоскостности не должно превышать значений, установленных в нормативных документах на эти виды стекол.
Допускается значение отклонений от плоскостности устанавливать в договоре на поставку.
4.9 Отклонение от прямолинейности кромок многослойного стекла не должно превышать предельные отклонения по длине (высоте) и ширине, указанные в
таблице 4.
4.10 Разность длин диагоналей многослойного стекла, имеющего прямоугольную форму, не должна превышать значений, указанных в таблице 6.
Таблица 6
В миллиметрах
Длина диагоналей | Разность длин диагоналей, не более |
До 1500 включ. | 3 |
Св. 1500 до 2500 " | 4 |
" 2500 | 5 |
4.11 Условное обозначение многослойного стекла (защитного многослойного стекла) должно состоять из: слов "многослойное стекло", обозначения его класса защиты <1>/характеристики, длины (высоты), ширины, номинальной толщины <2> многослойного стекла и обозначения настоящего стандарта.
--------------------------------
<1> Для защитного многослойного стекла.
<2> Допускается вместо номинальной толщины указывать формулу многослойного стекла.
Примеры условных обозначений:
- защитного ударостойкого многослойного стекла класса защиты Р3А, длиной 1700 мм, шириной 900 мм, номинальной толщиной 9,14 мм (4-1,14-4)
<3>:
многослойное стекло Р3А - 1700 x 900 x 9,14 - ГОСТ 30826-2014;
- защитного пулестойкого многослойного стекла класса защиты Бр 1, длиной 1500 мм, шириной 800 мм, номинальной толщиной 20,28 мм (6-0,76-4-0,76-4-0,76-4)
<3>:
многослойное стекло Бр 1 - 1500 x 800 x 20,28 - ГОСТ 30826-2014;
- защитного взрывостойкого многослойного стекла, класса защиты ER1, длиной 1500 мм, шириной 800 мм, номинальной толщиной 10,76 мм (5-0,76-5)
<3>:
многослойное стекло ER1 - 1500 x 800 x 10,76 - ГОСТ 30826-2014;
- защитного многослойного стекла, безопасного при эксплуатации, класса защиты СМ2 и огнестойкого EI30, длиной 1500 мм, шириной 800 мм, номинальной толщиной 17,3 мм:
многослойное стекло СМ2, EI30 - 1500 x 800 x 17,3 - ГОСТ 30826-2014;
- многослойного стекла длиной 1500 мм, шириной 800 мм, формулой 4-0,76-4-0,76-4, где 4 - номинальные толщины листов стекла, мм, 0,76 - номинальная толщина полимерной пленки, мм:
многослойное стекло 1500 x 800 x (4-0,76-4-0,76-4) - ГОСТ 30826-2014.
--------------------------------
<3> Формула многослойного стекла.
Допускается, по согласованию изготовителя с потребителем, в условном обозначении многослойного стекла указывать дополнительные сведения, расшифровку которых указывают в нормативных документах на многослойное стекло, или торговую марку (артикул).
4.12 В договоре на изготовление (поставку) многослойного стекла оговаривают требования к обработке края, расположение и вид составляющих листов стекла и промежуточных слоев, а также другие дополнительные требования по согласованию изготовителя с потребителем, предъявляемые к многослойному стеклу.
4.13 Требования к обработке края
4.13.1 Края многослойного стекла могут быть обработанными и необработанными. Рекомендуется использовать стекло со шлифованной кромкой (при применении закаленного стекла кромку обрабатывают до его закалки). Вид края многослойного стекла и его обработку указывают в договоре на его изготовление (поставку) в соответствии с
приложением А.
4.13.2 По согласованию изготовителя с потребителем допускается применять защиту торцов (краев) многослойного стекла герметизирующим материалом, отвечающим гигиеническим требованиям, утвержденным в установленном порядке.
5. Общие технические требования
5.1.1 Пороки внешнего вида
5.1.1.1 Количество допускаемых локальных пороков в рабочей зоне многослойного стекла, в зависимости от их размеров и площади листа стекла, должно соответствовать значениям, указанным в таблице 7.
Таблица 7
Число составляющих листов стекла в многослойном стекле | Размер порока L, мм |
0,5 < L <= 1,0 | 1,0 < L <= 3,0 |
Для площади листа (S), м2 |
Для всех размеров (площади) | S <= 1,0 | 1,0 < S <= 2,0 | 2,0 < S <= 8,0 | S > 8,0 |
2 | Допускаются в несосредоточенном виде | 1 шт. | 2 шт. | 1 шт./м2 | 1,2 шт./м2 |
3 | 2 шт. | 3 шт. | 1,5 шт./м2 | 1,8 шт./м2 |
4 | 3 шт. | 4 шт. | 2 шт./м2 | 2,4 шт./м2 |
>= 5 | 4 шт. | 5 шт. | 2,5 шт./м2 | 3 шт./м2 |
Примечания 1 Пузыри в промежуточном склеивающем слое и отлипы не допускаются. Пороки размером менее 0,5 мм не нормируются, размером более 3 мм - не допускаются. 2 Сосредоточенность пороков не должна превышать: 4 и более пороков, расположенных на расстоянии друг от друга не менее 200 мм. Это расстояние уменьшают до 180 мм, если многослойное стекло состоит из трех стекол, до - 150 мм, если многослойное стекло состоит из четырех стекол, до - 100 мм, если многослойное стекло состоит из пяти и более стекол. |
5.1.1.2 По количеству и размеру линейные пороки в рабочей зоне многослойного стекла должны соответствовать требованиям таблицы 8.
Таблица 8
Площадь многослойного стекла, м2 | Количество пороков длиной, мм |
от 3 до 10 | св. 10 до 30 |
До 5 включ. | 1 | Не допускаются |
Св. 5 до 8 " | 2 | 1 |
" 8 | 3 | 2 |
Примечания 1 Пузыри в промежуточном склеивающем слое и отлипы не допускаются. Количество ворсинок длиной от 3 до 5 мм не должно превышать 10 шт./м2. 2 Линейные пороки длиной до 3 мм не нормируются, а свыше 30 мм - не допускаются. 3 Грубые царапины не допускаются. |
5.1.1.3 Требования к краевой зоне многослойного стекла:
- неразрушающие пороки, диаметр (наибольший размер) которых не превышает 10 мм, - не нормируются;
- пузыри в промежуточном склеивающем слое и отлипы - не допускаются;
- незашлифованные сколы, выступы края стекла, поврежденные углы стекла - не допускаются. Глубина зашлифованных сколов не должна превышать половины толщины исходного стекла;
- допускается усадка пленки в краевой зоне до 3 мм.
Примечание - Ширину краевой зоны устанавливают в договоре (контракте, заказе) на изготовление многослойного стекла, исходя из технического решения узла крепления многослойного стекла в светопрозрачной конструкции. Если иное не указано, то для стекол площадью менее 5 м2 ширина краевой зоны составляет не более 15 мм. Для стекол площадью более 5 м2 ширина краевой зоны составляет не более 20 мм.
5.1.1.4 Трещины и посечки не допускаются по всей площади стекла.
5.1.1.5 Многослойное стекло должно иметь ровные кромки и целые углы. Щербление кромки стекла не допускается.
Для стекол, предназначенных для дальнейшей переработки (резки), указанные пороки в краевой зоне не нормируются.
5.1.1.6 По согласованию изготовителя с потребителем, с учетом назначения и области применения конкретных видов стекол, допускается устанавливать другие требования к порокам внешнего вида.
5.1.1.7 Требования к нормам ограничения по порокам многослойного стекла с применением органического стекла устанавливают по согласованию изготовителя с потребителем.
5.1.2 Материалы, используемые в промежуточных склеивающих слоях, в составе многослойного стекла должны быть полностью полимеризированы и выдерживать испытание на температуростойкость (кипячением), кроме огнестойких стекол с силикатным промежуточным слоем.
5.1.3 Многослойное стекло должно быть стойким к воздействию ультрафиолетового излучения, кроме огнестойких стекол с силикатным промежуточным слоем.
5.1.4 Многослойное стекло должно быть влагостойким, кроме огнестойких стекол с силикатным промежуточным слоем.
5.1.5 Оптические искажения многослойного стекла, кроме многослойного стекла, содержащего узорчатое, армированное, матированное стекло, стекло с лаковым покрытием, моллированного многослойного стекла, а также многослойного стекла с коэффициентом направленного пропускания света менее 30%, видимые в проходящем свете, при наблюдении экрана "кирпичная стена" под углом, менее или равном 30°, не допускаются.
5.1.6 Многослойное стекло, безопасное при эксплуатации, подразделяют на классы защиты в соответствии с таблицей 9.
Таблица 9
Класс защиты | Высота падения, мм | Масса мешка, кг |
СМ1 | 300 +/- 30 | 45 +/- 1 |
СМ2 | 450 +/- 30 |
СМ3 | 1200 +/- 30 |
СМ4 | 2000 +/- 50 |
Допускается многослойное стекло, безопасное при эксплуатации, подразделять на классы защиты согласно таблице 10 по результатам испытания двойной шиной в соответствии с
ГОСТ EN 12600.
Таблица 10
Класс защиты | |
3 | 190 +/- 30 |
2 | 450 +/- 30 |
1 | 1200 +/- 30 |
Примечание - Допускается классификация многослойного стекла, безопасного при эксплуатации, в соответствии с таблицей 10а по методике испытаний
[1].
Класс защиты | Высота падения, мм |
Мешок со свинцовой дробью | Двойная шина |
3 | 300 +/- 30 | 190 +/- 30 |
2 | 450 +/- 30 | 450 +/- 30 |
1 | 1200 +/- 30 | 1200 +/- 30 |
(п. 5.1.6 в ред.
Изменения N 1, введенного в действие Приказом Росстандарта от 30.09.2019 N 826-ст)
5.1.7 Многослойное стекло ударостойкое подразделяют на классы защиты в соответствии с таблицей 11.
Таблица 11
Класс защиты | Высота падения, мм | Количество ударов | Масса, кг |
Испытание шаром |
Р1А | 1500 +/- 50 | 3 | 4,11 +/- 0,06 |
Р2А | 3000 +/- 50 | 3 |
Р3А | 6000 +/- 50 | 3 |
Р4А | 9000 +/- 50 | 3 |
Р5А | 9000 +/- 50 | 3 x 3 |
5.1.8 Многослойное стекло взломостойкое подразделяют на классы защиты в соответствии с таблицей 12.
Таблица 12
Класс защиты | Суммарное количество ударов | Масса, кг |
Испытание топором и молотком |
Р1В | От 30 до 50 включ. | 2,0 +/- 0,1 |
(в ред. Изменения N 1, введенного в действие Приказом Росстандарта от 30.09.2019 N 826-ст) |
Р2В | Св. 50 до 70 включ. | |
(в ред. Изменения N 1, введенного в действие Приказом Росстандарта от 30.09.2019 N 826-ст) |
Р3В | Св. 70 | |
(в ред. Изменения N 1, введенного в действие Приказом Росстандарта от 30.09.2019 N 826-ст) |
5.1.9 Многослойное взрывостойкое стекло подразделяют на классы взрывостойкости в соответствии с таблицей 13.
Класс взрывостойкости | Характеристики плоской ударной волны |
Максимальное избыточное давление во фронте отраженной ударной волны Pr, кПа | Импульс фазы сжатия i+, кПа·мс | Длительность фазы сжатия t+, мс |
ER1 | 50 <= Pr < 100 | 370 <= i+ < 900 | >= 20 |
ER2 | 100 <= Pr < 150 | 900 <= i+ < 1500 | >= 20 |
ER3 | 150 <= Pr < 200 | 1500 <= i+ < 2200 | >= 20 |
ER4 | 200 <= Pr < 250 | 2200 <= i+ < 3200 | >= 20 |
Допускается многослойное взрывостойкое стекло подразделять на классы защиты в соответствии с таблицами 14 и
15 по методике испытаний
[2].
Класс защиты | Масса заряда ТНТ, кг | Расстояние от места возможного взрыва, м | Давление положительной фазы ВУВ, кПа | Величина удельного импульса положительной фазы ВУВ, Па·с |
SB1(X) | 3 | 9,0 | 70 | 150 |
SB2(X) | 3 | 7,0 | 110 | 200 |
SB3(X) | 3 | 5,0 | 250 | 300 |
SB4(X) | 3 | 3,0 | 800 | 500 |
SB5(X) | 12 | 5,5 | 700 | 700 |
SB6(X) | 12 | 4,0 | 1600 | 1000 |
SB7(X) | 20 | 4,0 | 2800 | 1500 |
Класс защиты | Масса заряда ТНТ, кг | Расстояние от места возможного взрыва, м | Давление положительной фазы ВУВ, кПа | Величина удельного импульса положительной фазы ВУВ, Па·с |
EXV45(X) | 30 | 32,0 | 30 | 180 |
EXV33(X) | 30 | 23,0 | 50 | 250 |
EXV25(X) | 40 | 19,0 | 80 | 380 |
EXV19(X) | 64 | 17,0 | 140 | 600 |
EXV15(X) | 80 | 14,4 | 250 | 850 |
EXV12(X) | 100 | 12,4 | 450 | 1200 |
EXV10(X) | 125 | 11,0 | 800 | 1600 |
5.1.10 Многослойное пулестойкое стекло, в зависимости от воздействия определенных видов пуль с заданными скоростями, подразделяют на классы защиты, указанные в таблице 16.
Таблица 16
Приказом Росстандарта от 30.09.2019 N 826-ст)
Класс защиты | Наименование средства поражения | Оружие | Характеристика поражающего элемента | Дистанция обстрела, м |
Тип сердечника | Масса, г | |
Специальные классы защиты |
С1 | 18,5-мм охотничий патрон | Охотничье ружье 12 калибра | Свинцовый | 34,0 +/- 1,0 | 400 +/- 10 | 5 +/- 0,1 |
Основные классы защиты |
Бр1 | 9 x 18 мм пистолетный патрон с пулей Пст, инд. 57-Н-181С | 9-мм АПС, инд. 56-А-126 | Стальной | 5,90 | 335 +/- 10 | 5 +/- 0,1 |
Бр2 | 9 x 21 мм патрон с пулей П, | 9-мм СР-1, инд. 6П35 | Свинцовый | 7,93 | 390 +/- 10 | 5 +/- 0,1 |
Бр3 | 9 x 19 мм патрон с пулей Пст, инд. 7Н21 | 9-мм ПЯ, инд. 6П35 | Стальной термоупрочненный | 7,00 | 410 +/- 10 | 5 +/- 0,1 |
Бр4 | 5,45 x 39 мм патрон с пулей ПП, инд. 7Н10 | 5,45-мм автомат АК74, инд. 6П20 | Стальной термоупрочненный | 3,50 | 895 +/- 15 | 10 +/- 0,1 |
7,62 x 39 мм патрон с пулей ПС, инд. 57-Н-231 | 7,62-мм автомат АКМ, инд. 6П1 | Стальной термоупрочненный | 7,90 | 720 +/- 15 | 10 +/- 0,1 |
Бр5 | 7,62 x 54 мм патрон с пулей ПП, инд. 7Н13 | 7,62-мм винтовка СВД, инд. 6В1 | Стальной термоупрочненный | 9,40 | 830 +/- 15 | 10 +/- 0,1 |
Бр5 | 7,62 x 54 мм патрон с пулей Б-32, инд. 7-Б3-3 | 7,62-мм винтовка СВД, инд. 6В1 | Стальной термоупрочненный | 10,40 | 810 +/- 15 | 10 +/- 0,1 |
Бр6 | 12,7 x 108 мм патрон с пулей Б-32, инд. 57-БЗ-542 | 12,7-мм винтовка ОСВ-96 | Стальной термоупрочненный | 48,20 | 830 +/- 20 | 50 +/- 0,5 |
<1> Скорость поражающего элемента измеряется на расстоянии (3,0 +/- 0,1) м от дульного среза оружия. <2> Запрещается использовать патроны инд. 7Н28, изготовленные до 1 февраля 2008 г. |
5.1.11 Требования к звукоизоляции многослойного стекла, с учетом конкретных условий эксплуатации, устанавливают в договоре на его изготовление (поставку).
5.1.12 Многослойное стекло, в зависимости от его способности сопротивляться воздействию пожара и распространению опасных факторов в условиях стандартных испытаний, подразделяют на огнестойкие многослойные стекла со следующими пределами огнестойкости:
1) не менее 15 мин;
2) не менее 30 мин;
3) не менее 45 мин;
4) не менее 60 мин;
5) не менее 90 мин;
6) не менее 120 мин;
7) не менее 180 мин.
В зависимости от времени достижения одного или последовательно нескольких признаков предельных состояний R, E, I, W устанавливают предел огнестойкости многослойного стекла.
Обозначение пределов огнестойкости - в соответствии с таблицей 17.
Таблица 17
Обозначение предела огнестойкости | Время достижения предельных состояний t, мин |
R t | 15, 30, 45, 60, 90, 120, 180 |
RE t | 15, 30, 45, 60, 90, 120, 180 |
REI t | 15, 30, 45, 60, 90, 120, 180 |
REW t | 15, 30, 45, 60, 90, 120, 180 |
E t | 15, 30, 45, 60, 90, 120, 180 |
EI t | 15, 30, 45, 60, 90, 120, 180 |
EW t | 15, 30, 45, 60, 90, 120, 180 |
Предел огнестойкости многослойных стекол, в зависимости от предъявляемых к ним требований, устанавливают в договоре на их изготовление (поставку).
Дополнительные требования к огнестойкому многослойному стеклу, например размеры краевой зоны, устанавливают в нормативных документах.
Примечание - Данная классификация огнестойкого стекла (та же, что и для противопожарных преград) применяется для информирования потребителей и прочих заинтересованных сторон. При этом производитель указывает для огнестойкого стекла предел огнестойкости, полученный по результатам испытаний данного стекла в совокупности с любой типовой рамной конструкцией (по своему выбору). Подтверждение соответствия допускается лишь для огнестойкого остекления в целом (то есть огнестойкого стекла в совокупности с конкретной рамной конструкцией) либо в целом для противопожарной преграды (дверь, перегородка и т.д.).
5.1.13 Коэффициент направленного пропускания и поглощения света, а также при необходимости коэффициенты пропускания, отражения, поглощения солнечного излучения многослойных стекол рекомендуется согласовывать с потребителем и указывать в договоре на их изготовление (поставку).
5.1.14 Многослойное стекло со специальными свойствами, например стойкое к статическим нагрузкам, электрохромное и др., должно соответствовать требованиям, согласованным изготовителем с потребителем.
5.1.15 Многослойное стекло, предназначенное для эксплуатации при отрицательных температурах, должно быть морозостойким и выдерживать минимальную расчетную температуру стекла при эксплуатации.
5.2 Требования к материалам
5.2.1 Для изготовления многослойных стекол применяют следующие: стекло в соответствии с
таблицей 1, поливинилбутиральную пленку по
ГОСТ 9438, термореактивную пленку на основе этиленвинилацетата, имеющую высокую степень трехмерных межмолекулярных связей, по нормативным документам, а также другие полимерные и силикатные материалы по нормативным документам, которые могут отличаться по типу и составу материала, механическим характеристикам, оптическим характеристикам. При этом многослойные стекла, изготовленные с их применением, должны соответствовать требованиям настоящего стандарта.
Полимерные материалы должны отвечать гигиеническим требованиям, утвержденным в установленном порядке.
В случае, если подтверждено соответствие гигиеническим требованиям многослойного стекла в целом, отдельного подтверждения соответствия на его компоненты не требуется и наоборот.
5.2.2 В конструкциях пулестойких многослойных стекол допускается использование органического стекла по
ГОСТ 10667 (в качестве промежуточного слоя), а также стеклопакетов по
ГОСТ 24866.
5.2.3 В случаях, когда в многослойном стекле, предназначенном для наружного остекления, применяют неупрочненное стекло, коэффициент поглощения солнечного излучения многослойным стеклом должен быть не более 45% (коэффициент поглощения света должен быть не более 25%). В многослойном стекле с более высоким коэффициентом поглощения солнечного излучения должны применяться упрочненные стекла.
5.3.1 Упаковку многослойного стекла проводят в соответствии с требованиями
ГОСТ 32530.
5.3.2 Защитное многослойное стекло конечного размера должно иметь маркировку.
5.3.3 Маркировку защитного многослойного стекла проводят по
ГОСТ 32530 со следующим дополнением:
- маркировку наносят в углу рабочей зоны, содержащую:
- наименование и/или товарный знак предприятия-изготовителя (допускается, по согласованию изготовителя исходного многослойного стекла с переработчиком, ставить товарный знак изготовителя исходного многослойного стекла),
- класс(ы) защиты.
Допускается, по согласованию с потребителем, в маркировке многослойного стекла указывать дополнительные сведения, расшифровку которых указывают в договоре на изготовление (поставку), а также наносить маркировку в краевую зону стекла (при этом товарный знак предприятия-изготовителя и класс защиты должны быть указаны в рабочей зоне).
На многослойное стекло, предназначенное для дальнейшей переработки, маркировку, как правило, не наносят.
5.3.5 При экспортно-импортных операциях требования к маркировке и упаковке многослойного стекла уточняют в договорах (контрактах) на поставку.
6. Требования безопасности
6.1 Требования безопасности при производстве стекла устанавливают в соответствии с гигиеническими правилами, правилами по электробезопасности, правилами противопожарной безопасности, в соответствии с применяемым технологическим оборудованием и технологией производства.
6.2 Пожарную безопасность производства стекла обеспечивают системами предотвращения пожара, противопожарной защиты, организационно-техническими мероприятиями по
ГОСТ 12.1.004. Не допускается в производственных и складских помещениях использование открытого огня.
6.3 Лица, занятые на производстве стекла, должны быть обеспечены спецодеждой по нормативным документам и средствами индивидуальной защиты по
ГОСТ 12.4.011. В производственных помещениях должны быть вода и аптечка с медикаментами для оказания первой помощи.
6.4 Лица, занятые в производстве стекла, при приеме на работу, а также периодически должны проходить медицинский осмотр в соответствии с действующими правилами органов здравоохранения, инструктаж по технике безопасности и быть обучены правилам безопасной работы согласно
ГОСТ 12.0.004. К изготовлению стекла не допускаются лица моложе 18 лет.
6.5 При выполнении погрузочно-разгрузочных работ должны соблюдаться правила безопасности согласно
ГОСТ 12.3.009.
6.6 Для всех технологических операций и производственных процессов, включая погрузочно-разгрузочные, упаковочные и транспортные, должны быть разработаны и утверждены в установленном порядке инструкции по технике безопасности.
6.7 Требования безопасности при обращении со стеклом устанавливают по
ГОСТ 33560.
(п. 6.7 введен
Изменением N 1, введенным в действие Приказом Росстандарта от 30.09.2019 N 826-ст)
7. Требования охраны окружающей среды
7.1 Стекло является экологически безопасной продукцией и в процессе производства, транспортирования, хранения и эксплуатации не выделяет токсичных веществ в окружающую среду.
7.2 Утилизацию стекла и его отходов производят по ГОСТ 33560
(пункт 4.4).
(п. 7.2 в ред.
Изменения N 1, введенного в действие Приказом Росстандарта от 30.09.2019 N 826-ст)
8.1 Приемку многослойного стекла проводят в соответствии с требованиями
ГОСТ 32529 по показателям, указанным в таблице 18.
Таблица 18
Наименование показателя | Номер пункта требования | Номер пункта метода испытаний |
Отклонение толщины | | |
Отклонение длины (высоты), ширины | | |
Смещение листов стекла | | |
Отклонение от плоскостности | | |
Отклонение от прямолинейности кромок | | |
Разность длин диагоналей | | |
Качество обработки края и расположение слоев | | |
Пороки внешнего вида | | |
Маркировка | | |
Оптические искажения | | |
Температуростойкость | | |
Стойкость к ультрафиолетовому излучению | | |
Влагостойкость | | |
Безопасность при эксплуатации | | |
Коэффициент направленного пропускания, отражения, поглощения света | | |
Ударостойкость | | |
Взломостойкость | | |
Взрывостойкость | | |
Пулестойкость | | |
Звукоизоляция | | |
Огнестойкость | | |
Специальные свойства | | |
| | ИС МЕГАНОРМ: примечание. В официальном тексте документа, видимо, допущена опечатка: пункт 5.1.16 отсутствует. | |
|
Морозостойкость | 5.1.16 | |
9.1 Определение длины (высоты), ширины и смещения листов стекла
9.1.1 Контроль длины (высоты) и ширины многослойного стекла проводят в соответствии с ГОСТ 32557
(раздел 9).
9.1.2 Смещение листов стекла в многослойном стекле контролируют в соответствии с ГОСТ 32557
(раздел 14).
9.1.3 Оценка результатов
Многослойное стекло считают выдержавшим испытание, если отклонение размеров по длине (высоте, ширине) соответствует
4.6 и смещение листов стекла в многослойном стекле соответствует
4.7.
9.2.1 Толщину многослойного стекла измеряют в соответствии с ГОСТ 32557
(раздел 8).
9.2.2 Оценка результатов
Многослойное стекло считают выдержавшим испытание, если отклонение от номинальной толщины соответствует
4.4.
9.3 Контроль качества обработки края, расположения и вида составляющих листов стекла и промежуточных слоев
9.3.1 Сущность метода
Метод основан на визуальном осмотре многослойного стекла.
9.3.2 Отбор образцов
Испытания проводят на многослойных стеклах, отобранных в соответствии с
8.1.
9.3.3 Проведение испытания
Качество обработки края
(4.13), расположение и вид составляющих листов стекла и склеивающих слоев в многослойном стекле определяют визуально при рассеянном дневном освещении или подобном ему искусственном (без прямого освещения). Освещенность должна быть от 300 до 600 лк, расстояние от 0,6 до 1,0 м.
9.3.4 Оценка результатов
Многослойное стекло считают выдержавшим испытание, если обработка края соответствует
4.13, расположение и вид составляющих листов стекла и склеивающих слоев соответствуют
4.12.
9.4 Определение количества и размеров пороков
9.4.1 Количество и размеры пороков в многослойном стекле определяют в соответствии с ГОСТ 32557
(раздел 19) со следующим дополнением: испытание проводят в проходящем свете при рассеянном дневном освещении или подобном ему искусственном (без прямого освещения).
9.4.2 Оценка результатов
Многослойное стекло считают выдержавшим испытание, если количество и размеры пороков соответствуют требованиям
5.1.1.
9.5 Определение отклонения от плоскостности
9.5.1 Отклонение от плоскостности многослойного стекла определяют в соответствии с ГОСТ 32557
(раздел 11).
9.5.2 Оценка результатов
Многослойное стекло считают выдержавшим испытание, если щуп не входит в зазор.
9.6 Определение отклонения от прямолинейности кромок
9.6.1 Отклонение от прямолинейности кромок многослойного стекла определяют в соответствии с ГОСТ 32557
(раздел 12).
9.6.2 Оценка результатов
Многослойное стекло считают выдержавшим испытание, если щуп не входит в зазор.
9.7 Определение температуростойкости
9.7.1 Температуростойкость многослойного стекла определяют в соответствии с требованиями
ГОСТ 32357 со следующими дополнениями:
- перед проведением испытаний образцы допускается выдерживать при температуре от 5 °C до 40 °C не менее 8 ч;
- допускается оформлять результаты испытаний в порядке, установленном изготовителем.
9.7.2 Оценка результатов
Многослойное стекло считают выдержавшим испытание, если не появились пороки внешнего вида. Не учитывают пороки на расстоянии до 15 мм от исходного края и до 20 мм от отрезанного края. Пузыри в непосредственной близости от вмонтированной проволоки в армированном стекле допускаются.
Если после проведения испытаний появились пороки внешнего вида, их оценивают в соответствии с
5.1.1.
9.8 Определение стойкости к ультрафиолетовому излучению
9.8.1 Стойкость многослойного стекла к ультрафиолетовому излучению определяют по
ГОСТ 33089.
9.9 Определение влагостойкости
9.9.1 Влагостойкость многослойного стекла определяют по
ГОСТ 33088 со следующим дополнением:
- испытания проводят на образцах размером 300 x 100 мм;
- образцы выдерживают в камере в течение 14 сут при температуре (50 +/- 2) °C или (70 +/- 2) °C (для стекла с коэффициентом поглощения света более 15%) и влажности не менее 92%.
9.9.2 Оценка результатов
Образцы считают выдержавшими испытание, если не появились пороки внешнего вида. Не учитывают пороки на расстоянии до 15 мм от исходного края и до 20 мм от отрезанного края. Пузыри в непосредственной близости от вмонтированной проволоки в армированном стекле допускаются. Если после проведения испытаний появились пороки внешнего вида, их оценивают в соответствии с
5.1.1.
9.10 Определение оптических искажений
9.10.1 Оптические искажения многослойного стекла определяют по
ГОСТ 33003 с использованием экрана "кирпичная стена".
Допускается при изготовлении многослойных стекол больших размеров контролировать оптические искажения на образцах размером 400 x 400 мм, вырезанных из многослойного стекла или изготовленных по той же технологии.
9.10.2 Оценка результатов
Многослойное стекло считают выдержавшими испытание, если измеренное значение оптических искажений соответствует
5.1.5.
9.11 Определение разности длин диагоналей
9.11.1 Разность длин диагоналей многослойного стекла определяют в соответствии с ГОСТ 32557
(раздел 10).
9.11.2 Оценка результатов
Многослойное стекло считают выдержавшим испытание, если разность длин диагоналей соответствует требованиям
4.10.
9.12 Определение класса защиты ударостойкого многослойного стекла
9.12.1 Класс защиты ударостойкого многослойного стекла определяют в соответствии с требованиями
ГОСТ 32564.1. Для испытаний моллированного стекла изготавливают раму с криволинейными поверхностями крепления стекла в соответствии с чертежом на испытываемое стекло, аналогичную описанной в
ГОСТ 32564.1. При этом размеры проекции на плоскость испытываемых образцов моллированного стекла должны соответствовать требованиям
ГОСТ 32564.1.
9.12.2 Оценка результатов
Многослойное стекло относят к тому классу защиты, который соответствует установленной высоте падения и количеству ударов, при которых все образцы противостояли сквозному проникновению шара.
Примечания
1 Если многослойное стекло отвечает требованиям определенного класса защиты, то принимается, что оно отвечает требованиям и всех более низких классов защиты (многослойное стекло должно быть изготовлено из одного и того же исходного стекла, полимерных материалов и по одной технологии).
2 Многослойное стекло рассматривается как равное или превосходящее по своим прочностным характеристикам испытанный образец при соблюдении следующих условий:
- имеет виды промежуточных слоев, одинаковые с испытанным образцом (из полимерного материала одной марки);
- изготовлено из тех же видов стекла, что и испытанный образец;
- многослойное стекло произведено тем же предприятием-изготовителем, на той же технологической линии и по той же технологии, что и испытанный образец;
- состоит из того же или большего числа стекол и промежуточных слоев, что и испытанный образец;
- толщина каждого стекла и каждого промежуточного слоя не меньше, чем у испытанного образца.
Допускается принимать класс защиты такого стекла таким же, как и у испытанного образца.
9.13 Определение класса защиты взломостойкого многослойного стекла
9.13.1 Класс защиты многослойного взломостойкого стекла определяют в соответствии с требованиями
ГОСТ 32564.2. Для испытаний моллированного стекла изготавливают раму с криволинейными поверхностями крепления стекла в соответствии с чертежом на испытываемое стекло, аналогичную описанной в
ГОСТ 32564.2. При этом размеры проекции на плоскость испытываемых образцов моллированного стекла должны соответствовать требованиям
ГОСТ 32564.2.
Примечания
1 Если многослойное стекло отвечает требованиям определенного класса защиты, то принимается, что оно отвечает требованиям и всех более низких классов защиты (многослойное стекло должно быть изготовлено из одного и того же исходного стекла, полимерных материалов и по одной технологии).
2 Многослойное стекло рассматривается как равное или превосходящее по своим прочностным характеристикам испытанный образец при соблюдении следующих условий:
- имеет виды промежуточных слоев, одинаковые с испытанным образцом (из полимерного материала одной марки);
- изготовлено из тех же видов стекла, что и испытанный образец;
- многослойное стекло произведено тем же предприятием-изготовителем, на той же технологической линии и по той же технологии, что и испытанный образец;
- состоит из того же или большего числа стекол и промежуточных слоев, что и испытанный образец;
- толщина каждого стекла и каждого промежуточного слоя не меньше, чем у испытанного образца.
Допускается принимать класс защиты такого стекла таким же, как и у испытанного образца.
9.14 Определение класса защиты многослойного стекла, безопасного при эксплуатации
9.14.1 Класс защиты многослойного стекла, безопасного при эксплуатации, определяют в соответствии с
ГОСТ 33559.
(п. 9.14.1 в ред.
Изменения N 1, введенного в действие Приказом Росстандарта от 30.09.2019 N 826-ст)
9.14.2 Классификацию и испытания многослойного стекла, безопасного при эксплуатации, на соответствие требованиям
таблицы 10а проводят по
[1].
(п. 9.14.2 в ред.
Изменения N 1, введенного в действие Приказом Росстандарта от 30.09.2019 N 826-ст)
9.14.3 - 9.14.6 Исключены с 1 февраля 2020 года. -
Изменение N 1, введенное в действие Приказом Росстандарта от 30.09.2019 N 826-ст.
9.15 Определение класса защиты пулестойкого многослойного стекла
9.15.1 Класс защиты пулестойкого многослойного стекла определяют в соответствии с требованиями
ГОСТ 32566. Для испытаний моллированного стекла изготавливают раму с криволинейными поверхностями крепления стекла в соответствии с чертежом на испытываемое стекло, аналогичную описанной в
ГОСТ 32566. При этом размеры проекции на плоскость испытуемых образцов моллированного стекла должны соответствовать требованиям
ГОСТ 32566.
Примечания
1 Если многослойное стекло отвечает требованиям определенного класса защиты, то принимается, что оно отвечает требованиям и всех более низких классов защиты (многослойное стекло должно быть изготовлено из одного и того же исходного стекла, полимерных материалов и по одной технологии).
2 Многослойное стекло рассматривается как равное или превосходящее по своим прочностным характеристикам испытанный образец при соблюдении следующих условий:
- имеет виды промежуточных слоев, одинаковые с испытанным образцом (из полимерного материала одной марки);
- изготовлено из тех же видов стекла, что и испытанный образец;
- многослойное стекло произведено тем же предприятием-изготовителем, на той же технологической линии и по той же технологии, что и испытанный образец;
- состоит из того же или большего числа стекол и промежуточных слоев, что и испытанный образец;
- толщина каждого стекла, и каждого промежуточного слоя не меньше, чем у испытанного образца.
Допускается принимать класс защиты такого стекла таким же, как и у испытанного образца.
9.16 Испытания многослойного взрывостойкого стекла
9.16.1 Испытания взрывостойкого многослойного стекла на соответствие требованиям
таблицы 13 проводят в соответствии с
ГОСТ EN 13541. Для испытаний моллированного стекла изготавливают раму с криволинейными поверхностями крепления стекла в соответствии с чертежом на испытываемое стекло, аналогичную описанной в
ГОСТ EN 13541. При этом размеры проекции на плоскость испытуемых образцов моллированного стекла должны соответствовать требованиям
ГОСТ EN 13541.
9.16.2 Испытания взрывостойкого многослойного стекла на соответствие требованиям
таблиц 14 и
15 проводят по методике испытаний, изложенной в
[2].
9.17 Определение звукоизоляции
9.17.2 Оценка результатов
Образцы считаются выдержавшими испытания, если полученный результат соответствует
5.1.12.
9.17.3 Допускается проводить испытания по
ГОСТ 33090.
9.18 Определение пределов огнестойкости многослойных стекол
9.18.1 Испытания многослойных стекол проводят в соответствии с требованиями
ГОСТ 33000. Для испытаний моллированного стекла изготавливают раму с криволинейными поверхностями крепления стекла в соответствии с чертежом на испытываемое стекло, аналогичную описанной в
ГОСТ 33000. При этом размеры проекции на плоскость испытуемых образцов моллированного стекла должны соответствовать требованиям
ГОСТ 33000.
9.19 Определение морозостойкости
9.19.1 Испытания проводят в зависимости от требований заказчика в соответствии с
ГОСТ 32996 со следующими дополнениями:
- испытания проводят на трех образцах размером не менее 500 x 500 мм, не имеющих пороков внешнего вида, вырезанных из многослойного стекла или изготовленных по той же технологии;
- температуру испытаний устанавливают в соответствии с минимальной расчетной температурой при эксплуатации многослойного стекла, но не выше минус 30 °C;
- время проведения испытаний - не менее 14 сут.
9.19.2 Оценка результатов
Образцы считаются выдержавшими испытания, если в них после испытаний на морозостойкость не обнаружено пороков внешнего вида.
Примечание - Многослойное стекло рассматривается как равное или превосходящее по морозостойкости испытанный образец при соблюдении следующих условий:
- имеет виды промежуточных слоев, одинаковые с испытанным образцом (из полимерного материала одной марки и одной номинальной толщины);
- изготовлено из тех же видов стекла, что и испытанный образец;
- многослойное стекло произведено тем же предприятием-изготовителем, на той же технологической линии и по той же технологии, что и испытанный образец;
- состоит из того же или меньшего числа стекол и промежуточных слоев, что и испытанный образец;
- толщина каждого листа стекла, входящего в состав многослойного стекла, не больше, чем у испытанного образца.
Допускается принимать морозостойкость такого стекла таким же, как и у испытанного образца.
9.20 Определение коэффициентов пропускания, отражения, поглощения света
9.20.1 Испытания проводят в соответствии с требованиями
ГОСТ EN 410 на трех образцах многослойного стекла.
Допускается для определения световых характеристик применять
ГОСТ 26302.
Размеры образцов устанавливают в соответствии с инструкцией по эксплуатации применяемого средства измерения.
9.21 Определение специальных свойств
9.21.1 Специальные свойства многослойных стекол проверяют в зависимости от требований заказчика, по методикам, утвержденным в установленном порядке.
9.22.1 Место нанесения, а также содержание маркировки многослойных стекол контролируют по
ГОСТ 32530.
10. Транспортирование и хранение
10.1 Транспортирование и хранение многослойного стекла осуществляют в соответствии с требованиями
ГОСТ 32530.
10.2 В процессе транспортирования и хранения многослойного стекла не допускается воздействие на него прямых солнечных лучей, влаги, агрессивных веществ, механических ударов.
10.3 Многослойное стекло должно храниться в закрытых сухих отапливаемых помещениях, в распакованном виде, в вертикальном положении, под углом от 5° до 15° к вертикали, на специальных подставках, покрытых амортизирующим материалом.
11. Указания по монтажу и эксплуатации
11.1 При распаковывании транспортной тары, хранении многослойного стекла и в период его эксплуатации не допускается взаимное касание стекол, а также касание стекол о твердые предметы.
11.2 При монтаже многослойного стекла и его эксплуатации не допускается:
- взаимное касание стекол, а также касание о твердые предметы;
- удары в торец;
- протирание стекла жесткой тканью и тканью, содержащей царапающие примеси;
- удары твердыми предметами;
- опирание многослойного стекла на угол или кромки стекла;
- резкие перепады температур;
- очистка сухого стекла жесткими щетками без подачи смывающей жидкости;
- длительное присутствие влаги на поверхности и торцах стекла, установленного в строительную конструкцию;
- эксплуатация в агрессивной среде.
11.3 Перед установкой в конструкции необходимо провести тщательный осмотр каждого многослойного стекла. Не допускается применять многослойное стекло, имеющее трещины на стеклах или незашлифованные сколы в их торцах, щербление кромки.
11.4 Многослойное стекло необходимо переносить в вертикальном положении, углы и торцы следует оберегать от ударов. Запрещается опирать стекло на углы и ставить на жесткое основание (камень, металл, железобетон и т.д.).
11.5 При установке многослойного стекла в переплеты и их креплении не допускаются перекосы и чрезмерное "обжатие" его штапиками или накладками. Прижимные элементы должны обеспечивать равномерный зажим многослойного стекла по всему периметру.
11.6 При установке многослойного стекла в строительную конструкцию должна соблюдаться ориентация стекла в соответствии с проектной документацией, глубина заделки должна быть не менее 20 мм и указываться в проектной документации на строительную конструкцию.
11.7 Многослойное стекло, в зависимости от условий эксплуатации, рассчитывают на выдерживаемые нагрузки в соответствии со строительными нормами и правилами, по методикам, утвержденным в установленном порядке.
11.8 При монтаже стекла в конструкцию могут применяться опорные и дистанционные прокладки, материал, размеры и расположение которых определяют в документации на конструкцию.
11.9 Применение того или иного вида многослойного стекла устанавливают при проектировании строительных конструкций с учетом действующих строительных норм и правил, нагрузок, климатических условий. Класс защиты защитного многослойного стекла устанавливается потребителем в заявке, договоре на поставку, рабочих чертежах и т.д.
11.10 Прочностные характеристики многослойных стекол рассчитывают исходя из характеристик применяемых листовых стекол, размеров стекол и полимерных материалов, способа их крепления, условий эксплуатации по методикам, утвержденным в установленном порядке.
11.11 При эксплуатации края многослойного стекла должны быть плотно (без зазоров) закрыты штапиками или накладками, во избежание попадания влаги.
11.12 При выполнении отделочных и других видов работ необходимо соблюдать меры по защите многослойного стекла от механических повреждений (ударов, вибрации и т.д.) и загрязнений (попадание на стекло строительных материалов (цементной пыли, строительных растворов, штукатурных смесей и т.д.) и других агрессивных веществ).
11.13 При возможности контакта многослойного стекла с герметиками необходимо проводить испытания на совместимость использования многослойного стекла в стеклопакетах, а также в строительных конструкциях.
11.14 При проведении сварочных работ многослойное стекло необходимо защищать от попадания на него раскаленных частиц металла.
11.15 Изготовитель может устанавливать дополнительные рекомендации по хранению и эксплуатации многослойного стекла, которые он передает потребителю и которые следует соблюдать.
12. Гарантии изготовителя
12.1 Изготовитель гарантирует соответствие многослойного стекла требованиям настоящего стандарта при соблюдении требований упаковки, транспортирования, хранения, эксплуатации и монтажа, установленных настоящим стандартом, а также области их применения согласно действующим строительным нормам.
12.2 Гарантийный срок хранения - не более одного года со дня отгрузки многослойного стекла изготовителем.
12.3 Гарантийный срок эксплуатации многослойного стекла устанавливают в технической документации, но не менее пяти лет со дня отгрузки.
(обязательное)
ВИДЫ КРАЯ МНОГОСЛОЙНОГО СТЕКЛА
А.1 Необработанный край
А.1.1 Отрезной край:
- край, сформированный из отрезанных листов стекла, составляющих многослойное стекло, без последующей обработки показан на рисунке А.1;
Рисунок А.1 - Необработанный отрезной край, сформированный
из отрезанных краев листов стекла, составляющих многослойное
стекло, без последующей обработки
- край, полученный в результате резки готового многослойного стекла, без последующей обработки показан на рисунке А.2.
Рисунок А.2 - Необработанный отрезной край, полученный
в результате резки готового многослойного стекла,
без последующей обработки
А.1.2 Пиленый край получают при отрезке многослойного стекла пилой. Внешний вид подобен грубо шлифованному краю, но без блестящих участков и фасок.
А.1.3 Край, отрезанный водяной струей, получают при отрезке водяной струей. Внешний вид подобен грубо шлифованному краю, но без блестящих участков и фасок.
А.2 Обработанный край
А.2.1 Притупленный край:
- край, в котором зашлифованы края внешних листов многослойного стекла, показан на рисунке А.3;
- край, в котором каждый лист многослойного стекла имеет притупленные кромки.
Рисунок А.3 - Притупленный край
А.2.2 Грубошлифованный край - край, имеющий матовые фаску и торец с отдельными блестящими участками необработанной поверхности, показан на рисунке А.4.
Рисунок А.4 - Грубошлифованный край
А.2.3 Гладкошлифованный край - край, имеющий матовые фаску и торец без необработанных (блестящих) участков, показан на рисунке А.5.
Рисунок А.5 - Гладкошлифованный край
А.2.4 Полированный край - гладкошлифованный край, отполированный до получения ровной прозрачной поверхности фасок и торца, показан на рисунке А.6.
Рисунок А.6 - Полированный край
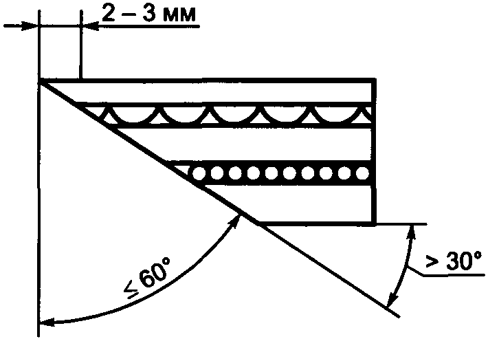
А.2.5 Фацетированный край - гладкошлифованный или полированный край с углом скоса, не превышающим 60°, показан на
рисунке А.7. Допуск угла фацета не должен превышать +/- 3°. По согласованию изготовителя с потребителем допускается увеличение угла и допуска угла фацета. Номинальный размер длины или ширины уменьшается на 2 - 3 мм, вследствие необходимости снятия фаски.
Рисунок А.7 - Фацетированный край
| ISO 29584:2015 | Стекло в строительстве. Испытание маятником и классификация безопасного стекла (Glass in building - Pendulum impact testing and classification of safety glass) |
(в ред. Изменения N 1, введенного в действие Приказом Росстандарта от 30.09.2019 N 826-ст) |
| ISO 16933:2007 | Стекло в строительстве. Взрывостойкое безопасное остекление. Испытания и классификация при полигонных испытаниях на устойчивость к действию воздушной ударной волны (испытания "арена") (Glass in building - Explosion-resistant security glazing - Test and classification for arena air-blast loading) |