Главная // Актуальные документы // ГОСТ (Государственный стандарт)СПРАВКА
Источник публикации
М.: Стандартинформ, 2015
Примечание к документу
Документ
введен в действие с 1 апреля 2016 года.
Название документа
"ГОСТ 33087-2014. Межгосударственный стандарт. Стекло термоупрочненное. Технические условия"
(введен в действие Приказом Росстандарта от 07.05.2015 N 352-ст)
"ГОСТ 33087-2014. Межгосударственный стандарт. Стекло термоупрочненное. Технические условия"
(введен в действие Приказом Росстандарта от 07.05.2015 N 352-ст)
агентства по техническому
регулированию и метрологии
от 7 мая 2015 г. N 352-ст
МЕЖГОСУДАРСТВЕННЫЙ СТАНДАРТ
СТЕКЛО ТЕРМОУПРОЧНЕННОЕ
ТЕХНИЧЕСКИЕ УСЛОВИЯ
Heat strengthened glass. Specifications
(EN 1863-1:2011, NEQ)
(EN 1863-2:2004, NEQ)
ГОСТ 33087-2014
Дата введения
1 апреля 2016 года
Цели, основные принципы и основной порядок проведения работ по межгосударственной стандартизации установлены
ГОСТ 1.0-92 "Межгосударственная система стандартизации. Основные положения" и
ГОСТ 1.2-2009 "Межгосударственная система стандартизации. Стандарты межгосударственные, правила и рекомендации по межгосударственной стандартизации. Правила разработки, принятия, применения, обновления и отмены"
1 ПОДГОТОВЛЕН Открытым акционерным обществом "Институт стекла" (ТК 41 "Стекло")
2 ВНЕСЕН Федеральным агентством по техническому регулированию и метрологии (Росстандарт)
3 ПРИНЯТ Межгосударственным советом по стандартизации, метрологии и сертификации (протокол от 14 ноября 2014 г. N 72-П)
За принятие проголосовали
Краткое наименование страны по МК (ИСО 3166) 004-97 | Код страны по МК (ИСО 3166) 004-97 | Сокращенное наименование национального органа по стандартизации |
Беларусь | BY | Госстандарт Республики Беларусь |
Киргизия | KG | Кыргызстандарт |
Россия | RU | Росстандарт |
Таджикистан | TJ | Таджикстандарт |
Узбекистан | UZ | Узстандарт |
Украина | UA | Минэкономразвития Украины |
4
Приказом Федерального агентства по техническому регулированию и метрологии от 7 мая 2015 г. N 352-ст межгосударственный стандарт ГОСТ 33087-2014 введен в действие в качестве национального стандарта Российской Федерации с 1 апреля 2016 г.
5 Настоящий стандарт соответствует следующим европейским региональным стандартам:
EN 1863-1:2011 Glass in building - Heat strengthened soda lime silicate glass - Part 1: Definition and description (Стекло в строительстве. Термоупрочненное натрий-кальций-силикатное стекло. Часть 1. Определение и описание);
EN 1863-2:2004 Glass in building - Heat strengthened soda lime silicate glass - Part 2: Evaluation of conformity/Product standard (Стекло в строительстве. Термоупрочненное натрий-кальций-силикатное стекло. Часть 2. Оценка соответствия).
Степень соответствия - неэквивалентная (NEQ)
6 Настоящий стандарт подготовлен на основе
ГОСТ Р 54180-2010.
Приказом Федерального агентства по техническому регулированию и метрологии от 7 мая 2015 г. N 352-ст стандарт
ГОСТ Р 54180-2010 отменен с 1 апреля 2016 г.
7 ВВЕДЕН ВПЕРВЫЕ
Информация об изменениях к настоящему стандарту публикуется в ежегодном информационном указателе "Национальные стандарты", а текст изменений и поправок - в ежемесячном информационном указателе "Национальные стандарты". В случае пересмотра (замены) или отмены настоящего стандарта соответствующее уведомление будет опубликовано в ежемесячном информационном указателе "Национальные стандарты". Соответствующая информация, уведомление и тексты размещаются также в информационной системе общего пользования - на официальном сайте Федерального агентства по техническому регулированию и метрологии в сети Интернет
Настоящий стандарт распространяется на термоупрочненное стекло (в т.ч. моллированное) (далее - стекло), предназначенное для изготовления многослойных стекол и стеклопакетов, остекления светопрозрачных строительных конструкций (оконных и дверных блоков, витрин, перегородок, элементов структурного остекления фасадов и т.д.), средств наземного транспорта, мебели и т.д.
Стекло допускается применять как составляющий элемент сложной конструкции, а также для других целей в соответствии со своими техническими характеристиками.
Настоящий стандарт может быть также применен при проведении сертификационных испытаний и для целей оценки соответствия.
В настоящем стандарте использованы нормативные ссылки на следующие межгосударственные стандарты:
ГОСТ 12.0.004-90 Система стандартов безопасности труда. Организация обучения безопасности труда. Общие положения
ГОСТ 12.1.004-91 Система стандартов безопасности труда. Пожарная безопасность. Общие положения
ГОСТ 12.3.009-76 Система стандартов безопасности труда. Работы погрузочно-разгрузочные. Общие требования безопасности
ГОСТ 12.4.011-89 Система стандартов безопасности труда. Средства защиты работающих. Общие требования и классификация
ГОСТ 427-75 Линейки измерительные металлические. Технические условия
ГОСТ 20403-75 Резина. Метод определения твердости в международных единицах (от 30 до 100 IRHD)
ГОСТ 25535-2013 Стекло и изделия из него. Методы определения термостойкости
ГОСТ 26302-93 Стекло. Методы определения коэффициентов направленного пропускания и отражения света
ГОСТ 30733-2014 Стекло с низкоэмиссионным твердым покрытием. Технические условия
ГОСТ 31364-2014 Стекло с низкоэмиссионным мягким покрытием. Технические условия
ГОСТ 32530-2013 Стекло и изделия из него. Маркировка, упаковка, транспортирование и хранение
ГОСТ 32557-2013 Стекло и изделия из него. Методы контроля геометрических параметров и показателей внешнего вида
ГОСТ 32997-2014 Стекло листовое, окрашенное в массе. Общие технические условия
ГОСТ 33002-2014 Стекло и изделия из него. Методы определения механических свойств. Испытания на характер разрушения
ГОСТ 33003-2014 Стекло и изделия из него. Методы определения оптических искажений
ГОСТ 33004-2014 Стекло и изделия из него. Характеристики. Термины и определения
ГОСТ 33017-2014 Стекло с солнцезащитным или декоративным твердым покрытием. Технические условия
ГОСТ 33086-2014 Стекло с солнцезащитным или декоративным мягким покрытием. Технические условия
ГОСТ EN 410-2014 Стекло и изделия из него. Методы определения оптических характеристик. Определение световых и солнечных характеристик
Примечание - При пользовании настоящим стандартом целесообразно проверить действие ссылочных стандартов в информационной системе общего пользования - на официальном сайте Федерального агентства по техническому регулированию и метрологии в сети Интернет или по ежегодному информационному указателю "Национальные стандарты", который опубликован по состоянию на 1 января текущего года, и по выпускам ежемесячного информационного указателя за текущий год. Если ссылочный стандарт заменен (изменен), то при пользовании настоящим стандартом следует руководствоваться заменяющим (измененным) стандартом. Если ссылочный стандарт отменен без замены, то положение, в котором дана ссылка на него, применяется в части, не затрагивающей эту ссылку.
3.1 отклонение от плоскостности (общее): Наибольшее расстояние от точек реальной поверхности до прилегающей плоскости (прямой) в пределах нормируемого участка.
3.2 локальное отклонение от плоскостности: Отклонение от плоскостности, измеренное на длине 300 мм.
3.3 радужные пятна: Небольшие отдельные участки поверхности стекла, которые представляют зоны напряжений в термоупрочненных стеклах и которые за счет двойного лучепреломления видны под определенным углом обзора.
3.4 изолированный фрагмент стекла: Часть стекла, края которого не включают ни одного участка края исходного листа стекла, и по массе эквивалентная площади не менее 100 мм2.
3.5 осколок стекла: Часть стекла, по массе эквивалентная площади не более 100 мм2.
Примечание - Эквивалентность площадь/масса вычисляют по формуле

(1)
где S - площадь стекла, мм2;
m - масса осколка стекла, г;
d - толщина стекла, мм;

- плотность стекла, г/мм
3.
4. Основные параметры и размеры
4.1 Стекло изготавливают в соответствии с требованиями настоящего стандарта по конструкторской и технологической документации, утвержденной в установленном порядке.
4.2 Для изготовления термоупрочненных стекол используют стекла, указанные в таблице 1.
Таблица 1
Наименование вида стекла | Нормативный документ | Обозначение стекла (марка) |
Листовое бесцветное | | М0, М1 |
Узорчатое | | У |
Окрашенное в массе | | Т0, Т1 |
Солнцезащитное или декоративное с твердым покрытием | | Ст, Дт |
Солнцезащитное или декоративное с мягким покрытием <*> | | См, Дм |
Стекло с низкоэмиссионным твердым покрытием | | К |
Стекло с низкоэмиссионным мягким покрытием <*> | | И |
<*> Термоупрочнению подвергают стекла, разрешенные производителем данного стекла с покрытием. Примечание - Допускается по согласованию с потребителем применять другие виды стекол при условии, что изготовленное термоупрочненное стекло отвечает требованиям настоящего стандарта. |
4.3 Номинальные размеры (длину и ширину) листов стекла устанавливают в договоре (заказе) на изготовление. Предельные отклонения от номинальных размеров длины и ширины должны соответствовать указанным в таблице 2.
В миллиметрах
Номинальные размеры длины (ширины) стекла | Предельные отклонения длины (ширины) |
До 2000 включ. | +/- 1,0 |
Св. 2000 " 3000 " | +/- 2,0 |
" 3000 |
4.4 Номинальная толщина и предельные отклонения толщины листов стекла должны соответствовать требованиям нормативных документов на исходное стекло.
4.5 Форма, размеры и допуски размеров стекла непрямоугольной формы должны соответствовать рабочим чертежам или шаблонам, согласованным изготовителем с потребителем.
Предельные отклонения размеров стекла, изготавливаемого по шаблонам, должны соответствовать требованиям
таблицы 2, в случае отсутствия в рабочих чертежах соответствующего согласования между изготовителем и потребителем.
4.6 Моллированное термоупрочненное стекло должно соответствовать требованиям настоящего стандарта по характеристикам (кроме оптических искажений), а по основным параметрам, размерам и оптическим искажениям - требованиям нормативных документов и конструкторской документации.
4.7 Отклонения от плоскостности (общее отклонение и локальное отклонение) листов стекла (кроме узорчатых и моллированных стекол) не должны превышать значений, указанных в таблице 3. Отклонение от плоскостности листов узорчатых стекол устанавливают в договоре изготовителя с потребителем.
Таблица 3
Вид стекла | Общее отклонение от плоскостности, мм/м, не более | Локальное отклонение от плоскостности, мм/300 мм, не более |
Стекло без покрытия | 3,0 | 0,3 |
Стекло с покрытием | 4,0 | 0,5 |
4.8 Отклонение от прямолинейности кромок стекла не должно превышать предельные отклонения по длине (ширине), указанные в
таблице 2.
4.9 Разность длин диагоналей стекла, имеющего прямоугольную форму, не должна превышать значений, указанных в таблице 4.
Таблица 4
В миллиметрах
Длина диагоналей листов стекла | Разность длин диагоналей |
До 1600 включ. | 3 |
Св. 1600 " 2500 " | 4 |
" 2500 " 3200 " | 5 |
" 3200 | 6 |
4.10 Условное обозначение термоупрочненного стекла должно состоять из буквенного обозначения термоупрочненного стекла (ТП), обозначения исходного стекла по нормативным документам, длины, ширины и номинальной толщины листа стекла, класса защиты и обозначения настоящего стандарта.
Пример условного обозначения термоупрочненного стекла, изготовленного из листового стекла марки М1 по
ГОСТ 111, длиной 2000 мм, шириной 1400 мм, номинальной толщиной 6 мм и соответствующего классу защиты СМ1/ТП:
ТП/М1 - 2000-1400-6-СМ1/ТП ГОСТ 33087-2014
Допускается вместо обозначения исходного стекла указывать торговую марку (название) исходного стекла.
4.11 В заказе на изготовление стекол должны быть указаны сведения: об исходном стекле (вид стекла, марка, характеристики), требования к обработке кромок, цвету, а также другие требования, согласованные изготовителем с потребителем.
4.12 Требования к обработке кромок
4.12.1 Кромки термоупрочненного стекла должны быть обработанными. Обработку кромки исходного стекла производят до его упрочнения. Рекомендуется использовать стекло со шлифованной или полированной кромкой.
4.12.2 Виды обработки кромки термоупрочненного стекла указывают в договоре на его изготовление (поставку) в соответствии с
приложением А.
4.13 Требования к отверстиям
4.13.1 Стекло может изготавливаться с различными отверстиями.
4.13.2 Для изготовления стекла с отверстиями используют стекло толщиной не менее 4 мм.
4.13.3 Диаметр отверстий должен быть не менее, чем номинальная толщина стекла. Предельные отклонения от номинального диаметра отверстия не должны превышать указанные в таблице 5.
Таблица 5
В миллиметрах
Номинальный диаметр | Предельные отклонения |
От 4,0 до 20,0 включ. | +/- 1,0 |
Св. 20,0 " 100,0 " | +/- 2,0 |
Примечание - При изготовлении отверстий номинальным диаметром свыше 100 мм предельные отклонения согласовывают между изготовителем и потребителем. |
4.13.4 При наличии отверстий на стекле рекомендуется выполнять следующие условия:
а) расстояние от кромки стекла до кромки отверстия, как показано на рисунке 1, должно быть не менее, чем удвоенная номинальная толщина стекла;
a - расстояние от кромки стекла до кромки отверстия,
не менее 2s, мм (s - номинальная толщина стекла, мм)
Рисунок 1 - Расстояние от кромки стекла до кромки отверстия
б) расстояние между кромками двух отверстий, как показано на рисунке 2, должно быть не менее, чем удвоенная номинальная толщина стекла;
b - расстояние между кромками двух отверстий,
не менее 2s, мм (s - номинальная толщина стекла, мм)
Рисунок 2 - Расстояние между кромками двух отверстий
в) расстояние от угла листа стекла до кромки отверстия, как показано на рисунке 3, должно быть не менее номинальной толщины стекла, увеличенной в шесть раз.
c - расстояние от угла листа стекла до кромки отверстия,
не менее 6s, мм (s - номинальная толщина стекла, мм)
Рисунок 3 - Расстояние от угла листа стекла
до кромки отверстия
4.13.5 Кромки отверстий должны быть притуплены.
4.14 Требования к пазам и вырезам
4.14.1 Стекло может изготавливаться с различными пазами и вырезами, при этом должны выполняться следующие условия:
а) все пазы и вырезы должны иметь скругленные углы радиусом не менее толщины стекла;
б) внутренние размеры вырезов должны быть не менее толщины стекла;
в) ширина вырезов должна быть не менее толщины стекла.
4.14.2 Кромки вырезов и пазов должны быть обработаны. Вид обработки кромки указывают в договоре на изготовление (поставку) термоупрочненного стекла в соответствии с
приложением А.
5. Технические требования
5.1.1 По нормируемым показателям внешнего вида: локальным и линейным порокам, цвету термоупрочненное стекло должно соответствовать требованиям, предъявляемым к исходному стеклу и/или условиям договора на поставку.
На поверхности стекла могут наблюдаться радужные пятна (т.н. "леопардовые пятна"), наиболее заметны под острым углом к поверхности стекла или в поляризованном свете.
5.1.2 Трещины, посечки, грубые царапины, незашлифованные сколы, щербление кромки и повреждения углов стекла не допускаются.
5.1.3 Стекло должно быть термостойким и выдерживать перепад температур не менее 100 °C.
5.1.4 При разрушении стекла должны выполняться условия, указанные в
9.9.2, при этом характер разрушения стекла не является безопасным.
5.1.5 Стекло, заявленное как безопасное при эксплуатации, должно выдерживать удар мягким телом массой (45 +/- 1) кг без разрушения. Класс защиты стекла в зависимости от высоты падения тела приведен в таблице 6.
Класс защиты стекла | Высота падения тела, мм |
СМ 1/ТП | 190 +/- 20 |
СМ 2/ТП | 450 +/- 20 |
СМ 3/ТП | 1200 +/- 30 |
5.1.6 Оптические искажения стекла, видимые в проходящем свете под углом менее или равным 30°, при просмотре экрана типа "кирпичная стена" не допускаются. Для узорчатого и моллированного стекла, а также для стекол с коэффициентом направленного пропускания света менее 30%, оптические искажения не нормируются.
5.1.7 Оптические характеристики (коэффициенты пропускания и отражения света, солнечного излучения и т.д.) термоупрочненного стекла должны соответствовать требованиям, предъявляемым к оптическим характеристикам исходного стекла.
5.1.8 Справочные значения физико-механических характеристик стекла, требования к которым не регламентированы настоящим стандартом, приведены в
приложении Б.
5.2 Требования к материалам
5.2.1 Материалы, применяемые для изготовления термоупрочненного стекла, должны отвечать требованиям нормативных документов <1>.
--------------------------------
<1> Здесь и далее по тексту нормативные документы - технические условия, стандарты организаций, договоры на поставку и т.д.
5.2.2 При изготовлении термоупрочненного стекла используют виды стекол, указанные в
4.2.
5.3.1 Маркировку стекла производят в соответствии с требованиями
ГОСТ 32530 со следующим дополнением:
- место нанесения маркировки согласовывает изготовитель с потребителем. В случае отсутствия указанного согласования маркировку наносят в углу, содержащую:
- наименование и/или товарный знак предприятия-изготовителя;
- буквенное обозначение "ТП" (стекло термоупрочненное).
Допускается вместо обозначения "ТП" наносить другие обозначения термоупрочненного стекла ("Термоупрочненное", "TVG", "HS").
5.3.3 Упаковку стекла производят в соответствии с требованиями
ГОСТ 32530.
6. Требования безопасности
6.1 Требования безопасности при производстве стекла устанавливают в соответствии с гигиеническими правилами, правилами по электробезопасности, правилами противопожарной безопасности, в соответствии с применяемым технологическим оборудованием и технологией производства.
6.2 Пожарную безопасность производства стекла обеспечивают системами предотвращения пожара, противопожарной защиты, организационно-техническими мероприятиями по
ГОСТ 12.1.004. Не допускается в производственных и складских помещениях использование открытого огня.
6.3 Лица, занятые на производстве стекла, должны быть обеспечены спецодеждой по нормативным документам и средствами индивидуальной защиты по
ГОСТ 12.4.011. В производственных помещениях должны быть вода и аптечка с медикаментами для оказания первой помощи при ушибах, порезах, ожогах.
6.4 Лица, занятые в производстве стекла, при приеме на работу, а также периодически должны проходить медицинский осмотр в соответствии с действующими правилами органов здравоохранения, инструктаж по технике безопасности и быть обучены правилам безопасной работы согласно
ГОСТ 12.0.004. К изготовлению стекла не допускаются лица моложе 18 лет.
6.5 При выполнении погрузочно-разгрузочных работ должны соблюдаться правила безопасности согласно
ГОСТ 12.3.009.
6.6 Для всех технологических операций и производственных процессов, включая погрузочно-разгрузочные, упаковочные и транспортные, должны быть разработаны и утверждены в установленном порядке инструкции по технике безопасности.
7. Требования охраны окружающей среды
7.1 Стекло является экологически безопасной продукцией и в процессе производства, транспортирования, хранения и эксплуатации не выделяет токсичных веществ в окружающую среду.
7.2 Утилизацию отходов стекла производят путем его промышленной переработки.
8.1 Приемку стекла проводят в соответствии с требованиями
ГОСТ 32529 по показателям, приведенным в таблице 7.
Таблица 7
Наименование показателя | Номер пункта |
Требования | Метод испытания |
Отклонения по длине (ширине) | | |
Отклонения по толщине | | |
Отклонение размеров стекол непрямоугольной формы | | |
Отклонение размеров моллированных стекол | | |
Отклонение от плоскостности | | |
Отклонение от прямолинейности кромок | | |
Разность длин диагоналей | | |
Требования к обработке кромок | | |
Требования к расположению отверстий и качество их обработки | | |
Требования к расположению пазов и вырезов | |
Пороки внешнего вида | | |
Термостойкость | | |
Характер разрушения | | |
Стойкость к удару мягким телом | | |
Оптические искажения | | |
Оптические характеристики | | |
Маркировка | | |
8.2 Требования к содержанию документа, сопровождающего партию стекла, устанавливают в соответствии с
ГОСТ 32529.
При экспортно-импортных операциях требования к содержанию документа, сопровождающего партию стекла, могут устанавливаться в договорах (контрактах) на поставку.
9.1 Определение длины и ширины
9.1.1 Длину (ширину) стекла определяют по нормативным документам на соответствующее исходное стекло.
9.1.2 Оценка результатов
Стекло считают выдержавшим испытания, если результат измерений соответствует
4.3.
9.2.1 Толщину стекла определяют по нормативным документам на соответствующее исходное стекло.
9.2.2 Оценка результатов
Стекло считают выдержавшим испытания, если результат измерений соответствует
4.4.
9.3 Определение размеров стекол непрямоугольной формы
9.3.1 Размеры стекол непрямоугольной конфигурации проверяют наложением шаблона, аттестованного в установленном порядке. При этом предельные отклонения размеров стекла должны соответствовать требованиям
таблицы 2, рабочим чертежам или шаблонам. В процессе эксплуатации шаблон не должен изменять свою форму и заданные размеры.
9.4 Определение размеров моллированных стекол
9.4.1 Размеры моллированных стекол определяют по нормативным документам.
9.5 Определение отклонения от прямолинейности кромок
9.5.1 Отклонение от прямолинейности кромок определяют по нормативным документам на соответствующее исходное стекло.
9.5.2 Оценка результатов
Стекло считают выдержавшим испытания, если результат измерений соответствует
4.8.
9.6 Определение отклонения от плоскостности
9.6.1 Отклонение от плоскостности стекла определяют в соответствии с ГОСТ 32557
(раздел 11) со следующим дополнением:
- общее и локальное отклонения от плоскостности узорчатого стекла измеряют по выступам узора (наиболее выпуклые участки поверхности).
9.6.2 Оценка результатов
Стекло считают выдержавшим испытание, если щуп не входит в зазор.
9.7 Определение разности длин диагоналей
9.7.1 Разность длин диагоналей определяют по нормативным документам на соответствующее исходное стекло.
9.7.2 Оценка результатов
Стекло считают выдержавшим испытания, если результат измерений соответствует
4.9.
9.8 Определение показателей внешнего вида
9.8.1 Количество и размеры пороков внешнего вида определяют по нормативным документам на соответствующий вид исходного применяемого стекла.
9.8.2 Наличие трещин, сколов, щербин на кромках и повреждения углов проверяют визуально при освещенности от 300 до 600 лк.
9.8.3 Обработку кромок, отверстий, пазов и вырезов проверяют визуально при освещенности от 300 до 600 лк на расстоянии от 0,6 до 1,0 м.
9.9 Испытания на характер разрушения
9.9.1 Характер разрушения стекла определяют в соответствии с
ГОСТ 33002.
В течение не более 5 мин после разрушения стекла подсчитывают количество и определяют вес изолированных фрагментов и осколков. При определении участков с изолированными фрагментами и осколками стекла не учитывают области на расстоянии 25 мм от кромки стекла и в радиусе 100 мм от точки удара.
Образцы считают выдержавшими испытание, если:
а) количество изолированных фрагментов стекла, как показано на рисунке 4, не более 2 шт.;
б) каждый изолированный фрагмент стекла по массе не превышает эквивалентную площадь 1000 мм2;
в) все осколки стекла (см. рисунок 4) по массе не превышают эквивалентную площадь 5000 мм2.
1 - изолированный фрагмент стекла; 2 - осколок стекла
Рисунок 4 - Расположение фрагментов и осколков
на разрушенном стекле
9.10 Определение термостойкости
9.10.1 Определение термостойкости стекла проводят в соответствии с требованиями
ГОСТ 25535, по методу Б с однократным нагреванием и охлаждением образцов со следующим дополнением:
- испытания проводят на трех образцах размером не менее 150 x 150 мм, изготовленных вместе с испытуемой партией.
9.10.2 Оценка результатов
Образцы считают выдержавшими испытания, если перепад температур соответствует
5.1.3.
9.11 Определение оптических искажений
9.11.1 Оптические искажения стекла (кроме узорчатого стекла, моллированного стекла, а также стекол с коэффициентом направленного пропускания света менее 30%) определяют в соответствии с
ГОСТ 33003 с использованием экрана "кирпичная стена".
9.11.2 Оценка результатов
Стекло считают выдержавшим испытание, если измеренные значения оптических искажений соответствуют требованиям
5.1.6.
9.12 Определение класса защиты
9.12.1 Сущность метода
Метод состоит в оценке стойкости стекла к механическому удару мягким телом некомпактной формы с определенной высоты.
Испытания проводят на трех образцах стекла размерами [(1100 x 900) +/- 5] мм, не имеющих пороков внешнего вида, без отверстий, пазов и вырезов.
9.12.3 Оборудование
Основными элементами испытательной установки для проведения испытаний являются:
- стальная зажимающая рама
(рисунок 5), которая закрепляется неподвижно в вертикальном положении и должна обеспечивать плавное равномерное зажатие образца по четырем сторонам с перекрытием края (30 +/- 5) мм. Места контакта рамы с образцом покрывают резиновыми полосами шириной (30 +/- 5) мм, номинальной толщиной 4 мм и твердостью от 40 до 60 IRHD
ГОСТ 20403;
- кожаный мешок грушевидной формы, отвечающий следующим условиям:
- заполнение мешка - свинцовая дробь;
- высота мешка - (330 +/- 10) мм;
- диаметр максимального сечения мешка - (220 +/- 10) мм;
- масса мешка - (45 +/- 1) кг.
Схема испытательной установки для проведения испытания показана на рисунке 5.
1 - зажимающая рама; 2 - резиновая полоса; 3 - испытуемый
образец; 4 - жесткая стальная рама; 5 - мягкая прокладка;
6 - отверстия
Рисунок 5 - Стальная рама для крепления образца
9.12.4 Проведение испытания
Образец закрепляют в стальной раме установки при помощи зажимающей рамы по четырем сторонам с перекрытием края (30 +/- 5) мм.
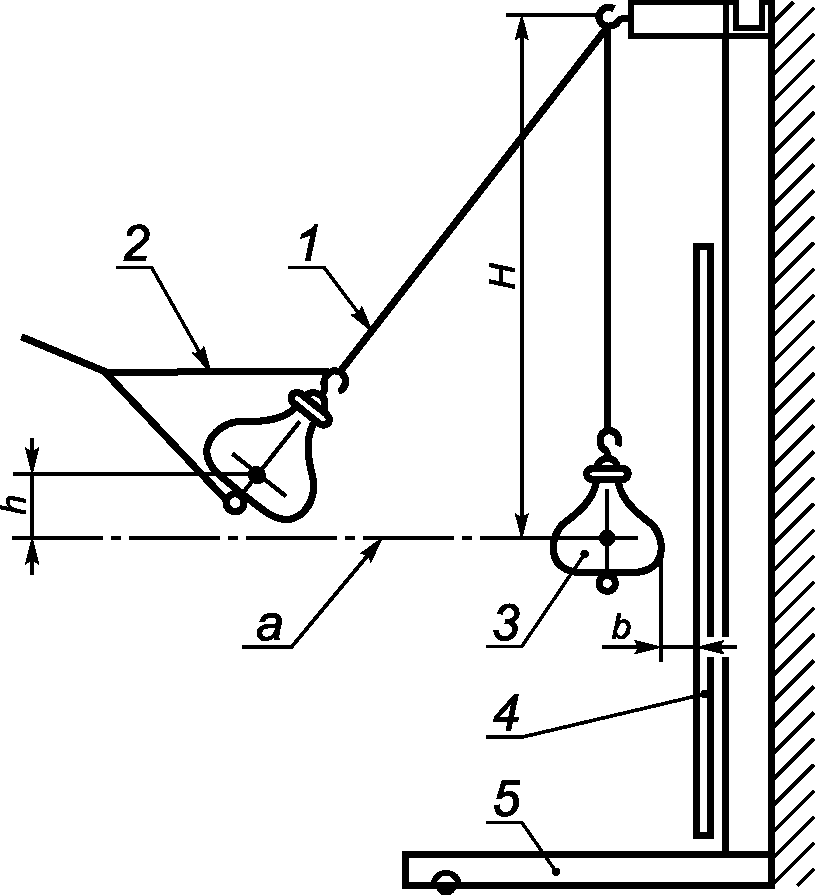
Мешок должен быть подвешен на креплении таким образом, чтобы область максимального диаметра мешка в спокойном состоянии находилась на расстоянии b не более 10 мм от поверхности образца и на расстоянии не более 50 мм от центра образца (см. рисунок 6). Высота подвеса мешка H - не менее 2500 мм.
1 - стальной трос диаметром 2,5 - 4 мм; 2 - уздечка
для подъема мешка; 3 - кожаный мешок (мягкое тело);
4 - испытуемый образец; 5 - опора; H - высота подвеса;
h - высота падения мешка; a - центральная ось испытуемого
образца; b - расстояние между образцом и мешком,
висящим в свободном состоянии
Рисунок 6 - Схема испытательной установки
Удар производят по центру образца, мешок при этом описывает дугу, падая с высоты, указанной в
таблице 6, двигаясь по направлению центральной горизонтальной оси поверхности образца. Удар по каждому образцу должен быть только один.
Примечание - Высоту падения мешка h отсчитывают от центра максимального диаметра мешка до центра горизонтальной оси поверхности образца.
Для испытаний моллированного стекла изготавливают раму с криволинейными поверхностями крепления стекла в соответствии с чертежом на испытуемое стекло, аналогичную показанной на
рисунке 5. При этом размеры проекции на плоскость испытуемых образцов моллированного стекла должны соответствовать требованиям
9.12.2.
9.12.5 Оценка результатов
Образец считают выдержавшим испытания, если он не разрушился.
Примечания
1 Если термоупрочненное стекло отвечает требованиям определенного класса защиты, то принимается, что оно отвечает требованиям и всех более низких классов защиты.
2 Термоупрочненное стекло рассматривается как равное по классу защиты испытанному образцу при соблюдении следующих условий:
- термоупрочненное стекло произведено тем же предприятием-изготовителем, что и испытанный образец;
- толщина стекла не меньше, чем у испытанного образца.
9.13 Определение оптических характеристик
9.13.1 Оптические характеристики (коэффициенты пропускания и отражения света, солнечного излучения и т.д.) стекла определяют в соответствии с требованиями
ГОСТ EN 410 на трех образцах.
Допускается для определения световых характеристик применять
ГОСТ 26302.
9.14 Контроль отверстий, пазов и/или вырезов
9.14.1 Расположение отверстий, пазов и/или вырезов должно соответствовать требованиям конструкторской документации.
9.14.2 Контроль размеров отверстий, пазов и/или вырезов
9.14.2.1 Сущность метода
Метод основан на измерении размеров и вычислении величины отклонений от заданных значений.
9.14.2.2 Подготовка образцов
Измерения проводят на готовом изделии.
9.14.2.3 Средства контроля
Штангенциркуль по
ГОСТ 166 с ценой деления не более 0,1 мм.
Линейка по
ГОСТ 427 с ценой деления не более 1 мм.
Допускается применять другие средства измерений, если они обеспечивают заданную точность измерений.
9.14.2.4 Проведение измерения
Измеряют штангенциркулем или линейкой заданные размеры отверстий, пазов и/или вырезов.
9.14.2.5 Оценка результата
Изделие (стекло) считают выдержавшим испытание, если измеренные значения соответствуют требованиям конструкторской документации и
4.13.3.
9.15.1 Место нанесения, а также содержание маркировки стекол контролируют визуально по
ГОСТ 32530.
10. Транспортирование и хранение
10.1 Транспортирование и хранение стекла осуществляют в соответствии с требованиями
ГОСТ 32530.
10.2 В процессе транспортирования и хранения стекла не допускается воздействие на него прямых солнечных лучей, влаги, агрессивных веществ, механических ударов.
11. Рекомендации по изготовлению, проектированию,
монтажу и эксплуатации
11.1 При распаковывании транспортной тары, хранении стекла и в период его эксплуатации не допускаются:
- взаимное касание стекол без прокладки между ними бумаги, пробковых прокладок, а также касание о твердые предметы;
- протирание стекла жесткой тканью и тканью, содержащей царапающие примеси;
- удары твердыми предметами;
- очистка сухого стекла жесткими щетками без подачи смывающей жидкости;
- длительное присутствие влаги на поверхности стекла;
- эксплуатация в агрессивной среде.
11.2 При эксплуатации не допускается установка стекла без полимерных эластичных прокладок по периметру стекла.
Стекла следует устанавливать на подкладках. Не допускается касание кромки стекла к строительной конструкции. Размер и расположение подкладок устанавливают в конструкторской документации на остекляемые изделия.
11.3 Не допускается эксплуатация стекла, имеющего незашлифованные сколы, щербление кромки, отбитые углы.
11.4 При проведении сварочных работ стекла необходимо защищать от попадания на них раскаленных частиц металла.
11.5 При выполнении отделочных и других видов работ необходимо соблюдать меры по защите стекла от механических повреждений (ударов, вибрации и т.д.) и загрязнений (попадание на стекло строительных материалов (цементной пыли, строительных растворов, штукатурных смесей и т.д.)) и других агрессивных веществ.
11.6 Справочные значения свойств термоупрочненного стекла, используемые при его эксплуатации, приведены в
приложении Б.
11.7 Стекло должно выдерживать расчетные значения эксплуатационных нагрузок (механических, климатических и др.) с учетом конкретных условий его применения, согласно действующим строительным нормам и правилам. Прогиб стекла при наиболее неблагоприятном сочетании нагрузок должен быть не более 1/250 короткой стороны. Допускается по согласованию изготовителя с потребителем применять другие требования к прогибу.
Стойкость к эксплуатационным нагрузкам подтверждают испытаниями или расчетами, с использованием методик, утвержденных в установленном порядке.
12. Гарантии изготовителя
12.1 Изготовитель гарантирует соответствие стекла требованиям настоящего стандарта при соблюдении правил упаковки, транспортирования, хранения и эксплуатации.
12.2 Гарантийный срок хранения стекла составляет пять лет со дня изготовления.
(обязательное)
ВИДЫ ОБРАБОТКИ КРОМКИ ТЕРМОУПРОЧНЕННОГО СТЕКЛА
А.1 Притупленная кромка термоупрочненного стекла показана на рисунке А.1.
Рисунок А.1 - Притупленная кромка
А.2 Грубошлифованная кромка показана на рисунке А.2.
Рисунок А.2 - Грубошлифованная кромка
А.3 Гладкошлифованная кромка показана на рисунке А.3.
Рисунок А.3 - Гладкошлифованная кромка
А.4 Полированная кромка - гладкошлифованная кромка, отполированная до получения ровной прозрачной поверхности фасок и торца, показана на рисунке А.4.
Рисунок А.4 - Полированная кромка
(справочное)
ФИЗИКО-МЕХАНИЧЕСКИЕ ХАРАКТЕРИСТИКИ ТЕРМОУПРОЧНЕННОГО СТЕКЛА
Таблица Б.1
Наименование показателя | Справочное значение |
Плотность (при 18 °C) | 2500 кг/м3 |
Твердость по Кнупу | 6 ГПа |
Прочность на сжатие | 700 - 900 МПа |
Прочность на изгиб: | |
стекло листовое (окрашенное в массе, стекло с покрытием) | 70 МПа |
стекло узорчатое | 55 МПа |
Модуль упругости (модуль Юнга) | 7·1010 Па |
Коэффициент Пуассона | 0,2 |
Температура размягчения | 600 °C |
Температурный коэффициент линейного расширения (в интервале температур от 20 до 300 °C) | 9·10-6 К-1 |
Теплопроводность | 1 Вт/(м·К) |
Удельная теплоемкость (бесцветное стекло) | 720 Дж/(кг·К) |
Коэффициент теплопередачи (бесцветное стекло) | 5,8 Вт/(м2·К) |
Коэффициент преломления света | 1,5 |
Коэффициент направленного отражения света (бесцветное стекло) | 0,08 |