Главная // Актуальные документы // ГОСТ (Государственный стандарт)СПРАВКА
Источник публикации
М.: Госстрой России, ГУП ЦПП, 2000
Примечание к документу
Документ утратил силу с 1 апреля 2016 года в связи с изданием
Приказа Росстандарта от 15.05.2015 N 362-ст. Взамен введен в действие
ГОСТ 24866-2014.
Применение данного документа на территории Российской Федерации восстановлено с 1 июля 2012 года в связи с изданием
Приказа Росстандарта от 25.07.2012 N 203-ст.
Утратил силу с 1 июля 2012 года на территории Российской Федерации в связи с изданием
Приказа Росстандарта от 21.12.2010 N 947-ст. Взамен введен в действие
ГОСТ Р 54175-2010.
С 1 июля 2003 года до вступления в силу технических регламентов акты федеральных органов исполнительной власти в сфере технического регулирования носят рекомендательный характер и подлежат обязательному исполнению только в части, соответствующей целям, указанным в
пункте 1 статьи 46 Федерального закона от 27.12.2002 N 184-ФЗ.
О сроке внедрения данного документа на предприятиях строительной индустрии см.
Письмо Госстроя РФ от 07.12.2000 N ЛБ-5635/9.
Текст документа приведен с учетом
поправки, опубликованной в "ИУС", N 3, 2004;
поправки, опубликованной в ИБ "Нормирование, стандартизация и сертификация в строительстве", N 6, 2001.
Введен в действие с 1 января 2001 года (
Постановление Госстроя РФ от 06.05.2000 N 39).
Взамен ГОСТ 24866-89.
Название документа
"ГОСТ 24866-99. Стеклопакеты клееные строительного назначения. Технические условия"
(введен в действие Постановлением Госстроя РФ от 06.05.2000 N 39)
"ГОСТ 24866-99. Стеклопакеты клееные строительного назначения. Технические условия"
(введен в действие Постановлением Госстроя РФ от 06.05.2000 N 39)
от 6 мая 2000 г. N 39
МЕЖГОСУДАРСТВЕННЫЙ СТАНДАРТ
СТЕКЛОПАКЕТЫ КЛЕЕНЫЕ СТРОИТЕЛЬНОГО НАЗНАЧЕНИЯ
ТЕХНИЧЕСКИЕ УСЛОВИЯ
Sealed insulating. Glass units
Specifications
ГОСТ 24866-99
1. Разработан ОАО "Институт стекла", ОАО "ЦНИИПромзданий", Управлением стандартизации, технического нормирования и сертификации Госстроя России с участием "Glastechniche Industrie Peter Lisec GmbH" и ГУ "Федеральный научно-технический центр сертификации в строительстве".
Внесен Госстроем России.
2. Принят Межгосударственной научно-технической комиссией по техническому нормированию и сертификации в строительстве (МНТКС) 2 декабря 1999 года.
За принятие проголосовали
┌───────────────────────┬────────────────────────────────────────┐
│ Наименование │ Наименование органа государственного │
│ государства │ управления строительством │
├───────────────────────┼────────────────────────────────────────┤
│Республика Армения │Министерство градостроительства │
│ │Республики Армения │
├───────────────────────┼────────────────────────────────────────┤
│Республика Казахстан │Комитет по делам строительства │
│ │Министерства энергетики, индустрии │
│ │и торговли Республики Казахстан │
├───────────────────────┼────────────────────────────────────────┤
│Кыргызская Республика │Государственная инспекция по архитектуре│
│ │и строительству при Правительстве │
│ │Кыргызской Республики │
├───────────────────────┼────────────────────────────────────────┤
│Республика Молдова │Министерство развития территорий, │
│ │строительства и коммунального хозяйства │
│ │Республики Молдова │
├───────────────────────┼────────────────────────────────────────┤
│Российская Федерация │Госстрой России │
├───────────────────────┼────────────────────────────────────────┤
│Республика Таджикистан │Комитет по делам архитектуры │
│ │и строительства Республики Таджикистан │
├───────────────────────┼────────────────────────────────────────┤
│Республика Узбекистан │Государственный комитет строительства, │
│ │архитектуры и жилищной политики │
│ │Узбекистана │
├───────────────────────┼────────────────────────────────────────┤
│Украина │Государственный комитет строительства, │
│ │архитектуры и жилищной политики Украины │
└───────────────────────┴────────────────────────────────────────┘
3. Взамен ГОСТ 24866-89.
4. Введен в действие с 1 января 2001 года в качестве государственного стандарта Российской Федерации
Постановлением Госстроя России от 06.05.2000 N 39.
Настоящий стандарт распространяется на стеклопакеты клееные строительного назначения (далее - стеклопакеты), предназначенные для остекления светопрозрачных конструкций: оконных и дверных блоков, перегородок, зенитных фонарей и др.
Стандарт не распространяется на специальные виды стеклопакетов, применяемых в строительных конструкциях (пулестойкие, огнестойкие, с полимерными пленками в межстекольном пространстве, с криволинейными поверхностями и т.п.).
Требования настоящего стандарта являются обязательными (кроме оговоренных в тексте как рекомендуемые или справочные).
Стандарт может быть использован для целей сертификации.
В настоящем стандарте приведены ссылки на следующие нормативные документы:
ГОСТ 427-75. Линейки измерительные металлические. Технические условия
ГОСТ 577-68. Индикаторы часового типа с ценой деления 0,01 мм. Технические условия
ГОСТ 4295-80. Ящики дощатые для листового стекла. Технические условия
ГОСТ 5533-86. Стекло листовое узорчатое. Технические условия
ГОСТ 7481-78. Стекло армированное листовое. Технические условия
ГОСТ 7502-98. Рулетки измерительные металлические. Технические условия
ГОСТ 10198-91. Ящики деревянные для грузов массой св. 200 до 20000 кг. Общие технические условия
ГОСТ 15102-75. Контейнер универсальный металлический закрытый номинальной массой брутто 5,0 т. Технические условия
ГОСТ 20435-75. Контейнер универсальный металлический закрытый номинальной массой брутто 3,0 т. Технические условия
ГОСТ 22235-76. Вагоны грузовые магистральных железных дорог колеи 1520 мм. Общие требования по обеспечению сохранности при производстве погрузочно-разгрузочных и маневровых работ
| | ИС МЕГАНОРМ: примечание. Взамен ГОСТ 24104-88 Постановлением Госстандарта РФ от 26.10.2001 N 439-ст с 1 июля 2002 года введен в действие ГОСТ 24104-2001. | |
ГОСТ 24104-88. Весы лабораторные общего назначения и образцовые. Общие технические условия
ГОСТ 25336-82. Посуда и оборудование лабораторные стеклянные. Типы, основные параметры и размеры
ГОСТ 26302-93. Стекло. Методы определения коэффициентов направленного пропускания и отражения света
ГОСТ 26602.1-99. Блоки оконные и дверные. Методы определения сопротивления теплопередаче
ГОСТ 28498-90. Термометры жидкостные стеклянные. Общие технические требования. Методы испытаний
ГОСТ 30799-2001. Стеклопакеты строительного назначения. Метод определения сопротивления атмосферным воздействиям и оценка долговечности
ГОСТ 30826-2001. Стекло многослойное строительного назначения. Технические условия.
3. Классификация, основные параметры и размеры
3.1. Стеклопакеты должны изготавливаться в соответствии с требованиями настоящего стандарта по конструкторской и технологической документации, утвержденной в установленном порядке.
3.2. Стеклопакеты представляют собой объемные изделия, состоящие из двух или трех листов стекла, соединенных между собой по контуру с помощью дистанционных рамок и герметиков, образующих герметически замкнутые камеры, заполненные осушенным воздухом или другим газом.
Стеклопакеты в зависимости от числа камер подразделяют на типы:
СПО - однокамерные;
СПД - двухкамерные.
Типы и конструкция стеклопакетов приведены на рисунке 1.
1 - стекло; 2 - дистанционная рамка; 3 - влагопоглотитель;
4 - нетвердеющий герметик; 5 - отверждающийся герметик;
6 - воздушная прослойка (межстекольное расстояние);
7 - рекомендуемые варианты расположения
низкоэмиссионного покрытия в случае его применения;
8 - дегидрационные отверстия;

- толщина стекла;
h - толщина стеклопакета;

- расстояние между стеклами;
D - глубина герметизирующего слоя
Рисунок 1. Типы и конструкции стеклопакетов
Камеры стеклопакетов могут быть заполнены:
- осушенным воздухом;
- инертным газом (аргон - Ar, криптон - Kr и др.);
- шестифтористой серой (

).
Допускается по согласованию изготовителя с потребителем изготавливать стеклопакеты из четырех плоских листов стекла и более, а также устанавливать декоративные рамки внутри стеклопакетов.
3.3. Стеклопакеты в зависимости от назначения подразделяют на виды:
- стеклопакеты общестроительного назначения;
- стеклопакеты строительного назначения со специальными свойствами:
ударостойкие (Уд);
энергосберегающие (Э);
солнцезащитные (С);
морозостойкие (М);
шумозащитные (Ш).
Требования, предъявляемые к каждому виду стеклопакетов строительного назначения, дополняющие требования настоящего стандарта, должны быть изложены в НД (здесь и далее по тексту - стандартах, технических условиях, технических свидетельствах, договорах на поставку, утвержденных в установленном порядке) на соответствующий вид стеклопакета.
3.4. Виды стекла, применяемые при изготовлении стеклопакетов, указаны в таблице 1.
Таблица 1
┌─────────────────────────┬────────────────┬─────────────────────┐
│Наименование вида стекла │ Обозначение │ Обозначение стекла │
│ │ документации │ (марки) │
├─────────────────────────┼────────────────┼─────────────────────┤
│Армированное полированное│НД │А │
│ │ │ п │
│Многослойное: │ │ │
│ ударостойкое │
ГОСТ 30826, │Р1А, Р2А, Р3А, Р4А, │
│ │НД │Р5А │
│ устойчивое к пробиванию │
ГОСТ 30826, │Р6В, Р7В, Р8В │
│ │НД │ │
│ │НД │СТ1, СТ2, СТ3 │
│Окрашенное в массе │НД │Т │
│Упрочненное: │ │ │
│ химически упрочненное │НД │Х │
│Солнцезащитное │НД │С │
│Энергосберегающее: │ │ │
│ │НД │ │
│ с мягким покрытием │НД │И │
└─────────────────────────┴────────────────┴─────────────────────┘
3.5. Номинальная толщина стеклопакетов рекомендуется от 14 до 60 мм, расстояние между стеклами - от 8 до 36 мм.
Предельное отклонение номинальной толщины стеклопакетов - +/- 1 мм.
В сложных конструкциях стеклопакетов (например, в случае применения многослойного стекла) допускается по согласованию изготовителя с потребителем увеличение предельных отклонений толщины до +/- 1,5 мм.
3.6. Размеры стеклопакетов по высоте и ширине, как правило, не должны превышать 3,2 x 3,0 м. Номинальные размеры стеклопакетов устанавливают в договоре на их изготовление (поставку).
Не рекомендуется изготовление стеклопакетов с размерами менее 300 x 300 мм, а также с соотношением сторон более 5:1.
Стеклопакеты сложной конфигурации (например, круглые, овальные, треугольные) изготавливают по рабочим чертежам или шаблонам, утвержденным в установленном порядке.
3.7. Предельные отклонения стеклопакетов по высоте и ширине должны соответствовать требованиям, указанным в таблице 2. При этом смещение стекол относительно друг друга не должно превышать 1,0 мм.
В миллиметрах
┌─────────────────────┬─────────────────────┬────────────────────┐
│ Номинальный размер │ Однокамерный │ Двухкамерный │
│по высоте или ширине │ стеклопакет │ стеклопакет │
├─────────────────────┼─────────────────────┼────────────────────┤
│До 1000 │ +/- 1,0 │ +/- 1,5 │
│От 1000 до 2000 │ +/- 2,0 │ +/- 2,5 │
│Св. 2000 │ +/- 2,5 │ +/- 3,0 │
└─────────────────────┴─────────────────────┴────────────────────┘
3.8. Для стеклопакетов, имеющих прямоугольную форму, разность длин диагоналей не должна превышать значений, указанных в таблице 3.
Таблица 3
В миллиметрах
┌──────────────────────┬─────────────────────────────────────────┐
│ Длина диагоналей │ Разность длин диагоналей, не более │
├──────────────────────┼─────────────────────────────────────────┤
│До 1300 │ 3 │
│Св. 1300 до 2300 │ 4 │
│Св. 2300 │ 5 │
└──────────────────────┴─────────────────────────────────────────┘
3.9. Отклонение от плоскостности листов стекла в стеклопакете не должно превышать 0,001 длины наименьшей стороны стеклопакета при использовании листового стекла по
ГОСТ 111. При использовании других видов стекол отклонение от плоскостности не должно превышать значений, установленных в НД (при отсутствии в НД требований к этому показателю значение отклонений от плоскостности допускается принимать 0,001 длины наименьшей стороны стеклопакета).
3.10. Отклонение от прямолинейности кромок стеклопакета не должно превышать предельные отклонения по высоте и ширине, указанные в
таблице 2.
3.11. Для стеклопакетов, имеющих сложную конфигурацию, отклонения формы должны находиться в пределах полей допусков, которые устанавливают в чертежах (шаблонах) на их изготовление.
3.12. Глубина внутреннего герметизирующего слоя (первый слой) должна быть не менее 4 мм. Глубина наружного герметизирующего слоя по торцу стеклопакета должна быть не менее 3 мм, а общая глубина герметизирующего слоя - не менее 9 мм. Толщину первого герметизирующего слоя устанавливают в технологической документации в зависимости от вида применяемого герметика. Герметизирующие слои стеклопакета приведены на рисунке 2.
D - общая глубина герметизирующего слоя;
F - глубина первого герметизирующего слоя;
G - глубина второго герметизирующего слоя;
E - глубина наружного герметизирующего слоя;
H - толщина первого герметизирующего слоя
Рисунок 2. Герметизирующие слои стеклопакета
3.13. Расстояние между декоративной рамкой и поверхностью стекла должно быть не менее 3 мм.
3.14. Условное обозначение стеклопакета должно состоять: из обозначения типа, характеристики применяемого стекла (вид стекла и его толщина), расстояния между стеклами, вида газонаполнения, высоты, ширины, толщины стеклопакета, вида стеклопакета и обозначения настоящего стандарта.
Пример условного обозначения однокамерного стеклопакета, состоящего из двух листовых стекол толщиной 4 мм марки

по
ГОСТ 111, с расстоянием между стеклами 16 мм, заполненного аргоном, высотой 1500 мм, шириной 800 мм, толщиной 24 мм, общестроительного назначения:
Стеклопакет СПО 4

-16Ar-4

1500 x 800 x 24 ГОСТ 24866-99.
То же, двухкамерного стеклопакета, состоящего из трех листовых стекол толщиной 4 мм марки

, с расстоянием между стеклами 12 мм, заполненного воздухом, высотой 1500 мм, шириной 800 мм, толщиной 36 мм, общестроительного назначения:
Стеклопакет СПД 4

-12-4

-12-4

1500 x 800 x 36 ГОСТ 24866-99.
То же, двухкамерного стеклопакета, состоящего из трех листовых стекол толщиной 4 мм марки

, с мягким низкоэмиссионным покрытием на внутреннем стекле, с расстоянием между стеклами 12 мм, заполнение: наружная камера - воздух, внутренняя камера - аргон, высотой 1500 мм, шириной 800 мм, толщиной 36 мм, морозостойкого, энергосберегающего:
Стеклопакет СПД 4

-12-4

-12Ar-И4 1500 x 800 x 36 МЭ ГОСТ 24866-99.
4. Общие технические требования
4.1.1. По нормам ограничения пороков внешнего вида стекла стеклопакеты должны соответствовать требованиям, указанным в стандартах и (или) технических условиях на применяемые виды стекла.
4.1.2. Стеклопакеты должны иметь ровные кромки и целые углы. Щербление края стекла в стеклопакете, сколы, выступы края стекла, повреждение углов стекла не допускаются.
Рекомендуется использовать стекло со шлифованной кромкой (при применении закаленного стекла кромку обрабатывают до его закалки).
4.1.3. Поверхности стекол в стеклопакетах должны быть чистыми, не допускаются загрязнения, масляные пятна.
4.1.4. Герметизирующие слои в стеклопакетах (в том числе в местах угловых соединений и соединениях первого и второго слоев герметизации) должны быть сплошными, без разрывов и нарушений герметизирующего слоя.
Герметик не должен попадать внутрь камеры стеклопакета (в том числе в местах угловых соединений и на границе первого и второго слоев герметизации).
4.1.5. Стеклопакеты должны быть герметичными.
4.1.6. Оптические искажения стеклопакетов, кроме стеклопакетов, изготовленных с применением узорчатого или армированного стекла, видимые в проходящем свете при наблюдении экрана "кирпичная стена" под углом более или равном 60 °C, не допускаются.
4.1.7. Основные физические характеристики стеклопакетов должны соответствовать требованиям, указанным в таблице 4.
Таблица 4
┌──────────┬────────────┬──────────┬───────┬──────┬────────┬─────┐
│Вид │ Тип │Сопротив- │Коэффи-│Звуко-│ Точка │Класс│
│стекло- │стеклопакета│ление │циент │изоля-│ росы │защи-│
│пакета │ │тепло- │направ-│ция, │не выше,│ты, │
│ │ │передаче, │ленного│не │ °C │не │
│ │ │не менее │пропус-│менее,│ │менее│
│ │ │м2 х °C/Вт│кания │дБ │ │ │
│ │ │ │света, │ │ │ │
│ │ │ │не ме- │ │ │ │
│ │ │ │нее, % │ │ │ │
├──────────┼────────────┼──────────┼───────┼──────┼────────┼─────┤
│Общестрои-│Однокамерный│ 0,32 │ 80 │ 25 │Минус 45│ - │
│тельного ├────────────┼──────────┼───────┼──────┼────────┼─────┤
│назначения│Двухкамерный│ 0,44 │ 72 │ 27 │ То же │ - │
├──────────┼────────────┼──────────┼───────┼──────┼────────┼─────┤
│Ударостой-│Однокамерный│ 0,32 │ 74 │ 26 │ " │ А1 │
│кий ├────────────┼──────────┼───────┼──────┼────────┼─────┤
│ │Двухкамерный│ 0,44 │ 67 │ 28 │ " │ А1 │
├──────────┼────────────┼──────────┼───────┼──────┼────────┼─────┤
│Солнце- │Однокамерный│ 0,32 │ - │ 25 │ " │ - │
│защитный ├────────────┼──────────┼───────┼──────┼────────┼─────┤
│ │Двухкамерный│ 0,44 │ - │ 27 │ " │ - │
├──────────┼────────────┼──────────┼───────┼──────┼────────┼─────┤
│Энерго- │Однокамерный│ 0,58 │ 75 │ 26 │ " │ - │
│сберега- ├────────────┼──────────┼───────┼──────┼────────┼─────┤
│ющий │Двухкамерный│ 0,72 │ 65 │ 28 │ " │ - │
├──────────┼────────────┼──────────┼───────┼──────┼────────┼─────┤
│Морозо- │Однокамерный│ 0,58 │ 75 │ 26 │Минус 55│ - │
│стойкий ├────────────┼──────────┼───────┼──────┼────────┼─────┤
│ │Двухкамерный│ 0,72 │ 65 │ 28 │ То же │ - │
├──────────┼────────────┼──────────┼───────┼──────┼────────┼─────┤
│Шумозащит-│Однокамерный│ 0,32 │ 74 │ 34 │Минус 45│ - │
│ный ├────────────┼──────────┼───────┼──────┼────────┼─────┤
│ │Двухкамерный│ 0,44 │ 67 │ 34 │ То же │ - │
├──────────┴────────────┴──────────┴───────┴──────┴────────┴─────┤
│ Примечание. Для характеристики солнцезащитных стеклопакетов│
│применяют коэффициент общего пропускания солнечной энергии,│
│который устанавливают в проектной документации. │
└────────────────────────────────────────────────────────────────┘
Справочные значения физических свойств наиболее распространенных конструкций стеклопакетов приведены в
Приложении А.
4.1.8. Стеклопакеты должны быть долговечными (стойкими к длительным циклическим климатическим воздействиям). Долговечность (надежность) стеклопакетов должна составлять не менее 20 условных лет эксплуатации. До 01.07.2002 допускается применять показатель долговечности 10 условных лет эксплуатации.
4.1.9. Объем заполнения стеклопакета газом должен составлять не менее 90% объема межстекольного пространства стеклопакета.
4.1.10. Конструкции стеклопакетов должны выдерживать эксплуатационные нагрузки согласно действующим строительным нормам с учетом требований настоящего стандарта.
Рекомендуемые толщины стекол стеклопакетов в оконных блоках по
ГОСТ 23166 в зависимости от ветровых нагрузок приведены в
Приложении Б.
4.2. Требования к материалам
4.2.1. Материалы и комплектующие детали, применяемые для изготовления стеклопакетов, должны соответствовать требованиям НД.
4.2.2. Для изготовления дистанционных рамок применяют ленту или готовые профили из алюминиевых или стальных нержавеющих сплавов. Рекомендуется изготавливать дистанционные рамки методом гнутья (для обеспечения лучшей герметичности стеклопакета), а также применять рамки с терморазрывом.
В случае изготовления дистанционной рамки методом сборки из прямолинейных элементов и уголков все стыки между элементами рамки должны быть тщательно заполнены нетвердеющим герметиком (бутилом).
Допускается изготавливать дистанционные рамки из других материалов при условии обеспечения требований к стеклопакетам, установленных в настоящем стандарте.
Дистанционные рамки должны иметь перфорированные отверстия со стороны межстекольного пространства. Размер отверстий должен быть меньше диаметра гранул влагопоглотителя.
Допуски на геометрические размеры и отклонения от формы дистанционных рамок должны обеспечивать выполнение требований к размерам и форме стеклопакетов.
Примеры конструкций дистанционных рамок приведены на рисунке 3.
а - дистанционная рамка из прямолинейных деталей,
собранная на четырех соединительных уголках (1);
б - дистанционная рамка, изготовленная методом гнутья
и замкнутая на одном соединителе (2)
Рисунок 3. Примеры конструкций дистанционных рамок
4.2.3. При изготовлении стеклопакетов в качестве влагопоглотителя применяют синтетический гранулированный цеолит без связующих веществ (молекулярное сито) или технический силикагель, которыми заполняют полости дистанционных рамок. Размеры гранул влагопоглотителя должны быть больше, чем дегидрационные отверстия в дистанционной рамке. При заполнении стеклопакета инертными газами размеры пор во влагопоглотителе должны быть менее 0,3 мкм.
Эффективность влагопоглотителя, определенная по методу повышения температуры, должна быть не менее 20 °C для силикагелей и не менее 35 °C - для молекулярного сита, а по методу максимальной влагоемкости при относительной влажности 60% - не менее 15%.
Объем заполнения дистанционных рамок влагопоглотителем и порядок его контроля устанавливают в технологической документации в зависимости от размеров стеклопакетов и используемых герметиков, но не менее 50% объема.
4.2.4. В качестве герметиков первого герметизирующего слоя применяют полиизобутиленовые герметики (бутилы). Для второго герметизирующего слоя применяют полисульфидные (тиоколовые), полиуретановые или силиконовые герметики.
Применяемые герметики должны иметь адгезионную способность и прочность, обеспечивающие требуемые характеристики стеклопакетов.
Герметики должны быть разрешены к применению органами государственного санитарного надзора и иметь гигиенические заключения.
4.2.5. Для изготовления стеклопакетов применяют стекла толщиной не менее 3 мм.
4.2.6. При применении стекла с мягким (не стойким к внешним воздействиям) покрытием по всему периметру стекла должна быть очищена от покрытия кромка шириной 8 - 10 мм. Стекло должно быть установлено покрытием внутрь стеклопакета, при этом кромка стекла без покрытия не должна попадать в поле зрения при оценке внешнего вида стеклопакета.
4.2.7. В случаях, когда в стеклопакетах для наружного остекления применяют неупрочненное стекло, его коэффициент поглощения света должен быть не более 25%.
Стекло с более высоким коэффициентом поглощения света должно быть упрочненным.
4.2.8. Требования к декоративным рамкам, используемым в стеклопакетах, устанавливают в конструкторской и технологической документации. Примеры конструкции декоративных рамок приведены на рисунке 4.
Рисунок 4. Примеры конструкций декоративных рамок
4.2.9. Применяемые для изготовления стеклопакетов материалы должны быть проверены на совместимость и морозостойкость в процессе проведения испытания стеклопакетов на долговечность.
4.3. Маркировка, упаковка
4.3.1. На каждый стеклопакет (на дистанционную рамку или на стекло в нижнем левом углу) наносят четкую, несмываемую маркировку, читаемую из помещения и содержащую:
- наименование и/или товарный знак предприятия-изготовителя;
- условное обозначение стеклопакета;
- месяц и две последние цифры года изготовления.
В случае применения в стеклопакете многослойного или закаленного стекла маркировка на стеклопакете должна быть расположена так, чтобы была видна маркировка многослойного или закаленного стекла.
Допускается в маркировке указывать дополнительную кодовую информацию по согласованию изготовителя и потребителя, расшифровку которой указывают в договоре или технических условиях.
При нанесении маркировки на стекло допускается сокращать обозначение стеклопакета (например: 4-16Аг-И4), при этом в случаях, когда стеклопакет должен быть смонтирован определенной стороной наружу (или внутрь помещения), условия маркировки этой стороны устанавливают в договоре на поставку.
4.3.2. На каждый контейнер или ящик наклеивают ярлык, в котором указывают:
- наименование и/или товарный знак предприятия-изготовителя;
- условное обозначение стеклопакетов;
- количество стеклопакетов в шт. и м2;
- сведения о сертификации;
- дату упаковки;
- номер упаковщика.
4.3.3. Маркировка на ящиках должна содержать манипуляционные знаки, означающие: "Хрупкое. Осторожно.", "Верх", "Беречь от влаги" по
ГОСТ 14192.
4.3.4. Стеклопакеты упаковывают в дощатые ящики по
ГОСТ 4295 (типы 1, 2, 3, 4, 5),
ГОСТ 10198 (типы 1-1, 1-2, 11-1, 11-2) или в ящики по НД; размещают в универсальных контейнерах по
ГОСТ 20435,
ГОСТ 15102, специализированных контейнерах или специальной таре по НД, обеспечивающих сохранность стеклопакетов.
По согласованию изготовителя и потребителя допускаются другие способы упаковки.
Пространство между стеклопакетами и стенками контейнера или ящика должно быть заполнено древесной стружкой по
ГОСТ 5244 или другим уплотняющим материалом.
4.3.5. При упаковке стеклопакеты должны быть разделены пробковыми или эластичными полимерными прокладками по углам стеклопакета. Толщину прокладок выбирают исходя из размеров стеклопакета и возможных перепадов давления в процессе транспортирования и хранения стеклопакетов.
5.1. Стеклопакеты должны быть приняты службой технического контроля на соответствие требованиям настоящего стандарта.
Приемку стеклопакетов производят партиями.
Партией считают количество стеклопакетов одного условного обозначения и оформленных одним документом о качестве. Допускается устанавливать объем партии в технической документации изготовителя (но не более чем объем выпуска изделий в смену) и в договоре на поставку (но не более 500 шт.).
5.2. Стеклопакеты подвергают приемосдаточным и периодическим испытаниям в соответствии с таблицей 5.
Таблица 5
┌─────────────────┬─────────────┬───────────┬──────────┬─────────┐
│ Наименование │Номер пункта │ Вид │Периодич- │ Номер │
│ показателя │ требования │ испытаний │ность │ пункта │
│ │ ├─────┬─────┤ │ метода │
│ │ │прие-│пери-│ │испытаний│
│ │ │мо- │оди- │ │ │
│ │ │сда- │чес- │ │ │
│ │ │точ- │кие │ │ │
│ │ │ные │ │ │ │
├─────────────────┼─────────────┼─────┼─────┼──────────┼─────────┤
│геометрических │ │ │ │ партия │ │
│размеров │ │ │ │ │ │
├─────────────────┼─────────────┼─────┼─────┼──────────┼─────────┤
│Разность длин │
3.8 │ + │ - │ То же │
6.2 │
│диагоналей │ │ │ │ │ │
├─────────────────┼─────────────┼─────┼─────┼──────────┼─────────┤
│от формы │
3.11 │ │ │ │ │
├─────────────────┼─────────────┼─────┼─────┼──────────┼─────────┤
├─────────────────┼─────────────┼─────┼─────┼──────────┼─────────┤
│Общая глубина │
3.12 │ + │ - │ " │
6.8 │
│герметизирующего │ │ │ │ │ │
│слоя │ │ │ │ │ │
├─────────────────┼─────────────┼─────┼─────┼──────────┼─────────┤
│искажения │ │ │ │ │ │
├─────────────────┼─────────────┼─────┼─────┼──────────┼─────────┤
├─────────────────┼─────────────┼─────┼─────┼──────────┼─────────┤
│Объем заполнения │
4.1.9 │ - │ + │ 1 раз │
6.16 │
│камер газом │ │ │ │ в год │ │
├─────────────────┼─────────────┼─────┼─────┼──────────┼─────────┤
│Коэффициент │
4.1.7 │ - │ + │ То же │
6.11 │
│направленного │ │ │ │ │ │
│пропускания света│ │ │ │ │ │
├─────────────────┼─────────────┼─────┼─────┼──────────┼─────────┤
│ │ │ │ │ в месяц │ │
├─────────────────┼─────────────┼─────┼─────┼──────────┼─────────┤
│Класс защиты │
4.1.7 │ - │ + │ 1 раз │
6.14 │
│ │ │ │ │ в год │ │
├─────────────────┼─────────────┼─────┼─────┼──────────┼─────────┤
│Долговечность │
4.1.8 │ - │ + │ 1 раз │
6.15 │
│(включая │ │ │ │в пять лет│ │
│морозостойкость) │ │ │ │ │ │
├─────────────────┼─────────────┼─────┼─────┼──────────┼─────────┤
│Сопротивление │
4.1.7 │ - │ + │ То же │
6.12 │
│теплопередаче │ │ │ │ │ │
├─────────────────┼─────────────┼─────┼─────┼──────────┼─────────┤
├─────────────────┴─────────────┴─────┴─────┴──────────┴─────────┤
│ <*> Герметичность при проведении приемосдаточных испытаний│
│определяют методом, изложенным в Приложении В (
В.1 -
В.5), а│
│периодических - в
6.9 или
В.6 Приложения В. │
└────────────────────────────────────────────────────────────────┘
5.3. Приемосдаточные испытания
5.3.1. При проведении приемосдаточных испытаний по
3.5,
3.7 -
3.12,
4.1.1 -
4.1.4 объем выборки принимают по таблице 6.
Таблица 6
Объем партии, шт. | До 15 | 16 - 25 | 26 - 90 | 91 - 150 | 151 - 500 |
Объем выборки, шт. | 2 | 3 | 5 | 8 | 13 |
Приемочное число | 0 | 0 | 0 | 1 | 1 |
5.3.2. Партию стеклопакетов считают принятой, если число дефектных стеклопакетов меньше или равно приемочному числу, и бракуют, если число дефектных стеклопакетов больше приемочного числа.
5.3.3. Для проверки герметичности и оптических искажений отбирают не менее двух стеклопакетов, принятых по
5.3.1.
Партию считают принятой, если каждый стеклопакет соответствует требованиям
4.1.5,
4.1.6. При несоответствии хотя бы одного стеклопакета требованиям
4.1.5,
4.1.6 проводят повторную проверку по соответствующему показателю на удвоенном числе стеклопакетов, отобранных от данной партии. При получении неудовлетворительных результатов повторной проверки хотя бы на одном стеклопакете партию не принимают.
При условии стабильности технологии приемосдаточные испытания герметичности и оптических искажений стеклопакетов допускается проводить 1 раз в трое суток.
5.4. Периодические испытания
5.4.1. Для проведения периодических испытаний по показателям точки росы, коэффициента направленного пропускания света, класса защиты, объема заполнения камер газом отбирают не менее двух образцов из числа принятых по
5.3.1.
Число образцов для испытаний герметичности, долговечности, сопротивления теплопередаче, звукоизоляции устанавливают согласно НД на эти виды испытаний.
5.4.2. При несоответствии хотя бы одного образца требованиям настоящего стандарта по любому из показателей
5.4.1 выпуск продукции запрещают до устранения технологических или конструктивных недоработок, которое должно быть подтверждено положительным результатом испытаний не менее чем двух партий изделий по соответствующему показателю.
5.5. При постановке стеклопакетов на производство проводят квалификационные испытания изделий по всем требованиям настоящего стандарта. В обоснованных случаях допускается совмещать проведение квалификационных и сертификационных испытаний изделий.
5.6. Порядок проведения производственного операционного контроля качества стеклопакетов, а также входного контроля применяемых при их изготовлении материалов устанавливают в технологической документации.
Эффективность влагопоглотителя контролируют не реже чем один раз в смену и при получении каждой новой партии влагопоглотителя (методы испытаний - по
6.17,
6.18).
Герметики контролируют при получении каждой новой партии материала (методы испытаний - по
6.19,
6.20).
5.7. Потребитель имеет право проводить контрольную проверку качества стеклопакетов, соблюдая при этом правила приемки и методы испытаний, указанные в настоящем стандарте.
5.8. Приемка стеклопакетов потребителем не освобождает изготовителя от ответственности при обнаружении скрытых дефектов, приведших к нарушению эксплуатационных характеристик изделий в течение гарантийного срока службы.
5.9. Каждую партию стеклопакетов сопровождают паспортом, в котором указывают:
- наименование и/или товарный знак предприятия-изготовителя;
- условное обозначение стеклопакетов;
- число ящиков или контейнеров в партии;
- количество стеклопакетов, м2 (шт.);
- номер и дату выдачи документа;
- основные технические характеристики стеклопакетов: коэффициент направленного пропускания света, сопротивление теплопередаче, точку росы, звукоизоляцию, класс защиты (для ударостойких стеклопакетов);
- сведения о сертификации;
- отметку о приемке продукции.
6.1. Испытания стеклопакетов проводят при температуре воздуха (20 +/-4) °C. Перед испытаниями стеклопакеты выдерживают при этой температуре не менее 4 ч, если нет других указаний. Наименьшее время между проведением испытаний и изготовлением стеклопакетов устанавливают в технологической документации в зависимости от применяемых материалов и технологий.
6.2. Высоту, ширину и длину диагоналей стеклопакетов измеряют металлической рулеткой по
ГОСТ 7502 с ценой деления не более 1 мм с применением металлических угольников по
ГОСТ 3749 в соответствии с рисунком 5.
1 - стеклопакет; 2 - рулетка; 3 - угольник;
4 - контролируемый размер
Рисунок 5. Измерение размеров стеклопакетов
Порядок контроля размеров стеклопакетов сложной конфигурации устанавливают в технологической документации.
Высоту и ширину измеряют параллельно кромкам стеклопакета между двумя точками, расположенными на расстоянии 50 мм от кромок и по середине стеклопакета. Результаты каждого измерения должны находиться в пределах допускаемых отклонений.
6.3. Толщину стеклопакета измеряют в четырех точках в середине каждой стороны стеклопакета штангенциркулем по
ГОСТ 166 с ценой деления не более 0,1 мм или микрометром по
ГОСТ 6507 с ценой деления не более 0,01 мм.
Результат каждого измерения должен находиться в пределах допускаемых отклонений. За толщину стеклопакетов принимают среднеарифметическое значение результатов измерений.
6.4. Отклонение от плоскостности поверхности стеклопакета определяют в вертикальном положении стеклопакета (угол отклонения от вертикали не должен превышать 15°) наложением металлической линейки по
ГОСТ 427 длиной не менее 0,7 ширины стеклопакета или строительного уровня по
ГОСТ 9416 длиной не менее 1000 мм, в продольном и поперечном направлениях в центре стеклопакета. При проведении испытания стеклопакет не должен быть закреплен в строительной конструкции.
Расстояние от поверхности стеклопакета до линейки измеряют щупом по НД. Перед испытаниями стеклопакеты должны быть выдержаны не менее 12 ч.
6.5. Отклонение от прямолинейности кромок сторон стеклопакета определяют прикладыванием металлической линейки по
ГОСТ 427 или строительного уровня по
ГОСТ 9416 вдоль измеряемой кромки стороны стеклопакета и измерением максимального зазора между линейкой или уровнем и кромкой стеклопакета щупом по НД. Максимальный зазор (толщина щупа) должен находиться в поле допуска на размер.
6.6. Пороки внешнего вида стекла в стеклопакетах определяют по НД на соответствующий вид стекла.
Чистоту поверхностей стекол в стеклопакетах, щербление края стекла в стеклопакете, сколы, выступы края стекла, повреждение углов стекла контролируют визуально при освещенности не менее 300 лк с расстояния 0,6 - 0,8 м.
6.7. Оптические искажения стеклопакетов контролируют в соответствии с
ГОСТ 111.
6.8. Глубину герметизирующего слоя стеклопакетов измеряют металлической линейкой по
ГОСТ 427 или рулеткой по
ГОСТ 7502 с ценой деления не более 1 мм.
Непрерывность герметизирующих слоев проверяют визуально при освещенности рабочего места не менее 300 лк.
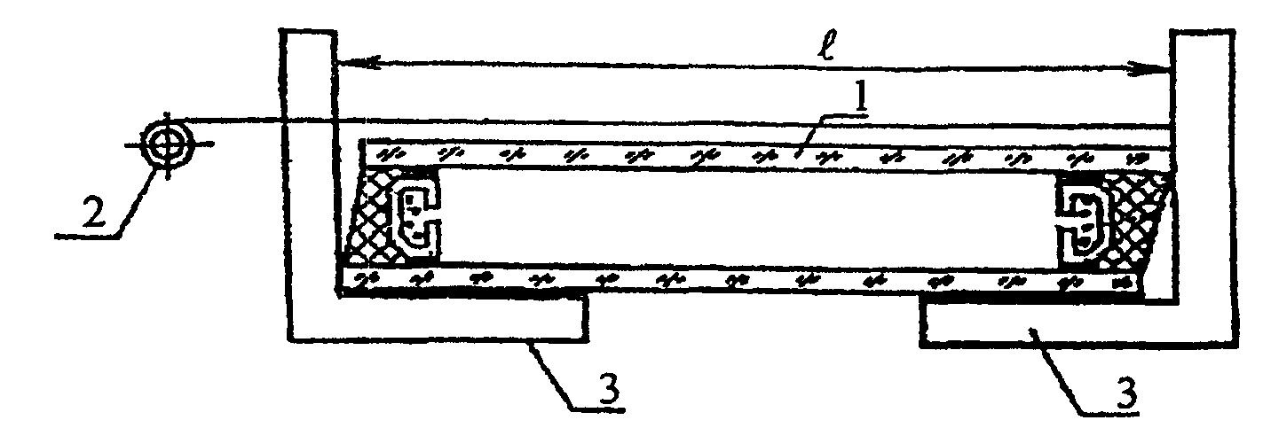
6.9. Определение герметичности стеклопакетов
6.9.1. Сущность метода заключается в определении изменения размера прогиба нагружаемого стекла стеклопакета при изменении давления в его внутренней полости в случае негерметичности стеклопакета.
6.9.2. Отбор образцов
Испытания проводят на образцах стеклопакетов размером не менее 350 x 350 мм.
6.9.3. Аппаратура
Стенд для проверки герметичности. Схема стенда приведена на рисунке 6.
1 - верхний нагрузочный винт; 2 - прокладка; 3 - пружина;
4 - индикатор часового типа; 5 - стеклопакет;
6 - раздвижные опоры; 7 - нижний нагрузочный винт
Рисунок 6. Схема стенда для проверки герметичности
6.9.4. Проведение испытания
Герметичность стеклопакетов контролируют не ранее чем через сутки после их изготовления. Перед испытанием стеклопакеты выдерживают в помещении для испытания не менее 24 ч. Во время испытания допускается изменение температуры в помещении не более чем на 1 °C.
Стеклопакет помещают на опоры 6 так, чтобы его геометрический центр (точка пересечения диагоналей) совпадал с осями нагрузочных винтов 1 и 7. Между пружиной 3 и стеклопакетом 5, а также между нагрузочным винтом 7 и стеклопакетом 5 помещают прокладки 2 (из органического стекла, текстолита и др.) диаметром (50 +/- 5) мм и толщиной 2 - 3 мм. Вращением шкалы верхнего индикатора 4 стрелку устанавливают на нулевое деление. При помощи нагрузочного винта 1 и пружины 3 нагружают верхнее стекло так, чтобы размер его прогиба L, определенный по индикатору 4, соответствовал значению: L = 0,002а, где а - длина меньшей стороны стеклопакета в миллиметрах.
Вращением шкалы нижнего индикатора 4 стрелку устанавливают на нулевое деление.
Нагрузочным винтом 7 нагружают нижнее стекло так, чтобы размер его прогиба соответствовал размеру прогиба верхнего стекла.
Стеклопакет выдерживают 3 - 4 мин для стабилизации показаний верхнего индикатора. Вновь устанавливают показания шкал верхнего и нижнего индикаторов на нулевое деление. Стеклопакет выдерживают под нагрузкой 15 мин и определяют показания верхнего индикатора.
Если стеклопакет герметичен, показание верхнего индикатора должно быть не более 0,02 мм.
При испытании двухкамерного стеклопакета определение герметичности каждой камеры проводят отдельно. При этом для испытания второй камеры стеклопакет переворачивают на опорах 6 на 180° вокруг продольной оси.
6.9.5. Оценка результата
Образцы считают выдержавшими испытание, если у всех образцов показание верхнего индикатора не превышало 0,02 мм.
6.9.6. Допускается проводить испытания на герметичность в соответствии с
Приложением В.
6.10. Определение точки росы
6.10.1. Сущность метода заключается в охлаждении участка стекла стеклопакета и последующей проверке появления конденсата (инея) на внутренней поверхности стекла на этом участке.
6.10.2. Отбор образцов
Испытания проводят на образцах стеклопакетов размером не менее 350 x 350 мм.
6.10.3. Аппаратура
Прибор для контроля точки росы. Схема прибора в случае вертикального расположения стеклопакета при испытаниях приведена на рисунке 7.
1 - ацетон или изопропиловый спирт; 2 - ручка;
3 - термометр; 4 - подвижная пластина узла подвески;
5 - контактная латунная пластина;
6 - твердая двуокись углерода; 7 - корпус медный;
8 - теплоизоляция
Рисунок 7. Схема прибора для контроля точки росы
Термометр стеклянный по
ГОСТ 28498 или другой прибор измерения температуры с соответствующей данному стандарту погрешностью измерения, при условии, что выдерживает воздействие агрессивных сред (ацетон).
Двуокись углерода твердая по
ГОСТ 12162 или сжиженный газ по НД.
Секундомер.
Фонарь карманный или другой источник света напряжением не более 12 В.
Допускается определять точку росы, используя микрохолодильник, обеспечивающий заданный температурный режим испытаний.
6.10.4. Проведение испытания
Точку росы внутри стеклопакета контролируют не ранее чем через сутки после его изготовления.
Стеклопакет располагают горизонтально или вертикально в зависимости от расположения контактной пластины в приборе.
Прибор заполняют ацетоном или изопропиловым спиртом с постепенным добавлением мелких кусочков твердой двуокиси углерода. Уровень ацетона или изопропилового спирта должен быть выше верха контактной пластины не менее чем на 30 мм.
Температуру смеси измеряют термометром, конец которого должен быть удален от контактной пластины прибора не более чем на 10 мм.
Температура смеси при испытании стеклопакетов должна быть минус (50 +/- 3) °C или минус (60 +/- 3) °C (морозостойкие стеклопакеты).
Ацетоном очищают стекла с обеих сторон в месте контроля на расстоянии не менее 100 мм от кромки стеклопакета. Очищенную поверхность стекла и контактную пластину смачивают тампоном, пропитанным ацетоном. Прижимают прибор пластиной к смоченному участку так, чтобы был обеспечен плотный контакт. Время контакта измерительного прибора со стеклопакетом в зависимости от толщины листов стекла в стеклопакете должно соответствовать времени, указанному в таблице 7.
Таблица 7
Толщина листа стекла, мм | Время контакта, мин |
До 5 Св. 5 до 10 Св. 10 | 4 6 10 |
Во время контакта измерительного прибора со стеклопакетом указанную температуру жидкости в приборе поддерживают добавлением твердой двуокиси углерода или сжиженного газа.
По истечении указанного времени прибор снимают. Охлажденный участок протирают тампоном, смоченным ацетоном. Включают источник света и визуально проверяют наличие конденсата (инея) на внутренней поверхности охлажденного участка стекла.
В двухкамерных стеклопакетах точку росы измеряют на обеих сторонах поверхности стеклопакета.
При использовании микрохолодильника испытания проводят в соответствии с Инструкцией по эксплуатации микрохолодильника.
6.10.5. Оценка результата
Образцы считают выдержавшими испытание, если у всех образцов на поверхности охлаждаемого участка стекла внутри камеры не были обнаружены следы конденсата (инея).
6.11. Коэффициент направленного пропускания света измеряют по
ГОСТ 26302 или определяют расчетом в зависимости от вида и толщины применяемых стекол по утвержденным методикам.
При определении коэффициента направленного пропускания света учитывают только светопрозрачную часть стеклопакета.
6.12. Приведенное сопротивление теплопередаче определяют по
ГОСТ 26602.1.
6.14. Класс защиты определяют по действующей НД.
6.15. Долговечность стеклопакетов определяют в соответствии с методикой, утвержденной в установленном порядке, при этом отрицательная температура при проведении испытаний стеклопакетов морозостойкого исполнения - не выше минус 60 °C.
6.16. Определение объема заполнения камер газом
6.16.1. Сущность метода заключается в определении концентрации кислорода внутри стеклопакета.
6.16.2. Отбор образцов
Испытания проводят на готовых стеклопакетах не ранее чем через 24 ч после изготовления.
6.16.3. Аппаратура
Газоанализатор по НД, утвержденной в установленном порядке, с относительной погрешностью измерения содержания кислорода не более 1%.
6.16.4. Проведение испытания
Из стеклопакета, заполненного газом, в соответствии с инструкцией по эксплуатации газоанализатора отбирают пробу, которую помещают в газоанализатор и определяют в ней содержание кислорода.
6.16.5. Оценка результата
Стеклопакеты считают прошедшими испытание, если содержание кислорода в пробе газа не превышает 2%.
6.16.6. Приведенный метод вводится в действие с 01.07.2002, до этого срока порядок определения газонаполнения устанавливают в технологической документации изготовителя.
6.17. Эффективность влагопоглотителя по методу максимальной влагоемкости определяют в соответствии с
ГОСТ 3956.
6.18. Определение эффективности влагопоглотителя методом повышения температуры
6.18.1. Сущность метода заключается в определении величины повышения температуры влагопоглотителя при добавлении воды.
6.18.2. Аппаратура
| | ИС МЕГАНОРМ: примечание. Взамен ГОСТ 24104-88 Постановлением Госстандарта РФ от 26.10.2001 N 439-ст с 1 июля 2002 года введен в действие ГОСТ 24104-2001. | |
Весы лабораторные по ГОСТ 24104.
6.18.3. Проведение испытания
В стакане вместимостью 100 мл отмеряют 20 (+/- 1) мл дистиллированной воды с температурой 20 - 22 °C, измеряют температуру воды

. Взвешивают второй стакан, всыпают в него (20 +/- 1) г влагопоглотителя и измеряют его температуру. Разность между температурами воды и влагопоглотителя не должна превышать 2 °C. Пересыпают взвешенный влагопоглотитель в стакан с водой и плотно закрывают пробкой с установленным в ней термометром. При возрастании температуры записывают наивысшую отмеченную температуру

.
6.18.4. Оценка результата
За результат испытания принимают разность между температурами

и

, которая должна быть не менее 20 °C для силикагелей и 35 °C для молекулярного сита.
6.19. Определение адгезионной способности герметика первого (внутреннего) герметизирующего слоя
6.19.1. Сущность метода заключается в контроле характера разрушения слоя нетвердеющего герметика, соединяющего стекло и дистанционную рамку.
6.19.2. Подготовка к испытанию
Испытания проводят на трех образцах, изготовленных в соответствии с
рисунком 8, для чего берут пластины стекла размером 100 x 200 и 100 x 250 мм, два отрезка дистанционной рамки длиной 200 мм и герметик, применяемый для внутреннего слоя герметизации. Наносят герметик на отрезки рамки и склеивают образец, как показано на
рисунке 8. Применяемые для изготовления образцов материалы и давление при склейке должны соответствовать принятой технологии производства стеклопакетов.
Положение 1
(показано пунктиром)
1 - стекло; 2 - герметик первого слоя герметизации;
3 - дистанционная рамка
Рисунок 8. Испытание герметика
первого герметизирующего слоя
6.19.3. Проведение испытания
Разрезают стекло 100 x 250 мм посередине вдоль длинной стороны и переводят обе его части в
положение 2 (рисунок 8).
6.19.4. Оценка результата
Образцы считают выдержавшими испытание, если характер разрушения герметика когезионный (не обнаружено отрыва герметика от стекла и дистанционной рамки, при этом допускается отрыв герметика на расстоянии не более 10 мм от торцевых краев рамки).
6.20. Определение адгезионной способности (прочности) герметика второго герметизирующего слоя
6.20.1. Сущность метода состоит в растяжении заданной нагрузкой двух склеенных герметиком пластинок стекла и определении характера и величины усилия при разрушении слоя герметика.
6.20.2. Подготовка к испытанию
Испытания проводят на двух образцах стекла размером [(30 x 20) +/- 1] мм, не имеющих пороков внешнего вида и склеенных друг с другом шнуром герметика размером [(12 x 20 x 25) +/- 1] мм. Форма образцов и схема испытания приведены на рисунке 9.
1 - стекло; 2 - герметик;
3 - захват разрывной машины или приспособления
Рисунок 9. Испытание герметика
второго герметизирующего слоя
6.20.3. Аппаратура
Разрывная машина или приспособление, позволяющие создать напряжение на гранях образца (

) МПа в течение не менее 10 мин.
Часы с погрешностью не более 5 с в сутки.
6.20.4. Проведение испытания
Два листа стекла промывают и сушат в соответствии с технологическим регламентом на производство стеклопакетов, прикладывают к двум деревянным брускам, обернутым полиэтиленовой пленкой, и фиксируют лентой. Размеры брусков и расстояния между ними должны соответствовать размерам сечения шнура герметика. Зазор между стеклами заполняют герметиком. После затвердевания герметика (время отвердения принимают в соответствии с технологическим регламентом производства стеклопакетов) бруски удаляют, образец помещают в разрывную машину или приспособление. Прикладывают к образцу нагрузку, создающую в нем напряжение (

) МПа, и выдерживают при этой нагрузке в течение (10 +/- 0,1) мин.
6.20.5. Оценка результата
Образец считают выдержавшим испытание, если после испытания не произошел разрыв или отслоение герметика от стекла.
7. Транспортирование и хранение
7.1. Контейнеры или ящики со стеклопакетами транспортируют любым видом транспорта в соответствии с Правилами перевозок грузов, а размещение и крепление в транспортных средствах - в соответствии с Техническими условиями погрузки и крепления грузов, действующими на данном виде транспорта.
Универсальные и специализированные контейнеры со стеклопакетами перевозят на железнодорожных платформах или в полувагонах с учетом наиболее рационального использования грузоподъемности и вместимости подвижного состава. Ящики со стеклопакетами перевозят в крытых транспортных средствах или полувагонах при условии обеспечения защиты от атмосферных осадков.
При транспортировании, погрузке и разгрузке стеклопакетов должны соблюдаться требования
ГОСТ 22235.
При транспортировании авиатранспортом стеклопакеты перевозят в герметизированных отсеках при нормальном давлении окружающего воздуха.
При длительном транспортировании (в том числе при отрицательных температурах) условия транспортирования устанавливают в договоре на поставку изделий.
7.2. При транспортировании специализированные контейнеры или ящики со стеклопакетами должны быть установлены вертикально, торцами по направлению движения транспорта и закреплены так, чтобы исключить возможность их перемещения и качания в процессе транспортирования.
7.3. Стеклопакеты должны храниться у изготовителя и потребителя в закрытых сухих отапливаемых помещениях в распакованном виде.
При хранении стеклопакеты должны быть установлены торцом на стеллажи или пирамиды перпендикулярно их основанию. Основание стеллажа или пирамиды должно быть оклеено войлоком или резиной и иметь наклон 5 - 15° к горизонтали.
Между стеклопакетами должны быть установлены прокладки из пробки или эластичных полимерных материалов.
На стеллаже или пирамиде рекомендуется хранить стеклопакеты одинаковых размеров и одного вида.
Допускается хранить стеклопакеты в ящиках при условии, если тара и прокладочные материалы не подвергались увлажнению в процессе транспортирования и хранения.
8. Рекомендации по изготовлению, проектированию,
монтажу и эксплуатации
8.1. Стеклопакеты проектируют с учетом требований действующих строительных норм по естественному освещению в помещении, теплоизоляции, звукоизоляции и механической прочности конструкции.
При проектировании стеклопакетов следует учитывать температурные напряжения, возникающие при эксплуатации стеклопакетов (в том числе за счет поглощения солнечной энергии), а также влияние отрицательных температур и перепадов давления на отклонение от плоскостности (линзообразование) стеклопакетов.
Установленные в настоящем стандарте требования к отклонениям от плоскостности листов стекла в стеклопакете действительны при температуре воздуха (газа) внутри стеклопакета 10 - 30 °C и атмосферном давлении воздуха 730 - 770 мм рт. ст.
Стеклопакеты должны выдерживать эксплуатационные нагрузки, в том числе ветровые. При расчете стеклопакетов на прочность каждое стекло в стеклопакете рассчитывают отдельно в зависимости от действующей на него нагрузки. Расчетное сопротивление листового стекла на растяжение при изгибе рекомендуется принимать 15 МПа (150 кгс/см2) или по НД на конкретные виды стекол.
8.2. Изготовление стеклопакетов должно проводиться в соответствии с требованиями технологического регламента.
8.3. При изготовлении стеклопакетов температура воздуха в помещении должна быть 16 - 24 °C, а относительная влажность - не выше 50%.
8.4. Монтаж и эксплуатацию стеклопакетов следует производить в соответствии с действующими строительными нормами, НД на строительные конструкции и проектной документацией.
8.5. Перед установкой в конструкции необходимо провести тщательный осмотр каждого стеклопакета. Не допускается применять стеклопакеты, имеющие трещины или сколы в торцах, отслоения герметика.
8.6. Монтаж стеклопакетов следует производить с помощью ручных вакуумных присосок или траверс, снабженных вакуум-присосками.
Стеклопакеты необходимо переносить в вертикальном положении, углы и торцы следует оберегать от ударов. Запрещается опирать стеклопакеты на углы и ставить на жесткое основание.
При монтаже стеклопакетов не должна нарушаться ориентация стеклопакетов (наружная сторона - внутренняя сторона, верх - низ), рекомендованные изготовителем.
8.7. При эксплуатации не допускается использование стеклопакетов без подкладок (прокладок) между строительными конструкциями и стеклопакетом. Касание стеклопакетов поверхностей строительных конструкций не допускается. Схемы установки подкладок приводят в проектной и нормативной документации.
8.8. Температура воздуха в помещениях, остекленных стеклопакетами в зимний период строительства, должна быть не ниже +5 °C.
8.9. При установке стеклопакетов и их креплении не допускаются перекосы и чрезмерное "обжатие" стеклопакетов штапиками или накладками.
8.10. Работы по уплотнению и герметизации стыков между стеклопакетами и переплетами следует производить непосредственно после их установки и крепления. При нанесении нетвердеющих герметиков следует использовать герметизаторы, а тиоколовых герметиков - пневматические или ручные шприцы. Герметизируемые поверхности должны быть предварительно очищены, просушены и обезжирены.
Работы по уплотнению и герметизации стыков следует проводить при температуре наружного воздуха не ниже минус 5 °C (если нет других указаний) в условиях, исключающих увлажнение конструкций.
8.11 При эксплуатации стеклопакетов температура воздуха внутри помещений рекомендуется не более +30 °C и относительная влажность - не более 60%. При большей влажности в помещении, а также при пиковых отрицательных температурах наружного воздуха, возможно временное образование конденсата на внутренней поверхности стеклопакета.
9.1. Изготовитель гарантирует соответствие стеклопакетов требованиям настоящего стандарта при соблюдении требований упаковки, транспортирования, хранения, эксплуатации и монтажа, установленных настоящим стандартом, а также области их применения согласно действующим строительным нормам.
9.2. Гарантийный срок хранения - не более 1 года со дня отгрузки изделий изготовителем.
9.3. Гарантийный срок службы (эксплуатации) стеклопакетов устанавливают в технической документации, но не менее 5 лет со дня отгрузки изделий изготовителем.
(справочное)
ОПТИЧЕСКИЕ И ТЕПЛОТЕХНИЧЕСКИЕ ХАРАКТЕРИСТИКИ СТЕКЛОПАКЕТОВ
Таблица А.1
┌─────────────────────┬──────┬──────┬───────┬──────┬──────┬──────────┐
│ Варианты остекления │Коэф- │Коэф- │Коэффи-│Коэф- │Коэф- │Приведен- │
│ │фици- │фици- │циент │фици- │фици- │ное │
│ │ент │ент │пропус-│ент │ент │сопротив- │
│ │про- │погло-│кания │погло-│общего│ление │
│ │пуска-│щения │прямо- │щения │про- │тепло- │
│ │ния │света │го сол-│прямо-│пуска-│передаче, │
│ │света │в ви- │нечного│го │ния │м2 х °C/Вт│
│ │в ви- │димой │излу- │сол- │сол- │ │
│ │димой │части │чения │нечно-│нечной│ │
│ │части │спект-│ │го │энер- │ │
│ │спект-│ра │ │излу- │гии │ │
│ │ра │ │ │чения │ │ │
├─────────────────────┼──────┼──────┼───────┼──────┼──────┼──────────┤
│4M -8-4M │ 0,80 │ 0,06 │ 0,68 │ 0,21 │ 0,78 │ 0,28 │
│ 1 1 │ │ │ │ │ │ │
│4M -10-4M │ 0,80 │ 0,06 │ 0,68 │ 0,21 │ 0,78 │ 0,29 │
│ 1 1 │ │ │ │ │ │ │
│4M -12-4M │ 0,80 │ 0,06 │ 0,68 │ 0,21 │ 0,78 │ 0,30 │
│ 1 1 │ │ │ │ │ │ │
│4M -16-4M │ 0,80 │ 0,06 │ 0,68 │ 0,21 │ 0,78 │ 0,32 │
│ 1 1 │ │ │ │ │ │ │
│4M -Ar8-4M │ 0,80 │ 0,06 │ 0,68 │ 0,21 │ 0,78 │ 0,30 │
│ 1 1 │ │ │ │ │ │ │
│4M -Ar10-4M │ 0,80 │ 0,06 │ 0,68 │ 0,21 │ 0,78 │ 0,31 │
│ 1 1 │ │ │ │ │ │ │
│4M -Ar12-4M │ 0,80 │ 0,06 │ 0,68 │ 0,21 │ 0,78 │ 0,32 │
│ 1 1 │ │ │ │ │ │ │
│4M -Ar16-4M │ 0,80 │ 0,06 │ 0,68 │ 0,21 │ 0,78 │ 0,34 │
│ 1 1 │ │ │ │ │ │ │
│4M -8-K4 │ 0,75 │ 0,08 │ 0,60 │ 0,26 │ 0,76 │ 0,47 │
│ 1 │ │ │ │ │ │ │
│4M -10-K4 │ 0,75 │ 0,08 │ 0,60 │ 0,26 │ 0,76 │ 0,49 │
│ 1 │ │ │ │ │ │ │
│4M -12-K4 │ 0,75 │ 0,08 │ 0,60 │ 0,26 │ 0,76 │ 0,51 │
│ 1 │ │ │ │ │ │ │
│4M -16-K4 │ 0,75 │ 0,08 │ 0,60 │ 0,26 │ 0,76 │ 0,53 │
│ 1 │ │ │ │ │ │ │
│4M -Ar8-K4 │ 0,75 │ 0,08 │ 0,60 │ 0,26 │ 0,76 │ 0,53 │
│ 1 │ │ │ │ │ │ │
│4M -Ar10-K4 │ 0,75 │ 0,08 │ 0,60 │ 0,26 │ 0,76 │ 0,55 │
│ 1 │ │ │ │ │ │ │
│4M -Ar12-K4 │ 0,75 │ 0,08 │ 0,60 │ 0,26 │ 0,76 │ 0,57 │
│ 1 │ │ │ │ │ │ │
│4M -Ar16-K4 │ 0,75 │ 0,08 │ 0,60 │ 0,26 │ 0,76 │ 0,59 │
│ 1 │ │ │ │ │ │ │
│4M -8-И4 │ 0,73 │ 0,14 │ 0,41 │ 0,24 │ 0,51 │ 0,51 │
│ 1 │ │ │ │ │ │ │
│4M -10-И4 │ 0,73 │ 0,14 │ 0,41 │ 0,24 │ 0,51 │ 0,53 │
│ 1 │ │ │ │ │ │ │
│4M -12-И4 │ 0,73 │ 0,14 │ 0,41 │ 0,24 │ 0,51 │ 0,56 │
│ 1 │ │ │ │ │ │ │
│4M -16-И4 │ 0,73 │ 0,14 │ 0,41 │ 0,24 │ 0,51 │ 0,59 │
│ 1 │ │ │ │ │ │ │
│4M -Ar8-И4 │ 0,73 │ 0,14 │ 0,41 │ 0,24 │ 0,51 │ 0,57 │
│ 1 │ │ │ │ │ │ │
│4M -Ar10-И4 │ 0,73 │ 0,14 │ 0,41 │ 0,24 │ 0,51 │ 0,60 │
│ 1 │ │ │ │ │ │ │
│4M -Ar12-И4 │ 0,73 │ 0,14 │ 0,41 │ 0,24 │ 0,51 │ 0,63 │
│ 1 │ │ │ │ │ │ │
│4M -Ar16-И4 │ 0,73 │ 0,14 │ 0,41 │ 0,24 │ 0,51 │ 0,66 │
│ 1 │ │ │ │ │ │ │
│4M -6-4M -6-4M │ 0,72 │ 0,09 │ 0,56 │ 0,29 │ 0,72 │ 0,42 │
│ 1 1 1 │ │ │ │ │ │ │
│4M -8-4M -8-4M │ 0,72 │ 0,09 │ 0,56 │ 0,29 │ 0,72 │ 0,45 │
│ 1 1 1 │ │ │ │ │ │ │
│4M -10-4M -10-4M │ 0,72 │ 0,09 │ 0,56 │ 0,29 │ 0,72 │ 0,47 │
│ 1 1 1 │ │ │ │ │ │ │
│4M -12-4M -12-4M │ 0,72 │ 0,09 │ 0,56 │ 0,29 │ 0,72 │ 0,49 │
│ 1 1 1 │ │ │ │ │ │ │
│4M -16-4M -16-4M │ 0,72 │ 0,09 │ 0,56 │ 0,29 │ 0,72 │ 0,52 │
│ 1 1 1 │ │ │ │ │ │ │
│4M -Ar6-4M -Ar6-4M │ 0,72 │ 0,09 │ 0,56 │ 0,29 │ 0,72 │ 0,44 │
│ 1 1 1 │ │ │ │ │ │ │
│4M -Ar8-4M -Ar8-4M │ 0,72 │ 0,09 │ 0,56 │ 0,29 │ 0,72 │ 0,47 │
│ 1 1 1 │ │ │ │ │ │ │
│4M -Ar10-4M -Ar10-4M │ 0,72 │ 0,09 │ 0,56 │ 0,29 │ 0,72 │ 0,49 │
│ 1 1 1│ │ │ │ │ │ │
│4M -Ar12-4M -Ar12-4M │ 0,72 │ 0,09 │ 0,56 │ 0,29 │ 0,72 │ 0,52 │
│ 1 1 1│ │ │ │ │ │ │
│4M -Ar16-4M -Ar16-4M │ 0,72 │ 0,09 │ 0,56 │ 0,29 │ 0,72 │ 0,55 │
│ 1 1 1│ │ │ │ │ │ │
│4M -6-4M -6-K4 │ 0,68 │ 0,11 │ 0,50 │ 0,34 │ 0,72 │ 0,53 │
│ 1 1 │ │ │ │ │ │ │
│4M -8-4M -8-K4 │ 0,68 │ 0,11 │ 0,50 │ 0,34 │ 0,72 │ 0,55 │
│ 1 1 │ │ │ │ │ │ │
│4M -10-4M -10-K4 │ 0,68 │ 0,11 │ 0,50 │ 0,34 │ 0,72 │ 0,58 │
│ 1 1 │ │ │ │ │ │ │
│4M -12-4M -12-K4 │ 0,68 │ 0,11 │ 0,50 │ 0,34 │ 0,72 │ 0,61 │
│ 1 1 │ │ │ │ │ │ │
│4M -16-4M -16-K4 │ 0,68 │ 0,11 │ 0,50 │ 0,34 │ 0,72 │ 0,65 │
│ 1 1 │ │ │ │ │ │ │
│4M -Ar6-4M -Ar6-K4 │ 0,68 │ 0,11 │ 0,50 │ 0,34 │ 0,72 │ 0,60 │
│ 1 1 │ │ │ │ │ │ │
│4M -Ar8-4M -Ar8-K4 │ 0,68 │ 0,11 │ 0,50 │ 0,34 │ 0,72 │ 0,62 │
│ 1 1 │ │ │ │ │ │ │
│4M -Ar10-4M -Ar10-K4 │ 0,68 │ 0,11 │ 0,50 │ 0,34 │ 0,72 │ 0,65 │
│ 1 1 │ │ │ │ │ │ │
│4M -Ar12-4M -Ar12-K4 │ 0,68 │ 0,11 │ 0,50 │ 0,34 │ 0,72 │ 0,68 │
│ 1 1 │ │ │ │ │ │ │
│4M -Ar16-4M -Ar16-K4 │ 0,68 │ 0,11 │ 0,50 │ 0,34 │ 0,72 │ 0,72 │
│ 1 1 │ │ │ │ │ │ │
│4M -6-4M -6-И4 │ 0,66 │ 0,17 │ 0,34 │ 0,35 │ 0,5 │ 0,59 │
│ 1 1 │ │ │ │ │ │ │
│4M -8-4M -8-И4 │ 0,66 │ 0,17 │ 0,34 │ 0,35 │ 0,5 │ 0,61 │
│ 1 1 │ │ │ │ │ │ │
│4M -10-4M -10-И4 │ 0,66 │ 0,17 │ 0,34 │ 0,35 │ 0,5 │ 0,64 │
│ 1 1 │ │ │ │ │ │ │
│4M -12-4M -12-И4 │ 0,66 │ 0,17 │ 0,34 │ 0,35 │ 0,5 │ 0,68 │
│ 1 1 │ │ │ │ │ │ │
│4M -16-4M -16-И4 │ 0,66 │ 0,17 │ 0,34 │ 0,35 │ 0,5 │ 0,72 │
│ 1 1 │ │ │ │ │ │ │
│4M -Ar6-4M -Ar6-И4 │ 0,66 │ 0,17 │ 0,34 │ 0,35 │ 0,5 │ 0,64 │
│ 1 1 │ │ │ │ │ │ │
│4M -Ar8-4M -Ar8-И4 │ 0,66 │ 0,17 │ 0,34 │ 0,35 │ 0,5 │ 0,67 │
│ 1 1 │ │ │ │ │ │ │
│4M -Ar10-4M -Ar10-И4 │ 0,66 │ 0,17 │ 0,34 │ 0,35 │ 0,5 │ 0,71 │
│ 1 1 │ │ │ │ │ │ │
│4M -Ar12-4M -Ar12-И4 │ 0,66 │ 0,17 │ 0,34 │ 0,35 │ 0,5 │ 0,75 │
│ 1 1 │ │ │ │ │ │ │
│4M -Ar16-4M -Ar16-И4 │ 0,66 │ 0,17 │ 0,34 │ 0,35 │ 0,5 │ 0,80 │
│ 1 1 │ │ │ │ │ │ │
├─────────────────────┴──────┴──────┴───────┴──────┴──────┴──────────┤
│ Примечание. Значения приведенного сопротивления теплопередаче│
│приняты исходя из размеров 1,0 x 1,0 м и коэффициентов эмиссии:│
│ 0,16 - 0,18 - для твердого покрытия; │
│ 0,06 - 0,08 - для мягкого покрытия. │
└────────────────────────────────────────────────────────────────────┘
(рекомендуемое)
МИНИМАЛЬНАЯ ТОЛЩИНА СТЕКОЛ, ММ
Таблица Б.1
┌─────────────┬──────────────────────┬───────────────────────────┐
│Длина стекло-│ Класс изделий по │ Ширина стеклопакета, мм │
│пакета, мм │сопротивлению ветровой├──────────┬────────────────┤
│ │нагрузке по
ГОСТ 23166│ до 700 │св. 700 до 1000 │
├─────────────┼──────────────────────┼──────────┼────────────────┤
│До 1000 │ А │ 4 │ 5 │
│ │ Б │ 4 │ 4 │
│ │ В │ 3 │ 4 │
│ │ Г │ 3 │ 3 │
│ │ Д │ 3 │ 3 │
│Св. 1000 │ А │ 5 │ 5 │
│до 1300 │ Б │ 4 │ 5 │
│ │ В │ 4 │ 4 │
│ │ Г │ 3 │ 4 │
│ │ Д │ 3 │ 3 │
│Св. 1300 │ А │ 5 │ 6 │
│до 1600 │ Б │ 5 │ 5 │
│ │ В │ 4 │ 4 │
│ │ Г │ 4 │ 4 │
│ │ Д │ 3 │ 4 │
│Св. 1600 │ А │ 6 │ 6 │
│до 1800 │ Б │ 5 │ 6 │
│ │ В │ 5 │ 5 │
│ │ Г │ 4 │ 4 │
│ │ Д │ 4 │ 4 │
└─────────────┴──────────────────────┴──────────┴────────────────┘
(рекомендуемое)
ОПРЕДЕЛЕНИЕ ГЕРМЕТИЧНОСТИ СТЕКЛОПАКЕТОВ
В.1. Сущность метода заключается в определении герметичности стеклопакетов под гидростатическим давлением воды.
В.2. Отбор образцов
Испытания проводят на двух образцах стеклопакетов размером не менее 500 x 500 мм.
Емкость с вакуумной присоской, заполненная водой.
Термометр по
ГОСТ 28498 с погрешностью измерения не более 1 °C.
В.4. Проведение испытаний
Каждый образец стеклопакета помещают на (24 +/- 1) ч в емкость с водой, имеющей температуру (23 +/- 5) °C. Схема приведена на рисунке В.1. Образец помещают таким образом, чтобы расстояние от стенки емкости до боковой грани стеклопакета было не менее 40 мм. Если стеклопакет содержит стекла разной толщины, его укладывают более толстым стеклом вниз.
1 - емкость с водой; 2 - образец стеклопакета;
3 - вакуумная присоска
Рисунок В.1. Схема испытаний стеклопакетов на герметичность
Уровень воды должен быть выше поверхности стеклопакета не менее чем на 400 мм.
После извлечения стеклопакета из воды его подвергают визуальному осмотру.
Образцы считают выдержавшими испытание, если они не имеют следов проникновения воды в камеры стеклопакета.
В.6. Для проведения квалификационных и периодических испытаний отбирают четыре образца стеклопакетов.
Два образца испытывают на точку росы и определяют ее значение для каждого образца, затем образцы разрезают и определяют эффективность влагопоглотителя по
6.18.
Два других образца испытывают согласно
В.3,
В.4. Время выдержки образцов под нагрузкой составляет (72 +/- 1) ч. После проведения испытания определяют точку росы и, после разрезки образцов, эффективность влагопоглотителя каждого образца по
6.18. За результат испытаний принимают худшее значение по каждому испытанному показателю.
Результат испытания признают положительным, если значения точки росы и эффективности влагопоглотителя всех четырех образцов соответствуют требованиям настоящего стандарта, а также если результаты испытаний первых двух образцов отличаются от результатов испытаний вторых двух образцов не более чем на 10%.
(справочное)
СВЕДЕНИЯ О РАЗРАБОТЧИКАХ СТАНДАРТА
Настоящий стандарт разработан рабочей группой исполнителей в составе:
А.Г. Чесноков, канд. техн. наук (руководитель), АО "ГИС";
Н.В. Шведов, Госстрой России;
В.Е. Маневич, профессор, д-р техн. наук, АО "ГИС";
Д.Л. Орлов, канд. техн. наук, АО "ГИС";
И.Б. Смулянский, канд. техн. наук, АО "ГИС";
О.А. Емельянова, АО "ГИС";
С.К. Васильев, АО "ГИС";
И.Н. Соловьева, АО "ГИС";
Ю.П. Александров, канд. техн. наук, ОАО "ЦНИИПромзданий";
С.А. Чесноков, МИФИ;
В.Г. Мильков, НИУПЦ "Межрегиональный институт окна";
С.А. Трунцев, ЗАО "Стеклостройкомплект";
В. Баммингер, "Glastechniche Industrie Peter Lisec GmbH";
И.Б. Дементьев, "Glastechniche Industrie Peter Lisec GmbH";
В.С. Савич, ГП ЦНС.