Главная // Актуальные документы // ГОСТ (Государственный стандарт)
СПРАВКА
Источник публикации
М.: ИПК Издательство стандартов, 1999
Примечание к документу
Документ утратил силу с 1 июля 2017 года в связи с изданием Приказа Росстандарта от 22.11.2016 N 1734-ст. Взамен введен в действие ГОСТ 475-2016.

С 1 июля 2003 года до вступления в силу технических регламентов акты федеральных органов исполнительной власти в сфере технического регулирования носят рекомендательный характер и подлежат обязательному исполнению только в части, соответствующей целям, указанным в пункте 1 статьи 46 Федерального закона от 27.12.2002 N 184-ФЗ.

Введен в действие с 1 января 1989 года (Постановление Госстроя СССР от 31.12.1987 N 325).

Взамен ГОСТ 6629-74.
Название документа
"ГОСТ 6629-88. Межгосударственный стандарт. Двери деревянные внутренние для жилых и общественных зданий. Типы и конструкция"
(утв. Постановлением Госстроя СССР от 31.12.1987 N 325)

"ГОСТ 6629-88. Межгосударственный стандарт. Двери деревянные внутренние для жилых и общественных зданий. Типы и конструкция"
(утв. Постановлением Госстроя СССР от 31.12.1987 N 325)


Содержание


Утвержден и введен в действие
Постановлением Государственного
строительного комитета СССР
от 31 декабря 1987 г. N 325
МЕЖГОСУДАРСТВЕННЫЙ СТАНДАРТ
ДВЕРИ ДЕРЕВЯННЫЕ ВНУТРЕННИЕ ДЛЯ ЖИЛЫХ И ОБЩЕСТВЕННЫХ ЗДАНИЙ
ТИПЫ И КОНСТРУКЦИЯ
Wooden inner doors for dwellings and public buildings.
Types and structure
ГОСТ 6629-88
Группа Ж32
ОКП 53 6111, 53 6121
Дата введения
1 января 1989 года
ИНФОРМАЦИОННЫЕ ДАННЫЕ
1. Разработан и внесен Государственным комитетом по гражданскому строительству и архитектуре при Госстрое СССР.
Разработчики: Ю.А. Арго, канд. техн. наук (руководитель темы); И.В. Строков; Г.Г. Коваленко; З.А. Буркова; И.И. Киселева; Н.П. Сафонов, канд. техн. наук; В.Т. Соколова; Т.С. Сластенко, канд. техн. наук; И.Ф. Савченко; О.Л. Быковский; Н.Д. Попков; Н.И. Жуков; Л.В. Воронкова; Г.В. Левушкин; В.С. Ручкин; Н.Б. Жуковская; Н.В. Шведов.
2. Утвержден и введен в действие Постановлением Государственного строительного комитета СССР от 31.12.87 N 325.
3. Взамен ГОСТ 6629-74.
4. Ссылочные нормативно-технические документы
───────────────────────────────────────┬──────────────────────────
Обозначение НТД, на который дана ссылка│ Номер пункта, подпункта,
│ Приложения
───────────────────────────────────────┼──────────────────────────
ИС МЕГАНОРМ: примечание.
Взамен ГОСТ 111-90 Постановлением Госстроя России от
07.05.2002 N 22 с 1 января 2003 года введен в действие
ГОСТ 111-2001.
ГОСТ 111-90 │2.2
ГОСТ 475-782.1, 2.5
ГОСТ 3916.1-962.2
ГОСТ 3916.2-962.2
ГОСТ 4598-862.2, 2.8
ГОСТ 5087-80Приложение 4
ГОСТ 5088-942.2, Приложение 4
ГОСТ 5089-97Приложение 4
ГОСТ 5090-86"
ГОСТ 5533-862.2
ГОСТ 7481-782.2
ГОСТ 9590-762.8
ГОСТ 10174-902.2, 2.11
ГОСТ 19111-77Приложение 6
5. Переиздание. Март 1999 г.
Настоящий стандарт распространяется на деревянные внутренние двери для жилых и общественных зданий, а также для административных и вспомогательных зданий и помещений предприятий различных отраслей народного хозяйства.
Стандарт не распространяется на двери специального назначения (в т.ч. противопожарные и звукоизоляционные) и двери из древесины ценных пород.
1. ТИПЫ
1.1. Двери в зависимости от конструкции подразделяют на следующие типы:
Г - с глухими полотнами;
О - с остекленными полотнами;
К - с остекленными качающимися полотнами;
У - со сплошным заполнением полотен, усиленные для входов в квартиры.
1.2. Двери типов Г и О изготовляют с одно- и двупольными полотнами, с мелкопустотным (решетчатым) заполнением полотен, с порогом и без порога, с наплавом и без наплава, с обкладками и без обкладок, с коробками и без коробок.
Двери типа К изготовляют с двупольными полотнами, с мелкопустотным заполнением полотен, без порога, без наплава, с обкладками и без обкладок, с коробками.
Двери типа У изготовляют с однопольными глухими полотнами, с порогом, без наплава, без обкладок, с усиленными коробками или без коробок.
1.3. Двери, изготовляемые по настоящему стандарту, относят к дверям нормальной влагостойкости.
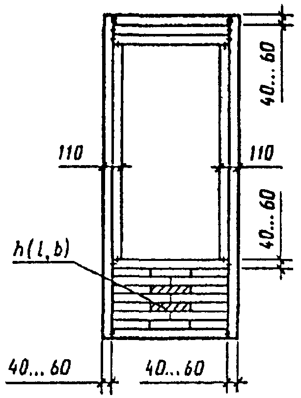
1.4. Габаритные размеры дверей должны соответствовать указанным на черт. 1. Размеры на чертежах стандарта даны для неокрашенных изделий и деталей в миллиметрах. Размеры проемов для дверей приведены в Приложении 1.
Габаритные размеры дверей
Черт. 1
Примечания. 1. Схемы дверей изображены со стороны открывания полотна.
2. Цифры над схемами дверей обозначают размеры проемов в дециметрах.
3. Размеры в скобках даны для дверей с качающимися полотнами.
По требованию потребителя допускается изготовление дверей типов О и К размерами 24 - 12, 24 - 15, 24 - 19, а также дверей типа Г размерами 24 - 15, 24 - 19 высотой 2071 мм.
Допускается изготовление двупольных дверей типов Г и О с неравными по ширине полотнами.
1.5. Устанавливается следующая структура условного обозначения (марки) дверей:
X X X - X X X
│ │ │ │ │ │
│ │ │ │ │ └───── Обозначение настоящего стандарта
│ │ │ │ │ Буквы, обозначающие:
│ │ │ │ └──────── Л - дверь левая; Н - дверь с наплавом;
│ │ │ │ П - дверь с порогом
│ │ │ └─────────── Размер проема по ширине, дм
│ │ └─────────────── Размер проема по высоте, дм
│ └────────────────── Тип двери: Г, О, К или У
└───────────────────── Вид изделия: Д - дверь, П - полотно
бескоробочной двери
Пример условного обозначения двери остекленной однопольной для проема высотой 21 и шириной 10 дм, правой, с порогом:
ДО 21-10П ГОСТ 6629-88
То же, глухой двупольной для проема высотой 24 и шириной 15 дм, левой, с порогом:
ДГ 24-15ЛП ГОСТ 6629-88
То же, с качающимися полотнами для проема высотой 24 и шириной 19 дм:
ДК 24-19 ГОСТ 6629-88
То же, усиленной, со сплошным заполнением полотна, для проема высотой 21 и шириной 9 дм, правой:
ДУ 21-9 ГОСТ 6629-88
То же, полотно бескоробочной двери типа Г, однопольной для проема высотой 20 и шириной 7 дм, левой, с наплавом:
ПГ 20-7ЛН ГОСТ 6629-88
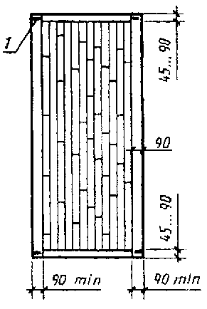
2. КОНСТРУКЦИЯ
2.1. Двери должны изготовляться в соответствии с требованиями ГОСТ 475, настоящего стандарта и по рабочим чертежам, утвержденным в установленном порядке.
2.2. Конструкция, форма и типоразмеры дверей должны соответствовать указанным на черт. 2, а размеры сечений - на черт. 3.
Конструкция, форма и типоразмеры дверей
Черт. 2, лист 1
Примечание. Сечения деталей см. черт. 3.
Черт. 2, лист 2
Примечание. Сечения деталей см. черт. 3.
Черт. 2, лист 3
Примечания. 1. Сечения деталей см. черт. 3.
2. Допускается изготовление дверей типа У с габаритными размерами дверей типа Г.
Типы О и Г
ИС МЕГАНОРМ: примечание.
Взамен ГОСТ 111-90 Постановлением Госстроя России от 07.05.2002 N 22 с 1 января 2003 года введен в действие ГОСТ 111-2001.
1 - монтажная доска; 2 - узорчатое стекло по
ГОСТ 5533 или армированное стекло по ГОСТ 7481,
или оконное стекло по ГОСТ 111 толщиной 4 - 5 мм
Черт. 3, лист 1
Примечания 1. Сечения глухих дверей аналогичны остекленным, за исключением деталей остекления.
2. Допускается применение пластмассовых раскладок для крепления стекол.
3. Допускается применение монтажных досок иной конструкции.
1 - бруски каркаса щита; 2 - обкладка
Черт. 3, лист 2
Примечание. Ширина двупольной двери со средним притвором без притворной планки на 12 мм меньше указанной на черт. 1 и 2.
ИС МЕГАНОРМ: примечание.
Взамен ГОСТ 111-90 Постановлением Госстроя России от 07.05.2002 N 22 с 1 января 2003 года введен в действие ГОСТ 111-2001.
1 - петля ПН9-130 по ГОСТ 5088; 2 - оконное стекло
по ГОСТ 111 толщиной 4 - 5 мм
Черт. 3, лист 3
1 - уплотняющая прокладка по ГОСТ 10174; 2 - облицовка
ДВП марки СТ или Т, группа А, толщиной 3,2 - 5 мм по
ГОСТ 4598 или клееная фанера ФК толщиной 4 - 6 мм не
ниже сорта В/ВВ по ГОСТ 3916.1 и ГОСТ 3916.2
Черт. 3, лист 4
Примечание. Допускается изготовление дверей типа У с шириной брусков коробки 74 мм для внутриквартирных дверей и дверей помещений общественных зданий.
2.3. Полотна дверей типа У должны изготовляться со сплошным заполнением щита калиброванными по толщине деревянными рейками или древесностружечными плитами, а также с применением калиброванных по ширине полос древесностружечных плит, уложенных на ребро.
Примеры заполнения щитов дверных полотен приведены в Приложении 2.
2.4. Вертикальные бруски рамки полотна двери типа У должны иметь ширину не менее 90 мм. Допускается прорезать бруски по длине с обеих сторон. Глубина прорезей 5 - 6 мм, ширина 3 - 4 мм.
Допускается применение брусков шириной 45 - 60 мм, склеенных по боковой поверхности.
Горизонтальные бруски рамки должны иметь ширину не менее 45 мм и соединяться в углах с вертикальными на клею в шип или на шкантах, скобах, скрепках.
2.5. Облицовку дверей производят материалами в соответствии с ГОСТ 475 в части, относящейся к дверям нормальной влагостойкости.
2.6. Двери, применяемые для комплектации санитарно-технических кабин, допускается изготовлять с полотном толщиной 30 мм и высотой не менее 1800 мм, с шириной бруска коробки не менее 50 мм.
2.7. Двери типов О и К допускается изготовлять рамочной конструкции с шириной брусков рамки не менее 100 мм.
2.8. На нижней части полотен дверей типа У общественных зданий по требованию потребителя крепят с обеих сторон накладки из декоративного бумажнослоистого пластика толщиной 1,3 - 2,5 мм по ГОСТ 9590, сверхтвердых древесноволокнистых плит толщиной 3,2 - 4 мм по ГОСТ 4598, листового алюминия или окрашенной тонколистовой стали. Ширина накладок 220 мм.
2.9. Коробку без порога расшивают внизу монтажной доской с креплением гвоздями или шиповыми соединениями к торцам вертикальных брусков.
2.10. В дверях типов О и К общественных зданий устанавливают с двух сторон защитные ограждения, примеры которых приведены в Приложении 3.
2.11. Двери типа У и бескоробочные двери типов Г и О должны быть укомплектованы уплотняющими прокладками по ГОСТ 10174 или другими, обеспечивающими необходимую герметичность притворов.
2.12. Расположение приборов приведено в Приложении 4. Двери должны поставляться с выбранными гнездами под корпуса замков (защелок) и отверстиями под ручки.
Полотна для бескоробочных дверей должны поставляться с установленными верхними полупетлями, нижние полупетли должны упаковываться и поставляться в комплекте.
2.13. Варианты установки бескоробочных дверей приведены в Приложении 5.
Варианты коробок с облицовкой из поливинилхлорида для дверей типов Г, О без порога приведены в Приложении 6.
Схемы определения левых и правых дверей приведены в Приложении 7.
Спецификация стекол для дверей приведена в Приложении 8.
2.14. В заказе на поставку дверей должно быть указано:
- число дверей по маркам и обозначение настоящего стандарта;
- вид и цвет отделки;
- вид и толщина стекла;
- спецификация приборов.
По требованию потребителя допускается поставка дверных полотен без коробок и коробок без полотен.
Приложение 1
Справочное
РАЗМЕРЫ ДВЕРНЫХ ПРОЕМОВ В СТЕНАХ
Черт. 4
Примечание. Размеры проемов для бескоробочных дверей устанавливают с учетом Приложения 5.
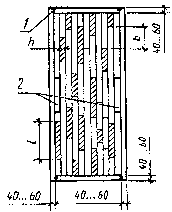
Приложение 2
Рекомендуемое
ПРИМЕРЫ ЗАПОЛНЕНИЯ ЩИТОВ ДВЕРНЫХ ПОЛОТЕН
1. Щит со сплошным заполнением деревянными брусками
(рейками) или полосами ДСП
2. Щит с мелкопустотным заполнением деревянными
брусками (рейками) или полосами ДСП
1 - шип, скоба или скрепка; 2 - бруски для установки
замка и ручек; h - ширина просвета, не более 40 мм;
l - длина просвета, не более 400 мм; b - сдвиг реек
относительно друг друга, не менее 50 мм
3. Щит с мелкопустотным заполнением из шпона
4. Щит с мелкопустотным заполнением из фанеры
или твердой древесноволокнистой плиты
Черт. 5, лист 1
5. Щит с мелкопустотным заполнением
из мягкой древесноволокнистой плиты
6. Щит с мелкопустотным заполнением из твердой
древесноволокнистой плиты (вариант)
7. Щит с мелкопустотным заполнением из бумажных сот
8. Щит с мелкопустотным заполнением деревянными
брусками (рейками)
Черт. 5, лист 2
Примечания. 1. Пример 1 - для двери типа У, 2 - 7 - для дверей типа Г.
2. Для полотна высотой 2300 мм длина брусков для установки замка и ручек - 700 мм. Установка брусков - см. пример 3.
3. При облицовке щитов дверей типа Г плитами ДВП толщиной 3,2 мм ширина просвета между элементами мелкопустотного заполнения не должна превышать 30 мм, а длина - 200 мм.
4. Заполнение глухой части остекленных полотен может выполняться по аналогии с примерами 3 - 7.
Приложение 3
Рекомендуемое
ПРИМЕРЫ УСТАНОВКИ ЗАЩИТНЫХ ОГРАЖДЕНИЙ
1 - деревянные планки
Черт. 6
Примечание. Допускается применение пластмассовых, металлических и деревянных ограждений иной конструкции.
Приложение 4
Рекомендуемое
РАСПОЛОЖЕНИЕ ПРИБОРОВ В ДВЕРЯХ
1 - петли ПН1-110, ПН1-85, ПН2-110, ПН2-85, ПН3-110, ПН4;
2 - ручки РС100, РС140, РК1, РК2, замки и защелки;
3 - задвижки ЗТ; 4 - петли ПВ1-100, ПВ2-125 или
винтовые и накладные петли, изготовляемые по специальным
техническим условиям; 5 - замки ЗВ7А, ЗВ4; 6 - петли
ПН1-130, ПН1-150, ПН2-130, ПН3-130, ПН3-150
Черт. 7
Примечания. 1. Приборы для дверей должны соответствовать ГОСТ 5087, ГОСТ 5088, ГОСТ 5089 и ГОСТ 5090.
2. Типы приборов для дверей общественных зданий должны назначаться в проектах зданий.
3. В качающихся дверях устанавливаются петли ПН9-130 по ГОСТ 5088.
Приложение 5
Справочное
БЕСКОРОБОЧНАЯ НАВЕСКА ПОЛОТНА
1 - деревянная пробка; 2 - стальная пластина; 3 - анкер;
4 - врезная петля; 5 - винтовая карта петли с гайкой;
6 - уплотняющая прокладка
Черт. 8, лист 1
1 - деревянная пробка; 2 - стальная пластина; 3 - анкер;
4 - накладная петля; 5 - уплотняющая прокладка;
6 - деревянный порог
Черт. 8, лист 2
Приложение 6
Справочное
КОРОБКИ С ОБЛИЦОВКОЙ ИЗ ПОЛИВИНИЛХЛОРИДА
Черт. 9
Примечание. Вертикальные элементы коробки соединяются с горизонтальными с помощью шипов и стальных нагелей или шурупов.
Приложение 7
Справочное
СХЕМЫ ОПРЕДЕЛЕНИЯ ЛЕВЫХ И ПРАВЫХ ДВЕРЕЙ
Черт. 10
Приложение 8
Справочное
СПЕЦИФИКАЦИЯ СТЕКОЛ ДЛЯ ДВЕРЕЙ
──────────────────────┬───────────────────────────────────┬──────────
Марка двери │ Размер, мм │Количество
├─────────────────┬─────────────────┤
│ Высота │ Ширина │
──────────────────────┼─────────────────┼─────────────────┼──────────
ДО 21-8 │ 1300 │ 475 │ 1
ДО 21-9 │ 1300 │ 575 │ 1
ДО 21-10 │ 1300 │ 675 │ 1
ДО 21-13, ДК 21-13 │ 1300 │ 375 │ 2
ДО 24-10 │ 1600 │ 675 │ 1
ДО 24-12 │ 1600 │ 875 │ 1
ДО 24-15, ДК 24-15 │ 1600 │ 475 │ 2
ДО 24-19, ДК 24-19 │ 1600 │ 675 │ 2