Главная // Актуальные документы // ГОСТ (Государственный стандарт)
СПРАВКА
Источник публикации
М.: Издательство стандартов, 1997
Примечание к документу
Документ утратил силу с 1 июля 2017 года в связи с изданием Приказа Росстандарта от 28.11.2016 N 1804-ст. Взамен введен в действие ГОСТ 5090-2016.

С 1 июля 2003 года до вступления в силу технических регламентов акты федеральных органов исполнительной власти в сфере технического регулирования носят рекомендательный характер и подлежат обязательному исполнению только в части, соответствующей целям, указанным в пункте 1 статьи 46 Федерального закона от 27.12.2002 N 184-ФЗ.

Введен в действие с 1 июля 1987 года.
Название документа
"ГОСТ 5090-86. Изделия скобяные запирающие для деревянных окон и дверей. Типы и основные размеры"
(введен в действие Постановлением Госстроя СССР от 25.07.1986 N 102)

"ГОСТ 5090-86. Изделия скобяные запирающие для деревянных окон и дверей. Типы и основные размеры"
(введен в действие Постановлением Госстроя СССР от 25.07.1986 N 102)


Содержание


Введен в действие
Постановлением Госстроя СССР
от 25 июля 1986 г. N 102
ГОСУДАРСТВЕННЫЙ СТАНДАРТ СОЮЗА ССР
ИЗДЕЛИЯ СКОБЯНЫЕ ЗАПИРАЮЩИЕ
ДЛЯ ДЕРЕВЯННЫХ ОКОН И ДВЕРЕЙ
ТИПЫ И ОСНОВНЫЕ РАЗМЕРЫ
Locking fittings for wooden windows and doors.
Types and basic dimensions
ГОСТ 5090-86
Группа Ж34
ОКП 49 8400
Срок введения
1 июля 1987 года
Переиздание. Февраль 1997 г.
1. Настоящий стандарт распространяется на запирающие изделия для деревянных окон и дверей, применяемых в строительстве жилых и общественных зданий.
2. Обозначение, наименование и рекомендуемая область применения запирающих изделий приведены в таблице.
─────────┬───────────────┬────────────────────────────────┬───────
Условное │ Наименование │Рекомендуемая область применения│ Номер
обозначе-│ │ │чертежа
ние типа │ │ │
─────────┼───────────────┼────────────────────────────────┼───────
ПФ1 │ Прибор │ Для фрамуг общественных зданий│ 1
│фрамужный │со спаренными или раздельными │
│ │переплетами шириной до 1300 мм │
ПФ2 │ Прибор │ Для фрамуг общественных зданий│ 2
│фрамужный │со спаренными или раздельными │
│ │переплетами шириной до 830 мм │
ШН1 │ Шпингалет │ Для створок окон высотой более│ 3
│накладной │1100 мм и балконных дверей со │
│ │спаренными или раздельными │
│ │переплетами и полотнами │
ШН2 │ Шпингалет │ Для створок окон со спаренными│ 4
│накладной │или раздельными переплетами вы- │
│ │сотой до 1100 мм включительно │
ШВ │ Шпингалет │ Для двухпольных дверей │ 5
│врезной │ │
ЗР1 │ Завертка- │ Для окон и балконных дверей │ 6
│стяжка врезная │со спаренными переплетами и по- │
│ │лотнами │
ЗР2 │ Завертка │ Для створок окон и балконных │ 7
│врезная │дверей │
ЗР3 │ Завертка │ То же │ 8
│врезная │ │
ЗР4 │ Завертка │ " │ 9
│врезная │ │
ЗФ1 │ Завертка │ Для дверей санузлов │ 10
│накладная │ │
ЗФ2 │ Завертка │ Для форточек окон жилых зданий│ 11
│накладная │ │
ЗТ │ Задвижка │ Для створок окон и балконных │ 12
│накладная │дверей жилых и общественных │
│ │зданий │
СТ │ Стяжка │ Для окон и балконных дверей │ 13
│ │со спаренными переплетами │
│ │и полотнами │
Основные размеры запирающих изделий должны соответствовать указанным на черт. 1 - 13.
Прибор фрамужный типа ПФ1
Черт. 1
Примечание. Размер L = B + 13 мм, где B - ширина фрамуги с учетом наплава.
Шурупы 1 - 4 x 30 по ГОСТ 1145-80 или по ГОСТ 1146-80 (4 шт.).
Пример условного обозначения фрамужного прибора для спаренных фрамуг:
ПФ1 ГОСТ 5090-86
То же, для раздельных фрамуг с соединителем исполнения 1 и расстоянием между фрамугами, равным 53 мм:
ПФ1-1-53 ГОСТ 5090-86
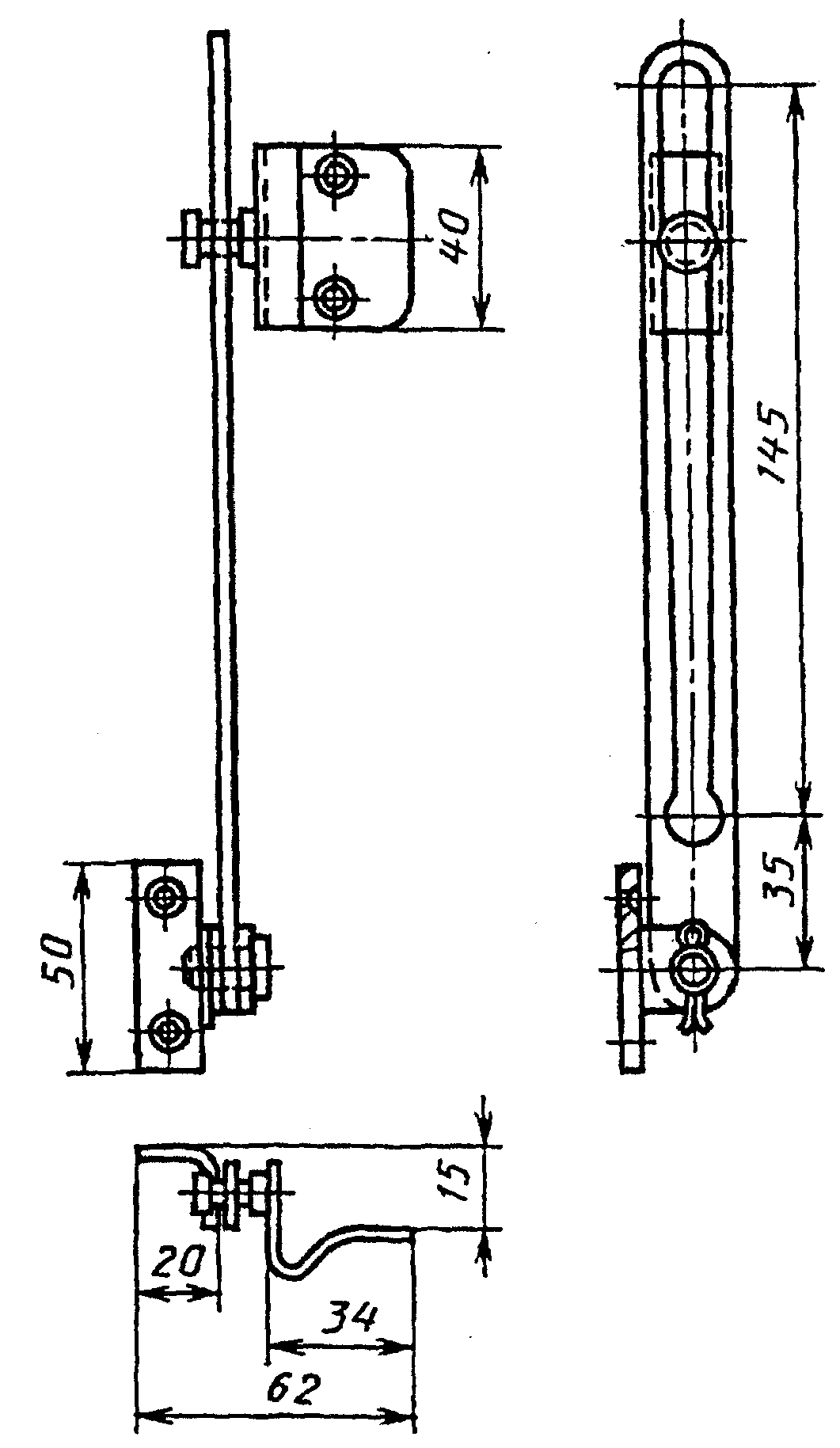
Прибор фрамужный типа ПФ2
1 - защелка; 2 - корпус;
3 - угловой блок; 4 - шнур
Черт. 2
1 - защелка; 2 - корпус; 3 - угловой блок; 4 - шнур
Шурупы 1 - 4 x 30 по ГОСТ 1145-80 (12 шт.).
Пример условного обозначения фрамужного прибора для спаренных фрамуг с ограничителем:
ПФ2 ГОСТ 5090-86
То же, для раздельных фрамуг с соединителем исполнения 1 и расстоянием между фрамугами, равным 53 мм:
ПФ2-1-53 ГОСТ 5090-86
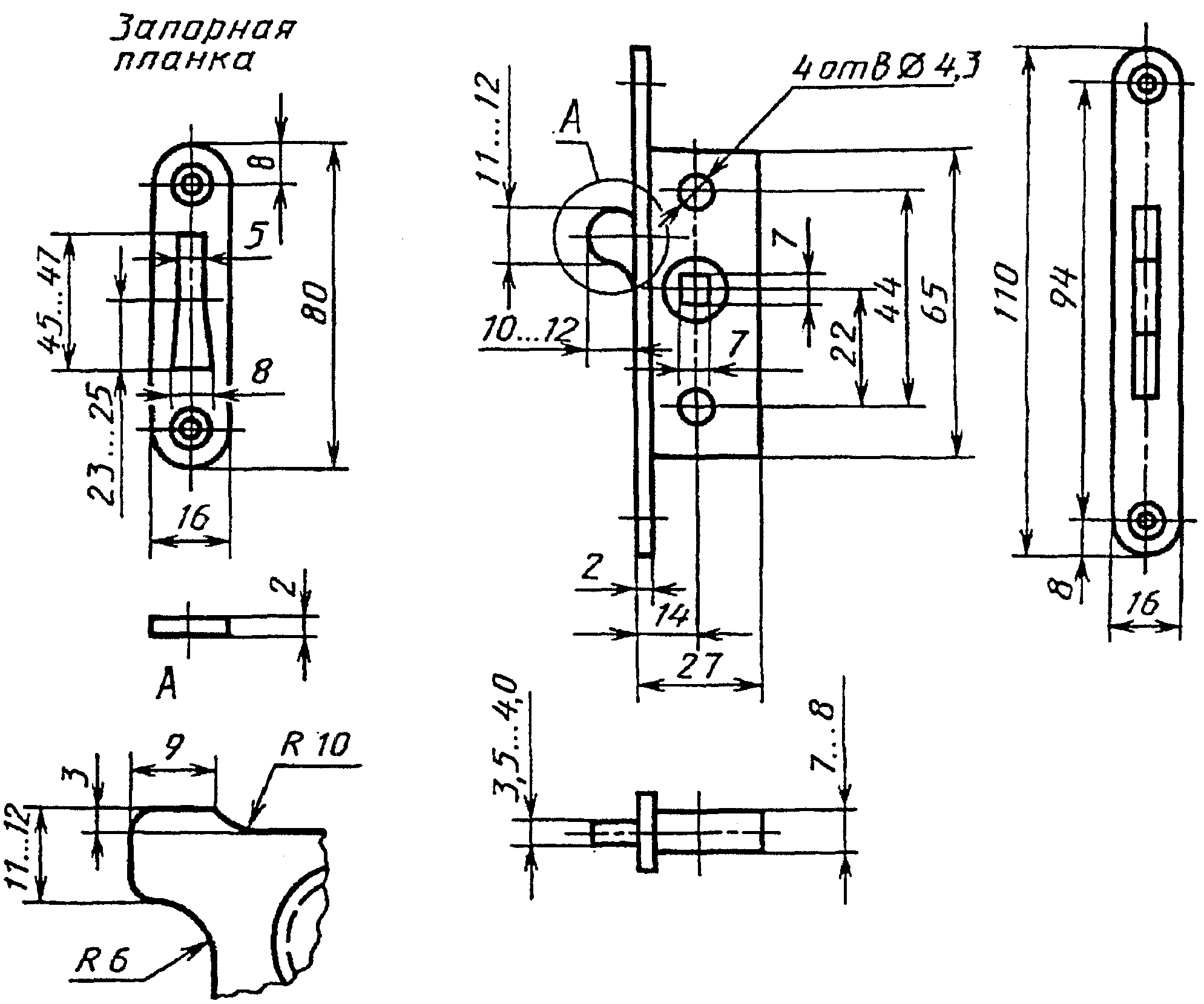
Шпингалет накладной типа ШН1
1 - запорная планка; 2 - направляющая;
3 - засов-штанга; 4 - корпус;
5 - ручка; 6 - засов
Черт. 3
Примечание. Размер L = H + 30 мм, где H - высота створки или дверного полотна с учетом наплава.
Шурупы 1 - 4 x 30 (16 шт.) - для крепления корпуса и запорных планок и 1 - 4 x 18 (12 шт.) по ГОСТ 1145-80 или ГОСТ 1146-80 - для крепления направляющих.
Пример условного обозначения шпингалета:
ШН1 ГОСТ 5090-86
Шпингалет накладной типа ШН2
1 - запорная планка; 2 - направляющая;
3 - корпус; 4 - ручка
Черт. 4
Примечание. Размер L = H + 30 мм, где H - высота створки с учетом наплава.
Шурупы 1 - 4 x 30 (8 шт.) - для крепления корпуса и запорных планок и 1 - 4 x 18 (8 шт.) по ГОСТ 1145-80 или ГОСТ 1146-80 - для крепления направляющих.
Пример условного обозначения шпингалета:
ШН2 ГОСТ 5090-86
Шпингалет врезной типа ШВ
Черт. 5
Шурупы 1 - 4 x 30 по ГОСТ 1145-80 (5 шт.).
Пример условного обозначения врезного шпингалета:
ШВ ГОСТ 5090-86
Завертка-стяжка врезная типа ЗР1
Черт. 6
Шурупы 1 - 4 x 25 или 1 - 3 x 25 по ГОСТ 1145-80 (2 шт.) и штифты (4 шт.).
Пример условного обозначения завертки-стяжки с ручкой типа Р1:
ЗР1-1 ГОСТ 5090-86
Завертка врезная типа ЗР2
Черт. 7
Шурупы 1 - 4 x 25 или 1 - 3 x 25 по ГОСТ 1145-80 (4 шт.).
Пример условного обозначения завертки с ручкой типа Р1:
ЗР2-1 ГОСТ 5090-86
То же, с ручкой типа Р2 и накладкой:
ЗР2-2 ГОСТ 5090-86
Завертка врезная типа ЗР3
Черт. 8
Шурупы 1 - 4 x 25 или 1 - 3 x 25 по ГОСТ 1145-80 (2 шт.) и винты ВМ4 - 6g x 35.36 ГОСТ 17474-80 (2 шт.).
Пример условного обозначения завертки исполнения 1 правого исполнения с ручкой типа Р1:
ЗР3-1-П-1 ГОСТ 5090-86
То же, исполнения 2 левого исполнения с ручкой типа Р2 и накладкой:
ЗР3-2-Л-2 ГОСТ 5090-86
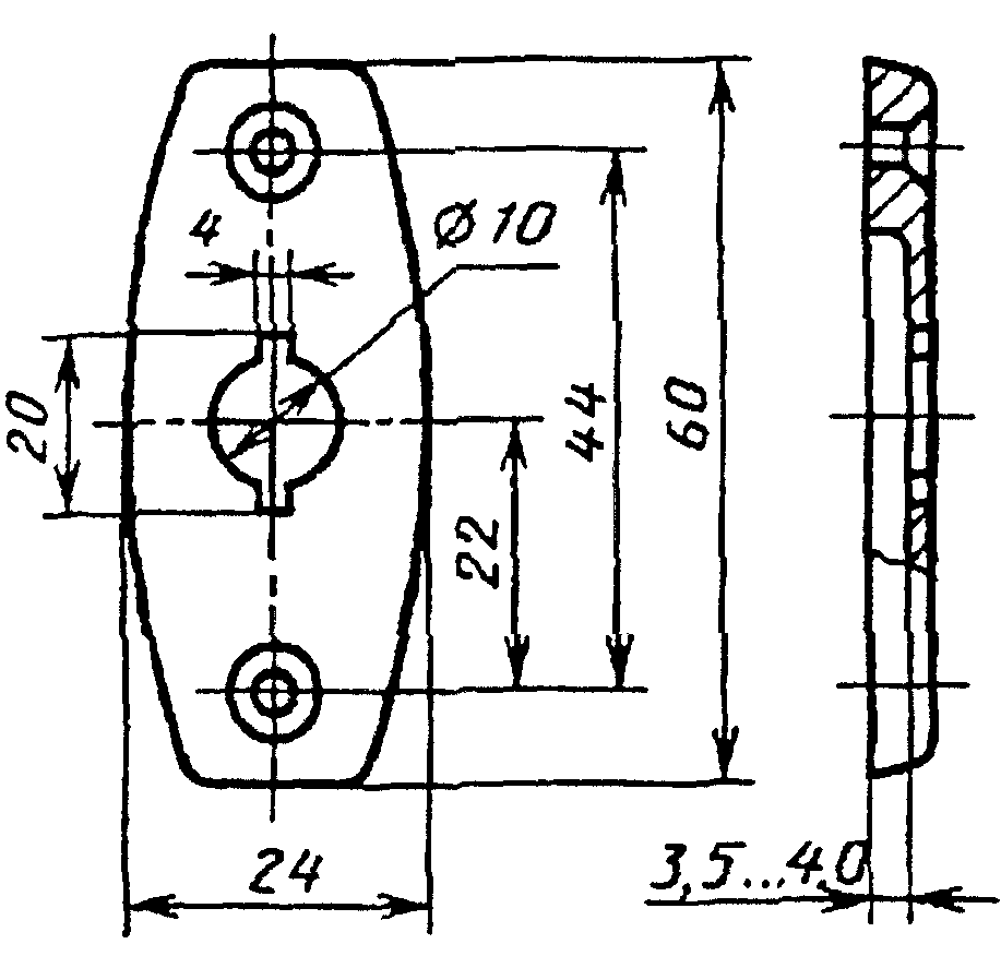
Завертка врезная типа ЗР4
Черт. 9
Примечание. Форма и размеры засова могут быть аналогичными засову заверток типов ЗР2, ЗР3.
Шурупы 1 - 4 x 25 или 1 - 3 x 25 по ГОСТ 1145-80 (2 шт.) и штифты (2 шт.).
Примечание. Отверстия диаметром 4,3 мм следует располагать на оси симметрии корпуса завертки.
Пример условного обозначения завертки с ручкой типа Р1:
ЗР4-1 ГОСТ 5090-86
Завертка накладная типа ЗФ1
Черт. 10
Шурупы 1 - 4 x 30 по ГОСТ 1145-80 или ГОСТ 1146-80 (4 шт.).
Примечание. Допускается располагать шурупы на корпусе завертки в пределах 45° от вертикальной оси.
Пример условного обозначения завертки с запорной планкой исполнения 1:
ЗФ1-1 ГОСТ 5090-86
Завертка накладная типа ЗФ2
Черт. 11
Шурупы 1 - 3 x 20 по ГОСТ 1145-80 или ГОСТ 1146-80 (4 шт.).
Пример условного обозначения завертки правого исполнения:
ЗФ2 П ГОСТ 5090-86
То же, исполнения 2:
ЗФ2 П-2 ГОСТ 5090-86
Задвижка накладная типа ЗТ
Черт. 12
Шурупы 1 - 3 x 25 или 1 - 4 x 25 по ГОСТ 1145-80 (4 шт.).
Пример условного обозначения задвижки для створок с наплавом:
ЗТ (h + 15) ГОСТ 5090-86
То же, без наплава:
ЗТ (h) ГОСТ 5090-86
Стяжка типа СТ
Черт. 13
Винт ВМ6 - 6g x 55.36 по ГОСТ 17473-80, ГОСТ 17474-80 или ГОСТ 17475-80.
Шурупы 1 - 3 x 25 по ГОСТ 1145-80 (2 шт.).
Основные размеры соединителей, ограничителей, ручек и накладок, предназначаемых для комплектования фрамужных приборов или врезных заверток, должны соответствовать указанным в Приложении 1.
Примеры установки фрамужных приборов, соединителя для фрамуг с тройным остеклением и врезной завертки типа ЗР1 приведены в Приложении 2.
3. Технические требования, комплектность, правила приемки, методы контроля, маркировка, упаковка, транспортирование, хранение и гарантийный срок эксплуатации запирающих изделий должны соответствовать ГОСТ 538-88 и дополнительным требованиям настоящего стандарта.
4. Завертки-стяжки типа ЗР1 допускается изготавливать до 01.01.90.
Пример условного обозначения стяжки:
СТ ГОСТ 5090-86
5. Завертки типа ЗР4 предназначены для комплектования окон и балконных дверей, изготовляемых на автоматизированных линиях, установленных на деревообрабатывающих комбинатах до 01.01.86.
6. Засовы врезных шпингалетов и заверток в открытом положении не должны выступать над лицевой поверхностью планок или западать внутрь корпуса более чем на 1 мм.
7. Размеры засова и запорной планки шпингалетов типов ШН1, ШН2 и задвижки типа ЗТ должны обеспечивать при их соединении натяг не менее 3 мм. Толщина запорных планок указанных изделий не должна быть менее 1 мм.
8. Шнур фрамужного прибора типа ПФ2 должен перемещаться по роликам свободно, без заеданий и не соскальзывать с них.
9. Завертки типов ЗР1, ЗР2, ЗР4 и ЗФ1 следует изготавливать двусторонними, типов ЗР3 и ЗФ2 - в правом и левом исполнениях.
10. Засов задвижки типа ЗТ должен быть выполнен из стального прутка.
11. Форма ручек, накладок, сечения засовов накладных шпингалетов, а также заостренной части штифтов для заверток стандартом не устанавливается.
12. Запирающие изделия должны иметь защитное или защитно-декоративное покрытие по ГОСТ 538-88 для 2, 3 или 4 (С) групп условий эксплуатации ГОСТ 9.303-84.
13. Засовы-штанги накладных шпингалетов следует испытывать на прочность при приемочных и типовых испытаниях.
Испытания проводят на стенде путем приложения в течение 1 мин к закрепленному засову-штанге силы 800 Н (78,4 кгс) на расстоянии 5 мм от места крепления перпендикулярно к плоскости крепления шпингалета.
После проведения испытаний засов - штанга не должен быть деформирован.
14. Фрамужные приборы типов ПФ1, ПФ2 и завертки типов ЗР1, ЗР2, ЗР3, ЗР4 должны быть укомплектованы следующими деталями, указанными в Приложении 1:
- фрамужные приборы типов ПФ1, ПФ2, устанавливаемые на фрамуги с раздельными переплетами, - двумя соединителями исполнения 1, 2, 3, 4 или 5 (черт. 1, 2, 3, 4, 5);
- фрамужные приборы типа ПФ2, устанавливаемые на фрамуги с одинарными или спаренными переплетами, - двумя ограничителями (черт. 7);
- фрамужные приборы типа ПФ2, устанавливаемые на фрамуги с тройным остеклением, - двумя ограничителями и двумя соединителями (черт. 6 и 7);
- завертки типа ЗР1 - ручками типа Р1 (черт. 8);
- завертки типов ЗР2, ЗР3, ЗР4 - ручками типа Р1 или Р2 с накладками. Число ручек типа Р2 и накладок должно быть указано при заказе.
15. Значение L фрамужных приборов типа ПФ1 и шпингалетов типов ШН1 и ШН2 должно быть указано при заказе.
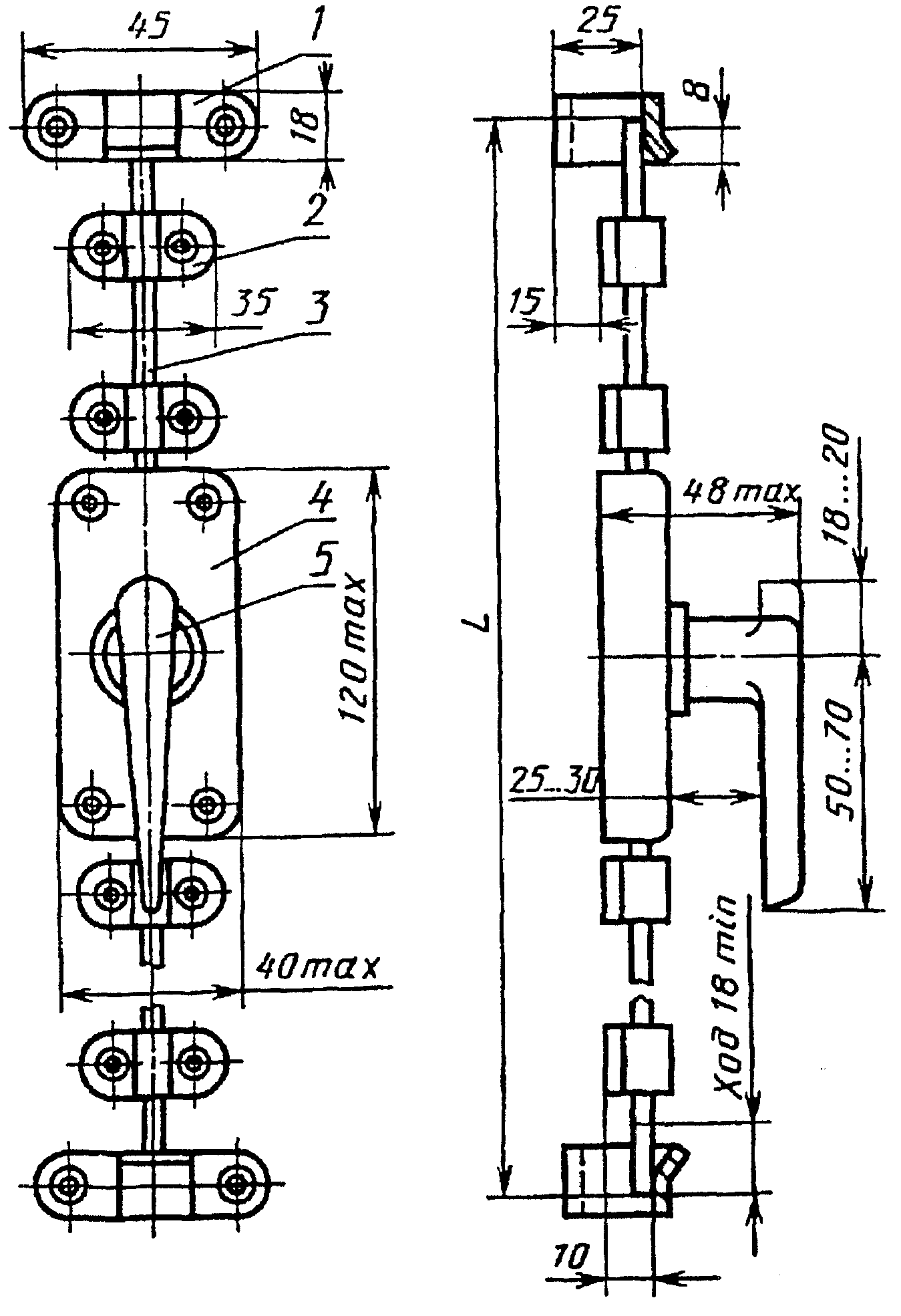
Приложение 1
Обязательное
КОМПЛЕКТУЮЩИЕ ИЗДЕЛИЯ
ДЛЯ ФРАМУЖНЫХ ПРИБОРОВ И ВРЕЗНЫХ ЗАВЕРТОК
Соединители для фрамуг с раздельными и
раздельно-спаренными переплетами
Исполнение 1
Черт. 1
Шурупы 1 - 4 x 30 или 3 - 4 x 30 по ГОСТ 1145-80 (4 шт.).
Примечание. Размеры 53 и 90 мм соответствуют расстоянию между переплетами фрамуг.
Исполнение 2
Черт. 2
Шурупы 1 - 4 x 30 или 3 - 4 x 30 по ГОСТ 1145-80 (4 шт.).
Исполнение 3
Черт. 3
Шурупы 1 - 4 x 30 или 3 - 4 x 30 по ГОСТ 1145-80 (4 шт.).
Исполнение 4
Черт. 4
Шурупы 1 - 4 x 30 или 3 - 4 x 30 по ГОСТ 1145-80 (4 шт.).
Исполнение 5
Черт. 5
Шурупы 1 - 4 x 30 или 3 - 4 x 30 по ГОСТ 1145-80 (4 шт.).
Соединитель для фрамуг с тройным остеклением
Черт. 6
Шурупы 1 - 4 x 30 или 3 - 4 x 30 (4 шт.) по ГОСТ 1145-80.
Ограничитель для фрамуг со спаренными
переплетами и с тройным остеклением
Черт. 7
Шурупы 1 - 4 x 30 или 3 - 4 x 30 по ГОСТ 1145-80 (4 шт.).
Ручки и накладки для врезных заверток
Черт. 8
Шурупы 1 - 4 x 25 или 3 - 4 x 25 по ГОСТ 1145-80 (2 шт.) для ручек, предназначаемых для комплектования заверток типов Р1, Р2, Р4.
Винты ВМ4 - 6g x 35.36 по ГОСТ 17474-80 (2 шт.) для ручек, предназначаемых для комплектования заверток типа ЗР3.
Тип Р2
Черт. 9
Накладка для ручки типа Р2
Черт. 10
Шурупы 1 - 4 x 25 или 3 - 4 x 25 по ГОСТ 1145-80 (2 шт.) для накладки, предназначаемой для комплектования заверток типов ЗР2, ЗР4.
Винты ВМ4 - 6g x 35.36 по ГОСТ 17474-80 или ГОСТ 17475-80 (2 шт.) для накладки, предназначаемой для комплектования завертки типа ЗР3.
Примечание. При изготовлении накладки из листовой стали толщина металла не должна быть менее 1 мм.
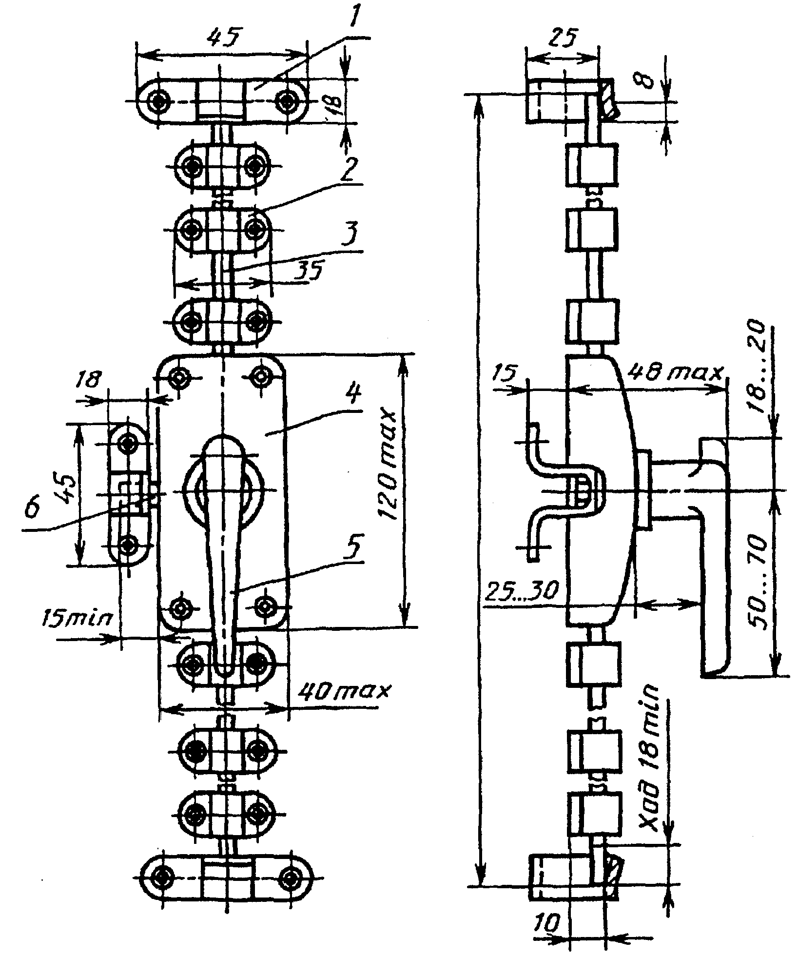
Приложение 2
Рекомендуемое
ПРИМЕРЫ УСТАНОВКИ ЗАПИРАЮЩИХ ИЗДЕЛИЙ
Прибор фрамужный типа ПФ1
Черт. 1
Прибор фрамужный типа ПФ2
Черт. 2
Фрамужный соединитель типа СФ
Черт. 3
Завертка врезная типа ЗР1
Черт. 4