Главная // Актуальные документы // ГОСТ Р (Государственный стандарт)СПРАВКА
Источник публикации
М.: ИПК Издательство стандартов, 2001
Примечание к документу
Утратил силу с 1 июля 2012 года в связи с изданием
Приказа Росстандарта от 24.11.2011 N 599-ст. Взамен введен в действие
ГОСТ Р 51760-2011.
С 1 июля 2003 года до вступления в силу технических регламентов акты федеральных органов исполнительной власти в сфере технического регулирования носят рекомендательный характер и подлежат обязательному исполнению только в части, соответствующей целям, указанным в
пункте 1 статьи 46 Федерального закона от 27.12.2002 N 184-ФЗ.
Введен в действие с 1 января 2002 года.
Название документа
"ГОСТ Р 51760-2001. Тара потребительская полимерная. Общие технические условия"
(принят и введен в действие Постановлением Госстандарта РФ от 14.06.2001 N 234-ст)
"ГОСТ Р 51760-2001. Тара потребительская полимерная. Общие технические условия"
(принят и введен в действие Постановлением Госстандарта РФ от 14.06.2001 N 234-ст)
Принят и введен в действие
от 14 июня 2001 г. N 234-ст
ГОСУДАРСТВЕННЫЙ СТАНДАРТ РОССИЙСКОЙ ФЕДЕРАЦИИ
ТАРА ПОТРЕБИТЕЛЬСКАЯ ПОЛИМЕРНАЯ
ОБЩИЕ ТЕХНИЧЕСКИЕ УСЛОВИЯ
Polymeric consumersl packagings. General specifications
ГОСТ Р 51760-2001
Группа Д93
Дата введения
1 января 2002 года
1. Разработан и внесен Техническим комитетом по стандартизации ТК 385 "Материалы лакокрасочные на природных связующих. Растворители. Сиккативы. Вспомогательные материалы. Тара, упаковка и транспортирование лакокрасочных материалов".
2. Принят и введен в действие
Постановлением Госстандарта России от 14 июня 2001 г. N 234-ст.
3. Введен впервые.
Настоящий стандарт распространяется на полимерную потребительскую тару: банки, бутылки, канистры, тубы (далее - тару), предназначенную для упаковывания и хранения пищевых продуктов, лекарственных средств, парфюмерно-косметических средств, товаров бытовой химии, лакокрасочных материалов, технических масел и смазок, продукции промышленного и бытового назначения.
Стандарт не распространяется на пеналы и пакеты, на транспортную полимерную тару, в том числе ящики, а также на изделия культурно-бытового и хозяйственного назначения.
Стандарт применяют при разработке нормативных документов на конкретные виды тары.
В настоящем стандарте использованы ссылки на следующие стандарты:
ГОСТ 4-84. Углерод четыреххлористый технический. Технические условия
ГОСТ 12.1.004-91. Система стандартов безопасности труда. Пожарная безопасность. Общие требования
ГОСТ 12.1.010-76. Система стандартов безопасности труда. Взрывобезопасность. Общие требования
ГОСТ 12.3.030-83. Система стандартов безопасности труда. Переработка пластических масс. Требования безопасности
ГОСТ 166-89 (ИСО 3599-76). Штангенциркули. Технические условия
ГОСТ 577-68. Индикаторы часового типа с ценой деления 0,01 мм. Технические условия
ГОСТ 868-82. Нутромеры индикаторные с ценой деления 0,01 мм. Технические условия
ГОСТ 1770-74. Посуда мерная лабораторная стеклянная. Цилиндры, мензурки, колбы, пробирки. Технические условия
ГОСТ 2226-88 (ИСО 6590-1-83, ИСО 7023-83). Мешки бумажные. Технические условия
ГОСТ 3282-74. Проволока стальная низкоуглеродистая общего назначения. Технические условия
ГОСТ 5208-81. Спирт бутиловый нормальный технический. Технические условия
ГОСТ 7502-98. Рулетки измерительные металлические. Технические условия
ГОСТ 8313-88. Этилцеллозольв технический. Технические условия
ГОСТ 8448-78. Бензол каменноугольный и сланцевый. Технические условия
ГОСТ 8981-78. Эфиры этиловый и нормальный бутиловый уксусной кислоты технические. Технические условия
ГОСТ 9536-79. Спирт изобутиловый технический. Технические условия
ГОСТ 9880-76. Толуол каменноугольный и сланцевый. Технические условия
ГОСТ 10003-90. Стирол. Технические условия
ГОСТ 10131-93. Ящики из древесины и древесных материалов для продукции пищевых отраслей промышленности, сельского хозяйства и спичек. Технические условия
ГОСТ 10350-81. Ящики деревянные для продукции легкой промышленности. Технические условия
ГОСТ 12020-72. Пластмассы. Методы определения стойкости к действию химических сред
ГОСТ 13511-91. Ящики из гофрированного картона для пищевых продуктов, спичек, табака и моющих средств. Технические условия
ГОСТ 13512-91. Ящики из гофрированного картона для кондитерских изделий. Технические условия
ГОСТ 13513-86. Ящики из гофрированного картона для продукции мясной и молочной промышленности. Технические условия
ГОСТ 13514-93. Ящики из гофрированного картона для продукции легкой промышленности. Технические условия
ГОСТ 13516-86. Ящики из гофрированного картона для консервов, пресервов и пищевых жидкостей. Технические условия
ГОСТ 13841-95. Ящики из гофрированного картона для химической продукции. Технические условия
ГОСТ 14332-78. Поливинилхлорид суспензионный. Технические условия
ГОСТ 15140-78. Материалы лакокрасочные. Методы определения адгезии
ГОСТ 15150-69. Машины, приборы и другие технические изделия. Исполнения для различных климатических районов. Категории, условия эксплуатации, хранения и транспортирования в части воздействия климатических факторов внешней среды
ГОСТ 16504-81. Система государственных испытаний продукции. Испытания и контроль качества продукции. Основные термины и определения
ГОСТ 16511-86. Ящики деревянные для продукции электротехнической промышленности. Технические условия
ГОСТ 17305-91. Проволока из углеродистой конструкционной стали. Технические условия
ГОСТ 17811-78. Мешки полиэтиленовые для химической продукции. Технические условия
ГОСТ 18251-87. Лента клеевая на бумажной основе. Технические условия
ГОСТ 18321-73. Статистический контроль качества. Методы случайного отбора выборок штучной продукции
ГОСТ 18573-86. Ящики деревянные для продукции химической промышленности. Технические условия
ГОСТ 20288-74. Реактивы. Углерод четыреххлористый. Технические условия
ГОСТ 21650-76. Средства скрепления тарно-штучных грузов в транспортных пакетах. Общие требования
ГОСТ 22300-76. Реактивы. Эфиры этиловый и бутиловый уксусной кислоты. Технические условия
ГОСТ 24104-88. Весы лабораторные общего назначения и образцовые. Общие технические условия
ГОСТ 24105-80. Изделия из пластмасс. Термины и определения дефектов
ГОСТ 24597-81. Пакеты тарно-штучных грузов. Основные параметры и размеры
ГОСТ 24615-81. Циклогексанон технический. Технические условия
ГОСТ 24888-81. Пластмассы, полимеры и синтетические смолы. Химические наименования, термины и определения
ГОСТ 25776-83. Продукция штучная и в потребительской таре. Упаковка групповая в термоусадочную пленку
ГОСТ 25951-83. Пленка полиэтиленовая термоусадочная. Технические условия
ГОСТ 26663-85. Пакеты транспортные. Формирование с применением средств пакетирования. Общие технические требования
ГОСТ 26996-86. Полипропилен и сополимеры пропилена. Технические условия
ГОСТ 28250-89 (ИСО 2897-2-81). Полистирол ударопрочный. Технические условия
ГОСТ Р 8.568-97. Государственная система обеспечения единства измерений. Аттестация испытательного оборудования. Основные положения
ГОСТ Р ИСО 9001-96. Системы качества. Модель обеспечения качества при проектировании, разработке, производстве, монтаже и обслуживании
ГОСТ Р ИСО 9002-96. Системы качества. Модель обеспечения качества при производстве, монтаже и обслуживании
ГОСТ Р ИСО 9003-96. Системы качества. Модель обеспечения качества при окончательном контроле и испытаниях
ГОСТ Р 50779.10-2000 (ИСО 3534.1-93). Статистические методы. Вероятность и основы статистики. Термины и определения
ГОСТ Р 50779.11-2000 (ИСО 3534.2-93). Статистические методы. Статистическое управление качеством. Термины и определения
ГОСТ Р 50779.52-95. Статистические методы. Приемочный контроль качества по альтернативному признаку
ГОСТ Р 50779.71-99 (ИСО 2859-1-85). Статистические методы. Процедуры выборочного контроля по альтернативному признаку. Часть 1. Планы выборочного контроля партий на основе приемлемого уровня качества AQL.
3.1. групповая упаковка: Упаковка, сформированная из нескольких единиц потребительской тары без применения транспортной тары.
3.2. несоответствующая единица тары: Единица тары, имеющая одно или более несоответствий.
3.3. число несоответствий на 100 единиц тары (Z): Число несоответствий, содержащихся в предъявленных единицах тары, деленное на общее число предъявленных единиц тары и умноженное на 100 (в любой единице тары возможно одно или несколько несоответствий).
3.4. правило переключения: Правило перехода от одного плана к другому.
3.5. гарантийный срок эксплуатации: Срок для установления скрытых дефектов тары при ее эксплуатации.
3.6. гарантийный срок хранения: Срок для установления скрытых дефектов тары при ее хранении.
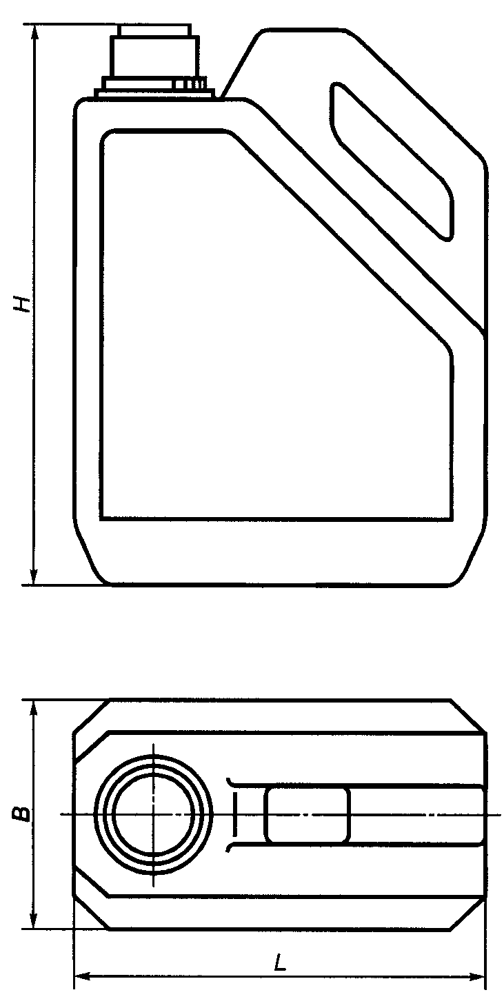
4. Классификация, основные параметры и размеры
4.1. Полимерную тару изготовляют в соответствии с таблицей 1 и
Приложением А.
Таблица 1
Виды, типы, обозначения тары
и исполнения укупорочных средств
┌────┬──────────────────┬───────────────────┬────────┬───────────┐
│Вид │ Тип │Исполнение укупо- │ Номер │Обозначение│
│ │ │рочного средства │рисунка │ │
├────┼──────────────────┼───────────────────┼────────┼───────────┤
│Бан-│1 - цилиндрические│1 - с навинчиваемой│
А.1 │БН I-1-1 │
│ки │ │крышкой │
А.2 │БН I-1-2 │
│ │ ├───────────────────┼────────┼───────────┤
│ │ │2 - с зажимной │
А.3 │БН I-2-3 │
│ │ │крышкой │
А.4 │БН I-2-4 │
│ │ ├───────────────────┼────────┼───────────┤
│ │ │3 - с пробкой │
А.6 │БН I-3-6 │
│ │ ├───────────────────┼────────┼───────────┤
│ │II - прямоугольные│1 - с навинчиваемой│
А.7 │БН II-1-7 │
│ │ │крышкой │ │ │
│ │ ├───────────────────┼────────┼───────────┤
│ │ │2 - с зажимной │
А.8 │БН II-2-8 │
│ │ │крышкой │ │ │
│ ├──────────────────┼───────────────────┼────────┼───────────┤
│ │III - конические │2 - с зажимной │
А.9 │БН III-2-9 │
│ │ │крышкой │
А.10 │БН III-2-10│
│ │ │ │
А.11 │БН III-2-11│
│ │ │ │
А.12 │БН III-2-12│
│ │ │ │
А.13 │БН III-2-13│
│ │ │ │
А.14 │БН III-2-14│
│ ├──────────────────┼───────────────────┼────────┼───────────┤
│ │IV - фигурные │2 - с зажимной │
А.15 │БН IV-2-15 │
│ │ │крышкой │
А.16 │БН IV-2-16 │
│ │ │ │
А.17 │БН IV-2-17 │
├────┼──────────────────┼───────────────────┼────────┼───────────┤
│Бу- │I - цилиндрические│1 - с навинчиваемой│
А.18 │БТ I-1-18 │
│тыл-│ │крышкой │
А.19а, б│БТ I-1-19 │
│ки │ │ │
А.20 │БТ I-1-20 │
│ ├──────────────────┼───────────────────┼────────┼───────────┤
│ │II - прямоугольные│1 - с навинчиваемой│
А.23 │БТ II-1-23 │
│ │ │крышкой │ │ │
│ ├──────────────────┼───────────────────┼────────┼───────────┤
│ │III - фигурные │1 - с навинчиваемой│
А.24 │БТ III-1-24│
│ │ │крышкой │
А.25 │БТ III-1-25│
│ │ │ │
А.26 │БТ III-1-26│
│ │ │ │
А.27 │БТ III-1-27│
├────┼──────────────────┼───────────────────┼────────┼───────────┤
│Ка- │I - прямоугольные │1 - с навинчиваемой│
А.28 │КН I-1-28 │
│нис-│ │крышкой │
А.29 │КН I-1-29 │
│тры │ │ │
А.30 │КН I-1-30 │
│ ├──────────────────┼───────────────────┼────────┼───────────┤
│ │II - фигурные │1 - с навинчиваемой│
А.32 │КН II-1-32 │
│ │ │крышкой │ │ │
├────┼──────────────────┼───────────────────┼────────┼───────────┤
│Тубы│I - цилиндрические│1 - с бушоном │
А.33 │ТБ I-1-33 │
│ ├──────────────────┼───────────────────┼────────┼───────────┤
│ │II - фигурные │1 - с бушоном │
А.34 │ТБ I-1-34 │
└────┴──────────────────┴───────────────────┴────────┴───────────┘
4.2. Вид и тип тары, исполнение укупорочного средства тары, а также необходимость изготовления тары других типов и исполнений укупорочных средств устанавливают нормативными документами на тару для конкретных видов продукции или в рабочих чертежах, утвержденных в установленном порядке.
Необходимость изготовления тары с ручками других типов и исполнений указывают в рабочих чертежах на тару.
Конструкцию крышек, пробок и бушонов указывают в рабочих чертежах.
Минимальная толщина стенки тары в зависимости от вида, вместимости и полимерного материала, из которого она изготовлена, указана в
Приложении В.
Другие основные размеры, а также массу тары устанавливают в нормативных документах или рабочих чертежах на тару для конкретных видов продукции с учетом требований
ГОСТ 21140.
4.4. Предельные отклонения от номинальных размеров и массы тары устанавливают в нормативных документах или рабочих чертежах на тару для конкретных видов продукции.
4.5. Применение тары для упаковывания продукции в зависимости от вида и материала приведено в
Приложении Г.
4.6. В условное обозначение тары входит: обозначение вида тары, обозначение полимерного материала, основное назначение тары, вместимость, номер настоящего стандарта или нормативного документа на тару для конкретной продукции.
Примеры условных обозначений:
Банок БН I-1-2, изготовленных из полиэтилентерефталата (ПЭТФ), для лакокрасочных материалов (ЛКМ), содержащих органические растворители, вместимостью 1,0 дм3:
Банок БН III-2-10, изготовленных из полиэтилена высокого давления (ПЭВД), для пищевых продуктов (ПЩ), вместимостью 0,250 дм3:
Бутылок БТ I-1-17, изготовленных из полипропилена (ПП), для шампуней (БХ - бытовая химия), вместимостью 0,200 дм3:
Туб ТБ II-1-34, изготовленных из полиэтилена низкого давления (ПЭНД), для клеев (ХП - химическая продукция), вместимостью 0,200 дм3:
5. Общие технические требования
5.1. Тара должна изготовляться в соответствии с требованиями настоящего стандарта, по нормативным документам и(или) чертежам на тару для конкретных видов продукции, утвержденным в установленном порядке.
Необходимость изготовления тары в соответствии с образцами-эталонами устанавливают в нормативных документах на продукцию.
5.2.1. Требования к внешнему виду
5.2.1.1. Поверхность тары должна быть чистой, гладкой, без пузырей, сквозных отверстий, трещин и сколов.
Допускаются царапины (не более двух), не ухудшающие товарный вид упаковки.
На поверхности тары допускаются инородные включения в количестве не более указанного в нормативных документах на тару для конкретной продукции.
5.2.1.2. Покрытие, нанесенное на тару, должно быть ровным, без вздутий, пузырей и отслаивания.
Рельеф должен быть четким, без смещений. Рисунок, нанесенный различными методами (печатью, тиснением и др.), должен быть четким, без искажений и пропусков.
Необходимость установления других требований к качеству рисунка указывают в нормативных документах на тару, предназначенную для конкретной продукции.
5.2.2. Требования к герметичности
5.2.2.1. Тара, закрытая крышками и другими укупорочными средствами, должна выдерживать внутреннее избыточное давление в соответствии с таблицей 2.
┌──────────────────────────────────────────────────┬─────────────┐
│ Упаковываемая продукция │ Внутреннее │
│ │ избыточное │
│ │давление, кПа│
├──────────────────────────────────────────────────┼─────────────┤
│ Лаки, краски, эмали, грунтовки, олифы, раство- │20 │
│рители. │ │
│ Полирующие составы. │ │
│ Моющие, чистящие, клеящие, дезинфицирующие │ │
│средства и другие товары бытовой химии жидкие. │ │
│ Технические масла и смазочные материалы. │ │
│ Пищевые продукты. │ │
│ Лекарственные средства и препараты │ │
├──────────────────────────────────────────────────┼─────────────┤
│ Шпатлевки, густотертые краски. │10 │
│ Пигменты и краски для художественных работ. │ │
│ Уплотнительные мастики, замазки. │ │
│ Пастообразные, моющие, чистящие и другие товары │ │
│бытовой химии. │ │
│ Порошкообразные средства. │ │
│ Краски водно-дисперсионные │ │
└──────────────────────────────────────────────────┴─────────────┘
5.2.3. Требования к механической прочности
5.2.3.1. Тара должна выдерживать не менее двух падений без разрушения и течи при испытании на удар при свободном падении в соответствии с таблицей 3.
Материал тары | Вместимость тары, дм3 | Высота падения, м, не менее |
Полиэтилен низкого давления (ПЭНД) | До 1,0 включ. Св. 1,0 " 5,0 " " 5,0 " 10,0 " | 1,2 0,9 0,8 |
Полиэтилен высокого давления (ПЭВД), полипропилен (ПП), полистирол (ПС) | До 5,0 включ. Св. 5,0 " 10,0 " | 0,9 0,8 |
Жесткий поливинилхлорид (ПВХ-Ж), полиэтилентерефталат (ПЭТФ) | До 5,0 включ. Св. 5,0 " 10,0 " | 0,8 0,7 |
5.2.3.2. Тара должна выдерживать усилие при сжатии в осевом направлении в соответствии с таблицей 4.
Таблица 4
┌──────────────────────┬─────────────────────────────────────────┐
│ Вместимость, дм3 │ Нагрузка на сжатие, Н (кгс), не менее │
│ ├─────────────┬────────────┬──────────────┤
│ │ банки │ бутылки │ канистры │
├──────────────────────┼─────────────┼────────────┼──────────────┤
│ До 0,5 включ.│196 (20) │98 (10) │- │
│Св. 0,5 " 1,0 " │343 (35) │98 (10) │245 (25) │
│" 1,0 " 2,0 " │393 (40) │147(15) │245 (25) │
│" 2,0 " 3,0 " │491 (50) │147(15) │294 (30) │
│" 3,0 " 5,0 " │736 (75) │- │441 (45) │
│" 5,0 " 10,0 " │1030(105) │- │- │
├──────────────────────┴─────────────┴────────────┴──────────────┤
│ Примечание. Тубы должны выдерживать нагрузку на сжатие│
│не менее 49 Н (5 кгс). │
└────────────────────────────────────────────────────────────────┘
В нормативных документах на тару для конкретных видов продукции могут быть установлены другие значения усилий сопротивления сжатию Р, Н, вычисляемые по формуле

, (1)
где m - масса продукции в таре, кг;
Н - высота штабеля, см;

- наружная высота тары, см.
Высоту штабеля Н устанавливают в нормативных документах на тару для конкретных видов продукции. Если высота штабеля не установлена, то при определении расчетного усилия сопротивления сжатию ее принимают равной 250 см.
При определении усилия сопротивления сжатию полимерной тары для продукции, транспортируемой без транспортной тары, расчетное усилие должно быть увеличено с учетом коэффициента динамических нагрузок, равного 1,2 - 1,3.
Усилие сопротивления сжатию Р, Н, в данном случае вычисляют по формуле

. (2)
5.2.4. Требования к прочности крепления ручек
5.2.4.1. Ручки должны быть прочно прикреплены к корпусу тары и выдерживать статическую нагрузку в соответствии с таблицей 5.
┌─────────────────────┬─────────┬─────────────────────┬──────────┐
│Вместимость тары, дм3│Статичес-│Вместимость тары, дм3│Статичес- │
│ │кая наг- │ │кая наг- │
│ │рузка, │ │рузка, │
│ │ Н (кгс),│ │Н (кгс), │
│ │не менее │ │не менее │
├─────────────────────┼─────────┼─────────────────────┼──────────┤
│ До 0,5 включ.│19,6 (2) │Св. 3,0 до 5,0 включ.│117,7 (12)│
│Св. 0,5 " 1,0 " │29,4 (3) │" 5,0 " 7,0 " │166,8 (17)│
│" 1,0 " 2,0 " │49,1 (5) │" 7,0 " 10,0 " │245,3 (25)│
│" 2,0 " 3,0 " │68,7 (7) │ │ │
└─────────────────────┴─────────┴─────────────────────┴──────────┘
5.2.5. Стойкость к горячей воде
5.2.5.1. Тара должна сохранять внешний вид и окраску, не должна деформироваться и растрескиваться после погружения в горячую воду при температуре (70 +/- 5) °С.
5.2.6. Химическая стойкость
5.2.6.1. Тара для химической продукции должна быть стойкой к упаковываемой продукции (жидким, пастообразным и сыпучим химическим продуктам). Изменение размеров образцов не должно превышать +/- 5% в течение гарантийного срока хранения упаковываемой продукции и +/- 3% в течение 28 сут.
5.2.6.2. Тара, предназначенная для упаковывания химической продукции, содержащей органические растворители, должна быть стойкой к проницаемости органических растворителей.
Потеря массы продукции в наполненных образцах в течение гарантийного срока хранения продукции не должна превышать 3% при температуре (20 +/- 5) °С и за 28 сут не должна превышать 0,5% при температуре (20 +/- 2) °С или 1% при температуре (40 +/- 2) °С.
В нормативных документах для конкретных видов продукции могут быть установлены другие значения температур и продолжительности испытаний, а также другие значения потери массы, но не более 3%, в зависимости от вида упаковываемой продукции и материала, из которого изготовлена тара.
Коэффициенты диффузии, сорбции и проницаемости при необходимости указывают в нормативных документах на тару для конкретных видов продукции.
5.2.7. Стойкость рисунка, нанесенного на тару
5.2.7.1. Стойкость рисунка, нанесенного на тару, должна быть не ниже 3-го балла по
ГОСТ 15140.
Стойкость печатного рисунка, нанесенного на тару, предназначенную для упаковывания пищевых продуктов, лекарственных и косметических средств, должна соответствовать
[1].
5.2.8. Гигиенические требования к таре, предназначенной для упаковывания пищевых продуктов, лекарственных и косметических средств, устанавливают Госсанэпидслужбы Российской Федерации при разработке нормативных документов на тару для конкретных видов продукции.
5.2.9.1. Тара не должна деформироваться и растрескиваться, должна сохранять внешний вид, окраску, параметры, размеры и механические свойства (
5.2.3) после выдержки в климатической камере в течение 2 ч при температуре (40 +/- 2) °С.
5.2.10.1. Тара не должна деформироваться и растрескиваться, должна сохранять внешний вид, окраску, параметры, размеры и механические свойства (
5.2.3) после выдержки в климатической камере в течение 2 ч при температуре (минус 25 +/- 2) °С.
5.3. Требования к сырью и материалам
5.3.1. Для изготовления тары в зависимости от характера упаковываемой продукции и вида тары применяют материалы в соответствии с
Приложением Г.
5.3.2. Рецептуры добавок и красители для материалов в зависимости от назначения тары устанавливают в соответствии с нормативными документами на полимерные материалы.
При необходимости в нормативных документах на тару для конкретных видов продукции указывают другие марки материалов в соответствии с нормативными документами на полимерные материалы.
5.3.3. Для изготовления тары и укупорочных средств из полиэтилена применяют смесь полиэтилена высокого и низкого давления (ПЭВД по
ГОСТ 16337 и ПЭНД по
ГОСТ 16338) с добавлением технологических отходов и вторичного полиэтилена в соответствии с
Приложением Д. Марки полиэтилена высокого и низкого давления, входящего в состав смеси в зависимости от назначения тары и характера упаковываемой продукции, приведены в
Приложении Г.
Соотношения материалов компонентов в смеси, а также содержания других полимерных материалов в смеси устанавливают в нормативных документах на тару для конкретных видов продукции.
5.3.4. Применение технологических отходов и вторичного сырья для изготовления тары под пищевые продукты, лекарственные средства не допускается.
5.3.5. Ручки должны изготовляться из материалов в соответствии с
Приложением Г.
Допускается для изготовления ручек применять проволоку по
ГОСТ 3282 диаметром 3,5 - 4 мм или по
ГОСТ 17305 диаметром 3 - 5 мм.
5.3.6. Для изготовления тары, предназначенной для упаковывания пищевых продуктов, лекарственных и косметических средств, допускается использование базовых марок, рецептур их стабилизации и окрашивания полиэтилена высокого давления по
ГОСТ 16337, полиэтилена низкого давления по
ГОСТ 16338, полипропилена и сополимеров пропилена по
ГОСТ 26996, полистирола по
ГОСТ 28250 и
ГОСТ 20282, разрешенных для изготовления изделий, контактирующих с продуктами питания.
Допускается также использование других сырьевых материалов (полимерных материалов определенных марок, суперконцентратов красителей и пигментов, добавок, полиграфических красок), разрешенных Госсанэпидслужбами Российской Федерации для указанных целей.
5.4.1. Тару поставляют в комплекте с укупорочными средствами (крышками, пробками, бушонами).
5.5.1. На дно или нижнюю часть корпуса тары наносят маркировку, содержащую:
- товарный знак и(или) наименование предприятия-изготовителя;
- юридический адрес предприятия-изготовителя;
- условное обозначение тары;
- обозначение нормативного документа, по которому изготовлена тара;
- дату изготовления (месяц, год);
- обозначение "ПЩ" (для тары под пищевые продукты) <*>;
- обозначение "Л" (для тары под лекарственные средства) <*>;
- обозначение "Р" (для тары под продукцию, содержащую органические растворители) <*>.
--------------------------------
<*> Обозначения наносят при их отсутствии в условном обозначении тары.
На таре под пищевые продукты вместимостью более 2 дм3 взамен обозначения "ПЩ" наносят надпись: "Для пищевых продуктов".
Необходимость нанесения обозначения материала тары, экологической маркировки и других дополнительных данных указывают в нормативных документах на тару для конкретных видов продукции.
На корпус тары может быть нанесена по согласованию с потребителем маркировка, характеризующая упаковываемую продукцию.
5.5.2. Взамен обозначений назначения тары на потребительскую полимерную тару могут наноситься символы (Приложение Е,
рисунок Е.1).
При нанесении экологической маркировки с применением знака в соответствии с Приложением Е (
рисунок Е.2, а и б) внутри знака или под ним наносят обозначение полимерного материала в соответствии с
ГОСТ 24888 (таблица 6), а также информацию о вторичной переработке.
Таблица 6
┌──────────────────────────────────────┬─────────────────────────┐
│ │характеризующее материал │
│ │тары, наносимое при │
│ │маркировке │
├──────────────────────────────────────┼─────────────────────────┤
│ Полиэтилен высокого давления │ПЭВД │
│ Полиэтилен низкого давления │ПЭНД │
│ Полипропилен │ПП │
│ Полистирол │ПС │
│ Поливинилхлорид │ПВХ │
│ Полиэтилентерефталат │ПЭТФ │
│ Смесь полиэтилена низкого и высокого│- │
│давления │ │
│ Технологические отходы полиэтилена │- │
│ Вторичный полиэтилен │- │
│ Смесь полиэтилена, технологических │- │
│отходов и вторичного полиэтилена │ │
└──────────────────────────────────────┴─────────────────────────┘
Экологическая маркировка может быть размещена вместе с маркировкой, характеризующей продукцию.
Допускается не изменять маркировку по
Приложению Е для тары, изготовленной на формах, выпущенных до 2002 г.
5.5.3. Допускается не наносить маркировку по
5.5.1 на тару, применяемую для упаковывания продукции непосредственно на предприятии-изготовителе тары и по согласованию с потребителем (за исключением обозначений "ПЩ", "Л", "Р" или их пиктограмм для тары, предназначенной соответственно для упаковывания пищевых продуктов, лекарственных средств и продукции, содержащей органические растворители), и обозначения полимерного материала.
5.5.4. Маркировку наносят методами формования, тиснения, печати, штампа, гравировкой в форме.
В случае технологической невозможности нанесения маркировки на тару в процессе ее изготовления, допускается маркировку указывать на ярлыке, прикрепленном к дну тары.
При небольших размерах тары маркировку допускается наносить на листе-вкладыше, прилагаемом к каждой единице упаковки тары, или в сопроводительной документации к поставляемой таре.
Маркировка должна быть четкой, ясной и легко читаемой.
5.5.5. На каждый ящик, мешок, групповую упаковку с потребительской полимерной тарой или на упаковочный лист, вложенный в транспортную тару, наносят маркировку, содержащую:
- товарный знак и наименование предприятия-изготовителя;
- наименование и обозначение тары;
- номер партии;
- дату изготовления (месяц, год);
- количество единиц потребительской тары в упаковке;
- обозначение материала потребительской тары;
- штамп технического контроля;
- знак соответствия для сертифицированной тары;
- обозначение нормативного документа, по которому изготовлена транспортная тара;
- гарантийный срок хранения.
5.5.6. Способы нанесения маркировки и материалы, применяемые при маркировке мешков и картонных ящиков, выбирают по
ГОСТ 14192.
5.5.7. Транспортная маркировка - по
ГОСТ 14192 с нанесением манипуляционных знаков: "Хрупкое. Осторожно", "Беречь от излучения", "Беречь от солнечных лучей" и предупредительной надписи "Не бросать".
В нормативных документах на тару для конкретных видов продукции могут быть указания о нанесении других манипуляционных знаков и надписей.
Допускается совмещение на одном ярлыке транспортной маркировки с маркировкой, характеризующей потребительскую полимерную тару.
Потребительская полимерная тара может быть оформлена в групповую упаковку по
ГОСТ 25776 с применением термоусадочной полиэтиленовой пленки по
ГОСТ 25951 или другим нормативным документам или оберточной бумаги по
ГОСТ 8273, или другим нормативным документам.
Крышки, пробки и бушоны упаковывают в бумажные или полиэтиленовые мешки или ящики из гофрированного картона.
5.6.2. Допускается применять мешки и ящики, бывшие в употреблении и обеспечивающие сохранность потребительской тары.
5.6.3. Ящики из гофрированного картона и групповые упаковки в оберточной бумаге оклеивают лентой по
ГОСТ 18251 или обвязывают шпагатом по
ГОСТ 17308.
Бумажные мешки завязывают или зашивают, полиэтиленовые мешки завязывают или заваривают.
5.6.4. Масса брутто транспортной тары и групповой упаковки не должна превышать 30 кг.
6. Требования безопасности
6.1. Полимерная тара, изготовленная из полиэтилена, полипропилена, полистирола, полиэтилентерефталата, поливинилхлорида и других полимерных материалов, при комнатной температуре не выделяет в окружающую среду токсичных веществ и не оказывает при непосредственном контакте вредного влияния на организм человека. Работа с ней не требует особых мер предосторожности.
6.2. При воздействии высокой температуры 150 - 250 °С тара может подвергаться деструкции с выделением вредных веществ, вследствие чего необходимо строго соблюдать правила транспортирования и хранения в течение срока ее эксплуатации.
6.3. Тара может подвергаться набуханию или другим изменениям при хранении в ней химической продукции, поэтому необходимо строго соблюдать правила упаковывания продукции в тару для обеспечения безопасности ее применения для жизни человека и охраны окружающей среды в части выбора соответствующих полимерных материалов и их марок.
6.4. Безопасность применения полимерной тары для пищевых продуктов, лекарственных и косметических средств должна быть обеспечена экспертизой, проведенной Госсанэпидслужбами Российской Федерации.
6.5. Переработка полимерных материалов должна осуществляться с соблюдением требований
ГОСТ 12.3.030 и мер, исключающих возможность взрывов и пожаров, в соответствии с
ГОСТ 12.1.004,
ГОСТ 12.1.010 и типовыми правилами пожарной безопасности для промышленных предприятий.
6.6. Полимерные материалы, применяемые в производстве тары, - горючие, пожароопасные вещества, а их аэровзвеси взрывоопасны.
Характеристики применяемых материалов по пожароопасности приведены в таблице 7.
Таблица 7
┌────────────────────────────────┬───────┬───────┬───────┬───────┐
│ Полимерный материал для │Темпе- │Темпе- │Нижний │Темпе- │
│ изготовления тары │ратура │ратура │концен-│ратура │
│ │воспла-│само- │траци- │вспышки│
│ │мене- │воспла-│онный │аэро- │
│ │ния, │мене- │предел │взвеси,│
│ │°С │ния, °С│воспла-│°С │
│ │ │ │менения│ │
│ │ │ │аэро- │ │
│ │ │ │взвеси,│ │
│ │ │ │ -3│ │
│ │ │ │г х м │ │
├────────────────────────────────┼───────┼───────┼───────┼───────┤
│ Полиэтилен низкого давления по│280 │340 - │36 - 42│- │
├────────────────────────────────┼───────┼───────┼───────┼───────┤
│ Полиэтилен высокого давления │300 │400 │41 │- │
├────────────────────────────────┼───────┼───────┼───────┼───────┤
│ Полипропилен и сополимеры │325 - │325 - │32,7 │- │
├────────────────────────────────┼───────┼───────┼───────┼───────┤
│ Поливинилхлорид по
ГОСТ 14332 │390 │500 │380 │624 │
│(порошок) │ │ │ │ │
├────────────────────────────────┼───────┼───────┼───────┼───────┤
│ Полистирол общего назначения │210 │444 │25 - 29│- │
│порошок) │ │ │ │ │
├────────────────────────────────┼───────┼───────┼───────┼───────┤
│ Полистирол ударопрочный по │343 │486 │27,5 │- │
├────────────────────────────────┼───────┼───────┼───────┼───────┤
│ Полиэтилентерефталат по │390 │500 │40 │- │
│нормативному документу (гранулы)│ │ │ │ │
└────────────────────────────────┴───────┴───────┴───────┴───────┘
6.7. Средства пожаротушения при возгорании полимерной тары: распыленная вода, пена, кошма, песок, асбестовое одеяло.
6.8. Здания и помещения должны быть оснащены установками автоматического пожаротушения или пожарной сигнализацией в соответствии с отраслевыми перечнями зданий и помещений, подлежащих оборудованию автоматическими средствами пожаротушения и автоматической пожарной сигнализацией.
7. Требования охраны окружающей среды
7.1. Процессы изготовления полимерной тары должны исключать загрязнение воздуха, почвы и водоемов вредными веществами, перерабатываемыми материалами и отходами производства выше норм, утвержденных в установленном порядке.
7.2. Основными видами возможного опасного воздействия тары на окружающую среду является загрязнение атмосферного воздуха населенных мест, почв и вод в результате неорганизованного сжигания и захоронения отходов тары на территории предприятия-изготовителя или вне его, а также произвольной свалки их в не предназначенных для этой цели местах.
7.3. Отходы, образующиеся при изготовлении тары, подлежат утилизации на предприятии-изготовителе, должны вывозиться на полигоны промышленных отходов или организованно обезвреживаться в специальных, отведенных для этой цели местах.
7.4. Бывшая в употреблении полимерная тара должна быть направлена во вторсырье или на городскую свалку, а загрязненная вредными химическими продуктами подвергнута захоронению на специальных полигонах в соответствии с установленными санитарными нормами.
Запрещается неорганизованное сжигание бывшей в употреблении тары.
8.1. Тару принимают партиями.
Каждая партия должна сопровождаться документом о качестве, содержащим:
- товарный знак и(или) наименование предприятия-изготовителя;
- местонахождение (юридический адрес предприятия-изготовителя);
- наименование и обозначение тары;
- номер партии;
- количество единиц тары в партии;
- дату изготовления (месяц, год);
- обозначение материала тары;
- обозначение настоящего стандарта или нормативного документа на тару для конкретного вида продукции;
- результаты проведенных испытаний или подтверждение о соответствии тары требованиям нормативных документов или другим установленным требованиям;
- знак соответствия для сертифицированной тары или указание номера сертификата;
- гигиеническое заключение (номер, дата) для тары, предназначенной для упаковывания пищевых продуктов, лекарственных и косметических средств.
8.2. При контроле качества тары проводят типовые, приемосдаточные и периодические испытания в соответствии с таблицей 8.
┌───────────────────────┬────────┬────────────────┬──────────────┐
│ Контролируемый │Количе- │ Вид испытаний │ Номер пункта │
│ показатель │ство ├───────┬────────┼───────┬──────┤
│ │испыты- │приемо-│периоди-│техни- │мето- │
│ │ваемых │сдаточ-│ческие и│ческих │дов │
│ │образцов│ные │их пе- │требо- │испы- │
│ │ │ │риодич- │ваний │тания │
│ │ │ │ность │ │ │
├───────────────────────┼────────┼───────┼────────┼───────┼──────┤
│ 1. Внешний вид │Каждая │+ │- │
5.2.1 │
9.2 │
│ │единица │ │ │ │ │
│ │выборки │ │ │ │ │
│ 2. Размеры │В соот- │- │Раз в │
4.3, │
9.3 │
│ │ветствии│ │год │
4.4 │ │
│ │с планом│ │ │ │ │
│ │контроля│ │ │ │ │
│ 3. Минимальная │То же │+ │- │
4.3 │
9.4 │
│толщина стенки │ │ │ │ │ │
│ 5. Масса │" │- │- │
4.3 │
9.6 │
│укупоривания │ │ │ │ │ │
│ 8. Прочность на удар │" │- │Раз в │
5.2.3.1│
9.9 │
│при свободном падении │ │ │год │ │ │
│сжатие │ │ │ │ │ │
│ 10. Прочность крепле-│" │- │- │
5.2.4 │
9.11 │
│ния ручек │ │ │ │ │ │
│ 11. Стойкость к │" │- │Раз в │
5.2.5 │
9.12 │
│горячей воде │ │ │год │ │ │
│ 12. Химическая │10 из │- │Раз в │
5.2.6 │
9.13 │
│стойкость │выборки │ │два года│ │ │
│ 13. Стойкость рисунка│2 из │- │Раз в │
5.2.7 │
9.14 │
│ │выборки │ │год │ │ │
│ 14. Теплостойкость │В соот- │- │То же │
5.2.9 │
9.15 │
│ │ветствии│ │ │ │ │
│ │с планом│ │ │ │ │
│ │контроля│ │ │ │ │
│ 15. Морозостойкость │То же │- │" │
5.2.10 │
9.16 │
├───────────────────────┴────────┴───────┴────────┴───────┴──────┤
│ Примечания. 1. Знак "+" означает, что показатель проверяют,│
│знак "-" - не проверяют. │
│ 2. Показатель "стойкость к горячей воде" проверяют для│
│продукции, фасуемой в тару при температуре выше 40 °С. │
│ 3. Типовые испытания проводят по всем показателям для всех│
│видов тары. │
└────────────────────────────────────────────────────────────────┘
Контролируемые показатели устанавливают в нормативных документах на тару для конкретных видов продукции в зависимости от назначения тары и характера упаковываемой продукции.
8.3. Приемосдаточные испытания тары проводят для каждой контролируемой партии.
Периодические испытания проводят в сроки, указанные в таблице 8.
При необходимости в нормативных документах на тару для конкретных видов продукции могут быть установлены другие сроки проведения периодических испытаний.
Периодические испытания тары, предназначенной для пищевых продуктов, лекарственных и косметических средств, по гигиеническим показателям проводят в соответствии с гигиеническим заключением на тару. Порядок контроля и его периодичность устанавливается нормативными документами на тару для конкретной продукции по согласованию со службами Госсанэпиднадзора.
Типовые испытания проводят при внедрении и применении новых видов тары, при изменении конструкции, технологии изготовления (методов переработки) или полимерного материала, из которого изготовлена тара.
8.4. Периодическим испытаниям подвергают тару, прошедшую приемосдаточные испытания.
При периодических испытаниях в документе о качестве указывают результаты испытаний.
Для партий, в которых данный показатель не проверялся, в документе о качестве должно быть указано подтверждение о соответствии данного показателя требованиям нормативного документа на тару или настоящего стандарта.
8.5. При получении неудовлетворительных результатов периодические испытания переводят в приемосдаточные для получения положительных результатов на трех партиях подряд.
8.6. Порядок предъявления к приемке партии тары
8.6.1. Приемку партии тары проводят статистическим контролем качества по альтернативному признаку в соответствии с
ГОСТ Р 50779.52.
8.6.2. Для получения плана или схемы статистического приемочного контроля поставщика по таблицам каталога
ГОСТ Р 50779.52 необходимы следующие данные:
- нормативный уровень несоответствий (NQL);
- степень доверия (Т) или нормативное значение риска потребителя (

);
- объем партии;
- тип плана (одноступенчатый, двухступенчатый) или схема;
- оценка ожидаемого фактического (входного) уровня несоответствий в предъявленной изолированной партии или очередной партии из последовательности партий или среднего качества процесса при применении схемы статистического приемочного контроля.
8.6.3. Для получения одноступенчатого плана контроля потребителя по таблицам каталога
ГОСТ Р 50779.52 необходимы следующие данные:
- нормативный уровень несоответствий (NQL);
- объем партии;
- объем выборки.
8.6.4. Рекомендуемые значения нормативного уровня несоответствий и нормативного значения риска потребителя в зависимости от степени доверия к поставщику представлены в
Приложении Ж.
В нормативных документах на тару или в договорах (контрактах) на поставку могут быть установлены другие значения уровня несоответствия (NQL).
8.6.5. Отбор образцов в выборку осуществляют методом случайного отбора по
ГОСТ 18321.
8.6.6. Потребитель может осуществлять приемочный контроль по
ГОСТ Р 50779.71.
Планы и схемы контроля по
ГОСТ Р 50779.71 устанавливают в нормативных документах на тару или в договорах на поставку.
8.7. Правила принятия решения
8.7.1. Партию тары стороны признают пригодной к поставке, если фактический уровень несоответствий в партии не превышает установленного нормативного NQL.
8.7.2. Принятие решения поставщиком
8.7.2.1. Поставщик перед поставкой партии обязан доказать, что фактический уровень несоответствий в этой партии не превышает установленного NQL.
Доказательствами являются результаты приемочного контроля, наличие сертификата на тару и систему качества, информация о приемах управления процессами, данные входного контроля и т.д.
8.7.2.2. Решение о пригодности партии тары к поставке потребителю или представлению представителю потребителя принимают на основании положительных результатов контроля всех контролирующих показателей по допустимым планам поставщика.
8.7.2.3. В общем случае для определения соответствия партии тары настоящему стандарту и другим нормативным документам следует:
- отобрать случайным образом выборку тары объемом, указанным в нормативном документе или в договоре на поставку;
- проверить каждую единицу тары в выборке в соответствии с
таблицей 8 и установить несоответствия по каждой единице тары и общее суммарное количество несоответствий в выборке;
- сравнить найденное число Z несоответствий в выборке с приемочным числом С;
- считать партию тары соответствующей настоящему стандарту и другим нормативным документам, если найденное число несоответствия в выборке Z меньше или равно приемочному числу С для данного плана контроля;
- считать партию тары несоответствующей настоящему стандарту, если число несоответствий в выборке Z больше приемочного числа С для данного плана контроля.
Ход действия при применении планов контроля поставщика приведен на рисунке 1.
┌────────────────────────────────────┐
│ Партия тары объемом N единиц │
└─────────────────┬──────────────────┘
┌─────────────────┴──────────────────┐
│ Выборка тары объемом n единиц │
└─────────────────┬──────────────────┘
┌─────────────────┴──────────────────┐
┌───────────┴───────────┐ ┌───────────┴───────────┐
│ Число несоответствий │ │ Число несоответствий │
│ в выборке Z <= C │ │ в выборке Z > C │
└───────────┬───────────┘ └───────────┬───────────┘
│ │
┌───────────┴───────────┐ ┌────────────┴───────────┐
│Партия, соответствующая│ │Партия, не соответству- │
│требованиям настоящего │ │ющая требованиям настоя-│
│стандарта │ │щего стандарта │
└───────────────────────┘ └────────────────────────┘
Рисунок 1. Ход действия при применении
планов контроля поставщика
8.7.3. Принятие решений потребителем
8.7.3.1. Потребителю для предъявления претензий к поставщику необходимо результатами контроля доказать, что фактический уровень несоответствий в поставляемой ему партии превышает NQL.
Контроль должен быть проведен до начала использования тары потребителем.
8.7.3.2. Решение о возможности предъявления претензий к поставщику потребитель принимает только на основании отрицательных результатов контроля хотя бы по одному контролируемому показателю по планам потребителя.
8.7.3.3. В общем случае для определения несоответствия партии тары настоящему стандарту и другим нормативным документам следует:
- отобрать случайным образом выборку тары объемом, указанным в нормативном документе или в договоре на поставку;
- проверить каждую единицу тары в выборке в соответствии с таблицей 8 и установить несоответствия по каждой единице тары и общее суммарное количество несоответствий в выборке;
- сравнить найденное число Z несоответствий в выборке с браковочным числом R;
- считать партию тары несоответствующей настоящему стандарту и другим нормативным документам, если найденное число несоответствий в выборке Z больше или равно браковочному числу R для данного плана контроля;
- считать партию тары соответствующей настоящему стандарту, если число несоответствий в выборке Z меньше браковочного числа R для данного плана контроля.
Ход действия при применении планов контроля потребителя приведен на рисунке 2.
┌────────────────────────────────────┐
│ Партия тары объемом N единиц │
└─────────────────┬──────────────────┘
│
┌─────────────────┴──────────────────┐
│ Выборка тары объемом n единиц │
└─────────────────┬──────────────────┘
┌─────────────────┴──────────────────┐
┌───────────┴───────────┐ ┌───────────┴───────────┐
│ Число несоответствий │ │ Число несоответствий │
│ в выборке Z >= R │ │ в выборке Z < R │
└───────────────────────┘ └───────────────────────┘
┌────────────────────────┐ ┌────────────────────────┐
│Партия, не соответству- │ │Партия, соответствующая │
│ющая требованиям настоя-│ │требованиям настоящего │
│щего стандарта │ │стандарта │
└────────────────────────┘ └────────────────────────┘
Рисунок 2. Ход действия при применении
планов контроля потребителя
8.8. Действия с несоответствующими единицами тары
8.8.1. При контроле поставщика (изготовителя) несоответствующие единицы тары, обнаруженные в выборке из принятой партии, должны быть заменены на соответствующие.
Партии, забракованные при контроле поставщика (изготовителя), должны быть отделены от принятых, идентифицированы и подвергнуты разбраковке. Обнаруженные несоответствующие единицы тары заменяют на соответствующие.
Несоответствующие единицы тары направляют на вторичную переработку.
8.8.2. При контроле потребителя несоответствующие единицы тары, обнаруженные в выборке, независимо от того, какое решение принято в отношении всей партии, могут быть возвращены поставщику для замены на соответствующие.
9.1. Порядок подготовки к проведению контроля
9.1.1. Образцы тары, отобранные в выборку, помещают в транспортную тару (картонные ящики, бумажные или полимерные мешки) и направляют для проведения контроля.
На транспортную тару с образцами прикрепляют ярлыки с указанием:
- вида тары и ее условного обозначения;
- наименования предприятия-изготовителя;
- обозначения нормативного документа;
- номера партии;
- объема партии;
- даты изготовления;
- даты отбора образцов;
- места отбора образцов;
- количества образцов;
- фамилии контролера.
9.1.2. Перед испытанием образцы тары кондиционируют в соответствии с ГОСТ 21798, по
режиму 4 (Е).
Время кондиционирования - не менее 3 ч при температуре (20 +/- 2) °С и относительной влажности (65 +/- 5)%.
9.2. Внешний вид, качество поверхности и покрытий, маркировку проверяют визуально без применения увеличительных приборов, путем сравнения с требованиями нормативных документов и образцами-эталонами (при наличии), утвержденными в установленном порядке.
9.3. Определение геометрических размеров образцов
9.3.1. Средства контроля и вспомогательные устройства - в соответствии с
Приложением К.
9.3.2. Порядок проведения контроля
Контролю подлежит высота тары и высота тары с укупорочным средством, максимальный наружный диаметр или максимальные размеры поперечного сечения тары. Количество образцов для контроля - по
таблице 8.
При контроле наружного диаметра тары контроль проводят в месте наибольшего диаметра. При наличии нескольких участков, имеющих одинаковый размер, контроль проводят на каждом участке. Контроль диаметров на каждом участке проводят в двух взаимно перпендикулярных направлениях. Аналогично проводят контроль размеров максимальных поперечных сечений тары.
9.3.2.1. Контроль с применением штангенциркуля
Образец тары устанавливают горизонтально на ровной поверхности. Раздвигают губки штангенциркуля на расстояние несколько большее, чем высота тары. Устанавливают штангенциркуль так, чтобы образец был расположен параллельно оси, а губки штангенциркуля перпендикулярно к высоте образца тары. Плавно уменьшают расстояние между губками штангенциркуля до их соприкосновения с дном и торцом горловины тары одновременно. При наличии у штангенциркуля винта микроподачи используют этот винт. Фиксируют значения штангенциркуля.
Внутренний диаметр горловины измеряют при двух взаимно перпендикулярных положениях штангенциркуля относительно горловины.
9.3.2.2. Контроль с применением штангенрейсмаса
Контролируемый образец тары устанавливают вертикально на поверочную (разметочную) плиту. Устанавливают на эту же плиту штангенрейсмас. Плавно уменьшают высоту ножки штангенрейсмаса до касания с торцом горловины тары. При наличии у штангенрейсмаса винта микроподачи используют этот винт. Фиксируют показания штангенрейсмаса.
9.3.2.3. Контроль с применением калибров
Образец тары устанавливают между проходными губками калибра, а затем между непроходными. Образец должен свободно проходить между проходными губками и не проходить между непроходными.
При контроле диаметра горловины тары калибр поочередно вставляют проходной и непроходной стороной в горловину образца тары. Проходная сторона должна проходить свободно без усилия. Непроходная сторона калибра должна быть больше диаметра горловины.
Конструкции калибров, применяемых для определения наружных размеров, приведены в
Приложении Л.
При разногласиях за окончательный результат принимают измерение размеров с применением штангенциркуля или штангенрейсмаса.
9.3.3. Обработка результатов испытаний
За результат испытаний принимают среднее арифметическое значение всех измерений.
Размеры тары должны соответствовать указанным в нормативных документах на тару и в рабочих чертежах (или в
Приложении Б к настоящему стандарту).
9.4. Определение минимальной толщины стенки
9.4.1. Средства контроля и вспомогательные устройства - в соответствии с
Приложением К.
Для контроля толщины стенки на плоских участках могут быть использованы гладкие микрометры, на закругленных участках - индикаторы часового типа и измерительные стойки.
9.4.2. Порядок подготовки и проведения контроля
9.4.2.1. Каждый образец с помощью ножниц разрезают в вертикальной плоскости по следу смыкания форм и измеряют толщину стенки в трех местах: по радиусу закругления в месте перехода от корпуса к дну тары, в месте перехода от корпуса к горловине, а также в месте наибольшего диаметра тары.
Если средство измерения не позволяет правильно провести измерение толщины стенки, из каждого образца тары вырезают контрольные образцы в местах измерения (сферической или цилиндрической части тары) и проверяют толщину образца.
За результат измерения принимают наименьшее значение из всех измерений.
Тару считают выдержавшей испытания, если значение минимальной толщины стенки соответствует значению, установленному в
Приложении В или в рабочих чертежах на тару.
9.5. Определение номинальной вместимости
9.5.1. Средства контроля и вспомогательные устройства - в соответствии с
Приложением К.
9.5.2. Порядок подготовки и проведения контроля
9.5.2.1. Объемный метод контроля с применением мерной посуды
Каждый образец заполняют водой до места перехода от корпуса к горловине, наливая воду из мерной посуды температурой (20 +/- 5) °С.
За вместимость образца тары принимают среднее арифметическое значение по объему воды, залитой в контролируемый образец тары.
Вместимость тары должна соответствовать указанной в
Приложении Б или в рабочих чертежах на тару.
9.5.2.2. Весовой метод контроля
Чистый и сухой образец тары взвешивают на весах. Затем наполняют до заданного уровня водой температурой (20 +/- 5) °С и снова взвешивают, определяя общую массу. При взвешивании наружная поверхность образца тары должна быть сухой.
Разность между массой образца, наполненного водой, и порожнего образца в граммах соответствует его вместимости в кубических сантиметрах.
Вместимость тары должна соответствовать указанной в
Приложении Б или в рабочих чертежах на тару.
Отклонение от вместимости составляет +/- 10% от заданного значения.
При разногласиях за окончательный результат принимают значение измерения номинальной вместимости с помощью весов. При этом абсолютная погрешность взвешивания применяемых весов должна быть не менее чем в 3 раза меньше, чем допускаемое значение отклонения на вместимость.
9.6.1. Средства контроля и вспомогательные устройства - в соответствии с
Приложением К.
9.6.2. Порядок подготовки и проведение контроля
Каждый образец взвешивают на весах.
За результат испытаний принимают среднеарифметическое значение всех измерений.
Масса тары должна соответствовать указанной в нормативном документе на тару или в рабочих чертежах, утвержденных в установленном порядке.
9.7. Определение герметичности тары
9.7.1. Используемое оборудование - воздушно-водяной тестер или специальный стенд для проверки тары на герметичность (
Приложение М).
Средства контроля и вспомогательные устройства - в соответствии с
Приложением К.
9.7.2. Порядок подготовки и проведения контроля
9.7.2.1. Принцип испытания тары на герметичность приведен на рисунке 3.
1 - емкость с водой; 2 - упор; 3 - упор со шлангом для
подачи воздуха; 4 - манометр; 5 - уплотнительная прокладка;
6 - образец тары
Рисунок 3. Принципиальная схема испытания тары
на герметичность
При испытании на воздушно-водяном тестере образец тары зажимают клешнями между двумя фланцами. Со стороны горловины образца фланец должен иметь уплотнительную прокладку, герметизирующую внутреннюю полость тары, и штуцер, соединяющий эту полость с компрессором через гибкий шланг.
Далее с помощью рукоятки подъема клешней образец опускают в ванну с водой так, чтобы вода полностью покрывала его, и подают воздух под давлением 20 кПа (0,2 кгс/см2) или 10 кПа (0,1 кгс/см2) в соответствии с
таблицей 2.
Давление воздуха внутри испытываемого образца тары контролируют по манометру.
Отсутствие пузырьков воздуха в течение 15 с свидетельствует о герметичности тары.
9.7.2.2. Герметичность конических банок вместимостью более 3 дм3 с зажимной крышкой проверяют одновременно с герметичностью укупоривания на специальном стенде под вакуумом (рисунок 4).
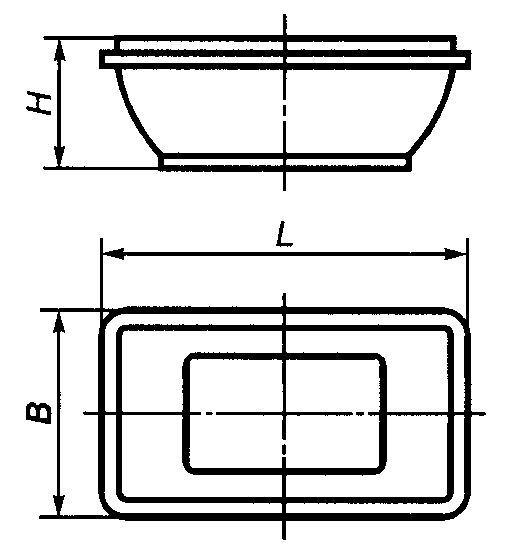
1 - вакуумная камера; 2 - крышка вакуумной камеры;
3 - вакуумметр; 4 - крышка образца тары; 5 - образец тары;
6 - фиксатор тары (сетка)
Рисунок 4. Принципиальная схема испытания тары
на герметичность укупоривания
Банки закрывают крышкой с патрубком для подвода воздуха и погружают под давлением в воду.
Отсутствие пузырьков воздуха свидетельствует о герметичности банок и герметичности их укупоривания.
9.8. Определение герметичности укупоривания
9.8.1. Используемое оборудование - специальный стенд для проверки герметичности укупоривания тары (рисунок 4 и
Приложение М).
Средства контроля и вспомогательные устройства - в соответствии с
Приложением К.
9.8.2. Порядок подготовки и проведения контроля
Принцип испытания образцов тары на герметичность укупоривания приведен на
рисунке 4.
Для проведения неразрушающего контроля избыточное давление в испытываемом образце тары создают за счет уменьшения окружающего давления.
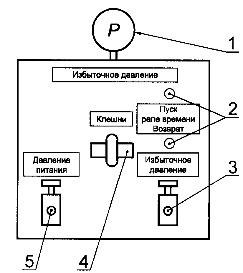
Укупоренный крышкой образец помещают в ванну с водой, фиксируя его положение ниже уровня воды специальным фиксатором. Ванну с водой размещают в вакуумной камере из органического стекла.
Герметизируют вакуумную камеру крышкой и с помощью вакуумного насоса понижают давление в замкнутом воздушном пространстве камеры до значения, определяемого
таблицей 2. В испытываемом образце возникает избыточное давление, равное значению вакуума. По достижении вакуума минус 20 кПа или минус 10 кПа (минус 0,2 кгс/см2 или минус 0,1 кгс/см2) включают секундомер и образец выдерживают в течение 15 с.
Отсутствие пузырьков воздуха в течение указанного времени свидетельствует о герметичности укупоривания.
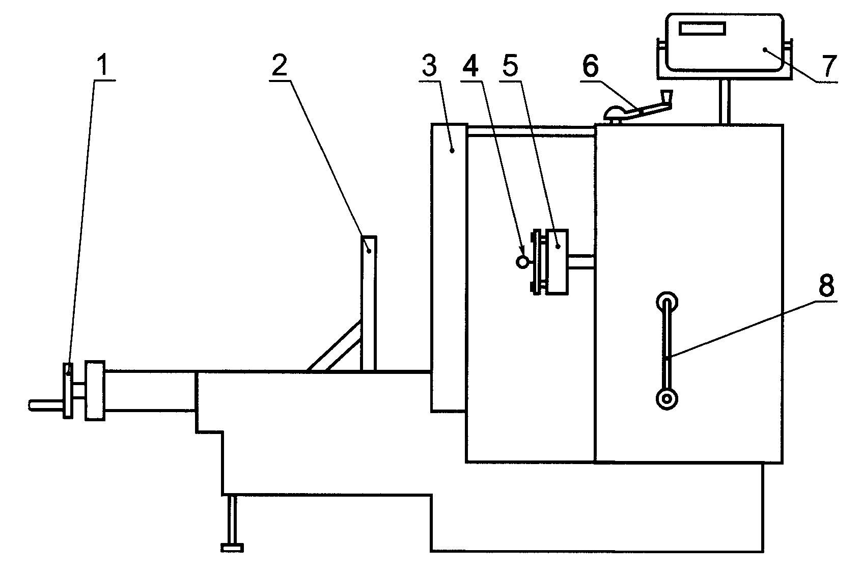
9.9. Определение прочности испытанием на удар при свободном падении
9.9.1. Используемое оборудование - установка для испытания прочности на удар при свободном падении (рисунок 5).
1 - приспособление для установки образцов тары в исходное
положение (сбрасывающее устройство); 2 - грузоподъемная
штанга; 3 - укосины; 4 - вертикальная стойка;
5 - контрольное устройство; 6 - стальная плита фундамента
Рисунок 5. Внешний вид стенда для испытания тары на удар
при свободном падении
Средства контроля и вспомогательные устройства - в соответствии с
Приложением К.
Установка состоит из опорной стальной плиты и вертикальной стойки, на которую крепится грузоподъемная штанга. Штанга имеет нанесенную на нее шкалу и с помощью фиксатора может быть закреплена в любом по высоте положении. На конце штанги имеется сбрасывающее устройство.
9.9.2. Порядок подготовки к проведению контроля
Образец тары заполняют до номинальной вместимости водой при температуре (20 +/- 5) °С и плотно закрывают укупорочным средством (крышкой, пробкой, бушоном).
Штангу поднимают на заданную по
таблице 3 высоту. Затем образец тары закрепляют в сбрасывающем устройстве таким образом, чтобы обеспечить падение испытываемой тары в заданном положении. Образец, подготовленный к испытаниям, поднимают на заданную высоту, которая определяется как кратчайшее расстояние между самой низкой точкой образца и поверхностью ударной плиты. Высоту подъема контролируют с помощью контрольного устройства, входящего в состав стенда. Погрешность установки высоты сбрасывания - не более 2%.
9.9.3. Порядок проведения контроля
Образец тары сбрасывают дважды в двух положениях на ребро и дно.
Тару считают выдержавшей испытания, если на образцах не наблюдают механических повреждений, приводящих к потере герметичности, контролируемой по отсутствию течи. Деформации, не приводящие к потере герметичности, не учитываются.
9.10. Определение прочности на сжатие
9.10.1. Используемое оборудование - пресс, обеспечивающий воспроизведение усилия в диапазоне от 0 до 981 Н (от 0 до 100 кгс) с погрешностью не более 2% измеряемого значения. Средства контроля и вспомогательные устройства - в соответствии с
Приложением К.
Схемы стенда для испытаний тары на прочность методом сжатия приведены на рисунке 6 и в
Приложении М.
1 - бак для слива масла из гидросистемы; 2 - насос;
3 - манометр; 4 - гидроцилиндр; 5 - кран сброса давления
Рисунок 6. Принципиальная схема пресса
для испытания тары на сжатие
9.10.2. Порядок подготовки к проведению контроля
Для испытания на сжатие берут образцы тары, выдержавшие испытание на герметичность.
Образцы тары заполняют до номинальной вместимости водой при температуре (20 +/- 5) °С и плотно закрывают укупорочными средствами.
9.10.3. Порядок проведения контроля
9.10.3.1. Давление в гидросистеме пресса повышают насосом, закрывая кран сброса давления. Повышение давления соответствует росту нагрузки.
Контролируемые образцы устанавливают вертикально между плитами пресса и плавно сжимают при скорости нарастания усилия сжатия 100 - 200 Н/мин (10 - 20 кгс/мин) до тех пор, пока нагрузка не достигнет указанной в таблице 4.
При заданной нагрузке образцы тары выдерживают в течение 1 ч. Контроль времени проводят по секундомеру.
Образцы тары в течение установленного времени не должны давать течи.
Допускается остаточная деформация тары без разрушения и отсутствия течи.
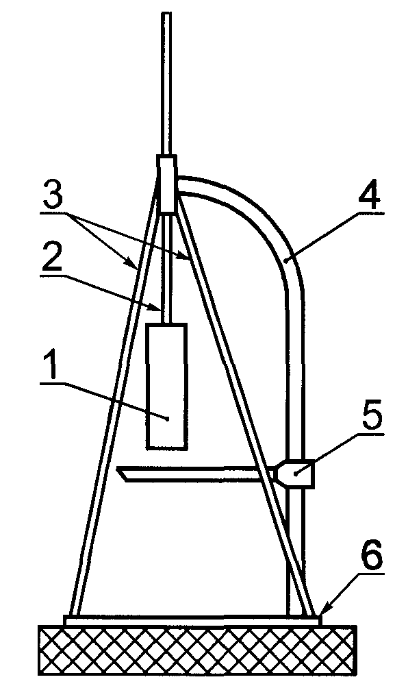
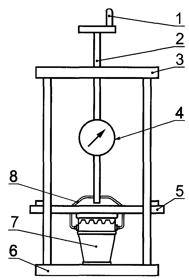
9.11. Определение прочности ручек и прочности крепления ручек
9.11.1. Используемое оборудование, средства контроля и вспомогательные устройства - в соответствии с
Приложением К.
9.11.2. Порядок подготовки и проведения контроля
9.11.2.1. При испытании на прочность ручек и прочность их крепления на универсальном устройстве образец тары зажимают между неподвижным и подвижным упорами. При испытании прочности ручки ее зацепляют за крюк динамометра и с помощью винта, соединенного с динамометром, прикладывают к нему сосредоточенную нагрузку.
При испытании прочности крепления ручки на ней крепят приспособление, имитирующее распределенную нагрузку, в виде оправки размером 120 - 130 мм (средняя ширина руки человека), затем через динамометр с помощью винта прикладывают к ней нагрузку.
Значения сосредоточенной и распределенной нагрузок должны соответствовать указанным в
таблице 5. Время выдержки в нагруженном состоянии - не менее 5 мин.
По истечении указанного времени не должно быть нарушения целостности крепления ручек. На ручках не должно быть трещин и разрушений.
Принцип проведения испытания на разрывной машине или на специальном стенде аналогичен испытанию на универсальном устройстве.
Внешний вид стендов для испытаний прочности ручек и крепления ручек приведены на рисунке 7 и в Приложении М (
рисунок М.5).
1 - рукоятка винта; 2 - винт; 3 - каркас; 4 - динамометр;
5 - подвижный упор; 6 - неподвижный упор; 7 - образец тары;
8 - ручка
Рисунок 7. Принципиальная схема универсального устройства
для испытания прочности ручки и крепления ручки
9.12. Определение стойкости к горячей воде
9.12.1. Используемое оборудование, средства контроля и вспомогательные устройства - в соответствии с
Приложением К.
Испытуемый образец, заполненный водой из термостата при комнатной температуре, помещают в термостат с водой, включают термостат, нагревают воду в термостате до температуры (70 +/- 5) °С и выдерживают при данной температуре в течение 30 мин. Затем термостат отключают, вода в термостате остывает до температуры 20 - 25 °С, образец вынимают из термостата, сливают воду из образца и образец насухо вытирают.
В нормативных документах на тару для конкретных видов продукции в зависимости от используемого полимерного материала может быть установлена другая температура.
После испытания образец должен остаться без видимых изменений, при испытании тары, изготовленной из окрашенных полимерных материалов, вода не должна окрашиваться.
9.13. Определение химической стойкости
9.13.1. Средства контроля и вспомогательные устройства - в соответствии с
Приложением К.
В качестве химического реагента используют упаковываемый химический продукт, растворитель или смесь растворителей, содержащихся в химическом продукте. Применяемые растворители или смесь растворителей должны соответствовать требованиям стандартов или других нормативных документов на растворитель или смесь растворителей.
Перечень растворителей (химических реагентов), используемых для испытаний тары на химическую стойкость, указан в
Приложении Н.
В нормативных документах на тару для конкретных видов продукции могут быть указаны другие виды растворителей или их смесей для проведения испытаний на химическую стойкость.
9.13.2. Порядок подготовки к проведению контроля
Испытания проводят на образцах тары вместимостью не более 0,5 дм3.
При контроле изменения размеров образцов тары могут применяться образцы тары любой вместимости.
Количество образцов для испытаний тары выбирают в соответствии с
таблицей 8.
Для испытаний берут образцы, прошедшие кондиционирование по
9.12, и каждому образцу присваивают соответствующий порядковый номер.
После кондиционирования каждый образец взвешивают на весах и измеряют его наружные размеры (диаметр и высоту) в соответствии с
9.3.2.
Каждый образец тары заполняют продуктом (растворителем) в соответствии с
9.13.1 до номинальной вместимости, герметично закрывают и взвешивают на весах.
За результат измерения принимают среднеарифметическое результатов всех измерений.
Стойкость к проницаемости органических растворителей определяют по изменению наружных размеров тары и массы продукта (растворителя), содержащегося в таре, за 28 сут или в течение гарантийного срока хранения упаковываемой продукции.
9.13.3. Порядок проведения контроля
Первые 5 образцов с продуктом (растворителем) выдерживают в климатической камере при температуре (20 +/- 2) °С в течение 28 сут.
Другие 5 образцов тары с продуктом (растворителем) в течение указанного времени выдерживают при температуре (40 +/- 2) °С.
При периодических испытаниях образцы с продуктом (растворителем) могут выдерживаться при одном из заданных значений температуры.
При типовых испытаниях образцы с продуктом (растворителем) выдерживают при температуре (20 +/- 5) °С в течение гарантийного срока хранения упаковываемого продукта.
В нормативном документе на тару для конкретной продукции могут указываться другие значения температуры и другие значения продолжительности испытаний.
По истечении установленного времени (28 сут или гарантийного срока хранения упаковываемой продукции) образцы взвешивают на весах и измеряют их наружные размеры (диаметр и высоту) в соответствии с
9.3.2, затем определяют потерю массы в процентах.
9.13.4. Правила обработки результатов контроля
9.13.4.1. Изменение наружных размеров образца тары

, %, после окончания испытаний определяют по формуле

, (3)
где

- размер испытуемого образца тары с реагентом после выдержки в климатической камере в течение установленного времени, мм;
L - размер испытуемого образца тары после кондиционирования, мм.
За окончательный результат испытаний принимают среднеарифметическое значение не менее пяти определений.
Изменение размеров не должно превышать значений, установленных в
5.2.6.1.
9.13.4.2. Изменение массы продукта (растворителя), содержащегося в таре, за установленное время

, %, после окончания испытаний определяют по формуле

, (4)
где

- масса тары с продуктом (растворителем) до испытаний, г;

- масса тары с продуктом (растворителем) после выдержки в климатической камере в течение установленного времени, г;

- исходная масса продукта (растворителя), определяемая как разность массы тары с продуктом (растворителем) и массы порожней тары, г.
За окончательный результат испытаний принимают среднеарифметическое значение не менее пяти определений.
Изменение массы продукта (растворителя) не должно превышать значений, установленных в
5.2.6.2.
9.13.4.3. Пересчет потери массы продукта (растворителя), содержащегося в таре того же вида, типа и исполнения, изготовляемой из того же полимерного материала и той же марки, но другой вместимости,

, %, определяют по формуле

, (5)
где

- потеря массы растворителя в испытуемых образцах, г;
К - коэффициент пересчета потери массы.
Коэффициент пересчета потери массы К определяют по формуле

, (6)
где

- поверхность испытуемого образца тары, см2;

- поверхность тары, для которой ведется расчет, см2;

- минимальная толщина стенки испытуемого образца, мм;

- минимальная толщина стенки тары, для которой ведется расчет, мм;

- вместимость испытуемого образца тары, дм3;

- вместимость тары, для которой ведется расчет, дм3.
9.13.4.4. Коэффициенты диффузии, сорбции, проницаемости при необходимости определяют по
ГОСТ 12020.
9.14. Определение стойкости рисунка, нанесенного на тару
Стойкость рисунка, нанесенного на тару, адгезию рисунка с поверхностью тары определяют методом решетчатых надрезов по
ГОСТ 15140.
Тару считают выдержавшей испытания, если отслаивание покрытия вдоль линии надрезов - не более 35% поверхности каждой решетки, т.е. ниже 3-го балла.
9.15. Определение теплостойкости
9.15.1. Используемое оборудование, средства контроля и вспомогательные устройства - в соответствии с
Приложением К.
9.15.2. Порядок подготовки и проведения контроля
Образцы тары помещают в климатическую камеру, устанавливают температуру (40 +/- 2) °С. Образцы выдерживают в камере в течение 2 ч.
Затем образцы вынимают из камеры, выдерживают при комнатной температуре в течение 30 мин.
После выдержки проводят проверку: внешнего вида - по
9.2, параметров и размеров - по
9.3, механических свойств - по
9.9 -
9.11.
Образцы считают выдержавшими испытания по
9.15, если они соответствуют требованиям, установленным в
5.2.1;
4.3;
4.4;
5.2.3 и
5.2.4.
9.16. Определение морозостойкости
9.16.1. Используемое оборудование, средства контроля и вспомогательные устройства - в соответствии с
Приложением К.
9.16.2. Порядок подготовки и проведения контроля
Образцы тары помещают в климатическую камеру, устанавливают температуру (минус 25 +/- 2) °С. Образцы выдерживают в камере в течение 2 ч.
Затем образцы вынимают из камеры, выдерживают при комнатной температуре в течение 30 мин.
После выдержки проводят проверку: внешнего вида - по
9.2, параметров и размеров - по
9.3, механических свойств - по
9.9 -
9.11.
Образцы считают выдержавшими испытания по
9.16, если они соответствуют требованиям, установленным в
5.2.1;
4.3;
4.4;
5.2.3 и
5.2.4.
9.17. Правила оформления результатов контроля
Результаты контроля регистрируют в журнале или оформляют протоколом, содержащим следующие данные:
- наименование и условное обозначение тары;
- вместимость тары;
- наименование материала, из которого изготовлена тара;
- обозначение нормативного документа, по которому изготовлена тара;
- количество образцов, подвергнутых испытанию;
- номер партии;
- дату изготовления;
- объем партии;
- дату проведения испытаний;
- результаты испытаний;
- подпись специалиста, проводившего испытания.
Результаты контроля при периодических испытаниях оформляют протоколом.
10. Транспортирование и хранение
10.1. Полимерную потребительскую тару транспортируют всеми видами транспорта в крытых транспортных средствах в соответствии с правилами перевозок грузов, действующими на данном виде транспорта.
10.2. Требования к транспортированию тары пакетами - по
ГОСТ 26663,
ГОСТ 24597 и другим нормативным документам.
10.3. Средства скрепления полимерной потребительской тары, упакованной в транспортную тару, в пакетированном виде - по
ГОСТ 21650 и другим нормативным документам.
10.4. Допускается транспортирование полимерной потребительской тары без формирования в транспортные пакеты в следующих случаях:
- при транспортировании автомобильным транспортом;
- при транспортировании в универсальных контейнерах, кроме крупнотоннажных.
10.5. Речным транспортом полимерную потребительскую тару транспортируют в универсальных контейнерах или пакетами.
10.6. Тару хранят в закрытых складских помещениях в условиях 3Ж3 по
ГОСТ 15150.
Допускается хранение тары на предприятии-изготовителе в условиях 5ОЖ4 сроком до трех суток.
При хранении транспортную тару с потребительской полимерной тарой укладывают в штабели или на стеллажи высотой не более 3 м и на расстоянии не менее 1 м от нагревательных или отопительных приборов.
Тара должна быть защищена от прямого воздействия солнечного света.
11. Гарантии изготовителя
11.1. Изготовитель гарантирует соответствие тары требованиям настоящего стандарта и нормативных документов на тару.
Гарантийный срок хранения или эксплуатации тары устанавливают в нормативных документах на тару для конкретных видов продукции.
(рекомендуемое)
Банка БН I-1-1
Банка БН I-1-2
Банка БН I-2-3
Банка БН I-2-4
Банка БН I-2-5
Банка БН I-3-6
Банка БН II-1-7
Банка БН II-2-8
Банка БН III-2-9
Банка БН III-2-10
Банка БН III-2-11
Банка БН III-2-12
Банка БН III-2-13
Банка БН III-2-14
Банка БН IV-2-15
Банка БН IV-2-16
Банка БН IV-2-17
Бутылка БТ I-1-18
Бутылка БТ I-1-19
Бутылка БТ I-1-20
Бутылка БТ I-1-21
Бутылка БТ I-1-22
Бутылка БТ II-1-23
Бутылка БТ III-1-24
Бутылка БТ III-1-25
Бутылка БТ III-1-26
Бутылка БТ III-1-27
Канистра КН I-1-28
Канистра КН I-1-29
Канистра КН I-1-30
Канистра КН I-1-31
Канистра КН II-1-32
Туба ТБ I-1-33
Туба ТБ II-1-34
Туба ТБ II-1-35
(справочное)
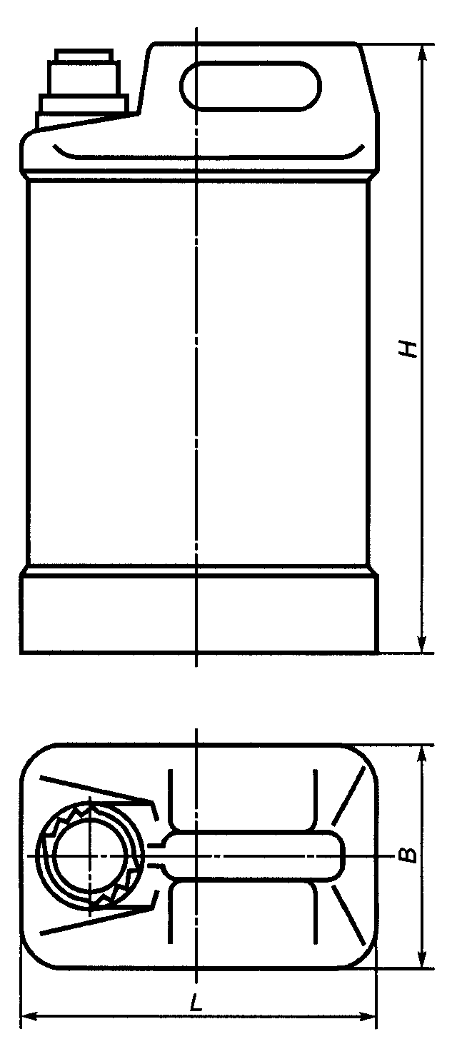
ВМЕСТИМОСТЬ И РАЗМЕРЫ ТАРЫ
Таблица Б.1
┌────────────┬────────────┬──────────────────────────────────────┐
│Обозначение │Вместимость │ Наружные размеры, мм │
│ тары по │номинальная,├───────┬─────────┬──────────┬─────────┤
│
таблице 1 │ дм3 │длина L│ширина В │диаметр D │высота Н │
├────────────┼────────────┼───────┼─────────┼──────────┼─────────┤
│БН I-1-1 │0,500 │- │- │92 │112 │
├────────────┼────────────┼───────┼─────────┼──────────┼─────────┤
│БН I-1-1 │1,000 │- │- │93 │188 │
├────────────┼────────────┼───────┼─────────┼──────────┼─────────┤
│БН I-1-2 │1,780 │- │- │112 │224 │
├────────────┼────────────┼───────┼─────────┼──────────┼─────────┤
│БН I-1-2 │2,300 │- │- │126 │233 │
├────────────┼────────────┼───────┼─────────┼──────────┼─────────┤
│БН I-2-3 │0,300 │- │- │74 │100 │
├────────────┼────────────┼───────┼─────────┼──────────┼─────────┤
│БН I-2-4 │0,040 │- │- │40 │51 │
├────────────┼────────────┼───────┼─────────┼──────────┼─────────┤
│БН I-2-5 │0,125 │- │- │55 │90 │
├────────────┼────────────┼───────┼─────────┼──────────┼─────────┤
│БН I-2-5 │0,225 │- │- │55 │125 │
├────────────┼────────────┼───────┼─────────┼──────────┼─────────┤
│БН I-2-5 │0,550 │- │- │80 │150 │
├────────────┼────────────┼───────┼─────────┼──────────┼─────────┤
│БН I-3-6 │0,040 │- │- │33 │66 │
├────────────┼────────────┼───────┼─────────┼──────────┼─────────┤
│БН II-1-7 │2,000 │124 │83 │- │253 │
├────────────┼────────────┼───────┼─────────┼──────────┼─────────┤
│БН II-1-7 │3,050 │151 │92 │- │281 │
├────────────┼────────────┼───────┼─────────┼──────────┼─────────┤
│БН II-2-8 │2,100 │100 │100 │- │230 │
├────────────┼────────────┼───────┼─────────┼──────────┼─────────┤
│БН III-2-9 │0,900 │- │- │124 │125 │
├────────────┼────────────┼───────┼─────────┼──────────┼─────────┤
│БН III-2-10 │2,500 │- │- │168 │170 │
├────────────┼────────────┼───────┼─────────┼──────────┼─────────┤
│БН III-2-11 │0,250 │- │- │124 │39 │
├────────────┼────────────┼───────┼─────────┼──────────┼─────────┤
│БН III-2-12 │0,250 │- │- │125 │63 │
├────────────┼────────────┼───────┼─────────┼──────────┼─────────┤
│БН III-2-13 │0,500 │- │- │118 │83 │
├────────────┼────────────┼───────┼─────────┼──────────┼─────────┤
│БН III-2-13 │1,000 │- │- │135 │98 │
├────────────┼────────────┼───────┼─────────┼──────────┼─────────┤
│БН III-2-13 │1,200 │- │- │138 │118 │
├────────────┼────────────┼───────┼─────────┼──────────┼─────────┤
│БН III-2-13 │2,000 │- │- │180 │105 │
├────────────┼────────────┼───────┼─────────┼──────────┼─────────┤
│БН III-2-13 │3,000 │- │- │190 │162 │
├────────────┼────────────┼───────┼─────────┼──────────┼─────────┤
│БН III-2-13 │5,000 │- │- │228 │194 │
├────────────┼────────────┼───────┼─────────┼──────────┼─────────┤
│БН III-2-13 │10,000 │- │- │290 │242 │
├────────────┼────────────┼───────┼─────────┼──────────┼─────────┤
│БН III-2-14 │3,000 │- │- │193 │162 │
├────────────┼────────────┼───────┼─────────┼──────────┼─────────┤
│БН III-2-14 │5,000 │- │- │193 │161 │
├────────────┼────────────┼───────┼─────────┼──────────┼─────────┤
│БН III-2-14 │5,000 │- │- │193 │161 │
├────────────┼────────────┼───────┼─────────┼──────────┼─────────┤
│БН III-2-14 │7,000 │- │- │254 │227 │
├────────────┼────────────┼───────┼─────────┼──────────┼─────────┤
│БН IV-2-15 │1,300 │114 │114 │- │152 │
├────────────┼────────────┼───────┼─────────┼──────────┼─────────┤
│БН IV-2-15 │2,000 │126 │126 │- │190 │
├────────────┼────────────┼───────┼─────────┼──────────┼─────────┤
│БН IV-2-15 │3,200 │152 │152 │- │190 │
├────────────┼────────────┼───────┼─────────┼──────────┼─────────┤
│БН IV-2-16 │0,800 │214 │144 │- │46 │
├────────────┼────────────┼───────┼─────────┼──────────┼─────────┤
│БН IV-2-17 │0,450 │190 │103 │- │45 │
├────────────┼────────────┼───────┼─────────┼──────────┼─────────┤
│БТ I-1-18 │0,200 │- │- │66 │133 │
├────────────┼────────────┼───────┼─────────┼──────────┼─────────┤
│БТ I-1-19 │0,125 │- │- │55 │100 и 133│
├────────────┼────────────┼───────┼─────────┼──────────┼─────────┤
│БТ I-1-19 │0,200 │- │- │55 │174 │
├────────────┼────────────┼───────┼─────────┼──────────┼─────────┤
│БТ I-1-20 │1,000 │- │- │120 │255 │
├────────────┼────────────┼───────┼─────────┼──────────┼─────────┤
│БТ I-1-21 │0,400 │- │- │61 │186 │
├────────────┼────────────┼───────┼─────────┼──────────┼─────────┤
│БТ I-1-21 │0,500 │- │- │61 │224 │
├────────────┼────────────┼───────┼─────────┼──────────┼─────────┤
│БТ I-1-22 │0,500 │- │- │72 │180 │
├────────────┼────────────┼───────┼─────────┼──────────┼─────────┤
│БТ I-1-22 │1,000 │- │- │92 │209 │
├────────────┼────────────┼───────┼─────────┼──────────┼─────────┤
│БТ I-1-22 │3,000 │- │- │131 │270 │
├────────────┼────────────┼───────┼─────────┼──────────┼─────────┤
│БТ II-1-23 │1,000 │113 │68 │- │175 │
├────────────┼────────────┼───────┼─────────┼──────────┼─────────┤
│БТ II-1-23 │2,500 │155 │90 │- │234 │
├────────────┼────────────┼───────┼─────────┼──────────┼─────────┤
│БТ III-1-24 │1,000 │- │- │85 │276 │
├────────────┼────────────┼───────┼─────────┼──────────┼─────────┤
│БТ III-1-25 │0,500 │- │- │66 │230 │
├────────────┼────────────┼───────┼─────────┼──────────┼─────────┤
│БТ III-1-25 │1,500 │- │- │90 │320 │
├────────────┼────────────┼───────┼─────────┼──────────┼─────────┤
│БТ III-1-26 │0,250 │78 │38 │- │209 │
├────────────┼────────────┼───────┼─────────┼──────────┼─────────┤
│БТ III-1-27 │1,000 │125 │90 │- │208 │
├────────────┼────────────┼───────┼─────────┼──────────┼─────────┤
│КН I-1-28 │3,500 │165 │110 │- │270 │
├────────────┼────────────┼───────┼─────────┼──────────┼─────────┤
│КН I-1-28 │4,000 │165 │110 │- │305 │
├────────────┼────────────┼───────┼─────────┼──────────┼─────────┤
│КН I-1-28 │5,000 │185 │130 │- │325 │
├────────────┼────────────┼───────┼─────────┼──────────┼─────────┤
│КН I-1-29 │5,000 │200 │110 │- │325 │
├────────────┼────────────┼───────┼─────────┼──────────┼─────────┤
│КН I-1-30 │2,000 │140 │90 │- │217 │
├────────────┼────────────┼───────┼─────────┼──────────┼─────────┤
│KH I-1-31 │2,500 │170 │90 │- │240 │
├────────────┼────────────┼───────┼─────────┼──────────┼─────────┤
│КН II-1-32 │4,000 │180 │135 │- │355 │
├────────────┼────────────┼───────┼─────────┼──────────┼─────────┤
│ТБ I-1-33 │0,025 │- │- │19 │119 │
├────────────┼────────────┼───────┼─────────┼──────────┼─────────┤
│ТБ I-1-33 │0,040 │- │- │25 │144 │
├────────────┼────────────┼───────┼─────────┼──────────┼─────────┤
│ТБ I-1-33 │0,070 │- │- │30 │136 │
├────────────┼────────────┼───────┼─────────┼──────────┼─────────┤
│ТБ I-1-33 │0,135 │- │- │35 │186 │
├────────────┼────────────┼───────┼─────────┼──────────┼─────────┤
│ТБ II-1-34 │0,100 │44 │25 │- │148 │
├────────────┼────────────┼───────┼─────────┼──────────┼─────────┤
│ТБ II-1-35 │0,200 │- │- │51 │170 │
├────────────┴────────────┴───────┴─────────┴──────────┴─────────┤
│ Примечания. 1. Для конических банок БН III-2 с ручками│
│(БН III-2-13 и БН III-2-14) основные размеры даны без учета│
│размеров ручек. Размеры ручек указывают в рабочих чертежах│
│на конкретные банки. │
│ 2. Размеры тары устанавливают с учетом требований
ГОСТ 21140.│
└────────────────────────────────────────────────────────────────┘
(рекомендуемое)
МИНИМАЛЬНАЯ ТОЛЩИНА СТЕНКИ ТАРЫ В ЗАВИСИМОСТИ ОТ ВИДА,
ВМЕСТИМОСТИ И ПОЛИМЕРНОГО МАТЕРИАЛА
Таблица В.1
┌─────────┬──────────────────────┬───────────────────────────────┐
│Вид тары │Вместимость тары, дм3 │ Минимальная толщина стенки │
│ │ │ тары в зависимости от │
│ │ │ полимерного материала, мм │
│ │ ├─────────┬──────────┬──────────┤
│ │ │ПЭВД │ПЭНД, ПП, │смеси ПЭВД│
│ │ │ │ПВХ, ПС │и ПЭНД │
├─────────┼──────────────────────┼─────────┼──────────┼──────────┤
│Банки │До 0,13 включ. │0,3 │0,2 │0,25 │
│ ├──────────────────────┼─────────┤ ├──────────┤
│ │Св. 0,13 до 0,3 включ.│0,4 │ │0,3 │
│ ├──────────────────────┼─────────┼──────────┤ │
│ │Св. 0,3 до 0,6 включ. │0,45 │0,25 │ │
│ ├──────────────────────┼─────────┼──────────┼──────────┤
│ │Св. 0,6 до 1,0 включ. │0,5 │0,3 │0,35 │
│ ├──────────────────────┼─────────┼──────────┼──────────┤
│ │Св. 1,0 до 2,0 включ. │0,6 │0,4 │0,45 │
│ ├──────────────────────┼─────────┼──────────┼──────────┤
│ │Св. 2,0 до 3,0 включ. │0,7 │0,5 │0,6 │
│ ├──────────────────────┼─────────┼──────────┼──────────┤
│ │Св. 3,0 до 5,0 включ. │0,8 │0,6 │0,7 │
│ ├──────────────────────┼─────────┼──────────┼──────────┤
│ │Св. 5,0 │0,9 │0,7 │0,8 │
├─────────┼──────────────────────┼─────────┼──────────┼──────────┤
│Бутылки │До 0,13 включ. │0,3 │0,2 │0,25 │
│ ├──────────────────────┼─────────┤ ├──────────┤
│ │Св. 0,13 до 0,3 включ.│0,4 │ │0,3 │
│ ├──────────────────────┼─────────┼──────────┼──────────┤
│ │Св. 0,3 до 0,6 включ. │0,45 │0,25 │0,4 │
│ ├──────────────────────┼─────────┼──────────┼──────────┤
│ │Св. 0,6 до 1,0 включ. │0,5 │0,3 │0,45 │
│ ├──────────────────────┼─────────┼──────────┼──────────┤
│ │Св. 1,0 до 2,0 включ. │0,6 │0,45 │0,55 │
│ ├──────────────────────┼─────────┼──────────┼──────────┤
│ │Св. 2,0 до 3,0 включ. │0,7 │0,5 │0,65 │
│ ├──────────────────────┼─────────┼──────────┼──────────┤
│ │Св. 3,0 до 5,0 включ. │0,8 │0,6 │0,75 │
│ ├──────────────────────┼─────────┼──────────┼──────────┤
│ │Св. 5,0 │0,9 │0,7 │0,85 │
├─────────┼──────────────────────┼─────────┼──────────┼──────────┤
│Канистры │До 2,0 включ. │0,65 │0,5 │0,55 │
│ ├──────────────────────┼─────────┤ ├──────────┤
│ │Св. 2,0 до 3,0 включ. │0,7 │ │0,6 │
│ ├──────────────────────┼─────────┼──────────┼──────────┤
│ │Св. 3,0 до 4,0 включ. │0,7 │0,55 │0,65 │
│ ├──────────────────────┼─────────┼──────────┼──────────┤
│ │Св. 4,0 до 6,0 включ. │0,8 │0,6 │0,75 │
│ ├──────────────────────┼─────────┼──────────┼──────────┤
│ │Св. 6,0 │0,9 │0,7 │0,85 │
├─────────┼──────────────────────┼─────────┼──────────┼──────────┤
│Тубы │До 0,1 включ. │0,4 │0,3 │0,35 │
│ ├──────────────────────┼─────────┼──────────┼──────────┤
│ │Св. 0,1 до 0,2 включ. │0,5 │0,4 │0,45 │
│ ├──────────────────────┼─────────┼──────────┼──────────┤
│ │Св. 0,2 до 0,3 включ. │0,6 │0,5 │0,55 │
│ ├──────────────────────┼─────────┼──────────┼──────────┤
│ │Св. 0,3 │0,7 │0,6 │0,65 │
├─────────┴──────────────────────┴─────────┴──────────┴──────────┤
│ Примечания. 1. Применяемые сокращения слов: │
│ ПЭВД - полиэтилен высокого давления; │
│ ПЭНД - полиэтилен низкого давления; │
│ ПП - полипропилен и сополимеры пропилена; │
│ ПВХ - композиции на основе поливинилхлорида; │
│ ПС - полистирол. │
│ 2. Минимальную толщину стенки тары из полиэтилентерефталата│
│указывают в нормативных документах на конкретные виды тары или│
│в рабочих чертежах, утвержденных в установленном порядке. │
│ 3. Целесообразность указания других значений минимальной│
│толщины стенки устанавливают в нормативных документах на│
│конкретные виды тары. │
└────────────────────────────────────────────────────────────────┘
(рекомендуемое)
ПРИМЕНЕНИЕ ТАРЫ ДЛЯ УПАКОВЫВАНИЯ ПРОДУКЦИИ
В ЗАВИСИМОСТИ ОТ ВИДА И МАТЕРИАЛА ТАРЫ
Таблица Г.1
┌───────────────────────────┬────────────────────────┬───────────┐
│ Упаковываемая продукция │ Обозначение тары по │ Полимерный│
├───────────────────────────┼────────────────────────┼───────────┤
│ Краски, эмали, грунтовки,│БН I-1-2, БН III-2-14, │ПЭНД, ПВХ, │
│содержащие органические │БН IV-2-15 │ПЭТФ │
│растворители: спирт, уайт- │ │ │
│спирит │ │ │
├───────────────────────────┼────────────────────────┼───────────┤
│ Краски, эмали, грунтовки,│БН I-1-2, БН III-2-14, │ПЭТФ │
│содержащие другие органи- │БН IV-2-15 │ │
│ческие растворители │ │ │
├───────────────────────────┼────────────────────────┼───────────┤
│ Лаки полиэфирные ненасы- │КН I-1-28, КН I-1-29, │ПЭНД, ПЭТФ │
│щенные │КН I-1-30 │ │
├───────────────────────────┼────────────────────────┼───────────┤
│ Лаки водно-дисперсионные │БН I-1-2, БН II-1-7, │ПЭВД, ПЭНД,│
│поливинилацетатные, политу-│БТ I-1-22, КН I-1-29, │ПП, ПВХ, │
│ры спиртовые, дисперсии │КН I-1-30 │ПЭТФ │
│поливинилацетатные │ │ │
├───────────────────────────┼────────────────────────┼───────────┤
│ Краски, грунтовки водно- │БН I-1-2, БН III-2-10, │ПЭВД, ПЭНД,│
│дисперсионные │БН III-2-13, БН IV-2-15,│ПП, ПС, ПВХ│
│ │КН I-1-29, КН I-1-30 │ │
├───────────────────────────┼────────────────────────┼───────────┤
│ Краски густотертые, │БН I-2-3, ТБ II-1-34 │ПЭНД, ПЭТФ │
│шпатлевки │ │ │
├───────────────────────────┼────────────────────────┼───────────┤
│ Шпатлевки водно-диспер- │БН I-2-3 │ПЭВД, ПЭНД,│
│сионные │ │ПП, ПС, ПВХ│
├───────────────────────────┼────────────────────────┼───────────┤
│ Олифы, растворители, │БТ I-1-22, БТ II-1-23, │ПЭТФ │
│разбавители, сиккативы │БТ III-1-27 │ │
├───────────────────────────┼────────────────────────┼───────────┤
│ Пигменты для художествен-│БН II-2-8 │ПЭВД, ПЭНД,│
│ных работ │ │ПП, ПС, ПВХ│
├───────────────────────────┼────────────────────────┼───────────┤
│ Олифа натуральная, жид- │БН I-1-2, БТ I-1-22, │ПЭВД, ПЭНД,│
│кость гидротормозная │БТ II-1-23, КН I-1-29, │ПП, ПС, │
│ │КН I-1-30 │ПВХ, ПЭТФ │
├───────────────────────────┼────────────────────────┼───────────┤
│ Краски для художественных│БН I-2-4 │ПЭВД, ПЭНД,│
│работ │ │ПП, ПС, ПВХ│
├───────────────────────────┼────────────────────────┼───────────┤
│ Составы полирующие, вода │БН II-1-7, БТ I-1-18, │ПЭВД, ПЭНД,│
│полировочная │БТ I-1-20, БТ III-1-24, │ПП, ПС, │
│ │БТ III-1-26, БТ III-1- │ПВХ, ПЭТФ │
│ │27, КН I-1-29, КН I-1-30│ │
├───────────────────────────┼────────────────────────┼───────────┤
│ Пасты полировочные, шли- │БН I-1-1, БН I-2-3 │ПЭВД, ПЭНД,│
│фовочные, уплотнительные, │ │ПП, ПВХ │
│мастики, замазки │ │ │
├───────────────────────────┼────────────────────────┼───────────┤
│ Клеи, клеящие средства │БТ I-1-19, БТ I-1-22, │ПЭНД, ПВХ │
│ │БТ II-1-23, КН I-1-29, │ │
│ │ТБ II-1-35 │ │
├───────────────────────────┼────────────────────────┼───────────┤
│ Клеи, клеящие средства │БН I-2-3 │ПЭВД, ПЭНД,│
│пастообразные │ │ПП, ПВХ │
├───────────────────────────┼────────────────────────┼───────────┤
│ Средства моющие жидкие │БТ I-1-22, БТ III-1-26, │ПЭВД, ПЭНД │
│ │БТ III-1-27 │ │
├───────────────────────────┼────────────────────────┼───────────┤
│ Средства моющие и чистя- │БН I-2-3, ТБ I-1-33 │ПЭВД │
│щие пастообразные │ │ │
├───────────────────────────┼────────────────────────┼───────────┤
│ Средства пеномоющие │БТ I-1-18, БТ I-1-21, │ПЭВД, ПЭНД │
│ │БТ III-1-26, БТ III-1-27│ │
├───────────────────────────┼────────────────────────┼───────────┤
│ Средства чистящие жидкие │БТ I-1-21, БТ III-1-24, │ПЭВД, ПЭНД,│
│ │БТ III-1-25, БТ III-1-27│ПП, ПВХ │
├───────────────────────────┼────────────────────────┼───────────┤
│ Средства чистящие порош- │БН I-1-1, БН I-2-3, │ПЭВД, ПЭНД,│
│кообразные │БН II-2-8 │ПП │
├───────────────────────────┼────────────────────────┼───────────┤
│ Средства по уходу за из- │БТ I-1-18, БТ III-1-24 │ПЭВД, ПЭНД,│
│делиями из кожи жидкие │ │ПВХ │
├───────────────────────────┼────────────────────────┼───────────┤
│ Средства по уходу за из- │БН III-2-12 │ПП, ПВХ │
│делиями из кожи пастооб- │ │ │
│разные │ │ │
├───────────────────────────┼────────────────────────┼───────────┤
│ Средства отбеливающие, │БТ I-1-19, БТ I-1-22, │ПЭВД, ПЭНД,│
│средства по уходу за │БТ II-1-23, БТ III-1-24,│ПВХ, ПЭТФ │
│автомобилями, мотоциклами │БТ III-1-27 │ │
│и средства для борьбы с │ │ │
│насекомыми жидкие │ │ │
├───────────────────────────┼────────────────────────┼───────────┤
│ Средства отбеливающие, │БН I-1-1, БН I-2-3, │ПЭВД, ПЭНД,│
│средства по уходу за │ТБ I-1-33 │ПВХ │
│автомобилями, мотоциклами │ │ │
│и средства для борьбы с │ │ │
│насекомыми пастообразные │ │ │
├───────────────────────────┼────────────────────────┼───────────┤
│ Средства дезинфицирующие │БН I-1-1 │ПЭВД, ПЭНД,│
│ │ │ПВХ │
├───────────────────────────┼────────────────────────┼───────────┤
│ Шампуни, дезодоранты, │БТ I-1-18, БТ I-1-21, │ПЭВД, ПЭНД,│
│поглотители запахов, сред- │БТ II-1-23, БТ III-1-24,│ПП, ПЭТФ │
│ства для защиты растений │БТ III-1-26, БТ III-1-27│ │
│и прочие товары бытовой │ │ │
│химии жидкие │ │ │
├───────────────────────────┼────────────────────────┼───────────┤
│ Шампуни, дезодоранты, │БН I-1-1, БН I-2-3, │ПЭВД, ПЭНД,│
│поглотители запахов, сред- │БН II-2-8, БН III-2-9, │ПП, ПВХ │
│ства для защиты растений │БН III-2-12 │ │
│и прочие товары бытовой │ │ │
│химии пастообразные │ │ │
├───────────────────────────┼────────────────────────┼───────────┤
│ Технические масла и │БН I-1-1, БТ I-1-19, │ПЭНД │
│смазочные материалы │БТ I-1-22, БТ II-1-23, │ │
│ │БТ III-1-27, КН I-1-28, │ │
│ │КН II-1-32 │ │
├───────────────────────────┼────────────────────────┼───────────┤
│ Пищевые продукты │БН III-2-11, БН IV-2-16,│- │
│ │БТ I-1-20, БТ III-1-25, │ │
│ │КН I-1-31 │ │
├───────────────────────────┼────────────────────────┼───────────┤
│ Лекарственные средства и │БН I-2-5, БН I-3-6 │- │
│препараты │ │ │
├───────────────────────────┴────────────────────────┴───────────┤
│ Примечание. Материалы для изготовления тары, предназначенной│
│для упаковывания пищевых продуктов, лекарственных и│
│косметических средств, устанавливают Госсанэпидслужбы Российской│
│Федерации. │
└────────────────────────────────────────────────────────────────┘
Таблица Г.2
Марки полимерных материалов для изготовления тары
в зависимости от технологии изготовления тары
┌───────────────────┬────────────────────────────────────────────┐
│ Полимерный │ Марка полимерного материала │
│ материал ├──────────────────────┬─────────────────────┤
│ │ экструзия с раздувом │ литье │
├───────────────────┼──────────────────────┼─────────────────────┤
│ПЭВД по
ГОСТ 16337 │10703-020, 10803-020, │10803-020, 11304-040,│
│ │15803-020, 16204-020, │11503-070, 16204-020,│
│ │16405-020, │16405-020, 16904-040,│
│ │10204-003
<*>, │16803-070, 17305-070,│
│ │15003-002
<*>, │18003-030, 18103-035,│
│ │15303-003
<*> │10204-003
<*>, │
├───────────────────┼──────────────────────┼─────────────────────┤
│ │20508-007, 20608-012, │ │
│суспензионный │20708-016, 20808-024, │ │
│ │20908-04 │ │
│ ├──────────────────────┼─────────────────────┤
│газофазный │276-73, 276-75, │276-73, 276-75, │
│ │276-83, 276-84 │276-83, 276-84, │
│ │276-85, 276-95 │276-85, 276-95, │
│ │ │277-73, 277-83 │
├───────────────────┼──────────────────────┼─────────────────────┤
│ПП по
ГОСТ 26996 │21012, 21015, 21020, │01010, 01020, 21030, │
│ │21030, 22015 │21020, 21060, 22015, │
│ │ │22030 │
├───────────────────┼──────────────────────┼─────────────────────┤
│ │ │ПСМ-115, ПСМ-118 │
├───────────────────┼──────────────────────┼─────────────────────┤
│ПС по
ГОСТ 28250 │УПС-0801, УПМ-0508 │УПС-0801, УПС-0803Л, │
│ │ │УПМ-0703Л, УПМ-0612Л,│
│ │ │УПМ-0508 │
├───────────────────┼──────────────────────┼─────────────────────┤
│ПВХ по
ГОСТ 14332 │ПВХ-С-6388-Ж, ПВХ-С- │ПВХ-С-6388-Ж, │
│ │6370-Ж │ПВХ-С-6370-Ж │
├───────────────────┼──────────────────────┼─────────────────────┤
│ПЭТФ по НД │- │- │
├───────────────────┴──────────────────────┴─────────────────────┤
│ <*> Марки полиэтилена для упаковываемой продукции (средства│
│чистящие, моющие, отбеливающие, дезинфицирующие и др.),│
│содержащей поверхностно-активные вещества. │
│ │
│ Примечание. Марки материалов для изготовления тары,│
│предназначенной для упаковывания пищевых продуктов,│
│лекарственных и косметических средств устанавливаются│
│службами Госсанэпиднадзора Российской Федерации. │
└────────────────────────────────────────────────────────────────┘
(рекомендуемое)
ПРИМЕНЕНИЕ СМЕСЕЙ ПОЛИЭТИЛЕНА, ВТОРИЧНОГО ПОЛИЭТИЛЕНА
И ТЕХНОЛОГИЧЕСКИХ ОТХОДОВ ДЛЯ ИЗГОТОВЛЕНИЯ ТАРЫ
Таблица Д.1
┌──────────────────────────────────────┬─────────────────────────┐
│ Упаковываемая продукция │Смесь ПЭВД по
ГОСТ 16337 │
│ │ с материалом │
│ ├─────────────┬───────────┤
│ │наименование │содержание │
│ │ материала │материала │
│ │ │в смеси, % │
├──────────────────────────────────────┼─────────────┼───────────┤
│ Лаки водно-дисперсионные, поливинил-│ПЭНД по │До 30 │
│дисперсии поливинилацетатные. │ │ │
│ Краски, грунтовки, шпатлевки водно- │ │ │
│дисперсионные. │ │ │
│ Олифы, растворители, разбавители, │ │ │
│сиккативы. │ │ │
│ Олифа натуральная, жидкость │ │ │
│гидротормозная. │ │ │
│ Пигменты и краски для художественных│ │ │
│работ │ │ │
├──────────────────────────────────────┼─────────────┼───────────┤
│ Составы полирующие, вода полировоч- │ПЭНД по │До 50 │
│ная, пасты полировочные, шлифовочные, │
ГОСТ 16338 │ │
│уплотнительные, мастики, замазки. │ │ │
│ Клеи, клеящие средства. │ │ │
│ Моющие, чистящие, пеномоющие, │ │ │
│отбеливающие, дезинфицирующие средства│ │ │
│и другие товары бытовой химии, жидкие,│ │ │
│пастообразные и порошкообразные │ │ │
├──────────────────────────────────────┼─────────────┼───────────┤
│ Технические масла и смазочные │ПЭНД по │До 50 │
│ Пищевые продукты. │ │ │
│ Лекарственные средства и препараты │ │ │
├──────────────────────────────────────┼─────────────┼───────────┤
│ Краски, эмали, грунтовки, содержащие│ПЭНД по │50 │
│органические растворители: спирт, │
ГОСТ 16338 │ │
│уайт-спирит. │ │ │
│ Лаки полиэфирные ненасыщенные. │ │ │
│ Краски густотертые, шпатлевки. │ │ │
│ Клеи, клеящие средства. │ │ │
│ Технические масла и смазочные │ │ │
│материалы │ │ │
├──────────────────────────────────────┼─────────────┼───────────┤
│ Краски, эмали, грунтовки, содержащие│ПЭНД по │До 50 │
│органические растворители: спирт, │
ГОСТ 16338 с │ │
│уайт-спирит. │технологи- │ │
│ Лаки полиэфирные ненасыщенные. │ческими │ │
│ Краски густотертые, шпатлевки. │отходами │ │
│ Клеи, клеящие средства. │ │ │
│ Моющие, чистящие, отбеливающие, │ │ │
│дезинфицирующие средства и другие │ │ │
│товары бытовой химии жидкие и пасто- │ │ │
│образные. │ │ │
│ Технические масла и смазочные │ │ │
│материалы │ │ │
├──────────────────────────────────────┼─────────────┼───────────┤
│ Лаки водно-дисперсионные, поливинил-│Технологи- │До 50 │
│ацетатные, политуры спиртовые, │ческие │ │
│дисперсии поливинилацетатные. │отходы │ │
│ Краски, грунтовки, шпатлевки водно- │ │ │
│дисперсионные. ├─────────────┼───────────┤
│ Олифы, растворители, разбавители, │Вторичный │До 10 │
│сиккативы. Олифа натуральная, жидкость│полиэтилен │ │
│гидротормозная. Пигменты и краски для │ │ │
│художественных работ │ │ │
├──────────────────────────────────────┴─────────────┴───────────┤
│ Примечание. Тару, предназначенную для упаковывания продукции,│
│содержащей поверхностно-активные вещества, изготовляют из смеси,│
│содержащей ПЭНД не более 15% - для бутылок и 33% - для банок. │
└────────────────────────────────────────────────────────────────┘
(рекомендуемое)
ПИКТОГРАММЫ, НАНОСИМЫЕ НА ТАРУ (ИЛИ НА УПАКОВОЧНЫЙ ЛИСТ)
1 - для пищевых продуктов; 2 - для лекарственных веществ;
3 - для парфюмерно-косметической продукции;
4 - для непищевых продуктов; 5 - для химической продукции
Рисунок Е.1. Пиктограммы, характеризующие продукцию
а - "Петля Мебиуса", восстанавливаемая (вторичная
переработка) упаковка; б - знак, призывающий к охране
окружающей среды (не сорить, поддерживать чистоту и сдавать
тару для вторичной переработки)
Рисунок Е.2. Экологическая маркировка
(рекомендуемое)
ЗНАЧЕНИЯ УРОВНЯ НЕСООТВЕТСТВИЙ И РИСКА ПОТРЕБИТЕЛЯ
ДЛЯ СХЕМ СТАТИСТИЧЕСКОГО ПРИЕМОЧНОГО КОНТРОЛЯ ПОСТАВЩИКА
Таблица Ж.1
Значения уровня несоответствий NQL
┌────────────────┬───────────────────┬───────────────────────────┐
│ Вид дефектов │Показатель качества│Уровень несоответствий NQL │
│ │ по
таблице 8 ├──────────────┬────────────┤
│ │ │процент несо- │число несо- │
│ │ │ответствующих │ответствий │
│ │ │единиц тары в │на 100 │
│ │ │партии │единиц тары │
├────────────────┼───────────────────┼──────────────┼────────────┤
│Критические │
6 -
10 │1 │4,0 │
├────────────────┼───────────────────┼──────────────┼────────────┤
│Значительные │
3,
11,
12,
14,
15 │2,5 │10,0 │
├────────────────┼───────────────────┼──────────────┼────────────┤
│Малозначительные│
1,
2,
4,
5,
13 │4,0 │15,0 │
└────────────────┴───────────────────┴──────────────┴────────────┘
Таблица Ж.2
Значения риска потребителя
в зависимости от степени доверия к поставщику
┌─────────────────────────────────────────────────┬──────────────┐
│ Степень доверия │Нормативное │
│ │значение риска│
│ │потребителя │
│ │ бета │
│ │ 0 │
├─────────────────────────────────────────────────┼──────────────┤
│ Т1 - требование сплошного контроля тары перед │0 │
│поставкой потребителю │ │
├─────────────────────────────────────────────────┼──────────────┤
│ Т2 - отсутствие надежной информации о возмож- │0,1 │
│ностях поставщика обеспечить требуемое качество │ │
│или информация о низком качестве его поставок, │ │
│отрицательные отзывы других потребителей │ │
├─────────────────────────────────────────────────┼──────────────┤
│ Т3 - отсутствие сертификата на тару и систему │0,25 │
│обеспечения качества, отсутствие собственного │ │
│опыта заказов у данного поставщика, отсутствие │ │
│процедур статистического управления технологи- │ │
│ческими процессами, но при учете косвенной │ │
│положительной информации от других потребителей │ │
│или обществ потребителей │ │
├─────────────────────────────────────────────────┼──────────────┤
│ Т4 - отсутствие у поставщика сертификата на │0,5 │
│систему обеспечения качества, но при наличии │ │
│сертификата на тару и продолжительного периода │ │
│поставок продукции удовлетворительного качества, │ │
│положительная оценка системы качества самим │ │
│потребителем, внедрение статистического │ │
│управления технологическими процессами на │ │
│отдельных этапах производства │ │
├─────────────────────────────────────────────────┼──────────────┤
│ Т5 - наличие сертификата на систему обеспечения│0,75 │
│поставщиком процедур статистического управления │ │
│технологическими процессами, долговременные │ │
│поставки высококачественной тары и т.д. │ │
├─────────────────────────────────────────────────┼──────────────┤
│ Т6 - наличие у поставщика сертификата на │0,9 │
│цедур статистического управления технологическими│ │
│процессами, положительный опыт собственных │ │
│заказов у данного поставщика и т.п. │ │
├─────────────────────────────────────────────────┼──────────────┤
│ Т7 - наличие у поставщика сертификата на │1,0 <*> │
│сертификата на производство, сертификата на │ │
│тару, гигиенического сертификата безопасности на │ │
│материалы, из которых изготовлена тара, покрытия,│ │
│герметизирующие уплотнители, пробки и другие │ │
│съемные детали тары; безупречная репутация │ │
│поставщика, применение поставщиком процедур │ │
│статистического регулирования технологических │ │
│процессов, длительный период поставки тары без │ │
│претензий и т.п. │ │
├─────────────────────────────────────────────────┴──────────────┤
│ <*> Поставка готовой продукции без контроля поставщика. │
└────────────────────────────────────────────────────────────────┘
(справочное)
ПРИМЕРЫ ПРИМЕНЕНИЯ СТАТИСТИЧЕСКИХ МЕТОДОВ КОНТРОЛЯ
И.1. Пример 1
В договоре на поставку партий цилиндрических банок с навинчиваемой крышкой (БН I-1-1) установлен уровень несоответствий, выраженный в виде числа несоответствий на 100 единиц тары в партии, равный 15 несоответствиям на 100 единиц тары в партии, и нормативное значение риска потребителя (

= 0,25, соответствующее степени доверия Т3.
Следует разработать систему согласованных одноступенчатых планов статистического приемочного контроля поставщика и потребителя для партии любого объема для нормального и ослабленного контроля.
Контроль поставщика
По
таблицам А.138 и
А.139 ГОСТ Р 50779.52 для NQL = 15 находим допустимые объемы выборок и приемочные числа для нормального и ослабленного контроля в соответствии с таблицей И.1.
Таблица И.1
┌────────────────────────────────┬───────────────────────────────┐
│ Нормальный контроль │ Ослабленный контроль │
├─────────────────┬──────────────┼─────────────────┬─────────────┤
│ Объем выборки n │ Приемочное │ Объем выборки n │ Приемочное │
│ │ число С │ │ число С │
├─────────────────┼──────────────┼─────────────────┼─────────────┤
│11 │0 │5 │0 │
│20 │1 │12 │1 │
│28 │2 │18 │2 │
│45 │4 │38 │5 │
│83 │9 │132 │19 │
│293 │38 │ │ │
└─────────────────┴──────────────┴─────────────────┴─────────────┘
Поставщик оценил фактический уровень несоответствий - не более двух несоответствий на 100 единиц тары.
Это значение попадает в интервал уровня несоответствий до 2,5, которому соответствует план нормального контроля с объемом выборки 28 и приемочным числом 2 и план ослабленного контроля с объемом выборки 12 и приемочным числом 1.
При этом плане партии должны быть приняты поставщиком по указанной группе несоответствий, если в выборке из 28 единиц тары будет обнаружено не более двух несоответствий данной группы. Этот план обеспечивает вероятность приемки не менее 0,95 партий, обладающих не более чем двумя несоответствиями данной группы на 100 единиц тары.
Контроль потребителя
Потребитель назначил для входного контроля объем выборки, равный 10 единицам тары.
По
таблице А.154 ГОСТ Р 50779.52 каталога допустимых планов контроля потребителя для NQL = 15 и объема выборки 10 находим браковочное число 5.
Тогда для предъявления претензии к поставщику потребитель должен обнаружить в выборке из 10 изделий не менее 5 несоответствий из контролируемых несоответствий 15 видов.
И.2. Пример 2
В договоре на поставку партий прямоугольных канистр с навинчиваемой крышкой (КН I-1-27) установлено значение нормативного уровня несоответствий в партиях NQL = 4% и нормативное значение риска потребителя

= 0,25, соответствующее степени доверия Т3. Объем партии - 2500 шт.
Для приемочного контроля партий канистр поставщиком определены одноступенчатые планы контроля. В этом случае для выбора одноступенчатого плана используют
таблицу А.37 ГОСТ Р 50779.52 каталога допустимых одноступенчатых планов статистического приемочного контроля поставщика. Допустимые планы контроля при соответствующем NQL = 4% представлены в таблице И.2.
Таблица И.2
┌────────────────────┬─────────────────────┬─────────────────────┐
│ Объем выборки n │ Приемочное число С │ Браковочное число R │
├────────────────────┼─────────────────────┼─────────────────────┤
│34 │0 │1 │
│67 │1 │2 │
│98 │2 │3 │
│127 │3 │4 │
│213 │6 │7 │
│729 │25 │26 │
└────────────────────┴─────────────────────┴─────────────────────┘
Любой из приведенных планов может быть использован поставщиком канистр для проведения статистического приемочного контроля, т.к. все они гарантируют вероятность приемки не более 0,25 для партий с фактическим (входным) количеством несоответствующих канистр по таблице 8 настоящего стандарта, превышающим 4%.
Если поставщик установил, что фактический процент несоответствующих канистр находится в пределах 0,8% - 1%, то следует применять план контроля, соответствующий интервалу уровня несоответствий 0,65 - 1,0, т.е. план с объемом выборки 127 и приемочным числом 3. Этот план гарантирует поставщику высокую вероятность (не менее 0,95) приемки продукции с процентом несоответствующих единиц продукции не более 1,0%.
По результатам приемочного контроля партий за месяц доля приемки партий канистр по показателям таблицы 8 настоящего стандарта составила 85%. Это свидетельствует о том, что фактический уровень несоответствий превышает 1,0%. На очередной период поставщик без согласия с потребителем переходит к применению плана контроля, соответствующего интервалу уровней несоответствий 1,0% - 1,5%, т.е. к плану с объемом выборки 213 и приемочным числом 6.
После проведения мероприятий, направленных на повышение качества канистр, доля приемки партий за месяц составила 93%. В этом случае поставщик в одностороннем порядке решает перейти на план контроля с меньшим объемом выборки. Если доля несоответствующих единиц канистр снижена до 0,4%, то поставщику следует перейти к плану контроля с объемом выборки 67 и приемочным числом 1, соответствующим интервалу уровня несоответствий 0,25% - 0,4%.
И.3. Пример 3
Поставщик имеет сертификат на систему обеспечения качества по
ГОСТ Р ИСО 9001 и применяет процедуры статистического управления технологическими процессами, а также имеется положительный опыт заказов у данного поставщика.
В нормативных документах на полимерные фигурные бутылки (БТ III-1-25) установлен уровень несоответствий, выраженный в виде числа несоответствий на 100 единиц тары в партии, равный 4 несоответствиям на 100 единиц тары в партии, и нормативное значение риска потребителя

= 0,9, соответствующее степени доверия Т6.
Следует разработать систему согласованных одноступенчатых планов статистического приемочного контроля поставщика и потребителя для партии любого объема для нормального и ослабленного контроля.
Контроль поставщика
По
таблицам А.144 и
А.145 ГОСТ Р 50779.52 для NQL = 4 находим допустимые объемы выборок и приемочные числа для нормального и ослабленного контроля в соответствии с таблицей И.3.
Таблица И.3
┌────────────────────────────────┬───────────────────────────────┐
│ Нормальный контроль │ Ослабленный контроль │
├─────────────────┬──────────────┼─────────────────┬─────────────┤
│Объем выборки n │ Приемочное │ Объем выборки n │ Приемочное │
│ │ число С │ │ число С │
├─────────────────┼──────────────┼─────────────────┼─────────────┤
│8 │0 │2 │0 │
│25 │1 │ │ │
│44 │2 │ │ │
│128 │6 │ │ │
└─────────────────┴──────────────┴─────────────────┴─────────────┘
Поставщик оценил фактический уровень несоответствий - не более одного несоответствия на 100 единиц тары.
Это значение попадает в интервал уровня несоответствий до 1,0, которому соответствует план нормального контроля с объемом выборки 25 и приемочным числом 1 и план ослабленного контроля с объемом выборки 2 и приемочным числом 0.
При этом плане партии должны быть приняты поставщиком по указанной группе несоответствий, если в выборке из 25 единиц тары будет обнаружено не более одного несоответствия данной группы. Этот план обеспечивает вероятность приемки не менее 0,95 партий, обладающих не более чем одним несоответствием данной группы на 100 единиц тары.
Контроль потребителя
Потребитель назначил для входного контроля объем выборки, равный 10 единицам тары.
По
таблице А.154 ГОСТ Р 50779.52 каталога допустимых планов контроля потребителя для NQL = 4 и объема выборки 10 находим браковочное число 3.
Тогда для предъявления претензии к поставщику потребитель должен обнаружить в выборке из 10 изделий не менее 3 несоответствий из контролируемых несоответствий 15 видов.
(рекомендуемое)
ОБОРУДОВАНИЕ, СРЕДСТВА КОНТРОЛЯ
И ВСПОМОГАТЕЛЬНЫЕ УСТРОЙСТВА, ПРИМЕНЯЕМЫЕ ДЛЯ КОНТРОЛЯ
Таблица К.1
┌──────┬──────────┬────────────┬───────────┬──────────┬─────────────────────┬─────────┐
│Номер │Наименова-│Номинальное │Допускаемое│Испыта- │ Средство контроля │Вспомога-│
│пункта│ние прове-│значение │отклонение │тельное │ │тельное │
│ │ряемого │ │от номи- │оборудо- │ │оборудо- │
│ │параметра │ │нального │вание │ │вание и │
│ │ │ │значения │ │ │материалы│
├──────┼──────────┼────────────┼───────────┼──────────┼─────────────────────┼─────────┤
│
9.1.2 │ Кондицио-│ │ │ Климати-│ Логометр самопишу- │- │
│ │нирование │ │ │ческая ка-│щий многоточечный и │ │
│ │тары: │ │ │мера типа │другие приборы, уста-│ │
│ │ темпера- │20 °С │+/- 2 °С │КТХВ- │новленные в камере │ │
│ │тура │ │ │0,5-10/100│ │ │
│ │ влажность│65% │+/- 35% │ │ │ │
├──────┼──────────┼────────────┼───────────┼──────────┼─────────────────────┼─────────┤
│
9.3.1 │ Геометри-│21 - 360 мм │+/- 0,1 мм │- │ Штангенциркуль ШЦ- │- │
│ │ческие │ │ │ │150, штангенциркуль │ │
│ │размеры │ │ │ │2 ШЦ-500 по
ГОСТ 166.│ │
│ │тары │ │ │ │ Штангенрейсмас ШР │ │
│ │ │ │ │ │ Нутромер по ГОСТ │ │
│ │ │ │ │ │ Калибры или шаблоны │ │
│ │ │ │ │ │под конкретные пара- │ │
│ │ │ │ │ │метры тары │ │
├──────┼──────────┼────────────┼───────────┼──────────┼─────────────────────┼─────────┤
│
9.4.1 │ Минималь-│0,2 - 2,0 мм│+/- 0,05 мм│- │ Индикатор часового │ Стойка │
│ │ная тол- │ │ │ │типа ИЧ-4 по │измери- │
│ │щина стен-│ │ │ │
ГОСТ 577. │тельная │
│ │ки │ │ │ │ Микрометр по │С-1, │
│ │ │ │ │ │ │пинцет │
├──────┼──────────┼────────────┼───────────┼──────────┼─────────────────────┼─────────┤
│
9.5.1 │ Номиналь-│0,04 - │+/- 10% │- │ Стеклянные мерные │Вода │
│ │ная вме- │ 10,0 дм3│ │ │цилиндры на 250, 500,│дистил- │
│ │стимость │ │ │ │1000, 2000 см3 по │лирован- │
│ │ │ │ │ │ Весы квадрантные │ │
│ │ │ │ │ │ВЛКТ-500 по ГОСТ │ │
│ │ │ │ │ │24104. │ │
│ │ │ │ │ │ Термометр ТМ-10,0 - │ │
│ │ │ │ │ │100 °С │ │
├──────┼──────────┼────────────┼───────────┼──────────┼─────────────────────┼─────────┤
ИС МЕГАНОРМ: примечание.
Взамен ГОСТ 24104-88 Постановлением Госстандарта РФ от
26.10.2001 N 439-ст с 1 июля 2002 года введен в действие
│
9.6.1 │ Масса │5,0 - 440 г │+/- 10% │- │ Весы квадрантные │- │
│ │тары │ │ │ │ВЛКТ-500 по ГОСТ │ │
│ │ │ │ │ │24104 │ │
├──────┼──────────┼────────────┼───────────┼──────────┼─────────────────────┼─────────┤
│
9.7.1 │ Герметич-│0,1 - 0,2 │+/- 1% │ Стенд для│ Манометр с пределом │- │
│ │ность │кгс/см2 │ │испытания │измерения до 1 │ │
│ │ │ │ │тары на │кгс/см2 МО-160-0,4. │ │
│ │ │ │ │герметич- │ Секундомер СОПРпр- │ │
│ │ │ │ │ность │2а-3 │ │
├──────┼──────────┼────────────┼───────────┼──────────┼─────────────────────┼─────────┤
│
9.8.1 │ Герметич-│минус 0,1 - │+/- 1% │ Стенд для│ Вакуумметр с преде- │- │
│ │ность уку-│минус 0,2 │ │испытания │лом измерения до │ │
│ │поривания │кгс/см2 │ │тары на │минус 1 кгс/см2 ВО- │ │
│ │ │ │ │герметич- │160-0,4 │ │
│ │ │ │ │ность уку-│ │ │
│ │ │ │ │поривания │ │ │
├──────┼──────────┼────────────┼───────────┼──────────┼─────────────────────┼─────────┤
│
9.9.1 │ Прочность│700 - 1200 │+/- 10 мм │ Стенд для│ Рулетка РМ-3000 по │- │
│ │сывание │ │ │тары на │ │ │
│ │при сво- │ │ │прочность │ │ │
│ │бодном │ │ │методом │ │ │
│ │падении │ │ │свободного│ │ │
│ │ │ │ │падения │ │ │
├──────┼──────────┼────────────┼───────────┼──────────┼─────────────────────┼─────────┤
│
9.10.1│ Механи- │0 - 1000 Н │+/- 2% │ Стенд для│ Манометр с пределом │- │
│ │ческая │ │ │испытания │измерения 0 - 6 │ │
│ │прочность │ │ │тары │кгс/см2 МО-160-0,4 │ │
│ │на сжатие │ │ │на сжатие │(специальная градуи- │ │
├──────┼──────────┼────────────┼───────────┼──────────┼─────────────────────┼─────────┤
│
9.11.1│ Прочность│0 - 250 Н │+/- 1% │ Стенд для│ Электронный измери- │ Приспо- │
│ │ручек и │(0 - 2500 │ │испытания │тель усилия с преде- │собления │
│ │прочность │кгс) │ │элементов │лом измерения │для соз- │
│ │крепления │ │ │тары на │0 - 200 кгс в соста- │дания на-│
│ │ручек │ │ │прочность │ве: датчик ДСТ-1909, │правлен- │
│ │ │ │ │(
Приложе- │усилитель ПА-1, │ного уси-│
│ │ │ │ │
ние М) │цифровой вольтметр │лия и для│
│ │ │ │ │ │тип 833 с пределом │крепления│
│ │ │ │ │ │измерения 0 - 1 В │тары в │
│ │ │ │ │ │ │необходи-│
│ │ │ │ │ │ │мом поло-│
│ │ │ │ │ │ │жении │
├──────┼──────────┼────────────┼───────────┼──────────┼─────────────────────┼─────────┤
│
9.12.1│ Стойкость│ │ │ Термостат│ Термометр │- │
│ │к горячей │ │ │с диапазо-│ТМ-10,0-100 °С, │ │
│ │воде: │ │ │ном темпе-│ц.д. 0,2 °С. │ │
│ │ темпера- │70 °С │+/- 5 °С │ратур 20 -│ Секундомер │ │
│ │тура │ │ │100 °С, │СОПРпр2а-3 │ │
│ │ │ │ │погрешнос-│ │ │
│ │ │ │ │тью термо-│ │ │
│ │ │ │ │статирова-│ │ │
│ │ │ │ │ния │ │ │
│ │ │ │ │+/- 1 °С │ │ │
├──────┼──────────┼────────────┼───────────┼──────────┼─────────────────────┼─────────┤
│
9.13.1│ Химичес- │ │ │ Климати- │ Штангенциркуль │Химичес- │
│ │кая стой- │ │ │ческая │ШЦ-150, штангенцир- │кая посу-│
│ │кость: │ │ │камера │куль 2 ШЦ-500 по │да, нож- │
│ │ темпера- │20 °С и │+/- 2 °С │типа КТХВ-│
ГОСТ 166. │ницы, │
│ │тура │40 °С │ │0,5-10/100│ Штангенрейсмас │пинцет, │
│ │ изменение│21 - 360 мм │+/- 0,1 мм │ │ШР-500 по
ГОСТ 164. │химичес- │
│ │размеров │ │ │ │ Нутрометр по ГОСТ │кие реа- │
├──────┼──────────┼────────────┼───────────┼──────────┼─────────────────────┼─────────┤
│
9.15.1│ Тепло- │40 °С │+/- 2 °С │ Климати- │ Штангенциркуль │- │
│ │стойкость │ │ │ческая │ШЦ-150, штангенцир- │ │
│ │ │ │ │камера │куль 2 ШЦ-500 по │ │
│ │ │ │ │0,5-10/100│ Калибры и шаблоны │ │
│ │ │ │ │ │под конкретные │ │
│ │ │ │ │ │параметры тары. │ │
│ │ │ │ │ │ Секундомер СОПРпр- │ │
│ │ │ │ │ │2а-3 │ │
├──────┼──────────┼────────────┼───────────┼──────────┼─────────────────────┼─────────┤
│
9.16.1│ Морозо- │минус 25 °С │+/- 2 °С │ Климати- │ Штангенциркуль │- │
│ │стойкость │ │ │ческая │ШЦ-150, штангенцир- │ │
│ │ │ │ │камера │куль 2 ШЦ-500 по │ │
│ │ │ │ │0,5-10/100│ Калибры и шаблоны │ │
│ │ │ │ │ │под конкретные │ │
│ │ │ │ │ │параметры тары. │ │
│ │ │ │ │ │ Секундомер │ │
│ │ │ │ │ │СОПРпр-2а-3 │ │
├──────┴──────────┴────────────┴───────────┴──────────┴─────────────────────┴─────────┤
│ Примечания. 1. Для проведения испытаний и контроля могут │
│применяться другие средства испытаний и другие средства │
│измерений с техническими характеристиками не ниже рекомендуемых │
│настоящим стандартом. │
│ 2. Испытательное оборудование должно быть аттестовано │
└─────────────────────────────────────────────────────────────────────────────────────┘
(рекомендуемое)

- непроходной размер, при котором высота больше
установленного размера.

- проходной размер, при котором высота меньше
установленного размера
Рисунок Л.1. Калибр для контроля высоты тары

- непроходной размер, при котором диаметр больше
установленного размера.

- проходной размер, при котором диаметр меньше
установленного размера
Рисунок Л.2. Калибр для контроля диаметра тары

- непроходной размер, при котором калибр не проходит
в горловину тары.

- проходной размер, при котором калибр проходит
в горловину тары
Рисунок Л.3. Калибр для контроля диаметра горловины тары
(рекомендуемое)
СХЕМЫ СТЕНДОВ ДЛЯ ИСПЫТАНИЙ ТАРЫ
1 - рабочий стол, 2 - пульт управления,
3 - клешни для зажима образца, 4 - испытательная ванна,
5 - рукоятка подъема клешней
Рисунок М.1. Схема конструкции стенда для испытания тары
на герметичность под давлением
1 - манометр, 2 - реле времени, 3 - редуктор избыточного
давления, 4 - пневмотумблер управления клешней,
5 - редуктор давления питания
Рисунок М.2. Схема пульта управления стендом для испытания
тары на герметичность под давлением
1 - рабочий стол, 2 - пульт управления, 3 - вакуумметр,
4 - вакуумная камера для испытаний
Рисунок М.3. Схема внешнего вида стенда для испытаний тары
на герметичность под вакуумметрическим давлением
1 - пресс; 2 - пульт управления; 3 - двухкоординатный
(усилие - нагрузка, перемещение - деформация)
регистрирующий прибор
Рисунок М.4. Схема стенда для испытаний банок на прочность
методом сжатия
1 - устройство прижима тары; 2 - подвижный упор;
3 - неподвижный упор; 4 - серьга; 5 - датчик усилий;
6 - рукоятка привода гидронасоса; 7 - цифровой вольтметр;
8 - рукоятка подъема гидроцилиндра
Рисунок М.5. Схема конструкции стенда для испытаний
прочности ручек и прочности крепления ручек
(справочное)
ОРГАНИЧЕСКИХ РАСТВОРИТЕЛЕЙ, ИСПОЛЬЗУЕМЫХ
ДЛЯ ИСПЫТАНИЙ ПОЛИМЕРНОЙ ТАРЫ НА ПРОНИЦАЕМОСТЬ
Таблица Н.1
Органический растворитель | Обозначение нормативного документа |
Ацетон | |
Бутилацетат | |
Бензол | |
Ксилол | |
Скипидар | |
Сольвент | |
Спирты: бутиловый изопропиловый изобутиловый этиловый | ГОСТ 5208 |
Стирол | ГОСТ 10003 |
Толуол | |
Углерод четыреххлористый | |
Уайт-спирит (нефрас-С4-155/200) | |
Этилацетат | |
Этилцеллозольв | |
Этиленгликоль | |
Циклогексанон | ГОСТ 24615 |
(справочное)
БИБЛИОГРАФИЯ
[1] МУ 1833-78 Методические указания по гигиенической оценке печатных красок, предназначенных для полиграфического оформления упаковочных материалов, применяемых в пищевой промышленности.