Главная // Актуальные документы // ГОСТ (Государственный стандарт)СПРАВКА
Источник публикации
М.: Издательство стандартов, 1987
Примечание к документу
С 1 июля 2003 года до вступления в силу технических регламентов акты федеральных органов исполнительной власти в сфере технического регулирования носят рекомендательный характер и подлежат обязательному исполнению только в части, соответствующей целям, указанным в
пункте 1 статьи 46 Федерального закона от 27.12.2002 N 184-ФЗ.
Ограничение срока действия снято по Протоколу N 3-93 Межгосударственного совета по стандартизации, метрологии и сертификации ("ИУС", N 5-6, 1993).
Текст данного документа приведен с учетом
поправки, опубликованной в "ИУС", N 3, 1990.
Срок действия продлен до 1 января 1994 года Постановлением Госстандарта СССР от 27.09.1985 N 3161.
Документ
введен в действие с 1 января 1975 года.
Взамен ГОСТ 5827-68 и ГОСТ 5.834-71.
Название документа
"ГОСТ 20288-74* (СТ СЭВ 4804-84). Государственный стандарт Союза ССР. Реактивы. Углерод четыреххлористый. Технические условия"
(введен Постановлением Госстандарта СССР от 15.11.1974 N 2534)
(ред. от 01.09.1985)
"ГОСТ 20288-74* (СТ СЭВ 4804-84). Государственный стандарт Союза ССР. Реактивы. Углерод четыреххлористый. Технические условия"
(введен Постановлением Госстандарта СССР от 15.11.1974 N 2534)
(ред. от 01.09.1985)
Введен
Постановлением Государственного
комитета стандартов
Совета Министров СССР
от 15 ноября 1974 г. N 2534
ГОСУДАРСТВЕННЫЙ СТАНДАРТ СОЮЗА ССР
РЕАКТИВЫ
УГЛЕРОД ЧЕТЫРЕХХЛОРИСТЫЙ
ТЕХНИЧЕСКИЕ УСЛОВИЯ
Reagents. Carbon tetrachloride. Specifications
ГОСТ 20288-74*
(СТ СЭВ 4804-84)
| | Список изменяющих документов (в ред. Изменения N 1, утв. в августе 1980 г., Изменения N 2, утв. в сентябре 1985 г.) | |
ОКП 26 3161 0890 10
Взамен
ГОСТ 5827-68
и ГОСТ 5.834-71
Постановлением Государственного комитета стандартов Совета Министров СССР от 15 ноября 1974 г. N 2534 срок введения установлен
с 1 января 1975 года
Проверен в 1985 г. Постановлением Госстандарта от 27.09.85 N 3161 срок действия продлен
до 1 января 1994 года
Переиздание (декабрь 1986 г.) с Изменениями N 1, 2, утвержденными в августе 1980 г., сентябре 1985 г. (ИУС 11-80, 12-85).
Настоящий стандарт распространяется на четыреххлористый углерод, представляющий собой бесцветную прозрачную жидкость, нерастворимую в воде.
Формула CCl4.
Молекулярная масса (по международным атомным массам 1971 г.) - 153,82.
Температура кипения 76 - 77 °C, плотность 1,595 г/см3.
Стандарт полностью соответствует СТ СЭВ 4804-84.
Установленные настоящим стандартом показатели технического уровня предусмотрены для высшей категории качества.
1. ТЕХНИЧЕСКИЕ ТРЕБОВАНИЯ
1.1а. Четыреххлористый углерод должен быть изготовлен в соответствии с требованиями настоящего стандарта по технологическому регламенту, утвержденному в установленном порядке.
(Введен дополнительно, Изм. N 1).
1.1. По физико-химическим показателям четыреххлористый углерод должен соответствовать требованиям и нормам, указанным в табл. 1.
Таблица 1
Наименования показателей | Нормы |
Химически чистый (х.ч.) ОКП 26 3161 0893 07 | Чистый для анализа (ч.д.а.) ОКП 26 3161 0892 08 | Чистый (ч.) ОКП 26 3161 0891 09 |
1. Массовая доля четыреххлористого углерода, %, не менее | 99,80 | 99,60 | 99,60 |
2. Массовая доля нелетучего остатка, %, не более | 0,0002 | 0,0005 | 0,001 |
3. Массовая доля кислот в пересчете на HCl, %, не более | 0,0001 | 0,0001 | 0,0001 |
4. Массовая доля альдегидов (CH2O), %, не более | 0,0001 | 0,0001 | 0,0001 |
5. Массовая доля свободного хлора (Cl2), %, не более | 0,00003 | 0,00005 | 0,00005 |
6. Массовая доля хлоридов (Cl), %, не более | 0,00005 | 0,00005 | 0,00005 (0,00006) |
7. Массовая доля воды, %, не более | 0,003 | 0,005 | 0,006 |
8. Массовая доля веществ, реагирующих с иодом, в пересчете на CH 2O, %, не более | 0,0002 | 0,0002 | 0,0002 |
9. Массовая доля веществ, темнеющих под действием серной кислоты | Должен выдерживать испытание по п. 3.10 |
10. Массовая доля сероуглерода (CS2), %, не более | 0,0002 | 0,0002 | 0,0002 |
11. Проба на фосген | Должен выдерживать испытание по п. 3.12 |
Примечания:
1. По
показателям 3 -
6 и
8 проверяют продукт, предназначенный для экспорта, и по требованию потребителя.
2. Четыреххлористый углерод с показателем, указанным в скобках, допускается производить до 01.01.93.
(Измененная редакция, Изм. N 2).
2а. ТРЕБОВАНИЯ БЕЗОПАСНОСТИ
2а.1. Четыреххлористый углерод негорюч, неогнеопасен, при соприкосновении с открытым пламенем и раскаленными предметами разлагается с образованием фосгена.
Вдыхание паров четыреххлористого углерода опасно. Продукт при высоких концентрациях паров может вызвать острое отравление и хроническую интоксикацию, имеет класс опасности 2.
Четыреххлористый углерод обладает наркотическим действием.
Проникая через кожу, оказывает токсическое действие.
Предельно допускаемая концентрация (ПДК) паров четыреххлористого углерода в воздухе рабочей зоны 20 мг/м3.
2а.2. Разлитый четыреххлористый углерод посыпают песком, который затем убирают.
2а.3. Производственные помещения при работе с четыреххлористым углеродом должны быть оборудованы приточно-вытяжной вентиляцией. Анализы продукта следует проводить в вытяжном шкафу.
При работе с четыреххлористым углеродом необходимо использовать промышленный противогаз с коробкой марки А° или БКФ.
При концентрации паров четыреххлористого углерода выше допустимой необходимо применять изолирующие или шланговые противогазы.
(Введен дополнительно, Изм. N 2).
2.2. При ксантогенатном методе очистки продукта испытание на отсутствие фосгена можно не проводить.
(Введен дополнительно, Изм. N 2).
3.1а. Общие указания по проведению анализа - по СТ СЭВ 804-77.
(Введен дополнительно, Изм. N 1).
3.1. Пробы отбирают по
ГОСТ 3885-73. Масса средней пробы не должна быть менее 6,4 кг (4,0 дм
3). Количество четыреххлористого углерода, необходимого для анализа, отбирают пипеткой, бюреткой или цилиндром с погрешностью не более 1%.
3.2. Определение массовой доли четыреххлористого углерода
Метод заключается в газохроматографическом разделении примесей, "внутреннего эталона" и основного компонента, определения примесей с помощью пламенно-ионизационного детектора или детектора по теплопроводности.
Массовую долю четыреххлористого углерода (X) в процентах вычисляют по формуле

,
где X1 - массовая доля нелетучего остатка, %;
Xв - массовая доля воды, %;

- суммарное содержание примесей, определяемых газохроматографически, %;
X3 - массовая доля сероуглерода, %.
| | ИС МЕГАНОРМ: примечание. Нумерация пунктов дана в соответствии с официальным текстом документа. | |
3.2.1.1. Приборы, материалы и реактивы:
хроматограф газовый аналитический с детектором по теплопроводности или с пламенно-ионизационным детектором;
колонка газохроматографическая стеклянная или из нержавеющей стали марки 12Х18Н10Т
(ГОСТ 5632-72) длиной 2,0 м, внутренним диаметром 3 - 4 мм;
микрошприц МШ-10 вместимостью 10 мм3;
шприц медицинский вместимостью 1 см3;
газ-носитель: гелий газообразный технический (для детектора по теплопроводности) или азот газообразный по
ГОСТ 9293-74 (для пламенно-ионизационного детектора);
газы вспомогательные: водород технический по
ГОСТ 3022-80 и воздух сжатый для питания приборов;
фаза неподвижная: полиэтилсилоксан (ПЭС-5) по
ГОСТ 13004-77 или апиезон
L, или другие жидкие фазы;
носитель твердый: сферохром-1 (с минимальными адсорбционными свойствами, с частицами размером 0,25 - 0,5 мм) или хроматон N-AW-HMDS (с частицами размером 0,16 - 0,31 мм), или другие твердые носители, обладающие теми же адсорбционными свойствами;
| | ИС МЕГАНОРМ: примечание. Взамен ГОСТ 9968-73 Постановлением Госстандарта СССР от 19.12.1986 N 4123 с 1 января 1988 года введен в действие ГОСТ 9968-86. | |
метилен хлористый технический по ГОСТ 9968-73;
| | ИС МЕГАНОРМ: примечание. Взамен ГОСТ 20015-74 Постановлением Госстандарта СССР от 22.12.1988 N 4454 с 1 января 1991 года введен в действие ГОСТ 20015-88. | |
хлороформ технический по ГОСТ 20015-74;
эталон внутренний: н-октан или другие;
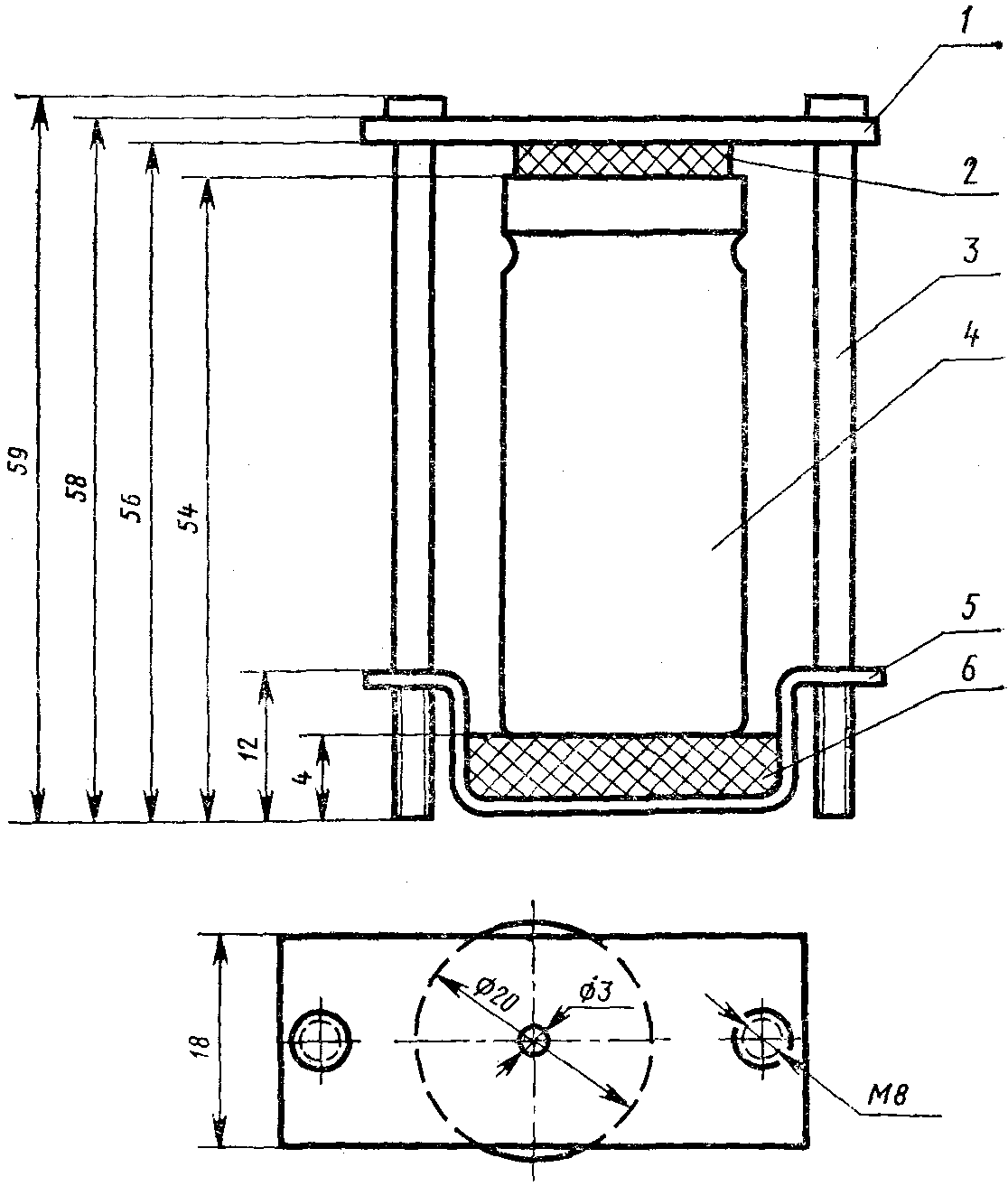
струбцина для герметизации пенициллиновой склянки (см.
черт. 3).
Пп. 3.2 - 3.2.1.1. (Измененная редакция, Изм. N 2).
3.2.1.2. Подготовка к анализу
Рабочую фракцию сферохрома-1 в фарфоровой чашке полностью покрывают 10%-ным раствором соляной кислоты и выдерживают в течение 3 ч при 20 °C, периодически перемешивая стеклянной палочкой, затем отмывают водой до нейтральной реакции по лакмусовой бумажке, сушат при 200 °C 3 - 4 ч и охлаждают. Затем сферохром-1 или хроматон N-AW-HMDS обрабатывают в фарфоровой чашке раствором ПЭС-5 или апиезона L (15% от массы твердого носителя) в хлористом метилене.
Хлористый метилен испаряют, подогревая чашку со смесью на водяной бане и непрерывно перемешивая ее содержимое. Газохроматографическую колонку перед заполнением промывают хлористым метиленом, высушивают и заполняют неподвижной фазой. Концы заполненной колонки закрывают тампонами из стекловаты.
Заполненную колонку устанавливают в термостат хроматографа и, не присоединяя к детектору, продувают газом-носителем 3 - 4 ч при 140 °C.
Неподвижная фаза, твердый носитель, длина и диаметр колонок должны быть подобраны так, чтобы обеспечить разделение пиков четыреххлористого углерода, примесей и внутреннего эталона.
Условия хроматографического разделения и параметры детектирующей системы должны обеспечить определение примесей при их массовой доле в продукте 0,01%.
3.2.1.3. Проведение анализа
Подготовку хроматографа к анализу и вывод прибора на рабочий режим производят в соответствии с инструкцией по монтажу и эксплуатации хроматографа, прилагаемой к прибору.
Условия работы хроматографа:
Температура колонки, °C ....................................... | 100 - 110 |
Температура детектора, °C ..................................... | в соответствии с инструкцией к хроматографу |
Температура испарителя, °C ................................. | 140 - 160 |
Скорость газа-носителя, мл/мин ........................... | 45 - 75 |
Скорость диаграммной ленты, мм/ч .................... | 400 |
Объем вводимой пробы, мкл ................................ | 10 |
Последовательность выхода компонентов из колонки указана в табл. 2.
Таблица 2
Наименования компонентов | Относительное время выхода |
1. Хлористый метилен | 0,10 |
2. Хлороформ | 0,26 |
3. Четыреххлористый углерод | 0,33 |
4. н-Октан | 1,00 |
Около 6,0000 (3,8 см
3) анализируемого четыреххлористого углерода взвешивают и добавляют 0,1 - 0,3% внутреннего эталона. Затем смесь с помощью микрошприца вводят в испаритель хроматографа и снимают хроматограмму. Типовая хроматограмма четыреххлористого углерода приведена на
черт. 1 и
2.
Пп. 3.2.1.2, 3.2.1.3. (Измененная редакция, Изм. N 2).
3.2.1.4. Обработка результатов
Количественное содержание примесей определяют методом внутреннего эталона или внутренней нормализации с учетом поправочных коэффициентов.
Допускается применение этих методов без учета градуировочных коэффициентов.
Для градуировки готовят несколько искусственных смесей, состоящих из растворителя - бензола, определяемых примесей при различных концентрациях и внутреннего эталона в количестве 0,1 - 0,3% от массы растворителя. 6 - 8 см
3 бензола помещают в пенициллиновую склянку, герметизируют ее при помощи резиновой прокладки и струбцины
(черт. 3). В склянку шприцем через резиновую прокладку поочередно добавляют примеси и внутренний эталон, взвешивая смесь после каждого добавления на весах с наибольшим пределом взвешивания 200 г. Результат взвешивания записывают с точностью до четвертого десятичного знака. Микрошприцем отбирают 10 мм
3 (при использовании детектора по теплопроводности) или 2 мм
3 (при использовании пламенно-ионизационного детектора) полученной смеси, вводят в испаритель прибора, снимают хроматограмму и определяют градуировочные коэффициенты для каждой примеси.
Типовая хроматограмма примесей
в четыреххлористом углероде на апиезоне L
1 - воздух; 2 - хлористый метилен; 3 - хлороформ;
4 - четыреххлористый углерод; 5 - "внутренний эталон"
Черт. 1
Типовая хроматограмма примесей
в четыреххлористом углероде на ПЭС-5
1 - воздух; 2 - хлористый метилен; 3 - хлороформ;
4 - четыреххлористый углерод; 5 - н-октан.
Черт. 2
1 - металлическая пластина; 2, 6 - резиновая прокладка;
3 - стяжной болт; 4 - пенициллиновая склянка;
5 - металлическая подставка.
Градуировочный коэффициент (Ki) вычисляют по формуле

,
где Sэт - площадь пика внутреннего эталона, мм2;
Si - площадь пика определяемой примеси, мм2;
mi - масса примеси, г;
mэт - масса внутреннего эталона, г.
Градуировочные коэффициенты определяют после смены фазы в колонке и стабилизации ее работы. Ориентировочные значения градуировочных коэффициентов: для хлористого метилена - 1,33, для хлороформа - 1,45.
3.2.1.5. Массовую долю каждой примеси в четыреххлористом углероде Xп в процентах вычисляют по формулам:
методом внутреннего эталона

;
методом внутренней нормализации

,
где Si - площадь пика определяемой примеси, мм2;
Sэт - площадь пика внутреннего эталона, мм2;
Ki - градуировочный коэффициент определяемой примеси;
mэт - масса навески внутреннего эталона, г;
m - масса навески четыреххлористого углерода, г.
За результат анализа принимают среднее арифметическое двух параллельных определений.
Допускаемые расхождения между двумя параллельными определениями не должны превышать 0,01% при доверительной вероятности P = 0,95.
3.3. Определение массовой доли нелетучего остатка
500 г (310 см
3) анализируемого препарата х.ч. или 300 г (188 см
3) анализируемого препарата ч.д.а. и ч. помещают в платиновую или кварцевую чашку, предварительно высушенную да постоянной массы и взвешенную на весах, с наибольшим пределом взвешивания 200 г (результат записывают с точностью до четвертого десятичного знака), и выпаривают по частям на водяной бане досуха при 60 - 70 °C. Далее определение проводят по
СТ СЭВ 433-77.
3.4. Определение массовой доли кислот в пересчете на HCl.
3.4.1. Реактивы и растворы:
метиловый красный (индикатор) 0,1%-ный спиртовой раствор готовят по
ГОСТ 4919.1-77;
| | ИС МЕГАНОРМ: примечание. Взамен ГОСТ 4517-75 Постановлением Госстандарта СССР от 29.10.1987 N 4093 с 1 июля 1988 года введен в действие ГОСТ 4517-87. | |
вода дистиллированная по
ГОСТ 6709-72, не содержащая углекислоты, готовят по ГОСТ 4517-75.
Пп. 3.2.1.4 - 3.4.1. (Измененная редакция, Изм. N 2).
3.4.2. Проведение анализа
100 см3 препарата встряхивают 1 мин с 40 см3 воды. После расслоения водный слой отделяют, прибавляют 1 - 3 капли раствора метилового красного и титруют из микробюретки раствором гидроокиси натрия до перехода окраски раствора в желтую.
3.4.3. Обработка результатов
Массовая доля кислоты в пересчете на HCl (X2) в процентах вычисляют по формуле

,
где V - объем раствора гидроокиси натрия концентрации точно 0,02 моль/дм3 (0,02 н.), израсходованный на титрование, см3;
100 - объем препарата, см3;
0,00073 - количество соляной кислоты, соответствующее 1 см3 раствора гидроокиси натрия концентрации точно 0,02 моль/дм3 (0,02 н.);

- плотность четыреххлористого углерода, г/см
3.
За результат анализа принимают среднее арифметическое двух параллельных определений.
Допускаемые расхождения между двумя параллельными определениями не должны превышать 0,00001% при доверительной вероятности P = 0,95.
3.5. Определение массовой доли альдегидов (CH2O)
Определение проводят по
ГОСТ 16457-76 визуально-колориметрическим методом. При этом 25 см
3 (40 г) препарата помещают в делительную воронку, прибавляют 20 см
3 воды, взбалтывают 2 мин и оставляют в покое до расслоения. Водный слой отделяют, фильтруют через маленький беззольный фильтр, помещают в коническую колбу вместимостью 50 см
3 с меткой на 23 см
3, доводят объем раствора водой до метки, прибавляют 2 см
3 фуксинсернистого реактива и перемешивают. Препарат считают соответствующим требованиям настоящего стандарта, если появившаяся через 30 мин розовая окраска анализируемого раствора не будет интенсивнее окраски раствора сравнения, приготовленного одновременно с анализируемым и содержащего в таком же объеме:
для препарата химически чистый - 0,04 мг CH2O;
для препарата чистый для анализа - 0,04 мг CH2O;
для препарата чистый - 0,04 мг CH2O и 2 см3 реактива фуксинсернистого.
3.6. Определение массовой доли свободного хлора
3.6.1. Реактивы и растворы
калий йодистый по
ГОСТ 4232-74, 10%-ный раствор свежеприготовленный;
углерод четыреххлористый, не содержащий свободного хлора, готовят следующим образом: 50 см3 четыреххлористого углерода тщательно перемешивают с 5 г гидроокиси калия в мерном цилиндре с притертой пробкой вместимостью 100 см3, встряхивая в течение 5 мин. Затем четыреххлористый углерод фильтруют через бумажный фильтр "синяя лента".
Раствор, содержащий хлор, готовят по
ГОСТ 4212-76; соответствующим разбавлением готовят раствор с концентрацией хлора 0,01 мг/см
3.
3.6.2. Проведение анализа
75 см3 (120 г) препарата химически чистый или 45 см3 (72 г) препарата чистый для анализа и чистый помещают в мерный цилиндр с притертой пробкой вместимостью 100 см3 и тщательно перемешивают с 1 см3 раствора йодистого калия, 9 см3 воды и 0,1 см3 раствора соляной кислоты, встряхивая в течение 2 мин. Одновременно в тех же условиях готовят раствор сравнения, состоящий из того же объема четыреххлористого углерода, не содержащего хлора, 0,036 мг хлора и тех же объемов реактивов.
Препарат соответствует требованиям настоящего стандарта, если наблюдаемая после разделения слоев в проходящем свете на белом фоне окраска слоя анализируемого четыреххлористого углерода будет не интенсивнее окраски раствора сравнения.
Пп. 3.6 - 3.6.2. (Измененная редакция, Изм. N 2).
3.7. Определение массовой доли хлоридов
Определение проводят по
ГОСТ 10671.7-74 фототурбидиметрическим (способ 2) или визуально-нефелометрическим методом. При этом 25 см
3 (40 г) препарата помещают в делительную воронку, прибавляют 25 см
3 воды и энергично встряхивают 3 - 5 мин. После расслоения водный слой отделяют и фильтруют через беззольный фильтр, трижды промытый горячим 1%-ным раствором азотной кислоты в коническую колбу вместимостью 100 см
3 с меткой на 40 см
3. Объем фильтрата доводят водой до метки, прибавляют 2 мл раствора азотной кислоты, 1 см
3 раствора азотнокислого серебра и перемешивают.
Препарат считают соответствующим требованиям настоящего стандарта, если наблюдаемая через 20 мин опалесценция анализируемого раствора не будет интенсивнее опалесценции раствора сравнения, приготовленного одновременно с анализируемым и содержащего в таком же объеме:
для препарата химически чистый - 0,020 мг Cl;
для препарата чистый для анализа - 0,020 мг Cl;
для препарата чистый - 0,02 (0,024) мг Cl,
2 см3 раствора азотной кислоты и 1 см3 раствора азотнокислого серебра.
При разногласиях в оценке массовой доли хлоридов анализ проводят фототурбидиметрическим методом.
(Измененная редакция, Изм. N 1).
3.8. Массовую долю воды определяют по ГОСТ 14870-77,
разд. 2, электрометрическим титрованием; допускается визуальное титрование (способ 1). При этом навеска препарата составляет 50 см
3 (80 г). Причем титр реактива Фишера должен быть 0,0016 - 0,0018 г/см
3. Допускаемые расхождения между двумя параллельными определениями не должны превышать 0,0002% при доверительной вероятности
P = 0,95.
3.9. Определение массовой доли веществ, реагирующих с йодом, в пересчете на CH2O
К 50 см
3 (80 г) препарата прибавляют 0,05 см
3 раствора йода (по
ГОСТ 4159-79) концентрации точно
c (1/2 J
2) = 0,1 моль/дм
3 (0,1 н.) и энергично взбалтывают.
Препарат считают соответствующим требованиям настоящего стандарта, если фиолетовая окраска раствора не исчезнет в течение 30 мин.
3.10. Определение массовой доли веществ, темнеющих под действием серной кислоты
3.10.1. Реактивы и растворы:
раствор, содержащий 4,50 г FeCl3·6H2O и 2,5 см3 соляной кислоты в объеме 100 см3;
раствор, содержащий 5,95 г CoCl2·6H2O и 2,5 см3 соляной кислоты в объеме 100 см3;
раствор, содержащий 6,24 г CuSO4·5H2O и 2,5 см3 соляной кислоты в объеме 100 см3;
Пп. 3.9 - 3.10.1. (Измененная редакция, Изм. N 1, 2).
3.10.2. Проведение анализа
20 см3 препарата помещают в цилиндр с притертой пробкой, предварительно промытый серной кислотой, осторожно прибавляют 5 мл серной кислоты и взбалтывают в течение 5 мин.
Препарат считают соответствующим требованиям настоящего стандарта, если после расслоения слой серной кислоты для препарата химически чистый и чистый для анализа, при сравнении с таким же объемом серной кислоты, - остается бесцветным, для препарата чистый - не будет по окраске интенсивнее раствора, содержащего 0,4 см3 раствора 6-водного хлористого кобальта, 0,7 см3 раствора хлорного железа, 0,4 см3 раствора 5-водной сернокислой меди (II) и 3,5 см3 воды.
(Измененная редакция, Изм. N 1).
3.11. Определение массовой доли сероуглерода
3.11.1. Реактивы, растворы и приборы:
йод по
ГОСТ 4159-79, раствор концентрации
c (1/2 J
2) = 0,1 моль/дм
3 (0,1 н.);
калия гидроокись по
ГОСТ 24363-80, водный раствор концентрации
c (KOH) = 0,1 моль/дм
3 (0,1 н.) и 10%-ный спиртовой раствор, профильтрованный через фильтр "белая лента";
калий ксантогенат этиловый, ч.д.а.;
кислота уксусная по
ГОСТ 61-75, ледяная, х.ч., 10%-ный раствор;
медь (II) сернокислая 5-водная по
ГОСТ 4165-78, 0,1%-ный раствор;
натрий серноватистокислый (тиосульфат натрия) по СТ СЭВ 223-75, раствор концентрации c (Na2S2O3·5H2O) = 0,1 моль/дм3 (0,1 н.);
спирт этиловый ректификованный технический по
ГОСТ 18300-72, высший сорт;
раствор концентрации CS
2 10 мг/см
3 готовят по
ГОСТ 4212-76. Соответствующим разбавлением этиловым спиртом готовят раствор концентрации CS
2 0,02 мг/см
3 или 1,0530 г ксантогената калия (считая на 100%-ный), что соответствует 0,5 г CS
2, растворяют в 500 см
3 водного раствора гидроокиси калия концентрации точно
c (KOH) = 0,1 моль/дм
3 (0,1 н.), соответствующим разбавлением водой готовят раствор концентрации CS
2 0,02 мг/см
3.
Концентрацию применяемого ксантогената калия определяют следующим образом: около 0,5000 г препарата растворяют в 50 см3 воды в конической колбе с притертой пробкой. Прибавляют 50 см3 раствора йода, закрывают колбу пробкой и оставляют на 5 мин. Затем прибавляют 2 см3 ледяной уксусной кислоты и титруют избыток йода раствором серноватистокислого натрия, прибавляя в конце титрования раствор крахмала.
1 см3 раствора йода концентрации точно c (1/2 J2) = 0,1 моль/дм3 (0,1 н.) соответствует 0,01603 г ксантогената калия;
| | ИС МЕГАНОРМ: примечание. ГОСТ 5850-72 утратил силу с 1 января 1989 года (ИУС "Государственные стандарты", N 8, 1988). | |
фенолфталеин (индикатор) по ГОСТ 5850-72, 1%-ный спиртовой раствор;
фотоэлектроколориметр типа ФЭК-56 или любой другой с аналогичной чувствительностью.
(Измененная редакция, Изм. N 2).
3.11.2. Построение градуировочного графика
В мерные цилиндры с метками на 25 см
3 с притертыми пробками микропипеткой или из микробюретки вводят 1, 2, 3, 4, 5 см
3 раствора концентрации CS
2 0,02 мг/см
3, что соответствует 0,02; 0,04; 0,06; 0,08; 0,10 см
3 CS
2, прибавляют в каждый цилиндр по 5 см
3 спиртового раствора гидроокиси калия, перемешивают и оставляют в покое на 5 мин. Затем прибавляют по 10 см
3 воды, по 1 капле раствора фенолфталеина, нейтрализуют по каплям 10%-ным раствором уксусной кислоты и прибавляют еще по 0,1 см
3 избытка того же раствора кислоты. Объем растворов доводят спиртом до 25 см
3, перемешивают, прибавляют по 0,5 см
3 раствора 5-водной сернокислой меди (II) и снова перемешивают; затем закрывают пробками и ставят в затемненное место. Одновременно готовят в двойном количестве (для заполнения двух кювет) контрольный раствор, не содержащий CS
2, в который добавляют в том же порядке реактивы в удвоенном количестве. Через 15 мин измеряют величину оптических плотностей полученных растворов сравнения по отношению к контрольному раствору на фотоэлектроколориметре с синим светофильтром в кювете с толщиной поглощающего свет слоя 50 мм (для прибора типа ФЭК-56 применяют светофильтр N 3

). По полученным данным строят градуировочный график: откладывая по оси абсцисс введенные в растворы сравнения количества сероуглерода в миллиграммах, а по оси ординат - соответствующие им величины оптических плотностей. Для построения каждой точки градуировочного графика вычисляют значение величины оптической плотности из трех параллельных определений.
Градуировочный график должен иметь вид прямой линии, проходящей через начало координат. Градуировочный график проверяют один раз в три месяца, а также при смене реактивов или фотоэлектроколориметра.
3.11.3. Проведение анализа
25 см3 (40 г) препарата помещают в делительную воронку, прибавляют 5 см3 спиртового раствора гидроокиси калия и энергично встряхивают. Через 5 мин прибавляют 10 см3 воды, снова встряхивают и оставляют на 5 - 10 мин для разделения слоев. Затем слой четыреххлористого углерода тщательно отделяют и отбрасывают, а водный слой помещают в мерный цилиндр с притертой пробкой, прибавляют 1 каплю раствора фенолфталеина, нейтрализуют по каплям 10%-ным раствором уксусной кислоты и прибавляют еще 0,1 см3 избытка того же раствора кислоты. Объем раствора доводят спиртом до 25 см3, перемешивают, прибавляют 0,5 см3 раствора сернокислой меди, снова перемешивают, закрывают цилиндр и помещают в затемненное место. Одновременно в тех же условиях и с теми же количествами реактивов, но без сероуглерода готовят контрольный раствор.
Через 15 мин измеряют величину оптической плотности анализируемого раствора по отношению к контрольному раствору. По полученной величине оптической плотности, пользуясь градуировочным графиком, находят массу сероуглерода в анализируемом растворе.
3.11.4. Обработка результатов
Массовую долю сероуглерода (X3) в процентах вычисляют по формуле

,
где m - масса сероуглерода, найденная по градуировочному графику, мг;
m1 - масса препарата, г.
Допускается определение проводить визуально.
За результат анализа принимают среднее арифметическое двух параллельных определений. Допускаемые расхождения между двумя параллельными определениями не должны превышать 0,00004% при доверительной вероятности P = 0,95.
3.12.1. Реактивы и растворы:
бумага на фосген; готовят следующим образом: 5 г n-диметиламинобензальдегида и 5 г дифениламина растворяют при охлаждении до 15 - 18 °C в 100 см3 этилового спирта. Этим раствором пропитывают бумажные полосы (20x50 мм) из хроматографической бумаги в течение 30 мин. Затем бумажные полосы высушивают на воздухе, не содержащем фосгена и кислоты (не должно появляться желтой окраски бумажных полос);
бумага хроматографическая;
n-диметиламинобензальдегид;
дифениламин по ГОСТ 5825-79;
спирт этиловый ректификованный технический по
ГОСТ 18300-72, высший сорт.
3.12.2. Проведение анализа
20 см3 препарата помещают в колбу вместимостью 50 см3 с притертой пробкой. В воздушное пространство над жидкостью помещают полосу бумаги на фосген, колбу плотно закрывают и выдерживают в темноте в течение 24 ч.
Препарат считают соответствующим требованиям настоящего стандарта, если не будет наблюдаться желтая окраска бумажной полосы.
Пп. 3.13 - 3.14. (Исключены, Изм. N 2).
4. УПАКОВКА, МАРКИРОВКА, ТРАНСПОРТИРОВАНИЕ И ХРАНЕНИЕ
4.1. Препарат упаковывают в соответствии с
ГОСТ 3885-73. Допускается упаковка бутылей с четыреххлористым углеродом в обрешетку с полиэтиленовыми амортизаторами.
Вид и тип тары:
3-1, 3-5, 8-1, 8-3 (или 3т-1, 3т-5, 8т-1, 8т-3), при этом укупорку тары парафином не проводят.
Группа фасовки: V, VI, VII.
(Измененная редакция, Изм. N 2).
4.3. Препарат перевозят всеми видами транспорта в соответствии с правилами перевозки грузов, действующими на данном виде транспорта.
4.4. Препарат хранят в сухих, закрытых складских помещениях.
5.1. Изготовитель гарантирует соответствие препарата требованиям настоящего стандарта при соблюдении условий транспортирования и хранения.
5.2. Гарантийный срок хранения препарата - 3 года со дня изготовления.
(Измененная редакция, Изм. N 2).
Разд. 6. (Исключен, Изм. N 2).