Скачать ГОСТ Р 56978-2016 Батареи фотоэлектрические. Технические условияДата актуализации: 01.01.2021 ГОСТ Р 56978-2016
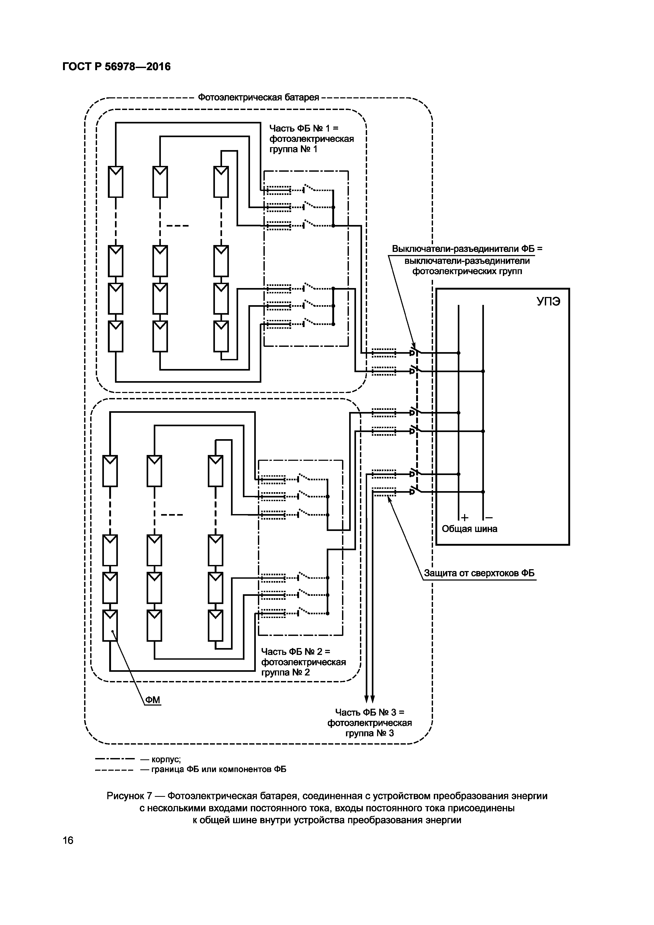
Батареи фотоэлектрические. Технические условия| Обозначение: | ГОСТ Р 56978-2016 | | Обозначение англ: | GOST R 56978-2016 | | Статус: | введен впервые | | Название рус.: | Батареи фотоэлектрические. Технические условия | | Название англ.: | Photovoltaic arrays. Specifications | | Дата добавления в базу: | 01.02.2017 | | Дата актуализации: | 01.01.2021 | | Дата введения: | 01.03.2017 | | Область применения: | Стандарт распространяется на фотоэлектрические батареи, предназначенные для применения в наземных фотоэлектрических системах и являющиеся основной частью фотоэлектрических систем, преобразующей энергию солнечного излучения в электрическую энергию постоянного тока. Стандарт устанавливает минимальные требования к конструкции, безопасности, приемке и эксплуатации фотоэлектрических батарей (ФБ), обеспечивающие их эффективное и надежное функционирование. Стандарт не распространяется на ФБ мощностью менее 100 Вт и напряжением холостого хода менее 35 В при стандартных условиях испытаний (СУИ). Стандарт устанавливает требования к ФБ исходя из того, что они являются частью фотоэлектрических систем и учитывает влияние и взаимодействие ФБ с остальными компонентами фотоэлектрических систем. Стандарт устанавливает специальные требования к безопасности ФБ, обусловленные свойствами фотоэлектрических систем. | | Оглавление: | 1 Область применения 2 Нормативные ссылки 3 Термины и определения 3.1 Фотоэлектрическая батарея и ее компоненты 3.2 Фотоэлектрическая система и устройства контура потребления 3.3 Проводники и проводящие части 3.4 Электробезопасность 3.5 Параметры и режимы 4 Требования к конструкции 4.1 Фотоэлектрическая батарея в фотоэлектрической системе 4.2 Структура фотоэлектрической батареи 4.3 Влияние на фотоэлектрическую батарею компонентов контура потребления фотоэлектрической системы 4.4 Влияние рабочей температуры 4.5 Выработка энергии 4.6 Механические аспекты проектирования 4.7 Коррозия 5 Параметры 5.1 Базовые параметры 5.2 Определение параметров фотоэлектрических компонентов и фотоэлектрической батареи 5.3 Выходные параметры 5.4 Максимально возможное напряжение фотоэлектрической батареи 6 Требования безопасности 6.1 Общие положения 6.2 Защита от поражения электрическим током 6.3 Защита от сверхтоков 6.4 Защита от электрических дуг 6.5 Защита от замыканий на землю 6.6 Заземление и уравнивание потенциалов 6.7 Молниезащита 7 Требования к компонентам 7.1 Общие положения 7.2 Фотоэлектрические модули 7.3 Соединительные коробки 7.4 Аппараты и устройства защиты 7.5 Аппараты и устройства коммутации 7.6 Электропроводка 7.7 Компоненты системы заземления и уравнивания потенциалов. . . 7.8 Компоненты системы молниезащиты 8 Монтаж 8.1 Общие положения 8.2 Монтаж аппаратов и устройств коммутации 8.3 Монтаж аппаратов защиты 8.4 Монтаж систем заземления, уравнивания потенциалов и системы молниезащиты 8.5 Монтаж проводки 9 Маркировка 9.1 Общие положения 9.2 Требования к знакам 9.3 Обозначение фотоэлектрической батареи 9.4 Маркировка фотоэлектрических модулей 9.5 Маркировка соединительных коробок 9.6 Маркировка аппаратов и устройств коммутации 9.7 Маркировка проводки 9.8 Маркировка систем заземления, уравнивания потенциалов и молниезащиты 10 Документация 10.1 Общие положения 10.2 Руководство по эксплуатации 10.3 Электрическая монтажная схема Приложение А (справочное) Классификация фотоэлектрических систем по максимальному значению рабочего напряжения и классы применения фотоэлектрических модулей Приложение В (справочное) Условия испытаний для определения электрических характеристик фотоэлектрических устройств и систем, устанавливаемые в стандартах Приложение С (справочное) Выявление и защита от электрической дуги Приложение D (справочное) Блокирующий диод Приложение Е (справочное) Примеры функционального заземления фотоэлектрических батарей Приложение F (справочное) Примеры знаков Приложение ДА (справочное) Сведения о соответствии ссылочных национальных и межгосударственных стандартов международным стандартам и документу, использованным в качестве ссылочных в примененном международном документе Библиография | | Разработан: | ГНУ ВИЭСХ
| | Утверждён: | 27.06.2016 Федеральное агентство по техническому регулированию и метрологии (695-ст)
| | Издан: | Стандартинформ (2016 г. )
| | Нормативные ссылки: |   РД 34.21.122-87 «Инструкция по устройству молниезащиты зданий и сооружений» ПУЭ «Правила устройства электроустановок. Издание 7»  ГОСТ Р 12.4.026-2001 «Система стандартов безопасности труда. Цвета сигнальные, знаки безопасности и разметка сигнальная. Назначение и правила применения. Общие технические требования и характеристики. Методы испытаний»  ГОСТ Р 51326.1-99 «Выключатели автоматические, управляемые дифференциальным током, бытового и аналогичного назначения без встроенной защиты от сверхтоков. Часть 1. Общие требования и методы испытаний» ГОСТ Р 51597-2000 «Нетрадиционная энергетика. Модули солнечные фотоэлектрические. Типы и основные параметры»  СО 153-34.21.122-2003 «Инструкция по устройству молниезащиты зданий, сооружений и промышленных коммуникаций»  ГОСТ Р 50571.29-2009 «Электрические установки зданий. Часть 5-55. Выбор и монтаж электрооборудования. Прочее оборудование»  ГОСТ Р 50571.3-2009 «Электроустановки низковольтные. Часть 4-41. Требования для обеспечения безопасности. Защита от поражения электрическим током»  ГОСТ Р МЭК 62305-1-2010 «Менеджмент риска. Защита от молнии. Часть 1. Общие принципы»  ГОСТ Р МЭК 62305-2-2010 «Менеджмент риска. Защита от молнии. Часть 2. Оценка риска»  ГОСТ Р 50030.2-2010 «Аппаратура распределения и управления низковольтная. Часть 2. Автоматические выключатели»  ГОСТ Р МЭК 60287-3-2-2011 «Кабели электрические. Расчет номинальной токовой нагрузки. Часть 3-2. Разделы, касающиеся условий эксплуатации. Экономическая оптимизация размера силовых кабелей»  ГОСТ Р 50571-4-44-2011 «Электроустановки низковольтные. Часть 4-44. Требования по обеспечению безопасности. Защита от отклонений напряжения и электромагнитных помех»  ГОСТ Р 50571.5.52-2011 «Электроустановки низковольтные. Часть 5-52. Выбор и монтаж электрооборудования. Электропроводки»  ГОСТ Р МЭК 61643-12-2011 «Устройства защиты от импульсных перенапряжений низковольтные. Часть 12. Устройства защиты от импульсных перенапряжений в низковольтных силовых распределительных системах. Принципы выбора и применения»  ГОСТ Р МЭК 60755-2012 «Общие требования к защитным устройствам, управляемым дифференциальным (остаточным) током» ГОСТ IEC 60898-2-2011 «Выключатели автоматические для защиты от сверхтоков электроустановок бытового и аналогичного назначения. Часть 2. Выключатели автоматические для переменного и постоянного тока» ГОСТ Р 50030.3-2012 «Аппаратура распределения и управления низковольтная. Часть 3. Выключатели, разъединители, выключатели–разъединители и комбинации их с предохранителями»  ГОСТ IEC 60332-1-2-2011 «Испытания электрических и оптических кабелей в условиях воздействия пламени. Часть 1-2. Испытание на нераспространение горения одиночного вертикально расположенного изолированного провода или кабеля. Проведение испытания при воздействии пламенем газовой горелки мощностью 1 кВт с предварительным смешением газов» ГОСТ 22483-2012 «Жилы токопроводящие для кабелей, проводов и шнуров»  ГОСТ Р 50571.4.43-2012 «Электроустановки низковольтные. Часть 4-43. Требования по обеспечению безопасности. Защита от сверхтока»  ГОСТ Р 50571.5.53-2013 «Электроустановки низковольтные. Часть 5-53. Выбор и монтаж электрооборудования. Отделение, коммутация и управление»  ГОСТ Р 50571.5.54-2013 «Электроустановки низковольтные. Часть 5-54. Выбор и монтаж электрооборудования. Заземляющие устройства, защитные проводники и защитные проводники уравнивания потенциалов» ГОСТ Р МЭК 61829-2013 «Батареи фотоэлектрические из кристаллического кремния. Измерение вольт-амперных характеристик в натурных условиях» ГОСТ Р МЭК 60904-3-2013 «Государственная система обеспечения единства измерений. Приборы фотоэлектрические. Часть 3. Принципы измерения характеристик фотоэлектрических приборов с учетом стандартной спектральной плотности энергетической освещенности наземного солнечного излучения» ГОСТ IEC 61140-2012 «Защита от поражения электрическим током. Общие положения безопасности установок и оборудования» ГОСТ Р 50571.7.712-2013 «Электроустановки низковольтные. Часть 7-712. Требования к специальным электроустановкам или местам их расположения. Системы питания с использованием фотоэлектрических (ФЭ) солнечных батарей» ГОСТ Р МЭК 61646-2013 «Модули фотоэлектрические тонкопленочные наземные. Порядок проведения испытаний для подтверждения соответствия функциональным характеристикам»  ГОСТ Р МЭК 61730-1-2013 «Модули фотоэлектрические. Оценка безопасности. Часть 1. Требования к конструкции»  ГОСТ Р МЭК 61730-2-2013 «Модули фотоэлектрические. Оценка безопасности. Часть 2. Методы испытаний» ГОСТ Р МЭК 61853-1-2013 «Модули фотоэлектрические. Определение рабочих характеристик и энергетическая оценка. Часть 1. Измерение рабочих характеристик в зависимости от температуры и энергетической освещенности. Номинальная мощность»  ГОСТ Р 50571.5.51-2013 «Электроустановки низковольтные. Часть 5-51. Выбор и монтаж электрооборудования. Общие требования» ГОСТ Р МЭК 62124-2013 «Системы фотоэлектрические автономные. Проверка работоспособности» ГОСТ IEC 60269-6-2013 «Предохранители плавкие низковольтные. Часть 6. Дополнительные требования к плавким вставкам для защиты солнечных фотогальванических энергетических систем»  ГОСТ IEC 60947-1-2014 «Аппаратура распределения и управления низковольтная. Часть 1. Общие правила»  ГОСТ IEC 61009-1-2014 «Выключатели автоматические, срабатывающие от остаточного тока, со встроенной защитой от тока перегрузки, бытовые и аналогичного назначения. Часть 1. Общие правила»  ГОСТ 14254-2015 «Степени защиты, обеспечиваемые оболочками (Код IP)» ГОСТ Р 56980-2016 «Модули фотоэлектрические из кристаллического кремния наземные. Методы испытаний» ГОСТ Р 56981-2016 «Модули фотоэлектрические. Коммутационные коробки. Требования безопасности и испытания» ГОСТ Р 56983-2016 «Устройства фотоэлектрические с концентраторами. Методы испытаний»
|
                                                                           
|