Главная // Актуальные документы // ПереченьСПРАВКА
Источник публикации
М.: "Транспорт", 1989
Примечание к документу
Название документа
"Указания по устройству и конструкции мостового полотна на железнодорожных мостах"
(утв. МПС СССР)
"Указания по устройству и конструкции мостового полотна на железнодорожных мостах"
(утв. МПС СССР)
МИНИСТЕРСТВО ПУТЕЙ СООБЩЕНИЯ СССР
ГЛАВНОЕ УПРАВЛЕНИЕ ПУТИ
УКАЗАНИЯ
ПО УСТРОЙСТВУ И КОНСТРУКЦИИ МОСТОВОГО ПОЛОТНА
НА ЖЕЛЕЗНОДОРОЖНЫХ МОСТАХ
Указания разработаны Отделом инженерных сооружений Главного управления пути МПС (О.С. Шебякин) и Отделом эксплуатационных обследований Проектно-технологическо-конструкторского бюро ЦП МПС (Б.А. Новиков, М.И. Гришина). При составлении учтены предложения и замечания ВНИИЖТа и Гипротранспути.
1.1. Настоящие Указания по устройству и конструкции мостового полотна на железнодорожных мостах разработаны в дополнение к
Инструкции по содержанию искусственных сооружений. Указаниями надлежит также руководствоваться при проектировании мостового полотна железнодорожных мостов в соответствии со
СНиП 2.05.03-84.
1.2. Указания распространяются на железнодорожные линии с наибольшими установленными скоростями движения поездов: пассажирских - 140 км/ч, рефрижераторных - 120 км/ч, грузовых порожних - 100 км/ч, грузовых груженых - 90 км/ч.
Для участков обращения пассажирских поездов со скоростью 141 - 200 км/ч в Указаниях приведены дополнительные требования к устройству мостового полотна в соответствии с Инструкцией по техническому обслуживанию и эксплуатации сооружений, устройств, подвижного состава и организации движения на участках обращения пассажирских поездов со скоростью 141 - 200 км/ч (ЦТех/4298).
1.3. В Указаниях и Приложениях к ним более подробно изложены требования
Инструкции по содержанию искусственных сооружений, относящиеся к устройству мостового полотна, кроме того, даны чертежи отдельных элементов и деталей, а также приведены основные характеристики, технические требования и условия на их изготовление.
Для элементов, не выпускаемых промышленностью (подвесных мостиков, башмаков, челноков, стыков контруголков, охранных брусьев и др.), даются подробные чертежи, которые позволят изготовить эти конструкции на месте.
В Приложениях для справок приведены чертежи и требования на изготовление стандартных конструкций мостового полотна (болты, шурупы, рельсовые подкладки и др.). Изготовление и поставка этих изделий должны производиться только по соответствующим ГОСТам.
В связи с широким строительством железных дорог в районах с суровым климатом Указания содержат дополнительные требования к мостовому полотну для северных условий <1>.
--------------------------------
<1> К северным условиям относятся районы со средней температурой воздуха наиболее холодной пятидневки с обеспеченностью 0,98 ниже -40 °C по
СНиП 2.01.01-82.
1.4. При проектировании и строительстве новых и реконструкции существующих металлических мостов должна предусматриваться укладка, как правило, мостового полотна с безбалластными железобетонными плитами. Применение мостового полотна на деревянных или металлических поперечинах может быть допущено при специальном технико-экономическом обосновании по согласованию с Главным управлением пути МПС.
1.5. При сплошной замене мостовых брусьев на эксплуатируемых мостах с пролетными строениями, рассчитанными под нагрузку Н8 или С14, необходимо, как правило, укладывать безбалластные железобетонные плиты. На остальных мостах укладка железобетонных плит производится по решению начальников дистанций пути с учетом местных условий.
1.6. Укладка мостового полотна на металлических мостах должна производиться по проектам (включая проекты производства работ), разрабатываемым на основании настоящих Указаний, проектов типовых конструкций пролетных строений, действующих правил и технологии производства работ, а также отдельных указаний Главного управления пути МПС. Для новых и реконструируемых постов указанные проекты разрабатываются и утверждаются в составе проектов мостов. Для эксплуатируемых мостов проекты составляются силами дорожных организаций и утверждаются руководством дистанции пути.
2. МОСТОВОЕ ПОЛОТНО С ЕЗДОЙ НА БАЛЛАСТЕ
2.1. При проектировании и строительстве новых, а также переустройстве существующих мостов с ездой на балласте мостовое полотно устраивается с охранными приспособлениями в виде контруголков по
рис. 1 и
2 <*> и
табл. 1.
--------------------------------
<*> На всех рисунках здесь и далее размеры деревянных и железобетонных конструкций даны в сантиметрах, металлических - в миллиметрах.
Рис. 1. Мостовое полотно с ездой на щебеночном балласте
и железобетонных шпалах при балластном корыте,
предусматривающем пропуск щебнеочистительных машин:
слева - без охранных приспособлений (с обычными
железобетонными шпалами); справа - с охранными
приспособлениями (шпалы железобетонные
для укладки на мостах)
Рис. 2. Мостовое полотно с ездой на щебеночном
балласте и деревянных шпалах при балластном корыте,
предусматривающем пропуск щебнеочистительных машин:
слева - при костыльном креплении рельсов;
справа - при клеммно-шурупном креплении рельсов
Грузонапряженность, млн. т x км брутто/км в год | Тип верхнего строения пути | Род балласта | Толщина основного слоя балласта под шпалой h, см | Толщина дренирующего слоя щебня под асбестовым балластом, см | Ширина плеча балластной призмы C, см | Крутизна откоса |
Более 80 | 1-й (особо тяжелый) | Щебеночный | 25/30 | - | 45 | 1:1,5 |
Асбестовый (на щебне) | 20 | 10/15 |
От 15 до 80 | 2-й (тяжелый) | Щебеночный | 25/30 | - | 35 | 1:1,5 |
Асбестовый (на щебне) | 20 | 10/15 |
До 15 | 3-й (нормальный) | Щебеночный | 25/30 | - | 30 | 1:1,5 |
Асбестовый (на щебне) | 20 | 10 |
Примечание. В числителе указана толщина слоя щебня при деревянных шпалах, в знаменателе - при железобетонных. |
Впредь до перехода на типовые пролетные строения с уширенным балластным корытом, обеспечивающим выполнение путевых работ на мостах с помощью путевых машин, на новых мостах разрешается применять действующие проекты с устройством мостового полотна по рис. 3 и
4 с шириной плеча балластной призмы 35 см.
Рис. 3. Мостовое полотно с ездой на щебеночном
балласте при ширине балластного корыта, недостаточной
для пропуска щебнеочистительных машин:
слева - на железобетонных шпалах;
справа - на деревянных шпалах
Примечания. 1. На деревянных шпалах можно применять раздельное клеммно-шурупное крепление рельсов.
2. При отсутствии охранных приспособлений укладываются обычные железобетонные шпалы.
Рис. 4. Поперечный профиль
балластной призмы при асбестовом балласте:
1 - дренирующий слой щебня (фракции 5 - 25 мм);
2 - асбестовый балласт
2.2. На эксплуатируемых мостах мостовое полотно должно соответствовать
рис. 3 и
4 и
табл. 1.
При недостаточной ширине балластного корыта пролетных строений для размещения балластной призмы с размерами по
табл. 1 допускаются отступления от установленных размеров, которые не должны превышать величин, приведенных в табл. 2.
Наименование показателей, для которых установлен допуск | Больше нормы | Меньше нормы |
Толщина слоя щебня, см | 30 | 5 |
Толщина слоя асбестового балласта, см | 5 | 0 |
Толщина дренирующего слоя щебня под асбестовым балластом, см | 30 | 0 |
Ширина плеча балластной призмы, см | - | 5 |
Крутизна откоса призмы по заложению | 0,1 | 0,1 |
В необходимых случаях должны предусматриваться мероприятия, предотвращающие осыпание балласта и обеспечивающие устойчивость рельсового пути: наращивание бортов балластного корыта на величину не более 20 см, срезка балласта или подъемка пролетных строений. Проект переустройства утверждается начальником службы пути.
2.3. Ширина плеча балластной призмы со стороны упорной рельсовой нити в кривых радиусом 600 м и менее увеличивается на 10 см по сравнению с размерами, приведенными в
табл. 1 и
2.
2.4. На участках обращения пассажирских поездов со скоростью 141 - 200 км/ч ширина плеча балластной призмы должна быть не менее 35 см при скорости 141 - 160 км/ч и не менее 40 см при скорости 161 - 200 км/ч.
2.5. В качестве балласта на мостах используется щебень из естественного камня по
ГОСТ 7392-85 и асбест согласно ГОСТ 24580-81
(Приложение 1). Асбестовый балласт может укладываться на участках обращения вагонов и локомотивов с нагрузкой от колесной пары на рельсы до 250 кН (25 тс).
2.6. Толщина слоя балласта под шпалой в подрельсовой зоне должна быть не менее 25 см. В исключительных случаях допускается толщина слоя балласта не менее 15 см. Максимальная толщина балласта под шпалой допускается не более 60 см, а на мостах с откидными консолями - не более 35 см.
2.7. Количество шпал на мостах без охранных приспособлений должно быть таким же, как на прилегающих участках пути.
На мостах с охранными приспособлениями на 1 км пути укладывается не менее 2000 шпал.
2.8. Охранные приспособления (контруголки) укладывают:
на мостах полной длиной более 50 м или расположенных в кривых радиусом менее 600 м;
на путепроводах полной длиной более 25 м или расположенных в кривых радиусом менее 1000 м;
на многопутных мостах при наличии сплошного балластного корыта - только на крайних путях.
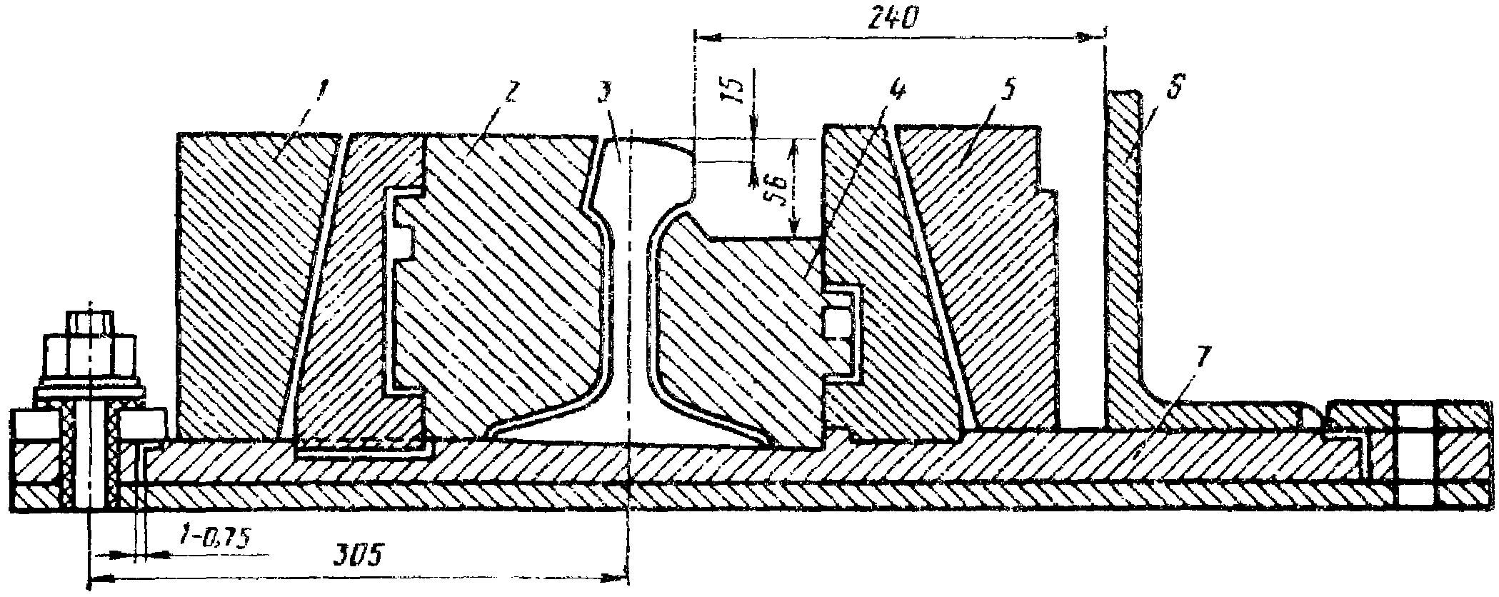
В качестве охранных приспособлений на эксплуатируемых мостах могут быть сохранены контррельсы (рис. 5). Размеры балластной призмы в этом случае принимаются тоже по
табл. 1, а расстояние между шпалами должно быть не более чем на подходах к мосту.
Рис. 5. Мостовое полотно с ездой на балласте с контррельсами
2.9. На участках пути с железобетонными шпалами на мостах с ездой на балласте в пределах контруголков (контррельсов) должны укладываться специальные железобетонные
(Приложение 2) или деревянные шпалы. При бесстыковом пути на мостах с деревянными шпалами необходимо укладывать скрепления типа КД.
2.10. На мостах, расположенных в кривых участках пути, возвышение наружного рельса достигается увеличением толщины балластного слоя. При этом пролетные строения при необходимости должны иметь повышенные борта балластного корыта.
2.11. Боковые тротуары и убежища на мостах с ездой на балласте устраиваются в соответствии с
п. 9 настоящих Указаний. Конструкция тротуаров и убежищ определяется проектом пролетных строений.
3. МОСТОВОЕ ПОЛОТНО НА ДЕРЕВЯННЫХ ПОПЕРЕЧИНАХ
3.1. Мостовое полотно на деревянных поперечинах (мостовых брусьях) устраивается согласно рис. 6 и
7. На эксплуатируемых мостах впредь до переустройства или капитального ремонта допускается содержать мостовое полотно согласно
рис. 8 и
9. При этом если на мосту применено раздельное клеммно-шурупное рельсовое крепление, контруголки должны иметь сечение 160 x 160 x 16 мм.
Рис. 6. Мостовое полотно на мостовых
брусьях с костыльным креплением рельсов:
слева - охранный уголок прикреплен лапчатым болтом;
справа - охранный уголок прикреплен костылями
Примечание. В скобках даны минимально необходимые зазоры (в мм) между рельсовыми подкладками, охранными уголками и шайбами лапчатых болтов на участках, оборудованных автоблокировкой. Величина c принимается по
табл. 5 Указаний. Настил внутри колеи показан при наличии на пролетном строении боковых тротуаров, при их отсутствии внутри колеи должны быть уложены три доски.
Рис. 7. Мостовое полотно на мостовых брусьях
с раздельным клеммно-шурупным креплением рельсов:
слева - охранный уголок прикреплен лапчатым болтом;
справа - охранный уголок прикреплен шурупами
Рис. 8. Мостовое полотно на мостовых брусьях
с контррельсами и противоугонными (охранными) брусьями:
слева - мостовые и противоугонные брусья прикреплены
общим лапчатым болтом; справа - мостовые
и противоугонные брусья имеют раздельное крепление
Примечание. Контррельсы должны быть не более чем на один тип легче путевых рельсов. Настил внутри колеи показан при наличии на пролетном строении боковых тротуаров, при их отсутствии внутри колеи должно быть три доски. В скобках дана длина мостовых брусьев по старому ГОСТу.
Рис. 9. Мостовое полотно на мостовых
брусьях с неравнобокими контруголками:
слева - противоугонный уголок прикреплен лапчатым
болтом; справа - то же костылями
Примечание. Вместо уголков сечением 160 x 100 x 14 мм могут быть сохранены уголки сечением 150 x 100 x 14 мм, минимальная толщина полки противоугонного (охранного) уголка в этом случае 12 мм. В круглых скобках даны минимально необходимые зазоры между рельсовыми подкладками, охранными уголками и шайбами лапчатых болтов на участках, оборудованных автоблокировкой, а также длина мостовых брусьев по старому ГОСТу. Настил внутри колеи показан при наличии на пролетном строении боковых тротуаров, при их отсутствии внутри колеи должно быть три доски.
| | ИС МЕГАНОРМ: примечание. В официальном тексте документа, видимо, допущена опечатка: имеется в виду ГОСТ 8486-86, а не ГОСТ 8486-66. | |
3.2. Мостовые брусья согласно
СНиП 2.05.03-84 относятся к несущим элементам первой категории, поэтому они должны изготавливаться из сосны или лиственницы не ниже 1-го сорта по
ГОСТ 8486-66 "Пиломатериалы хвойных пород". Другие породы дерева допускаются только с разрешения Главного управления пути МПС. Требования, предъявляемые к древесине и обработке пиломатериалов для мостовых брусьев, изложены в
Приложении 3, краткая характеристика пороков древесины по
ГОСТ 2140-81 - в
Приложении 4.
| | ИС МЕГАНОРМ: примечание. Взамен ГОСТ 20022.5-75 Постановлением Госстандарта России от 06.08.1994 N 167 с 1 января 1995 года введен ГОСТ 20022.5-93. | |
Брусья пропитываются масляными антисептиками по ГОСТ 20022.5-75, предпропиточная влажность древесины не должна превышать 25%, глубина пропитки должна составлять не менее 85% толщины заболони. Если заболонь имеет толщину до 20 мм, она должна пропитываться полностью. Глубина проникновения антисептика в обнаженную ядровую древесину должна быть не менее 5 мм. Места врубок и стенки отверстий, сделанных в брусьях после пропитки, обмазывают антисептиком не менее трех раз.
На верхнюю сторону каждого бруса ставят клеймо установленной формы с указанием года укладки
(Приложение 5) на расстоянии 15 см от торца. На двухпутных мостах клеймо ставят с наружной (полевой) стороны моста, на однопутных - с правой стороны по ходу километража.
Для продления срока службы мостовых брусьев в соответствии с Инструкцией по содержанию и ремонту деревянных шпал и брусьев ЦП/3981 перед укладкой их в путь должен быть выполнен следующий комплекс предохранительных мероприятий:
под путевые костыли и шурупы в мостовых брусьях должны быть просверлены отверстия диаметром 12,7 - 13,0 мм для брусьев из мягких пород и диаметром 14 мм - для твердых пород;
для предупреждения трещин брусья укрепляют деревянными винтами, металлическими болтами и проволокой диаметром 6 - 7 мм. В исключительных случаях допускается укреплять брусья П-образными скобами, но не менее 8 шт. на брус (по 4 шт. на верхнюю и нижнюю постель).
Места установки и конструкция укреплений приведены в
Приложении 6.
3.3. Сечение мостовых брусьев должно соответствовать размерам, приведенным в табл. 3, а объем и масса брусьев приведены в
Приложении 7.
Таблица 3
Расстояние между осями продольных балок или ферм, м | Сечение мостовых брусьев, см |
при контррельсах | при контруголках |
До 2,0 | 20 x 24 | 20 x 24 |
От 2,0 до 2,2 | 22 x 26 | 20 x 24 |
От 2,2 до 2,3 | 22 x 28 | 22 x 26 |
От 2,3 до 2,5 | 24 x 30 | 22 x 28 |
Для пролетных строений с ездой поверху при двухстенчатых верхних поясах с верхними поясными уголками, расположенными снаружи вертикальных листов, сечение мостовых брусьев может быть принято по расстоянию b между внутренними стенками поясов (рис. 10).
Рис. 10. Схема для определения сечения мостовых брусьев
при двухстенчатых коробчатых поясах ферм
Новые мостовые брусья по
ГОСТ 8486-86 поставляются сечением 20 x 24 и 22 x 26 см, длиной 3,25 м. Брусья других сечений и длин могут изготавливаться по индивидуальному заказу в виде исключения. При сплошной замене мостовых брусьев сечением 22 x 28 см и более, а также брусьев длиной 4,2 м мостовое полотно должно, как правило, переустраиваться с укладкой безбалластных железобетонных плит, металлических поперечин, применением раздельных тротуаров. Могут быть и другие решения, исключающие применение брусьев повышенного сечения и длины.
При проектировании и строительстве новых мостов необходимо применять брусья сечением 20 x 24 см, длиной 3,25 м.
3.4. Мостовые брусья укладывают строго по наугольнику с расстоянием в свету не более 15 и не менее 10 см. У поперечных балок расстояние между осями мостовых брусьев не должно превышать 55 см. На старых мостах с разрешения начальников служб пути может быть допущено в отдельных местах большее расстояние между осями брусьев, но не более 70 см. Если по условиям конструкции пролетных строений это требование не может быть выполнено, то мостовое полотно укладывают по индивидуальному проекту, утвержденному начальником службы пути. На мостах с косыми пролетными строениями допускается веерное расположение части мостовых брусьев по эпюре, утвержденной начальником службы пути.
Укладка мостовых брусьев на верхние пояса поперечных балок не допускается. Между мостовыми брусьями и поясами поперечных балок должен быть зазор не менее 15 мм.
3.5. Мостовые брусья плотно прирубают к поясам пролетных строений или продольных балок. Глубина врубок в мостовых брусьях должна быть не менее 0,5 и не более 3 см (для брусьев нормального сечения). Для заклепочных головок и высокопрочных болтов поперек бруса вырубают канавки. Мостовые брусья не должны опираться на связи (включая фасонки) между фермами или продольными балками; при этом в случае необходимости следует предусматривать понижение связей. Если требуемый профиль пути на пролетном строении нельзя получить за счет нормальных врубок (0,5 - 3,0 см), разрешается применять брусья большей высоты или, в крайнем случае, подкладки из досок длиной не менее 1 м и толщиной не менее 4 см. Доски должны быть прикреплены к брусу гвоздями (рис. 11). Мостовые брусья крепят к поясам продольных балок или ферм лапчатыми болтами, в том числе с пружинной лапой, а к противоугонным уголковым коротышам - горизонтальными болтами
(Приложение 8).
Рис. 11. Увеличение высоты мостового бруса подкладкой доски
Мостовое полотно с контруголками и противоугонными (охранными) уголками допускается прикреплять к пролетным строениям (продольным балкам) с помощью обычных болтов через противоугонные (охранные) уголки (рис. 12).
Рис. 12. Прикрепление мостового полотна
к пролетным строениям (продольным балкам)
болтами через противоугонные (охранные) уголки:
1 - болт диаметром 22 мм, длиной 300 - 350 мм; 2 - рабочая
гайка; 3 - страховочная гайка; 4 - шайба пружинная;
5 - шайба плоская; 6 - прокладки (2 шт.) КБ x 10 ОП 153-72
Противоугонные уголковые коротыши ставят при отсутствии балочной клетки не менее двух на пролет и по одному на каждые 5 м длины, а при наличии балочной клетки - по одному у концов каждой продольной балки с горизонтальными полками, повернутыми в разные стороны.
3.6. Для уменьшения износа мостовых брусьев под рельсовыми подкладками рекомендуется укладывать упругие прокладки. При строительстве новых мостов и сплошной замене мостовых брусьев на эксплуатируемых мостах упругие прокладки укладывать обязательно
(Приложение 13).
3.7. Для предупреждения провала колес сошедшего с рельсов подвижного состава над всеми поперечными балками устраивают переходные столики, а при контруголках и охранных уголках - подвесные мостики. Деревянные коротыши на эксплуатируемых мостах разрешается сохранять до очередной сплошной смены мостовых брусьев.
3.8. Контруголки (контррельсы) укладывают при длине мостового полотна на деревянных поперечинах (мостовых брусьях) более 5 м, а также на всех путепроводах и всех мостах, расположенных в кривых радиусом менее 1000 м.
3.9. Противоугонные (охранные) уголки (брусья) укладывают на всем протяжении мостового полотна с деревянными поперечинами.
Для пропуска снегоочистителей с опущенными крыльями по малым мостам, на которых не требуется укладка контррельсов, разрешается применять противоугонные (охранные) брусья пониженной высоты или укладывать противоугонные уголки. При этом верх болта прикрепления противоугонных брусьев или верх противоугонного уголка должен быть ниже головки рельсов на 60 мм.
3.10. На участках, оборудованных автоблокировкой, зазор между рельсовыми подкладками и контруголками или костылями, прикрепляющими контррельсы, между рельсовыми подкладками и противоугонными (охранными) уголками, а также между шайбами лапчатых болтов и рельсовыми подкладками и противоугонными (охранными) уголками должен быть не менее 15 мм.
3.11. На мостах, расположенных в кривых участках пути, возвышение наружного рельса при езде на деревянных поперечинах достигается установкой пролетных строений с поперечным наклоном или, в крайнем случае, при помощи деревянных прокладок толщиной не менее 5 см, укладываемых под брусья (рис. 13) по проекту, утвержденному начальником службы пути дороги.
Рис. 13. Устройство мостового полотна в кривых
с деревянными подкладками под мостовой брус
3.12. Боковые тротуары и убежища на мостах с мостовым полотном на деревянных поперечинах устраивают согласно
п. 9 Указаний. Внутри колеи укладывается настил из двух досок сечением 20 x 3 см с зазором 4 см; при отсутствии боковых тротуаров внутри колеи укладывают три доски.
4. МОСТОВОЕ ПОЛОТНО НА МЕТАЛЛИЧЕСКИХ ПОПЕРЕЧИНАХ
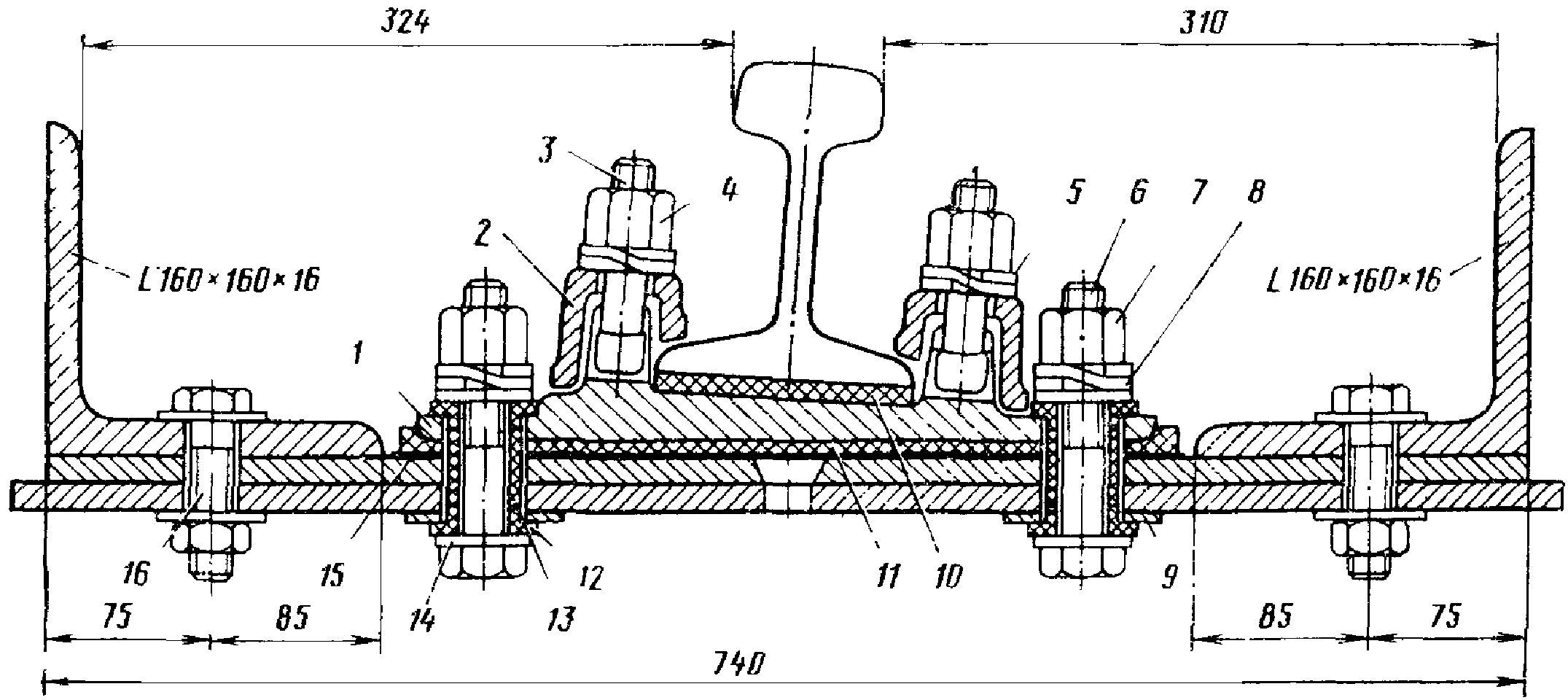
4.1. Мостовое полотно на металлических поперечинах устраивается согласно рис. 14. На новых мостах должны применяться рельсы типов Р65 и Р75. Детали крепления рельсов и охранных приспособлений показаны на
рис. 15. Конструкция металлических клепаных и сварных поперечин, их масса и требования на изготовление приводятся в
Приложении 9, а требования на изготовление, конструкция и масса метизов - в
Приложении 10. Расстояние между осями металлических поперечин должно быть не более 600 мм.
Рис. 14. Мостовое полотно на металлических поперечинах:
1 - металлическая поперечина; 2 - охранный уголок;
3 - путевой рельс со скреплениями; 4 - контруголок;
5 - металлический настил; 6 - подвесной мостик
Рис. 15. Крепление рельсов Р65 и охранных приспособлений
к металлическим поперечинам при автоблокировке:
1 - рельсовая подкладка типа КД; 2 - клемма промежуточная;
3 - болт клеммный М22 длиной 75 мм; 4 - гайка путевая М22;
5 - шайба пружинная двухвитковая; 6 - болт для прикрепления
рельсовой подкладки М22 длиной 115 мм; 7 - гайка М22;
8 - шайба пружинная путевая; 9 - шайба клинчатая;
10 - амортизирующая кордовая прокладка под подошву рельса;
11 - амортизирующая кордовая прокладка под подкладку;
12 - текстолитовая изолирующая втулка; 13 - текстолитовая
фибровая или полиэтиленовая изолирующая втулка В22;
14 - шайба черная 22; 15 - полиэтиленовая изолирующая
прокладка; 16 - высокопрочный болт М22 длиной 70 мм
с гайкой и двумя шайбами
4.2. Контруголки укладывают на всех мостах при длине мостового полотна на металлических поперечинах более 5 м или расположенных в кривых радиусом менее 1000 м. Противоугонные (охранные) уголки укладывают на всех мостах. Для предупреждения провала колес сошедшего с рельсов подвижного состава над всеми поперечными балками, а также между поперечинами при расстоянии между ними в свету более 20 см устраивают подвесные мостики.
4.3. Боковые тротуары и убежища должны удовлетворять требованиям
п. 9 Указаний. Внутри колеи укладывают щитовой настил из рифленого железа. Для снижения шума при проходе поездов под металлический настил при необходимости следует укладывать резиновые прокладки, а щиты настила с нижней стороны покрывать противошумной мастикой.
4.4. На существующих мостах разрешается дальнейшая эксплуатация мостового полотна на металлических поперечинах, уложенного по индивидуальным проектам, утвержденным Главным управлением пути МПС.
5. БЕЗБАЛЛАСТНОЕ МОСТОВОЕ ПОЛОТНО НА ЖЕЛЕЗОБЕТОННЫХ ПЛИТАХ
5.1. Конструкция безбалластного мостового полотна приведена на рис. 16 и
17. Изготовление и укладка безбалластных железобетонных плит должны производиться по типовым проектам, утвержденным МПС. Впредь до разработки и утверждения указанной документации разрешается использовать разработанные Ленгипротрансмостом и утвержденные Главным управлением пути МПС проекты с шифром РЧ-325 (предварительно напряженные плиты) и шифром РЧ-390 (плиты из обычного железобетона). Сопряжение железобетонных плит с балками пролетных строений может производиться с помощью монолитного прокладного слоя из полимербетона, сплошных двухслойных прокладок из антисептированных деревянных досок и резины, сплошных резиновых прокладок; металлических обойм, заполняемых бетоном, или других конструкций в соответствии с технической документацией, утвержденной Главным управлением пути МПС.
Рис. 16. Мостовое полотно
на безбалластных железобетонных плитах:
1 - безбалластная железобетонная плита; 2 - контруголок;
3 - путевой рельс со скреплениями; 4 - опорная деревянная
прокладка; 5 - арматурная сетка; 6 - цементно-песчаная
подливка; 7 - высокопрочная шпилька крепления плиты;
8 - овальное отверстие для шпильки и нагнетания
раствора под плиту
Рис. 17. Крепление рельсов и контруголков к плите:
1 - рельсовая подкладка КБ-65 (КБ-50); 2 - болт закладной
М22 длиной 165 мм; 3 - гайка путевая М22; 4 - болт клеммный
М22 длиной 75 мм; 5 - клемма промежуточная; 6 - прокладка
резиновая под подошву рельса; 7 - шайба пружинная
двухвитковая; 8 - втулка текстолитовая изолирующая;
9 - скоба для изолирующей втулки или шайба черная 22;
10 - резиновая прокладка под подкладку; 11 - резиновая
прокладка под контруголок: 12 - болт М22 прикрепления
контруголка длиной 280 мм; 13 - шайба индивидуальная
100 x 100 x 10 мм; 14 - шайба пружинная;
15 - гайка М22; 16 - шайба опорная
Основные данные по проектам железобетонных и безбалластных плит (шифры РЧ-325 и РЧ-390) приведены в
Приложениях 11 и
12.
5.2. Охранные приспособления в виде контруголков укладывают на всех мостах при длине безбалластного мостового полотна более 5 м или расположенных в кривых радиусом менее 1000 м. В пределах челноков и устоев рекомендуется применять железобетонные шпалы для мостов с ездой на балласте.
5.3. Боковые тротуары и убежища устраивают так же, как и при мостовом полотне с деревянными поперечинами (
п. 9 Указаний).
6. МОСТОВОЕ ПОЛОТНО НА ДЕРЕВЯННЫХ МОСТАХ
6.1. Мостовое полотно на деревянных пролетных строениях устраивается согласно рис. 18. Деревянные поперечины (мостовые брусья сечением 20 x 24 см или окантованные на два канта бревна высотой не менее 20 см с шириной верхней постели не менее ширины рельсовой прокладки) укладывают строго по наугольнику с расстоянием в свету между мостовыми брусьями 10 - 15 см, а между окантованными бревнами - 10 см. В местах опирания на деревянные прогоны поперечины должны иметь врубку глубиной 2 - 3 см. Прикрепляют поперечины к прогонам болтами диаметром 19 - 22 мм.
Рис. 18. Мостовое полотно на деревянных пролетных строениях:
слева - при наличии боковых тротуаров и контррельсов;
справа - без боковых тротуаров и контррельсов;
1 - доски настила бокового тротуара сечением 20 x 5 см;
2 - лист из кровельного железа шириной 240 мм;
3 - противопожарная засыпка из щебня или гравия;
4 - доски настила сечением 20 x 3 см; 5 - бортовой
брус сечением 10 x 10 см; 6 - противоугонный (охранный)
брус сечением 20 x 15 см; 7 - болт крепления мостовых
брусьев (поперечин) диаметром 19 - 22 мм; 8 - болт крепления
противоугонного (охранного) бруса диаметром 19 - 22 мм;
9 - контррельс
Примечание. На деревянных мостах общей сети железных дорог (кроме ветвей и подъездных путей) охранные приспособления должны устраиваться так же, как и на металлических мостах с деревянными мостовыми брусьями.
6.2. Охранные приспособления в виде контррельсов и противоугонных (охранных) брусьев устраивают при длине мостового полотна более 5 м.
6.3. Между контррельсами (контруголками), а при их отсутствии между специальными бортовыми брусьями в противопожарных целях засыпают щебень или гравий по настилу из досок 20 x 3 см. Пространство между путевым рельсом и контррельсом (бортовым брусом) покрывают кровельным железом. На линиях с автоблокировкой в контррельсах необходимо устраивать изолирующие стыки вне пределов участка, на котором уложены листы кровельного железа между рельсами и контррельсами.
6.4. Боковые тротуары и убежища устраивают в соответствии с
п. 9 Указаний на длинных поперечинах с укладкой настила из досок сечением 20 x 5 см.
7. РЕЛЬСЫ И СКРЕПЛЕНИЯ. ПРОФИЛЬ ПУТИ НА МОСТАХ
7.1. На больших мостах длиной более 100 м и на всех мостах с разводными пролетами, а также на подходах к ним на расстоянии не менее 200 м в каждую сторону, как правило, должны укладываться термоупрочненные рельсы типов Р65 или Р75. При грузонапряженности до 15 млн. т x км брутто/км в год разрешается укладывать нетермоупрочненные рельсы типа Р65. Применение рельсов Р50 допускается в отдельных случаях с разрешения Главного управления пути. На остальных мостах и в тоннелях укладывают те же рельсы, что и на перегоне.
На участках обращения пассажирских поездов со скоростью 141 - 200 км/ч на мостах должны быть уложены рельсы Р65 или Р75. При скоростях движения 161 - 200 км/ч пропущенный рельсами тоннаж не должен превышать установленной нормы, а приведенный износ головки должен быть не более 6 мм.
7.2. Профиль пути на мосту должен иметь плавное очертание. В каждом пролете металлических мостов стрела подъема рельсов должна быть равна, как правило, 1/2000 длины пролета, но не более 1/1000 пролета.
На участках обращения пассажирских поездов со скоростью 141 - 200 км/ч стрела подъема рельсового пути на металлических разрезных и крайних пролетах и разрезных пролетных строений мостов должна быть в пределах 1/2500 - 1/3000, а в средних пролетах неразрезных систем - 1/5000 - 1/6000 величины расчетного пролета.
До сплошной смены мостовых брусьев разрешается сохранить существующий подъем рельсового пути со стрелой не более 1/2000 величины пролета.
На железобетонных пролетных строениях рельсовому пути должен придаваться подъем только в случаях, предусмотренных проектом, или по указанию мостоиспытательных станций.
7.3. Содержание пути в прямых участках с возвышением одного рельса над другим на 6 мм при езде на балласте допускается на всех мостах, а при езде на мостовых брусьях или безбалластных железобетонных плитах - только на мостах длиной не более 25 м с ездой поверху. При езде на мостовых брусьях возвышение в 6 мм достигается путем соответствующей прирубки брусьев или укладки плоских металлических прокладок толщиной 6 мм под рельсовые прокладки, а при езде на безбалластных железобетонных плитах - путем укладки регулирующих подкладок под рельс.
Перечень мостов, на которых разрешается содержание одной нитки пути на 6 мм выше другой, утверждается начальником дистанции пути.
7.4. На мостах с безбалластным мостовым полотном на прямом участке ось пути не должна отклоняться от оси пролетного строения на величину более 30 мм, в кривых фактическое отклонение оси пути от проектного положения не должно превышать 20 мм; при езде на балласте допускаются отклонения соответственно не более 50 и 30 мм. При

отклонениях необходимо проверять расчетом их допустимость по условиям грузоподъемности пролетных строений и прочности мостовых брусьев. Во всех случаях расстояние от оси пути до перил или до выступающих элементов ферм пролетных строений с ездой понизу должно быть не менее установленных
ГОСТ 9238-83 "Габариты приближения строений и подвижного состава железных дорог колеи 1520 мм".
7.5. На мостах может укладываться звеньевой путь с рельсами, как правило, длиной 25 м или бесстыковой путь в соответствии с Техническими указаниями по укладке и содержанию бесстыкового пути.
На мостах со сварными металлическими пролетными строениями и в других случаях, когда необходимо снизить динамическое воздействие поездов на конструкции мостов, рекомендуется укладывать бесстыковой путь.
Укладка на мостах и подходах к ним разных типов рельсов, переходных стыков и рельсовых рубок не допускается.
7.6. При костыльном скреплении рельсы и подкладки на мостах прикрепляются на каждом конце мостовых брусьев (шпал) полным количеством костылей.
7.7. При скреплениях КБ и КД рельсы стыкового пути на мостах с ездой на балласте прикрепляются так же, как и на перегонах. При безбалластной езде на мостах без уравнительных приборов должна быть обеспечена возможность продольного перемещения подвижных концов пролетных строений относительно рельсового пути, при этом у неподвижных концов пролетных строений рельсы закрепляют на длине 10 - 15 м (в зависимости от длины пролета) затягиванием клеммных болтов. При стыковом пути закрепляют звено, расположенное над неподвижным концом пролетного строения, или, если стык этого звена находится от конца пролетного строения на расстоянии, недостаточном для закрепления (менее 10 - 15 м), соседнее звено. Болты в стыках рельсов при этом следует затягивать электрическим или удлиненным до 1 м ручным ключом так, чтобы крутящий момент, приложенный к гайке, был не менее 600 Н x м (60 кгс x м) при четырехдырных накладках и 400 Н x м (40 кгс x м) при шестидырных.
Для обеспечения перемещения рельсов клеммы подрезают согласно рис. 19. Кроме того, при мостовом полотне с металлическими поперечинами или безбалластными железобетонными плитами для облегчения продольного перемещения пролетных строений следует укладывать дополнительные металлические прокладки толщиной 1,5 - 2,0 мм между подошвой рельса и резиновой подрельсовой прокладкой.
Рис. 19. Раздельное клеммно-шурупное крепление
рельсов на мостах (с подрезанными клеммами)
7.8. Стыки рельсов на мостах необходимо располагать по наугольнику и перекрывать накладками, соответствующими типу рельсов. Рельсовые зазоры должны иметь нормальную величину, соответствующую температуре рельсов.
При езде на мостовых брусьях с расстоянием между осями брусьев не более 40 см стыки рельсов типов Р75, Р65, Р50 и Р43 могут располагаться как на весу, так и на брусьях, а стыки рельсов Р38 и легче устраивают на сближенных брусьях с расстоянием между осями 27 см. При большем расстоянии между брусьями, если стыки невозможно перенести в другое место, они должны быть сварены.
На безбалластных железобетонных плитах стыки рельсов могут располагаться в любом месте между опорами (рельсовыми подкладками) при расстоянии между ними не более 50 см. Стыки перекрывают типовыми шестидырными накладками с постановкой не менее двух болтов с каждой стороны. При попадании стыка на рельсовую подкладку он должен быть сварен.
На мостах с металлическими поперечинами стыки рельсов устраивают на весу между поперечинами в местах, определяемых проектной эпюрой укладки поперечин.
На мостах с ездой на балласте стыки рельсов устраивают так же, как и на перегоне.
Рельсовые стыки не следует располагать ближе 2 м от концов пролетных строений, а в арочных мостах - от деформационных швов и замка свода. Не рекомендуется также располагать стыки рельсов над разрывами продольных балок и над поперечными балками.
7.9. Передача угона пути с подходов на мост не допускается. Угон пути должен быть полностью ликвидирован на подходах к мосту с помощью противоугонов, поставленных с каждой стороны моста.
Установка противоугонов на мостах производится в случае, когда при полном закреплении пути на подходах наблюдается угон пути в пределах самого моста. При этом следует применять пружинные или винтовые противоугоны.
Закрепление пути от угона не должно препятствовать перемещению пролетных строений относительно рельсов при отсутствии уравнительных приборов; для этого противоугоны следует размещать со стороны неподвижных опорных частей.
На мостах с полотном на деревянных брусьях противоугоны ставят у брусьев, прикрепленных противоугонными уголковыми коротышами, а при езде на балласте - так же, как на перегоне. При езде на металлических поперечинах и безбалластных железобетонных плитах путь закрепляют с помощью соответствующего затягивания клемм прикрепления рельсов.
7.10. На металлических мостах с температурным пролетом больше 100 м (при годовой температурной амплитуде рельсов, не превышающей 90 °C, больше 110 м) необходимо укладывать уравнительные приборы
(Приложение 14) или уравнительные рельсы
(Приложение 16). При этом за температурный пролет (рис. 20) принимается расстояние от неподвижных опорных частей одного пролетного строения до неподвижных опорных частей смежного пролетного строения или до шкафной стенки устоя. В консольных мостах учитываются только опорные части, расположенные на быках и устоях.

- подвижные опорные части

- неподвижные опорные части

- температурный пролет

- уравнительный прибор
Рис. 20. Температурные пролеты мостов:
а - на мостах с разрезными пролетными строениями
при расположении на быках подвижных и неподвижных опорных
частей; б - на мостах с двухпролетными неразрезными
пролетными строениями при неподвижном опирании их на среднюю
опору; в - то же при подвижном опирании на среднюю опору;
г - на мостах с разрезными пролетными строениями
при расположении на быках только подвижных или неподвижных
опорных частей; д - на мостах с консольными пролетными
строениями; е - на арочных мостах
В арочных мостах (без затяжки) температурный пролет равен половине пролета арки.
В каждом температурном пролете укладывают по одному комплекту уравнительных приборов или уравнительных рельсов. При расположении на промежуточных опорах только подвижных или неподвижных опорных частей разрешается не укладывать уравнительные приборы при длине каждого из пролетов менее 100 м (менее 110 м при годовой температурной амплитуде рельсов, не превышающей 90 °C).
Уравнительные приборы должны применяться типа Р65 и тяжелее. Укладка уравнительных приборов типа Р50 допускается в отдельных случаях с разрешения Главного управления пути. На мостах с уравнительными приборами или уравнительными рельсами в пределах температурного пролета рельсы должны быть сварены. В отдельных случаях с разрешения начальника службы пути допускается заглушать стыки постановкой вкладышей в отверстия для болтов.
Укладка уравнительных приборов или уравнительных рельсов производится по проектам в соответствии с Правилами и технологией укладки и замены уравнительных приборов и Указаниями по укладке и содержанию бесстыкового пути с уравнительными рельсами на металлических мостах.
7.11. Рельсовые замки на концах подъемных (поворотных) пролетных строений разводных мостов должны обеспечивать быстрое и надежное соединение рельсов, а также плавный (без ударов) проход подвижного состава.
Замки должны применяться типа Р65 и тяжелее
(Приложение 17) по проекту, утвержденному Главным управлением пути МПС. Ранее уложенные замки типа Р50 разрешается сохранить впредь до замены рельсов на мосту.
8. ОХРАННЫЕ ПРИСПОСОБЛЕНИЯ
8.1. Контруголки (контррельсы) укладывают на мостах с различным мостовым полотном в соответствии с указанием
разделов 2 -
7. Кроме того, контррельсы нужно укладывать на путях, расположенных под путепроводами и пешеходными мостами со стоечными опорами <1>, при расстоянии от оси пути до грани опор менее 3 м.
--------------------------------
<1> К стоечным относятся опоры, выполненные из одной или нескольких железобетонных или бетонных стоек площадью сечения менее 1 м2, или опоры с металлическими стойками.
Контруголки (контррельсы) укладывают на мостах в пределах между задними гранями устоев или закладными щитами деревянных мостов. Концы контруголков (контррельсов) на протяжении не менее 10 м сводят "челноком" (рис. 21), который оканчивается башмаком.
Рис. 21. Схема укладки "челнока"
контруголков (контррельсов):
1 - контруголки (контррельсы); 2 - "челнок"; 3 - башмак;
узел I - деталь изгиба контруголков; I' - на деревянных
шпалах; I" - то же на железобетонных
На путях под путепроводами и пешеходными мостами контррельсы укладывают на протяжении ширины путепровода (пешеходного моста) и далее сводят "челноком" так же, как на мостах.
Контруголки должны иметь сечение не менее 160 x 160 x 16 мм. На эксплуатируемых мостах впредь до переустройства или капитального ремонта допускается укладка контруголков меньшего сечения, но не менее 160 x 100 x 14 мм или, в крайнем случае, 150 x 100 x 14. Контррельсы должны быть не более чем на один тип легче путевых рельсов.
Для контруголков (контррельсов) должны применяться уголки (рельсы) длиной не менее 6 м.
Расстояние от внутренней грани головки путевого рельса до контруголков (контррельсов) должно быть при контруголках 160 x 160 x 16 мм - 310 мм, при контруголках 160 x 100 x 14 мм и контррельсах - 245 мм (при рабочих рельсах Р50 и легче - 220 мм). Допуск +/- 5 мм.
Контруголки прикрепляют двумя шурупами или костылями к каждому брусу (поперечине) через отверстия в горизонтальных полках (рис. 22, а, б) диаметром 27 мм. Контррельсы крепят к каждому мостовому брусу (поперечине) двумя костылями (рис. 22, в). К железобетонным шпалам контруголки крепят одним шурупом (см.
Приложение 2), а к безбалластной железобетонной плите - одним болтом (см.
рис. 16).
Рис. 22. Крепление контруголков
и контррельсов на деревянных брусьях или шпалах:
а - крепление контруголков сечением 160 x 160 x 16 мм;
б - то же сечением 160 x 100 x 14 мм;
в - крепление контррельсов
Примечание. Отверстия для костылей можно делать диаметром 25 мм.
К металлическим поперечинам контруголки прикрепляют двумя высокопрочными болтами диаметром 22 мм или двумя заклепками диаметром 23 мм (см.
рис. 15).
Стыки контруголков перекрывают уголковыми накладками с тремя болтами диаметром 22 мм в каждой полунакладке. Конструкции стыков контруголков при различных видах мостового полотна показаны на рис. 23,
24,
25 и
26. Стыки контррельсов перекрывают накладками, соответствующими типу рельсов, с постановкой не менее двух болтов с каждой стороны стыка.
Рис. 23. Стыки контруголков на мостовых брусьях:
а - неподвижные; б - подвижные
Примечания. 1. Отверстия в контруголках для стыковых болтов круглые диаметром 25 мм выполняют с допусками +1,5 - -0,5 мм.
2. В неподвижных стыках вместо овальных отверстий допускаются круглые диаметром 36 мм.
3. Отверстия в контруголках и стыковых накладках для костылей можно делать диаметром 25 мм.
Рис. 24. Стык контруголков на безбалластных плитах:
1 - уголковая накладка; 2 - подкладка толщиной 24 мм;
3 - подкладка толщиной 16 мм; 4 - болт с гайкой
и двумя плоскими шайбами; 5 - амортизирующая прокладка;
6 - шайба пружинная
Рис. 25. Стыки контруголков на железобетонных шпалах:
1 - болт с гайкой и двумя плоскими шайбами;
2 - накладка; 3 - подкладка; 4 - шайба пружинная;
5 - уголковая накладка
Рис. 26. Стык контруголков на металлических поперечинах:
а - неподвижный стык; б - подвижной стык;
1 - уголковая накладка; 2 - болт с гайкой и двумя
шайбами; 3 - пружинная шайба
На подвижных концах пролетных строений, а также в местах разрывов проезжей части необходимо устраивать подвижные стыки контруголков (на
рис. 23 -
26 представлены накладки подвижных стыков для перемещений до 10 см). В стыках контррельсов в этом случае не ставят болты с одной стороны стыка. Зазоры в подвижных стыках контруголков (контррельсов) должны соответствовать перемещениям пролетных строений от температуры и подвижной нагрузки (табл. 4).
Температурный пролет  , м | Перемещение контруголков (контррельсов), см, при годовой температурной амплитуде, °C |
60 | 80 | 90 | 100 |
33 | 3 | 4 | 5 | 6 |
44 | 4 | 5 | 6 | 7 |
55 | 5 | 6 | 7 | 8 |
66 | 6 | 8 | 9 | 10 |
77 | 7 | 9 | 10 | 11 |
88 | 8 | 10 | 11 | 12 |
99 | 9 | 11 | 13 | 14 |
110 | 10 | 12 | 14 | 15 |
Примечания. 1. Годовая температурная амплитуда в районе расположения моста принимается по Приложению 15. 2. В табл. 4 перемещения контруголков (контррельсов) подсчитаны по годовой температурной амплитуде без учета добавки (10 °C) на разность температур воздуха и металла, вводимой при определении перемещений уравнительных приборов; перемещения от временной нагрузки в соответствии с рекомендациями ВНИИЖТа приняты с коэффициентом 0,5. 3. При перемещениях,  10 см, овальные отверстия в накладках подвижных стыков контруголков (см. рис. 23 - 26) следует увеличить до 180 мм с соответствующим увеличением длины стыковых накладок. 4. Для температурных пролетов и перепадов, не указанных в табл. 4, перемещения могут быть определены интерполяцией. |
На пролетных строениях длиной до 33 м подвижные стыки контруголков (контррельсов) можно не устраивать. Стыки контруголков (контррельсов) в пределах челноков, а также в створе со стыками путевых рельсов не допускаются.
Башмаки контруголков во всех случаях укладки их вновь (при строительстве или переустройстве мостов, сплошной замене мостовых брусьев, отдельной замене контррельсов на контруголки) необходимо устраивать согласно рис. 27. Допускается применение башмаков по
рис. 28 на деревянных шпалах и по
рис. 29 - на железобетонных шпалах. На эксплуатируемых мостах разрешается сохранить башмаки контруголков и контррельсов, аналогичные по конструкции показанным на
рис. 30 -
32. При этом во всех случаях должны быть установлены наклонные вставки со стороны моста для предупреждения зацепления за башмак свисающих с подвижного состава случайных предметов. Башмаки контруголков других типов должны быть заменены на башмаки, показанные на рис. 27,
28,
29, а контррельсов - на
рис. 30.
Рис. 27. Основной тип башмака "челнока" контруголков:
1 - болт М22 с гайкой и двумя шайбами; 2 - накладка;
3 - сердечник; 4 - наклонная вставка
Рис. 28. Допустимый тип башмака контруголков
при деревянных шпалах
Примечания. 1. Масса сердечника 16 кг.
2. Сердечник изготовляют из двутавра N 24, как показано на
рисунке, или из листовой стали толщиной не менее 8 мм. Заготовка изгибается в нагретом состоянии. Размеры в скобках уточняются по месту.
Рис. 29. Допустимый тип башмака контруголков
при железобетонных шпалах
контррельсов с укрытием хвостовой части:
1 - болт с гайкой М22; 2 - сердечник; 3 - лафет;
4 - клинчатая прокладка; 5 - накладка
Примечания. 1. Размеры без скобок относятся к башмакам для контррельсов Р50, в скобках - для контррельсов Р39 и Р43, размеры со звездочкой уточняются по месту.
2. Сердечник изготавливается из двутавра N 55, как показано на
рисунке, или из листовой стали толщиной не менее 10 мм, изгиб заготовки осуществляется в нагретом состоянии, толщина сварных швов 8 мм.
Рис. 31. Укрытие хвостовой части башмака челнока
контррельсов без замены сердечника
Примечание. Наклонная вставка из полосовой стали толщиной 8 мм приваривается к существующему башмаку и рельсам на месте; толщина шва 6 мм. Размеры вставки должны быть уточнены по месту в зависимости от шва контррельсов и эпюры шпал. Ориентировочная масса вставки 5,3 кг.
Рис. 32. Укрытие хвостовой части остряка в челноке
контррельсов без специального башмака
Примечание. Лист укрытия из полосовой стали толщиной 8 мм приваривается к существующим острякам в "челноке" контррельсов сварным швом толщиной 6 мм. Размер вставки должен быть уточнен по месту. Ориентировочная масса вставки 12,8 кг.
Башмаки должны быть закреплены на шпалах шурупами или костылями и уложены так, чтобы остряки их находились на шпале. Контррельсы прикрепляются к башмаку не менее чем двумя болтами диаметром 19 - 22 мм. Потребность металла на укладку контруголков принимается по
Приложению 19.
8.2. Противоугонные (охранные) уголки и брусья укладывают на металлических мостах с мостовым полотном на деревянных брусьях (поперечинах) и на металлических поперечинах на всем протяжении мостового полотна. Противоугонные (охранные) уголки при мостовом полотне на деревянных брусьях (поперечинах) должны иметь сечение не менее 160 x 100 x 10 мм или 125 x 125 x 10, при металлических поперечинах - 160 x 160 x 16.
Противоугонные (охранные) уголки и брусья укладывают на расстоянии не менее 300 мм (в исключительных случаях 250 мм) и не более 400 мм от наружной грани головки путевого рельса.
К каждому мостовому брусу противоугонный уголок прикрепляют двумя шурупами (костылями) или лапчатым болтом
(рис. 33). Способ крепления противоугонных уголков выбирается по табл. 5 в зависимости от типа рельсов, конструкции и размеров пролетных строений.
Крепление рельсов | Тип рельса | Расстояние между осью пути и наружной гранью пояса продольной балки (фермы), мм | Способ крепления противоугонного уголка | Расстояние c в свету между наружной гранью головки рельса и вертикальной полкой противоугонного уголка, мм |
Костыльное | Р75, Р65 | 1025 - 1205 | Лапчатые болты | 315 - 415 |
Р75, Р65 | 1206 и более | Шурупы (костыли) | 315 |
Р50 | 997 - 1177 | Лапчатые болты | 290 - 400 |
Р50 | 1178 и более | Шурупы (костыли) | 290 |
Клеммно-шурупное | Р65 | 1031 - 1211 | Лапчатые болты | 320 - 420 |
Р65 | 1212 и более | Шурупы (костыли) | 320 |
Р50 | 1016 - 1196 | Лапчатые болты | 310 - 410 |
Р50 | 1197 и более | Шурупы (костыли) | 310 |
Рис. 33. Крепление противоугонных (охранных) уголков:
а - костылями (шурупами); б - лапчатым болтом
Примечание. Отверстия для костылей можно делать диаметром 25 мм.
К металлическим поперечинам противоугонные (охранные) уголки прикрепляют двумя высокопрочными болтами или заклепками (см.
рис. 15). Стыки противоугонных уголков перекрывают уголковыми накладками с постановкой не менее двух болтов в полунакладке (рис. 34 и
35).
Рис. 34. Стыки противоугонных
(охранных) уголков на мостовых брусьях:
а - охранные уголки прикреплены лапчатыми болтами;
б - то же шурупами или костылями
Примечания. 1. Круглые отверстия диаметром 25 мм в охранных уголках для стыковых болтов должны иметь допуски +1,5 - 0,5 мм.
2. В стыковых накладках вместо овальных отверстий допускаются круглые диаметром 36 мм.
3. Отверстия в охранных уголках и стыковых накладках для костылей можно делать диаметром 25 мм.
Рис. 35. Стыки противоугонных (охранных)
уголков на металлических поперечинах:
1 - стыковая уголковая накладка; 2 - стыковой болт;
3 - высокопрочный болт
Противоугонные (охранные) брусья должны иметь сечение 15 x 20 см. В местах пересечения с мостовыми брусьями или поперечинами противоугонные брусья должны иметь врубку глубиной 3 см и прикрепляться к каждому мостовому брусу болтом диаметром 19 - 22 мм или лапчатым болтом (см.
рис. 8).
При расположении противоугонных брусьев над верхними поясами ферм на мостах с ездой поверху необходимо заменять их на противоугонные уголки. Верх болтов прикрепления противоугонных брусьев должен быть ниже головки путевых рельсов не менее чем на 5 мм, для чего в необходимых случаях (при рельсах Р43 и легче) допускается устройство соответствующих врубок в противоугонном брусе. Во избежание скопления воды врубка должна быть в виде поперечного желобка со скатами в обе стороны в направлении от болта (рис. 36).
Рис. 36. Врубка в охранном брусе для болта прикрепления
Стыки противоугонных (охранных) брусьев должны быть устроены вполдерева и располагаться на мостовом брусе (рис. 37). Расстояние между стыками должно быть, как правило, не менее 4 м.
Рис. 37. Стык охранных брусьев
Над подвижными концами пролетных строений, а также в местах разрывов проезжей части противоугонные (охранные) уголки и брусья должны иметь зазоры, обеспечивающие свободное продольное перемещение пролетных строений. Величина зазоров принимается по
табл. 4.
Противоугонные (охранные) брусья должны изготовляться, как правило, из сосны или лиственницы; другие породы дерева допускаются с разрешения служб пути дорог. Древесина брусьев должна отвечать требованиям
ГОСТ 8486-86 для древесины не ниже 2-го сорта.
| | ИС МЕГАНОРМ: примечание. В официальном тексте документа, видимо, допущена опечатка: имеется в виду ГОСТ 20022.5-75, а не ГОСТ 2022.5-75. | |
| | ИС МЕГАНОРМ: примечание. Взамен ГОСТ 20022.5-75 Постановлением Госстандарта России от 06.08.1994 N 167 с 1 января 1995 года введен ГОСТ 20022.5-93. | |
Брусья должны пропитываться масляными антисептиками по ГОСТ 2022.5-75. В виде исключения допускается диффузионная пропитка водным антисептиком с последующей гидроизоляцией согласно Инструкции по содержанию и ремонту деревянных шпал и брусьев. Все места врубок и стенки отверстий, сделанных в брусьях после пропитки, подлежат обмазке антисептиком не менее трех раз.
Потребность металла на укладку противоугонных (охранных) уголков при мостовом полотне на деревянных и металлических поперечинах определяется по
Приложению 20.
8.3. На металлических мостах с мостовым полотном на деревянных и металлических поперечинах для предотвращения провала колес сошедшего с рельсов подвижного состава над поперечными балками устанавливают подвесные мостики и столики. При мостовом полотне с металлическими поперечинами указанные мостики устанавливают также между поперечинами.
При строительстве новых мостов, а также во всех случаях укладки охранных приспособлений из уголков подвесные мостики устраивают согласно рис. 38.
Рис. 38. Подвесной мостик над поперечной балкой:
слева - при контруголках сечением 160 x 160 x 16 мм;
справа - то же сечением 160 x 100 x 14 мм; 1 (1А) - уголки
мостика; 2 - высокопрочные болты или заклепки мостика;
3 - противоугонный (охранный) уголок; 4 - контруголок;
5 - высокопрочный болт прикрепления мостика;
6 - уголковая накладка; 7 - высокопрочные болты
прикрепления накладки
| | ИС МЕГАНОРМ: примечание. При публикации в издании М.: "Транспорт", 1989 в тексте допущен типографский брак. Текст, не пропечатанный в официальном тексте документа, в электронной версии данного документа выделен треугольными скобками. | |
Примечания. 1. Длина уголков мостика принимается по месту в зависимости от размера C, назначаемого по
табл. 5 Указаний; на
рис. 38 слева показана длина уголков при C = <...>45 мм; справа - при C = 415 мм. 2. Вместо болтов в вертикальных полках уголков мостика могут быть поставлены заклепки диаметром 23 мм.
На эксплуатируемых мостах с охранными приспособлениями в виде контррельсов или контруголков и противоугонных (охранных) брусьев на поперечных балках должны быть столики (рис. 39). Этот тип столиков может быть сохранен и при наличии охранных приспособлений из уголков. Столики другого типа могут применяться только в виде исключения с разрешения Главного управления пути МПС.
Рис. 39. Столики на поперечной балке:
1 - опорная часть столика из рельса Р38 или Р43;
2 - заклепки или болты; 3 - уголок 140 x 90 x 10 мм;
4 - прокладка; 5 - вагонный швеллер N 18;
6 - заклепки или болты; 7 - ребра жесткости из листовой
стали толщиной не менее 10 мм; 8 - уголок;
9 - ребра жесткости из уголков; 10 - высокопрочные
болты длиной 60 мм; 11 - то же длиной 90 мм
Примечание. Высоту столика h и сечение уголков (швеллеров) определяют в зависимости от высоты мостовых брусьев и конструкции проезжей части с таким расчетом, чтобы расстояние от верха бруса до верха столика было не менее 1 см и не более 2 см.
Потребность металла на один мостик и столик принимается по
Приложению 21.
8.4. Противоугонные уголковые коротыши, устанавливаемые на верхних поясах продольных балок (ферм) при мостовом полотне с деревянными поперечинами, должны соответствовать рис. 40. Противоугонные уголковые коротыши другого сечения, обеспечивающие надежное закрепление мостовых брусьев и соответствующее расположение их у поперечных балок, могут быть сохранены.
Рис. 40. Противоугонный уголковый коротыш
Примечания. 1. Размеры со звездочкой уточняют по месту.
2. Масса противоугонного уголкового коротыша, изготовленного по
рис. 40, равна 4,25 кг.
8.5. В обоснованных случаях с разрешения Главного управления пути МПС на мостах можно укладывать специальные охранные приспособления в виде устройств, препятствующих сходу колес подвижного состава. В этом случае перед мостом должны укладываться вкатыватели
(Приложение 18).
8.6. Металлические конструкции охранных приспособлений должны изготавливаться из материалов, приведенных в табл. 6.
Таблица 6
| | ИС МЕГАНОРМ: примечание. Взамен ГОСТ 6713-75 Постановлением Госстандарта СССР от 06.09.1991 N 1430 с 1 июля 1992 года введен в действие ГОСТ 6713-91. | |
| | ИС МЕГАНОРМ: примечание. Приказом Ростехрегулирования от 20.07.2007 N 185-ст с 1 января 2008 года введен в действие ГОСТ 380-2005. | |
| | ИС МЕГАНОРМ: примечание. Взамен ГОСТ 19281-73 и ГОСТ 19282-73 Постановлением Госстандарта СССР от 28.09.1989 N 2972 с 1 января 1991 года введен в действие ГОСТ 19281-89. | |
Наименование конструкций и метизов | Для мостов, расположенных в обычных климатических условиях | Для мостов, расположенных в северных условиях |
Элементы контруголков, противоугонных (охранных) уголков, башмаков, челноков, подвесных мостиков, столиков, противоугонных уголковых коротышей | Сталь марки 16Д. Допускается применение для сварных элементов стали ВСт3сп5 по ГОСТ 380-71, а для элементов без сварных соединений стали ВСт3сп4 по ГОСТ 380-71. | 15ХСНД-2 по ГОСТ 6713-75. Уголки по ГОСТ 8509-86 и ГОСТ 8510-86 допускается применять без термообработки - прокат категории I по ГОСТ 6713-75. Швеллеры могут применяться без термообработки при условии выполнения требований по ударной вязкости при температуре соответственно -60 и -70 °C. |
| При толщине проката до 10 мм включительно допускается применение полуспокойной стали тех же категорий | Кроме того, допускается применять сталь марок 10Г2С1Д-6, 10Г2С1-6, 09Г2СД-6, 09Г2С-6, 09Г2Д-6, 09Г2-6, 14Г2-6 по ГОСТ 19281-73 и ГОСТ 19282-73 |
Болты (кроме высокопрочных) | В соответствии с п. 8.1 Приложения 8 |
9.1. На всех мостах полной длиной более 25 м, на всех мостах высотой более 3 м, всех мостах, расположенных в пределах станций, и на всех путепроводах должны быть двусторонние боковые тротуары с перилами.
В северных условиях двусторонние боковые тротуары должны иметь все мосты полной длиной более 10 м.
На двухпутных пролетных строениях, а также на двухпутных и многопутных мостах с ездой поверху на общих опорах во всех случаях должны быть тротуары в междупутье на уровне верха мостовых брусьев (металлических поперечин, безбалластных железобетонных плит).
9.2. На пролетных строениях с ездой на поперечинах или безбалластных железобетонных плитах необходимо устраивать раздельные боковые тротуары на уровне низа поперечин (плит).
На больших охраняемых мостах с ездой понизу, если поперечные балки прикреплены большими "топориками", разрешается располагать один тротуар на уровне верха поперечин (плит). На пролетных строениях с ездой понизу со сплошными главными балками боковые тротуары следует устраивать на уровне верха поперечин. В этом случае целесообразно применять безбалластные железобетонные плиты.
Боковые тротуары на длинных мостовых брусьях (поперечинах) допускаются на эксплуатируемых металлических мостах впредь до их капитального ремонта или переустройства, а также на деревянных мостах. При этом эпюра укладки мостовых брусьев (поперечин) и конструкция тротуаров должны соответствовать рис. 41.
Рис. 41. Устройство тротуаров на длинных мостовых
брусьях (а) и эпюры укладки мостовых брусьев на однопутных
мостах (б), на двухпутных мостах с боковыми тротуарами (в),
при отсутствии боковых тротуаров (г)
Примечание. В скобках даны размеры мостовых брусьев по ранее действующему ГОСТу.
На мостах с ездой на балласте боковые тротуары следует располагать на уровне бортов балластного корыта.
На малых мостах с уширенным балластным корытом для пропуска щебнеочистительных машин специальные боковые тротуары можно не устраивать.
9.3. У боковых тротуаров и тротуаров в междупутье настил, как правило, устраивают из железобетонных плит. Разрешается применять металлический настил из стали специального профиля.
Деревянный настил допускается только на эксплуатируемых мостах в случае, если его заменять нецелесообразно. Например, на старых пролетных строениях, подлежащих замене.
Деревянный настил на боковых тротуарах должен быть устроен из четырех досок сечением 20 x 5 см, укладываемых с зазором в 2 см. Доски должны быть остроганы и пришиты гвоздями длиной 100 мм к поперечным брусьям сечением не менее 10 x 10 см. Деревянный настил можно устраивать из щитов.
Расстояние между местами опирания настила (на консоли или промежуточные опоры при металлических прогонах) не должно превышать 180 см.
На металлических пролетных строениях с ездой поверху при расположении тротуаров над верхними поясами ферм настил для удобства очистки и осмотра ферм рекомендуется устраивать откидным на петлях или съемным.
9.4. Боковые раздельные тротуары, убежища, а также тротуары в междупутье на пролетных строениях с ездой на поперечинах (безбалластных железобетонных плитах) рассчитывают на нормативную нагрузку 3,92 кПа (400 кгс/м2), а на пролетных строениях с ездой на балласте - 9,8 кПа (1000 кгс/м2). Расчетные сопротивления и коэффициенты при расчете несущих конструкций принимаются в соответствии со
СНиП 2.05.03-84.
9.5. Для укрытия людей при проходе поездов, размещения противопожарного инвентаря, а также механизмов, оборудования и материалов при производстве ремонтных работ на мостах должны устраиваться убежища.
Убежища на мостах должны располагаться через 50 м с каждой стороны пути в шахматном порядке (при длине моста от 50 до 100 м допускается устраивать по одному убежищу с каждой стороны пути) (рис. 42).
Рис. 42. Расположение убежищ:
а - на мостах длиной более 100 м для нескоростных участков
и обычной климатической зоны; б - на мостах длиной
более 50 м для участков скоростного движения и северной
климатической зоны; в - на мостах длиной от 50 до 100 м
для нескоростных участков и обычной климатической зоны
и от 25 до 50 м для участков скоростного движения
и северной климатической зоны
На участках со скоростью движения пассажирских поездов более 140 км/ч и в северных условиях расстояние между убежищами должно быть 25 м. На эксплуатируемых мостах в северных условиях и на участках обращения пассажирских поездов со скоростью более 140 км/ч допускается сохранить существующие расстояния между убежищами 50 м при условии разработки для каждого моста, руководствуясь Правилами техники безопасности и производственной санитарии при производстве работ в путевом хозяйстве, специальных мер техники безопасности, утверждаемых начальником дистанции пути.
Размеры убежищ: вдоль моста - не менее 3 м, поперек моста - 1 м. На эксплуатируемых мостах допускается сохранение убежищ размерами вдоль моста не менее 1,8 и поперек моста 0,8 м.
На пролетных строениях с шириной балластного корыта между наружными гранями бортов 4,9 м при наличии боковых тротуаров размер убежищ поперек моста (1 м) может приниматься с учетом ширины тротуара.
На деревянных мостах и металлических мостах с мостовым полотном на длинных мостовых брусьях убежища устраивают на трех брусьях длиной 5,0 - 5,25 м.
Убежища рассчитываются на ту же нагрузку, что и раздельные боковые тротуары.
9.6. Боковые тротуары и убежища на всех постоянных мостах ограждают металлическими перилами высотой (от верха настила) 1,1 м.
Стойки и поручни должны быть из уголков сечением не менее 70 x 70 x 8 мм.
Заполнение перил на новых мостах должно выполняться в нижней части из швеллера N 14, а в верхней - из круглых стержней диаметром 20 мм согласно рис. 43, а. На эксплуатируемых мостах может быть сохранено заполнение из круглых стержней, при этом расстояние от верха настила до первого стержня должно быть не более 30 см, а плита или крайняя доска настила должны отстоять от стоек не более чем на 1 см (рис. 43, б). При

расстояниях перильное заполнение в плановом порядке переустраивается.
Рис. 43. Перильное заполнение:
а - на новых мостах; б - на эксплуатируемых мостах;
1 - поручень перил 80 x 80 x 8; 2 - заполнение перил;
3 - фасонка; 4 - стойка перил 80 x 80 x 8; 5 - заполнение
перил - швеллер N 14; 6 - плита тротуара;
7 - болт 22 мм; 8 - фасонка
Примечание. В местах сопряжения швеллера со стойками перил полки швеллера вырезать на длине 90 мм.
Расстояние от оси пути до наиболее выступающих частей перил на прямых участках пути должно быть не менее 2450 мм, а при проектировании новых пролетных строений - не менее 2480 мм, учитывая допуски на установку пролетных строений и укладку пути на мостах. В мостах на кривых необходимо предусматривать соответствующее увеличение расстояния от оси пути до перил.
На железнодорожных мостах, расположенных в городах, при необходимости перила могут устраиваться с учетом повышенных архитектурных требований по индивидуальным проектам, утвержденным на дорогах. На деревянных мостах допускается устройство деревянных перил (см.
рис. 18).
9.7. Конструкции боковых тротуаров, убежищ, перил и тротуаров в междупутье изготовляют из материалов, приведенных в табл. 7.
| | ИС МЕГАНОРМ: примечание. Взамен ГОСТ 6713-75 Постановлением Госстандарта СССР от 06.09.1991 N 1430 с 1 июля 1992 года введен в действие ГОСТ 6713-91. | |
| | ИС МЕГАНОРМ: примечание. Приказом Ростехрегулирования от 20.07.2007 N 185-ст с 1 января 2008 года введен в действие ГОСТ 380-2005. | |
| | ИС МЕГАНОРМ: примечание. Взамен ГОСТ 19281-73 и ГОСТ 19282-73 Постановлением Госстандарта СССР от 28.09.1989 N 2972 с 1 января 1991 года введен в действие ГОСТ 19281-89. | |
Наименование конструкций | Для мостов, расположенных в обычных условиях | Для мостов, расположенных в северных условиях |
Металлические конструкции | Сталь марки 16Д. Допускается применение для сварных элементов стали марки ВСт3сп5 по ГОСТ 380-71, а для элементов без сварных соединений - стали марки ВСт3сп4 по ГОСТ 380-71. | 15ХСНД-2 по ГОСТ 6713-75. Уголки по ГОСТ 8509-72 и ГОСТ 8510-86 допускается применять без термообработки - прокат категории I по ГОСТ 6713-75. Швеллеры могут применяться без термообработки при условии выполнения требований по ударной вязкости соответственно при температуре -60 и -70 °C |
При толщине проката до 10 мм включительно допускается применение полуспокойной стали тех же категорий | Кроме того, допускается применять сталь марок 10Г2С1Д-6, 10Г2С1-6, 09Г2СД-6, 09Г2С-6, 09Г2Д-6, 09Г2-6, 14Г2-6 по ГОСТ 19281-73 и ГОСТ 19282-73 |
Железобетонные конструкции | Бетон марок не ниже В-25; Мрз 200. Арматура марок ВСт3сп2 по ГОСТ 380-71; ВСт5сп2 по ГОСТ 5781-82. | Бетон марок не ниже В-25 и Мрз 300. Арматура марок: ВСт3сп2 по ГОСТ 380-71; 10ГТ по ГОСТ 5781-82. |
Допускается применять арматуру диаметром до 16 мм из стали ВСт3пс2 по ГОСТ 380-71 и ВСт5пс2 по ГОСТ 5781-82 | Допускается применять арматуру диаметром до 16 мм из стали ВСт3сп2 но ГОСТ 380-71 и ВСт5пс2 по ГОСТ 5781-82 только в вязаных каркасах |
Примечания. 1. В перилах уголки с полкой 70 мм и менее допускается применять из стали марки ВСт3пс2 по ГОСТ 380-71. 2. Для нерабочих прокладок и заполнения перил допускается применение стали марки Ст3кп2 по ГОСТ 380-71. |
Боковые тротуары и убежища должны прикрепляться к пролетным строениям только на болтах или заклепках. Монтажная сварка не допускается.
9.8. Для устройства раздельных тротуаров, убежищ, перил и тротуаров в междупутье на эксплуатируемых металлических мостах рекомендуется широко использовать металл старых металлических пролетных строений, снимаемых при замене их на новые. При этом в расчетах несущих конструкций для старого металла следует принимать нормативные сопротивления, установленные для современной углеродистой стали ВСт3 по ГОСТ 380-71 с коэффициентами 0,8 для сварочного железа и литого железа пролетных строений, построенных до 1905 г., и 0,9 для литого железа пролетных строений, построенных после 1905 г.
Все соединения конструкций тротуаров, убежищ и перил из металла старых мостов должны быть на заклепках или болтах.
На новых пролетных строениях боковые тротуары, убежища и перила устраивают по утвержденным МПС типовым проектам пролетных строений.
9.9. На металлических пролетных строениях эксплуатируемых мостов боковые тротуары, убежища и перила выполняют по индивидуальным или повторно применяемым проектам, разработанным на основе указанных выше требований с использованием типовых проектов новых пролетных строений и утвержденным службами пути дорог.
В
Приложении 22 приведены конструкции боковых тротуаров на металлических пролетных строениях по проекту, разработанному институтом Гипротранспуть для повторного применения на эксплуатируемых мостах при устройстве новых или реконструкции существующих раздельных тротуаров.
9.10. Конструкция тротуаров и настила должна обеспечивать свободное перемещение подвижных концов пролетных строений от воздействия температуры воздуха и временной нагрузки.
10. ПРОТИВОПОЖАРНЫЕ ОБУСТРОЙСТВА
10.1. На деревянных мостах, а также на мостах с ездой на деревянных поперечинах необходимо иметь противопожарные средства в виде бочек с водой вместимостью 200 л и ящиков с песком вместимостью 0,25 м3 (см.
Приложение 23), а на охраняемых мостах, кроме того, - огнетушители и другие специальные противопожарные приспособления.
10.2. На однопутных и двухпутных металлических и железобетонных мостах с деревянным мостовым полотном длиной от 10 до 25 м устанавливают одну бочку на конце моста, при длине мостов более 25 м - по одной бочке на концах моста и по одной бочке на каждые 50 м длины моста. На однопутных и двухпутных мостах с деревянными пролетными строениями или деревянными опорами при длине моста от 5 до 15 м устанавливают одну бочку на конце моста, при длине моста более 15 м - по одной бочке на концах и по одной бочке на каждые 25 м длины моста. Бочки устанавливаются на площадках-убежищах, а при их отсутствии - на специальных помостах.
При отсутствии или пересыхании в летнее время водотока у деревянных опор устанавливают бочки с водой по одной на каждые 25 м длины моста.
10.3. Кроме бочек с водой, на металлических и железобетонных мостах с деревянным мостовым полотном длиной более 25 м и на деревянных мостах длиной более 15 м ставят ящики с песком на площадках, располагаемых по длине моста между площадками для бочек. Ящики с песком должны иметь крышки на петлях. Песок в ящиках должен быть сухим.
На путепроводах над электрифицированными участками взамен бочек с водой должны быть поставлены ящики с песком.
На пешеходных мостах с деревянным настилом устанавливают ящики с песком по одному на каждые 50 м длины моста (со сходами).
Во время морозов бочки должны быть пустыми, а в остальное время - наполнены водой. В засушливых и безводных районах на металлических и железобетонных мостах с деревянным мостовым полотном длиной до 25 м, а также на деревянных мостах длиной до 15 м и у деревянных опор допускается вместо бочек с водой устанавливать ящики с песком вместимостью 0,25 м3.
На мостах с деревянными пролетными строениями пространство между контррельсами или между специальными брусками должно быть покрыто дощатым настилом и засыпано щебнем или гравием, а пространство между путевым рельсом и контррельсом (или бруском) покрыто полосовой сталью. На мостах с металлическими пролетными строениями на деревянных опорах указанные покрытия необходимо устраивать над всеми опорами и в обе стороны от них на расстоянии 2 - 5 м (в зависимости от высоты опоры).
Расположенные над железнодорожными путями части деревянных путепроводов должны быть обшиты снизу листовой сталью на ширину не менее 4 м со спущенными на 0,3 м краями.
На охраняемых мостах, помимо бочек с водой и ящиков с песком, должны быть следующие противопожарные средства:
а) химические огнетушители, устанавливаемые в специальных деревянных ящиках (см.
Приложение 23) на концах моста и через каждые 100 м его длины; в зимнее время огнетушители необходимо переносить в теплое помещение;
б) ведра по одному на каждые 200 м длины моста, но не менее одного на пост охраны;
в) противопожарный инвентарь (не менее чем по 2 шт.): лопаты, ломы, топоры, багры, а также ведра с веревкой и блоком для пополнения воды в бочках.
Указанный инвентарь должен храниться на щитах в служебном помещении или на стендах у моста (см.
Приложение 23).
В помещении охраны моста и в помещении мостового обходчика должен быть телефон.
Деревянные мосты длиной более 300 м, мосты, имеющие деревянные опоры высотой более 12 м, а также многопутные мосты обеспечиваются противопожарными средствами в зависимости от местных условий по согласованию с пожарной охраной дороги.
Особо крупные охраняемые мосты по перечню, утверждаемому начальником дороги, помимо перечисленного выше пожарного инвентаря, обеспечиваются в плановом порядке самостоятельными пожарными установками, разработанными по специальному проекту, согласованному с пожарной охраной дороги.
К БАЛЛАСТНЫМ МАТЕРИАЛАМ ДЛЯ МОСТОВОГО ПОЛОТНА
1.1. Щебень из естественного камня
На мостах с ездой на балласте должен применяться щебень, отвечающий требованиям
ГОСТ 7392-85.
К щебню предъявляются требования по следующим показателям: зерновому составу, содержанию частиц размером менее 0,16 мм, содержанию дробленых зерен (в щебне из валунов и гравия), прочности, содержанию зерен слабых пород, содержанию глины в комках, морозостойкости, электроизоляционным свойствам.
Используемый щебень должен быть одной фракции, а размер зерен должен соответствовать указанным в табл. 1.
Таблица 1
Размер зерен фракции, мм | Количество зерен | Полный остаток на сите с отверстиями диаметром 40 мм, % по массе |
крупнее верхнего номинального размера | мельче нижнего номинального размера |
в пределах размеров, мм | % по массе, не более | % по массе, не более |
всего | в том числе частиц размером менее 0,16 мм |
От 25 до 60 | От 60 до 70 | 5 | 5 | 1,5 | От 25 до 75 |
Свыше 70 | 0 | | |
По прочности щебень должен соответствовать маркам И20 и У50, т.е. прочность щебня по сопротивляемости удару при испытании на копре ПМ должна составлять не менее 50 условных единиц, а при истирании в барабане полочной шаровой мельницы потеря в массе не должна превышать 30% первоначальной массы.
Щебень не должен содержать зерен слабых пород в количестве более 10% по массе. К слабым относят породы с пределом прочности при сжатии в насыщенном водой состоянии до 20 МПа (200 кгс/см2).
Щебень должен быть чистым и не содержать кусков глины, растительного слоя почвы и других примесей.
По морозостойкости щебень должен иметь марки не ниже Мрз 50. Морозостойкость определяется путем попеременного замораживания и оттаивания образцов щебня. Допускается испытание в растворе сернокислого натрия.
Электроизоляционные свойства щебня определяются удельной электрической проводимостью насыщенного раствора, образующегося от растворения щебня в дистиллированной воде, которая не должна превышать 0,06 Ом/м.
В качестве асбестового балласта служат отходы асбестового производства, представляющие собой мелкие фракции дробленых пород (серпентины и серпентинизированные перидотиты) с небольшим содержанием свободных волокон несортового хризотил-асбеста. Отходы считаются пригодными для асбестового балласта, если они содержат зерна разных размеров в количестве, указанном в табл. 2.
Таблица 2
Размер отверстий контрольного сита, мм | Полные остатки на ситах, % по массе |
25 | Не более 20 |
10 | Не более 60 |
5 | От 3 до 75 |
0,5 | От 40 до 98 |
0,14 | От 80 до 100 |
Прочность зерен размерами 3 - 10 мм должна определяться истираемостью при испытании в полочном барабане или сопротивлением удару при испытании на копре ПМ.
Потеря массы зерен при испытании в полочном барабане должна быть не более 30% первоначальной массы, а сопротивление удару на копре ПМ - не менее 50 условных единиц.
Морозостойкость зерен размерами 1,25 - 5 мм в балласте должна быть не менее Мрз 25. При этом после 25 циклов попеременного замораживания и оттаивания потеря в массе пробы не должна превышать 10% первоначальной.
В балласте не должно быть кусков глины, почвы и других загрязняющих примесей.
ЖЕЛЕЗОБЕТОННЫЕ ШПАЛЫ ДЛЯ МОСТОВ И ТРЕБОВАНИЯ
НА ИХ ИЗГОТОВЛЕНИЕ (ПО ПРОЕКТУ ГИПРОПРОМТРАНССТРОЯ,
УТВЕРЖДЕННОМУ ГЛАВНЫМ УПРАВЛЕНИЕМ ПУТИ МПС
30 МАРТА 1972 Г. N ЦПТ-123 ДЛЯ ОПЫТНОГО ПРИМЕНЕНИЯ)
2.1. Специальные железобетонные шпалы для мостов (рис. 1,
2) предназначены для укладки на мостах с ездой на балласте при необходимости устройства охранных приспособлений. Шпалы рассчитаны на укладку рельсов Р50 и Р65 на подкладках КБ-50 и КБ-65 и контруголков сечением 160 x 160 x 16 мм. Контруголки прикрепляют к каждой шпале путевыми шурупами, завинчиваемыми в деревянные вкладыши из дуба или бука.
Рис. 1. Железобетонная шпала для укладки
на мостах с контруголками
Примечание. Шпалы могут изготавливаться двух типов: с подрельсовой площадкой глубиной 15 и 25 мм.
Рис. 2. Арматурный чертеж железобетонной шпалы
Между шпалой и контруголком укладывается резиновая или кордовая прокладка (рис. 3).
| | ИС МЕГАНОРМ: примечание. ГОСТ 809-71 утратил силу с 1 марта 2015 года в связи с введением в действие ГОСТ 809-2014 (Приказ Росстандарта от 30.10.2014 N 1468-ст). | |
Рис. 3. Крепление рельсов
и контруголков к железобетонным шпалам:
1 - рельсовая подкладка КБ-65 (КБ-50) ГОСТ 16279-78
(ГОСТ 16278-78); 2 - болт закладной М22 длиной 165 мм
5 - клемма промежуточная 341 ЦП-75; 6 - резиновая прокладка
под подошву рельса (ОП 143-74); 7 - шайба пружинная
двухвитковая (ОП 99-73); 8 - текстолитовая изолирующая
втулка КБ (ОП 142-71); 9 - скоба для изолирующей втулки
КБ (ОП 138-71) или шайба черная 22 (ЦП 13-72);
10 - резиновая прокладка под подкладку КБ-10 (ОП 153-72);
11 - резиновая прокладка под контруголок; 12 - путевой
шуруп по ГОСТ 809-71; 13 - деревянный вкладыш (пропитанный
дуб или бук); 14 - контруголок 160 x 160 x 15;
15 - путевой рельс Р65 или Р50;
16 - шайба опорная оцинкованная (ЦП 872)
2.2. Шпалы запроектированы 21 типа (рис. 4), которые отличаются только расположением вкладышей для прикрепления контруголков: 20 типов (Ш1 - Ш20) - для укладки в пределах "челноков" и один тип (Ш21) - в пределах моста.
Рис. 4. Типы шпал для мостов
2.3. Шпалы изготавливают по ТУ 32 ЦП 471-76 из бетона марки М500 по прочности и Мрз 300 по морозостойкости. Основные требования этих технических условий приводятся ниже.
2.4. Отклонения от проектных размеров шпал не должны превышать величин, приведенных в табл. 1.
Таблица 1
Наименование отклонений | Допускаемые отклонения, мм |
Длина шпалы | +/- 10 |
Ширина шпалы | +/- 5 |
Высота шпалы | +4; -3 |
Разность высот шпалы, измеренных в одном поперечном сечении | 3 |
Расстояние между кромками углублений под подкладку разных концов шпалы | +/- 2 |
То же одного конца шпалы | +2; -1 |
Расстояние между осями отверстий для закладных болтов и наружной кромкой углубления под подкладку одного конца шпалы | +/- 1 |
Расстояние между наружной кромкой углубления под подкладку и осью вкладыша | +/- 2 |
Глубина заделки в бетон закладных шайб | +/- 3 |
Поперечные размеры отверстия для закладного болта | +3; -2 |
Толщина защитного слоя бетона над верхним рядом напряженной арматуры и расстояние по вертикали от каждого ряда проволок до верхней кромки торца шпалы | +/- 3 |
Угол взаимного поворота подрельсовых площадок разных концов шпалы относительно ее продольной оси ("пропеллерность" шпалы) | Не более 0,012 рад |
Подуклонка подрельсовых площадок должна быть 1/20; отклонения в величине подуклонки - в пределах от 1/19 до 1/21.
2.5. В качестве напрягаемой арматуры для шпал должна применяться стальная проволока периодического профиля диаметром 5 мм по
ГОСТ 7348-81; для хомутов и спиралей - проволока диаметром 3 мм класса В-1 по
ГОСТ 6727-80; для закладных шайб - сталь 15ХСНД или 15ХГ2СФМР.
Спецификация арматуры приведена в табл. 2.
| Диаметр, мм | Количество, шт. | Длина единицы, мм | Длина общая, м | Масса, кг |
1 м | общая |
1 | 3 | 6 | 600 | 3,60 | 0,055 | 0,20 |
2 | 3 | 2 | 1250 | 2,50 | 0,055 | 0,14 |
3 | 3 | 6 | 80 | 0,48 | 0,055 | 0,03 |
4 | 5 | 24 | 2700 | 64,8 | 0,154 | 10,00 |
Итого | - | - | - | - | - | 10,37 |
Деревянные вкладыши должны быть из пропитанного бука не ниже 2-го сорта с влажностью не более 22% (
ГОСТ 2695-83 "Пиломатериалы лиственных пород").
| | ИС МЕГАНОРМ: примечание. Постановлением Госстроя СССР от 21.11.1988 N 228 с 1 января 1990 года введен в действие ГОСТ 10629-88. | |
2.6. Качество материалов для приготовления бетона, отпускная и передаточная прочность бетона, натяжение арматуры, а также внешний вид шпал должны удовлетворять требованиям ГОСТ 10629-78 "Шпалы железобетонные предварительно напряженные для железных дорог широкой колеи".
2.7. При испытании шпал на трещиностойкость они должны выдерживать без появления видимых трещин контрольную нагрузку 117,7 кН (12 тс). Готовые шпалы должны быть приняты ОТК предприятия-изготовителя.
2.8. Шпалы при хранении и транспортировании укладывают горизонтальными рядами в рабочем положении (основанием вниз). Между рядами должны быть уложены деревянные прокладки толщиной не менее 40 мм на расстоянии 550 мм от концов шпал. Делать прокладки посередине шпал не допускается.
Шпалы транспортируют в открытых вагонах или на автомашинах. Погрузки их следует производить способами, исключающими удары шпал друг о друга и их повреждение.
2.9. Предприятие-изготовитель должно сопровождать каждую отгрузку шпал паспортом. На верхней поверхности каждой шпалы при изготовлении должна быть нанесена вдавливанием в бетон следующая маркировка: тип шпалы, товарный знак предприятия-изготовителя и год изготовления шпалы (двумя последними цифрами). Глубина вдавливания знаков и цифр в мм, размер по высоте знаков и цифр не менее 50 мм. В концевой части на расстоянии 200 мм от торца шпалы наносят несмываемой краской номер партии для комплекта и клеймо ОТК.
2.10. Гарантийный срок устанавливается 3 года со дня отгрузки шпал предприятием-изготовителем. Изготовитель обязан безвозмездно заменять те шпалы, у которых в течение указанного гарантийного срока будут обнаружены неисправности, возникшие по вине предприятия-изготовителя.
2.11. Шпалы для мостов поставляются комплектно. В комплект для одного моста под один путь входит два набора шпал для "челноков" (типы Ш1 - Ш20) по две шпалы каждого типа - всего 40 шт. и по две шпалы на 1 м длины моста между челноками (тип Ш21).
2.12. Расход материалов на одну шпалу:
Бетон марки М500 ....................................... 0,115 м3
Высокопрочная арматурная проволока
периодического профиля диаметром 5 мм класса
Вр-II по
ГОСТ 7348-81 ...................................... 10,00 кг
Холоднотянутая проволока на хомуты и спирали
диаметром 3 мм класса В-I по
ГОСТ 6727-80 .................. 0,37 кг
Шайба опорная ПП 8-72 - 4 шт. .......................... 1,28 кг
Вкладыш (пропитанный дуб или бук) - 2 шт. .............. 0,70 кг
Всего металла .......................................... 11,65 кг
Масса шпалы ............................................ 285,00 кг
К ДРЕВЕСИНЕ И ОБРАБОТКЕ ПИЛОМАТЕРИАЛОВ ДЛЯ МОСТОВЫХ БРУСЬЕВ
3.1. Мостовые брусья изготовляют по
ГОСТ 8486-86 "Пиломатериалы хвойных пород" сечением 20 x 24 и 22 x 26 см. Требования к качеству древесины изложены в табл. 1.
| Максимальные размеры и количество пороков |
1. Сучки | Допускаются: |
а) сросшиеся и несросшиеся, здоровые, темные здоровые | а) на сторонах брусьев размером не более 1/4 ширины стороны бруса. Количество не нормируется; б) на кромках брусьев размером не более 1/5 ширины стороны бруса. Количество не нормируется |
б) загнившие, гнилые и табачные | Допускаются: а) на сторонах брусьев размером не более 1/5 ширины стороны бруса в количестве не более одного сучка на любом метре длины на каждой из сторон; б) на кромках брусьев размером не более 1/4 ширины стороны бруса в количестве не более 3/4 сучка на любом метре длины брусьев. Древесина, окружающая табачные сучки, не должна иметь признаков гнили |
2. Ядровая и заболонная гнили | Не допускаются |
3. Грибные ядровые пятна и полосы | Допускаются в виде полос и пятен общей площадью не более 10% площади бруса |
4. Заболонные грибные окраски (синева, цветные заболонные пятна), плесень | Допускаются поверхностные окраски в виде пятен и полос, а глубокие - общей площадью не более 10% площади бруса |
5. Трещины | Трещины на сторонах и кромках, в том числе с выходом в торец, допускаются глубиной не более 1/5 толщины бруса и суммарной длиной не более 800 мм. Трещины толщиной 0,5 мм и глубиной 5 мм (волосные) не учитываются. Торцовые трещины, в том числе сквозные, допускаются общей длиной на обоих торцах не более 150 мм |
6. Сердцевина и двойная сердцевина | Допускаются здоровые без отлупных и радиальных трещин |
7. Наклон волокон | Допускается при отклонении волокон от прямого направления не более чем на 7% |
8. Прорость | Допускается односторонняя шириной не более 0,1 ширины соответствующей стороны бруса и длиной не более 160 мм |
9. Смоляные кармашки | Допускаются на любом метре длины в количестве не более 2 шт. |
10. Червоточина | Допускается только поверхностная (короед) на обзольных частях бруса |
11. Рак | Не допускается |
Примечания. 1. Сучки размером до половины максимально допускаемых не учитываются. 2. Сшивные сучки размером по малой оси до 6 мм и глубиной залегания до 3 мм допускаются без ограничения по большой оси. 3. Размер сучка определяется расстоянием между касательными к контуру сучка, проведенными параллельно продольной оси бруса. Размер сшивного сучка на сторонах брусьев принимается равным 1/2 ширины этой стороны бруса. 4. На участке бруса длиной 200 мм сумма размеров всех сучков, расположенных на этом участке, не должна превышать предельного размера сучков. 5. Размеры допускаемых трещин установлены для брусьев с абсолютной влажностью не более 25%. В древесине с большей влажностью допустимые размеры трещин уменьшаются вдвое. |
Пороки древесины, не перечисленные в
таблице, допускаются.
3.2. Дефекты обработки брусьев не должны превышать ограничений, установленных в табл. 2.
Таблица 2
Дефекты обработки | Нормы дефектов обработки |
1. Обзол | Допускается только тупой при условии, что пропиленная часть каждой стороны бруса без ограничения по длине составляет не менее 5/6 ширины стороны |
2. Кривизна, продольная покоробленность и крыловатость | Допускается стрела прогиба не более 6,5 мм на длине бруса |
3. Поперечная покоробленность | Допускается стрела прогиба не более 1% ширины бруса |
4. Непараллельность сторон и кромок | Отклонения от взаимной параллельности сторон и кромок допускаются в пределах норм допускаемых отклонений по толщине и ширине |
5. Чистота поверхности | |
6. Опиловка торцов (скос пропила) | В брусьях один торец должен быть спилен перпендикулярно к продольной оси бруса. Отклонения от прямоугольного торца допускаются до 5% толщины и ширины бруса соответственно |
Примечание. Размеры отклонений от правильной формы бруса (кривизна, покоробленность) установлены для брусьев с абсолютной влажностью не более 25%. При большей влажности допустимые отклонения уменьшаются вдвое. |
ХАРАКТЕРИСТИКА ПОРОКОВ ДРЕВЕСИНЫ
4.1. Пороками считают недостатки отдельных участков древесины, снижающие ее качество и ограничивающие возможность ее использования. Пороки механического происхождения, возникающие в древесине в процессе заготовки, транспортировки, сортировки, штабелевки и механической обработки, называют дефектами.
4.2. Сучки в лесных материалах - это части ветвей внутри древесины. Они ухудшают внешний вид древесины, нарушают однородность ее строения, а иногда и целостность, вызывают искривление волокон и годичных слоев, затрудняют механическую обработку, отрицательно влияют на качество древесины. Сучки, особенно кромочные, продолговатые, сшивные и групповые снижают прочность древесины при растяжении вдоль волокон и изгибе. При поперечном сжатии и продольном скалывании сучки повышают прочность древесины.
Сучки измеряют в миллиметрах или в долях ширины или толщины сортамента с подсчетом их количества на 1 м длины или на весь сортамент. Размеры сучков в пиломатериалах устанавливаются по расстоянию между касательными к контуру сучка, параллельными продольной оси сортамента, а при выходе на ребро - по расстоянию между ребром и касательной.
Сросшиеся сучки - годичные слои их срослись с окружающей древесиной на протяжении не менее 3/4 периметра разреза сучка.
Несросшиеся сучки - годичные слои их не имеют срастания с окружающей древесиной или срослись с ней на протяжении не более 1/4 периметра разреза сучка.
Здоровые сучки - их древесина не имеет признаков мягкой гнили.
Темные здоровые сучки - древесина их обильно пропитана смолой, дубильными и ядровыми веществами и значительно темнее окружающей древесины. Окраска их часто бывает неравномерной.
Загнившие сучки - их древесина имеет мягкую гниль, которая составляет не более 1/3 площади разреза сучка.
Гнилые сучки - мягкая гниль составляет более 1/3 площади разреза сучка.
Табачные - загнившие или гнилые сучки - выгнившая древесина полностью или частично заменена массой ржаво-бурого (табачного) или белесого цвета.
Сшивные сучки - продольное сечение их выходит одновременно на два ребра одной и той же стороны сортамента.
4.3. Сердцевина - узкая центральная часть ствола, состоящая из рыхлой ткани. Характеризуется бурым или более светлым, чем у окружающей древесины, цветом. На торцах сортамента имеет вид небольшого (не более 5 мм) пятнышка различной формы, на радиальных поверхностях - вид узкой более или менее прямой полоски. Сортаменты с сердцевиной легко растрескиваются.
Двойная сердцевина - наличие в сортаменте двух и более сердцевин с самостоятельными системами годичных слоев, окруженных с периферии одной общей системой. Затрудняет обработку древесины и увеличивает количество отходов. Сортамент с двойной сердцевиной легко растрескивается.
4.4. Ядровая гниль (внутренняя гниль) - гниль, возникающая в ядре растущего дерева, характеризующаяся пониженной твердостью. Наблюдается на торцах в виде пятен различной величины и формы - лунок, колец или концентрированной зоны сплошного поражения центральной части ствола, иногда с выходом на заболонь, на продольных разрезах - в виде вытянутых пятен и полос.
Ядровая гниль имеет разновидности: пестрая ситоватая, бурая трещиноватая, белая волокнистая.
Пестрая ситоватая гниль - гниль, характеризующаяся пониженной твердостью и пестрой окраской, обусловленной присутствием на красновато-буром (буром, серо-фиолетовом) фоне пораженной древесины желтоватых пятен и полос с ячеистой или волокнистой структурой. Пораженная древесина довольно долго сохраняет цельность; при сильном разрушении становится мягкой и легко расщепляется.
Бурая трещиноватая гниль - гниль, характеризующаяся пониженной твердостью и бурым (изредка серым) цветом различных оттенков, а также трещиноватой, призматической структурой. Пораженная древесина иногда содержит в трещинах беловатые или желтоватые грибные пленки. При сильном разрушении древесина распадается на части и легко растирается в порошок.
Белая волокнистая гниль (белая мраморная гниль) - гниль, характеризующаяся пониженной твердостью и светло-желтым или почти белым цветом и волокнистой структурой. Пораженная древесина часто приобретает пеструю окраску, напоминающую рисунок мрамора, в котором светлые участки бывают отграничены от более темных тонкими черными извилистыми линиями. При сильном разрушении древесина становится мягкой, легко расщепляется на волокна и крошится.
Грибные ядровые пятна и полосы - это участки ненормальной окраски ядра без понижения твердости древесины. Образуются в растущем дереве под воздействием дереворазрушающих грибов (первая стадия воздействия). Возникают на торцах и на продольных разрезах в виде пятен различной величины и формы (лунок, колец и концентрированной зоны сплошного поражения центральной части ствола, иногда с выходом на периферию) бурого, красноватого, серого и серо-фиолетового цветов. Существенно не влияют на механические качества древесины, портят внешний вид и повышают водопроницаемость древесины.
Указанные пятна и полосы измеряются: по наименьшему диаметру круга, в который они могут быть вписаны, или по наименьшей ширине здоровой периферической зоны торца; по площади зоны поражения (в процентах от площади торца); по длине, глубине и ширине зоны поражения.
Заболонная гниль - гниль, возникающая в заболони срубленной древесины, с желтовато-бурыми или розовато-бурыми оттенками у хвойных пород, с пестрой окраской, напоминающей рисунок мрамора, - у лиственных пород.
На поперечных разрезах наблюдается в виде пятен разной величины и формы или сплошного поражения заболони на продольных разрезах - в виде вытянутых пятен, полос или сплошного поражения заболони. Развивается при длительном и неправильном хранении, чаще в круглых лесоматериалах; у лиственных пород обычно следует за побурением и может переходить в ядро.
Существует твердая и мягкая заболонная гниль. Твердая гниль близка по твердости к окружающей древесине, но несколько снижает прочность древесины при ударных нагрузках и повышает ее проницаемость и влагоемкость. Мягкая заболонная гниль имеет пониженную твердость, что резко снижает механические свойства древесины. При хранении непросушенной древесины процесс разрушения продолжается.
4.5. Заболонные грибные окраски - это ненормально окрашенные участки заболони без понижения твердости древесины, возникающие в срубленной древесине под воздействием деревоокрашивающих грибов, не вызывающих образования гнили. Распространяются вглубь древесины от торцов и боковых поверхностей. На торцах наблюдаются в виде пятен различной величины и формы или сплошного поражения заболони, на боковых поверхностях - в виде вытянутых пятен, полос или сплошного поражения заболони. Свойственны всем древесным породам, но в наибольшей степени - хвойным.
4.6. Плесень - грибница и плодоношения плесневых грибов на поверхности древесины в виде отдельных пятен разной величины и формы или в виде сплошного поражения заболони при хранении лесоматериалов. Наблюдается в виде отдельных пятен или сплошного налета, окрашенного в сине-зеленый, голубой, черный, розовый цвета в зависимости от окраски спор и грибницы.
4.7. Червоточина - это ходы и отверстия, проделанные в древесине насекомыми. Существует червоточина:
поверхностная не более 3 мм в глубину;
неглубокая на глубину не более 15 мм в круглых лесоматериалах и не более 5 мм в пилопродукции;
глубокая на глубину более 15 мм в круглых лесоматериалах и более 5 мм в пилопродукции;
сквозная;
некрупная - отверстия диаметром не более 3 мм;
крупная - отверстия диаметром более 3 мм.
Поверхностная червоточина не влияет на механические свойства древесины. Неглубокая и глубокая нарушают целостность и снижают ее механические свойства. Червоточина измеряется по наименьшему диаметру в миллиметрах и по количеству в штуках на 1 мм длины или на всю длину сортамента.
4.8. Трещины - это разрывы древесины вдоль волокон. Существуют трещины:
метиковые - радиально направлены в ядре или спелой древесине. Они отходят от сердцевины и имеют значительную протяженность по длине сортамента. Возникают в растущем дереве и увеличиваются в срубленной древесине в процессе ее просыхания. В круглых лесоматериалах образуются на торцах и на боковую поверхность обычно не выходят;
морозные - радиально направлены, проходят из заболони в ядро и имеют значительную протяженность по длине сортамента. Возникают в растущем дереве и сопровождаются образованием на стволе характерных валиков и гребней разросшейся древесины и коры;
усушки - радиально направлены, возникают в срубленной древесине под воздействием внутренних напряжений при просыхании. От метиковых и морозных трещин отличаются меньшей протяженностью по длине сортамента (обычно не более 1 м) и меньшей глубиной;
отлупные - возникают в ядре или спелой древесине, проходят между годичными слоями и имеют значительную протяженность по длине сортамента. Образуются в растущем дереве и увеличиваются в срубленной древесине при просыхании. Наблюдаются на торцах в виде дугообразных и кольцеобразных трещин, на боковых поверхностях - в виде продольных трещин.
В зависимости от положения в сортаменте трещины подразделяются следующим образом:
торцовые - расположены на торцах и не выходят на боковые стороны сортамента;
боковые - расположены на боковых сторонах сортамента (могут выходить на торцы);
кромочные - расположены на кромке (могут выходить на торцы).
По глубине трещины делятся так:
неглубокие - глубиной не более 1/10 толщины сортамента;
глубокие - глубиной не более 1/10 толщины сортамента, но не имеющие второго выхода на его боковую поверхность;
сквозные - выходят на две боковые стороны сортамента или на два торца.
Трещины, особенно сквозные, нарушают целостность лесоматериалов и снижают их механическую прочность.
Измеряются трещины по глубине в миллиметрах и длине в сантиметрах или соответственно в долях толщины или длины сортамента.
4.9. Наклон волокон - это непараллельность волокон древесины продольной оси сортамента. Наклон волокон снижает прочность древесины при растяжении вдоль волокон и изгибе, увеличивает прочность при раскалывании, снижает способность древесины к загибу, затрудняет механическую обработку.
4.10. Прорость - обросший древесиной участок поверхности ствола с омертвевшими тканями и отходящая от него радиальная трещина. Возникает в растущем дереве при зарастании нанесенных ему повреждений, иногда сопровождается развитием в прилегающей древесине засмолка, грибных ядровых пятен и полос ядровой гнили. Прорость нарушает целостность древесины и сопровождается искривлением прилегающих годичных слоев.
В пилопродукции прорость измеряется по глубине, ширине и длине (в линейных мерах или долях размера сортамента) и количеству в штуках на 1 м длины или на всю сторону сортамента.
4.11. Смоляные кармашки - полости между годовыми слоями или внутри, заполненные смолой. Наблюдаются в виде коротких дугообразных или прямых щелей. В мелких деталях нарушают прочность древесины. Вытекающая из смоляных кармашков смола портит поверхность и внешний вид изделий, препятствует его лицевой отделке и склейке.
4.12. Рак - углубление или вздутие, возникающее на поверхности растущего дерева в результате деятельности грибов или бактерий; различают открытый и закрытый рак.
КЛЕЙМА ДЛЯ МОСТОВЫХ БРУСЬЕВ
Для клеймения мостовых брусьев применяются двухстержневые или одностержневые клейма, изображенные на рисунке. Цифры на клейме обозначают год укладки мостовых брусьев.
Клейма для мостовых брусьев:
а - двухстержневые; б - одностержневые
СПОСОБЫ ПРЕДОХРАНЕНИЯ МОСТОВЫХ БРУСЬЕВ ОТ РАСТРЕСКИВАНИЯ
Перед укладкой в путь новые мостовые брусья для предохранения от растрескивания укрепляются (как показано на рисунке) металлическими болтами, деревянными винтами, проволокой диаметром 6 - 7 мм. В исключительных случаях допускается укреплять брусья П-образными скобами, по 4 шт. на верхнюю и нижнюю постель.
Укрепление мостовых брусьев от растрескивания:
а - металлическим болтом; б - деревянным винтом;
в, г - П-образными скобами; д - скоба
ОБЪЕМ И МАССА ОСНОВНЫХ ПРОПИТАННЫХ МОСТОВЫХ БРУСЬЕВ
Сечение брусьев, см | Объем одного бруса, м3 | Масса одного бруса, кг |
при длине, м | при длине, м |
3,25 | 4,20 | 3,25 | 4,20 |
20 x 24 | 0,156 | 0,204 | 117 | 153 |
22 x 26 | 0,186 | 0,243 | 139 | 182 |
22 x 28 | 0,200 | 0,262 | 150 | 196 |
24 x 30 | 0,234 | 0,306 | 175 | 230 |
МОСТОВОГО ПОЛОТНА НА ДЕРЕВЯННЫХ ПОПЕРЕЧИНАХ
8.1. Общие требования к болтовым скреплениям
Лапчатые болты с кованой и пружинной лапой должны изготовляться по техническим условиям, утвержденным Главным управлением пути МПС. Для остальных скреплений мостового полотна следует применять:
| | ИС МЕГАНОРМ: примечание. Приказом Ростехрегулирования от 20.07.2007 N 185-ст с 1 января 2008 года введен в действие ГОСТ 380-2005. | |
а) для обычных климатических условий стальные болты по
ГОСТ 7798-70 нормальной точности, класса прочности 4.6 по
ГОСТ 1759.0-87 (с дополнительными испытаниями по ГОСТ 1759.4-87, табл. 5,
программа А) и гайки по
ГОСТ 1759.0-87 (болты и гайки с дополнительными испытаниями по
ГОСТ 1759.5-87), а также болты и гайки из стали ВСт3сп4 по ГОСТ 380-71 по специальным техническим условиям;
б) для северных условий - стальные болты по
ГОСТ 7798-70 нормальной точности, класса прочности 4.6 по
ГОСТ 1759.0-87 (с дополнительным испытанием по ГОСТ 1759.4-87, табл. 5,
программа А) при диаметре менее 22 мм и болты из стали марки 09Г2 по ТУ 14-1-287-72 по специальным техническим условиям при диаметре 22 мм и более; гайки по
ГОСТ 5915-70 классов прочности 4 и 5 по
ГОСТ 1759.0-87 (болты и гайки с дополнительными испытаниями по
ГОСТ 1759.5-87).
Резьба болтов и гаек обычного и северного исполнений выполняется по ГОСТ 9150-81 с допусками 6 g и 6 Н по ГОСТ 16093-81.
| | ИС МЕГАНОРМ: примечание. Взамен ГОСТ 19115-73 Постановлением Госстандарта СССР от 09.07.1991 N 1231 с 1 июля 1992 года введен в действие ГОСТ 19115-91. | |
| | ИС МЕГАНОРМ: примечание. ГОСТ 21797-76 утратил силу с 1 июля 2015 года в связи с введением в действие ГОСТ 21797-2014 (Приказ Росстандарта от 17.02.2015 N 88-ст). | |
Одновитковые пружинные шайбы должны соответствовать ГОСТ 19115-73, двухвитковые - ГОСТ 21797-76.
Допускается применение путевых гаек по
ГОСТ 16018-79 и шайб по ТУ ЦП-13-73.
Болты прикрепления охранных брусьев, а также болты прикрепления мостовых брусьев к противоугонным коротышам допускается изготовлять по техническим условиям на лапчатые болты.
8.2. Лапчатые болты с кованой лапой
Лапчатые болты с кованой лапой изготавливают в соответствии с техническими условиями ТУ 32 ЦП-395-84, утвержденными Главным управлением пути МПС.
| | ИС МЕГАНОРМ: примечание. ГОСТ 1759-70 утратил силу с 01.01.1983 в части допусков и методов контроля размеров и отклонений формы и расположения поверхностей, в части дефектов поверхности болтов, винтов и шпилек и методов их контроля в связи с введением в действие ГОСТ 1759.1-82, ГОСТ 1759.2-82 (Постановления Госстандарта СССР от 29.07.1982 N 2954, 2955), с 01.01.1984 в части дефектов поверхности гаек и методов их контроля в связи с введением в действие ГОСТ 1759.3-83 (Постановление Госстандарта СССР от 23.06.1983 N 2662), с 01.01.1989 в части технических требований и маркировки крепежных изделий, в части механических свойств и методов испытаний болтов, винтов и шпилек и методов контроля гаек в связи с введением в действие ГОСТ 1759.0-87, ГОСТ 1759.4-87, ГОСТ 1759.5-87 (Постановления Госстандарта СССР от 30.12.1987 N 5111, 5112). | |
1. Болты лапчатые должны соответствовать требованиям настоящих технических условий и ГОСТ 1759-70* (изделия - болты грубой точности), а шайбы к ним - требованиям
ГОСТ 18123-82*. Конструкция и размеры болтов, гаек и шайб должны соответствовать указанным на чертежах (рис. 1). Вместо круглых шайб допускается применение прямоугольных сечением 80 x 80 мм и толщиной не менее 6 мм из полосовой стали
ГОСТ 103-76, также допускается по согласованию с заказчиком изготовление шайб большей толщины, но не более 10 мм.
Рис. 1. Лапчатый болт с кованой лапой:
а - болт; б - гайка; в - шайба
2. Болты лапчатые должны комплектоваться гайками по
ГОСТ 16018-79*. Допускается изготовление гаек грубой точности с шероховатостью поверхности применительно к
ГОСТ 15526-70*.
3. Резьба болтов - по ГОСТ 9150-81*. Допуски на резьбу 8 g по ГОСТ 16093-81.
| | ИС МЕГАНОРМ: примечание. ГОСТ 1759-70 утратил силу с 01.01.1983 в части допусков и методов контроля размеров и отклонений формы и расположения поверхностей, в части дефектов поверхности болтов, винтов и шпилек и методов их контроля в связи с введением в действие ГОСТ 1759.1-82, ГОСТ 1759.2-82 (Постановления Госстандарта СССР от 29.07.1982 N 2954, 2955), с 01.01.1984 в части дефектов поверхности гаек и методов их контроля в связи с введением в действие ГОСТ 1759.3-83 (Постановление Госстандарта СССР от 23.06.1983 N 2662), с 01.01.1989 в части технических требований и маркировки крепежных изделий, в части механических свойств и методов испытаний болтов, винтов и шпилек и методов контроля гаек в связи с введением в действие ГОСТ 1759.0-87, ГОСТ 1759.4-87, ГОСТ 1759.5-87 (Постановления Госстандарта СССР от 30.12.1987 N 5111, 5112). | |
4. Механические свойства болтов и шайб должны соответствовать классу прочности 3.6 по ГОСТ 1759-70*.
5. Опорная плоскость лапы болта должна быть перпендикулярна к оси стержня болта. В вертикальной плоскости симметрии болта отклонение от прямого угла между опорной плоскостью лапы и осью стержня болта допускается не более 3°.
6. Допускаются поверхностные складки с обратной стороны лапы болта глубиной не более 1,5 мм.
7. Допускается неоформление прямых углов головки болта радиусом до 6 мм.
8. Допускается облой по контуру лапы до 1,5 мм.
9. Болты лапчатые изготовляются четырех длин: 300, 350, 400, 450 мм.
10. Болты лапчатые маркируются клеймом завода-изготовителя и годом изготовления (две последние цифры). Высота знаков маркировки не менее 8 мм, толщина - не менее 1 мм, выпуклость - не менее 0,5 мм.
Знаки маркировки наносятся на нижней поверхности лапы болта.
11. В комплект поставки должны входить один болт, одна гайка и одна шайба. Шайбы должны быть надеты на болты, а гайки навинчены на концы стержней болтов на три и более оборота.
Допускается упаковка болтов, гаек и шайб в отдельные ящики.
1. Болты лапчатые с шайбами и гайками должны быть приняты техническим контролем предприятия-изготовителя и заводской инспекцией.
2. Приемка болтов и шайб к ним должна производиться в соответствии с ГОСТ 17769-83 применительно к изделиям грубой точности.
Прочность соединения лапы болта со стержнем испытывают ударами по лапе болта, вставленного в специальную матрицу (рис. 2) до соприкосновения кромки лапы с плоскостью матрицы. После испытания лапа болта должна оставаться в прочном соединении со стержнем; в месте соединения лапы со стержнем не допускается появление трещин и надрывов.
Рис. 2. Матрица для испытания лапчатых болтов
1. Болты, гайки и шайбы к ним можно доставлять любым видом транспорта.
2. Если лапчатые болты, гайки и шайбы упакованы в отдельные ящики, то доставка этих ящиков должна производиться одновременно.
Изготовитель гарантирует соответствие лапчатых болтов, гаек и шайб к ним требованиям настоящих технических условий при соблюдении потребителем условий применения изделий, их транспортировки и хранения, установленных техническими условиями.
Потребность лапчатых болтов с гайками и шайбами на 1 м длины мостового полотна приведена в табл. 1.
Таблица 1
Длина болта, мм | Масса, кг | Масса комплекта, кг | На 1 м мостового полотна (3 бруса) |
гайки | шайбы | болта | количество комплектов | масса комплектов, кг |
300 | 0,09 | 0,06 | 1,59 | 1,74 | 6 | 10,44 |
350 | 0,09 | 0,06 | 1,73 | 1,88 | 6 | 11,28 |
400 | 0,09 | 0,06 | 1,90 | 2,05 | 6 | 12,30 |
450 | 0,09 | 0,06 | 1,95 | 2,14 | 6 | 12,84 |
| | ИС МЕГАНОРМ: примечание. Взамен ГОСТ 19281-73 и ГОСТ 19282-73 Постановлением Госстандарта СССР от 28.09.1989 N 2972 с 1 января 1991 года введен в действие ГОСТ 19281-89. | |
Для мостов в районах с расчетной температурой ниже -40 °C лапчатые болты следует изготавливать из стали 09Г2 по ГОСТ 19281-73 с обеспечением ударной вязкости при температуре -70 °C не менее 0,3 МПа (3 кг x см/см2) в соответствии с приведенными выше техническими условиями. Гайки к лапчатым болтам должны быть изготовлены из стали 35 по ГОСТ 1050-74, шайбы - из той же стали, что и для районов с расчетной температурой не ниже -40 °C.
8.3. Лапчатые болты с пружинной лапой
Лапчатые болты с пружинной лапой изготавливаются в соответствии с ТУ 32 ЦП-604-78, утвержденными Главным управлением пути МПС.
Общий вид болтов с пружинной лапой и схемы их установки приведены на рис. 3. Болты комплектуются гайками по
ГОСТ 5915-70. Конструкция и размеры болтов, гаек, шайб и пружинной лапы должны соответствовать
рис. 4.
Рис. 3. Схема постановки лапчатого болта с пружинной лапой:
а - при максимальной врубке в мостовом брусе и минимальной
толщине пояса балки; б - при минимальной врубке
и максимальной толщине пояса
Рис. 4. Лапчатый болт с пружинной лапой:
а - болт; б - пружинная лапа; в - гайка; г - шайба
Примечание. Отдельные размеры деталей болтов и пружинной лапы могут отличаться от приведенных на чертеже в зависимости от завода-изготовителя.
Для мостов, расположенных в районах с расчетной температурой не ниже -40 °C, болты и комплектующие детали к ним должны изготавливаться из следующих материалов:
| | ИС МЕГАНОРМ: примечание. Приказом Ростехрегулирования от 20.07.2007 N 185-ст с 1 января 2008 года введен в действие ГОСТ 380-2005. | |
болты из стали Ст3 по ГОСТ 380-71;
гайки из стали 35 по ГОСТ 1050-74;
пружинные лапы из стали 55С2 или 60С2ХА по
ГОСТ 14959-79 с обеспечением твердости металла после термической обработки в пределах 35 - 46 единиц твердости по шкале Роквелла;
круглые шайбы из стали Ст3 по ГОСТ 380-71.
| | ИС МЕГАНОРМ: примечание. Взамен ГОСТ 19281-73 и ГОСТ 19282-73 Постановлением Госстандарта СССР от 28.09.1989 N 2972 с 1 января 1991 года введен в действие ГОСТ 19281-89. | |
Для мостов, расположенных в районах с расчетной температурой ниже -40 °C, болты должны быть из стали марки 09Г2 по ГОСТ 19281-73 с обеспечением ударной вязкости при температуре -70 °C не менее 0,3 МПа (3 кг x см/см2); остальные комплектующие детали из тех же сталей, что и для районов с расчетной температурой не ниже -40 °C.
Основные технические условия на изготовление
Болты должны соответствовать настоящим техническим условиям и
ГОСТ 1759.0-87 применительно к изделиям грубой точности, круглые шайбы должны соответствовать требованиям
ГОСТ 18123-82. Допускается по согласованию с заказчиком изготовление шайб большей толщины, но не более 10 мм.
Гайки должны соответствовать требованиям
ГОСТ 5915-70. Допускается изготовление гаек грубой точности с шероховатостью поверхности применительно к
ГОСТ 15526-70 с размером "под ключ" 32 мм.
Резьба болтов и гаек по
ГОСТ 9150-81 с допусками размеров для болтов 8 g и для гаек 7 Н по ГОСТ 16093-81. Механические свойства болтов и шайб должны соответствовать классу прочности 4.6 по
ГОСТ 1759.0-87.
Не являются браковочными признаками:
для болтов:
кривизна стержня до 3 мм;
смещение головки болта относительно оси стержня до 0,85 мм;
уклон граней головки болта до 2°;
следы после снятия облоя по контуру головки болта до 1,5 мм;
для пружинной лапы:
винтообразность до 3 мм;
отклонение от перпендикулярности поверхности а к боковой грани б до 1,5 мм на длине первой 76 мм;
отклонение пружинной лапы от номинального контура при совмещении концов до 4 мм;
смещение рабочей кромки от номинального положения до +/- 5 мм при сохранении номинального очертания контура и величины обреза (расстояние от рабочей кромки до отверстия);
для круглой шайбы - кривизна до 3 мм.
Приемка болтов и комплектующих деталей производится по ГОСТ 17769-83 применительно к изделиям грубой точности, упаковка и маркировка тары - по
ГОСТ 18160-72.
Консервацию изготовленных метизов производят машинным маслом. Болты с пружинной лапой поставляются заводами только одной длины - 330 мм и комплектуются (кроме пружинной лапы) гайкой и шайбой. Пружинная лапа и круглая шайба должны быть надеты на болт, а гайка - навинчена на стержень болта на три оборота и более. Транспортировка производится комплектно в деревянных ящиках; масса каждого ящика не более 50 кг (25 комплектов). Масса болта, пружинной лапы и комплектующих деталей приведена в табл. 2.
Таблица 2
Наименование детали | Масса, кг |
Болт длиной 330 мм | 0,97 |
Пружинная лапа | 0,74 |
| 0,06 |
Круглая шайба | 0,17 |
На комплект | 1,97 |
На 1 м мостового полотна (3 мостовых бруса) | 11,82 |
8.4. Болты прикрепления мостового полотна к пролетным
строениям через противоугонные (охранные) уголки
Болты прикрепления мостового полотна к пролетным строениям через противоугонные (охранные) уголки должны соответствовать рис. 5 и указаниям
п. 8.1. Болты комплектуются двумя гайками (одна страховочная против падения болта в случае раскручивания рабочей гайки), одной плоской и одной пружинной шайбами.
Рис. 5. Болт для прикрепления мостового полотна
к пролетным строениям (продольным балкам)
через противоугонные (охранные) уголки:
а - болт; б - гайка; в - шайба плоская; г - шайба пружинная
Масса одного болта диаметром 22 мм и длиной 300 - 350 мм приведена в табл. 3.
Таблица 3
Длина болта, мм | Масса, кг | На 1 м мостового полотна |
болта | гайки | плоской шайбы | пружинной шайбы | комплекта (болт, две гайки, плоская и пружинная шайбы) | количество комплектов | масса комплектов, кг |
300 | 0,983 | 0,6 | 0,06 | 0,05 | 1,693 | 2 | 3,386 |
350 | 1,160 | 0,6 | 0,06 | 0,05 | 1,870 | 2 | 3,740 |
8.5. Болты прикрепления противоугонных (охранных)
брусьев к мостовым
Болты прикрепления противоугонных (охранных) брусьев к мостовым брусьям предназначены для использования на эксплуатируемых металлических мостах с деревянными мостовыми и охранными брусьями. Болты с гайками и шайбами должны соответствовать рис. 6 и указаниям
п. 8.1. Разрешается применять болты диаметром 19 - 22 мм.
Рис. 6. Болт прикрепления противоугонных (охранных)
брусьев к мостовым и мостовых брусьев
к противоугонным уголковым коротышам:
а - болт; б - гайка; в - шайба
Болты в зависимости от сечения мостовых брусьев применяют различной длины (табл. 4).
Таблица 4
Сечение мостовых брусьев, см | Длина болта, мм | Масса, кг (при диаметре болта 20 мм) |
болта | гайки | шайбы | комплекта (болт, гайка и две шайбы) |
20 x 24 | 400 | 1,06 | 0,06 | 0,10 | 1,32 |
22 x 26 | 420 | 1,11 | 0,06 | 0,10 | 1,37 |
22 x 28 | 440 | 1,16 | 0,06 | 0,10 | 1,42 |
24 x 30 | 460 | 1,21 | 0,06 | 0,10 | 1,47 |
Болты комплектуются одной гайкой и двумя шайбами.
Потребность болтов с гайками и шайбами на 1 м мостового полотна (3 мостовых бруса сечением 20 x 24 см), шт/кг, - 6/7,92.
8.6. Болты прикрепления мостовых брусьев
к противоугонным коротышам
Болты прикрепления мостовых брусьев к противоугонным коротышам должны соответствовать
рис. 6 и указаниям
п. 8.1. Допускается применение болтов диаметром 19 - 22 мм. Болты в зависимости от ширины мостовых брусьев применяются трех длин (табл. 5) и комплектуются одной гайкой и одной шайбой.
Таблица 5
Сечение мостовых брусьев, см | Длина болта, мм | Масса, кг (при диаметре болта 20 мм) |
болта | гайки | шайбы | комплекта (болт, гайка, шайба) |
20 x 24 | 260 | 0,71 | 0,06 | 0,10 | 0,87 |
22 x 26 и 22 x 28 | 280 | 0,76 | 0,06 | 0,10 | 0,92 |
24 x 30 | 300 | 0,81 | 0,06 | 0,10 | 0,97 |
8.7. Болты в стыках контруголков
и противоугонных (охранных) уголков
В стыках контруголков и противоугонных (охранных) уголков должны применяться болты диаметром 22 мм и длиной 80 мм нормальной точности, гайками и шайбами, отвечающие требованиям
п. 8.1. В комплект стыкового болта для неподвижного стыка входят одна гайка и две плоские шайбы, а в комплект болта для подвижного стыка - дополнительно одна пружинная шайба, которая ставится со стороны гайки. Конструкция и размеры болта, гайки и шайб показаны на
рис. 7, а масса их, кг, приведена ниже:
Болт ........................................................... 0,326
Гайка .......................................................... 0,114
Шайба плоская .................................................. 0,055
Шайба пружинная ................................................ 0,049
Рис. 7. Стыковой болт контруголков
и противоугонных (охранных) уголков:
а - болт; б - гайка; в - шайба плоская;
г - шайба пружинная
Масса комплекта для неподвижного стыка (болт, гайка, две плоские шайбы) - 0,55 кг, масса комплекта для подвижного стыка (болт, гайка, две шайбы плоские и одна пружинная) - 0,60 кг.
Шурупы путевые длиной 170 мм применяются для прикрепления рельсовых подкладок (при скреплении по типу марки К) и для прикрепления контруголков и противоугонных (охранных) уголков к деревянным поперечинам.
Для прикрепления лафетов уравнительных приборов и рельсовых замков разводных мостов применяют шурупы длиной 200 мм.
| | ИС МЕГАНОРМ: примечание. Приказом Ростехрегулирования от 20.07.2007 N 185-ст с 1 января 2008 года введен в действие ГОСТ 380-2005. | |
| | ИС МЕГАНОРМ: примечание. ГОСТ 809-71 утратил силу с 1 марта 2015 года в связи с введением в действие ГОСТ 809-2014 (Приказ Росстандарта от 30.10.2014 N 1468-ст). | |
Шурупы изготавливают по ГОСТ 809-71 стали марки Ст3 (ГОСТ 380-71), кроме бессемеровской. Для северной строительно-климатической зоны запрещается поставлять шурупы из кипящих марок сталей.
| | ИС МЕГАНОРМ: примечание. В официальном тексте документа, видимо, допущена опечатка: имеется в виду рисунок 8, а не рисунок 9. | |
Конструкция и размеры шурупа показаны на рис. 9. Масса одного шурупа длиной 170 мм - 0,56 кг.
| | ИС МЕГАНОРМ: примечание. ГОСТ 809-71 утратил силу с 1 марта 2015 года в связи с введением в действие ГОСТ 809-2014 (Приказ Росстандарта от 30.10.2014 N 1468-ст). | |
Рис. 8. Шуруп путевой по ГОСТ 809-71
На поверхности шурупов не допускаются:
трещины, расслоения и пережженные места;
риски и раковины глубиной более 0,5 мм;
притупление ребер квадратной части головки, выводящее размеры диагонали квадрата за предельное значение;
изогнутость стержня более 1 мм;
смещение оси головки относительно оси стержня более 1 мм;
лунка на конце стержня глубиной более 10 мм;
швы от разъема матриц высотой более 0,5 мм и ступеньки более 0,3 мм от смещения матриц;
увеличение наружного диаметра резьбы более размера 26 мм на участке сбега резьбы;
заусенцы, забоины и вмятины более 0,5 мм на поверхности резьбы;
рванины и выкрашивания ниток резьбы, если они по глубине выходят за предельные отклонения наружного диаметра резьбы и если общая протяженность рванины и выкрашиваний по длине превышает половину витка.
Браковочными дефектами для шурупов не являются:
наличие плены на поверхности головки, получающейся при заштамповке заусенцев;
уменьшение высоты профиля резьбы на первой нитке от конца стержня;
скругления вершин резьбы.
Для предохранения от коррозии шурупы должны быть смазаны антикоррозионной смазкой.
По требованию потребителя шурупы должны быть подвергнуты испытанию на изгиб в холодном состоянии и выдерживать загиб на угол 45° без признаков надрывов и трещин.
8.9. Противоугоны (пружинные и винтовые)
На мостах разрешается применять пружинные и винтовые противоугоны.
Пружинные противоугоны изготовляются в соответствии с требованиями ТУ-14-4-1438-87.
Основные размеры пружинных противоугонов в плоскости поперечного сечения рельса должны соответствовать указанным на рис. 9 и в
табл. 6.
Рис. 9. Противоугон пружинный
Обозначение противоугона | B, мм |  , мм | H, мм |  , мм | r, мм | h, мм | Теоретическая масса, кг |
П75 | 122 | 112 | 66 | 74 | 44 | Не более 8 | 1,41 |
П65 | 113 | 103 | 60 | 70 | 38 | " " 8 | 1,36 |
П50 | 92 | 82 | 53 | 59 | 30 | " " 7 | 1,22 |
П43 | 76 | 70 | 47 | 50 | 24 | " " 7 | 1,13 |
Примечание. Размер B имеет допуски +/- 0,5 мм, размер  - допуски +/- 5 мм для противоугонов П75, П65, П50 и +5 - -2 для противоугонов П43. Размеры, на которые не указаны предельные отклонения, а конфигурация технологических пережимов сечения обеспечивается инструментом и технологией, в готовых противоугонах не контролируются. |
Противоугоны должны изготавливаться из стали марки 65 и подвергаться термической обработке (закалке и отпуску) для получения твердости 286 - 400 НВ.
На поверхности противоугонов не должно быть трещин, закатов, пережженных мест, продольных волосовин и рисок глубиной свыше 0,5 мм.
Складки металла, утончение и утолщение сечения в местах технологических пережимов браковочными признаками не являются.
На торцовых поверхностях противоугонов в местах рубки не допускаются заусенцы высотой более 1 мм.
Среднее значение статического усилия сдвига противоугона вдоль подошвы рельса должно быть не менее 800 кг.
На каждом противоугоне должна быть нанесена маркировка, содержащая год изготовления (последнюю цифру), и для противоугонов П75 - цифру 7.
| | ИС МЕГАНОРМ: примечание. Приказом Ростехрегулирования от 20.07.2007 N 185-ст с 1 января 2008 года введен в действие ГОСТ 380-2005. | |
| | ИС МЕГАНОРМ: примечание. Взамен ГОСТ 19281-73 и ГОСТ 19282-73 Постановлением Госстандарта СССР от 28.09.1989 N 2972 с 1 января 1991 года введен в действие ГОСТ 19281-89. | |
Винтовые противоугоны предназначены для передачи сдвигающих усилий, которые могут достигать 50 кН (5 тс). Винтовой противоугон состоит из двух захватов с упорами и стяжной шпильки с пружинными шайбами и гайками. На рис. 10 показаны размеры противоугонов для рельсов Р65; для рельсов Р50 размеры деталей должны быть откорректированы в соответствии с размерами подошвы рельса. Захваты и упоры винтовых противоугонов изготавливают кузнечным способом из полосы шириной 70 мм, а затем сваривают, как показано на рисунке. При сварке необходимо обеспечить перпендикулярность упорной плоскости к плоскости захвата, прилегающей к подошве рельса. Загиб полосы при изготовлении захватов целесообразно осуществлять, используя в качестве кондуктора подошву рельса. Упоры можно также изготовить из уголков толщиной не менее 12 мм. Для изготовления захватов и стяжных шпилек необходимо применять сталь марки ВСт3сп5 по ГОСТ 380-71, а для мостов, расположенных в северной строительно-климатической зоне, сталь 09Г2 по ГОСТ 19281-73. Для сварки должны применяться электроды марок Э42-АФ и УОНИ 13/45.

Рис. 10. Противоугон винтовой:
а - в сборе; б - левый захват; в - правый захват;
г - стяжная шпилька; д - гайка; е - пружинная шайба
Винтовые противоугоны при крутящем моменте в стяжной шпильке 180 Н x м (18 кгс x м) должны выдерживать в прессе сдвигающее усилие 50 кН (5 тс).
Масса винтового противоугона для рельсов Р50 составляет 5,83 кг, для Р65 - 7,05 кг.
НА ИЗГОТОВЛЕНИЕ МЕТАЛЛИЧЕСКИХ ПОПЕРЕЧИН
И МЕТАЛЛИЧЕСКОГО НАСТИЛА ВНУТРИ КОЛЕИ
| | ИС МЕГАНОРМ: примечание. Взамен ГОСТ 6713-75 Постановлением Госстандарта СССР от 06.09.1991 N 1430 с 1 июля 1992 года введен в действие ГОСТ 6713-91. | |
| | ИС МЕГАНОРМ: примечание. Приказом Ростехрегулирования от 20.07.2007 N 185-ст с 1 января 2008 года введен в действие ГОСТ 380-2005. | |
9.1. Металлические поперечины применяют из прокатных швеллеров (рис. 1) или сварные
(рис. 2). Для мостов в районах с расчетной температурой не ниже -40 °C поперечины из прокатных швеллеров изготавливают из стали марки 16Д по ГОСТ 6713-75 или из стали ВСт3сп6 по ГОСТ 380-71, а сварные - из стали марки 16Д или 15ХСНД по ГОСТ 6713-75. Для мостов в северных условиях (с расчетной температурой ниже -40 °C) применяется сталь 15ХСНД-2 по ГОСТ 6713-75.
Рис. 1. Металлическая поперечина из прокатных швеллеров:
1 - швеллер N 18С; 2 - прокладка между швеллерами;
3 - горизонтальный лист толщиной 10 мм; 4 - болт
диаметром 23 мм; 5 - заклепка диаметром
23 мм с потайной головкой
Примечание. Отверстия под болты охранных приспособлений и щитов пешеходного настила сверлят на месте после установки поперечин на мосту.
Рис. 2. Металлическая сварная поперечина:
1 - верхний горизонтальный лист; 2 - нижний горизонтальный
лист; 3 - вертикальный лист; 4 - отверстия диаметром 23 мм
под высокопрочный болт диаметром 22 мм; 5 - отверстия
диаметром 23 - 32 мм под болты крепления рельсовых
подкладок; 6 - отверстия диаметром 17 мм под болты диаметром
16 мм крепления щитов внутриколейного настила
Примечания. 1. Отверстия под болты крепления рельсовых подкладок, под заклепки (болты) охранных приспособлений и под болты щитов пешеходного настила из рифленой стали сверлят на месте после установки поперечин на мосту.
2. Размер В принимают в зависимости от расстояния между осями продольных балок.
9.2. Поперечины должны изготавливаться в соответствии с требованиями
СНиП III-18-75. В поперечинах из швеллеров, учитывая допуски на прокат, необходимо обращать особое внимание на подбор проката одинаковой высоты. В сварных поперечинах перекос и грибовидность полок в местах опирания рельсовых подкладок на поперечины и самих поперечин на пролетные строения должны быть не более 0,2 мм.
9.3. Потребность металла на одну поперечину из швеллеров дана в табл. 1, а на одну сварную поперечину - в
табл. 2.
Таблица 1
Наименование элемента | Сечение, мм | Длина, мм | Количество, шт. | Масса 1 м, кг | Общая масса, кг |
Швеллер | N 18С | 2600 | 2 | 26,71 | 138,8 |
Горизонтальный лист | 260 x 10 | 750 | 2 | 20,41 | 30,6 |
Прокладка | 140 x 20 | 140 | 9 | 21,98 | 27,7 |
Масса 40 шт. головок заклепок | - | - | - | - | 2,3 |
Итого на поперечину | - | - | - | - | 199,4 |
Наименование элемента | Сечение, мм | Длина, мм | Количество, шт. | Масса, кг |
Верхний горизонтальный лист | 200 x 16 | 2600 | 1 | 65,40 |
Нижний горизонтальный лист | 200 x 10 | 2600 | 1 | 40,80 |
Вертикальный лист | 173 x 16 | 2600 | 1 | 56,40 |
Итого | - | - | - | 162,60 |
2% на сварные швы | - | - | - | 3,20 |
Всего | | - | - | 165,80 |
9.4. Сплошной металлический настил (рис. 3) может устраиваться как внутри колеи, так и по боковым тротуарам.
Рис. 3. Конструкция металлического настила:
1 - продольный уголок; 2 - рифленое железо;
3 - ребра жесткости
Длина секций настила принимается из учета длины продольной балки пролетного строения, но не более 12 м. Зазор между соседними секциями над поперечными балками не должен превышать 60 см и перекрывается листом из рифленого железа, привариваемым одним концом к одной из секций. В элементах настила используются стали, приведенные в
табл. 7 Указаний.
Сварка секций должна производиться только в кондукторах. Элементам в кондукторе должен быть придан обратный выгиб порядка 40 - 50 мм. Окончательная величина обратного выгиба устанавливается после сварки первых двух-трех секций. Первыми приваривают (как к рифленому листу, так и к вертикальным полкам уголков) поперечные ребра жесткости. Накладка продольных швов должна производиться обратноступенчатым способом, начиная от середины детали, с обязательным соблюдением параллельности по сварке на обоих продольных уголках.
Потребность металла на 1 м длины металлического настила приведена в табл. 3.
Таблица 3
Наименование элемента | Сечение, мм | Масса 1 м, кг | Количество, шт. | Общая масса |
Рифленое железо | 760 x 5 | 32,14 | 1 | 32,14 |
Продольный уголок | 63 x 63 x 6 | 5,72 | 2 | 11,44 |
Ребро жесткости из рифленого железа | 45 x 5 x 700 | 1,9 | 1,5 | 2,24 |
1% на сварные швы | - | - | - | 0,46 |
Итого | - | - | - | 46,28 |
РЕЛЬСОВЫЕ ПОДКЛАДКИ И МЕТАЛЛИЧЕСКИЕ СКРЕПЛЕНИЯ
МОСТОВОГО ПОЛОТНА НА МЕТАЛЛИЧЕСКИХ ПОПЕРЕЧИНАХ
10.1. Рельсовые подкладки
На металлических поперечинах укладывают подкладки с подуклонкой раздельного клеммно-шурупного скрепления. Под рельсы Р65 и Р75 укладывают подкладки КД65 (рис. 1), а под рельсы Р50 - подкладки КД50
(рис. 2). На мостах с автоблокировкой отверстия для крепления подкладок к поперечинам рассверливают на диаметр 32 мм для постановки изолирующих втулок. Масса рельсовых подкладок приведена в
табл. 1.
Рис. 1. Рельсовая подкладка КД65 (ЦП 45-72)
Рис. 2. Рельсовая подкладка КД50 (ЦП 14-72)
Тип подкладок | Масса одной подкладки, кг | Количество подкладок в 1 т, шт. |
КД65 | 9,6 | 104 |
КД50 | 8,45 | 118 |
Рельсовые подкладки должны изготавливаться без отверстия со сверлением на месте двух отверстий при поперечинах из прокатных швеллеров и четырех отверстий при сварных поперечинах.
| | ИС МЕГАНОРМ: примечание. Приказом Ростехрегулирования от 20.07.2007 N 185-ст с 1 января 2008 года введен в действие ГОСТ 380-2005. | |
| | ИС МЕГАНОРМ: примечание. ГОСТ 16277-84 утратил силу с 1 января 1995 года в связи с введением в действие ГОСТ 16277-93. | |
Подкладки раздельного скрепления изготавливают в соответствии с техническими требованиями ГОСТ 16277-84 из полос, прокатанных из мартеновской или конвертерной стали по ГОСТ 380-71 с содержанием углерода от 0,16 до 0,37% и фосфора не более 0,045%.
Поверхности прилегания подкладок к подошве рельса и шпале должны быть плоскими; допускается равномерная продольная и поперечная выпуклость поверхности прилегания подкладки к подошве рельса не более 0,5 мм и равномерная выпуклость или вогнутость поверхности прилегания подкладки к шпале не более 1,5 мм. Поверхность прилегания подкладки к подошве рельса должна быть без плен, рванин, шлаковин, пузырей, трещин, заусенцев, бугорков, выпучин и выступов. Заварка или заделка дефектов не допускается.
Необходимо следить, чтобы торцы подкладок были перпендикулярны к продольной оси и не имели трещин, сколов металла, рванин, вмятин и выпуклостей. Неперпендикулярность торцов в вертикальной плоскости не должна превышать 3 мм, в горизонтальной - 5 мм.
Подкладки, у которых обнаружены отклонения от норм ГОСТ 16277-84 по химическому составу и по размерам, укладывать на мостах не допускается.
Приемку подкладок производит инспектор МПС. На каждую принятую партию навешивают металлические бирки с указанием предприятия-изготовителя, даты изготовления, типа подкладок и номера партии, приемочного клейма инспектора МПС.
10.2. Болты прикрепления рельсовых подкладок
Рельсовые подкладки прикрепляют к металлическим поперечинам болтами диаметром 22 мм с гайками и шайбами, отвечающими требованиям
п. 8.1 Приложения 8.
Конструкция и размеры болта, гайки и шайб показаны на рис. 3.
Рис. 3. Болт для прикрепления рельсовых
подкладок к металлическим поперечинам:
а - болт; б - гайка; в - шайба плоская; г - шайба пружинная
Масса болтов прикрепления рельсовых подкладок дана в табл. 2.
Таблица 2
Наименование элемента | Количество, шт. | Масса, кг |
единицы | общая |
Болт М22 x 115 | 1 | 0,43 | 0,43 |
Гайка М22 | 1 | 0,12 | 0,12 |
Шайба круглая плоская | 2 | 0,055 | 0,11 |
Шайба пружинная | 1 | 0,12 | 0,12 |
Итого | 1 | - | 0,78 |
10.3. Болты прикрепления охранных приспособлений
Для прикрепления контруголков и противоугонных (охранных) уголков к металлическим поперечинам рекомендуется применять высокопрочные болты по
ГОСТ 22353-77 и
ГОСТ 22356-77 (для районов с расчетной температурой воздуха ниже - 40 °C). Каждый болт комплектуется одной гайкой и двумя плоскими шайбами. Размеры болта, гайки и шайб показаны на
рис. 4. Масса болтов, гаек и шайб дана в табл. 3.
Таблица 3
Наименование элемента | Количество | Масса, кг |
единицы | общая |
Болт 110 М22 x 80 | 1 | 0,34 | 0,34 |
Гайка М22 | 1 | 0,12 | 0,12 |
Шайба плоская | 2 | 0,07 | 0,14 |
Итого | - | - | 0,60 |
Рис. 4. Болт для прикрепления охранных
приспособлений к металлическим поперечинам:
а - болт; б - гайка; в - шайба
ПЛИТЫ БЕЗБАЛЛАСТНОГО МОСТОВОГО
ПОЛОТНА И ДОПУСКИ НА ИХ ИЗГОТОВЛЕНИЕ
(ПО ПРОЕКТАМ ЛЕНГИПРОТРАНСМОСТА РЧ-390 И РЧ-325)
11.1. Плиты запроектированы под временную нагрузку С-14 из обычного железобетона (проект РЧ-390) и предварительно напряженного железобетона (проект РЧ-325). Последние предназначены для применения в обычных условиях с расчетной температурой не ниже 40 °C. Опалубочный чертеж плиты приведен на рис. 1.
Рис. 1. Опалубочный чертеж безбалластных железобетонных
плит по проектам Ленгипротрансмоста РЧ-390 и РЧ-325
В отличие от плит по проекту Ленгипротрансмоста 1972 г. в новых проектах приняты другие размеры плит вдоль пути 1,99 (1,89) м и 1,49 (1,39) м вместо 1,98 (2,08) м и 1,48 (1,58) м; предусмотрен поперечный уклон верхней поверхности плиты в обе стороны от середины для предупреждения застоя воды.
Плиты изготавливаются из тяжелого бетона марки 400 и морозостойкостью не ниже Мрз 300.
11.2. Конструкция плит предусматривает возможность укладки их при расстоянии между осями продольных балок или ферм от 1,8 до 2,4 м. Типоразмеры и основные характеристики плит указаны на рис. 2.
Рис. 2. Типоразмеры безбалластных железобетонных плит
по проектам Ленгипротрансмоста РЧ-390 и РЧ-325
Примечание. Геометрические размеры, объем бетона и масса блока соответствующих плит П1-180 и П1-180-Н из обычного и предварительно напряженного железобетона одинаковы, поэтому для сокращения в таблице приведены данные по плитам из обычного железобетона.
Плиты предусматривают укладку рельсов Р65 или Р75 с типовыми рельсовыми креплениями для железобетонных шпал типа КБ.
Расход материалов на 1 м мостового полотна приведен в табл. 1.
Таблица 1
Наименование детали, материала | Измеритель | Количество |
Плиты железобетонные | м3 | 0,67 |
Арматура: | | |
для плит из обычного железобетона | кг | 140,5 |
для плит из преднапряженного железобетона | кг | 114,7 |
Цементно-песчаный раствор для прокладного слоя при ширине 40 и толщине 4 см | м3 | 0,032 |
Арматура прокладного слоя диаметром 6 мм | кг | 2 |
Опорные деревянные прокладки | шт. | 4 |
Пластинки металлические толщиной 1 - 2 мм для выправки плит | шт. | 2 |
Шпильки высокопрочные М22 x 370 мм | шт. | 4 |
| шт. | 8 |
| | ИС МЕГАНОРМ: примечание. ГОСТ 22355-77 утратил силу на территории Российской Федерации с 1 января 2008 года в связи с введением в действие ГОСТ Р 52646-2006 (Приказ Ростехрегулирования от 27.12.2006 N 411-ст). | |
|
Шайбы (ГОСТ 22355-77) с отверстием диаметром 22 мм | шт. | 8 |
Шайбы 140 x 140 x 20 с отверстием диаметром 24 мм | шт. | 3 |
Шайбы 200 x 140 x 20 с отверстием диаметром 24 мм | шт. | 1 |
Рельсовые скрепления, комплект | шт. | 4 |
Рельсы путевые | м | 2 |
Уголки 160 x 160 x 16 | м | 2 |
Прокладки резиновые под контруголки диаметром 130 мм | шт. | 4 |
Крепление контруголка, комплект | шт. | 4 |
Шайбы 100 x 100 x 10 с отверстием диаметром 24 мм | шт. | 4 |
Краска эпоксидная | кг | 0,9 |
Мастика тиоколовая | кг | 8,5 |
Эпоксидная шпатлевка на 1 м2 пояса поперечной балки | кг | 0,25 |
Противошумная мастика N 579 | кг | 0,02 |
Примечание. Элементы комплектов рельсовых скреплений и креплений контруголков см. в Приложении N 10. |
11.3. Каждая плита на предприятии-изготовителе маркируется штамповкой при изготовлении несмываемой краской после приемки отделом технического контроля. Штамп наносится на торец, расположенный вдоль оси пути, и должен содержать: товарный знак предприятия-изготовителя, марку плиты, год изготовления.
Например, марка плиты П3-190-Н содержит:
П3 - тип плиты (меняется в зависимости от длины плиты вдоль моста);
190 - расстояние между осями главных балок;
Н - предварительно напряженный железобетон.
11.4. Железобетонные плиты должны изготовляться специализированными организациями в металлических формах на виброплощадках. Параметры вибрирования форм с бетоном должны обеспечивать качественное уплотнение жесткой бетонной смеси и однородность его состава.
11.5. Допуски на изготовление и требования к качеству поверхности изготовленных плит приведены в табл. 2.
Таблица 2
Наименование размеров | Допускаемые отклонения, мм |
Длина плиты (вдоль оси пути) | -3 |
Ширина плиты (поперек оси пути) | +/- 10 |
Расстояние (по вертикали) от плоскости опирания плиты на пояс балки до верха опорной площадки рельса по ее оси | +/- 1 |
Расстояние между наружными кромками углублений в подрельсовых площадках по ширине плиты | +/- 2 |
Расстояние между кромками углубления в подрельсовой площадке | +2; - 1 |
Расстояние между осями отверстий для закладных болтов и наружной кромкой углубления в подрельсовой площадке | +/- 1 |
Поперечные размеры отверстий для закладного болта | +3; -2 |
Глубина заделки закладных шайб в бетон плиты | +/- 3 |
Подуклонка подрельсовой площадки | От 1/19 до 1/21 |
Угол взаимного поворота (пропеллерность противоположных площадок вдоль и поперек плиты) | Не более 0,012 рад |
Раковины на поверхности плиты: | |
диаметром | Не более 10 |
глубиной | Не более 5 |
Местные неровности поверхности плиты | +/- 5 |
Отколы бетона: | |
глубиной | Не более 10 |
длиной и шириной | Не более 10 |
Трещины, отколы рабочих кромок опорных площадок и наплывы бетона в отверстиях для закладных болтов, заделка раковин и трещин не допускаются.
11.6. Потребность арматуры, кг, на 1 м длины плиты по классам и диаметрам приведена в табл. 3 (при расстоянии между осями балок до 2 м).
Таблица 3
Наименование арматуры | Плита из обычного железобетона по проекту РЧ-390 | Плита из предварительно напряженного железобетона по проекту РЧ-325 |
Арматура класса А-I марки | - | - |
ВСт3сп2 диаметром: | | |
6 мм | 5,6 | 10,4 |
8 мм | 23,1 | 21,9 |
Итого арматуры класса А-I | 28,7 | 32,3 |
Арматура класса А-II марки | - | - |
ВСт5сп2 диаметром: | | |
10 мм | 42,5 | 50,3 |
16 мм | 12,3 | 12,3 |
18 мм | 57,0 | - |
Итого арматуры класса А-II | 111,8 | 62,6 |
Арматура Вр-II диаметром 5 мм | - | 19,8 |
Всего арматуры | 140,5 | 114,7 |
МЕТАЛЛИЧЕСКИЕ СКРЕПЛЕНИЯ БЕЗБАЛЛАСТНОГО
МОСТОВОГО ПОЛОТНА НА ЖЕЛЕЗОБЕТОННЫХ ПЛИТАХ
12.1. Болты прикрепления рельсовых подкладок
Рельсовые подкладки к безбалластной железобетонной плите прикрепляют стандартными закладными болтами диаметром 22 мм и длиной 165 мм, применяемыми в прикреплении рельсовых подкладок к железобетонным шпалам (рис. 1).
Рис. 1. Закладной болт для прикрепления
рельсовых подкладок к железобетонным плитам:
а - болт закладной; б - гайка; в - шайба пружинная
двухвитковая; г - шайба плоская
Изготавливают закладные болты по
ГОСТ 16017-79 в соответствии с требованиями на изделия нормальной точности по
ГОСТ 1759.0-87; механические свойства болтов должны соответствовать классу прочности 3.6.
Резьба на болтах выполняется способом накатки без предварительного редуцирования стержня под накатку. Профиль резьбы болтов должен соответствовать ГОСТ 9150-81 и выполняться с допусками для класса 8 g по ГОСТ 16093-81.
Допускается отклонение от перпендикулярности оси указательной канавки к большой оси головки болта до 5° и смещение оси канавки от диаметрального ее положения не более 0,9 мм.
Закладной болт комплектуют гайкой М22 по
ГОСТ 16018-79, плоской шайбой ЦП 13-73 и двухвитковой шайбой ОП 99-73.
Материалы, а также масса болта и комплектующих деталей даны в табл. 1.
Таблица 1
| | ИС МЕГАНОРМ: примечание. Приказом Ростехрегулирования от 20.07.2007 N 185-ст с 1 января 2008 года введен в действие ГОСТ 380-2005. | |
Наименование элемента | ГОСТ или ТУ | Материал | Материал |
Болт М22 (оцинкованный) | 16017-79 | Ст-4-3 по ГОСТ 380-71 | 0,565 |
Гайка М22 | 16018-79 | Ст3-3 по ГОСТ 380-71 | 0,126 |
Шайба плоская | ПП 13-73 | Ст3-3 по ГОСТ 380-71 | 0,055 |
Шайба двухвитковая пружинная 25 x 8 | ОП 99-73 | | 0,12 |
Итого | - | - | 0,866 |
12.2. Шпильки для крепления железобетонных плит
Плиты прикрепляются к пролетным строениям шпильками диаметром 22 мм, длиной 370 мм с нарезкой М22 с каждой стороны шпильки (рис. 2).
Рис. 2. Высокопрочная шпилька
прикрепления безбалластных плит:
а - шпилька; б - гайка; в - шайба круглая;
г - шайба прямоугольная индивидуальная
Их изготовляют из стали марки 40Х по
ГОСТ 4543-71* с термообработкой, после которой они должны иметь механические характеристики, указанные в
ГОСТ 22356-77: временное сопротивление разрыву 110 - 130 кгс/мм2; твердость по Бринеллю - не более 388.
В зависимости от района эксплуатации высокопрочные шпильки, гайки и шайбы должны применяться климатического исполнения V, категории размещения I в районах с расчетной температурой -40 °C и выше и климатического исполнения Хл, категории размещения I в районах с расчетной температурой от -40 до -65 °C - по
ГОСТ 15150-69.
Для шпилек не допускаются рванины и выкрашивания на поверхности резьбы, если они по глубине выходят за пределы среднего диаметра резьбы и если их общая протяженность по длине превышает четверть витка.
Не является браковочным признаком увеличение диаметра шпильки до 0,25 мм сверх номинального на длине до 20 мм.
При укладке плит на дерево-резиновые и резиновые прокладки в соответствии с техническими условиями, утвержденными Главным управлением пути МПС, допускается применение шпилек из стали 40Х и 09Г2 без термообработки.
Каждая шпилька комплектуется двумя гайками и двумя шайбами. В состав крепления плит входят также прямоугольные шайбы толщиной 20 мм индивидуального изготовления. Материал и масса шпильки и комплектующих деталей даны в табл. 2.
Таблица 2
| | ИС МЕГАНОРМ: примечание. Приказом Ростехрегулирования от 20.07.2007 N 185-ст с 1 января 2008 года введен в действие ГОСТ 380-2005. | |
Наименование элемента | ГОСТ | Материал | Количество, шт. | Масса, кг |
единицы | общая |
Шпилька высокопрочная М22 | | | 1 | 1,10 | 1,10 |
Гайка М22 термоупрочненная | | Ст5сп по ГОСТ 380-71 | 2 | 0,12 | 0,24 |
Шайба термоупрочненная | 22355-77 | Ст5сп по ГОСТ 380-71 | 2 | 0,07 | 0,14 |
Итого | - | - | - | - | 1,48 |
Шайба 140 x 140 x 20 | Индивидуальная | Ст3-3 по ГОСТ 380-71 | 1 | 3,10 | 3,10 |
Всего | - | - | - | - | 4,58 |
12.3. Болты для прикрепления контруголков
Контруголки к безбалластным железобетонным плитам прикрепляют болтами диаметром 22 мм, длиной 280 мм. Болты с гайками и шайбами должны соответствовать рис. 3 и указаниям
п. 8.1 Приложения 8.
Рис. 3. Болт для прикрепления контргайки
к безбалластным железобетонным плитам:
а - болт; б - гайка; в - шайба плоская
индивидуальная; г - шайба пружинная
В комплект болта входят две гайки (гайка и контргайка), одна пружинная шайба и одна плоская шайба размером 100 x 100 x 10 мм индивидуального изготовления.
Масса болтов, гаек и шайб дана в табл. 3.
Таблица 3
Наименование элемента | Количество, шт. | Масса, кг |
единицы | общая |
Болт М22 | 1 | 0,92 | 0,92 |
Гайка М22 | 2 | 0,08 | 0,16 |
Шайба пружинная | 1 | 0,05 | 0,05 |
Шайба плоская 100 x 100 x 10 мм | 1 | 0,8 | 0,8 |
Итого | - | - | 1,93 |
АМОРТИЗИРУЮЩИЕ И ИЗОЛИРУЮЩИЕ ПРОКЛАДКИ И ВТУЛКИ
13.1. Прокладки под рельсовые подкладки на мостовых брусьях
Прокладки под рельсовые подкладки предназначаются для амортизации и уменьшения износа мостовых брусьев.
Резиновые прокладки под подкладки костыльного скрепления (рис. 1, а) изготавливают по чертежам ЦП67 (ОП 68-74), утвержденным Министерством путей сообщения, и техническим условиям ТУ 38 105551-86 из резиновой смеси РПД-15 или РПД-48.
Рис. 1. Прокладки на мостовых брусьях:
а - резиновая под подкладку костыльного скрепления, условное
обозначение Д65ЦП-67 (Д50 ОП 68-74); масса 0,61 (0,52) кг;
б - резинокордовая под подкладку раздельного шурупного
скрепления; условное обозначение прокладки
КД65 ОП 361; масса 0,66 кг
Примечание. Без скобок даны размеры и масса прокладок для рельсов Р65, в скобках - для рельсов Р50.
Резиновые смеси для изготовления прокладок должны удовлетворять следующим требованиям:
Предел прочности при разрыве ...................... не менее 5,0 МПа
(50 кгс/см2)
Относительное удлинение при разрыве ............... 100%
Твердость на приборе ТМ-2 ......................... 70 условных единиц
Сопротивление истиранию ........................... не более 8,00 Па
(0,08 гс/см2)
Набухание в осевом масле "Л" за 24 ч
при комнатной температуре ............................. не выше 7%
Коэффициент старения по пределу
прочности при 70 °C за 24 ч ........................... не менее 0,6%
Температура хрупкости при замораживании ........... не выше 30 °C
Прокладки резиновые могут изготавливаться способом формования или шприцевания с последующей вырубкой деталей на прессе. Готовые прокладки должны быть ровными, с чисто отпрессованными гранями и краями. Набухание готовых резиновых прокладок в осевом масле "Л" за 24 ч при комнатной температуре должно быть не выше: для формовых прокладок - 3%; для неформовых - 4,5%.
Резинокордовые прокладки под подкладки КД65 раздельного скрепления на деревянных шпалах или мостовых брусьях (
рис. 1, б) изготовляют формовым способом согласно ТУ 38 104325-85 по чертежам 361-84, утвержденным Министерством путей сообщения, из отходов обрезиненного корда и тканей (ТУ 38 3043-78; ТУ ДШ-29-78; ТУ 03-06-78) и резины подгорелой с неполным скорчником (ТУ 38 3043-78; ТУ 38 30410-78; ТУ ДШ-30-78).
Размеры с предельными отклонениями предназначены для проектирования оснастки, в готовых прокладках контролю подвергается размер, обозначенный звездочкой.
В отверстиях пленку толщиной до 1,0 мм допускается не удалять.
Каждая прокладка на предприятии-изготовителе маркируется. Марка должна содержать:
товарный знак предприятия-изготовителя;
обозначение прокладки (ОП 361) и год изготовления (две последние цифры).
Резиновые и резинокордовые прокладки необходимо хранить в помещении при температуре от 0 до 25 °C в условиях, исключающих их повреждение. Кроме того, прокладки должны быть защищены от воздействия прямых солнечных лучей и находиться не ближе 1 м от отопительных приборов. Прокладки следует предохранять от попадания на них масла, бензина, керосина и других разрушающих резину веществ.
Прокладки разрешается хранить при минусовой температуре не ниже -25 °C при условии отсутствия деформаций и ударных нагрузок. Перед укладкой в путь прокладки необходимо выдерживать не менее 24 ч при комнатной температуре.
13.2. Прокладки под рельсовые подкладки и путевые
рельсы на металлических поперечинах
На металлических поперечинах применяют кордовые амортизирующие и изолирующие прокладки (рис. 2) под рельсовые подкладки и под подошву рельса. На мостах с автоблокировкой между кордовой прокладкой и металлической поперечиной необходимо дополнительно укладывать изолирующую прокладку из полиэтилена.
Рис. 2. Прокладки на металлических поперечинах:
а - кордовая МПС-12 (ЦП 248) под рельс Р65, масса 0,43 кг;
б - кордовая МПС-13 (ЦП 249) под рельсовую подкладку
для рельса Р65, масса 0,97 кг; в - кордовая МПС-6 (ЦП 247)
под рельс Р50, масса 0,38 кг; г - кордовая МПС-5 (ЦП 246)
под рельсовую подкладку для рельса Р50, масса 0,94 кг;
д - прокладка изолирующая полиэтиленовая для рельсов Р65,
условное обозначение ПИМ-65 (ОП 115-74), масса 0,25 кг
Примечание. В скобках указаны шифры и номера чертежей, утвержденных Главным управлением пути МПС.
Кордовые прокладки под подошву путевых рельсов изготавливают типа МПС-12 для рельсов Р65 и МПС-6 для Р50, а под рельсовые подкладки - соответственно типов МПС-13 и МПС-5 по чертежам ЦП 246, ЦП 247, ЦП 248, ЦП 249, утвержденным Министерством путей сообщения, и техническим условиям на резинотехнические изделия ТУ 38 105376-82.
Кордовые прокладки изготавливают из ткани автопнев или чефер с двусторонней промазкой маслобензостойкой резиновой смесью на наирите (типа Кр-449).
По способу изготовления подкладки относятся к формовым резинотканевым изделиям типа Vб ТУ 38 105376-82, а по условиям эксплуатации - к группе Б, в которую входят резины, работающие в среде бензина, топлива и масел в температурном интервале от -55 до +60 °C.
Готовые кордовые прокладки должны удовлетворять следующим основным требованиям:
Твердость на приборе ТМ-2 .............. не менее 70 единиц
Набухание в осевом масле "Л" за
24 ч при комнатной температуре ............. не более 3%
Предел прочности при разрыве ........... не менее 5,5 МПа (55 кгс/см2)
Поверхность прокладок должна быть ровной, без пузырей, трещин и надрывов. Не допускаются:
включения высотой свыше 0,5 мм и следы их выпадания глубиной свыше 0,5 мм;
недопрессовка, воздушные углубления (раковины, пузыри) глубиной более 0,5 мм;
обрывы ребер глубиной свыше 0,5 мм и длиной более 5 мм.
Кордовые прокладки хранят в помещении с температурой воздуха от -15 до +30 °C. В случае хранения при температуре ниже 0 °C подкладки должны быть выдержаны до монтажа или эксплуатации при температуре не ниже +15 °C в течение не менее 24 ч.
При хранении прокладки необходимо защищать от воздействия прямых солнечных лучей, а также веществ, разрушающих резину; масел, топлив, кислот, щелочей. Не следует их размещать ближе 1 м от теплоизлучающих приборов.
Полиэтиленовые изолирующие прокладки предназначены для увеличения электросопротивления между подкладками раздельных рельсовых скреплений и мостовым полотном при автоблокировке. Изготовляют прокладки по чертежам ОП 115-74, утвержденным МПС, и техническим условиям ТУ 32 ЦП 338-73 из полиэтилена марки 206-09 высшего сорта по
ГОСТ 16338-85Е. Допускается также применение полиэтилена марок 207 и 208 с рецептурой N 10, 11 и 12.
13.3. Прокладки под рельсовые подкладки и путевые рельсы
на железобетонных шпалах и безбалластных
железобетонных плитах
На железобетонных шпалах и безбалластных железобетонных плитах для электрической изоляции и амортизации пути укладывают резиновые прокладки под рельсовые подкладки и под путевые рельсы (рис. 3). Эти прокладки изготавливают по чертежам соответственно ЦП 153 и ОП 143-74, утвержденным МПС.
Рис. 3. Прокладки под рельсовые подкладки
и путевые рельсы Р65 и Р75 на железобетонных шпалах:
а - резиновая под рельсовую подкладку,
условное обозначение КБ x 10 ЦП 153, масса 0,63 кг;
б - роликовая под путевой рельс, условное обозначение
ПБР65 x 8 ОП 143-74, масса 0,4 кг
Резиновые смеси для изготовления прокладок должны соответствовать маркам и техническим условиям, приведенным ниже в таблице.
Наименование рецептуры резиновой смеси | Технические условия на изготовление |
РП 101-15 | ТУ 38 1051215-86 |
РПД-48 | ТУ 38 105551-86 |
ЛЖ-220 | ТУ 38 105376-82 |
По физико-механическим показателям резиновая смесь РП 101-15 должна удовлетворять следующим требованиям:
Сопротивление разрыву не менее .................. 7,5 МПа (75 кгс/см2)
Относительное удлинение ......................... 200%
Твердость по ТМ-2 ............................... 60 условных единиц
Коэффициент старения по пределу
прочности за 24 ч при 100 °C ........................ не менее 0,8
Сопротивление истиранию ......................... не более 6,5 Па
(0,065 гс/см2)
Удельное объемное сопротивление
электрическому току ................................. не менее

Температура хрупкости при замораживании ......... не выше -37 °C
Готовые прокладки должны удовлетворять следующим требованиям:
Твердость по ТМ-2 ............................... не менее 60 условных
единиц
Набухание в осевом масле "Л" за 24 ч
при комнатной температуре .......................... не более 4,7%
Удельное сопротивление электрическому току ..... не менее

Прокладки должны быть ровными, с чисто отпрессованными краями и гранями выемок. Разнотолщинность не должна превышать 0,7 мм.
Местные раковины, возвышенности, углубления и посторонние неметаллические включения допускаются величиной не более 0,5 мм.
При хранении прокладки необходимо защищать от действия прямых солнечных лучей и хранить в помещении при температуре от +5 до +25 °C и относительной влажности воздуха не более 65%.
13.4. Прокладки под контруголки на железобетонных шпалах
и безбалластных железобетонных плитах
При устройстве пути на железобетонных шпалах или безбалластных железобетонных плитах под контруголки необходимо укладывать резиновые прокладки (рис. 4). Эти прокладки могут быть изготовлены из резиновых прокладок для железобетонных шпал или из других резиновых или кордовых прокладок толщиной 8 - 10 мм.
Рис. 4. Прокладки резиновые под контруголки (масса 0,22 кг)
13.5. Изолирующие втулки и трубки
Для изоляции болтов, прикрепляющих рельсовые подкладки к железобетонным шпалам, железобетонным безбалластным плитам и металлическим поперечинам, применяют изолирующие втулки и трубки (рис. 5). Втулки для железобетонных шпал и плит изготавливают по чертежам ЦП 142, ЦП 180 и техническим условиям ТУ 32 ЦП 748-86, утвержденным МПС.
Рис. 5. Изолирующие втулки и трубки:
а - втулка ЦП 142, ЦП 180, материал - текстолит,
масса 0,04 кг; б - втулка ВИ-22-00, материал текстолит,
масса 0,014 кг; в - трубка ЦП 199, материал текстолит
или резина, масса 0,017 кг; г - скоба ЦП 138
для изолирующих втулок ЦП 142 и ЦП 180,
материал - СТ3, масса 0,088 кг
Втулки, изготовляемые прессованием из текстолита, должны удовлетворять следующим требованиям:
Прочность при сжатии .................. не менее 12 МПа (120 кгс/см2)
[40 кН (4000 кгс) на втулку]
Сопротивление электрическому
току в сухом состоянии .................... не менее

Водопоглощение за 24 ч ................ не более 1,3%
Поверхность втулки должна быть гладкой и не иметь трещин.
Изолирующие втулки по чертежам ЦП 142, ЦП 180 комплектуются металлической скобой ЦП 138, которая ставится между изолирующей втулкой и пружинной шайбой. Скобу можно изготавливать из полосовой стали любых марок.
Для изоляции болтов прикрепления рельсовых подкладок к металлическим поперечинам применяют втулки и трубки из текстолита. Основные требования на прессованные текстолитовые изделия приведены выше.
Изолирующие трубки допускается изготавливать из резиновой технической трубки типа 3, морозостойкой, средней твердости, поставляемой по
ГОСТ 5496-78.
14.1. На мостах с мостовым полотном на деревянных поперечинах используются уравнительные приборы типа Р65 по проекту ПТКБ ЦП МПС N 1262А.00.000 (с 1988 г. по проекту ПТКБ ЦП МПС N 1262А.00.000-03), а на мостах с мостовым полотном на металлических поперечинах и безбалластных плитах - модификации этих уравнительных приборов. В отдельных случаях на малодеятельных линиях и для замены существующих с разрешения Главного управления пути МПС могут использоваться уравнительные приборы типа Р50 по проекту ПТКБ ЦП МПС N 012А.00.000. Паспортные данные и технические характеристики указанных уравнительных приборов приведены в табл. 1 и
2.
Таблица 1
Тип уравнительного прибора | Номер проекта | Год разработки проекта | Завод-изготовитель |
Р65 | 1262А.00.000 | 1975 | Новосибирский стрелочный завод (НСЗ) |
Р55 | 1262А.00.000-03 | 1985 | То же |
Р50 | 012А.00.000 | 1976 | Муромский стрелочный завод (МСЗ) |
Номер проекта | Максимальная величина перемещения (расчетный шаг), мм | Длина уравнительного прибора <1>, мм | Максимальная ширина уравнительного прибора в сборе <2>, мм | Высота уравнительного прибора в сборе <3>, мм | Ширина колеи, мм | |
1262А.00.000 | 750 | min 12117 max 12867 | 2220 (2090) | 228 | 1520 | 8109 |
1262А.00.000-03 | 750 | min 12487 max 13237 | 2088 | 228 | 1520 | 11020 |
012А.00.000 | 236 | min 9527 max 9763 | 2140 | 181 | 1520 | 3750 |
<1> Длина уравнительного прибора измеряется от торца рамного рельса до торца остряка; длина считается наименьшей (min) - при перемещении остряка (рамного рельса) a, равном нулю, а наибольшей (max) - при перемещении остряка (рамного рельса), равном расчетному шагу  . <2> Для уравнительных приборов по проектам 1262А.00.000 и 1262А.00.000-03 дана ширина изделия по подкладкам и в скобках по лафетам, для уравнительного прибора 012А.00.000 - размер по лафетам. <3> Высота изделия измеряется от низа прокладки под подкладкой до поверхности катания. <4> Масса изделия приводится по данным заводов-поставщиков. |
14.2. Уравнительные приборы типа Р65 по проекту N 1262А.00.000 и по проекту N 1262А.00.000-03 используются в холодном и умеренном климате, имеют неподвижные остряки и подвижные рамные рельсы, смонтированные на лафетах, а также стыковые, корневые и переходные мостики, с помощью которых осуществляется стыкование приборов с рельсовым путем на мосту, закрепление их на мостовом полотне и обеспечивается нормальная работа переходных пролетов.
В связи с неподвижными остряками ширина рельсовой колеи в пределах уравнительного прибора не меняется (рис. 1). Уравнительные приборы прикрепляют к мостовым брусьям с помощью специальных металлических прокладок.
Рис. 1. Уравнительный прибор типа Р65 (проект 1262А.000.00):
а - схема прибора; б - схема укладки прибора; 1 - пролетное
строение N 1; 2 - уравнительный прибор;
3 - пролетное строение N 2
Уравнительные приборы рассчитаны на перемещение подвижных концов пролетных строений до 750 мм. При этом переходной мостик должен поддерживаться дополнительной металлической поперечиной (входит в комплект уравнительного прибора), опирающейся на специальные конструкции, разрабатываемые проектной организацией при привязке уравнительного прибора. При расчетных перемещениях пролетных строений в интервале от 0 до 330 мм дополнительные устройства не требуются, а в интервале от 0 до 375 мм металлическая поперечина укладывается непосредственно на пролетное строение вместо крайнего бруса.
Уравнительный прибор по проекту N 1262.А00.000-03 отличается от проекта N 1262А.00.000 меньшей шириной лафета за счет изменения крепления рамных рельсов и остряков и соответственно меньшей длиной подкладок, что обеспечивает лучшие условия крепления мостовых брусьев и противоугонных (охранных) уголков при наиболее распространенном расстоянии между наружными гранями верхних поясов продольных балок пролетных строений.
14.3. На мостах с безбалластным мостовым полотном или металлическими поперечинами укладывают модифицированные уравнительные приборы по проекту ПТКБ ЦП МПС N 1262А00.000-03. В модифицированном приборе изменены конструкция и размеры подкладок, вводятся дополнительные элементы амортизации и электроизоляции (рис. 2).
Рис. 2. Поперечные сечения уравнительного прибора типа Р65
по проекту N 1262А.000.00 (вблизи начала остряка):
а - при укладке уравнительного прибора на деревянных
поперечинах; б - то же на безбалластной железобетонной
плите; в - то же на металлических поперечинах;
1 - рамный рельс; 2 - остряк; 3 - лафет; 4 - подкладка;
5, 6 - амортизирующие прокладки; 7 - электроизоляция
14.4. Уравнительный прибор типа Р50 по проекту N 012А.00.000 имеет неподвижные рамные рельсы, подвижные остряки, смонтированные на лафетах, и стыковые плиты (мостики) для стыкования прибора с путевыми рельсами и закрепления его на пролетных строениях. Левая и правая нитки уравнительного прибора соединяются между собой уголковыми связями.
В связи с перемещением остряка при работе уравнительного прибора ширина рельсовой колеи в пределах длины остряков изменяется в интервале 1520 - 1530 мм (рис. 3).
Рис. 3. Уравнительный прибор типа Р50 (проект N 012.00.00):
а - схема прибора; б - схема укладки;
1 - пролетное строение N 1; 2 - уравнительный прибор;
3 - пролетное строение N 2
14.5. Уравнительные приборы укладываются и эксплуатируются согласно требованиям Правил и технологии укладки и замены уравнительных приборов на мостах и инструкции по монтажу и эксплуатации, приведенной в составе проектной документации.
14.6. Величины полных перемещений рельсов (в зависимости от годовой амплитуды температур в районе расположения моста) для наиболее распространенных температурных пролетов приведены в табл. 3.
Таблица 3
Годовая температурная амплитуда рельсов T, °C | Значение полного перемещения рельсов, мм, при температурных пролетах, м |
110 | 130 | 160 | 220 | 260 | 320 |
65 | 126 | 149 | 183 | 252 | 298 | 367 |
70 | 133 | 157 | 193 | 265 | 314 | 386 |
75 | 139 | 164 | 202 | 278 | 329 | 405 |
80 | 146 | 176 | 212 | 291 | 344 | 424 |
85 | 152 | 180 | 221 | 304 | 360 | 443 |
90 | 158 | 187 | 231 | 317 | 375 | 461 |
95 | 165 | 195 | 240 | 330 | 390 | 480 |
100 | 171 | 203 | 250 | 343 | 406 | 499 |
105 | 178 | 210 | 259 | 356 | 421 | 518 |
110 | 184 | 218 | 268 | 369 | 436 | 537 |
Примечания. 1. В таблице учтены перемещения от временной нагрузки при напряжении в поясах пролетных строений  (800 кгс/см2). Для температурных пролетов, указанных в таблице, эти перемещения составляют соответственно 42, 48, 61, 84, 99, 121 мм. Перемещения неразрезных пролетных строений могут приниматься в половинном размере. 2. Годовая температурная амплитуда рельсов приведена в Приложении 15. 3. Для температурных пролетов, не указанных в таблице, значения полного перемещения могут быть определены путем умножения табличных данных на соотношение пролетов. |
При укладке уравнительного прибора подвижной остряк (рамный рельс) устанавливается так, чтобы расстояние a от острия остряка (в уравнительном приборе Р50) или торца рамного рельса (в уравнительном приборе Р65) до риски на лафете соответствовало алгебраической разности между температурой воздуха при укладке уравнительного прибора и наибольшей положительной температурой воздуха

в районе расположения моста.
Значения величины a для наиболее распространенных температурных пролетов приведены в табл. 4.
Таблица 4
Разность между температурой рельсов при укладке уравнительного прибора и наибольшей положительной температурой рельсов,  , °C | Значения a, мм, при температурных пролетах, м |
110 | 130 | 160 | 220 | 260 | 320 |
0 | 42 | 50 | 61 | 84 | 99 | 121 |
5 | 48 | 57 | 71 | 97 | 115 | 141 |
10 | 55 | 65 | 80 | 110 | 130 | 160 |
15 | 61 | 73 | 90 | 123 | 145 | 179 |
20 | 68 | 80 | 99 | 136 | 161 | 198 |
25 | 75 | 88 | 108 | 149 | 176 | 217 |
30 | 81 | 96 | 118 | 162 | 191 | 235 |
35 | 88 | 103 | 127 | 175 | 207 | 254 |
40 | 94 | 111 | 137 | 188 | 222 | 273 |
45 | 101 | 119 | 146 | 201 | 237 | 292 |
50 | 107 | 126 | 156 | 214 | 253 | 311 |
55 | 114 | 134 | 165 | 227 | 268 | 330 |
60 | 120 | 142 | 174 | 240 | 283 | 349 |
65 | 127 | 149 | 184 | 253 | 299 | 368 |
70 | 133 | 157 | 193 | 266 | 314 | 386 |
75 | 140 | 165 | 203 | 279 | 329 | 405 |
80 | 146 | 173 | 212 | 292 | 345 | 424 |
85 | 152 | 180 | 222 | 305 | 360 | 443 |
90 | 159 | 188 | 231 | 318 | 375 | 462 |
95 | 165 | 195 | 241 | 331 | 391 | 481 |
Примечания. 1. В таблице учтены перемещения пролетных строений с ездой понизу от временной нагрузки при напряжении в нижних поясах  (800 кгс/см2) (см. примечание 1 к табл. 3). 2. Для пролетных строений с ездой поверху разрешается пользоваться указанной таблицей с уменьшением табличных значений a на величину перемещения пролетных строений от временной нагрузки. 4. Для температурных пролетов, не указанных в таблице, значения a могут определяться путем умножения табличных данных на соотношение пролетов. |
РАСЧЕТНЫЕ ТЕМПЕРАТУРЫ РЕЛЬСОВ НА МОСТАХ СЕТИ
ЖЕЛЕЗНЫХ ДОРОГ СССР ДЛЯ УКЛАДКИ УРАВНИТЕЛЬНЫХ
ПРИБОРОВ И СОДЕРЖАНИЯ БЕССТЫКОВОГО ПУТИ
Железнодорожные станции | Температура рельсов, °C | Расчетная температурная амплитуда,  |
летняя (наивысшая)  | зимняя (наинизшая)  |
Абакан | 48 | -50 | 98 |
Агрыз | 47 | -50 | 97 |
Акстафа | 59 | -26 | 76 |
Алатырь | 48 | -44 | 92 |
Александров Гай | 52 | -43 | 95 |
Алма-Ата | 52 | -38 | 90 |
Алят | 51 | -18 | 69 |
Андижан | 44 | -29 | 83 |
Арзамас | 47 | -43 | 90 |
Армавир | 52 | -34 | 86 |
Архангельск | 44 | -45 | 89 |
Арысь | 56 | -36 | 92 |
Астрахань | 50 | -34 | 84 |
Аткарск | 50 | -42 | 92 |
Ахтуба | 55 | -37 | 92 |
Ачинск | 49 | -60 | 109 |
Ашхабад | 57 | -24 | 81 |
Баку | 50 | -13 | 63 |
Балхаш | 51 | -46 | 97 |
Барнаул (Алтайский край) | 48 | -52 | 100 |
Батайск | 50 | -33 | 83 |
Батуми | 50 | -8 | 58 |
Белгород | 51 | -37 | 88 |
Белогорск | 50 | -48 | 98 |
Белокоровичи | 49 | -34 | 83 |
Белореченская | 51 | -34 | 85 |
Бендеры | 49 | -31 | 80 |
Бердяуш | 48 | -46 | 94 |
Бийск | 49 | -53 | 102 |
Биробиджан | 49 | -43 | 92 |
Благовещенск | 51 | -45 | 96 |
Благодарное | 53 | -37 | 90 |
Богдановичи | 48 | -43 | 91 |
Боготол | 48 | -53 | 101 |
Бологое | 45 | -50 | 95 |
Борзя | 51 | -55 | 106 |
Борисов | 46 | -41 | 87 |
Борисоглебск | 53 | -41 | 94 |
Брест | 47 | -36 | 83 |
Брянск (Бежица) | 48 | -42 | 90 |
Бугульма | 48 | -44 | 92 |
Бугуруслан | 50 | -49 | 99 |
Буй | 45 | -48 | 93 |
Бурея | 50 | -50 | 100 |
Вагай | 49 | -47 | 96 |
Валуйки | 52 | -37 | 89 |
Вельск | 46 | -50 | 96 |
Великие Луки | 45 | -46 | 91 |
Верхотурье | 46 | -52 | 98 |
Вильнюс | 45 | -37 | 82 |
Винница | 48 | -36 | 84 |
Витебск | 46 | -41 | 87 |
Владивосток | 46 | -31 | 77 |
Владимир | 47 | -48 | 95 |
Вознесенск | 50 | -30 | 80 |
Волгоград | 52 | -36 | 88 |
Вологда | 45 | -48 | 93 |
Волховстрой | 43 | -49 | 92 |
Воркута | 41 | -52 | 93 |
Воронеж | 51 | -38 | 89 |
Воткинск | 48 | -49 | 97 |
Выборг | 42 | -38 | 80 |
Выдрино | 41 | -40 | 81 |
Вязьма | 46 | -43 | 89 |
Вятские Поляны | 49 | -47 | 96 |
Голутвин | 48 | -44 | 92 |
Гомель | 47 | -35 | 82 |
Горловка | 50 | -37 | 87 |
Гороблагодатская | 46 | -48 | 94 |
Гороховец | 47 | -43 | 90 |
Горький | 47 | -41 | 88 |
Гребенка | 48 | -35 | 83 |
Гродно | 46 | -35 | 81 |
Грозный | 51 | -33 | 84 |
Грязи | 49 | -38 | 87 |
Гурьев | 55 | -38 | 93 |
Даугавпилс | 46 | -43 | 89 |
Дербент | 48 | -21 | 69 |
Джамбул | 54 | -41 | 95 |
Джульфа | 53 | -30 | 83 |
Днепропетровск | 50 | -34 | 84 |
Дно | 45 | -42 | 87 |
Дружинино | 48 | -43 | 91 |
Душанбе | 53 | -27 | 80 |
Евгеньевка | 48 | -42 | 90 |
Евлах | 52 | -18 | 70 |
Ейск | 49 | -31 | 80 |
Елгава | 45 | -34 | 79 |
Елец | 48 | -38 | 86 |
Ереван | 51 | -31 | 82 |
Ерофей Павлович | 47 | -51 | 98 |
Житомир | 48 | -35 | 83 |
Жлобин | 46 | -36 | 82 |
Забайкальск | 51 | -55 | 106 |
Западная Двина | 45 | -46 | 91 |
Запорожье | 51 | -34 | 85 |
Защита | 51 | -49 | 100 |
Зиадин | 56 | -29 | 85 |
3илово | 49 | -54 | 103 |
Зима | 46 | -55 | 101 |
Знаменка | 50 | -35 | 85 |
Золотоноша | 49 | -37 | 86 |
Иваново | 48 | -46 | 94 |
Ижевск | 47 | -46 | 93 |
Илецк | 52 | -42 | 94 |
Инза | 49 | -44 | 93 |
Иркутск | 46 | -50 | 96 |
Ишим | 50 | -49 | 99 |
Йошкар-Ола | 48 | -47 | 95 |
Казалинск | 54 | -40 | 94 |
Казань | 48 | -47 | 95 |
Калинин | 48 | -50 | 98 |
Калининград | 46 | -33 | 79 |
Калинковичи | 48 | -36 | 84 |
Кандагач | 53 | -48 | 101 |
Кандалакша | 41 | -42 | 83 |
Канск-Енисейский | 48 | -51 | 99 |
Караганда | 50 | -49 | 99 |
Карталы | 51 | -44 | 95 |
Карымская | 48 | -50 | 98 |
Каунас | 45 | -36 | 81 |
Кашин | 47 | -47 | 94 |
Кашира | 49 | -44 | 93 |
Кемчуг | 48 | -53 | 101 |
Керчь | 47 | -26 | 73 |
Кзыл-Орда | 56 | -38 | 94 |
Киев | 49 | -32 | 81 |
Кизляр | 52 | -30 | 82 |
Кинель | 49 | -43 | 92 |
Киров | 47 | -45 | 92 |
Кишинев | 49 | -32 | 81 |
Клайпеда | 44 | -35 | 79 |
Клюквенная | 48 | -52 | 100 |
Ковров | 47 | -48 | 95 |
Кокчетав | 52 | -51 | 103 |
Коломна | 48 | -44 | 92 |
Комсомольск-на-Амуре | 49 | -50 | 99 |
Конотоп | 47 | -37 | 84 |
Коростень | 49 | -34 | 83 |
Кострома | 47 | -46 | 93 |
Котельнич | 47 | -46 | 93 |
Котлас | 47 | -51 | 98 |
Краснодар | 52 | -36 | 88 |
Красноуфимск | 48 | -48 | 96 |
Красноярск | 48 | -53 | 101 |
Красный Узел | 48 | -44 | 92 |
Кременчуг | 50 | -35 | 85 |
Кричев | 46 | -39 | 85 |
Кропачево | 48 | -45 | 93 |
Крустпилс | 46 | -43 | 89 |
Куйбышев | 49 | -43 | 92 |
Курган | 50 | -49 | 99 |
Курск | 47 | -38 | 85 |
Кустанай | 52 | -51 | 103 |
Кушка | 56 | -33 | 89 |
Ленинабад | 56 | -27 | 83 |
Ленинакан | 46 | -41 | 87 |
Ленинград | 43 | -36 | 79 |
Лиепая | 44 | -33 | 77 |
Лиски | 50 | -38 | 88 |
Лихая | 52 | -40 | 92 |
Лодейное Поле | 42 | -48 | 90 |
Лозовая | 50 | -48 | 98 |
Локоть | 50 | -48 | 98 |
Луганск | 50 | -42 | 92 |
Луцк | 48 | -34 | 82 |
Львов | 47 | -33 | 80 |
Льгов | 47 | -38 | 85 |
Магнитогорск | 49 | -46 | 95 |
Манзовка (Сибирцево) | 48 | -42 | 90 |
Мариинск | 47 | -55 | 102 |
Мары | 58 | -24 | 82 |
Махачкала | 47 | -26 | 73 |
Минск | 45 | -39 | 84 |
Мичуринск | 50 | -37 | 87 |
Могилев | 46 | -42 | 88 |
Могилев-Подольский | 48 | -33 | 81 |
Могоча | 46 | -53 | 99 |
Молодечно | 45 | -39 | 84 |
Москва | 47 | -42 | 89 |
Мурманск | 42 | -37 | 79 |
Муром | 47 | -43 | 90 |
Нарва | 43 | -40 | 83 |
Невель | 45 | -46 | 91 |
Нерехта | 47 | -46 | 93 |
Нерчинск | 50 | -54 | 104 |
Нижнеангарск | 44 | -47 | 91 |
Нижнеудинск | 47 | -54 | 101 |
Нижний Тагил | 47 | -49 | 96 |
Николаев | 50 | -30 | 80 |
Новгород | 44 | -45 | 89 |
Новороссийск | 49 | -24 | 73 |
Новосибирск | 48 | -50 | 98 |
Няндома | 43 | -47 | 90 |
Облучье | 50 | -46 | 96 |
Овруч | 49 | -34 | 83 |
Одесса | 47 | -28 | 75 |
Омск | 50 | -49 | 99 |
Орджоникидзе | 47 | -34 | 81 |
Орел | 48 | -39 | 87 |
Оренбург | 52 | -42 | 94 |
Орск | 52 | -44 | 96 |
Орша | 46 | -39 | 85 |
Павлоград | 50 | -34 | 84 |
Павлодар | 52 | -47 | 99 |
Пенза | 48 | -43 | 91 |
Пермь | 47 | -45 | 92 |
Петровский завод | 47 | -55 | 102 |
Петрозаводск | 44 | -40 | 84 |
Петропавловск | 51 | -53 | 104 |
Поворино | 51 | -39 | 90 |
Полоцк | 46 | -39 | 85 |
Полтава | 48 | -37 | 85 |
Помошная | 50 | -35 | 85 |
Посьет | 48 | -28 | 76 |
Поти | 51 | -11 | 62 |
Проектная | 47 | -53 | 100 |
Псков | 46 | -41 | 87 |
Пугачевск | 52 | -41 | 93 |
Пятигорск | 51 | -33 | 84 |
Раздельная | 47 | -28 | 75 |
Ржев | 46 | -47 | 93 |
Рига | 45 | -31 | 76 |
Ровно | 48 | -36 | 84 |
Ростов-Главный | 50 | -33 | 83 |
Ртищево | 50 | -43 | 93 |
Рязань | 48 | -41 | 89 |
Самарканд | 54 | -30 | 84 |
Сарапул | 48 | -46 | 94 |
Саратов | 50 | -41 | 91 |
Сасово | 48 | -42 | 90 |
Свирь | 44 | -44 | 88 |
Семипалатинск | 52 | -49 | 101 |
Серпухов | 48 | -44 | 92 |
Синарская | 49 | -46 | 95 |
Синельниково | 50 | -34 | 84 |
Сковородино | 46 | -52 | 98 |
Славянск | 51 | -38 | 89 |
Слуцк | 45 | -36 | 81 |
Слюдянка | 41 | -40 | 81 |
Смоленск | 48 | -41 | 86 |
Снигиревка | 49 | -31 | 90 |
Советск | 46 | -35 | 81 |
Советская Гавань | 49 | -42 | 91 |
Сонково | 45 | -50 | 95 |
Сорокская | 42 | -41 | 83 |
Сосыка | 51 | -34 | 85 |
Сочи | 48 | -14 | 62 |
Сретенск | 50 | -55 | 105 |
Старая Русса | 44 | -42 | 86 |
Староминская | 52 | -34 | 86 |
Старый Оскол | 51 | -37 | 88 |
Сургут | 44 | -55 | 99 |
Сухуми | 50 | -12 | 62 |
Сызрань | 51 | -44 | 95 |
Тайга | 47 | -53 | 100 |
Тайшет | 47 | -53 | 100 |
Таллин | 43 | -32 | 75 |
Тамбов | 50 | -39 | 89 |
Тарту | 45 | -35 | 80 |
Татарская | 50 | -47 | 97 |
Ташкент | 54 | -30 | 84 |
Тбилиси | 50 | -23 | 73 |
Теджен | 58 | -25 | 83 |
Темир | 53 | -43 | 96 |
Тернополь | 47 | -34 | 81 |
Тимашевская | 50 | -36 | 86 |
Тихвин | 45 | -51 | 96 |
Тихорецкая | 52 | -34 | 86 |
Тобольск | 48 | -46 | 94 |
Томск | 46 | -55 | 101 |
Тула | 48 | -42 | 90 |
Тында | 46 | -54 | 100 |
Тюмень | 50 | -50 | 100 |
Ужгород | 50 | -28 | 78 |
Улан-Удэ | 50 | -51 | 101 |
Ульяновск | 50 | -48 | 98 |
Умань | 48 | -37 | 85 |
Уральск | 52 | -43 | 95 |
Урсатьевская | 57 | -28 | 85 |
Уса | 42 | -53 | 95 |
Усть-Каменогорск | 51 | -49 | 100 |
Усть-Нюкжа | 49 | -54 | 103 |
Уфа | 49 | -44 | 93 |
Уфалей | 46 | -46 | 92 |
Фрунзе | 52 | -38 | 90 |
Хабаровск | 50 | -43 | 93 |
Харьков | 49 | -36 | 85 |
Херсон | 49 | -32 | 81 |
Хилок | 49 | -52 | 101 |
Хутор-Михайловский | 48 | -36 | 84 |
Целиноград | 52 | -52 | 104 |
Цимлянская | 51 | -38 | 89 |
Чара | 45 | -57 | 102 |
Чарджоу | 55 | -24 | 79 |
Чебоксары | 48 | -44 | 92 |
Челябинск | 49 | -44 | 93 |
Черемхово | 45 | -48 | 93 |
Череповец | 46 | -49 | 95 |
Чернигов | 49 | -34 | 83 |
Черняховск | 46 | -35 | 81 |
Чита | 47 | -54 | 101 |
Чишмы | 50 | -48 | 98 |
Чудово | 44 | -46 | 90 |
Чулымская | 48 | -52 | 100 |
Чусовская | 47 | -45 | 92 |
Шадринск | 49 | -47 | 96 |
Шарья | 46 | -44 | 90 |
Шахунья | 47 | -44 | 91 |
Шепетовка | 48 | -36 | 84 |
Шилка | 50 | -53 | 103 |
Янов | 48 | -34 | 82 |
Яр | 47 | -46 | 93 |
Ярославль | 46 | -46 | 92 |
Примечания. 1. Температура рельсов на мостах на основании многолетних наблюдений принята: наивысшая летняя  - на 10 °C выше температуры воздуха, наинизшая зимняя  - равной температуре воздуха. 2. Для населенных пунктов, не приведенных в таблице, расчетная температурная амплитуда рельсов определяется по СНиП 2.01.01-82, с учетом примечаний п. 1 к настоящей таблице. 3. При установке и проверке положения подвижных опорных частей пролетных строений летняя (наивысшая) температура воздуха принимается на 10° меньше температуры рельсов. |
ПО УСТРОЙСТВУ И СОДЕРЖАНИЮ БЕССТЫКОВОГО ПУТИ
С УРАВНИТЕЛЬНЫМИ РЕЛЬСАМИ НА МЕТАЛЛИЧЕСКИХ МОСТАХ
1.1. Настоящие Указания устанавливают порядок выполнения работ по укладке и содержанию бесстыкового пути с сезонными уравнительными рельсами, применяемыми вместо уравнительных приборов, на металлических мостах с ездой на деревянных поперечинах и температурными пролетами до 110 м включительно.
Укладка пути с сезонными уравнительными рельсами в других случаях (при мостовом полотне с металлическими поперечинами или безбалластными железобетонными плитами или при температурных пролетах более 110 м) может производиться по согласованию с Главным управлением пути МПС.
1.2. Укладка уравнительных рельсов вместо уравнительных приборов должна выполняться по проекту, разработанному мостоиспытательной станцией дороги совместно с дистанцией пути на основании материалов обследования состояния рельсового пути, мостового полотна и проезжей части пролетных строений, с учетом требований настоящих Указаний. Проект утверждается руководством службы пути.
1.3. Проект укладки пути с уравнительными рельсами на мосту должен содержать:
схему укладки сварных рельсовых плетей и уравнительных рельсов с указанием размеров температурных пролетов и длины рельсовых плетей, а также расположение рельсовых плетей относительно принятого репера
(п. 3.7);
расчет зазоров в стыках и определение температурного интервала замены уравнительных рельсов;
схему закрепления рельсовых плетей на мостовом полотне и подходах;
места хранения сезонных уравнительных рельсов в пределах каждого температурного пролета;
проект организации работ по укладке рельсовых плетей и уравнительных рельсов;
сроки замены сезонных уравнительных рельсов.
1.4. Работники, отвечающие за укладку и содержание на мостах рельсового пути с уравнительными рельсами (бригадиры пути, дорожные мастера, начальники участков, производители работ и др.), должны знать и выполнять по кругу своих обязанностей настоящие Указания, а также требования проекта.
2. Рельсовые плети и уравнительные рельсы
2.1. На мостах с температурными пролетами до 110 м включительно, как правило, укладывают в каждом пролете три пары уравнительных рельсов. Крайние рельсы должны иметь длину 12,5 м, а средний (сезонный) рельс в осенне-зимний период - 12,5 м, в весенне-летний - 12,46 м. В отдельных случаях, указанных в
п. п. 2.5 и
2.9, укладывают четыре уравнительных рельса (три рельса длиной по 12,5 м и один рельс сезонный длиной 12,5 или 12,46 м). Применение более четырех уравнительных рельсов не рекомендуется.
2.2. При укладке вновь или при замене уравнительных приборов уравнительными рельсами на пролетных строениях моста должны укладываться рельсовые плети, сваренные, как правило, из новых объемнозакаленных рельсов типа Р65, и уравнительные рельсы того же качества и типа. Концы рельсовых плетей и уравнительных рельсов должны иметь отверстия для установки всех болтов при шестидырных накладках. Рельсовые плети и уравнительные рельсы во всех случаях должны быть одного вида термообработки.
2.3. Рельсовые плети, укладываемые на мостах с уравнительными рельсами, должны быть промаркированы в порядке, предусмотренном Техническими указаниями по укладке и содержанию бесстыкового пути.
2.4. Уравнительные рельсы следует укладывать на подвижном конце пролетного строения так, чтобы крайний рельс перекрывал промежуток смежными пролетными строениями или пролетным строением и устоем
(рис. а). В последнем случае разрешается располагать уравнительные рельсы устоем с размещением первого стыка на расстоянии 5 - 10 м от шкафной стенки, с учетом при определении расчетной величины зазоров в стыках уравнительных рельсов в соответствии с
п. 2.9 фактической длины рельсовой плети с уравнительными рельсами
(рис. б).
Концы сварных рельсовых плетей, примыкающие к устою с неподвижными опорными частями пролетного строения, должны располагаться за устоем не ближе 5 м и не далее 10 м от шкафной стенки
(рис. в).
2.5. Для сокращения числа рельсовых стыков в пределах моста при расположении между температурным пролетом и устоем берегового пролетного строения длиной до 25 м сварные плети, уложенные в примыкающем температурном пролете, разрешается удлинять так, чтобы концы их располагались за шкафной стенкой устоя (рис. г и д). Количество уравнительных рельсов в этом случае определяется в соответствии с
п. 2.9, с учетом фактической длины рельсовой плети с уравнительными рельсами. При расположении на подходе бесстыкового пути он должен отделяться от пути на мосту не менее чем двумя парами рельсов длиной 12,5 м.

- подвижные опорные части

- неподвижные опорные части
Рис. 1. Схемы укладки уравнительных рельсов на мостах
2.6. Бесстыковые рельсовые плети, уложенные на подходах, должны быть отделены от пути на мосту двумя парами рельсов длиной 12,5 м (
рис. е и
ж). При подвижных опорных частях на устое допускается расположение уравнительных рельсов по схеме на
рис. б.
2.7. Сварные рельсовые плети и уравнительные рельсы должны прикрепляться к мостовому полотну костыльными скреплениями, за исключением сезонных (периодически заменяемых) рельсов, которые, как правило, должны укладываться на раздельном клеммном скреплении. При этом лапки клемм должны быть укорочены так, чтобы они не защемляли подошвы рельсов.
2.8. Для предупреждения угона пути в пределах моста сварные рельсовые плети у неподвижных концов пролетных строений закрепляют четырьмя парами винтовых противоугонов
(Приложение 8), устанавливаемых "в замок" у брусьев, прикрепленных к противоугонным уголковым коротышам на верхних поясах продольных балок в зоне неподвижного конца пролетного строения, с установкой дополнительных противоугонных уголковых коротышей. В виде исключения может быть допущена установка не менее 20 пар пружинных противоугонов, устанавливаемых "в замок".
2.9. При укладке уравнительных рельсов и закреплении сварных рельсовых плетей, а также при содержании пути на мостах с уравнительными рельсами зазоры в стыках уравнительных рельсов должны соответствовать расчетным. Расчетные величины зазоров в стыках устанавливаются в зависимости от максимальной

и минимальной

температуры рельсов на мостовом переходе, общей длины рельсовых плетей, включая уравнительные рельсы, а также длины сезонных уравнительных рельсов (12,50 или 12,46 м) по таблицам, составляемым для местных условий.
Таблицы составляются следующим образом (см. таблицу).
| Величины зазоров и их сумма <1>, мм, в стыках уравнительных рельсов при длине сезонного рельса, м |
| |
| 3,0/12 | - |
От +40 до +35 | 4,5/18 | - |
От +35 до +30 | 6,0/24 | - |
От +30 до +25 | 8,0/32 | - |
От +25 до +20 | 9,5/38 | - |
От +20 до +15 | 11,0/44 | 1,0/4 |
От +15 до +10 | 13,0/52 | 3,0/12 |
От +10 до +5 | 14,5/58 | 4,5/18 | /\ │Температурный │интервал замены │сезонного рельса │ │ │ │ \/ |
От +5 до 0 | 16,0/64 | 6,0/24 |
От 0 до -5 | 18,0/72 | 8,0/32 |
От -5 до -10 | 19,5/78 | 9,5/38 |
От -10 до -15 | 21,0/84 | 11,0/44 |
От -15 до -20 | - | 13,0/52 |
От -20 до -25 | - | 14,5/58 |
От -25 до -30 | - | 16,0/64 |
От -30 до -35 | - | 18,0/72 |
| - | 18,0 |
<1> В числителе - величина одного зазора, в знаменателе - сумма зазоров. |
В
графе 1 указываются температуры рельсов в районе мостового перехода от максимальной

до минимальной

с интервалом 5 °C. Значения максимальной и минимальной температуры принимаются по
Приложению 15 с округлением до 5 °C в ближайшую сторону, с учетом влияния силы трения в стыках уравнительных рельсов на величины зазоров путем уменьшения значения

и

на 5 °C.
Рассмотрим случай определения расчетных величин заборов в стыках уравнительных рельсов для района г. Москвы.
Исходные данные:
длина рельсовых плетей (включая уравнительные рельсы), равная длине температурного пролета, - 112,0 м;
количество уравнительных рельсов - 3;
количество стыков - 4;

;

, или с учетом сил трения в стыках

;

.
Для определения величины зазоров в стыках уравнительных рельсов при различной температуре устанавливается изменение их раскрытия

при изменении температуры на 5 °C по формуле

,
где l - длина рельсовой плети с уравнительными рельсами, м;
t - температурный интервал (5 °C);
n - число зазоров уравнительных рельсов.
Для нашего случая

.
В
графе 2 таблицы 1 приводятся величины зазоров и их сумма в стыках уравнительных рельсов при длине сезонного рельса 12,46 м. При

указываются зазоры, необходимые для компенсации перемещения пролетных строений от временной нагрузки (в уровне рельсового пути), которые с учетом условий работы пролетных строений и рельсового пути могут быть приняты равными 3 мм (сумма зазоров при трех уравнительных рельсах - 12 мм). Для других температур рельсов зазоры определяются путем добавления к величине зазоров при

(3 мм) значений

нарастающим итогом с округлением до 0,5 мм в ближайшую сторону. Значения суммы зазоров определяются путем умножения величины зазоров на их количество.
Сумма зазоров в стыках уравнительных рельсов при длине сезонного рельса 12,50 м (
графа 3 таблицы) определяется путем уменьшения значений суммы зазоров при длине рельсов 12,46 м (
графа 2 таблицы) на 40 мм (разница между длинами сезонных рельсов 12,50 и 12,46 м). Величины зазоров определяются путем деления суммы зазоров на количество зазоров. При температуре ниже границы применения сезонного рельса длиной 12,46 м величины зазоров и их суммы определяются путем добавления нарастающим итогом значений

с округлением до 0,5 мм.
В случае если при составлении таблицы 1 для местных условий (большие значения длины рельсовых плетей или расчетного температурного интервала

согласно
Приложению 15) зазоры в стыках при минимальной температуре

будут превышать допустимые (21 мм), необходима укладка четырех уравнительных рельсов вместо трех с составлением новой таблицы.
2.10. По таблицам величин зазоров устанавливается температурный интервал, в котором может производиться замена сезонных уравнительных рельсов. За температурный интервал принимается интервал температур, при котором возможно применение сезонных уравнительных рельсов длиной как 12,50 м, так и 12,46 м.
Замена сезонных уравнительных рельсов должна предусматриваться перед наступлением осенне-зимнего или весенне-летнего сезона в сроки, когда по многолетним данным не ожидается температуры рельсов выше или ниже границ температурного интервала. Перед осенне-зимним сезоном замену следует производить после наступления периода, когда маловероятны температуры рельсов выше верхней границы температурного интервала (для района г. Москвы +10 °C), а перед весенне-летним периодом - ниже нижней границы температурного интервала (для района г. Москвы -15 °C). Для района г. Москвы это соответствует середине октября и середине апреля.
Замена может выполняться при любой температуре в пределах температурного интервала. Не рекомендуется использовать температуры, ближайшие к границам температурного интервала (для района г. Москвы от +10 до +5° и от -10 до -15 °C).
2.11. Укладка рельсовых плетей с уравнительными рельсами может производиться при любой температуре с обеспечением зазоров в стыках уравнительных рельсов, определяемых расчетом по приведенной выше методике. При этом длина сезонных уравнительных рельсов (12,50 или 12,46 м) должна соответствовать сезону укладки.
3. Производство работ по укладке рельсовых плетей
и уравнительных рельсов
3.1. Работы по укладке и замене на мостах пути с уравнительными рельсами, включая погрузку, транспортировку и выгрузку рельсовых плетей, должны выполняться в соответствии с требованиями Технических условий на укладку и содержание бесстыкового пути и
Инструкции по обеспечению безопасности движения поездов при производстве путевых работ.
3.2. Непосредственно перед выгрузкой рельсовых плетей на мостовое полотно уравнительные приборы должны быть сняты и вместо них уложены временные рельсовые рубки с заменой мостовых брусьев, на которых ранее располагались лафеты уравнительных приборов, новыми.
Работы по укладке рельсовых плетей и уравнительных рельсов должны выполняться в возможно более короткий срок после снятия уравнительных приборов и выгрузки рельсовых плетей. При этом впредь до укладки должны быть обеспечены нормальные зазоры по концам уложенных рельсовых рубок (при необходимости со своевременной заменой их на рубки другой длины).
3.3. Сварные плети на мосту выгружаются вовнутрь колеи между контруголками (контррельсами). Расположение и закрепление выгруженных рельсовых плетей должно соответствовать требованиям
Инструкции по обеспечению безопасности движения поездов при производстве путевых работ.
3.4. При замене уравнительных приборов уравнительными рельсами бесстыковые плети должны укладываться последовательно от одного конца моста к другому по обеим рельсовым ниткам. Укладка бесстыковых плетей в выборочном порядке не допускается. Концы рельсовых плетей должны располагаться по наугольнику.
При стыковании новых плетей с лежащими в пути рельсами между ними должно укладываться звено новых рельсов. При этом необходимо исключить наличие "ступеньки" между новыми и старогодными рельсами.
3.5. После окончания работ по укладке плетей и уравнительных рельсов и регулировки зазоров до установленной проектом величины гайки стыковых болтов должны быть затянуты динамометрическим ключом с обеспечением крутящего момента 5600 - 6000 кгс/см или до отказа ключом длиной 100 см. Рельсовые плети должны быть полностью закреплены от угона.
3.6. Для обеспечения нормальной работы рельсовых цепей на участках автоблокировки и электрификации в стыках концов плетей и уравнительных рельсов должны привариваться стыковые соединители, а в стыках сезонного уравнительного рельса должны устанавливаться соединители с болтовыми наконечниками.
3.7. Для наблюдения за положением концов рельсовых плетей у неподвижных концов пролетных строений должен выбираться репер, до которого измеряется расстояние от конца рельсовой плети. В качестве реперов следует использовать одну из кромок верхнего пояса опорной поперечной балки пролетного строения. Положение репера отмечается на месте краской и указывается в Книге искусственного сооружения.
3.8. В Книге искусственного сооружения после укладки плетей должны быть зафиксированы основные данные каждой плети: длина, номер по порядку, дата и температура рельсов при укладке плетей, фактические величины зазоров в стыках после затяжки гаек стыковых болтов, длины уравнительных рельсов, положение конца рельсовой плети у неподвижного конца пролетного строения относительно неподвижного репера.
4. Содержание рельсовых плетей и уравнительных рельсов
4.1. Путь на мостах с уравнительными рельсами, включая стыки уравнительных рельсов, содержат в соответствии с Инструкцией по текущему содержанию железнодорожного пути,
Инструкцией по обеспечению безопасности движения поездов при производстве путных работ и требованиями настоящих Указаний.
Основной особенностью содержания пути на мостах с уравнительными рельсами являются работы по предупреждению угона рельсовых плетей и своевременной замене сезонных уравнительных рельсов.
Для своевременного обнаружения угона пути должны проводиться систематические наблюдения за положением концов рельсовых плетей относительно реперов
(п. 3.7). Соответствующие измерения должны проводиться не реже двух раз в год с одновременным фиксированием температуры рельсов, а также во всех случаях выявления ненормальной суммы зазоров в стыках уравнительных рельсов.
Угон плетей, если таковой отмечается, устраняется перезакреплением существующих противоугонов в случае их ослабления или сдвига, при необходимости с возвратом плети обратно и установкой дополнительных противоугонов.
Нарушение установленных величин зазоров в стыках уравнительных рельсов при необходимости ликвидируется путем регулировки зазоров.
4.2. При содержании пути на мосту с уравнительными рельсами особое внимание должно быть обращено на предупреждение угона пути с подходов на мост. Зазоры в стыках рельсов на подходах к мосту при стыковом пути или зазоры в стыках уравнительных рельсов, отделяющих бесстыковой путь на подходах от пути на мосту, должны всегда соответствовать температуре рельсов. При выявлении угона пути с подходов на мост необходимо незамедлительно принимать меры по его ликвидации и при необходимости дополнительно закрепить путь.
4.3. Бригады, которым поручено содержание пути на мостах с сезонными уравнительными рельсами, должны быть оснащены термометрами (как правило, электрическими) для измерения температуры рельсов, ручными ключами с удлиненной рукояткой и контрольными динамометрическими ключами для затягивания гаек стыковых болтов и контроля степени их натяжения.
4.4. Выявленные при осмотрах отступления от норм содержания пути на мостах с уравнительными рельсами и на подходах к ним должны записываться бригадирами пути, дорожными и мостовыми мастерами, начальниками участков в книгу ПУ-28 и своевременно устраняться.
4.5. При проведении периодических и специальных осмотров мостов с сезонными уравнительными рельсами начальниками дистанций, отделов и служб пути, руководством дороги должны быть проверены соответствие сумм зазоров в стыках рельсов уравнительных пролетов нормативному значению, соблюдение установленных проектом режимов содержания пути на мосту и определены характер и сроки устранения выявленных отступлений.
РЕЛЬСОВЫЕ ЗАМКИ РАЗВОДНЫХ МОСТОВ
Большинство разводных мостов на сети железных дорог имеют вертикально-подъемные пролетные строения, поэтому типовые конструкции рельсовых замков разрабатываются только для такого типа мостов. Для раскрывающихся и поворотных систем разводных мостов применяются индивидуальные конструкции, разрабатываемые ПТКБ ЦП МПС.
Рельсовый замок типа Р65 инв. N 0491-000-00 был разработан для вертикально-подъемных мостов ПТКБ ЦП МПС в 1964 г. и изготовлялся Днепропетровским стрелочным заводом.
С 1978 г. Днепропетровский стрелочный завод приступил к производству нового рельсового замка по проекту 2081.00.000 ПТКБ ЦП МПС для рельсов типа Р65. Новая конструкция рельсового замка по сравнению с конструкцией по проекту 0491-000-00 допускает укладку уравнительных рельсов вместо уравнительных приборов, что уменьшает затраты на текущее содержание, общую массу конструкций и делает возможным включение замка в систему автоблокировки.
На мостах с рельсовыми замками допускается максимальная скорость движения поездов 120 км/ч и нагрузка от колесной пары подвижного состава на рельсы 25 т.
Рельсовый замок под каждую рельсовую нитку состоит из двух рельсов длиной 12,5 и 8,0 м. Рельсы длиной 12,5 м укладывают на подъемном пролетном строении и неподвижно закрепляют на нем. Рельсы длиной 8,0 м разметают на неподвижном пролетном строении.
Стык рельсового замка располагается на специальном стыковом мостике (лафете). От вертикальных и горизонтальных перемещений концы рельсов скрепляют специальными подвижными накладками, входящими в зацепление с упорками, неподвижно закрепленными на стыковом мостике (изображено на рисунке). Для обеспечения строго определенного взаимного расположения рельсов замка, принадлежащих разным пролетным строениям, предусматриваются специальные улавливающие зубья, жестко соединенные посредством мостика с рельсом и подъемным пролетным строением.
Поперечный разрез рельсового замка в месте стыка:
1, 5 - упоры; 2, 4 - подвижные подкладки;
3 - путевой рельс; 6 - контруголок; 7 - лафет
Паспортные данные рельсового замка по проекту 2081.00.000 ПТКБ ЦП приведены ниже.
Длина рельсового замка от торца рельса длиной 12500 мм до торца рельса длиной 8000 мм составляет 20506 мм; ширина замка в сборе, измеряемая по наружным граням лафета, - 2302 мм, а высота от низа лафета до поверхности катания - 214 мм. Масса рельсового замка - 5587 кг.
Замок рассчитан на ширину колеи 1520 мм и укладывается при расстоянии между продольными балками фермы 1080 - 2200 мм.
Планируемый срок службы замка - 800 млн. т груза брутто.
Вкатыватели подвижного состава (см. рисунок) запроектированы двух типов - к рельсам Р50 и Р65. Проект разработан институтом Гипротранспуть. Основные характеристики вкатывателей приведены в
таблице, а его элементы представлены на рисунке.
Вкатыватель подвижного состава:
1 - путевые рельсы; 2 - челнок; 3 - направляющие ребра;
4 - лафеты; 5 - отливки основного подъема; 6 - параллельная
рельсовая вставка; 7 - отливки дополнительного подъема;
8 - внутренняя отливка устанавливающей части;
9 - наружная отливка устанавливающей части
Наименование показателя или характеристики | Вкатыватель к рельсам |
Р50 | Р65 |
Длина вкатывателя от начала лафета в сопряжении его с "челноком" до охранных приспособлений моста, м | 35,13 | 35,65 |
Суммарная длина вкатывателя и "челнока", м | 49,48 | 49,61 |
Масса вкатывателя (без "челнока"), т | 18,78 | 21,17 |
Масса "челнока", т | 4,42 | 3,95 |
Элементы вкатывателя со стороны моста соединяют с путевыми рельсами и охранными приспособлениями, а с другой стороны - с рельсами подходов и с "челноком". "Челнок" укладывают перед вкатывателем для улавливания сошедших колесных пар и ввода их в конструкцию вкатывателя. Продолжением "челнока" являются ребра, установленные на металлических лафетах, и отливки основного подъема. На отливках дополнительного подъема катящиеся колесные пары дополнительно поднимаются над головкой рельсов и при помощи отливок устанавливающей части переводятся на путевые рельсы.
Укладывают вкатыватели на деревянные шпалы и крепят шурупами.
ПОТРЕБНОСТЬ МЕТАЛЛА НА УКЛАДКУ КОНТРУГОЛКОВ
19.1. Потребность металла на укладку контруголков при мостовом полотне на деревянных поперечинах приведена в табл. 1.
Наименование элементов | Измеритель | Количество, шт. | Масса, кг |
единицы | общая |
Контруголки сечением 160 x 160 x 16 мм | 1 м моста | 2 | 38,50 | 77,00 |
"Челнок" длиной 10 м | Мост | 2 | 770,00 | 1540,00 |
Башмак | Мост | 2 | 36,65 | 73,30 |
Стыковые уголковые накладки: | 1 стык двух нитей | | | |
неподвижного стыка | | 2 | 21,90 | 43,80 |
подвижного стыка | | 2 | 31,20 | 62,40 |
Шурупы (костыли) прикрепления контруголков | 1 м моста | 14 | 0,56 (0,38) | 7,84 (5,32) |
Стыковые болты с гайками и шайбами | 1 стык двух нитей | 12 | 0,55 | 6,60 |
Потребность металла на укладку контруголков и "челноков" на мостах с ездой на балласте, металлических поперечинах и безбалластной железобетонной плите принимается по
табл. 1, за исключением стыковых накладок и крепежных деталей (болтов, заклепок, шурупов), потребность которых для указанных типов мостового полотна приведена в табл. 2.
Таблица 2
Тип мостового полотна | Наименование элементов | Измеритель | Количество, шт. | Масса, кг |
единицы | общая |
На балласте и деревянных шпалах | Стыковые уголковые и плоские накладки | 1 стык двух нитей | 2 | 31,00 | 62,00 |
Шурупы (костыли) прикрепления контруголков | 1 м моста | 8 | 0,56 (0,38) | 4,48 (3,04) |
На балласте и железобетонных шпалах | Стыковые уголковые и плоские накладки с прокладками | 1 стык двух нитей | 2 | 33,30 | 66,60 |
Шурупы прикрепления контруголков | 1 м моста | 4 | 0,56 | 2,24 |
На безбалластных железобетонных плитах | Стыковые уголковые накладки с прокладками | 1 стык двух нитей | 2 | 53,00 | 106,00 |
Болты прикрепления контруголков с шайбами и гайками | 1 м моста | 4 | 1,93 | 7,72 |
На металлических поперечинах | Стыковые уголковые накладки: | 1 стык двух нитей | | | |
неподвижного стыка | | 2 | 21,90 | 43,80 |
подвижного стыка | | 2 | 31,20 | 62,40 |
Высокопрочные болты (заклепки) прикрепления контруголков | 1 м моста | 12 | 0,70 (0,315) | 8,40 3,78 |
19.2. Спецификация металла на неподвижный стык контруголков на мостовых брусьях (по
рис. 23) дана в табл. 3, а на подвижный стык - в
табл. 4.
Таблица 3
Наименование элементов | Сечение, мм | Длина, мм | Кол-во, шт. | Масса, кг |
единицы | общая |
Уголковая накладка | 160 x 160 x 16 | 570 | 1 | 21,90 | 21,90 |
То же | 160 x 100 x 14 | 570 | 1 | 15,55 | 15,55 |
Болт с гайками и двумя шайбами | М22 | 80 | 6 | 0,55 | 3,30 |
Шурупы | - | - | 2 | 0,56 | 1,12 |
Костыли | - | - | 2 | 0,38 | 0,76 |
Итого при уголковой накладке 160 x 160 x 16 и шурупах | 26,32 |
Итого при уголковой накладке 160 x 160 x 14 и костылях | 19,61 |
Наименование элементов | Сечение, мм | Длина, мм | Кол-во, шт. | Масса, кг |
единицы | общая |
Уголковая накладка | 160 x 160 x 16 | 810 | 1 | 31,20 | 31,20 |
То же | 160 x 100 x 14 | 810 | 1 | 22,10 | 22,10 |
Болт с гайкой и двумя плоскими шайбами | М22 | 80 | 6 | 0,55 | 3,30 |
Пружинная шайба | - | - | 3 | 0,05 | 0,15 |
Шурупы | - | - | 3 | 0,56 | 1,68 |
Костыли | - | - | 3 | 0,38 | 1,14 |
Итого при уголковой накладке 160 x 160 x 16 и шурупах | 36,33 |
Итого при уголковой накладке 160 x 100 x 14 и костылях | 26,69 |
19.3. Спецификация металла на неподвижный стык контруголков на безбалластных плитах (по
рис. 24) дана в табл. 5, а на подвижной стык - в
табл. 6.
Таблица 5
| Наименование элементов | Сечение, мм | Длина, мм | Количество, шт. | Масса, кг |
единицы | общая |
1 | Уголковая накладка | 160 x 160 x 16 | 690 | 1 | 26,60 | 26,60 |
2 | Подкладка | 240 x 24 | 340 | 1 | 15,48 | 15,48 |
3 | Подкладка | 240 x 16 | 360 | 1 | 10,90 | 10,90 |
4 | Болт с гайкой и двумя шайбами | М22 | 80 | 6 | 0,55 | 3,30 |
| Итого | | | | | 56,28 |
| Наименование элементов | Сечение, мм | Длина, мм | Количество, шт. | Масса, кг |
единицы | общая |
1 | Уголковая накладка | 160 x 160 x 16 | 690 | 1 | 26,60 | 26,60 |
2 | Подкладка | 240 x 24 | 340 | 1 | 15,48 | 15,48 |
3 | Подкладка | 240 x 16 | 360 | 1 | 10,90 | 10,90 |
4 | Болт с гайкой и двумя шайбами | М22 | 80 | 6 | 0,55 | 3,30 |
6 | Шайба пружинная | - | - | 3 | 0,05 | 0,15 |
| Итого | | | | | 56,43 |
19.4. Спецификация металла на неподвижный стык контруголков на железобетонных шпалах (по
рис. 25) дана в табл. 7, а на подвижной стык - в
табл. 8.
Таблица 7
| Наименование элементов | Сечение, мм | Длина, мм | Количество, шт. | Масса, кг |
единицы | общая |
5 | Уголковая накладка | 160 x 160 x 16 | 660 | 1 | 25,40 | 25,40 |
2 | Накладка | 130 x 16 | 350 | 1 | 5,75 | 5,75 |
1 | Болт с гайкой и двумя шайбами | М22 | 80 | 6 | 0,55 | 3,30 |
3 | Подкладка | 140 x 7 | 140 | 2 | 1,08 | 2,16 |
| Итого | | | | | 36,61 |
| Наименование элементов | Сечение, мм | Длина, мм | Количество, шт. | Масса, кг |
единицы | общая |
5 | Уголковая накладка | 160 x 160 x 16 | 660 | 1 | 25,40 | 25,40 |
2 | Накладка | 130 x 16 | 350 | 1 | 5,75 | 5,75 |
1 | Болт с гайкой и двумя шайбами | М22 | 80 | 6 | 0,55 | 3,30 |
3 | Подкладка | 140 x 7 | 140 | 2 | 1,08 | 2,16 |
4 | Шайба пружинная | - | - | 3 | 0,05 | 0,15 |
| Итого | | | | | 36,76 |
19.5. Спецификация металла на неподвижный стык контруголков на металлических поперечинах (по
рис. 26) дана в табл. 9, а на подвижной стык - в
табл. 10.
Таблица 9
| Наименование элементов | Сечение, мм | Длина, мм | Количество, шт. | Масса, кг |
единицы | общая |
1 | Уголковая накладка | 160 x 160 x 16 | 570 | 1 | 21,90 | 21,90 |
2 | Болт с гайкой и двумя шайбами | М22 | 80 | 8 | 0,55 | 4,40 |
| Итого | | | | | 26,30 |
| Наименование элементов | Сечение, мм | Длина, мм | Количество, шт. | Масса, кг |
единицы | общая |
1 | Уголковая накладка | 160 x 160 x 16 | 840 | 1 | 31,20 | 31,20 |
2 | Болт с гайкой и двумя шайбами | М22 | 80 | 9 | 0,55 | 4,95 |
3 | Шайба пружинная | - | - | 3 | 0,05 | 0,15 |
| Итого | | | | | 36,30 |
19.6. Спецификация металла на башмак челнока контруголков (по
рис. 27) дана в табл. 11.
Таблица 11
| Наименование элементов | Сечение, мм | Длина, мм | Количество, шт. | Масса, кг |
единицы | общая |
3 | Сердечник | 160 x 20 | 900 | 1 | 16,00 | 16,00 |
2 | Накладка | 280 x 16 | 340 | 2 | 6,00 | 12,00 |
4 | Наклонная вставка | 50 x 20 | 340 | 1 | 1,50 | 1,50 |
1 | Болт с гайкой и двумя шайбами | М22 | 80 | 13 | 0,55 | 7,15 |
| Итого | | | | | 36,65 |
Спецификация металла на башмак челнока контррельсов с укрытием хвостовой части (по
рис. 30) дана в табл. 12.
Таблица 12
| Наименование элементов | Сечение, мм | Длина, мм | Количество, шт. | Масса, кг |
единицы | общая |
2 | Сердечник | 1 N 55 | 730 | 1 | 26,00 | 26,00 |
5 | Накладка | 70 x 20 | 340 | 2 | 3,70 | 7,40 |
4 | | - | 200 | 4 | 1,30 | 5,20 |
3 | Лафет | 380 x 10 | 665 | 1 | 19,80 | 19,80 |
1 | Болт с гайкой | М22 | 180 | 2 | 0,70 | 1,40 |
| Итого | | | | | 59,80 |
<1> Рекомендуется изготавливать из одноребордчатой рельсовой подкладки к рельсам Р38. |
ПОТРЕБНОСТЬ МЕТАЛЛА НА УКЛАДКУ
ПРОТИВОУГОННЫХ (ОХРАННЫХ) УГОЛКОВ
20.1. Потребность металлических скреплений для укладки противоугонных (охранных) уголков на деревянных поперечинах приводится в табл. 1.
Таблица 1
Наименование элементов | Измеритель | Количество, шт. | Масса, кг |
единицы | общая |
Уголки сечением 160 x 100 x 10 мм | 1 м мостового полотна | 2 | 19,8 | 39,6 |
Стыковые накладки сечением 160 x 100 x 12 | 1 стык двух нитей | 2 | 9,7 | 19,4 |
Шурупы (костыли) прикрепления <1> | 1 м мостового полотна | 14 | 0,56 (0,38) | 7,8 (5,3) |
Стыковые болты с гайкой и шайбами | 1 стык двух нитей | 8 | 0,55 | 4,4 |
<1> При креплении противоугонных уголков лапчатыми болтами шурупы (костыли) не требуются. |
20.2. Потребность металла для укладки противоугонных (охранных) уголков на металлических поперечинах приводится в табл. 2.
Таблица 2
Наименование элементов | Измеритель | Количество, шт. | Масса, кг |
единицы | общая |
Уголки сечением 160 x 100 x 10 мм | 1 м мостового полотна | 2 | 38,5 | 77,00 |
Стыковые накладки сечением 160 x 160 x 16 мм | 1 стык двух нитей | 2 | 15,8 | 31,6 |
Высокопрочные болты (заклепки) прикрепления с гайками и шайбами | 1 м мостового полотна | 12 | 0,70 (0,315) | 8,4 (3,78) |
Стыковые болты с гайками и шайбами | 1 стык двух нитей | 6 | 0,55 | 3,3 |
20.3. Спецификация металла на один стык противоугонных уголков на мостовых брусьях (по
рис. 34) приведена в табл. 3, а на металлических поперечинах - в
табл. 4.
Таблица 3
Наименование элементов | Сечение, мм | Длина, мм | Количество, шт. | Масса, кг |
единицы | общая |
Уголковая накладка | 160 x 100 x 10 | 410 | 1 | 8,20 | 8,20 |
Болт с гайкой и двумя шайбами | М22 | 80 | 4 | 0,55 | 2,20 |
| - | - | 2 | 0,38 | 0,76 |
Итого | | | | | 11,16 |
<1> При креплении противоугонных уголков лапчатыми болтами костыли не требуются. |
Наименование элементов | Сечение, мм | Длина, мм | Количество, шт. | Масса, кг |
единицы | общая |
Уголковая накладка | 160 x 160 x 16 | 410 | 1 | 15,80 | 15,80 |
Болт с гайкой и двумя шайбами | М22 | 80 | 6 | 0,55 | 3,30 |
Итого | | | | | 19,10 |
ПОТРЕБНОСТЬ МЕТАЛЛА НА МОСТИКИ И СТОЛИКИ
21.1. Потребность металла на один мостик (по
рис. 38) дана в табл. 1.
Таблица 1
| Наименование элементов | Сечение, мм | Длина, мм | Количество, шт. | Масса, кг |
единицы | общая |
1 | Уголок мостика | 160 x 160 x 12 | 760 | 2 | 15,5 | 31,00 |
1А | То же | 160 x 100 x 12 | 860 | 2 | 20,30 | 40,60 |
2 | Болт высокопрочный с гайкой и двумя шайбами | М22 | 80 | 15 | 0,60 | 9,00 |
22 | 13,20 |
6 | Уголковая накладка | 160 x 100 x 12 | 500 | 1 | 11,80 | 11,80 |
Всего на мостик (под одну рельсовую нить) при
контруголках сечением 160 x 160 x 16 ................................ 40,0
Всего на мостик (под одну рельсовую нить) при
контруголках сечением 160 x 100 x 14 ................................ 65,6
21.2. Потребность металла на один столик из уголков (по
рис. 39) дана в табл. 2.
Таблица 2
| Наименование элементов | Сечение, мм | Длина, мм | Количество, шт. | Масса, кг |
единицы | общая |
8 | Уголок столика | 200 x 125 x 16 | 700 | 2 | 27,37 | 54,74 |
9 | Уголок усиливающих ребер | 200 x 125 x 16 | 180 | 4 | 7,04 | 28,16 |
10 | Высокопрочный болт с гайкой и двумя шайбами | М22 | 60 | 6 | 0,49 | 2,94 |
11 | То же | М22 | 90 | 20 | 0,60 | 12,00 |
Всего на столик (под одну рельсовую нить) | 97,84 |
РАЗДЕЛЬНЫЕ ТРОТУАРЫ НА МЕТАЛЛИЧЕСКИХ МОСТАХ ПО ПРОЕКТУ
ИНСТИТУТА ГИПРОТРАНСПУТЬ (МОСТОВОЕ ПРОЕКТНОЕ БЮРО ЦП МПС)
Конструкции тротуаров приведены на рис. а, сводная ведомость расхода материалов на их устройство дана в
табл. 1.
Тротуары и убежища на металлических пролетных
строениях с настилом из мелких железобетонных плит
(конструкция Мостового проектного бюро ЦП МПС):
а - поперечный разрез; фасад и план тротуаров;
б - консоли тротуаров и убежищ в пониженном уровне;
в - консоль тротуара в повышенном уровне; г - плита
тротуара; 1, 2, 8, 11, 12, 14, 15 - фасонки;
3 - перильное заполнение; 4 - уголок поручня;
5 - металлическое заполнение между железобетонными
плитами; 6 - уголок прогона; 7 - стойка-уголок;
9, 13 - горизонтальные уголки; 10 - уголок подкоса;
16, 17, 18, 19 - арматура плит тротуара
Боковые тротуары и убежище | Инвентарный номер проекта | Расход материалов на 1 м моста | Расход материалов на одно убежище |
Металл консолей, перил, заполнения, кг | Бетон плиты настила, м3 | Арматура плиты, кг | Металл консолей, стоек, перил, заполнения, кг | Бетон плиты настила, м3 | Арматура плиты настила, кг |
С настилом из малых железобетонных плит, укладываемых по уголковым прогонам в пониженном уровне | 734 | 81,88 | 0,088 | 14,0 | 634,6 | 0,133 | 21,0 |
То же в повышенном уровне | 734 | 142,1 | 0,088 | 14,0 | 752,5 | 0,133 | 21,0 |
Спецификация металла на консоль тротуара приведена в табл. 2.
Таблица 2
| Наименование элемента | Сечение, мм, или площадь, см2 | Количество, шт. | Длина элемента, мм | Масса, кг |
1 м | общая |
7 | Стойка-уголок | 90 x 90 x 9 | 1 | 1560 | 12,2 | 19,03 |
8 | Фасонка | 25 x 10 | 1 | 290 | 12,45 | 3,61 |
9 | Горизонтальный уголок | 90 x 90 x 9 | 1 | 1580 | 12,2 | 19,26 |
10 | Уголок подкоса | 90 x 90 x 9 | 1 | 1620 | 12,2 | 19,62 |
11 | Фасонка | 250 x 10 | 1 | 530 | 12,45 | 3,61 |
2 | Фасонка перильная | 353 | 1 | - | 2,78 | 2,78 |
| Итого | | | | | 70,9 |
Спецификация металла на 1 м длины тротуара (расстояние между консолями 1,8 м) приведена в табл. 3.
Таблица 3
| Наименование элемента | Сечение, мм | Масса элемента или 1 м | Количество, шт. | Общая масса, кг |
7 - 11 | Консоль | - | 70,9 | 0,55 | 42,71 |
6 | Уголок прогона | 90 x 90 x 9 | 12,20 | 2 | 24,40 |
3 | Перильное заполнение | | 2,50 | 2 | 5,00 |
4 | Уголок поручня | 70 x 70 x 8 | 8,37 | 1 | 8,37 |
| Итого | | | | 80,48 |
2% на болты скреплений | 1,61 |
| Всего | | | | 82,09 |
Спецификация металла на консоль убежища приведена в табл. 4.
Таблица 4
| Наименование элемента | Сечение, мм | Количество, шт. | Длина | Масса, кг |
элемента, мм | общая, м | 1 м | общая |
7 | Стойка-уголок | 90 x 90 x 9 | 2 | 1560 | 3,12 | 12,2 | 76,2 |
12 | Фасонка | 250 x 10 | 1 | 285 | 0,28 | 12,45 | 3,61 |
13 | Горизонтальный уголок | 160 x 100 x 12 | 1 | 2580 | 2,58 | 23,5 | 60,6 |
10 | Уголок подкоса | 90 x 90 x 9 | 1 | 2610 | 2,61 | 12,2 | 31,8 |
14 | Фасонка | 250 x 10 | 1 | 630 | 0,63 | 12,45 | 7,84 |
| Итого | | | | | | 180,05 |
Спецификация металлических элементов на убежище дана в табл. 5.
Таблица 5
| Наименование элемента | Сечение, мм, или площадь, см2 | Количество, шт. | Длина | Масса, кг |
элемента, мм | общая | элемента или 1 м | общая |
7, 10, 12 - 14 | Консоль | - | 3 | - | - | 186,68 | 560,04 |
1 | Фасонка | 266 | 4 | - | - | 2,10 | 8,40 |
2 | Фасонка | 353 | 1 | - | - | 2,78 | 2,78 |
6 | Уголок прогона | 90 x 90 x 9 | 2 | 3000 | 6,0 | 12,2 | 73,2 |
3 | Перильное заполнение | | 2 | 5000 | 10,0 | 2,5 | 25,0 |
4 | Уголок поручня | 70 x 70 x 8 | 1 | 4700 | 4,7 | 8,37 | 39,4 |
5 | Металлическое заполнение между железобетонными плитами | 169 x 10 | 1 | 3000 | 3,0 | 40,1 | 40,1 |
| Итого | | | | | | 748,92 |
Спецификация арматуры на одну плиту размером <1> 0,82 x 0,5 м приведена в
табл. 6.
--------------------------------
<1> На плиту расходуется бетона марки М300 - 0,0221 м3; масса плиты - 55,25 кг.
| Диаметр, мм, и класс арматуры | Длина стержня, м | Количество, шт. | Полная длина, м | Масса, кг |
1 м | общая |
16 |  А-I | 0,93 | 5 | 4,65 | 0,222 | 1,032 |
17 |  А-I | 0,63 | 9 | 5,67 | 0,222 | 1,26 |
18 |  А-I | 0,85 | 2 | 1,60 | 0,395 | 0,67 |
19 |  А-I | 0,53 | 2 | 1,06 | 0,395 | 0,42 |
Всего | | | 3,38 |
Расход вязальной проволоки | | | 0,12 |
Итого | | | 3,50 |
КОНСТРУКЦИЯ И РАСХОД МАТЕРИАЛОВ
НА ПРОТИВОПОЖАРНЫЕ ОБУСТРОЙСТВА НА МОСТАХ
Расход материалов на крепление противопожарной бочки (рис. 1) приведен в
табл. 1.
Рис. 1. Расположение в убежище бочки с водой
Наименование элементов | Материал | Сечение, мм | Длина, мм | Количество, шт. | Масса, кг |
единицы | общая |
Стяжной хомут из полосы | Ст3 | 60 x 8 | 1160 | 2 | 4,4 | 8,8 |
Уголки крепления хомута | Ст3 | 60 x 60 x 8 | 150 | 4 | 0,57 | 2,24 |
Стяжной болт с гайкой и шайбой | Ст3 | М16 | 80 | 2 | 0,21 | 0,42 |
Болт крепления с прямоугольной шайбой двумя гайками | Ст3 | М16 | 100 | 4 | 0,46 | 1,84 |
Итого | | | | | | 13,30 |
Примечание. Стяжной и крепежный болты выполняются по ГОСТ 7798-70, гайки - по ГОСТ 5915-70, шайба стяжного болта - по ГОСТ 11371-78. Шайба крепежного болта индивидуальная прямоугольная (сечением 60 x 60 мм, толщиной 8 мм) с отверстием в центре диаметром 18 мм. |
Расход материалов на устройство деревянного ящика для песка (рис. 2) приведен в
табл. 2.
Рис. 2. Деревянный ящик для песка:
а - вид сбоку и план; б - задний щит; в - дно; г - крышка
Наименование элементов | Материал | Размеры | Объем древесины, м3 | Метизы |
Количество | Масса, кг |
Обшивка | Сосна | 20 x 2,5 см | 0,0806 | - | - |
Каркас | " | 5 x 5 см | 0,0128 | - | - |
Схватки | " | 2,5 x 8 см | 0,0204 | - | - |
Гвозди | Ст0 | d = 3 мм | - | 200 шт. | 0,8 |
Петли | Ст0 | - | - | 3 шт. | 0,6 |
Шурупы крепления петель | Ст0 | l = 50 мм | - | 20 шт. | 0,2 |
Кровельное железо или голь | - | | - | 0,837 м2 | 9,85 |
Итого | | | 0,1138 | - | 11,45 |
Расход материалов на устройство деревянного ящика для двух огнетушителей (рис. 3) приведен в
табл. 3.
Рис. 3. Ящик для двух огнетушителей:
а - общий вид; б - боковая стенка; в - задняя стенка;
г - дверь; в - дно; е - крышка
Наименование элементов | Материал | Сечение | Объем древесины, м3 | Метизы |
Количество | Масса, кг |
Каркас | Сосна | 5 x 5 см | 0,0095 | - | - |
Обшивка | Сосна | 20 x 2,5 см | 0,0402 | - | - |
Гвозди | - | l = 80 мм | - | 200 шт. | 0,9 |
| d = 3 мм | - | | |
Петли | | | | 2 шт. | 0,4 |
Шурупы крепления петель | - | l = 50 мм | - | 15 шт. | 0,1 |
Кровельное железо или голь | - | | - | 0,189 м2 | 2,23 |
Итого | | | 0,0497 | | 3,63 кг |
Расположение в убежище противопожарного щита показано на рис. 4.
Рис. 4. Противопожарный щит
ПЕРЕЧЕНЬ
ДЕЙСТВУЮЩИХ ГОСУДАРСТВЕННЫХ СТАНДАРТОВ, ОТРАСЛЕВЫХ
СТАНДАРТОВ И ТЕХНИЧЕСКИХ УСЛОВИЙ НА МАТЕРИАЛЫ, ИЗДЕЛИЯ
И УСТРОЙСТВА ДЛЯ МОСТОВОГО ПОЛОТНА
ГОСТ 9238-83. Габариты приближения строений и подвижного состава железных дорог колеи 1520 (1524) мм.
| | ИС МЕГАНОРМ: примечание. Приказом Ростехрегулирования от 20.07.2007 N 185-ст с 1 января 2008 года введен в действие ГОСТ 380-2005. | |
ГОСТ 380-71. Сталь углеродистая общего назначения. Марки и технические требования.
| | ИС МЕГАНОРМ: примечание. Взамен ГОСТ 6713-75 Постановлением Госстандарта СССР от 06.09.1991 N 1430 с 1 июля 1992 года введен в действие ГОСТ 6713-91. | |
ГОСТ 6713-75. Сталь низколегированная конструкционная для мостостроения. Марки и технические требования.
| | ИС МЕГАНОРМ: примечание. Взамен ГОСТ 19281-73 и ГОСТ 19282-73 Постановлением Госстандарта СССР от 28.09.1989 N 2972 с 1 января 1991 года введен в действие ГОСТ 19281-89. | |
ГОСТ 19281-73. Сталь низколегированная сортовая и фасонная.
ГОСТ 19282-73. Сталь низколегированная толстолистовая и широкополосная универсальная. Технические условия.
ГОСТ 5781-82. Сталь горячекатаная для армирования железобетонных конструкций. Технические условия.
ГОСТ 16210-77. Рельсы железнодорожные типа Р75. Конструкция и размеры.
ГОСТ 8161-75 (СТ СЭВ 1667-79). Рельсы железнодорожные типа Р65. Конструкция и размеры.
ГОСТ 7174-75. Рельсы железнодорожные типа Р50. Конструкция и размеры.
ГОСТ 7173-54. Рельсы железнодорожные типа Р43 для путей промышленного транспорта. Конструкция и размеры.
| | ИС МЕГАНОРМ: примечание. ГОСТ 24182-80 утратил силу на территории Российской Федерации с 1 июля 2001 года в связи с введением в действие ГОСТ Р 51685-2000 (Постановление Госстандарта России от 18.12.2000 N 378-ст). | |
ГОСТ 24182-80. (СТ СЭВ 4983-85). Рельсы железнодорожные широкой колеи типов Р75, Р65 и Р50 из мартеновской стали. Технические условия.
ГОСТ 18267-82. Рельсы железнодорожные типов Р50, Р65 и Р75 широкой колеи, термообработанные путем объемной закалки в масле. Технические условия.
ТУ 32 ЦП 560-82*. Рельсы железнодорожные новые сварные. Технические условия.
ТУ 32 ЦП 561-82. Рельсы железнодорожные старогодние, отремонтированные, сварные. Технические условия.
ТУ 32 ЦП 670-80. Рельсы, сваренные дуговым ванным способом. Технические условия.
ТУ 14-2-632-85. Рельсы типа Р50 из кислородно-конвертерной стали.
ТУ 14-2-651-85. Рельсы железнодорожные широкой колеи, термообработанные путем закалки поверхности катания головки по всей длине с нагревом токами высокой частоты. Технические условия.
ТУ 14-2-674-85. Рельсы железнодорожные широкой колеи типа Р50 из кислородно-конвертерной стали с закалкой по всей длине. Технические условия.
ТУ 32 ЦП 1-84. Указания об использовании старогодних рельсов на железных дорогах широкой колеи.
24.4. Рельсовые скрепления
ГОСТ 4133-73 (СТ СЭВ 1669-79). Накладки рельсовые двухголовые для железных дорог широкой колеи. Технические требования.
ГОСТ 19127-73. Накладки двухголовые к рельсам типа Р43. Конструкция и размеры.
ГОСТ 19128-73. Накладки двухголовые к рельсам типа Р50. Конструкция и размеры.
| | ИС МЕГАНОРМ: примечание. Взамен ГОСТ 11530-76 Постановлением Госстандарта России от 02.06.1994 N 160 с 1 января 1995 года введен в действие ГОСТ 11530-93. | |
ГОСТ 11530-76 (СТ СЭВ 4092-83). Болты для рельсовых стыков железнодорожного пути.
| | ИС МЕГАНОРМ: примечание. Взамен ГОСТ 11532-76 Постановлением Госстандарта России от 02.06.1994 N 160 с 1 января 1995 года введен в действие ГОСТ 11532-93. | |
ГОСТ 11532-76 (СТ СЭВ 4093-83). Гайки для болтов рельсовых стыков железнодорожного пути.
ГОСТ 8193-73 (СТ СЭВ 1669-79). Накладки двухголовые к рельсам типов Р65 и Р75. Конструкция и размеры.
| | ИС МЕГАНОРМ: примечание. Взамен ГОСТ 19115-73 Постановлением Госстандарта СССР от 09.07.1991 N 1231 с 1 июля 1992 года введен в действие ГОСТ 19115-91. | |
ГОСТ 19115-73. Шайбы пружинные путевые. Технические условия.
ГОСТ 8194-75. Подкладки костыльного скрепления к железнодорожным рельсам типов Р65 и Р75. Конструкция и размеры.
| | ИС МЕГАНОРМ: примечание. ГОСТ 12135-75 утратил силу с 1 марта 2015 года в связи с введением в действие ГОСТ 32694-2014 (Приказ Росстандарта от 22.08.2014 N 930-ст). | |
ГОСТ 12135-75. Подкладки костыльного скрепления к железнодорожным рельсам типа Р50. Конструкция и размеры.
ГОСТ 7056-77. Подкладки костыльного скрепления к рельсам типа Р43. Конструкция и размеры.
ГОСТ 3280-84. Подкладки костыльного скрепления железнодорожного пути. Технические условия.
ГОСТ 5812-82. Костыли для железных дорог широкой колеи. Технические условия.
ГОСТ 19893-74. Противоугоны пружинные к железнодорожным рельсам. Технические условия.
ТУ 32 ЦП 340-73. Противоугоны пружинные (для применения на предприятиях МПС).
ГОСТ 16279-78. Подкладки раздельного скрепления к железнодорожным рельсам типов Р65 и Р75. Конструкция и размеры.
ГОСТ 16278-78. Подкладки раздельного скрепления к железнодорожным рельсам типа Р50. Конструкция и размеры.
| | ИС МЕГАНОРМ: примечание. ГОСТ 16277-84 утратил силу с 1 января 1995 года в связи с введением в действие ГОСТ 16277-93. | |
ГОСТ 16277-84. Подкладки раздельного скрепления железнодорожного пути. Технические условия.
ГОСТ 16017-79. Болты закладные для рельсовых скреплений железнодорожного пути. Конструкция и размеры. Технические требования.
| | ИС МЕГАНОРМ: примечание. ГОСТ 809-71 утратил силу с 1 марта 2015 года в связи с введением в действие ГОСТ 809-2014 (Приказ Росстандарта от 30.10.2014 N 1468-ст). | |
ГОСТ 809-71. Шурупы путевые. Технические условия.
ГОСТ 799-73. Болты путевые для скрепления рельсов широкой колеи.
ГОСТ 16016-79. Болты клеммные для рельсовых скреплений железнодорожного пути. Конструкция и размеры. Технические требования.
ГОСТ 16018-79. Гайки для клеммных и закладных болтов рельсовых скреплений железнодорожного пути. Конструкция и размеры. Технические требования.
ТУ 32 ЦП 395-84. Болт лапчатый с гайкой и шайбой.
ТУ 32 ЦП 604-78. Болт лапчатый с пружинной лапой.
ГОСТ 7798-70 (СТ СЭВ 4728-84). Болты с шестигранной головкой класса точности B. Конструкция и размеры.
ГОСТ 15589-70 (СТ СЭВ 4729-84). Болты с шестигранной головкой класса точности C. Конструкция и размеры.
ГОСТ 1759.0-87 (СТ СЭВ 4203-83). Болты, винты, шпильки и гайки. Технические условия.
ГОСТ 1759.4-87 (ИСО 898/1-78). Болты, винты и шпильки. Механические свойства и методы испытаний.
ГОСТ 5915-70 (СТ СЭВ 3683-82). Гайки шестигранные класса точности B. Конструкция и размеры.
ГОСТ 15526-70 (СТ СЭВ 3684-82). Гайки шестигранные класса точности C. Конструкция и размеры.
ГОСТ 11371-78 (СТ СЭВ 280-76, СТ СЭВ 281-76). Шайбы. Технические условия.
ГОСТ 22353-77. Болты высокопрочные класса точности B. Конструкция и размеры.
ГОСТ 22354-77. Гайки высокопрочные класса точности B. Конструкция и размеры.
| | ИС МЕГАНОРМ: примечание. ГОСТ 22355-77 утратил силу на территории Российской Федерации с 1 января 2008 года в связи с введением в действие ГОСТ Р 52646-2006 (Приказ Ростехрегулирования от 27.12.2006 N 411-ст). | |
ГОСТ 22355-77. Шайбы класса точности C к высокопрочным болтам. Конструкция и размеры.
ГОСТ 22356-77. Болты и гайки высокопрочные и шайбы. Общие технические условия.
24.6. Изолирующие и амортизирующие детали
ТУ 38-105215-78. Подкладки резиновые подрельсовые (нашпальные) для железобетонных шпал.
ТУ 6-05-1809-77. Втулки изолирующие рельсовых скреплений.
ТУ 14-2-412-80. Накладки объемлющие для изолирующих стыков рельсов.
ТУ 32 ЦП 105-80. Полиэтилен для изолирующих стыков.
ТУ 38-105551-86. Прокладки резиновые для деревянных шпал.
ТУ 38-105376-82. Детали резиновые, технические.
ТУ 32 ЦП 338-83. Прокладки из полиэтилена для рельсовых скреплений.
ТУ 38 104325-85 по чертежам ОП361-84. Резинокордовые прокладки под подкладки КД 65 раздельного скрепления на деревянных шпалах.
ТУ 32 ЦП 748-86. Втулки изолирующие по чертежам ЦП 142, ЦП 180.
ГОСТ 5496-78. Трубки резиновые, технические. Технические условия.
ГОСТ 10587-84. Смолы эпоксидно-диановые неотвержденные. Технические условия.
ГОСТ 8728-77. Е. Пластификаторы. Технические условия.
(СТ СЭВ 4615-84)
24.7. Лесоматериалы. Шпалы деревянные и железобетонные
(СТ СЭВ 2369-80)
ГОСТ 7016-82. Древесина. Параметры шероховатости поверхности.
(СТ СЭВ 3503-81)
ГОСТ 2140-81 (СТ СЭВ 320-76, СТ СЭВ 321-76, СТ СЭВ 391-76, СТ СЭВ 2017-79 - СТ СЭВ 2019-79, СТ СЭВ 3286-81, СТ СЭВ 3287-81, СТ СЭВ 3504-81). Пороки древесины. Классификация, термины и определения, способы измерения.
| | ИС МЕГАНОРМ: примечание. Приказом Ростехрегулирования от 21.12.2004 N 124-ст с 1 января 2006 года введен в действие ГОСТ 78-2004. | |
ГОСТ 78-65. Шпалы деревянные для железных дорог широкой колеи. Технические условия.
| | ИС МЕГАНОРМ: примечание. Постановлением Госстроя СССР от 21.11.1988 N 228 с 1 января 1990 года введен в действие ГОСТ 10629-88. | |
ГОСТ 10629-78. Шпалы железобетонные предварительно напряженные для железных дорог колеи 1520 мм. Технические условия.
ТУ 32 ЦП 471-76. Шпалы железобетонные для укладки на мостах с ездой на балласте.
24.8. Балластные материалы
ГОСТ 7392-85. Щебень из природного камня для балластного слоя железнодорожного пути. Технические условия.
ГОСТ 24580-81. Балласт из отходов асбестового производства. Технические условия.