Главная // Актуальные документы // ГОСТ (Государственный стандарт)СПРАВКА
Источник публикации
М.: Стандартинформ, 2009
Примечание к документу
Действие данного документа, утратившего силу с 01.01.2011 в связи в связи с изданием
Приказа Ростехрегулирования от 10.12.2009 N 692-ст, восстановлено на территории Российской Федерации с 01.09.2023 только в отношении продукции, поставляемой по Государственному оборонному заказу (
Приказ Росстандарта от 15.08.2023 N 646-ст).
Документ утратил силу на территории Российской Федерации с 1 января 2011 года в связи с изданием
Приказа Ростехрегулирования от 10.12.2009 N 692-ст. Взамен введен в действие
ГОСТ Р ИСО 4759-1-2009.
Документ включен в
Перечень документов в области стандартизации, содержащих правила и методы исследований (испытаний) и измерений, в том числе правила отбора образцов, необходимые для применения и исполнения технического
регламента о безопасности машин и оборудования, а также для осуществления оценки соответствия (
Распоряжение Правительства РФ от 05.08.2010 N 1328-р).
С 1 июля 2003 года до вступления в силу технических регламентов акты федеральных органов исполнительной власти в сфере технического регулирования носят рекомендательный характер и подлежат обязательному исполнению только в части, соответствующей целям, указанным в
пункте 1 статьи 46 Федерального закона от 27.12.2002 N 184-ФЗ.
Введен в действие с 1 января 1983 года.
Взамен ГОСТ 1759-70 в части допусков и методов контроля размеров и отклонений формы и расположения поверхностей.
Название документа
"ГОСТ 1759.1-82. Болты, винты, шпильки, гайки и шурупы. Допуски. Методы контроля размеров и отклонений формы и расположения поверхностей"
(утв. Постановлением Госстандарта СССР от 29.07.1982 N 2954)
(ред. от 01.09.1988)
"ГОСТ 1759.1-82. Болты, винты, шпильки, гайки и шурупы. Допуски. Методы контроля размеров и отклонений формы и расположения поверхностей"
(утв. Постановлением Госстандарта СССР от 29.07.1982 N 2954)
(ред. от 01.09.1988)
Утвержден и введен в действие
Постановлением Госстандарта СССР
от 29 июля 1982 г. N 2954
МЕЖГОСУДАРСТВЕННЫЙ СТАНДАРТ
БОЛТЫ, ВИНТЫ, ШПИЛЬКИ, ГАЙКИ И ШУРУПЫ
ДОПУСКИ
МЕТОДЫ КОНТРОЛЯ РАЗМЕРОВ И ОТКЛОНЕНИЙ ФОРМЫ
И РАСПОЛОЖЕНИЯ ПОВЕРХНОСТЕЙ
Bolts, screws, studs and nuts. Tolerances.
Control methods of dimensions and deviations
of form and surface position
ГОСТ 1759.1-82
| | Список изменяющих документов (в ред. Изменения N 1, утв. в сентябре 1988 г.) | |
ОКП 12 8000
Дата введения
1 января 1983 года
1. Разработан и внесен Министерством черной металлургии СССР.
2. Утвержден и введен в действие Постановлением Государственного комитета СССР по стандартам от 29.07.1982 N 2954.
3. Стандарт полностью соответствует СТ СЭВ 2651-80.
4. Взамен ГОСТ 1759-70 в части допусков и методов контроля размеров и отклонений формы и расположения поверхностей.
5. Ссылочные нормативно-технические документы
─────────────────────────────────────────┬────────────────────────
Обозначение НТД, на который дана ссылка │ Номер пункта
─────────────────────────────────────────┼────────────────────────
ИС МЕГАНОРМ: примечание.
В официальном тексте документа, видимо, допущена опечатка:
имеется в виду пункт 3.11, а не пункт 3.12.
6. Издание с Изменением N 1, утвержденным в сентябре 1988 г. (ИУС 12-88).
Переиздание (по состоянию на январь 2009 г.).
Настоящий стандарт распространяется на болты, винты, шпильки и гайки общемашиностроительного применения с резьбой от M1 до M48, а также на шурупы и самонарезающие винты (кроме размеров их резьбы) и устанавливает для них три класса точности - A, B, C и методы контроля размеров и отклонений формы и расположения поверхностей.
Стандарт полностью соответствует СТ СЭВ 2651-80.
1.1. Поля допусков наружных и внутренних резьб должны соответствовать указанным в табл. 1.
мм
──────────┬─────────────────┬──────────────────────────────────────────────
Резьба │ Поле допуска │ Примечания
│ резьбы для │
│крепежных изделий│
│ класса точности │
├─────┬─────┬─────┤
│ A │ B │ C │
──────────┼─────┼─────┼─────┼──────────────────────────────────────────────
Наружная │ 6g │ 6g │ 8g │ -
──────────┴─────┴─────┴─────┴──────────────────────────────────────────────
Внутренняя 6H 6H 7H 1. Для гаек от М3 высотой
m

0,8d допуски внутрен-
него диаметра должны быть
выдержаны на участке
m

0,5m
1
───────────────────────────────────────────────────────────────────────────
2. Для гаек высотой
0,5d

m < 0,8d допуски
внутреннего диаметра должны
быть выдержаны на участке
m

0,35m
2
───────────────────────────────────────────────────────────────────────────
3. У самоконтрящихся гаек
внутренний диаметр может
превышать допустимые значения
на участке m

0,35d
3
от нагруженного торца
───────────────────────────────────────────────────────────────────────────
До 1 января 1990 г. для изделий классов точности A и B первой категории качества допускались поля допусков резьбы, соответствующие классу точности C.
1.2. Под нанесение металлических покрытий повышенной толщины допускается применять поля допусков резьб, не приведенные в
табл. 1.
2. ДОПУСКИ РАЗМЕРОВ, ФОРМЫ И РАСПОЛОЖЕНИЯ ПОВЕРХНОСТЕЙ
2.1. Допуски размеров, допуски расположения и суммарные допуски формы и расположения поверхностей должны соответствовать указанным в табл. 2.
мм
───────────────┬───────┬──────────────┬─────────┬───────────────────────────────────
Крепежные │Обоз- │ Наименование │Обозна- │ Поля допусков и допуски
изделия или │начение│ размера │чение │ для изделий класса точности
их элементы │размера│ или допуска │размера, ├───────────┬───────────┬───────────
│или │ │служащего│ A │ B │ C
│допуска│ │для опре-│ │ │
│ │ │деления │ │ │
│ │ │числового│ │ │
│ │ │значения │ │ │
│ │ │допуска │ │ │
│ │ │располо- │ │ │
│ │ │жения │ │ │
───────────────┼───────┼──────────────┼─────────┼───────────┼───────────┴───────────
1. Шести- │ S │Размер под │ - │h13 при │h14 при S <= 19
гранные головки│ │ключ │ │S <= 32; │h15 " 19 < S <= 60
│ │ │ │h14 при │h16 " S > 60
Рисунок │ │ │ │S > 32 │
├───────┼──────────────┼─────────┼───────────┼───────────┬───────────
│ k │Высота головки│ - │ js 14 │ js 15 │js 16 при
│ │ │ │ │ │k < 10;
│ │ │ │ │ │js 17 при
│ │ │ │ │ │k >= 10
├───────┼──────────────┼─────────┼───────────┴───────────┴───────────
│ e │Диаметр │ - │ e >= 1,13S
│ │описанной │ │ min
│ │окружности │ │
├───────┼──────────────┼─────────┼───────────┬───────────┬───────────
│ L │Допуск │ S │ 2IT13 │ 2IT14 │ 2IT15
│ s │симметричности│ │ │ │
│ │головки │ │ │ │
│ │относительно │ │ │ │
│ │оси стержня в │ │ │ │
│ │диаметральном │ │ │ │
│ │выражении │ │ │ │
├───────┼──────────────┼─────────┼───────────┼───────────┴───────────
│ L │Допуск │ k │0,0175k │ 0,0349k
│ p │параллельности│ │(соответ- │ (соответствует 2°)
│ │граней относи-│ │ствует 1°) │
│ │тельно оси │ │ │
│ │стержня │ │ │
├───────┼──────────────┼─────────┼───────────┴───────────────────────
│ L │Допуск перпен-│ S │ Для болтов с d <= M30
│ R │дикулярности │ │
│ │опорной │ │ 0,0175x0,8S │0,0349x0,8S
│ │поверхности │ │ (соответствует 1°) │(соответ-
│ │головки │ │ │ствует 2°)
│ │относительно │ │
│ │оси стержня │ │ Для болтов с d > M30
│ │ │ │
│ │ │ │ 0,0087x0,8S │0,0175x0,8S
│ │ │ │ (соответствует 0°30') │(соответ-
│ │ │ │ │ствует 1°)
───────────────┼───────┼──────────────┼─────────┼───────────┬───────────┼───────────
2. Цилиндри- │ D │Диаметр │ - │ h12 │ h14 │ h15
ческие головки │ │головки │ │ │ │
├───────┼──────────────┼─────────┼───────────┼───────────┼───────────
Рисунок │ k │Высота головки│ - │h13 при │ h14 │ h15
│ │ │ │d <= M5; │ │
│ │ │ │h14 при │ │
│ │ │ │d > M5 │ │
├───────┼──────────────┼─────────┼───────────┼───────────┼───────────
│ L │Допуск соос- │ D │ 2IT13 │ 2IT14 │ 2IT15
│ k │ности головки │ │ │ │
│ │относительно │ │ │ │
│ │оси стержня в │ │ │ │
│ │диаметральном │ │ │ │
│ │выражении │ │ │ │
├───────┼──────────────┼─────────┼───────────┴───────────┼───────────
│ L │Допуск │ D │ 0,0175x0,8D │0,0349x0,8D
│ R │перпендикуляр-│ │ (соответствует 1°) │(соответст-
│ │ности опорной │ │ │вует 2°)
│ │поверхности │ │ │
│ │головки │ │ │
│ │относительно │ │ │
│ │оси стержня │ │ │
───────────────┼───────┼──────────────┼─────────┼───────────┬───────────┼───────────
3. Квадратные │ S │Размер под │ - │ h13 │ hl4 │ -
головки │ │ключ │ │ │ │
├───────┼──────────────┼─────────┼───────────┼───────────┼───────────
Рисунок │ k │Высота головки│ - │ js 14 │ js 15 │ -
│ │ │ │ │ │
├───────┼──────────────┼─────────┼───────────┴───────────┼───────────
│ e │Диаметр │ - │ h16 │ -
│ │описанной │ │ │
│ │окружности │ │ │
├───────┼──────────────┼─────────┼───────────────────────┼───────────
│ d │Диаметр │ - │ h15 │ -
│ 1 │буртика │ │ │
├───────┼──────────────┼─────────┼───────────────────────┼───────────
│ k │Высота буртика│ - │ h14 │ -
│ 1 │ │ │ │
├───────┼──────────────┼─────────┼───────────┬───────────┼───────────
│ L │Допуск │ S │ 2IT13 │ 2IT14 │ -
│ s │симметричности│ │ │ │
│ │головки │ │ │ │
│ │относительно │ │ │ │
│ │оси стержня в │ │ │ │
│ │диаметральном │ │ │ │
│ │выражении │ │ │ │
├───────┼──────────────┼─────────┼───────────┴───────────┼───────────
│ L │Допуск │ d │ 0,0175x0,8d │ -
│ R │перпендикуляр-│ 1 │ 1 │
│ │ности опорной │ │ (соответствует 1°) │
│ │поверхности │ │ │
│ │буртика │ │ │
│ │относительно │ │ │
│ │оси стержня │ │ │
───────────────┼───────┼──────────────┼─────────┼───────────────────────┼───────────
4. Потайные │ D │Диаметр │ - │ h14 │h15 для
головки │ │головки │ │ │головки
│ │ │ │ │со шлицем;
Рисунок │ │ │ │ │js 16 для
│ │ │ │ │головки
│ │ │ │ │без шлица
├───────┼──────────────┼─────────┼───────────┬───────────┼───────────
│ L │Допуск биения │ D │ 2IT13 │ 2IT14 │ 2IT15
│ B │в заданном │ │ │ │
│ │направлении │ │ │ │
├───────┼──────────────┼─────────┼───────────┴───────────┼───────────
│ L │Допуск │ D │ 0,0175x0,8D │0,0349x0,8D
│ R │перпендикуляр-│ │ (соответствует 1°) │(соответ-
│ │ности торца │ │ │ствует 2°)
│ │головки │ │ │
│ │относительно │ │ │
│ │оси стержня │ │ │
├───────┼──────────────┼─────────┼───────────┬───────────┼───────────
│ альфа │Угол потая │ - │ +2° │ +3° │ +5°
───────────────┼───────┼──────────────┼─────────┼───────────┴───────────┼───────────
5. Полупотай- │ D │Диаметр │ - │ h14 │hl5 для
ные головки │ │головки │ │ │головки
│ │ │ │ │со шлицем;
Рисунок │ │ │ │ │js 16 для
│ │ │ │ │головки
│ │ │ │ │без шлица
├───────┼──────────────┼─────────┼───────────┬───────────┼───────────
│ L │Допуск биения │ D │ 2IT13 │ 2IT14 │ 2IT15
│ B │в заданном │ │ │ │
│ │направлении │ │ │ │
├───────┼──────────────┼─────────┼───────────┼───────────┼───────────
│ альфа │Угол потая │ - │ +2° │ +3° │ +5°
───────────────┼───────┼──────────────┼─────────┼───────────┼───────────┼───────────
6. Полукруглые│ D │Диаметр │ - │ h14 │ js 15 │ js 16
головки │ │головки │ │ │ │
├───────┼──────────────┼─────────┼───────────┼───────────┼───────────
Рисунок │ k │Высота головки│ - │ js 14 │+/- 0,08 │ js 16
│ │ │ │ │при k <= 1;│
│ │ │ │ │js 15 при │
│ │ │ │ │k > 1 │
├───────┼──────────────┼─────────┼───────────┼───────────┼───────────
│ L │Допуск соос- │ D │ 2IT13 │ 2IT14 │ 2IT15
│ k │ности головки │ │ │ │
│ │относительно │ │ │ │
│ │стержня в │ │ │ │
│ │диаметральном │ │ │ │
│ │выражении │ │ │ │
├───────┼──────────────┼─────────┼───────────┴───────────┼───────────
│ L │Допуск │ D │ 0,0175x0,8D │0,0349x0,8D
│ R │перпендикуляр-│ │ (соответствует 1°) │(соответ-
│ │ности опорной │ │ │ствует 2°)
│ │поверхности │ │ │
│ │головки │ │ │
│ │относительно │ │ │
│ │оси стержня │ │ │
───────────────┼───────┼──────────────┼─────────┼───────────────────────┼───────────
7. Накатанные │ D │Диаметр │ - │ h15 │ -
головки │ │головки │ │ │
├───────┼──────────────┼─────────┼───────────────────────┼───────────
Рисунок │ d │Диаметр │ - │ h14 │ -
│ 1 │подголовка │ │ │
├───────┼──────────────┼─────────┼───────────────────────┼───────────
│ h │Высота │ - │ h15 │ -
│ │головки с │ │ │
│ │подголовком │ │ │
├───────┼──────────────┼─────────┼───────────┬───────────┼───────────
│ k │Высота │ - │ h14 │ h15 │ -
│ │головки без │ │ │ │
│ │подголовка │ │ │ │
├───────┼──────────────┼─────────┼───────────┼───────────┼───────────
│ L │Допуск соос- │ D │ 2IT13 │ 2IT14 │ -
│ k │ности головки │ │ │ │
│ │относительно │ │ │ │
│ │стержня в │ │ │ │
│ │диаметральном │ │ │ │
│ │выражении │ │ │ │
───────────────┼───────┼──────────────┼─────────┼───────────┼───────────┼───────────
8. Специальные│ v │Ширина уса │ - │ - │ - │ h16
элементы ├───────┼──────────────┼─────────┼───────────┼───────────┼───────────
головок │ v │Размер │ - │ - │ - │ js 16
│ │стороны │ │ │ │
Рисунок │ │квадратного │ │ │ │
│ │подголовка │ │ │ │
───────────────┼───────┼──────────────┼─────────┼───────────┴───────────┴───────────
9. Прямой и │ n │Ширина шлица │ - │ C13 при n <= 1
крестообразный │ │ │ │ C14 " n > 1
шлицы для всех ├───────┼──────────────┼─────────┼───────────┬───────────────────────
видов головок │ L │Допуск │ d │ 2IT13 │ 2IT14
и для │ s │симметричности│ │ │
установочных │ │шлица │ │ │
винтов │ │относительно │ │ │
│ │оси стержня в │ │ │
Рисунок │ │диаметральном │ │ │
│ │выражении │ │ │
───────────────┼───────┼──────────────┼─────────┼───────────┼───────────┬───────────
10. Внутренний│ S │Размер │ - │D11 (для │D12 при │ -
шестигранник │ │под ключ │ │устано- │S < 12; │
для всех видов │ │внутреннего │ │вочных │D13 при │
головок и для │ │шестигранника │ │винтов), │S >= 12 │
установочных │ │ │ │D12 │ │
винтов ├───────┼──────────────┼─────────┼───────────┴───────────┴───────────
│ e │Диаметр │ - │ e >= 1,14S
Рисунок │ │описанной │ │ min
│ │окружности │ │
├───────┼──────────────┼─────────┼───────────┬───────────┬───────────
│ L │Допуск │ d │ 2IT13 │ 2IT14 │ -
│ s │симметричности│ │ │ │
│ │внутреннего │ │ │ │
│ │шестигранника │ │ │ │
│ │относительно │ │ │ │
│ │оси стержня в │ │ │ │
│ │диаметральном │ │ │ │
│ │выражении │ │ │ │
───────────────┼───────┼──────────────┼─────────┼───────────┼───────────┼───────────
11. Концы │ L │Допуск │ d │ 2IT13 │ 2IT14 │ -
установочных │ k │соосности │ │ │ │
винтов │ │цилиндрической│ │ │ │
│ │цапфы относи- │ │ │ │
Рисунок │ │тельно резьбы │ │ │ │
│ │в диаметраль- │ │ │ │
│ │ном выражении │ │ │ │
├───────┼──────────────┼─────────┼───────────┼───────────┼───────────
│ L │Допуск биения │ d │ 2IT13 │ 2IT14 │ -
│ B │в заданном │ │ │ │
│ │направлении │ │ │ │
│ │наружного или │ │ │ │
│ │внутреннего │ │ │ │
│ │конуса │ │ │ │
│ │относительно │ │ │ │
│ │оси резьбы │ │ │ │
├───────┼──────────────┼─────────┼───────────┴───────────┼───────────
│ L │Допуск │ d │ 0,0175x0,8d │ -
│ R │перпендикуляр-│ 1 │ 1 │
│ │ности торца │ │ (соответствует 1°) │
│ │цилиндрической│ │ │
│ │цапфы │ │ │
│ │относительно │ │ │
│ │оси резьбы │ │ │
───────────────┼───────┼──────────────┼─────────┼───────────┬───────────┼───────────
12. Стержни │ d │Диаметр │ - │ h13 │ h14 │ h15
болтов и винтов│ 1 │гладкой части │ │ │ │
│ │стержня, рав- │ │ │ │
Рисунок │ │ный номиналь- │ │ │ │
│ │ному диаметру │ │ │ │
│ │резьбы │ │ │ │
├───────┼──────────────┼─────────┼───────────┼───────────┼───────────
│ l │Длина стержня │ - │ js 15 │ js 17 │js 17 для
│ │ │ │ │ │l <= 150;
│ │ │ │ │ │2js 17 для
│ │ │ │ │ │l > 150
├───────┼──────────────┼─────────┼───────────┴───────────┴───────────
│ b │Длина резьбы │ - │ плюс 2 шага резьбы (+2P)
├───────┼──────────────┼─────────┼───────────────────────────────────
│ L │Расстояние │ - │ +IT14
│ 1 │от опорной │ │
│ │поверхности │ │
│ │головки до оси│ │
│ │отверстия │ │
│ │в стержне │ │
├───────┼──────────────┼─────────┼───────────────────────────────────
│ d │Диаметр │ - │ H14
│ 3 │отверстия │ │
│ │в стержне │ │
├───────┼──────────────┼─────────┼───────────┬───────────┬───────────
│ L или│Допуск │ d │ 2IT13 │ 2IT14 │ 2IT15
│ s │симметричности│ │ │ │
│ L │отверстия │ │ │ │
│ A │в стержне │ │ │ │
│ │относительно │ │ │ │
│ │оси резьбы в │ │ │ │
│ │диаметральном │ │ │ │
│ │выражении │ │ │ │
│ │или допуск │ │ │ │
│ │пересечения │ │ │ │
│ │осей резьбы │ │ │ │
│ │и отверстия │ │ │ │
│ │в стержне в │ │ │ │
│ │диаметральном │ │ │ │
│ │выражении │ │ │ │
├───────┼──────────────┼─────────┼───────────┼───────────┼───────────
│ L │Допуск соос- │ d │ 2IT13 │ 2IT14 │ 2IT15
│ k │ности резьбы │ │ │ │
│ │и стержня в │ │ │ │
│ │диаметральном │ │ │ │
│ │выражении │ │ │ │
├───────┼──────────────┼─────────┼───────────┴───────────┼───────────
│ L │Допуск │ d │ 0,025d │ 0,05d
│ R │перпендикуляр-│ │ │
│ │ности оси │ │ │
│ │отверстия │ │ │
│ │в стержне │ │ │
│ │относительно │ │ │
│ │оси резьбы │ │ │
───────────────┼───────┼──────────────┼─────────┼───────────┬───────────┼───────────
13. Шпильки │ d │Диаметр │ - │ h13 │ h14 │ +/- IT15
│ 1 │гладкой части │ │ │ │
Рисунок │ │шпильки │ │ │ │
├───────┼──────────────┼─────────┼───────────┼───────────┼───────────
│ l │Длина шпильки │ - │ js 15 │ js 17 │js 17 для
│ │ │ │ │ │l <= 150;
│ │ │ │ │ │+/- IT17
│ │ │ │ │ │для l > 150
├───────┼──────────────┼─────────┼───────────┴───────────┴───────────
│ b │Длина гаечного│ - │ плюс 2 шага резьбы (+2P)
│ │конца │ │
├───────┼──────────────┼─────────┼───────────┬───────────────────────
│ b │Длина │ - │ js 16 │ js 17
│ 1 │ввинчиваемого │ │ │
│ │резьбового │ │ │
│ │конца │ │ │
├───────┼──────────────┼─────────┼───────────┼───────────┬───────────
│ L │Допуск соос- │ - │ 2IT13 │ 2IT14 │ 2IT15
│ k │ности гаечного│ │ │ │
│ │и ввинчивае- │ │ │ │
│ │мого концов в │ │ │ │
│ │диаметральном │ │ │ │
│ │выражении │ │ │ │
───────────────┼───────┼──────────────┼─────────┼───────────┼───────────┴───────────
14. Шести- │ S │Размер под │ - │h13 при │h14 при S <= 19
гранные гайки │ │ключ │ │S <= 32; │h15 " 19 < S <= 60
│ │ │ │h14 при │h16 " S > 60
Рисунок │ │ │ │S > 32 │
├───────┼──────────────┼─────────┼───────────┼───────────┬───────────
│ m │Высота гайки │ - │h13 при │ h16 │ h17
│ │ │ │m < 1; │ │
│ │ │ │h14 при │ │
│ │ │ │m >= 1 │ │
├───────┼──────────────┼─────────┼───────────┼───────────┼───────────
│ m │Расстояние │ - │ h14 │ h16 │ h17
│ 1 │от опорной │ │ │ │
│ │поверхности │ │ │ │
│ │до основания │ │ │ │
│ │коронки │ │ │ │
├───────┼──────────────┼─────────┼───────────┼───────────┼───────────
│ h │Высота корон- │ - │ h14 │ h16 │ h17
│ │чатой гайки │ │ │ │
├───────┼──────────────┼─────────┼───────────┼───────────┼───────────
│ f │Расстояние │ - │ h14 │ h16 │ h17
│ │от опорной │ │ │ │
│ │поверхности │ │ │ │
│ │до основания │ │ │ │
│ │прорези │ │ │ │
├───────┼──────────────┼─────────┼───────────┴───────────┼───────────
│ n │Ширина прорези│ - │ H14 │ H15
├───────┼──────────────┼─────────┼───────────┬───────────┼───────────
│ D │Диаметр │ - │ h14 │ h15 │ h16
│ 2 │коронки │ │ │ │
├───────┼──────────────┼─────────┼───────────┴───────────┴───────────
│ е │Диаметр │ - │ e >= 1,13S
│ │описанной │ │ min
│ │окружности │ │
├───────┼──────────────┼─────────┼───────────────────────┬───────────
│ L │Допуск │ S │ 2IT14 │ 2IT15
│ S1 │симметричности│ │ │
│ │шестигранника │ │ │
│ │(размера │ │ │
│ │под ключ) │ │ │
│ │относительно │ │ │
│ │оси отверстия │ │ │
│ │в диаметраль- │ │ │
│ │ном выражении │ │ │
├───────┼──────────────┼─────────┼───────────┬───────────┼───────────
│ L │Допуск │ d │ 2IT13 │ 2IT14 │ 2IT15
│ S2 │симметричности│ │ │ │
│ │прорези │ │ │ │
│ │относительно │ │ │ │
│ │оси резьбы в │ │ │ │
│ │диаметральном │ │ │ │
│ │выражении │ │ │ │
├───────┼──────────────┼─────────┼───────────┼───────────┴───────────
│ L │Допуск │ m │0,0175m │ 0,0349m
│ R1 │перпендикуляр-│ │(соответ- │ (соответствует 2°)
│ │ности граней │ │ствует 1°) │
│ │относительно │ │ │
│ │опорной │ │ │
│ │поверхности │ │ │
│ │гайки │ │ │
───────────────┼───────┼──────────────┼─────────┼───────────┼───────────┬───────────
│ L │Допуск │ S │0,0175x0,8S│0,0262x0,8S│0,0349x0,8S
│ R2 │перпендикуляр-│ │(соответст-│(соответст-│(соответ-
│ │ности опорных │ │вует 1°) │вует 1°30')│ствует 2°)
│ │поверхностей │ │ │ │
│ │гайки относи- │ │ │ │
│ │тельно оси │ │ │ │
│ │резьбы │ │ │ │
───────────────┼───────┼──────────────┼─────────┼───────────┼───────────┼───────────
15. Круглые │ m │Высота гайки │ - │ h14 │ h16 │ js 16
гайки │ │ │ │ │ │
├───────┼──────────────┼─────────┼───────────┴───────────┼───────────
Рисунок │ D │Диаметр гайки │ - │ h14 │ h15
├───────┼──────────────┼─────────┼───────────────────────┼───────────
│ L │Допуск │ D │ 0,0175x0,8D │0,0349x0,8D
│ R │перпендикуляр-│ │ (соответствует 1°) │(соответ-
│ │ности опорных │ │ │ствует 2°)
│ │поверхностей │ │ │
│ │гайки │ │ │
│ │относительно │ │ │
│ │оси резьбы │ │ │
├───────┼──────────────┼─────────┼───────────────────────┼───────────
│ L │Допуск соос- │ D │ 2IT14 │ 2IT15
│ k │ности наруж- │ │ │
│ │ного цилиндра │ │ │
│ │относительно │ │ │
│ │отверстия в │ │ │
│ │диаметральном │ │ │
│ │выражении │ │ │
───────────────┼───────┼──────────────┼─────────┼───────────┬───────────┴───────────
16. Квадратные│ S │Размер под │ - │h13 при │h14 при S <= 19
гайки │ │ключ │ │S <= 32; │h15 " 19 < S <= 60
│ │ │ │h14 при │h16 " S > 60
Рисунок │ │ │ │S > 32 │
├───────┼──────────────┼─────────┼───────────┼───────────┬───────────
│ m │Высота гайки │ - │ h14 │h15 при │ h17
│ │ │ │ │m <= 30; │
│ │ │ │ │h16 при │
│ │ │ │ │m > 30 │
├───────┼──────────────┼─────────┼───────────┴───────────┴───────────
│ e │Диаметр │ - │ e >= 1,3S
│ │описанной │ │ min
│ │окружности │ │
├───────┼──────────────┼─────────┼───────────────────────┬───────────
│ L │Допуск │ S │ 2IT14 │ 2IT15
│ S │симметричности│ │ │
│ │квадрата │ │ │
│ │(размера │ │ │
│ │под ключ) │ │ │
│ │относительно │ │ │
│ │оси отверстия │ │ │
│ │в диаметраль- │ │ │
│ │ном выражении │ │ │
├───────┼──────────────┼─────────┼───────────┬───────────┴───────────
│ L │Допуск │ m │0,0175m │ 0,0349m
│ R1 │перпендикуляр-│ │(соответст-│ (соответствует 2°)
│ │ности граней │ │вует 1°) │
│ │относительно │ │ │
│ │опорной │ │ │
│ │поверхности │ │ │
├───────┼──────────────┼─────────┼───────────┼───────────┬───────────
│ L │Допуск │ S │0,0175x0,8S│0,0262x0,8S│0,0349x0,8S
│ R2 │перпендикуляр-│ │(соответ- │(соответст-│(соответ-
│ │ности опорных │ │ствует 1°) │вует 1°30')│ствует 2°)
│ │поверхностей │ │ │ │
│ │гайки │ │ │ │
│ │относительно │ │ │ │
│ │оси резьбы │ │ │ │
Примечания. 1. База - только гладкая или только резьбовая поверхность стержня. Длина базы равна d. Допускается длину базы на гладкой части стержня уменьшать до трех шагов резьбы (3P), если длина гладкой части меньше d.
2. Для болтов и винтов с фланцами (буртиками), а также для изделий, у которых шестигранная головка образуется холодной штамповкой без применения операции обсечки, диаметр описанной окружности

.
3. При выполнении резьбы накатыванием без редуцирования предельные отклонения диаметра гладкой части стержня - по ГОСТ 19256.
4. Допуски на размеры концов установочных винтов указаны в
ГОСТ 12414.
(Измененная редакция, Изм. N 1).
При определении допусков перпендикулярности и параллельности поверхностей в формулы
табл. 2 подставляют номинальные значения соответствующих размеров и полученные величины допусков округляют до второго знака после запятой.
Примечание. Числовые значения допусков и предельных отклонений, соответствующие обозначениям допусков и полей допусков в тексте и в
табл. 2 настоящего стандарта, приведены в
Приложении.
2.2. Неуказанные предельные отклонения размеров - по
ГОСТ 25670 <*>: класс точности "средний" - для изделий класса точности A и B; класс точности "очень грубый" - для изделий класса точности C.
--------------------------------
(Измененная редакция, Изм. N 1).
2.3. Неуказанные допуски и формы расположения поверхности - по ГОСТ 25069 <*>.
--------------------------------
(Введен дополнительно, Изм. N 1).
3.1. Размеры и расположение поверхностей изделий должны контролироваться универсальными измерительными инструментами, предельными калибрами, шаблонами, контрольными матрицами и другими средствами, аттестованными совместно с методиками измерения в порядке, установленном ГОСТ 8.010 <*>.
--------------------------------
При контроле размеров изделий допуски и предельные отклонения, заданные с точностью до 0,001 мм, должны округляться до 0,01 мм.
Размеры, не ограниченные предельными отклонениями, не контролируются. Выполнение их должно гарантироваться технологическим процессом изготовления.
3.2. Размеры резьбы должны проверяться предельными калибрами по
ГОСТ 24997.
Допускается навинчивание (ввинчивание) калибра НЕ до прохождения;
отверстия под шплинт на стержневых изделиях;
концевых витков неполного профиля;
прорезей в прорезных и корончатых гайках.
Допускается навинчивание (ввинчивание) калибра ПР динамометрическим ключом с моментом, равным 0,06d в Н x м.
3.3. Размер под ключ и диаметр описанной окружности шестигранника и квадрата, а также диаметра цилиндрической головки винта контролируют в средней (по высоте) части гайки или головки изделия на участке, равном половине их высоты.
3.2; 3.3. (Измененная редакция, Изм. N 1).
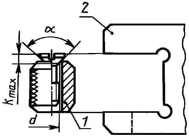
3.4. Высота потайной головки измеряется при помощи приспособления, показанного на черт. 1.
1 - втулка калибра; 2 - скоба калибра или индикатор
Черт. 1
При этом размеры скобы и втулки должны соответствовать крепежному изделию с номинальным размером d, углом

и максимальным размером k.
Диаметр отверстия контрольной втулки должен приниматься по 2-му ряду
ГОСТ 11284.
Допускаются другие методы контроля.
(Измененная редакция, Изм. N 1).
3.5. Глубина и ширина прямого шлица в изделиях должны измеряться по оси стержня, при этом ширина шлица определяется у его основания.
3.6. Проверка крестообразных шлицев - по
ГОСТ 10753.
3.7. Длина болта, винта, шпильки при косом срезе торца стержня должна проверяться по длинной стороне стержня.
3.8. Отклонение от симметричности

шестигранных и квадратных головок относительно оси стержня, отклонение от соосности

круглых головок относительно стержня, отклонение от симметричности

шестигранника и квадрата относительно оси отверстия в гайке и отклонение от соосности

наружного цилиндра относительно отверстия в круглой гайке в соответствии с черт. 2 должны определяться по формуле

.
Черт. 2
3.9. Отклонение от перпендикулярности опорной поверхности головки болта или винта относительно оси стержня проверяют щупом, измеряя просвет между опорной поверхностью головки и торцовой поверхностью контрольной матрицы. При этом диаметр отверстия в контрольной матрице должен быть выполнен с полем допуска D11, а высота матрицы должна быть не менее двух диаметров стержня изделия.
Отклонение от перпендикулярности опорных поверхностей гайки относительно оси резьбы проверяют щупом, измеряя просвет между каждой опорной поверхностью гайки и торцом контрольного кольца, навинченных на резьбовую оправку до соприкосновения между собой. Точность резьбы контрольного кольца и оправки должна соответствовать точности резьбы проверяемого изделия.
Допускается проверка отклонения перпендикулярности опорных поверхностей изделий по величине торцового биения с измерением индикаторными приборами.
(Измененная редакция, Изм. N 1).
3.9а. Отклонение от перпендикулярности граней шестигранника и квадрата гайки относительно опорной поверхности проверяют угловым шаблоном.
Допускается проверка перпендикулярности граней контролем индикаторными приборами радиального биения.
(Введен дополнительно, Изм. N 1).
3.10. Отклонение от симметричности

шлица или шестигранного углубления (внутреннего шестигранника) относительно оси стержня в соответствии с черт. 3 должно определяться по формуле

.
Черт. 3
3.11. Отклонение симметричности прорезей в корончатых и прорезных гайках относительно оси резьбы проверяют калибром (черт. 4), резьба которого должна быть выполнена по размерам калибра ПР проверяемой гайки, а диаметр штифта равен условному диаметру шплинта.
Черт. 4
Форма основания прорезей не контролируется.
Ширина прорези калибра должна быть равна диаметру штифта плюс допуск симметричности прорези гайки относительно оси в диаметральном выражении.
(Измененная редакция, Изм. N 1).
Отклонение прямолинейности шпилек и стержней болтов и винтов проверяют косвенно, по свободному вхождению стержня в контрольную матрицу и повороту в ней изделия вокруг оси на один оборот. Отверстие в матрице должно быть выполнено по первому ряду
ГОСТ 11284 для болтов, винтов и шпилек классов точности A и B и по второму ряду для болтов класса точности C; глубина (длина) отверстия в матрице должна быть не менее длины стержня проверяемого изделия.
Допускается проверять отклонение прямолинейности стержня прокаткой его через щель, длина которой не менее длины стержня, а ширина (высота) равна диаметру отверстия в контрольной матрице.
Справочное
ЧИСЛОВЫЕ ЗНАЧЕНИЯ ДОПУСКОВ И ПРЕДЕЛЬНЫХ ОТКЛОНЕНИЙ,
СООТВЕТСТВУЮЩИЕ ПОЛЯМ ДОПУСКОВ
мм
────────────────┬──────────────────────┬───────────────────────────────────
Интервалы │ Допуски │ Поля допусков валов
размеров ├─────┬─────┬─────┬────┼─────┬─────┬─────┬─────┬─────┬─────
│IT13 │IT14 │IT15 │IT17│ h12 │ h13 │ h14 │ h15 │ h16 │ h17
────────────────┼─────┼─────┼─────┼────┼─────┼─────┼─────┼─────┼─────┼─────
Менее 1 │ - │ - │ - │ - │ - │ 0 │ - │ - │ - │ -
│ │ │ │ │ │-0,14│ │ │ │
│ │ │ │ │ │ │ │ │ │
От 1 до 3 │0,14 │0,25 │0,40 │1,0 │ 0 │ 0 │ 0 │ 0 │ 0 │ 0
│ │ │ │ │-0,10│-0,14│-0,25│-0,40│-0,60│-1,0
│ │ │ │ │ │ │ │ │ │
Св. 3 " 6 │0,18 │0,30 │0,48 │1,2 │ 0 │ 0 │ 0 │ 0 │ 0 │ 0
│ │ │ │ │-0,12│-0,18│-0,30│-0,48│-0,75│-1,2
│ │ │ │ │ │ │ │ │ │
" 6 " 10 │0,22 │0,36 │0,58 │1,5 │ 0 │ 0 │ 0 │ 0 │ 0 │ 0
│ │ │ │ │-0,15│-0,22│-0,36│-0,58│-0,90│-1,5
│ │ │ │ │ │ │ │ │ │
" 10 " 18 │0,27 │0,43 │0,70 │1,8 │ 0 │ 0 │ 0 │ 0 │ 0 │ 0
│ │ │ │ │-0,18│-0,27│-0,43│-0,70│-1,10│-1,8
│ │ │ │ │ │ │ │ │ │
" 18 " 30 │0,33 │0,52 │0,84 │2,1 │ 0 │ 0 │ 0 │ 0 │ 0 │ 0
│ │ │ │ │-0,21│-0,33│-0,52│-0,84│-1,30│-2,1
│ │ │ │ │ │ │ │ │ │
" 30 " 50 │0,39 │0,62 │1,00 │2,5 │ 0 │ 0 │ 0 │ 0 │ 0 │ 0
│ │ │ │ │-0,25│-0,39│-0,62│-1,00│-1,60│-2,5
│ │ │ │ │ │ │ │ │ │
" 50 " 80 │0,46 │0,74 │1,20 │3,0 │ 0 │ 0 │ 0 │ 0 │ 0 │ 0
│ │ │ │ │-0,30│-0,46│-0,74│-1,20│-1,90│-3,0
│ │ │ │ │ │ │ │ │ │
" 80 " 120 │0,54 │0,87 │ 1,4 │3,5 │ 0 │ - │ - │ 0 │ - │ 0
│ │ │ │ │-0,35│ │ │-1,40│ │-3,5
│ │ │ │ │ │ │ │ │ │
" 120 " 180 │0,63 │1,00 │ 1,6 │4,0 │ - │ - │ - │ - │ - │ 0
│ │ │ │ │ │ │ │ │ │-4,0
│ │ │ │ │ │ │ │ │ │
" 180 " 250 │0,72 │1,15 │1,85 │4,6 │ - │ - │ - │ - │ - │ 0
│ │ │ │ │ │ │ │ │ │-4,6
│ │ │ │ │ │ │ │ │ │
" 250 " 315 │0,81 │1,30 │2,10 │5,2 │ - │ - │ - │ - │ - │ 0
│ │ │ │ │ │ │ │ │ │-5,2
Продолжение
мм
──────────────┬──────────────────────────────────────┬────────────────────────────────────────────
Интервалы │ Поля допусков валов │ Поля допусков отверстий
размеров ├─────────┬─────────┬─────────┬────────┼─────┬─────┬─────┬─────┬──────┬──────┬──────
│ js 14 │ js 15 │ js 16 │ js 17 │ H14 │ H15 │ C13 │ C14 │ D11 │ D12 │ D13
──────────────┼─────────┼─────────┼─────────┼────────┼─────┼─────┼─────┼─────┼──────┼──────┼──────
Менее 1 │ - │ - │ - │ - │ - │ - │+0,20│ - │ - │ - │ -
│ │ │ │ │ │ │+0,06│ │ │ │
│ │ │ │ │ │ │ │ │ │ │
От 1 до 3│+/- 0,125│+/- 0,200│+/- 0,300│+/- 0,50│+0,25│+0,40│+0,20│+0,31│+0,080│+0,120│+0,160
│ │ │ │ │ 0 │ 0 │+0,06│+0,06│+0,020│+0,020│+0,020
│ │ │ │ │ │ │ │ │ │ │
Св. 3 " 6│+/- 0,150│+/- 0,240│+/- 0,375│+/- 0,60│+0,30│+0,48│ - │+0,37│+0,105│+0,150│+0,210
│ │ │ │ │ 0 │ 0 │ │+0,07│+0,030│+0,030│+0,030
│ │ │ │ │ │ │ │ │ │ │
" 6 " 10│+/- 0,180│+/- 0,290│+/- 0,450│+/- 0,75│+0,36│+0,58│ - │ - │+0,130│+0,190│+0,260
│ │ │ │ │ 0 │ 0 │ │ │+0,040│+0,040│+0,040
│ │ │ │ │ │ │ │ │ │ │
" 10 " 18│+/- 0,215│+/- 0,350│+/- 0,550│+/- 0,90│ - │+0,70│ - │ - │+0,160│+0,230│+0,320
│ │ │ │ │ │ 0 │ │ │+0,050│+0,050│+0,050
│ │ │ │ │ │ │ │ │ │ │
" 18 " 30│+/- 0,260│+/- 0,420│+/- 0,650│+/- 1,05│ - │+0,84│ - │ - │ - │+0,275│+0,395
│ │ │ │ │ │ 0 │ │ │ │+0,065│+0,065
│ │ │ │ │ │ │ │ │ │ │
" 30 " 50│+/- 0,310│+/- 0,500│+/- 0,800│+/- 1,25│ - │+1,00│ - │ - │ - │+0,330│+0,470
│ │ │ │ │ │ 0 │ │ │ │+0,080│+0,080
│ │ │ │ │ │ │ │ │ │ │
" 50 " 80│+/- 0,370│+/- 0,600│+/- 0,950│+/- 1,50│ - │+1,20│ - │ - │ - │ - │+0,560
│ │ │ │ │ │ 0 │ │ │ │ │+0,100
│ │ │ │ │ │ │ │ │ │ │
" 80 " 120│+/- 0,435│+/- 0,700│+/- 1,100│+/- 1,75│ - │ - │ - │ - │ - │ - │+0,660
│ │ │ │ │ │ │ │ │ │ │+0,120
│ │ │ │ │ │ │ │ │ │ │
" 120 " 180│+/- 0,500│+/- 0,800│+/- 1,250│+/- 2,00│ - │ - │ - │ - │ - │ - │ -
│ │ │ │ │ │ │ │ │ │ │
" 180 " 250│+/- 0,575│+/- 0,925│+/- 1,450│+/- 2,30│ - │ - │ - │ - │ - │ - │ -
│ │ │ │ │ │ │ │ │ │ │
" 250 " 315│+/- 0,650│+/- 1,050│+/- 1,600│+/- 2,60│ - │ - │ - │ - │ - │ - │ -
Приложение. (Измененная редакция, Изм. N 1).