Применение на добровольной основе разделов 2 и 3 обеспечивает соблюдение требований технического регламента Таможенного союза "О безопасности машин и оборудования" (ТР ТС 010/2011)(Решение Комиссии Таможенного союза от 18.10.2011 N 823). |
Элемент | Допуск для изделий классов точности | Примечание | |||||
A | B | C | |||||
3.1.1. Уровень точности | |||||||
Стержень, резьба и опорная поверхность | Точный | Точный | Грубый | ||||
Другие элементы | Точный | Грубый | Грубый | ||||
3.1.2. Наружная резьба | 6g | 6g | 8g (но 6g для класса прочности 8.8 и выше) | Для некоторых изделий и покрытий в соответствующих стандартах на изделия и покрытия допускается устанавливать другие поля допусков на резьбу | |||
3.1.3. Элементы приводов | s | Допуск | s | Допуск | |||
3.1.3.1. Наружные | <= 30 | h13 | <= 18 | h14 | |||
3.1.3.1.1. Размер под ключ ![]() Рисунок 1 ![]() Рисунок 2 | > 30 | h14 | > 18 <= 60 | h15 | |||
> 60 <= 180 | h16 | ||||||
> 180 | h17 | ||||||
3.1.3.1.2. Диаметр описанной окружности ![]() Рисунок 3 | |||||||
; для болтов и винтов с фланцем и другими головками, изготовленных холодной высадкой без обрезки | |||||||
![]() Рисунок 4 | |||||||
![]() | |||||||
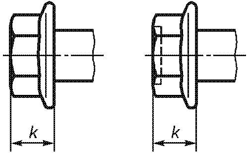
3.1.3.1.3. Высота головки ![]() Рисунок 5 | k | Допуск | |||||
< 10 | |||||||
>= 10 | |||||||
![]() Рисунок 6 | Для болтов и винтов с шестигранной головкой с фланцем значение k определяют только как максимальное значение | ||||||
3.1.3.1.4. Высота головки под ключ ![]() Рисунок 7 | ![]() | Формулы для a Символ b Контроль по приложению А стандартов на конкретные изделия | |||||
![]() Рисунок 8 | ![]() где x - большее из: или ;Размеры ![]() Рисунок 8 а) | ||||||
3.1.3.2. Внутренние | ![]() | - | - | ||||
3.1.3.2.1. Шестигранные углубления ![]() Рисунок 9 | s | Допуск | |||||
0,7 | EF8 | ||||||
0,9 | |||||||
1,3 | K9 | ||||||
1,5 2 2,5 3 | D11 | ||||||
4 | E11 | ||||||
5 6 8 10 12 14 | E12 | ||||||
> 14 | D12 | ||||||
3.1.3.2.2. Шлицы ![]() Рисунок 10 | n | Допуск | Поля допусков: | ||||
<= 1 | +0,20 +0,06 | - | - | C13, если n <= 1; C14, если n > 1 | |||
> 1 <= 3 | +0,31 +0,06 | ||||||
> 3 <= 6 | +0,37 +0,07 | ||||||
3.1.3.2.3. Глубина шестигранных углублений и шлицев ![]() Рисунок 11 | Глубину шестигранных углублений и шлицев устанавливают в стандартах на изделия только как минимальную глубину. Она ограничивается минимальной толщиной основания w | - | - | В настоящее время в большинстве случаев подходящие допуски не могут быть установлены | |||
3.1.3.2.4. Крестообразные шлицы | Допуски всех размеров, за исключением глубины шлица, установлены в ИСО 4757. Глубина шлица установлена в стандартах на конкретные изделия | ||||||
3.1.3.2.5. Звездообразные углубления | Допуски всех размеров, за исключением глубины, установлены в ИСО 10664. Глубина установлена в стандартах на конкретные изделия | ||||||
3.1.4. Другие элементы | |||||||
3.1.4.1. Диаметр головки ![]() Рисунок 12 | h13 <a> | - | - | <a> +/- IT13 для головок с рифлением | |||
![]() Рисунок 13 | h14 | - | - | Комплексный контроль диаметра и высоты потайных головок винтов - в соответствии с ИСО 7721 или ИСО 10642 | |||
3.1.4.2. Высота головки (за исключением шестигранных головок) ![]() Рисунок 14 | h13, если d <= M5; h14, если d > M5 | - | - | ||||
![]() Рисунок 15 | Для винтов с потайной головкой значение k определяют в стандартах на конкретные изделия только как максимальное значение | Комплексный контроль диаметра и высоты потайных головок винтов - в соответствии с ИСО 7721 или ИСО 10642 | |||||
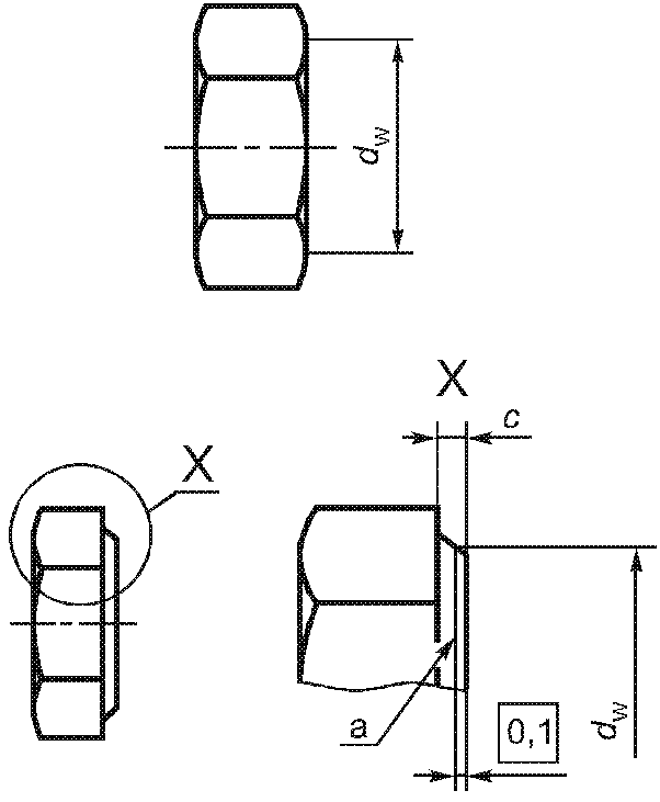
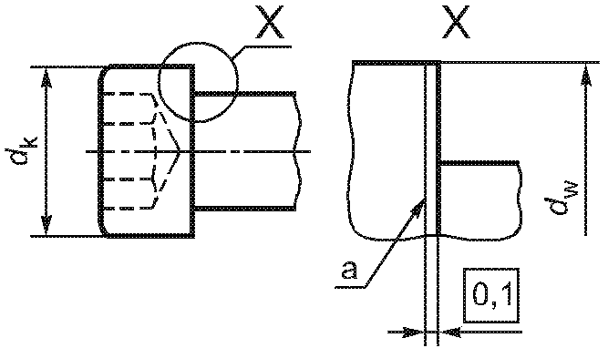
3.1.4.3. Диаметр опорной поверхности и высота опорной шайбы ![]() -------------------------------- <a> Базовая плоскость для Рисунок 16 | , если размер под ключ < 21 мм; , если размер под ключ >= 21 мм;![]() | Для изделий класса C наличие опорной шайбы необязательно | |||||
Диаметр резьбы, мм | c | ||||||
Не менее | Не более | ||||||
От 1,6 до 2,5 включ. | 0,10 | 0,25 | |||||
Св. 2,5 " 4 " | 0,15 | 0,40 | |||||
" 4 " 6 " | 0,15 | 0,50 | |||||
" 6 " 14 " | 0,15 | 0,60 | |||||
" 14 " 36 " | 0,20 | 0,80 | |||||
" 36 | 0,30 | 1,0 | |||||
![]() -------------------------------- <a> Базовая плоскость для Рисунок 17 | Значение | ||||||
![]() -------------------------------- <a> Базовая плоскость для Рисунок 18 | Диаметр резьбы | Только для класса точности A | |||||
До 2,5 включ. | ![]() | ||||||
Св. 2,5 до 5 " | ![]() | ||||||
" 5 " 10 " | ![]() | ||||||
" 10 " 16 " | ![]() | ||||||
" 16 " 24 " | ![]() | ||||||
" 24 " 36 " | ![]() | ||||||
" 36 | ![]() | ||||||
![]() Рисунок 19 | |||||||
3.1.4.4. Длина ![]() Рисунок 20 | +/- IT17, если l > 150 | ||||||
3.1.4.5. Длина резьбы Болт ![]() | P - шаг резьбы; Допуск +2P, относящийся к размеру b, применяется только тогда, когда | ||||||
Стяжная шпилька ![]() | |||||||
Шпилька ![]() Рисунок 21 | |||||||
3.1.4.6. Диаметр стержня ![]() Рисунок 22 | h13 | h14 | +/- IT15 | Допуск не применяют в областях скругления под головкой и сбега резьбы | |||
Уменьшенный диаметр стержня приблизительно равен среднему диаметру резьбы | - | ||||||
Элемент | Допуск t для изделий классов точности | Примечание | ||
A | B | C | ||
3.2.1. Элементы приводов 3.2.1.1. Допуски формы 3.2.1.1.1. Наружный ![]() -------------------------------- <a> 3-х одновременно. ![]() -------------------------------- <a> 2-х одновременно. | ||||
3.2.1.1.2. Внутренний ![]() -------------------------------- <a> 3-х одновременно. | ||||
Элемент | Допуск t для изделий классов точности | Значение допуска t определяют по размерам | Примечание | |||
A | B | C | ||||
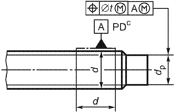
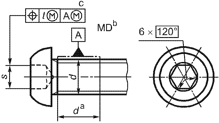
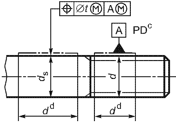
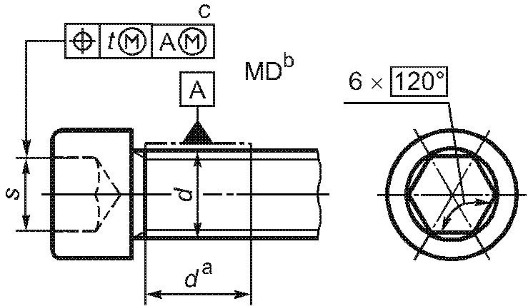
3.2.1.2. Позиционные допуски ![]() | 2 IT13 | 2 IT14 | 2 IT15 | s | ![]() | |
-------------------------------- <a> База A должна быть расположена по возможности ближе к головке, на расстоянии не более 0,5d, и должна включать либо весь участок без резьбы, либо весь участок с резьбой, но не должна включать сбег резьбы или скругление под головкой. <b> Буквы MD означают, что допуск относится к оси цилиндра, диаметр которого равен диаметру резьбы. <c> 3-х одновременно. | ||||||
![]() -------------------------------- <a>, <b>, <c> См. рисунок 26. | 2 IT13 | 2 IT14 | - | s | ||
![]() -------------------------------- <a>, <b>, <c> См. рисунок 26. | 2 IT13 | - | - | d | ||
![]() -------------------------------- <a>, <b>, <c> См. рисунок 26. Рисунок 29 | 2 IT13 | - | - | d | ||
![]() -------------------------------- <a>, <b>, <c> См. рисунок 26. Рисунок 30 | 2 IT13 | - | - | d | ||
![]() -------------------------------- <b>, <c> См. рисунок 26. | 2 IT12 | - | - | d | ||
![]() -------------------------------- <a>, <b> См. рисунок 26. | 2 IT12 | 2 IT13 | 2 IT14 | d | ||
![]() -------------------------------- <a>, <b> См. рисунок 26. | 2 IT12 | 2 IT13 | 2 IT14 | d | ||
![]() -------------------------------- <a>, <b> См. рисунок 26. | 2 IT12 | 2 IT13 | 2 IT14 | d | ||
![]() -------------------------------- <b> См. рисунок 26. | 2 IT12 | - | - | d | ||
![]() -------------------------------- <a>, <b> См. рисунок 26. | 2 IT13 | - | - | d | ||
<c> Соосность крестообразного шлица следует проверять с помощью наконечника калибра для измерения глубины шлица в соответствии с ИСО 4757. | ||||||
![]() -------------------------------- <a>, <b> См. рисунок 26. <c> См. рисунок 36. | 2 IT13 | - | - | d | ||
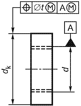
3.2.2. Другие элементы 3.2.2.1. Допуски позиционные и биения ![]() -------------------------------- <a>, <b> См. рисунок 26. | 2 IT13 | 2 IT14 | 2 IT15 | |||
![]() -------------------------------- <a>, <b> См. рисунок 26. | 2 IT13 | 2 IT14 | - | |||
![]() | 2 IT13 | 2 IT14 | 2 IT15 | d | ||
-------------------------------- <c> Буквы PD означают, что допуск относится к оси цилиндра, диаметр которого равен среднему диаметру резьбы. | ||||||
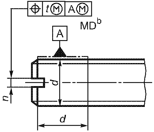
![]() -------------------------------- <c> См. рисунок 40. | IT13 <d> 2 IT13 <e> | - | - | d | <d> - для установочных винтов. <e> - для всех других изделий. | |
![]() -------------------------------- <c> См. рисунок 40. | IT13 | - | - | d | ||
![]() -------------------------------- <c> См. рисунок 40. | IT13 | - | - | d | ||
![]() -------------------------------- <c> См. рисунок 40. | 2 IT13 | 2 IT14 | 2 IT15 | d | ||
![]() | IT13 | IT14 | IT15 | d | ||
-------------------------------- <c> См. рисунок 40. <d> Базовый элемент калибра A должен находиться как можно ближе к соответствующей части стержня, но не должен включать сбег резьбы. | ||||||
Рисунок 45 | ||||||
![]() | IT13 | IT14 | - | d | ||
-------------------------------- <c> См. рисунок 40. <d> Базовые элементы калибра A и B должны находиться как можно ближе к соответствующей части стержня, но не должны включать сбег резьбы. | ||||||
3.2.2.2. Допуски прямолинейности ![]() -------------------------------- <b> См. рисунок 26. | t = 2(0,002l + 0,05), если d <= 8 t = 2(0,002 5l + 0,05), если d > 8 | - | ||||
d | ||||||
<= 8 | t = 0,002l + 0,05 | |||||
> 8 | t = 0,002 5l + 0,05 | |||||
![]() -------------------------------- <b> См. рисунок 26. Рисунок 48 | t = 2(0,002l + 0,05), если d <= 8 t = 2(0,002 5l + 0,05), если d > 8 | - | ||||
d | ||||||
<= 8 | t = 0,002l + 0,05 | |||||
> 8 | t = 0,002 5l + 0,05 | |||||
![]() -------------------------------- <b> См. рисунок 26. Рисунок 49 | - | - | ||||
d | ||||||
<= 8 | t = 0,002l + 0,05 | |||||
> 8 | t = 0,002 5l + 0,05 | |||||
Элемент | Допуск t для изделий классов точности | Значение допуска t определяют по размеру d | Примечание | ||
A | B | C | |||
![]() -------------------------------- <b> См. рисунок 26. | t = 2(0,002l + 0,05), если d <= 8 t = 2(0,002 5l + 0,05), если d > 8 | ||||
3.2.2.3. Допуск полного биения ![]() -------------------------------- <a>, <b> См. рисунок 26. <c> Только до диаметра 0,8s. ![]() -------------------------------- <a>, <b> См. рисунок 26. <c> Только до диаметра | 0,04 | - | 1,6 | Для классов точности A и B допуск t определяют следующим образом: t = 1,2d·tg1°, если d <= M39; t = 1,2d·tg0,5°, если d > M39. Для класса точности C допуск t вдвое больше | |
2 | |||||
0,08 | 2,5 | ||||
3 | |||||
3,5 | |||||
4 | |||||
0,15 | 0,3 | 5 | |||
6 | |||||
7 | |||||
0,17 | 0,34 | 8 | |||
0,21 | 0,42 | 10 | |||
0,25 | 0,50 | 12 | |||
0,29 | 0,58 | 14 | |||
0,34 | 0,68 | 16 | |||
0,38 | 0,76 | 18 | |||
0,42 | 0,84 | 20 | |||
0,46 | 0,92 | 22 | |||
0,57 | 1,14 | 27 | |||
0,63 | 1,26 | 30 | |||
0,69 | 1,38 | 33 | |||
0,76 | 1,52 | 36 | |||
0,82 | 1,64 | 39 | |||
0,44 | 0,88 | 42 | |||
0,47 | 0,94 | 45 | |||
0,50 | 1 | 48 | |||
0,55 | 1,1 | 52 | |||
![]() -------------------------------- <a>, <b> См. рисунок 26. <c> Только до диаметра ![]() -------------------------------- <a>, <b> См. рисунок 26. <c> Линия предельно удаленных точек на любой радиальной линии. | 0,04 | - | 1,6 | См. рисунки 51 и 52. Для болтов с фланцем допуски применяют к типу F и типу U | |
2 | |||||
0,08 | 0,3 | 2,5 | |||
3 | |||||
3,5 | |||||
4 | |||||
0,15 | 5 | ||||
6 | |||||
7 | |||||
0,17 | 0,34 | 8 | |||
0,21 | 0,42 | 10 | |||
0,25 | 0,50 | 12 | |||
0,29 | 0,58 | 14 | |||
0,34 | 0,68 | 16 | |||
0,38 | 0,76 | 18 | |||
0,42 | 0,84 | 20 | |||
0,46 | 0,92 | 22 | |||
0,50 | 1,00 | 24 | |||
0,57 | 1,14 | 27 | |||
0,63 | 1,26 | 30 | |||
0,69 | 1,38 | 33 | |||
0,76 | 1,52 | 36 | |||
0,82 | 1,64 | 39 | |||
0,44 | 0,88 | 42 | |||
0,47 | 0,94 | 45 | |||
0,50 | 1 | 48 | |||
0,55 | 1,1 | 52 | |||
Элемент | Допуск t для изделий классов точности | Значение допуска t определяют по размерам | Примечание | ||
A | B | C | |||
![]() -------------------------------- <a>, <b> См. рисунок 26. <c> См. рисунок 51. | Значение t должно соответствовать приведенному для рисунков 51 - 54 | Размер для определения t, указанный для рисунков 51 - 54 | |||
![]() -------------------------------- <a>, <b> См. рисунок 26. <c> Только до диаметра | Только для цилиндрических концов, но не для направляющих концов | ||||
3.2.2.4. Допустимое отклонение формы опорной поверхности ![]() -------------------------------- <c> Радиальные линии между <d> В соответствии со стандартом на конкретное изделие. | 0,005d | d | |||
Применение на добровольной основе раздела 4 обеспечивает соблюдение требований технического регламента Таможенного союза "О безопасности машин и оборудования" (ТР ТС 010/2011) (Решение Комиссии Таможенного союза от 18.10.2011 N 823). |
Элемент | Допуск для изделий классов точности | Примечание | ||||
A | B | C | ||||
4.1.1. Уровень точности | ||||||
Опорная поверхность, резьба | Точный | Точный | Грубый | |||
Другие элементы | Точный | Грубый | Грубый | |||
4.1.2. Внутренняя резьба | 6H | 6H | 7H | Для некоторых изделий и покрытий в соответствующих стандартах на изделия и покрытия допускается устанавливать другие поля допусков | ||
![]() | Для всех гаек высотой m >= 0,8d внутренний диаметр должен находиться в пределах установленных допусков на участке не менее (только для размеров >= M3) | |||||
![]() | Для всех гаек высотой 0,5d <= m < 0,8d внутренний диаметр должен находиться в пределах установленных допусков на участке не менее ![]() | |||||
![]() -------------------------------- <a> Профиль зависит от типа самостопорящихся гаек. Рисунок 58 | Для самостопорящихся гаек внутренний диаметр может превышать допуск, который установлен для высоты не более 0,35d от несуженного конца, не включающий стопорящий элемент | |||||
4.1.3. Элементы приводов 4.1.3.1. Размер под ключ ![]() Рисунок 59 | ||||||
s | Допуск | s | Допуск | |||
До 30 включ. | h13 | До 18 включ. | h14 | |||
Св. 30 | h14 | Св. 18 " 60 " | h15 | |||
" 60 " 180 " | h16 | |||||
" 180 | h17 | |||||
![]() Рисунок 60 | См. рисунок 59 | См. рисунок 59 | ||||
4.1.3.2. Диаметр описанной окружности ![]() Рисунок 61 | ![]() | |||||
![]() Рисунок 62 | ![]() | |||||
4.1.4. Другие элементы 4.1.4.1. Высота гаек ![]() Рисунок 63 | h14, если d <= 12 мм; h15, если 12 мм < d <= 18 мм; h16, если d > 18 мм | h17 | Для прорезных и корончатых гаек см. 4.1.5.1 | |||
Самостопорящиеся гайки (с неметаллической вставкой) ![]() Цельнометаллические шестигранные самостопорящиеся гайки ![]() Рисунок 64 | Допуск на размер h см. в стандартах на изделия | |||||
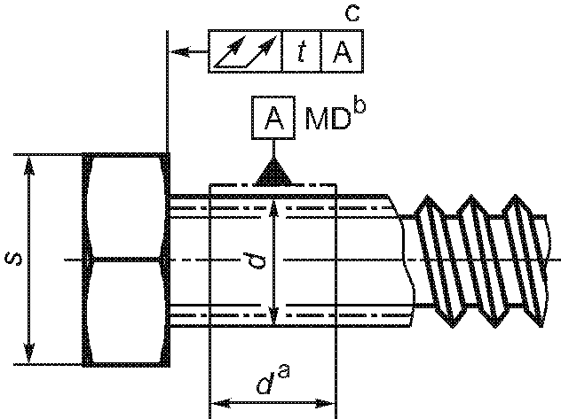
4.1.4.2. Высота гайки под ключ ![]() Рисунок 65 | ![]() | Символ a Формулы для b Контроль по приложению А стандартов на конкретные изделия. | ||||
![]() Рисунок 66 | ,где x - большее из или ;Размеры ![]() | |||||
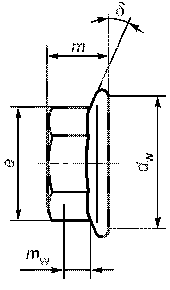
4.1.4.3. Диаметр опорной поверхности и высота опорной шайбы ![]() -------------------------------- <a> Базовая плоскость для Рисунок 67 | , если размер под ключ < 21 мм; , если размер под ключ >= 21 мм;![]() | Требования применяются к обеим сторонам симметричных деталей | ||||
Диаметр резьбы, мм | c | |||||
не менее | не более | |||||
От 1,6 до 2,5 включ. | 0,10 | 0,25 | ||||
Св. 2,5 " 4 " | 0,15 | 0,40 | ||||
" 4 " 5 " | 0,15 | 0,50 | ||||
" 6 " 14 " | 0,15 | 0,60 | ||||
" 14 " 36 " | 0,20 | 0,80 | ||||
" 36 | 0,30 | 1,0 | ||||
![]() Рисунок 68 | ||||||
![]() Рисунок 69 | , если d <= 5 мм; ,если 5 мм < d <= 8 мм; , если d > 8 мм; для всех размеров | |||||
4.1.5. Специальные детали ![]() Рисунок 70 | ||||||
h14 | h15 | h16 | ||||
m | h14 | h15 | h17 | |||
n | H14 | H14 | H15 | |||
w | h14 | h15 | h17 | |||
см. | ||||||
Элемент | Допуск t для изделий классов точности | Примечание | ||
A | B | C | ||
4.2.1. Элементы приводов 4.2.1.1. Допуски формы ![]() -------------------------------- <a> 3-х одновременно. | ||||
![]() -------------------------------- <a> 2-х одновременно. | ||||
Элемент | Допуск t для изделий классов точности | Значение допуска t определяют по размерам | Примечание | ||
A | B | C | |||
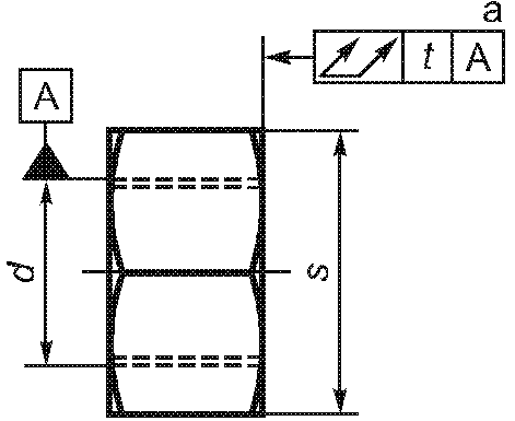
4.2.1.2. Позиционные допуски ![]() -------------------------------- <a> 3-х одновременно. | 2 IT 13 | 2 IT 14 | 2 IT 15 | s | |
![]() -------------------------------- <a> 3-х одновременно. | 2 IT 13 | 2 IT 14 | - | s | |
![]() -------------------------------- <a> 2-х одновременно. | 2 IT 13 | 2 IT 14 | 2 IT 15 | s | |
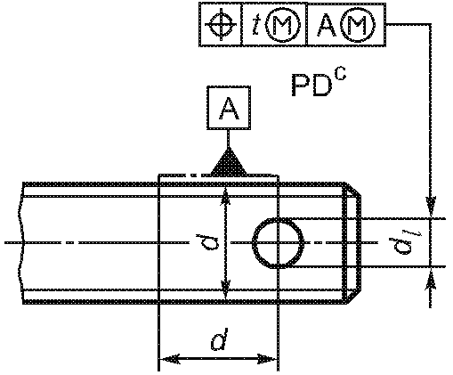
4.2.2. Другие элементы 4.2.2.1. Позиционные допуски ![]() | 2 IT 14 | 2 IT 15 | - | ||
![]() | 2 IT 13 | 2 IT 14 | 2 IT 15 | d | |
![]() | 2 IT 13 | 2 IT 14 | - | ||
Элемент | Допуск t для изделий классов точности | Значение допуска t определяют по размеру d | Примечание | ||
A | B | C | |||
4.2.2.2. Допуск полного биения ![]() -------------------------------- <a> Только до диаметра 0,8s. ![]() -------------------------------- <a> Только до диаметра 0,8s. ![]() -------------------------------- <a> Только до диаметра | 0,04 | - | 1,6 | Для симметричных деталей требования применяют к обеим сторонам | |
2 | |||||
0,08 | 2,5 | ||||
3 | |||||
3,5 | |||||
4 | |||||
0,15 | 0,3 | 5 | |||
6 | |||||
7 | |||||
0,17 | 0,34 | 8 | |||
0,21 | 0,42 | 10 | |||
0,25 | 0,50 | 12 | |||
0,29 | 0,58 | 14 | |||
0,34 | 0,68 | 16 | |||
0,38 | 0,76 | 18 | |||
0,42 | 0,84 | 20 | |||
0,46 | 0,92 | 22 | |||
0,57 | 1,14 | 27 | |||
0,63 | 1,26 | 30 | |||
0,69 | 1,38 | 33 | |||
0,76 | 1,52 | 36 | |||
0,82 | 1,64 | 39 | |||
0,44 | 0,88 | 42 | |||
0,47 | 0,94 | 45 | |||
0,50 | 1 | 48 | |||
0,55 | 1,1 | 52 | |||
Элемент | Допуск t для изделий классов точности | Примечание | ||
A | B | C | ||
![]() -------------------------------- <a> Линия предельно удаленных точек на любой радиальной линии. | ||||
4.2.2.3. Допустимое отклонение формы опорной поверхности ![]() -------------------------------- <a> Радиальные линии между <b> В соответствии со стандартом на конкретное изделие. | 0,005d | |||
Применение на добровольной основе раздела 5 обеспечивает соблюдение требований технического регламента Таможенного союза "О безопасности машин и оборудования" (ТР ТС 010/2011) (Решение Комиссии Таможенного союза от 18.10.2011 N 823). |
Элемент | Допуск | Примечание | |
5.1.1. Резьба 5.1.2. Элементы приводов 5.1.2.1. Наружные 5.1.2.1.1. Размер под ключ | По ИСО 1478 | ||
![]() Рисунок 84 | h13 | ||
5.1.2.1.2. Диаметр описанной окружности ![]() Рисунок 85 | ![]() | ||
5.1.2.1.3. Высота головки ![]() Рисунок 86 | По ИСО 1479 | Для самонарезающих винтов с шестигранной головкой с фланцем и с шестигранной головкой с буртиком см. ИСО 7053 и ИСО 10509 соответственно | |
5.1.2.1.4. Высота участка головки под ключ ![]() Рисунок 87 | ![]() | Для самонарезающих винтов с шестигранной головкой с фланцем и с шестигранной головкой с буртиком см. ИСО 7053 и ИСО 10509 соответственно. Символ | |
5.1.2.2. Внутренние 5.1.2.2.1. Ширина шлицев ![]() Рисунок 88 | |||
n | Допуск <a> | <a> Поля допусков: C13, если n <= 1; C14, если n > 1. | |
<= 1 | +0,20 +0,06 | ||
> 1 <= 3 | +0,31 +0,06 | ||
> 3 <= 6 | +0,37 +0,07 | ||
5.1.2.2.2. Глубина шлицев ![]() Рисунок 89 | Глубина шлицев устанавливается в стандартах на конкретные изделия | ||
5.1.2.2.3. Крестообразные шлицы | Допуски всех размеров, за исключением глубины шлица, установлены в ИСО 4557. Глубину устанавливают в стандарте на конкретное изделие | ||
5.1.2.2.4. Звездообразное углубление | Все размеры, за исключением глубины углубления, установлены в ИСО 10664. Глубину устанавливают в стандарте на конкретное изделие | ||
5.1.3. Другие элементы 5.1.3.1. Диаметры головок ![]() Рисунок 90 | h14 | Комплексный контроль диаметра и высоты потайной головки винтов - в соответствии с ИСО 7221 | |
5.1.3.2. Высота головки ![]() Рисунок 91 | h14 | ||
![]() Рисунок 92 | Для винтов с потайной головкой значение k определяют в стандартах на конкретное изделие только как максимальное значение | Комплексный контроль диаметра и высоты потайной головки винтов - в соответствии с ИСО 7221 | |
5.1.3.3. Длина ![]() Рисунок 93 | |||
Типы C и R | |||
l | Допуск | ||
<= 25 > 25 | +/- 0,8 +/- 1,3 | ||
Тип F | |||
l | Допуск | ||
<= 19 | 0 -0,8 | ||
> 19 <= 38 | 0 -1,3 | ||
> 38 | 0 -1,5 | ||
Элемент | Допуск t | Значение допуска t определяют по размерам | Примечание | |
5.2.1. Элементы приводов 5.2.1.1. Допуск формы ![]() -------------------------------- <a> 3-х одновременно. | ||||
5.2.1.2. Допуски позиционные ![]() | 2 IT 13 | s | ![]() | |
-------------------------------- <a> База A должна быть расположена по возможности ближе к головке, на расстоянии не более 1P, и не должна включать сбег резьбы или скругление под головкой. <b> Буквы MD означают, что допуск применяют относительно оси цилиндра, определяемой по наружному диаметру резьбы в соответствии с ИСО 1101. <c> 3-х одновременно. | ||||
![]() -------------------------------- <a>, <b> См. рисунок 95. | 2 IT 12 | d | ||
![]() -------------------------------- <a>, <b> См. рисунок 95. | 2 IT 12 | d | ||
![]() -------------------------------- <a>, <b> См. рисунок 95. | 2 IT 12 | d | ||
![]() | 2 IT 13 | d | ||
-------------------------------- <a>, <b> См. рисунок 95. <c> Соосность крестообразного шлица следует проверять с помощью наконечника калибра для измерения глубины шлица в соответствии с ИСО 4757. | ||||
![]() -------------------------------- <a>, <b> См. рисунок 95. <c> См. рисунок 99. | 2 IT 13 | d | ||
5.2.2. Другие элементы 5.2.2.1. Допуск расположения поверхностей ![]() -------------------------------- <a>, <b> См. рисунок 95. | 2 IT 13 | |||
5.2.2.2. Полное биение ![]() -------------------------------- <a>, <b> См. рисунок 95. <c> Только до диаметра 0,8s. ![]() -------------------------------- <a>, <b> См. рисунок 95. <c> Только до диаметра | d | Допуск t вычисляют по формуле ![]() | ||
d | t | |||
ST2,2 | 0,08 | |||
ST2,9 | 0,16 | |||
ST3,5 | 0,16 | |||
ST4,2 | 0,16 | |||
ST4,8 | 0,3 | |||
ST5,5 | 0,3 | |||
ST6,3 | 0,3 | |||
ST8 | 0,34 | |||
ST9,5 | 0,42 | |||
d | ||||
5.2.2.3. Прямолинейность ![]() -------------------------------- <a>, <b> См. рисунок 95. | t = 0,003l + 0,05 | - | Для l <= 20d | |
Номинальный размер | Квалитеты | ||||||
IT12 | IT13 | IT14 | IT15 | IT16 | IT17 | ||
свыше | до | Допуски | |||||
- | 3 | 0,1 | 0,14 | 0,25 | 0,4 | 0,6 | 1 |
3 | 6 | 0,12 | 0,18 | 0,3 | 0,48 | 0,75 | 1,2 |
6 | 10 | 0,15 | 0,22 | 0,36 | 0,58 | 0,9 | 1,5 |
10 | 18 | 0,18 | 0,27 | 0,43 | 0,7 | 1,1 | 1,8 |
18 | 30 | 0,21 | 0,33 | 0,52 | 0,84 | 1,3 | 2,1 |
30 | 50 | 0,25 | 0,39 | 0,62 | 1 | 1,6 | 2,5 |
50 | 80 | 0,3 | 0,46 | 0,74 | 1,2 | 1,9 | 3 |
80 | 120 | 0,35 | 0,54 | 0,87 | 1,4 | 2,2 | 3,5 |
120 | 180 | 0,4 | 0,63 | 1 | 1,6 | 2,5 | 4 |
180 | 250 | 0,46 | 0,72 | 1,15 | 1,85 | 2,9 | 4,6 |
250 | 315 | 0,52 | 0,81 | 1,3 | 2,1 | 3,2 | 5,2 |
315 | 400 | 0,57 | 0,89 | 1,4 | 2,3 | 3,6 | 5,7 |
400 | 500 | 0,63 | 0,97 | 1,55 | 2,5 | 4 | 6,3 |
Номинальный размер | Предельное отклонение при допусках | |||||||||
свыше | до | h13 | h14 | h15 | h16 | h17 | ||||
- | 3 | 0 -0,14 | 0 -0,25 | 0 -0,4 | 0 -0,6 | 0 -1 | +/- 0,125 | +/- 0,2 | +/- 0,3 | +/- 0,5 |
3 | 6 | 0 -1,18 | 0 -0,3 | 0 -0,48 | 0 -0,75 | 0 -1,2 | +/- 0,15 | +/- 0,24 | +/- 0,375 | +/- 0,6 |
6 | 10 | 0 -0,22 | 0 -0,36 | 0 -0,58 | 0 -0,9 | 0 -1,5 | +/- 0,18 | +/- 0,29 | +/- 0,45 | +/- 0,75 |
10 | 18 | 0 -0,27 | 0 -0,43 | 0 -0,7 | 0 -1,1 | 0 -1,8 | +/- 0,215 | +/- 0,35 | +/- 0,55 | +/- 0,9 |
18 | 30 | 0 -0,33 | 0 -0,52 | 0 -0,84 | 0 -1,3 | 0 -2,1 | +/- 0,26 | +/- 0,42 | +/- 0,65 | +/- 1,05 |
30 | 50 | 0 -0,39 | 0 -0,62 | 0 -1 | 0 -1,6 | 0 -2,5 | +/- 0,31 | +/- 0,5 | +/- 0,8 | +/- 1,25 |
50 | 80 | 0 -0,46 | 0 -0,74 | 0 -1,2 | 0 -1,9 | 0 -3,0 | +/- 0,37 | +/- 0,6 | +/- 0,95 | +/- 1,5 |
80 | 120 | 0 -0,54 | 0 -0,87 | 0 -1,4 | 0 -2,2 | 0 -3,5 | +/- 0,435 | +/- 0,7 | +/- 1,1 | +/- 1,75 |
120 | 180 | 0 -0,63 | 0 -1 | 0 -1,6 | 0 -2,5 | 0 -4 | +/- 0,5 | +/- 0,8 | +/- 1,25 | +/- 2 |
180 | 250 | 0 -0,72 | 0 -1,15 | 0 -1,85 | 0 -2,9 | 0 -4,6 | +/- 0,575 | +/- 0,925 | +/- 1,45 | +/- 2,3 |
250 | 315 | 0 -0,81 | 0 -1,3 | 0 -2,1 | 0 -3,2 | 0 -5,2 | +/- 0,65 | +/- 1,05 | +/- 1,6 | +/- 2,6 |
315 | 400 | 0 -0,89 | 0 -1,4 | 0 -2,3 | 0 -3,6 | 0 -5,7 | +/- 0,7 | +/- 1,15 | +/- 1,8 | +/- 2,85 |
400 | 500 | 0 -0,97 | 0 -1,55 | 0 -2,5 | 0 -4 | 0 -6,3 | +/- 0,775 | +/- 1,25 | +/- 2 | +/- 3,15 |
Номинальный размер | Предельное отклонение при допусках | |||||||||||||
свыше | до | C13 | C14 | D9 | D10 | D11 | D12 | EF8 | E11 | E12 | H14 | H15 | JS9 | K9 |
- | 3 | +0,2 +0,06 | +0,31 +0,06 | +0,045 +0,02 | +0,06 +0,02 | +0,08 +0,02 | +0,12 +0,02 | +0,024 +0,01 | +0,074 +0,014 | +0,114 +0,014 | +0,25 0 | +0,4 0 | +/- 0,0125 | 0 -0,025 |
3 | 6 | +0,25 +0,07 | +0,37 +0,07 | +0,06 +0,03 | +0,078 +0,03 | +0,105 +0,03 | +0,15 +0,03 | +0,032 +0,014 | +0,095 +0,02 | +0,14 +0,02 | +0,3 0 | +0,48 0 | +/- 0,015 | 0 -0,03 |
6 | 10 | +0,13 +0,04 | +0,19 +0,04 | +0,04 +0,018 | +0,115 +0,025 | +0,175 +0,025 | +0,36 0 | +0,58 0 | +/- 0,018 | 0 -0,036 | ||||
10 | 18 | +0,23 +0,05 | +0,142 +0,031 | +0,212 +0,032 | +0,43 0 | +0,7 0 | ||||||||
18 | 30 | +0,275 +0,065 | +0,52 0 | +0,84 0 | ||||||||||
30 | 50 | +0,33 +0,08 | +0,62 0 | +1 0 | ||||||||||
50 | 80 | +0,04 +0,1 | +0,74 0 | +1,2 0 | ||||||||||
80 | 120 | +0,47 +0,12 | +0,87 0 | +1,4 0 | ||||||||||
120 | 180 | +1 0 | +1,6 0 | |||||||||||
180 | 250 | +1,15 0 | +1,85 0 | |||||||||||
250 | 315 | +1,3 0 | +2,1 0 | |||||||||||
315 | 400 | +1,4 0 | +2,3 0 | |||||||||||
400 | 500 | +1,55 0 | +2,5 0 | |||||||||||



Приложение C содержит правила и методы исследований (испытаний) измерений, в том числе правила отбора образцов, необходимые для применения и исполнения требований технического регламента Таможенного союза "О безопасности машин и оборудования" (ТР ТС 010/2011) и осуществления оценки (подтверждения) соответствия продукции (Решение Комиссии Таможенного союза от 18.10.2011 N 823). |
























Обозначение ссылочного международного стандарта | Степень соответствия | Обозначение и наименование соответствующего национального стандарта | ||||
ИСО 225:1983 | - | |||||
ИСО 286-1:1988 | NEQ | ГОСТ 25346-89 "Единая система допусков и посадок. Общие положения, ряды допусков и основных отклонений" | ||||
ИСО 286-2:1988 | NEQ | ГОСТ 25347-89 "Единая система допусков и посадок. Поля допусков и рекомендуемые посадки" | ||||
ИСО 885:2000 | NEQ | ГОСТ 24670-81 "Болты, винты и шурупы. Радиусы под головкой" | ||||
ИСО 965-3:1998 | MOD | ГОСТ 16093-2004 (ИСО 965-1:1998, ИСО 965-3:1998) "Основные нормы взаимозаменяемости. Резьба метрическая. Допуски. Посадки с зазором" | ||||
ИСО 1101:2004 | MOD | ГОСТ Р 53442-2009 (ИСО 1101:2004) "Основные нормы взаимозаменяемости. Установление геометрических допусков. Допуски формы, ориентации, расположения и биения" | ||||
| ||||||
ИСО 1478:1999 | NEQ | ГОСТ Р ИСО 1478-93 "Резьба самонарезающих винтов" | ||||
ИСО 1479:1983 | - | |||||
ИСО 2692:2006 | MOD | ГОСТ Р 53090-2008 (ИСО 2692:2006) "Основные нормы взаимозаменяемости. Характеристики изделий геометрические. Требования максимума материала, минимума материала и взаимодействия" | ||||
ИСО 4032:1999 | NEQ | ГОСТ 5915-70 "Гайки шестигранные класса точности B. Конструкция и размеры" ГОСТ 5927-70 "Гайки шестигранные класса точности A. Конструкция и размеры" | ||||
ИСО 4042:1999 | IDT | ГОСТ Р ИСО 4042-2009 "Изделия крепежные. Электролитические покрытия" | ||||
ИСО 4757:1983 | NEQ | ГОСТ 10753-86 "Шлицы крестообразные для винтов и шурупов. Размеры и методы контроля" | ||||
ИСО 7053:1992 | - | |||||
ИСО 7721:1983 | - | |||||
ИСО 8015:1985 | - | |||||
ИСО 10509:1992 | - | |||||
ИСО 10642:1997 | - | <*> | ||||
ИСО 10664:1999 | IDT | ГОСТ Р ИСО 10664-2007 "Углубление звездообразное под ключ для болтов и винтов" | ||||
<*> Соответствующий национальный стандарт отсутствует. До его утверждения рекомендуется использовать перевод на русский язык данного международного стандарта. Перевод данного международного стандарта находится в Федеральном информационном фонде технических регламентов и стандартов. Примечание. В настоящей таблице использованы следующие условные обозначения степени соответствия стандартов: IDT - идентичные стандарты; MOD - модифицированные стандарты; NEQ - неэквивалентные стандарты. | ||||||