Краткое наименование страны по МК (ИСО 3166) 004-97 | Код страны по МК (ИСО 3166) 004-97 | Сокращенное наименование национального органа по стандартизации |
Азербайджан | AZ | Азстандарт |
Армения | AM | Армстандарт |
Беларусь | BY | Госстандарт Республики Беларусь |
Грузия | GE | Грузстандарт |
Казахстан | KZ | Госстандарт Республики Казахстан |
Кыргызия | KG | Кыргызстандарт |
Молдова | MD | Молдова-Стандарт |
Российская Федерация | RU | Госстандарт России |
Таджикистан | TJ | Таджикстандарт |
Туркменистан | TM | Главгосслужба "Туркменстандартлары" |
Узбекистан | UZ | Узстандарт |
Украина | UA | Госпотребстандарт Украины |


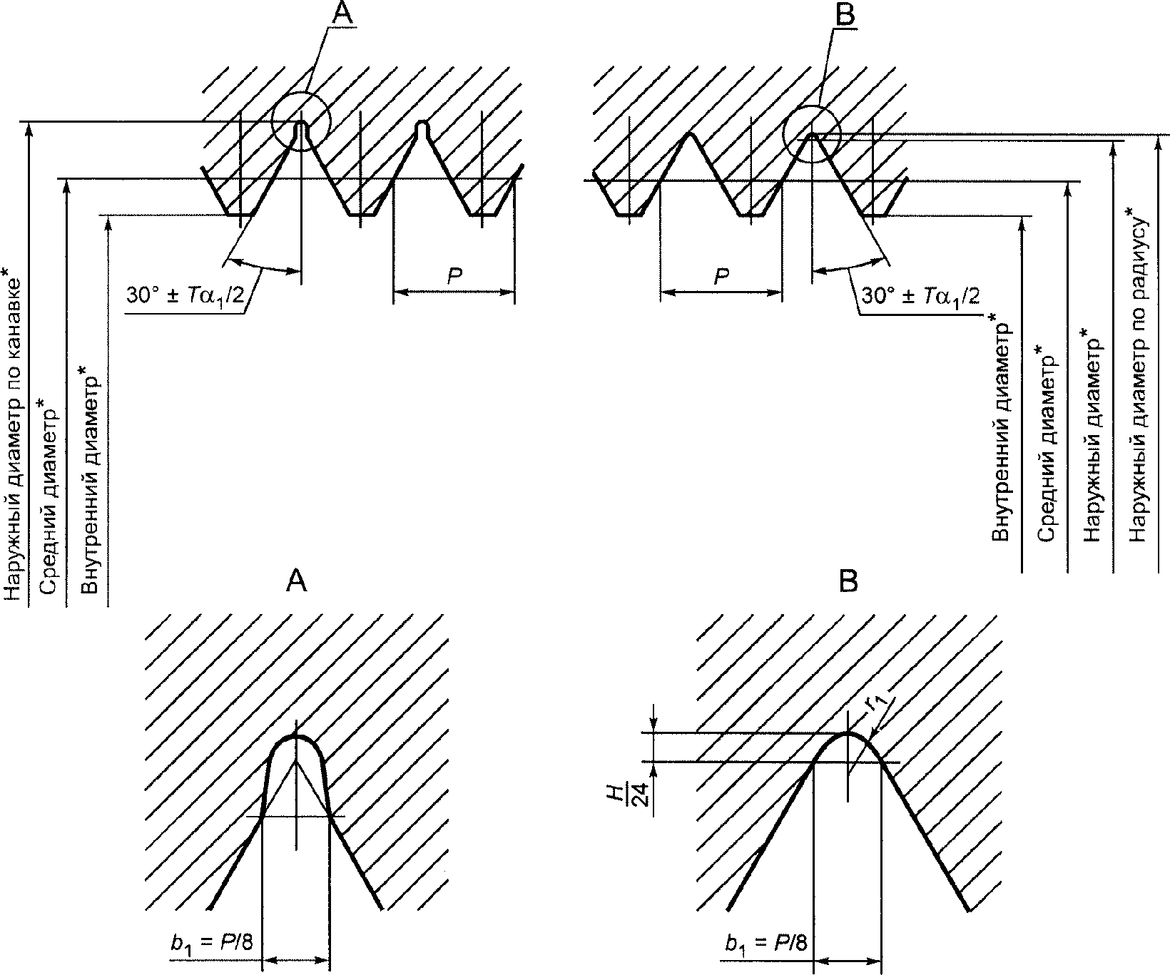
Шаг P | b1max = P/8 | r1max = 0,72P = H/12 | b2max = P/4 | r2max = 0,144P | H/24 |
0,20 | r1max | 0,014 | r2max | 0,029 | 0,007 |
0,25 | 0,018 | 0,036 | 0,009 | ||
0,30 | 0,022 | 0,043 | 0,011 | ||
0,35 | 0,025 | 0,050 | 0,012 | ||
0,40 | 0,029 | 0,058 | 0,014 | ||
0,45 | 0,032 | 0,065 | 0,016 | ||
0,50 | 0,036 | 0,072 | 0,018 | ||
0,60 | 0,043 | 0,15 | 0,086 | 0,022 | |
0,70 | 0,050 | 0,17 | 0,100 | 0,025 | |
0,75 | 0,054 | 0,19 | 0,110 | 0,027 | |
0,80 | 0,058 | 0,20 | 0,110 | 0,029 | |
1,00 | 0,072 | 0,25 | 0,140 | 0,036 | |
1,25 | 0,15 | 0,090 | 0,31 | 0,180 | 0,045 |
1,50 | 0,19 | 0,108 | 0,37 | 0,210 | 0,054 |
1,75 | 0,22 | 0,126 | 0,44 | 0,250 | 0,063 |
2,00 | 0,25 | 0,144 | 0,50 | 0,290 | 0,072 |
2,50 | 0,32 | 0,180 | 0,61 | 0,360 | 0,090 |
3,00 | 0,40 | 0,217 | 0,75 | 0,430 | 0,108 |
3,50 | 0,48 | 0,253 | 0,88 | 0,500 | 0,126 |
4,00 | 0,50 | 0,288 | 1,00 | 0,580 | 0,144 |
4,50 | 0,55 | 0,325 | 1,10 | 0,650 | 0,162 |
5,00 | 0,60 | 0,361 | 1,25 | 0,720 | 0,180 |
5,50 | 0,70 | 0,397 | 1,40 | 0,790 | 0,198 |
6,00 | 0,80 | 0,433 | 1,50 | 0,860 | 0,217 |
8,00 | 1,00 | 0,576 | 2,00 | 1,152 | 0,289 |


Шаг P | F1 = 0,1P | F2 | F3 | b3 | ||||||
0,2P | 0,15P | 0,1P | Номин. | Пред. откл. | ||||||
0,20 | 0,020 | - | - | - | От | 0,05 | до | 0,07 | r1max, r2max соответственно | |
0,25 | 0,025 | " | 0,06 | " | 0,09 | |||||
0,30 | 0,030 | " | 0,07 | " | 0,11 | |||||
0,35 | 0,035 | " | 0,08 | " | 0,13 | |||||
0,40 | 0,040 | " | 0,09 | " | 0,15 | |||||
0,45 | 0,045 | " | 0,10 | " | 0,16 | |||||
0,50 | 0,050 | " | 0,12 | " | 0,18 | |||||
0,60 | 0,060 | " | 0,14 | " | 0,22 | |||||
0,70 | 0,070 | " | 0,16 | " | 0,26 | |||||
0,75 | 0,075 | " | 0,20 | " | 0,30 | |||||
0,80 | 0,080 | " | 0,20 | " | 0,30 | |||||
1,00 | 0,100 | " | 0,20 | " | 0,40 | |||||
1,25 | 0,125 | 0,25 | От | 0,25 | до | 0,50 | 0,30 | +/- 0,04 | ||
1,50 | 0,150 | 0,30 | " | 0,30 | " | 0,55 | 0,40 | |||
1,75 | 0,175 | 0,30 | " | 0,40 | " | 0,65 | 0,45 | +/- 0,05 | ||
2,00 | 0,200 | 0,40 | " | 0,45 | " | 0,75 | 0,50 | |||
2,50 | 0,250 | 0,375 | " | 0,50 | " | 0,80 | 0,80 | |||
3,00 | 0,300 | 0,450 | " | 0,50 | " | 0,90 | 1,00 | +/- 0,08 | ||
3,50 | 0,350 | - | 0,525 | " | 0,65 | " | 1,10 | 1,10 | ||
4,00 | 0,400 | 0,600 | " | 0,75 | " | 1,25 | 1,30 | |||
4,50 | 0,450 | - | 0,45 | " | 0,75 | " | 1,25 | 1,70 | +/- 0,10 | |
5,00 | 0,500 | 0,50 | " | 0,75 | " | 1,25 | 1,90 | |||
5,50 | 0,550 | 0,55 | " | 0,85 | " | 1,35 | 2,10 | |||
6,00 | 0,600 | 0,60 | " | 0,95 | " | 1,45 | 2,30 | |||
8,00 | 0,800 | 0,80 | " | 1,35 | " | 1,70 | 3,10 | |||
Примечания 1 Вместо размера b3 и отклонения S допускается контролировать высоту F3. 2 Среднее значение F3 равно F1 +/- 0,2P при P <= 2 мм, F1 + 0,15P при 2 мм < P < 4,5 мм, F1 + 0,1P при P >= 4,5 мм. | ||||||||||


Обозначение калибра | Минимальная длина резьбы части калибра, мм | ||
ПР (1) | - | 0,8Nk | - |
КПР-ПР (2) | - | - | 0,8Nk + P |
КПР-НЕ (3) | 3P | - | - |
ПР (4) | - | 0,8Nk | - |
У-ПР (5) | - | - | 0,8Nk + P |
К-И (6) | 3P | - | - |
ПР (7) | - | 0,8Nk | - |
У-ПР (8) | - | - | 0,8Nk + P |
НЕ (9) | В соответствии с 4.8 | ||
У-НЕ (10) | 3P | - | - |
НЕ (11) | 3P | - | - |
КНЕ-ПР (12) | 3P | - | - |
КНЕ-НЕ (13) | 3P | - | - |
НЕ (14) | 3P | - | - |
У-НЕ (15) | - | 6P | - |
КИ-НЕ (16) | 3P | - | - |
ПР (21) | - | 0,8Nk | - |
НЕ (22) | 3P | 0,8Nk | - |
ПР (26) | В соответствии с 4.8 | ||
ПР (27) | 3P | - | - |
КПР-ПР (28) | 3P | - | - |
КПР-НЕ (29) | 3P | - | - |
К-И (30) | 3P | - | - |
У-СР (31) | - | 0,8Nk | - |
У-СР1 (32) | - | 0,8Nk | - |
У-СР2 (33) | - | 0,8Nk | - |
ПР (34) | 3P | - | - |
СР (35) | 3P | - | - |
СР1 (36) | 3P | - | - |
СР2 (37) | 3P | - | - |
Примечание - Проходные калибры с длиной резьбы рабочей части по таблице 3 должны применяться для контроля резьбы по ГОСТ 16093 с длиной свинчивания группы N и по ГОСТ 4608 и ГОСТ 24834 с длиной свинчивания в пределах группы N по ГОСТ 16093. Для других длин свинчивания длина резьбы рабочей части проходных калибров должна составлять не менее 0,8 длины свинчивания резьбы. | |||
Обозначение калибра | Длина рабочей части, мм, не менее | |
ПР (17) | 3P (для калибра-скобы) | 0,8Nk (для калибра-кольца) |
НЕ (18) | 3P | - |
К-ПР (19) | ||
К-НЕ (20) | ||
ПР (23) | - | 0,8Nk |
НЕ (24) | 3P | - |
К-И (25) | ||




Td2; TD2 | TR | TPL | TCP <2> | m | ZR <1> | ZPL | WGO | WNG | ||
Калибр ПР | Калибр НЕ | |||||||||
Кольцо | Пробка | Кольцо | Пробка | |||||||
Св. 24 до 50 | 8 | 6 | 6 | 10 | -4 | 0 | 10,0 | 8,0 | 7,0 | 6,0 |
" 50 " 80 | 10 | 7 | 7 | 12 | -2 | 2 | 12,0 | 9,5 | 9,0 | 7,5 |
" 80 " 125 | 14 | 9 | 8 | 15 | 2 | 6 | 16,0 | 12,5 | 12,0 | 9,5 |
" 125 " 200 | 18 | 11 | 9 | 18 | 8 | 12 | 21,0 | 17,5 | 15,0 | 11,5 |
" 200 " 315 | 23 | 14 | 12 | 22 | 12 | 16 | 25,5 | 21,0 | 19,5 | 15,0 |
" 315 " 500 | 30 | 18 | 15 | 27 | 20 | 24 | 33,0 | 27,0 | 25,0 | 19,0 |
" 500 " 710 | 38 | 22 | 18 | 33 | 28 | 32 | 41,0 | 33,0 | 31,0 | 23,0 |
" 710 " 1000 | 48 | 28 | 22 | 40 | 38 | 42 | 50,0 | 40,0 | 38,0 | 28,0 |
<1> Значения для ZR должны быть внесены в таблицу 10 с учетом знака; т.е. отрицательные значения в формуле, приведенные в таблице 10, становятся положительными. Значение со знаком минус для ZR означает, что ZR находится вне поля допуска Td2 (рисунок 7). <2> При расчете размеров резьбовых калибров КПР-ПР (2); У-ПР (5); У-ПР (8); У-НЕ (10); КНЕ-ПР (12); У-НЕ (15); У-СР (31); У-СР1 (32); У-СР2 (33); СР (35); СР1 (36) и СР2 (37) допускается увеличение наименьшего предельного размера среднего диаметра резьбы калибров на значение до ТСР/2 для обеспечения резерва на износ. | ||||||||||
P, мм | P, мм | ||||||||
Степень точности резьбы | Степень точности резьбы | ||||||||
2 | 3 - 10 | 2 | 3 - 10 | 2 | 3 - 10 | 2 | 3 - 10 | ||
0,20 | - | +/- 60' | - | +/- 60' | 1,25 | +/- 8' | +/- 13' | +/- 8' | +/- 16' |
0,25 | +/- 48' | +/- 48' | 1,50 | +/- 12' | |||||
0,30 | +/- 40' | +/- 40' | 1,75 | +/- 7' | +/- 11' | +/- 7' | |||
0,35 | +/- 35' | +/- 35' | 2,00 | +/- 10' | +/- 14' | ||||
0,40 | +/- 31' | +/- 31' | 2,50 | +/- 6' | +/- 6' | ||||
0,45 | +/- 26' | +/- 26' | 3,00 | +/- 9' | +/- 13' | ||||
0,50 | +/- 25' | +/- 25' | 3,50 | - | - | +/- 12' | |||
0,60 | +/- 21' | +/- 21' | 4,00 | +/- 8' | +/- 11' | ||||
0,70 | +/- 18' | +/- 18' | 4,50 | ||||||
0,75 | +/- 17' | +/- 17' | 5,00 | - | |||||
0,80 | +/- 12' | +/- 16' | +/- 12' | +/- 16' | 5,50 | +/- 10' | |||
1,00 | +/- 10' | +/- 15' | +/- 10' | 6,00 | |||||
8,00 | |||||||||
Длина резьбы, рабочей части калибров, мм | TP, мкм, для резьбы степени точности | |
2 | 3 - 10 | |
До 12 | 3 | 5 |
Св. 12 " 32 | 4 | 5 |
" 32 " 50 | 5 | 6 |
" 50 " 105 | 6 | 7 |
Примечания 1 Значение TP относится к расстоянию между любыми витками резьбы калибра. 2 Действительное отклонение может быть со знаком минус или плюс. | ||


Td | H2/2 | HP/2 | Z2 |
До 85 | 4 | 1 | 8 |
Св. 85 " 140 | 5 | 1,5 | 20 |
" 140 " 335 | 8 | 2 | 38 |
Св. 335 до 850 | 15 | 3 | 54 |
" 850 " 1180 | 21 | 4 | 60 |
TD1 | H1/2 | Z1 |
До 100 | 4 | 9 |
Св. 100 " 180 | 5 | 22 |
" 180 " 375 | 8 | 38 |
" 375 " 710 | 13 | 52 |
" 710 " 1600 | 23 | 65 |
Обозначение калибра | Наименование и назначение калибра | Номер рисунка | Наружный диаметр | Средний диаметр | Внутренний диаметр | |||
Номин. | Пред. откл. | Номин. | Пред. откл. | Номин. | Пред. откл. | |||
ПР (1) | Резьбовой проходной нерегулируемый калибр-кольцо | По канавке или радиусу, не менее ![]() | d2 + esd2 - ZR | +/- TR/2 | d1 + esd1 | +/- TR/2 | ||
КПР-ПР (2) | Резьбовой контрольный проходной калибр-пробка для нового резьбового проходного нерегулируемого калибра-кольца | d + esd | +/- TPL См. примечание 6 | d2 + esd2 - ZR - m | +/- TCP/2 | По канавке или радиусу, не более ![]() | ||
КПР-НЕ (3) | Резьбовой контрольный непроходной калибр-пробка для нового резьбового проходного нерегулируемого калибра-кольца | ![]() | +/- TPL/2 | ![]() | +/- TCP/2 | По канавке или радиусу, не более ![]() | ||
ПР (4) | Резьбовой проходной регулируемый калибр-кольцо | По канавке или радиусу, не менее ![]() | Не регламентированы, а определяются калибрами У-ПР (5) и КПР-НЕ (3) | d1 + esd1 | +/- TR/2 | |||
У-ПР (5) | Резьбовой установочный калибр-пробка для резьбового проходного регулируемого калибра-кольца | d + esd | +/- TPL | ![]() | +/- TCP/2 | По канавке или радиусу, не более ![]() | ||
К-И (6) | Резьбовой контрольный калибр-пробка для контроля износа резьбовых проходных нерегулируемого и регулируемого калибров-колец | d2 + esd2 - ZR + WGO + 2F1 См. примечание 4 | +/- TPL/2 | d2 + esd2 - ZR + WGO | +/- TCP/2 | По канавке или радиусу, не более ![]() | ||
ПР (7) | Резьбовой проходной калибр-скоба | Размеры и предельные отклонения не регламентированы, а определяются калибрами У-ПР (8) и КПР-НЕ (3). Радиальное биение роликов не более 5 мкм. | ||||||
У-ПР (8) | Резьбовой установочный калибр-пробка для резьбового проходного калибра-скобы | d2 + esd | +/- TPL | d2 + esd2 - ZR - m | +/- TCP/2 | По канавке или радиусу, не более ![]() | ||
НЕ (9) | Резьбовой непроходной калибр-скоба | Размеры и предельные отклонения не регламентированы, а определяются калибрами У-НЕ (10) и КНЕ-НЕ (13). Радиальное биение роликов не более 5 мкм. Исполнение ролика в соответствии с 4.8. | ||||||
У-НЕ (10) | Резьбовой установочный калибр-пробка для резьбового непроходного калибра-скобы | d + esd - Td2 | +/- TPL | ![]() | +/- TCP/2 | По канавке или радиусу, не более ![]() | ||
НЕ (11) | Резьбовой непроходной нерегулируемый калибр-кольцо | По канавке или радиусу, не менее ![]() | ![]() | +/- TR/2 | ![]() | +/- TR | ||
КНЕ-ПР (12) | Резьбовой контрольный проходной калибр-пробка для нового резьбового непроходного нерегулируемого калибра-кольца | d2 + esd | +/- TPL | ![]() | +/- TCP/2 | По канавке или радиусу, не более ![]() | ||
КНЕ-НЕ (13) | Резьбовой контрольный непроходной калибр-пробка для нового резьбового непроходного нерегулируемого калибра-кольца | d + esd - Td2 | +/- TPL | d2 + esd2 - Td2 | +/- TCP/2 | По канавке или радиусу, не более ![]() | ||
НЕ (14) | Резьбовой непроходной регулируемый калибр-кольцо | По канавке или радиусу, не менее ![]() | Не регламентированы, а определяются калибрами У-НЕ (15) и КНЕ-НЕ (13) | ![]() | +/- TR | |||
У-НЕ (15) | Резьбовой установочный калибр-пробка для резьбового непроходного регулируемого калибра-кольца | ![]() | +/- TPL | ![]() | +/- TCP/2 | По канавке или радиусу, не более ![]() | ||
КИ-НЕ (16) | Резьбовой контрольный калибр-пробка для контроля износа резьбовых непроходных нерегулируемого и регулируемого калибров-колец | ![]() См. примечание 4 | +/- TPL | ![]() | +/- TCP/2 | По канавке или радиусу, не более ![]() | ||
Примечания 1 Числовые значения es следует принимать с учетом их знаков. 2 Формулы для расчета размеров и предельные отклонения среднего диаметра калибров-колец ПР (1) и НЕ (11) приведены для координирования полей допусков контрольных калибров и контроля калибров-колец измерительными приборами. 3 При расчете исполнительных размеров калибров следует определять наименьший предельный размер для калибров-колец и наибольший предельный размер для контрольных калибров-пробок. 4 Значения WGO и WNG калибров-пробок К-И (6) и КИ-НЕ (16) следует принимать по таблице 5 для калибров-колец. 5 При расчете размеров калибров-колец ПР (1) с номинальным диаметром резьбы свыше 160 мм по согласованию с заказчиком допускается увеличение допуска внутреннего диаметра +/- TR/2 до +/- TR. 6 Если у калибров-колец НЕ (11) и НЕ (14) при малом шаге резьбы и большой величине допуска среднего диаметра оказывается невозможным выполнить наружный диаметр , чем наибольший наружный диаметр контролируемой резьбы, то его следует уменьшить настолько, чтобы у впадины резьбы имелось притупление размером не более 0,03 мм. То же относится и к наружному диаметру контрольных калибров-пробок.7 Вследствие возможных случаев неправильной оценки годности резьб с малыми шагами калибры-кольца НЕ (11) и НЕ (14) рекомендуется применять для контроля резьб с допусками среднего диаметра степеней точности 4-й и 6-й - начиная с шага 0,4 мм, степени точности 7-й - начиная с шага 0,5 мм, степени точности 8-й - начиная с шага 1,0 мм и степеней точности 9-й и 10-й - начиная с шага 1,25 мм. Резьбы с меньшими шагами рекомендуется проверять измерительными приборами. 8 Если внутренний диаметр калибров-колец НЕ (11) и НЕ (14) получается меньше внутреннего диаметра калибров-колец ПР (1) и ПР (4), то за наименьший внутренний диаметр калибров-колец НЕ (11) и НЕ (14) принимается соответствующий наименьший внутренний диаметр калибров-колец ПР (1) и ПР (4) и с положительным предельным отклонением, равным допуску внутреннего диаметра калибров-колец НЕ (11) и НЕ (14). 9 Вместо 10 При контроле резьб степеней точности 7-й - 10-й на деталях из пластмасс, полученных литьем под давлением или прессованием, по согласованию с заказчиком допускается применение только резьбового проходного и гладкого непроходного калибров. | ||||||||
Обозначение калибра | Наименование и назначение калибра | Номер рисунка | Наружный диаметр | Средний диаметр | Внутренний диаметр | ||||
Номин. | Пред. откл. | Номин. | Пред. откл. | Предел износа | Номин. | Пред. откл. | |||
ПР (21) | Резьбовой проходной калибр-пробка | D + EID + ZPL | +/- TPL | D2 + EID2 + ZPL | +/- TPL/2 | D2 + EID2 + ZPL - WGO | По канавке или радиусу, не более ![]() | ||
НЕ (22) | Резьбовой непроходной калибр-пробка | ![]() | +/- TPL | ![]() | +/- TPL/2 | ![]() | По канавке или радиусу, не более ![]() | ||
Примечания 1 При расчете исполнительных размеров калибров следует определять наибольший предельный размер. 2 Если у калибров-пробок НЕ (22) при малом шаге резьбы и большой величине допуска среднего диаметра оказывается невозможным выполнить внутренний диаметр меньшим, чем наименьший внутренний диаметр контролируемой резьбы, то его следует увеличить настолько, чтобы у впадин резьбы имелось притупление размером не более 0,03 мм. 3 Вследствие возможных случаев неправильной оценки годности резьб с малыми шагами калибр-пробку НЕ (22) рекомендуется применять для контроля резьб с допусками среднего диаметра степеней точности 4-й, 5-й и 6-й - начиная с шага 0,4 мм, степени точности 7-й - начиная с шага 0,5 мм и степеней точности 8-й и 9-й - начиная с шага 0,8 мм. Резьбы с меньшими шагами рекомендуется проверять измерительными приборами. 4 Вместо | |||||||||
Обозначение калибра | Наименование и назначение калибра | Номер рисунка | Наружный диаметр | Средний диаметр | Внутренний диаметр | |||
Номин. | Пред. откл. | Номин. | Пред. откл. | Номин. | Пред. откл. | |||
ПР (26) | Резьбовой проходной калибр-скоба (с укороченным профилем резьбы) | Размеры и предельные отклонения не регламентированы, а определяются калибрами КПР-ПР (28) и КПР-НЕ (29). Радиальное биение роликов не более 5 мкм. Исполнение ролика в соответствии с 4.8. | ||||||
ПР (27) | Резьбовой проходной нерегулируемый калибр-кольцо (с укороченным профилем резьбы) | По канавке или радиусу, не менее ![]() | d2 + esd2 + m | +/- TR/2 | d2 + esd2 + m - 2F1 | +/- TR | ||
КПР-ПР (28) | Резьбовой контрольный проходной калибр-пробка для нового резьбового проходного нерегулируемого калибра-кольца и резьбовой установочный калибр-пробка для резьбового проходного калибра-скобы | d + esd | +/- TPL | d2 + esd2 | +/- TCP/2 | По канавке или радиусу, не более ![]() | ||
КПР-НЕ (29) | Резьбовой контрольный непроходной калибр-пробка (с полным профилем резьбы) для нового резьбового проходного нерегулируемого калибра-кольца | d2 + esd - Td2 | +/- TPL | ![]() | +/- TCP/2 | По канавке или радиусу, не более ![]() | ||
К-И (30) | Резьбовой контрольный калибр-пробка (с полным профилем резьбы) для контроля износа резьбового проходного нерегулируемого калибра-кольца | ![]() | +/- TPL | d2 + esd2 + m + WGO | +/- TCP/2 | По канавке или радиусу, не более ![]() | ||
У-СР (31) | Резьбовой установочный калибр-пробка для измерительного прибора, применяемого для сортировки резьбы на I или II группы при сортировке на две группы | ![]() | +/- TPL | ![]() | +/- TCP/2 | По канавке или радиусу, не более ![]() | ||
У-СР1 (32) | Резьбовой установочный калибр-пробка для измерительного прибора, применяемого для сортировки резьбы на I и II группы при сортировке на три группы | ![]() | +/- TPL | ![]() | +/- TCP/2 | По канавке или радиусу, не более ![]() | ||
У-СР2 (33) | Резьбовой установочный калибр-пробка для измерительного прибора, применяемого для сортировки резьбы на II и III группы при сортировке на три группы | ![]() | +/- TPL | ![]() | +/- TCP/2 | По канавке или радиусу, не более ![]() | ||
Примечания 1 При расчете исполнительных размеров калибров следует определять наименьший предельный размер для калибров-колец и наибольший предельный размер для контрольных калибров-пробок. 2 Вместо | ||||||||
Обозначение калибра | Наименование и назначение калибра | Номер рисунка | Наружный диаметр | Средний диаметр | Внутренний диаметр | ||||
Номин. | Пред. откл. | Номин. | Пред. откл. | Предел износа | Номин. | Пред. откл. | |||
ПР (34) | Резьбовой проходной калибр-пробка (с укороченным профилем резьбы) | D2 + EID2 + 2F1 | +/- TPL | D2 + EID2 | +/- TPL/2 | D2 + EID2 - WGO | По канавке или радиусу, не более ![]() | ||
СР (35) | Резьбовой сортировочный калибр-пробка для сортировки резьбы на I и II группы при сортировке на две группы | ![]() | +/- TPL | ![]() | +/- TCP/2 | Допускается увеличение наименьшего предельного размера среднего диаметра резьбы калибра на значение до TCP/2 для обеспечения резерва на износ | По канавке или радиусу, не более ![]() | ||
СР1 (36) | Резьбовой сортировочный калибр-пробка для сортировки резьбы на I и II группы при сортировке на три группы | ![]() | +/- TPL | ![]() | +/- TCP/2 | По канавке или радиусу, не более ![]() | |||
СР2 (37) | Резьбовой сортировочный калибр-пробка для сортировки резьбы на II и III группы при сортировке на три группы | ![]() | +/- TPL | ![]() | +/- TCP/2 | По канавке или радиусу, не более ![]() | |||
Примечания 1 При расчете исполнительных размеров калибров следует определять наибольший предельный размер. 2 Вместо | |||||||||
Обозначение калибра | Наименование и назначение калибра | Диаметр калибра, мм | |
Номин. | Пред. откл. | ||
ПР (17) | Гладкий проходной калибр-кольцо или гладкий проходной калибр-скоба | d + esd - Z2 | +/- H2/2 |
НЕ (18) | Гладкий непроходной калибр-скоба или гладкий непроходной калибр-кольцо | d + esd - Td | +/- H2/2 |
К-ПР (19) | Гладкий контрольный проходной калибр-пробка для нового гладкого проходного калибра-скобы | d + esd - Z2 | +/- HP/2 |
К-НЕ (20) | Гладкий контрольный проходной калибр-пробка для нового гладкого непроходного калибра-скобы | d + esd - Td | +/- HP/2 |
К-И (25) | Гладкий контрольный калибр-пробка для контроля износа гладкого проходного калибра-скобы | d + esd | +/- HP/2 |
Примечания 1 Значение es следует принимать с учетом их знаков. 2 При расчете исполнительных размеров калибров следует определять наименьший предельный размер для калибров-колец (скоб) и наибольший предельный размер для калибров-пробок. | |||
Обозначение калибра | Наименование и назначение калибра | Диаметр калибра, мм | |
Номин. | Пред. откл. | ||
ПР (23) | Гладкий проходной калибр-пробка | D1 + EID1 + Z1 | +/- H1/2 |
НЕ (24) | Гладкий непроходной калибр-пробка | D1 + EID1 + TD1 | +/- H1/2 |
Примечание - При расчете исполнительных размеров калибров следует определять наименьший предельный размер для калибров-колец (скоб) и наибольший предельный размер для калибров-пробок. | |||
Обозначение ссылочного межгосударственного стандарта | Обозначение и наименование ссылочного международного стандарта и условное обозначение степени его соответствия ссылочному межгосударственному стандарту |
- | |
ГОСТ 4608-81 | - |
ИСО 261-1998 "Метрическая резьба ИСО общего применения - Диаметры и шаги" (NEQ) | |
ИСО 68-1:1998 "Резьбы ИСО общего назначения - Основной профиль - Часть 1: Метрическая резьба" (NEQ) | |
- | |
ИСО 965-1:1998 "Резьба метрическая ИСО общего назначения - Допуски - Часть 1: Общие положения и основные данные" ИСО 965-3:1998 "Резьба метрическая ИСО общего назначения - Допуски - Часть 3: Предельные отклонения для конструкционных резьб" (NEQ) | |
ГОСТ 16967-81 | - |
ИСО 724:1993 "Резьба метрическая ИСО общего назначения. Основные размеры" (MOD) | |
ГОСТ 24706-81 | - |
- | |
ГОСТ 24939-81 | - |