Главная // Актуальные документы // ГОСТ (Государственный стандарт)
СПРАВКА
Источник публикации
М.: Издательство стандартов, 1998
Примечание к документу
Документ утратил силу с 1 июля 2015 года в связи с изданием Приказа Росстандарта от 17.02.2015 N 91-ст. Взамен введен в действие ГОСТ 33184-2014.

С 1 июля 2003 года до вступления в силу технических регламентов акты федеральных органов исполнительной власти в сфере технического регулирования носят рекомендательный характер и подлежат обязательному исполнению только в части, соответствующей целям, указанным в пункте 1 статьи 46 Федерального закона от 27.12.2002 N 184-ФЗ.

Ограничение срока действия снято по Протоколу N 4-93 Межгосударственного Совета по стандартизации, метрологии и сертификации ("ИУС", N 4, 1994).

Введен в действие с 1 января 1975 года.

Взамен ГОСТ 8193-56.
Название документа
"ГОСТ 8193-73. Накладки двухголовые к рельсам типов Р65 и Р75. Конструкция и размеры"
(утв. Постановлением Госстандарта СССР от 14.09.1973 N 2159)
(ред. от 01.12.1989)

"ГОСТ 8193-73. Накладки двухголовые к рельсам типов Р65 и Р75. Конструкция и размеры"
(утв. Постановлением Госстандарта СССР от 14.09.1973 N 2159)
(ред. от 01.12.1989)


Содержание


Утвержден и введен в действие
Постановлением Госстандарта СССР
от 14 сентября 1973 г. N 2159
МЕЖГОСУДАРСТВЕННЫЙ СТАНДАРТ
НАКЛАДКИ ДВУХГОЛОВЫЕ К РЕЛЬСАМ ТИПОВ Р65 И Р75
КОНСТРУКЦИЯ И РАЗМЕРЫ
Double-headed fich plates for P65, P75 rails.
Design and dimensions
ГОСТ 8193-73
Список изменяющих документов
(в ред. Изменения N 1, утв. в ноябре 1979 г.,
Изменения N 2, утв. в апреле 1981 г.,
Изменения N 3, утв. в декабре 1989 г.)
Группа В42
Взамен ГОСТ 8193-56
Срок введения в действие
1 января 1975 года
Разработан и внесен Министерством путей сообщения СССР.
Разработчики: В.Ф. Афанасьев, канд. техн. наук; К.И. Красиков, канд. техн. наук; А.К. Гучков; А.К. Кузнецов; В.И. Гришина; С.И. Рудюк; В.Ф. Коваленко; Л.Ф. Кузнецов; В.И. Багузин.
Утвержден и введен в действие Постановлением Государственного комитета стандартов Совета Министров СССР от 14.09.73 N 2159.
Стандарт соответствует СТ СЭВ 1669-79 в части конструкции и размеров.
Ссылочные нормативно-технические документы
──────────────────────────────────────────────┬───────────────────
Обозначение НТД, на которые дана ссылка │ Номер пункта
──────────────────────────────────────────────┼───────────────────
ГОСТ 4133-735
СТ СЭВ 1669-79 │1
Переиздание (август 1998 г.) с Изменениями N 1, 2, 3, утвержденными в ноябре 1979 г., апреле 1981 г., декабре 1989 г. (ИУС 12-79, 7-81, 4-90).
1. Настоящий стандарт распространяется на стыковые двухголовые накладки к железнодорожным рельсам типов Р65 и Р75.
Настоящий стандарт соответствует СТ СЭВ 1669 в части конструкции и размеров.
(Измененная редакция, Изм. N 2).
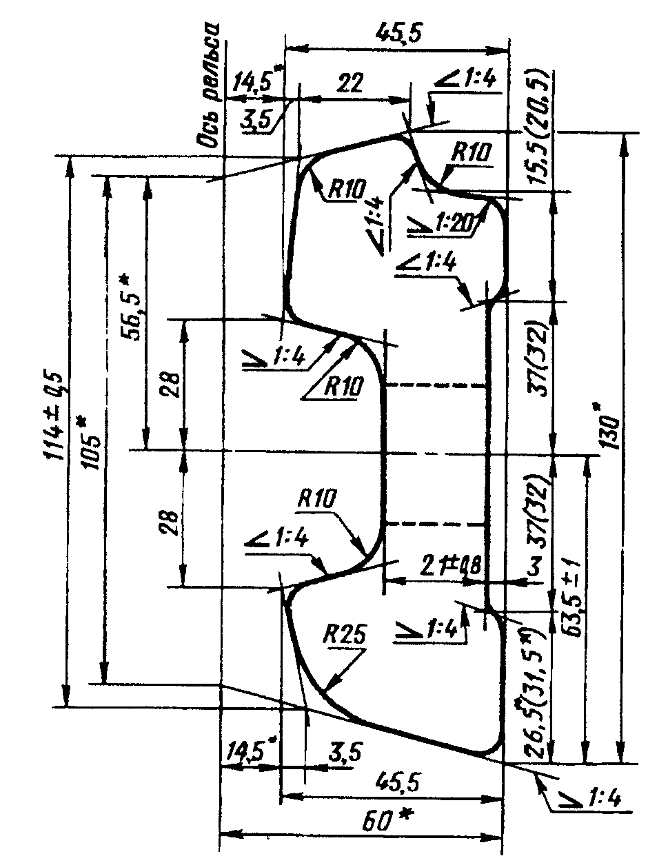
2. Конструкции и размеры поперечного сечения накладок должны соответствовать указанным на черт. 1.
-------------------------------
<*> Размеры для справок.
Черт. 1
Примечания. 1. Радиусы закруглений, не указанные на чертеже, выполняют размером (4 +/- 2,0) мм.
2. Размеры, на которые не установлены предельные отклонения в готовых накладках, должны обеспечиваться технологией. Предельные отклонения не должны превышать +/- 1,0 мм.
3. В скобках указаны размеры для накладок, не рекомендуемых к применению.
(Измененная редакция, Изм. N 1, 2, 3).
3. Длина накладок, расположение и размеры болтовых отверстий с наружной стороны должны соответствовать указанным на черт. 2 и 3.
Исполнение 1
Исполнение 2
-------------------------------
<*> Размеры для справок.
Черт. 2
Исполнение 3
Исполнение 4
Черт. 3
Исполнение накладок устанавливают по согласованию между изготовителем и потребителем.
Примечание. Размеры отверстий указаны со стороны продавливания.
Пример условного обозначения накладки к рельсам типов Р65 и Р75 в исполнении 1:
Накладка 1Р65 ГОСТ 8193-73
То же, в исполнении 2:
Накладка 2Р65 ГОСТ 8193-73.
(Измененная редакция, Изм. N 1, 2).
4. Расчетные данные конструкции накладок приведены в Приложении 1.
5. Технические требования - по ГОСТ 4133.
4, 5. (Введены дополнительно, Изм. N 2).
6. (Исключен, Изм. N 1).
7. (Исключен, Изм. N 2).
Приложение 1
Справочное
РАСЧЕТНЫЕ ДАННЫЕ
Площадь поперечного сечения проката, см2 ..........38,45 (38,75)
Расстояние до центра тяжести, см:
от верха накладки .................................6,42
от низа накладки ..................................6,33
от внешней грани ..................................2,01
Угол наклона осей к горизонту:
Главной ...........................................-3° 22'
Нейтральной .......................................27° 46'
Момент инерции, см4:
относительных центральных осей:
горизонтальной ....................................524,3 (528,0)
вертикальной ......................................52,0 (53,3)
центробежный ......................................-27,8 (-28,05)
относительно главных осей:
наибольший ........................................526,4 (530,0)
наименьший ........................................51,2 (51,6)
Момент сопротивления, см3:
по верху ..........................................82,4 (82,5)
по низу ...........................................83,6 (83,8)
по внешней грани (наибольший) .....................26,4 (26,5)
Масса, кг:
1 м проката .......................................30,18 (30,42)
накладки исполнения 1 .............................29,26 (29,50)
накладки исполнения 2 .............................23,59 (23,78)
накладки исполнения 3 .............................23,74 (23,93)
накладки исполнения 4 .............................26,63 (26,85)
Примечания. 1. Масса определена исходя из номинальных размеров и относительной плотности стали 7,85.
2. В скобках указаны конструктивные расчетные данные для накладок, изготовляемых на нереконструированных прокатных станах.
Приложение 1. (Измененная редакция, Изм. N 3).
Приложение 2. (Исключено, Изм. N 3).