Главная // Актуальные документы // ГОСТ (Государственный стандарт)СПРАВКА
Источник публикации
М.: Стандартинформ, 2006
Примечание к документу
Документ утратил силу с 01.07.2015 в связи с изданием
Приказа Росстандарта от 17.02.2015 N 84-ст. Взамен введен в действие
ГОСТ 11530-2014.
Документ
введен в действие с 01.01.1995.
Взамен ГОСТ 11530-76.
Название документа
"ГОСТ 11530-93. Межгосударственный стандарт. Болты для рельсовых стыков железнодорожного пути. Технические условия"
(введен в действие Постановлением Госстандарта России от 02.06.1994 N 160)
"ГОСТ 11530-93. Межгосударственный стандарт. Болты для рельсовых стыков железнодорожного пути. Технические условия"
(введен в действие Постановлением Госстандарта России от 02.06.1994 N 160)
Постановлением Комитета
Российской Федерации
по стандартизации,
метрологии и сертификации
от 2 июня 1994 г. N 160
МЕЖГОСУДАРСТВЕННЫЙ СТАНДАРТ
БОЛТЫ ДЛЯ РЕЛЬСОВЫХ СТЫКОВ ЖЕЛЕЗНОДОРОЖНОГО ПУТИ
ТЕХНИЧЕСКИЕ УСЛОВИЯ
Rail joint bolts. Specifications
ГОСТ 11530-93
Дата введения
1 января 1995 года
1 РАЗРАБОТАН Госстандартом России
ВНЕСЕН Техническим секретариатом Межгосударственного совета по стандартизации, метрологии и сертификации
2 ПРИНЯТ Межгосударственным советом по стандартизации, метрологии и сертификации 21 октября 1993 г.
За принятие проголосовали:
Наименование государства | Наименование национального органа по стандартизации |
Республика Беларусь | Белстандарт |
Республика Кыргызстан | Кыргызстандарт |
Республика Молдова | Молдовастандарт |
Российская Федерация | Госстандарт России |
Республика Таджикистан | Таджикстандарт |
Туркменистан | Туркменглавгосинспекция |
Украина | Госстандарт Украины |
3 Постановлением Комитета Российской Федерации по стандартизации, метрологии и сертификации от 2 июня 1994 г. N 160 межгосударственный стандарт ГОСТ 11530-93 введен в действие в качестве государственного стандарта Российской Федерации с 1 января 1995 г.
4 ВЗАМЕН ГОСТ 11530-76
5 ПЕРЕИЗДАНИЕ. Июль 2006 г.
ССЫЛОЧНЫЕ НОРМАТИВНО-ТЕХНИЧЕСКИЕ ДОКУМЕНТЫ
Обозначение НТД, на который дана ссылка | Номер пункта |
| |
| |
| |
| |
| |
| |
| |
| |
| |
| | ИС МЕГАНОРМ: примечание. ГОСТ 17769-83 утратил силу на территории Российской Федерации с 01.01.2011 в связи с введением в действие ГОСТ Р ИСО 3269-2009 (Приказ Ростехрегулирования от 10.12.2009 N 696-ст). | |
|
ГОСТ 17769-83 | |
| |
| |
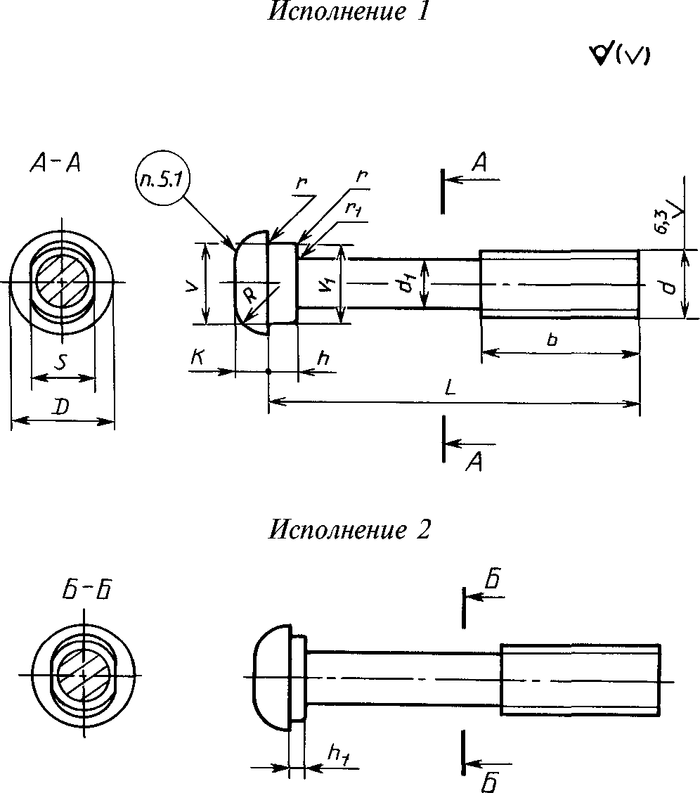
Настоящий стандарт распространяется на болты с круглой головкой и овальным подголовком, класса точности C, применяемые для скрепления двухголовыми накладками стыков железнодорожных рельсов типов Р38, Р43, Р50, Р65 и Р75, а также на болты с уменьшенной высотой овального подголовка для изолирующих стыков указанных типов рельсов.
Требования настоящего стандарта являются обязательными.
При поставке болтов на экспорт, как отдельных изделий, следует учитывать требования настоящего стандарта и
ГОСТ 16018.
1.1 Конструкция и размеры болтов должны соответствовать указанным на рисунке и в
таблице 1.
R = K; d1 ~= dср, dср - средний диаметр резьбы
мм
d | М22 | М24 | М27 |
D (пред. откл. +/- 1,25) | 37 | 40 | 46 |
K (пред. откл. +/- 0,9) | 13 | 14 | 17 |
Допуск симметричности головки относительно оси стержня в диаметральном выражении, не более | 2,0 |
V | Пред. откл. -1,0 | 31 | 33 | 38 |
V1 | 30 | 32 | 37 |
S (пред. откл. -2,1) | 22 | 24 | 27 |
h | Пред. откл. -1,8 | 12 |
h1 | 6 |
r | От 1 до 2 |
r1, не менее | 3 |
b (пред. откл. +6) | 56 | 66 |
Шаг резьбы, P | 2,5 | 3,0 |
L исполнения (пред. откл. +6) | 1 | 135 | 150 | 130; 160 |
2 | 140 | 140; 160 | 150; 180 |
Примеры условного обозначения
Болт класса точности C, исполнения 1, диаметром резьбы d = 24 мм, с крупным шагом резьбы, с полем допуска 8g, длиной 150 мм, класса прочности 8.8, из стали марки 35:
Болт М24-8g x 150.88.35 ГОСТ 11530-93
То же, исполнения 2, длиной 160 мм, класса прочности 10.9 из стали марки 40Х:
Болт 2М24-8g x 160.109.40Х ГОСТ 11530-93
2.1 Болты для рельсовых стыков должны быть изготовлены в соответствии с требованиями настоящего стандарта и
ГОСТ 1759.0.
2.2 Болты должны изготовляться класса прочности 8.8 по
ГОСТ 1759.4 из стали марки 35 и класса прочности 10.9 по
ГОСТ 1759.4 из стали марки 40Х или других марок, обеспечивающих получение болтов классов прочности 8.8 и 10.9.
2.4 Поле допуска 8g - по
ГОСТ 16093, допускается поле допуска 8h.
2.5 Допускается скругление кромок головки радиусом до 1,5 мм, не выводящее диаметр головки за предельные отклонения, заусенец или облой размером до 1,5 мм, расположенный по периметру головки болта перпендикулярно к его оси.
2.6 Допуск отклонений формы и расположения поверхностей - по
ГОСТ 1759.1.
2.7. Допускаемые дефекты поверхности болтов - по
ГОСТ 1759.2.
2.9 Болты должны быть укомплектованы гайками по
ГОСТ 11532.
Болты М22 допускается укомплектовывать гайками по
ГОСТ 16018.
Допускается упаковка в тару болтов совместно с гайками одного типоразмера.
2.10 На головке каждого болта должна быть нанесена маркировка, содержащая товарный знак или условное обозначение предприятия-изготовителя.
На болтах класса прочности 10.9 наносится дополнительно буква "П".
Размеры знаков маркировки устанавливает изготовитель.
2.11 Знаки маркировки должны быть отчетливо видны невооруженным глазом независимо от качества обработки поверхности.
2.12. Упаковка болтов и маркировка тары - по
ГОСТ 18160.
| | ИС МЕГАНОРМ: примечание. ГОСТ 17769-83 утратил силу на территории Российской Федерации с 01.01.2011 в связи с введением в действие ГОСТ Р ИСО 3269-2009 (Приказ Ростехрегулирования от 10.12.2009 N 696-ст). | |
3.1 Правила приемки - по ГОСТ 17769 для изделий класса точности C.
3.2 Испытание механических свойств болтов должно проводиться по требованию потребителя по
ГОСТ 1759.4.
3.3 Проверке на временное сопротивление разрыву методом разрушающего контроля должно подвергаться - 5 болтов, а методом неразрушающего - 8 болтов от предъявляемой партии.
4.1 Контроль внешнего вида болтов должен проводиться без применения увеличительных приборов.
4.4 Контроль временного сопротивления разрыву - по
ГОСТ 1497 и
п. 6.2 ГОСТ 1759.4.
4.6 Болт считается выдержавшим испытания на растяжение

, если разрушение происходит по стержню или резьбе, но не в месте соединения головки со стержнем при нагрузках, указанных в таблице 2.
Таблица 2
Диаметр резьбы болта | Минимальная разрушающая нагрузка для болтов классов прочности, Н (кгс) |
8.8 | 10.9 |
М22 | 252000 (25700) | 315000 (32100) |
М24 | 293000 (29900) | 367000 (37400) |
М27 | 381000 (38800) | 477000 (48600) |
Транспортирование болтов совместно с гайками должно производиться любым видом транспорта, кроме железнодорожных платформ.
Допускается транспортирование болтов без упаковки в тару.
(справочное)
ТЕОРЕТИЧЕСКАЯ МАССА 1000 БОЛТОВ ДЛЯ РЕЛЬСОВЫХ СТЫКОВ, кг
Таблица 3
Размеры болтов | Масса |
М22 x 135 | 448 |
М24 x 150 | 585 |
М27 x 130 | 696 |
М27 x 160 | 818 |
2М22 x 140 | 449 |
2М24 x 140 | 522 |
2М24 x 160 | 592 |
2М27 x 150 | 750 |
2М27 x 180 | 872 |
Примечание - Масса болтов определена, исходя из номинальных размеров и плотности стали 7850 кг/м3. |