Главная // Актуальные документы // ГОСТ (Государственный стандарт)СПРАВКА
Источник публикации
М.: ИПК Издательство стандартов, 1997
Примечание к документу
Документ утратил силу с 1 июля 2015 года в связи с изданием
Приказа Росстандарта от 17.02.2015 N 87-ст. Взамен введен в действие
ГОСТ 16017-2014.
С 1 июля 2003 года до вступления в силу технических регламентов акты федеральных органов исполнительной власти в сфере технического регулирования носят рекомендательный характер и подлежат обязательному исполнению только в части, соответствующей целям, указанным в
пункте 1 статьи 46 Федерального закона от 27.12.2002 N 184-ФЗ.
Ограничение срока действия снято Постановлением Госстандарта СССР от 03.06.1992 N 523.
Введен в действие с 1 января 1981 года.
Взамен ГОСТ 16017-70.
Название документа
"ГОСТ 16017-79*. Болты закладные для рельсовых скреплений железнодорожного пути. Конструкция и размеры. Технические требования"
(введен в действие Постановлением Госстандарта СССР от 26.04.1979 N 1547)
(ред. от 01.06.1992)
"ГОСТ 16017-79*. Болты закладные для рельсовых скреплений железнодорожного пути. Конструкция и размеры. Технические требования"
(введен в действие Постановлением Госстандарта СССР от 26.04.1979 N 1547)
(ред. от 01.06.1992)
Введен в действие
Постановлением Госстандарта СССР
от 26 апреля 1979 г. N 1547
ГОСУДАРСТВЕННЫЙ СТАНДАРТ СОЮЗА ССР
БОЛТЫ ЗАКЛАДНЫЕ ДЛЯ РЕЛЬСОВЫХ СКРЕПЛЕНИЙ
ЖЕЛЕЗНОДОРОЖНОГО ПУТИ
КОНСТРУКЦИЯ И РАЗМЕРЫ. ТЕХНИЧЕСКИЕ ТРЕБОВАНИЯ
Inserted bolts for rail track fastenings.
Design and dimensions. Technical requirements
ГОСТ 16017-79*
| | Список изменяющих документов (в ред. Изменения N 1, утв. в мае 1981 г., Изменения N 2, утв. в декабре 1985 г., Изменения N 3, утв. в июне 1990 г., Изменения N 4, утв. в июне 1992 г.) | |
Взамен
ГОСТ 16017-70
Постановлением Государственного комитета СССР по стандартам от 26 апреля 1979 г. N 1547 срок введения установлен с 01.01.1981.
Постановлением Госстандарта от 03.06.1992 N 523 снято ограничение срока действия.
Переиздание (октябрь 1996 г.) с Изменениями N 1, 2, 3, 4, утвержденными в мае 1981 г., декабре 1985 г., июне 1990 г., июне 1992 г. (ИУС 8-81, 2-86, 10-90, 8-92).
Настоящий стандарт распространяется на закладные болты нормальной точности (класс точности В) и грубой точности (класс точности С), применяемые для прикрепления металлических подкладок или рельсов к железобетонным подрельсовым основаниям в рельсовых скреплениях.
При поставке закладных болтов для рельсовых скреплений на экспорт следует учитывать требования настоящего стандарта и
ГОСТ 16018-79, предъявляемые к этим болтам.
Требования настоящего стандарта являются обязательными.
(Измененная редакция, Изм. N 1, 4).
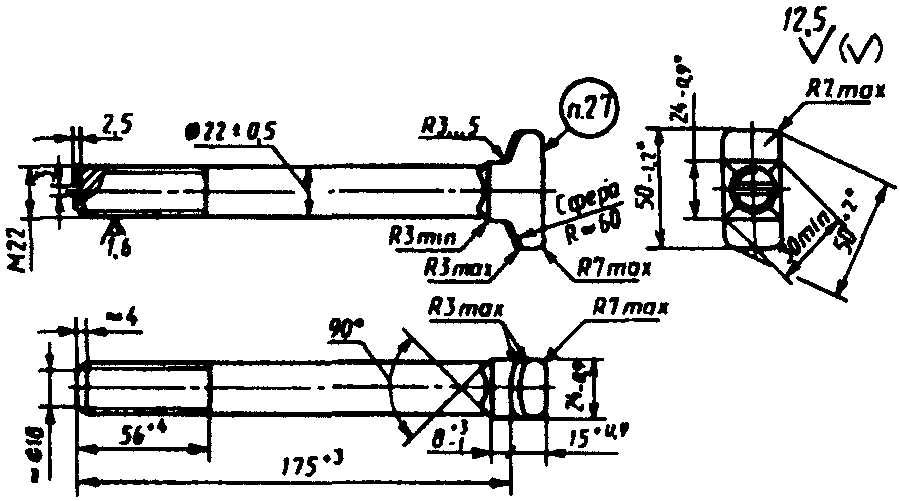
1.1. Конструкция и размеры закладных болтов должны соответствовать указанным на чертеже.
(класс точности В)
(класс точности С)
(класс точности С)
Вариант головки
Вариант указательной канавки

, где

- средний диаметр резьбы.
--------------------------------
<*> Размеры указаны с учетом высоты швов от разъема матриц, наплывов металла в углах подголовка и заусенцев от обсечки облоя.
Пример условного обозначения закладного болта класса точности В, исполнения 1, диаметром резьбы d = 22 мм, с крупным шагом резьбы, с полем допуска 8g, длиной 175 мм, класса прочности 3.6, из спокойной стали, с цинковым покрытием толщиной 15 мкм, хроматированным:
Болт М22-8g х 175.36.С.0115 ГОСТ 16017-79
То же, класса точности С, исполнения 2, из автоматной стали без цинкового покрытия:
Болт С2 М22-8g х 175.36.А ГОСТ 16017-79
(Измененная редакция, Изм. N 2, 3).
1.2. Допускается изготовление болтов длиной от 145 до 225 мм и длиной резьбы в пределах от 40 до 84 мм по согласованию потребителя с изготовителем. При этом длина болта должна назначаться кратной 10 мм, а длина резьбы кратной:
4 мм - при длине резьбы до 60 мм включ.;
6 мм - " " " св. 60 мм.
1.3. Вариант изготовления головки и профиль указательной канавки устанавливает предприятие-изготовитель.
(Измененная редакция, Изм. N 3).
2. ТЕХНИЧЕСКИЕ ТРЕБОВАНИЯ
2.1. Закладные болты должны изготовляться в соответствии с требованиями настоящего стандарта и
ГОСТ 1759.0-87 по рабочим чертежам, утвержденным в установленном порядке.
2.2. Механические свойства болтов должны соответствовать классу прочности 3.6, 4.8 или 5.8 по
ГОСТ 1759.4-87.
2.1, 2.2. (Измененная редакция, Изм. N 3).
2.3. Закладные болты должны иметь цинковое с хроматированием или пассивированием покрытие толщиной 9 - 18 мкм. Требования к покрытию - по
ГОСТ 9.301-86. По согласованию изготовителя с потребителем закладные болты могут изготавливаться без покрытия.
(Измененная редакция, Изм. N 1).
| | ИС МЕГАНОРМ: примечание. Взамен ГОСТ 24705-81 Приказом Ростехрегулирования от 02.03.2005 N 36-ст с 1 июля 2005 года введен в действие ГОСТ 24705-2004. | |
| | ИС МЕГАНОРМ: примечание. Взамен ГОСТ 16093-81 Приказом Ростехрегулирования от 02.03.2005 N 39-ст с 1 июля 2005 года введен в действие ГОСТ 16093-2004. | |
2.4. Резьба - по ГОСТ 24705-81. Поле допуска 8g - по ГОСТ 16093-81.
2.4а. Не допускается утолщение стержня болта под головкой более 1,0 мм на длине 25 мм.
(Введен дополнительно, Изм. N 2).
2.5. Смещение оси головки и подголовка относительно оси стержня болта не должно быть более 0,9 мм.
2.6. Допускается отклонение от перпендикулярности оси указательной канавки к большой оси головки болта до 5° и смещение оси канавки от диаметрального его положения до 2 мм.
Смещение канавки по меньшей оси не контролируется.
(Измененная редакция, Изм. N 3).
2.7. Маркировать: товарный знак или условное обозначение предприятия-изготовителя и год изготовления (две последние цифры).
Высота знаков маркировки - не менее 8 мм, толщина - не менее 1 мм, выпуклость - не менее 0,5 мм.
2.8. Масса 1000 болтов (справочная):
2. Изменение массы 1000 болтов при изменении их длины на 10 мм не должно быть более:
| | ИС МЕГАНОРМ: примечание. ГОСТ 17769-83 утратил силу на территории Российской Федерации с 1 января 2011 года в связи с введением в действие ГОСТ Р ИСО 3269-2009 (Приказ Ростехрегулирования от 10.12.2009 N 696-ст). | |
2.9. Правила приемки - по ГОСТ 17769-83.
Испытания механических свойств болтов должны проводиться по требованию потребителя в соответствии с
ГОСТ 1759.4-87.
Измерение твердости и испытание на разрыв на косой шайбе не проводятся.
Допуски размеров, формы и расположение поверхностей и методы их контроля - по
ГОСТ 1759.1-82.
(Измененная редакция, Изм. N 2, 3).
2.12. (Исключен, Изм. N 2).
Допускается транспортирование болтов и гаек без упаковки, при этом должна быть исключена возможность их смешивания.
2.15. Транспортирование болтов без упаковки на железнодорожных платформах не допускается.