Главная // Актуальные документы // Акт (форма)СПРАВКА
Источник публикации
М.: Стройиздат, 1983
Примечание к документу
Название документа
"Руководство по конструкциям опалубок и производству опалубочных работ"
"Руководство по конструкциям опалубок и производству опалубочных работ"
ПО КОНСТРУКЦИЯМ ОПАЛУБОК И ПРОИЗВОДСТВУ ОПАЛУБОЧНЫХ РАБОТ
Рекомендовано к изданию решением секции "Технология и механизация строительного производства" НТС ЦНИИОМТП Госстроя СССР.
Содержит описание рекомендуемых конструкций опалубок, характеристику материалов, применяемых для ее изготовления, принципы расчета опалубки, технологию опалубочных работ на строительной площадке, а также вспомогательные материалы по методике расчета опалубок.
Для инженерно-технических работников строительных организаций, а также работников научно-исследовательских и проектно-конструкторских организаций.
Динамическое развитие применения монолитных бетонных и железобетонных конструкций в различных сферах строительства требует постоянного совершенствования технологии работ, направленных на снижение всех видов затрат, повышение качества строительства и культуры производства.
Увеличение объемов строительства обусловило появление за последние годы качественно новых, более совершенных опалубок, с высокой степенью индустриализации и механизации опалубочных работ, повышением точности изготовления и монтажа опалубки.
Настоящее Руководство дает сведения обо всех основных видах опалубки, о их проектировании, изготовлении и применении, приводятся примеры расчетов опалубки. Большое внимание уделяется вопросам обогрева опалубки, приводятся сведения по классификации, характеристикам и номенклатуре рекомендуемых для применения типов опалубок, разработанных различными организациями страны.
| | ИС МЕГАНОРМ: примечание. В официальном тексте документа, видимо, допущена опечатка: пункт 5.93 отсутствует. | |
Отдельные разделы Руководства подготовлены:
разделы 1,
2;
пп. 3.1 -
3.14;
4.1 -
4.43;
5.1,
5.2;
5.16 -
5.21;
5.68 -
5.73;
5.86 -
5.92;
5.98 -
5.106;
5.163 -
5.187;
6.1 -
6.5;
7.1 -
7.28;
7.32 -
7.102;
7.152 -
7.160;
7.189 -
7.223;
7.246 -
7.270;
прил. 1,
2,
3, 4 (
пп. 1,
2,
3);
разделы 5,
6 - кандидатами техн. наук
В.Д. Топчием,
Н.И. Евдокимовым (ЦНИИОМТП);
пп. 3.15 -
3.22;
5.154 -
5.162 - кандидатами техн. наук
Н.А. Ушаковым,
Ф.И. Рабиновичем, инж.
Ю.В. Фроловой (ЦНИИПромзданий);
пп. 4.44 -
4.60;
5.188 -
5.199;
6.36 -
6.40;
7.329 -
7.380 - кандидатами техн. наук
А.И. Замощиком,
Н.С. Хворостовской, инженерами
В.А. Самодеевым,
А.А. Зыряновым (Красноярский Промстройниипроект);
пп. 4.45 -
4.60 - д-ром техн. наук
Б.А. Крыловым, канд. техн. наук
А.И. Ли (НИИЖБ);
пп. 5.3 -
5.15 - инженерами
В.А. Скаргой,
В.И. Пилипенко (Оргтяжстрой Минтяжстроя СССР), инж.
Ю.В. Бударь (РИСИ);
пп. 5.22 -
5.52;
7.102 -
7.115 - инженерами
В.А. Шиловым,
А.С. Рыбиным,
А.В. Днепровским,
В.П. Шкариным,
К.И. Чикваидзе (Оргэнергострой Минэнерго СССР);
пп. 5.53 -
5.55; 5.93 -
5.97 - инженерами
И.М. Окулистом,
Т.И. Овчаренко (Молдгипрострой Госстроя МолдССР);
п. 5.56 - инж.
П.П. Кликунасом (Оргтехстрой Минстроя ЛитССР);
пп. 5.57 -
5.59 инж.
В.А. Атанесяном (Ереванский политехнический институт);
пп. 5.60 -
5.67;
7.116 -
7.151 - инженерами
Д.С. Рабунским и
С.Н. Федоровым (проектная контора Спецжелезобетонстроя);
пп. 5.74 -
5.86;
7.29 -
7.31;
7.161 -
7.188;
прил. 7 - инж.
В.А. Загородневым (Казоргстрой Минтяжстроя КазССР),
Р.Р. Исхождановым (Минтяжстрой КазССР);
пп. 6.28 -
6.35 - канд. техн. наук
В.В. Шишкиным (ЦНИИОМТП);
пп. 5.107 -
5.127;
7.224 -
7.245;
7.271 -
7.286 - инж.
С.А. Шлеймовичем,
С.М. Брыскиной (ЦНИИЭПсельстрой Минсельстроя СССР);
пп. 5.128 -
5.134;
7.287 -
7.310 - канд. техн. наук
Г.И. Гескиным, инженерами
Р.И. Красновским,
В.П. Бычковой (Донецкий Промстройниипроект);
пп. 5.135 -
5.138 - канд. техн. наук
П.Б. Петраковым (ЛВВИСКу Мин. обороны СССР);
пп. 5.139 -
5.146;
6.11 -
6.27;
7.311 -
7.317;
7.381 -
7.406;
прил. 8,
9 - канд. техн. наук
А.Ф. Мацкевичем (Горьковский инженерно-строительный институт);
пп. 5.147 -
5.153;
7.318 -
7.328 - инж.
А.Р. Манукяном (ЦНИИОМТП);
пп. 4.61 -
4.69 - д-ром техн. наук
Б.А. Крыловым (НИИЖБ), канд. техн. наук
А.И. Пижовым (Куйбышевский инженерно-строительный институт);
п. 6.6 - инженерами
Н.
Л. Калининым,
А.В. Власовым,
Ю.Н. Гребенщиковым,
В.Б. Васильевым (Тульский Промстройпроект Минтяжстроя СССР);
пп. 6.7 -
6.10 - инженерами
А.В. Ночным,
М.И. Фридманом,
В.П. Птичкиным (Мосспецпромпроект Мосгорисполкома); прил. 4 (
п. 4,
5,
6,
7) - инж.
В.И. Смолиным (ЦНИИОМТП);
прил. 10 - инж.
Л.И. Калигорским (НИИЭС).
Общая редакция осуществлена кандидатами техн. наук В.Д. Топчием, Н.И. Евдокимовым. В подготовке Руководства принимала участие инж. А.В. Ильина (ЦНИИОМТП). В расчете опалубки принимали участие д-р техн. наук А.Б. Гемерлинг, канд. техн. наук Р.А. Дубровская (ЦНИИСК), инж. И.А. Ваксина (ЦНИИОМТП).
1.1. Опалубка и опалубочные работы должны выполняться в соответствии с требованиями
ГОСТ 23478-79 "Опалубка для возведения монолитных бетонных и железобетонных конструкций. Классификация и общие технические требования",
СНиП III-15-76 "Бетонные и железобетонные конструкции монолитные".
Мелкощитовая опалубка должна удовлетворять требованиям
ГОСТ 23477-79 "Опалубка разборно-переставная мелкощитовая инвентарная для возведения монолитных бетонных и железобетонных конструкций. Технические условия".
1.2. Для исключения дублирования разработок и применения малоэффективных конструкций целесообразен переход на применение типовых инвентарных опалубок.
1.3. Опалубка должна, как правило, изготовляться централизованно на специализированных заводах и поставляться потребителю комплектно, в том числе с запасными частями.
Комплект опалубки включает набор всех необходимых элементов для бетонирования конкретных монолитных конструкций. Величина и номенклатура элементов комплекта определяется согласно заказу потребителя.
Греющая опалубка должна поставляться с электронагревательными элементами, утеплителем, электрической схемой соединения разводки и системами контроля и регулирования.
| | ИС МЕГАНОРМ: примечание. Взамен ГОСТ 15.001-73 Постановлением Госстандарта СССР от 25.11.1988 N 3823 с 01.03.1989 введен в действие ГОСТ 15.001-88. | |
1.4. Каждая новая конструкция опалубки, а также конструкция с измененными узлами и элементами, влияющими на прочность, деформативность и точность монтажа, должны проходить приемочные испытания согласно ГОСТ 15.001-73. Систематически должны производиться периодические испытания. При приемочных испытаниях должны производиться контрольная сборка характерного фрагмента и пробное бетонирование, а при изготовлении греющей опалубки - прогрев бетона.
1.5. Приемка изготовленной опалубки производится предприятием-изготовителем партиями не более 5000 м2. При приемке производится проверка геометрических размеров, качества рабочих поверхностей, в том числе стыков элементов, защиты торцов фанерной и деревянной палубы. Для греющей опалубки проверяются сопротивление изоляции, мощности и сопротивления нагревателей, степени уплотнения и влажности утеплителя, равномерности температурного поля.
1.6. Должны применяться, как правило, унифицированные конструкции опалубки с максимальным использованием взаимозаменяемых профилей, деталей и узлов. Должна быть обеспечена равнопрочность конструкции, в том числе соединений, если они компонуют целиковые панели и блоки, рассчитываемые на восприятие нагрузок всей панелью или блоком.
1.7. Целесообразно применение крупноразмерных опалубочных систем, которые позволяют снизить трудоемкость работ и повысить качество поверхности монолитных конструкций, а также оборачиваемость опалубки за счет уменьшения сопряжений и стыковых соединений.
При разнотипности возводимых конструкций (например, в промышленном строительстве) целесообразно применение мелкощитовой опалубки универсального назначения. Однако перед монтажом из элементов такой опалубки должна производиться укрупнительная сборка, монтаж и демонтаж ее должен, как правило, вестись укрупненными панелями и блоками.
1.8. Размеры опалубки должны назначаться с учетом применения минимального количества типоразмеров.
Размеры формообразующих элементов должны быть, как правило, кратны 300 мм.
1.9. Опалубка должна обладать прочностью, жесткостью и устойчивостью под воздействием монтажных, транспортных нагрузок, а также нагрузок при бетонировании.
Опалубка должна обеспечивать: точность размеров монолитных конструкций; быстрый монтаж и демонтаж, возможность укрупнительной сборки и переналадки в условиях строительной площадки, быстроразъемность соединительных элементов и возможность устранения в них эксплуатационных зазоров.
Греющая опалубка должна обеспечивать равномерность температурного поля, возможность замены нагревателей, стабильность теплотехнических характеристик, возможность эффективного контроля и регулирования режимов обогрева бетона.
1.10. Оборачиваемость опалубки должна быть не менее приведенной в табл. 1.
Таблица 1
Тип опалубки | Минимальная оборачиваемость опалубки |
материал палубы | поддерживающие элементы из стали |
металл | фанера | дерево |
Мелкощитовая | 100 | - | - | 200 |
Крупнощитовая Подъемно-переставная Блочная | 120 | 30 | 20 | 120 |
Объемно-переставная | 200 | - | - | 200 |
Скользящая | 300 | 60 | 30 | 600 |
Горизонтально-перемещаемая (катучая, туннельная) | 400 | 80 | 40 | 800 |
Полностью металлическая опалубка должна, как правило, выдерживать не менее: мелкощитовая - 100 об.; крупнощитовая, блочная неразъемная - 300 об.; блочная перемонтируемая и разъемная, объемно-переставная - 200 об.
Для достижения нормативной оборачиваемости фанерной и деревянной палубы торцы ее должны быть защищены от увлажнения водостойким герметиком и от механических повреждений пластмассовыми или металлическими обоймами. Фанера, пиломатериалы и другие древесные материалы должны быть пропитаны или покрыты водостойкими составами.
| | ИС МЕГАНОРМ: примечание. Взамен ГОСТ 21780-76 Постановлением Госстроя СССР от 13.12.1983 N 320 с 31.01.1984 введен в действие ГОСТ 21780-83. | |
1.11. Класс точности смонтированной опалубки должен быть на 1 - 2 класса выше класса точности бетонируемых конструкций. Класс точности изготовления отдельных элементов должен назначаться на 1 - 2 класса выше класса точности установки опалубки или с учетом технологических допусков, установленных проектом при сборке. Допуски при установке опалубки принимаются в соответствии с требованиями
ГОСТ 21778-81,
ГОСТ 21779-76, ГОСТ 21780-76.
Класс точности опалубки для бетонирования различных монолитных конструкций должен быть на 1 - 2 класса выше максимального класса точности из возможной номенклатуры монолитных конструкций.
Прогиб элементов опалубки, в том числе палубы, как правило, не должен превышать l/400 для открытых поверхностей и l/200 для скрытых, где l - свободный пролет.
1.12. Для монолитных конструкций с поверхностями, готовыми после распалубки под окраску или оклейку обоями, опалубка должна обеспечивать получение поверхностей в соответствии с требованиями ГОСТ 22753-77.
Для таких конструкций должны применяться, как правило, крупноразмерные конструкции опалубок с минимальным количеством стыковых соединений, палуба должна изготовляться из целых листов. При изготовлении палубы из нескольких листов стыки палубы должны опираться на несущие ребра каркаса, швы должны быть зачищены заподлицо.
1.13. Прочностные характеристики опалубки должны соответствовать технологии изготовления и характеру монолитных конструкций. При невысоких скоростях бетонирования, применении легких бетонных смесей следует, как правило, использовать облегченные конструкции опалубок.
Для бетонирования разнохарактерных конструкций с различными требованиями к точности их возведения, качеству и характеру поверхности, а также при различной технологии их бетонирования целесообразно применение опалубок с перемонтируемыми унифицированными несущими элементами на разные схемы жесткости и несущие способности панелей и блоков опалубки.
1.14. Поверхности опалубки (кроме деревянных, пластмассовых и пневматической), не соприкасающиеся с бетоном, должны быть окрашены красками, стойкими к окружающей среде в условиях эксплуатации. Рабочие поверхности опалубки и запасных деталей при длительном хранении должны быть подвергнуты консервации по
ГОСТ 9.014-78 и СТ СЭВ 992-78.
| | ИС МЕГАНОРМ: примечание. Взамен ГОСТ 19414-74 Постановлением Госстандарта СССР от 12.12.1979 N 4780 с 01.01.1981 введен в действие ГОСТ 19414-79. Взамен ГОСТ 19414-79 Постановлением Госстандарта СССР от 27.02.1990 N 295 с 01.01.1991 введен в действие ГОСТ 19414-90. | |
1.15. Сварные швы выполняются согласно требованиям
ГОСТ 5264-80,
ГОСТ 8713-79, клеевые соединения - согласно ГОСТ 19414-74.
1.16. Изготовляемая опалубка должна, как правило, проходить аттестацию качества с присвоением категории качества продукции.
1.17. Изготовитель опалубки должен гарантировать качество выпускаемой опалубки. Гарантийный срок должен соответствовать нормативной оборачиваемости опалубки или устанавливаться не менее 12 мес со дня отгрузки потребителю при условии соблюдения правил эксплуатации, установленных изготовителем.
2. КЛАССИФИКАЦИЯ И ОБЛАСТИ ПРИМЕНЕНИЯ
2.1. По конструктивным признакам опалубка подразделяется на:
разборно-переставную, мелко- и крупнощитовую; подъемно-переставную; блочную; объемно-переставную; скользящую; горизонтально-перемещаемую (катучую и туннельную); пневматическую; несъемную, греющую.
По материалам, применяемым для ее изготовления, опалубка разделяется на металлическую, деревянную, пластмассовую, комбинированную.
2.2. Краткая характеристика и области применения разных типов опалубки приведены в табл. 2.
Таблица 2
Тип опалубки | Характеристика | Область применения |
Мелкощитовая | Состоит из элементов массой до 50 кг, в том числе щитов, поддерживающих и крепежных элементов. Возможна укрупнительная сборка | Бетонирование разнотипных конструкций, в том числе с вертикальными, горизонтальными и наклонными поверхностями различного очертания |
Крупнощитовая | Состоит из крупноразмерных щитов, конструктивно связанных с поддерживающими элементами, элементов соединения и крепления. Щиты оборудуются подмостями для бетонирования, регулировочными и установочными домкратами | Бетонирование крупноразмерных и массивных конструкций, в том числе стен и перекрытий |
Подъемно-переставная | Состоит из щитов, отделяемых от бетонируемой поверхности при перемещении, поддерживающих и крепежных элементов, рабочего пола, приспособлений для подъема | Бетонирование конструкций и сооружений преимущественно переменного сечения типа дымовых труб, градирен, силосных сооружений, опор мостов и др. |
Блочная | Состоит из пространственных блоков | Бетонирование замкнутых отдельно стоящих конструкций типа ростверков, фундаментов, а также внутренней поверхности замкнутых ячеек жилых зданий и лифтовых шахт |
Блочная неразъемная | Неразъемные блоки выполнены с конусностью 1/10 высоты. Общая площадь 6 - 10 м2. Для отрыва от бетона применяются приспособления типа домкратов | Бетонирование однотипных конструкций небольшого объема с распалубкой в раннем возрасте |
Блочная разъемная | Перед демонтажем поверхности опалубки отделяются и отводятся от бетона. Общая площадь 6 - 40 м2 | Бетонирование однотипных конструкций достаточно большого объема |
Блочная переналаживаемая | Допускает изменение размеров в плане и по высоте. Общая площадь 10 - 40 м2 | Бетонирование разнотипных монолитных конструкций |
Объемно-переставная | Состоит из блоков, которые при установке в рабочее положение образуют в поперечном сечении опалубку П-образной формы | Бетонирование стен и перекрытий жилых и гражданских зданий |
Скользящая | Состоит из щитов, рабочего пола, домкратов, закрепленных на домкратных рамах, приводных станций и прочих элементов (подвесных подмостей, домкратных рам стержней и др.). | |
Опалубка поднимается домкратами по мере бетонирования. Щиты, как правило, закрепляются на домкратных рамах с уширением к низу (конусностью) 1/200 - 1/500 высоты щитов или 5 - 7 мм на каждую сторону | Возведение вертикальных конструкций зданий и сооружений преимущественно постоянного сечения высотой более 40 м и толщиной не менее 12 см |
Катучая | Состоит из каркаса и закрепленных на нем опалубочных щитов. Перемещается вдоль возводимого сооружения на тележках или других приспособлениях | Бетонирование подпорных стен, водоводов, коллекторов и туннелей, возводимых открытым способом |
Туннельная | Состоит из формующих и поддерживающих секций, перемещается с помощью специальных механизмов с механическим, гидравлическим или другим приводом | Бетонирование монолитной отделки туннелей, возводимых закрытым способом |
Пневматическая | Состоит из гибкой воздухоопорной оболочки или пневматических поддерживающих элементов с формообразующей оболочкой. В рабочем положении поддерживается избыточным давлением воздуха | Возведение конструкций и сооружений криволинейного очертания |
Несъемная | Состоит из плит, остающихся после бетонирования в конструкции, и инвентарных поддерживающих элементов | Возведение конструкций без распалубливания, создание гидроизоляции, облицовки, утепления и др. Может включаться в расчетное сечение конструкции |
Греющая | Любая опалубка, оборудованная нагревательными элементами, оснащенная системами контроля и регулирования режимов обогрева | Бетонирование конструкций в зимних условиях строительства, а также для ускорения твердения бетона, в том числе в летних условиях |
Утепленная | Опалубка с установленным утеплителем | Предохранение бетона от замерзания в зимних условиях, от перегрева в условиях жаркого климата, охлаждения или перегрева в специальных условиях строительства |
3. МАТЕРИАЛЫ ДЛЯ ИЗГОТОВЛЕНИЯ ОПАЛУБКИ
3.1. Поддерживающие элементы опалубки должны выполняться главным образом из стали, что позволяет достичь высокой оборачиваемости и невысокого расхода материала. В качестве палубы может использоваться металл, фанера, древесина, пластик и другие синтетические материалы.
Комбинированные конструкции опалубки являются наиболее эффективными, они позволяют в наибольшей степени использовать физические характеристики материалов. Одним из наиболее эффективных материалов для палубы является фанера, она износоустойчива, стойка к динамическим воздействиям. При использовании фанеры (типа финской) с водостойким синтетическим покрытием оборачиваемость ее достигает 50 раз, такая фанера позволяет получать высококачественные бетонные поверхности, не требующие обработки, имеет невысокую адгезию к бетону.
Полностью стальная опалубка несколько специфична, в зимнее время года требует утепления (или оборудуется нагревательными элементами с утеплением), для получения высококачественных поверхностей с невысоким прогибом палубы между опорными ребрами (l/400 - l/500) должен применяться металлический лист толщиной 4 - 6 мм, что делает такую опалубку достаточно тяжелой.
3.2. Материалы, применяемые для изготовления опалубки, приведены в табл. 3, характеристики материалов и профилей - в
прил. 1.
Таблица 3
Материал | Элементы опалубки | ГОСТ или ТУ | Примечание |
поддерживающие элементы | палуба |
1. Металл: | | | | |
| | ИС МЕГАНОРМ: примечание. Взамен ГОСТ 380-71 в части марок и химического состава сталей Постановлением Госстандарта СССР от 30.03.88 N 924 с 01.01.1990 введен в действие ГОСТ 380-88. Взамен ГОСТ 380-88 Постановлением Госстандарта России от 02.06.1997 N 205 с 01.01.1998 введен в действие ГОСТ 380-94. | |
|
| | ИС МЕГАНОРМ: примечание. Постановлением Госстандарта России от 04.04.1999 N 113 с 01.01.2000 введен в действие ГОСТ 16523-97. | |
|
| | ИС МЕГАНОРМ: примечание. Взамен ГОСТ 14637-79 Постановлением Госстандарта СССР от 22.12.1989 N 4023 с 01.07.1991 введен в действие ГОСТ 14637-89. | |
|
сталь | Сталь ВСт3 | Листовая сталь ВСт3 | ГОСТ 380-71 ГОСТ 16523-70 ГОСТ 14637-79 | |
| | ИС МЕГАНОРМ: примечание. Взамен ГОСТ 8617-75 Постановлением Госстандарта СССР от 27.02.1981 N 1093 с 01.01.1983 введен в действие ГОСТ 8617-81. | |
|
| | ИС МЕГАНОРМ: примечание. Взамен ГОСТ 13616-78 Постановлением Госстандарта России от 22.04.1998 N 136 с 01.01.1999 введен в действие ГОСТ 13616-97. | |
|
| | ИС МЕГАНОРМ: примечание. Взамен ГОСТ 13737-80 Постановлением Госстандарта СССР от 29.08.1990 N 2479 с 01.01.1992 введен в действие ГОСТ 13737-90. | |
|
| | ИС МЕГАНОРМ: примечание. Взамен ГОСТ 13619-81 Постановлением Госстандарта России от 22.04.1998 N 136 с 01.01.1999 введен в действие ГОСТ 13619-97. | |
|
| | ИС МЕГАНОРМ: примечание. Взамен ГОСТ 13624-80 Постановлением Госстандарта СССР от 29.08.1990 N 2480 с 01.01.1992 введен в действие ГОСТ 13624-90. | |
|
алюминиевые сплавы | Листы, прессованные профили | - | ГОСТ 8617-75 ГОСТ 13616-78 ГОСТ 13621-79 ГОСТ 13622-79 ГОСТ 13737-80 ГОСТ 13619-81 ГОСТ 13624-80 | Алюминий и алюминиевые сплавы должны быть защищены специальными водо- и щелочестойкими покрытиями |
| | ИС МЕГАНОРМ: примечание. Взамен ГОСТ 18475-73 Постановлением Госстандарта СССР от 17.12.1982 N 4801 с 01.01.1984 введен в действие ГОСТ 18475-82. | |
|
| Трубы | - | ГОСТ 18475-73 ЛМТУ-12-67 СТУВ-6-16-66 | |
| | ИС МЕГАНОРМ: примечание. Взамен ГОСТ 9463-72 Постановлением Госстандарта СССР от 21.04.1988 N 33 с 01.01.1991 введен в действие ГОСТ 9463-88. | |
|
2. Древесные материалы: | | | ГОСТ 9463-72 | Не ниже 2-го сорта |
| | ИС МЕГАНОРМ: примечание. Взамен ГОСТ 8486-66 Постановлением Госстандарта СССР от 30.09.1986 N 2933 с 01.01.1988 введен в действие ГОСТ 8486-86. | |
|
пиломатериалы | Лесоматериалы круглых хвойных пород | Пиломатериалы хвойных пород | ГОСТ 8486-66 | Не ниже 2-го сорта, ширина досок палубы <= 150 мм, для скользящей опалубки не более 120 мм. Влажность древесины поддерживающих элементов <= 22%, палубы <= 18% |
| | ИС МЕГАНОРМ: примечание. Постановлением Госстандарта СССР от 30.05.1983 N 1526 с 01.01.1984 введен в действие ГОСТ 2695-83. | |
|
| | Пиломатериалы лиственных пород | ГОСТ 2695-71 | |
| | ИС МЕГАНОРМ: примечание. Взамен ГОСТ 10632-77 Постановлением Госстандарта СССР от 02.02.1989 N 13 с 01.01.1990 введен в действие ГОСТ 10632-89. | |
|
| | ИС МЕГАНОРМ: примечание. Взамен ГОСТ 4598-74 Постановлением Госстроя СССР от 19.12.1985 N 240 с 31.01.1986 введен в действие ГОСТ 4598-86. | |
|
ДСП, ДВП | - | Древесностружечные плиты | ГОСТ 10632-77 | |
Древесноволокнистые плиты | ГОСТ 4598-74 |
| | ИС МЕГАНОРМ: примечание. Взамен ГОСТ 11539-73 Постановлением Госстандарта СССР от 10.10.1983 N 4828 с 01.01.1985 введен в действие ГОСТ 11539-83. | |
|
| | ИС МЕГАНОРМ: примечание. Постановлениями Госстандарта России от 13.05.1997 N 165 и N 166 с 01.01.1998 введены в действие ГОСТ 3916.1-96 и ГОСТ 3916.2-96 соответственно. | |
|
фанера | - | Фанера бакелированная | ГОСТ 11539-73 | Палубы из древесных материалов должны быть защищены водостойким покрытием, торцы - водостойким герметиком и от механических повреждений |
Фанера марки ФСФ | ГОСТ 3916-69 |
| | ИС МЕГАНОРМ: примечание. Взамен ГОСТ 20850-75 Постановлением Госстроя СССР от 15.03.1983 N 25 с 01.01.1985 введен в действие ГОСТ 20850-84. | |
|
деревянные клееные конструкции | | | ГОСТ 20850-75 | |
В качестве утеплителя применяются теплоизоляционные материалы плотностью до 200 кг/м3. Плотность утеплителя не должна превышать паспортную более чем на 15%, влажность - на 6%.
3.3. Для древесных материалов наиболее эффективной защитой является синтетическое покрытие.
Для защиты применяются пленки, полученные пропиткой основы (бумага, ткань, стеклоткань, стеклохолст и др.) фенольными смолами (см. "Технология изготовления фанерной опалубки с защитным синтетическим покрытием", ЦНИИОМТП, М., Стройиздат, 1976). Наиболее дешевой является бумажная основа. В качестве последней используются сорта полубеленой бумаги из сульфатной целлюлозы марок ЭИП-50, ЭИП-63, ЭИП-75 или марок ИПСИ-60, ИПСТ-72; могут применяться неотбеленные крафт-бумаги с массой 130 - 170 г/см2.
Для пропитки основы используют бакелитовые жидкие смолы типа ОК, ОФДК, ОФ, спиртовые лаки типа ИФ, ИК, эпоксидно-фенольные лаки ИФ/ЭП, кремнийорганические лаки К-41, КО-554, бакелитовые лаки марки Б по
ГОСТ 901-78.
Пленки изготовляют на пропиточных машинах, пропитка осуществляется в ванной с последующим высушиванием.
Пленки наносят на листы палубы на многоэтажных рамных прессах с подогревом плит. Температура прессования 130 - 150 °C, давление 1,4 - 1,5 МПа.
3.4. Для защиты торцов древесной палубы от увлажнения применяют компаунды на основе эпоксидных смол, приведенные в табл. 4.
Таблица 4
Марка компаунда и ТУ | Состав |
К-115, СТУ 30-14148-63 | Эпоксидная смола ЭД-5, пластифицированная полиэфиром МГФ-9. Отвердитель - полиэтиленполиамин 15 мас. ч., компаунд - 10 мас. ч., наполнитель - цемент от 100 до 200 мас. ч. |
К-153, СТУ 30-14161-64 | Эпоксидная смола ЭД-5, пластифицированная полиэфиром МГФ-9 и тиоколом. Отвердитель - полиэтиленполиамин |
К-168, МРТУ 6-05-1023-66 | Эпоксидная смола ЭД-6, пластифицированная полиэфиром МГФ-9. Отвердитель - полиэтиленполиамин |
К-201, СТУ 30-1447-63 | Эпоксидная смола ЭД-5, пластифицированная полиэфиром МГФ-9. Отвердитель - полиэтиленполиамин 19 мас. ч., компаунд 100 мас. ч. с наполнителем (цемент, вибромолотый кварц и т.д.) |
3.5. Достаточно эффективными для изготовления опалубки являются клееные деревянные конструкции, которые могут применяться как готовые, так и изготовляться на деревообрабатывающих предприятиях (см. "
Руководство по индустриальному изготовлению деревянных клеевых конструкций для строительства", ЦНИИСК, М., Стройиздат, 1975).
3.6. Синтетические материалы (табл. 5) применяют главным образом в качестве палубы. Полностью синтетическая опалубка, в том числе щиты каркасной конструкции, изготовляется главным образом из стеклопластика. Листовые стеклопластики и другие синтетические материалы применяют также в качестве несъемной опалубки-облицовки и изоляции.
Таблица 5
Материал | Плотность, кг/м3 | Расчетное сопротивление при изгибе, кгс/см2 |
при нормальной влажности и температуре | при повышенной влажности и температуре |
+40 | +60 | +80 |
Стеклотекстолит КАСТ-В, толщиной 8 мм | 1850 | 5500 | 4000 | 3050 | 2600 |
Анизотропный стеклопластик СВАМ | 1900 | 25000 | 18000 | 13500 | 11500 |
Полиэфирный плоский стеклопластик | 1400 | 1500 | 450 | - | - |
Гетинакс | 1350 | 4000 | - | - | - |
Винипласт | 1400 | 2000 | 950 | 550 | - |
Применение полностью синтетической опалубки менее эффективно из-за высокой стоимости и дефицитности материалов, более целесообразным является использование листовых материалов в качестве палубы и особенно покрытий.
Наименьшей адгезией к бетону из синтетических материалов обладает гетинакс, текстолит, а также фанера с синтетическим покрытием. Стеклопластик имеет большую адгезию, он быстро обрастает цементной коркой, очистка которой затруднена.
3.7. Характеристика тканей, применяемых для пневматической опалубки, приведена в табл. 6.
Таблица 6
N ткани | Ткань | Толщина, мм | Плотность, г/м2 | Число слоев ткани | Нормативное сопротивление разрыва, кгс/см2 | Расчетное сопротивление разрыва, кгс/см2 | Ширина, см | Газопроницаемость, л/м2 | Стоимость, руб./м2 |
по основе | по утку | по основе | по утку |
51019 | Капрон, арт. 1539 или 52026 | 0,8 | 600 - 700 | 2 | 80 | 50 | --------- 64,8 | 10,5 ----- 35,2 | 80 - 95 | Непроницаем при P = 0,2, кгс/см2 | 3,9 |
60 | Капрон, арт. 1539 | 0,6 | 450 | 1 | 38 | 40 | 9,6 ----- 36,2 | 7,9 ----- 27,0 | 90 | 2 | - |
ПН-1 | Капрон, арт. 56032 | 1,15 - 1,3 | 1300 - 1400 | 1 | 80 | 80 | 19,2 | 19,2 | 82 | Непроницаем при P = 0,4, кгс/см2 | 3,0 |
109Ф | Капрон, арт. 1539 | 1,2 | - | 2 | - | - | 36,0 | 18,0 | 90 | - | - |
110Ф | То же | 1,2 | - | 3 | - | - | 54,0 | 25,0 | 90 | - | - |
23-М | Капрон | 0,68 | 560 - 690 | 2 | 80 | 72 | - | - | 85 - 88 | - | 3,36 |
-------------------------------- <*> В числителе - данные при длительно действующей нагрузке, в знаменателе - при кратковременной. |
3.8. Характеристика некоторых клеев для изготовления клееных конструкций, для закрепления нагревателей, утеплителя и других целей приведена в
прил. 2.
Расчетные характеристики клеевых соединений, а также снижение прочностных характеристик в зависимости от температуры и влажности могут приниматься согласно данным, приведенным в "
Пособии по расчетным характеристикам клеевых соединений для строительных конструкций", ЦНИИСК, М., Стройиздат, 1972.
3.9. Для изготовления несъемных опалубочных плит применяются следующие материалы:
| | ИС МЕГАНОРМ: примечание. Взамен ГОСТ 10178-76 Постановлением Госстроя СССР от 10.07.1985 N 116 с 01.01.1987 введен в действие ГОСТ 10178-85. | |
| | ИС МЕГАНОРМ: примечание. Взамен ГОСТ 3826-66 Постановлением Госстандарта СССР от 29.09.1982 N 3839 с 01.01.1984 введен в действие ГОСТ 3826-82. | |
| | ИС МЕГАНОРМ: примечание. Взамен ГОСТ 8478-66 Постановлением Госстандарта СССР от 18.05.1981 N 2426 с 01.01.1983 введен в действие ГОСТ 8478-81. | |
а) армоцементная опалубка: портландцемент, шлакопортландцемент и сульфатостойкий портландцемент по ГОСТ 10178-76; песок с модулем крупности 1,2 - 2,5 и предельным содержанием пылеватых и глинистых частиц не более 2,5%; тканая металлическая сетка толщиной проволоки 0,8 - 1,2 мм и размерами ячеек 6 - 12 мм по ГОСТ 3826-66; сварные сетки из арматуры классов А-I, А-II, А-III, диаметром 6 - 8 мм по ГОСТ 8478-66; вода питьевая;
б) железобетонная опалубка: портландцемент, шлакопортландцемент, сульфатостойкий портландцемент по ГОСТ 10178-76; щебень или гравий из твердых горных пород по
ГОСТ 10268-80; песок по
ГОСТ 10268-80; закладные детали по проекту;
| | ИС МЕГАНОРМ: примечание. Взамен ГОСТ 969-77 Постановлением Госстроя СССР от 21.01.1991 N 2 с 01.01.1992 введен в действие ГОСТ 969-91. | |
| | ИС МЕГАНОРМ: примечание. Взамен ГОСТ 965-78 Постановлением Госстроя СССР от 29.12.1988 N 260 с 01.01.1990 введен в действие ГОСТ 965-89. | |
в) стеклоцементная опалубка: портландцемент, шлакопортландцемент, сульфатостойкий портландцемент по ГОСТ 10178-76; портландцемент для производства асбестоцементных изделий по ГОСТ 9835-77; глиноземистый цемент по ГОСТ 969-77; портландцемент белый по ГОСТ 965-78, цветной - по ГОСТ 15825-70; ровинг (жгут) из стеклянных комплексных нитей марки РБР по ГОСТ 17139-79; щелочестойкий ровинг, разработанный Государственным институтом стекла Минпромстройматериалов.
3.10. В качестве материала для изготовления гибких электронагревателей могут быть использованы греющий провод и углеродная ткань.
Рекомендуется применять греющий провод марок: ПОСХВ, ПОСХП, ПОСХМ диаметром 1,1 мм; ПОСХВТ диаметром 1,4 мм (ТУ 16-505-526-73); ПВЖ и ППЖ диаметром 1,4 - 1,8 мм (ТУКП 087-66). Максимально допустимая температура на поверхности изоляции для провода различных марок: ПОСХВ - 70 °C, ПОСХМ - 70 °C, ПОСХП - 90 °C, ПОСХВТ - 105 °C. Условия работы провода ПВЖ от минус 40 °C до плюс 60 °C, провода ППЖ - от минус 60 °C до плюс 70 °C.
3.11. Прослоечную сырую резину следует применять толщиной не более 1 мм. Для армирования рабочего слоя резины используется стеклоткань марки КТ-11 (ТУ 6-11-68-67).
3.12. Коммутационная разводка выполняется из гибких медных шнуров марки ПШ (ГОСТ 9125-74) сечением, в 2 - 3 раза превышающим сечение греющего элемента.
3.13. Для теплоизоляции мата используется штапельное стекловолокно с экранирующим слоем из фольги, характеризующееся высокой термостойкостью и механической прочностью, хорошими диэлектрическими свойствами, низкой теплопроводностью (ГОСТ 10499-78).
3.14. В качестве гидроизоляции применяется прорезиненная ткань (ГОСТ 9584-72).
МАТЕРИАЛЫ ДЛЯ ИЗГОТОВЛЕНИЯ НЕСЪЕМНОЙ ОПАЛУБКИ ИЗ ФИБРОБЕТОНА
3.15. Фибробетон - разновидность дисперсионно-армированных бетонов преимущественно с хаотичным (свободно ориентированным) распределением армирующих элементов (отрезков стальной проволоки диаметром от 0,2 до 2,0 мм) в объеме бетона.
Для армирования листов несъемной опалубки рекомендуется использовать фибры диаметром 0,8 - 1 мм.
| | ИС МЕГАНОРМ: примечание. Взамен ГОСТ 10178-76 Постановлением Госстроя СССР от 10.07.1985 N 116 с 01.01.1987 введен в действие ГОСТ 10178-85. | |
3.16. Для приготовления фибробетона в качестве вяжущих следует применять портландские цементы активностью не менее М400, отвечающие требованиям ГОСТ 10178-76.
Использование глиноземистых цементов допускается только в случае применения фибр из нержавеющей стали, а также фибр с защитным покрытием.
Применение быстротвердеющих шлакопортландцементов и пуццолановых портландцементов не рекомендуется.
Расход цемента в смеси должен быть не менее 425 кг/м3.
3.17. Для приготовления фибробетона в качестве мелких заполнителей следует применять кварцевые пески, отвечающие требованиям ГОСТ 8736-77.
Допускается применение крупного плотного и пористого заполнителя с размерами зерен не более 10 мм.
3.18. Фибровая арматура для конструкций несъемной опалубки изготавливается из проволоки общего назначения из низкоуглеродистых сталей.
Относительную длину фибр рекомендуется назначать из условия l/d >= 100.
3.19. Для повышения прочности сцепления фибровой арматуры с бетоном поверхность фибр рекомендуется профилировать путем их периодического сплющивания по длине. Глубина вмятин не должна превышать 1/3 толщины фибр.
3.20. Подбор состава мелкозернистого бетона для опалубочных листов следует производить в соответствии с "Инструкцией по приготовлению мелкозернистых (песчаных) бетонов"
(СН 488-76).
3.21. Объемное армирование бетонной смеси фибрами рекомендуется в пределах 1 - 1,5%.
3.22. Уплотнение фибробетонной смеси опалубочных листов толщиной до 30 мм следует производить путем поверхностного вибрирования или механического уплотнения (катками).
4. ПРИНЦИПЫ РАСЧЕТА ОПАЛУБКИ
4.1. Нагрузки на опалубку принимаются в соответствии с требованиями главы СНиП III-15-76,
прил. 1.
Примечание. В ЦНИИОМТП и ГОИ НИС Гидропроекта закончены исследования по определению бокового давления бетонной смеси на опалубку. Новые данные по нагрузкам намечается включить в новую редакцию главы СНиП.
4.2. Боковое давление бетонной смеси составляет:
а) при уплотнении бетонной смеси глубинными вибраторами

при
h <=
R и
V < 0,5 м/ч;

при
V >= 0,5 м/ч и
h >= 1;
б) при уплотнении бетонной смеси наружными вибраторами

при
V < 4,5 м/ч,
h <= 2
R1;

при
V >= 4,5,
h > 2 м,
где Pmax - максимальное давление бетонной смеси, кгс/м2;

- плотность бетонной смеси, кг/м
3;
h - высота уложенного слоя бетонной смеси, оказывающего давление на опалубку, м;
V - скорость бетонирования, м/ч;
R и R1 - радиус действия соответственно глубинного и наружного вибраторов, м;
k1 - коэффициент, учитывающий подвижность бетонной смеси, принимается равным 0,8 для жесткой и малоподвижной смеси с осадкой конуса 0,2 см; равным 1 для смесей с осадкой конуса 4 - 6 см; равным 1,2 для смесей с осадкой конуса 8 - 12 см;
k2 - коэффициент, зависящий от температуры укладываемой бетонной смеси; k2 = 1,15 для смесей с температурой 5 - 7 °C; k2 = 1 для смесей с температурой 12 - 17 °C; k2 = 0,85 для смесей, имеющих температуру 28 - 32 °C.
Для промежуточных температур значения коэффициента принимаются по большей величине.
Во всех случаях величину давления бетонной смеси следует ограничить величиной гидростатического давления, равной

,

для тяжелого бетона принимается равной 2500 кг/м
3.
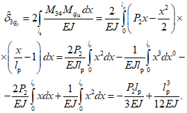
4.3. Распределение давления по высоте опалубки (рис. 1) может быть принято по аналогии с распределением гидростатического давления по треугольной эпюре давлений. Такое распределение дает несколько завышенную величину, однако удобно для расчетов. Результирующая давления равна площади треугольной эпюры и составляет
Рис. 1. Распределение давления по высоте опалубки
а - эпюра давлений; б - трапециевидная эпюра расчетная
упрощенная; в - треугольная эпюра расчетная
Действительное распределение давлений соответствует криволинейной эпюре, показанной на рисунке пунктирной линией, расчетная эпюра показана на криволинейной эпюре (
рис. 1,
а). Высота
hmax (
рис. 1,
в), на которой достигается максимальное давление бетонной смеси, зависит в основном от скорости бетонирования и скорости схватывания и твердения бетона. Обычно ее величина лежит в пределах
2/
3H, а величина
Pв составляет 0,4 - 0,5
Pmax. Для удобства расчетов такая эпюра заменяется трапециевидной (
рис. 1,
б) соответствующей площади.
При расчете по формулам главы
СНиП III-15-76 принимается треугольная эпюра. Снижение давлений при твердении бетона учтено введением скорости бетонирования и ограничением расчетной высоты радиусом действия вибратора. При этом предполагается, что давление уплотняемой бетонной смеси не передается на нижележащие уплотненные слои смеси за пределами радиуса действия вибратора.
4.4. Кроме статической величины давления бетонной смеси должны учитываться динамические воздействия от сбрасывания смеси и вибрирования. Согласно главе
СНиП III-15-76 такие дополнительные нагрузки составляют 400 кгс/м
2, а при выгрузке смеси из бадей вместимостью более 0,8 м
3 - 600 кгс/м
2 (табл. 7).
Таблица 7
Способ подачи бетонной смеси в опалубку | Горизонтальная нагрузка на боковую опалубку, кгс/м2 |
Спуск по лоткам и хоботам, а также непосредственно из бетоноводов | 400 |
Выгрузка из бадей емкостью: | |
от 0,2 до 0,8 м3 | 400 |
более 0,8 м3 | 600 |
Примечания: 1. Указанные динамические нагрузки должны учитываться полностью при расчете досок палубы и поддерживающих ее ребер. Балки (прогоны), поддерживающие ребра, следует рассчитывать в соответствии с фактической схемой конструкций, учитывая динамические воздействия в виде сосредоточенных грузов от двух смежных ребер при расстоянии между ними до 1 м и от одного ребра при расстоянии между ребрами 1 м и более, при этом должно учитываться наиболее невыгодное расположение этих грузов. 2. Конструктивные элементы, служащие опорами балок (прогонов), как, например, подкосы, тяжи и др., следует рассчитывать на нагрузку от двух смежных ребер, расположенных по обе стороны рассчитываемого элемента (при расстоянии между ребрами менее 1 м), либо от одного ребра., ближайшего к этому элементу (при расстоянии между ребрами 1 м и более). |
Кроме того, при использовании наружных вибраторов должны учитываться дополнительные нагрузки в месте крепления вибратора, а также ветровые нагрузки при расчете устойчивости опалубки значительных размеров. Коэффициент безопасности для ветровых нагрузок принимается равным 1,2.
4.5. При расчете опалубки перекрытий учитываются следующие вертикальные нагрузки: собственная масса опалубки и поддерживающих элементов, принимаемая по проекту; масса уложенной бетонной смеси, принимаемая равной 2500 кг/м3 для обычного тяжелого бетона; масса арматуры по проекту; нагрузка от людей и транспортных средств 250 кгс/м2.
Кроме того, элементы опалубки должны проверяться на сосредоточенную нагрузку (согласно проекту или до 250 кгс от колес двухколесной тележки, 130 кгс от массы рабочего с грузом. В любом случае сосредоточенная нагрузка принимается не менее 130 кгс или вводится дополнительное динамическое воздействие при вибрировании смеси до 200 кгс/м2. Коэффициент перегрузок принимается по табл. 8.
Таблица 8
Нормативные нагрузки | Коэффициенты перегрузки | Нормативные нагрузки | Коэффициенты перегрузки |
Собственная масса опалубки и лесов | 1,1 | От вибрирования бетонной смеси | 1,3 |
Боковое давление бетонной смеси | 1,3 |
Масса бетона и арматуры | 1,2 |
Динамические от сотрясений при выгрузке бетонной смеси | 1,3 |
От движения людей и транспортных средств | 1,3 |
ПРИНЦИПЫ РАСЧЕТА ЭЛЕМЕНТОВ КОНСТРУКЦИИ
4.6. Расчет стальных элементов производится согласно требованиям главы СНиП II-В.3-72, деревянных - согласно
СНиП II-25-80.
Центрально-растянутые и центрально-сжатые элементы
4.7. Расчет прочности центрально-растянутых и сжатых элементов производится по формуле
где P - расчетная продольная сила;
Fнт - площадь поперечного сечения нетто;
R - расчетное сопротивление материала (для древесины вдоль волокон).
4.8. Устойчивость центрально-сжатых элементов проверяется по формуле
где

- коэффициент продольного изгиба;
F - площадь сечения брутто.
При ослаблении сечения не выходящих за кромки (рис. 2, а) деревянных элементов принимается F = 4/3Fнт, если площадь ослаблений превышает 25%F; F = Fнт при симметричных ослаблениях, выходящих за кромки (рис. 2, б).
Рис. 2. Ослабления сжатых элементов
а - не выходящие за кромки ослабления; б - выходящие
за кромки, симметричное ослабление; в - выходящие
за кромки, несимметричное ослабление
При несимметричных ослаблениях, выходящих за кромки, элементы рассчитываются как внецентренно сжатые (
рис. 2,
в).

для остальных элементов из стали ВСт.3 принимается в зависимости от гибкости

(где
l - расчетная длина элемента,
r - радиус инерции) согласно данным табл. 9.
Таблица 9
Гибкость  | Коэффициент  | Гибкость  | Коэффициент  | Гибкость  | Коэффициент  | Гибкость  | Коэффициент  |
0 | 1,0 | 70 | 0,770 | 140 | 0,348 | 210 | 0,160 |
10 | 0,988 | 80 | 0,715 | 150 | 0,305 | 220 | 0,146 |
20 | 0,970 | 90 | 0,655 | 160 | 0,270 | | |
30 | 0,943 | 100 | 0,582 | 170 | 0,240 | | |
40 | 0,905 | 110 | 0,512 | 180 | 0,216 | | |
50 | 0,867 | 120 | 0,448 | 190 | 0,196 | | |
60 | 0,820 | 130 | 0,397 | 200 | 0,175 | | |
Радиус инерции

, где
I - момент инерции

деревянных элементов определяется по формулам:
4.9. Гибкость составных элементов (приведенная) принимается согласно табл. 10.
Таблица 10
Сечение стержня | Соединительные элементы | Приведенная гибкость  |
| Планки | |
Решетки | |
| Планки | |
Решетки | |
| Планки | |
| Планки | |
Решетки | |
Обозначения в таблице:

- гибкость всего стержня относительно свободной оси;

- наибольшая гибкость всего стержня;

и

- гибкость отдельных ветвей при изгибе их в плоскостях, перпендикулярных осям соответственно
1-
1 и
2-
2 на участках между планками;
F - площадь сечения всего стержня;
Fр1 и Fр2 - площади сечения раскосов, лежащих в плоскостях, перпендикулярно осям 1-1 и 2-2;
k1 и
k2 - коэффициенты, принимаемые в зависимости от величины угла

и

между раскосами и ветвью в плоскостях соответствующих решеток (табл. 11).
Таблица 11
| 30° | 40° | 45 - 60° |
k1 (k2) | 45 | 31 | 27 |
Гибкость отдельных ветвей между планками не должна превышать 40.
Соединительные элементы (планки) составных стержней должны быть рассчитаны на условную поперечную силу Qусл, принимаемую равной для Ст.3 Q = 20F кгс, где F - площадь сечения всего стержня брутто.
На это же усилие (20F) рассчитываются связи между опорами, устанавливаемые для уменьшения расчетной длины опоры, F принимается по основному стержню (опоре).
4.10. Приведенную гибкость составных деревянных стоек определяют с учетом податливости соединений

,
где

- гибкость всего элемента без учета податливости соединений;

- гибкость отдельной ветви относительно ее продольной оси при расчетной длине ветви меньшей 7 толщин,

;

- коэффициент

,
где b и h - ширина и высота поперечного сечения, см;
n - количество швов в элементе;
l - расчетная длина элемента, м;
nс - количество срезов (связей, гвоздей, нагелей и т.д.) на 1 м длины элемента;
kс - коэффициент податливости (табл. 12).
Таблица 12
Вид связи | Коэффициент податливости kс |
центральное сжатие | сжатие с изгибом |
Гвозди | 1 ---- 10d2 | 1 ---- 5d2 |
Стальные цилиндрические нагели диаметром  толщины соединяемых элементов | 1 ---- 5d2 | 1 ---- 2,5d2 |
| 1,5 ---- ad | 3 ---- ad |
Дубовые нагели | 1 ---- d2 | 1,5 ---- d2 |
Клей | 0 | 0 |
Примечание. Диаметр гвоздей, см,  толщины элементов; a - толщина, см, наиболее тонкого из соединяемых элементов. Диаметр, см, дубовых нагелей d <= 1/ 4 толщины наиболее тонкого элемента. |
Приведенная гибкость не должна превышать гибкости отдельных ветвей
где

- сумма моментов инерции брутто поперечных сечений всех ветвей;
F - площадь сечения элемента брутто;
l - расчетная длина элемента.
Гибкость составного элемента с равномерно-загруженными ветвями относительно оси, проходящей через центры тяжести сечений всех его ветвей, определяют как для целого (без учета податливости) элемента.
4.11. Расчетные длины стоек определяют по формуле
где

- коэффициент длины (табл. 13);
l - геометрическая длина стойки.
Таблица 13
Схема закрепления и нагрузки | Примеры практического применения | |
| Стержни вертикального яруса многоступенчатых трубных лесов с жестким соединением узлов. Телескопические стойки, смонтированные на лесах с креплением опорных башмаков на болтах | 2 |
| Стойка, закрепленная на болтах к многоярусным лесам и раскрепленная поверху диском опалубочной формы. Верхний стержень многоярусных лесов с жестким соединением узлов, раскрепленный поверху диском опалубочной формы | 1 |
| Телескопическая стойка, раскрепленная поверху ригелями. Стержни верхнего яруса лесов с беззамковым креплением элементов и раскреплением поверху ригелями | 1 |
| Телескопическая стойка, смонтированная на лесах с креплением опорных башмаков и раскрепленная поверху ригелями. Верхний стержень многоярусных лесов с жестким соединением в узлах, раскрепленный поверху ригелями | 0,7 |
| Стойка, раскрепленная поверху дисками опалубочной формы. Верхний стержень многоярусных лесов с беззамковым креплением элементов и раскреплением поверху диском опалубочной формы | 2 |
| Телескопическая стойка, смонтированная на лесах, на болтах, раскрепленная поверху связями. Многоярусные леса с жестким соединением в узлах с раскреплением поверху связями | 0,5 |
Изгибаемые элементы
4.12. Расчет на прочность изгибаемых элементов производится по формуле
где M - расчетный изгибающий момент;
Rи - расчетное сопротивление изгибу;
W - расчетный момент сопротивления поперечного сечения по площади сечения нетто. W составных (из одинаковых слоев) деревянных элементов на податливых соединениях умножается на коэффициент kw, приведенный в табл. 14.
Таблица 14
Коэффициент | Число слоев в элементе | Значение kw и kж при величине пролета, м |
2 | 4 | 6 | 9 и более |
kw | 2 | 0,7 | 0,85 | 0,9 | 0,9 |
3 | 0,6 | 0,8 | 0,85 | 0,9 |
10 | 0,4 | 0,7 | 0,8 | 0,85 |
kж | 2 | 0,45 | 0,65 | 0,75 | 0,8 |
3 | 0,25 | 0,5 | 0,6 | 0,7 |
10 | 0,07 | 0,2 | 0,3 | 0,4 |
Примечание. kж - коэффициент сдвига, на который умножается момент инерции сечения брутто при расчете изгибаемых элементов. |
4.13. Расчет на срез и скалывание производится по формуле
где S - статический момент брутто;
Q - расчетная поперечная сила;
Iвр - момент инерции;
b - расчетная ширина сечения, при расчете на скалывание по клеевому шву b = 0,6 полной ширины шва.
Расчет на смятие и скалывание в соединениях деревянных конструкций под углом к направлению волокон (соединения на врубках и др.) проводится:
на смятие T = RсмFсм;
на скалывание

,
где T - несущая способность соединения;
F - расчетная площадь смятия и скалывания;

- расчетное сопротивление смятию и скалыванию.
Расчетное среднее сопротивление скалыванию равно
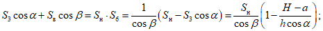
где lск - расчетная длина плоскости скалывания (не более 10 глубин врезки в элемент);
l - плечо сил скалывания, равное 0,5
h при несимметричной врезке (
рис. 3,
а) и 0,25
h при симметричной врезке (
рис. 3,
б);

- коэффициент, равный 0,25 при расчете растянутых элементов с односторонним расположением площадки скалывания (рис. 3,
в),

при расчете сжатых элементов с промежуточным расположением площадки скалывания (рис. 3,
г);
отношение lск/l >= 3.
Рис. 3. Схема врезок в элементах соединений (а и б), схемы
одностороннего (г) и промежуточного (в) скалывания
для случая симметричных врезок
4.14. Напряжение смятия

от сосредоточенного груза не должно превышать расчетного сопротивления стали сжатию
Для металлических балок
F принимается равным

, где

- толщина стенки,
z - условная длина, при опирании на верхний пояс
z =
b + 2
h,
где b - ширина полки;
h - толщина полки.
4.15. В стенках балок должны выполняться условия
, 
- нормальные напряжения;

- касательные напряжения.
4.16. Сварные соединения встык рассчитываются на сжатие и растяжение по формуле
где N - расчетная продольная сила;
l - длина шва;

- наименьшая толщина соединительных элементов;
R - расчетное сопротивление сварного соединения.
Сварные угловые швы рассчитываются на срез по формуле
hш - толщина шва (
рис. 4,
а,
б,
в);

- коэффициент (

для однопроходной автоматической сварки;

- для двух- и трехпроходной;

- для однопроходной полуавтоматической;

- для двух- и трехпроходной полуавтоматической;

- для ручной сварки, а также многопроходной полу- и автоматической сварки);
lш - расчетная длина шва, равная полной длине за вычетом 10 мм;
Rш - расчетное сопротивление шва.
Рис. 4. Схемы сечений сварных угловых швов
а - выпуклый шов с равными катетами; б - то же, с неравными
катетами; в - вогнутый шов
4.17. Болтовые соединения рассчитывают на срез
на смятие
на растяжение
где N - продольная сила;
d - наружный диаметр болта;

- наименьшая суммарная толщина элементов;
R - расчетное сопротивление соответственно срезу, смятию и растяжению;
Fнт - площадь сечения болта нетто
d2 - средний диаметр резьбы;
d1 - внутренний диаметр резьбы;
H - высота резьбы

.
Величины d1, d2 и H принимают по ГОСТ 9150-81.
Площадь сечения некоторых болтов нетто приведена в табл. 15.
Таблица 15
Диаметр болта, мм | 16 | 18 | 20 | 22 | 24 |
Площадь сечения нетто, см2 | 1,6 | 1,97 | 2,49 | 3,08 | 3,59 |
4.18. Несущая способность одного гвоздя на выдергивание
R - расчетное сопротивление выдергиванию. Для воздушно-сухой древесины R = 3 кгс/м2, для сырой высыхающей при эксплуатации R = 1 кгс/м2;
l - расчетная длина защемленной части гвоздя. Заостренная часть длиной примерно 1,5d не учитывается, кроме того из длины гвоздя вычитают по 2 мм на каждый шов между соединяемыми элементами.
4.19. Расстояние между осями гвоздей, пробиваемых вдоль волокон
S = 15d при толщине элемента c >= 10d;
S = 25d " " " c = 4d;
S >= 15d для элементов, не пробиваемых насквозь, расстояние до торца должно быть не менее 15d, расстояние между гвоздями, пробиваемыми поперек волокон S = 4d, при забивке гвоздей в шахматном порядке или косыми рядами под углом <= 45° расстояние крайнего ряда от кромки не менее 4d.
4.20. Клееные щиты опалубки с деревянным каркасом и фанерной палубой рассчитывают как элементы цельного сечения, приведенного к фанерной палубе (наибольшие напряжения):
на прочность

,
где Wпр - приведенный момент сопротивления;
k - коэффициент снижения расчетного сопротивления для палубы из состыкованных листов фанеры, k = 0,6 - для фанеры ФСФ, k = 0,8 - для бакелированной; k = 1 - для палубы без стыков

;

,
здесь Iф - момент инерции фанерной палубы;
Iд - то же, деревянного каркаса;

- отношение модулей упругости дерева и фанеры;
на устойчивость
Wрасч =
WпрIф; при

для

;

для

;
a - расстояние между ребрами;

- толщина фанеры;
R - расчетное сопротивление фанеры сжатию;
на скалывание древесины ребер или по клеевому шву шпонами фанеры
где b - расчетная ширина, равная суммарной ширине ребер каркаса;
Rф.ск - расчетное сопротивление фанеры скалыванию.
СПРАВОЧНЫЕ ДАННЫЕ ДЛЯ РАСЧЕТА
4.21. Геометрические характеристики сечения приведены в
прил. 3.
Статический момент сечения относительно оси x или y равен площади сечения, умноженной на расстояние от центра тяжести сечения до оси. В общем виде формулы величины статического момента сечения любой формы относительно осей x и y записываются

;

.
При параллельном переносе осей x на величину b и y на величину a

;

.
Оси, относительно которых Sx и Sy равны нулю, называются центральными и проходят через центр тяжести сечения. Расстояние до центральных осей от любых, произвольно взятых

;

.
Моменты инерции сечения
Моменты инерции при переносе осей относительно центральных
Момент сопротивления

, где
ymax - наибольшее расстояние (крайние волокна) от нейтральной оси (нулевое значение напряжений).
Моменты инерции, сопротивления и радиусы инерции характерных сечений приведены в
табл. 3.1 прил. 3.
Расчетные схемы, моменты и прогибы приведены в
табл. 3.2 -
3.5 прил. 3.
Моменты в неразрезных балках приведены в
табл. 3.6 -
3.8 прил. 3.
Для удобства расчетов с достаточной точностью сосредоточенные, а также неравномерно распределенные нагрузки могут быть заменены на эквивалентные, равномерно распределенные, вызывающие в балках те же опорные моменты.
Равномерно распределенная разгрузка, эквивалентная сосредоточенной, приведена в
табл. 3.9 прил. 3.
Следует иметь в виду, что нагрузки эквивалентны только для опорных моментов, при превалировании моментов в пролете их следует определять по действительной нагрузке, также по действительной нагрузке определяются поперечные силы.
Палуба может рассчитываться как плиты, опертые по контуру (
табл. 3.10 прил. 3).
Моменты при разной схеме опирания показаны в
табл. 3.10 прил. 3.
Характеристики материалов приведены в
прил. 1.
Плотность стали при расчетах принимается равной 7850 кг/м3, коэффициент линейного расширения 1,2·10-5 град-1, коэффициент поперечной деформации (Пуассона) 0,3; модуль упругости стали E = 2,1·106 кгс/м2; модуль сдвига G = 8,1·105 кгс/м2.
4.22. При установке опалубки по отдельным элементам каждый элемент рассчитывается отдельно. При установке опалубки каркасными щитами расчет ведется с учетом момента сопротивления и инерции всего щита с ребрами жесткости и несущими элементами, включенными в сечение щита и работающих совместно.
Примеры расчета опалубки приведены в
прил. 4.
НОМОГРАФИЧЕСКИЙ РАСЧЕТ ОСНОВНЫХ ПАРАМЕТРОВ ГРЕЮЩЕЙ ОПАЛУБКИ
Определение коэффициента теплопередачи
4.23. Толщина утеплителя в термоактивной опалубке, как правило, ограничивается высотой ребер жесткости каркаса щитов. Поэтому оптимальный с точки зрения экономических показателей при эксплуатации опалубки коэффициент теплопередачи термоактивных щитов определяется путем подбора соответствующих утепляющих материалов и конструкций теплоизоляции.
4.24. Теплопотери через утеплитель щитовой разборно-переставной опалубки не должны превышать 35%, а для объемно-переставной и блок-форм - 25%.
4.25. Оптимальное термическое сопротивление теплоизоляции рекомендуется назначать с учетом затрат на электроэнергию при обогреве бетона.
4.26. Коэффициент теплопередачи греющих щитов зависит от многих переменных: площади поверхности открытых ребер каркаса, размеров щита, скорости ветра, теплофизических характеристик примененного утеплителя, качества герметизации утеплителя от продувания и т.п. Для наиболее распространенной в строительстве стальной греющей опалубки с утеплителем из минераловойлочных матов усредненные коэффициенты теплопередачи могут быть определены по номограмме
рис. 5.
Рис. 5. Номограмма для определения усредненных коэффициентов
теплопередачи стальных греющих щитов
4.27. Для стальных щитов площадью более 1 м
2 с теплоизоляцией различной конструкции при площади открытых ребер каркаса до 600 см
2, с отношением периметра открытых ребер каркаса к площади щита 3,5:1 - 4,5:1 и скорости ветра до 1 м/с усредненные коэффициенты теплопередачи можно определить по табл. 16.
Таблица 16
Конструкция теплоизоляции | Коэффициент теплопередачи |
Вт/(м2·°C) | % |
Минераловатный мат толщиной 40 мм и фанера толщиной 3 мм | 3,44 | 100 |
Воздушная прослойка толщиной 30 мм, фанера толщиной 3 мм, уплотнение по контуру минераловатой | 5,83 | 59 |
Воздушная прослойка толщиной 15 мм, фанерный щит с сотовым заполнением толщиной 30 мм, уплотнение по контуру минераловатой | 4,84 | 71 |
Теплоотражающий экран из алюминиевой фольги, минераловатный мат толщиной 40 мм, фанера толщиной 3 мм | 3,07 | 112 |
4.28. Для конструктивных решений фанерной греющей опалубки с характеристиками щитов, приведенными в
п. 4.27, коэффициенты теплопередачи могут приниматься по данным табл. 17.
Таблица 17
Конструкция опалубочного щита | Коэффициент теплопередачи |
Вт/(м2·°C) | % |
Фанерная палуба толщиной: | | |
10 мм | 7,65 | 100 |
12 мм | 6,75 | 111 |
18 мм | 5,75 | 125 |
Фанерный щит с двумя палубами толщиной 12 мм с воздушной прослойкой толщиной 40 мм | 2,30 | 170 |
То же, с брезентовым укрытием | 1,75 | 177 |
Фанерная палуба толщиной 12 мм с брезентовым укрытием | 4,60 | 140 |
Выбор удельной мощности
4.29. Удельную мощность нагревателей греющей опалубки выбирают постоянной на всю продолжительность цикла термообработки бетона.
Удельная мощность нагревателей должна обеспечивать требуемую скорость подъема температуры на поверхности обогреваемых конструкций с учетом теплообмена и термонапряженного состояния монолитных конструкций. Занижение удельной мощности по отношению к оптимальной приводит к удлинению сроков термообработки, завышение - к перерасходу электроэнергии, к увеличению температурных градиентов по сечению конструкции, вызывающих развитие деструктивных явлений в бетоне, а при использовании систем автоматического регулирования температуры обогрева - к неравномерной работе электронагревателей.
4.30. Удельную мощность электронагревателей комплекта греющей опалубки следует выбирать в зависимости от массивности обогреваемых монолитных конструкций, расчетной температуры окружающего воздуха и скорости ветра, температуры бетонной смеси, уложенной в опалубку, и теплофизических свойств утеплителя щитов.
4.31. При ручном, полуавтоматическом и автоматическом режимах регулирования температуры обогрева бетона удельную мощность электронагревателей термоактивной опалубки следует принимать по номограмме рис. 6.
Рис. 6. Номограмма для определения удельной мощности
электронагревателей греющей опалубки при ручном,
полуавтоматическом и автоматическом режимах работы
При саморегулирующемся режиме обогрева бетона, приготовленного на портландцементе активностью М400 - М500, удельную мощность электронагревателей следует принимать по номограмме
рис. 7. Саморегулирующийся режим может применяться при выполнении небольших по объему бетонных работ разового характера и отсутствии на стройплощадке автоматических средств контроля и регулирования температуры обогрева.
Рис. 7. Номограмма для определения удельной мощности
электронагревателей греющей опалубки при саморегулирующемся
режиме обогрева
При таком режиме температура бетона в процессе обогрева принимает постоянное значение в зависимости от температуры наружного воздуха, коэффициента теплопередачи утеплителя, расхода и активности цемента, модуля опалубливаемой поверхности и удельной мощности электронагревателей.
4.32. Удельная мощность щитов, используемых для отогрева мерзлых грунтов оснований, должна находиться в пределах 1,5 - 2 кВт/м2. Температура обогрева должна быть в пределах 100 °C. Коэффициент теплопередачи утеплителя щитов не должен превышать 3,5 Вт/(м2·°C).
4.33. Удельную мощность электронагревателей в термоактивных щитах, расположенных в углах обогреваемых монолитных конструкций, следует назначать равной 2/3 удельной мощности нагревателей рядовых щитов.
Ширина угловых щитов (или часть щита) с нагревателями пониженной мощности должна составлять примерно 1/2 толщины стены или меньшего из размеров сечения колонн и балок, но не менее 300 мм, а для фундаментов - в пределах 500 - 600 мм. Удельная мощность должна быть распределена по ширине угловых щитов плавно от 2/3 до полной удельной мощности рядовых щитов, начиная от угла конструкции.
4.34. Открытые ребра каркаса стальной опалубки оказывают существенное влияние на равномерность распределения температурного поля на палубе щитов. Потребную дополнительную мощность для компенсации теплопотерь через открытые ребра каркаса следует определять теплотехническим расчетом.
Ориентировочно удельную мощность электронагревателей у открытых ребер сечением до 10 x 100 мм можно принимать равной 0,5Pуд.
При применении кабельных и других линейных электронагревателей можно конструктивно уменьшать их шаг вдвое на участке палубы шириной 100 мм от края ребра.
Выбор шага линейных электронагревателей
4.35. Шаг линейных электронагревателей должен обеспечивать получение равномерного температурного поля по всей плоскости палубы. Температурные перепады на палубе не должны превышать 5 °C.
4.36. Выбор шага линейных электронагревателей должен производиться с учетом толщины и материала палубы, удельной электрической мощности, коэффициента теплопроводности бетона и утеплителя. Правильный выбор этих параметров должен обеспечивать в соприкасающихся с палубой пристенных слоях бетона температурные градиенты не выше критических, при которых возникающие в поверхностном слое бетона напряжения еще не приводят к необратимым деструктивным явлениям, к снижению его прочностных и качественных характеристик.
4.37. Перепад температуры

на палубе между расположенными вплотную к ней смежными линейными нагревателями диаметром до 6 мм может быть вычислен по формуле
где Pуд - удельная мощность электронагревателей, Вт/м2;
b - шаг электронагревателей, м;

- коэффициент теплопроводности материала палубы щитов, Вт/(м·°C);
e = 2,72;

- коэффициент теплопроводности бетона, Вт/(м·°C);
где

- толщина палубы щитов, м.
4.38. Оптимальный шаг линейных электронагревателей диаметром до 6 мм в греющей опалубке со стальной палубой при допустимых температурных градиентах на поверхности обогреваемых конструкций до 0,4 - 0,5 град/см, что соответствует перепаду в 2 - 2,5 °C при шаге 100 мм, следует принимать по номограмме рис. 8.
Рис. 8. Номограмма для определения оптимального шага
линейных электронагревателей диаметром 6 мм в греющей
опалубке со стальной палубой
При отогреве мерзлых грунтовых оснований, а также обогреве монолитных конструкций, если проектом производства работ обоснованы большие перепады температуры на палубе щитов, шаг нагревателей может быть определен по номограмме при температурных градиентах, превышающих 0,5 град/см.
4.39. Оптимальный шаг b и нагрузку на единицу длины p линейных электронагревателей круглого сечения диаметром 12 - 16 мм с установленным над ними теплоотражающим экраном в греющей опалубке со стальной палубой рекомендуется принимать по табл. 18.
Толщина стальной палубы, мм | b, мм | p, Вт/м | b, мм | p, Вт/м | b, мм | p, Вт/м | b, мм | p, Вт/м | b, мм | p, Вт/м |
При удельной мощности электронагревателей, Вт/м2 |
600 | 800 | 1000 | 1200 | 1300 |
2 | 100 | 60 | 90 | 75 | 80 | 85 | 70 | 90 | 70 | 95 |
3 | 135 | 80 | 130 | 105 | 120 | 120 | 100 | 120 | 85 | 115 |
4 | 180 | 100 | 170 | 130 | 160 | 155 | 120 | 145 | 110 | 145 |
5 | 200 | 110 | 190 | 145 | 180 | 170 | 140 | 165 | 130 | 165 |
6 | 220 | 120 | 210 | 160 | 190 | 180 | 170 | 200 | 160 | 200 |
4.40. Значения шага и нагрузок на единицу длины, определенные по номограмме
рис. 8 и
табл. 18, приведены для линейных электронагревателей, расположенных вплотную к палубе. Для нагревателей, расположенных с зазором до 5 мм от палубы, указанные значения следует увеличить до 15%.
4.41. Шаг проволочных электронагревателей, запрессованных в слое термостойкого диэлектрика на фанерной палубе в плоскости, соприкасающейся с бетоном, а также нагрузку на единицу длины следует принимать по табл. 19.
Таблица 19
Удельная мощность нагревателей, Вт/м2 | Нагрузка на единицу длины проволочных нагревателей, Вт/м | Шаг проволочных нагревателей, мм | Максимальная температура нагрева палубы, °C | Удельная мощность нагревателей, Вт/м2 | Нагрузка на единицу длины проволочных нагревателей, Вт/м | Шаг проволочных нагревателей, мм | Максимальная температура нагрева палубы, °C |
700 | 11 - 15 | 15 - 20 | 75 | 400 | 10 - 14 | 25 - 35 | 50 |
600 | 10 - 15 | 15 - 25 | 65 | 300 | 10 - 12 | 30 - 40 | 45 |
500 | 10 - 15 | 20 - 30 | 55 | 200 | 8 - 10 | 35 - 40 | 35 |
4.42. В греющей опалубке с палубой, изготовленной из дерева, фанеры, стеклоцемента или пластмасс, шаг линейных нагревателей, укладываемых внутри опалубочных щитов, не должен превышать 150 мм.
4.43. Мощность, приходящаяся на единицу длины линейных нагревателей, должна удовлетворять выражению
где pн - электрическая нагрузка на единицу длины электронагревателей, Вт/м;

- удельная мощность электронагревателей, Вт/м
2;
b - шаг нагревателя, мм.
РАСЧЕТ ПАРАМЕТРОВ ГИБКИХ ЭЛЕКТРОНАГРЕВАТЕЛЕЙ (ГЭ) С ПРОВОДОМ ПОСХВ
4.44. Расчет параметров ГЭ производится из условий их работы, температуры окружающей среды и требуемой температуры прогрева бетона
tб.
Задается максимальное значение температуры поверхности прогреваемого бетона.
Определяется рабочая температура поверхности нагревательного элемента
tраб = 13tб.
Рассчитывается полезная удельная мощность нагревательного элемента
Pпол = 6,35tраб.
Рассчитывается дополнительная удельная мощность нагревательного элемента для компенсации потерь тепла в атмосферу при известной температуре наружного воздуха tв
где

- коэффициент конвективной теплоотдачи между теплоизолированной поверхностью нагревателя и наружным воздухом,

;
Rм - термическое сопротивление, Rм = 0,75 м2·°C/Вт.
Определяется полная удельная мощность электронагревателя
Pтр = Pпол + Pдоп.
Находится требуемая полная мощность одного электронагревателя Pм = PтрFм,
где Fм - площадь гибкого нагревательного элемента (мата), м2.
Определяется рабочее напряжение ГЭ
где 0,193 - удельное сопротивление оцинкованной стальной жилы греющего элемента при 100 °C, Ом·мм2/м;
n - число параллельно соединенных секций из греющего провода;
l - длина греющего провода, м;
S - сечение жилы греющего провода, мм2.
Пример расчета
Задается: температура на поверхности бетона tб = 50 °C; температура воздуха tв = 10 °C;
коэффициент конвективного теплообмена

;
термическое сопротивление Rм = 0,75 м2·°C/Вт;
ширина активной части нагревательного элемента b = 0,8 м;
рабочее напряжение U = 60 В.
Определяется рабочая температура поверхности нагревательного элемента (с учетом, что она не должна превышать 100 °C):
tраб = 1,3·tб = 1,3·50 = 65 °C (65 °C < 100 °C).
Рассчитывается полезная удельная площадь нагревательного элемента
Pпол = 6,35tраб = 6,35·65 = 413 Вт/м2.
Рассчитывается дополнительная удельная мощность нагревательного элемента для компенсации потерь тепла в атмосферу
Рассчитывается требуемая полная удельная мощность ГЭ
Pтр = Pпол + Pдоп = 413 + 94 = 507 Вт/м2.
Определяется длина греющего провода l одной секции
Определяется число рядов в одной секции ТЭ
где b - ширина активной части, т.е. длина одного полувитка;
lнагр - длина активной части одной секции в расчете на 1 м2 поверхности;
lнагр = 1:0,8 м = 1,25 м.
Тогда
Шаг раскладки провода "змейкой"
Таким образом, геометрические размеры активной части нагревателя одной секции 0,8 x 1,25 м при шаге раскладки 29,8 мм. Греющий провод общей длиной 35 м укладывается в 42 ряда. В том случае, когда задается площадь гибкого нагревателя ГЭ, для расчета электрических параметров используются формулы
п. 4.44.
При использовании греющего провода марок ПОСХВ и ПОСХМ, когда максимально допустимая температура изоляции равна 70 °C, расчет рабочего напряжения производится по формуле
где

- удельное электрическое сопротивление проволоки при 0 °C, Ом·мм
2/м, для оцинкованной стальной проволоки

(определено экспериментально);

- термический коэффициент сопротивления, град
-1, для оцинкованной проволоки

(определено экспериментально);
t - максимальная температура греющего провода, °C;
l - длина греющего провода, м.
На стадии конструирования длины греющего провода по заданным параметрам гибкого нагревателя может быть определена с помощью номограммы, изображенной на
рис. 9, и графика на
рис. 10. Методика определения рассмотрена на конкретном примере.
Рис. 9. Номограмма для определения длины греющего провода
по заданным параметрам гибкого нагревателя
Рис. 10. График для определения удельного электрического
сопротивления греющего провода в зависимости от температуры
Пример
Дано: удельная мощность гибкого нагревателя
Rуд = 500 Вт/м
2; максимальная температура греющего провода
t = 80 °C; рабочее напряжение
U = 60 В; сечение греющего провода
S = 0,95 мм
2; материал греющего провода - сталь; удельное электрическое сопротивление стальной проволоки при 0 °C

.
Определить длину греющего провода l на одну секцию нагревателя.
По графику, изображенному на рис. 11, определяется удельное электрическое сопротивление стального провода при 80 °C

. Этот параметр для номограммы на
рис. 10 также является исходным.
Рис. 11. Номограмма для определения греющей поверхности
опалубки в зависимости от расстояния между сетчатыми
нагревателями и их материалом при ширине, сеток
нагревателя 15 см
n - расстояние в свету между нагревателями;
1 - латунь; 2 - жаропрочная сталь; 3 - нержавеющая сталь
По заданным значениям мощности и напряжения находятся на номограмме соответствующие точки А и Б, из которых восстанавливаются перпендикуляры. Точка пересечения В определит значение токовой нагрузки I = 8,3 А.
Далее из точки В через точку Б проводится прямая до пересечения с линией, соответствующей найденному значению токовой нагрузки Г. Из точки Г опускается перпендикуляр на ось абсцисс. Точка пересечения перпендикуляра с осью Д определит величину электрического сопротивления R = 7,3 Ом.
Из точки
Е пересечения продолжения перпендикуляра с линией, соответствующей заданному сечению провода (
S = 0,95 мм
2), проводится прямая, параллельная оси абсцисс. Из точки
Ж ее пересечения с линией, соответствующей определенному по графику
рис. 11 значению удельного сопротивления

, проводится перпендикуляр к оси абсцисс. Полученная точка
З их пересечения дает искомую длину греющего провода
l = 39 м.
Может оказаться, что вычисленная длина слишком велика и не укладывается в конструируемый элемент или слишком мала для обеспечения равномерного обогрева. Тогда следует провести перерасчет на другие значения напряжения или сечения провода.
ОСОБЕННОСТИ РАСЧЕТА СЕТЧАТЫХ И ПЛАСТИНЧАТЫХ НАГРЕВАТЕЛЕЙ
4.45. Сетчатый электронагреватель представляет собой отдельные полосы тканых сеток (табл. 20) из латуни, меди или стали, соединенные между собой последовательно с помощью медных пластин и размещаемые между двумя слоями термостойкой электроизоляции. Он может быть выполнен и в виде сплошной, зигзагообразной вырезанной полосы из тканой сетки с медными пластинами-шипами на концах, которыми нагреватель подключается к электрической цепи. Соединение пластин или сеток между собой и подсоединение коммутационных выводов может быть выполнено также посредством высококачественной пайки.
Таблица 20
Сетка | Размер ячейки, мм | Диаметр проволоки, мм |
| | ИС МЕГАНОРМ: примечание. Взамен ГОСТ 6613-73 Постановлением Госстандарта СССР от 21.09.1986 N 2466 с 01.01.1988 введен в действие ГОСТ 6613-86. | |
|
Из латуни Л-80 (ГОСТ 6613-73) | 2,5 | 0,35 |
2,0 | 0,50 |
1,6 | 0,45 |
1,25 | 0,40 |
1,0 | 0,35 |
Из жароупорной стали марки 3282-М-6 (ТУ 12184-66) | 2,8 | 0,45 |
| | ИС МЕГАНОРМ: примечание. Взамен ГОСТ 3826-66 Постановлением Госстандарта СССР от 29.09.1982 N 3839 с 01.01.1984 введен в действие ГОСТ 3826-82. | |
|
Из нержавеющей стали (ГОСТ 3826-66) | 2,5 | 0,40 |
4.46. Пластинчатый электронагреватель по своему исполнению аналогичен сетчатому и отличается от последнего тем, что полосы выполнены из тонколистового рулонного металла или другого токопроводящего материала.
4.47. Сетчатые и пластинчатые электронагреватели могут изготовляться из серийно выпускаемых промышленностью сеток и тонколистового рулонного металла. Ширина полос сетки и пластины составляет обычно 10 - 30 см.
4.48. В зависимости от параметров трансформаторов, требований техники безопасности и конструктивного использования термоактивной опалубки сетчатые и пластинчатые нагреватели могут быть изготовлены на напряжение от 12 до 380 В.
4.49. Выделение тепла при пропускании через сетчатые электронагреватели электрического тока промышленной частоты происходит в основном за счет активного сопротивления материала нагревателей.
4.50. Последовательное соединение полос сетчатого нагревателя между собой осуществляется на всю их ширину медными сдвоенными пластинами шириной 20 мм и толщиной не менее 2 мм, зажимаемыми с помощью болтов или заклепок, предпочтительно с потайными головками. При этом необходимо, чтобы полосы сеток были плотно зажаты между пластинами и не имели торчащих концов проволок.
4.51. Во избежание повреждения тонких проволок сетки при стягивании их соединительными пластинами последние не должны иметь острых кромок.
4.52. Для обеспечения более надежного контакта с соединительными пластинами продольные проволоки сетки могут быть припаяны к пластинам. После пайки, во избежание развития коррозии от применяемых травильных растворов, места пайки следует промыть и просушить.
4.53. В качестве электроизоляции при изготовлении сетчатых и пластинчатых электронагревателей может использоваться любое токонепроводящее покрытие или материал, выдерживающие температуру не ниже 300 °C: стеклоткань, асбестовая ткань, асбестовый капрон, паронит и др.
В случае применения изолирующих покрытий с более низкой температурой эксплуатации (резина, полиэтилен) температура на сетке или пластине не должна превышать 90 °C. Такие нагревательные элементы могут быть использованы как низкотемпературные греющие элементы, например, в гибких термоактивных покрытиях.
4.54. Электрическое сопротивление 1 м сетчатого или пластинчатого электронагревателя r может определяться экспериментально вырезкой полосы соответствующей ширины и длины и замером сопротивления, например, методом "вольтметр-амперметр". Однако оно может вычисляться и аналитически по следующим формулам:
а) для сетчатого электронагревателя
где

- удельное электрическое сопротивление материала нагревателя при 20 °C, Ом·мм
2/м;
b, d, c - соответственно ширина полосы, диаметр и размер ячейки сетки, мм;
б) для пластинчатого электронагревателя
где

- толщина полосы нагревателя, мм.
4.55. Зависимость электрической мощности щита греющей опалубки от его размеров, подводимого напряжения, размеров и схемы размещения сетчатых и пластинчатых нагревателей определяется формулой
где r - электрическое сопротивление 1 м нагревателя шириной l, Ом/м, полосы;
a, c - расстояние от края до края щита опалубки соответственно по длине и ширине, м, назначается конструктивно;
b - расстояние в свету между смежными полосами нагревателя, м;
l - ширина одной полосы нагревателя, м;

- температурный коэффициент сопротивления материала нагревателя, 1 °C;
t - температура нагревателя, °C;
Li, Bi - соответственно длина и ширина опалубки, м;
Fi - площадь опалубки;
U - напряжение, подводимое к нагревателям, В;
Pi - удельная мощность щита, кВт/м
2 (определяется теплотехническим расчетом или по номограмме
рис. 8).
4.56. Для обеспечения равномерности температурного поля в обогреваемой железобетонной конструкции расстояние в свету между смежными полосами не должно превышать 100 мм.
4.57. По
формуле п. 4.55, варьируя параметры сетчатых и пластинчатых электронагревателей, можно определить:
а) необходимое напряжение для питания нагревателей при заданных размерах щита;
б) оптимальные размеры щитов при заданном напряжении на низкой стороне питающего трансформатора.
4.58. При конструировании щитов с сетчатыми или пластинчатыми нагревателями в случае невозможности или нецелесообразности разрезки опалубки на отдельные щиты расчетных размеров при заданном напряжении на низкой стороне питающего трансформатора потребная удельная мощность (электрическая) опалубки может быть обеспечена за счет изменения схемы подключения отдельных нагревателей. Например, если напряжение трансформатора недостаточно, то подобранное на весь щит опалубки число нагревателей разбивается на две или три группы, которые подключаются к трансформатору параллельно.
4.59. Для создания равномерного теплового потока по всей поверхности щита и исключения перегрева периферийных участков ширина полос у периферийных участков назначается несколько меньшей по сравнению с выбранной за счет соответствующего увеличения расстояния в свете между полосами в средней части.
4.60. Сила тока в подводящих кабелях может быть определена из размеров щита опалубки и подводимого напряжения по формуле
РАСЧЕТ ГРЕЮЩЕЙ ОПАЛУБКИ С СЕТЧАТЫМИ ЭЛЕКТРОНАГРЕВАТЕЛЯМИ
4.61. Греющую площадь щитовой опалубки (или гибкой), оборудованной сетчатыми нагревателями из различных материалов, следует определять по номограмме
рис. 11.
Обычно расстояние между лентами сетчатых нагревателей принимается 10 - 20 см. Это расстояние сокращается до 2 - 5 см, если необходимо увеличить подвод тепла в углах и стыках опалубки, а также в зонах возможного повышенного оттока тепла в ранее забетонированную конструкцию.
4.62. Исходя из номинальной силы тока трансформаторов, применяемых для питания греющих опалубок с сетчатыми электронагревателями, определяется наиболее целесообразное соединение элементов нагревателя в опалубке. В случае невозможности уменьшения расстояния между нагревателями из-за конструктивных особенностей опалубки допускается уменьшать обычно принятую ширину лент нагревателя. Возможно также комбинированное решение - изменение ширины лент и расстояния между ними. Площадь же нагревателя при таком принципе конструирования всегда составляет некоторую часть от площади греющей опалубки и обычно находится в пределах 0,3 - 0,85 (табл. 21).
Таблица 21
Расстояние между лентами нагревателя, см | Площадь нагревателя, см2, при ширине полосы плоского нагревателя, см |
10 | 15 | 20 | 25 | 30 |
5 | 0,60 | 0,72 | 0,77 | 0,80 | 0,85 |
10 | 0,50 | 0,60 | 0,67 | 0,71 | 0,75 |
15 | 0,40 | 0,52 | 0,60 | 0,65 | 0,69 |
20 | 0,33 | 0,41 | 0,50 | 0,55 | 0,60 |
25 | 0,32 | 0,40 | 0,48 | 0,55 | 0,60 |
30 | 0,29 | 0,39 | 0,44 | 0,50 | 0,55 |
Площадь нагревателя определяется выражением
Fн = kнFоп,
где
Fоп - площадь опалубки, а коэффициент

характеризует полноту заполнения нагревателем обогреваемой площади опалубки.
4.63. Греющую опалубку с сетчатыми электронагревателями рассчитывают аналогично тепловому расчету электрических печей сопротивления.
4.64. Теплообмен между греющей опалубкой и бетоном обычно определяют для ряда значений температур на контакте бетон-опалубка, применяемых к началу изотермического выдерживания при 45, 65, 85 °C, назначаемых в зависимости от технологических параметров бетона, его состава, модуля поверхности и требуемой прочности к концу тепловой обработки.
4.65. При расчете греющей опалубки принятой конструкции определяют размер и установленную мощность сетчатых нагревателей с учетом энергетических параметров источников питания.
4.66. Удельную поверхностную мощность сетчатого нагревателя определяют по формуле
где kн - коэффициент заполнения опалубки нагревателем;
Pоп - удельная мощность, расходуемая на подъем температуры 1 м2 поверхности бетона и опалубки, определяемая по формуле
где P1 - мощность электрическая, необходимая для разогрева бетона и для нагрева формы или опалубки, Вт;
P2 - мощность, расходуемая на воспламенение потерь в окружающую среду в процессе прогрева бетона, Вт;
P3 - мощность, эквивалентная теплу, выделяемому от экзотермии цемента, Вт (при тепловой обработке конструкций с Mп > 6 незначительна, можно пренебречь);
C1 - приведенная удельная теплоемкость бетона и материала опалубки, Дж/(кг·К);

- приведенная объемная масса бетона и материала опалубки, кг/м
3;
t1 - средняя температура бетона к концу подъема, °C
где

- температура бетона на контакте с греющей опалубкой, °C;

- температура бетона с необогреваемой стороны, °C;
t2 - начальная температура бетона перед тепловой обработкой, °C;
t3 - температура наружного воздуха, °C;

- общая толщина материала бетона и опалубки, м;
F1 - общая площадь теплоотдающей поверхности, м2;
Fоп - принятая обогреваемая площадь бетона, равная 1 м2;
k - коэффициент теплопередачи опалубки, Вт/(м2·°C);

- продолжительность этапа, с.
4.67. Необходимую длину сетчатого нагревателя принятой ширины определяют по формуле
где b - ширина сетчатого нагревателя, м.
4.68. Падение напряжения
Uн и силу тока
Iр в сетчатом нагревателе определяют при длине 1 м. Для ориентировочных расчетов на основании экспериментальных данных составлены приведенные на
рис. 12 номограммы, по которым определены электротехнические параметры сетчатых нагревателей в зависимости от их ширины и требуемой удельной мощности.
Рис. 12. Номограмма для определения электрических
параметров сетчатых нагревателей в зависимости
от установленной мощности
| | ИС МЕГАНОРМ: примечание. Текст дан в соответствии с официальным текстом документа. | |
а - из латуни Л-80; б - из жаропрочной стали;
в - из нержавеющей стали; в - расстояние между
нагревателями, см
4.69. Необходимое расчетное напряжение однофазной цепи по формуле
Up = lUн,
где
Uн - падение напряжения, определенное по номограммам, В/м (см.
рис. 12).
4.70. Активную мощность нагревателя по формуле
где
Iр - расчетная сила тока, определенная по номограмме (см.
рис. 12), А;

- угол сдвига фаз, град или рад.
4.71. По рабочему току выбирают трансформатор и сечение питающих проводов. При этом возможно присоединение нагревателей к источнику энергии по двум схемам - "звездой" или "треугольником".
В первом случае
Iл =
Iф =
Iр;

Во втором случае

;
Uл =
Uф,
где Uл - линейное напряжение между любыми двумя проводами трехпроводной трехфазной линии, В;
Iл - линейный ток, текущий в одном из проводов трехпроводной трехфазной линии, А;
Uф - фазное напряжение между любыми из проводов линии и нулевой точкой "звезды", В;
Iф - фазный ток, текущий в одной из сторон "треугольника" или в одном из лучей "звезды", А.
Пример расчета греющей опалубки с сетчатыми нагревателями
Данные для расчета:
Необходимо произвести тепловую обработку железобетонной плиты толщиной 16 см, площадью 27 м2 из тяжелого бетона марки М300 на портландцементе Белгородского завода марки М400 в металлической опалубке из щитов с сетчатыми нагревателями из лент латуни марки Л-80 шириной 15 см при расстоянии между лентами 10 см.
Условия тепловой обработки:
температура наружного воздуха t3 = -20 °C;
температура изотермического выдерживания на контакте бетон-опалубка

;
температура уложенного в опалубку бетона

;
подъем температуры

в течение 6 ч.
Технологический расчет осуществляется применительно к односторонней тепловой обработке с утепляющим верхним матом при
k = 5,12 Вт/(м
2·°C), приведенной удельной теплоемкости:
C1 = 1,046·10
3 Дж/(кг·К) и объемной массе

.
Находим среднюю температуру тепловой обработки, считая, что на контакте с утепляющим верхним щитом она равна

и определена по следующей методике:
по оси абсцисс
(рис. 13) в неизменном масштабе отложим величины термических сопротивлений утеплителя с необогреваемой стороны опалубки,
ab, бетона
bc и греющей опалубки
cd;
через точки a, b, c и d проводим вертикальные линии, на которых откладываем заданные величины температуры наружного воздуха с внешней стороны опалубки (точки A и C) и температуру на контакте бетон-опалубка к концу тепловой обработки (точка B). Значение искомой температуры на контакте бетон-утеплитель к концу подъема температуры будет соответствовать точке пересечения отрезка AB с перпендикуляром из точки b. Получаем точку Д, значение температуры в которой необходимо для определения средней температуры
Рис. 13. Распределение температур в бетонной плите
при одностороннем обогреве
A и C - заданные величины температуры наружного воздуха;
B - температура на контакте бетон-опалубка к концу
тепловой обработки; Д - искомая температура на контакте
бетон - греющая опалубка к концу тепловой обработки.
По оси абсцисс x-x отложены термические сопротивления
утеплителя, бетона и греющей опалубки
Последовательно произведя энергетический расчет и заменив в формулах символы абсолютными величинами, получим:
удельную мощность
удельную поверхностную мощность нагревателя
необходимую длину сетчатого нагревателя принятой ширины
Здесь l - длина нагревателя на 1 м2 опалубки.
По номограмме (см.
рис. 12) в соответствии с удельной мощностью
Pуд = 0,36 Вт/см
2 для сетчатого нагревателя из латуни шириной
b = 15 см находим
Iр = 270 А и
Uн = 1,8 В/м;
находим напряжение в однофазной цепи
Uр = 108·1,8 ~= 194 В;
требуемую активную мощность сетчатого нагревателя
при использовании трехфазного тока по схеме "звезда"
При подключении по схеме "звезда" на каждую фазу подключается 108/3 = 36 м сетчатого нагревателя на соответствующую ступень трансформатора ТМОБ-63, мощность и напряжение которого соответствуют расчетным (пример раскладки покрытий на рис. 14).
Рис. 14. Пример раскладки греющих покрытий, присоединенных
к трансформатору по схеме "звезда", при обогреве
бетона перекрытия
1 - греющие покрытия; 2 - коммутационные кабели;
3 - трансформатор; 4 - подводящие ток кабели
Аналогично предыдущему расчету определяем:
удельную мощность нагревателя в период изотермического выдерживания по формуле
По номограмме (см.
рис. 9) находим
Iр = 190 А и
Uн = 1,1 В при
Pиз = 0,15 Вт/см
2.
Необходимое напряжение при подсоединении к однофазной цепи
Uр = 108·1,1 ~= 119 В.
Требуемая мощность сетчатого нагревателя
P = 190·119 = 22 610 Вт.
При использовании трехфазного тока по схеме "звезда"

;

.
При расчетной силе тока полученное напряжение необходимо увеличить на величину его падения в подводящих проводах, которая ориентировочно может быть принята равной 0,1 - 0,2 В на 1 м длины подводящего кабеля.
Принимается режим тепловой обработки, состоящий из двух периодов: подъема температуры и изотермического выдерживания. По окончании подъема температуры уменьшаем ступень напряжения трансформатора до напряжения, соответствующего удельной мощности нагревателя при изотермическом выдерживании 0,15 Вт/см2 и производим изотермическое выдерживание согласно режиму обогрева.
Для повышения эффективности и качества конструкций опалубки, а также исключения дублирования разработок, что приводит к созданию не всегда достаточно эффективных конструкций в 1981 - 1987 гг. намечена разработка типовых конструкций опалубки с одновременной разработкой и введением на них государственных стандартов (см. письмо председателя Госстроя СССР N МЧ-1237-31 от 11.03.80 г.).
С разработкой типовых конструкций и введением на них государственных стандартов все другие конструкции опалубки подлежат изъятию и замене типовыми системами.
ЦНИИОМТП осуществляет отбор базовых образцов опалубки для разработки типовых конструкций.
План разработки типовых конструкций опалубки приведен в табл. 22.
Таблица 22
Тип опалубки | Конструкция, принятая за базовый образец | Сроки разработки | Исполнители |
чертежей | испытание образцов | корректировка |
Скользящая | ЦНИИОМТП ЦНИИЭПсельстрой (оборудование для подъема) | 1979 | 1980 | 1981 | ЦНИИОМТП, ЦНИИЭПсельстрой Минсельстроя СССР, Минстрой СССР, Минпромстрой СССР, Минтяжстрой СССР, Госгражданстрой |
Объемно-переставная | ЦНИИОМТП | 1978 | 1980 | 1981 - 82 | ЦНИИОМТП, Госгражданстрой, Минстрой СССР, Минпромстрой СССР, Минтяжстрой СССР |
Блочная для замкнутых ячеек, типа лифтовых шахт, ячеек жилых и гражданских зданий и др. | ЦНИИОМТП, Оргстрой Минстроя ЛитССР, Оргстрой Минтяжстроя КазССР | 1980 | 1981 | 1982 | ЦНИИОМТП, Госгражданстрой, Минстрой СССР, Минпромстрой СССР, Минтяжстрой СССР |
Крупнощитовая для бетонирования стен и перекрытий | ЦНИИОМТП | 1981 | 1982 | 1983 | ЦНИИОМТП, Госгражданстрой, Минстрой СССР, Минпромстрой СССР, Минтяжстрой СССР |
Блочная для фундаментов серии I-412 | ЦНИИОМТП | 1979 | 1980 - 1981 | 1983 | ЦНИИОМТП, Минтяжстрой СССР, Минпромстрой СССР, Минстрой СССР |
Горизонтально-перемещаемая (катучая) | Донецкий Промстройниипроект | 1979 | 1982 | 1983 | ЦНИИОМТП, Донецкий Промстройниипроект, Минтяжстрой СССР, Минстрой СССР, Минпромстрой СССР |
Мелкощитовая разборно-переставная | ЦНИИОМТП, Оргтяжстрой Минтяжстроя СССР | 1981 | 1982 | 1983 | ЦНИИОМТП, Минтяжстрой СССР, Минпромстрой СССР, Минстрой СССР |
Перемонтируемая универсального назначения (состоящая из щитов и монтажных приспособлений), для бетонирования стен и перекрытий жилых и гражданских зданий | Оргтяжстрой Минтяжстроя СССР | 1981 | 1982 | 1983 | ЦНИИОМТП, Оргтяжстрой Минтяжстроя СССР, Госгражданстрой, Минстрой СССР, Минпромстрой СССР |
Крупнощитовая для бетонирования массивных конструкций энергостроительства | Оргэнергострой Минэнерго СССР | 1979 | 1982 | 1983 | ЦНИИОМТП, Оргэнергострой Минэнерго СССР |
Туннельная | Минэнерго СССР | 1979 | 1982 | 1984 | ЦНИИОМТП, Оргэнергострой Минэнерго СССР |
Подъемно-переставная | Спецжелезобетонстрой Минмонтажспецстроя СССР | 1979 | 1984 | 1985 | ЦНИИОМТП, Спецжелезобетонстрой Минмонтажспецстроя СССР |
Пневматическая | ЛВВИСКу Мин. обороны СССР, Оргэнергострой Минэнерго СССР | 1979 | 1984 | 1985 | ЦНИИОМТП, Госгражданстрой, ЛВВИСКу Мин. обороны СССР, Оргэнергострой Минэнерго СССР, Минтяжстрой СССР, Минстрой СССР, Минпромстрой СССР |
Несъемная | ЦНИИОМТП, Оргэнергострой Минэнерго СССР | 1979 | 1984 | 1985 | ЦНИИОМТП, ГИСИ им. Чкалова Минвуза СССР, Госгражданстрой, Минтяжстрой СССР, Минпромстрой СССР, Минстрой СССР, Минэнерго СССР |
Греющая | ЦНИИОМТП, Красноярский Промстройниипроект Минтяжстроя СССР | 1979 | 1985 | 1986 | ЦНИИОМТП, Минтяжстрой СССР, Красноярский Промстройниипроект, Госгражданстрой, Минстрой СССР, Минпромстрой СССР |
В связи с этим в Руководство включены некоторые разрабатываемые типовые конструкции опалубок. В Руководство включены также некоторые неиспытанные оригинальные конструкции, элементы которых могут найти применение при возведении монолитных конструкций. Это прежде всего конструкции Ереванского политехнического института.
В качестве основного типа опалубки как для промышленного, так и жилищно-гражданского строительства целесообразно широкое применение крупнощитовой модульной и комбинированной опалубки. Опалубка является наиболее гибкой в использовании и позволяет бетонировать различные монолитные конструкции. Применение крупнощитовой опалубки позволяет в значительной мере механизировать опалубочные работы и добиться высокой производительности труда.
Наряду с крупнощитовой опалубкой по-прежнему широкое применение в промышленном строительстве при возведении разнотипных конструкций будет находить разборно-переставная мелкощитовая опалубка.
РАЗБОРНО-ПЕРЕСТАВНАЯ МЕЛКОЩИТОВАЯ ОПАЛУБКА
5.1. Конструкция опалубки должна обеспечивать возможность укрупнительной сборки панелей и блоков, механизированный монтаж и демонтаж, а также перемонтаж в условиях строительной площадки.
Опалубка горизонтальных поверхностей должна обеспечивать поэтажную (поярусную) перестановку по мере бетонирования и твердения бетона; строительный подъем при устройстве балочных конструкций и перекрытий пролетом более 4 м, а также арок и сводов покрытий.
Унифицированная разборно-переставная опалубка конструкции ЦНИИОМТП "Монолит-77"
5.2. Опалубка состоит из щитов, элементов крепления и поддерживающих элементов, в том числе опалубки перекрытий
(рис. 15) (табл. 23).
Рис. 15. Элементы унифицированной разборно-переставной
опалубки ЦНИИОМТП "Монолит-77"
1 - щит; 2 - схватка; 3 - ригель раздвижной;
4 - телескопическая стойка
Элементы опалубки | Эскиз | Размеры, мм | Масса, кг |
Щит металлический | | 900 x | | 300 | 16,9 |
1200 x | 400 | 22,5 |
1500 x | 500 | 27,0 |
1800 x | 600 | 32,0 |
Щит комбинированный | | 900 x | | 300 | 11,7 |
1200 x | 400 | 14,4 |
1500 x | 500 | 17,5 |
1800 x | 600 | 20,5 |
Ферма | | H = 600, 300 | 76,6 126,6 |
Настил | | L = 2000; H = 1000 | 84 |
Подкос | | L = 1600; H = 1050 | 30 |
Подкос талрепный | | L = 5000 - 2000 | 34 - 17,5 |
Площадка навесная | | L = 1140; H = 2300 | |
Струбцина балочная раздвижная | | H = 480 - 780, L = 1300 | 19 - 22 |
Стойка опорная | | H = 2200 - 1500 | 42,0 - 35 |
Диафрагма | | L = 560 - 596 | 8,4 - 9,9 |
Диафрагма | | L = 536 - 500 | 7,8 - 8,9 |
Ригель раздвижной | | L = 2200 - 14500, H = 106 | 4,5 |
Лестница навесная | | H = 3950 | 60,5 |
Чека | | L = 215 | 1,52 |
Крюк натяжной | | L = 70; B = 180 - 245 | 0,6 - 0,8 |
Скоба прижимная | | L = 60; H = 65 | 0,3 |
Замок стяжки | | L = 65; H = 115 | 1,08 |
Хомут поворотный | | 200 x 85 | 0,85 |
Ригель раздвижной | | L = 6200 - 4300; H = 362 | 100 |
Щиты имеют длину 0,9; 1,2; 1,5 и 1,8 и высоту 0,3; 0,4; 0,5 и 0,6 м.
Схватки выполнены длиной 2; 2,5; 3 и 3,5 м. Для бетонирования ступенчатых фундаментов из схваток изготовляют формы длиной 3; 4,5 и 6 м, высотой 0,3; 0,4; 0,5 и 0,6 м.
В щитах
(рис. 16) опалубки каркасной конструкции в качестве палубы используется металл, дерево, фанера, древесностружечные плиты, пластик и другие материалы. Торцы неметаллической палубы защищены по периметру металлической рамкой от механических повреждений, от увлажнения торцы защищаются водостойкими герметиками.
Рис. 16. Щиты опалубки "Монолит-77"
а - металлический; б - комбинированный с деревянной палубой;
в - с пластиковой палубой, палубой из ДСП и ДВП; г - деталь
крепления пластиковой, древесностружечной палубы; д - деталь
крепления фанерной палубы; 1 - каркас; 2 - защитная рамка;
3 - деревянная палуба; 4 - палуба из пластика, ДСП, ДВП;
5 - болт; 6 - прокладка; 7 - шпилька
Доски палубы к каркасу присоединяются с помощью шурупов, фанера - с помощью болтов с круглой головкой. Для сохранения одинаковой толщины комбинированных щитов древесные материалы палубы, имеющие толщину, меньшую толщины досок, устанавливаются к каркасу на прокладках.
Для соединения в каркасе щита предусмотрены круглые отверстия диаметром 20 мм, расположенные с шагом 100 мм. Отверстия используются как соединения щитов друг с другом, так и соединения щитов со схватками и формами.
Крепление щитов между собой осуществляется специальным замком
(рис. 17), щитов со схватками с помощью натяжных крюков с винтовым и клиновым запором
(рис. 18).
Рис. 17. Замок для соединения щитов
1 - щит металлический; 2 - замок
Рис. 18. Соединение щитов со схватками при помощи
натяжного крюка и клина
1 - щит; 2 - схватка; 3 - натяжной крюк; 4 - клин
Палец замка при соединении щитов входит в отверстия каркаса, при повороте вокруг оси пальца клиновидная прорезь опорной пластины схватывает ребра и при ударе молотком стягивает и зажимает уголки каркаса щита.
Для крепления тяжей из арматуры периодического профиля, воспринимающих давление бетонной смеси, применен замок
(рис. 19) с сухариками, имеющими рисунок, соответствующий арматуре. Обжатие и закрепление арматурного стержня осуществляется с помощью клина.
Рис. 19. Замов для крепления тяжей
1 - пластина; 2 - клин; 3 - неподвижный сухарик;
4 - фиксатор клина; 5 - фиксатор сухарика
Соединение схваток под углом осуществляется с помощью чеки
(рис. 20), для чего используются продолговатые отверстия, прорезанные в схватках.
Рис. 20. Угловое соединение схваток
1 - схватка; 2 - чека; 3 - клин
Для точной установки панелей опалубки, а также производства распалубки используют подкосы с винтовыми домкратами. При закреплении к основанию подкосы могут также воспринимать давление бетонной смеси.
Телескопические стойки применяют для точной установки и рихтовки опалубки перекрытий, а также наклонных поверхностей на высоте от 2,5 до 5,0 м, при большей высоте телескопические стойки устанавливают на нераздвижные стойки.
Телескопические стойки (табл. 24) состоят из базовой части высотой 1,2 и 1,7 м (H1) и набора сменных (переменной длины) трубчатых вставок.
Таблица 24
Высота стойки, м | Расчетная нагрузка, кгс | Высота стойки, м | Расчетная нагрузка, кгс |
2,0 | 12000 | 3,75 | 5000 |
2,5 | 9000 | 4,0 | 4500 |
2,75 | 8000 | 4,25 | 4000 |
3,0 | 7000 | 4,5 | 3500 |
3,25 | 6000 | 4,75 | 3250 |
3,5 | 5500 | 5,0 | 3000 |
Базовая часть выполнена с винтом, на который навертывается гайка с ручками 2 для удобства вращения. На гайку через шайбу 6 опирается палец фиксатора 4, который пропускается через отверстие верхней вставки. Отверстия в вставках выполнены с шагом 100 мм, соответствующим ходу винтового домкрата стойки, что позволяет осуществлять непрерывное изменение высоты стойки.
Для увеличения несущей способности стойки могут быть объединены в 3- и 4-ветвевые колонны специальными диафрагмами. При установке стойки раскрепляют связями.
Раздвижные ригели выполнены трех модификаций на пролеты: а) от 1,2 до 2,8 м; б) от 2,5 до 4 м; в) от 4 до 6,0 м.
Ригель на минимальные пролеты готовится из двух швеллеров N 10, соединенных болтами.
Болты пропускаются через продолговатые пазы длиной 100 мм, выполненные в стенках швеллеров, что позволяет осуществлять сдвиг и раздвижение ригеля в пределах 100 мм без перестановки болтов.
Ригели на большие пролеты выполнены из сварных пространственных форм и выдвижных балок.
Нагрузки на ригели приведены в табл. 25.
Таблица 25
Шаг установки ригелей, м | Нагрузки, кгс, при пролете, м |
2,5 | 3,0 | 3,5 | 4,0 | 4,5 | 5,0 | 5,5 | 6,0 |
0,3 | 2540 | 2440 | 1800 | 1380 | 1000 | 870 | 730 | 600 |
0,4 | 2200 | 1830 | 1350 | 1030 | 810 | 660 | 540 | 460 |
0,6 | 1470 | 1220 | 900 | 690 | 540 | 440 | 360 | 300 |
0,9 | 980 | 810 | 600 | 460 | 350 | 290 | 240 | 200 |
Унифицированная разборно-переставная мелкощитовая опалубка "Тяжстрой-78"
5.3. Унифицированная разборно-переставная опалубка "Тяжстрой-78" предназначена для устройства любых монолитных конструкций зданий и сооружений промышленного назначения и нулевых циклов объектов жилищно-гражданского строительства в условиях умеренного климата.
Опалубка состоит из набора инвентарных элементов, имеющих однотипные стыковочные узлы. Элементы взаимозаменяемы и дают возможность собирать опалубочные формы для различных монолитных конструкций: стен, колонн, фундаментов под здания и технологическое оборудование, плоских и ребристых перекрытий, тоннелей, бункеров, круглых резервуаров с радиусом более 3 м и т.д.
В состав опалубки "Тяжстрой-78" входят: 21 типоразмер мелких щитов площадью до 1 м2 (опалубка "Монолит-76") и 10 крупноразмерных щитов площадью от 2,2 до 6,6 м2 (опалубка "Панель-78"); инвентарная раскосная составная ферма, несущие элементы (схватки), угловые блокирующие элементы, средства подмащивания, монтажные приспособления и крепежные детали.
5.4. Мелкоразмерные щиты имеют высоту 900, 1200, 1500 и 1800 мм и ширину от 300 до 600 мм с шагом 100 мм. Крупноразмерные щиты по высоте имеют единый размер 2200 мм, а по ширине от 1000 до 3000 мм.
Рис. 21. Инвентарные элементы опалубки "Тяжстрой-78"
1 - крупноразмерный щит; 2 - мелкий щит; 3 - угловой щит;
4 - раскос составной фермы; 5 - винтовая связь составной
фермы; 6 - схватка; 7 - угловой блокирующий элемент;
8 - монтажный уголок; 9 - телескопическая стойка;
10 - подкос монтажный; 11 - навесная площадка подмостей;
12 - крепежные детали
5.5. Несущие элементы - схватки - имеют длину: основные 2000, 2500, 3000 и 3500 мм, доборные от 300 до 600 мм с шагом 100 мм. Схватки могут наращиваться по длине и соединяться под углом 90°.
5.6. Все элементы опалубочной системы рассчитаны на нагрузку от давления бетонной смеси с осадкой конуса 60 мм.
При условиях бетонирования, значительно отличающихся от расчетных, необходимо уточнить расчетные нагрузки и соответственно изменить расстояние между схватками, фермами или скрутками.
5.7. Для изготовления каркасов крупных и мелких щитов, а также несущих элементов применяется одинаковый стальной прокат: уголок 63 x 40 x 4 и швеллер высотой 65 мм.
Палуба щитов выполняется из стали (для мелких щитов толщиной 2 мм, для крупных - 3 мм) или из водостойкой фанеры толщиной 12 мм.
В щитах с фанерной палубой обрамляющие уголки каркасов щитов находятся в одной плоскости с фанерой, что позволяет защитить торцы фанеры от механических повреждений, а также исключить уступы на поверхности палубы при стыковке стальных и комбинированных щитов.
5.8. Мелкие и крупные щиты имеют одинаковые стыковочные узлы и несущие элементы, что дает возможность применять их совместно.
Крепление щитов между собой выполняется при помощи пружинных скоб, а щитов к схваткам - натяжными крюками с клиновым или винтовым запором по типу опалубки "Монолит".
5.9. Из элементов опалубки собираются опалубочные формы, ширина и высота которых кратна модулю 100 мм. Однако в случае необходимости можно подбирать комплекты с укрупненным модулем, равным 3 м - 300 мм, сохраняя единую технологию опалубочных работ, при этом количество типоразмерных щитов уменьшается с 31 до 12.
5.10. Набор элементов позволяет собирать опалубку как мелкоразмерных монолитных конструкций отдельными щитами, так и крупногабаритных - укрупненными панелями с отношением сторон от 1:5 до 1:2.
Укрупненные панели снабжаются подкосами с опорными винтовыми домкратами
(рис. 22), позволяющими выставлять панели в вертикальное положение, а также рабочими подмостями с ограждением для производства арматурных и бетонных работ.
Рис. 22. Схема установки опалубки стены
из укрупненных панелей
1 - ограждение подмостей; 2 - подмости; 3 - щиты;
4 - подкосы
5.11. При устройстве опалубочных форм большой высоты - до 10 м
(рис. 23) рабочие леса выполняются из схваток, которые закрепляются к панелям опалубки.
Такие леса одновременно создают пространственную жесткость и устойчивость всей конструкции опалубки.
Рис. 23. Опалубка стен большой высоты
1 - щиты; 2 - подмости; 3 - леса из схваток; 4 - навесная
лестница; 5 - телескопические подкосы; 6 - расчалки
5.12. Применение инвентарных элементов составной раскосной фермы дает возможность собирать опалубочные панели пролетом до 6 м (рис. 24) без установки промежуточных опор (скруток), в то время как опалубочные панели без составных ферм с таким же пролетом должны иметь не менее четырех опор по длине.
Рис. 24. Сборка опалубочной панели из крупноразмерных щитов
с составными фермами
При установке составной фермы следует учитывать расстояние между инвентарными опорами-раскосами, которое должно составлять от 1 до 2 м.
При помощи винтовых связей составных ферм при необходимости можно создавать предварительное напряжение и необходимый строительный подъем (прогиб) опалубочных панелей, что повышает жесткость опалубочных форм и увеличивает скорость бетонирования.
5.13. В опалубку включены угловые блокирующие элементы института Казоргтехстрой (г. Алма-Ата) (авт. свид. N 631629), что позволяет использовать опалубку "Тяжстрой-78" в виде прямоугольных или ступенчатых пространственных опалубочных блоков (рис. 25), не разбираемых при перестановке.
Рис. 25. Блочная опалубка фундамента с угловыми блокирующими
элементами и составными фермами
Угловые блокирующие элементы выполняются из уголков 110 x 8 мм с косыми прорезями, в которые вставляют крепежные болты, соединяющие угловые блокирующие элементы со щитами.
После затяжки болтов готовая форма устанавливается в рабочее положение и заполняется бетоном.
Для снятия опалубки с забетонированной конструкции на угловых блокирующих элементах ослабляют крепежные болты (зазор 2 - 3 мм) и при помощи домкрата поднимают опалубку вверх. Болты опалубочных панелей скользят по косым прорезям угловых элементов и отходят от поверхности бетона на 40 - 45 мм. Затем опалубка стропится за монтажные петли блокирующих элементов и краном снимается с конструкции.
Для придания опалубке проектных размеров стропы снимают с блокирующих элементов, стропят за монтажные петли опалубочных панелей и поднимают ее на 10 - 20 см, а угловые элементы, опускаясь вниз, сводят стенки форм в проектное положение.
После окончания работ на объекте или в случае необходимости устройства монолитных конструкций других размеров опалубка легко разбирается на составные части, из которых можно собирать новые формы или использовать детали опалубки поэлементно.
5.14. Элементы системы равнопрочные и рассчитаны на интенсивную эксплуатацию, не менее 150 об.
5.15. Опалубка "Тяжстрой-78", основанная на едином конструктивном принципе, технологична в изготовлении и эксплуатации.
5.16. Опалубка состоит из крупногабаритных щитов массой более 50 кг. Опалубка наиболее проста из крупноразмерных опалубочных систем, та же конструкция может применяться для промышленного, жилищно-гражданского, энергетического и других видов строительства.
Унифицированная опалубка ЦНИИОМТП
5.17. Опалубка состоит из щитов длиной от 2,1 до 5,7 м
(рис. 26). Каркас щита выполнен из горизонтальных балок и вертикально установленных форм, оборудованных подкосами с винтовыми домкратами. В верхней части щитов установлены сменные вставки различной высоты (что позволяет изменять высоту щита) и откосники для удобства бетонирования, щиты оборудованы подмостями.
Рис. 26. Унифицированная крупнощитовая опалубка ЦНИИОМТП
1 - каркас щита; 2 - вертикальная ферма; 3 - домкрат;
4 - откос для бетонирования; 5 - тяга; 6 - стяжка откоса;
7 - подмости; 8 - маяк; 9 - регулируемая оттяжка;
10 - подмости
Для внутренних углов используются угловые щиты размерами в плане 0,2 x 0,2; 0,22 x 0,22; 0,24 x 0,24 м.
Для устойчивости опалубки отдельные щиты крепят к перекрытию регулируемыми по длине подкосами.
Для точности установки щитов по оси стен и фиксации расстояния между ними применяют бетонные маяки (табл. 26). Крепление их осуществляется с использованием стяжных болтов. К маякам с помощью втулок крепятся подмости наружных стен.
Таблица 26
Размеры, мм | Объем бетона, л | Масса, кг |
H | l |
120 | 230 | 7 | 21,6 |
160 | 210 | 8 | 24,1 |
200 | 190 | 9 | 27,1 |
Основные элементы крупнощитовой опалубки см. табл. 27.
Таблица 27
Элементы опалубки | Эскиз | Размеры, мм | Масса, кг |
Щит угловой | | 3600 x 240 x 390 | 88,8 |
3400 x 240 x 390 | 83,4 |
Щит торцовый | | 3600 x 310 | 68,0 |
3400 x 310 | 58,0 |
Панель внутренняя Панель наружная | | 5700 x 3150 | 1653 |
2100 x 3150 | 510 |
5700 x 3505 | 1748 |
2100 x 3595 | 645 |
Подмости | | 5700 x 1310 | 615 |
2100 x 1310 | 303 |
Балкон | | 6280 x 1200 | 770 |
2680 x 1200 | 443 |
Маяк | | 120 x 230 | 21,3 |
200 x 190 | 27,1 |
Панель наружняя коридорная | | 2400 x 3600 | 534 |
2400 x 3400 | 505 |
Щит доборный | | 3600 x 620 | 245 |
3400 x 620 | 186 |
Панель внутренняя коридорная | | 3600 x 1200 | 436 |
3150 x 1200 | 441 |
5.18. Крупнощитовая модульная и комбинированная опалубки ЦНИИОМТП разработаны на стадии технического проекта.
Каждый щит модульной опалубки (рис. 27) объединяется со смежными с помощью стяжных болтов и таким образом работает как балка на четырех опорах.
Рис. 27. Крупнощитовая модульная опалубка
1 - подмости для бетонирования; 2 - щиты стен; 3 - подмости
для установки торцевых щитов; 4 - опалубка перекрытий;
5 - траверса для демонтажа опалубки перекрытий
Для исключения перепадов при соединении щитов и получении высококачественных поверхностей предусмотрены специальные замки. Нижний замок позволяет (
рис. 28,
29) выровнять нижние поверхности, перемещаться щитами относительно друг друга в вертикальной плоскости; окончательная подгонка щитов и фиксирование рабочего положения осуществляется с помощью верхнего замка
(рис. 30).
Рис. 28. Соединение щитов модульной опалубки
Рис. 29. Нижний замок щитов
Рис. 30. Верхний замок щитов
5.19. Комбинированная крупнощитовая опалубка ЦНИИОМТП
(рис. 31) выполнена из заменяемой фанерной палубы и унифицированных несущих элементов.
Рис. 31. Комбинированная крупнощитовая опалубка
1 - подмости; 2 - несущие элементы; 3 - палуба;
4 - подмости для установки торцевого щита
Несущие унифицированные элементы выполнены трех модификаций и рассчитаны на различную несущую способность и жесткость: 1) легкие - на давление бетонной смеси со скоростью 0,5 м/ч; 2) средние - на бетонирование со скоростью до 3 м/ч; 3) тяжелые - на скорость бетонирования до 10 м/ч и максимальное невыгодное сочетание нагрузок. Вторая и третья модификации опалубок рассчитаны на невысокую деформативность для получения высококачественных поверхностей. Все несущие элементы опалубки сочетаются друг с другом и позволяют собирать легкие конструкции с использованием только легких элементов, средние и тяжелые опалубки - с использованием средних и тяжелых элементов, а также с использованием вместе с тяжелыми несущими элементами более легких, например, в качестве горизонтальных прогонов, прокладок и т.п.
5.20. Крупнощитовая модульная и комбинированная опалубки позволяют бетонировать любые протяженные конструкции высотой 2,8 м и более типа монолитных стен, резервуаров, туннелей, и др. В жилищно-гражданском строительстве они могут применяться для бетонирования зданий с расстоянием между осями стен от 2,4 до 7,2 м с модулем 0,3 м, глубиной поперечного туннеля в осях до 7,2 см, толщиной перекрытий 10, 12, 14, 16 см, толщиной внутренних стен 13, 16, 20 см и высотой этажа 2,8; 3,0 и 3,3 м.
5.21. Для бетонирования перекрытий применяются крупнощитовые щиты
(рис. 32). Щиты опираются в рабочем положении как на раму, состоящую из телескопических стоек, так и на опоры с роликами, закрепляемые к стенам
(рис. 33). Рабочие чертежи типовой модульной опалубки должны быть откорректированы в 1983 г. после проведения испытаний ЦНИИОМТП, ЦНИИЭП жилища и др.
Рис. 32. Крупнощитовая опалубка для бетонирования перекрытий
с опиранием на раму, состоящую из телескопических стоек
1 - балка продольная; 2 - балка поперечная;
3 - стойка ограждения
Рис. 33. Роликовая опора, закрепляемая к стене
1 - щит опалубки перекрытия; 2 - ролик; 3 - домкрат;
4 - подвеска к стене
Разборно-переставная крупнощитовая опалубка института Оргэнергострой "ОЭС-80"
5.22. При производстве опалубочных работ могут быть рекомендованы к применению металлическая и фанерно-металлическая опалубки. Опалубка, состоящая из модульных щитов, может применяться кроме энергетического также в жилищно-гражданском и промышленном строительстве.
В состав комплекта металлической и фанерно-металлической опалубки входят: основные щиты трех типоразмеров 1,2 x 2,4 м; 0,9 x 2,4 м; 0,6 x 2,4 м; угловой щит размером 0,3 x 0,3 x 2,4 м. Кроме этого, имеются монтажный уголок длиной 2,4 м, два типа инвентарных зажимов, струбцина, кронштейн для рабочих подмостей, который может быть трансформирован в подкос, инвентарные лестницы, монтажные приспособления.
5.23. Палуба металлической опалубки выполнена из стального листа толщиной 3 мм, фанерной - из водостойкой опалубочной фанеры толщиной 12 мм.
5.24. Каждый основной щит (рис. 34) имеет стальной сварной каркас, выполненный из гнутого швеллерного профиля.
Рис. 34. Разборно-переставная крупнощитовая опалубка
института Оргэнергострой "ОЭС-80" (основной)
1 - несущие ребра каркаса; 2 - распределительные ребра
каркаса; 3 - палуба; 4 - отверстия для пропуска тяжей;
5 - металлические трубки; 6 - отверстия для соединения
щитов друг с другом; 7 - отверстия для навески инвентарных
кронштейнов, лестниц и для установки подкосов
В несущих ребрах каркаса из гнутого швеллера 80 x 50 x 4 мм с постоянными расстояниями для всех щитов выполнены круглые отверстия для пропуска тяжей, которые совмещаются с отверстиями в палубе. Внутрь швеллеров соосно с отверстиями для пропуска тяжей вварены металлические трубки.
Кроме этого, в несущих и распределительных ребрах каркаса щитов имеются круглые отверстия для соединения щитов друг с другом, а также для навески инвентарных кронштейнов, лестниц и для установки подкосов.
5.25. Угловой щит для образования внутренних прямых углов в возводимых конструкциях (рис. 35) выполнен со стальным сварным каркасом из наружных гнутых швеллеров 80 x 50 x 4 мм, внутреннего гнутого уголка 50 x 50 x 2,5 мм и ребер жесткости из листа толщиной 3 мм.
Рис. 35. Угловой щит опалубки "ОЭС-80"
1 - наружные гнутые швеллеры каркаса; 2 - внутренний гнутый
уголок каркаса; 3 - палуба; 4 - ребра жесткости;
5 - отверстия для соединения с основными щитами;
6 - отверстия и трубки для пропуска тяжей
В швеллерах выполнены отверстия для пропуска тяжей и соединения щитов, а также вварены трубки аналогично конструкции основных щитов.
5.26. Крепление фанерной палубы к каркасу щитов осуществляется с помощью заклепок, забиваемых со стороны каркаса. Стальная палуба металлических щитов приваривается к каркасу.
5.27. Монтажный уголок для образования наружных углов возводимых конструкций представляет уголок 75 x 75 x 4 мм с круглыми отверстиями, служащими для соединения со щитами.
5.28. Комплект металлической и фанерно-металлической опалубки обеспечивает опалубливание монолитных конструкций с модулем, равным 3 М.
Для обеспечения бетонирования немодульных конструкций предусматриваются доборные щиты, изготавливаемые по месту и обеспечивающие закрытие поверхностей в пределах размеров 0 - 300 мм.
На этот случай в комплекте опалубки предусмотрены инвентарные схватки, служащие для обеспечения жесткости при установке доборных щитов.
Инвентарная схватка длиной 1,1 м представляет собой гнутый швеллер 80 x 40 x 2,5 мм с двумя приваренными по концам ребрами из листа толщиной 3 мм. В швеллере с шагом 50 мм выполнены овальные отверстия.
5.29. Конструкция щитов опалубки предусматривает возможность их установки и соединения друг с другом в вертикальном и горизонтальном положении.
5.30. Соединение щитов между собой при монтаже опалубки выполняется с помощью зажимов 2Kg в местах совпадения отверстий и трубок в каркасах щитов.
Зажим имеет с одной стороны круглую прорезь, а с другой стороны выполнен в виде клина.
При соединении щитов (рис. 36) зажим заводится выступающими частями поочередно за полки швеллеров, затем часть с круглой прорезью опирается на трубку каркаса, а клиновая часть с помощью молотка опускается на трубку каркаса другого щита. При этом зажим должен быть плотно прижат к швеллерам каркаса щитов.
Рис. 36. Порядок операций по установке зажима 2Kg
при соединении щитов
1 - наружные ребра каркасов соединяемых щитов; 2 - зажим
2Kg; 3 - металлическая трубка; 4 - клиновая часть зажима;
5 - часть зажима с круглой прорезью; 6 - отверстие
для пропуска тяжей
Такое соединение щитов может производиться при их укрупнительной сборке в панели перед монтажом.
5.31. При необходимости соединения щитов в любом другом месте могут быть использованы инвентарные струбцины 3Kg (рис. 37).
Рис. 37. Соединение щитов с помощью инвентарных струбцин 3Kg
1 - наружные ребра каркасов соединяемых щитов; 2 - полоса
корпуса; 3 - неподвижная лапа корпуса; 4 - подвижная лапа;
5 - клин; 6 - щит
Струбцина состоит из корпуса с неподвижной лапой, подвижной лапы, перемещающейся по полосе корпуса, и клина, который пропускается через прорезь в полосе и прижимает лапы к полкам швеллеров соединяемых щитов.
5.32. Соединение щитов для образования внешнего угла сооружения осуществляется через монтажный уголок с помощью клиновых зажимов 1 Kg (рис. 38). Клиновой зажим состоит из пальца с прорезью и клина. С помощью такого зажима щиты могут также соединяться друг с другом через круглые отверстия, предусмотренные в торцах по периметру каркаса щитов.
Рис. 38. Клиновой зажим 1Kg
1 - палец с прорезью; 2 - клин
5.33. В качестве приспособлений для производства опалубочных работ в комплект опалубки входят инвентарные лестницы
(рис. 39) и кронштейны
(рис. 40) для устройства рабочих подмостей и площадок.
Рис. 39. Инвентарная лестница
1 - поручни-ограждения; 2 - верхний упор; 3 - нижний упор;
4 - отверстия для навески на щиты
Рис. 40. Инвентарный кронштейн
1 - щит опалубки; 2 - кронштейн; 3 - трубчатые стойки
ограждения; 4 - клиновой зажим; 5 - кронштейн,
переоборудованный в подкос; 6 - рихтовочный домкрат
Кронштейны снабжены трубчатыми стойками ограждений.
Кронштейны и лестницы навешиваются на щиты в местах отверстий в промежуточных ребрах каркаса. При этом щиты опалубки могут быть установлены и в вертикальном, и горизонтальном положении. Кронштейны легко переоборудуются в подкосы для установки щитов опалубки в рабочее положение. В этом случае они доукомплектовываются рихтовочными домкратами.
В качестве монтажных приспособлений в комплекте опалубки предусмотрены траверсы, крюки, съемные петли и рым-болты.
5.34. Конструктивные характеристики основных элементов металлической и фанерно-металлической опалубки приведены в табл. 28.
Таблица 28
Элемент | Марка | Материал | Длина, мм | Ширина или сечение, мм | Масса, кг |
Щиты основные | | | | | |
Для металлической опалубки | ЩМ 2,4 x 1,2 | Сталь Ст3 | 2400 | 1200 | 129,0 |
ЩМ 2,4 x 0,9 | То же | 2400 | 900 | 105,0 |
ЩМ 2,4 x 0,6 | " | 2400 | 600 | 78,0 |
Для фанерно-металлической опалубки | ЩК 2,4 x 1,2 | Сталь Ст3 Водостойкая фанера | 2400 | 1200 | 90,7 |
ЩК 2,4 x 0,9 | То же | 2400 | 900 | 75,2 |
ЩК 2,4 x 0,6 | " | 2400 | 600 | 59,5 |
Щиты угловые | | | | | |
Для металлической опалубки | ЩуМ 2,4 x 0,3 x 0,3 | Сталь Ст3 | 2400 | 300 x 300 | 67,0 |
Для фанерно-металлической опалубки | ЩуК 2,4 x 0,3 x 0,3 | Сталь Ст3 | 2400 | 300 x 300 | 49,0 |
| Водостойкая фанера | | | |
Монтажный уголок для металлической опалубки | 2Му2,4 | Сталь Ст3 | 2400 | 75 x 75 | 13,0 |
Для фанерно-металлической опалубки | 1Му2,4 | Сталь Ст3 | 2400 | 75 x 75 | 13,0 |
Схватка | Сх 1,1 | Сталь Ст3 | 1100 | - | 2,7 |
Крепежные детали | | | | | |
Зажим | 1Kq | Сталь Ст3, Ст20 | 42 | | 0,2 |
| 2Kq | Алюминиевый сплав АЛ-2 | 170 | 50 | 0,4 |
Струбцина | 3Kq | Сталь Ст3 | 190 | 100 | 0,4 |
Универсальная консольная опалубка УК-18
Разработана институтом "Оргэнергострой".
5.35. Универсальная деревометаллическая консольная опалубка УК-18 предназначена для опалубливания блоков массивных гидротехнических сооружений как в летних, так и в зимних условиях при высоте блоков бетонирования 3 м и размерах в плане, кратных 5,5 и 6 м.
Техническая характеристика
размер палубы, м ......................................... 3 x 6
(3 x 5,5)
масса комплекта, кг ...................................... 4800
масса металлоконструкции, кг ............................. 3700
масса закладного анкера, кг .............................. 35
количество анкеров на 1 щит, на 1 ярус
бетонирования, шт. ....................................... 2
расход необорачиваемого металла на 1 м2
опалубливаемой поверхности, кг ........................... 3,9
расчетная техническая оборачиваемость, не менее, раз ..... 75
5.36. Универсальная консольная опалубка применяется:
без щитов-утеплителей - при положительных температурах наружного воздуха на всех поверхностях, которые по условиям возведения плотины могут оставаться неутепленными;
со щитами-утеплителями, прислоняемыми к палубе опалубки до бетонирования и остающимися на поверхности бетона после перестановки опалубки на следующий ярус бетонирования.
5.37. Опалубка применяется со щитами-утеплителями трех типов:
щит-утеплитель с обшивкой из досок и утеплителем из шлаковаты, толщина щита 165 мм;
щит-утеплитель из пенопласта в жесткой обойме, толщина 80 мм;
щит-утеплитель из пенопласта в гибкой обойме, толщина 60 мм.
После распалубки и перестановки опалубки щиты-утеплители остаются на поверхности бетона.
5.38. В зимний период опалубка может служить также для опирания на нее крупногабаритных крышек тепляка, перекрывающих бетонируемый блок.
5.39. Консольная опалубка крепится к анкерам, заложенным в бетон предыдущего блока.
5.40. Универсальная консольная опалубка УК-18
(рис. 41) состоит из следующих основных частей:
несущего каркаса;
подвижного деревометаллического опалубочного щита, двух кондукторов - устройств для точной установки закладных анкеров.
Рис. 41. Универсальная консольная опалубка УК-18
(бетон, щит-утеплитель и анкеры на 1-1 не показаны)
1 - несущий каркас; 2 - подвижный щит; 3 - кондуктор;
4 - анкер; 5 - домкрат; 6 - талреп; 7 - опорная консоль;
8 - упор; 9 - проушина для строповки; 10 - крышка тепляка;
11 - щит-утеплитель
Опалубка оборудована следующими механизмами:
четырьмя домкратами, служащими для перемещения подвижного щита относительно несущего каркаса;
двумя талрепами, с помощью которых крепится к бетону низ несущего каркаса опалубки.
5.41. Несущий каркас К-1 состоит из двух треугольных ферм, соединенных двумя площадками-диафрагмами и крестообразными связями в жесткую пространственную конструкцию. Выступающие опорные консоли, имеющие каждая "зуб", служат для опирания опалубки на бетон и соединения ее с анкерами (рис. 42).
Рис. 42. Соединение опалубки с анкером
1 - опорная консоль; 2 - зуб; 3 - анкер
Площадки имеют ограждения и связаны лестницами.
В нижней части каркас имеет упоры, которые входят в специально образуемые в бетоне штрабы.
5.42. Подвижной опалубочный щит соединяется с несущим каркасом домкратами, которые крепятся к щиту при помощи проушин и пальцев. Нижней частью щит опирается скользящими опорами на опорные консоли.
5.43. Подвижной щит состоит из металлического каркаса и деревянной палубы. Палуба из строганых досок толщиной 37 мм, в четверть или в шпунт нашита на ребра из досок 160 x 60, прикрепляемых болтами к горизонтальным элементам каркаса.
5.44. Кондуктор (рис. 43) является приспособлением для точной установки закладных анкеров в каждом блоке бетонирования и их фиксации при укладке бетона. Перед распалубкой кондуктор откидывается, вращаясь по оси.
Рис. 43. Кондуктор для установки закладных анкеров
1 - внутренняя коробка; 2 - наружная коробка; 3 - подхват;
4 - столик; 5 - ось; 6 - палец; 7 - анкер;
8 - штрабообразователь; 9 - подвижной щит;
10 - щит-утеплитель
5.45. Кондуктор крепится к подвижному щиту на болтах и может быть установлен в трех различных положениях относительно палубы щита. Это обеспечивает неизменное положение закладного анкера относительно вертикальной грани блока по использовании опалубки как со щитами-утеплителями разной толщины (шлаковатный и пенопластовый), так и без них.
5.46. Кондуктор состоит из внутренней коробки, наружной коробки и подхвата. Внутренняя коробка крепится болтами к столику подвижного щита. Отверстия в столике шагом 82 мм обеспечивают установку кондуктора в трех положениях.
Наружная коробка соединена с внутренней коробкой осью и может поворачиваться вокруг нее. В рабочем положении наружная коробка фиксируется пальцем.
Подхват служит для фиксирования и плотного притягивания закладного анкера к нижней плите кондуктора.
Штрабообразователь формирует в бетоне гнездо, в которое входит зуб опорной консоли при установке опалубки на закладные анкеры.
5.47. Домкрат (рис. 44) состоит из корпуса, конической обоймы, винта, гайки и штурвала.
Рис. 44. Домкрат
1 - корпус; 2 - коническая обойма; 3 - винт; 4 - гайка;
5 - штурвал; 6 - шайба фигурная; 7 - палец;
8 - несущий каркас; 9 - подвижной щит
Гайка имеет сферическую внешнюю поверхность, дающую возможность ограниченного поворота внутри корпуса домкрата, что исключает зажим резьбы винта при боковых смещениях и наклонах щита.
5.48. Максимальное усилие при вращении домкратов требуется для отрыва опалубочного щита от бетона (при распалубке) или для плотного поджатия опалубки к грани нижележащего блока (при установке). Оно составляет 30 - 40 кгс на плече 1 м (для этого на рукоятку штурвала надевается отрезок трубы длиной 80 см). После отрыва щита от бетона дальнейший ход домкрата осуществляется вращением штурвала от руки.
5.49. Талрепы служат для закрепления низа несущего каркаса против действий ветровых нагрузок и усилий, возникающих при распалубке опалубки.
Талрепы (рис. 45) состоят из крюка, тяги, гайки и планки.
Рис. 45. Талреп
I - в рабочем положении; II - в нерабочем положении;
1 - крюк; 2 - тяга; 3 - гайка; 4 - седло; 5 - планка;
6 - упор; 7 - анкер; 8 - крепежный палец
При установке опалубки крюк заводится в гнездо анкера и с помощью гайки упор опалубки плотно прижимают к блоку.
Планка с отверстиями служит для фиксации талрепа с помощью крепежного пальца в рабочем и транспортном положении при перестановке опалубки.
5.50. При использовании опалубки со щитами-утеплителями и отсутствии ветровых нагрузок талрепы можно не применять.
Закладной анкер состоит из двух стержней периодического профиля

и вваренной между ними пластины толщиной 20 мм. К заделанным в бетон концам стержней приварен анкерующий уголок.
5.51. Анкер подвешивается к кондуктору консольной опалубки в ходе бетонирования блока и фиксируется при помощи подхвата.
Расчетная нагрузка на анкер составляет 40 тс и допускается не ранее достижения бетоном прочности 50 кгс/см2.
5.52. Щиты-утеплители служат для теплозащиты бетонных поверхностей блоков плотины после распалубки и перестановки опалубки при бетонировании в зимних условиях.
Проектируются щиты-утеплители в зависимости от коэффициента теплопередачи бетонной поверхности массивного сооружения, обеспечивающего трещиностойкость блоков бетонирования при твердении бетона.
Ниже приводятся примеры конструкций щитов-утеплителей для коэффициента теплопередачи 0,5 ккал/(м
2·ч·град) (
рис. 46,
47).
Рис. 46. Щит-утеплитель из пенопласта ФРП-1
а - в жесткой обойме; б - в гибкой обойме:
1 - фанера 4 мм; 2 - пенопласт ФРП-1; 3 - пергамин
Рис. 47. Щит типа КТЦ с утеплителем из шлаковаты (минваты)
1 - доска 25 мм; 2 - шлаковата 100 мм; 3 - доска 37 мм
Щиты-утеплители изготавливаются из пенопласта ФРП-1 в жесткой обойме из фанеры размером 3 x 2 м, толщиной 8 см; каркас выполнен из деревянных реек (масса щита около 100 кг) и в гибкой обойме из материала типа пергамина (масса около 20 кг); гибкая обойма изготавливается в процессе образования пенопластовой плиты из ФРП-1. В качестве варианта при отсутствии пенопласта типа ФРП-1, применяют щиты-утеплители со шлаковатой (минватой).
Размеры щита 5,5 x 3 м или 6 x 3 м, что соответствует размерам палубы щита консольной опалубки. Толщина щита 16,5 см. Слой утеплителя 10 см. Масса щита-утеплителя около 1400 кг.
Конструкция щита-утеплителя не рассчитана на самостоятельное восприятие давления бетонной смеси, а лишь на передачу этого давления несущей конструкции консольной опалубки.
Универсальная переставная опалубка СПО института Молдгипрострой (г. Кишинев) для возведения жилых и гражданских зданий <*>
--------------------------------
<*> В конструкции опалубки заимствован стыковочный узел опалубки французской фирмы "Утинор".
5.53. Опалубка СПО позволяет возводить монолитные здания (жилые и гражданские) различных конструктивных и архитектурно-планировочных решений, в том числе с криволинейными поверхностями, а также различные монолитные сооружения типа туннелей, емкостей, подпорных стен и т.д.
Размер бетонируемых ячеек в плане 3 - 4,8 м по осям поперечных стен здания через 0,6 и 3 - 9,2 м по глубине ячеек, также через 0,6 м; высота бетонируемых этажей 2,8; 3,0; 3,3; 3,6; 3,9 м; толщина бетонируемых стен 160, 180, 200 мм; толщина бетонируемых перекрытий 120, 160 мм. Формующая палуба щитов: стальной лист 4 мм, фанера водостойкая 12 мм. Удельный расход металла, кг/м2, опалубочной поверхности:
щитов с формующей палубой из листа 4 мм - 70;
при сборке в крупнощитовую опалубку, с учетом всех инвентарных доборных элементов (опоры, подмости, стержни) - 97;
при сборке в объемно-переставную опалубку с учетом раскосов, кареток, стяжек - 90.
5.54. Опалубка СПО включает:
набор базовых плоских стеновых щитов пяти типоразмеров (1,2; 1,8; 2,4; 3,0; 3,6 м);
набор доборных щитов для наращивания базовых щитов при различной высоте этажей двух типоразмеров (150, 550 мм);
угловые щиты;
торцовые вставки;
набор инвентарных доборных элементов опалубки типа анкерных стяжек трубчатых опор, раскосов, кареток, подмостей и т.д.
5.55. Положенная в основу системы унифицированная конструкция модульного, взаимозаменяемого, базового плоского щита и единый стыковочный узел обеспечивают возможность сборки опалубки из одних и тех же щитов в вариантах:
объемно-переставной (с извлечением через проем в перекрытии и через фасад);
крупнощитовой (укрупненные сборки щитов на размер бетонируемой ячейки).
Щитовая опалубка Оргтехстроя Минстроя ЛитССР (г. Вильнюс)
5.56. Опалубка
(рис. 48) состоит из внутреннего щита
1, наружного щита
2, верхней площадки обслуживания, нижней площадки обслуживания, устройства для подвески и фиксации наружного щита в виде телескопической консольной балки
3, которая винтами
4 закреплена на внутреннем щите
1 и с помощью шарнира
5 соединена с наружным щитом
2. На конце консольной балки
3 со стороны наружного щита
2, закреплен винтовой домкрат-шток
6, который опирается на упор
7 наружного щита
2. Со стороны внутреннего щита
1 в консольной балке
3 также установлен винтовой домкрат, состоящий из штока
8, упора
9, ползуна
10, с фасонной прорезью
11, в которой расположен палец
12. Перемещение ползуна
10 ограничивается упорным винтом
13.
Рис. 48. Узел крепления щитов опалубки Минстроя ЛитССР
(г. Вильнюс)
1 - щит внутренний; 2 - щит наружный; 3 - балка консольная;
4 - винт; 5 - шарнир; 6 - домкрат; 7, 9 - упор; 8 - шток;
10 - ползун; 11 - прорезь; 12 - палец; 13 - винт
Опалубка работает следующим образом.
Перед установкой опалубки в рабочее положение производят ее сборку, для чего в консольной балке 3 на шарнире 5 подвешивают наружный щит 2. Затем краном устанавливают опалубку на захватке бетонирования, производят закрепление внутреннего щита 1, устанавливают его в проектное положение. Толщину выводимой стены регулируют вращением штока 8. При этом перемещается ползун 10 и с помощью пальца 12, расположенного в фасонной прорези 11, изменяет длину телескопической консольной балки 3, сдвигая или раздвигая опалубочные щиты 1 и 2. Положение наружного щита 2 в вертикальной плоскости регулируется вращением штока 6, опирающегося на упор 7 наружного щита.
Крупнощитовая опалубка для монолитного домостроения Ереванского политехнического института (авт. свид. 249248)
5.57. Опалубка
(рис. 49) размером 6 x 2,7 м состоит из двух щитов, оснащенных шарнирно-рычажным механизмом для сборки и распалубки. Каждый щит представляет собой жесткий стальной каркас с обшивкой из листовой стали толщиной 4 мм. Опалубка приводится в вертикальное положение с помощью домкратов и фиксируется посредством клиповых быстроразъемных соединений и стяжек, которые проходят по верхним и нижним кромкам щитов. К щитам опалубки прикреплен направляющий лоток для подачи бетонной смеси из бадьи непосредственно в опалубку. На одном щите предусмотрена площадка для рабочих. Применены проушины специальной конструкции, которые создают возможность соединения опалубок линейно и под углом. Меняя размеры плечей рычагов, можно бетонировать стены разной толщины. В комплект опалубки входят также торцовые щиты, стены разной длины. Изменение толщины стен достигается с помощью диафрагм, которые вставляются между продольными щитами и опираются на торцовые щиты с помощью регулировочных стержней.

Рис. 49. Общий вид крупнощитовой опалубки конструкции ЕрПИ
1 - продольные щиты; 2 - торцовые щиты;
3 - шарнирно-рычажные механизмы; 4 - площадка для рабочих;
5 - вибраторы; 6 - домкраты; 7 - фиксаторы; 8 - проушины;
9 - скобы; 10 - верхние стяжки; 11 - нижние стяжки;
12 - подъемные петли; 13 - лоток; 14 - винтовые замки
Шарнирно-рычажный механизм обеспечивает распалубку забетонированного яруса стены сверху вниз, причем щиты отходя от стены, под действием своей тяжести принимают наклонное положение
(рис. 50).
Рис. 50. Демонтаж опалубки
Опалубки для возведения монолитных стен с одновременной облицовкой (Ереванского политехнического института)
5.58. Опалубка состоит из наружного и внутреннего щита и устройства для удержания облицовочных плиток в рабочем положении, выполненного в виде гребенки. На наружном щите опалубки клиньями закрепляется опорный стержень и в наклонном (или горизонтальном) положении щита на него укладываются облицовочные плиты, затем, затягивая винты, плиты прижимают к щиту с помощью гребенки. Опорный стержень препятствует соскальзыванию облицовочных плит под собственной массой при их укладке на щите в наклонном положении щита, а также при вертикальном перемещении и его установке. Наружный щит переносится вместе с плитами и навешивается в заранее установленном проектном положении на внутренний щит с помощью своих двух консольных балок, штыри которых входят в отверстие внутреннего щита. Этим автоматически обеспечивается вертикальность наружного щита. Наружный щит своей нижней частью обхватывает стену нижележащего этажа и может опираться на нее с помощью опорного стержня. Щиты между собой в нижней части закрепляются стяжками. Непосредственно после укладки бетона винты ослабляют и устройство удаляют. При распалубке снимаются клинья и наружный щит поднимают наверх. Опорный стержень остается в стене и в дальнейшем выбивается ударами с одного конца. После удаления опорного стержня образуется междуэтажный компенсационный шов толщиной 15 - 20 мм, который является необходимым для обеспечения долговечности облицовочных плит. Компенсационный шов заполняется эластичной мастикой. Наружный щит имеет подмости для обслуживания опалубки, являющийся одновременно и опорой для наклонного положения щита. Внутренний щит опалубки, являясь опорой для наружного щита, имеет пространственную конструкцию и устанавливается в вертикальное положение с помощью домкратов. Гребенка, удерживающая плиты в рабочем положении, выполнена из стальных параллельных стержней диаметром 20 - 25 мм и высотой с опалубку, расстояние между которыми принято с таким расчетом, чтобы каждая плита прижималась как минимум двумя стержнями.
5.59. Наружный щит опалубки (авт. свид. N 648706) имеет шаблонные ребра двутаврового сечения, между полками двутавра по обеим сторонам его стенки уложены резиновые шланги. Каждый шланг штуцером соединен с распределительной трубой, подсоединяемой к источнику сжатого воздуха. В горизонтальном положении щита между шаблонными ребрами укладывают облицовочные плиты. Распределительную трубу подсоединяют к системе сжатого воздуха. Под давлением воздуха резиновые шланги расширяются и, выступая из шаблонных ребер, прижимают облицовочные плиты, удерживая их в рабочем положении. Резиновые шланги обеспечивают герметичность швов, предотвращая просачивание цементного молока на поверхность плит. После распалубки между плитами образуются швы, заполненные бетоном на
1/
2 их толщины, которые придают декоративность и повышают прочность сцепления плиток. Шаблонные ребра обеспечивают точность установки облицовочных плит и соосность швов.
ПОДЪЕМНО-ПЕРЕСТАВНАЯ ОПАЛУБКА ДЛЯ СТРОИТЕЛЬСТВА ТРУБ
5.60. Подъемно-переставная опалубка для строительства монолитных железобетонных дымовых труб (рис. 51) состоит из панелей наружной и щитов внутренней опалубки.
Рис. 51. Подъемно-переставная опалубка
1 - панель наружной опалубки; 2 - щит внутренней опалубки;
3 - механизм радиального перемещения; 4 - рабочая площадка;
5 - наружные подвесные леса; 6 - внутренние подвесные леса;
7 - шахтный подъемник; 8 - подъемная головка
Конструкция подъемно-переставной опалубки позволяет уменьшить сечение и толщину стен ствола трубы по мере его возведения и придать сооружению необходимую геометрическую форму.
5.61. Наружная опалубка подвешивается к рабочей площадке, представляющей собой систему стальных радиальных основных и вспомогательных балок. Балки объединены кольцами и рамой, обрамляющей шахтный подъемник в жесткую диафрагму с устроенным по ней деревянным настилом, с которого производится установка арматуры и укладка бетонной смеси.
На радиальных балках устанавливаются механизмы радиального перемещения опалубки с ручным приводом двух типов (рис. 52).
Рис. 52. Механизм радиального перемещения опалубки
1 - главная радиальная балка; 2 - винт механизма радиального
перемещения; 3 - трубка фиксатор; 4 - роликовая подвеска
наружных подвесных лесов; 5 - роликовые подвески; 6 - ролик
подвески; 7 - хомуты для крепления наружных подвесных лесов;
8 - роликовые подвески внутренних подвесных лесов
Первый тип механизма перемещается по основным радиальным балкам и имеет подвески для крепления панелей наружной опалубки и скобы для закрепления наружных и внутренних подвесных лесов.
Второй тип механизма перемещается по вспомогательным радиальным балкам и имеет только подвески для крепления наружной опалубки.
Подъем рабочей площадки осуществляется с помощью специальных электромеханических подъемных механизмов (подъемных головок), опирающихся на шахтный подъемник, который представляет собой многоярусную пространственную решетчатую ферму, собираемую на болтах из отдельных элементов (стоек, ригелей, раскосов) по мере возведения внутри ствола трубы по различным схемам в зависимости от несущей способности.
Шахтный подъемник оснащается одной или двумя грузовыми клетями. В одной из его ячеек предусматривается ходовая лестница.
5.62. Для строительства труб высотой до 120 м применяются рабочие площадки на несущих кольцах, состоящие из несущего кольца рамы, обрамляющей шахтный подъемник, радиально расположенных деревянных брусьев, закрепленных к несущему кольцу и раме металлическими хомутами и устроенным по ним деревянным настилом. Несущие кольца изготовляются из швеллеров и соединяются друг с другом горизонтальными связями из уголков.
К несущему кольцу крепятся радиальные направляющие из полосовой стали для закрепления к ним механизмов радиального перемещения наружной опалубки (рис. 53). Каждый механизм радиального перемещения состоит из подвески, радиального винта, соединительной планки и ручки.
Рис. 53. Механизм перемещения наружной опалубки
(на несущих кольцах)
1 - подвеска; 2 - трубка; 3 - панель наружной опалубки;
4 - ручка; 5 - радиальная направляющая; 6 - швеллер
несущего кольца
5.63. Кроме описанных конструкции рабочих площадок на строительстве труб высотой более 240 м применяется площадка с механизмом радиального перемещения, оборудованным электромеханическим приводом (рис. 54).
Рис. 54. Механизм радиального перемещения
с электромеханическим приводом
1 - металлоконструкции рабочей площадки; 2 - подвижной
мост с механизмом радиального перемещения; 3 - опора;
4 - наружные подвесные леса; 5 - наружная опалубка;
6 - каретка с гайкой; 7 - стопор; 8 - винт; 9 - внутренние
подвесные леса; 10 - редуктор; 11 - электродвигатель;
12 - опорная каретка
Рабочая площадка представляет собой систему только основных радиальных балок, объединенных системой колец. По радиальным балкам с помощью механизмов радиального перемещения передвигаются на опорных каретках подвижные мосты, выполненные из двух параллельно расположенных швеллеров, к которым закреплено коромысло с подвесками для крепления панелей наружной опалубки и скобами для закрепления наружных и внутренних подвесных лесов.
Механизм радиального перемещения состоит из электродвигателя, редуктора, винта с трапецеидальной резьбой и опорной каретки с гайкой, которая специальным стопором крепится на балке рабочей площадки.
5.64. В деревянном настиле рабочей площадки предусматривается кольцевая щель для выпусков арматуры ствола трубы и укладки бетонной смеси в опалубку. По мере возведения ствола и уменьшения его диаметра кольцевая щель перемещается ближе к центру сооружения путем снятия досок вокруг щели с внутренней стороны и установки их с наружной стороны.
По наружному периметру настила рабочей площадки устраивается ограждение. К ограждению и настилу (по наружному и внутреннему периметру рабочей площадки) крепятся бортовые доски.
5.65. Подъемно-переставная опалубка должна быть, как правило, заводского изготовления.
Допускаемые отклонения при изготовлении элементов подъемно-переставной опалубки не должны превышать величин, указанных в табл. 29.
Таблица 29
Отклонения | Величина отклонения, мм |
Ширина щитов опалубки на всю высоту | +/- 1 |
Прямолинейность лицевой стороны щитов опалубки по вертикали на 1 м длины | +/- 2 |
Радиус щитов с лицевой стороны | +/- 1 |
Наибольшая глубина вмятин на поверхности щитов при проверке метровой рейкой | +/- 3 |
5.66. Подъемно-переставная опалубка для строительства труб должна отвечать следующим требованиям:
а) обладать необходимой прочностью, устойчивостью и жесткостью;
б) обеспечивать правильность формы и размеров возводимого сооружения;
в) допускать быструю установку и разборку без повреждения забетонированных стен ствола трубы;
г) не создавать затруднений при установке арматуры, укладке и уплотнении бетонной смеси.
5.67. Инвентарная подъемно-переставная опалубка должна обеспечивать:
а) быстрое ее отделение от поверхности бетона ствола трубы без повреждений;
б) изменение ее поперечного сечения в соответствии с проектом ствола трубы после подъема и установки в новую секцию для повторного бетонирования;
в) надежное закрепление ее элементов;
г) прочное соединение элементов опалубки друг с другом для обеспечения проектной формы бетонируемого ствола трубы.
5.68. Блочная опалубка состоит из отдельных щитов, объединенных в блоки с помощью рамы, болтов и других блокирующих элементов и приспособлений, так и из отдельных, специально изготовленных блоков.
Блочная опалубка применяется как для внешних поверхностей ступенчатых фундаментов, ростверков и т.д., так и для внутренних (бетонирование конструкций типа лифтовых шахт, замкнутых ячеек стен жилых зданий, подвалов и т.д.).
5.69. Для бетонирования ступенчатых фундаментов применяются блок-формы различной конструкции: неразъемные, индивидуального изготовления, на определенные типоразмеры малогабаритных фундаментов; разъемные для фундаментов значительных размеров; переналаживаемые для бетонирования разнотипных фундаментов.
Усредненные характеристики блок-форм приведены в табл. 30.
Таблица 30
Блок-формы | Площадь рабочей поверхности, м2 | Оборачиваемость, количество | Средняя оборачиваемость в год | Масса, кг | Примерная трудоемкость работ, чел.-ч/м2 |
Индивидуальные: | | | | | |
неразъемные | 6 - 12 | 250 | 30 - 40 | 30 - 40 | 0,15 |
разъемные | 6 - 40 | 220 | 30 - 40 | 30 - 50 | 0,2 |
Универсальные (переналаживаемые): | | | | | |
на 5 - 6 типоразмеров | 10 - 40 | 200 | 70 - 80 | 60 - 70 | 0,25 |
на 10 - 20 типоразмеров | 10 - 40 | 180 | 90 - 100 | 80 - 100 | 0,4 |
более 20 типоразмеров | 10 - 40 | 180 | 100 - 150 | 100 - 120 | 0,45 |
5.70. Неразъемные блок-формы представляют собой замкнутую целиковую конструкцию, выполненную на конус.
Срыв с бетона осуществляется с помощью домкратов.
Величина конусности при высоте опалубки до 500 мм должна быть в пределах 10 - 12%, при высоте до 1000 мм - не менее 5%.
5.71. Индивидуальные разъемные блок-формы
(рис. 55) конструкции ЦНИИОМТП состоят из четырех жестких пространственных панелей, соединенных в углах клиновым замком, позволяющим соединять панели при установке в рабочее положение и раздвигать их при распалубке, при этом панели остаются объединенными в единый блок. Отрыв панелей от бетона производится с помощью отрывного устройства, упирающегося в бетон. Для возврата опорных пластин после снятия упорного винта в отрывном устройстве установлена возвратная пружина.
Рис. 55. Общий вид разъемной блок-формы
с жестким соединением створок и каркаса
а - узел отжимного устройства; б - узел соединения створок;
1 - опорная пластинка; 2 - клиновой замок; 3 - винт;
4 - пружина; 5 - створка; 6 - отжимное устройство
Основные элементы блок-формы приведены в табл. 31.
Таблица 31
Элементы опалубки | Эскиз | Размеры, мм | Масса, кг |
1. Опалубка башмачной части | | H = 900; L = 1750 - 5650 с модулем 300 | 203 - 1000 |
Щит | | H = 300; L = 1500 - 5400 с модулем 300 | 44 - 96 |
Рама | | L = 1150 - 2650 B = 1750 - 3250 | | с модулем 300 | 75 - 125 |
2. Блок | | L= 9001, 1200, 1500; H = 1300 | 245 - 400 |
Щит торцевой | | | 900, 1200, 1500 | 54 - 81 |
Щит боковой | |
3. Палец | | L = 90,  | 1,1 |
4. Клин | | 120 x 30 | 0,25 |
5. Замковые стяжки | | 1000 x 1000 | 19,1 |
6. Фиксатор | | L = 101,  | 0,1 |
7. Вкладыш | | H = 960, 1060, 860; B = 400, 500, 600, 700; b = 400, 500, 600 | 64 - 100 |
8. Подмости | | 700 x 750 x 1200 | 55 |
5.72. Универсальные блок-формы конструкции ЦНИИОМТП (рис. 56) для бетонирования фундаментов серии I-412 собираются из унифицированных крупноразмерных элементов в различных сочетаниях.
Рис. 56. Блок-форма фундаментов типовой серии I-412
1 - палец; 2 - блок опалубки; 3 - замок
Опалубка ступеней собирается из каркасных щитов высотой 0,3 и 0,6 м и длиной 1,2; 1,5; 1,8 и 2,1 м.
| | ИС МЕГАНОРМ: примечание. В официальном тексте документа, видимо, допущена опечатка: рисунок б на рисунке 50 отсутствует. | |
Опалубка верхних ступеней устанавливается на раму, фиксируется опалубка специальным замком (
рис. 50, б). Верхние ступени устанавливаются на центрирующие штыри и закрепляются фиксирующим кольцом.
Масса блока опалубки одной ступени высотой 0,3 м при размерах в плане 1,5 x 1,5; 1,8 x 1,5; 1,8 x 1,8; 1,8 x 2,1 составляет соответственно 203, 228, 231, 234 кг.
Масса блока из двух ступеней приведена в табл. 32.
Таблица 32
Размер в плане ступеней, м, при высоте 0,3 м | Масса, кг |
первый | второй |
2,1 x 1,8 | 1,5 x 0,9 | 380 |
2,4 x 2,1 | 1,5 x 1,5 | 415 |
2,7 x 2,1 | 1,8 x 1,8 | 429 |
2,7 x 2,4 | 1,8 x 1,5 | 458 |
3,0 x 2,4 | 2,1 x 1,5 | 482 |
Опалубка подколонника набирается из блоков высотой 0,9; 1,2; 1,5 м. Размер сторон блока в плане 0,9; 1,2; 1,5 м в различных сочетаниях.
Блоки подколонника монтируются на центрирующие штыри, устанавливаемые на раме опалубки ступеней, верхние блоки монтируются на центрирующие штыри нижних блоков. Подмости для бетонирования монтируются и закрепляются на центрирующие штыри верхнего блока опалубки.
5.73. Блок опалубки для бетонирования лифтовых шахт опирается на перекрытие или стены шахты посредством консольных опор. Опалубка выполнена с центральной стойкой, на которой шарнирно закреплены щиты. Установка в рабочее положение и распалубка производятся вращением центральной стойки. Характеристика опалубки приведена в табл. 33.
Таблица 33
Размеры, м | Масса, кг |
поперечное сечение | высота |
2,0 x 2,2 | 3,1 | 2599 |
2,0 x 1,75 | 2488 |
1,75 x 1,6 | 2304 |
2,0 x 2,2 | 3,3 | 2802 |
2,0 x 1,75 | 2608 |
1,75 x 1,6 | 2469 |
Блочная опалубка института Казоргтехстрой (г. Алма-Ата)
5.74. При производстве опалубочных работ с применением блочно-переставной опалубки могут быть использованы разборно-переставные опалубки ЦНИИОМТП "Монолит-72", "Монолит-77", института Оргтяжстрой "Тяжстрой-78", а также другие унифицированные системы разборно-переставных опалубок.
5.75. Комплектность блочно-переставной опалубки со щитами "Монолит" с набором элементов на 100 м
2 опалубочной поверхности, их конструктивные характеристики даны в табл. 34,
35,
36.
Таблица 34
Элемент | Марка | Масса изделия, кг | Кол-во, шт. | Общая масса, кг | Площадь, м2 |
Щиты опалубки | ЩС 1,0 x 0,3 | 13,47 | 4 | 54 | 1,2 |
ЩС 1,0 x 0,4 | 15,70 | 4 | 63 | 1,6 |
ЩС 1,0 x 0,5 | 18,50 | 4 | 73 | 2,0 |
ЩС 1,2 x 0,3 | 16,4 | 12 | 196 | 4,3 |
ЩС 1,2 x 0,4 | 19,5 | 15 | 292 | 7,2 |
ЩС 1,2 x 0,5 | 22,5 | 15 | 336 | 9,0 |
ЩС 1,2 x 0,6 | 25,0 | 15 | 375 | 11,0 |
ЩС 1,6 x 0,3 | 20,7 | 4 | 82 | 1,9 |
ЩС 1,6 x 0,4 | 24,3 | 4 | 98 | 2,56 |
ЩС 1,6 x 0,5 | 28,1 | 4 | 111 | 3,85 |
ЩС 1,8 x 0,3 | 22,8 | 12 | 270 | 6,48 |
ЩС 1,8 x 0,4 | 26,8 | 15 | 400 | 10,8 |
ЩС 1,8 x 0,5 | 30,8 | 15 | 461 | 13,5 |
ЩС 1,8 x 0,6 | 34,9 | 15 | 520 | 16,3 |
Итого | | | 138 | 3331 | 91,56 |
Схватки | С-2,0 | 25,39 | 6 | 155 | - |
С-2,5 | 31,25 | 6 | 186 | - |
С-3,0 | 37,51 | 6 | 226 | - |
С-3,5 | 43,22 | 6 | 258 | - |
Сх-1,0 | 11,9 | 6 | 7,1 | - |
Кр-2 | 8,6 | 6 | 5,1 | - |
Итого | | | 36 | 947 | |
Угловые элементы (по каталогу) | Уг-2 | 16,6 | 12 | 200 | 0,6 |
Уг-3 | 16,6 | 5 | 83 | 0,4 |
Уг-1-0,6 | 8,8 | 8 | 70 | 0,4 |
Уг 1-1,2 | 17,0 | 8 | 130 | 0,4 |
Уг 1-1,8 | 26,0 | 5 | 136 | 0,4 |
Итого | | | 38 | 619 | 2,0 |
Доборные элементы (по каталогу) | ДЭ 1-0,6 | 17,0 | 5 | 85 | 1,45 |
ДЭ 1-1,2 | 28,0 | 3 | 84 | 1,20 |
ДЭ 1-1,8 | 43,0 | 2 | 86 | 1,30 |
ДЭ 2-0,6 | 21,0 | 5 | 105 | 1,45 |
ДЭ 2-1,2 | 38,0 | 1 | 38 | 0,40 |
ДЭ 2-1,8 | 56,0 | 1 | 56 | 0,70 |
Итого | | | 17 | 54 | 6,5 |
Крюк натяжной | Кн-1 | 0,50 | 55 | 27 | - |
Кн-2 | 0,64 | 25 | 16 | - |
| М24 x 160 | | | 4 | - |
М16 x 35 | | | 30 | - |
Болты ГОСТ 7802-72 | М12-150 | | 10 | 1,2 | - |
М12 x 220 | | 10 | 1,3 | - |
Петля | ПТ-2 | 1,9 | 4 | 7,6 | - |
ПТ-3 | 3,0 | 4 | 12,0 | - |
Итого | | | | 99 | |
Всего | | | | 5440 | |
Наименование | Марка | Масса изделия, кг | Кол-во, шт. | Масса общая, кг | Площадь, м2 |
Щиты опалубки | ЩК 1,0 x 0,3 | 13,3 | 4 | 53 | 1,2 |
ЩК 1,0 x 0,4 | 15,3 | 4 | 62 | 1,6 |
ЩК 1,0 x 0,5 | 18,4 | 4 | 74 | 2,0 |
ЩК 1,2 x 0,3 | 15,35 | 12 | 183 | 4,3 |
ЩК 1,2 x 0,4 | 17,3 | 15 | 258 | 7,2 |
ЩК 1,2 x 0,5 | 20,5 | 15 | 306 | 9,0 |
ЩК 1,2 x 0,6 | 23,0 | 15 | 345 | 11,0 |
ЩК 1,6 x 0,3 | 19,7 | 4 | 69 | 1,95 |
ЩК 1,6 x 0,4 | 22,8 | 4 | 91 | 2,56 |
ЩК 1,6 x 0,5 | 26,9 | 4 | 104 | 3,87 |
ЩК 1,8 x 0,3 | 21,5 | 12 | 258 | 6,48 |
ЩК 1,8 x 0,4 | 24,8 | 15 | 370 | 10,8 |
ЩК 1,8 x 0,5 | 28,9 | 15 | 432 | 13,5 |
ЩК 1,8 x 0,6 | 32,6 | 15 | 490 | 16,3 |
Итого | | | 138 | 3095 | 91,5 |
Схватки С-3,5 | С-2,0 | 25,39 | 6 | 155 | - |
С-2,5 | 31,25 | 6 | 186 | - |
С-3,0 | 37,51 | 6 | 226 | - |
С-3,5 | 43,22 | 6 | 258 | - |
Сх-1,0 | 11,9 | 6 | 71 | - |
Кр-2 | 8,6 | 6 | 51 | - |
Итого | | | 36 | 947 | - |
Угловые элементы | Уг-2 | 16,6 | 12 | 200 | 0,6 |
Уг-3 | 16,6 | 5 | 8,3 | 0,4 |
Уг 1-0,6 | 8,8 | 8 | 70 | 0,4 |
Уг 1-1,2 | 17,0 | 8 | 130 | 0,4 |
Уг 1-1,8 | 26,0 | 5 | 136 | 0,4 |
Итого | | | 38 | 619 | 2,0 |
Доборные элементы | ДЭ1-0,6 | 17,0 | 5 | 85 | 1,45 |
ДЭ1-1,2 | 28,0 | 3 | 84 | 1,20 |
ДЭ1-1,8 | 43,0 | 2 | 86 | 1,30 |
ДЭ2-0,6 | 21,0 | 5 | 105 | 1,45 |
ДЭ2-1,2 | 38,0 | 1 | 38 | 0,40 |
ДЭ2-1,8 | 56,0 | 1 | 56 | 0,70 |
Итого: | | | 17 | 454 | 6,5 |
Крюк натяжной | КН-1 | 0,50 | 65 | 27 | - |
Болты: | КН-2 | 0,64 | 25 | 16 | - |
| М24 x 160 | | | 4 | - |
ГОСТ 7802-72 | М16 x 35 | | | 30 | - |
Петля | М12 x 150 | | 10 | 1,2 | - |
М12 x 220 | | 10 | 1,3 | - |
ПТ-2 | 1,9 | 4 | 7,6 | - |
ПТ-3 | 3,0 | 4 | 12,0 | - |
Итого | | | | 99 | |
Всего | | | | 5210 | |
Наименование | Марка | Масса изделия, кг | Кол-во, шт. | Масса общая, кг | Площадь, м2 |
Щиты опалубки | Щит 2,2 x 1,0 | 134 | 1 | 134 | 2,20 |
Щит 2,2 x 1,2 | 153 | 1 | 153 | 2,64 |
Щит 2,2 x 1,6 | 197 | 2 | 395 | 7,04 |
Щит 2,2 x 1,8 | 223 | 2 | 447 | 7,92 |
Щит 2,2 x 2,2 | 267 | 3 | 801 | 14,50 |
Щит 2,2 x 2,6 | 311,1 | 4 | 1244 | 22,88 |
Щит 2,2 x 3,0 | 342 | 4 | 1369 | 26,40 |
Щит 1,0 x 4,7 | 54 | 1,2 | | |
Щит 1,0 x 0,4 | 15,70 | 4 | 63 | 1,60 |
Щит 1,0 x 0,5 | 18,40 | 4 | 73 | 2,00 |
Щит 1,2 x 0,3 | 16,40 | 4 | 65 | 1,40 |
Щит 1,2 x 0,4 | 19,50 | 4 | 78 | 1,80 |
Щит 1,2 x 0,5 | 22,50 | 4 | 90 | 2,40 |
Итого | | | | 4966 | |
Схватки | С-2,0 | 25,39 | 3 | 78 | - |
С-2,5 | 31,25 | 3 | 93 | - |
С-3,0 | 37,51 | 3 | 113 | - |
С-3,5 | 43,22 | 3 | 129 | - |
Сх-1,0 | 11,9 | 3 | 35 | - |
Кр-2 | 8,6 | 3 | 25 | - |
Итого | | | 36 | 473 | |
Угловые элементы | Уг-2 | 16,6 | 12 | 200 | 0,6 |
Уг-3 | 16,6 | 5 | 83 | 0,4 |
Уг-0,6 | 8,8 | 8 | 70 | 0,4 |
Уг-1,2 | 17,0 | 8 | 130 | 0,4 |
Уг-18 | 26,0 | 5 | 136 | 0,4 |
Итого | | | 38 | 619 | 2,0 |
Доборные элементы | ДЭ 1-0,6 | 17,0 | 5 | 85 | 1,45 |
ДЭ 1-1,2 | 28,0 | 3 | 84 | 1,20 |
ДЭ 1-1,8 | 43,0 | 2 | 86 | 1,30 |
ДЭ 2-0,6 | 21,0 | 5 | 105 | 1,45 |
ДЭ 2-1,2 | 38,0 | 1 | 38 | 0,40 |
ДЭ 2-1,8 | 56,0 | 1 | 46 | 0,70 |
Итого: | | | 17 | 454 | 6,5 |
Крюк натяжной | КН-1 | 0,50 | 55 | 27 | - |
КН-2 | 0,64 | 25 | 16 | - |
Болты ГОСТ 7802-72 | М24 x 160 | | | 4 | - |
М16 x 35 | | | 30 | - |
М12 x 150 | | 10 | 1,2 | - |
М12 x 220 | | 10 | 1,3 | - |
Петля | ПТ-2 | 1,90 | 4 | 7,6 | - |
| ПТ-3 | 3,0 | 4 | 12,0 | - |
Итого | | | | 99 | |
Всего | | | | 6611 | |
5.76. Опалубка обладает универсальностью, широкой возможностью переналадки на различные виды монолитных конструкций, включая: столбчатые ленточные фундаменты, стены, перегородки, монолитные каркасы здания - колонны, ригели, балки перекрытия, балконы и др.
Широкий диапазон варьирования в блочно-переставном варианте и в едином ключе создает хорошие условия для централизованной эксплуатации опалубки через специализированные участки, где в стационарных условиях собирают блоки опалубки и выдают их на прокат строительным организациям для производства работ.
Блочная опалубка может применяться в промышленном, гражданском и сельском строительстве в условиях умеренного климата.
5.77. Блочная опалубка состоит из панелей, угловых блокирующих элементов, доборных элементов, схваток, стаканообразователя, рабочей площадки, кронштейнов, стоек, траверсы, крепежных деталей.
Панели предназначены для образования необходимой формы бетонируемой поверхности и собираются из щитов "Монолит" или крупноразмерных щитов "Тяжстрой".
5.78. Угловые блокирующие элементы УГ-1 предназначаются для сборки блоков опалубки, а также для сдвижки и раздвижки при установке для бетонирования и снятия блока опалубки с бетонируемых конструкций. Угловой элемент изготавливается из равнобокового уголка 110 x 110 x 8 мм с просеченными продолговатыми наклонными отверстиями "в елочку" с шагом 100 и 200 мм, что соответствует размерам резьбовых шпилек в доборных элементах и отверстиям в щитах опалубки "Монолит". Для соединения и наращивания угловых элементов друг с другом по высоте по концам привариваются пластины с отверстиями диаметром 25 мм под соединительный болт. Длина угловых элементов УГ-1 равна 600, 1200, 1800 мм.
Угловые элементы Уг-2 и Уг-3 предназначаются для сборки блоков опалубки ступенчатых фундаментов и других конструкций с разным сечением по высоте, а также для сдвижки и раздвижки блоков при снятии с забетонированных конструкций. Эти элементы изготавливаются из уголка 110 x 110 x 8 с просеченными продолговатыми наклонными отверстиями "в елочку" и имеют шарнирные перфорированные косынки из листа толщиной 14 мм, служащие для соединения диагональных связей из схваток при установке ступеней опалубки фундаментов, их фиксации и закреплении в проектном положении. Наклонные отверстия выполнены через 100 мм, что обеспечивает соединение щитов опалубки шириной 300, 400, 500, 600 мм. Уг-2 служат для наружных блоков опалубки, а Уг-3 - для внутренних. Они могут совмещаться по высоте с Уг-1, для чего по торцам уголков приварены пластины с отверстиями диаметром 25 мм.
Угловые элементы Уг-4, Уг-5 предназначаются для сборки отдельного щита или панели в блоке опалубки. Элементы изготавливаются из уголка 110 x 110 x 6 с продолговатыми горизонтальными отверстиями. Сдвижку и раздвижку щита или панели, соединенного Уг-4, Уг-5, производят вручную монтажным ломиком по горизонтальным прорезям.
Угловые элементы выполняют роль блокирующего узла, элемента жесткости углов блока опалубки, фиксации блока опалубки в проектном положении, фиксации блока опалубки при освобождении его от забетонированных конструкций, механизма отрыва щитов опалубки от поверхности бетона.
5.79. Доборные элементы ДЭ-1
(рис. 57) изготавливаются из пластины толщиной 8 мм, шириной 260 мм и длиной 600, 1200, 1800 мм. Пластины имеют приваренные резьбовые шпильки для соединения блокирующих угловых элементов Уг-1, Уг-2, Уг-3, Уг-4, Уг-5. Также имеются перфорированные горизонтальные отверстия для соединения щитов опалубки или панелей посредством соединительного уголка 63 x 100 x 8. Перфорированные отверстия в доборных элементах обеспечивают перемещение по ним соединительного уголка для установки необходимых линейных размеров сторон блоков опалубки в пределах кратности размеров щитов опалубки 100 - 200 мм. Один доборный элемент обеспечивает перемещение на 126 мм. Доборные элементы ДЭ-1 обязательны при сборке внутренних блоков опалубки (например, блок на ячейку здания).
Доборные элементы ДЭ-2
(рис. 57) отличаются от ДЭ-1 наличием дополнительного уголка 63 x 63 x 4, обеспечивающего применение доборного элемента при сборке наружных блоков опалубки (например, блок опалубки для фундамента).
Рис. 57. Угловые блокирующие и доборные элементы
а - угловой элемент УГ-1; б - то же, УГ-2 и УГ-3;
в - то же, УГ-4, УГ-5; г - доборные элементы ДЭ-1
5.80. Схватки применяются из опалубки "Монолит". Дополнительно изготовляется схватка длиной 1 и 0,5 м. Помимо ужесточения панелей опалубки схватки применяются для фиксации ступеней опалубки в углах в пространственном блоке посредством присоединения их к косынкам угловых элементов Уг-2, Уг-3.
5.81. Максимально допустимые размеры блоков, мм: длина - 6000, ширина - 6000, высота - 3000. Наибольшее вертикальное перемещение угловых элементов в пазах 65 мм; наибольший отход панелей от бетонируемой поверхности 38 мм; шаг пазов в угловых элементах 100, 200 мм; предел регулирования линейных размеров блоков за счет доборных элементов 100 - 200 мм.
Скорость бетонирования м/ч:
для массивных конструкций (от 3,3 x 3,3 м до 6 x 6 м) - 1,6;
для тонкостенных конструкций и малой массивности (3,2 x 3,2 м и менее) - 2.
Блочная опалубка Оргтехстроя Минстроя ЛитССР (г. Вильнюс).
5.82. Опалубка разработана для бетонирования 16-этажного жилого дома. В настоящее время разрабатывается модульная блочная опалубка.
За основу приняты щиты длиной 1,2; 1,5; 1,8 м с модульным шагом 0,3 м. При помощи модульных щитов и унифицированных соединительных элементов (стойки, диагональные связи и т.д.) можно собрать блочную опалубку, начиная от размера 2,7 x 2,7 м и кончая 7,2 x 7,2 м с модульным шагом 30 см (рис. 58).
Рис. 58. Блочная опалубка Оргтехстроя (г. Вильнюс)
1 - щиты; 2 - угловые соединения; 3 - телескопические связи;
4 - вертикальная стойка
5.83. Техническая характеристика опалубки: расход стали (включая проемообразователи, тяги, домкраты, кронштейны и т.д.) - 104 кг/м2; допустимая нагрузка - 4,5 тс/м2; максимальные параметры блока: длина - 8,1 м, ширина - 6,95 м, масса - 8,0 т.
5.84. Опалубка состоит из щитов, образующих в плане замкнутый контур. В местах примыкания щитов установлены угловые элементы. В углах опалубки размещены вертикальные стойки
1 с упорами
2 (рис. 59). Каждая стойка в верхней части снабжена грузоподъемным приспособлением, а в нижней части - опорной пятой, выполненной в виде домкрата
4. На стойке
1 с возможностью поворота в горизонтальной плоскости шарнирно установлены друг над другом направляющие элементы
5. Каждый направляющий элемент снабжен буртиками
6 и помещен внутри овальной прорези
9, выполненной в каждом кронштейне
10. Кронштейны
10 прикреплены вверху и внизу к опалубочным щитам
7 вблизи угловых элементов
11 и фиксируются в рабочем положении относительно направляющих элементов
5 с помощью клиньев
8. Стойки
1 попарно соединены между собой телескопическими диагональными связями, расположенными в горизонтальной плоскости.
Рис. 59. Угловое соединение щитов блочной опалубки (Вильнюс)
а - разрез; б - план; 1 - стойка; 2 - упор; 3 - петля;
4 - винтовой домкрат; 5 - направляющие элементы; 6 - буртик;
7 - щит; 8 - клин; 9 - прорезь; 10 - кронштейн;
11 - угловая накладка
Опалубка, предварительно собранная в блок замкнутого пространственного контура, устанавливается на место бетонирования. При этом стойки 1 опираются на перекрытие. С помощью домкратов 4 производят выверку опалубки по вертикали. При необходимости выверку конфигурации в плане производят с помощью диагональных связей. Далее производят бетонирование стен железобетонной конструкции, используя в качестве наружной опалубки подобный опалубочный блок либо отдельные щиты.
При распалубке извлекаются клинья из всех кронштейнов опалубочных щитов. Затем между каждой парой верхних кронштейнов одного щита и противоположными концами направляющих элементов забивают клинья-вкладыши. При этом кронштейны скользят по направляющим элементам и отводят верхнюю часть опалубочного щита, отрывая ее от бетона. Подобным образом последовательно производят отрыв остальных щитов. После этого всю опалубку извлекают вверх с помощью грузозахватных приспособлений. В момент извлечения опалубки щиты занимают вертикальное положение.
Для приведения опалубки в рабочее положение клинья извлекают и вновь устанавливают между стойками и щитом, причем сначала устанавливают клинья на верхних кронштейнах, а затем - на нижних. Далее описанный цикл работы повторяется.
В случае необходимости изменение конфигурации опалубки в плане производят путем соответствующего регулирования расстояния между стойками, изменяя длину связей. При этом направляющие элементы вместе с кронштейнами поворачиваются относительно стоек, в результате чего опалубочные щиты устанавливаются под различным углом друг к другу.
5.85. Блочная опалубка для колонн жилых и общественных зданий Ереванского политехнического института (авт. свид. N 309105) включает два щита, наружную жесткую раму, на которой посредством кривошипа смонтированы щиты. Щиты имеют каркасную конструкцию, палуба выполнена из стального листа толщиной 3 мм. При подъеме опалубки (рис. 60) происходит раскрытие щитов, после чего поднимается рама. При опускании опалубки щиты под собственным весом сближаются и устанавливаются в рабочем положении благодаря шарнирно-рычажному механизму. Вертикальность формы обеспечивается четырьмя винтовыми домкратами, прикрепленными к раме.
Рис. 60. Распалубка блочной опалубки
Опалубка применялась при строительстве 14-этажного учебного корпуса Ереванского политехнического института. Масса опалубки для колонн размером 60 x 60 см, высотой 3,9 м составила 1,8 т расчетная оборачиваемость - 1000 циклов.
ОБЪЕМНО-ПЕРЕСТАВНАЯ ОПАЛУБКА
5.86. Наиболее эффективно применение крупноразмерных блоков на размер помещения (комнаты или квартиры), это позволяет снизить трудоемкость работ и повысить качество поверхности за счет исключения перепадов поверхностей в пределах бетонируемой ячейки здания.
Целесообразно применение секций опалубки (типа Утинор, Франция), разрезанных вдоль бетонируемого туннеля. В этом случае можно применять Г-образные полусекции длиной до 14 - 15 м. Такого типа опалубка разработана в настоящее время Молдгипростроем и ЦНИИОМТП.
При использовании секций опалубки небольшой ширины наибольшая производительность достигается применением для демонтажа секций из забетонированного туннеля специальных консольных траверс. Такая траверса конструкции ЦНИИОМТП может применяться также для демонтажа крупнощитовой опалубки перекрытий.
Демонтаж секций с помощью монтажных подмостей связан с наибольшими затратами труда (включая трудоемкий процесс монтажа и демонтажа подмостей).
5.87. Унифицированная объемно-переставная опалубка ЦНИИОМТП состоит из основных и коридорных секций, подмостей для демонтажа, щитов торцов стен и перекрытий, щитовой опалубки наружных стен, опалубки лифтовых шахт и др.
Номенклатура и характеристика элементов приведены в табл. 37.
Элементы опалубки | Эскиз | Размеры, мм | Масса, кг |
Щит торцов стен | | H = 2900, 3100; L = 500, 600 | От 77 до 102 |
Щит торцов перекрытий | | L = 2400 - 6000 (с модулем 300) | От 98 до 217 |
Секция коридорная | | L = 1400, 1600; B = 1200, 1500; Hmin = 2700, 2900 Hmax = 2640 | От 915 до 112 |
Опалубка лифтовых шахт | | L = 1750, 2000, 2200; H = 3100, 3300 | От 2364 до 2600 |
Подмости | | L = 2670 - 6270 (с модулем 300); H = 2800, 3000 | От 550 до 980 |
Щит наружных стен | | L = 3006, 3206; L2 = 1200, 1500; L3 = 5776, 5976 | От 310 до 372 |
Секция | | L = 2400 - 5700 (с модулем 300); B = 1200, 1500; Hmax = 2660, 2860 Hmin = 2590, 2790 | От 950 до 1470 |
Щит торцовый | | L = 2500 - 6100 (с модулем 300); B = 300, 400; Hmax = 2660, 2860 Hmin = 2640, 2840 | От 677 до 148 |
5.88. Основная секция опалубки (рис. 61) рассчитана на высоту этажа 2,8 и 3 м от потолка до потолка и пролета перекрытия в осях от 2,7 до 0,3 м с модулем 300 мм. Ширина секций 1,2; 1,5; 1,8 м. Секция рассчитана на бетонирование стен 12, 16, 20 см, перегородок между лоджиями 12, 16, 20, 22, 26 и 30 см и перекрытий толщиной 14 и 16 см. Секции могут извлекаться как через фасад здания (на подмости), так и через проем в перекрытии.
Рис. 61. Основная секция объемно-переставной
опалубки ЦНИИОМТП
1 - Г-образный блок; 2 - распалубочные механизмы;
3 - центральная вставка; 4 - домкрат; 5 - каток
5.89. Щиты наружных стен выполнены с ограждением и подмостями (см.
табл. 37). Ширина щитов соответствует ширине секции.
5.90. Секция коридорная применяется для бетонирования коридоров с шагом стен в свету 1,4 и 1,6 м. Длина секций 1,2 и 1,5 м.
5.91. Подмости
(рис. 62) применяются для монтажа и демонтажа опалубки, прохода людей, установки опалубки торцов стен, перекрытий и других работ.
1 - палец; 2 - рама; 3 - регулируемая опора; 4 - закрепление
к стене; 5 - настил подмостей; 6 - ограждения
Проектом предусмотрено 26 типоразмеров опалубки.
5.92. Опалубка торцов перекрытий выполнена с ограждениями, она закрепляется на основной секции опалубки.
Мелкосекционная опалубка Молдгипростроя
Опалубка (
рис. 63,
64) состоит из П-образных секций для бетонирования стен и перекрытий секций без горизонтального щита (так называемая открытая) для бетонирования только стен. Над несущей секцией перекрытие не бетонируется, и все секции опалубки извлекаются через образовавшийся проем в перекрытии.
Рис. 63. Объемно-переставная опалубка Молдгипростроя
с центральной рамой
I - в рабочем положении; II - распалубка
Рис. 64. Опалубка с центральной стойкой и вставкой
I - в рабочем положении; II - распалубка
| | ИС МЕГАНОРМ: примечание. Нумерация пунктов дана в соответствии с официальным текстом документа. | |
5.94. Объемно-переставная опалубка для каждой ячейки здания набирается из отдельных секций (открытой, средней и торцовой). Опалубка по ширине принята двух типоразмеров для шага поперечных стен в осях 3 и 3,6 м. Длины секции приняты 1,2 м; 1,8 м; 2,4 м. Такой набор секций позволяет формовать помещения длиной от 3,6 до 7,2 м через 600 мм.
В комплект опалубки входит также опалубка бетонных цоколей по периметру всех стен, опалубка монолитных перемычек и откосообразователей для фиксации дверных блоков в процессе бетонирования.
5.95. Краткая техническая характеристика опалубки: толщина палубы 3 - 4 мм; усилие на рукоятке привода - до 10 кгс; максимальная масса отдельной секции - 2 т; максимальная масса опалубки в сборе - 5,9 т; удельный вес опалубочной поверхности - 100 кг/м2; максимально допустимая непрямолинейность формующих поверхностей - 6 мм на длине 2 м, но не более 8 мм по всей длине опалубки. Опалубка устанавливается на рельсы, закрепленные к перекрытию.
5.96. Секции опалубки (
рис. 65,
66), рассчитанные на пролет перекрытия до 6 м и глубину бетонируемых ячеек 6, 9 и 12 м, извлекаются как через проем в перекрытии, так через открытый фасад здания. Секции имеют длину 1,8; 2,4 и 3 м.
Рис. 65. Установки рядовой секции
объемно-переставной опалубки
Рис. 66. Установка торцовой секции
объемно-переставной опалубки
По сравнению с предыдущей конструкцией в опалубку внесен ряд усовершенствований:
упразднена средняя горизонтальная вставка. Горизонтальный щит выполнен целиковым неразрезным, он соединен в секциях со стеновым щитом в Г-образный элемент жесткой конструкции. Второй стеновой щит подвешен на шарнирных параллелограммных тягах;
в торцовых секциях горизонтальный щит, щиты поперечной и продольной (торцовой) стены соединены в жесткий 3-гранный элемент; второй поперечный стеновой щит также подвешен на тягах;
улучшена конструкция стыка между секциями;
упразднены направляющие и др.
Внесенные в конструкцию опалубки усовершенствования позволили улучшить качество стыков между секциями и уменьшить металлоемкость конструкции.
Кинематика сборки и распалубки также изменена: подвешенный на шарнирных тягах стеновой щит отрывается от бетона принудительно (винтовым домкратом), а жесткий Г-образный (или 3-гранный) элемент распалубливается под действием собственной массы (после подъема опорных домкратов). Силовые распалубочные механизмы из конструкции исключены.
Технико-экономические данные: размеры бетонируемых ячеек в плане 6 м в осях стен 6; 9, 12 м по глубине ячеек через каждые 0,6 м; высота бетонируемых этажей - 3, 3,3 м; толщина бетонируемых стен - 200 и 300 мм; толщина бетонируемых перекрытий - 300 мм; толщина стальной палубы - 4 мм; удельный расход металла опалубочной поверхности - 85 кг/м2; максимальная масса секции - 4,8 т.
5.97. Опалубка конструкции Молдгипростроя
(рис. 67) состоит из отдельных элементов, позволяющих собирать как Г-образные полусекции, так и крупные щиты. Опалубка рассчитана на пролет перекрытия 3 - 4,8 м и 3 - 9,2 м по глубине ячейки.
Рис. 67. Крупноразмерная объемно-переставная опалубка
с F-образными полусекциями конструкции Молдгипростроя
а - общий вид; б - Г-образная полусекция
5.98. Скользящая опалубка
(рис. 68) состоит из щитов, домкратных рам, рабочего пола, подмостей, домкратных стержней, домкратов и насосных станций для подъема опалубки
(табл. 38).
Рис. 68. Унифицированная скользящая опалубка ЦНИИОМТП
1 - наружные подмости; 2 - гидродомкрат с регулятором
горизонтальности; 3 - домкратная рама; 4 - рабочий пол;
5 - щит опалубки; 6 - домкратный стержень; 7 - подвески;
8 - внутренние подмости; 9 - наружные подмости;
10 - кронштейн
Элементы опалубки | Эскиз | Размеры, мм | Масса, кг |
Щит плоский | | L = 1800 - 3300 (с модулем 300); H = 1100 | От 77,5 до 146,0 |
Щит угловой внутренний | | 350 x 350; H = 1100 | 43,5 |
Щит угловой наружный | | 160 x 100; H = 1100 | 28,5 |
Щит пилястр | | 270 x 1100 | 23 |
Рама домкратная: двухстоечная | | 835 x 180 x 1427 | 73,5 |
трехстоечная | | L1 = 555; L2 = 417; H = 1427 | 78 |
четырехстоечная | | 1110 x 1110; H = 1427 | 98 |
Консоль | | 600 x 970 x 156 | 8 |
Кронштейн | | 405 x 75 x 885 | 11 |
Подвеска | | l = 2945 (2150) | 8,2 (7) |
Щит рабочего пола | | 2700 x 1200 | 156 |
Щит перекрытия | | L = 1900, 2000, 2100, 2300, 2600; B = 1000, 1100, 1200, 1400; H = 160 | 40 - 64 |
Стойка вертикальная | | H = 2650 - 2050 | 30 |
наклонная | | H = 2950 - 2300 | 34,5 |
Подвеска | | H = 476; B = 285 | 14 |
Балка | | L = 2440 - 2940 (с модулем 300) | 37 - 83 |
| L = 4240 - 4840 (с модулем 300) | 54 - 62 |
| L = 5140 - 6640 (с модулем 300) | 109 - 176 |
Балка подвесная | | L = 2460 - 3960 (с модулем 300) | 26 - 73 |
| L = 4260, 4560 | 122 - 138 |
Основными несущими элементами являются домкратные рамы, воспринимающие все нагрузки при бетонировании и подъеме скользящей опалубки.
Стойки к ригелю рамы крепятся жестко или на болтах, в последнем случае они могут переставляться и использоваться для бетонирования стен различной толщины.
Щиты закрепляются на стойках рам с наклоном (конусностью) в пределах 1/500 - 1/200 высоты щита (при высоте щита 1 - 1,2 м отклонение низа каждого щита от вертикали составляет 5 - 7 мм).
Домкратные рамы выполняются двух-, трех- и четырехстоечными. Трех- и четырехстоечные рамы устанавливаются на пересечении стен.
Щиты могут применяться деревянные, комбинированные и полностью металлические. Последние целесообразно использовать в умеренном климате: при возможных перегревах, в том числе неравномерных, что приводит к деформациям опалубки, а также "прикипанию" пристенных слоев бетона необходимо применять утепление и укрытие опалубки. Полностью деревянная опалубка значительно дешевле металлической и более эластична, что снижает количество срывов, однако применение ее малоцелесообразно из-за низкого срока службы.
Для повышения эластичности опалубки металлические и комбинированные щиты могут устанавливаться на домкратных рамах через эластичные прокладки.
Доски, применяемые в качестве палубы щитов скользящей опалубки должны иметь ширину не более 120 мм.
Для подъема опалубки применяют, главным образом, гидравлические и электромеханические домкраты. Наиболее простым по конструкции и обслуживанию является гидравлическое оборудование.
В последнее время все большее распределение за рубежом получает применение домкратов повышенной грузоподъемности, что позволяет применять широкий шаг установки домкратных рам, использовать механизированную установку арматурных каркасов и механизировать укладку бетонной смеси. Домкраты повышенной грузоподъемности разработаны в настоящее время ЦНИИЭПсельстроем и ЦНИИОМТП, разработаны также варианты опалубки с применением таких домкратов.
5.99. Скользящая опалубка должна быть оборудована средствами связи, силовой и осветительной сетями.
Конструкция элементов рабочего пола скользящей опалубки должна обеспечивать равномерное распределение нагрузок на домкратные рамы и кружала щитов. Опоры несущих элементов рабочего пола должны размещаться вблизи домкратных рам, опирание их должно быть шарнирным с возможностью перемещения опор при перекосах.
5.100. Унифицированная скользящая опалубка ЦНИИОМТП применима для бетонирования стен зданий с ячейками от 4,2 до 7,2 м по длине. Она состоит из щитов стен (в том числе прямо- и криволинейных, угловых, щитов пилястр), домкратных рам (двух-, трех- и четырехстоечных), пузырьков, подвесных подмостей, рабочего пола, опалубки перекрытий и др.
Опалубка применима для возведения зданий с модульным изменением размеров в осях 300 мм. Толщина возводимых стен: внутренних от 12 до 24 см; наружных - от 30 до 40 см.
5.101. Щиты опалубки выполнены вместе с кружалами и торцовыми накладками для соединения между собой. Щиты имеют длину 1,8 - 3,3 м с модулем 300 мм при высоте 1,1 м.
Угловые щиты имеют размеры: внутренний 350 x 350 мм, наружный - 160 x 160 мм.
Криволинейные щиты применяются для стен толщиной 400 мм.
5.102. Домкратные рамы применяются для возведения стен толщиной до 600 мм.
5.103. Консоли козырька закрепляются на стойках домкратных рам или кружалах щитов.
5.104. Подмости подвешиваются на консоли козырька и стойки домкратных рам с помощью подвесок.
5.105. Балки рабочего пола опираются на кронштейны, закрепляемые на щитах опалубки.
5.106. Опалубка перекрытий (
рис. 69,
70) устанавливается на телескопических стойках или подвесках, закрепляемых к стенам.
Рис. 69. Установка опалубки перекрытий на стойках
1 - стойка наклонная; 2 - опалубка перекрытий;
3 - стойка вертикальная
Рис. 70. Установка опалубки перекрытий на подвесках
1 - опалубка перекрытий; 2 - подвеска; 3 - балка подвесная
Для удобства установки и распалубки подвески выполнены с регулируемой по высоте опорной частью.
Гидравлическая система подъема скользящей опалубки
5.107. Гидравлическая система подъема скользящей опалубки относится к агрегатам объемного типа, работающим по принципу закрытых сообщающихся сосудов, и состоит из:
гидравлических домкратов, преобразующих энергию давления жидкости в механическую энергию перемещения поршня;
автоматических или полуавтоматических регуляторов, определяющих положение скользящей опалубки;
насосов, являющихся источником энергии;
контрольно-регулирующей аппаратуры, которая распределяет поток жидкости и регулирует скорость действия гидравлических домкратов;
трубопровода и арматуры, соединяющих насосные станции с контрольно-регулирующими устройствами и последние - с гидравлическими домкратами и автоматическими регуляторами горизонтальности.
5.108. В качестве рабочей жидкости в гидросистемах подъема скользящей опалубки применяются:
летом - моторные масла М10В (ТУ 38-1-01-649-76), М10Г (ТУ 38-1-01-650-76), масло гидравлическое ВНИИ НП-403 (ГОСТ 16728-78);
зимой - моторные масла М3В (ТУ 38-1-01-47-70), М3Г (ТУ 38-1-01-46-70), масло гидравлическое МГ20 (ТУ 38-1-01-50-70).
Гидравлические домкраты
5.109. Одноцилиндровые гидравлические домкраты типа ОГД являются грузоподъемными механизмами, автоматически перемещающимися по домкратным стержням и поднимающими опалубку в процессе бетонирования стен сооружения. Конструкция гидравлических домкратов типа ОГД дана на
рис. 71,
72,
73,
74.
Рис. 71. Одноцилиндровый гидравлический домкрат ОГД-61
1 - гайка; 2 - корпус верхнего зажима; 3 - пружина;
4 - сухарик (цанга); 5 - пружина; 6 - гайка; 7 - шток;
8 - гайка; 9 - манжета; 10 - корпус; 11 - цилиндр;
12 - манжеты; 13 - поршень; 14 - возвратная пружина;
15 - корпус нижнего зажима; 16 - палец; 17 - втулка;
18 - защитная трубка; 19 - домкратная рама; 20 - фланец;
21 - гайка; 22 - нижняя крышка; 23 - верхняя крышка;
24 - болт с гайкой; 25 - штуцер;
26 - присоединительная трубка
Рис. 72. Регулятор горизонтальности полуавтоматический РП-67
(к домкрату ОГД-61)
1 - стопорный винт; 2 - упор; 3 - буферное устройство;
4 - рама; 5 - гидродомкрат; 6 - палец; 7 - кольцо;
8 - нажимное кольцо
Рис. 73. Домкрат ОГД-64У с автоматическим регулятором
горизонтальности АРГ-64У
I - гидрозажим; II - шланг высокого давления; III - рамка
с возвратным механизмом; IV - верхний зажим;
V - нижний зажим; 1 - цилиндр; 2 - сепаратор; 3 - пружина;
4 - манжета; 5 - цилиндр; 6 - пружина возвратная;
7 - фланец; 8 - шарнир; 9 - поршень; 10 - защитная трубка
Рис. 74. Домкрат ОГД-74/25 с автоматическим регулятором
горизонтальности АРГ-74/25
I - гидрозажим; II - шланг высокого давления;
III - рамка с возвратным механизмом; 1 - цилиндр;
2 - вставка; 3 - сепаратор; 4 - ролик; 5 - пружина;
6 - поршень; 7 - щиток; 8 - кольцо; 9 - манжеты; 10 - кольцо
резиновое; 11 - фланец; 12 - стержень; 13 - кольцо;
14 - цилиндр; 15 - шарнир; 16 - упор; 17 - пружина
возвратная; 18 - пружина; 19 - фланец; 20 - болт;
21 - защитная трубка
Техническая характеристика приведена в табл. 39.
Характеристика | Единицы измерения | ОГД-61, ОГД-61А | ОГД-64У | ОГД-74-25 | ОГД-74/32 | ОГД-77/32 |
Давление: | МПа (кгс/см2) | | | | | |
номинальное | 3,5 (35) | 10,0 (100) | 12,5 (125) | 12,5 (125) | 12,5 (125) |
максимальное | 5,0 (50) | 12,5 (125) | 13,5 (135) | 16,0 (160) | 13,5 (135) |
Грузоподъемность: | | | | | | |
при номинальном давлении | кг | 3500 | 5500 | 4500 | 7250 | 9250 |
при максимальном давлении | " | 6000 | 6800 | 5800 | 9330 | 9980 |
Рабочая площадь поршня | см2 | 141,4 | 65,94 | 54,8 | 63,8 | 81,92 |
Рабочий ход поршня | мм | 20 - 30 | 30 | 30 | 30 | 30 |
Диаметр домкратного стержня <*> | мм | 25 | 25 | 25 | 32 | 32 |
Размеры: | мм | | | | | |
высота | | 340 | 475 | 405 | 382 | 402 |
диаметр | | 190 | 116 | - | - | - |
длина | | - | 136 | 150 | 150 | 150 |
ширина | | - | 136 | 150 | 150 | 150 |
Масса, не более | кг | 14,9 | 13,8 | 13,5 | 18,5 | 21,5 |
| | ИС МЕГАНОРМ: примечание. Взамен ГОСТ 380-71 в части марок и химического состава сталей Постановлением Госстандарта СССР от 30.03.88 N 924 с 01.01.1990 введен в действие ГОСТ 380-88. Взамен ГОСТ 380-88 Постановлением Госстандарта России от 02.06.1997 N 205 с 01.01.1998 введен в действие ГОСТ 380-94. | |
|
-------------------------------- <*> Материал - горячекатаная сталь марки Ст.5 (ГОСТ 380-71). |
5.110. Работа одноцилиндрового гидравлического домкрата ОГД-61 (см.
рис. 66) происходят следующим образом: в исходном положении домкрата его верхнее и нижнее зажимные устройства под действием пружин автоматически заклинены на домкратном стержне. При нагнетании рабочей жидкости в верхнюю полость цилиндра поршень со штоком и верхним зажимным устройством остается неподвижным, а цилиндр под действием давления рабочей жидкости поднимается вверх, сжимая возвратную пружину, и тянет за собой нижнее зажимное устройство, которое под действием сил трения и распорной силы кольцевой пружины автоматически отключается от домкратного стержня и через фланец поднимает домкратную раму и соединенную с ней скользящую опалубку.
При снятии давления в системе поршень под действием возвратной пружины поднимается вверх, вытесняя рабочую жидкость из цилиндра в бак, а связанное со штоком верхнее зажимное устройство автоматически расклинивается (аналогично нижнему) и скользит вверх по домкратному стержню. В это время нижний зажим под действием пружины автоматически заклинивает домкратный стержень, фиксируя фактическую величину подъема домкрата с опалубкой за один "шаг".
При повторном нагнетании рабочей жидкости в верхнюю полость цилиндра цикл подъема повторяется и таким образом опалубка периодически поднимается.
Величина подъема домкрата за один цикл может регулироваться в пределах от 20 до 30 мм вращением ограничителя хода поршня по штоку.
5.111. Одноцилиндровый гидравлический домкрат ОГД-64У (см.
рис. 73) может работать как с упорным кольцом
(рис. 75) (полуавтомат-регулятором горизонтальности), так и с автоматическим регулятором горизонтальности АРГ-64У
(рис. 76).
Рис. 75. Принципиальная схема подъема скользящей опалубки
с полуавтоматическим регулированием горизонтальности
а - для домкратов ОГД-61; б - для домкратов ОГД-64У,
ОГД-74/25, ОГД-74/32 и ОГД-77/32
Рис. 76. Принципиальная схема подъема скользящей опалубки
гидравлическими домкратами типа ОГД-64У с автоматическими
регуляторами горизонтальности АРГ-64У
(или ОГД-74/25 с АРГ-74/25)
а - исходное положение; б - рабочий ход; в - контроль
горизонтальности; г - переход автоматического регулятора
на новый уровень
5.112. Домкрат ОГД-64У (см.
рис. 73,
76) работает следующим образом: рабочая жидкость поступает в верхнюю рабочую полость цилиндра
5, при этом поршень
9, шарнир
5 и связанное с ним нижнее зажимное устройство остаются неподвижными, а цилиндр
5 под действием рабочей жидкости поднимается вверх, сжимая пружину
6.
Поднимаясь, цилиндр 5 автоматически расклинивает верхнее зажимное устройство, заставляя его скользить вверх по домкратному стержню, и через фланец 7 поднимает домкратную раму и соединенную с ней скользящую опалубку.
При снятии давления в системе поршень с шарниром под действием пружины 6 поднимается вверх, вытесняя рабочую жидкость из цилиндра в бак, а нижнее зажимное устройство автоматически расклинивает домкратный стержень (аналогично верхнему зажиму) и скользит по нему вверх. В это время верхний зажим под действием пружины 14 автоматически заклинивает домкратный стержень, фиксируя фактическую величину подъема домкрата с опалубкой на один "шаг".
5.113. При работе домкрата ОГД-64У совместно с автоматическим регулятором АРГ-64У (см.
рис. 73,
76) или упорным кольцом (см.
рис. 73) подъем опалубки происходит до тех пор, пока домкрат не достигнет горизонта, заданного регулятором, при этом буферное устройство выключит верхний зажим домкрата и при каждом последующем подъеме домкрата будет происходить "шаг на месте". После исполнения заданного числа циклов рабочая жидкость подается к гидрозажиму регулятора, расклинивает его и возвращает в исходное положение, задавая новый горизонт. (При работе с упорным кольцом перестановку кольца на новый горизонт производят вручную). Одновременно домкрат приходит в исходное положение, так как верхний зажим снова включается.
При последующем нагнетании рабочей жидкости в домкрат циклы подъема опалубки повторяются.
5.114. Одноцилиндровый гидравлический домкрат ОГД-74/25 (см.
рис. 74) отличается от домкрата ОГД-64У конструкцией буферного устройства в верхнем зажиме.
В домкрате ОГД-74/25 вместо двух пружин, буферной и первоначального обжима домкратного стержня, установлена одна, выполняющая одновременно обе функции. Принцип работы этих домкратов аналогичен.
5.115. Одноцилиндровые гидравлические домкраты ОГД-74/32 и ОГД-77/32 по конструкции и принципу действия аналогичны домкрату ОГД-74/25, но отличаются площадью поршня, размерами и массой (см.
табл. 39).
5.116. Одноцилиндровые гидравлические домкраты всех типов оснащены защитной трубкой. При бетонировании стены защитная трубка образует в бетоне канал, в который свободно, не сцепляясь с бетоном, размещается домкратный стержень. По окончании бетонирования стержни должны извлекаться из стен сооружений.
Защитная трубка крепится к ригелю домкратной рамы с помощью фланца теми четырьмя болтами, что и домкрат.
Регуляторы горизонтальности
5.117. Регуляторы горизонтальности предназначены для поддерживания горизонтального положения скользящей опалубки и осуществления домкратами "шага на месте".
Регуляторы могут быть полуавтоматические РП-67 (см.
рис. 73), применяемые при работе с домкратами ОГД-61А и автоматические АРГ-64У, АРГ-74/25, АРГ-74/32, используемые при работе с домкратами ОГД-64У, ОГД-74/25, ОГД-74/32 и ОГД-77/32.
5.118. При полуавтоматическом регулировании определенный горизонт задается с помощью РП-67 или с помощью упорного кольца к домкратам ОГД-64У или ОГД-74/25, ОГД-74/32, ОГД-77/32 (см.
рис. 73); при автоматическом регулировании с помощью регулятора типа АРГ эту роль выполняет гидравлический зажим регулятора (см.
рис. 73,
74).
При достижении домкратом заданного горизонта происходит выключение фиксирующего зажима и домкрат при последующих циклах подъема осуществляет "шаг на месте". "Шаг на месте" у домкратов ОГД-61А при работе с регуляторами РП-67 происходит за счет выключения регулятором нижнего зажимного устройства при достижении заданного горизонта; у домкратов ОГД-64У, ОГД-74/25, ОГД-74/32, ОГД-77/32 при работе упорным кольцом или с регулятором типа АРГ - при выключении верхнего зажимного устройства. В случае полуавтоматического регулирования для перехода на новый горизонт и последующего подъема упорное кольцо перемещают вверх по домкратному стержню и закрепляют вручную; при автоматическом регулировании переход на новый горизонт выполняется от насосной станции за счет автоматического расклинивания гидравлического зажима и одновременного перемещения его вверх по домкратному стержню с помощью возвратных пружин.
Насосно-распределительная станция
5.119. Для привода гидравлических домкратов при подъеме скользящей опалубки применяются полуавтоматические и автоматические насосно-распредлительные станции ПНС и АНС. Техническая характеристика насосных станций дана в табл. 40.
Таблица 40
Параметры | Единица измерения | ПНС-1В | ПНС-11В | АНС-100У(77) | АНС-125Б |
насос НШ-10Е | насос БГ-12-21М |
Производительность общая | л/мин | 24 | 48 | 14 x 2 = 28 | 8 x 2 = 16 | 8 x 2 = 16 |
В том числе: | | | | | | |
высокой ступени | | 12 | 24 | | | |
низкой ступени | | 12 | 24 | | | |
Давление максимальное | МПа (кгс/см2) | - | - | 14,0 (140) | 14 (140) | 12,5 (125) |
В том числе: | | | | | | |
высокой ступени | | 5 (50) | 5 (50) | - | - | - |
низкой ступени | | 3,5 (35) | 3,5 (35) | - | - | - |
Регулируемые параметры: | | | | | | |
производительность | л/мин | 12; 24 | 24; 12; 48 | 0,25 - 28 | 0,25 - 16 | 8; 16 |
давление | МПа (кгс/см2) | 0,5 - 5 (5 - 50) | 0,5 - 5 (5 - 50) | 5 (50) - 14 (140) | 5 (50) - 14 (140) | 5 (50) - 12,5 (125) |
Время | мин | - | - | 2 - 60 | 2 - 60 | 2 - 60 |
Режим работы | | Ручной, полуавтоматический | Ручной, полуавтоматический, автоматический, реверсивный |
Приводная мощность | кВт | 3 | 6 | 6 | 6 | 5,6 |
Количество обслуживаемых домкратов | шт. | 120 | 250 | 300 | 250 | 300 |
Размеры: | | | | | | |
длина | мм | 588 | 860 | 770 | 770 | 794 |
ширина | " | 617 | 700 | 560 | 560 | 544 |
высота | " | 718 | 1080 | 910 | 910 | 826 |
Масса не более | кг | 150 | 300 | 260 | 260 | 265 |
Полуавтоматические насосно-распределительные станции типа ПНС
(рис. 77) применяются в качестве привода гидродомкратов ОГД-61 и ОГД-61А и могут работать в следующих режимах: ручном, полуавтоматическом, автоматическом.
Рис. 77. Полуавтоматическая насосно-распределительная
станция ПНС-1В
1 - обратный клапан; 2 - трехходовой золотник; 3 - фильтр
пластинчатый; 4 - кнопки "Пуск-Стоп"; 5 - магнитный
пускатель; 6 - реле давления; 7 - шланг высокого давления;
8 - фильтр; 9 - бак для масла; 10 - маслоуказатель;
11 - разделительная панель; 12 - сливная пробка; 13 - шланг;
14 - манометр; 15 - демпфер; 16 - пробка; 17 - лючок;
18 - электродвигатель; 19 - патрубок; 20 - эластичная муфта;
21 - насос лопастной; 22 - перегородка
5.120. Работа насосной станции типа ПНС происходит следующим образом
(рис. 78): при нажатии кнопки "Пуск" включается электродвигатель, приводящий в работу сдвоенный лопастной насос и электромагнит трехходового золотника. Рабочая жидкость от насоса двумя потоками поступает к разделительной панели, причем один поток поступает к клапану низкого давления, другой - к клапану высокого давления. При давлении рабочей жидкости в гидросистеме, не превышающем настройку клапана низкого давления, жидкость от разделительной панели одним общим потоком, пройдя обратный клапан, трехходовой золотник и пластинчатый фильтр, поступает в гидравлическую сеть и к домкратам.
Рис. 78. Гидравлическая схема станции ПНС-1В
1 - насос; 2 - разделительная панель; 3 - обратный клапан;
4 - манометр; 5 - реле давления; 6 - бак для масла;
7 - трехходовой золотник; 8 - штуцер для присоединения
испытательного стенда; 9 - фильтр пластинчатый
При повышении давления в системе выше настройки клапана низкого давления происходит автоматическое разделение потока. Клапан низкого давления возвращает рабочую жидкость потока низкого давления в бак, а в систему поступает рабочая жидкость от насоса высокого давления.
Выключение насосной станции происходит автоматически при помощи электрогидравлического реле давления, которое при повышении давления в системе выше заданного срабатывает, обеспечивая цепи управления. Происходит остановка насосной станции. Золотник возвращается в исходное положение, образуя проход для рабочей жидкости в бак. Повторное включение насосной станции для возобновления работы производят вручную, а при наличии приставки типа АП повторное включение осуществляет реле времени по истечении заданного интервала.
5.121. Принцип действия станции ПНС-1В и ПНС-11В аналогичен. Станции отличаются между собой по конструкции, количеству комплектующей аппаратуры, производительности, размерам и массе.
Нагнетание рабочей жидкости в гидросистему насосная станция ПНС-11В может производить двумя насосами одновременно или одним из них.
5.122. Автоматические насосно-распределительные станции типа АНС
(рис. 79) с приставкой счета импульсов АПИ применяются в качестве привода гидродомкратов типа ОГД и регуляторов типа АРГ, а также реверсивных гидродомкратов типа РГД в следующих режимах: ручном, полуавтоматическом, автоматическом, автоматическом реверсивном.
Рис. 79. Автоматическая насосно-распределительная
станция АНС-100У (77)
1 - бак; 2 - насос; 3 - регулятор потока; 4 - золотник;
5 - обратный клапан; 6 - реле давления; 7 - фильтр;
8 - манометр; 9 - золотник включения манометра;
10 - электродвигатель; 11 - магнитный пускатель;
12 - пакетный выключатель; 13 - переключатель;
14 - электромагнитное реле; 15 - реле времени;
16 - сигнальная арматура с лампой; 17 - кнопка управления;
18 - автоматический выключатель
| | ИС МЕГАНОРМ: примечание. В официальном тексте документа, видимо, допущена опечатка: рисунки б, в на рисунке 79 отсутствуют. | |
Принципиальная гидравлическая и электрическая схемы даны на
рис. 79,
б,
в.
5.123. Ручной и полуавтоматический режимы применяются в основном при испытании и наладке гидросистемы подъема скользящей опалубки. Автоматический реверсивный режим работы применяется при извлечении домкратных стержней гидродомкратами типа РГД.
Трубопровод и соединительная арматура
5.124. Трубопровод и арматура служат для соединения насосных станций с исполнительными механизмами: домкратами и автоматическими регуляторами.
5.125. Трубопровод гидравлической системы скользящей опалубки может быть двух типов: одинарный и сдвоенный.
Одинарный применяется при подъеме скользящей опалубки с ручным или полуавтоматическим регулированием ее горизонтальности.
Сдвоенный используется при подъеме с автоматическим регулированием горизонтальности скользящей опалубки. В этом случае второй трубопровод служит для присоединения автоматических регуляторов к насосной станции.
5.126. Трубопровод гидросистемы скользящей опалубки изготавливается из стальных цилиндрических труб

и толщиной стенки 2 мм.
Стальные бесшовные трубы
(ГОСТ 8734-75) применяют при давлении до 19 МПа (190 кгс/см
3), стальные электросварные при давлении до 6 МПа (60 кгс/см
2).
| | ИС МЕГАНОРМ: примечание. Взамен ГОСТ 617-72 Постановлением Госстандарта СССР от 22.06.1990 N 1744 с 01.01.1992 введен в действие ГОСТ 617-90. | |
Присоединительные трубки домкратов изготавливаются из цветных металлов (ГОСТ 617-72) при давлении до 13,5 МПа (135 кгс/см
2) или из резиновых рукавов высокого давления
ГОСТ 6286-73 при давлении до 19 МПа (190 кгс/см
2).
5.127. Размещение и конфигурация гидравлических трубопроводов зависят от типа возводимого сооружения и изготавливаются согласно проекту.
ГОРИЗОНТАЛЬНО ПЕРЕМЕЩАЕМАЯ ОПАЛУБКА
Катучая опалубка Донецкого Промстройниипроекта
5.128. Опалубка предназначена для непрерывного поярусного бетонирования бетонных и железобетонных стен постоянного и переменного сечения толщиной 12 - 60 см и высотой до 6 м.
5.129. Эффективное применение опалубки зависит от длины, высоты стен и количества перестановок.
С учетом затрат на монтаж, демонтаж, перестановки опалубки и рельсовых путей для ее передвижения минимальный объем опалубочных работ, при котором экономически целесообразно применять горизонтально-скользящую опалубку взамен щитовой переставной опалубки, составляет:
для линейно-протяженных сооружений (подпорные стены, каналы и т.п.) не менее 200 м2 при высоте стен до 3 м и 180 м2 при высоте от 3 до 6 м;
для замкнутых в плане емкостных сооружений (прямоугольные резервуары, аэротенки и т.п.) не менее 450 м2 при высоте стен до 3 м и 400 м2 при высоте от 3 до 6 м.
5.130. Бетонирование стен в горизонтально скользящей опалубке осуществляется при температуре наружного воздуха не ниже +5 °C; с применением добавок, ускоряющих твердение, при температуре не ниже минус 10 °C.
5.131. Конструкция опалубки позволяет:
производить перемещение опалубочных щитов вдоль оси бетонируемой стены;
поднимать щиты по вертикали для поярусного бетонирования;
регулировать уклон поверхности бетонных стен;
отделять щиты от бетона с последующей установкой их в проектное положение.
5.132. Опалубка может быть самоходной и несамоходной. Общий вид опалубки приведен на
рис. 80.
Рис. 80. Общий вид горизонтально скользящей опалубки
1 - стойка; 2 - тележка; 3 - балка; 4 - щит опалубки;
5 - монтажное устройство; 6 - лебедка подъема щитов;
7 - настил; 8 - ограждение; 9 - ползуны; 10 - фиксаторы;
11 - бункеры; 12 - лестница; 13 - электрический привод;
14 - поверхностный вибратор
Основными элементами конструкции являются: жесткий каркас, состоящий из четырех направляющих стоек 1, двух тележек 2 и соединительной балки 3, жестко связывающей стойки в верхней части;
два металлических опалубочных щита 4, состоящих из жесткого каркаса, листа толщиной 4 - 6 мм и приваренных к каркасу двух ползунов 9 с фиксаторами;
стойки, которые направляют и фиксируют положение щитов, воспринимают горизонтальные нагрузки от уложенного в опалубку бетона и передают усилия от механизма горизонтального движения щитам.
5.133. Перемещение щитов по вертикали производится электрической лебедкой 6, установленной на верхней балке при помощи троса и блочков. Щиты опалубки с уложенными на них деревянными настилами 7 и ограждением 8 служат одновременно рабочими подмостями.
Горизонтальное перемещение опалубки вдоль возводимой стены производится по рельсовому пути двумя способами:
автономным механическим приводом 13 от электродвигателей, установленным на тележках - самоходный вариант;
электрической лебедкой 1, установленной и закрепленной в конце бетонируемого участка стены или на тележке, которая с помощью троса 2 и коромысла 3 производит горизонтальное передвижение агрегата - несамоходный вариант.
Пульт управления агрегатом устанавливается на рабочей площадке.
Для приема бетонной смеси на рабочей площадке установлен бункер 11, передвигающийся вместе со щитами. К бункеру прикреплен поверхностный вибратор.
К рабочей площадке крепится металлическая лестница с ограждением, которая по мере подъема щитов удлиняется готовыми секциями.
5.134. Техническая характеристика катучей опалубки
максимальная высота бетонируемой стены 6 м
толщина стены ........................... 12 - 60 см
длина щитов ............................. 6 - 8 м
высота щита ............................. 1,2 - 1,5 м
допускаемый уклон поверхности стены ..... 0,04
скорость горизонтального передвижения
при бетонировании ....................... 6 - 8 м/ч
масса агрегата ......................... 8 т
потребляемая мощность электродвигателей
самоходного агрегата .................... 9 кВт
то же, несамоходного с электролебедкой
на тележке .............................. 6 кВт
5.135. Конструкции опалубок и схемы их применения показаны на
рис. 81 -
85.
Рис. 81. Оболочки, формуемые с помощью пневмоопалубки
а - гладкая цилиндрическая сводчатая оболочка; б - гладкая
цилиндрическая сводчатая оболочка с вертикальными стенами;
в - ребристый цилиндрический свод;
г - ребристый цилиндрический свод с вертикальными стенами;
д - многогранный купол
Рис. 82. Схема возведения сводов с помощью пневмоопалубки
а - установка опалубки; б - укладка бетонной смеси;
в - подъем опалубки; 1 - пневмоопалубка; 2 - опорные
фундаменты; 3 - открылки; 4 - арматура; 5 - бетонная смесь;
6 - трубопровод для нагнетания воздуха; 7 - опорные трубы;
8 - участки свода (стены), бетонируемые заранее; 9 - участки
пневмоопалубки, не соприкасающиеся с бетоном; 10 - грунт;
11 - винтовые анкеры
Рис. 83. Пневмоопалубка для возведения многогранных куполов
1 - грани верхней части; 2 - вершина; 3 - стык граней;
4 - днище; 5 - люк-лаз; 6 - опорные рукава; 7 - гибкий
воздухоподающий трубопровод; 8 - лепестки
Рис. 84. Принципиальная схема возведения
многогранного купола диаметром 10 м
а, б - расстилание пневмоопалубки на горизонтальной
плоскости; в - армирование и бетонирование; г - подъем
уложенных строительных материалов в проектное положение,
заделки швов, укрытие купола пленочным полотнищем;
1 - герметичная камера пневмоопалубки со складками;
2 - крепление пневмоопалубки; 3 - лепестки без складки;
4 - вершина камеры; 5 - бетонная смесь; 6 - арматура;
7 - воздухоподающая труба; 8 - стык между гранями купола
Рис. 85. Конструкция утепленной снизу оболочки купола
1 - тканая сетка N 10 x 30 = 1,0; 2 - сварная сетка
150 x 150,

;
3 - плетеная сетка N 20 x 20 x 1,8;
4 - пергамин 1 слой;
5 - мягкая ДВП,

;
6 - пергамин 1 слой;
7 - твердая ДВП,

;
8 - шайба; 9 - шиферный гвоздь
5.136. Наиболее перспективными являются способы формования цилиндрических и купольных оболочек путем изгибания материалов (армированной бетонной смеси и при необходимости утеплителя), уложенных на ненадутую пневмоопалубку, разостланную на уровне основания.
С применением пневмоопалубок по предложенным способам построено сводчатых и купольных сооружений разного назначения общей площадью 5103 м3, в том числе: сводов пролетом 18 м - 648 м2, пролетом 12 м - 3672 м2, пролетом 6 м - 378 м2, куполов диаметром 10 м - 405 м2. Изготовлено 16 комплектов пневмоопалубок, в том числе: сводчатых пролетом 18 м - 4 шт., пролетом 12 м - 10 шт., пролетом 6 м - 1 шт., купольных диаметром 10 м - 1 шт.
Характеристики примененных опалубок приведены в табл. 41.
Таблица 41
Характеристика | Пролеты, м |
сводчатые | купольные |
6 | 12 | 18 | 10 |
Длина опалубки, м | 10 | 18,5 и 20 | 18,5 и 20 | - |
Расход ткани, м2 | 214 | 990 | 1200 | 363 |
Марка ткани | 51-019 | 83-15 | 51-019 |
| | На капроне ТК-120 | |
Масса опалубки, кг | 128 | 1290 | 1500 | 218 |
Стоимость опалубки, руб. | 2200 | 15389 | 23000 | 2620 |
Планируемая оборачиваемость, циклы | 50 | 50 | 50 | 50 |
5.137. В качестве материала целесообразно использование высокопрочных прорезиненных тканей, выпускаемых в настоящее время на ангренском заводе "Резинотехника". Эти ткани пригодны для изготовления пневмоопалубок, с помощью которых можно возводить сводчатые оболочки пролетом до 21 м и купольные диаметром до 30 м.
5.138. С помощью пневмоопалубки могут возводиться конструкции складов, производственных зданий, хранилищ (техники, зерна, овощей, удобрений), сооружений для переработки сельскохозяйственной продукции, животноводческих помещений (коровников, овчарен, свинарников, птичников), спальных корпусов в пионерских лагерях и на турбазах, спортзалов, дизельных электростанций, мастерских, кузниц.
5.139. Несъемной опалубкой называют такую опалубку, которая после бетонирования основной конструкции не снимается, а остается в ее теле и работает вместе с ней.
Несъемную опалубку собирают из железобетонных, армоцементных, стеклоцементных плит, стальных листов или тканой стальной сетки.
Железобетонную, армоцементную и стеклоцементную несъемную опалубку применяют для бетонирования монолитных конструкций и сооружений с простой конфигурацией и большими опалубливаемыми поверхностями. В отдельных случаях такая опалубка может быть использована как декоративная или защитная облицовка. В первом случае она придает большую архитектурную выразительность зданиям или сооружениям, во втором - защищает монолитные конструкции, подвергающиеся воздействию агрессивных вод, попеременному замораживанию или оттаиванию, а также может служить гидроизоляцией для сооружений. В качестве защитной гидроизоляции используют также несъемную опалубку из стальных листов. Несъемную опалубку, одновременно выполняющую декоративную или защитную роль, называют опалубкой-облицовкой.
5.140. Несъемную армоцементную и железобетонную опалубки устанавливают заподлицо с наружными гранями монолитных конструкций с тем, чтобы габариты последних от установки такой опалубки не увеличивались. Для надежного сцепления с бетоном массива поверхность плит, обращенная к бетону (активная поверхность), должна быть шероховатой и иметь анкерующие выпуски.
5.141. Изготовление, транспортирование и монтаж несъемной опалубки следует производить в соответствии с рабочими чертежами, техническими условиями и главой
СНиП III-15-76 "Бетонные и железобетонные конструкции монолитные. Правила производства и приемки работ".
Железобетонная опалубка
5.142. Железобетонная опалубка состоит из плоских, ребристых или профильных плит
(рис. 86), а также элементов креплений (схваток, тяжей, крюков и т.п.). В отдельных случаях при бетонировании массивных конструкций в качестве несъемной опалубки применяют железобетонные унифицированные дырчатые блоки (УДБ)
(рис. 87).
Рис. 86. Несъемная опалубка
а - общий вид; б, в - плоские опалубочные плиты; г - то же,
профильные; д - то же, ребристые; 1 - опалубочная плита;
2 - бетон массива; 3 - анкерующие петли-выпуски;
4 - армокаркас; 5 - накладка; 6 - активная поверхность;
7 - отверстия; 8 - ребро
Рис. 87. Фрагмент несъемной опалубки массивного фундамента
из блоков УДБ
1 - блоки УДБ; 2 - бетон массива; 3 - бетонная подготовка;
4 - сквозные отверстия ("колодцы"); 5 - боковые "окна"
для образования анкерующих шпонок; 6 - армокаркас "колодца";
7 - бетон вертикальной шпонки
Несъемная железобетонная опалубка входит в расчетное сечение монолитных конструкций и должна учитываться в расчете наравне с бетоном основного сечения (бетоном массива).
Армирование опалубочных плит следует производить в соответствии с расчетом, с учетом монтажно-транспортных нагрузок и давления бетонной смеси при бетонировании.
5.143. Железобетонные опалубочные плиты представляют собой плоские, ребристые или профильные элементы из бетона марки М200 - М300, армированного сварными сетками. Плоские железобетонные плиты применяют для бетонирования стен подвалов, тоннелей, опускных колодцев, насосных станций, а также фундаментов. Плоские плиты с вырезами в нижней части применяют для устройства опалубки ступенчатых фундаментов. Такая опалубка проста, не требует сложных креплений и имеет низкую трудоемкость.
Ребристые плиты применяют для устройства опалубки массивных фундаментов под технологическое оборудование.
Профильные опалубочные плиты рекомендуются для столбов, колонн, пилястр, больших балок и т.п. Типоразмеры таких плит приведены в табл. 42 -
43.
Таблица 42
Схема | Тип плит | Размеры, мм | Шаг выпусков и закладных деталей, мм | Масса, кг | Организация-разработчик | Область применения |
длина | ширина | толщина |
l | a | b | c | c1 | c2 --- c3 | d | d1 | d2 | d3 |
| ПО-2 | 2000 | 995 | 60 | 570 | 395 | 100 ---- 150 | 120 | 720 | 100 | 550 | 280 | Горьковский инженерно-строительный институт им. В.П. Чкалова | Промышленное и гражданское строительство, для бетонирования массивных конструкций (фундаментов под колонны и оборудование, стены подвалов, тоннелей, опускных колодцев, насосных станций и т.п.) |
ПО-2,4 | 2400 | 995 | 60 | 700 | 395 | 100 ---- 150 | 120 | 575 | 100 | 550 | 340 |
ПО-3 | 3000 | 995 | 60 | 672 | 395 | 100 ---- 150 | 120 | 550 | 100 | 550 | 430 |
ПО-3,6 | 3600 | 995 | 80 | 660 | 395 | 100 ---- 150 | 120 | 700 | 100 | 550 | 695 |
ПО-3,6А | 3600 | 1795 | 80 | 660 | 595 | 100 ---- 150 | 120 | 700 | 100 | 615 | 1220 |
ПО-4,2 | 4200 | 1195 | 80 | 650 | 495 | 100 ---- 150 | 120 | 850 | 100 | 750 | 950 |
ПО-4,2А | 4200 | 1795 | 80 | 650 | 525 | 100 ---- 150 | 120 | 850 | 100 | 615 | 1440 |
ПО-2А | 2000 | 995 | 100 | 450 | 395 | 100 ---- 100 | - | - | - | - | 470 |
ПО-2,4А | 2400 | 1195 | 100 | 440 | 495 | 100 ---- 100 | - | - | - | - | 685 |
ПО-3А | 3000 | 1195 | 100 | 467 | 495 | 100 ---- 100 | - | - | - | - | 857 |
| ПОГ-4 | 4000 | 2000 | 100 | 1067 | 700 | 300 ---- 400 | - | - | - | - | 1920 | Карагандинский Промстройпроект, трест Казметаллургстрой | Промышленное и гидротехническое строительство, для бетонирования массивных фундаментов, стен и элементов гидротехнических сооружений |
ПОГ-5 | 5000 | 2500 | 80 | 1200 | 950 | 300 ---- 400 | - | - | - | - | 2400 |
Схема | Тип плит | Размеры, мм | Шаг отверстий и борозд, диаметр отверстий, мм | Масса, кг | Организация-разработчик | Область применения |
длина l | ширина a | толщина b | c | c1 | c2 | c3 | c4 ---- c5 | D |
| ОПК-3 | 3000 | 995 | 60 | 650 | 595 | 200 | 200 | 130 ---- 100 | 22 | 432 | ГИСИ им. В.П. Чкалова | Промышленное и гражданское строительство, для бетонирования массивных конструкций (фундаментов под колонны и оборудование, ростверки, стены, подвалов, насосных станций, тоннелей и т.п.) |
ОПК-2,7 | 2700 | 995 | 60 | 650 | 595 | 200 | 200 | 130 ---- 100 | 22 | 384 |
ОПК-2,4 | 2400 | 995 | 60 | 650 | 595 | 200 | 200 | 130 ---- 100 | 22 | 336 |
ОПК-2 | 2000 | 995 | 60 | 650 | 595 | 200 | 200 | 130 ---- 100 | 22 | 288 |
ОПК-1,5 | 1500 | 995 | 60 | 650 | 595 | 200 | 200 | 130 ---- 100 | 22 | 216 |
ОПК-1,2 | 1200 | 995 | 60 | 650 | 595 | 200 | 200 | 130 ---- 100 | 22 | 168 |
Таблица 44
Схема | Тип плит | Размеры, мм | Шаг и диаметр анкерных отверстий, мы | Масса, кг | Организация-разработчик | Область применения |
длина l | ширина a | толщина с учетом ребра b | толщина без учета ребра b1 | c | c1 | c2 | c3 | D |
| ОПР-6 | 6000 | 2400 | 120 | 30 | - | 200 - 250 | 115 | 115 | 30 | 1500 | Трест Казметаллургстрой | Промышленное строительство для фундаментов под оборудование стен и т.п. |
ОПР-6А | 6000 | 1200 | 120 | 30 | 200 - 250 | 200 - 250 | 115 | 115 | 30 | 870 |
ОПР-4,2 | 4200 | 2400 | 120 | 30 | 200 - 250 | 200 - 250 | 115 | 115 | 30 | 1094 |
ОПР-4,2А | 4200 | 1200 | 120 | 30 | 200 - 250 | 200 - 250 | 115 | 115 | 30 | 635 |
ОПР-3,6 | 3600 | 2400 | 120 | 30 | 200 - 250 | 200 - 250 | 115 | 115 | 30 | 919 |
ОПР-3,6А | 3600 | 1200 | 120 | 30 | 200 - 250 | 200 - 250 | 115 | 115 | 30 | 535 |
ОПР-3,6Б | 3600 | 600 | 120 | 30 | 200 - 250 | 200 - 250 | 115 | 115 | 30 | 340 |
ОПР-3 | 3000 | 2400 | 120 | 30 | 200 - 250 | 200 - 250 | 115 | 115 | 30 | 795 |
ОПР-3А | 3000 | 1200 | 120 | 30 | 200 - 250 | 200 - 250 | 115 | 115 | 30 | 457 |
ОПР-3Б | 3000 | 600 | 120 | 30 | 200 - 250 | 200 - 250 | 115 | 115 | 30 | 288 |
ОПР-2,4 | 2400 | 2400 | 120 | 30 | 200 - 250 | 200 - 250 | 115 | 115 | 30 | 666 |
ОПР-2,4А | 2400 | 1200 | 120 | 30 | 200 - 250 | 200 - 250 | 115 | 115 | 30 | 380 |
ОПР-2,4Б | 2400 | 600 | 120 | 30 | 200 - 250 | 200 - 250 | 115 | 115 | 30 | 236 |
| ОП-6 | 6000 | 1000 (500) | 120 | 30 | 250 - 300 | 540 | 150 | 120 | 30 | 640 (340) | Приднепровский Промстройпроект | |
ОП-3 | 3000 | 1000 (500) | 120 | 30 | 250 - 300 | 540 | 150 | 120 | 30 | 320 (176) |
ОП-2,5 | 2500 | 1000 (500) | 120 | 30 | 250 - 300 | 540 | 150 | 120 | 30 | 266 (150) |
ОП-2 | 2000 | 1000 (500) | 120 | 30 | 250 - 300 | 540 | 150 | 120 | 30 | 213 (115) |
ОП-1,5 | 1500 | 1000 (500) | 120 | 30 | 250 - 300 | 540 | 150 | 120 | 30 | 160 (84) |
Таблица 45
Схема | Тип плиты | Размеры, мм | Шаг выпусков, мм | Угол  , град | Масса, кг | Организация-разработчик | Область применения |
l | a | b | b1 | b2 | c | c1 | c2 | c3 |
| ППО-1 | 6000 | 500 | 250 | 80 | 80 | 560 | 140 | 100 | 200 | 45 - 90 | 1150 | Горьковский инженерно-строительный институт им. В.П. Чкалова | Промышленное и гражданское строительство, для бетонирования колонн, столбов, пилястр, балок и т.п. |
ППО-2 | 6000 | 600 | 300 | 80 | 80 | 560 | 240 | 100 | 200 | 45 - 90 | 1300 |
ППО-3 | 6000 | 800 | 400 | 80 | 80 | 560 | 440 | 100 | 200 | 45 - 90 | 1730 |
ППО-4 | 6000 | 1000 | 500 | 80 | 80 | 560 | 640 | 100 | 200 | 45 - 90 | 2300 |
ППО-5 | 3000 | 500 | 250 | 80 | 80 | 600 | 140 | 100 | 200 | 45 - 90 | 575 |
ППО-6 | 3000 | 600 | 300 | 80 | 80 | 600 | 240 | 100 | 200 | 45 - 90 | 650 |
ППО-7 | 3000 | 800 | 400 | 80 | 80 | 600 | 440 | 100 | 200 | 45 - 90 | 865 |
ППО-8 | 3000 | 1000 | 500 | 80 | 80 | 600 | 640 | 100 | 200 | 45 - 90 | 1150 |
ППО-9 | 1000 | 500 | 250 | 80 | 80 | 600 | 140 | 100 | 200 | 45 - 90 | 190 |
ППО-10 | 1000 | 600 | 300 | 80 | 80 | 600 | 240 | 100 | 200 | 45 - 90 | 217 |
ППО-11 | 1000 | 800 | 400 | 80 | 80 | 600 | 440 | 100 | 200 | 45 - 90 | 228 |
ППО-12 | 1000 | 1000 | 500 | 80 | 80 | 600 | 640 | 100 | 200 | 45 - 90 | 380 |
| КПО-1 | 3088 | 1800 | 530 | 60 | 110 | 620 | 540 | 360 | 300 | 90 | 1440 | ТНИСГЭИ | Гидротехническое строительство, мощные балки эстакад, устои и т.п. |
Армоцементная несъемная опалубка
5.144. Армоцементная несъемная опалубка состоит из плоских или профильных плит и элементов креплений (схваток, тяжей, скруток и т.п.). Она входит в расчетное сечение конструкции и должна учитываться в расчете наравне с бетоном основного сечения (бетоном массива).
Армоцементные опалубочные плиты представляют собой плоские или профильные элементы из мелкозернистого (песчаного) бетона марки М200 - М300, армированного стальными ткаными или комбинированными сетками. При этом отношение суммарной поверхности арматуры к объему бетона, т.е. коэффициент поверхности арматуры должен быть меньше 2 (Ка < 2).
Расчет и конструирование армоцементных опалубочных плит и их крепление следует производить с учетом давления бетонной смеси при ее укладке, а также транспортно-монтажных нагрузок.
Плоские армоцементные плиты рекомендуются для устройства опалубки фундаментов под здания и технологическое оборудование, стен подвалов, тоннелей, насосных станций, опускных колодцев и т.п. Ребристые плиты следует применять для колонн, пилястр больших балок и прогонов. Основные типоразмеры армоцементных опалубочных плит приведены в табл. 46,
47.
Таблица 46
Схема | Тип плиты | Размеры, мм | Шаг выпусков и закладных деталей, мм | Масса, кг | Организация-разработчик | Область применения |
l | a | b | c | c1 | c2 ---- c3 | d | d1 | d2 | d3 |
| АПО-3,5 | 3500 | 995 | 25 - 35 | 800 | 395 | 100 ---- 150 | 100 | 700 | 100 | 595 | 210 - 295 | Трест Казметаллургстрой | Промышленное и гражданское строительство, для бетонирования массивных конструкций (фундаментов под колонны и оборудование, подпорные стенки, стены подвалов, тоннелей, опускных колодцев, насосных станций и т.п.) |
АПО-3,5А | 3500 | 500 | 25 - 35 | 800 | 300 | 100 ---- 150 | 100 | 700 | 100 | 100 | 105 - 148 |
АПО-3 | 3000 | 995 | 25 - 35 | 700 | 395 | 100 ---- 150 | 100 | 830 | 100 | 595 | 180 - 250 |
АПО-3А | 3000 | 500 | 25 - 35 | 700 | 300 | 100 ---- 150 | 100 | 830 | 100 | 100 | 90 - 125 |
АПО-2,5 | 2500 | 995 | 25 - 35 | 700 | 395 | 100 ---- 150 | 100 | 670 | 100 | 595 | 150 - 210 |
АПО-2,5А | 2500 | 500 | 25 - 35 | 700 | 300 | 100 ---- 150 | 100 | 670 | 100 | 100 | 75 - 105 |
| АПО-2 | 2000 | 995 | 25 - 35 | 600 | 395 | 100 ---- 150 | 100 | 750 | 100 | 595 | 120 - 168 | |
АПО-2А | 2000 | 500 | 25 - 35 | 600 | 300 | 100 ---- 150 | 100 | 750 | 100 | 100 | 60 - 84 |
АПО-1,5 | 1500 | 995 | 25 - 35 | 650 | 395 | 100 -----150 | 500 | 500 | 100 | 595 | 90 - 130 |
АПО-1,5А | 1500 | 500 | 25 - 35 | 650 | 300 | 100 ---- 150 | 100 | 500 | 100 | 100 | 45 - 65 |
АП-4 | 4000 | 2000 | 30 | - | - | - | 100 | 1850 | 50 | 1700 | 580 | ВО Череповецметаллургхимстрой |
АП-4А | 4000 | 1000 | 30 | - | - | - | 100 | 1850 | 50 | 700 | 290 |
АП-3 | 3000 | 1000 | 30 | - | - | - | 100 | 1350 | 50 | 700 | 220 |
АП-2 | 2000 | 1000 | 30 | - | - | - | 100 | 850 | 50 | 700 | 145 |
Схема | Тип плит | Размеры, мм | Шаг выпусков, мм | Угол  , град | Масса, кг | Организация-разработчик | Область применения |
l | a | b | b1 | c | c1 | c2 | c3 |
| АПП-1 | 4000 | 400 | 200 | 30 | 600 | 200 | 100 | 200 | 45 - 90 | 230 | Горьковский инженерно-строительный институт им. В.П. Чкалова | Промышленное и гражданское строительство (для бетонирования колонн, столбов, пилястр, балок и т.п.) |
АПП-2 | 4000 | 500 | 250 | 30 | 600 | 300 | 100 | 200 | 45 - 90 | 290 |
АПП-3 | 4000 | 600 | 300 | 30 | 600 | 400 | 100 | 200 | 45 - 90 | 345 |
АПП-4 | 4000 | 800 | 400 | 30 | 600 | 500 | 100 | 200 | 45 - 90 | 460 |
АПП-5 | 3000 | 400 | 200 | 30 | 650 | 200 | 100 | 200 | 45 - 90 | 170 |
АПП-6 | 3000 | 500 | 250 | 30 | 650 | 300 | 100 | 200 | 45 - 90 | 215 |
АПП-7 | 3000 | 600 | 300 | 30 | 650 | 400 | 100 | 200 | 45 - 90 | 260 |
АПП-8 | 3000 | 800 | 400 | 30 | 650 | 500 | 100 | 200 | 45 - 90 | 345 |
АПП-9 | 1000 | 400 | 200 | 30 | 600 | 200 | 100 | 200 | 45 - 90 | 58 |
АПП-10 | 1000 | 500 | 250 | 30 | 600 | 300 | 100 | 200 | 45 - 90 | 72 |
АПП-11 | 1000 | 600 | 300 | 30 | 600 | 400 | 100 | 200 | 45 - 90 | 86 |
АПП-12 | 1000 | 800 | 400 | 30 | 600 | 500 | 100 | 200 | 45 - 90 | 115 |
Сетчатая опалубка
5.145. Для бетонирования конструкций и сооружений, к боковым поверхностям которых не предъявляются высокие требования в части их гладкости, применяют сетчатую опалубку. Ее используют для бетонирования стен опускных колодцев, тоннелей, подвалов, а также фундаментов под технологическое оборудование и колонны зданий.
Сетчатая опалубка может быть несъемной и съемной. Несъемную опалубку
(рис. 88) выполняют из стальной тканой сетки с мелкими ячейками 5 x 5 или 8 x 8 мм. Сетку, сшитую из отдельных полотнищ, крепят к армокаркасу с помощью скруток и вертикальных стержней диаметром 20 - 22 мм. Для уменьшения утечки цементного молока в сетчатую опалубку укладывают смеси с осадкой конуса 1 - 4 см. В процессе виброуплотнения цементное молоко заполняет ячейки сетки, которая оказывается полностью в бетоне. При распалубке снимают только вертикальные крепежные стержни, сетка же остается в бетоне.
Рис. 88. Сетчатая опалубка несъемная
1 - сетка; 2 - армокаркас; 3 - прижимной стержень;
4 - скрутка; 5 - деревянная опалубка; 6 - кружальная доска;
7 - прогон; 8 - подкос; 9 - стойка
Съемную сетчатую опалубку
(рис. 89) выполняют из сетки с ячейками 10 x 10 или 12 x 12 мм и диаметром проволок 0,8 - 1,2 мм. Для исключения утечки цементного молока перед сеткой со стороны бетона прокладывают слой толя или рубероида, прижимая его к сетке арматурными стержнями на скрутках из вязальной проволоки. Отдельные полотнища сетки между собой сшивают вязальной проволокой. Крепят сетчатую опалубку с помощью вертикальных стержней диаметром 22 x 25 мм, которые соединяют с армокаркасными коротышами на сварке. Давление бетонной смеси при ее укладке и виброуплотнении воспринимается сетчатой опалубкой и наружными вертикальными стержнями и через коротыши передается элементам армокаркаса. При распалубке автогеном срезают наружную часть коротышей, снимают вертикальные стержни и сетку и используют их повторно.
Рис. 89. Съемная сетчатая опалубка
1 - армокаркас; 2 - коротыш; 3 - арматурный стержень;
4 - слой толя; 5 - сетка; 6 - прижимной стержень;
7 - скрутка
Сетчатая опалубка в отдельных случаях экономичнее инвентарной. Ее используют также там, где съем опалубки затруднен, например в рабочих и температурных швах, узких каналах, колодцах и штрабах под анкерные болты, в стаканах под колонны и т.п.
Технико-экономическая эффективность несъемной опалубки
5.146. Применение несъемной опалубки является одним из путей индустриализации возведения монолитных конструкций и сооружений. При этом снижаются трудозатраты и стоимость опалубочных работ, а также улучшается качество монолитного строительства. Основными предпосылками для этого являются:
замена дефицитных и дорогих материалов (стали, дерева);
увеличение опалубливаемой площади железобетонных и армоцементных плит по сравнению со щитами мелкощитовой опалубки;
механизация монтажа плит несъемной опалубки;
простота крепления плит опалубки-облицовки;
исключение трудозатрат на распалубку;
снижение затрат на доводку поверхностей монолитных железобетонных конструкций;
снижение затрат на устройство склеечной гидроизоляции (при устройстве стен подземных сооружений).
Технико-экономические показатели различных опалубок в расчете на 1 м2 приведены в табл. 48.
Таблица 48
Вид конструкций, показатели | Единица измерения | Опалубка | Организация-разработчик |
деревянная щитовая | железобетонная (армоцем.) |
Массивные фундаменты под оборудование | | | | ГПИ Приднепровский Промстройпроект |
стоимость | руб. | 7-88 | 6-46 |
трудозатраты | чел.-ч | 2,42 | 2,12 |
Фундаменты под колонны промзданий | | | | |
стоимость | руб. | 3-43 | 2-06 | ГИСИ им. В.П. Чкалова |
трудозатраты | чел.-ч | 0,80 | 0,43 |
Фундаменты под колонны промзданий и оборудование | | | | Трест N 39 Главзапстроя Минстроя СССР |
стоимость изготовления армоцементных плит толщиной 25 мм | руб. | - | 1,73 |
то же, толщиной 30 мм | руб. | - | 2,15 |
трудоемкость изготовления армоцементных плит толщиной 25 мм | чел.-ч | - | 0,278 |
то же, толщиной 30 мм | чел.-ч | - | 0,333 |
Несъемная стеклоцементная опалубка
5.147. Опалубка состоит из тонкостенных стеклоцементных плит и инвентарных, поддерживающих элементов. В зависимости от назначения несъемная стеклоцементная опалубка подразделяется на опалубку-гидроизоляцию и опалубку-облицовку.
Опалубка-гидроизоляция используется для возведения сооружений нулевого цикла, в том числе эксплуатируемых в агрессивных средах.
Опалубка-облицовка может иметь рельефную или гладкую лицевую фактуру и применяется для декоративной облицовки фасадов и интерьеров жилых и общественных зданий. В зависимости от применяемого цемента и красителей опалубка-облицовка имеет различную цветовую окраску.
5.148. Рациональная область применения несъемной стеклоцементной опалубки: фундаменты сложной конфигурации под машины и технологическое оборудование; массивные подземные сооружения с большими опалубливаемыми поверхностями; ленточные фундаменты; фасады и интерьеры жилых и общественных зданий.
5.149. Толщина стеклоцементных опалубочных плит 12 - 20 мм. Основной размер 210 x 210 см. При необходимости плита разрезается на любой требуемый размер в зависимости от бетонируемой конструкции. Модуль изменения размеров рекомендуется принимать 300 мм и конфигурацию плиты приближать к квадрату.
В особых случаях допускается применение непрямолинейных плит различного типоразмера и очертания. Это предусматривается проектом опалубки с учетом транспортабельности и способов монтажа.
5.150. Допускаемые отклонения от проектных размеров плит не должны превышать:
при длине или ширине плит до 1 м ..... +/- 3 мм
до 2 м ..... +/- 5 мм
более 2 м ..... +/- 6 мм
разность длин диагоналей ..... не более 5 мм
непрямолинейность профиля
лицевых плоских поверхностей
и боковых граней при длине до 1 м ..... +/- 2 мм
то же более 1 м ..... +/- 3 мм
5.151. Физико-механические свойства опалубочных плит должны соответствовать данным, приведенным в табл. 49.
Таблица 49
Показатели | Единица измерения | Физико-механические свойства опалубочных плит |
после 3-суточного твердения | после 7-суточного твердения или пропаривания (отпускная прочность) | после 28-суточного твердения |
Объемная масса | кг/м3 | - | - | 1700 - 1750 |
Предел прочности при изгибе | кгс/см2 | 70 | 100 | 120 |
Морозостойкость | цикл | - | - | Не менее Мрз 75 |
Водопоглощение | % | - | - | Не более В8 |
Марка водонепроницаемости | ати | - | - | Не менее В 4 |
| | ИС МЕГАНОРМ: примечание. Постановлением Госстроя СССР от 08.09.1988 N 185 с 01.07.1989 введен в действие ГОСТ 8747-88. | |
Примечания: 1. Объемная масса и предел прочности при изгибе определяются по ГОСТ 8747-73* "Изделия асбестоцементные. Методы испытаний".
| | ИС МЕГАНОРМ: примечание. Взамен ГОСТ 7025-78 Постановлением Госстроя СССР от 12.02.1991 N 5 с 01.07.1991 введен в действие ГОСТ 7025-91. | |
2. Водопоглощение и морозостойкость испытываются по ГОСТ 7025-78 "Материалы стеновые и облицовочные. Методы определения водопоглощения и морозостойкости".
3 Марка водонепроницаемости определяется по ГОСТ 19426-74 "Бетоны. Метод определения коэффициента фильтрации воды".
5.152. Ввиду повышенной плотности стеклоцементной опалубки и низкого значения коэффициента фильтрации область ее применения приравнивается к бетону особой плотности (СНиП II-28-73 "Защита строительных конструкций от коррозии" (
табл. 3а, 3б, 3в)
.
5.153. Стеклоцементная опалубка-гидроизоляция должна надежно защищать монолитный бетон от агрессивных грунтовых вод с концентрацией солей, не превышающей величин, приведенных в табл. 50.
Таблица 50
Вид коррозии | Показатель агрессивности среды | Нормируемая величина |
I | Бикарбонатная щелочность, (мг·экв)/л или град | Не нормируется |
II | Водородный показатель, pH | Более 4 |
Содержание магнезиальных солей, г/л | 3000 - 4000 |
Содержание едких щелочей, г/л | 151 - 170 |
III | Содержание сульфатов в пересчете на ионы SO4, мг/л: | |
для плит, изготовленных на портландцементе и шлакопортландцементе | 5000 |
на сульфатостойком цементе | 9000 |
В случае повышения концентрации солей агрессивной воды-среды применение стеклоцементной опалубки допускается с антикоррозионным покрытием в соответствии с требованиями главы СНиП II-28-73,
табл. 16.
Фибробетонная несъемная опалубка
5.154. Фибробетонная несъемная опалубка применяется для фундаментов технологического оборудования и колонн, стен подвалов, перегородок, тоннелей, опускных колодцев, подпорных стен и т.п.
5.155. Фибробетонная несъемная опалубка включает плоские или профильные плиты, с размерами, кратными модулю 300 мм, и элементы креплений.
5.156. Плиты опалубки входят в расчетное сечение конструкции и учитываются в расчете наравне с бетоном основного сечения (бетоном массива).
Примечание. При отсутствии прочного соединения опалубочных плит между собой и с монолитным бетоном вводить их в расчетное сечение не рекомендуется.
5.157. Расчет и конструирование опалубочных плит и их крепление следует производить с учетом давления бетонной смеси при ее укладке, а также транспортно-монтажных и ветровых нагрузок. Зависимость толщины фибробетонных плит от действующего момента приведена на графике
рис. 90, а несущей способности профильных плит от высоты ребер - на
рис. 91.
Рис. 90. График зависимости толщины
фибробетонных плоских листов от действующего момента
Рис. 91. График зависимости несущей способности
П-образных плит от высоты ребер
5.158. Расчет и конструирование поддерживающих креплений следует производить на давление бетонной смеси, собственную массу опалубки и ветровые нагрузки.
5.159. Фибробетонные опалубочные плиты представляют собой плоские или профильные (П-образные) листы, выполненные из бетона марок М300 - М400. Изготовление профильных плит рекомендуется производить методом гнутья.
5.160. Сцепление плоских листов с бетоном массива следует обеспечивать анкерными выпусками, а профильных плит - за счет втапливания полок в тело монолитного бетона и в случае необходимости дополнительно анкерными выпусками.
5.161. Соединение опалубочных листов друг с другом рекомендуется производить сваркой закладных деталей.
5.162. Основные типоразмеры фибробетонных опалубочных элементов приведены в табл. 51 и
52, примеры опалубки стен - на
рис. 92,
93.
Таблица 51
Схема | Тип плиты | Размеры, мм | Масса, кг | Организация-разработчик | Область применения |
l | a | b | b1 |
| ФПП-1 | 1200 | | | 20 - 30 | 48 - 108 | ЦНИИпромзданий Госстроя СССР | Для бетонирования массивных конструкций (фундаментов - под колонны и оборудование, подпорные стены, стены подвалов, перегородки и т.п., а также колонны, стойки, пилястры и т.п.) |
ФПП-2 | 1800 | | 72 - 162 |
ФПП-3 | 2400 | | 96 - 216 |
ФПП-4 | 3000 | 100, | 120 - 270 |
ФПП-5 | 3600 | 600 | 150, | 144 - 324 |
ФПП-6 | 4200 | | 300 | 168 - 378 |
ФПП-7 | 4800 | | 192 - 432 |
ФПП-8 | 5400 | | 216 - 486 |
ФПП-9 | 6000 | | 240 - 540 |
ФПП-10 | 1200 | | | 72 - 135 |
ФПП-11 | 1800 | | 108 - 202 |
ФПП-12 | 2400 | | 144 - 270 |
ФПП-13 | 3000 | | 180 - 338 |
ФПП-14 | 3600 | 900 | 150 | 216 - 404 |
ФПП-15 | 4200 | | 300 | 252 - 482 |
ФПП-16 | 4800 | | 288 - 540 |
ФПП-17 | 5400 | | 324 - 596 |
ФПП-18 | 6000 | | 360 - 675 |
Примечание. Выпуски устанавливают в конкретном проекте при необходимости дополнительного сцепления с бетоном. |
Схема | Тип плиты | Размеры, мм | Масса, кг | Организация-разработчик | Область применения |
l | a | b |
| ФПО-1 | 600 | 600 | 20 - 30 | 18 - 27 | ЦНИИпромзданий Госстроя СССР | Для бетонирования массивных конструкций (фундаменты под колонны и оборудование, подпорные стены, стены подвалов, перегородок и т.п.) |
ФПО-2 | 900 | 600 | 27 - 40 |
ФПО-3 | 1200 | 600 | 36 - 54 |
ФПО-4 | 1200 | 900 | 54 - 81 |
ФПО-5 | 1500 | 900 | 67 - 101 |
ФПО-6 | 1800 | 900 | 91 - 121 |
ФПО-7 | 2400 | 900 | 108 - 162 |
ФПО-8 | 3000 | 900 | 146 - 219 |
ФПО-9 | 1200 | 1200 | 72 - 108 |
ФПО-10 | 1500 | 1200 | 90 - 135 |
ФПО-11 | 1800 | 1200 | 108 - 162 |
ФПО-12 | 2400 | 1200 | 144 - 216 |
ФПО-13 | 3000 | 1200 | 180 - 270 |
ФПО-14 | 1500 | 1500 | 112 - 169 |
ФПО-15 | 1800 | 1500 | 135 - 203 |
ФПО-16 | 2400 | 1500 | 180 - 270 |
ФПО-17 | 3000 | 1500 | 224 - 337 |
ФПО-18 | 1800 | 1800 | 162 - 243 |
ФПО-19 | 2400 | 1800 | 216 - 324 |
ФПО-20 | 3000 | 1800 | 270 - 405 |
Примечание. Закладные детали устанавливают в конкретном проекте в зависимости от способа крепления. |
Рис. 92. Армоопалубочный блок для армирования стен
с использованием профильных опалубочных плит
1 - опалубочные плиты; 2 - армокаркас; 3 - плоские
сетки армокаркаса; 4 - связные стержни армокаркаса
Рис. 93. Пример установки профильных фибробетонных плит
1 - опалубочные плиты; 2 - раскрепляющие элементы
КОНСТРУКЦИИ ГРЕЮЩЕЙ ОПАЛУБКИ И ГРЕЮЩИХ ЭЛЕКТРОПОКРЫТИЙ
Общие требования
5.163. В качестве греющей может быть применена любая конструкция опалубки: разборно-переставная, блочная, несъемная, катучая, крупнощитовая, объемно-переставная, скользящая и др.
5.164. Конструкция греющей опалубки должна обеспечивать:
равномерное температурное поле на поверхности, температурные перепады на палубе щита не должны превышать +/- 5 °C;
быструю замену нагревательных элементов в случае выхода их из строя в процессе эксплуатации;
надежный контроль и регулирование режимов прогрева;
стабильность коэффициента теплопередачи утеплителя;
безопасность работ.
5.165. Греющая опалубка должна быть оснащена средствами инвентарной разводки и устройствами автоматического контроля и регулирования режимов обогрева.
5.166. Для подвода электропитания к нагревателям греющие щиты должны быть оснащены быстроразъемными вилочными соединениями.
5.167. Греющая опалубка должна поставляться комплектно: с электронагревательными элементами, электрической схемой соединения, коммутирующей электроразводкой и системами контроля и регулирования, щитами, защищенными теплоизоляцией.
Утепление опалубки
5.168. Утеплитель должен быть огнеупорным, негигроскопичным, иметь невысокую удельную массу, достаточную механическую устойчивость и низкий стабильный коэффициент теплопроводности.
5.169. Конструкция утеплителя должна обеспечивать теплоизоляцию промежуточных ребер жесткости опалубочных щитов и надлежащую герметизацию монтажных отверстий и щелей от продувания.
5.170. При использовании утеплителей с невысокой механической прочностью и высокой гигроскопичностью (такие, как шлако- и стекловата) они должны быть защищены как от увлажнения, так и от механических нагрузок, приводящих к спрессовыванию и потере теплоизоляционных свойств. В качестве защиты применяются металлические, фанерные, оргалитовые и пластмассовые листы с герметизацией по периметру с помощью резиновых или других мягких прокладок.
5.171. Так как теплоизоляционные свойства утеплителя в значительной степени зависят от влажности после длительного хранения, целесообразен обогрев опалубки до бетонирования.
5.172. Значительное влияние на теплопотери опалубки оказывает скорость ветра. Увеличение коэффициента теплопередачи щита при скорости 3, 9 и 15 м/с составляет соответственно около 30, 65 и 100%. Поэтому при значительном ветре или неравномерном обдувании опалубки целесообразно дополнительное укрытие форм воздухонепроницаемыми оболочками. При укрытии брезентом коэффициент теплопередачи возрастает при тех же условиях на 10 - 25% при скорости ветра от 3 до 15 м/с.
5.173. Достаточно эффективно использование воздушных прослоек для утепления опалубки. Для уменьшения влияния конвенции в полости щита должны устраиваться перегородки или соты размерами, меньшими 300 мм. Сотовые утеплители
(рис. 94) обладают достаточно стабильным коэффициентом теплопередачи, в меньшей степени зависящим от увлажнения и механических повреждений. Для исключения передачи тепла теплоизлучением в этом случае необходимо устанавливать отражательные экраны, которые выполняются из материалов с высокой отражательной способностью (алюминиевого листа, фольги и т.д.) или низкой степенью черноты

.
Рис. 94. Сотовые утеплители
а - деревянная палуба; б - сотопласты;
в - установка утеплителя в опалубке
1 - экран; 2 - деревянные рейки; 3 - защитная крышка;
4 - сотовый каркас; 5 - палуба; 6 - фиксатор положения;
7 - нагреватели; 8 - герметизация
Из-за высокой поглощательной способности теплоизоляционных материалов установка отражательных экранов между нагревателем и утеплителем во всех случаях повышает теплофизические характеристики опалубки. Степень черноты

некоторых материалов приведена в табл. 53.
Таблица 53
Характеристика | Материал | Степень черноты  |
Отражающие материалы | Алюминий полированный | 0,039 - 0,057 |
" шероховатый | 0,055 |
" окисленный | 0,11 - 0,19 |
Цинк полированный | 0,045 - 0,053 |
" окисленный | 0,11 |
Поглощающие материалы | Асбестовый картон | 0,96 |
Асбестовая бумага | 0,93 - 0,95 |
Сталь | 0,6 - 0,8 |
5.174. Эффективно применение в качестве сотового утеплителя пенопластов марок ФФ и ФК, пенополиуретана, пенополистирола марок ПС-Б, ПС-1, ПС-4, пенополивинилхлорида марки ПХВ, а также сотопластов из крафт-бумаги или стекловолокна, пропитанных фенолформальдегидами полимерами. Теплопроводность сотопластов не превышает 0,05 Вт/(м·°C).
Нагреватели опалубки
5.175. В греющей опалубке должны применяться, как правило, стандартные и серийно изготовляемые нагревательные элементы закрытого типа. Применение нестандартных электрических нагревателей допускается в исключительных случаях при обязательной проверке стабильности их характеристик и сопротивления изоляции. Сопротивление изоляции нестандартных нагревателей и коммутирующей разводки должно быть не менее 0,5 МОм.
5.176. В качестве электрических нагревателей могут быть использованы греющие кабели марок КНМС по ТУ 16-505.564-74, трубчатые электронагреватели (ТЭНы), нагревательные провода марок ПОСХВ, ПОСХП, ПОСХВТ по ТУ 16-506.524-73, графитовые шнуры и ткани и другие, отвечающие следующим требованиям:
срок службы при полной нагрузке при температуре на 15% выше установленной для данной конструкции опалубки должен составлять не менее 1000 ч;
срок работы при расчетной температуре и периодическом отключении (не менее 10 раз по 1 - 2 мин в течение часа) должен составлять не менее 1000 ч;
сопротивление изоляции не менее 0,5 МОм.
Характеристики некоторых нагревателей приведены в табл. 54.
Таблица 54
Марка провода | Материал токопроводящей жилы | Материал изоляции | Наружный диаметр, мм | Максимальная температура, °C |
ПОСХВ | Стальная оцинкованная проволока | Поливинилхлоридный пластикат | 2,9 | 70 |
ПОСХВТ | То же | 2,3 | 105 |
ПОСХП | Полиэтилен | 3,4 | 70 |
При мягких режимах обогрева и небольших удельных электрических мощностях целесообразно применение кабелей. При высоких скоростях подъема температуры и высокой удельной мощности целесообразно применение нагревателей, способных давать высокие температуры нагрева, в том числе ТЭНов.
5.177. Для мелкощитовой разборно-переставной опалубки целесообразно применение гибких нагревателей с небольшой массой типа кабелей КНМС и греющих проводов. Греющие провода могут быть использованы при невысоких температурах и мягких режимах обогрева бетона в конструкциях опалубки с высокой теплоотдачей. Греющие провода не должны, как правило, работать в воздушной среде с передачей тепла излучением и должны плотно прилегать к палубе щита. Греющие провода могут использоваться в опалубке с деревянной, фанерной и пластмассовой палубой.
В конструкциях крупноразмерных переставных опалубок (крупнощитовая, объемно-переставная и др.) целесообразно использование высокотемпературных нагревателей типа ТЭНов. Графитовые ткани, шнуры и ленты целесообразно использовать для изготовления греющих электропокрытий (например, конструкции ЦНИИОМТП).
Проволока с высоким омическим сопротивлением (нихромовая и др.) может быть применена для изготовления нестандартных нагревателей, плоских и гибких, с достаточно надежной запрессовкой в электроизоляционном слое.
5.178. Надежным изолятором для изготовления плоских низкотемпературных нагревательных элементов (разработка ЦНИИОМТП) являются пленки, получаемые путем пропитки основы (бумага, стеклоткань и др.) фенолформальдегидными смолами. Склеивание пленок и запрессовка проволоки производится на прессах с подогревом плит. Для получения механически прочных нагревателей может использоваться фанера, на которой закрепляются токопроводящие проволоки и поверх их запрессовывается пленка. Давление прессования 1,4 - 1,8 МПа, температура прессования 130 - 150 °C. (Нагреватели могут запрессовываться также непосредственно на палубу щита с наружной стороны.)
Конструктивные решения опалубки
5.179. Для всех типов опалубки для мягких режимов обогрева и невысоких температур целесообразно применение фанерной палубы с запрессованными нагревателями. Кроме хорошей электрической изоляции покрытия позволяют значительно увеличить срок службы фанерной палубы, снизить адгезию к бетону и получить высококачественные поверхности сразу после распалубки. Схема фанерной палубы с покрытием показана на
рис. 95,
96, количество слоев пленки приведено в
табл. 55.
Рис. 95. Схема фанерной палубы с запрессовкой нагревателей
в синтетическом покрытии на фанерной палубе
а - пленками с бумажной основой; б - пленками
с бумажной и стеклотканевой основой
1 - нагреватель; 2 - пленка 10 слоев; 3 - пленка 5 слоев;
4 - фанера; 5 - пленка с бумажной основой 3 слоя;
6 - пленка со стеклотканевой основой 1 слой; 7 - пленка
с бумажной основой 3 слоя; 8, 10 - пленка со стеклотканевой
основой 2 слоя; 9 - пленка с бумажной основой
Рис. 96. Схема соединения проволоки с клеммой
1 - изолятор; 2 - нагреватель; 3 - синтетическое покрытие;
4 - клеммы; 5 - фанера
Диаметр проволоки, мм | Толщина покрытия, мм | Количество слоев пленки с основной |
бумажной | стеклотканевой с бумажной |
0,2 | 0,7 | 6 | 2 + 4 |
0,25 | 0,9 | 8 | 2 + 4 |
0,3 | 1 | 10 | 3 + 5 |
0,4 | 1,3 | 15 | 4 + 6 |
0,5 | 1,5 | 17 | 4 + 7 |
При небольшом объеме изготовления опалубки пленки можно получать как полуфабрикаты на заводах электротехнических изделий, производящих гетинакс, текстолит, стеклотекстолит и др. При значительных объемах пленки изготовляются на пропиточных установках при пропитывании основы смолами в ванне с последующей протяжкой ее через сушильные отсеки.
В качестве основы применимы полубеленная бумага из сульфитной целлюлозы марок ЭИП-50, ЭИП-63, ЭИП-75 или марок ИПСИ-60, ИПСТ-72, неотбеленная сульфитная крафт-бумага, стеклоткани с термостойкостью волокна не менее 250 °C.
Для пропитки основы применяются жидкие бакелитовые смолы типа ОК, ОФДК, ОФ, спиртовые лаки ИФ, ИК, эпоксидно-фенольные лаки ИФ/ЭП и др.
Режимы прессования пленок приведены в табл. 56.
Таблица 56
Толщина фанеры, мм | Давление, МПа | Температура прессования, °C | Продолжительность прессования, мин | Толщина фанеры, мм | Давление, МПа | Температура прессования, °C | Продолжительность прессования, мин |
10 | 1,4 - 1,8 | 130 | 12 | 18 | 1,4 | 130 | 21 |
140 | 6 | 140 | 12 |
150 | 5 | 150 | 6 |
5.180. При использовании разборно-переставной опалубки для обогрева достаточно массивных монолитных конструкций с мягкими режимами обогрева и быстрым отбором тепла в бетон нагреватели могут устанавливаться вплотную к палубе щита (рис. 97). Нагреватели крепят проволочными или жестяными кляммерами, хомутами, шпильками с резьбой и др.
Рис. 97. Схема установки нагревателей
а - типа ТЭНов с зазором к палубе; б - типа греющего кабеля
вплотную к металлической палубе; в - то же, к деревянной;
1 - ТЭН; 2 - скоба; 3 - обойма; 4 - металлическая палуба;
5 - греющий кабель; 6 - пластина; 7 - деревянная палуба;
8 - стальная скобка
| | ИС МЕГАНОРМ: примечание. В официальном тексте документа, видимо, допущена опечатка: имеется в виду пункт 5.181, а не 5.81. | |
5.81. Схема щита разборно-переставной опалубки с использованием кабеля КНМС показана на рис. 98. Для предотвращения замыкания токопроводящей жилы кабеля соединение обрезков кабеля должно производиться с надежным фиксированием концов кабеля и токопроводящей жилы от смещения.
Рис. 98. Щит разборно-переставной опалубки
с использованием кабеля КНМС
1 - каркас щита; 2 - нагреватель; 3 - скоба; 4 - утеплитель;
5 - защитный кожух; 6 - крепление кожуха; 7 - клемма
для подключения; 8 - вырез для соединения щитов
Подвод электроэнергии к щиту осуществляется с помощью серийных вилочных или штепсельных разъемов. Подключение щитов можно осуществлять также с применением специального клеммника конструкции ЦНИИОМТП (рис. 99).
Рис. 99. Клеммник конструкции ЦНИИОМТП
1 - плато; 2 - скоба для крепления; 3 - вводы для соединения
греющего кабеля; 4 - то же для соединения подводки;
5 - отверстия для фиксирования болтами;
6 - подсоединения подводки
Использование таких клеммников исключает поломки и деформации токопроводящих жил кабеля и замыкание на массу.
Для предотвращения замыкания жил кабеля (при разрезке кабеля) концы кабеля КНМС целесообразно заливать в торец с подогревом следующими эмалями: а) свинцовый глет 70%, борная кислота 27%, перекись водорода 3%; б) свинцовый сурик 60,4%, борная кислота 19,6%, перекись марганца 10,5%, кварц (порошок) 9,5%.
В крупноразмерных переставных опалубках, таких, как крупнощитовая, объемно-переставная, блочная, применяемых в том числе для обогрева тонкостенных монолитных конструкций жилых и гражданских зданий с подъемом температуры до 70 - 80 °C за 4 - 5 ч целесообразно использование высокотемпературных нагревателей. Для получения равномерного температурного поля нагреватели могут устанавливаться с зазором по отношению к палубе.
Для получения зазора нагреватель помещается в мягкую обойму.
При скоростях подъема температуры порядка 7 град/ч нагреватели устанавливаются на расстоянии 3 - 5 мм, при скорости 16 град/ч и выше для получения равномерного температурного поля необходимо применение отражательных экранов. Экраны устанавливаются на расстоянии 70 - 100 мм, но не менее 50 - 60 мм от поверхности нагревателя. Для исключения влияния ветра греющая полость должна быть герметизирована по периметру.
Длину нагревателей конечных размеров типа ТЭНов целесообразно выбирать равной ширине или высоте щитов. Для их установки в ребрах щита прорезаются отверстия и они монтируются с помощью электроизоляционных шайб.
Для снижения веса и стоимости электрооборудования желательно применение нагревателей большой мощности и сокращение тем самым их количества.
Для равномерного обогрева опалубки высокомощными нагревателями (в том числе в труднодоступных для установки нагревателей местах) необходимо применение двойных и фигурных экранов с многократным отражением лучистой энергии, а также опалубки с разными полями поглощения, так чтобы участки опалубки, наиболее удаленные от нагревателей, были более зачернены (имели большую поглощательную способность) и нагревались столь же равномерно, как и участки, расположенные под нагревателями.
При достаточно большом тепловом потоке теплопередачи (расположена на минимальном расстоянии от нагревателей) отдельные участки должны в наибольшей степени исключаться от тепловосприятия излучения окраской в светлые тона.
Степень черноты для регулирования потока излучения назначается пропорциональной квадрату расстояния между нагревателем и воспринимающей поверхностью опалубки и обратно пропорциональна произведению синусов углов между направлением луча и нормалью к излучательной и рабочей поверхности.
Для уменьшения теплопотерь и создания равномерного температурного поля ребра щитов должны быть теплоизолированы, при больших оттоках тепла на них дополнительно (вплотную к ним) устанавливаются низкомощные нагреватели.
Для компенсации потерь тепла в нижележащие этажи при обогреве стен жилых и гражданских зданий и снижения температурных перепадов по высоте стен в нижней части щитов мощность нагревателей должна быть увеличена путем установки дополнительных или более мощных нагревателей:
Для контроля и регулирования температуры обогрева бетона в опалубочные щиты устанавливаются датчики температуры. Датчики программного электронного регулятора температуры, которые одновременно являются показывающими датчиками температуры, устанавливаются в средней части щитов. Кроме того, на каждый щит могут устанавливаться биметаллические выключатели, которые отключают щит при температуре, превышающей температуру изотермического прогрева бетона.
Датчики устанавливаются без второго защитного кожуха вплотную к палубе щита: Поверхность датчика, не соприкасающаяся с палубой, защищается от прямого излучения, для чего датчик помещается в полуобойму, состоящую из теплоизолятора, алюминиевой отражательной фольги и защитного кожуха.
Система электропитания и контроль за режимом обогрева
5.182. Необходимая электрическая мощность для питания термоактивной опалубки определяется как средняя суммарная мощность нагревателей опалубки, находящейся ежедневно под нагрузкой с понижающим коэффициентом 0,85, учитывающим отключение отдельных групп термоактивных щитов по достижении расчетных температур.
5.183. Для подсоединения к трансформаторным подстанциям термоактивной опалубки устанавливаются переносные распределительные шкафы на напряжение 380/220, 220/127 В.
Электропитание термоактивной разборно-переставной опалубки, как правило, осуществляется при напряжении 49 - 121 В. Поэтому при необходимости в цепи между распределительным шкафом и опалубкой устанавливаются понижающие трансформаторы и инвентарные распределительные устройства.
5.184. Для коммутации щитов термоактивной опалубки блок-форм используются инвентарные разводки, состоящие из подводящего кабеля, клеммной коробки и проводов с вилочными разъемами. Такая разводка хранится в специальном шкафу-контейнере. Разработаны унифицированные разводки, рассчитанные на подключение мощностей 10, 15, 25 и 50 кВт с клеммными коробками на 6, 12 и 24 ответвления.
5.185. Автоматический контроль и регулирование температурных режимов обогрева бетона термоактивной опалубки может осуществляться по схеме, приведенной на рис. 100. Собранная по схеме аппаратура управления компактна по размерам, что позволяет разместить ее в инвентарных шкафах, оборудованных кабельным отсеком.
Рис. 100. Схема автоматического контроля и регулирования
температурных режимов обогрева бетона греющей опалубкой
5.186. Комплекты термоактивной опалубки различной конструкции суммарной площадью 250 и 400 м2 могут обслуживаться специальными передвижными силовыми установками модели УКТО-2 и УКТО-1, разработанными ЦНИИОМТП. Установки имеют мощность 63 и 126 кВА и обеспечивают автоматический контроль и регулирование температурных режимов обогрева бетона. Установки выполнены в виде фургонов сварной конструкции, установленных на полозьях размерами 5,77 x 2,5 x 3,5 и 3,05 x 2,0 x 1,9 м, массой 3,5 и 5,7 т соответственно.
5.187. Для коммутации и автоматического регулирования крупноразмерных переставных опалубок (крупнощитовой, объемно-переставной) для обогрева монолитных конструкций жилых и гражданских зданий разработаны специальные посты и установки автоматического контроля. Каждый из щитов секций объемно-переставной опалубки имеет индивидуальную защиту от перегрузок и приборы, выдерживающие заданный температурный режим.
В связи с разными условиями обогрева бетона стен и перекрытий (при одновременном их обогреве) предусмотрено независимое подключение горизонтальных и боковых щитов с автономным, независимым температурным контролем и регулированием.
Установка подключения и автоматического контроля имеет длину 2,2 м, ширину 0,835 и высоту 1,83 м. Масса 750 кг.
Установка помещена на поворотные катки и может перемещаться по перекрытию, перестановка на другой этаж или захватка производится краном.
Инвентарные гибкие электрические покрытия
5.188. Гибкие покрытия (ГП) предназначены для обогрева в зимнее время открытых горизонтальных, вертикальных и наклонных поверхностей монолитных бетонных и железобетонных конструкций и сооружений, грунтовых, каменных и искусственных оснований и т.п., в том числе через опалубку.
5.189. Различные типы греющих гибких покрытий (ГП) и область их применения приведены в табл. 57.
Таблица 57
Разновидность ГП | Область применения |
Типа "покрывала" | Для прогрева свежеуложенного бетона дорожных и аэродромных покрытий, бетонных оснований под полы, межэтажных монолитных перекрытий промышленных и гражданских зданий, горизонтальных поверхностей фундаментов, вертикальных плоских и криволинейных поверхностей стен в комплекте со скользящей опалубкой и бетонными конструкциями сложной конфигурации |
Полосовые | Для прогрева межконструкционных замоноличенных швов промышленных и гражданских зданий; для устранения мостиков холода в стыках жесткой греющей опалубки, для бетоноводов |
Термовкладыши | Как греющие элементы в металлической опалубке |
Полужесткие опалубки | Предназначены для омоноличивания и прогрева стыков колонн и сборных элементов несущего каркаса промышленных и гражданских зданий |
5.190. ГП представляет собой легкое, гибкое, гидроизолированное нагревательное устройство, предназначенное для периферийного радиационно-конвективного или контактного обогрева бетонных и железобетонных конструкций с открытыми горизонтальными и вертикальными поверхностями при температуре наружного воздуха до минус 40 °C. Максимальная температура обогрева должна быть не более 90 °C.
5.191. Нагреватель ГП состоит из одного или нескольких параллельно соединенных секций греющих проводов, полос углеграфитовой ткани или металлической сетки, соединенных между собой последовательно или параллельно.
5.192. Греющие покрытия должны: обладать заданной расчетной мощностью, не менее 100-кратной оборачиваемостью и длительностью работы не менее 1 тыс. ч; обеспечивать равномерный обогрев при температуре не выше заданной по всей площади контакта с поверхностью бетона; не допускать перегрева нагревателя при эксплуатации по температуре быстрого окисления (сетчатые нагреватели), размягчения электроизоляции и температуры девулканизации резины, что достигается соответствием между поверхностной удельной мощностью нагревателя и мощностью рассеивания тепла при данной конструкции опалубки (материал опалубки, изоляция нагревателя, утеплитель), объемом и модулем поверхности прогреваемой конструкции, а также наружной температуры; обладать электробезопасностью при эксплуатации.
5.193. Электропитание ГП рекомендуется производить от сети с напряжением равным 36 - 90 В через понижающие трансформаторы.
Для подвода к нагревателям электроэнергии ГП должны оснащаться кабельным выводом со штепсельным разъемом, рассчитанным на максимальную величину тока электронагревателей. Коммутационные соединения электронагревателей ГП должны иметь надежный контакт, быть прочными и иметь минимальное омическое сопротивление.
5.194. Электрическое сопротивление изоляции электронагревателей в покрытии должно быть не менее 2 мОм в нормальных условиях.
5.195. Для защиты от перегрева каждый комплект ГП, рассчитанный на подключение к одному понижающему трансформатору, должен иметь один-два ГП с установленными в них датчиками температуры.
5.196. Морозостойкость материалов, из которых изготовлены ГП, должна быть не менее 100 циклов оттаивания - замораживания при минус 20 °C.
5.197. Термическое сопротивление теплоизоляции должно быть не менее 0,75 м2·К/Вт.
5.198. Конструкция с греющим проводом типа ПОСХП, разработанная институтом Красноярский Промстройниипроект, представлена на
рис. 101. Конструкция греющей опалубки с термоактивными вкладышами различного типа представлена на
рис. 102 и
103.
Рис. 101. Конструкция ГП с греющим проводом ПОСХП
1 - резина; 2 - греющий провод; 3 - утеплитель;
4 - алюминиевая фольга; 5 - прорезиненная ткань;
6 - монтажные отверстия; 7 - коммутационные выводы
Рис. 102. Электрические гибкие вкладыши
а - с греющим проводом; б - с углеграфитовой тканью;
1 - резина; 2 - греющий провод; 3 - углеродистая ткань;
4 - коммутационные выводы
Рис. 103. Греющий щит металлической опалубки
с термоактивными вкладышами
а, б - схемы соединения вкладышей в щиты; 1 - рама щита;
2 - палуба щита (металлический лист

);
3 - термоактивные вкладыши; 4 - алюминиевая фольга;
5 - утеплитель;
6 - металлический лист (жесть

);
7 - крепежные болты; 8 - коробка подключения
к источнику питания
Термоактивные вкладыши с углеграфитовой тканью разработаны институтом Оргтяжстрой (Ростов-на-Дону).
Нагревательный элемент запрессовывается между двумя слоями сырой резины и армируется одним слоем стеклоткани (со стороны рабочей поверхности ГП). Резиновое покрытие греющего элемента обеспечивает электроизоляцию нагревательного элемента и придает ГП необходимую прочность и гибкость.
Отражающий экран снижает тепловые потери в окружающую среду и состоит из одного слоя алюминиевой фольги. Экран может быть соединен непосредственно с теплоизоляционным слоем (некоторые виды теплоизоляции с экранирующим слоем выпускаются отечественной промышленностью).
Гидроизоляционное покрытие представляет собой слой прорезиненной ткани.
5.199. Покрытие ЦНИИОМТП представляет собой влагонепроницаемый чехол из прорезиненной ткани, в котором размещены электронагреватели из углеродной ленты марки ЛУТ-1-70 (ТУ-6-06-31-141-76) и теплоизоляция из нескольких слоев простеганного стеклохолста. Они снабжены инвентарным кабельным штепсельным разъемом для токоподвода к электронагревателям. Внутри гибкого одеяла установлено малогабаритное температурное реле для возможности автоматического регулирования температуры обогрева. Для подвешивания покрытий к вертикальным поверхностям предусмотрены кольца, укрепленные к наружной прижимной планке (рис. 104).
Рис. 104. Покрытие ЦНИИОМТП
Техническая характеристика греющих покрытий приведена в табл. 58.
Таблица 58
Показатели | Единица измерения | Норма |
Площадь обогрева | м2 | 5,1 |
Размеры: | | |
длина | мм | 3000 |
ширина | " | 1700 |
толщина | " | 50 |
Масса | кг | 30,5 |
Номинальное напряжение | В | 60 |
Номинальный ток | А | 30 |
Потребляемая мощность | кВт | 1,8 |
Удельная поверхностная мощность | Вт/м2 | 350 |
Максимальная рабочая температура на поверхности покрытия | °C | 90 |
Коэффициент теплопередачи | Вт/(м2·°C) | 2,8 |
6. ТЕХНОЛОГИЯ ИЗГОТОВЛЕНИЯ ОПАЛУБКИ
6.1. Опалубка должна, как правило, изготовляться централизовано на специализированных предприятиях и поставляться изготовителем комплектно с элементами крепления и соединения, запасными частями в соответствии с рабочими чертежами по спецификации, согласованной с потребителем.
Греющая опалубка должна поставляться комплектно: с электронагревательными элементами, электрической схемой соединения, коммутирующей электроразводкой и системами контроля и регулирования, со щитами, защищенными теплоизоляцией.
6.2. Изготовитель должен сопровождать отгружаемую партию опалубки паспортом, в котором указывается: наименование и адрес изготовителя; номер и дата выдачи паспорта; номенклатура и количество элементов опалубки; дата изготовления опалубки; гарантийное обязательство; к паспорту должны быть приложены ведомости запасных деталей и инструкции по монтажу и эксплуатации.
6.3. Элементы и собранная опалубка должны быть приняты техническим контролем предприятия-изготовителя.
Приемка производится партиями. При приемке греющей опалубки должна производиться проверка целостности изоляции электронагревателей и комплектующей электропроводки, соответствия омического сопротивления нагревателей рабочим чертежам, удельной мощности, равномерности температурного поля на рабочей поверхности опалубки, степени уплотнения и влажности утеплителя.
Равномерность температурного поля проверяется путем прогрева слоя влажного песка толщиной 100 мм. Температура измеряется с помощью термопар или другими средствами, обеспечивающими точность проведения измерений до 1 °C. При использовании нестандартных нагревателей они должны подвергаться испытанию на долговечность и стабильность электрического сопротивления изоляции путем включения под электрическую нагрузку, на 25% превышающую рабочую сроком на 36 ч.
Должна производиться также контрольная сборка панелей и блоков опалубки или характерного фрагмента (площадью не менее 20 м2), который собирается из основных элементов опалубки при характерном взаимодействии элементов. При этом проверяется соответствие рабочим чертежам; точность установки несущих и поддерживающих элементов: их крепление и раскрепление, а также точность установки анкерных устройств, геометрические размеры панелей и блоков и собранного фрагмента.
6.4. Изготовитель обязан производить испытания новых конструкций опалубки на прочность и жесткость, а также опалубки при изменении ее конструкции, материала или отдельных узлов, если эти изменения могут оказать влияние на прочность и жесткость, а также точность сборки опалубки и качество поверхности забетонированных конструкций.
6.5. Изготовитель должен гарантировать соответствие опалубки требованиям государственных стандартов, ТУ и рабочих чертежей. Гарантийный срок службы опалубки устанавливается 12 мес со дня отгрузки заказчику при условии соблюдения потребителем условий транспортирования, хранения и эксплуатации, установленных предприятием-изготовителем.
Во время гарантийного срока предприятие-изготовитель бесплатно осуществляет ремонт и замену вышедших из строя элементов опалубки.
6.6. Технологическая схема производства, примерная планировка производственного корпуса по изготовлению опалубки, разработанного Тульским Промстройпроектом Минтяжстроя СССР, приведена на рис. 105.
Рис. 105. План производственного корпуса завода
инвентарной опалубки мощностью 200 тыс. м3 в год
(цех Тульского Промстройпроекта)
1 - склад металла с отделением подготовки; 2 - участок
обработки труб; 3 - участок обработки листового металла;
4 - участок обработки сортового и профильного металла;
5 - склад деталей и полуфабрикатов; 6 - участок сборки лесов
и подмостей; 7 - участок сборки щитов; 8 - отделение
окраски; 9 - отделение горячего алюминирования; 10 - цех
комплектующих изделий; 11 - литейный цех; 12 - отделение
гальванопокрытий; 13 - отделение хранения и отправки;
14 - отделение комплектации, консервации и упаковки;
15 - отделение приемки и общей сборки; 16 - отделение
пластмасс и термоматов; 17 - тарное отделение;
18 - ремонтно-строительное отделение;
19 - краскоприготовительное отделение; 20 - склад
лакокрасочных материалов; 21 - инженерно-ремонтный цех;
22 - кузнечно-термический участок; 23 - склад газообразных
материалов; 24 - зарядная; 25 - материальный склад;
26 - станция очистки гальванических стоков
Технико-экономические показатели вариантов конструктивных решений производственного корпуса приведены в табл. 59.
Таблица 59
Варианты | Расход цемента, кг/т | Расход стали, кг/т | Стоимость, тыс. руб. | Трудозатраты, чел.-ч, тыс. чел.-ч | Масса, т | Строит. объем, м3, тыс. м3 | Число монтажн. эл., шт. |
1. Традиционный сборный железобетонный каркас, железобетонные плиты покрытия, стены - керамзитобетонные панели | 106,6 -------- 5198,0 | 34,5 -------- 1682,2 | 27,3 -------- 1331,1 | 2,33 -------- 113,6 | 0,463 -------- 22,576 | 10,3 ------- 554,8 | 0,141 ------- 6875 |
2. Каркас - сборный из высокопрочного бетона серии 1152-77 ЦНИИПромзданий, покрытие и стены - профильный стальной лист с эффективным утеплителем по стальным прогонам | 38,6 -------- 1882,0 | 47,8 -------- 2330,7 | 25,0 -------- 1219,0 | 2,23 -------- 108,7 | 0,168 -------- 8192 | 8,7 -------- 468,6 | 0,118 -------- 5753 |
3. То же, покрытие - профильный лист с эффективным утеплителем по железобетонным прогонам | 43,6 -------- 2126,0 | 42,2 -------- 2057,7 | 23,9 -------- 1165,4 | 2,25 -------- 109,7 | 0,184 -------- 8973 | 8,7 -------- 468,6 | 0,118 -------- 5753 |
4. То же, покрытие - асбестоцементные экструзионные панели по железобетонным прогонам, стены - асбестоцементные экструзионные панели | 73,2 -------- 3569,2 | 31,1 -------- 1516,4 | 26,1 -------- 1272,6 | 2,28 -------- 111,2 | 0,222 -------- 10825 | 8,7 -------- 468,6 | 0,118 -------- 5753 |
5. Колонны - традиционные сборные железобетонные, покрытие - структурные конструкции ЦНИИСК, профильный стальной лист с эффективным утеплителем, стены - профильный стальной лист с эффективным утеплителем | 15,4 -------- 750,9 | 53,8 -------- 2623,3 | 30,3 -------- 1477,4 | 2,12 ------- 103,4 | 0,112 ------- 5461 | 9,1 ------- 490,1 | 0,083 ------- 4047 |
6. Колонны - традиционные сборные железобетонные, покрытие панели - оболочки КЖС, стены - керамзитобетонные панели | 109,7 -------- 5349,0 | 31,8 -------- 1550,6 | 25,3 -------- 1233,6 | 2,10 -------- 102,4 | 0,455 -------- 22186 | 8,2 -------- 441,7 | 0,066 ------- 3218 |
Примечание. В числителе - показатель на 1 м2 площади здания, в знаменателе - показатель на весь объект; площадь застройки - 48760 м2. |
В состав предприятия по изготовлению инвентарной опалубки входят следующие технологические подразделения и производства:
транспортно-складское хозяйство, обеспечивающее прием от поставщиков сырья, материалов, полуфабрикатов и комплектующих изделий, их хранение и выдачу в производство, а также прием, хранение и выдачу потребителям готовой продукции;
производство металлических элементов систем опалубки из листа, труб, сортового проката и гнутого профиля;
производство металлических литых элементов;
производство пластмассовых элементов;
производство гибких термоэлектрических матов с углеграфитовыми нагревателями;
нанесение защитно-декоративных покрытий;
тарно-упаковочное и консервационное хозяйство;
инженерно-ремонтное хозяйство, обеспечивающее снабжение производства энергоресурсами и поддерживающее в работоспособном состоянии все подразделения предприятия.
Металл доставляется на предприятие железнодорожным или автомобильным транспортом и выгружается мостовыми электрическими кранами грузоподъемностью 10 т.
Хранение металла осуществляется в стеллажах стоечного или "елочного" типа.
Технологический процесс подготовки металлопроката перед обработкой предусматривает выполнение следующих операций:
правка листового и сортового проката на листоправильных машинах типа UBR-10 x 2000 (ГДР) и сортоправильных многороликовых машинах типа UFR-7 x 500 (ГДР);
очистка поверхности металлопроката от ржавчины и окалины на универсальной механизированной линии, состоящей из горизонтальных рольгангов для перемещения металлопроката и двух камер: камеры предварительного разогрева металла обжигом пламенными горелками и камеры дробеметной обработки с целью защиты металла от коррозии в межоперационный период и в местах, которые трудно или невозможно защитить в готовых конструкциях (очищенные поверхности покрываются быстросохнущими грунтами с последующей подсушкой в вытяжной камере);
роспуск листового проката на машине термической резки типа ПКФ-2,5-1,6;
резка сортового проката на мерные заготовки на ножницах типа Н1434.
Технологический процесс дальнейшей обработки металлопроката и сборки щитов опалубки выполняется в следующей последовательности:
отрезка полок на мерных заготовках из сортового проката под врезку на пресс-ножницах типа НБ-5224;
резка листовой стали на ножницах листовых типа Н3721;
резка листовых заготовок на пресс-ножницах типа НБ-5222;
пробивка отверстий в заготовках на дыропробивном прессе типа К1927 или кривошипном прессе типа КД2122;
комплектация деталей на изделие;
сборка и сварка щитов на специальных стендах полуавтоматами в среде углекислого газа;
правка щитов после сварки;
сверление монтажных отверстий на радиально-сверлильном станке типа 2А55;
шлифование палубы щита на специальном плоскошлифовальном станке;
смазка формующей поверхности палубы техническим вазелином перед окраской.
Схема технологического процесса изготовления опалубки приведена на рис. 106.
Рис. 106. Схема технологического процесса изготовления
опалубки "Тяжстрой-78"
1 - правка сортовой стали; 2 - роспуск листовой стали;
3 - правка листовой стали; 4 - очистка; 5 - резка угловой
стали; 6 - резка листовой стали; 7 - отрезка полок
под врезку; 8 - резка листа на пластины; 9 - пробивка
отверстий; 10 - пробивка отверстий; 11 - комплектация
деталей и полуфабрикатов, на изделие; 12 - резка швеллеров;
13 - сборка и сварка щита; 14 - пробивка отверстий;
15 - правка щита; 16 - сверление отверстий; 17 - шлифование
палубы; 18 - смазка формующей поверхности палубы
перед окраской; 19 - грунтовка в электрическом поле;
20 - сушка; 21 - окраска I в электрическом поле; 22 - сушка;
23 - окраска II в электрическом поле; 24 - сушка;
25 - консервация и упаковка
Изготовление несущих элементов опалубки (схваток, ферм, опор) и элементов блокировки осуществляется в цехе комплектующих изделий, оснащенном прессами кривошипными и дыропробивными, пресс-ножницами, токарными, фрезерными и сверлильными станками.
Производство организуется по принципу специализации цехов, отделений и участков на изготовлении однотипных деталей и изделий с соблюдением поточности производственных процессов.
Обработка металлопроката осуществляется на механизированных рабочих местах, оборудованных приводными рольгангами, механизированными стеллажами, пневматическими сбрасывателями, что позволяет вести обработку металла в полуавтоматическом режиме. Снабжение сварочных и газорежущих постов кислородом, ацетиленом и углекислым газом - централизованное.
Изготовление мелких стальных монтажных элементов производится литьем по выплавляемым моделям пластмассовых элементов - на литьевых автоматах типа ДБ3328.
Для защиты элементов опалубки от коррозии и улучшения внешнего вида применяются защитно-декоративные покрытия, а именно:
для инвентарной стальной и комбинированной опалубки с каркасом из прокатных и гнутых профилей - грунтовка и окраска в электрическом поле высокого напряжения;
для комплектующих изделий опалубки типа подкосов, лестниц, ферм - окраска в камерах распылением;
для литых деталей типа стяжек, опорных плит, гаек и т.п. - химическое оксидирование;
для крепежных изделий - винтов, гаек, болтов - электрохимическое цинкование.
Кроме окраски, в качестве защитно-декоративного покрытия возможно применение горячего цинкования, алюминирования и т.п.
По условиям хранения конструкции опалубки относятся к группе ОЖ по
ГОСТ 15150-69. Консервация опалубки предусматривается ингибированными маслами распылением в специальных камерах.
Комплектация и упаковка опалубки производится по маркам изделий в деревянные ящики или контейнеры. Хранение опалубки осуществляется на складе готовой продукции, оборудованном мостовыми кранами грузоподъемностью 10 т, отправка - железнодорожным и автомобильным транспортом.
6.7. Завод по изготовлению опалубки (по способу французской фирмы Юссон) в г. Орбей имеет производительность цеха 58 000 м
2/год. Схема изготовления показана на
рис. 107, а план цеха - на
рис. 108.
Рис. 107. Схема изготовления опалубки
в цехе Мосметаллоконструкции (фирмы Юссон)
I, II, III - контроль газожидкостей; а - сжатый воздух;
б - кислород; в - ацетилен; г - углекислый газ;
д - электричество; е - вода.
1 - снабжение (А - прием - сырье, Б - прием - метизы);
2 - контроль (количество - качество); 3 - склад сырья;
4 - ножницы; 5 - кислородная резка; 6 - резка железа;
7 - пилы; 8 - инструментальный цех (затачивание);
9 - технический уход; 10 - простые машины; 11 - станки;
12 - запас-транзит; 13 - контроль; 14 - контроль
(количество - качество); 15 - склад запасной
(запасные части, потребляемые материалы); 16 - повторная
сварка каркасов; 17 - повторная сварка панелей;
18 - спецсварка; 19 - контроли; 20 - цинкование;
21 - окраска; 22 - сборка; 23 - склад готовой продукции;
24 - упаковка; 25 - склад (запас до погрузки);
26 - погрузка; 27 - отправление
Рис. 108. План цеха по изготовлению опалубки
(по способу французской фирмы Юссон)
1 - склады шаблонов; 2 - эстакада; 3 - склад листового
железа; 4 - склад листовых заготовок; 5 - склады заготовок
по размеру; 6 - гидравлическая группа; 7 - склад отходов
от пресса и матриц; 8 - емкость запалки; 9 - термическая
обработка и цементация; 10 - склад арматурных сеток;
11 - промежуточный склад после контроля; 12 - помещение
обслуживания; 13 - контроль; 14 - сварка; 15 - склад
сварных шаблонов; 16 - нанесение водоэмульсионной
окраски; 17 - механическая обработка; 18 - конечный склад
готовой продукции (составляющие опор панелей
для централизованного транспортирования)
6.8. Завод позволяет изготавливать опалубку из гнутых профилей различных типов: мелкощитовую, крупнощитовую и т.д. Из общей годовой производительности 58 000 м2 опалубки может производиться: 28 000 м2 щитовой опалубки, включая 18 000 м2 - с палубой из древесных материалов, 10 000 м2 - с металлической палубой; 15 000 м2 стыковой опалубки перекрытий с металлической палубой; 5000 м2 опалубок для колонн (с металлической палубой); 400 т элементов крепления и поддерживающих лесов; 10 000 м2 опалубок для резервуаров (с деревянной палубой).
Возможные размеры щитов от 2,5 x 1 м до 16 x 6 м при высоте от 1,5 до 2,8 м.
Возможные размеры опалубки для колонн квадратного сечения от 0,2 x 0,2 м до 1 x 1 м, высотой от 1,8 до 3,2 м.
Технология производства позволяет изготавливать опалубку с теплоизоляцией. С этой целью 50% щитов опалубки снабжены асбестовой изоляцией толщиной 1,5 мм, прикрепленной к металлической палубе, прогрев бетона осуществляется ТЭНами.
Численность персонала, требующегося для обслуживания производства, составляет 272 чел. за исключением административных и управляющих отделов. Работа ведется в две смены при 8-часовом рабочем дне. Число рабочих в смену составляет около 130 чел.
6.9. Основным помещением завода является цех изготовления, в котором выполняется раскрой, металлическая обработка, сварка, поверхностная обработка, сборка и контроль.
Ориентировочные размеры цехов изготовления (не включая склады для приема и хранения материалов, деталей, поставляемых с других заводов-изготовителей, склады для хранения упаковки, отправки готовой продукции, инструментальный цех, цех техобслуживания, станции производства и распределения различных газожидкостей и электроэнергии и др.): длина - 99 м, ширина - 84 м, высота под крюком мостового крана - 5,2 м.
6.10. Операции изготовления опалубки можно разделить на 7 отделов: 1-й - заготовка, 2-й - механическая обработка, 3-й - сварка, 4-й - оцинковка, 5-й - окраска, 6-й - сборка, 7-й - ремонт.
В 1-м отделе сгруппированы следующие рабочие места: раскрой, резание, кислородная резка.
Во 2-м отделе сгруппировано следующее оборудование: гибочный пресс, верстаки для ручных операций, гибочная машина, дыропробивной пресс, механический пресс, гидравлический пресс, балансирный пресс, печь для нормализации металла перед сваркой, устройство термической закалки, станки сверлильные, фрезерные, токарные.
3-й отдел включает рабочие места для контактной и полуавтоматической сварки.
Горячее оцинковывание для увеличения срока службы опалубки производится в 4-м отделе; процесс оцинковывания включает: обезжиривание в горячей щелочной ванне 60 - 80 °C, холодное полоскание, травление в холодной ванне с хлористоводородной кислотой, холодное полоскание, предварительный нагрев до 100 °C, собственно оцинкование.
В 5-м отделе предусмотрена окраска некоторых элементов, она включает следующие операции: фосфатированное обезжиривание струей горячей воды 80 °C, сушка при температуре окружающей среды, нанесение грунта, сушка в сушильном шкафу.
В 6-м отделе производится сборка опалубки, которая включает следующие операции: зачистка заусенцев, сборка, маркировка.
В 7-м отделе производится аварийный и текущий ремонты.
ИЗГОТОВЛЕНИЕ НЕСЪЕМНОЙ ОПАЛУБКИ
Изготовление армоцементной и железобетонной опалубки
6.11. Железобетонные и армоцементные опалубочные плиты готовят в специальных цехах заводов железобетонных изделий или на полигонах. При этом применяют стендовую технологию с формированием плит активной поверхностью вверх. Опалубочные плиты можно формовать в специальных кассетах. Этот способ отличается простотой, а кассеты занимают в цехе мало места. Для лучшего сцепления на активной поверхности плит устраивают борозды 12 x 12 мм. Для увеличения шероховатости активной поверхности такие плиты подвергаются также обдирке на специальных обдирочных установках.
Ребристые опалубочные плиты готовят в специальных формах по стендовой технологии, профильные - методом гнутоформования.
Плоские армоцементные плиты готовят активной поверхностью вверх на горизонтальных поддонах по стендовой или конвертерной технологии. Перспективным для изготовления таких плит является метод торкретирования на горизонтальных поддонах, а также резательная технология. Суть ее состоит в том, что готовят армоцементные плиты больших размеров с предварительным натяжением армирующих сеток, а после термообработки производят разрезку алмазными пилами на плиты нужных размеров. Профильные армоцементные плиты готовят способом торкретирования или гнутоформования.
6.12. При изготовлении железобетонной и армоцементной несъемной опалубки допускаются отклонения от проектных размеров, приведенные в табл. 60.
Таблица 60
Размеры плит | Допускаемые отклонения, мм |
железобетонная опалубка | армоцементная опалубка |
При длине до 2 м | +/- 5 | +/- 5 |
При длине от 2 до 4 м | +/- 8 | +/- 8 |
То же, более 4 м | +/- 10 | - |
При ширине до 0,6 м | +/- 3 | +/- 3 |
То же, более 0,6 м | +/- 5 | +/- 5 |
По толщине | +3 | +3 |
Разность длин диагоналей не более | 10 | 5 |
Отклонение в наружных (лицевых) углах между плоскостями (отгибами) железобетонных и армоцементных профильных плит +/- 3°. Отклонение от плоскости лицевой поверхности не должно быть более +/- 5 мм, а плоскостей торцовых и боковых граней плит от прямолинейности не должно превышать +/- 3 мм.
Смещение закладных деталей вдоль боковых граней железобетонных и армоцементных плит не более +/- 15 мм, по толщине плиты +/- 5 мм. Смещение анкерующих петель-выпусков не более +/- 20 мм, а отверстий для пропуска крепежных тяжей +/- 10 мм.
6.13. Физико-механические свойства железобетонных и армоцементных опалубочных плит должны соответствовать данным, приведенным в табл. 61.
Таблица 61
Показатели | Единица измерения | Данные в момент поставки плит на строительную площадку |
Объемная масса | т/м3 | 2,40 - 2,45 |
Прочность на сжатие | кгс/см2 | 30 |
Прочность на растяжение при изгибе | " | 18 |
Морозостойкость | цикл | Мп + 10 |
Водонепроницаемость | м. в. с. | Вп + 5 |
Для лучшего сцепления с бетоном массива активная поверхность опалубочных плит после термообработки и распалубки должна быть очищена от цементной пленки с помощью пескоструйного аппарата, промыта водой и продута сжатым воздухом.
На тыльной поверхности каждой опалубочной плиты несмываемой краской должна быть нанесена соответствующая маркировка.
6.14. На строительную площадку железобетонные опалубочные плиты должны поставляться комплектно в соответствии с заказанной спецификацией и с элементами креплений.
Изготовление стеклоцементных опалубочных плит
6.15. Изготовление стеклоцементных опалубочных плит рекомендуется организовать в специальном цехе при заводе ЖБИ на установке конструкции ЦНИИОМТП. Цех оборудуется 5-тонной кран-балкой, складом цемента, растворным узлом, камерами термообработки и механизированной установкой ЦНИИОМТП.
6.16. Принципиальная схема установки ЦНИИОМТП по изготовлению стеклоцементных плит представлена на рис. 109. Работа ее заключается в следующем: по конвейеру (рольгангу) непрерывно и с определенной скоростью перемещаются металлические формы размерами 2,1 x 2,1 м.
Рис. 109. Конвейерная машина ЦНИИОМТП для изготовления
стеклоцементной опалубки
а - установка; б - узел распалубки
1 - система гидравлики подъема; 2 - подъемник;
3 - контейнер для форм; 4 - форма; 5 - рольганг;
6 - механизм-напылитель; 7 - накопительная емкость;
8 - растворомешалка; 9 - факел стеклоцемента;
10 - станция напыления; 11 - привод контейнера;
12 - кантователь; 13 - контейнер готовой продукции;
14 - поворотная платформа
Подача и съем форм с конвейера производится с помощью подъемников, установленных в начале и конце конвейера.
Принудительное движение форм достигается приводом и реечной шестеренчатой передачей. В середине конвейера устанавливаются две напыляющие станции, оборудованные механизмом-напылителем, электроприводом с цепной передачей и бабиной со стекложгутом.
Механизм-напылитель предназначен для рубки стекложгута на отрезки длиной 80 - 120 мм и получения совместного аэрозольного факела, цементного теста с рублеными волокнами.
Электропривод и цепная передача сообщают механизму-напылителю возвратно-поступательное (челночное) движение относительно продольной оси конвейера со скоростью 0,7 м/с. Ход напылителя 2,1 м.
В результате взаимно перпендикулярного перемещения форм и напыляющего органа достигается равномерная укладка смеси по всей поверхности формы.
Цементное тесто приготавливается в растворомешалке емкостью 200 - 250 л и через растворопобудитель подается в механизм-напылитель.
Для достижения требуемой толщины плиты скорость перемещения форм регулируется в пределах 0,2 - 0,8 м/мин с интервалом 0,2 м/мин.
Формы после напыляющей станции поступают по конвейеру на виброплощадку для уплотнения и далее складируются в контейнер с помощью подъемника, установленного в конце конвейера.
Сырой стеклоцемент в формах выдерживается в течение 2 - 3 ч при t = +20 °C. Затем с его поверхности снимается цементная пленка и делается насечка в виде борозд. Последние две операции механизированы и способствуют повышению сцепления опалубки с бетоном.
Окончательное твердение плит до распалубочной прочности происходит в камерах нормального твердения или термообработки.
Затвердевшие плиты из форм извлекаются на распалубочном узле и укладываются в контейнер готовой продукции, в котором и доставляются на стройплощадку. Пустая форма поступает на очистку и смазку и далее в приемный контейнер. Для изготовления декоративной опалубки-облицовки с рельефной фактурой на дно формы укладывается матрица с требуемым рисунком (рифлением).
В механизированную установку входит также узел раскроя плит на требуемые размеры. Последний представляет собой стол, на котором неподвижно закрепляется стеклоцементная плита, и станину с режущим органом.
Режущий орган состоит из электродвигателя и алмазного (или корундового) диска, вращающегося со скоростью 3000 об/мин.
Резку плит на этом столе можно производить во взаимно перпендикулярных направлениях с любым шагом.
Поштучная транспортировка плит из контейнера готовой продукции на узел раскроя или места монтажа опалубки производится специальным захватом.
Расчетная производительность установки 20 - 60 м2/ч в зависимости от скорости движения конвейера. Обслуживающий персонал 5 - 6 чел.
Ориентировочный расход материалов для изготовления 1 м2 опалубки толщиной 15 мм: цемент 18 - 20 кг; стекложгут 0,8 - 1 кг; вода 7 - 9 л.
В каждом конкретном случае состав уточняется проведением опытных подборов в лаборатории.
НАНЕСЕНИЕ АНТИАДГЕЗИОННЫХ ПОКРЫТИЙ И ФУТЕРОВОК
6.17. Антиадгезионные защитные покрытия наносятся на стальную или деревянную опалубку путем горячего напыления порошкообразных полимеров, путем пневмонанесения жидких полимерных композиций или нанесения пастообразных полимерных составов. При этом полимеризация и образование защитной полимерной пленки происходит непосредственно на опалубке.
6.18. Антиадгезионные футеровки выполняют из пластмассовых листов или полимерных пленок путем их горячей напрессовки, наклейки на опалубку. Пластмассовые футеровки крепят к опалубке также шурупами, винтами или комбинированным способом (наклейка с креплением шурупами).
Основное назначение покрытий и футеровок состоит в резком снижении (в 5 - 10 раз) сцепления между бетоном и опалубкой и, как результат, облегчения распалубки, снижении износа опалубочных щитов. Покрытия и футеровки защищают также деревянную опалубку от намокания и коробления, а стальную - от коррозии. Применение опалубки с полимерными покрытиями и футеровками улучшает качество поверхностей железобетонных конструкций.
Составы эпоксидных покрытий приведены в табл. 62.
Таблица 62
N состава | Компоненты | Состав массн. ч. | Способ нанесения | Стоимость в расчете на 1 м2 опалубки, руб. | Область применения |
1 | Эпоксидная смола | 100 | Кистью, шпателем, в два слоя | 2,0 | Для стальных щитов инвентарной, скользящей, объемно-переставной опалубок, блок-форм и термоактивной опалубки |
Полиэфиракрилатная смола М1Ф-9 | 10 - 15 |
Синтетический каучук СКН-26 | 20 |
Порошкообразный серебристый графит | 35 - 40 |
Полиамидная смола | 30 |
2 | Эпоксидная смола | 48 | Кистью в один слой | 0,7 | То же |
Свинцовый глет | 36 |
Силиконовое масло Л-34 | 9,5 |
Полиметилсилоксановое масло | 0,5 |
Дибутилфталат | 2 |
Полиэтиленполиамин | 4 |
3 | Эпоксидная смола Э-49 | 70 | Пневмораспыление, полимеризация при t = 150 °C в течение 4 ч | - | " |
Эпоксидная смола Э-41 | 30 |
Адипиновая кислота | 18,5 |
Порошкообразный серебристый графит | 70 |
4 | Метилполисилоксановое масло | 1 - 2 | Кистью или шпателем, полимеризация при t = 120 - 130 °C в течение 2 ч | - | " |
Эпоксидная смола | 4 - 7 |
Глет свинцовый | 2 - 4 |
Полиэтиленполиамин | 0,4 - 0,7 |
Для стальной опалубки может быть рекомендовано двухрастворное покрытие (табл. 63).
Таблица 63
Компоненты | Состав по объему, л | Способ нанесения | Стоимость в расчете на 1 м2 опалубки, руб. | Область применения |
Раствор N 1 | | Пистолетом-распылителем, твердение при t = 170 °C в течение 0,5 - 1 ч | Общая стоимость 0,5 - 0,65 | Для стальных щитов инвентарной переставной, скользящей, объемно-переставной опалубок, блок-форм и термоактивной опалубки |
Клей марки МПФ-1 | 1,3 |
Спирт этиловый | 5,0 |
Лак марки РА-6 | 1,3 |
Ацетон | 2,4 |
Раствор N 2 | |
Лак марки РА-6 | 1,5 |
Спирт этиловый | 3,9 |
Лак бакелитовый "А" | 0,7 |
Ацетон | 3,9 |
6.19. Перед нанесением полимерных покрытий на стальную опалубку ее поверхность должна быть тщательно очищена от коррозии, окалины и грязи. Очистку следует производить пескоструйным пистолетом марки 02-7110 или с помощью дробеструйных установок. Непосредственно перед нанесением покрытия поверхность следует обезжирить ацетоном.
6.20. Для опалубки с дощатой, фанерной палубой или палубой из ДСП можно применять покрытие марки ЭПХВА-К. Его наносят пистолетом-распылителем на сухую и чистую палубу двумя слоями. Толщина покрытия 0,05 - 1 мм, оборачиваемость 25 - 30 циклов.
6.21. Для деревянной палубы можно использовать также эпоксидное двухсоставное покрытие (табл. 64).
Таблица 64
Компоненты | Состав, массы ч | Способ нанесения | Стоимость в расчете на 1 м2 опалубки, руб. | Трудоемкость нанесения 1 м2 покрытия, чел.-ч |
Состав N 1 |
Эпоксидная смола | 50 | Шпателем, твердение при t = 20 °C в течение суток | | |
Дибутилфталат | 5 |
Древесная мука (порошкообразный графит) | 1 (2,5) |
Ацетон | 5 |
Полиэтиленполиамин | 1 |
Состав N 2 |
Эпоксидная смола | 10 | Пистолетом-распылителем, твердение при t = 20 °C в течение 3 суток | Общая - 0,82 | Общая - 0,37 |
Дибутилфталат | 1 |
Ацетон | 1 |
Полиэтиленполиамин | 1 |
Первый состав (шпатлевку) наносят на сухую и чистую деревянную палубу шпателем, заделывают щели, выколы и неровности. Второй, накрывочный слой, нанесенный пистолетом-распылителем, образует равное глянцевое покрытие, оборачиваемость которого 30 - 35 циклов.
6.22. Горьковским трестом Оргтехстрой разработано специальное покрытие для фанерной опалубки. Оно включает (мас. ч.):
Перхлорвиниловую смолу ................. 80 - 90
Ацетон ................................. 240 - 270
Эпоксидную смолу ЭД-5 ................. 90 - 100
Полиэтиленполиамин ..................... 9 - 10
Покрытие наносят на предварительно очищенные фанерные щиты с помощью пистолета-распылителя за два раза. После 48-часовой сушки при t = +15 + 20 °C щиты можно использовать для устройства опалубки. Оборачиваемость фанерных щитов с таким защитным покрытием 30 - 40 циклов.
Методом горячего напыления наносят покрытия на стальную опалубку. При этом используют тонкодисперсные порошки полиэтилена, пенопласта, полиуретана, полиамидов и эпоксидных смол. Для горячего напыления используют установки типа УПН-6-63 (ГОСТ 11966-78), выпускаемые Барнаульским аппаратурно-механическим заводом.
Техническая характеристика установки УПН-6-63
Полезный объем бачка, л ....................... 6
Давление сжатого воздуха, МПа ................. 6
Давление ацетилена, мм вод. ст. ............... 0,3 - 0,6
Расход сжатого воздуха, м3/ч ................. 50
Расход ацетилена, м3/ч ....................... 10 - 15
Ширина струи, мм:
при цилиндрическом сопле ..................... 15 - 20
при плоском сопле ............................. 65 - 70
Габариты, мм:
горелки ..................................... 335 x 110 x 200
питательного бачка ........................... 245 x 390
Масса, кг ..................................... 7,8
6.23. Для футеровки опалубки применяют листовые пластмассы из винипласта, гетинакса, полиэтилена и стеклопластиков. Крепление листовых пластиков осуществляется с помощью шурупов или винтов. Физико-механические свойства листовых стеклопластиков для футеровки опалубки приведены в табл. 65.
Таблица 65
Свойства | Марка стеклопластика |
ЗМД-130 | ЭФ32-301 | КАСТ-В | ВФТ-С | СТ |
Удельная масса, г/см3 | 1,4 - 1,6 | 1,6 - 1,7 | 1,75 - 1,85 | 1,6 - 1,7 | 1,6 - 1,85 |
Прочность при растяжении, кгс/см2 | 2800 | 4080 | 3200 | 4000 | 700 - 900 |
Модуль упругости при растяжении, кгс/см2 | 151 000 | 220 000 | 200 000 | 220 000 | - |
Прочность при изгибе, кгс/см2 | 1500 | 4150 | 1260 | 3380 | 1100 |
Ударная вязкость, кгс/см2 | 80 | 150 | 70 | 105 | 50 |
Теплостойкость по Мартенсу, град | 150 | 240 | 250 | 240 | 180 |
Водопоглощение за 24 ч, % | 1,1 | 0,28 | 0,8 - 1,5 | 1,15 | - |
Коэффициент линейного расширения | 4,7·10-6 | 6·10-6 | 9·10-6 | 8·10-6 | - |
Теплопроводность, ккал/(м·ч·град) | - | 0,3 | 0,24 | 0,25 | - |
Предельная температура эксплуатации, град | 150 | 200 | 180 - 200 | 30 | 180 |
| | ИС МЕГАНОРМ: примечание. Постановлениями Госстандарта России от 13.05.1997 N 165 и N 166 с 01.01.1998 введены в действие ГОСТ 3916.1-96 и ГОСТ 3916.2-96 соответственно. | |
6.24. Для фанерной и древесностружечной опалубки в ЦНИИОМТП разработана футеровка из пленки, напрессовываемой на чистую сухую поверхность в горячем состоянии. Для этих целей применяют многослойную фанеру марки ФСФ толщиной 10 - 16 мм (ГОСТ 3916-69). Для защитной футеровки используют пленки, полученные путем пропитки бумаги, ткани или стеклоткани фенольными смолами. Целесообразно использовать полубеленую бумагу марок ЭИП-50, ЭИП-63 или ИПСИ-60, ИПСТ-72, а также крафт-бумагу.
Пропиточными (связующими) материалами служат жидкие бакелитовые смолы типа ОК, ОФДК, ОФ, спиртовые лаки типа ИФ, ИК, эпоксидно-фенольные лаки ИФ/ЭП. Торцы фанерных щитов защищают эпоксидными компаундами.
В результате напрессовки пленки на фанеру ее физико-механические свойства значительно изменяются (табл. 66).
Таблица 66
Наименование | Единица измерения | Физико-механические свойства фанеры с двусторонней футеровкой |
однослойной | двухслойной | трехслойной |
Прочность при изгибе воздушно-сухого образца при замачивании: | кгс/см2 | - | - | 1280 |
10-кратном | | 530 | 750 | 900 |
20-кратном | | 500 | 730 | 850 |
30-кратном | | 436 | 680 | 720 |
Модуль упругости воздушного образца после замачивания | " | - | - | 10100 |
10-кратного | | 7800 | 7800 | 8300 |
20-кратного | | 7000 | 8200 | 8400 |
Водопоглощение после 10-кратного замачивания | % | 14 | 12,3 | 10 |
Коэффициент трения образца по бетонной смеси | | - | 0,3 | - |
в возрасте 24 - 28 ч | | - | 0,33 | - |
Сцепление образца с бетоном в возрасте 3 сут при отрыве: | кгс/см2 | | | |
по нормали | | - | 0,3 | - |
под углом 45° | | - | 0,5 | - |
по касательной | | - | 0,7 | - |
Абразивная стойкость футеровки | цикл | 100 | 150 | 180 |
Стоимость 1 м2 пленочной футеровки ЦНИИОМТП 0,3 - 0,32 р. Применение такой футеровки увеличивает оборачиваемость фанерной опалубки на 30 - 40%. Применение опалубки с защитными футеровками улучшает качество поверхностей железобетонных конструкций.
6.25. В ГИСИ им. В.П. Чкалова разработана фанерная опалубка с защитной антиадгезионной футеровкой из полиэтилентерефталатной (ПЭТФ) и поливинилхлоридной (ПВХ) пленок. Пленку ПЭТФ толщиной 0,2 - 0,5 мм выпускает Владимирский химзавод. Такую пленку наклеивают на формующие поверхности фанерных щитов с помощью клея ТФ-80. Температура при склеивании-напрессовке 80 - 120 °C, давление 12 - 14 кгс/см
2, продолжительность 3 - 4 ч. Концы-открылки пленки заворачивают на ребра и приклеивают к ним
(рис. 110). Это защищает торцы фанерной палубы и увеличивает долговечность щитов. Оборачиваемость щитов с футеровкой из пленки ПЭТФ увеличивается в 2 - 2,5 раза и достигает 75 - 80 циклов.
Рис. 110. Фанерный щит с пленочной футеровкой
1 - палуба; 2 - продольное ребро; 3 - то же, поперечное;
4 - футеровка; 5 - открылки
Специальную пленку ПВХ с антиадгезионными добавками выпускает дзержинское объединение Капролактам. Наклеивают ее на фанерную палубу с помощью клея ВИЛАД-2Н при температуре 60 - 80 °C, давлении 5 - 8 кгс/см2 и продолжительности 2 - 4 ч. Бетон с фанерными щитами, футерованными пленками ПЭТФ и ПВХ, имеет низкое сцепление (0,07 - 0,15 кгс/см2). Применение щитов с футеровками облегчает распалубку и обеспечивает хорошее качество бетонных поверхностей. Ориентировочная стоимость футеровок 0,5 - 0,6 руб./м2. Значительный интерес представляют гибкие съемные футеровки-подложки. Такие подложки применяют для бетонирования элементов зданий с рельефными лицевыми поверхностями. Гибкие подложки выполняют из специальной резины, поливинилхлорида в виде ковриков, матов размером до 2 x 1 м. Крепят их к палубе шпильками или шурупами таким образом, чтобы распалубку можно было производить раздельно. Сначала снимают щиты, а затем гибкие подложки.
ИЗГОТОВЛЕНИЕ ПЛАСТМАССОВЫХ ОПАЛУБОК
6.26. Пластмассовые щиты опалубки разработаны в ГИСИ им. В.П. Чкалова (рис. 111) и в тресте Мособлоргтехстрой. Щиты изготавливаются двумя способами: отливкой в специальных матрицах и методом контактного прессования. Исходными материалами для изготовления пластмассовых щитов являются эпоксидная смола ЭД-20 (ЭД-16), полиэфирная смола, стеклохолст, стекложгут. Формующие поверхности пластмассовых щитов для обеспечения антиадгезионных свойств формуют с использованием специального наполнителя - серебристого графита.
Рис. 111. Пластмассовый щит ГИСИ
Примерный расход материалов на изготовление пластмассовых щитов приведен в табл. 67.
Таблица 67
Компоненты | Расход, кг | Примечание |
на 1 щит | на 1 м2 |
Смола ЭД-20 | 7,2 | 9,6 | Размер щита 1,5 x 0,5 м; масса щита 11,3 кг, трудозатраты на изготовление 1 щита - 4,8 чел.-ч, на 1 м2 поверхности - 6,4 чел.-ч |
Дибутилфталат | 0,77 | 1,03 |
Графит | 0,94 | 1,25 |
Гексаметилендиамин ГМД-А | 1,14 | 1,52 |
Стеклоткань, м2 | 1,8 | 2,4 |
Стекложгут | 1,2 | 1,6 |
Масса щита, кг | 11,3 | - |
Трудозатраты на изготовление, чел.-ч | 4,8 | 6,4 |
Пластмассовые щиты долговечны (нормативная оборачиваемость 100 циклов), примерно в 1,5 - 1,8 раза легче стальных. Они легко устанавливаются и снимаются, бетон с ними имеет малое сцепление. Применение пластмассовых щитов обеспечивает хорошее качество бетонных поверхностей и позволяет экономить сталь и пиломатериалы. Применение для полимерных щитов дешевых полиэфирных смол вместо дорогих эпоксидных позволит резко снизить стоимость пластмассовой опалубки.
6.27. Изготовление пластмассовой опалубки требует специальных мер предосторожности при работе с отвердителями, растворителями, смолами, содержащими стирол и т.п. С этой целью должна быть разработана специальная производственная инструкция.
ИЗГОТОВЛЕНИЕ ГРЕЮЩИХ ЭЛЕКТРИЧЕСКИХ ПОКРЫТИЙ ЦНИИОМТП
6.28. Изготовление гибких покрытий должно осуществляться в сухом и светлом помещении. Технические исполнители должны быть обучены. Производить работы по изготовлению ГП можно только под руководством инженерно-технического работника.
6.29. Изготовление ГП начинается с заготовки материалов на необходимый комплект:
нарезаются по шаблону асботкань, стеклоткань и стеклохолст, углеродные ленты;
изготавливаются металлические прижимные планки, заготавливаются болты, гайки, шайбы, клеммные переходники, штепсельные разъемы и температурные реле;
нарезается длиной по 1,5 м кабель ШРПС, разделываются концы и присоединяются штепсельные вилки;
заготавливается теплостойкий медный провод сечением 4 мм2, длиной, установленной проектом, производится очистка от изоляции в местах припайки к углеродным нагревателям;
производится меднение концов углеродных лент гальваническим способом в электролитах следующего состава:
| 1-й состав | | | | 2-й состав | |
1. | Сернокислая медь | - | 200 г/л | 2. | Сернокислая медь | 125 г/л |
| Серная кислота | - | 40 г/л | | Сернокислый натрий | 60 г/л |
| Тиомочевина | - | 0,01 г/л | | Сернокислый аммоний | 60 г/л |
| Глицерин | - | 0,1 г/л | | Этилендиамин (основание) | 60 г/л |
Меднение в электролите 1-го состава необходимо вести при непрерывном перемешивании. При приготовлении электролита 2-го состава необходимо строгое соблюдение порядка растворения веществ. Температура электролитов должна находиться в пределах 18 - 20 °C, плотность тока - 8 - 80 А/дм2, время меднения - 0,5 - 2 мин. Толщина медного покрытия должна составлять не менее 30 мкм.
6.30. После заготовки материалов приступают к пошиву защитного чехла из прорезиненной ткани и гибкой нагревательной панели. Внутри защитного чехла пришиваются отрезки тесьмы, пропитанной огнезащитным раствором. Гибкая нагревательная панель состоит из полотнища асбестовой ткани (или стеклохолста) с пришитыми к ней углеродными лентами. Пришивка лент осуществляется углеродной крученой нитью на швейной машине с промстолом. Защитный чехол сшивают накладным швом высокопрочными синтетическими нитками. Для повышения прочности и герметичности шва соединяемые полотнища дополнительно могут быть склеены.
6.31. После пришивки к асбестовой ткани углеродные ленты соединяются в электрическую цепь параллельно друг другу с помощью теплостойкого провода, припаиваемого к омедненным концам углеродных лент. К концам провода через клеммный переходник подключают кабель со штепсельной вилкой. На гибкой панели закрепляют температурное реле и подключают к нему шланговый провод с инвентарным разъемом.
Примечание. Углеродные ленты могут крепиться к асбестовой ткани с помощью П-образных скобок из оцинкованной проволоки диаметром 2 мм. Токоподвод к нагревателям может осуществляться через шины из полос, изготовленных из латуни или нержавеющей стали, между которыми зажимаются и заклепываются концы углеродных лент.
6.32. Утеплитель покрытия состоит из пакета шести полотнищ стеклохолста, простеганных стекло жгутом в шахматном порядке через 15 - 20 см. Простегивание начинают с двух полотнищ с добавлением последующих отдельно для каждого полотнища стеклохолста. При простегивании полотнища собирают в складки, за счет чего утеплитель получается с воздушными пустотами, повышающими теплоизолирующие качества покрытия.
6.33. Сборку покрытия производят в следующей последовательности:
на монтажном столе раскладывают защитный чехол, вывернутый наизнанку;
сверху в пакет укладывают полотнище стеклоткани, гибкую нагревательную панель (лентами вниз) и съемный утеплитель;
начиная с торца покрытия, производят поочередно привязку пакета тесьмой к защитному чехлу и выворачивание чехла лицевой стороной наружу;
собранные таким образом материалы ГП зажимаются по открытому торцу защитного чехла прижимными планками. Между собой планки стягиваются болтами М6. Для герметизации торца под планки подкладывается дополнительное полотнище прорезиненной ткани шириной 150 мм.
6.34. При сборке необходимо проследить, чтобы в углублении между планками токоподводящий кабель располагался плотно и исключалась возможность перетирания его изоляции.
6.35. Изготовленное покрытие подключается для испытания к сети с номинальным напряжением и блоку автоматики температурного контроля. За время нагрева активной поверхности ГП до максимальной рабочей температуры, автоматического срабатывания температурного реле и отключения ГП от сети следует проверить соответствие силы тока его расчетной величине.
Технология изготовления греющих электрических покрытий Красноярского Промстройниипроекта <*>
--------------------------------
<*> Разработана совместно институтом Оргтяжстрой (Ростов-на-Дону).
Подготовка материалов
6.36. Греющий провод разматывается из бухты и отрезается необходимой длины. К зачищенным концам припаивают коммутационные выводы. Места контакта выводов с греющим проводом изолируются лентой сырой резины или надевается резиновая трубка. Возможна намотка греющего провода с последующей распайкой концов.
Стеклоткань промывается в ацетоне, моющим средством или обжигается при температуре 300 - 350 °C. После промывки стеклоткань высушивают и разрезают на куски нужных размеров.
Сырая резина свивается с рулона, производится раскрой на "карты" заданной формы и размеров.
Приготавливается резиновый клей путем растворения натурального каучука в бензине.
Сборка электронагревателей
6.37. На монтажном столе-кондукторе устанавливаются штыри по периметру активной части покрытия с заданным шагом греющих элементов, после чего на стол укладывается полотно сырой резины.
Стеклоткань пропитывается растворенной в бензине сырой резиной, укладывается на подготовленное полотно сырой резины и прикатывается валиком с усилием 3 - 5 кгс/см2. Полотно переворачивается стеклотканью вниз, подворачиваются продольные края и укладываются между штырями кондуктора.
Производится укладка греющего провода с выбранным шагом с помощью фиксирующих штырей. Далее производится распайка коммутационных выводов и их изоляция.
Сверху укладывается полотно сырой резины и прикатывается валиком с усилием 3 - 5 кгс/см2.
Собранный нагреватель освобождается от штырей кондуктора, припудривается тальком и сворачивается в рулон для транспортирования к месту вулканизации.
Вулканизация электронагревателей
6.38. Вулканизация электронагревателей должна производиться в прессах, снабженных греющими плитами, например пресс ПГ-3-7. Включается пресс и поднимается температура плиты до 150 - 155 °C. На плиты пресса укладываются поддоны и прогреваются в течение 2 - 3 мин.
Собранный электронагревательный элемент кладется на поддон и закрывается кошмой для обеспечения запрессовки провода. Производится опрессовка давлением 3 - 5 кгс/см2. Время вулканизации 30 мин. Время остывания в нагруженном состоянии 20 мин.
Котловая (автоклавная) вулканизация
6.39. Электронагревательные элементы кладутся на лист металла, соприкасающиеся поверхности которого предварительно обсыпают тальком. Количество элементов на одном листе - не более трех по высоте. Расстояние между листами 5 см.
Металлические листы с нагревательными элементами помещаются на тележку, последняя закатывается в вулканизационный котел и автоклав закрывается. Режим вулканизации следующий. Пуск пара и подъем давления до 5 атм. Температура при этом 150 - 160 °C. Время вулканизации 30 мин. Производится сброс давления и выпуск пара. Время сброса и остывания 10 мин.
При недостаточных размерах автоклава допускается сырые элементы сворачивать в рулон с металлической сеткой для сохранения их формы в процессе вулканизации.
Сборка греющих покрытий
6.40. На кондукторе сборки укладывается завулканизированный электронагреватель, на него послойно кладутся отражающий экран, утепляющий слой и гидроизоляционное покрытие.
Перед сборкой соприкасающиеся поверхности нагревателя и утеплителя по контуру (шириной 8 - 10 см по контуру нагревателя) промазываются резиновым клеем и после укладки между ними отражающего экрана приклеиваются друг к другу.
Гидроизоляционное покрытие также промазывается по контуру (шириной 8 - 10 см) резиновым клеем со стороны, обращенной к нагревателю, и приклеивается к нему.
Собранный таким образом мат переворачивается, выступающие участки гидроизоляционного покрытия шириной 5 - 7 см приклеиваются к рабочей поверхности нагревателя.
При оклеивании частей (слоев) мата места оклейки прикатываются рабочей поверхностью к рабочей поверхности нагревателя валиком усилием 3 - 5 кгс/см2.
При сборке мата коммутационные провода выводятся через прорезь гидроизоляционного покрытия и место вывода тщательно приклеивается.
После сборки, выдержки (до полной склейки) и проверки мата по электрическим и теплотехническим параметрам ему присваивается порядковый номер. Данные испытания записываются в паспорт изделия.
Испытания нагревателя на электробезопасность производятся по ТУ 67-152-77.
7. ТЕХНОЛОГИЯ ОПАЛУБОЧНЫХ РАБОТ
7.1. Опалубка должна обладать достаточной прочностью, жесткостью и неизменяемостью в рабочем положении под воздействием технологических нагрузок.
7.2. Установка и демонтаж опалубки должны производиться по проектам производства работ в соответствии с инструкцией по эксплуатации.
7.3. Опалубка, как правило, должна монтироваться и демонтироваться механизированным способом укрупненными панелями и блоками. Укрупнительная сборка, а также перемонтаж опалубочных панелей и блоков на другие размеры производятся на специально оборудованной площадке или плаце. Монтаж и демонтаж опалубки поэлементно вручную допускается для нетиповых конструкций с неповторяющимися размерами при экономической нецелесообразности крупноразмерного монтажа.
7.4. Опорные части поддерживающих элементов опалубки горизонтальных и наклонных поверхностей должны устанавливаться на основания, не допускающие осадок, и иметь достаточную площадь опирания.
7.5. Освобождение монтируемых элементов опалубки от крюка подъемного механизма допускается только после их временного или постоянного закрепления на месте установки.
7.6. При приемке смонтированной опалубки проверяется:
правильность установки;
правильность установки несущих и поддерживающих элементов, анкерных устройств и элементов крепления;
геометрические размеры собранной опалубки;
смещение осей опалубки от проектного положения.
7.7. Снятие элементов опалубки должно производиться способами, исключающими повреждение бетона монолитных конструкций. Щиты опалубки, снимаемые с помощью грузоподъемных механизмов, должны быть предварительно отделены от бетона.
7.8. Поддерживающие элементы опалубки горизонтальных и наклонных поверхностей перед их демонтажом должны быть опущены.
7.9. Отрыв от бетона щитов опалубки при отсутствии монтажных подмостей должен производиться после временного надежного закрепления щитов опалубки на несущих конструкциях или грузоподъемном механизме.
7.10. Поверхность опалубки, соприкасающаяся с бетоном, перед бетонированием должна быть смазана для уменьшения адгезии с бетоном. Смазка производится в соответствии с указаниями в проекте производства работ.
7.11. Каждый раз после распалубки и перед установкой греющей опалубки проверяется сохранность утеплителя, крепление токоприемников, соответствие омического сопротивления нагревателей паспортным данным, целостность изоляции нагревателей, работоспособность систем электроснабжения и регулирования режимов прогрева.
| | ИС МЕГАНОРМ: примечание. В официальном тексте документа, видимо, допущена опечатка: СНиП "Техника безопасности в строительстве" имеет номер СНиП III-4-80*, а не СНиП III-40-80. | |
7.12. При монтаже и демонтаже опалубки необходимо соблюдать условия по технике безопасности согласно требованиям главы
СНиП III-40-80 "Техника безопасности в строительстве".
7.13. Проект опалубочных работ является составной частью общего проекта производства работ.
Он включает схему организации опалубочных работ в увязке с другими видами работ с разбивкой на захватки, направлением движения комплектов унифицированной опалубки, указанием темпа оборачиваемости комплекта на отдельных захватках или на отдельных сложных конструкциях, технологические карты на производство опалубочных работ, маркировочные чертежи опалубки отдельных, наиболее характерных, часто повторяющихся или сложных конструкций и спецификацию элементов и общий объем комплекта опалубки.
7.14. Маркировочный чертеж представляет собой схематическое изображение опалубливаемой поверхности с элементами опалубки, на которых нанесены присвоенные им условные обозначения - марки.
Для сложных конструкций (фундаментов под технологическое оборудование) и сооружений (эстакад, путепроводов, тоннелей, технологических этажерок и т.п.) маркировочные чертежи выполняются проектными организациями, разрабатывающими общий проект производства работ, или проектными организациями, выполняющими проект конструкций и сооружений.
Кроме унифицированных элементов показываются места установки "доборов". На маркировочном чертеже помещается спецификация элементов опалубки на бетонируемую конструкцию, а также указывается объем материалов, необходимых для устройства "доборов".
Чертежи крепления опалубки таких конструкций, как капители, наклонные и криволинейные каналы, оболочки, складки, воронки, контрфорсы и пр., встречающиеся при возведении сложных сооружений типа технологических этажерок, фундаментов под технологическое оборудование, разрабатываются со степенью детализации, необходимой для понимания рабочими III - IV разрядов.
Для простых по конфигурации железобетонных конструкций небольшого объема (ступенчатые фундаменты под колонны каркаса, стены и т.п.) маркировочный чертеж может быть в эскизном исполнении.
7.15. Технологические карты на производство опалубочных работ составляются для всех сложных железобетонных конструкций и сооружений, имеющих маркировочные чертежи, а также для одного из типов наиболее повторяющихся относительно простых конструкций. На технологической карте указывается последовательность установки и разборки закладных деталей, последовательность отдельных операций при монтаже поддерживающих элементов опалубки уникальных сооружений, а также приводятся калькуляции материальных и трудовых затрат, стоимости работ, затрат машинного времени, электроэнергии, сжатого воздуха, пара и др.
7.16. На схеме организации опалубочных работ кроме изображения бетонируемых конструкций и сооружений с указанием объема опалубочных работ помещается перечень подъемных механизмов, указываются площадки складирования, а также линейные графики производства работ с указанием движения комплектов опалубки, звеньев и бригад рабочих. Для таких конструкций, как фундаменты под прокатные клети, рольганги, мощные компрессоры, турбогенераторы и т.п., производится разбивка на блоки с учетом технологии бетонных работ.
7.17. На основании перечисленных документов составляется общая спецификация элементов опалубки и определяется общий объем комплекта. При составлении спецификации учтена схема организации опалубочных работ.
Темп оборачиваемости комплекта опалубки (количество оборотов в определенный календарный период) зависит от типа бетонируемой конструкции, принятой технологии и организации работ, производительности основных механизмов. Ориентировочно он может быть принят по табл. 68.
Таблица 68
Тип бетонируемых конструкций | Площадь опалубливаемой поверхности, м2 | Способ бетонирования | Темп оборачиваемости (обороты в месяц) |
в летний период | |
количество рабочих смен |
2 | 3 | 2 | 3 |
Фундаменты под каркас объемом до 5 м3 | 10 - 15 | Башенные краны, бетоноукладчики | 10 - 12 | 11 - 12 | 8 - 10 | 9 - 10 |
Фундаменты объемом 5 - 25 м3 под каркас и легкое технологическое оборудование с легкими анкерными болтами | 11 - 70 | То же | 8 - 10 | 10 - 11 | 10 | 10 |
Фундаменты значительной протяженности (ленточные), подпорные стены, водоводные тоннели высотой до 6 м | 100 | Башенные краны, бетоноукладчики | 6 - 10 | 10 - 11 | 8 | 9 |
Маслоподвалы, отстойники, высокие подпорные стены, опускные колодцы глубиной до 12 м | 100 | Башенные краны, транспортеры | 6 - 8 | 8 - 9 | 5 - 6 | 5 - 6 |
Массивные фундаменты под технологическое оборудование | 100 | Башенные краны, бетоноукладчики, транспортеры | 3 - 5 | 4 - 6 | 3 - 5 | 4 - 5 |
| |
Перекрытия, балки, прогоны | 10 - 15 | Башенные краны, транспортеры | 4 - 6 | 5 - 6 | 3 - 5 | 3 - 5 |
-------------------------------- <*> При условии электропрогрева забетонированных конструкций. <**> При разбивке на отдельные блоки. |
7.18. Опалубочные работы выполняются звеньями, организованными по операционно-расчлененному принципу. Численно-квалификационный состав звеньев зависит от вида работ, типа опалубки и лесов, а в некоторых случаях от специфических условий строительства.
Опалубщики-монтажники должны обладать профессиональными навыками монтажников, слесарей-сборщиков и плотников. Это объясняется тем, что наряду с монтажными операциями опалубщикам приходится выполнять работы по установке закладных деталей, сборке поддерживающих лесов, подключению термоактивной опалубки и т.п. с использованием молотков, топоров, ручных пил и т.д.
Для правильного комплектования звеньев в тех случаях, когда эксплуатируются системы инвентарной опалубки универсального назначения, можно пользоваться приведенными в табл. 69 рекомендациями по квалифицированному подбору рабочих для выполнения операций с теми или иными элементами опалубки.
Таблица 69
Операции | Элементы опалубки | Квалификационный разряд (минимальный) |
Разметка положения фундаментов и других конструкций | - | IV |
То же, закладных деталей | - | IV |
Подноска элементов опалубки и лесов | - | I |
Сборка каркасов из несущих балок (для ступенчатых фундаментов) | Несущие балки | II |
Установка каркасов из несущих балок | То же | III |
Установка и закрепление схваток ленточных фундаментов | Схватки, подкосы | III |
Сборка каркасов из схваток для фундаментов под технологическое оборудование | Схватки, крепления, подкосы | III, IV |
Установка и раскрепление телескопических стоек | Телескопические стойки, крепления, связи | III |
Сборка опор из составных и телескопических стоек | Составные и телескопические стойки, связи | III, IV |
Установка прогонов по стойкам | Схватки, балки, деревянные брусья | III |
Установка балочных струбцин и хомутов для опалубки балок и ригелей | Балочные струбцины, подвесные хомуты | III |
Установка раздвижных ригелей | Раздвижные ригели | II, III |
Выверка опалубки перекрытий и балок | - | IV, V |
Установка опор под наклонные перекрытия | Составные стойки, телескопические стойки, связи, крепления | III, IV |
Установка опор под опалубку бункеров | Составные стойки, телескопические стойки, связи, крепления | III, IV |
Установка ригелей и балок, наклонных перекрытий и бункеров | Схватки, раздвижные ригели, балки, деревянные брусья | IV, V |
Выверка опор наклонных перекрытий | - | V |
Навеска щитов на каркас из схваток | Щиты, крепления | II |
Установка щитов опалубки перекрытий, балок, бункеров | То же | III |
Установка щитов опалубки для раздельного бетонирования | Щиты, крепления, уплотнительные прокладки | III |
Установка щитов термоактивной опалубки | Термоактивные щиты, инвентарная разводка, крепления | III |
Количество звеньев в бригаде определяется объемом опалубочных работ, сроком их выполнения, принятым ритмом потока.
При небольших объемах работ и в случаях, предусмотренных проектами производства работ, принцип организации звеньев по операционно-расчлененному методу может не соблюдаться. Отдельные звенья опалубщиков могут выполнять весь комплекс работ по установке опалубки: подноску элементов, установку подмостей, поддерживающих элементов, монтаж щитов опалубки закладных деталей и т.п.
7.19. Организация рабочего места опалубщиков должна предусматривать создание наиболее благоприятных условий труда, исключающих необходимость пребывания рабочих в неудобных и напряженных позах (согнувшись, присев и т.п.).
Если необходимо вести работы одновременно на нескольких ярусах, рабочие места должны быть надежно защищены сверху и снизу от возможности падения инструментов и элементов инвентарной опалубки.
Положение осей фундаментов перед началом установки опалубки должно быть зафиксировано при помощи натянутых над котлованами проволок. Правильность положения опалубки в котловане проверяется при помощи отвесов, опускаемых с этих проволок.
В больших котлованах, где нет возможности натянуть осевые проволоки, положения осей и отметки фиксируются с помощью теодолита на нескольких реперах. Положение реперов в котловане должно позволять легко определять оси всей группы фундаментов или всех блоков массивных фундаментов.
Перед установкой опалубки выставляются маяки - деревянные колья, забиваемые заподлицо с основанием. На маяках красной краской наносятся риски, фиксирующие или положение рабочей плоскости щитов, опалубки или положение поддерживающих элементов.
Если опалубка устанавливается на бетонное основание или на забетонированные конструкции, риски краской наносят непосредственно на бетонную поверхность. При этом место рисок очерчивают треугольником.
7.20. Место установки лесов и опалубки должно быть очищено от мусора и щепы, а в зимнее время от снега и льда.
Поверхность земли в месте установки лесов и опалубки должна быть выровнена путем срезки бугров; подсыпку грунта в местах установки лесов ни в коем случае не следует допускать.
Под стойки должны быть уложены лаги из досок толщиной не менее 50 мм или из лежней.
7.21. Проходы в местах складирования элементов инвентарной опалубки должны иметь ширину не менее 1 м. Спуски в котлованы при уклоне более 20° должны быть оборудованы лестницами с перилами. При использовании многоярусных подмостей должно быть обеспечено сообщение между ярусами.
Элементы опалубки и лесов складируются в штабеля высотой не более 1 - 1,2 м по маркам так, чтобы был свободный доступ к любому элементу. Складирование элементов нескольких марок в одном штабеле недопустимо.
Вес элементов и лесов, складируемых непосредственно на рабочих подмостях, должен быть строго ограничен в соответствии с нормативными нагрузками, на которые рассчитаны элементы подмостей.
7.22. Подъем опалубочных щитов, схваток, ребер, стоек, ригелей и других относительно крупноразмерных элементов опалубки и лесов и подача их к рабочему месту на подмости или верхние этажи строящегося объекта должны производиться подъемными механизмами в пакетах, охваченных стропами не менее чем в двух местах или в специальных контейнерах. Элементы креплений и соединений (замки, зажимы, тяжи и пр.) должны подаваться подъемным механизмом только в специальных контейнерах.
Щиты опалубки могут быть подняты на высоту до 4 м при помощи вилочных погрузчиков. В этом случае строповка их не требуется. Штабеля щитов должны быть уложены в местах складирования на деревянные подкладки, позволяющие сделать захват штабеля вилочным погрузчиком.
7.23. Смонтированная опалубка принимается мастером или прорабом. При этом проверке подвергаются:
соответствие форм и геометрических размеров опалубки рабочим чертежам;
совпадение осей опалубки с разбивочными осями конструкций или сооружений;
точность отметок отдельных опалубочных плоскостей или выносок на опалубочных плоскостях;
вертикальность и горизонтальность опалубочных плоскостей;
правильность установки закладных деталей, пробок и т.п.;
плотность стыков и сопряжений элементов опалубки с доборами по месту, с ранее уложенным бетоном или подготовкой.
Допускаемые отклонения положения и размеров установленной опалубки, поддерживающих лесов и креплений не должны превышать величин, указанных в табл. 70.
Таблица 70
Отклонения | Величина отклонений, мм |
1. Отклонения размеров расстояний между опорами изгибаемых элементов опалубки (стойками, тяжами и пр.) и расстояний между связями, раскрепляющими стойки лесов, от проектных: | |
на 1 м длины | +/- 25 |
на весь пролет, не более | +/- 75 |
2. Отклонения от вертикали или от проектного наклона плоскостей опалубки и линий их пересечения: | |
на 1 м высоты | 5 |
на всю высоту конструкций: | |
фундаментов | 20 |
стен и колонн высотой до 5 м, поддерживающих монолитные перекрытия | 10 |
то же, высотой более 5 м | 15 |
колонн каркаса, связанных балками | 10 |
балок и арок | 5 |
3. Смещение осей разборно-переставной опалубки от проектного положения: | |
фундаментов | 15 |
стен и колонн | 8 |
балок, прогонов и арок | 10 |
фундаментов под стальные конструкции |  , где L - длина пролета или шага конструкций, м |
4. Отклонения внутренних размеров поперечных сечений коробов опалубки и расстояний между внутренними поверхностями опалубки стен от проектных | +5 |
5. Местные неровности опалубки (при проверке двухметровой рейкой) | 3 |
Примечания: 1. При возведении многоэтажных (многоярусных) сооружений отклонения в расположении осей опалубки от проектного положения, допущенные согласно п. 3 настоящей таблицы в нижележащих этажах (ярусах), должны быть исправлены при установке опалубки этих элементов в последующих этажах (ярусах). 2. Применение инвентарных элементов опалубки и лесов с сечениями меньше предусмотренных проектом допускается при условии, если приняты необходимые меры против перенапряжения и недопустимых деформаций путем более частой постановки опор и креплений и иными средствами. |
7.24. При наличии на строительной площадке кранов большой грузоподъемности опалубку следует собирать в укрупненные блоки (коробы, щиты, соединенные с кружалами и т.п.). В целях сокращения сроков производства работ на этих укрупненных элементах следует закреплять арматуру, образуя арматурно-опалубочные блоки.
Блоки больших размеров, которые нельзя транспортировать от опалубочного цеха до места установки, следует собирать у объектов в пределах радиуса действия крана. При установке крупнопанельных щитов опалубки и арматурно-опалубочных блоков следует соблюдать следующие условия:
стропы для монтажа должны прикрепляться в местах, предусмотренных проектом; места строповки должны быть отмечены яркой краской;
правильность устройства опалубки необходимо проверять до монтажа;
освобождение монтируемых конструкций от крюка подъемного механизма допускается только после их временного или постоянного закрепления на месте установки.
7.25. Дощатая опалубка и кружала железобетонных арок и сводов покрытий, а также дощатая неинвентарная опалубка железобетонных балочных конструкций пролетом более 4 м должны устраиваться со строительным подъемом, учитывающим их осадку под нагрузкой от свежеуложенной бетонной смеси.
Величина подъема дощатой неинвентарной опалубки арок и сводов в середине пролета и характер кривой подъема должны определяться проектом; при этом строительный подъем в середине пролета должен быть не менее 5 мм на 1 м пролета.
Строительный подъем балочных конструкций должен быть не менее 3 мм на 1 м пролета.
Правильность установки опалубки и соблюдение величины строительного подъема в соответствии с проектом должны проверяться при помощи геодезических инструментов.
7.26. Деревянные пробки, анкерные крюки и другие приспособления для крепления опалубки вышележащих конструкций должны быть уложены в свежий бетон немедленно по окончании бетонирования.
Заделка тяжей, расчалок и других креплений в уложенном ранее бетоне должна производиться с учетом прочности бетона, достигаемой к моменту передачи нагрузки на эти крепления.
7.27. На время бетонирования выделяется дежурный рабочий, который периодически (1 - 2 раза в час) производит внешний осмотр опалубки.
В случае деформации отдельных элементов инвентарной опалубки (щитов, схваток), раскрытия щелей или деформации доборов дежурный рабочий вызывает мастера и по его указанию производит установку дополнительных креплений и исправление деформировавшихся мест (в некоторых случаях с использованием для этой цели домкратов). Все исправления, связанные с нарушением структуры уложенной в опалубку бетонной смеси, допускаются не позднее 1 - 2 ч после укладки смеси.
7.28. Разборка опалубки (распалубливание забетонированных конструкций) допускается не ранее, чем бетон достигнет требуемой прочности, и может производиться только с разрешения производителя работ. При этом необходимо предварительно убедиться в отсутствии нагрузок на конструкции, превышающих допустимые.
Разборку опалубки и лесов следует поручать тем рабочим бригадам, которые будут выполнять повторную установку опалубки. Стойки из брусьев или бревен и другие элементы, поддерживающие неинвентарную опалубку и воспринимающие массу конструкции, должны быть установлены на специальные приспособления для раскружаливания: парные клинья, песочные цилиндры, винтовые домкраты. Удаление стоек и других элементов, поддерживающих опалубку несущих конструкций, допускается только, после снятия боковой опалубки и осмотра как распалубленных элементов, так и поддерживающих их конструкций.
Перед началом разборки опалубки должна быть возобновлена стертая маркировка ее элементов. Снимаемые элементы опалубки должны быть осторожно спущены вниз, рассортированы, очищены от торчащих гвоздей и сложены в штабель.
Инвентарные детали опалубки (хомуты, клинья, болты и др.) должны сдаваться по счету бригадиру или мастеру.
ЦЕНТРАЛИЗОВАННАЯ ЭКСПЛУАТАЦИЯ ОПАЛУБКИ ЧЕРЕЗ СПЕЦИАЛИЗИРОВАННЫЕ УЧАСТКИ ОПАЛУБОЧНЫХ РАБОТ
7.29. Опыт централизованной эксплуатации опалубки, накопленной Минтяжстроем Каз.ССР, несомненно, заслуживает самого широкого распространения.
Организация работ предусматривает сосредоточение всей опалубки на специализированном опалубочном участке, организуемым в управлении малой механизации (УММ) строительного треста.
Строительные организации выдают заказы участкам на поставку им готовых блоков опалубки с приложением эскиза бетонируемой конструкции. В УММ из набора элементов опалубки собирают блоки и выдают их на прокат строительной организации, которая после окончания бетонирования возвращает блоки, не разбирая.
7.30. Взаимоотношения участка опалубочных работ и строительных организаций регламентируются "Временным положением о специализированном участке опалубочных работ" (см.
прил. 7).
Этим положением предусматривается поставка опалубки строительным организациям на основании согласованного графика. Предусмотрены взаиморасчеты за пользование опалубкой, штрафные санкции за невыполнение сроков поставки или задержку возврата. За порчу опалубки штраф взимается в 2 - 3-кратном размере от стоимости опалубки.
7.31. Перенос центра тяжести опалубочных работ со стройплощадки в условия, приближенные к заводским, позволяет:
максимально механизировать рабочие процессы по сборке блоков и панелей опалубки;
организовать хороший ремонт и уход за элементами опалубки;
производить работу квалифицированными кадрами, что существенно сказывается на производительности труда и качестве продукции;
за счет использования крупноразмерной опалубки и возврата блоков и инвентаря без их разборки - свести до минимума потери элементов и крепежных деталей;
обеспечить надлежащее хранение опалубки.
УСТАНОВКА МЕЛКОЩИТОВОЙ РАЗБОРНО-ПЕРЕСТАВНОЙ ОПАЛУБКИ МЕХАНИЗИРОВАННЫМ СПОСОБОМ
7.32. Механизация процессов установки и разборки опалубки - наиболее эффективный способ повышения производительности труда.
В настоящее время наблюдаются три основных направления в механизации опалубочных работ при использовании разборно-переставной опалубки:
монтаж плоскими панелями, собираемыми из унифицированных элементов инвентарной опалубки;
монтаж опалубки объемными блоками (с замкнутым контуром);
монтаж армоопалубочными блоками, собираемыми из унифицированных элементов инвентарной опалубки.
Эффективность механизации опалубочных работ связана прежде всего с максимальным укрупнением опалубочных элементов. Монтаж опалубки крупноразмерными панелями тем эффективнее, чем больше площадь самих панелей, чем большее количество оборотов получает панель без переборки. Для таких железобетонных конструкций, как колонны, пилоны, подколонники большой высоты и небольшого поперечного сечения использование панелей менее эффективно, чем пространственных блоков. При использовании блоков отпадает необходимость в установке элементов, обеспечивающих устойчивость опалубки.
7.33. При механизированной установке крупноразмерными панелями и блоками к инвентарной опалубке предъявляются повышенные требования в отношении жесткости, несущей способности, долговечности, допусков линейных размеров отдельных элементов, из которых собираются панели и блоки (щитов, схваток, креплений и т.д.).
Из-за податливости соединений щитов и схваток в процессе эксплуатации величины отклонений линейных размеров возрастают. Это происходит под воздействием монтажных нагрузок (собственной массы щитов, схваток при эксцентричной или несимметричной строповке) и сил сцепления бетона конструкций со щитами панелей и блоков. В связи с этим размеры и конфигурация панелей должны быть ограничены.
7.34. Максимальная масса крупноразмерных панелей, собираемых из деревянных, комбинированных или стальных щитов, не превышает 1,2 - 1,5 т, поэтому для монтажа опалубки целесообразно применять легкие мобильные краны.
Площадки для сборки панелей и блоков находятся зачастую на расстоянии нескольких сот метров от места установки. Обычно для транспортирования их используются бортовые автомобили, четырехосные автомобильные прицепы или трайлеры. Нагрузки, возникающие во время перевозки, нередко вызывают деформации панелей, изменение геометрических размеров и конфигурации, остаточные деформации в отдельных элементах. В связи с этим на бортовых автомобилях и трайлерах рекомендуется перевозить панели площадью до 9 м2, длина грани которых не превышает 3 м. Для перевозки панелей большей площади транспортные средства должны быть оборудованы специальными рамами. Такие рамы выполняются из деревянных брусьев сечением 150 x 150 мм или из швеллеров N 12.
7.35. Масса опалубочных и армоопалубочных блоков достигает 2,5 - 7 т, а максимальные габариты 5000 - 6000 мм. Однако в поперечном сечении блоки имеют размеры, не превосходящие 3000 - 4000 мм. Поэтому их транспортируют на трайлерах или автоприцепах.
Монтаж блоков производится башенными или мобильными кранами на пневмоколесном или гусеничном ходу соответствующей грузоподъемности.
7.36. Сборка крупноразмерных панелей производится на спланированных и уплотненных грунтовых площадках или на специальных монтажных стендах. При использовании деревянных щитов коробчатого сечения или комбинированных щитов с каркасом из гнутых профилей сборка панелей производится в следующем порядке:
разложенные на площадке или на стенде щиты после выверки размеров панели и углов соединяют с помощью клиновидных шпонок, стальных скоб с деревянными клиньями или струбцин. Затем устанавливают монтажные петли в местах, указанных на схеме
(рис. 112). На щиты укладывают схватки с шагом 1200 - 1400 мм и окончательно соединяют элементы панели с помощью натяжных кранов. При этом все возможные зазоры между схватками и ребрами каркаса щитов ликвидируются путем прокладки стальных шайб или фанерных подкладок. Поверх схваток останавливают диагональные связи по схеме, представленной на
рис. 112. Собранная панель перекантовывается лицевой поверхностью вверх, путем ручной острожки ликвидируются все местные выступы отдельных досок щитов.
Рис. 112. Схема комплектования крупноразмерных опалубочных
панелей из деревянных щитов конструкции ЦНИИОМТП
1 - инвентарный щит; 2 - схватка; 3 - диагональная связь;
4 - траверса; 5 - строп
7.37. При использовании стальных и комбинированных щитов сборка панелей производится в следующем порядке.
Разложенные на площадке или на стенде щиты после выверки размеров и углов соединяют с помощью пружинных скоб или пружинных крюков.
На щиты укладывают схватки и соединяют с ними натяжными крюками. При этом контурные щиты крепятся крюками с винтовыми запорами. Это не только повышает жесткость панели, но является обязательным условием техники безопасности.
Достаточно высокая точность изготовления щитов и схваток, крепление всех элементов между собой, наличие натяжных креплений щитов со схватками обеспечивают необходимое качество поверхности панелей.
Поверх схваток укладывают связи. Обычно в качестве связей также используются схватки. Между собой они соединяются на болтах. К верхнему ярусу схваток крепятся инвентарные монтажные петли.
На
рис. 113 приведена принципиальная схема компоновки крупноразмерной панели и схема ее строповки, обеспечивающая транспортирование панели в вертикальном положении. Для возможности стыковки панелей схватки на них по вертикали размещаются, как показано на схеме.
Рис. 113. Схема комплектования крупноразмерных
опалубочных панелей из элементов стальной
или комбинированной опалубки ЦНИИОМТП
1 - инвентарный щит; 2 - схватка; 3 - монтажная петля;
4 - связь; 5 - соединительный Т-образный болт
Перед монтажом крупноразмерной опалубочной панели на ней закрепляется навесная площадка и площадка для работы опалубщиков и бетонщиков. На панелях, собранных из элементов опалубки ЦНИИОМТП, устанавливают инвентарные подкосы с регулировочным винтом.
После выверки положения панели с навесных стремянок устанавливают монтажные крепления. До полного окончания этой операции запрещается производить расстроповку панели.
После завершения монтажного крепления панелей производится их строповка и монтажный механизм переключается на установку следующей панели или на другую работу. А с переносных и навесных стремянок и площадок устанавливаются все рабочие крепления. Демонтаж панелей производится в обратном порядке.
Сборка опалубочных блоков возможна из элементов стальной и комбинированной опалубки ЦНИИОМТП. Порядок работ такой же, как и при сборке опалубки подколонников. Сперва с помощью монтажных углов щиты собираются в короб замкнутого контура. Соединение щитов между собой осуществляется на пружинных скобах или на пружинных крюках. На щиты навешиваются схватки, соединенные между собой "в мельницу". По соображениям техники безопасности рекомендуется по крайней мере две схватки из четырех на каждом ярусе крепить к щитам крюками с винтовым запором.
После первого яруса блока аналогичным образом производится сборка второго и последующего ярусов. Затем они устанавливаются друг на друга и щиты соединяются между собой пружинными креплениями. Схватки также соединяются вертикальными связями. При комплектовании блоков небольшого поперечного сечения и массы допускается отсутствие вертикальных связей, но щиты ярусов блока соединяются болтами.
7.38. Демонтаж опалубки, установленной блоками, приходится вести по отдельным панелям (площадью всего 2 - 4 м2) или производить разборку вручную по отдельным щитам. Опалубочные блоки с замкнутым контуром практически не представляется возможным "снять" с железобетонных конструкций. При небольшом поперечном сечении блоков можно производить демонтаж их поярусно блоками с незамкнутым контуром.
Сборка армоопалубочных блоков производится на монтажных плацах. Предварительно заготовляются опалубочные панели из отдельных щитов и схваток.
Соединение элементов в панели предусмотрено с помощью натяжных крюков с винтовым запором. Размеры панелей соответствуют размерам граней железобетонной конструкции.
На одну из панелей устанавливают арматурный каркас и соединяют его с панелью полуинвентарными креплениями. Затем на каркасе укрепляются остальные панели. Друг с другом панели не соединяются. Для ликвидации щелей в углах опалубочной формы снаружи может прибиваться деревянный брусок.
Перед отправкой армоопалубочного блока на строительную площадку на наружных поверхностях опалубки клеевой краской наносят риски, фиксирующие геометрические оси блока. Перед монтажом на блоке могут быть укреплены стремянка и рабочая площадка для бетонщиков.
Демонтаж опалубки производится по отдельным панелям. Для этого болты крепления приходится срезать газопламенным резаком. Перед очередной сборкой блока необходимо подтянуть все болтовые крепления элементов панели, а при повреждении отдельных щитов - заменить их.
СБОРКА РАЗБОРНО-ПЕРЕСТАВНОЙ МЕЛКОЩИТОВОЙ ОПАЛУБКИ РАЗЛИЧНЫХ МОНОЛИТНЫХ КОНСТРУКЦИЙ
Сборка опалубки ступенчатого фундамента
7.39. Сборку опалубочных форм для бетонирования ступенчатых фундаментов объемом до 15 м3 при использовании стальной и комбинированной опалубки ЦНИИОМТП производят в следующем порядке.
Устанавливают и закрепляют с помощью монтажных уголков щиты углов нижних коробов опалубки, расположенных по диагонали фундамента. Пружинными скобами или крюками к смонтированным щитам крепят остальные щиты нижнего короба. Затем к панелям короба опалубки нижней ступени с помощью натяжных крюков крепят схватки. Одновременно схватки нижней ступени соединяют "в мельницу".
Если устройство доборов по месту в нижней ступени нежелательно из-за значительного их объема, часть щитов устанавливают вертикально, начиная с любого угла фундамента. Собранный короб рихтуют строго по осям. Панели короба (при длине более 3000 мм) соединяют стяжками диаметром 4 - 10 мм, минимум по две на каждую пару панелей. Стяжки закрепляют клиновыми зажимами. В основание фундамента забивают деревянные якоря, удерживающие нижний короб.
При высоте опалубки 500 - 600 мм схватки устанавливают в два ряда. Доборы по месту крепят монтажными гвоздями к деревянным пробкам, забитым в стальные инвентарные схватки. На ребра щитов нижнего короба наносят риски, фиксирующие положение щитов второй ступени, затем, отступив от рисок на расстояние, равное толщине щита, устанавливают инвентарные поддерживающие балки, которые закрепляют на нижнем коробе с помощью струбцин. Поддерживающие балки выполняются из швеллера N 16. При небольших пролетах в качестве балок используются схватки.
На поддерживающие балки устанавливают схватки и соединяют их друг с другом "в мельницу". На схватки навешивают щиты второй ступени и скрепляют их натяжными крюками; щиты соединяют пружинными скобами или крюками. Затем к деревянным бобышкам схваток крепят доборы по месту. Собранный верхний короб рихтуют по осям. Противоположные панели верхнего короба соединяют стяжками.
На нижний короб устанавливают временные рабочие настилы, с которых собирают опалубку следующей ступени, подколонника и стакана, кондукторы для анкерных болтов.
Сборку опалубки подколонника начинают с установки монтажных уголков и щитов углов. Щиты крепят к нижним схваткам натяжными крюками, а между собой и с монтажными уголками соединяют пружинными скобами. Затем на щиты опалубки подколонника с помощью натяжных крюков навешивают схватки второго яруса. Если высота подколонника больше 1800 мм, его опалубку составляют из двух или более ярусов щитов. На верхнем коробе с помощью струбцин устанавливают и закрепляют опалубку стакана или кондукторы для анкерных болтов. Разбирают опалубку ступенчатых фундаментов в обратной последовательности. Сборку опалубки ступенчатых фундаментов объемом до 15 м3 производит звено из двух опалубщиков.
7.40. Сборку опалубочных Форм тяжелых ступенчатых фундаментов (объемом до 100 м3) можно производить без поддерживающих лесов, используя несущие балки. Процесс сборки проходит в следующем порядке.
Собирают на спланированной грунтовой площадке нижний короб из несущих балок. На балки нижнего короба навешивают щиты с помощью натяжных крюков. Доборы из досок (если длина ступени фундамента некратна длине щитов) крепят к деревянным бобышкам, забитым между швеллерами поясов балок.
На ребра щитов короба наносят клеевой краской риски, обозначающие положение осей, устанавливают собранный короб опалубки нижней ступени с помощью универсальной траверсы на подготовленное основание фундамента. Противоположные панели второго и последующего коробов соединяют стяжками и закрепляют их клиновыми зажимами. Количество стяжек определяется расчетом. На каждую пару панелей короба должно приходиться не менее двух стяжек.
Если высота ступеней фундамента больше 500 мм, опалубочные короба вышерасположенных ступеней устанавливают на прокладки, прикрепленные к несущим балкам нижнего пояса.
Щиты первого яруса подколонника крепят к балкам натяжными крюками, между собой - пружинными скобами. Затем устанавливают монтажные уголки и соединяют их со щитами пружинными скобами или крюками; устанавливают (если необходимо) щиты второго яруса. С помощью натяжных крюков закрепляют схватки, соединяемые между собой "в мельницу", устанавливают стяжки и закрепляют их клиновыми зажимами.
На ребра щитов подколонника клеевой краской наносят риски, обозначающие положение осей. Собранный подколонник устанавливают с помощью универсальной траверсы на балки короба опалубки верхней ступени фундамента и закрепляют на них хомутами, навешивают рабочие площадки и стремянки.
На щитах опалубки закрепляют легкие закладные детали. Тяжелые закладные детали крепят к арматурному каркасу подколонника. Кондукторы для анкерных болтов или гнездообразователи устанавливают и закрепляют на опалубке подколонника струбцинами.
Разбирают опалубку большого ступенчатого фундамента в следующем порядке.
Демонтируют кондукторы анкерных болтов или извлекают гнездообразователи, затем выбивают клинья, соединяющие схватки между собой, и снимают пружинные скобы, соединяющие короба нижнего и верхнего ярусов опалубки подколонника.
Снимают навесные рабочие площадки и стремянки и клиновые зажимы крепления стяжек. Проверяют надежность крепления схваток к щитам натяжными крюками; разбирают короб верхнего яруса опалубки подколонника на отдельные панели; когда это затруднено из-за защемления в бетоне отдельных щитов или концов стяжек, опалубку разбирают на отдельные элементы; затем выбивают клинья, соединяющие несущие балки опалубочных коробов, и снимают клиновые зажимы крепления стяжек. Проверяют надежность крепления щитов к несущим балкам и разбирают короба опалубки ступенчатого фундамента на отдельные панели.
Сборку и разборку опалубки больших ступенчатых фундаментов выполняют обычно два звена. Каждое состоит из двух опалубщиков 4-го и 2-го разряда и одного стропальщика 2-го разряда.
7.41. Сборка деревянной опалубки тяжелых ступенчатых фундаментов возможна практически только в несколько приемов по мере бетонирования фундаментов с тем, чтобы опалубка второй и последующей ступеней, опалубка подколонника опирались на схватившийся и набравший определенную прочность бетон нижних ступеней. При этом для монтажа опалубки подколонника необходимо устанавливать поддерживающие леса, а саму опалубку раскреплять подкосами и расчалками. Сборка опалубочной формы для таких фундаментов из плоских дощатых щитов возможна лишь при устройстве громоздких поддерживающих лесов, на которые расходуется обычно 2/3 всех пиломатериалов и не менее 50% трудовых затрат.
7.42. Установку опалубки ступенчатых фундаментов небольшого объема выполняет звено из двух плотников 4-го и 2-го разряда. Плотник 2-го разряда подносит щиты к месту установки, раскладывает их, заготовляет обрезки проволоки необходимой длины для скруток. Плотник 4-го разряда в это время заготовляет распорки и размечает место установки коробов.
Сборку короба ведут оба плотника. Между накрывными щитами устанавливают закладные детали и закрепляют их монтажными гвоздями. Прибивать закладные щиты к упорным планкам нельзя, так как это затруднит распалубку. Затем через отверстия в щите протаскивают проволоку скруток так, чтобы она схватила сшивные планки щита. Между закладными щитами устанавливают временную распорку. Скрутки натягивают с помощью ломиков; при этом проволоку у сшивных планок необходимо слегка обколачивать молотком, чтобы она плотно к ним прилегала.
После сборки короба плотники производят его выверку (проверяют углы сопряжения щитов), намечают середины щитов и прибивают поверх короба две взаимно перпендикулярные рейки так, чтобы грани их совпадали с осевыми линиями. Через осевые проволоки, протянутые над котлованом, перебрасывают отвесы и короб первого яруса точно устанавливают по осям. Затем выравнивают короб по уровню и закрепляют его с помощью подкосов и кольев.
Второй и последующий короба устанавливают так же, как и первый. Монтажное закрепление выполняют несколькими гвоздями. Опалубку стакана устанавливают на верхнем коробе и закрепляют монтажными гвоздями. Распалубка ступенчатого фундамента ведется в обратном порядке.
Выработка звена при установке неинвентарной опалубки составляет 18 - 25 м2 в смену, а при разборке 60 - 80 м2. Темп оборачиваемости щитов (количество оборотов в месяц) при бетонировании фундаментов небольшого объема составляет 8 - 12 раз.
При наличии большого количества однотипных фундаментов весь комплекс работ по их возведению ведут поточным методом. В зависимости от объема работы и директивного срока ее окончания весь комплекс разбивается на несколько захваток. Начиная с третьей захватки, звено опалубщиков, состоящее из четырех основных рабочих и двух рабочих, занятых на подноске опалубки, ведет работы в определенной последовательности. В то время как двое рабочих (2-го и 4-го разряда) собирают опалубку первого фундамента на 3-й захватке, двое других (2-го и 4-го разрядов) на 1-й захватке разбирают опалубку фундаментов, в которых бетон набрал необходимую прочность, после чего четверо рабочих приступают к сборке опалубки на втором и третьем фундаментах 3-й захватки.
Сборка опалубки ленточных фундаментов
7.43. При использовании каркасных щитов (типа ЦНИИОМТП) опалубку ленточного фундамента постоянного поперечного сечения собирают в приведенном ниже порядке.
Устанавливают маячные щиты опалубки по обе стороны фундамента через 3 - 4 м. Шаг маячных щитов должен быть кратным ширине или длине применяемых щитов. Закрепляют маячные щиты временными подкосами и распорками. Соединяют маячные щиты со схватками натяжными крюками и устанавливают инвентарные подкосы с винтовыми домкратами.
Маячные щиты соединяют стяжками, которые закрепляют клиновыми зажимами. Все остальные щиты прикрепляют к схваткам натяжными крюками или соединяют пружинными скобами или крюками. С помощью пружинных скоб или крюков крепят очередные щиты. После установки нескольких щитов (общей длиной по фронту 2 - 3 м) на них навешивают схватки и устанавливают инвентарные подкосы, опалубочные панели соединяют стяжками, закрепляемыми клиновыми зажимами, и устанавливают временные распорки.
7.44. Опалубку ленточного фундамента переменного (ступенчатого) сечения собирают по двум технологическим схемам.
Схема I. Устанавливают опалубку нижней ступени и бетонируют фундамент, а затем на затвердевший бетон ставят опалубку второй ступени.
Схема II. Собирают опалубку на всю высоту фундамента. Порядок сборки опалубки по схеме II приведен ниже.
Устанавливают опалубку нижней ступени. На щиты нижней ступени укладывают железобетонные перемычки сечением 100 x 140 мм через 3 - 3,6 м. Наносят на железобетонные перемычки риски, обозначающие положение внутренней поверхности опалубки второй ступени.
Устанавливают нижние схватки опалубки второй ступени, отступив от рисок на перемычках на расстояние, равное толщине щита. На нижние схватки навешивают щиты второй ступени и закрепляют их натяжными крюками. Щиты соединяют друг с другом пружинными скобами, кляммерами и шпонками. Устанавливают через 3 - 4 м временные распорки опалубки второй ступени и закрепляют второй ряд схваток натяжными крюками. Противоположные стенки опалубки второго яруса соединяют между собой стяжками с клиновыми зажимами.
Опалубку ленточного фундамента разбирают в обратном порядке.
Сборку и разборку опалубки ленточного фундамента выполняет звено из двух опалубщиков 4-го и 2-го разрядов.
Ленточные фундаменты значительной протяженности разбиваются на отдельные захватки. Установку опалубки высоких фундаментов выполняет звено из четырех человек (основных рабочих). Подноску щитов и элементов крепления и раскладку их у бровки котлована заранее производят подсобные рабочие.
7.45. При использовании деревянной опалубки для разметки положения щитов изготовляют шаблон из досок или бруска длиной, равной ширине фундамента. Два плотника 4-го и 2-го разряда производят разбивку осей и с помощью шаблона устанавливают направляющие доски, которые закрепляют колышками, забиваемыми в грунт. Положение направляющих досок должно быть строго горизонтальным. Ребра закрепляют с помощью подкосов и прижимных досок. Со стороны бровки котлована подкосы могут упираться в откос котлована или их можно выносить наверх и прикреплять к забитым кольям гвоздями. Навеску щитов и установку стяжек выполняют плотники 3-го и 2-го разрядов.
Установка опалубки фундаментов под технологическое оборудование
7.46. Установка опалубки фундаментов небольшой высоты под технологическое оборудование производится в следующем, порядке.
Через 3 - 4 м по длине, а также в углах устанавливают маячные щиты и закрепляют монтажными подкосами. С помощью натяжных крюков маячные щиты соединяют со схватками и устанавливают инвентарные подкосы, обеспечивающие устойчивость опалубочных плоскостей.
Маячные щиты закрепляют с помощью стяжек с клиновым зажимом или иных типов креплений. К схваткам с помощью натяжных крюков крепятся остальные инвентарные щиты. Монтажными гвоздями к деревянным пробкам в стальных схватках крепятся доборы по месту. Устанавливают все рабочие крепления опалубки, закладные детали и кондукторы для анкерных болтов.
Установка и разборка опалубки на высоте 2 - 2,5 м производится с переносных рабочих подмостей.
Разборка опалубки фундаментов небольшой высоты под технологическое оборудование производится в следующем порядке:
снимают кондукторы для анкерных болтов и клиновые зажимы стяжек или другие типы креплений. Снимают верхние, а затем нижние схватки. Щиты опалубки и доборы снимают, начиная от внешних углов по направлению к внутренним.
Установку и разборку опалубки подобных фундаментов выполняет обычно одно-два звена, состоящее из двух опалубщиков 4-го и 2-го разряда.
7.47. Установка опалубки массивных фундаментов под технологическое оборудование большой и переменной высоты производится в следующем порядке.
Устанавливают трубчатые леса на высоту до 3 м, служащие подмостями, с которых ведется установка опалубки выше отметки 1,6 м, и обеспечивающие устойчивость элементов опалубки. Маячные стойки укрепляют инвентарными подкосами и соединяют с трубчатыми лесами. Затем к маячным стойкам на болтах прикрепляют схватки. К схваткам с помощью натяжных крюков крепят щиты, устанавливают доборы по месту.
Устанавливают закладные детали и собирают опалубку внутренних каналов, тоннелей и т.п. Устанавливают рабочие крепления опалубочных плоскостей - стяжки, болты и т.п.
Далее, при необходимости наращивают трубчатые леса и маячные стойки, закрепленные к трубчатым лесам. Устанавливают схватки, к которым крепятся щиты и доборы по месту, устанавливают рабочие крепления, закладные детали.
Опалубка верхних выступов ("набетонок"), а также опалубка внутренних каналов, расположенных в теле фундамента, собираются заблаговременно и устанавливаются по мере бетонирования фундаментов.
Разборка опалубки массивных фундаментов производится в следующем порядке.
Демонтируют инвентарные подкосы и стойки, затем поярусно, начиная сверху, снимают рабочие крепления и верхние схватки.
Верхние щиты и доборы снимают, начиная от внешних углов по направлению к внутренним. После разборки верхних ярусов опалубки снимают остальные схватки, щиты и доборы наружных плоскостей, после этого разбирают опалубку внутренних каналов и тоннелей и опалубку верхних выступов фундаментов.
Установку опалубки массивных фундаментов и лесов-подмостей производят по захваткам. На каждой захватке работают 2 - 3 звена, каждое из двух опалубщиков 4-, 3- или 2-го разряда.
При использовании деревянной неинвентарной опалубки бригаду опалубщиков разбивают на звенья из 4 - 6 человек. Каждое звено ведет работы на отдельной захватке (отдельном фундаменте или блоке массива).
Плотники 4-го и 2-го разряда под наблюдением мастера производят разбивку осей фундамента и колышками размечают положение фундамента в котловане. Если фундамент возводится на бетонной подбутке или на основании из шлакобетона, то на основании наносят яркой краской оси и конфигурацию фундамента. Эти же плотники устанавливают опалубку нижних ярусов фундамента на высоту до 1,5 - 1,7 м.
Двое других плотников (3-го и 2-го разряда) размещают инвентарные подмости для монтажа опалубки на высоте более 1,5 м. Эти же рабочие устанавливают и закрепляют тяжи, скрутки, устанавливают якоря и т.п. Плотник 2-го разряда, кроме того, подносит щиты схватки крепления и подает их на подмости.
Следующие двое плотников (3-го и 2-го разряда) устанавливают опалубку верхних ярусов с инвентарных подмостей. При значительной высоте фундаментов установку опалубки верхних ярусов производят также плотники 4-го и 2-го разряда (первая пара).
Установку опалубки "доборов" из отдельных досок поручают плотникам 4-го и 3-го разряда.
Расстановку рабочих и распределение между ними обязанностей при устройстве опалубки из мелких щитов и отдельных досок внутри фундаментного массива производит мастер или бригадир на месте.
При ширине опалубочной формы более 3 м горизонтальные стяжные болты заменяются наклонными тяжами, прикрепленными к анкерным крюкам, закладываемым в нижележащие слои бетона.
Боковое давление бетонной смеси может быть также воспринято вместо стяжек подкосами и распорками, упираемыми в стенки котлованов. При отсутствии стенок котлованов концы подкосов упираются в упорные брусья, поддерживаемые кольями (при установке на грунт) или стальными штырями (при установке на бетонную подготовку). Усилия от бокового давления бетонной смеси могут передаваться также на леса или эстакады, предназначенные для развозки бетонной смеси, при условии, что сотрясения от движения транспортной тары не будут передаваться на свежеуложенный бетон в период схватывания.
При наличии уступов в фундаментных массивах опалубка верхней части массива закрепляется при помощи стяжек из проволоки к анкерам, заложенным в нижележащие слои бетона. Длина анкеров принимается равной приблизительно 25d. При этом должны быть предусмотрены мероприятия по повышению их сцепления с массивом.
Устройство опалубки стен, маслоподвалов, резервуаров
7.48. При использовании стальной и комбинированной опалубки ЦНИИОМТП опалубочные формы стен водоводных тоннелей большого поперечного сечения, наносных и других сооружений подобного типа, а также опалубку подпорных стен собирают в следующем порядке.
Выпускают маячные стойки по обе стороны стены и раскрепляют их временными распорками - стяжками и подкосами. При высоте стен более 3 м одновременно с маячными стойками ставят трубчатые леса - подмости (обычно только с внутренней стороны), к которым также крепятся маячные стойки.
К маячным стойкам болтами крепят схватки, к которым на высоте 1 - 1,5 м в зависимости от толщины стены крепят натяжными крюками щиты.
По мере установки щитов опалубочные плоскости соединяют стяжками с клиновыми зажимами или инвентарными болтами, которые пропускают через трубки или полые бетонные вкладыши-распорки, С переносных стремянок или блоков-подмостей устанавливают щиты опалубки со стороны, противоположной лесам-подмостям. Укрепляют закладные детали по мере установки щитов.
При демонтаже опалубки стен и лесов-подмостей последовательно снимают: подкосы и маячные стойки; рабочие крепления и схватки поярусно сверху вниз; щиты опалубки. После этого разбирают трубчатые леса-подмости.
Собирают и разбирают опалубку стен по захваткам 2 - 3 звена, каждое из которых состоит из двух опалубщиков 4-, 3- или 2-го разряда.
7.49. Сборка опалубочной формы стен из деревянных щитов коробчатого сечения конструкции ЦНИИОМТП производится звеном плотников-опалубщиков из 4 - 6 чел. в следующем порядке.
Устанавливают щиты опалубки, располагая их горизонтально до высоты 1,5 - 1,7 м и соединяя на клиньях и шпонках; устанавливают схватки и соединяют их со щитами натяжными крюками, затем соединяют опалубочные панели стяжками, закрепляют стяжки клиновыми зажимами и устанавливают временные деревянные распорки. Собирают подмости или поддерживающие леса на высоту 2 - 2,2 м, с которых производится сборка опалубки верхних ярусов, и устанавливают щиты опалубки на высоту 2,5 - 3 м, соединяя их клиньями-шпонками; устанавливают схватки на верхних ярусах и соединяют опалубочные панели стяжками.
После бетонирования стен на высоту до 3 м при необходимости опалубка может наращиваться в последовательности, приведенной выше.
7.50. Опалубку стен криволинейных сооружений и конструкций - дымоходов, водоводных каналов и т.п. - монтируют в приведенной ниже последовательности.
Выставляют маячные стойки и раскрепляют их инвентарными распорками и монтажными стяжками. Устанавливают гибкие щиты нижнего яруса и соединяют их натяжными крюками со стойками. Устанавливают и соединяют между собой болтами гибкие схватки и укрепляют нижний ярус опалубки. К ним крепят закладные детали. Ставят гибкие щиты и гибкие схватки следующих ярусов опалубки, а затем рабочие крепления и закладные детали.
При разборке опалубки последовательно снимают подкосы и рабочие крепления опалубки, схватки, стойки и щиты.
Сборку и разборку опалубки криволинейных конструкций выполняет звено из двух опалубщиков 4-го и 3-го разряда.
7.51. При постоянной кривизне конструкций устройство опалубки возможно из каркасных стальных и комбинированных щитов.
Кривизна опалубки достигается путем закладки между продольными ребрами щитов деревянных клиньев. Щиты соединяются попарно на пружинных креплениях, а затем на гибочном станке панель изгибается до требуемой кривизны. В раскрывшуюся щель вставляются деревянные клинья. Подготовленные таким образом панели собираются на пружинных креплениях по шаблону. Естественно, что кривая в этом случае заменяется многоугольником. В табл. 71 приведены рекомендуемые размеры щитов и величина раскрытия "зева" смежных ребер щитов.
Таблица 71
Радиус наружной поверхности железобетонного резервуара, мм | Количество щитов при ширине их, мм | Ширина раскрытия "зева" щитов при ширине их, мм |
300 | 400 | 500 | 600 | 300 | 400 | 500 | 600 |
3000 | 64 | - | - | - | 7 | - | - | - |
4000 | 85 | - | - | - | 6 | - | - | - |
5000 | 107 | 80 | - | - | 5 | 6 | - | - |
6000 | 127 | 96 | - | - | 4 | 5 | - | - |
7000 | 150 | 113 | 90 | - | 3 | 4 | 5 | - |
8000 | 174 | 130 | 103 | - | 3 | 4 | 5 | - |
9000 | - | 143 | 115 | 96 | - | 3 | 4 | 5 |
10000 | - | 161 | 128 | 106 | - | 3 | 4 | 5 |
11000 | - | - | 142 | 118 | - | - | 3 | 5 |
12000 | - | - | 154 | 129 | - | - | 3 | 4 |
Поскольку клинья выполняются из древесины и могут под воздействием нагрузки (в данном случае под воздействием пружинных креплений) деформироваться (сжиматься), радиус кривизны опалубочной формы может самопроизвольно увеличиться. Рекомендуется выполнять рихтовку формы путем подбивки клиньев, производя ее равномерно последовательно по диаметрально противоположным направлениям, или вводить дополнительные клинья в местах стыковки панелей.
7.52. Трубчатые схватки изгибаются до требуемой кривизны на станках и укрепляются на стойках на парных швеллерах. На таких стойках можно непосредственно закреплять гнутые доски или листы фанеры палубы. Крепление их выполняется гвоздями к бобышкам, забитым между швеллерами. Стойки устанавливаются в специальные опорные башмаки, заанкеренные в бетонное основание гнезда. Применение опалубки из гнутых досок и фанеры допускается при минимальных значениях радиуса, приведенных в табл. 72.
Таблица 72
Радиус кривизны, мм | Толщина, мм | Шаг стоек, мм, при скорости бетонирования 1,5 м/ч, температуре +15 °C |
досок | фанеры | наружных | внутренних |
2000 | - | 8 | 450 | 600 |
2500 | 19 | 8 | 450 | 600 |
| | ИС МЕГАНОРМ: примечание. Значение в графе "наружных" дано в соответствии с официальным текстом документа. | |
|
3000 | 19 | 10 | 4500 | 600 |
3500 | 25 | 10 | 500 | 700 |
4000 | 25 | 12 | 500 | 700 |
5000 | 32 | - | 700 | 800 |
6000 | 52 | - | 700 | 700 |
7.53. При использовании деревянной дощатой опалубки криволинейную поверхность опалубливают преимущественно прямыми досками, устанавливаемыми вертикально (вдоль образующей) по криволинейным кружалам. Кружала выпиливают на круглопильных станках.
7.54. Стены железобетонных резервуаров должны быть водонепроницаемы, поэтому при устройстве опалубки надо избегать креплений, проходящих через бетон. Следует стремиться к тому, чтобы схватки, кружала, стойки соединялись между собой лишь вверху, выше бетона конструкции, а боковое давление воспринималось подкосами и распорками.
7.55. Метод раздельного бетонирования резервуаров требует повышенной несущей способности щитов и абсолютной непроницаемости палубы и стыков щитов.
Деревянные каркасные щиты ЦНИИОМТП, используемые для сборки опалубки, рассчитанной на раздельное бетонирование, принципиально не отличаются от применяемых для обычного бетонирования. Палуба таких щитов выполняется из досок, сплоченных в шпунт, ребра - из досок 160 x 40 мм, а размеры ячейки каркаса не превышают 400 x 500 мм. Для уплотнения стыков между щитами устанавливаются картонные прокладки, а ребра смежных щитов стягиваются болтами. Другим эффективным способом уплотнения является наклейка в месте стыков крафт-бумаги шириной 100 - 120 мм. При установке опалубки под раздельное бетонирование особенно тщательно должны выполняться стыки опалубки с железобетонным основанием резервуаров. Непроницаемость стыков достигается законопачиванием и промазыванием цементным раствором.
Порядок сборки опалубки следующий: в гнездо в бетонном основании устанавливают анкеры и собирают щиты внутренней стенки. Между щитами укрепляют картонные прокладки-уплотнители или со стороны палубы наклеивают полосы крафт-бумаги. Щиты соединяют на болтах, навешивают схватки и укрепляют закладные детали. Так же собирают опалубку наружной (противоположной поверхности) стены. Между опалубочными плоскостями устанавливают распорки из железобетонных брусков.
Навешивают схватки на щиты опалубки наружной поверхности стены, опалубочные плоскости соединяют на стяжках или инвентарных болтах. В углах и у мест примыкания к бетонному днищу производят конопатку опалубки.
Распалубка конструкций, забетонированных раздельным методом, принципиально не отличается от процесса распалубки железобетонных конструкций, выполненных по обычной технологии.
Как правило, установку и разборку опалубки выполняют два-три звена, каждое из которых состоит из двух опалубщиков 2-го и 4-го разряда. Подноской элементов, заготовкой прокладок занимаются двое-трое рабочих 2-го разряда.
7.56. При использовании комбинированной опалубки ЦНИИОМТП для сборки форм под резервуары, бетонируемые раздельным методом, к щитам предъявляются повышенные требования в отношении растворонепроницаемости палубы, а также местных и общих деформаций (искривлений, вмятин и пр.) ребер каркаса.
В качестве уплотнителя используются сосновые рейки толщиной 10 - 12 мм с влажностью в период монтажа не выше 15%. Щиты между собой соединяются на черных болтах.
7.57. Опалубочные формы для крупных резервуаров диаметром от 6 до 20 м можно собирать из стальных щитов опалубки. Следует учитывать различные условия работы опалубки на выпуклой и вогнутой поверхностях сооружения и разную установку крепежных скоб.
На вогнутой стороне силами давления бетонной смеси швы между щитами сжимаются, бортовые кромки вплотную прижаты друг к другу и установка скоб не вызывает затруднений. На выпуклой стороне при повороте смежных щитов по многоугольнику бортовые кромки расходятся и установка скоб затруднена. Эти отличия, уменьшающиеся с увеличением радиуса кривизны опалубливаемой поверхности и при радиусах более 20 м, практического значения не имеют. При меньших радиусах кривизны опалубка на выпуклой поверхности должна быть сгруппирована так, чтобы соседние соединяемые скобами щиты располагались в одной плоскости. Опалубка по окружности разделяется на вертикальные секторы, общие для внутренней и наружной стороны. Стяжные болты, воспринимающие давление бетонной смеси, передаваемое на опалубку сектора, размещают по радиусам. В обоих случаях направляющие секторы внутренней опалубки собирают из двух щитов Щ-1, размещаемых между щитами Щ-2.
При применении опалубки для резервуаров диаметром менее 6 м используется схема установки опалубки для резервуаров от 6 до 20 м, но для уменьшения размера хорд многоугольников, образуемых элементами опалубки, щиты Щ-1 следует заменить щитами Щ-2.
Для определения числа секторов следует подсчитать, сколько раз без остатка укладывается длина дуги сектора внутренней опалубки в окружности длиной
где R - радиус наружной поверхности резервуара, мм;
b - толщина стенки, мм;
65 - толщина щитов опалубки, мм.
Остаток делится на 1 - 4 дополнительных сектора, которые на внутренней опалубке используются для установки распалубочных клиньев. Если величина остатка недостаточна для размещения секторов с распалубочными клиньями, создаются дополнительные секторы за счет уменьшения числа основных секторов на единицу. На наружной стороне опалубки, которая силами давления бетонной смеси не сжимается, приспособления для распалубки в дополнительных секторах не устанавливают.
Длина дуги основного сектора внутренней опалубки с большим приближением (до десятых долей миллиметра) равна суммарной ширине щитов 1250 мм. Длина дуги сектора по наружной поверхности резервуара больше на величину (избыточная ширина секторов)
Соответствующая этой величине недостающая ширина секторов наружной опалубки восполняется деревянными вкладышами-доборами. Ширина доборов не превышает 50 - 60 мм. Для резервуаров диаметром 6 - 20 м секторы составляют из трех щитов Щ-2 и одного Щ-1, поставленных вертикально, и двух доборов по обеим сторонам щита Щ-1. На рис. 114 показана схема установки опалубки круглых резервуаров.
Рис. 114. Схема установки опалубки для бетонирования
круглых резервуаров
1 - стяжной болт; 2 - деревянный брус; 3 - крепежный болт
Устройство опалубки каркасных конструкций
7.58. Сборка опалубки монолитного железобетонного каркаса рамного типа начинается со сборки опалубки колонн. Щиты требуемого размера собирают предварительно в Г-образные блоки с помощью монтажных уголков, а затем из них комплектуют нижний короб опалубки, устанавливаемый на деревянные клинья.
Соединения щитов через монтажные уголки на пружинных скобах или кляммерах не являются рабочими и для восприятия бокового давления бетонной смеси на щиты короб закрепляется хомутами. Четырехветвевой хомут с клиновым запором позволяет получать любые внутренние размеры. Однако при установке опалубки колонн наружных рядов многоэтажных зданий и сооружений возникает опасность случайного падения ветвей хомутов. Поэтому по соображениям техники безопасности рекомендуется применять двухветвевые хомуты. Их ветви - "клешни" соединены между собой на шарнире и могут перемещаться относительно друг друга.
На бетонном основании предварительно краской наносятся риски, фиксирующие положение осей колонны по двум координатам. Такие же риски клеевой краской наносятся бригадиром или звеньевым (рабочим 4-го разряда) на торцовых нижних ребрах щитов опалубки. Положение нижнего короба опалубки фиксируется специальными ограничителями из обрезков арматуры, привариваемыми к арматурному каркасу или выпускам арматуры внизу у основания. Деревянные клинья служат для точной выверки опалубки колонны после полной сборки по высоте. Второй и последующие ярусы опалубки собирают с передвижных подмостей.
7.59. Оголовники опалубки колонн в зависимости от сечения ригелей и отметок их примыкания приходится изготовлять индивидуально. Полностью собранная опалубка колонны выверяется по вертикали, закрепляется с помощью расчалок и с помощью клиньев точно устанавливается по горизонтальным отметкам (имеется в виду отметка оголовников). Щели между нижними щитами и основанием необходимо законопатить.
7.60. При высоте колонн более 3 м при густом армировании их или малом поперечном сечении для укладки бетонной смеси один из щитов второго и последующих ярусов временно не устанавливается и через образовавшееся окно укладывается бетонная смесь. По достижении бетонной смесью в опалубочной форме нижнего обреза "окна" оно закрывается щитом.
7.61. Сборку опалубки железобетонных ригелей и балок начинают с установки телескопических стоек с балочными струбцинами. В зависимости от сечения железобетонных ригелей и балок струбцины могут опираться на одну или две стойки. На струбцины опирают балки (схватки), по которым укладывают щиты днища. Боковые щиты опалубки балок устанавливают либо на схватки, либо на щиты днища (что менее целесообразно). Во втором случае между боковыми щитами необходимо устанавливать временные распорки. На
рис. 115 показано несколько вариантов установки опалубки ригелей. У мест примыкания коробов опалубки ригелей и оголовников колонн необходимо устанавливать по месту бруски прямоугольного сечения для облегчения распалубки.
Рис. 115. Схема установки раздвижных ригелей конструкции
ЦНИИОМТП для опирания опалубки плит перекрытий
различных пролетов
1 - ригель РР-2; 2 - ригель РР-4; 3 - ригель РР-6
Боковые щиты удерживаются кронштейнами балочных струбцин, для чего их вплотную подводят к щитам и закрепляют винтовыми упорами. Опалубка ригелей небольшого сечения (до 300 x 300, 300 x 400 мм) может собираться из щитов, опирающихся непосредственно на балочные струбцины. Поскольку несущая способность промежуточных стоек зачастую не используется, обычно только крайние опоры делают из двух стоек, а промежуточные - из одинарных. Гибкую арматуру ригелей укладывают в собранную опалубку на прокладки из цементно-песчаного раствора.
Выверку горизонтальности днища, строительного подъема и проверку отметок выполняют с помощью металлической мерной ленты и нивелира. Отсчеты ведут от палубы щитов днища. Строительный подъем рекомендуется принимать не менее 3 мм на 1 м длины ригеля. Если щиты днища опираются непосредственно на струбцины, то строительный подъем регулируется домкратным устройством стойки. Если же щиты опираются на балки, то приходится подкладывать под щиты деревянные клинья.
7.62. Сборку опалубки каркаса производят обычно два звена рабочих. Первое из двух человек (рабочие 2-го и 4-го разряда) собирает опалубку колонн, а второе звено, из трех человек (рабочие 1-, 2- и 3-го разряда) подготовляют к сборке элементы опалубки ригелей и затем вместе с рабочими первого звена собирают опалубку ригелей. Демонтаж опалубки начинается с ослабления винтовых упоров кронштейнов балочных струбцин и снятия боковых щитов опалубки ригелей. Затем с помощью винтовых домкратов опускаются телескопические стойки со струбцинами на 100 - 120 мм и снимаются щиты днища. Демонтаж опалубки колонн нередко приходится вести снизу, так как оголовники защемляются в бетоне. В этом случае выбиваются деревянные клинья внизу, снимаются хомуты, затем монтажные уголки и щиты опалубки нижнего короба. Если щиты оголовника удается легко отделить от бетона, то целесообразно распалубку колонн начинать сверху.
7.63. При использовании дощатой неинвентарной опалубки опалубочная форма прямоугольных колонн должна устраиваться в виде короба из двух пар щитов, из которых два закладных имеют ширину, равную ширине одной из сторон поперечного сечения колонны, а два накрывных щита - ширину, равную ширине другой стороны плюс двойная толщина досок щитов. Щиты скрепляются друг с другом минимальным количеством монтажных гвоздей. Для установки короба на подколоннике или перекрытии должна быть укреплена рамка, определяющая местоположение колонны в плане. Рамка закрепляется к пробкам, уложенным в бетон нижележащей конструкции.
Боковое давление бетонной смеси должно восприниматься хомутами, надетыми на короб и закрепленными при помощи клиньев. При малом обороте допускается применение деревянных хомутов.
В коробах колонн, поддерживающих балки и прогоны, должны быть предусмотрены вырезы для ввода коробов этих балок и прогонов. Деталь стыка коробов описана ниже.
В одном из накрывных щитов должно быть устроено отверстие для очистки короба перед укладкой бетонной смеси.
7.64. Опалубочные формы балок и прогонов выполняются в виде коробов, состоящих из днища, воспринимающего массу бетона, и из боковых щитов, воспринимающих боковое давление свежеуложенной бетонной смеси.
При этом необходимо, чтобы днище было плотно зажато между боковыми щитами; устанавливать последние на днище неправильно, так как в этом случае при прогибе днища под действием массы бетона неизбежно образование щели, через которую будет вытекать цементное молоко.
Боковое давление бетонной смеси должно восприниматься понизу прижимными досками, которые прибиваются гвоздями к оголовникам стоек или к иным опорам короба. Поверху это давление воспринимается досками опалубки плиты, а при отсутствии плиты - или подкосами, или поперечными схватками, пришиваемыми к выступающим концам сшивных планок щитов (рис. 116). Схватки следует устанавливать после укладки в короб арматуры балки или прогонов. При высоте коробов 0,7 м и более боковые щиты должны дополнительно скрепляться проволочными стяжками диаметром 6 мм, устанавливаемыми через каждые две сшивные планки. У каждой стяжки необходимо устанавливать временную распорку для сохранения проектной ширины короба; во время бетонирования эти распорки удаляют.
Рис. 116. Схема опалубки железобетонных ригелей
и балок из деревянных щитов
а - с железобетонной плитой перекрытия;
б - без железобетонной плиты перекрытия;
1 - опалубка днища; 2 - деревянная стойка; 3 - боковые щиты;
4 - опалубка плиты; 5 - фризовый брусок; 6 - сшивная планка;
7 - схватка; 8 - подкладка; 9 - прижимная доска;
10 - хомут; 11 - стяжка
При наличии монолитной плиты, опирающейся на балки, к коробам последних прикрепляют подкружальные доски, на которые опираются кружала опалубки плиты. Подкружальные доски поддерживаются подставками или клиньями, передающими их нагрузку на оголовники стоек или другие опоры коробов. Сшивка гвоздями боковых щитов коробов с днищем не допускается во избежание затруднений при распалубливании балок и прогонов.
7.65. Устройство стыков коробов опалубки балок и прогонов с коробами опалубки колонн и друг с другом должно обеспечить легкость разборки опалубки и возможность ее повторного использования. Для этого вырезы в опалубке колонн и прогонов следует обрамлять брусками, служащими опорами для днища и боковых коробов. Днища коробов прогона или балки должны быть на 15 - 20 мм короче расстояния в свету между колоннами или прогонами, торцы днища должны быть скошены на фаску. Длина боковых щитов балок и прогонов должна быть меньше расстояния в свету между колоннами или прогонами на двойную толщину досок опалубки. Днища укладывают на нижние горизонтальные бруски, а боковые щиты прислоняют к боковым брускам. При этом у торцов боковых щитов образуются "четверти", которые закрывают рейками, скошенными на фаску. Боковые бруски, обрамляющие вырез, несколько выступают внутрь последнего, что дает возможность пришивать рейки только к этим брускам, а не к щитам. При распалубливании в первую очередь удаляют бруски, обрамляющие вырез, затем рейки. При этом освобождаются торцы щитов, после чего последние свободно отходят от бетона.
Устройство опалубки перекрытий
7.66. Последовательность операций и организация работ по сборке опалубки перекрытий зависит от конструктивной схемы здания или сооружения и типа перекрытия. Плоские перекрытия, опирающиеся на несущие стены, или бруски могут бетонироваться в опалубке, в которой несущими элементами являются раздвижные ригели. Без промежуточных опор с помощью раздвижных ригелей, разработанных в ЦНИИОМТП, можно перекрывать пролеты до 6 м. При больших пролетах необходимо устанавливать промежуточные опоры - стальные или деревянные балки по телескопическим стойкам.
Телескопические стойки на строительную площадку поступают в разобранном виде. Собирают их непосредственно перед установкой. В зависимости от проектной высоты опалубки используются выдвижные штанги требуемого типоразмера. Гайка винтового домкрата устанавливается приблизительно на 1/2 высоты сквозной прорези, что дает возможность производить в последующем рихтовку собранной опалубки, поднимая или опуская домкратным устройством выдвижную штангу. Работы по сборке стоек производятся двумя опалубщиками 1-го и 2-го разряда. На верхний конец выдвижной штанги укрепляется один из типов оголовников или балочная струбцина.
7.67. Установка стоек начинается с создания пространственного неизменяемого блока. Такие блоки целесообразно устанавливать в крайних пролетах, а при значительной протяженности через 20 - 25 м. Пространственная неизменяемость достигается благодаря системе горизонтальных и диагональных связей. В опалубке ЦНИИОМТП и некоторых других системах оснастки для раскрепления телескопических стоек используются связи из обычных досок сечением приблизительно 30 x 120 мм, устанавливаемые на скобах с клиновым запором, а для раскрепления составных стоек применяются специальные инвентарные связи, устанавливаемые поярусно на болтовых креплениях. Эти связи служат одновременно опорами для рабочих настилов, с которых ведут монтаж поддерживающих элементов очередного яруса.
7.68. Сборку опалубки плит перекрытий, опирающихся на стены или сборные железобетонные балки, начинают с выверки отметок на опорных гнездах стен или балок. При необходимости производят подливку опор цементно-песчаным раствором или выравнивание с помощью твердых прокладок. Затем с расчетным шагом раскладывают раздвижные ригели. Модели ригелей, разработанные ЦНИИОМТП, при использовании щитовой опалубки могут иметь шаг 300, 400, 450, 600 и 900 мм. Обязательным условием производства работ является опирание щитов минимум на три ригеля. Это условие определяется соображениями техники безопасности. При использовании для настила палубы досок, фанеры или древесностружечных плит шаг ригелей может быть иным и строго соответствовать расчету.
Сборку ригелей в зависимости от их размеров и, следовательно, массы производят с передвижных инвентарных подмостей двое, трое и четверо опалубщиков 2-го и 3-го разряда. Необходимый строительный прогиб достигается путем затяжки соединительного болта и прокладки специальных стальных пластинок толщиной от 1 до 4 мм.
7.69. По раздвижным ригелям укладывают щиты или настилы из досок, фанеры или древесностружечных плит. Точная рихтовка опалубки после проверки отметок нивелиром производится путем ослабления или затяжки соединительных болтов. В ряде случаев приходится производить рихтовку отдельных щитов из досок путем подкладки между щитами или досками палубы и ригелями прокладок из фанеры. Опорные гнезда закрывают предохранительными крышками из фанеры, картона, пропитанного парафином, или листовой стали так, чтобы бетонная смесь не могла попасть в полость гнезда. Для повышения несущей способности крышки полость гнезда иногда наполняют паклей.
7.70. Последовательность демонтажа ригелей, поддерживающих опалубку плиты и щитов, показана на
рис. 117.
Рис. 117. Порядок демонтажа раздвижных ригелей
при распалубке железобетонных перекрытий
(римские цифры обозначают последовательность операций)
1 - заделка щели между инвентарными щитами (пакля, песок,
и т.п.); 2 - железобетонная плита перекрытия;
3 - инвентарный щит опалубки; 4 - раздвижной ригель
На одном из ригелей в средних пролетах щиты фанерные, древесностружечные или дощатые настилы укладывают с зазором 10 - 15 мм. Сверху такую щель заделывают паклей и закрывают полоской из тонкой фанеры, листовой стали или даже из картона, пропитанного маслом. Демонтаж опалубки начинается с разборки именно этого ригеля. Ослабляют соединительный винт, затем два или три опалубщика вытаскивают формочку и балку ригеля из опорных гнезд и по частям или в собранном виде опускают ригель на пол. Рабочие, находящиеся внизу, принимают демонтированные элементы и складывают их в определенных местах или грузят на платформы для перемещения к новому месту монтажа.
Следующий ригель ослабляется, но не выводится из опорных гнезд. Его прогиб в центре должен составлять 5 - 8 см. Несколько меньший прогиб создается в третьем ригеле, после чего начинается демонтаж щитов.
7.71. Сборка опалубки ребристых перекрытий начинается с установки телескопических стоек с балочными струбцинами. После раскрепления стоек и выверки отметок струбцин с использованием мерной ленты на струбцины укладывают балки (схватки) и начинают сборку коробов опалубки железобетонных балок. Боковые щиты должны опираться непосредственно на балки. Высота их принимается равной высоте железобетонной балки. После укладки арматурных каркасов и установки временных деревянных распорок на ребра каркаса боковых щитов устанавливают раздвижные ригели, по которым затем укладывают щиты или настил опалубки плиты. В местах примыкания щитов опалубки плиты и коробов укладывают деревянные бруски треугольного сечения, предохраняющие щиты от защемления (рис. 118).
Рис. 118. Схема опалубки ребристого перекрытия
1 - телескопическая стойка; 2 - балочная струбцина;
3 - раздвижной ригель РР-2; 4 - щит опалубки днища;
5 - боковой щит; 6 - щиты опалубки плиты;
7 - фризовый брусок
Рихтовка собранной опалубки начинается после проверки отметок с помощью нивелира с рихтовки днища коробов опалубки железобетонных балок. Это достигается с помощью винтовых домкратных устройств. Во всех случаях, когда приходится поднимать или опускать выдвижные штанги, связи, обеспечивающие устойчивость опалубки в местах примыкания к штанге, временно (только на период рихтовки) слегка ослабляются (но не снимаются).
После рихтовки опалубки коробов производится рихтовка опалубки плиты. Точная выверка щитов может быть достигнута только путем постановки прокладок между боковыми щитами короба и раздвижными ригелями или между щитами или настилами плиты и ригелями.
7.72. Распалубку ребристых перекрытий начинают с ослабления винтовых упоров кронштейнов балочных струбцин. После этого опускаются телескопические стойки с балочными струбцинами на 2 - 3 см и боковые щиты короба балок. Далее демонстрируют один из средних раздвижных ригелей, на котором стыковались щиты опалубки плиты, и так же, как описано выше, производят демонтаж щитов и ригелей опалубки плиты. Разборка опалубки балок начинается с демонтажа боковых щитов. Затем одновременно выполняют демонтаж стоек и щитов днища. При этом связи снимают только с тех стоек (или стойки), которые демонтируются в данный момент и удерживаются рабочими. Сборку и разборку опалубки ребристых перекрытий на захватке производят обычно 2 - 3 звена общей численностью рабочих 6 - 7 чел. Среди них должен быть обязательно рабочий 4-го и 5-го разряда в два-три рабочих 3-го разряда.
7.73. Опалубку перекрытий, опирающихся на монолитные железобетонные балки, собирают сразу для всех железобетонных элементов. В связи с большими нагрузками (значительными пролетами и толщиной железобетонных плит, большим сечением балок) опоры для плиты и балок, как правило, делаются самостоятельными. Монтаж опалубки начинают с установки телескопических стоек. Расстояние между стойками принимается большим, чем ширина сечения балки на двойную ширину щитов и хомутов, а шаг стоек принимается по расчету несущей способности щитов и обычно равен 0,9 - 1,2 м. На выдвижных штангах стоек укрепляются вильчатые оголовники, на которые укладывают балки (схватки). После выверки отметок балок и раскрепления стоек подвешивают хомуты, на которые затем укладывают щиты днища короба балки и боковые щиты.
Устанавливают телескопические стойки-опоры под опалубку плиты. На выдвижные штанги укрепляют вильчатые оголовники, по которым укладывают балки (схватки). Стойки раскрепляются в пространственную устойчивую систему. Верхняя отметка балок должна быть ниже проектной отметки опалубки плиты на толщину щитов или настилов плюс 10 - 12 мм.
Расстояние между ними соответствует пролету плиты, но не более 6000 мм при толщине плиты до 200 мм и не более 4000 мм при толщине плиты до 250 - 400 мм. Если же нагрузки от железобетонного перекрытия превосходят расчетные для того или иного типа раздвижных ригелей или железобетонная плита больше пролета ригелей, устанавливаются промежуточные опоры из телескопических стоек, а пролет ригеля уменьшается. Уменьшение пролета ригеля против максимально возможного - эффективный способ повышения его несущей способности.
По балкам с передвижных подмостей устанавливают ригели, а затем по ригелям укладывают щиты. В местах примыкания опалубки плиты и опалубки коробов по месту закрепляют деревянные бруски треугольного сечения.
Телескопические стойки, поддерживающие опалубку плиты, и телескопические стойки, поддерживающие опалубку балок, обычно располагают рядом и соединяют связями. Выверка и рихтовка опалубки производится в той же последовательности, что и опалубка ребристого перекрытия.
7.74. Демонтаж опалубки обычно начинается с разборки опалубки плиты; последовательность операций такая же, как была описана выше. Для облегчения демонтажа ригелей телескопические стойки могут быть опущены на 20 - 30 мм.
Разборка опалубки балок производится по отдельным участкам длиной, равной шагу стоек. При этом снимаются связи со стоек, затем штанги стоек опускаются на 100 - 120 мм, разбирается крайний хомут и снимаются щиты балок. Все работы по установке и разборке опалубки в зависимости от объема производят два-три звена рабочих общей численностью 6 - 9 чел.
7.75. Неинвентарная опалубка плит перекрытий, опирающихся на балки, должна выполняться из щитов, уложенных на кружала из досок "на ребро" или из брусков, опирающихся на подкружальные доски.
Кружала должны закрепляться на своих местах при помощи фризовых досок, которые укладываются по всему периметру плиты. Они защищают торцы щитов от соприкосновения с бетоном и облегчают распалубливание. Кружала должны быть на 15 - 20 мм короче расстояния в свету между боковыми щитами балок. Прибивать кружала гвоздями к подкружальным доскам не следует во избежание затруднений при распалубливании. Щиты опалубки укладывают на кружала между фризовыми досками без прибивки гвоздями.
Опалубка плит, опирающихся на стены, должна выполняться аналогичным образом с той лишь разницей, что подкружальные доски закрепляются непосредственно на опалубке стен или заменяются специальным прогоном, устанавливаемым на стойках параллельно стене.
7.76. Сборка опалубки наклонных перекрытий начинается с установки вертикальных опор и связей, воспринимающих горизонтальную составляющую, возникающую от массы опалубки, бетонной смеси и временных нагрузок от массы рабочих, средств укладки и уплотнения смеси. Крестообразные связи заставляют работать опоры опалубки как элементы рам, в некоторых случаях приходится устанавливать подкосы из телескопических стоек, труб или деревянных брусьев.
Балки, укладываемые в вильчатые оголовники стоек, закрепляются от смещения стопорными винтами. С этой целью натяжными крюками или иными способами закрепляются на балках щиты. Настилы из досок, древесностружечной плиты или водостойкой фанеры закрепляются гвоздями к деревянным бобышкам, забитым в щели балок (схваток).
7.77. В зависимости от угла наклона перекрытия опалубка плиты и железобетонных балок может быть односторонней или двусторонней. Односторонняя опалубка применяется при наклоне до 18 - 22° при использовании жестких смесей (с осадкой конуса не более 20 мм) и при наклоне до 15° при использовании смесей с осадкой конуса до 60 мм. Щиты верхней плиты двусторонней опалубки закрепляются натяжными крюками на схватках, которые в свою очередь закрепляются на нижних балках (схватках) на специальных болтах.
7.78. Неинвентарную опалубку криволинейных поверхностей следует выполнять из прямых досок, пришиваемым к криволинейным кружалам, или из гнутых досок, пришиваемых к ребрам, расставленным параллельно образующим криволинейной поверхности.
Применение опалубки из гнутых досок позволяет сократить трудоемкую работу по выпиливанию криволинейных кружал и достигнуть большей сохранности материала: как гнутые доски, так и ребра после распалубливания могут быть использованы для других целей. Применение опалубки из гнутых досок допускается при следующих минимальных значениях радиуса гнутья: для досок толщиной 19 мм R = 2,4 м, для досок толщиной 24 мм R = 3,15 м.
| | ИС МЕГАНОРМ: примечание. В официальном тексте документа, видимо, допущена опечатка: имеется в виду рисунок 119, в, а не 118, в. | |
Кружала, поддерживающие палубу свода из прямых досок, имеют криволинейное очертание
(рис. 119) и опираются на прогоны, параллельные образующей свода. Кружала под палубу свода из гнутых досок состоят из прямых досок или брусков и опираются на стойки
(рис. 119), а при необходимости сокращения числа последних - на подкружальные доски, уложенные на стойки (
рис. 118,
в), или укрепление на боковых щитах коробов арок.
Рис. 119. Деревянная опалубка сводов
а - кружала свода из прямых досок, опираются на прогоны;
б - кружала свода из гнутых досок, опираются на стойки;
в - кружала свода опираются на подкружальные доски
или на боковые щиты коробов арок; 1 - деревянные стойки;
2 - деревянные прогоны; 3 - кружала; 4 - доска палубы;
5 - горизонтальная связь, используемая одновременно
как опора под рабочий настил; 6 - рабочий настил;
7 - прогон; 8 - гнутые доски опалубки
Опалубка арок выполняется в виде короба на заранее заготовленных криволинейных боковых щитах с днищем из гнутых досок.
Установка опалубки бункеров
7.79. Порядок установки опалубки бункеров зависит от их конструкции. Обычно бункеры имеют обвязочные балки, наклонные стенки (весьма редко - ребристые), иногда вертикальные стенки и течки.
При использовании системы поддерживающих элементов опалубки ЦНИИОМТП монтаж оснастки начинают с установки опор под формы обвязочных балок и течки. После подготовки основания (планировки грунтового или очистки от мусора бетонного) выполняют разметку положения стоек. Затем в пространственный блок собирают телескопические стойки, поддерживающие опалубку течки. Их соединяют горизонтальными и диагональными связями на уровне базовых частей. На стойках закрепляют балочные струбцины. Сборка и выверка опалубочного короба течки производится так же, как описано в
пп. 7.62 и
7.63. Затем стойки раскрепляют связями на уровне оголовников. Опоры под обвязочные балки собирают обычно из составных решетчатых и телескопических стоек. При этом каждый ярус раскрепляется инвентарными связями в пространственный блок и соединяется с блоком стоек, поддерживающих опалубку течек. После окончания монтажа на выдвижных штангах телескопических стоек укрепляют вильчатые оголовники. На них укладывают прогоны, подвешивают хомуты. С внутренней стороны боковые стенки короба устанавливают на подкладках из цементного раствора толщиной, равной толщине стенок в месте примыкания к балкам. В некоторых случаях наружные щиты короба балок устанавливают после сборки опалубки стенок. В тех местах, где телескопические стойки и хомуты пропускаются через железобетонные стенки, должны быть предусмотрены выгородки, позволяющие легко освободить инвентарные элементы.
Под опалубку наклонных стенок устанавливают самостоятельные опоры и по прогонам (схваткам), опирающимся на телескопические стойки, укладывают деревянные брусья-кружала, на которые опираются щиты и дощатые настилы нижней опалубочной плиты. Верхняя опалубочная плита крепится так же, как и при бетонировании наклонных перекрытий, а щиты устанавливаются по мере укладки бетонной смеси. В местах примыкания наклонных стенок к течке и обвязочным балкам устанавливают доборы по месту и фризовые доски или бруски, облегчающие процесс распалубки.
Опалубка вертикальных стенок (если они есть) устанавливается, как правило, после бетонирования обвязочных балок и опирается на них.
Демонтаж опалубки начинают с разборки верхней плиты наклонных стенок и боковых стенок балок с внутренней стороны. По соображениям техники безопасности не рекомендуется демонтированные элементы (щиты, крепления, схватки) оставлять внутри бункера. Они подаются через течку вниз. При этом прием элементов ведут 1 - 2 рабочих, находящихся в этом месте постоянно и поддерживающих постоянную связь с рабочими внутри бункера. Перенос и складирование опалубки производят 2 - 3 рабочих 1-го и 2-го разряда.
Затем производится последовательное опускание опор (телескопических стоек), поддерживающих опалубку обвязочных балок, и разборка опалубочных коробов. Опоры не рекомендуется разбирать полностью до тех пор, пока не будут сняты щиты нижней плиты.
Опалубку плиты разбирают следующим образом: опускают на 100 - 200 мм наружные опоры по одной из стенок, затем на 50 - 70 мм опускают опоры внутреннего ряда и, начиная сверху, снимают щиты.
Разборка опалубки течки производится так же, как монолитных железобетонных балок. После демонтажа всех щитов, прогонов, струбцин производится разборка опор. Работы начинают с демонтажа опор обвязочных балок и ведут к центру. При этом необходимо строго следить, чтобы на любом этапе разборки поддерживающих стоек они были раскреплены связями в пространственный устойчивый блок.
7.80. Поскольку бункеры проектируются зачастую индивидуально в силу особенностей компоновочной схемы оборудования и объемно-планировочных решений производственных помещений и каждый бункер имеет свои размеры и конфигурацию, нередко бетонирование их целесообразно выполнять в индивидуальной деревянной опалубке.
Стойки лесов, поддерживающих опалубку бортовых балок, в плане располагаются строго по их осям. При назначении мест установки стоек учитывается также расположение течек бункеров; через течки пропускаются стойки, поддерживающие опалубку надбункерных перекрытий, эстакад и т.д. Если этих стоек недостаточно, то устанавливают дополнительные стойки внутри бункеров, опираемые на окрепший бетон наклонных стоек. Под эти стойки укладывают лаги и прокладки из досок.
При больших размерах бункеров или при крутом наклоне их стенок может возникнуть необходимость пропустить (в виде исключения) часть стоек через стенки бункера. В этих случаях следует для облегчения распалубливания располагать стыки стоек непосредственно под местом прохода их через стенки бункера, а стойки в пределах толщины этих стенок - ограждать или обертывать пергамином.
Опалубка наружных и внутренних сторон стенок бункера и надбункерного перекрытия выполняется из заготовленных замаркированных щитов.
Установку неинвентарной опалубки бункеров следует начинать с укладки днищ бортовых балок, после чего на площадке, устроенной на лесах под течкой бункера, делается разбивка положения течки и устанавливаются ребра и щиты наружной опалубки бункера. После монтажа арматуры устраивается опалубка течки и устанавливаются угловые щиты. Внутренняя опалубка из щитов устанавливается по ярусам по мере бетонирования стен. Крепление щитов каждого яруса производится при помощи распорок и прижимных досок.
По окончании бетонирования наклонных стенок бункера собирают опалубку бортовых балок, вертикальных стенок и подбункерного перекрытия.
МОНТАЖ И ДЕМОНТАЖ КРУПНОЩИТОВОЙ ОПАЛУБКИ
7.81. Монтаж опалубки стен целесообразно начинать с угловых щитов, после чего (согласно нанесенным рискам или по установленным маякам) краном монтируются щиты по длине стен. В вертикальной плоскости щиты выставляются с помощью винтовых домкратов и объединяются между собой по длине стены. Щиты между собой объединяются стяжными болтами. Щиты верхнего яруса устанавливаются на монтажные подмости или опорные консоли, закрепленные к забетонированной стене.
7.82. Крупнощитовая опалубка перекрытий устанавливается с зазором по отношению к опалубке стен или забетонированной стены. Зазоры перекрываются прокладками. При использовании опалубки с опорной рамой (системой объединенных стоек) на роликах опалубка устанавливается краном, а по отметке - с помощью винтовых домкратов.
При использовании опор, закрепленных к стенам (в том числе роликовых), вначале закрепляются опоры.
Рихтовка и точная установка опалубки по отметке производится с помощью винтовых опорных домкратов после установки на опоры краном щита опалубки перекрытий.
Демонтаж и извлечение из забетонированной ячейки крупноразмерной опалубки перекрытий могут осуществляться с помощью монтажных подмостей, закрепляемых на забетонированной конструкции, траверсы типа "утиный нос" или стропов. С помощью подмостей может извлекаться опалубка, имеющая относительно небольшие размеры по глубине бетонируемой ячейки и установленная на стойки или тележки. Применение траверсы "утиный нос" позволяет значительно снизить трудозатраты и демонтировать любые, в том числе крупноразмерные опалубки, устанавливаемые как на опорные рамы, так и опоры, закрепляемые к стенам.
При демонтаже опалубки перекрытий, опирающейся на систему стоек, объединенных в опорную раму, с помощью винтовых домкратов опалубка опускается на колеса или специальную тележку с колесами, после чего опалубка выкатывается на подмости и стропится и переставляется краном или стропится траверсой "утиный нос" (при использовании мелкогабаритной опалубки на катках предварительно прокатывается к проему) и переставляется на следующую захватку.
При использовании опорных роликов с помощью винтового домкрата ролики последовательно опускаются, щит опалубки выкатывается на роликах до появления первых строповочных отверстий, после чего опалубка стропится первый раз и извлекается до появления вторых строповочных отверстий движением каретки крана или вручную; после второй строповки опалубка извлекается из-под перекрытия и переставляется на следующую захватку.
Технология и организация сборки крупнощитовой опалубки Оргэнергостроя "ОЭС-80"
7.83. Расчетные схемы щитов металлической и фанерно-металлической опалубок рассчитаны на восприятие нагрузки от давления бетонной смеси 4800 кгс/м
2 (СНиП III-15-76).
7.84. Ребра жесткости каркаса щитов рассчитаны на установку анкеров и тяжей с шагом 1200 мм, а также в случае обрыва промежуточного анкера (тяжа) на работу пролета ребра, равного 2200 мм.
Анкеры и тяжи изготавливаются из прутков гладкого или периодического профиля (сталь класса АI или АII) диаметром 16 мм.
7.85. Металлическая и фанерно-металлическая опалубки рассчитаны преимущественно на механизированный монтаж и демонтаж панелями и блоками. Возможна установка отдельных щитов вручную, особенно в стесненных условиях.
7.86. Сборку опалубочных панелей и блоков необходимо производить на монтажных плацах или на площадках с бетонным или асфальтобетонным покрытием. Неровности поверхности при наложении двухметровой рейки не должны превышать 5 мм.
7.87. Порядок технологических операций по укрупнительной сборке панелей следующий:
щиты укладываются рабочей поверхностью вниз;
выверяют размеры панелей. По контуру панелей прибивают деревянные бруски-ограничители;
щиты соединяют между собой зажимами (1Кд или 2Кд);
к распределительным ребрам жесткости щитов через их отверстия прикрепляют подкосы, обеспечивающие устойчивость панелей в вертикальном положении;
в верхние отверстия по торцам щитов крепят съемные инвентарные монтажные петли или рым-болты;
с помощью инвентарной траверсы панели устанавливают краном вертикально, после чего на них можно закреплять кронштейны, оборудовать рабочие площадки и навесить инвентарные лестницы.
Количество устанавливаемых зажимов 1Кд определяется количеством смежных отверстий по торцам соединяемых щитов.
Количество устанавливаемых зажимов 2Кд определяется количеством смежных трубок в соединяемых щитах. В средней части по длинной стороне щита достаточна установка одного зажима 2Кд.
На панелях шириной до 2400 мм устанавливают две монтажные петли или два рым-болта, на панелях шириной более 2400 мм - четыре.
Подъем опалубочных панелей может осуществляться с помощью съемных крюков, которые пропускаются в отверстия в верхнем швеллере каркаса щитов.
Оборудованная и установленная в рабочее положение панель опалубки показана на рис. 120.
Рис. 120. Установленная в рабочее положение панель опалубки
1 - щиты опалубки; 2 - рабочий настил; 3 - доски ограждения;
4 - трубчатые стойки ограждения; 5 - инвентарные кронштейны;
6 - инвентарные подкосы; 7 - рихтовочные домкраты;
8 - зажимы 2Кд
7.88. Предельно допустимые отклонения в размерах панелей при сборке и в период эксплуатации приведены в табл. 73.
Таблица 73
Стадия контроля | Размеры панелей, мм | Абсолютные значения отклонений, мм |
высота | ширина | по ширине | прогиб при замере по длинной грани | местные неровности рабочей плоскости при замере двухметровой рейкой | разница в длине диагоналей |
После сборки панели | До 2400 | До 2400 | +/- 3 | +/- 2 | 2 | 5 |
До 3600 | +/- 4 | +/- 3 | 7 |
До 4800 | +/- 6 | +/- 4 | 10 |
До 6000 | +/- 8 | +/- 5 | 14 |
До 3600 | До 2400 | +/- 3 | +/-2 | 2 | 5 |
До 3600 | +/- 4 | +/- 3 | 7 |
До 4800 | +/- 6 | +/- 4 | 10 |
До 6000 | +/- 8 | +/- 6 | 15 |
После многократной оборачиваемости панелей | До 3600 | До 2400 | +/- 4 | +/- 3 | 3 | 6 |
До 3600 | +/- 5 | +/- 4 | 8 |
До 4800 | +/- 7 | +/- 5 | 12 |
До 6000 | +/- 9 | +/- 8 | 16 |
7.89. Пространственные опалубочные блоки собирают из отдельных щитов или плоских панелей в вертикальном положении.
Порядок сборки следующий:
на монтажном плаце или площадке размечают внутренний размер блока и устанавливают ограничители (деревянные бруски на монтажных гвоздях);
устанавливают первый щит или панель по горизонтальным осям и выверяют ее по вертикали с помощью подкосов и оттяжек;
по углам щита или панели прикрепляют монтажные уголки с помощью клиновых зажимов 1Кд;
перпендикулярно к первому щиту или панели устанавливают второй щит или панель;
производят рихтовку второго щита или панели, выверку их по горизонтальным осям и вертикали с помощью подкосов и оттяжек;
соединяют второй щит или панель с монтажным уголком с помощью клиновых зажимов 1Кд;
монтируют третью и четвертую панели и соединяют их друг с другом с помощью монтажных уголков и клиновых зажимов 1Кд;
противоположные панели соединяют через отверстия в щитах в местах установки зажимов 2Кд тяжами;
тяжи крепятся к панелям через зажимы с помощью гаек (в этом случае концы тяжей имеют резьбовую часть) или с помощью инвентарных замков;
устанавливают кронштейны, оборудуют рабочие площадки и навешивают инвентарные лестницы.
Блоки могут иметь замкнутый или незамкнутый (Г-образный и П-образный) контур в плане.
7.90. Собранные панели и блоки перевозят на бортовых автомобилях, четырехосных автоприцепах или прицепах-тяжеловозах. При перевозке надо соблюдать следующие правила:
величина выступающих за пределы кузова или платформы частей панелей и блоков не должна превышать 0,8 м;
необходимо, чтобы панели и блоки опирались на прокладки из досок или брусков толщиной не менее 50 мм;
опалубочные блоки следует закреплять веревочными или стальными инвентарными расчалками, обеспечивающими устойчивость блоков.
Перед транспортированием необходимо проверить все соединения и крепления. Такая же проверка обязательна после перевозки перед строповкой.
7.91. Монтаж опалубки начинается с укладки по всему контуру бетонируемой конструкции маечных реек на грунтовое или бетонное основание. К деревянным колышкам при грунтовом основании или деревянным пробкам при бетонном основании рейки крепят гвоздями. Внутренняя грань рейки должна совпадать с наружной гранью бетонируемой конструкции.
После выверки маечных реек на них яркой краской наносят риски, обозначающие граничное положение опалубочных панелей.
7.92. Монтируемые опалубочные панели и блоки должны иметь инвентарные подкосы и расчалки для обеспечения устойчивости. Подкосами могут служить телескопические элементы. С помощью монтажного механизма панели или блоки устанавливают таким образом, чтобы их нижнее внутреннее ребро совпадало с внутренней гранью монтажной рейки.
Во время монтажа панели регулировочные винты (домкраты) инвентарных подкосов должны быть выдвинуты настолько, чтобы верхнее ребро панели отклонялось от вертикали наружу (в сторону подкосов) приблизительно на 20 - 30 мм. Стропы подъемного механизма могут быть освобождены лишь после того, как установленная на монтажную рейку и выверенная относительно горизонтальной оси панель раскреплена расчалками и подкосами.
7.93. Сборку опалубки начинают с установки одной или двух противоположных панелей (для стен, протяженных конструкций). После их расстроповки ставят монтажные крепления - анкеры или тяжи. Для этого через отверстия в зажимах 2Кд, трубки в щитах и отверстия в палубе пропускают тяжи и на их концах укрепляют гайки или инвентарные замки. Тяжи внутри блока стены могут быть пропущены через пластмассовые или металлические трубки, оставляемые в теле бетона. В этом случае тяжи становятся инвентарным элементом опалубки.
Инвентарная часть тяжей с одной стороны для опалубки массивных конструкций или с обеих сторон для опалубки стен может быть снабжена навинчивающимися конусными пробками, которые после распалубки извлекаются из тела бетона. В этом случае конусные пробки служат распорками, задающими определенную толщину стены.
7.94. После установки анкеров или тяжей производится выверка опалубки относительно вертикальной оси. Она осуществляется с помощью регулировочных домкратов-подкосов при ослабленных расчалках или с помощью телескопических элементов-подкосов.
После установки всех креплений в виде анкеров или тяжей гайки или инвентарные замки подтягивают вплотную к зажимам.
7.95. Последующие панели устанавливают так же, как описано выше. Однако в проектное положение их можно устанавливать и без монтажных креплений (анкеров или тяжей) и независимо от наличия опалубочной панели с противоположной стороны.
В этом случае обязательно устанавливаются телескопические элементы - подкосы или расчалки, которые оставляются до укладки в опалубку бетонной смеси. Инвентарные подкосы могут быть сняты и использованы для монтажа других панелей.
7.96. Опалубка конструкций высотой более 3,6 м устанавливается из панелей в несколько ярусов. При этом по мере бетонирования возводимой конструкции панели второго и последующих ярусов могут опираться на нижестоящие или, после демонтажа панелей нижнего яруса, раскрепляться на анкерах в теле забетонированной части конструкции или опираться на специальные кронштейны или балки.
7.97. При монтаже панелей второго и последующих ярусов без снятия опалубки нижележащего яруса возможны следующие варианты:
с использованием расчалок;
с использованием инвентарных подкосов;
с использованием телескопических элементов - подкосов.
7.98. При возведении малоармированных конструкций там, где имеется возможность использования внутренних расчалок, порядок монтажа панелей второго и последующих ярусов следующий:
на панели укрепляют 2 - 4 внутренние и наружные расчалки, навешивают инвентарные кронштейны, на которых оборудуют рабочие площадки;
монтируемую панель устанавливают в проектное положение и закрепляют расчалками (
рис. 120,
121 -
123). С наружной стороны расчалки рекомендуется крепить к анкерам, забетонированным в нижележащие конструкции, к специальным бетонным якорям или завинчиваемым в грунтовое основание инвентарным стальным якорям. Угол наклона наружных расчалок к вертикальной оси не должен быть менее 30°. Внутренние расчалки крепят к анкерам, забетонированным в стене или к жесткой арматуре стены;
нижнюю часть панели вышележащего яруса соединяют с верхней частью панели нижележащего яруса с помощью зажимов 1Кд, 2Кд или 3Кд;
производят расстроповку панели;
для стен аналогичным способом устанавливают панель с противоположной стороны. Ее внутренние расчалки можно крепить к установленной ранее панели;
производят выверку панелей относительно вертикальной оси. При этом наружные расчалки можно ослабить, но не снимать;
устанавливают 2 - 4 тяжа в верхнем ярусе;
устанавливают остальные рабочие крепления.
Рис. 121. Схема установки опалубочных панелей
на нижележащую опалубку
1 - опалубка нижележащего яруса; 2 - тяжи опалубки
нижележащего яруса; 3 - зажимы 2Кд; 4 - рабочие площадки
нижележащей опалубки; 5 - монтируемая панель опалубки;
6 - внешние расчалки; 7 - рабочие площадки монтируемой
опалубки; 8 - внутренние расчалки; 9 - анкеры для внутренних
расчалок; 10 - анкеры для внешних расчалок;
11 - зажимы 1Кд, 2Кд, 3Кд; 12 - временные распорки;
13 - тяжи монтируемой опалубки
Рис. 122. Схема установки опалубочных панелей
с использованием инвентарных подкосов
1 - опалубка нижележащего яруса; 2 - тяжи опалубки
нижележащего яруса; 3 - рабочие площадки нижележащего яруса;
4 - зажимы 1Кд, 2Кд или 3Кд; 5 - инвентарные подкосы;
6 - панель монтируемой опалубки;
7 - тяжи монтируемой опалубки
Рис. 123. Схема установки опалубочных панелей
с использованием телескопических элементов-подкосов
1 - опалубка нижележащего яруса; 2 - рабочие леса;
3 - рабочий настил; 4 - монтируемая панель опалубки;
5 - зажимы 1Кд, 2Кд, 3Кд; 6 - телескопические
элементы-подкосы; 7 - прогоны;
8 - тяжи монтируемой опалубки
Монтаж последующих смежных панелей несколько проще, поскольку они могут быть закреплены сбоку к ранее установленным панелям с помощью зажимов.
7.99. При монтаже панелей высотой до 2,4 м второго и последующих ярусов
(рис. 121) порядок работ следующий:
на панели укрепляют инвентарные подкосы;
монтируемую панель устанавливают в проектное положение, закрепляют подкосы на рабочей площадке, навешенной на нижележащую панель;
нижнюю часть панели вышележащего яруса соединяют с верхней частью панели нижележащего яруса с помощью зажимов 1Кд, 2Кд или 3Кд;
производят расстроповку панели;
с помощью домкратов, подкосов производят выверку панелей относительно вертикальной оси;
устанавливают рабочие крепления.
7.100. При использовании телескопических элементов в качестве подкосов для второго яруса опалубки высотой более 2,4 м (рис. 124) работы производят с установкой лесов, балок или специальных кронштейнов, которые навешиваются на нижележащий ярус опалубки.
Рис. 124. Схема бетонирования блоков плотин
в опалубке УК-18 в зимних условиях
1 - опалубка; 2 - щиты-утеплители; 3 - крышки тепляка;
4 - дополнительная опора; 5 - закладные анкеры;
6 - бетонируемый блок; I - первый столб; II - второй столб
Операции по установке опалубки аналогичны описанным выше. В этом случае телескопический элемент - подкос закрепляется на рабочем настиле и через прогоны-схватки к щитам. Его домкратная часть служит для выверки панелей опалубки относительно вертикальной оси. При раскреплении опалубки возможна установка меньшего количества анкеров (тяжей), так как телескопические элементы являются несущими при установке прогонов.
7.101. Рационально панели опалубки переставлять по вертикали. При этом возможны следующие варианты монтажных схем:
первый:
после демонтажа панелей опалубки с забетонированной части нижнего яруса возводимой конструкции на выступающие из бетона анкера-тяжи навешиваются инвентарные кронштейны. Шаг кронштейнов определяется по расчету;
кронштейны оборудуются рабочим настилом и ограждением;
с рабочих настилов устанавливается, прислоняясь к забетонированной части конструкции, панель второго яруса с закрепленными расчалками;
в нижней части с помощью деревянного бруса, прибиваемого монтажными гвоздями к рабочему настилу, панель опалубки прижимается к бетону стены;
верхняя часть второго яруса опалубки раскрепляется внешними и внутренними расчалками;
дальнейшие операции выполняются в последовательности, описанной выше;
второй:
после демонтажа панелей опалубки нижнего яруса вдоль возводимой конструкции устанавливают леса из телескопических стоек. Примыкающие к стене возводимой конструкции телескопические элементы снабжаются вильчатыми оголовниками. Высота стоек должна быть на 400 - 600 мм ниже уровня забетонированной части конструкции.
В вильчатых оголовниках стоек укрепляют деревянные прогоны-брусья, на которые устанавливаются панели опалубки вышележащего яруса.
Последующие операции по установке опалубки производятся по вариантам и в последовательности, описанной выше.
7.102. Демонтаж панелей производят в следующем порядке:
с навесных или приставных лестниц снимают замки на тяжах или анкерах. По два страховочных замка на панель оставляются до строповки;
снимают крепления (зажимы), соединяющие смежные панели;
снимают расчалки, если они установлены по одному из вариантов монтажа;
на инвентарных подкосах или телескопических элементах вывертывают регулировочные винты на три - пять витков;
стропуют демонтируемую панель, после чего снимают страховочные замки на анкерах (тяжах), проверяют все крепления щитов между собой;
производят предварительный отрыв панели от забетонированной конструкции;
с помощью монтажного механизма панель отводят от забетонированной конструкции до тех пор, пока она не освободится от всех тяжей и анкеров, и затем переставляют на площадку складирования.
Предварительный отрыв панели от забетонированной конструкции производят с помощью ручных домкратов. При бетонировании стен толщиной до 600 мм домкраты могут работать враспор от щита к щиту. Для этого на противоположных панелях оставляют по два страховочных замка на верхнем ярусе анкеров или тяжей, предварительно отведя их от щитов. Домкраты включаются в работу по возможности одновременно.
При бетонировании массивных сооружений в качестве одного из упоров для домкрата используют инвентарные колодки (обрезки двутавра), устанавливаемые в заранее отформованные гнезда.
Порядок работы при эксплуатации универсальной консольной опалубки УК-18 Оргэнергостроя
7.103. Консольная опалубка применяется на всех вертикальных поверхностях блоков бетонирования, не имеющих выступающих элементов (бетонных консолей, закладных частей, шпонок, выпусков арматуры и т.п.), при высоте основания бетонируемого блока не менее 3 м от поверхности скалы (или бетона смежного столба, секции).
Разность отметок опережающего и отстающего смежных блоков при их одновременном бетонировании в консольной опалубке должны быть 9 м в зимний период и 6 м в летний период.
7.104. Для образования штраб в цементируемых швах на рабочую поверхность опалубки нашиваются "гробики", как при обычной технологии.
7.105. Щит консольной опалубки удерживается двумя анкерами, воспринимающими растягивающие усилия до 40 т каждый. Кроме того, в местах опирания опалубки бетону передается вертикальная нагрузка от крышек тепляка. Поэтому бетонирование должно вестись с обязательным соблюдением требуемых технологическими правилами условий производства работ.
7.106. Ниже перечислены основные требования, соблюдение которых гарантирует необходимое качество бетона и обязательно при бетонировании блоков в консольной опалубке:
контроль за температурой укладываемой бетонной смеси;
поддерживание в необходимых пределах температуры в перекрываемом слое (не ниже +5 °C);
выдерживание темпа бетонирования в пределах, гарантирующих, с одной стороны, от схватывания бетона в перекрываемом слое, а с другой, от превышения расчетного давления на опалубку (что ограничивает предельный темп укладки до 0,4 м/ч);
поддержание на поверхности забетонированного блока температуры не ниже +5 °C; недопущение промерзания поверхностного слоя в процессе твердения.
С этой целью особенно важно тщательно утепление шатра и поверхности блока. Кроме того, при температурах наружного воздуха ниже минус 25° C необходимо утепление кондукторов консольной опалубки;
распалубка и перестановка консольной опалубки на следующий ярус с опиранием на нее крышек тепляка допускается при наборе бетоном прочности не менее 25 кгс/см2; бетонирование очередного блока - при прочности бетона в зонах заделки анкеров не менее 50 кгс/см2.
7.107. Контроль за температурой бетона в зонах заделки анкеров в процессе его твердения обязателен и производится стройлабораторией. На основании этих измерений стройлаборатория определяет набранную бетоном прочность и дает разрешение на бетонирование очередного блока.
7.108. Дополнительные требования, связанные с конструкцией опалубки:
запрещается использование прокладок между анкерами и опорными консолями опалубки. Исправлять перекосы следует при установке анкеров следующего яруса с помощью прокладок между анкерами и кондукторами;
в каждом блоке необходим геодезический контроль за плановым и высотным положением закладных анкеров с выноской осей и отметок на опалубку и бетон.
7.109. Монтаж и перестановка опалубки в зимних условиях выполняется в следующей технологической последовательности
(рис. 125) (в летних условиях операции, связанные со щитами-утеплителями, крышками тепляка и укрытием бетона, не выполняются):
консольная опалубка устанавливается опорными консолями на закладные анкеры таким образом, что зуб входит в зацепление с пластиной анкера, заходя в имеющиеся для него гнезда.
Рис. 125. Технологическая последовательность
при бетонировании в опалубке УК-18
а - установка опалубки, закрепление талрепами;
б - установка щитов-утеплителей, выверка опалубки
домкратами; в - монтаж тепляка, подготовка к бетонированию;
г - бетонирование, установка анкеров; д - укрытие бетона,
демонтаж тепляка; е - распалубка, снятия талрепов;
ж - перестановка опалубки; 1 - опалубка; 2 - щит-утеплитель;
3 - кондуктор; 4 - закладной анкер; 5 - зуб
Расположение строповочных проушин обеспечивает наклонное положение опалубки при подвеске на крюке крана. Наклон в сторону блока позволяет точно направить зубья в гнезде анкеров.
При дальнейшем опускании опалубка принимает вертикальное положение, при этом нижние упоры упираются в бетон.
После этого, убедившись в зацеплении зубьев за анкеры, производят расстроповку опалубки.
После установки опалубки производится закрепление низа несущего каркаса талрепами к анкерам ранее забетонированного блока.
Вращением нижней пары домкратов подвижной щит прижимают к щиту-утеплителю (или к грани бетона в летних условиях) забетонированного блока и, упираясь в него, отжимают несущий каркас опалубки от бетона до полного контакта между зубьями опорных консолей и пластинами анкеров.
После установки консольной опалубки в блок подаются щиты-утеплители. Легкие щиты-утеплители с ФРП-1 подаются в пакете краном; дальнейшая установка производится вручную.
Щиты-утеплители типа КТЩ расставляются по местам краном и крепятся к палубе опалубки.
После установки щитов-утеплителей производится окончательная выверка палубы опалубки с помощью верхних домкратов.
После выверки опалубки блок закрывается крышками тепляка.
Крышки опираются на верхние площадки несущих каркасов консольной опалубки. Блок размером 11 x 12 м перекрывается двумя, блок размером 22 x 12 м - четырьмя крышками.
Зазоры между крышками шириной 0,5 м, а также по контуру блока, между тепляком и опалубкой, закрываются нащельниками, брезентом и т.д.
Производится подготовка блока к бетонированию.
7.110. При бетонировании в консольной опалубке следует учитывать принятые в расчете ограничения: скорость бетонирования - не более 0,4 м/ч; выгрузка бетона из бадьи емкостью 3 м3 - не ближе 1 м от опалубки; из бадьи емкостью 6 м3 - не ближе 1,5 м от опалубки.
7.111. Опалубка рассчитана на проработку бетона ручными вибраторами И-86.
Возможно применение для разравнивания и уплотнения бетонной смеси малогабаритных бульдозеров и тракторов с вибропакетами, а также подвесных вибропакетов, при этом ограничивается приближение: ножа бульдозера к опалубке - не ближе 0,5 м; пакета мощных вибраторов к опалубке - не ближе 0,5 м.
7.112. Установка закладных анкеров с креплением их к кондукторам консольной опалубки производится в ходе бетонирования, перед укладкой последнего слоя бетона.
7.113. После схватывания бетона винт подхвата ослабляется, проволочные петли снимаются, вынимается фиксирующий палец и кондуктор откидывается в нерабочее положение.
После укрытия бетона крышки тепляка снимаются.
7.114. Распалубка и перестановка блока консольной опалубки на следующий ярус состоит из следующих операций: отрыв подвижного щита от щита-утеплителя (в летний период - от поверхности бетона); снятие нижних креплений (талрепов); строповка консольной опалубки; подъем и перестановка консольной опалубки на следующий ярус. В дальнейшем операции повторяются.
7.115. Для обеспечения правильной эксплуатации, сохранности и высокой оборачиваемости консольной опалубки необходим постоянный уход за конструкциями и механизмами.
Уход заключается в регулярной очистке от остатков бетона деревянной палубы и металлических частей, соприкасающихся с бетоном (опорных консолей, кондукторов), и их смазке отработанным маслом; своевременной замене изношенных досок палубы щита; очистке от снега, льда, мусора рабочих площадок опалубки; регулярной очистке и смазке резьбовых механизмов (домкраты, талрепы); подтягивании ослабевших болтовых креплений.
Два раза в год (при смене сезонов) необходимо проводить технический осмотр и профилактический ремонт опалубки.
При осмотре обязательно проверять состояние следующих узлов и деталей:
зубьев опорных консолей (отсутствие трещин и деформаций);
строповочных проушин (и, если имеется, постоянного стропа);
элементов несущего каркаса (отсутствие изгибов и вмятин на полках прокатных профилей);
узловых фасонок и швов;
лестниц и ограждений;
домкратов и талрепов (легкость вращения, отсутствие задиров резьбы коррозии трущихся частей; наличие смазки; состояние крепежных болтов и гаек);
подвижного щита (металлический каркас, палуба);
кондукторов (сохранность деталей, правильность привязок в плане и по отметкам, состояние крепежных болтов и гаек).
Окраска конструкций возобновляется по мере необходимости, но не реже 1 раза в год.
РАБОТА С ПОДЪЕМНО-ПЕРЕСТАВНОЙ ОПАЛУБКОЙ
7.116. Подъемно-переставная опалубка должна устанавливаться с соблюдением следующих требований:
а) количество и чередование типов панелей наружных щитов внутренней опалубки должно соответствовать монтажным схемам;
б) шахтный подъемник должен быть установлен точно по центру сооружения и раскреплен строго вертикально гибкими связями в соответствии с проектом;
в) расстояние от вертикальной оси сооружения до поверхности наружной опалубки должно соответствовать проекту;
г) допускаемые отклонения положений и размеров установленной опалубки от проектных не должны превышать величин, указанных в
табл. 74;
д) сборку опалубки надлежит вести с применением шаблонов и приспособлений, обеспечивающих точность размеров и форм возводимого ствола трубы;
е) крепления элементов опалубки между собой должны исключать возможность смещения элементов как во время установки, так и в процессе укладки и уплотнения бетонной смеси.
Отклонения | Допускаемые величины, мм |
Радиусов установленной наружной опалубки в секциях ствола трубы (местные) | +/- 20 |
Размеров установленной опалубки в проемах газоходов | +40 |
Расстояния между внутренними поверхностями опалубки ствола трубы | +20 -10 |
7.117. Возведение ствола трубы в подъемно-переставной опалубке производится цикличным способом. В течение одного цикла выполняют работы по возведению ствола трубы на высоту одной секции, равную 2,5 м.
Секцией считается участок ствола трубы высотой 2,5 м, равной высоте бетонирования с одной установки наружной опалубки.
Работы, выполняемые за один цикл:
обработка рабочего шва;
перестановка наружной опалубки (после выдерживания бетона) на очередную секцию ствола трубы;
установка арматуры на высоту секции;
перестановка щитов внутренней опалубки на очередной (первый) ярус или очередную секцию - два яруса. Ярусом называется участок ствола трубы высотой 1,25 м, равной высоте бетонирования с одной установки щитов внутренней опалубки;
бетонирование ствола на высоту первого яруса или секции при установке внутренней опалубки на высоту секции;
перестановка щитов внутренней опалубки на очередной (второй) ярус при установке опалубки последовательно в два яруса по мере бетонирования секции ствола трубы;
бетонирование ствола трубы на высоту второго яруса;
выдерживание бетона.
7.118. Установка наружной опалубки в каждой секции ствола должна производиться по верхнему проектному радиусу.
Правильность установки наружной опалубки необходимо проверить измерением радиусов под всеми винтами механизма радиального перемещения.
7.119. Монтаж наружной опалубки ведут из замаркированных панелей, предварительно раскладываемых на деревянных подкладках вокруг стакана фундамента в соответствии с монтажной схемой. Внутреннюю поверхность панелей, соприкасающуюся с бетоном, смазывают тонким слоем минерального масла густой консистенции или другими смазками, не загрязняющими бетон и рабочий шов.
7.120. Для придания стволу трубы конической формы наружную опалубку монтируют из панелей трапецеидальной и прямоугольной формы. Для замыкания наружной опалубки служат конечные панели (рис. 126).
Рис. 126. Наружная опалубка
1 - конечная панель; 2 - прямоугольная панель;
3 - стяжные болты; 4 - стяжки
7.121. Перед навеской панелей на подвески механизма радиального перемещения последние устанавливают в положение, соответствующее (примерно) верхнему проектному радиусу первой секции ствола трубы.
7.122. После подвески и соединения панелей болтами и накладками опалубка своей нижней кромкой должна схватывать стенки стакана фундамента на высоту 10 - 15 см.
7.123. До стягивания наружной опалубки стяжными болтами производят ее установку по верхнему проектному радиусу первой секции.
Для этого производится промер стальной рулеткой расстояния от геометрического центра сооружения, зафиксированного отвесом или зенитприбором, до проектного положения наружной опалубки. Вращением винтов механизмов радиального перемещения панели устанавливаются по верхнему проектному радиусу и опалубку стягивают нижними болтами.
7.124. После стягивания наружной опалубки болтами производится контрольная проверка правильности ее установки по верхнему проектному радиусу, так как при стягивании опалубка может сместиться. Затем опалубку стягивают верхними стяжными болтами. Конечные панели скрепляют со смежными панелями заклепками.
7.125. Перед подъемом наружной опалубки для установки ее на очередную секцию ствола трубы должны быть выполнены следующие операции:
грузовая клеть шахтного подъемника опущена вниз, а трос клети опущен на 5,5 - 5,6 м;
установлены стойки шахтного подъемника на высоту 2,5 м;
произведен первый подъем опорной переставной рамы подъемной головки на высоту 1,25 м с установкой ригелей, раскосов и четырех угловых опорных стаканов под опорной переставной рамой;
произведен второй подъем опорной переставной рамы на высоту 1,25 м с установкой ригелей, раскосов и восьми опорных стаканов под рамой и опирание ее на все опорные стаканы;
срезаны заклепки и ослаблены стяжные болты в местах расположения конечных панелей наружной опалубки;
срезаны стальные скрутки, соединяющие наружные панели и внутренние щиты (если они были установлены);
произведен отрыв опалубки.
7.126. После опирания переставной рамы на все опорные стаканы производят подъем каркаса головки с рабочей площадкой, наружной опалубкой и подвесными лесами на следующую секцию. Каркас подъемной головки после подъема опалубки должен опираться кулачками кронштейнов на восемь опорных стаканов.
7.127. Установку наружной опалубки по верхнему проектному радиусу данной секции ствола трубы производят в соответствии с проектом.
7.128. Центровку панелей наружной опалубки производят последовательно от середины группы панелей к стыкам (конечным панелям).
7.129. Установленная наружная опалубка должна захватывать ствол трубы на высоту 10 - 15 см. При стягивании наружной опалубки стяжным болтом верхняя кромка бетона ствола трубы не должна быть повреждена.
7.130. Стыки панелей и щитов опалубки должны быть плотными, чтобы через них при укладке и уплотнении бетонной смеси не вытекало цементное молоко или раствор.
7.131. По мере подъема (при возведении ствола труб) и уменьшения ее диаметра конечные панели постепенно должны заходить на соседние. После выработки конечных панелей отдельные (основные) панели удаляют согласно монтажной схеме наружной опалубки, а конечные панели устанавливают в начальное положение. Конечные панели удаляют лишь при наличии в них большого количества пробитых отверстий и невозможности дальнейшего использования.
7.132. При установке опалубки в верхних секциях должны быть учтены отклонения, допущенные в радиусах выполненных нижних секций ствола труб.
Для придания головке трубы конической формы (расширение кверху) наружные панели опалубки устанавливают с уклоном наружу, а конечные панели в верхней части раздвигают и крепят к смежным панелям заклепками.
7.133. Поверхности панелей наружной опалубки и щитов внутренней опалубки, соприкасающиеся с бетоном, при каждой перестановке должны быть очищены стальными скребками от налипшего бетона, раствора и смазаны.
7.134. Освобождение бетона ствола трубы от наружной опалубки и подъем ее на следующую секцию должны производиться по достижении бетоном прочности, при которой он может сохранять свою форму и противостоять случайным механическим повреждениям. Верхние кромки бетона не должны быть повреждены при отрыве опалубки. Срок снятия наружной опалубки должен назначаться строительной лабораторией в зависимости от свойств цемента и условий твердения бетона.
7.135. Удаление несущих элементов опалубки в проемах допускается по достижении бетоном прочности на сжатие не менее 70% проектной.
7.136. Для возведения ствола трубы должны применяться три комплекта (яруса) щитов внутренней опалубки.
7.137. Монтаж щитов внутренней опалубки в каждой секции ствола трубы производится последовательно в два яруса высотой по 1,25 м после бетонирования каждого яруса.
7.138. При толщине стен ствола 300 мм и более щиты внутренней опалубки допускается устанавливать сразу на высоту секции (два яруса) - 2,5 м с тщательным скреплением наружных панелей и внутренних щитов.
7.139. Щиты внутренней опалубки в каждом ярусе устанавливают на щиты предыдущего яруса
(рис. 127). Устанавливаемые щиты опалубки своими нижними скобами должны перекрывать горизонтальную планку щитов предыдущего яруса.
Рис. 127. Внутренняя опалубка
1 - щит внутренней опалубки; 2 - распорные стержни;
3 - скобы; 4 - кольцо для подвески щита
7.140. При монтаже щитов внутренней опалубки на обрезе стакана фундамента или на поверхности консоли под нижнюю кромку щитов должны быть уложены деревянные подкладки, а щель между ними - заделана местной деревянной опалубкой для удаления щитов внутренней опалубки после выдерживания бетона.
7.141. Скрепление щитов внутренней опалубки в каждом ярусе должно производиться посредством распорных стержней, устанавливаемых в скобы щитов, и соединения накладок сжимами. При диаметре ствола трубы, равном 10 м и более, щиты внутренней панели наружной опалубки, кроме того, должны скрепляться стальными стяжками (через отверстия в щитах и панелях) для предотвращения смещения опалубки при бетонировании.
7.142. Для фиксирования расстояния между внутренней и наружной опалубкой на верхней кромке щитов каждого яруса внутренней опалубки устанавливают деревянные распорки-фиксаторы, которые удаляют по окончании укладки бетонной смеси в опалубку очередного яруса. Распорки-фиксаторы скрепляют вязальной проволокой со щитами и арматурой.
7.143. Для образования консолей ствола трубы щиты внутренней опалубки устанавливают с уклоном к центру трубы и фиксируют деревянными шаблонами-распорками, прикрепленными вязальной проволокой к щитам опалубки и арматуре.
7.144. Перед перестановкой щитов внутренней опалубки на вышерасположенную секцию их привязывают пеньковыми канатами к радиальным балкам рабочей площадки, а затем удаляют распорные стержни; после установки щитов внутренней опалубки на новую секцию и раскрепления их распорными стержнями пеньковый канат отвязывают.
7.145. До перестановки щитов внутренней опалубки, находящихся на обрезе стакана фундамента или консолях, удаляют деревянную опалубку и подкладки.
Во избежание повреждения бетона освобождение щитов внутренней опалубки от распорных стержней должно производиться осторожно.
7.146. Контроль качества опалубочных работ осуществляется проверкой правильности монтажа опалубки, плотности стыков панелей и ее щитов. Проверка правильности монтажа опалубки производится при помощи отвесов, рулеток и пр.
7.147. Установка опалубки в каждой секции ствола трубы должна оформляться актом (с участием представителя технического надзора) с приложением к нему исполнительной схемы опалубки.
7.148. При приемке установленной опалубки дается оценка качества работ и заключение о возможности бетонирования. Бетонирование ствола трубы должно производиться последовательно отдельными ярусами высотой, равной 1,25 м. По окончании бетонирования в каждой секции нижнего яруса устанавливают внутреннюю опалубку верхнего яруса и производят его бетонирование.
Бетонирование в пределах каждого яруса должно выполняться непрерывно.
7.149. При установке внутренней опалубки сразу на высоту секции (в два яруса) бетонирование в пределах секции должно производиться непрерывно.
7.150. При бетонировании необходимо постоянно наблюдать за плотностью стыков опалубки. В случае обнаружения неплотностей в стыках они должны быть проконопачены.
7.151. При обнаружении деформации или смещений опалубки и креплений бетонирование должно быть прекращено, элементы опалубки восстановлены в проектное положение и при необходимости усилены.
ПРИМЕНЕНИЕ БЛОЧНОЙ ОПАЛУБКИ
Подготовка блок-форм к эксплуатации
7.152. Перед установкой блок-формы в проектное положение створки должны быть тщательно очищены от остатков бетона и смазаны. Необходимо проверить работу домкратов, рычажных приспособлений и отжимных устройств. В индивидуальных разъемных блок-формах с шарнирной подвеской створок к каркасу необходимо соединить створки каждого яруса между собой
(рис. 128).
Рис. 128. Схема подготовки к работе разъемных блок-форм
а - блок-форма с шарнирной подвеской; б - схема раздвижки
трансформирующейся блок-формы; 1 - каркас; 2 - створка
подколонника; 3 - створка ступенчатой части; 4 - деревянный
брус; 5 - рычаг; 6 - козелки; 7 - угловая створка;
8 - компенсатор; 9 - замок, соединяющий угловую створку
и компенсатор; 10 - веревка для монтажного крепления
створки подколонника
Изменение внутренних размеров трансформирующихся блок-форм производится путем одновременной раздвижки параллельных створок. Крепления в местах соединения створок на период раздвижки ослабляются или снимаются, а после выверки размеров блок-формы вновь устанавливаются.
7.153. Переналадка блок-формы производится на специальных инвентарных стапелях. Рекомендуется следующий порядок проведения работ: с блок-формы ступенчатой части снимается блок-форма подколонника;
на спланированной грунтовой площадке или бетонном основании устанавливаются стапели, назначение которых - удержать отдельные части блок-формы от опрокидывания. На грунтовой площадке деревянными колышками, забитыми заподлицо с основанием, а на бетонном основании краской наносятся риски, обозначающие положение осей и уголков блок-формы новых размеров и конфигурации;
снимаются накладные схватки со створок; разболчиваются фланцевые соединения створок и элементов каркаса;
с помощью подъемного механизма отдельные части блок-формы переставляются на новое место;
устанавливаются доборные элементы и соединяются болтами с одной стороны с основным каркасом и створкой;
с помощью подъемного механизма производится рихтовка частей блок-формы; при этом добиваются соосности всех отверстий под болты;
устанавливаются болты во фланцевые соединения элементов каркаса и створок;
проверяются размеры и длина диагоналей блок-формы; при необходимости допускается установка инвентарных прокладок общей толщиной не более 8 мм в одном стыке; затягиваются болты соединения;
опробывается работа шарнирных подвесок створок;
створки соединяются в углах; устанавливаются накладные схватки требуемого размера.
Такова же последовательность работ при переналадке блок-форм подколонника. Особое внимание должно быть уделено соответствию размеров в осях ловителей блок-формы ступенчатой части и стоек каркаса блок-форм подколонника.
Монтаж и демонтаж блок-форм
7.154. К месту установки блок-формы могут быть доставлены на автоплатформах или трайлерах. Размер блок-форм в плане в этом случае не должен превышать 3500 x 3500 мм, а высота не должна превышать 3000 мм. Блок-формы больших размеров внутри строительной площадки могут перемещаться на санях-волокушах.
При перевозках блок-форм внутри строительной площадки или с одной площадки на другую в тех случаях, когда размеры превосходят допустимые, должны приниматься специальные меры предосторожности, а транспортные средства на дорогах общего пользования должны сопровождаться автомобилями прикрытия.
7.155. Монтаж блок-форм производится так же, как монтаж опалубочных или армоопалубочных блоков: на основании размечается положение осей; на створках или каркасе блок-форм краской также наносятся риски, обозначающие оси. При установке блок-форм добиваются совмещения осей. Выверка горизонтальности достигается с помощью винтовых домкратов или путем установки подкладок. Если высота бетонируемой конструкции меньше высоты блок-формы, на внутренней поверхности створок краской наносят отметки бетонирования.
Нижняя арматурная сетка обычно устанавливается до монтажа блок-формы. Вертикальная арматура, если она не обладает устойчивостью, может устанавливаться в блок-форму.
7.156. Демонтаж неразъемных блок-форм целесообразно производить сразу же после достижения бетоном прочности 10 - 15 кгс/см2. Для ориентировочного выбора сроков распалубки фундаментов можно воспользоваться рекомендациями табл. 75.
Таблица 75
Марка бетона | Продолжительность выдержки бетонных конструкций, ч, при температуре наружного воздуха, °C |
10 | 15 | 20 | 25 | 30 |
М150 | 12 | 7 | 6 | 5 | 5 |
М200 | 10 | 8 | 6 | 5 | 4 |
В жаркую и сухую ветреную погоду распалубленные конструкции должны быть защищены снаружи водонепроницаемыми пленками для предотвращения преждевременного уноса влаги. Случайные отколы и другие повреждения поверхности железобетонных конструкций должны быть сразу после демонтажа блок-форм заделаны цементно-песчаным раствором.
7.157. Демонтаж разъемных блок-форм с жестким соединением каркаса и створок начинается с отпирания замков створок. Затем производится отжим створок от забетонированной конструкции. Для предотвращения пластических деформаций элементов каркаса и самих створок рекомендуется включать отжимные устройства в работу постепенно, начиная с верхнего яруса. Весь цикл отвода карт высотой более 3000 мм необходимо осуществлять не менее чем за два раза.
После отрыва створок они фиксируются клиновыми замками в разведенном положении, а отжимные устройства должны быть возвращены в исходное положение.
При демонтаже отдельные створки иногда заклиниваются бетонными наплывами, образующимися на уступах. Поэтому рекомендуется через 4 - 8 ч после укладки бетонной смеси производить подчистку поверхностей ступеней у мест примыкания вышерасположенных створок.
Демонтаж блок-форм с шарнирной подвеской створок к каркасу производится после раскрытия замков, соединяющих створки, и срыва блок-формы с бетона.
7.158. Демонтаж переналаживаемых блок-форм конструкции ЦНИИОМТП начинается с удаления креплений в углах створок. Рекомендуется доборные деревянные элементы опалубки подколонника удалять до начала демонтажа и производить эту операцию через 12 - 16 ч после укладки бетонной смеси, но не позднее чем через 24 ч. Створки ступенчатой части и подколонника отводятся от забетонированной конструкции с помощью нижних упоров и фиксируются в таком положении вплоть до снятия блок-формы.
Специальные требования техники безопасности
7.159. Строповка блок-форм должна производиться только за монтажные петли. Категорически запрещается строповка за ребра каркаса створок, шарнирные подвески или стяжные замки.
При подъеме двух-трех ярусов трансформирующихся блок-форм, не имеющих специальных связей, необходимо отдельные ярусы между собой соединить струбцинами.
7.160. В процессе переналадки запрещается находиться внутри блок-формы, если створки и каркас разъединены на неустойчивые карты. Запрещается подбивка клиньев и рихтовка отдельных карт на стапеле, если карты не застроплены подъемным механизмом. Во время перемещения блок-форм к месту установки подъемными механизмами и во время демонтажа рабочим запрещается оставаться на блок-формах.
Рабочие, устанавливающие пространственные арматурные каркасы и укладывающие бетонную смесь, должны находиться на навесных рабочих площадках, закрепляемых за верхний край створок блок-формы или элементы каркаса. К перилам площадок рабочие обязаны прикреплять монтажные ремни.
Отжим створок допускается производить только с инвентарных лестниц, жестко соединенных с каркасом блок-форм, или с навесных стремянок.
Сборка блочной опалубки конструкции Казоргтехстроя (г. Алма-Ата) в управлениях малой механизации (УММ)
7.161. Сборка опалубки должна производиться на специальном плацу, на площадках с металлическим, бетонным или асфальтовым покрытием в радиусе действия подъемного крана. Неровности поверхности при наложении двухметровой рейки не должны превышать 5 мм
.
До начала работ по сборке панелей и блоков необходимо подготовить рабочую площадку (очистить ее от мусора), приспособления, инвентарь и инструменты.
7.162. Все резьбовые детали должны быть покрыты слоем смазки. Щиты опалубки, поддерживающие элементы после каждого оборота необходимо очищать от бетона с помощью скребков и металлических щеток. Применение молотков или другого инструмента ударного действия для очистки элементов опалубки от бетона запрещается.
7.163. Щиты опалубки, доборные и угловые элементы, схватки складируются на рабочей площадке по маркам. В табл. 76 приведен перечень инструмента и инвентаря бригады сборщиков опалубки.
Таблица 76
Наименование | Количество. шт. |
Строп четырехветвевой 4 СК-8,0 | 1 |
Рулетка стальная измерительная РС-20 | 2 |
Лом стальной монтажный | 2 |
Комплект гаечных ключей | 2 |
Ящик с деталями креплений | 1 |
Подкосы инвентарные | 4 |
Отвес | 1 |
Лестница-стремянка | 2 |
Навесная лестница | 1 |
Рукавицы | 5 |
Каска | 4 |
Электрогайковерт И-61 | 2 |
Краскораспылитель О-37 | 1 |
Домкрат винтовой автомобильный с усилием 3 тс | 1 |
Щетка металлическая | 2 |
Установка для очистки опалубки | 1 |
7.164. Угловые блокирующие элементы типа Уг-1 могут быть набраны длиной в 60, 120, 180, 240, 300 см. Длина углового блокирующего элемента должна быть равна высоте доборных элементов. Стык угловых блокирующих элементов не должен совпадать со стыком доборных элементов.
7.165. Угловой блокирующий элемент типа Уг-1 может применяться как для наружного, так и для внутреннего блока опалубки. В зависимости от этого угловой блокирующий элемент может быть сориентирован пазами в ту или иную сторону.
При высоте конструкции до 300 мм угловой блокирующий элемент крепится в нижнем крайнем положении. При этом нижний конец углового блокирующего элемента выступает от нижнего торца панели на 32,5 мм. При высоте конструкции более 300 мм угловой блокирующий элемент может крепиться выше низа щитов опалубки на 100 - 200 мм.
7.166. Панель к блокирующим элементам Уг-1, Уг-2, Уг-3 должна крепиться не менее чем на два болта. При высоте панели более 600 мм крепление следует производить с шагом между болтами 400 мм.
7.167. Операции по укрупнительной сборке щитов в панели выполняют в следующем порядке:
а) раскладывают щиты опалубки "Монолит" на сборочной площадке поверхностями вниз согласно схеме сборки панели. С помощью рулетки и метра проверяют габариты панелей и регулируют их с помощью горизонтальных прорезей доборного элемента. Установив нужный размер, гаечным ключом зажимают болт в доборном элементе от возможного смещения его в прорези;
б) производят крепление щитов опалубки и доборных элементов между собой
(рис. 129), затем заводят в совмещенные отверстия смежных щитов пружинные крюки и болты, производят ими крепление щитов между собой. Доборный элемент к щитам крепится болтами;
в) устанавливают и крепят к собранной панели схватки. Соединяются схватки со щитами панели натяжными крюками в 2 - 3 местах. При этом натяжной крюк продевают сквозь схватку и заводят в отверстие уголка щита, на крюк надевают шайбу до упора в схватку и заворачивают гайку;
г) устанавливают и крепят к панели связи жесткости, с помощью метра размечают расстояние между ними. Крепление связей к панели производят болтами;
д) устанавливают и крепят угловой блокирующий элемент. Для наружных блоков опалубки угловой элемент может устанавливаться непосредственно к торцам опалубочных панелей.
Рис. 129. Крепление щитов между собой
1 - щиты опалубки; 2 - болты; 3 - пружинные скобы
Сборка блоков опалубки ступенчатых фундаментов
7.168. Блок опалубки ступенчатых фундаментов представляет собой многоступенчатую форму, ступени которой собраны из щитов опалубки "Монолит" на угловых блокирующих элементах и зафиксированы по высоте посредством несущих ферм и схваток через шарнирные флажки (косынки) в угловых элементах. Совокупность щитов опалубки, угловых блокирующих, доборных элементов, схваток обеспечивают создание ступенчатых форм различных видов и возможность снятия их с забетонированных конструкций без разборки. На
рис. 130 показана компоновка блочно-переставной опалубки.
Рис. 130. Пример компоновки блока опалубки
ступенчатого фундамента
а - сборка опалубки ступеней; б - сборка блока опалубки;
1 - щиты опалубки; 2 - схватки; 3 - угловые элементы;
4 - доборные элементы; 5 - флажки; 6 - стаканообразователь;
7 - скобы; 8 - монтажные петли
7.169. Сборку опалубки начинают с блока нижней ступени.
Панели собирают в блоки с установкой схваток.
Для регулирования размера блока (в пределах кратности щитов) в углы блоков устанавливают доборные элементы, которые крепятся к торцам щитов.
Смежные доборные элементы соединяют между собой блокирующим угловым элементом на болтах.
После установки и выверки блока нижней ступени собирают блоки последующих ступеней и временно устанавливают их друг на друга через прокладки из уголков, арматурных стержней или схваток.
После установки и выверки блоков всех ступеней флажки угловых блокирующих элементов каждого ребра соединяют схватками и закрепляют двумя болтами с двух сторон, причем одна схватка должна соединять все угловые блокирующие элементы трех ступеней, а другая схватка, проходящая с другой стороны флажков, должна соединять угловые блокирующие элементы первой и третьей ступени. Таким образом схватки образуют по углам третьей ступени опалубки жесткие треугольные фермы, опирающиеся своими нижними концами в нижнюю ступень опалубки. Промежуточная, вторая, ступень опалубки подвешивается к фермам через флажки (косынки) своих угловых элементов.
Удалив прокладки, устанавливают скобы Ск-1 с шагом не более 1 м. Скобы соединяют панели верхнего и нижнего блока, предохраняя их от распора бетоном.
Для предохранения от распора нижнего края панели забивают в землю арматурные коротыши с шагом не более 1 м.
Стаканообразователь изготавливают на месте из листовой стали толщиной 2 - 4 мм с применением унифицированного углового блокирующего элемента Уг-1, Уг-2, Уг-3. К месту бетонирования блок переносят с помощью траверсы или четырехветвевого стропа. Строповку производят за монтажные петли, закрепленные на схватках, соединяющих угловые блокирующие элементы.
7.170. Демонтаж блока-опалубки фундамента производят в следующей последовательности:
ослабляют гайки, крепящие угловые блокирующие элементы;
путем подъема углового элемента (ломиком или домкратом) отрывают от бетона стенки стаканообразователя;
за угловые элементы извлекают стаканообразователь, при этом размеры стаканообразователя уменьшаются за счет косых пазов в угловых элементах;
убирают скобы Ск-1;
ослабляют гайки, крепящие блокирующие угловые элементы опалубки ступеней;
отрывают панели от бетона путем подъема угловых элементов домкратами или монтажными ломиками;
за монтажные петли на схватках стропами или траверсой поднимают блок. При этом панели каждой стороны фундамента расходятся за счет косых пазов, образуя монтажный зазор 76 мм.
7.171. Установку опалубки в исходное (рабочее) положение производят следующим образом:
под нижнюю ступень блока опалубки устанавливают временные подкладки, на них - блок. При этом панели нижней ступени под действием собственной массы перемещаются по пазам углового блокирующего элемента и занимают верхнее положение по отношению к угловому блокирующему элементу;
гайками доборный элемент или щит прижимается к угловому блокирующему элементу;
домкратом или монтажным ломиком поднимают поочередно каждую сторону вышележащих ступеней и гайками закрепляют к угловым блокирующим элементам или щитам.
Блок опалубки устанавливают на новое место бетонирования.
7.172. Сборка блоков опалубки ступенчатых фундаментов небольших размеров осуществляется следующим образом. По каждому углу проходит по одной схватке, соединяющей флажки блокирующих угловых элементов Уг-3 трех ступеней. В остальном монтаж и демонтаж опалубки аналогичен монтажу предыдущей опалубки. Общий вид малогабаритного блока опалубки ступенчатых фундаментов показан на
рис. 131.
Рис. 131. Блок опалубки со ступенями в одной плоскости
а - схема; б - демонтаж опалубки; 1 - щиты опалубки;
2 - схватки; 3 - угловые элементы; 4 - доборные элементы;
5 - флажки; 6 - стаканообразователь; 7 - скобы
7.173. Сборка блоков опалубки столбчатых фундаментов со ступенями в одной плоскости отличается от предыдущих компоновок тем, что вторая и третья ступени имеют две общие вертикальные плоскости и углы всех трех ступеней опалубки в плане расположены не на одной прямой.
Сборку опалубки начинают с блока нижней ступени.
После установки и выверки блока нижней ступени собирают блоки второй и третьей ступени, причем у двух панелей плоскости блока второй и третьей ступени совпадают.
В углах блока второй ступени обязательным является наличие углового элемента Уг-4, обеспечивающего возможность отхода панели от бетона.
В остальном монтаж и демонтаж блока аналогичен описанным выше.
7.174. Сборка блоков опалубки ступенчатых фундаментов больших габаритов производится следующим образом.
Ступенчатые фундаменты большого габарита, имеющие широкое основание и высокий подколонник
(рис. 132), собирают в два этапа. Сначала собирают основание ступенчатого фундамента.
Рис. 132. Блок опалубки ступенчатого фундамента
1 - щиты; 2 - монтажные элементы; 3 - угловые элементы
Блок монтируют непосредственно на строительной площадке из заранее собранных укрупненных панелей. При сборке для устранения провисания вышележащих ступеней они опираются на нижележащие посредством консолей из схваток, закрепленных на этих ступенях.
Монтаж и демонтаж опалубки аналогичен предыдущим компоновкам.
На основание устанавливается блок опалубки подколонника. При необходимости его раскрепляют растяжками.
Устанавливают стаканообразователь.
Демонтаж блока производится в следующей последовательности:
снимаются крепление схваток в углах и растяжки;
ослабляются гайки, крепящие угловые блокирующие элементы к стаканообразователю;
отрывают от бетона стенки стаканообразователя;
за угловые элементы извлекают стаканообразователь, при этом размеры стаканообразователя уменьшаются за счет косых пазов в угловых элементах;
ослабляют гайки, крепящие блокирующие угловые элементы;
отрывают от бетона панели путем подъема угловых элементов домкратами или монтажными ломиками;
за угловые элементы с помощью траверсы поднимают блок. При этом панели каждой стороны фундамента расходятся за счет косых пазов, образуя монтажный зазор 76 мм.
7.175. Сборка блоков опалубки ступенчатых фундаментов со скошенными ступенями (рис. 133) отличается наличием угловых щитов ЩУ-2.
Рис. 133. Опалубка ступеней
1 - щиты опалубки; 2 - схватки; 3 - угловые элементы;
4 - доборные элементы; 5 - флажки; 6 - монтажная петля
Угловые щиты ЩУ-2 соединяются с вертикально стоящими угловыми блокирующими элементами и обеспечивают наклон под 45° опалубочных панелей ступеней. В остальном сборка аналогична ранее рассмотренным компоновкам.
7.176. Для возведения монолитных конструкций типа "соты" применяется опалубка размером на ячейку здания, сблокированная угловыми элементами Уг-1 с применением доборных элементов. Угловые, блокирующие элементы, все крепежные элементы, схватки, связи жесткости остаются внутри короба.
Сборку блока опалубки стен производят на специально отведенной для этого площадке, предварительно проверив ее горизонтальность и очистив от мусора.
В верхнем ярусе схваток панелей должны быть предусмотрены монтажные петли (на панелях шириной до 3500 мм - две монтажные петли, свыше 3500 мм - четыре петли).
Пространственную опалубку стен блокируют из готовых опалубочных панелей в вертикальном положении посредством углового блокирующего элемента с наклонными продолговатыми прорезями. На монтажной площадке размечают размеры блока и устанавливают ограничители (деревянные бруски на монтажных гвоздях).
Операции по блокированию панелей опалубки стен выполняют в следующей последовательности:
стропят и подают панель к месту установки, устанавливают панель в вертикальное положение;
установленную первую панель крепят подкосами. Панель выверяют отвесом в вертикальном положении, после чего производят расстроповку панели;
последующие панели устанавливают перпендикулярно предыдущим и крепят между собой при помощи углового блокирующего элемента с наклонными прорезями (рис. 134);
производят окончательную выверку блока;
по верхнему и нижнему поясам (схваткам) раскрепляют смонтированные панели инвентарными скобами.
Рис. 134. Сборка панелей в блок
До монтажа блоков опалубки стен необходимо:
сделать бетонную подготовку;
нанести оси стен;
установить арматурные каркасы;
собрать и зафиксировать с помощью блокирующего и углового элементов блок опалубки стен.
Монтаж блока стен подвала выполняется в следующей последовательности:
строповка короба и перемещение его к месту монтажа;
монтаж блока опалубки;
выверка и установка блока.
Наружную опалубку собирают из отдельных панелей. Длина панелей не должна превышать 6 м. К торцам угловых панелей, подходящих к углу опалубки, закрепляют угловой элемент.
Монтаж наружной опалубки начинают с угловых панелей в следующей последовательности:
угловую панель устанавливают вертикально, предварительно присоединив верх панели временно к блоку опалубки;
устанавливают смежную угловую панель;
соединяют панели с помощью углового блокирующего элемента. Угловой блокирующий элемент крепится в крайнем нижнем положении;
таким же образом собирают все углы наружной опалубки;
к другому торцу угловой панели болтами крепят промежуточную панель, к промежуточной панели крепят следующую и т.д. При этом необходимо следить за совпадением отверстий в щитах на внутренних блоках и панелях наружной опалубки;
к панелям вертикально крепят схватки;
к вертикальным схваткам крепят горизонтальные схватки, причем второй ее конец крепится к торцу панели внутреннего блока. К схваткам крепят кронштейн с монтажной петлей.
После выверки внутренние блоки скрепляют с панелями наружной опалубки стяжками, которые пропускают в отверстия в щитах опалубки.
7.177. Операции по демонтажу блока опалубки стен выполняются в следующей последовательности:
разбалчиваются крепления углового элемента;
отрывают панели от бетона домкратом или монтажным ломиком путем подъема углового элемента;
стропят и подают к месту демонтажа траверсу;
стропят короб.
Демонтаж панелей опалубки рекомендуется начинать с углов в следующей последовательности:
застропить панель за петли на опорных консолях;
снять крепление схваток в углах блока;
снять угловой блокирующий элемент;
убрать скрутки, соединяющие панели с внутренними блоками;
отвернуть болты на стыке панелей;
снять крепление опорных консолей к внутреннему блоку;
снять панель.
7.178. Сборка блоков опалубки стен из щитов "Тяжстрой-78" (рис. 135) отличается тем, что используются крупногабаритные щиты, ужесточенные формами.
Рис. 135. Опалубка резервуара
1 - щиты опалубки; 2 - схватки; 3 - угловые элементы;
4 - доборные элементы; 5 - монтажные петли;
6 - торцовая чека; 7 - фермы
Из панелей собирают внутренний блок в следующей последовательности:
первую панель устанавливают вертикально, предварительно присоединив к ней подкос ПК-2;
устанавливают вертикально вторую панель и соединяют угловым блокирующим элементом с первой панелью. При этом угловой блокирующий элемент устанавливается в нижнем крайнем положении;
таким же образом присоединяют третью и четвертую панели;
в углы, образованные смежными панелями, устанавливают схватки;
блок устанавливают на место бетонирования монтажным краном с помощью траверсы. Строповку производят за монтажные петли на угловых элементах.
Монтаж наружного блока из панелей производят в следующей последовательности:
первую панель устанавливают вертикально, предварительно присоединив с ней подкос ПК-2;
устанавливают вертикально вторую панель и соединяют угловым блокирующим элементом с первой панелью. Угловой блокирующий элемент устанавливается в нижнее крайнее положение;
таким же образом присоединяют третью и четвертую панели;
углы, образованные смежными панелями, усиливают схватками, схватки в углах соединяют чекой;
устанавливают скобы Ск-1, соединяющие наружную панель с внутренней.
7.179. Демонтаж наружного блока опалубки "Тяжстрой" производится в следующей последовательности:
убирают скобы Ск-1;
убирают торцовые чеки на углах блока;
ослабляют гайки, крепящие угловые блокирующие элементы к доборным элементам;
отрывают панели от бетона домкратами или монтажными ломиками путем подъема угловых элементов;
траверсой за угловые элементы поднимают блок.
Демонтаж внутреннего блока опалубки производится в следующей последовательности:
убирают угловые схватки;
ослабляют гайки, крепящие угловые блокирующие элементы к доборным элементам;
отрывают панели от бетона домкратами или монтажными ломиками путем подъема угловых элементов;
монтажным краном с помощью траверсы за угловые элементы поднимают блок.
7.180. Сборка блока опалубки стен второго яруса
(рис. 136) производится в следующей последовательности. Панели собирают из крупнопанельных щитов. Затем собирают внутренний блок:
к нижнему торцу панелей крепят направляющие;
к боковым торцам крепят доборные элементы;
первую панель устанавливают вертикально, предварительно присоединив к ней подкос ПК-2;
устанавливают вертикально вторую панель и соединяют угловым блокирующим элементом с первой панелью. При этом угловой блокирующий элемент устанавливается в нижнем крайнем положении;
таким же образом присоединяют третью и четвертую панели;
в углы, образованные смежными панелями, устанавливают схватки;
стойки СТА-67 диафрагмой Д3А-1-67 объединяют в трехветвевую колонну, на две стойки закрепляют вставки ВС-1, к которым крепят схватку. Собранные трехветвевые колонны устанавливают в углы ячейки первого яруса, при этом верх схваток должен быть ниже верхней кромки стен первого яруса на 100 мм;
монтажным краном с помощью траверсы блок устанавливают на месте бетонирования на трехветвевые колонны, причем на схватки опираются панели внутреннего блока.
Рис. 136. Опалубка стен второго яруса
1 - внутренний блок; 2 - наружная панель; 3 - щиты опалубки;
4 - схватки; 5 - монтажные петли; 6 - кронштейн;
7 - доборный элемент; 8 - пакет стоек; 9 - направляющий
уголок; 10 - распорка; 11 - стяжной болт
7.181. Демонтаж блока опалубки стен второго яруса производят в следующей последовательности:
убирают рабочую площадку;
стропят наружный блок за петли на угловых блокирующих элементах траверсой;
убирают торцовые чеки на углах наружного блока;
ослабляют гайки, крепящие угловые блокирующие элементы к доборным элементам;
открепляют опорные консоли от панелей внутреннего блока;
отрывают панели наружного блока от бетона домкратами или монтажными ломиками путем подъема угловых элементов;
краном поднимают наружную панель;
стропят внутренний блок за петли на угловых блокирующих элементах траверсой;
убирают на углах блока схватки;
ослабляют гайки, крепящие угловые элементы к доборным элементам;
отрывают панели от бетона домкратами или монтажными ломиками путем подъема угловых элементов.
7.182. Блоки опалубки ленточных фундаментов таврового сечения соединены между собой схватками через флажки в угловых элементах.
Сначала собирают блок нижней ступени:
к панелям крепят доборные элементы;
скрепляют панели с помощью угловых блокирующих элементов Уг-3 в блок. Угловой блокирующий элемент устанавливается в крайнем нижнем положении;
монтажным краном собранный блок устанавливают на место бетонирования.
Строповку производят за отверстия на флажках угловых элементов. Таким же образом устанавливают другие блоки, которые образуют "соты".
Собирают блоки второй ступени.
На углы нижней ступени укладывают временные прокладки, на которые устанавливают блок второй ступени.
После установки и выверки блоков верхней и нижней ступени флажки угловых блокирующих элементов каждого ребра соединяют схватками и закрепляют болтами.
Удалив прокладки устанавливают скобы Ск-1 в углы блоков нижних ступеней.
Таким образом устанавливают в "соты" остальные блоки второй ступени.
После установки и выверки верхние блоки соединяются скобами Ск-1 с шагом не более 1 м, а верх блока нижней ступени раскрепляется с низом верхней ступени.
Демонтаж блока опалубки производится в следующей последовательности:
убирают скобы Ск-1;
ослабляют гайки, крепящие угловые блокирующие элементы Уг-3 доборным элементом;
отрывают от бетона панели домкратами или монтажными ломиками путем подъема угловых элементов;
монтажным краном за петли на схватках Сх-1,0 с помощью траверсы поднимают блок опалубки. При этом панели верхней и нижней ступени расходятся за счет косых пазов на угловом элементе, образуя монтажный зазор 76 мм.
7.183. Зауженная часть низа блока опалубки образуется под соединением доборного элемента ДЭ-1 к уголку.
7.184. Линейные конструкции типа подпорных стен бетонируются в блочной опалубке, смонтированной посредством пространственной рамы, состоящей из угловых элементов Уг-1, схваток, кронштейнов КР-2, на которую навешиваются опалубочные панели. Рама собирается из угловых элементов, схваток и ужесточается по высоте одним кронштейном КР-2.
Панели собираются максимальной длиной 6 м.
К схваткам панелей крепят соединительные уголки, которые входят в доборный элемент. К соединительным уголкам крепят угловые элементы Уг-1 или Уг-2, Уг-3 - в крайнем нижнем положении.
Устанавливают вертикально две собранные панели, предварительно присоединив к ним подкосы ПК-2 конструкции "Монолит-76".
Поперек панелей устанавливают схватку таким образом, чтобы паз схватки, совпал с торцовым отверстием на Уг-1. Количество поперечных схваток равно количеству установленных на панели угловых элементов.
Болтами поперечные схватки притягиваются к угловым элементам Уг-1.
К поперечным схваткам вдоль блока устанавливают две продольные схватки не параллельные друг другу.
Для ужесточения рамы поперечные схватки и угловые элементы Уг-1 усиляют кронштейнами КР-2.
Для подъема блока устанавливаются четыре монтажные петли.
Демонтаж блок-опалубки производится в следующей последовательности:
ослабляют гайки, крепящие соединительные уголки к блокирующему уголку Уг-1;
отрывают от бетона панели домкратами или монтажными ломиками путем подъема пространственной рамы угловыми элементами Уг-1;
монтажным краном за петли на схватках с помощью траверсы поднимают блок-опалубку.
При сборке блоков опалубки линейных конструкций подпорных стен высотой до 3 м для ужесточения рамы вводится дополнительное раскрепление, состоящее из схваток и дополнительных кронштейнов КР-2.
Компоновка блока таврового сечения (рис. 137) отмечается наличием дополнительных угловых элементов Уг-1, образующих вторую ступень.
Рис. 137. Опалубка ленточных фундаментов
1 - щиты опалубки; 2 - схватки; 3 - угловые элементы;
4 - монтажные петли
7.185. Сборка блоков опалубки фундамента под оборудование сложной формы осуществляется следующим образом:
к панелям крепятся доборные элементы;
устанавливают вертикально первую панель, предварительно присоединив подкос ПК-2 конструкции "Монолит";
устанавливают вертикально вторую панель и соединяют угловым блокирующим элементом с первой панелью. Угловой элемент крепится в крайнем нижнем положении;
таким же образом присоединяют все остальные панели;
угловые блокирующие элементы Уг-1 устанавливают в наружные и во внутренние углы;
разделение высокой части фундамента производят панелью, соединяемой угловым элементом Уг-4 с горизонтальными прорезями;
наружные углы опалубки ужесточаются с помощью схваток и торцовой чеки ЧТ-1. Внутренние углы ужесточают скобой;
собранную блок-опалубку устанавливают на место бетонирования монтажным краном с помощью траверсы. Строповку производят за монтажные петли на угловых блокирующих элементах.
Демонтаж блок-опалубки с готового фундамента производят в следующей последовательности:
снимают крепление схваток в углах;
ослабляют гайки, крепящие блокирующие угловые элементы к доборным элементам;
отрывают от бетона панели путем подъема угловых элементов домкратами или монтажными ломиками; отодвигают Уг-4, обеспечивая передвижение панели высокой части фундамента;
стропят все угловые элементы к траверсе и поднимают блок. При этом панели каждой стороны фундамента расходятся за счет косых пазов, образуя монтажный зазор 76 мм.
7.186. Сборку блоков опалубки колонн небольшого сечения
(рис. 138) производят из двух Г-образных полублоков, соединяемых навесными шарнирами из кронштейнов Кр-6. Г-образные панели в рабочем положении соединяются между собой пружинными скобами, обеспечивающими быстрый разъем полублоков и их распахивание.
Рис. 138. Опалубка колонны
1 - щиты опалубки; 2 - схватки; 3 - монтажные уголки;
4 - шарниры; 5 - болт
7.187. Блоки опалубки прямоугольных ригелей и балок представляют собой "соты" с бортовыми панелями ригелей и балок (рис. 139), соединяемые между собой в углах угловыми Уг-1 и доборными элементами ДЭ-1. К низу бортовых панелей накладными шарнирами из кронштейнов Кр-6 подсоединены поддоны.
Рис. 139. Опалубка балок и ригелей (схема установки)
1 - щиты опалубки; 2 - схватки; 3 - угловые элементы;
4 - доборные элементы; 5 - монтажные петли;
6 - телескопические стойки; 7 - деревянные стойки;
8 - скобы; 9 - шарниры; 10 - днище опалубки
Данная компоновка предназначена для бетонирования прямоугольных ригелей при имеющихся колоннах. Максимальная ширина ригеля 50 см. Панели собирают из щитов "Монолит". К торцам панели крепят доборный элемент. Панели соединяют между собой угловыми блокирующими элементами через шпильки. Угловой блокирующий элемент устанавливается в крайнее нижнее положение. К нижнему торцу панелей крепят кронштейны Кр-6 (полушарнир) 100 см. К кронштейнам присоединяют поддон, на котором тоже закреплен кронштейн Кр-6 (полушарнир) с шагом 100 см. Поддон собирается из щитов "Монолит" шириной 600 мм. Длина поддона короче на 50 - 200 мм размера между колоннами. Поддоны блока опалубки приводят в горизонтальное положение, в котором удерживают временной установкой талрепов. Монтажным краном блок устанавливают на стойки, после чего убирают талрепы. Устойчивость обеспечивают четырехветвевые колонны из стоек СТА-67.
Строповку блока производят за петли на угловых блокирующих элементах.
На плоскость поддона устанавливают смежные и промежуточные блоки, нижние края которых удерживают упором. Упор устанавливают с шагом не более 1,5 м. Верх панели от распора удерживается скобой Ск-1, которую устанавливают с шагом не более 1,5 м.
Демонтаж блок-опалубки производится в следующей последовательности:
убирают скобы Ск-1;
стропят поддон;
ослабляют гайку и поворачивают упор Уп-1;
убирают стойки, поддерживающие поддон;
отрывают поддон от бетона монтажным домкратом или ломиком и опускают поддон, при этом поддон выйдет из створа забетонированного ригеля;
стропят блок за флажки или петли в угловых блокирующих элементах;
ослабляют гайки, крепящие угловой элемент;
отрывают панели блока от бетона ломиком или монтажным домкратом путем подъема угловых элементов, блок сдвигается внутрь, образуя зазор 76 мм.
7.188. При возведении отдельно стоящих монолитных лестничных клеток и шахт лифтов внутренние и наружные блоки опалубки собираются аналогично блокам опалубки стен.
Установка блоков осуществляется на временные металлические прогоны из швеллера или двутавра (в количестве трех штук), уложенных на стены в гнезда балок лестничной площадки.
Работа осуществляется в следующей последовательности:
укладываются несущие прогоны на стены в гнезда балок лестничной площадки по нивелиру;
устанавливается рабочая площадка внутри лестничной клетки, а на консоли - наружная площадка с ограждением;
устанавливается наружный блок опалубки. Производится армирование стен;
устанавливается внутренний блок опалубки.
Демонтаж производится в следующей последовательности:
разбалчиваются угловые блокирующие элементы наружного блока опалубки;
домкратом или монтажным ломиком панели блока отрываются от бетона путем подъема углового элемента;
убирается наружная рабочая площадка;
снимается наружный блок опалубки;
разбалчивается угловой элемент внутреннего блока опалубки;
домкратом или монтажным ломиком посредством подъема углового элемента панели блока отрываются от бетона;
снимается внутренний блок опалубки;
снимается внутренняя рабочая площадка;
вытаскиваются временные несущие прогоны.
УСТАНОВКА И ДЕМОНТАЖ ОБЪЕМНО-ПЕРЕСТАВНОЙ ОПАЛУБКИ
7.189. Перед монтажом опалубки производится разбивка осей стен, разметка установки секций и устройство маяков стен. После установки краном секция опалубки приводится в рабочее положение и рихтуется. Для точной установки секций опалубки должны быть выверены и отрихтованы на заводе-изготовителе. Также последовательно монтируются последующие секции и объединяются в туннель, производится подгонка плоскостей и рихтовка туннеля по проектным отметкам.
7.190. При монтаже опалубки крупноразмерными секциями они целиком монтируются краном, после чего рихтуются и выверяются. При монтаже опалубки Г-образными полусекциями они устанавливаются отдельно, выверяются с помощью винтовых домкратов и телескопических стоек, после чего объединяются между собой.
7.191. Все секции опалубки перед монтажом должны быть очищены, вертикальные поверхности смазаны. Смазка горизонтальных поверхностей производится перед укладкой арматуры перекрытия.
7.192. Через 10 оборотов должны производиться выверка и рихтовка секций по кондуктору.
7.193. Схемы демонтажа объемно-переставной опалубки показаны на
рис. 140.
Рис. 140. Схема демонтажа объемно-переставной опалубки
а - мелкими секциями с помощью подмостей; б - траверсой
"утиный нос"; в - через проемы в перекрытии; г - крупными
блоками с помощью строп; д - крупными блоками с помощью
специальной траверсы и подмостей с откидным ограждением;
1 - секция опалубки; 2 - подмости; 3 - траверса
"утиный нос"; 4 - перекрытие; 5 - проем в перекрытии;
6 - тележка для выкатывания; 7 - крупноразмерный блок;
8 - фиксирующий домкрат; 9 - телескопическая стойка;
10 - траверса; 11 - ферма распределительная;
12 - откидное ограждение
Наименее производителен монтаж и демонтаж опалубки по отдельным секциям на подмости. Более эффективен демонтаж (как и монтаж) крупноразмерными блоками. В этом случае применяются подмости с откидным ограждением. Секция в этом случае прокатывается за габариты подмостей так, что центр тяжести секции выходит из-под забетонированного перекрытия. Строповка осуществляется через отверстие в секции с помощью специальной траверсы (см.
рис. 140). В нижней части палец закрепляется на форме, что позволяет распределить монтажные усилия. После строповки крупноразмерная секция извлекается из забетонированного туннеля движением каретки крана.
7.194. Для сборки, монтажа и демонтажа унифицированной объемно-переставной опалубки ЦНИИОМТП разработаны специальные приспособления и инструмент, применение которых позволяет снизить трудоемкость и повысить качество работ.
Стапели для сварки, обеспечивающие качественную сборку и сварку щитов, используются при изготовлении опалубки на заводе-изготовителе.
Стапели по сборке секций опалубки могут применяться как при изготовлении опалубки на заводе, так и при перемонтаже секций на строительной площадке.
7.195. Стапель для сборки секций (рис. 141) разработан с возможностью сборки и переналадки секций пролетом от 2,7 до 3,9 м с модулем 0,3 м и длиной 1,2; 1,5 и 1,8 м. При сборке секций пролетом более 3,9 м горизонтальная рама стапеля увеличивается до нужных размеров.
Рис. 141. Стапель для сборки секций опалубки
1 - подкос; 2, 3 - зажимы; 4 - рама основания;
5 - горизонтальная стойка; 6 - стойка вертикальная
Габариты стапеля: длина 5,5, ширина 2,06, высота 1,91 м. Масса стапеля 797 кг.
Стапель состоит из горизонтальной рамы, на которой смонтированы две рамы основания, на них смонтированы две вертикальные стойки, закрепленные на раме основания подкосами. На горизонтальной раме установлены упоры и зажимы.
Щиты собираемой секции устанавливаются до упоров и закрепляются зажимами. Стапель обеспечивает сборку секций опалубки с точностью, указанной в чертежах унифицированной объемно-переставной опалубки ЦНИИОМТП.
7.196. Стапель для сборки крупноразмерных туннелей опалубки на квартиру или комнату с последующим монтажом и демонтажем крупноразмерными блоками позволяет собирать туннели длиной от 2,4 до 6,3 м с модулем 0,3 м.
При сборке горизонтально по нивелиру устанавливается платформа, на которую монтируется вертикальная рама, положение которой регулируется с помощью подкосов. Отклонение от вертикали не должно превышать 1,5 мм. На платформу устанавливаются и закрепляются болтами рельсы и опоры. Рельсы и опоры должны составлять с поверхностью вертикальной рамы угол 90°, отклонение от перпендикуляра не должно превышать 2 мм.
Собираемые секции устанавливаются на рельсы, сдвигаются до плотного прилегания к вертикальной раме. Со стороны боковых щитов секции сдвигаются до номинального размера с помощью опор, после чего на торцовых плоскостях секций привариваются узлы центровки секции и производится их маркировка.
Габариты стапеля: длина 7, ширина 4,3, высота 1,66 м. Масса 1330 кг.
7.197. Для монтажа и демонтажа секций опалубки разработан специальный инструмент: ключ шарнирный, ключ трещоточный, струбцина.
Схема применения инструмента приведена на рис. 142.
Рис. 142. Схема применения инструмента
1 - ключ шарнирный; 2 - ключ трещоточный; 3 - струбцина
Ключ шарнирный предназначен для вращения винтов установочных домкратов секции. Шарнир ключа применен для удобства работы в стесненных условиях. Масса ключа 1,4 кг.
Ключ трещоточный с храповым устройством предназначен для вращения распалубочного винта секции с квадратной головкой. Вращение винта осуществляется с перекрытия канальным движением. Размер квадрата 27 x 27 мм, длина рукоятки 495 мм, масса ключа 8,16 кг. Струбцина предназначена для отрыва секции опалубки от бетона. Масса струбцины 2,9 кг.
7.198. Приспособление для подкатки секций опалубки имеет габариты: длина 1600 мм, ширина 220 мм, высота 200 мм. Масса приспособления 68 кг. Приспособление дает возможность подкатить и приподнять секцию во время монтажа. Два приспособления устанавливают вдоль формуемой стены, на приспособления устанавливают секцию; после чего она винтом поднимается на требуемый уровень. После этого секция подкатывается по приспособлению до стыковки с соседней секцией.
ТЕХНОЛОГИЯ ПРИМЕНЕНИЯ СКОЛЬЗЯЩЕЙ ОПАЛУБКИ
Комплектность поставки
7.199. Скользящая опалубка, оборудование для ее подъема и опалубка для бетонирования монолитных перекрытий должны поступать на строительство комплектно, в состоянии, пригодном к сборке и эксплуатации без дополнительных доделок и исправлений. Наличие запасных частей должно соответствовать техническим условиям на поставку.
7.200. Комплекты оборудования и опалубки должны быть снабжены паспортами, содержащими краткое описание, характеристику, комплектовочную ведомость с ключом маркировки и монтажную схему.
7.201. При передаче опалубки и ее оборудования для повторного применения комплекты их должны быть полностью восстановлены и отремонтированы организацией, эксплуатировавшей опалубку. Каждый случай использования опалубки и оборудования и проведенные ремонты должны отмечаться в паспорте.
7.202. Поступающие на строительство опалубку и оборудование для ее подъема подвергают тщательному наружному осмотру, при котором проверяют комплектность поставки, состояние элементов опалубки и оборудования (отсутствие поломок, повреждений и дефектов, сохранность окраски), наличие пробок и заглушек на отверстиях оборудования, качество изготовления отдельных узлов и деталей, наличие паспорта, маркировочной схемы и другой заводской технической документации.
7.203. Исправность подъемного оборудования определяется при его ревизии и испытаниях на стенде перед монтажом.
7.204. Приемка опалубки и оборудования для ее подъема должна быть оформлена соответствующим
актом. При обнаружении некомплектности, дефектов в элементах опалубки или ее оборудовании к
акту прилагается дефектная ведомость, служащая основанием для проведения ремонта и замены отдельных элементов, узлов и деталей поставщиком.
7.205. При приемке узлов и элементов опалубки проверяется соответствие основных размеров рабочим чертежам. Отклонения от проектных размеров должны соответствовать требованиям настоящего Руководства.
Монтаж скользящей опалубки
7.206. Последовательность монтажа скользящей опалубки показана на
рис. 143.
Рис. 143. Монтаж скользящей опалубки
а - собранные рамы устанавливаются в проектное положение,
опираясь на верхние кружала щитов опорными уголками,
регулировочные пластины опущены; б - регулировочные пластины
устанавливаются в проектное положение, производится
регулировка конусности щитов; 1 - сборка коробов и установка
щитов по секциям и по наружным стенам; 2 - установка
домкратной рамы; 3 - сборка наружных подмостей и установка
козырька; 4 - установка фермы рабочего пола, щитов рабочего
пола, устройство настила, монтаж подъемного оборудования;
5 - установка подвесок наружных подмостей и ограждений
на них после подъема опалубки до уровня перекрытий
1-го этажа, устройство ограждений заканчивают к моменту
отрыва подмостей от плиты; Нр - расстояние между стойками
домкратных рам; Нс - проектный размер стены
Целесообразно после нанесения контура стен на фундаментной плите забетонировать на высоту 100 - 150 мм "маяки", служащие основанием стен сооружения и облегчающие монтаж щитов опалубки. При укладке первого слоя бетона "маяки" служат препятствием для вытекания бетона из-под опалубки, установленной на подкладках.
Монтаж стеновых элементов опалубки следует начинать со сборки внутренних щитов опалубки, образующих короб. Короба устанавливают в строго горизонтальном положении. Точность установки проверяется с помощью нивелира и визирок.
7.207. Сборка внутренних коробов может производиться как непосредственно на фундаментной плите (при больших размерах ячеек и сложной их конфигурации), так и на стенде, расположенном рядом со строящимся зданием. При сборке опалубки непосредственно на фундаментной плите наклон щитов проверяется шаблоном с отвесом после того, как она установлена в строго горизонтальном положении. Отклонение отвеса указывает величину и направления "конусности". При регулировке "конусности" стенок опалубки ослабляют стыковые болты и изменяют величину зазора в стыках между плоскими и угловыми щитами установкой прокладок вверху и внизу щитов.
| | ИС МЕГАНОРМ: примечание. В официальном тексте документа, видимо, допущена опечатка: рисунок 165 отсутствует. | |
7.208. Монтаж коробов должен производиться в шахматном порядке, что необходимо для более удобного монтажа арматуры стен (рис. 165). Последовательность установок коробов должна быть отражена в технической документации (технологических картах на монтаж скользящей опалубки).
7.209. Для обеспечения толщины стен между коробами должны ставиться специальные шаблоны - не менее двух на одну сторону короба.
7.210. Собранные короба раскрепляются между собой временными связями для предотвращения случайных смещений. В качестве связей могут применяться инвентарные струбцины, а также обрезки арматурной стали, приваренные к верхним уголкам щитов. Связи должны убираться после монтажа домкратных рам. Сборку опалубки в укрупненные монтажные блоки производят при помощи кондуктора. В блок, собранный в кондукторе, входят как внутренние щиты, так и щиты смежных ячеек, а также домкратные рамы.
7.211. Наружные щиты опалубки следует собирать непосредственно на месте после монтажа, выверки и фиксации всех внутренних щитов.
7.212. Домкратные рамы устанавливаются в местах, предусмотренных проектом, в следующей последовательности:
собранная рама с опущенными или снятыми кронштейнами ставится на щиты таким образом, чтобы упорные уголки, расположенные на внутренней стороне стоек, легли на верхние кружала щитов;
навешиваются кронштейны на стойки рам;
вращением винтов, расположенных на опорном уголке, рама подтягивается вверх до упора.
7.213. При монтаже мелкощитовой опалубки пользуются специальными кондукторами и шаблонами.
7.214. Для электромеханических ("шагающих") домкратов домкратные рамы следует устанавливать попарно, каждая пара домкратных рам должна быть установлена на одном уровне при горизонтальном положении верхних ригелей. Под стойки домкратных рам этого типа необходимо подкладывать деревянные подкладки.
7.215. После установки рам еще раз проверяется конусность щитов и при необходимости производится дополнительная регулировка наклона щитов.
7.216. Допускаемые отклонения в размерах и положении устанавливаемой скользящей опалубки не должны превышать данных, приведенных в табл. 77.
Таблица 77
Отклонения | Величина допускаемых отклонений, мм |
Смещение осей стенок опалубки относительно проектных осей бетонируемой в ней конструкции | 10 |
Наибольшая разность отметок плоскостей верхних кружал или поверхности рабочего пола на расстоянии: | |
до 3 м | 10 |
от 3 м и более | 15 |
Отклонение положения стоек домкратных рам и осей домкратов от вертикали | Не допускается |
Наибольшая разность в отметках ригелей однотипных домкратных рам | 10 |
Отклонение конусности скользящей опалубки на одну сторону | |
Обратная конусность | Не допускается |
Отклонение в расстояниях между стенками опалубки от размера бетонируемой в ней конструкции | +/- 5 |
Смещение осей домкратов от оси конструкции | 2 |
Отклонение в расстояниях между домкратами, рамами (за исключением мест, где расстояние между рамами является свободным размером) | +/- 10 |
7.217. До устройства рабочего пола внутрь коробов заносят элементы внутренних подмостей и производят их сборку, затем монтируются несущие элементы рабочего пола: фермы, балки, прогоны, угловые связи - и настилаются доски.
7.218. Монтаж неразборного рабочего пола начинают с установки продольных прогонов (обычно используется брус 180 x 50 мм), закрепляемых к стойкам домкратных рам скобами. На прогоны в поперечном направлении укладываются балки через 250 - 400 мм в зависимости от размера ячейки и величины расчетной нагрузки.
По балкам устраивается сплошной настил из досок толщиной 32 мм. При размерах между осями стен сооружения более 3 м в качестве несущих конструкций рабочего пола используются металлические прогоны или фермы, закрепляемые, как правило, на кружалах щитов опорными решетками. В этих случаях первоначально монтируются металлические прогоны (или фермы), затем угловые связи, обеспечивающие геометрическую неизменяемость коробов, после чего ставятся деревянные балки и укладывается по ним настил.
7.219. Монтаж разборного рабочего пола начинают также со сборки металлических прогонов или ферм и опорных кронштейнов. На прогоны (фермы) и опорные кронштейны в продольном направлении укладываются сдвоенные брусья, один из них используется для устройства отмостки (настил по контуру ячейки), а второй - для опирания съемных щитов. К стойкам домкратных рам, располагаемых на поперечных стенах, крепят скобами поперечные прогоны, верх которых должен быть на одном уровне с верхом продольных сдвоенных брусьев. Затем устраивается неразборный настил (отмостки) и укладываются съемные щиты. Одновременно с установкой опалубки закрепляются кронштейны козырька, на кронштейны в продольном направлении укладываются брусья, по брусьям настилаются доски.
7.220. Ограждения по наружному контуру рабочего пола, а также в местах выхода на рабочий пол должны быть сделаны до начала подъема опалубки.
7.221. Подвески внутренних и наружных подмостей следует монтировать одновременно с устройством рабочего пола. Остальные работы по монтажу подвесных подмостей производятся после того, как опалубка поднимается на высоту 3 - 3,5 м. После окончания всех работ по сборке опалубки необходимо заделать щели между низом щитов опалубки и фундаментной плитой обрезками досок.
7.222. В летнее время для улучшения прогрева металлической опалубки щиты ее рекомендуется окрашивать в белый цвет, а после начала подъема с солнечной стороны нашивать фартуки из мешковины, старого брезента или рогожи, одновременно с солнечной стороны этими же материалами рекомендуется обтягивать и наружные подвесные подмости.
7.223. Для поливки бетона опалубка оборудуется поливочным устройством, состоящим из перфорированных труб, присоединенных в нескольких точках к водопроводной сети. Необходимо предусмотреть также возможность выключения из работы отдельных участков поливочной сети. При недостаточном напоре водопроводной сети следует предусматривать две специальные насосные установки (одна из которых резервная).
Монтаж гидрооборудования
7.224. К монтажу гидрооборудования приступают после проверки правильности сборки скользящей опалубки и устранения всех обнаруженных дефектов. Перед началом монтажа все гидрооборудование должно быть подвергнуто ревизии. При этом следует очистить его от грязи, заводской смазки и промыть в керосине или растворе с соотношением 90% бензина и 10% масла, после чего проверить затяжку всех резьбовых соединений и целостность коммуникаций электрических цепей, гидравлической и электропусковой аппаратуры.
Перед монтажом гидрооборудование должно быть испытано на специальном стенде. Испытания должны проводиться в соответствии с требованиями ВСН-1-71 "Временная инструкция по монтажу и эксплуатации гидравлического оборудования для подъема скользящей опалубки при возведении элеваторных и других сооружений" и паспорта изделия.
Монтаж трубопровода можно производить одновременно с монтажом домкратов и насосно-распределительных станций. Трубопровод должен монтироваться укрупненными узлами, которые могут собираться в любом удобном месте.
Готовые блоки трубопровода должны быть испытаны на герметичность на месте их сборки рабочей жидкостью, причем в этом случае на присоединительные штуцеры блоков должны быть установлены запорные вентили. При опрессовке блока необходимо стравливать воздух при помощи запорных вентилей. Из опрессованных блоков производят монтаж сетей.
7.225. Монтаж трубопровода должен производиться по сетям в последовательности, предусмотренной проектом.
7.226. Опрессовка гидросистемы должна производиться до зарядки домкратов домкратными стержнями.
7.227. Процесс опрессовки гидросистемы осуществляется рабочей жидкостью под давлением 4,5 - 5 МПа (45 - 50 кгс/см2) для домкратов типа ОГД-61; для домкратов остальных типов и автоматических регуляторов АРГ - под давлением, равным 19 МПа (190 кгс/см2). Опрессовка должна производиться сначала по отдельным сетям, а затем по всем сетям одновременно.
При опрессовке воздух, находящийся в трубопроводе, должен быть стравлен.
По окончании процесса стравливания воздуха давление в гидросистеме доводится до величины, соответствующей применяемому типу домкрата, при этом вся система не должна иметь какой-либо утечки.
7.228. После монтажа и опрессовки гидравлической системы за один-два дня до начала бетонирования производят зарядку домкратов домкратными стержнями.
7.229. Домкратные стержни должны быть обработаны под универсальный стык
(рис. 144), позволяющий применение домкратов любой конструкции и извлечение домкратных стержней из стен сооружений. Для сокращения числа одновременно наращиваемых стержней на одной отметке стержни первоначальной зарядки диаметром 25 мм должны быть трех типоразмеров (2, 4 и 6 м), стержни первоначальной зарядки диаметром 32 мм должны быть двух типоразмеров (2 и 4 м), а стержни для последующего наращивания должны быть длиной по 3 м.
Рис. 144. Конструкции домкратных стержней
а - стержни первоначальной зарядки;
б - стержни последующей зарядки; в - шпилька
Стержни должны плотно опираться на плиту.
7.230. Подъем скользящей опалубки происходит до одному из трех вариантов.
А. Подъем опалубки с ручным регулированием горизонтальности (см.
рис. 71,
75) осуществляется следующим образом.
Рабочая жидкость от насосной станции поступает в цилиндры гидродомкратов и своим давлением перемещает их вместе с опалубкой, одновременно сжимая возвратные пружины, а поршни, на которых установлены устройства для захвата домкратного стержня, остаются неподвижными.
Работа насосов продолжается до тех пор, пока цилиндры гидродомкратов не пройдут расстояние, соответствующее рабочему ходу домкрата.
По окончании рабочего хода домкрата насосы автоматически выключаются по достижении заданного давления и происходит слив жидкости из системы в бак.
Одновременно нижние зажимы автоматически захватывают домкратные стержни и фиксируют подъем опалубки, а поршни с верхними зажимами под действием возвратных пружин возвращаются в исходное положение. После чего цикл подъема повторяется. Выравнивание горизонтальности скользящей опалубки производят вручную путем поочередного отключения домкратов при помощи сетевых или индивидуальных кранов.
Б. Подъем опалубки с полуавтоматическим регулированием горизонтальности (см.
рис. 75) происходит аналогично первому варианту до тех пор, пока гидродомкраты не достигнут заданного горизонта, определяемого упорным кольцом
1.
По достижении домкратами упоров 1 с помощью буферных пружин 2 выключаются их нижние 3 или верхние 4 фиксирующие зажимы и домкраты совместно с опалубкой переходят на так называемый шаг на месте. "Шаг на месте" продолжается до тех пор, пока все домкраты не займут строго горизонтальное положение. После чего производят перестановку упоров вручную в новое положение 5 для последующего подъема и контроля горизонтальности опалубки.
В. Подъем опалубки с автоматическим регулированием горизонтальности (см.
рис. 76) происходит аналогично предыдущим вариантам, но в автоматическом режиме до тех пор, пока все гидродомкраты не достигнут уровня, заданного автоматическими регуляторами горизонтальности
1, определяющими высоту подъема опалубки.
При последующем подъеме происходит выключение верхних зажимных устройств 2 буферными пружинами 3, в результате чего новое положение домкратов с опалубкой не фиксируется - происходит "шаг на месте". "Шаг на месте" будет происходить до тех пор, пока насосная станция не направит поток рабочей жидкости в гидрозажимы регуляторов 4. Происходит выключение гидрозажимов 4 регуляторов и расклинивание домкратных стержней. Гидрозажимы под действием возвратных пружин 5 устанавливаются в новое положение, определяющее высоту следующего подъема и контроля горизонтальности опалубки.
Эксплуатация гидравлического оборудования в процессе подъема скользящей опалубки
7.231. Первоначально скользящую опалубку заполняют бетонной смесью двумя или тремя слоями на высоту, равную половине высоты опалубки, в течение 2,5 - 3,5 ч.
Примечание. Количество укладываемых слоев определяется из условия, при котором каждый последующий укладываемый слой бетона должен быть уложен до начала схватывания предыдущего.
7.232. Первоначальный подъем опалубки должен производиться после того, как она будет заполнена бетонной смесью на высоту 60 - 70 см, а смесь нижнего слоя приобретает способность сохранять приданную ей форму.
7.233. Для определения начала движения опалубки рекомендуется произвести ее пробный подъем в срок, установленный строительной лабораторией. Если при подъеме опалубки бетон не оплывет, то может быть начато систематическое движение опалубки. При этом до заполнения опалубки бетонной смесью скорость ее подъема должна составлять примерно 6 - 10 см/ч. После заполнения опалубки скорость ее подъема доводят до оптимальной. Эта скорость при температуре наружного воздуха 15 - 20 °C и использовании портландцемента марки М400 (М500) ориентировочно составляет 150 - 200 мм/ч. Относительная скорость подъема опалубки в каждом конкретном случае устанавливается строительной лабораторией и должна быть такой, чтобы укладка каждого последующего слоя бетона производилась до начала схватывания предыдущего.
7.234. Во время подъема опалубки рабочий пол ее должен оставаться горизонтальным. Это является одним из основных условий правильного ведения работ, так как потеря горизонтальности может привести к срыву и излому бетона, изгибу домкратных стержней, отклонениям сооружения от вертикали и другим явлениям, ухудшающим качество работ.
За горизонтальным положением опалубки рекомендуется следить по контрольным рейкам и рискам, нанесенным на домкратных стержнях.
Правильность положения рисок на домкратных стержнях следует периодически проверять при помощи водяного уровня или оптического нивелира.
Риски в каждый данный момент должны быть совмещены с одноименными делениями на контрольных рейках всех домкратных установок.
По мере того, как контрольные рейки поднимаются выше рисок, нанесенных на домкратные стержни, риски следует снова переносить по стержню при помощи самой же рейки или специально сделанного для этой цели шаблона.
7.235. Контроль горизонтальности опалубки при использовании домкратов с полуавтоматическими регуляторами осуществляется автоматически. В этом случае гидродомкраты поднимают опалубку до упоров, установленных на домкратных стержнях на одном уровне и определяющих высоту подъема. Домкраты, первые достигшие упоров, переходят на работу в режиме "шаг на месте", а остальные продолжают подниматься до тех пор, пока не достигнут уровня упоров. После достижения всеми домкратами заданной высоты, производят перестановку упоров вручную в новое положение.
Применение домкратов ОГД-64У или ОГД-74/25, ОГД-74/32, ОГД-77/32 с автоматическими регуляторами горизонтальности типа АРГ позволяет осуществлять выравнивание опалубки аналогично выше описанному, при этом перестановка гидрозажимов (упоров) в новое положение производится автоматически по команде, выдаваемой с насосной станции.
Контроль за полуавтоматическим и автоматическим выравниванием горизонтальности опалубки следует вести по рискам, нанесенным на домкратные стержни через 3 - 4 м.
7.236. Для определения отметок, на которых находится рабочий пол опалубки, а также отметок установки закладных элементов в нескольких точках сооружения (обычно в углах здания) устанавливаются деревянные выносные рейки с нанесенными на них через 1 см делениями. По мере подъема опалубки рейки наращиваются со строгим соблюдением высотной шкалы. Взамен реек могут быть использованы металлические рулетки, длина которых соответствует высоте возводимого сооружения.
| | ИС МЕГАНОРМ: примечание. В официальном тексте документа, видимо, допущена опечатка: имеется в виду рисунок 145, а не 154. | |
7.237. Для контроля вертикальности сооружения, возводимого в скользящей опалубке, может служить прибор, показанный на
рис. 154.
Рис. 145. Приборы для контроля вертикальности
сооружений (отвес)
1 - рама с барабаном, закрепляемая на щитах опалубки;
2 - мишень; 3 - стяжные болты
Прибор крепится к кружалам внутренних щитов опалубки по углам здания. После подъема опалубки на высоту 1,5 - 2 м под отвесом закрепляется мишень таким образом, чтобы острие отвеса совпало с центром мишени. Масса отвеса должна быть не менее 8 - 10 кг. По смещению острия отвеса от центра мишени устанавливают величину отклонения сооружения от вертикали или величину закручивания его и принимают меры к исправлению. Отвесы допустимо применять при возведении сооружений, не превышающих высоту 30 м. При возведении более высоких сооружений их вертикальность должна контролироваться при помощи высокоточного автоматического зенитного лот-аппарата
PZL (производство ГДР),
рис. 146.
1 - бетонируемая стена; 2 - внешний щит скользящей опалубки;
3 - горизонтальный брус; 4 - кронштейн; 5 - рамка
с перекрещивающимися освещенными нитями; 6 - вид рамки
снизу (I-I); 7 - инструмент "PZL"; 8 - штатив;
9 - репер для установки отвеса; 10 - бетонная плита;
11 - плита пола первого этажа (начало бетонирования)
7.238. При отклонении стен сооружений от вертикали необходимо на несколько сантиметров поднять опалубку с той стороны, в которую отклонилось сооружение. Придав наклонное положение рабочему полу, включают все домкраты и в таком положении поднимают опалубку. По мере возвращения сооружения в исходное положение (контроль ведется по отвесам или визирной рамке прибора PZL) постепенно выравнивают опалубку, т.е. приводят рабочий пол в горизонтальное положение. Выравнивание должно закончиться в тот момент, когда отвесы приборов совпадают с центрами мишеней или центр визирной рамки не совместится с оптической осью прибора PZL.
7.239. Причины неисправностей и способы устранения нарушений горизонтальности рабочего пола скользящей опалубки приведены в табл. 78.
Таблица 78
Неисправность | Причина | Способ устранения |
Неравномерная работа гидравлических домкратов | а) | Ненормальная работа зажимных устройств (износ цанг, поломка роликов или вставок); | а) | Заменить цанги, ролики или вставки; |
б) | Неравномерный шаг домкратов; | б) | Установить на всех домкратах одинаковый шаг; |
в) | Нарушение соединения домкратных рам с опалубкой; | в) | Домкратную раму соединить жестко с опалубкой; |
г) | Изгиб домкратных стержней | г) | Устранить изгиб домкратных стержней |
Изгиб домкратного стержня | а) | Нарушение конусности - отрицательная конусность; | а) | Отрегулировать конусность опалубки, усилить домкратный стержень и применить облегченный режим работы; |
| б) Увеличение силы трения между бетоном и стенками опалубки на отдельных участках из-за налипания на них раствора при недостаточной скорости подъема опалубки; | | б) Очистить опалубку от прилипшего раствора; довести скорость подъема опалубки до оптимальной; |
| в) Торможение опалубки или подвесных подмостей арматурой, временными коробками или закладными деталями; | | в) Устранить причины, вызвавшие торможение; |
| г) Неравномерное распределение грузов (арматура, домкратные стержни и другие материалы) на рабочем полу опалубки | | г) Распределить грузы равномерно по всей площади рабочего пола |
Способ устранения изгиба домкратного стержня
7.240. Если стержень имеет небольшой изгиб, стержень следует усилить и применить облегченный режим работы путем уменьшения шага домкрата или временного выключения его из работы.
Усиление стержня производят приваркой к его изогнутой части двух вспомогательных стержней или накладок из угловой стали. Если изгиб стержня не будет увеличиваться, то нормальный подъем опалубки может быть восстановлен после того, как бетон, окружающий изогнутый участок стержня, достаточно затвердеет.
Домкратные стержни, изгиб которых продолжает увеличиваться и при облегченном режиме, не могут быть исправлены усилением и должны быть удалены.
7.241. Изогнутые стержни удаляют следующим образам:
если стержень изогнулся выше уложенного бетона, то изогнутую часть вырезают. Обрезанный стержень осаживают и устраивают сварной стык внахлестку;
если изгиб стержня распространился в зону уложенного бетона, то изогнутый участок стержня вырезают, предварительно удалив разрушенный бетон, затем стержень осаживают на металлическую подкладку, уложенную на затвердевший бетон, устанавливают фанерную опалубку и бетонируют.
7.242. Домкратные стержни, остающиеся не заделанными в бетоне, на участках, временно выключенных из фронта бетонирования (оконные и дверные проемы), следует раскреплять через 300 мм по высоте к стойкам из деревянных брусьев сечением 13 x 13 см, устанавливаемых в опалубку рядом с рамой. Стержень крепят к стойке при помощи крюков и распорок.
Крюки устанавливают с рабочего пола опалубки, как только ригель домкратной рамы поднимается выше уровня установки крюка.
В случае применения защитных труб раскрепление домкратных стержней производят не с рабочего пола, а с подвесных подмостей, как только между бетоном и опалубкой образуется свободное пространство 100 - 150 мм. Дальнейшее раскрепление производят через каждые 300 мм. Стойки между собой расшиваются с подвесных подмостей через 2 - 2,5 м в двух направлениях схватками из досок.
7.243. В процессе эксплуатации гидравлического оборудования необходимо производить периодическую очистку (прилипшей грязи и бетона) и смазку трущихся поверхностей деталей не реже одного раза с смену. При эксплуатации насосных станций необходимо следить за тем, чтобы резервуар-бак был всегда заполнен достаточным количеством рабочей жидкости, которую следует менять не реже одного раза в два месяца. При замене рабочей жидкости в гидросистеме необходимо промыть резервуар и очистить фильтрующее устройство.
7.244. При очистке и смазке оборудования необходимо следить за тем, чтобы промывочные жидкости и смазочные масла не попадали на арматуру и свежеуложенный бетон.
7.245. При эксплуатации гидравлических домкратов, автоматических регуляторов и насосных станций могут встретиться следующие наиболее распространенные неполадки:
несрабатывание домкратов на слив - поршневая группа не возвращается в исходное положение при снятии давления в гидросистеме. Причина - посадка или поломка возвратной пружины или зажимных устройств, которые следует заменить;
ненормальная работа зажимных устройств происходит из-за износа цанг (ОГД-61) или поломки роликов и конических вставок. Неисправные детали необходимо заменить;
утечка масла из домкрата и регулятора (для устранения утечки следует подтянуть резьбовые соединения или заменить уплотнительные манжеты и кольца);
перегрузка электродвигателя насоса и перегрев масла (проверить вязкость масла, настройку клапанов).
Для клапанов разделительной панели разность настройки клапанов низкого и высокого давления должна быть не менее 10 кгс/см2.
Отсечение части опалубки и деление сооружений на секции
7.246. При необходимости размеры сооружения в плане можно уменьшить отсечением части скользящей опалубки, для чего бетонирование должно быть приостановлено, когда рабочий пол будет находиться на 300 - 500 мм ниже горизонта отсечения опалубки. При дальнейшем подъеме опалубки тщательно выравнивают рабочий пол. Когда рабочий пол достигнет горизонта отсечения, необходимо отсоединить все конструкции опалубки и подвесных подмостей, а также все коммуникации отсекаемой части.
Концы досок настилов, разъединенных частей должны быть надежно закреплены, а проходы - ограждены.
Затем начинается подъем сокращенной в плане опалубки. Свободные концы стенок движущейся опалубки скрепляются между собой соединительными планками по мере того, как отверстия стыковых болтов в этих стенах будут подниматься под отсеченной частью опалубки.
Бетонирование возобновляется после установки в местах отсечения скользящих заглушек.
7.247. После подъема опалубки на 1 м над горизонтом рабочего пола отсеченной части необходимо устроить со стороны этой части козырек и ограждение, а при подъеме опалубки на 3 м - подвесить наружные подмости, соединив их с подмостями примыкающих стен.
Необходимо внимательно следить за тем, чтобы поднимающаяся часть опалубки не задевала элементов отсеченной части.
7.248. Все работы, связанные с отсечением, должны быть заранее подготовлены и выполнены быстро во избежание длительного перерыва в бетонировании.
7.249. Строительство крупных сооружений секциями с последующим замоноличиванием может производиться только в соответствии с проектом.
7.250. Возведение стен сооружений секциями, как правило, рекомендуется производить последовательно, переходя на новую секцию только по окончании работ на предыдущей. При невозможности (из-за грунтовых условий) ведения работ таким методом допускается ступенчатое сооружение обеих секций.
При последовательном возведении нескольких секций сооружений рекомендуется повторно использовать комплекты опалубки, переставляемые с одной секции на другую.
7.251. При делении сооружения на секции в местах укладки связующей арматуры установить доски с просверленными в них отверстиями, сквозь которые пропускают стержни этой арматуры.
При бетонировании следующей секции по мере подъема опалубки доски удаляют, а выпущенные стержни арматуры изгибают в проектное (горизонтальное) положение. Эти выпуски соединяются с арматурой следующей секции.
Демонтаж скользящей опалубки
7.252. Схемы демонтажа опалубки должны быть приведены в технической документации на каждое конкретное здание.
7.253. Разборку скользящей опалубки следует производить, не допуская повреждения элементов и узлов ее, а также принимая меры к сохранению крепежных деталей (болтов, гаек, шплинтов и др.).
7.254. Все узлы опалубки должны опускаться вниз с применением грузоподъемных механизмов. Сбрасывание их вниз не допускается. По окончании демонтажа опалубки и оборудования для ее подъема должна быть проверена их комплектность, а также исправность элементов и деталей.
7.255. Перед началом демонтажа опалубки производится переопирание ее, извлекаются домкратные стержни с помощью ручных или гидравлических приспособлений, разбирается гидросистема, производится демонтаж электрооборудования и поливочных устройств.
7.256. Переопирание опалубки в зависимости от принятой технологии возведения здания и применяемой конструкции опалубки может производиться одним из следующих способов:
переопирание на доски, подкладываемые под нижние кружала щитов, опалубки при наличии на щитах вставок;
с помощью штырей, забиваемых под нижние кружала опалубки;
с использованием элементов опалубки перекрытий, телескопических стоек, связей балок, прогонов.
7.257. Демонтаж опалубки укрупненными блоками производится в такой последовательности
(рис. 147):
разбирается настил козырька;
с наружных подвесных подмостей разбалтываются наружные стыки щитов опалубки, входящих в блок;
частично разбирается настил наружных подмостей;
производится строповка блока (короба) за наружные стойки домкратных рам или за верхний узел тяги наружных подмостей;
снимаются ригели домкратных рам, входящих в блок;
блок наружных щитов опалубки вместе с наружными стойками домкратных рам, входящих в блок, подвесками наружных подмостей и кронштейнами козырька, закрепленными на щиты блока, опускаются на землю.
Рис. 147. Демонтаж опалубки
а - разбираются настил и ограждения козырька, стыки щитов,
частично разбирается настил наружных подмостей;
б - производится строповка блока: разбирается узел крепления
стойки с ригелем рамы, блок опускается на землю;
в - снимаются ригели домкратных рам, производится демонтаж
внутренних коробов и подмостей; 1 - ограждение; 2 - настил;
3 - соединительные болты; 4 - ригель домкратной рамы;
5 - блок; 6 - подмости; 7 - короб
7.258. При наличии внутренних подмостей для установки коробов устраиваются на земле козлы высотой 1,7 - 1,9 м. Это делается для того, чтобы предохранить от поломки элементы подмостей и сохранить их для повторного применения. Окончательная разборка блоков опалубки производится на земле.
7.259. При наличии монолитных перекрытий разбирать опалубку на узлы можно непосредственно на верхней отметке. После снятия наружных щитов опалубки производится разборка настила рабочего пола, снимаются несущие элементы рабочего пола: фермы, угловые связи, прогоны - и опускаются на перекрытие или на землю, затем снимаются домкратные рамы и оставшиеся щиты.
7.260. Демонтаж гидравлического оборудования производят после того, как опалубка на возведенном сооружении уже раскреплена.
7.261. В том случае, если извлечение домкратных стержней производят ручным приспособлением РП-60, возможен демонтаж всего гидрооборудования. При извлечении стержней реверсивными гидродомкратами РГД-66А насосную станцию и трубопровод демонтируют по окончании данной операции.
7.262. После демонтажа подъемное оборудование очищают от грязи и ржавчины, промывают в керосине, покрывают противокоррозионной смазкой и отправляют на хранение в закрытый склад.
7.263. Если возведение сооружения в скользящей опалубке в течение летнего времени не закончено и приостановлено на зимний период, то гидрооборудование необходимо законсервировать.
При консервации гидрооборудование необходимо смазать минеральным маслом и укрыть от атмосферных осадков.
В насосной станции летнее масло заменяют зимним, станцию укрывают от атмосферных осадков, утепляют, электропитание отсоединяют.
7.264. Консервации подлежат также игольчатые и магистральные краны, все резьбовые соединения труб и арматуры, которые покрывают слоем технического вазелина и обертывают водонепроницаемой бумагой.
7.265. Извлечение домкратных стержней из стен железобетонных сооружений, возводимых в скользящей опалубке, производят по окончании строительства с целью повторного их использования.
Эту операцию выполняют в соответствии с "Временной инструкцией по монтажу и эксплуатации гидравлического оборудования для подъема скользящей опалубки при возведении элеваторных и других сооружений" (ВСН 1-71 Минсельстроя СССР).
7.266. Извлечение домкратных стержней осуществляется вручную или автоматически. Для ручного способа применяют приспособление РП-60, для автоматического - реверсивный гидравлический домкрат РГД-66, приводимый в действие от той же системы, что и домкраты, поднимавшие опалубку. Техническая характеристика приспособлений для извлечения домкратных стержней приведена в табл. 79.
Таблица 79
Приспособления | Высота подъема за один цикл, мм | Грузоподъемность, т | Рабочее давление, кгс/см2 | Способ изготовления | Габариты, мм | Масса, кг |
длина | ширина | высота |
РП-60 | 200 | 0,4 | - | Ручной | 1150 | 140 | - | 24 |
РГД-66 | 150 | 3,7 | 100 | Автоматический | 136 | 136 | 450 | 12,8 |
7.267. В рычажном приспособлении РП-60 в качестве тянущего и фиксирующего устройств используются верхние зажимные устройства от домкрата ОГД-61 (ОГД-61А), постановленные в перевернутое положение.
7.268. Принцип работы рычажного приспособления РП-60 заключается в следующем: при движении рычага вниз подвижный зажим, автоматически заклинив домкратный стержень, тянет его вверх на величину хода рычага, при этом нижнее зажимное устройство автоматически расклинивается и свободно пропускает домкратный стержень.
При движении рычага вверх зажимное устройство расклинивается и свободно скользит вниз по стержню, возвращаясь в исходное положение, а нижнее зажимное устройство под действием собственной массы извлеченного стержня заклинивает последний и фиксирует его в поднятом положении. На этом заканчивается один цикл подъема. За один цикл стержень поднимается (извлекается) на 200 мм.
7.269. Домкрат РГД-66 работает при наличии двойной гидроразводки. Принцип работы домкрата РГД-66 показан на
рис. 148. Гидродомкрат представляет собой реверсивный гидроцилиндр, внутри которого проходит извлекаемый стержень, рабочая жидкость в домкрат подается насосной станцией АНС-125Б, имеющей реверсивный режим работы.
Рис. 148. Реверсивный домкрат РГД-66
| | ИС МЕГАНОРМ: примечание. Текст дан в соответствии с официальным текстом документа. | |
а - принцип работы; 1 - нижний зажим; 2 - гидроцилиндр;
3 - верхний зажим
7.270. Для работы домкрата РГД-66 насосную станцию АНС-125Б необходимо настроить на режим "реверс", при котором рабочая жидкость попеременно подается то по одному то по другому трубопроводу.
Извлечение домкратных стержней
7.271. Домкратные стержни служат опорой домкратов в процессе подъема опалубки и в расчете на прочность сооружений, как правило, не учитываются. С целью экономии металла, а также повторного использования домкратных стержней производят их извлечение по окончании бетонирования стен сооружения.
7.272. Извлечение домкратных стержней производят при помощи реверсивных гидравлических домкратов типа РГД или других механизмов. Конструкции гидродомкратов типа РГД представлены на
рис. 148.
7.273. Домкрат типа РГД представляет собой гидроцилиндр двустороннего действия со свободной внутренней полостью штока, через которую проходит извлекаемый стержень. Привод гидродомкрата осуществляется от гидросистемы подъема скользящей опалубки или непосредственно от насосной станции, имеющей реверсивный режим работы.
Техническая характеристика домкратов типа РГД дана в табл. 80.
Таблица 80
Показатель | РГД-66А | РГД-42 | Примечание |
Номинальное давление, кгс/см2 | 100 | 100 | |
Грузоподъемность при номинальном давлении, кг | 3700 | 4600 | |
Максимальное давление, кгс/см2 | 160 | 160 | |
Рабочая площадь поршня, см2 | 30,6 | 58,5 | |
Высота подъема за один цикл, мм | 150 | 150 | |
Диаметр извлекаемого стержня, мм | 25 | 25 | При соответствующей замене зажимных устройств |
32 |
42 |
Габариты, мм: | | |
высота | 450 | 508 |
длина | 136 | 150 |
ширина | 136 | 150 |
Масса, кг, не более | 13 | 16,0 |
7.274. Конструкция и принцип действия реверсивных гидродомкратов РГД-66А и РГД-42 аналогичны.
7.275. Реверсивный гидродомкрат состоит из корпуса, двух зажимных устройств (верхнего и нижнего) и фланца крепления (рис. 149).
Рис. 149. Реверсивный гидравлический домкрат РГД-66
1 - гайка; 2 - вставка; 3 - ролик; 4 - корпус зажима;
5 - пружина; 6 - сепаратор; 7 - шарнир; 8 - гайка
соединительная; 9 - гайка; 10 - крышка; 11 - штуцер;
12 - корпус; 13 - поршень; 14 - шток внутренний;
15 - штуцер; 16 - цилиндр; 17 - фланец; 18 - гайка;
19 - кольцо распорное; 20 - гайка
Корпус состоит из цилиндра 13, внутри которого находится крышка 9, полый поршень со штоком 14, к которому крепится верхнее зажимное устройство; направляющая 15, к которой крепится нижнее зажимное устройство, соединяющее гидроцилиндр с фланцем 19, для крепления домкрата к домкратной раме. Крышка и направляющая удерживаются в гидроцилиндре накидными гайками 10. Герметизация гидроцилиндра осуществляется резиновыми уплотнителями 12, 16.
Верхнее зажимное устройство служит для захвата и извлечения домкратного стержня из гайки 8 и корпуса 4, внутри которого находится коническая вставка 2, пружина 5, сепаратор 6 с шарниром 7, ролики 3 и гайка 1.
Нижний зажим 18, фиксирующий домкратный стержень в поднятом положении, по конструкции аналогичен верхнему и служит соединительным звеном между фланцем и гидроцилиндром домкрата.
Выключение верхнего зажимного устройства осуществляется путем вращения корпуса зажима по часовой стрелке, а нижнего - вращением гайки 20 против часовой стрелки. Для установки домкрата на домкратную раму на фланце предусмотрены четыре стойки, две из которых имеют резьбу.
7.276. Домкрат работает следующим образом (см.
рис. 148,
149). Рабочая жидкость под давлением поступает в нижнюю полость цилиндра через штуцер
17 и перемещает поршень
14 вверх. Одновременно автоматически заклинив домкратный стержень, поднимается верхний зажим. После того, как поршень переместился в крайнее верхнее положение на величину шага, равную 150 мм, вручную или автоматически реверсируют поток рабочей жидкости, который проходит через штуцер
11 в верхнюю полость цилиндра. Поршень опускается в исходное положение. При этом верхний зажим, расклинив домкратный стержень, свободно скользит по нему вниз, а нижний зажим автоматически захватывает домкратный стержень и удерживает его от опускания. Так периодически происходит извлечение домкратного стержня.
7.277. Для извлечения домкратных стержней из стен железобетонных сооружений необходимо:
перед установкой защитных трубок на домкратной раме смазать их наружную поверхность техническим вазелином или другим минеральным маслом для предотвращения их сцепления с бетоном;
нижние концы домкратных стержней первоначальной зарядки смазать минеральным маслом на длину 300 - 500 мм для предотвращения их замоноличивания в бетоне;
по окончании бетонирования стен сооружения необходимо на 4 - 6 ч перевести гидросистему на работу в режиме "шаг на месте" для предотвращения сцепления защитной трубки с бетоном;
когда бетон в стенах или перекрытиях достигнет достаточной прочности, гидродомкраты снять, предварительно раскрепив домкратные рамы при помощи деревянных подкладок, установленных под нижнюю поперечину рамы для переноса нагрузки с домкратного стержня на бетон стены;
извлечь из бетона защитные трубки при помощи монтировки.
7.278. При монтаже реверсивного домкрата типа РГД необходимо:
выключить его защитные устройства; верхнее при помощи корпуса 4, нижнее при помощи гайки 20;
домкрат установить на домкратную раму и закрепить его;
подсоединить его к трубопроводам гидросистемы: верхнюю полость к гидросистеме регуляторов, нижнюю - к гидросистеме домкратов;
настроить насосную станцию на режим "реверс", при котором рабочая жидкость попеременно подается то по одному то по другому трубопроводу;
проверить правильность работы домкрата при холостом ходу, после чего включить зажимное устройство и производить извлечение.
По мере извлечения звенья домкратных стержней демонтируют и сортируют по типоразмерам.
По окончании извлечения домкратного стержня приспособление снимают и устанавливают на следующую домкратную раму, соблюдая все необходимые условия по монтажу.
7.279. Каналы в бетоне, образованные в процессе движения защитных трубок, после извлечения домкратных стержней должны быть тщательно заделаны бетоном на глубину 150 - 200 мм с последующим покрытием гидроизоляцией поверхности заделки.
7.280. В тех случаях, когда в комплекте гидрооборудования отсутствуют специальные гидродомкраты типа РГД извлечение домкратных стержней может быть осуществлено с помощью башенного крана с соблюдением всех требований техники безопасности по эксплуатации башенных кранов, предусмотренных "
Правилами устройства и безопасной эксплуатации грузоподъемных кранов", утвержденными Госгортехнадзором, и главой
СНиП по технике безопасности в строительстве. В этом случае необходимо выполнить все мероприятия, перечисленные в
п. 7.278. Кроме того, перед извлечением домкратного стержня необходимо убедиться в том, что стержень не забетонирован в конструкции сооружения, для чего на домкратный стержень устанавливают на подставке гидродомкрат типа ОГД (без регулятора горизонтальности) в перевернутом виде (на 180 °C) и производят пробные подъемы стержня. Если стержень при пробном подъеме свободно извлекается, то можно дальнейшее извлечение производить краном с помощью специального приспособления, показанного на
рис. 150.

Рис. 150. Приспособление для извлечения домкратного стержня
при помощи крана
1 - захват; 2 - домкратный стержень; 3 - домкрат типа ОГД;
4 - подставка; 5 - стопорное кольцо или верхний зажим
домкрата ОГД-61; 6 - винт; 7 - домкратная рама;
8 - деревянная стойка; 9 - рабочий пол
Стержни, которые при пробном подъеме не извлекаются, категорически запрещено извлекать башенным краном.
Для предотвращения опускания извлекаемого стержня, на него устанавливают в перевернутом виде (на 180°) верхнее зажимное устройство типа ОГД-61 или ОГД-61А или другое приспособление типа стопорного кольца.
Демонтаж гидравлического оборудования
7.281. По окончании бетонирования сооружения в скользящей опалубке гидрооборудование подлежит демонтажу, ремонту и консервации.
7.282. Масло сливают из гидросистемы и производят ее демонтаж в следующей последовательности:
домкраты демонтируют только после того, как бетон перекрытия достигнет необходимой прочности, предусмотренной проектом.
7.283. При демонтаже насосно-распределительных станций производят следующие операции:
отсоединяют станцию от электро- и гидросетей;
сливают отработанную рабочую жидкость и промывают резервуар с фильтрующим устройством;
очищают от грязи.
Хранить оборудование насосно-распределительных станций надлежит в закрытом утепленном помещении.
7.284. Демонтаж гидроразводки заключается в разборке трубопровода и арматуры гидросетей в последовательности, обратной монтажу.
Трубы гидроразводки рассортировывают по типоразмерам, промывают и очищают от грязи, после чего резьбовые части смазывают антикоррозионной смазкой, а отверстия закрывают пробками и связывают в пачки по 10 - 15 шт. и складируют в закрытое помещение на хранение.
7.285. Демонтаж гидродомкратов производят в последовательности, обратной монтажу.
После очистки и замены вышедших из строя деталей домкраты консервируют.
Если возведение сооружения в течение лета не закончено и приостановлено на летний период, гидрооборудование необходимо законсервировать.
7.286. При консервации гидрооборудования на зимний период необходимо:
домкраты с автоматическими регуляторами смазать минеральным маслом и укрыть их от атмосферных осадков полиэтиленовой пленкой;
в насосной станции летнее масло заменить на зимнее, электропитание отсоединить, станцию укрыть от атмосферных осадков и ветра.
РАБОТА С КАТУЧЕЙ ОПАЛУБКОЙ
Устройство рельсовых путей
7.287. Для перемещения опалубки в горизонтальном направлении устраиваются рельсовые пути, которые воспринимают горизонтальные усилия, возникающие при давлении бетонной смеси на опалубочные щиты.
7.288. До устройства путей выполняются подготовительные работы:
прокладываются подъездные пути;
подводится силовая и осветительная электросети и временный водопровод;
разрабатывается технологическая карта на устройство рельсового пути;
производится разбивка осей стен и рельсов пути;
бетонируется основание и днище сооружения. При этом в зависимости от выбранного способа крепления рельсовых путей устанавливаются штыри или закладные детали.
7.289. Рельсы должны прочно крепиться к бетонному основанию при помощи закладных металлических деталей. При этом они не должны иметь прогибов. Расстояние между рельсами должно быть постоянным по всей длине, а рельсы параллельны оси стены. В зависимости от толщины стены расстояние между рельсами определяется по формуле A = B + b,
где B - расстояние между осями колес тележек, когда оба щита агрегата прижаты друг к другу;
b - толщина стены в основании.
Для устройства пути применяется железнодорожный рельс нормальной колеи Р-43.
7.290. Рельсовые пути выполняются следующими способами:
1) Рельсы с приваренными к их основанию через 2 м прокладками из листовой стали толщиной 8 - 10 мм укладываются непосредственно на бетонное днище. Прокладки привариваются к штырям из стали марки Ст.3 d = 16 мм, установленным при бетонировании днища. При необходимости поверхность днища под прокладками выравнивается цементным раствором марки М100.
Если днище по проекту армируется, штыри до бетонирования его привариваются к арматуре. При демонтаже штыри срезаются, и рельсы вместе с прокладками переносятся на другое место укладки.
2) Рельсы крепятся к шпалам обычным способом при помощи подкладок и штырей. Изготовленные таким образом звенья укладываются на выровненную бетонную поверхность днища или уплотненное щебнем основание и раскрепляются распорными стержнями, которые привариваются к рельсовым прокладкам и закладным частям, установленным в основании стены. Распорные стержни, воспринимающие горизонтальные усилия, выполняются из стали марки Ст.3 d = 16 мм и устанавливаются через каждые 2 м. При этом один конец стержня приваривается к рельсовой прокладке, а другой к закладной детали, установленной при бетонировании днища. При переносе путей на другое место распорные стержни используются многократно.
Для обеспечения проектных размеров конструкций стены и качества ее поверхности необходимо постоянно контролировать состояние рельсовых путей.
Монтаж опалубки
7.291. Монтаж и демонтаж горизонтально-скользящей опалубки рекомендуется производить по типовым технологическим картам, разработанным липецким трестом Оргтехстрой Минтяжстроя СССР (шифр карт ТПК-4.01.05.06, ТПК-4.01.05.07).
До начала монтажа необходимо уложить и закрепить рельсовый путь.
Монтаж производится автокраном грузоподъемностью 5 - 7,5 т.
7.292. Последовательность монтажа:
на подготовленной заранее площадке у бетонируемой стены производится укрупнительная сборка двух секций опалубки, одна из которых собирается из тележки, двух стоек, опалубочного щита и соединительной балки, другая - из тележки, двух секций, опалубочного щита и монтажной балки;
устанавливают на рельсовые пути секцию с соединительной балкой и раскрепляют ее растяжками. Вторую секцию соединяют с первой. При этом проверяют вертикальное положение стоек;
устанавливают в проектное положение и закрепляют опалубочные щиты;
укладывают настил рабочих площадок с устройством ограждения;
на одной из площадок монтируют пульт управления;
подключают электродвигатели и вибраторы;
при несамоходном варианте на одну из тележек устанавливают тяговую лебедку.
7.293. После бетонирования стены опалубку разбирают на две секции и переставляют на рельсовый путь следующей стены.
Демонтаж опалубки производится в обратной последовательности.
7.294. Скорость горизонтального скольжения щитов зависит от подвижности укладываемой смеси и принимается по табл. 81.
Таблица 81
Характеристика бетонной смеси | Единица измерения | Скорость движения щитов, м/ч |
4 - 5 | 2 - 1 | 1 - 0 |
Осадка конуса | см | 4 - 3 | 2 - 1 | 1 - 0 |
При использовании в качестве ускорителя твердения бетона азотнокислого кальция (при температуре не ниже +10 °C) скорость передвижения агрегата может быть увеличена до 10 - 12 м/ч.
Скорость движения опалубки при бетонировании является нормальной, если поверхность освободившегося от опалубки бетона твердая на ощупь, легко заглаживается деревянными терками, отсутствуют заметные на глаз трещины и срывы бетона.
7.295. Бетонирование стен выполняется поярусно в непрерывно скользящих в горизонтальном направлении щитах. Высота левого яруса равна высоте опалубочных щитов, высота последующих - на 7 - 10 см меньше.
При высоте стен более 2 м бетонирование может выполняться несколькими комплектами опалубки, передвигающимися с некоторым отставанием один от другого в одном направлении и бетонирующими на всю высоту. Количество принимаемых комплектов определяется технико-экономическим расчетом.
7.296. Последовательность бетонирования первого яруса следующая:
бетонная смесь укладывается в неподвижную металлическую опалубку и уплотняется глубинными вибраторами по всей длине щитов;
через 45 - 60 мин производится пробное движение опалубки. Если бетон не оплывает и отсутствуют видимые трещины, продолжается непрерывное движение опалубки и укладка бетонной смеси;
после бетонирования 1-го яруса по всей длине стены или ее участка (захватки) щиты поднимаются и агрегат возвращается в начальное положение для бетонирования 2-го яруса, затем - 3-го и т.д. При этом щиты поднимаются и устанавливаются с напуском 7 - 10 см на нижний ярус.
7.297. Для предотвращения наплывов бетона вдоль рабочих швов и вытекания цементного молока щиты должны плотно прилегать к бетонной поверхности нижнего яруса.
7.298. В случае вынужденного перерыва в бетонировании для предотвращения сцепления бетона опалубка должна продолжать движение до полного освобождения бетона от опалубочных щитов.
7.299. При остановке опалубки (при невозможности дальнейшего его движения) бетон выдерживается в щитах в течение времени, необходимого для набора им прочности 2 - 3 кгс/см2. После этого щиты опалубки поднимаются вертикально до выхода из них бетона. Не следует отрывать щиты от бетонной поверхности по нормали к ней. Поверхность щитов после каждого яруса должна очищаться от цементной корки и смазываться минеральным маслом.
7.300. Во избежание деформаций свежеуложенного бетона при бетонировании не допускаются резкие толчки, удары (при подаче бетонной смеси в бадьях автокраном), резкие изменения скорости рабочего хода опалубки.
7.301. При организационных или технологических перерывах (перед бетонированием 2, 3-го и т.д. ярусов) для обеспечения монолитности рабочих швов поверхность бетона нижнего яруса необходимо обрабатывать с соблюдением требований главы
СНиП III-15-76.
7.302. Подача бетонной смеси производится с помощью мобильного крана грузоподъемностью 3 - 5 т в металлических бункерах вместимостью 0,4 - 0,5 м3. Бетонная смесь выгружается в вибробункер, установленный на опалубке (в начале бетонирования ярусов - на рабочую площадку опалубки), и укладывается слоями по мере движения щитов.
7.303. Места пересечения стен емкостных сооружений бетонируются с применением переставных опалубочных щитов (деревянных или металлических).
7.304. Поток по возведению монолитных стен в горизонтально-скользящей опалубке является специализированным и входит в состав объектного потока по строительству сооружения. Он имеет в своем составе частные потоки:
по установке арматуры;
по устройству подкрановых путей и монтажу горизонтально-скользящей опалубки;
по укладке бетона.
Ведущим частным потоком является поток по укладке бетона, продолжительность которого обусловливается скоростью перемещения горизонтально-скользящей опалубки, схемой развития потока, числом участков, количеством и размерами захватки и ярусов.
Техника безопасности
7.305. Безопасность работ обеспечивается исправностью конструкции, которая должна отвечать требованиям главы СНиП по технике безопасности в строительстве.
7.306. Деревянные элементы настила рабочей площадки должны изготавливаться из древесины хвойных пород не ниже 2-го сорта, влажностью не выше 25%. Доски настила должны быть толщиной не менее 50 мм, зазоры между ними допускаются не более 10 мм.
7.307. Состояние опалубочных щитов, ограждений, настилов и лестниц должно проверяться производителем работ или мастером.
7.308. Канаты подъемной лебедки должны быть защищены съемными металлическими кожухами высотой 2 м, которые при бетонировании 5-го яруса заменяются кожухами высотой 1 м.
7.309. При применении несамоходной опалубки перемещение ее производится серийно выпускаемыми электрическими лебедками, оборудованными автоматическим защитным устройством от перегрузки двигателя и обрыва тягового каната, имеющего семикратный запас прочности. Для ограждения тягового каната устанавливается сборно-разборный желоб.
7.310. Монтаж опалубки должен выполняться обученными рабочими-верхолазами с применением предохранительных поясов.
Разборку опалубки можно производить только с разрешения производителя работ или мастера.
В случае внезапного отключения электроэнергии во время работы необходимо выключить пускатель.
Токоведущие части электрооборудования должны быть надежно ограждены.
Вибраторы, установленные на щитах опалубки, и бункера необходимо надежно закреплять. Рабочий настил должен укладываться на металлический каркас щитов с установкой виброизолирующих прокладок.
Запрещается находиться непосредственно под настилом рабочей площадки.
УСТАНОВКА НЕСЪЕМНОЙ ОПАЛУБКИ
7.311. Перевозку и хранение плоских опалубочных плит необходимо производить в специальных контейнерах кассетного типа, ребристых и профильных плит - в пакетах.
Монтаж железобетонной опалубки производят с помощью кранов в соответствии с проектом производства работ (ППР).
Строповку опалубочных плит следует производить, как показано на
рис. 151.
Рис. 151. Схема строповки плоских опалубочных плит
1 - плита; 2 - строп; 3 - карабин; 4 - захват-скоба;
5 - штырь; 6 - чека; 7 - анкерующие петли-выпуски
7.312. При устройстве несъемной опалубки эффективны армоопалубочные блоки ("чемоданы"), состоящие из двух плоских плит, соединенных между собой раскосами, и армокаркаса между ними
(рис. 152). Такие армоопалубочные блоки готовят на заводах и полигонах или собирают на площадках укрупнительной сборки. Применяют их при бетонировании стен подвалов, насосных станций, опускных колодцев, реакторов. Их внедрение снижает трудозатраты и стоимость опалубочных работ.
Рис. 152. Армоопалубочный блок ("чемодан")
с использованием плоских опалубочных плит
1 - опалубочная плита; 2 - армокаркас; 3 - связи;
4 - траверса; 5 - захват траверсы;
6 - активная поверхность плиты
7.313. Крепление плоских железобетонных и армоцементных опалубочных плит, имеющих со стороны активной поверхности анкерующие петли-выпуски или "змейки", производят с помощью скруток, тяжей или форкопфов за армокаркас. Плиты, не имеющие анкерующих выпусков, крепят с помощью тяжей, которые пропускают через отверстия в плите и приваривают к армокаркасу. Для этих целей используют также сварку закладных плит при помощи накладок.
7.314. Для обеспечения большей жесткости и устойчивости несъемной опалубки ее следует крепить так, чтобы места установки скруток или тяжей располагались или в узлах армокаркаса, или возможно ближе к ним.
При отсутствии или недостаточном количестве анкерующих петель-выпусков, а также в случае невозможности приварить их к арматуре (тонкие стены, слабый армокаркас) армоцементные плиты крепят с помощью наружных прогонов (схваток) и внутренних тяжей.
7.315. Расстояние между прогонами или рядами скруток и тяжей по вертикали 1 зависит от бокового давления бетонной смеси на опалубку (высоты слоя свежеуложенного бетона Hmax) и толщины плиты.
Для определения величины
l рекомендуются графики, представленные на
рис. 153 и
154.
Рис. 153. Графики для определения Hmax и l
для железобетонных опалубочных плит
1 - при толщине плиты 80 мм; 2 - то же, 60 мм;
3 - то же, 50 мм
Рис. 154. Графики для определения Hmax и l
для армоцементных опалубочных плит
1 - при толщине плиты 35 мм; 2 - то же, 30 мм;
3 - то же, 25 мм
7.316. Ребристые опалубочные плиты крепят к железобетонным подкондукторным стойкам при помощи электросварки или болтов. Узлы крепления таких плит и рекомендации по их применению приведены в табл. 82.
Таблица 82
Схема | Наименование деталей | Рекомендация по применению |
| 1 - | плита; | Для крепления рядовых плит, стыкуемых на подкондукторной стойке |
2 - | подкондукторная стойка; |
3 - | уголок-накладка; |
4 - | деталь крепления; |
5 - | гайка; |
6 - | болт; |
7 - | заделка цементным раствором; |
8 - | бетон массива |
| 1 - | плита; | Для крепления плит с уступами |
2 - | подкондукторная стойка; |
3 - | уголок-накладка; |
4 - | деталь крепления; |
5 - | гайка; |
6 - | болт; |
7 - | железобетонный брусок; |
8 - | бетон массива |
| 1 - | плита; | Для крепления плит на внутренних углах массивных фундаментов |
2 - | подкондукторная стойка; |
3 - | уголок-накладка; |
4 - | деталь крепления; |
5 - | гайка; |
6 - | болт; |
7 - | бетон массива |
| 1 - | плита; | То же |
2 - | подкондукторная стойка; |
3 - | уголок-накладка; |
4 - | деталь крепления; |
5 - | гайка; |
6 - | болт; |
7 - | железобетонный брусок; |
8 - | бетон массива |
| 1 - | плита; | Для крепления плит на внутренних углах массивных фундаментов |
2 - | подкондукторная стойка; |
3 - | уголок-накладка; |
4 - | деталь крепления; |
5 - | гайка; |
6 - | болт; |
7 - | железобетонный брусок; |
8 - | бетон массива |
| 1 - | плита; | Для крепления плит на внешних углах массивных фундаментов |
2 - | подкондукторная стойка; |
3 - | уголок-накладка; |
4 - | деталь крепления; |
5 - | гайка; |
6 - | болт; |
7 - | железобетонный брусок; |
8 - | бетон массива |
| 1 - | плита; | То же |
2 - | подкондукторная стойка; |
3 - | уголок-накладка; |
4 - | деталь крепления; |
5 - | гайка; |
6 - | болт; |
7 - | железобетонный брусок; |
8 - | бетон массива |
| 1 - | плита; | Для крепления плит на внешних углах массивных фундаментов |
2 - | подкондукторная стойка; |
3 - | уголок-накладка; |
4 - | деталь крепления; |
5 - | гайка; |
6 - | болт; |
7 - | железобетонный брусок; |
8 - | бетон массива |
7.317. Швы между плитами тщательно заделывают цементным раствором после того, как бетон массива наберет 60 - 70% проектной прочности. Все выступающие элементы креплений срезают автогеном заподлицо с лицевой поверхностью несъемной опалубки.
МОНТАЖ НЕСЪЕМНОЙ СТЕКЛОЦЕМЕНТНОЙ ОПАЛУБКИ
7.318. Монтаж опалубочного блока должен производиться в соответствии с проектом производства опалубочных работ или технологическими картами.
В проекте производства опалубочных работ должны отражаться следующие вопросы:
спецификация опалубочных плит, их размеры и количество;
раскладка плит по опалубочным поверхностям;
метод монтажа и требуемые механизмы;
способ крепления опалубки, характерные узлы соединений;
состав звена монтажников-опалубщиков;
технико-экономические показатели.
7.319. Монтаж нижнего (первого) яруса несъемной опалубки должен осуществляться по выровненному бетонному основанию.
При установке плит на грунт рекомендуется под нижние грани уложить деревянный брусок толщиной 25 - 30 мм.
7.320. В зависимости от массы плиты опалубка монтируется вручную или грузоподъемным механизмом с использованием специального захвата.
7.321. Выбор способа монтажа и крепления зависит от возводимой конструкции, ее конфигурации, назначения и места расположения. Выбранный способ должен быть надежен в эксплуатации, технически и экономически обоснован.
При монтаже опалубки-гидроизоляции и опалубки-облицовки конструкции узлов крепления не должны нарушать гидроизоляционные свойства опалубки и ее внешний декоративный вид.
В общем случае различаются три способа монтажа несъемной опалубки:
использование наружных инвентарных элементов крепления;
навешивание (крепление) опалубочных плит непосредственно на рабочую арматуру возводимой конструкции;
комбинированный - сочетание первых двух способов.
Примечания: 1. Второй способ монтажа возможен при использовании стеклоцементных плит с прочностью при изгибе не менее 100 кгс/см2 в момент укладки бетона.
2. Кроме указанных способов возможно применение и других конструкций крепления плит.
При монтаже опалубки-облицовки и опалубки-гидроизоляции рекомендуется пользоваться наружными инвентарными поддерживающими элементами.
При этом следует руководствоваться разработанными ЦНИИОМТП унифицированными поддерживающими элементами жесткости с привязкой к конкретной возводимой конструкции.
7.322. Опалубочные плиты должны быть плотно прижаты к плоскости каркаса. Зазоры и щели не допускаются.
При использовании второго способа монтажа опалубки рабочая арматура возводимой конструкции устанавливается до монтажа опалубки. Затем к ней приставляются опалубочные плиты с заранее просверленными с определенным шагом отверстиями диаметром 12 - 14 мм. В отверстия вставляются Г-образные арматурные коротыши и привариваются к рабочей арматуре. Плиты устанавливаются в проектное положение с помощью фиксаторов. На каждую плиту должно приходиться не менее 4 фиксаторов.
При креплении опалубки на рабочую арматуру последняя должна дополнительно рассчитываться на восприятие давления бетонной смеси и собственной массы опалубки.
7.323. Следует по возможности избегать многоярусной раскладки опалубочных плит, так как опирание плит грань на грань затруднительно из-за малой их толщины. Если это условие трудно выполнимо, то установку второго яруса следует производить после окончательного надежного закрепления плит первого яруса.
7.324. При высоте нижнего яруса более 2 м последующий ярус рекомендуется монтировать после того, как уровень уложенного бетона достигает не менее 70% высоты нижнего яруса.
7.325. Стыки между опалубочными плитами должны обеспечить плотное соединение, исключающее вытекание цементного молока, и располагаться вразбежку.
7.326. Заделка стыков производится любым известным способом (в том числе обмазка, оклейка, напыление, чеканка, и т.п.). Способ заделки стыка зависит от условий эксплуатации сооружения и определяется ППР.
Во всех случаях конструкция стыка при использовании опалубки-изоляции и облицовки должна обеспечить надежную защиту монолитного бетона от вредного воздействия окружающей среды.
В зависимости от удобства работ стыки заделываются до или после укладки бетонной смеси.
В ряде случаев заделка стыков может не производиться, например, при эксплуатации конструкций в сухих грунтах или при монтаже опалубки-облицовки внутренних помещений. В таких конструкциях при вибрировании бетонной смеси происходит самоуплотнение стыков в результате проникновения цементного раствора в полость стыка.
7.327. Подачу бетонной смеси в опалубку рекомендуется производить со средней скоростью до 0,7 м/ч любым способом.
При этом необходимо избегать ударов и сотрясений, возникающих при выгрузке бетонной смеси.
В процессе уплотнения запрещается касание глубинным вибратором поверхности опалубки. При уплотнении бетона в зонах, примыкающих к опалубке, необходимо применять вибраторы с резиновыми кольцами.
При бетонировании необходимо вести непрерывное наблюдение за состоянием опалубки и в случае непредвиденных деформаций усилить слабые места дополнительными поддерживающими элементами.
7.328. Разборку инвентарных элементов крепления и поддерживающих элементов следует производить по достижении бетоном распалубочной прочности.
Разбирать поддерживающие элементы нужно без сотрясений и дополнительных нагрузок на опалубочные плиты, оставляемые в бетоне.
ТЕХНОЛОГИЧЕСКИЕ ТРЕБОВАНИЯ ПРИ ОБОГРЕВЕ МОНОЛИТНЫХ КОНСТРУКЦИЙ В ГРЕЮЩЕЙ ОПАЛУБКЕ. РЕЖИМЫ ОБОГРЕВА МОНОЛИТНЫХ КОНСТРУКЦИЙ И МЕРЗЛЫХ ГРУНТОВЫХ ОСНОВАНИЙ
7.329. При возведении в греющей опалубке монолитных конструкций грунтовое промерзшее основание перед укладкой бетонной смеси следует отогреть до температуры плюс 5 - 10 °C (на глубине 5 - 10 см от поверхности).
7.330. Отогрев грунта следует производить не менее чем на 3/4 глубины их промерзания и не менее чем на 500 мм для пучинистых и 300 мм для непучинистых грунтов. При использовании греющих щитов для отогрева грунта основание должно быть очищено от снега и льда, неровности засыпаны песком и предусмотрен отвод талой воды.
Размеры в плане отогретого основания должны быть больше размеров бетонируемой конструкции по всему периметру на двойную глубину оттаивания, но не менее чем на 1 м.
7.331. Разрешается, при соответствующем обосновании, при возведении монолитных конструкций с Mп < 5 укладывать предварительно разогретую бетонную смесь толщиной не менее 0,4 м на холодное, но оттаявшее основание, не имеющее смерзшихся комьев грунта, а также на неотогретое непучинистое основание, при условии дальнейшего заполнения формы бетонной смесью с температурой не менее 5 °C.
7.332. Каменное или бетонное основание должно быть отогрето до температуры укладываемой бетонной смеси. При использовании предварительно разогретой бетонной смеси температура основания должна быть не ниже 15 °C.
7.333. Бетонную смесь можно доставлять и укладывать в греющую опалубку любым способом. Температура бетонной смеси после укладки в опалубку должна быть не ниже 5 °C.
7.334. Части конструкции, не перекрытые греющей опалубкой, следует утеплить минерало- или стекловатными одеялами с коэффициентом сопротивления теплопередаче не ниже 0,35 (м2·°C)/Вт на длину не менее 1 м.
7.335. Собранная опалубочная форма должна выступать над поверхностью бетона на 5 - 10 см. Открытые поверхности забетонированных конструкций должны быть защищены влагонепроницаемой пленкой и утеплителем с коэффициентом сопротивления теплопередаче не ниже 0,4 (м2·°C)/Вт. Утеплитель с такими же теплоизолирующими свойствами следует применять для укрытия отогретых участков грунтовых, бетонных или других оснований, выступающих за наружные грани греющих опалубочных форм.
7.336. Перед укладкой бетонной смеси загрязненная арматура конструкций должна быть тщательно очищена. Для удаления снега и наледи необходимо за 1,5 - 2 ч до начала бетонирования укрыть опалубочную форму брезентом и подключить щиты под нагрузку.
7.337. Во избежание больших теплопотерь бетонную смесь следует укладывать в конструкции непрерывно и в быстром темпе. Толщина слоев бетонной смеси определяется из условия ее уплотнения. Перерывы между укладкой слоев не должны превышать 1,5 - 2 ч (при температуре бетонной смеси не выше 10 °C). В противном случае форму следует укрыть брезентом и периодически включать щиты под нагрузку. Разница температуры между очередными слоями бетонной смеси не должна превышать 15 °C.
7.338. При бетонировании конструкций с модулем опалубливаемой поверхности менее 4 для уменьшения тепловых потерь бетонной смесью при укладке опалубочные формы рекомендуется укрывать брезентом, а бетонную смесь подавать в отверстия или люки, открываемые только на время бетонирования.
7.339. При модуле опалубливаемой поверхности менее 2 и высоте конструкции 1 - 1,5 м на открытые поверхности бетона рекомендуется укладывать греющие щиты или инвентарные термоактивные гибкие покрытия ГП с удельной мощностью до 600 Вт/м2.
7.340. При сильных ветрах, превышающих 12 м/с, рекомендуется опалубочные формы укрывать брезентом или воздухонепроницаемой пленкой. Такие укрытия целесообразны также для защиты опалубки от воздействия атмосферных осадков и позволяют повысить коэффициент сопротивления теплопередаче термоактивных щитов на 20 - 30%.
7.341. При использовании в греющих щитах нагревателей из материалов с большим коэффициентом температурного сопротивления (железо, латунь, никель и др.) пусковые токи достигают значительных величин (до 2,5 Jн). Поэтому греющие щиты, во избежание перегрузки питающей электролинии, следует включать отдельными группами площадью не более 40 - 50 м2 с интервалом не менее 10 мин.
7.342. При отсутствии угловых щитов, примыкающих к углам стен, фундаментов, подколонников, массивных колонн, балок и т.п., рядовые греющие щиты рекомендуется попеременно отключать от электросети через 2 - 3 ч при ручном регулировании температуры бетона и устанавливать в них дополнительные температурные реле при автоматической системе регулирования.
7.343. Режимы обогрева выбирают в зависимости от массивности возводимых монолитных конструкций с учетом обеспечения требуемой прочности бетона, вида и активности цемента, состава бетона.
7.344. Для теплотехнических расчетов следует принимать показатели бетонной смеси и бетона, приведенные в табл. 83.
Таблица 83
Материал | Объемная масса, кг/м3 | Теплопроводность, Вт/(м·°C) |
Бетонная смесь с осадкой конуса 2 - 6 см в возрасте до 3 ч <*> | 2500 | 3,7 |
Бетон в возрасте до 12 ч | 2480 | 2,8 |
Бетон в возрасте более 12 ч | 2400 | 1,86 |
-------------------------------- <*> Объемная теплоемкость 2,5·10 3 кДж/(м·°C). |
7.345. Скорость подъема температуры, максимально допустимую температуру и скорость охлаждения монолитных конструкций по замерам на их поверхности рекомендуется принимать по данным табл. 84.
Таблица 84
Показатели | Модуль опалубливаемой поверхности, м-1 |
4 | 6 | 8 | 10 | более 10 |
Максимальная скорость подъема температуры на поверхности монолитной конструкции, град/ч | 5 | 5 | 6 | 8 | 10 |
Максимальная температура на поверхности конструкции, град | 40 | 50 | 60 | 70 | 75 |
Максимальная скорость охлаждения конструкции, град/ч | 5 | 5 | 6 | 8 | 10 |
7.346. Демонтировать укрытия и распалубливать конструкции разрешается после набора бетоном проектной прочности и остывания поверхностных слоев бетона конструкций до температуры 2 - 5 °C.
7.347. Не следует допускать примерзания опалубки к бетону. Электронагреватели примерзшей к бетону опалубки необходимо включить на 0,5 ч под нагрузку для нагрева палубы.
7.348. Разность между температурами поверхностных слоев бетона распалубленных конструкций и наружного воздуха не должна превышать 20 °C для конструкций с Mп <= 5 и 30 °C - для конструкций с Mп > 5.
7.349. Для повышения темпа оборачиваемости греющей опалубки допускается ее демонтаж после изотермического выдерживания бетона, если его прочность позволяет воспринять нормативные нагрузки. Процесс остывания конструкций должен протекать под укрытиями из минераловатных одеял, брезента, пленки или в инвентарных тепляках, возможность каждого из них в конкретном случае определяется теплотехническим расчетом.
Оборудование и правила эксплуатации греющих покрытий
7.350. Электрооборудование и комплект ГП размещаются в передвижной установке, представляющей собой автофургон типа ЛУМЗ-825. Фургон оборудован системой электроотопления и искусственного освещения. Автофургон имеет три отсека: управление, силовой и складской. В первом отсеке расположены шкаф с контрольно-измерительной и сигнализирующей аппаратурой, панель счетчиков для замера расхода электроэнергии, стол электрика-оператора. В силовом отсеке размещаются один стационарный и один переносной трансформаторы, панель с контакторами, барабаны для намотки кабеля и распределительные шкафы.
В складском отсеке может находиться при транспортировке или хранении до 70 термоактивных гибких покрытий (ТАГП).
7.351. Передвижная установка комплектуется стандартными приборами и аппаратами, выпускаемыми серийно отечественной электротехнической промышленностью.
7.352. Электроснабжение передвижной установки осуществляется переменным током напряжения 380 В. Питание ГП предусмотрено от двух трехфазных многоступенчатых понижающих трансформаторов мощностью 63 кВт каждый. Трансформаторы имеют самостоятельные щиты управления, обеспечивающие питание греющих матов пониженным напряжением 49 - 103 В, защиту от коротких замыканий в электрической сети, дистанционный контроль и автоматическое регулирование электрообогрева бетонных конструкций.
7.353. Система автоматического управления температурой предусматривает отключение ГП при достижении нагревателями температуры 100 °C, а также контроль и регулирование электрообогрева бетона по требуемому режиму. Регулирование работой ГП осуществляется коммутацией силовых цепей 380 В с помощью электромеханических контакторов.
7.354. При организации работ на стройплощадке места установки автофургона и переносного трансформатора (при необходимости обогрева отдельно стоящих конструкций) выбираются таким образом, чтобы обеспечивалось наименьшее расстояние до обогреваемых бетонных конструкций.
7.355. На стройплощадке оборудование необходимо размещать вне зоны работы механизмов и движения транспорта.
7.356. Для соединения ГП с рабочей схемой и подключения их ко вторичной стороне питающих трансформаторов используются распределительные коробки или инвентарные разводки, состоящие из подводящего кабеля, клеммной коробки и проводов с 15 - 20 вилочными разъемами.
7.357. Для коммутации ГП используются розетки штепсельные кабельные, переносные типа РКС, 5ДК, вилки штепсельные стационарные щитовые (щит - кабель) типа ВПС, 6ДК, вилки штепсельные кабельные переносные (кабель - кабель) типа ВКС, 6ДК.
7.358. Термоактивные покрытия укладываются на обогреваемую поверхность конструкции внахлестку (неактивными зонами), чтобы полностью изолировать от наружного воздуха твердеющий бетон. В целях более плотного прилегания ГП друг к другу необходимо предусмотреть на перекрываемых неактивных поверхностях матов крепления с помощью специальных зажимов. К каждой распределительной коробке или инвентарной разводке подводится по одному кабелю от трансформаторов. Производится разводка кабелей или проводов от распределительных ящиков к ГП. В пространство между обогреваемой поверхностью бетонной конструкции и рабочей поверхностью ГП устанавливается электрический термометр сопротивления, соединенный тройным изолированным медным проводом с автоматическим регулятором температуры на щите управления в автофургоне. После этого включается система питания передвижной установки напряжением 380 В и подается ток напряжением 49 - 103 В на ГП.
7.359. Во избежание перегрева и загорания ГП запрещается нахлест активной части одного ГП на теплоизоляцию другого. Перекрытие ГП одного другим следует производить только неактивными частями.
Техника безопасности при эксплуатации ГП
7.360. При производстве работ с применением ГП должны соблюдаться требования по технике безопасности, изложенные в главе СНиП по технике безопасности в строительстве.
7.361. При монтаже электрических установок, кабелей и проводов необходимо руководствоваться положениями "
Правил устройства электрических установок", а при их эксплуатации - "Правилами эксплуатации электрических установок промышленных предприятий".
7.362. К работам по обслуживанию ГП допускаются лица, проверенные специальной комиссией и получившие удостоверения о знании правил техники безопасности при электротермообработке бетона.
7.363. Весь персонал, обслуживающий оборудование для обогрева бетона с помощью ТАГП, должен пройти инструктаж по технике безопасности и стажировку на рабочем месте.
7.364. Дежурные электромонтеры осуществляют надзор за техническим состоянием оборудования электротехнических установок, ГП, подводящих кабелей, производят включение и выключение установок, устраняют все неисправности в электрооборудовании.
7.365. Занятые на участке обогрева бетона электрики, рабочие, измеряющие температуру бетона, лаборанты, мастера, а также бетонщики в случае укладки бетона в конструкцию, часть которой находится под ГП, должны быть снабжены проверенными резиновыми сапогами или диэлектрическими резиновыми перчатками.
7.366. В зимнее время при производстве работ вне отапливаемого помещения указанные категории работающих должны быть обеспечены теплой одеждой и валенками (с диэлектрическими галошами). В непосредственной близости от прогреваемых конструкций должно находиться временное теплое помещение для обогрева работающих.
7.367. Каждая электротехническая установка должна иметь эксплуатационный журнал, в котором дежурный электромонтер производит запись при передаче ее сменщику (с обязательной распиской сдавшего и принявшего смену) о состоянии и режиме установки, о произведенных за смену исправлениях в оборудовании. Контроль за правильностью ведения эксплуатационного журнала должен осуществляться ежедневно мастером или прорабом.
Устранение неисправностей в электрооборудовании установок должно производиться при снятом напряжении.
7.368. В помещении электротехнической установки или вблизи ее на видном месте должны быть вывешены:
правила эксплуатации установок и техники безопасности;
правила оказания первой помощи пострадавшим от электрического тока.
7.369. Электротехнические установки и ГП должны подвергаться периодическим осмотрам и планово-предупредительным ремонтам по графикам, утвержденным главным энергетиком или главным механиком строительной или ремонтно-строительной организации.
7.370. Необходимо обеспечивать систематический визуальный контроль за состоянием изоляции проводов, кабелей, а также изоляции ГП. Результаты должны один раз в смену записываться в специальный журнал.
Изоляции проводов и кабелей в полигонных условиях следует проверять с помощью мегомметра не реже одного раза в месяц.
7.371. Электротехническая установка и ГП должны получать питание через кабель в резиновой оболочке;
кабель, подающий ток низкого напряжения к распределительным клеммным ящикам-боксам (или софитам), и провода от них к ГП должны располагаться на легких переносных козлах или изолирующих прокладках.
7.372. Распределительные ящики должны быть закрытого типа, чтобы на клеммы подключения не попадала влага, снег, грязь. Ящики следует устанавливать на небольшие деревянные подставки.
7.373. Соединение всех питающих кабелей и подводящих проводов к ГП рекомендуется выполнять в виде конусно-штепсельных разъемов с гаечным зажимом. Чтобы их работа была надежной, контакты необходимо содержать в чистоте.
7.374. Для исключения коротких замыканий все электропроводки должны быть без повреждений и тщательно изолированы.
7.375. При размещении электротехнической установки на объекте должно быть выполнено защитное заземление в виде двух стальных труб (толщина стенок не менее 3,5 мм) или стержней площадью сечения не менее 48 мм2, забитых в землю на глубину не менее 1,5 м и соединенных с установкой медным проводом сечением не менее 25 мм2. Защитное заземление может осуществляться через общий заземлитель.
7.376. Замену плавких вставок пластинчатых предохранителей производить под напряжением не допускается.
7.377. Включение и выключение разъединителей под нагрузкой (подключение или отключение ГП) не разрешается.
7.378. Трансформаторы для электротермообработки бетона независимо от напряжения на их низкой стороне должны находиться в специальных закрытых помещениях или иметь ограждение. Неизолированные токоведущие части трансформаторов и распределительных щитов необходимо укладывать на изоляторах (деревянные настилы или решетки, покрытые резиновыми ковриками).
Рубильники должны иметь защитные кожухи, а все предохранители калиброванные плавкие вставки.
Около мест эксплуатации ГП и работы электроустановок должны быть выставлены указывающие и предупреждающие знаки.
7.379. Перед подачей напряжения на ГП необходимо:
проверить правильность подключения ГП;
осмотреть разъемы и провода;
убедиться в надежности зануления или заземления металлической арматуры оборудования;
проверить состояние ограждения;
убедиться в отсутствии посторонних лиц на участке электротермообработки.
Запрещается на ГП ставить тяжелые предметы или устройства.
7.380. Во избежание перегрева и загорания ГП запрещается при обогреве бетона нахлест активной части одного покрывала на теплоизоляцию другого, перекрытие покрывал одного другим следует производить только неактивной частью.
В ночное время суток участок электротермообработки бетона должен быть хорошо освещен.
В случае поражения электрическим током пострадавшему должна быть оказана соответствующая первая помощь.
Вблизи установок для электротермообработки бетона и обогреваемых конструкций не допускается размещать легковоспламеняющиеся материалы.
При возникновении на участке электротермообработки бетона (в цеху, на полигоне) пожара, необходимо немедленно отключить напряжение и вызвать пожарную команду.
Для тушения пожара следует иметь наготове огнетушители, ящики с песком и лопаты.
Не допускается заливать водой очаг пожара до отключения напряжения на участке термообработки.
СМАЗКИ, АНТИАДГЕЗИОННЫЕ ПОКРЫТИЯ И ФУТЕРОВКИ ДЛЯ ОПАЛУБКИ
Общие сведения
7.381. Бетон с различными опалубочными материалами имеет значительное сцепление. Оно определяется природой опалубочного материала, его шероховатостью и пористостью, маркой бетона, а также его возрастом и условиями твердения.
В табл. 85 приведены значения сцепления бетона марки М150 с некоторыми опалубочными материалами. Возраст бетона в момент определения сцепления 3 сут, условия твердения нормальные (t = 18 - 20 °C; B0 = 85 - 90%).
Таблица 85
Материалы | Сцепление, кгс/см2 |
Сосна | 1,1 |
Лиственница | 0,8 |
Фанера водостойкая | 0,77 |
Древесностружечная плита | 0,8 |
Сталь листовая марки Ст3 | 1,4 |
Алюминиевый сплав | 2,1 |
Полиэфирный листовой стеклопластик | 0,75 |
Большое сцепление бетона с опалубкой затрудняет ее снятие, вызывает преждевременный износ щитов, которые обрастают цементной коркой. Применение загрязненной бетоном опалубки затрудняет ее установку и ухудшает качество поверхностей железобетонных конструкций.
Из-за большого сцепления и трения между бетоном и скользящей опалубкой затрудняется ее подъем, появляются горизонтальные трещины и срывы бетона, увеличивается шероховатость бетонной поверхности.
7.382. Для снижения или полного устранения сцепления между бетоном и опалубкой и уменьшения негативных последствий, отмеченных выше, следует применять эффективные смазки или антиадгезионные полимерные покрытия и футеровки для опалубки. Обследования ряда строек показали, что около 60 - 80% инвентарных опалубок или вообще не смазывается, или для этого применяют низкосортные материалы.
В главе
СНиП III-15-76 "Бетонные и железобетонные конструкции монолитные" обращено внимание на необходимость применения качественных смазок и широкое внедрение опалубок с антиадгезионными полимерными покрытиями и футеровками.
Требования к смазкам. Классификация. Составы (табл. 86, 87)
Таблица 86
Смазка | Компоненты | Единица измерения | Количество | Преимущества | Недостатки | Рекомендации по применению |
Солидольная | Солидол | мас. ч. | 2,0 | Простота изготовления, не загустевает и не замерзает, полностью устраняет сцепление | Дефицитность материалов, пожароопасна, высокая стоимость | Допускается для стальной и деревянной опалубки, в том числе и в зимних условиях |
Бензин | " | 0,5 - 3,0 |
Парафин | " | 0,5 - 1,6 |
Петролатумно-керосиновая | Петролатум | " | 1,0 | То же | То же | То же |
Керосин | " | 3,0 | | | |
Масляная N 1 | | " | 1,0 | " | " | " |
Соляровое масло | " | 3,0 | " | " | " |
Масляная N 2 | | " | 2,5 - 4,0 | " | " | Допускается для стальной и деревянной, рекомендуется для термоактивной опалубки |
Кулисная паровозная смазка | " | 1 - 1,5 | | |
-------------------------------- <*> Может быть применено рафинированное отработанное масло. |
Смазка | Компоненты | Состав по объему, % | Преимущества | Недостатки | Рекомендации по применению |
Прямая эмульсия | Масло (нигрол) | 10 - 15 | Простота, легкость приготовления | Малая стабильность, дефицитность и высокая стоимость масла, плохо удерживается на вертикальной опалубке, замерзает зимой | Допускается для металлической и деревянной опалубки в летних условиях, а также для термоактивной опалубки |
Мыло хозяйственное | 0,6 - 1 |
Вода | 84 - 89,4 |
Обратная эмульсия ОЭ-2 <*> | Эмульсол ЭКС | 20 | Простота, легкость приготовления, не оставляет масляных пятен, резко снижает сцепление | Высокая стоимость эмульсола, невысокая стабильность при нагреве, замерзает зимой | То же |
Известковое тесто | 0,5 |
Вода | 80 |
| Отработанное масло | 21 | Простота, доступность и невысокая стоимость исходных материалов, стабильность, резко снижает сцепление | Замерзает зимой | Рекомендуется для металлической и деревянной опалубки в летних условиях, а также для термоактивной опалубки |
Известковое молоко | 3 |
Вода | 76 |
| Отработанное масло | 18 | То же | Вызывает коррозию стальной опалубки | Рекомендуется для деревянной и допускается для металлической опалубки, в том числе и в зимних условиях |
Известковое молоко | 3 |
5%-ный раствор поваренной соли | 16 |
Вода | 63 |
Эмульсионно-щелочная <***> | Эмульсол ЭКС | 10 | Простота, легкость приготовления, стабильность, резко снижает сцепление, допускается механизированное нанесение, не замерзает при -15 °C | Высокая стоимость эмульсола, может оставлять темные пятна на бетоне | Рекомендуется для металлической и деревянной опалубки, в том числе и при отрицательных температурах |
ЭСО-ГИСИ-30 | 10% раствор азотнокислого цинка | 21 | Полностью устраняет сцепление, снижает поверхностную пористость бетона, не загрязняет бетон, пожаробезопасна | Большое количество компонентов, загустевает на морозе | Рекомендуется для всех видов опалубки, если к поверхности бетона предъявляются повышенные требования |
Полиэтиленовая эмульсия | 2 |
Отработанное масло | 49 |
Известковое молоко | 17 |
ЭСО-ГИСИ-32 | 40 - 60% водная дисперсия поливинилхлоридной смолы | 21 | То же | То же | То же |
5 - 7% раствор омыленного пека | 11 |
8 - 10% раствор азотно-кислого цинка | 19 |
Минеральное масло | 35 |
Известковое молоко | 14 |
ЭСО-ГИСИ-42 | Отработанное масло | 48 | Полностью устраняет сцепление, снижает поверхностную пористость бетона, не загрязняет бетон, пожаробезопасна | Большое количество компонентов, загустевает на морозе | Рекомендуется для всех видов опалубки, если к поверхности бетона предъявляются повышенные требования |
3% раствор СДБ | 48 |
Кремнезоль | 3 |
Полиэтиленовая эмульсия | 1 |
-------------------------------- <*> Разработано во ВНИИжелезобетона. <**> Разработано в ГИСИ им. В.П. Чкалова. <***> Разработано трестом Оргтехстрой Главволговятскстроя. |
7.383. Смазки для инвентарной опалубки должны отвечать следующим требованиям:
обладать хорошей адгезией к материалу опалубки и плохой к бетону;
образовывать сплошную пленку возможно меньшей толщины (0,1 - 0,2 мм), отделяющую формующую поверхность опалубки от бетона;
не растворяться в воде, не проникать в поверхностные слои бетона и не оставлять на нем темных масляных пятен;
не вызывать коррозии стальной опалубки;
хорошо удерживаться на формующих поверхностях опалубки, т.е. не стекать с вертикальных поверхностей, не смываться водой и не стираться бетонной смесью;
не высыхать и не терять указанных выше качеств с течением времени;
не замерзать и не терять своих свойств при отрицательных температурах;
быть безвредными для организма человека и пожаробезопасными;
смазка должна легко наноситься на опалубку, быть дешевой и на ее приготовление не должны расходоваться дефицитные материалы.
Основным критерием эффективности смазок является степень снижения сцепления между бетоном и опалубкой по сравнению со сцеплением эталонных (не смазанных) образцов.
7.384. Смазки классифицируют на: суспензии, эмульсии, растворы вязких нефтепродуктов, отходы нефтехимии, консистентные и полимерные композиции.
По принципу действия смазки условно делятся на пленкообразующие гидрофобизирующие, смазки - замедлители схватывания или вскрыватели и комбинированные.
7.385. При использовании пленкообразующих смазок на формующих поверхностях опалубки появляется тонкая минеральная пленка, препятствующая прилипанию бетона к опалубке. К таким смазкам относятся известковая и глиняная суспензии. Они примерно в два раза снижают сцепление. Однако такие смазки мало стабильны, плохо удерживаются на вертикальных поверхностях опалубки, загрязняют поверхность бетона. По этим причинам известковую и глиняную суспензии не следует рекомендовать для широкого употребления.
Лучшими свойствами обладает известковая суспензия с добавкой формальдегида (известковое молоко - 75 - 95%, формальдегид - 5 - 25%).
К пленкообразующим смазкам относятся также составы N 1 и 2.
Состав смазки N 1, массн. ч: петролатум - 0,3 - 0,5; известь-кипелка - 1; вода - 2 - 2,5; жидкое стекло - 0,04 - 0,045.
Состав смазки N 2, массн. ч.: известковое тесто - 0,4 - 0,6; сульфитно-спиртовая барда - 0,8 - 1,2; полуводный гипс - 0,6 - 0,9; вода - 4 - 6.
Смазки N 1 и 2 более совершенны по сравнению с суспензиями, но и они имеют существенные недостатки (малая стабильность, несплошность пленки, невысокая эффективность, невозможность применения при отрицательных температурах).
7.386. Принцип действия гидрофобизирующих смазок основан на том, что при нанесении их на опалубку они образуют гидрофобную, т.е. несмачиваемую пленку. Такая пленка препятствует прилипанию бетона к опалубке, в результате чего резко снижается или полностью устраняется сцепление. Для этого необходимо, чтобы гидрофобная пленка из смазки была сплошной и прочной, т.е. не разрушалась при бетонировании.
Гидрофобизирующие смазки в настоящее время получили наиболее широкое распространение. К ним относятся прямые и обратные эмульсии, растворы и отходы нефтепродуктов, консистентные минеральные, а также полимерные смазки.
К консистентным гидрофобизирующим смазкам относится смазка Лихтенштулей, состоящая из технического вазелина (75%) и стеарина (25%). Эта смазка имеет высокую стоимость, требует дефицитных материалов. Ее рекомендуется применять для стальной и пластмассовой опалубки, если к качеству поверхностей бетонируемых конструкций предъявляются повышенные требования.
7.387. Действие смазок-замедлителей (вскрывателей) (табл. 88) основано на замедлении процессов схватывания тонких пристыковых слоев бетона. В результате к моменту распалубки прочность этих слоев оказывается незначительной и отрыв происходит частично по контактной зоне, частично по слабым пристыковым слоям бетона. Отрыв имеет смешанный (адгезионно-когезионный) характер. В дальнейшем поверхностные слои бетона набирают проектную прочность и качество железобетонных конструкций не снижается.
Таблица 88
Смазка | Компоненты | Состав по массе, % | Преимущества | Недостатки | Рекомендации по применению |
Смазка N 25 | Декстрин кукурузный | 35 - 45 | Позволяет получать однородную и качественную поверхностную структуру бетона, хорошо удерживается на опалубке | Требует дефицитных материалов, имеет высокую стоимость | Рекомендуется для получения декоративной поверхности конструкций с обнажением крупного заполнителя |
Молочная сыворотка | 50 - 60 |
Клей костный | 2 - 15 |
Смазка N 26 | Технические жирные кислоты | 50 | Полностью устраняет сцепление, стабильна, обеспечивает получение качественной поверхности структуры бетона | Требует дефицитных материалов | То же |
Меласса | 50 |
Смазка N 27 | Эмульсол | 15 - 20 | Полностью устраняет сцепление, обеспечивает получение однородной и качественной поверхностной структуры бетона, не расслаивается, не токсична | Густеет и замерзает зимой, требует дефицитных материалов | " |
Декстрин кукурузный | 20 - 25 |
Сыворотка молочная | 60 - 65 |
Такие смазки позволяют обнажать (вскрывать) структуру бетона путем промывки его струей воды, сразу же после распалубки. Поверхность железобетонных конструкций после такой промывки приобретает красивый внешний вид с равномерным обнажением крупного заполнителя. В этом главное преимущество смазок-вскрывателей.
7.388. Наиболее эффективны комбинированные смазки, разработанные в ГИСИ им. В.П. Чкалова. В их состав входят гидрофобизирующие вещества, образующие на поверхности опалубки несмачиваемую пленку и препятствующие прилипанию бетона. Помимо этого смазки имеют в своем составе замедлители схватывания, которые также способствуют устранению сцепления и облегчают распалубку.
В состав смазок вводят также пластификаторы, которые уменьшают поверхностную пористость и улучшают качество поверхности бетона. Таким образом, комбинированные смазки, действуя по принципу гидрофобизации, замедления схватывания и пластификации пристыковых слоев бетона, облегчают распалубку и улучшают качество железобетонных конструкций.
В смазках ЭСО-ГИСИ гидрофобизаторами являются отработанное масло и полиэтиленовая эмульсия, замедлителями - раствор азотнокислотного цинка и раствор сульфитно-дрожжевой бражки (СДБ), а пластификаторами - растворы СДБ или омыленного пека.
7.389. Выбор наиболее подходящей смазки делают на основе анализа местных условий и возможностей, требований технологии бетонирования и экономики.
Приготовление и нанесение смазок
7.390. Современные смазки представляют собой сложные химические системы. Поэтому для их приготовления требуется специальное оборудование.
По опыту приготовление смазок в строительных организациях должно производиться централизованно для всех строек треста, объединения или главного территориального управления (главка). Приготовление смазок для строек с использованием их для опалубки может быть организовано также по кооперации на заводах сборного железобетона с использованием установленного на них технологического оборудования.
7.391. По мощности и в зависимости от расположения и зоны обслуживания технологические линии по приготовлению смазок делятся на трестовские, обслуживающие стройки треста, с годовой производительностью 150 - 175 т; районные, рассчитанные на обслуживание строек производственного объединения или главка, годовой мощностью 1500 - 2000 т, и заводские, обслуживающие нужды завода ЖБИ (КПД) и по кооперации потребности ближайших строек мощностью 280 - 500 т.
Годовая потребность в смазках для опалубки железобетона определяется исходя из норм расхода, приведенных в табл. 89 и
90.
Таблица 89
Вид опалубки | Расход смазки, кг |
на 1 м2 формующей поверхности опалубки | на 1 м3 монолитного железобетона |
Стальная | ---------------- 0,45 - 0,55 | 2,0 - 3,5 --------- 4,5 - 5,5 |
Дощатая | 0,40 - 0,55 ------------ 0,60 - 0,70 | 4,0 - 5,5 ---------- 6,0 - 7,0 |
Фанерная | 0,35 - 0,50 ------------ 0,50 - 0,65 | 3,5 - 5,0 ---------- 5,0 - 6,5 |
Пластмассовая | 0,10 - 0,15 ------------ 0,35 - 0,40 | 1,0 - 1,5 ---------- 3,5 - 4,0 |
-------------------------------- <*> В числителе - расход при нанесении пневмораспылителем, в знаменателе - при нанесении вручную кистью или валиком. |
Смазка | Компоненты | Состав по массе, % | Преимущества | Недостатки | Рекомендации по применению |
Смазка N 11 | Машинное масло | 75 - 85 | Надежно удерживается на поверхности опалубки, резко снижает сцепление, улучшает качество поверхности бетона, не замерзает | Дефицитность материалов, высокая стоимость, пожароопасна | Допускается для всех видов опалубки преимущественно в зимних условиях |
Полиэтилгидросилоксан | 5 - 10 |
Тальк | 10 - 15 |
Смазка N 12 | Масло кремнийорганическое ГКЖ-94 | 100 | Хорошо удерживается на поверхности опалубки, полностью устраняет сцепление, гидрофобизирует поверхность бетона, не замерзает | Дефицитность материалов, высокая стоимость, пожароопасна | Допускается для всех видов опалубки преимущественно в зимних условиях |
Керосин | 30 - 70 |
Солидол | 30 - 70 |
Смазка N 13 | Петролатум | 91 - 94 | Резко снижает сцепление, не оставляет масляных пятен, не замерзает | То же | То же |
Церезин | 6 - 9 |
Смазка N 14 | Машинное масло | 90 - 96 | Устраняет сцепление, не замерзает | Дефицитность материалов, высокая стоимость, пожароопасна, оставляет масляные пятна | " |
Низкомолекулярный полиэтилен (воск) | 4 - 10 |
7.392. Составы смазок влияют на способы их приготовления. Различают способы приготовления с механическим, пневматическим, ультразвуковым и комбинированным перемешиванием компонентов.
Механический и пневматический способы применяют для приготовления смазок, компоненты которых перемешиваются относительно легко, например, смазки типа суспензий, растворов нефтепродуктов или смазки-вскрыватели.
| | ИС МЕГАНОРМ: примечание. В официальном тексте документа, видимо, допущена опечатка: рисунок 189, б отсутствует. | |
Механические (рис. 155) и пневматические смесители - барботеры (рис. 189, б) относительно просты по конструкции и могут быть изготовлены в любой механической мастерской. Сменная производительность таких смесителей колеблется от 150 до 600 кг готовой смазки. Такие смесители могут быть установлены на трестовских технологических линиях по приготовлению смазок или непосредственно на строительных объектах.
Рис. 155. Смесители для приготовления смазок
а - смеситель механического действия; б - смеситель
барботерного типа; 1 - бак; 2 - мешалка; 3 - ограждение;
4 - электродвигатель; 5 - гибкий вал; 6 - кран;
7 - емкость; 8 - откидывающаяся крышка; 9 - змеевик
с перфорацией; 10 - шланг; 11 - воронка;
12 - трубка для выброса сжатого воздуха
Промышленностью выпускаются более мощные смесители с механическим перемешиванием, например установка СМЖ-18.
Установки СМЖ-18 монтируют на заводах ЖБИ и КПД, которые по кооперации могут снабжать смазками также стройки. Кроме этого, такими установками могут комплектоваться также районные технологические линии мощностью до 2000 т смазок в год.
Смесительные установки СМЖ-18 могут быть использованы для приготовления 2 - 3 компонентных смазок, в том числе и эмульсионных.
Они оборудованы устройствами для дозирования компонентов, насосами для их подачи в смесители, которые имеют механические мешалки пропеллерного типа, а также различными контрольно-измерительными приборами. Работают такие установки как в ручном, так и в автоматическом режимах.
ТЕХНИЧЕСКАЯ ХАРАКТЕРИСТИКА УСТАНОВКИ СМЖ-18
Производительность установки, м3/ч | 0,115 |
Полезная вместимость сосудов, м3: | |
бака для эмульсола (масла) | 0,44 |
баков для известкового раствора | 2 x 0,75 = 1,5 |
смесителей | 2 x 0,25 = 0,5 |
Угловая скорость вала мешалки, об/мин | 70 |
Максимальная установленная мощность электродвигателей, кВт | 6,8 |
Габариты мм: | |
длина | 2500 |
ширина | 2110 |
высота | 2270 |
Масса, кг | 2630 |
Оптовая цена, руб. | 5300 |
Изготовитель - Кохомский завод "Строммашина", г. Кохма Ивановской области.
7.393. Для приготовления трудноперемешиваемых смазок, в том числе некоторых эмульсий, используют смесители с ультразвуковым или комбинированным (ультразвуковым и механическим) перемешиванием.
Принцип работы ультразвукового смесителя АД-6 состоит в следующем. В бак заливают компоненты смазки до уровня, полностью покрывающего гидродинамический излучатель. Затем насосом компоненты перекачиваются по замкнутой системе. Проходя с большой скоростью через сопло гидродинамического излучателя, струя жидкости ударяется о клиновидную пластину, которая начинает колебаться с ультразвуковой частотой (25 - 30 кГц). В результате в жидкости вокруг гидродинамического излучателя образуется зона интенсивного ультразвукового перемешивания с одновременным дроблением компонентов на мельчайшие капельки. В течение цикла перемешивания весь объем жидкости под давлением 4 - 6 кгс/см2 перекачивается насосом через гидродинамический излучатель несколько десятков раз. В результате получают однородную и стабильную смазку.
Смесители АД-6 устанавливают на заводских или районных технологических линиях по приготовлению смазок.
Относительно простым по конструкции является смеситель комбинированного действия, разработанный в ГИСИ им. В.П. Чкалова (рис. 156). Он состоит из бака с крышкой и горловиной для заливки компонентов, мешалки с электродвигателем, насоса, всасывающего и напорного трубопроводов, распределительной коробки и трех ультразвуковых гидродинамических излучателей (вибраторов).
Рис. 156. Комбинированный смеситель ГИСИ
1 - бак; 2 - крышка; 3 - крыльчатка; 4 - электродвигатель;
5 - насос; 6, 7 - трубопроводы; 8 - распредкоробка;
9 - патрубки; 10 - вентили; 11 - шланги; 12 - ультразвуковые
вибраторы; 13 - сопло; 14 - вибрирующая пластина;
15 - стопорные винты
В бак заливают отдозированные компоненты и включают сначала механическое перемешивание, а затем ультразвуковое. Одновременно их воздействие на компоненты позволяет получать очень стабильные и однородные смазки.
Сменная производительность смесителя 1 - 1,5 т. Его преимущества - конструктивная простота и надежность, а также небольшая масса (около 400 кг) и невысокая стоимость (600 - 750 р.). Такие смесители устанавливают непосредственно на объектах или комплектуют ими трестовские технологические линии.
Более совершенным является смеситель комбинированного типа УГДС-300 (рис. 157). Он предназначен для приготовления многокомпонентных трудноперемешиваемых смазок.
Рис. 157. Схема комбинированного смесителя УГДС-300
1 - корпус; 2 - дозаторы; 3 - электродвигатель;
4 - крыльчатка; 5 - насос; 6 - распредкоробка;
7 - ультразвуковые вибраторы; 8 - манометр;
9 - трубопровод сжатого воздуха; 10 - гребенки; 11 - бак
готовой смазки; 12 - емкость с готовой смазкой
Смеситель состоит из бака емкостью 300 л, мешалки с электродвигателем, насоса с трубопроводами, распредкоробкой и четырьмя ультразвуковыми вибраторами, пяти дозировочных баков с измерительными приборами и запорной арматурой.
ТЕХНИЧЕСКАЯ ХАРАКТЕРИСТИКА СМЕСИТЕЛЯ УГДС-300
Производительность, м3/ч | 0,6 |
Максимальное количество перемешиваемых компонентов | 5 |
Полезная вместимость сосудов, м3: | |
баков дозаторов | 3 x 0,1 = 0,3 |
баков дозаторов | 2 x 0,05 = 0,1 |
бака смесителя | 0,3 |
Угловая скорость вала мешалки, об/мин | 315 - 920 |
Насос типа: | 2К-6 |
производительность, м3/ч | 10 - 20 |
давление, кгс/см2 | 6 - 12 |
Максимальная установленная мощность электродвигателя, кВт | 4,1 |
Габариты, мм: | |
длина | 1940 |
ширина | 1287 |
высота | 2205 |
Масса, кг | 790 |
Организация-разработчик - ГИСИ им. В.П. Чкалова (603000, Горький, ул. Краснофлотская, 65).
Смесители УГДС-300 могут устанавливаться на заводских и районных технологических линиях.
Нанесение смазок
7.394. Нанесение смазок на опалубку должно производиться до установки щитов в проектное положение. В исключительных случаях разрешается смазывать установленную опалубку перед монтажом арматуры и закладных деталей.
7.395. Для снижения трудозатрат, улучшения качества покрытия щитов смазкой и снижения ее расхода нанесение следует производить путем пневмораспыления. Необходимо помнить, что этот способ допустим только для жидких смазок с вязкостью не более 20 - 25 с по вискозиметру ВЗ-4.
7.396. Для пневматического нанесения смазок на опалубку применяют пистолеты-распылители, техническая характеристика которых дана в табл. 91.
Таблица 91
Распылитель | Средняя производительность, м3/ч | Диаметр сопел, мм | Рабочее давление воздуха, МПа | Средний расход воздуха, м3/ч, при факеле | Давление на смазку в баке, кгс/см2 |
круглом | плоском |
О-19 | 70 | 2,5 1,8 1,2 | 0,3 | 11 | 14 | 1,5 |
О-31 | 70 | 2,5 1,8 1,2 | 0,3 | - | 16 - 25 | 1,5 |
О-45 | до 300 | 3,5 2,5 1,5 | 0,3 | - | 14 | 1,5 |
7.397. Установленную в проектное положение опалубку удобнее смазывать распылительными удочками (табл. 92). Для этих целей можно рекомендовать удочку-распылитель типа 6943/9Б, а также удочку типа УС-2.
Таблица 92
Характеристика | Распылительная удочка |
типа 6943/9Б | типа УС-2 |
Производительность, м2/ч | До 350 | До 500 |
Диаметр факела, мм | До 800 | До 1100 |
Давление смазки в подающем трубопроводе, кгс/см2 | 0,2 - 0,4 | 2 - 4 |
Диаметр отверстия форсунки, мм | 1,4 | 2,3 - 4,5 |
Включение и выключение форсунки | Ручное, поворотом гайки | Ручное, поворотом крана |
Габариты, мм: | | |
длина | 1965 | 1800 |
ширина | 45 | 92 |
высота | 45 | 81 |
Масса, кг | 1,2 | 5,9 |
Организация-разработчик | Кохомский з-д "Строммашина" | ГИСИ им. В.П. Чкалова |
7.398. Нанесение более вязких (вязкость более 25 с), а также консистентных смазок производят с помощью специального рольгангового устройства, валиками или кистями. Следует помнить, что расход смазки при таком нанесении за счет увеличения толщины ее пленки и потерь возрастает на 25 - 30%.
Охрана труда при работе со смазками
7.399. При изготовлении и работе со смазками для опалубки, а также при внедрении защитных футеровок необходимо соблюдать специальные меры безопасности, которые должны быть уточнены для каждого конкретного производства.
7.400. К изготовлению и нанесению смазок, защитных покрытий и футеровок допускаются только специально обученные рабочие, прошедшие специальный инструктаж.
7.401. Применение горючих материалов (минеральных масел, бензина, растворителей и т.п.) требует повышенных противопожарных мер.
7.402. При нанесении смазок пневмораспылением рабочие должны иметь защитные приспособления (очки, респираторы, комбинезоны, рукавицы и резиновые сапоги).
7.403. К работе на пескоструйных, дробеструйных установках, а также на установках по напылению полимерных порошковых покрытий допускаются только специально обученные рабочие.
7.404. В состав смазок, защитных покрытий входят некоторые вещества (фенолы, крезол, формальдегид, полиэтиленполиамин и т.п.), которые могут поражать кожу. Поэтому при работе с ними необходимо пользоваться глухими комбинезонами, резиновыми перчатками и респираторами.
7.405. К обслуживанию гидравлических прессов допускаются рабочие, прошедшие специальный инструктаж и хорошо усвоившие методы и приемы работы. Перед началом работы машинист обязан проверить исправность узлов, механизмов и приборов.
7.406. Во избежание несчастных случаев посторонним лицам запрещается находиться вблизи работающего оборудования по приготовлению и нанесению смазок, покрытий и футеровок.
ХАРАКТЕРИСТИКИ МАТЕРИАЛОВ И ПРОФИЛЕЙ
Таблица 1.1
Толщина листов нормальной точности прокатки, мм | Длина листов при ширине листов, мм |
600 | 700 | 800 | 1000 | 1250 | 1400 | 1500 | 1800 | 2000 |
0,5 | 1200 | 1420 | - | - | - | - | - | - | - |
0,8 | 2000 | 1420 | 1500 | - | - | - | - | - | - |
1,0 | 2000 | 1420 | 1600 | - | - | - | - | - | - |
1,2 | 2000 | 2000 | 2000 | - | - | - | - | - | - |
1,5 | 2000 | 2000 | 2000 | - | - | - | - | - | - |
2,0 | 2000 | 2000 | 2000 | - | - | - | - | - | - |
2,5 | 2000 | 2000 | 2000 | - | - | - | - | - | - |
3,0 | 2000 | 2000 | 2000 | - | - | - | - | - | - |
4,0 | - | 2000 | 2000 | 2000 | 2000 | 2000 | - | - | - |
5,0 | - | 2000 | 2000 | 2000 | 2000 | 2000 | - | - | - |
6,0 | - | 2000 | 2000 | 2000 | 2000 | 2000 | - | - | - |
8,0 | - | 2000 | 2000 | 2000 | 2000 | 2000 | - | - | - |
10,0 | - | 4500 | 4500 | 4500 | 4500 | 4500 | - | - | - |
12,0 | - | - | - | 2000 | 2000 | 2000 | - | - | - |
15,0 | - | - | - | 2500 | 2500 | 2500 | - | - | - |
16,0 | - | - | - | 2500 | 2500 | 2500 | - | - | - |
18,0 | - | - | - | 2500 | 2500 | 2500 | - | - | - |
20,0 | - | - | - | 2800 | 2800 | 2800 | - | - | - |
22,0 | - | - | - | 2800 | 2800 | 2800 | - | - | - |
25,0 | - | - | - | 2800 | 2800 | 2800 | - | - | - |
28,0 | - | - | - | - | 2500 | 2500 | - | - | - |
30,0 | - | - | - | - | 2500 | 2500 | - | - | - |
Примечание. При ширине листов 650, 710, 750, 850, 900, 950, 1100, 1420, 1600, 1700, 1900, 2100, 2200, 2300, 2400, 2500, 2600, 2700, 2800, 2900, 3000, 3200, 3400, 3600, 3800 мм данные не приводятся. |
Таблица 1.2
| | ИС МЕГАНОРМ: примечание. Взамен ГОСТ 19904-74 Постановлением Госстандарта СССР от 28.03.1990 N 664 с 01.01.1991 введен в действие ГОСТ 19904-90. | |
Сталь листовая холоднокатаная (ГОСТ 19904-74)
Толщина листов нормальной точности прокатки, мм | Длина листов при ширине, мм <*> |
500 | 600 | 700 | 800 | 1000 | 1250 | 1400 | 1500 | 1800 | 2000 | 2200 | 2300 |
0,5 | 1000 - 2500 | 1200 - 2500 | 1400 - 2500 | 1500 - 2500 | 1500 - 3000 | - | - | - | - | - | - | - |
0,8 0,9 | 1000 - 3000 | 1200 - 3000 | 1400 - 3000 | 1500 - 3000 | 1500 - 3500 | 1500 - 3000 | 2000 - 4000 | 2000 - 4000 | - | - | - | - |
1,0 | | | | | | | | | | | | |
1,1 1,2 | 1000 - 3000 | 1200 - 3000 | 1400 - 3000 | 1500 - 3000 | 1500 - 3500 | 1500 - 4000 | 2000 - 4000 | 2000 - 4000 | 2000 - 4200 | - | - | - |
1,3 | | | | | | | | | | | | |
1,4 - 2,0 | 1000 - 3000 | 1200 - 3000 | 1400 - 3000 | 1500 - 3000 | 1500 - 4000 | 1500 - 6000 | 1500 - 6000 | 2000 - 6000 | 2000 - 6000 | - | - | - |
2,2 2,5 | 1000 - 3000 | 1200 - 3000 | 1400 - 3000 | 1500 - 3000 | 1500 - 4000 | 2000 - 6000 | 2000 - 6500 | 2000 - 6000 | 2500 - 6000 | 2500 - 6000 | - | - |
2,8 3,0 | 1000 - 3000 | 1200 - 3000 | 1400 - 3000 | 1500 - 3000 | 1500 - 4000 | 2000 - 6000 | 2000 - 6000 | 2000 - 6000 | 2500 - 2700 | 2500 - 2700 | - | - |
3,2 | | | | | | | | | | | | |
3,5 3,8 | - | - | - | - | - | 2000 - 4500 | 2000 - 4500 | 2000 - 4750 | 2500 - 2700 | 2500 - 2700 | 2500 - 2700 | 2500 - 2700 |
3,9 4,0 | | | | | | | | | | | | |
4,2 4,5 | - | - | - | - | - | 2000 - 4500 | 2000 - 4500 | 2000 - 4500 | 1500 - 2500 | 1500 - 2500 | 1500 - 2500 | 1500 - 2500 |
4,8 5,0 | - | - | - | - | - | 2000 - 4500 | 2000 - 4500 | 2000 - 4500 | 1500 - 2300 | 1500 - 2300 | 1500 - 2300 | 1500 - 2300 |
-------------------------------- < *> При ширине листов 550, 650, 750, 850, 900, 950, 1100, 1600, 1700, 1900, 2100 мм данные не приводятся. |
Таблица 1.3
| | ИС МЕГАНОРМ: примечание. Взамен ГОСТ 8239-72 Постановлением Госстандарта СССР от 27.09.1989 N 2940 с 01.07.1990 введен в действие ГОСТ 8239-89. | |
Сталь горячекатаная. Балки двутавровые.
Сортамент (ГОСТ 8239-72)
N профиля | Масса 1 м, кг | Размеры, мм | Площадь сечения, см2 | Справочные величины для осей |
h | b | S | t | R | r | x - x | y - y |
Ix, см4 | Wx, см3 | ix, см | Sx, см3 | Iy, см4 | Wy, см3 | iy, см |
10 | 9,46 | 100 | 55 | 4,5 | 7,2 | 7,0 | 2,5 | 12,0 | 198 | 39,7 | 4,06 | 23,0 | 17,9 | 6,49 | 1,22 |
12 | 11,5 | 120 | 64 | 4,8 | 7,3 | 7,5 | 3,0 | 14,7 | 350 | 58,4 | 4,88 | 33,7 | 27,9 | 8,72 | 1,38 |
14 | 13,7 | 140 | 73 | 4,9 | 7,5 | 8,0 | 3,0 | 17,4 | 572 | 81,7 | 5,73 | 46,8 | 41,9 | 11,5 | 1,55 |
16 | 15,9 | 160 | 81 | 5,0 | 7,8 | 8,5 | 3,5 | 20,2 | 873 | 109 | 6,57 | 62,3 | 58,6 | 14,5 | 1,70 |
18 | 18,4 | 180 | 90 | 5,1 | 8,1 | 9,0 | 3,5 | 23,4 | 1290 | 143 | 7,42 | 81,4 | 82,6 | 18,4 | 1,88 |
20 | 21,0 | 200 | 100 | 5,2 | 8,4 | 9,5 | 4,0 | 26,8 | 1840 | 184 | 8,28 | 104 | 115 | 23,1 | 2,07 |
22 | 24,0 | 220 | 110 | 5,4 | 8,7 | 10,0 | 4,0 | 30,6 | 2550 | 232 | 8,13 | 131 | 157 | 28,6 | 2,27 |
Примечание. Уклон внутренних полок должен быть не более 120. |
Таблица 1.4
| | ИС МЕГАНОРМ: примечание. Взамен ГОСТ 8240-72 Постановлением Госстандарта СССР от 27.09.1989 N 2939 с 01.07.1990 введен в действие ГОСТ 8240-89. | |
Сталь горячекатаная. Швеллеры. Сортамент (ГОСТ 8240-72)
N профиля | Размеры, мм | Площадь сечения, см2 | Масса 1 м, кг | Справочные величины для осей | Z0, см |
h | b | S | t | R | r | x - x | y - y |
Ix, см4 | Wx, см3 | ix, см | Sx, см3 | Iy, см4 | Wy, см3 | iy, см |
6,5 | 65 | 36 | 4,4 | 7,2 | 6,0 | 2,5 | 7,51 | 5,90 | 48,6 | 15,0 | 2,54 | 9,0 | 8,7 | 3,68 | 1,08 | 1,24 |
8 | 80 | 40 | 4,5 | 7,4 | 6,5 | 2,5 | 8,98 | 7,05 | 89,4 | 22,4 | 3,16 | 13,3 | 12,8 | 4,75 | 1,19 | 1,31 |
10 | 100 | 46 | 4,5 | 7,6 | 7,0 | 3,0 | 10,9 | 8,59 | 174 | 34,8 | 3,99 | 20,4 | 20,4 | 6,46 | 1,37 | 1,44 |
12 | 120 | 52 | 4,8 | 7,8 | 7,5 | 3,0 | 13,3 | 10,4 | 304 | 50,6 | 4,78 | 29,6 | 31,2 | 8,52 | 1,53 | 1,54 |
14 | 140 | 58 | 4,9 | 8,1 | 8,0 | 3,0 | 15,6 | 12,3 | 491 | 702 | 560 | 40,8 | 45,4 | 11,0 | 1,70 | 1,67 |
16 | 160 | 64 | 5,0 | 8,4 | 8,5 | 3,5 | 18,1 | 14,2 | 747 | 93,3 | 6,42 | 54,1 | 63,3 | 13,8 | 1,87 | 1,80 |
18 | 180 | 70 | 5,1 | 8,7 | 9,0 | 3,5 | 20,7 | 16,3 | 1090 | 121 | 7,24 | 69,8 | 86,8 | 86,0 | 2,04 | 1,94 |
20 | 200 | 76 | 5,2 | 9,0 | 9,5 | 4,0 | 23,4 | 18,4 | 1520 | 152 | 8,07 | 87,6 | 113 | 20,5 | 2,20 | 2,07 |
22 | 220 | 82 | 5,4 | 9,5 | 10,0 | 4,0 | 26,7 | 21,0 | 2110 | 192 | 8,89 | 110 | 151 | 25,1 | 2,37 | 2,21 |
Примечание. Швеллеры с уклоном внутренних граней полок. |
Таблица 1.5
| | ИС МЕГАНОРМ: примечание. Взамен ГОСТ 8510-72 Постановлением Госстандарта СССР от 15.10.1986 N 3082 с 01.07.1987 введен в действие ГОСТ 8510-86. | |
Сталь прокатная угловая неравнополочная.
Сортамент (ГОСТ 8510-72)

N профиля | Размеры, мм | Площадь сечения, см2 | Масса 1 м, кг | Справочные величины для осей | Угол наклона оси  |
B | b | d | R | r | x - x | y - y | x1 - x1 | y1 - y1 | u - u |
Ix, см4 | ix, см | Iy, см4 | iy, см |  , см 4 | y0, см |  , см 4 | x0, см | Iu min, см4 | iy min, см |
2,5/1,6 | 25 | 16 | 3 | 3,5 | 1,2 | 1,16 | 0,91 | 0,70 | 0,76 | 0,22 | 0,44 | 1,56 | 0,86 | 0,43 | 0,42 | 0,13 | 0,34 | 0,302 |
| | 3 | | | 1,49 | 1,17 | 1,52 | 1,01 | 0,46 | 0,55 | 3,26 | 1,08 | 0,82 | 0,49 | 0,28 | 0,43 | 0,382 |
3,2/2,0 | 32 | 20 | 4 | 3,5 | 1,2 | 1,94 | 1,52 | 1,93 | 1,00 | 0,57 | 0,54 | 4,38 | 1,12 | 1,12 | 0,53 | 0,35 | 0,43 | 0,374 |
4/2,5 | 40 | 25 | 3 | 4,0 | 1,3 | 1,89 | 1,48 | 3,06 | 1,27 | 0,93 | 0,70 | 5,37 | 1,32 | 1,58 | 0,59 | 0,55 | 0,54 | 0,385 |
| | 4 | | | 2,47 | 1,94 | 1,94 | 3,93 | 1,18 | 0,69 | 8,53 | 1,37 | 2,15 | 0,63 | 0,91 | 0,54 | 0,381 |
4,5/2,8 | 45 | 28 | 3 | 5,0 | 1,7 | 2,14 | 1,68 | 4,41 | 1,43 | 1,32 | 0,79 | 9,02 | 1,47 | 2,20 | 0,64 | 0,79 | 0,61 | 0,382 |
| | 4 | | | 2,80 | 2,20 | 5,62 | 1,42 | 1,69 | 0,78 | 12,1 | 1,51 | 2,98 | 0,68 | 1,02 | 0,60 | 0,379 |
5/3,2 | 50 | 32 | 3 | 5,5 | 1,8 | 2,42 | 1,90 | 6,17 | 1,60 | 1,99 | 0,91 | 12,4 | 1,60 | 3,26 | 0,72 | 1,18 | 0,70 | 0,403 |
| | 4 | | | 3,17 | 2,49 | 7,98 | 1,59 | 2,56 | 0,90 | 16,6 | 1,85 | 4,42 | 0,76 | 1,52 | 0,69 | 0,401 |
5,6/3,6 | 56 | 36 | 3 | 6,0 | 2,0 | 3,58 | 2,81 | 11,4 | 1,78 | 3,70 | 1,02 | 23,3 | 1,82 | 6,25 | 0,84 | 2,19 | 0,78 | 0,405 |
| | 5 | | | 4,41 | 3,46 | 13,8 | 1,77 | 4,48 | 1,01 | 29,2 | 1,86 | 7,91 | 0,88 | 2,66 | 0,78 | 0,404 |
| | 4 | | | 4,0 | 3,17 | 16,3 | 2,01 | 5,16 | 1,13 | 33,0 | 2,03 | 8,51 | 0,91 | 3,07 | 0,87 | 0,397 |
6,3/4,0 | 63 | 40 | 5 | 7,0 | 2,3 | 4,98 | 3,91 | 19,9 | 2,00 | 6,26 | 1,12 | 41,4 | 2,08 | 10,8 | 1,95 | 3,72 | 0,86 | 0,396 |
| | 6 | | | 5,90 | 4,63 | 23,3 | 1,99 | 7,28 | 1,11 | 49,9 | 2,12 | 13,1 | 0,99 | 4,36 | 0,86 | 0,393 |
| | 8 | | | 7,68 | 6,03 | 29,6 | 1,96 | 9,15 | 1,09 | 66,9 | 2,20 | 17,9 | 1,07 | 5,58 | 0,85 | 0,366 |
7/4,5 | 70 | 45 | 5 | 7,5 | 2,5 | 5,59 | 4,39 | 27,8 | 2,23 | 9,05 | 1,27 | 56,7 | 2,28 | 15,2 | 1,05 | 5,34 | 0,98 | 0,406 |
7,5/5,0 | 75 | 50 | 6 | 8,0 | 2,7 | 7,25 | 5,69 | 40,9 | 2,38 | 14,6 | 1,42 | 83,9 | 2,44 | 25,2 | 1,21 | 8,48 | 1,08 | 0,435 |
| | 8 | | | 9,47 | 7,43 | 52,4 | 2,35 | 18,5 | 1,40 | 112 | 2,32 | 34,2 | 1,29 | 10,9 | 1,07 | 0,430 |
8/5,0 | 80 | 50 | 6 | 8,0 | 2,7 | 7,55 | 5,92 | 49,0 | 2,55 | 14,6 | 1,40 | 102 | 2,65 | 25,2 | 1,17 | 8,88 | 1,08 | 0,385 |
9/5,6 | 90 | 56 | 6 | 9,0 | 3,0 | 8,54 | 6,70 | 70,6 | 2,88 | 21,2 | 1,58 | 145 | 2,95 | 35,2 | 1,28 | 12,7 | 1,22 | 0,384 |
| | 8 | | | 11,18 | 8,77 | 90,9 | 2,85 | 27,1 | 1,56 | 194 | 3,04 | 47,8 | 1,36 | 16,3 | 1,21 | 0,380 |
10/6,3 | 100 | 63 | 6 | 10 | 3,3 | 9,59 | 7,53 | 98,3 | 3,20 | 30,6 | 1,79 | 198 | 3,23 | 49,9 | 1,42 | 18,2 | 1,38 | 0,393 |
| | 8 | | | 12,6 | 9,87 | 127 | 3,18 | 39,2 | 1,77 | 266 | 3,32 | 57,6 | 1,50 | 23,4 | 1,36 | 0,391 |
| | 10 | | | 15,5 | 12,1 | 154 | 3,15 | 47,1 | 1,75 | 333 | 3,40 | 85,8 | 1,58 | 28,3 | 1,35 | 0,387 |
12,5/8,0 | 125 | 80 | 8 | 11 | 3,7 | 16,0 | 12,5 | 256 | 4,00 | 83,0 | 2,28 | 518 | 4,05 | 137 | 1,84 | 48,8 | 1,75 | 0,406 |
| | 10 | | | 19,7 | 15,5 | 312 | 3,08 | 100 | 2,26 | 649 | 4,14 | 173 | 1,92 | 59,3 | 1,74 | 0,404 |
| | 12 | | | 23,4 | 12,3 | 365 | 3,95 | 117 | 2,24 | 781 | 4,22 | 210 | 2,00 | 69,5 | 1,72 | 0,400 |
14/9 | 140 | 90 | 8 | 12 | 4,0 | 18,0 | 14,1 | 364 | 4,49 | 120 | 2,58 | 727 | 4,49 | 194 | 2,03 | 70,3 | 1,98 | 0,411 |
| | 10 | | | 22,2 | 17,5 | 444 | 4,47 | 146 | 2,56 | 911 | 4,58 | 245 | 2,12 | 85,5 | 1,96 | 0,409 |
16/10 | 160 | 100 | 9 | 13 | 4,3 | 22,9 | 18,0 | 606 | 5,15 | 186 | 2,85 | 1221 | 5,19 | 300 | 2,23 | 110,0 | 2,20 | 0,391 |
| | 10 | | | 25,3 | 19,8 | 667 | 5,13 | 204 | 2,84 | 1359 | 5,23 | 335 | 2,28 | 121,0 | 2,19 | 0,390 |
| | 12 | | | 30,0 | 23,6 | 784 | 5,11 | 239 | 2,88 | 1634 | 5,32 | 405 | 2,36 | 142,0 | 2,18 | 0,388 |
| | 14 | | | 34,7 | 27,3 | 897 | 5,08 | 272 | 2,80 | 1910 | 5,40 | 477 | 2,43 | 162,0 | 2,16 | 0,385 |
Таблица 1.6
Сталь прокатная угловая равнополочная.
Сортамент (ГОСТ 8509-72)
| | ИС МЕГАНОРМ: примечание. Шапка таблицы дана в соответствии с официальным текстом документа. | |
N профиля | Размеры, мм | Площадь сечения, см2 | Масса 1 м, кг | Справочные величины для осей |
b | | R | r | x - x | x0 - x0 | y0 - y0 | x1 - x1 | z0, см |
Ix, см4 | ix, см |  , см 4 |  , см |  , см 4 |  , см |  , см 4 |
2 | 20 | 3 | 3,5 | 1,2 | 1,13 | 0,89 | 0,40 | 0,59 | 0,63 | 0,75 | 0,17 | 0,39 | 0,81 | 0,60 |
| 4 | | | 1,46 | 1,15 | 0,50 | 0,58 | 0,78 | 0,73 | 0,22 | 0,38 | 1,09 | 0,64 |
2,5 | 25 | 3 | 3,5 | 1,2 | 1,43 | 1,12 | 0,81 | 0,75 | 1,29 | 0,95 | 0,34 | 0,49 | 1,57 | 0,73 |
| 4 | | | 1,86 | 1,46 | 1,03 | 0,74 | 1,62 | 0,93 | 0,44 | 0,48 | 2,11 | 0,76 |
2,8 | 28 | 3 | 4,0 | 1,3 | 1,62 | 1,27 | 1,16 | 0,85 | 1,84 | 1,07 | 0,48 | 0,55 | 2,20 | 0,80 |
3,2 | 32 | 3 | 4,5 | 1,5 | 1,85 | 1,46 | 1,77 | 0,97 | 2,80 | 1,23 | 0,74 | 0,63 | 3,26 | 0,89 |
| 4 | | | 2,43 | 1,91 | 2,26 | 0,96 | 3,58 | 1,21 | 0,94 | 0,62 | 4,39 | 0,94 |
3,6 | 36 | 3 | 4,5 | 1,5 | 2,10 | 1,65 | 2,56 | 1,10 | 4,06 | 1,39 | 1,06 | 0,71 | 4,54 | 0,99 |
| 4 | | | 2,75 | 2,16 | 3,29 | 1,09 | 5,21 | 1,38 | 1,36 | 0,70 | 6,24 | 1,04 |
| 3 | | | 2,35 | 1,85 | 3,55 | 1,23 | 5,63 | 1,55 | 1,47 | 0,79 | 6,35 | 1,09 |
4 | 40 | 4 | 5,0 | 1,7 | 3,08 | 2,42 | 4,58 | 1,22 | 7,26 | 1,53 | 1,90 | 0,78 | 8,53 | 1,13 |
| 5 | | | 3,79 | 2,97 | 5,53 | 1,20 | 8,75 | 1,54 | 2,30 | 0,79 | 10,73 | 1,17 |
| 3 | | | 2,65 | 2,08 | 5,13 | 1,39 | 8,13 | 1,75 | 2,12 | 0,89 | 9,04 | 1,21 |
4,5 | 45 | 4 | 5,0 | 1,7 | 3,48 | 2,73 | 6,63 | 1,38 | 10,5 | 1,74 | 2,74 | 0,89 | 12,1 | 1,26 |
| 5 | | | 4,29 | 3,37 | 8,03 | 1,37 | 12,7 | 1,72 | 3,33 | 0,88 | 15,3 | 1,30 |
| 3 | | | 2,96 | 2,32 | 7,11 | 1,55 | 11,3 | 1,95 | 2,95 | 2,95 | 12,4 | 1,33 |
5 | 50 | 4 | 5,5 | 1,8 | 3,89 | 3,05 | 9,21 | 1,54 | 14,6 | 1,94 | 3,80 | 0,99 | 18,6 | 1,38 |
| 5 | | | 4,80 | 3,77 | 11,2 | 1,53 | 17,8 | 1,92 | 4,63 | 0,98 | 20,9 | 1,42 |
5,6 | 56 | 4 | | | 4,38 | 3,44 | 13,1 | 1,73 | 20,8 | 2,18 | 5,41 | 1,11 | 23,3 | 1,52 |
| 5 | 6,0 | 2,0 | 5,41 | 4,25 | 16,0 | 1,72 | 26,4 | 2,16 | 6,59 | 1,10 | 29,2 | 1,57 |
| 4 | | | 4,96 | 3,90 | 18,9 | 1,95 | 29,9 | 2,45 | 7,81 | 1,25 | 33,1 | 1,69 |
6,3 | 63 | 5 | 7,0 | 2,3 | 6,13 | 4,81 | 23,1 | 1,94 | 36,6 | 2,44 | 9,52 | 1,25 | 41,5 | 1,74 |
| 6 | | | 7,28 | 5,72 | 27,1 | 1,93 | 42,9 | 2,43 | 11,2 | 1,24 | 50,0 | 1,78 |
| 5 | | | 6,86 | 5,38 | 31,9 | 2,16 | 50,7 | 2,72 | 13,2 | 1,39 | 56,7 | 1,90 |
7 | 70 | 6 | 8 | 2,7 | 8,15 | 6,39 | 37,6 | 2,15 | 59,6 | 2,71 | 15,5 | 1,38 | 68,4 | 1,94 |
| 8 | | | 10,7 | 8,37 | 48,2 | 2,13 | 76,4 | 2,68 | 20,0 | 1,37 | 91,9 | 2,02 |
| 5 | | | 7,39 | 5,80 | 39,5 | 2,31 | 62,6 | 2,91 | 16,4 | 1,49 | 69,6 | 2,02 |
7,5 | 70 | 6 | 9 | 3,0 | 8,78 | 6,89 | 46,6 | 2,30 | 43,9 | 2,90 | 19,3 | 1,48 | 83,9 | 2,06 |
| 8 | | | 11,5 | 9,02 | 59,8 | 2,26 | 94,9 | 2,87 | 24,8 | 1,47 | 113 | 2,15 |
| 6 | | | 9,38 | 7,36 | 57,0 | 2,47 | 90,4 | 3,11 | 23,5 | 1,58 | 102 | 2,19 |
8 | 80 | 8 | 9 | 3,0 | 12,3 | 9,65 | 73,4 | 2,44 | 116 | 3,08 | 30,3 | 1,57 | 137 | 2,27 |
| 8 | | | 15,6 | 12,2 | 147 | 3,07 | 233 | 3,87 | 60,9 | 1,98 | 265 | 2,75 |
10 | 100 | 10 | 12 | 4,0 | 19,2 | 15,1 | 179 | 3,05 | 284 | 3,84 | 74,1 | 1,96 | 333 | 2,83 |
| 12 | | | 22,8 | 17,9 | 209 | 3,03 | 331 | 3,81 | 86,9 | 1,95 | 402 | 2,91 |
| 16 | | | 29,7 | 23,3 | 264 | 2,98 | 416 | 3,74 | 112 | 1,94 | 542 | 3,06 |
| 10 | | | 24,3 | 19,1 | 360 | 3,85 | 571 | 4,84 | 149 | 2,47 | 649 | 3,45 |
12,5 | 125 | 12 | 14 | 4,6 | 28,9 | 22,7 | 422 | 3,82 | 670 | 4,82 | 174 | 2,46 | 782 | 3,53 |
| 16 | | | 37,8 | 29,6 | 53,9 | 3,78 | 853 | 4,75 | 224 | 2,44 | 1051 | 3,68 |
| 10 | | | 27,3 | 21,5 | 512 | 4,33 | 814 | 5,46 | 211 | 2,78 | 911 | 3,82 |
14 | 140 | 12 | | | 32,3 | 25,5 | 602 | 4,31 | 957 | 5,43 | 248 | 2,76 | 1097 | 3,90 |
| 10 | | | 31,4 | 24,7 | 774 | 4,96 | 1229 | 6,25 | 319 | 3,19 | 1356 | 4,30 |
| 12 | | | 37,4 | 29,4 | 913 | 4,94 | 1450 | 6,23 | 376 | 3,17 | 1633 | 4,39 |
16 | 160 | 16 | 16 | 5,3 | 49,1 | 38,5 | 1175 | 4,89 | 1866 | 6,17 | 485 | 3,14 | 2191 | 4,55 |
| 20 | | | 60,4 | 47,4 | 1419 | 4,85 | 2248 | 6,10 | 589 | 3,12 | 2756 | 4,70 |
Таблица 1.7
Механические свойства стали ВСт3 при растяжении
ВСт3 | Единица измерения | Значение (не ниже) |
Временное сопротивление  | кгс/см2 | 3800 |
Предел текучести  | " | 2300 |
Относительное удлинение  | % | 25 |
Таблица 1.8
Расчетные сопротивления стали ВСт3 R, кгс/см2
Напряженное состояние | Условное обозначение | Расчетное сопротивление |
Растяжение, сжатие и изгиб | R | |
Срез | Rср | 1300 |
Смятие торцовой поверхности (при наличии пригонки) | Rсм.т | 3200 |
Смятие местное в цилиндрических шарнирах (цапфах) при плотном касании | Rсм.м | 1600 |
Диаметральное сжатие катков при свободном касании (в конструкциях с ограниченной подвижностью) | Rс.к | 80 |
--------------------------------
<*> В скобках указано расчетное сопротивление стали растяжению для конструкций, эксплуатация которых возможна и после достижения металлом предела текучести.
Таблица 1.9
Расчетные сопротивления сварных соединений
Rсв, кгс/см2, в конструкциях из стали ВСт3
Сварные соединения | Напряженное состояние | Условное обозначение | Расчетное сопротивление |
Встык | Сжатие | | 2100 |
Растяжение а) автоматическая сварка; полуавтоматическая и ручная сварка с физическим контролем качества швов | | 2100 (2600) |
б) полуавтоматическая и ручная сварка | | 1800 |
Срез | | 1300 |
Угловые швы | Срез | | 1500 |
Примечания: 1. В скобках указаны расчетные сопротивления растяжению сварных соединений встык, эксплуатация которых возможна и после достижения металлом предела текучести.
2. Для элементов из стали разных классов расчетное сопротивление сварного соединения встык принимается равным расчетному сопротивлению соединения встык не менее прочной стали.
3. Расчетные сопротивления сварных соединений встык установлены для швов, выполненных двусторонней сваркой или односторонней с подваркой корня шва.
Таблица 1.10
Характеристики конструкционных пенопластов
Марка пенопласта | ГОСТ или ТУ | Плотность, кг/м3 | Предельные эксплуатационные температуры, °C | Коэффициент теплопроводности, ккал/(м·ч·°C) | Водопоглощение за 24 ч, % (по объему) | Водопоглощение за 24 ч, (% по объему) | Коэффициент линейного расширения (1/°C)·10-6 | Группа возгораемости |
положительные | отрицательные |
ФРП-1 | ТУ 6-05-221-304-74 | 40 - 100 | 130 - 140 | 50 | 0,033 - 0,060 | 0,5 - 2,0 | 4 - 16 | 38 | Трудносгораемый |
"Виларес-5" | ТУ 6-05-221-224-72 | 40 - 100 | 110 - 140 | 50 | 0,023 - 0,083 | 0,8 - 2,1 | 12 - 55 | 38 | Сгораемый |
ППУ-308Н | ТУ В-204-71 | 40 - 60 | 140 | - | 0,023 - 0,037 | 0,13 | 2 - 3,4 | - | " |
Таблица 1.11
Толщина листа, мм | Предельные отклонения по толщине при ширине листа, мм |
600 | 800, 900 | 1000 | 1200 | 1400, 1425, 1500, 1600 | 1880, 2000 |
0,5 | -0,05 | -0,08 | -0,10 | -0,12 | -0,12 | - |
0,8 | -0,08 | -0,12 | -0,12 | -0,13 | -0,14 | -0,15 |
1,0 | -0,10 | -0,15 | -0,15 | -0,16 | -0,17 | -0,18 |
1,2 | -0,10 | -0,15 | -0,15 | -0,16 | -0,17 | -0,20 |
1,5 | -0,15 | -0,20 | -0,20 | -0,22 | -0,25 | -0,25 |
2,0 | -0,15 | -0,20 | -0,20 | -0,24 | -0,26 | -0,27 |
2,5 | -0,20 | -0,25 | -0,25 | -0,28 | -0,29 | -0,30 |
3,0 | -0,25 | -0,30 | -0,30 | -0,30 | -0,34 | -0,35 |
4,0 | -0,25 | -0,30 | -0,30 | -0,35 | -0,36 | -0,37 |
4,5 | -0,25 | -0,30 | -0,30 | -0,35 | -0,36 | -0,37 |
5,0 | -0,30 | -0,35 | -0,35 | -0,36 | -0,37 | -0,37 |
Таблица 1.12
Расчетное сопротивление алюминия
Напряженное состояние | Условное обозначение | Расчетные сопротивления, кгс/см2 |
термически неупрочняемый алюминий марок | термически упрочняемый алюминий марок |
АД1М | АМцМ | АМг2М | АМг2П | АД31Т | АД31Т1 | 1925Т | 1915Т |
Растяжение, сжатие и изгиб | R | 250 | 400 | 700 | 1500 | 550 | 1250 | 1750 | 2000 |
Срез | Rср | 150 | 250 | 400 | 900 | 350 | 750 | 1050 | 1200 |
Смятие торцовой поверхности (при наличии пригонки) | Rсм.т | 400 | 600 | 1050 | 2250 | 800 | 1850 | 2600 | 3000 |
Смятие местное при плотном касании | Rсм.м | 200 | 300 | 500 | 1100 | 400 | 900 | 1300 | 1500 |
Примечание. Расчетное сопротивление алюминия марки АЛ8 для отливок принимается 1400 кгс/см2. |
Таблица 1.13
Швеллеры П300 из алюминиевых сплавов

N профиля | Масса 1 м, кг | Размеры, мм | Площадь сечения, см2 | Справочные величины для осей |
H | B | S | S1 | r | r1 | x - x | y - y | z0, см |
Ix, см4 | Wx, см3 | ix, см | Iy, см4 | Wy, см3 | iy, см |
166 | 0,493 | 40 | 25 | 2 | 2 | 2 | - | 1,737 | 4,421 | 2,210 | 1,599 | 1,062 | 0,609 | 0,783 | 0,757 |
168 | 0,726 | 40 | 25 | 3 | 3 | 3 | 0,5 | 2,549 | 6,201 | 3,100 | 1,560 | 1,504 | 0,881 | 0,768 | 0,798 |
238 | 0,622 | 50 | 30 | 2 | 2 | 4 | 0,5 | 2,187 | 2,867 | 3,547 | 2,013 | 1,947 | 0,916 | 0,943 | 0,874 |
240 | 0,897 | 50 | 30 | 3 | 3 | 3 | 0,5 | 3,157 | 12,25 | 4,901 | 1,959 | 2,759 | 1,327 | 0,935 | 0,922 |
252 | 0,906 | 60 | 30 | 2,5 | 3 | 2 | 0,5 | 3,187 | 18,17 | 6,057 | 2,387 | 2,828 | 1,349 | 0,947 | 0,904 |
262 | 1,405 | 70 | 30 | 4 | 4 | 4 | 0,5 | 4,931 | 34,565 | 9,876 | 2,648 | 3,825 | 1,760 | 0,881 | 0,827 |
334 | 2,018 | 70 | 40 | 5 | 5 | 5 | 0,5 | 7,080 | 51,978 | 14,851 | 2,709 | 10,493 | 3,788 | 1,217 | 1,230 |
338 | 1,747 | 80 | 40 | 4 | 4 | 4 | 0,5 | 6,131 | 559,31 | 14,827 | 3,110 | 9,109 | 3,176 | 1,219 | 1,132 |
512 | 3,918 | 80 | 80 | 6 | 6 | 5 | - | 13,780 | 148,50 | 37,40 | 3,283 | 91,030 | 17,770 | 2,569 | 2,879 |
398 | 2,739 | 100 | 80 | 5 | 5 | 5 | - | 9,610 | 145,30 | 29,070 | 3,889 | 22,570 | 6,314 | 1,532 | 1,410 |
344 | 1,869 | 120 | 40 | 3 | 4 | 2 | - | 6,577 | 143,30 | 23,890 | 4,668 | 9,910 | 3,360 | 1,227 | 1,050 |
514 | 6,021 | 120 | 80 | 8 | 8 | 4 | 0,5 | 21,180 | 478,80 | 79,800 | 4,754 | 134,200 | 24,750 | 2,517 | 2,576 |
518 | 6,507 | 140 | 80 | 8 | 8 | 5 | 0,5 | 22,830 | 6877,41 | 98,200 | 5,500 | 141,840 | 25,360 | 2,540 | 2,420 |
522 | 6,941 | 160 | 80 | 80 | 8 | 5 | 0,5 | 24,42 | 944,4 | 118 | 6,218 | 147,6 | 25,85 | 2,458 | 2,288 |
530 | 8,524 | 180 | 80 | 8 | 10,5 | 10,5 | - | 29,99 | 15,04 | 167,1 | 7,082 | 185,0 | 33,20 | 2,483 | 2,426 |
348 | 3,533 | 200 | 40 | 4,5 | 4,5 | 8 | 3 | 12,43 | 625,6 | 62,56 | 7,094 | 12,92 | 3,975 | 1,019 | 0,148 |
532 | 6,91 | 200 | 80 | 6 | 8 | 10,5 | - | 24,31 | 1529 | 152,9 | 7,932 | 150,7 | 26,25 | 2,489 | 2,258 |
578 | 14,89 | 250 | 115 | 12,5 | 12,5 | 15 | 36 | 52,41 | 4612 | 369 | 9,381 | 661,5 | 82,04 | 3,552 | 3,437 |
540 | 10,65 | 300 | 80 | 8 | 8 | 20 | 5 | 37,49 | 4623 | 380,2 | 11,100 | 175,6 | 27,79 | 2,164 | 11,679 |
Таблица 1.14
Угольники равнобокие П50 из алюминиевых сплавов

N профиля | Масса 1 м, кг | Размеры, мм | Площадь сечения, см2 | Справочные величины для осей |
H | S | r | r1 | x - x | x0 - x0 | y0 - y0 | y1 - x1 |
Ix, см4 | ix, см |  , см 4 |  , см |  , см 4 |  , см |  , см 4 | z0, см |
18 | 0,08 | 15 | 1 | 1,5 | 0,5 | 0,29 | 0,06 | 0,47 | 0,10 | 0,59 | 0,025 | 0,29 | 0,11 | 0,41 |
22 | 0,12 | | 1,5 | 2 | 0,75 | 0,43 | 0,09 | 0,46 | 0,14 | 0,57 | 0,04 | 0,29 | 0,17 | 0,42 |
26 | 0,16 | | 2 | 2 | 1 | 0,56 | 0,11 | 0,45 | 0,18 | 0,57 | 0,05 | 0,29 | 0,22 | 0,44 |
32 | 0,23 | | 3 | 3 | 1,5 | 0,82 | 0,15 | 0,43 | 0,24 | 0,54 | 0,07 | 0,29 | 0,34 | 0,48 |
58 | 0,11 | 20 | 1 | 2 | 0,5 | 0,4 | 0,15 | 0,62 | 0,25 | 0,79 | 0,06 | 0,40 | 0,26 | 0,53 |
62 | 0,17 | | 1,5 | 2 | 0,75 | 0,58 | 0,22 | 0,62 | 0,35 | 0,78 | 0,09 | 0,39 | 0,40 | 0,55 |
66 | 0,22 | | 2 | 2 | 1 | 0,76 | 0,28 | 0,61 | 0,45 | 0,78 | 0,12 | 0,39 | 0,53 | 0,57 |
76 | 0,21 | 25 | 1,5 | 2 | 0,75 | 0,73 | 0,45 | 0,78 | 0,71 | 0,98 | 0,18 | 0,49 | 0,78 | 0,67 |
80 | 0,28 | | 2 | 2 | 1 | 0,96 | 0,57 | 0,77 | 0,91 | 0,97 | 0,23 | 0,49 | 1,04 | 0,69 |
88 | 0,34 | | 2,5 | 2 | 1,25 | 1,19 | 0,69 | 0,76 | 11,10 | 0,96 | 0,28 | 0,49 | 1,29 | 0,71 |
98 | 0,53 | | 4 | 4 | 2 | 1,86 | 1,01 | 0,74 | 1,60 | 0,93 | 0,42 | 0,48 | 2,08 | 0,76 |
112 | 0,25 | 30 | 1,5 | 2 | 0,75 | 0,88 | 0,78 | 0,94 | 1,23 | 1,18 | 0,31 | 0,59 | 1,34 | 0,8 |
118 | 0,33 | | 2 | 2 | 1 | 1,16 | 1,01 | 0,91 | 1,61 | 1,18 | 1,41 | 0,59 | 1,79 | 0,82 |
120 | 0,41 | | 2,5 | 2,5 | 1,5 | 1,44 | 1,22 | 0,92 | 1,95 | 1,16 | 0,49 | 0,59 | 2,22 | 0,83 |
122 | 0,49 | | 3 | 3 | 1,5 | 1,72 | 1,44 | 0,92 | 2,29 | 1,15 | 0,58 | 0,58 | 2,68 | 0,85 |
148 | 0,57 | 35 | 3 | 3 | 1,5 | 2,00 | 2,34 | 1,08 | 3,72 | 1,36 | 0,94 | 0,68 | 4,26 | 0,098 |
154 | 0,75 | | 4 | 2 | 2 | 2,60 | 2,98 | 1,06 | 4,73 | 1,34 | 1,23 | 0,68 | 5,68 | 1,01 |
174 | 0,45 | 40 | 2 | 2 | 1 | 1,56 | 2,46 | 1,26 | 3,93 | 1,58 | 0,99 | 0,79 | 4,24 | 1,07 |
176 | 0,55 | | 2,5 | 2,5 | 1,25 | 1,94 | 3,02 | 1,25 | 4,81 | 1,57 | 1,21 | 0,79 | 5,30 | 1,08 |
182 | 0,66 | | 3 | 3 | 1,5 | 2,32 | 3,55 | 1,24 | 5,65 | 1,56 | 1,43 | 0,79 | 6,36 | 1,10 |
184 | 0,77 | | 3,5 | 3,5 | 1,5 | 2,69 | 4,08 | 1,23 | 6,51 | 1,55 | 1,65 | 0,78 | 7,45 | 1,12 |
188 | 0,87 | 4 | 4 | 2 | 3,06 | 4,55 | 1,22 | 7,63 | 1,54 | 1,85 | 0,78 | 8,48 | 1,13 | - |
200 | 0,99 | 45 | 4 | 4 | 2 | 3,46 | 6,59 | 1,38 | 10,47 | 1,74 | 2,66 | 0,88 | 12,07 | 1,26 |
212 | 1,22 | | 5 | 5 | 2,5 | 4,28 | 7,96 | 1,36 | 12,62 | 1,72 | 3,24 | 0,87 | 15,11 | 1,29 |
214 | 0,83 | 50 | 3 | 3 | 1,5 | 2,92 | 7,10 | 1,56 | 11,3 | 1,97 | 2,85 | 0,98 | 13,43 | 1,35 |
216 | 1,1 | | 4 | 4 | 2 | 3,86 | 9,17 | 1,54 | 14,59 | 1,94 | 3,70 | 0,98 | 16,56 | 1,38 |
230 | 1,36 | | 5 | 5 | 2,5 | 4,78 | 11,11 | 1,53 | 17,64 | 1,92 | 4,50 | 0,97 | 2,71 | 1,42 |
238 | 1,61 | | 6 | 5 | 2 | 5,66 | 12,91 | 1,51 | 20,47 | 1,90 | 5,28 | 0,97 | 24,87 | 1,45 |
254 | 1,64 | 60 | 5 | 5 | 2,5 | 5,78 | 19,69 | 1,85 | 31,34 | 2,33 | 7,95 | 1,17 | 35,77 | 1,67 |
258 | 1,95 | | 6 | 5 | 3 | 6,86 | 23,01 | 1,83 | 36,57 | 2,31 | 9,34 | 1,17 | 42,92 | 1,71 |
270 | 1,93 | 70 | 5 | 5 | 2,5 | 6,78 | 31,86 | 2,17 | 50,76 | 2,74 | 12,96 | 1,38 | 56,78 | 1,92 |
274 | 2,69 | | 7 | 8 | 1 | 9,44 | 43,34 | 2,14 | 68,73 | 2,70 | 17,61 | 1,37 | 80,75 | 1,99 |
304 | 2,63 | 80 | 6 | 5 | 3 | 9,26 | 56,73 | 2,48 | 90,38 | 3,13 | 23,07 | 1,58 | 101,70 | 2,20 |
308 | 3,06 | | 7 | 8 | 4 | 10,77 | 64,68 | 2,45 | 102,80 | 3,09 | 26,51 | 1,57 | 118,20 | 2,23 |
310 | 3,48 | | 8 | 8 | 4,5 | 12,21 | 72,48 | 2,44 | 115,10 | 3,07 | 29,38 | 1,55 | 135,16 | 2,27 |
318 | 3,96 | 90 | 8 | 10 | 3,3 | 13,92 | 105,90 | 2,76 | 168,40 | 3,48 | 43,42 | 1,76 | 193,90 | 2,51 |
320 | 4,42 | | 9 | 10 | 4,5 | 15,52 | 116,67 | 2,74 | 185,10 | 3,45 | 47,29 | 1,75 | 217,47 | 2,55 |
326 | 3,32 | 100 | 6 | 4 | 0 | 11,67 | 114,40 | 3,13 | 182,70 | 3,96 | 46,27 | 1,99 | 260,60 | 2,72 |
328 | 4,40 | | 8 | 10 | 5 | 15,46 | 145,70 | 3,07 | 231,80 | 3,87 | 59,69 | 1,96 | 263,00 | 2,75 |
334 | 5,46 | | 10 | 12,5 | 6,25 | 19,77 | 176,38 | 3,03 | 280,30 | 3,83 | 71,37 | 1,93 | 328,67 | 2,82 |
Таблица 1.15
Зетовые профили П500 из алюминиевых сплавов
N профиля | Масса 1 м, кг | Размеры, см | Площадь сечения, см2 | Справочные величины для осей |
H | B | S | S1 | r | r1 | x - x | y - y | y0, см |
Ix, см4 | Wx, см3 | ix, см | Iy, см4 | Wy, см3 | iy, см |
| 0,205 | 20 | 15 | 1,5 | 1,5 | 2 | 0,5 | 0,721 | 0,458 | 0,458 | 0,797 | 0,288 | 0,202 | 0,632 | 10 |
| 0,459 | 25 | 20 | 3 | 2 | 3 | 1,5 | 1,609 | 1,596 | 1,277 | 0,996 | 1,341 | 0,706 | 0,913 | 12,5 |
| 0,504 | 30 | 25 | 2,5 | 2 | 2,5 | 1,25 | 1,770 | 2,657 | 1,771 | 1,225 | 2,269 | 0,945 | 1,132 | 15 |
| 0,443 | 40 | 25 | 2 | 1,5 | 2 | 1 | 1,553 | 4,235 | 2,117 | 1,651 | 1,878 | 0,774 | 1,100 | 20 |
66 | 0,645 | 50 | 20 | 3,5 | 2 | 3 | 2,5 | 2,271 | 8,944 | 3,577 | 1,984 | 1,514 | 0,797 | 0,815 | 25 |
78 | 0,787 | 65 | 25 | 3 | 2 | 5 | 2 | 2,770 | 18,56 | 5,710 | 2,588 | 2,683 | 1,118 | 0,984 | 32,5 |
84 | 1,771 | 80 | 40 | 4 | 4 | 6 | - | 6,234 | 60,55 | 15,13 | 3,116 | 14,69 | 3,865 | 1,535 | 40 |
88 | 3,014 | 100 | 60 | 5 | 5 | 5 | 0,5 | 10,60 | 167,9 | 33,58 | 3,979 | 63,45 | 11,035 | 2,445 | 50 |
90 | 5,130 | 150 | 80 | 6 | 6 | 7 | 3 | 18,05 | 637,0 | 84,94 | 5,941 | 180,7 | 23,47 | 3,164 | 75 |
| | ИС МЕГАНОРМ: примечание. Взамен ГОСТ 13620-81 Постановлением Госстандарта СССР от 24.08.1990 N 2455 с 01.01.1992 введен в действие ГОСТ 13620-90. | |
|
-------------------------------- <*> По ГОСТ 13620-81 пример условного обозначения:  . |
Таблица 1.16
| | ИС МЕГАНОРМ: примечание. Взамен ГОСТ 13737-80 Постановлением Госстандарта СССР от 29.08.1990 N 2479 с 01.01.1992 введен в действие ГОСТ 13737-90. | |
Профили прессованные из алюминия и алюминиевых сплавов.
Угольник равнобокий П50. Сортамент (ГОСТ 13737-80)

N профиля | Размеры, мм | Площадь сечения, см2 | Масса 1 м2, кг | Справочные величины для осей |
H | S | r | r1 | x - x; y - y | x - x1; y - y1 | u - u |
АД1 | Д16 | Ix = Iy, см4 | ix = iy, см |  , см 4 | X0 = Y0, см | Iu min, см4 | iu min, см |
4 | 12 | 1,0 | 1,5 | 0,5 | 0,234 | 0,064 | 0,065 | 0,032 | 0,368 | 0,057 | 0,331 | 0,013 | 0,233 |
18 | 15 | 1,0 | 1,5 | 0,5 | 0,294 | 0,080 | 0,082 | 0,063 | 0,465 | 0,112 | 0,406 | 0,025 | 0,294 |
26 | | 2,0 | 2,0 | 1,0 | 0,564 | 0,153 | 0,157 | 0,114 | 0,449 | 0,224 | 0,442 | 0,047 | 0,288 |
32 | | 3,0 | 3,0 | 1,5 | 0,820 | 0,222 | 0,228 | 0,154 | 0,434 | 0,340 | 0,476 | 0,067 | 0,286 |
38 | 18 | 1,5 | 20 | 0,75 | 0,524 | 0,141 | 0,145 | 0,160 | 0,553 | 0,290 | 0,498 | 0,064 | 0,351 |
62 | | 1,5 | 20 | 1,0 | 0,764 | 0,207 | 0,162 | 0,222 | 0,617 | 0,398 | 0,548 | 0,089 | 0,391 |
66 | 20 | 2,0 | 2,0 | 1,0 | 0,764 | 0,207 | 0,213 | 0,284 | 0,610 | 0,530 | 0,567 | 0,115 | 0,388 |
80 | | 2,0 | 2,0 | 1,0 | 0,964 | 0,26 | 0,268 | 0,573 | 0,771 | 1,035 | 0,692 | 0,231 | 0,489 |
98 | 25 | 4,0 | 4,0 | 2,0 | 1,857 | 0,502 | 0,516 | 1,012 | 0,738 | 2,084 | 0,760 | 0,422 | 0,477 |
116 | | 2,0 | 2,0 | 1,0 | 1,164 | 0,315 | 0,324 | 1,012 | 0,932 | 1,789 | 0,817 | 0,406 | 0,591 |
122 | 30 | 3,0 | 3,0 | 1,5 | 1,720 | 0,465 | 0,478 | 1,439 | 0,915 | 2,684 | 0,851 | 0,584 | 0,583 |
148 | 35 | 3,0 | 3,0 | 1,5 | 2,000 | 0,541 | 0,556 | 2,338 | 1,076 | 4,261 | 0,976 | 0,944 | 0,684 |
174 | 40 | 2 | 2 | 1,0 | 1,564 | 0,424 | 0,435 | 2,462 | 1,255 | 4,243 | 1,067 | 0,987 | 0,793 |
182 | | 3 | 3 | 1,5 | 2,320 | 0,628 | 0,645 | 3,549 | 1,237 | 6,380 | 1,101 | 1,489 | 0,785 |
188 | | 4 | 4 | 2,0 | 3,057 | 0,827 | 0,850 | 4,550 | 1,220 | 8,483 | 1,134 | 1,845 | 0,777 |
200 | 45 | 4 | 4 | 2,0 | 3,457 | 0,936 | 0,961 | 6,592 | 1,381 | 12,074 | 1,258 | 2,664 | 0,878 |
212 | | 5 | 5 | 2,5 | 4,277 | 1,158 | 1,189 | 7,957 | 1,364 | 15,107 | 1,293 | 3,241 | 0,870 |
214 | | 3 | 3 | 1,5 | 2,920 | 0,790 | 0,812 | 7,100 | 1,559 | 12,425 | 1,351 | 2,849 | 0,988 |
216 | 50 | 4 | 4 | 2,0 | 3,857 | 1,044 | 1,073 | 9,171 | 1,542 | 16,561 | 1,384 | 3,695 | 0,979 |
230 | | 5 | 5 | 2,5 | 4,777 | 1,293 | 1,328 | 11,107 | 1,525 | 20,710 | 1,418 | 4,505 | 0,971 |
238 | 60 | 6 | 5 | 3,0 | 5,655 | 1,531 | 1,573 | 12,907 | 1,511 | 24,868 | 1,454 | 5,279 | 0,966 |
254 | | 5 | 5 | 5,777 | 1,564 | 1,606 | 19,704 | 1,847 | 1,847 | 35,773 | 1,668 | 7,950 | 1,173 |
258 | | 6 | 5 | 3,0 | 6,855 | 1,856 | 1,907 | 23,012 | 1,832 | 42,931 | 1,705 | 9,340 | 1,167 |
274 | 70 | 7 | 8 | 1,0 | 9,443 | 2,556 | 2,626 | 43,337 | 2,142 | 80,754 | 1,991 | 17,609 | 1,356 |
310 | 80 | 8 | 8 | 4,5 | 12,210 | 3,306 | 3,396 | 72,483 | 2,436 | 135,160 | 2,266 | 29,379 | 1,551 |
320 | 90 | 9 | 10 | 4,5 | 15,518 | 4,202 | 4,317 | 116,673 | 2,742 | 217,465 | 2,548 | 47,294 | 1,745 |
334 | 100 | 10 | 12,5 | 6,25 | 19,168 | 5,190 | 5,332 | 176,382 | 3,033 | 328,669 | 2,819 | 71,367 | 1,930 |
Таблица 1.17
Угольники неравнобокие П52 из алюминиевых сплавов <*>

N профиля | Масса 1 м, кг | Размеры, мм | Площадь сечения, см2 | Справочные величины для осей |
H | B | S | R | r1 | x - x | y - y | x1 - x1 | y1 - y1 | u - u |
Ix, см4 | ix, см | Iy, см4 | iy, см | Ixi, см4 | y0, см | Iyi, см4 | x0, см | Iu, см4 | iu, см | угол наклона  |
42 | 0,09 | 20 | 15 | 1 | 2 | 0,5 | 0,34 | 0,14 | 0,64 | 0,07 | 0,44 | 0,26 | 0,60 | 0,11 | 0,35 | 0,04 | 0,33 | 1,60 |
48 | 0,14 | 20 | 15 | 1,5 | 1,5 | 0,5 | 0,51 | 0,51 | 0,63 | 0,20 | 0,44 | 0,40 | 0,62 | 0,17 | 0,37 | 0,05 | 0,32 | 1,59 |
98 | 0,17 | 35 | 15 | 1,5 | 2,5 | 0,75 | 0,59 | 0,38 | 0,80 | 0,10 | 0,42 | 0,78 | 0,82 | 0,17 | 0,33 | 0,06 | 0,32 | 0,84 |
118 | 0,25 | 25 | 20 | 2 | 2 | 1 | 0,86 | 0,53 | 0,79 | 0,30 | 0,59 | 1,03 | 0,76 | 0,53 | 0,51 | 0,15 | 0,42 | 2,08 |
148 | 0,19 | 30 | 15 | 1,5 | 1,5 | 0,75 | 0,65 | 0,62 | 0,97 | 0,11 | 0,41 | 1,34 | 1,05 | 0,17 | 0,30 | 0,07 | 0,32 | 0,58 |
166 | 0,27 | 30 | 20 | 2 | 2,5 | 2 | 0,96 | 0,86 | 0,95 | 0,31 | 0,57 | 1,73 | 0,95 | 0,51 | 0,46 | 0,18 | 0,43 | 1,07 |
174 | 0,40 | 30 | 20 | 3 | 3 | 1,5 | 1,42 | 1,26 | 0,94 | 0,45 | 0,56 | 2,68 | 1,00 | 0,81 | 0,51 | 0,26 | 0,43 | 1,07 |
182 | 0,23 | 30 | 25 | 1,6 | 3 | 0,75 | 0,82 | 0,74 | 0,95 | 0,47 | 0,76 | 1,34 | 0,86 | 0,78 | 0,61 | 0,23 | 0,53 | 2,61 |
354 | 0,53 | 40 | 25 | 3 | 3 | 1,5 | 1,87 | 3,04 | 1,27 | 0,93 | 0,70 | 6,34 | 1,33 | 1,57 | 0,59 | 0,55 | 0,54 | 0,92 |
374 | 0,57 | 40 | 30 | 3 | 3 | 1,5 | 2,02 | 3,23 | 1,26 | 1,57 | 0,88 | 6,35 | 1,24 | 2,69 | 0,75 | 0,84 | 0,64 | 1,59 |
438 | 0,62 | 45 | 30 | 3 | 3 | 1,5 | 2,17 | 4,49 | 1,44 | 1,62 | 0,86 | 9,04 | 1,45 | 2,70 | 0,71 | 0,92 | 0,65 | 1,10 |
512 | 0,66 | 50 | 30 | 3 | 3 | 1,5 | 2,32 | 6,00 | 1,61 | 0,85 | 12,40 | 1,66 | 2,70 | 0,68 | 1,00 | 0,66 | 0,86 | 0,84 |
584 | 0,56 | 55 | 25 | 2,5 | 3 | 1,25 | 1,95 | 6,22 | 1,79 | 0,86 | 0,66 | 13,78 | 1,97 | 1,31 | 0,48 | 0,56 | 0,53 | 0,49 |
644 | 0,79 | 60 | 35 | 3 | 4 | 2 | 2,78 | 10,39 | 1,94 | 2,69 | 0,98 | 21,30 | 1,98 | 4,24 | 0,75 | 1,63 | 0,77 | 0,79 |
648 | 1,29 | 60 | 35 | 5 | 5 | 2,5 | 4,53 | 16,43 | 4,18 | 0,96 | 35,63 | 2,06 | 7,25 | 0,82 | 2,56 | 0,75 | 0,77 | 0,77 |
650 | 1,52 | 60 | 35 | 6 | 5 | 3 | 5,36 | 19,5 | 1,89 | 4,82 | 0,95 | 42,72 | 2,10 | 8,78 | 0,86 | 2,00 | 0,75 | 0,76 |
734 | 0,76 | 65 | 45 | 2,5 | 2,5 | 1,25 | 2,69 | 11,96 | 2,11 | 4,82 | 1,34 | 22,76 | 2,00 | 7,56 | 1,01 | 2,67 | 1,00 | 1,25 |
750 | 1,50 | 70 | 40 | 5 | 5 | 2,5 | 5,28 | 26,44 | 2,24 | 6,42 | 1,10 | 56,64 | 2,39 | 10,76 | 0,91 | 3,95 | 0,86 | 0,74 |
780 | 1,43 | 75 | 30 | 5 | 5 | 2,5 | 5,03 | 29,00 | 2,40 | 2,79 | 0,75 | 69,69 | 2,85 | 4,69 | 0,62 | 1,93 | 0,62 | 0,37 |
786 | 0,84 | 75 | 45 | 2,5 | 2,5 | 1,25 | 2,94 | 17,65 | 2,45 | 5,00 | 1,30 | 34,98 | 2,42 | 7,56 | 0,93 | 2,96 | 1,00 | 0,87 |
792 | 1,38 | 75 | 50 | 5 | 4 | 1 | 4,87 | 22,42 | 2,42 | 10,38 | 1,46 | 56,20 | 2,38 | 16,76 | 1,14 | 5,90 | 1,10 | 1,11 |
794 | 1,72 | 75 | 50 | 5 | 5 | 2,5 | 6,03 | 34,64 | 3,00 | 12,48 | 69,77 | 2,42 | 20,82 | - | 1,18 | 7,08 | 1,08 | 1,10 |
798 | 2,11 | 75 | 50 | 6 | 12 | 1,5 | 7,44 | 41,27 | 2,36 | 14,76 | 1,42 | 84,66 | 2,40 | 25,61 | 1,21 | 8,68 | 1,10 | 1,08 |
800 | 2,38 | 75 | 50 | 7 | 8 | 3,5 | 8,35 | 46,48 | 2,36 | 16,47 | 1,41 | 97,58 | 2,48 | 29,40 | 1,25 | 2,48 | 1,07 | 1,07 |
832 | 2,36 | 80 | 45 | 7 | 6 | 3 | 8,30 | 53,71 | 2,54 | 12,38 | 1,22 | 118,60 | 2,30 | 21,80 | 1,05 | 7,73 | 0,96 | 0,71 |
868 | 0,95 | 90 | 40 | 2,5 | 2,5 | 1,25 | 3,32 | 28,97 | 2,95 | 5,22 | 1,25 | 60,50 | 3,08 | 7,57 | 0,84 | 3,27 | 0,99 | 0,60 |
912 | 1,93 | 100 | 40 | 5 | 5 | 2,5 | 6,78 | 70,82 | 3,23 | 6,96 | 1,01 | 165,40 | 3,74 | 10,89 | 0,76 | 4,72 | 0,83 | 0,38 |
916 | 3,01 | 100 | 60 | 7 | 10 | 4 | 10,86 | 110,66 | 3,19 | 30,12 | 1,67 | 230,76 | 3,33 | 50,63 | 1,37 | 18,02 | 1,29 | 0,83 |
968 | 5,62 | 125 | 80 | 10 | 11 | 3,7 | 19,70 | 311,61 | 3,98 | 30,12 | 2,26 | 649,22 | 4,14 | 173,04 | 1,92 | 58,62 | 1,73 | 0,98 |
994 | 6,34 | 140 | 90 | 10 | 12 | 4 | 22,24 | 444,44 | 4,47 | 145,53 | 2,56 | 911,16 | 4,58 | 245,08 | 2,12 | 84,30 | 1,95 | 0,99 |
-------------------------------- <*> По ГОСТ 13738-80 пример условного обозначения:  . |
Таблица 1.18
Разнополочные двутавры П200 из алюминиевых сплавов <*>

N профиля | Масса 1 м, кг | Размеры, мм | Площадь сечения, см2 | Справочные величины для осей |
H | B | S | S1 | R | r | r1 | x - x | y - y |
Ix, см4 | Wx, см3 | ix, см | Sx, см3 | Iy, см4 | Wy, см3 | iy, см |
18 | 0,460 | 30 | 30 | 1,5 | 2 | 2 | 0,2 | 1 | 1,616 | 2,615 | 1,743 | 1,272 | 0,982 | 0,882 | 0,588 | 0,739 |
22 | 0,610 | 35 | 30 | 2 | 2,5 | 2,5 | 0,2 | 1,25 | 2,14 | 4,499 | 2,571 | 1,450 | 1,47 | 1,099 | 0,733 | 0,717 |
30 | 1,208 | 40 | 50 | 2 | 3,5 | 3,5 | 0,2 | 1,75 | 4,239 | 12,477 | 6,238 | 1,716 | 3,522 | 7,138 | 2,855 | 1,298 |
36 | 1,469 | 50 | 50 | 2,5 | 4 | 4 | 0,2 | 2 | 5,153 | 23,154 | 9,262 | 2,120 | 5,247 | 8,139 | 3,256 | 1,257 |
46 | 2,468 | 60 | 70 | 3 | 5 | 5 | 0,2 | 2,5 | 8,661 | 57,082 | 19,027 | 2,567 | 10,57 | 27,975 | 7,993 | 1,797 |
52 | 1,572 | 70 | 45 | 3 | 4 | 3 | 0,5 | 0,5 | 6,533 | 45,55 | 13,01 | 2,869 | 7,492 | 6,071 | 2,698 | 1,047 |
58 | 3,103 | 70 | 50 | 6 | 7,5 | 4 | 1 | 1 | 10,92 | 82,35 | 23,53 | 2,746 | 14,14 | 15,64 | 6,256 | 1,196 |
64 | 3,526 | 80 | 85 | 6 | 5 | 3 | 1 | 1 | 12,76 | 137,60 | 34,40 | 3,284 | 19,71 | 51,00 | 12,00 | 1,999 |
76 | 1,696 | 100 | 40 | 3 | 4 | 3 | 2 | 2 | 5,968 | 95,19 | 19,03 | 3,993 | 10,86 | 4,028 | 2,014 | 0,822 |
88 | 1,431 | 120 | 45 | 2 | 3 | 3 | - | 1,5 | 5,038 | 12,050 | 20,08 | 4,89 | 11,30 | 4,471 | 1,987 | 0,942 |
90 | 9,586 | 120 | 100 | 10 | 12 | 5 | 1 | 3 | 33,73 | 779,2 | 129,8 | 4,806 | 76,57 | 198,7 | 39,75 | 2,427 |
110 | 9,707 | 160 | 150 | 7 | 8 | 3 | - | - | 34,15 | 1561 | 195,2 | 6,762 | 109,6 | 450,4 | 60,05 | 3,631 |
112 | 16,500 | 160 | 220 | 10 | 10 | 3 | - | - | 58,08 | 2707 | 338,4 | 6,828 | 189,7 | 1175 | 161,4 | 5,529 |
118 | 20,430 | 200 | 180 | 8 | 16 | 10 | - | - | 71,90 | 5203 | 520,3 | 8,507 | 296,7 | 1556 | 172,9 | 4,652 |
120 | 4,013 | 200 | 60 | 4,5 | 4,5 | 5 | 2,25 | 2,25 | 14,12 | 786,3 | 78,63 | 7,451 | 47,5 | 15,61 | 5,203 | 1,051 |
128 | 6,035 | 240 | 120 | 4 | 5 | 5 | 0,5 | 0,5 | 21,41 | 2067 | 172,3 | 9,827 | 98,15 | 143,9 | 23,99 | 2,593 |
132 | 20,80 | 300 | 175 | 11 | 11 | 22 | 1,5 | 1,5 | 73,2 | 10,020 | 668,5 | 11,70 | 412 | 987,1 | 112,8 | 3,672 |
136 | 22,99 | 400 | 150 | 8 | 17 | 10 | - | 5 | 80,92 | 22,030 | 1101 | 16,50 | 627,9 | 946,4 | 126,1 | 3,419 |
138 | 44,440 | 500 | 200 | 15 | 22 | 5 | 1 | 5 | 156,4 | 62,240 | 2489 | 19,94 | 1441 | 2924 | 292,4 | 4,324 |
-------------------------------- <*> По ГОСТ 13621-79 пример условного обозначения:  . |
Таблица 1.19
Шляповидные профили П460 из алюминиевых сплавов <*>
N профиля | Масса 1 м, кг | Размеры, мм | Площадь сечения, см2 | Справочные величины для осей |
H | B | A | b | S | S1 | S2 | r | x - x | y - y |
Ix, см4 | Wx, см3 | ix, см | Iy, см4 | Wy, см3 | iy, см | y0, см |
12 | 0,443 | 16 | 20 | 46 | 15 | 2 | 2 | 2 | 3 | 1,557 | 0,560 | 0,630 | 0,600 | 2,140 | 0,931 | 1,172 | 8,9 |
| 0,627 | 29 | 30 | 60 | 16,5 | 1,5 | 3 | 1,5 | 3 | 2,204 | 2,853 | 1,734 | 1,138 | 4,77 | 1,590 | 1,470 | 16,4 |
38 | 1,345 | 40 | 50 | 70 | 13 | 4 | 3 | 3 | 5 | 4,735 | 10,62 | 4,799 | 1,497 | 23,85 | 6,816 | 2,244 | 22,15 |
58 | 1,96 | 50 | 65 | 77 | 10 | 4 | 4 | 4 | 4 | 6,898 | 21,04 | 6,787 | 1,746 | 50,78 | 13,18 | 2,713 | 30,95 |
60 | 3,122 | 50 | 65 | 119 | 30 | 7 | 7 | 3 | 3 | 10,98 | 43,31 | 16,86 | 1,985 | 123,8 | 20,81 | 3,357 | 25,65 |
68 | 1,914 | 80 | 50 | 95 | 25 | 2,8 | 2,8 | 2,5 | 5 | 6,735 | 61,70 | 15,42 | 3,026 | 43,01 | 9,055 | 2,527 | 40,1 |
70 | 4,261 | 110 | 90 | 162 | 40 | 4 | 4 | 4 | 2 | 14,99 | 262,4 | 46,52 | 4,183 | 299,2 | 36,94 | 4,467 | 56,3 |
74 | 3,833 | 120 | 60 | 144 | 45 | 4,5 | 4,5 | 3 | 3 | 13,48 | 291,4 | 44,3 | 4,648 | 168,9 | 23,46 | 3,539 | 65,7 |
| | ИС МЕГАНОРМ: примечание. Взамен ГОСТ 13624-80 Постановлением Госстандарта СССР от 29.08.1990 N 2480 с 01.01.1992 введен в действие ГОСТ 13624-90. | |
|
-------------------------------- <*> По ГОСТ 13624-80 пример условного обозначения:  . |
Таблица 1.20
Тавры П130 из алюминиевых сплавов

N профиля | Масса 1 м, кг | Размеры, мм | Площадь сечения, см2 | Расстояние центра тяжести | Справочные величины для осей |
H | B | S | S1 | R | r | r1 | x - x | y - y |
x0, мм | y0, мм | Ix, см4 | Wx, см3 | ix, см | Iy, см4 | Wy, см3 | iy, см |
8 | 0,115 | 15 | 25 | 1 | 1 | 2 | 0,5 | 0,5 | 0,405 | 12,5 | 3,09 | 0,072 | 0,061 | 0,423 | 0,129 | 0,103 | 0,564 |
72 | 0,235 | 20 | 30 | 2 | 1,5 | 2 | 1 | 1,25 | 0,826 | 15 | 5,15 | 0,301 | 0,203 | 0,604 | 0,324 | 0,216 | 0,626 |
82 | 0,335 | 20 | 40 | 2 | 2 | 2 | - | - | 1,177 | 20 | 4,08 | 0,349 | 0,219 | 0,544 | 1,068 | 0,534 | 0,953 |
130 | 0,254 | 25 | 35 | 1,5 | 1,5 | 2 | 0,75 | 0,75 | 0,89 | 17,5 | 5,66 | 0,486 | 0,251 | 0,739 | 0,579 | 0,302 | 0,774 |
132 | 0,368 | 25 | 35 | 2,5 | 1,25 | 5 | 1,25 | 1 | 1,291 | 17,5 | 6,47 | 0,73 | 0,394 | 0,752 | 0,705 | 0,403 | 0,789 |
134 | 0,363 | 25 | 40 | 2 | 2 | 2 | - | - | 1,277 | 20 | 5,52 | 0,664 | 0,341 | 0,721 | 1,068 | 0,534 | 0,915 |
152 | 0,427 | 25 | 50 | 2 | 2 | 3 | - | - | 1,499 | 25 | 4,88 | 0,700 | 0,348 | 0,683 | 2,086 | 0,843 | 1,180 |
166 | 0,861 | 25 | 70 | 5 | 2,5 | 6 | - | - | 3,03 | 35 | 6,022 | 1,561 | 0,823 | 0,718 | 7,189 | 2,054 | 1,54 |
224 | 0,473 | 30 | 40 | 3 | 2 | 3 | 1,5 | 1 | 1,664 | 20 | 8,430 | 1,441 | 0,668 | 0,93 | 1,051 | 0,528 | 0,797 |
240 | 0,793 | 30 | 50 | 3 | 4 | 3 | 1,5 | 2 | 2,79 | 25 | 6,122 | 1,674 | 0,701 | 0,775 | 4,07 | 1,628 | 1,207 |
248 | 1,28 | 30 | 60 | 2,5 | 6,5 | 2,5 | 1 | 1 | 4,505 | 30 | 5,20 | 1,531 | 0,618 | 0,583 | 11,66 | 3,888 | 1,609 |
266 | 1,223 | 30 | 80 | 4 | 4 | 4 | 0,5 | 0,5 | 4,306 | 40 | 5,661 | 2,388 | 0,981 | 0,745 | 17,07 | 4,267 | 1,99 |
302 | 0,773 | 35 | 25 | 4 | 4 | 5 | 2 | 2 | 2,713 | 17,5 | 9,91 | 2,942 | 1,173 | 1,041 | 1,407 | 0,804 | 0,720 |
304 | 0,417 | 35 | 40 | 2 | 2 | 2 | 1 | 1 | 1,468 | 20 | 8,79 | 1,685 | 0,643 | 1,071 | 1,052 | 0,526 | 0,846 |
306 | 0,625 | 35 | 40 | 3 | 3 | 3 | - | - | 2,198 | 20 | 9,18 | 2,473 | 0,958 | 1,060 | 1,609 | 0,804 | 0,855 |
308 | 0,668 | 35 | 40 | 4 | 2,5 | 4 | 2 | 1,25 | 2,354 | 20 | 9,18 | 2,818 | 1,163 | 1,096 | 1,33 | 0,666 | 0,753 |
318 | 1,531 | 35 | 65 | 5 | 6,3 | 3 | - | - | 6,388 | 32,5 | 7,735 | 4,371 | 1,603 | 0,901 | 13,76 | 4,233 | 1,598 |
320 | 2,29 | 35 | 80 | 3 | 9 | 4 | - | - | 8,049 | 40 | 6,24 | 3,089 | 1,074 | 0,619 | 38,51 | 9,602 | 2,184 |
322 | 1,853 | 35 | 90 | 3,5 | 6 | 5 | 0,5 | 0,5 | 6,52 | 45 | 5,79 | 3,487 | 1,19 | 0,731 | 36,44 | 8,099 | 2,36 |
366 | 0,668 | 40 | 40 | 3 | 3 | 3 | - | - | 2,348 | 20 | 10,98 | 3,604 | 1,241 | 1,238 | 1,61 | 0,805 | 0,828 |
374 | 1,276 | 40 | 50 | 3,5 | 6,5 | 4 | - | - | 4,491 | 25 | 8,534 | 4,658 | 1,48 | 1,018 | 6,787 | 2,714 | 1,229 |
376 | 0,997 | 40 | 50 | 5 | 3 | 4,5 | - | - | 3,437 | 25 | 12,32 | 5,497 | 1,986 | 1,264 | 3,174 | 1,268 | 0,961 |
380 | 1,365 | 40 | 65 | 4 | 5 | 6 | - | - | 4,805 | 32,5 | 8,45 | 5,42 | 2,717 | 1,061 | 11,47 | 3,531 | 1,545 |
386 | 3,429 | 40 | 90 | 10 | 4 | 0,5 | 0,5 | 0,5 | 12,06 | 45 | 10,00 | 11,99 | 3,997 | 61,00 | 13,55 | 13,55 | 2,248 |
388 | 2,518 | 40 | 120 | 5 | 6 | 2,5 | 2,5 | 3 | 8,861 | 60 | 6,727 | 7,067 | 2,124 | 0,893 | 85,07 | 14,17 | 3,098 |
458 | 1,955 | 50 | 50 | 6,5 | 8 | 6 | - | - | 6,885 | 25 | 14,03 | 14,40 | 4,004 | 1,448 | 8,461 | 3,385 | 1,108 |
466 | 1,325 | 50 | 70 | 4 | 4 | 2,5 | 0,4 | 0,4 | 4,665 | 35 | 11,86 | 10,22 | 2,681 | 1,48 | 11,44 | 3,271 | 1,566 |
522 | 1,04 | 60 | 40 | 3 | 3 | 3 | 1,5 | 2 | 3,662 | 20 | 15,89 | 12,17 | 2,749 | 1,823 | 2,615 | 1,307 | 0,845 |
530 | 4,293 | 60 | 120 | 6 | 10 | 5 | - | - | 15,1 | 60 | 11,00 | 28,85 | 5,588 | 1,381 | 144,1 | 24,01 | 3,088 |
560 | 1,028 | 70 | 40 | 3 | 4 | 3 | - | - | 3,618 | 20 | 21,17 | 18,15 | 3,718 | 2,239 | 2,160 | 1,074 | 0,771 |
562 | 1,785 | 70 | 40 | 5 | 8 | 3 | 2 | 3 | 6,282 | 20 | 21,09 | 28,97 | 5,925 | 2,147 | 4,189 | 2,094 | 0,817 |
566 | 1,134 | 70 | 50 | 3 | 4 | 3 | 1,5 | 2 | 3,992 | 25 | 19,21 | 19,19 | 3,78 | 2,193 | 4,079 | 1,631 | 1,010 |
568 | 1,770 | 70 | 60 | 4 | 6 | 4 | - | - | 6,229 | 30 | 17,42 | 27,25 | 5,183 | 2,091 | 10,83 | 3,613 | 1,349 |
598 | 1,223 | 80 | 40 | 3 | 5 | 3 | - | - | 4,288 | 20 | 23,51 | 27,65 | 4,895 | 2,539 | 1,342 | 0,791 | - |
600 | 1,82 | 80 | 65 | 4 | 5 | 6 | - | - | 6,405 | 32,5 | 21,32 | 39,45 | 6,723 | 2,481 | 11,49 | 3,538 | 1,340 |
602 | 3,998 | 80 | 80 | 8 | 10,5 | 6 | - | - | 14,05 | 40 | 21,20 | 76,78 | 13,03 | 2,336 | 45,12 | 11,28 | 1,791 |
626 | 5,771 | 90 | 90 | 12 | 12 | 6 | 1 | 1 | 20,30 | 45 | 26,78 | 150,4 | 23,78 | 2,721 | 74,02 | 16,44 | 1,909 |
628 | 6,273 | 90 | 140 | 10 | 10 | 5 | 2 | 2 | 22,07 | 70 | 21,27 | 146,2 | 21,27 | 2,573 | 228,5 | 32,65 | 3,217 |
644 | 1,276 | 100 | 40 | 3 | 4 | 3 | 1,5 | 2 | 4,491 | 20 | 33,86 | 47,61 | 7,199 | 3,255 | 2,09 | 1,045 | 0,682 |
646 | 5,57 | 100 | 100 | 8 | 12,5 | 5 | 5 | 1 | 19,59 | 50 | 24,12 | 158,3 | 20,86 | 2,842 | 104,4 | 20,88 | 2,308 |
682 | 6,66 | 120 | 100 | 12 | 10 | 8 | 2,5 | 2,5 | 23,42 | 50 | 38,76 | 338,8 | 41,70 | 3,803 | 84,42 | 16,88 | 1,898 |
706 | 2,278 | 150 | 40 | 4 | 5 | 3 | 2 | 2 | 7,804 | 20 | 57,92 | 184,4 | 20,03 | 4,861 | 2,677 | 1,34 | 0,586 |
722 | 5,771 | 180 | 90 | 6 | 10 | 14 | - | - | 20,04 | 45 | 51,14 | 646,6 | 50,17 | 5,679 | 61,37 | 13,63 | 1,749 |
728 | 3,823 | 200 | 60 | 5 | 6 | 6 | 0,5 | 0,5 | 13,45 | 30 | 75,14 | 578,9 | 45,96 | 6,531 | 11,01 | 3,671 | 0,905 |
734 | 6,95 | 200 | 100 | 6,5 | 11 | 16 | - | - | 24,38 | 50 | 56,28 | 967,2 | 67,3 | 6,298 | 92,6 | 18,52 | 1,948 |
Таблица 1.21
Наименьшие расстояния между гвоздями, мм
Толщина досок, мм | Обозначения (по эскизу) | Диаметр гвоздей, мм |
2,5 | 3 | 3,5 | 4 | 4,5 | 5 | 5,5 |
Для досок, пробиваемых гвоздями насквозь |
19 | S1 | | 48 | 63 | 79 | 95 | 111 | 127 | 143 |
22 | 43 | 58 | 74 | 90 | 106 | 122 | 138 |
25 | 38 | 53 | 69 | 85 | 102 | 117 | 133 |
30 | 38 | 45 | 61 | 77 | 93 | 109 | 124 |
35 | 38 | 45 | 53 | 68 | 84 | 100 | 117 |
40 | 38 | 45 | 53 | 60 | 76 | 92 | 108 |
45 | 38 | 45 | 53 | 60 | 68 | 83 | 99 |
50 | 38 | 45 | 53 | 60 | 68 | 75 | 91 |
Для досок, не пробиваемых гвоздями насквозь |
Независимо от толщины досок | S1 | 38 | 45 | 53 | 60 | 68 | 75 | 83 |
Для всех случаев |
То же | S2 | 10 | 12 | 14 | 16 | 18 | 20 | 22 |
S3 | 8 | 9 | 11 | 12 | 14 | 15 | 17 |
S3 | 10 | 12 | 14 | 16 | 18 | 20 | 22 |
S4 | 38 | 45 | 53 | 60 | 68 | 75 | 83 |
Таблица 1.22
Расчетная несущая способность гвоздей в односрезных
соединениях элементов опалубки из древесины
сосны или ели (для всех нагрузок, кроме
бокового давления бетонной смеси)
Толщина досок, мм | Расчетная несущая способность гвоздей, кгс, при диаметре гвоздей, мм |
2,5 | 3 | 3,5 | 4 | 4,5 | 5 | 5,5 |
25 | 27 | 33 | 38 | 44 | 49 | 55 | 60 |
30 | 31 | 39 | 46 | 52 | 59 | 65 | 72 |
35 | 31 | 43 | 54 | 61 | 69 | 76 | 84 |
40 | 31 | 45 | 58 | 70 | 79 | 87 | 96 |
45 | 31 | 45 | 61 | 75 | 88 | 98 | 108 |
50 | 31 | 45 | 61 | 80 | 94 | 109 | 120 |
Примечание. Расчетная несущая способность гвоздей для многосрезных соединений определяется в соответствии с указаниями главы СНиП II-25-80, с умножением полученных значений на коэффициент 1,25. |
Таблица 1.23
Расчетная несущая способность гвоздей в односрезных
соединениях элементов опалубки из древесины
сосны или ели (при работе сопряжения только
на боковое давление бетонной смеси)
Толщина досок, мм | Расчетная несущая способность гвоздей, кгс, при диаметре гвоздей, мм |
2,5 | 3 | 3,5 | 4 | 4,5 | 5 | 5,5 |
25 | 38 | 46 | 53 | 62 | 69 | 77 | 84 |
30 | 43 | 55 | 64 | 73 | 83 | 91 | 101 |
35 | 43 | 60 | 76 | 85 | 97 | 106 | 107 |
40 | 43 | 63 | 81 | 88 | 110 | 122 | 134 |
45 | 43 | 63 | 85 | 105 | 123 | 137 | 151 |
50 | 43 | 63 | 85 | 112 | 131 | 153 | 168 |
Примечание. Расчетная несущая способность гвоздей для многосрезных соединений определяется в соответствии с указаниями главы СНиП II-25-80, с умножением полученных значений на коэффициент 1,25. |
Таблица 1.24
Расчетные сопротивления Rф строительной фанеры
Вид фанеры | Расчетные сопротивления, кгс/см2 |
растяжению Rф.р | сжатию Rф.с | изгибу Rф.и | скалыванию Rф.ск (срезу Rф.ср) |
1. Фанера клееная березовая марок ФСФ и ФК сорта В/ВВ: | | | | |
а) семислойная толщиной 8 мм и более: | | | | |
вдоль волокон наружных слоев | 130 | 100 | 160 | 6 (60) |
поперек волокон наружных слоев | 70 | 70 | 50 | 8 (65) |
б) пятислойная толщиной 5 - 7 мм: | | | | |
вдоль волокон наружных слоев | 135 | 110 | 160 | 6 (50) |
поперек волокон наружных слоев | 60 | 60 | 25 | 8 (60) |
в) трехслойная толщиной 4 мм: | | | | |
вдоль волокон наружных слоев | 140 | 115 | 160 | 6 (35) |
поперек волокон наружных слоев | 50 | 50 | - | 8 (50) |
2. Фанера бакелизированная марок ФБС и ФБСВ толщиной 7 мм и более: | | | | |
вдоль волокон наружных слоев | 320 | 280 | 330 | 18 (110) |
поперек волокон наружных слоев | 240 | 230 | 250 | 18 (120) |
Примечание. Расчетные сопротивления изгибу и срезу даны в направлении, перпендикулярном плоскости листа. |
Таблица 1.25
Модули упругости Eф и сдвига Gф и коэффициенты
Пуассона
строительной фанеры в плоскости листа
Вид фанеры | Eф, кгс/см2 | Gф, кгс/см2 | |
1. Фанера клееная березовая марок ФСФ и ФК сорта В/ВВ: | | | |
а) семислойная толщиной 8 мм и более: | | | |
вдоль волокон наружных слоев | 85000 | 7500 | 0,07 |
поперек волокон наружных слоев | 70000 | 7500 | 0,06 |
б) пятислойная толщиной 5 - 7 мм: | | | |
вдоль волокон наружных слоев | 95000 | 7500 | 0,07 |
поперек волокон наружных слоев | 60000 | 7500 | 0,06 |
в) трехслойная толщиной 4 мм: | | | |
вдоль волокон наружных слоев | 110000 | 7500 | 0,07 |
поперек волокон наружных слоев | 50000 | 7500 | 0,05 |
2. Фанера бакелизированная марок ФБС и ФБСВ толщиной 7 мм и более: | | | |
вдоль волокон наружных слоев | 150000 | 14000 | 0,075 |
поперек волокон наружных слоев | 110000 | 14000 | 0,06 |
Таблица 1.26
Временные сопротивления Rвр, нормативные сопротивления
Rн, коэффициенты изменчивости Cv и коэффициенты
безопасности по материалу K строительной фанеры
Вид фанеры | Растяжение | Сжатие | Изгиб | Скалывание | Срез |
в | п | в | п | в | п | в | п | в | п |
1. Фанера клееная березовая сорта В/ВВ: | | | | | | | | | | |
а) семислойная толщиной 8 мм и более: | | | | | | | | | | |
Rвр, кгс/см2 | 600 | 340 | 376 | 250 | 600 | 220 | 39 | 61 | 226 | 230 |
Rн, кгс/см2 | 360 | 200 | 270 | 180 | 360 | 120 | 20 | 30 | 180 | 180 |
Cv | 0,18 | 0,18 | 0,13 | 0,13 | 0,18 | 0,2 | 0,22 | 0,22 | 0,1 | 0,1 |
K | 2,8 | 2,8 | 2,7 | 2,6 | 2,2 | 2,4 | 3,3 | 3,8 | 3 | 2,8 |
б) пятислойная толщиной 5 - 7 мм | | | | | | | | | | |
Rвр, кгс/см2 | 640 | 320 | 420 | 210 | 610 | 105 | 40 | 60 | 200 | 196 |
Rн, кгс/см2 | 380 | 190 | 300 | 150 | 360 | 60 | 20 | 30 | 150 | 150 |
Cv | 0,18 | 0,18 | 0,13 | 0,13 | 0,18 | 0,2 | 0,22 | 0,22 | 0,1 | 0,1 |
K | 2,8 | 3,2 | 2,7 | 2,5 | 2,2 | 2,4 | 3,3 | 3,8 | 2,5 | 2,3 |
в) трехслойная толщиной 4 мм: | | | | | | | | | | |
Rвр, кгс/см2 | 690 | 280 | 430 | 170 | 690 | - | 405 | 58 | 150 | 160 |
Rн, кгс/см2 | 410 | 165 | 300 | 120 | 410 | - | 20 | 30 | 120 | 120 |
Cv | 0,18 | 0,18 | 0,13 | 0,13 | 0,18 | - | 0,22 | 0,22 | 0,10 | 0,1 |
K | 3,9 | 3,3 | 2,6 | 2,4 | 2,5 | - | 3,3 | 3,8 | 3,4 | 2,0 |
2. Фанера бакелизированная марок ФБС и ФБСВ толщиной 7 мм и более: | | | | | | | | | | |
Rвр, кгс/см2 | 1130 | 990 | 860 | 700 | 1125 | 1205 | 1190 | 1200 | 460 | 470 |
Rн, кгс/см2 | 670 | 590 | 610 | 500 | 670 | 660 | 60 | 60 | 360 | 360 |
Cv | 0,18 | 0,18 | 0,13 | 0,13 | 0,18 | 0,2 | 0,22 | 0,22 | 0,1 | 0,1 |
K | 2,1 | 2,5 | 2,2 | 2,2 | 2 | 2,6 | 3,3 | 3,3 | 3,3 | 3 |
Примечание. в - вдоль волокон; п - поперек волокон наружных слоев шпона. |
Таблица 1.27
Расчетные сопротивления древесины, кгс/см2
Породы древесины | Изгиб | Растяжение вдоль волокон | Сжатие | Смятие местное поперек волокон | Скалывание |
обычные элементы | из круглых лесоматериалов, не имеющие врезок в расчетном сечении | элементы, не имеющие ослабления | элементы, имеющие ослабление в расчетном сечении | вдоль волокон | по всей поверхности поперек волокон | в опорных плоскостях | в лобовых врубках | под шайбами при углах смятия от 90° до 60° | вдоль волокон при изгибе и соединениях для максимального напряжения | поперек волокон для максимального напряжения |
Хвойные | | | | | | | | | | | |
Сосна и ель | 18,0 | 22,4 | 14 | 11 | 18 | 2,5 | 3,8 | 4,8 | 6,4 | 3,36 | 1,68 |
Лиственница | 21,6 | 26,8 | 16,8 | 13,2 | 21,6 | 3 | 4,5 | 5,7 | 7,6 | 3,36 | 1,68 |
Пихта | 14,4 | 17,9 | 11,2 | 8,8 | 14,4 | 2 | 3 | 3,8 | 5,1 | 2,7 | 1,34 |
Твердые лиственные | | | | | | | | | | | |
Дуб | 23 | 29 | 18,2 | 14,3 | 23 | 5 | 7,6 | 9,6 | 12,8 | 4,36 | 2,18 |
Береза, бук | 19,8 | 24,6 | 15,4 | 12,1 | 19,8 | 4 | 6,08 | 7,7 | 10,2 | 4,36 | 2,18 |
Мягкие лиственные | | | | | | | | | | | |
Ольха, липа | 14,4 | 17,9 | 11,2 | 8,8 | 14,4 | 3,2 | 4,9 | 6,2 | 8,3 | 3,7 | 1,85 |
Осина, тополь | 14,4 | 17,9 | 11,2 | 8,8 | 14,4 | 2,5 | 3,8 | 6,4 | 2,7 | 2,7 | 1,34 |
Примечание. Расчетные сопротивления даны с учетом коэффициента увеличения расчетных сопротивлений при кратковременности действия нагрузки, равного 1,4. |
Таблица 1.28
Временные сопротивления Rвр, нормативные сопротивления
Rн, коэффициенты изменчивости Cv и коэффициенты
безопасности K древесины сосны и ели
Вид напряженного состояния | Rвр, кгс/см2 | Rн | Cv | K |
обозначение | значение, кгс/см2 |
Растяжение вдоль волокон | 1000 | | 550 | 0,2 | 5,5 |
Сжатие и смятие вдоль волокон | 400 |  ;  | 300 | 0,13 | 2,2 |
То же, поперек волокон | 47 |  ;  | 33 | 0,13 | 1,7 |
Изгиб | 750 | | 500 | 0,15 | 3,8 |
Скалывание вдоль волокон (среднее) | 68 | | 40 | 0,2 | 3,3 |
Скалывание поперек волокон (среднее) | 36 | | 19 | 0,2 | 3,1 |
Примечание. Нормативные сопротивления древесины и фанеры Rн определены по средним величинам временных сопротивлений (пределов прочности) Rвр из выражения Rн = Rвр(-2,25 Cv). |
Таблица 1.29
Расчетная несущая способность цилиндрических нагелей
Схема работы соединений | Расчетное усилие | Расчетная несущая способность, кгс, на один срез |
гвоздя, стального нагеля | дубового нагеля |
1. Симметричные соединения | а) Смятие в средних элементах | 50 cd | 30 cd |
б) Смятие в крайних элементах | 80 ad | 50 ad |
2. Несимметричные соединения | а) Смятие во всех элементах равной толщины, а также в более толстых элементах односрезных соединений | 35 cd | 20 cd |
б) Смятие в более тонких крайних элементах | 80 ad | 50 ad |
3. Симметричные и несимметричные соединения | а) Изгиб гвоздя | 250 d2 + a2, но не более 400 | - |
б) Изгиб нагеля | 180 d2 + 2 a2, но не более 250 d2 | 45 d2 + 2 a2, но не более 65 d2 |
Таблица 1.30
Моменты инерции J и моменты сопротивления
W бревен, пластин и четвертин
Минимальный диаметр бревен и пластин или сторона четвертин, см | Бревна | Пластины | Четвертины |
 , см 2 |  , см |  , см 3 | J = 0,0069 d4 | W = 0,024 d3 | J = 0,0549 r4 | W = 0,0954 r |
8 | 50,3 | 201 | 50 | - | - | 225 | 49 |
9 | 63,6 | 322 | 72 | - | - | 360 | 70 |
10 | 78,5 | 491 | 98 | 69 | 24 | 549 | 95 |
11 | 95 | 719 | 131 | 100 | 32 | 804 | 127 |
12 | 113 | 1018 | 170 | 142 | 41 | 1139 | 165 |
13 | 133 | 1412 | 216 | 196 | 52 | 1569 | 210 |
14 | 154 | 1886 | 269 | 264 | 65 | 2100 | 262 |
15 | 177 | 2485 | 331 | 347 | 80 | 2780 | 322 |
16 | 201 | 3217 | 402 | 450 | 98 | - | - |
17 | 227 | 4100 | 482 | 573 | 117 | - | - |
18 | 254 | 5753 | 573 | 729 | 139 | - | - |
19 | 284 | 6397 | 673 | 894 | 164 | - | - |
20 | 314 | 7854 | 785 | 1098 | 191 | - | - |
Таблица 1.31
Наибольшие расчетные нагрузки на врубки в местах
пересечения горизонтальных расшивин со стойками
Глубина врубки, мм | Нагрузки на узел, кгс |
диаметр стоек круглого сечения, мм | сторона сечения стоек квадратного сечения, мм |
100 | 110 | 120 | 130 | 140 | 150 | 160 | 80 | 90 | 100 | 110 | 120 |
А. Одиночные расшивины |
10 | 140 | 150 | 155 | 160 | 170 | 175 | 180 | 280 | 315 | 350 | 385 | 420 |
15 | 255 | 279 | 285 | 295 | 310 | 320 | 330 | 420 | 470 | 525 | 575 | 630 |
20 | 390 | 410 | 430 | 445 | 465 | 490 | 500 | - | 630 | 700 | 770 | 840 |
25 | 535 | 565 | 590 | 625 | 660 | 675 | 695 | - | 785 | 875 | 960 | 1050 |
30 | 695 | 735 | 770 | 810 | 850 | 880 | 915 | - | 945 | 1050 | 1155 | 1260 |
35 | 360 | 915 | 960 | 1005 | 1050 | 1090 | 1140 | - | - | 1225 | 1345 | 1470 |
40 | - | 1090 | 1155 | 1215 | 1275 | 1325 | 1370 | - | - | 1400 | 1540 | 1680 |
45 | - | 1265 | 1350 | 1425 | 1490 | 1550 | 1620 | - | - | - | - | 1890 |
50 | - | - | 1565 | 1645 | 1725 | 1825 | 1880 | - | - | - | - | - |
55 | - | - | - | - | 1970 | 2050 | 2080 | - | - | - | - | - |
60 | - | - | - | - | - | 2310 | 2405 | - | - | - | - | - |
65 | - | - | - | - | - | - | 2680 | - | - | - | - | - |
Б. Парные расшивины |
10 | 285 | 305 | 315 | 320 | 330 | 350 | 360 | - | 630 | 700 | 770 | 840 |
15 | 515 | 540 | 575 | 590 | 620 | 640 | 660 | - | 940 | 1050 | 2250 | 1260 |
20 | 780 | 825 | 860 | 890 | 945 | 980 | 1005 | - | - | 1400 | 1540 | 1680 |
25 | - | 1130 | 1190 | 1250 | 1320 | 1350 | 1390 | - | - | 1750 | 1920 | 2100 |
30 | - | 1470 | 1545 | 1620 | 1700 | 1760 | 1830 | - | - | - | - | 2520 |
35 | - | - | - | 2010 | 2100 | 2180 | 2280 | - | - | - | - | - |
40 | - | - | - | - | 2550 | 2650 | 2740 | - | - | - | - | - |
45 | - | - | - | - | - | 3100 | 3240 | - | - | - | - | - |
Таблица 1.32
Дополнительные коэффициенты mгн для гнутых элементов
Вид напряженного состояния элементов | Обозначение расчетных сопротивл. | Коэффициент mгн для отношения rк/a |
125 | 150 | 200 | 250 | 500 и более |
Сжатие и изгиб | Rс, Rи | 0,7 | 0,8 | 0,9 | 1 | 1 |
Растяжение | Rр | 0,5 | 0,6 | 0,7 | 0,8 | 1 |
Примечание. rк - радиус кривизны гнутого элемента; a - размер сечения одной изгибаемой доски или бруска в направлении радиуса кривизны. |
Таблица 1.33
| | ИС МЕГАНОРМ: примечание. Взамен ГОСТ 10632-77 Постановлением Госстандарта СССР от 02.02.1989 N 13 с 01.01.1990 введен в действие ГОСТ 10632-89. | |
Плиты древесностружечные (ГОСТ 10632-77)
П-1 - многослойные, трехслойные;
П-2 - трехслойные, однослойные;
П-3 - трехслойные
Характеристика | П-1 | П-2 | П-3 |
группа |
А | Б |
Влажность, % | 8 +/- 2 | |
Водопоглощение, % | Не нормируется | 15 |
Разбухание, %, не более | | | | |
при обычной водостойкости | 20 | 20 | 30 | - |
при повышенной | - | 15 | 25 | 5 |
Предел прочности при растяжении, кгс/см2, не менее | 3,43 | 2,95 | 3,92 |
Предел прочности при статическом изгибе, кгс/см 2 для  : | | | |
от 10 до 14 | 196 | 156,9 | - |
от 15 до 19 | 176,5 | 147,1 | 245,1 |
от 20 мм | 166,7 | 133,7 | 245,1 |
Твердость, кгс/см2 | - | - | 294 |
Плотность, кг/см3 | 600 - 800 | 550 - 750 | 750 - 850 |
Таблица 1.34
| | ИС МЕГАНОРМ: примечание. Взамен ГОСТ 4598-74 Постановлением Госстроя СССР от 19.12.1985 N 240 с 31.01.1986 введен в действие ГОСТ 4598-86. | |
Плиты древесноволокнистые (ГОСТ 4598-74)
ПТ - полутвердые, Т - твердые, СТ - сверхтвердые
Характеристика | ПТ-100 | Т-350 | Т-400 | СТ-500 |
Плотность, кг/м3 | 400 - 800 | не менее 850 | 950 |
Влажность, % | не более 12 | | 8 +/- 2 | |
Водопоглощение, %, за 24 ч | 40 | 30 | 30 | 15 |
Набухание за 24 ч, %, не более | - | 20 | - | 12 |
Предел прочности при изгибе, кгс/см2 | 100 | 350 | 400 | 500 |
Примечание. СТ-500 по согласованию поставляются огрунтованными или окрашенными, толщина плит ПТ-100 - 6, 8, 12 мм; Т-350 - 2,5 мм; Т-400 - 3,2 мм; СТ-500 - 4, 5, 6 мм. |
Таблица 1.35
Текстолит конструкционный
Марка | Толщина, мм | Марка | Толщина, мм |
номинальная | предельное отклонение | номинальная | предельное отклонение |
ПТК | 1,0 | +/- 0,10 | ПТК | 30,0 | +/- 1,50 |
2,5 | +/- 0,25 | 38,0 | +/- 2,00 |
5,0 | +/- 0,50 | 45,0 | +/- 2,50 |
10,0 | +/- 0,70 | 60,0 | +/- 3,00 |
15,0 | +/- 0,80 | 70,0 | +/- 3,00 |
20,0 | +/- 1,00 | | |
Таблица 1.36
Марка | Толщина, мм | Марка | Толщина, мм |
номинальная | предельное отклонение | номинальная | предельное отклонение |
I | 2 | +/- 0,23 | IV | 6 | +/- 0,43 |
3 | +/- 0,28 | 8 | +/- 0,50 |
4 | +/- 0,33 | 10 | +/- 0,65 |
| | 15 | +/- 1,00 |
| | 20 | +/- 1,10 |
| | 30 | +/- 1,20 |
Таблица 1.37
Номинальная толщина, мм | Предельное отклонение для марок, мм | Номинальная толщина, мм | Предельное отклонение для марок, мм |
А | Б | А | Б |
1 | +/- 0,15 | 15 | +/- 1,5 |
2 | +/- 0,23 | 20 | +/- 2,0 |
3 | +/- 0,35 | 25 | |
4 | +/- 0,40 | 30 | |
6 | +/- 0,63 | 35 | +/- 3,0 |
8 | +/- 0,68 | 40 | |
10 | +/- 0,90 | 45 | +/- 3,3 |
12 | +/- 1,10 | 50 | |
Таблица 1.38
| | ИС МЕГАНОРМ: примечание. Сноска дана в соответствии с официальным текстом документа. | |
| | ИС МЕГАНОРМ: примечание. Взамен ГОСТ 9573-72 с 01.07.1982 введен в действие ГОСТ 9573-82 (ИУС "Государственные стандарты", N 6, 1982). Взамен ГОСТ 9573-82 Постановлением Минстроя России от 06.12.1996 N 18-90 с 01.04.1997 введен в действие ГОСТ 9573-96. | |
Плиты и маты теплоизоляционные из минеральной ваты
на синтетическом вяжущем (ГОСТ 9573-72) <*>
Наименование | Размеры, мм |
длина | ширина | толщина |
Плиты | 1000 | 500, 1000 | 40, 50, 60 |
Маты | 2000, 3000, 4000 | 500, 1000 | 70, 80, 90, 100 |
Таблица 1.39
Характеристики плит и матов
Характеристики | Полужесткие | Жесткие |
Плотность, кг/м3 | 100 - 125 | 150 |
Коэффициент теплопроводности при t° = 25 +/- 5 °C, ккал/(м·ч·град) | 0,042 | 0,044 |
Таблица 1.40
Плиты теплоизоляционные жесткие из минеральной ваты
Характеристики | Показатели |
Плотность, кг/м3 | 200 - 300 |
Коэффициент теплопроводности при t° = 25 +/- 5 °C, ккал/(м·ч·град) | 0,05 - 0,065 |
Таблица 1.41
Классификация и свойства полимерных
отделочных строительных материалов
Материал или изделие | Плотность, кг/м3 | Коэффициент теплопроводности, ккал/(м·ч·град) | Размеры, мм | Предел прочности при 20 °C, кгс/см2 | Гибкость на стержне диаметром, мм | Упругость | Модуль упругости, кгс/см2 | Твердость, мм | Водопоглощение, %, не более | Испарение, г/см2 | Масса 1 м2, кг |
длина | ширина | толщина |
1 | 2 | 3 | 4 | 5 | 6 | 7 | 8 | 9 | 10 | 11 | 12 | 13 | 14 |
1. Пленка ПВХ Пластифицированная техническая | 1200 - 1350 | 0,17 0,20 | 20000 | не менее 1200 | 0,15 +/- 0,003 | При разрыве вдоль - 140; поперек - 120 | | | | | Влагопроницаемость за сутки не более 1,5 | - | 0,3 - 0,45 |
2. Пластики слоистые | 1400 | 0,2 - 0,3 | 1000 - 3000 | (600 - 1600) +/- 5 | (1 - 5) +/- 10% | При изгибе 1000 | - | - | (10 - 15) x 104 | - | 4,0 | - | 4,2 |
3. Пластики древесно-слоистые | 1300 | 0,15 - 0,20 | 700 - 5600 | 800 - 1200 | 1,0 - 2,5 | При растяжении - 1100 - 1400; при изгибе - 1500 - 1800 | - | - | - | - | - | - | - |
4. Водостойкая (бакелизированная) фанера | 1000 - 1500 | - | 1400 - 4800 | 1500 - 5600 | 5,6 - 16,0 | При растяжении - 1100; при изгибе - 650 - 800 | - | 20000 - 22000 | - | 10 - 15 | - | 3,15 |
5. Листы из непластифицированного ПВХ (винипласт листовой) | 1300 - 1700 | 0,2 - 0,63 | 1300 | 500 | (1,5 - 3,0) +/- 0,1 | При растяжении - 400 - 600 | - | - | - | - | - | - | - |
6. Полистирольные листы | 1050 - 1070 | 0,08 - 0,13 | - | - | - | При растяжении - 300 - 350; при изгибе - 550 - 600 | - | - | - | - | - | - | - |
7. Вата минеральная марки: | | | Средний диаметр волокна, мм: | | | | | | Влажность не более 2% | - | - |
75 | 75 | 0,036 | 6 | - | - | | | | | | |
100 | 100 | 0,038 | 8 | - | - | | | | | | |
125 | 125 | 0,040 | 8 | - | - | | | | | | |
150 | 150 | 0,042 | 8 | - | - | | | | | | |
8. Изделия теплоизоляционные из стеклянного волокна | | | | | | | | | | | | | |
9. Плиты полужесткие технические оклеенные | 75 | 0,04 | 10000 +/- 10 | (500 - 1500) +/- 25 | (30 - 80) +/- 5 | - | - | - | - | - | - | - | - |
10. Мат строительный | 50 - 35 | 0,04 | 1000 +/- 10 | (500 - 1500) +/- 25 | (30 - 80) +/- 5 | - | - | - | - | - | - | - | - |
11. Плиты минераловатные на синтетическом связующем полужесткие ПП | 150 | 0,044 | (500 - 1000) +/- 10 | (450 - 500) +/- 10 | (30 - 70) +/- 5 | При разрыве 0,06 | - | - | - | - | - | - | - |
12. Плиты жесткие из минеральной ваты на битумной связке | | | | | | | | | | | | | |
О - обыкновенные | 250 - 400 | 0,055 - 0,07 | - | 500 +/- 5 | (40 - 60) +/- 3 | При сжатии 1,1 - 1,4 | - | - | - | - | - | - | - |
С - специальные | 250 - 400 | 0,055 - 0,07 | 1000 +/- 10 | 500 +/- 5 | (40 - 60) +/- 3 | При сжатии 1,1 - 1,8 | - | - | - | - | - | - | - |
13. Плиты теплоизоляционные из полистирола | 20 - 40 | 0,035 - 0,033 | (900 - 2000) +/- 5 | (500 - 1000) +/- 5 | 25 - 100 | При сжатии 0,7 - 1,8 | - | - | - | - | 5,0 - 2,0 | - | - |
14. Минора | 10 - 20 | 0,022 - 0,035 | 460 | 200 | 100 | При сжатии не менее 0,25 | - | - | - | - | 12,0 | - | - |
15. Пенопласты на основе: | | | | | | | | | | | | | |
поливинилхлорида | 70 - 270 | 0,03 - 0,04 | 200 - 750 | 200 - 750 | 45 - 70 | При сжатии 4 - 8 | - | - | 800 | - | 0,3 | - | - |
полиуретанов | 30 - 350 | 0,021 - 0,049 | - | - | - | При сжатии 2,0 - 23,0 | - | - | - | - | 0,1 - 0,3 | - | - |
фенолформальдегидных смол | 60 - 210 | 0,04 - 0,063 | - | - | - | При сжатии 2,0 - 23,0; при изгибе 150 - 29,0 | - | - | - | - | 0,1 - 0,3 | - | - |
ХАРАКТЕРИСТИКА КЛЕЕВ, СКЛЕИВАЕМЫХ МАТЕРИАЛОВ И СОЕДИНЕНИЙ.
ТЕХНОЛОГИЧЕСКИЕ ПАРАМЕТРЫ СКЛЕИВАНИЯ
Таблица 2.1
Характеристики клеев
Клеи | Временное сопротивление растяжению, кгс/см2 | Модуль упругости, кгс/см2 | Модуль сдвига, кгс/см2 | Коэффициент Пуассона | Примечание |
Эпоксидные (наполнитель - цемент 200 мас. ч.) | | | | | |
ЭПЦ-1 | 280 | 64000 | 28000 | 0,15 | |
К-153 | 250 | 51000 | 21000 | 0,25 | |
К-139 | 230 | 31000 | 12000 | 0,25 | |
К-147 | 120 | 18000 | 6600 | 0,35 | |
К-156 | 280 | 59000 | 26000 | 0,15 | |
К-160 | 230 | 60000 | 26000 | 0,15 | |
Фенольные, резорциновые и мочевидные (без наполнителя) | | | | | |
КБ-3 | 300 | 110000 | 42000 | 0,20 | |
ФР-12 | 210 | 120000 | 46000 | 0,15 | |
ДТ-1 | 70 | 45000 | 18000 | 0,30 | |
ДТ-3 | 40 | 2500 | 900 | 0,35 | |
УКС и М-19-62 | 135 | 85000 | 37000 | 0,15 | |
Полиэфирные ПН-1 (отвердитель с термообработкой) | 420 | 64000 | 29000 | 0,10 | |
Каучуковые: | | | | | Удлинение в % |
88-Н | 100 | 490 | 160 | 0,5 | 200 |
88-НП | 100 | 340 | 110 | | 300 |
| 110 | 250 | 80 | | 500 |
78-БЦС | 90 | 540 | 180 | 0,5 | 200 |
| 95 | 380 | 120 | | 300 |
| 120 | 260 | 90 | | 500 |
1. СОСТАВЫ КЛЕЕВ
Таблица 2.2
Эпоксидные клеи
Компоненты клея | ГОСТ или ТУ | Составы для клея, мас. ч. |
ЭПЦ-1 | К-163 | К-139 | К-147 | К-156 | К-160 |
| | ИС МЕГАНОРМ: примечание. Взамен ГОСТ 10587-76 Постановлением Госстандарта СССР от 06.02.1984 N 417 с 01.01.1985 введен в действие ГОСТ 10587-84. | |
|
Эпоксидная смола ЭД-5 | ГОСТ 10587-76 | 100 | 100 | 100 | 100 | 100 | 100 |
Полиэфир МГФ-9 | ТУ БУ-17-56 | 20 | 10 | 20 | 20 | - | - |
Низковязкий тиокол НВБ-2 | | - | 20 | - | - | - | - |
Жидкий карбоксилатный каучук СКН-26-1 | МРТУ 6-04-180-64 | - | - | 20 | 70 | - | - |
Диглицидиловый эфир ДЭГ-1 | МРТУ 6-03-1223-69 | - | - | - | - | 20 | - |
Дибутилфталат | - | - | - | - | - | - | 20 |
Полиэтиленполиамин | СТУ 49-2529-62 | 15 | 15 | 15 | 17 | 13 | 13 |
Сложные амины | ТУ 6-01-92-66 | 20 | 20 | - | - | 20 | - |
Наполнитель: цемент или вибромолотый кварцевый песок | - | 200 | 200 | 200 | 200 | 200 | 200 |
Таблица 2.3
Фенольные и резорциновые клеи
Компоненты клея | ГОСТ или ТУ | Клеи, мас. ч. |
КБ-3 | ФР-12 | ДТ-1 | ДТ-3 |
Фенолформальдегидная смола Б | ТУ 6-05-1440-71 | 100 | - | - | - |
Резорциноформальдегидная смола ФР-12 | МРТУ 6-05-1202-69 | - | 100 | - | - |
Алкилрезорциновая смола ДФК-1А | ВТУ ЭСНХ | - | - | 100 | 100 |
Низковязкий тиокол НВБ-2 | | - | - | 40 | 100 |
| | ИС МЕГАНОРМ: примечание. Взамен ГОСТ 1625-75 Постановлением Госстандарта СССР от 13.12.1989 N 3704 с 01.01.1991 введен в действие ГОСТ 1625-89. | |
|
Формалин технический (36%) | ГОСТ 1625-75 | - | - | 20 | 20 |
Параформальдегид | МРТУ 6-05-930-65 | - | 16 | - | - |
Керосиновый контакт Петрова <1> | - | 20 | - | - | - |
Маршалит | - | - | - | 200 | 200 |
Древесная мука | - | 2 - 5 | 2 - 5 | - | - |
-------------------------------- <1> Количество контакта Петрова рассчитано для среднего кислотного числа a = 80. При значениях кислотного числа, отличающихся от среднего более чем на 10%, количество контакта Петрова изменяют пропорционально отношению 80/ a. |
Таблица 2.4
Полиэфирные клеи
Компоненты клея | ГОСТ или ТУ | Мас. ч. ПН-1 |
Полиэфирная смола ПН-1 | МРТУ 6-05-1082-67 | 100 |
Гипериз | ТУ МХП БУ-11-53 | 3 - 4 |
Нафтенат кобальта (10%-ный раствор в стироле) | МРТУ 6-05-1075-67 | 8 - 10 |
Таблица 2.5
Марка клеев | 88-Н | 88-НП | 78-БЦС |
ГОСТ или ТУ | МРТУ 38-5-880-66 | МРТУ 38-5-6022-65 | ТУ 38-5-227-67 |
-------------------------------- <1> Клеи поставляются потребителю в готовом виде. |
Таблица 2.6
Карбамидные клеи
Компоненты клея | ГОСТ или ТУ | Клеи, мас. ч. |
УКС | М-19-62 | М-70 |
Мочевино-формальдегидные смолы | | | | |
| | ИС МЕГАНОРМ: примечание. Взамен ГОСТ 14231-78 Постановлением Госстандарта СССР от 26.04.1988 N 1137 с 01.07.1989 введен в действие ГОСТ 14231-88. | |
|
УКС и М-19-62 ------------------ М-70 | ГОСТ 14231-78 -------------------- МРТУ 13-06-9-67 | 100 ----- - | 100 ----- - | - ----- 100 |
Щавелевая кислота (10%-ный раствор) | - | 8 - 12 | 8 - 12 | - |
Хлористый аммоний | ГОСТ 2210-73 | 0,5 - 1 | 0,5 - 1 | 0,3 - 0,5 |
Таблица 2.7
Временные и нормативные сопротивления клеевых
соединений металлов (алюминий с алюминием)
Напряженное состояние | Клеи эпоксидные |
ЭПЦ-1 | К-153 | К-139 | К-147 | К-156 | К-160 |
Rв | Rн | Rв | Rн | Rв | Rн | Rв | Rн | Rв | Rн | Rв | Rн |
Сдвиг при сжатии, кгс/см2 | 360 | 270 | 350 | 270 | 290 | 230 | 250 | 150 | 380 | 215 | 310 | - |
Сдвиг при кручении, кгс/см2 | 120 | 75 | 105 | 80 | 100 | 60 | 145 | 120 | 105 | 75 | 90 | 65 |
Сдвиг при растяжении, кгс/см2 | 500 | 400 | 490 | 430 | 440 | 360 | 250 | 220 | 520 | 380 | 490 | 355 |
Неравномерный отрыв <1>, кгс/см | 3,6 ----- 0,56 | - | 4,8 ----- 1,05 | - | 4,6 ----- 1,3 | - | 10 ----- 1,05 | - | 3,75 ----- 0,6 | - | 1,8 ----- 0,25 | - |
-------------------------------- <1> В числителе - начальное значение прочности, в знаменателе - установившееся значение прочности. |
Таблица 2.8
Характеристики склеиваемых материалов
Материал | Марки | ГОСТ или ТУ | Физико-механические показатели |
E, кг/см2 |  , 1/°C | |
Алюминиевый сплав | АМгП | - | 700 000 | 24·10-6 | 0,3 |
| | ИС МЕГАНОРМ: примечание. Взамен ГОСТ 380-71 в части марок и химического состава сталей Постановлением Госстандарта СССР от 30.03.88 N 924 с 01.01.1990 введен в действие ГОСТ 380-88. Взамен ГОСТ 380-88 Постановлением Госстандарта России от 02.06.1997 N 205 с 01.01.1998 введен в действие ГОСТ 380-94. | |
|
Сталь | Ст3 | ГОСТ 380-71* | 2 000 000 | 11,5·10-6 | 0,24 |
" | Ст45 | - | 2 100 000 | 12·10-6 | 0,28 |
Асбестоцемент листовой | - | - | 140 000 | 9·10-6 | 0,2 |
| | ИС МЕГАНОРМ: примечание. Взамен ГОСТ 8486-66 Постановлением Госстандарта СССР от 30.09.1986 N 2933 с 01.01.1988 введен в действие ГОСТ 8486-86. | |
|
Древесина (сосна) | - | ГОСТ 8486-66 | 100 000 | - | 0,41 - 0,49 |
Древесина модифицированная (береза): | | | | | |
полиметилметакрилатом (35%-ный привес) | - | - | 165 000 | - | - |
стиролом (35%-ный привес) | - | - | 145 000 | - | - |
Стеклопластик (полиэфирный) | ПН-1 | - | 60 000 | - | 0,3 |
Стеклопластик | КАСТ-В | | 240 000 | - | 0,3 |
Пенопласт | ПС-1 | СТУ 9-91-61 | 750 | - | - |
| | ИС МЕГАНОРМ: примечание. Взамен ГОСТ 4598-74 Постановлением Госстроя СССР от 19.12.1985 N 240 с 31.01.1986 введен в действие ГОСТ 4598-86. | |
|
Древесно-волокнистые плиты твердые | ДВП | ГОСТ 4598-74 | 30 000 | - | 0,10 |
Таблица 2.9
Расчетные сопротивления клеевых соединений алюминия
Напряженное состояние | Эпоксидные клеи |
ЭПЦ-1 | К-153 |
Сдвиг при сжатии, кгс/см2 | 90 | 115 |
Сдвиг при растяжении, кгс/см2 | 30 | 35 |
Сдвиг при кручении, кгс/см2 | 155 | 155 |
Таблица 2.10
Расчетные сопротивления клеевых соединений асбестоцемента
Напряженное состояние | Клеи |
эпоксидный | резорциновый |
ЭПЦ-1, К-153 | ДТ-1 |
Сдвиг при сжатии, кгс/см2 | 25 | 20 |
Равномерный отрыв, кгс/см2 | 5 | 5 |
Таблица 2.11
Расчетные сопротивления клеевых
соединений древесины и стеклопластика
Склеиваемые материалы | Клеи |
фенольный КБ-3 | резорциновый ФР-12 | полиэфирный ПН-1 |
Древесина (сосна) | 20 | 20 | - |
Стеклопластик полиэфирный | - | - | 35 |
Стеклопластик КАСТ-В | 55 | - | 40 |
Таблица 2.12
Расчетные сопротивления клеевых соединений алюминия
с пенопластом и древесно-волокнистыми плитами
Напряженное состояние | Каучуковые клеи |
88-Н, 88-НП | 78-БЦС |
Сдвиг при сжатии, алюминий с ДВП, кгс/см2 | 6 | 7 |
То же, алюминий с пенопластом ПС-1, кгс/см2 | 1,8 | 2,2 |
Равномерный отрыв, алюминий с пенопластом ПС-1, кгс/см2 | 2 | 2 |
Таблица 2.13
Временные и нормативные сопротивления
клеевых соединений древесины и стеклопластика
Склеиваемые материалы | Сдвиг при сжатии, кгс/см2 |
Клеи |
фенольный КБ-3 | резорциновый ФР-12 | карбамидные УКС, М-19-62, М-70 | полиэфирный ПН-1 |
Rв | Rн | Rв | Rн | Rв | Rн | Rв | Rн |
Древесина (сосна) | 80 | 40 | 80 | 40 | 80 | 40 | - |
Модифицированная полимерами древесина <1> | 160 | 90 | 140 | 80 | - | - |
Стеклопластик: полиэфирный КАСТ-В | - | - | - | 80 | 65 |
140 | 110 | - | - | 100 | 60 |
-------------------------------- <1> Модификация древесины осины и березы полиметилметакрилатом, полистиролом, полиэфирами и тому подобными полимерами. |
Таблица 2.14
Модуль сдвига клеевых соединений <1>
Клеи эпоксидные | ЭПЦ-1 | К-153 | К-139 | К-147 | К-156 | К-160 |
Модуль сдвига, кгс/см2 | 13000 | 11000 | 8000 | 3000 | 12000 | 12000 |
-------------------------------- <1> Безотносительно к склеиваемым материалам. |
Таблица 2.15
Kдл клеевых соединений алюминия
Клеи | Kдл на сдвиг при |
растяжении | сжатии | кручении |
ЭПЦ-1 | 0,45 | 0,4 | 0,47 |
К-153 | 0,5 | 0,55 | 0,43 |
Таблица 2.16
Kдл клеевых соединений асбестоцемента
Напряженное состояние | Kдл при клеях |
| резорциновом |
ЭПЦ-1 | К-153 | ДТ-1 |
Сдвиг при сжатии | 0,6 | 0,6 | 0,6 |
Равномерный отрыв | 0,4 | 0,4 | 0,4 |
-------------------------------- <1> Длительная прочность клеевых соединений асбестоцемента на эпоксидных клеях определяется длительной прочностью асбестоцемента. |
Таблица 2.17
Kдл клеевых соединений древесины и стеклопластика
Материалы | Напряженное состояние | Клеи | Kдл |
Древесина | Сдвиг при сжатии | КБ-3 | 0,60 |
То же | То же | ФР-12 | 0,60 |
Стеклопластик: | | | |
полиэфирный | Сдвиг при растяжении | ПН-1 | 0,65 |
КАСТ-В | Сдвиг при сжатии | КБ-3 | 0,6 |
Таблица 2.18
Kдл клеевых соединений алюминия с пенопластом
и древесноволокнистыми плитами
Напряженное состояние | Kдл при каучуковых клеях |
88-Н, 88-НП | 78-БЦС |
Сдвиг при сжатии, алюминий с ДВП, кгс/см2 | 0,17 | 0,17 |
Сдвиг при сжатии, алюминий с пенопластом ПС-1, кгс/см2 | 0,3 | 0,27 |
Равномерный отрыв, алюминий с пенопластом ПС-1, кгс/см2 | 0,25 | 0,25 |
Таблица 2.19
Технологические параметры процесса склеивания
при использовании различных клеев
Параметры процесса | Казеиновый | К-17 | На основе смолы М-70 | ВИАМ-Б-3 | N 88 | Серии БФ | Полиэфирные | Эпоксидные |
Температура производственных помещений, °C | Не ниже 12 | 15 - 18 | Не ниже 15 | Не выше 16 | 15 - 20 |
Относительная влажность воздуха в помещении, % | Не выше 75 | 60 - 70 | Не выше 65 | Не выше 65 | 60 - 75 | 60 - 70 | 60 - 75 | 60 - 75 |
Время подсыхания клеев на склеиваемых поверхностях, мин | 4 - 6 | 6 - 12 | 10 - 11 | 4 - 5 | 10 - 20 | 10 - 12 | 2 - 20 | 2 - 20 |
Время с момента соединения склеиваемых деталей до наложения давления, мин | 10 - 15 | 5 - 6 | 2 - 5 | 10 - 12 | 10 | 16 - 20 | до 20 | до 20 |
Удельное давление при склеивании, кгс/см2 | 3 - 5 | 1 - 3 | 3 - 9 | 3 - 5 | 3 - 5 | 2 - 4 | 2 - 3 | 2 - 3 |
Температура плит пресса при склеивании, °C | 15 | 15 - 20 | 20 - 30 | 20 | 20 - 30 | 30 - 40 | 20 - 140 | 150 - 100 |
Выдержка в прессе, мин | 180 - 240 | 360 - 600 | 50 - 60 | 480 | 600 - 720 | 2800 | 10 - 3000 | 24 - 3000 |
Выдержка склеенных деталей на складе, ч | 12 - 16 | 20 | 24 | 20 | 28 - 36 | 20 | 24 | 24 |
Температура склада, °C | 15 | 15 | 25 - 30 | 20 | 20 | 15 - 20 | 10 - 20 | 15 - 20 |
СПРАВОЧНЫЕ МАТЕРИАЛЫ ДЛЯ РАСЧЕТА (МОМЕНТЫ СОПРОТИВЛЕНИЯ,
ИНЕРЦИИ, ОПОРНЫЕ И ПРОЛЕТНЫЕ МОМЕНТЫ НЕКОТОРЫХ
ХАРАКТЕРНЫХ СЕЧЕНИЙ И СОЧЕТАНИЙ НАГРУЗОК)
Таблица 3.1
Момент инерции, момент сопротивления и радиус инерции
Сечение | I, см4 |  , см 3 |  , см |
| | | |
| | | |
| | | |
| | | |
| | | |
Продолжение прил. 3
Сечение | I, см4 |  , см 3 |  , см |
| | | |
| | | - |
| | | |
| |
Таблица 3.2
Сечения | Моменты | Сечения | Моменты |
| | | при   , при  |
| где  | |  при  , где   при b = c |
| M = P·a | | |
| | | |
| | | |
| | |  при x = 0,58 l |
Таблица 3.3
Консольные балки
Сечения | Моменты |
| M = P·a  при a < x <  при x = a |
| |
| |
| |
Таблица 3.4
Балки с одним заделанным концом
Сечения | Моменты | Сечения | Моменты |
| | | |
| | | |
| | | |
| |
Таблица 3.5
Балки с заделанными концами
Сечения | Моменты | Сечения | Моменты |
| | | |
| |
| |
| |
| |
| |
а) моменты для неразрезных равнопролетных балок
M = kql2 и M = kPl,
где k - табличный коэффициент;
q - равномерно распределенная нагрузка;
P - сосредоточенный груз;
l - расчетный пролет.
Расчетная схема | Коэффициент k |
пролетный | опорный |
M1 | M2 | M3 | M4 | MB | MC | MD |
| +0,070 | +0,070 | - | - | -0,125 | - | - |
+0,096 | -0,025 | - | - | -0,063 | - | - |
| +0,156 | +0,156 | - | - | -0,188 | - | - |
+0,203 | -0,047 | - | - | -0,094 | - | - |
| +0,080 | + 0,025 | - | - | -0,100 | -0,100 | - |
| +0,175 | -0,100 | - | - | -0,150 | -0,150 | - |
| +0,077 | +0,036 | +0,036 | +0,077 | -0,107 | -0,071 | -0,107 |
Продолжение табл. 3.6
б) моменты для неразрезных равнопролетных балок
M = kql2 и M = kPl,
где k - табличный коэффициент;
q - равномерно распределенная нагрузка;
P - сосредоточенный груз;
l - расчетный пролет.
Расчетная схема | Коэффициент k |
пролетный | опорный |
M1 | M2 | M3 | M4 | MB | MC | MD | ME |
| +0,169 | +0,116 | +0,116 | -0,169 | -0,161 | -0,107 | -0,161 | |
| +0,078 | +0,033 | +0,046 | | -0,105 | -0,079 | -0,079 | -0,105 |
| +0,171 | +0,112 | +0,132 | | -0,158 | -0,118 | -0,118 | -0,158 |
Таблица 3.7
Моменты в неразрезной балке с двумя неравными пролетами

;
M =
kql2
| Значения коэффициента k |
Загружен lmax и lmin |
опорный | пролетный | пролетный |
1,0 | -0,125 | + 0,070 | +0,070 |
1,2 | -0,155 | + 0,111 | +0,059 |
1,5 | -0,219 | +0,183 | +0,040 |
2,0 | -0,375 | +0,530 | +0,008 |
3,0 | -0,875 | +0,73 | Область отрицательных моментов |
Таблица 3.8
Моменты для балки с тремя неравными пролетами
т | k1/k2 при n, равном |
0,5 | 1,0 | 1,2 | 1,5 | 2,0 |
0,5 | -0,070 | -0,057 | -0,046 | -0,022 | +0,033 |
-0,072 | -0,111 | -0,145 | -0,214 | -0,381 |
1,0 | -0,111 | -0,100 | -0,091 | -0,074 | -0,033 |
-0,057 | -0,087 | -0,134 | -0,204 | -0,370 |
1,2 | -0,145 | -0,134 | -0,126 | -0,110 | -0,073 |
-0,046 | -0,091 | -0,126 | -0,197 | -0,363 |
1,5 | -0,214 | -0,204 | -0,197 | -0,182 | -0,149 |
-0,022 | -0,059 | -0,110 | -0,182 | -0,350 |
2,0 | -0,380 | -0,370 | -0,363 | -0,350 | -0,327 |
+0,033 | -0,033 | -0,073 | -0,149 | -0,321 |
Таблица 3.9
Эквивалентная по опорному моменту нагрузки
Сечения | Моменты | Сечения | Моменты |
| | | |
| | | |
| | |  ;  ; |
| |
Примечание. Для несимметричных нагрузок приведены две величины. При нагрузке левого пролета расчет ведется по qR, правого - по qL. При загрузке второго пролета расчет ведется по qR, причем в правом пролете принята фиктивная нагрузка  , для третьего пролета четырехпролетной балки принимаем qL, в четвертом фиктивная  и т.д. |
Таблица 3.10
| | | |
| |
| | | | | | | | |
0,50 | 169 | 11 | 0,06 | 141 | 11 | 0,14 | 136 | 12 | 0,24 |
1,00 | 27 | 27 | 0,50 | 30 | 37 | 0,71 | 37 | 56 | 0,83 |
1,50 | 14 | 70 | 0,84 | 19 | 127 | 0,93 | 28 | 227 | 0,96 |
2,00 | 11 | 169 | 0,94 | 16 | 357 | 0,98 | 26 | 676 | 0,99 |
Продолжение табл. 3.10
Плиты опертые по контуру
| | | |
| | |
| | | | | | | | |
0,50 | 272 | 17 | 0,06 | 246 | 18 | 0,11 | 437 | 27 | 0,06 |
1,00 | 37 | 37 | 0,50 | 44 | 51 | 0,67 | 56 | 56 | 0,50 |
1,50 | 21 | 104 | 0,84 | 30 | 175 | 0,91 | 32 | 162 | 0,83 |
2,00 | 17 | 272 | 0,94 | 27 | 498 | 0,97 | 2? | 437 | 0,94 |
Примечание. Значения изгибающих моментов относятся к единице ширины средней полосы плиты шириной  и  . Для боковых полос момент инерции на единицу ширины уменьшается вдвое. Значения моментов приведены без учета пластических деформаций. |
1. Пример упрощенного расчета опалубки стен высотой 3 м, устанавливаемой поэлементно
При скорости бетонирования 4 м/ч
K1·
K2 = 1 максимальное боковое давление бетонной смеси составляет 4650 кгс/м
2 прил. 5: При расчете по несущей способности дополнительно учитывается нагрузка от сотрясений при выгрузке бетонной смеси в опалубку, равная 400 кгс/м
2.
Нагрузка от бокового давления бетонной смеси распределяется по высоте неравномерно (рис. 4.1):
Рис. 4.1
Заменяем ее на равномерно-распределенную нагрузку
(рис. 4.2) с

или принимаем расчетный момент, равный

(см.
прил. 3). При расчете по несущей способности нормативные нагрузки умножаются на коэффициент 1,3. Нагрузка с учетом коэффициента составит
q1 = 1,3·2325 = 3032 кгс/м
2. Суммарная нагрузка с учетом динамического влияния составит
q =
q1 +
q0 = 1,3 (2325 + 400) = 3552 кгс/м
2 (рис. 4.3). Примем схему опалубки с фанерной палубой толщиной 16 мм с горизонтально установленными деревянными ребрами жесткости и вертикально установленными брусками
(рис. 4.4). Фанерная палуба опирается на несколько ребер жесткости (промежуточных опор), максимальный момент принимаем по опорному равным
(прил. 3).
Принимаем полосу опалубки L по длине стены равную 1 м. Расчет по прочности ведется по формуле
Из этих условий по заданной толщине палубы определяем максимальный свободный пролет палубы или шаг установки вертикальных ребер Rиф = 16 МПа;
l = 44 см.
Проверим на скалывание
Проверим на прогиб
при y = l/400; l = 55,7 см.
Принимаем шаг установки горизонтальных ребер равным 35 см.
Каждое ребро будет удерживать полосу палубы шириной 0,35 м
q = 3552·0,35 = 1250 кгс/м.
Аналогично рассчитываем ребра жесткости. Задаваясь сечением, находим шаг установки вертикальных балок или при заданном шаге находим сечение ребра.
Собирая нагрузку на 1 тяж, находим сечение стяжек.
При установке двух тяжей по высоте и через 1,5 м по длине стены нагрузки на 1 тяж составят.
Нагрузку принимаем по площади эпюры давления
Верхние тяжи
P2 = 2·2650 = 5300 кгс.
Площадь стального тяжа
Диаметр круглого тяжа составит
2. Пример расчета опалубки при монтаже каркасными щитами
Для тех же условий рассмотрим клееный фанерный щит
(рис. 4.5) высотой 1,5 м, состоящий из фанеры толщиной 1,6 см и деревянных ребер сечением 10 x 2 см.
Момент сопротивления приведенного к фанере сечения
где y - расстояние от центра тяжести поперечного сечения щита до нижней грани обшивки
Приведенный момент инерции
Проверим на прочность. При установке щитов вертикально с горизонтально установленными схватками
(рис. 4.6) нагрузка по высоте щита составит
q = 1,3 (q0 + q1) = 1,3 (2325 + 400) = 3552 кгс/м2.
Рис. 4.6. Схема установки щитов
(вертикальная и горизонтальная)
Расстояние между опорами щита (схватками) l = 1,5 м
(здесь R - допустимые напряжения фанеры на растяжение).
Проверка на устойчивость сжатой палубы
где a - расстояние между ребрами, см;

- толщина фанеры, см.
Проверка на прогиб
что вполне удовлетворительно.
Проверка на скалывание древесины ребер каркаса и скалывание по клеевому шву между шпонами фанеры производится по формуле
здесь bрасч равно толщине ребер каркаса.
Схватка воспринимает нагрузку с полосы щита 1,5 м; q = 1,5 x 3552 = 5328 кгс·м. Задаваясь сечением, находим шаг установки тяжей или, задаваясь шагом тяжей, находим сечение схватки.
3. Расчет разборно-переставной опалубки типа "Монолит"
Рассмотрим щиты, показанные на
рис. 4.7,
4.8. Длина щитов
l = 1; 1,2; 1,5; 1,6 и 1,8 м; ширина
b = 0,3; 0,4; 0,5; 0,6 м
| | ИС МЕГАНОРМ: примечание. Сноска дана в соответствии с официальным текстом документа. | |
--------------------------------
<*> Расчет выполнен А.В. Гемерлингом, Р.А. Дубровской (ЦНИИСК).
Геометрические характеристики сечения
| | ИС МЕГАНОРМ: примечание. В официальном тексте документа, видимо, допущена опечатка: рисунок в на рисунке 4.7 отсутствует. | |
Рассмотрим щит, поперечное сечение которого показано на
рис. 4.7 в;
l = 1,8;
b = 0,5 м.
Для нахождения положения центра тяжести сечения выберем систему координат осей y1z1 с центром в точке 01. Расстояние от центра тяжести сечения до оси 01z1 находим
Момент инерции сечения определяется по формуле
| | ИС МЕГАНОРМ: примечание. В официальном тексте документа, видимо, допущена опечатка: рисунки в, б на рисунке 4.7 отсутствуют. | |
b | 0,3 | 0,4 | 0,5 | 0,6 |
J | 47,937 | 50,631 | 52,725 | 54,397 |
Wz | 9,29 | 9,524 | 9,697 | 9,83 |
l | 1,0 | 1,2 | 1,5 | 1,6 | 1,8 |
J | 82,78 | 85,225 | 88,14 | 88,955 | 90,415 |
W | 14,835 | 15,264 | 15,329 | 15,401 | 15,530 |
| | ИС МЕГАНОРМ: примечание. В официальном тексте документа, видимо, допущена опечатка: рисунок в на рисунке 4.8 отсутствует. | |
Рассмотрим щит, поперечное сечение которого приведено на
рис. 4.8,
в, для упрощения расчета сечение так, как показано на рис. 4.9.
Рис. 4.9
Расстояние от центра тяжести сечения до оси
Момент инерции сечения

.
Для продольного сечения щита
Пример расчета щитов
Схема панели показана на рис. 4.10.
Рис. 4.10
Допустим, максимальное боковое давление составляет 3 тс/м
2;
b = 30 см;
h = 1,2 м,
l - расстояние между схватками, равно 0,85 м. Схема нагрузки по высоте щита показана на
рис. 4.11:
что свидетельствует о большом запасе прочности.
Для щита с
b = 60 см

;

, что свидетельствует о большом запасе прочности.
Для расчета схваток определим поперечные реакции в двух- и трехпролетной балке.
Двухпролетная балка
Уравнение трех моментов в данном случае имеет вид
где

и

- фиктивные опорные реакции (
рис. 4.12,
а,
б,
в).
Тогда имеем
M1 = -0,0625ql2 - 0,125q0l2.
Поперечная сила в первом пролете на опоре
На опоре 1
На втором пролете на опоре 1
На опоре 2
Опорные реакции равны
R0 = 0,0210ql + 0,375q0l;
R1 = 0,625ql + 1,250q0l;
R2 = 0,3545ql + 0,375q0l.
Трехпролетная балка
Уравнение трех моментов в данном случае
Откуда получаем
M1 = -0,0222ql2 - 0,1q0l2;
M2 = -0,0778ql2 - 0,1q0l2.
Поперечная сила в первом пролете на опоре 0
На опоре 1
Во втором пролете на опоре 1
На опоре 2
В третьем пролете на опоре 2
Опорные реакции равны
R0 = 0,033ql + 0,4q0l;
R1 = 0,2994ql + 1,1q0l;
R2 = 0,7994ql + 1,1q0l;
R3 = 0,3672ql + 0,4q0l.
Расчет схваток
Сечение схваток (одинарных и двойных) показано на
рис. 4.13,
а,
б. При высоте опалубки 1,2 м нагрузка на схватку распределяется
Момент определяется как для многопролетной неразрезной балки с бесконечным числом пролетов (рис. 4.14).
Рис. 4.14
Опорные моменты - 0,83gl2; пролетные моменты - 0,042gl2;
поперечные силы - 0,5pl; опорные реакции - 1,0pl
Нагрузка при двух схватках собирается с полосы 60 см. При свободной длине схватки (шаг установки тяжей равен 2,5 м)
M = -0,083·0,312·60·2502 = 97 300 кгс/см2;
При установке вертикальных связей поверх схваток нагрузка на них определяется по реакции опор схваток
R = 0,625ql + 1,25q0l;
q = 1,3(0,625·3000 + 1,25·400);
M = -0,083ql2.
Рассмотрим схему опалубки на рис. 4.15.
Рис. 4.15. Схема опалубки
1 - схватка; 2 - связь жесткости; 3 - щит; 4 - болт,
соединяющий схватку со связью жесткости; b - стяжка
Шаг между вертикальными связями жесткости
b = 0,5; 1,0; 1,5; 2,0; 2,5; 3,0; 3,5; 4,0 м.
Шаг схваток a = 1; 1,5 м.
Момент в щите определяется
Пусть общая нагрузка q = 5400 кгс/м2;
при a = 1,5 и ширине щита 0,6 м
Поперечное сечение щита находим методом подбора из условия наступления предела текучести
Такому условию отвечает щит, поперечное сечение которого показано на рис. 4.16 с деревянной палубой толщиной 1,2 см и уголком 10 x 6,3 x 1.
Рис. 4.16
При a = 1 м
W = 19,28 см3. В этом случае подходит щит с деревянной палубой 1,2 см и уголком 7,5 x 5 x 0,6.
Нагрузка на схватку
qп = q + q0 = 1,3·7,5 + 1,3·0,4 = 0,976 + 0,052 =
= 1,03 кгс/см2.
Схватка рассчитывается как неразрезная многопролетная балка с бесконечным числом пролетов.
При a = 1,5 м момент равен с учетом реакции опор
M = 0,083(0,625·0,976 + 1,25·0,052)ab2 = 0,056ab2.
При a = 1 м с учетом реакций опор
qп = (0,7994·7,5 + 1,1·0,4)·1,3 = 0,837 кгс/см2;
M = -0,083·0,837ab2 = 0,06944ab2.
В
табл. 4.3 показаны величины моментов в схватках, в
табл. 4.4 - подобранный по сортаменту материал. Как видно, из условия массы
M2 опалубки наиболее рациональной является установка связей жесткости через 1,5 м и схватки через 1 м.
Таблица 4.3
a | Моменты в схватках, кгс см, при b |
0,5 | 1 | 1,5 | 2 | 2,5 | 3 | 3,5 | 4 |
1 | 17360 | 69440 | 156240 | 277760 | 434000 | 624960 | 850640 | 111104 |
1,5 | 21000 | 84000 | 189000 | 336000 | 525000 | 755000 | 1028000 | 134000 |
Таблица 4.4
при разном шаге схваток и связей (а, в)
Элементы | Характеристики при b |
0,5 | 1 | 1,5 | 2 | 2,5 | 3 | 3,5 | 4 |
1,0 | палуба | дерево 60 x 1,2 см |
каркас щита | |
схватки |  6,5 | | 6,5 | | N 10 | | N 14 | | N 18а |
вертик. связи |  N 10 |
масса, кг/м2 | 63 | 51 | 47 | 52 | 61 | 60 | 73 | 73 |
1,5 | палуба | 60 x 1,2 |
каркас щита | |
схватки |  6,5 | | 6,5 | | 8 | | 10 | | 12 | | 14 | | 18 |
вертик. связи |  6,5 |
масса, кг/м2 | 30 | 68 | 67 | 68 | 70 | 73 | 83 | 83 |
Расчет опалубки блока 3 x 3 м (рис. 4.17) без установки тяжей
Рис. 4.17. Опалубка конструкции в плане не более 3 x 3 м
а - деревянные щиты и схватки; б - металлические щиты
и схватки; в - комбинированные щиты (алюминий
и фанера, металл и фанера); 1 - щиты; 2 - схватки
горизонтальные; 3 - схватки вертикальные
Меняется шаг установки тяжей с целью подбора опалубки минимальной массы.
Рассматривается несколько вариантов опалубки:
1)
рис. 4.17,
а - из деревянных щитов и схваток;
2)
рис. 4.17,
б - из металлических щитов и схваток;
3)
4.17,
в - из комбинированных щитов с фанерной палубой и металлических схваток;
4)
рис. 4.17,
в - из комбинированных щитов с алюминиевым каркасом и фанерной палубой и алюминиевыми схватками (алюминий марки 1925Т

);
l1 = 3; 2,5 и 1,5 м;
q = 7,366 т/м
2 и
q2 = 5,58 т/м
2.
В зависимости от количества схваток расчетная схема принималась по табл. 4.5.
Таблица 4.5
Расчетные схемы | Максимальные моменты и поперечные силы |
| |
| MB = 0,125ph2 B = 1,25ph |
| MB = 0,1ph2 B = 1,1ph |
| M = 0,107ph2 B = 1,143ph |
| MB = 0,083ph2 B = 1,0ph |
Формулы для расчета моментов в щитах и схватках:
1. При количестве схваток n = 2:
для щитов

; для схваток

.
2. При n = 3:
для щитов

; для схваток

.
3. При n = 4:
для щитов
M = 0,1
qbh2; для схваток

.
4. При n = 5:
для щитов
M = 0,107
qbh2; для схваток

.
5. При n = 7:
для щитов
M = 0,083
qbh2; для схваток

.
6. При n = 11:
для щитов
M = 0,083
qbh2; для схваток

.
Как показывают расчеты, с увеличением ширины щитов увеличивается несущая способность опалубки, при этом масса опалубки при увеличении b с 30 до 60 см снижается в среднем на 10%. Несущая способность и жесткость деревянной опалубки увеличивается при росте отношения высоты бруса к ширине, масса опалубки при изменении этого отношения от 2 до 5 снижается на 30%.
Из конструктивных соображений это отношение принимается равным 2.
Результаты подсчетов приведены в табл. 4.6 -
4.8.
Таблица 4.6
Расчетные характеристики блока опалубки
3 x 3 x 3 м при различном количестве схваток n,
при ширине щита b = 60 (30) см
Опалубка | Масса опалубки, кг/м2 | Сечение |
схваток | каркаса щита |
Деревянная | | | |
n = 3 | 155 (163) | 38 x 38 | 7,5 x 1,5 (6 x 12) |
n = 7 | 103 (104) | 15,5 x 31 | 2,7 x 5,4 (2,1 x 4,2) |
n = 11 | 110 (109) | 13 x 26 | 1,8 x 3,6 (1,4 x 2,8) |
Металлическая | | | |
n = 3 | 113 (130) | 4  18 | 10 x 6,3 x 0,8 (7,5 x 5 x 0,8) |
n = 7 | 83 (86) | 2  14а | 4,5 x 2,8 x 0,3 (3,2 x 2 x 0,3) |
n = 11 | 95 (98) | 2  12 | 2,5 x 1,6 x 0,3 (2,5 x 1,6 x 0,3) |
Комбинированная (металл + фанерная палуба) | | | |
n = 3 | 106 (124) | 4  18 | 11 x 7 x 0,7 (7,5 x 5 x 0,8) |
n = 7 | 77 (79) | 2  14а | 3,2 x 2 x 0,4 (3,2 x 2 x 0,4) |
n = 11 | 89 (92) | 2  12 | 2,5 x 1,6 x 0,3 (2,5 x 1,6 x 0,3) |
То же (алюминий + фанерная палуба) | | | |
n = 3 | 56 (53) | 12 x 8 x 0,8 | 12,5 x 0,8 x 0,1 (8 x 4,5 x 0,7) |
n = 7 | 28 (29) | 8 x 4 x 0,4 | 4 x 3 x 0,3 (3 x 2 x 0,3) |
n = 11 | 38 (38) | 12 x 4 x 0,3 | 2,5 x 2 x 0,2 (2 x 1,5 x 0,15) |
Таблица 4.7
Расчетные характеристики блока опалубки размером
2 x 2 x 2 м при различном количестве схваток,
n при ширине щита b = 60 (30) см
Опалубка | Масса опалубки, кг/м2 | Сечение |
схваток | каркаса щита |
Деревянная | | | |
n = 3 | 94 (103) | 18,5 x 37 | 7,5 x 15 (6 x 12) |
n = 7 | 67 (68) | 12 x 24 | 2,7 x 5,4 (2,1 x 4,2) |
n = 11 | 70 (70) | 10 x 20 | 1,8 x 3,6 (1,4 x 2,8) |
Металлическая | | | |
n = 3 | 83 (100) | 2  18а | 10 x 6,3 x 0,8 (7,5 x 5 x 0,8) |
n = 7 | 61 (64) | 2  10 | 4,5 x 2,8 x 0,3 (3,2 x 2 x 0,3) |
n = 11 | 70 (73) | 2  8 | 2,5 x 1,6 x 0,3 |
Комбинированная (металл + фанерная палуба) | | | |
n = 3 | 76 (94) | 2  18а | 11 x 7 x 0,8 (7,5 x 5 x 0,8) |
n = 7 | 55 (57) | 2  10 | 3,2 x 2 x 0,4 (3,2 x 2 x 0,3) |
n = 11 | 64 (67) | 2  8 | 2,5 x 1,6 x 0,3 (2,5 x 1,6 x 0,3) |
То же (алюминий + фанерная палуба) | | | |
n = 3 | 42 (40) | 2  20 x 4 x 0,5 | 12,5 x 8 x 0,1 (8 x 4,5 x 0,7) |
n = 7 | 30 (31) | 2  7 x 4 x 0,5 | 4 x 3 x 0,3 (3 x 2 x 0,3) |
n = 11 | 31 (31) | 2  7 x 4 x 0,4 | 2,5 x 2 x 0,2 (2 x 1,5 x 0,15) |
Таблица 4.8
Расчетные характеристики блока опалубки размером
1,5 x 1,5 x 1,5 м при различном количестве
схваток n, при ширине щита b = 60 (30) см
Опалубка | Масса опалубки, кг/м2 | Сечение |
схваток | каркаса щита |
Деревянная | | | |
n = 3 | 77 (85) | 15,2 x 30,4 | 7,5 x 15 (6 x 12) |
n = 7 | 49 (50) | 9,8 x 19,6 | 2,7 x 5,4 (2,1 x 4,2) |
n = 11 | 51 | 8,2 x 16,4 | 1,8 x 3,6 (1,4 x 2,8) |
Металлическая | | | |
n = 3 | 73 (80) | 2  14 | 10 x 6,3 x 0,8 (7,5 x 5 x 0,8) |
n = 7 | 54 (56) | 2  8 | 4,5 x 2,8 x 0,3 (3,2 x 2 x 0,4) |
n = 11 | 62 (65) | 2  6,5 | 2,5 x 1,6 x 0,3 (2,5 x 1,6 x 0,3) |
Комбинированная (металл + фанерная палуба) | | | |
n = 3 | 66 (84) | 2  14 | 11 x 7 x 0,8 (7,5 x 5 x 0,8) |
n = 7 | 48 (50) | 2  8 | 3,2 x 2 x 0,4 (3,2 x 2 x 0,3) |
n = 11 | 56 (59) | 2  6,5 | 2,5 x 1,6 x 0,3 (2,5 x 1,6 x 0,3) |
То же (алюминий + фанерная палуба) | | | |
n = 3 | 42 (46) | 4  8 x 8 x 0,6 | 12,5 x 8 x 0,1 (8 x 4,5 x 0,7) |
n = 7 | 25 | 4  7 x 3 x 0,4 | 4 x 3 x 0,3 (3 x 2 x 0,3) |
n = 11 | 24 | 4  6 x 3 x 0,25 | 2,5 x 2 x 0,2 (2 x 1,5 x 0,15) |
Как видно из
табл. 4.6, применение деревянной опалубки при свободных пролетах 3 м (без установки тяжей) нецелесообразно. При установке трех схваток по высоте масса их составляет 260 кг, 7 схваток - 86 кг, сечения схваток составляют 38 x 38 и 15,5 x 31 см. В этом случае необходимо применение ферм шпренгельного типа.
Для всех рассмотренных вариантов оптимальной схемой является установка семи схваток по высоте блока с шагом 50 см.
Установка промежуточных тяжей позволяет значительно снизить массу опалубки.
При этом наиболее целесообразна равномерная установка тяжей по длине через 1 м.
4. Расчет крупнощитовой опалубки
Расчет вертикального щита на нагрузку, соответствующую скорости бетонирования v = 5 м/ч.
Боковое давление на опалубку составляет:
P = 2500(0,27v + 0,78)K1K2;
P = 2500(0,27·5 + 0,78)1·1 = 5330 кгс/м2,
где 1 - коэффициент консистенции;
1 - коэффициент температуры.
Интенсивность нагрузки с учетом коэффициента перегрузки 1,3 и ширины щита 1,2 м
q0 = 5330·1,2·1,3·1 = 8340 кгс/м.
Усилие при выгрузке бетона q1 равно
q1 = 1,2·1,3·400 = 625 кгс/м,
Текущие ординаты нагрузок
Схема нагрузок дана на
рис. 4.18 и
4.19 (где
1 - щит;
2 - эпюра давления;
3 - стяжные болты).
Определение реакций опор
VБ = q0·1,3 + q1·2,6 - 0,97q0 - 1,21q1 = 0,33q0 + 1,39q1 =
= 3628 кгс.
Уравнения для построения эпюры Q
при x1 = 0,6
Q1 = 0,6q1 + 0,0692q0 = 374 + 576 = 950 кгс;
при x2 = 0,6
Q2 = 0,6·625 + 1600·0,36 - 0,33·8340 - 1,39·625 = -2669 кгс.
при x2 = 2,1
Q2 = 1310 + 7000 - 2750 - 870 = 4690 кгс;
при x3 = 2,1
Q3 = 2,1·625 + 1600·4,42 - 3620 - 8857 = -4167 кгс;
при x3 = 2,6
Уравнения для построения эпюры M
при x1 = 0 M1 = 0;
при x1 = 0,6 M1 = -625·0,18 - 504·0,216 = -112 - 115 =
= -227 кгс·см;
при x2 = 0,6
M2 = -0,18q1 - 0,0138q0 = -113 - 115 = -228 кгс·см;
при x2 = 2,1
M2 = -2,21q1 - 0,593q0 + (0,33q0 + 1,39q1)(2,1 - 0,6) =
= -1390 - 4950 + 5430 = -910 кгс·см;
при x3 = 2,1,
M3 = 2,21q1 - 0,593q0 + (0,33q0 + 1,39q1)·1,5 = -910 кгс·см;
при x3 = 2,6
M3 = -1,13q0 + 1,122q0 + 3,38q1 - 3,385q1 = 0.
Определение абсциссы максимального изгибающего момента
625x + 1600x2 - 3620 = 0;
2,53x2 + x - 5,8 = 0;
2,53·1,332 + 1,33 - 5,8 = 0;
x = 1,33 м.
Максимальный момент
Потребный момент сопротивления в продольном направлении
Потребный момент сопротивления в поперечном направлении
(рис. 4.20)
Запас прочности
Определение максимального прогиба в пролете А - Б.
Уравнение упругой линии на втором участке
Решая уравнение прогибов для опор А и Б, где граничные условия y = 0, найдем постоянные интегрирования.
При x = 0,6
при x = 2,1
0 = -0,81·625 - 8340·0,131 + 915 + 2,1C - 0,6C;
1,5C = 691; C = 460; D = -270,4.
Определение максимального прогиба в пролете А - Б при x = 1,33
EJy = -0,129q1 - 0,0133q0 + 610·0,73 + 610 - 270,4;
EJy = -80,9 - 83,5 + 443 + 610 - 270,4;
Итак, прогиб больше стандартного прогиба.
Прогиб на свободном конце щита:
y = 0,0875 см;

, прогиб больше стандартного.
5. Расчет несущих балок комбинированной крупнощитовой опалубки перекрытия
Эскиз опалубки перекрытий представлен на рис. 4.23.
Рис. 4.23
Определение максимального изгибающего момента в пролете, равном 3,9 м, дано на рис. 4.24.
Рис. 4.24
Общая нагрузка на щит размером 4,5 x 6,3 м и толщиной перекрытия 200 мм равна
P = 2,5·0,2·4,5·6,3 = 14 100 кгс/см.
С учетом коэффициента перегрузки и динамических нагрузок имеем
P0 = 14 100·1,3 + 4,5·6,3·0,4 = 29 600 кгс/см.
Интенсивность нагрузки на 1 м длины
Схема нагрузок палубы стола представлена на рис. 4.25.
Рис. 4.25
Так как нагрузка равномерно распределена по длине щита, то для определения прогиба в пролете можно применить формулу прогиба
Решая относительно момента инерции, задавшись максимальным прогибом, равным 1/500l, получим:
Итак, потребный момент инерции получен.
Определим высоту профиля фермы (см. рис. 4.26).
Рис. 4.26
F = 4,98 см2; J = 19,9 см4; J0 = 2380 см4;
H = 15,05 + 4 = 19,05 см.
Высота профиля сечения фермы, исходя из прогиба < 1/500.
6. Расчет объемно-переставной опалубки
Конструктивные схемы секций опалубки показаны на
рис. 4.28 -
4.30.
Сечения элементов безрамного варианта: ширина секции - 1,5 м; подкосы и тяги установлены по ширине секции в два ряда (на расстоянии 0,275 м от краев). Винт и муфты расположены на середине ширины секции.
Щит показан на рис. 4.27 (
1,
2 - гнутый профиль;
3 - палуба). Стяжка - круг

;
подкос - труба

;
тяга - труба

;
винт - М48; балка -

(в плоскости подкосов
и тяг);
F = 10,9 см
2; все элементы - Ст3.
Рис. 4.27
Рис. 4.29
Рабочая нагрузка показана на рис. 4.31.
Рис. 4.31
Примечания: 1. При определении вертикальных нагрузок учесть собственную массу горизонтального щита, приняв нормативную нагрузку от его собственной массы p = 70 кгс/м2.
2. При определении величины нормативной нагрузки от бокового давления бетонной смеси принять

;
V =
H = 2,7 м;
K1 =
K2 = 1.
Нагрузка, возникшая при распалубке, показана на рис. 4.32.
Рис. 4.32
Сечения элементов рамного варианта: ширина секции - 1,5 м; рамы по ширине секции установлены в двух плоскостях (на расстоянии 0,11 м от краев).
Щит - (см. безрамный вариант).
Элементы стойки рамы -

;
ригель -

;
стяжка - круг

;
подкос - труба

;
затяжка - труба

; все элементы - Ст.3.
Статический расчет безрамного варианта секции.
На рис. 4.33 показана принципиальная обобщенная схема секции, находящейся под некоторой внешней нагрузкой Q (q0, q1, q2).
Рис. 4.33
Нижние опорные узлы конструкции предполагаем шарнирными со свободным смещением в горизонтальном направлении, так как секция свободно опирается на перекрытие и при отсутствии нагрузки q0 силы трения окажутся недостаточны для восприятия горизонтального смещения от боковых нагрузок q1 и q2.
При действии нагрузки q0 также целесообразно считать нижнюю опору горизонтально смещаемой, так как условия закрепления ее остаются неопределенными и при наличии на малом расстоянии a горизонтальной шарнирной опоры учет стесненности перемещения нижней опоры не даст сколь-нибудь заметной поправки в расчете. Кроме того, считая нижнюю опору свободно смещаемой в горизонтальном направлении, получаем меньшую степень статической неопределимости расчетной схемы секции, что идет несколько в запас ее прочности.
При сделанных предположениях конструкция секции представляет собой трижды статически неопределенную систему.
В качестве основной системы принимаем статически определимую и геометрически неизменяемую систему с тремя лишними неизвестными x1, x2 и x3, определяемыми из условия совместности перемещений.
Внешние воздействия заменяются эквивалентной системой сосредоточенных сил P1, P2, P3 и внутренними изгибающими моментами в контурных элементах секции (рис. 4.34).
Эксцентриситетом центрировки стержневых элементов l при решении статически неопределимой системы будем пренебрегать из-за его малости (l = 0,15 м) и в интересах упрощения расчета без заметного уменьшения его точности. Следует при этом заметить, что неучет эксцентричности приложения нагрузки, приводящей к увеличению деформативности стержневой системы, компенсируется в какой-то мере неучетом местного усиления элементов в местах их соединения за счет фасонок.
Рассмотрим распределение усилий
(рис. 4.35) в элементах основной системы от внешних воздействий и от лишних неизвестных, приняв эти величины равными единице
(рис. 4.36).
Знак минус указывает на сжатие.
получим:
Определим теперь силовые факторы
Pi (рис. 4.39) и внутренние изгибающие моменты в контурных стержнях
4 и
5, эпюры которых изображены на
рис. 4.34, от внешних нагрузок
Q (
q0,
q1,
q2).
Рис. 4.39
Здесь, пренебрегая уменьшением длины консоли стержня 4 на 0,12 м, получим:
Эпюра изгибающих моментов в стержне 4 определяется следующим уравнением
Рассмотрим рис. 4.40:
Из условия равновесия элемента 5 определяем:
Изгибающий момент
Таким образом, от вертикальной равномерно распределенной нагрузки q0 в элементах секции возникнут усилия
Аналогичные усилия от боковой нагрузки Q = q1 + q2 окажутся равными
Переходим теперь к определению лишних неизвестных системы x1, x2 и x3 путем решения системы канонических уравнений
где
j - номер стержня расчетной схемы, включая те из них, в которых действует неизвестный силовой фактор;
i и k - индексы искомого неизвестного;
EJj - жесткость j-го стержня на изгиб;
EFj - жесткость j-го стержня на растяжение (сжатие);
lj - длина j-го стержня.
Определение геометрических характеристик сечений элементов секции.
Наружные стержни (элементы 4 и 5) выполнены из листа и гнутых элементов (рис. 4.41):
Рис. 4.41
F = 150·0,4 + 4·5,82 + 2 + 4,28 = 92 см2;
Jx = 60·2,12 + 2·4,28·3,12 + 4·5,82·4,22 + 2·63,1 +
+ 4·74,23 = 1180 см4;
Элемент
3 - тяга выполняется из трубы

,
F x 5,78 см
2,
r = 1,64 см
(ГОСТ 8732-78**) - 2 шт.
Элемент с усилием
x1 - подкос выполнен из трубы

,
F = 7,04 см
2;
r = 1,99 см - 2 шт.
Элемент 1 - балка из J N 10 имеет площадь поперечного сечения F = 10,9 см2 - 2 шт.
Элемент 2 - винт М48, площадь нетто которого порядка
Подкосы, тяги и балки установлены по ширине секции в два ряда.
Деформацией стяжки (круг

) пренебрегаем из-за небольшой длины. Болт М20
F = 2,25 см
2.
Деформацию рычагов и траверс, ввиду ее неопределенности условно будем учитывать путем увеличения вдвое деформации винта, т.е. в расчете будем принимать F = 7,0 см2 (при вычислении коэффициентов канонических уравнений).
Определим теперь геометрические длины элементов
r = 0,2 м = 50 см;
C = 0,2 sin40° = 0,2·0,6428 = 0,13 м = 13 см;
l = 2·0,4 + 0,24 - 2·0,13 = 0,78 м = 78 см;
a = 0,65 м = 65 см.
Эти размеры являются общими для всех пролетов безрамных типоразмеров секции.
Остальные геометрические параметры могут быть подразделены на параметры с индексом 1 (например, для 1-го типоразмера секции с L1 = 4,5 м) и с индексом 2 (для 2-го типоразмера - с L2 = 6,3 м и т.д.).
Рассчитываем секцию на пролет в 1 м.
Расчетный пролет ригеля
Длина подкоса
Длина тяги
Прежде чем приступить к вычислению коэффициентов (единичных и грузовых) канонических уравнений, определим усилия S во всех элементах секции, воспользовавшись выше приведенными формулами.
В табл. 4.9 представлена вторая сумма (по S) коэффициентов канонического уравнения.
Таблица 4.9
j | x1 = 1 кг | x2 = 1 кг | x3, кг·см | q0, кгс/см | q1, кгс/см | q2, кгс/см |
S1j | S2j | S3j | | | |
1 | +1,79 | +0,88 | -1,04·10-2 | +123 | -175 | -34 |
2 | +0,28 | -0,38 | -0,17·10-2 | +255 | +75 | +15 |
3 | -1,42 | 0 | +0,85·10-2 | -420 | 0 | 0 |
4 | 0 | +0,5 | -0,45·10-2 | 0 | -100 | -19 |
5 | 0 | 0 | -0,38·10-2 | -126 | 0 | 0 |
6 | 1,0 | 0 | 0 | 0 | 0 | 0 |
При вычислении первой суммы этих коэффициентов
будем производить интегрирование, для чего представим выражение внутренних изгибающих моментов в элементах
4 и
5 на обеих сторонах секции (этим и объясняется появление цифры
2) в аналитическом виде. Помещая начало координат в верхний узел секции, можно будет в соответствии с эпюрами изгибающих моментов на
рис. 4.37 -
4.40 записать их уравнения в следующем виде:
x1 = 1; Mij = 0; j = 4,5;
x2 = 1;

M45 = 0.
Здесь и далее момент считается отрицательным, если он растягивает наружное волокно обшивки - лист.
x3 = 1;

q0 = 1;

q1 = 1;

q2 = 1;

Таким образом,
Для типоразмера секции с пролетом 6,3 м (lр = 173 см)
Аналогичным путем определяются грузовые члены
При q0 = 1
При q1 = 1
где

.
При q1 = 1, P1 = 100 (см. выше)
где

при
q2 = 1;
Таким образом, система канонических уравнений может быть записана в следующем матричном виде (для компактности), где
В случае постановки верхней стяжки (с усилием
x2) в верхнем углу секции произойдет изменение в значениях

при
k = 2, так как

, а
S2j возрастает вдвое.
Отсюда

возрастает в 4 раза, а

при

возрастет в 2 раза по сравнению с табличными значениями

Решая эти системы на ЭВМ "Наири", получаем значения искомых неизвестных
64п | 64п |
190,5 | 4,4 | -0,87 | -40780 | 190,5 | 8,8 | -0,87 | -40780 |
4,4 | 382 | 5,08 | 690 | 8,8 | 23,2 | 0,08 | 1380 |
-0,87 | 5,08 | 0,278 | 1412 | 0,87 | -0,08 | 0,278 | 1412 |
m | | m | |
cу | | cу | |
n = 3 | | n = 3 | |
x1 = -185,66129684 | | x1 = -200,51673126 | |
x2 = -73,80918025 | | x2 = 151,04112434 | |
x3 = 5846,85363769 | | x3 = 4495,08538818 | |
64п | | 64п | |
190,5 | 4,4 | -0,87 | 880 | 190,5 | 8,8 | -0,87 | 880 |
4,4 | 382 | 5,08 | 41670 | 8,8 | 23,2 | -0,08 | 2340 |
-0,87 | 5,08 | 0,278 | 607 | -0,87 | -0,08 | 0,278 | 607 |
m | | m | |
cу | | cу | |
n = 3 | | n = 3 | |
x1 = 3,39804211 | | x1 = 10,03110587 | |
x2 = 105,50525856 | | x2 = 104,79855823 | |
x3 = 266,14960098 | | x3 = 2245,00341796 | |
64п | | 64п | |
190,5 | 4,4 | -0,87 | 170 | 190,5 | 8,8 | -0,87 | 170 |
4,4 | 382 | 5,08 | 10220 | 8,8 | 23,2 | -0,08 | 440 |
-0,87 | 5,08 | 0,278 | 148 | -0,87 | -0,08 | 0,278 | 148 |
m | | m | |
cу | | cу | |
n = 3 | | n = 3 | |
x1 = 0,56680731 | | x1 = 2,46526178 | |
x2 = 25,95014309 | | x2 = 19,91255378 | |
x3 = 59,95106077 | | x3 = 545,81935882 | |
Напоминая размерность параметров qi, кгс/см, x1 и x2, кг, и x3, кг/см, построим окончательную картину распределения усилий в элементах секции от парциальных единичных нагрузок qi (i = 1, 2, 3), воспользовавшись зависимостями
где

и
- усилия и изгибающие моменты в элементах основной системы статически определимой;
Sij и
Mij - усилия и изгибающие моменты в соответствующих элементах от лишних неизвестных системы (
рис. 4.42,
4.43,
4.44,
4.45).
-1420 + 1,42·185,7 + 0,85·10-2·1847 = -106;
+123·1,79·185,7 - 0,88·73,8·1,04·10-2·5847 = -331;
+225 - 0,28·185,7 + 0,38·73,8 - 0,17·10-2·5847 = 220;
-420 + 1,42·200,5 + 0,85·10-2·4495 = -98;
+123 - 1,79·200,5 + 0,88·2·1,51 - 1,04·10-2·4495 = -16;
+225 - 0,28·200,5 - 0,38·2·1,51 - 0,17·10-2·4495 = 76.
-1,42·3,4 + 0,85·10-2·226 = -2,8;
-175 + 1,79·3,4 + 0,88·105,5 - 1,04·10-2·226 = -79;
75 + 0,28·3,4 - 0,38·105,5 - 0,17·10-2·266 = +36;
-1,42·10 + 0,85·10-2·2245 = 5;
-175 + 1,79·10,0 + 0,88·2·104,8 - 1,04·10-2·2245 = 4;
75 + 0,28·10 - 0,38·2·104,8 - 0,17·10-2·2245 = -6;
-1,42·0,6 + 0,85·10-2·60 = -0,3;
-34 + 1,79·0,6 + 0,88·26 - 1,04·10-2·60 = -10,5;
15 + 0,28·0,6 - 0,38·26 - 0,17·10-2·60 = 5,2;
-1,42·2,5 + 0,85·10-2·546 = 1,1;
-34 + 17,5·2,5 + 0,88·2·19,9 - 1,04·10-2·546 = -0,2;
15 + 0,28·2,5 - 0,38·2·19,9 - 1,17·10-2·546 = -0,3.
В соответствии с заданием принимаем расчетные значения нагрузок q0 = 880·1,5 = 1320 кгс/см = 13,2 кгс/м;
q1 = 520·1,5 = 780 кгс/см = 7,8 кгс/м;
q2 = (5230 - 520)1,5 = 7060 кгс/см = 70,6 кгс/м.
Воспользовавшись эпюрами усилий от единичных нагрузок
qi, определим усилия в расчетных элементах от действия боковой нагрузки (
q1 +
q2) и от полной нагрузки (
q0 +
q1 +
q2)
(табл. 4.11).
Таблица 4.10
Усилие | q0 = 1, q1 = q2 = 0 | q1, q0 = q2 = 0 | q2 = 1, q0 = q1 = 0 | q0 = 1, q1 = q2 = 0 | q1 = 1, q0 = q2 = 0 | q2 = 0, q0 = q1 = 0 |
x1 | -185,7 | +3,4 | 0,6 | -200,5 | +10,0 | +2,5 |
x2 | -73,8 | +105,5 | 26,0 | +151,0 | +104,8 | +19,9 |
x3 | +5847 | +266,1 | +60,0 | +4495 | +2245 | +546 |
Элемент | q1 + q2 | q0 + q1 + q2 | q1 + q2 | q0 + q1 + q2 |
Стяжки на расстоянии 1,1 м | Стяжки на расстоянии 2,2 м |
Балка | -1360 | -5720 | +20 | -190 |
Винт | +650 | 3550 | -70 | 930 |
Тяга | -42 | -1450 | +120 | -1200 |
Подкос | +70 | -2380 | +255 | -2380 |
Поддон щита | -880 -6320 | -1720 -83520; 63440 | -188 -56200 -56200 | +1540 -122200 |
Стенка | -148400 +24200 | -4150 -148400 | -207 -148400; -109500 | -4150 -148400; -76000 |
Верхняя стяжка | +2670 | +1700 | +2230 | +4480 |
Нижняя стяжка | +8700 | +5700 | +10020 | +6520 |
При демонтаже (распалубливании) секции возникает равномерно распределенная отрицательная нагрузка (отрыв от бетона)
q0 = q1 = -500·1,5 = -750 кгс/м = -7,5 кгс/см.
При этом в элементах секции возникнут усилия, если на первых порах условно сократить стяжки с шагом 2,2 м (чтобы воспользоваться полученными эпюрами).
Эти результаты помещены в
табл. 4.11 и при этом в верхней и нижней стяжке получены соответствующие усилия
Sв и
Sн.
| | ИС МЕГАНОРМ: примечание. В официальном тексте документа, видимо, допущена опечатка: таблица 4.126 отсутствует. Возможно, имеется в виду таблица 4.12. | |
Затем, отбрасывая стяжки, прикладываем в их местах усилия обратного направления -
Sв и -
Sн. Получаем систему с одной лишней неизвестной - моментом в углу секции. Так как имеет место узловое приложение сосредоточенных усилий в стержневой системе секции (наподобие фермы), то, пренебрегая величиной этого момента, приходим к статически определимой расчетной схеме, решением которой получаем корректирующие значения усилий (см.
табл. 4.11). Окончательные результаты записываются в четвертом столбце табл. 4.126 (
рис. 4.46,
4.47).
Таблица 4.12
Усилия при распалубливании
| | ИС МЕГАНОРМ: примечание. Таблица дана в соответствии с официальным текстом документа. | |
Элемент | q0 = q1 = 7,5 кгс/см | -Sв = -1280 кгс -Sн = -400 кгс | Результат |
Балка | +90 | +5710 | +5800 |
Винт | -585 | -1100 | -1680 |
Тяга | +700 | -1880 | -1180 |
Подкос | +1430 | +1320 | +2750 |
Поддон щита | -940 50500 | 1920 | +980 50500 |
Стенка | 2360 -12200; 15800 | 0 | 2360 -12200; 15800 |
Верхняя стяжка | -1920 | 1920 | 0 |
Нижняя стяжка | +640 | -640 = -1920 = 640 | 0 |
Sн(H - a) = S3h;
Sн = Sв;
При монтаже схема приложения нагрузки весьма нечеткая. Поэтому будем выполнять приближенный расчет секции с целью оценить самое неблагоприятное распределение усилий в ее элементах на этот период. Для этого рассмотрим статически определимую схему считая условно (в запас прочности), что щиты перекрытия и стены соединены в углу шарнирно (рис. 4.48).
Рис. 4.48
S4 = 0; maxM4 = S5b;
P2 = 1450 кгс; b2 = 150;
l2р = 263 см; h2 = 75 см.
Выводы по расчету безрамного варианта секции
1. Все элементы секции являются существенно недонапряженными

, где расчетное сопротивление стали Ст3
R = 2100 кгс/см
2 для элементов;
R = 1700 кгс/см
2 - для винта и болтов.
2. Элемент, названный "тягой", испытывает сжимающие усилия и поэтому его также следует считать подкосом. Несмотря на низкий уровень напряжения, его гибкость не следует принимать более

(как для сжатой связи).
3. Балка и винт - слабонапряженные элементы. Они фактически вообще не будут работать, если поставить верхнюю стяжку в углу секции. Поэтому сечение балки следует уменьшить и принять из конструктивных соображений минимально возможное сечение.
Для винта в качестве минимального сечения предлагается принять болт М30 (
Fнт = 5,18 см
2). При этом гибкость его стержня не будет превышать допустимой величины

, а напряжение не превысит величину

.
4. Нижняя стяжка должна быть выполнена из болта как минимум М24.
5. Максимальные усилия во всех элементах секции достигаются в процессе эксплуатации. При этом рассмотрен случай как всестороннего давления, так и случай только бокового (горизонтального) давления.
6. Положение верхней стяжки на расстоянии 1,1 м от верхнего угла выбрало удачно, так как жесткость щита секции в этом случае наиболее высокая (изгибающие моменты в обшивке минимальны).
Таблица 4.13
Проверка несущей способности элементов
Элемент | Расчетное усилие, кгс | F1, W, i | | | Формула |  , кгс/см 2 | Примечание |
Балка | -5720 | 21,2 см2 i = 1,37 см | 51 | 0,87 | | -300 | Заменить на [6,5 |
Винт | +3550 -1680 | 13,6 см2 i = 1 см | 78 | 0,76 | | -260 | Заменить на М30 |
Тяга | -1450 | 11,6 см2 i = 1,64 см | 230 | 0,15 | | -830 | Заменить на трубу  |
Подкос | -2380 +2750 | 14,1 см2 i = 1,99 см | 160 | 0,29 | | -580 | - |
Щит перекрытия | +1540 -122200 | 92 см2 W = 142 см3 | 73 | - | | -860 | - |
Щит стенки | -4150 -148400 | 92 см2 W = 142 см3 | 61 | 0,85 | | -1100 | - |
Верхняя стенка | +4430 | Fнт = 4,5 см2 | - | - | | +990 | Болт М20 |
Нижняя стенка | 10020 | Eнт = 6,48 см2 | - | - | | +1600 | Болт М24 |
Статический расчет рамного варианта секции
Основной несущей конструкцией является внутренняя рама с затяжкой, на которую опираются два боковых и один средний щит.
Боковые щиты двух типоразмеров мало отличаются друг от друга. Рассмотрим как более напряженный боковой щит рамного варианта секции пролетом L = 6,3 м (рис. 4.49)
Рис. 4.49
Длина подкоса
Сечение - труба

F = 5,15 см
2;
i = 1,45;

Рассматриваемая система трижды статически неопределимая.
Выбираем основную систему (рис. 4.50):
Рис. 4.50
при
x1 = 1

S13 = 0;
при x2 = 1 S21 = S22 = S23 = 0;
M23 = -0,137
x при 0 <=
x <= 220;
M23 = -0,137 + (x - 220) = 0,863x - 220, при 220 < x <= 225;
при
x3 = 1

Определим единичные коэффициенты (рис. 4.51 и
4.52):
Рис. 4.51
| | ИС МЕГАНОРМ: примечание. Формула дана в соответствии с официальным текстом документа. | |
Определим грузовые коэффициенты
Получим следующую матрицу коэффициентов канонического уравнения:
Таблица 4.14
Усилия | q0 = 1 кгс/см; q1 = q2 = 0 | q1 = 1 кгс/см; q0 = q2 = 0 | q2 = 1 кгс/см; q0 = q1 = 0 |
x1 | -204 кг | 31,5 кг | 10,4 кг |
x2 | -9,3 кг | 255 кг | 138 кг |
x3 | 500 кг·см | 2470 кг·см | 805 кг·см |
Рассмотрим рис. 4.53.
Рис. 4.53
При распалубке возникает новая расчетная схема (без стяжек).
Система однажды статически не определена. В качестве неизвестного принимаем узловой момент.
От лишней неизвестной x1 = 1 возникнут усилия (рис. 4.54):
Рис. 4.54
От внешней нагрузки

возникнут усилия
S2q = 128 кгс;
S3q = 62 кгс (рис. 4.55):
Рис. 4.55
Рассмотрим рис. 4.56.
Рис. 4.56
S1 = 5950(-0,884·10-2) - 20,2 = -73 кгс;
Принимая значения внешних воздействий равными
q0 = 13,2 кгс/см; q1 = 7,8 кгс/см; q2 = 70,6 кгс/см;
q = 7,5 кгс/см, получаем величины, указанные в табл. 4.15.
Таблица 4.15
Элемент | q1 + q2, кгс/см | q0 + q1 + q2, кгс/см |  , кгс/см | F1, W | | | Формула |  , кгс/см 2 | Примечание |
Подкос | +68 | -104 | -550 | 10,3 см2 | 197 | 0,196 | | -270 | - |
Щит перекрытия | -76400 | -83000 | +45000 | - | - | - | - | - | - |
Боковой щит | -120000 | +144000 | 45000 | W = 142 см4 F = 92 см2 | - | - | | -1020 | - |
Верхняя опора | +980 | -1700 | 1060 | - | - | - | - | - | - |
Верхняя стяжка | +3400 | +1300 | - | F = 4,5 см2 | - | - | | 760 | Болт М20 |
Нижняя стяжка | -11750 | +1163 | - | F = 6,48 см2 | - | - | | 1800 | Болт М24 |
Нижняя опора | +3430 | +3430 | +1030 | - | - | - | - | - | - |
Расчет рамы
Рама представляет собой однажды статически неопределимую систему. За лишнее неизвестное принимаем усилие в затяжке (рис. 4.57):
Рис. 4.57
Сечения всех элементов, за исключением затяжки, принимаются из 2 [6,5 F = 2·7,51 = 15 см2; I = 2·48,6 = 97,2 см4; rx = 2,54 см; ry = 1,08 см.
Сечение затяжки - из двух труб

(
F = 2·7,07 = 14,1 см
2). Решаем основную систему (рис. 4.58)
Рис. 4.58
l1 = 260 + 2·60 = 380 см;

От усилия x1 = 1

при
x <= 60.

при
x <= 60
(начало координат в точке примыкания подкоса 3 к ригелю).
M = -3,83·60 = -230 кгс·см, при x > 60.
От внешней нагрузки P
при x <= 60;
при 60 < x <= 110.
S1P = 2020 кгс;
M1P = 1 227 000 кгс·см;
Эпюра моментов в ригеле представлена на рис. 4.59.
Рис. 4.59
Выводы по расчету рамного варианта секции:
1. Затяжка рамы, выполняемая из трубы

, напряжена всего на 18% своего расчетного значения. Ее следует принять конструктивно, возможно наименьшего сечения -
F >= 3 см
2.
2. Подкос, выполняемый из трубы

, практически не работает и оказывается слабо напряженным (на 13% расчетного сопротивления) лишь при распалубливании.
По всей видимости этот элемент следует ликвидировать, что приведет лишь к незначительному увеличению усилий в рамном узле щита секции.
3. Ригель рамы следует выполнять из швеллеров 6,5 по всей длине, так как и в этом случае он оказывается напряженным лишь на 45 - 50%.
4. Между ригелями и элементами стоек двух рам необходима постановка крестовых связей с расстояниями между узлами не более 120 см.
5. Наружный элемент стойки рамы надо выбрать из конструктивных соображений минимальной площади сечения.
7. Пример расчета некоторых элементов скользящей опалубки
Расчет щитов скользящей опалубки
Подсчет нагрузки
В процессе бетонирования железобетонных конструкций в скользящей опалубке нагрузка от давления бетонной смеси на стенки опалубки меняется. При расчете щитов скользящей опалубки следует рассматривать три варианта загружения:
а) в начальной стадии бетонирования неподвижной опалубки (рис. 4.60)
Рис. 4.60
P - максимальное боковое давление бетонной смеси, кгс/м2;
H - высота уложенных слоев бетона, м, для данного случая - H = 0,35 м;

- объемный вес бетонной смеси

;
б) в начальной стадии бетонирования после укладки третьего слоя бетонной смеси и начала подъема опалубки (рис. 4.61)
Рис. 4.61
H2 - высота первоначально уложенных слоев бетонной смеси (H2 = 0,35 м);
H3 - высота третьего слоя бетонной смеси (H3 = 0,3 м);
H1 - высота снижения давления до нуля (H1 = 0,3 м);
в) в процессе подъема опалубки (рис. 4.62)
Рис. 4.62
H4 - высота укладываемых в опалубку слоев бетонной смеси (H4 = 0,03 м - с учетом возможного увеличения высоты слоев против установленных 0,25 м на 0,05 м)
Давление на опалубку от вибрирования бетонной смеси - 400 кгс/м2 (при возможной высоте вибрируемого слоя 0,4 м).
Коэффициенты перегрузки, принимаемые при расчете элементов опалубки по несущей способности, равны:
боковое давление бетонной смеси - n1 = 1,3;
нагрузка от вибрирования бетонной смеси - n2 = 1,3.
Таблица 4.16
Элемент | Усилие | F, W | | | Формула |  , кгс/см 2 | Примечание |
Затяжка | +5220 кг | 14,1 см2 | - | - | | +370 | Сечение выбирается по конструктивным соображениям |
Наружный элемент стойки | 0 | - | - | - | - | - |
Внутренний элемент стойки | -3000 кг | 15 см2 | | 0,53 | | -380 | В направлении меньшей жесткости [6,5 должен быть развязан связями с расстоянием между точками закрепления l0 = 120 см |
Ригель между элементами стойки | -1410 кг -57000 кгсм | 15 см2 97,2 см4 | | 0,87 | | -700 |
Ригель между стойками | -3050 кг -57000 кгсм +32400 кгсм | 15 см2 97,2 см4 | | 0,58 | | -940 |
При расчете элементов опалубки по деформациям нормативные нагрузки учитываются без коэффициентов перегрузки.
Первый вариант загружения.
Нагрузка от давления бетонной смеси:
Наибольшая нагрузка от давления бетонной смеси, распределенная по высоте щита, на ширине щита b = 1 м:
для расчета по деформациям
для расчета по несущей способности
Нагрузка от вибрирования бетонной смеси на ширине щита b = 1 м:
для расчета по деформациям
qв = 400b = 400·1 = 400 кгс/м;
для расчета по несущей способности
q'в = qвn2 = 400·1,3 = 520 кгс/м.
Суммарная максимальная нагрузка на щит по высоте:
для расчета по деформациям
для расчета по несущей способности
Эпюра первого варианта загружения (рис. 4.63):
для расчета по несущей способности форма эпюры сохраняется, но
qв,
q и

меняются соответственно на
q'в,
q' и
.
Второй вариант загружения.
Нагрузка от давления бетонной смеси
Наибольшая нагрузка от давления бетонной смеси, распределенная по высоте щита, на ширине щита b = 1 м составит:
для расчета по деформациям
для расчета по несущей способности
Нагрузка от вибрирования та же, что и в первом варианте загружения.
Эпюра второго варианта загружения (рис. 4.64):
Рис. 4.64
для расчета по несущей способности форма эпюры сохраняется,
qв,
q и

меняются соответственно на
q'в,
q' и
.
Суммарная максимальная нагрузка на щит по высоте составит:
для расчета по деформациям
для расчета по напряжениям
Третий вариант загружения.
Расчетные величины остаются теми же, что и во втором варианте загружения.
Эпюра третьего варианта загружения показана на рис. 4.65.
Рис. 4.65
Для расчета по несущей способности величины
qв,
q и

меняются соответственно на
q'в,
q' и
.
Проверка размеров ячеек облицовки для первого варианта щитов (лист защемлен по контуру)
а) Материал облицовки - Ст3, толщина листа

.
Проверка по деформациям
Наибольший прогиб считаем по формуле
где

- наибольший прогиб;
K1 - коэффициент, зависящий от отношения сторон ячейки, равен 0,0138;
Q - равномерно распределенная по площади нагрузка (в нашем случае принята нагрузка первого варианта загружения как наибольшая), равная 0,1275 кгс/см2;
b - длина меньшей стороны ячейки, равная 33 см;
h - толщина листа облицовки, равная 0,25 см;
E - модуль упругости, равный 2,1·106 кгс/см2.
что составляет
Прогиб листа облицовки находится в допустимых пределах.
Проверку по несущей способности производим по формуле
где

- наибольшее напряжение в листе;
K2 - коэффициент, зависящий от отношения сторон ячейки, K2 = 0,0517;
Q' - равномерно распределенная по площади нагрузка (в нашем случае принята нагрузка первого варианта загружения как наибольшая) Q' = 0,166 кгс/см2; b = 33 см; h = 0,25 см;
R - расчетное сопротивление изгибу, равное 2100 кгс/см2
Условие прочности выполнено.
б) Материал облицовки - фанера водостойкая, толщина листа

.
Проверка по деформациям
Наибольший прогиб
здесь K1 = 0,0138; Q = 0,1275 кгс/см2; b = 33 см; h = 1 см; E = 100 000 кгс/см3; nр - коэффициент условий работы, равный 0,75.
что составляет
Прогиб листа облицовки находится в допустимых пределах.
Проверка по несущей способности
здесь K2 = 0,0517; Q' = 0,166 кгс/см2; b = 33 см; h = 1 см;
R = Rпnрnм;
где Rп - расчетное сопротивление изгибу для сосны и ели, равное 150 кгс/см2;
hр = 0,75;
hм - коэффициент перехода к расчетному сопротивлению березы, равный 1,1.
R = 150·0,75·1,1 = 124 кгс/см2.
Условие прочности выполнено.
Проверка вертикальных ребер жесткости для первого варианта щитов
Опорами для вертикальных ребер щитов принимаем кружала, в качестве которых используем швеллеры N 8, расположенные, как показано на рис. 4.66.
Рис. 4.66
Ширина полки швеллера b = 40 мм; принимая опору посередине полки, получим схему, представленную на рис. 4.67.
Рис. 4.67
Для проверки вертикальных ребер жесткости подсчитаем наибольшие изгибающие моменты и прогибы для трех вариантов загружения и выберем большие из них.
а) Первый вариант загружения.
Расчетная схема представлена на рис. 4.68.
Подсчет опорных реакций
Проверка:
Опорные реакции найдены правильно.
Нахождение наибольшего изгибающего момента
Наибольший изгибающий момент действует в точке B
(индекс "I" обозначает порядковый номер варианта загружения)
q'в = 520 кгс/м;
Нахождение наибольшего прогиба
Наибольший прогиб будет, очевидно, на правом свободном конце балки в точке C.
Определим его с помощью метода уравнения произвольных постоянных. Незагруженную часть балки, левее опоры A, отбрасываем.
Первый участок (AD)

(I)
Второй участок (DB)

(II)
Третий участок

(III)
Пренебрегая действием нагрузки qв на длине в 5 см, имеем уравнение для четвертого участка

(IV)
Из условия равенства прогибов и углов поворота на границах участков получаем:
C1 = C2 = C3 = C4 = C;
D1 = D2 = D3 = D4 = D.
Постоянные C и D определяем из условий, что в точках A и B (x = 0 и x = 0,5 м) прогибы равны нулю. Подставляя условие x1 = 0 -> y1 = 0 в (I), получим: 0 = D.
Подставляя условие x2 = 0,5 -> y2 = 0 в (II), получим:
-1,27 - 0,175 - 0,07 + 0,5C = 0;
Прогиб в точке C определяем уравнением (IV) при x4 = 0,88 м:
б) Второй вариант загружения.
Расчетная схема представлена на рис. 4.69.
Рис. 4.69
Подсчет опорных реакций:
Проверка
Нахождение наибольшего изгибающего момента. Наибольший момент действует в пролете AB.
Для его определения составим уравнения Q и M в пролете AB и найдем абсциссу x, соответствующую Q = 0.
Q3 = 0;
x = 0,337 м лежит в границах третьего участка, значит Mмакс соответствует x = 0,337 м
RA = 0,336·400 + 0,1885·750 = 134,4 + 141,6 = 276 кгс;
M3 = -2,27 + 59,9 - 15,42 - 0,51 = 41,7 кгс·м;
Изгибающий момент может быть наибольшим в рассматриваемом варианте на опоре
B, но он, очевидно, будет меньше, чем в первом варианте

.
Определение наибольшего прогиба. Наибольший прогиб будем определять в середине пролета AB, так как на правом свободном конце он будет меньше, чем в первом варианте загружения.
Используем метод уравнивания произвольных постоянных.
Первый участок:

(I)
Второй участок:

(II)
Третий участок:

(III)
Четвертый участок:

(IV)
Из условий составления дифференциальных уравнений получаем
C1 = C2 = C3 = C4 = C;
D1 = D2 = D3 = D4 = D.
Постоянные C и D определяем из условий, что в точках A и B (x1 = 0,12 и x4 = 0,62 м) прогибы равны нулю.

(V)

(VI)
Подставим величину
C в
(V) и найдем
D:
D = 0,0965.
Для отыскания прогиба в середине пролета
AB подставим в
(III) x3 = 0,37 м:
Наибольшие прогиб и изгибающий момент по третьему варианту загружения будут близкими к
yII и

, но, следовательно, меньшими, чем
yI и

, значит, третий вариант загружения для расчета вертикальных ребер щитов можно не рассматривать.
в) Проверка вертикальных ребер по несущей способности

.
На длине щита в 1 м (на которую и рассчитан изгибающий момент) будет расположено не менее трех уголков 40 x 25 x 3. Уголки повернуты полками в разные стороны (рис. 4.70), поэтому нейтральная ось их сечения будет проходить на середине высоты h = 40 мм.
Рис. 4.70
Подсчитаем момент инерции и момент сопротивления для одного уголка по отношению к оси, проходящей на середине высоты параллельно меньшей полке уголка (рис. 4.71).
Рис. 4.71
F = 1,89 см2; Jx = 3,06 см4;
d = 40 - 20 - 13,2 = 6,8 мм = 0,68 см.
Момент инерции по отношению к оси x'x'
Момент сопротивления
Момент сопротивления трех уголков (т.е. на 1 м длины щита)
Максимальные нормальные напряжения не должны превышать расчетное сопротивление
Напряжение находится в допустимых пределах.
г) Проверка вертикальных ребер по деформациям
Наибольший прогиб ребер
E = 2,1·10
6 кгс/см
2 = 2,1·10
10 кгс/м
2;
Прогиб элементов обшивки опалубки по высоте не должен превышать 1,5 мм.
Подсчитанный нами прогиб (y = 4 мм) превышает эту величину, однако мы не учитывали работу листа облицовки. Введем ее в расчет.
Сечение примет вид, показанный на рис. 4.72.
Рис. 4.72
(F2 - условно изображенная площадь трех уголков).
Определим положение центра тяжести сечения
Тогда момент инерции по отношению к оси xx', проходящей через центр тяжести сечения, составит
Наибольший прогиб ребер
y = 1,44 мм < 1,5 мм = yдоп.
Наибольший прогиб не превышает допустимого. Вертикальные ребра щитов первого варианта выбраны правильно.
д) Вычисление геометрических характеристик (W и J) для ребер жесткости
Определение геометрических характеристик одного ребра жесткости (рис. 4.73)
Рис. 4.73
F = d(h + 2b + 2a - 6,572d) =
= 0,2(3,2 + 2·4 + 2·1 - 6,572·0,2) =
= 0,2(3,2 + 8 + 2 - 1,31) = 0,2·11,89 = 2,38 см2;
На 1 м длины щита приходится не менее трех ребер жесткости.
Тогда расчетные F, W и J составят
F = 3·2,38 = 7,14 см2;
J = 3Jy = 3·4,93 = 14,79 см4;
W = 3Wy = 3·2,06 = 6,18 см3.
е) Определение W и J для продольного сечения щита на 1 м длины.
Продольное сечение состоит из трех ребер жесткости и металлического листа

(рис. 4.74,
F2 - условно изображенная площадь трех уголков).
Рис. 4.74
Определим положение центра тяжести сечения
Момент инерции по отношению к оси x'
Момент сопротивления
е) Проверка ребер по несущей способности
M = 132,8 кгс·м = 13280 кгс·см;
W = 14,01 см3; R = 2100 кгс/см2;
Условие прочности выполнено.
ж) Проверка ребер по деформациям
Наибольший прогиб
E = 2,1·106 = кгс/см2 = 2,1·1010 кгс/м2;
y = 1,77 мм; J = 50,1 см4 = 50,1·10-8 м4.
Этот прогиб превышает на 1,77 - 1,5 = 0,27 мм допустимый, однако такая схема загружения возможна лишь в начальной стадии подъема, в процессе же подъема прогиб становится значительно меньше, так что можно считать прогиб ребер лежащим в допустимых пределах.
| | ИС МЕГАНОРМ: примечание. Нумерация пунктов дана в соответствии с официальным текстом документа. | |
4. Определение положения результирующих горизонтальной нагрузки на щиты в вертикальном направлении
Расстояние x от нижней кромки щитов до точки приложения результирующей:
xI = 0,33 м.
б) Вариант загружения второй
xII = 0,59 м.
в) Вариант загружения третий
xIII = 0,71 м.
РАСЧЕТ КРУЖАЛ
Определение результирующей горизонтальной нагрузки и обоснование выбора центра тяжести кружал
а) Результирующая первого варианта загружения
Для расчета по деформациям
Для расчета по несущей способности
RI = RI·1,3 = 625·1,3 = 813 кгс.
б) Результирующая второго варианта загружения
Для расчета по деформациям
в) Результирующая третьего варианта загружения
г) Обоснование выбора центра тяжести кружал
На рис. 4.75 показано расположение центров тяжести кружал для первого (а) и для второго (б) варианта щитов, а также положение результирующих горизонтальных нагрузок для трех вариантов загружения.
Первый и второй вариант загружения не могут являться определяющими для расположения кружал, так как они действуют лишь в начальной стадии подъема опалубки. Определяющим является третий вариант загружения. Как видно из
рис. 4.75, центры тяжести кружал расположены несколько ниже результирующей
RIII, однако такое положение будет существовать лишь в том случае, когда бетонная смесь уложена до верхних краев щитов опалубки.
Во время движения опалубки точка C будет смещаться вниз настолько, насколько верхние края щитов будут подниматься над бетонной смесью (практически до 300 - 400 мм).
С другой стороны, при укладке бетонной смеси слоями, меньшими, чем 300 мм (как принято при подсчете нагрузки), точка C смещается вверх.
Из сказанного выше следует, что точного определения положения центра тяжести кружал сделано быть не может. В настоящем расчете принимаем это положение приблизительно таким же, как в существующих проектах, однако рекомендуем опускать его до середины щита в случае поэтажного бетонирования перекрытий с остановкой скользящей опалубки (совмещенно-цикличный метод).
Расчет вертикальной нагрузки на один метр оси бетонируемой стены для расчета кружал
а) Нагрузка от собственной массы конструкций qс.м
Нагрузка qс.м состоит из собственной массы, настила рабочего пола (верхнего и нижнего ярусов qн), щитов и кружал qщ, балок (ферм), рабочего пола qср, а также кронштейнов, подвесок, брусьев рабочего пола и пр. qпр.
Принимаем к расчету невыгоднейший случай, когда стена разделяет ячейки с размерами в свету, перпендикулярными к оси стены, 7 м. Тогда для подсчета величин qп и qл (см. ниже) нагрузка будет собираться с площади
где h - толщина доски настила рабочего пола, b = 32 мм = 0,032 м;
S - площадь сбора нагрузки, S = 7 м2;

- объемная масса древесины хвойных пород,

;
l - длина оси стены, соответствующая сбору нагрузки, l = 1 м;
2 - коэффициент, учитывающий, что нагрузка собирается с двух ярусов
qщ = 100 кгс/м; qф = 60 кгс/м; qпр = 50 кгс/м.
Для расчета по деформациям
qс.м = qн + qщ + qф + qпр = 270 + 100 + 60 + 50 = 480 кгс/м.
Для расчета по несущей способности
q'см = qс.мn,
n = 1,1 - коэффициент перегрузки, h = 1,1;
q'с.м = 480·1,1 = 528 кгс/м.
б) Нагрузка от людей и транспортных средств qл.
Для расчета по деформациям
Qл = 150 кгс/м
2;
2 - коэффициент, учитывающий загружение двух ярусов рабочего пола.
Для расчета по напряжениям
q'л = qлn, n = 1,3,
q'л = 2100·1,3 = 3730 кгс/м.
в) Трение стенок опалубки по бетону
Трение стенок опалубки по бетону составляет 150 кгс на 1 м2 поверхности стенки Qл при высоте щита h = 1,1 м получим для двух поверхностей одной стены.
Для расчета по деформациям:
qтр = 2·150·1,1 = 330 кгс/м.
Для расчета по напряжениям:
q'тр = qтрn; n = 2; q'тр = 330·2 = 660 кгс/м.
Вертикальная нагрузка на 1 м длины оси бетонируемой стены для расчета кружал составит
по деформациям
q = qс.м + qл + qтр = 480 + 2100 + 330 = 2910 кгс/м;
по несущей способности
q' = q'с.м + q'л + q'тр = 528 + 2730 + 660 = 3920 кгс/м.
Расчет кружал для первого варианта щитов
В первом варианте щитов кружала представляют собой два швеллера N 8, расположенных, как показано на
рис. 4.75,
а. Так как швеллеры не соединены в единое целое, каждый из них работает самостоятельно (особенно при первом варианте загружения), поэтому в расчет будем принимать один, наиболее загружаемый швеллер, а второй примем конструктивно таким же.
Наиболее загружен нижний швеллер в первом варианте загружения. Сила, действующая на него на 1 м длины щитов, равна реакции
Rв (рис. 4.68)
Значит, нагрузка на нижний швеллер для расчета
по деформациям
по напряжениям
q' = qn = 680·1,3 = 884 кгс/м.
а) Определение наибольшего допустимого шага домкратных рам из расчета по несущей способности от горизонтальной нагрузки.
Примем в качестве расчетной схемы для кружал балку, свободно опертую по двум концам, равномерно загруженную на всем пролете нагрузкой q' (рис. 4.76).
Кружала опираются в точках A и B на ноги домкратных рам, значит, подсчитав максимально допустимую длину пролета l, мы определим допустимый шаг домкратных рам
W = 22,4 см3;
R = 2100 кгс/см
2;
q' = 8,84 кгс/см;
б) Определение наибольшего допустимого шага домкратных рам из расчета по деформациям от горизонтальной нагрузки
Наибольший прогиб

.
Прогиб не должен превышать 1/400l
2000ql3 <= 384EJ;
q = 680 кгс/м = 6,8 кгс/см;
E = 2,1·106 кгс/см2; J = 89,4 см4;
В настоящем пункте расчетов не учтена работа листа обшивки и продольных (горизонтальных) ребер жесткости щитов, которую трудно учесть из-за несимметричного расположения нагрузки. Однако, образуя сечения высотой 122,5 мм (вместо 80 мм у одного швеллера), лист обшивки и ребра значительно уменьшают действительный прогиб кружал. Кроме того, расчетная схема кружал
(рис. 4.76) выбрана с обеспечением запаса прочности, так как в действительности концы расчетной балки кружал не шарнирно оперты, а являются продолжением жесткой балки.
Учитывая это, можно принять из расчета кружал от горизонтальной нагрузки максимально допустимое расстояние между домкратными рамами: l <= 200 см.
в) Определение геометрических характеристик J, W поперечного сечения кружал для двух щитов
Сечение имеет вид, показанный на рис. 4.77.
Рис. 4.77
Момент инерции сечения Jx = 4(J + Fd2),
Jx = 4(12,8 + 12,8·252) = 4(12,8 + 8000) =
= 4·8013 = 32052 см4,
где J - собственный момент инерции швеллера N 8, J = 12,8 см4;
F - площадь сечения одного швеллера, F = 8,98 см2; d = 25 см
г) Проверка кружал по несущей способности в вертикальном направлении
q' = 3920 кгс/м = 39,2 кгс/см; l = 200 см;
W = 1158 см3; R = 2100 кгс/см2;
Условие прочности выполнено.
д) Проверка кружал по деформациям в вертикальном направлении
q = 2910 кгс/м = 29,1 кгс/см;
l = 200 см;
E = 2,1·106 кгс/м2;
J = 32052 см4;
fмакс = 0,1 мм.
Отношение прогиба к длине пролета
здесь

- допустимое отношение наибольшего прогиба к длине пролета.
РАСЧЕТ ЭЛЕМЕНТОВ РАБОЧЕГО ПОЛА
Расчет пролета досок настила рабочего пола (расстояние между прогонами)
Конструктивно для настила рабочего пола принимаем доски из древесины хвойных пород 32 x 150 мм.
Момент сопротивления одной доски
Нагрузка, действующая на одну доску по ее длине q = qс.м + qл, где qс.м - нагрузка от собственной массы доски; qл - нагрузка от людей и транспортных средств.
, где
V - объем 1 м длины доски;

- объемная масса древесины хвойных пород,

;
n1 - коэффициент перегрузки,
n1 = 1,1.
qс.м = 0,15·0,032·1,600·1,1 = 3,2 кгс/м,
b - ширина доски, b = 15 см; Qл - нагрузка от людей и транспортных средств, принимаемая при расчете настилов и непосредственно поддерживающих их балок, Qл = 250 кгс/м2; n2 - коэффициент перегрузки, n2 = 1,3;
qл = 0,15·250·1,3 = 48,8 кгс/м; q = 3,2 + 48,8 = 52 кгс/м.
Полагая доску балкой, шарнирно опертой на двух концах, получим изгибающий момент
здесь R - расчетное сопротивление изгибу, R = 150 кгс/см2.
Допустимый пролет доски
Настилы рабочего пола должны проверяться на сосредоточенную нагрузку от массы рабочего с грузом (130 кг).
Чтобы не усложнять расчет и не учитывать распределенную нагрузку от собственной массы доски, заменим ее действие сосредоточенной силой в 5 кгс, приложенной посередине пролета.
Тогда сила, действующая на одну доску:
P = 130 + 5 = 135 кгс.
Изгибающий момент
Допустимый пролет доски
Таким образом, принимаем допустимый пролет доски l = 100 см.
Расчет брусьев рабочего пола (прогонов)
На один брус действует нагрузка от собственной массы настила и брусьев и от людей и транспортных средств, собранная с полосы рабочего пола шириной, равной расстоянию между прогонами (рис. 4.78).
Рис. 4.78. Расположение прогонов на рабочем полу
1 - прогоны; 2 - балки; 3 - щиты рабочего пола
Целью настоящего расчета является определение наибольшего пролета брусьев L или расстояния между балками
q =
qс.м +
qл;

Принят брус 150 x 50.
qс.м = 21,4 + 4,5 = 25,9 кгс/м;
qл = lQлn2 = 1·250·1,3 = 325 кгс/м;
q = 25,9 + 325 = 351 кгс/м.
Изгибающий момент
При расстоянии между прогонами (брусьями) рабочего пола l = 1 м можно задавать пролет этих брусьев (расстояние между балками L = 20 м), оставляя коэффициент запаса брусьев
Расчет балок рабочего пола
Наибольшим пролетом фермы примем 6 м, так как изучение существующих проектов домов, возводимых в скользящей опалубке, показывает, что длина меньшей стороны ячейки здания превосходит 7 м в крайне редких случаях.
Распределенная по длине нагрузка на балку будет собираться с полосы шириной, равной расстоянию между балками, т.е. 2 м.
Эта нагрузка будет равна
q =
qс.м +
qл;


(по предыдущему пункту расчетов);
- принимаем нагрузку, несколько большую массы 1 м стальной балки двутаврового сечения N 18;
qс.м = 51,8 + 19 = 71 кгс/м;
qл = Qлn2L; здесь Qл = 150 кгс/м2; n2 = 1,3; L = 2 м;
qл = 150·1,3·2 = 390 кгс/м;
q = 71 + 390 = 460 кгс/м.
Изгибающий момент
Потребный момент сопротивления
R = 2100 кгс/см
2.
R = 2100 кгс/см2;
W >= 98,5 см3.
Двутавр N 16 имеет W = 109 см3 > 98,5 см3.
Однако чтобы получить большой запас прочности, примем для балки двутавр N 18 с W = 143 см3.
Определение допустимых расстояний между домкратными стержнями
Расстояния между домкратными стержнями определяются из расчета стержней на устойчивость. Нагрузка, действующая на стержни, зависит не только от расстояния между домкратами, но также и от размера ячеек, примыкающих к стене, в которой устанавливаются стержни, так как чем больше ячейки, тем с большей площади собирается нагрузка от людей и транспортных средств и тем больше нагрузка от собственной массы.
1. Подсчет вертикальной нагрузки на 1 м оси стены для случая применения домкратных стержней из круга
.
Нагрузка q состоит из нагрузки от собственной массы конструкций qс.м, от людей и транспортных средств qл, от трения стенок опалубки по бетону qтр
q = qс.м + qл + qтр.
а) Подсчет нагрузки от собственной массы конструкций
Нагрузка от собственной массы состоит из нагрузки от массы настила и брусьев рабочего пола qн, балок рабочего пола qб, щитов qщ, кронштейнов и консолей qк, подвесок qп, домкратных рам с домкратами qд
qс.м = qн + qб + qщ + qк + qп + qд.
Нагрузка от собственной массы настила и брусьев рабочего пола
qн = QнBn12,
где Qн = 26 кгс/м2; B - ширина рабочего пола, с которой собирается нагрузка; n - коэффициент перегрузки, n = 1,1; 2 - количество ярусов настилов;
qн = 26·1,12B = 57B.
Нагрузки от балок рабочего пола. Балки ставятся с интервалом в 2 м, значит на 1 м оси стены для одного яруса пойдет масса половины балки.
здесь P = 18,4 кгс/м; A = 2 м (интервал между балками);
Нагрузка от щитов подсчитывается по второму варианту щитов как более тяжелому.
qщ = 2(41 + 18)n1,
здесь 41 - масса 1 м щита и 18 кружальных ферм, кг2; 2 - коэффициент, показывающий, что на ось стены приходится масса двух щитов;
qщ = 2(41 + 18)1,1 = 130 кгс/м.
Нагрузку от кронштейнов и консолей примем равной нулю, так как кронштейнов в рассматриваемом варианте щитов нет вообще, а масса консолей учитывается массой балок qк = 0.
Нагрузка от подвесок qп = 10 кгс/м (принимается ориентировочно).
Нагрузка от массы домкратных рам с домкратами равна
где P - масса домкрата с рамой, P = 100 кг; l - расстояние между домкратными рамами;
Нагрузка от собственной массы конструкций:
б) Подсчет нагрузки от людей и транспортных средств
qл = QBn22; Q = 100 кгс/м2.
Нагрузка от людей и транспортных средств на 1 м2 настила
qл = 100·1,3·2B; qл = 260B
(здесь n2 = 1,3 - коэффициент перегрузки; 2 - количество ярусов).
в) Подсчет нагрузки от трения стенок опалубки по бетону
Qтр = 150 кгс/м2;
qтр = 2Qтрhn3,
где h = 1,1 м - высота щита; n3 = 2 - коэффициент перегрузки; 2 - число трущихся поверхностей;
qтр = 2·150·1,1·2 = 660 кгс/м.
Вертикальная нагрузка на 1 м оси стены равна
Для упрощения примем, что нагрузка от собственной массы домкрата с домкратной рамой не зависит от расстояния между стержнями l. Установив наименьшим расстояние l = 1,1 м, получим
Тогда
q = 337B + 800 + 100;
q = 337B + 900.
2. Подсчет вертикальной нагрузки на 1 м оси стены для случая применения трубчатых домкратных стержней
Нагрузка
qл и
qтр остается той же, что и в
п. 1.
Нагрузка от собственной массы конструкций
Нагрузка
qн и

см. в
п. 1.
Нагрузка от массы щитов и кружал
(здесь 41 - масса 1 м щита; 79 - масса кружальных ферм);
Нагрузка от домкратных рам и домкратов принимается
Нагрузка от собственной массы составит
Суммарная нагрузка равна
q0 = 77B + 314 + 260B + 660;
q0 = 337B + 974.
3. Определение допустимых расстояний между домкратными стержнями из круга 
Расстояние между стержнями определяем из их устойчивости под действием продольной силы P.
а) Определение коэффициента уменьшения основного допустимого напряжения

Коэффициент

- табличная величина, зависящая от гибкости сжатого элемента

где

- коэффициент длины, зависящий от условий защемления концов,

(при одном конце стержня защемленном, а другом шарнирно опертым);
l - условная длина,
l = 100 см;
i - радиус инерции сечения;
здесь J - момент инерции сечения; F - площадь сечения;
При

для сжатых стержней из стали Ст.5

.
б) Определение допустимых расстояний между стержнями в зависимости от величины загруженной зоны
Условие прочности для продольно сжатых стержней:
P =
ql;
(здесь R - сжимающая осевая сила, R = 2300 кгс/см2);
q = 337
B + 900;

Зависимость расстояний между стержнями от нагрузки q и от ширины зоны сбора нагрузки B дана в табл. 4.17.
Таблица 4.17
B, м | 3 | 4 | 5 | 6 | 7 | 8 |
q, кгс | 19,1 | 22,5 | 25,85 | 29,2 | 32,6 | 36,0 |
l, см | 237 | 201 | 175 | 155 | 139 | 126 |
РАСЧЕТ ДОМКРАТНЫХ РАМ
Определение нагрузки на одну домкратную раму для стержня из круга
для первого варианта щитов
Наибольшее расстояние между домкратными рамами l = 200 см (из расчета кружал).
Вертикальная сила P действует на один домкрат. Нагрузку q определяем при наибольшей зоне сбора нагрузки B = 8 м; q = 337B + 900 = 337·8 + 900 = 2696 + 900; q = 3600 кгс; P = 3600·2,0 = 7200 кгс.
Горизонтальная нагрузка на каждую ногу домкратной рамы
H = RIl,
где RI - результирующая горизонтальной нагрузки на 1 м щитов от первого варианта загружения.
Для расчета по несущей способности
RI = 813 кгс/м (см.
рис. 4.75);
H = 813·2,0 = 1626 кгс.
Расчетная схема домкратной рамы представлена на рис. 4.79 (a - половина расстояния между центрами закрепления ног домкратной рамы к ригелю; c - половина ригеля).
Рис. 4.79
2. Проверка прочности домкратной рамы со стойками из труб 
,

;
c = 20 см;
l = 11 (из чертежей);
d = 41 см.
а) Подсчет внутренних сил
Наибольший изгибающий момент в точке A (для расчета стойки):
Наибольший изгибающий момент в точке B (для расчета ригеля):
от горизонтальных сил

;
разгружение ригеля вертикальной нагрузкой при действии горизонтальных сил не учитываем;
от вертикальных сил

.
б) Определение W стойки
Поперечное сечение стойки показано на рис. 4.80:
Рис. 4.80
J - собственный момент инерции сечения трубы; F - площадь сечения трубы;
Jy = 3·8,6 + 2·5,5·82 + 5,5·162 = 26 + 705 + 1410 =
= 2141 см4;
Jy = 3·8,6 + 2·5,5·72 = 26 + 539 = 565 см4;
в) Проверка стойки по несущей способности
R = 2100 кгс/см
2;
Перенапряжение составляет меньше 5%. Условие прочности выполнено.
г) Определение W ригеля.
Сечение ригеля представляет собой два облегченных швеллера N 20, ослабленных прорезью под защитную трубу. Примем ослабление 10%.
Тогда:
W = 2Wx·0,9; Wx = 74,3 см3; W = 2·74,3·0,9 = 134 см3.
д) Проверка ригеля по несущей способности
R = 2100 кгс/см
2;
Условие прочности выполнено.
3. Проверка прочности домкратной рамы со стойками из гнутого листа
c = 18 см; l = 14 см; a = 44 см
а) Определение внутренних сил
б) Определение W стойки
Опасное сечение стойки имеет вид, показанный на рис. 4.81.
Рис. 4.81
в) Проверка стойки по несущей способности
R = 2100 кгс/см
2;
Условие прочности выполнено.
г) Определение W ригеля
Ригель состоит из двух облегченных швеллеров N 18 W. (с учетом 10% ослабления) равно
W = 2·5,7·0,9 = 104 см2.
д) Проверка ригеля по несущей способности
R = 2100 кгс/см
2;
Условие прочности выполнено.
ВЕЛИЧИНА МАКСИМАЛЬНОГО ДАВЛЕНИЯ БЕТОННОЙ СМЕСИ
Максимальное давление бетонной смеси, кгс/м2
Скорость бетонирования, м/ч | Высота укладки бетонной смеси, м | K1·K2 |
1,15 x 1 = 1,15 | 1 x 1 = 1 | 0,85 x 1 = 0,85 | 1,2 x 1,15 = 1,38 | 1,2 x 1 = 1,2 | 1,2 | 1,15 x 0,80 = 0,92 | 0,8 | 0,68 |
V < 0,5H <= R, уплотнение глубинными вибраторами |
| 0,3 | | | 750 | | | | | | |
| 0,4 | | | 1000 | | | | | | |
| 0,5 | | | 1250 | | | | | | |
| 0,6 | | | 1500 | | | | | | |
| 0,8 | | | 2000 | | | | | | |
| 1,0 | | | 2500 | | | | | | |
V >= 0,5H >= 1 м, уплотнение глубинными вибраторами |
0,5 | | 2631 2287,5 | 2287,5 | 1944 | 3157 | 2745 | 2330 | 2105 | 1830 | 1550 |
1,0 | | 2625 | 2500 | 2231 | 3623 | 3150 | 2678 | 2415 | 2100 | 1785 |
1,5 | | 2630 | 2963 | 2518 | 4088 | 3550 | 3022 | 2726 | 2370 | 2015 |
2,0 | | 3795 | 3300 | 2805 | 4554 | 3960 | 3366 | 3036 | 2640 | 2242 |
2,5 | | 4183 | 3638 | 3092 | 5020 | 4365 | 3710 | 3347 | 2910 | 2473 |
3,0 | | 4571 | 3975 | 3379 | 5486 | 4770 | 4055 | 3657 | 3180 | 2703 |
4,0 | | 5341 | 4650 | 3953 | 6417 | 5580 | 4392 | 4278 | 3720 | 3162 |
5,0 | | 6124 | 5325 | 4526 | 7349 | 6390 | 5431 | 4899 | 4260 | 3621 |
6,0 | | 6900 | 6000 | 5100 | 8280 | 7200 | 6120 | 5520 | 4800 | 4080 |
8,0 | | 8453 | 7350 | 6248 | 10143 | 8820 | 7497 | 6762 | 5880 | 4998 |
10,0 | | 10005 | 8700 | 7395 | 12006 | 10440 | 8874 | 8004 | 6960 | 5916 |
V < 4,5H <= 2, уплотнение наружными вибраторами |
| 0,3 | | | 750 | | | | | | |
| 0,4 | | | 1000 | | | | | | |
| 0,5 | | | 1250 | | | | | | |
| 0,6 | | | 1500 | | | | | | |
| 0,8 | | | 2000 | | | | | | |
| 1,0 | | | 2500 | | | | | | |
| 1,5 | | | 3750 | | | | | | |
| 2,0 | | | 5000 | | | | | | |
V >= 4,5H > 2 м, уплотнение наружными вибраторами |
4,5 | | 5736 | 4988 | 4239 | 6883 | 5985 | 5087 | 4589 | 3990 | 3392 |
5,0 | | 6124 | 5325 | 4526 | 7349 | 6390 | 5432 | 4899 | 4260 | 3621 |
5,5 | | 6512 | 5663 | 4813 | 7814 | 6795 | 5776 | 5209 | 4530 | 3850 |
6,0 | | 6900 | 6000 | 5100 | 8280 | 7200 | 6120 | 5520 | 4800 | 4080 |
6,5 | | 7288 | 6338 | 5387 | 8746 | 7605 | 6464 | 5831 | 5070 | 4310 |
7,0 | | 7676 | 6675 | 5674 | 9212 | 8010 | 6809 | 6141 | 5340 | 4539 |
7,5 | | 8064 | 7013 | 5961 | 9677 | 8415 | 7153 | 6452 | 5610 | 4769 |
8,0 | | 8453 | 7350 | 6248 | 10143 | 8820 | 7497 | 6762 | 5880 | 4998 |
9,0 | | 9229 | 8025 | 6821 | 11075 | 9630 | 8186 | 7383 | 6420 | 5457 |
10,0 | | 10005 | 8700 | 7395 | 12006 | 10440 | 8874 | 8004 | 6960 | 5916 |
СВОБОДНЫЕ ПРОЛЕТЫ ЩИТОВ ОПАЛУБКИ И ПАЛУБЫ
ИЗ РАЗЛИЧНЫХ МАТЕРИАЛОВ
Таблица 6.1
Зависимость свободного пролета щита l, см (рис. 1)
(шаг установки схваток) от давления бетонной смеси
при неравномерной треугольной нагрузке по длине щита
(установка щита вертикального по высоте)
Момент инерции J, см4 | Момент сопротивления W, см2 | Ширина щита b, см | Давление P, кгс/см2, и равномерно распределенная нагрузка q, кгс/см |
1500 | 2000 | 3000 | 3500 | 4000 | 4500 | 5000 | 6000 |
q1 = 0,15 | q2 = 0,24 | q1 = 0,18 | q2 = 0,31 | q1 = 0,24 | q2 = 0,41 | q1 = 0,28 | q2 = 0,51 | q1 = 0,31 | q2 = 0,57 | q1 = 0,34 | q2 = 0,64 | q1 = 0,38 | q2 = 0,7 | q1 = 0,44 | q2 = 0,5 |
Расчет по прочности |
| 9,29 | 30 | 186 | 147 | 170 | 129 | 148 | 108 | 136 | 101 | 130 | 95 | 121 | 90 | 117 | 96 | 108 | 79 |
| 9,5 | 40 | 163 | 129 | 148 | 113 | 128 | 95 | 119 | 88 | 113 | 84 | 106 | 79 | 102 | 75 | 95 | 69 |
| 9,69 | 50 | 147 | 116 | 134 | 102 | 116 | 86 | 107 | 90 | 102 | 76 | 96 | 71 | 92 | 68 | 86 | 63 |
| 9,83 | 60 | 135 | 107 | 123 | 94 | 106 | 79 | 99 | 73 | 94 | 69 | 89 | 65 | 84 | 63 | 78 | 57 |
Расчет по прогибу при l/200 |
47,94 | - | 30 | 586 | 500 | 552 | 460 | 501 | 408 | 476 | 390 | 459 | 376 | 442 | 361 | 428 | 350 | 410 | 330 |
50,63 | - | 40 | 594 | 509 | 563 | 469 | 510 | 418 | 485 | 396 | 462 | 382 | 452 | 369 | 436 | 358 | 421 | 336 |
52,7 | - | 50 | 605 | 516 | 569 | 474 | 516 | 421 | 492 | 402 | 474 | 387 | 457 | 373 | 445 | 361 | 422 | 342 |
54,4 | - | 60 | 611 | 523 | 576 | 480 | 523 | 427 | 497 | 406 | 480 | 392 | 462 | 378 | 450 | 366 | 427 | 344 |
Расчет по прогибу при l/400 |
47,94 | - | 30 | 464 | 390 | 436 | 366 | 396 | 324 | 378 | 311 | 366 | 300 | 350 | 288 | 348 | 280 | 324 | 262 |
50,63 | - | 40 | 474 | 406 | 445 | 373 | 404 | 330 | 385 | 314 | 371 | 304 | 358 | 292 | 353 | 284 | 330 | 267 |
52,7 | - | 50 | 480 | 410 | 452 | 378 | 410 | 336 | 390 | 321 | 378 | 307 | 361 | 296 | 358 | 288 | 336 | 272 |
54,4 | - | 60 | 486 | 416 | 457 | 380 | 414 | 339 | 394 | 324 | 380 | 310 | 366 | 300 | 364 | 292 | 339 | 276 |
Примечания: 1. Расчет по прочности производился по формуле  ; по прогибу - по формуле  при l/400 ( l/200). 2. Схема нагрузок при q1 дана на эскз. 1, при q2 - на эскз. 2. |
Таблица 6.2
Зависимость свободного пролета (шаг установки ребер) l, см,
палубы из металла от давления бетонной смеси
Толщина палубы, h, см | Давление P, кгс/см2, и равномерно распределенная нагрузка q, кгс/см |
1500 | 2000 | 3000 | 3500 | 4000 | 4500 | 5000 | 6000 |
0,24 | 0,31 | 0,44 | 0,51 | 0,57 | 0,64 | 0,7 | 0,8 |
|
0,2 | 24 | 21 | 18 | 17 | 16 | 15 | 14 | 13 |
0,3 | 36 | 32 | 27 | 25 | 24 | 22 | 21 | 20 |
0,4 | 48 | 43 | 36 | 33 | 32 | 30 | 29 | 27 |
Расчет по прогибу при l/200 <**> |
0,2 | 12,0 | 11,0 | 10 | 10 | 9,0 | 9,0 | 8,0 | 8,0 |
0,3 | 18,0 | 16,0 | 15,0 | 14,0 | 14,0 | 13,0 | 13 | 12,0 |
0,4 | 24,0 | 22,0 | 20 | 19 | 18,0 | 17,0 | 17 | 16,0 |
Расчет по прогибу при l/400 |
0,2 | 10 | 9 | 8 | 8 | 7,0 | 9 | 7 | 6 |
0,3 | 14,0 | 13,0 | 11,0 | 11,0 | 11 | 10,0 | 10,0 | 10 |
0,4 | 19,0 | 18 | 15,0 | 15 | 14 | 14 | 13,0 | 13 |
-------------------------------- <*> Производится по формуле  при R = 2100 кгс/см 2. <**> То же,  при E = 21·10 5 кгс/см 2. |
Таблица 6.3
Зависимость свободного пролета l палубы из досок
(сосна, ель) от давления бетонной смеси
Толщина палубы, см | Давление P, кгс/м2, и равномерно распределенная нагрузка q, кгс/см |
1500 | 2000 | 3000 | 3500 | 4000 | 4500 | 5000 | 6000 |
0,24 | 0,31 | 0,44 | 0,51 | 0,57 | 0,64 | 0,7 | 0,8 |
|
1,6 | 57 | 50 | 42 | 39 | 37 | 35 | 33 | 31 |
1,9 | 68 | 60 | 50 | 46 | 43 | 44 | 40 | 37 |
2,5 | 89 | 78 | 66 | 61 | 59 | 55 | 52 | 48 |
3,2 | 114 | 100 | 84 | 78 | 74 | 70 | 67 | 62 |
4,0 | 142 | 125 | 105 | 98 | 92 | 87 | 83 | 78 |
Расчет по прогибу при l/200 <**> |
1,6 | 37 | 32 | 28 | 27 | 26 | 25 | 24 | 23 |
1,9 | 41 | 37 | 33 | 32 | 31 | 29 | 29 | 27 |
2,5 | 55 | 50 | 43 | 43 | 42 | 40 | 38 | 37 |
3,2 | 70 | 64 | 57 | 55 | 53 | 51 | 49 | 47 |
4,0 | 87 | 80 | 71 | 68 | 65 | 63 | 61 | 68 |
Расчет по прогибу при l/400 |
1,6 | 27 | 25 | 22 | 21 | 21 | 20 | 19 | - |
1,9 | 32 | 30 | 27 | 25 | 24 | 23 | 23 | - |
2,5 | 43 | 40 | 36 | 34 | 33 | 31 | 30 | - |
3,2 | 55 | 51 | 46 | 43 | 42 | 40 | 39 | - |
4,0 | 68 | 63 | 56 | 54 | 52 | 50 | 48 | - |
-------------------------------- <*> Расчет по прочности производился по формуле  при R = 180 кгс/см 2. <**> То же, по прогибу  при E = 10 5 кгс/см 2. |
Таблица 6.4
Зависимость свободного пролета l, см, палубы из фанеры
от давления бетонной смеси
Толщина палубы h, см | Давление P, кгс/м2, и равномерно распределенная нагрузка q, кгс/см |
1500 | 2000 | 3000 | 3500 | 4000 | 4500 | 5000 | 6000 |
0,24 | 0,31 | 0,44 | 0,51 | 0,57 | 0,64 | 0,7 | 0,8 |
|
0,5 | 17 | 15 | 12 | 11 | 11 | 10 | 10 | 9 |
0,7 | 23 | 21 | 17 | 16 | 15 | 14 | 14 | 13 |
0,8 | 27 | 24 | 20 | 18 | 17 | 16 | 16 | 16 |
1,0 | 34 | 30 | 25 | 23 | 22 | 21 | 20 | 18 |
1,2 | 40 | 35 | 30 | 28 | 26 | 25 | 24 | 23 |
1,6 | 54 | 47 | 40 | 37 | 35 | 33 | 31 | 29 |
1,8 | 60 | 53 | 45 | 41 | 39 | 37 | 35 | 33 |
1,9 | 64 | 57 | 47 | 44 | 41 | 39 | 37 | 35 |
Расчет по прогибу при l/200 <**> |
0,5 | 11 | 10 | 9 | 8 | 8 | 8 | 7 | 7 |
0,7 | 15 | 13 | 12 | 11 | 11 | 10 | 10 | 10 |
0,8 | 17 | 16 | 14 | 13 | 13 | 12 | 12 | 11 |
1,0 | 22 | 19 | 17 | 16 | 15 | 15 | 15 | 14 |
1,2 | 25 | 23 | 21 | 20 | 19 | 18 | 18 | 17 |
1,6 | 33 | 30 | 27 | 25 | 25 | 23 | 23 | 22 |
1,8 | 38 | 34 | 31 | 29 | 28 | 27 | 26 | 25 |
1,9 | 40 | 37 | 33 | 31 | 30 | 29 | 28 | 27 |
Расчет по прогибу при l/400 |
0,5 | 9 | 8 | 7 | 7 | 7 | 6 | 6 | 6 |
0,7 | 12 | 11 | 9 | 9 | 9 | 8 | 8 | 8 |
0,8 | 13 | 12 | 11 | 10 | 10 | 10 | 9 | 9 |
1,0 | 16 | 15 | 13 | 13 | 12 | 12 | 11 | 11 |
1,2 | 20 | 19 | 16 | 16 | 15 | 15 | 14 | 13 |
1,6 | 26 | 24 | 21 | 20 | 19 | 19 | 18 | 17 |
1,8 | 30 | 27 | 24 | 23 | 22 | 21 | 21 | 20 |
1,9 | 32 | 29 | 26 | 25 | 24 | 23 | 22 | 21 |
-------------------------------- <*> Расчет по прочности производился по формуле  при R = 160 кгс/см 2. <**> То же, по прогибу  при E = 85000 кгс/см 2. |
Таблица 6.5
Зависимость свободного пролета l палубы
из древесноволокнистой плиты (ДВП) от давления бетонной
смеси (расчет по прочности) <*>
Толщина плиты h, см | R, кгс/см2 | Давление P, кгс/м2, и равномерно распределенная нагрузка q, кгс/см |
1500 | 2000 | 3000 | 3500 | 4000 | 4500 | 5000 | 6000 |
0,24 | 0,31 | 0,44 | 0,51 | 0,57 | 0,64 | 0,7 | 0,8 |
0,4 | 350 | 20 | 17 | 15 | 14 | 13 | 12 | 12 | 11 |
0,5 | 350 | 25 | 22 | 18 | 17 | 16 | 15 | 14 | 14 |
0,6 | 350 | 30 | 26 | 22 | 20 | 19 | 18 | 17 | 16 |
0,4 | 400 | 21 | 19 | 16 | 15 | 14 | 13 | 12 | 12 |
0,5 | 400 | 26 | 23 | 20 | 18 | 17 | 16 | 15 | 14 |
0,6 | 400 | 32 | 28 | 23 | 22 | 21 | 19 | 19 | 17 |
0,4 | 500 | 24 | 21 | 17 | 16 | 15 | 15 | 14 | 13 |
0,5 | 500 | 30 | 26 | 22 | 20 | 19 | 18 | 17 | 16 |
0,6 | 500 | 36 | 41 | 26 | 24 | 23 | 22 | 21 | 19 |
-------------------------------- <*> Расчет производился по формуле  . |
Таблица 6.6
Зависимость свободного пролета l палубы
из древесностружечной плиты (ДСП) от давления бетонной смеси
Толщина плиты h, см | R, кгс/см2 | Давление P, кгс/м2, и равномерно распределенная нагрузка q, кгс/см |
1500 | 2000 | 3000 | 3500 | 4000 | 4500 | 5000 | 6000 |
0,24 | 0,31 | 0,44 | 0,51 | 0,57 | 0,64 | 0,7 | 0,8 |
|
1 | 200 | 37 | 33 | 28 | 26 | 24 | 23 | 22 | 21 |
1 | 160 | 34 | 29 | 25 | 23 | 22 | 21 | 20 | 18 |
1,5 | 180 | 53 | 47 | 39 | 37 | 35 | 33 | 31 | 29 |
1,5 | 150 | 49 | 43 | 36 | 33 | 32 | 30 | 28 | 27 |
2,0 | 170 | 69 | 61 | 51 | 48 | 45 | 42 | 40 | 38 |
2,5 | - | 86 | 75 | 64 | 59 | 56 | 53 | 51 | 47 |
Расчет по прогибу при l/200 <**> |
1,0 | - | 13 | 12 | 10 | 10 | 10 | 9 | 9 | 9 |
1,5 | - | 19 | 17 | 16 | 15 | 14 | 14 | 13 | 13 |
2,0 | - | 25 | 23 | 21 | 20 | 19 | 18 | 18 | 17 |
2,5 | - | 32 | 29 | 26 | 25 | 24 | 23 | 22 | 21 |
Расчет по прогибу при l/400 |
1,0 | - | 10 | 9 | 8 | 8 | 7 | 7 | 7 | 7 |
1,5 | - | 15 | 13 | 12 | 11 | 11 | 10 | 10 | 10 |
2,0 | - | 19 | 18 | 16 | 15 | 15 | 14 | 14 | 13 |
2,5 | - | 24 | 22 | 20 | 19 | 18 | 17 | 17 | 16 |
-------------------------------- <*> Расчет по прочности производился по формуле  . <**> То же, по прогибу  . |
Таблица 6.7
Зависимость свободного пролета l палубы из стеклоцемента
(расчет по прочности)
Толщина плиты h, см | Давление P, кгс/м2, и равномерно распределенная нагрузка q, кгс/см |
1500 | 2000 | 3000 | 3500 | 4000 | 4500 | 5000 | 6000 |
0,24 | 0,31 | 0,44 | 0,51 | 0,57 | 0,64 | 0,7 | 0,8 |
Расчет по прочности |
1,3 | 34,0 | 30,0 | 26,0 | 24,0 | 22,0 | 21,0 | 20,0 | 19,0 |
1,5 | 40,0 | 35,0 | 29,0 | 27,0 | 26,0 | 24,0 | 23,0 | 22,0 |
1,8 | 48,0 | 42,0 | 35,0 | 33,0 | 31,0 | 29,0 | 28,0 | 26,0 |
2,0 | 53,0 | 47,0 | 39,0 | 36,0 | 34,0 | 33,0 | 31,0 | 29,0 |
Примечание. Расчет по формуле  при R = 100 кгс/см 2. |
О СПЕЦИАЛИЗИРОВАННОМ УЧАСТКЕ ОПАЛУБОЧНЫХ РАБОТ
1. Общая часть
1.1. Настоящее положение определяет задачи, функции, права и ответственность участка опалубочных работ.
1.2. Участок в своей деятельности руководствуется действующим законодательством и настоящим положением.
1.3. Положение устанавливает порядок выполнения опалубочных работ с применением единой системы "Блочно-переставной опалубки".
1.4. Временное положение регламентирует порядок взаимоотношений участка опалубочных работ с общестроительными управлениями в структуре строительного треста.
1.5. Участок по опалубочным работам организуется с целью повышения уровня механизации на опалубочных работах в составе управления малой механизации или Управления механизации строительства треста.
1.6. Участок по опалубочным работам является специализированным участком.
2. Задачи
2.1. На основе договоров, заключенных со строительными организациями треста и по их заявкам, участок должен обеспечить:
своевременную сборку укрупненных элементов опалубки или блоков в необходимом количестве по проекту производства работ;
своевременную доставку готовых блоков опалубки на строительные объекты;
своевременный ремонт опалубки и изготовление деталей для укомплектования;
контроль за правильной эксплуатацией опалубки;
составление ежегодных заявок на изготовление опалубки на заводах;
оперативное решение вопросов по механизации опалубочных работ.
2.2. Участок опалубочных работ возглавляется начальником участка, который подчинен непосредственно главному инженеру УММ или УМС.
2.3. Участок опалубочных работ состоит из производственных бригад, специализированных по видам работ:
бригада по сборке блоков опалубки и укрупненных панелей;
бригада по ремонту и изготовлению опалубки.
2.4. Штатное расписание участка по опалубочным работам утверждается начальником УММ.
3. Функции подразделений участка по опалубочным работам
3.1. Участок опалубочных работ имеет в своем составе:
отделение - полигон по сборке укрупненных элементов опалубки панелей, блоков, их переналадки, группу очистки, смазки и складирования опалубки;
отделение по ремонту опалубки и изготовлению элементов и деталей, которое имеет сварочную группу и группу слесарей;
склад с открытыми площадками и навесами для хранения опалубки.
На складе содержатся запас опалубки, монтажные приспособления, средства механизации опалубочных работ. Все поступающие на склад и отпускаемые со склада средства должны соответствовать ТУ. Прием и выдача производится на основании комплектовочной ведомости.
3.2. Участок опалубочных работ занимается сборкой, разборкой, переналадкой опалубки, делает контрольную сборку блоков, изготовляет недостающие элементы и детали, производит капитальный и текущий ремонт опалубки, модернизацию существующей опалубки, улучшающую свойства опалубки, изготавливает монтажные приспособления и необходимую оснастку, испытывает и выдает паспорта на монтажные приспособления, участвует в составлении заказов на изготовление опалубки на заводах, в составлении заявок на оборудование, оснастку, инструмент.
4. Взаимоотношения участка опалубочных работ со строительными организациями
4.1. В обязанность опалубочного участка входит:
согласование со строительными организациями графиков и обеспечение поставки опалубки;
разработка мероприятий по механизации трудоемких операций на опалубочных работах;
представление за 10 дней до начала работ планов-графиков, утвержденных трестом;
обеспечение всеми вспомогательными материалами, приспособлениями, траверсами, стропами, домкратами и необходимым рабочим инструментом;
участок ведет комплектование объектов опалубкой по проекту производства работ. После сборки блока опалубки производится его испытание в присутствии заказчика. Возврат блока опалубки производят после письменного уведомления об этом заказчика. Передачу и возврат производят по акту (см. акт);
после окончания работ производится осмотр опалубки и перевозка ее на участок для следующей переналадки.
4.2. В обязанность строительной организации входит:
соблюдение норм и правил техники безопасности и охраны труда при эксплуатации опалубки, монтажной оснастки, инструмента;
сохранность опалубки и приспособлений;
уход за опалубкой с очисткой и смазкой ее после каждой перестановки, правильное ее складирование;
эксплуатация опалубки на строительных объектах собственными силами;
разработка проектов производства работ по строящимся объектам и представление их участку за 15 - 20 дней до начала работ с выдачей заказов с указанием размеров конструкции и количества блоков опалубки;
обеспечение техническими данными рабочих, содействие быстрому внедрению передовых процессов в производство;
выдача наряд-допуска к работе с механизированным инструментом специально обученных рабочих, имеющих удостоверение и сдавших экзамены по технике безопасности.
5. Ответственность сторон
5.1. Участок по опалубочным работам УММ:
несет ответственность за нарушение сроков выдачи опалубки и другого инвентаря согласно утвержденным трестом графикам поставки в размерах, установленных правилами за расчеты;
оплачивает строительной организации за простой рабочих из-за вышедшей из строя опалубки по вине УММ, согласно акту, составленному комиссией, в размере тарифной ставки рабочего.
Примечание. УММ не несет ответственности за простой бригады в связи с выходом из строя опалубки по вине строительной организации и за срыв сроков производства работ из-за несвоевременной выдачи наряд-заказа.
5.2. Строительная организация:
при нарушении правил эксплуатации и порче инвентаря СМУ несет материальную ответственность в двухкратном размере причиненного ущерба;
в случае отказа от выполненного заказа СМУ возмещает произведенные затраты;
при допуске на опалубочные работы лиц, не имеющих специальной подготовки, СМУ несет ответственность за их безопасность.
6. Взаимные расчеты участка со строительными организациями
6.1. Взаиморасчеты строительных управлений с участком малой механизации должны производиться по планово-расчетной стоимости проката 1 м2 опалубки в сутки исходя из восьмикратной месячной, 96-годовой оборачиваемости опалубки и 150-кратной - до полного износа.
6.2. Планово-расчетная стоимость опалубки должна составляться для каждого строительного управления, треста в зависимости от местонахождения завода-изготовителя, способа транспортировки.
6.3. Расчеты за выполненные работы оформляются документально и учитываются как строймонтажные работы по внутреннему субподряду.
6.4. Планово-расчетная стоимость проката составляет от 20 до 25 коп. в сутки за 1 м2 опалубки.
АКТ "____" ____________ 19__ г.
Мы, нижеподписавшиеся, представитель УММ __________ треста _______________ тов. ___________________ с одной стороны, представитель СМУ N _______ тов. ___________ с другой стороны, составили настоящий акт на передачу исправной в комплекте блочной опалубки в арендное пользование СМУ ___________
СДАЛ ПРЕДСТАВИТЕЛЬ УММ | ПРИНЯЛ ПРЕДСТАВИТЕЛЬ УММ |
Наименование | Единица измерения | Количество | Роспись заказчика | Наименование | Единица измерения | Количество | Роспись заказчика |
Блоки опалубки | к-во/м2 | | | Блоки опалубки | к-во/м2 | | |
В том числе: | | | | В том числе: | | | |
щиты опалубки | | | | щиты опалубки | | | |
Схватка | шт. | | | Схватка | шт. | | |
Угловые элементы | " | | | Угловые элементы | " | | |
Доборные элементы | " | | | Доборные элементы | " | | |
Крепежные элементы | " | | | Крепежные элементы | " | | |
Сдал представитель УММ Сдал представитель СУ
Принял представитель СУ Принял представитель УММ
ЗАКАЗ
В УММ треста ______________________________________________________________
На поставку опалубки
СМУ __________________________________ Объект _____________________________
N п.п. | Опалубка | Конструктивный элемент (эскиз) | К-во блоков, шт. | Срок исполнения | Примечание |
| Блочно-переставная опалубка столбчатых фундаментов | | | | |
Итого
Главный инженер СМУ _______________________________________________________
___________________________________________________________________________
СНИЖЕНИЕ СЦЕПЛЕНИЯ И ТРЕНИЯ
МЕЖДУ СКОЛЬЗЯЩЕЙ ОПАЛУБКОЙ И БЕТОНОМ
Большое сцепление и трение между щитами скользящей опалубки и бетоном являются причиной срывов бетона, горизонтальных трещин, перекосов опалубки и изгиба домкратных стержней. При этом резко снижается качество бетонируемых конструкций и увеличиваются затраты на их доводку. При подъеме скользящей опалубки возможны три варианта ее смещения относительно бетона:
плоскость смещения (сдвига) совпадает с плоскостью контакта опалубки с бетоном. Такой сдвиг называют адгезионным (
рис. 8.1,
а). При этом формующая поверхность щитов остается чистой, а поверхность бетона - гладкой;
плоскость смещения проходит по бетону (
рис. 8.1,
б); такой сдвиг называют когезионным, при нем щиты обрастают бетонной коркой, а поверхность бетона становится излишне шероховатой;
плоскость смещения частично проходит по бетону, частично совпадает с плоскостью контакта (рис. 8.1, в); такой сдвиг называют смешанным, он наиболее распространен на практике.
Рис. 8.1. Характер смещения скользящей опалубки
относительно бетона
а - адгезионный сдвиг; б - когезионный сдвиг; в - смешанный
сдвиг; 1 - бетон; 2 - палуба; 3 - контактная поверхность
В первоначальный момент подъема скользящей опалубки усилие подъема резко возрастает и достигает максимума в момент отрыва ее от бетона (точка
А,
рис. 8.2). В этот момент между точками
А и
Б преодолеваются силы сцепления между бетоном и скользящей опалубкой. Далее (между точками
Б и
В) в зоне контакта наблюдается трение и усилие снижается пропорционально уменьшению площади контакта. Как показали опыты, характер трения между скользящей опалубкой и бетоном отличается от традиционного "сухого" трения, наблюдаемого повсеместно между двумя твердыми поверхностями. При подъеме скользящей опалубки между ее формующими поверхностями и бетоном наряду с трением наблюдается адгезионное взаимодействие, т.е. сцепление. Оно обусловлено тем, что одно из контактирующих тел - бетон находится в вязкопластичном состоянии. Поэтому при подъеме скользящей опалубки в зоне контакта имеет место сложное взаимодействие контактирующих поверхностей, включающее наряду с "сухим" трением адгезионное взаимодействие, т.е. сцепление. При этом справедлив обобщенный закон Дерягина, выражающийся зависимостью

(1)
где Fтр - усилие подъема опалубки, кгс;
F0 - сила адгезионного взаимодействия контактирующих поверхностей, кгс;
Pн - давление бетона на опалубку, кгс/см2;

- нормальное сцепление, кгс/см
2;
S - площадь контакта опалубки с бетоном, м2;

- коэффициент трения.
Рис. 8.2. Изменение усилий подъема скользящей опалубки
Применительно к скользящей опалубке усилие подъема удобнее выражать не через коэффициент трения, а через удельное тангенциальное сцепление

и удельное трение


(2)

(3)
Значения

и

определяют экспериментально. Их величина зависит от характера формующей поверхности (вида, материала палубы, их чистоты, наличия на ней смазки или цементной пленки и т.д.). Кроме этого, на величину

и

оказывают значение марка бетона, вид цемента, время контактирования бетона с опалубкой, реология бетонной смеси, условия ее твердения.
Значения

и

для бетона марки М150 в зависимости от характеристик формующих поверхностей опалубочных щитов приведены в табл. 8.1.
Таблица 8.1
Материал палубы | Характеристика формующей поверхности | Тангенциальное (касательное) сцепление (точка А), кгс/м2 | Удельное трение  , кгс/м 2 |
| рост по отношению к чистой поверхности, % | | рост по отношению к чистой поверхности, % |
Сталь без смазки | Чистая | 280 | - | 180 | - |
Сплошная цементная корка | 315 | 115 | 230 | 128 |
Сплошная шероховатая бетонная корка | 520 | 182 | 440 | 245 |
Сталь со смазкой | Чистая, со смазкой | 180 | - | 80 | - |
Сплошная цементная корка | 250 | 135 | 86 | 108 |
Сплошная шероховатая бетонная корка | 490 | 274 | 250 | 310 |
Дощатая промасленная палуба | Чистая | 450 | - | 198 | - |
Сплошная бетонная корка | 820 | 182 | 380 | 192 |
Сплошная очень шероховатая бетонная корка | 705 | 157 | 395 | 199 |
Чистая | 308 | - | 233 | - |
На 80 - 90% покрыта цементной коркой | 540 | 144 | 430 | 184 |
Сплошная цементная корка | 730 | 194 | 490 | 210 |
Чистая | 190 | - | 76 | - |
На 80% покрыта тонкой цементной пленкой | 195 | 103 | 100 | 143 |
Сплошная цементная пленка | 4400 | 232 | 124 | 163 |
Фанера с покрытием ЦНИИОМТП | Чистая | 190 | - | 76 | - |
На 80% покрыта тонкой цементной пленкой | 195 | 103 | 100 | 143 |
Сплошная цементная пленка | 440 | 232 | 124 | 163 |
Гетинакс | Чистая | 110 | - | 52 | - |
На 30 - 40% покрыта тонкой цементной пленкой | 188 | 171 | 65 | 130 |
Сплошной цементный налет | 250 | 227 | 72 | 138 |
Текстолит | Чистая | 220 | - | 90 | - |
На 40 - 50% покрыта тонкой цементной пленкой | 365 | 166 | 151 | 168 |
Сплошной цементный налет | 410 | 186 | 142 | 158 |
Стеклопластик полиэфирный листовой | Чистая | 310 | - | 83 | - |
Сплошная цементная корка | 450 | 145 | 85 | 101 |
Сплошная весьма шероховатая цементная корка | 515 | 166 | 245 | 296 |
Опыт показал, что при сцеплении до 450 кгс/м
2 и трении до 200 кгс/м
2 срывы бетона и трещины в нем отсутствуют, бетонные поверхности получаются гладкими или с несплошной мелкой шероховатостью. При таких значениях

и

также не бывает изгибов домкратных стержней и перекосов опалубки.
Такие значения

и

обеспечивают гладкие формующие поверхности при палубе из фанеры с покрытием ЦНИИОМТП: гетинакса, текстолита.
Комбинированные щиты с металлическим каркасом показаны на рис. 8.3.
Рис. 8.3. Комбинированный щит скользящей опалубки
1 - прогон; 2 - прокладка; 3 - винт; 4 - палуба; 5 - стяжной
болт; 6 - брусок; 7 - шпатлевка
МЕРЫ ПО ОБЕСПЕЧЕНИЮ НАДЕЖНОГО СЦЕПЛЕНИЯ
НЕСЪЕМНОЙ ОПАЛУБКИ С БЕТОНОМ
Для обеспечения прочности и долговечности конструкций и сооружений, бетонируемых в несъемной опалубке, необходимо надежное сцепление с ней бетона массива. В некоторых случаях требуется равнопрочность шва-контакта между опалубочной плитой и бетоном массива.
Эту задачу можно успешно решить с помощью специальных конструктивно-технологических мероприятий.
К числу конструктивных мер относится устройство шероховатой активной поверхности, анкерующих выпусков и змеек, отверстий в ребрах плит и окон в стенках блоков УДБ, в которые "заплывает" бетонная смесь с образованием анкерующих шпонок. Надежному сцеплению между бетоном и опалубочными плитами способствует приварка их к подкондукторным стойкам, а также элементы их креплений в блоках бетонирования. Важное значение для надежного сцепления имеет шероховатость активной поверхности плит. Исследования показали, что наибольшее сцепление наблюдается при мелкой, равномерной шероховатости без сплошной цементной пленки. Такую шероховатость можно обеспечить путем срезки "горбуши", т.е. свежеотформованного верхнего слоя у плит, формуемых активной поверхностью вверх. Аналогичные результаты наблюдаются при обработке плит на обдирочных установках после пескоструйной обработки плит или после пропарки с последующей промывкой и продувкой сжатым воздухом.
Для увеличения шероховатости активной поверхности свежеотформованную плиту, формуемую на поддоне, посыпают щебнем фракции 10 - 15 мм с последующим втапливанием в бетон на половину сечения щебенки.

эффект достигается, если вместо щебня использовать стальную или чугунную крупноломанную стружку. Полувтопленные в бетон кусочки стружки образуют множество микроанкеров и обеспечивают надежное сцепление между бетоном и несъемной опалубкой.
Установлено, что сцепление зависит также от вида цемента, применяемого для опалубочных плит и бетона массива. Наибольшее сцепление достигается, если для плит и бетона массива применяют одинаковые или близкие по своим свойствам и минералогическому составу цементы.
Доказано также, что сцепление зависит от подвижности бетонной смеси, укладываемой в несъемную опалубку. Наибольшее сцепление может быть достигнуто при средней подвижности (В/Ц = 0,40 - 0,5; рис. 9.1). При использовании литых или очень жестких смесей сцепление снижается.
Рис. 9.1. Зависимость сцепления бетона с опалубкой
от подвижности бетонной смеси
За счет шероховатости, оптимизации реологических свойств и тщательной укладки бетонной смеси можно обеспечить 50 - 60% проектной прочности. Недостающую долю прочности в зоне контакта, т.е. дефицит сцепления

шва-контакта при требуемой его равнопрочности с бетоном массива, обеспечивают за счет анкерующих выпусков, змеек, анкеров и т.п.
Количество их определяется из условия:

(1)

(2)
где

- нормальное сцепление между бетоном и плитой без учета анкеров
(табл. 9.1), кгс/см
2;

- то же, тангенциальное (сцепление при срезе), кгс/см
2;
Rр - предел прочности бетона массива при растяжении, кгс/см2;
Rс - то же, при срезе, кгс/см2;
Kус - коэффициент условия работы при укладке бетона массива в летних условиях Kус = 0,75, в зимних Kус = 0,6;

- дефицит сцепления при отрыве, кгс/см
2;

- то же, при срезе, кгс/см
2.
Активная поверхность | Сцепление, кгс/см2, при марке бетона массива |
М100 | М150 | М200 |
Нормально срезанная | 9,0 | 12,5 | 16,0 |
Гладкая, отформованная на металлическом поддоне со сплошной цементной пленкой | 7,5 | 9,5 | 12,5 |
То же, после обдирки стальными щетками | 8,7 | 11,3 | 13,6 |
С полувтопленным щебнем | 8,4 | 10,5 | 12,8 |
С полувтопленной металлической стружкой | 11,5 | 14,0 | 18,5 |
Откуда:

(3)

(4)
При условии равнопрочности шва-контакта дефицит сцепления должен погашаться анкерами. Тогда их количество равно:

(5)
где F - суммарная площадь активной поверхности плиты, см2;
R' - усилие, воспринимаемое одним анкером, кгс.
При двухветвенном анкере при условии надежной заделки анкера в плите и в бетоне усилие, воспринимаемое одним анкером, равно
(рис. 9.2):
R'р = 2Fа·Rа.у; (6)
R'с = 2Fа·Rа.с, (7)
где Fа - площадь сечения ветви анкера, см2;
Rа.у - условное расчетное сопротивление арматуры анкера при растяжении, кгс/см2;
Rа.с - то же, при срезе, кгс/см2.
Рис. 9.2. Расчетная схема для определения количества анкеров
1 - опалубочная плита; 2 - бетон массива; 3 - армокаркас;
4 - активная поверхность; 5 - анкер
Откуда:

(8)

(9)
где n - количество анкеров, определяемое при учете отрывающих усилий, действующих на опалубочную плиту;
n' - то же, при учете срезывающих усилий.
Из двух значений n и n' принимают наибольшее.
| | ИС МЕГАНОРМ: примечание. Текст дан в соответствии с официальным текстом документа. | |
Расчеты, проведенные в НИИЭС на основе исходных данных ЦНИИОМТП, показали, что наиболее экономически эффективным материалом для изготовления палубы инвентарной опалубки является сталь, причем экономический эффект колеблется (в зависимости от вида опалубки) от 6,2 до 19,0 руб./м2 при сравнении с фанерой и от 5,7 до 14,1 руб./м2 при сравнении с древесиной (табл. 10.1). Несмотря на относительно высокую стоимость фанеры применение ее в целом ряде конструкций опалубки.
Таблица 10.1
Вид опалубки | Стоимость изготовления палубы (расчетная) из различных материалов, руб./м2 | Оборачиваемость палубы | Относительная оборачиваемость палубы из стали по сравнению с оборачиваемостью палубы из | Стоимость палубы за период функционирования стальной палубы, руб./м2 | Экономический эффект, руб./м2, от применения стальной палубы по сравнению с палубой из |
сталь | фанера | доски | сталь | фанера | доски | фанеры | досок | сталь | фанера | доски | фанеры | досок |
Крупнощитовая | 5,1 | 3,59 | 1,79 | 120 | 30 | 20 | 4 | 6 | 5,1 | 14,4 | 10,8 | 9,3 | 5,7 |
"Монолит-77" | 5,1 | 3,59 | 1,79 | 100 | 30 | 20 | 3,3 | 5 | 5,1 | 11,9 | 8,95 | 6,8 | 3,5 |
Блок-форма | 5,1 | 3,59 | 1,79 | 120 | 30 | 20 | 4 | 6 | 5,1 | 14,4 | 10,8 | 9,3 | 5,7 |
Примечание. Здесь и далее расчеты приведены на примере трех наиболее массовых типов инвентарной опалубки, которые, по данным ЦНИИОМТП, должны составлять около 97% всего объема применения инвентарной опалубки. |
Несмотря на прогрессивность и индустриальность инвентарной опалубки она пока еще не нашла, к сожалению, необходимого распространения: доля бетонных работ, произведенных с помощью инвентарной опалубки составляет в настоящее время около 30% всего объема этих работ. Оставшиеся же 70% приходятся на опалубку, изготавливающуюся из досок в построечных условиях. По мнению ЦНИИОМТП, доля применения такой опалубки не должна превышать 15% (только в уникальных конструкциях, где она используется очень ограниченное число раз, и где, поэтому, нецелесообразно применять многократно оборачивающуюся инвентарную опалубку).
Расчеты, проведенные в НИИЭСе, показали, что замена деревянной опалубки построечного изготовления инвентарной опалубкой в объемах, рекомендуемых ЦНИИОМТП, позволит народному хозяйству получить экономический эффект в размере 76,4 млн. руб. (табл. 10.2).
Таблица 10.2
Показатели | Тип опалубки |
крупнощитовая | "Монолит-77" | блок-форма |
Стоимость изготовления инвентарной опалубки, руб./м2 | 40 | 25 | 50 |
Стоимость изготовления деревянной опалубки в построечных условиях, руб./м2 | - | 4 | - |
Оборачиваемость (раз) опалубки: | | | |
инвентарная | 120 | 100 | 120 |
деревянная | - | 4 | - |
Относительная оборачиваемость инвентарной опалубки по сравнению с деревянной | 30 | 25 | 30 |
Стоимость деревянной опалубки за период функционирования инвентарной опалубки, руб./м2 | 120 | 100 | 120 |
Единичный экономический эффект от применения инвентарной опалубки вместо деревянной, руб./м3 | 80 | 75 | 70 |
Потребность в инвентарной опалубке с учетом ее оборачиваемости, млн. м2 | 0,26 | 0,62 | 0,13 |
Экономический эффект от расширения применения инвентарной опалубки вместо деревянной построечного изготовления, млн. руб. | 20,8 | 46,5 | 9,1 |
Итого, общий экономический эффект, млн. руб. | 76,4 |
Кроме того, более широкое внедрение инвентарной опалубки позволит сэкономить большое количество древесины, которая может быть использована в других областях строительного производства с большим народнохозяйственным эффектом. Экономия пиломатериалов составит:
Объем опалубочных работ, всего, млн. м2 .................................. | 415 |
Сокращение объемов, применения деревянной опалубки за счет инвентарной, % ............................................................................. | 20 |
То же, млн. м2 ................................................................................ | 83,1 |
Уменьшение потребности в опалубке с учетом фактической (четырехкратной) оборачиваемости деревянной опалубки, млн. м2 ..................................................................................................... | 20,78 |
Расход пиломатериалов на изготовление деревянной опалубки в построечных условиях, м3/м2 ........................................................ | 0,04 |
Экономия древесины (пиломатериалов), млн. м3 ........................ | 0,83 |
То же, в пересчете в круглый лес, млн. м3 .................................. | 1,46 |
В настоящее время, наряду с экономией денежных и материальных ресурсов, все большее значение приобретает снижение трудоемкости производства строительных, в том числе опалубочных, работ.
Расчеты, проведенные нами, показали, что внедрение инвентарной опалубки позволит высвободить значительное количество рабочей силы для использования ее на важнейших участках строительного производства (табл. 10.3).
Таблица 10.3
Типы опалубки | Трудоемкость, чел.-ч/м2 | Оборачиваемость, раз | Относительная оборачиваемость инвентарной опалубки по сравнению с деревянной | Трудоемкость за время функционирования инвентарной опалубки, чел.-ч/м2 | Экономия трудозатрат, чел.-ч/м2 | Объем применения данного вида инвентарной опалубки, млн. м2 | Потребность в инвентарной опалубке с учетом ее фактической оборачиваемости, млн. м2 | Экономия трудозатрат за счет замены деревянной опалубки построечного изготовления инвентарной опалубкой, млн. чел.-ч | Высвобождение рабочих за счет предложенных мероприятий, тыс. чел. |
общая | в том числе на строительной площадке | общая | в том числе на строительной площадке | общая | в том числе на строительной площадке |
1. Деревянная опалубка (построечное изготовление) крупнощитовая опалубка (инвентарная) | 1,2 | 1,2 | 4 | | 36 | 36 | | | | | | |
1,65 | 0,25 | 120 | 30 | 1,65 | 0,25 | 34,35 | 35,75 | 31,1 | 0,26 | 8,9 ------ 9,30 | |
2. Деревянная опалубка (построечное изготовление) "Монолит-77" (инвентарная) | 1,2 | 1,2 | 4 | | 30 | 30 | | | | | | |
1,65 | 0,45 | 100 | 25 | 1,65 | 0,45 | 28,35 | 29,55 | 62,2 | 0,62 | 17,58 ------- 18,32 | |
3. Деревянная опалубка (построечное изготовление) | 1,2 | 1,2 | 4 | | 36 | 36 | | | | | | |
Блок-форма (инвентарная) | 1,85 | 0,25 | 120 | 30 | 1,85 | 0,25 | 34,15 | 35,75 | 16,6 | 0,13 | 4,44 ------ 4,65 | 31,01 ------- 32,27 | 15,50 ------- 16,14 |
Примечание. В числителе - общая экономия трудозатрат, в знаменателе - экономия трудозатрат на стройплощадке. |