Главная // Актуальные документы // ГОСТ (Государственный стандарт)
СПРАВКА
Источник публикации
М.: ИПК Издательство стандартов, 1998
Примечание к документу
С 1 июля 2003 года до вступления в силу технических регламентов акты федеральных органов исполнительной власти в сфере технического регулирования носят рекомендательный характер и подлежат обязательному исполнению только в части, соответствующей целям, указанным в пункте 1 статьи 46 Федерального закона от 27.12.2002 N 184-ФЗ.

Введен в действие с 1 января 1999 года.

Взамен ГОСТ 13619-81.
Название документа
"ГОСТ 13619-97. Профили прессованные прямоугольные фасонного зетового сечения из алюминия, алюминиевых и магниевых сплавов. Сортамент"
(введен в действие Постановлением Госстандарта РФ от 22.04.1998 N 136)

"ГОСТ 13619-97. Профили прессованные прямоугольные фасонного зетового сечения из алюминия, алюминиевых и магниевых сплавов. Сортамент"
(введен в действие Постановлением Госстандарта РФ от 22.04.1998 N 136)


Содержание


Введен в действие
Постановлением Госстандарта РФ
от 22 апреля 1998 г. N 136
МЕЖГОСУДАРСТВЕННЫЙ СТАНДАРТ
ПРОФИЛИ ПРЕССОВАННЫЕ ПРЯМОУГОЛЬНЫЕ
ФАСОННОГО ЗЕТОВОГО СЕЧЕНИЯ ИЗ АЛЮМИНИЯ,
АЛЮМИНИЕВЫХ И МАГНИЕВЫХ СПЛАВОВ
СОРТАМЕНТ
Extruded rectangular Z-section shapes of aluminium,
aluminium and magnesium alloys. Dimensions
ГОСТ 13619-97
Группа В52
ОКП 18 1140
Предисловие
1. Разработан Межгосударственным техническим комитетом МТК 297 "Материалы и полуфабрикаты из легких и специальных сплавов", ОАО "Всероссийский институт легких сплавов (ОАО ВИЛС).
Внесен Госстандартом России.
2. Принят Межгосударственным советом по стандартизации, метрологии и сертификации (Протокол N 12-97 от 21 ноября 1997 г.).
За принятие проголосовали:
┌────────────────────────────┬───────────────────────────────────┐
│ Наименование государства │ Наименование национального органа │
│ │ по стандартизации │
├────────────────────────────┼───────────────────────────────────┤
│Азербайджанская Республика │Азгосстандарт │
│Республика Армения │Армгосстандарт │
│Республика Белоруссия │Госстандарт Белоруссии │
│Грузия │Грузстандарт │
│Республика Казахстан │Госстандарт Республики Казахстан │
│Киргизская Республика │Киргизстандарт │
│Республика Молдова │Молдовастандарт │
│Российская Федерация │Госстандарт России │
│Республика Таджикистан │Таджикгосстандарт │
│Туркменистан │Главная государственная инспекция │
│ │Туркменистана │
│Республика Узбекистан │Узгосстандарт │
│Украина │Госстандарт Украины │
└────────────────────────────┴───────────────────────────────────┘
3. Постановлением Государственного комитета Российской Федерации по стандартизации, метрологии и сертификации от 22 апреля 1998 г. N 136 межгосударственный стандарт ГОСТ 13619-97 введен в действие непосредственно в качестве государственного стандарта Российской Федерации с 1 января 1999 г.
4. Взамен ГОСТ 13619-81.
1. ОБЛАСТЬ ПРИМЕНЕНИЯ
Настоящий стандарт устанавливает сортамент прессованных прямоугольных профилей фасонного зетового сечения из алюминия, алюминиевых и магниевых сплавов, изготовленных методом горячего прессования.
2. НОРМАТИВНЫЕ ССЫЛКИ
В настоящем стандарте использованы ссылки на следующие стандарты:
ГОСТ 8617-81. Профили прессованные из алюминия и алюминиевых сплавов. Технические условия
ГОСТ 19657-84. Профили прессованные из магниевых сплавов. Технические условия.
3. ОСНОВНЫЕ ПАРАМЕТРЫ
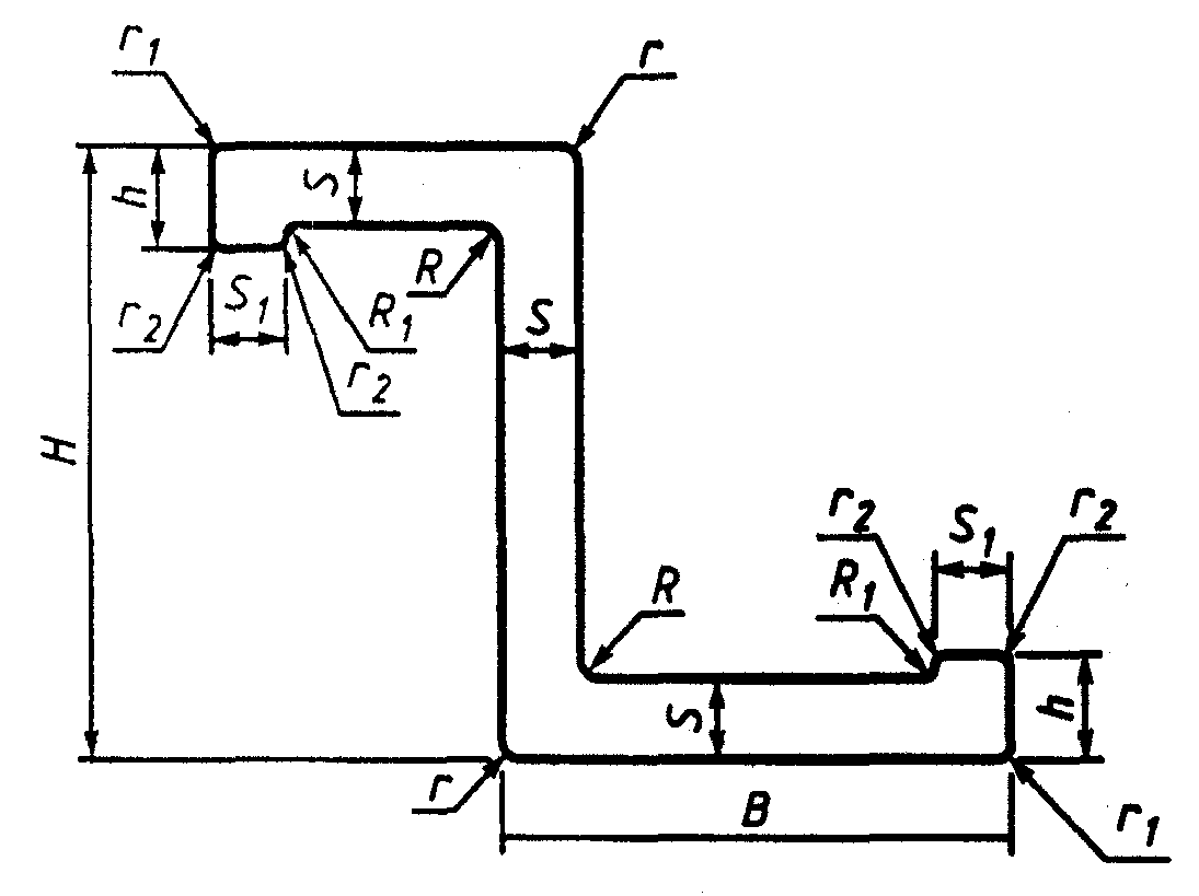
3.1. Номера профилей и размеры должны соответствовать приведенным на рисунке 1 и таблице 1.
Рис. 1
Таблица 1
Номера профилей, размеры и теоретическая масса
┌───────┬────────────────────────────┬──────┬──────┬─────────────┐
│ Номер │ Размеры, мм │Пло- │Диа- │Теоретическая│
│профиля│ │щадь │метр │ масса 1 м │
│ │ │сече- │опи- │ сплава, кг │
│ ├───┬──┬───┬────┬────┬───┬───┤ния, │санной├──────┬──────┤
│ │ Н │В │ S │ S │ h │ R │R │см2 │окруж-│алюми-│магни-│
│ │ │ │ │ 1 │ │ │ 1 │ │ности,│ниево-│евого │
│ │ │ │ │ │ │ │ │ │мм │го │ │
├───────┼───┼──┼───┼────┼────┼───┼───┼──────┼──────┼──────┼──────┤
│450361 │16 │13│1,0│0,8 │2,0 │1,2│1,2│0,427 │ 30 │ 0,122│0,077 │
│450362 │16 │13│1,3│0,8 │2,0 │1,2│1,2│0,534 │ 30 │ 0,152│0,096 │
│450363 │20 │15│1,5│2,5 │6,0 │2,0│2,0│0,952 │ 35 │ 0,271│0,174 │
│450364 │25 │20│1,5│2,5 │7,0 │2,0│2,0│1,227 │ 46 │ 0,350│0,221 │
│450365 │25 │20│1,6│2,5 │7,0 │2,5│1,2│1,264 │ 46 │ 0,360│0,228 │
│450366 │25 │20│1,8│3,0 │7,0 │2,0│2,0│1,432 │ 46 │ 0,408│0,258 │
│450367 │25 │20│2,0│3,0 │7,0 │2,5│2,5│1,554 │ 46 │ 0,443│0,280 │
│450368 │29 │21│1,5│1,6 │5,0 │2,4│2,4│1,176 │ 50 │ 0,335│0,212 │
│450369 │30 │25│2,0│3,0 │7,0 │2,5│2,5│1,854 │ 57 │ 0,528│0,334 │
│450370 │32 │22│1,8│1,8 │5,0 │2,4│2,4│1,461 │ 53 │ 0,416│0,263 │
│450371 │35 │30│2,0│3,0 │8,0 │2,5│2,5│2,214 │ 68 │ 0,631│0,400 │
│450382 │40 │35│4,0│2,5 │10,0│4,0│4,0│4,000 │ 80 │ 1,140│0,720 │
│450372 │60 │23│1,8│1,8 │9,0 │2,0│2,0│2,137 │ 75 │ 0,609│0,385 │
│450373 │60 │23│1,8│1,8 │10,0│3,0│3,0│2,216 │ 75 │ 0,631│0,400 │
│450374 │70 │20│1,5│1,5 │8,0 │5,0│5,0│1,652 │ 80 │ 0,471│0,297 │
│450375 │140│60│6,0│14,0│20,0│2,0│2,0│18,800│ 181 │ 5,358│3,384 │
├───────┴───┴──┴───┴────┴────┴───┴───┴──────┴──────┴──────┴──────┤
│ Примечания. 1. Радиусы притупления острых кромок r, r , r │
│ 1 2│
│должны соответствовать требованиям ГОСТ 8617, ГОСТ 19657. │
│ 2. Допускается изготовление профилей с радиусом r , равным│
│ 2 │
│1/2S . │
│ 1 │
└────────────────────────────────────────────────────────────────┘
3.2. Теоретическая масса 1 м профиля из алюминиевых сплавов вычислена по номинальным размерам при плотности 2,85 г/см3, что соответствует плотности алюминиевого сплава марки В95.
Теоретическая масса 1 м профиля из магниевых сплавов вычислена по номинальным размерам при плотности 1,80 г/см3, что соответствует плотности магниевого сплава марки МА14.
3.3. Переводные коэффициенты для вычисления приближений теоретической массы 1 м профиля из алюминиевых и магниевых сплавов приведены в Приложениях А и Б.
3.4. Номера профилей, соответствующие ранее действовавшим обозначениям, приведены в Приложении В.
Приложение А
(справочное)
ПЕРЕВОДНЫЕ КОЭФФИЦИЕНТЫ
ДЛЯ ВЫЧИСЛЕНИЯ ПРИБЛИЖЕННОЙ
ТЕОРЕТИЧЕСКОЙ МАССЫ 1 М ПРОФИЛЯ
ИЗ АЛЮМИНИЯ И АЛЮМИНИЕВЫХ СПЛАВОВ
Для алюминия всех марок - 0,950
Для сплава марки АМц - 0,958
То же АМцС - 0,958
" АМг2 - 0,940
" АМг3 - 0,937
" АМг5 - 0,930
" АМг6 - 0,926
" 1561 - 0,930
" Д1 - 0,982
" Д16 - 0,976
" Д16ч - 0,976
" Д19ч - 0,968
" Д20 - 0,996
" АВ - 0,947
" ВАД1 - 0,968
" К 48-2 - 0,972
" К 48-2пч - 0,972
" АД31 - 0,950
" АД33 - 0,951
" АД35 - 0,954
" 1915 - 0,972
" 1920 - 0,954
" 1925 - 0,972
" 1935 - 0,977
" 1985пч - 0,948
" 1980 - 0,968
" ВД1 - 0,982
" АВД1-1 - 0,982
" АКМ - 0,970
" М40 - 0,965
" АК4 - 0,970
" АК6 - 0,962
" АД31Е - 0,950
" АК4-1 - 0,982
" АК4-1ч - 0,982
" ВД17 - 0,965
" 1161 - 0,972
" 1163 - 0,975
" 1973 - 1,000
" 1420 - 0,867
Приложение Б
(справочное)
ПЕРЕВОДНЫЕ КОЭФФИЦИЕНТЫ
ДЛЯ ВЫЧИСЛЕНИЯ ПРИБЛИЖЕННОЙ
ТЕОРЕТИЧЕСКОЙ МАССЫ 1 М ПРОФИЛЯ
ИЗ МАГНИЕВЫХ СПЛАВОВ
Для сплава марки МА1 - 0,978
То же МА2 - 0,989
" МА2-1 - 0,990
" МА2-1пч - 0,990
" МА8 - 0,989
" МА12 - 0,989
Приложение В
(справочное)
СООТВЕТСТВИЕ НОМЕРОВ ПРОФИЛЕЙ
РАНЕЕ ДЕЙСТВОВАВШИМ ОБОЗНАЧЕНИЯМ
┌───────────────┬────────────────────┬───────────────────────────┐
│ Номер профиля │Обозначение профиля │ Обозначение профиля │
│ │по каталогу 1966 г. │ по чертежам │
├───────────────┼────────────────────┼───────────────────────────┤
│ 450361 │ П510-2 │ ПР104-10 │
│ 450362 │ П510-4 │ ПР104-6 │
│ 450363 │ П510-6 │ ПР104-1 │
│ 450364 │ П510-8 │ ПР104-2 │
│ 450365 │ П510-10 │ ПП51-1, ПС157 │
│ 450366 │ П510-12 │ ПР104-3 │
│ 450367 │ П510-14 │ ПР104-4 │
│ 450368 │ П510-16 │ ПК-210-1, ПП51-5 │
│ 450369 │ П510-18 │ ПР104-5 │
│ 450370 │ П510-20 │ ПК210-2, ПП51-6, ПС157-2 │
│ 450371 │ П510-22 │ ПР104-11 │
│ 450372 │ П510-23 │ ПС885-396, ПК210-3 │
│ 450373 │ П510-24 │ С54А │
│ 450374 │ П512 │ ПК210-4 │
│ 450375 │ - │ ПК17512 │
│ 450382 │ - │ ПК18459 │
└───────────────┴────────────────────┴───────────────────────────┘