Главная // Актуальные документы // ГОСТ (Государственный стандарт)СПРАВКА
Источник публикации
В данном виде документ опубликован не был.
Первоначальный текст документа опубликован в издании
М.: ИПК Издательство стандартов, 2004.
Информацию о публикации документов, создающих данную редакцию, см. в справке к этим документам.
Примечание к документу
Документ утратил силу с 01.07.2021 в связи с изданием
Приказа Росстандарта от 26.01.2021 N 23-ст. Взамен введен в действие
ГОСТ 18188-2020.
С 1 июля 2003 года до вступления в силу технических регламентов акты федеральных органов исполнительной власти в сфере технического регулирования носят рекомендательный характер и подлежат обязательному исполнению только в части, соответствующей целям, указанным в
пункте 1 статьи 46 Федерального закона от 27.12.2002 N 184-ФЗ.
Изменение N 7 введено в действие с 1 февраля 2009 года Приказом Ростехрегулирования от 16.10.2008 N 264-ст.
Взамен ГОСТ 4399-48, ГОСТ 5630-51, ГОСТ 4005-48, ГОСТ 4006-48.
Название документа
"ГОСТ 18188-72. Межгосударственный стандарт. Растворители марок 645, 646, 647, 648 для лакокрасочных материалов. Технические условия"
(утв. и введен в действие Постановлением Госстандарта СССР от 24.10.1972 N 1955)
(ред. от 16.10.2008)
"ГОСТ 18188-72. Межгосударственный стандарт. Растворители марок 645, 646, 647, 648 для лакокрасочных материалов. Технические условия"
(утв. и введен в действие Постановлением Госстандарта СССР от 24.10.1972 N 1955)
(ред. от 16.10.2008)
Утвержден и введен в действие
Постановлением Госстандарта СССР
от 24 октября 1972 г. N 1955
МЕЖГОСУДАРСТВЕННЫЙ СТАНДАРТ
РАСТВОРИТЕЛИ МАРОК 645, 646, 647, 648
ДЛЯ ЛАКОКРАСОЧНЫХ МАТЕРИАЛОВ
ТЕХНИЧЕСКИЕ УСЛОВИЯ
Solvents of grades 645, 646, 647, 648
for paint materials. Specifications
ГОСТ 18188-72
| | Список изменяющих документов (в ред. Изменения N 3, утв. в августе 1978 г., Изменения N 4, утв. в январе 1983 г., Изменения N 5, утв. в марте 1988 г., Изменения N 6, утв. в ноябре 2003 г., Ростехрегулирования от 16.10.2008 N 264-ст) | |
Дата введения
1 января 1974 года
1. Разработан и внесен
Разработчики: М.А. Чупеев; И.М. Федотова (руководитель темы); Л.Б. Ольховатова.
2. Утвержден и введен в действие Постановлением Государственного комитета стандартов Совета Министров СССР от 24.10.72 N 1955.
Изменение N 6 принято Межгосударственным советом по стандартизации, метрологии и сертификации (Протокол N 23 от 22.05.2003).
За принятие изменения проголосовали национальные органы по стандартизации следующих государств: AZ, AM, BY, KZ, KG, RU, MD, TJ, TM, UZ, UA [коды альфа-2 по МК (ИСО 3166) 004].
3. Взамен ГОСТ 4399-48, ГОСТ 5630-51, ГОСТ 4005-48, ГОСТ 4006-48.
4. Ссылочные нормативно-технические документы
Обозначение НТД, на который дана ссылка | Номер пункта, подпункта |
| |
| |
| |
| |
| |
| |
| |
| |
| |
| |
| |
| |
| |
| |
| |
| |
| |
| |
| |
| |
| |
| |
| |
| |
| |
| |
| |
| |
| |
| |
| |
| |
| |
| |
| |
| |
| |
| |
| |
| |
| |
| |
| |
| |
| |
| |
| |
| |
| |
| |
| |
| |
ГОСТ 31089-2003 | |
(таблица в ред.
Изменения N 7, введенного в действие Приказом Ростехрегулирования от 16.10.2008 N 264-ст)
5. Ограничение срока действия снято по Протоколу N 3-93 Межгосударственного совета по стандартизации, метрологии и сертификации (ИУС 5-6-93).
6. Издание (август 2004 г.) с Изменениями N 3, 4, 5, 6, утвержденными в августе 1978 г., январе 1983 г., марте 1988 г., ноябре 2003 г. (ИУС 9-78, 5-83, 6-88, 2-2004).
Настоящий стандарт распространяется на растворители марок 645, 646, 647, 648, представляющие собой смеси летучих органических жидкостей: ароматических углеводородов, кетонов, спиртов и эфиров.
Растворители предназначаются для разбавления нитроцеллюлозных и других лакокрасочных материалов.
Абзац исключен с 1 февраля 2009 года. -
Изменение N 7, введенное в действие Приказом Ростехрегулирования от 16.10.2008 N 264-ст.
(Измененная редакция, Изм. N 4, 6).
1. МАРКИ И ТЕХНИЧЕСКИЕ ТРЕБОВАНИЯ
1.1. Марки растворителей, их назначение и коды ОКП должны соответствовать указанным в табл. 1.
Таблица 1
Марка растворителя | Код ОКП | Назначение растворителя |
645 | 23 1913 0200 09 | Для разбавления нитроэмалей, нитролаков и нитрошпатлевок специального назначения |
646 | 23 1913 0300 06 | Для разбавления нитроэмалей, нитролаков и нитрошпатлевок общего назначения |
647 | 23 1913 0400 03 | Для разбавления нитроэмалей, нитролаков для легковых автомобилей |
648 | 23 1913 0500 00 | Для сглаживания штрихов и царапин опрыскиванием нитроэмалевых покрытий после шлифования |
(Измененная редакция, Изм. N 4).
1.2. По физико-химическим показателям растворители должны соответствовать требованиям и нормам, указанным в табл. 2.
Таблица 2
Наименование показателя | Норма | Метод испытания |
645 | 646 | 647 | 648 |
1. Цвет и внешний вид | Бесцветная или слегка желтоватая однородная прозрачная жидкость без мути, расслаивания и взвешенных частиц | |
2. Массовая доля воды по Фишеру, %, не более | 1,0 | 2,0 | 0,6 | 1,0 | |
3. Летучесть по этиловому эфиру | 8 - 12 | 8 - 15 | 8 - 12 | 11 - 18 | |
4. Кислотное число, мг KOH/г, не более | 0,06 | 0,06 | 0,06 | 0,06 | |
5. Число коагуляции, %, не менее | 50 | 35 | 60 | 100 | |
6. Разбавляющее действие | Не должно наблюдаться свертывания и расслаивания ЛКМ. После высыхания не должно быть побеления пленки на поверхности, а также белесоватых или матовых пятен | - | |
(п. 6 в ред. Изменения N 7, введенного в действие Приказом Ростехрегулирования от 16.10.2008 N 264-ст) |
7. Растворяющее действие | - | - | - | После высыхания не должно быть побеления пленки на поверхности, штрихи и царапины от шлифования должны быть сглажены | |
(п. 7 в ред. Изменения N 7, введенного в действие Приказом Ростехрегулирования от 16.10.2008 N 264-ст) |
8. Температура вспышки в закрытом тигле, °C, не ниже | 2 | Минус 1 | 4 | 11 | |
(п. 8 введен Изменением N 7, введенным в действие Приказом Ростехрегулирования от 16.10.2008 N 264-ст) |
Растворители марок 645, 646, 647 и 648 должны изготовляться в соответствии с требованиями настоящего стандарта по рецептуре и технологическому регламенту, утвержденным в установленном порядке.
(Измененная редакция, Изм. N 3, 4, 5, 6).
Растворители должны соответствовать требованиям ГОСТ 31089 и настоящего стандарта и изготавливаться по рецептуре и технологическому регламенту, утвержденным в установленном порядке.
(абзац введен
Изменением N 7, введенным в действие Приказом Ростехрегулирования от 16.10.2008 N 264-ст)
(Измененная редакция, Изм. N 5).
Показатель 8 изготовитель определяет периодически не реже одного раза в течение одного года.
(абзац введен
Изменением N 7, введенным в действие Приказом Ростехрегулирования от 16.10.2008 N 264-ст)
2.2, 2.3. (Исключены, Изм. N 4).
(Измененная редакция, Изм. N 5).
3.2. Определение цвета и внешнего вида
3.2.1. Применяемые посуда и реактивы:
калий двухромовокислый по
ГОСТ 4220, раствор с массовой долей 0,002%.
(в ред.
Изменения N 7, введенного в действие Приказом Ростехрегулирования от 16.10.2008 N 264-ст)
3.2.2. Проведение испытания
Внешний вид растворителя определяют визуально. Испытуемый растворитель наливают в мерный цилиндр и рассматривают его в проходящем свете, отмечая отсутствие мути, расслаивания и взвешенных частиц.
Цвет растворителя, помещенного в цилиндр, определяют в проходящем свете на фоне белой бумаги. Цвет должен быть не темнее раствора двухромовокислого калия с массовой долей 0,002%, помещенного в такой же цилиндр.
(в ред.
Изменения N 7, введенного в действие Приказом Ростехрегулирования от 16.10.2008 N 264-ст)
(Измененная редакция, Изм. N 6).
3.3. Определение массовой доли воды
(Измененная редакция, Изм. N 6).
3.3.1. Определение массовой доли воды проводят:
а) методом визуального титрования;
б) методом электрометрического титрования;
в) газохроматографическим методом.
3.3.1.1. Определение массовой доли воды методом визуального титрования проводят реактивом Фишера по ГОСТ 14870
(разд. 2, способ 3), при этом берут навеску испытуемого растворителя в количестве 1,50 - 2,50 г (результат взвешивания в граммах записывают с точностью до четвертого десятичного знака).
(в ред.
Изменения N 7, введенного в действие Приказом Ростехрегулирования от 16.10.2008 N 264-ст)
3.3.1.2. Определение массовой доли воды методом электрометрического титрования проводят реактивом Фишера по ГОСТ 14870
(разд. 2), при этом берут навеску испытуемого растворителя в количестве 1,50 - 2,50 г (результат взвешивания в граммах записывают с точностью до четвертого десятичного знака).
(в ред.
Изменения N 7, введенного в действие Приказом Ростехрегулирования от 16.10.2008 N 264-ст)
3.3.1.3. Определение массовой доли воды газохроматографическим методом проводят по методике, приведенной в
Приложении 1.
3.3.1.4. За результат испытаний в указанных методах принимают среднеарифметическое значение двух параллельных определений, относительное расхождение между которыми не превышает допускаемое расхождение, равное 15%.
3.3.1.5. При разногласиях в оценке массовой доли воды определения проводят методом электрометрического титрования.
3.3.1 - 3.3.1.5. (Введены дополнительно, Изм. N 6).
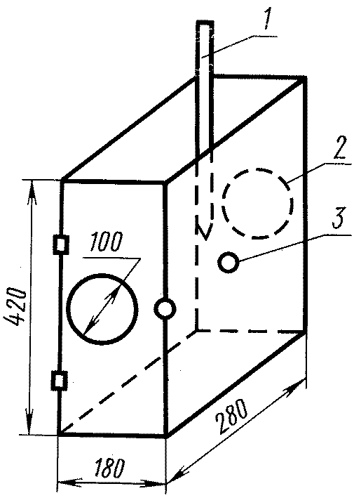
3.4. Определение летучести по этиловому эфиру
3.4.1. Аппаратура, реактивы, посуда:
деревянный шкаф (см. чертеж);
секундомер;
(в ред.
Изменения N 7, введенного в действие Приказом Ростехрегулирования от 16.10.2008 N 264-ст)
(в ред.
Изменения N 7, введенного в действие Приказом Ростехрегулирования от 16.10.2008 N 264-ст)
фильтр беззольный;
этоксиэтан по технической документации.
(в ред.
Изменения N 7, введенного в действие Приказом Ростехрегулирования от 16.10.2008 N 264-ст)
(Измененная редакция, Изм. N 6).
1 - пипетка; 2 - смотровое стекло;
3 - отверстие для зажима
3.4.2. Проведение испытания
Летучесть растворителя определяют в специальном деревянном шкафу, который имеет два отверстия: одно - в верхней, а другое - в боковой стенке. В передней и задней стенках расположены смотровые стекла. В верхнем отверстии шкафа укрепляют пипетку, снабженную в верхней части небольшим кусочком резинового шланга с бусинкой, а в боковом - свободно вращается деревянный зажим для закрепления беззольного фильтра. Беззольный фильтр зажимом устанавливают в горизонтальном положении: на фильтр из пипетки спускают каплю этилового эфира и включают секундомер. Затем фильтр устанавливают поворотом зажима в вертикальном положении между смотровыми стеклами и по секундомеру определяют момент исчезновения пятна этилового эфира на фильтре, наблюдая через смотровые стекла.
Летучесть определяют при температуре (20 +/- 2) °С и влажности воздуха (65 +/- 5)%. После этого пипетку промывают и наполняют испытуемым растворителем. Время испарения его определяют так же, как и для этилового эфира.
Одинаковая скорость истечения капли эфира и испытуемого растворителя обеспечивается одинаковой высотой жидкости в пипетке и одинаковым расстоянием кончика пипетки от фильтра.
(Измененная редакция, Изм. N 3, 5, 6).
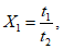
3.4.3. Обработка результатов
Летучесть

вычисляют по формуле
где t1 - продолжительность испарения испытуемого растворителя, с;
t2 - продолжительность испарения этилового эфира, с.
3.5. Определение кислотного числа
Определение кислотного числа проводят по ГОСТ 23955,
разд. 3.
(Измененная редакция, Изм. N 6).
3.5.1. Аппаратура, реактивы, посуда:
(в ред.
Изменения N 7, введенного в действие Приказом Ростехрегулирования от 16.10.2008 N 264-ст)
холодильник ХШ-1-300 29/32ХС или ХПТ-2-400 29/32ХС по
ГОСТ 25336;
калия гидроокись по
ГОСТ 24363, х.ч., спиртовой раствор молярной концентрации c (KOH) = 0,05 моль/дм
3;
(в ред.
Изменения N 7, введенного в действие Приказом Ростехрегулирования от 16.10.2008 N 264-ст)
фенолфталеин (индикатор), спиртовой раствор с массовой долей индикатора 1% (приготовленный по
ГОСТ 4919.1).
Спирт этиловый ректификованный технический по
ГОСТ 18300.
(абзац введен
Изменением N 7, введенным в действие Приказом Ростехрегулирования от 16.10.2008 N 264-ст)
3.5.2. Подготовка к испытанию
Определение кислотного числа проводят при температуре (20 +/- 2) °С.
При определении кислотного числа растворителей, находящихся в хранилищах (складах), где в качестве инертного газа применяется углекислый газ

, отобранную пробу предварительно нагревают в конической колбе на кипящей водяной бане до температуры (20 +/- 2) °С в течение 30 мин с применением холодильника для удаления растворенных газов.
3.5.3. Проведение испытания
В коническую колбу вместимостью 250 см3 пипеткой отмеряют 50 см3 испытуемого растворителя и титруют раствором гидроокиси калия молярной концентрации c (KOH) = 0,05 моль/дм3 в присутствии фенолфталеина.
(в ред.
Изменения N 7, введенного в действие Приказом Ростехрегулирования от 16.10.2008 N 264-ст)
3.5.4. Обработка результатов
Кислотное число X2 в мг KOH/г растворителя вычисляют по формуле
(в ред.
Изменения N 7, введенного в действие Приказом Ростехрегулирования от 16.10.2008 N 264-ст)
где 2,8 - титр раствора гидроокиси калия молярной концентрации точно c (KOH) = 0,05 моль/дм3;
(в ред.
Изменения N 7, введенного в действие Приказом Ростехрегулирования от 16.10.2008 N 264-ст)
V - объем 0,05 моль/дм3 спиртового раствора гидрата окиси калия, израсходованного на титрование, см3;
50 - объем растворителя, взятый для испытания, см3;
(в ред.
Изменения N 7, введенного в действие Приказом Ростехрегулирования от 16.10.2008 N 264-ст)

- плотность растворителя, г/см
3.
3.5.5. За результат испытания принимают среднеарифметическое значение трех параллельных определений, допускаемые расхождения между которыми не должны превышать значений, указанных в ГОСТ 23955
(табл. 2).
3.5.1 - 3.5.5. (Введены дополнительно, Изм. N 6).
3.6. Определение числа коагуляции
3.6.1. Аппаратура, реактивы, посуда:
весы лабораторные среднего класса точности по
ГОСТ 24104;
(в ред.
Изменения N 7, введенного в действие Приказом Ростехрегулирования от 16.10.2008 N 264-ст)
бюретка 1-2-2-100-0,20 или 1-2-2-50-0,10 по
ГОСТ 29251;
(в ред.
Изменения N 7, введенного в действие Приказом Ростехрегулирования от 16.10.2008 N 264-ст)
коллоксилин лаковый ВВ, высушенный до динамической вязкости 8,5 - 10,6 сП (8,5 - 10,6 мПа·с);
(в ред.
Изменения N 7, введенного в действие Приказом Ростехрегулирования от 16.10.2008 N 264-ст)
нефрас С2-80/120.
(Измененная редакция, Изм. N 6).
3.6.2. Проведение испытания
В коническую колбу вместимостью 250 см3 помещают 1,20 г сухого коллоксилина и приливают 38,80 г испытуемого растворителя. Колбу плотно закрывают и оставляют до полного растворения. После получения однородного раствора к нему добавляют из бюретки при постоянном взбалтывании нефрас С2-80/120 до появления мути, не исчезающей при взбалтывании, или осадка коллоксилина на стенках колбы, в случае если не возникает неисчезающая муть. Определение проводят при (20 +/- 2) °С.
Для ускорения анализа допускается растворять коллоксилин круговым вращением колбы рукой или механическим вращением в течение 1 ч.
(Измененная редакция, Изм. N 3, 4, 5, 6).
3.6.3. Обработка результатов
Число коагуляции (X3) в процентах вычисляют по формуле
где V - объем нефраса С2-80/120, добавленный к раствору коллоксилина, см3;

- плотность нефраса С2-80/120 при температуре определения, г/см
3;
m - масса навески раствора коллоксилина (коллоксилин и растворитель), г.
(Измененная редакция, Изм. N 5, 6).
3.7. Пригодность к разбавлению нитроэмалей
3.7.1. Разбавляющее действие
(в ред.
Изменения N 7, введенного в действие Приказом Ростехрегулирования от 16.10.2008 N 264-ст)
Для определения разбавляющего действия растворителя марки 645 применяют нитроэмаль НЦ-25 черного или синего цвета по
ГОСТ 5406.
(в ред.
Изменения N 7, введенного в действие Приказом Ростехрегулирования от 16.10.2008 N 264-ст)
Для растворителя марки 646 применяют нитроэмаль НЦ-1125 различных цветов по
ГОСТ 7930 или эмаль НЦ-25 черного, синего, белого цветов по
ГОСТ 5406.
Допускается применение других марок нитроэмалей, для разбавления которых применяют растворитель 646.
Для растворителя марки 647 - нитроэмаль НЦ-11 черного или синего цвета по
ГОСТ 9198.
Перед испытанием нитроэмали разбавляют испытуемыми растворителями до рабочей вязкости, указанной в стандарте на соответствующую нитроэмаль. Разбавленные нитроэмали фильтруют через сито с сеткой нормальной точности N 025 по
ГОСТ 6613.
(в ред.
Изменения N 7, введенного в действие Приказом Ростехрегулирования от 16.10.2008 N 264-ст)
Определение проводят на пластинках из стали марок 08кп и 08 пс размером 150 x 70 мм по
ГОСТ 16523 или на пластинках из черной жести размером 150 x 70 мм, подготовленных по
ГОСТ 8832.
(Измененная редакция, Изм. N 3, 4, 5, 6).
3.7.2. Проведение испытания
Приготовленные эмали наносят при помощи краскораспылителя или кистью до укрытия окрашиваемой поверхности на пластинки, указанные выше.
(в ред.
Изменения N 7, введенного в действие Приказом Ростехрегулирования от 16.10.2008 N 264-ст)
Во время высыхания покрытия при температуре (20 +/- 2) °С и относительной влажности воздуха (65 +/- 5)% наблюдают за характером изменения поверхности покрытия.
(Измененная редакция, Изм. N 5, 6).
3.8. Растворяющее действие
3.8.1. Подготовка к испытанию
Для определения растворяющего действия растворителя марки 648 применяют нитроэмаль марки НЦ-11 черного или синего цвета по
ГОСТ 9198.
Нитроэмаль, разбавленную растворителем до рабочей вязкости, указанной в стандарте на нитроэмаль, фильтруют через сито с сеткой нормальной точности N 025 по
ГОСТ 6613 и наносят краскораспылителем тремя слоями на загрунтованную и прошпатлеванную по
ГОСТ 9198 пластинку, указанную в
п. 3.7.
(в ред.
Изменения N 7, введенного в действие Приказом Ростехрегулирования от 16.10.2008 N 264-ст)
После нанесения каждого слоя покрытие сушат при температуре (20 +/- 2) °С в течение 10 мин.
После сушки всего покрытия в течение 20 мин при температуре (60 +/- 2) °С и охлаждения на воздухе не менее 15 мин поверхность шлифуют водостойкой шкуркой зернистостью М40 по
ГОСТ 10054.
(Измененная редакция, Изм. N 3, 4, 5, 6).
3.8.2. Проведение испытания
Отшлифованную поверхность опрыскивают из краскораспылителя испытуемым растворителем марки 648 и ведут наблюдение за характером изменения поверхности покрытия вплоть до полного испарения растворителя при температуре (20 +/- 2) °С. Испытание проводят при относительной влажности воздуха (65 +/- 5)%.
(Измененная редакция, Изм. N 6).
4. УПАКОВКА, МАРКИРОВКА, ТРАНСПОРТИРОВАНИЕ И ХРАНЕНИЕ
Приказом Ростехрегулирования от 16.10.2008 N 264-ст)
Растворители, предназначенные для розничной торговли, упаковывают в металлические канистры вместимостью до 10 дм
3 по
ГОСТ 5105, металлические банки по
ГОСТ 30766 и
ГОСТ 6128, в стеклянную тару для бытовой химии по нормативной документации, в полимерную потребительскую тару из полиэтилентерефталата по нормативной документации.
Потребительская тара с растворителями должна быть упакована в транспортную тару в соответствии с
ГОСТ 9980.3.
Укупорочные средства тары должны обеспечивать герметичность упаковки и быть стойкими к воздействию растворителей. Требования к укупорочным средствам должны быть указаны в нормативном документе на конкретный вид тары или на конкретный вид укупорочного средства.
Транспортная маркировка - по
ГОСТ 14192 с нанесением манипуляционных знаков "Беречь от солнечных лучей", "Верх", "Герметичная упаковка" и знака опасности по ГОСТ 19433, класс 3,
черт. 3, классификационный шифр 3212. Номер ООН 1263.
Растворители железнодорожным транспортом транспортируют в собственных цистернах грузополучателя (грузоотправителя) или арендованных в соответствии с Правилами перевозок железнодорожным транспортом грузов наливом в вагонах-цистернах и в вагонах бункерного типа для перевозок нефтебитума, а также в специализированных контейнерах-цистернах, предназначенных для перевозки жидких опасных грузов класса 3, в соответствии с Правилами перевозок опасных грузов по железным дорогам.
Растворители, упакованные в транспортную тару, транспортируют в крытых грузовых вагонах и в универсальных контейнерах в соответствии с Правилами перевозок опасных грузов по железным дорогам и Техническими условиями размещения и крепления грузов в вагонах и контейнерах.
5.1. Изготовитель гарантирует соответствие растворителей требованиям настоящего стандарта при соблюдении условий транспортирования и хранения.
(Измененная редакция, Изм. N 5).
5.2. Гарантийный срок растворителей - не менее одного года с даты изготовления.
(п. 5.2 в ред.
Изменения N 7, введенного в действие Приказом Ростехрегулирования от 16.10.2008 N 264-ст)
6. ТРЕБОВАНИЯ БЕЗОПАСНОСТИ
Приказом Ростехрегулирования от 16.10.2008 N 264-ст)
6.1. Растворители марок 645, 646, 647, 648 представляют собой легковоспламеняющиеся жидкости с характерным запахом, оказывающие сильное раздражающее действие на кожу, слизистую оболочку глаз и верхних дыхательных путей.
Возможные пути поступления вредных веществ в организм: ингаляционный и через кожные покровы.
Контроль за содержанием вредных веществ в воздушной среде на рабочем месте - по
ГОСТ 12.1.005.
Содержание вредных веществ в воздухе рабочей зоны определяют по методикам, разработанным по
ГОСТ 12.1.005 и
ГОСТ 12.1.016 и утвержденным органами здравоохранения.
Работы, связанные с изготовлением и применением растворителей, должны соответствовать действующим санитарным правилам и нормам <*>.
--------------------------------
<*> Перечень нормативных документов, действующих в Российской Федерации, представлен в
Приложении 3.
6.3. Основные характеристики пожароопасности растворителей марок 645, 646, 647, 648 приведены в табл. 3.
Таблица 3
Марка растворителя | Температура, °С | Температурные пределы распространения пламени, °С |
вспышки в открытом тигле | воспламенения | самовоспламенения | Нижний | Верхний |
645 | 13 | 13 | 428 | 1 | 18 |
646 | 6 | 6 | 428 | Минус 2 | 11 |
647 | 9 | 9 | 470 | 4 | 33 |
648 | 21 | 21 | 403 | 10 | 40 |
Основные характеристики пожароопасности и токсичности растворителей, входящих в состав растворителей марок 645, 646, 647, 648, представлены в табл. 4.
Таблица 4
Наименование растворителя | | Предельно допустимая концентрация (ПДК) паров в воздухе рабочей зоны производственных помещений, мг/м 3, по ГОСТ 12.1.005 | Температура, °С | Температурные пределы распространения пламени, °С |
вспышки в закрытом тигле | вспышки в открытом тигле | воспламенения | самовоспламенения |
Нижний | Верхний |
Ацетон | IV | 200 | Минус 20 | Минус 9 | Минус 5 | 535 | Минус 20 | 6 |
Толуол | III | 50 | 4 | 5 | - | 536 | 6 | 37 |
Ксилол | III | 50 | 29 | - | - | 590 | 24 | 50 |
Бутилацетат | IV | 50 | 29 | 35 | 35 | 330 | 22 | 61 |
Этилацетат | IV | 50 | Минус 4 | Минус 2 | 6 | 446 | Минус 6 | 28 |
Спирт бутиловый | III | 10 | 34 | 41 | 43 | 340 | 34 | 67 |
Спирт изобутиловый | III | 10 | 28 | 39 | 39 | 390 | 26 | 60 |
Этилцеллозольв | III | 10 | 40 | 52 | 52 | 235 | 39 | 81 |
Спирт этиловый | IV | 1000 | 13 | 16 | 18 | 400 | 11 | 41 |
Циклогексанон технический | III | 10 | 40 | 44 | - | 420 | 40 | 81 |
6.4. Лица, связанные с изготовлением и применением растворителей, должны быть обеспечены специальной одеждой и средствами индивидуальной защиты по
ГОСТ 12.4.011 и
ГОСТ 12.4.068.
6.5. Изготовление и применение растворителей проводят в помещениях, снабженных местной и общей приточно-вытяжной вентиляцией по
ГОСТ 12.4.021.
6.6. При загорании растворителей применяют средства огнетушения: кошму, песок, пенные огнетушители, пенные установки, тонкораспыленную воду, углекислый газ.
6а. ТРЕБОВАНИЯ ОХРАНЫ ОКРУЖАЮЩЕЙ СРЕДЫ
Приказом Ростехрегулирования от 16.10.2008 N 264-ст)
6.1а. При производстве растворителей образуются жидкие или газообразные отходы, которые могут вызвать загрязнение атмосферного воздуха и воды.
6.2а. С целью охраны атмосферного воздуха от загрязнений осуществляют контроль за соблюдением предельно допустимых выбросов (ПДВ) по
ГОСТ 17.2.3.02 в порядке, установленном соответствующим органом исполнительной власти.
6.3а. С целью охраны окружающей среды от загрязнений сточными водами организуют контроль за соблюдением предельно допустимых концентраций и ориентировочных безопасных уровней воздействия вредных веществ для воды рыбохозяйственных водоемов.
6.4а. Все жидкие отходы в виде загрязненных растворителей возвращают на производство или направляют на очистные сооружения.
6.5а. Обезвреживание отходов растворителей проводят путем их сбора и последующей переработки для повторного использования.
7. УКАЗАНИЯ ПО ПРИМЕНЕНИЮ
7.1. Растворители добавляют небольшими порциями при перемешивании до получения нужной консистенции.
7.2. Работу с растворителями проводят в резиновых перчатках в хорошо проветриваемом помещении.
При попадании растворителя на кожу его смывают большим количеством воды с мылом.
Разд. 7. (Введен дополнительно, Изм. N 6).
Обязательное
МЕТОДИКА ОПРЕДЕЛЕНИЯ МАССОВОЙ ДОЛИ ВОДЫ
ГАЗОХРОМАТОГРАФИЧЕСКИМ МЕТОДОМ
Определение массовой доли воды проводят методом абсолютной градуировки.
1. Аппаратура, средства измерения, реактивы
Хроматограф аналитический газовый с детектором по теплопроводности, предел обнаружения объемной доли пропана детектором по теплопроводности не превышает

по объему при использовании гелия в качестве газа-носителя (типа ЛХМ-80).
Колонки хроматографические насадочные из стекла или стальные длиной 1 м с внутренним диаметром 3 мм.
Микрошприц для газовой хроматографии вместимостью

(типа МШ-10).
Весы лабораторные среднего класса точности по
ГОСТ 24104.
(в ред.
Изменения N 7, введенного в действие Приказом Ростехрегулирования от 16.10.2008 N 264-ст)
Линейка измерительная металлическая по
ГОСТ 427 с ценой наименьшего деления 1 мм.
Лупа измерительная с десятикратным увеличением.
Термометр стеклянный.
Шкаф сушильный электрический с диапазоном регулирования температуры от 40 до 200 °С и точностью поддержания температуры +/- 5 °С (типа СНОЛ 3.5/3.5/3.5).
(в ред.
Изменения N 7, введенного в действие Приказом Ростехрегулирования от 16.10.2008 N 264-ст)
Колба круглодонная К-1-250-29/32 ТС по
ГОСТ 25336.
Баня водяная.
Газ-носитель: гелий технический или водород технический марки А или Б, высший или первый сорт по
ГОСТ 3022.
Сорбент - полисорб-1, размер зерен 0,10 - 0,25 мм.
Полиэтиленгликоль молекулярной массы 1400 - 1600 для хроматографии (ПЭГ1400-1600).
(в ред.
Изменения N 7, введенного в действие Приказом Ростехрегулирования от 16.10.2008 N 264-ст)
Инертный газ - азот газообразный по
ГОСТ 9293.
Допускается применять другие средства измерения с метрологическими характеристиками и оборудование с техническими характеристиками, а также реактивы по качеству не ниже указанных.
2. Проведение испытания
2.1. Приготовление насадки
Необходимое для заполнения колонки количество твердого носителя 5 - 6 г взвешивают с погрешностью не более 0,001 г, результат взвешивания в граммах записывают с точностью до третьего десятичного знака и помещают в круглодонную колбу.
(в ред.
Изменения N 7, введенного в действие Приказом Ростехрегулирования от 16.10.2008 N 264-ст)
ПЭГ1400-1600 берут в количестве 5% от общей массы твердого носителя, взвешивают с погрешностью не более 0,001 г, результат взвешивания в граммах записывают с точностью до третьего десятичного знака и растворяют в хлороформе, объем которого должен превышать объем взятого твердого носителя.
(в ред.
Изменения N 7, введенного в действие Приказом Ростехрегулирования от 16.10.2008 N 264-ст)
Раствор ПЭГ1400-1600 в хлороформе вносят в круглодонную колбу с твердым носителем. Затем хлороформ удаляют выпариванием на водяной бане, нагретой до температуры (60 +/- 10) °С в течение 25 - 30 мин при постоянном перемешивании. Приготовленную таким образом насадку сушат в сушильном шкафу при температуре (110 +/- 10) °С в течение 2 - 3 ч.
2.2. Заполнение хроматографических колонок
Хроматографические колонки тщательно промывают органическими растворителями в соответствии с инструкцией по эксплуатации, после чего высушивают продувкой сухим воздухом или азотом и заполняют через воронку приготовленной насадкой, уплотняя ее с помощью вакуум-насоса и постукиванием. Концы колонки после заполнения закрывают тампонами из стеклоткани.
Заполненную колонку закрепляют в термостате хроматографа и, не присоединяя к детектору, продувают газом-носителем при температуре 215 - 220 °С в течение 20 - 30 ч.
2.3. Подготовка хроматографа
Подготовку хроматографа проводят в соответствии с инструкцией по эксплуатации.
Устанавливают необходимый режим работы хроматографа.
2.4. Условия проведения испытания
(в ред.
Изменения N 7, введенного в действие Приказом Ростехрегулирования от 16.10.2008 N 264-ст)
Режим снятия хроматограммы приведен в таблице.
Условия проведения анализа | Газ-носитель |
гелий | водород |
Температура окружающего воздуха, °С | 10 - 35 | 10 - 35 |
Относительная влажность окружающего воздуха, % | 30 - 80 | 30 - 80 |
Атмосферное давление, кПа | 84,0 - 106,7 | 84,0 - 106,7 |
Количество полиэтиленгликоля от массы твердого носителя, % | 5 | 5 |
Частота переменного тока, питающего хроматограф, Гц | 50 +/- 1 | 50 +/- 1 |
Напряжение переменного тока, питающего хроматограф, В | | |
Температура термостата колонки, °С | 130 +/- 5 | 120 +/- 5 |
Температура детектора, °С | 150 +/- 5 | 140 +/- 5 |
Температура испарителя, °С | 200 +/- 5 | 150 +/- 5 |
Объемный расход газа-носителя, см3/мин | 75 +/- 5 | 50 +/- 5 |
Ток моста детектора по теплопроводности, мА, при шкале самописца: | | |
10 mV | 200 - 250 | 200 - 250 |
1 mV | 100 - 150 | 100 - 150 |
Скорость диаграммной ленты, мм/ч | 600 | 600 |
Время удерживания воды, мин | 0,15 | 0,15 |
Продолжительность одного определения, мин | 10 - 45 | 10 - 45 |
2.5. Построение градуировочных графиков
(в ред.
Изменения N 7, введенного в действие Приказом Ростехрегулирования от 16.10.2008 N 264-ст)
Для построения градуировочного графика готовят не менее шести градуировочных растворов с точно известной массовой долей воды. Массовую долю воды изменяют в пределах 0,025 - 2,3% массы пробы.
(в ред.
Изменения N 7, введенного в действие Приказом Ростехрегулирования от 16.10.2008 N 264-ст)
В качестве исходного растворителя для приготовления градуировочных растворов используют растворитель с наименьшим содержанием воды, для этого его предварительно проверяют на содержание в нем остаточной воды. При наличии воды проводят дополнительную осушку растворителя силикагелем.
(в ред.
Изменения N 7, введенного в действие Приказом Ростехрегулирования от 16.10.2008 N 264-ст)
Градуировочные растворы готовят в стаканчиках СВ-14/8 по
ГОСТ 25336. Пустой стаканчик с крышкой взвешивают (результат взвешивания в граммах записывают с точностью до четвертого десятичного знака), помещают в него микрошприцем или микропипеткой рассчитанное количество (1,25 - 270 мм
3) воды, взвешивают, добавляют пипеткой 5 см
3 исходного растворителя и снова взвешивают (результаты взвешивания в граммах записывают с точностью до четвертого десятичного знака).
(в ред.
Изменения N 7, введенного в действие Приказом Ростехрегулирования от 16.10.2008 N 264-ст)
Затем исходный растворитель и градуировочные растворы хроматографируют пять раз в условиях проведения анализа (
п. 2.4 настоящего Приложения).
(в ред.
Изменения N 7, введенного в действие Приказом Ростехрегулирования от 16.10.2008 N 264-ст)
Типовые хроматограммы растворителей марок 645, 646, 647, 648 приведены на черт. 1 -
4.
Типовая хроматограмма растворителя марки 645
1 - вода; 2 - ацетон + изопропиловый спирт;
3 - этилацетат; 4 - бутиловый спирт;
5 - толуол + бутилацетат
Черт. 1
На всех хроматограммах измеряют высоту пиков воды (мм) при помощи линейки и лупы. Находят среднеарифметическое значение высоты пика воды в исходном растворителе и градуировочных растворах.
(в ред.
Изменения N 7, введенного в действие Приказом Ростехрегулирования от 16.10.2008 N 264-ст)
Типовая хроматограмма растворителя марки 646
1 - вода; 2 - ацетон; 3 - изопропиловый спирт;
4 - бутиловый спирт; 5 - этилцеллозольв; 6 - толуол
Черт. 2
Типовая хроматограмма растворителя марки 647
1 - вода; 2 - этилацетат; 3 - бутиловый спирт;
4 - толуол; 5 - бутилацетат
Черт. 3
Типовая хроматограмма растворителя марки 648
1 - вода; 2 - изопропиловый спирт; 3 - бутиловый спирт;
4 - толуол; 5 - бутилацетат
Строят градуировочный график, откладывая по оси ординат среднее значение высот пиков (мм), полученных из разности высот градуировочных растворов и исходного растворителя, а по оси абсцисс - массовую долю воды (%), добавленную в градуировочные растворы.
(в ред.
Изменения N 7, введенного в действие Приказом Ростехрегулирования от 16.10.2008 N 264-ст)
Линейность градуировочного графика проверяют при замене хроматографических колонок, но не реже одного раза в два месяца.
(в ред.
Изменения N 7, введенного в действие Приказом Ростехрегулирования от 16.10.2008 N 264-ст)
2.6. Выполнение измерений
Снимают две хроматограммы испытуемого растворителя. Условия анализа испытуемого растворителя должны соответствовать условиям, приведенным в
п. 2.4 настоящего Приложения.
(в ред.
Изменения N 7, введенного в действие Приказом Ростехрегулирования от 16.10.2008 N 264-ст)
2.7. Обработка результатов
Массовую долю воды (X), в процентах, в испытуемом смесевом растворителе вычисляют по градуировочному графику, измерив высоту пика воды, аналогично
п. 2.5 настоящего Приложения.
(в ред.
Изменения N 7, введенного в действие Приказом Ростехрегулирования от 16.10.2008 N 264-ст)
Вычисление проводят до третьего десятичного знака, окончательный результат округляют до второго десятичного знака.
За результат анализа принимают среднеарифметическое значение результатов двух параллельных определений, относительные расхождения между которыми при доверительной вероятности P = 0,95 не должны превышать 15%.
Приложение 1. (Введено дополнительно, Изм. N 6).
Рекомендуемое
Наименование растворителя
Назначение: в соответствии с п. 1.1 табл. 1 ГОСТ 18188-72.
Способ применения
Растворитель добавляют небольшими порциями при перемешивании до получения нужной консистенции.
Растворитель хранят вдали от приборов отопления и электрических устройств; в местах, недоступных для детей.
Беречь от огня!
ВНИМАНИЕ!!!
Работу с растворителем проводят в резиновых перчатках в хорошо проветриваемом помещении.
При попадании растворителя на кожу его смывают большим количеством воды с мылом.
При разливе растворителя на поверхность его собирают тряпками, затем поверхность промывают большим количеством воды.
ГОСТ 18188-72
Объем мл Дата изготовления
(месяц, год)
Наименование предприятия-изготовителя, его товарный знак.
Юридический адрес.
Страна.
Приложение 2. (Введено дополнительно, Изм. N 6).
Справочное
ДЕЙСТВУЮЩИЕ В РОССИЙСКОЙ ФЕДЕРАЦИИ
Приказом Ростехрегулирования от 16.10.2008 N 264-ст)
вредных веществ в воздухе рабочей зоны
воздействия (ОБУВ) вредных веществ
в воздухе рабочей зоны
химических веществ в воде водных объектов
хозяйственно-питьевого и культурно-бытового
водопользования
химических веществ в воде водных объектов
хозяйственно-питьевого и культурно-бытового
водопользования
загрязняющих веществ в атмосферном воздухе
населенных мест
воздействия (ОБУВ) загрязняющих веществ
в атмосферном воздухе населенных мест
вредных веществ в воздухе рабочей зоны.
воздействия (ОБУВ) вредных веществ
в воздухе рабочей зоны.
[9] СанПиН Гигиенические требования к размещению и
потребления.