Главная // Актуальные документы // ГОСТ (Государственный стандарт)
СПРАВКА
Источник публикации
В данном виде документ опубликован не был.
Первоначальный текст документа опубликован в издании
М.: Издательство стандартов, 1990.
Информацию о публикации документов, создающих данную редакцию, см. в справке к этим документам.
Примечание к документу
Отдельные положения данного документа включены в Перечень международных и региональных (межгосударственных) стандартов, а в случае их отсутствия - национальных (государственных) стандартов, в результате применения которых на добровольной основе обеспечивается соблюдение требований технического регламента Таможенного союза "О безопасности упаковки" (ТР ТС 005/2011) и в Перечень международных и региональных (межгосударственных) стандартов, а в случае их отсутствия - национальных (государственных) стандартов, содержащих правила и методы исследований (испытаний) и измерений, в том числе правила отбора образцов, необходимые для применения и исполнения требований технического регламента Таможенного союза "О безопасности упаковки" (ТР ТС 005/2011) и осуществления оценки соответствия объектов технического регулирования (Решение Коллегии Евразийской экономической комиссии от 29.01.2024 N 9).

С 1 июля 2003 года до вступления в силу технических регламентов акты федеральных органов исполнительной власти в сфере технического регулирования носят рекомендательный характер и подлежат обязательному исполнению только в части, соответствующей целям, указанным в пункте 1 статьи 46 Федерального закона от 27.12.2002 N 184-ФЗ.

Ограничение срока действия снято Постановлением Госстандарта СССР от 11.11.1991 N 1715 ("ИУС", N 2, 1992).

Изменение N 6 введено в действие с 1 октября 1998 года Постановлением Госстандарта РФ от 27.05.1998 N 233.

Взамен ГОСТ 6128-75.
Название документа
"ГОСТ 6128-81. Банки металлические для химических продуктов. Технические условия"
(утв. Постановлением Госстандарта СССР от 20.04.1981 N 2038)
(ред. от 27.05.1998)

"ГОСТ 6128-81. Банки металлические для химических продуктов. Технические условия"
(утв. Постановлением Госстандарта СССР от 20.04.1981 N 2038)
(ред. от 27.05.1998)


Содержание


Утвержден и введен в действие
Постановлением Госстандарта СССР
от 20 апреля 1981 г. N 2038
ГОСУДАРСТВЕННЫЙ СТАНДАРТ СОЮЗА ССР
БАНКИ МЕТАЛЛИЧЕСКИЕ
ДЛЯ ХИМИЧЕСКИХ ПРОДУКТОВ
ТЕХНИЧЕСКИЕ УСЛОВИЯ
Tins for chemical products.
Specifications
ГОСТ 6128-81
Список изменяющих документов
(в ред. Изменения N 1, утв. в ноябре 1985 г.
Изменения N 2, утв. в ноябре 1987 г.
Изменения N 3, утв. в декабре 1988 г.
Изменения N 4, утв. в феврале 1989 г.,
Изменения N 5, утв. Постановлением
Госстандарта СССР от 11.11.1991 N 1715,
Изменения N 6, введенного в действие
Постановлением Госстандарта РФ
от 27.05.1998 N 233)
Группа Д81
ОКП 14 1741;
14 1742
Срок действия
с 1 января 1982 года
до 1 января 1992 года
ИНФОРМАЦИОННЫЕ ДАННЫЕ
1. Разработан Министерством химической промышленности.
Исполнители: Манеров В.Б., Соболев Ю.Б., Новожилов Н.П., Яблоков В.П., Кузьмичева А.Г.
2. Утвержден и введен в действие Постановлением Государственного комитета СССР по стандартам от 20 апреля 1981 г. N 2038.
3. Стандарт соответствует СТ СЭВ 261-76 в части наружных размеров цилиндрических банок.
4. Взамен ГОСТ 6128-75.
5. Ссылочные нормативно-технические документы
───────────────────────────────────────┬──────────────────────────
Обозначение НТД, на который дана ссылка│ Номер пункта
───────────────────────────────────────┼──────────────────────────
ГОСТ 15.001-73 │3.5
ГОСТ 166-894.2
(в ред. Изменения N 5, утв. Постановлением Госстандарта СССР от
11.11.1991 N 1715)
ГОСТ 9078-845.2
ГОСТ 9557-875.2
ГОСТ 13078-812.8
ГОСТ 13345-852.2
ГОСТ 13841-955.2
(в ред. Изменения N 6, утв. Постановлением Госстандарта РФ от
27.05.1998 N 233)
ГОСТ 14192-775.3
ГОСТ 15150-695.5
ГОСТ 18573-865.2
(в ред. Изменения N 6, утв. Постановлением Госстандарта РФ от
27.05.1998 N 233)
ГОСТ 19433-882.6
ГОСТ 21931-762.8
ГОСТ 24597-815.4
6. Срок действия продлен до 01.01.1992 Постановлением Госстандарта СССР от 25.11.1985 N 3705.
7. Переиздание (июнь 1989 г.) с Изменениями N 1, 2, 3, 4, утвержденными в ноябре 1985 г., в ноябре 1987 г., декабре 1988 г., феврале 1989 г. (ИУС 2-86, 3-88, 12-88, 5-89).
Настоящий стандарт распространяется на цилиндрические и прямоугольные металлические банки, предназначенные для упаковывания и хранения химических продуктов и продуктов нефтехимической промышленности.
Обязательные требования к качеству банок изложены в пп. 2.6, 2.11, 2.15.
(абзац введен Изменением N 5, утв. Постановлением Госстандарта СССР от 11.11.1991 N 1715, в ред. Изменения N 6, введенного в действие Постановлением Госстандарта РФ от 27.05.1998 N 233)
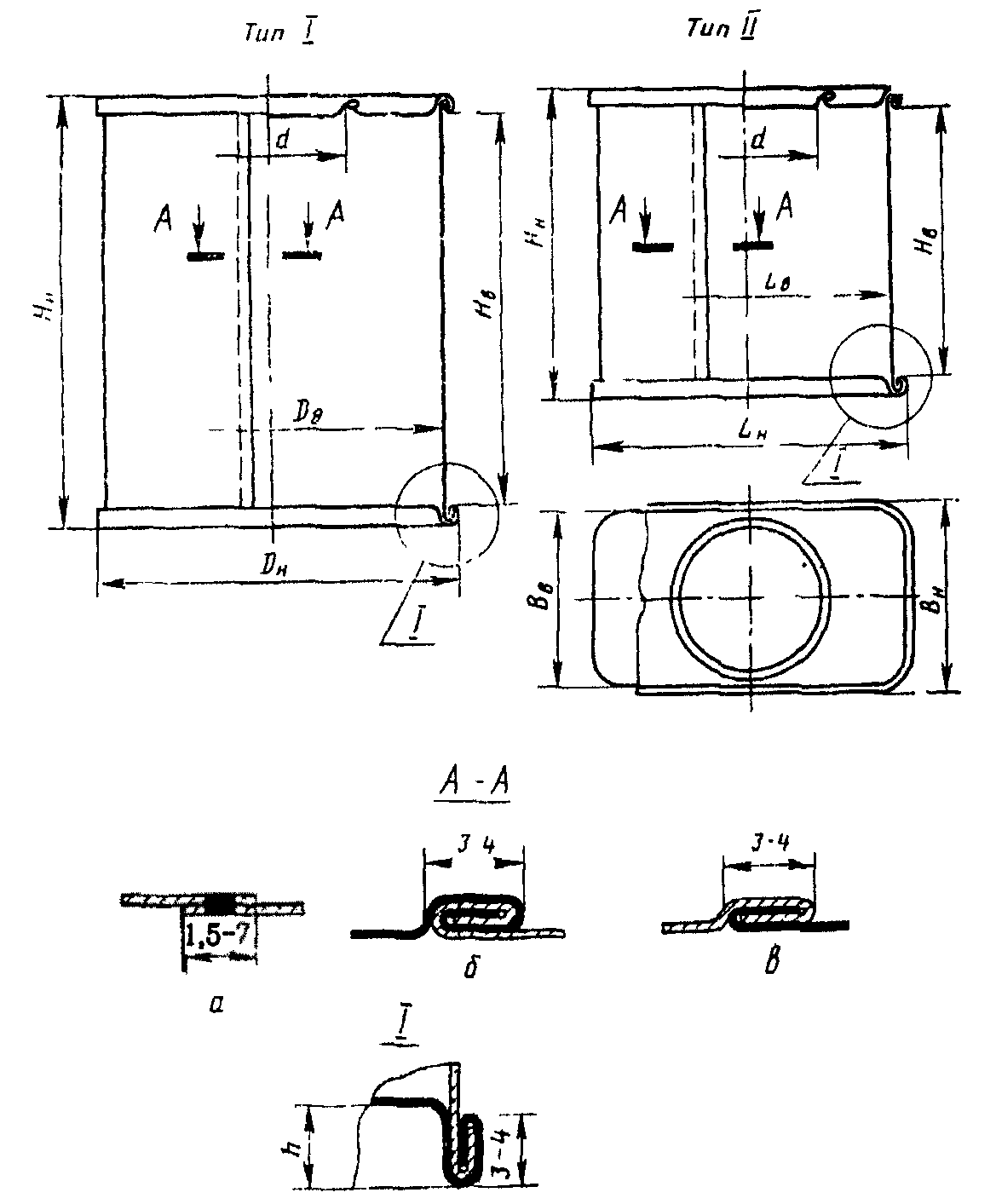
1. ТИПЫ И ОСНОВНЫЕ РАЗМЕРЫ
1.1. Банки должны изготовляться следующих типов:
I - банки цилиндрические с продольными фальцовыми или сварными и поперечными закатными швами (черт. 1 тип I), код ОКП 14 1742;
(в ред. Изменения N 6, введенного в действие Постановлением Госстандарта РФ от 27.05.1998 N 233)
II - банки прямоугольные с продольными фальцовыми или сварными и поперечными закатными швами (черт. 1 тип II), код ОКП 14 1741;
(в ред. Изменения N 6, введенного в действие Постановлением Госстандарта РФ от 27.05.1998 N 233)
III - банки цилиндрические закатные широкогорлые со съемной крышкой (черт. 3 тип III), код ОКП 14 1742.
(в ред. Изменения N 6, введенного в действие Постановлением Госстандарта РФ от 27.05.1998 N 233)
(в ред. Изменения N 5, утв. Постановлением
Госстандарта СССР от 11.11.1991 N 1715)
а - сварной шов; б - двойной фальцовый шов;
3 - одинарный фальцовый шов
Черт. 1
(в ред. Изменения N 5, утв. Постановлением
Госстандарта СССР от 11.11.1991 N 1715)
Черт. 3 <*>
--------------------------------
<*> Черт. 2 исключен, Изм. N 2.
(Измененная редакция, Изм. N 1).
Допускается изготовлять цельноштампованные банки, при этом наружная высота банок должна быть на 3 мм меньше указанной в табл. 1 и 2.
Банки, предназначенные для печатных красок и продукции, не содержащей органические растворители, допускается изготовлять без съемной крышки с закатным верхним дном.
(Измененная редакция, Изм. N 1).
1.2. Конструкция элементов крышки банок N 20 и ее основные размеры должны соответствовать черт. 3 и табл. 3. Конструкция элементов крышек банок N 1 - 19, 21 и 22 и их размеры должны соответствовать чертежам, утвержденным в установленном порядке.
(в ред. Изменения N 6, введенного в действие Постановлением Госстандарта РФ от 27.05.1998 N 233)
(Измененная редакция, Изм. N 2).
1.3. Размеры банок типа I должны соответствовать указанным в табл. 1, типа II - в табл. 2, типа III - в табл. 3.
(в ред. Изменения N 6, введенного в действие Постановлением Госстандарта РФ от 27.05.1998 N 233)
Значения вместимости и размеры конструктивного элемента являются справочными, номер жести - рекомендуемый.
Цельноштампованные банки рекомендуется изготовлять из жести не ниже номера 22.
(в ред. Изменения N 5, утв. Постановлением Госстандарта СССР от 11.11.1991 N 1715)
Таблица 1
Размеры, мм
──────┬───────┬───────────────────┬───────────────────┬─────────┬───────┬──────
Номера│Вмести-│ Диаметр │ Высота │ Диаметр │Конст- │Номер
банок │мость, ├──────┬──────┬─────┼──────┬──────┬─────┤горловины│руктив-│жести
│см3 │внут- │наруж-│Пред.│внут- │наруж-│Пред.│ d │ный │реко-
│ │ренний│ный │откл.│рен- │ная │откл.│ │элемент│мен-
│ │D │D │ │няя H │ H │ │ │h │дуе-
│ │ в │ н │ │ в│ н │ │ │ │мый
──────┼───────┼──────┼──────┼─────┼──────┼──────┼─────┼─────────┼───────┼──────
1 │ 368 │ 73 │ 76 │ -1 │ 88 │ 95 │ -1,5│ 50 │ 3,3 │ 20
2 │ 497 │ 73 │ 76 │ -1 │ 119 │ 126 │ -1,5│ 50 │ 3,3 │ 20
(в ред. Изменения N 5, утв. Постановлением Госстандарта СССР от
11.11.1991 N 1715)
3 │ 541 │ 100 │ 103 │ -1,5│ 69 │ 76 │ -1 │ 80 │ 3,3 │20, 22
4 │ 839 │ 100 │ 103 │ -1,5│ 107 │ 114 │ -1,5│ 80 │ 3,3 │20, 22
(в ред. Изменения N 5, утв. Постановлением Госстандарта СССР от
11.11.1991 N 1715)
5 │ 1012 │ 100 │ 103 │ -1,5│ 129 │ 136 │ -2 │ 80 │ 3,3 │20, 22
6 │ 1138 │ 100 │ 103 │ -1,5│ 145 │ 152 │ -2 │ 80 │ 3,3 │20, 22
7 │ 1436 │ 100 │ 103 │ -1,5│ 183 │ 190 │ -2 │ 80 │ 3,3 │20, 22
8 │ 1750 │ 154 │ 157 │ -2 │ 94 │ 101 │ -1,5│ 105 │ 3,3 │22, 25
9 │ 2401 │ 154 │ 157 │ -2 │ 129 │ 136 │ -2 │ 105 │ 3,3 │22, 25
10 │ 3053 │ 154 │ 157 │ -2 │ 164 │ 171 │ -2 │ 105 │ 3,3 │22, 25
11 │ 3980 │ 187 │ 190 │ -2 │ 143 │ 152 │ -2 │ 105 │ 4,2 │ 28
(в ред. Изменения N 5, утв. Постановлением Госстандарта СССР от
11.11.1991 N 1715)
12 │ 4135 │ 224 │ 228 │ -2 │ 105 │ 114 │ -2 │ 140 │ 4,2 │ 32
13 │ 4968 │ 187 │ 190 │ -2 │ 181 │ 190 │ -2 │ 105 │ 4,2 │ 28
14 │ 5188 │ 215 │ 218 │ -2 │ 143 │ 152 │ -2 │ 80 │ 4,2 │ 28
(в ред. Изменения N 5, утв. Постановлением Госстандарта СССР от
11.11.1991 N 1715)
15 │ 7129 │ 224 │ 228 │ -3 │ 181 │ 190 │ -2 │ 140 │ 4,2 │ 32
16 │ 8626 │ 224 │ 228 │ -3 │ 219 │ 228 │ -2 │ 140 │ 4,2 │ 32
17 │ 9374 │ 224 │ 228 │ -3 │ 238 │ 247 │ -2 │ 140 │ 4,2 │ 32
19 │ 8563 │ 215 │ 218 │ -2 │ 236 │ 245 │ -2 │ 140 │ 4,2 │ 32
21 │ 259 │ 100 │ 103 │-1,5 │ 33 │ 40 │ -1 │ 80 │ 3,3 │20, 22
(позиция введена Изменением N 6, введенным в действие
Постановлением Госстандарта РФ от 27.05.1998 N 233)
22 │ 337 │ 100 │ 103 │-1,5 │ 43 │ 50 │ -1 │ 80 │ 3,3 │20, 22
(позиция введена Изменением N 6, введенным в действие
Постановлением Госстандарта РФ от 27.05.1998 N 233)
(в ред. Изменения N 5, утв. Постановлением Госстандарта СССР от 11.11.1991 N 1715, Изменения N 6, введенного в действие Постановлением Госстандарта РФ от 27.05.1998 N 233)
Примечание. Допускается изготовлять банки N 5 и 9 с предельным отклонением по высоте +/- 2.
(примечание введено Изменением N 6, введенным в действие Постановлением Госстандарта РФ от 27.05.1998 N 233)
(Измененная редакция, Изм. N 2).
Таблица 2
Размеры, мм
─────┬───────┬─────────────┬─────────────┬─────────────┬─────────┬───────┬──────
Номер│Вмести-│Длина (пред. │Ширина (пред.│Высота (пред.│ Диаметр │Конст- │Номер
банки│мость, │откл. -1) │откл. -1) │откл. -1) │горловины│руктив-│жести
│см3 │──────┬──────┼──────┬──────┼──────┬──────┤ │ный │реко-
│ │внут- │наруж-│внут- │наруж-│внут- │наруж-│ │элемент│мен-
│ │ренняя│ная │рен- │ная │рен- │ная │ │h │дуе-
│ │ │ │няя │ │няя │ │ │ │мый
─────┼───────┼──────┼──────┼──────┼──────┼──────┼──────┼─────────┼───────┼──────
18 │ 1678 │ 113 │ 116 │ 75 │ 78 │ 193 │ 205 │ 50 │ 3,3 │22, 25
(в ред. Изменения N 5, утв. Постановлением Госстандарта СССР от
11.11.1991 N 1715, Изменения N 6, введенного в действие
Постановлением Госстандарта РФ от 27.05.1998 N 233)
Таблица 3
Размеры, мм
─────┬───────┬─────────────────────┬───────────────────┬───────┬───────┬─────
Номер│Вмести-│ Диаметр │ Высота │Диаметр│Конст- │Номер
банки│мость, ├──────┬────────┬─────┼──────┬──────┬─────┤крышки │руктив-│жести
│см3 │внут- │наружный│Пред.│внут- │наруж-│Пред.├───┬───┤ный │реко-
│ │ренний├───┬────┤откл.│рен- │ная │откл.│ d │ d │элемент│мен-
│ │D │D │ D │ │няя H │ H │ │ │ 1│h │дуе-
│ │ в │ 1 │ 2 │ │ в│ н │ │ │ │ │мый
─────┼───────┼──────┼───┼────┼─────┼──────┼──────┼─────┼───┼───┼───────┼─────
20 │ 5588 │ 215 │224│218 │ -3 │ 154 │ 163 │ -3 │211│216│ 4,2 │ 28
(в ред. Изменения N 5, утв. Постановлением Госстандарта СССР от
11.11.1991 N 1715, Изменения N 6, введенного в действие
Постановлением Госстандарта РФ от 27.05.1998 N 233)
(Измененная редакция, Изм. N 1, 2).
1.4. Исключен с 1 мая 1992 года. - Изменение N 5, утв. Постановлением Госстандарта СССР от 11.11.1991 N 1715.
1.5. Допускается изготовлять банки N 8 - 13, 15 - 17 с диаметром горловины 80 мм; банку N 15 с диаметром горловины 105 мм; банку N 4 - с наружной высотой 106 мм, внутренней высотой 99 мм; банку N 5 - с наружной высотой 123 - 133 мм, внутренней высотой 116 - 126 мм; банку N 9 - с наружной высотой 126 мм, внутренней высотой 119 мм; банку N 14 - с наружной высотой 164 мм, внутренней высотой 155 мм; банку N 19 - с наружной высотой 228 мм, внутренней высотой 219 мм.
(в ред. Изменения N 5, утв. Постановлением Госстандарта СССР от 11.11.1991 N 1715)
1.3 - 1.5. (Измененная редакция, Изм. N 1, 2).
ИС МЕГАНОРМ: примечание.
В официальном тексте документа, видимо, допущена опечатка: имеется в виду Приложение 1, а не Приложение.
1.6. Размещение банок в ящиках приведено в рекомендуемом Приложении.
1.7. Исключен с 1 мая 1992 года. - Изменение N 5, утв. Постановлением Госстандарта СССР от 11.11.1991 N 1715.
2. ТЕХНИЧЕСКИЕ ТРЕБОВАНИЯ
2.1. Банки должны изготовляться в соответствии с требованиями настоящего стандарта по рабочим чертежам, утвержденным в установленном порядке.
2.2. Банки (корпус, дно, кольцо, крышка) изготовляют из жести, указанной в табл. 4, со степенями твердости А1, А2, В по ГОСТ 13345-85.
Таблица 4
(таблица 4 в ред. Изменения N 6, введенного в действие
Постановлением Госстандарта РФ от 27.05.1998 N 233)
─────────────────────────────────────────────────────┬────────────
Вид жести │Марка жести
─────────────────────────────────────────────────────┼────────────
Белая по ГОСТ 13345-85 │ ГЖК, ЭЖК
Черная литографированная по нормативной документации│ ЧЖК
Белая литографированная по нормативной документации │ ГЖК, ЭЖК
Хромированная литографированная по нормативной │ХЛЖК, ХЖК
документации │
Черная лакированная по нормативной документации │ ЧЖК
Хромированная по нормативной документации │ХЛЖК, ХЖК
Примечания. 1. Допускается при изготовлении банок и крышек на механизированных линиях под пастообразные продукты применять литографированную и лакированную жесть марки ЧЖР со степенями твердости А1, А2, В по ГОСТ 13345-85.
2. Допускается изготовление банок и крышек из черной жести марки ЧЖК со степенями твердости А1, А2, В по ГОСТ 13345-85 и для банок и крышек под пастообразные продукты при изготовлении на механизированных линиях из черной жести марки ЧЖР со степенями твердости А1, А2, В по ГОСТ 13345-85.
(в ред. Изменения N 6, введенного в действие Постановлением Госстандарта РФ от 27.05.1998 N 233)
(п. 2.2 в ред. Изменения N 5, утв. Постановлением Госстандарта СССР от 11.11.1991 N 1715)
(Измененная редакция, Изм. N 3, 4)
2.3. Допускается изготовлять детали банок из жести разных марок по п. 2.2.
2.4. (Исключен. Изм. N 3).
2.5. Банки должны изготовляться с одним продольным сварным или фальцовым швом.
Сварной шов должен быть выполнен внахлестку электрической контактной шовной сваркой (черт. 1а, ) или другими способами сварки, обеспечивающими герметичность банки.
Фальцовый шов должен быть двойной или одинарный и выполнен в замок внутрь банки (черт. 1б, в; , в).
Банки с наружным диаметром 228 мм изготовляют только со сварным продольным швом.
Изготовление банок с одинарным фальцовым швом для материалов, относящихся к группе 1 (высокая степень опасности) по ГОСТ 19433-88, не допускается.
(п. 2.5 в ред. Изменения N 5, утв. Постановлением Госстандарта СССР от 11.11.1991 N 1715, Изменения N 6, введенного в действие Постановлением Госстандарта РФ от 27.05.1998 N 233)
(Измененная редакция, Изм. N 3).
2.6. Продольные фальцовые, сварные и поперечные закатные швы должны быть герметичными.
(в ред. Изменения N 5, утв. Постановлением Госстандарта СССР от 11.11.1991 N 1715)
Банки должны выдерживать внутреннее избыточное давление 20 кПа (0,2 кгс/см2).
(в ред. Изменения N 5, утв. Постановлением Госстандарта СССР от 11.11.1991 N 1715)
Для материалов, относящихся к группе упаковки 1 по ГОСТ 19433-88 банки должны выдерживать внутреннее избыточное давление 30 кПа (0,3 кг/см2).
(в ред. Изменения N 5, утв. Постановлением Госстандарта СССР от 11.11.1991 N 1715)
(Измененная редакция, Изм. N 2).
2.7. Сварные швы не должны иметь прожогов металла или непроваренных участков.
2.8. Одинарный шов, место углошва двойного шва и закатные швы должны быть промазаны натрий-карбоксиметилцеллюлозой по нормативной документации, пастой уплотнительной латексной "Севастополь" по ТУ 38.106224-85, жидким натриевым стеклом по ГОСТ 13078-81 или другими уплотнителями, не вступающими в реакцию с упакованным продуктом.
(в ред. Изменения N 5, утв. Постановлением Госстандарта СССР от 11.11.1991 N 1715, Изменения N 6, введенного в действие Постановлением Госстандарта РФ от 27.05.1998 N 233)
Допускается пропаивать швы припоем по ГОСТ 21931-76.
2.9. Дно и кольцо банки, в зависимости от размеров, формы, толщины жести и вместимости банок, для обеспечения жесткости банки должны иметь рельефы.
Форму и количество рельефов указывают в рабочих чертежах, утвержденных в установленном порядке.
(Измененная редакция, Изм. N 2).
2.10. Отбортовка горловины должна выполняться внутрь банки. Отбортованные края должны быть одинаковой ширины и не должны иметь трещин и вмятин.
2.11. Крышки банок должны быть подвитыми, плотно вставляться в горловину.
При запаивании крышки припоем в банках, предназначенных для упаковывания химической и нефтехимической продукции, не применяемой в быту, допускается по согласованию с потребителем изготовлять крышки без подвивки.
(Измененная редакция, Изм. N 1, 2).
2.12. Наружная поверхность банок из черной жести должна быть покрыта лаком, краской или другими лакокрасочными материалами, защищающими металл от коррозии. Защитное покрытие должно быть сплошным, ровным.
По согласованию с потребителем допускается взамен окраски наружной поверхности банок производить пассивацию жести.
(Измененная редакция, Изм. N 2).
2.13. Поверхности банок должны быть гладкими без вмятин и выпуклостей.
На наружной поверхности закатного шва допускается незначительное нарушение защитного покрытия, неглубокие царапины.
Допускаются отдельные незначительные вмятины на обечайке, не нарушающие герметичности банок.
2.14. Банки должны поставляться в комплекте с крышками.
2.15. Банки должны выдерживать нагрузку на сжатие в осевом направлении не менее 200 кгс (1960 Н).
(в ред. Изменения N 5, утв. Постановлением Госстандарта СССР от 11.11.1991 N 1715)
(Введен дополнительно, Изм. N 1).
3. ПРАВИЛА ПРИЕМКИ
3.1. Банки предъявляют к приемке партиями. Партией считают количество банок одного типа, размера, способа изготовления, изготовленных из одного материала и оформленное одним документом о качестве, содержащим:
наименование предприятия-изготовителя и (или) его товарный знак;
наименование изделий, номер жести;
дату изготовления;
результаты испытаний;
материал промазки швов;
обозначение настоящего стандарта.
3.2. Для проверки соответствия банок требованиям настоящего стандарта проводят приемосдаточные и периодические испытания.
3.3. При приемосдаточных испытаниях контролируют внешний вид, качество поверхности банок, качество швов и покрытий, герметичность швов.
(в ред. Изменения N 5, утв. Постановлением Госстандарта СССР от 11.11.1991 N 1715)
3.4. Для контроля качества банок от партии отбирают 1%, но не менее 50 шт.
Если при приемо-сдаточном контроле будут обнаружены банки, не соответствующие требованиям настоящего стандарта хотя бы по одному из показателей, проводят повторный контроль на удвоенной выборке, взятой от той же партии.
Если при повторном контроле будут обнаружены банки, не соответствующие требованиям настоящего стандарта хотя бы по одному из показателей, партию считают не соответствующей требованиям стандарта.
3.5. При периодических испытаниях контролируют размеры банок и проводят испытание банок на сжатие не реже раза в шесть месяцев.
Контроль размеров банок осуществляют в соответствии с п. 3.4 настоящего стандарта.
Для испытаний на сжатие от партии отбирают 10 банок, прошедших приемосдаточный контроль.
При получении неудовлетворительных результатов периодические испытания переводят в приемосдаточные до получения положительных результатов на трех партиях подряд.
Результаты периодических испытаний оформляют протоколом.
(п. 3.5 в ред. Изменения N 5, утв. Постановлением Госстандарта СССР от 11.11.1991 N 1715)
Разд. 3. (Измененная редакция, Изм. N 1, 2).
4. МЕТОДЫ ИСПЫТАНИЙ
4.1. Внешний вид, качество поверхности швов и покрытий проверяют визуально.
4.2. Размеры банок и крышек проверяют универсальным измерительным инструментом по ГОСТ 166-89 или специальными шаблонами с погрешностью не более 0,1 мм.
(в ред. Изменения N 5, утв. Постановлением Госстандарта СССР от 11.11.1991 N 1715)
4.3. Герметичность швов проверяют на воздушном, воздушно-водяном тестере или на автоматических установках под давлением 20 кПа (0,2 кг/см2) или 30 кПа (0,3 кг/см2) в соответствии с п. 2.6 в течение 10 - 15 с.
При испытании на воздушно-водяном тестере банку зажимают между двумя фланцами. С открытой стороны банки фланец должен иметь уплотнительную прокладку, герметизирующую внутреннюю полость банки и штуцер, соединяющий эту полость с компрессором через гибкий шланг; далее банку опускают в водяную ванну так, чтобы вода полностью покрывала ее, и подают воздух. Если банка не герметична, то в местах нарушения появляются пузырьки выходящего воздуха.
(Измененная редакция, Изм. N 2).
4.4. Контроль механической прочности банок на сжатие проводят на прессе, обеспечивающем измерение усилий с погрешностью не более +/- 2% от измеряемой величины. Банки устанавливают вертикально между плитами пресса и сжимают со скоростью не более 80 мм/мин до тех пор, пока нагрузка не достигнет величины, равной 200 кгс (1960 Н).
(в ред. Изменения N 5, утв. Постановлением Госстандарта СССР от 11.11.1991 N 1715)
Допускается для определения нормы прочности на сжатие на банки, заполненные водой в направлении оси банки, устанавливать груз массой равной 200 кгс и выдерживать в течение 1 ч.
При испытаниях прочности банок на сжатие, проводимых на прессе и под грузом, не должна быть нарушена герметичность банок, контролируемая по отсутствию течи.
(в ред. Изменения N 6, введенного в действие Постановлением Госстандарта РФ от 27.05.1998 N 233)
(Введен дополнительно, Изм. N 1).
5. УПАКОВКА, МАРКИРОВКА, ТРАНСПОРТИРОВАНИЕ И ХРАНЕНИЕ
5.1. На дне банки должны быть выштампованы наименование предприятия-изготовителя, его товарный знак, номер банки и номер жести.
Допускается выштамповывать маркировочные данные на кольце.
Для банок, изготовленных из литографированной жести, допускается наносить маркировку на обечайку.
Допускается наносить маркировку несмываемой краской штемпелеванием или окраской по трафарету, а также на этикетку, наклеиваемую на обечайку.
Допускается не наносить маркировку на банки, применяемые для упаковывания продукции непосредственно на предприятии-изготовителе банок.
(в ред. Изменения N 5, утв. Постановлением Госстандарта СССР от 11.11.1991 N 1715)
5.2. Банки формируют в пакеты на поддонах по ГОСТ 9078-84 или ГОСТ 9557-87, а также упаковывают в кассеты.
Крышки упаковывают в деревянные ящики по ГОСТ 18573-86 или ящики из гофрированного картона по ГОСТ 13841-95.
(в ред. Изменения N 6, введенного в действие Постановлением Госстандарта РФ от 27.05.1998 N 233)
К пакетам или кассетам с банками должны быть прикреплены ярлыки с указанием:
наименования предприятия-изготовителя и его товарного знака;
наименования изделия;
количества изделий в пакете или кассете;
обозначения настоящего стандарта.
(Измененная редакция, Изм. N 2).
5.3. Транспортная маркировка - по ГОСТ 14192-77.
5.4. Банки и крышки транспортируют всеми видами транспорта, в крытых транспортных средствах в соответствии с правилами перевозок, действующими на каждом виде транспорта. Транспортирование банок пакетами - по ГОСТ 26663-85.
(в ред. Изменения N 5, утв. Постановлением Госстандарта СССР от 11.11.1991 N 1715)
Транспортирование банок железнодорожным транспортом проводят только повагонными отправками.
5.5. Банки и крышки должны храниться на складах по условиям хранения 3 по ГОСТ 15150-69.
Допускается хранить банки и крышки по условиям хранения 4 ГОСТ 15150-69.
При хранении под навесом пакеты или кассеты с банками и ящики с крышками укладывают на деревянные прокладки высотой не менее 100 мм.
5.4, 5.5. (Измененная редакция, Изм. N 1, 2).
5.6. Требования безопасности при формировании и расформировании пакетов или кассет с банками, погрузочно-разгрузочных и складских работах должны выполняться в соответствии с требованиями ГОСТ 12.3.009-76 и ГОСТ 12.3.020-80.
(п. 5.6 введен Изменением N 6, введенным в действие Постановлением Госстандарта РФ от 27.05.1998 N 233)
Приложение 1
Рекомендуемое
РАЗМЕРЫ ЯЩИКОВ,
РЕКОМЕНДУЕМЫЕ ДЛЯ БАНОК С ПРОДУКЦИЕЙ
───────────────┬─────┬─────────────────────────┬─────┬────────────
Размер ящиков, │Номер│Размещение банок в ящиках│Всего│Расположение
мм │банок├───────┬────────┬────────┤банок│ банок
│ │ по │ по │ по │ │ в ящике
│ │ длине │ ширине │ высоте │ │
───────────────┼─────┼───────┼────────┼────────┼─────┼────────────
380 х 380 х 126│ 2 │ 5 │ 5 │ 1 │ 25 │Рядовое;
│ 4 │ 4 │ 3 │ 1 │ 12 │шахматное;
380 х 380 х 152│ 5 │ 4 │ 3 │ 1 │ 12 │Шахматное;
│ 9 │ 2 │ 3 │ 1 │ 5 │шахматное;
│ 3 │ 4 │ 3 │ 2 │ 24 │шахматное;
│ 6 │ 4 │ 3 │ 1 │ 12 │шахматное;
│ 11 │ 2 │ 2 │ 1 │ 4 │рядовое;
│ 14 │ 1 │ 1 │ 1 │ 2 │шахматное;
380 х 380 х 171│ 10 │ 2 │ 3 │ 1 │ 5 │Шахматное;
│ 20 │ 1 │ 1 │ 1 │ 2 │шахматное;
380 х 380 х 190│ 1 │ 5 │ 5 │ 2 │ 20 │Рядовое;
│ 7 │ 4 │ 3 │ 1 │ 12 │шахматное;
│ 13 │ 2 │ 2 │ 1 │ 4 │рядовое;
380 х 380 х 217│ 8 │ 2 │ 3 │ 2 │ 10 │Шахматное;
│ 18 │ 3 │ 4 │ 1 │ 12 │рядовое;
380 х 380 х 228│ 4 │ 4 │ 3 │ 2 │ 24 │Шахматное;
570 х 380 х 190│ 15 │ 2 │ 1 │ 1 │ 3 │Шахматное;
570 х 380 х 228│ 12 │ 2 │ 1 │ 2 │ 6 │Шахматное;
│ 16 │ 2 │ 1 │ 1 │ 3 │шахматное;
570 х 380 х 253│ 17 │ 2 │ 1 │ 1 │ 3 │Шахматное;
│ 19 │ 2 │ 1 │ 1 │ 3 │шахматное;
413 х 317 х 142│ 5 │ 4 │ 3 │ 1 │ 12 │Рядовое;
413 х 317 х 162│ 3 │ 4 │ 3 │ 1 │ 12 │Рядовое;
│ 6 │ 4 │ 3 │ 1 │ 12 │рядовое.
(Измененная редакция, Изм. N 1).
Приложение 2
Рекомендуемое
─────────────────────────────────┬────────────────────────────────
Размер листа, мм (ширина х длина)│ Номер банок
─────────────────────────────────┼────────────────────────────────
712 х 512 │ 6
│ 12
│ 16
│ 17
│ 18
─────────────────────────────────┼────────────────────────────────
712 х 724 │ 1
│ 3
│ 6
│ 8
│ 9
│ 10
│ 19
─────────────────────────────────┼────────────────────────────────
712 х 820 │ 11
│ 13
│ 15
│ 16
│ 17
─────────────────────────────────┼────────────────────────────────
712 х 910 │ 2
│ 4
│ 5
│ 7
│ 12
│ 14
│ 18
─────────────────────────────────┼────────────────────────────────
836 х 716 │ 20
(Введен дополнительно, Изм. N 2).