Наименование государства | Наименование национального органа по стандартизации |
Азербайджанская Республика | Азгосстандарт |
Республика Армения | Армгосстандарт |
Республика Беларусь | Госстандарт Республики Беларусь |
Республика Казахстан | Госстандарт Республики Казахстан |
Кыргызская Республика | Кыргызстандарт |
Республика Молдова | Молдовастандарт |
Российская Федерация | Госстандарт России |
Республика Таджикистан | Таджикстандарт |
Туркменистан | Главгосслужба "Туркменстандартлары" |
Республика Узбекистан | Узгосстандарт |
Украина | Госстандарт Украины |
ИС МЕГАНОРМ: примечание. В официальном тексте документа, видимо, допущены опечатки: стандарты имеют номера ГОСТ Р ИСО 9002-96 и ГОСТ Р ИСО 9003-96, а не ГОСТ ИСО 9002-96 и ГОСТ ИСО 9003-96 соответственно. |
Вид банок | Тип банок | Исполнение горловины | Обозначение | Конструктивное исполнение |
I - цилиндрические | Сборные | Узкогорлые | I-1-А | |
Широкогорлые | I-1-Б | |||
Со съемной крышкой | I-1-В | |||
С закатным верхним дном | I-1-Г | |||
Цельные | С закатным верхним дном | I-2-Г | ||
II - прямоугольные | Сборные | Узкогорлые | II-1-А | |
Широкогорлые | II-1-Б | |||
Со съемной крышкой | II-1-В | |||
С закатным верхним дном | II-1-Г | |||
Цельные | С закатным верхним дном | II-2-Г | ||
III - конические | Сборные | Со съемной крышкой | III-1-В | |
Цельные | С закатным верхним дном | III-2-Г |











Применение на добровольной основе пунктов 5.2.2.4, 5.2.2.5, 5.2.2.6 обеспечивает соблюдение требований технического регламента Таможенного союза "О безопасности упаковки" (ТР ТС 005/2011) (Решение Комиссии Таможенного союза от 16.08.2011 N 769). |
Вместимость банок, см3 | Статическая нагрузка, Н (кгс), не менее |
До 50 включ. | 98 (10) |
Св. 50 " 1000 " | 147 (15) |
" 1000 " 2000 " | 196 (20) |
" 2000 " 3000 " | 145 (25) |
" 3000 " 5000 " | 243 (35) |
" 5000 " 7000 " | 412 (42) |
" 7000 " 10000 " | 490 (50) |
Деталь банки | Вид материала | Марка материала |
Корпус, донья, кольцо, крышка, накладки для крепления ручек | Жесть белая по ГОСТ 13345 | ГЖК, ЭЖК, ЭЖР |
Жесть белая литографированная по нормативному документу | ГЖК, ЭЖК, ЭЖР | |
Жесть черная литографированная по нормативному документу | ЧЖК, ЧЖР | |
Жесть черная лакированная по нормативному документу | ЧЖ, ЧЖР | |
Жесть хромированная литографированная по нормативному документу | ХЛЖК, ХЖК | |
Жесть хромированная по нормативному документу | ХЛЖК, ХЖК | |
Жесть черная по ГОСТ 13345 | ЧЖК, ЧЖР | |
Прокат по ГОСТ 19903, ГОСТ 19904 | 08кп, 08пс, 10кп, 10пс, 10 по ГОСТ 1050 | |
Ручка | Проволока стальная по ГОСТ 3282 | - |
Устройство для переноса банок | Жесть по ГОСТ 13345 и другим нормативным документам. Полимерные материалы по нормативным документам | Марки жести для банок |
Примечания 1 Изготовление банок и крышек из стального проката - по согласованию с потребителем. 2 Литографированную и лакированную жесть марки ЧЖР и жесть марки ЭЖР применяют только при изготовлении банок и крышек на механизированных линиях под пастообразные и порошкообразные продукты. | ||
Вместимость банки, см3 | Толщина жести рекомендуемая, мм |
До 500 включ. | 0,20 |
Св. 500 " 1500 " | 0,20; 0,22 |
" 1500 " 3500 " | 0,22; 0,25 |
" 3500 " 5000 " | 0,28; 0,32 |
" 5000 " 10000 " | 0,28; 0,32; 0,36 |
Применение на добровольной основе пункта 6.2 (таблица 5) обеспечивает соблюдение требований технического регламента Таможенного союза "О безопасности упаковки" (ТР ТС 005/2011) (Решение Комиссии Таможенного союза от 16.08.2011 N 769). |
Контролируемый показатель | Количество испытываемых образцов | Вид испытаний | Номер пунктов | ||
приемосдаточные | периодические | общих технических требований | методов контроля | ||
1 Внешний вид | Каждая единица выборки | + | - | ||
2 Размеры | В соответствии с планом контроля | - | Раз в шесть месяцев | ||
3 Качество наружной и внутренней поверхностей | То же | + | - | ||
4 Качество поверхности швов | " | + | - | ||
5 Комплектность | " | + | - | ||
6 Маркировка | " | + | - | ||
7 Наличие герметизирующего материала | " | + | - | ||
8 Качество покрытий наружной поверхности | " | + | - | ||
9 Герметичность | " | + | - | ||
10 Герметичность укупоривания | " | - | Раз в шесть месяцев | ||
11 Прочность на сжатие | " | - | Раз в два года | ||
12 Прочность ручки | " | - | Раз в шесть месяцев | ||
13 Прочность креплений ручки | " | + | - | ||
14 Масса | " | - | Раз в шесть месяцев | ||
Примечания 1 Знак "+" означает, что испытания проводят, знак "-" - не проводят. 2 В нормативных документах на банки для конкретных видов продукции устанавливают другие сроки проведения периодических испытаний. 3 Типовые испытания проводят по всем показателям при внедрении и применении новых видов банок, при измельчении конструкции, технологии изготовления банок. | |||||
Применение на добровольной основе пункта 6.6.5 обеспечивает соблюдение требований технического регламента Таможенного союза "О безопасности упаковки" (ТР ТС 005/2011) (Решение Комиссии Таможенного союза от 16.08.2011 N 769). |


Применение на добровольной основе пункта 7.6 обеспечивает соблюдение требований технического регламента Таможенного союза "О безопасности упаковки" (ТР ТС 005/2011) (Решение Комиссии Таможенного союза от 16.08.2011 N 769). |


Применение на добровольной основе пункта 7.7 обеспечивает соблюдение требований технического регламента Таможенного союза "О безопасности упаковки" (ТР ТС 005/2011) (Решение Комиссии Таможенного союза от 16.08.2011 N 769). |


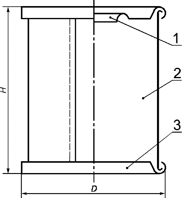
Обозначение банок по таблице 1 | Вместимость, см3 | Наружные размеры, мм | |
Диаметр D | Высота H | ||
I-1-Б | 259 | 103 | 40 |
I-1-Б | 337 | 103 | 50 |
I-1-А | 368 | 76 | 95 |
I-1-Г | 445 | 76 | 114 |
I-1-Г | 445 | 95 | 76 |
I-1-А | 497 | 76 | 126 |
I-1-Б | 541 | 103 | 76 |
I-1-Г | 570 | 95 | 95 |
I-1-Г | 770 | 95 | 126 |
I-1-Б | 839 | 103 | 114 |
I-1-Г | 895 | 103 | 124 |
I-1-Б | 1012 | 103 | 136 |
I-1-Б | 1020 | 110 | 152 |
I-1-Б | 1138 | 103 | 152 |
I-1-Б | 1278 | 110 | 152 |
I-1-Б | 1436 | 103 | 190 |
I-1-Б | 1750 | 157 | 101 |
I-1-Б | 2401 | 157 | 136 |
I-1-Г | 3020 | 157 | 172 |
I-1-Б | 3053 | 157 | 171 |
I-1-Б | 3980 | 190 | 152 |
I-1-Б | 4135 | 228 | 114 |
I-1-Г | 4770 | 157 | 267 |
I-1-Б | 4968 | 190 | 190 |
I-1-Б | 5188 | 218 | 152 |
I-1-В | 5588 | 224 | 163 |
I-1-В | 5990 | 218 | 185 |
I-1-Б | 7129 | 228 | 190 |
I-1-Б | 8563 | 218 | 245 |
I-1-Б | 8626 | 228 | 228 |
I-1-Г | 8820 | 218 | 250 |
I-1-В | 9280 | 218 | 280 |
I-1-В | 9374 | 228 | 247 |
I-1-Г | 9590 | 228 | 253 |
Обозначение банок по таблице 1 | Вместимость, см3 | Наружные размеры, мм | |
Диаметр D | Высота H | ||
I-2-Г; III-2-Г | 150 | 95 | 27 |
I-2-Г; III-2-Г | 250 | 95 | 42 |
I-2-Г | 260 | 76 | 70 |
I-2-Г | 353 | 103 | 50,5 |
I-2-Г | 368 | 76 | 92 |
I-2-Г | 410 | 95 | 70 |
I-2-Г | 497 | 76 | 123 |
Примечание - Значения диаметра цельных конических банок указаны по верхнему диаметру. | |||
Обозначение банок по таблице 1 | Вместимость, см3 | Наружные размеры, мм | ||
Длина L | Ширина B | Высота H | ||
II-1-Г | 200 | 94,2 | 46,1 | 62,2 |
II-1-Г | 250 | 94,2 | 46,1 | 76 |
II-1-В | 620 | 170 | 113 | 41 |
II-1-Г | 1000 | 125,6 | 94,3 | 102,1 |
II-1-В | 1230 | 141 | 83 | 125 |
II-1-Г | 1250 | 125,6 | 94,3 | 125,4 |
II-1-Г | 1500 | 125,6 | 94,3 | 148,4 |
II-1-А | 1635 | 116 | 78 | 205 |
II-1-В | 2020 | 141 | 83 | 189 |
II-1-В | 7130 | 252 | 252 | 125 |
II-1-В | 8260 | 252 | 189 | 189 |
Обозначение банок по таблице 1 | Вместимость, см3 | Наружные размеры, мм | ||
Длина L | Ширина B | Высота H | ||
II-2-Г | 100 | 103,6 | 74,4 | 21,2 |
II-2-Г | 115 | 108,8 | 79,8 | 22,0 |
II-2-Г | 160 | 119,8 | 81,8 | 24,7 |
II-2-Г | 160 | 125,5 | 80,5 | 25,0 |
II-2-Г | 220 | 119,8 | 81,8 | 31,4 |
II-2-Г | 230 | 125,5 | 80,5 | 30,9 |
II-2-Г | 230 | 188,5 | 62,5 | 28,0 |
II-2-Г | 245 | 119,8 | 81,8 | 33,0 |
II-2-Г | 320 | 119,8 | 81,8 | 43,1 |
II-2-Г | 325 | 125,5 | 80,5 | 40,5 |
Обозначение банок по таблице 1 | Вместимость, см3 | Наружные размеры, мм | ||
Диаметр | Высота H | |||
D | D1 | |||
III-1-В | 3000 | 170 | 155 | 175 |
III-1-В | 5790 | 218 | 200 | 185 |
III-1-В | 9080 | 218 | 200 | 280 |
III-1-В | 10000 | 285 | 268 | 207 |
Наружные размеры, мм | Толщина металла, мм | Масса банки, г, не более | |
Диаметр (длина x ширина) | Высота | ||
76 | 95 | 0,20 | 63 |
76 | 126 | 0,20 | 75 |
103 | 76 | 0,22 | 92 |
103 | 114 | 0,22 | 113 |
103 | 136 | 0,22 | 126 |
103 | 152 | 0,22 | 135 |
103 | 190 | 0,22 | 156 |
157 | 101 | 0,25 | 208 |
157 | 136 | 0,25 | 243 |
157 | 171 | 0,25 | 277 |
190 | 152 | 0,28 | 368 |
190 | 190 | 0,28 | 418 |
218 | 152 | 0,28 | 438 |
218 | 245 | 0,32 | 702 |
224 | 163 | 0,28 | 477 |
228 | 114 | 0,32 | 463 |
228 | 190 | 0,32 | 599 |
228 | 228 | 0,32 | 667 |
228 | 247 | 0,32 | 701 |
(116 x 78) | 205 | 0,25 | 207 |
Примечание - Масса банок диаметром до 224 мм дана для двойного фальцового шва, масса банок диаметром 228 мм - для сварного шва. | |||

Наименование герметизирующего материала | Назначение герметизирующего материала |
Жидкое натриевое стекло по ГОСТ 13078 | Для герметизации фальцовых и закаточных швов и съемных крышек |
Натрий-карбоксиметилцеллюлоза по нормативному документу | |
Паста уплотнительная ЛПУ-3М по нормативному документу | |
Дисперсия поливинилацетатная пластифицированная, средневязкая и высоковязкая по нормативному документу |


Материал банок | Назначение банок |
Жесть черная, черная литографированная и лакированная марки ЧЖК по ГОСТ 13345 и другим нормативным документам; прокат по ГОСТ 19903 и ГОСТ 19904; сталь марок 08кп, 08пс, 08, 10кп, 10пс, 10 по ГОСТ 1050 | Для жидких и твердых (порошкообразных и пастообразных) химических продуктов, в том числе лакокрасочных - групп 1, 5, 7, 8, 12 - 14, 16, 17, 30, 31, 33, 37 по ГОСТ 9980.3 |
Жесть черная, черная литографированная и лакированная марки ЧЖР, жесть белая, белая литографированная марки ЭЖР по ГОСТ 13345 и другим нормативным документам; прокат по ГОСТ 19903 и ГОСТ 19904; сталь марок 08кп, 08пс, 08, 10кп, 10пс, 10 по ГОСТ 1050 | Для пастообразных и порошкообразных химических продуктов |
Жесть белая, белая литографированная марок ГЖК, ЭЖК по ГОСТ 13345 и другим нормативным документам; жесть хромированная марок ХЛЖК, ХЖК по нормативным документам | Для жидких и твердых (порошкообразных и пастообразных) химических продуктов, в том числе лакокрасочных - групп 1 - 17, 21, 22, 24, 26, 28 - 31, 33 - 37 по ГОСТ 9980.3 |
Наружные размеры банок | Размер листа жести (ширина x длина) | |
Диаметр (длина x ширина) | Высота | |
76 | 95 | 712 x 724 |
76 | 126 | 712 x 910 |
103 | 76 | 712 x 724 |
103 | 114 | 712 x 910 |
103 | 136 | 712 x 910 |
103 | 152 | 712 x 512; 712 x 724 |
103 | 190 | 712 x 910 |
157 | 101 | 712 x 724 |
157 | 136 | 712 x 724 |
157 | 171 | 712 x 724 |
190 | 152 | 712 x 820 |
190 | 190 | 712 x 820 |
218 | 152 | 712 x 910 |
218 | 245 | 712 x 724 |
224 | 163 | 836 x 716 |
228 | 114 | 712 x 512; 712 x 910 |
228 | 190 | 712 x 820 |
228 | 228 | 712 x 512; 712 x 820 |
228 | 247 | 712 x 512; 712 x 820 |
(116 x 78) | 205 | 712 x 512; 712 x 910 |
Наружные размеры банок, мм | Номер жести по ГОСТ 13345 | Потребность жести на 1000 банок, кг, не более, при формате листа | |||||
Диаметр (длина x ширина) | Высота | 836 x 716 | 712 x 512 | 712 x 724 | 712 x 820 | 712 x 910 | |
76 | 95 | 20 | 81 | 85 | 80 | 84 | 80 |
76 | 126 | 20 | 97 | 102 | 97 | 95 | 92 |
103 | 76 | 20; 22 | 126; 139 | 120; 132 | 113; 125 | 123; 135 | 117; 128 |
103 | 114 | 20; 22 | 144; 159 | 144; 159 | 136; 149 | 141; 155 | 131; 144 |
103 | 136 | 20; 22 | 157; 173 | 159; 175 | 149; 164 | 154; 169 | 143; 158 |
103 | 152 | 20; 22 | 177; 195 | 168; 185 | 170; 187 | 173; 190 | - |
103 | 190 | 20; 22 | 197; 216 | 216; 238 | 181; 199 | 192; 211 | 180; 198 |
157 | 101 | 22; 25 | 288; 328 | 263; 300 | 268; 295 | 281; 320 | 262; 298 |
157 | 136 | 22; 25 | 285; 324 | 284; 324 | 281; 321 | 303; 345 | 290; 330 |
157 | 171 | 22; 25 | 323; 369 | 316; 360 | 315; 359 | 354; 403 | 318; 362 |
190 | 152 | 28 | 530 | 577 | 583 | 517 | 549 |
190 | 190 | 28 | 623 | 712 | 633 | 609 | 639 |
218 | 152 | 28 | 589 | 571 | 569 | 575 | 542 |
218 | 245 | 32 | 921 | 882 | 867 | 899 | 917 |
224 | 163 | 28 | 638 | 671 | 696 | 680 | 683 |
228 | 114 | 32 | 754 | 690 | 759 | 736 | 701 |
228 | 190 | 32 | 880 | 920 | 867 | 859 | 899 |
228 | 228 | 32 | 1005 | 920 | 1084 | 982 | 1090 |
228 | 247 | 32 | 1005 | 920 | 1300 | 982 | 1090 |
(116 x 78) | 205 | 22; 25 | 222; 253 | 211; 240 | 255; 291 | 226; 258 | 214; 244 |

Вид дефектов | Показатель качества по таблице 5 | Уровень несоответствий NQL | |
Процент несоответствующих единиц тары в партии | Число несоответствий на 100 единиц тары | ||
Значительные | 9 - 13 | 2,5 | 4,0 |
Малозначительные | 1 - 8, 14 | 6,5 | 10 |
Степень доверия | Нормативное значение риска потребителя |
Т1 - требование сплошного контроля тары перед поставкой потребителю | 0 |
Т2 - отсутствие надежной информации о возможностях поставщика обеспечить требуемое качество или информация о низком качестве его поставок, отрицательные отзывы других потребителей | 0,1 |
Т3 - отсутствие сертификата на тару и систему обеспечения качества, отсутствие собственного опыта заказов у данного поставщика, отсутствие процедур статистического управления технологическими процессами, но при учете косвенной положительной информации от других потребителей или обществ потребителей | 0,25 |
Т4 - отсутствие у поставщика сертификата на систему обеспечения качества, но при наличии сертификата на тару и продолжительного периода поставок продукции удовлетворительного качества, положительная оценка системы качества самим потребителем, внедрение статистического управления технологическими процессами на отдельных этапах производства | 0,5 |
Т5 - наличие сертификата на систему обеспечения качества по ГОСТ 40.9003, применение поставщиком процедур статистического управления технологическими процессами, долговременные поставки высококачественной тары и т.д. | 0,75 |
Т6 - наличие у поставщика сертификата на систему обеспечения качества по ГОСТ 40.9001 или ГОСТ 40.9002, применение поставщиком процедур статистического управления технологическими процессами, положительный опыт собственных заказов у данного поставщика и т.п. | 0,9 |
Т7 - наличие у поставщика сертификата на систему обеспечения качества по ГОСТ 40.9001, сертификата на производство, сертификата на тару, гигиенического сертификата безопасности на материалы, из которых изготовлена тара, покрытия, герметизирующие уплотнители, пробки и другие съемные детали тары, безупречная репутация поставщика, применение поставщиком процедур статистического регулирования технологических процессов, длительный период поставки тары без претензии и т.п. | 1,0 <*> |
Степень доверия | Правила переключения | |
с нормального контроля на ослабленный контроль в случае приемки подряд партий | с ослабленного на нормальный контроль в случае отклонения партий | |
Т2 | 2 | 2 из 5 |
Т3 | 2 | 2 из 5 |
Т4 | 3 | 2 из 5 |
Т5 | 4 | 2 из 5 |
Т6 | 5 | 2 из 5 |
Примечание - Переход с ослабленного на нормальный контроль осуществляется при отклонении любых двух партий из пяти партий, последовательно (подряд) поступающих на контроль, т.е. если между двумя отклоненными партиями - менее трех партий, принятых подряд. | ||
Объем партии, шт. | Интервал уровней несоответствий, % | NQL 1% | NQL 2,5% | NQL 4% | NQL 6,5% | ||||||||||||||||
Т2 | Т3 | Т4 | Т5 | Т6 | Т2 | Т3 | Т4 | Т5 | Т6 | Т2 | Т3 | Т4 | Т5 | Т6 | Т2 | Т3 | Т4 | Т5 | Т6 | ||
До 25 включ. | 0,0 - 0,1 | - | - | 0/13 | 0/7 | 0/3 | - | - | 0/13 | 0/7 | 0/3 | - | - | 0/13 | 0/7 | 0/3 | - | 0/13 | 0/8 | 0/4 | 0/2 |
0,10 - 0,15 | - | - | 0/13 | 0/7 | 0/3 | - | - | 0/13 | 0/7 | 0/3 | - | - | 0/13 | 0/7 | 0/3 | - | 0/13 | 0/8 | 0/4 | 0/2 | |
0,15 - 0,25 | - | - | 0/13 | 0/7 | 0/3 | - | - | 0/13 | 0/7 | 0/3 | - | - | 0/13 | 0/7 | 0/3 | - | 0/13 | 0/8 | 0/4 | 0/2 | |
0,25 - 0,40 | - | - | 0/13 | 0/7 | 0/3 | - | - | 0/13 | 0/7 | 0/3 | - | - | 0/13 | 0/7 | 0/3 | - | 0/13 | 0/8 | 0/4 | 0/2 | |
0,40 - 0,65 | - | - | 0/13 | 0/7 | 0/3 | - | - | 0/13 | 0/7 | 0/3 | - | - | 0/13 | 0/7 | 0/3 | - | 0/13 | 0/8 | 0/4 | 0/2 | |
0,65 - 1,0 | - | - | - | - | - | - | - | 0/13 | 0/7 | 0/3 | - | - | 0/13 | 0/7 | 0/3 | - | 0/13 | 0/8 | 0/4 | 0/2 | |
1,0 - 1,5 | - | - | 0/13 | 0/7 | 0/3 | - | - | 0/13 | 0/7 | 0/3 | - | 0/13 | 0/8 | 0/4 | 0/2 | ||||||
1,5 - 2,5 | - | - | - | - | - | - | - | 0/13 | 0/7 | 0/3 | - | 0/13 | 0/8 | 0/4 | 0/2 | ||||||
2,5 - 4,0 | - | - | - | - | - | - | - | - | 1/13 | 1/9 | |||||||||||
4,0 - 6,5 | - | - | - | - | - | ||||||||||||||||
6,5 - 10 | |||||||||||||||||||||
От 26 до 50 включ. | 0,0 - 0,1 | - | - | 0/26 | 0/13 | 0/6 | - | - | 0/20 | 0/10 | 0/4 | - | 0/25 | 0/15 | 0/7 | 0/3 | 0/25 | 0/17 | 0/10 | 0/5 | 0/2 |
0,10 - 0,15 | - | - | 0/26 | 0/13 | 0/6 | - | - | 0/20 | 0/10 | 0/4 | - | 0/25 | 0/15 | 0/7 | 0/3 | 0/25 | 0/17 | 0/10 | 0/5 | 0/2 | |
0,15 - 0,25 | - | - | 0/26 | 0/13 | 0/6 | - | - | 0/20 | 0/10 | 0/4 | - | 0/25 | 0/15 | 0/7 | 0/3 | 0/25 | 0/17 | 0/10 | 0/5 | 0/2 | |
0,25 - 0,40 | - | - | 0/26 | 0/13 | 0/6 | - | - | 0/20 | 0/10 | 0/4 | - | 0/25 | 0/15 | 0/7 | 0/3 | 0/25 | 0/17 | 0/10 | 0/5 | 0/2 | |
0,40 - 0,65 | - | - | 0/26 | 0/13 | 0/6 | - | - | 0/20 | 0/10 | 0/4 | - | 0/25 | 0/15 | 0/7 | 0/3 | 0/25 | 0/17 | 0/10 | 0/5 | 0/2 | |
0,65 - 1,0 | - | - | - | - | - | - | - | 0/20 | 0/10 | 0/4 | - | 0/25 | 0/15 | 0/7 | 0/3 | 0/25 | 0/17 | 0/10 | 0/5 | 0/2 | |
1,0 - 1,5 | - | - | 0/20 | 0/10 | 0/4 | - | 0/25 | 0/15 | 0/7 | 0/3 | 0/25 | 0/17 | 0/10 | 0/5 | 0/2 | ||||||
1,5 - 2,5 | - | - | - | - | - | - | - | - | 1/26 | 1/17 | - | - | 1/23 | 1/16 | 0/2 | ||||||
2,5 - 4,0 | - | - | - | - | - | - | - | - | - | 1/10 | |||||||||||
4,0 - 6,5 | - | - | - | - | - | ||||||||||||||||
6,5 - 10 | |||||||||||||||||||||
От 51 до 90 включ. | 0,0 - 0,1 | - | - | 0/45 | 0/23 | 0/9 | - | 0/40 | 0/24 | 0/11 | 0/5 | 0/40 | 0/28 | 0/16 | 0/7 | 0/3 | 0/28 | 0/19 | 0/10 | 0/5 | 0/2 |
0,10 - 0,15 | - | - | 0/45 | 0/23 | 0/9 | - | 0/40 | 0/24 | 0/11 | 0/5 | 0/40 | 0/28 | 0/16 | 0/7 | 0/3 | 0/28 | 0/19 | 0/10 | 0/5 | 0/2 | |
0,15 - 0,25 | - | - | 0/45 | 0/23 | 0/9 | - | 0/40 | 0/24 | 0/11 | 0/5 | 0/40 | 0/28 | 0/16 | 0/7 | 0/3 | 0/28 | 0/19 | 0/10 | 0/5 | 0/2 | |
0,25 - 0,40 | - | - | 0/45 | 0/23 | 0/9 | - | 0/40 | 0/24 | 0/11 | 0/5 | 0/40 | 0/28 | 0/16 | 0/7 | 0/3 | 0/28 | 0/19 | 0/10 | 0/5 | 0/2 | |
0,40 - 0,65 | - | - | 0/45 | 0/23 | 0/9 | - | 0/40 | 0/24 | 0/11 | 0/5 | 0/40 | 0/28 | 0/16 | 0/7 | 0/3 | 0/28 | 0/19 | 0/10 | 0/5 | 0/2 | |
0,65 - 1,0 | - | - | - | - | - | - | 0/40 | 0/24 | 0/11 | 0/5 | 0/40 | 0/28 | 0/16 | 0/7 | 0/3 | 0/28 | 0/19 | 0/10 | 0/5 | 0/2 | |
1,0 - 1,5 | - | - | - | 1/41 | 1/26 | - | 1/51 | 1/38 | 1/25 | 0/3 | 1/46 | 1/35 | 1/24 | 1/15 | 0/2 | ||||||
1,5 - 2,5 | - | - | - | - | - | - | - | - | 2/48 | 1/15 | - | 2/50 | 2/39 | 1/15 | 0/2 | ||||||
2,5 - 4,0 | - | - | - | - | - | - | - | - | 2/29 | 1/9 | |||||||||||
4,0 - 6,5 | - | - | - | - | - | ||||||||||||||||
6,5 - 10 | |||||||||||||||||||||
От 91 до 150 включ. | 0,0 - 0,1 | - | 0/75 | 0/51 | 0/26 | 0/11 | 0/65 | 0/44 | 0/25 | 0/11 | 0/5 | 0/48 | 0/31 | 0/17 | 0/7 | 0/3 | 0/31 | 0/20 | 0/10 | 0/5 | 0/2 |
0,10 - 0,15 | - | 0/75 | 0/51 | 0/26 | 0/11 | 0/65 | 0/44 | 0/25 | 0/11 | 0/5 | 0/48 | 0/31 | 0/17 | 0/7 | 0/3 | 0/31 | 0/20 | 0/10 | 0/5 | 0/2 | |
0,15 - 0,25 | - | 0/75 | 0/51 | 0/26 | 0/11 | 0/65 | 0/44 | 0/25 | 0/11 | 0/5 | 0/48 | 0/31 | 0/17 | 0/7 | 0/3 | 0/31 | 0/20 | 0/10 | 0/5 | 0/2 | |
0,25 - 0,40 | - | 0/75 | 0/51 | 0/26 | 0/11 | 0/65 | 0/44 | 0/25 | 0/11 | 0/5 | 0/48 | 0/31 | 0/17 | 0/7 | 0/3 | 0/31 | 0/20 | 0/10 | 0/5 | 0/2 | |
0,40 - 0,65 | - | 0/75 | 0/51 | 0/26 | 0/11 | 0/65 | 0/44 | 0/25 | 0/11 | 0/5 | 0/48 | 0/31 | 0/17 | 0/7 | 0/3 | 0/31 | 0/20 | 0/10 | 0/5 | 0/2 | |
0,65 - 1,0 | - | - | - | - | - | 1/82 | 1/61 | 1/40 | 0/5 | 1/76 | 1/58 | 1/40 | 0/7 | 0/3 | 1/50 | 1/37 | 1/25 | 0/5 | 0/2 | ||
1,0 - 1,5 | - | - | - | 2/76 | 1/24 | - | 2/83 | 2/64 | 1/25 | 0/3 | 2/67 | 1/37 | 1/25 | 1/15 | 0/2 | ||||||
1,5 - 2,5 | - | - | - | - | - | - | 3/87 | 2/46 | 1/15 | 3/82 | 2/54 | 2/40 | 1/15 | 0/2 | |||||||
2,5 - 4,0 | - | - | - | - | - | - | 5/84 | 4/57 | 1/9 | ||||||||||||
4,0 - 6,5 | - | - | - | - | |||||||||||||||||
6,5 - 10 | |||||||||||||||||||||
От 151 до 280 включ. | 0,0 - 0,1 | 0/150 | 0/104 | 0/59 | 0/27 | 0/11 | 0/78 | 0/50 | 0/27 | 0/12 | 0/5 | 0/51 | 0/32 | 0/17 | 0/7 | 0/3 | 0/33 | 0/20 | 0/11 | 0/5 | 0/2 |
0,10 - 0,15 | 0/150 | 0/104 | 0/59 | 0/27 | 0/11 | 0/78 | 0/50 | 0/27 | 0/12 | 0/5 | 0/51 | 0/32 | 0/17 | 0/7 | 0/3 | 0/33 | 0/20 | 0/11 | 0/5 | 0/2 | |
0,15 - 0,25 | 0/150 | 0/104 | 0/59 | 0/27 | 0/11 | 0/78 | 0/50 | 0/27 | 0/12 | 0/5 | 0/51 | 0/32 | 0/17 | 0/7 | 0/3 | 0/33 | 0/20 | 0/11 | 0/5 | 0/2 | |
0,25 - 0,40 | - | - | 1/142 | 1/101 | 0/11 | 1/126 | 1/95 | 1/64 | 0/12 | 0/5 | 1/85 | 1/62 | 1/41 | 0/7 | 0/3 | 1/54 | 1/39 | 0/11 | 0/5 | 0/2 | |
0,40 - 0,65 | - | - | 1/142 | 1/101 | 0/11 | 1/126 | 1/95 | 1/64 | 0/12 | 0/5 | 1/85 | 1/62 | 1/41 | 0/7 | 0/3 | 1/54 | 1/39 | 0/11 | 0/5 | 0/2 | |
0,65 - 1,0 | - | - | - | - | - | - | 2/136 | 2/102 | 1/40 | 0/5 | 2/114 | 1/62 | 1/41 | 0/7 | 0/3 | 1/54 | 1/39 | 1/25 | 0/5 | 0/2 | |
1,0 - 1,5 | - | - | - | 3/114 | 1/24 | - | 3/116 | 2/65 | 1/25 | 0/3 | 3/91 | 2/57 | 1/25 | 1/15 | 0/2 | ||||||
1,5 - 2,5 | - | - | - | - | - | - | - | - | 4/91 | 1/15 | 5/125 | 4/90 | 3/56 | 1/15 | 0/2 | ||||||
2,5 - 4,0 | - | - | - | - | - | - | - | 7/116 | 4/55 | 1/9 | |||||||||||
4,0 - 6,5 | - | - | - | - | - | ||||||||||||||||
6,5 - 10 | |||||||||||||||||||||
От 281 до 500 включ. | 0,0 - 0,1 | 0/184 | 0/121 | 0/65 | 0/28 | 0/11 | 0/83 | 0/52 | 0/27 | 0/12 | 0/5 | 0/54 | 0/33 | 0/17 | 0/8 | 0/3 | 0/34 | 0/21 | 0/11 | 0/5 | 0/2 |
0,10 - 0,15 | 0/184 | 0/121 | 0/65 | 0/28 | 0/11 | 0/83 | 0/52 | 0/27 | 0/12 | 0/5 | 0/54 | 0/33 | 0/17 | 0/8 | 0/3 | 0/34 | 0/21 | 0/11 | 0/5 | 0/2 | |
0,15 - 0,25 | - | 1/227 | 1/157 | 1/99 | 0/11 | 1/137 | 1/100 | 1/66 | 0/12 | 0/5 | 1/90 | 1/64 | 0/17 | 0/8 | 0/3 | 1/56 | 0/21 | 0/11 | 0/5 | 0/2 | |
0,25 - 0,40 | - | - | 2/251 | 1/99 | 0/11 | 1/137 | 1/100 | 1/66 | 0/12 | 0/5 | 1/90 | 1/64 | 1/41 | 0/8 | 0/3 | 1/56 | 1/40 | 0/11 | 0/5 | 0/2 | |
0,40 - 0,65 | - | - | - | - | 1/60 | 2/184 | 2/144 | 1/66 | 1/39 | 0/5 | 2/122 | 1/64 | 1/41 | 0/8 | 0/3 | 1/56 | 1/40 | 1/26 | 0/5 | 0/2 | |
0,65 - 1,0 | - | - | - | - | - | 4/268 | 4/227 | 3/143 | 2/71 | 0/5 | 3/151 | 2/93 | 2/66 | 1/25 | 0/3 | 2/77 | 2/58 | 1/26 | 0/5 | 0/2 | |
1,0 - 1,5 | - | - | 5/221 | 3/106 | 1/23 | 5/206 | 4/148 | 3/143 | 1/25 | 0/3 | 3/96 | 2/58 | 1/26 | 1/15 | 0/2 | ||||||
1,5 - 2,5 | - | - | - | - | - | - | 9/275 | 5/221 | 4/88 | 1/14 | 6/149 | 5/109 | 3/56 | 1/15 | 0/2 | ||||||
2,5 - 4,0 | - | - | - | - | - | - | 12/221 | 9/147 | 5/67 | 1/9 | |||||||||||
4,0 - 6,5 | - | - | - | - | - | ||||||||||||||||
6,5 - 10 | |||||||||||||||||||||
От 501 до 1200 включ. | 0,0 - 0,1 | 1/344 | 1/251 | 1/163 | 0/29 | 0/11 | 1/147 | 0/54 | 0/28 | 0/12 | 0/5 | 0/56 | 0/34 | 0/17 | 0/8 | 0/3 | 0/34 | 0/21 | 0/11 | 0/5 | 0/2 |
0,10 - 0,15 | 1/344 | 1/251 | 1/163 | 0/29 | 0/11 | 1/147 | 0/54 | 0/28 | 0/12 | 0/5 | 0/56 | 0/34 | 0/17 | 0/8 | 0/3 | 0/34 | 0/21 | 0/11 | 0/5 | 0/2 | |
0,15 - 0,25 | - | 2/361 | 1/163 | 1/97 | 0/11 | 1/147 | 1/104 | 1/67 | 0/12 | 0/5 | 1/94 | 1/66 | 0/17 | 0/8 | 0/3 | 1/58 | 1/41 | 0/11 | 0/5 | 0/2 | |
0,25 - 0,40 | - | 3/466 | 2/260 | 1/97 | 0/11 | 2/200 | 1/104 | 1/67 | 0/12 | 0/5 | 1/94 | 1/66 | 1/42 | 0/8 | 0/3 | 1/58 | 1/41 | 0/11 | 0/5 | 0/2 | |
0,40 - 0,65 | - | - | - | 3/269 | 1/56 | 3/250 | 2/152 | 2/106 | 1/39 | 0/5 | 2/127 | 2/96 | 1/42 | 0/8 | 0/3 | 1/58 | 1/41 | 1/26 | 0/5 | 0/2 | |
0,65 - 1,0 | - | - | - | - | - | 7/432 | 5/284 | 3/145 | 2/71 | 0/5 | 4/190 | 3/124 | 2/67 | 1/25 | 0/3 | 2/79 | 2/59 | 1/26 | 0/5 | 0/2 | |
1,0 - 1,5 | - | - | 8/343 | 4/140 | 1/22 | 7/278 | 5/180 | 3/91 | 2/44 | 0/3 | 4/118 | 3/77 | 2/41 | 1/15 | 0/2 | ||||||
1,5 - 2,5 | - | - | - | - | - | - | 15/444 | 10/265 | 5/109 | 1/14 | 8/192 | 6/129 | 3/56 | 2/27 | 0/2 | ||||||
2,5 - 4,0 | - | - | - | - | - | 22/427 | 17/309 | 11/179 | 5/67 | 1/9 | |||||||||||
4,0 - 6,5 | - | - | - | - | - | ||||||||||||||||
6,5 - 10 | |||||||||||||||||||||
Св. 1200 | 0,0 - 0,1 | 2/531 | 1/269 | 0/29 | 0/29 | 0/11 | 1/155 | 1/107 | 0/28 | 0/12 | 0/5 | 1/96 | 0/34 | 0/17 | 0/8 | 0/3 | 0/35 | 0/21 | 0/11 | 0/5 | 0/2 |
0,10 - 0,15 | 2/531 | 2/392 | 0/29 | 0/29 | 0/11 | 2/212 | 1/107 | 0/28 | 0/12 | 0/5 | 1/96 | 0/34 | 0/17 | 0/8 | 0/3 | 0/35 | 0/21 | 0/11 | 0/5 | 0/2 | |
0,15 - 0,25 | 5/926 | 3/510 | 1/97 | 1/97 | 0/11 | 3/266 | 1/107 | 1/67 | 0/12 | 0/5 | 1/96 | 1/67 | 0/17 | 0/8 | 0/3 | 0/35 | 1/41 | 0/11 | 0/5 | 0/2 | |
0,25 - 0,40 | 10/1538 | 7/968 | 2/173 | 2/173 | 0/11 | 5/369 | 2/156 | 1/67 | 0/12 | 0/5 | 2/132 | 1/67 | 1/42 | 0/8 | 0/3 | 1/59 | 1/41 | 0/11 | 0/5 | 0/2 | |
0,40 - 0,65 | 47/5702 | 30/3453 | 7/597 | 7/597 | 1/54 | 10/614 | 3/204 | 2/107 | 2/70 | 0/5 | 3/166 | 2/98 | 1/42 | 1/25 | 0/3 | 1/59 | 1/41 | 1/26 | 0/5 | 0/2 | |
0,65 - 1,0 | - | - | - | - | - | 33/1662 | 7/387 | 4/187 | 5/170 | 0/5 | 4/198 | 3/127 | 2/67 | 1/25 | 0/3 | 2/81 | 2/60 | 1/26 | 0/5 | 0/2 | |
1,0 - 1,5 | 22/1040 | 12/507 | 12/507 | 1/22 | 9/353 | 6/213 | 4/117 | 2/44 | 0/3 | 4/121 | 3/78 | 2/41 | 1/15 | 0/2 | |||||||
1,5 - 2,5 | - | - | - | - | 38/1176 | 25/729 | 14/367 | 6/128 | 1/14 | 9/216 | 6/131 | 4/72 | 2/27 | 0/2 | |||||||
2,5 - 4,0 | - | - | - | - | - | 35/671 | 23/415 | 13/210 | 5/66 | 1/9 | |||||||||||
4,0 - 6,5 | - | - | - | - | - | ||||||||||||||||
6,5 - 10 | |||||||||||||||||||||
Примечания 1 В числителе указано приемочное число, в знаменателе - объем выборки. 2 Знак "-" означает, что для приемки тары следует применять сплошной контроль. 3 Незаполненные клетки соответствуют ситуации, когда фактический уровень несоответствий превышает NQL. | |||||||||||||||||||||
Объем партии, шт. | Интервал уровней несоответствий, % | Нормальный контроль | Ослабленный контроль | ||||||||||||||||||
NQL 1% | NQL 2,5% | NQL 1% | NQL 2,5% | ||||||||||||||||||
Т2 | Т3 | Т4 | Т5 | Т6 | Т2 | Т3 | Т4 | Т5 | Т6 | Т2 | Т3 | Т4 | Т5 | Т6 | Т2 | Т3 | Т4 | Т5 | Т6 | ||
До 25 включ. | 0,0 - 0,1 | - | - | 0/16 | 0/13 | 0/7 | - | - | 0/16 | 0/13 | 0/7 | - | 0/13 | 0/7 | 0/3 | 0/2 | - | 0/13 | 0/7 | 0/3 | 0/2 |
0,10 - 0,15 | - | - | 0/16 | 0/13 | 0/7 | - | - | 0/16 | 0/13 | 0/7 | - | 0/13 | 0/7 | 0/3 | 0/2 | - | 0/13 | 0/7 | 0/3 | 0/2 | |
0,15 - 0,25 | - | - | 0/16 | 0/13 | 0/7 | - | - | 0/16 | 0/13 | 0/7 | - | 0/13 | 0/7 | 0/3 | 0/2 | - | 0/13 | 0/7 | 0/3 | 0/2 | |
0,25 - 0,40 | - | - | 0/16 | 0/13 | 0/7 | - | - | 0/16 | 0/13 | 0/7 | - | 0/13 | 0/7 | 0/3 | 0/2 | - | 0/13 | 0/7 | 0/3 | 0/2 | |
0,40 - 0,65 | - | - | 0/16 | 0/13 | 0/7 | - | - | 0/16 | 0/13 | 0/7 | - | 0/13 | 0/7 | 0/3 | 0/2 | - | 0/13 | 0/7 | 0/3 | 0/2 | |
0,65 - 1,0 | - | - | - | - | - | - | - | 0/16 | 0/13 | 0/7 | - | - | - | - | - | - | 0/13 | 0/7 | 0/3 | 0/2 | |
1,0 - 1,5 | - | - | 0/16 | 0/13 | 0/7 | - | 0/13 | 0/7 | 0/3 | 0/2 | |||||||||||
1,5 - 2,5 | - | - | - | - | - | - | - | - | - | - | |||||||||||
2,5 - 4,0 | |||||||||||||||||||||
4,0 - 6,5 | |||||||||||||||||||||
6,5 - 10 | |||||||||||||||||||||
От 26 до 50 включ. | 0,0 - 0,1 | - | - | - | 0/26 | 0/13 | - | - | 0/24 | 0/20 | 0/10 | - | 0/26 | 0/13 | 0/5 | 0/4 | - | 0/20 | 0/10 | 0/4 | 0/3 |
0,10 - 0,15 | - | - | - | 0/26 | 0/13 | - | - | 0/24 | 0/20 | 0/10 | - | 0/26 | 0/13 | 0/5 | 0/4 | - | 0/20 | 0/10 | 0/4 | 0/3 | |
0,15 - 0,25 | - | - | - | 0/26 | 0/13 | - | - | 0/24 | 0/20 | 0/10 | - | 0/26 | 0/13 | 0/5 | 0/4 | - | 0/20 | 0/10 | 0/4 | 0/3 | |
0,25 - 0,40 | - | - | - | 0/26 | 0/13 | - | - | 0/24 | 0/20 | 0/10 | - | 0/26 | 0/13 | 0/5 | 0/4 | - | 0/20 | 0/10 | 0/4 | 0/3 | |
0,40 - 0,65 | - | - | - | 0/26 | 0/13 | - | - | 0/24 | 0/20 | 0/10 | - | 0/26 | 0/13 | 0/5 | 0/4 | - | 0/20 | 0/10 | 0/4 | 0/3 | |
0,65 - 1,0 | - | - | - | - | - | - | - | 0/24 | 0/20 | 0/10 | - | - | - | - | - | - | 0/20 | 0/10 | 0/4 | 0/3 | |
1,0 - 1,5 | - | - | 0/24 | 0/20 | 0/10 | - | 0/20 | 0/10 | 0/4 | 0/3 | |||||||||||
1,5 - 2,5 | - | - | - | - | - | - | - | - | - | - | |||||||||||
2,5 - 4,0 | |||||||||||||||||||||
4,0 - 6,5 | |||||||||||||||||||||
6,5 - 10 | |||||||||||||||||||||
От 51 до 90 включ. | 0,0 - 0,1 | - | - | - | 0/45 | 0/23 | - | 0/43 | 0/30 | 0/24 | 0/11 | - | 0/45 | 0/23 | 0/9 | 0/7 | 0/40 | 0/24 | 0/11 | 0/4 | 0/3 |
0,10 - 0,15 | - | - | - | 0/45 | 0/23 | - | 0/43 | 0/30 | 0/24 | 0/11 | - | 0/45 | 0/23 | 0/9 | 0/7 | 0/40 | 0/24 | 0/11 | 0/4 | 0/3 | |
0,15 - 0,25 | - | - | - | 0/45 | 0/23 | - | 0/43 | 0/30 | 0/24 | 0/11 | - | 0/45 | 0/23 | 0/9 | 0/7 | 0/40 | 0/24 | 0/11 | 0/4 | 0/3 | |
0,25 - 0,40 | - | - | - | 0/45 | 0/23 | - | 0/43 | 0/30 | 0/24 | 0/11 | - | 0/45 | 0/23 | 0/9 | 0/7 | 0/40 | 0/24 | 0/11 | 0/4 | 0/3 | |
0,40 - 0,65 | - | - | - | 0/45 | 0/23 | - | 0/43 | 0/30 | 0/24 | 0/11 | - | 0/45 | 0/23 | 0/9 | 0/7 | 0/40 | 0/24 | 0/11 | 0/4 | 0/3 | |
0,65 - 1,0 | - | - | - | - | - | - | 0/43 | 0/30 | 0/24 | 0/11 | - | - | - | - | - | 0/40 | 0/24 | 0/11 | 0/4 | 0/3 | |
1,0 - 1,5 | - | - | - | - | 1/41 | - | - | 1/41 | 0/4 | 0/3 | |||||||||||
1,5 - 2,5 | - | - | - | - | - | - | - | - | - | - | |||||||||||
2,5 - 4,0 | |||||||||||||||||||||
4,0 - 6,5 | |||||||||||||||||||||
6,5 - 10 | |||||||||||||||||||||
Объем партии, шт. | Интервал уровней несоответствий, % | Нормальный контроль | Ослабленный контроль | ||||||||||||||||||
NQL 4% | NQL 6,5% | NQL 4% | NQL 6,5% | ||||||||||||||||||
Т2 | Т3 | Т4 | Т5 | Т6 | Т2 | Т3 | Т4 | Т5 | Т6 | Т2 | Т3 | Т4 | Т5 | Т6 | Т2 | Т3 | Т4 | Т5 | Т6 | ||
До 25 включ. | 0,0 - 0,1 | - | - | 0/16 | 0/13 | 0/7 | - | 0/14 | 0/9 | 0/8 | 0/4 | - | 0/13 | 0/7 | 0/3 | 0/2 | 0/13 | 0/8 | 0/4 | 0/2 | 0/1 |
0,10 - 0,15 | - | - | 0/16 | 0/13 | 0/7 | - | 0/14 | 0/9 | 0/8 | 0/4 | - | 0/13 | 0/7 | 0/3 | 0/2 | 0/13 | 0/8 | 0/4 | 0/2 | 0/1 | |
0,15 - 0,25 | - | - | 0/16 | 0/13 | 0/7 | - | 0/14 | 0/9 | 0/8 | 0/4 | - | 0/13 | 0/7 | 0/3 | 0/2 | 0/13 | 0/8 | 0/4 | 0/2 | 0/1 | |
0,25 - 0,40 | - | - | 0/16 | 0/13 | 0/7 | - | 0/14 | 0/9 | 0/8 | 0/4 | - | 0/13 | 0/7 | 0/3 | 0/2 | 0/13 | 0/8 | 0/4 | 0/2 | 0/1 | |
0,40 - 0,65 | - | - | 0/16 | 0/13 | 0/7 | - | 0/14 | 0/9 | 0/8 | 0/4 | - | 0/13 | 0/7 | 0/3 | 0/2 | 0/13 | 0/8 | 0/4 | 0/2 | 0/1 | |
0,65 - 1,0 | - | - | 0/16 | 0/13 | 0/7 | - | 0/14 | 0/9 | 0/8 | 0/4 | - | 0/13 | 0/7 | 0/3 | 0/2 | 0/13 | 0/8 | 0/4 | 0/2 | 0/1 | |
1,0 - 1,5 | - | - | 0/16 | 0/13 | 0/7 | - | 0/14 | 0/9 | 0/8 | 0/4 | - | 0/13 | 0/7 | 0/3 | 0/2 | 0/13 | 0/8 | 0/4 | 0/2 | 0/1 | |
1,5 - 2,5 | - | - | 0/16 | 0/13 | 0/7 | - | 0/14 | 0/9 | 0/8 | 0/4 | - | 0/13 | 0/7 | 0/3 | 0/2 | 0/13 | 0/8 | 0/4 | 0/2 | 0/1 | |
2,5 - 4,0 | - | - | - | - | - | - | - | - | - | 1/13 | - | - | - | - | - | - | - | 1/13 | 1/8 | 0/1 | |
4,0 - 6,5 | - | - | - | - | - | - | - | - | - | - | |||||||||||
6,5 - 10 | |||||||||||||||||||||
От 26 до 50 включ. | 0,0 - 0,1 | - | - | 0/19 | 0/15 | 0/7 | 0/25 | 0/14 | 0/12 | 0/10 | 0/5 | 0/25 | 0/15 | 0/7 | 0/3 | 0/2 | 0/17 | 0/10 | 0/5 | 0/2 | 0/2 |
0,10 - 0,15 | - | - | 0/19 | 0/15 | 0/7 | 0/25 | 0/14 | 0/12 | 0/10 | 0/5 | 0/25 | 0/15 | 0/7 | 0/3 | 0/2 | 0/17 | 0/10 | 0/5 | 0/2 | 0/2 | |
0,15 - 0,25 | - | - | 0/19 | 0/15 | 0/7 | 0/25 | 0/14 | 0/12 | 0/10 | 0/5 | 0/25 | 0/15 | 0/7 | 0/3 | 0/2 | 0/17 | 0/10 | 0/5 | 0/2 | 0/2 | |
0,25 - 0,40 | - | - | 0/19 | 0/15 | 0/7 | 0/25 | 0/14 | 0/12 | 0/10 | 0/5 | 0/25 | 0/15 | 0/7 | 0/3 | 0/2 | 0/17 | 0/10 | 0/5 | 0/2 | 0/2 | |
0,40 - 0,65 | - | - | 0/19 | 0/15 | 0/7 | 0/25 | 0/14 | 0/12 | 0/10 | 0/5 | 0/25 | 0/15 | 0/7 | 0/3 | 0/2 | 0/17 | 0/10 | 0/5 | 0/2 | 0/2 | |
0,65 - 1,0 | - | - | 0/19 | 0/15 | 0/7 | 0/25 | 0/14 | 0/12 | 0/10 | 0/5 | 0/25 | 0/15 | 0/7 | 0/3 | 0/2 | 0/17 | 0/10 | 0/5 | 0/2 | 0/2 | |
1,0 - 1,5 | - | - | 0/19 | 0/15 | 0/7 | 0/25 | 0/14 | 0/12 | 0/10 | 0/5 | 0/25 | 0/15 | 0/7 | 0/3 | 0/2 | 0/17 | 0/10 | 0/5 | 0/2 | 0/2 | |
1,5 - 2,5 | - | - | - | - | 1/26 | - | 0/14 | 1/27 | 1/23 | 1/16 | - | - | 1/26 | 1/16 | 0/2 | - | 1/23 | 1/16 | 0/2 | 0/2 | |
2,5 - 4,0 | - | - | - | - | - | - | - | - | - | - | - | - | - | - | - | - | - | - | 1/10 | 1/9 | |
4,0 - 6,5 | - | - | - | - | - | - | - | - | - | - | |||||||||||
6,5 - 10 | |||||||||||||||||||||
От 51 до 90 включ. | 0,0 - 0,1 | 0/41 | 0/30 | 0/20 | 0/16 | 0/7 | 0/29 | 0/20 | 0/13 | 0/10 | 0/5 | 0/28 | 0/16 | 0/7 | 0/3 | 0/2 | 0/19 | 0/10 | 0/5 | 0/2 | 0/2 |
0,10 - 0,15 | 0/41 | 0/30 | 0/20 | 0/16 | 0/7 | 0/29 | 0/20 | 0/13 | 0/10 | 0/5 | 0/28 | 0/16 | 0/7 | 0/3 | 0/2 | 0/19 | 0/10 | 0/5 | 0/2 | 0/2 | |
0,15 - 0,25 | 0/41 | 0/30 | 0/20 | 0/16 | 0/7 | 0/29 | 0/20 | 0/13 | 0/10 | 0/5 | 0/28 | 0/16 | 0/7 | 0/3 | 0/2 | 0/19 | 0/10 | 0/5 | 0/2 | 0/2 | |
0,25 - 0,40 | 0/41 | 0/30 | 0/20 | 0/16 | 0/7 | 0/29 | 0/20 | 0/13 | 0/10 | 0/5 | 0/28 | 0/16 | 0/7 | 0/3 | 0/2 | 0/19 | 0/10 | 0/5 | 0/2 | 0/2 | |
0,40 - 0,65 | 0/41 | 0/30 | 0/20 | 0/16 | 0/7 | 0/29 | 0/20 | 0/13 | 0/10 | 0/5 | 0/28 | 0/16 | 0/7 | 0/3 | 0/2 | 0/19 | 0/10 | 0/5 | 0/2 | 0/2 | |
0,65 - 1,0 | 0/41 | 0/30 | 0/20 | 0/16 | 0/7 | 0/29 | 0/20 | 0/13 | 0/10 | 0/5 | 0/28 | 0/16 | 0/7 | 0/3 | 0/2 | 0/19 | 0/10 | 0/5 | 0/2 | 0/2 | |
1,0 - 1,5 | - | - | 1/43 | 1/38 | 1/25 | 1/46 | 1/37 | 1/28 | 1/24 | 1/15 | 1/51 | 1/38 | 1/25 | 0/3 | 0/2 | 1/35 | 1/24 | 1/15 | 0/2 | 0/2 | |
1,5 - 2,5 | - | - | - | - | 2/48 | - | 2/52 | 2/43 | 2/39 | 1/15 | - | - | 2/48 | 1/15 | 0/2 | 2/50 | 2/39 | 1/15 | 0/2 | 0/2 | |
2,5 - 4,0 | - | - | - | - | - | - | - | - | - | 2/29 | - | - | - | - | - | - | - | 2/29 | 1/9 | 1/8 | |
4,0 - 6,5 | - | - | - | - | - | - | - | - | - | - | |||||||||||
6,5 - 10 | |||||||||||||||||||||
Объем партии, шт. | Интервал уровней несоответствий, % | Нормальный контроль | Ослабленный контроль | ||||||||||||||||||
NQL 1% | NQL 2,5% | NQL 1% | NQL 2,5% | ||||||||||||||||||
Т2 | Т3 | Т4 | Т5 | Т6 | Т2 | Т3 | Т4 | Т5 | Т6 | Т2 | Т3 | Т4 | Т5 | Т6 | Т2 | Т3 | Т4 | Т5 | Т6 | ||
От 91 до 150 включ. | 0,0 - 0,1 | - | 0/81 | 0/61 | 0/51 | 0/26 | 0/66 | 0/49 | 0/32 | 0/25 | 0/11 | 0/75 | 0/51 | 0/26 | 0/10 | 0/8 | 0/44 | 0/25 | 0/11 | 0/4 | 0/3 |
0,10 - 0,15 | - | 0/81 | 0/61 | 0/51 | 0/26 | 0/66 | 0/49 | 0/32 | 0/25 | 0/11 | 0/75 | 0/51 | 0/26 | 0/10 | 0/8 | 0/44 | 0/25 | 0/11 | 0/4 | 0/3 | |
0,15 - 0,25 | - | 0/81 | 0/61 | 0/51 | 0/26 | 0/66 | 0/49 | 0/32 | 0/25 | 0/11 | 0/75 | 0/51 | 0/26 | 0/10 | 0/8 | 0/44 | 0/25 | 0/11 | 0/4 | 0/3 | |
0,25 - 0,40 | - | 0/81 | 0/61 | 0/51 | 0/26 | 0/66 | 0/49 | 0/32 | 0/25 | 0/11 | 0/75 | 0/51 | 0/26 | 0/10 | 0/8 | 0/44 | 0/25 | 0/11 | 0/4 | 0/3 | |
0,40 - 0,65 | - | 0/81 | 0/61 | 0/51 | 0/26 | 0/66 | 0/49 | 0/32 | 0/25 | 0/11 | 0/75 | 0/51 | 0/26 | 0/10 | 0/8 | 0/44 | 0/25 | 0/11 | 0/4 | 0/3 | |
0,65 - 1,0 | - | - | - | - | - | - | 1/86 | 1/68 | 1/61 | 1/40 | - | - | - | - | - | 1/82 | 1/61 | 1/40 | 0/4 | 0/3 | |
1,0 - 1,5 | - | - | - | - | 2/76 | - | - | 2/76 | 1/23 | 0/3 | |||||||||||
1,5 - 2,5 | - | - | - | - | - | - | - | - | - | - | |||||||||||
2,5 - 4,0 | |||||||||||||||||||||
4,0 - 6,5 | |||||||||||||||||||||
6,5 - 10 | |||||||||||||||||||||
От 151 до 280 включ. | 0,0 - 0,1 | - | 0/113 | 0/74 | 0/59 | 0/27 | 0/79 | 0/56 | 0/34 | 0/27 | 0/12 | 0/104 | 0/59 | 0/27 | 0/10 | 0/8 | 0/50 | 0/27 | 0/12 | 0/4 | 0/3 |
0,10 - 0,15 | - | 0/113 | 0/74 | 0/59 | 0/27 | 0/79 | 0/56 | 0/34 | 0/27 | 0/12 | 0/104 | 0/59 | 0/27 | 0/10 | 0/8 | 0/50 | 0/27 | 0/12 | 0/4 | 0/3 | |
0,15 - 0,25 | - | 0/113 | 0/74 | 0/59 | 0/27 | 0/79 | 0/56 | 0/34 | 0/27 | 0/12 | 0/104 | 0/59 | 0/27 | 0/10 | 0/8 | 0/50 | 0/27 | 0/12 | 0/4 | 0/3 | |
0,25 - 0,40 | - | - | - | 1/142 | 1/101 | 1/128 | 1/102 | 1/75 | 1/64 | 0/12 | - | 1/142 | 1/101 | 0/10 | 0/8 | 1/95 | 1/64 | 0/12 | 0/4 | 0/3 | |
0,40 - 0,65 | - | - | - | 1/142 | 1/101 | 1/128 | 1/102 | 1/75 | 1/64 | 0/12 | - | 1/142 | 1/101 | 0/10 | 0/8 | 1/95 | 1/64 | 0/12 | 0/4 | 0/3 | |
0,65 - 1,0 | - | - | - | - | - | - | 2/143 | 2/115 | 2/102 | 1/40 | - | - | - | - | 2/136 | 2/102 | 1/40 | 0/4 | 0/3 | ||
1,0 - 1,5 | - | - | - | - | 3/114 | - | - | 3/114 | 1/22 | 0/3 | |||||||||||
1,5 - 2,5 | - | - | - | - | - | - | - | - | - | - | |||||||||||
2,5 - 4,0 | |||||||||||||||||||||
4,0 - 6,5 | |||||||||||||||||||||
6,5 - 10 | |||||||||||||||||||||
От 281 до 500 включ. | 0,0 - 0,1 | 0/187 | 0/134 | 0/84 | 0/65 | 0/28 | 0/85 | 0/58 | 0/35 | 0/27 | 0/12 | 0/121 | 0/65 | 0/28 | 0/10 | 0/8 | 0/52 | 0/27 | 0/12 | 0/4 | 0/3 |
0,10 - 0,15 | 0/187 | 0/134 | 0/84 | 0/65 | 0/28 | 0/85 | 0/58 | 0/35 | 0/27 | 0/12 | 0/121 | 0/65 | 0/28 | 0/10 | 0/8 | 0/52 | 0/27 | 0/12 | 0/4 | 0/3 | |
0,15 - 0,25 | - | 1/241 | 1/183 | 1/157 | 1/99 | 1/139 | 1/108 | 1/78 | 1/66 | 0/12 | 1/227 | 1/157 | 1/99 | 0/10 | 0/8 | 1/100 | 1/66 | 0/12 | 0/4 | 0/3 | |
0,25 - 0,40 | - | - | 2/277 | 2/251 | 1/99 | 2/186 | 1/108 | 1/78 | 1/66 | 0/12 | - | 2/251 | 1/99 | 0/10 | 0/8 | 1/100 | 1/66 | 0/12 | 0/4 | 0/3 | |
0,40 - 0,65 | - | - | - | - | - | 3/229 | 2/153 | 2/119 | 1/66 | 1/39 | - | - | - | 1/56 | 0/8 | 2/144 | 1/66 | 1/39 | 0/4 | 0/3 | |
0,65 - 1,0 | - | - | - | - | - | 4/269 | 4/236 | 3/159 | 3/143 | 2/71 | - | - | - | - | - | 4/227 | 3/143 | 2/71 | 0/4 | 0/3 | |
1,0 - 1,5 | - | - | 5/238 | 5/221 | 3/106 | - | 5/221 | 3/106 | 1/21 | 0/3 | |||||||||||
1,5 - 2,5 | - | - | - | - | - | - | - | - | - | - | |||||||||||
2,5 - 4,0 | |||||||||||||||||||||
4,0 - 6,5 | |||||||||||||||||||||
6,5 - 10 | |||||||||||||||||||||
Объем партии, шт. | Интервал уровней несоответствий, % | Нормальный контроль | Ослабленный контроль | ||||||||||||||||||
NQL 4% | NQL 6,5% | NQL 4% | NQL 6,5% | ||||||||||||||||||
Т2 | Т3 | Т4 | Т5 | Т6 | Т2 | Т3 | Т4 | Т5 | Т6 | Т2 | Т3 | Т4 | Т5 | Т6 | Т2 | Т3 | Т4 | Т5 | Т6 | ||
От 91 до 150 включ. | 0,0 - 0,1 | 0/48 | 0/34 | 0/21 | 0/17 | 0/7 | 0/31 | 0/22 | 0/13 | 0/10 | 0/5 | 0/31 | 0/17 | 0/7 | 0/3 | 0/2 | 0/20 | 0/10 | 0/5 | 0/2 | 0/2 |
0,10 - 0,15 | 0/48 | 0/34 | 0/21 | 0/17 | 0/7 | 0/31 | 0/22 | 0/13 | 0/10 | 0/5 | 0/31 | 0/17 | 0/7 | 0/3 | 0/2 | 0/20 | 0/10 | 0/5 | 0/2 | 0/2 | |
0,15 - 0,25 | 0/48 | 0/34 | 0/21 | 0/17 | 0/7 | 0/31 | 0/22 | 0/13 | 0/10 | 0/5 | 0/31 | 0/17 | 0/7 | 0/3 | 0/2 | 0/20 | 0/10 | 0/5 | 0/2 | 0/2 | |
0,25 - 0,40 | 0/48 | 0/34 | 0/21 | 0/17 | 0/7 | 0/31 | 0/22 | 0/13 | 0/10 | 0/5 | 0/31 | 0/17 | 0/7 | 0/3 | 0/2 | 0/20 | 0/10 | 0/5 | 0/2 | 0/2 | |
0,40 - 0,65 | 0/48 | 0/34 | 0/21 | 0/17 | 0/7 | 0/31 | 0/22 | 0/13 | 0/10 | 0/5 | 0/31 | 0/17 | 0/7 | 0/3 | 0/2 | 0/20 | 0/10 | 0/5 | 0/2 | 0/2 | |
0,65 - 1,0 | 1/77 | 1/62 | 1/47 | 1/40 | 0/7 | 1/51 | 1/40 | 1/29 | 1/25 | 0/5 | 1/58 | 1/40 | 0/7 | 0/3 | 0/2 | 1/37 | 1/25 | 0/5 | 0/2 | 0/2 | |
1,0 - 1,5 | - | 2/87 | 2/71 | 2/64 | 1/25 | 2/68 | 2/57 | 1/29 | 1/25 | 1/15 | 2/83 | 2/64 | 1/25 | 0/3 | 0/2 | 2/54 | 1/25 | 1/15 | 0/2 | 0/2 | |
1,5 - 2,5 | - | - | - | 3/87 | 2/46 | 3/83 | 3/72 | 2/45 | 2/40 | 1/15 | - | 3/87 | 2/46 | 1/14 | 0/2 | 2/54 | 2/40 | 1/15 | 0/2 | 0/2 | |
2,5 - 4,0 | - | - | - | - | - | - | - | 5/90 | 5/84 | 4/57 | - | - | - | - | - | - | 5/84 | 4/57 | 1/9 | 1/8 | |
4,0 - 6,5 | - | - | - | - | - | - | - | - | - | - | |||||||||||
6,5 - 10 | |||||||||||||||||||||
От 151 до 280 включ. | 0,0 - 0,1 | 0/52 | 0/36 | 0/22 | 0/17 | 0/7 | 0/33 | 0/23 | 0/14 | 0/11 | 0/5 | 0/32 | 0/17 | 0/7 | 0/3 | 0/2 | 0/20 | 0/11 | 0/5 | 0/2 | 0/2 |
0,10 - 0,15 | 0/52 | 0/36 | 0/22 | 0/17 | 0/7 | 0/33 | 0/23 | 0/14 | 0/11 | 0/5 | 0/32 | 0/17 | 0/7 | 0/3 | 0/2 | 0/20 | 0/11 | 0/5 | 0/2 | 0/2 | |
0,15 - 0,25 | 0/52 | 0/36 | 0/22 | 0/17 | 0/7 | 0/33 | 0/23 | 0/14 | 0/11 | 0/5 | 0/32 | 0/17 | 0/7 | 0/3 | 0/2 | 0/20 | 0/11 | 0/5 | 0/2 | 0/2 | |
0,25 - 0,40 | 1/86 | 1/67 | 1/48 | 1/41 | 0/7 | 1/55 | 1/42 | 0/14 | 0/11 | 0/5 | 1/62 | 1/41 | 0/7 | 0/3 | 0/2 | 1/39 | 0/11 | 0/5 | 0/2 | 0/2 | |
0,40 - 0,65 | 1/86 | 1/67 | 1/48 | 1/41 | 0/7 | 1/55 | 1/42 | 0/14 | 0/11 | 0/5 | 1/62 | 1/41 | 0/7 | 0/3 | 0/2 | 1/39 | 0/11 | 0/5 | 0/2 | 0/2 | |
0,65 - 1,0 | 2/115 | 2/94 | 1/48 | 1/41 | 0/7 | 1/55 | 1/42 | 1/30 | 1/25 | 0/5 | 1/62 | 1/41 | 0/7 | 0/3 | 0/2 | 1/39 | 1/25 | 0/5 | 0/2 | 0/2 | |
1,0 - 1,5 | - | 3/121 | 3/99 | 2/65 | 1/25 | 3/92 | 2/60 | 2/46 | 1/25 | 1/15 | 3/116 | 2/65 | 1/25 | 0/3 | 0/2 | 2/57 | 1/25 | 1/15 | 0/2 | 0/2 | |
1,5 - 2,5 | - | - | - | - | 4/91 | 5/125 | 4/94 | 3/62 | 3/56 | 1/15 | - | - | 4/91 | 1/14 | 0/2 | 4/90 | 3/56 | 1/15 | 0/2 | 0/2 | |
2,5 - 4,0 | - | - | - | - | - | - | - | 8/139 | 7/116 | 4/55 | - | - | - | - | - | - | 7/116 | 4/55 | 1/9 | 1/8 | |
4,0 - 6,5 | - | - | - | - | - | - | - | - | - | - | |||||||||||
6,5 - 10 | |||||||||||||||||||||
От 281 до 500 включ. | 0,0 - 0,1 | 0/55 | 0/37 | 0/22 | 0/17 | 0/8 | 0/34 | 0/23 | 0/14 | 0/11 | 0/5 | 0/33 | 0/17 | 0/8 | 0/3 | 0/2 | 0/21 | 0/11 | 0/5 | 0/2 | 0/2 |
0,10 - 0,15 | 0/55 | 0/37 | 0/22 | 0/17 | 0/8 | 0/34 | 0/23 | 0/14 | 0/11 | 0/5 | 0/33 | 0/17 | 0/8 | 0/3 | 0/2 | 0/21 | 0/11 | 0/5 | 0/2 | 0/2 | |
0,15 - 0,25 | 1/91 | 1/69 | 0/22 | 0/17 | 0/8 | 1/57 | 0/23 | 0/14 | 0/11 | 0/5 | 1/64 | 0/17 | 0/8 | 0/3 | 0/2 | 0/21 | 0/11 | 0/5 | 0/2 | 0/2 | |
0,25 - 0,40 | 1/91 | 1/69 | 1/49 | 1/41 | 0/8 | 1/57 | 1/43 | 1/31 | 0/11 | 0/5 | 1/64 | 1/41 | 0/8 | 0/3 | 0/2 | 1/40 | 0/11 | 0/5 | 0/2 | 0/2 | |
0,40 - 0,65 | 2/123 | 2/99 | 1/49 | 1/41 | 0/8 | 1/57 | 1/43 | 1/31 | 1/26 | 0/5 | 1/64 | 1/41 | 0/8 | 0/3 | 0/2 | 1/40 | 1/26 | 0/5 | 0/2 | 0/2 | |
0,65 - 1,0 | 3/152 | 3/127 | 2/76 | 2/66 | 1/25 | 2/77 | 2/62 | 1/31 | 1/26 | 0/5 | 2/93 | 2/66 | 1/25 | 0/3 | 0/2 | 2/58 | 1/26 | 0/5 | 0/2 | 0/2 | |
1,0 - 1,5 | 5/208 | 4/154 | 3/101 | 3/91 | 1/25 | 3/97 | 2/62 | 2/47 | 1/26 | 1/15 | 4/148 | 3/91 | 1/25 | 0/3 | 0/2 | 2/58 | 1/26 | 1/15 | 0/2 | 0/2 | |
1,5 - 2,5 | - | 9/282 | 8/227 | 7/189 | 4/88 | 6/150 | 5/114 | 4/79 | 3/56 | 1/15 | 9/275 | 7/189 | 4/88 | 1/14 | 0/2 | 5/109 | 3/56 | 1/15 | 0/2 | 0/2 | |
2,5 - 4,0 | - | - | - | - | - | - | 13/242 | 10/173 | 9/147 | 5/67 | - | - | - | - | - | 12/221 | 9/147 | 5/67 | 1/9 | 1/8 | |
4,0 - 6,5 | - | - | - | - | - | - | - | - | - | - | |||||||||||
6,5 - 10 | |||||||||||||||||||||
Объем партии, шт. | Интервал уровней несоответствий, % | Нормальный контроль | Ослабленный контроль | ||||||||||||||||||
NQL 1% | NQL 2,5% | NQL 1% | NQL 2,5% | ||||||||||||||||||
Т2 | Т3 | Т4 | Т5 | Т6 | Т2 | Т3 | Т4 | Т5 | Т6 | Т2 | Т3 | Т4 | Т5 | Т6 | Т2 | Т3 | Т4 | Т5 | Т6 | ||
От 501 до 1200 в ключ. | 0,0 - 0,1 | 1/348 | 1/270 | 1/194 | 1/163 | 0/29 | 1/149 | 0/60 | 0/36 | 0/28 | 0/12 | 1/251 | 1/163 | 0/29 | 0/10 | 0/8 | 0/54 | 0/28 | 0/12 | 0/4 | 0/3 |
0,10 - 0,15 | 1/348 | 1/270 | 1/194 | 1/163 | 0/29 | 1/149 | 0/60 | 0/36 | 0/28 | 0/12 | 1/251 | 1/163 | 0/29 | 0/10 | 0/8 | 0/54 | 0/28 | 0/12 | 0/4 | 0/3 | |
0,15 - 0,25 | - | 2/382 | 2/297 | 1/163 | 1/97 | 1/149 | 1/113 | 1/80 | 1/67 | 0/12 | 2/361 | 1/163 | 1/97 | 0/10 | 0/8 | 1/104 | 1/67 | 0/12 | 0/4 | 0/3 | |
0,25 - 0,40 | - | 3/488 | 2/297 | 2/260 | 1/97 | 2/202 | 2/161 | 1/80 | 1/67 | 0/12 | 3/466 | 2/260 | 1/97 | 0/10 | 0/8 | 1/104 | 1/67 | 0/12 | 0/4 | 0/3 | |
0,40 - 0,65 | - | - | - | - | 3/269 | 3/252 | 3/208 | 2/122 | 2/106 | 1/39 | - | - | 3/269 | 1/53 | 0/8 | 2/152 | 2/106 | 1/39 | 0/4 | 0/3 | |
0,65 - 1,0 | - | - | - | - | - | 7/435 | 6/340 | 4/205 | 3/145 | 2/71 | - | - | - | - | - | 5/284 | 3/145 | 2/71 | 0/4 | 0/3 | |
1,0 - 1,5 | - | - | 9/408 | 8/343 | 4/140 | - | 8/343 | 4/140 | 1/21 | 0/3 | |||||||||||
1,5 - 2,5 | - | - | - | - | - | - | - | - | - | - | |||||||||||
2,5 - 4,0 | |||||||||||||||||||||
4,0 - 6,5 | |||||||||||||||||||||
6,5 - 10 | |||||||||||||||||||||
Св. 1200 | 0,0 - 0,1 | 2/537 | 1/292 | 1/202 | 0/29 | 0/29 | 1/157 | 1/116 | 0/37 | 0/28 | 0/12 | 1/269 | 0/29 | 0/29 | 0/10 | 0/8 | 1/107 | 0/28 | 0/12 | 0/4 | 0/3 |
0,10 - 0,15 | 2/537 | 2/419 | 1/202 | 0/29 | 0/29 | 1/157 | 1/116 | 1/81 | 0/28 | 0/12 | 2/392 | 0/29 | 0/29 | 0/10 | 0/8 | 1/107 | 0/28 | 0/12 | 0/4 | 0/3 | |
0,15 - 0,25 | 5/933 | 3/541 | 2/310 | 1/97 | 1/97 | 2/214 | 1/116 | 1/81 | 1/67 | 0/12 | 3/510 | 1/97 | 1/97 | 0/10 | 0/8 | 1/107 | 1/67 | 0/12 | 0/4 | 0/3 | |
0,25 - 0,40 | 11/1667 | 8/1123 | 5/629 | 2/173 | 2/173 | 3/268 | 2/167 | 1/81 | 1/67 | 0/12 | 7/968 | 2/173 | 2/173 | 0/10 | 0/8 | 2/156 | 1/67 | 0/12 | 0/4 | 0/3 | |
0,40 - 0,65 | 47/5720 | 34/3958 | 21/2286 | 7/597 | 7/597 | 5/372 | 4/264 | 2/124 | 2/107 | 2/70 | 30/3453 | 7/597 | 7/597 | 1/51 | 1/44 | 3/204 | 2/107 | 2/70 | 0/4 | 0/3 | |
0,65 - 1,0 | - | - | - | - | - | 10/618 | 8/449 | 5/252 | 4/187 | 5/170 | - | - | - | - | - | 7/387 | 4/187 | 5/170 | 0/4 | 0/3 | |
1,0 - 1,5 | 33/1668 | 24/1153 | 15/667 | 12/507 | 12/507 | 22/1040 | 12/507 | 12/507 | 1/21 | 0/3 | |||||||||||
1,5 - 2,5 | - | - | - | - | - | - | - | - | - | - | |||||||||||
2,5 - 4,0 | |||||||||||||||||||||
4,0 - 6,5 | |||||||||||||||||||||
6,5 - 10 | |||||||||||||||||||||
Объем партии, шт. | Интервал уровней несоответствий, % | Нормальный контроль | Ослабленный контроль | ||||||||||||||||||
NQL 4% | NQL 6,5% | NQL 4% | NQL 6,5% | ||||||||||||||||||
Т2 | Т3 | Т4 | Т5 | Т6 | Т2 | Т3 | Т4 | Т5 | Т6 | Т2 | Т3 | Т4 | Т5 | Т6 | Т2 | Т3 | Т4 | Т5 | Т6 | ||
От 501 до 1200 включ. | 0,0 - 0,1 | 0/57 | 0/38 | 0/23 | 0/17 | 0/8 | 0/35 | 0/23 | 0/14 | 0/11 | 0/5 | 0/34 | 0/17 | 0/8 | 0/3 | 0/2 | 0/21 | 0/11 | 0/5 | 0/3 | 0/2 |
0,10 - 0,15 | 0/57 | 0/38 | 0/23 | 0/17 | 0/8 | 0/35 | 0/23 | 0/14 | 0/11 | 0/5 | 0/34 | 0/17 | 0/8 | 0/3 | 0/2 | 0/21 | 0/11 | 0/5 | 0/3 | 0/2 | |
0,15 - 0,25 | 1/95 | 1/71 | 1/50 | 0/17 | 0/8 | 1/59 | 1/44 | 0/14 | 0/11 | 0/5 | 1/66 | 0/17 | 0/8 | 0/3 | 0/2 | 1/41 | 0/11 | 0/5 | 0/3 | 0/2 | |
0,25 - 0,40 | 1/95 | 1/71 | 1/50 | 1/42 | 0/8 | 1/59 | 1/44 | 1/31 | 0/11 | 0/5 | 1/66 | 1/42 | 0/8 | 0/3 | 0/2 | 1/41 | 0/11 | 0/5 | 0/3 | 0/2 | |
0,40 - 0,65 | 2/129 | 2/102 | 1/50 | 1/42 | 0/8 | 1/59 | 1/44 | 1/31 | 1/26 | 0/5 | 2/96 | 1/42 | 0/8 | 0/3 | 0/2 | 1/41 | 1/26 | 0/5 | 0/3 | 0/2 | |
0,65 - 1,0 | 4/192 | 3/131 | 2/77 | 2/67 | 1/25 | 2/80 | 2/63 | 1/31 | 1/26 | 0/5 | 3/124 | 2/67 | 1/25 | 0/3 | 0/2 | 2/59 | 1/26 | 0/5 | 0/3 | 0/2 | |
1,0 - 1,5 | 7/280 | 5/188 | 4/129 | 3/91 | 2/44 | 4/119 | 3/81 | 2/47 | 2/41 | 1/15 | 5/180 | 3/91 | 2/44 | 0/3 | 0/2 | 3/77 | 2/41 | 1/15 | 0/3 | 0/2 | |
1,5 - 2,5 | - | 16/480 | 12/334 | 10/265 | 5/109 | 8/193 | 6/134 | 4/80 | 3/56 | 2/27 | 15/444 | 10/265 | 5/109 | 1/13 | 0/2 | 6/129 | 3/56 | 2/27 | 0/3 | 0/2 | |
2,5 - 4,0 | - | - | - | - | - | 23/444 | 18/333 | 13/222 | 11/179 | 5/67 | - | - | - | - | - | 17/309 | 11/179 | 5/67 | 1/9 | 1/8 | |
4,0 - 6,5 | - | - | - | - | - | - | - | - | - | - | |||||||||||
6,5 - 10 | |||||||||||||||||||||
Св. 1200 | 0,0 - 0,1 | 1/98 | 0/39 | 0/23 | 0/17 | 0/8 | 0/35 | 0/24 | 0/14 | 0/11 | 0/5 | 0/34 | 0/17 | 0/8 | 0/4 | 0/2 | 0/21 | 0/11 | 0/5 | 0/2 | 0/2 |
0,10 - 0,15 | 1/98 | 1/73 | 0/23 | 0/17 | 0/8 | 1/60 | 0/24 | 0/14 | 0/11 | 0/5 | 0/34 | 0/17 | 0/8 | 0/4 | 0/2 | 0/21 | 0/11 | 0/5 | 0/2 | 0/2 | |
0,15 - 0,25 | 1/98 | 1/73 | 1/51 | 0/17 | 0/8 | 1/60 | 1/44 | 0/14 | 0/11 | 0/5 | 1/67 | 0/17 | 0/8 | 0/4 | 0/2 | 1/41 | 0/11 | 0/5 | 0/2 | 0/2 | |
0,25 - 0,40 | 2/133 | 1/73 | 1/51 | 1/42 | 0/8 | 1/60 | 1/44 | 1/31 | 0/11 | 0/5 | 1/67 | 1/42 | 0/8 | 0/4 | 0/2 | 1/41 | 0/11 | 0/5 | 0/2 | 0/2 | |
0,40 - 0,65 | 3/167 | 2/104 | 1/51 | 1/42 | 1/25 | 2/82 | 1/44 | 1/31 | 1/26 | 0/5 | 2/98 | 1/42 | 1/25 | 0/4 | 0/2 | 1/41 | 1/26 | 0/5 | 0/2 | 0/2 | |
0,65 - 1,0 | 5/232 | 3/135 | 2/78 | 2/67 | 1/25 | 4/123 | 2/64 | 1/31 | 1/26 | 0/5 | 3/127 | 2/67 | 1/25 | 0/4 | 0/2 | 2/60 | 1/26 | 0/5 | 0/2 | 0/2 | |
1,0 - 1,5 | 9/355 | 7/252 | 4/131 | 4/117 | 2/44 | 9/218 | 3/83 | 2/48 | 2/41 | 1/15 | 6/213 | 4/117 | 2/44 | 0/4 | 0/2 | 3/78 | 2/41 | 1/15 | 0/2 | 0/2 | |
1,5 - 2,5 | 39/1207 | 28/827 | 17/468 | 14/367 | 6/128 | 30/690 | 7/154 | 5/97 | 4/72 | 2/27 | 25/729 | 14/367 | 6/128 | 1/21 | 0/2 | 6/131 | 4/72 | 2/27 | 0/2 | 0/2 | |
2,5 - 4,0 | - | - | - | - | - | - | 26/475 | 16/272 | 13/210 | 5/66 | - | - | - | - | - | 23/415 | 13/210 | 5/66 | 1/8 | 1/7 | |
4,0 - 6,5 | - | - | - | - | - | - | - | - | - | ||||||||||||
6,5 - 10 | |||||||||||||||||||||
Примечания 1 В числителе указано приемочное число, в знаменателе - объем выборки. 2 Знак "-" означает, что для приемки тары следует применять сплошной контроль. 3 Незаполненные клетки соответствуют ситуации, когда фактический уровень несоответствий превышает NQL. | |||||||||||||||||||||
Интервал уровней несоответствий, % | Нормальный контроль | Ослабленный контроль | ||||||||||||||||||
NQL 2,5% | NQL 4% | NQL 6,5% | NQL 10% | |||||||||||||||||
Т2 | Т3 | Т4 | Т5 | Т6 | Т2 | Т3 | Т4 | Т5 | Т6 | Т2 | Т3 | Т4 | Т5 | Т6 | Т2 | Т3 | Т4 | Т5 | Т6 | |
0,0 - 0,1 | 1/156 | 1/108 | 0/28 | 0/12 | 0/5 | 1/98 | 0/35 | 0/18 | 0/8 | 0/3 | 0/36 | 0/22 | 0/11 | 0/5 | 0/2 | 0/24 | 0/14 | 0/7 | 0/3 | 0/2 |
0,10 - 0,15 | 1/156 | 1/108 | 0/28 | 0/12 | 0/5 | 1/98 | 1/68 | 0/18 | 0/8 | 0/3 | 1/60 | 0/22 | 0/11 | 0/5 | 0/2 | 0/24 | 0/14 | 0/7 | 0/3 | 0/2 |
0,15 - 0,25 | 2/213 | 1/108 | 1/68 | 0/12 | 0/5 | 1/98 | 1/68 | 0/18 | 0/8 | 0/3 | 1/60 | 1/42 | 0/11 | 0/5 | 0/2 | 1/39 | 0/14 | 0/7 | 0/3 | 0/2 |
0,25 - 0,40 | 3/268 | 2/157 | 1/68 | 0/12 | 0/5 | 2/134 | 1/68 | 1/42 | 0/8 | 0/3 | 1/60 | 1/42 | 0/11 | 0/5 | 0/2 | 1/39 | 1/27 | 0/7 | 0/3 | 0/2 |
0,40 - 0,65 | 5/371 | 3/205 | 2/107 | 1/39 | 0/5 | 3/168 | 2/99 | 1/42 | 1/25 | 0/3 | 2/82 | 1/42 | 1/26 | 0/5 | 0/2 | 1/39 | 1/27 | 0/7 | 0/3 | 0/2 |
0,65 - 1,0 | 11/664 | 7/388 | 4/187 | 2/70 | 0/5 | 5/232 | 3/128 | 2/67 | 1/25 | 0/3 | 3/103 | 2/61 | 1/26 | 0/5 | 0/2 | 2/54 | 1/27 | 1/17 | 0/3 | 0/2 |
1,0 - 1,5 | 33/1667 | 22/1042 | 12/507 | 5/169 | 1/22 | 9/356 | 6/214 | 4/117 | 2/44 | 0/3 | 4/123 | 3/79 | 2/42 | 1/15 | 0/2 | 2/54 | 2/40 | 1/17 | 0/3 | 0/2 |
1,5 - 2,5 | - | - | - | - | - | 40/1235 | 26/758 | 14/367 | 6/128 | 1/14 | 10/238 | 7/149 | 4/72 | 2/27 | 0/2 | 5/93 | 3/52 | 2/27 | 1/10 | 0/2 |
2,5 - 4,0 | - | - | - | - | - | 37/709 | 24/434 | 13/211 | 5/65 | 2/17 | 11/166 | 7/97 | 4/47 | 2/18 | 1/6 | |||||
4,0 - 6,5 | - | - | - | - | - | 47/571 | 31/357 | 17/177 | 7/60 | 2/12 | ||||||||||
6,5 - 10,0 | - | - | - | - | - | |||||||||||||||
10 - 15 | ||||||||||||||||||||
Примечания 1 В числителе указано приемочное число, в знаменателе - объем выборки. 2 Знак "-" означает, что для приемки тары следует применять сплошной контроль. 3 Незаполненные клетки соответствуют ситуации, когда фактический уровень несоответствий превышает NQL. | ||||||||||||||||||||
Интервал уровней несоответствий, % | Нормальный контроль | Ослабленный контроль | ||||||||||||||||||
NQL 2,5% | NQL 4% | NQL 2,5% | NQL 4% | |||||||||||||||||
Т2 | Т3 | Т4 | Т5 | Т6 | Т2 | Т3 | Т4 | Т5 | Т6 | Т2 | Т3 | Т4 | Т5 | Т6 | Т2 | Т3 | Т4 | Т5 | Т6 | |
0,0 - 0,1 | 1/158 | 1/117 | 0/37 | 0/28 | 0/12 | 1/99 | 0/39 | 0/23 | 0/18 | 0/8 | 1/108 | 0/28 | 0/12 | 1/108 | 0/3 | 0/35 | 0/18 | 0/8 | 0/35 | 0/2 |
0,10 - 0,15 | 1/158 | 1/117 | 1/81 | 0/28 | 0/12 | 1/99 | 1/74 | 0/23 | 0/18 | 0/8 | 1/108 | 0/28 | 0/12 | 1/108 | 0/3 | 1/68 | 0/18 | 0/8 | 1/68 | 0/2 |
0,15 - 0,25 | 2/216 | 1/117 | 1/81 | 1/68 | 0/12 | 1/99 | 1/74 | 1/51 | 0/18 | 0/8 | 1/108 | 1/68 | 0/12 | 1/108 | 0/3 | 1/68 | 0/18 | 0/8 | 1/68 | 0/2 |
0,25 - 0,40 | 3/270 | 2/168 | 1/81 | 1/68 | 0/12 | 2/135 | 1/74 | 1/51 | 1/42 | 0/8 | 2/157 | 1/68 | 0/12 | 2/157 | 0/3 | 1/68 | 1/42 | 0/8 | 1/68 | 0/2 |
0,40 - 0,65 | 5/375 | 4/265 | 2/125 | 2/107 | 1/39 | 3/169 | 2/105 | 1/51 | 1/42 | 1/25 | 3/205 | 2/107 | 1/39 | 3/205 | 0/3 | 2/99 | 1/42 | 1/25 | 2/99 | 0/2 |
0,65 - 1,0 | 11/668 | 8/450 | 5/252 | 4/187 | 2/70 | 5/234 | 3/136 | 2/78 | 2/67 | 1/25 | 7/388 | 4/187 | 2/70 | 7/388 | 0/3 | 3/128 | 2/67 | 1/25 | 3/128 | 0/2 |
1,0 - 1,5 | 34/1717 | 24/1155 | 15/668 | 12/507 | 5/169 | 9/358 | 7/253 | 4/131 | 4/117 | 2/44 | 22/1042 | 12/507 | 5/169 | 22/1042 | 0/3 | 6/214 | 4/117 | 2/44 | 6/214 | 0/2 |
1,5 - 2,5 | - | - | - | - | - | 40/1239 | 29/857 | 18/495 | 14/367 | 6/128 | - | - | - | - | - | 26/758 | 14/367 | 6/128 | 26/758 | 0/2 |
2,5 - 4,0 | - | - | - | - | - | - | - | - | - | - | ||||||||||
4,0 - 6,5 | ||||||||||||||||||||
6,5 - 10,0 | ||||||||||||||||||||
10 - 15 | ||||||||||||||||||||
Интервал уровней несоответствий, % | Нормальный контроль | Ослабленный контроль | ||||||||||||||||||
NQL 6,5% | NQL 10% | NQL 6,5% | NQL 10% | |||||||||||||||||
Т2 | Т3 | Т4 | Т5 | Т6 | Т2 | Т3 | Т4 | Т5 | Т6 | Т2 | Т3 | Т4 | Т5 | Т6 | Т2 | Т3 | Т4 | Т5 | Т6 | |
0,0 - 0,1 | 0/37 | 0/24 | 0/15 | 0/11 | 0/5 | 0/24 | 0/16 | 0/10 | 0/7 | 0/3 | 0/22 | 0/11 | 0/5 | 0/22 | 0/2 | 0/14 | 0/7 | 0/3 | 0/14 | 0/1 |
0,10 - 0,15 | 1/61 | 0/24 | 0/15 | 0/11 | 0/5 | 0/24 | 0/16 | 0/10 | 0/7 | 0/3 | 0/22 | 0/11 | 0/5 | 0/22 | 0/2 | 0/14 | 0/7 | 0/3 | 0/14 | 0/1 |
0,15 - 0,25 | 1/61 | 1/45 | 0/15 | 0/11 | 0/5 | 1/40 | 0/16 | 0/10 | 0/7 | 0/3 | 1/42 | 0/11 | 0/5 | 1/42 | 0/2 | 0/14 | 0/7 | 0/3 | 0/14 | 0/1 |
0,25 - 0,40 | 1/61 | 1/45 | 1/32 | 0/11 | 0/5 | 1/40 | 1/30 | 0/10 | 0/7 | 0/3 | 1/42 | 0/11 | 0/5 | 1/42 | 0/2 | 1/27 | 0/7 | 0/3 | 1/27 | 0/1 |
0,40 - 0,65 | 2/83 | 1/45 | 1/32 | 1/26 | 0/5 | 1/40 | 1/30 | 1/21 | 0/7 | 0/3 | 1/42 | 1/26 | 0/5 | 1/42 | 0/2 | 1/27 | 0/7 | 0/3 | 1/27 | 0/1 |
0,65 - 1,0 | 3/104 | 2/65 | 1/32 | 1/26 | 0/5 | 2/54 | 1/30 | 1/21 | 1/17 | 0/3 | 2/61 | 1/26 | 0/5 | 2/61 | 0/2 | 1/27 | 1/17 | 0/3 | 1/27 | 0/1 |
1,0 - 1,5 | 4/125 | 3/84 | 2/48 | 2/42 | 1/15 | 2/54 | 2/42 | 1/21 | 1/17 | 0/3 | 3/79 | 2/42 | 1/15 | 3/79 | 0/2 | 2/40 | 1/17 | 0/3 | 2/40 | 0/1 |
1,5 - 2,5 | 10/239 | 7/156 | 5/97 | 4/72 | 2/27 | 5/94 | 4/67 | 2/32 | 2/27 | 1/10 | 7/149 | 4/72 | 2/27 | 7/149 | 0/2 | 3/52 | 2/27 | 1/10 | 3/52 | 0/1 |
2,5 - 4,0 | 38/729 | 27/494 | 17/289 | 13/211 | 5/65 | 11/167 | 8/113 | 5/63 | 4/47 | 2/18 | 24/434 | 13/211 | 5/65 | 24/434 | 1/7 | 7/97 | 4/47 | 2/18 | 7/97 | 0/1 |
4,0 - 6,5 | - | - | - | - | - | 48/584 | 34/397 | 21/229 | 17/177 | 7/60 | - | - | - | - | - | 31/357 | 17/177 | 7/60 | 31/357 | 1/5 |
6,5 - 10,0 | - | - | - | - | - | - | - | - | - | - | ||||||||||
10 - 15 | ||||||||||||||||||||
Примечания 1 В числителе указано приемочное число, в знаменателе - объем выборки. 2 Знак "-" означает, что для приемки тары следует применять сплошной контроль. 3 Незаполненные клетки соответствуют ситуации, когда фактический уровень несоответствий превышает NQL. | ||||||||||||||||||||
Интервал уровней несоответствий, % | NQL 1% | NQL 2,5% | ||||||||||||||||||||||||||||
Т2 | Т3 | Т4 | Т5 | Т6 | Т2 | Т3 | Т4 | Т5 | Т6 | |||||||||||||||||||||
0,0 - 0,1 | 280 | 0 | 2 | 166 | 0 | 2 | 280 | 0 | 2 | 0 | 0 | 99 | 0 | 2 | 66 | 0 | 2 | 99 | 0 | 2 | 0 | 0 | ||||||||
280 | 2 | 3 | 166 | 1 | 2 | 280 | 2 | 3 | 99 | 1 | 2 | 66 | 1 | 2 | 99 | 1 | 2 | |||||||||||||
339,3 | 189,4 | 339,3 | 29 | 11 | 107,9 | 70,1 | 107,9 | 12 | 5 | |||||||||||||||||||||
0,10 - 0,15 | 405 | 1 | 3 | 198 | 0 | 2 | 405 | 1 | 3 | 0 | 0 | 99 | 0 | 2 | 66 | 0 | 2 | 99 | 0 | 2 | 0 | 0 | ||||||||
405 | 3 | 4 | 198 | 2 | 3 | 405 | 3 | 4 | 99 | 1 | 2 | 66 | 1 | 2 | 99 | 1 | 2 | |||||||||||||
445,7 | 241,8 | 445,7 | 29 | 11 | 111,7 | 71,9 | 111,7 | 12 | 5 | |||||||||||||||||||||
0,15 - 0,25 | 476 | 1 | 4 | 337 | 1 | 4 | 476 | 1 | 4 | 57 | 0 | 2 | 0 | 111 | 0 | 2 | 66 | 0 | 2 | 111 | 0 | 2 | 0 | 0 | ||||||
476 | 5 | 6 | 337 | 4 | 5 | 476 | 5 | 6 | 57 | 1 | 2 | 111 | 2 | 3 | 66 | 1 | 2 | 111 | 2 | 3 | ||||||||||
619,3 | 403,0 | 619,3 | 64,1 | 11 | 134,4 | 75,3 | 134,4 | 12 | 5 | |||||||||||||||||||||
0,25 - 0,40 | 881 | 4 | 10 | 506 | 2 | 8 | 881 | 4 | 10 | 79 | 0 | 2 | 0 | 161 | 1 | 3 | 79 | 0 | 2 | 161 | 1 | 3 | 0 | 0 | ||||||
881 | 11 | 12 | 506 | 7 | 8 | 881 | 11 | 12 | 79 | 2 | 3 | 161 | 3 | 4 | 79 | 2 | 3 | 161 | 3 | 4 | ||||||||||
1123,7 | 672,3 | 1123,7 | 97,3 | 11 | 178,5 | 97,3 | 178,5 | 12 | 5 | |||||||||||||||||||||
0,40 - 0,65 | 3415 | 25 | 32 | 2133 | 16 | 22 | 3415 | 25 | 32 | 322 | 3 | 6 | 1 | 220 | 2 | 6 | 135 | 1 | 4 | 220 | 2 | 6 | 23 | 0 | 2 | 0 | ||||
3415 | 56 | 57 | 2133 | 37 | 38 | 3415 | 56 | 57 | 322 | 7 | 8 | 220 | 5 | 6 | 135 | 4 | 5 | 220 | 5 | 6 | 23 | 1 | 2 | |||||||
4119,6 | 2572,2 | 4119,6 | 367,0 | 54 | 257,4 | 163,3 | 257,4 | 26,0 | 5 | |||||||||||||||||||||
0,65 - 1,0 | - | - | - | - | - | 351 | 4 | 10 | 202 | 2 | 8 | 351 | 4 | 10 | 37 | 0 | 3 | 0 | ||||||||||||
351 | 11 | 12 | 202 | 7 | 8 | 351 | 11 | 12 | 37 | 2 | 3 | |||||||||||||||||||
446,7 | 268,2 | 446,7 | 48,3 | 5 | ||||||||||||||||||||||||||
1,0 - 1,5 | 838 | 12 | 26 | 663 | 12 | 17 | 320 | 6 | 10 | 93 | 2 | 5 | 13 | 0 | 2 | |||||||||||||||
838 | 33 | 34 | 663 | 28 | 29 | 320 | 15 | 16 | 93 | 5 | 6 | 1 | 2 | |||||||||||||||||
1247,7 | 780,3 | 378,8 | 107,0 | 15,1 | ||||||||||||||||||||||||||
1,5 - 2,5 | - | - | - | - | - | |||||||||||||||||||||||||
2,5 - 4,0 | ||||||||||||||||||||||||||||||
4,0 - 6,5 | ||||||||||||||||||||||||||||||
6,5 - 10 | ||||||||||||||||||||||||||||||
Интервал уровней несоответствий, % | NQL 4% | NQL 6,5% | ||||||||||||||||||||||||||||
Т2 | Т3 | Т4 | Т5 | Т6 | Т2 | Т3 | Т4 | Т5 | Т6 | |||||||||||||||||||||
0,0 - 0,1 | 62 | 0 | 2 | 0 | 62 | 0 | 2 | 0 | 0 | 0 | 0 | 0 | 0 | 0 | ||||||||||||||||
62 | 1 | 2 | 62 | 1 | 2 | |||||||||||||||||||||||||
65,6 | 34 | 65,6 | 8 | 3 | 35 | 21 | 35 | 5 | 2 | |||||||||||||||||||||
0,10 - 0,15 | 62 | 0 | 2 | 0 | 62 | 0 | 2 | 0 | 0 | 38 | 0 | 2 | 0 | 38 | 0 | 2 | 0 | 0 | ||||||||||||
62 | 1 | 2 | 62 | 1 | 2 | 38 | 1 | 2 | 38 | 1 | 2 | |||||||||||||||||||
67,3 | 34 | 67,3 | 8 | 3 | 40,0 | 21 | 40,0 | 5 | 2 | |||||||||||||||||||||
0,15 - 0,25 | 62 | 0 | 2 | 41 | 0 | 2 | 62 | 0 | 2 | 0 | 0 | 38 | 0 | 2 | 25 | 0 | 2 | 38 | 0 | 2 | 0 | 0 | ||||||||
62 | 1 | 2 | 41 | 1 | 2 | 62 | 1 | 2 | 38 | 1 | 2 | 25 | 1 | 2 | 38 | 1 | 2 | |||||||||||||
70,2 | 44,8 | 70,2 | 8 | 3 | 41,3 | 26,5 | 41,3 | 5 | 2 | |||||||||||||||||||||
0,25 - 0,40 | 69 | 0 | 2 | 41 | 0 | 2 | 69 | 0 | 2 | 0 | 0 | 38 | 0 | 2 | 25 | 0 | 2 | 38 | 0 | 2 | 0 | 0 | ||||||||
69 | 2 | 3 | 41 | 1 | 2 | 69 | 2 | 3 | 38 | 1 | 2 | 25 | 1 | 2 | 38 | 1 | 2 | |||||||||||||
83,5 | 46,7 | 83,5 | 8 | 3 | 43,0 | 27,3 | 43,0 | 5 | 2 | |||||||||||||||||||||
0,40 - 0,65 | 100 | 1 | 3 | 53 | 0 | 3 | 100 | 1 | 3 | 15 | 0 | 2 | 0 | 42 | 0 | 2 | 25 | 0 | 2 | 42 | 0 | 2 | 0 | 0 | ||||||
100 | 3 | 4 | 53 | 2 | 3 | 100 | 3 | 4 | 15 | 1 | 2 | 42 | 2 | 3 | 25 | 1 | 2 | 42 | 2 | 3 | ||||||||||
111,0 | 68,2 | 111,0 | 16,3 | 3 | 50,8 | 28,5 | 50,8 | 5 | 2 | |||||||||||||||||||||
0,65 - 1,0 | 118 | 1 | 4 | 84 | 1 | 4 | 118 | 1 | 4 | 15 | 0 | 2 | 0 | 61 | 1 | 3 | 30 | 0 | 2 | 61 | 1 | 3 | 0 | 0 | ||||||
118 | 5 | 6 | 84 | 4 | 5 | 118 | 5 | 6 | 15 | 1 | 2 | 61 | 3 | 4 | 30 | 2 | 3 | 61 | 3 | 4 | ||||||||||
153,3 | 100,4 | 153,3 | 17,0 | 3 | 67,2 | 36,7 | 67,1 | 5 | 2 | |||||||||||||||||||||
1,0 - 1,5 | 195 | 3 | 7 | 115 | 2 | 7 | 62 | 1 | 4 | 20 | 0 | 2 | 0 | 67 | 1 | 4 | 45 | 1 | 3 | 20 | 0 | 2 | 9 | 0 | 2 | 0 | ||||
195 | 10 | 11 | 115 | 6 | 7 | 62 | 4 | 5 | 20 | 2 | 3 | 67 | 1 | 5 | 45 | 3 | 4 | 20 | 2 | 3 | 1 | 2 | ||||||||
254,9 | 143,4 | 75,9 | 24,5 | 3 | 83,6 | 50,2 | 24,5 | 10,0 | 2 | |||||||||||||||||||||
1,5 - 2,5 | 634 | 16 | 26 | 418 | 12 | 20 | 203 | 6 | 12 | 75 | 3 | 7 | 8 | 0 | 2 | 129 | 4 | 9 | 84 | 3 | 6 | 38 | 1 | 4 | 14 | 0 | 2 | 0 | ||
634 | 41 | 42 | 418 | 28 | 29 | 203 | 15 | 16 | 75 | 6 | 7 | 1 | 2 | 129 | 10 | 11 | 84 | 7 | 8 | 38 | 4 | 5 | 14 | 3 | 4 | |||||
892,7 | 520,8 | 252,1 | 83,7 | 9,3 | 157,0 | 95,8 | 46,8 | 17,5 | 2 | |||||||||||||||||||||
2,5 - 4,0 | - | - | - | - | - | 431 | 20 | 26 | 254 | 12 | 17 | 123 | 6 | 10 | 41 | 2 | 5 | 5 | 0 | 2 | ||||||||||
431 | 45 | 46 | 254 | 28 | 29 | 123 | 15 | 16 | 41 | 6 | 7 | 1 | 2 | |||||||||||||||||
509,0 | 302,6 | 147,2 | 49,3 | 5,8 | ||||||||||||||||||||||||||
4,0 - 6,5 | - | - | - | - | - | |||||||||||||||||||||||||
6,5 - 10 | ||||||||||||||||||||||||||||||
Примечания 1 В первой строке слева направо указаны: объем выборки первой ступени контроля, приемочное и браковочное числа первой ступени контроля; во второй строке указаны: объем выборки второй ступени контроля, приемочное и браковочное числа второй ступени контроля; в третьей строке указан средний объем контроля при фактическом уровне несоответствий, равном значению верхней границы соответствующего интервала уровней несоответствий. 2 В отдельных случаях (клетки со значениями объема выборки и приемочного числа) применяют одноступенчатый контроль. 3 Знак "-" означает, что для приемки тары следует применять сплошной контроль. 4 Незаполненные клетки соответствуют ситуации, когда фактический уровень несоответствий превышает NQL. | ||||||||||||||||||||||||||||||
Объем партии, шт. | NQL 1% | NQL 2,5% | NQL 4% | NQL 6,5% | ||||
Объем выборки, n | Браковочное число R | Объем выборки n | Браковочное число R | Объем выборки n | Браковочное число R | Объем выборки n | Браковочное число R | |
От 16 до 25 включ. | (25) | 1 | (25) | 1 | 1 (24) | 1 | - | 1 |
(25) | 2 | (25) | 2 | (25) | 2 | (25) | 2 | |
(25) | 3 | (25) | 3 | (25) | 3 | (25) | 3 | |
(25) | 4 | (25) | 4 | (25) | 4 | (25) | 4 | |
(25) | 5 | (25) | 5 | (25) | 5 | (25) | 5 | |
(25) | 6 | (25) | 6 | (25) | 6 | (25) | 6 | |
(25) | 7 | (25) | 7 | (25) | 7 | (25) | 7 | |
(25) | 8 | (25) | 8 | (25) | 8 | (25) | 8 | |
(25) | 9 | (25) | 9 | (25) | 9 | (25) | 9 | |
(25) | 10 | (25) | 10 | (25) | 10 | (25) | 10 | |
(25) | 11 | (25) | 11 | (25) | 11 | (25) | 11 | |
(25) | 12 | (25) | 12 | (25) | 12 | (25) | 12 | |
(25) | 13 | (25) | 13 | (25) | 13 | (25) | 13 | |
От 26 до 50 включ. | (50) | 1 | 1 - 2 (39) | 1 | 1 | 1 | - | 1 |
(50) | 2 | (50) | 2 | 2 - 11 (49) | 2 | 2 - 6 (30) | 2 | |
(50) | 3 | (50) | 3 | (50) | 3 | 7 - 17 (46) | 3 | |
(50) | 4 | (50) | 4 | (50) | 4 | (50) | 4 | |
(50) | 5 | (50) | 5 | (50) | 5 | (50) | 5 | |
(50) | 6 | (50) | 6 | (50) | 6 | (50) | 6 | |
(50) | 7 | (50) | 7 | (50) | 7 | (50) | 7 | |
(50) | 8 | (50) | 8 | (50) | 8 | (50) | 8 | |
(50) | 9 | (50) | 9 | (50) | 9 | (50) | 9 | |
(50) | 10 | (50) | 10 | (50) | 10 | (50) | 10 | |
(50) | 11 | (50) | 11 | (50) | 11 | (50) | 11 | |
(50) | 12 | (50) | 12 | (50) | 12 | (50) | 12 | |
(50) | 13 | (50) | 13 | (50) | 13 | (50) | 13 | |
От 51 до 90 включ. | (90) | 1 | 1 - 2 | 1 | 1 | 1 | - | 1 |
(90) | 2 | 3 - 18 (79) | 2 | 2 - 10 | 2 | 2 - 6 | 2 | |
(90) | 3 | (90) | 3 | 11 - 28 (75) | 3 | 7 - 15 | 3 | |
(90) | 4 | (90) | 4 | (90) | 4 | 16 - 27 (61) | 4 | |
(90) | 5 | (90) | 5 | (90) | 5 | 28 - 43 (76) | 5 | |
(90) | 6 | (90) | 6 | (90) | 6 | (90) | 6 | |
(90) | 7 | (90) | 7 | (90) | 7 | (90) | 7 | |
(90) | 8 | (90) | 8 | (90) | 8 | (90) | 8 | |
(90) | 9 | (90) | 9 | (90) | 9 | (90) | 9 | |
(90) | 10 | (90) | 10 | (90) | 10 | (90) | 10 | |
(90) | 11 | (90) | 11 | (90) | 11 | (90) | 11 | |
(90) | 12 | (90) | 12 | (90) | 12 | (90) | 12 | |
(90) | 13 | (90) | 13 | (90) | 13 | (90) | 13 | |
От 91 до 150 включ. | 1 - 5 (99) | 1 | 1 - 2 | 1 | 1 | 1 | - | 1 |
(150) | 2 | 3 - 16 | 2 | 2 - 9 | 2 | 2 - 6 | 2 | |
(150) | 3 | 1 - 44 (119) | 3 | 10 - 23 | 3 | 7 - 14 | 3 | |
(150) | 4 | (150) | 4 | 24 - 41 (99) | 4 | 15 - 24 | 4 | |
(150) | 5 | (150) | 5 | 42 - 63 (124) | 5 | 25 - 35 | 5 | |
(150) | 6 | (150) | 6 | (149) | 6 | 36 - 49 (92) | 6 | |
(150) | 7 | (150) | 7 | (150) | 7 | 50 - 63 (107) | 7 | |
(150) | 8 | (150) | 8 | (150) | 8 | 64 - 80 (123) | 8 | |
(150) | 9 | (150) | 9 | (150) | 9 | (138) | 9 | |
(150) | 10 | (150) | 10 | (150) | 10 | (150) | 10 | |
(150) | 11 | (150) | 11 | (150) | 11 | (150) | 11 | |
(150) | 12 | (150) | 12 | (150) | 12 | (150) | 12 | |
(150) | 13 | (150) | 13 | (150) | 13 | (150) | 13 | |
От 151 до 280 включ. | 1 - 5 | 1 | 1 - 2 | 1 | 1 | 1 | - | 1 |
6 - 45 | 2 | 3 - 15 | 2 | 2 - 9 | 2 | 2 - 5 | 2 | |
(280) | 3 | 16 - 36 | 3 | 10 - 22 | 3 | 6 - 13 | 3 | |
(280) | 4 | 37 - 63 (159) | 4 | 23 - 37 | 4 | 14 - 22 | 4 | |
(280) | 5 | 64 - 96 (199) | 5 | 38 - 55 | 5 | 23 - 33 | 5 | |
(280) | 6 | 9 - 135 (239) | 6 | 56 - 75 | 6 | 34 - 44 | 6 | |
(280) | 7 | (280) | 7 | 76 - 97 (174) | 7 | 45 - 56 | 7 | |
(280) | 8 | (280) | 8 | 98 - 121 (199) | 8 | 57 - 69 | 8 | |
(280) | 9 | (280) | 9 | 122 - 147 (224) | 9 | 70 - 82 | 9 | |
(280) | 10 | (280) | 10 | (280) | 10 | 83 - 95 (153) | 10 | |
(280) | 11 | (280) | 11 | (280) | 11 | 96 - 110 (168) | 11 | |
(280) | 12 | (280) | 12 | (280) | 12 | 111 - 125 (184) | 12 | |
(280) | 13 | (280) | 13 | 280) | 13 | 126 - 140 (199) | 13 | |
От 281 до 500 включ. | 1 - 5 | 1 | 1 - 2 | 1 | 1 | 1 | - | 1 |
6 - 38 | 2 | 3 - 14 | 2 | 2 - 9 | 2 | 2 - 5 | 2 | |
39 - 95 (299) | 3 | 15 - 35 | 3 | 10 - 21 | 3 | 6 - 13 | 3 | |
96 - 172 (399) | 4 | 36 - 59 | 4 | 22 - 36 | 4 | 14 - 22 | 4 | |
173 - 275 (499) | 5 | 60 - 87 | 5 | 37 - 53 | 5 | 23 - 32 | 5 | |
(500) | 6 | 88 - 118 | 6 | 54 - 70 | 6 | 33 - 43 | 6 | |
(500) | 7 | 119 - 152 | 7 | 71 - 89 | 7 | 44 - 54 | 7 | |
(500) | 8 | 153 - 189 (319) | 8 | 90 - 109 | 8 | 55 - 66 | 8 | |
(500) | 9 | 190 - 228 (359) | 9 | 110 - 130 | 9 | 67 - 78 | 9 | |
(500) | 10 | 229 - 271 (399) | 10 | 131 - 152 | 10 | 79 - 90 | 10 | |
(500) | 11 | (439) | 11 | 153 - 175 | 11 | 91 - 103 | 11 | |
(500) | 12 | (479) | 12 | 176 - 198 (299) | 12 | 104 - 116 | 12 | |
(500) | 13 | (500) | 13 | 199 - 222 (324) | 13 | 117 - 130 | 13 | |
От 501 до 1200 включ. | 1 - 5 | 1 | 1 - 2 | 1 | 1 | 1 | - | 1 |
6 - 36 | 2 | 3 - 14 | 2 | 2 - 9 | 2 | 2 - 5 | 2 | |
37 - 86 | 3 | 15 - 33 | 3 | 10 - 21 | 3 | 6 - 13 | 3 | |
87 - 148 | 4 | 34 - 56 | 4 | 22 - 35 | 4 | 14 - 22 | 4 | |
149 - 217 | 5 | 57 - 82 | 5 | 36 - 51 | 5 | 23 - 31 | 5 | |
218 - 294 (599) | 6 | 83 - 110 | 6 | 52 - 68 | 6 | 32 - 42 | 6 | |
295 - 379 (699) | 7 | 111 - 139 | 7 | 69 - 85 | 7 | 43 - 52 | 7 | |
380 - 470 (799) | 8 | 140 - 169 | 8 | 86 - 104 | 8 | 53 - 63 | 8 | |
(899) | 9 | 170 - 200 | 9 | 105 - 123 | 9 | 64 - 75 | 9 | |
(999) | 10 | 201 - 233 | 10 | 124 - 142 | 10 | 76 - 87 | 10 | |
(1099) | 11 | 234 - 266 | 11 | 143 - 162 | 11 | 88 - 99 | 11 | |
(1199) | 12 | 267 - 301 | 12 | 163 - 182 | 12 | 100 - 111 | 12 | |
(1200) | 13 | 302 - 336 (519) | 13 | 183 - 203 | 13 | 112 - 123 | 13 | |
Св. 1200 | 1 - 5 | 1 | 1 - 2 | 1 | 1 | 1 | - | 1 |
6 - 35 | 2 | 3 - 14 | 2 | 2 - 9 | 2 | 2 - 5 | 2 | |
36 - 82 | 3 | 15 - 33 | 3 | 10 - 21 | 3 | 6 - 13 | 3 | |
83 - 137 | 4 | 34 - 55 | 4 | 22 - 34 | 4 | 14 - 21 | 4 | |
138 - 198 | 5 | 56 - 79 | 5 | 35 - 50 | 5 | 22 - 31 | 5 | |
199 - 262 | 6 | 80 - 105 | 6 | 51 - 66 | 6 | 32 - 41 | 6 | |
263 - 329 | 7 | 106 - 132 | 7 | 67 - 83 | 7 | 42 - 51 | 7 | |
330 - 399 | 8 | 133 - 160 | 8 | 84 - 101 | 8 | 52 - 62 | 8 | |
400 - 471 | 9 | 161 - 189 | 9 | 102 - 119 | 9 | 63 - 73 | 9 | |
472 - 544 | 10 | 190 - 218 | 10 | 120 - 137 | 10 | 74 - 85 | 10 | |
545 - 618 | 11 | 219 - 248 | 11 | 138 - 156 | 11 | 86 - 96 | 11 | |
619 - 694 | 12 | 249 - 279 | 12 | 157 - 175 | 12 | 97 - 108 | 12 | |
695 - 771 (1299) | 13 | 280 - 309 | 13 | 176 - 194 | 13 | 109 - 120 | 13 | |
Примечания 1 Знак "-" означает, что для указанного браковочного числа тары нет допустимого плана контроля. 2 Число в скобках указывает, что нет допустимого плана контроля для объема партий, превышающих данное число. | ||||||||
Браковочное число R | Нормативный уровень несоответствий NQL, % | |||
2,5 | 4,0 | 6,5 | 10 | |
1 | 1 - 2 (39) | 1 (24) | - (15) | - (9) |
2 | 3 - 14 (79) | 2 - 8 (49) | 1 - 5 (30) | 1 - 3 (19) |
3 | 15 - 32 (119) | 9 - 20 (74) | 6 - 12 (46) | 4 - 8 (29) |
4 | 33 - 54 (159) | 21 - 34 (99) | 13 - 21 (61) | 9 - 13 (39) |
5 | 55 - 78 (199) | 35 - 49 (124) | 22 - 30 (76) | 14 - 19 (49) |
6 | 79 - 104 (239) | 50 - 65 (149) | 31 - 40 (92) | 20 - 26 (59) |
7 | 105 - 131 (279) | 66 - 82 (174) | 41 - 50 (107) | 27 - 32 (69) |
8 | 132 - 159 (319) | 83 - 99 (199) | 51 - 61 (123) | 33 - 39 (79) |
9 | 160 - 187 (359) | 100 - 117 (224) | 62 - 72 (123) | 40 - 46 (89) |
10 | 188 - 217 (399) | 118 - 135 (249) | 73 - 83 (153) | 47 - 54 (99) |
11 | 218 - 246 (439) | 136 - 154 (274) | 84 - 94 (169) | 55 - 61 (109) |
12 | 247 - 276 (479) | 155 - 173 (299) | 95 - 106 (184) | 62 - 69 (119) |
13 | 277 - 307 (519) | 174 - 192 (324) | 107 - 118 (199) | 70 - 76 (129) |
14 | 308 - 338 (559) | 193 - 211 (349) | 119 - 130 (215) | 77 - 84 (139) |
15 | 339 - 369 (599) | 212 - 231 (344) | 131 - 142 (230) | 85 - 92 (149) |
16 | 370 - 401 (639) | 232 - 250 (399) | 143 - 154 (246) | 93 - 100 (159) |
Примечания 1 Знак "-" означает, что для указанного браковочного числа тары нет допустимого плана контроля. 2 Число в скобках указывает, что нет допустимого плана контроля для объема партий, превышающих данное число. | ||||
, соответствующее степени доверия Т3. Объем партии - 2500 шт.Объем выборки n | Приемочное число C | Браковочное число R |
34 | 0 | 1 |
67 | 1 | 2 |
98 | 2 | 3 |
127 | 3 | 4 |
213 | 6 | 7 |
729 | 25 | 26 |
, соответствующее степени доверия Т3.Нормальный контроль | Ослабленный контроль | ||
Объем выборки n | Приемочное число C | Объем выборки n | Приемочное число C |
16 | 0 | 7 | 0 |
30 | 1 | 17 | 1 |
42 | 2 | 27 | 2 |
67 | 4 | 47 | 4 |
113 | 8 | 177 | 17 |
397 | 34 | ||
соответствующее степени доверия Т6.Нормальный контроль | Ослабленный контроль | ||
Объем выборки n | Приемочное число C | Объем выборки n | Приемочное число C |
12 | 0 | 3 | 0 |
39 | 1 | ||
70 | 2 | ||
169 | 5 | ||




