Главная // Актуальные документы // ГОСТ (Государственный стандарт)СПРАВКА
Источник публикации
М.: Издательство стандартов, 1989
Примечание к документу
С 1 июля 2003 года до вступления в силу технических регламентов акты федеральных органов исполнительной власти в сфере технического регулирования носят рекомендательный характер и подлежат обязательному исполнению только в части, соответствующей целям, указанным в
пункте 1 статьи 46 Федерального закона от 27.12.2002 N 184-ФЗ.
Документ
введен в действие с 1 января 1978 года.
Взамен ГОСТ 14870-69.
Название документа
"ГОСТ 14870-77 (СТ СЭВ 3686-82; СТ СЭВ 1489-79). Государственный стандарт Союза ССР. Продукты химические. Методы определения воды"
(утв. и введен в действие Постановлением Госстандарта СССР от 13.01.1977 N 97)
(ред. от 01.06.1989)
"ГОСТ 14870-77 (СТ СЭВ 3686-82; СТ СЭВ 1489-79). Государственный стандарт Союза ССР. Продукты химические. Методы определения воды"
(утв. и введен в действие Постановлением Госстандарта СССР от 13.01.1977 N 97)
(ред. от 01.06.1989)
Утвержден и введен в действие
Постановлением Государственного
комитета стандартов
Совета Министров СССР
от 13 января 1977 г. N 97
ГОСУДАРСТВЕННЫЙ СТАНДАРТ СОЮЗА ССР
ПРОДУКТЫ ХИМИЧЕСКИЕ
МЕТОДЫ ОПРЕДЕЛЕНИЯ ВОДЫ
Reagents. Methods for determination of water
ГОСТ 14870-77
(СТ СЭВ 3686-82;
СТ СЭВ 1489-79)
| | Список изменяющих документов (в ред. Изменения N 1, утв. в мае 1983 г., Изменения N 2, утв. в июне 1989 г.) | |
Дата введения
1 января 1978 года
1. Разработан и внесен Министерством химической промышленности СССР.
Исполнители:
Г.В. Грязнов, В.Г. Брудзь, И.Л. Ротенберг (руководители темы), В.Н. Смородинская, Т.К. Палдина, Е.Н. Яковлева, Л.В. Кидиярова, Г.Д. Тарунтаева, Н.П. Никонова, Е.Д. Шигина.
2. Утвержден и введен в действие Постановлением Государственного комитета стандартов Совета Министров СССР от 13.01.77 N 97.
3. Взамен ГОСТ 14870-69.
4. Периодичность проверки - 5 лет.
5. Стандарт соответствует СТ СЭВ 3686-82, СТ СЭВ 1489-79.
6. В стандарт введены международные стандарты ИСО 760-78, ИСО 4318-78, ИСО 6353/1-82 (ОМ-12).
7. Ссылочные нормативно-технические документы:
Обозначение НТД, на который дана ссылка | Номер пункта, подпункта, приложения |
| |
| |
|
|
ГОСТ 804-72 | |
ГОСТ 1594-69 | |
| |
|
|
ГОСТ 2222-78 | |
| |
ГОСТ 3316-81 | |
| |
| |
| |
| |
| | ИС МЕГАНОРМ: примечание. ГОСТ 5072-79 утратил силу с 1 января 1991 года (ИУС "Государственные стандарты", N 11, 1991). | |
|
ГОСТ 5072-79 | |
| |
| |
| |
| |
ГОСТ 8422-76 | |
| |
| | ИС МЕГАНОРМ: примечание. Взамен ГОСТ 8682-70 Постановлением Госстандарта России от 02.06.1994 N 160 с 1 января 1995 года введен в действие ГОСТ 8682-93. | |
|
ГОСТ 8682-70 | |
| |
| |
| |
| |
| |
| |
| |
ГОСТ 19908-80 | |
| |
| |
| |
| | ИС МЕГАНОРМ: примечание. Взамен ГОСТ 22967-82 Постановлением Госстандарта СССР от 23.04.1990 N 953 с 1 июля 1991 года введен в действие ГОСТ 22967-90. | |
|
ГОСТ 22967-82 | |
| |
|
|
ГОСТ 24861-81 | |
| |
| |
ТУ 6-09-1487-85 | |
8. Переиздание (июль 1989 г.) с Изменениями N 1, 2, утвержденными в мае 1983 г., июне 1989 г. (ИУС 8-83, ИУС 11-89).
Настоящий стандарт распространяется на химические продукты и реактивы и устанавливает следующие методы определения воды:
а) с реактивом Фишера для массы воды в навеске анализируемого препарата 0,0005 - 0,05 г;
б) высушивание для массы воды в навеске анализируемого препарата не менее 0,001 г;
в) отгонка с органическим растворителем (метод Дина и Старка) для массы воды в навеске анализируемого препарата 0,3 - 8,0 г.
(Измененная редакция, Изм. N 1, 2).
1.1. Для приготовления необходимых растворов навеску анализируемого препарата, а также навески реактивов, применяемых при определении воды, взвешивают или отбирают с погрешностью не более 1%.
При необходимости пробу анализируемого реактива перед взвешиванием измельчают, избегая длительного растирания.
При взвешивании применяют лабораторные весы 2-го класса точности с наибольшим пределом взвешивания 200 г и ценой деления 0,1 мг и 3-го класса точности с наибольшим пределом взвешивания 500 г или 1 кг и ценой деления 10 мг (или 4-го класса точности с наибольшим пределом взвешивания 200 г и ценой деления 1 мг).
Допускается применение импортной аппаратуры и лабораторной посуды по классу точности и реактивов по качеству не ниже отечественных.
(Измененная редакция, Изм. N 1, 2).
1.2. Выбор метода и дополнительные условия определения предусматриваются в нормативно-технической документации на анализируемые реактивы.
1.3. Вся применяемая посуда должна быть максимально обезвожена: колбы с пришлифованными пробками и стаканчики для взвешивания ополаскивают этиловым спиртом и ацетоном, высушивают в термостате при 110 °C и сохраняют в эксикаторе над ангидроном или другим осушителем; бюретки и пипетки перед применением ополаскивают этиловым спиртом и ацетоном и высушивают в токе сухого воздуха.
(Измененная редакция, Изм. N 2).
1.4. После окончания работы с реактивом Фишера для уничтожения запаха пиридина посуду ополаскивают раствором уксусной кислоты.
1.5. При работе с органическими растворителями необходимо соблюдать меры предосторожности: все работы проводят вдали от огня в вытяжном шкафу с сильной тягой.
(Введен дополнительно, Изм. N 1).
2. МЕТОД ОПРЕДЕЛЕНИЯ ВОДЫ РЕАКТИВОМ ФИШЕРА
2.1. Сущность метода
Сущность метода заключается во взаимодействии йода с сернистым ангидридом в присутствии воды с образованием йодистоводородной кислоты и серного ангидрида в среде метанола и пиридина.
Этим методом определяется гигроскопическая, кристаллизационная, сорбированная и окклюдированная вода.
2.2. Реактивы, растворы, аппаратура и материалы
Азот газообразный технический по
ГОСТ 9293-74, предварительно осушенный пропусканием через колонки, наполненные силикагелем и ангидроном.
Йод-ацетатный раствор; готовят по
п. 1.5 Приложения.
Кальция хлорид обезвоженный, предварительно прокаленный.
Магний хлорнокислый (магния перхлорат) безводный (ангидрон).
Метанол-яд по
ГОСТ 6995-77 с массовой долей воды не более 0,05%; готовят по
п. 1.2.1 Приложения или по ГОСТ 2222-78, высшего сорта.
Натрий тартрат 2-водный или натрий углекислый (натрия карбонат) 3-водный по
ГОСТ 199-78 (массовую долю кристаллизационной воды проверяют высушиванием в термостате до постоянной массы при 120 - 125 °C).
Реактив Фишера (раствор I - смесь пиридина с диоксидом серы, раствор II - раствор йода в метаноле) по ТУ 6-09-1487 или реактив Фишера, приготовленный по
п. 1.3 Приложения 1.
Реактив Фишера видоизмененного состава; готовят по
п. 1.4 Приложения 1.
Раствор воды в метаноле: готовят следующим образом: 0,3 см3 воды взвешивают в сухой мерной колбе вместимостью 100 см3 (результат взвешивания в граммах записывают с точностью до четвертого десятичного знака), доводят объем раствора до метки метанолом, выдержанным в течение 20 мин в термостате при 20 °C, и перемешивают. Приготовленный раствор выдерживают в термостате при 20 °C в течение 20 мин перед каждым определением титра реактива Фишера. Раствор хранят в герметично закрытой посуде; он годен в течение одной недели.
2-метоксиэтанол (монометиловый эфир этиленгликоля, метилцеллюлозы) с массовой долей воды не более 0,05% или обезвоженный перегонкой (при этом первую порцию дистиллата отбрасывают).
| | ИС МЕГАНОРМ: примечание. ГОСТ 5072-79 утратил силу с 1 января 1991 года (ИУС "Государственные стандарты", N 11, 1991). | |
Секундомер по ГОСТ 5072-79.
| | ИС МЕГАНОРМ: примечание. Взамен ГОСТ 22967-82 Постановлением Госстандарта СССР от 23.04.1990 N 953 с 1 июля 1991 года введен в действие ГОСТ 22967-90. | |
Шприцы медицинские инъекционные многократного применения по ГОСТ 22967-82.
Шприцы медицинские инъекционные однократного применения по ГОСТ 24861-81.
Пипетка 2-2-10(20, 25, 50); 4(5, 6, 7)-2-1(2, 5, 10, 25) по
ГОСТ 20292-74.
Бюретка с автоматическим нулем и склянкой, покрытой темным лаком или обернутой темной бумагой 7-2-3(10)-0,01(0,02) по
ГОСТ 20292-74, снабженная поглотительной трубкой; между резиновой грушей и склянкой помещена склянка с твердым поглотителем (например, силикагелем или ингидроном).
Мешалка магнитная типа ЭМА или другого типа; размешиватель мешалки должен быть запаян в стеклянную или полиэтиленовую трубку.
Пипетка со шлифом и краном для внесения жидких веществ в колбу для титрования
(черт. 1, а).
| | ИС МЕГАНОРМ: примечание. Взамен ГОСТ 8682-70 Постановлением Госстандарта России от 02.06.1994 N 160 с 1 января 1995 года введен в действие ГОСТ 8682-93. | |
1 - колба для титрования вместимостью 25 - 50 см3;
2 - насадка бюретки с конусом КШ 19/9 по ГОСТ 8682-70;
3 - пипетка с конусом КШ 14/5/8 по ГОСТ 8682-70 и краном
для внесения жидких реактивов в колбу для титрования
(жидкость попадает в колбу при открывании крана);
4 - полая пробка с конусом КШ 14/5/8 по ГОСТ 8682-70
для внесения твердых веществ из микробюксов с навесками
твердых веществ в колбу для титрования (навеска вещества
попадает в колбу при вращении пробки); 5 - соединительная
трубка с двумя конусами КШ 19/9 и КШ 14,5/8
по ГОСТ 8682-70; 6 - перегонная колба вместимостью
5 - 10 см3 с конусом КШ 19/9 по ГОСТ 8682-70
для испытуемого препарата и растворителя;
7 - размешиватель магнитной мешалки
Пробка полая для внесения твердых веществ в колбу для титрования (черт. 1, б).
Приставка, состоящая из перегонной колбы и соединительной трубки, для азеотропной отгонки воды с растворителем (черт. 1, в).
Установка для визуального титрования воды
(черт. 2).
1 - колба для титрования; 2, 4, 11 - поглотительные
трубки, наполненные ангидроном и силикагелем-индикатором
или другими осушителями; 3 - бюретка (допускается
использование бюретки с автоматическим нулем и склянкой,
в этом случае из схемы исключаются склянки 6, 9, 12);
5, 7, 13 - резиновые пробки; 6 - склянка с тубусом
(должна быть защищена от света); 8, 10 - соединительные
шланги из полиэтилена или каучука; 9 - склянка
для промывания газов с реактивом Фишера для поглощения
влаги из воздуха; 12 - склянка для промывания газов
с серной кислотой
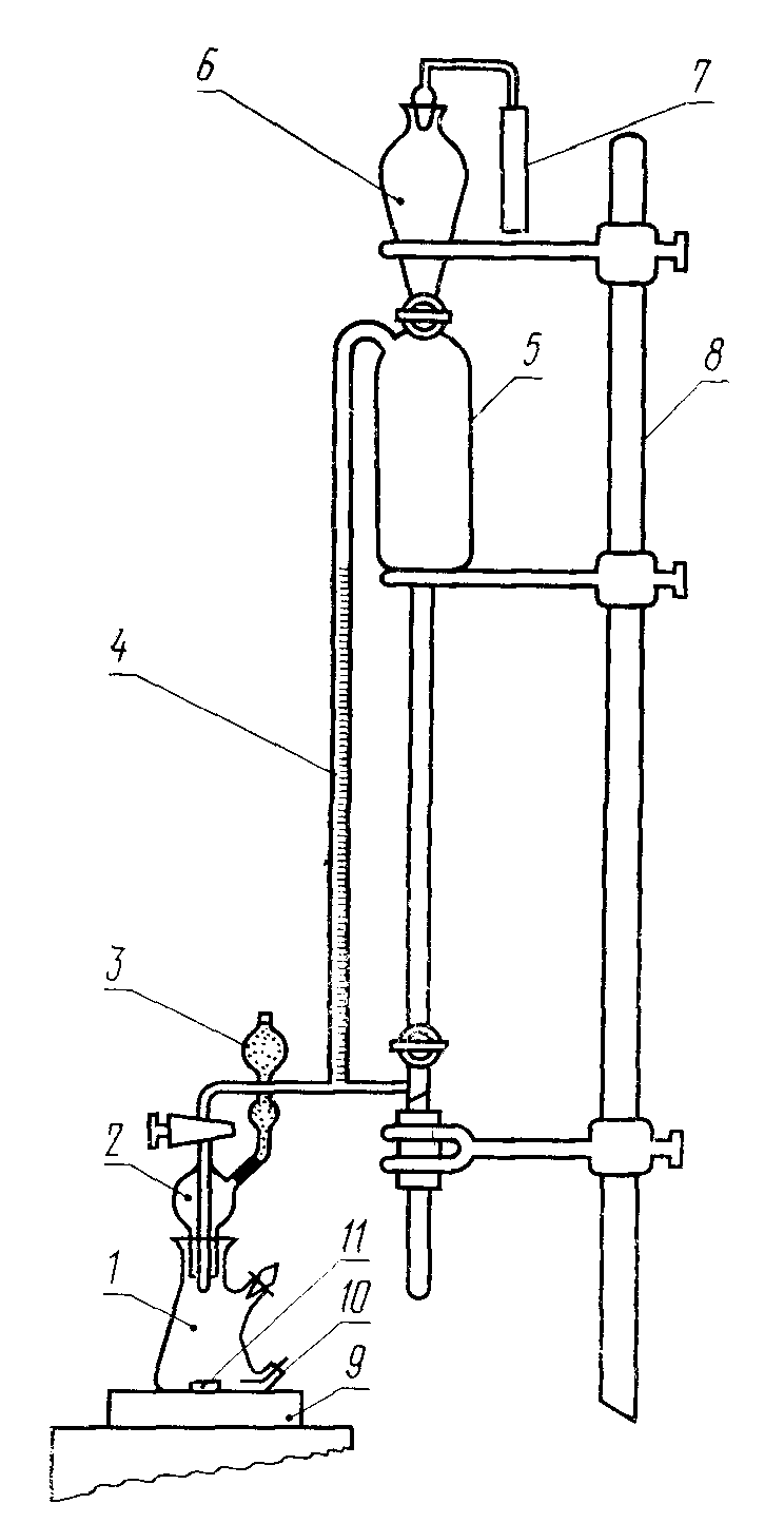
Установка для электрометрического титрования воды
(черт. 3).
1 - колба для титрования; 2 - насадка бюретки со шлифом;
3, 7 - поглотительные трубки; 4 - бюретка с ценой деления
0,01 или 0,02 см3; 5 - резервуар на 500 см3 для хранения
реактива; 6 - воронка; 8 - лабораторный штатив;
9 - магнитная мешалка; 10 - электроды (расстояние между
электродами на выводе 10 мм);
11 - размешиватель магнитной мешалки
Схема установки для электрометрического титрования
(черт. 4).
1 - сухой телефонный элемент типа 165-У или 145-У
по ГОСТ 3316-81; 2 - переключатель; 3 - сопротивление
30 кОм; 4 - микроамперметр типа М-24 на 50 - 140 мА;
5 - металлические пружинные зажимы; 6 - медные проволочки
с клеммами, припаянными к платиновым электродам;
7 - электроды платиновые диаметром 0,6 - 1,5 мм, длина
каждого электрода внутри колбы 20 мм; 8 - размешиватель
магнитной мешалки; 9 - колба для электрометрического
титрования; 10 - насадка бюретки с конусом КШ 19/9
по ГОСТ 8682-70; 11 - магнитная мешалка типа МЭА
Допускается применение любого другого прибора для электрометрического определения воды реактивом Фишера, обладающего той же чувствительностью.
(Измененная редакция, Изм. N 1, 2).
2.3. Подготовка к анализу
2.3.1. Условия проведения анализа
Масса навески анализируемого препарата должна быть указана в нормативно-технической документации на анализируемый препарат.
Если в нормативно-технической документации на анализируемый продукт не указана масса навески, она должна соответствовать значениям, указанным в
Приложении 2, в зависимости от предполагаемой массовой доли воды.
Реактивом Фишера титруют в условиях, исключающих попадание из воздуха влаги.
При анализе реактивов с массовой долей воды менее 0,005%, а также при определении воды в гигроскопических и высушенных веществах, пробы и растворители отбирают в боксе с контролируемой влагой или передавливанием жидких реактивов сухим азотом в колбу для титрования.
Для массовой доли воды более 0,01% конец титрования может быть установлен визуально и электрометрически. Массовую долю воды менее 0,01% определяют электрометрически с применением разбавленного реактива Фишера.
При визуальном титровании максимальная чувствительность определения достигается при прозрачных и бесцветных анализируемых растворах. В окрашенных растворах или в присутствии нерастворимых веществ точку эквивалентности устанавливают электрометрически.
В качестве растворителя применяют метанол. Допускается использовать 1,4-диоксан, диметилформамид (при использовании реактива Фишера видоизмененного состава по
п. 1.4 Приложения 1), 1,2-метоксиэтанол, пиридин, тетрахлорметан (хлороформ), этиленгликоль, ледяную уксусную кислоту и другие инертные растворители, а также смеси растворителей (например, смесь метанола с пиридином в объемном соотношении 4:1, смесь метанола с тетрахлорметаном (хлороформом) в объемном соотношении 1:3, смесь 1,2-метоксиэтанола с пиридином в объемном соотношении 4:1. Все применяемые растворители должны быть максимально обезвожены.
В реактиве Фишера метанол может быть заменен на 2-метоксиэтанол. Этот растворитель может быть использован для определения воды в альдегидах и кетонах без применения специальных приемов для устранения мешающего влияния анализируемого вещества.
Вещества, труднорастворимые в метаноле, но хорошо смачиваемые им, предварительно тонко измельчают, а затем встряхивают с метанолом в течение 5 - 10 мин и суспензию титруют.
В веществах, вступающих в реакцию с реактивом Фишера, воду определяют после их химической пассивации либо после отгонки воды в виде азеотропной смеси с растворителем, указанным в нормативно-технической документации на анализируемый продукт
(черт. 1).
Для определения воды в карбонильных соединениях и сильных кислотах применяют реактив Фишера видоизмененного состава (рекомендуется для электрометрического титрования).
Допускается определять массовую долю воды в некоторых органических и неорганических реактивах с йод-ацетатным раствором, приготовленным по
п. 1.5 Приложения 1.
(Измененная редакция, Изм. N 2).
2.3.2. Установка титра реактива Фишера
В зависимости от метода, принятого для анализа препарата, титр (водный эквивалент) реактива Фишера устанавливают визуальным или электрометрическим методом через 24 ч после приготовления реактива.
Титр реактива проверяют через каждые 2 - 3 сут, а для особо точных анализов и при значительном колебании температуры воздуха и влажности - ежедневно.
При хранении титр реактива Фишера уменьшается. Если титр реактива Фишера стал меньше чем 2 мг/см3, следует заменить реактив свежеприготовленным.
Титр реактива Фишера устанавливают одним из следующих способов.
А. Установка титра реактива Фишера по навеске воды
В сухую колбу для титрования вместимостью 50 - 100 см3 помещают 2 - 5 см3 метанола, отмеренных пипеткой, и добавляют реактив Фишера до появления красновато-коричневой окраски.
Взвешивают капельницу с водой (результат взвешивания в граммах записывают с точностью до четвертого десятичного знака).
Помещают в колбу для титрования одну каплю воды, стараясь не потерять воду при переносе.
Капельницу с оставшейся водой снова взвешивают (результат взвешивания в граммах записывают с точностью до четвертого десятичного знака). По разности масс устанавливают массу капли.
Раствор в колбе перемешивают и титруют реактивом Фишера до появления красновато-коричневой окраски.
Титр реактива Фишера (Т) - масса воды в миллиграммах, соответствующая 1 см3 реактива Фишера, в мг

вычисляют по формуле
где m - масса капли воды, г;
V - объем реактива Фишера, израсходованный на титрование, см3.
Б. Установка титра реактива Фишера по раствору воды в метаноле
В сухую колбу для титрования вместимостью 50 - 100 см3 помещают 10 см3 раствора воды в метаноле, отмеренных пипеткой или бюреткой, и титруют реактивом Фишера до появления красновато-коричневой окраски.
Одновременно титруют 10 см3 метанола, применяемого для приготовления раствора воды, также выдержанного в термостате при 20 °C.
Титр реактива Фишера

в мг

вычисляют по формуле
где m - масса навески воды, взятая для приготовления раствора воды в метаноле, г;
V - объем реактива Фишера, израсходованный на титрование 10 см3 раствора воды, см3;

- объем реактива Фишера, израсходованный на титрование 10 см3 метанола, см3.
В. Установка титра реактива Фишера по кристаллогидратам
7 - 10 см3 метанола, отмеренных пипеткой, помещают в сухую колбу для титрования вместимостью 50 - 100 см3 и добавляют реактив Фишера до появления красновато-коричневой окраски. Затем в колбу для титрования вносят около 0,0500 - 0,1000 г 3-водного уксуснокислого натрия (или тщательно растертого 2-водного тартрата натрия), перемешивают и титруют реактивом Фишера до появления красновато-коричневой окраски.
Титр реактива Фишера

в мг

вычисляют по формуле
где m - масса кристаллогидрата, г;

- масса кристаллогидрата, соответствующая 1 г воды, г (2,52 - для 3-водного уксуснокислого натрия; 6,39 - для 2-водного тартрата натрия);
V - объем реактива Фишера, израсходованный на титрование навески кристаллогидрата, см3.
(Измененная редакция, Изм. N 1, 2).
2.3.3. Подготовка приборов
2.3.3.1. Визуальное титрование
Установка для визуального титрования указана на
черт. 2.
Бюретку заполняют реактивом Фишера через кран из сосуда 6. При этом воздух, попадающий в установку, обезвоживается осушителем в поглотительной трубке, а также в склянках для промывания газов с концентрированной серной кислотой и реактивом Фишера. После заполнения бюретки следует убедиться в полноте стекания реактива.
В случае применения бюретки с автоматическим нулем и склянкой заполнение бюретки реактивом Фишера проводят передавливанием реактива Фишера из склянки при помощи резиновой груши. При этом воздух, попадающий в установку, обезвоживается твердым поглотителем (например, силикагелем и ангидроном).
Резервуар бюретки с реактивом Фишера изолируют от влаги воздуха при помощи поглотительной трубки, заполненной ангидроном и силикагелем-индикатором. Уровень жидкости в бюретке отмечают по верхнему краю мениска.
(Измененная редакция, Изм. N 2).
2.3.3.2. Электрометрическое титрование
Титр реактива Фишера определяют по
п. 2.3.2.
Установка для электрометрического титрования показана на
черт. 3.
Резервуар для хранения реактива 5 заполняют реактивом Фишера. Из резервуара через нижний боковой кран реактив Фишера поступает в бюретку.
Установка защищена от попадания влаги воздуха поглотительными трубками, наполненными ангидроном и силикагелем-индикатором.
Электрическую схему для определения точки эквивалентности собирают, как указано на
черт. 4. Для проверки электрической схемы замыкают электроды, поднося к их выводам металлический предмет. При замкнутых электродах отклонение стрелки микроамперметра должно быть на всю шкалу.
2.4. Проведение анализа
А. Визуальное титрование
Способ 1
2 - 10 см3 метанола помещают в сухую колбу для титрования, закрывают колбу пробкой со вставленным в нее концом бюретки и добавляют по каплям реактив Фишера при перемешивании вращательным движением или с помощью магнитной мешалки до появления красновато-коричневой окраски. Затем в колбу для титрования вносят навеску анализируемого препарата и титруют реактивом Фишера до той же окраски. Для расчета учитывают объем реактива Фишера, пошедший только на титрование анализируемого препарата.
Способ 2
2 - 10 см3 метанола помещают в сухую колбу, вносят навеску анализируемого препарата, закрывают колбу пробкой со вставленным в нее концом бюретки и титруют реактивом Фишера при перемешивании до появления красновато-коричневой окраски.
Одновременно титруют объем метанола, использованный для растворения навески препарата, и в результат определения вносят поправку.
Способ 3
Для веществ, не требующих предварительного смешивания с растворителем, навеску анализируемого препарата помещают в сухую колбу для титрования, закрывают колбу пробкой со вставленным в нее концом бюретки и титруют реактивом Фишера до появления красновато-коричневой окраски.
Б. Электрометрическое титрование
В сухую колбу для титрования помещают метанол и размешиватель магнитной мешалки. Электроды должны быть полностью погружены в метанол, а размешиватель не должен касаться двух электродов. Включают мешалку, замыкают электрическую цепь и титруют метанол реактивом Фишера. В начале титрования реактив Фишера прибавляют со скоростью 1 капля в секунду, при этом стрелка микроамперметра отклоняется от нулевого положения. При дальнейшем прибавлении реактива стрелка микроамперметра начинает сильно колебаться. В этом случае реактив Фишера добавляют со скоростью 1 капля в 5 с, а при приближении к точке эквивалентности - со скоростью 1 капля в 10 с. Титрование продолжают до тех пор, пока стрелка микроамперметра не установится и не продержится в течение 1 мин (по секундомеру) на определенном делении шкалы.
После окончания приливания реактива проводят проверку правильности титрования. Для этого останавливают магнитную мешалку и наблюдают по секундомеру время, в течение которого стрелка микроамперметра не начнет двигаться к исходному положению. Стрелка должна удерживаться в этом положении не более 15 с.
Затем в колбу для титрования
(черт. 1) через боковой штуцер вводят анализируемый препарат. Включают магнитную мешалку, перемешивают смесь в течение 1 - 2 мин и титруют реактивом Фишера, как описано выше.
Проверив правильность титрования, отмечают объем реактива Фишера, израсходованный на титрование препарата.
Допускается проводить титрование на лабораторном титраторе ЛТВ-375, лабораторном титрометре ТПЛ-75-7Г или на титраторе другого типа, обеспечивающем требуемую точность измерения.
(Измененная редакция, Изм. N 2).
2.4а. Допускается объем реактива Фишера, израсходованный на титрование, определять кинетическим способом.
Растворитель, указанный в нормативно-технической документации на препарат, титруют реактивом Фишера визуально (способ 1) или электрометрически.
Затем в колбу для титрования
(черт. 1) вводят анализируемый препарат, отмечая время ввода пробы в ячейку. Включают магнитную мешалку, перемешивают смесь в течение 1 - 2 мин и титруют реактивом Фишера до первоначального установления стрелки микроамперметра на определенном делении шкалы. Таким образом титруют в течение 10 - 15 мин с интервалом 1 - 2 мин. При этом каждый раз необходимо отмечать время титрования и объем израсходованного реактива.
По полученным результатам строят график в координатах: объем раствора Фишера, см3 - время титрования, мин.
Излом на кривой соответствует моменту полного окончания реакции реактива Фишера с водой, присутствующей в пробе. Дальнейший расход реактива объясняется выделением воды в побочном процессе или титрованием мешающих определению примесей, что соответствует пологой части графика: объем реактива Фишера - время титрования.
Отрезок, полученный при пересечении этой части графика с осью ординат, соответствует объему реактива Фишера, израсходованному на реакцию с водой, содержащейся в анализируемой пробе.
(Измененная редакция, Изм. N 2).
2.5. Обработка результатов
Массовую долю воды (X) в процентах вычисляют по одной из формул:

или

где V - объем реактива Фишера, израсходованный на титрование анализируемого препарата, см3;
Т - титр реактива Фишера, мг

;

- объем анализируемого препарата, взятый для определения, см3;
m - масса навески анализируемого препарата, г;

- плотность анализируемого препарата, г/см3.
За результат анализа принимают среднее арифметическое результатов двух параллельных определений, относительное расхождение между которыми не превышает допускаемое расхождение, равное 10%.
Допускаемая относительная суммарная погрешность результата анализа +/- 15% при определении массовых долей воды от 0,01 до 0,10% (включительно) и +/- 10% при определении массовых долей воды свыше 0,10 до 10% при доверительной вероятности p = 0,95.
(Измененная редакция, Изм. N 1, 2).
3. МЕТОД ОПРЕДЕЛЕНИЯ ВОДЫ ВЫСУШИВАНИЕМ
3.1. Сущность метода
Сущность метода заключается в высушивании вещества до постоянной массы и определении уменьшения массы вещества.
Реактивы и материалы - по
п. 2.2 настоящего стандарта.
Стаканчик для взвешивания высушивают до постоянной массы и взвешивают (результат взвешивания в граммах записывают с точностью до четвертого десятичного знака).
Помещают в стаканчик 1 - 5 г анализируемого препарата и взвешивают (результат взвешивания в граммах записывают с точностью до четвертого десятичного знака).
Приоткрыв крышку, стаканчик для взвешивания с анализируемым препаратом помещают в термостат (при необходимости на корковой подставке) и сушат при 105 - 110 °C до постоянной массы.
Если в нормативно-технической документации на анализируемый продукт указан способ высушивания в эксикаторе, наполненном определенным осушителем, то в эксикатор помещают стаканчик для взвешивания с анализируемым веществом, приоткрывают крышку стаканчика и выдерживают при комнатной температуре до постоянной массы.
Допускается высушивать анализируемый препарат до постоянной массы под инфракрасной лампой, при этом платиновую или кварцевую чашку (по ГОСТ 19908-80) с анализируемой пробой помещают на теплостойкую подставку (например, фторопластовую или керамическую).
В зависимости от свойств анализируемого препарата температура высушивания может быть другой, о чем должно быть указано в нормативно-технической документации на анализируемый продукт, а также должен быть указан способ высушивания и, при необходимости, осушитель.
Если нет специальных указаний в нормативно-технической документации на анализируемый препарат, первое взвешивание проводят после высушивания в течение 2 ч, последующие - через каждый час, пока не будет достигнута постоянная масса.
Стаканчик с анализируемым веществом с закрытой крышкой перед каждым взвешиванием помещают для охлаждения в эксикатор с прокаленным хлоридом кальция (или с другим осушителем) и выдерживают перед взвешиванием каждый раз одно и то же время, но не менее 30 мин.
(Измененная редакция, Изм. N 2).
3.3. Обработка результатов
Массовую долю воды

в процентах вычисляют по формуле
где

- масса бюксы с препаратом до высушивания, г;

- масса бюксы с препаратом после высушивания, г;
m - масса навески препарата, г.
За результат анализа принимают среднее арифметическое результатов двух параллельных определений, относительное расхождение между которыми не превышает допускаемое расхождение, равное 10%.
Допускаемая относительная суммарная погрешность результата анализа должна быть указана в нормативно-технической документации на анализируемый продукт.
(Измененная редакция, Изм. N 2).
4. МЕТОД ОПРЕДЕЛЕНИЯ ВОДЫ ОТГОНКОЙ С ОРГАНИЧЕСКИМ
РАСТВОРИТЕЛЕМ (МЕТОД ДИНА И СТАРКА)
4.1. Сущность метода
Сущность метода заключается в отгонке воды из смеси вещества с растворителем, образующим азеотропную смесь с водой.
4.2. Применяемые реактивы и приборы
Бензол по
ГОСТ 5955-75 или толуол по
ГОСТ 5789-78, или ксилол (смесь изомеров или о-ксилол, или м-ксилол, или п-ксилол).
Аппарат для количественного определения содержания воды в нефтяных, пищевых и других продуктах по ГОСТ 1594-69.
Перед употреблением следует удалить все следы жира с градуированной трубки и с внутренней трубки холодильника тщательным промыванием их, например, хромовой смесью (по
ГОСТ 4517-87), затем дистиллированной водой и ацетоном, затем высушить их.
4.3. Проведение анализа
Анализ следует проводить в вытяжном шкафу. Массу навески анализируемого препарата выбирают в зависимости от предполагаемой массовой доли воды таким образом, чтобы отогнанный объем воды в градуировочном цилиндре составлял 0,3 - 8,0 см3.
Навеску анализируемого препарата помещают в колбу аппарата и прибавляют 50 - 100 см3 растворителя (бензола, толуола или ксилола). Содержимое колбы тщательно перемешивают и вносят для равномерного кипения длинные капилляры или кусочки неглазурованного фарфора или прокаленной пемзы. Колбу соединяют с аппаратом и нагревают жидкость на закрытой электроплитке или песчаной бане до кипения. Кипячение ведут так, чтобы конденсирующийся растворитель не скапливался в холодильнике, а спокойно стекал навстречу поднимающимся парам жидкости со скоростью 2 - 4 капли в секунду. Кипячение прекращают, когда объем воды в приемнике перестанет увеличиваться и верхний слой растворителя в приемнике станет прозрачным.
Вся отогнанная вода должна собраться в нижней части приемника. Капли воды, осевшие на стенках приемника или трубке холодильника, осторожно сталкивают стеклянной палочкой с резиновым наконечником. После охлаждения жидкости в приемнике до комнатной температуры отмечают объем отогнанной воды.
4.4. Обработка результатов
Массовую долю воды

в процентах вычисляют по формуле
где V - объем воды в приемнике, см3;

- плотность воды, г/см3;
m - масса навески анализируемого препарата, г.
Для определения воды в веществах, легко отдающих воду и чувствительных к нагреванию до температуры кипения толуола, в качестве растворителя применяют бензол.
За результат анализа принимают среднее арифметическое результатов двух параллельных определений, относительное расхождение между которыми не превышает допускаемое расхождение, равное 10%.
Допускаемая относительная суммарная погрешность результата анализа должна быть указана в нормативно-технической документации на анализируемый продукт.
4.2 - 4.4. (Измененная редакция, Изм. N 2).
Обязательное
1. ПРИГОТОВЛЕНИЕ РЕАКТИВОВ ДЛЯ ОПРЕДЕЛЕНИЯ ВОДЫ ПО МЕТОДУ
ФИШЕРА
1.1. Реактивы и материалы
Ангидрид сернистый газообразный в баллонах.
Кальция хлорид обезвоженный.
Магний первичный в чушках по ГОСТ 804-72, измельченный в мелкую стружку.
Метанол-яд по
ГОСТ 6995-77 с массовой долей воды не более 0,05%.
Натрий йодистый 2-водный по ГОСТ 8422-76, высушенный до постоянной массы при 120 °C.
Натрий сернокислый по
ГОСТ 4166-76, высушенный до постоянной массы при 105 °C.
Натрий уксуснокислый 3-водный по
ГОСТ 199-78, высушенный до постоянной массы при 125 °C.
Смесь из ацетона и твердой двуокиси углерода готовят постепенным прибавлением в ацетон малыми порциями твердой двуокиси углерода.
Колба К-1-1000-29/32(34/35, 45/40);
Бутылки стеклянные для химических реактивов.
Склянки для промывания газов (склянки Тищенко) СПЖ-250 по
ГОСТ 25336-82.
Термометр.
(Измененная редакция, Изм. N 1, 2).
1.2. Приготовление обезвоженных реактивов
1.2.1. Приготовление обезвоженного метанола (с массовой долей воды не более 0,05%)
Обезвоженный метанол получают обработкой его метилатом магния с последующей отгонкой.
В круглодонную колбу вместимостью 1 дм3, снабженную обратным холодильником с хлоркальциевой трубкой, помещают 5 г чистой сухой магниевой стружки, 0,5 г йода и вливают через холодильник 200 см3 метанола. При этом происходит энергичное выделение водорода. Если водород выделяется слабо, прибавляют еще 0,5 г йода, а смесь слегка нагревают на водяной бане до превращения всего магния в метилат магния, выделяющийся на стенках колбы в виде белого осадка. Затем через холодильник приливают в колбу еще 600 см3 метанола и кипятят смесь в течение 30 мин. Обезвоженный метанол перегоняют, используя дефлегматор. В склянку, снабженную хлоркальциевой трубкой, собирают фракцию, кипящую в пределах 64 - 65,5 °C (при давлении 101330 Па). При перегонке применяют все меры предосторожности против попадания влаги воздуха в метанол.
(Измененная редакция, Изм. N 2).
1.2.2. Приготовление обезвоженного пиридина
1.2.2.1. Обезвоживание пиридина методом азеотропной отгонки воды с бензолом
В круглодонную колбу вместимостью 1 дм3 помещают 500 см3 пиридина и 100 см3 бензола. Содержимое колбы тщательно взбалтывают в течение 5 - 10 мин и подвергают разгонке, используя дефлегматор. Затем в склянку, снабженную хлоркальциевой трубкой, собирают фракцию, кипящую при 114 - 116 °C (при давлении 101330 Па).
1.2.2.2. Обезвоживание пиридина с предварительным высушиванием гидроокиси калия
К 1 л пиридина прибавляют 50 г гидроокиси калия и выдерживают в закрытой склянке в течение 7 сут. Затем жидкость над осадком разгоняют через дефлегматор и отбирают фракцию, кипящую при 114 - 116 °C (при давлении 101330 Па), в склянку, снабженную хлоркальциевой трубкой.
1.2.3. Получение жидкого обезвоженного сернистого ангидрида
Для обезвоживания сернистый ангидрид пропускают через две последовательно соединенные склянки для промывания газов с концентрированной серной кислотой и колонку, наполненную безводным хлористым кальцием. Сернистый ангидрид конденсируется в сосуде, охлажденном смесью твердой углекислоты с ацетоном. Сосуд должен быть снабжен хлоркальциевой трубкой.
1.2.4. Приготовление обезвоженного йода
Йод растирают до мелкого зернистого порошка, насыпают тонким слоем в стаканчик для взвешивания и ставят на 2 - 3 сут в эксикатор над безводным хлористым кальцием. Сохраняют йод в том же эксикаторе.
1.2.5. Приготовление обезвоженного диметилформамида
Диметилформамид высушивают надсернокислым натрием в течение суток и перегоняют в вакуум, отбирая фракцию при стабильной температуре.
1.2.2.1 - 1.2.5. (Измененная редакция, Изм. N 2).
1.3. Приготовление реактива Фишера
В состав реактива входят обезвоженные:
метанол-яд - 600 см3;
пиридин - 220 см3;
йод - 75 г;
сернистый ангидрид жидкий - 33 см3 (54 г).
Реактив Фишера готовят в виде двух отдельных растворов.
Раствор 1
В сухую колбу помещают 220 см3 пиридина, охлаждают колбу смесью сухого льда и ацетона, приливают в нее осторожно порциями 33 см3 жидкого сернистого ангидрида и перемешивают содержимое колбы. Температуру смеси постепенно доводят до комнатной, после чего смесь переливают в сухую склянку с пришлифованной пробкой. Кроме того, раствор 1 допускается готовить, насыщая пиридин газообразным сернистым ангидридом. Для этого стеклянную бутылку с пиридином плотно закрывают пробкой с двумя стеклянными трубками: одна, доходящая до дна бутылки, для ввода газообразного сернистого ангидрида; вторая, короткая, для вывода газа. Стеклянную бутылку с пиридином взвешивают, помещают в сосуд со льдом и при охлаждении ведут насыщение сернистым ангидридом до тех пор, пока привес не составит 54 г.
Раствор 2
В стеклянную бутылку темного стекла с пришлифованной пробкой вместимостью 1000 см3 помещают 600 см3 метанола и 75 г йода, закрывают пробкой, перемешивают и оставляют стоять до полного растворения йода.
Смешиванием растворов 1 и 2 в объемном соотношении 1:2,17 получают реактив Фишера с титром около 4 мг/см3.
Реактив Фишера с титром 1 мг/см3 готовят смешиванием полученного реактива с метанолом 1:1. Раствор сохраняют в герметически закрытых стеклянных бутылках, защищенных от попадания света.
1.4. Приготовление реактива Фишера видоизмененного состава
В состав реактива входят обезвоженные:
диметилформамид - 475 см3;
пиридин - 220 см3;
йод - 38 г;
ангидрид сернистый жидкий - 33 см3 (54 г).
Реактив готовят смешиванием двух растворов: раствора 1, приготовленного по
п. 1.3 Приложения 1, и раствора 2а.
Раствор 2а
В сухую стеклянную бутылку темного стекла с пришлифованной пробкой помещают 475 см3 диметилформамида и 38 г йода, закрывают бутылку пробкой, перемешивают и оставляют стоять до полного растворения йода.
Для получения реактива с титром около 1 мг/см3 смешивают 75 см3 раствора 1; 160 см3 раствора 2а и 235 см3 диметилформамида.
1.3, 1.4. (Измененная редакция, Изм. N 1, 2).
1.5. Приготовление йод-ацетатного раствора
В сухую стеклянную бутылку темного стекла с пришлифованной пробкой помещают 700 см3 метанола, 23 г йодистого натрия и 85 г безводного уксуснокислого натрия, закрывают пробкой и перемешивают содержимое бутылки до полного растворения йода и солей. Полученный раствор насыщают сернистым ангидридом (как описано в
п. 1.2.3 Приложения 1), пока привес не составит 23 г.
Затем объем раствора доводят метанолом до 1 дм3, перемешивают и сохраняют в герметически закрытой стеклянной бутылке, защищенной от попадания света.
Титр йод-ацетатного раствора устанавливают одним из способов, указанных для установки титра реактива Фишера (
п. 2.3.2 настоящего стандарта).
(Измененная редакция, Изм. N 2).
Рекомендуемое
МАССА НАВЕСКИ АНАЛИЗИРУЕМОГО ПРОДУКТА В ЗАВИСИМОСТИ
ОТ ПРЕДПОЛАГАЕМОЙ МАССОВОЙ ДОЛИ ВОДЫ
Массовая доля воды, % | Масса навески, г |
До 0,01 | 100 - 10 |
От 0,01 до 0,1 включ. | 10 - 5 |
Св. 0,1 до 1 | 5 - 2 |
Св. 1 до 10 | 2 - 0,3 |
Св. 10 | 0,3 - 0,05 |