Главная // Актуальные документы // ГОСТ (Государственный стандарт)СПРАВКА
Источник публикации
М.: ИПК Издательство стандартов, 1996
Примечание к документу
С 1 июля 2003 года до вступления в силу технических регламентов акты федеральных органов исполнительной власти в сфере технического регулирования носят рекомендательный характер и подлежат обязательному исполнению только в части, соответствующей целям, указанным в
пункте 1 статьи 46 Федерального закона от 27.12.2002 N 184-ФЗ.
Снято ограничение срока действия Постановлением Госстандарта СССР от 22.10.1990 N 2662.
Введен в действие с 1 января 1984 года.
Взамен ГОСТ 5105-76.
Название документа
"ГОСТ 5105-82. Канистры стальные для горючего и масел. Технические условия"
(утв. Постановлением Госстандарта СССР от 24.11.1982 N 4439)
(ред. от 01.11.1991)
"ГОСТ 5105-82. Канистры стальные для горючего и масел. Технические условия"
(утв. Постановлением Госстандарта СССР от 24.11.1982 N 4439)
(ред. от 01.11.1991)
Утвержден и введен в действие
Постановлением Госстандарта СССР
от 24 ноября 1982 г. N 4439
ГОСУДАРСТВЕННЫЙ СТАНДАРТ СОЮЗА ССР
КАНИСТРЫ СТАЛЬНЫЕ ДЛЯ ГОРЮЧЕГО И МАСЕЛ
ТЕХНИЧЕСКИЕ УСЛОВИЯ
Steel tanks for fuel and oils.
Specifications
ГОСТ 5105-82
| | Список изменяющих документов (в ред. Изменения N 1, утв. в сентябре 1986 г., Изменения N 2, утв. в сентябре 1987 г., Изменения N 3, утв. в июне 1988 г., Изменения N 4, утв. в июне 1989 г., Изменения N 5, утв. в ноябре 1991 г.) | |
Дата введения
1 января 1984 года
1. Разработан и внесен Министерством судостроительной промышленности.
Разработчики: Г.М. Агапкин, В.М. Шмельков, В.В. Крашенинников, С.Г. Побожей.
2. Утвержден и введен в действие Постановлением Государственного комитета СССР по стандартам от 24.11.1982 N 4439.
3. Взамен ГОСТ 5105-76.
4. Срок проверки - 1996 г.
5. Ссылочные нормативно-технические документы
───────────────────────────────┬──────────────────────────────────
Обозначение НТД, │ Номер пункта
на который дана ссылка │
───────────────────────────────┼──────────────────────────────────
ИС МЕГАНОРМ: примечание.
Взамен ГОСТ 8448-78 Приказом Росстандарта от 20.09.2019 N 729-ст с
ИС МЕГАНОРМ: примечание.
Взамен ГОСТ 16523-89 Постановлением Госстандарта РФ от
04.04.1999 N 113 с 1 января 2000 года введен в действие
6. Снято ограничение срока действия Постановлением Госстандарта от 22.10.1990 N 2662.
7. Переиздание (март 1996 г.) с Изменениями N 1, 2, 3, 4, 5, утвержденными в сентябре 1986 г., сентябре 1987 г., июне 1988 г., июне 1989 г., ноябре 1991 г. (ИУС 12-86, 1-88, 10-88, 10-89, 2-92).
Настоящий стандарт распространяется на сварные стальные канистры, предназначенные для транспортирования и хранения горючего и масел.
(Измененная редакция, Изм. N 5).
1. ТИПЫ, ОСНОВНЫЕ ПАРАМЕТРЫ И РАЗМЕРЫ
1.1. Канистры должны изготовляться трех типов (
черт. 1 -
3) вместимостью 5, 10 и 20 дм3.
Канистра вместимостью 5 дм3
1 - горловина; 2 - ручка; 3 - корпус;
4 - место для товарного знака; 5 - место нанесения
года изготовления
Канистра вместимостью 10 дм3
1 - горловина; 2 - ручка; 3 - корпус;
4 - место для товарного знака; 5 - место нанесения
года изготовления
Черт. 2
Канистра вместимостью 20 дм3
1 - горловина; 2 - ручка; 3 - корпус;
4 - место для товарного знака; 5 - место нанесения
года изготовления
Канистры всех типов изготовляют с одинаковыми по конструкции и размерам горловиной, крышкой и рычажным затвором, указанным на
черт. 4 и
5.
Соединение горловины с корпусом
А - А
1 - горловина; 2 - корпус; 3 - воздушная трубка
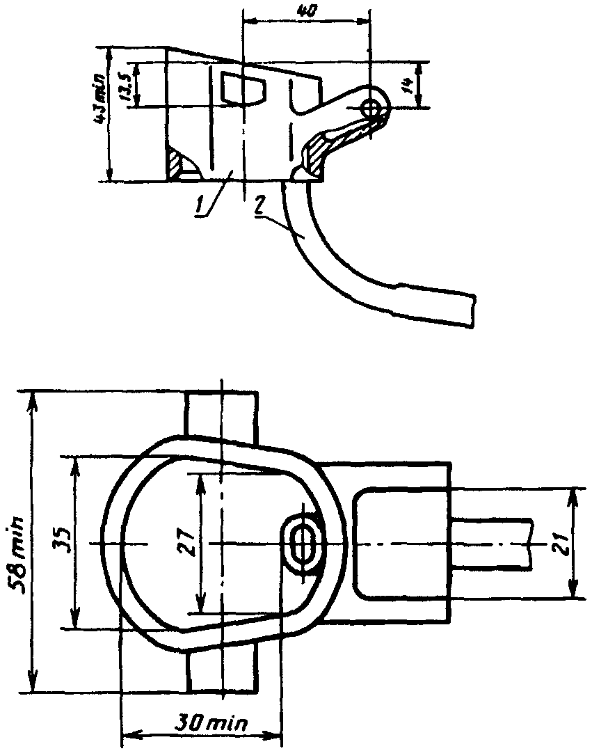
Горловина с крышкой в сборе
1 - воздушная трубка; 2 - горловина; 3 - стойка;
4 - крышка; 5 - планка; 6 - рычаг; 7 - прокладка; 8 - зажим
Для канистр вместимостью 10 и 20 дм3 допускается изготовлять горловину с круглым сечением в основании. При этом должно быть обеспечено прилегание стойки к горловине.
На канистрах вместимостью 20 дм3 допускается установка литой горловины со стойкой (черт. 6), изготовленной способом точного литья.
Литая горловина
1 - горловина; 2 - воздушная трубка
Черт. 6
1.2. Основные размеры канистр должны соответствовать указанным на
черт. 1 - 6 и в табл. 1.
Таблица 1
Размеры, мм
─────────────────┬────────────┬────────────┬────────────┬─────────
Вместимость, дм3│ a │ b │ h │ Масса,
────────┬────────┤(пред. откл.│(пред. откл.│(пред. откл.│ кг, не
номин. │ полная │ +/- 2) │ +/- 2) │ +/- 2) │ более
────────┼────────┼────────────┼────────────┼────────────┼─────────
5 │ 5,3 │ 210 │ 120 │ 290 │ 2,3
10 │ 11,0 │ 280 │ 130 │ 390 │ 3,2
20 │ 21,2 │ 345 │ 165 │ 468 │ 4,5
Примечания. 1. Полной вместимостью канистры считают часть ее внутреннего пространства, которое может быть заполнено продуктом при расположении канистры на горизонтальной плоскости. Незаполняемая часть называется воздушным мешком
(черт. 4).
2. Масса указана для канистр со сварной горловиной.
(Измененная редакция, Изм. N 1, 3).
1.3. Условное обозначение канистры должно содержать буквы КС, вместимость канистры и обозначение настоящего стандарта.
Пример условного обозначения канистры вместимостью 20 дм3:
КС-20 ГОСТ 5105-82
1.4. Неуказанные предельные отклонения размеров деталей канистр должны быть не ниже: диаметров Н 16; h16; остальных

по
ГОСТ 25670-83.
(Измененная редакция, Изм. N 3, 5).
1.5. Канистры не являются мерой вместимости для определения количества заливаемых продуктов.
1.6. Основные эксплуатационные параметры канистры должны быть:
рабочее давление, МПа (кгс/см2), не более ........... 0,03 (0,3)
допускаемое разрежение, МПа (кгс/см2), не более ..... 0,01 (0,1)
температура окружающего воздуха, °C ................. от минус 50
до плюс 50.
2. ТЕХНИЧЕСКИЕ ТРЕБОВАНИЯ
2.1. Канистры должны изготовляться в соответствии с требованиями настоящего стандарта по чертежам, утвержденным в установленном порядке.
(Измененная редакция, Изм. N 5).
| | ИС МЕГАНОРМ: примечание. Взамен ГОСТ 16523-89 Постановлением Госстандарта РФ от 04.04.1999 N 113 с 1 января 2000 года введен в действие ГОСТ 16523-97. | |
2.2. Детали канистры изготовляют из листовой или рулонной 5-й категории, повышенной отделки, глубокой вытяжки по ГОСТ 16523-89 или холоднокатаной малоуглеродистой качественной стали марки 08 кп повышенной отделки, весьма глубокой вытяжки по
ГОСТ 9045-93, толщиной:
корпус, ручка и зажим, мм 0,8 - 0,9
горловина, крышка, планка мм, не менее 1,2
стойка, мм, не менее 1,6
рычаг, мм, не менее 2,5
Допускается по согласованию с потребителем (заказчиком) применять другие марки стали, по качеству не ниже указанных.
| | ИС МЕГАНОРМ: примечание. Взамен ГОСТ 10704-76 Постановлением Госстандарта СССР от 15.11.1991 N 1743 с 1 января 1993 года введен в действие ГОСТ 10704-91. | |
Воздушную трубку изготовляют из стальной трубы размером 10 x 1 или 8 x 1 по ГОСТ 10704-76; трубы размером 10 x 0,7 по ГОСТ 11249-80; трубы размером 10 x 0,8 по ТУ 14-3-960-80.
Литую горловину со стойкой изготовляют из стали марок 20Л - 35Л по 1-й группе ГОСТ 977-75.
Прокладку изготовляют из резиновой маслобензостойкой, мягкой пластины типа I марки

, по
ГОСТ 7338-90. Размеры прокладки указаны на
черт. 5.
Допускается применять формованные прокладки из резины того же качества.
Корпус, ручку и зажим в канистрах, предназначенных для экспорта, в соответствии с заказом-нарядом внешнеторговых объединений допускается изготовлять из стального листа толщиной 1 мм, при этом масса канистры вместимостью 20 дм3 должна быть не более 4,95 кг.
(Измененная редакция, Изм. N 3, 5).
2.2а. По согласованию с потребителем допускается изготовлять корпус, ручку и зажим канистры из стали толщиной 0,7 мм, за исключением канистр, предназначенных для военной техники.
(Введен дополнительно, Изм. N 5).
2.3. Корпус сваривают из двух штампованных половин. На сварных швах не должно быть острых кромок. Допускается выступ шва не более 3 мм за контуры корпуса, за исключением опорной поверхности донной части канистры.
(Измененная редакция, Изм. N 3).
2.4. В соединении горловины с корпусом
(черт. 4) не допускается, чтобы отбортованный край отверстия корпуса выступал вовнутрь горловины.
2.5. Поперечное сечение горловины должно обеспечивать свободное прохождение патрубка диаметром 30 мм.
2.6. Продольная ось горловины с рычажным затвором должна быть параллельна плоскости соединения половин корпуса канистры. Допускается отклонение не более 2 мм на длине 50 мм.
2.7. Внутри канистры помещают
(черт. 4) воздушную трубку. Форма трубки должна обеспечивать плавное (без хлопков) выливание жидкости из канистры.
(Измененная редакция, Изм. N 3).
2.8. Прокладка должна быть надежно закреплена зажимом, приваренным к крышке. Прокладка должна обеспечивать герметичность соединения крышки с горловиной.
2.9. При закрывании горловины крышкой рожки рычага должны плотно входить в скобы стойки. Профиль рабочей стороны рожков рычага должен обеспечивать надежное удержание рычага в закрытом состоянии.
(Измененная редакция, Изм. N 3).
2.10. Конец рычага при закрытой крышке, во избежание случайного ее открывания, не должен выступать за плоскость верхнего контура ручки. На конце рычага делают отверстие для пломбирования горловины канистры.
2.11. На поверхности канистр допускаются вмятины, выпуклости и гофры, не снижающие эксплуатационные качества изделия, величиной не более половины допуска на габаритный размер, а также царапины, риски и другие следы от инструмента глубиной не более минусового допуска на толщину материала.
2.12. Корпус канистры с горловиной должен быть герметичным при внутреннем избыточном давлении, равном 0,03 МПа (0,3 кгс/см2).
2.11, 2.12. (Измененная редакция, Изм. N 3).
2.13. Канистры должны быть прочными: в заполненном состоянии они должны выдерживать четыре падения с высоты 1 м.
2.14. Ручка должна выдерживать нагрузку, равную двойной массе канистры, наполненной водой.
2.15. Требования к противокоррозионному покрытию
2.15.1. Канистры должны быть снаружи и внутри окрашены эмалями.
По согласованию с потребителем для временной защиты допускается консервирование или химическое фосфатирование внутренней поверхности канистры, за исключением канистр, предназначенных для военной техники.
(Измененная редакция, Изм. N 3, 4, 5).
2.15.2. Наружная поверхность канистры должна быть окрашена эмалями защитного цвета по нормативно-технической документации.
Допускается по согласованию с заказчиком (потребителем) окраска канистр в другие цвета.
Количество наносимых слоев - в соответствии с требованиями стандартов на эти лакокрасочные материалы.
Для бензостойкого покрытия применяют эмаль МЛ-12 по
ГОСТ 9754-76 или другие бензостойкие эмали.
(Измененная редакция, Изм. N 1, 3, 4).
2.15.3. Внутреннюю поверхность корпуса канистры и горловины, воздушную трубку (снаружи), внутреннюю часть крышки и зажим окрашивают бензостойкой эмалью МЛ-629 по грунтовке МЛ-029. По согласованию с заказчиком (потребителем) допускается применять другие, равноценные по защитным свойствам, бензостойкие лакокрасочные материалы.
Допускается одновременная окраска внутренней поверхности смесью грунта и эмали в соотношении 1:1,5.
(Измененная редакция, Изм. N 2, 3).
2.15.4. При поставке канистр на экспорт требования к окраске устанавливают в соответствии с заказ-нарядом внешнеторгового объединения.
2.15.5. Подготовка поверхностей канистры под окраску должна соответствовать требованиям
ГОСТ 9.402-80.
(Измененная редакция, Изм. N 3).
2.15.6. Допускается вместо фосфатирования производить обработку внутренней поверхности канистры раствором ортофосфорной кислоты по
ГОСТ 10678-76 после обработки раствором кальцинированной соды по
ГОСТ 5100-85.
2.15.7. После высыхания лакокрасочное покрытие должно представлять собой прочную сплошную эластичную пленку без пор, трещин и отслоений. По внешнему виду наружное покрытие должно соответствовать V классу по
ГОСТ 9.032-74, по условиям эксплуатации - группе У2 по
ГОСТ 9.104-79, внутреннее покрытие соответственно VI классу и маслобензостойкости по
ГОСТ 9.032-74.
2.15.8 Внутреннее покрытие должно выдерживать воздействие бензинов, содержащих до 40% ароматических углеводородов, и обладать водостойкостью.
Наружное покрытие канистр в части бензостойкости должно отвечать требованиям
ГОСТ 9.403-80.
Допускается канистры, предназначенные для нужд народного хозяйства, изготовлять с небензостойким наружным покрытием.
2.15.7, 2.15.8 (Измененная редакция, Изм. N 4).
2.15.9. Механические свойства внутреннего покрытия должны быть следующими:
прочность при прямом ударе, Н x см (кгс x см), не менее .... 392,0 (40)
адгезия (по методу решетчатых надрезов), баллы, не ниже .... 2.
(Измененная редакция, Изм. N 2).
2.15.10. Толщина внутреннего покрытия (после сушки) должна быть не менее 15 мкм, наружного - не менее 30 мкм.
(Измененная редакция, Изм. N 2).
2.15.11. Пропуски с обнажением металла, морщины, отслоения лакокрасочного покрытия на внутренней поверхности канистры не допускаются и исправлению не подлежат.
При неполном укрытии грунтовки эмалью допускается повторное нанесение эмали на внутреннюю поверхность канистры.
2.16. Канистра, заполненная водой, закрытая крышкой, повернутая горловиной вниз, в течение 5 мин не должна давать течи.
(Введен дополнительно, Изм. N 3).
3.1. Канистры принимают партиями. Партией считают канистры одного типа, сопровождаемые одним документом о качестве.
Документ о качестве должен содержать:
наименование предприятия-изготовителя и (или) его товарный знак;
наименование продукции и ее условное обозначение;
дату выпуска;
штамп ОТК;
обозначение настоящего стандарта.
(Измененная редакция, Изм. N 1).
3.2. Канистры должны подвергаться приемо-сдаточным, периодическим и типовым испытаниям.
3.3. При приемо-сдаточных испытаниях контролируют герметичность (до окраски), внешний вид и размеры. Герметичность и внешний вид контролируют у каждой канистры; размеры - на канистрах, отобранных в объеме 1% от партии, но не менее чем на десяти.
3.4. Периодические испытания проводят не реже одного раза в квартал.
Периодические испытания проводят на канистрах, прошедших приемо-сдаточные испытания, в объеме и по показателям качества, указанным в табл. 2.
Таблица 2
───────────────────────┬──────────────────────┬───────────────────
Наименование │ Пункты настоящего │ Объем выборки,
показателя качества │ стандарта │ шт.
├───────────┬──────────┤
│Технические│ Методы │
│требования │испытаний │
───────────────────────┼───────────┼──────────┼───────────────────
Сопротивление ударам │
2.13 │
4.4 │ 3
при свободном падении │ │ │
───────────────────────┼───────────┼──────────┼───────────────────
Прочность крепления │
2.14 │
4.5 │ 3
ручки │ │ │
───────────────────────┼───────────┼──────────┼───────────────────
Качество противо- │ │ │
коррозионного покрытия:│ │ │
бензостойкость │ │ │
(для канистр с бензо- │ │ │
стойким покрытием) │ │ │
механические свойства│
2.15.9 │
4.11 │на трех канистрах
│ │ │
Герметичность крышки │
2.16 │
4.3 │
канистры │ │ │
(Измененная редакция, Изм. N 1, 3, 4, 5).
При получении неудовлетворительных результатов хотя бы по одному из показателей периодические испытания переводят в приемо-сдаточные до получения положительных результатов на трех партиях подряд.
Результаты периодических испытаний оформляют протоколом.
3.5. При получении неудовлетворительных результатов приемосдаточных испытаний хотя бы по одному из показателей проводят повторные испытания удвоенного количества канистр, взятых от той же партии. Если при повторном контроле получены неудовлетворительные результаты испытаний хотя бы по одному из показателей, партию считают не соответствующей требованиям настоящего стандарта.
(Измененная редакция, Изм. N 1).
3.6. Типовые испытания проводят по программе приемо-сдаточных и периодических испытаний с дополнениями, согласованными с заказчиком.
(Измененная редакция, Изм. N 3).
4.1. Качество деталей, сварных швов, наружного и внутреннего лакокрасочных покрытий контролируют визуально без применения увеличительных приборов.
Внутреннюю поверхность канистры осматривают через горловину с помощью электрической лампочки, опускаемой внутрь канистры, и специального зеркала, позволяющего видеть внутреннюю поверхность канистры.
4.2. Размеры канистр и их деталей контролируют универсальными мерительными инструментами и шаблонами.
4.3. Герметичность корпуса канистры с горловиной контролируют воздухом с избыточным давлением, равным 0,03 МПа (0,3 кгс/см2). При погружении канистры в воду не менее чем на 15 с не должны появляться пузырьки воздуха, свидетельствующие о негерметичности канистры.
Герметичность крышки канистры контролируют следующим образом: канистру заполняют водой с температурой (20 +/- 2) °C, закрывают крышкой, переворачивают вниз горловиной, при этом в течение 5 мин не должно быть течи.
(Измененная редакция, Изм. N 3).
| | ИС МЕГАНОРМ: примечание. Взамен ГОСТ 18425-73 Приказом Росстандарта от 28.08.2018 N 538-ст с 1 июня 2019 года введен в действие ГОСТ 18425-2018. | |
4.4. Испытание канистр на удар при свободном падении проводят по ГОСТ 18425-73. Канистру заполняют водой и обеспечивают свободное падение с высоты 1 м сначала на один из углов дна, затем последовательно на прилегающие к нему короткое и длинное ребро, затем на дно. При этом не должно быть нарушения целостности деталей, неплотности в сварных швах и произвольного открывания затвора.
Допускается деформация корпуса и деталей канистры.
(Измененная редакция, Изм. N 3).
4.5. Испытание ручки проводят грузом, прикрепленным к корпусу канистры, подвешенной за ручку. При этом ручка не должна отрываться от корпуса канистры. Допускается деформация ручки.
4.6. Качество внутреннего покрытия канистр контролируют: испытанием его на бензостойкость, водостойкость и механическую прочность (см.
Приложение 1);
определением сплошности и толщины покрытия.
| | ИС МЕГАНОРМ: примечание. Взамен ГОСТ 8448-78 Приказом Росстандарта от 20.09.2019 N 729-ст с 01.03.2020 введен в действие ГОСТ 8448-2019. | |
4.7. Испытание внутреннего покрытия на бензостойкость должно проводиться воздействием на него смесью автомобильного бензина А-76 по
ГОСТ 2084-77 и каменноугольного бензола по ГОСТ 8448-78. Смесь составляют из трех частей автомобильного бензина и двух частей бензола (по массе).
Испытания проводят на пластинах.
Перед испытанием с пластин удаляют наружное небензостойкое лакокрасочное покрытие или закрывают его эпоксидной шпатлевкой марки ЭП-0010 по
ГОСТ 10277-90; края пластин на расстоянии 3 - 5 мм защищают указанной шпатлевкой. Затем пластины выдерживают в течение 24 ч при температуре 18 - 22 °C и относительной влажности воздуха 65 - 70%.
Пластины помещают в закрывающийся лабораторный сосуд, оборудованный обратным холодильником, заполняют сосуд до установленного уровня смесью бензина с бензолом и нагревают на водяной бане до 60 °C. При этой температуре пластины выдерживают в сосуде в течение 8 ч, затем дают охладиться и выдерживают их в сосуде еще 16 ч. Указанный цикл повторяют последовательно три раза.
Сосуд заполняют смесью так, чтобы 25 - 30% поверхности пластины находилось вне смеси. Пластины располагают не более двух в каждом сосуде вертикально с расстоянием между ними и от стенок сосуда не менее 10 мм.
Испытания должны проводиться в вытяжном шкафу.
Испытания наружного покрытия на бензостойкость - по
ГОСТ 9.403-80.
(Измененная редакция, Изм. N 4, 5).
| | ИС МЕГАНОРМ: примечание. В официальном тексте документа, видимо, допущена опечатка: возможно, имеется в виду пункт 4.8, а не пункт 4.6. | |
4.6. Испытание покрытия на водостойкость контролируют воздействием на него горячей воды.
Пластину, подготовленную в соответствии с требованиями
п. 4.7, помещают в сосуд, заполненный до установленного уровня водой, нагретой, до температуры 80 - 85 °C, выдерживают там в течение 30 мин, затем вынимают ее и сушат фильтровальной бумагой по
ГОСТ 12026-76 и обдуванием воздухом при температуре 18 - 22 °C.
Сосуд должен заполняться водой так, чтобы 25 - 30% поверхности пластины находилось вне жидкости.
4.9. При испытаниях на бензостойкость и водостойкость покрытие не должно растворяться, вспучиваться, пузыриться и отслаиваться.
Допускается незначительное размягчение пленки, которое должно исчезнуть не более чем через 1 ч после выдерживания покрытия на воздухе при температуре 18 - 22 °C.
При испытаниях на водостойкость допускается, кроме того, наличие на отдельных участках покрытия (общей площадью не более 5% от всей поверхности) мелких пузырей (сыпи) диаметром до 1 мм.
Изменения свойств покрытия, находящегося на расстоянии менее 10 мм от края образца, не учитывают.
4.10. Осмотр покрытия после испытаний по
пп. 4.7 и
4.8 производят без применения увеличительных приборов.
4.11. Испытания механических свойств покрытия проводят:
4.12. Определение сплошности покрытия производят на пластине с помощью электролитического дефектоскопа, схема которого приведена в
Приложении 2.
К краю пластины, тщательно зачищенному от наружного лакокрасочного покрытия, прикрепляют соединенную с источником тока металлическую струбцину так, чтобы был обеспечен контакт ее с металлом пластины. Кисточку, соединенную с противоположным полюсом источника тока, смачивают раствором электролита (0,1%-ный раствор хлористого натрия) и затем проводят ею по поверхности испытуемого лакокрасочного покрытия. Отклонение стрелки гальванометра, включенного в цепь, указывает на дефекты покрытия (наличие пор, трещин и т.д.) в месте нахождения кисточки.
4.13. Измерение толщины покрытия производят на пластинах магнитным методом по
ГОСТ 9.302-88 с помощью магнитного толщиномера.
4.14. Для испытаний по
пп. 4.7,
4.8;
4.11;
4.12;
4.13 берут пластины, вырезанные из корпуса канистры. Размер пластин - 70 x 150 мм (кроме испытаний по
п. 4.13, где их размер не устанавливается). Для канистр вместимостью 5 дм3 допускается уменьшать размеры пластин на 30 - 35%, для канистр вместимостью 10 л - на 10 - 15%.
Места вырезки пластин для испытаний указаны в обязательном
Приложении 1.
4.15. Качество наружного покрытия канистры контролируют внешним осмотром и измерением толщины покрытия.
Толщина наружного покрытия определяется на соответствующей стороне пластин, вырезаемых для испытания по
п. 4.13.
5. МАРКИРОВКА, УПАКОВКА, ТРАНСПОРТИРОВАНИЕ И ХРАНЕНИЕ
5.1. На корпусе канистры выштамповывают номинальную вместимость в л, обозначение настоящего стандарта и товарный знак предприятия-изготовителя (
черт. 1 -
3). Год изготовления канистры наносят металлическим клеймом на планке.
Маркировка канистр, предназначенных для поставки на экспорт, должна соответствовать заказ-наряду внешнеторгового объединения.
Допускаются другие способы нанесения маркировки.
(Измененная редакция, Изм. N 1, 2, 3).
| | ИС МЕГАНОРМ: примечание. Взамен ГОСТ 16266-70 Постановлением Госстандарта СССР от 25.03.1988 N 731 с 1 июля 1989 года введен в действие ГОСТ 17308-88. | |
5.2. Каждую канистру обертывают оберточной бумагой по
ГОСТ 8273-75 и обвязывают шпагатом по ГОСТ 16266-70 или концы свертка заклеивают полиэтиленовой лентой с липким слоем по
ГОСТ 20477-86 или клеем по
ГОСТ 13078-81. Допускается по согласованию с заказчиком применять другие виды оберточного, обвязочного или клеящего материала. Допускается канистры по 2 - 4 шт. обертывать упаковочной бумагой по
ГОСТ 8828-89 и обвязывать сверток стальной упаковочной лентой по
ГОСТ 3560-73.
Допускается по согласованию с заказчиком упаковывать канистры по 10 шт. в деревянные обрешетки типа III по
ГОСТ 12082-82 или ящики типа V-1 по
ГОСТ 2991-85, или из гофрированного картона по
ГОСТ 9142-90. Канистры в обрешетке или ящики должны быть отделены друг от друга картонными прокладками.
(Измененная редакция, Изм. N 3).
5.3. (Исключен, Изм. N 3).
5.4. К каждой упаковке прикрепляют ярлык с указанием:
наименования предприятия-изготовителя и его товарного знака;
наименования продукции и ее условного обозначения;
даты выпуска;
обозначения настоящего стандарта.
На ярлык наносят штамп ОТК предприятия-изготовителя, а также указание (красным цветом): "При эксплуатации в условиях температур свыше плюс 40 °C канистра должна не доливаться до полной вместимости на 1 дм3". Для канистр вместимостью 5 дм3 недолив указывают равным 0,5 дм3.
5.6. При транспортировании и хранении канистры должны быть плотно закрыты крышками.
5.7. Канистры транспортируют в контейнерах и крытых транспортных средствах всеми видами транспорта в соответствии с правилами перевозки грузов, действующими на каждом виде транспорта.
Допускается транспортировать канистры на открытых автомобилях, при этом канистры должны быть защищены от воздействия атмосферных осадков.
(Измененная редакция, Изм. N 3, 5).
5.8. При транспортировании упакованных канистр их укладывают в транспортных средствах рядами в несколько ярусов, так чтобы транспортные средства были загружены полностью. Упаковки канистр закрепляют для предотвращения их от перемещения, ударов и падений.
5.9. Канистры хранят в крытых сухих складских помещениях без упаковки. Допускается хранение в упакованном виде.
6. УКАЗАНИЯ ПО ЭКСПЛУАТАЦИИ
6.1. Транспортирование, погрузочно-разгрузочные работы и хранение канистр должны производиться так, чтобы исключалась возможность повреждения деталей и нарушения окраски.
6.2. При эксплуатации канистр не допускается сбрасывание их с транспортных средств, удары по поверхности и деталям и другие механические повреждения.
6.3. Не допускается заполнение канистр продуктами, разрушающими внутреннее покрытие.
7.1. Изготовитель гарантирует соответствие канистр требованиям настоящего стандарта при соблюдении условий транспортирования, хранения и эксплуатации.
7.2. Гарантийный срок хранения канистр - полтора года со дня изготовления.
Гарантийный срок эксплуатации - 1 год со дня ввода в эксплуатацию (в пределах гарантийного срока хранения).
Обязательное
СХЕМА ВЫРЕЗКИ ПЛАСТИН ДЛЯ ИСПЫТАНИЙ
Места вырезки пластин для испытаний:
(прочность при ударе); 4 - по
п. 4.11 (адгезия);
Справочное
СХЕМА ЭЛЕКТРОЛИТИЧЕСКОГО ДЕФЕКТОСКОПА
ДЛЯ ОПРЕДЕЛЕНИЯ СПЛОШНОСТИ ЛАКОКРАСОЧНОГО ПОКРЫТИЯ
1 - источник тока; 2 - гальванометр; 3 - струбцина;
4 - кисточка; 5 - пленка внутреннего лакокрасочного
покрытия; 6 - пластина; 7 - пленка наружного
лакокрасочного покрытия; 8 - бюкса с электролитом