Главная // Актуальные документы // ГОСТ (Государственный стандарт)СПРАВКА
Источник публикации
Документ опубликован не был
Примечание к документу
Документ утратил силу с 1 марта 2016 года в связи с изданием
Приказа Росстандарта от 24.06.2015 N 794-ст. Взамен введен в действие
ГОСТ 9980.2-2014.
С 1 июля 2003 года до вступления в силу технических регламентов акты федеральных органов исполнительной власти в сфере технического регулирования носят рекомендательный характер и подлежат обязательному исполнению только в части, соответствующей целям, указанным в
пункте 1 статьи 46 Федерального закона от 27.12.2002 N 184-ФЗ.
Документ
введен в действие с 1 января 1987 года.
Взамен ГОСТ 9980-80 в части разд. 2.
Название документа
"ГОСТ 9980.2-86 (ИСО 842-84, ИСО 1512-74, ИСО 1513-80). Государственный стандарт Союза ССР. Материалы лакокрасочные. Отбор проб для испытаний"
(утв. и введен в действие Постановлением Госстандарта СССР от 20.06.1986 N 1618)
(ред. от 01.03.1992)
"ГОСТ 9980.2-86 (ИСО 842-84, ИСО 1512-74, ИСО 1513-80). Государственный стандарт Союза ССР. Материалы лакокрасочные. Отбор проб для испытаний"
(утв. и введен в действие Постановлением Госстандарта СССР от 20.06.1986 N 1618)
(ред. от 01.03.1992)
Утвержден и введен в действие
Постановлением Государственного
комитета СССР по стандартам
от 20 июня 1986 г. N 1618
ГОСУДАРСТВЕННЫЙ СТАНДАРТ СОЮЗА ССР
МАТЕРИАЛЫ ЛАКОКРАСОЧНЫЕ
ОТБОР ПРОБ ДЛЯ ИСПЫТАНИЙ
Paint materials. Test sampling
ГОСТ 9980.2-86
(ИСО 842-84, ИСО 1512-74, ИСО 1513-80)
| | Список изменяющих документов (в ред. Изменения N 1, утв. в марте 1992 г.) | |
Группа Л19
ОКСТУ 2309
Дата введения
1 января 1987 года
1. Разработан и внесен Министерством химической промышленности СССР.
Разработчики:
В.Б. Манеров, А.М. Шаргородский, Ю.Б. Соболев, В.П. Яблоков, Н.Б. Рыбачкова.
2. Утвержден и введен в действие Постановлением Государственного комитета СССР по стандартам от 20.06.86 N 1618.
Приложения 4,
5 и
6 настоящего стандарта подготовлены методом прямого применения международных стандартов ИСО 842-84 "Сырье для лаков и красок. Отбор проб", ИСО 1512-74 "Лаки и краски. Отбор проб", ИСО 1513-80 "Лаки и краски. Контроль и подготовка образцов для испытаний".
3. Срок проверки - 1998 г.
Периодичность проверки - 5 лет.
4. Взамен ГОСТ 9980-80 в части разд. 2.
5. Ссылочные нормативно-технические документы:
Обозначение НТД, на который дана ссылка | Номер пункта, приложения |
| |
| |
| |
6. Ограничение срока действия снято Постановлением Госстандарта от 27.03.92 N 283.
7. Переиздание (июль 1994 г.) с Изменением N 1, утвержденным в марте 1992 г. (ИУС 6-92).
Настоящий стандарт распространяется на лакокрасочные материалы и устанавливает методы отбора проб для испытаний.
(Измененная редакция, Изм. N 1).
1.1. Для отбора проб лакокрасочных материалов из всех видов тары, специализированных контейнеров, транспортных средств, накопительных и складских емкостей применяют пробоотборники, указанные в
Приложениях 1,
4 и
5.
(Измененная редакция, Изм. N 1).
1.2. Переносные пробоотборники для отбора проб лакокрасочных материалов с заданного уровня должны быть закрыты крышками или пробками, легко открывающимися на заданном уровне.
Переносные пробоотборники должны иметь достаточную массу для погружения в лакокрасочный материал.
1.3. Пробоотборники должны быть изготовлены из материала, устойчивого к действию продукта (стекла, латуни, нержавеющей стали и других материалов), быть чистыми и сухими.
Материалы для изготовления пробоотборников выбирает предприятие с учетом выпускаемой или применяемой продукции.
2.1. Упаковочные единицы, отобранные случайной выборкой для контроля качества, должны быть перед вскрытием тщательно очищены снаружи от загрязнений.
2.2. Пробы отбирают при температуре хранения лакокрасочного материала.
Продукты, высоковязкие при обычных температурах, а также застывающие или замерзающие при пониженных температурах жидкие и пастообразные продукты рекомендуется разогревать.
Режим разогрева должен быть указан в нормативно-технической документации на конкретный материал с учетом его взрывопожароопасных свойств.
2.3. Отбор проб проводят по следующей схеме:
от упаковочных единиц, отобранных для контроля, отбирают точечные пробы;
из точечных проб составляют объединенную пробу;
от объединенной пробы отбирают среднюю пробу.
2.4. Точечные пробы жидких материалов (лаки, олифы, растворители, эмульсии, эмали, грунтовки, краски, готовые к применению и т.п.) отбирают после удаления с поверхности материала пленки и тщательного перемешивания до однородного состояния.
Пробы жидких материалов из тары различных видов и специализированных металлических контейнеров берут из любой точки емкости.
Пробы жидких материалов из больших емкостей (железнодорожных и автоцистерн, накопительных емкостей и складских резервуаров) отбирают с трех уровней:
верхнего - до 250 мм ниже поверхности материала;
среднего - с середины высоты столба лакокрасочного материала;
нижнего - до 250 мм от дна емкости.
Объединенную пробу материала составляют смешением равных объемов точечных проб, взятых с верхнего, среднего и нижнего уровней в соотношении 1:2:1.
При наличии у емкости сливного крана допускается пробы из нижнего слоя материала брать из крана.
Допускается пробы жидких материалов брать из цистерн, накопительных и складских емкостей во время слива (в начале, середине и конце слива).
2.5. Точечные пробы пастообразных материалов (густотертые краски, пасты, шпатлевки и т.п.) берут после удаления пленки и проверки материала на однородность.
При расслаивании материал тщательно перемешивают до однородного состояния.
Если перемешивание затруднительно, пробы берут из любых точек массы продукта, равномерно располагаемых внутри тары.
2.6. Перемешивание лакокрасочных материалов в таре или специализированных контейнерах осуществляют катанием, встряхиванием, вращением или с применением механических и ручных мешалок в зависимости от вида и конструкции тары или специализированного контейнера.
В железнодорожных и автоцистернах лакокрасочные материалы перемешивают с помощью перемешивающих устройств.
Перемешивающие устройства для перемешивания лакокрасочных материалов в цистернах приведены в
Приложении 2.
Перемешивающие устройства для перемешивания лакокрасочных материалов в бочках и других видах транспортной тары приведены в
Приложении 3.
2.7. Точечные пробы порошкообразных и твердых материалов (пигменты, наполнители, порошковые краски, твердые смолы и т.п.) берут из любых точек массы.
Пробы твердых материалов разрешается брать из разных точек скалыванием и дроблением до порошкообразного состояния.
Пробы порошкообразных материалов берут, погружая пробоотборник по вертикальной оси или диагонали.
2.8. Все отобранные точечные пробы соединяют вместе, тщательно перемешивают и получают объединенную пробу материала.
2.9. Из объединенной пробы методом квартования (для порошкообразных материалов) или отбором (для пастообразных материалов) получают среднюю пробу.
Для жидких материалов объединенная проба является средней.
2.10. Масса средней пробы жидких, пастообразных, порошкообразных и твердых материалов должна быть не менее 0,5 кг.
Масса средней пробы лакокрасочных материалов для художественных, художественно-живописных, художественно-оформительских, школьно-оформительских и художественно-декоративных работ должна быть указана в нормативно-технической документации на конкретные материалы,
2.11. Допускается использовать виды и методы отбора проб, указанные в
Приложениях 4 и
5. Отобранные пробы могут быть подвергнуты предварительному контролю
(Приложение 6).
(Введен дополнительно, Изм. N 1).
3. УПАКОВКА И МАРКИРОВКА ПРОБ
3.1. Среднюю пробу помещают в чистую сухую металлическую банку, стеклянную банку или бутылку, плотно закрывают крышкой или пробкой.
Среднюю пробу материалов, не взаимодействующих с полиэтиленом, допускается помещать в полиэтиленовую банку или бутылку.
Среднюю пробу пожаробезопасных порошкообразных и твердых материалов допускается помещать в бумажный или полиэтиленовый пакет или коробку из картона.
Не допускается применение бумажных пакетов и коробок из картона при проверке на влажность средних проб порошкообразных и твердых материалов.
3.2. На сосуды, пакеты и картонные коробки со средней пробой наклеивают этикетки с указанием:
наименования и марки материала;
наименования предприятия-изготовителя;
номера партии;
даты отбора проб;
фамилии пробоотборщика.
3.1; 3.2. (Измененная редакция, Изм. N 1).
3.3. После отбора проб рекомендуется составлять отчет в соответствии с
Приложением 5.
(Введен дополнительно, Изм. N 1).
4. ТРЕБОВАНИЯ БЕЗОПАСНОСТИ
4.1. Отбор проб лакокрасочных материалов должен проводиться в соответствии с правилами безопасности во взрывоопасных химических и нефтехимических производствах, утвержденными в установленном порядке, правилами и нормами техники безопасности, пожарной безопасности и производственной санитарии для окрасочных цехов и нормативно-технической документацией на конкретный лакокрасочный материал.
4.2. При отборе проб тару и упаковку следует вскрывать инструментом, исключающим искрообразование.
4.3. Переносные пробоотборники для отбора проб лакокрасочных материалов, содержащих органические растворители, должны изготавливаться из материала, не образующего искр при ударе и не накапливающего статическое электричество.
4.4. При отборе проб рекомендуются правила безопасности, указанные в
Приложениях 4 и
5.
(Введен дополнительно, Изм. N 1).
Рекомендуемое
ПРИСПОСОБЛЕНИЯ ДЛЯ ОТБОРА ПРОБ
Состояние продукта | Вид тары, емкости | Вид пробоотборника |
Жидкий | Цистерны и сосуды большой вместимости | |
| | Пробоотборник для взятия проб со дна (черт. 5). |
| | |
| | |
| | |
| | Трубки с оттянутыми концами диаметром 10 - 16 мм длиной 2,5 - 3 мм. |
| Накопительные емкости | Пробоотборник стационарный для отбора точечных проб с трех уровней по ГОСТ 2517-85 |
| Фляги, бочки, бидоны, канистры, барабаны, контейнеры | |
| | |
| | |
| | Стеклянные трубки с оттянутыми концами диаметром 10 - 15 мм, длиной 0,9 - 1,5 м. |
| | |
| Бутыли, бутылки, банки, флаконы | Стеклянные трубки с оттянутыми концами диаметром 10 - 15 мм, длиной 0,9 - 1,5 м. |
Пастообразный | Фляги, барабаны, бочки | |
| Банки | Шпатель, металлические (стальные, латунные) трубки |
Порошкообразный | Барабаны, мешки, контейнеры, пакеты | |
| Пачки | |
|
Рекомендуемое
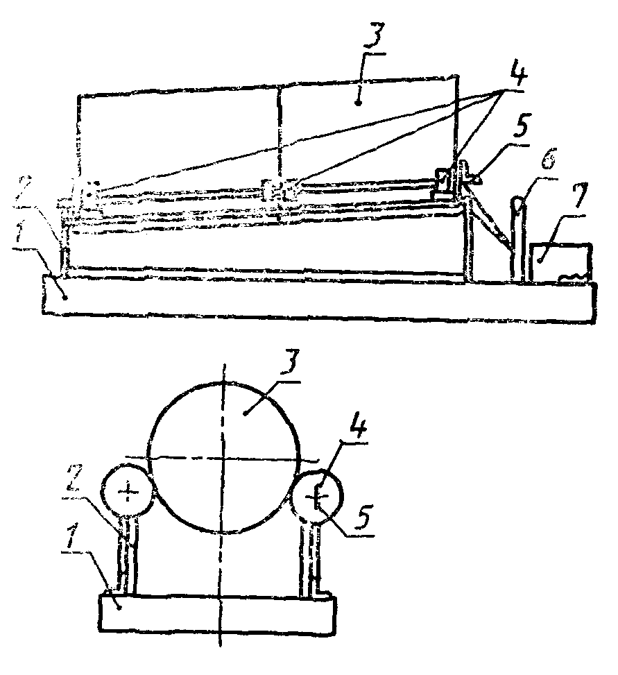
Перемешивающее устройство для цистерн
1 - мешалка; 2 - вал; 3 - мотор-редуктор;
4 - подпятник
Черт. 1
Механические мешалки (черт. 1) применяются для перемешивания лакокрасочной продукции в железнодорожных цистернах, имеющих два технологических люка и один загрузочный, и устанавливаются в каждый люк.
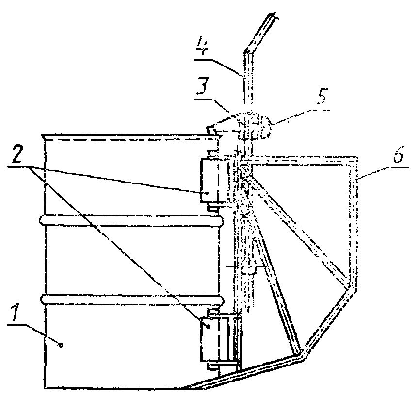
Перемешивание пигментированных лакокрасочных материалов способом рециркуляции
(черт. 2).
Схема перемешивания пигментированных лакокрасочных
материалов методом рециркуляции
1 - сопло; 2 - загрузочный люк; 3 - перемешивающее
устройство; 4 - железнодорожная цистерна с нижним сливом;
5 - теплообменник; 6 - насос; 7 - сливной прибор
В загрузочный люк цистерны вводят перемешивающее устройство, представляющее собой трубу, на конце которой установлены под углом к горизонтальной плоскости два сопла.
Перемешивающее устройство гибким шлангом подключают к напорному трубопроводу насоса.
Всасывающую линию насоса подключают к сливному прибору цистерны. Перемешивание осуществляется рециркуляцией лакокрасочного материала, находящегося в цистерне.
Интенсификация перемешивания повышается вследствие установки сопел.
Давление на выходе из сопла должно составлять 330 - 3150 кПа (3,3 - 8,5 кг/см2).
Рециркуляцию осуществляют до получения однородной суспензии.
Теплообменник служит для подогрева лакокрасочных материалов в зимний период времени (при необходимости). Теплоноситель - горячая вода.
Рекомендуемое
УСТРОЙСТВА ДЛЯ ПЕРЕМЕШИВАНИЯ ЛАКОКРАСОЧНЫХ МАТЕРИАЛОВ
В БОЧКАХ, БАРАБАНАХ, ФЛЯГАХ
1. Устройство
(черт. 1) состоит из станины, на которой под углом установлена рама из уголка. На раме закреплены два вращающихся вала с опорными роликами, которые фиксируют бочку (барабан, флягу), удерживают и вращают ее.
Устройства для перемешивания лакокрасочных материалов
1 - станина; 2 - рама; 3 - бочка с лакокрасочным
материалом; 4 - опорные ролики; 5 - вал;
6 - редуктор; 7 - электродвигатель
Бочка с краской устанавливается на опорные ролики. С помощью электродвигателя и редуктора вращается в одном, а затем в обратном направлениях.
2. Устройство
(черт. 2), предназначенное для перемешивания лакокрасочных материалов в бочках вместимостью 100 - 200 дм3 как в вертикальном, так и в горизонтальном положении, состоит из труб с наконечником, рукояток, гибких шлангов.
1 - бочка с лакокрасочным материалом; 2 - труба;
3 - рукоятка; 4 - гибкий шланг; 5 - наконечник
Бочка устанавливается на металлический заземленный лист. Наконечник трубы перемещается последовательно по всей поверхности дна бочки. Перемешивание осуществляется инертным газом.
3. Устройство
(черт. 3) состоит из рамы, съемного рычага, передвижного кронштейна, который закрепляется в нужном положении винтом, и вращающихся роликов.
1 - бочка с лакокрасочным материалом; 2 - вращающие ролики;
3 - передвижной кронштейн; 4 - съемный рычаг; 5 - винт; 6 - рама
Бочку (барабан) устанавливают на подставку нижней частью рамы, сверху закрепляют с помощью кронштейна с винтом, после чего с помощью съемного рычага переводят ее в горизонтальное положение и приводят в движение от вращающихся роликов.
(Измененная редакция, Изм. N 1).
Рекомендуемое
ОТБОР ПРОБ (ИСО 842-84)
Правильный отбор проб представляет собой довольно сложную процедуру, которую следует проводить с особой тщательностью. Поэтому необходимо, чтобы отбор проб выполнялся под наблюдением опытного пробоотборщика.
Описанные ниже процессы отбора проб признаны целесообразными и рекомендуются для практического применения. Известно, что трудно установить твердые правила для каждого отдельного случая и при определенных обстоятельствах в требуемых методах могут возникнуть некоторые изменения. Полученная проба должна наиболее полно представлять всю массу продукции.
В некоторых случаях сам процесс отбора проб связан с определенным риском непосредственно для пробоотборщика или при этом создаются условия, опасные для окружающих. В
ГОСТ 2517 <*> приводятся правила техники безопасности при отборе проб химических продуктов промышленного использования, они предназначены для помощи лицам, связанным с отбором проб или занимающимся непосредственно отбором проб.
--------------------------------
<*> Допускается применение государственного стандарта до прямого применения МС ИСО 3165-76.
1. НАЗНАЧЕНИЕ И ОБЛАСТЬ ПРИМЕНЕНИЯ
Настоящий стандарт устанавливает методы отбора проб сырья для лаков и красок и включает описание приспособлений, используемых для этой цели. В стандарте рассмотрены методы отбора проб масел и других нелетучих жидкостей, а также сухих порошков, таких, как пигменты и наполнители. Приведены соответствующие методы для маркирования и транспортирования образцов.
--------------------------------
<**> Допускается применение
ГОСТ 5445,
ГОСТ 2517 до прямого применения МС ИСО 1995-81, МС ИСО 3170-75, МС ИСО 3171-75, МС ИСО 56/1-79.
ГОСТ 2517 Нефть и нефтепродукты. Методы отбора проб.
ГОСТ 5445 Продукты коксования химические. Правила приемки и методы отбора проб.
В настоящем стандарте применяются следующие определения.
3.1. Производственная партия - определенное количество материала, изготовленное при сравнительно одинаковых условиях.
3.2. Партия груза - количество материала, сопровождаемое специальной транспортной накладкой или документом по отгрузке.
3.3. Проба - определенное количество материала, взятого из общей массы или партии продукта для получения данных, характеризующих эту массу или партию.
3.4. Общая проба (большая проба) - общее количество материала, полученное в процессе отбора проб.
3.5. Сокращенная проба - проба, полученная в результате уменьшения (сокращения) общей (большой) пробы.
3.6. Проба сверху - проба, взятая на расстоянии 1/10 глубины от поверхностного слоя материала в таре.
3.7. Проба из середины - проба, взятая из 1/2 глубины материала в таре.
3.8. Проба снизу - проба, взятая из 1/10 глубины от дна тары.
4. ТРЕБОВАНИЯ БЕЗОПАСНОСТИ
4.1. При отборе проб таких материалов, как растворители, акриловые мономеры и пигменты, могут возникнуть определенные опасности. К ним относятся воспламеняемость и токсичность при вдыхании и/или поглощении их кожей. Изготовители должны консультировать своих потребителей о работе с выпускаемыми ими продуктами.
Дополнительная информация об отдельных веществах приведена в перечисленных ниже изданиях:
1. "Вредные химические вещества и предложения, касающиеся их маркировки". Опубл. Страсбург. 1971 г.
2. "Вредные свойства промышленных материалов". Н.И. Сакс, опубл. Рейнхольдом.
3. "Токсичность и обмен веществ промышленных растворителей". Э. Браунинг, опубл. Элсвиером, Амстердам.
4. "Вредные условия в химической лаборатории", опубл. Г.Д. Мором, Королевский институт химии, Лондон.
5. "Предосторожность и умение обращаться с опасными продуктами". П.Дж. Гастон, опубл. в институте научной технологии.
Кроме того, Manufacturing Chemists Association в Вашингтоне опубликовала информационные листки, где содержатся данные, касающиеся специальных химикатов.
Необходимо следить за тем, чтобы все пробоотборники при использовании были бы сухими и чистыми. Сначала их надо промыть растворителем, а затем горячим мыльным раствором или другим моющим средством. Следует обратить особое внимание на смывку горячей водой остатков моющего средства. Если имеется источник получения пара, то следует пропустить инструменты через струю пара. И, наконец, оператор должен быть уверен в том, что оборудование тщательно высушено.
В процессе отбора проб оператор должен следить за тем, чтобы в образец не попадала грязь во время его транспортирования.
Пробы следует отбирать таким образом, чтобы материалы, из которых берутся пробы, пробоотборники и сами контейнеры, были бы надежно защищены от случайного загрязнения (дождь, пыль и т.д.).
Материал, прилипший к внешней стороне пробоотборника, должен быть удален до того, как контейнер будет разгружен. Пробоотборники должны быть разгружены и очищены немедленно после отбора проб.
Для жидких проб используют бутыли из бесцветного или желтого стекла или металлические банки. Для паст, смесей жидкостей и твердых веществ или твердых веществ используют широкогорлые металлические или стеклянные банки. Во всех случаях сами емкости и крышки для них должны быть изготовлены из материала, не загрязняющего пробу.
Преимущество бутылей и банок из бесцветного стекла состоит в том, что можно визуально определить их чистоту и легко проверить наличие в пробе несвязанной воды и других загрязнений. Бутыли и банки из желтого стекла обеспечивают только относительную защиту от воздействия света. Материалы, наиболее чувствительные к воздействию света, будут полностью защищены, если бутыли или банки поместить в картонный ящик или обернуть их черной бумагой или алюминиевой фольгой.
Для отбора проб летучих спиртовых веществ нельзя применять оцинкованные или алюминиевые банки или крышки. Стеклянные бутыли и банки закрывают корковыми или стеклянными пробками или завинчивающимися крышками.
Металлические банки, используемые для жидких проб, должны иметь только завинчивающиеся крышки. Для других металлических банок используют или завинчивающиеся крышки, или другие соответствующие пробки, обеспечивающие герметичность. Не допускается использование резиновых пробок. Корковые пробки должны быть высокого качества, чистыми, без трещин и отстающих кусочков корки. Если нет других указаний, для предотвращения контакта пробки с пробой пробку перед помещением в бутыль или банку обертывают оловянной или алюминиевой фольгой.
Нельзя использовать для отбора проб спиртов алюминиевую фольгу. Для этой цели используют в основном политетрафторэтиленовую пленку. Если используют бутыли и банки с притертыми стеклянными пробками, то их следует проверить на герметичность. Завинчивающиеся крышки наиболее удобны, если они снабжены корковыми прокладками, обернутыми оловянной или алюминиевой фольгой или другими материалами, не загрязняющими пробу.
7. ПРИСПОСОБЛЕНИЯ ДЛЯ ОТБОРА ПРОБ
7.1. Типы и конструкции
С целью предотвращения действия отбираемых продуктов на пробоотборники и обеспечения легкости их очистки пробоотборники изготовляют из нержавеющей стали, латуни или стекла. Их поверхность должна быть гладкой, без трещин и заусенцев. Для отбора проб растительных масел нельзя использовать медесодержащие материалы. Примеры соответствующих пробоотборников приведены ниже: пробоотборники для жидкостей показаны на
черт. 1 -
10, а для отбора твердых проб - на
черт. 11.
Бутыль для отбора проб
Опрокидывающийся сосуд для отбора проб
а) положение при погружении; б) - положение при заполнении
Цилиндр для отбора проб
Утяжеленная бутыль для отбора проб
Пробоотборник для взятия проб со дна или с любого уровня
цистерны или сосуда большой вместимости с жидкостью
Трубка для отбора проб, состоящая из двух концентрических
трубок
Одинарная трубка для отбора проб
Клапанная трубка для отбора проб
Желобчатая трубка для отбора проб жидкостей
1 - трубка; 2 - заслонка
Очиститель пробоотборочной трубки
1 - отверстие для ввода пробоотборочной трубки;
2 - нажимная плитка; 3 - волокнистая шайба;
4 - паяное соединение
Совки для отбора проб сухих порошков
7.2. Пробоотборники для масел и летучих жидкостей
Пробоотборники, описанные в п. п. 7.2.1 -
7.2.5, имеют размеры и вместимости от 150 см3 до 1 дм3 жидкости.
7.2.1. Бутыль или банка для отбора проб
(черт. 1)
Для отбора проб из цистерн и сосудов большой вместимости рекомендуются бутыли или банки. Приспособление состоит из бутыли с утяжеленным дном или металлического сосуда со съемной пробкой или крышкой, к которым присоединены цепь, стержень или веревка. Приспособление опускают на нужную глубину, где пробку удаляют и заполняют сосуд исследуемым продуктом.
7.2.2. Опрокидывающийся сосуд (ковш)
(черт. 2)
Опрокидывающийся сосуд состоит из цилиндра длиной 150 мм и диаметром 50 мм с отверстием на закрытом конце и проволочной ручкой на открытом. Ручка снабжена небольшим металлическим захватом с веревкой. Цилиндр поворачивают в положение, показанное на
черт. 2а и закрепляют в таком положении посредством введения захвата в отверстие. Затем цилиндр погружают в резервуар с жидкостью и на необходимом уровне дергают за веревку. Цилиндр восстанавливает свое равновесие и заполняется жидкостью
(черт. 2б).
Приспособление для отбора проб состоит из цилиндра с открытой верхней частью и донным затвором (клапаном), который остается открытым при погружении приспособления в жидкость и обеспечивает равномерное прохождение жидкости через цилиндр.
Когда погружение прекращается, клапан закрывается и пробу жидкости вынимают с определенного уровня.
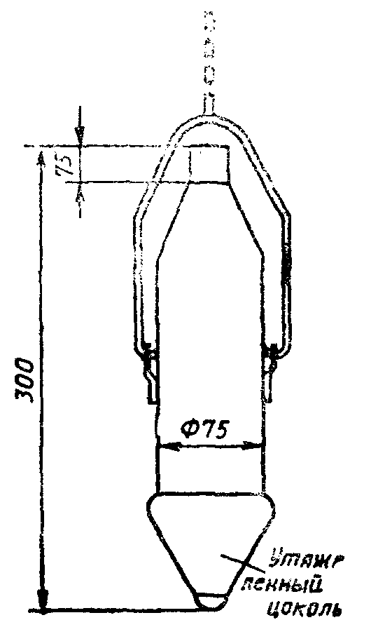
7.2.4. Утяжеленная бутыль для отбора проб
(черт. 4)
Приспособление состоит из бутыли с утяжеленным дном (цоколем) высотой 300 мм, диаметром бутылки 75 мм, горловиной диаметром 25 мм и цепью, присоединенной к горловине. При помещении в цистерну с жидкостью бутыль падает с такой скоростью, что наполняется жидкостью только в зафиксированном положении.
7.2.5. Пробоотборник для взятия проб со дна или из отдельных участков
(черт. 5)
Приспособление предназначается для извлечения проб со дна или из отдельных участков на любом уровне цистерны с жидкостью. Для взятия пробы со дна к приспособлению прикрепляют веревку или цепь и пустым погружают на дно цистерны, где центральный клапан автоматически открывается и емкость заполняется. При извлечении сосуда клапан автоматически закрывается снова.
Для взятия пробы с любого уровня приспособление пустым погружают на требуемый уровень и затем с помощью веревки, прикрепленной к верхней части центрального стержня клапана, открывают клапан и заполняют емкость. После этого клапан закрывают, а сосуд извлекают.
7.2.6. Пробоотборочные трубки (
черт. 6 и
7).
Пробоотборочная трубка
(черт. 6) состоит из двух концентрических металлических трубок, плотно вставленных одна в другую по длине таким образом, чтобы их можно было бы свободно поворачивать внутри друг друга. В обеих трубках прорезаны продольные отверстия или серия отверстий размером около 1/3 окружности. В одном положении трубка открыта и впускает жидкость. Поворотом внутренней трубки обеспечивается герметичность емкости.
Внутренняя трубка диаметром 20 - 40 мм может иметь различную длину, однако в любом случае нижние концы обеих трубок снабжены v-образными отверстиями, размещенными таким образом, чтобы при открытых отверстиях жидкость, содержащаяся в пробоотборнике, могла проходить через них.
Внутренняя трубка может разделяться на поперечные ячейки (от 3 до 10), в этом случае v-образные отверстия на нижних концах трубок отсутствуют. Такое устройство позволяет разделить пробы жидкости, взятые с различных уровней в цистерне.
Пробоотборочная трубка должна иметь достаточную длину и доходить до дна бочки или другой тары. Трубку вводят в закрытом состоянии, затем открывают для отбора жидкости, после чего закрывают и извлекают.
Пробоотборочная трубка, показанная на
черт. 7, может применяться для отбора проб однородных жидкостей. Она состоит из металлической или тонкостенной стеклянной трубки диаметром 20 - 40 мм и длиной 400 - 800 мм. Верхний и нижний концы имеют коническую форму и сужаются книзу приблизительно на 5 - 10 мм. Для удобства работы с трубкой ее верхний конец снабжен двумя кольцами.
Для взятия разовой пробы верхнюю часть трубки закрывают большим пальцем или пробкой и трубку погружают на желаемую глубину, где ее открывают на короткий интервал времени для заполнения жидкостью, затем опять закрывают и извлекают.
7.2.7. Клапанная трубка для отбора проб
(черт. 8)
Клапанная трубка для отбора проб состоит из металлической трубки с клапаном в основании, который соединен центральным стержнем с привинчивающейся к верхней части ручкой. Когда ручку завинчивают до отказа, клапан закрыт. Это приспособление отличается от ранее описанных пробоотборочных трубок тем, что оно вводится в жидкость с открытым клапаном, в результате чего жидкость поступает в трубку сразу же после того, как трубка пройдет поверхностный слой, причем вытесняемый воздух будет проходить через отверстия в ее верхней части. Когда основание трубки коснется дна емкости, клапан автоматически закроется. Ручку плотно завинчивают, чтобы клапан оставался в закрытом положении, и трубку с пробой извлекают. Наружную поверхность трубки, если нет специального очистительного устройства (см.
п. 7.2.9) протирают. Для отбора проб из автоцистерны используют трубки различной длины. Наиболее удобной является алюминиевая трубка длиной 2 м. Это приспособление не стоит применять, если жидкость имеет осадок.
7.2.8. Желобчатые трубки для отбора проб жидкостей
(черт. 9)
Трубка имеет D-образное поперечное сечение и открывается и закрывается посредством заслонки диаметром 25 - 50 мм, которая перемещается вертикально по всей длине.
Трубку вводят в закрытом состоянии, после чего заслонка отодвигается, жидкость поступает в трубку, которая закрывается, и извлекается из тары.
7.2.9. Очиститель пробоотборочной трубки
(черт. 10)
Очиститель представляет собой воронкообразную металлическую чашку, конструкция которой позволяет вставить ее во втулочное отверстие бочки или бидона. Устройство имеет волокнистую прокладку с центральным отверстием, диаметр которого соответствует диаметру пробоотборочной трубки. Перед отбором проб конусообразный конец очистителя вставляют в отверстие бочки и вводят пробоотборочную трубку через очиститель в бочку. После извлечения трубки избыточная жидкость с наружной поверхности трубки автоматически очищается и стекает обратно в бочку.
7.3. Приспособление для отбора сухих порошков
(черт. 11)
Для отбора сухих порошков предназначены открытые металлические совки полукруглой формы или C-образного поперечного сечения. Пробу отбирают из глубины емкости вращательным движением.
8. СБОР ОБЩЕЙ (БОЛЬШОЙ) ПРОБЫ МАСЕЛ И ДРУГИХ НЕЛЕТУЧИХ
ЖИДКОСТЕЙ
8.1. Жидкость в береговых цистернах и баках для морских перевозок
Пробу следует брать из каждой цистерны отдельно. Перед отбором проб измеряют объем и глубину жидкости в цистерне, а также, если необходимо, температуру.
Если стеарин или другое вещество находится в застывшем состоянии или если продукт полутвердый, то перед отбором его следует подогреть, чтобы можно было перемешать до однородного состояния.
Если жидкость по своему составу неоднородна, например, содержит несвязанную воду или пену, то пробу берут по всей глубине жидкости на разных уровнях с интервалом не более 300 мм. Первую пробу рекомендуется брать из самой нижней точки резервуара, все последующие - с интервалом 300 мм от этой точки.
Если известно, что жидкость однородна, то берут три пробы на уровне 1/10 глубины жидкости от поверхности, но не более 150 мм от поверхности (проба сверху), на уровне 1/2 глубины (проба из середины), в точке, составляющей 9/10 глубины жидкости от поверхности, но не более 300 мм от дна емкости (проба снизу).
Пробы отбирают пробоотборником, который заполняется жидкостью на требуемой глубине. Пробы, взятые на различных уровнях, смешивают в такой же пропорции, в какой они представлены в общем количестве жидкости.
Если в жидкости имеется несвязанная вода, то перед отбором проб ее следует по возможности удалить и измерить объем или массу. Если жидкость содержит осадок, то пробу снизу берут из самой нижней точки цистерны (проба снизу).
8.2. Жидкость, переливаемая из одной цистерны в другую
8.2.1. Общие положения
Наиболее эффективный метод отбора проб при переливе из очень больших емкостей заключается в периодическом (через равные промежутки времени) погружении пробоотборника в струю переливаемой жидкости. Этот метод наиболее часто применяют, если жидкость перекачивается через весовой мерник. Кроме того, пробы можно отбирать из боковой или вторичной струи, отходящей от основной. При применении этого метода, наиболее приемлемого для отбора проб из относительно однородных партий жидкости, необходимо следить за тщательностью проведения процедуры. Сложности, возникающие в результате присутствия воды и осадков, очевидны.
8.2.2. Пробный или капельный кран
В пробный или капельный кран жидкость поступает из сопла, вставленного в центр трубопровода по ходу потока жидкости. Краны, вводимые в боковую стенку или нижнее основание трубопровода, не применяются.
По возможности пробный кран следует вводить в поднимающийся участок основного трубопровода на стороне нагнетания насоса.
Конструкция пробного или капельного крана должна быть такой, чтобы в случае образования пробки его можно было быстро прочистить.
8.2.3. Процедура отбора проб
Скорость течения жидкости в основном трубопроводе должна обеспечивать турбулентность, необходимую для полного перемешивания жидкости в трубе.
Неравномерная скорость протекания жидкости может привести к неточным результатам, поэтому в процессе отбора скорость истечения из пробного или капельного крана следует регулировать пропорционально количеству жидкости, проходящей через трубопровод.
Чтобы не допустить случайного загрязнения пробы, всю установку и емкости для проб защищают специальным навесом.
Общую пробу из пробного или капельного крана тщательно перемешивают сразу же после отбора проб, после чего для всех необходимых испытаний отбирают пробы небольшого объема.
Необходимо следить за тем, чтобы пробный или капельный кран не забивался пробками, например, грязью.
Перед отбором проб несвязанную воду по возможности удаляют и определяют ее массу или объем.
8.3. Жидкость в авто- и железнодорожных цистернах
Для отбора проб из авто- и железнодорожных цистерн не разработано ни одного оптимального метода. Применяемые в настоящее время методы включают отбор проб во время или немедленно после заполнения цистерны или, если отбор проб был выполнен в другое время, извлечение пробы сверху и из середины через люк и пробы снизу через кран после слива и определение массы или объема несвязанной воды. Пробы следует хранить раздельно и маркировать соответствующим образом.
8.4. Жидкость в цистернах малой вместимости, бочках, бочонках и других емкостях малой вместимости
Если партии груза практически однородны, количество отбираемых проб устанавливают в соответствии с таблицей.
Общее количество контейнеров в партии | Минимальное количество контейнеров, из которых отбирают пробы |
1 - 2 | Все |
3 - 8 | 2 |
9 - 25 | 3 |
26 - 100 | 5 |
101 - 500 | 8 |
501 - 1000 | 13 |
Контейнеры, из которых проводят отбор проб, выбирают из партии груза произвольно и заранее не открывают.
Перед отбором проб бочки и бочонки следует прокатать и опрокинуть, а содержимое цистерн малой вместимости тщательно взболтать или перемешать до получения однородного содержимого. Необходимо следить за тем, чтобы во время отбора проб не загрязнялась жидкость.
Пробу из каждого контейнера отбирают при помощи подходящего пробоотборника
(п. 7.2), который вводится через горловину в бочках и соответствующие отверстия в других контейнерах таким образом, чтобы можно было отобрать пробы из нескольких участков. Равные порции этих проб тщательно перемешивают и таким образом получают общую пробу.
Если партия груза состоит из нескольких легко опознаваемых партий или различные партии груза имеют различные уровни качества, их рекомендуется рассматривать отдельно.
Если требуется единая проба, представляющая всю партию груза, пробы из различных партий смешивают вместе в такой же пропорции, в какой они представлены в общей партии.
9. СОСТАВЛЕНИЕ ОБЩЕЙ ПРОБЫ ЛЕТУЧИХ ЖИДКОСТЕЙ
Для отбора проб летучих жидкостей может быть использован
ГОСТ 2517;
ГОСТ 5445 в целом или с соответствующими изменениями.
10. СОСТАВЛЕНИЕ ОБЩЕЙ ПРОБЫ ТВЕРДЫХ СМОЛ
Для отбора проб твердых смол могут быть использованы с соответствующими изменениями
ГОСТ 2517,
ГОСТ 5445.
11. СОСТАВЛЕНИЕ ОБЩЕЙ ПРОБЫ СУХИХ ПОРОШКОВ
Общую пробу готовят для каждой партии. Если партия груза помещена в разные контейнеры, то каждый из них следует рассматривать с учетом вида содержимого и отбор проб при этом проводят как из отдельных партий. Если партия груза состоит из нескольких идентичных партий, их желательно рассматривать раздельно.
Количество проб отбирают в соответствии с таблицей. Емкости, из которых отбирают пробу, выбирают из партии груза произвольно и не открывают заранее. Пробу извлекают из участка, расположенного близко к центру емкости, с помощью соответствующих пробоотборников. Полученная таким образом общая проба должна содержать равные порции из каждой емкости и не должна превышать 2 кг или должна три-четыре раза превышать требуемое для испытаний количество.
Общие пробы, отобранные в соответствии с требованиями, описанными в
разд. 8 -
11, тщательно перемешивают.
Общую пробу жидкости перемешивают в чистом сухом сосуде, предпочтительно из нержавеющей стали. Затем сразу после перемешивания берут не менее трех однородных проб (окончательные пробы) объемом не менее 400 см3 каждая или трех-, четырехкратное количество вещества, необходимое для испытания, и помещают в емкости, отвечающие требованиям
разд. 6.
13. МАРКИРОВКА И ТРАНСПОРТИРОВАНИЕ ОБРАЗЦОВ
Пробы должны быть защищены от действия света, влаги, пыли, чрезмерного перегрева или охлаждения. Защиту проб от влаги и пыли обеспечивают, покрывая пробку и верхнюю часть контейнера бумагой, пластмассовыми материалами или металлом.
Сразу же после отбора проб на контейнеры наклеивают этикетки, содержащие информацию для идентификации проб. Используемые этикетки и маркировочные краски должны быть устойчивы к действию влаги и растворителей. Этикетку не следует прикреплять к пробке, ее прикрепляют к горловине или корпусу контейнера.
Этикетка должна содержать следующие данные:
а) описание материала;
б) объем и подробное описание партии груза (автоцистерны, баки, судна, бочки, бидоны);
в) обозначение и регистрационный номер пробы;
г) грузоотправитель;
д) место отбора проб;
е) дату отбора проб;
ж) фамилию пробоотборщика.
Закрытую емкость с наклеенной этикеткой запечатывают сургучом так, чтобы содержимое нельзя было извлечь, а этикетку снять без поломки сургучной печати. Необходимо избегать загрязнения пробы сургучом.
К пробе прилагают сопроводительную записку, в которой повторяются данные, указанные на этикетке, и, если необходимо, протокол с указанием данных по отбору проб.
Рекомендуемое
ОТБОР ПРОБ (ИСО 1512-74)
Настоящий международный стандарт является одним из серии стандартов по отбору проб и испытаниям красок, лаков и вспомогательных материалов. В нем не рассматриваются процедуры отбора проб сырьевых материалов, используемых при производстве красок и лаков: они рассматриваются в ИСО 842.
Отбор проб требует определенных знаний и опыта, и различные операции должны выполняться очень тщательно. Правила, содержащиеся в настоящем стандарте, повышают уровень знаний и квалификацию и применимы в большинстве случаев, но при работе с некоторыми материалами требуются специальные меры предосторожности, не указанные в настоящем стандарте, и поэтому от пробоотборщиков требуются особая внимательность при учете необычных характеристик этих материалов и соблюдение особых мер предосторожности в соответствии с производственными инструкциями и правилами безопасности.
1. НАЗНАЧЕНИЕ И ОБЛАСТЬ ПРИМЕНЕНИЯ
Настоящий международный стандарт рассматривает методы отбора проб лаков, красок и вспомогательных материалов с целью получения однородных проб определенного объема и соответствующим образом представляющих анализируемый материал.
Образец или образцы, полученные таким образом, пригодны для исследования и подготовки к испытанию в соответствии с ИСО 1510.
ИСО 842 "Сырье для изготовления лаков и красок. Отбор проб".
ИСО 1513 "Лаки и краски. Исследование и подготовка образцов к испытанию".
3. ТИПЫ ЛАКОВ, КРАСОК И ВСПОМОГАТЕЛЬНЫХ МАТЕРИАЛОВ
Методика отбора проб лаков и красок зависит от природы и физических свойств продуктов. Можно выделить следующие типы продуктов:
тип A - жидкие, состоящие из одной гомогенной жидкой фазы (лаки и разбавители);
тип B - жидкие, состоящие из двух жидких фаз (эмульсии);
тип C - жидкие, состоящие из одной или двух жидких фаз с одной или более твердыми фазами (краски, включая "эмульсионные" краски);
тип D - вязкие, состоящие из одной или более твердых фаз с небольшим количеством жидкой фазы (шпатлевки, мастики, обмазки, клеи и пасты пигментов в масле или лаке, а также очень вязкие смолы);
тип E - порошкообразные.
4. ОБОРУДОВАНИЕ ДЛЯ ОТБОРА ПРОБ
4.1. Общие положения
Пробоотборники для сырьевых материалов, указанные в ИСО 842, применяются также для отбора проб готовой продукции. Необходимо оборудование для двух отдельных операций:
а) перемешивания продукта для достижения наибольшей однородности;
б) отбора представительной пробы.
4.2. Применяемые материалы и конструкция оборудования
Оборудование для отбора проб должно быть изготовлено из износостойкого материала, не подвергающегося действию анализируемого материала и не воздействующего на него. Оборудование должно быть удобным в эксплуатации и легко очищаться (в конструкции необходимо избегать каких-либо желобков, острых внутренних углов или мест, чистоту которых невозможно или трудно проверить).
4.3. Аппаратура для смешивания
Применяются широколопастные или механические мешалки соответствующей длины для отбора проб со дна контейнера.
Примечание. При смешивании продукта с низкой температурой воспламенения и возможной опасностью взрыва единственным допустимым металлом является бронза.
4.4. Пробоотборники (чертежи соответствующих конструкций даны в ИСО 842).
4.4.1. Трубки для отбора проб из стекла или металла.
4.4.2. Маленькие погружные банки.
4.4.3. Взвешенные банки с клапанными запорами для отбора проб на всех уровнях.
4.4.4. Ковши, пробоотборники или шпатели.
4.5. Контейнеры для отбора проб
Применяют новые контейнеры соответствующего размера и с большими отверстиями:
а) металлические контейнеры с плотными металлическими крышками, внутренняя часть которых не покрыта лаком;
б) стеклянные контейнеры с плотно закрывающимися крышками, не подвергающимися воздействию пробы. Желтое стекло обеспечивает частичную защиту от действия света, а при необходимости содержимое может быть дополнительно защищено внешним светонепроницаемым покрытием или упаковкой.
4.6. Маркировка
Маркировка проводится с помощью соответствующих этикеток или другим способом.
4.7. Очистка пробоотборников
Оборудование должно содержаться в чистоте. Пробоотборники должны быть сухими и без осадка, чтобы не загрязнять пробу. После каждого применения аппаратуру тщательно очищают с помощью щетки или чистой хлопчатобумажной ветоши и затем промывают соответствующим растворителем.
Во время отбора проб при наличии воспламеняющихся или токсичных летучих веществ возникает опасность воспламенения от искры статического электричества. На этикетках или упаковке указывают возможные виды опасности, возникающей из-за природы веществ, поэтому с ними следует обращаться с осторожностью, используя в случае необходимости защитное оборудование. Все местные и общие требования безопасности и гигиены должны строго соблюдаться.
Существуют два основных вида отбора проб на следующих стадиях:
а) изготовление продукта уже окончено, но он все еще находится в производственной емкости или его фасуют в транспортную тару (банки, барабаны, бочки и т.д.);
б) отбор проб из транспортной тары всей массы (такой отбор проб проводят в производственном помещении, кроме тех случаев, когда по специальному соглашению между потребителем и изготовителем отбор проводят в помещении потребителя, причем в этом случае продукт после приемки не подвергают какой-либо обработке).
7.1. При отборе проб по методу, описанному в
п. 6а, выполняют операции, указанные в п. п. 7.1.1 -
7.1.2.
7.1.1. Жидкие продукты (типа A, B и C)
При отборе проб непосредственно из производственной емкости продукт тщательно перемешивают <*> и затем отбирают пробу с помощью взвешенной банки для отбора проб на разных уровнях.
--------------------------------
<*> Чистые лаки и подобные продукты в отстойниках не перемешивают перед отбором проб.
Если пробы отбирают во время расфасовки продукта в транспортную тару, то сначала через определенные промежутки времени отбирают небольшие порции продукта, а затем из них отбирают пробы.
В первом случае необходимо процедить пробу перед заполнением пробоотборника так же, как при заполнении транспортной тары.
7.1.2. Вязкие или порошкообразные продукты (типов D и E)
Продукцию проверяют в производственной емкости и, если она однородна по внешнему виду, пробу отбирают в различных частях общей массы с помощью трубки, ковша или пробоотборника, или несколько небольших проб отбирают через регулярные промежутки времени при заполнении контейнеров для перевозки.
7.2. При отборе проб по методу, описанному в
п. 6б, применяют процедуры, указанные в п. п. 7.2.1 -
7.2.3.
7.2.1. Жидкие продукты (типов A, B и C)
Если продукция поставляется в большом контейнере для перевозки всей партии, пробы отбирают как указано в
п. 7.1.1 для производственной емкости. При отсутствии циркуляционного насоса или других средств перемешивания пробы отбирают приблизительно равных размеров на разных уровнях <*> для получения представительной пробы, характеризующей продукцию в целом.
--------------------------------
<*> С целью получения дополнительной гарантии проверяют относительные плотности проб, взятых на различных уровнях, и, если, они не находятся в пределах, установленных допуском, продолжают перемешивать.
Если продукцию поставляют в нескольких контейнерах, определяют общее число контейнеров и затем выборочно отбирают пробу из контейнеров. Обычно отбирают пробу приблизительно из

контейнеров, где n - общее число контейнеров в партии (для справки ниже приведена соответствующая таблица). Пробу отбирают только из исправных, закрытых контейнеров, за исключением тех случаев, когда требуется изучить поврежденные или открытые контейнеры.
Далее - один контейнер на каждые 50 дополнительных контейнеров в партии.
Затем выполняют следующие действия (см. ИСО 1513):
а) каждый выбранный контейнер открывают по очереди и устанавливают наличие поверхностной пленки, разделение фаз (например, отделение воды или растворителя) или присутствие инородного вещества;
Число контейнеров в партии | Число контейнеров, из которых берут пробу |
2 - 10 | 2 |
11 - 20 | 3 |
21 - 35 | 4 |
36 - 50 | 5 |
51 - 70 | 6 |
71 - 90 | 7 |
91 - 125 | 8 |
126 - 160 | 9 |
161 - 200 | 10 |
б) после удаления поверхностной пленки в контейнер опускают мешалку и отмечают количество и тип осадка (мягкий, твердый или твердо-сухой), наличие или отсутствие геля, различая при этом гелеобразование и тиксотропию <*>;
--------------------------------
<*> Как при тиксотропии, так и при гелеобразовании краски и лаки имеют желеобразную консистенцию, но в первом случае консистенция заметно изменяется при перемешивании или встряхивании, а консистенция красок и лаков, содержащих гель, не изменяется.
в) осадок пигмента редиспергируют с помощью мешалки, отмечая легкость редиспергирования, затем надежно закрепляют крышку, контейнер переворачивают и оставляют перевернутым на то время, пока исследуют другие контейнеры. Наконец, контейнеры встряхивают и вращают с помощью механических средств для полного редиспергирования и смешивания пигмента;
г) контейнеры вновь открывают и исследуют однородность содержимого. Последовательное перемешивание, встряхивание и вращение контейнеров продолжают до тех пор, пока содержимое не станет однородным, при этом время от времени обследуют нижний конец мешалки с целью обнаружения недиспергированного пигмента. Отмечают время, необходимое для получения однородности;
д) когда содержимое контейнеров становится однородным, с помощью небольших погружных банок отливают часть продукта в контейнер для проб, который должен быть заполнен таким образом, чтобы осталось воздушное пространство около 5%. Контейнер, из которого отбирают пробу, и контейнер для взятия проб закрывают, последний очищают снаружи и на него сразу же навешивают бирку в соответствии с
п. 8.1.
7.2.2. Вязкие продукты (тип D)
Вязкие продукты обычно транспортируют в контейнерах с широким отверстием. Изучают состояние всех контейнеров и выбирают произвольно соответствующее количество согласно таблице. Открывают каждый из выбранных контейнеров, удаляют защитную пленку и исследуют содержимое с точки зрения однородности или разделения фаз (например, фазы масла, растворителя или воды). Если продукт является однородным или стал таким после перемешивания, отбирают пробу по всей глубине продукта из каждого выбранного контейнера, используя соответствующие пробоотборники, и помещают ее в соответствующий контейнер для пробы, который заполняют так, чтобы осталось около 5% воздушного пространства. Закрывают контейнер с отобранными пробами и вешают бирку в соответствии с
п. 8.1.
7.2.3. Порошкообразные продукты (тип E)
Порошкообразные продукты обычно транспортируют в мешках, бумажных или пластиковых упаковках, бочках или фанерных ящиках. Изучают состояние всех упаковок и из них произвольно выбирают необходимое для отбора проб количество в соответствии с таблицей. Открывают каждую из выбранных упаковок, отбирают из различных мест каждой упаковки соответствующим приспособлением небольшое количество продукта и закрывают упаковку. Помещают эти порции в соответствующий контейнер для проб, закрывают его, тщательно перемешивают содержимое путем встряхивания и вешают бирку в соответствии с
п. 8.1.
8. МАРКИРОВКА И ПЛОМБИРОВАНИЕ ПРОБ
После отбора проб из контейнеров на них навешивают бирки, которые содержат всю необходимую информацию, позволяющую опознать пробу. Бирки и маркировочные чернила должны быть стойкими к воздействию влаги и любых растворителей, содержащихся в пробе. Бирку прикрепляют не к пробке, а к горлу или корпусу контейнеров.
На бирке указывают:
а) наименование предприятия-изготовителя, описание продукта.
б) качество и особенности партии;
в) номер партии, контейнера для хранения, цилиндра и т.д.;
г) дату изготовления и взятия пробы;
д) общее количество проб, взятых из партии;
е) обозначение и номер пробы (если пробы берут из контейнера с определенным номером из числа отобранных, последние нумеруются);
ж) грузоотправитель;
з) место взятия пробы;
и) фамилию отборщика.
8.1.2. Пломбирование
После того как контейнер закрывают и маркируют, его пломбируют таким образом, чтобы содержимое и этикетка не могли быть сняты без нарушения пломбы.
Отчет о взятии пробы содержит всю информацию, необходимую для того, чтобы опознать пробу, а также описание подробностей, полезных при обращении с ней. В отчете содержится ссылка на настоящий стандарт или эквивалентный национальный стандарт, а также информация об отклонениях, таких как:
дефекты контейнера;
видимое инородное вещество;
необычный запах;
необычный цвет;
ошибки при маркировке;
неоднородность, включая наличие поверхностной пленки (если таковая имеется) перед взятием пробы и любую процедуру фильтрования, примененную перед наполнением контейнера с пробой;
трудность смешивания и т.д.
10. ХРАНЕНИЕ И ИСПОЛЬЗОВАНИЕ ПРОБ
10.1. Пробы анализируют как можно скорее после их взятия. Некоторые продукты, особенно содержащие воду, ухудшаются после хранения при повышенной температуре, поэтому пробы хранят в соответствии с инструкциями производителя продукта.
10.2. Пробы исследуют и готовят к испытанию в соответствии с ИСО 1513.
Рекомендуемое
ЛАКИ И КРАСКИ (ИСО 1513-80)
КОНТРОЛЬ И ПОДГОТОВКА ОБРАЗЦОВ ДЛЯ ИСПЫТАНИЙ
Настоящий международный стандарт является одним из серии стандартов на методы испытания образцов лакокрасочных материалов и относящихся к ним продуктов. Образцы следует отбирать в соответствии с ИСО 1512.
1. НАЗНАЧЕНИЕ И ОБЛАСТЬ ПРИМЕНЕНИЯ
Настоящий международный стандарт устанавливает метод предварительного контроля единичного образца, взятого для испытания, смешиванием и восстановлением серий образцов, представляющих партию или все количество лаков, красок (эмалей) и относящихся к ним продуктов.
ГОСТ 6613 <*> Сетки проволочные тканые с квадратными ячейками. ИСО 1512 Лаки и краски. Отбор проб.
--------------------------------
<*> Допускается применение государственного стандарта до прямого применения МС ИСО 3165-76.
3. СОСУД ДЛЯ ХРАНЕНИЯ ПРОБ
3.1. Требования к сосуду для хранения проб
Выявляют дефекты сосуда для хранения проб или любую видимую утечку. Если дефекты сосуда могут оказать воздействие на его содержимое, то образец должен быть забракован.
3.2. Вскрытие сосуда
Предупреждение: краски (эмали), смывки и другие материалы склонны во время хранения выделять газ или пары под определенным давлением. Следует быть осторожным при открывании сосуда, особенно если наблюдается вздутие крышки или дна. Это явление необходимо отметить в протоколе
(разд. 10).
Удаляют все упаковочные материалы (древесные опилки и т.д.) и другой мусор с внешней поверхности сосуда, особенно около пробки. Сосуд открывают осторожно, чтобы не повредить содержимого.
4. МЕТОД ПРЕДВАРИТЕЛЬНОГО КОНТРОЛЯ ЖИДКИХ ПРОДУКТОВ <*>
(ЛАКОВ, ЭМУЛЬСИИ, РАЗБАВИТЕЛЕЙ И Т.Д.)
--------------------------------
<*> Эти продукты соответствуют продуктам типов A и B ИСО 1512.
4.1. Визуальный контроль
4.1.1. Незаполненная часть сосуда
Определяют приблизительный незаполненный объем сосуда, т.е. воздушное пространство над содержимым сосуда в процентах от общей его вместимости.
4.1.2. Поверхностная пленка
Отмечают наличие поверхностной пленки и ее особенности (твердая или мягкая, тонкая, средней толщины или очень толстая). Пленку отделяют от стенок сосуда и удаляют. В случае необходимости допускается использовать сито. Отмечают легкость удаления пленки. Для проведения аналитических испытаний может возникнуть необходимость диспергирования пленки и включения ее в пробу для испытания.
4.1.3. Консистенция
Отмечают, является ли материал тиксотропным или имеет место желатинизация. Следует быть осторожным, чтобы не спутать желатинизацию и тиксотропию <*>.
--------------------------------
<*> Тиксотропные и желатинизированные лакокрасочные материалы имеют студнеобразную консистенцию. Консистенция тиксотропных лаков и красок (эмалей) легко восстанавливается при встряхивании или перемешивании, а консистенция желатинизированных лакокрасочных материалов не может быть восстановлена таким образом.
4.1.4. Разделение фаз
Отмечают разделение пробы на слои, например, воду и масло или смоляные продукты.
4.1.5. Видимые примеси
Отмечают присутствие видимых примесей и по возможности их удаляют.
4.1.6. Осадок
При наличии осадка отмечают его присутствие и состояние.
4.1.7. Чистота
Оценивают чистоту и цвет лаков, разбавителей, растворов катализатора и т.д.
Пробу тщательно перемешивают, разрушая любой незначительный осадок.
5. МЕТОД ПРЕДВАРИТЕЛЬНОГО КОНТРОЛЯ ЖИДКИХ ПРОДУКТОВ <*>
(КРАСОК, ЭМАЛЕЙ)
--------------------------------
<*> Эти продукты соответствуют продуктам типа C ИСО 1512.
5.1. Визуальный контроль
5.1.1. Незаполненная часть сосуда
Определяют приблизительный незаполненный объем сосуда, т.е. воздушное пространство над содержимым сосуда в процентах от общей вместимости сосуда.
5.1.2. Поверхностная пленка
Отмечают наличие поверхностной пленки и ее особенности (твердая или мягкая, тонкая, средней толщины или очень толстая). Пленку отделяют от стенок сосуда и удаляют, в случае необходимости допускается использовать сито. Отмечают легкость удаления пленки. Для проведения аналитических испытаний может возникнуть необходимость диспергирования пленки и включения ее в пробу для испытания.
Отмечают, является ли материал тиксотропным или имеет место желатинизация. Следует быть осторожным, чтобы не спутать желатинизацию и тиксотропию <*>.
--------------------------------
<*> Тиксотропные и желатинизированные лакокрасочные материалы имеют студнеобразную консистенцию. Консистенция тиксотропных лаков и красок (эмалей) легко восстанавливается при встряхивании или перемешивании, а консистенция желатинизированных лакокрасочных материалов не может быть восстановлена таким образом.
5.1.4. Разделение фаз
Отмечают разделение образца на фазы.
5.1.5. Осадок
Отмечают тип осадка (мягкий, твердый или твердо-сухой). Если осадок твердый и сухой и при разрезании чистым шпателем крошится на куски, то его называют твердо-сухой.
Отмечают наличие примесей в красках и тщательно их удаляют.
5.2.1. Ограничения
Образцы, в которых произошло гелеобразование или выпадение твердо-сухого осадка (
п. п. 5.1.3 и
5.1.6), которые не могут быть восстановлены, для испытаний не используют.
5.2.2. Общие указания
Операции, указанные в п. п. 5.2.3 -
5.2.5, следует проводить осторожно и обеспечивать минимальные потери растворителя. Перемешивание выполняют по возможности быстро.
5.2.3. Удаление поверхностной пленки
Если на образце имеется пленка, то удаляют все остатки и процеживают пробу через сито под тяжестью собственного веса в соответствии с
ГОСТ 6613. Номинальный размер отверстий сита - 125 мкм, если не оговорены другие размеры.
5.2.4. Испытание образца, не содержащего твердого осадка
Пробу тщательно перемешивают, даже если нет видимого осадка (если образец небольшой, то используют шпатель, для больших образцов используют прочные мешалки), плотно закрывают сосуд крышкой и сразу же тщательно встряхивают содержимое, переворачивая сосуд вверх дном. Повторяют перемешивание и встряхивание до тех пор, пока образец не будет однородным. Для дополнительной предосторожности рекомендуется содержимое сосуда перелить в чистую банку, а затем обратно, и так повторить несколько раз. В процессе подготовки образца необходимо избегать по возможности попадания воздуха. Перед использованием проба не должна содержать пузырьков воздуха.
5.2.5. Испытание образца, содержащего твердый осадок (но не твердо-сухой)
Выливают всю жидкость в чистый сосуд. Удаляют осажденный пигмент со дна сосуда шпателем и тщательно перемешивают. При достижении однородной консистенции переливают содержимое в первый сосуд небольшими порциями, тщательно перемешивая каждую добавку перед тем, как ввести следующую. После этого переливают содержимое несколько раз из одного сосуда в другой
(п. 5.2.4). Перед использованием образец не должен содержать пузырьков воздуха.
6. МЕТОД ПРЕДВАРИТЕЛЬНОГО КОНТРОЛЯ ВЯЗКИХ ПРОДУКТОВ <*>
(ШПАТЛЕВОК, МАСТИК И Т.Д.)
--------------------------------
<*> Эти продукты соответствуют продуктам типа D ИСО 1512.
Метод контроля приведен в
разд. 5. Для достижения однородности можно использовать мощную мешалку.
7. МЕТОД ПРЕДВАРИТЕЛЬНОГО КОНТРОЛЯ ПОРОШКОВЫХ
МАТЕРИАЛОВ <*>
--------------------------------
<*> Эти материалы соответствуют типу E ИСО 1512.
Эти продукты не требуют специальных методов контроля, но особенности должны быть отмечены (необычный цвет, наличие больших или твердых кусочков, примесей и т.д.).
8. ПЕРЕМЕШИВАНИЕ И ВОССТАНОВЛЕНИЕ СЕРИЙ ПРОБ
8.1. Общие указания
Если пробы взяты из однородного продукта, их испытывают отдельно или соединяют вместе для получения восстановленной пробы в соответствии с п. п. 8.2 -
8.4.
8.2. Жидкие продукты (типы A, B, C)
После тщательного перемешивания каждого образца, как указано в
разд. 4 и
5, выливают или переносят пробы в чистый сухой сосуд соответствующего размера и тщательно перемешивают содержимое встряхиванием или перемешиванием. При достижении однородности берут восстановленный образец в соответствии с ИСО 1512. Восстановленный образец помещают в один или несколько сухих и чистых сосудов, оставляя 5% объема незаполненным, затем закрывают сосуд, наклеивают этикетку и, в случае необходимости, его запечатывают.
8.3. Вязкие продукты (тип D)
Невозможно установить общепринятую технологию. Применяют определенные методы с учетом вспомогательных механических средств, трудностей перемешивания вязких материалов, возможностей потери летучих компонентов и т.д.
8.4. Порошковые материалы (тип E)
Содержимое сосудов с разными пробами (от 1 до 2 кг) разделяют на четыре части вручную или при помощи вращающегося делителя, уменьшенную пробу помещают в один или несколько сухих чистых сосудов. Закрывают его, наклеивают этикетку и в случае необходимости запечатывают.
9. МАРКИРОВКА СОСУДОВ ДЛЯ ХРАНЕНИЯ ПРОБ
Этикетка должна содержать следующие сведения:
а) название предприятия-изготовителя и описание продукта;
б) дату изготовления;
в) отправителя;
г) размер и особенности поставки;
д) место отбора проб, дату отбора, фамилию лаборанта, отобравшего пробу;
е) исходный номер или номера партии загрузки, емкости для хранения, цистерн и т.д., из которых была взята проба или пробы;
ж) дату смешивания, фамилию лаборанта, производившего смешивание.
з) ссылку на настоящий международный стандарт или соответствующий национальный стандарт.
Примечание. Если образец передают в другую лабораторию, прилагают сопроводительный документ с указанием данных, приведенных на этикетке и, если необходимо, протокол предварительного контроля
(разд. 10).
10. ПРОТОКОЛ ПРЕДВАРИТЕЛЬНОГО КОНТРОЛЯ
Протокол должен включать следующую информацию:
а) описание пробы, как указано на этикетке
(разд. 9);
б) ссылку на данный международный стандарт или соответствующий национальный стандарт;
в) внешний вид, чистоту и т.д.;
г) описание имеющейся поверхностной пленки, принятой технологии удаления ее;
д) описание наблюдаемого осадка и принятой технологии повторного соединения компонентов (
п. п. 4.2 и
5.2);
е) другие предварительные наблюдения, как указано (
разд. 3,
4,
6,
7).
Приложения 4 - 6 (Введены дополнительно, Изм. N 1).