Скачать ГОСТ Р 55209-2012 Устройства безопасности, регулирования и управления для газовых горелок и газовых приборов. Общие требования

Дата актуализации: 01.01.2021

ГОСТ Р 55209-2012

Устройства безопасности, регулирования и управления для газовых горелок и газовых приборов. Общие требования

Обозначение: ГОСТ Р 55209-2012
Обозначение англ: GOST R 55209-2012
Статус:введен впервые
Название рус.:Устройства безопасности, регулирования и управления для газовых горелок и газовых приборов. Общие требования
Название англ.:Safety and control devices for gas burners and gas burning appliances. General requirements
Дата добавления в базу:21.05.2015
Дата актуализации:01.01.2021
Дата введения:01.01.2014
Область применения:Стандарт устанавливает требования безопасности, конструктивные, эксплуатационные характеристики и методы испытаний устройств обеспечения безопасности, регулирования и управления для газовых горелок и газовых приборов, применяющих горючие газы первого, второго или третьего семейства. Стандарт распространяется на следующие устройства управления: - автоматические отсечные клапаны; - автоматические системы управления горелкой; - устройства контроля пламени; - регуляторы соотношения газ-воздух; - регуляторы давления; - ручные краны; - механические термостаты; - многофункциональные устройства управления; - датчики контроля давления; - системы контроля герметичности клапана; - нулевые регуляторы давления. Указанные в настоящем стандарте методы испытаний предназначены только для типовых испытаний образцов устройств управления. Специальные методы контрольных испытаний устройств управления не указаны. Стандарт рекомендуется применять совместно со стандартом на устройства управления конкретного типа ГОСТ Р ЕН 257; ГОСТ Р 51842; ГОСТ Р 52219; ГОСТ Р 54823; ГОСТ Р 54824; ГОСТ Р 55205; ГОСТ Р 55206; ГОСТ Р 55207; ГОСТ Р 55208.
Оглавление:1 Область применения
2 Нормативные ссылки
3 Термины и определения
4 Классификация
5 Единицы измерения и условия испытаний
6 Требования к конструкции
7 Технические требования
8 Электромагнитная совместимость/электрические требования
9 Маркировка, инструкции по монтажу и эксплуатации
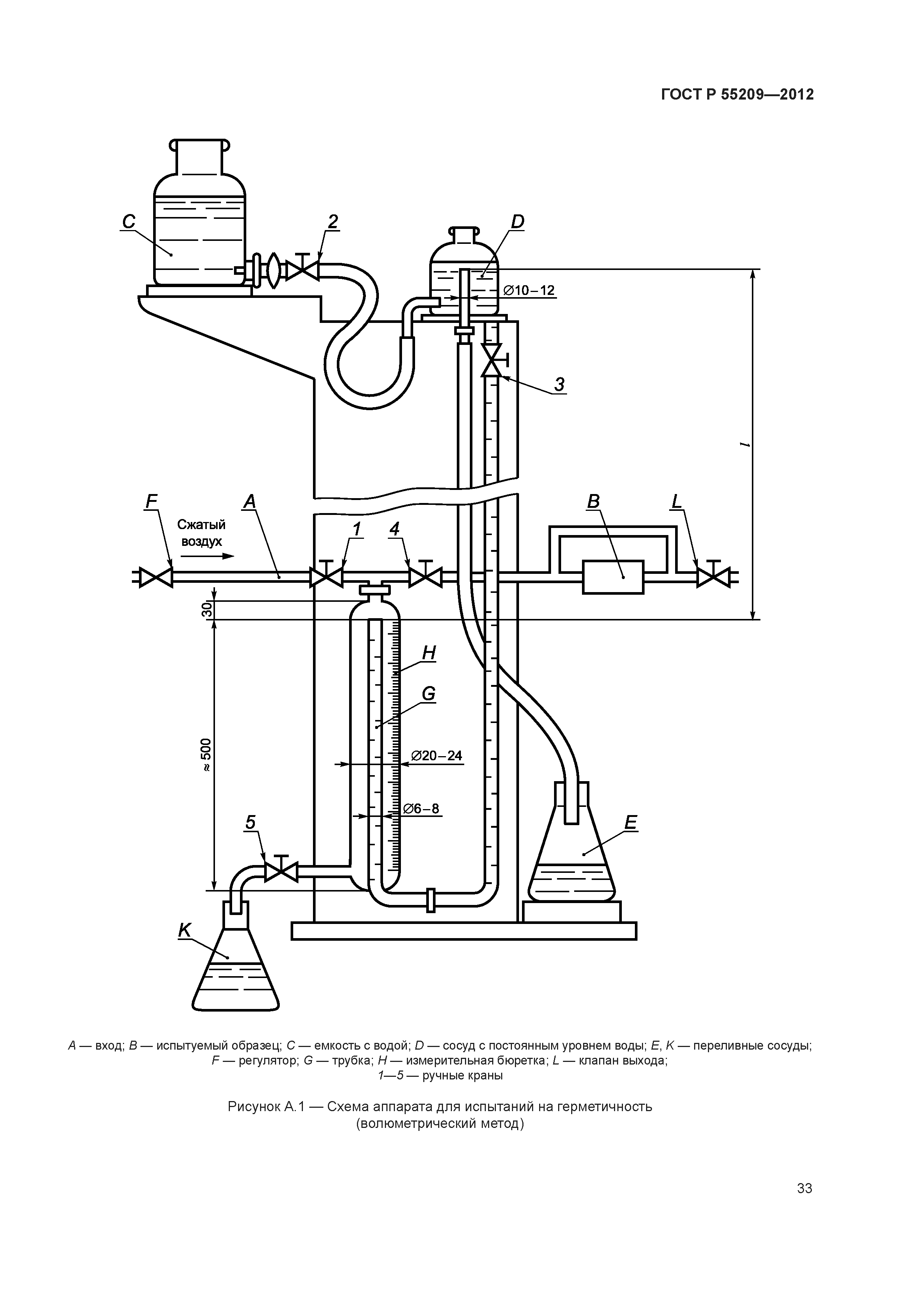
Приложение А (справочное) Испытание на герметичность (волюметрический метод)
Приложение Б (справочное) Испытание на герметичность (метод падения давления)
Приложение В (обязательное) Расчет утечек по падению давления
Приложение Г (справочное) Электрические/электронные компоненты. Характер проявления неисправности
Приложение Д (обязательное) Требования к устройствам управления, применяемым в газовых горелках и газовых приборах, работающих от источника постоянного тока
Приложение Е (обязательное) Дополнительные требования к защитным устройствам и устройствам, работающим под давлением, как указано в Директиве 97/23/ЕС
Приложение ДА (обязательное) Дополнительные требования к устройствам безопасности, регулирования и управления для газовых горелок и газовых приборов
Приложение ДБ (справочное) Сведения о соответствии ссылочных национальных и межгосударственных стандартов международным и европейским региональным стандартам, использованным в качестве ссылочных в примененном европейском региональном стандарте
Приложение ДВ (справочное) Взаимосвязь между настоящим стандартом и лежащими в его основе требованиями технического регламента ТС "О безопасности аппаратов, работающих на газообразном топливе"
Библиография
Разработан: ФГУП ВНИИНМАШ
Утверждён:26.11.2012 Федеральное агентство по техническому регулированию и метрологии (1204-ст)
Издан: Стандартинформ (2015 г. )
Нормативные ссылки:
ГОСТ Р 55209-2012ГОСТ Р 55209-2012ГОСТ Р 55209-2012ГОСТ Р 55209-2012ГОСТ Р 55209-2012ГОСТ Р 55209-2012ГОСТ Р 55209-2012ГОСТ Р 55209-2012ГОСТ Р 55209-2012ГОСТ Р 55209-2012ГОСТ Р 55209-2012ГОСТ Р 55209-2012ГОСТ Р 55209-2012ГОСТ Р 55209-2012ГОСТ Р 55209-2012ГОСТ Р 55209-2012ГОСТ Р 55209-2012ГОСТ Р 55209-2012ГОСТ Р 55209-2012ГОСТ Р 55209-2012ГОСТ Р 55209-2012ГОСТ Р 55209-2012ГОСТ Р 55209-2012ГОСТ Р 55209-2012ГОСТ Р 55209-2012ГОСТ Р 55209-2012ГОСТ Р 55209-2012ГОСТ Р 55209-2012ГОСТ Р 55209-2012ГОСТ Р 55209-2012ГОСТ Р 55209-2012ГОСТ Р 55209-2012ГОСТ Р 55209-2012ГОСТ Р 55209-2012ГОСТ Р 55209-2012ГОСТ Р 55209-2012ГОСТ Р 55209-2012ГОСТ Р 55209-2012ГОСТ Р 55209-2012ГОСТ Р 55209-2012ГОСТ Р 55209-2012ГОСТ Р 55209-2012ГОСТ Р 55209-2012ГОСТ Р 55209-2012ГОСТ Р 55209-2012ГОСТ Р 55209-2012ГОСТ Р 55209-2012ГОСТ Р 55209-2012ГОСТ Р 55209-2012ГОСТ Р 55209-2012ГОСТ Р 55209-2012ГОСТ Р 55209-2012ГОСТ Р 55209-2012