ФЕДЕРАЛЬНОЕ АГЕНТСТВО
ПО ТЕХНИЧЕСКОМУ РЕГУЛИРОВАНИЮ И МЕТРОЛОГИИ
|
|
НАЦИОНАЛЬНЫЙ |
ГОСТ Р 51992-2011 |
Устройства защиты от импульсных
перенапряжений низковольтные
Часть 1
УСТРОЙСТВА ЗАЩИТЫ ОТ ИМПУЛЬСНЫХ
ПЕРЕНАПРЯЖЕНИЙ В НИЗКОВОЛЬТНЫХ
СИЛОВЫХ РАСПРЕДЕЛИТЕЛЬНЫХ СИСТЕМАХ
Технические требования и методы испытаний
IEC 61643-1:2005
Low-voltage surge protective devices - Part 1:
Surge protective devices connected to low-voltage
power distribution systems -
Requirements and tests
(MOD)
|
|
Москва Стандартинформ 2012 |
Предисловие
Цели и принципы стандартизации в Российской Федерации установлены Федеральным законом от 27 декабря 2002 г. № 184-ФЗ «О техническом регулировании», а правила применения национальных стандартов Российской Федерации - ГОСТ Р 1.0-2004 «Стандартизация в Российской Федерации. Основные положения»
Сведения о стандарте
1 ПОДГОТОВЛЕН Обществом с ограниченной ответственностью «ВНИИэлектроаппарат» на основе собственного аутентичного перевода на русский язык стандарта, указанного в пункте 4
2 ВНЕСЕН Техническим комитетом по стандартизации ТК 331 «Низковольтная коммутационная аппаратура и комплектные устройства распределения, защиты и управления и сигнализации»
3 УТВЕРЖДЕН И ВВЕДЕН В ДЕЙСТВИЕ Приказом Федерального агентства по техническому регулированию и метрологии от 13 сентября 2011 г. № 295-ст
4 Настоящий стандарт является модифицированным по отношению к международному стандарту МЭК 61643-1-2005, Издание 2 «Устройства защиты от перенапряжений низковольтные. Устройства защиты от перенапряжений, подсоединенные к низковольтным системам распределения электроэнергии. Часть 1. Требования и испытания» (IEC 61643-1:2005 «Low-voltage surge protective devices - Part 1: Surge protective devices connected to low-voltage power distribution systems - Requirements and tests»). При этом разделы 1 - 8 и приложения А и В полностью идентичны, а приложения ДА, ДБ и библиография дополняют их с учетом потребностей национальной экономики Российской Федерации и/или особенностей российской национальной стандартизации
5 ВЗАМЕН ГОСТ Р 51992-2002 (МЭК 61643-1-98)
Информация об изменениях к настоящему стандарту публикуется в ежегодно издаваемом информационном указателе «Национальные стандарты», а текст изменений и поправок - в ежемесячно издаваемых информационных указателях «Национальные стандарты». В случае пересмотра (замены) или отмены настоящего стандарта соответствующее уведомление будет опубликовано в ежемесячно издаваемом информационном указателе «Национальные стандарты». Соответствующая информация, уведомление и тексты размещаются также в информационной системе общего пользования - на официальном сайте Федерального агентства по техническому регулированию и метрологии в сети Интернет
СОДЕРЖАНИЕ
Введение
Настоящий стандарт разработан в целях прямого применения в России международного стандарта МЭК 61643-1-2005 «Устройства защиты от перенапряжений низковольтные. Устройства защиты от перенапряжений, подсоединенные к низковольтным системам распределения электроэнергии. Часть 1. Требования и испытания».
Настоящий стандарт отличается от МЭК 61643-1 наличием приложений ДА и ДБ.
Приложение ДА содержит дополнительные требования, учитывающие потребности экономики страны и требования национальных стандартов на электротехнические изделия.
Приложение ДБ содержит сведения о соответствии ссылочных национальных и межгосударственных стандартов международным стандартам, использованным в качестве ссылочных в примененном международном стандарте.
В разделе «Библиография» приведены сведения о международных стандартах, на которые имеются ссылки в настоящем стандарте и которые не введены в качестве национальных стандартов в Российской Федерации или в качестве межгосударственных стандартов, действующих на территории Российской Федерации, или не имеют эквивалентной замены.
При ссылке в тексте стандарта на международный стандарт с указанием серии и без указания конкретной части (например, МЭК 60227, МЭК 60245) применяют национальные стандарты, входящие в соответствующую серию национальных стандартов (например, ГОСТ Р МЭК 227 или ГОСТ Р МЭК 60227, ГОСТ Р МЭК 245 или ГОСТ Р МЭК 60245). При отсутствии соответствующего национального стандарта, входящего в указанные серии, применяют соответствующую часть международного стандарта.
Настоящий стандарт отличается от ГОСТ Р 52997-2002 изменением или уточнением ряда действующих положений, а также введением новых положений, в том числе:
- введены новые определения и уточнены действующие определения (3.9, 3.18, 3.22, 3.23, 3.46, 3.47, 3.48 и др.);
- введены дополнительные параметры классификации УЗИП (4.11, 4.12);
- введены дополнительные требования к идентификации УЗИП [6.1.1, перечисления f), x)];
- введены дополнительно и уточнены технические требования на характеристики УЗИП (6.5.5, 6.5.6, 6.6.4);
- введены дополнительно и уточнены требования и методы испытаний по типовым и дополнительным испытаниям УЗИП (7.1, 7.9, таблицы 2, 3, 11, 11х, 17);
- уточнено содержание приложения В (таблица В.1);
- введены дополнительно рисунки 6а и 13 и ряд других дополнений и уточнений.
НАЦИОНАЛЬНЫЙ СТАНДАРТ РОССИЙСКОЙ ФЕДЕРАЦИИ
Устройства защиты от импульсных перенапряжений низковольтные
Часть 1
УСТРОЙСТВА ЗАЩИТЫ ОТ ИМПУЛЬСНЫХ ПЕРЕНАПРЯЖЕНИЙ
В НИЗКОВОЛЬТНЫХ СИЛОВЫХ РАСПРЕДЕЛИТЕЛЬНЫХ СИСТЕМАХ
Технические требования и методы испытаний
Low-voltage surge protective devices. Part 1. Surge protective devices
connected to low-voltage power distribution systems. Technical requirements and
test methods
Дата введения - 2012-07-01
Настоящий стандарт распространяется на устройства защиты электрических сетей и электрооборудования при прямом или косвенном воздействии грозовых или иных переходных перенапряжений. Данные устройства предназначены для подсоединения к силовым цепям переменного тока частотой 50 - 60 Гц или постоянного тока и к оборудованию с номинальным напряжением до 1000 В (действующее значение) или 1500 В постоянного тока. Рабочие характеристики, стандартные методы испытаний и номинальные параметры установлены для таких устройств, которые содержат, по крайней мере, один нелинейный элемент, предназначенный для ограничения перенапряжений и отвода импульсных токов.
В настоящем стандарте использованы нормативные ссылки на следующие стандарты:
ГОСТ Р 15.201-2000 Система разработки и постановки продукции на производство. Продукция производственно-технического назначения. Порядок разработки и постановки продукции на производство
ГОСТ Р 50030.1-2007 (МЭК 60947-1:2004) Аппаратура распределения и управления низковольтная. Часть 1. Общие требования
ГОСТ Р 50030.5.1-2005 (МЭК 60947-5-1:2003) Аппаратура распределения и управления низковольтная. Часть 5. Аппараты и коммутационные элементы цепей управления. Глава 1. Электромеханические аппараты для цепей управления
ГОСТ Р 50345-2010 (МЭК 60898-1:2003) Аппаратура малогабаритная электрическая. Автоматические выключатели для защиты от сверхтоков бытового и аналогичного назначения. Часть 1. Автоматические выключатели для переменного тока
ГОСТ Р 50571.26-2002 (МЭК 60364-5-534-97) Электроустановки зданий. Часть 5. Выбор и монтаж электрооборудования. Раздел 534. Устройства для защиты от импульсных перенапряжений
ГОСТ Р 51322.1-99 (МЭК 60884-1-94) Соединители электрические штепсельные бытового и аналогичного назначения. Часть 1. Общие требования и методы испытаний
ГОСТ Р 51686.1-2000 (МЭК 60999-1-99) Соединительные устройства. Требования безопасности к контактным зажимам. Часть 1. Требования к винтовым и безвинтовым контактным зажимам для соединения медных проводников с номинальным сечением от 0,2 до 35 мм кв.
ГОСТ Р 51686.2-2000 (МЭК 60999-2-95) Соединительные устройства. Требования безопасности к контактным зажимам. Часть 2. Дополнительные требования к винтовым и безвинтовым контактным зажимам для соединения медных проводников с номинальным сечением от 35 до 300 мм кв.
ГОСТ 9.005-72 Единая система защиты от коррозии и старения. Металлы, сплавы, металлические и неметаллические неорганические покрытия. Допустимые и недопустимые контакты с металлами и неметаллами
ГОСТ 12.2.007.6-75 Система стандартов безопасности труда. Аппараты коммутационные низковольтные. Требования безопасности
ГОСТ 14254-96 (МЭК 529-89) Степени защиты, обеспечиваемые оболочками (код IP)
ГОСТ 15150-69 Машины, приборы и другие технические изделия. Исполнения для различных климатических районов. Категории, условия эксплуатации, хранения и транспортирования в части воздействия климатических факторов внешней среды
ГОСТ 15543.1-89 Изделия электротехнические. Общие требования в части стойкости к климатическим внешним воздействующим факторам
ГОСТ 16504-81 Система государственных испытаний продукции. Испытания и контроль качества продукции. Основные термины и определения
ГОСТ 16962.1-89 (МЭК 68-2-1-74) Изделия электротехнические. Методы испытаний на устойчивость к климатическим внешним воздействующим факторам
ГОСТ 16962.2-90 Изделия электротехнические. Методы испытаний на стойкость к механическим внешним воздействующим факторам
ГОСТ 17441-84 Соединения контактные электрические. Приемка и методы испытаний
ГОСТ 17516.1-90 Изделия электротехнические. Общие требования в части стойкости к механическим внешним воздействующим факторам
ГОСТ 18620-86 Изделия электротехнические. Маркировка
ГОСТ 23216-78 Изделия электротехнические. Хранение, транспортирование, временная противокоррозионная защита, упаковка. Общие требования и методы испытаний
ГОСТ 24622-91 (ИСО 2039-2-87) Пластмассы. Определение твердости. Твердость по Роквеллу
ГОСТ 27473-87 (МЭК 112-79) Материалы электроизоляционные твердые. Метод определения сравнительного и контрольного индексов трекингостойкости во влажной среде
ГОСТ 27483-87 (МЭК 695-2-1-80) Испытания на пожароопасность. Методы испытаний. Испытания нагретой проволокой
Примечание - При пользовании настоящим стандартом целесообразно проверить действие ссылочных стандартов в информационной системе общего пользования - на официальном сайте Федерального агентства по техническому регулированию и метрологии в сети Интернет или по ежегодно издаваемому информационному указателю «Национальные стандарты», который опубликован по состоянию на 1 января текущего года, и по соответствующим ежемесячно издаваемым информационным указателям, опубликованным в текущем году. Если ссылочный стандарт заменен (изменен), то при пользовании настоящим стандартом следует руководствоваться заменяющим (измененным) стандартом. Если ссылочный стандарт отменен без замены, то положение, в котором дана ссылка на него, применяется в части, не затрагивающей эту ссылку.
2.1.1 Частота источника питания от 48 до 62 Гц переменного тока.
2.1.2 Напряжение, подаваемое непрерывно между выводами устройства для защиты от импульсных перенапряжений (УЗИП), не должно превышать его максимального длительного рабочего напряжения.
2.1.3 Высота над уровнем моря не должна быть более 2000 м.
2.1.4 Температура эксплуатации и хранения:
- нормальная температура - от минус 5 °С до плюс 40 °С;
- предельные значения - от минус 40 °С до плюс 70 °С.
2.1.5 Относительная влажность в температурных условиях помещения - от 30 % до 90 %.
При использовании УЗИП в аномальных условиях может потребоваться разработка УЗИП с особыми требованиями к конструкции и применению.
Для УЗИП наружной установки, подвергаемых действию солнечной или иной радиации, могут понадобиться дополнительные требования.
В настоящем стандарте применены следующие термины с соответствующими определениями:
3.1 устройство для защиты от импульсных перенапряжений (УЗИП) (surge protective device SPD): Устройство, которое предназначено для ограничения переходных перенапряжений и отвода импульсных токов. Это устройство содержит, по крайней мере, один нелинейный элемент.
3.2 одновводное УЗИП (one-port SPD): УЗИП, включенное параллельно в защищаемую цепь. Может иметь отдельные вводной и выводной выводы без включенного последовательно полного сопротивления между выводами.
3.3 двухвводное УЗИП (two-port SPD): УЗИП с двумя комплектами выводов - вводным и выводным - с включенным последовательно между выводами специальным полным сопротивлением.
3.4 УЗИП коммутирующего типа (voltage switching type SPD): УЗИП, которое в отсутствие перенапряжений сохраняет высокое полное сопротивление, но может мгновенно изменить его на низкое в ответ на скачок напряжения. Общим примером элементов, служащих коммутирующими устройствами, являются разрядники, газовые трубки, тиристоры (кремниевые выпрямители) и управляемые тиристоры. Такие УЗИП иногда называют «разрядники».
3.5 УЗИП ограничивающего типа (voltage limiting type SPD): УЗИП, которое в отсутствие перенапряжения сохраняет высокое полное сопротивление, но постепенно снижает его с возрастанием волны тока и напряжения. Общим примером элементов, служащих нелинейными устройствами, являются варисторы и диодные разрядники. Такие УЗИП иногда называют «ограничители».
3.6 УЗИП комбинированного типа (combination type SPD): УЗИП, содержащие элементы как коммутирующего типа, так и ограничивающего типа, которые могут коммутировать и ограничивать напряжение, а также выполнять обе функции; их действие зависит от характеристик подаваемого напряжения.
3.7 виды защиты (modes of protection): Защитный элемент УЗИП может подсоединяться между фазами или между фазой и землей, или между фазой и нейтралью, или между нейтралью и землей, или в любой из комбинаций.
3.8 номинальный разрядный ток In (nominal discharge current In): Пиковое значение тока, протекающего через УЗИП, с формой волны 8/20. Применяют в классификации УЗИП при испытаниях класса II, а также при предварительной обработке УЗИП для испытаний классов I и II.
3.9 импульсный ток Iimp (impulse current Iimp): Определяется тремя параметрами: пиковым значением тока Ipeak, зарядом Q и удельной энергией W/R.
Примечание - Применяют при классификации УЗИП для испытаний класса I.
3.10 максимальный разрядный ток Imax для испытаний класса II (maximum discharge current Imax for class II test): Пиковое значение тока, протекающего через УЗИП, имеющего форму волны 8/20 и величину согласно испытательному циклу в рабочем режиме испытаний класса II. Imax > In.
3.11 максимальное длительное рабочее напряжение Uc (maximum continuous operating voltage): Максимальное напряжение действующего значения переменного или постоянного тока, которое длительно подается на выводы УЗИП. Оно равно номинальному напряжению.
3.12 собственная потребляемая мощность Рс (standby power consumption Pc): Мощность, потребляемая УЗИП при подаче максимального длительного рабочего напряжения (Uc) при сбалансированных напряжениях и фазных углах в отсутствие нагрузки.
УЗИП подсоединено согласно инструкциям изготовителя.
3.13 сопровождающий ток If (follow current If): Ток, подаваемый электрической силовой системой и проходящий через УЗИП после разрядного токового импульса. Сопровождающий ток существенно отличается от длительного рабочего тока Ic.
3.14 номинальный ток нагрузки IL (rated load current IL): Максимальный длительный номинальный переменный ток (действующее значение) или постоянный ток, который может подаваться к нагрузке, защищаемой УЗИП.
3.15 уровень напряжения защиты Up (voltage protection level Up): Параметр, характеризующий УЗИП в части ограничения напряжения на его выводах, величина которого выбрана из числа предпочтительных значений. Данное значение должно быть выше наибольшего из измеренных ограниченных напряжений.
3.16 измеренное предельное напряжение (measured limiting voltage): Максимальное значение напряжения, измеренного на выводах УЗИП при подаче импульсов заданной формы волны и амплитуды.
3.17 остаточное напряжение Ures (residual voltage Ures): Пиковое значение напряжения, появляющегося на выводах УЗИП вследствие прохождения разрядного тока.
3.18 значение временного испытательного перенапряжения UT (temporary overvoltage test value UT): Испытательное напряжение, приложенное к УЗИП в течение определенного промежутка времени для моделирования пробоя в условиях ВПН.
3.19 способность двухвводного УЗИП выдерживать перенапряжения со стороны нагрузки (load-side surge withstand capability for a two-port SPD): Способность двухвводного УЗИП выдерживать перенапряжение на выходных выводах, выражающаяся в снижении нагрузок на УЗИП.
3.20 падение напряжения (в процентах) (voltage drop (in percent)):
ΔU = [(Uвход - Uвых)/Uвход] ∙ 100,
где Uвход, Uвых - входное и выходное напряжения соответственно, измеренные одновременно при подключенной полной активной нагрузке. Данный параметр применяют исключительно для двухвводных УЗИП.
3.21 потери при включении (insertion loss): Потери при включении УЗИП, определяющиеся отношением напряжений на выводах, измеренных сразу же после подключения испытуемого УЗИП к системе, до и после включения. Результат выражается в процентах.
Примечание - Требования и испытания - в стадии рассмотрения.
3.22 импульс напряжения 1,2/50 (1,2/50 voltage impulse): Импульс напряжения с фактическим временем фронта 1,2 мкс и полупериодом 50 мкс.
Примечания
1 Время фронта определяется в соответствии с МЭК 60060-1 [1] как 1,67(t90 - t30), где t90 и t30 - точки, соответствующие 90 % и 30 % амплитуды на кривой нарастания импульса.
2 Время полупериода определяется как отрезок времени между виртуальным началом и точкой на уровне 50 % амплитуды на кривой затухания.
Виртуальное начало - точка, в которой прямая линия, проходящая через точки 30 % и 90 % на кривой нарастания, пересекает линию времени на оси координат.
3.23 импульс тока 8/20 (8/20 current impulse): Импульс тока с фактическим временем фронта 8 мкс и временем полупериода 20 мкс.
Примечания
1 Время фронта определяется в соответствии с МЭК 60060-1 [1] как 1,25(t90 - t10), где t90 и t10 - точки, соответствующие 90 % и 10 % амплитуды на кривой нарастания импульса.
2 Время полупериода определяется как отрезок времени между виртуальным началом и точкой на уровне 50 % амплитуды на кривой затухания.
Виртуальное начало - точка, в которой прямая линия, проходящая через точки 10 % и 90 % на кривой нарастания, пересекает линию времени на оси координат.
3.24 комбинированная волна (combination wave): Комбинированная волна создается генератором, который подает в разомкнутую цепь импульс напряжения 1,2/50 и в короткозамкнутую цепь импульс тока 8/20. Напряжение, амплитуда тока и формы волны, подаваемой к УЗИП, определяются генератором и полным сопротивлением УЗИП, к которому прикладывается импульс. Отношение пикового напряжения разомкнутой цепи к пиковому току короткого замыкания составляет 2 Ом; оно определено как условное полное сопротивление Z1. Ток короткого замыкания обозначен Isc. Напряжение разомкнутой цепи обозначено Uoc.
3.25 температурный сбой (thermal runaway): Рабочее условие, при котором установившееся состояние рассеяния энергии УЗИП превышает способность корпуса и соединений рассеивать тепловую энергию, ведущее к повышению температуры внутренних элементов, приводящему к повреждению устройства.
3.26 тепловая стабильность (thermal stability): Способность УЗИП сохранять термостабильность после испытания в рабочем режиме, вызвавшем превышение температуры, когда температура УЗИП со временем понижается и УЗИП работает при заданных максимальном длительном рабочем напряжении и условиях температуры окружающего воздуха.
3.27 выход из строя (degradation): Изменение первоначальных рабочих параметров УЗИП под воздействием перенапряжения, эксплуатации или неблагоприятных условий окружающей среды.
3.28 устойчивость к токам короткого замыкания (short-circuit withstand): Максимальный ожидаемый ток короткого замыкания, который способен выдержать УЗИП.
3.29 разъединитель УЗИП (SPD disconnector): Устройство (внутреннее и/или наружное), предназначенное для отсоединения УЗИП от силовой системы.
Примечание - Данное разъединительное устройство не обладает способностью к разъединению. Оно предназначено для предупреждения устойчивой неисправности системы и применяется для указания о повреждении УЗИП. Кроме функции разъединения, оно может иметь функцию защиты от сверхтока и функцию тепловой защиты. Эти функции могут быть объединены в одном устройстве либо распределены по отдельным устройствам.
3.30 степень защиты, обеспечиваемая оболочкой (код IP) (degrees of protection provided by enclosure IP code): Степень защиты от доступа к опасным частям, от проникновения твердых инородных частиц и/или воды (см. ГОСТ 14254).
3.31 типовые испытания (type tests): Испытания, проводимые по завершении разработки новой конструкции УЗИП для установления характерных параметров и доказательства соответствия требованиям определенного стандарта. Проведенные однажды, они не нуждаются в повторении до тех пор, пока изменение конструкции не повлечет изменения характеристик. В этом случае повторные испытания проводят только по измененным характеристикам.
3.32 контрольные испытания (routine tests): Испытания, проводимые на каждом УЗИП, его частях или материалах для подтверждения, что изделие соответствует конструкторской документации.
3.33 приемочные испытания (acceptance tests): Испытания УЗИП или их представительных образцов, проводимые по предварительной договоренности между изготовителем и потребителем.
3.34 устройство развязки (decoupling network): Устройство, предназначенное для того, чтобы воспрепятствовать передаче энергии импульса в силовую сеть при подаче питания к испытуемому УЗИП. Иногда называют «развязывающий фильтр».
3.35 классификация импульсных испытаний (impulse tests classification)
3.35.1 испытания класса I (class I tests): Испытания, проводимые с номинальным разрядным током In (см. 3.8), импульсным напряжением 1,2/50 (см. 3.22) и максимальным импульсным током Imax (см. 3.9).
3.35.2 испытания класса II (class II tests): Испытания, проводимые с номинальным разрядным током In (см. 3.8), импульсным напряжением 1,2/50 (см. 3.22) и максимальным разрядным током Imax (см. 3.10).
3.35.3 испытания класса III (class III tests): Испытания, проводимые с комбинированной волной (1,2/50, 8/20) (см. 3.24).
3.36 защита от сверхтока (overcurrent protection): Устройство для защиты от сверхтока (например, автоматический выключатель или плавкий предохранитель), которое может быть частью электроустановки, расположенной вне и до УЗИП.
3.37 устройство дифференциального тока (УДТ) (residual current device (RCD)): Механическое коммутационное устройство или комплекс устройств, которые вызывают размыкание контактов, когда дифференциальный или несбалансированный ток достигнет заданного значения в заданных условиях.
3.38 разрядное напряжение УЗИП коммутирующего типа (sparkover voltage of a voltage switching SPD): Значение максимального напряжения в искровом промежутке УЗИП перед разрядом между электродами.
3.39 удельная энергия W/R для испытания класса I (specific
energy W/R for class I test): Энергия, выделяемая импульсным током Iimp на единицу сопротивления 1 Ом. Она равна интегралу во времени площади тока
.
3.40 ожидаемый ток короткого замыкания источника питания Ip (prospective short-circuit current of a power supply Ip): Ток, который протекал бы в данном месте цепи, если бы в этом месте она была замкнута накоротко проводником с незначительным сопротивлением.
3.41 номинальная отключающая способность сопровождающего тока Ifi (follow current interrupting rating Ifi): Ожидаемый ток короткого замыкания, который УЗИП в состоянии отключить самостоятельно.
3.42 ток утечки IPE (residual current IPE): Ток, протекающий через вывод РЕ, когда на УЗИП подано максимальное длительное рабочее напряжение (Uс), с соединениями без нагрузки, выполненными согласно указаниям изготовителя.
3.43 индикатор состояния (status indicator): Устройство, указывающее рабочее состояние УЗИП.
Примечание - Подобные индикаторы могут быть локальными с визуальной и/или звуковой сигнализацией и/или могут иметь дистанционную сигнализацию и/или выходной контакт.
3.44 выходной контакт (output contact): Контакт, включенный в цепь, отдельную от главной цепи, и подключенный к разъединителю УЗИП или индикатору состояния.
3.45 номинальное напряжение переменного тока системы U0 (nominal а.с. voltage of the system U0): Номинальное напряжение между фазой и нейтралью (действующее значение напряжения переменного тока) системы.
3.46 многополюсный УЗИП (multipole SPD): Тип УЗИП с более чем одним видом защиты или комбинация нескольких УЗИП, электрически соединенных в единый.
3.47 суммарный разрядный ток Itotal (total discharge current Itotal): Ток, протекающий по РЕ- или PEN-проводнику при испытательном разрядном токе для многополюсного УЗИП.
Примечания
1 Это испытание применяют для проверок кумулятивных эффектов у многополюсных УЗИП с несколькими классами защиты, проработавших некоторое время.
2 Itotal, в первую очередь, касается испытаний УЗИП класса I, применяемых для целей молниезащиты, эквипотенциально связанных с серией стандартов МЭК 61312-1 [2].
3.48 максимальное длительное рабочее напряжение силовой системы Ucs (maximum continuous operating voltage of the power system Ucs): Максимальное напряжение переменного (действующее значение) или постоянного тока, которому может постоянно подвергаться УЗИП в точке его установки.
Примечание - В данном случае речь идет только о регулировании и (или) падении и повышении напряжения. Его также называют фактическим максимальным напряжением системы, оно непосредственно связано с U0.
Изготовители должны классифицировать УЗИП по следующим параметрам:
4.1 числу вводов:
4.1.1 одновводные,
4.1.2 двухвводные;
4.2 способу выполнения защиты от перенапряжения:
4.2.1 коммутирующие напряжение,
4.2.2 ограничивающие напряжение,
4.2.3 комбинированного типа;
4.3 испытаниям УЗИП классов I - III согласно таблице 1;
Таблица 1 - Испытания классов I, II и III
|
Класс испытания |
Определяемый параметр |
Пункт метода испытаний |
|
I |
Iimp |
|
|
II |
Imax |
|
|
III |
Uос |
4.4 местоположению:
4.4.1 внутренней установки,
4.4.2 наружной установки.
Примечание - Для УЗИП, изготовленных и классифицируемых исключительно для наружной установки и монтируемых недоступными, вообще не требуется соответствия требованиям относительно защиты от воздействующих факторов внешней среды;
4.5 доступности:
4.5.1 доступное,
4.5.2 недоступное.
Примечание - Недоступное означает невозможность доступа без помощи специального инструмента к частям, находящимся под напряжением;
4.6 способу установки:
4.6.1 стационарный,
4.6.2 переносной;
4.7 разъединителю УЗИП:
4.7.1 местоположению:
4.7.1.1 внутренней установки,
4.7.1.2 наружной установки,
4.7.1.3 комбинированной (одна часть внутренней установки, другая - наружной установки);
4.7.2 защитным функциям:
4.7.2.1 с тепловой защитой,
4.7.2.2 с защитой оттоков утечки,
4.7.2.3 с защитой от сверхтока.
Примечание - Разъединитель может быть не нужен;
4.8 защите от сверхтока:
4.8.1 с защитой,
4.8.2 без защиты;
4.9 степени защиты, обеспечиваемой оболочками согласно кодам IP, указанным в ГОСТ 14254;
4.10 диапазону температур:
4.10.1 с нормальным диапазоном,
4.10.2 с расширенным диапазоном;
4.11 системе питания:
4.11.1 переменного тока частотой от 48 до 62 Гц,
4.11.2 постоянного тока,
4.11.3 переменного и постоянного тока;
4.12 многополюсным УЗИП.
5.1 Предпочтительные значения импульсного тока Iimp для испытаний класса I:
- пиковое значение тока Ipeak: 1,0; 2,0; 5,0; 10,0 и 20,0 кА;
- электрический заряд Q: 0,5; 1,0; 2,5; 5,0 и 10,0 А ∙ с.
5.2 Предпочтительные значения номинального разрядного тока In для испытаний класса II: 0,05; 0,10; 0,25; 0,50; 1,00; 1,50; 2,00; 2,50; 3,00; 5,00; 10,00; 15,00 и 20,00 кА.
5.3 Предпочтительные значения напряжения разомкнутой цепи Uoc для испытаний класса III: 0,1; 0,2; 0,5; 1,0; 2,0; 3,0; 4,0; 5,0; 6,0; 10,0 и 20,0 кВ.
5.4 Предпочтительные значения уровня напряжения защиты Up: 0,08; 0,09; 0,10; 0,12; 0,15; 0,22; 0,33; 0,40; 0,50; 0,60; 0,70; 0,80; 0,90; 1,00; 1,20; 1,50; 1,80; 2,00; 2,50; 3,00; 4,00; 5,00; 6,00; 8,00 и 10 кВ.
5.5 Предпочтительные значения максимального длительного рабочего напряжения Uc действующего значения переменного или постоянного тока: 52; 63; 75; 95; 110; 130; 150; 175; 220; 230; 240; 250; 260; 275; 280; 320; 420; 440; 460; 510; 530; 600; 630; 690; 800; 900; 1000 и 1500 В.
6.1.1 Идентификация
Изготовитель должен предусмотреть наличие следующей информации (испытания проводят в соответствии с разделом 7):
a) наименование изготовителя или торговая марка и номер модели;
b) категория размещения;
c) число вводов;
d) способ установки;
e) максимальное длительное рабочее напряжение Uc (по одному значению для каждого класса защиты);
f) классификация испытаний и параметры разряда для каждого вида защиты, заявленные изготовителем, обозначаемые и маркируемые следующим образом:
- для испытания УЗИП класса I: «испытания класса I», «Iimp» и значение тока в кА, или «
» (Т1 в
прямоугольнике), «Iimp» и значение тока в кА;
- для испытания
УЗИП класса II: «испытания класса II», «Imax» и значение тока в кА, или «
» (Т2 в
прямоугольнике), «Imax» и значение тока в кА;
- для испытания УЗИП класса III: «испытания класса III», «Uoc» и значение напряжения в кВ, или
«
» (Т3 в прямоугольнике), «Uoc» и значение напряжения в кВ;
g) номинальный разрядный ток In для УЗИП классов I и II (одно значение для каждого вида защиты);
h) значение уровня напряжения защиты Up (одно значение для каждого вида защиты);
i) номинальный ток нагрузки IL (если требуется);
j) степень защиты, обеспечиваемая оболочкой (код IP) (если IP больше 20);
k) выдерживаемый ток короткого замыкания;
l) максимальные рекомендованные параметры защиты от сверхтока, если требуется IP больше 20;
m) указание о действии разъединителя (если имеется);
n) положение нормальной установки при монтаже (если это имеет значение);
o) идентификация выводов (если необходимо);
p) инструкции по установке (например, подсоединение к низковольтным системам питания, механические размеры, длина проводников и т.д.);
q) род тока: переменный с частотой или постоянный или оба;
r) удельная энергия W/R только для испытаний УЗИП класса I (см. 7.1.1);
s) диапазон температур;
t) номинальная отключающая способность сопровождающего тока Ifi (кроме УЗИП ограничивающего типа);
u) требования к разъединителю УЗИП наружной установки формулирует изготовитель;
v) дифференциальный ток IРЕ (необязательно);
w) характеристика ВПН;
х) суммарный разрядный ток Itotal для многополюсных УЗИП (если заявлен изготовителем).
6.1.2 Маркировка
Маркировка согласно перечислениям а), е), f), g), h), j), l), о) и q) 6.1.1 обязательно должна быть нанесена на корпус УЗИП или на таблички, прикрепленные к его корпусу. В некоторых конструкциях одновводных УЗИП можно не указывать номинальный ток нагрузки.
Маркировка должна быть нестираемой и четкой и не должна наноситься на винты и съемные детали. Соответствие проверяют испытанием по 7.2.
Примечание - Там, где ограничено место, маркировку по перечислению а) наносят на само УЗИП, остальную маркировку размещают на индивидуальной упаковке УЗИП.
6.2.1 Электрические соединения
Конструкция выводов должна допускать подсоединение проводников минимального и максимального поперечных сечений согласно указанию изготовителя.
Каждое испытание следует проводить с использованием наиболее жесткой конфигурации с минимальным или максимальным поперечным сечением в зависимости от испытания (см. раздел 7). УЗИП должны быть оснащены выводами, в которых электрическое подсоединение возможно посредством винтов, гаек, вилок, розеток и других устройств равной эффективности. Соответствие проверяют по 7.3.
6.2.2 Уровень напряжения защиты UP
Измеренное предельное напряжение УЗИП не должно превышать уровня напряжения защиты, указанного изготовителем. Соответствие проверяют испытанием по 7.5.
6.2.3 Испытания класса I импульсным током
Проводят испытания класса I для УЗИП, когда изготовитель заявляет, что УЗИП отвечает определенным требованиям. Соответствие проверяют по 7.6.5.
6.2.4 Испытания класса II номинальным разрядным током
Проводят испытания класса II для УЗИП, когда изготовитель заявляет, что УЗИП отвечает определенным требованиям. Соответствие проверяют по 7.6.5.
6.2.5 Испытания класса III комбинированной волной
Проводят испытания класса III для УЗИП, когда изготовитель заявляет, что УЗИП отвечает определенным требованиям. Соответствие проверяют по 7.6.7.
6.2.6 Испытание в рабочем режиме
УЗИП должно выдерживать указанные разрядные токи при подаче максимального длительного рабочего напряжения Uc без недопустимых изменений характеристик. Соответствие проверяют испытанием по 7.6.
6.2.7 Разъединитель УЗИП
УЗИП могут иметь внутренние либо наружные разъединители, либо их комбинации. Их функционирование должно быть указано.
Примечание - При монтаже, не относящемся к УЗИП, может потребоваться применение дополнительных защитных устройств и/или устройств защиты от сверхтока более низкого номинала.
Разъединители УЗИП следует испытывать вместе с УЗИП в ходе цикла типовых испытаний согласно 7.7 и 7.8.3, исключая УДТ, которые не испытывают в рабочем режиме согласно 7.7.1. Соответствие проверяют испытаниями по 7.7 и 7.8.3.
6.2.8 Воздушные зазоры и расстояния утечки
УЗИП должны иметь достаточные воздушные зазоры и расстояния утечки. Испытания проводят в соответствии с 7.9.5.
6.2.9 Трекингостойкость
Изолирующие детали, применяемые для удержания частей, находящихся под напряжением, должны быть трекингостойкими или иметь размеры, достаточные, чтобы обеспечить необходимые изоляционные характеристики. Испытания проводят по 7.9.6.
6.2.10 Электрическая прочность изоляции
Электрическая прочность изоляции корпуса УЗИП должна быть достаточной сточки зрения устойчивости к пробою и защиты от прямого контакта. Испытание проводят в соответствии с 7.9.8.
6.2.11 Устойчивость к короткому замыканию
В условиях перенапряжения (короткого замыкания) УЗИП должно выдерживать токи короткого замыкания, которые могут возникнуть при его эксплуатации. Испытание проводят в соответствии с 7.7.3.
6.2.12 Функционирование индикатора состояния Общие сведения
При проведении типовых испытаний состояние, показываемое индикатором (индикаторами), должно дать ясное представление о состоянии той части, с которой он (они) соединен. Для УЗИП с предусмотренной индикацией промежуточного состояния, последнее не считают повреждением индикатора. При наличии более чем одного способа индикации состояния, например местной и дистанционной индикации, следует проверить индикацию каждого типа. Изготовитель должен предусмотреть информацию о функционировании индикатора и действиях, предпринимаемых в случае изменения индикации состояния. Индикатор может состоять из двух частей, объединенных соединительным устройством, которое может быть механическим, оптическим, звуковым, электромагнитным и т.д. Одну часть заменяют при замене УЗИП, и ее следует испытывать, как указано выше. Другую часть не заменяют при замене УЗИП, и она должна выполнить дополнительно не менее 50 операций.
Примечание - Воздействие соединительного устройства, которое приводит в действие незаменяемую часть индикатора состояния, можно имитировать другим способом, чем действие узла заменяемой части УЗИП, например отдельным электромагнитом или пружиной.
Если на индикацию применяемого типа имеется соответствующий стандарт, то требованиям его должна удовлетворять незаменяемая часть индикатора состояния при условии, что индикатор должен быть испытан 50 операциями.
6.2.13 Изоляция между отдельными цепями
Если УЗИП содержит цепь, электрически изолированную от главной цепи, изготовитель должен предусмотреть информацию, касающуюся изоляции между цепями и напряжений, выдерживаемых изоляцией, а также сослаться на соответствующие стандарты.
При наличии более двух цепей для каждой комбинации цепей должны быть сделаны пояснения.
Изоляцию и электрическую прочность изоляции отдельных цепей следует испытать согласно указаниям изготовителя.
УЗИП должны быть снабжены средствами для монтажа, обеспечивающими механическую надежность. Испытания проводят в соответствии с 7.9.2.
6.3.1 Общие положения
УЗИП должны быть оснащены выводами, где возможно электрическое подсоединение с помощью:
- зажимов с винтами;
- гаек;
- вилок;
- розеток;
- безвинтовых зажимов;
- соединений, прокалывающих изоляцию;
- или других устройств такой же эффективности.
6.3.2 Механические соединения
a) Выводы следует прикреплять к УЗИП таким образом, чтобы было обеспечено необходимое контактное давление при затягивании или отпускании крепежных винтов или блокирующих гаек. Для ослабления крепежных винтов или блокирующих гаек может быть необходим инструмент.
b) Вилки и штепсельные розетки должны отвечать требованиям соответствующих конкретных стандартов и ГОСТ Р 51322.1.
c) Винты, токоведущие части и соединения
1) Электрические или механические соединения должны выдерживать механические нагрузки, возникающие при нормальной эксплуатации.
Винты, применяемые при монтаже УЗИП во время установки, не должны быть самонарезного типа. Соответствие проверяют осмотром и испытанием согласно 7.3.2.1.
2) Электрические соединения должны иметь такую конструкцию, чтобы контактное давление не передавалось через изоляционный материал, кроме керамики, слюды или другого материала с аналогичными характеристиками, если металлические части недостаточно эластичны для компенсации возможной усадки или растекания изоляционного материала.
Соответствие проверяют осмотром.
О пригодности материала судят по неизменности размеров.
3) Токоведущие части и соединения, включая имеющиеся части, предназначенные для защитных проводников, должны быть либо:
- из меди, либо из сплава, содержащего по крайней мере 58 % меди для частей, холодных в рабочем состоянии, или 50 % меди для других частей, либо
- из другого металла или металла с подходящим покрытием, не менее коррозиестойкого, чем медь, и имеющего приемлемые механические свойства.
Соответствующие требования и испытания для определения коррозиестойкости находятся в стадии рассмотрения. Эти требования позволят использовать другие материалы, имеющие соответствующие покрытия.
Требования настоящего подпункта не распространяются на контакты, электромагнитные цепи, нагревательные элементы, биметаллы, токоограничивающие материалы, шунты, части электронных устройств, а также на винты, гайки, втулки, зажимные пластины и аналогичные части выводов.
d) Винтовые выводы для наружных проводников
1) Выводы для наружных проводников должны быть такими, чтобы при присоединенных проводниках гарантировать постоянное необходимое контактное давление. Такие выводы могут быть либо втычного, либо резьбового типа. Выводы должны быть легко доступны в предусмотренных условиях эксплуатации. Соответствие проверяют осмотром и испытанием согласно 7.3.2.2.2.
2) Средства для зажима проводников в выводах не следует использовать для фиксации других компонентов, хотя они могут фиксировать выводы и препятствовать их вращению. Соответствие проверяют осмотром и испытанием по 7.3.2.2.2.
3) Выводы должны обладать соответствующей механической прочностью. Винты и гайки для зажима проводников должны иметь метрическую резьбу ISO или другую резьбу, аналогичную по шагу и механической прочности. Соответствие проверяют осмотром и испытанием по 7.3.2.1 и 7.3.2.2. Временно можно использовать резьбы SI, BA, UN, поскольку они фактически аналогичны по шагу и механической прочности резьбе ISO.
4) Выводы должны иметь такую конструкцию, чтобы при зажиме проводника не вызывать его повреждений. Соответствие проверяют осмотром и испытанием по 7.3.2.2.2.
5) Выводы должны иметь такую конструкцию, чтобы проводник был надежно зажат между металлическими поверхностями. Соответствие проверяют осмотром и испытаниями по 7.3.2.1 и 7.3.2.2.1.
6) Выводы должны иметь такую конструкцию и расположение, чтобы ни жесткий сплошной, ни скрученный многопроволочный проводники не могли выскользнуть при затягивании крепежных винтов и гаек. Данное требование не относится к выводам под наконечник. Соответствие проверяют осмотром и испытанием по 7.3.2.2.3.
7) Выводы должны быть так закреплены или расположены, чтобы при затягивании и ослаблении крепежных винтов или гаек выводы не могли выпасть из мест их крепления к УЗИП.
Данные требования не исключают возможность вращения или смещения выводов, однако любое их перемещение должно быть в достаточной степени ограничено, чтобы исключить несоответствие требованиям настоящего стандарта.
Для предупреждения ослабления зажима достаточными средствами считают применение изолирующего компаунда или смолы при условии, что:
- эти средства не подвергаются нагрузкам при нормальной эксплуатации и
- на их эффективность не влияют температуры, имеющие место в самых неблагоприятных условиях, указанных в настоящем стандарте. Соответствие проверяют осмотром, измерением и испытанием согласно 7.3.2.1.
8) Винты или гайки крепления выводов, предназначенные для подсоединения защитных проводников, должны быть стойкими к самоотвинчиванию. Соответствие проверяют испытанием вручную.
e) Безвинтовые выводы для внешних проводников
1) Выводы должны иметь такую конструкцию, чтобы:
- каждый проводник был зажат отдельно. Проводники подсоединяют или отсоединяют либо все одновременно, либо каждый по отдельности;
- была возможность надежно зажать любое число проводников, вплоть до максимально предусмотренного. Соответствие проверяют осмотром и испытанием согласно 7.3.3.
2) Выводы должны иметь такую конструкцию, чтобы при зажатии не повреждать проводник. Соответствие проверяют осмотром.
f) Соединения, прокалывающие изоляцию, для внешних проводников
1) Соединения, прокалывающие изоляцию, должны обеспечивать надежное механическое соединение. Соответствие проверяют осмотром и испытанием по 7.3.4.
2) Винты, обеспечивающие контактное давление, не следует использовать для крепления других элементов, хотя они могут удерживать УЗИП или предупреждать его вращение. Соответствие проверяют осмотром.
3) Винты не должны быть из мягкого или подверженного текучести металла. Соответствие проверяют осмотром.
6.3.3 Коррозиестойкие металлы
Зажимы, кроме прижимных винтов, блокирующих гаек, соединительных упорных шайб, провода и т.п., должны быть из коррозиестойкого металла, например меди, латуни и т.п. (см. ГОСТ Р 51686.1 и ГОСТ Р 51686.2).
УЗИП в зависимости от конструкции должны надежно работать в условиях окружающей среды, считающихся нормальными. Соответствие проверяют по 7.9.9. УЗИП наружной установки должны иметь защитный экран из стекла, глазурованной керамики или другого подходящего материала, устойчивого к ультрафиолетовому излучению, коррозии, эрозии и трекингу.
УЗИП должны иметь достаточные расстояния утечки по поверхности изоляции между двумя частями с разными потенциалами.
УЗИП должны быть безопасны при работе в нормальных условиях эксплуатации согласно рекомендациям.
6.5.1 Защита от прямого прикосновения
Данные требования касаются доступности УЗИП, в которых максимальное длительное рабочее напряжение Uc превышает 50 В переменного тока (действующее значение) или постоянного тока.
Для защиты от прямого прикосновения (недоступность частей, находящихся под напряжением) УЗИП должны иметь такую конструкцию, чтобы нельзя было коснуться частей, находящихся под напряжением, когда УЗИП установлено для предполагаемой эксплуатации. Соответствие проверяют по методике согласно ГОСТ 14254 (пункт 7.4).
УЗИП, кроме недоступных (см. 4.5.2), должны иметь такую конструкцию, чтобы при установке их как для нормальной эксплуатации и подсоединенных к ним проводниках части УЗИП, находящиеся под напряжением, были бы недоступны даже после изъятия частей, снимаемых без помощи инструмента.
Соответствие проверяют осмотром и, при необходимости, испытаниями по 7.4.1. Соединение между выводами заземления и всеми доступными частями, присоединяемыми к ним, должно иметь низкое сопротивление. Соответствие проверяют испытанием по 7.4.2.
6.5.1.1 Механическая прочность
Части УЗИП, имеющие отношение к защите от прямого контакта, должны обладать достаточной механической прочностью. Соответствие проверяют по 7.9.2.
6.5.1.2 Теплостойкость
Части УЗИП, имеющие отношение к защите от прямого контакта, должны обладать достаточной теплостойкостью. Соответствие проверяют по 7.9.3.
6.5.1.3 Сопротивление изоляции
Сопротивление изоляции должно быть достаточным. Соответствие проверяют по 7.9.7.
6.5.2 Огнестойкость
Изолирующие части корпуса должны быть либо невоспламеняющимися, либо самозатухающими. Соответствие проверяют по 7.9.4.
6.5.3 Собственная потребляемая мощность Рс
Для УЗИП Рс следует измерять при максимальном длительном рабочем напряжении Uc, когда УЗИП подключено согласно инструкциям изготовителя без нагрузки. Измеренное значение тока утечки не должно быть больше указанного изготовителем.
6.5.4 Ток утечки IРЕ следует измерять при максимальном длительном рабочем напряжении Uc, когда УЗИП подключено согласно инструкциям изготовителя без нагрузки.
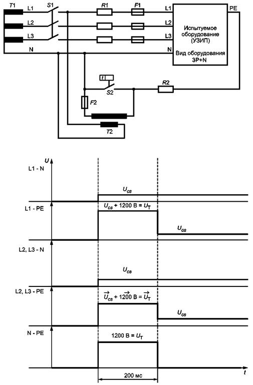
6.5.5 Характеристика ВПН
УЗИП должно либо выдерживать ВПН без функциональных изменений, либо повреждаться в соответствии с критериями 7.7.4 и 7.7.6.
Примечание - Данная характеристика в соответствии с испытаниями по 7.7.4 и 7.7.6 не учитывает возможности возникновения скачков напряжения в связи с ВПН.
6.5.5.1 ВПН, вызванные повреждениями, возникающими в части высокого (среднего) напряжения системы питания
УЗИП с РЕ-проводником или предназначенное для эксплуатации в распределительных системах следует испытывать при UT в соответствии с 7.7.4 и таблицей В.1 (приложение В).
6.5.5.2 ВПН, вызванные повреждениями или помехами в низковольтной части системы питания
В данном испытании нет необходимости, если Uc равно UT или превышает его.
В остальных случаях УЗИП следует испытывать либо при значениях ВПН UT, приведенных в таблице В.1 (приложение В), либо при значениях ВПН, указанных изготовителем согласно перечислению w) 6.1.1, выбирают более высокие значения. Данное испытание проводят в соответствии с 7.7.6.
6.5.6 Суммарный разрядный ток Itotal
Данное испытание проводят только в том случае, если суммарный разрядный ток заявлен изготовителем в соответствии с 7.9.10.
6.6 Дополнительные требования к испытаниям двухвводных УЗИП и одновводных УЗИП с раздельными вводным и выводным выводами
6.6.1 Регулирование напряжения
Процент регулирования напряжения должен быть указан изготовителем, и испытания проводят по 7.8.1.
6.6.2 Номинальный ток нагрузки IL
Номинальный ток нагрузки должен быть указан изготовителем, и испытания проводят по 7.8.2.
6.6.3 Способность выдерживать перенапряжение со стороны нагрузки
Когда изготовитель указывает значение перенапряжения, выдерживаемое УЗИП со стороны нагрузки, испытание проводят по 7.8.4.
6.6.4 Характеристика перегрузки
Не должно происходить повреждения УЗИП или изменения его характеристик вследствие перегрузок, испытываемых при нормальной эксплуатации. Соответствие данному требованию проверяют по 7.8.5.
Типовые испытания выполняют на трех образцах по каждому циклу испытаний, как указано в таблице 2. В пределах одного цикла испытания проводят в порядке, указанном в таблице 2. Порядок циклов может меняться.
Если все образцы выдержали все испытания цикла, значит конструкция УЗИП соответствует предъявляемым требованиям. Если два или более испытуемых образцов не выдержали испытания цикла, тогда УЗИП не соответствует требованиям настоящего стандарта. В случае, если хотя бы один образец не выдержал цикла испытаний, то это испытание и предшествующие ему из этого испытательного цикла, которые могли бы повлиять на результат данного испытания, следует повторить на трех новых образцах, и на этот раз ни один образец не должен быть отбракован.
Комплект из трех образцов может быть использован в последующих циклах испытаний по усмотрению изготовителя.
Если УЗИП в основном соответствует требованиям стандарта на изделие, в котором оно установлено, то допускается использовать требования этого стандарта, исключая функции УЗИП.
Таблица 2 - Требования к типовым испытаниям, приемлемым для УЗИП
|
Вид испытания |
Пункт |
Доступное |
Недоступное |
||||||||
|
Стационарное |
Переносное |
Стационарное |
|||||||||
|
Класс испытания |
|||||||||||
|
I |
II |
III |
I |
II |
III |
I |
II |
III |
|||
|
1 |
Идентификация и маркировка |
да |
да |
да |
да |
да |
да |
да |
да |
да |
|
|
Выводы и соединения |
да |
да |
да |
да |
да |
да |
да |
да |
да |
||
|
Защита от прямого контакта |
да |
да |
да |
да |
да |
да |
да |
да |
да |
||
|
Собственная потребляемая мощность и дифференциальный ток |
н/о |
н/о |
н/о |
н/о |
н/о |
н/о |
н/о |
н/о |
н/о |
||
|
2 |
Уровень напряжения защиты |
- |
|||||||||
|
Определение наличия коммутирующего элемента |
н/о |
н/о |
н/о |
н/о |
н/о |
н/о |
н/о |
н/о |
н/о |
||
|
Измерение остаточного напряжения |
да |
да |
- |
да |
да |
- |
да |
да |
- |
||
|
Измерение фронта волны разрядного напряжения |
да |
да |
- |
да |
да |
- |
да |
да |
- |
||
|
Измерение предельного напряжения комбинированной волной |
- |
- |
да |
- |
- |
да |
- |
- |
да |
||
|
Определение величины сопровождающего тока |
н/о |
н/о |
н/о |
н/о |
н/о |
н/о |
н/о |
н/о |
н/о |
||
|
3 |
Испытание в рабочем режиме |
- |
|||||||||
|
Предварительное испытание |
да |
да |
- |
да |
да |
- |
да |
да |
- |
||
|
Испытания классов I и II в рабочем режиме |
да |
да |
- |
да |
да |
- |
да |
да |
- |
||
|
Испытания класса III в рабочем режиме |
- |
- |
да |
- |
- |
да |
- |
- |
да |
||
|
4 |
Испытания классов I и II на суммарный разрядный ток |
н/о |
н/о |
- |
н/о |
н/о |
- |
н/о |
н/о |
- |
|
|
5 |
Термостабильность |
да |
да |
да |
да |
да |
да |
да |
да |
да |
|
|
6* |
Устойчивость к короткому замыканию |
да |
да |
да |
да |
да |
да |
да |
да |
да |
|
|
7* |
Характеристика ВПН |
да |
да |
да |
да |
да |
да |
да |
да |
да |
|
|
Характеристика ВПН |
да |
да |
да |
да |
да |
да |
да |
да |
да |
||
|
8 |
Гибкие кабели и шнуры и их соединения |
- |
- |
- |
да |
да |
да |
- |
- |
- |
|
|
Механическая прочность |
да |
да |
да |
да |
да |
да |
да |
да |
да |
||
|
Механическая прочность |
- |
- |
- |
да |
да |
да |
- |
- |
- |
||
|
Сопротивление изоляции |
да |
да |
да |
да |
да |
да |
да |
да |
да |
||
|
Электрическая прочность изоляции |
да |
да |
да |
да |
да |
да |
да |
да |
да |
||
|
Окружающая среда, код IP |
да |
да |
да |
да |
да |
да |
да |
да |
да |
||
|
Теплостойкость |
да |
да |
да |
да |
да |
да |
да |
да |
да |
||
|
Воздушные зазоры и расстояния утечки |
да |
да |
да |
да |
да |
да |
да |
да |
да |
||
|
Стойкость к чрезмерному нагреву и огню |
да |
да |
да |
да |
да |
да |
да |
да |
да |
||
|
Трекингостойкость |
да |
да |
да |
да |
да |
да |
да |
да |
да |
||
|
9 |
Дополнительные испытания для двухвводных и одновводных с раздельными вводными и выводными выводами УЗИП |
||||||||||
|
Процент регулирования напряжения |
да |
да |
да |
да |
да |
да |
да |
да |
да |
||
|
Номинальный ток нагрузки |
да |
да |
да |
да |
да |
да |
да |
да |
да |
||
|
Стойкость к перенапряжению со стороны нагрузки |
н/о |
н/о |
н/о |
н/о |
н/о |
н/о |
н/о |
н/о |
н/о |
||
|
Характеристика перегрузки |
н/о |
н/о |
н/о |
н/о |
н/о |
н/о |
н/о |
н/о |
н/о |
||
|
Стойкость к короткому замыканию со стороны нагрузки |
да |
да |
да |
да |
да |
да |
н/о |
н/о |
н/о |
||
|
10 |
Дополнительные проверки и испытания |
||||||||||
|
Функционирование индикатора состояния |
да |
да |
да |
да |
да |
да |
да |
да |
да |
||
|
Изоляция между отдельными цепями |
да |
да |
да |
да |
да |
да |
да |
да |
да |
||
|
Обозначения: «да» - испытание проводят; «-» - испытание не проводят; «н/о» - необязательно. |
|||||||||||
|
* Для данного испытания может потребоваться более одного комплекта образцов. |
|||||||||||
Если не указано иное, то следует пользоваться методикой испытаний по МЭК 61180-1 [3].
Если не указано иное, значения переменного тока, приведенные в настоящем стандарте, являются действующими значениями.
Монтаж УЗИП и электрические соединения выполняют по инструкциям изготовителя.
Испытание проводят на открытом воздухе при температуре окружающего воздуха (20 ± 15) °С, если не указано иное.
Если не указано иное, во всех испытаниях при Uc испытательный допуск на Uc должен составлять минус 5 %.
При испытании УЗИП со встроенными кабелями последние по всей длине считают частью испытуемого УЗИП.
Во время испытания обслуживание или разборка УЗИП не допускаются. При необходимости все разъединители УЗИП должны быть подобраны и подсоединены, как того требует изготовитель. Для УЗИП, имеющих защиту более одного вида (см. 3.7), для которых изготовитель обозначил уровень напряжения защиты, испытания следует проводить для защиты каждого вида с параметрами, указанными изготовителем, каждый раз на новых образцах. Для трехфазных устройств, в которых защитный компонент электросхемы идентичен для защиты данного вида, испытание каждой из трех фаз заменяет испытание трех образцов.
Следует учитывать, что для импульсных испытаний и измерений важна правильно выбранная методика испытаний. При испытании требуется гарантия в отношении точности записи значений.
Если изготовителем установлены разные требования для разъединителей УЗИП наружной установки в зависимости от ожидаемого тока короткого замыкания системы питания, должны быть выполнены все соответствующие циклы испытаний для каждой комбинации требуемых разъединителей УЗИП согласно ожидаемым токам короткого замыкания.
7.1.1 Испытание класса I импульсным током
Испытание импульсным током Iimp определяется его параметрами: пиковым значением Ipeak, зарядом Q и удельной энергией W/R. Однополюсный испытательный импульсный ток должен достичь значения Ipeak в течение 50 мкс, передача заряда Q должна произойти в течение 10 мс, рассеивание удельной энергии W/R должно произойти в течение 10 мс.
В таблице 3 приведены значения Q (А ∙ с) и W/R (кДж/Ом) соответственно значениям Ipeak (кА).
Таблица 3 - Параметры испытания УЗИП класса I
|
Пиковый ток Ipeak (в течение 50 мкс), кА |
Заряд Q (в течение 10 мс), А ∙ с |
Удельная энергия W/R (в течение 10 мс), кДж/Ом |
|
20 |
10,0 |
100,00 |
|
10 |
5,0 |
25,00 |
|
5 |
2,5 |
6,25 |
|
2 |
1,0 |
1,00 |
|
1 |
0,5 |
0,25 |
|
Примечание - Один из возможных испытательных импульсов, отвечающих вышеуказанным параметрам, 10/350 указан в МЭК 61312-1 [2]. |
||
Соотношение между Ipeak (кА), Q (А ∙ с) и W/R (кДж/Ом) в таблице 3 следующее:
Q = Ipeaka,
где а = 5 ∙ 10-4 с;
W/R = I2peakb,
где b = 2,5 ∙ 10-4 с.
Допуски на указанные в таблице параметры следующие:
Ipeak - (±10 %);
Q - (±20 %);
W/R - (±35 %).
7.1.2 Испытания УЗИП классов I и II номинальным разрядным током
Стандартная форма волны 8/20. Допуски на форму волны тока (пиковое значение, время фронта и полуволны) - (±10 %).
Допускаются небольшие колебания или отклонения от установленного значения при условии, что амплитуда любого колебания не превышает 5 % пикового значения. Любое изменение полярности после падения тока до нуля должно быть не более 20 % пикового значения.
Для двухвводных устройств значение изменения полярности должно быть менее 5 %, чтобы не повлиять на результат измерения предельного напряжения.
Измерение значения тока, проходящего через УЗИП, следует выполнять с точностью до ±3 %.
7.1.3 Испытание УЗИП классов I и II импульсным напряжением
Стандартная форма волны напряжения составляет 1,2/50. Допуски на форму волны напряжения следующие:
- пиковое значение - (±3 %);
- время фронта - (± 30 %);
- время полуволны - (±20 %).
Колебания или отклонения от установленного значения могут произойти на пике импульса. Если частота таких колебаний свыше 500 кГц или длительность отклонения менее 1 мкс, в целях проведения измерений вычерчивают кривую значений, и тогда максимальная амплитуда этой кривой определит пиковое значение испытательного напряжения.
Колебания, превышающие на 3 % пиковое значение, недопустимы в области подъема импульса напряжения.
Измерение напряжения на выводах УЗИП следует проводить с точностью до ±3 %. Измерительные приборы должны иметь предельную ширину полосы частот не менее 25 мГц, а отклонение от установленного значения должно быть менее 3 %.
Ток короткого замыкания испытательного генератора должен составлять менее 20 % номинального разрядного тока In, однако быть достаточным, чтобы обеспечивать сопровождение испытания коммутационными элементами напряжения УЗИП.
7.1.4 Испытание УЗИП класса III комбинированной волной
Стандартный импульс генератора комбинированной волны характеризуется выходным напряжением в условиях разомкнутой цепи и выходным током в условиях короткого замыкания. Напряжение разомкнутой цепи должно иметь время фронта 1,2 мкс и время полупериода 50 мкс. Ток короткого замыкания должен иметь время фронта 8 мкс и время полупериода 20 мкс.
Примечание - Для дальнейшего руководства по данному вопросу см. IEEE C62.45 [4].
Допуски на напряжение в состоянии разомкнутой цепи Uoc следующие:
- пиковое значение - (±3 %);
- время фронта - (± 30 %);
- время полупериода - (± 20 %).
Следующие значения измеряют на генераторе без развязывающего фильтра.
Отклонения напряжения от установленного значения или колебания в области пика импульса допустимы при условии, что амплитуда единичного пика составляет менее 5 % пикового значения. В обычно применяемых цепях импульсного генератора колебания в этой части фронта волны, во время которых напряжение не превышает 90 % пикового значения, как правило, не оказывают существенного влияния на результаты испытаний, и таким образом ими можно пренебречь. Форма волны напряжения должна быть в основном однонаправленной.
Допуски на ток короткого замыкания (пиковое значение, время фронта и полуволны) ±10 %.
Отклонения тока от установленного значения или колебания допустимы при условии, что величина единичного пикового значения на пике формы волны менее 5 % пикового значения. Любое изменение полярности после падения тока до 0 должно быть менее 20 % пикового значения.
Для двухвводных устройств значение изменения полярности тока должно быть менее 5 %, чтобы не оказывать влияния на измерение предельного напряжения. Фиктивный импеданс генератора должен быть номинально 2 Ом. По определению фиктивный импеданс - это отношение пикового значения напряжения разомкнутой цепи Uoc к пиковому значению тока короткого замыкания Isc.
Максимальные значения пикового напряжения разомкнутой цепи Uoc и пикового тока короткого замыкания Isc - 20 кВ и 10 кА соответственно. Если значения выше, следует проводить испытания класса II.
В схему вводят развязывающий (обратный) фильтр в соответствии с рисунком 1 или 2. Такую схему цепи применяют только при определении измеряемого предельного напряжения УЗИП.
Допуски на параметры формы волны, указанные в таблице 4, следует учитывать на вводе, где подсоединено УЗИП в цепях, показанных на рисунках 1 и 2. При проверке формы волны импеданс сети имитируют соединением вместе проводников L, N и РЕ.
Рисунок 1 - Пример развязывающего фильтра для однофазной сети
Рисунок 2 - Пример развязывающего фильтра для трехфазной сети
Таблица 4 - Допуски на параметры формы волны при испытании УЗИП класса III
|
Параметр волны |
Напряжение разомкнутой цепи Uoc |
Ток короткого замыкания Isc |
|
Пиковые значения |
± 3 % |
Uoc/2 Ом ± 10 % |
|
Время фронта, мкс |
(1,2 ± 30) % |
(8 ± 10) % |
|
Время полупериода, мкс |
(50 ± 20) % |
(20 ± 10) % |
|
Примечание - В таблице учтены влияния развязывающего фильтра. |
||
7.1.5 Испытание УЗИП, классифицируемых исключительно для наружной установки и монтируемых недоступными
Для УЗИП, классифицируемых исключительно для наружной установки и монтируемых недоступными, применение прямоугольного деревянного ящика, внутренние поверхности которого покрыты папиросной бумагой или марлей, требуется только для испытаний по 7.7 и 7.8, если изготовителем сделана ссылка на соответствие данным подразделам.
7.2.1 Проверка идентификации и маркировки
Проверку идентификации и маркировки осуществляют осмотром согласно соответствующим требованиям 6.1.1 и 6.1.2.
7.2.2 Испытание нестираемости маркировки
Данное испытание проводят для маркировки всех типов, за исключением выполненной тиснением, штамповкой и гравировкой.
Испытание проводят протиранием маркировки вручную в течение 15 с кусочком ваты, смоченным водой, и еще в течение 15 с кусочком ваты, смоченным в алифатическом гексановом растворителе (с содержанием ароматических веществ максимально 0,1 % объема, с каурибутаноловым числом 29, начальной точкой кипения 65 °С и удельным весом 0,68 г/см3).
После испытания маркировка должна легко читаться.
Проверку встроенных выводов и их соответствие предъявляемым требованиям проводят по 7.3.1.
7.3.1 Общие условия испытаний УЗИП устанавливают по рекомендациям изготовителя и защищают от неблагоприятных внешних воздействий (нагревания или охлаждения).
Если не указано иное, к выводам УЗИП (три образца каждой конструкции) подсоединяют проводники в соответствии с таблицей 6 (для двухвводных устройств и одновводных с раздельным вводом и выводом) и инструкцией изготовителя (для остальных одновводных устройств), закрепляют УЗИП на деревянной доске толщиной 20 мм, окрашенной матовой черной краской. Способ крепления должен соответствовать требованиям, касающимся средств монтажа, рекомендованных изготовителем.
Однако УЗИП, испытываемые по классу I, и одновводные УЗИП, испытываемые по классу II, с номинальным разрядным током 5 кА, должны быть способны к подсоединению проводников сечением не менее 4 мм2.
Во время испытания обслуживание или разборка образца не допускается.
7.3.2 Резьбовые выводы
7.3.2.1 Испытание надежности винтов, токоведущих частей и соединений
Соответствие проверяют осмотром, а для винтов, предназначенных для подсоединения проводников к УЗИП, следующим испытанием.
Винты затягивают и ослабляют:
- десять раз - для винтов с резьбой из изоляционного материала;
- пять раз - во всех остальных случаях.
Винты или гайки с резьбой из изоляционного материала каждый раз полностью снимают и вставляют вновь, если это позволяет конструкция винта.
Испытания проводят с помощью удобной испытательной отвертки или ключа, прикладывая вращающий момент по таблице 5.
Винты должны затягиваться плавно.
Каждый раз при ослаблении винта проводник снимают.
Таблица 5 - Диаметры резьбы винтов и прикладываемые крутящие моменты
|
Номинальный диаметр резьбы, мм |
Крутящий момент, Н ∙ м, для классов |
||
|
I |
II |
III |
|
|
До 2,8 |
0,20 |
0,4 |
0,4 |
|
Св. 2,8 до 3,0 |
0,25 |
0,5 |
0,5 |
|
» 3,0 » 3,2 |
0,30 |
0,6 |
0,6 |
|
» 3,2 » 3,6 |
0,40 |
0,8 |
0,8 |
|
» 3,6 » 4,1 |
0,70 |
1,2 |
1,2 |
|
» 4,1 » 4,7 |
0,80 |
1,8 |
1,8 |
|
» 4,7 » 5,3 |
0,80 |
2,0 |
2,0 |
|
» 5,3 » 6,0 |
1,20 |
2,5 |
3,0 |
|
» 6,0 » 8,0 |
2,50 |
3,5 |
6,0 |
|
» 8,0 » 10,0 |
- |
4,0 |
10,0 |
Значения графы I относятся к винтам без головок, если винты, будучи затянуты, не выступают из отверстия; они также касаются других винтов, которые не могут быть затянуты с помощью отвертки с размером лезвия более диаметра винта.
Значения графы II относятся к винтам, затягиваемым отверткой.
Значения графы III относятся к винтам и гайкам, затягиваемым иным инструментом.
Если винт имеет шестигранную головку со шлицем для затягивания отверткой и значения в графах I и II разные, испытания проводят дважды, прикладывая к одному образцу крутящий момент, указанный в графе III, к головке винта, а к другому образцу - момент, указанный в графе II, с помощью отвертки. Если значения в графах II и III одинаковы, проводят испытание с использованием только отвертки.
Во время испытания резьбовые соединения не должны ослабляться и не должно быть повреждений, таких, как поломка винта, шлицев головки, резьбы, шайб или скоб, влияющих на дальнейшую эксплуатацию УЗИП.
Кроме того, не должны быть повреждены оболочки и крышки. Соответствие проверяют осмотром.
7.3.2.2 Проверка надежности выводов для внешних проводников
Соответствие проверяют осмотром и испытанием согласно 7.3.2.2.1 - 7.3.2.2.3.
Испытания проводят с помощью соответствующей отвертки или ключа, прикладывая крутящий момент по таблице 5.
7.3.2.2.1 Выводы оснащают медными проводниками наименьшего или наибольшего сечения, указанного в 7.3.1, сплошными или скрученными, что наиболее неблагоприятно.
Проводник вводят в вывод на минимальное указанное расстояние или, если оно не указано, то до тех пор, пока он не выступит с противоположной стороны и не займет положение, наиболее благоприятное для выскальзывания.
Винты крепления затягивают крутящим моментом, равным 2/3 указанных в соответствующей графе таблицы 6.
Таблица 6 - Сечения подсоединяемых медных проводников для выводов резьбового и безрезьбового типов
|
Максимальный длительный ток нагрузки для двухвводных УЗИП или одновводных УЗИП с раздельными вводными и выводными выводами1), А |
Номинальные сечения подсоединяемых проводников (единственный проводник) |
|
|
Сечение по ISO, мм2 |
Размер в системе AWG2 |
|
|
До 13 |
От 1,0 до 2,5 |
От 18 до 14 |
|
Св. 13 до 16 |
» 1,0 » 4,0 |
» 18 » 12 |
|
» 16 » 25 |
» 1,5 » 6,0 |
» 16 » 10 |
|
» 25 » 32 |
» 2,5 » 10,0 |
» 14 » 8 |
|
» 32 » 50 |
» 4,0 » 16,0 |
» 12 » 6 |
|
» 50 » 80 |
» 10,0 »25,0 |
» 8 » 3 |
|
» 80 » 100 |
» 16,0 »35,0 |
» 6 » 2 |
|
» 100 » 125 |
» 25,0 »50,0 |
» 4 » 1 |
|
1) Согласно требованию для номинальных токов до 50 А включительно в выводах должны зажиматься проводники, а также скрученные жесткие проводники; допускается применение гибких проводников. Тем не менее допускается, чтобы выводы для проводников сечением от 1,0 до 6,0 мм2 предназначались для зажима только сплошных проводников. 2) AWG (Американский сортамент проводов) - система идентификации проводов, значения диаметров которых находятся в геометрической прогрессии между размерами 36 и 0000. |
||
Затем каждый проводник подвергают растяжению усилием, указанным в таблице 7. Усилие прикладывают без рывков в течение 1 мин в направлении оси проводника.
Во время испытания проводник не должен заметно смещаться в выводе.
Таблица 7 - Усилие растяжения
|
Сечение проводника, мм2 |
До 4 |
До 6 |
До 10 |
До 16 |
До 50 |
|
Усилие, Н |
50 |
60 |
80 |
90 |
100 |
7.3.2.2.2 В выводы вставляют медные проводники наименьшего или наибольшего сечения, указанного в 7.3.1, сплошные или скрученные, что наиболее неблагоприятно, винты крепления затягивают крутящим моментом, равным 2/3 от указанных в соответствующей графе таблицы 5. Затем винты ослабляют, зажатую часть проводника извлекают из вывода и осматривают.
Проводники не должны иметь ни чрезмерных повреждений, ни разорванных жил.
Проводники считают чрезмерно поврежденными, если они имеют глубокие или острые порезы.
Во время испытания выводы не должны ослабляться и не должно быть повреждений, таких как поломка винта, шлицев головки, резьбы, шайб или скоб, влияющих на дальнейшую эксплуатацию вывода.
7.3.2.2.3 В вывод вставляют жесткий скрученный медный проводник, соответствующий таблице 8.
Таблица 8 - Размеры проводника
|
Номинальное сечение зажимаемых проводников, мм2 |
Скрученный проводник |
|
|
Число жил |
Диаметр жил, мм |
|
|
От 1 до 2,5* |
7 |
0,67 |
|
» 1 » 4,0* |
7 |
0,85 |
|
» 1,5 » 6,0* |
7 |
1,04 |
|
» 2,5 » 10,0 |
7 |
1,35 |
|
» 4,0 » 16,0 |
7 |
1,70 |
|
» 10,0 » 25,0 |
7 |
2,14 |
|
» 16,0 » 35,0 |
19 |
1,53 |
|
» 25,0 » 50,0 |
На рассмотрении |
На рассмотрении |
|
* Если вывод предназначен для зажима только сплошных проводников (см. сноски в таблице 6), испытание не проводят. |
||
Перед введением в вывод жилам проводника придают соответствующую форму.
Затем проводник вводят в вывод до тех пор, пока он не достигнет дна вывода или не выступит с противоположной стороны и не займет положение, наиболее благоприятное для выскальзывания.
Винты крепления или гайки затягивают крутящим моментом, равным 2/3 от указанных в соответствующей графе таблицы 5.
После испытания ни одна жила проводника не должна выскользнуть из вывода УЗИП.
7.3.3 Безрезьбовые выводы
Испытание на вытягивание
Соответствие проверяют следующими испытаниями.
К выводам подсоединяют новые проводники, тип, минимальное и максимальное сечения которых указаны в 7.3.1. Проводники могут быть сплошные или скрученные, выбирают наиболее неблагоприятный вариант.
Затем каждый проводник подвергают растяжению усилием, указанным в таблице 9. Усилие прикладывают равномерно в течение 1 мин в направлении оси проводника.
Во время испытания проводник не должен смещаться в выводе и не должно быть признаков его повреждения.
Таблица 9 - Усилие растяжения
|
Сечение проводника, мм2 |
0,5 |
0,75 |
1,0 |
1,5 |
2,5 |
4 |
6 |
10 |
16 |
25 |
35 |
|
Усилие, Н |
30 |
30 |
35 |
40 |
50 |
60 |
80 |
90 |
100 |
135 |
190 |
7.3.4 Соединения, прокалывающие изоляцию
7.3.4.1 Испытание на вытягивание для выводов УЗИП, предназначенных для одножильных проводников
Соответствие проверяют следующим испытанием.
В выводы подсоединяют новые медные проводники наименьшего или наибольшего поперечного сечения из указанных в 7.3.1, сплошные или скрученные, выбирают наиболее неблагоприятный вариант.
Винты, если имеются, затягивают крутящим моментом по таблице 5.
Проводники, каждый раз новые, подсоединяют и отсоединяют пять раз. После каждого подсоединения проводники подвергают тянущему усилию, прикладываемому равномерно в течение 1 мин в направлении оси отведенного проводника, согласно значениям таблицы 9.
Во время испытания проводник не должен смещаться в выводе и не должно быть признаков его повреждения.
7.3.4.2 Испытание на вытягивание для выводов УЗИП, предназначенных для многожильных кабелей или шнуров
Испытание на вытягивание для выводов УЗИП, предназначенных для многожильных кабелей или шнуров, проводят по 7.3.4.1. При этом усилие прикладывают ко всему многожильному проводу или шнуру, а не к отдельной жиле.
Усилие F, Н, вычисляют по формуле
![]()
где F(x) - усилие для одной жилы в соответствии с поперечным сечением одного проводника (см. таблицу 9), Н;
n - число жил.
Во время испытания кабель или шнур не должен выскользнуть из вывода.
7.3.5 Гайки, вилка, розетка
Соответствие проверяют осмотром и пробным монтажом.
7.4.1 Изолированные части
Образец устанавливают, как для нормальной эксплуатации, и подсоединяют проводники наименьшего, а затем наибольшего сечения из указанных в 7.3.1. Испытание проводят по 7.3.1.
Для УЗИП втычного исполнения (которые можно заменить с помощью инструмента) испытательный щуп (по ГОСТ 14254) прикладывают во всех его возможных положениях, когда вилка частично или полностью введена в штепсельную розетку.
Для определения контакта с соответствующей частью применяют электрический индикатор напряжением не менее 40 и не более 50 В.
7.4.2 Металлические части
Металлические части, которые доступны, когда УЗИП подключено и установлено, как для нормальной эксплуатации, должны быть заземлены посредством соединения с низким сопротивлением, за исключением мелких винтов и т.п., изолированы от частей, находящихся под напряжением и предназначенных для крепления оснований и крышек или закрывающих пластин штепсельных розеток.
Ток от источника переменного тока напряжением (в отсутствие нагрузки) не свыше 12 В, равный 1,5 номинального тока нагрузки или 25 А (выбирают наибольшее значение), пропускают между выводом заземления и каждой доступной металлической частью по очереди.
Измеряют падение напряжения между выводом заземления и доступной металлической частью и вычисляют сопротивление по току и падению напряжения. Это сопротивление не должно превышать 0,05 Ом.
Примечание - Необходимо следить за тем, чтобы переходное сопротивление между концом измерительного пробника и испытуемой металлической частью не влияло на результаты испытаний.
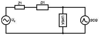
Испытания, выполняемые для УЗИП различных типов при определении их предельных напряжений, проводят в соответствии с таблицей 10 и рисунком 3.
Таблица 10 - Испытания, выполняемые для определения предельного напряжения
|
Пункт испытания |
Класс I |
Класс II |
Класс III |
|
X |
X |
||
|
X* |
X* |
||
|
X |
|||
|
* Проводят только для УЗИП типа, коммутирующего напряжение, по 7.5.1. Примечание - Знак «х» означает, что испытания проводят. |
|||
Для испытания применяют следующие специальные условия.
a) Все одновводные УЗИП испытывают обесточенными. Ко всем двухвводным УЗИП подают напряжение от источника с номинальным током не менее 5 А при максимально длительном рабочем напряжении Uc, если изготовитель не указал на отсутствие различия в величине измеренного предельного напряжения, когда устройство находится или не находится под напряжением.
b) Для одновводного УЗИП, имеющего выводы, испытание проводят без внешних разъединителей и предельное напряжение измеряют на выводах. Для одновводного УЗИП, имеющего соединительные проводники, предельное напряжение измеряют с внешним проводником длиной 150 мм. Для двухвводного УЗИП и одновводного УЗИП с отдельными выводами нагрузки предельное напряжение измеряют у выводных выводов или выводов нагрузки УЗИП. В испытание включают все вспомогательные устройства, например разъединители, лампочки, индикаторы, предохранители и другие части, указанные изготовителем, их подсоединяют последовательно с УЗИП и параллельно с нагрузкой.
Рисунок 3 - Схема испытаний на определение уровня напряжения защиты Up (УНЗ)
с) Измеренное предельное напряжение - это наибольшее значение напряжения при испытаниях, выполняемых по таблице 10 и рисунку 3 соответственно классам испытаний УЗИП.
7.5.1 Процедура испытания по определению наличия в УЗИП коммутирующего элемента
Данное испытание следует проводить только в том случае, когда неизвестна внутренняя конструкция УЗИП. Это испытание проводят только на новом образце.
Для испытаний классов I и II применяют стандартный импульс тока 8/20 величиной Imax или Ipeak по усмотрению изготовителя. При испытаниях класса III используют генератор комбинированной волны с напряжением разомкнутой цепи, равным Uoc, указанному изготовителем.
К УЗИП прикладывают один импульс (для двухвводного УЗИП импульс следует прикладывать к вводным и выводным выводам). Осциллограмму напряжения снимают с выводов УЗИП (для двухвводного УЗИП измерение напряжения проводят на вводном выводе УЗИП). Если форма волны напряжения внезапно прервется, считают, что УЗИП содержит коммутирующий элемент.
7.5.2 Процедура испытания по измерению остаточного напряжения с импульсами тока 8/20
a) Импульсы тока длительностью 8/20 прикладывают в такой последовательности пиковых значений: 0,1In; 0,2In; 0,5In; In.
Если УЗИП содержит только ограничивающие элементы, тогда испытание проводят только с In.
Примечание - При испытании УЗИП, содержащего один коммутационный элемент, скорость повышения выходного напряжения генератора должна ограничиваться величиной 10 кВ/мкс.
b) Для УЗИП проводят по одному циклу при положительной и отрицательной полярности.
c) В конце прикладывают один импульс Imax или Ipeak в зависимости оттого, что прикладывалось к УЗИП перед приложением In, при полярности, которая показала более высокое остаточное напряжение в предыдущих испытаниях.
d) Интервал между отдельными импульсами должен быть достаточным, чтобы образец успел остыть до температуры окружающего воздуха.
e) Для каждого импульса должна быть снята осциллограмма тока и напряжения.
Пиковые (абсолютные) значения должны быть нанесены на график разрядного тока относительно остаточного напряжения. По точкам значений следует начертить соответствующую кривую. На кривой должно быть достаточно точек, чтобы убедиться в отсутствии значительных отклонений до Imax или Ipeak.
f) Остаточное напряжение, применяемое для измерения предельного напряжения, по определению является наибольшим на кривой, соответствующей для:
- класса I -до Ipeak или In (берется большее значение);
- класса II - до In.
7.5.3 Процедура испытания по измерению фронтального разрядного напряжения
Применяют стандартное импульсное напряжение 1,2/50. Генератор напряжения должен быть установлен на выходное напряжение открытой цепи 6 кВ.
a) К УЗИП прикладывают 10 импульсов каждой амплитуды: пять положительной и пять отрицательной полярности.
b) Интервал между отдельными импульсами должен быть достаточным для охлаждения образца до температуры окружающего воздуха.
c) Если разряд не образуется при прикладывании 10 импульсов на фронте волны, тогда испытания по перечислениям а) и b) повторяют с выходным напряжением открытой цепи генератора 10 кВ.
d) Напряжение на выводах УЗИП должно регистрироваться осциллографом.
e) Измеренное предельное напряжение - это максимальное значение разрядных напряжений, измеренных в течение всего цикла испытаний.
7.5.4 Процедура испытания по измерению предельного напряжения комбинированной волной
При проведении этого испытания используют комбинированную волну.
a) Комбинированную волну прикладывают к УЗИП, питаемому сетевым напряжением Uc.
b) К УЗИП, предназначенным исключительно для силовых систем переменного тока, положительные импульсы прикладывают в точке (90 ± 10)° и отрицательные импульсы в точке (270 ± 10)° на синусоидальной волне напряжения.
c) К УЗИП, предназначенным для систем постоянного тока, прикладывают как положительные, так и отрицательные импульсные разряды. УЗИП питают постоянным током при Uc.
d) Интервал между отдельными импульсами должен быть достаточным для охлаждения образца до температуры окружающего воздуха.
e) Напряжение генератора комбинированной волны устанавливают таким образом, чтобы обеспечить напряжение разомкнутой цепи 0,1; 0,2; 0,5; 1,0Uoc, как указано изготовителем УЗИП.
Если УЗИП содержит только ограничивающие элементы, тогда испытание проводят только с 1,0Uoc.
f) С уставками генератора по перечислению е) к УЗИП прикладывают четыре разряда для каждой амплитуды: два положительных и два отрицательных.
g) Для каждого импульса должны быть сняты осциллограммы тока, поданного к УЗИП генератором, и напряжения на выходе УЗИП.
h) Измеренное предельное напряжение - это максимальная величина пикового напряжения, зарегистрированная на протяжении всего испытательного цикла.
7.5.5 Альтернативное испытание комбинированной волной (7.5.4) без развязывающего фильтра
Двухвводные УЗИП с реактивными составляющими взаимодействуют с реактивными составляющими развязывающего фильтра. Тем самым создаются искусственно заниженные значения измеренного предельного напряжения. В таких случаях применяют альтернативный метод испытания, представленный на рисунке 4.
Рисунок 4 - Альтернативное испытание на измеренное предельное напряжение
Для двухвводных УЗИП с реактивными компонентами применяют следующую процедуру испытаний в дополнение к 7.5.4.
a) Испытательный генератор должен иметь схему согласно рисунку 4.
b) Для УЗИП, предназначенных
для переменного тока, напряжение постоянного тока составляет
, для УЗИП, предназначенных для постоянного тока, напряжение Uc следует подавать к УЗИП через диод. Импульсы следует прикладывать через диод, газоразрядную трубку или варистор согласно рисунку 4.
c) Прикладывание импульса должно происходить не ранее чем через 100 мс после замыкания переключателя S1 (см. рисунок 4). Подачу напряжения постоянного тока следует прекратить в течение 10 мс после прикладывания импульса.
d) Испытание противоположной полярностью можно провести, изменив на противоположное подсоединение УЗИП к генератору.
e) Интервал между отдельными импульсами должен быть достаточным для охлаждения образца до температуры окружающего воздуха.
f) Напряжение генератора комбинированной волны устанавливают таким образом, чтобы обеспечить напряжение разомкнутой цепи 0,1; 0,2; 0,5; 1,0Uoc, как указано изготовителем.
g) С уставками генератора по перечислению f) к УЗИП прикладывают четыре разряда для каждой амплитуды: два положительных и два отрицательных.
h) Для каждого импульса должны быть сняты осциллограммы тока, поданного к УЗИП генератором, и напряжения на выходе УЗИП.
i) Измеренное предельное напряжение - это максимальная величина напряжения, зарегистрированная на выходе УЗИП в течение всего испытательного цикла.
Эти испытания применяют только для УЗИП, предназначенных для переменного тока (вопрос об УЗИП для постоянного тока - в стадии рассмотрения).
На рисунке 5 представлена схема испытания в рабочем режиме.
Рисунок 5 - Схема испытания в рабочем режиме
7.6.1 Общие положения
При испытании рабочие условия имитируют приложением к УЗИП предусмотренного числа специальных импульсов с одновременной подачей максимального длительного рабочего напряжения Uc от источника переменного тока согласно 7.6.3.
Испытание следует проводить на трех новых образцах.
Вначале следует определить измеренное предельное напряжение испытанием по 7.5.
Во избежание чрезмерной нагрузки на образцы испытание по 7.5.2 выполняют только при In, а испытание по 7.5.4 и 7.5.5 - только при Uoc.
7.6.2 Предварительные испытания по определению величины сопровождающего тока
Предварительные испытания призваны определить, действительно ли пиковое значение сопровождающего тока выше или ниже 500 А. Если внутренняя конструкция УЗИП и пиковое значение известны, тогда предварительное испытание не требуется.
a) Испытание следует проводить на отдельном образце.
b) Ожидаемый ток короткого замыкания должен быть Iр > 1,5 кА при cosφ = (0,90 - 0,95).
c) Образец подсоединяют к источнику напряжения промышленной частоты синусоидального переменного тока. Напряжение промышленной частоты, измеренное на выводах, должно быть максимально приближено к наибольшему длительному рабочему напряжению Uc (допуск минус 5 %). Частота источника напряжения переменного тока должна соответствовать номинальной частоте УЗИП.
d) Сопровождающий ток должен быть инициирован импульсом 8/20 или комбинированной волной.
e) Пиковое значение должно соответствовать Imax или Ipeak или Uoc.
f) Импульс тока должен быть инициирован за 60 электрических градусов до пика напряжения промышленной частоты. Его полярность должна совпадать с полярностью полуволны напряжения промышленной частоты, в которой он инициирован.
g) Если в этой точке синхронизации нет сопровождающего тока, тогда импульс 8/20 подают позже, до появления генерированного сопровождающего тока, через каждые 10 электрических градусов.
7.6.3 Характеристики источника тока промышленной частоты для предварительного испытания
7.6.3.1 УЗИП с сопровождающим током ниже 500 А
Испытуемый образец должен быть подключен к источнику напряжения промышленной частоты. Полное сопротивление источника энергии должно быть таким, чтобы при прохождении сопровождающего тока пиковое значение напряжения промышленной частоты Uc, измеренное на выводах УЗИП, не понижалось более чем на 10 % его пикового значения.
7.6.3.2 УЗИП с сопровождающим током свыше 500 А
Испытуемый образец должен быть включен в цепь с напряжением промышленной частоты Uc и ожидаемым током короткого замыкания при отключающей номинальной способности сопровождающего тока Ifi, заданной изготовителем, согласно таблице 11 или 500 А (выбирают большее значение).
Таблица 11 - Ожидаемый ток короткого замыкания и коэффициент мощности
|
Iр |
cosφ |
|
Iр ≤ 1,5 |
0,90 - 0,95 |
|
1,5 < Iр ≤ 3,0 |
0,85 - 0,90 |
|
3,0 < Iр ≤ 4,5 |
0,75 - 0,80 |
|
4,5 < Iр ≤ 6,0 |
0,65 - 0,70 |
|
6,0 < Iр ≤ 10,0 |
0,45 - 0,50 |
|
10,0 < Iр ≤ 20,0 |
0,25 - 0,30 |
|
20,0 < Iр ≤ 50,0 |
0,20 - 0,25 |
|
50,0 < Iр |
0,15 - 0,20 |
|
Примечание - Восстанавливающееся напряжение по ГОСТ Р 50030.1. |
|
Для УЗИП, включенного в цепь между нейтралью и защитным заземлением, ожидаемый ток короткого замыкания должен быть не менее 100 А.
7.6.4 Предварительные испытания классов I и II
При испытании прикладывают три группы импульсов тока (по пять импульсов в каждой группе), всего 15 импульсов тока 8/20 положительной полярности. Испытуемые образцы подсоединяют к силовому источнику согласно 7.6.3. Каждый импульс должен быть синхронизирован с промышленной частотой. Начиная от 0°, угол синхронизации повышают через (30 ± 5)° (см. рисунок 6).
Рисунок 6 - График предварительного испытания и испытания в цикле рабочего режима
При испытании УЗИП по классу I прикладывают импульсы тока со значением Ipeak или In (выбирают большее значение). При испытании УЗИП по классу II прикладывают импульсы тока со значением In.
Интервал между отдельными импульсами составляет 50 - 60 с, интервал между группами импульсов - 25 - 30 мин.
В интервале между группами импульсов подача питания к испытуемому образцу не требуется.
Ток следует записывать при каждом импульсе. При испытании не должно быть пробоев или перекрытий в образцах.
7.6.5 Испытания в рабочем режиме классов I и II
К УЗИП подают питание Uc от источника напряжения с номинальной нагрузочной способностью по току не менее 5 А. Данное испытание проводят с импульсами тока, подаваемыми ступенями до Ipeak для УЗИП, испытываемого по классу I (согласно 3.9), или до Imax для УЗИП, испытываемого по классу II (согласно 3.10); пиковое значение доводят постепенно через УЗИП до Ipeak или Imax согласно 3.10.
После каждого импульса прикладывают в течение 30 мин напряжение промышленной частоты для проверки тепловой стабильности: УЗИП считают термостабильным, если пик активной составляющей Ic или рассеивание энергии постепенно снижается в течение последних 15 мин прикладывания напряжения Uc.
Импульсы тока положительного заряда соответствующего пикового положительного значения должны инициироваться источником напряжения промышленной частоты для подачи к испытуемому образцу в следующем порядке:
a) один импульс тока при 0,10 (Ipeak или Imax); измерение тепловой стабильности; охлаждение до температуры окружающего воздуха;
b) один импульс тока при 0,25 (Ipeak или Imax); измерение тепловой стабильности; охлаждение до температуры окружающего воздуха;
c) один импульс тока при 0,50 (Ipeak или Imax); измерение тепловой стабильности; охлаждение до температуры окружающего воздуха;
d) один импульс тока при 0,75 (Ipeak или Imax); измерение тепловой стабильности; охлаждение до температуры окружающего воздуха;
e) один импульс тока при 1,00 (Ipeak или Imax); измерение тепловой стабильности; охлаждение до температуры окружающего воздуха.
7.6.6 Критерии соответствия
УЗИП выдержало испытания, если после каждого импульса цикла рабочего режима достигнута тепловая стабильность и любой сопровождающий ток является самозатухающим. Фиксируемые в процессе испытания значения напряжения и тока, а также визуальный осмотр не должны выявлять пробоев и перекрытий в образцах. Во время испытаний не должно происходить механических повреждений.
К УЗИП следует приложить еще один импульс при In или Uoc и подать питание при Uc от источника напряжения с номинальной нагрузочной способностью по току не менее 5 А в течение 30 мин. По истечении этого времени должна быть достигнута тепловая стабильность.
Тепловая стабильность достигнута, если либо пиковое значение активной составляющей тока, протекающего через испытуемый образец, не превышает 1 мА, либо собственная потребляемая мощность не превышает 20 % по сравнению с измеренной в 7.7.5.
После завершения полного испытательного цикла и после того, как образец охладится до температуры, близкой к температуре окружающей среды, измерение предельного напряжения, которое было проведено в начале испытательного цикла, следует повторить. УЗИП считают выдержавшим испытания, если измеренные значения до и после испытаний ниже или равны Up.
Затем испытуемый образец подсоединяют к источнику напряжения с максимальным длительным рабочим напряжением Uc и номинальной частотой.
Испытательный трансформатор должен обеспечивать ток короткого замыкания не менее 200 мА, если иное не указано изготовителем. Измеряют ток, проходящий через испытуемый образец. Пиковое значение его активной составляющей не должно быть более 1 мА.
7.6.7 Испытания класса III в рабочем режиме
Для испытания применяют источник напряжения промышленной частоты согласно 7.6.3.
К УЗИП через разделительный конденсатор (см. 7.1.4) подсоединяют генератор комбинированной волны. Допуск на параметры волны, как указано в таблице 4, приведен для точки подсоединения УЗИП. Значение Uoc указывает изготовитель.
УЗИП проходит предварительное испытание по процедуре испытания согласно 7.6.4. В данном испытании номинальный разрядный ток заменяют значениями Uoc.
Импульсный ток следует инициировать при пиковом значении соответствующего полупериода и одинаковой полярности с напряжением промышленной частоты.
Испытание в рабочем режиме выполняют согласно 7.6.5, используя генератор комбинированной волны со следующими уставками Uoc:
a) по одному положительному и отрицательному импульсу при 0,10Uoc; проверка тепловой стабильности; охлаждение до температуры окружающего воздуха;
b) по одному положительному и отрицательному импульсу при 0,25Uoc; проверка тепловой стабильности; охлаждение до температуры окружающего воздуха;
c) по одному положительному и отрицательному импульсу при 0,50Uoc; проверка тепловой стабильности; охлаждение до температуры окружающего воздуха;
d) по одному положительному и отрицательному импульсу при 0,75Uoc; проверка тепловой стабильности; охлаждение до температуры окружающего воздуха;
e) по одному положительному и отрицательному импульсу при 1,00Uoc; проверка тепловой стабильности; охлаждение до температуры окружающего воздуха. УЗИП считают выдержавшим испытания, если оно соответствует критериям оценки 7.6.6.
Данные испытания проводят для УЗИП, используемых в системах питания только переменного тока. Испытания для УЗИП в системах питания постоянного тока - в стадии рассмотрения.
Общие положения
Испытания следует проводить на каждом УЗИП. Испытания выполняют для защиты каждого вида, каждый раз на новых образцах.
7.7.1 Испытания разъединителей УЗИП на устойчивость к рабочему режиму
Разъединители УЗИП проверяют в ходе испытаний в рабочем режиме (см. 7.6), при этом, как указано изготовителем, они не должны подвергаться операции «включение - отключение» и должны быть в рабочем состоянии после испытаний.
Согласно настоящему пункту «быть в рабочем состоянии» означает, что разъединитель не имеет видимых повреждений и остается работоспособным. Работоспособность проверяют либо вручную (если возможно), либо простейшей электрической операцией, согласованной между изготовителем и испытательным центром.
7.7.2 Испытание тепловой стабильности УЗИП
7.7.2.1 Испытание на термостойкость
УЗИП выдерживают в нагревательной камере 24 ч при температуре (80 ± 5) °С. Ни один внутренний разъединитель не должен в это время сработать.
7.7.2.2 Испытание на тепловую стабильность
Данное испытание не проводят для УЗИП, содержащих только коммутационные элементы.
Процедуры испытаний
Испытание следует проводить на защите каждого вида; тем не менее, когда виды защиты идентичны, допускается проведение испытания на защите того вида, который представляет наиболее неблагоприятную конструкцию. Процедура испытаний устанавливает два варианта:
- для УЗИП, содержащих только ограничивающие напряжение элементы, применяют процедуру по перечислению а);
- для УЗИП, содержащих как ограничивающие, так и коммутирующие напряжение элементы, применяют процедуру по перечислению b).
Подготовка образцов
Любой коммутирующий напряжение элемент, соединенный последовательно с ограничивающим напряжение элементом, должен быть накоротко замкнут медной проволокой такого диаметра, чтобы она не расплавилась в ходе испытания.
Для УЗИП, имеющего нелинейные элементы, включенные параллельно, данное испытание следует выполнять для каждого пути тока УЗИП при отсоединении/отключении всех остальных токовых путей. Если элементы одного и того же типа и с одними и теми же параметрами соединены параллельно, их следует испытывать как один токовый путь.
Изготовитель должен предоставить образцы, подготовленные заранее в соответствии с вышеуказанными требованиями.
a) Процедура испытаний для УЗИП, не имеющего коммутирующего элемента, включенного последовательно с другими элементами
Испытуемые образцы подсоединяют к источнику промышленной частоты.
Напряжение должно быть достаточно высоким, чтобы через УЗИП проходил ток. Для этого испытания ток устанавливают на постоянное значение. Допуск на испытательный ток составляет ±10 %. Испытание начинают с 2 мА (действующего значения).
Точка отсчета может меняться от 2 мА до максимального значения рассеивания энергии элемента, если оно известно.
Затем данное значение тока поэтапно повышают либо на 2 мА, либо на 5 % предыдущего значения регулируемого испытательного тока, выбирают большее значение.
Каждый этап продолжают до достижения тепловой стабильности (например, изменение температуры менее чем на 2 К в течение 10 мин).
Во время испытания постоянно измеряют температуру на поверхности в самой горячей точке УЗИП (только для УЗИП со свободным доступом) и ток, проходящий через УЗИП. Самую горячую точку УЗИП можно определить пробным испытанием либо измерением температуры в нескольких точках.
Испытание прерывают, если все испытуемые нелинейные элементы отключены. Напряжение далее не должно повышаться во избежание выхода из строя разъединителя.
Если напряжение на выводах УЗИП становится ниже, чем Uc, тогда напряжение регулируют до Uc и поддерживают так в течение 15 мин, а ток прекращают регулировать. Поэтому регистрация длительного тока уже больше не требуется. Необходим источник промышленной частоты с нагрузочной способностью по току короткого замыкания, который бы не ограничивал ток до тех пор, пока не сработает какой-либо разъединитель.
Наибольшее значение тока не должно превышать максимально установленного значения тока короткого замыкания, установленного изготовителем, которое способен выдержать разъединитель.
b) Процедура испытания для УЗИП, содержащего коммутирующие элементы, включенные последовательно с другими элементами
К УЗИП подают питание Uc от силового источника с нагрузочной способностью по току короткого замыкания, который не ограничивал бы ток до тех пор, пока не сработает один из разъединителей. Наибольшее значение тока не должно превышать максимально установленного значения тока короткого замыкания, установленного изготовителем, которое способен выдержать разъединитель.
Если протекает незначительный ток, применяют процедуру испытания по перечислению а).
Примечание - Под незначительным током подразумевают, что УЗИП не вошло в состояние проводимости (т.е. остается в состоянии тепловой стабильности).
Критерии соответствия
Если разъединитель сработал, должна быть очевидна эффективность и необратимость отключения устройства. Чтобы это проверить, необходимо в течение 1 мин подать напряжение промышленной частоты, равное Uc, протекающий ток не должен превышать 0,5 мА (действующее значение).
УЗИП внутренней установки
Превышение температуры поверхности УЗИП во время испытания должно быть менее 120 К и менее 80 К спустя 5 мин после срабатывания разъединителя.
Во время испытания не должно быть выброса горячих частиц из частей УЗИП.
УЗИП наружной установки
Не должно быть признаков горения или выброса горячих частиц из частей УЗИП.
Доступные УЗИП
После испытания УЗИП со степенью защиты IP2X и выше не должны иметь частей, находящихся под напряжением, которых можно коснуться стандартным испытательным щупом, прикладываемым с усилием 5 Н (см. ГОСТ 14254), кроме тех, которые уже доступны до испытания, когда УЗИП установлено, как для нормальной эксплуатации.
7.7.3 Испытание на способность выдерживать ток короткого замыкания
Данное испытание не проводят на УЗИП, которые применяют:
- исключительно для наружной установки и которые являются недоступными или
- только для присоединения к N-PE в системах TN и (или) ТТ.
Процедуры испытаний
Характеристика источника тока промышленной частоты
Ожидаемый ток короткого замыкания устанавливает изготовитель, и в соответствии с коэффициентом мощности согласно таблице 11 его регулируют на выводах УЗИП. Испытательное напряжение устанавливается по Uc.
УЗИП и его разъединители должны быть размещены в кубообразном деревянном ящике, на расстоянии (500 ± 50) мм от его наружных стенок. Внутреннюю поверхность ящика покрывают папиросной бумагой или марлей. Одну из стенок ящика (кроме дна) оставляют открытой, для того, чтобы можно было подсоединять подводящие кабели согласно инструкции изготовителя.
Примечания
1 Папиросная бумага должна быть тонкой, мягкой, достаточно прочной, используемой для обертывания хрупких предметов, плотностью 12 - 25 г/м2.
2 Марля должна быть плотностью приблизительно 29 - 30 г/м2 с переплетением 13×11 нитей в 1 см2.
Испытуемый образец следует устанавливать согласно письменным указаниям изготовителя. К нему подсоединяют проводники с максимальным поперечным сечением по 7.3.1, причем кабели пропускают внутрь ящика на максимальную длину 0,5 м каждый.
Подготовка образцов
Для УЗИП с нелинейными элементами, соединенными параллельно, следует подготовить, как описано выше, отдельные комплекты - по три образца для каждого токового пути УЗИП, который содержит один или больше нелинейных элементов, указанных в 3.4 и 3.5.
Элементы УЗИП, ограничивающие и коммутирующие напряжение (см. 3.4 и 3.5), следует заменить подходящими медными перемычками, гарантирующими неизменность внутренних соединений, их поперечного сечения, окружающих материалов (например, смол) и упаковки.
Образцы согласно вышеуказанным требованиям представляет изготовитель.
Процедуры испытаний
Данное испытание проводят по двум разным процедурам по перечислениям а) и b) на отдельных комплектах образцов, подготовленных для каждой процедуры.
а) Испытание способности выдерживать заявленный ток короткого замыкания
Образец подсоединяют к источнику промышленной частоты при напряжении Uc с ожидаемым током короткого замыкания согласно заявленной нагрузочной способности по току короткого замыкания и коэффициентом мощности в соответствии с таблицей 11.
Испытание проводят двукратно: стоком короткого замыкания, инициированным в точках 45 и 90 электрических градусов после пересечения нуля волной напряжения.
Если заменяемый или взводимый внутренний или внешний разъединитель срабатывает, то соответствующий разъединитель следует заменять или взводить каждый раз. Если разъединитель не может быть заменен или взведен, испытание прекращают.
b) Испытание при низком токе короткого замыкания
От источника промышленной частоты при напряжении Uc в течение (5 ± 0,5) с подают ожидаемый ток короткого замыкания, равный 5-кратному номинальному току максимальной сверхтоковой защиты (если указан изготовителем) при коэффициенте мощности согласно таблице 11. Если внешняя защита от сверхтока не предусмотрена изготовителем, тогда подают ток, равный 300 А. Испытание проводят однократно с током короткого замыкания, инициированным в точке 45 электрических градусов после пересечения нуля волной напряжения.
Критерии соответствия
В ходе двух вышеуказанных испытаний папиросная бумага или марля не должна загореться.
Кроме того, во время испытания на способность выдерживать ток короткого замыкания он должен отключаться одним из разъединителей (внутренним или внешним) по указанию изготовителя.
Внутренние и (или) специальные разъединители, соответствующие другим стандартам.
При их срабатывании должна быть очевидна эффективность и необратимость отключения УЗИП. Для проверки этого следует в течение 1 мин приложить напряжение промышленной частоты, равное Uc, к отключенным разъединителям. Протекающий ток не должен превышать 0,5 мА (действующее значение).
Доступные УЗИП
После испытания УЗИП со степенью защиты IP2X и выше не должны иметь частей, находящихся под напряжением, которых можно коснуться стандартным испытательным щупом, прикладываемым с усилием 5 Н (см. ГОСТ 14254), кроме тех, которые уже были доступны до испытания, когда УЗИП установлено, как при нормальной эксплуатации.
7.7.3.1 Дополнительное испытание для УЗИП с сопровождающим током Ifi ниже заявленной способности выдерживать ток короткого замыкания
Повторяют испытание по 7.7.3, однако элементы, коммутирующие напряжение, не замыкают накоротко. Короткое замыкание инициируют запуском УЗИП импульсом тока положительной полярности (8/20 либо другой приемлемой формы волны) в точке от 30 до 40 электрических градусов на положительной полуволне после пересечения нуля волной напряжения. Импульсный ток должен быть достаточным для инициирования сопровождающего тока, но не свыше In.
Для обеспечения несрабатывания внешнего разъединителя вследствие запуска УЗИП импульсом все внешние разъединители соединяют последовательно с источником напряжения промышленной частоты, как показано на рисунке 6а.
Z1 - полное сопротивление для регулирования ожидаемого тока короткого замыкания согласно таблице 11; D1 - внешний разъединитель УЗИП; SCG - генератор импульсов тока с развязывающим фильтром
Рисунок 6а - Цепь для испытания УЗИП с сопровождающим током Ifi ниже заявленной способности выдерживать ток короткого замыкания
7.7.4 Испытание на повреждающее ВПН в системе высокого (среднего) напряжения
При испытании используют новые образцы, оснащенные, как для нормальной эксплуатации, согласно указаниям изготовителя и включенные в испытательную цепь согласно рисунку 13 или аналогичному рисунку.
УЗИП помещают в кубообразный деревянный ящик, как указано в 7.7.3. Внутренюю поверхность ящика покрывают папиросной бумагой или марлей. Одну из стенок ящика (кроме дна) оставляют открытой, для того, чтобы можно было подсоединять подводящие кабели согласно инструкции изготовителя.
Примечания
1 Папиросная бумага должна быть тонкой, мягкой, достаточно прочной, используемой для обертывания хрупких предметов, плотностью 12 - 25 г/м2.
2 Марля должна быть плотностью приблизительно 29 - 30 г/м2 с переплетением 13×11 нитей в 1 см2.
7.7.4.1 Процедура испытания
Напряжение UT с допуском минус 5 % подают к испытательному образцу в точке 90 электрических градусов фазы L1 замыканием выключателя S1. Спустя (200 + 10) мс выключатель S2 замкнется автоматически. Он соединит РЕ-вывод УЗИП с нейтралью (через токоограничивающий резистор R2), замкнув накоротко вторичную обмотку трансформатора ВПН (T2). В результате сработает предохранитель F2, защищающий трансформатор ВПН.
S1 - главный выключатель; S2 - таймер, замыкающийся через 200 мс после главного выключателя; F1 - максимальная сверхтоковая защита, заявленная изготовителем; F2 - плавкий предохранитель для защиты трансформатора ВПН (должен выдержать 300 А в течение 200 мс); T1 - трансформатор источника питания с напряжением на вторичной обмотке Ucs; T2 - трансформатор ВПН с напряжением на первичной обмотке Ucs, на вторичной - 1200 В; R1 - токоограничивающий резистор для регулирования тока короткого замыкания на источнике питания при Ucs, R2 - токоограничивающий резистор для регулирования тока короткого замыкания в цепи ВПН до 300 А (приблизительно 4 Ом); УЗИП - испытуемое устройство
Рисунок 13 - Пример цепи для испытания УЗИП в условиях повреждающего ВПН в системе высокого (среднего) напряжения и соответствующая диаграмма во времени ожидаемых напряжений на выводах УЗИП
От источника промышленной частоты при напряжении Ucs подают ожидаемый ток короткого замыкания, равный 5-кратному номинальному току максимальной сверхтоковой защиты (если указан изготовителем) или 300 А, если не указан. Допуск на величину тока составляет плюс 10 %.
Ожидаемый ток короткого замыкания, подаваемый от трансформатора ВПН, регулируют (посредством R2) до 300 А с допуском плюс 10 %.
Напряжение Ucs подают к испытательному образцу (за исключением УЗИП, включенных между нейтралью и землей) в течение 15 мин без перерыва до тех пор, пока не разомкнётся выключатель S1.
Допускаются другие испытательные схемы при условии, что они гарантируют такую же нагрузку на УЗИП.
7.7.4.2 Критерии соответствия
В ходе вышеуказанных испытаний папиросная бумага или марля не должна загореться.
После испытания УЗИП со степенью защиты IP2X и выше не должны иметь частей, находящихся под напряжением, которых можно коснуться стандартным испытательным щупом, прикладываемым с усилием 5 Н (см. ГОСТ 14254), кроме тех, которые уже были доступны до испытания, когда УЗИП установлено, как при нормальной эксплуатации.
a) Режим повреждения ВПН
Если изготовитель задает режим повреждающего ВПН, то необходимо применять следующие дополнительные критерии соответствия.
При срабатывании разъединителя должна быть очевидна эффективность и необратимость отключения УЗИП. Для проверки этого следует в течение 1 мин приложить напряжение промышленной частоты, равное Uc, к отключенному разъединителю. Протекающий ток не должен превышать 0,5 мА (действующее значение).
b) Режим устойчивости к ВПН
Если изготовитель задает режим устойчивости к ВПН, то необходимо применять следующие дополнительные критерии соответствия:
Примечание - Это касается требований к УЗИП, включенным в цепь между N и РЕ, в точке 4а на рисунке В.2 ГОСТ Р 50571.26.
- УЗИП должно сохранять тепловую стабильность во время подачи напряжения Ucs (после подачи UT). УЗИП считают термостабильным, если протекающий через него ток или рассеиваемая энергия не продолжает возрастать в течение всего времени подачи Ucs;
- затем испытательный образец присоединяют к Uc. Испытательный трансформатор должен иметь нагрузочную способность по току короткого замыкания не менее 200 мА.
Ток, протекающий через испытуемый образец, измеряют. Пиковое значение его активной составляющей не должно превышать 1 мА, или собственная потребляемая мощность не должна увеличиться более чем на 20 % по сравнению с измеренной по 7.7.5;
- после того как испытуемый образец охладится приблизительно до температуры окружающего воздуха, испытанием по 7.5 определяют измеренное предельное напряжение для проверки, сохранился ли уровень напряжения защиты, указанный изготовителем. Испытание по 7.5.2 проводят только при In, a испытания по 7.5.4 и 7.5.5 только при Uoc. Вспомогательные цепи, например индикаторы состояния, должны быть в рабочем состоянии.
Согласно настоящему пункту «быть в рабочем состоянии» означает, что разъединитель не имеет видимых повреждений и остается работоспособным. Работоспособность проверяется либо вручную (если возможно), либо простейшей электрической операцией, согласованной между изготовителем и испытательным центром;
- визуальный осмотр испытуемого образца не должен выявить свидетельств какого-либо повреждения.
7.7.5 Испытание на собственную потребляемую мощность и ток утечки
УЗИП подсоединяют к источнику напряжения при его максимальном длительном рабочем напряжении Uc согласно инструкциям изготовителя. Измеряют кажущуюся мощность, потребляемую УЗИП. Измеряют ток утечки, протекающий через РЕ-вывод.
Примечания
1 Если изготовителем допускается более одной схемы подключения УЗИП, тогда испытание проводят для каждой схемы.
2 Измеряют фактическое действующее значение тока.
7.7.6 Проверка характеристики ВПН, вызванного повреждением в низковольтной системе
7.7.6.1 Методы испытания
Следует использовать новые образцы, оснащенные, как при нормальной эксплуатации, согласно указаниям изготовителя.
Пример испытательной цепи и диаграмм при проверке характеристики ВПН приведены на рисунке 7.
UТ согласно таблице В.1 (приложение В)
Ucs (минус 5 %)
Рисунок 7 - Пример испытательной цепи и диаграмма характеристики ВПН, вызванные повреждением в низковольтной части системы
УЗИП помещают в прямоугольный деревянный ящик согласно 7.7.3. Внутреннюю поверхность ящика покрывают папиросной бумагой или марлей. Одну из стенок ящика (кроме дна) оставляют открытой, для того чтобы можно было подсоединять подводящие кабели согласно инструкции изготовителя.
Примечания
1 Папиросная бумага должна быть тонкой, мягкой, достаточно прочной, используемой для обертывания хрупких предметов, плотностью 12 - 25 г/м2.
2 Марля должна быть плотностью приблизительно 29 - 30 г/м2 с переплетением 13×11 нитей в 1 см2.
Испытуемый образец должен быть подсоединен на период tT = 5+5 % с к источнику напряжения промышленной частоты UT (допуск минус 5 %), как указано в таблице В.1 (приложение В), либо к источнику более высокого ВПН, которое задано изготовителем в соответствии с 6.6.1. Источник напряжения должен быть либо с достаточно высокой токовой способностью (для гарантии, что напряжение на выводах УЗИП не упадет ниже 5 % UT в ходе испытания), либо по значению равным указанному выдерживаемому току короткого замыкания УЗИП (выбирают меньшее значение).
Сразу же после подачи UT на образец подают в течение 15 мин напряжение, равное Ucs с допуском минус 5 %, стой же токовой характеристикой источника. Временный интервал между отдельными испытательными периодами должен быть как можно меньше, в любом случае не более 100 мс.
7.7.6.2 Критерии соответствия
Папиросная бумага или марля не должна воспламеняться в ходе испытания.
Корпус устройства со степенью защиты IP20 и выше не должен быть поврежден до такого состояния, чтобы части, находящиеся под напряжением, стали доступны для касания стандартным испытательным щупом.
a) Режим повреждения ВПН
Если изготовитель задает режим повреждения ВПН, необходимо выполнять следующие дополнительные условия.
Если разъединитель срабатывает, должна быть очевидна эффективность и необратимость отключения устройства. Для проверки этого следует в течение 1 мин подать напряжение промышленной частоты, равное Uc. Протекающий ток не должен превышать 0,5 мА (действующее значение).
b) Режим устойчивости к ВПН
Если изготовитель задает режим устойчивости к ВПН, должны быть выполнены следующие дополнительные условия:
- УЗИП должно сохранять тепловую стабильность в период подачи Ucs (после подачи UT). УЗИП считают термостабильным, если ток, протекающий через него, или рассеивание энергии не возрастает в течение всего времени подачи напряжения Ucs;
- затем испытуемый образец присоединяют к Uc. Испытательный трансформатор должен иметь нагрузочную способность по току короткого замыкания не менее 200 мА.
Ток, протекающий через испытуемый образец, измеряют. Пиковое значение его активной составляющей не должно превышать 1 мА, или собственная потребляемая мощность не должна увеличиться более чем на 20 % по сравнению с измеренной по 7.7.5;
- после того как испытуемый образец охладится приблизительно до температуры окружающего воздуха, испытанием по 7.5 определяют измеренное предельное напряжение для проверки, сохранился ли уровень напряжения защиты, указанный изготовителем. Испытание по 7.5.2 проводят только при In, а испытания по 7.5.4 и 7.5.5 - только при Uoc. Вспомогательные цепи, например индикаторы состояния, должны быть в рабочем состоянии.
Согласно настоящему пункту «быть в рабочем состоянии» означает, что разъединитель не имеет видимых повреждений и остается работоспособным. Работоспособность проверяется либо вручную (если возможно), либо простейшей электрической операцией, согласованной между изготовителем и испытательным центром;
- визуальный осмотр испытуемого образца не должен выявить свидетельств какого-либо повреждения.
7.8 Испытание двух- и одновводных УЗИП с раздельными вводными и выводными выводами
Для УЗИП, применяемых на постоянном токе, данное испытание в стадии рассмотрения.
7.8.1 Испытание на регулировку напряжения
Напряжение Uc подают через вводной зажим, и оно должно быть постоянным с допуском минус 5 %. Испытание следует проводить с номинальным током при активной нагрузке. Входное и выходное напряжения измеряют одновременно с подключенной нагрузкой. Определяют регулировку напряжения AU в процентах по формуле
ΔU % = [(UВХОД - UВЫХ)/UВХОД] 100.
Данное значение должно быть зарегистрировано и соответствовать заявленному изготовителем.
7.8.2 Номинальный ток нагрузки IL
К УЗИП подают питание, как в 7.8.1, при температуре окружающего воздуха с помощью кабеля минимального сечения, указанного в 7.3.1. Ток нагрузки следует устанавливать по номинальному току нагрузки, указанному изготовителем. Принудительное охлаждение УЗИП недопустимо.
УЗИП считают выдержавшим испытание, если его оболочка достигла тепловой стабильности и температура частей, доступных при нормальной эксплуатации, не более чем на 40 К превышает температуру окружающего воздуха помещения (см. 2.1).
7.8.3 Испытание на способность выдерживать короткое замыкание со стороны нагрузки при наличии разъединителей УЗИП (их наличие определяет изготовитель)
Повторяют испытание по 7.7.3, но без замкнутых накоротко элементов. Однако все выводы нагрузки замыкают накоротко проводником наибольшего сечения (из указанных в 7.3.1) и длиной 500 мм.
Критерии соответствия
В ходе испытания ток короткого замыкания следует отключить в течение 5 с. Во время испытания папиросная бумага или марля не должна воспламениться. Кроме того, не должно произойти взрыва, а также не должны иметь место другие обстоятельства, опасные для персонала и оборудования.
Доступное УЗИП
После испытания УЗИП со степенью защиты IP2X и выше не должны иметь частей, находящихся под напряжением, которых можно коснуться стандартным испытательным щупом, прикладываемым с усилием 5 Н (см. ГОСТ 14254). Если внутренний разъединитель не сработал, УЗИП должно выполнить требования 7.4.1 и 7.5. Если внутренний разъединитель сработал, должна быть очевидна эффективность и необратимость отключения.
Для проверки факта отключения необходимо предпринять следующие меры:
a) убедиться в том, что на выводных зажимах нет напряжения;
b) приложить напряжение промышленной частоты, равное 2UС, между соответствующими вводными и выводными выводами в течение 1 мин, при этом протекающий ток не должен превышать 0,5 мА (действующее значение).
Испытанию следует подвергать все вспомогательные части, включенные последовательно с УЗИП, как указано изготовителем.
7.8.4 Способность выдерживать перенапряжение со стороны нагрузки
Для этого испытания прикладывают 15 импульсов тока 8/20 или 15 импульсов комбинированной волны с напряжением разомкнутой цепи Uoc, равным значению, соответствующему его способности выдерживать перенапряжение со стороны нагрузки, указанной изготовителем. Импульсы прикладывают тремя группами (по пять импульсов в каждой группе) к выходным выводам испытуемого образца. На УЗИП подают Uc от источника напряжения с номинальным током не менее 5 А. Каждый импульс должен быть синхронизирован по отношению к промышленной частоте. Начиная от 0° угол синхронизации должен увеличиваться постепенно на (30 ± 5)°.
Интервал между импульсами составляет 50 - 60 с, а между группами импульсов - 25 - 30 мин.
Испытуемый образец должен находиться под напряжением в течение всего цикла испытаний. Напряжение на выходных выводах следует регистрировать.
Критерии соответствия
УЗИП считают выдержавшим испытание, если требования 7.6.6 выполнены.
7.8.5 Характеристика перегрузки
Данное испытание проводят только для двухвводных УЗИП, но могут проводить для одновводных УЗИП, если сечение внутренних соединений между вводными и выводными выводами меньше, чем сечение проводников, указанное для данного испытания.
Данное испытание проводят при температуре окружающего воздуха на образце, защищенном от чрезмерного внешнего нагрева или охлаждения.
Испытательная цепь и методика проведения должны быть, как описано в 7.8.2, исключением является лишь то, что цепи, кроме главной цепи, и превышение температуры не учитывают в данном испытании.
Испытание выполняют без внешних устройств защиты от сверхтока (внутренние устройства защиты от сверхтока заменяют перемычками с незначительным полным сопротивлением).
Если изготовителем указана максимальная защита от сверхтока, в течение 1 ч УЗИП нагружают током, равным k-кратному максимальной защите от сверхтока. Коэффициент k выбирают по таблице 11х в зависимости от национальных норм и правил электроустановок.
Таблица 11х - Коэффициент тока k, применяемый для характеристики перегрузки
|
Страна (часть света) |
Коэффициент к тока расцепления в зависимости от вида выбранного защитного устройства |
|
|
Автоматический выключатель |
Плавкий предохранитель |
|
|
Европа |
1,45 |
1,6 |
|
США |
На рассмотрении |
На рассмотрении |
|
Япония |
1,25 |
1,5 |
|
Примечание - Если тип защитного устройства изготовителем не указан (выключатель или предохранитель), испытание проводят с более высоким коэффициентом k. |
||
Если значение максимального сверхтока защиты не указано изготовителем, к УЗИП подают в течение 1 ч 1,1 номинального тока нагрузки до срабатывания внутреннего разъединителя. Если разъединитель не сработал в течение 1 ч, испытание продолжают, увеличивая предыдущее значение испытательного тока каждый час в 1,1 до тех пор, пока не сработает внутренний разъединитель.
Критерии соответствия
Во время испытания превышение температуры поверхностей, доступных для прикосновения, не должно быть более 60 К.
a) Несрабатывание внутреннего разъединителя:
- визуальный осмотр испытуемого образца не должен выявить свидетельств какого-либо повреждения;
- после испытания УЗИП со степенью защиты IP2X и выше не должны иметь частей, находящихся под напряжением, которых можно коснуться стандартным испытательным щупом, прикладываемым с усилием 5 Н (см. ГОСТ 14254), кроме тех, которые уже были доступны до испытания, когда УЗИП установлено, как при нормальной эксплуатации;
- затем испытуемый образец присоединяют к Uc. Испытательный трансформатор должен иметь нагрузочную способность по току короткого замыкания не менее 200 мА.
Ток, протекающий через испытуемый образец, измеряют. Пиковое значение его активной составляющей не должно превышать 1 мА, или собственная потребляемая мощность не должна увеличиться более чем на 20 % по сравнению с измеренной по 7.7.5;
- после того как испытуемый образец охладится приблизительно до температуры окружающего воздуха, испытанием по 7.5 определяют измеренное предельное напряжение для проверки, сохранился ли уровень напряжения защиты, указанный изготовителем. Испытание по 7.5.2 проводят только при In, а испытания по 7.5.4 и 7.5.5 - только при Uoc. Вспомогательные цепи, например индикаторы состояния, должны быть в рабочем состоянии.
Примечание - Согласно настоящему пункту «быть в рабочем состоянии» означает, что разъединитель не имеет видимых повреждений и остается работоспособным. Работоспособность проверяется либо вручную (если возможно), либо простейшей электрической операцией, согласованной между изготовителем и испытательным центром.
b) Срабатывание внутреннего разъединителя:
- после испытания УЗИП со степенью защиты IP2X и выше не должны иметь частей, находящихся под напряжением, которых можно коснуться стандартным испытательным щупом, прикладываемым с усилием 5 Н (см. ГОСТ 14254), кроме тех, которые уже были доступны до испытания, когда УЗИП установлено, как при нормальной эксплуатации;
- при срабатывании разъединителя должна быть очевидна эффективность и необратимость отключения УЗИП. Для проверки этого следует в течение 1 мин приложить напряжение промышленной частоты, равное Uc, к отключенному разъединителю. Протекающий ток не должен превышать 0,5 мА (действующее значение);
- во время испытания папиросная бумага или марля не должна воспламениться. Кроме того, не должно произойти выброса твердых материалов во время и после испытания.
Проводят для определения критериев безопасности. В некоторых странах возможно применение других национальных норм.
Допускается при необходимости проводить данные испытания на УЗИП, применяемых на постоянном токе.
7.9.1 Переносные УЗИП с гибкими кабелями и шнурами и их крепление
7.9.1.1 Переносные УЗИП должны быть снабжены анкерным креплением шнура, чтобы проводники были свободны от натяжения, скручивания, когда они подсоединены к выводам или концам, а их покрытие должно быть защищено от истирания.
Оплетка, если имеется, должна быть прикреплена к анкерному креплению шнура.
Соответствие проверяют осмотром.
7.9.1.2 Эффективность удерживания проверяют следующим испытанием с помощью установки, представленной на рисунке 8.
Размеры в мм
Рисунок 8 - Установка для испытания крепления шнура
УЗИП с несъемным шнуром испытывают в состоянии поставки; испытание выполняют на новых образцах.
УЗИП с заменяемым кабелем испытывают с кабелем номинального сечения, указанным изготовителем.
Проводники гибкого кабеля или шнура разборных кабелей вводят в зажимы, винты затягивают так, чтобы зафиксировать положение проводника.
Анкерное крепление шнура используют, как обычно; зажимные винты, если имеются, затягивают крутящим моментом, равным 2/3 указанного в таблице 12.
Таблица 12 - Требования к затягиванию зажимных винтов
|
Номинальный диаметр резьбы, мм |
Вращающий момент, Н ∙ м |
||
|
До 2,8 |
0,20 |
0,4 |
- |
|
Св. 2,8 до 3,0 |
0,25 |
0,5 |
- |
|
» 3,0 » 3,2 |
0,30 |
0,6 |
- |
|
» 3,2 » 3,6 |
0,40 |
0,8 |
- |
|
» 3,6 » 4,1 |
0,70 |
1,2 |
1,2 |
|
» 4,1 » 4,7 |
0,80 |
1,8 |
1,2 |
|
» 4,7 » 5,3 |
0,80 |
2,0 |
1,4 |
После сборки образца его части должны быть точно подогнаны, при этом не должно быть возможным протолкнуть кабель или шнур в образец на сколько-нибудь значительное расстояние.
Образец помещают в испытательную установку так, чтобы оси кабеля или шнура располагались вертикально относительно места их ввода в образец.
Затем кабель или шнур подвергают стократному натяжению с усилием:
- 60Н, если номинальный ток не более 16 А, а номинальное напряжение до 250 В включительно;
- 80 Н, если номинальный ток не более 16 А, а номинальное напряжение свыше 250 В;
- 100 Н, если номинальный ток свыше 16 А.
Растягивающие усилия прикладывают без рывков, каждый раз в течение 1 с.
Следует следить за тем, чтобы усилие распределялось равномерно на все части кабеля (жилы, изоляцию и оплетку).
После испытания кабель или шнур не должен сместиться более чем на 2 мм. Для разборных устройств концы проводников не должны заметно смещаться в выводах; для неразборных устройств не должно быть обрывов электрических соединений.
Для измерения продольного смещения до начала испытания на вытягивание на кабеле или шнуре приблизительно на расстоянии 20 мм от конца образца или анкерного крепления ставят метку. Если в устройствах с неразборными шнурами нет четко обозначенного конца образца или анкерного крепления, дополнительную метку ставят на корпусе образца.
После испытания смещение метки на кабеле или шнуре относительно образца или анкерного крепления измеряют в состоянии натяжения кабеля или шнура.
7.9.1.3 Неразборные УЗИП должны быть снабжены гибким кабелем или шнуром, соответствующим стандартам серий МЭК 60227 [5] или МЭК 60245 [6], площадь сечения проводников которых подходит для максимальных параметров УЗИП и согласованного с ним оборудования.
Соответствие проверяют осмотром, измерением и проверкой правильности применения гибких кабелей и шнуров согласно требованиям стандартов серий МЭК 60227 [5] и МЭК 60245 [6] (что применимо).
7.9.1.4 В неразборных УЗИП гибкий кабель или шнур конструктивно должен быть защищен от чрезмерного изгиба в месте его ввода в устройство. Ограничители, предназначенные для этой цели, должны быть выполнены из изоляционного материала и надежно закреплены. Спиральные металлические пружины, оголенные или покрытые изоляционным материалом, не следует применять в качестве ограничителей от изгиба проводников.
Соответствие проверяют осмотром и испытанием на изгиб в установке, представленной на рисунке 9.
Рисунок 9 - Установка для испытания на изгиб
Испытание выполняют на новых образцах.
Образец прикрепляют к колебательному механизму установки таким образом, чтобы при нахождении образца в среднем положении ось гибкого кабеля или шнура в месте ввода в образец находилась в вертикальном положении, проходя через ось колебания.
Изменяя расстояние между закрепленной частью колебательного механизма и осью колебания, образец располагают так, чтобы шнур совершал минимальное боковое движение, а качающийся механизм испытательной установки проходил свою полную траекторию.
В целях быстрого определения опытным путем во время испытания монтажного положения шнура с минимальным боковым движением установка для испытания на изгиб должна быть устроена так, чтобы разные опоры для монтажа устройств на колебательном механизме легко регулировались.
К кабелю или шнуру подвешивают груз так, чтобы прикладываемое усилие составляло:
- 20 Н - для устройств с номинальным сечением кабелей или шнуров свыше 0,75 мм2;
- 10 Н - для остальных устройств.
По проводникам пропускают ток, равный номинальному току устройства, или следующий ток (выбирают меньшее значение):
- 16 А - для устройств с кабелями или шнурами номинального сечения свыше 0,75 мм2;
- 10 А - для устройств со шнурами номинального сечения 0,75 мм2;
- 2,5 А - для устройств со шнурами номинального сечения менее 0,75 мм2.
Напряжение между проводниками равно номинальному напряжению образца.
Колебательный механизм отклоняется на 90° (45° в каждую сторону от вертикали), число изгибов - 10000 с частотой 60 изгибов в минуту.
Один изгиб составляет одно движение либо вперед, либо назад.
После 5000 изгибов образцы с кабелями или шнурами круглого сечения поворачивают на 90° в колебательном механизме; образцы с плоскими шнурами изгибают только в направлении, перпендикулярном к оси проводника.
Во время испытания на изгиб не должно быть:
- прерывания тока;
- коротких замыканий между проводниками.
Считают, что произошло короткое замыкание между проводниками гибкого кабеля или шнура, если ток достиг значения, равного двукратному испытательному току устройства.
Падение напряжения между каждым контактом и соответствующим проводником с пропускаемым испытательным током, равным номинальному, не должно превышать 10 мВ.
После испытания ограничитель, если он имеется, не должен отделяться от корпуса, а изоляция гибкого кабеля или шнура не должна иметь признаков истирания или износа; разорванные проволоки проводников не должны прокалывать изоляцию и становиться доступными.
7.9.2 Механическая прочность
7.9.2.1 УЗИП должны обладать соответствующей механической прочностью, чтобы выдерживать нагрузки, возникающие в ходе установки и эксплуатации.
Соответствие проверяют, подвергая образцы ударам с помощью ударной испытательной установки, как показано на рисунке 10.
Ударный элемент имеет полусферическую поверхность радиусом 10 мм, выполнен из полиамида твердостью 100 HRC и имеет массу (150 ± 1) г.
Он жестко закреплен на нижнем конце стальной трубки, внешний диаметр которой 9 мм, а толщина стенок 0,5 мм, которая шарнирно закреплена в верхней части так, что качается только в вертикальной плоскости.
Ось шарнира расположена на высоте (1000 ± 1) мм над осью ударного элемента.
Твердость по Роквеллу ударного элемента определяют с помощью стального шарика диаметром (12,700 ± 0,0025) мм, вдавливаемого с начальной нагрузкой (100 ± 2) Н и максимальной нагрузкой (500 ± 2,5) Н в головку ударного элемента.
Примечание - Дополнительную информацию, касающуюся определения твердости пластических масс по Роквеллу, см. в ГОСТ 24622.
Конструкция установки такова, что для удержания трубки в горизонтальном положении к поверхности ударного элемента следует прикладывать усилие 1,9 - 2,0 Н.
Образцы устанавливают на листе фанеры толщиной 8 мм, площадью 175 мм2, прикрепленном в верхнем и нижнем углах к жестким кронштейнам.
Переносные УЗИП испытывают, как стационарные, и с помощью вспомогательных средств их прикрепляют к листу фанеры.
Монтажная опора должна иметь массу (10 ± 1) кг и должна быть установлена на жесткой раме.
Размеры в мм
1 - маятник; 2 - рама; 3 - высота падения; 4 - образец; 5 - монтажный крепеж
Рисунок 10а - Испытательная установка

Размеры в мм
Материалы: 1 - полиамид; 2, 3, 4, 5 - сталь Fe 360
Рисунок 10b - Ударный элемент маятникового молотка для нанесения удара
Рисунок 10 - Ударная испытательная установка
Монтажная конструкция должна быть такой, чтобы:
- образец мог быть так размещен, что точка удара лежит в вертикальной плоскости, проходящей через ось подвески;
- образец мог быть смещен в горизонтальном направлении и повернут вокруг оси, перпендикулярно поверхности фанеры;
- лист фанеры мог поворачиваться вокруг вертикальной оси.
УЗИП скрытой установки монтируют в углублении, сделанном в бруске из дерева (твердых пород) или материала с аналогичными механическими характеристиками, который прикреплен к листу фанеры (УЗИП в собственных монтажных коробках не испытывают).
При использовании деревянного бруска направление волокон в нем должно быть перпендикулярно к направлению удара.
УЗИП скрытой установки с винтовым креплением должны быть прикреплены с помощью винтов к кронштейнам, углубленным в брусок.
УЗИП скрытой установки с креплением шипами должны быть прикреплены к бруску с помощью шипов.
Перед нанесением ударов крепежные винты оснований и крышек затягивают, прикладывая вращающий момент, равный 2/3 от указанного в таблице 12.
Образцы устанавливают так, чтобы точка удара лежала в вертикальной плоскости, проходящей через ось шарнира.
Ударный элемент должен свободно падать с высоты Н, указанной в таблице 13.
Таблица 13 - Высота падения ударного элемента
|
Высота падения, мм |
Части оболочек, подвергающиеся ударам |
|
|
обычных устройств |
других устройств |
|
|
100 |
А и В |
А и В |
|
150 |
С |
С |
|
200 |
D |
D |
|
А - части на фронтальной поверхности, включая части, которые утоплены; В - части, которые не выступают более чем на 15 мм от монтажной поверхности (расстояние от стены) после установки, как для нормальной эксплуатации, за исключением частей А; С - части, которые выступают более чем на 15 мм, но не свыше 25 мм от монтажной поверхности (расстояние от стены) после установки, как для нормальной эксплуатации, за исключением частей A; D - части, которые не выступают более чем на 25 мм от монтажной поверхности (расстояние от стены) после установки, как для нормальной эксплуатации, за исключением частей А. |
||
Высота падения определяется частью образца, наиболее выступающей над монтажной поверхностью. Это касается всех частей образца, за исключением частей А.
Высота падения - это расстояние по вертикали между положением контрольной точки, когда маятник свободен, и положением этой же точки в момент удара.
Контрольную точку наносят на поверхность ударного элемента в месте, где линия, проходящая через точку пересечения осей стальной трубки маятника и ударного элемента и перпендикулярная к плоскости, в которой лежат эти оси, пересекается с поверхностью ударного элемента.
По образцам наносят удары, равномерно распределяя их по образцу. Удары наносят в местах, где имеются отверстия, вскрываемые при монтаже (например, розетки).
Удары наносят в следующем порядке:
- пять ударов - для частей А, причем один удар наносят в центр. После того как образец был перемещен горизонтально, наносят по одному удару в самые неблагоприятные точки между центром и краями; после того как образец был повернут на 90° вокруг оси, перпендикулярной к поверхности фанеры, наносят по одному удару в подобные точки;
- четыре удара - для частей В (насколько это применимо), С и D:
- один удар по одной стороне образца после того, как лист фанеры был повернут на 60°, и один удар по другой стороне образца после того, как он был повернут на 90° вокруг оси, перпендикулярной к листу фанеры, при неизменном его положении;
- по одному удару по каждой из двух оставшихся сторон образца при повороте листа фанеры на 60° в противоположном направлении.
После испытания образец не должен иметь повреждений, нарушающих требования настоящего стандарта. В частности, части, находящиеся под напряжением, не должны стать доступны для касания стандартным испытательным щупом.
Повреждение отделки, мелкие трещины, которые не снижают расстояний утечки и воздушных зазоров, мелкие зазубрины, не влияющие пагубно на защиту от поражения электрическим током или от проникновения воды, во внимание не принимают.
Трещины, невидимые без применения увеличительных приборов, поверхностные трещины на штампованной волоконной поверхности и т.п. во внимание не принимают.
7.9.2.2 Переносные УЗИП испытывают во вращающемся барабане, показанном на рисунке 11.
Разборные УЗИП оснащают гибким кабелем или шнуром, указанным изготовителем, со свободным концом длиной приблизительно 100 мм.
Размеры в мм
1 - деревянный брусок; 2 - стальная опора; 3 - резиновая деталь; 4 - лист, ламинированный пластиком а) - корпус вращающегося барабана, выполненного из листовой стали толщиной 1,5 мм
Рисунок 11 - Вращающийся барабан
Винты выводов и сборочные винты затягивают моментом, равным 2/3 указанного в таблице 12.
Неразборные УЗИП испытывают в состоянии поставки, гибкий кабель или шнур обрезают так, чтобы свободный конец длиной приблизительно 100 мм выступал из устройства.
Образцы сбрасывают с высоты 500 мм на стальную плиту толщиной 3 мм, число падений в зависимости от массы образца должно быть следующим:
- 1000, если масса образца без кабеля или шнура не превышает 100 г;
- 500, если масса образца без кабеля или шнура свыше 100, но не более 200 г;
- 100, если масса образца без кабеля или шнура свыше 200 г.
Барабан вращается с частотой 5 мин-1; таким образом происходит 10 падений в минуту. Одновременно в барабане испытывают только один образец.
После испытания образцы не должны иметь следов повреждения, в частности:
- ни одна часть не должна быть разъединена или ослаблена;
- не должно быть возможности коснуться частей, находящихся под напряжением, даже с помощью стандартного испытательного щупа, прикладываемого с усилием не более 10 Н.
При проверке после испытания особое внимание следует уделить подсоединению гибких кабелей или шнуров. Допускается поломка мелких частей при условии, что не нарушена защита от поражения электрическим током.
Повреждением отделки и мелкими зазубринами, не снижающими расстояний утечки или воздушных зазоров, можно пренебречь.
Измеренное предельное напряжение следует определять испытаниями по 7.5. Испытание по 7.5.2 проводят только при In, а испытания по 7.5.4 и 7.5.5 только при Uoc. Для испытания по 7.5.3 следует применять максимум 10 измеренных пиковых значений. Образец считают выдержавшим испытание, если измеренное предельное напряжение ниже или равно Up.
Затем испытуемый образец подключают к источнику напряжения с максимальным длительным рабочим напряжением Uc при номинальной частоте. Испытательный трансформатор должен иметь ток короткого замыкания не менее 200 мА, если изготовителем не предусмотрено другое значение.
Измеряют ток, протекающий через испытуемый образец. Пиковое значение его активной составляющей не должно превышать 1 мА, либо собственная потребляемая мощность не должна увеличиваться более чем на 20 % значения по 7.7.5.
7.9.3 Термостойкость
7.9.3.1 В течение 1 ч УЗИП выдерживают в нагревательном шкафу при температуре (100 ± 2) °С. Изолирующий компаунд, применяемый во внутреннем механизме, не должен вытечь в значительном количестве. После охлаждения испытуемого образца, установленного, как при нормальной эксплуатации, части, находящиеся под напряжением, не должны быть доступны для прикосновения стандартным испытательным щупом, прикладываемым с усилием не более 5 Н.
Считают, что УЗИП выдержало испытания, даже если разъединитель УЗИП разомкнулся.
7.9.3.2 Наружные части УЗИП из изоляционного материала подвергают испытанию давлением стального шарика с помощью установки, показанной на рисунках 12а и 12b.
|
1 - испытуемый образец; 2 - шарик давления; 3 - груз; 4 - опора для образца Рисунок 12а - Установка для испытания давлением шарика |
Рисунок 12b - Нагрузочный стержень для испытания давлением шарика |
Части из изоляционного материала, поддерживающие токоведущие части и части цепи заземления, испытывают в нагревательном шкафу при температуре (125 ± 2) °С.
Части из изоляционного материала, не поддерживающие токоведущие части и части цепи заземления, даже контактирующие с ними, испытывают при температуре (70 ± 2) °С.
Испытуемый образец соответствующим образом размещают, его поверхность располагается горизонтально, а стальной шарик диаметром 5 мм давит на поверхность с усилием 20 Н.
Спустя 1 ч шарик снимают и образец погружают в холодную воду на 10 с. Температуру образца снижают до температуры окружающего воздуха. Измеряют диаметр оттиска шарика, он не должен превышать 2 мм.
Примечание - Керамические части этому испытанию не подлежат.
7.9.4 Стойкость к чрезмерному нагреву и огню
Согласно ГОСТ 27483 (разделы 4 - 10) проводят испытание раскаленной проволокой при соблюдении следующих условий:
- для наружных частей УЗИП из изоляционного материала, поддерживающих токоведущие части и части защитной цепи, испытание проводят при температуре (850 ± 15) °С;
- для других наружных частей из изоляционного материала испытание проводят при температуре (650 ± 10) °С. Для целей настоящего испытания основания УЗИП наружной установки считают наружными частями. Испытание не проводят на частях из керамического материала.
Если изолирующие части выполнены из одинакового материала, испытание проводят только на одной из этих частей согласно соответствующей температуре испытания раскаленной проволокой.
Испытание проводят для гарантии того, что раскаленная проволока в заданных испытательных условиях не вызовет возгорания изоляционных частей, или часть из изоляционного материала, которая может воспламениться, будет гореть ограниченное время, а огонь не перейдет в постоянное пламя и не вызовет выпадения горящих частей и частиц из испытуемой части.
Испытание проводят на одном образце.
В случае сомнения испытание повторяют еще на двух образцах.
Испытание проводят прикладыванием раскаленной проволоки один раз.
Для испытания образец должен быть помещен в самое неблагоприятное положение, которое возможно в предполагаемых условиях эксплуатации (испытуемая поверхность - в вертикальном положении).
Петлю раскаленной проволоки прикладывают к заданной поверхности испытуемого образца с учетом условий предполагаемой эксплуатации, при которых нагревательный или накаляемый элемент может войти в контакт с образцом.
Считают, что образец прошел испытание раскаленной проволокой, если:
- отсутствует видимое пламя или устойчивое свечение;
- пламя и раскаленные части на образце угасают в течение 30 с после удаления раскаленной проволоки. При испытании раскаленной проволокой под образец подкладывают сосновую доску, обернутую папиросной бумагой.
7.9.5 Проверка воздушных зазоров и расстояний утечки
Расстояния между электродами искровых разрядников не учитывают при определении воздушных зазоров и расстояний утечки.
7.9.5.1 УЗИП наружной установки
Воздушные зазоры и расстояния утечки между частями, находящимися под напряжением, и землей не могут быть меньше значений, указанных в таблице 14.
Таблица 14 - Воздушные зазоры и расстояния утечки для УЗИП наружной установки
|
Максимальное длительное рабочее напряжение УЗИП, В |
Минимальный воздушный зазор, мм |
Расстояние утечки в мм для изоляционных материалов с* |
|
|
СИТ > 600 |
400 < СИТ > 600 |
||
|
До 450 |
3,0 |
6 |
7,5 |
|
От 450 до 600 |
5,5 |
12 |
15,5 |
|
» 600 » 1200 |
8,0 |
20 |
25,5 |
|
» 1200 » 1500 |
10,0 |
30 |
40,0 |
|
* Возможны другие значения, если степень загрязнения ниже 4 или проводят испытания на загрязнение. Примечание - Данные значения взяты из МЭК 60664-1 [7] для высоты над уровнем моря до 2000 м, степени загрязнения 4 и условий неоднородной среды. СИТ - сравнительный индекс трекингостойкости (см. ГОСТ 27473, раствор А). |
|||
7.9.5.2 УЗИП внутренней установки
Воздушные зазоры и расстояния утечки не должны быть меньше значений, указанных в таблице 15.
Таблица 15 - Воздушные зазоры и расстояния утечки для УЗИП внутренней установки
|
Длительное рабочее напряжение УЗИП, В |
До 100 |
От 100 до 200 |
От 200 до 450 |
От 450 до 600 |
От 600 до 1200 |
От 1200 до 1500 |
|
Воздушные зазоры, мм: 1) между частями, находящимися под напряжением, разной полярности |
1 |
2 |
3 |
5,5 |
8 |
12 |
|
2) между частями, находящимися под напряжением, и |
||||||
|
- винтами и другими устройствами для крепления крышек, отсоединяемыми при монтаже УЗИП |
1 |
2 |
3 |
5,5 |
8 |
12 |
|
- крепежными поверхностями (примечание 2) |
2 |
4 |
6 |
11 |
16 |
24 |
|
- винтами или другими устройствами для крепления УЗИП (примечание 2) |
2 |
4 |
6 |
11 |
16 |
24 |
|
- корпусами (примечания 1 и 2) |
1 |
2 |
3 |
5,5 |
8 |
12 |
|
3) между металлическими частями механизма разъединителя и |
||||||
|
- корпусами (примечание 1) |
1 |
2 |
3 |
5,5 |
8 |
12 |
|
- винтами и другими устройствами для крепления УЗИП |
1 |
2 |
3 |
5,5 |
8 |
12 |
|
Расстояния утечки, мм: |
||||||
|
4) между частями, находящимися под напряжением, разной полярности |
1 |
2 |
3 |
5,5 |
8 |
12 |
|
5) между частями, находящимися под напряжением, и |
||||||
|
- винтами и другими устройствами для крепления крышек, отсоединяемыми при монтаже УЗИП |
1 |
2 |
3 |
5,5 |
8 |
12 |
|
- винтами или другими устройствами для крепления УЗИП (примечание 2) |
2 |
4 |
6 |
11 |
16 |
24 |
|
- корпусами (примечание 1) |
1 |
2 |
3 |
5,5 |
8 |
12 |
|
Примечания 1 Определение см. 7.9.7.2. 2 Если воздушные зазоры и расстояния утечки между частями устройства, находящимися под напряжением, и металлическим экраном или поверхностью, на которой установлено УЗИП, зависят только от конструкции УЗИП, они не могут быть уменьшены, когда УЗИП установлено в самом неблагоприятном положении (даже в металлической оболочке), достаточны значения строк 1 и 4. |
||||||
7.9.5.2.1 Испытание: измерения
Измерения выполняют без проводников, а также с проводниками наибольшего сечения, указанного изготовителем. Гайки и винты с эксцентричными головками считают самыми неудобными для затягивания. Если имеется перегородка, то воздушный зазор измеряют через перегородку; если перегородка состоит из двух частей, не соединенных вместе, воздушный зазор измеряют через разделительный зазор. Расстояния через щели или отверстия в наружных частях вне изоляционного материала измеряют по металлической фольге по касательной поверхности; для этого фольгу не заправляют в отверстия. С помощью испытательного щупа (см. 7.9.1) ее следует заправить в углы.
В случае, если на пути утечки встречается углубление, его профиль принимают во внимание только в том случае, когда его ширина не менее 1 мм; углубления менее 1 мм учитывают только по ширине.
Если имеется перегородка, состоящая из двух частей, не склеенных вместе, расстояние утечки измеряют через разделительный зазор. Если воздушный просвет между частью, находящейся под напряжением, и перегородкой с монтируемыми поверхностями менее 1 мм, то принимают во внимание расстояние только через разделяющую поверхность, которую тогда считают расстоянием утечки. Если же нет, то полное расстояние, иными словами, суммарное значение воздушного просвета и расстояния по разделяющей поверхности считают воздушным зазором. Если металлические части покрыты самоотвердевающей смолой слоем толщиной 2 мм или изолированы, то расстояния утечки и воздушные зазоры испытанию напряжением по 7.9.8 не подвергают.
7.9.5.2.2 Литье не должно выходить за край пресс-формы, литьевая масса должна плотно прилегать к стенкам полости, а металл должен распределяться в ней равномерно. Испытание проводят попыткой отделить литьевую массу без помощи инструмента.
7.9.6 Трекингостойкость
Испытание не проводят, если изоляционный материал керамический или расстояния утечки, как минимум в два раза превышают значения, указанные в 7.9.5. Испытание - по ГОСТ 27473, критерий А, испытательное напряжение 175 В.
7.9.7 Сопротивление изоляции
Испытание - по ГОСТ Р 50345.
Данное испытание не проводят для УЗИП в металлической оболочке с заземлением.
7.9.7.1 Испытуемые образцы должны быть подготовлены следующим образом.
Дополнительные вводные отверстия для кабелей, если имеются, оставляют открытыми; если имеются вскрываемые при монтаже отверстия, одно из них оставляют открытым. Крышки и другие части, снимаемые без помощи инструмента, удаляют и при необходимости подвергают влажной обработке. Влажную обработку проводят в камере при относительной влажности от 91 % до 95 %. Во всех точках, куда может быть помещен испытуемый образец, поддерживают температуру окружающего воздуха Т от 20 °С до 30 °С с точностью ±1 °С. Перед помещением образцов в камеру влажности они должны иметь температуру от T до (Т + 4) °С.
Испытуемые образцы выдерживают в камере влажности 2 сут (48 ч).
Примечания
1 В большинстве случаев испытуемые образцы можно довести до требуемой температуры, выдержав их не менее 4 ч при этой температуре перед влажной обработкой.
2 Относительной влажности от 91 % до 95 % можно добиться, поместив в камеру влажности насыщенный водный раствор сульфата натрия (Na2SO4) или нитрата калия (KNO3), имеющий достаточную контактную поверхность с воздухом.
7.9.7.2 Выдержав 30 - 60 мин после влажной обработки, на образцы подают напряжение постоянного тока 500 В и спустя 60 с измеряют сопротивление изоляции.
Измерение проводят в камере влажности или в помещении, куда переносят образцы для достижения заданной температуры, и только после крепления частей, которые могли быть сняты. Измерения проводят в следующем порядке:
a) между всеми соединенными вместе частями, находящимися под напряжением, и корпусом УЗИП, доступным при случайном контакте. «Корпус» в контексте данного испытания означает:
- все доступные для прикосновения металлические части и металлическую фольгу на поверхности изоляционного материала, которые доступны после установки, как для нормальной эксплуатации;
- поверхность, на которой установлено УЗИП, при необходимости покрытую металлической фольгой;
- винты и другие приспособления для крепления УЗИП к опоре.
При измерениях металлическую фольгу размещают таким образом, чтобы эффективно испытать возможные образовавшиеся при литье облои.
Защитные элементы, соединенные с РЕ, в этом испытании можно отсоединить;
b) между частями УЗИП, находящимися под напряжением, главной цепи и частями, находящимися под напряжением, вспомогательных цепей, если имеются. Сопротивление изоляции не должно быть ниже:
- 5 МОм - для измерений согласно перечислению а);
- 2 МОм - для измерений согласно перечислению Ь).
7.9.8 Электрическая прочность изоляции
УЗИП наружной установки испытывают между выводами без встроенных частей.
В ходе испытания УЗИП подвергают обрызгиванию согласно МЭК 60060-1 (пункт 9.1) [1].
УЗИП внутренней установки испытывают, как указано в 7.9.7.2, перечисления а) и b).
УЗИП испытывают напряжением переменного тока согласно таблице 16. Начиная с половины указанного значения, напряжение повышают в течение 30 с до полного значения, которое затем выдерживают в течение 1 мин.
При испытании не должно происходить образования дуги или пробоя, однако допускаются частичные разряды, если изменение напряжения при разряде составляет менее 5 %.
Таблица 16 - Электрическая прочность изоляции
|
Длительное рабочее напряжение УЗИП Uc, В |
Испытательное напряжение переменного тока, кВ |
|
До 100 |
1,1 |
|
» 200 |
1,7 |
|
» 450 |
2,2 |
|
» 600 |
3,3 |
|
» 1200 |
4,2 |
|
» 1500 |
5,8 |
Силовой трансформатор, применяемый при испытании, после того как он был отрегулирован на испытательное напряжение при разомкнутых выводах, должен обеспечивать ток короткого замыкания порядка 200 мА при замкнутых накоротко выводах. Реле максимального тока, если имеется, должно срабатывать, если ток испытательной цепи превысит 100 мА. Устройство для измерения испытательного напряжения должно иметь погрешность ±3 %.
Вспомогательные цепи испытывают согласно ГОСТ Р 50030.5.1.
7.9.9 Стойкость к проникновению твердых частиц и воды
Испытание проводят согласно ГОСТ 14254 на соответствие степени защиты.
7.9.10 Испытание многополюсных УЗИП на суммарный разрядный ток
Условия испытаний
Вывод РЕ или PEN многополюсного УЗИП соединяют с одной стороной испытательного генератора. Каждый из оставшихся выводов соединяют с другой стороной генератора через обычное полное сопротивление, состоящее из активного сопротивления 30 МОм и индуктивного сопротивления 25 мкГ.
Примечания
1 Данные полные сопротивления имитируют подсоединение к источнику питания, измерительная система (например, шунтирование) не должна влиять на их увеличение.
2 Данная испытательная схема не является представительной для всей системы электрических схем, поэтому для других процедур испытания могут потребоваться специфичные схемы.
Могут быть применены более низкие полные сопротивления, если действительны допуски на значения пропорциональных импульсных токов согласно таблице 17.
Примечание - Пропорциональный импульсный ток равен значению суммарного разрядного тока, деленному на N, где N - число токоведущих выводов (фазные и нейтральный).
Таблица 17 - Допуски на пропорциональные импульсные токи
|
Класс испытания |
Пропорциональные импульсные токи |
Допуски, % |
|
Испытание класса I |
Ipeak(1) = Ipeak(2) = Ipeak(N) = Ipeak/N |
±10 |
|
Q(1) = Q(2) = Q(N) = Q(ITotal)/N |
±20 |
|
|
W/R(1) = W/R(2) = W/R(N) = W/R(ITotal)/N2 |
±35 |
|
|
Испытание класса II |
I8/20(1) = I8/20(2) = I8/20(N) = ITotal/N |
±10 |
Процедура испытания
Многополюсное УЗИП испытывают один раз с суммарным разрядным током ITotal, указанным изготовителем.
Критерии соответствия
Затем испытательный образец каждого вида присоединяют к Uc. Испытательный трансформатор должен иметь нагрузочную способность по току короткого замыкания не менее 200 мА.
Измеряют ток, протекающий через испытательный образец.
Пиковое значение его активной составляющей не должно превышать 1 мА, или собственная потребляемая мощность не должна увеличиться более чем на 20 % по сравнению с измеренной по 7.7.5.
После того как испытательный образец охладится приблизительно до температуры окружающего воздуха, испытанием по 7.5 определяют измеренное предельное напряжение для проверки, сохранился ли уровень напряжения защиты, указанный изготовителем. Испытание по 7.5.2 проводят только при In, a испытания по 7.5.4 и 7.5.5 - только при Uoc. Вспомогательные цепи, например индикаторы состояния, должны быть в рабочем состоянии.
Визуальный осмотр испытуемого образца не должен выявить никаких повреждений.
Следует провести испытание(я) для проверки соответствия УЗИП требованиям работоспособности. Изготовитель должен указать методы испытаний.
Проверку, что Ic ниже заданного значения, выполняет изготовитель при заданном Uc.
Приемочные испытания проводят по согласованию между изготовителем и потребителем. Если потребитель в своем соглашении определяет приемочные испытания, то их проводят на ближайшем целом числе образцов, равном корню третьей степени от числа поставляемых УЗИП. Любое изменение числа испытуемых образцов или вида испытания подлежит согласованию между изготовителем и потребителем.
Если не указано иное, следующие испытания классифицируют как приемочные:
a) проверка идентификации осмотром по 7.2;
b) проверка маркировки осмотром по 7.2;
c) проверка электрических параметров (например, измеренного предельного напряжения по 7.5).
Пример проведения испытаний УЗИП класса I
Для определения нагрузки на УЗИП необходимо знать распределение тока при прямом попадании молнии в пределах электроустановки здания.
Для определения распределения тока, проходящего через УЗИП при прямом попадании молнии в установку, оборудованную наружной системой молниезащиты, достаточно точно рассчитать омическое сопротивление заземлений, например здания, труб, силовой распределительной системы и т.д. На рисунке А.1 показан типичный пример распределения тока.
Там, где невозможна индивидуальная оценка (например, путем расчета), принимают, что 50 % общего разрядного грозового тока I попадает на вывод заземления систем грозозащиты защищаемой структуры. Оставшиеся 50 % тока, обозначаемого Is, распределяют среди обслуживающих подводящих узлов структуры, например наружных токоведущих частей, электрических силовых и коммуникационных линий и т.д. Значение тока, протекающего в каждом обслуживающем узле, рассчитывают по формуле
Ii = Is/n, (A.1)
где n - число обслуживающих узлов.
Для оценки тока, обозначенного IV, в индивидуальных проводниках неэкранированного кабеля кабельный ток Ii, протекающий в кабеле, делят на число проводников m.
IV = Ii/m. (A.2)
Для экранированного кабеля большая часть тока проходит через экран. Предпочтительное значение Ipeak соответствует IV.
Примечания
1 Прямой удар молнии в дополнение к вышесказанному рассматривают в обычном порядке.
2 Испытательные параметры, указанные в МЭК 61312-1 [2], связаны с угрозой поражения молнией.
3 Таблица С.1 МЭК 61312-1 [2] отличается от таблицы 3 настоящего стандарта, поскольку W/R не является параметром, представляющим первостепенный интерес для испытания УЗИП.
Рисунок А.1 - Общее распределение разрядного грозового тока
Значения временного перенапряжения (ВПН)
Процедура испытания зависит от предполагаемого применения УЗИП в системе низковольтной силовой установки согласно инструкции по монтажу, сформулированной изготовителем и представленной ниже в таблице В.1.
Таблица В.1 - Значения ВПН
|
Применяемая система и подключаемые проводники |
Испытательные значения ВПН при UT, В |
|
|
в течение 5 с (повреждения в системе низкого напряжения) (требования по 6.5.5.2 и испытания по 7.7.6.1) |
в течение 200 мс (повреждения в системе высокого напряжения) (требования по 6.5.5.1 и испытания по 7.7.4.1) |
|
|
Система TN |
||
|
Подключены L-(PE)N или L-N |
1,32Ucs |
- |
|
Подключены N-PE |
- |
- |
|
Подключены L-L |
- |
- |
|
Система ТТ |
||
|
Подключены L-PE |
1,55Ucs |
1200 + Ucs |
|
Подключены L-N |
1,32Ucs |
- |
|
Подключены N-PE |
- |
1200 |
|
Подключены L-L |
- |
- |
|
Система IT |
||
|
Подключены L-PE |
- |
1200 + Ucs |
|
Подключены L-N |
1,32Ucs |
- |
|
Подключены N-PE |
- |
1200 |
|
Подключены L-L |
- |
- |
|
Система TN, ТТ и IT |
||
|
Подключены L-PE |
1,55Ucs |
1200 + Ucs |
|
Подключены L-(PE) N |
1,32Ucs |
- |
|
Подключены N-PE |
- |
1200 |
|
Подключены L-L |
- |
- |
|
Примечания 1 Настоящая таблица принята по МЭК 60364-5-53 [8]. Для данных целей Ucs = 1,1U0. 2 Значения для УЗИП в однофазных трехпроводных системах с заземленной нейтралью и для УЗИП в трехфазных четырехпроводных системах (применяемых в системах электроустановок США) находятся в стадии рассмотрения. |
||
ДА.1 Виды климатических исполнений - по ГОСТ 15150 и ГОСТ 15543.1.
Виды климатических исполнений и номинальные значения климатических факторов должны быть установлены в стандартах и технических условиях на УЗИП конкретных серий и типов.
ДА.2 Номинальные значения механических внешних воздействующих факторов - по ГОСТ 17516.1 и должны быть установлены в стандартах и технических условиях на УЗИП конкретных серий и типов.
ДА.3 Маркировка УЗИП должна соответствовать требованиям настоящего стандарта и ГОСТ 18620.
ДА.4 Выводные зажимы УЗИП должны допускать присоединение медных и алюминиевых проводников.
Контактирующие поверхности выводных зажимов должны иметь защитные гальванопокрытия по ГОСТ 9.005 оловом, оловом - висмутом или другим металлом, имеющим гальваническую совместимость с алюминием.
Выводные зажимы должны иметь средства стабилизации зажима алюминиевых жил контактными элементами, компенсирующего усадку алюминиевых жил при циклических воздействиях нагрева - охлаждения жилы проводника при эксплуатации.
В дополнение к испытаниям выводных зажимов с медными проводниками для УЗИП, оснащенных зажимами для присоединения гибких проводников, исключая присоединение с помощью наконечников, должны быть проведены типовые испытания выводов с алюминиевыми проводниками по методам испытаний ГОСТ 17441. Для УЗИП номинального тока не более 125 А допускается применение метода испытаний по приложению L ГОСТ Р 50345.
Конкретный метод испытаний выбирает изготовитель, исходя из значения присоединяемых сечений проводников и приемлемости указанных методов для данной конструкции выводного зажима.
ДА.5 Конструкция УЗИП должна соответствовать требованиям ГОСТ 12.2.007.6.
ДА.6 Транспортирование и хранение УЗИП - по ГОСТ 23216.
Условия транспортирования и хранения и допустимые сроки сохраняемости должны быть установлены в стандартах и технических условиях на УЗИП конкретных серий и типов.
ДА.7 Упаковка и временная противокоррозионная защита для условий транспортирования и хранения по ГОСТ 23216 должна быть установлена в стандартах и технических условиях на УЗИП конкретных серий и типов.
ДА.8 Виды испытаний и их наименования приведены в настоящем стандарте.
Программа типовых испытаний является основой для установления программ контрольных испытаний любых видов - по ГОСТ 16504.
УЗИП подвергают квалификационным, периодическим, приемосдаточным и типовым испытаниям; порядок их проведения должен соответствовать ГОСТ Р 15.201; периодичность испытаний, программы испытаний и условия их проведения должны быть установлены в стандартах и технических условиях на УЗИП конкретных серий и типов.
ДА.9 Программы приемочных и квалификационных испытаний УЗИП должны включать в себя полную программу типовых испытаний по настоящему стандарту, а также испытания на стойкость к внешним воздействующим факторам по ГОСТ 16962.1, ГОСТ 16962.2, ГОСТ 17516.1.
ДА.10 Правила приемки УЗИП должны быть установлены в стандартах и технических условиях на УЗИП конкретных серий и типов.
ДА.11 Изготовитель должен гарантировать соответствие УЗИП требованиям настоящего стандарта, а также технических условий на УЗИП конкретных серий и типов при условии соблюдения правил эксплуатации, транспортирования и хранения, устанавливаемых техническими условиями на УЗИП конкретных серий и типов.
Гарантийный срок эксплуатации УЗИП - не менее двух лет со дня ввода в эксплуатацию и устанавливается в технических условиях на УЗИП конкретных серий и типов.
Таблица ДБ.1
|
Обозначение ссылочного национального, межгосударственного стандарта |
Степень соответствия |
Обозначение и наименование ссылочного международного стандарта |
|
MOD |
МЭК 60947-1:2004 «Аппаратура распределения и управления низковольтная. Часть 1. Общие требования и методы испытаний» |
|
|
MOD |
МЭК 60947-5-1:2003 «Аппаратура распределения и управления низковольтная. Часть 5. Аппараты и коммутационные элементы цепей управления. Глава 1. Электромеханические аппараты для цепей управления» |
|
|
MOD |
МЭК 60898-1.2003 «Автоматические выключатели для защиты от сверхтоков бытового и аналогичного назначения. Часть 1. Автоматические выключатели переменного тока» |
|
|
IDT |
МЭК 60364-5-534:1997 «Электроустановки зданий. Часть 5. Выбор и монтаж электрооборудования. Раздел 534. Устройства для защиты от импульсных перенапряжений» |
|
|
NEQ |
МЭК 60884-1-94 «Соединители электрические штепсельные бытового и аналогичного назначения. Часть 1. Общие требования и методы испытаний» |
|
|
MOD |
МЭК 60999-1-99 «Соединительные устройства. Требования безопасности к контактным зажимам. Часть 1. Требования к винтовым и безвинтовым контактным зажимам для соединения медных проводников с номинальным сечениям от 0,2 до 35 мм2» |
|
|
NEQ |
МЭК 60999-2-95 «Соединительные устройства. Требования безопасности к контактным зажимам. Часть 2. Дополнительные требования к винтовым и безвинтовым контактным зажимам для соединения медных проводников с номинальным сечением от 35 до 300 мм2» |
|
|
MOD |
МЭК 529-89 «Степени защиты, обеспечиваемые оболочками (код IP)» |
|
|
IDT |
ИСО 2039-2-87 «Пластмассы. Определение твердости. Твердость по Роквеллу» |
|
|
NEQ |
МЭК 112-79 «Метод определения сравнительного и контрольного индексов трекингостойкости твердых электроизоляционных материалов» |
|
|
NEQ |
МЭК 695-2-1-80 «Испытания на воспламеняемость. Часть 2-1/1. Методы испытаний. Лист 1. Руководство по испытанию нагретой проволокой» |
|
|
Примечание - В настоящей таблице использованы следующие условные обозначения степени соответствия стандартов: - MOD - модифицированные стандарты; - IDT - идентичные стандарты; - NEQ - неэквивалентные стандарты. |
||
|
МЭК 60060-1 (1994) |
Методика высоковольтных испытаний. Часть 1. Общие определения и требования к испытаниям (IEC 60060-1:1994 High-voltage test techniques - Part 1: General definitions and test requirements) |
|
|
[2] |
МЭК 61312-1 (1995) |
Защита от грозовых электромагнитных импульсов. Часть 1. Общие принципы (IEC 61312-1:1995, Protection against lightning electromagnetic impulse - Part 1: General principles) |
|
[3] |
МЭК 61180-1 (1992) |
Методика высоковольтных испытаний для низковольтного электрооборудования. Часть 1. Определения, требования к испытаниям и методике (IEC 61180-1:1992, High-voltage test techniques for low voltage equipment - Part 1: Definitions, test and procedure requirements) |
|
[4] |
IEEE C62.45 (1992) |
Руководство инженеров-электриков (Великобритания) по испытаниям на грозозащиту оборудования, подключенного к силовым низковольтным сетям переменного тока (IEEE Guide on surge testing for equipment connected to low-voltage AC power circuits) |
|
[5] |
МЭК 60227 (все части) |
Кабели в поливинилхлоридной изоляции на номинальные напряжения до 450/750 В включительно (IEC 60227 (all parts), Polyvinyl chloride insulated cables of rated voltages up to and including 450/750 V) |
|
[6] |
МЭК 60245 (все части) |
Кабели в резиновой изоляции. Номинальные напряжения до 450/750 В включительно (IEC 60245 (all parts, Rubber insulated cables - Rated voltages up to and including 450/750 V) |
|
[7] |
МЭК 60664-1 (1992) |
Координация изоляции электрооборудования низковольтных систем. Часть 1. Принципы, требования и испытания (IEC 60664-1:1992 Insulation coordination for equipment within low-voltage systems - Part 1: Principles, requirements and tests) |
|
[8] |
МЭК 60364-5-53 (2001) |
Электрические установки зданий. Часть 5-53. Выбор и установка электрооборудования. Коммутационная аппаратура и аппаратура управления (IEC 60364-5-53:2001) Electrical installations of buildings - Part 5-53: Selection and erection of electrical equipment - Isolation, switching and control) |
Ключевые слова: устройства для защиты, перенапряжение, классификация, виды защиты, требования, испытания