Скачать СТО НОСТРОЙ 2.33.188-2016 Мелиоративные и водохозяйственные системы и сооружения. Строительство горизонтального закрытого дренажа на землях сельскохозяйственного назначения. Правила и контроль выполнения, требования к результатам работДата актуализации: 01.01.2021 СТО НОСТРОЙ 2.33.188-2016
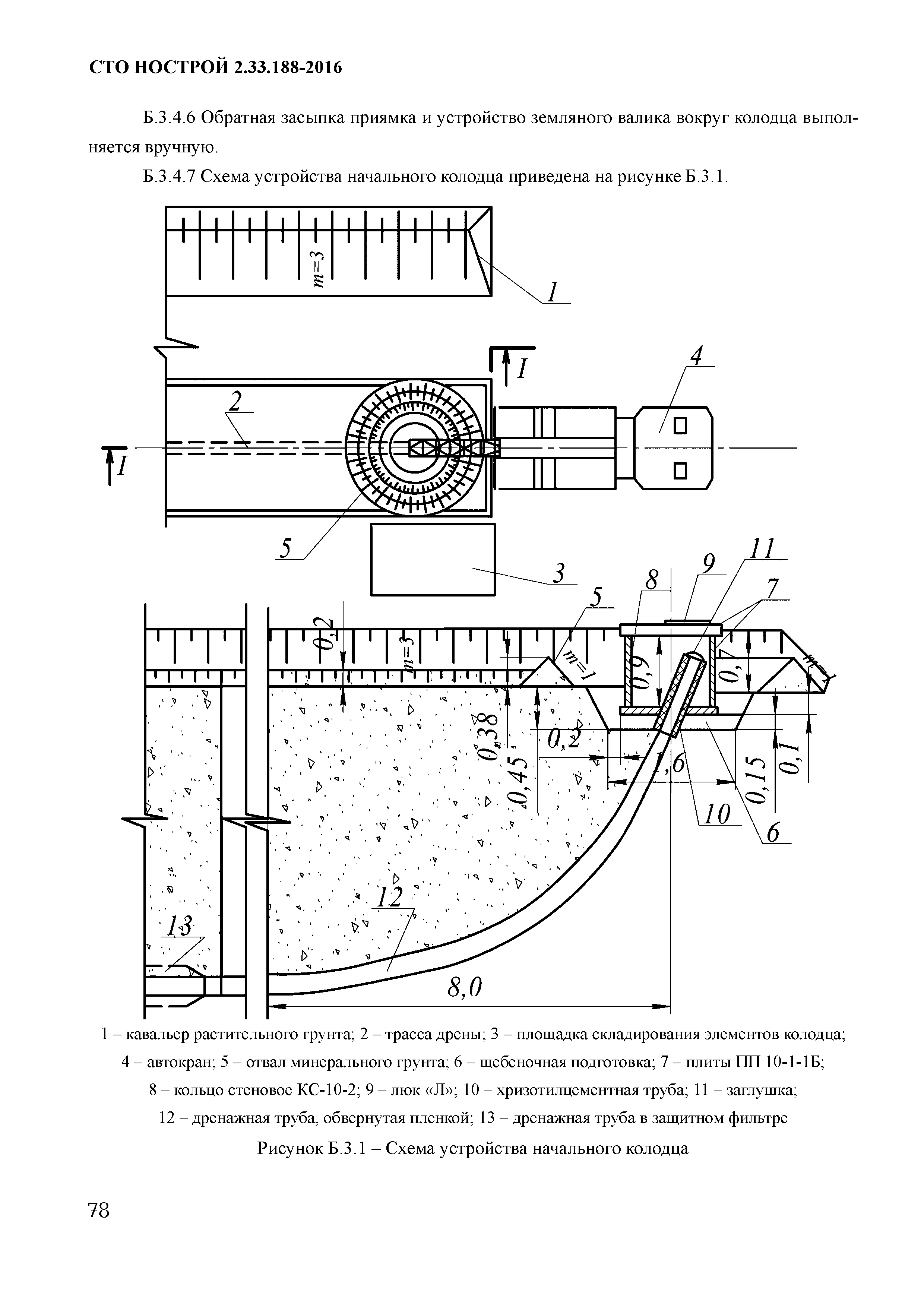
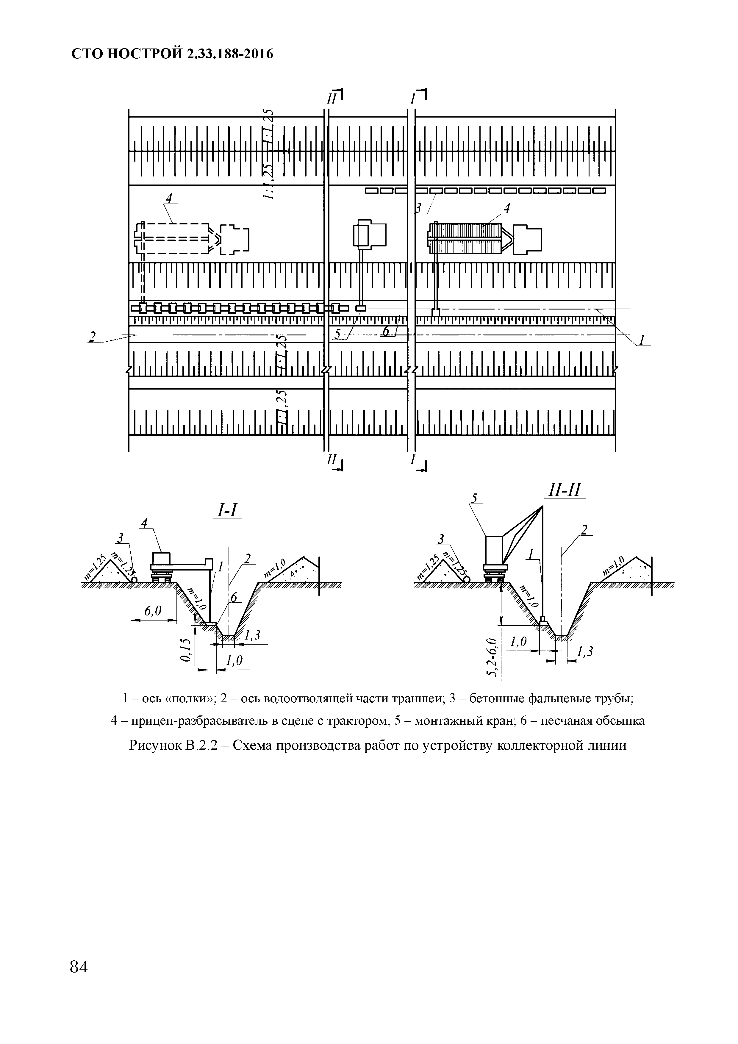
Мелиоративные и водохозяйственные системы и сооружения. Строительство горизонтального закрытого дренажа на землях сельскохозяйственного назначения. Правила и контроль выполнения, требования к результатам работ| Обозначение: | СТО НОСТРОЙ 2.33.188-2016 | | Обозначение англ: | 2.33.188-2016 | | Статус: | действует | | Название рус.: | Мелиоративные и водохозяйственные системы и сооружения. Строительство горизонтального закрытого дренажа на землях сельскохозяйственного назначения. Правила и контроль выполнения, требования к результатам работ | | Название англ.: | The reclamation and water management systems and construction. Construction of the horizontal closed drainage on lands of agricultural purpose. Regulations and control of execution, requirements for work results | | Дата добавления в базу: | 01.02.2020 | | Дата актуализации: | 01.01.2021 | | Область применения: | Стандарт устанавливает правила производства работ при строительстве горизонтального закрытого дренажа на землях сельскохозяйственного назначения, а также требования к контролю выполнения и результатам работ | | Оглавление: | 1 Область применения 2 Нормативные ссылки 3 Термины и определения 4 Общие положения 5 Способы строительства горизонтального дренажа 6 Разбивка трассы 7 Подготовка трассы 8 Доставка, складирование и развоз материалов на объекте строительства 9 Снятие и перемещение плодородного слоя, устройство кавальеров 10 Укладка дренажных труб 11 Присыпка дрен и обратная засыпка траншей 12 Строительство сооружений на закрытой дренажной сети 13 Строительство крупных закрытых коллекторов 14 Строительство горизонтального дренажа в зимнее время 15 Контроль выполнения работ 16 Правила безопасного выполнения работ 17 Охрана окружающей среды при производстве работ Приложение А (справочное). Способы, параметры и ресурсное обеспечение строительства дренажа Приложение Б (рекомендуемое). Технологические схемы строительства сооружений на закрытой дренажной сети Приложение В (рекомендуемое). Технологические схемы строительства закрытого коллектора Приложение Г (рекомендуемое). Форма журнала учета результатов входного контроля Приложение Д (обязательное). Форма карты контроля соблюдения требований СТО НОСТРОЙ 2.33.188-2016 Библиография | | Разработан: | ФГБНУ РосНИИПМ
| | Утверждён: | 17.02.2016 Совет Национального объединения строителей (76)
| | Нормативные ссылки: |   СНиП 3.05.04-85* «Наружные сети и сооружения водоснабжения и канализации»  ГОСТ 8411-74 «Трубы керамические дренажные. Технические условия»  ГОСТ 20054-82 «Трубы бетонные безнапорные. Технические условия»  ГОСТ 10528-90 «Нивелиры. Общие технические условия»  ГОСТ 12.3.009-76 «Система стандартов безопасности труда. Работы погрузочно-разгрузочные. Общие требования безопасности»  ГОСТ 12.3.033-84 «Система стандартов безопасности труда. Строительные машины. Общие требования безопасности при эксплуатации»  ГОСТ 17.0.0.01-76 «Система стандартов в области охраны природы и улучшения использования природных ресурсов. Основные положения»  ГОСТ 17.5.3.04-83 «Охрана природы. Земли. Общие требования к рекультивации земель»  ГОСТ 17.5.3.06-85 «Охрана природы. Земли. Требования к определению норм снятия плодородного слоя почвы при производстве земляных работ»  ГОСТ 26967-86 «Гидромелиорация. Термины и определения»  СП 104-34-96 «Производство земляных работ»  ГОСТ 7502-98 «Рулетки измерительные металлические. Технические условия»  ГОСТ 427-75 «Линейки измерительные металлические. Технические условия»  СП 40-102-2000 «Проектирование и монтаж трубопроводов систем водоснабжения и канализации из полимерных материалов. Общие требования»  СНиП 12-03-2001 «Безопасность труда в строительстве. Часть 1. Общие требования»  ПБ 13-407-01 «Единые правила безопасности при взрывных работах»  СНиП 12-04-2002 «Безопасность труда в строительстве. Часть 2. Строительное производство»  Федеральный закон 184-ФЗ «О техническом регулировании»  ГОСТ 17.5.3.05-84 «Охрана природы. Рекультивация земель. Общие требования к землеванию» ГОСТ 19185-73 «Гидротехника. Основные понятия. Термины и определения»  СП 11-104-97 «Инженерно-геодезические изыскания для строительства. Часть III. Инженерно-гидрографические работы при инженерных изысканиях для строительства»  Кодекс «Градостроительный кодекс Российской Федерации»  РД 11-05-2007 «Порядок ведения общего и (или) специального журнала учета выполнения работ при строительстве, реконструкции, капитальном ремонте объектов капитального строительства»  РД 11-02-2006 «Требования к составу и порядку ведения исполнительной документации при строительстве, реконструкции, капитальном ремонте объектов капитального строительства и требования, предъявляемые к актам освидетельствования работ, конструкций, участков сетей инженерно-технического обеспечения» Технический регламент «Технический регламент о безопасности зданий и сооружений»  ГОСТ Р 53201-2008 «Трубы стеклопластиковые и фитинги. Технические условия»  ГОСТ 31416-2009 «Трубы и муфты хризотилцементные. Технические условия»  СП 48.13330.2011 «Организация строительства»  ГОСТ Р 54475-2011 «Трубы полимерные со структурированной стенкой и фасонные части к ним для систем наружной канализации. Технические условия»  СТО НОСТРОЙ 2.33.6-2011 «Организация строительного производства. Правила подготовки к сдаче-приемке и вводу в эксплуатацию законченных строительством жилых зданий»  СП 45.13330.2012 «Земляные сооружения, основания и фундаменты»  СП 46.13330.2012 «Мосты и трубы»  СП 126.13330.2012 «Геодезические работы в строительстве»  ГОСТ Р ИСО 6165-2010 «Машины землеройные. Классификация. Термины и определения»  ГОСТ 6482-2011 «Трубы железобетонные безнапорные. Технические условия»  ГОСТ 25100-2011 «Грунты. Классификация»  СТО НОСТРОЙ 2.33.14-2011 «Организация строительного производства. Общие положения»  СТО НОСТРОЙ 2.33.20-2011 «Мелиоративные системы и сооружения. Часть 1. Оросительные системы. Общие требования по проектированию и строительству»  СТО НОСТРОЙ 2.33.21-2011 «Мелиоративные системы и сооружения. Часть 2. Осушительные системы. Общие требования по проектированию и строительству»  СТО НОСТРОЙ 2.33.51-2011 «Организация строительного производства. Подготовка и производство строительных и монтажных работ»  СТО НОСТРОЙ 2.33.52-2011 «Организация строительного производства. Организация строительной площадки. Новое строительство»  СП 70.13330.2012 «Несущие и ограждающие конструкции»  ГОСТ Р 21.1101-2013 «Система проектной документации для строительства. Основные требования к проектной и рабочей документации» СТО НОСТРОЙ 2.1.94-2013 «Система измерений в строительстве. Измерения геометрических параметров зданий и сооружений и контроль их точности» СТО НОСТРОЙ 2.3.139-2013 «Мелиоративные и водохозяйственные системы и сооружения. Разработка грунта при строительстве, реконструкции каналов оросительных систем. Правила и контроль выполнения, требования к результатам работ»  СП 86.13330.2014 «Магистральные трубопроводы» ГОСТ 32972-2014 «Колодцы полимерные канализационные. Технические условия»
|
                                                                                                      
|