Главная // Актуальные документы // ПереченьСПРАВКА
Источник публикации
М.: Стройиздат, 1981
Примечание к документу
Название документа
"Руководство по обеспечению долговечности деревянных клееных конструкций при воздействии на них микроклимата зданий различного назначения и атмосферных факторов"
"Руководство по обеспечению долговечности деревянных клееных конструкций при воздействии на них микроклимата зданий различного назначения и атмосферных факторов"
ПО ОБЕСПЕЧЕНИЮ ДОЛГОВЕЧНОСТИ ДЕРЕВЯННЫХ КЛЕЕНЫХ
КОНСТРУКЦИЙ ПРИ ВОЗДЕЙСТВИИ НА НИХ МИКРОКЛИМАТА
ЗДАНИЙ РАЗЛИЧНОГО НАЗНАЧЕНИЯ И АТМОСФЕРНЫХ ФАКТОРОВ
Рекомендовано к изданию секцией деревянных конструкций НТС ЦНИИСК им. Кучеренко.
Приведены рекомендации по защите несущих и ограждающих деревянных клееных конструкций от увлажнения, биоразрушения и возгорания, рекомендации по защите несущих конструкций, расположенных за пределами помещений либо эксплуатируемых частично в помещении, а частично на открытом воздухе или под навесом.
Для инженерно-технических работников проектных организаций и заводов по производству клееных деревянных конструкций.
Многолетний отечественный и зарубежный опыт эксплуатации деревянных конструкций, в том числе клееных, показал, что успешное применение их возможно только при соблюдении комплекса мер по защите древесины от увлажнения, биоразрушения и возгорания. Эти меры должны выполняться как на стадии проектирования, так и на стадиях изготовления и эксплуатации конструкций.
Руководство разработано ЦНИИСК им. Кучеренко (кандидаты техн. наук А.Д. Ломакин, Г.Н. Мышелова) при участии НПО "Лакокраспокрытие" (канд. техн. наук И.М. Свистунова), ВНИИПО (кандидаты техн. наук М.Н. Колганова, Ф.А. Левитес) и ВНИИкровля (канд. техн. наук А.Р. Нуралов). Под общей редакцией канд. техн. наук Ю.Ю. Славика (ЦНИИСК им. Кучеренко) и инж. М.Ю. Заполь (ЦНИИЭП зрелищных зданий и спортивных сооружений им. Б.С. Мезенцева).
Замечания и предложения просьба направлять по адресу: 109389, Москва, 2-я Институтская, 6.
1.1. Руководство разработано к главам СНиП по нормам проектирования деревянных конструкций, а также правилам производства и приемки работ.
1.2. Положения Руководства распространяются на порядок осуществления конструктивных и химических мер защиты несущих и ограждающих деревянных клееных конструкций (ДКК), выпускаемых специализированными предприятиями и предназначенных для покрытий зданий и сооружений общественного, производственного и сельскохозяйственного назначения.
Изложенные в Руководстве химические меры защиты не распространяются на конструкции зданий с химически агрессивной средой.
1.3. Конструктивные меры защиты следует осуществлять во всех зданиях и сооружениях независимо от их назначения и срока службы.
1.4. В тех случаях, когда конструктивными мерами нельзя устранить длительное или периодическое увлажнение древесины, должны применяться химические меры защиты конструкций от биоразрушения.
Огнезащита конструкций должна осуществляться в соответствии с требованиями главы СНиП по противопожарным нормам проектирования зданий и сооружений.
1.5. Защитная обработка конструкций должна производиться в заводских условиях на том же предприятии, где они были изготовлены. Все необходимые требования по химической защите конструкций должны быть указаны в проектах и технических условиях на конструкции.
1.6. При поставке конструкций потребителю последние должны сопровождаться паспортом с указанием в нем осуществленных мер защиты и параметров микроклимата здания или сооружения, при которых допускается эксплуатировать конструкции.
2. КОНСТРУКТИВНЫЕ МЕРЫ ЗАЩИТЫ НЕСУЩИХ
И ОГРАЖДАЮЩИХ КОНСТРУКЦИЙ
ЗАЩИТА ОТ УВЛАЖНЕНИЯ И БИОРАЗРУШЕНИЯ
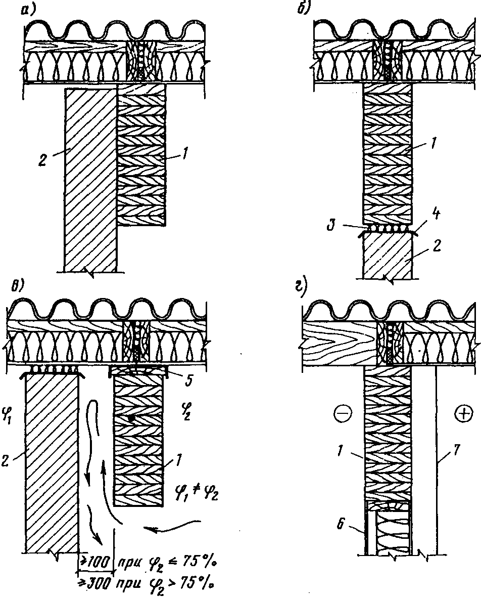
2.1. В отапливаемых зданиях и сооружениях несущие конструкции (балки, рамы, арки, фермы и др.) следует располагать так, чтобы они находились целиком либо в пределах отапливаемого помещения, либо вне его (рис. 1).
Рис. 1. Примеры расположения несущих ДКК
в зданиях и сооружениях
а - в неотапливаемом помещении (склад, эллинг, ангар
и др.); б - под навесом (крытая стоянка для автомашин,
навес для хранения сельхозтехники, пиломатериалов и др.);
в - в отапливаемом помещении (животноводческое
или птицеводческое здание, теплый склад и др.);
г - в пределах чердачного пространства (здание с повышенной
влажностью или температурой, здание с химически агрессивной
средой и др.); д - частично в отапливаемом помещении,
частично под навесом (зрелищное здание, спортивное
сооружение, крытый рынок и др.); е - на открытом воздухе
(пешеходный мостик)
2.2. Допускается при соответствующем обосновании располагать несущие ДКК частично внутри отапливаемого помещения, а частично вне его (см.
рис. 1, д). При этом ДКК должны иметь прямоугольное массивное сечение и защищаться в местах пересечений ограждающих конструкций от увлажнения и биоразрушения специальными бандажами (см.
разд. 3).
Зазоры между поверхностями ДКК и стенками отверстия в ограждающей конструкции необходимо тщательно утеплять и герметизировать, чтобы исключить проникание в них из помещения теплого воздуха и образование конденсата на древесине.
Для герметизации зазоров используют пороизол (ГОСТ 19177-73), пористые резиновые прокладки ПРП (ТУ 21-14-39-69), гермит (ТУ 38 106278-75) и другие эластичные уплотнители, которые укладывают на резино-битумной мастике "изол" (ТУ 21-27-37-74), битумно-бутилкаучуковых мастиках "Вента" (ТУ 21-27-39-78), "Лило" (ТУ 21-27-87-80) или на клее-мастике КН-2 (ТУ 38 00566-72).
При установке ДКК на место необходимо предусматривать такую величину зазора, чтобы прокладки были обжаты на 30 - 40% своего поперечного сечения. Со стороны помещения зазоры дополнительно герметизируют мастиками "изол", "Вента", "Лило" или тиоколовыми мастиками АМ-0,5, КБ-0,5 (ТУ 84-246-75) и др. Для утепления зазоров применяют минеральную вату или другой биостойкий теплоизоляционный материал. Со стороны помещения и с наружной стороны стенового ограждения устанавливают нащельники (рис. 2).
Рис. 2. Устройство узла сопряжения несущей ДКК
а - с массивной каменной стеной; б - со стеновой панелью;
1 - несущая ДКК; 2 - каменная стена; 3 - распределительная
подушка; 4 - гидроизоляционная прокладка; 5 - утеплитель,
обернутый в полиэтиленовую пленку; 6 - эластичная
прокладка; 7 - заделка кирпичом; 8 - нащельник;
9 - металлическая крепежная деталь; 10 - стеновая
панель; 11 - колонна; 12 - деревянная подкладка;
13 - герметизирующая мастика
Между плитой покрытия и несущей ДКК в месте пересечения последней стенового ограждения должно быть герметичное соединение. Для этого перед укладкой плиты на место верхнюю грань несущей ДКК (по бандажу) промазывают мастикой "изол", "Вента", "Лило" или тиоколовыми АМ-0,5, КБ-0,5 и др.
2.3. При изготовлении ДКК, предназначенных для эксплуатации в зданиях и сооружениях, расположенных в различных температурно-влажностных зонах (например, частично внутри отапливаемого помещения, а частично вне его), влажность заготовок, подлежащих склеиванию, необходимо принимать согласно главе СНиП по проектированию деревянных конструкций как для зоны, где влажность минимальна.
Так, например, если часть ДКК находится в отапливаемом помещении с относительной влажностью воздуха до 60%, где влажность заготовок должна быть не выше 9%; а другая часть выходит на открытый воздух или под навес в районе с влажным климатом, где могут использоваться заготовки с влажностью до 15%, то принимаемая для изготовления ДКК влажность заготовок должна быть не выше 9%.
2.4. При пересечении несущих конструкций покрытия внутренних несущих каменных стен или перегородок, разделяющих помещения с одинаковым температурно-влажностным режимом, а также наружных каменных стен неотапливаемых зданий и сооружений не следует допускать непосредственного контакта древесины с более теплопроводным материалом, например с кирпичом, бетоном (рис. 3, а). Для проветривания между боковыми поверхностями ДКК и стенками отверстия в стене или перегородке необходимо оставлять зазоры не менее 30 мм в зданиях с относительной влажностью воздуха до 75% и не менее 60 мм в зданиях с относительной влажностью воздуха более 75% (рис. 3, б).
Рис. 3. Пересечение несущей ДКК
с внутренней каменной стеной или перегородкой
а - вплотную к кладке (неправильно); б - с зазором
для проветривания; в - с гидроизоляцией поверхности ДКК
и уплотнением зазоров; 1 - несущая ДКК; 2 - стена
или перегородка; 3 - воздушный зазор; 4 - влагозащитная
обработка или гидроизоляция; 5 - нащельник;
6 - минеральная вата
| | ИС МЕГАНОРМ: примечание. Взамен ГОСТ 7415-74 Постановлением Госстроя СССР от 30.12.1985 N 285 с 1 января 1987 года введен в действие ГОСТ 7415-86*. | |
В тех случаях, когда по требованиям звукоизоляции или пожарной безопасности открытые зазоры оставлять нельзя, последние заполняют минеральной ватой или другим эффективным биостойким материалом (звукоизоляционным, огнестойким) с обязательной био- и влагозащитой всех поверхностей ДКК, находящихся в толще стены или перегородки (
рис. 3, в). В построечных условиях взамен влагозащитных составов (см.
разд. 3) можно использовать рулонные гидроизоляционные материалы: изол
(ГОСТ 10296-79), стеклорубероид
(ГОСТ 15879-70), "Гидробутил-I" (ТУ 21-27-57-78), "Гидролен-Р" (ТУ 21-27-88-80), гидроизол (ГОСТ 7415-74*), наклеиваемые на мастиках "Вента", "Лило" или мастике "изол", а также наплавляемые гидроизоляционные материалы, например гидростеклоизол (ТУ 400-1-51-75).
2.5. В отапливаемых зданиях и сооружениях несущие ДКК, как правило, следует делать открытыми, хорошо проветриваемыми, доступными во всех частях для осмотра и профилактического ремонта.
Не допускается устанавливать ДКК вплотную к каменным стенам и перегородкам (рис. 4, а).
Рис. 4. Расположение несущих ДКК по отношению
к стенам и перегородкам
а - вплотную к каменной стене или перегородке
(неправильно); б - над внутренней каменной стеной
или перегородкой; в - рядом с внутренней стеной
или перегородкой; г - как элемент стенового ограждения
(неправильно); 1 - несущая ДКК; 2 - внутренняя стена
или перегородка; 3 - минеральная вата; 4 - рулонная
гидроизоляция; 5 - защитная доска, оклеенная рулонным
гидроизоляционным материалом (при

); 6 - наружная
стена или стена, разделяющая отапливаемое и неотапливаемое
помещения; 7 - стойка фахверка
При расположении несущих конструкций покрытия над внутренними ненесущими каменными стенами и перегородками, разделяющими помещения с одинаковым температурно-влажностным режимом, между ними должен остаться зазор с учетом возможного прогиба конструкции при эксплуатации. По обрезу стены или перегородки следует уложить слой рулонной гидроизоляции (рубероид, изол, гидроизол и др.), а зазор заполнить минеральной ватой (
рис. 4, б).
Если внутренняя ненесущая стена или перегородка разделяют помещения с различными температурно-влажностными условиями, то располагать над ними несущие ДКК не рекомендуется. В этом случае ДКК следует разместить в какой-либо одной температурно-влажностной зоне. При этом между ДКК и стеной (перегородкой) необходимо предусмотреть зазор для проветривания (
рис. 4, в).
Не рекомендуется использовать несущие ДКК в качестве элементов стенового ограждения отапливаемых зданий и сооружений (
рис. 4, г).
2.6. Опорные части несущих ДКК при размещении их в гнездах каменных стен должны быть открыты. Запрещается заделывать наглухо зазоры между стенками гнезд и опорными частями ДКК кирпичом, раствором, герметизирующими материалами и т.п. (рис. 5, а).
Рис. 5. Опирание несущих ДКК на наружные стены
с выделкой гнезд
(а - неправильно; б - правильно) и на пилястры стен
(в - неправильно; г - правильно)
1 - прогон; 2 - ферма; 3 - стена; 4 - пилястра; 5 - заделка
гнезда; 6 - утеплитель, обернутый в полиэтиленовую пленку;
7 - деревянная подкладка; 8 - гидроизоляционная прокладка
В наружных каменных стенах отапливаемых зданий и сооружений, а также во внутренних стенах, разделяющих отапливаемое и неотапливаемое помещение, задние стенки гнезд следует утеплять во избежание их промерзания в соответствии с теплотехническим расчетом. Для утепления гнезд рекомендуется применять биостойкие плитные утеплители - минераловатные или стекловатные плиты, пенопласт и др., обернутые в полиэтиленовую пленку (
рис. 5, б).
Для несущих ДКК, имеющих на опорах металлические башмаки (фермы, арки и др.), опирание на наружные каменные стены отапливаемых зданий и сооружений с выделкой гнезд (
рис. 5, в) не рекомендуется из-за большей вероятности выпадения конденсата на металле. Такие конструкции целесообразно опирать на железобетонные колонны, пилястры стен и другие опоры, выступающие внутрь помещения (
рис. 5, г).
В сопряжениях плит покрытия с наружными каменными стенами отапливаемых зданий и сооружений не допускаются сквозные щели. Особую опасность представляют сквозные щели в местах расположения гнезд, где, как правило, размещены металлические крепежные элементы, на которых в первую очередь конденсируется влага (см.
рис. 5, в).
2.7. Не рекомендуется устраивать утепленные покрытия и подвесные потолки так, чтобы элементы несущих ДКК, например балки или нижние пояса ферм, оказались в толще ограждения, особенно в зданиях с повышенной влажностью воздуха (рис. 6).
Рис. 6. Устройство подвесного потолка
а, б - неправильно; в, г - правильно; 1 - несущая ДКК;
2 - плита подвесного потолка; 3 - прогон подвесного
потолка; 4 - хомут (подвеска); 5 - подшивка;
6 - утеплитель
2.8. При расположении рам, арок и стоек внутри помещений обрез опоры следует устраивать на такой высоте от уровня пола, чтобы в процессе эксплуатации исключалась возможность увлажнения опорного узла (при мокрой уборке и санации помещений, фекалиями животных, агрессивными жидкостями и пр.). Уступ от пола до опорной части ДКК должен быть не менее 15 см (рис. 7, б).
Рис. 7. Опорные узлы стоек
(а - неправильно; б - правильно)
и арок (в - неправильно; г - правильно)
1 - стойка; 2 - крепежный металлический элемент;
3 - гидроизоляционная прокладка: 4 - мастика;
5 - арка; 6 - глухой металлический башмак;
7 - открытый металлический башмак
В том случае, если опорная часть конструкции находится на открытом воздухе, обрез фундамента должен быть устроен так, чтобы обеспечивался быстрый отвод воды, попадающей на него в виде атмосферных осадков, и исключалось затопление опорного узла дождевыми и талыми водами. Расстояние от земли до опорной части ДКК должно быть не менее 50 см (
рис. 7, г).
2.9. Опорные части и узловые соединения несущих ДКК, эксплуатируемых на открытом воздухе или в зданиях с повышенной влажностью, следует проектировать таким образом, чтобы концы клееных элементов были по возможности хорошо проветриваемыми и имели минимальную площадь контакта с металлом. В частности, следует избегать использования глухих металлических башмаков при опирании несущих ДКК на фундамент, в коньковых узлах арок, рам и др. (
рис. 7, в). Рекомендуемый вариант решения опорного узла арки приведен на
рис. 7, г.
2.10. При эксплуатации несущих ДКК в условиях, где возможно выпадение конденсата на металлических поверхностях, следует принимать меры по предохранению древесины от увлажнения в местах контакта с металлом. Для этой цели до постановки металлических деталей на место поверхности, контактирующие с древесиной, рекомендуется промазывать мастикой ("изол", "Вента", "Лило", "Гиссар-1" (ТУ 21-27-89-80), тиоколовой и др.) таким образом, чтобы при постановке на место детали плотно прилегали к древесине, а мастика, выдавливаясь, хорошо заполняла зазоры между металлом и древесиной.
При постановке крепежных деталей (уголков, болтов и т.п.) вместо мастик можно использовать прокладки из рулонных гидроизоляционных материалов (изола, стеклорубероида, "Гидробутила-I", "Гидролена-Р", гидроизола), эластичные прокладки и уплотнительные ленты.
2.11. В зданиях, где не исключено конденсационное увлажнение, верхние грани несущих ДКК, на которые опираются плиты покрытий, следует защищать досками толщиной не менее 30 мм, пропитанными невымываемыми или трудновымываемыми биозащитными составами, с последующей укладкой поверху двух слоев стеклорубероида, рубероида, изола, или одного слоя "Гидробутила-I", "Гидролена-Р" на мастике "Вента", "Лило" или "изол" (см.
рис. 4, в).
2.12. При расположении несущих ДКК на открытом воздухе (см.
рис. 1, е) они должны быть только сплошного массивного сечения. Для защиты от атмосферных осадков открытые верхние грани несущих ДКК следует накрывать козырьками из досок, пропитанных невымываемыми или трудновымываемыми биозащитными составами, из оцинкованной жести, алюминия, стеклопластика или другого коррозиестойкого материала.
2.13. В зданиях и сооружениях с относительной влажностью воздуха выше 90%, а также с сильной и средней химически агрессивной средой следует применять несущие ДКК массивного сечения с минимальным количеством металлических элементов. В частности, рекомендуется ограничивать по возможности применение металлодеревянных конструкций.
В зданиях и сооружениях с химически агрессивной средой не рекомендуется применять сквозные ДКК из-за наличия большого количества промежуточных узлов и открытых горизонтальных и наклонных граней у деревянных элементов решетки, на которых скапливается химически агрессивная пыль. Покрытия рекомендуется устраивать с гладким потолком без выступающих в помещение ребер (беспрогонное решение). При этом между сопрягаемыми поверхностями несущей и ограждающей конструкций должно быть плотное соединение.
Рекомендуется использовать такие объемно-планировочные решения, которые предусматривают вынос несущих ДКК за пределы помещения с агрессивной средой. Например, при использовании в покрытии ферм последние рекомендуется отделять от помещения подвесным потолком (см.
рис. 1, г). При этом должны соблюдаться требования, указанные в
п. 2.7.
2.14. В местах опирания несущих ДКК на фундамент, каменные стены, пилястры, железобетонные колонны и др. между древесиной конструкций и более теплопроводным материалом опоры (при непосредственном их контакте) следует вводить прокладки из двух слоев стеклорубероида, гидроизола, изола или одного слоя "Гидробутила-I", "Гидролена-Р" на мастике ("Лило", "Вента", "изол").
Такие прокладки необходимо предусматривать также при опирании плит покрытия с обшивками из древесины и древесных материалов на каменные стены (см.
рис. 5, г).
Если опорная часть несущих ДКК устанавливается на деревянные подкладки (подушки), то последние также следует отделять от более теплопроводного материала опоры гидроизоляционными прокладками (см.
рис. 2). Для подкладок (подушек) рекомендуется использовать древесину твердых пород с глубокой пропиткой невымываемыми или трудновымываемыми биозащитными составами.
2.15. В ограждающих конструкциях отапливаемых зданий и сооружений должно быть исключено влагонакопление. С этой целью в панелях стен и плитах покрытий предусматривают вентиляционные продухи, сообщающиеся с наружным воздухом, а в случаях, предусмотренных теплотехническим расчетом, - пароизоляционный слой.
2.16. Вентилирование плит покрытия под рулонную кровлю осуществляется через продухи, специально устанавливаемые между наружной обшивкой и утеплителем.
Вентилирование плит покрытия под кровлю из асбестоцементных волнистых листов осуществляется через пространство, образующееся между утеплителем и волнами листов. Карнизный узел проектируют так, чтобы наружный воздух имел свободный доступ под кровельные листы. Не допускается закрывать снаружи подкровельное пространство от задувания снега с помощью гребенок без оставления продухов для вентиляции (рис. 8).
Рис. 8. Устройство карнизного узла
(а - неправильно; б - правильно)
и цокольного узла (в - неправильно; г - правильно)
1 - стеновая панель; 2 - рядовая плита покрытия;
3 - карнизная плита; 4 - асбестоцементный волнистый лист;
5 - выпуск поперечного ребра через 150 см; 6 - утеплитель;
7 - гребенка из оцинкованной стали; 8 - металлическая
сетка; 9 - полоса из плоского асбестоцемента;
10 - эластичная герметизирующая мастика;
11 - герметизирующая мастика; 12 - прокладка-ограничитель;
13 - фартук из оцинкованной стали; 14 - гидроизоляция
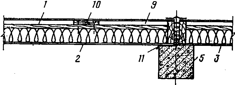
2.17. В зданиях с относительной влажностью воздуха выше 70% при ширине их 18 м и более для обеспечения нормального вентилирования плит покрытия с кровлей из асбестоцементных волнистых листов в коньковой части здания рекомендуется устраивать сплошной (по всей длине здания) щелевой продух (рис. 9). Устройство такого продуха является обязательным, если стыки волнистых листов заполнены уплотняющими прокладками или мастиками (при малых уклонах кровли), а также в покрытиях с плитами под рулонную кровлю.
Рис. 9. Пример устройства щелевого вентиляционного
продуха в коньке здания
1 - несущая ДКК; 2 - плита покрытия; 3 - асбестоцементный
волнистый лист; 4 - противопожарная диафрагма (плоский
асбестоцементный лист, антипирированные доски и др.);
5 - стойка из доски сечением 32 x 130 мм через 150 см;
6 - обшивка из досок сечением 25 x 150 мм; 7 - утеплитель;
8 - оцинкованная кровельная сталь; 9 - металлическая сетка;
10 - уплотнение цементно-известковым раствором с примесью
волокнистых очесов
2.18. В стеновых панелях вентиляционные продухи устраиваются между утеплителем и наружной обшивкой. Не рекомендуется вентилирование внутренних пространств панелей через отверстия, устраиваемые в продольных ребрах
(рис. 10).
а)
Рис. 10. Вентилирование стеновых панелей
и примыкание их к стойкам
а - нерекомендуемое решение; б, в - рекомендуемое решение;
1 - горизонтальное ребро каркаса; 2 - дощатая или фанерная
обшивка; 3 - асбестоцементная обшивка; 4 - вентиляционное
отверстие в горизонтальном ребре; 5 - железобетонная
колонна; 6 - деревянная клееная стойка; 7 - вертикальное
ребро каркаса; 8 - поперечные рейки; 9 - вентиляционный
продух; 10 - деревянная бобышка;
11 - гидроизоляционная прокладка
2.19. Стеновые панели должны устанавливаться на фундамент или цокольную панель таким образом, чтобы наружный воздух мог свободно поступать в них снизу через вентиляционные продухи и выходить у карниза. Не допускается устанавливать панели на фундамент (цокольную панель) без прокладки гидроизоляционного слоя, герметизации и утепления швов между ними (см.
рис. 8).
2.20. Расстояние от отмостки до низа панели должно быть не менее 40 см, а вынос карниза (свесы кровли) при неорганизованном водоотводе должен быть не менее 50 см. Для организации требуемого свеса кровли рекомендуется укладывать карнизные плиты (см.
рис. 8).
2.21. В местах сопряжения стеновых панелей, имеющих обшивки из древесины и фанеры, и железобетонных колонн следует предусматривать гидроизоляционные прокладки (рубероид, стеклорубероид, изол и др.). Такая же гидроизоляция должна быть в местах примыкания клееных деревянных стоек и рам к панелям с асбестоцементными обшивками (
рис. 10, б,
в).
2.22. Пароизоляцию ограждающих конструкций следует предусматривать из рулонных и пленочных материалов, окрасочную или обмазочную.
| | ИС МЕГАНОРМ: примечание. Взамен ГОСТ 10354-73 Постановлением Госстандарта СССР от 02.06.1982 N 2253 с 1 июля 1983 года введен в действие ГОСТ 10354-82. | |
2.23. В плитах и панелях, у которых обшивки соединены с каркасом на гвоздях или шурупах, рекомендуется применять стеклорубероид, рубероид, изол, "Гидробутил-I", "Гидролен-Р", гидроизол или полиэтиленовую пленку (ГОСТ 10354-73), которые должны укладываться в виде сплошного ковра под ребрами каркаса (табл. 1, рис. I и IV). Сплошность пароизоляционного слоя из полиэтиленовой пленки обеспечивается сваркой отдельных полотнищ, а из рулонных материалов - склеиванием полотнищ с нахлесткой 100 мм мастикой "Вента", "Лило", "изол").
Тип пароизоляции | Решения |
рекомендуемые | нерекомендуемые |
Пленочная, рулонная | I | II |
III |
IV | V |
Окрасочная, обмазочная | VI | VII |
VIII |
IX | X |
1 - ребро каркаса; 2 - обшивка фанерная; 3 - обшивка из плоского асбестоцемента; 4 - подшивка дощатая; 5 - пленочная или рулонная пароизоляция, укладываемая под ребрами каркаса; 6 - то же, укладываемая отдельными кусками между ребрами каркаса; 7 - пленочная пароизоляция в виде пакетов, в которые заключен утеплитель; 8 - утеплитель; 9 - окрасочная пароизоляция; 10 - обмазочная пароизоляция; 11 - влагозащитное покрытие.
Не допускается укладка рулонной и пленочной пароизоляции между ребрами каркаса с подверткой краев (
табл. 1, рис. II), а также утеплителя, упакованного в полиэтиленовую пленку (
табл. 1, рис. III).
В зданиях с повышенной влажностью воздуха

не рекомендуются решения, когда ребра каркаса панелей и плит находятся частично в помещении, и обшивки опираются на нижние полки ребер (
табл. 1, рис. V).
2.24. В плитах и панелях с соединением каркаса и обшивок на клею рекомендуется использовать окрасочную или обмазочную пароизоляцию. В ограждающих конструкциях с фанерными обшивками окрасочный пароизоляционный слой целесообразно размещать на поверхности обшивки, выходящей в помещение (
табл. 1, рис. IX), чем обеспечивается также защита фанеры от эксплуатационного увлажнения. В качестве окрасочной пароизоляции рекомендуются покрытия на основе пентафталевых, перхлорвиниловых и уретановых лаков и эмалей толщиной не менее 120 мкм (см.
разд. 3). При наличии на внешней поверхности фанерной обшивки влагозащитного покрытия дополнительного пароизоляционного слоя под утеплителем (
табл. 1, рис. X) не требуется.
Окрасочная пароизоляция может применяться в панелях и плитах с обшивками из листовых материалов, соединяемых с каркасом на гвоздях или шурупах. Расположение пароизоляционного слоя в таких конструкциях также предпочтительнее снаружи (
табл. 1, рис. VI).
Обмазочная пароизоляция (например, на основе резино-битумных вяжущих) наносится только на внутренние поверхности обшивок. В конструкциях с креплением обшивок к каркасу на гвоздях или шурупах обмазочная и окрасочная пароизоляции должны устраиваться до крепления обшивок (
табл. 1, рис. VIII). В противном случае гидроизоляционный слой получается прерывистым, и древесина каркаса подвержена увлажнению (
табл. 1, рис. VII).
2.25. Стыки между утепленными плитами и панелями должны быть хорошо утеплены и герметизированы. Для герметизации стыков следует использовать эластичные прокладки (пороизол, гермит, ПРП и др.) и мастики ("изол", "Вента", "Лило", тиоколовые и др.). Эластичные прокладки должны быть обжаты в стыке на 30 - 40% своего поперечного сечения (рис. 11, а).
Рис. 11. Дефекты продольных стыков плит покрытий
(асбестоцементные волнистые листы условно не показаны)
а - правильно выполненный стык; б - чрезмерное обжатие
прокладки и отсутствие утеплителя (узкий стык);
в - недостаточное обжатие прокладки (широкий стык);
г - недостаточное обжатие прокладки (малый диаметр
прокладки); д - отсутствие утеплителя и герметизирующей
мастики в стыке; е - неправильное размещение прокладки
в стыке; 1 - продольное ребро каркаса; 2 - обшивка;
3 - утеплитель; 4 - эластичная прокладка;
5 - герметизирующая мастика
При чрезмерном обжатии прокладки теряют свою эластичность и не могут следовать за деформациями стыка (
рис. 11, б). Если ширина стыка больше проектной величины, то эластичная прокладка получает недостаточное обжатие (
рис. 11, в). То же происходит при использовании прокладок с меньшими, чем необходимо, размерами поперечного сечения (
рис. 11, г). Неплотная герметизация приводит к переувлажнению утеплителя в стыке парами влажного воздуха, проникающего из помещения, и в результате зимой стыки промерзают.
Распространенным дефектом при устройстве стыков плит покрытий является отсутствие в стыке герметизирующей мастики и утеплителя (
рис. 11, д), а также неправильное размещение эластичных прокладок (
рис. 11, е).
Для того чтобы избежать таких явлений, как недостаточное или чрезмерное обжатие прокладок, рекомендуется при монтаже плит использовать прокладки-ограничители, обеспечивающие проектную ширину стыка (после установки плит прокладки-ограничители извлекаются из стыка). Эластичные прокладки приклеивают к плите на соответствующей мастике заранее до ее подъема или укладывают непосредственно в стык с помощью специальных лопаток.
Для плит покрытий с дощатыми, фанерными обшивками и обшивками из древесно-стружечных плит рекомендуется расширенный стык, который образуется благодаря увеличенным до 5 - 6 см выступам обшивок за края наружных ребер плит. При монтаже стык перекрывается двумя слоями рулонной пароизоляции, которая при изготовлении плит с обшивками, крепящимися к каркасу гвоздями или шурупами, выпускается на 5 - 6 см за края обшивок (рис. 12, а). В клеефанерных плитах стык перекрывается сверху двумя полосками из изола, гидроизола, стеклорубероида, "Гидробутила-I", "Гидролена-Р" на мастиках "Вента", "Лило" или мастике "изол" (рис. 12, б).
а)
б)
Рис. 12. Расширенный стык утепленных плит покрытия
а - при креплении обшивок к каркасу гвоздями или шурупами;
б - то же, на клею; 1 - рулонная пароизоляция; 2 - полоски
из рулонного гидроизоляционного материала; 3 - мастика;
4 - теплопакет
2.26. При проектировании зданий и сооружений по условиям огнестойкости следует отдавать предпочтение конструкциям прямоугольного массивного сечения, поскольку они имеют относительно малую поверхность, омываемую воздухом.
Время до потери несущей способности (ВПНС) таких конструкций должно удовлетворять требованиям главы СНиП по противопожарным нормам проектирования зданий и сооружений.
2.27. Для повышения ВПНС немассивных ДКК рекомендуются меры, показанные на рис. 13. В этих целях следует ограничивать применение несущих ДКК с металлическими элементами (ВПНС незащищенных стальных конструкций 0,25 ч).
Рис. 13. Способы повышения огнестойкости несущих ДКК
а - балка двутаврового сечения с фанерной стенкой;
б, в - балка коробчатого сечения с фанерными стенками;
г - балка двутаврового сечения клеедощатая;
1 - плоский асбестоцементный лист; 2 - фанера;
3 - минераловатная плита на клею
При использовании ферм и арок с металлическими нижними поясами и затяжками рекомендуется устраивать подвесной потолок или экран из несгораемых или трудносгораемых материалов (см.
рис. 1).
2.28. Узловые соединения несущих ДКК следует проектировать с минимальным количеством открытых металлических элементов, предусматривая при этом защиту металлических поверхностей огнезащитными составами.
Для повышения огнестойкости узловых соединений рекомендуется размещать металлические крепежные элементы в толще деревянного элемента (например, клеештыревые соединения и др.).
2.29. В производственных заданиях, где выделяется много легковозгораемой пыли (деревообрабатывающие цехи и др.), несущие ДКК не должны иметь горизонтальных или наклонных поверхностей, способствующих накоплению пыли. Плиты покрытий следует опирать непосредственно на несущие ДКК без использования прогонов (см.
п. 2.13).
2.30. Не рекомендуется применять несущие ДКК в условиях, где они могут подвергаться постоянному интенсивному лучистому нагреву, приводящему к повышению температуры древесины выше 50 °C.
2.31. Ограждающие конструкции, особенно плиты покрытий, в пожарном отношении более опасны, чем несущие ДКК, и требуют особого внимания к вопросам конструктивной защиты их от возгорания.
Для повышения огнестойкости ограждающих конструкций рекомендуется использовать обшивки и утеплители из несгораемых или трудносгораемых материалов.
Утеплители должны плотно прилегать к внутренней обшивке и ребрам каркаса. Для удержания утеплителя в проектном положении при прогорании и выходе из строя нижней обшивки плиты рекомендуется использовать стальные полосы сечением 0,8 x 25 мм, которые крепятся шурупами к каркасу снизу между обшивкой и утеплителем с шагом 50 - 70 см (предложение ВНИИПО МВД СССР и ЦНИИЭП зрелищных зданий и спортивных сооружений им. Б.С. Мезенцева).
2.32. По условиям пожарной безопасности целесообразно применять плиты с гладким потолком. Плиты с ребрами таврового или двутаврового сечения с опиранием обшивки на нижние полки (
табл. 1, рис. V) более опасны в пожарном отношении.
2.33. Вентилируемые ограждающие конструкции покрытий должны расчленяться противопожарными диафрагмами из несгораемых или трудносгораемых материалов на отсеки. В поперечном направлении здания диафрагмы устанавливаются вдоль несущих конструкций с шагом не более 6 м (рис. 14), в продольном - по коньку (см.
рис. 9). При этом диафрагмы не должны препятствовать осушающему действию вентиляционных продухов.
Рис. 14. Противопожарная диафрагма в покрытии
с кровлей из асбестоцементных волнистых листов
1 - плита покрытия; 2 - несущая ДКК;
3 - кровельный лист; 4 - минеральная вата
3. ХИМИЧЕСКИЕ МЕРЫ ЗАЩИТЫ НЕСУЩИХ И ОГРАЖДАЮЩИХ КОНСТРУКЦИЙ
МАТЕРИАЛЫ ДЛЯ ВЛАГОЗАЩИТНОЙ ОБРАБОТКИ
3.1. Для защиты несущих и ограждающих конструкций от увлажнения должны применяться лакокрасочные материалы (табл. 2), тиоколовые мастики
(табл. 3) и составы на основе эпоксидных смол
(табл. 4).
Материал | ГОСТ, ТУ | Исходная вязкость по ВЗ-4, с | Прочность пленки | Твердость по маятниковому прибору М-3, не менее |
при изгибе по шкале гибкости, мм, не более | при ударе, кгс·см, не менее |
Перхлорвиниловые |
Эмаль: | | | | | |
ХВ-110 | | 60 - 110 | 1 | 20 | 0,4 |
| | ИС МЕГАНОРМ: примечание. Взамен ГОСТ 10144-74 Постановлением Госстандарта СССР от 09.10.1989 N 3045 с 1 января 1991 года введен в действие ГОСТ 10144-89. | |
|
ХВ-124 | | 35 - 60 | 1 | - | 0,35 |
ХВ-1100 | ГОСТ 6993-70 | 30 - 70 | 1 | 50 | 0,25 |
| ТУ 6-10-745-75 | 40 - 120 | 1 | 30 | - |
Лак ХВ-784 | | 20 - 50 | 1 | - | 0,4 |
Пентафталевые |
Эмаль: | | | | | |
ПФ-115 | | 60 - 100 | 1 | 50 | 0,35 |
ПФ-133 | | 40 - 60 | 1 | 50 | 0,35 |
Лак: | | | | | |
ПФ-170 | | 40 - 60 | 1 | - | 0,2 |
ПФ-171 | | 60 - 80 | 1 | - | 0,2 |
Уретановые |
Эмаль УР-49 | ТУ 6-10-1579-76 | 30 - 60 | - | - | 0,7 |
Лак: | | | | | |
УР-293 | ТУ 6-10-1462-74 | 40 - 80 | - | - | 0,7 |
УР-294 | ТУ 6-10-1462-74 | 45 - 90 | - | - | 0,8 |
Уретаново-алкидные |
Эмаль УРФ-1128 | ТУ 6-10-1421-76 | Не менее 60 | 3 | 40 | 0,4 |
Масляно-смоляные |
Лак: | | | | | |
ПФ-283 | | 40 - 60 | 3 | - | 0,35 |
ГФ-166 | | 40 - 60 | 3 | - | 0,18 |
Органосиликатные |
Органосиликатная композиция: | | | | | |
ОС-12-01 зеленая <*> | | ТУ 84-725-78 | Не менее 18 | - | 25 | - |
ОС-12-03 белая <*> |
--------------------------------
<*> Защищает древесину также от возгорания (см.
пп. 3.36 и
3.38).
Марка мастики | Количество компонентов в частях по массе на 100 мас. ч. основной пасты <*> | Цвет |
паста N 9 | ДФГ (ГОСТ 40-67) |
| 5 - 9 | 0,2 - 0,5 | Черный |
УТ-32 (ТУ 38 105462-72) | 9 - 12 | 0,4 - 0,8 | Светло-серый |
--------------------------------
<*> Дозировка варьируется в зависимости от температуры и относительной влажности воздуха, от активности вулканизующей пасты и желаемой скорости вулканизации. Точное соотношение компонентов указывается в заводском паспорте.
Состав | Компоненты | Количество компонентов, мас. ч. |
Состав I | Состав II |
На основе смолы К-153 или К-115 | Смола К-153 (ТУ 6-05-1584-77) или К-115 (ТУ 6-05-1251-75) | | 100 | 100 |
ПЭПА (ТУ 6-02-594-75) или | | 15 | 15 |
сложные амины (ТУ 6-01-915-74) | | 18 - 20 | 18 - 20 |
| | 10 | - |
| | ИС МЕГАНОРМ: примечание. Постановлением Госстандарта СССР от 02.02.1982 N 416 с 1 июля 1983 года введен в действие ГОСТ 9077-82. | |
|
| | ИС МЕГАНОРМ: примечание. Взамен ГОСТ 10178-76 Постановлением Госстроя СССР от 10.07.1985 N 116 с 1 января 1987 года введен в действие ГОСТ 10178-85. | |
|
| Молотый пылевидный кварц (ГОСТ 9077-59), маршалит или портландцемент М400 (ГОСТ 10178-76) | | - | 50 |
| | ИС МЕГАНОРМ: примечание. Взамен ГОСТ 10277-76 в части марок ЭП-0010, ЭП-0020 Постановлением Госстандарта СССР от 19.12.1989 N 3837 с 1 января 1991 года введен в действие ГОСТ 28379-89. | |
|
На основе шпатлевки ЭП-0010 | Шпатлевка ЭП-0010 (ГОСТ 10277-76) | | 100 | 100 |
Отвердитель N 1 (ТУ 6-10-1263-77) | | 8,5 | 8,5 |
| | 20 | 10 |
Молотый пылевидный кварц (ГОСТ 9077-59), маршалит или портландцемент М400 (ГОСТ 10178-76) | | - | 50 |
Примечание. Состав I применяется для грунтования поверхности, приклеивания и пропитки стеклосетки (стеклоткани), а состав II - для покровных слоев.
Перхлорвиниловые
3.2. Перхлорвиниловые эмали представляют собой растворы перхлорвиниловой смолы в смеси летучих органических растворителей с добавлением других смол, пластификаторов и пигментов. Эмали являются быстросохнущими. Поставляются заводом-изготовителем в готовом виде.
Покрытия на основе перхлорвиниловых эмалей имеют прочное сцепление с древесиной, весьма эластичны и трещиностойки. Благодаря устойчивости к постоянному воздействию атмосферных факторов покрытия ХВ-110, ХВ-124 и ХВ-1100 рекомендуются для защиты конструкций на открытом воздухе и под навесом.
3.3. Эмали ХВ-110 различных цветов устойчивы в условиях умеренного и тропического климата, а также в условиях Крайнего Севера. На основе этих эмалей получаются покрытия негорючие, полуматовые, механически прочные.
3.4. Покрытия на основе эмали ХВ-124 различных цветов наряду с достаточной морозостойкостью обладают также стойкостью к морской атмосфере, периодическому воздействию температуры до плюс 60 °C, воды. Эмали ХВ-124 дают матовые покрытия, склонные к загрязнению. Могут применяться в условиях умеренного и тропического климата, на Крайнем Севере. При солнечном облучении наиболее устойчивы покрытия на основе эмалей коричневого, зеленого, бежевого, желтого и защитного цвета.
3.5. Эмали ХВ-1100 стойки к условиям умеренного климата, хорошо защищают древесину и фанеру в условиях Крайнего Севера.
Эмали ХВ-1100 имеют большую гамму цветов, поэтому могут использоваться как декоративно-отделочные.
3.6. Перхлорвиниловый лак ХВ-784 (бывш. ХСЛ) - раствор сухой перхлорвиниловой и алкидной смол в смеси летучих органических растворителей с добавлением пластификатора.
Покрытия могут эксплуатироваться в диапазоне температур от минус 40 до плюс 60 °C. Устойчивы в условиях умеренного климата, а также в химически агрессивных средах. Могут использоваться для прозрачной отделки ДКК, эксплуатируемых внутри помещений и под навесом.
Пентафталевые
3.7. Пентафталевые эмали представляют собой суспензии сложных полиэфиров пентаэрита и фталевой кислоты, модифицированных жирными кислотами растительных масел, в смеси с пигментами, наполнителями, сиккативами и растворителями. Поставляются заводом-изготовителем в готовом виде.
Покрытия на основе пентафталевых эмалей ПФ-115 и ПФ-133 обладают высокой атмосферостойкостью в условиях умеренного климата, эластичностью и хорошей адгезией к окрашиваемой поверхности. Покрытия стойки к температурным колебаниям от минус 40 до плюс 50 °C и механическим воздействиям.
3.8. Пентафталевые лаки ПФ-170 и ПФ-171 - растворы в органических растворителях пентафталевой смолы, модифицированной высыхающим (лак ПФ-171) или полувысыхающим (лак ПФ-170) растительным маслом с добавкой сиккатива. Могут применяться для защиты ДКК на открытом воздухе и под навесом, а также в помещении как декоративно-отделочные и влагозащитные. Добавляются в пентафталевые эмали (в количестве до 30%) для повышения блеска покрытий.
Уретановые и уретаново-алкидные
3.9. Уретановая эмаль УР-49 - суспензия пигментов в растворе лака УР-293. Эмаль однокомпонентна, отверждается влагой воздуха без добавления катализатора. Поставляется в комплекте с растворителем Р-189 в количестве 30% массы эмали. Выпускается двух цветов: темно-красно-коричневого и темно-зеленого. После высыхания образует глянцевое покрытие с высокой адгезией к древесине, высокой твердостью и прочностью. Покрытия на основе эмали УР-49 могут применяться для защиты конструкций, эксплуатируемых под навесом в условиях умеренного климата и Крайнего Севера.
3.10. Уретановые лаки УР-293 и УР-294 - продукт взаимодействия переэтерифицированного триэтаноламином касторового масла с изоцианатом, растворенным в толуоле. Лаки поставляются комплектно с растворителем Р-189. Отверждаются влагой воздуха при обычной температуре. Используются как однокомпонентные лаки по дереву, а также как отвердители для других лакокрасочных систем. Покрытия устойчивы в условиях эксплуатации навеса, могут применяться для защиты конструкций на открытом воздухе и в помещении.
3.11. Уретаново-алкидная эмаль УРФ-1128 - суспензия пигментов в уралкидах с добавлением сиккативов. Выпускается промышленностью в готовом виде.
Эмаль УРФ-1128 образует глянцевые покрытия, обладающие высокой адгезией к древесине, влагостойкостью и морозостойкостью. Покрытия на ее основе могут применяться в условиях умеренного климата и Крайнего Севера для защиты конструкций, эксплуатируемых как под навесом, так и на открытом воздухе.
Масляно-смоляные
3.12. Масляно-смоляные лаки ГФ-166 и ПФ-283 - растворы алкидных смол, модифицированных растительными маслами, жирными кислотами растительных масел и продуктов их переработки, дистиллированными жирными кислотами таллового масла и дистиллированным талловым маслом в органических растворителях с добавлением сиккатива марки НФ-1 (ГОСТ 1003-73).
Лаки после высыхания образуют глянцевые прозрачные покрытия, обладающие высокой адгезией к древесине. Лак ПФ-283 предназначен для защиты конструкций, эксплуатируемых внутри помещений. Лак ГФ-166, обладающий атмосферостойкостью, может быть использован для защиты конструкций, эксплуатируемых под навесом и на открытом воздухе.
3.13. Тиоколовые мастики (герметики) - высокопигментированные жидкие тиоколы, которые после смешивания с вулканизующими агентами вулканизуются и превращаются в резину.
Для защиты торцов ДКК рекомендуются тиоколовые мастики широкого назначения марок У-30м и УТ-32. Мастики поставляются в виде комплекта, состоящего из основной (герметизирующей) пасты (У-30, У-32), вулканизующей пасты N 9 и ускорителя вулканизации дифенилгуанидина. Состав мастик приведен в
табл. 3.
3.14. Тиоколовые мастики отличаются атмосферостойкостью, высокой влаго-, паро- и газонепроницаемостью, сопротивлением действию различных агрессивных сред, хорошо противостоят тепловому и радиационному старению, могут длительно эксплуатироваться при температурах от минус 60 до плюс 130 °C, весьма долговечны и хорошо поддаются ремонту. Могут окрашиваться пентафталевыми и перхлорвиниловыми эмалями.
Тиоколовые мастики вулканизуются как при комнатных, так и при низких (до минус 20 °C) температурах. В процессе вулканизации они практически не дают усадки.
Составы на основе эпоксидных смол
3.15. Составы на основе эпоксидных модифицированных смол К-153 и К-115, а также на основе эпоксидной шпатлевки ЭП-0010
(табл. 4) применяют для защиты торцов несущих ДКК, а также поверхностей несущих ДКК в местах пересечения утепленных ограждающих конструкций.
3.16. Эпоксидная модифицированная смола К-153 представляет собой эпоксидную диановую смолу ЭД-20, модифицированную полиэфиракрилатом МГФ-9 и низковязким тиоколом НВБ-2, а смола К-115 - смолу ЭД-20, модифицированную МГФ-9.
Отверждение смол К-153 и К-115 производится полиэтиленполиамином (ПЭПА) или сложными аминами.
3.17. Эпоксидная шпатлевка ЭП-0010 - густая тестообразная масса красно-коричневого цвета, состоящая из эпоксидной смолы, пигментов, наполнителей, пластификатора и растворителей. Шпатлевка поставляется в комплекте с отвердителем N 1 (50%-ный раствор гексаметилендиамина в этиловом спирте).
3.18. Для повышения механической прочности и трещиностойкости покрытия на основе смолы К-153, К-115 и шпатлевки ЭП-0010 армируют стеклотканями или стеклосетками.
| | ИС МЕГАНОРМ: примечание. Взамен ГОСТ 19907-74 Постановлением Госстандарта СССР от 03.02.1983 N 622 с 1 января 1984 года введен в действие ГОСТ 19907-83. ГОСТ 19907-83 утратил силу с 1 июня 2016 года в связи с введением в действие ГОСТ 19907-2015 (Приказ Росстандарта от 06.07.2015 N 857-ст). | |
При использовании покрытий для защиты торцов ДКК рекомендуется применять стеклосетки марок СС-1, СС-1р, СС-8р (ТУ 6-11-99-75), а для защиты поверхностей ДКК в местах пересечения утепленных ограждающих конструкций - также стеклоткани марок Т-10/2, Т-11, Т-13 (ГОСТ 19170-73*) и ЭЗ-200 (ГОСТ 19907-74*).
Покрытие на основе ЭП-0010 может применяться и без армирования (в случаях, указанных в
табл. 9).
3.19. Декоративные качества покрытий приведены в табл. 5. В случае необходимости покрытия могут окрашиваться пентафталевыми и перхлорвиниловыми эмалями.
Покрытие | Цвет | Прозрачность |
Армированное на основе К-115: | | |
без наполнителя | Бесцветное | Прозрачное |
с маршалитом, пылевидным кварцем | Светло-желтый | Непрозрачное |
с портландцементом | Серый | " |
Армированное на основе К-153: | | |
без наполнителя | С зеленоватым оттенком | Прозрачное |
с маршалитом, пылевидным кварцем | Светло-желтый | Непрозрачное |
с портландцементом | Серый | " |
Армированное и неармированное на основе ЭП-0010: | | |
без наполнителя | Красно-коричневый | " |
с маршалитом, пылевидным кварцем | Коричневый | " |
портландцементом | Светло-коричневый | " |
МАТЕРИАЛЫ ДЛЯ БИОЗАЩИТНОЙ ОБРАБОТКИ
3.20. Для защиты конструкций от биоразрушения рекомендуются составы и препараты, приведенные в табл. 6.
Состав, препарат | Нормативные документы | Компоненты и их соотношение в рабочем растворе, %, по массе | Концентрация раствора, % |
Легковымываемые |
КФА | ОСТ 6-08-2-75 | Аммоний кремнефтористый технический (ОСТ 6-08-2-75) | - 10 (15) | 10 (15) |
Вода | - 90 (85) | |
ТФБА | ТУ 6-08-297-74 | Тетрафторборат аммония технический (ТУ 6-08-297-74) | - 10 (15) | 10(15) |
Вода | - 90 (85) | |
ББ-32 | ГОСТ 14647-79 | | - 12 | |
| - 8 | 20 |
Вода | - 80 | |
Трудновымываемые |
| ТУ 65-14-23-75 | | - 5 | 15 |
| | ИС МЕГАНОРМ: примечание. В официальном тексте документа, видимо, допущена опечатка: имеется в виду ГОСТ 19347-74, а не ГОСТ 19347-77. | |
|
| | ИС МЕГАНОРМ: примечание. ГОСТ 19347-74 утратил силу с 1 января 1985 года в связи с введением в действие ГОСТ 19347-84 (Постановление Госстандарта СССР от 28.09.1984 N 3432). Взамен ГОСТ 19347-84 Постановлением Госстандарта России от 30.03.2000 N 86-ст с 1 января 2001 года введен в действие ГОСТ 19347-99. | |
|
| | Купорос медный (ГОСТ 19347-77) | - 5 | |
| - 5 | |
Вода | - 85 | |
МБ-1 | ТУ 66 Латвийской ССР 068-76 | Купорос медный (ГОСТ 19347-77) | - 2,7 | |
| - 3,6 | |
| - 5,3 | 15 |
| - 3,4 | |
Вода | - 85 | |
| ГОСТ 23787.2-79 | | - 2,5 | |
Купорос медный (ГОСТ 19347-77) | - 2,5 | 10 |
| - 3,3 | |
| - 1,7 | |
Вода | - 90 | |
--------------------------------
<*> При приготовлении препарата ХМБ-444 для предотвращения выпадения осадка в раствор добавляют 0,05 мас. ч. уксусной кислоты
(ГОСТ 19814-74), а при приготовлении ХМББ-3324-1 мас. ч.
3.21. Кремнефтористый аммоний (КФА) - белый кристаллический порошок с легким запахом аммиака. Обладает высокой растворимостью в воде (при 25 °C - 18,5%, при 75 °C - 32,2%). Легко проникает в древесину и легко из нее вымывается. Древесина, пропитанная КФА, не изменяет своего цвета, хорошо склеивается и окрашивается, вызывает слабую коррозию черных металлов. КФА снижает свои защитные свойства при контакте с цементом, мелом, известью и алебастром.
3.22. Тетрафторборат аммония (ТФБА) - белый мелкокристаллический рассыпчатый порошок без запаха с высокой растворимостью в воде (при 25 °C - 20,5%, при 100 °C - 49,7%). Легко проникает в древесину и легко из нее вымывается. ТФБА древесину не окрашивает, не понижает ее прочности, слабо корродирует металл, обладает слабыми огнезащитными свойствами. Древесина, пропитанная ТФБА, хорошо склеивается и окрашивается.
3.23. Препарат ББ-32 - рецептурного приготовления (приготовляется на месте производства работ). Легко растворяется в воде (растворимость в пересчете на борную кислоту при 40 °C около 20%, при 60 °C - 40%), обладает высокой диффузионной способностью. Легко вымывается из древесины. Пропитанная им древесина хорошо склеивается и окрашивается, механические свойства ее не изменяются. Препарат безопасен для людей и теплокровных животных. Может применяться для защиты элементов конструкций, соприкасающихся с пищевыми продуктами (например, в картофеле-, овоще- и фруктохранилищах).
3.24. Препарат ХМБ-444 - рецептурного приготовления. Хорошо растворяется в воде, не имеет запаха, древесину окрашивает в зеленоватый цвет, вызывает коррозию металлов, обладает огнезащитными свойствами, трудно вымывается из древесины. Пропитанная древесина хорошо склеивается и окрашивается. Препарат может применяться внутри помещений и снаружи.
3.25. Препарат МБ-1 - рецептурного приготовления. Содержит малотоксичные для людей и животных компоненты, отходы от его применения могут быть использованы в качестве микроудобрений. Хорошо защищает древесину не только от дереворазрушающих грибов, но и от возгорания, поэтому при соответствующих концентрациях может применяться как огнезащитное средство. Окрашивает древесину в зеленоватый цвет. Рекомендуется для защиты конструкций, эксплуатируемых как внутри помещений, так и снаружи. Благодаря низкой вымываемости может применяться в зданиях, где не исключено конденсационное увлажнение (животноводческие здания, теплицы и др.).
3.26. Препарат ХМББ-3324 - рецептурного приготовления. Обладает огнезащитными свойствами. Трудно вымывается из древесины, не препятствует ее склеиванию и окрашиванию. Пропитанная древесина приобретает зеленоватый цвет. Рекомендуется для защиты элементов конструкций, эксплуатируемых как внутри, так и снаружи помещений.
МАТЕРИАЛЫ ДЛЯ ОГНЕЗАЩИТНОЙ ОБРАБОТКИ
3.27. Для защиты конструкций от возгорания рекомендуется применять пропиточные и окрасочные составы.
Составы для глубокой пропитки
3.28. Для глубокой пропитки древесины рекомендуются водорастворимые огнезащитные составы МС 1:1, МС 3:7, ББ-11 (табл. 7) и МБ-1 (см.
табл. 6). Древесина, пропитанная этими составами при поглощении сухой соли чистого антипирена не менее 50 - 66 кг/м
3, относится к трудногорючим материалам.
Состав, препарат | Нормативные документы | Компоненты и их соотношение в рабочем растворе, %, по массе | Концентрация раствора, % |
Для глубокой пропитки |
Состав МС 1:1 | Инструкция ВНИИПО МВД СССР | | - 7,5 | |
Сульфат аммония технический (ГОСТ 9097-74) | - 7,5 | 17 |
Фтористый натрий (ГОСТ 2871-75) | - 2 | |
Вода | - 83 | |
Состав МС 3:7 | То же | | - 6 | |
Сульфат аммония технический (ГОСТ 9097-74) | - 14 | 21,5 |
Фтористый натрий (ГОСТ 2871-75) | - 1,5 | |
Вода | - 78,5 | |
| ГОСТ 14647-79 | | - 10 | |
| - 10 | 20 |
Вода | - 80 | |
Для поверхностной пропитки | |
Пропиточный состав МС <3> | Инструкция ВНИИПО МВД СССР | | - 20 | |
Сульфат аммония технический (ГОСТ 9097-74) | - 5 | 25 |
Керосиновый контакт (ОСТ 38 01116-76) <4> | - 3 | |
Вода | - 72 | |
Поверхностно-пропиточный состав ПП | То же | | - 25 | 25 |
Керосиновый контакт (ОСТ 38 01116-76) | - 3 | |
Вода | - 72 | |
--------------------------------
<1> Взамен диаммонийфосфата можно применять аммофос (ГОСТ 18918-79), представляющий собой смесь аммонийных солей фосфорной кислоты (моно- и диаммонийфосфата) или кормовой диаммонийфосфат.
<2> Препарат ББ-11 может применяться также для поверхностной пропитки.
<3> Для придания древесине биостойкости на каждые 97 кг готового раствора добавляют 3 кг фтористого натрия.
<4> Взамен керосинового контакта могут быть использованы в тех же количествах бутилсульфокислоты, в частности некаль
(ГОСТ 6867-77).
3.29. Составы МС 1:1 и МС 3:7, являясь сильными антипиренами, обладают также свойствами антисептиков. Пропитка указанными составами не вызывает изменения цвета древесины, но снижает ее прочность (при сжатии, скалывании вдоль волокон, поперечном изгибе - на 10%, при ударном изгибе - на 40%).
Контакт пропитанной древесины с металлом может вызвать его коррозию.
Составы легко вымываются из древесины, поэтому рекомендуются для защиты конструкций, эксплуатируемых в среде с относительной влажностью воздуха не выше 80%, а также в условиях, исключающих контакт древесины с капельно-жидкой влагой.
3.30. Препарат ББ-11 применяется для огнезащиты древесины при поглощении сухой соли не менее 50 кг/м3. Хорошо проникает в древесину, не изменяет ее цвета, не препятствует склеиванию и окрашиванию древесины. Повышает прочность древесины на сжатие вдоль волокон и поперечный изгиб, но снижает на ударный изгиб. Обладает хорошими биозащитными свойствами. Безопасен для людей и животных.
В условиях конденсационного увлажнения пропитанная древесина должна подвергаться влагозащитной обработке. Допускается контакт пропитанной древесины с металлом.
3.31. Препарат МБ-1 (см.
табл. 6) применяется для огнезащиты древесины при поглощении сухой соли не менее 60 кг/м
3.
Составы для поверхностной пропитки
3.32. Для поверхностной огнезащитной пропитки рекомендуются составы МС и ПП (см.
табл. 7). Поверхностная пропитка затрудняет распространение пламени по поверхности защищенной древесины и тем самым облегчает пожаротушение. В ряде случаев она исключает возможность возникновения пожара. Обработанная указанными составами древесина относится к группе трудновоспламеняемых материалов.
3.33. Состав МС легко вымывается из древесины, поэтому рекомендуется для защиты конструкций, которые при эксплуатации не подвергаются непосредственному контакту с капельно-жидкой влагой и средой с относительной влажностью выше 80%. Придает древесине биостойкость, не вызывает коррозии металла, снижает способность древесины склеиваться и окрашиваться.
3.34. Состав ПП, так же как и МС, легко вымывается из древесины. Биозащитными свойствами не обладает. Не препятствует окрашиванию древесины. Без дополнительной влагозащиты пропитанная древесина может применяться только в сухих помещениях.
3.35. Для поверхностной огнезащитной пропитки может также применяться состав ББ-11 (см.
табл. 7) при удержании сухой соли 100 г/м
2.
3.36. В качестве огнезащитных покрытий для защиты древесины от возгорания рекомендуются покрытия на основе перхлорвиниловой эмали ХВ-5169 и органосиликатных композиций ОС-12-01 и ОС-12-03 (см.
табл. 2), а также вспучивающееся покрытие ВПМ-2Д (ТУ 6-10-300-8-77).
3.37. Покрытие на основе эмали ХВ-5169 переводит древесину в категорию трудновоспламеняемых материалов. Обладает хорошими влагозащитными свойствами, устойчиво в условиях умеренного климата и Крайнего Севера. Защищает древесину от возгорания при расходе не менее 600 г/м2. Имеет прочное сцепление с древесными подложками, весьма эластично и трещиностойко. Покрытие на основе эмали ХВ-5169 является быстросохнущим.
3.38. Органосиликатные композиции группы ОС (ОС-12-01, ОС-12-03) представляют собой суспензии активизированных силикатных и окисных компонентов в толуольных растворах модифицированных полиорганосилоксанов. Поставляются заводом-изготовителем в комплекте с отвердителем (полибутилтитанат).
Покрытие на основе ОС переводит древесину в категорию трудновоспламеняемых материалов (при толщине не менее 250 мкм). Обладает малой водопроницаемостью и теплопроводностью, значительной термо- и морозостойкостью. Оно выдерживает резкие перепады температур от минус 60 до плюс 600 °C. Органосиликатные композиции можно наносить при нормальных и пониженных (до минус 5 °C) температурах.
Покрытие на основе ОС имеет невысокую механическую прочность и слабую адгезию к древесине. Недостатком ОС является также ее нетехнологичность (необходимость введения отвердителя, выпадение в осадок пигмента, трудность перемешивания) и высокая стоимость. Рекомендуется к применению в тех случаях, когда помимо огнезащиты требуется защита конструкций и от увлажнения. ОС образует матовое укрывистое покрытие, склонное к загрязнению.
3.39. Покрытие ВПМ-2Д представляет собой смесь термостойких и газообразующих наполнителей в водном растворе полимерных связующих. Покрытие негорюче, нетоксично и невлагостойко. Переводит древесину в группу трудногорючих материалов при расходе сырого покрытия около 700 г/м2.
Рекомендуется к применению в закрытых зданиях и сооружениях с относительной влажностью воздуха не более 80%, отсутствием выделений агрессивных газов и паров и температуре не выше 50 °C.
ВЫБОР ЗАЩИТНЫХ МАТЕРИАЛОВ
В ЗАВИСИМОСТИ ОТ УСЛОВИЙ ЭКСПЛУАТАЦИИ
Несущие конструкции
3.40. При выборе средств и способов защиты несущих ДКК основное внимание должно быть обращено на предохранение их от переменного увлажнения и высушивания. При соблюдении требований конструктивной профилактики, изложенных в
разд. 2, вероятность выхода из строя несущих ДКК в результате биоразрушения столь незначительна, что подвергать их биозащитной обработке (за исключением локальных участков) не требуется (табл. 8,
9).
Условия эксплуатации конструкций | Примеры зданий и сооружений | Материалы для влагозащитной обработки |
лак | эмаль |
марка | толщина покрытия, мкм | марка | толщина покрытия, мкм |
Внутри отапливаемых помещений при  | Общественные здания и сооружения, птицеводческие здания и др. | ПФ-283 ГФ-166 ПФ-170 ПФ-171 УР-293 УР-294 ХВ-784 | 70 | ПФ-115 ПФ-133 УРФ-1128 УР-49 ОС-12-01 ОС-12-03 | 90 |
То же, при  , а также внутри неотапливаемых помещений с тепло- и влаговыделениями | Картофеле- и овощехранилища, свинарники-откормочники, коровники и др. | - | - | То же | 120 |
Внутри неотапливаемых помещений, без тепло- и влаговыделений | Холодные склады различного назначения, здания для хранения сельхозтехники, навесы, чердачные помещения и др. | - | - | ХВ-1100 ХВ-110 ХВ-124 ХВ-5169 ПФ-115 ПФ-133 УРФ-1128 УР-49 ОС-12-01 ОС-12-03 | 90 |
На открытом воздухе | Здания и сооружения с расположением конструкций частично вне помещения | ПФ-170 ПФ-171 УР-293 УР-294 ГФ-166 | 100 | ХВ-1100 ХВ-100 ХВ-124 ХВ-5169 УРФ-1128 | 120 |
Примечание. Защите подлежат все поверхности несущих ДКК, за исключением локальных участков, защитную обработку которых производят в соответствии с требованиями табл. 9.
N п/п | Участки конструкций, подлежащие защитной обработке | Эскиз | Вариант защитной обработки | Вид защитной обработки |
1 | Боковые поверхности в местах пересечения несущих ДКК с утепленными ограждающими конструкциями | | 1 | Обработка ХМБ-444, КФА или ТФБА с последующим нанесением армированного покрытия на основе К-153, К-115 или ЭП-0010 |
| Торцы и прилегающие к ним участки боковой поверхности ДКК: при непосредственном воздействии на них атмосферных факторов (например, концы балок под свесом кровли, не защищенные от осадков и инсоляции) | |
| в гнездах наружных каменных стен отапливаемых зданий, а также внутренних стен, разделяющих отапливаемые и неотапливаемые помещения | | 1 | Обработка ХМБ-444, КФА или ТФБА с последующим нанесением армированного покрытия на основе К-153, К-115 или ЭП-0010 |
4 | в гнездах внутренних каменных стен отапливаемых зданий (кроме случаев, указанных в п. 3), а также в гнездах внутренних и наружных каменных стен неотапливаемых зданий | | 2 | Обработка ХМБ-444, КФА или ТФБА с последующим нанесением У-30м, УТ-32 или состава на основе ЭП-0010 |
5 | в местах опирания на фундамент (стойки, рамы, арки) в отапливаемых зданиях с  , а также в неотапливаемых зданиях и под навесом | | 2 | Обработка ХМБ-444, КФА или ТФБА с последующим нанесением У-30м, УТ-32 или состава на основе ЭП-0010 |
6 | Боковые поверхности в местах пересечений ДКК с внутренними каменными стенами и перегородками, разделяющими помещения с одинаковым температурно-влажностным режимом, а также с наружными стенами неотапливаемых зданий | |
7 | Торцы балок, прогонов и других ДКК, опирающихся на колонны, пилястры стен внутри отапливаемых и неотапливаемых зданий, а также под навесом (кроме случаев, указанных в п. 2) | | 3 | Покрытие на основе У-30м, УТ-32 или ЭП-0010 |
3.41. Для защиты от увлажнения боковых поверхностей несущих ДКК рекомендуются лакокрасочные покрытия, а для защиты концов элементов ДКК - покрытия на основе тиоколовых мастик и эпоксидных смол. Армированные покрытия (бандажи) необходимо применять для защиты концов ДКК, подвергающихся при эксплуатации капельно-жидкому увлажнению (конденсат, атмосферные осадки и др.), а также для защиты поверхностей в местах пересечения утепленных ограждающих конструкций. Неармированные покрытия рекомендуются для защиты концов ДКК, не имеющих при эксплуатации контакта с капельно-жидкой влагой.
3.42. При расположении несущих ДКК частично в отапливаемом помещении, а частично вне его, защитная обработка боковых поверхностей может производиться по одному из следующих вариантов:
вся конструкция защищается одним и тем же составом;
часть конструкции, находящаяся в помещении, защищается составом, рекомендуемым для помещений, а другая часть - составом, рекомендуемым для условий, в которых эта часть находится (на открытом воздухе, под навесом и т.п.).
Вариант 1 может быть рекомендован для случаев, когда покрытие удовлетворяет требованиям, предъявляемым к защите конструкций как в помещении, так и вне его. В некоторых случаях, когда использование одного и того же состава для защиты всей конструкции оказывается экономически невыгодным, защитная обработка должна производиться по варианту 2. Например, при расположении несущих ДКК частично в помещении с относительной влажностью воздуха менее 60%, а частично на открытом воздухе использование покрытия с высокими влагозащитными свойствами для защиты всей конструкции нецелесообразно.
3.43. В животноводческих и птицеводческих зданиях для защиты конструкций, находящихся внутри помещений, в недоступных для животных и птиц местах, помимо составов, указанных в
табл. 8, могут применяться перхлорвиниловые эмали ХВ-1100, ХВ-124, ХВ-110 и ХВ-5169 (например, для защиты балок, прогонов, ферм и др.). При согласовании с органами санитарного надзора эти эмали могут применяться также внутри производственных зданий.
3.44. Несущие ДКК (балки, фермы, арки, рамы, колонны), предназначенные для эксплуатации в общественных зданиях и сооружениях, а также в производственных и складских зданиях и сооружениях с производствами категории В, согласно требованиям главы СНиП по противопожарным нормам проектирования зданий и сооружений должны подвергаться поверхностной обработке огнезащитными составами.
Для огнезащитной обработки несущих ДКК, эксплуатируемых в среде с относительной влажностью воздуха до 75%, может быть использована краска ВПМ-2Д, поверхностно-пропиточный состав ПП с последующим нанесением лака ХВ-784 или ХС-76, а также препарат ББ-11 с последующим нанесением перхлорвиниловых или пентафталевых лаков и эмалей.
Для огнезащиты ДКК, находящихся в условиях помещений с относительной влажностью воздуха выше 75%, а также подвергаемых атмосферным воздействиям, рекомендуются покрытия на основе ХВ-5169, ОС-12-01 и ОС-12-03.
3.45. Выбор того или иного материала должен производиться с учетом требований, предъявляемых к внешнему виду конструкций. Так, например, для общественных зданий (зрелищные здания, спортивные сооружения, крытые рынки, кафе и пр.) не пригодны материалы, скрывающие текстуру древесины. Для этих целей необходимо использовать прозрачные лаковые покрытия или покрытия на основе эпоксидных смол К-115 и К-153
(табл. 5).
Ограждающие конструкции
3.46. Основным способом защиты элементов ограждающих конструкций является био- и влагозащитная обработка (табл. 10). Огнезащитная обработка производится в тех случаях, когда это требуется по условиям пожарной безопасности.
Элементы конструкций | Условия эксплуатации | Вид защитной обработки | Материалы для обработки |
биозащитной | влагозащитной |
состав, препарат | удержание сухой соли, г/м2, не менее | лак | эмаль |
марка | толщина покрытия, мкм | марка | толщина покрытия, мкм |
Утепленные плиты покрытий, подвесного потолка и панели стен |
Каркас и поверхности обшивок, обращенных внутрь панели (плиты), под рулонным кровельным ковром (плиты покрытий) | При относительной влажности воздуха внутри помещения выше 60% | Биозащитная | ХМБ-444 ХМББ-3324 КФА ТФБА МБ-1 ББ-32 | 40 40 40 40 40 60 | - | - | - | - |
Поверхности обшивок, выходящие в помещение | При относительной влажности воздуха внутри помещения 61 - 75% | Биозащитная с последующим нанесением влагозащитных лакокрасочных материалов | ХМБ-444 ХМББ-3324 КФА ТФБА МБ-1 ББ-32 | 40 40 40 40 40 60 | ПФ-283 ГФ-166 ПФ-170 ПФ-171 УР-293 УР-294 ХВ-784 | 70 | ПФ-133 УРФ-1128 УР-49 ПФ-115 | 90 |
То же, при  | То же | То же | То же | - | - | То же | 120 |
Наружные поверхности обшивок панелей стен | На открытом воздухе | " | " | " | ПФ-170 ПФ-171 УР-293 УР-294 ГФ-166 | 100 | ХВ-1100 ХВ-110 ХВ-124 ХВ-5169 УРФ-1128 | 120 |
Неутепленные плиты покрытий и панели стен |
Каркас и поверхности обшивок (кроме выходящих на открытый воздух) | В условиях, исключающих увлажнение атмосферными осадками | | " | " | - | - | - | - |
Наружные поверхности обшивок панелей стен | На открытом воздухе | Биозащитная с последующим нанесением влагозащитных лакокрасочных материалов | ХМБ-444 ХМББ-3324 КФА ТФБА МБ-1 ББ-32 | 40 40 40 40 40 60 | ПФ-170 ПФ-171 УР-293 УР-294 ГФ-166 | 100 | ХВ-1100 ХВ-110 ХВ-124 ХВ-5169 УРФ-1128 | 120 |
--------------------------------
<*> Биозащита производится только в случаях, когда под навесом или в неотапливаемом помещении имеются постоянные источники влаговыделений (лесопильные рамы, бассейны и др.).
3.47. По условиям эксплуатации в неотапливаемых зданиях поверхности ограждающих конструкций, не подвергаемые атмосферным воздействиям, обрабатывать влагозащитными материалами не требуется (см.
табл. 10). Однако в некоторых случаях, например при перевозке конструкций на большие расстояния с многочисленными перегрузками (в отдаленные и труднодоступные районы), при длительном хранении плит (панелей) на открытых площадках и т.п., во избежание их увлажнения атмосферными осадками и вымывания био- и биоогнезащитных солей из древесины и фанеры все поверхности конструкций рекомендуется подвергать влагозащитной обработке.
3.48. При эксплуатации в зданиях и сооружениях с относительной влажностью воздуха менее 60% поверхности ограждающих конструкций, выходящие в помещение, влагозащитной обработке не подлежат. Как правило, они обрабатываются декоративными прозрачными лаковыми покрытиями. Для прозрачной отделки рекомендуются лаки ХС-724 (ТУ 6-10-1115-75) и ХС-76 (ГОСТ 9355-60). При этом толщина покрытия должна быть в пределах 70 - 80 мкм.
3.49. Глубокой пропитке огнезащитными составами должны подвергаться деревянные каркасы и дощатые обшивки плит покрытий и панелей стен в зданиях и сооружениях II степени огнестойкости в соответствии с главой СНиП по противопожарным нормам проектирования зданий и сооружений. Глубокая пропитка допускается для деревянных элементов ограждающих конструкций, не подлежащих последующему склеиванию и окрашиванию.
Указания о необходимости поверхностной огнезащитной обработки должны содержаться в проектно-технической документации.
3.50. Для глубокой пропитки элементов ограждающих конструкций зданий, относительная влажность воздуха внутри которых не превышает 75%, рекомендуется использовать составы МС 1:1, МС 3:7 и ББ-11. При влажности воздуха более 75% рекомендуется препарат МБ-1.
3.51. Для поверхностной обработки деревянных каркасов, фанерных и дощатых обшивок ограждающих конструкций зданий с относительной влажностью воздуха до 60%, а также неутепленных плит и панелей, поверхности которых не подвергаются атмосферным воздействиям, могут применяться огнезащитные составы пропиточные (ПП, ББ-11, МС) или окрасочные (ВПМ-2Д).
В зданиях с относительной влажностью воздуха выше 60%, где имеется опасность биоразрушения древесины и фанеры, рекомендуется использовать пропиточные биоогнезащитные составы в сочетании с влагозащитными окрасочными (например, пропитка препаратом ББ-11 с последующим нанесением перхлорвинилового лака или эмали) или пропиточные биозащитные в сочетании с огнезащитными окрасочными (например, пропитка препаратом ХМБ-444 с последующим нанесением ОС-12-01 или ОС-12-03 толщиной 250 мкм).
ПОДГОТОВКА ПОВЕРХНОСТИ КОНСТРУКЦИЙ К ЗАЩИТНОЙ ОБРАБОТКЕ
| | ИС МЕГАНОРМ: примечание. Взамен ГОСТ 7016-75 Постановлением Госстандарта СССР от 12.10.1982 N 3945 с 1 июля 1983 года введен в действие ГОСТ 7016-82. | |
| | ИС МЕГАНОРМ: примечание. Взамен ГОСТ 15612-78 Постановлением Госстандарта СССР от 26.03.1985 N 828 с 1 января 1986 года введен в действие ГОСТ 15612-85. | |
3.52. Поверхности несущих и ограждающих конструкций, подлежащие защитной обработке (нанесение лакокрасочных материалов, тиоколовых мастик, составов на основе эпоксидных смол), должны быть ровные и гладкие. Высота неровностей поверхностей, предназначенных для нанесения непрозрачных покрытий, должна быть не более 800 мкм, а прозрачных - не более 320 мкм по ГОСТ 7016-75. Чистота обработки поверхности проверяется сравнением с эталоном. Шероховатость поверхности эталона определяется по ГОСТ 15612-78 с помощью микроскопа ТСП-4. Перед защитной обработкой на поверхностях не должно быть масляных пятен, пыли, нефрезерованных участков с наплывами клея и всякого рода загрязнений, которые могут служить причиной отслаивания защитного покрытия.
3.53. Перед нанесением защитных покрытий рекомендуется заделка щелей и трещин пастами на основе карбамидных, фенолоформальдегидных, фенолорезорциновых и других клеев.
В качестве наполнителя (для придания пастам нужной консистенции) рекомендуется применять измельченные древесные опилки.
3.54. Перед нанесением влаго- и огнезащитных покрытий кромки и острые углы у несущих ДКК рекомендуется закруглять радиусом не менее 10 мм. Выполнение такой операции способствует получению равномерной толщины покрытия на всей поверхности обрабатываемой конструкции, снижению внутренних касательных напряжений в покрытии, которые имеют максимальные значения у острых кромок, где начинается образование трещин и отслаивание покрытия.
Кроме того, необходимо учитывать, что острые грани и углы более подвержены воздействию открытого пламени и быстрее загораются.
3.55. Во избежание удаления слоев древесины, наиболее насыщенных солями, и предохранения режущего инструмента от истирания, имеющего место при обработке пропитанной древесины, элементы ограждающих конструкций подлежат био- и огнезащитной пропитке после их полной механической обработки (за исключением поверхностей, на которые наносится клей).
Если после пропитки возникнет необходимость в дополнительной механической обработке на строительной площадке (сверление отверстий, выбор пазов, гнезд и т.п.), то обнажившиеся непропитанные участки поверхности должны быть пропитаны на месте кистевым методом (3 - 4-кратное нанесение) тем же пропиточным составом.
3.56. Влажность древесины элементов конструкций, поступающих на защитную обработку (окраску, пропитку), должна соответствовать требованиям технической документации, утвержденной в установленном порядке на эти конструкции.
Защита лакокрасочными материалами
Приготовление рабочих составов
3.57. Рабочие лакокрасочные составы должны приготовляться в краскоприготовительном помещении с температурой воздуха 18 - 22 °C.
Здесь же должен храниться суточный запас лакокрасочного материала.
3.58. Рабочие составы следует приготовлять из материалов, имеющих паспорта завода-изготовителя, а также анализ и заключение лаборатории об их пригодности.
3.59. Приготовление рабочих составов выполняют в следующей последовательности:
смешение компонентов состава (если он имеет два и более компонента);
разбавление лакокрасочных материалов растворителями;
размешивание лакокрасочных материалов;
фильтрование лакокрасочных материалов;
определение рабочей вязкости.
3.60. Разведение лакокрасочных материалов до рабочей вязкости производят растворителями в соответствии с требованиями ГОСТа и ТУ на конкретные материалы. Рецептура комбинированных растворителей приведена в
Прил. 1. Вязкость рабочих составов определяют вискозиметром ВЗ-4 при температуре лакокрасочного материала 18 - 22 °C по
ГОСТ 8420-74.
3.61. Перед наливом эмалей, лаков и растворителей отверстие и поверхность тары необходимо тщательно вытирать от грязи и пыли для устранения возможности загрязнения материалов. При наличии пленки ее следует осторожно удалить, не смешивая со всем лакокрасочным материалом.
3.62. Эмали и краски перед разведением необходимо тщательно перемешать чистой деревянной мешалкой до получения однородного материала без малейшего осадка пигмента на дне тары.
Лаки после удаления пленки перемешивать не рекомендуется: их следует осторожно слить в смеситель для разведения. Остаток с осадком сливают в специальный бак для отходов.
3.63. Рабочие составы перед нанесением должны быть профильтрованы. Для фильтрования применяют проволочные тканые сетки по ГОСТ 3584-73 или ГОСТ 6613-73.
Нанесение лакокрасочных материалов
3.64. Нанесение лакокрасочных материалов на несущие и ограждающие конструкции может производиться механизированным способом (методы пневматического и безвоздушного распыления) и ручными инструментами (кистью, валиком).
Механизированное нанесение лакокрасочных материалов может осуществляться с помощью установок для бескамерной окраски и в стационарных камерах.
Ограждающие конструкции (панели, плиты) рекомендуется окрашивать на автоматизированных поточных линиях.
3.65. Метод пневматического распыления получил наиболее широкое распространение при окраске промышленных изделий. При пневматическом распылении лакокрасочный материал при помощи сжатого воздуха превращается в тонкую аэрозольную дисперсную массу, которая наносится на поверхность изделия.
Основные технологические параметры нанесения лакокрасочных материалов методом пневматического распыления приведены в табл. 11.
Таблица 11
Материал | Рабочая вязкость по ВЗ-4 при 20 °C, с | Давление сжатого воздуха, МПа | Толщина однослойного покрытия, мкм | Растворитель |
ХВ-110 ХВ-124 ХВ-1100 | 17 - 23 | 0,2 - 0,25 | 15 - 25 | Р-5 |
ХВ-5169 | 18 - 22 | 0,25 - 0,3 | 25 - 35 | Р-5 |
ХВ-784 | 16 - 22 | 0,2 - 0,25 | 10 - 15 | Сольвент |
ПФ-133 ПФ-115 | 25 - 32 | 0,2 - 0,25 | 20 - 30 | Уайт-спирит |
УР-49 УР-293 УР-294 | 13 - 15 | 0,25 - 0,3 | 10 - 15 | Р-189 |
УРФ-1128 | 18 - 20 | 0,25 - 0,3 | 25 - 30 | Сольвент, уайт-спирит, ксилол или их смесь в любом соотношении |
ПФ-170 ПФ-171 ПФ-283 ГФ-166 | 20 - 25 | 0,2 - 0,25 | 15 - 25 | Сольвент, ксилол, скипидар |
ОС-12-01 ОС-12-03 | 20 - 25 | 0,25 - 0,3 | 30 - 40 | Толуол |
При подогреве лакокрасочных материалов резко снижается их вязкость. Это позволяет использовать для распыления вязкие лакокрасочные материалы с незначительным разведением растворителем. При этом сокращается число наносимых слоев из-за увеличения в 1,5 - 2 раза толщины одного слоя и повышения укрывистости, а следовательно, и производительности; снижаются потери на туманообразование в результате пониженного содержания растворителей.
Условия нанесения и толщина одного слоя покрытия для некоторых лакокрасочных материалов при пневмораспылении с подогревом приведены ниже.
Вязкость по ВЗ-4 при нагревании
до 70 °C, с Толщина слоя
покрытия, мкм
Пентафталевые лаки и эмали 35 - 40 40 - 45
Перхлорвиниловые эмали 30 - 35 30 - 35
В зависимости от формы и размеров окрашиваемой поверхности используют краскораспылители с плоской и круглой формой факела.
Плоский факел применяют при окрашивании больших сплошных поверхностей, так как он оставляет более широкую полосу и позволяет работать более производительно. Изделия небольших размеров и сложной формы рекомендуется окрашивать краскораспылителями с круглым факелом.
Расстояние от краскораспылителя до окрашиваемой поверхности при плоском факеле должно составлять 250 - 350 мм в зависимости от вязкости распыляемого лакокрасочного материала (оно меньше для высоковязких и больше для низковязких материалов).
При круглом факеле расстояние должно быть 280 - 320 мм.
Скорость перемещения краскораспылителя должна быть равномерной и составлять 14 - 18 м/мин.
3.66. При безвоздушном распылении лакокрасочный материал под гидравлическим давлением подается к соплу и распыляется при выходе в атмосферу за счет резкого падения давления.
По сравнению с методом пневмораспыления этот метод имеет ряд преимуществ:
снижаются потери лакокрасочного материала на туманообразование (до 20%);
уменьшается расход растворителей в связи с возможностью распыления более вязких лакокрасочных материалов;
требуется менее мощная вентиляция, так как необходимо удалять только пары растворителей;
уменьшается трудоемкость окрасочных работ за счет возможности нанесения утолщенного слоя покрытия;
улучшаются санитарно-гигиенические условия работы в окрасочном цехе.
Метод безвоздушного распыления применяют для нанесения лакокрасочных материалов, имеющих температуру окружающей среды или нагретых до 100 °C. Этим методом можно наносить лакокрасочные материалы на основе различных пленкообразующих. Материалы при этом могут иметь повышенную вязкость - до 100 с по ВЗ-4.
Метод рекомендуется применять при окраске средних, крупных и особо крупных изделий.
Основные технологические параметры при нанесении лакокрасочных материалов методом безвоздушного распыления без подогрева и с подогревом приведены в табл. 12.
Таблица 12
Материал | Без подогрева | С подогревом | Растворитель |
Рабочая вязкость по ВЗ-4 при 20 °C, с | Рабочее давление, МПа | Толщина однослойного покрытия, мкм | Рабочая вязкость по ВЗ-4 при 20 °C, с | Рабочее давление, МПа | Температура нагревания материала, °C | Толщина однослойного покрытия, мкм |
ХВ-110 ХВ-124 ХВ-1100 ХВ-5169 | 18 - 22 | 12 - 15 | 20 - 25 | 40 - 45 | 6 | 50 - 60 | 35 - 40 | 100% Р-4 или Р-5 +7% сольвента |
ХВ-784 | 18 - 22 | 12 - 15 | 18 - 22 | 40 - 45 | 6 | 50 - 60 | 35 - 37 | То же |
ПФ-115 ПФ-133 | 30 - 45 | 13 - 20 | 25 - 35 | 75 - 80 | 6 | 90 - 100 | 45 - 50 | Сольвент, ксилол |
ПФ-170 ПФ-171 | 60 | 12 - 16 | 20 - 35 | - | - | - | - | То же |
ОС-12-01 ОС-12-03 | 25 | 12 - 15 | 35 | 40 - 45 | 6 | 50 - 60 | 45 - 50 | Толуол |
Лакокрасочный материал способом безвоздушного распыления следует наносить на поверхность параллельными полосами, перемещая распылитель перпендикулярно обрабатываемой поверхности на расстоянии 300 - 450 мм со скоростью 20 - 30 м/мин.
Примечание. Перечень и технические характеристики оборудования, необходимого для нанесения и сушки лакокрасочных материалов методами пневматического и безвоздушного распыления, приведены в "Методических рекомендациях по применению прозрачных лаковых покрытий при комплексной защите клееных деревянных конструкций для сельского хозяйства" (ЦНИИСК им. Кучеренко, М., 1976).
3.67. Метод нанесения лакокрасочных материалов кистью применяется в тех случаях, когда невозможно применить механизированные способы нанесения, а также при окраске дефектных мест после механизированного нанесения и при ремонтных работах по восстановлению лакокрасочных покрытий.
Метод нанесения лакокрасочного материала ручными валиками более производителен, но может применяться только при окраске плоских поверхностей: боковых поверхностей несущих конструкций прямоугольного сечения, обшивок панелей стен и плит покрытия.
Сушка лакокрасочных покрытий
3.68. Сушка лакокрасочных покрытий, нанесенных на ДКК, может быть естественной на открытой площадке или в помещении (при 18 - 22 °C и относительной влажности не выше 65%) и принудительной искусственной при повышенной температуре.
При выборе режимов необходимо учитывать конфигурацию и размеры окрашиваемой конструкции, технологические ограничения по температурному режиму, производительности, наличие производственных площадей.
Сушку окрашенных конструкций в естественных условиях следует производить при непоточном производстве и наличии специальных площадей. При серийном поточном производстве рекомендуется использовать проходные камеры периодического и непрерывного действия (см.
п. 3.65).
Технологические параметры сушки лакокрасочных покрытий приведены в табл. 13.
Таблица 13
Лакокрасочное покрытие | Продолжительность практического высыхания при t = 18 - 22 °C, ч | Продолжительность межслойной сушки, ч, при температуре, °C |
18 - 22 | 50 - 60 | 60 - 65 | 90 - 95 |
ХВ-110 | 3 | 1 | - | 0,5 | - |
ХВ-1100 | 1 | 0,5 | 0,3 | - | - |
ХВ-124 | 2 | 1 | - | 0,3 | - |
ХВ-5169 | 3 | 1 | - | 0,5 | - |
ХВ-784 | 1 | 1 | - | 0,5 | - |
ПФ-115 | 48 | 24 | - | - | 1 |
ПФ-170 | 72 | 48 | - | - | 3 |
ПФ-171 | 48 | 24 | - | - | 3 |
УР-49 | 24 | - | - | - | - |
УР-293 | 40 | 0,7 | - | - | - |
УР-294 | 24 | 0,5 | - | - | - |
УРФ-1128 | 6 | 1 | 0,5 | - | - |
ОС-12-01 ОС-12-03 | 24 | 1 | - | - | - |
ПФ-133 | 1,5 (при 80 °C) | - | - | - | - |
ГФ-166 | 48 | 24 | 3 | - | - |
ПФ-283 | 36 | 24 | 4 | - | - |
Примечание. До начала перевозки конструкции должны быть выдержаны в помещении с t = 18 - 22 °C не менее 3 - 4 сут.
Защита тиоколовыми мастиками
Приготовление мастик
3.69. Покрытия на основе тиоколовых мастик У-30м и УТ-32 состоят из грунтовочного и покровного слоев. В качестве грунта используются мастики У-30м и УТ-32, разбавленные 15 - 20 мас. ч. растворителя на 100 мас. ч. основной пасты (У-30, У-32).
Мастики, разбавленные 5 - 10 мас. ч. растворителя, применяются для покровного слоя.
Для разбавления мастик можно использовать ацетон с этилацетатом в соотношении 1:1, ацетон, этилацетат, Р-4, Р-5, циклогексанон и метилэтилкетон.
Следует учитывать, что при использовании низкокипящих растворителей (ацетона, этилацетата) жизнеспособность мастик значительно сокращается (в 1,5 - 2 раза).
3.70. Приготовление мастик производится в следующей последовательности. Сначала основную пасту (У-30, У-32) разводят половинной порцией растворителя, а другой порцией растворителя разводят пасту N 9 и добавляют туда ДФГ. Разведение производят в разных емкостях. Разведенные исходные компоненты можно приготавливать с запасом на несколько дней работы. Перед началом работы компоненты смешивают до получения однородного состава в течение 5 мин. Сразу же после смешивания начинается необратимый процесс вулканизации, во время которого вязкость мастики резко возрастает. Поэтому рабочие составы этих мастик рекомендуется приготовлять небольшими порциями.
3.71. Жизнеспособность тиоколовых мастик, а также продолжительность вулканизации зависят от температуры и относительной влажности воздуха, содержания вулканизующего агента и ускорителя вулканизации, а также от массы единовременно приготовляемой мастики.
При повышении температуры вулканизации на каждые 10 °C при прочих равных условиях жизнеспособность тиоколовых мастик снижается в 2 - 3 раза, а при повышении влажности на 10% - в 1,2 раза. Продолжительность вулканизации при этом соответственно сокращается. Жизнеспособность мастик колеблется от 2 до 9 ч.
Изменение жизнеспособности достигается в основном за счет изменения содержания вулканизующих агентов.
Для увеличения жизнеспособности рекомендуется консервация состава в холодильной камере при температуре от +5 до -20 °C с последующей выдержкой при температуре 18 - 22 °C.
3.72. Приготовление рабочих составов тиоколовых мастик (дозировка, перемешивание) должно производиться в вентилируемом помещении при температуре не ниже 18 °C.
Перемешивание компонентов следует производить в мешалках лопастного типа или вручную в ведрах.
Нанесение мастик
3.73. Обработку поверхностей производят в следующей последовательности:
биозащитная обработка (в случаях, указанных в
табл. 8);
нанесение грунтовочного слоя;
нанесение покровного слоя.
Нанесение грунтовочного слоя производят кистью, а покровного - шпателем. Покровный слой наносят за один раз через 18 - 20 ч после нанесения грунтовочного слоя. Толщина покрытия должна быть не менее 700 мкм.
3.74. Для покровного слоя можно использовать мастики без разведения растворителем. В этом случае, хотя и затрудняется перемешивание, увеличивается жизнеспособность мастик, а покрытие получается более качественным.
Неполный процесс вулканизации, при котором мастики приобретают эластические свойства (превращаются в резиноподобный материал), осуществляется за 24 ч при температуре 18 - 22 °C.
Защита составами на основе эпоксидных смол
Приготовление составов
3.75. Составы для покрытий на основе эпоксидной шпатлевки ЭП-0010 (см.
табл. 4) готовят следующим образом. При приготовлении состава I шпатлевочную пасту сначала разбавляют растворителем, тщательно перемешивают, а затем вводят отвердитель N 1. При приготовлении состава II шпатлевочную пасту разбавляют растворителем, вводят в нее отвердитель N 1, а затем при постоянном перемешивании - наполнитель, который перед этим должен быть просеян через сито N 09 и просушен при температуре 105 - 120 °C в течение 3 ч.
Жизнеспособность рабочих составив невелика (для состава I она составляет 3 - 4 ч, а для состава II - 1,5 - 2 ч), поэтому готовить их рекомендуется перед самым началом работ.
3.76. При приготовлении рабочих составов на основе шпатлевки ЭП-0010 можно пользоваться номограммой (рис. 15), которая позволяет, не проводя вычислений, определить массу каждого исходного компонента.
Рис. 15. Номограмма для определения количества компонентов
при приготовлении составов на основе шпатлевки ЭП-0010
Пример 1. Подобрать компоненты для приготовления 6 кг состава I.
На нижней горизонтальной шкале в правой части номограммы находим цифру 6, выражающую количество состава, кг, которое необходимо приготовить. Затем проводим вертикальную прямую до пересечения с наклонной линией, обозначенной цифрой 20 (20 мас. ч. растворителя), и горизонтальную до пересечения с наклонной линией, обозначенной цифрой 20 (20 мас. ч. растворителя) на левой половине номограммы. В месте пересечения горизонтальной линии с вертикальной шкалой находим количество шпатлевочной пасты - 4,7 кг. В месте пересечения горизонтальной линии со второй наклонной линией в правой части номограммы проводим вертикаль вверх до пересечения с горизонтальной шкалой, где находим необходимое количество отвердителя N 1 - 390 г. На левой половине номограммы в месте пересечения горизонтальной линии с наклонной проводим вниз вертикаль до пересечения с горизонтальной шкалой, где находим количество растворителя - 920 г. Ход расчета показан стрелками и обозначен буквой А.
Проверка: 4,7 + 0,39 + 0,92 = 6,01 ~= 6 кг.
Пример 2. Подобрать компоненты для приготовления 10,5 кг состава II.
Ход решения показан стрелками и обозначен буквой Б. В этом примере перпендикуляры восстанавливают в местах пересечения горизонтальной линии с наклонными, обозначенными цифрой 10 (10 мас. ч. растворителя). Находим 6,2 кг шпатлевочной пасты и 620 г растворителя. Количество отвердителя находим так же, как и в предыдущем примере, - 540 г. Для нахождения необходимого количества наполнителя продолжим горизонтальную прямую влево до пересечения с крайней вертикальной шкалой, получаем 3,1 кг.
Проверка: 6,2 + 0,62 + 0,54 + 3,1 = 10,46 ~= 10,5 кг.
3.77. При приготовлении составов на основе смол К-153 и К-115 для грунтования поверхности, приклеивания и пропитки армирующего материала (см.
табл. 4, состав I) сначала в отмеренное количество смолы вводят растворитель, а затем - отвердитель.
При приготовлении состава II (для покровных слоев) в смолу последовательно вводят отвердитель и наполнитель (см.
п. 3.75). Жизнеспособность составов 1 - 2 ч.
3.78. При приготовлении составов необходимо иметь в виду, что взаимодействие отвердителей с эпоксидными смолами носит экзотермический характер, приводящий к интенсивному разогреву состава и быстрому отверждению. Жизнеспособность готового состава во многом зависит от его объема (количества), приготовляемого за один прием, и условий приготовления. Поэтому отвердители рекомендуется вводить непосредственно перед началом работы по нанесению состава. Для предохранения разогрева состава его рекомендуется приготовлять в металлической посуде, хорошо отводящей тепло экзотермической реакции: при больших объемах работ - в эмалированных смесителях с водяной рубашкой (число оборотов не более 50 - 60 об/мин), при малых - вручную в ведрах с обязательным охлаждением.
Нанесение составов
3.79. Составы на основе шпатлевки ЭП-0010 наносят в следующей последовательности. На предварительно пропитанные биозащитными составами и высушенные поверхности (пропитка производится в случаях, указанных в
табл. 9) кистью наносят грунтовочный слой, который сушат в течение 4 - 5 ч при температуре 18 - 22 °C. Затем шпателем наносят

слой.
3.80. При устройстве армированных покрытий на основе шпатлевки ЭП-0010 и смол К-153 и К-115 на предварительно пропитанные биозащитными составами поверхности наносят кистью грунтовочный слой (грунтование боковых поверхностей необязательно) и выдерживают его в течение 4 - 5 ч. Затем наносят приклеивающий слой и сразу же укладывают стеклосетку (стеклоткань), которую прикатывают обрезиненным металлическим валиком через полиэтиленовую пленку и пропитывают тем же составом. Стеклосетка (стеклоткань) раскраивается заранее таким образом, чтобы она полностью покрывала поверхности, подлежащие защите, а в местах стыкования имела нахлест не менее 5 см. В местах сгиба по углам, где стеклосетка (стеклоткань) должна переходить с торцовой поверхности на боковую, ее надрезают. Чтобы под стеклосеткой (стеклотканью) не скапливались пузырьки воздуха, прикатывать ее рекомендуется от центра к периферии.

слой наносят кистью или шпателем через 2 - 3 ч после пропитки стеклосетки (стеклоткани).
Сушка армированных и неармированных покрытий длится 24 ч при температуре 18 - 22 °C. Толщина защитного покрытия должна быть не менее 700 мкм.
Схема нанесения армированного покрытия на торцы несущих ДКК показана на рис. 16.
Рис. 16. Устройство армированного покрытия
а - раскрой стеклоткани; б - нанесение биозащитного,
грунтовочного и приклеивающего составов; в - укладка
и прикатывание стеклоткани; г - нанесение

слоя
3.81. В процессе строительства здания или сооружения, а также при его эксплуатации (ремонте) может возникнуть необходимость в нанесении армированного покрытия (бандажа) прямо на месте. В этом случае с участка конструкции, подлежащего защитной обработке, необходимо удалить лакокрасочное покрытие (см.
п. 4.25), очистить поверхность от всякого рода загрязнений, обработать биозащитным составом, просушить, а затем нанести покрытие в соответствии с технологией, описанной в
п. 3.80.
Если покрытие наносится на участок, имеющий трещины или неровности, последние необходимо предварительно зашпаклевать тем же составом, который используется для покровного слоя.
Производить работы на месте допускается только в теплую сухую погоду (при температуре не ниже плюс 16 °C). Обработку рекомендуется вести под навесом или устраивать над обрабатываемым участком укрытие в виде козырька, чтобы исключить возможность попадания на него дождя.
Приготовление водных растворов пропиточных составов
и препаратов
3.82. Сухие компоненты био- и биоогнезащитных составов и препаратов, слежавшиеся в комки, предварительно размельчают и просеивают через сито с проволочными сетками по
ГОСТ 3584-73 или
ГОСТ 6613-73 (размер стороны ячейки в свету должен быть не более 1 мм).
Массу каждого компонента для приготовления раствора требуемой концентрации рассчитывают по формуле

, (1)
где N - масса компонента, кг;
G - масса приготовляемого раствора, кг;
c - заданная концентрация раствора, %;
g - содержание основного вещества в техническом продукте, %;
K - содержание данного компонента в составе или препарате, %.
Пример 1. Требуется приготовить 3000 кг 20%-ного раствора препарата ББ-32.
Соотношение буры и борной кислоты в препарате ББ-32 равно 1,5:1 (60% буры и 40% борной кислоты). Пользуясь
формулой (1), определим требуемое количество буры, учитывая, что она содержит 94% основного вещества:

.
Количество основного вещества в борной кислоте (по паспортным данным) - 98%.

.
Требуемое количество воды для приготовления раствора
3000 - (383 + 245) = 2372 кг.
При приготовлении однокомпонентных составов массу сухого компонента определяют по формуле:

. (2)
Пример 2. Необходимо приготовить 1500 кг 15%-ного раствора кремнефтористого аммония, содержащего 92% основного вещества. По формуле (2) получим

.
Количество воды, необходимое для приготовления раствора:
1500 - 244 = 1256 кг.
3.83. При приготовлении рабочих растворов температура воды должна быть, °C:
ББ-32, ТФБА . . . . . . . . . . . . . . . . . . . . . . . . . 80 - 90
ХМБ-444 . . . . . . . . . . . . . . . . . . . . . . . . . . . 40 - 50
ХМББ-3324 . . . . . . . . . . . . . . . . . . . . . . . . . . 50 - 60
КФА . . . . . . . . . . . . . . . . . . . . . . . . . . . . . 20 - 30
3.84. Компоненты препарата ББ-32 можно вводить в раствор в любой последовательности. Последовательность загружения и растворения компонентов препарата ХМБ-444 должна соответствовать порядку их расположения в
табл. 6.
3.85. Препарат ХМББ-3324 готовят следующим образом. Отвешенное количество бихромата натрия (калия), медного купороса и борной кислоты растворяют последовательно в половинном количестве подогретой воды. Буру растворяют отдельно в оставшемся количестве воды. Затем оба раствора смешивают и добавляют к смеси ледяную уксусную кислоту до полного растворения осадка и создания pH = 4,5 - 5.
3.86. Пропиточный раствор препарата МБ-1 получается при слиянии двух растворов.
ПРИГОТОВЛЕНИЕ 100 Л РАСТВОРА
Первый рабочий раствор. В 15 л воды с температурой 30 °C растворяют 3,1 кг медного купороса. После охлаждения раствора до 20 °C в нем растворяют 4 кг аммония углекислого, который следует добавлять в раствор постепенно, особенно вначале, поскольку реакция образования медноаммиачного комплекса сопровождается бурным выделением углекислого газа.
Второй рабочий раствор. В 68 л воды с температурой 55 - 60 °C растворяют смесь, состоящую из 6,1 кг буры и 3,9 кг борной кислоты.
Не охлаждая, второй раствор приливают к первому, тщательно перемешивают и только затем приготовленный раствор охлаждают.
3.87. Приготовление растворов рекомендуется производить в резервуарах, снабженных смесительными устройствами (с гидравлическим, паровым или пневматическим приводом), фильтрами для задержания нерастворившихся частиц перед выпуском готового раствора в пропиточные ванны, а также крышками, плотно закрывающими загрузочные люки. Перемешивание растворов прекращают только после полного растворения компонентов (обычно 30 - 40 мин).
| | ИС МЕГАНОРМ: примечание. Взамен ГОСТ 1300-74 Постановлением Госстандарта СССР от 02.06.1981 N 2778 с 1 января 1983 года введен в действие ГОСТ 18481-81. | |
3.88. Концентрацию пропиточного раствора определяют ареометрическим методом (по плотности раствора). Из мешалки или емкости для приготовления раствора отбирают пробу объемом 300 - 500 мл и помещают в цилиндр. Для отбора проб используют стеклянные или металлические трубки диаметром 12 - 15 мм и длиной, позволяющей взять раствор на глубине 0,7 - 1 м. Нижний конец трубки должен иметь сужение диаметром 10 мм. При взятии пробы верхнее отверстие трубки зажимают пальцем и опускают в раствор на заданную глубину. Затем палец отнимают, раствор заполняет трубку, после чего верхнее отверстие трубки снова закрывают пальцем и вынимают ее. Пробу фильтруют, доводят до 20 °C, а затем ареометром со шкалой от 1,000 до 1,400 (ГОСТ 1300-74) определяют плотность раствора, по которому, пользуясь графиком (рис. 17), находят концентрацию раствора в процентах.
Рис. 17. Зависимость плотности растворов био-
и биоогнезащитных составов и препаратов от их концентрации
1 - ХМБ-444; 2 - КФА; 3 - ТФБА; 4 - ББ-32 и ББ-11;
5 - ХМББ-3324; 6 - МБ-1
3.89. Для того чтобы отличить обработанные заготовки от необработанных, к бесцветным растворам (КФА, ТФБА, ББ-32) рекомендуется добавлять анилиновые красители из расчета 50 г сухой краски на 100 л раствора:
прямой красный 2С (ГОСТ 21498-76);
прямой оранжевый прочный (ГОСТ 19102-73*);
кислотный алый и кислотный алый прочный (ГОСТ 10850-64*).
Пропитка древесины и фанеры
| | ИС МЕГАНОРМ: примечание. ГОСТ 20022.9-76 утратил силу в связи с введением в действие с 1 января 1995 года ГОСТ 20022.6-93 (ИУС "Государственные стандарты", N 5, 1994). | |
3.90. Пропитку деревянных элементов каркаса и дощатых обшивок ограждающих конструкций производят по ГОСТ 20022.9-76 способом нанесения на поверхность (погружение, распыление, нанесение кистью).
Кратность обработки K вычисляют по формуле

, (3)
где P - заданное удержание сухой соли состава или препарата, г/м
2 (см.
табл. 10);
G - удержание пропиточной жидкости при однократной обработке, г/м2;
c - концентрация пропиточной жидкости, %.
Удержание пропиточной жидкости G при однократной обработке элементов каркаса и дощатых обшивок должно соответствовать данным, приведенным в табл. 14.
Способ пропитки | Вид обрабатываемой поверхности |
нестроганая | строганая | фанера |
Погружение | 200 | 120 | 100 |
Нанесение кистью | 200 | 120 | 80 |
Распыление | 140 | 80 | 50 |
Каждое последующее нанесение раствора проводят сразу после впитывания раствора, нанесенного ранее, до просыхания древесины.
| | ИС МЕГАНОРМ: примечание. Межгосударственным Советом по стандартизации, метрологии и сертификации 21.10.1993 принят с 1 января 1995 года ГОСТ 20022.6-93. | |
Примечание. При использовании КФА, ХМБ-444, ХМББ-3324, МБ-1, ТФБА и ББ-32 допускается пропитка элементов каркаса и дощатых обшивок другими способами, например способом прогрев-холодная ванна по ГОСТ 20022.6-76, вакуум-атмосферное давление-вакуум по ГОСТ 20022.8-76 и др. При пропитке препаратами ХМБ-444 и ХМББ-3324 по ГОСТ 20022.6-76 прогрев заготовок следует осуществлять паром (допускается прогрев воздухом). Во всех случаях температура пропиточного раствора препаратов ХМБ-444 и ХМББ-3324 не должна быть выше 40 - 50 °C, при пропитке другими составами - не выше 90 °C.
3.91. Элементы каркасов и дощатых обшивок перед погружением в ванну с пропиточным раствором должны быть уложены в контейнеры или сформированы в пакеты. Для обеспечения лучшего качества пропитки и сушки элементы рекомендуется укладывать таким образом, чтобы между ними оставались горизонтальные и вертикальные зазоры (не менее 20 мм).
Контейнеры или пакеты с заготовками во время пропитки следует пригружать во избежание всплытия. Уровень пропиточной жидкости в ванне должен быть на 20 см выше верхнего ряда пропитываемых элементов.
После пропитки элементов каркаса поверхности, подлежащие склеиванию, следует фрезеровать для снятия пропитанных слоев древесины.
3.92. Обработку фанерных обшивок ограждающих конструкций водными растворами КФА, ХМБ-444, ХМББ-3324, МБ-1, ТФБА и ББ-32 рекомендуется проводить в холодных ваннах с предварительным прогревом обшивок горячим воздухом. Режим обработки выбирается по табл. 15 в зависимости от требуемого удержания сухой соли и концентрации раствора.
Таблица 15
Состав, препарат | Концентрация раствора, % | Требуемое удержание сухой соли, г/м2 | Номер режима обработки | Продолжительность обработки, мин |
прогрев воздухом при 100 - 110 °C | выдержка в ванне с холодным раствором (20 - 30 °C) |
КФА ТФБА ХМБ-444 МБ-1 | 15 | 40 | I | 10 | 10 |
ББ-32 | 20 | 60 |
КФА ТФБА ХМББ-3324 | 10 | 40 | II | 20 | 20 |
Примечания. 1. Перенос прогретых обшивок в ванну с раствором (при прогреве обшивок в отдельной камере) должен производиться без соприкосновения их с холодным воздухом.
2. Послепропиточная сушка обшивок должна производится при температуре не выше 70 °C до исходной влажности.
3. При сушке пропитанных обшивок в камере не следует допускать соприкосновения их с сильно нагретым металлом камеры во избежание разложения солей.
| | ИС МЕГАНОРМ: примечание. ГОСТ 20022.9-76 утратил силу в связи с введением в действие с 1 января 1995 года ГОСТ 20022.6-93 (ИУС "Государственные стандарты", N 5, 1994). | |
Допускается пропитывать фанерные обшивки способом нанесения на поверхность по ГОСТ 20022.9-76.
Удержание пропиточной жидкости при однократной обработке фанерных обшивок должно соответствовать данным, приведенным в
табл. 14.
Пропитку фанерных обшивок в ваннах способом прогрев воздухом - холодная ванна или погружением по ГОСТ 20022.9-76 осуществляют в контейнерах, куда их устанавливают в вертикальном положении с зазорами 10 см. Контейнеры должны быть снабжены зажимными устройствами, обеспечивающими формонеизменяемость обшивок при пропитке и последующей сушке, а также пригрузом против всплытия.
3.93. Нанесение водных растворов биозащитных составов (15%-ные растворы ХМБ-444, КФА, ТФБА) на торцы несущих ДКК следует производить за один раз, а на боковые поверхности, прилегающие к торцам, и в местах пересечения утепленных ограждающих конструкций - за три раза. Нанесение пропиточного раствора удобнее всего производить кистью.
Приготовление растворов
3.94. Основные технологические операции по приготовлению огнезащитных пропиточных растворов (размельчение, просеивание и загрузка компонентов, перемешивание и определение концентрации раствора) производят так же, как и при приготовлении биозащитных растворов (см.
пп. 3.82,
3.87 -
3.89).
3.95. Рабочие растворы готовят в следующей последовательности.
Составы МС 1:1 и МС 3:7. В воде с температурой 65 - 75 °C растворяют сначала диаммонийфосфат, являющийся ингибитором коррозии в данной среде, затем сульфат аммония и фтористый натрий в соотношении, указанном в
табл. 7.
Плотность раствора 17%-ной концентрации при 20 °C должна быть 1,11, а 21,5%-ной - 1,18.
Пропиточный раствор пригоден для многократного пользования в течение 15 - 20 дн.
Состав МС. В теплой воде с температурой 65 - 75 °C (75% общего количества по рецепту) растворяют технический диаммонийфосфат или аммофос. По получении плотности раствора не ниже 1,17 при температуре 20 °C к нему приливают керосиновый контакт или другие поверхностно-активные вещества по рецепту согласно
табл. 7. После этого загружается при постоянном перемешивании до растворения сернокислый аммоний, а затем фтористый натрий.
Состав ПП. В теплой воде (50 - 60 °C) растворяют при хорошем перемешивании технический поташ. По получения плотности раствора не ниже 1,24 при температуре 20 °C к нему приливают керосиновый контакт или другие поверхностно-активные вещества согласно рецепту, приведенному в
табл. 7.
Препарат ББ-11 готовят так же, как препарат ББ-32 (см.
пп. 3.82 -
3.84).
Препарат МБ-1. Порядок приготовления препарата приведен в
п. 3.86.
Подготовка заготовок к пропитке
3.96. Влажность заготовок, подлежащих пропитке, не должна превышать 15 +/- 2%.
3.97. Для введения в древесину сухой соли антипирена в количестве не менее 66 кг/м
3 заготовки перед пропиткой следует накалывать в соответствии с
ГОСТ 20022.3-75.
3.98. Заготовки разных размеров необходимо пропитывать раздельно. Допускается в одной партии пропитывать заготовки, толщина которых отличается не более чем на 5 мм.
3.99. Укладка заготовок на вагонетку (при пропитке в автоклавах), в контейнеры или пакеты (при пропитке в ваннах) должна производиться с учетом обеспечения достаточной циркуляции пропиточного раствора в процессе пропитки во избежание местных перегревов или охлаждений пропитываемого материала.
3.100. При укладке заготовок длиной более 2,5 м и шириной более 80 мм необходимо применять прокладки толщиной 10 - 12 мм; при толщине более 25 мм - через каждый ряд; при толщине до 25 мм - через каждые два ряда.
При укладке коротких заготовок от 0,5 до 1,5 м предварительно укладывается ряд длинных и достаточно толстых деталей, которые являются поддоном.
3.101. Заготовки при пропитке должны быть предохранены от всплывания, для чего вагонетки должны быть оборудованы специальными цепями для фиксации откидных дуг, а контейнеры и пакеты оборудованы противовсплывными устройствами.
Пропитка древесины в автоклавах способом вакуум-давление
3.102. Предварительно подготовленные заготовки, уложенные на вагонетку, загружают в пропиточный цилиндр, после герметизации которого включают вакуум-насос и создают разрежение в цилиндре 0,06 - 0,08 МПа, поддерживаемое в течение 1 ч.
После откачки воздуха цилиндр полностью заполняют раствором (МС 1:1, ББ-11, МБ-1) из расходного бака, одновременно выравнивают давление в цилиндре до атмосферного, затем нагнетательным насосом его доводят до 1 - 1,2 МПа. С проникновением раствора в древесину давление в цилиндре постепенно падает, поэтому нагнетательным насосом его вновь поднимают до 1 - 1,2 МПа и поддерживают до тех пор, пока оно не станет постоянным. Для заготовок из древесины сосны и ели продолжительность пропитки составляет от 8 до 12 ч.
Температуру раствора в процессе пропитки поддерживают на уровне 60 - 70 °C.
По окончании выдерживания заготовок в цилиндре давление постепенно снижают до атмосферного, после чего заготовки оставляют в цилиндре для стекания раствора на 10 - 15 мин.
После окончания стекания раствора пропитка считается законченной, цилиндр открывают, древесину выгружают и направляют на сушку, которая производится при температуре не более 70 °C.
Пропитка древесины способом прогрев-холодная ванна
3.103. Прогрев и пропитка заготовок составами МС 3:7 и ББ-11 с заменой горячего раствора антипирена холодным без обнажения заготовок производится по режимам, приведенным в табл. 16.
Таблица 16
Толщина заготовок, мм | Горячая ванна | Холодная ванна | Поглощение раствора, л/м3 |
температура, °C | время выдержки, ч | температура, °C | время выдержки, ч |
До 50 | 90 - 95 | 4 | Начальная 20 - 25, конечная 40 - 45 | 4 | 250 |
От 50 до 100 | 5 | 5 |
3.104. Контейнер (пакет) с заготовками опускают тельфером в пустую ванну, которая с помощью того же тельфера закрывается крышкой.
После помещения контейнера в ванну последняя заполняется горячим пропиточным раствором путем перекачки из бака, а при последующих циклах пропитки - путем вытеснения из ванны в смежную ванну горячего раствора холодным.
Работа спаренных пропиточных ванн должна быть организована по смещенному графику, т.е. за время нахождения древесины в горячем растворе в смежную ванну укладывают второй контейнер (пакет) с заготовками и ванну закрывают крышкой. По окончании времени выдержки древесины в горячем растворе в первую ванну из бака подается холодный раствор, который начинает вытеснять горячий. Горячий раствор через лотки-прорези переливается в смежную ванну, в которой находится другой пакет.
Замена горячего раствора холодным осуществляется за 5 - 7 мин.
Уровень пропиточной жидкости в ваннах во время пропитки должен быть на 200 мм выше верхней грани загруженного пакета заготовок. По мере поглощения раствора древесиной производится пополнение ванн путем добавления свежего раствора.
После выдержки заготовок согласно установленному режиму пропиточный холодный раствор откачивается в бак, где и подвергается дополнительному охлаждению до температуры 20 °C.
После освобождения ванны от холодного раствора крышка при помощи тельфера снимается. Пропитанные заготовки оставляют в ванне на 10 - 15 мин для стекания раствора, после чего перемещают в сушильную камеру с температурой не выше 70 °C для удаления избыточной влаги.
Пропитка древесины способом нанесения на поверхность
3.105. Удержание сухой соли антипирена на 1 м2 обрабатываемой поверхности должно составлять не менее, г:
при обработке составом МС - 125;
при обработке составами ПП и ББ-11 - 100.
3.106. Пропитку заготовок и конструкций составами МС, ПП и ББ-11 производят способом нанесения на поверхность (погружение, распыление, нанесение кистью).
Поверхности элементов каркасов ограждающих конструкций, подлежащие склеиванию, после пропитки следует фрезеровать для снятия пропитанных слоев древесины.
На фанерные обшивки, которые должны приклеиваться к каркасу, составы МС и ПП наносят распылением, валиком или кистью, защищая шаблонами участки, на которые наносят клей.
3.107. Температура пропиточного раствора должна быть 50 - 60 °C.
Защита лакокрасочными покрытиями
Покрытия на основе эмали ХВ-5169
и органосиликатных композиций ОС-12-01 и ОС-12-03
3.108. Все технологические операции по приготовлению рабочих составов ХВ-5169, ОС-12-01 и ОС-12-03, нанесению и сушке покрытий выполняются в соответствии с
пп. 3.57 -
3.68.
Вспучивающееся покрытие ВПМ-2Д
3.109. Покрытие ВПМ-2Д выпускается заводами-изготовителями в виде текучей массы серовато-белого цвета и поставляется в герметичной упаковке (полиэтиленовый мешок, помещенный в металлическую флягу). При хранении, вследствие тиксотропных свойств загустевает, поэтому перед нанесением требует тщательного перемешивания, а в случае необходимости - разбавления водой (1 мас. ч. воды на 10 мас. ч. покрытия).
Покрытие может изготавливаться и как двухкомпонентная система, смешиваемая перед употреблением, в целях повышения срока жизнеспособности краски.
3.110. Нанесение состава ВПМ-2Д на защищаемые элементы конструкций осуществляется механизированным способом или вручную кистями.
При механизированном способе (пневмораспыление) используется пневмопистолет марки КР-2 с диаметром сопла 2 мм.
3.111. Нанесение ВПМ-2Д должно производиться в три слоя: первый грунтовочный толщиной 200 - 300 мкм, второй и третий толщиной 400 - 500 мкм.
Перед нанесением второго слоя первый должен быть подсушен в течение 4 - 5 ч при температуре не ниже 10 °C. Третий слой наносят через сутки. Окончательное формирование и отверждение покрытия наступает через 5 - 6 сут после нанесения последнего слоя.
4. КОНТРОЛЬ КАЧЕСТВА ЗАЩИТНОЙ ОБРАБОТКИ.
РЕМОНТ И ВОССТАНОВЛЕНИЕ ЗАЩИТНЫХ ПОКРЫТИЙ
КОНТРОЛЬ КАЧЕСТВА ЗАЩИТНОЙ ОБРАБОТКИ
4.1. Для обеспечения высокого качества защитных покрытий и пропиток, а также их эксплуатационной стойкости обязательно строгое соблюдение технологического процесса защитной обработки. Отсюда вытекает необходимость в систематическом техническом контроле (контроль качества). Контролю подлежат: материалы, применяемые для защитной обработки; режимы технологического процесса; последовательность основных операций технологического процесса, выполнение качественных требований.
4.2. Материалы, применяемые для защитной обработки конструкций (лаки, краски, эмали, тиоколовые мастики, эпоксидные составы, био- и биоогнезащитные составы и препараты и др.), должны удовлетворять требованиям соответствующих ГОСТов и ТУ.
4.3. Контроль материалов и правильности приготовления рабочих составов должен осуществляться заводской лабораторией, в задачи которой входят:
приемочные и контрольные испытания всех защитных материалов, поступающих на завод;
составление рабочих рецептур защитных составов для отделения окраски и пропитки;
проверка состояния защитных составов непосредственно в отделениях окраски и пропитки (вязкость и режим высыхания лакокрасочных материалов, тиоколовых мастик и эпоксидных составов, температура и концентрация пропиточных растворов и т.п.);
испытание новых видов защитных материалов;
контроль эксплуатационной стойкости защитных покрытий и пропиток;
систематический контроль температуры и относительной влажности воздуха в отделении окраски конструкций.
4.4. Оборудование лаборатории должно быть достаточно полным для возможности выполнения возлагаемых на нее функций. Рекомендуемый комплект контрольно-измерительных приборов, аппаратов и вспомогательного оборудования лаборатории приведен в
Прил. 2.
Контроль качества влагозащитной обработки
Контроль качества лакокрасочных материалов и покрытий
4.5. Испытания поступивших на завод лакокрасочных материалов проводятся лабораторией на пробах, отбор которых должен производиться в соответствии с ГОСТ 9980-62. Пробы следует отбирать только из исправной и герметически закрытой тары после тщательного перемешивания лакокрасочного материала до полной однородности всего содержимого бочки или другой тары, в которой поставлен материал. Отобранные для испытаний пробы необходимо хранить в плотно закрытых сосудах.
Результаты испытаний следует обязательно фиксировать в журнале приемки поступающей продукции.
4.6. Лакокрасочные материалы перед нанесением подвергают контролю по показателям в соответствии с техническими требованиями на данный материал.
4.7. Лакокрасочные покрытия необходимо контролировать по следующим показателям:
адгезия пленки покрытия к поверхности древесины или фанеры по методике, приведенной в
Прил. 3;
| | ИС МЕГАНОРМ: примечание. Взамен ГОСТ 14644-75 Постановлением Госстандарта СССР от 28.03.1986 N 828 с 1 января 1987 года введен в действие ГОСТ 14644-86. | |
толщина покрытия: прозрачного по ГОСТ 13639-75, непрозрачного по ГОСТ 14644-75.
Внешний вид лакокрасочного покрытия на готовых конструкциях должен соответствовать III и IV классам отделки изделий лакокрасочными покрытиями. Толщина покрытия должна быть равномерной и находиться в пределах, указанных в
табл. 8 и
10 для данных материалов при определенном методе нанесения.
Толщина непрозрачного покрытия определяется с помощью микроскопа МПБ-2, а прозрачного - с помощью микроскопа МИС-11 или аналогичного оптического устройства.
Проверка адгезии лакокрасочного покрытия к древесине и фанере производится методом нормального отрыва металлического штампа, приклеенного к окрашенной подложке.
Адгезию проверяют на контрольных образцах, окрашенных в общем потоке с конструкцией.
Подтеки, механические включения, пузыри и другие дефекты, влияющие на защитные свойства покрытия, необходимо зачистить наждачной бумагой, а затем зачищенные поверхности повторно окрасить в соответствии с технологическим процессом.
Контроль качества тиоколовых мастик,
эпоксидных составов и покрытий на их основе
4.8. Качество тиоколовых мастик контролируется при отсутствии паспортных данных на эти материалы, а также по истечении гарантийных сроков хранения компонентов мастик. При этом определяется прочность и относительное удлинение при разрыве в соответствии с
ГОСТ 21751-76.
4.9. В процессе приготовления тиоколовых мастик контролируется точность дозировки и качество перемешивания компонентов.
Компоненты мастик дозируются в соответствии с рецептурой и взвешиваются с точностью до 1 г.
Качество механического перемешивания мастики проверяется путем нанесения небольшой его порции на чистое стекло; оно считается удовлетворительным, если на стекле не обнаруживаются частицы неперемешанной вулканизующей пасты и ускорителя вулканизации.
4.10. Качество покрытий на основе тиоколовых мастик определяется визуально, а также путем замера толщины пленки. На покрытии не должно быть пузырей, раковин и вздутий. Через 24 ч после нанесения пленка мастики при нажатии пальцем не должна оставлять на нем следов.
Толщина пленки покрытия контролируется на образцах, представляющих собой деревянные пластинки с развитой торцовой поверхностью, на которые мастику наносят по той же технологии, что и на конструкции.
4.11. Контроль качества армированных покрытий производится по результатам визуальной оценки состояния поверхности. На защищенных поверхностях не должно быть отслоений и вздутий покрытия, а также участков стеклоткани, не пропитанных защитным составом. Покрытие должно иметь ровную гладкую поверхность.
Контроль качества биозащитной обработки
4.12. Качество пропитки контролируют путем определения удержания раствора или сухой соли на 1 м
2 обрабатываемой поверхности. Оценку производят на образцах или на всей партии обрабатываемых заготовок ежедневно один раз в смену. Контрольные образцы выпиливают из элементов каркаса и фанеры, подлежащих пропитке. Длина образцов древесины должна быть не менее 1,5 м, а размеры образцов фанеры - 50 x 50 см. Количество образцов должно составлять 1% от партии, но не менее 5 шт. Перед пропиткой образцы взвешивают и помещают между заготовками в центр контейнера или пакета.
4.13. Удержание пропиточной жидкости определяют по разности массы образцов до и после пропитки. Взвешивание образцов после пропитки производят после полного стекания излишков пропиточной жидкости.
Удержание сухой соли по каждому образцу вычисляют по формуле

, (4)
где P - количество удержанной сухой соли, г/м2;
G - количество удержанной пропиточной жидкости, г;
c - концентрация пропиточной жидкости, %;
F - площадь поверхности образца, м2.
Полученные величины удержания по всем образцам усредняют и сопоставляют с требуемым удержанием.
4.14. Удержание пропиточной жидкости для всей партии обрабатываемых заготовок определяют по разности массы контейнера (пакета) до и после пропитки.
При обработке элементов каркаса требуемое удержание пропиточной жидкости для всей партии определяют по формуле

, (5)
где

требуемое удержание пропиточной жидкости, кг;
a, b - усредненные размеры поперечного сечения заготовок, м;
V - объем заготовок в контейнере (пакете), м3;
K - коэффициент, зависящий от концентрации пропиточной жидкости и требуемого удержания сухой соли, кг/м2 (табл. 17).
Концентрация пропиточной жидкости, % | Требуемое удержание сухой соли, г/м2 |
40 | 50 | 60 | 70 | 80 | 90 | 100 |
10 | 0,8 | 1 | 1,2 | 1,4 | 1,6 | 1,8 | 2 |
15 | 0,533 | 0,666 | 0,8 | 0,933 | 1,066 | 1,2 | 1,333 |
20 | 0,4 | 0,5 | 0,6 | 0,7 | 0,8 | 0,9 | 1 |
25 | 0,32 | 0,4 | 0,48 | 0,56 | 0,64 | 0,72 | 0,8 |
Требуемое удержание сухой если на весь объем пропитываемых заготовок определяют по формуле

, (6)
где

- требуемое удержание сухой соли, кг;
c - концентрация пропиточной жидкости, %.
Пример 1. При пропитке 3 м3 деревянных элементов каркаса сечением 40 x 150 мм 15%-ным водным раствором КФА удержание его составило 64 кг. Необходимо определить, соответствует ли фактическое удержание требуемому при норме удержания сухой соли 50 г/м2.
По
табл. 17 находим, что при норме расхода сухой соли 50 г/м
2 и 15%-ной концентрации раствора K = 0,666.

.
Следовательно, фактическое удержание раствора соответствует требуемому.
При обработке фанерных обшивок требуемое удержание пропиточной жидкости (сухой соли) для всей партии определяют путем умножения нормируемого удержания на площадь поверхностей всех пропитываемых обшивок.
Пример 2. Определить требуемое удержание 15%-ного раствора препарата ХМБ-444 партией фанерных обшивок (10 шт.) размером 1,5 x 3 м при нормативном удержании сухих солей 40 г/м2.
Общая площадь всех поверхностей фанерных обшивок составляет
F = 1,5 x 3 x 2 x 10 = 90 м2.
Требуемое удержание сухой соли
или 24 кг раствора.
Контроль качества огнезащитной обработки
Глубокая пропитка
4.15. Качество пропитки контролируют путем определения поглощения сухой соли огнезащитного состава на 1 м3 древесины.
Оценку производят на всей партии пропитываемых заготовок или на контрольных заготовках (10 - 15 шт.) из пропитываемой партии.
Перед пропиткой всю партию заготовок или контрольные заготовки взвешивают.
4.16. Поглощение пропиточной жидкости определяют по разности массы заготовок до и после пропитки.
Поглощение сухой соли огнезащитного состава, кг/м3, вычисляют по формуле

, (7)
где G - количество поглощенного пропиточного раствора, кг;
c - концентрация пропиточной жидкости, %;
V - объем пропитываемых заготовок, м3.
| | ИС МЕГАНОРМ: примечание. Взамен ГОСТ 16363-76 Постановлением Госстандарта России от 25.09.1998 N 357 с 1 июля 1999 года введен в действие ГОСТ 16363-98. | |
4.17. Огнезащищенность пропитанной древесины контролируют проведением огневых испытаний образцов, выпиленных из контрольных заготовок, методом керамической трубы в соответствии с ГОСТ 16363-76.
Оценка материала по группам горючести производится по потере массы огнезащищенными образцами в соответствии с табл. 18.
Таблица 18
Потеря массы, % | Группа горючести огнезащищенной древесины |
Не более 9 | Трудногорючая |
Более 9, но менее 30 | Трудновоспламеняемая |
30 и более | Горючая |
Древесина, содержащая 66 кг/м3 солей антипиренов, должна относиться по ГОСТ 16363-76 к группе трудногорючих материалов. Если результаты испытаний не отвечают вышеуказанным требованиям, то партия заготовок должна подвергаться повторной пропитке.
Поверхностная пропитка
4.18. Качество пропитки контролируют по
п. 4.12.
4.19. Огнезащищенность древесины, пропитанной составами МС, ПП и ББ-11, оценивают по горючести стружки толщиной не более 1 мм, снятой с поверхностного слоя заготовок. При хорошей пропитке сухая стружка не должна гореть в пламени спички. Сушка стружки должна осуществляться при температуре 60 - 70 °C в течение 1 ч. Запрещается производить качественную оценку огнезащитной обработки на сырой стружке.
Лакокрасочные покрытия
4.20. Лакокрасочные материалы (ХВ-5169, ОС-12-01, ОС-12-03 и ВПМ-2Д) перед нанесением подвергают контролю по показателям в соответствии с техническими требованиями на данный материал.
4.21. Контроль огнезащитных покрытий на основе ХВ-5169, ОС-12-01 и ОС-12-03 осуществляют по
п. 4.7.
Качество покрытия ВПМ-2Д контролируют визуальным осмотром (определяют отсутствие непокрытых мест, трещин, пузырей и т.п.) и измерением толщины по длине конструкций и ширине с интервалом 1 м. Толщина высохшего покрытия должна быть около 1 мм. Все дефекты, обнаруженные при осмотре и измерении толщины покрытия, должны быть устранены повторным нанесением ВПМ-2Д.
| | ИС МЕГАНОРМ: примечание. Взамен ГОСТ 16363-76 Постановлением Госстандарта России от 25.09.1998 N 357 с 1 июля 1999 года введен в действие ГОСТ 16363-98. | |
4.22. Огнезащищенность древесины, покрытой ХВ-5169, ОС-12-01, ОС-12-03 и ВПМ-2Д, контролируют по ГОСТ 16363-76 (см.
п. 4.17).
РЕМОНТ И ВОССТАНОВЛЕНИЕ ЗАЩИТНЫХ ПОКРЫТИЙ
4.23. Ремонт и восстановление защитных покрытий производят в тех случаях, когда в процессе эксплуатации они теряют свои защитные свойства. Восстановлению подлежат главным образом лакокрасочные покрытия, поскольку срок службы их не превышает, как правило, 6 - 7 лет.
4.24. Ремонт лакокрасочных покрытий производят либо в порядке восстановления его отдельных участков, на которых преждевременно образовались дефекты (сыпь, пузыри, растрескивание, отслоение в 3 - 1 балла по
ГОСТ 6992-68), либо в порядке восстановления покрытия в целом для обеспечения его защитных свойств да следующего капитального ремонта.
Восстановление отдельных участков покрытия производят по мере необходимости, капитальный ремонт - в плановые сроки применительно к расчетной длительности полноценной работы покрытия в тех или иных условиях эксплуатации (табл. 19).
Таблица 19
Покрытие | На древесине | На фанере |
Средняя полоса | Северные районы | Средняя полоса | Северные районы |
В | Н | В | Н | В | Н | В | Н |
ХВ-1100 | 3 | 5 - 6 | 4 | 5 - 6 | 4 | 5 - 6 | 4 | 5 - 6 |
ХВ-124 | 3 | 5 - 6 | 4 | 5 - 6 | 4 | 5 - 6 | 4 | 5 - 6 |
ХВ-110 | 3 | 5 | 4 | 5 - 6 | 4 | 5 - 6 | 4 | 5 - 6 |
ХВ-5169 | 3 | 4 | 4 | 5 - 6 | 4 | 5 - 6 | 4 | 5 - 6 |
ПФ-115 | 2 | 4 | 3 | 4 | 3 | 4 - 5 | 2 | 4 - 5 |
ПФ-133 | 2 | 4 | 3 | 4 | 3 | 4 - 5 | 2 | 4 - 5 |
ОС-12-03 | 3 | 5 - 6 | 2 | 4 - 5 | 4 | 3 - 6 | 1 | 3 - 4 |
УР-49 | 2 | 4 - 5 | 3 - 5 | 5 - 6 | 2 | 4 - 5 | 3 - 4 | 5 - 6 |
УРФ-1128 | 3 - 4 | 5 - 6 | 4 - 5 | 6 - 7 | 4 | 5 - 6 | 3 - 4 | 6 - 7 |
Примечания. 1. Ориентировочные сроки службы лакокрасочных покрытий даны в годах (не менее).
2. В - на открытом воздухе; Н - под навесом, в неотапливаемых помещениях, в условиях чердака и т.п.
4.25. При ремонте (восстановлении) лакокрасочного покрытия поврежденные участки поверхности конструкции должны быть полностью очищены от старого лакокрасочного материала. Если покрытие полностью или частично потеряло адгезию к подложке, его удаляют щетками или скребками.
4.26. При нанесении лакокрасочных материалов на очищенную от старого покрытия поверхность или на сохранившееся покрытие (при этом оно должно быть очищено от пыли и других загрязнений) необходимо соблюдать все требования, предъявляемые к технологии их нанесения и сушки (см.
пп. 3.57 -
3.68).
4.27. В процессе выполнения работ по ремонту (восстановлению) защитного покрытия не всегда удается использовать механизированные способы нанесения лакокрасочных материалов. В одних случаях это невозможно по техническим причинам (труднодоступность участков, подлежащих защитной обработке, отсутствие необходимого оборудования для нанесения составов по условиям пожарной безопасности, так как в тумане, образующемся при распылении лакокрасочного материала, содержатся пары пожаро- и взрывоопасных растворителей и т.д.), в других - по экономическим соображениям (перерасход лакокрасочного материала при нанесении на небольшие поверхности, излишние расходы на установку и эксплуатацию окрасочного оборудования и пр.). В большинстве случаев при проведении ремонтных и восстановительных работ наиболее экономичными оказываются способы нанесения лакокрасочных материалов валиком или кистью.
4.28. Покрытие на основе тиоколовой мастики, бывшее в эксплуатации и подлежащее ремонту, промывают мыльным раствором. После этого производят визуальный осмотр, отмечая поврежденные участки покрытия. В поврежденных местах покрытие вырезают острым ножом таким образом, чтобы края отверстия были скошены. Для ремонта можно использовать любую из тиоколовых мастик, описанных в
разд. 3. Перед нанесением свежеприготовленной мастики ремонтируемый участок покрытия протирают растворителем (ацетон, этилацетат, Р-4, Р-5). Мастику наносят кистью или шпателем таким образом, чтобы "заплата" возвышалась над основным покрытием и перекрывала отверстие в покрытии на 10 - 15 мм с каждой стороны.
4.29. При проведении работ по ремонту и восстановлению защитных покрытий должны использоваться средства вспомогательной механизации, которые выбираются с учетом характера работ и особенностей их выполнения (строительные леса, механические и ручные люльки и др.). При выполнении работ внутри помещений высотой до 4 м при наличии гладкого потолка у обрабатываемой конструкции (плиты покрытий, подвесного потолка) рекомендуется применять передвижные столики-вышки.
При выполнении работ на высоте до 20 - 25 м следует применять телескопические, шарнирно-рычажные, рычажные или мачтово-рычажные вышки-подъемники. Телескопические двух- или трехсекционные вышки-подъемники с высотой подъема 8 - 12 м применяют при работах, производимых на фасадах зданий и сооружений. Технические характеристики основных видов оборудования для вспомогательной механизации лакокрасочных работ приведены в "
Рекомендациях по защите от коррозии стальных и железобетонных строительных конструкций лакокрасочными покрытиями" (М., Стройиздат, 1973), а также в "Альбоме рабочих чертежей лесов, подмостей, вышек, люлек, лестниц и стремянок, применяемых в строительно-монтажных работах" (ЦНИИОМТП, 1969).
4.30. Работы по ремонту и восстановлению защитных покрытий на открытом воздухе следует проводить только в теплое время года в сухую безветренную погоду. Покрытия на основе тиоколовых мастик можно ремонтировать при температуре наружного воздуха не ниже плюс 5 °C. Во всех случаях не следует допускать увлажнения ремонтируемых участков покрытия атмосферными осадками.
Внутри неотапливаемых помещений, под навесом, в чердачных помещениях ремонтные и восстановительные работы также рекомендуется проводить в летнее время.
В отапливаемых помещениях работы можно проводить в любое время года, следя за тем, чтобы в помещении поддерживалась температура не ниже плюс 16 °C и обеспечивалось хорошее проветривание.
5. ПЕРЕВОЗКА, СКЛАДИРОВАНИЕ
И ХРАНЕНИЕ ЗАЩИЩЕННЫХ КОНСТРУКЦИЙ
ЗАЩИТА КОНСТРУКЦИЙ ПРИ ПЕРЕВОЗКЕ
5.1. При перевозке конструкций железнодорожным, автомобильным, смешанным транспортом, а также специализированными средствами должно быть обеспечено предохранение их от атмосферных осадков, прямого воздействия солнечных лучей, механических повреждений и загрязнения.
5.2. Несущие ДКК должны, если это возможно, размещаться и закрепляться на транспортных средствах в положении, близком к проектному. Места захвата их при подъеме и опирании должны строго соответствовать местам, указанным в проекте, и отмечаться краской на самих конструкциях.
Прямолинейные конструкции и элементы при перевозке на дальние расстояния с многократными перегрузками, например, в отдаленные и труднодоступные районы рекомендуется укладывать в плотные пакеты без прокладок. В этом случае погрузка и выгрузка клееных конструкций производится в спакетированном виде. Пакеты рекомендуется укрывать водонепроницаемой бумагой или полиэтиленовой пленкой с трех сторон и крепить проволочными скрутками через деревянные прокладки или металлические уголки.
5.3. Плиты покрытий и подвесного потолка рекомендуется перевозить в горизонтальном положении в плотных стопках по 8 - 10 шт. без прокладок. При этом необходимо обеспечить жесткость стопок во избежание сдвижки плит нижних рядов.
Стеновые панели рекомендуется перевозить в вертикальном положении. В случаях, если в панелях применен утеплитель, который при перевозке может дать усадку, допускается перевозка панелей в горизонтальном положении.
При перевозке плит и панелей на большие расстояния рекомендуется использовать контейнеры. Если при этом возможны многократные перегрузки (на базисных и перегрузочных складах), то целесообразно предусмотреть упаковку стоп в гидроизоляционный материал.
При перевозке на короткие расстояния панели и плиты можно защищать от атмосферных воздействий укладкой поверх стоп щитов, обеспечивающих сток воды.
С этой же целью на плиты покрытий под рулонную кровлю рекомендуется прямо на заводе-изготовителе наклеивать первый слой рулонного ковра.
ЗАЩИТА КОНСТРУКЦИЙ ПРИ СКЛАДИРОВАНИИ И ХРАНЕНИИ
5.4. Конструкции, как несущие, так и ограждающие, рекомендуется хранить:
на базисных складах в закрытых помещениях или под навесом;
на перегрузочных и приобъектных складах под навесом или на открытых площадках.
5.5. Открытые площадки для хранения конструкций отводят на сухом месте и предварительно тщательно очищают от травы, щепы, мусора, а зимой - от снега, выравнивают и уплотняют.
При планировке площадки необходимо обеспечить отвод грунтовых, талых и дождевых вод. Поверхность грунта на территории площадки периодически поливают 5 - 10%-ным раствором железного купороса с расходом 0,6 - 0,8 л/м2 или посыпают хлорной известью в количестве 200 г/м2.
5.6. Несущие ДКК хранят либо в штабелях, либо в рассортированном виде. При хранении несущих ДКК в штабелях необходимо использовать прокладки, толщина которых обеспечивает возможность свободного захвата конструкции грузозахватными приспособлениями. Прокладки по высоте рядов располагают строго по вертикали. Количество прокладок и расстояние между ними должны исключать провисание и деформацию ДКК.
Штабель укладывают на подстопочные брусья, пропитанные каменноугольным маслом или другим невымываемым или трудновымываемым антисептиком и укрывают от атмосферных осадков покрытием из досок, фанеры, рулонных гидроизоляционных материалов и др. Покрытия должны быть уложены так, чтобы стекающая с них вода и косой дождь не попадали на конструкции.
Укладка конструкций непосредственно на грунт не допускается.
5.7. Ограждающие конструкции (плиты, панели) хранят в проектном или близком к нему положении. Стопы с плитами или панелями укладывают на подстопочные брусья и укрывают щитами (при хранении на открытой площадке), обеспечивающими сток воды.
6. ОСНОВНЫЕ ТРЕБОВАНИЯ ТЕХНИКИ БЕЗОПАСНОСТИ,
ПРОИЗВОДСТВЕННОЙ САНИТАРИИ И ПОЖАРНОЙ БЕЗОПАСНОСТИ
6.1. При организации и производстве всех видов работ по защитной обработке конструкций, при проектировании цехов, имеющих в своем составе окрасочные отделения и отделения пропитки конструкций био- и биоогнезащитными составами (препаратами), необходимо соблюдать все действующие правила по технике безопасности и пожарной безопасности, изложенные в нормативных документах: СНиП III-4-79;
СНиП II-А.5-70*;
СНиП II-М.2-72*;
СН 245-71;
Правила и нормы техники безопасности, пожарной безопасности и производственной санитарии для окрасочных цехов (М., ВЦНИИОТ, 1974); Правила техники безопасности и промышленной санитарии в деревообрабатывающей промышленности (М., Стройиздат, 1966);
ГОСТ 12.3.005-75;
ГОСТ 12.1.004-76;
ГОСТ 12.1.005-76.
6.2. Помещения, где приготовляются защитные составы, содержащие токсичные вещества и легковоспламеняющиеся жидкости (ЛВЖ), а также помещения по производству защитных работ должны быть оборудованы общеобменной приточно-вытяжной вентиляцией. Приток воздуха должен быть организован со стороны рабочих проходов, а вытяжка должна быть со стороны оборудования. Места возможного выделения вредных паров и пыли должны быть оборудованы местной вытяжной вентиляцией. В холодное время года приточный воздух следует подогревать до температуры помещения.
6.3. Содержание в воздухе рабочих помещений вредных паров, газов и пыли, пожаровзрывоопасных веществ и условия микроклимата должны систематически контролироваться.
Порядок и сроки проведения анализов воздушной среды устанавливает администрация предприятия.
Содержание вредных веществ в воздухе рабочей зоны не должно превышать предельно допустимых концентраций (ПДК), указанных в
Прил. 4.
При увеличении концентрации вредных веществ в воздухе рабочей зоны выше ПДК работы должны быть прекращены до устранения причин, вызвавших это увеличение.
Запрещается работать при выключенной приточно-вытяжной вентиляции.
6.4. В тех случаях, когда габариты конструкций не позволяют разместить их в пределах окрасочного отделения, допускается с разрешения местных органов и учреждений СЭС, технической инспекции профсоюза и органов пожарного надзора окрашивать крупногабаритные конструкции на местах сборки без устройства специальной вентиляции. При этом должны выполняться следующие условия:
проводить окрасочные работы в периоды, когда другие работы не производятся;
проветривать помещения при помощи принудительной общеобменной вентиляции;
применять средства защиты органов дыхания;
обеспечивать взрывопожаробезопасность.
6.5. Окрасочные и пропиточные отделения должны иметь санитарно-бытовой узел с умывальником и душевой, раздевалкой с двумя шкафчиками для каждого рабочего (один для домашней одежды, другой для спецодежды) и помещением для стирки и починки спецодежды (стирку производят не реже двух раз в месяц). В отделениях должны быть также фонтанчики для питья и аптечки с набором медикаментов для оказания первой доврачебной помощи.
6.6. Окрасочные и пропиточные отделения, участки приготовления защитных составов, а также склады защитных материалов должны быть обеспечены соответствующими технологическими инструкциями и плакатами по производственной санитарии, технике безопасности и пожарной безопасности, которые вывешиваются на видных местах.
6.7. Рабочие и инженерно-технические работники окрасочных и пропиточных отделений допускаются к работе только после проведения инструктажа и проверки знаний по технике безопасности и пожарной безопасности специальной квалификационной комиссией. Каждый работающий обязан знать:
производственные вредности, связанные с проведением работ по защитной обработке конструкций, и характер действия их на организм;
производственные инструкции по рабочим местам;
инструкции по технике безопасности;
противопожарные инструкции по пожарно-техническому минимуму;
правила личной гигиены;
правила пользования средствами индивидуальной защиты (очками, респираторами, мазями и др.);
правила оказания первой помощи.
Повторный инструктаж и контрольная проверка знаний по технике безопасности, пожарной безопасности и производственной санитарии производятся не реже одного раза в полгода с соответствующей отметкой в журнале.
6.8. Рабочие, имеющие дело с токсичными составами, должны регулярно (не реже одного раза в полгода) подвергаться медицинскому осмотру.
Рабочие с кожными и аллергическими заболеваниями, а также с хроническими заболеваниями верхних дыхательных путей и слизистых оболочек глаз к работе с токсичными защитными составами и препаратами не допускаются.
| | ИС МЕГАНОРМ: примечание. Постановлением Госстандарта СССР от 27.10.1989 N 3222 с 1 июля 1990 года введен в действие ГОСТ 12.4.011-89. | |
6.9. Производственный персонал не должен допускаться к выполнению работ по приготовлению и нанесению токсичных защитных составов без средств индивидуальной защиты, соответствующих требованиям ГОСТ 12.4.011-75*.
В зависимости от выполняемой операции в соответствии с типовыми отраслевыми нормами на бесплатную выдачу спецодежды, спецобуви и предохранительных приспособлений рабочим должны выдаваться средства индивидуальной защиты, указанные в
Прил. 5.
Средства индивидуальной защиты должны быть в полной исправности. Вынос спецодежды за пределы окрасочного или пропиточного отделения не допускается.
6.10. Для профилактики профессиональных заболеваний кожи рабочие должны ежедневно применять защитные пасты, состав которых приведен в
Прил. 6.
Перед употреблением пасты руки должны быть вымыты теплой водой с мылом и тщательно вытерты досуха.
6.11. Для защиты органов дыхания от вредной пыли, паров растворителей и газов следует применять респираторы типа ШБ-1, "Лепесток"
(ГОСТ 12.4.028-76), универсальный респиратор РУ-60, а при необходимости фильтрующие противогазы марки А или М, шланговый изолирующий противогаз типа ПШ-1, ПШ-2 и др.
6.12. Для защиты глаз при работе с био- и биоогнезащитными составами и препаратами должны применяться противопылевые или герметичные очки. Защитные очки должны применяться также при работе с эпоксидными составами.
6.13. Во избежание попадания токсичных составов внутрь организма категорически запрещается курение и прием пищи во время работы. Перед едой в обеденное время необходимо вымыть руки и лицо водой с мылом, а рот прополоскать содовой водой. Запрещается мытье рук растворителями, так как это способствует возникновению кожных поражений. По окончании работ каждый рабочий должен принять душ.
Техника безопасности при работе
с лакокрасочными материалами и тиоколовыми мастиками
6.14. Используемые в составе лакокрасочных материалов химические вещества (растворители, разбавители, пластификаторы и др.) в ряде случаев обладают токсичными свойствами. Такими же свойствами обладают и отходы производства: пыль и полусухие остатки лакокрасочных материалов.
6.15. Хранение лакокрасочных материалов в производственных помещениях, за исключением помещений лакоприготовительной и централизованной подачи, не допускается. В помещениях лакоприготовительной и централизованной подачи допускается хранение этих материалов в плотно закрытой таре в количествах не выше сменной потребности.
6.16. На каждой бочке, бидоне, банке и другой таре с лакокрасочным материалом и растворителем должны быть наклейки или бирки с точным названием и обозначением этих материалов. Тара должна быть исправной с плотно закрывающейся крышкой.
При небольших перерывах в работе банки и ведерки с лакокрасочными материалами следует закрывать для предохранения от улетучивания растворителей.
6.17. Порожняя тара из-под растворителей и лакокрасочных материалов должна немедленно удаляться из помещения и храниться на специальных площадках не ближе чем в 20 м от производственных помещений.
6.18. Все производственные процессы, связанные с приготовлением рабочих составов лакокрасочных смесей, должны производиться только в лакокраскозаготовительных помещениях.
В помещениях лакокраскозаготовительных участков запрещается выполнение каких-либо других работ, не связанных с приготовлением рабочих составов лакокрасочных материалов.
6.19. Оборудование по централизованной подаче лакокрасочных материалов и по нанесению и сушке лакокрасочных покрытий следует содержать под постоянным наблюдением, обеспечивающим его герметичность.
Неплотности в трубопроводах, воздуховодах и т.п., обнаруженные в процессе эксплуатации, подлежат немедленному устранению.
6.20. Очистка оборудования для нанесения лакокрасочных покрытий от осевших материалов должна производиться после каждой смены при работающей вентиляции.
6.21. Пары растворителей, входящих в состав лакокрасочных материалов и используемых для их разбавления, а также для разбавления тиоколовых мастик, при вдыхании и всасывании через кожу могут вызывать общее отравление и местное поражение кожи.
6.22. Выбор растворителей должен производиться с учетом их вредности. Если для разбавления того или иного состава могут применяться растворители разного класса опасности (см.
Прил. 1), то предпочтение следует отдавать наименее вредным из них.
ТЕХНИКА БЕЗОПАСНОСТИ ПРИ РАБОТЕ С СОСТАВАМИ
НА ОСНОВЕ ЭПОКСИДНЫХ СМОЛ
6.23. Работа с эпоксидными смолами, составами на их основе и отвердителями должна проводиться в соответствии с требованиями документов, указанных в
п. 6.1, а также в "Санитарных правилах организации технологических процессов и гигиенических требований к производственному оборудованию".
6.24. При попадании эпоксидного состава на кожу его следует удалить сухим тампоном с последующей обработкой кожи спиртом и вымыть кожу теплой водой с мылом. После этого пораженный участок кожи следует осушить бумажным полотенцем одноразового пользования и смазать жирной мазью на основе ланолина, вазелина или касторового масла.
6.25. При случайном попадании отвердителя или состава, содержащего этот отвердитель, в глаза необходимо немедленно обильно промыть глаза струей воды, затем физиологическим раствором (0,6 - 0,9%-ным раствором хлористого натрия), после чего обратиться к врачу.
6.26. В случае, если пролито даже небольшое количество отвердителя, необходимо немедленно засыпать это место опилками, смоченными керосином, с последующей обработкой 10%-ным раствором серной кислоты и обязательной промывкой водой. Если облита хлопчатобумажная спецодежда, то ее необходимо тотчас же снять. Опилки, ветошь и прочий мусор, загрязненный отвердителем, собирают в специальное ведро и выносят в металлический ящик вне помещения или закапывают в отведенном для этой цели месте.
6.27. В случае плохого самочувствия во время или после работы, а также при появлении отечности вокруг глаз следует немедленно обратиться к врачу.
ТЕХНИКА БЕЗОПАСНОСТИ ПРИ РАБОТЕ С БИО-, ОГНЕ-
И БИООГНЕЗАЩИТНЫМИ СОСТАВАМИ
6.28. Сухие порошкообразные вещества до употребления должны храниться в помещении, защищенном от атмосферных осадков. Хранение их без тары (навалом) запрещается.
6.29. Рассыпанные материалы должны быть осторожно собраны при помощи лопат и веников в плотный ящик с крышкой; эти материалы необходимо использовать в первую очередь. Доставку порошкообразных материалов из склада в помещение для приготовления растворов следует производить в закрытой таре.
6.30. Деревянная и бумажная тара из под био- и биоогнезащитных материалов должна уничтожаться. Металлическая тара после тщательной промывки теплой водой может быть использована для технических целей.
6.31. Загрязнять водоемы отходами био- и биоогнезащитных составов и препаратов категорически запрещается. Места стока смывных вод после чистки ванн и способы обезвреживания вод должны быть заранее определены и согласованы с санинспекцией.
6.32. Резервуары для растворения сухих солей (реакторы) должны быть оборудованы крышками с вытяжными трубами в атмосферу и с плотно закрывающимися люками для загрузки. Во избежание распыления порошкообразные компоненты перед загрузкой рекомендуется слегка смачивать водой. При перемешивании раствора в реакторе запрещается наклоняться над загрузочным люком.
Пропиточные ванны, как загруженные, так и незагруженные, должны быть закрыты крышками.
6.33. Раскупоривание тары с пылящими компонентами должно производиться под вытяжным зонтом.
Промывание и размельчение био- и биоогнезащитных материалов рекомендуется производить в ситах и дробилках, защищенных плотными металлическими кожухами.
6.34. При попадании пропиточных растворов или сухих солей на кожу необходимо промыть это место большим количеством теплой воды с мылом. При попадании их в глаза нужно промыть глаза большим количеством теплой воды и 3%-ным раствором борной кислоты, а затем обратиться к врачу.
ТРЕБОВАНИЯ ПОЖАРНОЙ БЕЗОПАСНОСТИ
6.35. Организация производственных процессов с применением материалов, в состав которых входят токсические вещества, ЛВЖ и используемое при этом оборудование, должны исключать контакт обслуживающего персонала с этими веществами в процессе обслуживания оборудования и при выполнении производственных операций, а также возможность образования горючей среды (взрывоопасных смесей) и источников зажигания.
6.36. Помещения для хранения пожаро- и взрывоопасных материалов, а также помещения, где проводятся работы по защите конструкций, должны быть для целей пожаротушения обеспечены пенными огнетушителями марок ОП-3, ОП-5 (ГОСТ 16005-70) или углекислотными огнетушителями марок ОУ-2; ОУ-5; ОУ-8 (ГОСТ 7276-77), асбестовыми одеялами и ящиками с песком.
6.37. Запрещается закрывать отверстия металлических бочек деревянными пробками или тряпками, вынимать или отвинчивать пробки металлическими или твердыми предметами с металлическими наконечниками, от удара которых может возникнуть искра, а также пользоваться ломами при перекатке бочек.
Для открывания и закрывания бочек необходимо пользоваться специальными инструментами из цветных металлов, не дающих искры при ударе.
6.38. В помещениях, где хранятся материалы, содержащие ЛВЖ, а также на участках, где производятся работы по приготовлению, нанесению и сушке этих материалов, не допускается производство работ, связанных с применением открытого огня и искрообразованием (сварочные работы, работы на наждачных точилах и т.д.), использование установок, температура на поверхности которых выше 95 °C, курение и т.д.
6.39. Характеристика пожароопасности растворителей приведена в
Прил. 7. Химические вещества, используемые для био- и биоогнезащитных составов и препаратов (кремнефтористый аммоний, тетрафторборат аммония, фтористый натрий, медный купорос, бихромат натрия, бихромат калия, борная кислота, бура, диаммонийфосфат и сульфат аммония), пожаро- и взрывобезопасны.
СОСТАВ И СТОИМОСТЬ РАСТВОРИТЕЛЕЙ
Наименование | ГОСТ, ТУ | Состав растворителя, % | Прейскурантная цена 1 т материала, руб. | Прейскурант |
Растворитель Р-4 | | Ацетон | - 26 | 200 | N 05-04. М., 1974 |
Бутилацетат | - 12 |
Толуол | - 62 |
Растворитель Р-5 | То же | Бутилацетат | - 30 | 450 | То же |
Ацетон | - 30 |
Ксилол | - 40 |
Растворитель Р-24 | " | Ацетон | - 15 | - | - |
Ксилол | - 35 |
Сольвент | - 50 |
Растворитель 646 | | Бутилацетат | - 10 | 380 | N 05-04. М., 1974 |
Этилцеллозольв | - 8 |
Ацетон | - 7 |
Спирт бутиловый | - 15 |
Спирт этиловый | - 10 |
Толуол | - 50 |
Растворитель Р-189 | ТУ 6-10-1508-75 | Бутилацетат | - 50 | - | - |
Этилацетат | - 50 |
Сольвент каменноугольный технический марки: | | - | | N 05-01, ч. I. М., 1974 |
А | 135 |
Б | 125 |
В | 115 |
Ксилол чистый каменноугольный марки: | | - | | То же |
А | 115 |
Б | 110 |
Ксилол нефтяной марки: | | - | | N 05-01, ч. I. М., 1974 |
А | 125 |
Б | 115 |
Толуол технический каменноугольный чистый 90%-ный | | - | 110 100 | То же |
Толуол нефтяной технический | | - | 105 | " |
| | ИС МЕГАНОРМ: примечание. Взамен ГОСТ 2768-79 Постановлением Госстандарта СССР от 28.08.1984 N 3030 с 1 июля 1985 года введен в действие ГОСТ 2768-84. | |
|
Ацетон технический марки: | ГОСТ 2768-79 | - | | " |
А | 280 |
Б | 260 |
Бензин- растворитель (уайт-спирит) | | - | 52 | - |
Этилацетат технический марки: | | - | | - |
А | 690 |
Б | 605 |
| | ИС МЕГАНОРМ: примечание. Взамен ГОСТ 1571-76 Постановлением Госстандарта СССР от 30.07.1982 N 2986 с 1 июля 1983 года введен в действие ГОСТ 1571-82. | |
|
Скипидар | ГОСТ 1571-76 | - | 862 | - |
Циклогексанон | ТУ 6-03-356-73 | - | 700 | - |
ЛАБОРАТОРНОГО ОБОРУДОВАНИЯ И ПРИБОРОВ ЗАВОДСКОЙ ЛАБОРАТОРИИ
Наименование | ГОСТ, ТУ | Назначение | Завод-изготовитель |
Шкаф сушильный лабораторный | ГОСТ 7365-55 | Сушка различных материалов при проведении лабораторных анализов | - |
Секундомер | - | Замеры времени при проведении лабораторных работ | - |
Вискозиметр ВЗ-4 или ВЗ-1 | | Определение условной вязкости лакокрасочных материалов | Опытный завод аналитических приборов, Ленинакан |
Шкала гибкости ШГ-1 | ТУ 25-07-775-70 | Определение прочности лакокрасочных пленок на изгиб | То же |
Гидростат Г-4 (влажная камера) | ТУ 25-07-413-68 | Ускоренные испытания защитных покрытий на влагостойкость | " |
Прибор ВИ-4 | ТУ 25-07-773-70 | Определение времени высыхания лакокрасочных покрытий | " |
Влагомер электронный типа ЭВ-2М | - | Определение абсолютной влажности древесины | Завод "Камоприбор", г. Камо Армянской ССР |
Краскораспылитель КРУ-1 | ТУ 6-10-603-66 | Проведение окрасочных работ | НПО лакокраспокрытие, г. Хотьково, Моск. обл. |
Воздухоочиститель СО-15А | СТУ 22-1770-69 | Очистка сжатого воздуха | Завод строительно-отделочных машин, Вильнюс |
Весы лабораторные аналитические ВЛАС-200г-1 | ТУ 25-06-499-69 | Определение массы вещества при производстве лабораторных анализов | Завод "Госметр", Ленинград |
Весы лабораторные квадрантные с выборкой тары ВЛКТ-500г/10 | ТУ 25-06-1101-76 | То же | То же |
Психрометр аспирационный МВ-4М | ГОСТ 6353-52 | Определение температуры и относительной влажности воздуха | - |
Гигрографы метеорологические недельные типа М-21 | - | Регистрация изменений относительной влажности воздуха | Опытный завод гидрометприборов, Рига |
Термографы метеорологические недельные типа М-16АН | ГОСТ 6416-75 | Регистрация изменения температуры воздуха | То же |
| | ИС МЕГАНОРМ: примечание. Взамен ГОСТ 1300-74 Постановлением Госстандарта СССР от 02.06.1981 N 2778 с 1 января 1983 года введен в действие ГОСТ 18481-81. | |
|
Ареометры общего назначения | ГОСТ 1300-74 | Определение плотности растворов | - |
pH-метры марки ЛПУ или pH-262 | - | Определение величины pH растворов | - |
Газоанализатор | ГОСТ 7018-75, ГОСТ 6329-74 | Определение содержания в воздухе вредных паров и газов | - |
Двойной микроскоп МИС-11 | - | Определение толщины прозрачных лаковых покрытий | - |
Микроскоп МПБ-2 | - | Определение толщины непрозрачных покрытий | - |
| | ИС МЕГАНОРМ: примечание. ГОСТ 215-73 утратил силу с 1 апреля 1989 года ("ИУС", N 4, 1989). Постановлением Госстандарта СССР от 30.03.1990 N 691 с 1 января 1991 года введен в действие ГОСТ 28498-90. | |
|
Термометры лабораторные химические типа Б-1 | ГОСТ 215-73* Е | Определение температуры воды и растворов | - |
| | ИС МЕГАНОРМ: примечание. Взамен ГОСТ 10394-72 Постановлением Госстандарта СССР от 15.07.1982 N 2670 с 1 января 1984 года введен в действие ГОСТ 25336-82. | |
|
Стаканы и колбы стеклянные лабораторные | ГОСТ 10394-72* | Проведение различных лабораторных работ | - |
Посуда мерная лабораторная стеклянная (цилиндры, мензурки, колбы) | | То же | - |
Стаканчики для взвешивания (бюксы) | ГОСТ 7148-70 | Для взвешивания и хранения веществ | - |
Эксикаторы | ГОСТ 6371-73* | Выдержка бюкс с образцами для остывания при определении влажности материалов весовым методом | - |
Посуда лабораторная фарфоровая | - | Проведение разных лабораторных работ | - |
Шкаф вытяжной | - | Удаление вредных паров и пыли при проведении лабораторных работ | - |
Цилиндры для ареометров | ГОСТ 9545-73* | Определение плотности растворов | - |
| | ИС МЕГАНОРМ: примечание. Постановлением Госстроя СССР от 22.12.1986 N 59 с 1 января 1988 года введен в действие ГОСТ 10597-87. | |
|
Кисти щетинные филенчатые | ГОСТ 10597-70 | Окрасочные работы | - |
Шпатели стальные | ГОСТ 10778-76 | Нанесение тиоколовых мастик, эпоксидных составов | Изготовляются в лаборатории |
Пластинки стеклянные | - | Нанесение испытуемого материала | То же |
Сетки проволочные тканые | ГОСТ 3584-73*, ГОСТ 6613-73 | Фильтрование лаков, эмалей | - |
МЕТОД ОПРЕДЕЛЕНИЯ АДГЕЗИИ ЛАКОКРАСОЧНЫХ ПОКРЫТИЙ
К ДРЕВЕСНЫМ ПОДЛОЖКАМ
Сущность метода заключается в измерении усилия, необходимого для равномерного отрыва участка покрытия от подложки с помощью металлического штампа, приклеенного к покрытию эпоксидным клеем, у которого адгезия к покрытию заведомо больше, чем адгезия покрытия к подложке.
Адгезия покрытия определяется с помощью устройства, схема которого показана на рис. 18.
Рис. 18. Схема устройства для определения адгезии
лакокрасочного покрытия методом равномерного отрыва штампа
1 - корпус; 2 - верхний захват; 3 - нижний захват;
4 - направляющая втулка; 5 - шпилька; 6 - штамп;
7 - образец; 8 - лакокрасочное покрытие
Испытания проводят на образцах древесины, фанеры, древесно-стружечных плит или других древесных материалов, адгезию покрытия к которым необходимо определить. В зависимости от целей испытания образцы либо выпиливают из элемента конструкции с нанесенным на него покрытием, либо готовят специально.
Покрытие сначала шлифуют шкуркой N 5, затем протирают ацетоном. Для приклеивания штампа, который имеет цилиндрическую форму с диаметром основания 15 мм, используют состав на основе эпоксидной смолы К-153 (см.
табл. 4, состав II). Штамп с нанесенным клеевым слоем прижимают к поверхности образца рукой. Излишки выдавившегося клея осторожно удаляют.
Испытания проводят после выдержки образца в течение 2 - 3 сут при температуре 18 - 22 °C. Перед установкой образца в устройство покрытие вокруг штампа подрезают лезвием безопасной бритвы или острым ножом. Образец вставляют в устройство и отрывают штамп с покрытием от подложки в разрывной машине со скоростью нагружения 35 - 50 мм/мин.
Величину адгезии A определяют по формуле, МПа:

,
где P - усилие отрыва, Н;
F - площадь штампа, см2.
При показателе точности P = 5% необходимое количество образцов составляет 8 - 10 шт.
При повторном использовании штампы должны быть очищены от остатков клея (клей легко удаляется после прогрева штампа на электроплитке), зачищены шкуркой N 5 и обезжирены ацетоном.
ПРЕДЕЛЬНО ДОПУСТИМЫЕ КОНЦЕНТРАЦИИ ВРЕДНЫХ ВЕЩЕСТВ
В ВОЗДУХЕ РАБОЧЕЙ ЗОНЫ
Вещество | Величина ПДК, мг/м3 | | Агрегатное состояние |
Ацетон | 200 | 4 | Пары |
Бутилацетат | 200 | 4 | " |
Гексаметилендиамин | 1 | 2 | " |
Кислота борная | 10 | 3 | Пары и аэрозоли |
Кислота уксусная | 5 | 3 | Пары |
Ксилол | 50 | 3 | " |
Метилэтилкетон | 200 | 4 | " |
Полиэтиленполиамин | 2 | 2 | " |
Пыль древесная | 6 | 4 | Аэрозоли |
Сольвентнафта (в пересчете на C) | 100 | 4 | Пары |
Спирт бутиловый | 10 | 3 | " |
Спирт этиловый | 1000 | 4 | " |
Толуол | 50 | 3 | " |
Уайт-спирит (в пересчете на C) | 300 | 4 | " |
| 0,3 | 2 | " |
Фтористоводородной кислоты соли (в пересчете на H) | 1 | 2 | Аэрозоли |
Хроматы, бихроматы (в пересчете на CO3) | 0,01 | 1 | " |
Циклогексанон | 10 | 3 | Пары |
Эпихлоргидрин | 1 | 2 | " |
Этилацетат | 200 | 4 | " |
Этилцеллозольв | 200 | 4 | " |
--------------------------------
<*> Согласно
ГОСТ 12.1.007-76, вредные вещества по степени воздействия на организм подразделяются на четыре класса опасности:
1-й класс - вещества чрезвычайно опасные;
2-й класс - вещества высокоопасные;
3-й класс - вещества умеренно опасные;
4-й класс - вещества малоопасные.
<**> Опасен при поступлении через кожу.
СРЕДСТВА ИНДИВИДУАЛЬНОЙ ЗАЩИТЫ ДЛЯ РАБОЧИХ,
ЗАНЯТЫХ НА ОПЕРАЦИЯХ ПО ПРИГОТОВЛЕНИЮ И НАНЕСЕНИЮ
ЗАЩИТНЫХ СОСТАВОВ И ПРЕПАРАТОВ
Составы (препараты) | Операция | Средства индивидуальной защиты |
комбинезон х/б с кислотостойкой пропиткой | комбинезон х/б | фартук клеенчатый или прорезиненный с нагрудником | шлем х/б | сапоги резиновые | ботинки кожаные | перчатки резиновые | рукавицы комбинированные | рукавицы х/б | респиратор | очки защитные |
Пропиточные био-, огнебиозащитные составы и препараты | Раскупоривание тары | + | - | - | + | + | - | - | + | - | + | + |
Приготовление раствора | + | - | + | + | + | - | + | - | - | - | - |
Пропитка, укладка пропитанных заготовок | + | - | + | + | + | - | + | - | - | - | - |
Лакокрасочные материалы, тиоколовые мастики, составы на основе эпоксидных смол | Приготовление рабочих составов | - | + | + | - | - | + | - | + | - | + | + |
Нанесение составов ручным краскораспылителем | - | + | - | + | - | + | - | + | - | + | + |
Нанесение составов кистью, валиком, шпателем | - | + | + | - | - | + | - | - | + | + | - |
Нанесение составов на конвейере и окрасочных камерах | - | + | + | + | - | + | - | + | - | - | - |
Очистка окрасочных камер | - | + | - | + | + | - | - | + | - | + | - |
Примечание. Срок носки комбинезонов, шлема, сапог и ботинок - 12 мес, фартука - 6 мес, рукавиц комбинированных - 1 мес, рукавиц х/б - 2 мес, респиратора и защитных очков - до износа, резиновых перчаток - дежурные.
СОСТАВ ЗАЩИТНЫХ ПАСТ И МАЗЕЙ,
ПРИМЕНЯЕМЫХ ДЛЯ ПРОФИЛАКТИКИ КОЖНЫХ ЗАБОЛЕВАНИЙ
Компоненты | Количество компонентов, % |
Паста | Мазь Селисского |
Хиот-6 | ИЭР-1 | ПМ-1 | "Ялот" | "Биологические перчатки" | "Миколан" |
Желатин пищевой или фотожелатин | 2,4 | - | 2 | - | 19,7 | - | 1,9 |
Крахмал пшеничный или картофельный | 5,6 | - | 14,1 | - | - | - | 14,1 |
Глицерин | 72 | 10 | 12,6 | - | - | - | 14,1 |
Жидкость Бурова | 10 | - | - | - | - | - | - |
Тальк | - | - | 8,1 | 1,2 | - | - | 21,1 |
Бензин или борная кислота | - | - | - | - | - | - | 1,9 |
Мыло натриевое | - | 12 | - | - | - | - | - |
Каолин | - | 40 | 10,1 | - | - | 30 | - |
Вазелиновое масло | - | - | 7,5 | - | - | - | 9,4 |
Салициловая кислота | - | - | 0,3 | - | - | - | - |
Спирт этиловый | - | - | 1,7 | - | 58,7 | - | - |
Мыло ядровое | - | - | - | 39,6 | - | 10 | - |
Касторовое масло | - | - | - | 19,6 | - | - | - |
Казеин | - | - | - | - | 19,7 | - | - |
Аммиак (25%-ный) | - | - | - | - | 1,9 | - | - |
Ланолин | - | - | - | - | - | 10 | - |
Вода | 10 | 38 | 43,6 | 39,6 | - | 50 | 37,5 |
ХАРАКТЕРИСТИКА ПОЖАРООПАСНОСТИ РАСТВОРИТЕЛЕЙ
Растворитель | Температура, °C | Пределы взрываемости в смеси с воздухом, % (по объему) |
вспышки | самовоспламенения |
Ацетон | -18 | 500 | 2,15 - 13 |
Бутилацетат | 29 | 371 | 2,2 - 14,7 |
Ксилол | 17 - 29 | 553 - 618 | 1 - 7,6 |
Скипидар | 34 | 300 | 0,8 - 3,8 |
Сольвент | 34 | 520 | 1 - 3,8 |
Спирт бутиловый | 34 | 365 | 1,52 - 7,9 |
Спирт этиловый | 13,9 | 423 | 3,92 - 20 |
Толуол | 30 - 40 | 536 | 1,28 - 7 |
Уайт-спирит | 33 | 260 | 1,4 - 6 |
Циклогексанон | 40 | 495 | 3,2 - 9 |
Этилацетат | 2 | 400 | 3,5 - 16,8 |
Этилцеллозольв | 52 | 235 | 1,8 - 15,7 |
Р-4 | -7 | 550 | 1,65 (нижний) |
Р-5 | -1 | 497 | 1,83 (нижний) |
Р-24 | -6 | 461 | - |
646 | -7 | 403 | 1,87 (нижний) |
СТОИМОСТЬ ОСНОВНЫХ МАТЕРИАЛОВ,
ИСПОЛЬЗУЕМЫХ ДЛЯ ЗАЩИТНОЙ ОБРАБОТКИ КОНСТРУКЦИЙ
Материал | ГОСТ, ОСТ, ТУ | Единица измерения | Прейскурантная цена материала, руб. | Прейскурант |
Лакокрасочные материалы, смолы и отвердители |
Перхлорвиниловая эмаль ХВ-1100: | ГОСТ 6993-79 | | | N 05-04. М., 1974 |
кремовая, кремовая-Р, желтая, бежевая, красно-коричневая, голубая, зеленая, защитная, серая, темно-серая | | т | 500 |
белая, шаровая | | " | 530 |
белая-Р, красная | | " | 600 |
| | ИС МЕГАНОРМ: примечание. Взамен ГОСТ 10144-74 Постановлением Госстандарта СССР от 09.10.1989 N 3045 с 1 января 1991 года введен в действие ГОСТ 10144-89. | |
|
Перхлорвиниловая эмаль ХВ-124: | ГОСТ 10144-74* | | | То же |
серая, кремовая, бежевая, коричневая, красная, голубая, салатная, зеленая, защитная | | " | 650 |
под слоновую кость, светло-стальная, светло-голубая, зелено-голубая, темно-голубая | | " | 700 |
желтая | | " | 750 |
светло-желтая | | " | 800 |
Перхлорвиниловая эмаль ХВ-110: | | | | " |
светло-голубая, серая | | " | 730 |
зеленая, желтая | | " | 800 |
красная | | " | 1000 |
Пентафталевая эмаль ПФ-115: | | | | " |
белая, светло-кремовая, кремовая, слоновая кость, бежевая, песочная, желтая, светло-зеленая, серая, светло-серая, темно-зеленая, белая ночь, дымчатая | | " | 1050 |
голубая, серо-голубая, светло-голубая | | " | 1100 |
синяя, красно-оранжевая, красная, вишневая | | " | 1150 |
Уретаново-алкидная эмаль УРФ-1128 | ТУ 6-10-1421-76 | " | 2500 | - |
Уретановая эмаль УР-49 | ТУ 6-10-1579-76 | " | 2500 | - |
Органосиликатная композиция ОС-12-03 | ТУ 84-725-78 | " | 3100 | - |
| | ИС МЕГАНОРМ: примечание. Взамен ГОСТ 10277-76 в части марок ЭП-0010, ЭП-0020 Постановлением Госстандарта СССР от 19.12.1989 N 3837 с 1 января 1991 года введен в действие ГОСТ 28379-89. | |
|
Эпоксидная шпатлевка ЭП-0010 | ГОСТ 10277-76 | " | 2600 | N 05-04. М., 1974 |
Эпоксидная модифицированная смола К-153 | ТУ 6-05-1584-77 | " | 5000 | N 05-01, ч. I. М., 1974 |
Отвердитель N 1 | ТУ 6-10-1263-77 | " | 2200 | N 05-04. М., 1974 |
Полиэтиленполиамин технический | ТУ 6-02-594-75 | " | 900 - 1390 | - |
Наполнители | |
| | ИС МЕГАНОРМ: примечание. Взамен ГОСТ 10178-76 Постановлением Госстроя СССР от 10.07.1985 N 116 с 1 января 1987 года введен в действие ГОСТ 10178-85. | |
|
Портландцемент М400 | ГОСТ 10178-76 | " | 18,7 | - |
| | ИС МЕГАНОРМ: примечание. Постановлением Госстандарта СССР от 02.02.1982 N 416 с 1 июля 1983 года введен в действие ГОСТ 9077-82. | |
|
Кварц молотый пылевидный | ГОСТ 9077-59 | " | 14,2 | - |
Мастики, герметики и уплотняющие прокладки |
Мастика-изол холодная МРБ-Х-Т15 | ТУ 21-27-37-74 | т | 204 | - |
Герметики тиоколовые: | | | | |
У-30М | | " | 4200 | - |
УТ-32 | ТУ 38-105462-72 | " | 4200 | - |
Вулканизующая паста N 9 | - | " | 4270 | - |
Ускоритель вулканизации дифенилгуанидин технический: | ГОСТ 40-67 | | | N 05-01, ч. I. М., 1974 |
I сорт | | " | 3000 | |
II сорт | | " | 2800 | |
Гермит | ТУ 38 106278-75 | " | 1180 | - |
|
|
Прокладка пороизоловая уплотняющая круглого сечения диаметром: | ГОСТ 19177-73 | 1000 м | | - |
30 мм | | | 123 | |
40 мм | | | 185 | |
Биозащитные и биоогнезащитные составы и их компоненты |
Аммоний кремнефтористый технический | ОСТ 6-08-2-75 | т | 105 | N 05-01, ч. I. М., 1974 |
Бихромат калия технический: | | | | N 05-01, ч. I. М., 1974 |
высший сорт | | т | 324 |
I сорт | | " | 308 |
Кислота борная, I сорт | | " | 580 | То же |
Диаммонийфосфат технический: | | | | " |
марки А | | " | 340 | |
Б | | " | 260 | |
Сульфат аммония технический: | ГОСТ 9097-74* | | | " |
I сорт | | " | 48 - 50 | |
II сорт | | " | 47 - 50 | |
Бихромат натрия технический | ГОСТ 2651-78 | " | 305 | - |
| | ИС МЕГАНОРМ: примечание. ГОСТ 19347-74 утратил силу с 1 января 1985 года в связи с введением в действие ГОСТ 19347-84 (Постановление Госстандарта СССР от 28.09.1984 N 3432). Взамен ГОСТ 19347-84 Постановлением Госстандарта России от 30.03.2000 N 86-ст с 1 января 2001 года введен в действие ГОСТ 19347-99. | |
|
Медный купорос, II сорт | ГОСТ 19347-74 | " | 285 | - |
Тетрафторборат аммония технический | ТУ 6-08-297-74 | " | 530 | - |
Натрий фтористый технический: | ГОСТ 2871-75 | | | N 05-01, ч. I. М., 1974 |
I сорт | | " | 275 |
II сорт | | " | 260 |