Главная // Актуальные документы // ГОСТ (Государственный стандарт)СПРАВКА
Источник публикации
М.: ИПК Издательство стандартов, 2002
Примечание к документу
С 1 июля 2003 года до вступления в силу технических регламентов акты федеральных органов исполнительной власти в сфере технического регулирования носят рекомендательный характер и подлежат обязательному исполнению только в части, соответствующей целям, указанным в
пункте 1 статьи 46 Федерального закона от 27.12.2002 N 184-ФЗ.
Введен в действие с 1 июля 1999 года.
Взамен ГОСТ 16363-76.
Название документа
"ГОСТ 16363-98. Средства огнезащитные для древесины. Методы определения огнезащитных свойств"
(введен в действие Постановлением Госстандарта РФ от 25.09.1998 N 357)
"ГОСТ 16363-98. Средства огнезащитные для древесины. Методы определения огнезащитных свойств"
(введен в действие Постановлением Госстандарта РФ от 25.09.1998 N 357)
Постановлением Госстандарта РФ
от 25 сентября 1998 г. N 357
МЕЖГОСУДАРСТВЕННЫЙ СТАНДАРТ
СРЕДСТВА ОГНЕЗАЩИТНЫЕ ДЛЯ ДРЕВЕСИНЫ
МЕТОДЫ ОПРЕДЕЛЕНИЯ ОГНЕЗАЩИТНЫХ СВОЙСТВ
Fire protective means for wood.
Methods for determination of fire protective properties
ГОСТ 16363-98
1. Разработан Межгосударственным техническим комитетом МТК 274/643 "Пожарная безопасность", Всероссийским научно-исследовательским институтом противопожарной безопасности (ВНИИПО).
Внесен Госстандартом России.
2. Принят Межгосударственным Советом по стандартизации, метрологии и сертификации (Протокол N 13 от 28 мая 1998 г.).
За принятие проголосовали:
┌────────────────────────────┬───────────────────────────────────┐
│ Наименование государства │ Наименование национального органа │
│ │ по стандартизации │
├────────────────────────────┼───────────────────────────────────┤
│Азербайджанская Республика │Азгосстандарт │
│Республика Армения │Армгосстандарт │
│Республика Беларусь │Госстандарт Беларуси │
│Республика Казахстан │Госстандарт Республики Казахстан │
│Киргизская Республика │Киргизстандарт │
│Республика Молдова │Молдовастандарт │
│Российская Федерация │Госстандарт России │
│Республика Таджикистан │Таджикгосстандарт │
│Туркменистан │Главная государственная инспекция │
│ │Туркменистана │
│Украина │Госстандарт Украины │
└────────────────────────────┴───────────────────────────────────┘
3. Постановлением Государственного комитета Российской Федерации по стандартизации, метрологии и сертификации от 25 сентября 1998 г. N 357 межгосударственный стандарт ГОСТ 16363-98 введен в действие непосредственно в качестве государственного стандарта Российской Федерации с 1 июля 1999 г.
4. Взамен ГОСТ 16363-76.
5. Переиздание. Февраль 2002 г.
Настоящий стандарт распространяется на средства огнезащитные для древесины и устанавливает классификационный метод и метод ускоренных испытаний для определения огнезащитных свойств.
Сущность методов заключается в определении потери массы древесины, обработанной испытываемыми покрытиями или пропиточными составами, при огневом испытании в условиях, благоприятствующих аккумуляции тепла. Классификационный метод применяют для определения группы огнезащитной эффективности и при проведении сертификационных испытаний. Метод ускоренных испытаний применяют для контроля огнезащитной эффективности средств огнезащиты, прошедших классификационные испытания.
В настоящем стандарте использованы ссылки на следующие стандарты:
ГОСТ 745-79 Фольга алюминиевая для упаковки. Технические условия
ГОСТ 2140-81 Видимые пороки древесины. Классификация, термины и определения, способы измерения
ГОСТ 5106-77 Цинк азотнокислый 6-водный. Технические условия
ГОСТ 7164-78 Приборы автоматические следящего уравновешивания ГСП. Общие технические условия
ГОСТ 20448-90 Газы углеводородные сжиженные топливные для коммунально-бытового потребления. Технические условия
3. АППАРАТУРА И МАТЕРИАЛЫ
Для проведения испытания применяют следующие аппаратуру и материалы.
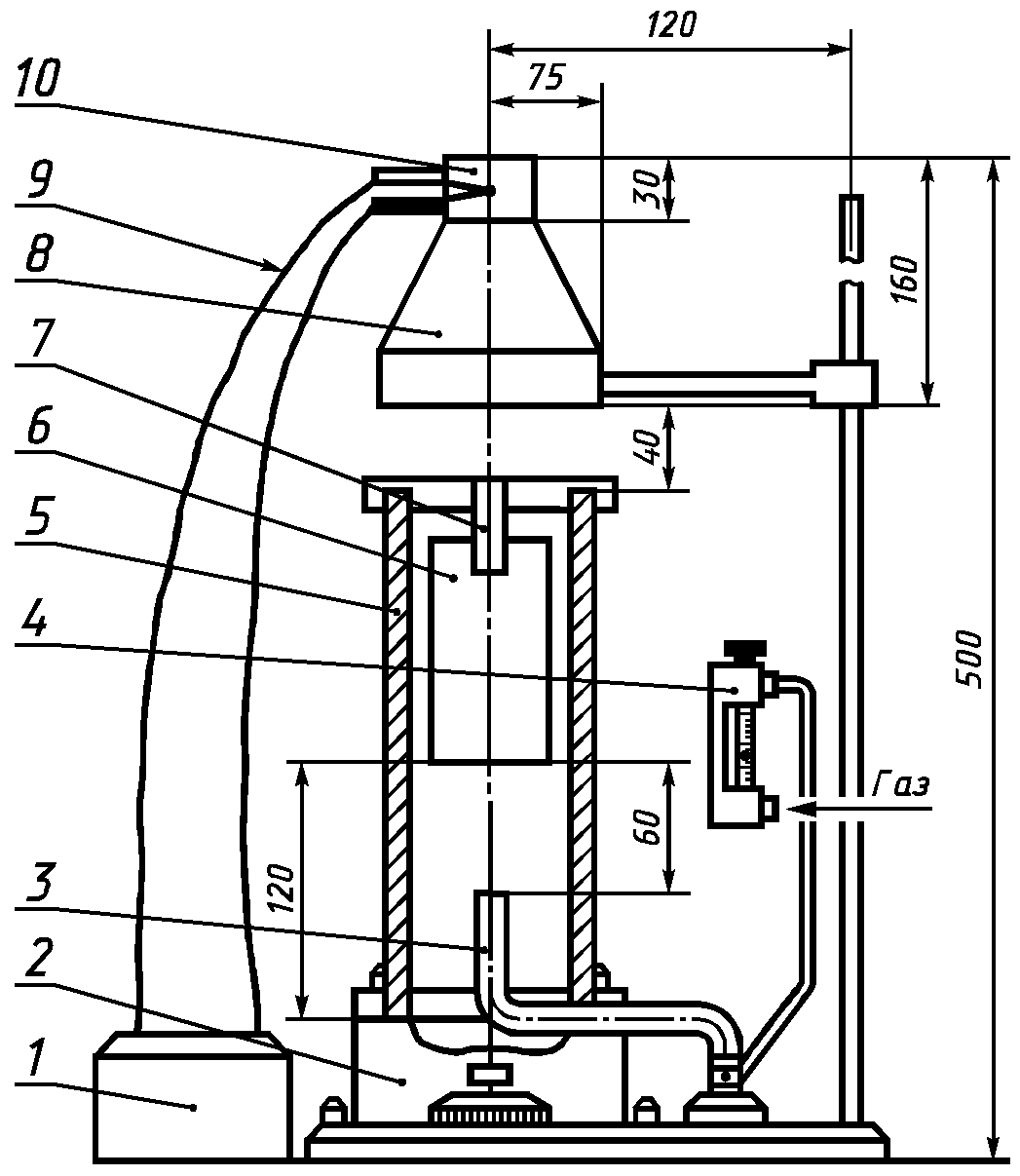
Установка для определения огнезащитной эффективности покрытий и пропиток (
рисунок 1), состоящая из:
- керамического короба 5 внешним размером 120 х 120 х 300 мм и толщиной стенок (16 +/- 2) мм;
- металлической подставки 2 для крепления керамического короба, которая с боковых сторон имеет створки для регулирования подачи воздуха в зону горения материала;
- газовой горелки 3, входящей внутрь керамического короба по его центру с отклонением по оси не более 2 мм;
- ротаметра 4 типа РМ по
ГОСТ 13045 с пределами измерения расхода газа 20 - 100 л х

;
- держателя образца 7, фиксирующего положение испытуемого образца в центре керамического короба на расстоянии (60 +/- 2) мм от газовой горелки;
- зонта 8, расположенного в рабочем положении соосно коробу и на (40 +/- 2) мм выше его. Для установки образца должна быть предусмотрена возможность отвода зонта;
- термоэлектрических преобразователей 9 типа ТХА по нормативной документации с термоэлектродами диаметром не более 0,8 мм, помещенными в двухканальную фарфоровую трубку. Горячий спай термопары должен располагаться в центре верхнего патрубка 10 зонта на его вертикальной оси;
- автоматического потенциометра 1 типа КСП-4 по
ГОСТ 7164. Допускается применять другие потенциометры, обеспечивающие такую же точность.
1 - потенциометр КСП-4; 2 - металлическая подставка;
3 - газовая горелка; 4 - ротаметр; 5 - керамический короб;
6 - образец; 7 - держатель образца; 8 - зонт;
9 - термоэлектрические преобразователи;
10 - верхний патрубок зонта
Рисунок 1. Установка для определения
огнезащитной эффективности покрытий и пропиток
Весы с погрешностью взвешивания не более 0,1 г.
Секундомер.
Фольга алюминиевая толщиной 0,014 - 0,018 мм марки ФГ по
ГОСТ 745.
Шкаф или камера для термостатирования, обеспечивающие диапазон температур от 40 до 60 °С с принудительной циркуляцией воздуха и кратностью воздухообмена (

) в пределах 4 - 8.
Вытяжной шкаф с принудительной вентиляцией.
Прибор для определения влажности воздуха.
Электровлагомер типа ЭВ-2К с пределами измерения 7 - 22% (для измерения влажности образцов древесины).
Емкость для пропитки образцов древесины.
Пульверизатор.
Кисти, шпатели для нанесения красок, покрытий.
Эксикатор.
Цинк азотнокислый 6-водный по ГОСТ 5106.
4. ПОДГОТОВКА К ИСПЫТАНИЯМ
4.1. Подготовка к классификационным испытаниям
4.1.1. Испытания проводят не менее чем на 10 образцах. Образцы изготовляют из прямослойной воздушно-сухой древесины сосны плотностью от 400 до 550 кг х

. Образцы должны быть без видимых пороков по
ГОСТ 2140. Боковая поверхность образцов должна быть строганой, торцы опилены и обработаны наждаком.
4.1.2. Образцы древесины изготовляют в виде прямоугольного бруска поперечным сечением 30 х 60 мм и длиной волокон 150 мм.
Отклонения от размеров образцов не должны превышать +/- 1 мм. Для испытания пропиточных составов образцы изготовляют из заболони, для испытания покрытий - из заболони и ядра.
4.1.3. Образцы древесины перед нанесением средства огнезащиты должны иметь влажность (8 +/- 2)%.
Для этого образцы кондиционируют в эксикаторе с насыщенным раствором азотнокислого 6-водного цинка при температуре (23 +/- 5) °С.
Кондиционирование образцов древесины прекращают, когда изменение между двумя последующими взвешиваниями, проведенными через 24 ч, будет не более 0,2 г.
4.1.4. На кондиционированные образцы древесины со всех сторон наносят покрытие из испытываемого защитного средства или пропитывают образцы испытываемым защитным средством согласно имеющимся на него нормативным документам, утвержденным в установленном порядке, и высушивают. Расход защитного средства, условия и время сушки также должны соответствовать нормативному документу на испытываемое средство огнезащиты.
4.1.5. Перед испытанием обработанные и высушенные образцы древесины кондиционируют в условиях, указанных в
4.1.3, и взвешивают с погрешностью не более 0,1 г. Расход сухого огнезащитного средства

, г х

, вычисляют по формуле

, (1)
где

- масса образца перед сжиганием, г;

- масса образца до нанесения покрытия, г;
F - площадь поверхности образца, м2.
В случае пропитки образцов способами, обеспечивающими глубокое проникновение огнезащитного средства, общее поглощение

, кг х

, вычисляют по формуле

, (2)
где

- масса образца перед сжиганием, кг;

- масса образца до пропитки, кг;
V - объем образца, м3.
4.2. Подготовка к испытаниям по ускоренному методу
4.2.1. Испытания проводят не менее чем на 3 образцах, изготовленных из прямослойной воздушно-сухой древесины сосны плотностью от 400 до 550 кг х

. Образцы не должны иметь видимых пороков по
ГОСТ 2140. Поверхность образцов должна быть строганой, торцы опилены и обработаны наждаком.
4.2.2. Требования к изготовлению образцов - в соответствии с
4.1.2.
4.2.3. Образцы перед нанесением огнезащитного средства доводят до постоянной массы в термостате при температуре (45 +/- 2) °С. Термостатирование образцов древесины прекращают, когда изменение массы образца между двумя последующими взвешиваниями, проведенными с интервалом 2 ч, составит не более 0,2 г.
4.2.4. Обработку образцов огнезащитными средствами проводят не позднее чем через 30 мин после термостатирования, либо во избежание изменения массы образцов за счет поглощения влаги до начала обработки образцы помещают в сухой эксикатор.
4.2.5. Пропитку образцов древесины водными растворами нанесением на поверхность осуществляют путем их погружения в раствор. Температура раствора должна соответствовать нормативному документу.
Для пропитки используют емкость, выполненную из коррозионностойкого материала, в которую образцы погружают таким образом, чтобы толщина слоя раствора над верхней гранью образца составляла 5 - 10 мм. Допускается нанесение пропиточных составов кистью или пульверизатором.
Кратность нанесения состава зависит от нормы его расхода и поглощающей способности древесины.
Расход пропиточного состава определяют после каждого пропитывания для каждого образца путем взвешивания до пропитки и после нее. Общий расход определяют путем суммирования расходов после каждой пропитки. Взвешивание пропитанных образцов осуществляют после того, как с них перестанет стекать раствор. Остатки раствора с торца образца удаляют фильтровальной бумагой.
Пропитку и нанесение покрытий составами, содержащими органические жидкости, выполняют в соответствии с нормативным документом на конкретное огнезащитное средство.
Пропитку образцов древесины другими способами выполняют по соответствующим нормативным документам.
Способы приготовления испытываемых составов и их расход должны соответствовать нормативным документам, утвержденным в установленном порядке. Расход огнезащитных средств при испытании указывают без учета технологических потерь.
4.2.6. Сушку образцов древесины осуществляют до постоянной массы по
4.2.3.
Сушку образцов после пропитки водными растворами защитных средств осуществляют в термостате при температуре (45 +/- 2) °С. Промежуточная сушка между пропитками составляет 2 - 3 ч.
Сушку образцов после пропитки составами, содержащими органические жидкости, осуществляют в соответствии с нормативным документом на конкретный состав.
Образцы древесины с покрытиями сушат до постоянной массы в термостате при температуре не выше 60 °С, предварительно выдержав их в комнатных условиях (или в вытяжном шкафу - для покрытий, содержащих органические растворители) в течение суток. При многослойном нанесении покрытий послойную сушку осуществляют по режиму, предусмотренному нормативным документом на конкретное покрытие.
4.2.7. Доведенные до постоянной массы образцы взвешивают с погрешностью не более +/- 0,1 г и определяют расход сухого огнезащитного средства (

) или общее поглощение (

) по
формулам 1 и
2.
4.2.8. Испытания проводят не позднее чем через 30 мин после сушки, или до начала испытания образцы, доведенные до постоянной массы, помещают в сухой эксикатор.
5.1. Внутренние стенки керамического короба выкладывают алюминиевой фольгой блестящей стороной вовнутрь. Из фольги вырезают полосы шириной, равной внутренней ширине стенки короба. Затем полосы поочередно в 3 слоя закладывают внутрь керамического короба, разглаживают по внутренним стенкам и загибают их по торцам на наружную поверхность керамического короба. Фольгу необходимо менять после сжигания каждых трех образцов.
5.2. Керамический короб переводят в горизонтальное положение и зажигают газовую горелку. Устанавливают высоту пламени 15 - 25 см. После этого керамический короб устанавливают вертикально на подставку, переводят зонт в рабочее положение над коробом и регулируют расход газа так, чтобы температура в течение 5 мин была равна (200 +/- 5) °С, после чего фиксируют значение расхода газа по показаниям ротаметра. Дополнительное регулирование можно осуществлять путем регулирования подачи воздуха в зону горения материала с помощью створок металлической подставки.
5.3. Испытания проводят в вытяжном шкафу с принудительной вентиляцией.
5.4. Керамический короб устанавливают на подставку и переводят зонт в рабочее положение над коробом. При достижении температуры (200 +/- 5) °С зонт отводят и испытываемый образец, закрепленный в держателе, опускают в керамический короб и одновременно включают секундомер. Затем зонт возвращают в рабочее положение.
Образец держат в пламени горелки в течение 2 мин. В ходе испытаний контролируют по показаниям ротаметра расход газа, который должен быть равным ранее фиксированному. Через 2 мин подачу газа в горелку прекращают и оставляют образец в приборе для остывания до комнатной температуры.
5.5. Остывший образец древесины извлекают из керамического короба и взвешивают.
6.1. Обработка результатов классификационных испытаний
6.1.1. Потерю массы образца Р, %, вычисляют с точностью до 0,1% по формуле

, (3)
где

- масса образца до испытания, г;

- масса образца после испытания, г.
6.1.2. Образцы, для которых не выполняются следующие неравенства

, при

; (4)

, при

; (5)
где

- среднее арифметическое значение потери массы, %;

- значение потери массы одного из десяти испытанных образцов, %,
отбрасывают, вместо них сжигают новые и вновь определяют среднее арифметическое результатов.
За результат испытания принимают среднее арифметическое результатов не менее 10 определений, округленное до целого числа процентов.
6.1.3. По результатам испытания устанавливают группу огнезащитной эффективности испытанного покрытия или пропиточного состава при данном способе его применения.
6.1.3.1. При потере массы образца не более 9% для средства защиты древесины устанавливают I группу огнезащитной эффективности.
6.1.3.2. При потере массы более 9%, но не более 25%, для средств защиты древесины устанавливают II группу огнезащитной эффективности.
6.1.3.3. При потере массы более 25% считают, что данное средство не обеспечивает огнезащиты древесины.
6.1.4. Результаты испытаний и расчетов заносят в протокол испытаний (
Приложение А).
6.2. Обработка результатов испытаний по ускоренному методу
6.2.1. Потерю массы образца Р, %, вычисляют с точностью до 1% по формуле

, (6)
где

- масса образца до испытания, г;

- масса образца после испытания, г.
За результат испытания принимают среднее арифметическое трех определений, округленное до 1%.
6.2.2. В случае получения среднего арифметического трех определений для средств защиты древесины I группы огнезащитной эффективности более 9%, а для средств защиты древесины II группы более 25% проводят повторные испытания по ускоренной методике на десяти образцах. При получении неудовлетворительных результатов повторных испытаний партию огнезащитного средства для древесины считают не соответствующей установленной для него группе огнезащитной эффективности.
(обязательное)
ОПРЕДЕЛЕНИЯ ОГНЕЗАЩИТНЫХ СВОЙСТВ ЗАЩИТНОГО СРЕДСТВА
Наименование и марка защитного средства, НД (ГОСТ, ТУ)________________________
Способ защитной обработки ____________________________________________________
Номер партии, дата изготовления ______________________________________________
Основание для проведения испытаний ___________________________________________
Дата ____ Температура воздуха, °С ____ Относительная влажность воздуха, % ____
Характеристики пропиточного состава __________________________________________
Номер об- разца | Масса образца, г | Расход рабочего состава | Привес сухого состава | Потеря массы образца | Средняя потеря массы образца |
до обра- ботки | перед сжига- нием | после сжига- ния | покры- тия, кг/м2 | пропи- точного соста- ва, кг/м2 (кг/м3) | Расход сухого сред- ства огне- защиты, кг/м2 | Общее погло- щение, кг/м3 | г | % | г | % |
1 | | | | | | | | | | | |
2 | | | | | | | | | | | |
3 | | | | | | | | | | | |
4 | | | | | | | | | | | |
5 | | | | | | | | | | | |
6 | | | | | | | | | | | |
7 | | | | | | | | | | | |
8 | | | | | | | | | | | |
9 | | | | | | | | | | | |
10 | | | | | | | | | | | |