Главная // Актуальные документы // ГОСТ (Государственный стандарт)СПРАВКА
Источник публикации
М.: ИПК Издательство стандартов, 2003
Примечание к документу
С 1 июля 2003 года до вступления в силу технических регламентов акты федеральных органов исполнительной власти в сфере технического регулирования носят рекомендательный характер и подлежат обязательному исполнению только в части, соответствующей целям, указанным в
пункте 1 статьи 46 Федерального закона от 27.12.2002 N 184-ФЗ.
Документ
введен в действие с 1 июля 1976 года.
Взамен ГОСТ 5470-50.
Название документа
"ГОСТ 5470-75. Межгосударственный стандарт. Лаки марок ПФ-283 и ГФ-166. Технические условия"
(утв. и введен в действие Постановлением Госстандарта СССР от 12.05.1975 N 1242)
(ред. от 01.05.2002)
"ГОСТ 5470-75. Межгосударственный стандарт. Лаки марок ПФ-283 и ГФ-166. Технические условия"
(утв. и введен в действие Постановлением Госстандарта СССР от 12.05.1975 N 1242)
(ред. от 01.05.2002)
Утвержден и введен в действие
Постановлением Государственного комитета
стандартов Совета Министров СССР
от 12 мая 1975 г. N 1242
МЕЖГОСУДАРСТВЕННЫЙ СТАНДАРТ
ЛАКИ МАРОК ПФ-283 И ГФ-166
ТЕХНИЧЕСКИЕ УСЛОВИЯ
Lacquers of ПФ-283 and ГФ-166 types.
Specifications
ГОСТ 5470-75
| | Список изменяющих документов (в ред. Изменения N 1, утв. в марте 1976 г., Изменения N 2, утв. в феврале 1981 г., Изменения N 3, утв. в апреле 1983 г., Изменения N 4, утв. в сентябре 1988 г., Изменения N 5, утв. в мае 2002 г.) | |
Дата введения
1 июля 1976 года
1. Разработан и внесен Министерством химической промышленности СССР.
2. Утвержден и введен в действие Постановлением Государственного комитета стандартов Совета Министров СССР от 12.05.75 N 1242.
Изменение N 5 принято Межгосударственным советом по стандартизации, метрологии и сертификации (Протокол N 20 от 01.11.2001).
За принятие изменения проголосовали:
Наименование государства | Наименование национального органа по стандартизации |
Азербайджанская Республика | Азгосстандарт |
Республика Армения | Армгосстандарт |
Республика Беларусь | Госстандарт Республики Беларусь |
Республика Казахстан | Госстандарт Республики Казахстан |
Кыргызская Республика | Кыргызстандарт |
Республика Молдова | Молдовастандарт |
Российская Федерация | Госстандарт России |
Республика Таджикистан | Таджикстандарт |
Туркменистан | Главгосслужба "Туркменстандартлары" |
Республика Узбекистан | Узгосстандарт |
Украина | Госстандарт Украины |
3. Взамен ГОСТ 5470-50.
4. Ссылочные нормативно-технические документы
Обозначение НТЛ, на который дана ссылка | Номер пункта |
| |
| |
| |
| |
| |
| |
| |
| |
| |
| |
| |
| |
| |
| |
ГОСТ 1571-82 | |
| |
| |
| |
| |
| |
| |
| |
| |
| |
| |
| |
| |
| |
| |
| |
| |
| |
| |
| |
| |
| | ИС МЕГАНОРМ: примечание. ГОСТ 17269-71 утратил силу с 1 марта 2016 года в связи с введением в действие ГОСТ 12.4.296-2015 (Приказ Росстандарта от 24.06.2015 N 788-ст). | |
|
ГОСТ 17269-71 | |
| |
| |
| |
| |
5. Ограничение срока действия снято по Протоколу N 3-93 Межгосударственного совета по стандартизации, метрологии и сертификации (ИУС 5-6-93).
6. Издание (март 2003 г.) с Изменениями N 1, 2, 3, 4, 5, утвержденными в марте 1976 г., феврале 1981 г., апреле 1983 г., сентябре 1988 г., мае 2002 г. (ИУС 4-76, 5-81, 8-83, 12-88, 8-2002).
Настоящий стандарт распространяется на лаки марок ПФ-283 и ГФ-166, представляющие собой растворы алкидных смол, модифицированных растительными маслами, жирными кислотами растительных масел и продуктов их переработки, дистиллированными жирными кислотами таллового масла и дистиллированным талловым маслом в органических растворителях с добавлением сиккатива.
Лаки предназначаются для покрытий по масляным краскам, деревянным и металлическим поверхностям, эксплуатируемым в атмосферных условиях (лак марки ГФ-166) и внутри помещения.
Лаки наносят на поверхность кистью или краскораспылителем.
Обязательные требования, направленные на обеспечение безопасности лаков ПФ-283 и ГФ-166 для жизни, здоровья и имущества граждан, охрану окружающей среды, изложены в п. 1.3 (
табл. 1, показатели 5,
9),
пп. 4.1,
4.2.
(Измененная редакция, Изм. N 4, 5).
1. МАРКИ И ТЕХНИЧЕСКИЕ ТРЕБОВАНИЯ
1.1. Лаки должны выпускаться в соответствии с требованиями настоящего стандарта по рецептуре и технологическому регламенту, утвержденным в установленном порядке.
1.1, 1.2. (Измененная редакция, Изм. N 4).
1.3. Лаки марок ПФ-283 и ГФ-166 должны соответствовать требованиям и нормам, указанным в табл. 1.
Наименование показателя | Норма для марки | Метод испытания |
ПФ-283 | ГФ-166 ОКП 23 1121 |
Высший сорт ОКП 23 1122 | Первый сорт ОКП 23 1122 |
1. Цвет лака по йодометрической шкале, мг  , не темнее | 130 | 300 | 400 | |
| После высыхания лак должен образовывать однородную, прозрачную, без посторонних включений поверхность | |
3. Блеск покрытия по фотоэлектрическому блескомеру, %, не менее | 80 | 60 | 60 | |
4. Условная вязкость лака по вискозиметру типа ВЗ-246 с диаметром сопла 4 мм при температуре (20,0 +/- 0,5) °С, с | 40 - 60 | 40 - 60 | 40 - 60 | |
5. Массовая доля нелетучих веществ, % | 50 +/- 2 | 50 +/- 2 | 49 +/- 2 | |
6. Время высыхания до степени 3, ч, не более: | | | | |
при температуре (20 +/- 2) °С | 36 | 36 | 48 |
при температуре (60 +/- 2) °С | 3 | 3 | 4 |
7. Эластичность пленки при изгибе, мм, не более | 1 | 1 | 1 | |
8. Твердость покрытия по маятниковому прибору, не менее: | | | | |
типа ТМЛ (маятник А), относительные единицы | 0,15 | 0,13 | 0,10 |
или типа М-3, условные единицы | 0,35 | 0,35 | 0,20 | |
9. Стойкость покрытия лака к статическому воздействию воды при температуре (20 +/- 2) °С, ч, не менее | 8 | 4 | 8 | |
(Измененная редакция, Изм. N 4, 5).
(Измененная редакция, Изм. N 2, 4).
При получении неудовлетворительных результатов приемосдаточных испытаний хотя бы по одному из показателей проводят повторные испытания на удвоенной выборке, взятой от той же партии.
Результаты испытаний распространяются на всю партию.
Норму по
показателю 3 табл. 1 определяют не реже одного раза в год с календарной даты начала выпуска лака.
При получении неудовлетворительных результатов периодических испытаний проверяют каждую партию до получения удовлетворительных результатов подряд не менее чем на трех партиях.
При получении повторного отрицательного результата периодические испытания переводят в приемосдаточные до получения удовлетворительных результатов.
(Измененная редакция, Изм. N 5).
2.3. (Исключен, Изм. N 2).
(Измененная редакция, Изм. N 2, 3, 4).
3.2. Подготовка образцов к испытанию
Испытуемый лак тщательно перемешивают и фильтруют через сито с сеткой 056 К
по ГОСТ 6613. Цвет лака, условную вязкость, массовую долю нелетучих веществ определяют в неразбавленном лаке.
Для определения остальных показателей лак разбавляют в соответствии с
п. 1.2 до рабочей вязкости 24 - 28 с по вискозиметру типа ВЗ-246 с диаметром сопла 4 мм при температуре (20,0 +/- 0,5) °С и наносят краскораспылителем или кистью, или наливом на пластинки, подготовленные по ГОСТ 8832,
разд. 3.
Время высыхания, стойкость покрытия к статическому воздействию воды определяют на пластинках из черной жести по
ГОСТ 13345 размером 70 x 150 мм, толщиной 0,25 - 0,32 мм.
Эластичность пленки при изгибе определяют на пластинках из черной жести по
ГОСТ 13345 размером 20 x 150 мм, толщиной 0,25 - 0,32 мм.
Внешний вид, блеск и твердость покрытий определяют на стеклянных пластинках размером 90 x 120 мм, толщиной от 1,2 до 1,8 мм.
Для определения внешнего вида покрытия, времени высыхания лака, эластичности пленки при изгибе, твердости покрытия лак наносят в один слой.
Для определения блеска, стойкости покрытия к статическому воздействию воды лак наносят в два слоя. Перед нанесением второго слоя пластинки с однослойным покрытием выдерживают в течение 24 ч при температуре (20 +/- 2) °С или 3 ч при температуре (60 +/- 2) °С.
Однослойное покрытие и второй слой двухслойного покрытия сушат при температуре (20 +/- 2) °С или температуре (60 +/- 2) °С в течение времени, установленного нормой по показателю 6 табл. 1. Перед сушкой покрытия при температуре (60 +/- 2) °С пластинки с нанесенным лаком выдерживают при температуре (20 +/- 2) °С в течение 30 мин.
Толщина пленки однослойного покрытия лака после высыхания должна быть 20 - 25 мкм, двухслойного - 40 - 50 мкм.
3.3. Внешний вид покрытия лака определяют визуально при рассеянном дневном свете.
3.2, 3.3. (Измененная редакция, Изм. N 5).
3.3а. (Исключен, Изм. N 5).
3.3б. Определение твердости покрытия
3.3б.1. Твердость покрытия лака определяют по ГОСТ 5233,
разд. 1.
3.3б.2. Определение твердости покрытия по маятниковому прибору типа М-3.
3.3б.2.1. Аппаратура и материалы
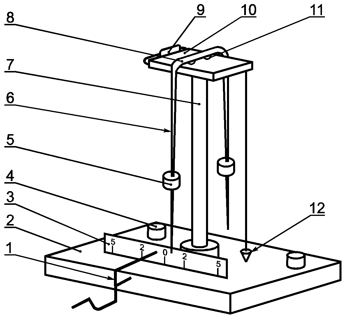
Маятниковый прибор типа М-3 для определения твердости при комнатной температуре (20 +/- 2) °С (чертеж).
1 - пусковой механизм; 2 - основание; 3 - шкала;
4 - установочные винты; 5 - груз; 6 - двустрелочный
механизм; 7 - штатив; 8 - соединительная планка;
9 - рамка; 10 - столик; 11 - стальные шашки; 12 - отвес
Основные характеристики маятникового прибора:
масса маятника (120 +/- 1) г;
длина маятника, считая от точки опоры до конца стрелки, (500 +/- 1) мм;
диаметр стального шарика (точки опоры) 7,938 мм по
ГОСТ 3722;
шкала прибора, разделенная на градусы;
угол отклонения от 5 до 2°;
время затухания колебаний на стеклянной пластинке ("стеклянное число") (440 +/- 6) с.
Стеклянные пластинки размером 90 x 120 мм, толщиной от 1,2 до 1,8 мм.
Секундомер.
3.3б.2.2. Подготовка к испытанию
Перед каждым испытанием шарики маятника и стеклянную пластинку прибора тщательно протирают ватой, смоченной растворителем, а затем сухой чистой марлей.
3.3б.2.3. Проведение испытания
Маятниковый прибор проверяют по "стеклянному числу" - времени затухания колебаний маятника, точки опоры которого лежат на стеклянной пластинке прибора.
Определение "стеклянного числа" проводят при температуре (20 +/- 2) °С и относительной влажности воздуха (65 +/- 5)%.
Измерения проводят не менее чем на трех участках поверхности стеклянной пластинки.
Таким же образом определяют время затухания колебаний маятника на стеклянной пластинке с испытуемым покрытием лака.
3.3б.2.4. Обработка результатов
Твердость (Н), условные единицы, вычисляют по формуле

,
где t - время затухания колебаний маятника на испытуемом покрытии лака, с;

- время затухания колебаний маятника на стеклянной пластинке прибора ("стеклянное число"), с.
За результат испытания принимают среднее арифметическое полученных результатов измерения времени затухания колебаний маятника на стеклянной пластинке и на испытуемом образце покрытия лака.
Отклонения значений единичных измерений от среднего арифметического не должно быть более 3%.
При разногласиях показатель твердость покрытия определяют по
ГОСТ 5233, по маятниковому прибору типа ТМЛ (маятник А).
3.3б.2.5. Погрешность метода
Погрешность метода при определении твердости на приборе М-3 составляет +/- 0,02 условной единицы.
3.3б - 3.3б.2.5. (Введены дополнительно, Изм. N 5).
3.4. Для определения стойкости покрытия к статическому воздействию воды окрашенные и высушенные образцы выдерживают на воздухе перед испытанием в течение 2 ч, затем образцы помещают на 2/3 высоты в дистиллированную воду (
ГОСТ 6709) и выдерживают в течение времени, указанного в
п. 9 табл. 1.
После испытания образцы выдерживают на воздухе при температуре (20 +/- 2) С в течение 1 ч и осматривают внешний вид покрытия.
Покрытие должно быть без изменений.
(Измененная редакция, Изм. N 4).
4. УПАКОВКА, МАРКИРОВКА, ТРАНСПОРТИРОВАНИЕ И ХРАНЕНИЕ
(Измененная редакция, Изм. N 4).
На транспортную тару должен быть нанесен знак опасности по
ГОСТ 19433 (класс 3), классификационный шифр 3313, номер ООН 1263.
При хранении условная вязкость лака увеличивается от нормы по
табл. 1. При разбавлении лака растворителем до нормы по показателю "вязкость" лак должен соответствовать требованиям настоящего стандарта.
4.2, 4.3. (Измененная редакция, Изм. N 4, 5).
4.4. Способ применения лаков ПФ-283 и ГФ-166, предназначенных для розничной торговли, указан в
Приложении.
(Измененная редакция, Изм. N 4).
5.1. Изготовитель гарантирует соответствие лаков требованиям настоящего стандарта при соблюдении условий хранения и транспортирования.
(Измененная редакция, Изм. N 2).
5.2. Гарантийный срок хранения лаков - 12 мес. со дня изготовления.
(Измененная редакция, Изм. N 3).
6. ТРЕБОВАНИЯ БЕЗОПАСНОСТИ
6.1. Лаки являются пожароопасными и токсичными материалами, что обусловлено свойствами компонентов, входящих в их состав.
Предельно допустимые концентрации, классы опасности компонентов по
ГОСТ 12.1.005 и характеристики пожароопасности по
ГОСТ 12.1.044 приведены в табл. 2.
Таблица 2
Наименование компонента | Предельно допустимая концентрация паров в воздухе рабочей зоны производственных помещений, мг/м3 | Класс опасности | Температура, °С | Концентрационные пределы воспламенения, % (по объему) |
вспышки | самовоспламенения | нижний | верхний |
Ксилол | 50 | 3 | Не ниже 23 | Выше 450 | 1,0 | 6,0 |
Сольвент | 50 | 3 | 22-36 | 464-535 | 1,02 <*> | - |
Скипидар | 300 | 4 | 34 | 300 | 0,8 | 6,9 |
Уайт-спирит | 300 | 4 | Не ниже 33 | 270 | 1,4 | 6,0 |
Соединения свинца | 0,01/0,005 | 1 | - | - | - | - |
--------------------------------
<*> Нижний предел воспламенения при температуре 25 °С и давлении 101325 Па (760 мм рт. ст.).
6.2. Возможные пути поступления вредных веществ в организм человека - ингаляционный и через кожные покровы.
Пары растворителей при большой концентрации в воздухе оказывают раздражающее действие на слизистые оболочки глаз, верхних дыхательных путей и кожу.
Соединения свинца, являясь чрезвычайно опасными, вызывают хроническую интоксикацию, выражающуюся в поражении центральной нервной и сердечно-сосудистой систем, в изменениях крови, желудочно-кишечного тракта и других органов.
6.3. Производство лаков должно соответствовать правилам безопасности лакокрасочных производств, утвержденным в установленном порядке.
| | ИС МЕГАНОРМ: примечание. ГОСТ 17269-71 утратил силу с 1 марта 2016 года в связи с введением в действие ГОСТ 12.4.296-2015 (Приказ Росстандарта от 24.06.2015 N 788-ст). | |
6.6. Работы, связанные с изготовлением и применением лаков, проводят в помещениях, снабженных приточно-вытяжной и местной вентиляцией по
ГОСТ 12.4.021, обеспечивающей состояние воздушной среды в соответствии с
ГОСТ 12.1.005.
Средства тушения пожара - песок, кошма, огнетушители пенные ОХП-10, углекислотные ОУ-2 и ОУ-5, тонкораспыленная вода - по
ГОСТ 12.4.009.
6.7. Для охраны атмосферного воздуха от загрязнений должны быть предусмотрены очистка воздуха на газоочистных установках и контроль за соблюдением предельно допустимых выбросов (ПДВ) по
ГОСТ 17.2.3.02.
6.8. Отходы, образующиеся при очистке оборудования, утилизируют в соответствии с порядком накопления, транспортирования, обезвреживания и захоронения токсичных промышленных отходов.
Разд. 6. (Измененная редакция, Изм. N 5).
| | ИС МЕГАНОРМ: примечание. Нумерация приложений дана в соответствии с официальным текстом документа. | |
Обязательное
СПОСОБ ПРИМЕНЕНИЯ ЛАКОВ ПФ-283 И ГФ-166,
ПРЕДНАЗНАЧЕННЫХ ДЛЯ РОЗНИЧНОЙ ТОРГОВОЙ СЕТИ
Лаки марок ПФ-283 и ГФ-166 предназначаются для покрытий по масляным краскам, деревянным и металлическим поверхностям, эксплуатируемым в атмосферных условиях (лак марки ГФ-166) и внутри помещений.
Перед нанесением лаков деревянная поверхность предварительно зачищается шлифовальной шкуркой и очищается от пыли, металлическая поверхность очищается от загрязнений (жировых и других), ржавчины, окалины.
Лаки наносят краскораспылителем или кистью. Для разбавления лаков применяют скипидар или смесь скипидара с уайт-спиритом (нефрасом-С4-155/200) в соотношении 1:1.
Время высыхания каждого слоя при температуре (20 +/- 2) °С для лака ПФ-283 - 36 ч, для лака ГФ-166 - 48 ч.
Расход лаков на однослойное покрытие - 70 - 75 г/м2.
Лаки хранят в плотно закрытой таре, предохраняя от влаги, действия тепла и прямых солнечных лучей.
Меры предосторожности: при проведении окрасочных работ, а также после их окончания необходимо тщательно проветрить помещение; для защиты рук применять резиновые перчатки.
Беречь от огня.
Приложение 2. (Измененная редакция, Изм. N 4).