Главная // Актуальные документы // ГОСТ (Государственный стандарт)СПРАВКА
Источник публикации
В данном виде документ опубликован не был.
Первоначальный текст документа опубликован М.: Издательство стандартов, 1983.
Информацию о публикации документов, создающих данную редакцию, см. в справке к этим документам.
Примечание к документу
Документ утратил силу на территории Российской Федерации с 1 января 2007 года в части метода определения массовой доли летучих веществ в связи с изданием
Приказа Ростехрегулирования от 30.12.2005 N 511-ст и в части метода определения массовой доли нелетучих веществ в связи с изданием
Приказа Ростехрегулирования от 30.12.2005 N 513-ст. Взамен введены в действие
ГОСТ Р 52485-2005 и
ГОСТ Р 52487-2005 соответственно.
С 1 июля 2003 года до вступления в силу технических регламентов акты федеральных органов исполнительной власти в сфере технического регулирования носят рекомендательный характер и подлежат обязательному исполнению только в части, соответствующей целям, указанным в
пункте 1 статьи 46 Федерального закона от 27.12.2002 N 184-ФЗ.
Изменение N 3, утв. Постановлением Госстандарта СССР от 20.12.1988 N 4306, введено в действие с 1 июля 1989 года.
Взамен ГОСТ 6989-54, ГОСТ 6059-51.
Название документа
"ГОСТ 17537-72 (СТ СЭВ 3388-81). Государственный стандарт Союза ССР. Материалы лакокрасочные. Методы определения массовой доли летучих и нелетучих, твердых и пленкообразующих веществ"
(введен Постановлением Госстандарта СССР от 03.02.1972 N 361)
(ред. от 20.12.1988)
"ГОСТ 17537-72 (СТ СЭВ 3388-81). Государственный стандарт Союза ССР. Материалы лакокрасочные. Методы определения массовой доли летучих и нелетучих, твердых и пленкообразующих веществ"
(введен Постановлением Госстандарта СССР от 03.02.1972 N 361)
(ред. от 20.12.1988)
Государственного
комитета стандартов
Совета Министров СССР
от 3 февраля 1972 г. N 361
ГОСУДАРСТВЕННЫЙ СТАНДАРТ СОЮЗА ССР
МАТЕРИАЛЫ ЛАКОКРАСОЧНЫЕ
МЕТОДЫ ОПРЕДЕЛЕНИЯ МАССОВОЙ ДОЛИ ЛЕТУЧИХ
И НЕЛЕТУЧИХ, ТВЕРДЫХ И ПЛЕНКООБРАЗУЮЩИХ ВЕЩЕСТВ
Paint materials. Methods for the determination
of the conten of volatile and non-volatile matters,
hard and film-forming materials
ГОСТ 17537-72
(СТ СЭВ 3388-81)
| | Список изменяющих документов (в ред. Изменения N 1, утв. в мае 1973 г., Изменения N 2, утв. в январе 1983 г., Госстандарта СССР от 20.12.1988 N 4306) | |
(код введен
Изменением N 3, утв. Постановлением Госстандарта СССР от 20.12.1988 N 4306)
Постановлением Государственного комитета стандартов Совета Министров СССР от 3 февраля 1972 г. N 361 срок введения установлен
с 01.01.73.
Проверен в 1982 г. Постановлением Госстандарта N 187 от 17.01.83 срок действия продлен
до 01.07.89.
Настоящий стандарт распространяется на лакокрасочные материалы, их полуфабрикаты, смолы и т.п. и устанавливает методы определения массовой доли летучих и нелетучих, твердых и пленкообразующих веществ.
Термины, используемые в стандарте, и их определения приведены в справочном
Приложении 2.
Абзац исключен с 1 июля 1989 года. -
Изменение N 3, утв. Постановлением Госстандарта СССР от 20.12.1988 N 4306.
(Измененная редакция, Изм. N 1, 2).
1. МЕТОД ОПРЕДЕЛЕНИЯ МАССОВОЙ ДОЛИ ЛЕТУЧИХ И НЕЛЕТУЧИХ
ВЕЩЕСТВ
1.1. Сущность метода
Метод заключается в нагревании пробы лакокрасочного материала при определенной температуре в течение заданного промежутка времени или до достижения постоянной массы и определения массовой доли летучих и нелетучих веществ по разности результатов взвешивания до и после нагревания.
(в ред.
Изменения N 3, утв. Постановлением Госстандарта СССР от 20.12.1988 N 4306)
1.3. Аппаратура и реактивы
(в ред.
Изменения N 3, утв. Постановлением Госстандарта СССР от 20.12.1988 N 4306)
Для проведения испытания применяют:
шкаф сушильный с терморегулятором, обеспечивающим поддержание требуемой температуры нагрева с погрешностью не более 2 °C. Допускается применять установку с инфракрасной лампой типа ИКЗ 215-225-250, ИКЗ 215-225-500 или ИКЗ 215-225-500-1 по ТУ 16-87 ИФМР 675000.006 ТУ; весы ВЛВ-100 по ТУ 25.06.1316-76, обеспечивающие одновременно сушку и взвешивание;
(в ред.
Изменения N 3, утв. Постановлением Госстандарта СССР от 20.12.1988 N 4306)
| | ИС МЕГАНОРМ: примечание. Взамен ГОСТ 8711-78 Постановлением Госстандарта России от 10.03.1995 N 182 с 1 января 1996 года введен в действие ГОСТ 8711-93. | |
прибор для ускоренного определения влажности формовочных материалов модели 062М, состоящий из вольтметра с пределами измерения от 0 до 250 В, по ГОСТ 8711-78 автотрансформатора типа латер - 1М или другого аналогичного типа, инфракрасной лампы мощностью 500 Вт;
водяную баню;
чашки с плоским дном из белой или черной жести по
ГОСТ 13345-85 или алюминия по
ГОСТ 13726-78 толщиной от 0,2 до 0,5 мм, диаметром от 50 до 90 мм и высотой бортика от 5 до 10 мм или стеклянные типа чашек Петри по
ГОСТ 25336-82 диаметром 40 или 100 мм. Для ненасыщенных полиэфирных материалов применяют чашки из черной жести, для водоразбавляемых материалов - из белой жести диаметром от 80 до 90 мм и высотой бортика от 8 до 10 мм;
(в ред.
Изменения N 3, утв. Постановлением Госстандарта СССР от 20.12.1988 N 4306)
| | ИС МЕГАНОРМ: примечание. ГОСТ 683-85 утратил силу с 1 января 1991 года (ИУС "Государственные стандарты", N 6, 1992). | |
пластинки из белой или черной жести или алюминия размером 100 x 100 мм, толщиной от 0,3 до 0,5 мм или стеклянные 9 x 12 - 1,2 по ГОСТ 683-85.
(в ред.
Изменения N 3, утв. Постановлением Госстандарта СССР от 20.12.1988 N 4306)
Допускается применять чашки и пластинки из других материалов и других размеров, если это указано в нормативно-технической документации на лакокрасочный материал;
крышки для чашек;
весы лабораторные технические с погрешностью взвешивания не более 0,02 г;
весы аналитические с погрешностью взвешивания не более 0,0002 г (при проведении испытания на приборе модели 062М);
тонкую прямую или согнутую под прямым углом стеклянную палочку или металлическую проволоку;
| | ИС МЕГАНОРМ: примечание. ГОСТ 215-73 утратил силу с 1 апреля 1989 года ("ИУС", N 4, 1989). Постановлением Госстандарта СССР от 30.03.1990 N 691 с 1 января 1991 года введен в действие ГОСТ 28498-90. | |
| | ИС МЕГАНОРМ: примечание. ГОСТ 2823-73 утратил силу с 1 апреля 1989 года. Действовал ГОСТ 27544-87 ("ИУС", N 4, 1989). Взамен ГОСТ 27544-87 Постановлением Госстандарта СССР от 30.03.1990 N 691 с 1 января 1991 года введен в действие ГОСТ 28498-90. | |
термометр ртутный стеклянный лабораторный с ценой деления не более 2 °C по ГОСТ 215-73 или термометр стеклянный технический по ГОСТ 2823-73;
(в ред.
Изменения N 3, утв. Постановлением Госстандарта СССР от 20.12.1988 N 4306)
| | ИС МЕГАНОРМ: примечание. ГОСТ 5072-79 утратил силу с 1 января 1991 года (ИУС "Государственные стандарты", N 11, 1991). | |
секундомер по ГОСТ 5072-79;
(абзац введен
Изменением N 3, утв. Постановлением Госстандарта СССР от 20.12.1988 N 4306)
(абзац введен
Изменением N 3, утв. Постановлением Госстандарта СССР от 20.12.1988 N 4306)
1.4. Проведение испытания
1.4.1. Масса навески, температура и время выдержки при температуре, взятой для испытания пробы, должны быть указаны в нормативно-технической документации на лакокрасочный материал. Если нет таких указаний, в чашки отбирают пробы массой 1,80 - 2,20 г и нагревание проводят в течение 3 ч при температуре (105 +/- 2) °C. Допускается проводить нагревание до постоянной массы при температуре, рекомендуемой в
Приложении 3.
Одновременно проводят не менее двух параллельных определений.
(п. 1.4.1 в ред.
Изменения N 3, утв. Постановлением Госстандарта СССР от 20.12.1988 N 4306)
1.4.2. В сушильном шкафу устанавливают необходимую температуру. Перед взвешиванием чашки предварительно протертые ацетоном или уайт-спиритом (или другим растворителем, указанным в нормативно-технической документации на лакокрасочный материал) выдерживают в сушильном шкафу при температуре испытания в течение не менее 10 минут. После этого чашки помещают в эксикатор, охлаждают до комнатной температуры и взвешивают.
(в ред.
Изменения N 3, утв. Постановлением Госстандарта СССР от 20.12.1988 N 4306)
Пробы испытуемого материала, тщательно размешанного до однородной консистенции, помещают в чашки и взвешивают. Во избежание потери летучих веществ чашки во время взвешивания закрывают крышками или пластинками.
(в ред.
Изменения N 3, утв. Постановлением Госстандарта СССР от 20.12.1988 N 4306)
После взвешивания чашки открывают и, вращая их, распределяют содержимое тонким слоем по всей поверхности дна, после чего помещают в сушильный шкаф в горизонтальном положении и нагревают. После нагревания их переносят в эксикатор, охлаждают до комнатной температуры и взвешивают.
Если нагревание проводят до постоянной массы, то первое взвешивание проводят через 1 ч или через 30 минут в случае использования весов типа ВЛВ-100, а затем через каждые 30 минут.
(абзац введен
Изменением N 3, утв. Постановлением Госстандарта СССР от 20.12.1988 N 4306)
Расхождение между результатами двух последних взвешиваний не должно превышать 0,01 г.
(абзац введен
Изменением N 3, утв. Постановлением Госстандарта СССР от 20.12.1988 N 4306)
При проведении испытания под инфракрасной лампой
(Приложение 1) первое взвешивание проводят через 5 мин, а затем через каждые 3 - 5 мин, если в нормативно-технической документации на лакокрасочный материал не указано другое время. При разногласиях в оценке показателя определение массовой доли проводят в сушильном шкафу.
(абзац введен
Изменением N 3, утв. Постановлением Госстандарта СССР от 20.12.1988 N 4306)
1.4.3. Если в нормативно-технической документации не изложена методика проведения испытания материалов, образующих поверхностную пленку, испытание проводят следующим образом.
Чашки со стеклянными палочками или проволочками нагревают, охлаждают и взвешивают, как указано в
п. 1.4.2.
(в ред.
Изменения N 3, утв. Постановлением Госстандарта СССР от 20.12.1988 N 4306)
Затем в чашки быстро отвешивают пробу испытуемого материала, избегая испарения. Продукт равномерно распределяют палочкой или проволокой по дну чашек. Чашки с испытуемым материалом вместе с палочками или проволоками помещают в сушильный шкаф и нагревают. Чтобы разрушить поверхностную пленку, чашки через 10 - 15 минут вынимают из шкафа, палочкой или проволокой перемешивают материал и снова помещают в сушильный шкаф. По истечении времени нагревания, установленного для данного материала, чашки переносят в эксикатор, охлаждают до комнатной температуры и взвешивают.
(в ред.
Изменения N 3, утв. Постановлением Госстандарта СССР от 20.12.1988 N 4306)
1.4.4. При испытании высоковязких материалов, не растекающихся при температуре испытания, применяют две предварительно взвешенные пластинки. Испытуемый материал помещают на пластинку, накрывают ее второй пластинкой и осторожно сжимают. Испытуемый материал при этом должен распределяться между пластинками тонким слоем и не вытекать за их пределы.
Пластинки с материалом взвешивают, после чего их разъединяют, помещают в сушильный шкаф и проводят испытание в соответствии с
п. 1.4.2.
1.4.5. При испытании водоразбавляемых материалов пробу помещают в предварительно нагретую, охлажденную и взвешенную чашку со стеклянной палочкой, согнутой под прямым углом. Масса пробы должна быть указана в нормативно-технической документации на лакокрасочный материал. Если нет такого указания, масса пробы составляет 0,80 - 0,90 г. Чашку с испытуемым материалом и палочкой помещают в соответствующее по диаметру отверстие кипящей водяной бани на 15 - 20 мин, периодически перемешивая материал через каждые 2 - 3 мин.
(в ред.
Изменения N 3, утв. Постановлением Госстандарта СССР от 20.12.1988 N 4306)
После нагревания чашку снимают, удаляют со дна влагу фильтровальной бумагой, охлаждают и взвешивают.
Допускается проводить испытания в сушильном шкафу при условиях, указанных в нормативно-технической документации на лакокрасочный материал.
1.4.6. Исключен с 1 июля 1989 года. -
Изменение N 3, утв. Постановлением Госстандарта СССР от 20.12.1988 N 4306.
1.4.7. При проведении испытания на приборе для ускоренного определения влажности формовочных материалов модели 062М прибор подготавливают к работе согласно инструкции. Прибор включают в электросеть через автотрансформатор и устанавливают напряжение 180 В, контролируя его вольтметром.
Чистые сухие чашки устанавливают на столик прибора, включают лампу, выдерживают в течение 5 минут, после чего охлаждают в эксикаторе и взвешивают с точностью до четвертого десятичного знака.
(в ред.
Изменения N 3, утв. Постановлением Госстандарта СССР от 20.12.1988 N 4306)
От 1,0 до 1,2 г испытуемого материала помещают в чашку, равномерно распределяют по дну и взвешивают вместе с крышками. Чашки помещают на столик прибора при комнатной температуре и одновременно включают секундомер и лампу.
(в ред.
Изменения N 3, утв. Постановлением Госстандарта СССР от 20.12.1988 N 4306)
Время выдержки чашек под лампой при напряжении 180 В указывают в нормативно-технической документации на испытуемый материал. Затем чашки с содержимым охлаждают в эксикаторе и взвешивают.
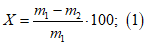
1.5. Обработка результатов
Массовую долю летучих (X) и нелетучих

веществ в процентах вычисляют по формулам
где

- масса испытуемого материала до нагревания, г;

- масса испытуемого материала после нагревания, г.
За результат испытания принимают среднее арифметическое результатов проведенных параллельных определений, расхождение между которыми не должно превышать 1%. Результат записывают с точностью до первого десятичного знака.
(в ред.
Изменения N 3, утв. Постановлением Госстандарта СССР от 20.12.1988 N 4306)
2. МЕТОД ОПРЕДЕЛЕНИЯ МАССОВОЙ ДОЛИ ТВЕРДЫХ ВЕЩЕСТВ
2.1. Сущность метода
Метод заключается в экстрагировании пленкообразующего вещества растворителем из навески испытуемого лакокрасочного материала, отделении твердого вещества центрифугированием, высушивании и взвешивании осадка и определении массовой доли твердых веществ по отношению к массе взятой пробы.
2.3. Аппаратура и реактивы
Для проведения испытания применяют:
шкаф сушильный с терморегулятором, обеспечивающим поддержание требуемой температуры нагрева с погрешностью не более 2 °C;
(в ред.
Изменения N 3, утв. Постановлением Госстандарта СССР от 20.12.1988 N 4306)
весы лабораторные технические с погрешностью взвешивания не более 0,02 г;
тонкую прямую стеклянную палочку;
центрифугу с частотой вращения не менее

, набором специальных пробирок вместимостью 25 или 50 см
3 по
ГОСТ 25336-82;
растворитель по нормативно-технической документации на лакокрасочный материал;
(абзац введен
Изменением N 3, утв. Постановлением Госстандарта СССР от 20.12.1988 N 4306)
(абзац введен
Изменением N 3, утв. Постановлением Госстандарта СССР от 20.12.1988 N 4306)
2.4. Проведение испытания
2.4.1. Пробирку вместимостью 25 см3 предварительно взвешивают. От 2,0 до 3,0 г испытуемого материала, предварительно размешанного до однородной массы, отвешивают в пробирку. К пробе прибавляют небольшими порциями примерно 10 см3 растворителя, после чего содержимое пробирки тщательно размешивают стеклянной палочкой. Остаток на палочке после размешивания смывают в ту же пробирку таким количеством растворителя, чтобы пробирка заполнилась на 3/4 ее вместимости.
(в ред.
Изменения N 3, утв. Постановлением Госстандарта СССР от 20.12.1988 N 4306)
Центрифугирование проводят до полного разделения смеси и появления над осадком прозрачного раствора.
Допускается одновременно проводить центрифугирование нескольких материалов.
Для каждого материала проводят не менее двух параллельных испытаний. Для соблюдения равновесия пробирки в центрифугу вставляют симметрично. Если требуется провести нечетное число анализов, то для уравновешивания вставляют пробирки, заполненные водой. Масса заполненных пробирок должна быть одинаковой.
2.4.2. Раствор над осадком осторожно декантируют и в пробирки вновь добавляют 10 см3 растворителя. Добавление растворителя, перемешивание его с осадком, центрифугирование и декантацию повторяют до тех пор, пока капля жидкости, взятая стеклянной палочкой из пробирки после центрифугирования, не будет оставлять следов на фильтровальной бумаге после испарения растворителя.
(в ред.
Изменения N 3, утв. Постановлением Госстандарта СССР от 20.12.1988 N 4306)
2.4.3. Пробирку с осадком сушат в сушильном шкафу при температуре (105 +/- 2) °C до достижения постоянной массы, если нет других указаний в нормативно-технической документации на лакокрасочный материал. Перед каждым взвешиванием пробирку охлаждают до комнатной температуры в эксикаторе.
2.4.4. Допускается применять пробирки вместимостью 50 см3. В этом случае массу пробы лакокрасочного материала увеличивают в два-три раза и соответственно количество растворителя.
(в ред.
Изменения N 3, утв. Постановлением Госстандарта СССР от 20.12.1988 N 4306)
2.5. Обработка результатов
Массовую долю твердых веществ

в процентах вычисляют по формуле
где

- масса испытуемого материала до нагревания, г;

- масса высушенного осадка (твердого вещества), г.
За результат испытания принимают среднее арифметическое значение результатов параллельных определений, расхождение между которыми не должно превышать 1%.
Результат записывают с точностью до первого десятичного знака.
(абзац введен
Изменением N 3, утв. Постановлением Госстандарта СССР от 20.12.1988 N 4306)
3. ОПРЕДЕЛЕНИЕ МАССОВОЙ ДОЛИ ПЛЕНКООБРАЗУЮЩИХ ВЕЩЕСТВ
Массовую долю пленкообразующих веществ

в процентах вычисляют по формуле
где

- среднее арифметическое значение массовой доли нелетучих веществ, %;

- среднее арифметическое значение массовой доли твердых веществ, %.
Разд. 1 - 3. (Измененная редакция, Изм. N 2).
Разд. 4 и 5. (Исключены, Изм. N 2).
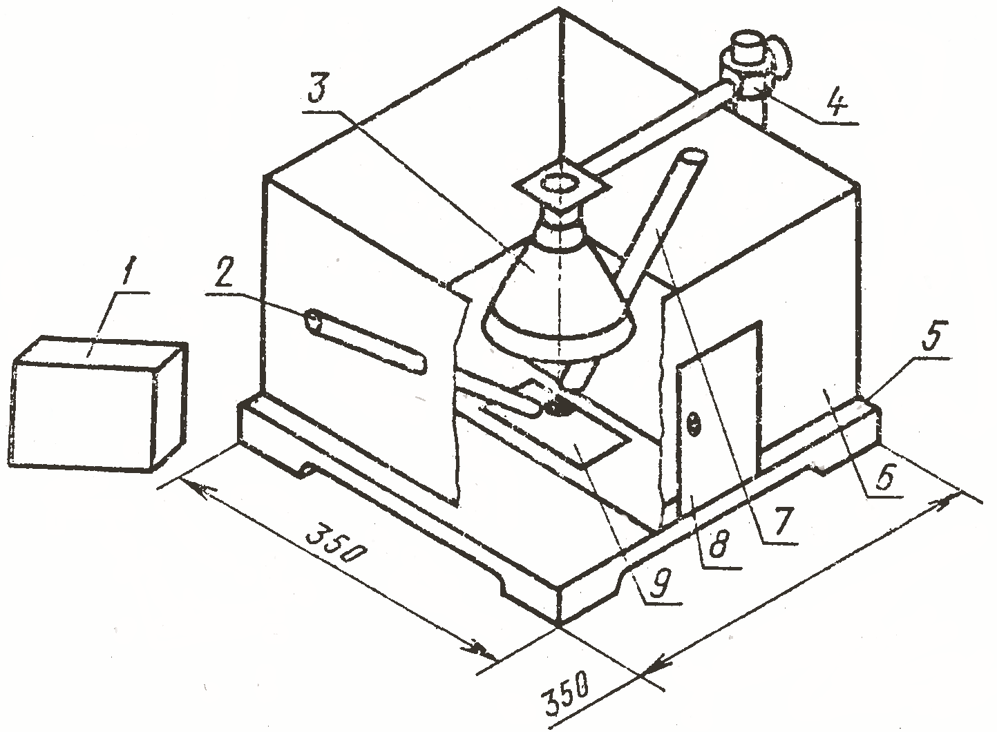
Рекомендуемое
(в ред.
Изменения N 3, утв. Постановлением Госстандарта СССР от 20.12.1988 N 4306)
СХЕМА УСТАНОВКИ ДЛЯ ОПРЕДЕЛЕНИЯ ЛЕТУЧИХ
И НЕЛЕТУЧИХ ВЕЩЕСТВ
Установка для определения летучих и нелетучих веществ состоит из инфракрасной лампы (3), укрепленной на штативе (4) над подставкой (5), покрытой асбестом и огороженной экраном (6), изготовленным из материала, обеспечивающего теплоизоляцию (температура наружных стенок не должна превышать 50 °C).
(в ред.
Изменения N 3, утв. Постановлением Госстандарта СССР от 20.12.1988 N 4306)
Температуру, необходимую для испытания, устанавливают при помощи терморегулятора (2) типа ЭРА-М <*> и контролируют ртутным термометром (7). Датчик терморегулятора (1) и контрольный термометр устанавливают в направляющих трубках, расположенных под углом 45° к подставке и закрепленных в отверстиях боковых стенок. Рабочие части термометра и датчика должны находиться над образцом в центре освещенного круга на расстоянии не более 10 мм от подставки. Расстояние от лампы до образца должно быть не менее 5 см.
(в ред.
Изменения N 3, утв. Постановлением Госстандарта СССР от 20.12.1988 N 4306)
--------------------------------
<*> Допускается применение терморегуляторов других типов с характеристиками, обеспечивающими заданную погрешность нагрева.
В передней стенке экрана должна быть дверца (8) для установки испытуемых образцов (9), которые помещают на теплоизоляционную подставку размером 350 x 350 мм.
Установка должна находиться в вытяжном шкафу.
Стандарт дополнить справочным Приложением 2.
Справочное
ТЕРМИНЫ, ИСПОЛЬЗУЕМЫЕ В СТАНДАРТЕ, И ИХ ОПРЕДЕЛЕНИЯ
Термин | Определение |
Летучие вещества | Совокупность растворителей, разбавителей, влаги и других продуктов, содержащихся в лакокрасочном материале и испаряющихся при высыхании |
Пленкообразующие вещества | Нелетучая часть лакокрасочной среды, которая образует пленку, связывает пигменты и наполнители |
Твердые вещества | Совокупность пигментов и наполнителей, содержащихся в лакокрасочном материале |
Нелетучие вещества | Совокупность пленкообразующих и твердых веществ, остающихся после испарения из лакокрасочного материала летучих веществ |
(Измененная редакция, Изм. N 2).
Рекомендуемое
РЕКОМЕНДУЕМЫЕ ТЕМПЕРАТУРЫ СУШКИ НЕКОТОРЫХ
ЛАКОКРАСОЧНЫХ МАТЕРИАЛОВ
Госстандарта СССР от 20.12.1988 N 4306)
Наименование лакокрасочного материала | Температура, °C |
Перхлорвиниловые, поливинилацетальные, нитроцеллюлозные, каучуковые, алкидно-акриловые и полиакриловые, сополимерно-винилхлоридные, водоразбавляемые, поливинилацетатные | 105  2 |
Эпоксидные, меламиновые, алкидно- и масляно-стирольные | 120  2 |
Битумные, канифольные, полиэфирные, фенольные, карбамидные, полиуретановые, масляные, нефтеполимерные, алкидные | 140  2 |
Кремнийорганические | 150  2 |